Размеры окон гост: Стандартные размеры окон
Стандартные размеры окон
То, что пластиковые окна стали нормой жизни (вряд ли остались желающие, кто согласится жить с конструкциями, из которых дует, которые текут и на них собирается конденсат), спорить никто не будет. Окна из ПВХ устанавливают в квартирах и домах, административных и учебных зданиях, в детсадах, поликлиниках, на заводах и в коммерческих помещениях. О безопасности конструкций написано множество, повторяться не будем, а вот о ГОСТах и стандартных размерах — нет. Исправим ситуацию, разберем типовые дома, остекление в них и поможем разобраться, стоит ли заказывать готовые окна или лучше изготовить по собственным размерам.
Не изобретем велосипед, если скажем: каждое окно изготавливается под конкретный проем с конкретными размерами, двух одинаковых нет. В частности, если речь идет о современных многоэтажках: включается человеческий фактор, который не дает сделать два одинаковых проема. Проемы в комнатах даже в одной квартире могут быть настолько разными, что заказывать одинаковые по размеру конструкции станет себе дороже.
В идеале эти же правила относятся и к типовым и старым домам — сталинки, хрущевки, пятиэтажкам или девятиэтажкам. Однако здесь все развивается по другому сценарию. Стандартные размеры есть. Но для каждого дома свои.
Размеры для хрущевок
Открывают наш список стандартов «хрущевки» – дома, построенные в период правления Никиты Сергеевича Хрущева (за что и получили такое название). Это типовые постройки, серия 1-507: пятиэтажки, в которых не знают, что такое чердак, лифт и даже мусоропровод. Несущие конструкции, которые есть у дома, внешние. Изначально из строили из кирпича, но позднее для того чтобы сэкономить, заменили материал и перешли на панели.
Итак, что касается высоты, цифры тут варьируются от 1340 до 1400 мм; ширина стандартного двустворчатого окна не может быть больше 1280-1300 мм, ну а в балконном блоке – 1290-1350 мм.
Размеры для сталинок
Следующие в списке – «сталинки»: дома, которые строились в то время, когда страной управлял Иосиф Виссарионович Сталин. Это несколько серий домов, которые разделены на три класса – ведомственные, директорские и рядовые. Кроме этого отличия заключаются во внешнем виде самого дома, планировке, а также наличию удобств.
Что касается окон, в «сталинках» они пестрят разнообразием: от одностворчатого до трехстворчатого, а балконный блок – с двустворчатой дверью – такое встречается редко. Стоит отметить, что светопрозначные конструкции, к которым относятся окна и балконы, выполнены с верхней фрамугой. Теперь пару слов о размерах: двустворчатые окна могут быть 1500*1900 мм, 1250*1800 мм, 1200*1700 мм, 1080*1800 мм, балконный блок – 1500*2700 мм.
Размеры для пятиэтажек-брежневок
Эти дома пришли на смену хрущевок и стали символом новой жизни: строились с улучшенной планировкой, что радовало советский народ.
В разноэтажных домах (8-16) и конфигурации появились лифт и мусоропровод; санузел везде стал раздельным, проходных комнат не стало, высота потолков составила до 2,7, да и сама по себе площадь квартиры стала больше. Пару слов о стандартных размерах оконных конструкций: это двустворчатое окно, размер которого 1300*1400 мм. Если речь идет о балконном блоке, то это длина окна составит 1400 мм, а размеры дверного полотна – 750*2150 мм. Если говорить о трех створках, то размеры составят 2100*1400 мм.
Размеры для девятиэтажек-брежневок
Серийным девятиэтажкам дали жизнь в 60-80 гг прошлого века. Строить должны былт не год и не два, поэтому в планах было изготовление железобетонных плит для этих целей. Первой «ласточкой» стала серия девятиэтажных домов I-515/9ш (515/9м). Ну а дальше возникли варианты многоэтажек, среди которых панельные и блочные типы домов II-49, II-57и II-18/9.
А вот что можно сказать про стандартные размеры окон в таких домах: в комнатах цифры составляют 2080*1420 мм, если речь идет о кухне, то габариты 1470*1420 мм, ну а на лоджии – 870*1420 мм.
Что касается дверного проема для прохода на лоджию, цифры такие: 700*2180 мм.
ГОСТ для стандартных пластиковых окон
Теперь поговорим о стандартах. Нормы и правила изготовления окон из пластика, алюминия и дерева прописаны не только отдельных стандартах, но и в унифицированном ГОСТе (23166-99). Четкая классификация гласит: общий объем конструкции — такой, максимальная площадь активной створки, то есть той, что открывается или ставится на проветривание (микропроветривание), не должна превышать заданные габариты. Теперь это же, но в цифрах:
— максимальная высота створки – 2750 мм;
— максимальная высота рамы – 2070 мм;
— ширина окна – 2670 мм.
Число створок и размеры
В каждом из описанных домов, даже несмотря на то, что они типовые, проемы под окна различные. Существенная разница со сталинками – это происходит из-за высоких потолков.
Рассмотрим стандартные размеры во всех домах. Начнем с хрущевок – цифры в кирпичных и панельных домах за некоторым исключением совпадают, поскольку имеют похожие проекты, и напрямую зависят от того, насколько широкий подоконник.
|
Тип конструкции |
Размеры, мм |
|
Двухстворчатое окно |
1350*1300 |
|
Трехстворчатое окно |
1359×2040 |
|
Балконная дверь |
2070×680, 1350*1100/1340 |
Это, к слову, о стандартных домах.
|
Тип конструкции |
Размеры, мм |
|
Двухстворчатый блок (серия 137) |
1420×1150 |
|
Трехстворчатый блок (серия 137) |
1420×1700 |
|
Двухстворчатый блок (серия 504) |
1410×1450 |
|
Трехстворчатый блок (серия 504) |
1410×1700 |
|
Двухстворчатый блок (серия 505) |
1410×1450 |
|
Трехстворчатый блок (серия 505) |
1410×2030 |
|
Двухстворчатый блок (серия 600. |
1410×1450 |
Трехстворчатый блок (серия 600.11) |
1410×2050 |
Размеры балконных блоков также разнятся: высота составляет от 2150 мм до 2160 мм при ширине – 670-750 мм.
А вот в «сталинках» картина отличается. Трехстворчатые блоки гораздо больше, при этом друг от друга отличаются, хоть и несущественно. Если говорить о балконных блоках, то даже внешне они не похожи на своих собратьев в домах других серий: у него две створки, которые распахиваются внутрь, а также одна глухая – сверху. Ну и по размерам гораздо больше: 2700×1500 мм.
|
Вид конструкции |
Размеры, мм |
|
Балконная дверь |
2100×750 |
|
Глухая створка вверху блока |
600×1500 |
Теперь перейдем к «брежневкам».
Размеры окон и балконных дверей ниже.
|
Тип конструкции |
Размеры, мм |
|
Двухстворчатое окно |
1400*1300 |
|
Трехстворчатое окно |
1400×2100 |
|
Балконная дверь |
2150×750 |
|
Глухое окно балконного блока |
1400*1400 |
Что касается девятиэтажек, то в них тоже все более-менее стандартно.
|
Тип конструкции |
Размеры, мм |
|
Трехстворчатое окно малое |
1400×1760 |
|
Трехстворчатое окно большое |
1400×2460 |
|
Двухстворчатое окно |
1400×1300 |
|
Балконная дверь для спальни №1 |
2150×750 |
|
Окно балконного блока для спальни №1 |
1400×1050 |
|
Балконная дверь для гостиной №2 |
2150×800 |
|
Окно балконного блока для гостиной №2 |
1400×1460/1760 |
Глубина монтажа
Чаще всего, размеры глубины монтажа абстрактны.
И этому есть основание. Дело в том, что цифры зависят от самого проема (пеноблок, дерево, кирпич), точки росы и материала. В общие размеры такие:
пластик – 58-120 мм;
алюминий – 45-125 мм;
дерево – 58-165 мм.
Теперь вы знаете все о стандартных размерах окон и балконных блоков, сможете самостоятельно определиться с выбором изделий, кстати, в том числе и готовых, которые есть в наличии.
Стандартные размеры пластиковых окон – Гост на пластиковые окна размеры, гост на окна ПВХ
Какими бывают современные окна: стандартные размеры и виды конструкций
Современные технологии производства позволяют изготавливать окна практически любых размеров и форм. Но в домах старой постройки и во многих современных типовых зданиях проемы имеют стандартные параметры. Расскажем, каких окна бывают размеров и как правильно их определять.
Стандарты окон по ГОСТ
Рассмотрим процесс доработок государственных стандартов, чтобы лучше понять изменения требований к размерам систем остекления.
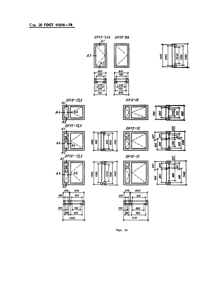
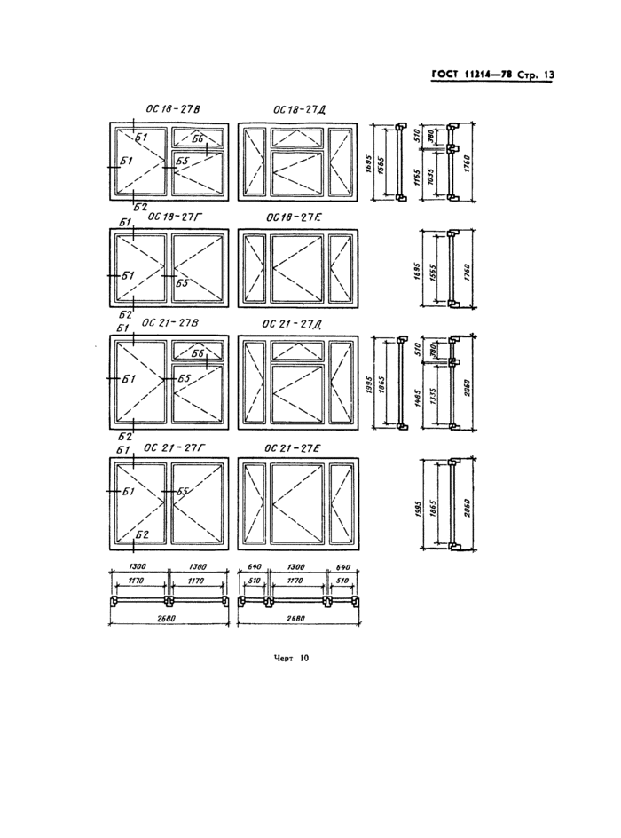
Первый ГОСТ на окна был введен в 1987 году. Жилищное строительство велось активными темпами, поэтому инженеры стремились к стандартизации основных конструкций. Единые требования упрощали процесс производства, позволяли наладить серийный выпуск в больших объемах. Размеры окон по ГОСТ 11214-86 указаны в таблице.
| Тип окна | Высота, мм | Ширина, мм |
|---|---|---|
| Одностворчатое | ||
| Одностворчатое | 470 | 470 |
| 570 | 570, 870 | |
| 870 | 570, 870 | |
| 1170 | 570, 870 | |
| 1320 | 570, 870 | |
| 1470 | 570, 870 | |
| Двустворчатое | ||
| Двустворчатое | 570 | 1170 |
| 870 | 1170, 1320, 1470 | |
| 970 | 970 | |
| 1170 | 870, 970, 1170, 1320, 1470 | |
| 1320 | 970, 1170, 1320, 1470 | |
| 1470 | 1170, 1320, 1470 | |
| Трехстворчатое | ||
| Трехстворчатое | 1170 | 1170, 2070 |
| 1320 | 1170, 2070 | |
| 1470 | 1170, 2070 | |
Пример двустворчатого окна по старым стандартам
Размеры проема отличались от параметра окна в большую сторону на 3 мм.
Небольшой зазор был нужен для выравнивания рамы. Строители проверяли правильность установки по отвесу или по уровню.
В 2001 году вступил в силу ГОСТ 23166-99. Новый регламент ввел такое понятие, как строительный модуль: стандартная единица, по которой определяли кратные размеры окна. Параметры конструкции обозначали буквой М и двумя цифрами, например М 6-6, М 6-9 и т. д. Размеры окон по ГОСТ 23166-99 указаны в таблице.
| Высота, мм | Ширина, мм |
|---|---|
| 580 | 570-1470 |
| 860 | |
| 1160 | 570-2670 |
| 1320 | |
| 1460 | |
| 1760 | 720-2670 |
| 2060 | |
| 2175 | 720-1170 |
| 2375 | 720-1170 |
| 2755 | 870-1770 |
Примеры окон по действующим ГОСТ
Оптимальные размеры оконных проемов
Стандарт 1999 года определят оптимальные габариты систем остекления, исходя из ветровой нагрузки, эффективности тепло- и шумоизоляции.
Основные положения ГОСТ:
- Максимальная ширина окна 2,67 м. Чем ниже проем, тем он уже. При минимальной высоте ширина должна быть не более 1,77 м.
- Максимальная высота окна 2,75 м. При ширине 2,67 м рекомендуется делать проем высотой 2,07 м.
- Глубина проема не менее 12 мм. Точные параметры зависят от типа профиля.
- Площадь активного элемента окна не более 2,5 кв. м, всего блока – не более 6 кв. м.
Указанные значения носят рекомендательный характер. Строители могут отклоняться в большую и меньшую сторону, если окно прочное, с хорошими показателями теплоизоляции.
Глубина монтажа
Монтажная глубина – это ширина проема, которая будет занята стеклопакетом. В общем случае, чем толще профиль, тем выше характеристики прочности, стабильности, энергоэффективности и стоимость. При расчете монтажной глубины учитывают климат в регионе и назначение помещения, для которого проектируется окно.
Глубина установки стеклопакетов указана в таблице:
| Монтажная глубина, мм | Количество камер | Толщина профиля, мм, не более | Коэффициент теплоизоляции, Вт/м2*К | Применение |
|---|---|---|---|---|
| 58-60 | 3 | 38 | 0,72 | Универсальные системы, подходят для установки на даче, в магазине, на складе и других объектах с невысокими требованиями к шумоизоляции. Используются в теплом климате. |
| 70 | 3-5 | 58 | 0,86 |
Остекление жилых домов, коммерческих и административных зданий.
|
| 76-82 | 6-7 | 60 | 1,11 | Окна с улучшенной шумоизоляцией, теплоизоляцией. Устанавливают в проемы с выходом на автодорогу, шумный двор. |
Теоретически монтажная глубина окна может достигать 130 мм, но такие системы очень массивные, тяжелые, сложные в установке. Толстые стеклопакеты используют в основном для строительства в регионах Крайнего Севера.
Количество створок и их размеры
Согласно стандарту, площадь одной створки не должна превышать 2,5 м2 при весе до 100 кг. Размеры глухих окон в многоэтажных зданиях — 800 х 400 мм.
Количество и размеры створок во многом зависят от назначения помещения, в котором установлено окно. Например, в комнатах панельных домов чаще всего устанавливают 2-створчатое окно с одной неактивной створкой и одной подвижной.
Если размеры проема превышают 150 х 150 см, то конструкция должна быть 3-створчатой. Среднюю часть делают неподвижной, две боковые – распашные или поворотно-откидные.
Стандартные размеры окон для частного дома
Оконные проемы в жилых и подсобных помещениях имеют разные размеры. Чем больше площадь остекления, тем выше уровень естественной освещенности. Обычно размеры окна подбирают пропорционально габаритам комнаты. Самые большие блоки устанавливают в гостиных, спальнях, столовых. В кухне и кладовой монтируют небольшие окна с одной подвижной или глухой створкой.
Ниже в таблице указаны стандартные размеры системы остекления, которые чаще всего используют в частных домах. Проем должен быть шире и выше на 3 см – это оптимальная толщина пенного шва.
| Тип окна | Высота, мм | Ширина, мм |
|---|---|---|
| Одностворчатое | ||
| Одностворчатое | 470 | 470 |
| 570 | 570, 870 | |
| 870 | ||
| 1170 | ||
| 1470 | ||
| Двустворчатое | ||
| Двустворчатое | 570 | 1170 |
| 870 | 1170, 1320, 1470 | |
| 970 | 970 | |
| 1170 | 870, 970, 1170, 1320, 1470 | |
| 1470 | 1170, 1320, 1470 | |
| Трехстворчатое | ||
| Трехстворчатое | 1170 | 1170, 2070 |
| 1320 | ||
| 1470 | ||
Что важно учесть при выборе размеров окна:
- Минимальное расстояние от нижней рамы до радиатора – 80 мм.

- Высота от пола до подоконника в жилых комнатах – 800 мм, в кухне – 900 мм, гардеробе – 1750 мм, на мансарде – 1000 мм, в санузле – 1300 мм.
- В комнатах шириной менее 3 м устанавливают одно окно шириной 1 м.
- Установка стеклопакета без технического зазора не допускается.
Стандартные размеры окон для квартиры
В многоэтажных домах размеры проемов стандартизируют для снижения стоимости строительства, простого монтажа и ремонта. Габариты конструкции зависят от типа дома.
Мы собрали основные виды строений и окон в таблицу:
| Тип окна / размер | Хрущевки, мм | Брежневки 5-этажные, мм | Стандартные 9-этажки, мм | Сталинки (высокий потолок, распашная створка балконного блока) |
|---|---|---|---|---|
| Двустворчатое | ||||
| Двустворчатое |
1350 х 1300 1500 х 1450 |
1400 х 1300 | 1400 х 1300 | 1150 х 1850 |
| Трехстворчатое | ||||
| Трехстворчатое |
1350 х 2040 1500 х 2040 |
1400 х 2100 |
1400 х 1760 1400 х 2460 |
|
| Балконная дверь | ||||
| Балконная дверь | 2070 х 680 | 2150 х 750 |
2150 х 750 2150 х 800 |
2100 х 750 |
| Глухая створка балкона | ||||
| Глухая створка балкона |
1350 х 1100 1350 х 1340 |
1400 х 1400 |
1400 х 1050 1400 х 1460 1400 х 1760 |
|
В домах новой планировки стандарты соблюдаются не всегда.
Размеры остекления подбирают с учетом требований к дизайну здания. Например, ширина окна рядом с балконной дверью варьируется от 570 до 1400 мм, а высота может достигать 1420 мм.
Стандартные размеры окон для дачи
Уже давно прошли те времена, когда в дачные дома устанавливали самодельные окна из деревянных реек. Проемы были небольшие и почти всегда закрывались глухими створками.
На современных дачах устанавливают пластиковые стеклопакеты с большой площадью остекления. Конструкции не только позволяют проветривать жилую комнату, но и защищают ее от ветра, холода, сквозняка.
Понятия «стандартный размер окна» как такового для дач не существует. Площадь стеклопакета зависит от размеров стены, комнаты. Рекомендуется соблюдать требования СНиП по высоте подоконника, расстоянию от проема до угла. Производители могут изготовить окно любого размера.
Нестандартные окна
Типовые оконные блоки не вписываются в архитектуру дома, построенного по авторскому проекту.
Фасад здания дополняют необычные светопрозрачные конструкция. Форма окон бывает разной: от небольшого круга до сложного асимметричного многоугольника.
Типовые оконные блоки не вписываются в архитектуру дома, построенного по авторскому проекту. Фасад здания дополняют необычные светопрозрачные конструкция. Форма окон бывает разной: от небольшого круга до сложного асимметричного многоугольника.
Арочные и составные окна
Круглые и овальные окна
Треугольные и квадратные окна
Трапеции и многоугольники
Максимальный размер конструкции зависит от статических и ветровых нагрузок. Каждое нестандартное окно требует тщательных расчетов на стадии проектирования дома.
В тексте ГОСТ не указано каких-либо ограничений для нестандартных стеклопакетов. Единственная рекомендация: площадь остекления не более 6 кв. м. Если планируется панорамное остекление, проектировщики рассчитывают сборную конструкцию из нескольких блоков, соединенных статическими профилями, которые придают всей системе прочность, жесткость, устойчивость.
Возврат к списку
Что такое стандартные размеры окон?
К
Ли Уоллендер
Ли Валлендер
Ли имеет более чем двадцатилетний практический опыт реконструкции, ремонта и улучшения домов, а также дает советы по благоустройству дома более 13 лет.
Узнайте больше о The Spruce’s Редакционный процесс
Обновлено 29.03.22
Факт проверен
Элизабет Макленнан
Факт проверен Элизабет Макленнан
Элизабет Макленнан — специалист по проверке фактов и редактор с опытом работы в области наук о Земле и устойчивого развития. Элизабет имеет степень магистра. из Университета Теннесси, Ноксвилл.
Узнайте больше о The Spruce’s Редакционный процесс
Ель / Мадлен Спокойной ночи
Когда вы смотрите на новые окна или новые окна, первое, на что вы обращаете внимание, — это размеры окон.
Хотя вы можете приобрести нестандартные окна практически любого размера, подходящие для любой оконной рамы, стандартные размеры окон упрощают и удешевляют процесс.
Окна стандартного размера — это окна заданных размеров, которые вписываются в часто встречающиеся проемы в недавно построенных домах. Поскольку оконные проемы обычно попадают в эти размерные категории, окна стандартного размера подходят для самых недавно построенных домов.
Совет
Производители окон часто используют четырехзначные обозначения для обозначения размеров окон. Первые две цифры относятся к ширине окна (футы/дюймы), а последние две цифры относятся к высоте окна (футы/дюймы). Примеры:
- Окно 2 фута, 0 дюймов в ширину на 3 фута, 0 дюймов в высоту — это окно 2030 года
- Окно 3 фута, 4 дюйма в ширину и 4 фута, 4 дюйма в высоту — это окно 3444
Двойные или одинарные окна
Двустворчатые окна имеют две створки — верхнюю и нижнюю, каждая из которых двигается вверх и вниз.
Обычно верхняя створка остается на месте, а нижняя открывается чаще, чтобы впустить воздух в дом.
Одностворчатые окна по размерам ничем не отличаются от двустворчатых. В одностворчатых окнах верхняя створка неподвижна, а нижняя подвижна.
Что такое оконная створка?
Оконная створка, состоящая из рамы, стекла и более мелких деталей, представляет собой единицу внутри окна. Это подвижная часть окна, которую вы перемещаете вверх и вниз или из стороны в сторону.
Где установить
Двустворчатые окна — это распространенное универсальное окно, которое подходит для многих типов домов. Их лучше всего устанавливать в местах общего пользования, спальнях или любой комнате, в которой можно использовать открывающиеся окна.
Двустворчатые окна можно устанавливать как на первом, так и на верхних этажах, так как их легко мыть изнутри дома. Одностворчатые окна лучше работают на уровне земли для облегчения доступа для очистки или ремонта.
Стандартные размеры двустворчатых и одностворчатых окон
Двустворчатые окна всегда выше в высоту, чем в ширину.
Ширина двустворчатых окон варьируется от 24 до 48 дюймов. Высота двустворчатых окон варьируется от 36 до 72 дюймов.
Некоторые распространенные комбинации размеров для двустворчатых и одностворчатых окон:
- 2 фута в ширину и 3 фута в высоту (2030)
- 2 фута в ширину и 4 фута 4 дюйма в высоту (2044)
- 2 фута 8 дюймов в ширину и 4 фута в высоту (2840)
- 2 фута 8 дюймов шириной 5 футов, высотой 2 дюйма (2852)
- шириной 4 фута и высотой 6 футов (4060)
Раздвижные окна
Раздвижные или раздвижные окна имеют створки, которые скользят горизонтально. Одна створка может быть зафиксирована на месте, а другая подвижна, или обе створки могут двигаться.
Где установить
Раздвижные окна работают практически в каждой комнате дома: в помещениях общего пользования, спальнях, ванных комнатах, кухнях, столовых и подвалах.
Раздвижное окно стандартных размеров
Раздвижные окна всегда шире, чем в высоту, или имеют квадратную форму.
Окна слайдера имеют ширину от 36 до 84 дюймов. Высота варьируется от 24 дюймов до 60 дюймов. Часто встречающиеся комбинации размеров:
- 3 фута в ширину и 2 фута в высоту (3020)
- 3 фута в ширину и 3 фута в ширину (3030)
- 5 футов в ширину и 3 фута в высоту (5030)
- 6 футов в ширину и 4 фута в высоту (6040)
- 7 футов в ширину и 4 фута в высоту (7040)
Изображение или фиксированные окна
Панорамные или фиксированные окна — это окна, которые остаются на месте, без створки или какой-либо части, способной скользить или открываться.
Где установить
Установите панорамные окна в тех местах, где, как вы знаете, вам не нужно будет открывать окно для свежего воздуха или для уборки. Поскольку на панорамных окнах нет движущихся частей, их можно найти в больших размерах. Панорамные окна обычно встречаются в гостиных и в любых помещениях, где требуется максимальное естественное освещение.
Стандартные размеры изображения/неподвижного окна
Картинные окна могут быть как узкими, как 24 дюйма, так и широкими, как 96 дюймов.
Высота картинных окон колеблется от 12 дюймов до 96 дюймов. Среди популярных комбинаций:
- 3 фута в ширину и 2 фута в высоту (3020)
- 5 футов в ширину и 3 фута в высоту (5030)
- 6 футов в ширину и 4 фута в высоту (6040)
- 4 фута в ширину и 5 футов в высоту (4050)
- 8 футов в ширину, 5 футов, 2 дюйма в высоту (8052)
Створчатые окна
Створчатые окна — это подвижные окна, которые открываются сбоку, как дверь. Створчатые окна могут иметь только одну створку, две или более створок. Створки открываются ручкой.
Где установить
Поскольку створчатые окна отлично вентилируются, они хорошо работают на кухнях или в ванных комнатах. Они также подходят для людей с ограниченными физическими возможностями или для труднодоступных мест, например, за кухонной раковиной. Это потому, что вам не нужно напрягаться, чтобы поднять или сдвинуть створку: просто откройте защелку, а затем поверните рукоятку.
Створчатое окно стандартных размеров
Ширина створчатых окон обычно начинается с 17 дюймов и достигает 41 дюйма.
Общие высоты варьируются от 16 дюймов до 33 дюймов.
- 1 фут, 7 дюймов в ширину, 1 фут, 4 дюйма в высоту (1714)
- 1 фут, 7 дюймов в ширину, 2 фута, 5 дюймов в высоту (1725)
- 2 фута, 3 дюйма в ширину, 2 футов, 3 дюйма в высоту (2323)
- 2 фута, 9 дюймов в ширину и 2 фута, 9 дюймов в высоту (2929)
- 3 фута, 5 дюймов в ширину и 2 фута, 5 дюймов в высоту (3525)
Пользовательские размеры окна
В то время как стандартные размеры окон подходят для большинства домов, могут быть оконные рамы, для которых требуются окна, которые не попадают в эти предписанные категории. На самом деле, в большинстве домов, которые не являются новостройками , не будет стандартных оконных проемов. Для них вы можете заказать окна нестандартных размеров.
Нестандартные или специальные размеры, которые предлагают производители окон, иногда имеют больший диапазон размеров, чем стандартные окна. Например, один крупный производитель предлагает стандартные створчатые окна высотой 2 фута 9 дюймов.
дюймов в высоту, но их нестандартные створки могут достигать 8 футов в высоту.
Кроме того, в пределах этих минимальных и максимальных размеров есть меньшие (и более) приращения размеров, вплоть до приращений 1/8 дюйма.
Ожидайте платить примерно на 50 процентов больше за окно нестандартного или специального размера.
Лучшие компании по установке окон
Таблицы размеров стандартных сменных окон
Окна Lake Washington
Разобраться со стандартными размерами окон может быть сложно, если не сказать больше. Каждый стиль окон имеет свой собственный набор стандартов, и местонахождение производителя может влиять на эти стандарты. Огромного количества стилей и размеров достаточно, чтобы ошеломить любого. Тем не менее, Lake Washington Windows and Doors поможет разобраться во всей путанице. В этой статье мы объясним бизнес стандартных размеров окон. Мы надеемся, что это поможет внести некоторую ясность всем, кто исследует мир сменных окон. Пожалуйста, не стесняйтесь обращаться к нам с любыми вопросами, которые возникают на этом пути.
Наш отдел продаж будет рад предоставить любые необходимые ответы.
Существуют ли стандартные сменные размеры окон?
Если коротко, то да. Для сменных окон установлены стандартные размеры окон. Однако эти стандартные размеры окон различаются для всех типов окон. Каждый стиль имеет минимальную и максимальную стандартную ширину окна, а также минимальную и максимальную стандартную высоту окна. Между ними каждый тип окна имеет диапазон размеров со стандартными приращениями. Например, стандартные размеры двустворчатых окон варьируются по ширине от минимальной 24 дюймов до максимальной ширины 48 дюймов, в то время как они имеют минимальную высоту 36 дюймов и максимум 72 дюйма с увеличением высоты 44, 52, 54. и 62 дюйма.
Как измеряются окна?
При измерении окон дома мы следуем простому четырехэтапному процессу. Первый шаг — убедиться, что оконная рама квадратная, то есть каждый из четырех углов расположен под равными углами в 90 градусов. Следующий шаг измеряет ширину окна сверху, снизу и по центру.
После этого мы измеряем высоту окна в крайнем левом, центральном и крайнем правом углу. Важно отметить, что размеры окна всегда записываются: ширина х высота.
Следующим шагом является измерение глубины окна от внутренней части внешней отделки до внутренней части внутренней отделки. Глубина окон относительно постоянна и имеет тенденцию различаться только в мобильных и модульных домах. Мы делаем последний шаг, чтобы округлить все измерения до ближайшей ⅛ дюйма. Это основные измерения, необходимые перед выбором нового окна. Для более подробного объяснения узнайте, как измерить окна для замены.
Понимание приблизительного размера проема
Перед установкой окна или двери изготавливается рама, состоящая из перемычки сверху, подоконника снизу и двух вертикальных фрез слева и справа. Примерный размер проема — это термин, который относится к размерам рамы, в которой будет размещено окно или дверь. Приблизительный размер проема будет больше, чем размеры окна установленного блока.
После установки окна дополнительное пространство между оконным блоком и черновой рамой проема заполняется изоляционными материалами.
Объяснение обозначения размера окна
Стандартные размеры окна включают четырехзначное обозначение, представляющее ширину и высоту стиля окна, измеренную от грубого отверстия. Первые две цифры представляют ширину окна, а вторые две — высоту окна, измеренную в футах. Двойное окно, помещенное в грубый проем размером 48 дюймов в ширину и 72 дюйма в высоту (4 фута х 6 футов), будет иметь обозначение 4060. Окно размером 48 дюймов в ширину и 62 дюйма в высоту (4 фута х 5 футов 2 дюйма). ) будет иметь обозначение 4052. Однако фактические размеры окна будут примерно на полдюйма короче в каждом направлении.
Двустворчатые окна, также называемые двустворчатыми окнами, имеют две действующие верхние и нижние створки. Чаще всего выбирают стили со створками, которые открываются вертикально. Однако существуют двустворчатые оконные створки, створки которых открываются на петлях как внутрь, так и наружу.
Помимо обеспечения дополнительной вентиляции по сравнению с одностворчатыми окнами, двустворчатые окна обеспечивают уровень безопасности для семей с маленькими детьми, поскольку верхнюю створку можно открыть для обеспечения вентиляции, оставаясь вне досягаемости.
- Минимальная ширина: 24 дюйма
- Максимальная ширина: 48 дюймов
- Минимальная высота: 36 дюймов
- Максимальная высота: 72 дюйма
- Найдено в: Спальня, кухня и коридоры
| 24″ | 28″ | 32″ | 40″ | 44″ | 48″ | |
| 36″ | 2030 | 2430 | 2830 | 3430 | 3830 | 4030 |
| 44″ | 2038 | 2438 | 2838 | 3438 | 3838 | 4038 |
| 48″ | 2040 | 2440 | 2840 | 3440 | 3840 | 4040 |
| 52″ | 2044 | 2444 | 2844 | 3444 | 3844 | 4044 |
| 54″ | 2046 | 2446 | 2846 | 3446 | 3846 | 4046 |
| 60″ | 2050 | 2450 | 2850 | 3450 | 3850 | 4050 |
| 62″ | 2052 | 2452 | 2852 | 3452 | 3852 | 4052 |
| 72″ | 2060 | 2460 | 2860 | 3460 | 3860 | 4060 |
Одностворчатые окна, также называемые окнами с одной створкой, являются одним из наиболее распространенных типов доступных окон.
Одностворчатые окна имеют фиксированную верхнюю створку с рабочей нижней створкой, которая перемещается вертикально для обеспечения вентиляции. Одностворчатые окна, как правило, дешевле и проще в установке, чем двустворчатые, при этом обеспечивая лучшую энергоэффективность благодаря фиксированной верхней створке.
- Минимальная ширина: 24 дюйма
- Максимальная ширина: 48 дюймов
- Минимальная высота: 36 дюймов
- Максимальная высота: 72 дюйма
- Найдено в: Спальня, кухня и коридоры
| 24″ | 28″ | 32″ | 40″ | 44″ | 48″ | |
| 36″ | 2030 | 2430 | 2830 | 3430 | 3830 | 4030 |
| 44″ | 2038 | 2438 | 2838 | 3438 | 3838 | 4038 |
| 48″ | 2040 | 2440 | 2840 | 3440 | 3840 | 4040 |
| 52″ | 2044 | 2444 | 2844 | 3444 | 3844 | 4044 |
| 54″ | 2046 | 2446 | 2846 | 3446 | 3846 | 4046 |
| 60″ | 2050 | 2450 | 2850 | 3450 | 3850 | 4050 |
| 62″ | 2052 | 2452 | 2852 | 3452 | 3852 | 4052 |
| 72″ | 2060 | 2460 | 2860 | 3460 | 3860 | 4060 |
Панорамные окна представляют собой стационарные окна, обычно состоящие из цельного стекла, через которые открывается вид на окрестности дома.
Они предназначены для обеспечения беспрепятственного живописного вида, отсюда и название панорамных окон. Эти окна можно заказать в различных размерах, от маленьких до очень больших. Поскольку стекло неподвижно, панорамные окна не обеспечивают вентиляцию. Тем не менее, фиксированная панель делает их отличным выбором для повышения энергоэффективности.
- Минимальная ширина: 24 дюйма
- Максимальная ширина: 96 дюймов
- Минимальная высота: 24 дюйма
- Максимальная высота: 96 дюймов
- Найдено в: Гостиная, кухня, над садом, смотровые площадки
| 24″ | 36″ | 48″ | 60″ | 72″ | 96″ | |
| 24″ | 2020 | 3020 | 4020 | 5020 | 6020 | 8020 |
| 36″ | 2030 | 3030 | 4030 | 5030 | 6030 | 8030 |
| 48″ | 2040 | 3040 | 4040 | 5040 | 6040 | 8040 |
| 52″ | 2044 | 3044 | 4044 | 5044 | 6044 | 8044 |
| 60″ | 2050 | 3050 | 4050 | 5050 | 6050 | 8050 |
| 62″ | 2052 | 3052 | 4052 | 5052 | 6052 | 8052 |
| 72″ | 2060 | 3060 | 4060 | 5060 | 6060 | 8060 |
| 96″ | 2080 | 3080 | 4080 | 5080 | 6080 | 8080 |
Створчатые окна были одной из первых изобретенных конструкций открывающихся окон.
Современные створчатые окна управляются с помощью простой в использовании рукоятки в нижней части оконного проема. Обычно их подвешивают на петлях с вертикальной стороны, что позволяет им открываться наружу для обеспечения отличной вентиляции. Французские створчатые окна, известные как французские окна, состоят из двух створок, которые встречаются посередине и уходят внутрь. Современные створчатые окна имеют прокладки со всех сторон, что позволяет им быть более энергоэффективными, чем горизонтальные раздвижные окна, обеспечивая при этом лучшую вентиляцию.
- Минимальная ширина: 18 дюймов
- Максимальная ширина: 36 дюймов
- Минимальная высота: 18 дюймов
- Максимальная высота: 72 дюйма
- Найдено в: Кухня, спальня, ванная комната, гостиная
| 18″ | 20″ | 24″ | 30″ | 36″ | |
| 18″ | 1616 | 1816 | 2016 | 2616 | 3016 |
| 20″ | 1618 | 1818 | 2018 | 2618 | 3018 |
| 24″ | 1620 | 1820 | 2020 | 2620 | 3020 |
| 30″ | 1626 | 1826 | 2026 | 2626 | 3026 |
| 36″ | 1630 | 1830 | 2030 | 2630 | 3030 |
| 48″ | 1640 | 1840 | 2040 | 2640 | 3040 |
| 60′ | 1650 | 1850 | 2050 | 2650 | 3050 |
| 72″ | 1660 | 1860 | 2060 | 2660 | 3060 |
Горизонтально-раздвижные окна — еще один распространенный стиль окон, пожалуй, самый распространенный.
Этот стиль состоит из двух или трех створок, установленных рядом друг с другом горизонтально. Они могут быть одинарными или двойными, при этом одна или две створки открываются за пределы других, скользя горизонтально по направляющей в нижней части окна. Горизонтально-раздвижные окна универсальны и относительно экономичны. Однако они считаются несколько менее энергоэффективными, чем распашные окна.
- Минимальная ширина: 36 дюймов
- Максимальная ширина: 84 дюйма
- Минимальная высота: 24 дюйма
- Максимальная высота: 60 дюймов
- Найдено в: Спальни, ванные комнаты, подвалы, кухни
Таблица размеров окна с обозначениями
| 36″ | 48″ | 60″ | 72″ | 84″ | |
| 24″ | 3020 | 4020 | 5020 | 6020 | 7020 |
| 36″ | 3030 | 4030 | 5030 | 6030 | 7030 |
| 48″ | 3040 | 4040 | 5040 | 6040 | 7040 |
| 60″ | 3050 | 4050 | 5050 | 6050 | 7050 |
Навесные окна представляют собой створчатые окна, которые крепятся на петлях вверху и открываются вертикально и наружу из нижней части рамы.
Современные тентовые окна открываются с помощью рукоятки внизу окна. Они обеспечивают хорошую вентиляцию и, как правило, хорошо герметизируются для обеспечения энергоэффективности. Поскольку они открываются вертикально и наружу, они обеспечивают лучшую защиту от небольшого дождя, чем другие окна. В то же время их размер и ориентация позволяют размещать их в более высоких и меньших пространствах, чем другие стили окон.
- Минимальная ширина: 18 дюймов
- Максимальная ширина: 72 дюйма
- Минимальная высота: 18 дюймов
- Максимальная высота: 72 дюйма
- Найдено в: Спальня, подвал, ванная
Таблица размеров окна с обозначениями
| 18″ | 20″ | 24″ | 36″ | 48″ | 60″ | 72″ | ||
| 18″ | 1616 | 1816 | 2016 | 2616 | 3016 | 4016 | 5016 | 6016 |
| 20″ | 1618 | 1818 | 2018 | 2618 | 3018 | 4018 | 5018 | 6018 |
| 24″ | 1620 | 1820 | 2020 | 2620 | 3020 | 4020 | 5020 | 6020 |
| 30″ | 1626 | 1826 | 2026 | 2626 | 3026 | 4026 | 5026 | 6026 |
| 36″ | 1630 | 1830 | 2030 | 2630 | 3030 | 4030 | 5030 | 6030 |
| 48″ | 1640 | 1840 | 2040 | 2640 | 3040 | 4040 | 5040 | 6040 |
| 60″ | 1650 | 1850 | 2050 | 2650 | 3050 | 4050 | 5050 | 6050 |
| 72″ | 1660 | 1860 | 2060 | 2660 | 3060 | 4060 | 5060 | 6060 |
Эркер, также называемый эркером, состоит из нескольких угловых панелей, которые выступают наружу из стены дома, образуя нишу, обеспечивающую широкий периферийный обзор.
Как правило, угловые оконные панели эркера представляют собой створчатые, одинарные или двустворчатые окна, поэтому их можно открывать для обеспечения вентиляции. Напротив, главное окно будет окном с изображением, обеспечивающим беспрепятственный обзор. Под подоконником эркера, в нише, можно разместить скамейку, чтобы обеспечить зону отдыха.
- Минимальная ширина: 42 дюйма
- Максимальная ширина: 126 дюймов
- Минимальная высота: 36 дюймов
- Максимальная высота: 72 дюйма
- Найдено в: Гостиная, столовая, спальня
Варианты эркера и носового окна
| Эркер или носовое окно | Угол проекции | Полное окно «Лайты» | Всего угловых «Lite» | % поверхности стекла по | Всего основных «лайтов» | % поверхности стекла на |
| Залив | 25° | 3 | 2 | 1/4 | 1 | 1/2 |
| Залив | 35° | 3 | 2 | 1/4 | 1 | 1/2 |
| Залив | 45° | 3 | 2 | 1/4 | 1 | 1/2 |
| Лук | 25° | 3 | 2 | 1/3 | 1 | 1/3 |
| Лук | 35° | 3 | 2 | 1/3 | 1 | 1/3 |
| Лук | 45° | 3 | 2 | 1/3 | 1 | 1/3 |
| Лук | 10° | 4 | 4 | 1/4 | 0 | 0 |
| Лук | 15° | 4 | 4 | 1/4 | 0 | 0 |
| Лук | 10° | 5 | 5 | 1/5 | 0 | 0 |
| Лук | 15° | 5 | 5 | 1/5 | 0 | 0 |
| Лук | 10° | 6 | 6 | 1/6 | 0 | 0 |
| Лук | 15° | 6 | 6 | 1/6 | 0 | 0 |
Общие вопросы о размерах окон
Включают ли размеры окон раму?
Да, размеры окон включают раму, если не указано иное, или вы хотите приобрести только сменное стекло для окна.
При измерении размеров виниловых и алюминиевых окон важно измерить весь блок — стекло, раму и оконную створку. С другой стороны, размеры старых окон с деревянными рамами зависят от размера стекла. Это связано с тем, что виниловые и алюминиевые окна представляют собой единое целое, а при замене окон из дерева стекло можно заменить без замены остальной части устройства.
Изменяются ли размеры окон в зависимости от производителя?
Размеры окон зависят от производителя. Эти различия часто незначительны и могут меняться в зависимости от линейки продуктов. Скорее всего, эти отличия не повлияют на желаемый стандартный размер окна. Выбор окна 2’x2’ может оказаться размером 23-⅝” x 23-⅝” у одного производителя или 23-⅞” x 23-⅞” у другого.
Различаются ли размеры окон строительного класса и сменных окон?
Да. Окна строительного класса или новые строительные окна больше, потому что они включают ребро гвоздя, используемое для крепления окна к грубой открывающейся раме.
Сменные окна или модифицированные окна можно установить, не снимая существующую раму. Ваш поставщик и/или продавец смогут заказать окно правильного размера, сообщив им, является ли это окном на замену или окном новой конструкции.
Влияет ли материал окна на размер окна?
Материалы влияют на отдельные аспекты размера окна и на то, насколько большим может быть окно. Например, многие окна с деревянным покрытием могут быть больших размеров, чем окна из стекловолокна, или алюминиевые окна могут иметь более тонкую раму, чем окна с деревянным покрытием. Однако эволюция окон продолжается, и самые стандартные размеры окон останутся прежними, несмотря на материал.
Что такое нестандартные размеры окон?
Нестандартные окна можно заказать для грубого проема, который не соответствует стандартным размерам окна. Большинство производителей окон смогут производить различные окна, соответствующие уникальным характеристикам вашего дома. Однако окна нестандартных размеров будут дороже, чем стандартные размеры окон, которые предварительно изготовлены и готовы к продаже.

11)