Как сделать крышу односкатную: Простая односкатная крыша. | ГЛАВНАЯ
чертеж сарая своими руками, строительство стропильной системы, проект кровли пристроя
Содержание:
Как сделать крышу пристройки к дому
Проектные вычисления и чертеж односкатной крыши
Какие потребуются материалы для крыши сарая
Методика строительства кровельной конструкции своими руками
В каждом доме всегда находится множество предметов и хозяйственных инструментов, которым просто не находится подходящего места внутри жилого здания. Для хранения таких вещей обычно используют сараи или гаражи, если позволяет придомовая территория.
Однако нередко на участке нет места, чтобы соорудить отдельно стоящую конструкцию, поэтому хозяева решают сделать к своему дому пристройку. В данной статье мы расскажем, как сделать односкатную крышу на пристройке и какие материалы для этого могут понадобиться.
Как сделать крышу пристройки к дому
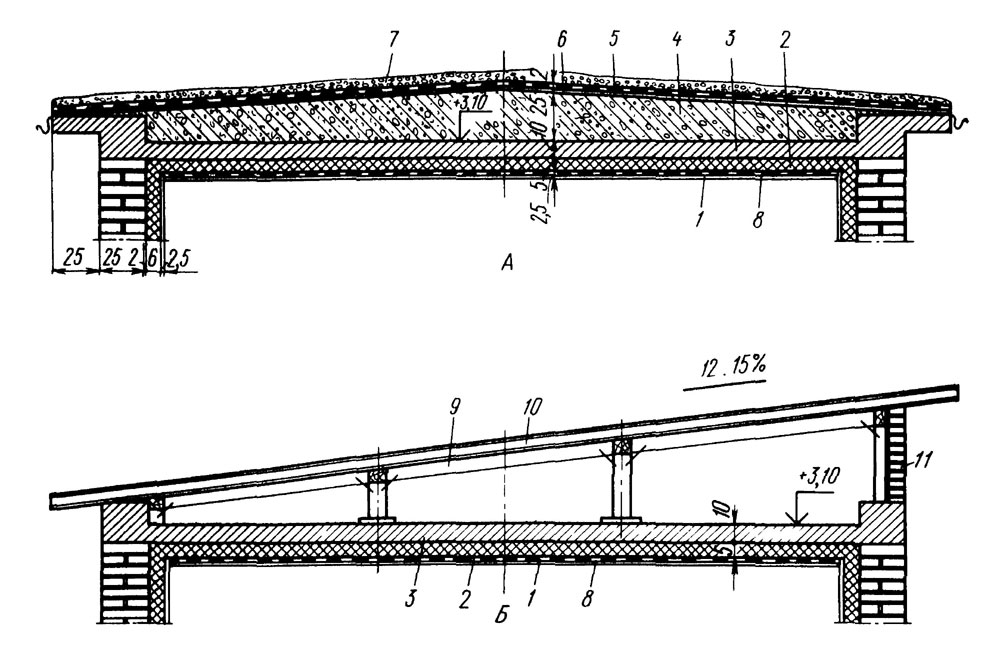
Облегченную кровельную конструкцию, которая состоит лишь из одного наклонного ската, принято называть односкатной крышей.
Конструкционные элементы односкатной крыши данного типа таковы:
- Мауэрлат. Это главная опорная балка, на которую приходится основной вес всех стропильных конструкций и кровельного материала крыши. Она же и перераспределяет нагрузку на несущие стены и фундамент здания. Для укладки этого элемента используют твердое дерево, обработанное антисептиками. Решая построить односкатную крышу пристройки к дому своими руками, одну балку мауэрлата фиксируют на несущей стене здания, а вторую – закрепляют на вертикальных опорах.
- Стропила. Данные элементы поддерживают кровельный материал и передают его массу далее на мауэрлатный брус.
Для создания стропильных ног используют доску сечением 50×150 или 100×150 мм. Для крепления их на опорной балке с обоих концов стропил делают запилы. - Подкосы. Это дополнительные опорные элементы каркаса, которые поддерживают стропильные ноги, если длина ската превосходит 4 м. Одним концом они упираются в стропила, а другим – в мауэрлат.
- Обрешетка. Для ее обустройства применяются доски размерами 40×150 мм. Они набиваются поверх стропил с определенным шагом, чтобы создать опору для укладки финишного покрытия. Сплошную обрешетку из фанеры или стружечных плит выполняют для мягкой кровли.
Стоит отметить, что чертеж сарая с односкатной крышей, пристроенного к дому, можно выполнить самостоятельно, поскольку такая конструкция является самой простой из всех возможных. При этом не нужны сложные математические расчеты. Правда, особое внимание следует уделить методу стыковки крыши пристройки с основным зданием.
Важно позаботиться о надежной гидроизоляции шва, чтобы избежать протечек.
Проектные вычисления и чертеж односкатной крыши
Безусловно, чтобы готовая конструкция была долговечной и не доставляла хлопот в период осадков или в холодное время года, перед началом строительства нужно составить проект сарая с односкатной крышей, который будет примыкать к дому. При этом нужно будет высчитать площадь поверхности ската, его уклон, длину стропильных ног и разницу высоты опор. Все это должен содержать проект крыши дома. Правильность расчетов обеспечит долговечность крыши и ее эффективность. Определить нужные параметры можно с помощью готовых программ-калькуляторов или с использованием формул.
Вручную искомые величины вычисляют так:
Погодные условия местности существенно влияют на долговечность крыши. Так, если предполагаются существенные снеговые нагрузки – лучше делать скаты более крутыми, а если преобладает ветреная погода – более пологими, с уклоном менее 15º.
Какие потребуются материалы для крыши сарая
Давайте подумаем, чем дешево покрыть крышу сарая, чтобы сократить затраты. Наиболее разумным с точки зрения безопасности от ветра и обильных осадков будет строительство сарая с односкатной крышей, поскольку понадобятся достаточно недорогие материалы. К тому же, никаких проблем с их приобретением у вас не возникнет – все есть в свободном доступе в магазинах. Да и количество расходников будет намного меньше, чем у крыш более сложной конструкции.
Во время строительства кровли пристройки к дому вам потребуются:
- Древесина. Понадобится брус из сосны сечением 100×100 или 150×150 мм, обрезные доски 50×150 мм, необрезные доски 40×150 мм и рейка сечением 25×50 мм для возведения стропильной системы. Влажность материала не должна превышать 15-16 %, а его поверхность должна быть без сколов, трещин и пятен. Используя антисептики глубокого проникновения, можно избежать гниения и образования плесени из-за проникающей влаги.

- Кровельное покрытие. Подобрать подходящий материал по качеству и стоимости можно из широкого перечня разновидностей, представленных на рынке. Бюджетным вариантом будет шифер, профнастил или рубероид. В два раза дороже обойдется более качественный и презентабельный внешне материал – мягкая кровля, ондулин, металлочерепица. Если речь идет о перекрытии зимнего сада, теплицы или веранды, можно использовать поликарбонат – прозрачный материал, прекрасно пропускающий солнечный свет, термоизоляционный материал.
- Гидроизоляция. Данный слой предназначен для защиты деревянной стропильной системы крыши пристройки от проникновения влаги и, как следствие, порчи конструкций. Для этого может использоваться рубероид, пленка или диффузная мембрана. Однако на практике наилучшим образом себя показал рубероид, поскольку он самый прочный из приведенных.
- Крепления. Вариантов крепежных расходников при монтаже крыше может использоваться много – саморезы с каучуковыми шайбами, гвозди, анкеры, металлические уголки.
В случае с саморезами, их расход на 1 м2 площади составляет около 10 штук. Так, для расчета количества, норму расхода нужно помножить на площадь.
Обратите внимание, что выбор аналогичного с основным зданием кровельного покрытия позволит сделать пристройку гармоничным продолжением дома. Однако если это невозможно в силу финансовых возможностей, стоит подобрать материал, максимально близкий по цветовой гамме. Выбор нетяжелых материалов (ондулин, рубероид или профнастил) сделает возможным создание облегченного простого каркаса. Читайте также: «Чертежи крыш домов — этапы проектирования».
Методика строительства кровельной конструкции своими руками
Итак, если вы все же решили делать крышу пристройки к дому своими руками, после проектирования и закупки материалов, можно начинать строительство. Для работы вам понадобится ножовка или болгарка, шуруповерт, рубанок, дрель, степлер, линейка, маркер и шнурка.
Читайте также: «Проект дома с односкатной крышей: варианты».
Строительство проводится в несколько этапов:
- Используя анкерные болты или металлические шпильки, на несущей стене дома устанавливают первую балку мауэрлата. На нее будут укладываться стропильные ноги, так что фиксация должна быть надежной.
- Вторую балку мауэрлата монтируют либо на несущую стену будущей пристройки, либо на опорные столбики. Их высота должна быть ниже основной несущей стены дома, чтобы обеспечить необходимый уклон крыши. На столбиках балка крепится шпильками, а на несущей стене – анкерными болтами.
- Далее изготавливают расчетное количество стропильных ног одинаковой длины и выполняют в каждой из них запилы под укладку на мауэрлат. Первыми крепятся крайние стропилины, затем между ними натягивают шнурку, и по данному уровню крепят все оставшиеся ноги.
- Поверх стропил настилают гидроизоляцию. Рубероид на стыке пристройки с главным домом заводят на стену на 15-20 см и приплавляют к ней, используя газовую горелку.

- Крепление гидроизоляционного слоя выполняется рейкой контробрешетки, прибитой гвоздями к стропилам. Перпендикулярно контробрешетке монтируется основная обрешетка под кровельный материл с шагом в 10-15 см.
- Последним этапом будет укладка кровельного покрытия на обрешетку. Начинать настил нужно справа налево и снизу вверх, укладывая листы с нахлестом в 10-15 см. На пологих крышах нахлест материала увеличивают, а стыки дополнительно промазывают герметизирующим составом.
Стоит отметить, что движение воды по односкатной крыше будет производиться только в одном направлении, следовательно, необходимо установить качественные водостоки. В последнюю очередь можно приступить к утеплительным работам и окончательной подшивке фронтонов.
Как сделать односкатную крышу своими руками?
НЕОБХОДИМЫЕ ИНСТРУМЕНТЫ
Брус Доска Молоток Пила Профнастил Рулетка Скобы Уровень Утеплитель
Развернуть
В конце постройки любого дома возникает проблема с выбором крыши.
Но какой вид строения выбрать? Как сделать свой дом неординарным и при этом сэкономить на сооружении крыши?
Односкатная крыша и ее особенности
Один из самых популярных вариантов – крыша односкатная своими руками. Главный критерий её популярности – небольшое количество материалов для постройки и довольно простой монтаж, потому ставят такую крышу почти везде – на жилые дома, хозпостройки, навесы. Ещё одно преимущество – хорошее сопротивление воздушным потокам: угол наклона такой кровли невысок, и потому порывы ветра почти не воздействуют на неё (средний угол – 25 градусов, то есть обтекаемость позволяет выдерживать чуть ли не ураган).
Единственным недостатком можно считать отсутствие чердачного помещения, а замечания дизайнеров по поводу внешнего вида уже не актуальны – достаточно правильно подобрать материал кровли, и крыша станет выглядеть вполне привлекательно.
Благодаря особенностям конструкции крыша не протекает даже при сильных длительных дождях, а зимой обеспечит превосходное утепление и не просядет под слоем мокрого снега.
Для устройства односкатной крыши первым делом нужно составить точный проект – для этого стоит обратиться к профессионалам, они гораздо быстрее и качественней выполнят поставленную задачу. Также они посоветуют, как выбрать древесину для балок, перекрытия и обрешётки. А материал кровли – это уже по желанию и в зависимости от финансовых возможностей. Самый бюджетный вариант – шифер, так как найти его – минутное дело, да и цена более чем приемлема, хотя всё более популярна односкатная крыша из профнастила.
Стропильная система
Стропильная система односкатной крыши планируется таким образом, чтобы низ был с подветренной стороны и направлял потоки вверх. Для этого нужно узнать основное направление ветра в регионе – в метеоцентре или через сводки в интернете. На верхушке стены балки крепятся с шагом 70-80 см на сейсмопояс или мауэрлат по верхней кладке стены и фиксируются стальными скобами.
К балкам крепятся стропила – они станут опорой для крыши, но количество балок и опор должно быть равным. Таким образом, получается прямоугольный треугольник от вертикальной ноги до края крыши.
Для фиксации стропильной ноги, которая станет опорой обрешётки, она укладывается одним концом в нижнюю часть кровли, а второй крепится к вертикальной балке. Этот принцип одинаков для всех балок, но следует внимательно следить за уровнем – угол каждой части должен быть таким же, как у остальных – для этого достаточно от края до края натянуть несколько нитей и по ним выравнивать высоту и наклон.
Даже небольшое смещение будет заметно после укладки кровли, а в дальнейшем к внешнему виду добавятся протекания и коррозия.
Обрешётка и укладка кровли
Схема ничем не отличается от любой другой крыши, но с своими поправками.
Для крепления разреженной обрешётки берутся бруски сечением 50х50. Они укладываются поперёк балок и прибиваются к стропилам и предназначены под профнастил или шифер.
Сплошная обрешётка делается из влагостойкой фанеры, обрезных досок или OSB и рассчитана на гибкую черепицу, ондулин или металлопрофиль. Если кровля из шифера — расстояние между брусьями должно быть достаточным для того, чтобы лист перекрывал две рейки, при этом оставался запас по 15 см с каждой стороны. Как построить односкатную крышу из профнастила — описано ниже.
Так как профнастил сегодня вышел на первое место и практически полностью вытеснил шифер – возьмём его в качестве основного варианта.
Листы укладываются снизу вверх нахлестом в 15 см. Верхний ряд ложится на нижний, листы крепятся при помощи специальных саморезов с резиновой прокладкой для предотвращения утечек. Можно уложить слой стекловаты в полосах нахлеста для лучшей гидроизоляции и предотвращения сквозняков, притом сохраняется правильная вентиляция под кровлей. Для разных целей используют разный тип профнастила:
- Для лёгкой кровли и декоративного монтажа – С (высота волны – 8 и 10 мм).
Профиль – трапеция. - Для обычной кровли или настенного монтажа – НС (высота 35 и 44 мм).
- Для усиленной кровли и межэтажных перекрытий – Н (высота 57/60/75/114 мм). Имеет дополнительные рёбра жёсткости и повышенную прочность. Капитальный вариант.
Утепление и пароизоляция
Односкатная крыша своими руками пошагово предусматривает три самых популярных материала для утепления:
- Цементно-стружечный шлак. Небольшой вес и цена, но теплоизоляция не лучшая. Плюс вода при попадании может со временем просочиться в помещение.
- Глинобетон. Более надёжный вариант, хорошо противостоит воде, но проблема с сохранением тепла та же, что и в предыдущем случае.
- УРСА. Оптимальный вариант на основе современных технологий и качественных материалов.
Включает в себя:
- плиты утепления;
- плоские блоки стекловолокна или слой стекловаты;
- утеплитель из базальта.
Стоит недорого, служит долго, монтируется просто. Превосходная теплоизоляция и сопротивление влаге делают его одним из лучших вариантов, но укладывается в строгой последовательности согласно инструкции. Первый слой обеспечивает паро/гидроизоляцию и обеспечивает сухость. При неверной укладке вода, проникающая в плиты, разрушает их, и со временем потребуется ремонт, так что будьте внимательны. Хотя есть «предохранитель» — УРСА, уже покрытая фольгой из металла, благодаря которой влага гарантированно не попадёт внутрь.
Самый популярный материал для пароизоляции – изоспан. Недорогой, просто монтируется и защищает не только от пара, но и от попадания воды под крышу – своего рода «контрольная лампочка». Выбрать можно или под конкретный тип крыши (если определились с материалами/планировкой), или универсал (его показатели усреднены, но можно ложить подо что угодно).
Пароизоляция крепится к стропильной системе под теплоизоляцию и фиксируется либо стройстеплером, либо цинковыми гвоздями. Можно смонтировать и на черновую обшивку чердака. Ложится всё полосами снизу вверх, на всех стыках делается нахлест 15 см. Для лучшей герметизации можно проклеить стыки спецлентой. Зазор между пароизоляцией и внутренней отделкой – не менее 5 см для вентиляции. После этого крыша односкатная своими руками считается завершённой.
- Автор: Янис
- Распечатать
Оцените статью:
(0 голосов, среднее: 0 из 5)
Поделитесь с друзьями!
Поделиться:
Главная > Загородное строительство > Строительство > Крыша односкатная своими руками – сложно или пара пустяков?
Как построить скатную крышу на беседке: 5 самых простых шагов
Крыша беседки — это одна из конструкций, обеспечивающих дополнительную тень в доме.
Как укрытие от непогоды и дневного света для комнаты дома.
Затененное от солнечного света пространство под перголой стало более затененным и может использоваться для различных целей. Перголы обычно используются для создания тени на открытых площадках, таких как террасы, гаражи или гостиные на открытом воздухе.
Крыша часто покрывается стеклом или стекловолокном, чтобы выдерживать дождь и климат. Многие люди заинтересованы в строительстве беседки в своем доме и ее отличительном внешнем виде. Вы можете задаться вопросом, как построить скатную крышу на перголе. Если это так, возможно, вы не можете пропустить краткую информацию в сегодняшней статье ниже.
Вот несколько способов построить скатную крышу на перголе, которым вы можете следовать дома.
- Выбор конструкции скатной беседки
Вы можете выбрать один из множества вариантов конструкции беседки со скатной крышей в зависимости от открытого пространства, местных строительных норм и правил и потребностей.
Так же, как и любая внешняя дорожка, ведущая к выходу из узкой веранды, скатная крыша может быть крошечной. Эта форма кровли закрывает двери и веранды от дождя, солнечных лучей и других элементов.
Широкая беседка с видом на луг может быть использована для создания открытой веранды с мебелью, на которой вы сможете развлекать своих посетителей прекрасными утрами и вечерами.
Перголы со скатной крышей для чего-то вроде заднего двора действительно могут быть простыми, наклоненными с одной стороны для отвода дождевой воды или, возможно, даже оставленными открытыми для такого доступного, ветреного уединенного места для жителей.
- 1-й этап: установка стоек для скатной крыши
Первым шагом является бурение глубоких траншей для установки столбов. Крыши часто имеют наклон с обеих сторон, чтобы обеспечить уклон, который способствует адекватному отводу дождя или снега.
Выкопайте ямы длиной в один фут. Чтобы обеспечить достаточное усиление крыши, пространство между зазорами должно быть равномерным.
В зависимости от масштаба перголы с наклонной крышей может быть от 3 до 5 опор. Установите столбы в соответствующие отверстия в зависимости от высоты и положения, затем залейте бетоном для надежной поддержки.
- 2-й этап: сверление и привинчивание навеса тени
Первая доска должна быть установлена на этой перголе с рамкой скатной крыши. Сделайте отверстия с помощью дрели и надежно прикрутите доску к перголе. Рассчитайте длину, используя расстояние, чтобы убедиться, что расстояние между последующими винтами примерно одинаковое.
- 3-й этап: определение размера и обрезка концов балок
На этом третьем этапе строительства скатной крыши на перголе когда большинство балок для скатной крыши готово, убедитесь, что они все одного размера. Прикрепите балки к массивному куску пиломатериала, а затем используйте резак, чтобы срубить их все вдоль деревянной обшивки, чтобы получить идентичные детали.
- 4-й этап: соедините концы балок с навесом
На этом этапе строительства скатной крыши на беседке снова затяните балки ко всем деревянным балкам, начиная с самая первая крышка на краю платформы для создания прочной кровельной конструкции перед установкой металлических крыш, а также листов.
- Этап 5: Монтаж кровельных материалов
Когда конструкция для скатных крыш перголы установлена, следующим этапом является установка покрытия на рамы.
В зависимости от материала, он жестко соединен с рамой для прочного и долговечного размещения. Например, металлические кровельные панели крепятся и прижимаются к деревянной конструкции. Для дополнительной прочности некоторые люди используют оцинкованные крепления.
Установите водостоки с обеих сторон наклонной соломенной крыши для максимального удаления воды.
Итак, несколько способов, как построить скатную крышу на перголе.
Вы можете сделать это самостоятельно, или, может быть, с семьей или даже с профессионалами, чтобы получить оптимальные результаты.
Скатная крыша | 6 типов скатных крыш | Дизайн скатной крыши | Конструкция скатной крыши
Привет, ребята, Сегодня, после обширных исследований, я собираюсь поделиться с вами исчерпывающим руководством по скатной крыше.
При строительстве необходимо учитывать факторы конструкции крыши, среди которых важное значение в жилищном строительстве имеют водосточные линии, электрические линии, водопроводные линии, водосточные линии и т. д. Отличные внешние факторы и использование различных кровельных материалов должны быть тщательно изучены для получения превосходной конструкции крыши.
Конструкция водостока во многом зависит от уклона крыши. Крыши делятся на две категории. Плоская крыша и скатная крыша. В пологих крышах крыша держится под уклоном от одной боковой стены к другой.
В прежние времена лучшее покрытие для крыш с малым уклоном делалось из дерева. Теперь предназначен для скатных крыш в наше время. Такой тип кровли выглядит очень привлекательно. Скатная крыша широко используется, поскольку придает декоративный эффект традиционным и современным домам.
Содержание
Что такое скатная крыша?
Скатная крыша представляет собой тип наклонной крыши. Скатные крыши имеют наклон от одного конца к другому. В скатной крыше скат обычно делится на две части под углом от центрального конька.
Уклон скатной крыши делится на ее горизонтальный пролет. Мерой устойчивости такой крыши является горизонтальный пролет. Эти крыши можно использовать для ограниченной ширины и общих зданий. В котором крыша здания может быть правильно наклонена в крышу.
Когда верхняя поверхность крыши покатая, такая крыша называется скатной. Этот тип наклонной плоской крыши лучше всего подходит для районов с сильными дождями или снегопадом.
Стандартный уклон крыши
Уклон крыши зависит от культуры, климата, стиля и доступных материалов.
В США стандартный шаг составляет от 4/12 до 9/12. В то время как в Великобритании типичный дом имеет угол наклона от 40° до 50°. Однако следует избегать наклона более 45°.
Конструкция скатной крыши
Скатная крыша представляет собой крышу с наклонной поверхностью или поверхностями с углом, обычно превышающим 20 градусов. Для скатной крыши требуется уклон более 10 градусов или две наклонные крыши, которые встречаются на центральном коньке.
Скатные крыши более устойчивы, чем плоские, в периоды сильных дождей и обеспечивают более эффективный дренаж. Вода стекает легко и равномерно через скатную крышу, в то время как вода может скапливаться на плоской крыше, создавая структурное давление.
Односкатная крыша представляет собой тип конструкции наклонной крыши с односкатной поверхностью крыши. Односкатная крыша называется односкатной или односкатной. Его дизайн стал очень популярным за последнее десятилетие. Ее также называют односкатной крышей и односкатной крышей.
Секция скатной крыши
Скатная крыша Детали:
- Плоскость крыши: это поверхность крыши.
- Конек: это вершина или вершина крыши, где сходятся две плоскости крыши.
- Долина: здесь две скатные крыши соединяются и выступают внутрь.
- Мансардное окно: это элемент крыши, выступающий за поверхность крыши.
Читайте также: Идеи наклона крыши | Пилообразная крыша | Вальмовая и ендовая крыша | Скатная крыша
Типы скатных крыш
Скатные крыши классифицируются следующим образом в зависимости от условий окружающей среды, эстетического вида и количества наклонных поверхностей. Различные скатные крыши:
- Односкатная крыша
- Двухскатная крыша
- Парная крыша
- Пара рядом с крышей
- Воротниковая балка крыши
- Прогон крыши
1. Односкатная крыша
Односкатная крыша всегда состоит из одной кровельной поверхности.
Односкатные крыши часто называют односкатными крышами, односкатными крышами, односкатными крышами и скиллионными крышами (в Австралии и Новой Зеландии).
Эта наклонная крыша имеет поверхность с одним скатом. Который не пристроен ко второй крыше. Эта крыша отличается от двускатной. Конструкция скатной черепичной кровли дает представление о единой крыше. Односкатную крышу не нужно прикреплять к какой-либо другой крыше.
Эта наклонная крыша отличается от других традиционных крыш. Односкатные крыши обычно имеют разный уклон и уклон в разных частях крыши.
Вполне возможно создать стиль односкатной крыши, создав более одного стиля крыши для придания декоративного эффекта. Этот тип конструкции крыши также известен как раздельная односкатная кровля. Более того, домовладельцы могут придать этому типу крыши новый вид, немного дополнив существующую крышу.
Читайте также:Что такое плавающая плита? | Назначение плавающей плиты | Строительство плавучей плиты | Преимущества и недостатки плавающей плиты
2.
Двускатная крышаДвускатная крыша используется в традиционных и общих зданиях. Это самый популярный. Чаще всего двускатную крышу называют треугольником. Двухскатная крыша имеет две наклонные поверхности крыши, соединенные с коньком наверху.
Торцы двух поверхностей крыши поддерживаются несущими стенами, образуя на конце треугольную форму. Который получил имя Гейбл. В этих типах фронтонов на крыше установлены окна, позволяющие проникать естественному свету.
Двухскатные крыши можно разделить на симметричные и асимметричные, состоящие из двух частей. В первом варианте сторона ската кровли остается неизменной. Во втором варианте уклон крыши с одной стороны выше, а с другой меньше.
Читайте также : Что такое Roof Valley | Что такое изоляция металлической кровли » вики полезно Ограждения из пенопласта | Модифицированная битумная крыша
3. Парная крыша
Эта наклонная крыша имеет уклон с обеих сторон за счет пары стропил.
Верхняя часть каждой пары стропил соединяется с общим коньком. А его нижний конец устанавливается на наружную стену.
Такие крыши мало используются. Потому что он распространяется наружу. Этот тип крыши имеет тенденцию выходить наружу, поддерживая настенные растения. Из-за этого целесообразно использовать пару крыш только при длине пролета 3,6 метра.
4. Парная закрытая крыша
Парная крыша — это простейшая форма скатной крыши. В этой конструкции крыши общие стропила наклонены вверх от противоположных стен и встречаются на коньке посередине. Эта форма скатной крыши представляет собой пару стропил, действующих как два рычага, закрепленных сверху, и поэтому ее называют парной крышей.
Эта анкерная балка предназначена для предотвращения раздвигания и выхода стропил из стены. Это связано с тем, что анкерная балка крепится к ногам обычного стропила. Эти связи фиксируются гвоздем на стропиле.
Анкерная балка также прибита к стене. Эти стяжные балки могут быть изготовлены из дерева или стали.
Читайте также: Обшивка дымохода | Мигание крыши | Мигание счетчика | Водосточная охрана | Шлем желоба против защиты листьев
5. Крыша балки воротника
При большой длине пролета или при высокой нагрузке спаренное стропило имеет тенденцию изгибаться вниз. Этого можно избежать, установив в таком месте анкерную балку. Эта стяжка проводится от стены до трети высоты. Балка, поднятая таким образом для поддержки стропила, известна как балка с буртиком.
Конструкция крыши из воротных балок аналогична паре закрытых крыш. Одно из отличий крыши с ригелями состоит в том, что ригели расположены на вертикальном уровне. Ригельная балка или воротник представляет собой горизонтальный элемент между двумя стропилами и очень распространен в строительстве крыш в домашних условиях.
Крыша из балок Coller может использоваться до 5 метров. Крыша из балки с воротником высотой до 5 метров может полностью поддерживать.
6. Прогон крыши
Прогон представляет собой продольный горизонтальный конструктивный элемент, поддерживающий крышу.
Традиционно древесный материал использовался в качестве прогона в строительстве. Существует три основных типа прогонов. Плита прогона, основной прогон и общий прогон.
Прогон — это горизонтальная перекладина, поддерживающая вес настила крыши и предотвращающая его сдувание сильным ветром.
Прогоны используются в стальных каркасных конструкциях. Такой стальной прогон можно покрасить или смазать для защиты от внешних факторов.
Читайте также: Кровля из модифицированного битума | Как установить модифицированную битумную кровлю?
Строительство скатных крыш
Метод строительства скатных крыш представляет собой метод «разрезанной крыши». Это более традиционный способ резки древесины на месте и возведения крыши с использованием, среди прочего, стропил, коньковых досок, балок и прогонов. Это можно определить по размеру бревен или размеру крыши.
Два основных метода строительства скатной крыши
1. «Резная крыша» — этот метод традиционно включает в себя вырубку дерева на месте и изготовление крыши с использованием стропил, балок, коньковых досок и перлина.
2. «Фармовая крыша» — этот метод выполняется с использованием ферм заводского изготовления. Готовые фермы доставляются на строительную площадку, где устанавливаются согласно чертежу.
Изоляция для скатной крыши
Изоляция для скатной крыши обеспечивает тепловой комфорт, звукоизоляцию и исключительную огнестойкость жилых и коммерческих помещений. Изоляция высшего качества из каменной ваты подходит для утепления скатных крыш снизу, между стропилами и сверху, а также утепления на уровне чердака.
Изоляция Rockwool для скатных крыш обеспечивает оптимальные тепловые, противопожарные и акустические характеристики. Теплая изоляция скатной крыши сделает всю конструкцию здания теплой, чтобы избежать мостиков холода. Он имеет непрерывный изоляционный слой над стропилами и непосредственно под атмосферостойкой мембраной. Теплая конструкция крыши имеет много преимуществ по сравнению с традиционной «холодной крышей».
Толщина изоляции скатной крыши : Несколько факторов влияют на то, сколько изоляции требуется чердаку.
Energy Star рекомендует для большинства чердаков около 10-14 дюймов изоляции, но вам может понадобиться больше или меньше этого. Толщина изоляции основана на значении R, которое измеряет, насколько хорошо изоляция сопротивляется тепловому потоку.
Стоимость замены скатной крыши
Замена скатной крыши стоит около 3000–4500 фунтов стерлингов. Цена зависит от разных факторов. Цены могут варьироваться в зависимости от типа скатной крыши и общего размера крыши.
Преимущества скатной крыши
Различные преимущества этого типа скатной крыши заключаются в следующем.
- Безопасность от опасностей для окружающей среды: Благодаря своей треугольной форме он может выдерживать экстремальные погодные условия, включая такие внешние факторы, как проливные дожди и снегопады. Форма скатной крыши помогает отводить воду прямо, так как она наклонная.
- Тепловая эффективность: Этот тип крыши обеспечивает естественную вентиляцию.
В результате теплоэффективность здания может быть значительно улучшена. Это обеспечивает наилучшую атмосферу в зимний и летний периоды. - Энергосбережение: Вентиляция размещена на этой крыше в конструкции здания. Чтобы воздух в здании был свежим.
- Увеличенный срок службы: Плоские крыши требуют постоянного ухода за их дренажем, чтобы избежать протечек. При этом такая крыша не требует водосточной системы. И поэтому ремонт обходится дешевле.
- Декоративный эффект: Крыше этого типа можно придать декоративный эффект. Эта крыша позволяет архитектору легко создавать красивый дизайн.
Читайте также: Консольная балка | Преимущества консольной балки | Недостатки консольной балки
Недостатки скатной крыши
Некоторые из недостатков типов скатных крыш:
- Невозможно использовать скатные крыши для зданий со сложной планировкой.
- Архитектура скатных крыш не может дать крыше новое перспективное применение.

- Этот тип крыши подчеркивает стены здания. Эти стены требуют глубины фундамента по мере необходимости.
- Этот тип крыши требует больше времени для установки. Кроме того, он дороже в обслуживании.
- Этот тип крыши необходимо периодически осматривать.
Нравится этот пост? Поделитесь этим с вашими друзьями!
Рекомендуем прочитать –
- Шлем желоба против защиты листьев | Луковая крыша | Наклонный рисунок | Кровельные материалы Skillion
- Типы гидроизоляции крыши | Виниловые желоба против. Алюминиевые желоба | Каркас двускатной крыши
- Стальные и алюминиевые водостоки | Лучшие покрытия для плоских крыш | Что такое шиферная крыша?
- Что такое битумная черепица? | Как установить алюминиевые водостоки? | Что такое бесшовный желоб?
- Что такое кровельная черепица | Французский слив во дворе | Мигание счетчика
Часто задаваемые вопросы (FAQ)
Скатная крыша
Скатная крыша представляет собой тип наклонной крыши.
Скатные крыши имеют наклон от одного конца к другому. В скатной крыше скат обычно делится на две части под углом от центрального конька.
Наклонная крыша
Наклонная крыша представляет собой плоскую крышу с высоким наклоном на одном краю, что создает очень крутой уклон. Навес с наклонной крышей значительно дешевле в строительстве, чем двускатная или многоскатная крыша, потому что в крыше меньше материала. Дом со скошенной крышей — это стиль современных крыш домов, которые великолепно выглядят и обеспечивают максимальное естественное освещение
Односкатная крыша
Односкатная крыша называется односкатной или односкатной, она навесная, пристроенная к жилому дому и обеспечивающая дополнительное место для хранения в существующей конструкции. Этот тип крыши обычно строится на более высокой стене.
Односкатная крыша представляет собой односкатную крышу. Этот тип крыши можно увидеть на многих строениях, таких как амбары и сараи. Наклон крыши имеет угол от пятнадцати до пятидесяти градусов, причем большинство крыш находится в диапазоне от пятнадцати до тридцати градусов.
Можно ли установить скатную крышу на существующую плоскую крышу?
Профессиональный кровельщик поможет решить проблему старых плоских крыш путем установки новой скатной крыши. Тщательная оценка вашей собственности экспертами по кровле позволит вам подобрать наилучшую установку крыши.
Минимальный шаг для металлической крыши
Минимальный шаг для металлической крыши составляет 3:12 для различных материалов.
Что такое крыша с высоким уклоном?
Этот тип крыши имеет наклон до 6 дюймов в высоту. Высокие скатные крыши набирают все большую популярность как лучший архитектурный дом в большинстве районов Австралии.
Минимальный шаг для битумной черепицы
Минимальный шаг для битумной черепицы составляет 2:12.
Можно ли преобразовать плоскую крышу в крышу с низким уклоном?
Профессиональный кровельщик, устанавливающий новую скатную крышу, может помочь вам решить проблему старой плоской крыши. Профессиональный кровельный подрядчик сделает лучший монтаж крыши для вашего дома.
Как устроены скатные крыши?
Способы устройства скатной крыши:
1. «Резная крыша» — этот метод традиционно включает в себя распил дерева на месте и изготовление крыши с использованием стропил, балок, коньковых досок и перлина.
2. «Фармовая крыша» — этот метод выполняется с использованием ферм заводского изготовления. Готовые фермы доставляются на строительную площадку, где устанавливаются согласно чертежу.
Металлическая крыша для крыши с малым уклоном:
Альтернативные варианты металлической крыши с малым уклоном используются для планирования установки или замены металлических крыш с малым уклоном. Особенно целесообразно использовать механически герметизированные панели со стоячим фальцем для самых низких наклонных крыш. Который устанавливается на открытый перлин, а высота шва сохраняется не менее 2 дюймов.
Замена плоской крыши на скатную
Самый популярный способ превратить плоскую крышу в скатную — стропильная крыша.

