Клапан пружинный: Предохранительный пружинный клапан
Предохранительные пружинные клапаны — все об устройстве и монтаже
Для сброса избыточного давления в атмосферу применяются клапаны предохранительные пружинные, которые представляют собой специальную трубопроводную арматуру, обеспечивающую надежную защиту трубопровода от возникновения неполадок и механических повреждений. Устройство отвечает за автоматический сброс избытка жидкостей, пара и газа из сосудов и систем до того момента, пока давление не будет нормализовано.
Оглавление
- Предназначение пружинного клапана
- Устройство и принцип работы пружинных клапанов
- Классификация и характеристики пружинных клапанов
- Преимущества
- Как выбрать пружинный клапан?
- Нюансы монтажа
- Возможные причины поломок предохранительного клапана
Предназначение пружинного клапана
Опасное превышения давления в системе возникает в результате внешних и внутренних факторов.
К повышению приводит как неправильный сбор тепломеханических схем, вызывающий сбои в функционировании оборудования, попадание тепла в систему от посторонних источников, так и внутрисистемные физические процессы, которые не предусматриваются стандартными условиями эксплуатации, периодически возникающими в системе.
Предохранительные изделия — обязательная часть любой бытовой или промышленной системы, работающей под давлением. Установка предохранительных механизмов осуществляется на трубопроводах в компрессорных станциях, на автоклавах, в котельных. Клапаны выполняют защитные функции на трубопроводах, по которым транспортируются не только газообразные, но и жидкие вещества.
Устройство и принцип работы пружинных клапанов
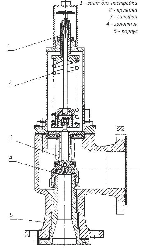
Клапан состоит из стального корпуса, нижний штуцер которого используется в качестве соединительного элемента между ним и трубопроводом. Если в системе повышается давление, сброс среды происходит через боковой штуцер. Отрегулированная в зависимости от давления в системе пружина обеспечивает прижимание золотника к седлу.
Для клапанов, в которых уравновешивающим механизмом выступает пружина, подбирается усилие рабочего органа. Если параметры подобраны правильно, при нормальном состоянии системы золотник, отвечающий за выпуск излишнего давления из трубопровода, должен быть прижат к седлу. Когда рабочие показатели увеличивается до критического уровня в зависимости от типа пружинного устройства золотник отходит вверх на определенную высоту.
Предохранительный пружинный клапан, обеспечивающий своевременный сброс давления, изготавливают из разных материалов:
- Углеродистая сталь. Подобные устройства подходят для систем, давление в которых пребывает в пределах 0,1-70 Мпа.

- Нержавеющая сталь. Клапаны из нержавеющей стали рассчитаны на системы, давление в которых не превышает 0,25-2,3 Мпа.
Классификация и характеристики пружинных клапанов
Клапан предохранительный пружинный выпускается в трех исполнениях:
- Малоподъемные устройства подходят для систем газопроводов и паропроводов, давление в которых не превышает 0,6 Мпа. Высота подъема такого клапана не достигает более 1/20 диаметра седла
- Среднеподъемные устройства
, в которых высота подъема золотника составляет от 1/6 до 1/10 от диметра сопла. - Полноподъемные устройства, в которых высота подъема клапана достигает до ¼ от диаметра седла.
Известна классификация клапанов исходя из способа их открывания:
- Обратный пружинный клапан. Для управления обратными пружинными клапанами привлекается непрямой посторонний источник давления.
Обратные пружинные клапаны, которые называют импульсными предохранительными устройствами, могут работать посредством воздействия электроэнергии. - Прямой клапан. В устройствах прямого типа рабочее давление среды оказывает непосредственное воздействие на золотник, который поднимается при повышении давления.
Выделяют клапаны открытого и закрытого типа. В случае использования устройства прямого типа при открывании клапана среда сбрасывается прямо в атмосферу. Клапаны закрытого типа остаются полностью герметичными по отношению к окружающей среде, сбрасывая давление в специальный трубопровод.
Преимущества
Выделяют различные виды оборудования, обеспечивающего сброс избыточного давления из системы, но клапаны предохранительные пружинные пользуются популярностью благодаря наличию важных преимуществ:
- Простота и надежность конструкции.
- Легкость осуществления настройки рабочих параметров и удобство монтажа.

- Разнообразие размеров, типов и конструктивных исполнений.
- Установка предохранительного изделия возможна как в горизонтальном, так и в вертикальном положении.
- Относительно небольшие габаритные размеры.
- Большое проходное сечение.
К минусам предохранительных клапанов относят наличие ограничений в высоте подъема золотника, повышенные требования к качеству изготовления пружины для предохранительных клапанов, которая может выйти из строя при работе в условиях агрессивной среды или постоянном воздействии высоких температур.
Как выбрать пружинный клапан?
При выборе предохранителя стоит основываться на нескольких важных принципах, от учета которых зависит бесперебойная работа системы и возможность выполнения предохранителем необходимых функций:
- Предохранительные пружинные клапаны обладают наименьшими габаритами по сравнению с другими типами клапанов предохранительных сбросных, поэтому их следует выбирать в тех случаях, когда свободного пространства недостаточно.

- Особенности применения клапанов связаны с наличием повышенных вибраций, которые отрицательно влияют на эксплуатационные характеристики устройства и могут быстро привести его в негодность. Например, устройства рычажно-грузового типа более подвержены поломкам из-за воздействия вибраций в силу наличия в конструкции длинного рычага с весом и шарниров. Поэтому для систем, в которых наблюдаются значительные вибрационные воздействия, стоит выбирать предохранительный пружинный клапан.
- В зависимости от особенностей конструкции прибора, пружина со временем может изменять усилие давления. Это связано с тем, что постоянный подъем золотника вызывает изменения в структуре металла.
Нюансы монтажа
Предохранительный клапан пружинного типа устанавливают в любой точке системы, которая подвергается повышенному давлению и находится под угрозой получить механические повреждения. Устройство не требует наличия большого свободного пространства, что является значительным преимуществом по сравнению с другими типами предохранительных устройств.
С целью избежания неполадок в работе перед предохранительным клапаном не следует устанавливать любую запорную арматуру. Для сброса газообразной среды устанавливаются специальные устройства или же сброс происходит непосредственно в атмосферу. Для оповещения персонала вместе с пружинными клапанами монтируют специальный свисток, который размещают на сбросном патрубке. При срабатывании клапана будет поступать сигнал свистка, означающий, что в системе повысилось давление и клапан открылся для сброса среды.
Возможные причины поломок предохранительного клапана
Клапаны предохранительные – это прочные и надежные устройства, обеспечивающие постоянную защиту систем от превышения давления. Прямой или обратный пружинный клапан выходят из строя по нескольким причинам:
- Наличие повышенных вибраций;
- Постоянное воздействие агрессивной среды на предохранительный дроссель.
- Неправильная установка предохранительного пружинного дросселя или клапана.
С целью избегания аварий и неисправностей в функционировании систем предохранительные клапаны проходят периодические проверки на наличие неполадок.
Клапаны тестируют на прочность и плотность перед введением в эксплуатацию. Также периодические проверки проводятся с целью определения герметичности уплотнительных поверхностей и сальниковых соединений.
При правильном выборе предохранительных устройств с учетом параметров системы, проведении периодических проверок и своевременном устранении неисправностей предохранительные пружинные клапаны обеспечат надежное функционирование системы и безотказную защиту от превышения давления на протяжении длительного времени.
БАЗ СППК6Р 100-16-01 Клапан предохранительный пружинный шестого поколения
Клапана применяются в различных трубопроводах (газовой, нефтяной и др. промышленности) для предотвращения недопустимого превышения установленного уровня давления. Для предотвращения превышения установленного давления, разработаны клапаны предохранительные пружинные разных типов и исполнений позволяющие защитить оборудование от кретического воздействия высокого давления на оборудование.
Механизм действия клапанов пружинных предохранительных прост. При росте давления транспортируемой среды в трубопроводе на золотник действует сила, в следствии чего сжимается пружина и открывается проход для сброса необходимого объёма среды. После нормализации давления в системе под воздействием пружины золотник прижимается к седлу и проход для сброса среды закрывается.
Класс герметичности “Б” согласно ГОСТ Р 54808-2011, испытательная среда воздух 0,30 DN мм3/с, 0,018 DN см3 /мин, вода 0,01 DN мм3/с, 0,0006 DN см3 /мин, возможно исполнение клапанов с другим классом герметичности.
| Обозначение изделия | Таблица фигур | Температура рабочей среды оС | Материал корпуса | DN, мм вх/вых | Масса, кг |
|---|---|---|---|---|---|
| СППК6Р 100-16 | 28с30нж2 | от -40 до 300 | 20Л | 100/150 | 91 |
| СППК6Р 100-16 лс | 28лс30нж2 | от -60 до 300 | 20ГЛ/20ГМЛ | 100/150 | 91 |
| СППК6Р 100-16 лс-01 | 28лс30нж5 | от -60 до 300 | 20ГЛ/20ГМЛ | 100/150 | 93 |
| СППК6Р 100-16 нж | 28нж30нж2 | от -60 до 300 | 12Х18Н9ТЛ | 100/150 | 91 |
| СППК6Р 100-16 нж-01 | 28нж30нж6 | от -60 до 300 | 12Х18Н9ТЛ | 100/150 | 108 |
| СППК6Р 100-160 | 28с43нж2 | от -40 до 300 | 20Л | 100/150 | 242 |
| СППК6Р 100-160 лс | 28лс43нж2 | от -60 до 300 | 20ГЛ/20ГМЛ | 100/150 | 242 |
| СППК6Р 100-160 нж | 28нж43нж2 | от -60 до 300 | 12Х18Н9ТЛ | 100/150 | 242 |
| СППК6Р 100-160-01 | 28с43нж4 | от -40 до 300 | 20Л | 100/150 | 242 |
| СППК6Р 100-160-01 лс | 28лс43нж4 | от -60 до 300 | 20ГЛ/20ГМЛ | 100/150 | 242 |
| СППК6Р 100-160-01 нж | 28нж43нж6 | от -60 до 300 | 12Х18Н9ТЛ | 100/150 | 260 |
| СППК6Р 100-160-02 | 28с43нж6 | от -40 до 300 | 20Л | 100/150 | 242 |
| СППК6Р 100-160-02 лс | 28лс43нж6 | от -60 до 300 | 20ГЛ/20ГМЛ | 100/150 | 242 |
| СППК6Р 100-160-02 нж | 28нж43нж10 | от -60 до 300 | 12Х18Н9ТЛ | 100/150 | 242 |
| СППК6Р 100-16-01 | 28с30нж5 | от -40 до 300 | 20Л | 100/150 | 93 |
| СППК6Р 100-40 | 28с34нж2 | от -40 до 300 | 20Л | 100/150 | 97 |
| СППК6Р 100-40 лс | 28лс34нж2 | от -60 до 300 | 20Л/20ГЛ | 100/150 | 97 |
| СППК6Р 100-40 лс-01 | 28лс34нж5 | от -60 до 300 | 20Л/20ГЛ | 100/150 | 97 |
| СППК6Р 100-40 нж | 28нж34нж2 | от -60 до 300 | 20Л | 100/150 | 97 |
| СППК6Р 100-40 нж-01 | 28нж34нж6 | от -60 до 300 | 12Х18Н9ТЛ | 100/150 | 112 |
| СППК6Р 100-40-01 | 28с34нж5 | от -40 до 300 | 20Л | 100/150 | 97 |
| СППК6Р 100-63 | 28с42нж2 | от -40 до 300 | 20Л | 100/150 | 232 |
| СППК6Р 100-63 лс | 28лс42нж2 | от -60 до 300 | 20ГЛ/20ГМЛ | 100/150 | 232 |
| СППК6Р 100-63 нж | 28нж42нж2 | от –60 до 300 | 12Х18Н9ТЛ | 100/150 | 232 |
Россия, Казахстан, Белоруссия, Узбекистан, Армения, Киргизия, Таджикистан — доставка в любой город и другие страны ЕАЭС и мира.
Имя должно быть не менее :error символов.
Не правильный E-mail.
Название должно быть не менее :error символов.
Обязательное поле
Защита от спама reCAPTCHA Конфиденциальность и Условия использования
Сообщение отправлено
Пожалуйста, заполните форму правильно.
Отправка…
Капча недействительна.
Повторите попытку позже.
ИНТЕГРАЦИЯ В ОМК
БАЗ входит в состав ОМК, является высокоинтегрированным производителем нефтегазопроводной продукции, включая трубы, соединительные детали трубопроводов и трубопроводную арматуру.
ПОЛНЫЙ ЦИКЛ
БАЗ осуществляет производство по полному технологическому циклу — от изготовления заготовок и деталей до сборки, испытаний и контроля качества изделия. Это одно из главных конкурентных преимуществ завода.
ЗАБОТА О ПЕРСОНАЛЕ
Благовещенский арматурный завод стремится к тому, чтобы условия труда позволяли каждому сотруднику полностью реализовать себя и раскрыть свои способности, что делает предприятие сильным и успешным.
Блоки клапанов
БПУ 25/50, 50/80, 80/100, 100/150 и др.
Задвижки клиновые API 6D
150, 300, 600, 900, 1500 и др.

Задвижки для ТЭС
002.100.0300, 002.100.1700 и др.
Устройства переключающие
ПУ 50-16, 100-16, 150-16 и др.
Затворы (клапаны) обратные
КОП 50-16, 80-16, 100-16 и др.
Краны шаровые
DN 300, 400, 500, 700, PN 80 и др.
Клапаны предохранительные
СППК DN 25, 50, 80, 100, 150 и др.
Фланцы
DN 50, 80, 100, 125, 150, 200 и др.
Электроприводы
ЗЭП1-Б300.
50, В1000.50, ЦВ5 и др.Задвижки клиновые
ЗКЛ2 (ЗКЛП) DN 50, 80, 100, 125 и др.
Задвижки для криогенных сред
3КЛХ 50-40, 80-40, 100-40 и др.
Затворы обратные API 6D
150, 300, 600, 900 и др.
Арматура устьевая
АФ, ЕФ, АН, ЕН и др.
Задвижки прямоточные
ЗМ (ЗМС) 50х14, 65х14, 80х14 и др.
Имя должно быть не менее :error символов.
Не правильный E-mail.
Название должно быть не менее :error символов.
Обязательное поле
Защита от спама reCAPTCHA Конфиденциальность и Условия использования
Сообщение отправлено
Пожалуйста, заполните форму правильно.
Отправка…
Капча недействительна.
Повторите попытку позже.
адрес для заявок: [email protected]- (7273)495-231
- (3955)60-70-56
- (8182)63-90-72
- (8512)99-46-04
- (3852)73-04-60
- (4722)40-23-64
- (4162)22-76-07
- (4832)59-03-52
- (423)249-28-31
- (8672)28-90-48
- (4922)49-43-18
- (844)278-03-48
- (8172)26-41-59
- (473)204-51-73
- (343)384-55-89
- (4932)77-34-06
- (3412)26-03-58
- (395)279-98-46
- (843)206-01-48
- (4012)72-03-81
- (4842)92-23-67
- (3842)65-04-62
- (8332)68-02-04
- (4966)23-41-49
- (4942)77-07-48
- (861)203-40-90
- (391)204-63-61
- (4712)77-13-04
- (3522)50-90-47
- (4742)52-20-81
- (3519)55-03-13
- (495)268-04-70
- (8152)59-64-93
- (8552)20-53-41
- (831)429-08-12
- (3843)20-46-81
- (3496)41-32-12
- (383)227-86-73
- (3812)21-46-40
- (4862)44-53-42
- (3532)37-68-04
- (8412)22-31-16
- (8142)55-98-37
- (8112)59-10-37
- (342)205-81-47
- (863)308-18-15
- (4912)46-61-64
- (846)206-03-16
- (8342)22-96-24
- (812)309-46-40
- (845)249-38-78
- (8692)22-31-93
- (3652)67-13-56
- (4812)29-41-54
- (862)225-72-31
- (8652)20-65-13
- (3462)77-98-35
- (8212)25-95-17
- (4752)50-40-97
- (4822)63-31-35
- (8482)63-91-07
- (3822)98-41-53
- (4872)33-79-87
- (3452)66-21-18
- (8422)24-23-59
- (3012)59-97-51
- (347)229-48-12
- (4212)92-98-04
- (8352)28-53-07
- (351)202-03-61
- (8202)49-02-64
- (3022)38-34-83
- (4112)23-90-97
- (4852)69-52-93
Задайте вопрос прямо сейчас:
Клапан предохранительный пружинный 17с7нж Ру16
ООО «Фланец-Комплект» ГлавнаяКаталогКлапаныКлапаны предохранительныеКлапан предохранительный пружинный 17с7нж Ру16
КАТАЛОГ
Задвижки
Вентили
Краны
- Стальные краны
- Бронзовые (латунные) краны
- Чугунные краны
- Нержавеющие краны
Клапаны
- Клапаны предохранительные
- Клапаны обратные
- Регулирующие клапаны и регуляторы давления
Счетчики и теплосчетчики, КИП и А
- Счетчики воды
- Теплосчетчики квартирные
- Расходомеры
- Датчики давления и температуры
- Тепловычислители
Фланцы
- Фланцевые заглушки
- Фланцы воротниковые ГОСТ 33259-2015 (12821-20)
- Фланцы плоские ГОСТ 33259-2015 (12820-20)
- Фланцы свободные под ПНД
Канализация
- Наружная канализация
- Внутренняя канализация
- Чугунная канализация
Трубы и фитинги из полипропилена
- Производитель FD
- Производитель Valtec
Трубы и фитинги ПЭ
- Трубы ПЭ
- Компрессионные фитинги
- Электросварные фитинги
- Полиэтиленовые фитинги литые (спигот)
- Полиэтиленовые фитинги сварные
- Сварочные оборудование
Люки и дождеприемники
Электроприводы
Детали трубопроводов, хомуты и крепеж
- Фитинги чугунные и стальные
- Детали трубопроводов
- Трубные заготовки
- Метизы
- Уплотнительные материалы
Насосы
Затворы
Отопительные приборы
- Котлы
- Радиаторы
- Аксессуары
Фильтры
Сантехническое оборудование
- Ванны и поддоны
- Унитазы и умывальники
Пожарное оборудование
- Шкафы пожарные
- Стволы, рукава и головки пожарные
- Вентили
Сварочные аппараты
- Описание
- Документы
| Наименование: | Клапан предохранительный пружинный |
| Таблица-фигура: | 17с7нж |
| Диаметр, DN (мм): | от 50 до 200; |
| Давление, PN (кгс/см2): | 16 |
| Материал корпуса: | сталь |
| Рабочая среда: | вода, пар, воздух, аммиак, природный газ, нефть, нефтепродукты, жидкие и газообразные углеводороды и |
| Температура рабочей среды (С°): | от -40 до +425 |
| Тип соединения: |
фланцевое |
Клапан предохранительный пружинный 17с7нж
Клапаны предохранительные 17с7нж представляют собой вид трубопроводной арматуры, используемый для защиты различных элементов трубопроводной системы от превышения определенного уровня давления путем сброса рабочей среды в атмосферу или отводящий трубопровод.
Клапаны являются герметичными по отношению к внешней среде.
У клапанов нет ручного подрыва, срабатывание происходит в автоматическом режиме.
Линейка выпускаемых диаметров от DN 50 мм до DN 150 мм, давление до 1,6 МПа.
Конструкция клапанов 17с7нж, как и подавляющего большинства других предохранительных клапанов, угловая.
Особенностью предохранительных клапанов является то, что выходной фланец на один типоразмер больше входного, а давление наоборот, ниже на один ряд. Например, у клапанов DN 50 мм и PN 1,6 МПа выходной фланец будет DN 80 мм и PN 0,6 МПа. Это следует помнить при подборе комплекта ответных фланцев.
Герметичность затвора по ГОСТ 31294-2005.
Зачастую подбор клапанов предохранительных происходит не по условному диаметру, а по пропускной способности клапанов, расчет которой производится по ГОСТ 12.2.085-2002. Это является важным аспектом подбора предохранительных клапанов, т.к. выбор клапана без учета пропускной способности может привезти к невыполнению клапанами возложенных на них функций, что чревато выходом из строя оборудования.
Клапаны 17с7нж изготавливаются с фланцевым присоединением. Исполнение фланцев на корпусе 1 по ГОСТ 12815-80. Под заказ возможно изготовление фланцев с любым исполнением.
Отметим основные технические характеристики:
а) Материал корпуса – углеродистая сталь,
а) уплотнение – нержавеющая сталь,
в) температура окружающей среды до -40 град. Климатическое исполнение умеренное,
г) температура рабочей среды от -40 до +425 град.
Клапаны 17с7нж применяют для различных сред – вода, пар, нефтепродукты, масла, аммиак, воздух, газы, разнообразные жидкие и газообразные среды, неагрессивные к материалу задвижки.
Установка возможна на улице и в помещении.
Установочное положение клапана на трубопроводе – вертикальное (колпаком вверх).
Настройка клапана на давление срабатывания происходит в заводских условиях, после чего клапаны пломбируются. Стоит отметить, что в некоторых видах предохранительных клапанов возможна регулировка давления на месте.
Варианты исполнения:
| Наименование, обозначение | Тип присоединения | DN, мм | PN, кгс/см2 | H | L | Рабочая среда | Масса, кг |
| Клапан предохранительный пружинный 17с7нж СППК 50-16-00 | фланцевое по ГОСТ 12815-80 (исп.1, ряд 2) | 50 | 16 | 600 | 130 | вода, пар, жидкие нефтепродукты | 27 |
| Клапан предохранительный пружинный 17с7нж №106 СППК4-50-16 | фланцевое по ГОСТ 12815-80 | 50 | 16 | 130 | вода, пар, воздух, аммиак, природный газ, нефть, нефтепродукты, жидкие и газообразные углеводороды и | 26 | |
| Клапан предохранительный пружинный 17с7нж №116 СППК4-50-16 | фланцевое по ГОСТ 12815-80 | 80 | 16 | 130 | вода, пар, воздух, аммиак, природный газ, нефть, нефтепродукты, жидкие и газообразные углеводороды и | ||
| Клапан предохранительный пружинный 17с7нж СППК 80-16-00 | фланцевое по ГОСТ 12815-80 (исп. 1, ряд 2) |
80 | 16 | 690 | 150 | вода, пар, жидкие нефтепродукты | 39 |
| Клапан предохранительный пружинный 17с7нж №112 СППК4-80-16 | фланцевое по ГОСТ 12815-80 | 80 | 16 | 130 | вода, пар, воздух, аммиак, природный газ, нефть, нефтепродукты, жидкие и газообразные углеводороды и | ||
| Клапан предохранительный пружинный 17с7нж №114 СППК4-80-16 | фланцевое по ГОСТ 12815-80 | 80 | 16 | 130 | вода, пар, воздух, аммиак, природный газ, нефть, нефтепродукты, жидкие и газообразные углеводороды и | ||
| Клапан предохранительный пружинный 17с7нж | фланцевое по ГОСТ 12815-80 (исп. 1, ряд 2) |
100 | 16 | 730 | 160 | вода, пар, жидкие нефтепродукты | 50 |
| Клапан предохранительный пружинный 17с7нж СППК 150-16-00 | фланцевое по ГОСТ 12815-80 (исп.1, ряд 2) | 150 | 16 | 860 | 205 | вода, пар, жидкие нефтепродукты | 91 |
| Клапан предохранительный пружинный 17с7нж СППК4-150-16 М1 | фланцевое | 150 | 16 | 205 | жидкие нефтепродукты | 91 | |
| Клапан предохранительный пружинный 17с7нж СППК 200-16-00 | фланцевое по ГОСТ 12815-80 (исп.1, ряд 2) | 200 | 16 | 1000 | 280 | вода, пар, жидкие нефтепродукты | 176 |
Поиск
Type keyword and hit enter
Just added to your cart:
Qty:
Total:
Subtotal:
Excl.
postage
My Bag
Just added to your wishlist:
Excl. postage
My Wishlist
Клапанные пружины в Summit Racing
Клапанные пружины являются одними из самых перегруженных и нагруженных частей вашего двигателя; тем не менее, они также часто являются наиболее недооцененными компонентами. Summit Racing имеет одинарные,…
Пружины клапанов являются одними из самых перегруженных и нагруженных частей вашего двигателя; тем не менее, они также часто являются наиболее недооцененными компонентами. Summit Racing предлагает одинарные, двойные, тройные, ульевые и конические пружины клапанов, чтобы удовлетворить требования вашего двигателя — независимо от того, насколько высоки обороты или подъем! Выбирайте из COMP Cams, Crane Cams, Crower, PAC Racing Springs, Trick Flow и десятков других брендов. Увеличьте производительность и срок службы клапанного механизма с клапанными пружинами от Summit Racing!
Пружины клапанов относятся к наиболее подверженным нагрузкам и нагрузкам частям вашего двигателя; тем не менее, они также часто являются наиболее недооцененными компонентами.
Summit Racing предлагает одинарные, двойные, тройные, ульевые и конические пружины клапанов, чтобы удовлетворить требования вашего двигателя — независимо от того, насколько высоки обороты или подъем! Выбирайте из COMP Cams, Crane Cams, Crower, PAC Racing Springs, Trick Flow и десятков других брендов. Увеличьте производительность и срок службы клапанного механизма с клапанными пружинами от Summit Racing!
Результаты 1–25 2000 г. +
$69,99
Предполагаемая дата отгрузки в США: 5 декабря 2022 г. Расчетная дата международной отправки: Сегодня
99″> 248,99 долларов СШАПредполагаемая дата отгрузки в США: 20 октября 2022 г. Расчетная дата международной отправки: Сегодня
229,99 долларов США
Предполагаемая дата отгрузки в США: 7 ноября 2022 г. Расчетная дата международной отправки: Сегодня
99″> 158,99 долларов СШАПредполагаемая дата отгрузки в США: 20 октября 2022 г. Расчетная дата международной отправки: Сегодня
179,99 долларов США
Предполагаемая дата отгрузки в США: 7 февраля 2023 г. Расчетная дата международной отправки: Сегодня
99″> $171,99Предполагаемая дата отгрузки в США: 9 января 2023 г. Расчетная дата международной отправки: 9 января 2023 г.
149,95 долларов США
Предполагаемая дата отгрузки в США: 28 ноября 2022 г. Расчетная дата международной отправки: Сегодня
99″> 299,99 долларов СШАПредполагаемая дата отгрузки в США: 3 ноября 2022 г. Расчетная дата международной отправки: Сегодня
190,99 долларов США
Предполагаемая дата отгрузки в США: 5 декабря 2022 г. Расчетная дата международной отправки: Сегодня
99″> $85,99Предполагаемая дата отгрузки в США: 31 октября 2022 г. Расчетная дата международной отправки: Сегодня
252,95 доллара США
Предполагаемая дата отгрузки в США: 28 ноября 2022 г. Расчетная дата международной отправки: Сегодня
99″> $339,99Предполагаемая дата отгрузки в США: 7 февраля 2023 г. Расчетная дата международной отправки: Сегодня
$368,00
Предполагаемая дата отгрузки в США: 28 ноября 2022 г. Расчетная дата международной отправки: Сегодня
99″> 79,99 долларов СШАПредполагаемая дата отгрузки в США: Пятница 14.10.2022 Расчетная дата международной отправки: Сегодня
$194,00
Предполагаемая дата отгрузки в США: 19 декабря 2022 г. Расчетная дата международной отправки: Сегодня
99″> $84,99Предполагаемая дата отгрузки в США: 30 ноября 2022 г. Расчетная дата международной отправки: Сегодня
115,95 долларов США
Предполагаемая дата отгрузки в США: 9 ноября 2022 г. Расчетная дата международной отправки: Сегодня
0″> $194,00Предполагаемая дата отгрузки в США: 19 декабря 2022 г. Расчетная дата международной отправки: Сегодня
$294,00
Предполагаемая дата отгрузки в США: 19 декабря 2022 г. Расчетная дата международной отправки: Сегодня
95″> $84,95Предполагаемая дата отгрузки в США: 28 ноября 2022 г. Расчетная дата международной отправки: Сегодня
94,31 доллара США
Предполагаемая дата отгрузки в США: 7 ноября 2022 г. Расчетная дата международной отправки: Сегодня
95″> 116,95 долларов СШАПредполагаемая дата отгрузки в США: 28 ноября 2022 г. Расчетная дата международной отправки: Сегодня
136,95 долларов США
Предполагаемая дата отгрузки в США: 28 ноября 2022 г. Расчетная дата международной отправки: Сегодня
95″> 120,95 долларов СШАПредполагаемая дата отгрузки в США: 28 ноября 2022 г. Расчетная дата международной отправки: Сегодня
$423,95
Предполагаемая дата отгрузки в США: 21 ноября 2022 г. Расчетная дата международной отправки: Сегодня
Клапанные пружины | МУБЕА | Мубеа
- Мубеа
- Товары
- Силовой агрегат
- Клапанные пружины
ПРУЖИНЫ С ОПТИМИЗИРОВАННЫМИ РАБОТАМИ И ТРЕНИЕМ ДЛЯ МИНИМАЛЬНОГО ПРОСТРАНСТВА ДЛЯ УСТАНОВКИ
Пружина клапана является одним из наиболее требовательных приложений из-за больших динамических нагрузок и большого количества циклов напряжения.
Помимо клапанных пружин для двигателей легковых автомобилей, легких и тяжелых коммерческих автомобилей, мотоциклов, Mubea также поставляет пружины сжатия для топливных насосов (бензиновых и дизельных) и трансмиссий.
Что мы предлагаем:
- Глобальная разработка и производство
- Инновационные процессы производства высоконагруженных пружин
- Превосходный дизайн пружин и опыт проверки в различных местах по всему миру
- Собственное производство проволоки для пружин клапанов
Мы занимаемся разработкой и производством клапанных пружин, оптимизированных для эксплуатации, которые благодаря максимально низким нагрузкам вызывают незначительное трение в клапанном механизме и требуют минимального места для установки. В зависимости от применения, мы используем наши производственные технологии для достижения индивидуальной усталостной прочности для высоких или низких циклов нагрузки.
Сегодня мы являемся крупнейшим в мире поставщиком клапанных пружин.
:
МЫ РАЗРАБАТЫВАЕМ И ПРОИЗВОДИМ ПРУЖИНЫ КЛАПАНОВ ДВИГАТЕЛЕЙ С 1955 ГОДА.Узнайте больше о задачах и свойствах клапанных пружин здесь.
- Клапанные пружины и малые пружины сжатия
- Клапанные пружины для легковых автомобилей
- Клапанные пружины для тяжелых коммерческих автомобилей
- Клапанные пружины для мотоциклов
- Пружины сжатия для ТНВД
- Пружины сжатия для трансмиссии
- Места
Мы являемся крупнейшим в мире поставщиком клапанных пружин для легковых автомобилей. : НОВЫЕ РЕШЕНИЯ
В последние десятилетия мы вместе с нашими клиентами разработали многочисленные технические инновации.
В дополнение к сравнительно простым конструкциям клапанов мы регулярно используем наши инженерные ноу-хау для создания новых решений. Бензиновые двигатели с порогом частоты вращения более 8000 об/мин особенно сложны, когда речь идет о конструкции, материале и изготовлении клапанной пружины.
Мы оптимизируем следующие области:
- Операция
- Место для установки
- Пружинные нагрузки и связанное с ними трение клапанного механизма
Оптимальная конструкция пружины может быть предложена на этапе разработки на основе расчетов и моделирования. По мере разработки мы используем нашу измерительную технику, чтобы предлагать широкие возможности для проверки работы пружин и клапанных механизмов.
Наше портфолио уже 20 лет включает пружины клапанов для тяжелых коммерческих автомобилей. : МАКСИМАЛЬНАЯ НАДЕЖНОСТЬ
Размеры пружин клапанов легковых автомобилей существенно отличаются от размеров пружин грузовых автомобилей.
Естественно, это приложение также требует максимальной надежности, чтобы гарантировать очень высокую долговечность двигателя более 500 000 км.
Мы оптимизируем следующие области:
- Операция
- Место для установки
Клапанные пружины для мотоциклов: наш ответ на запрос клиента : МАКСИМАЛЬНОЕ КОЛИЧЕСТВО ОБОРОТОВ
Когда речь идет о мотоциклах, задача состоит в том, чтобы обеспечить работу и усталостную прочность на скоростях до 14 000 об/мин. Наше решение: устойчивая к скорости конструкция и оптимизация нашей технологии производства для повышения долговечности. С 2018 года эти пружины находятся в серийном производстве, и впереди еще больше проектов.
Мы оптимизируем следующие области:
- Операция
- Долговечность
Более 10 лет опыта в производстве пружин для бензиновых ТНВД, оптимизированных для восприятия поперечных сил.
:
СНИЖЕНИЕ ПОПЕРЕЧНЫХ УСИЛИЙЕсли поперечные усилия в пружинах ТНВД слишком велики, они могут вызвать значительный износ поршней или направляющих насосов и даже привести к блокировке поршней.
Чтобы уменьшить поперечные нагрузки на пружины, мы оптимизировали конструкцию пружины. Мы внедрили полное испытание поперечной силы и геометрии пружины в серийное производство, чтобы удовлетворить высокие требования клиентов к пружинам ТНВД. Мы также внедрили лазерную маркировку для четкой и безошибочной идентификации пружин при установке в испытательное оборудование. В 2018 году мы запустили в серийное производство первые пружины для дизельного ТНВД.
Мы оптимизируем следующие области:
- Поперечная сила пружины
- Полное испытание поперечной силы пружины и идентификация с помощью лазерной маркировки
Ассортимент нашей продукции продолжает расти: пружины сжатия для трансмиссий : НОВЫЙ ВЫЗОВ
С 2018 года мы также производим пружины сжатия для таких трансмиссий, как двухмассовые маховики и гидротрансформаторы.
Пружины в трансмиссиях предъявляют различные требования к долговечности. Вот почему мы адаптировали термообработку и дробеструйную обработку для этого применения.
Мы оптимизируем следующие области:
- Долговечность для короткого времени работы при очень высоких нагрузках
- Полное испытание усилия пружины, жесткости пружины и длины пружины
Где разрабатываются и производятся наши клапанные пружины и пружины сжатия : Места
Подпружиненные обратные клапаны – обратные клапаны, часть III
Также широко используются подпружиненные обратные клапаны
В первом сообщении этой серии обратные клапаны описывались как клапаны, пропускающие жидкость или газ только в одном направлении. Подобно обратным клапанам с пластиковой диафрагмой, подпружиненные обратные клапаны предотвращают обратный поток. Миниатюрные встроенные подпружиненные обратные клапаны обладают особыми качествами, которые делают их подходящими для некоторых приложений управления потоками воздуха, газа и жидкости.
В этом посте я рассмотрю некоторые основы конструкции и функционирования миниатюрных прямоточных пружинных обратных клапанов, а также немного расскажу о том, почему пружинные обратные клапаны так полезны и как они используются.
Краткий обзор основ обратного клапана
Обратные клапаны — это двухходовые клапаны с двумя отверстиями в корпусе клапана. Одно отверстие предназначено для входа воздуха, газа или жидкости (среды) в клапан, входное отверстие. Другое отверстие в клапане предназначено для выхода среды из клапана, выходное отверстие. Как и все обратные клапаны, подпружиненные обратные клапаны не требуют внешнего управления для работы. За исключением пружины, подпружиненные обратные клапаны имеют те же основные элементы конструкции, что и все другие обратные клапаны.
Использование и характеристики пружинного обратного клапана:
- Защита оборудования от повреждения обратным потоком
- Обеспечьте сброс давления для безопасности системы
- Предотвращение загрязнения обратным потоком
- Для работы не требуется вмешательства человека
- Приводится в действие потоком и перепадом давления с помощью давления пружины
Модульные обратные клапаны
Мы подняли подпружиненные обратные клапаны на совершенно новый уровень.
Смешивайте и подбирайте дюймовые и метрические соединения. Посмотреть видео.
Подпружиненный или вспомогательный подпружиненный
Подпружиненный и безпружинный представляет собой основное различие между типами обратных клапанов. Подпружиненный означает в значительной степени то, что вы могли бы подумать. Ключевым преимуществом использования пружины в механизме обратного клапана является то, что она в значительной степени устраняет влияние силы тяжести на функцию обратного клапана. Без пружины сила тяжести и, следовательно, вертикальная ориентация клапана могут стать критическим фактором для правильной работы обратного клапана.
Производители выпускают подпружиненные обратные клапаны с самыми разными типами соединений, давлением открытия и материалами. Что еще более важно, компания ISM находится в уникальном положении, поскольку может добавлять функции обратного клапана с пружинным механизмом почти к каждому предлагаемому нами фитингу.
Металлические пружины в подпружиненных обратных клапанах изготовлены из нержавеющей стали или другого стального сплава с высокой коррозионной стойкостью. Важно отметить, что этот тип обратного клапана обычно предназначен для нормального закрытия.
Преимущества пружинного обратного клапана
- Обеспечивает быстрое прерывание потока
- Обеспечивает надежную герметизацию при давлении ниже давления срабатывания клапана
- Не требует гравитации или обратного давления для работы или срабатывания
- Обеспечивает надежное закрытие клапана независимо от вертикальной ориентации
- Предотвращает обратный поток жидкости или газа в системе во время текущего обслуживания
- Пружины могут работать в очень широком диапазоне температур
Напоминание о том, что такое давление срабатывания
Давление срабатывания — это минимальное давление на входе, когда нормально закрытый обратный клапан начинает открываться и начинается поток.
Можно спроектировать очень точное давление пружины, поэтому обычно можно найти миниатюрные подпружиненные обратные клапаны, изготовленные с определенным давлением открытия, чтобы соответствовать конкретным критериям применения.
Сильно упрощенная и идеализированная конструкция и работа обратного клапана с пружинным приводом
Миниатюрный подпружиненный обратный клапан обычно устанавливается в линию с технологическим трубопроводом. Корпус клапана полый. Этот корпус имеет элемент поперечного сечения, седло, с проходом или отверстием через него. Этот проход ориентирован поперек потока через клапан.
Седло обратного клапана делит клапан на входную (входную) и выходную (выходную) стороны. Внутри клапана находится какая-то негабаритная пробка, которая может перемещаться так, что одна из ее поверхностей, уплотняющая поверхность, может упираться в седло клапана. Положение пружины обеспечивает постоянное давление, удерживая уплотнительные поверхности клапана вместе.
Рисунок 8 – подпружиненный обратный клапан Тарельчатый плунжер с уплотнительным кольцом
«Пробка» или «плунжер» обратного клапана обычно имеет форму шара, диска, поршня или тарелки (см. рисунок 8). выше). На этом рисунке показан обычный подпружиненный тарельчатый клапан обратного клапана. Он также имеет улучшенную уплотнительную поверхность с уплотнительным кольцом.
Поток жидкости или газа в правильном направлении и при правильном давлении (давление на выходе) преодолевает усилие пружины и отталкивает уплотняющую поверхность плунжера от седла. Это позволяет потоку иметь место. Когда давление на входе падает достаточно низко, пружина прижимает уплотняющую поверхность затвора к уплотняющей поверхности седла клапана, что закрывает клапан и предотвращает обратный поток.
Напоминание об установке обратного клапана
Поскольку обратные клапаны обеспечивают односторонний поток, важно установить их с правильной линейной ориентацией.
Стрелка или символ для любого типа обратного клапана (гидравлический/пневматический логический символ) на внешней стороне корпуса указывает направление потока. На этом изображении поток идет сверху вниз. Некоторые обратные клапаны будут иметь как логический символ, так и стрелку для указания правильной ориентации.
Технические характеристики, имеющие значение для пружинных обратных клапанов
- Материалы (химическая совместимость)
- Минимальное давление открытия
- Как быстро закрывается обратный клапан
- Варианты торцевого соединения
- Падение давления на клапане при полном открытии
Другие соображения
- Операционная среда
- Рабочие температуры
- Тип используемых газов или жидкостей (сред)
- Вязкость среды
- Условия потока, такие как низкий расход или низкое давление
Заключение
Это описание подпружиненных обратных клапанов объясняет, почему они так широко используются.
Их можно выбирать, не беспокоясь о влиянии вертикальной ориентации благодаря их пружинам. Точно рассчитанные силы пружины обеспечивают диапазон давлений открытия обратного клапана, что полезно при согласовании их со спецификациями применения. Они также закрываются до того, как поток полностью остановится, вместо того, чтобы полагаться на давление обратного потока для полного закрытия.
В следующей статье нашего блога мы рассмотрим некоторые основные конструктивные особенности прецизионных диафрагм и почему они так полезны:
Введение в диафрагмы и их применение правильный подпружиненный обратный клапан для одного из ваших проектов? Вызвали ли проблемы низкий расход или низкое давление? Как насчет коррозионной стойкости или температуры среды? Помогите нам, рассказывая другим о том, что вы узнали.
Есть вопросы о характеристиках или функциях обратного клапана? Если да, напишите мне по электронной почте – steven.williams@industrialspec.


Обратные пружинные клапаны, которые называют импульсными предохранительными устройствами, могут работать посредством воздействия электроэнергии.


50, В1000.50, ЦВ5 и др.
1, ряд 2)
1, ряд 2)