Курятник на 10 кур своими руками чертежи на даче: Чертеж курятника на 10 кур с размерами: фото и схемы
Курятник своими руками: чертежи и 75 фото
Содержание
- 1. Курятник на 10 куриц своими руками.
- 2. Чертеж курятника.
- 3. Как утеплить курятник своими руками
- 4. Курятник своими руками. Летний загон.
- 5. Курятник своими руками из подручных материалов.
Если у вас есть желание и минимальный опыт в содержании кур и вы задумываетесь о том, как построить курятник своими руками, то мы расскажем вам как построить зимний курятник на 10 куриц.
Небольшой размер и теплоизоляция курятника позволят птицам обогреть помещение теплом своих тел. При этом постройка такого курятника вполне под силу каждому домохозяину! Этот проект не займет чересчур много времени и не потребует наличия дорогостоящих инструментов.
Курятник на 10 куриц своими руками.
При проектировании и постройке курятника важно держать в уме множество составляющих. Ведь курятник — это одновременно и комфортное жилье для птиц, и надворная постройка, призванная облегчать людям уход за животными и повышать продуктивность труда.
1. Поднимаемся над землей
Сырость и влага — главные враги любого курятника. В сыром помещении птицы начинают болеть, поэтому курятник всегда поднимают над землей. Некоторые конструкции предусматривают очень высокий подъем — до метра, а иногда и выше. Если в вашей местности, как и у нас, нет чрезмерной влажности, то 25-40см должно быть вполне достаточно.
2. Размещение курятника
Кстати о местности! Выбрать правильное место для курятника — это 50% успеха. Вот несколько советов, которые в этом помогут:
- выбирайте место в тени (например, под сенью большого дерева), иначе в летние месяцы курятник будет перегреваться, что может привести к болезням
- место для курятника должно быть максимально сухим — не ставьте курятник там, где после каждого дождя собирается вода
- старайтесь выбрать укромное место, не слишком подверженное влиянию ветра (так забор защищает курятник от ветра, а деревья — от обилия прямых солнечных лучей)
- если вы думаете, что нашли идеальное место, не спешите, — понаблюдайте какое-то время внимательно: возможно, вы заметите скрытые проблемы.

3. Входы-выходы для кур и людей
В каждом курятнике должен быть предусмотрен вход для птиц, а также доступ для чистки помещения. В нашем курятнике проход для кур сделан за задней стенке, а две двери обеспечивают возможность чистки курятника.
4. Гнезда и насест
В гнездах куры будут нести яйца, а вы будете эти яйца из гнезд забирать, поэтому гнезда должны быть удобными и для вас, и для кур. Считается, что идеальный размер гнезда — 30х30см в длину и ширину, и 30-40см. в высоту. При этом вход в гнезда рекомендуют делать уже.
Снаружи к гнездам должен быть удобный доступ.
Крышка открывается, поэтому для сбора яиц не нужно лазить внутрь курятника.
Крышка обязательно должна быть наклонной, чтобы вода свободно стекала с нее и не попадала в гнезда.
Суммарная длина насеста рассчитывается исходя из 25см на одну курицу. Поскольку мы рассчитываем наш курятник на десять кур, то нам хватит перекладины на всю длину курятника (почти 2,5м).
5. Освещение и вентиляция курятника
Свет курам просто необходим. Сокращение светового дня — одна из главных причин, почему куры перестают нести яйца зимой, и опытные хозяева знают, что эта проблема решается включением лампочки. Поэтому окнам в курятнике — быть!
Окна лучше сделать хотя бы с трех сторон, чтобы свет проникал в курятник в течение всего дня. Обратите также внимание на откидное вентиляционное окошко на задней стенке. В сырую погоду его можно открыть для дополнительной вентиляции. Окна над гнездами на передней стенке тоже открываются. Вентиляция — это очень важно, но помните: какие бы ухищрения вы ни использовали для вентиляции зимнего курятника, обязательно предусмотрите возможность регулировки потока воздуха вплоть до его полного перекрытия, — это пригодится вам зимой, когда вентиляция будет высасывать драгоценное тепло.
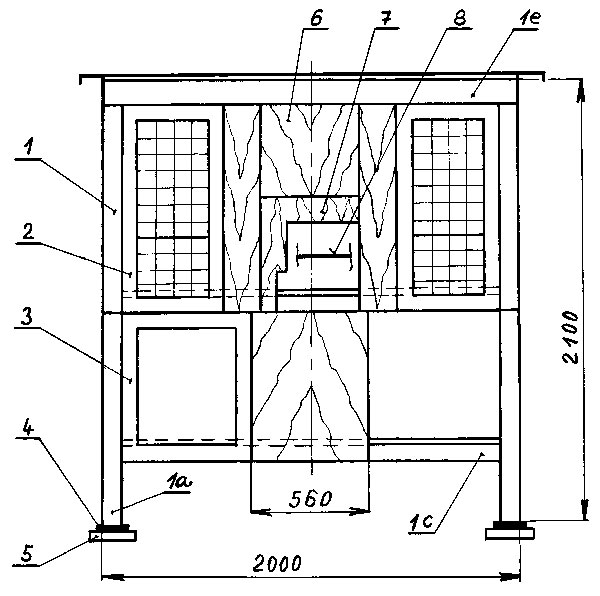
Чертеж курятника.
Ниже мы приводим чертежи нашего курятника. Для строительства мы использовали брус и доски хвойных пород дерева, а также фанеру толщиной 15мм.
Для пола и подложки под крышу вполне можно использовать OSB. При указании шага между лагами и стропилами расстояния указаны между центрами брусьев.
Как утеплить курятник своими руками
А также пенопласт и пенополистирол.
На худой конец можно обшить стены картоном и старыми одеялами.
Утеплитель вкладывается между брусьями, после чего зашивается фанерой. В противном случае птицы могут его склевать (особенно они любят пенопласт).
В зимнее время утеплителем также стоит закрыть и окна. При этом важно обеспечить искусственное освещение.
На случай сильных морозов можно предусмотреть наличие инфракрасных ламп. При этом их работой может управлять таймер или даже термореле — это избавляет от лишних хлопот, исключает человеческий фактор (забыл включить/выключить) и экономит деньги.
Курятник своими руками. Летний загон.
В теплое время года курам требуется больше простора, и они с удовольствием будут проводить большую часть своего времени на улице. Поэтому делая курятник своими руками, необходимо сделать открытый летний загон для кур. Площадь загона рассчитывается по формуле 1м.кв. на каждую курицу.
Обратите внимание на сетку в нижней части курятника, — она защищает от хищников. Ее стоит заглубить в землю на 20-30см, так как некоторые хищники вполне способны сделать сделать подкоп. А если в ваших краях водятся крупные хищные птицы, то загон необходимо защитить еще и сверху.
Также очень важно, чтобы хотя бы часть загона была в тени — куры должны иметь возможность спрятаться от палящего солнца. Если естественной тени нет, то соорудите небольшой навес.
Чтобы птицы могли свободно заходить и выходить в приподнятый над землей курятник, для них обычно сооружают простенький трап.
Курятник своими руками из подручных материалов.

Старый кухонный шкаф немецкий фермер превратил в маленький курятник.
Такой курятник из подручных материалов полностью соответствует утвержденными ЕС спецификациями для содержания кур и обеспечивает достаточное пространство для трех курочек, чтобы собирать и откладывать яйца.
В отделениях шкафа расположены места для хранения песка, соломы, корма и для хранения яиц.
Также сделаны крошечные шторы для кур, поскольку они предпочитают откладывать яйца в темноте.
Цыплятам нужно пространство для прогулок, поэтому курятник размещен на заднем дворе, чтобы дать им достаточно места для выгула.
Курятник из подручных материалов показывает как современные методы содержания кур могут быть реализованы нестандартными средствами.
Как видите, в строительстве такой, казалось бы, простой вещи, как курятник, существует множество нюансов и важных моментов, не знание которых может свести на нет все усилия.
Но не смотря на это, построить своими руками хороший курятник сможет любой желающий.
Главное — вооружиться правильными знаниями и заранее продумать все аспекты конструкции. Вы можете построить курятник по нашим чертежам, или, взяв их основу, доработать его устройство под свои нужды.
Курятник на 5 кур своими руками: чертежи и схемы
Держать домашнюю птицу на загородном участке многие предпочитают просто для души, а кто-то делает это, чтобы сэкономить средства. Важно соорудить добротный и правильный птичник, и учесть при этом все особенности ваших питомцев. Прочитайте статью до конца, и вы узнаете, как грамотно спланировать необходимое количество площади для домика на 5 птиц, как самостоятельно возвести фундамент, сделать монтаж стен и крыши, оборудовать жилище внутри.
Содержание
- 1 Планировка площади
- 2 Как возвести фундамент
- 3 Монтаж стен и крыши
- 4 Внутреннее обустройство курятника
- 5 Видео “Строительство небольшого домика для домашней птицы”
Планировка площади
Курятник на собственной даче, при желании, чаще всего строят своими руками из бруса и досок.
Если в ваши планы входит разводить и содержать кур на даче исключительно летом, можно обойтись упрощенным вариантом курятника. Чтобы делать это весь год, потребуется построить утепленный птичник. Сделанный своими руками по понятным вам чертежам, он позволит учесть все предпочтения по устройству домика. Поэтому многие рачительные хозяева и не спешат приобретать готовый. Для сборки не придется приглашать специалистов. Делая курятник своими руками можно существенно сэкономить средства.
Предварительная подготовка к постройке маленького курятника включает расчет необходимого для 5 кур пространства постройки. Минимальной приемлемой для содержания 2 – 3 кур специалисты считают площадь около 1 квадратного метра. Но для комфорта птиц лучше всего отвести на каждую несушку или мясную курицу пространство до 3 метров.
Произведя нехитрые расчеты, узнаем, что для 5 птиц потребуется курятник с размерами где-то 15 квадратных метров. Все это должно быть указано в вашем чертеже.
На бумаге отобразите план птичника на 15 кв. метров, который вы планируете соорудить на собственной любимой даче своими руками. При составлении плана учитывайте наличие вольера для выгула кур. Его размера тоже вычисляются из расчета 1 кв. метр на одну птицу. То есть вам нужно будет построить курятник габаритами в 15 кв. метров и выгульную площадку около 5 кв. метров.
Стандартный птичник на даче, который каждый способен создать своими руками, рекомендовано делать на возвышенности. Можно создать ее искусственным путем – пригодятся для этих целей грунт, битый кирпич, щебень либо гравий. Сверху помещают глину вперемешку с битым стеклом – такое сочетание поможет от возможного проникновения грызунов. Поверх глины помещают почву, дерен или песок – не меньше 15 см.
Как возвести фундамент
Теперь уже можно и нужно приступать непосредственно к созданию добротного птичника на даче своими руками.
Практика показывает, что лучше делать основательную конструкцию.
Хотя некоторые опытные дачники и могут обойтись без постройки фундамента, но этот случай мы рассматривать не будем. Идеальными вариантами для небольшого курятника на даче станут ленточный и столбчатый фундамент.
Многие фермеры возводят своими руками на даче столбчатый фундамент. К его достоинствам следует отнести то, что трубы из старого кирпича обойдутся дешево. Как вариант, подойдет и обыкновенный камень. Основными затратами на создание фундамента станет приобретение гравия, песка и мастерка. Крысам и хорькам трудно будет попасть вовнутрь помещения, а система вентиляции, установленная под полом, позволить не допустить гниения древесины.
Разметка делается с использованием тонкой прочной веревки и металлических прутьев. Их следует забить по периметру будущего домика для кур. Затем нужно обтянуть прутья веревкой и расположить ее возле поверхности земли. Точность разметки можно проверить рулеткой.
Слой плодородной почвы в 15 – 20 см нужно снять. По углам и периметру сооружения делаются тумбы.
Расстояние между ними – от 0,8 до 1 метра. Следует вырыть ямы шириной в 50 см и глубиной в 60 – 70 см. Используя веревки и гидравлический уровень, отмечают 20 – 25 см над поверхностью земли – это будет ориентир, чтобы возвести трубы.
Дно ямы засыпается слоем песка и среднезернистого гравия, толщина должна быть 10 см. На дно помещаются 2 кирпича, сверху кладется раствор цемента, изготовленный из расчета 1:3. Далее кладутся еще пару кирпичей. Тумбу следует выкладывать до отмеченного веревками уровня. Цементный раствор станет подспорьем в деле выравнивания высоты тумбы.
Чтобы дать возможность раствору схватиться, необходимо сделать технологический перерыв в возведении птичника на даче своими руками. Он составляет от 5 до 7 дней. Затем готовые столбики обрабатываются обычным битумом либо специальной защитной мастикой. Между тумбами и землей необходимо засыпать гравий крупного размера. Внутри периметра появится значительная по размеру полость, которую нужно будет заделать этим же материалом.
Монтаж стен и крыши
Чтобы произвести нормальную укладку стен в домике, предназначенном для проживания для кур, используют стандартную технику.
Отличным изоляционным материалом является рубероид – его двойной слой нужно проложить в первом венце от фундамента. Концы бруса соединяют в полдерева. Второй, третий и остальные венцы по углам необходимо соединить по системе «шип-паз». Место в замковых соединениях следует уплотнить льноджутовым волокном. Если у бруса нормальная влажность, чтобы надежно осуществить посадку венцов, нужно брать деревянные нагели. Так реально избавить сруб от перекоса. Под нагели делаются отверстия по углам домика для кур. Расстояние между ними по углам и периметру должно составлять 1 – 1,5 метра. Глубина – в 2,5 бруса, разместить их следует в шахматном порядке. Забиваются нагели в дерево на 7 см. Оптимальная высота стен курятника – около 1,8 м.
Следующий шаг – укрепить балки потолка, установить стропила, настелить полотно.
Лучше остановить свой выбор на двускатной крыше, а не на односкатной.
Так вы получите дополнительное место для хранения корма и рабочего инвентаря. Двускатная крыша не даст отсыреть помещению – с ее поверхности лучше сходит снег либо вода.
Крышу делают, настилая любые доски потолка и проводя его утепление. В качестве утеплителя некоторые предпочитают использовать дорогостоящий рулонный материал. Более экономичным вариантом считается керамзит либо угольный шлак. Допустимо брать также солому, опилки, гравий, минеральную вату.
Система вентиляции делается из двух деревянных коробов. Их нужно зафиксировать в противоположных концах строения. Один конец такого канала для циркуляции воздуха необходимо расположить вровень с потолком, второй – на 40 см ниже. Помогут осуществлять контроль за необходимым уровнем температуры в помещении установленные своими руками жестяные заслонки.
Внутреннее обустройство курятника
Важное значение имеет правильное расположение внутри птичника гнезд и насестов для кур. Гнезда нужно сделать на подпорках из бруса 100 на 100 мм.
Их размещают на высоте 40 см над поверхностью пола. В каждую ячейку установленных гнезд следует положить сено. Насесты создают из закрепленного на нескольких ярусах бруса.
Насест обычно делают из расчета 1 метр на 5 – 6 птиц мелкой породы либо 3 – 4 крупной. Гнезда можно соорудить из старых ящиков. Еще их сбивают из остатков досок, ДСП, обрезков фанеры. Если места для гнезд на полу мало, их можно повесить на стену, сделав к ним трап. Он представляет собой наклонную доску с прибитыми планками. Так несушки смогут цепляться за них лапами.
Внутри помещения и на площадке, предусмотренной для выгула, устанавливаются посудины с кормом и водой. Кормушки с ручками лучше не ставить посредине птичника, иначе куры будут сидеть на них, а помет окажется в корме. Оптимальным выбором считается посуда с не очень высокими бортами для молодняка и более высокими, которые предназначены для взрослых особей.
Видео “Строительство небольшого домика для домашней птицы”
Посмотрите, как выглядит весь процесс построения домика для несушек, сооруженного хозяином самостоятельно на приусадебном участке.
Как спроектировать и построить мобильный курятник
Строительные планы от экспертов по современному приусадебному хозяйству
К Лорен АркуриЛорен Аркури
Лорен Аркури Уэйр является экспертом по ведению домашнего хозяйства, включая выращивание кур для яиц и мяса, содержание пчел, выращивание фруктов и овощей и консервирование.
Узнайте больше о The Spruce’s Редакционный процесс
Обновлено 01.12.22
Ель / Кэндис Мадонна
Обзор проекта
При выращивании цыплят «на пастбище», где они пасутся на свежей траве, есть явное преимущество в наличии мобильного курятника, который можно перемещать по вашему участку, чтобы цыплята наслаждались свежим пастбищем.
В системе Ussery для содержания кур-несушек на пастбище используется большой переносной курятник и ограждение из электрической сетки для создания двора вокруг курятника. Курятник выполнен передвижным на колесах. Ниже вы найдете общий обзор с шагами и описаниями, которые вам понадобятся, чтобы спроектировать и построить переносной курятник для нужд вашей небольшой фермы или приусадебного участка.
Насколько большим должен быть курятник для ваших цыплят?
Курам обычно требуется от 3 до 4 квадратных футов комнаты в курятнике на одну птицу. Например, если у вас есть небольшой передвижной курятник на шесть кур, обеспечьте для него площадь не менее 24 квадратных футов.
Передвижной курятник в этом проекте имеет размеры 9футов на 8 футов, или 72 квадратных фута, что является хорошим размером примерно для 24 цыплят.
Оборудование/инструменты
- Плотницкая площадь
- Настольная пила
- Торцовочная пила
- Степлер
- Герметичный пистолет
- Дрель и биты
Материалы
- 1 лист 1/2 дюйма фанеры
- 4 8-футовые доски 2 на 4
- 6 10-футовых досок 2 на 4
- 4 12-футовые доски 2 на 4
- от 4 до 8 металлические угловые скобы
- Винты для палубы (в ассортименте)
- Ветки, ветки, старые лестницы
- Металлическая фурнитура ткань
- Пластиковые бадьи или старые деревянные ящики
- Солома
- 2 пары металлических универсальных петель
- 1 рулон мелкоячеистой сетки размером 1 дюйм
- Кровля из оцинкованной стали, пластик для теплиц или брезент
- Металлический ребристый колпачок
- затыкать
- 4 болта с крыльчатыми гайками
- 4 универсальных колеса с отверстиями оси 1/2 дюйма
- Скобы для забора
Как спроектировать и построить мобильный курятник
Здесь вы найдете общий обзор расходных материалов, инструментов и шагов, необходимых для постройки переносного курятника.
Для получения дополнительной помощи по проекту Ussery прочитайте более подробную информацию о планах этого мобильного курятника.
Сборка нижней рамы
Нижняя рама этого курятника построена из пиломатериалов размером 2 на 4 дюйма с металлическими угловыми скобами и винтами, используемыми для скрепления частей рамы на стыках. Выберите размер нижней рамы, который создает хороший размер курятника.
Если вы используете свой курятник с окружающим забором, запланируйте минимум 3 квадратных фута площади на одну птицу. Показанный здесь передвижной курятник имеет размеры 9 футов на 8 футов, или 72 квадратных фута, что является хорошим размером примерно для 24 кур.
Важно, чтобы нижняя часть рамы была идеально ровной. Вы можете использовать столярный угольник, чтобы обеспечить прямоугольность рамы. Или вы можете проверить квадратность, проведя измерения по диагонали от противоположных углов рамы. Если оба диагональных измерения равны, рамка квадратная.

Собери раму
Переносной курятник, который здесь строится, имеет А-образную конструкцию. Используйте настольную пилу, чтобы разорвать пиломатериал размером 2 на 4 дюйма на более тонкие куски для диагональных стропил и верхней коньковой доски курятника. Торцовочная пила полезна для вырезания правильных углов на концах стропил. Соберите детали вместе с помощью шурупов. В традиционной конструкции расстояние между стропилами составляет 16 дюймов, хотя также возможно расстояние 12 или 24 дюйма.
Два дополнительных нижних стрингера установлены с помощью палубных винтов, чтобы обеспечить большую устойчивость нижней рамы.
Стяжки добавляются через стропила А-образной рамы, чтобы связать их вместе для повышения устойчивости. Затем торцевой каркас строится с тремя вертикальными стойками, которые образуют раму для двери на каждом конце курятника.
Построить насест
В этой конструкции используются дополнительные длинные стрингеры, прикрепленные примерно на 2 фута непосредственно над стрингерами пола, которые служат в качестве насестов для птиц.
Вертикальная опорная стойка поддерживает каждую перекладину в центре.В этой конструкции хомуты между стропилами также служат высокими насестами. Для высоких насестов убедитесь, что у кур есть возможность добраться до них. В этой конструкции птицы могут достигать высоких насестов, прыгая с нижних насестов.
Насесты могут быть сделаны из переработанных и перепрофилированных материалов. Особенно хорошо подходят ветки и ветки, а также старые лестницы. Тем не менее, для переносных курятников убедитесь, что насест надежно прикреплен к раме.
Tip
Куры-несушки обычно предпочитают насест, если есть такая возможность, но эти решетки не нужны мясным птицам или бройлерам, которые обычно не садятся на насест. Молодки и петушки начинают насиживаться примерно в возрасте трех-четырех месяцев.
Сборка ящиков для гнезд
Если вы продолжаете нести кур-несушек, вам понадобятся ящики для гнезд, куда птицы могут откладывать яйца.
Это могут быть очень простые ящики, обшитые металлической метизной тканью по дну и прикрепленные к каркасу курятника. Размеры ящиков зависят от свободного места.Конструкция гнездового ящика выглядит так:
- Соберите простую коробку из досок размером 2 на 2 дюйма, зафиксировав стыки шурупами.
- Добавьте доску размером 2 на 2 дюйма в качестве «балки» пола поперек середины коробки для устойчивости, снова прикрепив ее шурупами.
- Прикрепите скобами металлическую скобяную ткань к нижней части рамы коробки.
- Добавьте фанерные стенки высотой от 4 до 6 дюймов к коробкам, прикрепленным винтами для настила.
- Расположите ящики в нужных местах, прикрепив их к насестным перекладинам и стяжкам с помощью палубных шурупов.
Если вы хотите использовать переработанные материалы, скворечники можно сделать из пластиковых ванн или старых деревянных ящиков, прикрепленных к каркасу курятника с помощью шурупов.
Стремитесь к одному ящику для гнезд или 1 квадратному футу пространства для гнезд сообщества на каждые четыре или пять кур.
Гнездовые ящики должны быть на высоте не менее 2 футов от земли. Они будут выстланы соломой.Покройте концы курятника
Хотя концы курятника можно оставить полностью открытыми, этот план защищает части, прилегающие к гнездовым ящикам, с помощью 1/2-дюймовой фанеры. План включает в себя встроенные распашные дверные панели, прикрепленные петлями, что обеспечивает легкий доступ для сбора яиц и очистки гнездовых ящиков.
Можно закрыть большую часть торца курятника фанерой или обрезками древесины, но помните, что полное ограждение будет означать меньшую вентиляцию. В конструкции с А-образной рамой, подобной этой, вся циркуляция воздуха будет осуществляться за счет поперечной вентиляции через концы курятника. Это хорошая идея, чтобы оставить достаточно свободного пространства на концах курятника, чтобы обеспечить доступ воздуха.
Постройте двери и оградите концы курятника
Как правило, лучше всего, если в вашем курятнике есть торцевые двери, которые вы можете закрывать на ночь и чтобы вы могли запереть цыплят внутри, когда вы перемещаете курятник.
Также неплохо иметь возможность запирать кур для отбора конкретных кур для выбраковки или других целей (например, для изоляции больных кур).Эти двери сделаны из простой рамы, сделанной из пиломатериалов размером 2 на 2 дюйма, плюс диагональная поперечная скоба, которая затем покрыта проволочной сеткой. Плоские металлические скобы укрепляют углы рамы. При желании дверь можно закрепить на торцевых шпильках с петлями, установленными с одной стороны двери. Или, если дверь будет использоваться только время от времени, дверь можно привинтить на место, когда это необходимо.
Остальные треугольные пространства над дверью и по бокам также обтянуты мелкоячеистой сеткой.
Построить крышу
Кровля может быть из многих материалов, и, конечно же, любая кровля, очищенная и перепрофилированная, может работать. Крыша этого курятника была сделана из окрашенной оцинкованной стали. Другие возможные материалы, которые вы могли бы использовать, включают пластик для теплиц или брезент.

Металлические панели вырезаются по размеру и крепятся к стропилам с помощью шурупов. V-образный металлический ребристый колпачок наверху защитит его от воды. Нанесите герметик на швы изнутри, чтобы курятник был водонепроницаемым.
Эта крыша имеет небольшой выступ на концах, чтобы обеспечить дополнительную защиту от дождя.
Прикрепить колеса
Колеса являются ключевой частью любого передвижного курятника, если курятник не настолько мал, что его можно тащить по земле или поднимать и переносить. Убедитесь, что ваше колесо достаточно большое, чтобы обеспечить хороший клиренс на вашей местности — используйте колеса большего размера для ухабистого, неровного грунта и колеса меньшего размера для ровной короткостриженной травы. Слишком большие колеса позволят птицам выскользнуть из-под нижней рамы во время движения.
Колеса можно установить, просверлив и вставив болты с квадратным подголовком через нижнюю раму курятника во всех четырех углах, а затем используя эти болты в качестве осей для удержания вспомогательных колес на месте.
Когда вы перемещаете своих кур через пастбище, идите медленно и следите за тем, чтобы цыплята не попали под заднюю часть рамы. Если вы двигаетесь достаточно медленно, птицы должны понять идею и двигаться вместе с курятником.
Часто задаваемые вопросы
Передвижной курятник часто называют куриным трактором, потому что куры могут клевать и аэрировать почву, а также оставлять на траве богатый питательными веществами навоз, также называемый черным золотом. Цыплята любят траву, но курятник на траве вовсе не обязательно, если только вы не хотите удобрения.
Альтернативными вариантами могут быть древесная стружка и солома, которые куры не могут делать так же грязно, как траву своим постоянным клеванием и пометом. Грязь — еще один вариант, но куры могут очень быстро испачкать грязь.
Куры, курятник и ограждение следует перемещать на свежую землю каждую неделю или две или по мере необходимости, чтобы они паслись на свежей траве.

При планировании курятника, мобильного или нет, вы должны держать его как можно дальше от дома по многим причинам, включая запах, шум, мух и крыс. Но стандартного правила нет, и вы увидите курятники на расстоянии от 5 до более 30 футов от дома. Свяжитесь с вашим местным офисом расширения и вашей ратушей, чтобы узнать, существует ли минимальное необходимое расстояние между курятником и вашим домом.
9 лучших курятников 2023 года
7 ЛУЧШИХ планов для курятника любого размера – кухонный шкаф для фермера
Создание собственного курятника своими руками может стать увлекательным и полезным занятием для тех, кто заинтересован в выращивании цыплят и создании собственного курятника. Однако, прежде чем приступить к строительству, важно иметь надежный план курятника.
Хороший набор чертежей курятника не только поможет вам построить прочный и функциональный дом для вашего стада, но и обеспечит вашим цыплятам счастье и здоровье.
Кроме того, вы будете чувствовать себя прекрасно, соорудив его самостоятельно, если выращиваете цыплят.
Начните с планов курятника от экспертов
Один из лучших способов начать строительство курятника своими руками — найти отличные планы, созданные опытными владельцами кур, которые либо сами являются плотниками, либо имеют опыт строительства курятников.
Эти люди прошли через процесс проб и ошибок и могут поделиться своим мнением о том, что работает для курятника, а что нет. Они также будут знать, как упростить содержание цыплят, и включить эти детали в план курятника.
К счастью, в Интернете доступно множество ресурсов, предлагающих эти планы, и мы собираемся поделиться некоторыми из лучших прямо здесь. Каждый ищет что-то свое по стилю и размеру, поэтому вот лучшие варианты, которые будут соответствовать вашим личным потребностям.
На что обращать внимание при планировании курятника
При поиске планов курятника важно учитывать размер вашего стада и доступное пространство.
Размер
Вы должны убедиться, что курятник достаточно большой, чтобы ваши куры на заднем дворе могли удобно передвигаться и откладывать яйца в предназначенный для них скворечник, а в будущем, возможно, и для большего количества цыплят.
Вы также должны убедиться, что у вас достаточно скворечников нужного размера, которые должны быть включены в план вашего курятника.
Гнездовье
Это также очень удобно, если план курятника имеет внешний гнездовой ящик, чтобы вы могли получить доступ к свежим яйцам снаружи, не заходя в курятник.
*Вот некоторые из моих девочек, которые уютно устроились в своих скворечниках с высоты птичьего полета. Я стою снаружи своего курятника с поднятой подъемной дверью, чтобы я мог смотреть вниз и видеть их. Очень удобно иметь доступ к скворечнику снаружи.
Вентиляция
Также важно обеспечить надлежащую вентиляцию и теплоизоляцию, чтобы вашим цыплятам было прохладно летом и тепло зимой.
Вы можете подумать, что вентиляция заставит ваших цыплят зимой мерзнуть, но это необходимая регулировка или дополнение к любой конструкции курятника для потока воздуха.
Площадь пола
Вам также понадобится достаточное пространство на полу или место, запланированное в проекте для насестов. Хотите ли вы небольшой курятник, высокий курятник или простой курятник, вам понадобится место, где ваши цыплята будут ночевать.
Убедитесь Вы Подходит для
Последний фактор, который мы рекомендуем учитывать, — это пространство, в которое вы можете легко ходить для очистки. Если вы планируете легкую очистку, вы получите легкую очистку, и вы будете благодарны, поверьте мне в этом.
*Вот фото, на котором я собираюсь убрать свой курятник в маске для уборки курятника.
Это лишь некоторые из важных факторов, которые следует учитывать при покупке чертежей хорошего курятника, а также некоторые другие моменты, которые следует учитывать.
Защита курятника своими руками от хищников
Другим важным фактором, который необходимо учитывать при строительстве курятника своими руками, является его защита от хищников. Хищники, такие как еноты, лисы и даже соседские собаки, нередко пытаются проникнуть в курятник.
Использование хороших материалов и обеспечение того, чтобы все отверстия, например, должным образом закрыты, могут помочь защитить ваших цыплят от вреда, а также помочь вам получить прочный и крепкий курятник.
Ищите древесину хорошего качества и даже другие материалы, защищающие от хищников, такие как металлическая сетка. Это здорово иметь для вашего кооператива и бега.
Вы также можете узнать больше о защите вашего курятника от хищников здесь.
Добавление автоматической двери для курятника
Другим элементом, который мы рекомендуем в вашем собственном плане курятника, является автоматическая дверь курятника.
Мало того, что дверь будет защищена от хищников, когда она закрыта, она сделает жизнь намного проще, так как вы можете запрограммировать ее самостоятельно, когда вы хотите, чтобы она открывалась, или она может открываться и закрываться автоматически с восходом и закатом.
Если вы не собираетесь использовать автоматическую металлическую дверцу, убедитесь, что это прочная дверца, на которую можно положиться.
Вот видео о том, как мы устанавливаем автоматические двери для курятника на нашем заднем дворе, чтобы получить представление о том, как они работают:
но важно начать с хорошего набора планов, а затем найти идеальные материалы, такие как проволочная сетка, металлическая сетка и дерево или даже переработанная древесина (но все же древесина хорошего качества).
Исследуя и находя чертежи, созданные опытными владельцами кур, вы сможете чувствовать себя уверенно в процессе строительства и обеспечить безопасный и комфортный дом для своих пернатых друзей.
Давайте начнем с лучших онлайн-планов кооператива «сделай сам», которые вы можете скачать, чтобы сразу приступить к созданию идеального кооператива!
В эту статью мы включим:
- Планы для 10 или менее цыплят
- Планы на 10-15 цыплят
- Планы на 20+ цыплят
Начнем.
Планы курятника для 10 или менее кур
При строительстве курятника для 10 или менее кур его размер должен составлять примерно 4 x 8 футов. Это означает, что на 10 цыплят будет приходиться около 32 квадратных футов курятника, и это должно вместить породу среднего размера. Ищите конструкции с ящиками для гнезд, включенными в курятник или прикрепленными к нему.
Посмотреть все планы курятника для 10 или менее цыплят прямо здесь
1.
Курятники B&B Plans | 10–15 курСм. планы здесь
Этот самодельный курятник предназначен для содержания от 8 до 15 кур, в зависимости от размера птицы. Курятник имеет размеры 8 х 8 футов, с дополнительными 4-футовыми ящиками для гнезд. Общая высота курятника составляет 7 футов и 9 дюймов.
Конструкция курятника имеет приподнятую платформу для защиты цыплят от хищников, отпугивания хищников (особенно роющих хищников) и предоставления цыплятам комфортного жилого пространства/пола.
План также включает в себя большие передние дверцы для легкого доступа, съемную крышу для уборки (что очень удобно) и достаточную вентиляцию, чтобы курятник оставался сухим и здоровым; вещь совершенно необходимая.
Высокий козырек этого курятника отводит горячий воздух (и излишнюю влагу) вверх и наружу из курятника, обеспечивая отличную вентиляцию. Вот что говорит об этом дизайнер курятника:
Это одна из самых важных особенностей этого курятника, много вентиляции между стенами и крышей, а также специальная вентиляция сзади.
Я разработал с большим количеством вентиляции, потому что я не люблю беспокоиться! Мне нравится знать, что они классные и счастливые там.
В целом, этот небольшой домик представляет собой хорошо продуманный и функциональный вариант для тех, кто хочет содержать маленькое или среднее стадо цыплят, а также для тех, кому нужна фантастическая вентиляция в красивом дизайне.
2. Планы курятника и загона | 4–10 цыплят
См. схемы здесь
Конструкция курятника представляет собой традиционную А-образную форму с приподнятой частью, которую можно использовать для гнездовых ящиков, и нижней частью, где цыплята могут гулять. внутри и быть в полной безопасности.
Чертежи курятника включают подробные инструкции по строительству курятника, полный список материалов, пошаговые инструкции по сборке и схемы, которые помогут вам в процессе. В планах также видеоурок, чтобы сделать процесс сборки еще проще, что приятно!
По словам продавца, курятник спроектирован так, чтобы его было легко построить, и он подходит для тех, кто имеет базовые столярные навыки.
В целом, если вы ищете план постройки курятника, в котором могут разместиться до 10 кур, чертежи и инструкции, приведенные в этих планах, кажутся хорошим вариантом.
Это было бы здорово для небольшого курятника на заднем дворе, если вы хотите иметь только несколько цыплят и, возможно, планируете вырастить до десяти цыплят. Это отличный вариант, чтобы иметь свои собственные яйца только для вашей семьи, плюс это действительно хороший дизайн курятника.
Лично мне нравится, что этот курятник имеет приподнятую конструкцию, так как он обеспечивает естественную затененную зону под ним, где цыплята могут укрыться от солнца или дождя, и они также могут легко пылиться там.
3. Планы строительства курятника | 5 — 12 цыплят
См. чертежи здесь
Эта конструкция курятника включает в себя приподнятую секцию, которую можно использовать в качестве скворечника, и нижнюю секцию, где куры могут бродить внутри.
Чертежи включают в себя все, что вам нужно не только для правильной сборки, но и для того, чтобы сделать ее легкой совместной сборкой.
Вот все, что вы получаете с этим планом:
- 31 страница подробных чертежей САПР
- подробных 3d схемы
- пошаговые инструкции
- список материалов
- списки вырезов
- список рекомендуемых инструментов
- и все основные размеры и детали
Это хороший, простой в сборке курятник, который идеально подходит для содержания до десяти кур. Кроме того, эти планы могут быть настроены в соответствии с вашими конкретными потребностями и предпочтениями, и продавец предлагает 30-дневную гарантию возврата денег, а также бесплатную поддержку по электронной почте.
Особенности этого курятника:
- 24 квадратных фута площади
- Пять больших скворечников
- Откидная крышка для удобного сбора яиц
- Три поручня
- Большая дверца для удобства очистки
- Два одинарных окна
- Прочный каркас
Обязательно ознакомьтесь с дизайном этого кооператива! Он был прекрасно создан опытным плотником, который попробовал и протестировал дизайн.
Планы курятника на 10–15 кур
При строительстве курятника на 10–15 кур вам понадобится около 4 квадратных футов площади курятника на птицу среднего размера. Так что ищите планы от 40 до 60 квадратных футов.
Посмотреть все схемы курятника на 10–15 кур можно здесь
1. Курятник в стиле фермы | 12–16 цыплят
Посмотреть здесь
Этот дизайн в стиле фермерского дома отличается большим, просторным интерьером с достаточным пространством для цыплят, чтобы они могли двигаться и заниматься своими естественными действиями, такими как царапание и вытирание пыли.
Курятник включает в себя приподнятую часть, которую можно использовать для скворечников, и нижнюю часть, где куры могут бродить. Дизайн также включает в себя большую крытую площадку для выгула, предоставляя цыплятам много открытого пространства, защищая их от хищников и при этом красиво выглядя снаружи.
Чертежи включают полный список материалов, пошаговые инструкции по сборке и схемы, которые помогут вам в сборке. Эта сборка требует немного знаний для ее строительства.
Важно отметить, что, несмотря на то, что планы относительно просты в исполнении, строительство курятника требует определенного уровня строительного опыта и использования электроинструментов. Кроме того, продавец отмечает, что планы могут быть настроены в соответствии с вашими конкретными потребностями и предпочтениями.
В целом, если вы ищете план строительства большого курятника, в котором могут разместиться до 15 цыплят, этот симпатичный дизайн — хороший выбор, если вы хотите красивый дизайн в маленьком курятнике, который обеспечит безопасность ваших цыплят. и сделать сбор яиц легким.
2. Совместные планы с прикрепленным циклом | 15 цыплят
См. чертежи здесь
Эти проекты курятников отличаются уникальным дизайном, который включает в себя примыкающую площадку для выгула, обеспечивающую достаточно места для комфортного передвижения до 15 цыплят.
Прикрепленная функция бега позволяет цыплятам безопасно выходить на улицу, оставаясь при этом защищенными от хищников и проникая в ваши сады, как цыплята любят это делать!
В дополнение к пристроенной площадке для выгула в самом курятнике есть приподнятая секция для скворечников и нижняя секция для гуляния цыплят. Планы снабжены подробными инструкциями, полным списком материалов и схемами для изготовления. процесс строительства максимально упрощен.
Эти планы идеально подходят для тех, кто имеет базовые навыки столярного дела и ищет функциональный и безопасный дизайн курятника, который включает в себя прилегающую площадку для выгула.
Благодаря возможности настраивать планы в соответствии с вашими конкретными потребностями и предпочтениями, эта конструкция представляет собой отличный вариант для тех, кто хочет построить курятник, в котором может разместиться большое стадо цыплят.
Планы курятника на 20 кур
При строительстве курятника на 20 кур вам потребуется запланировать около 60–80 квадратных футов для вашего курятника.
Посмотреть все планы кооператива для 20+ кур на Etsy прямо здесь
1. Дизайн птицефермы | 20 цыплят
См. чертежи прямо здесь
Вот дизайн от хорошо зарекомендовавшего себя дизайнера курятников (вам определенно стоит ознакомиться с этим списком, они предлагают множество дизайнов курятников в различных разного размера!).
Посмотрите все варианты курятников от этого дизайнера прямо здесь
Птичий сарай имеет размеры 8 футов в ширину и 10 футов в глубину на главном здании и 4 фута на 7 футов 3 и 1/2 дюйма бокового участка.
В передней части птицефермы имеется складское помещение шириной 8 футов и глубиной 6 футов. В нем легко разместятся до 16 кур-несушек, а его общая площадь составляет 80 квадратных футов.
Этот план в формате PDF включает в себя 29 страниц инструкций по простому строительству курятника, который выглядит великолепно.
2. Планы кооператива Cluck Canyon с Walk In Chicken Run | 20 цыплят
См. здесь
Эти схемы курятника предназначены для курятника размером 9 x 42 фута, в котором могут разместиться до 20 кур. Планы включают подробные инструкции и схемы, которые помогут вам построить курятник с нуля.
Сам курятник спроектирован так, чтобы быть одновременно функциональным и привлекательным, с достаточным пространством для передвижения цыплят и доступа к естественному свету, необходимому им для хорошей яйценоскости (и сбора яиц!).
В курятнике есть большая площадка для выгула, покрытая проволочной сеткой для защиты цыплят от хищников. Зона прогона пристроена к самому курятнику, который разделен на две секции: спальную и лежанку.
Спальная зона включает в себя насесты, на которых цыплята могут отдыхать ночью, а зона для несушки включает гнездовые ящики, где цыплята могут откладывать яйца, а вы можете собирать яйца.
Чертежи также включают список материалов и схемы раскроя, которые помогут вам приобрести и раскроить все материалы, необходимые для строительства курятника. Являетесь ли вы опытным строителем или новичком, эти планы помогут вам создать удобный и безопасный дом для ваших пернатых друзей.
Эти планы также включают круглосуточную поддержку по электронной почте и 30-дневную гарантию возврата денег.
Ознакомьтесь со всеми планами курятника для более чем 20 кур здесь
Заключение
Создание собственного курятника может быть очень увлекательным и полезным способом добавить свой собственный стиль и прикосновение к вашему двору. Особенно со всеми действительно красивыми конструкциями, сделанными своими руками, нет никаких причин, по которым вы не можете иметь курятник своей мечты. Кроме того, создание собственного кооператива сэкономит деньги!
Вам не нужно покупать дорогой курятник, если вы можете построить свой собственный, хотите ли вы курятник большего размера или что-то маленькое для трех кур, шести кур или восьми кур (или больше).
Вы можете найти именно тот размер и стиль, который вам нужен или нужен.
Или, возможно, вам нужны двойные двери для облегчения доступа, или просто эстетика фермерского дома, или наклонная крыша, если вы живете в месте, где зимой выпадает много снега. Вы действительно можете найти свой идеальный план курятника и начать собирать строительные материалы, такие как дерево, отделочные материалы и метизную сетку или метизную ткань.
Итак, ознакомьтесь с планами курятников, которые мы рекомендуем от этих опытных строителей и владельцев кур, и вы всегда можете связаться с ними, чтобы узнать об их планах. Вот почему нам так нравится поддерживать эти замечательные маленькие магазины! Сервис и качество, которые вы получаете, просто фантастические.
Вот некоторые другие статьи о курах, которые могут вас заинтересовать:
Лучшие автоматические двери для курятника, которые сделают вашу жизнь проще
Маска, необходимая для уборки курятника
Автоматические поилки для цыплят
Лучшие камеры для наблюдения за курятниками для обеспечения безопасности вашего стада
Седла для защиты кур Ваши куры от петухов
Тебе понравилась эта статья?
❤️ Вот как вы можете поддержать наш блог:
Меня зовут Линнея, и я увлекаюсь садоводством на заднем дворе! Вместе с мужем и двумя нашими детьми (а также цыплятами, утками и нашей собачкой Иззи).




Вертикальная опорная стойка поддерживает каждую перекладину в центре.
Это могут быть очень простые ящики, обшитые металлической метизной тканью по дну и прикрепленные к каркасу курятника. Размеры ящиков зависят от свободного места.
Гнездовые ящики должны быть на высоте не менее 2 футов от земли. Они будут выстланы соломой.
Также неплохо иметь возможность запирать кур для отбора конкретных кур для выбраковки или других целей (например, для изоляции больных кур).
Когда вы перемещаете своих кур через пастбище, идите медленно и следите за тем, чтобы цыплята не попали под заднюю часть рамы. Если вы двигаетесь достаточно медленно, птицы должны понять идею и двигаться вместе с курятником.