Лестница гусиный шаг расчет: Расчет лестницы гусиный шаг калькулятор
Расчет основных показателей лестницы гусиный шаг
Рассчитать проектные данные лестницы «гусиный шаг» необходимо для того, чтобы определить основные показатели, от которых зависит не только внешний вид конструкции, но и степень её безопасности. Существуют значительные отличия такого изделия в сравнении с более привычными видами лестниц. И дело здесь не только во внешнем виде, но и в других моментах, которые и предстоит выяснить в процессе проведения расчетов.
Особенности конструкции
Лестница «гусиный шаг» значительно отличается от других видов оформления подъема на этаж. Благодаря этим отличиям её часто устанавливают в тех местах, где существуют строгие ограничения по площади. На недостаточном отрезке места установить безопасную и удобную лестницу очень проблематично. Здесь и приходит на выручку проект конструкции «гусиный шаг».
Характерная черта лестницы гусиный шаг – своеобразная форма ступеней и принцип их расположения
Свое название такая лестница получила благодаря особенностям оформления ступеней.
Если конструировать привычный вариант в условиях ограниченного пространства, придется делать большой уклон и высокие ступени. Нормально ходить по такой лестнице практически невозможно, ведь стопа не будет полностью прилегать к поверхности, а видимость будет очень ограничена. Даже поручни не способны значительно облегчить ситуацию.
А вот проект по типу «гусиного шага» отличается формой и особенными вырезами на ступенях.
Вырезы на ступенях позволяют идущему отчетливо видеть направление своего следующего шага, что значительно повышает уровень безопасности подобных конструкций.
Лестница гусиный шаг, согласно расчетам, имеет больший градус уклона. Ступени проектируются таким образом, чтобы одна их сторона была большей, а другая – минимальной. Направление проступи чередуется. В итоге получается не только удобная и безопасная конструкция, но и довольно оригинальное изделие по своему внешнему виду.
Преимущества лестницы «гусиный шаг»:
- возможность использования на ограниченном пространстве;
- оригинальный дизайн;
- удобство использования;
- безопасность;
- экономия материалов.

Угол наклона
В первую очередь необходимо определить подходящий угол наклона конструкции. В отличие от традиционных лестниц, такая вариация возводится с большим уклоном. Оптимальную величину можно определить, ориентируясь на расстояние от пола первого этажа до пола второго, а также учитывая максимально допустимую границу размещения крайней ступени.
Благодаря необычной форме ступеней угол наклона может быть значительно больше, чем у традиционной лестницы
Значение угла наклона конструкции может варьироваться в пределах 45-65 градусов. Чем он больше, тем труднее будет подниматься по такой лестнице, поэтому особо усердствовать не стоит. Если приходиться работать с максимальным показателем, особое внимание нужно уделить ступеням.
Расположение и размер ступеней
Проектирование ступеней – не менее важный этап, чем определение уклона. Чтобы определить начальную позицию ступени необходимо обратиться к исходному проекту. Для прямых конструкций особого значения этот параметр не имеет, а вот для винтовых он играет определяющую роль.
Чтобы было удобно передвигаться вверх и вниз желательно делать широкой часть ступени со стороны ведущей ноги. То есть в большинстве случаев максимальная проступь устанавливается справа.
Количество ступенек по стандарту должно быть нечетным. Если же это не получается при начальном расчете, разбейте остаток на меньшее нечетное количество поровну. Таким образом, вы будете начинать и заканчивать движение с одной ноги.
Схема ступеней лестницы гусиный шаг
Что касается ширины проступи, она неодинакова по всей длине элемента. Обычно её делают максимальной, на половину или 2/3 ступени. Срез может быт скошенным, под прямым углом или закругленным.
Длина шага
Расчет лестницы «гусиный шаг» осуществляется в двух плоскостях: по горизонтали и по вертикали. В первую очередь нужно определить ширину в горизонтальной плоскости. Обычно этот параметр высчитывается из среднего значения стандартного шага человека. В большинстве случаев принято брать за основу отрезок в 60-65 см.
В особых случаях можно снизить этот показатель до 45-50 см, если пространство сильно ограничено, а для лестницы не предусматривается слишком частое её использование.
Для расчета вертикального шага по лестнице лучше всего воспользоваться специальной формулой:
2ВС + ШС = 60:65
Она основана на соотношении высоты и ширины ступени и горизонтального шага (в сантиметрах). Для произведения расчетов нужно суммировать двойную величину высоты ступени и её ширину. Одна из цифр в любом случае будет известна, а потому приравняв сумму к показателю горизонтального шага в установленных пределах можно определить неизвестный показатель.
Соотношение подступенка и проступи
Еще одним важным показателем является определение соотношения подступенка и самой ступени, а точнее, её проступи. Это позволяет максимизировать комфорт и безопасность спуска и подъема по лестнице такого типа, устанавливая оптимальный угол движения.
Конкретное соотношение для лестниц по типу «гусиный шаг» зависит от назначения постройки.
Для общественных зданий, жилых домов, подвалов и открытых пространств оно просчитывается индивидуально.
Для жилых зданий соотношение подступенка и проступи обычно устанавливается на уровне 17:29 – 20:23. Такая пропорция действительна для межэтажных конструкций. Для хозяйственных и малоиспользуемых помещений можно изменить соотношение до 19:25 – 21:21.
При разработке схемы не забывайте оставить дополнительно место для установки перил и ограждений. Для произведения более точных расчетов можно воспользоваться специальными проектными программами или обратиться за помощью к специалисту.
[niceyoutubelite id=”YB6UkxItWZM”]
Лестница Гусиный шаг: фото, расчет, отзывы
Содержание
- Расчеты лестницы «Гусиный шаг»
- Пошаговое руководство по сборке лестницы
- «Гусиный шаг» — отзывы
Одним из самых необычных вариантов решения проблемы с площадью и перемещением между этажами в частных домах является постройка лестницы гусиный шаг.
Особенность конструкции изготовления такой лестницы заключается в конфигурации ступеней, а точнее в их размещении. Гусиный шаг часто делается под углом в 45º, но можно встретить и варианты, которые поднимаются под 70º. При решении жилищной проблемы следует избегать использования «гусиного шага» как основной лестницы из-за определённого неудобства при использовании.
Важно! Лестница, выполненная в стиле Гусиный шаг – это модульная лестница.
Для полноты восприятия советую ознакомиться с таким видео:
Универсальным является и возможность подбора материала, из которого будет сделан гусиный шаг. Так, благодаря простоте обработки лидерство удерживает исполнение из дерева. Для эстетической красоты могут применяться металл или стекло. Конструкция гусиного шага состоит из таких деталей:
- несущие элементы;
- дополнительные стяжки;
- крепления и ступени;
- балясины;
- перила.

Расчеты лестницы «Гусиный шаг»
Если ознакомится с отзывами, то можно узнать, что не все однозначны в их оценке. Основные пункты, по которым к ним имеют претензии – это их небезопасность в эксплуатации и неудобства при переноске громоздких вещей. Но при правильном планировании негативные аспекты гусиного шага можно запросто свести к нулю. Предлагаю внимательно посмотреть на данный чертеж:
Приступая к расчету, следует помнить, что часть значений являются постоянными (например, расстояние от потолка до пола) и изменяться не будут. Основываясь на постоянных значениях, следует помнить, что именно от них зависит высота гусиного шага и количество ступенек, который в ней будет. Также посмотрев на общую схему вверху, можно заметить, что на такую лестницу пойдёт значительно меньше материалов, нежели на лестницы других конструкций. Ориентируясь по самым популярным вариантам расстояния от потолка к полу, была составлена таблица:
Основываясь на этих данных можно уже сейчас сказать, сколько будет иметь ступенек гусиный шаг, в зависимости от высоты комнат.
Можно подобрать и свою вариацию реализации — главное, чтобы было удобно. Лестничный проем, от ступенек к потолку верхнего этажа должен быть не менее 2-х метров, чтобы избежать возможности удара головой. А для ширины ступенек можно использовать формулу: их ширина составляет 1/20 от общей ширины лестницы. Т.е. если ширина гусиного шага составляет 60 сантиметров, то ширина ступеньки должна быть 3 сантиметра.
Пошаговое руководство по сборке лестницы
Если желание собирать гусиный шаг всё ещё есть, то стоит перейти к нюансам практической реализации постройки. Первоначально необходимо решить два самых главных вопроса: из какой древесины делать гусиный шаг и на чем его делать. В качестве дерева можно последовать многочисленным советам и выбрать дуб, бук или лиственницу. Можно и поэкспериментировать с другими сортами деревьев, но выбирать липу или сосну – не лучший вариант. Они являются представителями «мягких» сортов, которые не очень подходят для значительных нагрузок. Древесина, используемая для лестниц должна быть качественно просушенной, а также на ней должны отсутствовать сучки, которые негативно влияют на прочность досок.
Следует выбрать, на чем будет стоять гусиный шаг – на тетивах или косоурах. Так как это практичная инструкция, то необходимо выбрать что-то одно – мы рассмотрим первый вариант. Для высоты на 3 метра, по варианту размещенной ранее таблицы, подойдёт брусок с такими параметрами: ширина – 30 см, высота – 6 см. Длину необходимо посчитать с помощью теоремы Пифагора.
Важно! Следует ввести небольшой экскурс в математику и напомнить уже забытые уроки из школы. Сумма квадратов катетов равняется квадрату гипотенузы.
Так, если катет a = 4 метра, а катет b = 3 метра, то квадрат гипотенузы будет: 16 + 9 = 25. Корень из 25 равняется 5, то длина балки будет 5 метров. Вот небольшая иллюстрации, которая на практическом примере покажет, что и как:
Когда параметры известны, то можно переходить к непосредственно разметке тетивы и размещению ступеней. Для избегания травматических ситуаций следует размещать ступеньки строго горизонтально. Чтобы несущие получились одинаковыми, размечать их под ступеньки следует тогда, когда первая тетива уже размечена и прорезаны пазы для ступенек.
Тогда остаётся просто перенести все данные с первой на вторую. При разметке не следует забывать, что «гусиный шаг» получил свое название не просто так, а за подражание настоящему гусиному шагу, поэтому ступеньки должны чередоваться, как это показано на фотографиях.
Для изготовления самой ступеньки необходимо взять брусок, которые позволит получить запланированные ранее ступеньки. Прежде, чем трудится над приданием необходимой формы, следует сделать необходимые разметки, которые позволят работать аккуратно. Чтобы во время самого процесса сборки не повредить древесину и не испортить её эстетичный вид, следует использовать деревянный или резиновый молоток. Собирать лестницу следует на ровной поверхности, оптимально будет на полу. Первую тетиву следует положить пазами вверх, сами пазы смазать клеем и вставить ступеньки. Когда они зафиксируются, на вверх лестницы кладётся вторая тетива, и гусиный шаг почти готов.
Для дополнительной эксплуатационной стойкости можно использовать стяжки.
Они устанавливаются в 3-х или 4-х местах тетивы, и должны изготавливаться или из дерева, или из металла. Металлические являются более долговечными, но одновременно их влияние на сам гусиный шаг более заметное, тогда как деревянные, можно вставить, расклинить (для фиксации) и замаскировать с помощью лака или качественной краски.
Уже собранную и готовую к установке лестницу следует зафиксировать на нижнем опорном пункте, перед этим убедившись, что верхняя часть попадает в заранее прорезанные углубления. Закреплять следует анкерными болтами, при этом постоянно проверяя четкую горизонтальность фиксирования.
Для лестниц данного типа наличие четкого фиксирования является необходимым условием, чтобы они отвечали технике безопасности. Также, если стараться придерживаться строительных нормативов, то гусиный шаг должен быть оборудован перилами. Что является весьма разумным требованием, ведь учитывая наклон гусиного шага, перила могут помочь сэкономить немало денежных средств. Для самих перил первоначально следует подготовить столбики, на которых они будут располагаться.
Расстояние между столбиками должно быть около 50-60 сантиметров. А их высота около 80-120 сантиметров (в зависимости от роста людей, которые будут ими пользоваться). Они должны закрепляться вертикально относительно ступенек, но верхняя часть, к которой будут присоединяться перила, должна быть скошена под тем углом, что и угол подъема лестницы.
«Гусиный шаг» — отзывы
Вот и подходит статья к концу. Для тех, кого построение такой лестницы всерьез заинтересовало, будет полезно ознакомиться с отзывами людей, которые уже имеют опыт строительства таких лестниц:
«В целом лестницей доволен, но из-за большого уровня наклона, скользкую древесину ступенек пришлось дополнительно укрыть лаком и противоскользящими накладками».
«Гусиный шаг предоставляет из себя очень интересную архитектурную задумку, но для безопасности следует хорошо за ней следить: никакой пролитой воды или мокрых шлепок. А использовать её в качестве главной входной лестницы – боже упаси, такое делать!»
«Опасность, про которую любят поговорить, возможна, конечно.
А где её нет? Но если размеренный спуск, а также безопасные параметры самой лестницы – то почему бы и не реализовать? А в целом – сами решайте. Если любите держать осанку и не боитесь высоты – то можете и построить».
«Ну, опасность есть, но если носится как угорелый, то для вас любая лестница может стать смертельной, любезный. А вы что ожидали? Из своего опыта могу добавить, что подъём по ней не так… неповторим, как спуск. А вы вообще знаете, откуда они пошли? Они же так-то ещё со средневековья со всяких зданий вроде мельниц, где людям часто приходилось спускаться со значительным грузом вроде мешка муки. Поэтому для легкости и строили их. Если хотите незабываемых чувств – то стройте. Но как по мне, есть и другие, более комфортные варианты»
- Опалубка для лестницы из бетона
- Крыльцо для частного дома
- Монтаж чердачных лестниц с видео
- Лестницы для дачи и частного дома с фото
Драматический эффект лестниц и лестниц
Автор:
Регина П.
Браун Фотографии на https://www.pinterest.com/realtyproadvisr/stairs/
Представьте себе грациозную даму в великолепном вечернем платье, медленно спускающуюся по великолепной лестнице, останавливаясь для эффекта в нужный момент. Разве вы не согласитесь, что роскошная винтовая лестница, ведущая в большое фойе, может придать вашему объекту особую атмосферу. Покупатели жаждут внешнего вида, который напоминает сцену классического голливудского фильма, разворачивающуюся в их новом доме.
В вашем новом объявлении есть «лестница в небо»? Как вы выделяете в своей рекламе? Лестницы классифицируются по траектории и направлению. В сегодняшней теме мы покажем вам 4 типа лестничных маршей: прямые, поворотные, изогнутые и забежные. Мы обсудим различные стили эпохи лестниц, а также некоторые примечательные особенности лестниц, с которыми вы можете столкнуться при показе недвижимости. Показывая покупателям дома, поклонники фэн-шуй могут настаивать на том, что лестница не может быть обращена к входной двери.
Лестница с прямым маршем
Самая функциональная лестница — та, которая предлагает прямой путь между этажами. Каждая ступенька построена по прямой линии от входа до выхода лестницы без поворотов. Как правило, 16 — это максимальное количество ступеней между этажами.
Нет посадкиПрямая лестница без площадки просто идет сверху вниз с проступями (ступенями), каждая из которых имеет одинаковую высоту, размер и расстояние. Этот самый простой тип лестницы часто можно увидеть в жилых домах, потому что его проще и дешевле построить. | |
Промежуточная площадка Когда прямая лестница останавливается в середине лестницы с посадочной площадкой, это называется промежуточной площадкой. Разделение лестничного марша облегчает подъем для людей, которым может понадобиться сделать паузу и отдышаться. Однако вставка лестничной площадки занимает больше места на плане этажа. | |
Компактная лестница (Гусиный шаг/Лестница самбо)При крайне ограниченном пространстве строитель может построить более короткую лестницу с «гусиными» ступенями, у которых проступь с одной стороны больше, чем с другой. Шаги чередуются, причем большая часть шага приходится справа, затем слева, затем снова справа. Компактные лестницы можно увидеть в подвалах, подсобных помещениях или редко посещаемых местах. Люди должны быть осторожны, чтобы поставить каждую ногу на правильную ступеньку в целях безопасности, чтобы избежать опасности падения. | |
Выдвижная (чердачная лестница)Чердачный люк открывается, открывая полную лестницу, спрятанную в потолке. Существует 2 типа лестниц для доступа на чердак: выдвижные лестницы (телескопический стиль) или складные лестницы (складной гармошкой). Ступени узкие, и следует соблюдать осторожность, как при подъеме по лестнице. |
Лестница с поворотом на площадку
Прямые лестницы с площадкой, поворачивающей в направлении лестницы, называются лестницами с поворотом на площадку.
Лестница на четверть площадкиЛестницы с четвертной площадкой имеют платформу на полпути вверх и образуют L-образную форму при повороте на 90 градусов. Посадочная площадка обычно представляет собой платформу квадратной формы. | |
Двойная четвертная площадка (двойная L)Подобно четвертьплощадке, лестница с двойной площадкой имеет 2 площадки, каждая с поворотом на 90 градусов. Вместе они делают поворот на 180 градусов, но с лестницей между двумя площадками. | |
Лестница на половину лестничной площадки (U-образная) Лестница, которая делает U-образный поворот на 180 градусов, известна как лестница с половинной площадкой, потому что она делает половинный поворот. Два лестничных пролета идут параллельно друг другу. |
|
Изогнутая лестница
Изогнутая лестница загибается по кругу или дуге, плавно или резко. Три типа лестниц — арочные, изогнутые или винтовые.
Арочная лестницаАрочные лестницы плавно изгибаются, поднимаясь в одном направлении. Каждая ступенька (проступь) шире снаружи арки и уже внутри; поэтому каждая ступенька имеет форму легкого трапециевидного клина. Эти изящные и роскошные лестницы изготовлены по индивидуальному заказу. Вспомните эпоху «Унесенных ветром». | |
Изогнутый Изогнутые лестницы образуют полный круг. Каждая ступенька имеет трапециевидную форму, поэтому по ним не так легко подниматься или спускаться, как по прямой лестнице. | |
Винтовая лестницаЛестницы, которые образуют острые окружности вокруг вертикальной балки, называются спиральными. Это наиболее сложный тип для маневрирования из-за ступенек в форме пирога, и они обычно предназначены для ограниченного пространства или когда доступ к лестнице не будет частым. Большинство сварено из стального металла. Спиральные круглые лестницы крепятся к центральной опоре посередине и часто встречаются на чердаках. |
Забежные лестницы
Забежные лестницы поворачиваются на 90 или 180 градусов вокруг углов, но не имеют площадки для приземления. Поэтому ступени, поворачивающие за угол, имеют трапециевидную форму — более широкую снаружи и узкую внутри. Она занимает меньше площади, чем лестница с лестничной площадкой. Они могут похвастаться изящными плавными стилями по сравнению с квадратными лестничными площадками.
Лестница с одним забежным механизмомОдинарные забежные лестницы — это лестницы, которые делают поворот на 90 градусов под прямым углом (четверть поворота) без площадки. Другими словами, лестница огибает угол по одной и той же схеме с примерно одинаковыми промежутками. | |
Лестница с двойным забежным механизмомДвойные намотчики похожи на одинарные, за исключением того, что они поворачиваются на 180 градусов по полукругу. Этот полуоборот также можно получить, построив 2 четверти оборота (9по 0 градусов). На большие ступени легче подниматься, но они занимают больше места. |
Стили эпохи
Различные стили эпохи включают традиционные, современные, классические, современные и фигурные лестницы.
Стиль дизайна часто отражает архитектурный характер дома, когда он был построен.
ТрадиционныйЛестницы, отражающие старомодную эпоху, в которой был построен дом, называют традиционными. Они отражают сущность дома и период, в который он был построен. | |
МодернЧистый и гладкий, минималистский стиль больше всего известен как современный. Он имеет простые линии и нейтральные цвета. | |
КлассическийЭлегантный вид лестницы в классическом стиле придает дому официальное настроение. Сложные детали, такие как резное дерево, напоминают о творческом чутье прошлого. | |
СовременныйСмелая и выдающаяся современная лестница излучает в дом атмосферу уверенности. Его захватывающий дизайн привлекает внимание. | |
Функция Особая лестница выделяет характерный интерьер дома, потому что посетители мгновенно узнают исключительную архитектуру. |
Лестничная конструкция
Следующие термины определяют лестничные элементы и детали, которые вам могут понадобиться в повседневной работе с недвижимостью.
ОснованиеОснование — нижняя горизонтальная планка поручня. Шпиндели сидят на нем сверху и образуют основу перил. | |
Ступень с закругленным концомСтупени с закругленными концами выступают горизонтально из верхней части каждой ступени над поверхностью каждого подступенка. | |
КрышкаПодобно навершием, колпак представляет собой деревянный квадрат, помещаемый в верхней части основных стоек на перилах. Его назначение декоративное. | |
Наконечник (колпачок Newel) Навершие — это декоративное украшение в верхней части основных стоек на перилах. | |
ОтдельностоящийОтдельно стоящая лестница открыта внизу. Он не поддерживается стенами и не построен на вершине конструкции. Концепция дизайна заключается в том, чтобы передать современный, элегантный вид. | |
Поручень (Ограждение)Поручень используется в качестве направляющей, за которую люди держатся при подъеме или спуске по лестнице. Это функция безопасности. Поручень поддерживается шпинделями. | |
ПосадкаПлощадка — это большая открытая площадка внутри лестницы или вверху/внизу. Площадки в пределах лестничного марша являются местом отдыха для подъемника по лестнице или позволяют ступеням менять направление. | |
Открытые стояки На отдельно стоящих лестницах, когда подступенки каждой ступени отсутствуют, они называются открытыми подступенками. | |
Круговая лестница (воздушная лестница)2 или 3 больших ступени треугольной формы, которые закругляют угол вместо площадки, называются круговыми или воздушными змеями. Их строят, когда не хватает места для посадки, чтобы свернуть за угол. Подниматься по круговой лестнице может быть опасно, если люди не следят за своей опорой. | |
ПодступенокКусок дерева, вставленный вертикально между каждой ступенькой, известный как лицевая сторона. | |
Шпиндель (балясина)Вертикальные стержни, обычно деревянные или металлические, которые соединяют основание поручня в нижней части по бокам с поручнем. | |
Лестничная клетка Лестничная клетка — это пространство, оставленное строителем открытым, в которое вставляются лестницы. | |
ШагСтупенька относится как к проступи (горизонтальная деревянная поверхность), так и к подступенку (вертикальная деревянная поверхность между ступенями). | |
ПротекторВерхняя часть каждой ступеньки, на которую люди ставят ноги, называется ступенями. Это горизонтальная поверхность, обычно построенная из дерева. | |
Настенный рельсКогда поручни крепятся к стене с помощью кронштейнов, а не на шпинделях, они называются настенными. | |
Хранение под лестницей Хранение сюрпризов или даже детский игровой домик можно спрятать под лестницей. В некоторых зонах под лестницей есть гостевой санузел. Творческие дизайнеры используют пространство между ступенями в качестве книжных шкафов или заднюю часть отдельно стоящей лестницы в качестве стеллажей. |
Заключение
В доме в стиле ар-деко вы можете увидеть необычные лестницы, такие как плавающие лестницы (прикрепленные к стене только с одной стороны) или подвесные лестницы (висящие сверху). И последнее, но не менее важное: вы можете встретить аварийные лестницы в многоуровневом формате (обычно на внешней стороне дома). Но независимо от того, какой дом вы выставляете на продажу или какой дом вы просматриваете со своими клиентами-покупателями, теперь у вас есть уверенность, чтобы описать все типы лестниц, с которыми вы сталкиваетесь в своей карьере в сфере недвижимости.
Статья также опубликована в журнале The San Diego Realtor® на страницах 26, 27 и 33.
2) Вид из окон: изучение жаргона
3) Архитектурные стили: изучение жаргона — часть 1
4) Архитектурные стили: изучение жаргона — часть 2
5) изучение жаргона: роскошные ванные комнаты
6) изучение жаргона : Заборы и ворота
7) Изучите жаргон: старинные черты исторических домов
8) Кухня: сердце дома может быть гурманом
9) Кухня для гурманов: все и кухонная раковина
10) Откройте дверь возможностей (внешние двери)
11) Чем отличается хорошая дверь (внутренние двери) )
12) Плитка
13) Элементы устойчивого и экологичного дома (Часть 1)
14) Элементы устойчивого и экологичного дома (Часть 2)
15) Элементы устойчивого и экологичного дома (Часть 3)
16) Архитектура крыш – не позволяйте этому идти «выше головы»
17) Пусть будут светильники.
.. А их много!
18) Обсуждение потолков заставит вас поднять глаза
19) Камины: буквально очаг дома
20) Изучите жаргон стен
21) Примените свои знания к основным бытовым приборам
22) Не сбивайтесь с толку этим Тема: Это прямо у вас под ногами
23) HVAC / Механический жаргон
24) Сельская недвижимость — устойчивая жизнь «вне сети»
25) Землепользование, демонстрация и продажа сельской собственности
26) Драматический эффект лестниц и лестниц — Полет фантазии?
27) Электрические компоненты — Подготовьтесь к проводке для понимания
28) Изучите жаргон: Сантехника (часть 1 из 2)
29) Изучите жаргон: Сантехника (часть 2 из 2)
30) Бассейн и спа Lingo
Что такое пожарные лестницы | Типы пожарных лестниц | Каково значение пожарной лестницы в здании
Важный момент
1
Введение пожарной лестницы
Урбанизация приводит к строительству высотного здания.
Также необходимо спроектировать высотное здание таким образом, чтобы оно отвечало всем критериям безопасности.
Необходимо обеспечить пожарную лестницу в случае возникновения чрезвычайной ситуации или пожара. Лестница является одним из наиболее предпочтительных решений для безопасной аварийной эвакуации и пожарных выходов в случае чрезвычайной ситуации.
Существуют различные типы ограждений, предусмотренных для здания: горизонтальные или вертикальные. Это существование играет жизненно важную роль во время чрезвычайной ситуации.
В этой статье вы узнаете все о пожарной лестнице , требованиях к пожарной лестнице.
Пожарная лестница широко используется в высотных зданиях для обеспечения выхода людей. В каждой существующей структуре должны соблюдаться минимальные требования.
Пожарная лестница играет жизненно важную роль в многоэтажных зданиях с точки зрения безопасности. Пожарная лестница изготавливается в основном из огнезащитных материалов, которые соответствуют архитектурному стилю и интерьеру строения.
Также читает: Типы лестниц | Детали лестниц Названия и детали
Что такое пожарные лестницы?
Пожарная лестница как особый тип аварийного выхода, который играет важную роль для безопасного выхода из здания во время чрезвычайной ситуации или любого пожара.
Лестница пожарная широко используется в многоэтажных жилых домах для коммерческих зданий.
В каждом здании должна быть пожарная лестница, обеспечивающая безопасный выход людей в случае чрезвычайной ситуации. Пожарная лестница должна быть построена из негорючих материалов .
Здание должно быть надлежащим образом спроектировано и построено в соответствии с требованиями пожарной безопасности в соответствии с противопожарной защитой Национального строительного кодекса Индии.
Пожарные лестницы в основном определяются двумя основными аспектами: устойчивостью и доступом.
Также прочтите: Что такое лестница | Пример расчета конструкции лестницы | Бетонный расчет лестницы
Типы пожарных лестниц
Различные типы пожарных лестниц:
- Капельная лестница
- Лестница с противовесом
- Лестница на гибкой стойке
Откидная буква – одно из лучших средств пожарной эвакуации, которое широко используется в случае чрезвычайных ситуаций. Эти типы ордеров могут быть постоянно зафиксированы, они безопасны и стабильны, так что каждый может их использовать.
Письмо должно быть прикреплено близко к окну , чтобы его можно было легко использовать в экстренной ситуации.
2. Лестницы с противовесом
Лестница с противовесом является распространенным методом, который широко используется для защиты людей в здании в период чрезвычайной ситуации.
Лестница этого типа применяется к оконечности лестничного марша, состоящего из канатов и шкивов.
3. Лестница «гусиная шея»
Это вертикальная лестница, поднимающаяся с верхнего этажа террасы или балкона и используемая в качестве стандартной пожарной лестницы.
Лестница этого типа крепится к верхней площадке пожарной лестницы и простирается и изгибается над линией крыши, а нижняя часть этой лестницы должна быть прикреплена к системе крыши.
Лестница на гибком штативе немного сложна и неудобна в обращении.
Также прочитайте: Как рассчитать лестницу | График гибки бетона и стержней (BBS) | Детали усиления лестницы
Какое значение имеет пожарная лестница в здании?
В связи с урбанизацией увеличивается строительство высотных зданий. Но необходимо строить и проектировать здания в соответствии с правилами и положениями, учитывая все положения правил безопасности свода правил по пожарной безопасности зданий.
Пути аварийного выхода очень важны, так как они обеспечат четкий и безопасный способ эвакуации из здания во время кризиса или чрезвычайной ситуации.
Пути выхода могут быть выполнены в виде Дверей — это лестницы, которые помогут выйти из здания.
Также читайте: Лестница на собачьих ножках | Что такое лестница | Преимущества и недостатки лестницы на собачьих ножках
Наружная пожарная лестница Код
Конструкция и размеры пожарной лестницы регулируются Индийский стандартный свод правил пожарной безопасности здания.
Этот код описывает требования к пожарной лестнице и размеры пожарной лестницы . Материал, используемый на путях выхода, должен быть огнестойким и свободным от каких-либо препятствий, чтобы люди могли легко покинуть помещение.
Правила пожарной лестницыСуществуют различные правила пожарной лестницы, а именно:
- Высотные здания должны иметь как минимум две лестничные клетки и пожарную лестницу, и они должны быть связаны с общественными зонами и местами общего пользования на этажах или на первом этаже.

- На пути к пожарной лестнице не должно быть никаких препятствий.
- Пожарная лестница не учитывается при расчете количества лестничных клеток в здании.
- Вход, предусмотренный на пожарную лестницу, должен быть отдельным и удален от внутренней лестницы. 905:50
- Дверь, ведущая к пожарной лестнице, должна быть изготовлена из огнеупорного материала .
- Пожарная лестница должна иметь поручни высотой не менее 1 метра.
- Пожарная лестница должна располагаться таким образом, чтобы одна сторона ее наружной стены имела большой проем для выхода.
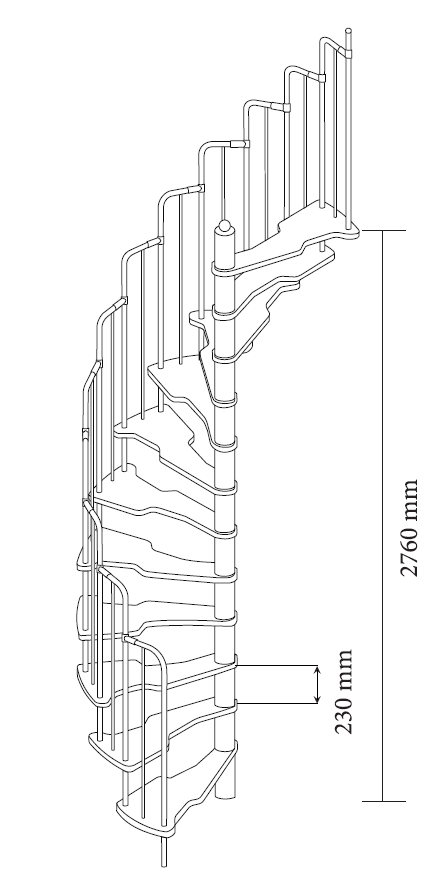
- Винтовая пожарная лестница должна быть не менее 1,5 метра в диаметре и должен иметь достаточный запас по высоте.
- Все пожарные лестницы должны быть непосредственно связаны с землей.
- Пожарная лестница должна иметь прямой марш не менее 25 метров в ширину и ступени 25 см и подступенки не более 19 см.
- Использование винтовой лестницы должно быть ограничено малой пассажиропотоком и высотой здания 9 метров .
- Парадная лестница и пожарная лестница должны быть непрерывными от первого этажа до уровня террасы. 905:50
Также читайте: Полисульфидный герметик против полиуретанового герметика | Функции герметиков | Что такое полисульфидный герметик | Что такое полиуретановый герметик
Каковы требования к пожарной лестнице?
Существуют различные типы требований к пожарным лестницам, а именно:
- Поверхность пожарной лестницы должна быть нескользкой при любых условиях.
- Площадка пожарной лестницы должна иметь минимальную длину 900 мм.
- Площадка пожарной лестницы должна быть правильно спроектирована с соответствующим интервалом.
- Ручки пожарной лестницы должны быть доступны с обеих сторон.
- Расстояние между поручнем и прилегающей поверхностью стены должно быть не менее 50-60 мм.
Также прочтите: Что такое тональная основа | Провал Pad Foundation | Деталь подушки фундамента | Типы фундаментных подушек | Расчет блочного фундамента зависит от нескольких факторов
Размеры пожарной лестницы
Пожарная лестница должна быть спроектирована в соответствии со стандартными размерами.
- Длина пожарной лестницы должна быть не менее 900 мм.
- Ширина пожарной лестницы должна быть не менее 75 см.
- Высота подступенка пожарной лестницы не должна быть более 19 см.
Материал пожарной лестницы
Пожарная лестница изготавливается из различных материалов:
- Алюминий
- Нержавеющая сталь
- Оцинкованная сталь
- Бетон
Также прочтите: Что такое дорожный рисунок | Различные типы дорожных моделей | Определение шаблона сетки | Радиальный узор | Прямоугольный или блочный узор | Минимальная схема хода
Краткое примечание
Пожарная лестница
Пожарная лестница является особым видом аварийного выхода , обычно устанавливаемого снаружи здания или иногда внутри, но отдельно от основных частей здания.


Для общественных зданий, жилых домов, подвалов и открытых пространств оно просчитывается индивидуально.



Его единственный в своем роде стиль уникальным образом сочетает в себе художественный дизайн и доминирует над входом в дом.
Обычно они имеют аналогичную конструкцию, соответствующую шпинделям, деревянным или металлическим.
Между каждой ступенькой есть свободное пространство. Строители используют открытые стояки, чтобы создать просторный и воздушный дизайн.
Это относится к «следу», окруженному лестницей. Как правило, лестничные клетки и пустоты рассчитываются как жилая площадь в доме.
Однако самая умная концепция — это когда на каждой лестнице есть выдвижной ящик для хранения вещей!