Печь для бани по черному своими руками: Печь для бани по-черному своими руками: инструкция по изготовлению
Печь для бани по-черному своими руками: инструкция по изготовлению
Печи для бани по черному – эти конструкции уже практически исчезли, но стараниями увлеченных людей, любителей бани, популярность таких парных возрастает. Полезные свойства парилки с дымком, простота конструкции, небольшие затраты на возведение и обустройство – по этим причинам, домашним мастерам важно знать конструкцию бани по черному.
Свернуть
- Устройство и принцип работы
- Плюсы и минусы конструкции
- Подготовительные работы
- Размеры и расположение org/ListItem»>
- Инструменты
- Инструкция по изготовлению
- Общая схема
- Возведение фундамента
- Изоляция стен и потолка
- Кладки печи
- Сушка
- Правила ППБ org/ListItem»>Как топить печь в бане по-черному?
- Вывод
Устройство и принцип работы
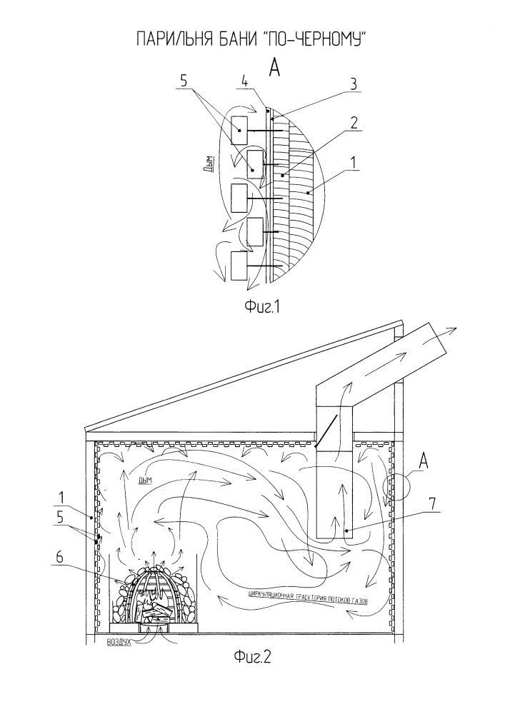
До сих пор можно встретить приземистые, небольшие баньки, в которых парятся по черному. Почему этот способ называется именно так? В такой печи нет дымохода. По сути это очаг, горящий в помещении, дым из которого выводится через приоткрытые двери и окошки.
Принцип работы
Сажа и копоть покрывают стены и потолок бани, поэтому она так и называется. Печи, как правило, выкладываются из камней и огнеупорного кирпича. Можно сделать простую основу, выложенную из кирпича и накрыть ее мощной решеткой, способной выдержать вес камней, которые укладываются толстым слоем. В этом случае тепло распространяется равномерно по помещению, и камни аккумулируют его. Теперь для того, чтобы повысить температуру в парной, достаточно вылить на камни воду и парная заполнится паром.
Напротив печки внизу стены делается несколько закрывающихся пазов, с помощью которых можно регулировать доступ воздуха в баню, он важен для сгорания топлива в очаге.
Пример печки
к содержанию ↑
Плюсы и минусы конструкции
К достоинствам этого вида относится:
- печи для бани по черному, в сравнении с другими вариантами, не требуют больших затрат при самостоятельном строительстве;
- конструкция очень простая, не требует навыков и умений. Выложить несколько рядов кирпича, закрыть их стальной или чугунной решеткой и накрыть большим слоем кирпичей – эту работу сможет сделать каждый мужчина;
- слои сажи впитывают неприятные ароматы. Запах дерева и рассыпанных по полу трав или хвои – так пахнет в бане по черному;
- отсутствие дымохода не влияет на безопасность людей. Открыв отверстия или приоткрыв двери в баню всегда можно впустить струю свежего воздуха. Опытные любители таких парных утверждают, что в течение часа в помещении парной воздух полностью сменяется 5-7 раз;
- после протопки печи, потери тепла сводятся к 0;
- за 4 часа в парной набирается достаточная температура для помывки.
Если сравнивать с нынешними печами, для протопки парной потребуется больше времени, при этом увеличивается расход твердого топлива.
К недостаткам таких печей относятся несколько пунктов:
- печь при горении выделяет большое количество угарного газа, особенно при недостаточной вентиляции;
- очаг, с открытой топкой может стать причиной пожара;
- можно использовать только дрова.
к содержанию ↑
Подготовительные работы
к содержанию ↑
Размеры и расположение
Этим вопросом необходимо заниматься еще при проектировании самой бани. Для этого определимся с ее габаритами и местом строительства каменки:
- в зависимости от общей площади парилки рассчитывают габариты печки по черному. Для примера – площадь парной 10-12 м 2. В этом случае делаем каменку размерами 1500 мм на 1000 мм, размер в высоту принимаем 400-500 мм;
- форма печи может быть различной.
По желанию мастера, ее можно сделать в форме круга, прямоугольника, да хоть и многоугольную форму можно выложить из кирпича; - определившись с размерами, важно подобрать для каменки оптимальное место. Она должна равномерно обогревать небольшое помещение, поэтому лучше установить ее недалеко от двери. В этом случае, холодный воздух, поступающий через открытую дверь, будет быстро распространять тепло по всей парной;
- важно устанавливать печку с учетом изготовления вентиляционных отдушин, с их помощью производится замена воздушных масс в парилке.
к содержанию ↑
Материалы
Точное количество материалов указать невозможно. Все зависит от размеров камня, самой конструкции. К тому же шамотный или огнеупорный кирпич пригодится для постройки капитального мангала, а камни можно использовать в качестве отделки беседки или других построек.
Главное при подготовке материалов подобрать хороший камень для печки. Для этих целей применяют несколько пород:
- камень с высокими показателями по способности накапливать тепло и водоотталкивающими свойствами – это полудрагоценный, но очень устойчивый к воздействию высоких температур Жадеит;
- можно укладывать вулканические породы Вулканит или Базальт.
Такая печь будет обладать запасом прочности, не подвергаться воздействию воды и сберегать тепло; - при использовании Талькохлорита увеличивается срок службы печи, уменьшается время нагрева и теплоемкость материала.
Не рекомендуется укладывать камень с вкраплением слюды или известняка, они выделяют большое количество угарного газа при высоких температурах. Если обложить печи для бани по черному гранитом, мрамором или кремнем, такая печка может нанести травмы своим хозяевам, да и служить она будет короткий срок. при нагревании материал начинает крошиться и расстреливать помещение парной каменной крошкой.
Для обкладки печи используйте шамотный или огнеупорный кирпич. Обычный строительный быстро разрушится под воздействием высокой температуры и нагрузки от горы из камней. Обломки Базальта или Талькохлорита подбирайте разными по размеру, для лучшей укладки, без больших пустот.
к содержанию ↑
Инструменты
Для работы потребуется приготовить:
- лопату совковую и штыковую;
- корыто для замешивания раствора;
- мастерок и молоток;
- отвес или строительный уровень;
- сварочный аппарат и электроды;
- набор слесарных инструментов;
- прут для решетки, диаметром 14-16 мм.

к содержанию ↑
Инструкция по изготовлению
Работы по возведению печи для бани по черному разбиты на несколько этапов. Разберем основные подробнее.
к содержанию ↑
Общая схема
Схема печи в баню по-черному
к содержанию ↑
Возведение фундамента
Эту операцию необходимо выполнить в процессе закладки основного фундамента. Большая масса конструкции потребует выполнить дополнительную основу каменки:
- выкапываем котлован на глубину 500-600 мм. При этом помните, что основание должно превышать габариты печи на 700-1000 мм;
- делаем песчаную и гравийную отсыпку, уплотняем ее. Для этого можно залить песок водой и когда он подсохнет пройтись с ручной трамбовкой. Доводим толщину слоя до 100-150 мм;
- засыпаем слой теплоизоляции из керамзита толщиной 150-200 мм;
- закрываем дно котлована с нахлестом на стены 150 мм рубероидом, геотекстилем или полиэтиленовой пленкой.
Это слой гидроизоляции основания; - проволокой соединяем отрезки стальных прутков и армируем фундамент;
- из досок делаем опалубку, чтобы фундамент выступал над основанием бани на 50-70 мм. при больших размерах потребуется установить несколько перемычек, которые служат как маяки при заливке раствором;
- заказываем или делаем вручную бетонную смесь и заливаем раствор в котлован. Бетон разравниваем правилом из доски или профильной трубы;
- уплотняем слой и доводим его до необходимой высоты;
- при высокой температуре воздуха, заливаем основание водой и укрываем пленкой. В этом случае бетон не растрескивается. Эту операцию необходимо проводить несколько раз в день.
Основание печи для бани по черному готово, можно переходить к следующему этапу работ.
к содержанию ↑
Изоляция стен и потолка
Пока бетон застывает, выполняем работы по защите стен и потолка то воздействия высокой температуры. Для этих целей рекомендуется использовать слой теплоизоляции, дополнительно покрытый фольгой для отражения тепла.
Самостоятельно нанести на минвату или другой утеплитель слой тонкой фольги затруднительно, поэтому лучше использовать строительный вариант материала на тонкой бумажной основе. Среди таких материалов можно выделить влагостойкий, выдерживающий разогрев до 1200 «Руф Изол».
Среди готовых панелей с защитным экраном пользуются спросом:
- «Изовер Сауна»;
- фольгированная «УРСА»;
- «Сауна Батс»
Такими плитами, заполняются пространства между брусками обрешетки, а на стыках наклеивается фольгированный скотч.
Потолок укрывается аналогично со стенами, но может потребоваться закрепить его перемычками.
Пока выполнялись работы по защите стен и потолка, бетон полностью застыл и можно переходить к выполнению основной операции.
к содержанию ↑
Кладки печи
Порядовка печи для бани по черному
Работы по кладке, выполняются в несколько этапов:
- Замочите или ополосните водой шамотный кирпич.
Глиняные, потребуется залить водой, оставить до полного выхода пузырьков воздуха с поверхностей. - Основание укрываем двойным слоем защиты от влаги. Лучше и дешевле использовать старый рубероид.
- Размечаем габариты печи. На основу наносим слой раствора глины и цемента в пропорции 5 к 1 и выкладываем 1 ряд кирпичей по всей площади будущей каменки. Важно стараться уложить первый ряд ровно по всем плоскостям и по разметке. Все швы должны быть заполнены полностью, без пустот.
- Второй ряд выкладываем на раствор так, чтобы перевязать кирпичи первого рядка. Посередине основания оставляем полость для обустройства зольника и поддувала. Большой размер делать не нужно, достаточно не ложить 2 ряда кирпичей посередине.
- Третий ряд кирпича укладываем на толстый слой раствора по этой же схеме, оставляя паз поддувала.
- Из отрезков арматуры свариваем и укладываем колосниковую решетку. Если длины прутков недостаточно, их можно сварить встык.
- Выкладываем стены топочного отделения с толщиной стенок в кирпич.
На лицевой стороне оставляем окно для закладки дров. - Доводим стенки топки до необходимой высоты, на предпоследний ряд укладываем решетку для камней. Ее можно сделать из стальных прутков, толщина которых 14-16 мм, которые варятся в виде решетки с размером между прутами 100-150 мм.
- Сверху решетки на кирпичи наносим толстый слой раствора и кладем последний ряд кирпича.
- Начинаем укладку камней. Сначала кладем крупные, оставляя между ними небольшие зазоры для прохода воздуха и выхода дыма, во второй ряд укладываем камни поменьше. Затем повторяем укладку, чередуя крупные и средние камни, постепенно делая сферический свод каменки.
- В классическом варианте баки для нагрева воды не устанавливали. На своде выполняли небольшие уступы, на которые ставили тазы с водой, она быстро нагревалась от каменки до необходимой температуры. Если есть желание, можно замуровать с тыльной стороны стальную емкость для воды, врезать в нее кран и пользоваться запасом горячей воды.

Готовая печь
Важно! Не делайте большие зазоры между камнями в нижней части каменки. В эти полости может пройти пламя и опалить кожу человека или стать причиной пожара.
Примеры других вариантов готовых конструкций на фото:
Фото 1
Фото 2
Фото 3
Не стоит сразу приступать к первому походу в парную. Потребуется выполнить пускай не основную, но очень важную работу (сушка и растопка).
к содержанию ↑
Сушка
Эта операция необходима для удаления из кирпича и раствора остатков воды, которые при быстром первом нагреве могут вызвать появление трещин. Поэтому потребуется постепенно просушить печь и только потом закладывать полную закладку дров.
Для полного удаления влаги может потребоваться до недели постепенного обжига камней, раствора и кирпичей. Несколько раз за день, закладываем по четвертой части топки сухими дровами и зажигаем печку. Дальше можно заниматься домашними делами. Спустя 5-6 часов операцию повторяем.
В идеале, дрова 1 закладки должны полностью сгорать в течение часа. При этом не забывайте открывать поддувало на печи и двери бани. В последующие дни постепенно увеличивайте количество дров, постепенно доводя до полной загрузки топочного отделения.
В первые дни, на стенках будут образовываться влажные пятна, при прекращении выделения воды из кирпичей, можно смело начинать пользоваться печкой. Не стоит использовать для просушки, особенно в первые дни смолистые породы древесины. Лучше сушить печку тонкими ветками или щепой лиственных деревьев.
к содержанию ↑
Правила ППБ
Печи для бани по черному, как правило, делаются без дверок, поэтому важно укладывать поленья в топку так, чтобы они не выступали из печи. Каменка должна устанавливаться на основание, которое больше габаритов печи на 500 мм с каждой стороны.
Протапливая печку, не стоит находиться в бане, это чревато отравлением угарным газом. Поэтому – заложили дрова, подпалили их, дождались нормального горения и, открыв все двери и окошки, отправляйтесь заниматься домашними делами.
Находясь в парной, обязательно периодически открывайте отверстия напротив печки для доступа чистого воздуха. При первых признаках головокружения, кашле, першении в горле или нехватке воздуха придыхании сразу покиньте парную и проветрите помещение.
В парилке не следует соревноваться, кто выдержит большую температуру и употреблять крепкий алкоголь. Для аромата можно плеснуть на камни пива, кваса, уложить на пол хвою или ароматные травы, чем попасть в больницу с инфарктом или тромбозом.
к содержанию ↑
Как топить печь в бане по-черному?
В первую очередь ответственно относитесь к выбору дров для бани. Идеальный вариант это использование осины или березы с влажностью, не превышающей 20%. Такие дрова при сжигании выделяют дезинфицирующее средство – формальдегид, а сажа не позволяет распространяться неприятным запахам в парилке.
Топить баню необходимо с учетом основных правил:
- При заполнении топки укладывайте поленья шалашиком, внутрь которого поместите березовую кору, щепки.

- Зажигая огонь, убедитесь в том, что поддувало и двери в бане открыты и обеспечена хорошая вентиляция в помещении.
- Если требуется 2 закладка дров, обязательно облейте водой стены бани и полок;
- Топить печь для помывки нескольких человек нужно до момента, появления на камнях малиновых разводов. Для этого может потребоваться добавлять дрова в печь несколько раз. После каждого и в конце протопки печи важно обливать стены и полок водой.
- После этого открываем все окна и двери и хорошо проветриваем парилку и выносим золу и угли из бани.
- Уже зайдя в парную, плесните несколько шаек с отваром из трав на камни и располагайтесь на верхней полке и наслаждайтесь ароматным паром. Добавляя пара, не забывайте спускаться на нижние полки.
При низких температурах может потребоваться увеличить количество закладок дров до 6-7 штук.
к содержанию ↑
Вывод
Такая печь банная по черному в старину использовалась не только как парная.
Считалась, что черная баня убивает все нечистое, поэтому женщины рожали именно в таких парных, как в самом чистом месте в доме. И пускай вас не пугает столб дыма, выходящий из небольшого помещения. Знайте, ваши соседи помнят свои корни, используя русский способ помывки в бане. Попробуйте сделать такую нехитрую конструкцию и вы.
печи для изготовления своими руками, проекты, описание, фото, видео
Русская баня имеет древнюю историю. Считается, что первые исконно русские бани возникли еще во времена древней Киевской Руси. Они были достаточно примитивными сооружениями: небольшие бревенчатые срубы, наполовину закопанные в землю. Состояли они обычно из одного помещения, которое использовали и как парилку и как помещение для помывки. Топилась такая баня, естественно по-черному (дым оставался в помещении и выходил через двери и отверстия в крыше).
Бани по белому появились намного позже, где-то на рубеже 17-18 веков. Их основное отличие – наличие дымохода и двух помещений (парилка и предбанник).
Несмотря на то, что баня по белому более современный вариант, у древнего способа имелись свои преимущества.
Содержание статьи
- 1 Баня по-черному: в чем отличия
- 1.1 Русские бани по-черному
- 1.2 Баня по белому. «Тогда» и сейчас
- 2 Печка для бани по-черному
- 2.1 Описание и схема действующей печи
- 2.2 Печка по-черному с бочкой вместо задней стенки
- 2.3 Современный вариант с дверцей
- 2.4 Из кирпича и природного камня
- 3 Как топить
- 4 Проекты бани по-черному
- 5 Секреты русской бани
Баня по-черному: в чем отличия
Этот способ топки считается самым древним, а значит, примитивным. Но он имеет некоторые преимущества, которых лишены современные бани.
Такие вот небольшие избушки и есть бани по-черномуРусские бани по-черному
В те времена никаких чертежей и строительных норм не существовало. Особенности строительства передавались из поколения в поколение. Стоили по памяти, ориентируясь на собственные представления и помощь более опытных соседей.
Для бани по-черному нужно было хорошее утепление. Потому половину сруба углубляли в землю, а двери делали низкими. Помещение в такой бане всего одно – это и парилка и моечная, зато строить ее быстро и недорого. Отапливалось такое сооружение просто: дрова раскладывали в специальном углублении, сверху располагалась решетка, на которую выкладывали камни. Вот и вся печь. Дым никуда не отводился, а выходил в двери и дырку в потолке.
Весь потолок и стены были закопчены и имели черный цвет. Отсюда и пошло название. Эксперты банных процедур говорят о том, что пар в банях по-черному более мягкий, ну а практика доказывает, что такой тип отопления экономичней. Ну и еще один нюанс: за счет равномерного прогрева все запахи и ароматы чувствуются отчетливей.
Дым, который выделялся при горении, служил отличным дезинфицирующим средством. Баню обычно топили березовыми поленьями (эта традиция жива и сегодня), а при горении березы выделяется формальдегид, который является отличным дезинфектором.
Сажа, оседавшая на стенах и потолке – хороший адсорбент, который не позволяет развиваться плесени и грибкам. Вот такой-вот примитив.
Баня по-черному была в те времена самым чистым и продезинфицированным местом в поселении. Не зря ведь, рожать шли именно в баню. Туда же несли и больных. И если человек после этого не начинал поправляться, считали, что ему уже ничто не поможет.
Несмотря на простоту устройства очага, топить баню по-черному сродни искусству, которым владеют немногие. Поленья нужно располагать строго определенным образом, который помнят единицы. А жаль…
Баня по белому. «Тогда» и сейчасБаня по беломуСамое главное и существенное отличие бани по белому – наличие дымохода, при помощи которого дым выводился из помещения.
Кроме того, имеется уже два помещения: предбанник и парилка, где расположена печь. Для бани по белому строят специальные печи, в которые закладывают камни. Потому такую печь называют еще каменкой.
Для того чтобы обогревать оба помещения, печь, чаще всего, одной стороной выходит в предбанник. Обычно в парилке устраивают несколько полок, расположенных ступенями. На самые «горячие» места — ближе к потолку – перебираются постепенно, да и то не все. Температура там действительно высокая и выдерживают ее единицы.
Современные бани оснащают не только традиционными каменками, но и электрическими печами. Для большего комфорта при наличии средств пристраивают туалеты, иногда устраивают крытые или открытые бассейны. Одна из банных традиций — разогревшись в парной, охладиться в сугробе или нырнуть в речку. Если была такая возможность, бани всегда устраивали недалеко от водоема: бежать охлаждаться далеко не нужно. Ну а современная замена речке – бассейн. Некоторые даже делают несколько резервуаров с разной температурой воды: от теплой, до холодной.
Иногда в одном конце бассейна устраивают подачу горячей воды, а в другом оставляют воду холодной. Не столь резкий контраст, но и затрат меньше.
Печка для бани по-черному
Если говорить о самых старых печах, то складывались они из плоских булыжников и имели сводчатую форму. Н а фото ниже один из вариантов такой печи (18 века). Она совсем небольшая и вряд ли использовалась для получения пара, скорее как варочно-отопительная. Но банные строили по тому же принципу.
Старая печь по-черному в музееЕсли говорить о более современных печах, которые есть еще по деревням на Севере, то они складываются из кирпича. На пол выкладывают один-два ряда кирпичей, потом ставят стенки. Стенок всего три. Четверная — открытая, без дверец. Сюда загружают топливо. Сверху на стенки укладывают металлические полосы, на них — булыжники. Вот и вся конструкция.
Разводят внутри огонь, дым, поднимаясь, нагревает камни. Париться можно только после того как огонь погас, угли вынесены и залиты, помещение проветрилось и выстоялось не менее получаса.
За это время выветривается весь угарный газ, можно париться.
Описание и схема действующей печи
Схема одной из печей (действующая) представлена на фото ниже. Стенки выложены в полтора кирпича, клали их на плашку. Глубина топки — 4 кирпича, высота — 4 ряда. Общий размер получается 1,7*1,7 м (если смотреть сверху).
Схема печи для бани по-черномуДля большей прочности сверху, на стенки, вдоль уложены два рельса. На них поперек, перекрывая топку сверху, металлический швеллер. На швеллере разложены камни. Берут речной обкатанный камень, в котором нет посторонних вкраплений. Цвет должен быть однородным, без полос и пятен. Укладывают в несколько слоев, перекрывая стыки между валунами. Чтобы дым изгибался, а не шел прямо.
Это вид на каменку с разных сторонВсе легко и просто. Никаких сложностей. При необходимости, все легко ремонтируется. А в таких очагах могут прогорать кирпичи, изгибаться швеллер. Иногда от разности температур лопается камень (когда на раскаленный льешь воду).
Такую печь для бани по-черному своими руками сложить может любой. Без ограничений и исключений.
В этой печи интересно устроен подогрев воды. Местные жители используют баню как быстрый способ помыться и постирать, парятся нечасто. Недалеко от очага стоит большая 100 литровая бочка. Она заполняется водой перед тем, как затапливают печь. Воду носят из речки неподалеку.
Система подогрева водыКо дну бочки приварены три трубы. Две крайние ведут в очаг, где соединяются одна с другой. Прямо поверх них разводят огонь. Средняя труба заканчивается краном и используется для слива остатков воды, после того как процедуры закончены. Незамысловатое устройство, а 100 литров воды закипает за 40-60 минут.
Печка по-черному с бочкой вместо задней стенки
Есть другой вариант обогрева: на место задней стенки ставят бочку. Греется вода, наверное, не менее эффективно.
Вариант печи по-черному с бочкой вместо задней стенкиСовременный вариант с дверцей
Есть более цивилизованные варианты печи по-черному.
С дверкой. Суть от этого не меняется: внизу расположен открытый очаг, сверху — перекрытие из металлических полос или штырей, на которых разложены камни.
В этом варианте ядро можно выложить из шамотного кирпича, но использовать тогда нужно будет и соответствующий раствор. Хотя, можно использовать и просто керамический кирпич и глиняный раствор для кладки. Будет это намного дешевле, хотя печь будет менее теплоемкой и быстрее остынет.
Современный вариант печи для бани по-черному с дверкойЧтобы легче было крепить дверцу, и чтобы она лучше держалась, к рамке можно приварить (прикрепить болтами) стальную полоску. Чтобы она хорошо легла, нужно будет немного подпилить кирпичи по высоте, сделав для нее выемку чуть больше по размерам (на тепловое расширение).
Чтобы легче было ставить дверцы, к рамке можно прикрепить полоски сталиИз кирпича и природного камня
Для тех, кто хорошо знаком с печным делом, пригодятся следующие фото. В них делают печь по-черному внутри старой каменки, мешая при этом природный камень и кирпич.
Свод топки выкладывается из кирпича. На арки потом будут опираться булыжники. Интересный и очень непростой проект.
Как топить
Топят печь при открытых дверях, окне и волоке — небольшом окошке над очагом, через которое выходит дым. Чтобы попариться, топят несколько часов подряд, до малинового свечения камней. Используют, как и раньше, больше березу, но вообще, топят чем придется, подкладывая березовые поленья лишь на последнюю закладку.
Панорама действующей бани по-черному в одном из сел (описана выше)После того как прогорит последняя порция дров, углы выгребают и выносят. Оставшиеся в очаге заливают. Открыв двери и окно, проветривают, выжидая пока выветрится дым и гарь осядет. Потом на раскаленные камни поддают воды, чтобы пар выдавил остатки гари, моют полки от осевшей сажи (все при открытых дверях).
Затем двери/окна закрывают, и выжидают с полчаса, пока нагреется баня. Можно париться.
Только будьте осторожны с сажей. Она плохо вымывается. Вот впечатления того, кто привык париться в бане по-белому, а потом, решив испробовать экзотики пошел париться в баню по-черному. Его отзыв ниже.
Наслушался я про прелести бани по-черному, поехал к бабке знакомой париться. Протопил, когда камни нагрелись, зашел. Хотя это громко сказано. Почти заполз. При моем росте 190, высота двери 125. В общем, залез. Все в дыму ничего не видно, от кашля чуть не вывернулся наизнанку. Оказалось, нужно угли вынуть, полки помыть. Пока все это делал, все руки в саже.
Дальше — больше. Пока сидел, грелся, все нормально. Подванивало, как на меня паленым, горелым, копченым. Но можно посчитать это изюминкой (копченой). Ладно. Потом решил попариться веником. Как маханул, зачерпнул с потолка изрядную порцию сажи. Стал я человеком-тигром, розово-полосатым. Пробовал отмыться на месте.
Ни мылом, ни шампунем не оттирается.
Решил пойти в огород в бочке. Там работала бабка. Увидев меня, стала креститься и бормотать «свят, свят, свят», да попыталась ткнуть лопатой. Хорошо не попала — старая очень. Потом признала, просила прощения.
Проекты бани по-черному
Для такой бани не нужны никакие проекты. Традиционно помещение всего одно. Для большего удобства, чтобы не светить голым телом, можно сделать предбанник/раздевалку. Но надеяться, что в ней не будет дыма и копоти, не стоит. Дыма будет достаточно везде, и стены будут закопченными. Потому в парадной одежде лучше в баню не ходить.
Как нужно составлять план бани (можно на листочке)Размеры сруба зависят от того, как спланируете парилку. Кроме печки — от нее танцуют (вот откуда пошло выражение): должны поместиться один-два полка близко от печи, и лавка для мытья на противоположной стороне.
Также нужно найти место под бочку для воды. Полки должны иметь длину порядка 2-2,2 м и ширину не менее 0,8 м, лавки для мытья можно сделать уже, примерно 0,6 м шириной.
Разместив все это, и получите нужные внутренние размеры парилки/моечной. Если захотите, добавите раздевалку.
Секреты русской баниТак выглядит вход в парилку бани по-черному. Стены — раздевалкиНезависимо от того, по-черному или по белому топится баня, существует целый ряд особенностей, от которых зависит эффект, получаемый от парилки. И дело не столько в планировке, сколько в мелочах. Например, разные веники оказывают разное действие: одни расслабляют, другие, наоборот, бодрят, третьи оказывают бактерицидное влияние. Правильный их подбор и запаривание – целое искусство. То же самое и с травами, которые рассыпают по полу и с настоями, которые выливают на каменку.
Большое значение имеет выбор дров.
Чаще всего баню топят сухими березовыми дровами. Они приятно пахнут, выделяют много тепла, не «стреляют» и не искрят, выделяют мало копоти и сажи. Вторые по популярности – осиновые дрова. Они тепла дают чуть меньше, но тоже безопасны – не искрят и не дают копоти.
Внутреннее помещение бани по-белому желательно отделать липой. При нагревании она пахнет просто изумительно, кроме того, содержит мало смол и не перегревается. Даже при высоких температурах поверхность изделий из липы остается приятно теплой, а не обжигающе горячей. Далее по популярности следуют ольха и осина. Но липа имеет более теплый и светлый цвет древесины, за что и ценится больше.
Нюансов еще множество. Они относятся как к обустройству парной, так и к особенностям строительства или к проведению самой процедуры, выбору печи.
Еще один вариант печи (работающей) . В передней части ставят бак с водойА это — как выглядели бани зимойКак построить сауну-бочку своими руками с нуля и когда лучше купить набор для сборки
Строительство сауны-бочки может стать увлекательным проектом, который обеспечит долгие годы «капитала труда».
Традиционно каждая сауна была сделана в домашних условиях из местных пиломатериалов. . Но приготовьтесь к серьезному индеаверу.
Бочкообразные сауны (с нуля) требуют столярных технологий, не подходящих для начинающих столяров. Даже опытные плотники с нужными инструментами потратят в 10 раз больше времени на сборку бочковой сауны своими руками с нуля, чем на сборку бочковой сауны.
Вот почему строительство сауны-бочки с нуля требует таких трудозатрат.
Баня-бочка диаметром всего 6 футов и длиной 5 футов (довольно маленькая сауна-бочка для 2 человек) потребует 1200 футов досок, фрезерования и 42 точных пазовых соединений. Если вы пытаетесь сэкономить деньги, обязательно учитывайте свою почасовую ставку и любые инструменты, которые вам понадобятся (см. Требования к инструментам ниже).
Посохи для сауны в бочке Так что, если вы не ищете крутую работу по дереву или не имеете в изобилии местный кедр, вы можете рассмотреть возможность создания сауны в бочке или покупки набора для сауны в бочке.
Вы можете найти строителя сауны-бочки или получить вдохновение прямо здесь, на Sauna Marketplace, с индивидуальными цитатами от строителей сауны.
Премиум-альтернатива самодельным ($15 000+)
Сауна-бочка на заказ Цитата из сауны Nomad
Мы строим сауны-бочки на заказ в Миннеаполисе и за его пределами. Не бывает двух одинаковых саун.
Узнать цену
Комплекты бочковой сауны «Сделай сам» (дешевле, чем «сделай сам»)
Баня-бочка Thermory — опционально: стеклянная стена, крыльцо, дровяной или электрический обогрев рынок, используя термически обработанную древесину и включая дождевик с каждой бочкой.
Скандинавская ель для сауны искусно изменена, чтобы создать прочную бочку, которая устойчива к гниению и термитам, не протекает и не деформируется. Thermory достигает всего этого естественным путем, используя ТОЛЬКО тепло и пар. Представьте, что тепло и пар сделают для вас.
4 374,00 $
Примечание: Наборы дешевле, чем DIY, особенно если требуются новые инструменты.
Бочка Сауна Планы PDF скоро).
Инструменты, которые вам понадобятся
Если вы посмотрите видеоролики о бочковой сауне, сделанной своими руками, на YouTube, вы заметите, что в стыках часто бывают огромные зазоры. Правильные фрезы необходимы для строительства сауны-бочки, которая сохранит тепло и прослужит долго. Мы углубимся в то, как построить баню-бочку, но давайте посмотрим, что вам нужно для успеха.
- Стол маршрутизатора (ссылка)
- Сверло для клепки (звено)
- Наконечник для бусин (звено)
- Фреза для стеновых канавок (звено)
- Планировщик (ссылка)
- Настольная пила
- Набор полотен Dado для настольной пилы (Link)
- Плоская шлифовальная машина, не орбитальная (ссылка)
- Резиновый молоток
- Плотницкий молоток
- Аккумуляторная дрель
- Столярный уровень
- Ключ ¾”
- Рулетка
- Торцовочная пила
- Электролобзик
- Дрель
- Формирователь для удаления кромки
Вам также может понадобиться
- Трамбовка для подготовки почвы
- 6-футовая стремянка
Список материалов
- Доски: 2×6 пиломатериалов (приблизительно 50 для досок, 30 для стен) – 6 футов, 8 футов или 12 футов в зависимости от длины сауны.
Вы потеряете несколько дюймов с каждой стороны из-за выступа стены. - Прикладная стена: шпунт и паз, V-образное соединение и каркас
- Трос для сауны-бочки (ссылка)
- Зажимы для веревок для бочек (ссылка)
- Стяжные муфты для бочек (ссылка)
- Шурупы/гвозди (нержавеющая сталь!)
- Плита – дровяная или электрическая
Поиск пиломатериалов
Возможно, самым большим преимуществом строительства с нуля является возможность использовать местные материалы, как это делали находчивые финны на протяжении поколений. Следите за местными лесопилками и Craigslist, чтобы найти хорошие предложения. Убедитесь, что вы находите пиломатериалы из ответственных источников.
Термически обработанная древесина, также известная как термодревесина, популярна для изготовления бочковых саун в Европе, и это хороший способ убедиться, что любые насекомые и грибки уничтожены. Избегайте пиломатериалов, обработанных под давлением, которые могут превратить вашу сауну в химическую ванну.
В идеале вам нужна плотная или чистая древесина, но вы потратите больше в зависимости от того, сколько узлов вы готовы вынести.
Лучшая древесина для сауны-бочки своими руками
- Западный красный кедр (популярен в Канаде и США) – можно использовать чистый кедр (идеальный вариант) или туго сплетенный для придания деревянного вида хижине. Кедр будет наиболее устойчив к плесени и гниению, а при нагревании издает желаемый запах. Используется компаниями «Почти Небеса», «Алеко» и большинством других североамериканских производителей бочковых саун. Это, безусловно, рекомендуемый выбор, но вы можете добиться отличных результатов с другими (менее дорогими) видами и защитить сауну, добавив крышу и приподняв ее над землей.
- Белая ель (популярна в Финляндии)
- Белая сосна (используется Алеко)
- Ольха черная (Используется в Финляндии)
- Пихта или болиголов — Используется Почти Небесами.

- Осина – особенно термически обработанная осина распространена в Финляндии
Независимо от внешнего вида, для скамеек используйте осину, кедр или липу (подробнее об этом позже).
Независимо от породы дерева, вы хотите, чтобы доски были прямыми, не имели крупных сучков и имели низкое содержание влаги .
Измерьте, что влажность древесины должна быть ниже 12%. Если в древесине слишком много влаги, она высохнет и даст усадку через сезон или два. Вы можете найти цифровой считыватель влажности на Amazon примерно за 30 долларов.
Любые узлы должны быть тугими и прочными. Избегайте гнилых узлов, особенно если вы можете видеть сквозь них, иначе они могут лопнуть. Узлы могут привести к деформации или образованию сока . Часто эффективно получить более длинные доски, чем вам нужно, чтобы вы могли вырезать некоторые проблемные области.
Если ваш склад пиломатериалов позволяет сортировать, потратьте некоторое время на выбор самых прямых досок с наименьшим количеством сучков. Вы часто можете найти красивые секции чистого кедра среди подвоя № 2 или № 3.
Если вы столкнетесь с пиломатериалами, такими как сосна, которые склонны к соку, также известной как «смола», вы все равно можете их использовать. Все хвойные деревья выделяют сок, и совершенно нормально видеть некоторые из них с новой сауной. Просто используйте лезвие бритвы, чтобы соскоблить его. Как только он просочится из дерева, он не вернется.
Горячее изготовление бочкообразной сауны Шаг 1. Подготовка дров
Столярные изделия из клепки
Большинство строителей бочкообразной сауны своими руками используют стыковое соединение для бревна, также известное как соединение каноэ. Это позволяет клепкам хорошо сочетаться друг с другом, в то же время позволяя им шарнирно принимать бочкообразную форму.
Пропустите заготовку через стол фрезера, используя 1/2″ радиусные фрезы и фрезы, начиная с закругленной (выпуклой) стороны.
С деревянным прикладом толщиной 1 1/2 дюйма остается небольшая полка, позволяющая правильно установить петлю.
Каждая плата должна быть пропущена через таблицу маршрутизатора 4 раза. Это самая трудоемкая задача по строительству сауны-бочки с нуля. В этом видео показан тот же процесс столярных работ для клепок в бочке-джакузи (да, создание бочки с такими соединениями действительно может быть водонепроницаемым).
Используйте формирователь для удаления выступов и шероховатостей с закругленной стороны клепки. Они должны быть красивыми и круглыми.
У нижней планки должно быть два выпуклых края, а у верхней – две вогнутых. Это делается для предотвращения утечки воды.
Пазы
Светлая древесина = клепка с пазом.
Темное дерево = настенный материал. Для посохов также необходимы пазы на каждом конце, где посохи будут крепиться к стенам. Если желательно, эти соединения позволят не использовать шурупы или гвозди через ваши клепки. Отрезы должны быть шириной вашей стены.
Эти соединения можно разрезать с помощью настольной пилы, фрезерного станка или вручную. Если вы пользуетесь настольной пилой, плинтус сделает это намного проще, чище и безопаснее, но вы можете сделать это, пропустив его несколько раз и отколов его.
С помощью фрезерного стола и прямой фрезы можно разрезать несколько таких соединений одновременно.
Проверьте каждый стык, чтобы убедиться, что настенный материал плотно прилегает к пазу. Все проблемы лучше исправить сейчас, чем при сборке сауны.
Как построить баню-бочку. Шаг 2. Постройте стены
Сначала вам нужно построить стены. Возможно, вам придется сделать это на месте, если транспортировка круглой стены размером 6×6 футов (или больше) будет проблемой.
Разложите 2×6 (или то, что вы используете), чтобы вы могли покрыть круг диаметром 6×6. Соедините шпунтовые и канавочные соединения вместе, чтобы они покрывали большую площадь, чем необходимый диаметр.
Независимо от того, используете ли вы 8- или 12-футовые доски, теперь вы можете начертить некоторые из них, чтобы получить обрезки для верхней и нижней досок, которые могут быть намного короче, чем средние.
Когда стены будут собраны, разрежьте их на круги. В идеале у вас должен быть шаблон, вокруг которого вы сможете запустить маршрутизатор. Если нет, можно использовать пилу с ломом для вращения вокруг центра.
Резка стен сауны-бочки с помощью пилы. Для одной из стен потребуется дверь. Проще всего построить стену, затем вырезать и обрамить дверь. Вы захотите обрамить дверь, используя 2×4, чтобы обеспечить структуру. Сделайте то же самое при добавлении любых окон. Мы рекомендуем большое окно на двери, так как оно не потребует дополнительного структурного обрамления стен.
Соберите баню-бочку
Поздравляем! Вы находитесь на забавной части. Прежде чем приступить к этапу сборки, убедитесь, что у вас есть следующее:
- Основания для бочек / люльки (2-3 в зависимости от длины) с точным центром, отмеченным
- Стены (2-3 в зависимости от раздевалки)
- Клепки (окружность/конечная ширина клепки в собранном виде
Что касается остальных шагов, вы можете многому научиться из руководств по эксплуатации бочковой сауны или видеороликов, демонстрирующих сборку готовых комплектов для бочковой сауны. Вероятно, вы также найдете несколько способов улучшить свой дизайн и полезные советы, которые можно использовать. В этом видео показано, как ребята из «Ball and Buck» собирают комплект для сауны-бочки «Почти рай».
Подготовьте место для установки
Сначала убедитесь, что вы устанавливаете сауну-бочку на твердой ровной поверхности.
Он должен быть твердым и плоским. Небольшой наклон допустим и может способствовать дренажу.
Мы рекомендуем хорошо утрамбованное гравийное основание, бетонную подушку или твердый настил. Камни патио — хорошая идея разместить под люльками, если используется гравийная основа.
Сколько усилий вы приложите к основанию, должно отражать, как долго вы хотите, чтобы ствол оставался в этом месте. Если вы собираетесь каждое лето привозить баню-бочку в хижину, возможно, вам не придется проводить здесь много времени.
Разместите колыбели, установите первые посохи
Примерно разместите колыбели и поместите свой первый посох (обычно меньшего размера, чем другие посохи) с плотницким уровнем поперек него. Теперь отрегулируйте опоры, чтобы они были выровнены прямо и ровно.
Прикрепите первый стержень к опорам и поместите достаточное количество стержней, чтобы покрыть колыбели, осторожно постукивая по месту и обеспечивая ровное плотное прилегание. Пазы должны идеально совпадать.
Установите стены
Поднимите стены и временно поместите на них пару посохов, чтобы удерживать их на месте. Убедитесь, что стены идеально прямые, особенно со стороны двери.
Вставьте посохи
Вставляйте по одному посоху, пока не дойдете до верха, еще раз убедившись, что пазы точно совпадают. Чередуйте посохи между сторонами, чтобы вы поднимались равномерно.
Вверху не должно быть зазора, но ничего, если он немного прогибается, вы исправите это, когда будете затягивать ремешок.
Если есть зазор, вам может понадобиться проявить изобретательность и вырезать клепку с помощью настольной пилы или добавить клепки-наполнители.
Затяните
Используйте ремни, чтобы стянуть все вместе. Если вы использовали гвозди для крепления посохов, наденьте на них ленту.
Устраните неровности, постучав по ним снаружи молотком.
Сборка скамеек
Возможно, лучше подождать до этого момента, чтобы начать планировать скамейки.
Независимо от выбора дерева для внешней отделки, для скамеек лучше использовать осину, кедр или липу.
Разогрейте
Вы уже должны знать, хотите ли вы электрическую или дровяную печь. Установите его в соответствии с местными нормами и рекомендациями производителя по зазорам, дымоходу и вентиляции.
Есть ли какие-нибудь советы, как построить сауну-бочку с нуля? Протяни руку!
Бытовые дровяные печи для сауны
Дровяная печь для сауны использует дрова для выработки тепла, характерного для настоящей сауны. Как и в случае с электрическими каменками для сауны, дровяные печи нагревают большой объем финских камней из оливинового диабаза, на которые наливается вода. Это создает отличительный löyly (произносится как «лоу-лу», что означает пар в сауне или атмосферу сауны) подлинной финской сауны.
Компания Finnmark является единственным импортером и дистрибьютором дровяных печей для саун Narvi, Aito и Kota в Великобритании. В соответствии со стандартом Finnmark Endurance мы продаем только подлинные дровяные печи для сауны финского производства с лучшим на рынке качеством сборки, которые имеют маркировку CE и финский символ «Ключевой флаг».
«Ключевой флаг» присуждается продуктам, действительно произведенным в Финляндии. Здесь, в Финнмарке, мы твердо убеждены, что если вы собираетесь иметь сауну, вы должны сделать это правильно, как и предполагали финны, с качественной дровяной печью.
Используйте калькулятор нагревателя для сауны Finnmark, чтобы выбрать правильный нагреватель для сауны.
Если у вас есть какие-либо вопросы относительно любого из этих продуктов, пожалуйста, свяжитесь с нами.
Х
Избранное Бестселлер По алфавиту, А-Я По алфавиту Z-A Цена, от низкой к высокой Цена, от высокой к низкой Дата, старая к новой Дата, от нового к старому
Распроданный
Kastor Karhu Дровяная печь для сауны от Helo
отсутствует перевод: en.
products.product.price.regular_price
£ 156,15 GBP
перевод отсутствует: en.products.product.price.sale_price
£ 156,15 фунтов стерлингов
отсутствует перевод: en.products.product.price.regular_price
отсутствует перевод: en.products.product.price.unit_price
/
Об этой каменке для сауны Атмосферная дровяная печь Kastor Karhu, «Медведь» создает…
Kastor Saga Дровяная печь для сауны от Helo
отсутствует перевод: en.products.product.price.regular_price £ 156,15 9 фунтов стерлингов0003
отсутствует перевод: en.products.product.price.sale_price
£ 156,15 фунтов стерлингов
отсутствует перевод: en.products.product.price.regular_price
отсутствует перевод: en.
products.product.price.unit_price
/
Об этой каменке для сауны Эта дровяная печь для сауны имеет достойную похвалы вместимость 130-180 кг для сауны…
Распроданный
Подъемный элемент для дровяной печи для сауны/бани Aito Kiuas AK57K с накоплением тепла
отсутствует перевод: en.products.product.price.regular_price £ 322,42 GBP
перевод отсутствует: en.products.product.price.sale_price
322,42 фунта стерлингов
отсутствует перевод: en.products.product.price.regular_price
отсутствует перевод: en.products.product.price.unit_price
/
Этот продукт предназначен для подъемного элемента для AK57K.
В состав изделия входит уже установленная изоляционная…
Кота Куру Дровяная печь для сауны
отсутствует перевод: en.products.product.price.regular_price 610,71 фунта стерлингов
отсутствует перевод: en.products.product.price.sale_price
610,71 фунта стерлингов
отсутствует перевод: en.products.product.price.regular_price
отсутствует перевод: en.products.product.price.unit_price
/
Описание продукта Торговая марка Kota является синонимом прочной практичности и сочетает в себе упрощенный скандинавский…
Narvi Black 16, 20, 24 Дровяная каменка для сауны
отсутствует перевод: en.
products.product.price.regular_price
£ 773,08 GBP
перевод отсутствует: en.products.product.price.sale_price
773,08 фунта стерлингов
отсутствует перевод: en.products.product.price.regular_price
отсутствует перевод: en.products.product.price.unit_price
/
Описание изделия Дровяные каменки Narvi Black 16, 20 и 24…
Kota Luosto Дровяная печь для сауны
отсутствует перевод: en.products.product.price.regular_price £ 840,03 GBP
перевод отсутствует: en.products.product.price.sale_price
840,03 фунта стерлингов
отсутствует перевод: en.products.product.price.regular_price
отсутствует перевод: en.
products.product.price.unit_price
/
Описание продукта Дровяная каменка Kota Luosto имеет ту же практичную эстетику, что и…
Narvi NC 16/20/24 Дровяная печь для сауны
отсутствует перевод: en.products.product.price.regular_price 859 фунтов стерлингов0,66 GBP
перевод отсутствует: en.products.product.price.sale_price
859,66 фунта стерлингов
отсутствует перевод: en.products.product.price.regular_price
отсутствует перевод: en.products.product.price.unit_price
/
Описание продукта Бестселлер! Вечный дизайн дровяной каменки Narvi NC…
Kota Pallas Дровяная печь для сауны
отсутствует перевод: en.
products.product.price.regular_price
£ 924.00 GBP
перевод отсутствует: en.products.product.price.sale_price
£ 924,00 фунтов стерлингов
отсутствует перевод: en.products.product.price.regular_price
отсутствует перевод: en.products.product.price.unit_price
/
Описание изделия Дровяная каменка Kota Pallas — новейшая разработка финского…
HUUM HIVE WOOD Дровяная печь для сауны
отсутствует перевод: en.products.product.price.regular_price £ 1,129.00 GBP
перевод отсутствует: en.products.product.price.sale_price
1129 фунтов стерлингов0,00 фунта стерлингов
отсутствует перевод: en.products.product.price.regular_price
отсутствует перевод: en.
products.product.price.unit_price
/
HUUM HIVE WOOD Дровяная печь для сауны Об этой дровяной печи HUUM для сауны *камни и контроллер будут…
Kota Inari Дровяная печь для сауны
отсутствует перевод: en.products.product.price.regular_price £ 1198,41 GBP
перевод отсутствует: en.products.product.price.sale_price
1198,41 фунтов стерлингов
отсутствует перевод: en.products.product.price.regular_price
отсутствует перевод: en.products.product.price.unit_price
/
Описание изделия Дровяная каменка Kota Inari для сауны – идеальный выбор для тех, кто…
Каменка для сауны Narvi Stony дровяная
отсутствует перевод: en.
products.product.price.regular_price
£ 1296,73 GBP
перевод отсутствует: en.products.product.price.sale_price
1 296,73 фунта стерлингов
отсутствует перевод: en.products.product.price.regular_price
отсутствует перевод: en.products.product.price.unit_price
/
Описание продукта Новый дизайн! Как и все наши товары для сауны, красивая деревянная доска Narvi Stony…
Распроданный
HUUM HIVE HEAT Дровяная печь для сауны
отсутствует перевод: en.products.product.price.regular_price 1326,00 фунтов стерлингов 9 фунтов стерлингов0003
отсутствует перевод: en.products.product.price.sale_price
£ 1326,00 фунтов стерлингов
отсутствует перевод: en.

Если сравнивать с нынешними печами, для протопки парной потребуется больше времени, при этом увеличивается расход твердого топлива.
По желанию мастера, ее можно сделать в форме круга, прямоугольника, да хоть и многоугольную форму можно выложить из кирпича;
Такая печь будет обладать запасом прочности, не подвергаться воздействию воды и сберегать тепло;
Это слой гидроизоляции основания;
Глиняные, потребуется залить водой, оставить до полного выхода пузырьков воздуха с поверхностей.
На лицевой стороне оставляем окно для закладки дров.

Ни мылом, ни шампунем не оттирается.
Вы потеряете несколько дюймов с каждой стороны из-за выступа стены.