Устройство коптильни холодного копчения: Как сделать коптильню для холодного копчения своими руками
Коптилка холодного копчения: принцип работы
01.02.2018
Холодное копчение представляет собой один из видов обработки мясных и рыбных продуктов, позволяющий добиться приятного, пикантного вкуса и продолжительного срока хранения продуктов (до нескольких лет). Этот способ копчения обладает неоспоримыми преимуществами перед горячим и достаточно прост в реализации. Основа процесса – в окуривании продуктов дымом, температура которого не превышает 25 градусов, длительность процесс зависит от размеров продукта и колеблется от 18 часов до нескольких дней. Результатом копчения является обезвоживание продукта с сохранением всех его питательных свойств, дым также одновременно выступает своеобразным антисептиком.
Еще одно преимущество такого варианты обработки продукции заключается в том, что коптильню холодного копчения можно сделать своими руками, это технологически несложный процесс, требующий лишь базовых знаний и доступных материалов, а также приобретения всего нескольких недорогих агрегатов.
Технология копчения
Основное правило обработки продуктов таким способом – непрерывная и равномерная подача дыма невысокой температуры (в пределах 18 – 250) в емкость с продуктами. Для достижения этой цели используется дымоход, который соединяет коптильную камеру или отсек с продуктами с дымогенератором, где длина варьируется в пределах от одного до трех метров, что обеспечивает постепенное охлаждение дыма.
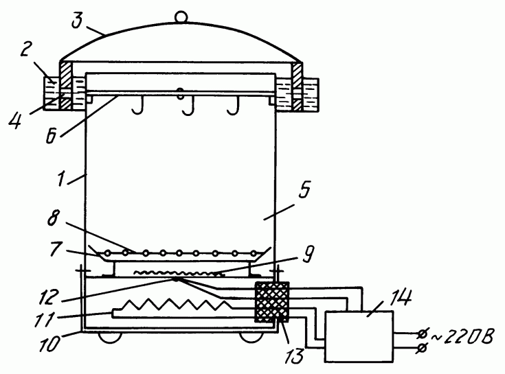
Строение домашней коптильни
По сути, коптильня холодного копчения – это несложный агрегат, который можно изготовить самостоятельно. Основные его составляющие:
- Коптильная камера – это отсек, где будет размещаться продукция, подвергающаяся обработке. Для этих целей может послужить все от обыкновенной бочки, ящика-коптилки из нержавейки до специальной покупкой камеры;
- Дымоход – это труба определенной длины и с определенным количеством колен (в случае использования дров для получения дыма), проходя по которой дым будет остывать до нужной температуры.
- Дымогенератор, он обеспечивает как раз беспрерывную подачу дыма и обеспечивает качественное копчение. Именно дымогенератор проще всего приобрести готовый, это гарантирует качество и простоту его установки и работы.
Процесс работы данной конструкции выглядит следующим образом: в камеру сгорания дымогенератора помещается специальная стружка (опилки), которая во время тления и производит дым. Благодаря конструкции дымогенератора, образуется тяга и дым попадает в дымоход, где его температура опускается до приемлемых показателей, после чего он попадает непосредственно в коптильню. Именно дымогенератор играет «главную скрипку» в домашней коптильне. В современных моделях все процесс автоматизированы, поэтому все работы очень просты, достаточно наблюдать за результатом и своевременно досыпать опилки.
Как пользоваться коптильней: тонкости процесса
Процесс холодного копчения довольно прост, однако и тут есть свои хитрости, которые помогут максимально облегчить процесс.
- Правильный выбор места для коптильни. Постарайтесь разместить конструкцию в стороне от дома и других жилых помещений, также лучше выбрать маловетреный участок без легковоспламеняющихся материалов рядом.
- Правильное охлаждение дыма. Для достижения этих целей можно воспользоваться несколькими способами. Первый – удлинить дымоход, что позволит охладить дым в процессе его попадания в коптильную камеру. Второй вариант – использование для охлаждения проточной воды. Третий вариант – регулировка температуры дыма при использовании дров количеством колен.
- Из чего сделать коптильню? Ограничений практически нет, все зависит от подручных материалов и желаемого варианта. Наиболее простые в изготовлении и использовании варианты: деревянная бочка, коптилка из нержавейки (покупная или сваренная самостоятельно), сложенная из кирпича. Каждый вариант обладает собственными преимуществами и недостатками, выбор стоит делать исходя из личных предпочтений и специфики места размещения.
- Выбор опилок. Выбранный тип опилок влияет на вкусовые характеристики продукции. Первое правило – никогда не использовать хвойные породы дерева для копчения, это связано с высоким содержанием смол в хвойной древесине. Лучше всего для домашней коптильни подойдут варианты их фруктовых деревьев (вишня, яблоня). Также допускается использование опилок дуба или ивы.
Процесс холодного копчения довольно прост, однако результатом является вкусный, полезный для здоровья и питательный продукт с длительным сроком хранения. Поэтому при наличии собственного участка пренебрегать такой конструкцией не стоит, тем более ее изготовление довольное простое, а все необходимое для качественной работы коптильни холодного копчения вы можете найти на нашем сайте! Посмотрите какие бывают коптильни и щепа к ним в нашем каталоге.
Ирина Гладких
профессиональный консультант
Я даю свое согласие на обработку моих персональных данных
Для продолжения необходимо войти
в ваш аккаунт на сайте
Войти
Регистрация
Коптильня холодного копчения – как сделать устройство своими руками и правильно им пользоваться?
Сейчас домашняя коптильня холодного копчения – не редкость.
Многие любители кулинарных деликатесов полюбили такое оборудование за великолепные результаты, ведь устройство наделяет пищу чудесным вкусом и ароматом, которые сохраняются на протяжении нескольких недель.
Устройство коптильни холодного копчения
Процесс представляет собой окуривание пищи прохладным дымом от тлеющих частиц древесины, он может длиться несколько дней. За это время блюдо подсушивается, частично усыхает, но не теряет своей жирности и пропитывается приятным ароматом. Коптильня холодного копчения состоит из основных элементов:
- топка;
- дымоход;
- коптильная камера.
Коптильню холодного копчения делят на две части – топку и емкость для продуктов. Между ними находится дымоход, его длина должна составлять 1,5-3 м, чтобы дым охлаждался. Для получения хорошей тяги можно использовать вентилятор для коптильни холодного копчения. Ящик для продуктов должен быть оборудован:
- крючками;
- решетками;
- держателями;
- поддоном для стекающей жидкости.

Размеры коптильни холодного копчения
Перед покупкой или строительством важно выбрать подходящее место для коптильни. При этом нужно учесть, что ее длина будет составлять 3-4 м. Желательно, чтобы на участке был уклон грунта для получения хорошей тяги. Делаем коптильню холодного копчения, ориентируясь на приблизительные размеры:
- Место для топки примерно 60х70 см.
- Труба дымохода длиной 2,5-3 м и диаметром 20-25 см.
- Место для коптильного шкафа где-то 60х60 см, его высота выбирается произвольно, оптимальная – до 1 м.
Принцип работы коптильни холодного копчения
Процесс холодного копчения происходит при температуре 25-30°С. Она достигается за счет большой протяженности дымохода. Как работает коптильня холодного копчения:
- В топку кладут щепу деревьев, используется древесина ольхи, дуба, березы, вишни, яблони.
- Стружку поджигают, тлея, она образует дым.
- Благодаря тяге, дым попадает в дымоход.
- Дым охлаждается и попадает в коптильную камеру, где расположены продукты.

- Время приготовления занимает от 1 до 3 дней.
Виды коптильни холодного копчения
Важная особенность коптильни холодного копчения – она предоставляет возможность как бы законсервировать деликатесы с помощью продуктов горения. Мясо после такого окуривания больше обезвоживается, но сохраняет жир. При горячей обработке оно становится более нежным, с большим содержанием влаги. Коптильня холодного копчения – преимущества:
- Вредные канцерогены осаждаются на дымоходе, продукция получается безвредной для здоровья.
- Дым эффектно борется с бактериями и паразитами.
- Продукты сохраняют свои вкусовые качества, большое количество полезных микроэлементов.
- Мясо может храниться несколько месяцев, рыба – до 12 недель.
Минусы холодного копчения:
- Занимает много времени – до 72 ч.
- Процесс трудоемкий, требует контроля топки.
- Нужна предварительная подготовка продукта.
Существует целый ряд модификаций коптилен, они различаются:
- По габаритам – от крупной до миниатюрной.

- По мощности производства – коптильня холодного копчения промышленная для заведений общепита или маломощная для дома.
- По источнику питания – электричество, уголь, газ.
- По мобильности – переносные, стационарные.
Электрическая коптильня холодного копчения
Используется компактная электрическая коптильня холодного копчения в квартире или на открытом воздухе. Деликатесы можно готовить в заводской или самодельной установке (из старого холодильника или бочки). Распространены цилиндрические и прямоугольные емкости, работают на ТЭНах или с использованием плиты. Многие установки могут выполнять и горячее, и холодное копчение. Различие программ – в температуре обработки ингредиентов. Электрическая коптильня холодного копчения окуривает продукты прохладным дымом 20-25°С, термостат регулирует процесс готовки.
Мини коптильня холодного копчения
Компактная бытовая коптильня холодного копчения (мини) имеет небольшие габариты и мало весит.
Она востребована туристами, рыбаками, охотниками, используется на дачах и так далее. Коптильня холодного копчения (походная) универсальна – имеет герметичную камеру для копчения, соединенную с небольшой топкой-дымоходом. Главное отличие конструкции – в небольших габаритах ее элементов, которые легко разобрать и перенести. Нагревается мини-топка на костре, электрической или газовой плите, или подключается к сети.
Автоматическая коптильня холодного копчения
Современная автоматическая коптильня холодного копчения минимизирует участие человека в процессе готовки. Источник энергии для нее – электричество, открытые или закрытые ТЭНы. Устройства встречаются как промышленные с возможностью загрузки большого объема продуктов, так и бытовые. Автоматика для коптильни холодного копчения не требует от человека особых навыков. Нужно лишь засыпать опилки или щепу раз в 4-24 ч., установить поддон для жира, расположить на шампурах либо решетках продукты для приготовления. После этого – выбрать нужную программу и включить коптильню.
Коптильня холодного копчения с гидрозатвором
Оборудование с гидрозатвором – это лучшая коптильня холодного копчения для квартиры, которую можно использовать и на открытом воздухе. Ее конструкция дополнена желобом, расположенным по верхнему краю камеры для продуктов. При закрывании коптильни, крышка упирается краями в этот гидрозатвор, заполненный чистой водой. Его назначение – герметизация запахов, испарений и дыма внутри емкости. Вода не дает им проникать наружу, ее следует периодически доливать. Блокировка утечки дыма позволяет мясу лучше прокоптиться и стать ароматнее.
Коптильня холодного копчения с дымогенератором
Любая конструкция коптильни холодного копчения может быть дополнена дымогенератором. Зачастую он представляет собой цилиндр, оснащенный вентилятором. Дымогенератор нужен для тяги внутри камеры копчения, и он обеспечивает бесперебойное поступление дыма на продукты. Он соединяет камеру, в которой тлеет щепа, с коптильным ящиком. Для самодельной сборки дымогенератора подойдет любая огнеупорная емкость, например, термос, металлическая трубка.
Для подачи воздуха нужен бытовой компрессор – аквариумный, кулер от компьютера, небольшой вентилятор.
Коптильня с терморегулятором
В процессе копчения продуктов важно соблюсти температурный режим, для этого в коптильнях используются термометры и терморегуляторы. Они упрощают процесс контроля за приготовлением пищи. Домашняя коптильня холодного копчения с терморегулятором оснащается датчиком, соединенным с блоком управления. Прибор устанавливают в камерах, обустроенных дымогенератором или электрическим питанием. Терморегулятор внутри коптильни поддерживает температуру на нужном уровне автоматически, без участия человека. Он может быть:
- Механическим. Устройство простое, недорогое, имеет долгий срок службы, температура выставляется при помощи колесика или специального рычага.
- Электронным. Регулирует температуру более точно и гибко, экономит электроэнергию, стоит дороже первого варианта.
Как сделать коптильню холодного копчения?
Отличная получится коптильня холодного копчения из холодильника.
Для этого можно задействовать его корпус, предварительно убрав все пластиковые составляющие. Решетки в камере целесообразно использовать для раскладки и подвешивания продуктов. Коптильня холодного копчения из холодильника изготавливается по такой схеме:
- В дно корпуса встраивается старый вентилятор.
- В верхней части холодильника крепится труба.
- Топка оборудуется на значительном расстоянии от коптильни, соединяется с ней трубой.
- Коптильня готова – можно поджигать щепу, включать вентилятор и закладывать продукты.
Как коптить в коптильне холодного копчения?
С помощью холодного копчения можно приготовить вкусное мясо, сало, рыбу, птицу и так далее. Для этого нужно длительно окуривать продукт при температуре до 30°С. Прежде, чем начать коптить, ингредиенты засаливают: засыпают солью грубого помола и оставляют на 3-5 дней. Затем на протяжении 4-10 ч. их вымачивают в воде. После того, как удалена лишняя соль, продукты обтирают и вывешивают для провяливания на сутки в прохладном помещении, прикрыв марлей.
- Мясо развешивается в коптильном шкафу.
- В топке разжигается костер из щепы, включается дымогенератор и вентилятор (если они есть).
- Температура идущего в коптильню дыма не должна превышать 30°С. Он должен поступать в шкаф непрерывно.
- Коптильня для рыбы холодного копчения должна постоянно работать в среднем 1-2 суток, мясо может готовиться до трех дней.
Что такое холодное копчение? И какой из них вы должны получить?
Почти наверняка вы уже сталкивались с продуктами холодного копчения, такими как копченый лосось или сыр в продуктовом магазине. Но холодное копчение в домашних условиях может показаться прерогативой исключительно людей, способных поставить коптильню на спину 40.
Однако оказывается, что есть несколько относительно простых способов холодного копчения.
сделать, и, по сути, требуют лишь незначительной адаптации оборудования, которое у вас уже есть.
Холодному копчению можно подвергать все виды пищевых продуктов, и этот процесс придаст чудесный аромат копчения всему, что вы готовите. Однако, поскольку холодное копчение происходит при таких низких температурах, после копчения может потребоваться дополнительное приготовление пищи. Мы узнаем, почему это так и как вы можете перейти к холодному копчению ниже.
Что такое холодное копчение?
Для тех, кто еще не знает, что такое холодное копчение, вся идея может показаться нелогичной. Дым идет от огня. Огонь горячий. Как ты собираешься курить без тепла? Суть холодного копчения в том, чтобы держать огонь как можно дальше от продуктов. Обычно это достигается за счет наличия двух отдельных камер — одной для еды и одной для огня — и соединения между ними, которое позволяет дыму перемещаться, сохраняя при этом тепло.
Если вы планируете использовать холодное копчение, следует помнить, что, в отличие от горячего копчения, это определенно не метод приготовления пищи.
При холодном копчении мяса, рыбы, овощей или сыра вы подвергаете выбранный ингредиент воздействию дыма, но поддерживаете температуру около 65–85 ℉. Поскольку пища остается при комнатной температуре в течение многих часов, процесс холодного копчения не защитит вас от патогенов или не подавит рост бактерий, который может произойти с сырой пищей, которая обычно требует охлаждения. Так что, если то, что вы курите, было небезопасно есть до того, как оно было выкурено, вы все равно останетесь в опасной зоне после этого. Вот почему продукты холодного копчения обычно предварительно обсушивают солью, чтобы вытянуть влагу. Сочетание соления, препятствующего размножению бактерий в пище, и холодного копчения, высушивающего ее, сохраняет пищу. Вещи, обработанные таким образом, могут прослужить на несколько недель дольше, чем в противном случае.
Хотя они часто происходят вместе, соление и холодное копчение не обязательно должны быть частью одного процесса. Лосось, например, коптят, но не коптят, а многие сыры и овощи коптят, но не коптят.
Сколько времени занимает холодное копчение?
Поскольку вам не нужно, чтобы пища достигла определенной внутренней температуры, время копчения может быть любым. Холодное копчение сыра может занять всего пару часов, хотя, если вы коптите мясо или что-то большое, например, вяленую часть лосося, это время может достигать 18–24 часов.
Какая коптильня холодного копчения лучше?
Также существует множество различных типов коптильных аппаратов горячего копчения (офсетные коптильни, коптильни на пеллетах, барабанные коптильни, электрические коптильни и т.д.). Есть несколько вариантов, когда дело доходит до холодного копчения, но они в основном попадают в одну из трех категорий, которые мы перечисляем ниже, от самых простых в использовании до самых сложных.
Трубки для копчения
Эти удобные мелочи поместятся прямо в любой гриль или коптильню, которые у вас уже есть. Просто заполните их древесной стружкой или гранулами из твердой древесины, положите на решетку гриля и подожгите.
Дыма обычно хватает на пару часов без заправки.
Страница не найдена – Carnivore Style
Carnivore Style может содержать партнерские ссылки. Когда вы нажимаете на них и покупаете у них продукты, мы можем получать комиссию. Узнайте больше здесь.
Похоже, в этом месте ничего не найдено. Может попробовать поискать?
Искать:Вам может понравиться
Джейден Лоусон 3 часа назад
Как долго пицца хранится в холодильнике? (4 совета по хранению)
Я даже не могу сказать, сколько раз я готовил пальчики оближешь пиццу и хранил остатки в холодильнике, а через несколько дней обнаруживал, что они испортились. Чтобы предотвратить это, я провел небольшое исследование того, как долго хранится пицца и как предотвратить ее порчу. Я проверил, что говорит Министерство сельского хозяйства США, и поговорил с шеф-поваром в моей любимой пиццерии, чтобы узнать мнение эксперта. Вот что я… Читать дальше >
Габриэль Вудс 4 часа назад
Можно ли курить две индейки одновременно? (10 кулинарных советов, которые стоит попробовать)
Меня, человека, который коптит мясо уже много лет, спрашивают друзья и родственники, можно ли коптить сразу двух индеек.
Сначала я был настроен скептически, но после некоторых экспериментов и исследований я рад сообщить, что одновременное копчение двух индеек не только возможно, но также может быть вкусным и пикантным опытом.
Вот как. Подробнее >
Арианна Фостер 22 часа назад
Что такое шварцвальдская ветчина? (6 фактов о здоровье и кулинарном использовании)
Одна из самых захватывающих вещей в том, чтобы быть преданным приверженцем плотоядного образа жизни, заключается в том, что у вас есть возможность попробовать мясо со всего мира. Шварцвальдская ветчина — любимое и знаменитое вяленое мясо родом из Германии, которым я очень наслаждаюсь на протяжении многих лет. Я провел массу онлайн-исследований, пока наконец не понял, как делается это мясо, какова его пищевая ценность и… Читать далее >
Габриэль Вудс 2 дня назад
Как долго хранятся креветки в холодильнике? (11 советов по хранению)
Я признаю, что употребление только мяса через некоторое время может надоесть.
К счастью, морепродукты — отличный способ оживить диету плотоядных животных, а креветки — мой фаворит.
Тем не менее, я часто уклоняюсь от покупки креветок, потому что знаю, насколько чувствительны морепродукты к температуре, и я не уверен, как долго они продержатся в холодильнике.
Я решил рискнуть и внимательно наблюдал, как менялись креветки в течение нескольких… Читать далее >
Автор: Arianna Foster 2 дня назад
Как часто нужно поливать индейку? (6 простых способов, которые можно попробовать)
Я твердо верю, что приготовление нежной индейки с хрустящей корочкой и сочным мясом — это приготовление индейки в масле. Однако, когда десять лет назад я начал свой путь к хищникам, я не был уверен, как часто мне следует поливать индейку. За это время я приготовил бесчисленное количество индеек и экспериментировал с разным временем и методами приготовления, пока, наконец, не освоился. Вот все мои советы и… Читать дальше >
Ива Картер 2 дня назад
Как безопасно разморозить мясо в микроволновой печи? (6 простых советов)
Хотя я предпочитаю размораживать мясо традиционным способом, я должен признать, что несколько раз пользовался микроволновой печью, когда торопился приготовить еду.
