Лестница двухэтажный дом – 100 фото видов лестниц на второй этаж в частном доме от производителя в Москве недорого
чертежи на второй с размерами, рисунок 6х6 и обозначение

При планировке первого этажа в двухэтажном доме особое внимание следует уделить размещению лестничной конструкции
Многоэтажный дом предполагает установку внутренней лестничной конструкции, которая позволит беспрепятственно перемещаться между этажами. Планировка первого этажа двухэтажного дома позволит произвести предварительные расчеты, которые помогут обустроить помещение соответственно с нормами и правилами планировки жилого пространства. Для правильного проектирования и построения чертежей, нужно знать особенности и характеристики конструкций разных видов.
Содержание материала:
Маршевые чертежи лестниц
Обустройство двухэтажного дома предполагает установку лестницы, которая будет вести с первого на второй этаж. Обычно в просторном помещении пользуются маршевой лестницей, так как она представляет собой наиболее безопасный вид лестничной конструкции. Но перед установкой лестницы, важно выполнить чертежи, которые позволят визуально ознакомиться с будущей конструкцией.
Рисунок этажа и места, где будет расположена лестница, должен быть точным, понятным, простым и лаконичным.
Наиболее удачным выбором может стать лестница со сложной маршевой конструкцией. Она предполагает наличие дополнительной площадки между лестничными маршами, которая позволяет отдохнуть при подъеме. Разворот марша может быть очень удобным, при этом конструкция может иметь несколько вариантов расположения.

Специалисты рекомендуют заранее подготовить чертеж лестничной конструкции, который должен быть простым,но информативным
Вариации маршевых конструкций:
- Прямая. Лестница имеет тетиву и проступи одинакового размера. Если добавляют промежуточную площадку, ее располагают между лестничными секциями, расположенными прямо.
- Г-образная. Конструкция имеет поворот в 90 градусов. В качестве разделительного элемента выступает площадка.
- П-образная. Двухмаршевые конструкции представляют собой широкие лестницы, а вот комбинированные конструкции оснащены забежными ступенями.
- С произвольным поворотом. Имеют нестандартную площадку. Ее форма может быть треугольной или трапециевидной. Конструкцию иногда дополняют забежными ступенями.
Самостоятельно изготовить маршевую конструкцию будет довольно сложно. Обычно такие лестницы изготовляют из железобетонных конструкций. Для внутреннего обустройства помещения в качестве основного материала используют древесину или металл.
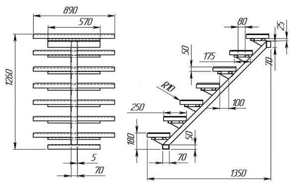
Детальный чертеж лестницы на второй этаж
Процесс изготовления и установки лестниц своими руками – довольно кропотливый. Именно поэтому так важно, чтобы все расчеты были выполнены правильно. Для составления чертежа каждого из маршей используется определенная схема. Но вот с базовыми параметрами должен быть ознакомлен каждый строитель.
Проект лестничной конструкции выполняют на бумаге, стараясь как можно точнее передать размеры, формы лестничных элементов и расстояние между ними.

Как правило, выполняя чертеж лестницы на бумаге, следует точно указывать все параметры будущей конструкции
Очень важно определить все виды данных, так как от них зависит надежность и долговечность конструкции. Также перед измерением всех параметров важно ознакомиться с инструкцией, так как действия должны быть слаженными и выверенными. В плане следует указать нюансы и погрешности, которые нужно учесть при монтаже конструкции.
Что нужно учесть:
- Высоту пролета. Представляет собой расстояние от пола до перекрытий сверху.
- Длину лестницы. Включает себя расчеты от начала марша и до его завершения. Здесь важно учесть количество ступенек. Для каждой секции оптимальным количеством является от трех до шестнадцати.
- Глубину проступи. Во внимание нужно брать основную часть ступени. Условное количество сантиметров – от 25 до 30.
- Высоту ступени. Во внимание берут размер подступенка.
- Размер площадки. Размер прилегающего марша должен быть соизмерим с площадкой.
- Уклон. Важно придерживаться наклона в 45 градусов.
- Ширину лестницы. Стандартная модель может иметь ширину в 70 см, а чердачная – в 60 см.
Составить чертеж можно при помощи специальной программы. Она может проанализировать введенные данные и представить готовый проект лестничной конструкции. При составлении плана важно знать точный размер всех деталей.
Основной чертеж лестницы с размерами
От знания основных параметров лестницы зависит качество чертежей, и, как следствие, надежность лестничной конструкции. Моделирование предполагает учет высоты подъема, тип лестницы, крутизну ступеней и их количество. Чтобы вычислить параметры по ГОСТ, важно для начала определиться с типом конструкции, так как расчеты для каждой из них имеют свои особенности.
Очень важно правильно рассчитать высоту от пола первого этажа до пола второго. Модель лестничной конструкции будет точной, если учесть наличие напольного покрытия.
Профессионалы измеряют высоту лестницы по углам конструкции, а не в одном месте. Если высота углов различается, всегда выбирают большее значение. Чертежи составляют карандашом, чтобы в случае необходимости можно было вносить правки.

При расчете лестничной конструкции важно учитывать не только размер лестницы, но угол подъема и план помещения, где она будет устанавливаться
Что нужно учесть:
- Толщину перекрытия;
- План всего помещения с учетом размеров;
- Длину шага человека;
- Ширину проступи лестницы;
- Угол подъема;
- Место расположения лестницы;
- Узел;
- Разрез;
- Просвет;
- Ширину лестничного марша.
С проектами лестниц и их чертежами можно ознакомиться на Автокаде или 3ds Max. Изучить ниву построения чертежей и составления проектов можно самостоятельно. Однако в случае неуверенности в правильности построений, лучше показывать проект профессионалам.
Рисунки лестницы с одним маршем
Самым распространенным видом лестничной конструкции является маршевая лестница. Она, в свою очередь, имеет несколько разновидностей, которые позволяют выбирать подходящий тип конструкции в зависимости от площади помещения и его интерьера. Чертить наброски будущей конструкции лучше начинать еще до начала ремонта.
Изображение будущей лестничной конструкции позволяет визуально представить себе, как будет выглядеть лестница и насколько она будет функциональной.
Самая практичная лестница – одномаршевая. Она представляет собой надежную конструкцию, которая не занимает много места и гармонично вписывается в общий интерьер, если материал для ее изготовления подобран удачно. Готовый проект нужно не забыть показать дизайнеру интерьера.

Грамотно составленный чертеж поможет вам лучше представить лестницу в интерьере помещения
Этапы изготовления одномаршевой конструкции:
- Определиться с конструкцией лестницы.
- Изготовление и крепление необходимых поддерживающих элементов.
- Крепление ступеней.
Выполнение каждого этапа будет разным, так как зависит от вида конструкции, площади помещения и произведенных расчетов. Расположение нужно определить заранее. Например, следует учесть, если лестница будет расположена рядом с санузлом. Расчет узла и крепление всех деталей должно быть прочным, так как некачественный монтаж может привести к падениям и травмам.
Планировка дома 6х6 с лестницей
Сегодня вполне реальной сделать проект небольшого дома 6х6, который позволит гармонично зонировать помещение и разделить пространство. Просторна квартира или дом не всегда позволяет правильно распорядиться площадью. А вот обустройство дома среднего размера позволяет экспериментировать и добиваться отменных результатов.
Простая схема и план проекта позволит максимально эффективно спланировать помещение и выделить в нем необходимые функциональные зоны.
Если дом будет двухэтажным, важно заранее позаботиться о выборе вида лестницы. Прямой маршевый тип наименее удачен, так как занимает много места. А вот винтовая лестница позволит сэкономить пространство и одновременно украсить интерьер.

Отличным вариантом для небольшого помещения станет деревянная винтовая лестница, которая располагается в углу дома
Где расположить лестницу:
- Сбоку;
- В центре;
- В углу.
При выборе месторасположения для лестницы важно учесть, какие комнаты расположены снизу помещения, а какие сверху и сбоку. Посмотреть и скачать готовые проекты в формате dwg можно на Автокад. При выборе места для конструкции также важно учесть «активные» и «пассивные» зоны помещения.
Обозначение лестницы на плане
При составлении проекта дома важно правильно обозначить лестничную конструкцию. Главное – выполнять план поэтапно. В плане следует изображать размеры помещения, оконные и дверные проемы, марши и лестничные клетки, конструкцию здания и толщину несущих стен.
Составление строительных планов и схем лестничных конструкций можно выполнять при помощи программы Googlesketchup. Лестница должна быть изображена на плане в обязательном порядке.
На плане должно значится определение вида и типа лестничной конструкции. При составлении чертежа важно выбрать вид лестничной конструкции и знать его основные характеристики. Важно учесть, в какой комнате будет расположена лестница – гостиной, спальне, детской, кухне – от этого многом зависит выбор лестницы по функциональности и внешнему виду конструкции.

Для того чтобы правильно составить чертеж лестничной конструкции, можно как обратиться за помощью к специалисту, так и сделать это самостоятельно, используя онлайн программы
Виды лестниц:
- Винтовая. Закручивается вокруг столба. Ступени могут иметь треугольную или трапециевидную форму.
- Маршевая. Отличается прямоугольными ступенями и прямыми линиями.
- Спиральная. Отличается описанием окружности на удалении от центра.
- Модульная. Состоит из отдельных функциональных элементов, сконструированных в одну лестницу.
Важно заранее определиться с видом лестницы и способом ее крепления. Обычно ее крепят к стене. Прислоненная лестница представляет собой более надежную конструкцию. Компания «Технониколь» представляет широкий ассортимент качественных конструкций.
Грамотная планировка первого этажа двухэтажного дома с лестницей (видео)
Бизнес по продаже готовых лестничных конструкций сегодня очень выгоден. Тем не менее, многие предпочитают составлять проекты домов и квартир самостоятельно. При самостоятельном подходе важно быть осведомленным в вопросах правильного построения чертежей. От точности размеров, правильности расположения и крепления элементов зависит безопасность лестничной конструкции.
Дизайн и планировка лестницы на второй этаж (фото интерьера)
kitchenremont.ru
Лестница на второй этаж в частном доме
Двухэтажные дома уже давно перестали быть прерогативой высших сословий и директоров овощных баз. Дом с двумя этажами сможет позволить себе практически каждый застройщик, и пользоваться всеми преимуществами такого дома. Единственной интересной задачей в этом случае есть задача доступа на верхний этаж. Лестница – единственный вариант, но бесконечное количество интерпретаций. Поэтому некоторые из них мы и рассмотрим сегодня.
Содержание:
- Виды лестниц
- Выбор материала для лестницы
- Эргономика
Виды лестниц
Лестница на второй этаж в частном доме, построенная самостоятельно, решит сразу две задачи – задачу доступа на этаж и придания помещению уникального и неповторимого вида. Материалы, дизайн, схемы конструкций – все это можно комбинировать и интерпретировать, как угодно, и подстроить под любое пространство, выделенное под лестницу.

- лестницы на косоурах – выполняют из бетона, металла илидерева в виде балок, поочередно присоединенных к основанию;
- лестницы на тетивах – монтируются на одной балке;
- лестницы на больцах – в основном, деревянные или стальные конструкции с резьбовым креплением;
- лестницы винтовые – состоят из стойки, к которой прикреплены ступени и поручни.
Лестница на косоурах
Самый популярный вид лестниц. Косоур – это просто несущая балка, на которую крепятся ступени. Может органично вписаться в любое помещение, размеры такой лестницы диктуются только размерами дома, имеют высокую прочность и высокий уровень безопасности.

Конструктивно, такая лестница может иметь несколько балок, может иметь всего одну – выбор только за вами. Есть технологическая возможность построить такую лестницу, какой угодно конфигурации – ломаной, винтовой, прямой.
Лестницы с тетивой
Тетива – это балка с вырезами, которая несет нагрузку от лестницы, при этом торец ступени спрятан в прорезь и его снаружи не видно.

Выглядят такие конструкции изящно и прекрасно подходят под классическое, «музейное» решение интерьера.
Лестницы на больцах

Boltz – по-немецки «болт». Эти лестницы имеют в конструктивной основе резьбовое соединение, а ступени могут крепиться куда угодно – в балку, спрятанную в стене, на внешнюю балку пролета, на опорный столб для винтовой конструкции. Но главная изюминка в таких конструкциях – болты.
Винтовая лестница

Опорой такой лестницы служит вертикальная балка, к которой в любой конфигурации могут быть закреплены ступени. Вообще, все классификации лестниц довольно условны и служат, не для пользы дела, а для бюрократии и заядлых энциклопедистов. Вам не все равно, больцевая лестница у вас, или на косоурах? Хоть горшком назовите, лишь бы она была красивой, функциональной, безопасной и, по возможности, недорогой. А на цены очень влияет материал изготовления, поэтому попробуем рассмотреть несколько моделей, отталкиваясь именно от материала.
Выбор материала для лестницы
Традиции – основа основ в создании интерьеров, потому среди всех материалов на первом месте стоит, конечно же, дерево. Деревянная лестница может как формировать стилистику интерьера, так и подстраиваться под существующий или задуманный стиль, но ее вотчина – это классика.
Дерево
Деревянная лестница, выполненная в классическом стиле, автоматически придает помещению уют, стилистическую сдержанность и строгость. Причем не стоит стараться подбирать древесину по цвету, породе, фактуре к окнам и мебели. Это сделает интерьер слишком библиотечным, невыразительным и скучным.

Всю красоту дерево проявляет в самых неожиданных сочетаниях с металлом, пластиком, керамикой. Если рассматривать лестницу в частном доме, как отдельное произведение дизайнерского искусства, то вполне уместны даже решения в стиле фьюжн – где смешиваются элементы стилей, эпох и культур. Но тут нужно быть осторожным, чтобы не получилось излишнего налета эклектики. Вкус – единственный советчик в этом вопросе.
Металл
Безусловным плюсом к эстетической ценности вашей лестницы станет сочетание дерева с металлом. Кованые полированные поручни или перила предполагают определенный стиль, но дерево способно так разбавить пространство, что витиеватые узоры смогут придать не только торжественность, а и наоборот – непринужденность. Ковка в чистом виде редко применяется в частном домострое, потому что вес кованых изделий, все-таки, внушителен.

Металлические лестницы в чистом виде или в сочетании с пластиком – явный признак индустриального стиля в интерьере или стиля хай-тек. Металл может быть использован, как несущий материал, так и как основной декорирующий. Срок службы металлических лестниц значительно выше, чем у деревянных, но металл в хорошем качестве может обойтись дороже. Тем более, если вы решили использовать полированную нержавейку. Кроме пластика, металл отлично сочетается с камнем – гранитом, мрамором, стеклом.
Стекло
Как ни странно, но стекло стало очень распространено в лестницах на второй этаж в частных домах. Чаще всего, стеклянные лестницы находят применение в эркере – так создается иллюзия единства пространства основного помещения и пристройки, в которой расположена лестница. Особенно выгодно выглядит стекло в том случае, если все помещение продумано в минималистическом стиле. Никакой другой материал не сможет одновременно быть функциональным, и не занимать визуальное пространство.

Актуальность стеклянных лестниц в небольших коттеджах или дачах только возрастает. Кроме того, что сам материал предполагает легкость и воздушность восприятия, он может нести довольно большую механическую нагрузку. А в комплексе с правильно подобранной металлической полированной или окрашенной фурнитурой – стеклянная лестница сможет стать звездой пространства.
Эргономика
Законы эргономики никто не отменял, и даже самая прекрасная лестница должна быть в первую очередь удобной. Поэтому напоследок – несколько цифр.

Самая удобная высота ступени – 13-15 см. Глубина – не менее 30. С такими параметрами пользоваться лестницей будет удобно и ребенку, и высокому и крупному взрослому человеку. Правила предписывают высоту перил в 90 см, а ширина лестничного марша может быть не меньше, чем 100 см. Эти размеры исходят из правил пожарной безопасности и придерживаться их нужно, несмотря ни на какие стилистические изыски.
Экспериментируйте и фантазируйте. Только тогда у вас в доме будет стоять прекрасная функциональная и эстетичная лестница на второй этаж.
Читайте также Кованые лестницы в доме – фото, Дизайн лестниц на второй этаж, фото, Лестница алюминиевая 3-секционная, цена
nashprorab.com
Дизайнерские лестницы в дизайне интерьера двухэтажных домов
Лестница представляет крайне важный элемент декора абсолютно в любом интерьере. От эстетичности ее вида, а также от места расположения зависит практически все. Поэтому очень важно, чтобы она не только гармонично вписывалась в стиль интерьера дома, но и подчеркивала его изысканность и уникальность.
На чем основывается выбор лестницы
Т.к. лестница задает тон в интерьере дома, ее выбор – дело совсем не простое и очень ответственное. Конечно, если это частный дом, в таком случае в этом вопросе предоставляется гораздо больше свободы, да и лучше всего проектировать лестницу как отдельное сооружение. А еще лучше заниматься проектировкой еще на стадии строительства самого дома. Тогда появляется уникальная возможность точно подогнать к ее типу проемы в перекрытиях. Кроме всего прочего, тип, размер и конфигурацию будущей лестницы, как и материал, из которого она будет изготовлена, определяет не столько площадь помещения, как стиль, в котором будет оформлен интерьер дома.
Хотя, покупка лестницы к готовому интерьеру тоже имеет свои преимущества – под оформленный заранее интерьер дома легче подобрать оптимально подходящий вариант лестницы.
При выборе лестницы помимо функциональности не менее важны ее декоративные свойства. В настоящее время лестницы могут собираться буквально из любых понравившихся деталей, т.к. современные технологии позволяют создавать изделия с неповторимым дизайном.
Выбор дизайна лестницы

А если вы хотите более необычно и экстравагантно оформить свой интерьер, то следует отдать предпочтение винтовым лестницам. Ее изящные изгибы будут буквально кружить голову, стремительно уносясь ввысь, а легкость и экзотичность буквально наполнят атмосферу вашего дома. Однако, такие конструкции не столь удобны в эксплуатации, как маршевые, но романтизм и изысканность непременно привнесут в обстановку. Кроме того, винтовые лестницы очень компактны, что весьма важно для помещений небольшой площади, а также, всегда сразу привлекают к себе внимание своим впечатляющим внешним видом.

Месторасположение лестницы
Как уже упоминалось, лестница должна обязательно гармонировать с общим стилем интерьера и представлять с ним единое целое. Однако, при желании она может служить, как дополнительный акцент в интерьере. Для этого всего лишь необходимо расположить ее в самом центре помещения, и она уже станет не просто средством для межэтажного перемещения, но и связующим звеном между жилыми пространствами на разных этажах с разной стилистикой.

Вот простой пример: на первом этаже у вас классический стиль интерьера, а на втором – минимализм, в таком случае связать их воедино может установленная лестница с деревянными ступенями, имеющая достаточно легкую конструкцию.

К интерьеру в стиле хай-тек подойдет лестница, как бы парящая в воздухе, в которой присутствует сочетание ступеней из прозрачного стекла с блестящими металлическими перилами – все это способствует созданию ощущения удивительной легкости.

Современная консольная конструкция лестницы представляет собой доски, одним концом закрепленные к стене, с тонкими железными перилами. Кстати, подобная лестница прекрасно впишется практически в любой интерьер, даже напоминающий старинный замок со стеной, отделанной каменной кладкой.

К минималистскому стилю, выполненному в черно-белой цветовой гамме, прекрасно подойдет лестница, имеющая строгую форму и ступени из дуба, покрытые черным лаком. Таким образом, тонкий силуэт лестницы на фоне белой стены будет напоминать о японских гравюрах.

А вот о лестницах белого цвета следует особо упомянуть. Дело в том, что они больше привлекают внимания к себе, независимо от того, какая у них конструкция. Помните – белая лестница более нарядная и броская, способная внести в интерьер ощущение торжественности.

Таким образом, выбор конструкции лестницы определяет и ее месторасположение. В большинстве случаев лестницы устанавливаются в холле.

Конечно, имеются и другие варианты, например, в гостиной – тоже нередкий случай.

Однако, существуют два основных принципа, которыми необходимо руководствоваться:
- лестница должна столько занимать пространства в доме, сколько необходимо для ее полного функционирования, при этом она не должна смотреться громоздко;
- хотя бы первый пролет или даже две – три ступени должны обращаться по направлению к входной двери
Ну и напоследок, не стоит забывать о том, что лестница всегда представляет самое опасное место в доме, т.к. на ней гораздо проще поскользнуться, споткнуться или оступиться, чем на ровной поверхности. В связи с этим, очень важно, чтобы она была хорошо освещенной, причем, в любое время суток. Для этого можно использовать настенные бра, люстры, а можно оборудовать дополнительную подсветку ступеней, что очень удобно и красиво.
www.remontbp.com
Лестницы на второй этаж в частном доме – руководство по изготовлению и самостоятельной сборке. Лестница двухэтажный дом
Лестницы в доме на второй этаж, фото и конструктивные особенности
ПОДЕЛИТЕСЬВ СОЦСЕТЯХ
Лестницы в доме на второй этаж, фото которых украшают страницы тематических сайтов – это не просто необходимость, но привлекательность и красота. Такие лестницы бывают различных типов, наш выбор которых зависит от площади комнаты и ее дизайна, пожеланий хозяев домовладения. Возможно устанавливать конструкции из разнообразных материалов. Эта статья призвана дать понятие о видах лестничных конструкций, их составных частях и о тех требованиях безопасности, которые необходимо учитывать при сооружении лестницы на второй этаж своими руками.
Функциональная лестница в доме
Перечень основных элементов лестницы
Самыми значимыми деталями каждой лестницы между этажами являются их ступени и опоры, на которых они держатся. Балки, поддерживающие ступени с боков и снизу, именуют тетивами. Те же балки, которые только снизу держат ступени, называют косоуры. Если косоура три, то средний будет именоваться промежуточным.
Лестница на второй этаж
Сами ступени состоят из так называемой проступи (это та горизонтальная поверхность, на которую ступает нога человека) и подступенка (вертикальная деталь). В конструкции некоторых лестниц подступенки могут отсутствовать вовсе.
В качестве поддерживающих элементов выступают больцы и стойки. Первые представляют собой специальные болты, вмонтированные в стену. На них крепят ступени лестницы. Стойка является основным поддерживающим элементом для любой спиральной лестницы.
Одномаршевая лестница
Собранные в единое конструктивное сооружение, ступени с балками – это лестничные марши. Он предназначен для подъема с низшего уровня на высший. Если в конструкции лестницы предусмотрено более одного марша, то между ними устраивают площадку, которая служит для перехода между маршами, направленными в разные стороны.
Лестница в современном стиле
Важными и значимыми деталями лестниц служат перила, хотя они не всегда применяются. Это же касается поручней, ограждений, обшивочных и отделочных деталей. Иногда бывают дополнительные детали ограждений в виде стальных прутьев и стоек. Перила имеют опоры из балясин. Ими называют вертикальные лестничные элементы, которые являются не только стойками для перил, но и украшениями.
Торцы ступеней выполняют роль кухонных полок
Лестницы в доме на второй этаж, фото различных видов и их особенности
Существует очень обширная классификация лестниц, учитывающая их назначение, функциональность, положение, компоновку, способ функционирования, конструкцию и материал. Для целей данной статьи нам не нужно подробно рассматривать все классифицирующие признаки. Отметим только, что все домашние лестницы можно разбить на следующие самостоятельные виды:
- Спиральные либо винтовые.
- Состоящие из единственного или нескольких маршей.
- Лестницы, установленные на больцах.
При строительстве дома важно правильно рассчитать размер лестницы на второй этаж
Вот эти типы мы и рассмотрим подробнее, чтобы четче себе представлять технологию установки лестницы на второй этаж своими руками.
Устройство и особенности винтового типа лестниц
Винтовые лестницы принято сооружать в маленьких помещениях, где невозможно разместить прямые лестничные марши. Для определения количества места, нужного для сооружения лестницы, необходимо сделать некоторые расчеты. Нужно только знать размеры лестничных ступеней. Обычно средняя длина ступенек для винтовых лестниц лежит в пределах от 50 до 100 см. Умножив длину ступени на 2, получим необходимый диаметр окружности, который потребуется для установки винтовой конструкции лестницы. Удобство таких лестниц оставляет желать лучшего, зато их можно с успехом разместить на совсем маленькой площади. Наверное, не следует их устанавливать, как основные, а вот как вспомогательные на чердак или в подвал они будут кстати.
Компактная винтовая лестница
Материалом для винтовых лестниц служит дерево или металл. Ступени клиновидной формы крепят вокруг центральной стойки либо столба. Чаще всего стойки делают из металлической трубы. К ней ступени прикрепляют узкой частью. Их широкая сторона соседствует со стеной либо балясинами.
Лестница с широкими ступенями
skalice.ru
|
ТОП 10: |
Устройство полов
Настилка дощатых полов
Полы из фрезерованных досок
|
infopedia.su
Лестницы в двухэтажном доме. Размеры винтовой лестницы. Правила эргономики. Фото винтовых лестниц в интерьере
Частное строительство имеет несколько вариантов решения вопроса по установке . Однако бывают такие случаи, при которых единственно возможным выходом является создание винтовой лестницы на второй этаж. Такие конструкции интересны не только с точки зрения технического решения, но и представляют эстетическую ценность.
Виды конструкций винтовых лестниц
Оригинальность конструкций винтовых лестниц и разнообразие их исполнения, а также применяемые материалы делают из простого приспособления для перемещения между этажами настоящее произведение искусства. В целом винтовые лестницы подразделяются на следующие виды:
- Ступени выполняются в виде клина, широкий конец которых имеют опору на стену, а узкий конец крепится к центральной колоне лестницы или к столбу. Его изготавливают из камня, древесины либо он образуется утолщающимися частями ступеней. Для фиксации к стене применяются больцы. Вариантами соединения со стеной ступеней могут быть спиральные тетивы или косоуры.
- К центральному столбу консольно устанавливаются ступени. Такая лестница располагается отдельно и удалена от стен.
Ступени присоединяются к центральному столбу- Опорный столб отсутствует. В качестве опор выступают тетивы, которые имеют спиральную конфигурацию, и постепенно переходят в опорные перила. Этот вариант исполнения лестницы наиболее сложен, но отличается изысканной красотой.
Тетивы – опорные конструкции
- Центральный столб представляет собой, чаще всего, трубу, которая изготавливается из стали или асбестоцемента. Это традиционный вариант конструкции винтовой лестницы, который отличается простотой и надежностью.
Опорный столб из трубы
Сделать винтовую лестницу своими руками из дерева или метала под силу человеку, который имеет базовые навыки работы с этими материалами.
За и против винтовой лестницы
При выборе типа винтовой лестницы следует тщательно изучить основные ее характеристики.
Положительными сторонами таких конструкций являются:
- меньшие размеры по сравнению с маршевыми лестницами;
- более комфортное перемещение по лестнице, чем при использовании раскладных или приставных моделей;
- оригинальный вид лестницы в интерьере дома, возможность применения различных дизайнерских решений;
- доступная стоимость изделия. Простота конструкции и уменьшение затрат на материалы. Вследствие меньших габаритов снижаются затраты на сооружение лестницы.
К отрицательным сторонам круглой лестницы можно отнести:
- сложность, а в некоторых случая
piorit.ru
