Битума температура вспышки – Температура вспышки битумов дорожных — Справочник химика 21
Температура вспышки битумов дорожных — Справочник химика 21
Качество битумов характеризуется также их растворимостью в хлороформе, бензоле и др. Чем больше битум содержит растворимых продуктов, тем меньше в нем примесей, ухудшающих его свойства. Важными показателями качества битума являются температура его вспышки, потеря в весе при нагреве и изменение пенетрации после нагрева. Для повышения качества битума (и следовательно, дорожных покрытий) в настоящее время делаются, попытки добавлять к битуму пластифицирующие вещества, повышающие его растяжимость и эластичность при низких температурах и замедляющие процессы его старения. Наибольший интерес представляют тонкоизмельченные отходы резины (регенерат), при добавлении которых к асфальтобетону значительно улучшаются указанные выше свойства. [c.312]Строительные нефтяные битумы (ГОСТ 6617—56) выпускают трех сортов БН-1У, БН-У и БН-Ук. При растворении в бензине 99% битума переходит в раствор. Температура размягчения битума БН-1У 70° С, а остальных — 90° С. Все строительные нефтяные битумы содержат столько же водорастворимых примесей и летучих продуктов, как дорожные битумы. Температура вспышки строительных битумов не ниже 230° С.
Вязкие дорожные битумы должны отвечать требованиям ГОСТ 22245-76 (с I января 1978 г.), которым предусматривается производство девяти марок битума (табл.1). Буквы в наименованиях означают Б — битум, Н — нефтяной, Д -дорожный числа соответствуют пределу глубины проникания иглы. По сравнению с ранее действующими стандартами в новом ГОСТ для марок БЦД нормируется показатель растяжимости при О °С, установлена более низкая температура размягчения (на 1-2 °С). Для всех марок повышена температура вспышки, нормируется изменение температуры размягчения после прогрева при 160 °С в течение 5 ч и индекс пенетрации. Новый ГОСТ повысил требования к сырью для производ- ства дорожных битумов так, запрещено применять без дополнительной переработки крекинг-остатки и асфальты деасфаль-тизации. [c.23]
Вязкие дорожные нефтяные битумы являются горючим веществом с температурой вспышки 200—300° С и минимальной температурой самовоспламенения 368° С. [c.181]
Дорожные нефтяные битумы (ГОСТ 1544—52) выпускают двух сортов БН-П1 и БН ГПу. Битумы обоих сортов хорошо растворимы в бензоле (98%) и почти не растворяются в воде. Дорожные би-тимы не содержат кислот и щелочей, но в них находится 0,2— 0,3% водорастворимых примесей. При нагревании они плавятся. Температура размягчения для битума ВН-П1 равна 45° С, а для БН-П1у — 50° С. Из битума, нагретого в течение 5 ч при температуре 160° С, испаряется около 1% летучих продуктов. Дальнейшее повышение температуры приводит к вспышке, которая происходит при температуре выше 200° С. [c.63]
Разжижение переокисяенного гудрона (КиШ — 100 С) исходным же гудроном позволяет получить дорожные битумы только марок БН. Необходимо отметить, что все марки дорожных битумов независимо от вида сырья и способа получения с заметным запасом удовлетворяют установленным нормам ГОСЛ а 22245-76 по всем другим показателям содержанию водорастворимых соединений, изменению температуры размягчения после прогрева, температуры вспышки, растяжимости пр1 0°С.
Тенпература вспышки для дорожных битумов не является основным показателем, она не определяет их качество, а нормируется для характеристики пожароопасных свойств. Нормы по температуре вспышки ряда марок битумов в нао стране (Ш 90/1,30, Ш бОУЭО, БНД 90/130, БВД 60/90, БВД 40/60) несколько ниже норм зарубежных стандартов, однако они вполне обеспечиваш безстасность условий пришнения этих битумов в дорожном строительстве. [c.138]
Дорожные битумы за рубежом получают в основном в виде остатков атмосферно-вакуумной перегонки тяжелых асфальтосмолистых нефтей и вследствие этого они имеют более высокую дёформативность (растяжимость выше 100) и температуру вспышки [2,14,15,1б]. В нашей стране дорожные битумы получают в основном окислением нефтяных остатков, что несколько снижает их растяжимость, но значительно улучшает низ-котемпературнне свойства [1,2,З]. [c.138]
Жидкие битумы классов БГ и СГ применяются при строительстве усовершенствованных дорожных покрытий во всех дорожноклиматических зонах, а класс МГ — при строительстве дорог облегченного типа и оснований в П1, IV и V климатических поясах. Технические требования к жидким нефтяным битумам регламентируются ГОСТ 11955—74 по вязкости, количеству испаряющегося разжижи-теля, температуре размягчения остатка после испарения, температуре вспышки и сцепления с мрамором или песком. В жидкие битумы вводят поверхностно-активные вещества. [c.184]
Необходимо остановиться еще на одном важном вопросе, связанном с исследованием свойств битумов. Оценка качёс вХ дорожных битумов основывается па таких физических свойствах, как вязкость, пенетрация, температура вспышки, растворимость в растворителях. Только в последние ГОСТы введены такие показатели, как температура хрупкости и испытание на сцепление с мрамором или песком. Безусловно, новые методы испытаний дорон1ного битума позволили глубже характеризовать получаемые продукты и заранее определять поведение их при использовании в дорожном строительстве. Учитывая современное состояние и уровень научных исследований, нельзя признать достаточными те показатели качества- битумов, которыми в настоящее время определяются их свойства. В этой связи представляется целесообразным вести работы в направлении разработки новых методов определения эксплуатационных свойств битумов, которые позволили бы производить более полную их оценку. Здесь в какой-то мере можно провести аналогию с комплексом методов квалификационных испытаний для авиабензинов и авиакеросинов. Естественно, что проведение этой работы применительно к битумам встретит определенные трудности,, но проводить ее необходимо
Вяжущее ВНМВ 60/90 (табл. 1.22), полученное окислением остатка, выкипающего выше 300°С, удовлетворяет требованиям ГОСТа 22245—76 на вязкие дорожные битумы БНД 60/90 и приближается по своим свойствам к стандартному битуму № 1, полученному окислением гудрона в реакторе непрерывного действия. Вяжущие № 3 и 4 (табл. 1.22), приготовленные окислением нефти из остатка, выкипающего выше 300°С, в лабораторных кубах периодического действия, не соответствуют требованиям действующего стандарта, предъявляемым к маркам БНД и БН по температуре вспышки, изменению температуры размягчения остатка после прогрева и индексу пенетрации. [c.50]
Прямогонные керосины саитовской нефти по всем константам, кроме содержания серы, соответствуют нормам ГОСТ. Для получения керосинов типа осветительного требуется специальная очистка. Для получения товарных дизельных топлив из дистиллятов, соответствующих дизельному топливу типа летнего по фракционному составу, вязкости, температурам застывания, вспышке и содержанию серы (более 1%), их необходимо очищать от серы. Дистилляты облегченного фракционного состава имеют низкую температуру застывания. После специальной
www.chem21.info
Битум нефтяной, температура вспышки — Справочник химика 21
Строительные нефтяные битумы (ГОСТ 6617—56) выпускают трех сортов БН-1У, БН-У и БН-Ук. При растворении в бензине 99% битума переходит в раствор. Температура размягчения битума БН-1У 70° С, а остальных — 90° С. Все строительные нефтяные битумы содержат столько же водорастворимых примесей и летучих продуктов, как дорожные битумы. Температура вспышки строительных битумов не ниже 230° С. [c.63]Остаток после отгонки масел из мазута, называемый гудроном, используется непосредственно или после соответствующей обработки в качестве нефтяного битума различных марок. Из гудрона могут быть получены также смазочные масла с высокой температурой вспышки. [c.51]
Вязкие дорожные битумы должны отвечать требованиям ГОСТ 22245-76 (с I января 1978 г.), которым предусматривается производство девяти марок битума (табл.1). Буквы в наименованиях означают Б — битум, Н — нефтяной, Д -дорожный числа соответствуют пределу глубины проникания иглы. По сравнению с ранее действующими стандартами в новом ГОСТ для марок БЦД нормируется показатель растяжимости при О °С, установлена более низкая температура размягчения (на 1-2 °С). Для всех марок повышена температура вспышки, нормируется изменение температуры размягчения после прогрева при 160 °С в течение 5 ч и индекс пенетрации. Новый ГОСТ повысил требования к сырью для производ- ства дорожных битумов так, запрещено применять без дополнительной переработки крекинг-остатки и асфальты деасфаль-тизации. [c.23]
Нефтяной битум для заливочных аккумуляторных мастик является горючим веществом с температурой вспышки 250—330° С. Минимальная температура самовоспламенения 368°С.
Вязкие дорожные нефтяные битумы являются горючим веществом с температурой вспышки 200—300° С и минимальной температурой самовоспламенения 368° С. [c.181]
Изоляционные нефтяные битумы являются горючим веществом с температурой вспышки 240—300° С. [c.188]
Кровельные нефтяные битумы являются горючими веществами с температурой вспышки 240—300° С. Минимальная температура самовоспламенения — 300° С. [c.191]
Определение температуры вспышки. Этот показатель используется при классификации производств, помещений и установок по пожаровзрывоопасности. Его определяют для веществ с дисперсной фазой, представляющих собой твердые плавящиеся органические соединения (например, нефтяной пек, битум и т.п.). [c.109]
Пикнометры и специальные бани Приборы для определения температуры вспышки Приборы для определения свойств нефтяных топлив Приборы для определения свойств масел и смазок Приборы для определения свойств битумов, парафинов и церезинов Комплектные лаборатории для химического анализа почв и сточных вод Комплектные лаборатории для бактериологического анализа почв и сточных вод [c.166]
Дорожные нефтяные битумы (ГОСТ 1544—52) выпускают двух сортов БН-П1 и БН ГПу. Битумы обоих сортов хорошо растворимы в бензоле (98%) и почти не растворяются в воде. Дорожные би-тимы не содержат кислот и щелочей, но в них находится 0,2— 0,3% водорастворимых примесей. При нагревании они плавятся. Температура размягчения для битума ВН-П1 равна 45° С, а для БН-П1у — 50° С. Из битума, нагретого в течение 5 ч при температуре 160° С, испаряется около 1% летучих продуктов. Дальнейшее повышение температуры приводит к вспышке, которая происходит при температуре выше 200° С. [c.63]
IV класс — горючие жидкости, дающие вспышку паров при температуре выше 120° (смазочные масла, мази, парафины, нефтяные битумы,
Дорожные битумы за рубежом получают в основном в виде остатков атмосферно-вакуумной перегонки тяжелых асфальтосмолистых нефтей и вследствие этого они имеют более высокую дёформативность (растяжимость выше 100) и температуру вспышки [2,14,15,1б]. В нашей стране дорожные битумы получают в основном окислением нефтяных остатков, что несколько снижает их растяжимость, но значительно улучшает низ-котемпературнне свойства [1,2,З]. [c.138]
В производстве кровельных ж жных строительных материалов, в электротехнике, гидротехнике и т. д. По основным свойствам (температуре размягчения, пенетрацшг, растяжению, температуре вспышки) нефтяные битумы делятся на пять марок. [c.178]
Окисленные битумы с повышенной растяжимостью и пониженной температурной чувствительностью могут быть получены из полуасфальтовых нефтей следующими способами получением нефтяного остатка с малым содержанием масел и имеющего температуру вспышки более 260 °С осаждением асфальто-смолистых веществ нпродувкой воздухом при 232—288°С до температуры размягчения 182 °С и содержания асфальтенов 50—60% разжижением продукта разжижителем. Для получения окисленных битумов с высокой температурой размягчения (120—135 °С и выше) [354] к сырью добавляют 5—15% вакуумного дистиллята. [c.171]
Жидкие битумы классов БГ и СГ применяются при строительстве усовершенствованных дорожных покрытий во всех дорожноклиматических зонах, а класс МГ — при строительстве дорог облегченного типа и оснований в П1, IV и V климатических поясах. Технические требования к жидким нефтяным битумам регламентируются ГОСТ 11955—74 по вязкости, количеству испаряющегося разжижи-теля, температуре размягчения остатка после испарения, температуре вспышки и сцепления с мрамором или песком. В жидкие битумы вводят поверхностно-активные вещества. [c.184]
Битумы нефтяные дорожные БНД-60/У0, ГОСТ 22245—76 Гемпература размягчения 11е ниже 45 С. Потери в массе при КЮ С за 8 ч не более 1 %. Температура вспышки не ниже 220 С Обмазочная пароизоляция и проклейка швов пароизоляционного слоя из рубероида, фольги, изола при температуре изоляционного слои не ниже 70 С Г]рименяется в смеси с ои-тумом BH-iiu/lO, ГОСТ [c.87]
В Советском Союзе выпускается около десяти видов нефтяных битумов, но для защиты подземных трубопроводов используются изоляционные битумы (ГОСТ 9812—74), строительные (ГОСТ 6617—56) и рубракс (ГОСТ 781—68). Изоляционные битумы по сравнению со строит ьными обладают более высокими упругопластическими свойствами, а рубракс, в отличие от них обоих, имеет высокую температуру размягчения, и вспышки (270 °С) и меньший показатель пенетрации от 0,3 до 0,8 мм. [c.31]
www.chem21.info
Определение температуры вспышки битума — МегаЛекции
Температурой вспышки называют температуру, при которой газообразные продукты, выделяющиеся из битума, при нагревании образуют с воздухом смесь, вспыхивающую на короткое время при поднесении к ней пламени. Температуру вспышки битумов определяют для установления безопасного технологического режима их расплавления, а также смешивания с наполнителями.
Для определения температуры вспышки используют стандартный прибор (рис. 10.5), состоящий из наполненного песком стального тигля 4, подогреваемого газовой горелкой 6, и внутреннего стального тигля 3 диаметром 64, высотой 47, толщиной стенок 1 мм, в который наливают расплавленный битум. До начала испытания малый тигель промывают бензином и просушивают над зажженной горелкой, после чего помещают в большой тигель с прокаленным песком так, чтобы уровень песка был на 12 мм ниже края тигля, а между дном этого тигля и наружным тиглем был слой песка толщиной 5 – 8мм.

Рис. 10.5. Прибор для определения температуры вспышки битума
Расплавленный битум с ожидаемой температурой вспышки до 210°С наливают во внутренний тигель так, чтобы уровень его был на 12 мм ниже края тигля.
Большой тигель (вместе с малым тиглем) устанавливают в кольцо, закрепленное на штативе 1; под него подводят газовую горелку, а сверху в испытываемый битум погружают термометр 2 так, чтобы ртутный шарик его находился примерно в геометрическом центре меньшего тигля. К поверхности битума подводят зажигательное приспособление 5, состоящее из трубки, присоединенной к газопроводу. Наружный тигель нагревают пламенем газовой горелки с таким расчетом, чтобы повышение температуры в начале испытания было в пределах 10°С/мин; за 40°С до ожидаемой температуры вспышки скорость нагрева уменьшают до 4°С/мин. За 10°С до ожидаемой температуры вспышки поджигают зажигательное приспособление и медленно проводят им по краю тигля на расстоянии 10 – 14 мм от поверхности битума. Длина пламени у зажигательного приспособления должна быть около 4 мм. Появление синего пламени над поверхностью битума принимают за момент его вспышки, а температуру, отмеченную в этот момент, – за температуру вспышки.
При проведении испытания следует избегать движения воздуха и яркого освещения, что затрудняет наблюдение за моментом вспышки. Определение следует проводить дважды, за окончательный результат принимают среднее арифметическое двух определений.
При проведении лабораторных испытаний дорожных, строительных или кровельных битумов следует руководствоваться данными, приведенными в табл. 10.1.
Таблица 10.1. Физико-механические свойства нефтяных битумов
| Марка битума | Глубина проникания иглы при25°С, 0.1 мм | Растяжимость при 25°С,см не менее | Температура | ||
| Размягчения,°С, не ниже | Вспышки, °С, не ниже | ||||
| Строительные битумы | |||||
| БН- 50/50 | 41-60 | ||||
| БН- 70/30 | 21-40 | ||||
| БН- 90/10 | 5-20 | ||||
| Кровельные битумы | |||||
| БНК-45/180 | 140-220 | не норм. | 40-50 | ||
| БНК- 90/40 | 35-45 | не норм. | 85-95 | ||
| БНК –90/30 | 25-35 | не норм. | 85-95 | ||
| Дорожные битумы | |||||
| БНД- 200/300 | 201-300 | - | |||
| БНД-130/200 | 131-200 | ||||
| БНД90/130 | 91-130 | ||||
| БНД-60/90 | 61-90 | ||||
| БНД-40/60 | 40-60 | ||||
Результаты испытаний заносятся в табличном виде (табл. 10.2) и делаются выводы.
Таблица 10.2. Результаты испытания битума
| № пробы | Вязкость, Па*с | Растяжимость, см | Температура размягчения, °С | Температура вспышки, °С |
Контрольные вопросы
1. Что представляют собой нефтяные битумы?
2. Как определяют вязкость битума?
3. Изложите методику определения растяжимости битума?
4. Изложите последовательность определения температуры размягчения битума?
5. Как определить температуру вспышки битума?
Литература
1. Домокеев А.Г. Строительные материалы: Учеб. для строит. вузов. –М.: Высш. шк. 1986 .- 495 с.
2. Попов К.Н., Каддо М.Б. Строительные материалы и изделия: Учеб. – М.: Высш. шк., 2001. – 367 с.
3. Попов Л.Н., Лабораторные испытания строительных материалов и изделий: Учеб.пособие. — М.: Высш. шк., 1984. – 255 с.
Сузев Николай Антонович
Нурымбетова Раушан Уалихановна
МЕТОДИЧЕСКИЕ УКАЗАНИЯ
по выполнению лабораторных занятий
по дисциплине
«Строительные материалы-1»
Подписано к печати _____. Бумага офсетная 60х84 1/16
Обьем 6,3 п.л. Тираж 100 шт. Заказ №
ЮКГУ им. М.Ауезова, 160018. г. Шымкент, пр. Тауке хана
*Допускается испытание кирпича на образцах из двух целых кирпичей, уложенных постелями один на другой, при этом число отбираемых кирпичей для испытания на сжатие увеличивают до десяти. Как и при испытании образца-кирпича из двух половинок, целые кирпичи соединяют цементным тестом и выравнивают их поверхности, соприкасающиеся с плитами пресса.
Рекомендуемые страницы:
Воспользуйтесь поиском по сайту:
megalektsii.ru
11.2.3 Определение растяжимости битума (гост 11505-75)
Растяжимость (дуктильность) характеризует пластичность битума, т.е. его способность вытягиваться в тонкие нити под влиянием приложенной растягивающей силы. Растяжимость определяют на специальном приборе – дуктилометре (рисунок 11.3), представляющем собой металлический ящик, в котором перемещаются салазки с зажимами для восьмерок со скоростью 5 см/мин. Дуктилометр заполняют водой, имеющей температуру +25°C. Восьмерки снимают с пластины, убирают боковины и укрепляют их в дуктилометре.
Стрелка-указатель должна стоять на нулевом делении. Включают мотор и наблюдают за растяжением нити. Опыт заканчивается, когда нить битума разорвется. Длина нити в момент разрыва и принимается за растяжимость битума. Для каждой пробы проводят три определения. За окончательный результат принимают среднее арифметическое трех определений.

Рисунок 11.1 – Пенетрометр

Рисунок 11.2 – Прибор для температуры размягчения
по методу «кольца и шара»:
1 – металлические диски; 2 – металлические стержни;
3 – латунные кольца; 4 – термометр.

Рисунок 11.3 – Дуктилометр:
1 – ящик; 2 – винт; 3 – салазки; 4 – гайка; 5 – образец битума;
6 – неподвижная опора; 7 – редуктор; 8 – электродвигатель; 9 – стрелка; 10 – линейка; 11 – форма восьмерки; 12 – форма, заполненная битумом.
11.2.4 Определение температуры вспышки битума (гост 4333-87)
Температурой вспышки называют температуру, при которой газообразные продукты, выделяющиеся из битума, при нагревании образуют с воздухом смесь, вспыхивающую на короткое время при поднесении к ней пламени. Температуру вспышки битумов определяют для установления безопасного технологического режима их расплавления, а также смешивания с наполнителями. Для определения температуры вспышки используют стандартный прибор (рисунок 11.4), состоящий из наполненного песком большого стального тигля 4, подогреваемого газовой горелкой 6 и внутреннего стального тигля 3 диаметром 64 мм, высотой 47 мм, толщиной стенок 1 мм, в который наливают расплавленный битум. До начала испытания малый тигель промывают бензином и просушивают его над зажженной горелкой, после чего помещают в большой тигель с прокаленным песком так, чтобы уровень песка был на 12 мм ниже края тигля, а между дном этого тигля и наружным тиглем был слой песка толщиной 5-8 мм.
Расплавленный битум с ожидаемой температурой вспышки до 120°C наливают во внутренний тигель так, чтобы уровень его был на 12 мм ниже края тигля. Большой тигель (вместе с малым тиглем) устанавливают в кольцо, закрепленное на штативе 1; под него подводят газовую горелку, а сверху в испытуемый битум погружают термометр 2 так, чтобы ртутный шарик его находился примерно в геометрическом центре меньшего тигля. К поверхности битума подводят зажигательное приспособление 5, состоящее из трубки, присоединенной к газопроводу. Наружный тигель нагревают пламенем газовой горелки с таким расчетом, чтобы повышение температуры в начале испытания было в пределах 10°C/мин; за 40°C до ожидаемой температуры вспышки скорость нагрева уменьшают до 4°C/мин. За 10°C до ожидаемой температуры вспышки поджигают зажигательное приспособление и медленно проводят им по краю тигля на расстоянии 10-14 мм от поверхности битума. Длина пламени у зажигательного приспособления должна быть около 4 мм. Появление синего пламени над поверхностью битума принимается за момент его вспышки, а температура, отмеченная в этот момент, – за температуру вспышки.
При проведении испытания следует избегать движение воздуха и яркого освещения, что затрудняет наблюдение за моментом вспышки. Определение следует проводить дважды. За окончательный результат принимают среднее арифметическое двух определений.
При необходимости определяют температуру хрупкости битума, например, только для дорожных по ГОСТ 11507-78.
Все результаты испытаний заносят в таблицу. По результатам испытаний присваивают марку битуму и устанавливают область его применения.

Рисунок 11.4 – Прибор для определения температуры вспышки битума:
1 – штатив; 2 – термометр; 3 – стальной тигль; 4 – большой стальной тигль;
5 – зажигательное приспособление; 6 – газовая горелка.
studfiles.net
Определение температуры вспышки битума по ГОСТ 4333-48 — Студопедия.Нет
Аппаратура. Прибор Бренкена (рис. 11), состоящий из песчаной бани, стального тигля, термометра, горелки и штатива.
Испытание. Тигель промывают бензином, высушивают и наливают в него битум ниже краев па 12 мм при ожидаемой температуре вспышки до 210°С включительно и на 18 мм для битумов со вспышкой выше 210°С.
После этого тигель с битумом погружают в песчаную баню гак, чтобы уровень битума и песка совпадал. Термометр погружают в битум на половину глубины тигля.
Спиртовой или газовой горелкой нагревают песчаную баню для того, чтобы битум нагревался на 10 °С/мин. За 40 °С до ожидаемой температуры вспышки нагрев ограничивают 4 °С/мин За 10 °С до ожидаемой температуры вспышки проводят медленно по краю тигля на расстоянии 10 — 14 мм от поверхности битума и параллельно этой поверхности пламенем зажигательного приспособления. Длина пламени 3-4 мм. Время продвижения пламени от одной стороны тигля до другой 2 — 3 с. Испытание повторяют через 2°С подъема температуры.
За температуру вспышки принимают температуру, показываемую термометром при появлении первого синего пламени на поверхности битума. Если же газообразные продукты на поверхности битума вспыхнут и прогорят не менее 5 с, то температуру, показываемую термометром в этот момент, принимают за температуру воспламенения. По физико-механическим свойствам вязкие битумы должны соответствовать требованиям табл. 6.
Таблица 6
Показатели | Нормы по маркам | ||||||||
| БНД 200/300 | БНД 130/200 | БНД 90/130 | БНД 60/90 | БНД 40/60 | БН 200/300 | БН 130/200 | БН 90/130 | БН 60/90 | |
| Глубина проникания иглы при 25°С | 201-300 | 131-200 | 91-130 | 61-90 | 40-60 | 201-300 | 131-200 | 91-130 | 60-90 |
| Глубина проникания иглы при 0°С не менее | 45 | 35 | 28 | 20 | 13 | 24 | 18 | 15 | 10 |
| Температура размягчения по кольцу и шару, °С, не ниже | 35 | 39 | 43 | 47 | 51 | 99 | 97 | 40 | 45 |
| Растяжимость, см, не менее при 25°С | _ | 65 | 60 | 50 | 40 | - | 70 | 60 | 50 |
| Растяжимость, см, не менее при 0°С | 20 | 6 | 4,2 | 3,5 | - | - | - | - | - |
| Температура вспышки, °С, не более | 200 | 220 | 220 | 220 | 220 | 220 | 220 | 220 | 220 |
| Изменение температуры размягчения после прогрева, °С, не более | 8 | 7 | 6 | 6 | 6 | 8 | 7 | 6 | 6 |
| Температура хрупкости, °С, не выше | -20 | -18 | -17 | -15 | -10 | -14 | -12 | -10 | -4 |
4.6. Определение изменения температуры размягчения битума после прогрева по ГОСТ 18180 – 72
Подготовленный к испытанию образец битума наливают в металлическую или стеклянную чашку слоем около Л мм. Чашку с битумом помещают в термостат, нагретый до температуры (160±0,5) °С на 5 ч. После этого битум из чашки переливают в латунные кольца прибора для испытания.
Для битумов с температурой размягчения ниже 25 °С кольца с битумом охлаждают на воздухе 20 мин, затем на 3 мин помещают в воду при (5±1) °С, после чего гладко срезают избыток битума.
Испытание проводят так, как сказано в п. 4.3.
Изменение температуры размягчения после прогрева вычисляют как разность между температурами размягчения, определенными по ГОСТ 11506—73 (п. 4.3) до и после испытания на прогрев (п. 4.6).
Определение условной вязкости жидкого битума по ГОСТ 11503 – 74
Показатели | Нормы по маркам | ||||||||
| СГ 40/70 | СГ 70/130 | СГ 130/200 | МГ 40/70 | МГ 70/130 | МГ 130/200 | МГ 40/70 | МГ 70/130 | МГ 130/200 | |
| Условная вязкость по вискозиметру с отверстием 5 мм при температуре 60°С | 40-70 | 71-130 | 131-200 | 40-70 | 71-130 | 131-200 | 40-70 | 71-130 | 131-200 |
| Количество испарившегося разжижителя, %, °С, не ниже | 10 | 8 | 7 | 8 | 7 | 5 | - | - | - |
| Температура размягчения остатка после определения количества испарившегося разжижителя, °С, не ниже | 37 | 38 | 39 | 28 | 29 | 30 | - | - | - |
| Температура вспышки, определяемая в открытом тигле, °С, не ниже | 45 | 50 | 60 | 100 | 110 | 110 | 120 | 160 | 180 |
| Испытание на сцепление с мрамором или с песком | Выдерживает | ||||||||
Аппаратура. Стандартный вискозиметр, секундомер, мерный цилиндр на 100 мл, фарфоровая чашка, дна термометра, поваренная соль. Стандартный вискозиметр (рис. 12) состоит из водяной бани 4 с крышкой 3, патрубком 5 для подогрева воды в бане и краном 6 для ее спуска. Внутри бани укреплена трубка, на краях которой при помощи заплечиков подвешен латунный цилиндр 1 для испытываемого материала. В дне цилиндра имеется отверстие диаметром 10 мм, в которое вставляют сменные вкладыши с отверстиями 3 и 5 мм. Отверстие дна цилиндра или вкладыша закрывают шариковым клапаном 2, на стержне которого имеется штифт, указывающий уровень наполнения цилиндра битумом. Для перемешивания воды в бане к крышке прибора прикреплены четыре лопасти.
Испытание. Цилиндр, вкладыш и клапан необходимо протереть мягкой тканью, смоченной в органическом растворителе. И водяную баню наливают воду, нагретую на 1-2 °С выше температуры испытания. Обезвоженный битум нагревают до температуры на 2 — 3 °С выше температуры испытания и заливают и цилиндр до штифта на стержне, чтобы при этом не образовывались пузырьки воздуха. Битум, залитый в цилиндр вискозиметра, хорошо перемешиваюттермометром. Когда температура воды и битума
Таблица 7
будет одинаковой, т.е. соответствовать температуре испытания с погрешностью не более 0,5 °С, фарфоровую чашку убирают из-под отверстия вискозиметра и на ее место ставят мерный цилиндр.
Затем из цилиндра вискозиметра вынимают термометр, быстро приподнимают за стержень шариковый клапан и вешаютего на край цилиндра. Когда уровень битума достигнет в мерном цилиндре 25 мл, включают секундомер и отсчитывают, за сколько секунд натечет 50 мл битума, т. е. когда уровень его достигнет метки 75 мл. За условнуювязкость, выраженную в секундах, принимают время истечения 50 мл битума при температуре 60°С. За окончательный результат берут среднее из двух определений, если расхождение между ними не превышает 10%.
Характеристику вязкости сокращенно записывают так: =27, т. е. вязкость битума, испытанная при 60°С с диаметром сточного отверстия 5 мм, равна 27с. По среднему результату из двух определений находят по ГОСТу марку жидкого битума (табл. 7)
studopedia.net
ГОСТ 33141-2014 Дороги автомобильные общего пользования. Битумы нефтяные дорожные вязкие. Метод определения температур вспышки. Метод с применением открытого тигля Кливленда, ГОСТ от 29 мая 2015 года №33141-2014
ГОСТ 33141-2014
МКС 93.080.20
Дата введения 2015-10-01
с правом досрочного применения
Цели, основные принципы и основной порядок проведения работ по межгосударственной стандартизации установлены ГОСТ 1.0-92 «Межгосударственная система стандартизации. Основные положения» и ГОСТ 1.2-2009 «Межгосударственная система стандартизации. Стандарты межгосударственные, правила и рекомендации по межгосударственной стандартизации. Правила разработки, принятия, применения, обновления и отмены»
Сведения о стандарте
1 РАЗРАБОТАН Автономной некоммерческой организацией «Научно-исследовательский институт транспортно-строительного комплекса» (АНО «НИИ ТСК»), Межгосударственным техническим комитетом по стандартизации МТК 418 «Дорожное хозяйство»
2 ВНЕСЕН Федеральным агентством по техническому регулированию и метрологии (Росстандарт)
3 ПРИНЯТ Межгосударственным советом по стандартизации, метрологии и сертификации (протокол от 5 декабря 2014 г. N 46)
За принятие проголосовали:
Краткое наименование страны по | Код страны по | Сокращенное наименование национального органа по стандартизации |
Азербайджан | AZ | Азстандарт |
Армения | AM | Минэкономики Республики Армения |
Беларусь | BY | Госстандарт Республики Беларусь |
Казахстан | KZ | Госстандарт Республики Казахстан |
Киргизия | KG | Кыргызстандарт |
Россия | RU | Росстандарт |
Таджикистан | TJ | Таджикстандарт |
Узбекистан | UZ | Узстандарт |
4 Приказом Федерального агентства по техническому регулированию и метрологии от 29 мая 2015 г. N 527-ст межгосударственный стандарт ГОСТ 33141-2014 введен в действие в качестве национального стандарта Российской Федерации с 1 октября 2015 г.
5 ВВЕДЕН ВПЕРВЫЕ
Информация об изменениях к настоящему стандарту публикуется в ежегодном информационном указателе «Национальные стандарты», а текст изменений и поправок — в ежемесячном информационном указателе «Национальные стандарты». В случае пересмотра (замены) или отмены настоящего стандарта соответствующее уведомление будет опубликовано в ежемесячном информационном указателе «Национальные стандарты». Соответствующая информация, уведомление и тексты размещаются также в информационной системе общего пользования — на официальном сайте Федерального агентства по техническому регулированию и метрологии в сети Интернет
1 Область применения
Настоящий стандарт распространяется на дорожные нефтяные битумы вязкие (далее — битумы), предназначенные в качестве вяжущего материала при строительстве, реконструкции и ремонте дорожных покрытий, и устанавливает определение температуры вспышки в открытом тигле по методу Кливленда.
2 Нормативные ссылки
В настоящем стандарте использованы нормативные ссылки на следующие межгосударственные стандарты:
ГОСТ 12.1.004-91 Система стандартов безопасности труда. Пожарная безопасность. Общие требования
ГОСТ 12.1.005-88 Система стандартов безопасности труда. Общие санитарно-гигиенические требования к воздуху рабочей зоны
ГОСТ 12.1.007-76 Система стандартов безопасности труда. Вредные вещества. Классификация и общие требования безопасности
ГОСТ 12.1.044-89 Система стандартов безопасности труда. Пожаровзрывоопасность веществ и материалов. Номенклатура показателей и методы их определения
ГОСТ 12.4.131-83 Халаты женские. Технические условия
ГОСТ 12.4.132-83 Халаты мужские. Технические условия
ГОСТ 427-75 Линейки измерительные металлические. Технические условия
ГОСТ 450-77 Кальций хлористый технический. Технические условия
ГОСТ 2517-2012 Нефть и нефтепродукты. Методы отбора проб
ГОСТ 4166-76 Реактивы. Натрий сернокислый. Технические условия
ГОСТ 4233-77 Реактивы. Натрий хлористый. Технические условия
ГОСТ 6318-77 Натрий сернокислый технический. Технические условия
ГОСТ 6709-72 Вода дистиллированная. Технические условия
ГОСТ 8505-80 Нефрас-С 50/170. Технические условия
ГОСТ 28846-90 Перчатки и рукавицы. Общие технические условия
ГОСТ 29227-91 Посуда лабораторная стеклянная. Пипетки градуированные. Часть 1. Общие требования
ГОСТ 33133-2014 Дороги автомобильные общего пользования. Битумы нефтяные дорожные вязкие. Технические требования
Примечание — При пользовании настоящим стандартом целесообразно проверить действие ссылочных стандартов в информационной системе общего пользования — на официальном сайте Федерального агентства по техническому регулированию и метрологии в сети Интернет или по ежегодному информационному указателю «Национальные стандарты», который опубликован по состоянию на 1 января текущего года, и по выпускам ежемесячного информационного указателя «Национальные стандарты» за текущий год. Если ссылочный стандарт заменен (изменен), то при пользовании настоящим стандартом следует руководствоваться заменяющим (измененным) стандартом. Если ссылочный стандарт отменен без замены, то положение, в котором дана ссылка на него, применяется в части, не затрагивающей эту ссылку.
3 Термины и определения
3.1 В настоящем стандарте применены термины по ГОСТ 33133, а также следующий термин с соответствующим определением:
3.1.1 зажигательное устройство: Источник открытого огня, обеспечивающий поджог и воспламенение паров битума над его поверхностью.
4 Требования к средствам измерений, вспомогательным устройствам, материалам и реактивам
4.1 При проведении испытания по определению температуры вспышки битума применяют следующие средства измерений, вспомогательные устройства, материалы и реактивы:
4.1.1 Аппарат для определения температуры вспышки в открытом тигле (см. рисунок 1), который содержит следующие основные элементы:
— термометр ртутный стержневой с диапазоном измерения температур от 0°С до 360°С, с ценой деления 1°С и погрешностью измерения не более 2°С, внешним диаметром стержня от 6 до 8 мм, или аналогичный прибор, позволяющий производить измерения в указанном диапазоне температур с требуемой точностью;
— приспособление для подачи пламени с выходным отверстием, имеющим диаметр 6 мм;
— тигель открытый в соответствии с рисунком 2;
— пластина нагревательная (пластина термостойкая) и устройство для нагрева пластины нагревательной (плита металлическая).
4.1.2 Экран трехстворчатый, окрашенный с внутренней стороны черной краской, с секциями шириной (46±1) см и высотой (60±5) см или щит высотой от 55 до 65 см из листовой кровельной стали, окрашенный с внутренней стороны черной краской.
4.1.3 Секундомер с диапазоном измерения от 0 до 60 с с погрешностью не более 0,1 с.
4.1.4 Барометр ртутный или барометр-анероид с диапазоном измерения давления от 695 до 805 мм рт.ст. с ценой деления 1 мм рт.ст.
4.1.5 Щетка металлическая.
4.1.6 Бензин-растворитель с пределами выкипания от 50°С до 170°С или нефрас С 50/170 — по ГОСТ 8505.
4.1.7 Осушающие реагенты (обезвоженные).
4.1.7.1 Натрий сернокислый безводный — по ГОСТ 4166.
4.1.7.2 Натрий сернокислый технический — по ГОСТ 6318.
4.1.7.3 Кальций хлористый технический — по ГОСТ 450.
4.1.7.4 Натрий хлористый — по ГОСТ 4233.
4.1.8 Вода дистиллированная — по ГОСТ 6709.
4.1.9 Пипетка — по ГОСТ 29227.
4.1.10 Палочка стеклянная или металлическая для перемешивания битума.
4.1.11 Линейка металлическая — по ГОСТ 427.
4.2 Допускается применять другие средства измерения, химические реактивы и испытательное оборудование (в том числе автоматическое с применением зажигательного устройства, использующего вместо открытого огня электрический разряд), способные обеспечить точность получаемых результатов и обладающие метрологическими характеристиками не хуже установленных настоящим стандартом.
Рисунок 1 — Схема аппарата для определения температуры вспышки в открытом тигле
1 — термометр; 2 — приспособление для подачи пламени; 3 — открытый тигель; 4 — металлический держатель приспособления для подачи пламени; 5 — нагревательная пластина; 6 — сопло приспособления для подачи пламени; 7 — подача газа; 8 — устройство для нагрева нагревательной пластины
Рисунок 1 — Схема аппарата для определения температуры вспышки в открытом тигле
Рисунок 2 — Схема открытого тигля
1 — открытый тигель; 2 — уровень заполнения тигля битумом
Рисунок 2 — Схема открытого тигля
Рисунок 3 — Схема устройства для нагрева (металлическая плита) нагревательной пластины
1 — термостойкая пластина; 2 — металлическая пластина
Рисунок 3 — Схема устройства для нагрева (металлическая плита) нагревательной пластины
5 Метод испытаний
Настоящий метод испытаний заключается в нагревании пробы битума в открытом тигле с установленной скоростью до тех пор, пока не произойдет вспышка паров битума над его поверхностью от зажигательного устройства.
6 Требования безопасности и охраны окружающей среды
6.1 Битумы относятся к 4-му классу опасности и являются малоопасными веществами по степени воздействия на организм человека.
6.2 При работе с битумом необходимо соблюдать требования техники безопасности, указанные в ГОСТ 12.1.007, и требования противопожарной безопасности в соответствии с ГОСТ 12.1.004.
6.3 Предельно допустимая концентрация паров углеводородов битумов в воздухе рабочей зоны производственных помещений — 300 мг/м в соответствии с ГОСТ 12.1.005.
6.4 При работе с битумами используют специальную защитную одежду — по ГОСТ 12.4.131 или ГОСТ 12.4.132. Для защиты рук используют перчатки по ГОСТ 28846.
6.5 Битумы согласно ГОСТ 12.1.044 относят к трудногорючим жидкостям.
6.6 Испытанный битум утилизируют в соответствии с рекомендациями предприятия-изготовителя, указанными в стандарте организации на материал.
7 Требования к условиям испытаний
При проведении испытаний должны соблюдать следующие условия для помещений, в которых проводят испытание битума:
— температура воздуха — (21±4)°С;
— относительная влажность воздуха — не более 80%.
8 Подготовка к выполнению испытаний
8.1 При подготовке к выполнению испытания проводят следующие мероприятия:
— отбор проб;
— подготовка образцов;
— подготовка и настройка оборудования к испытаниям.
8.1.1 Отбор проб
Отбор проб производят в соответствии с ГОСТ 2517.
8.1.2 Подготовка образцов
При подготовке образцов для испытания необходимо осуществить следующие операции:
— образец битума доводят до подвижного состояния и обезвоживают, сначала нагревая его в сушильном шкафу до температуры (105±5)°С, затем, не допуская локальных перегревов, доводят температуру битума при постоянном перемешивании стеклянной или металлической палочкой до температуры не ниже 120°С и не выше 160°С. Время нагревания битума при указанных условиях не должно превышать 50 мин.
Примечание — Температура в сушильном шкафу в момент нагрева образца не должна превышать 160°С. Для того чтобы разогреть в течение заявленного времени образец объемом более 1 л, его рекомендуется сначала разделить на образцы объемом менее 1 л, например с помощью разогретого ножа;
— расплавленный до подвижного состояния и обезвоженный битум процеживают через сито и затем тщательно перемешивают стеклянной или металлической палочкой до полного удаления пузырьков воздуха.
8.1.3 Подготовка и настройка оборудования к измерениям
При подготовке и настройке оборудования в целях последующих измерений проводят следующие операции:
8.1.3.1 Аппарат устанавливают на горизонтальном столе в таком месте, где нет заметного движения воздуха и вспышка хорошо видна. Для защиты от движения воздуха аппарат с трех сторон окружают экраном или щитом в соответствии с 4.1.2. Перед проведением каждого испытания аппарат охлаждают.
8.1.3.2 Перед каждым испытанием тигель промывают растворителем. Углеродистые отложения удаляют металлической щеткой. Затем тигель промывают холодной дистиллированной водой и высушивают на открытом пламени или горячей электроплитке. Тигель охлаждают до температуры не менее чем на 56°С ниже предполагаемой температуры вспышки и помещают его в аппарат.
8.1.3.3 В тигель помещают термометр в строго вертикальном положении таким образом, чтобы нижний конец термометра находился на расстоянии (6,0±0,5) мм от дна тигля и на равном расстоянии от центра и стенок тигля.
8.1.3.4 При подготовке и настройке оборудования к измерениям проводят также дополнительные действия, если они установлены руководством по эксплуатации данного испытательного оборудования.
9 Порядок выполнения испытаний
При выполнении измерения по определению температуры вспышки битума в открытом тигле необходимо осуществить следующие операции:
— измеряют атмосферное давление;
— тигель заполняют битумом таким образом, чтобы верхний мениск точно совпадал с меткой. При наполнении тигля выше метки избыток битума удаляют пипеткой или другим соответствующим приспособлением. Удаляют пузырьки воздуха с поверхности пробы. Не допускается смачивание стенок тигля выше уровня жидкости.
При попадании битума на внешние стенки тигля его освобождают от битума и обрабатывают в соответствии с 8.1.3.2;
— тигель с пробой нагревают пламенем газовой горелки или при помощи электрообогрева сначала со скоростью от 14°С до 17°С в 1 мин. Когда температура пробы будет приблизительно на 56°С ниже предполагаемой температуры вспышки, скорость подогрева регулируют таким образом, чтобы при достижении 28°С перед ожидаемой температурой вспышки битум нагревался со скоростью (5,5±0,5)°С в 1 мин;
— зажигают пламя зажигательного устройства и регулируют его таким образом, чтобы диаметр поперечника пламени был (4,0±0,8) мм;
— начиная с температуры не менее чем на 28°С ниже предполагаемой температуры вспышки, каждый раз применяют зажигательное устройство при повышении температуры пробы на (2,0±0,5)°С. Пламя зажигательного устройства перемещают в горизонтальном направлении, не останавливаясь над краем тигля, и проводят им над центром тигля в одном направлении в течение 1 с. Середина пламени должна быть на расстоянии от верхнего края тигля не более чем 2 мм.
При последующем повышении температуры перемещают пламя зажигания в обратном направлении;
— за температуру вспышки принимают температуру, показываемую термометром при первой вспышке;
— появление ореола пламени в виде голубого круга, который иногда образуется вокруг пламени зажигания, не является вспышкой;
— при сомнениях в первой вспышке ее необходимо подтвердить фактом последующей вспышки через (2,0±0,5)°С.
10 Обработка результатов испытаний
10.1 Если барометрическое давление во время испытания ниже чем 101,3 кПа (760 мм рт.ст.), то температуру вспышки необходимо рассчитать по формуле
, (1)
где — температура вспышки, определенная при испытании битума при фактическом барометрическом давлении, °С;
— фактическое барометрическое давление во время испытания битума, кПа.
10.2 За результат испытания принимают среднее арифметическое значение результатов двух определений, округленное до целого числа и выраженное в градусах Цельсия.
10.3 Сходимость метода
Два результата определения, полученные на одном и том же аппарате и пробе битума, признают достоверными (при доверительной вероятности 95%), если расхождение между ними не превышает 5°С.
10.4 Воспроизводимость метода
Два результата испытания, полученные в двух разных лабораториях на одной и той же пробе битума, признают достоверными (при доверительной вероятности 95%), если расхождения между ними не превышают 16°С.
11 Оформление результатов испытаний
Результат испытания оформляют в виде протокола, который должен содержать:
— идентификацию испытуемого образца по паспорту;
— дату проведения испытаний;
— дату отбора проб;
— название организации, проводившей испытания;
— ссылку на настоящий стандарт и отклонения от его требований;
— ссылку на акт отбора проб;
— информацию о применяемом испытательном оборудовании;
— температуру вспышки.
12 Контроль точности результатов измерений
Точность результатов измерений обеспечивают:
— путем соблюдения требований настоящего стандарта;
— проведением периодической оценки метрологических характеристик средств измерений;
— проведением периодической аттестации оборудования.
Лицо, проводящее измерения, должно быть ознакомлено с требованиями настоящего стандарта.
УДК 625.85.06:006.354 | МКС 93.080.020 | |
| ||
Электронный текст документа
подготовлен АО «Кодекс» и сверен по:
официальное издание
М.: Стандартинформ, 2015
docs.cntd.ru
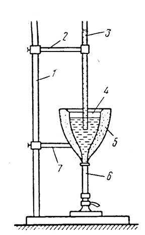
Определение температуры вспыхивания битума — Материалы и свойства
Автор Admin На чтение 2 мин. Опубликовано
Для установки безопасного технологического процесса, а также для смешивания с наполнителями нужно знать заранее температуру вспышки битумов (табл. 1).
Определение проводят на приборе (рис. 1), имеющем большой тигель 5, наполненный песком, подогреваемый горелкой, и малый тигель 4, в который наливают расплавленный битум так, чтобы уровень его до краю тигля не доходил на 12 мм для битумов с ожидаемой температурой вспышки до 210°С и на 18 мм для битумов, температура вспышки которых выше 210°С.
Рисунок 1. Прибор для определения температуры вспыхивания битума:- штатив;
- зажим;
- термометр;
- металлических тигель;
- песчаная баня;
- горелка;
- кольцо.
Таблица 1 Физико-механические свойства нефтяных битумов
| Марка битума | Глубина проникновения иглы при 25°С 0,1 мм | Растяжение при 25°С, см, не менее | Т, °С, не ниже | |
| Размягчения | Вспыхивание | |||
| Строительные битумы | ||||
| БН-50/50 | 41-60 | 4050 | 220 | |
| БН-70/30 | 21-40 | 3 | 70 | 230 |
| БН-90/10 | 5-20 | 1 | 90 | 240 |
| Битумы для кровли | ||||
| БНП-45/180 | 140-220 | Не Нормируется | 40-50 | 240 |
| БНП-90/40 | 35-45 | Не Нормируется | 85-95 | 240 |
| БНП-90/30 | 25-35 | Не Нормируется | 85-98 | 240 |
| Дорожные битумы | ||||
| БНД-200/300 | 201-300 | — | 35 | 200 |
| БНД-130/200 | 131-200 | 65 | 39 | 220 |
| БНД-90/130 | 91-130 | 60 | 43 | 220 |
В малый тигель ставят термометр 3 в вертикальном положении, причем ртутный шарик должен быть в центре тигля.
Большой тигель нагревают пламенем газовой горелки 6 с режимом нагрева 10°С за одну минуту.
За 40°С до ожидаемой температуры вспышки скорость нагрева уменьшают до 4°С в минуту.
10°С до ожидаемой температуры вспышки поджигают приспособление и медленно проводят им по краю малого тигля на расстоянии 10-14 мм от поверхности битума. Длина пламени должна быть 3-4 мм. Появление синего пламени над поверхностью битума принимается за момент его возгорания, а температура, отмеченная в этот момент, — за температуру вспышки.
arxipedia.ru
