Что лучше газобетон или пеноблок – , () + ,
Газобетон или пеноблок: что дешевле?
Газобетонный блок и пеноблок
И газобетон, и пеноблок являются разновидностями ячеистого бетона. Несмотря на все сходства, между ними имеются существенные отличия, именно поэтому материалы зачастую становятся предметом спора при выборе оптимальных изделий для строительства.
Так давайте разберемся что лучше: газобетон или пеноблок? Который из этих вариантов стоит выделить, и благодаря каким показателям?
Содержание статьи
Понятие пеноблока
Пенобетонный блок характеризуется, в первую очередь, пористой структурой и особенным способом ее образования в процессе изготовления. Происходит это в следствие добавления в раствор специального компонента – пенообразователя, который и позволяет смеси вспучиваться.
Рассмотрим, какими же характеристиками обладает данный материал на выходе.
Основные свойства и качества
Для проведения полноценного сравнения, стоит изучить основной набор качеств материала, указывающих на практичность и долговечность будущего строения. Набор физико-механических и технических свойств пенобетона выглядит так:
Свойства пенобетона:
| Наименование | Значение |
| Морозостойкость | От 35 до 80 циклов |
| Теплопроводность в сухом состоянии | От 0,09 для теплоизоляционного пенобетона до 0,38 – для конструкционного |
| Прочность кг/см2 | 15-25 |
| Марка плотности | 400-1200 |
| Водопоглощение | 10-16% от массы |
А теперь проанализируем практические и эксплуатационные характеристики также при помощи таблицы.
Иные характеристики пенобетона:
| Наименование характеристики | Значение |
| Усадка | От 0,5 мм/м2 |
| Ценовая категория материала | Материал – один из самых недорогостоящих |
| Скорость строительства | Достаточно высокая |
| Звукоизоляция | Средний уровень |
| Паропроницаемость | Способен к паропроницанию |
| Показатель экологичности | 2 |
| Огнестойкость | Не горит |
В целом, всех вышеуказанных показателей — а точнее, их значений, вполне достаточно для удовлетворения основных требований большинства застройщиков. Однако выводы еще делать рано.
Классификация и сфера применения
В соответствии с ГОСТ, пенобетон имеет несколько классификаций, опирающихся на различные характеристики изделий, их состав и вариативность производства.
В зависимости от плотности материала, пенобетон может быть:
- Теплоизоляционным. Он обладает минимальной плотностью, которая варьируется в пределах до Д500. Используется такой пенобетон в качестве утеплителя, так как никакие существенные нагрузки выдержать не может;
- Конструкционно-теплоизоляционный. Прочность его – значительно выше: 500-900. Применяют его при возведении стен и перегородок;
- Конструкционный пенобетон – наиболее прочный, показатель равен числовому значению от 1000 до 1200. Используют его при возведении зданий высотой в несколько этажей. Нагрузки может выдержать достаточно существенные.

Характеристика пеноблока разной плотности
Также можно выделить и конструкционно-поризованный пенобетон. Плотность его может достигать Д1600. ГОСТ такой вид материала не регулируется. Выпуск его органичен индивидуальными заказами.
Помимо вышеуказанных сфер применения, пенобетон используют также:
- При заполнении каркаса железобетонных конструкций;
- Монолитный пенобетон применяют при устройстве стяжек:
- При сооружении конструкций с использованием опалубки;
- При изоляции кровли, и во многих других случаях.
Пенобетон разделяют в зависимости от категории точности изделий. Рассмотрим при помощи таблицы.
Категории точности пенобетонных блоков в соответствии с ГОСТ 21520-89:
| Наименование отклонения | Блоки 1 категории точности | Блоки 2 категории точности | Блоки 3 категории точности |
| По толщине и длине | Не более 1 мм | Не более 3-х мм | Не более 5-ти мм |
| По высоте | Не более 2-х мм | Не более 4-х мм | Не более 6-ти мм |
| По диагонали | 2 мм | 4 мм | 6 мм |
| Грани и ребра | 1 мм | 3 мм | 5 мм |
| Отбитость углов (не более 2-х на одном изделии) | До 5 мм | До 10 мм | До 15 мм |
Также, в соответствии с ГОСТ 25484-89, материал разделяют на:
- Изделия автоклавного, или синтезного метода твердения;
- Изделия неавтоклавного, или гидратационного способа твердения.
В первом случае, блоки обрабатываются под воздействием высокой температуры и давления в специальных машинах – автоклавах. Неавтоклавный пенобетон твердеет при естественных условиях. Температура при этом не превышает 100 градусов.
Различия готовых изделий заключаются во внешнем виде, геометрии блока, качественных характеристиках. Также стоит учесть: при кустарном и домашнем производстве, пропорции сырья могут отличаться, что, несомненно, приведет к изменению технических показателей.
В зависимости от типа кремнеземистого компонента, изделия могут быть:
- На песке, чаще всего кварцевом;
- На золе;
- На иных вторичных продуктах промышленности.
В соответствии с типом основного вяжущего, материал может быть:
- На цементе;
- На песке;
- На золе;
- На шлаке;
- На смешанном вяжущем.
При этом, концентрация основного компонента от общей массы составляет 15-50%. Стоит отметить, что некоторые производители осуществляют выпуск пенобетонных блоков с облицовочной стороной. Они не нуждаются в последующей наружной отделке.
Сильные и слабые стороны материала
Сравнивая газобетон и пеноблок, необходимо рассмотреть все преимущества и недостатки материалов, которые помогут исключить нежелательные характеристики будущего строения.
К плюсам пенобетона можно отнести:
- Легкость материала исключает большую нагрузку на фундамент;
- Простота обработки отчасти гарантирует высокую скорость строительства;
- Пенобетон изготавливается из смеси песка, цемента, воды и пенообразователя. Данные составляющие не оказывают вредного воздействия на окружающую среду и человека, а, значит, изделия являются экологически чистыми. Числовой показатель экологичности равен 2-ум, что всего на 1 пункт выше, чем у дерева.
- Огнестойкость – еще один весомый плюс. Пенобетон не поддерживает огня.
- Цена. Изделия являются одними из самых недорогостоящих. А если сравнить их со стоимостью кирпича, то расходы на строительство при использовании данного материала будут меньше примерно на 15%.
- Пенобетон достаточно долговечен.
- Морозостойкость изделий варьируется от 35 циклов замораживания и оттаивания, что, несомненно, достаточно неплохой показатель.
- К преимуществам также следует отнести возможность изготовления блоков своими руками. Это может немного сэкономить бюджет. Желающие организовать малый бизнес смогут попробовать себя в качестве производителя. О рентабельности производства поговорим позже.
- Распространенность материала, большой выбор размеров.
- Закрытая структура пор – существенное преимущество. Благодаря этому, пенобетон несколько меньше некоторых стеновых материалов поглощает влагу.
- Пенобетон не подвержен воздействию биологической среды в отличие, например, от деревянных построек. На нем не образуется плесень и грибок.
Плюсы пенобетона
Основные недостатки сводятся к следующему:
- В первую очередь, материал – хрупкий. Особенно это проявляется при перевозке груза и проведении строительных работ. Изделия легко режутся, но также легко и ломаются, крошатся.
- При фиксации элементов к стене из газобетона, необходимо использовать только специализированные метизы. Это связано непосредственно с особенной структурой материала. При желании закрепления тяжелых элементов, обладающих большим уровнем вырыва, узлы фиксации придется заранее планировать и укреплять.
- Наличие кустарных производств увеличивает шансы на покупку некачественной продукции.
- Соотношение прочности и теплопроводности несколько хуже, нежели у других стеновых материалов.
- Прочность на изгиб, также, сравнительно невысокая.
Усадка здания – распространенное и неизбежное явление.
Характеристики газобетона
Теперь пришло время проанализировать характеристики газобетона и изделий из него. Начнем с выявления основных качеств и свойств материала, определяющих его конкурентоспособность на рынке строительных материалов.
Физико-механические и технические характеристики
Воспользуемся таблицей.
Свойства и качества:
| Наименование показателя | Значение и комментарии |
| Теплопроводность в сухом состоянии | От 0,09 для теплоизоляционного газобетона |
| Морозостойкость | От 35 до 150 циклов |
| Марка прочности | От В 1,5 в соответствии с ГОСТ для неавтоклавного газобетона, средний показатель при Д500 – В3,5 |
| Плотность | 300-1200 |
| Усадка | 0,3 мм/м2 |
| Водопоглощение | Около 25% |
| Рекомендуемая толщина стены | От 0,4 |
| Экологичность | 2 |
| Огнестойкость | Не горит, выдерживает до 120 минут воздействия высокой температуры |
Виды газобетона
Поскольку газобетонные и пенобетонные блоки являются разновидностями изделий из ячеистых бетонов, классификация, в соответствии с ГОСТ, на них распространяется одинаковая. Поэтому нет смысла подробно разбирать ее еще раз.
Давайте только рассмотрим при помощи таблицы различия в показателях автоклавного и неавтоклавного газобетона, так как некоторые из них разнятся значительно.
Газобетонные блоки характеристика: сравнение автоклавных и неавтоклавных изделий:
| Характеристика | Значение ее для газобетона синтезного твердения | Значение ее для газобетона гидратационного твердения |
| Паропроницаемость | 0,2 | 0,18 |
| Морозостойкость | 35-150 циклов | 15-35 циклов |
| Усадка | 0,3 мм/ м2 | От 0,4 мм/м2 |
| Марка прочности | В2,5-В5 | В1,5-В2,5 |
| Теплопроводность | От 0,09 | От 1,7 |
| Толщина наружной стены | От 400 мм | От 650 мм |
| Долговечность, обещанная производителями | До 200 лет | До 50 – 60 лет |
Поскольку газобетон также разделяется на виды в зависимости от плотности, давайте проанализируем: как при этом изменяется теплопроводность изделий.
Теплопроводность, плотность: соотношений и связь:
| Вид газобетона | Плотность | Теплопроводность изделий в сухом состоянии. |
| Конструкционный | Д400 | 0,09-0,1 |
| Д500 | 0,1-0,12 | |
| Конструкционно-теплоизоляционный | Д500 | 0,13-0,14 |
| Д600 | 0,15-0,18 | |
| Д700 | 0,18-0,21 | |
| Д800 | 0,21-0,22 | |
| Д900 | 0,22-0,23 | |
| Конструкционный | Д1000 | 0,23-0,29 |
| Д1100 | 0,26-0,34 | |
| Д1200 | 0,29-0,38 |
Преимущества и недостатки изделий и строений, возведенных из них
Некоторые преимущества газобетона крайне схожи с плюсами изделий из пенобетона. В таковым можно отнести:
- Низкий вес материала, позволяющий несколько сэкономить на возведении фундамента в силу отсутствия серьезных нагрузок;
- Легкость в обработке. Газобетон также просто пилится, режется и шлифуется. При этом, в отличие, например, от керамоблока, наличие узкоспециализированного оборудования не понадобится. Воспользоваться можно обычной ножовкой или любым другим, подходящим для таких целей инструментом.
- В силу наличия вышеуказанной характеристики – высокая скорость строительства.
- Экологичность, огнестойкость также свойственны газобетону.
- Высокая эффективность производства, низкая стоимость изделий.
- Возможность практически любой внутренней и наружной отделки, при условии соблюдения технологии и технической сочетаемости.
- Завидный для других стеновых материалов показатель морозостойкости. Некоторые производители обещают до 150 циклов замораживания и оттаивания, а срок службы устанавливают – до 200 лет.
- Высокие прочностные характеристики, достаточные для возведения здания в несколько этажей и, при этом, низкий коэффициент теплопроводности.
- Устойчивость к атмосферному — отчасти и биологическому воздействию.

Преимущества газобетона
Минусы сводятся к следующему:
- Гигроскопичность материала. Газобетон лучше других изделий впитывает влагу. Он обладает открытой структурой пор, что только усиливает эту способность.
Особенно это чревато для изделий, в период преобладания отрицательных температур. Когда влага может кристаллизироваться и начать разрушать блок изнутри.
Обратите внимание! Чтобы избежать отрицательных последствий, стена из газобетона требует технически верной отделки как изнутри, так и снаружи здания.
- С метизами дело обстоит также, как и в случае с пенобетоном. Структура материала –аналогичная, поэтому при фиксации элементов, застройщики сталкиваются с такой же проблемой.
- Хрупкость также свойственна газобетону. Он требует к себе аккуратного обращения.
- Усадка. Нередким является появление трещин на готовых стенах.
На этом, основные недостатки заканчиваются. Как видно, преимуществ все-таки больше, а большинство слабых сторон можно нивелировать при помощи правильной отделки и соблюдения техники возведения стен.
Сравнение свойств и качеств материалов
Поскольку все основные свойства и качества материалов мы уже рассмотрели, пришло время их проанализировать и выяснить, что лучше: газобетонные блоки или пенобетонные блоки?

Что лучше? Сравнение материалов
- Теплопроводность в сравнении «газобетон-пеноблок». В этом показателе – очевидного победителя нет. И один, и другой материал обладают близкими числовыми значениями. Газоблок совсем немного выигрывает в соотношении прочность-теплопроводность.
- Морозостойкость. В этом случае пальму первенства одерживает однозначно газобетон. Он значительно превышает своего конкурента в возможности выдерживать большое количество циклов замораживания и оттаивания. В особенности это касается автоклавных изделий.
- Экологичность и огнестойкость у материалов – одинаковая.
- Аналогичными также являются показатели паропроницаемости, скорости строительства. Оба изделия легки в обработке и обладают внушительными размерами. Позволяющими достаточно быстро возводить строение.
- А вот геометрия блока лучше у автоклавного газобетона.
- Пенобетон значительно опережает последнего во влагопоглощении, что непосредственно связано с закрытой структурой пор. Он меньше впитывает влагу.
- Звукоизоляционные характеристики несколько лучше у газобетона.
- Если говорить о внешнем виде, то, по утверждению застройщиков, газобетон выглядит более привлекательно.
- Что дешевле пеноблок или газобетон? Однозначно – пеноблок. Разница в цене не большая. Но все же она – есть.
- Самые весомые различия между данными материалами, заключаются в их составе и методе порообразования. Пористую структуру у пенобетона удается достичь при помощи введения в раствор порообразователя. Ячейки у газобетона же, получаются в результате химической реакции извести и алюминиевой пудры, которая выступает в качестве газообразователя.
Состав пенобетона: вода, цемент, песок, пенообразователь. Газобетона: известь, песок, цемент и алюминиевая пудра (или ее заменители).
- Что касается вариативности отделки, то, как уже было сказано, вариантов может быть очень много для обоих материалов. Главное при этом, строго придерживаться правил нанесения и технологии монтажа. Внутренняя и внешняя отделка должны сочетаться между собой в техническом отношении.
Совет! Если снаружи блок облицовывают кирпичом без устройства вентилируемого фасада вплотную к стене, то изнутри отделка должна быть герметичной. Это связано с тем, что в таком случае, влага и пары, образовавшиеся в помещении, не должны попасть в прослойку стены из блока и кирпича. Попросту говоря, необходимо исключить возможность скапливания конденсата — и, как следствие, его отрицательного воздействия.
- Усадка более характерна для пенобетона. Газобетон тоже садится, однако числовой показатель все же ниже.
- Если сравнивать рекомендуемую толщину стены, то у газобетона она может быть меньше. Для пенобетона это – 63 см, а для газобетона – минимум 40 см.
- Стоит также отметить, что хрупкость свойственна для обоих изделий — это их общий недостаток. То же самое касается и фиксации крепежа.
- Стандартные размеры изделий также аналогичные. В своем ассортименте они имеют как стеновые, так и перегородочные блоки.
- Пенобетон выделяется наличием изделий с облицовкой, которые не требуют дальнейшей отделки. Газобетон их наличием похвастаться не может.
- Отдельно хотелось бы отметить тот факт, что при отделке обоих материалов, понадобятся дополнительные расходы на обработку и армирование поверхности. Дело в том, что и газобетонные блоки, и пенобетонные, характеризуются низкой адгезией с отделочными материалами. Это вызывает необходимость грунтования и армирования поверхности.

Пеноблоки газобетонные блоки сравнение
Газобетон, как следует из таблицы, все же выигрывает в большем числе характеристик. Однако, если низкая стоимость и уровень влагопоглощения, например, являются для вас наиболее значимыми, то пенобетон – это как раз то, что вам нужно. Поэтому при выборе стоит руководствоваться, в первую очередь, индивидуальными пожеланиями и требованиями к будущей постройке.
Особенности производства
Поскольку сравнения характеристик мы уже провели, стоит разобраться: а чем же отличаются технологии производства этих материалов? Какой из них производить наиболее рентабельно и экономически обосновано?
Начнем с газобетона.
Изготовление газобетона
Для организации производства, потребуется закупить определенный набор оборудования. Он может быть разным:
- Конвейерная линия. Наиболее автоматизированный набор оборудования. Участие человека практически исключается. Цена – достаточно высокая, однако объем производства – большой.

Автоматизированная линия по производству газобетона
- Стационарная линия — наиболее бюджетный вариант. Комплектность можно выбрать самостоятельно, однако от нее будет зависеть скорость и суточный объем выпускаемой продукции.

Стационарная линия
- Мини линия – эконом вариант. Подойдет для домашнего производства или мелкого предпринимательства. Используется при изготовлении неавтоклавного газобетона. Дополнительно можно сэкономить, путем самостоятельного сооружения некоторых агрегатов, более того, после выпуска нужного количества изделий, оборудование можно продать или сдавать в аренду.

Смеситель мини-линии
Материалы, необходимые для производства:
- Песок кварцевый;
- Цемент;
- Алюминиевая пудра;
- Вода;
- Известь;
- Специализированные добавки.
Состав газобетона
Процесс изготовления в заводских условиях происходит в следующем порядке:
- Все необходимые компоненты поступают в дозатор;
- Он, в свою очередь, подает их в газобетоносмеситель, где они тщательно перемешиваются;
- После этого готовый раствор поступает в форму;
- Далее происходит процесс газообразования;
- Единая блочная плита проходит кантование и отправляется на резку, которая осуществляется в автоматическом режиме.
- Последним этапом является автоклавирование изделий, после которого они поступают на склад готовой продукции.
Производство неавтоклава в домашних условиях, в принципе, мало чем отличается от вышеуказанного процесса. Все происходит в ручном режиме со значительно большими трудозатратами и расходом времени.
Готовая смесь, обычно, разливается в уже готовые формы нужных размеров, после газообразования, излишки смеси срезаются. Твердеют блоки в естественных условиях и набирают техническую прочность в течение 28 дней. Иногда их дополнительно увлажняют.

Производство неавтоклавного газобетона
Поэтапный разбор процесса выпуска пенобетона
Процесс изготовления пенобетона отчасти схож.
Перечень необходимого оборудования выглядит следующим образом:
- Опять же, это может быть автоматизированная линия конвейерного типа с максимальной производительность;
- Стационарная, более недорогая линия. Требует наличия определенного большего числа работников. Объем выпускаемой продукции также будет меньшим.
- Мини-линия для мелкого и домашнего изготовления.

Набор оборудования для домашнего производства
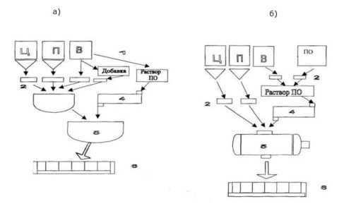
Пенобетон может производиться с использованием нескольких технологий:
- Классический метод;
- Баротехнология;
- Способ сухой минерализации.

Схема: некоторые способы изготовления пенобетона
В первом случае, инструкция выглядит так:
- Сначала происходит приготовление цементно-песчаной смеси;
- В нее добавляют порообразователь, и все тщательно смешивают;
- Далее готовый раствор попадает в формы и, после застывания подвергается резке, если смесь заливается единым массивом;
- При автоклавном способе твердения, изделия обрабатываются в автоклаве.
Баротехнология отличается получением вспененного раствора под действием избыточного давления без использования пеногенератора. Приготовление такой смеси может происходить прямо на строительном участке, с целью дальнейшей заливки монолитного сооружения.
Способ сухой минерализации характеризуется введением сухих ингредиентов в поток пены. Он подается при помощи особого устройства – поризатора. Такой способ активно применяют при непрерывной подаче смеси в условиях проведения строительных работ.

Непрерывное производство пенобетона
Комбинированная технология изготовления
С недавнего времени, небольшое распространение получил выпуск пеногазобетона. Изделия из него содержат в себе свойства обоих материалов: и газо- и пенобетона, так как сочетает в себе одновременно части различных технологий. То есть, в процессе производства происходит и пено- и газопоризация.
Как утверждают специалисты, применения такого материала может быть наиболее актуальным при утеплении конструкций. Так как он обладает наиболее низким коэффициентом теплопроводности, но, при этом, прочность его будет соответс
beton-house.com
Что лучше газобетон или пенобетон: сравнительная характеристика?
Выбор строительного материала — важный этап предварительной подготовки строительства дома. От него зависит комфорт, уют, тепло строения. В современном сооружении популярны легкие, пористые материалы. Остается выбрать — газобетон или пенобетон. Газоблоки и пеноблоки относятся к ячеистым материалам. Главное отличие — способ образования внутри воздушных пузырьков, их технические характеристики. Стоит сопоставить два материала, определить сходство и различия между ними.

Газобетон
Название газо исходит от процесса изготовления. Отличить газобетонный блок можно по белому цвету, шероховатой поверхности с мелкими порами. Газо состав:
- кварцевый песок;
- портландцемент;
- вода;
- алюминиевая стружка, известь.
Результатом химической реакции является газ, который способствует образованию газобетона. Выделяясь, газ образует поры (маленькие трещинки). Преимущества:
- Легкие, большого размера элементы позволяют быстро, без необходимой тяжелой техники возводить перегородки здания.
- Правильная геометрическая форма.
- Хорошая теплоизоляция сохраняет тепло зимой, в летний период поддерживает прохладу в помещении.
- Благодаря пористой структуре, материал имеет хорошую воздухопроницаемость.
- Легко поддается наружной обработке.
- Экологически чистый продукт. Натуральность компонентов не вредит здоровью. Входящий в состав алюминий — вредный компонент, но во время процесса растворяется в общей массе, теряет вредные свойства.
Недостатки:
- Высокая впитываемость влаги. Располагая газобетонные блоки на улице, правильно сделав систему отливов, ничего критического при впитывании влаги не происходит, материал не уступает пенобетону.
- Недостаточная плотность в газобетоне придает хрупкость элементам.
Несмотря на заявленные минусы, правильно подобранные параметры, позволят строить не только перегородки, но и любой тип стен здания.
Вернуться к оглавлениюПроизводство
На начальном этапе входящие в состав компоненты отмеряют по необходимому количеству, перемешивают в специальном смесителе. Полученной смесью заливают форму, оставляют ее для приобретения первичного схватывания. По способу приобретения прочности блоки делят на следующие виды:
- Автоклавные. Отвердеванию способствует высокое давление, с добавлением водяного пара.
- Неавтоклавные. Отвердевает материал в естественных условиях. Возможно применение пара, прогрева электричеством, но давление не повышается.
Газобетонные блоки относятся к первому виду. Прочность автоклавного материала гораздо выше, получившего прочность в естественных условиях. Автоклавный метод применяется только в заводских условиях. Для появления пористости используют алюминиевую пасту. Взаимодействие алюминия, воды приводит к увеличению в объеме массы. После предварительного схватывания, специальным инструментом сырье нарезают на равные газо блоки. Строительный материал помещают в автоклав, где воздействие давления, температуры, пара, окончательно добавляет прочности газобетону.
Вернуться к оглавлениюПеноблоки
Признаки пено материала: серый цвет, гладкая поверхность, закрытые пористые ячейки. В состав пенобетона входит:
- портландцемент;
- вода;
- специальные химические добавки.
Преимущества:
- Высокая морозостойкая, теплозащитная характеристика.
- Закрытая структура пор не позволяет проходить влаге.
- Обладает неплохой прочностью. Хотя в сравнение с газобетоном, прочность ниже.
Минусы:
- Для образования пористости используют химические пенообразователи.
- Неидеальная геометрическая форма.
- Структура пеноблока поддается временным изменениям.
Производство
Сначала при помощи промышленного смесителя подготавливают обычный цементный раствор, соотношение компонентов выдерживается, согласно будущей прочности. В вымешанную смесь добавляется пена, тщательно перемешивается. После чего готовый раствор распределяется в формы. Пенобетонные блоки набираются прочности, затвердевают в естественных условиях. Первоначальное схватывание смеси происходит в первые часы после распределения раствора. Затем пено заготовки грузят на поддон и убирают для последующего высыхания. Процесс сушки занимает от 2 до 3 недель. Этого времени достаточно, чтобы можно было использовать пеноблок для строительства. Окончательную прочность пеноблок набирает за полгода.
Вернуться к оглавлениюСравнительные технические показатели

Пенобетон или газобетон производят согласно одинаковых строительных стандартов, отклоняться от них строго запрещено. Казалось бы, разница должна быть минимальной, а технические параметры одинаковыми. Постараемся сравнить, отличить показатели и выяснить, что надежнее — газобетон или пенобетон?
Вернуться к оглавлениюПрочность
Плотность материалов колеблется от 300 до 1200 кг на м³. Сравнение газо и пено бетонов схожей плотности показывают — второй вариант менее прочный. Качество химического пенообразователя напрямую влияет на прочность продукта. Многие производители экономят на нем, так как цена пенообразующих добавок велика. Кроме того, не отличается одинаковой прочностью материала по всей площади. Газоблоки отличаются однородностью, одинаковой прочностью в разных точках материала.
Вернуться к оглавлениюГигроскопичность, холодоустойчивость
На эти показатели влияет несходство методов производства. Газобетон сильно впитывает воду, в пенобетоне поглощение воды ниже. На практике наружная часть материалов поддается обработке — покрываются штукатуркой, плиткой, поэтому на показатель гигроскопичности не всегда обращают внимание. В этом показателе газоблоки проигрывают перед пенобетоном.
Вернуться к оглавлениюБезопасность
При автоклавном методе происходит химическая реакция извести и алюминиевой пасты, в результате чего выделяется водород. В процессе отвердевания он не весь испаряется из материалов, частично исчезает в процессе строительства. Данный газ не считают плохим, вреда здоровью не приносит.
Используемые пенообразователи не содержат пагубных веществ, а поры герметически замкнуты. Из этого следует, что два строительных продукта не являются вредоносными. При выборе материала критерий безопасности не стоит использовать, как определяющий фактор.
Вернуться к оглавлениюЗвукоизоляция
Пенобетон отличается относительно высокой звукоизоляцией в сопоставлении с газобетоном. Здания из пеноматериала соответствуют действующим звукоизоляционным нормам. Низкая плотность газобетона понижает проводимость звуков.
Вернуться к оглавлениюТеплопроводность
Главный технический показатель пенобетона или газобетона — теплопроводность. Важным критерием является плотность структуры пористых материалов. Чем больше плотность, тем хуже теплопроводность. Пеноблоки характеризуются меньшей плотностью, значит теплоизоляция у них лучше. Отсутствие достаточной прочности не позволяет использовать их при сооружении несущих элементов. Выход — использование более плотного состава, увеличивая толщину стены.
Использование газобетонных блоков не делает стену толстой, максимальная толщина стены достигает 50 см, при плотности 400 или 500. Газобетон удерживает тепло, а стены возводятся быстрее и обладают прочностью. Газобетон и пенобетон для стройки в холодном температурном климате подходят практически одинаково. Выбор стоит делать владельцу.
Вернуться к оглавлениюАрмирование
Армирование существенно не увеличивает несущую способность строения. Оно влияет на возникновение усадочных трещин при деформации фундамента. Пенобетонные блоки имеют степень усадки равную 1-3 мм на метр, в стене легко могут появиться трещины. Процент усадки газоблоков равен 0,5 мм. Строительный материал практически не подвергается трещинообразованию. Произведение армирования в первом и во втором случае вреда не принесет. Возникает малейшее сомнение, не задумываясь, используйте его.
Вернуться к оглавлениюСтоимость
Производство газо продукции делает стоимость материала дороже. Если сопоставить стоимость, пенобетон стоит меньше процентов на двадцать. Не стоит обращать внимание только на стоимость. Важным аспектом является способ укладки. Пенобетон укладывают при помощи цементного раствора, газобетон — клеем. Используя клеевую смесь, сооружение здания проходит в два раза быстрее, да и количество раствора уходит меньше. Результат — укладка пеноматериалов выходит дороже, чем газоматериалов.
Вернуться к оглавлениюМонтаж
Идеальная форма, малый вес газобетона позволяют в ускоренные сроки проводить строительные работы. Поверхность материала отлично поддается внутренней и внешней обработке. Только пено материалы не боятся холода и воды, их можно использовать сразу после приобретения. Газоблоки легко впитывают жидкость, используются после полного высыхания. На строительной площадке желательно хранить их под укрытием.
Вернуться к оглавлениюНадежность производства
Специальное производственное оборудование подготавливает материалы высокого качества. А упрощенная пено технология позволяет появляться на рынке большому количеству некачественного товара.
Вернуться к оглавлениюЗаключение
Отличия между ячеистыми материалами ярко выражены в достоинствах и недостатках. Для сооружения дома подходит газобетон и пенобетон. Учитывайте рекомендации, покупайте качественный материал, и результат не огорчит вас.
kladembeton.ru
Газобетон или пенобетон: что лучше и в чем отличие?
Строительство каменных домов в настоящее время набирает все возрастающую популярность. Во многом это связано с появлением таких современных материалов, как блоки из ячеистого бетона.
Изначально бетонные блоки применялись в качестве земены более дорогому кирпичу, однако они нуждались в последующем покрытии штукатуркой. В наши дни их используют практически повсеместно, от возведения фундаментов до обустройства стен и внутренних перегородок. При этом современные блоки обладают даже лучшими теплоизоляционными и акустическими свойствами, нежели глиняные кирпичи.
Ниже приведена сравнительная характеристика свойств керамического кирпича и блока из газобетона.
| Параметры | Керамический кирпич | Газобетон |
| Предел прочности на сжатие (кг/см2) | 110-220 | 25-50 |
| Масса стены 1м3 (кг) | 1200-2000 | 70-900 |
| Теплопроводность (Вт/мК) | 0,32-0,46 | 0,09-0,12 |
| Морозостойкость (цикл) | 50-100 | 50 |
| Водопоглощение (% по массе) | 8-12 | 20 |
| Огнестойкость (класс) | 1 | 1 |
Наибольшее применение легкобетонных блоков из поризованного бетона (пенобетона, ячеистого бетона или газобетона) обусловлено, в частности, легкостью их монтажа и простотой в обработке (блоки легко поддаются сверлению, резанию или штроблению).
Таким образом, сейчас все реже стали использоваться блоки из так называемого «обычного» тяжелого бетона, хотя и стоят они дешевле тех же пенобетонных. Но так ли хороши столь широко разрекламированные газо- и пеноблоки? Удовлетворяют ли они критериям прочности, тепло- и шумоизоляции, пожаробезопасности и экологичности? Существует ли принципиальное отличие между пеноблоками и газоблоками, или между ними значительной разницы нет и по сути это одно и то же?
Газобетон, газозолобетон, пенобетон, газопенобетон и др. являются одними из многочисленных разновидностей пористого (ячеистого) бетона. Все они отличаются по способу получения ячеистой структуры, связанному с особенностями производства. По громогласным заявлениям производителей такие материалы благодаря своей пористости имеют ряд неоспоримых преимуществ. Так ли это на самом деле, нам и предстоит разобраться.

Структура газобетона (слева) и пенобетона
Начнем с особенностей изготовления строительных блоков.
Все ячеистые бетоны в зависимости от способа твердения производятся:
- автоклавным методом, при котором затвердевание материала происходит в герметичном резервуаре при высоком давлении в присутствии насыщенных паров воды.
- неавтоклавным методом, когда затвердевание осуществляется в естественной среде. В этом случае бетон прогревается с использованием электричества. При этом также возможна обработка насыщенными водяными парами, только уже при нормальном атмосферном давлении.
Особенности производства пенобетона
Пенобетон изготавливают перемешиванием цементной основы с добавлением специальных добавок — пенообразователей. В специальных формах, куда поступает вспененная масса, происходит затвердевание бетона в естественной среде, в результате чего получаются блоки. Возможно также заливание бетона не в формы, а в опалубку с последующим разрезанием на пеноблоки.
Особенности производства газобетона
Газобетон изготавливается только в специальной емкости — автоклаве — из цемента, воды, гипса и извести. Для обеспечения газообразования добавляют алюминиевую пасту или пудру. Чтобы материал получился прочным, на него воздействуют парами воды при высоких температурах и давлении. Происходящая при этом химическая реакция притекает с выделением водорода, благодаря чему обеспечивается пористость получаемого материала.
Окончательно застывший газобетон разрезается струнами на идеально ровные блоки, поэтому швы при кладке получаются весьма тонкими, благодаря чему удается избежать появления мостиков холода.
Таким образом, оставляющие компоненты данных материалов почти идентичны. Отличие заключается лишь в методе затвердевания и применяемых вспенивающих добавок. Газобетону в этом плане можно отдать предпочтение только потому, что автоклавный способ изготовления позволяет добиться нужных характеристик материала и равномерных качественных свойств. Производство пенобетона, как правило, не требует таких дорогостоящих вложений и изготавливать его могут в «гаражных» условиях, без каких-либо исследований и сертификации. зачастую даже не соответствует тем характеристикам, которые заявляют производители. Но и газобетон бывает низкого качества. Например, и в наши дни все еще производится устаревший неавтоклавный газобетон в той же Перми. Поэтому здесь нужно очень внимательно подходить и к выбору производителя.
Пенобетон и газобетон: в чем отличие?
Для производства обоих материалов пользуются одними и теми же ГОСТами. Тем не менее характеристики этих ячеистых бетонов сильно отличаются.
Морозо- и влагостойкость
Высокая морозостойкость газобетона — не более чем реклама. Более-менее высокими показателями морозостойкости могут обладать только достаточно плотные газобетонные блоки, о чем производители предпочитают не распространяться. Ввиду особенности технологии производства газобетон подобно губке «впитывает» воду, что не лучшим образом сказывается зимой в период холодов. Влажность по массе может достигать более 30%, а это значительно снижает теплосопротивление материала, в результате чего теряются заявленные изготовителем свойства и жилье становится холодным. Как правило, газобетонные стены изнутри покрываются грунтовкой для снижения паропропускаемости. Стоит иметь ввиду, что нельзя наносить штукатурку без грунтовки, а также наклеивать бумажные обои, чтобы снизить вероятность отсыревания блоков. Поверхность фасада стены нужно гидрофобизировать, при этом желательно эту процедуру проводить не реже, чем раз в 2-3 года. Благодаря гидрофобизации влага из внешней среды не будет впитываться так быстро в газоблоки, а ввиду ее паропроницаемости пары воды смогут выходить из стен в атмосферу. Нередко строения из газоблоков снаружи обкладывают кирпичем, однако тут стоит учитывать высокую паронепроницаемость кирпича и связанную с этим вероятность насыщения конструкции влагой, а значит, нужно предусмотреть зазор между стеной и облицовочной кладкой для возможности вентиляции. Чтобы облицовка не рухнула в один прекрасный момент, ее нужно обязательно прикрепить к несущей стене специальными анкерами из пластика или нержавейки. На крепеже сэкономить тут не удастся — не позволит низкая плотность газобетона.
У пенобетона такой недостаток, как способность вбирать в себя влагу, проявляется в гораздо меньшей степени.
Однако, как правило, стены из ячеистого бетона либо облицовываются тем же сайдингом или плиточной облицовкой, либо покрываются штукатуркой. В таком случае способность материалов к водопоглощению можно в расчет и не брать, тогда газобетон можно считать вдвое, а то и в три раза лучше по показателю морозостойкости.
Прочность
Если сравнивать пенобетон и газобетон, то первый при равной плотности обоих материалов однозначно проигрывает. А поскольку недобросовестные производители стараются экономить на пенообразующих, напрямую влияющих на прочность пенобетона, а также из-за неоднородности прочностных свойств по поверхности пенобетонных блоков, в этом плане, пожалуй, опять же логично сделать выбор в пользу газобетона.
[tip]Невысокая прочность обоих материалов не всегда дает возможность применять стандартный крепеж. Нередко приходится покупать более дорогие элементы, предназначенные специально для пористых бетонов.[/tip]
Экологичность
Частично выделяемый в результате протекающей в процессе изготовления газобетона автоклавным способом реакции водород, большая часть которого остается в порах газоблока и может выделяться в процессе дальнейшей эксплуатации, не представляет никакой опасности для окружающей среды и жизнедеятельности человека.
Различные искусственные либо белковые вспениватели, применяемые в производстве пенобетона, также не таят в себе никакой опасности.
Соответственно, оба материала в этом плане никаких явных недостатков не имеют.
Склонность к усадке
Возникновению трещин и усадке наиболее подвержен пенобетон, превосходящий по этому показателю газосиликатные блоки в 2-6 раз.
Теплоизоляционные свойства
Теплоизоляционная способность пористого бетона возрастает с уменьшением плотности структуры материала. Тут пенобетон однозначно выигрывает. Но для кладки несущих стен он не годится из-за низкой прочности. Приходится делать стены из материала большей плотности и имеющего более высокую теплопроводность. Для комфортного проживания требуемая толщина стен из блоков пенобетона может достигать БОЛЕЕ ОДНОГО МЕТРА!
Газобетон может удерживать тепло намного лучше при равных климатических условиях и необходимая расчетная толщина стен получается меньше – в условиях Новосибирска в диапазоне 45-50 см. Плотность в данном случае будет также в пределах норм — D400 – D500.
Таким образом можно сделать вывод, что способность газобетона удерживать тепло гораздо выше, а стены прочнее и легче. Однако, не стоит забывать и про то, что газобетон является сильнейшим абсорбентом, а пропитавшись влагой он резко теряет по всем теплотехническим параметрам. Возникновение в связи с этим деформации строения способно испортить всю отделку. Для того, чтобы предотвратить такие последствия, нужно заранее побеспокоиться об организации защиты газобетонных конструкций от возможного сильного переувлажнения, а это дополнительные затраты по отделке фасада. Получается так, что газобетон для возведения наружных стен зданий без отделки применять крайне нежелательно.
Огнестойкость
В плане огнестойкости нет необходимости долго размышлять на тему, что выбрать — газобетон или пенобетон — хороши оба.
Что дешевле?
Если вопрос стоит в цене, то купить пенобетон оказывается выгоднее газобетона процентов на 20. Однако стоит иметь ввиду, что его может потребоваться больше, так что не торопитесь, а для начала все просчитайте.
Также стоит учесть, что пеноблок можно класть на обычный цементный раствор, а газобетон — на дорогую клеевую смесь, что не каждому по карману. Однако тоненький слой клея при кладке газобетона не создает таких мостиков холода, как цемент, что очень важно в плане энергосбережения. При этом клея также понадобится не так много, как цемента, и прежде чем говорить, дешевле кладка из газоблоков или пеноблоков, нужно учесть все параметры и выполнить необходимые расчеты.
Поскольку газобетонные блоки производятся лишь на заводах, то и размеры их стабильнее, нежели у пенобетонных. Поэтому при кладке газобетона и расход компонентов меньше, и скорость выше.
Прежде чем решить, что все-таки лучше выбрать — пеноблок или газоблок — нужно тщательно проанализировать все «за» и «против», определиться с необходимыми характеристиками материала и предварительно прикинуть все возможные затраты.
Видео: Газобетон или пенобетон: что лучше?
muzhik-v-dome.ru
Пенобетон или газобетон: что лучше?
Поделитесь статьей:Увеличение количества строящихся объектов, стремление ускорить процесс возведения зданий с улучшением их качества стимулируют процесс создания новых строительных материалов. Они должны быть не только эффективны при производстве и использовании, но и удовлетворять всё более ужесточающимся требованиям к жилым помещениям. Отдельным, но очень ёмким направлением является возведение индивидуальных домов и небольших построек. Оно давно уже испытывает потребность в замене дерева и кирпича пенобетоном или газобетоном.
Ячеистый бетон в строительстве
Здания из ячеистого бетона относительно молоды, но уже успели пройти проверку временем. Они легки, что особенно важно для пристроек на отдельных фундаментах. Их кладка быстра и, в отличие от кирпичной, не требует какой-либо квалификации. Материалы не подвержены гниению или коррозии, поэтому хорошо соединяются с разными стенами любым металлическим крепежом. Бетон в любых его формах неинтересен насекомым. Немаловажна и его устойчивость к возгоранию. Стены из ячеистого бетона помогут даже исправить ошибки проекта. Так, штробление ниши для одной розетки в монолитном бетоне может занять полдня, за которые можно полностью устроить скрытую проводку в пенобетонных стенах большой комнаты.
Кроме общих привлекательных качеств, конкретные изделия из ячеистого бетона имеют и свои особенности. И не всегда они желанны. Перед выбором между газобетоном и пенобетоном необходимо узнать все их свойства и сопоставить с конкретными предполагаемыми задачами.
Похожие родственники, но разные внутри
Основными изделиями из ячеистого бетона являются газобетонные и пенобетонные блоки. Также как белый и красный кирпичи, они имеют схожие названия, похожи внешне и даже являются родственниками по своей основе. Газобетон и пенобетон изготавливаются путём вспенивания цементных растворов и впоследствии формуются в виде блоков. На этом их технологическая общность и заканчивается. Образовавшиеся воздушные пузырьки в окаменевшей оболочке придают готовому материалу два важнейших качества – низкую тепло- и звукопроводность. По ним пенистый бетон не уступает классическому строительному материалу – дереву. Сами же каменные оболочки формируются по-разному.
Создание окаменевших пузырей
Поры пенобетона создаются вспениванием водного раствора цемента и песка. Для устойчивости жидкой структуры в состав вводятся пенообразующие синтетические реагенты. После достижения необходимой консистенции раствор разливается по формам, где и затвердевает при любой положительной температуре. Для изготовления таких блоков нужна обычная мешалка и несложный пеногенератор. Всё производство можно организовать непосредственно на придомовой территории.
Газобетонная пена образуется без использования синтетических химикатов. В раствор кроме цемента и силикатного песка добавляют известь и алюминиевую пудру. В результате физико-химических процессов во всём объёме образуются устойчивые газосодержащие пузырьки. В обычных условиях пена осядет по окончании реакции. Для того чтобы предотвратить этот процесс, сформованную в блоки массу обрабатывают в автоклаве. Длительная выдержка под давлением водяного пара до 14 атмосфер при температуре 200 градусов необратимо формирует окаменевшую структуру. Организовать такое производство возможно лишь в промышленных условиях. Зато серийность выпуска позволяет изготавливать большое количество одинаковых по размерам блоков, имеющих идентичные механические свойства.
Различия полученных структур определяют и специфику скрепления блоков. Пенобетонные блоки кладутся традиционным способом на цементный раствор, а газобетонные скрепляются специальным клеем.
Если какой-то материал и лучше, то всегда ли?
В любой сфере жизни вопрос «что лучше» предполагает предварительное понимание того, что же такое «хорошо». И строительство не исключение. Некоторые качества материалов однозначно полезны, а иногда даже необходимы. Иные во всех ситуациях нежелательны. Но большинство свойств, будучи нужными в одних условиях, могут быть помехой в других. В разных ситуациях и элементах используются разные материалы. Важно правильно их понимать и применять.
Именно поэтому вопрос о том, что лучше – газобетон или пенобетон, некорректен без продолжения. Можно лишь сказать, какой из них лучше подходит в конкретной ситуации.
Будучи родственными по своей бетонной основе, газобетон и пенобетон имеют общие полезные для строительства свойства:
- малый вес;
- низкая теплопроводность;
- низкая звукопроводность;
- лёгкость обработки;
- простота кладки;
- защищенность от нападения насекомых и мелких грызунов;
- негорючесть.
Практически единственным общим недостатком является высокая гигроскопичность ячеистых материалов. Насыщение влагой резко повышает теплопроводность, а в морозы может привести к разрушению структуры блоков. Однако гигроскопичность любого пористого бетона легко нейтрализуется несложной облицовкой.
Все остальные особенности ячеистых материалов можно оценивать лишь в совокупности всех факторов и применительно к конкретным условиям. Даже, казалось бы, очевидные. Например, стоимость. Производство газобетонных блоков несколько дороже. При кладке используется более дорогой клей. Однако расходуется его гораздо меньше цементного раствора. Так что общая цена может выровняться, а то и сместиться в сторону другого материала. Немаловажной финансовой составляющей может стать и стоимость доставки. Блоки не допускают хранения в условиях возможных атмосферных осадков, поэтому могут потребовать незамедлительного использования. Пенобетон же можно изготавливать на месте по мере возможности монтажа.
Клеевой шов не допускает обычных для цементной стяжки мостков холода. Но это может быть недостатком лишь для неотделанных внешних стен. Учитывая, что любая ячеистая поверхность должна быть отделана штукатуркой или накрыта сайдингом, значимость этого фактора тоже становится относительной.
Газобетонные блоки стандартны по размерам с точностью до 1 мм. Это облегчает кладку плоских стен и снижает расход клея. Но они имеют форму строго параллелепипеда. Пенобетонные же блоки любой формы изготавливаются самостоятельно и буквально поштучно. В результате становится возможным создавать стены округлых и более сложных профилей, встраивать даже сложные архитектурные элементы.
Любые блоки значительно легче кирпичей, но между собой соизмеримо отличаются по весу. Каждый вид блоков изготавливается с различными значениями плотности. Но при одинаковых плотностях газобетонные блоки прочнее. Соответственно, для критичных к весу постройки фундаментов они предпочтительнее. Особенно при сооружении пристройки к зданию с самостоятельным фундаментом. Зато для внутренних перегородок более важной будет общая лёгкость пенобетона в ущерб излишней прочности.
Иногда высказываются о неэкологичности пенобетона, аргументируя это использованием синтетических пенообразующих препаратов. Однако в большинстве случаев будущий владелец постройки может сам выбрать конкретное вещество. Диапазон ассортимента современных веществ велик и по составу, и по цене. При этом потребитель, покупая готовые газобетонные блоки, не может быть абсолютно уверен в их качестве, в том числе санитарном.
Многочисленные особенности газобетона и пенобетона лишь демонстрируют разнообразнейшие варианты их применения. Их можно сравнивать, но не следует ставить абсолютные оценки. Важно лишь правильно понять условия их предполагаемой эксплуатации и выбрать наиболее подходящий вариант. Он может быть даже комбинированным. Например, внешние стены построены из газобетона, а перекрытия из лёгкого пенобетона.
Простор для творчества с такими материалами почти безграничен. К тому же работа с ними на всех этапах, от изготовления блоков до внутренней отделки, не требует особой квалификации. Большинство манипуляций можно выполнить самостоятельно, строго выполняя одну из целей человека – построить дом. Останется лишь вырастить в нём сына и посадить рядом дерево.
Передача «Строить не перестроить», сравнение пеноблока и газоблока.
Статьи по теме:
- Конура для собаки Любое домашнее животное заслуживает комфортных условий проживания. И пёс не является исключением из правил. Как известно, собака бывает кусачей только от жизни собачьей. Чтобы у вашего […]
- Вентиляция погреба в гараже В большинстве частных гаражей кроме смотровой ямы имеется погреб, который используется для хранения фруктов, овощей, консервированных домашних заготовок. Одно из требований к этому месту – […]
- Электролопата для уборки снега По большому счету, электрическая лопата ничем не похожа на обычную снегоуборочную. Единственная деталь, которая у них идентична – это длинная ручка, дающая возможность меньше наклоняться […]
- Винный погреб Среди ценителей вина считается, что этот напиток подобен обычному человеку. Он рождается, молодеет, становится зрелым, а потом стареет и умирает. Для того чтобы вино подольше задержалось […]
mainliberhous.ru
