Дренажные кольца железобетонные – Дренажный колодец из бетонных колец
Изготовление ж б колец, кольца дренажные железобетонные
Размеры железобетонных колец
Железобетонные кольца производятся на крупных заводах ЖБИ или небольших предприятиях, которые получили соответствующие лицензии. Но изготовить эти нужные в хозяйстве строительные материалы можно и своими руками. Как показывает практика, сделать железобетонные кольца для вашего колодца достаточно просто. Для этого не нужно обладать какими-то специфическими навыками, и с этой работой легко справятся два-три человека.
Схема железобетонных колец.
Стандартные заводские кольца обладают одинаковой высотой, 0,9 метра, но имеют разные диаметры: от малого (до 1 метра) до большого (2 метра). При изготовлении железобетонных колец своими руками параметры могут быть не такими жесткими, внутренний диаметр кольца можно взять в разбросе от 0,8 до 1,2 метров, толщину стенки — 6-8 см, высоту кольца — от 0,7 до 1,2 метра. Изготовители иногда предлагают для строительства колодца железобетонные кольца с так называемыми «замками» — пазами на торцевой стороне для лучшего соединения изделий. Такие кольца могут делать без использования арматуры, отчего их долговечность снижается. Но вне заводских условий куда проще и практичнее изготавливать обычные кольца с ровными торцами. При этом масса кольца диаметром 1 м и высотой 0,7 метра без использования арматуры составит 800 кг, а железобетонного кольца таких же параметров — 500 кг.
Изготовление бетонной смеси
Основной материал для производства ЖБИ — бетонная смесь. Чтобы получить бетон высокого качества, необходимо внимательно подойти к процессу изготовления бетона для колец. Бетонную смесь изготавливают из вяжущего материала — цемента, воды, песка и щебня (гравия). Приготовленную смесь можно формовать в изделие, трамбовать и уплотнять. Для кольца лучше использовать качественный цемент, например, портландцемент марки 400, то есть выдерживающий нагрузку в 400 кг на кубический см. Не рекомендуется использовать цемент, который долго хранился в бумажных мешках, от этого его прочность ухудшается настолько, что хорошего бетона из него не получится.
Схема бетонного кольца.
Использование таких заполнителей, как песок и щебень, позволяет улучшить прочностные характеристики бетона. Песок лучше всего брать кварцевый, а щебень должен быть из известняка или гранита. Кирпичный щебень для изготовления бетонной смеси не подойдет. Какое соотношение составляющих будет оптимальным для изготовления бетона? Если основываться на расходе этих материалов по массе на один кубический м уложенной и уплотненной бетонной смеси, то для изготовления 2400 кг смеси понадобится 300 кг цемента, 750 кг песка, 1200 кг щебня и 150 л воды. Водоцементное отношение, то есть соотношение цемента и воды в смеси, не должно превышать 0,7 (в приведенном примере в/ц составляет 0,5), иначе прочность бетона снизится.
Бетонную смесь можно изготовить в бетономешалке или ручным способом. В последнем случае понадобятся:
- материалы для изготовления смеси;
- шуфельная лопата;
- крупные емкости;
- садовая тачка.
Сначала нужно смешать цемент и песок, после этого добавить воды в правильной пропорции и перемешать. Далее следует засыпать предварительно смоченный водой щебень (гравий) и перелопатить смесь до получения однородной консистенции.
Сооружение элементов опалубки
Для того чтобы залить бетон в форму, нужно изготовить опалубку. Как должна выглядеть опалубка для данного ЖБИ? Поскольку для колодца нам необходима кольцеобразная форма, то опалубка готовится в виде двух разборных колец из дерева или металла, которые концентрично устанавливаются друг в друга. Специалисты советуют использовать для данных целей металлические бочки, трубы или воздуховоды необходимого диаметра. В любом случае применение дерева для изготовления опалубки под железобетонные кольца по понятным причинам представляется весьма проблематичным, хотя совсем не исключается.
Чертеж опорного железобетонного кольца.
Если два цилиндра необходимого размера имеются в наличии, то можно приступать к изготовлению опалубки. Снаружи большого цилиндра проводятся две продольные линии, которые разметят его по вертикали на две равные части. Вдоль обеих линий закрепляются по два обыкновенных дверных навеса таким образом, чтобы их створки оказались с обеих сторон разметки, а изгиб навеса совмещался с самой линией. При этом на внутреннюю сторону цилиндра наносится аналогичная разметка, по которой изнутри цилиндр разрезается болгаркой на две части. Выполняя данную работу, постарайтесь не повредить навесы. Затем нужно аккуратно разобрать шарнирные соединения навесов только с одной стороны, срезав шляпки-фиксаторы шпинделя. В итоге получается раскрывающаяся форма, подвижность сторон которой следует разработать, после чего створки цилиндра скрепляются заново теми же или другими фиксаторами. Впоследствии это облегчит работу, когда бетонная смесь застынет, опалубка станет ненужной и ее можно будет убрать.
Затем обрабатывается внутренний цилиндр опалубки. Изнутри цилиндра наносятся две продольные разметки на расстоянии, равном 1/3 окружности, одна от другой. Там же, на внутренней стороне, устанавливаются навесы по аналогичной схеме. Цилиндр разрезается с внешней стороны, шарнирные соединения разбираются по одной из линий, после чего собираются заново. В готовом виде внутренний цилиндр будет выше внешнего на 5-10 см, при этом наружная форма опалубки для бетонных колец должна легко открываться наружу и фиксироваться шпинделями, а внутренний цилиндр — легко открываться внутрь. В процессе изготовления опалубки понадобятся:
- металлические цилиндры;
- дверные (оконные) навесы;
- крепеж для установки навесов;
- чертилка по металлу;
- болгарка и тонкий отрезной круг.
Заливка бетонной смеси в форму
После следует приступить непосредственно к изготовлению железобетонных колец для колодца своими руками. Температура окружающего воздуха при заливке бетонной смеси не должна быть ниже 8°C. Не стоит забывать, что высокая температура нужна для быстрого набора прочности в первые дни, впоследствии температура выше 22°C только ухудшит качество бетона. Опалубка должна находиться на ровной поверхности, в пространстве между двумя формами размещается арматурная сетка. Чтобы цилиндры не сместились при заливке бетонной смеси, можно закрепить их деревянными распорками. Заливка происходит слоями по 15-20 см, причем каждый раз смесь тщательно трамбуется. После того как вся форма будет заполнена, следует разровнять торец будущего железобетонного кольца для колодца. Через три-четыре дня опалубку можно снять. Первой снимается внутренняя форма, навесы освобождаются от шпинделей, меньшая часть цилиндра складывается внутрь и легко вынимается из кольца. Внешний цилиндр также снимается, но с открыванием наружу.
Свежий бетон нужно периодически смачивать, чтобы повысить его прочность. Как правило, для полного затвердевания бетона требуется 28 дней. По истечении этого срока железобетонная конструкция считается готовой. Законченное кольцо можно использовать для сооружения колодца.
Вес и объем бетонных колец
При планировании строительства важно учитывать все детали. Особенно это касается строительных материалов. Монтаж элементов сооружения требует рабочей силы, а зачастую и специальной техники. Без учёта объема и веса стройматериалов их невозможно правильно разместить, транспортировать и монтировать из них сооружения. Так же вес и объем необходимо знать для произведения строительных расчётов при проектировании.
Вес бетонного кольца обычно высчитывается по формуле: V = π x R² x H
В этой формуле V — внутренний объем кольца, π — является постоянной величиной равной 3,14, R² — это внутренний радиус изделия, H — высота изделия.
Эта формула предназначена для расчета внутреннего пространства кольца. В ней не учитывается толщина стенок. Применяется она для расчетов при строительстве канализации и накопительных колодцев. Без планирования при строительстве проектированная система может не справляться с нагрузкой, что повлечет за собой нежелательные последствия.Наиболее часто применяемые в строительстве кольца имеют следующие параметры:
- КС 20.9 (200 см) — объем 2,83 м³;
- КС 15.9 (150 см) — объем 1,59 м³;
- КС 10.9 (100 см) — объем 0,71 м³.
Кроме объема строительных элементов так же важно учесть и вес. Типовой вес бетонного кольца для колодца различается для каждой марки. В данной таблице показаны основные характеристики для некоторых из них.
Железобетонные конструкции считаются монолитными именно за счет большого веса. Качественный монтаж скрепляет отдельные элементы и делает их очень устойчивыми к внешним воздействиям. Применив железобетонные изделия при строительстве, вы несомненно повысите эксплуатационные характеристики объекта.
Например, при сооружении канализационных сетей применяют большие по весу бетонные кольца 1 метр и более. Для водопроводных магистралей используют кольца массой примерно 640 кг. Имея подобный вес транспортировка и монтаж сооружений требуют задействования специальной техники. Вес бетонного кольца невозможно сделать меньше, иначе кольцо будет содержать полости. Если вы обнаружили несоответствие веса у указанных выше марок, то возможен производственный брак. Приобретать строительный материал можно без опасений только у проверенных производителей и поставщиков.
Обзор оборудования для изготовления жби колец
Для изготовления колодезных жби колец используются виброформа или вибропресс:
Виброформа — это две отдельных опалубки: наружная обечайка и сердечник. На внешней обечайке закреплены вибраторы, которые выполняют поверхностное виброуплотнение полусухой бетонной смеси, загруженной в виброформу. Виброформа мобильна. В процессе формования колец обе опалубки виброформы поочередно переставляются кран-балкой. Место формования очередного кольца постоянно смещается, что создает определенные неудобства с доставкой приготовленной бетонной смеси от смесительного узла, особенно, если формование очередного кольца жби производится на удалении от бетоносмесителя.
Вибропресс — оборудование стационарное. Обычно поставляется в комплекте с бетоноукладчиком и бетоносмесителем принудительного типа (или сразу бетонным заводом). Чтобы минимизировать временные потери при изготовлении жб колец, предварительно, до начала монтажных работ разрабатывается оптимальный план размещения оборудования, с привязкой к производственному помещению. Для наших покупателей эта услуга бесплатна.
Вибропресс имеет два существенных преимущества по сравнению с виброформой, которые прямым образом влияют на качество выпускаемых железобетонных колец:
- Мощное прессование гидравлическим пуансоном (гидроцилиндром), закрепленным на поворотной балке вибропресса;
- Качественное виброуплотнение бетонной смеси, при котором разночастотная вибрация, поочередно воздействует на крупную и мелкую фракцию заполнителя.
Дополнительно, в момент формования изделия, вибропресс затирает поверхность кольца и формирует прочный замок на торце. В виброформе подобный замок может затираться только вручную и иметь исключительно декоративный характер. Жби кольца, изготовленные в вибропрессе, имеют лучшие прочностные характеристики и гладкую внешнюю поверхность, по сравнению с кольцами, изготовленными в виброформе.
Изготовление жб колец в виброформе
После установки обечайки и сердечника виброформы на место формования, в форму закладывается арматура. Бетонная смесь доставляется к виброформе механизированной бетоновозной тележкой или переносным бункером. С помощью кран-балки тележка или бункер поднимаются и выгрузка смеси осуществляется на сердечник виброформы. После этого, вручную, при включенных вибраторах, смесь укладывается в форму. Распалубку можно производить немедленно, сразу по окончанию формования.
Изготовление колодезного кольца начинается с подготовки арматурного каркаса, который закладывается в подготовленную к формованию виброформу.

Смесь выгружается на сердечник виброформы из шиберного переносного бункера.

Остатки смеси укладываются и разравниваются вручную с помощью мастерка.

После завершения процесса виброуплотнения, который продолжается пару минут, производится немедленная распалубка. Сначала извлекается сердечник виброформы.

Затем извлекается наружная обечайка

Готовое изделие остается набирать прочность, необходимую для транспортирования, на месте его формования.

Изготовление жб колец в вибропрессе
В отличие от виброформы, стационарный вибропресс позволяет механизировать подачу бетонной смеси при помощи наклонного ленточного конвейера или бетоноукладчика с разбрасывателем. Бетонную смесь, поданную конвейером, необходимо укладывать в форму вручную. Разбрасыватель бетоноукладчика укладывает бетонную смесь в форму вибропресса без участия рабочих.
Мы предлагаем несколько способов подачи и укладки бетонной смеси в форму вибропресса: шиберный переносной бункер, механизированная тележка, наклонный поворотный конвейер для бетона, бетоноукладчик с разбрасывателем. Рассмотрим самый эффективный способ укладки бетонной смеси в форму вибропресса — бетоноукладчиком с разбрасывателем БР-20.
Съемная наружная обечайка вместе с формовочным поддоном устанавливается в вибропресс. В форму вибропресса закладывается арматура.
К форме подводится разбрасыватель бетоноукладчика
Конвейером, из бункера укладчика, смесь подается и выгружает на сердечник формы вибропресса. Разбрасыватель, вращаясь, равномерно укладывает бетонную смесь в форму.
После завершения укладки смеси в форму, разбрасыватель отводится в сторону, чтобы не мешать работе поворотной балке с пуансоном вибропресса.
Поворотная балка вибропресса устанавливается над формой и начинается процесс вибропрессования кольца. Редуктор с эксцентриком заставляет затирочное кольцо вибропресса совершать поворотные движения.
После завершения формования, балка отводится в сторону от формы вибропресса. Форма вместе с формовочным поддоном, на котором удерживается готовое бетонное кольцо, извлекается из вибропресса.
Кран-балкой форму перемещают и ставят на пол. Для освобождения поддона с кольцом, по периметру формы открывают все замки, после чего форму снимают с кольца, в нее устанавливают другой поддон и возвращают назад в вибропресс.
Пропаривание бетонных колец
Пропаривание колодезных колец после формования — достаточно важный этап производства железобетонной продукции. Суть ее заключается в том, что при повышении температуры, скорость гидратации вяжущих веществ увеличивается. Изделие быстрее набирает распалубочную прочность, по достижению которой возможно его снятие с поддона и безопасное транспортирование к месту хранения. Пропаренные жб изделия получаются прочнее, чем изделия, не прошедшие тепло-влажностную обработку (ТВО).
Железобетонные кольца помещается в пропарочную камеру сразу после формования. Камеру закрывают и температуру в ней повышают, причем происходит это постепенно, не более 20-25°С/час. Называется этот этап — стадия разогрева. При резком подъеме температуры во время разогрева, в бетоне возникают избыточные напряжения, которые ведут к образованию трещин, как следствие браку и убыткам. Основной процесс пропарки жби происходит при температуре 70-90°С, за которым следует стадия медленного остывания.
Пропарочные камеры, в зависимости от принципа действия, делятся на периодические и непрерывные. Интересную конструкцию имеют раздвижные (мобильные) пропарочные камеры. В сложенном состоянии раздвижная пропарочная камера практически не занимает места.
Этапы работ
Устройство двухкамерного септика из колец своими руками производится в несколько этапов:
- составление схемы и расчет объема;
- выбор подходящего места;
- монтаж колец и подвод труб;
- герметизация стыков;
- монтаж перекрытий и засыпка камер.
Схема канализации включает в себя одну или две камеры, в которых отстаиваются и очищаются стоки, и фильтрующий колодец. Расчет объема септика производится с учетом того, сколько человек проживает в доме. Один человек в среднем тратит около 200 л воды в день. Камера, согласно строительным нормам, должна вмещать себя объем стоков, который образуется за 3 дня. Если в доме проживает семья из пяти человек, то объем камеры должен быть 3 куба. Объем стандартного кольца равен 0,62 м3, значит для возведения одной камеры в этом случае потребуется 5 колец.
Устройство септика возможно на расстоянии не менее 6 метров от построек.
Выбирая место, где будет устроен септик, нужно учитывать санитарные и строительные нормы. Во-первых, он должен находиться на некотором удалении от дома. В среднем это расстояние составляет 5 м. Во-вторых, на предполагаемом месте расположения не должны слишком высоко подниматься грунтовые воды. В-третьих, необходимо будет учесть то, что к септику требуется обеспечить свободный подъезд спецтехники.
Котлован нужно выкапывать с учетом того, чтобы в него свободно поместились камеры септика и фильтрующий колодец. Если нет возможности нанять специальную технику, всю работу придется выполнять своими руками. Для исключения фильтрации неочищенных стоков в грунт дно котлована бетонируется.
Прежде чем уложить бетонный раствор, выполняется дренаж пространства, где будет устроен колодец. Для этого производится монтаж песчаной подушки.
Важно! Можно приобрести кольца с глухим дном, которые устанавливаются самыми первыми в вертикальном ряду.
Они позволят избежать бетонирования дна котлована.
Место установки такого элемента автономной канализации, как фильтрующий колодец, также требует подготовки, которая заключается в изготовлении подушки, состоящей из песка, щебня и гравия. Слой подушки не должен быть меньше 50 см.
Монтаж бетонных колец
Для устройства автономной канализации необходимо подготовить следующие инструменты и материалы:
Если купить кольца с закрытым дном, то яма не будет нуждаться в цементировании дна.
- цемент;
- щебень;
- песок;
- кирпич;
- керамзит;
- трубы;
- шифер;
- лопата;
- емкость для приготовления раствора;
- бетономешалка.
После того как будут завершены все земляные работы, можно начинать монтаж бетонных колец. Чтобы возвести двухкамерный септик, необходимо привлечь технику, так как установить кольца вручную достаточно сложно.
Скрепление установленных колец производится с помощью цементного раствора. Также можно использовать специальные скобы или металлические пластины. Это позволит избежать при эксплуатации канализации многих неприятностей, которые связаны с подвижками грунта.
Если к участку затруднен подъезд техники, то следует подумать об альтернативном варианте материалов для устройства септика.
На следующем этапе к кольцам подводятся трубы, с помощью которых организуется перелив отходов. Идеально, если они будут иметь изгиб, что позволит работать им по принципу гидрозатвора.
Далее устройство канализации сопровождается герметизацией стыков с помощью цементного раствора. Внутренняя сторона колодцев обрабатывается составами, которые предназначены для обмазочной гидроизоляции. В качестве альтернативы можно применить наплавляемые гидроизоляционные материалы.
Если позволяют средства, можно купить готовые цилиндры, изготовленные из прочного пластика. Их установка производится внутри колодца. Эти емкости не допустят проникновение загрязненной воды в грунт.
По окончанию установки бетонных колец производится обратная засыпка. Для этого используется грунт, который был вынут из котлована. Отлично, если это будет смесь грунта с песком. Далее колодцы необходимо накрыть бетонными плитами, в которых делаются отверстия для монтажа канализационных люков.
Фильтрующий железобетонный колодец дополнительно оборудуется специальной вентилирующей трубой, предназначенной для осуществления отвода скопившихся газов.
Рекомендации по устройству
Чтобы сэкономить денежные средства, перед приобретением бетонных колец рекомендуется заранее подготовить яму для будущего септика, куда они будут спущены сразу после доставки на участок, что позволит избежать повторного вызова подъемного крана.
Перекрытие колодцев септика должно производиться с помощью плит с люками. При этом они должны быть на каждом колодце. Люки помогут следить за уровнем наполнения септика и позволят добавлять специальные смеси, предназначенные для ускорения процесса разложения. При наличии возможности на каждый колодец можно установить вентиляционные трубы.
Ни в коем случае нельзя забывать об утеплении. Это предотвратит его промерзание в холодное время года. Чтобы повысить устойчивость конструкции, соединение бетонных колец между собой лучше всего выполнять с помощью металлических скоб.
Выполняя обработку секций изнутри, лучше всего использовать проникающую гидроизоляцию.
Как видно, строительство септика не требует особого профессионализма, но, чтобы он смог прослужить как можно дольше, при его установке нужно избегать нарушения технологии.
Читайте также:
newdvor.ru
Кольца бетонные перфорированные, характеристики, размеры и цены
Железобетонные изделия являются оптимальными для эксплуатации в неблагоприятных условиях при постоянном контакте с агрессивными и токсичными жидкостями или веществами. Поэтому ЖБИ кольца с перфорацией так востребованы при оборудовании канализационных систем, а именно для дренажа стоков или колодцев с питьевой водой. Они выдерживают повышенные механические нагрузки, долговечны и экономичны.
Оглавление:
- Плюсы применения
- Область использования
- Технические параметры
- Расценки
- Советы по выбору
Основные преимущества
Железобетонное кольцо с перфорацией выгодны по следующим причинам:
- высокая скорость монтажа даже с учётом времени герметизации стыков цементным раствором;
- стойкость к резким перепадам температур благодаря минимальному влагопоглощению;
- доступная стоимость;
- отсутствие необходимости создания особых условий эксплуатации;
- срок службы более 25 лет;
- отличная ремонтопригодность;
- совместимость со всеми типами грунтов.
Сферы применения
Приобрести перфорированные железобетонные кольца можно для:
- фильтрационного или питьевого колодца;
- выгребной ямы из бетонных колец;
- отстойников канализационных или ливневых систем.
Конструкция и характеристики
Перфорированные кольца изготавливаются в соответствии с требованиями ГОСТ 8020.90 и представляют собой ЖБИ с равномерно распределёнными вдоль боковой поверхности отверстиями диаметром 50 мм. Общее их количество – 32, основное назначение – фильтрационная функция.
Бетонные кольца для канализации изготавливаются в специальных формах с применением армирования, благодаря чему они выдерживают значительные механические воздействия грунта, веса накопленной жидкости или вязкой массы без деформаций и разрушения. Технология перфорации позволяет предотвратить растрескивание боковых стен в условиях резких температурных перепадов и предельных нагрузок.

Изготавливаются со следующими размерами:
- высота – 500-1000 мм;
- диаметр – 700-2000 мм;
- толщина боковых стенок – 70-140 мм.
Масса варьируется в пределах от 230 до 2300 кг, в зависимости от размеров и марки раствора. То есть монтаж можно выполнить только при помощи подъёмной спецтехники.
Почему кольца выгоднее труб?
При создании различных дренажных и канализационных систем часто используют конструкции из бетона или стали. Практика показывает, что кольца выгоднее перфорированных труб по следующим причинам:
- перфорация выполнена таким образом, что при повышенных нагрузках отверстия практически не подвержены засорению;
- больший объём бетонного резервуара обеспечивает лучшую производительность;
- эксплуатируются в неустойчивых грунтах;
- можно купить изделия с подходящими размерами по оптимальной стоимости;
- возможность выполнения их ремонта;
- высокая стойкость к химически активным средам.

От чего зависит цена?
Стоимость ЖБИ зависит от таких факторов:
- размеров;
- марки бетона, применяемого в производстве;
- назначения, например, стоимость конструкции для питьевого колодца будет выше той, которая используется для дренажа;
- именитости компании-производителя, соответствия стандартам качества.
Как выбрать кольцо?
Перед покупкой нужно убедиться, что они соответствуют следующим критериям:
- объем позволяет обеспечивать нужный уровень производительности создаваемой системы;
- армирование должно быть качественным с применением сетки и без выступающих наружу стальных прутков;
- прочность подходит под технические условия монтажа и эксплуатации, отвечает действующим нормам и требованиям;
- на поверхности отсутствуют дефекты: трещины, сколы, неровности;
- подходят под основное назначение, то есть при использовании колец для питьевой воды они соответствуют гигиеническим нормам, если для бетонных дренажных колодцев – то имеют достаточное число отверстий нужной формы.

Одним из важных конструктивных параметров при выборе считается наличие обычных торцов или замковых. Подходящий вариант определяется на основе типа остальных колец, монтируемых в системе для обеспечения плотного контакта и герметичного соединения.
Более выгодными являются замочные стыки, так как они увеличивают прочность шва на сдвиг и деформацию. Снижается расход цементно-песчаного раствора, что повышает экономичность.
В Таблице приведены средние цены на перфорированные кольца, изготовленные из железобетона.
| Наименование | Внутренний диаметр, мм | Внешний диаметр, мм | Высота, мм | Вес, кг | Стоимость, рубли |
| КС 7.9 | 700 | 860 | 890 | 366 | 1900 |
| КС 10.9 | 1000 | 1160 | 890 | 600 | 2100 |
| КС 15.9 | 1500 | 1680 | 890 | 1000 | 3100 |
| КС 20.9 | 2000 | 2200 | 890 | 1480 | 4800 |
cemgid.ru
Бетонные дренажные колодцы по выгодной цене
Бетонные дренажные колодцы, прежде всего, позволяют собирать воду в дренажной системе – как дождевую, так и из грунтовых вод. Большим спросом эти инженерные сооружения пользуются при осушении территорий. Уменьшение количества влаги в почве происходит естественным образом – за счет использования уклонов местности и фильтрующих свойств грунта.
На сегодняшний день наибольшей популярностью такие системы пользуются среди владельцев пригородных участков, дач, в частных секторах посреди города. Весной при таянии снегов, бетонные дренажные колодцы не позволят превратить ваш участок в тающее болото.
На сегодняшний день проблема водоотведения стоит особенно остро. В частности, для районов с повышенной влажностью почвы, с близко расположенными грунтовыми источниками вод и подверженных затоплению во время паводка.
При использовании дренажных систем, подвалы зданий будут защищены от образования плесени а корневая система растений от загнивания.
Применение бетонного дренажного колодца
Бетонные дренажные колодцы чаще всего применяются для сбора отведенной от участка воды. Если по каким либо причинам вы не можете установить водопоглощающий дренажный колодец, опустите в землю несколько бетонных колец и защитите его от заиливания с помощью отсыпки гравием или обложив геотекстилем.
Влагу собранную в бетонном дренажном колодце можно откачать погружным насосом, либо использовать для полива растений на приусадебном участке.
Бетонный колодец по выгодной цене
Данные конструкции целиком и полностью зависят от количества поступающей воды. Перед покупкой и установкой дренажной системы, необходимо четко осознавать цели и место установки, а также желательно проконсультироваться со специалистом.
Преимущества бетонных дренажных колодцев:
- Оптимальная стоимость – стоимость дренажного колодца из железобетонных колец напрямую зависит от габаритов самой конструкции и степени сложности монтажа;
- Размеры по вашему желанию – вы можете подобрать подходящие именно вам размеры колец для колодца;
- Долговечность – длительные сроки эксплуатации системы;
Советуем вам обращаться к профессионалам для правильного монтажа и функционирования дренажной системы.
Купить кольца для колодца
Мы предлагаем вам приобрести кольца для бетонного дренажного колодца в нашем интернет-магазине по самым выгодным ценам. Оформляйте заказ прямо сейчас и получайте оперативную доставку и качественное обслуживание. В случае возникновения вопросов или при наличии сомнений обращайтесь по указанным контактным номерам. Наши специалисты проведут подробную консультацию, ответят на все интересующие вас вопросы, помогут определиться с выбором. Мы заботимся о каждом клиенте!
Осуществляется доставка по территории РФ. Товар сертифицирован.
ost-drain.ru
Бетонные перфорированные кольца
Перфорированные кольца
Перфорированное бетонное кольцо представляет собой изделие с отверстиями диаметром 50мм, расположенными по всему периметру (32 отверстия).
Перфорированные кольца обычно используются для строительства сливных ям и септиков, фильтрационных или дренажных колодцев. Отверстия в стенках кольца жби с перфорацией позволяют воде просачиваться в грунт. Очищенная сточная вода после фильтрации впитывается в почву.
Скорость впитывания сточных вод во многом зависит от пропускной способности грунта и, в некоторй степени, от количества и диаметра дренажных отверстий.
В зависимости от выполняемых функций перфорированные кольца могут быть установлены как в нижней части сливной ямы, так и в верхней. В первом варианте сначала устанавливают кольца жби с перфорацией, далее сплошные кольца до необходимой высоты колодца. Во втором случае сплошные кольца устанавливаются в первую очередь, а кольцо с отверстиями на них. Такая конструкция позволяет избежать переполнения колодца, излишки воды, достигнув максимального уровня будут впитываться в почву через дренажные отверстия.
Производство перфорированных колец
Дренажные отверстия в кольцах получают при формовании изделия в специальной форме. Такой способ производства перфорированных колец позволяет сохранить целостность изделия и его прочностные характеристики.
| Цену на перфорированные бетонные кольца можно узнать по телефонам (863) 252-20-21 в Ростове, (861) 200-29-69 в Краснодаре, (8636) 28-07-10 в Шахтах. |
pptk-energostroy.ru
Перфорированные бетонные кольца




Каждому дому необходимо иметь свой септик. Дело в том, что питьевая или техническая вода может загрязниться вредными отходами, и только в септике (попросту говоря, в выгребной яме) можно очистить воду. Очистка осуществляется с помощью биоагентов – специальных микроорганизмов или водорослей, которые перерабатывают загрязнения в воде. Перфорированные бетонные кольца отлично подойдут для монтажа и эксплуатации Вашего септика. Перфорация бетонных колец даже заказывается специально, поскольку при установке есть свои трудности: например, нужно заказывать специальную технику, чтобы кольцо не застряло в грунте. В противном случае Вам придется окапывать кольцо. Выдергивать его из почвы категорически запрещено правилами эксплуатации грузоподъемных механизмов. Однако с перфорированными бетонными кольцами такой беды не произойдет.
С АКТУАЛЬНЫМИ ЦЕНАМИ И ПОЛНЫМ ПЕРЕЧНЕМ НАШЕЙ ПРОДУКЦИИ ВЫ МОЖЕТЕ ОЗНАКОМИТЬСЯ В ПРАЙС-ЛИСТЕ
© GBI-77 — предприятие по производству и реализации бетонных изделий, 2008 — 2014, тел. 8(495)925-88-08, mail: [email protected]
www.gbi-77.ru
Кольца для колодцев сборные железобетонные:делаем выбор

Железобетонные колодезные кольца
Монтаж колодца из железобетонных колец значительно сокращает сроки строительства, и даёт возможность создать наиболее прочную и долговечную конструкцию. Это касается и коммуникационных, и канализационных резервуаров. Что уж говорить о глубоких питьевых, колодцах, к прочности которых предъявляются особые требования. Наша инструкция расскажет о том, какие виды бетонных стеновых колец производятся, и каково их назначение. А видео в этой статье поможет выполнить правильный монтаж своими руками.
Сборный железобетон: кольца стеновые
Стеновые ЖБ кольца производятся по ГОСТ 8020.90, который регламентирует шесть типоразмеров диаметров. Они включают в себя как полномерные, так и доборные элементы, которые позволяют завершить монтаж ствола, если его длина не кратна высоте кольца. Изделия одного размера могут отличаться толщиной стенок, а так же интенсивностью армирования (усиленные варианты). От размеров зависит и объём железобетонных колец для колодцев. Предлагаем вам ознакомиться с перечнем этих изделий в приведённой ниже таблице.
| Маркировка изделий | Диаметрвнутренний/наружныйв метрах | Высотав метрах | Объём: кольца железобетонные колодезныев м3 | Примернаярозничная цена |
| КС 7.9КС 7.5КС 7.3 | 0,7/0,84 | 0,890,490,29 | 0,150,10,05 | 190016501450 |
| КС 10.9КС 10.6 | 1,0/1,16 | 0,890,59 | 0,240,16 | 20001600 |
| КС 13.9 | 1,3/1,41 | 0,89 | 0,3 | 2200 |
| КС 15.9КС 15.6 | 1,5/1,68 | 0,890,59 | 0,40,26 | 36502300 |
| КС 20.12КС 20.9КС 20.6 | 2,0/2,2 | 1,190,890,59 | 0,590,10,37 | 900060004350 |
| КС 25.12 | 2,5/2,7 | 1,19 | 0,97 | 15000 |
Итак:
- Каждый вид колец имеет своё назначение. Изделия самого маленького диаметра, чаще всего используются для монтажа смотровых резервуаров, кессонов для установки пожарных гидрантов и насосного оборудования, колодцев связи.
- Водозаборные колодцы монтируют в основном из колец диаметром 1,0-1,3м. Далее, в размерном ряду идут изделия, которые используют в основном для монтажа канализационных септиков, отстойников, накопительных резервуаров и промышленных колодцев.
- Кольца могут быть с гладким фальцем, либо иметь пазо-гребневое соединение. Хотя, на их стоимость, влияет не это, а объём кольца для колодцев, а вернее, объём бетона, затраченного на его изготовление.
Кроме того, заводы ЖБИ производят и другие элементы колодцев: днища и перекрытия, горловины, кольца с монолитным днищем, перфорированные и квадратные кольца, пластины для сборки резервуаров. О том, как правильно построить колодец из сборного железобетона, мы расскажем в следующей главе.
Как соорудить колодец из ЖБ колец
Чем хороши железобетонные кольца для колодца, так это тем, что дают возможность сокращать сроки строительства коммуникаций. Наприм
vest-beton.ru
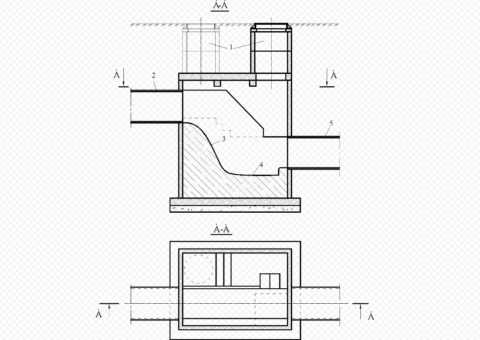
Канализационные Железобетонные Колодцы: Устройство Круглых

Элементы круглых колодцев с дном и без него
Строительство наружных канализационных сетей не обходится без монтажа колодцев, так как именно в них сосредоточена фасонная и запорная арматура.
Их стенки могут возводиться из кирпича, заливаться монолитным способом, но всё же, канализационные железобетонные колодцы в заводском исполнении — это наиболее часто проектируемый вариант, который позволяет экономить время и деньги. Вот о нём, с помощью видео в этой статье, и будет рассказано далее.
Содержание статьи
Какими бывают колодцы
В зависимости от назначения, бетонный канализационный колодец может иметь тот или иной диаметр и глубину, отличаются и нюансы его обустройства. Прежде чем разбираться в нюансах строительства, необходимо понимать, какие изделия при этом используются. Вот с их обзора мы и начнём.
Структура
Итак, канализационные колодцы сборные железобетонные — элементы:
- Донная плита;
- Кольца стеновые — формируют корпус колодца;
- Перекрытие (крышка), имеющее отверстие под установку люка;
- Чугунный или пластиковый люк.
Это стандартная структура колодца, но существуют и варианты. Например, вместо плитного днища, в нижней части сооружения может быть установлено кольцо с дном.
Когда колодец располагается на проезжей части дороги, его верхним элементом является не крышка, а опорная плита, которая так же имеет отверстие под люк.
В отличие от крышки, опорная плита имеет прямоугольную форму — и это не случайно. Такая форма позволяет качественно распределить нагрузки на грунт вокруг колодца, минимизировав их по отношению к его стенкам.
Канализационные железобетонные колодцы могут быть и унифицированными. Это цельный цилиндрический блок с дном и уже готовым входным отверстием для трубы, усиленный металлической сеткой. Их чаще всего применяют при строительстве ливневых водоотводных систем.
Назначение
Так как тип колодца определяется его назначением, рассмотрим каждый вариант более подробно:
- Смотровые канализационные бетонные колодцы устраивают в тех местах, где на трубопроводе предусмотрен поворот, объединяются две или более сетей, осуществляется переход от одного диаметра трубопровода к другому, или просто на длинных участках трассы.

Устройство смотрового колодца
В этих местах требуется производить профилактический осмотр труб, при необходимости — их прочистку. Поэтому устраиваемые здесь колодцы называются смотровыми.
При диаметре труб:
- до 30 см их проектируют через каждые 35м;
- до 60 см — через 50м;
- от 60 до 140 см — через 75м;
- более 140 см — через 150м.
- Ливневые резервуары предназначены для сбора дождевой воды с проезжей части улиц и тротуаров. Вот как раз для их устройства чаще всего и применяют унифицированные колодцы.

Ливневая канализация: колодец бетонный
- Колодцы-камеры специального назначения устраивают в тех местах, где канализация пересекается с другими подземными сетями. При этом другие магистрали располагают выше канализационных.

Канализационный колодец из бетонных колец
- Отстойники или выгребные колодцы служат для очистки канализации от взвешенных (тяжёлых) частиц. Устанавливают их только в производственных или бытовых автономных системах.

Колодцы железобетонные канализационные в системе с тремя отстойниками
- Колодцы гасители (перепадные) — их функция заключается в том, чтобы поток воды в самотечных системах мог сбросить свою скорость. Если учесть, что падающая вода создаёт определённые нагрузки, глубина таких колодцев может достигать 4м. Как вариант для трубопроводов с большим диаметром, на расстоянии двух метров друг от друга сооружается сразу несколько колодцев.

Перепадные бетонные колодцы для канализации имеют глубину до четырёх метров
- Дренажные (фильтрующие) колодцы устраивают с целью очистки строчных вод. Вместо герметичного дна у них дренажное основание, а в стенках имеется перфорация.

Фильтрующие бетонные колодцы канализационные монтируют из колец с перфорацией
Существует ещё и такой вариант, как колодец канализационный бетонный прямоугольный. В отличие от цилиндрических емкостей, их внутренний объём можно использовать более рационально.
Однако их монтаж достаточно сложен, и они не столь устойчивы к деформациям, поэтому на практике их применяют очень редко — да и то по большей части для трубопроводов с большим диаметром.

Квадратный колодец
На заметку: В автономных домашних сетях диаметры трубопроводов небольшие (до 300 мм), и колодцы обычно монтируют из круглых колец с метровым диаметром. В частном секторе, канализационный колодец из железобетонных колец д=2000 мм может использоваться лишь для устройства погреба или мини-бассейна.
Все сборные и унифицированные изделия, предназначенные для строительства дренажных и канализационных систем, изготавливают по ГОСТ 8020 из тяжёлого бетона класса В15-В22,5. Его морозостойкость в таких изделиях не может быть менее F150.
Требования СНиП к устройству канализационных колодцев
Все сооружения наружных канализационных сетей, к коим относятся и колодцы, строятся согласно СНиП 2.04.03. Расскажем вкратце, в чём выражаются требования данного документа.
Для смотровых колодцев
Итак, мы уже выяснили, что смотровые колодцы должны устраиваться в точках присоединения трубопроводов, изменения их направления, отметки либо диаметра.
Причём, чем труба меньше, тем ближе должны быть точки контроля:
- Размер колодца в плане — как для производственной, так и для бытовой канализации, принимается так же в зависимости от диаметра (наибольшего).

Чертежи: железобетонный канализационный колодец
Соотношение диаметров трубопровода и колодца выглядит так:
- Труба менее 0,6м — диаметр колодца 1м;
- От 0,6 до 0,7м — 1,25м;
- От 0,8 до 1м — 1,5м;
- От 1м до 1,2м — 2м.
Если это поворотный вариант, то учитывается ещё и возможность размещения лотка:
- Если для трубопроводов малого диаметра и с глубиной заложения менее 120 см, можно проектировать колодцы с диаметром 70 см, то при заглублении отметки до трёх метров, размер круглого колодца в плане должен составлять минимум 1,5м.
- Высота от днища до точки опоры перекрытия называется рабочей. В среднем для канализационного колодца она составляет 180 см. В этой части, для спуска в неё должна быть предусмотрена навесная или стационарная лестница, либо стальные скобы. При глубине от полутора метров должно быть и ограждение.

Скобы для спуска монтируются в стенку колодца
- Горловина колодца принимается стандартная — 70 см, однако в поворотных точках, где чаще всего и случаются засоры, размеры лаза делают увеличенными с учётом необходимости опускания оборудования для прочистки.
- Люки устанавливают на 5-7 см выше земли, если это озеленённая территория; на 20 см, если это незастроенный участок; и заподлицо с покрытием, если он находится на проезжей части автодороги или тротуара.

На тротуаре люк устанавливается на одном уровне с покрытием
В случаях, когда дно колодца заглубляется ниже УГВ (уровня грунтовых вод), обязательно должна выполняться его гидрозащита. Изолируются так же и стенки — минимум на полметра выше отметки воды.
Для перепадных колодцев
Устройство перепадного колодца позволяет уменьшить глубину залегания труб на отдельных участках трубопровода, благодаря чему уменьшается объём земляных работ, и значительно снижается цена системы в целом. В таком колодце происходит гашение скорости потока, что предупреждает риск возникновения гидроудара в трубопроводе.
На заметку: Отсутствие колодца-гасителя допускается только при перепадах менее 50 см, и при диаметре труб до 60 см. В этом случае, слив осуществляется в смотровом колодце.
Параметры проектируемых перепадных колодцев зависят от диаметра трубопровода и высоты перепада. На больших перепадах (до 6м), колодец представляет собой стояк, сечение которого соответствует сечению подводящей трубы (или чуть больше).

Чертёж гасительного колодца
- При этом над стояком проектируется приёмная воронка, а в водобойной части — приямок с основанием, усиленным металлической плитой. На стояках малого диаметра (30 см и менее), вместо приямка может быть устроено направляющее колено.

Вариант со стояком и направляющим коленом
Если канализация ливневая, то на перепадах до 1м могут предусматриваться водосливные колодцы с водобойными балками или решётками, количество которых зависит от разницы отметок.

К дождеприёмникам предъявляются так же предъявляются определённые требования
К дождеприёмникам и септикам предъявляются отдельные требования, но вдаваться в них сейчас мы не будем. Если это необходимо, откройте СНиП — и подробная инструкция к вашим услугам.
Мы же рассмотрим, как осуществляется устройство круглых сборных железобетонных канализационных колодцев из стеновых колец, так как эту работу очень многие домовладельцы стремятся выполнить своими руками.
Сборка колодца из стеновых колец
За основу возьмём колодец с диаметром в 1м и глубиной в 3м, возводимый на просадочных грунтах.
Этапность выполняемых работ
Любое строительное производство должно быть правильно организовано, тогда и результат будет на высоте. Работа по сооружению колодца не является исключением, и состоит из таких этапов:
Подготовка
В рамках подготовки к монтажу:
- Производится разбивка места под строительство;
- Зачищается территория от растительности;
- Сносятся мешающие сооружения, если таковые имеются;
- Прокладывается временная дорога или съезд.
После подготовительных работ можно приступать к закупке материалов. Кроме самих колец — в нашем случае это КС 10.9 в количестве трёх штук, понадобится 1 донная плита, 1 перекрытие, 1 люк, а так же цемент, песок и битумная мастика.
Монтаж
Теперь что касается непосредственно строительства.
Порядок работ будет выглядеть так:
- Разрабатывается котлован, выравнивается и зачищается его дно;
- Для обеспечения большей прочности грунта, основание обрабатывается жидким битумом и тщательно трамбуется;
- Выполняется подготовка из бетона класса В3,5 — толщиной 10 см;
- Монтируют лотки под трубы, которые будут входить в колодец и выходить из него, и усиливают их стальной сеткой;
- Поверхность колец промазывают битумной мастикой;
- Укладывается донная плита, поверх которой устанавливаются кольца;
- Стыки между кольцами зачеканивают цементным раствором М50;
- Изнутри поверхность колодца оштукатуривается;
- Производится обратная засыпка грунта, а на вводах труб устраиваются водоупорные замки;
- Вокруг горловины сооружается бетонная отмостка — ширина 1,5м;
Колодец обязательно подвергают испытанию — но уже после того, как будет окончено строительство всего участка сети. Его заполняют водой на сутки, чтобы создать гидравлическое давление. Если при визуальном осмотре не обнаружено утечек воды, то резервуар прошёл испытание — и можно считать, что монтаж канализации из бетонных колец завершён.
beton-house.com
Кольца колодезные: характеристики и цены
* негабарит
Для обустройства инженерных систем – канализационных, водопроводных, дренажных колодцев используются железобетонные кольца. Такие колодцы из колец называют сборными как раз потому, что возводятся они из нескольких элементов.
Сборные железобетонные кольца для колодцев и их выбор
Для каждого типа колодца необходимо подбирать кольца строго определенного диаметра. К примеру, в частном секторе для обустройства канализации чаще всего используются кольца для колодцев сборные железобетонные диаметром 1000.
Литая железобетонная основа кольца обеспечивает всей конструкции должную прочность и долговечность. Колодезные конструкции любого типа предусматривают не только сами кольца, но и другие элементы, подбираемые в соответствии с заданным диаметром. Таким неотъемлемым элементом является кольцо опорное, предназначенное для монтажа люка и его вывода на уровень асфальта или окружающего грунта.
Элементы колодца укладываются в такой последовательности: сначала днище или кольцо с днищем, стеновые элементы, крышка, доборы и затем люк. Каждый из них должен абсолютно точно соответствовать по диаметру предыдущей детали конструкции.
Как подобрать нужные кольца для колодцев
Тот, кто впервые встал перед необходимостью обустройства колодца, может столкнуться с трудностями подбора конкретной модификации ЖБИ. Справиться с этой задачей помогут специалисты завода ЖБИ-4.
Они непременно подскажут, каких габаритов необходимо приобретать кольца для конкретного колодца, что ещё и сколько необходимо для проведения работ. И уже в зависимости от комплектации заказа, количества и характеристик приобретаемой продукции определяется окончательная цена на ЖБИ кольца.
На сайте завода ЖБИ-4 представлен весь доступный сегодня на рынке размерный ряд колодезных колец. Все кольца маркированы в соответствии с диаметром и высотой изделия.
Пример обозначения нашей продукции:
- Кольцо К-10-9
- 10 (дм) – (100см) – диаметр
- 9 (дм) – (90см) – высота
Цена на ЖБИ кольца от нашего завода
Подробный прайс-лист на всю предлагаемую продукцию размещен на сайте компании Каждая позиция снабжена детальным изображением и указанием точных размеров. В зависимости от объема приобретаемой продукции и регулярности покупок, цена на ЖБИ кольца может устанавливаться индивидуально для каждого отдельного клиента.
Кольца для колодца необходимо подбирать в четком соответствии с его предназначением. Для канализации можно взять кольца большого диаметра 100см и более, для дренажа можно приобрести кольца меньшего диаметра. Самое главное, чтобы все элементы сборного колодца соответствовали друг другу по диаметру.
Завод ЖБИ-4 является поставщиком продукции для крупных предприятий и организаций, занимающихся обустройством инженерных систем, а также для компаний, специализирующиеся на прокладке и обслуживании коммуникаций.
gbi4.ru
Колодцы ЖБИ – типы, конструкция и материалы
Железобетонные колодцы являются неотъемлемой частью систем канализации, водо- и газоснабжения. Используемые для их возведения кольца ЖБИ – на данный момент самый распространенный для этих целей строительный материал. Завод ЖБИ-4 предлагает широкий ассортимент продукции из железобетона для возведения колодезных конструкций различного назначения.
Типы ЖБИ колодцев и используемые для них кольца
Железобетонные колодцы по своей структуре разделяют на три вида:
- Телефонные или колодцы ККС являются неотъемлемой частью систем подземных коммуникаций. Эти конструкции позволяют прокладывать телефонные линии, регулярно осматривать, обслуживать и устранять неисправности. Конструктивно они состоят из двух монолитных частей.
- Унифицированные. Железобетонные колодцы этого типа представляют собой уже готовые, литые конструкции, применяемые для организации водоотведения, канализации, газоснабжения.
- Сборные. Эти конструкции собираются из нескольких элементов: днища, стеновых колец, крышки и люка. Чаще всего этот тип применяется для обустройства систем канализации и дренирования.
Кольца ЖБИ для сборных колодцев как основной их элемент
Конструктивно сборные железобетонные колодцы выглядят одинаково:
Поскольку эти колодезные сооружения состоят из нескольких вышеперечисленных элементов, прочно и герметично соединяемых друг с другом, их называют сборными железобетонными колодцами.
Для сборных колодцев выбираются кольца, днища, крышки определенного диаметра. Так что для того, чтобы купить кольца для колодца и не ошибиться с размером, стоит заранее проконсультироваться у специалистов, работающих на заводе ЖБИ-4. К примеру, применение узких (маленьких по диаметру колец) для канализации неоправданно. Для этой цели обычно используются кольца ЖБИ большого диаметра – от 100 до 200 см. В частном секторе для устройства канализационных стоков обычно используют кольца К 10-9. Возможно применение колец чуть меньшего диаметра – 70 или 80 см. Все зависит от того, какого объема планируется сток и как часто его планируют откачивать.
Кольца ЖБИ и их стоимость
Ассортимент железобетонной продукции завода ЖБИ-4 для устройства колодцев очень широк и включает все известные сегодня на рынке модификации и типоразмеры колец, днищ, крышек, доборов, люков, опорных колец и плит и т.д. Цены на кольца и другие элементы для колодца представлены на сайте компании с подробными комментариями и изображениями. При изготовлении ЖБИ учтены требования всех действующих ГОСТов, СНиПов и ТУ.
Кольца ЖБИ для колодцев маркируются по диаметру, в соответствие с которым подбираются и все остальные элементы: днище, крышки, люки, доборные элементы.
Технология изготовления колец следующая: в специальную форму, выбранную в зависимости от габаритов будущего изделия, закладывают элементы арматуры – остова кольца. Далее в форму с арматурой заливается бетон, который тщательно уплотняется. Благодаря этой технологии кольца, крышки, доборные элементы и днища получаются очень прочными и долговечными.
Специалисты компании всегда помогут подобрать комплектацию для колодцев определенного типа – сборных, телефонных или унифицированных и оформить заказ.
gbi4.ru
