Фбс гост размеры – ГОСТ 13579-78 Блоки бетонные для стен подвалов. Технические условия (с Изменением N 1)
Блоки ФБС размеры | Фундамент для Дома

Фундаментные блоки стеновые являются наиболее востребованными в сфере современного строительства, ведь они доказали свою эффективность и надежность на практике. Поэтому, большинство профессионалов выбирают именно этот материал при возведении какой-либо постройки.
При этом специалисты стараются учитывать не только морозостойкость, вес, плотность материала, но и габариты блоков ФБС, которые прописываются в соответствующем государственном стандарте.
ГОСТ, определяющий размеры стеновых фундаментных блоков
Основным государственным стандартом, который регулирует размеры фундаментных блоков ФБС, является ГОСТ 13579-78. Он распространяет свое действие на материалы, изготавливаемые из плотного, легкого и силикатного бетона, с плотностью не менее 1800 кг/м3 и которые предназначаются для технических подвалов зданий и стен подвалов.
Согласно ему различают несколько типов блоков, от которых и зависит параметры материала (длина, высота, ширина).
В этом документе также представлены блоки ФБС размеры, которых имеют свои условные обозначения. А в зависимости от того, из какого типа бетона изготовлена железобетонная конструкция, блоку присваивается определенная маркировка. Она определяется также исходя из класса бетона по прочности, массы блока, расхода материалов и марки монтажной петли.
Но размеры фундаментных блоков ФБС – это еще не весь перечень того, что регулирует данный стандарт. Правила хранения, транспортировки блоков и присвоения маркировки также указываются в этом документе.

Размеры стеновых фундаментных блоков
Сортамент данного типа блоков состоит из 14 типоразмеров изделий.
При этом основной размерной характеристикой для таких железобетонных конструкций является их ширина, а второстепенными размерами блоков ФБС принято считать длину и высоту.
Согласно длине весь сортамент материалов подразделяется на 3 типоразмера:
- 2300 мм;
- 1180 мм;
- 880 мм.
Размеры фундаментных блоков по ГОСТу также учитывают высоту изделий. Согласно этому параметру сортамент делится на 2 группы:
Блоки ФБС, размеры которых также включают ширину, подразделяются на изделия с параметрами:
Таким образом, выходит, что самый большой блок достигает параметров 2380х600х580 мм (длина, высота, ширина), а фундаментные блоки размеры, которых по ГОСТ самые маленькие укладываются в габариты 880х300х580 мм.

Как правильно подобрать размеры ФБС
Для того чтобы правильно определиться с параметрами фундаментных блоков, необходимо изначально грамотно рассчитать площадь основания, выяснить, какой будет кладка и учесть толщину перекрытий и возводимых стен. Фундаментные блоки, размеры которых вы уже определили для себя, имеют еще и особенную маркировку.
Она представляет собой защитный код, в котором содержится информация для покупателя. К примеру, ФБС 6-4-6 говорит о том, что железобетонная конструкция имеет высоту 600 мм, ее длина составляет 400 мм, а ширина – 600 мм.
Если размеры блоков ФБС указываются в маркировке в таком виде ФБС 24-6-6 т., это значит, что блок имеет длину 2400 мм, высоту и ширину – по 600 мм.
При этом буква «т» указывает на то, что конструкция изготовлена из тяжелого бетона.
Размеры фундаментных блоков также важно учитывать, исходя из характера грунта. Например, для глинистых и вздувающихся грунтов рекомендуется выбирать блоки типа ФБС 24-6-6 либо подобные им. На выбор параметров блоков также влияют:
- Деформация почвы;
- Нагрузка стен, трасс, колон;
- Глубина их укладки.

Учитывая все факторы, можно построить хорошо отапливаемое подвальное помещение, что не всегда возможно сделать с другими типами фундамента. Выбрав блоки ФБС, размеры которых абсолютно соответствуют будущей постройке, а также, учитывая характеристики самого материала: его плотность, морозоустойчивость, долговечность, можно добиться возведения идеального здания, которое будет отличаться от других своей прочностью и безупречным внешним видом.
Размеры бетонных блоков ФБС прямым образом влияют и на вес конструкций. Этот фактор необходимо учитывать, ведь для транспортировки и укладки блоков обязательно понадобится грузоподъемный транспорт и техника.
На нашем сайте вы можете посмотреть возможные размеры фундаментных блоков, оценить внешний вид таких конструкций и решить для себя, какие параметры вам понадобятся. Ведь, прежде всего, необходимо предварительно продумать ход работ, определиться с типом изделий, учесть все нюансы строительства, а уже после этого выбирать конструкции исходя из их габаритов.

funddom.ru
ГОСТ 13579-78. Блоки ФБС
ГОСТ 13579-78
Группа Ж33
МЕЖГОСУДАРСТВЕННЫЙ СТАНДАРТ
БЛОКИ БЕТОННЫЕ ДЛЯ СТЕН ПОДВАЛОВ
Технические условия
Concrete blocks for walls of basements. Specifications
MKC 91.080.40 ОКП 58 3500
Дата введения 1979-01-01
ИНФОРМАЦИОННЫЕ ДАННЫЕ
1. РАЗРАБОТАН Центральным научно-исследовательским и проектным институтом
типового и экспериментального проектирования жилища (ЦНИИЭП жилища) Госгражданстроя
Всесоюзным научно-исследовательским институтом заводской технологии сборных железобетонных конструкций и изделий (ВНИИжелезобетон) Министерства промышленности строительных материалов СССР
ВНЕСЕН Государственным комитетом по гражданскому строительству и архитектуре при Госстрое СССР
2.УТВЕРЖДЕН И ВВЕДЕН В ДЕЙСТВИЕ Постановлением Государственного комитета Совета Министров СССР по делам строительства от 30.12.77 N 234
3.ВЗАМЕН ГОСТ 13579-68
4.ССЫЛОЧНЫЕ НОРМАТИВНО-ТЕХНИЧЕСКИЕ ДОКУМЕНТЫ
| Обозначение НТД, на который дана ссылка |
| Номер пункта |
|
|
|
|
|
|
| |
| ГОСТ 5781-82 |
| 2.9 |
| ГОСТ 10060.0-95 |
|
|
|
| ||
|
| 4.3 | |
| ГОСТ 10060.1-95 |
|
|
|
| ||
|
| 4.3 | |
| ГОСТ 10060.2-95 |
|
|
|
| ||
|
| 4.3 | |
| ГОСТ 10060.3-95 |
|
|
|
| ||
|
| 4.3 | |
| ГОСТ 10060.4-95 |
|
|
|
| ||
|
| 4.3 | |
| ГОСТ 10180-90 |
|
|
|
| ||
|
| 4.1 | |
| ГОСТ 12730.0-78 |
|
|
|
| ||
|
| 4.4, 4.5, 4.7 | |
| ГОСТ 12730.2-78 |
|
|
|
| ||
|
| 4.7 | |
| ГОСТ 12730.3-78 |
|
|
|
| ||
|
| 4.5 | |
| ГОСТ 12730.5-84 |
|
|
|
| ||
|
| 4.4 | |
| ГОСТ 13015-2003 |
|
|
|
| ||
|
| 2.7, 2.12, 3.1, 4.8, 5.1, 5.7 | |
| ГОСТ 17624-87 |
|
|
|
| ||
|
| 4.1 | |
| ГОСТ 18105-86 |
|
|
|
| ||
|
| 2.2, 2.7, 4.1 | |
| ГОСТ 21718-84 |
|
|
|
| ||
|
| 4.7 | |
|
|
|
|
| ГОСТ 22690-88 |
| 4.1 |
| СНиП 2.03.01-84 |
|
|
|
| ||
|
| 2.3 | |
| СНиП 2.03.11-85 |
|
|
|
| ||
|
| 2.4 | |
| СН 165-76 |
|
|
|
| ||
|
| 2.3, 2.4 | |
|
|
|
|
5. ИЗДАНИЕ (октябрь 2005 г.) с Изменением N 1, утвержденным в ноябре 1985
г. (ИУС 3-86)
Настоящий стандарт распространяется на блоки, изготовляемые из тяжелого бетона, а также керамзитобетона и плотного силикатного бетона средней плотности (в высушенном до постоянной массы состоянии) не менее
1800 кг/м и предназначаемые для стен подвалов и технических подпольев зданий.
Сплошные блоки допускается применять для фундаментов. (Измененная редакция, Изм. N 1).
1. ТИПЫ И КОНСТРУКЦИЯ БЛОКОВ
1.1. Блоки подразделяют на три типа: ФБС — сплошные;
ФБВ — сплошные с вырезом для укладки перемычек и пропуска коммуникаций под потолками подвалов и технических подпольев;
ФБП — пустотные (с открытыми вниз пустотами).
1.2. Форма и размеры блоков должны соответствовать указанным на черт.1-3 и в табл.1.
Черт.1. Блоки типа ФБС
Блоки типа ФБС
Блоки шириной 300 мм

Черт.1
Блоки шириной 400, 500 и 600 мм
Черт.1 (продолжение)
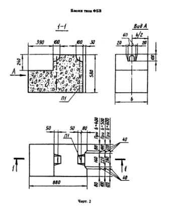
Черт.2. Блоки типа ФБВ
Блоки типа ФБВ

Черт.2
Черт.3. Блоки типа ФБП
Блоки типа ФБП

Черт.3
Таблица 1
Тип блока |
| Основные размеры блока, мм |
|
| ||
|
|
|
|
|
|
|
|
|
|
|
|
|
|
|
| Длина |
| Ширина |
| Высота |
|
|
|
|
|
|
|
|
|
|
| |||
ФБС |
| 2380 |
| 300; 400; 500; 600 |
| 580 |
|
|
|
|
|
|
|
|
|
|
| |||
|
| 1180 |
| 400; 500; 600 |
| 280; 580 |
|
|
|
|
|
|
|
|
|
|
| |||
|
| 880 |
| 300; 400; 500; 600 |
| 580 |
|
|
|
|
|
|
|
|
|
|
|
|
| |
ФБВ |
|
|
| 400; 500; 600 |
|
|
|
|
|
|
|
|
|
|
|
|
|
|
| |
ФБП |
| 2380 |
|
|
|
|
|
|
|
|
|
|
|
1.3 Структура условного обозначения (марок) блоков следующая:

Х |
| Х. |
| Х. |
| Х — Х |
| Х | ||
|
|
|
|
|
|
|
|
|
|
|
Тип блока (п.1.1)
Размеры блока в дециметрах: длина (округленно)
ширина
высота (округленно)
Вид бетона: тяжелый — Т; на пористых заполнителях (керамзитобетон) — П; плотный силикатный — С
Обозначение настоящего стандарта
Пример условного обозначения блока типа ФБС длиной 2380 мм, шириной 400 мм и высотой 580 мм, из тяжелого бетона:
ФБС24.4.6-Т ГОСТ 13579-78
То же, типа ФБВ длиной 880 мм, шириной 400 мм и высотой 580 мм, из бетона на пористых заполнителях (керамзитобетона):
ФБВ9.4.6-П ГОСТ 13579-78
То же, типа ФБП длиной 2380 мм, шириной 500 мм и высотой 580 мм, из плотного силикатного бетона:
ФБП24.5.6-С ГОСТ 13579-78
Примечание. Допускается изготовление и применение блоков длиной 780 мм (доборных), принятых в утвержденных до 01.01.78 типовых проектах зданий, на время действия этих проектов.
1.4. Марки и характеристики блоков из тяжелого бетона приведены в табл.2, из керамзитобетона — в табл.3, из плотного силикатного бетона — в табл.4.
При соответствующем обосновании допускается применение блоков из бетона с классами по прочности на сжатие, отличающимися от указанных в табл.2-4. При этом во всех случаях класс бетона по прочности на сжатие должен приниматься не более В15 и не менее:
В3,5 — для блоков из тяжелого бетона и керамзитобетона; В12,5 » » » плотного силикатного бетона.
Примечание. В условное обозначение блоков из бетона классов по прочности на сжатие, отличающихся от указанных в табл.2-4, должен вводиться соответствующий цифровой индекс перед буквой, характеризующей вид бетона.
Таблица 2

| Марка |
| Класс |
| Монтажная |
| Расход |
|
|
| Масса блока | ||
| блока |
| бетона по |
| петля |
|
|
| материалов |
| (справочная), | ||
|
|
| прочности |
|
|
|
|
|
|
|
|
| т |
|
|
| на сжатие |
|
|
|
|
|
|
|
|
|
|
|
|
|
|
|
|
|
|
|
|
|
|
|
|
|
|
|
|
|
|
|
|
|
|
|
|
|
|
|
|
|
|
| Марка |
| Кол. |
| Бетон, |
| Сталь, |
|
|
|
|
|
|
|
|
|
|
| м |
| кг |
|
|
|
|
|
|
|
|
|
|
|
|
|
|
| |
|
|
|
|
|
|
|
|
|
|
|
|
|
|
|
|
|
|
|
|
|
|
|
| ||||
| ФБС24.3.6- |
| В7,5 |
| П2а |
| 2 |
| 0,406 |
| 1,46 |
| 0,97 |
| Т |
|
|
|
|
|
|
|
|
|
|
|
|
| ФБС24.4.6- |
|
|
|
|
|
|
|
|
|
|
|
|
|
|
|
|
|
|
|
|
|
|
| |||
|
|
|
|
|
|
|
| 0,543 |
|
|
| 1,30 | |
| Т |
|
|
|
|
|
|
|
|
|
|
|
|
|
|
|
|
|
|
|
|
|
|
|
|
|
|
|
|
|
|
|
|
|
|
|
|
| |||
| ФБС24.5.6- |
|
|
| П3 |
|
|
| 0,679 |
| 2,36 |
| 1,63 |
| Т |
|
|
|
|
|
|
|
|
|
|
|
|
| ФБС24.6.6- |
|
|
|
|
|
|
|
|
|
|
|
|
|
|
|
|
|
|
|
|
|
|
| |||
|
|
|
|
|
|
|
| 0,815 |
|
|
| 1,96 | |
| Т |
|
|
|
|
|
|
|
|
|
|
|
|
|
|
|
|
|
|
|
|
|
|
|
|
|
|
|
|
|
|
|
|
|
|
|
|
| |||
| ФБС12.4.6- |
|
|
| П2 |
|
|
| 0,265 |
| 1,46 |
| 0,64 |
| Т |
|
|
|
|
|
|
|
|
|
|
|
|
| ФБС12.5.6- |
|
|
|
|
|
|
|
|
|
|
|
|
|
|
|
|
|
|
|
|
|
|
| |||
|
|
|
|
|
|
|
| 0,331 |
|
|
| 0,79 | |
| Т |
|
|
|
|
|
|
|
|
|
|
|
|
| ФБС12.6.6- |
|
|
|
|
|
|
|
|
|
|
|
|
|
|
|
|
|
|
|
|
|
|
| |||
|
|
|
|
|
|
|
| 0,398 |
|
|
| 0,96 | |
| Т |
|
|
|
|
|
|
|
|
|
|
|
|
|
|
|
|
|
|
|
|
|
|
|
|
|
|
|
|
|
|
|
|
|
|
|
|
| |||
| ФБС12.4.3- |
|
|
| П4 |
|
|
| 0,127 |
| 0,74 |
| 0,31 |
| Т |
|
|
|
|
|
|
|
|
|
|
|
|
| ФБС12.5.3- |
|
|
|
|
|
|
|
|
|
|
|
|
|
|
|
|
|
|
|
|
|
|
| |||
|
|
|
|
|
|
|
| 0,159 |
|
|
| 0,38 | |
| Т |
|
|
|
|
|
|
|
|
|
|
|
|
|
|
|
|
|
|
|
|
|
|
|
|
|
|
studfiles.net
Блоки бетонные для стен подвалов. Технические условия
БЛОКИ БЕТОННЫЕ
ДЛЯ СТЕН ПОДВАЛОВ
Технические условия
Москва |
МЕЖГОСУДАРСТВЕННЫЙ СТАНДАРТ
БЛОКИ БЕТОННЫЕ ДЛЯ СТЕН ПОДВАЛОВ Технические условия Concrete blocks for walls of basements. Specifications | ГОСТ |
Дата введения 01.01.79
Настоящий стандарт распространяется на блоки, изготовляемые из тяжелого бетона, а также керамзитобетона и плотного силикатного бетона средней плотности (в высушенном до постоянной массы состоянии) не менее 1800 кг/м3 и предназначаемые для стен подвалов и технических подпольев зданий.
Сплошные блоки допускается применять для фундаментов.
(Измененная редакция, Изм. № 1).
1. ТИПЫ И КОНСТРУКЦИЯ БЛОКОВ
1.1. Блоки подразделяют на три типа:
ФБС — сплошные;
ФБВ — сплошные с вырезом для укладки перемычек и пропуска коммуникаций под потолками подвалов и технических подпольев;
ФБП — пустотные (с открытыми вниз пустотами).
1.2. Форма и размеры блоков должны соответствовать указанным на черт. 1 — 3 и в табл. 1.
Блоки типа ФБС
Блоки шириной 300 мм
Черт. 1
Блоки шириной 400, 500 и 600 мм
Черт. 1 (продолжение)
Блоки типа ФБВ
Черт. 2
Блоки типа ФБП
Черт. 3
Таблица 1
Тип блока | Основные размеры блока, мм | ||
Длина l | Ширина b | Высота h | |
ФБС | 2380 | 300; 400; 500; 600 | 580 |
1180 | 400; 500; 600 | 280; 580 | |
880 | 300; 400; 500; 600 | 580 | |
ФБВ | 400; 500; 600 | ||
ФБП | 2380 | ||
1.3. Структура условного обозначения (марок) блоков следующая:
Пример условного обозначения блока типа ФБС длиной 2380 мм, шириной 400 мм и высотой 580 мм, из тяжелого бетона:
ФБС24.4.6-Г ГОСТ 13579-78
То же, типа ФБВ длиной 880 мм, шириной 400 мм и высотой 580 мм, из бетона на пористых заполнителях (керамзитобетона):
ФБВ9.4.6-П ГОСТ 13579-78
То же, типа ФБП длиной 2380 мм, шириной 500 мм и высотой 580 мм, из плотного силикатного бетона:
ФБП24.5.6-С ГОСТ 13579-78
Примечание. Допускается изготовление и применение блоков длиной 780 мм (доборных), принятых в утвержденных до 01.01.78 типовых проектах зданий, на время действия этих проектов.
1.4. Марки и характеристики блоков из тяжелого бетона приведены в табл. 2, из керамзитобетона — в табл. 3, из плотного силикатного бетона — в табл. 4.
При соответствующем обосновании допускается применение блоков из бетона с классами по прочности на сжатие, отличающимися от указанных в табл. 2 — 4. При этом во всех случаях класс бетона по прочности на сжатие должен приниматься не более В15 и не менее:
В3,5 — для блоков из тяжелого бетона и керамзитобетона;
В12,5 « « « плотного силикатного бетона.
Примечание. В условное обозначение блоков из бетона классов по прочности на сжатие, отличающихся от указанных в табл. 2 — 4, должен вводиться соответствующий цифровой индекс перед буквой, характеризующей вид бетона.
Таблица 2
Марка блока | Класс бетона по прочности на сжатие | Монтажная петля | Расход материалов | Масса блока (справочная), т | ||
Марка | Кол. | Бетон, м3 | Сталь, кг | |||
ФБС24.3.6-Т | В7,5 | П2а | 2 | 0,406 | 1,46 | 0,97 |
ФБС24.4.6-Т | 0,543 | 1,30 | ||||
ФБС24.5.6-Т | П3 | 0,679 | 2,36 | 1,63 | ||
ФБС24.6.6-Т | 0,815 | 1,96 | ||||
ФБС12.4.6-Т | П2 | 0,265 | 1,46 | 0,64 | ||
ФБС12.5.6-Т | 0,331 | 0,79 | ||||
ФБС12.6.6-Т | 0,398 | 0,96 | ||||
ФБС12.4.3-Т | П4 | 0,127 | 0,74 | 0,31 | ||
ФБС12.5.3-Т | 0,159 | 0,38 | ||||
ФБС12.6.3-Т | 0,191 | 0,46 | ||||
ФБС9.3.6-Т | П1 | 0,146 | 0,76 | 0,35 | ||
ФБС9.4.6-Т | 0,195 | 0,47 | ||||
ФБС9.5.6-Т | 0,244 | 0,59 | ||||
ФБС9.6.6-Т | П2 | 0,293 | 1,46 | 0,70 | ||
ФБВ9.4.6-Т | П1 | 0,161 | 0,76 | 0,39 | ||
ФБВ9.5.6-Т | 0,202 | 0,49 | ||||
ФБВ9.6.6-Т | 0,243 | 0,58 | ||||
ФБП24.4.6-Т | В12,5 | П2 | 0,439 | 1,46 | 1,05 | |
ФБП24.5.6-Т | 0,526 | 1,26 | ||||
ФБП24.6.6-Т | 0,583 | 1,40 | ||||
Примечание. Масса блоков приведена для тяжелого бетона средней плотностью 2400 кг/м3.
Таблица 3
Марка блока | Класс бетона по прочности на сжатие | Монтажная петля | Расход материалов | Масса блока (справочная), т | ||
Марка | Кол. | Бетон, м3 | Сталь, кг | |||
ФБС24.3.6-П | В7,5 | П2а | 2 | 0,406 | 1,46 | 0,73 |
ФБС24.4.6-П | 0,543 | 0,98 | ||||
ФБС24.5.6-П | 0,679 | 1,22 | ||||
ФБС24.6.6-П | В7,5 | П3 | 2 | 0,815 | 2,36 | 1,47 |
ФБС12.4.6-П | П1 | 0,265 | 0,76 | 0,48 | ||
ФБС12.5.6-П | П2 | 0,331 | 1,46 | 0,60 | ||
ФБС12.6.6-П | 0,398 | 0,72 | ||||
ФБС12.4.3-П | П4 | 0,127 | 0,74 | 0,23 | ||
ФБС12.5.3-П | 0,159 | 0,29 | ||||
ФБС12.6.3-П | 0,191 | 0,35 | ||||
ФБС9.3.6-П | П1 | 0,146 | 0,76 | 0,26 | ||
ФБС9.4.6-П | 0,195 | 0,35 | ||||
ФБС9.5.6-П | 0,244 | 0,44 | ||||
ФБС9.6.6-П | 0,293 | 0,53 | ||||
ФБВ9.4.6-П | 0,161 | 0,29 | ||||
ФБВ9.5.6-П | 0,202 | 0,37 | ||||
ФБВ9.6.6-П | 0,243 | 0,44 | ||||
ФБП24.4.6-П | В12,5 | П2 | 0,439 | 1,46 | 0,79 | |
ФБП24.5.6-П | 0,526 | 0,95 | ||||
ФБП24.6.6-П | 0,583 | 1,05 | ||||
Примечание. Масса блоков, а также марка монтажных петель приведены для блоков из керамзитобетона средней плотностью 1800 кг/м3.
Таблица 4
Марка блока | Класс бетона по прочности на сжатие | Монтажная петля | Расход материалов | Масса блока (справочная), т | ||
Марка | Кол. | Бетон, м3 | Сталь, кг | |||
ФБС24.3.6-С | В15 | П2а | 2 | 0,406 | 1,46 | 0,81 |
ФБС24.4.6-С | 0,543 | 1,09 | ||||
ФБС24.5.6-С | 0,679 | 1,36 | ||||
ФБС24.6.6-С | П3 | 0,815 | 2,36 | 1,63 | ||
ФБС12.4.6-С | П1 | 0,265 | 0,76 | 0,53 | ||
ФБС12.5.6-С | П2 | 0,331 | 1,46 | 0,66 | ||
ФБС12.6.6-С | 0,398 | 0,80 | ||||
ФБС12.4.3-С | П4 | 0,127 | 0,74 | 0,25 | ||
ФБС12.5.3-С | 0,159 | 0,32 | ||||
ФБС12.6.3-С | 0,191 | 0,38 | ||||
ФБС9.3.6-С | П1 | 0,146 | 0,76 | 0,29 | ||
ФБС9.4.6-С | 0,195 | 0,39 | ||||
ФБС9.5.6-С | 0,244 | 0,49 | ||||
ФБС9.6.6-С | 0,293 | 0,59 | ||||
ФБВ9.4.6-С | 0,161 | 0,32 | ||||
ФБВ9.5.6-С | 0,202 | 0,40 | ||||
ФБВ9.6.6-С | 0,243 | 0,49 | ||||
ФБП24.4.6-С | П2 | 0,439 | 1,46 | 0,88 | ||
ФБП24.5.6-С | 0,526 | 1,05 | ||||
ФБП24.6.6-С | 0,583 | 1,17 | ||||
Примечание. Масса блоков, а также монтажных петель приведена для блоков из плотного силикатного бетона средней плотностью 2000 кг/м3.
1.5. Расположение монтажных петель в блоках должно соответствовать указанному на черт. 1 — 3. Конструкции монтажных петель приведены в приложении.
Допускается устанавливать монтажные петли в блоках типа ФБС длиной 1180 и 2380 мм на расстоянии 300 мм от торцов блока и заподлицо с его верхней плоскостью.
При применении для подъема и монтажа блоков специальных захватных устройств допускается, по согласованию изготовителя с потребителем и проектной организацией, изготовление блоков без монтажных петель.
1.4, 1.5. (Измененная редакция, Изм. № 1).
2. ТЕХНИЧЕСКИЕ ТРЕБОВАНИЯ
2.1. Материалы, применяемые для приготовления бетона, должны обеспечивать выполнение технических требований, установленных настоящим стандартом, и соответствовать действующим стандартам или техническим условиям на эти материалы.
2.2. Фактическая прочность бетона блоков (в проектном возрасте и отпускная) должна соответствовать требуемой, назначаемой по ГОСТ 18105 в зависимости от нормируемой прочности бетона, указанной в проектной документации на здание или сооружение, и от показателей фактической однородности прочности бетона.
(Измененная редакция, Изм. № 1).
2.3. Морозостойкость и водонепроницаемость бетона должны назначаться в проекте в зависимости от режима эксплуатации конструкций и климатических условий района строительства согласно СНиП 2.03.01 для тяжелого бетона и керамзитобетона и СН 165 для плотного силикатного бетона.
2.4. Бетон, а также материалы для приготовления бетона блоков, предназначенных для применения в условиях воздействия агрессивной среды, должны удовлетворять требованиям СНиП 2.03.11, а также дополнительным требованиям СН 165 для блоков из плотного силикатного бетона.
2.5. Классы бетона по прочности на сжатие, марки бетона по морозостойкости и водонепроницаемости, а при необходимости и требования к бетону и к материалам для его приготовления (см. п. 2.4), должны соответствовать проектным, указываемым в заказах на изготовление блоков.
2.6. Поставка блоков потребителю должна производиться после достижения бетоном требуемой отпускной прочности (п. 2.2).
2.7. Значение нормируемой отпускной прочности бетона блоков в процентах от класса по прочности на сжатие следует принимать равным:
50 — для тяжелого бетона и керамзитобетона класса В 12,5 и выше;
70 » » » класса В 10 и ниже;
80 » керамзитобетона » В 10 » »
100 » плотного силикатного бетона.
При поставке блоков в холодный период года допускается повышать значение нормируемой отпускной прочности бетона в процентах от класса по прочности на сжатие, но не более:
70 — для бетона класса В 12,5 и выше;
90 » » » В 10 и ниже.
Значение нормируемой отпускной прочности бетона следует принимать по проектной документации на конкретное здание или сооружение в соответствии с требованиями ГОСТ 13015.
Поставку блоков с отпускной прочностью бетона ниже прочности, соответствующей его классу по прочности на сжатие, производят при условии, если изготовитель гарантирует достижение бетоном блоков требуемой прочности в проектном возрасте, определяемой по результатам испытания контрольных образцов, изготовленных из бетонной смеси рабочего состава и хранившихся в условиях согласно ГОСТ 18105.
2.5 — 2.7. (Измененная редакция, Изм. № 1).
2.8. При отпуске блоков потребителю влажность керамзитобетона не должна быть более 12 %.
2.9. Монтажные петли блоков должны изготовляться из стержневой горячекатаной арматуры гладкой класса A-I марок ВСт3пс2 и ВСт3сп2 или периодического профиля Ас-II марки 10ГТ по ГОСТ 5781.
Арматуру из стали марки ВСт3пс2 не допускается применять для монтажных петель, предназначенных для подъема и монтажа блоков при температуре ниже минус 40 °C.
2.10. Отклонения в миллиметрах размеров блоков не должны превышать:
по длине………………………………………………………………………………………… ± 13
по ширине и высоте………………………………………………………………………. ± 8
по размерам вырезов……………………………………………………………………… ± 5
2.11. Отклонение от прямолинейности профиля поверхностей блока не должно превышать 3 мм на всю длину и ширину блока.
2.12. Устанавливают следующие категории бетонной поверхности блоков:
A3 — лицевой, предназначенной под окраску;
А5 — лицевой, предназначенной под отделку керамическими плитками, укладываемыми по слою раствора;
А6 — лицевой неотделываемой;
А7 — нелицевой, невидимой в условиях эксплуатации.
Требования к качеству поверхностей блоков — по ГОСТ 13015.
(Измененная редакция, Изм. № 1).
2.13. (Исключен, Изм. № 1).
2.14. В бетоне блоков, принимаемых согласно разд. 3, не допускаются трещины, за исключением местных поверхностных усадочных, ширина которых не должна превышать 0,1 мм в блоках из тяжелого и плотного силикатного бетона и 0,2 мм в блоках из керамзитобетона.
2.15. Монтажные петли должны быть очищены от наплавов бетона.
3. ПРАВИЛА ПРИЕМКИ
3.1. Приемку блоков следует проводить партиями в соответствии с требованиями ГОСТ 13015 и настоящего стандарта.
3.2. Приемку блоков по морозостойкости и водонепроницаемости бетона, отпускной влажности керамзитобетона, а также по водопоглощению бетона блоков, предназначенных для эксплуатации в среде с агрессивной степенью воздействия, следует проводить по результатам периодических испытаний.
3.3. Испытания бетона на водонепроницаемость и водопоглощение блоков, к которым предъявляют эти требования, следует проводить не реже одного раза в 3 мес.
3.4. Отпускную влажность керамзитобетона следует контролировать не реже одного раза в месяц по результатам испытания проб, отобранных из трех готовых блоков.
Оценку фактической отпускной влажности следует проводить по результатам проверки каждого контролируемого блока по среднему значению влажности отобранных из него проб.
3.5. Приемку блоков по показателям прочности бетона (классу бетона по прочности на сжатие и отпускной прочности), соответствия монтажных петель требованиям настоящего стандарта, точности геометрических параметров, ширины раскрытия технологических трещин и категории бетонной поверхности блоков следует проводить по результатам приемосдаточных испытаний.
3.6. Приемку блоков по показателям точности геометрических параметров, категории бетонной поверхности и ширины раскрытия технологических трещин следует осуществлять по результатам одноступенчатого выборочного контроля.
3.7. Приемку блоков по наличию монтажных петель, правильности нанесения маркировочных надписей и знаков следует проводить путем сплошного контроля с отбраковкой блоков, имеющих дефекты по указанным показателям.
Разд. 3. (Измененная редакция, Изм. № 1).
4. МЕТОДЫ КОНТРОЛЯ И ИСПЫТАНИЙ
4.1. Прочность бетона на сжатие следует определять по ГОСТ 10180 на серии образцов, изготовленных из бетонной смеси рабочего состава и хранившихся в условиях, установленных ГОСТ 18105.
При испытании блоков неразрушающими методами фактическую отпускную прочность бетона на сжатие следует определять ультразвуковым методом по ГОСТ 17624 или приборами механического действия по ГОСТ 22690, а также другими методами, предусмотренными стандартами на методы испытания бетона.
(Измененная редакция, Изм. № 1).
4.2. (Исключен, Изм. № 1).
4.3. Марка бетона по морозостойкости должна контролироваться в соответствии с ГОСТ 10060.0 — ГОСТ 10060.4.
4.4. Водонепроницаемость бетона блоков следует определять по ГОСТ 12730.0 и ГОСТ 12730.5 на серии образцов, изготовленных из бетонной смеси рабочего состава.
(Измененная редакция, Изм. № 1).
4.4.1. (Исключен, Изм. № 1).
4.5. Водопоглощение бетона блоков, предназначенных для применения в условиях воздействия агрессивной среды, следует определять в соответствии с требованиями ГОСТ 12730.0 и ГОСТ 12730.3 на серии образцов, изготовленных из бетонной смеси рабочего состава.
4.6. (Исключен, Изм. № 1).
4.7. Влажность керамзитобетона следует определять по ГОСТ 12730.0 и ГОСТ 12730.2 испытанием проб, отобранных из готовых блоков.
От каждого блока следует отобрать не менее двух проб.
Допускается определять влажность бетона блоков диэлькометрическим методом по ГОСТ 21718.
(Измененная редакция, Изм. № 1).
4.8. Размеры и отклонение от прямолинейности блоков, положение монтажных петель, а также качество поверхностей и внешний вид блоков проверяют по ГОСТ 13015.
5. МАРКИРОВКА, ХРАНЕНИЕ И ТРАНСПОРТИРОВАНИЕ
5.1. Маркировка блоков — по ГОСТ 13015.
Маркировочные надписи и знаки следует наносить на боковой поверхности блока.
(Измененная редакция, Изм. № 1).
5.2. Блоки должны храниться в штабелях рассортированными по маркам и партиям и уложенными вплотную друг к другу.
Высота штабеля из блоков не должна быть более 2,5 м.
5.3. При хранении и транспортировании каждый блок должен укладываться на деревянные прокладки, расположенные по вертикали одна над другой между рядами блоков.
Подкладки под нижний ряд блоков должны укладываться по плотному, тщательно выровненному основанию.
5.4. Толщина прокладок должна быть не менее 30 мм.
5.5. Транспортирование блоков должно производиться с надежным закреплением, предохраняющим их от смещения.
Высота штабеля при транспортировании устанавливается в зависимости от грузоподъемности транспортных средств и допускаемого габарита погрузки.
5.6. Погрузка, транспортирование, разгрузка и хранение блоков должны производиться с соблюдением мер, исключающих возможность их повреждения.
5.7. Требования к документу о качестве блоков, поставляемых потребителю, — по ГОСТ 13015.
Дополнительно в документе о качестве блоков должны быть приведены марки бетона по морозостойкости и водонепроницаемости, а также водопоглощение бетона (если эти показатели оговорены в заказе на изготовление блоков).
(Измененная редакция, Изм. № 1).
6. ГАРАНТИИ ИЗГОТОВИТЕЛЯ
6.1. Изготовитель должен гарантировать соответствие поставляемых блоков требованиям настоящего стандарта при соблюдении потребителем правил транспортирования, условий применения и хранения блоков, установленных настоящим стандартом.
ПРИЛОЖЕНИЕ
Обязательное
МОНТАЖНЫЕ ПЕТЛИ
Спецификация и выборка стали на одну монтажную петлю
Марка монтажной петли | Поз. | Диаметр, мм | Длина, мм | Кол. | Масса, кг |
П1 | 1 | 8AI | 970 | 1 | 0,38 |
П2, П2а | 2 | 10AI | 1180 | 0,73 | |
П3 | 3 | 12AI | 1330 | 1,18 | |
П4 | 4 | 8AI | 940 | 0,37 |
ИНФОРМАЦИОННЫЕ ДАННЫЕ
1. РАЗРАБОТАН
Центральным научно-исследовательским и проектным институтом типового и экспериментального проектирования жилища (ЦНИИЭП жилища) Госгражданстроя
Всесоюзным научно-исследовательским институтом заводской технологии сборных железобетонных конструкций и изделий (ВНИИжелезобетон) Министерства промышленности строительных материалов СССР
ВНЕСЕН Государственным комитетом по гражданскому строительству и архитектуре при Госстрое СССР
2. УТВЕРЖДЕН И ВВЕДЕН В ДЕЙСТВИЕ Постановлением Государственного комитета Совета Министров СССР по делам строительства от 30.12.77 № 234
3. ВЗАМЕН ГОСТ 13579-68
4. ССЫЛОЧНЫЕ НОРМАТИВНО-ТЕХНИЧЕСКИЕ ДОКУМЕНТЫ
Обозначение НТД, на который дана ссылка | Номер пункта | Обозначение НТД, на который дана ссылка | Номер пункта |
ГОСТ 5781-82 | 2.9 | ГОСТ 12730.5-84 | 4.4 |
ГОСТ 10060.0-95 | 4.3 | ГОСТ 13015-2003 | 2.7, 2.12, 3.1, 4.8, 5.1, 5.7 |
ГОСТ 10060.1-95 | 4.3 | ГОСТ 17624-87 | 4.1 |
ГОСТ 10060.2-95 | 4.3 | ГОСТ 18105-86 | 2.2, 2.7, 4.1 |
ГОСТ 10060.3-95 | 4.3 | ГОСТ 21718-84 | 4.7 |
ГОСТ 10060.4-95 | 4.3 | ГОСТ 22690-88 | 4.1 |
ГОСТ 10180-90 | 4.1 | СНиП 2.03.01-84 | 2.3 |
ГОСТ 12730.0-78 | 4.4, 4.5, 4.7 | СНиП 2.03.11-85 | 2.4 |
ГОСТ 12730.2-78 | 4.7 | СН 165-76 | 2.3, 2.4 |
ГОСТ 12730.3-78 | 4.5 |
5. ИЗДАНИЕ (октябрь 2005 г.) с Изменением № 1, утвержденным в ноябре 1985 г. (ИУС 3-86)
standartgost.ru
Блоки бетонные для стен подвалов. Технические условия.
Государственный стандарт СССР ГОСТ 13579-78
«Блоки бетонные для стен подвалов. Технические условия»
(утв. постановлением Госстроя СССР 30 декабря 1977 г. N 234)
Concrete blocks for basements. Technical conditions
Взамен ГОСТ 13579-68
Дата введения 1 января 1979 г.
Настоящий стандарт распространяется на блоки, изготовляемые из тяжелого бетона, а также легкого и плотного силикатного бетонов средней плотности не менее 1800 кг/м3 и предназначаемые для стен подвалов и технических подпольев зданий. Сплошные блоки допускается применять для фундаментов.
(Измененная редакция, Изм. N 1).
1. Типы и конструкция блоков
1.1. Блоки подразделяются на три типа:
ФБС — сплошные;
ФБВ — сплошные с вырезом для укладки перемычек и пропуска коммуникаций под потолками подвалов и технических подпольев;
ФБП — пустотные (с открытыми вниз пустотами).
1.2. Форма и размеры блоков должны соответствовать указанным на черт. 1-3 и табл. 1.
Таблица 1

——————T——————————————————¬
¦ Тип блока ¦ Основные размеры блока, мм ¦
¦ +——————T——————T——————+
¦ ¦ Длина l ¦ Ширина b ¦ Высота h ¦
+—————-+——————+——————+——————+
¦ ФБС ¦ 2380 ¦ 300 ¦ 580 ¦
¦ ¦ ¦ 400 ¦ ¦
¦ ¦ ¦ 500 ¦ ¦
¦ ¦ ¦ 600 ¦ ¦
¦ +——————+——————+——————+
¦ ¦ 1180 ¦ 400 ¦ 580 ¦
¦ ¦ ¦ 500 ¦ ¦
¦ ¦ ¦ 600 ¦ ¦
¦ ¦ +——————+——————+
¦ ¦ ¦ 400 ¦ 280 ¦
¦ ¦ ¦ 500 ¦ ¦
¦ ¦ ¦ 600 ¦ ¦
¦ +——————+——————+——————+
¦ ¦ 880 ¦ 300 ¦ 580 ¦
¦ ¦ ¦ 400 ¦ ¦
¦ ¦ ¦ 500 ¦ ¦
¦ ¦ ¦ 600 ¦ ¦
+—————-+ +——————+ ¦
¦ ФБВ ¦ ¦ 400 ¦ ¦
¦ ¦ ¦ 500 ¦ ¦
¦ ¦ ¦ 600 ¦ ¦
+—————-+——————+——————+——————+
¦ ФБП ¦ 2380 ¦ 400 ¦ 580 ¦
¦ ¦ ¦ 500 ¦ ¦
¦ ¦ ¦ 600 ¦ ¦
L—————-+——————+——————+——————
«Черт 1»

«Черт 2»

«Черт 3»
Примечание (Исключено).
1.3 Структура условного обозначения (марок) блоков следующая:
Х Х. Х. Х — Х Х
-T- -T- -T- -T- -T- -T-
¦ ¦ ¦ ¦ ¦ ¦
L——+——+——+—+——+—- Тип блока (см. п. 1.1)
¦ ¦ ¦ ¦ ¦ Размеры блока в дециметрах:
L——+——+—+——+—- длина (округлено)
L——+—+——+—- ширина
L—+——+—- высота (округлено)
L——+—- Вид бетона:
¦ тяжелый — Т;
¦ легкий — Л;
¦ плотный силикатный — С.
L—- Обозначение настоящего стандарта.
Пример условного обозначения блока типа ФБС длиной 2380 мм, шириной 400 мм и высотой 580 мм, из тяжелого бетона:
ФБС24.4.6.-Т ГОСТ 13579-78
То же, типа ФБВ длиной 880 мм, шириной 400 мм и высотой 580 мм, из легкого бетона:
ФБВ9.4.6-Л ГОСТ 13579-78
То же, типа ФБП длиной 2380 мм, шириной 500 мм и высотой 580 мм, из плотного силикатного бетона:
ФБП24.5.6-С ГОСТ 13579-78
1.4. Марки и характеристики блоков из тяжелого бетона приведены в табл. 2, из легкого бетона — в табл. 3, из плотного силикатного бетона — в табл. 4.
При соответствующем обосновании допускается применение блоков из бетонов классов по прочности на сжатие, отличающихся от указанных в табл. 2-4. При этом во всех случаях класс бетона по прочности на сжатие должен приниматься не более В15 и не менее:
В3,5 — для блоков из тяжелого и легкого бетонов;
В12,5 — для блоков из плотного силикатного бетона.
Примечание. В условное обозначение блоков классов по прочности на сжатие, отличающихся от указанных в табл. 2-4, следует вводить соответствующий цифрой индекс перед буквой, характеризующей вид бетона.
1.5. Расположение монтажных петель в блоках должно соответствовать указанному на черт. 1-3. Конструкции монтажных петель приведены в приложении.
Допускается устанавливать монтажные петли в блоках типа ФБС длиной 1180 и 2380 мм на расстоянии 300 мм от торцов блока за подлицо с его верхней плоскостью.
1.3. — 1.5. (Измененная редакция, Изм. N 1).
Таблица 2
—————T———T—————T——————-T———-¬
¦ Марка блока ¦ Класс ¦Монтажная петля¦ Расход материалов ¦ Масса ¦
¦ ¦бетона по+——-T——-+———T———-+ блока ¦
¦ ¦прочности¦ Марка ¦Количе-¦ Бетон, ¦Сталь, кг ¦(справоч- ¦
¦ ¦на сжатие¦ ¦ ство ¦ м3 ¦ ¦ ная), т ¦
+—————+———+——-+——-+———+———-+———-+
¦ ФБС24.3.6-Т ¦ В7,5 ¦ П2а ¦ 2 ¦ 0,406 ¦ 1,46 ¦ 0,97 ¦
¦ ФБС24.4.6-Т ¦ ¦ ¦ ¦ 0,543 ¦ ¦ 1,30 ¦
+—————+ +——-+ +———+———-+———-+
¦ ФБС24.5.6-Т ¦ ¦ П3 ¦ ¦ 0,679 ¦ 2,36 ¦ 1,63 ¦
¦ ФБС24.6.6-Т ¦ ¦ ¦ ¦ 0,815 ¦ ¦ 1,96 ¦
+—————+ +——-+ +———+———-+———-+
¦ ФБС12.4.6-Т ¦ ¦ П2 ¦ ¦ 0,265 ¦ 1,46 ¦ 0,64 ¦
¦ ФБС12.5.6-Т ¦ ¦ ¦ ¦ 0,331 ¦ ¦ 0,79 ¦
¦ ФБС12.6.6-Т ¦ ¦ ¦ ¦ 0,398 ¦ ¦ 0,96 ¦
+—————+ +——-+ +———+———-+———-+
¦ ФБС12.4.3-Т ¦ ¦ П4 ¦ ¦ 0,127 ¦ 0,74 ¦ 0,31 ¦
¦ ФБС12.5.3-Т ¦ ¦ ¦ ¦ 0,159 ¦ ¦ 0,38 ¦
¦ ФБС12.6.3-Т ¦ ¦ ¦ ¦ 0,191 ¦ ¦ 0,46 ¦
+—————+ +——-+ +———+———-+———-+
¦ ФБС9.3.6-Т ¦ ¦ П1 ¦ ¦ 0,146 ¦ 0,76 ¦ 0,35 ¦
¦ ФБС9.4.6-Т ¦ ¦ ¦ ¦ 0,195 ¦ ¦ 0,47 ¦
¦ ФЮС9.5.6-Т ¦ ¦ ¦ ¦ 0,244 ¦ ¦ 0,59 ¦
+—————+ +——-+ +———+———-+———-+
¦ ФБС9.6.6-Т ¦ ¦ П2 ¦ ¦ 0,293 ¦ 1,46 ¦ 0,70 ¦
+—————+ +——-+ +———+———-+———-+
¦ ФБВ9.4.6-Т ¦ ¦ П1 ¦ ¦ 0,161 ¦ 0,76 ¦ 0,39 ¦
¦ ФБВ9.5.6-Т ¦ ¦ ¦ ¦ 0,202 ¦ ¦ 0,49 ¦
¦ ФБВ9.6.6-Т ¦ ¦ ¦ ¦ 0,243 ¦ ¦ 0,58 ¦
+—————+———+——-+——-+———+———-+———-+
¦ ФБП24.4.6-Т ¦ В12,5 ¦ П2 ¦ ¦ 0,439 ¦ 1,46 ¦ 1,05 ¦
¦ ФБП24.5.6-Т ¦ ¦ ¦ ¦ 0,526 ¦ ¦ 1,26 ¦
¦ ФБП24.6.6-Т ¦ ¦ ¦ ¦ 0,583 ¦ ¦ 1,40 ¦
L—————+———+——-+——-+———+———-+————
Примечание. Масса блоков приведена для тяжелого бетона средней плотности 2400 кг/м3.
Таблица 3
—————T———T—————T——————-T———-¬
¦ Марка блока ¦ Класс ¦Монтажная петля¦ Расход материалов ¦ Масса ¦
¦ ¦бетона по+———T——+———T———+ блока ¦
¦ ¦прочности¦ Марка ¦Коли- ¦Бетон, м3¦Сталь, кг¦(справоч- ¦
¦ ¦на сжатие¦ ¦чество¦ ¦ ¦ ная), т ¦
+—————+———+———+——+———+———+———-+
¦ ФБС24.3.6-Л ¦ В7,5 ¦ П2а ¦ 2 ¦ 0,406 ¦ 1,46 ¦ 0,73 ¦
¦ ФБС24.4.6-Л ¦ ¦ ¦ ¦ 0,543 ¦ ¦ 0,98 ¦
¦ ФБС24.5.6-Л ¦ ¦ ¦ ¦ 0,679 ¦ ¦ 1,22 ¦
+—————+ +———+ +———+———+———-+
¦ ФБС24.6.6-Л ¦ ¦ П3 ¦ ¦ 0,815 ¦ 2,36 ¦ 1,47 ¦
+—————+ +———+ +———+———+———-+
¦ ФБС12.4.6-Л ¦ ¦ П1 ¦ ¦ 0,265 ¦ 0,76 ¦ 0,48 ¦
+—————+ +———+ +———+———+———-+
¦ ФБС12.5.6-Л ¦ ¦ П2 ¦ ¦ 0,331 ¦ 1,46 ¦ 0,60 ¦
¦ ФБС12.6.6-Л ¦ ¦ ¦ ¦ 0,398 ¦ ¦ 0,72 ¦
+—————+ +———+ +———+———+———-+
¦ ФБС12.4.3-Л ¦ ¦ П4 ¦ ¦ 0,127 ¦ 0,74 ¦ 0,23 ¦
¦ ФБС12.5.3-Л ¦ ¦ ¦ ¦ 0,159 ¦ ¦ 0,29 ¦
¦ ФБС12.6.3-Л ¦ ¦ ¦ ¦ 0,191 ¦ ¦ 0,35 ¦
+—————+ +———+ +———+———+———-+
¦ ФБС9.3.6-Л ¦ ¦ П1 ¦ ¦ 0,146 ¦ 0,76 ¦ 0,26 ¦
¦ ФБС9.4.6-Л ¦ ¦ ¦ ¦ 0,195 ¦ ¦ 0,35 ¦
¦ ФБС9.5.6-Л ¦ ¦ ¦ ¦ 0,244 ¦ ¦ 0,44 ¦
¦ ФБС9.6.6-Л ¦ ¦ ¦ ¦ 0,293 ¦ ¦ 0,53 ¦
¦ ФБВ9.4.6-Л ¦ ¦ ¦ ¦ 0,161 ¦ ¦ 0,29 ¦
¦ ФБВ9.5.6-Л ¦ ¦ ¦ ¦ 0,202 ¦ ¦ 0,37 ¦
¦ ФБВ9.6.6-Л ¦ ¦ ¦ ¦ 0,243 ¦ ¦ 0,44 ¦
+—————+———+———+ +———+———+———-+
¦ ФБП24.4.6-Л ¦ В12,5 ¦ П2 ¦ ¦ 0,439 ¦ 1,46 ¦ 0,79 ¦
¦ ФБП24.5.6-Л ¦ ¦ ¦ ¦ 0,526 ¦ ¦ 0,95 ¦
¦ ФБП24.6.6-Л ¦ ¦ ¦ ¦ 0,583 ¦ ¦ 1,05 ¦
L—————+———+———+——+———+———+————
Примечание. Масса блоков, а также марка монтажных петель приведены для блоков из легкого бетона средней плотности 1800 кг/м3
Таблица 4
—————T———-T—————T——————-T———-¬
¦ Марка блока ¦ Класс ¦ Монтажная ¦ Расход материалов ¦ Масса ¦
¦ ¦бетона по ¦ петля ¦ ¦ блока ¦
¦ ¦прочности +——-T——+———T———+(справоч- ¦
¦ ¦на сжатие ¦ Марка ¦Коли- ¦Бетон, м3¦Сталь, кг¦ ная), т ¦
¦ ¦ ¦ ¦чество¦ ¦ ¦ ¦
+—————+———-+——-+——+———+———+———-+
¦ ФБС24.3.6-С ¦ В15 ¦ П2а ¦ 2 ¦ 0,406 ¦ 1,46 ¦ 0,81 ¦
¦ ФБС24.4.6-С ¦ ¦ ¦ ¦ 0,543 ¦ ¦ 1,09 ¦
¦ ФБС24.5.6-С ¦ ¦ ¦ ¦ 0,679 ¦ ¦ 1,36 ¦
+—————+ +——-+ +———+———+———-+
¦ ФБС24.6.6-С ¦ ¦ П3 ¦ ¦ 0,815 ¦ 2,36 ¦ 1,63 ¦
+—————+ +——-+ +———+———+———-+
¦ ФБС12.4.6-С ¦ ¦ П1 ¦ ¦ 0,265 ¦ 0,76 ¦ 0,53 ¦
+—————+ +——-+ +———+———+———-+
¦ ФБС12.5.6-С ¦ ¦ П2 ¦ ¦ 0,331 ¦ 1,46 ¦ 0,66 ¦
¦ ФБС12.6.6-С ¦ ¦ ¦ ¦ 0,398 ¦ ¦ 0,80 ¦
+—————+ +——-+ +———+———+———-+
¦ ФБС12.4.3-С ¦ ¦ П4 ¦ ¦ 0,127 ¦ 0,74 ¦ 0,25 ¦
¦ ФБС12.5.3-С ¦ ¦ ¦ ¦ 0,159 ¦ ¦ 0,32 ¦
¦ ФБС12.6.3-С ¦ ¦ ¦ ¦ 0,191 ¦ ¦ 0,38 ¦
+—————+ +——-+ +———+———+———-+
¦ ФБС9.3.6-С ¦ ¦ П1 ¦ ¦ 0,146 ¦ 0,76 ¦ 0,29 ¦
¦ ФБС9.4.6-С ¦ ¦ ¦ ¦ 0,195 ¦ ¦ 0,39 ¦
¦ ФБС9.5.6-С ¦ ¦ ¦ ¦ 0,244 ¦ ¦ 0,49 ¦
¦ ФБС9.6.6-С ¦ ¦ ¦ ¦ 0,293 ¦ ¦ 0,59 ¦
¦ ФБВ9.4.6-С ¦ ¦ ¦ ¦ 0,161 ¦ ¦ 0,32 ¦
¦ ФБВ9.5.6-С ¦ ¦ ¦ ¦ 0,202 ¦ ¦ 0,40 ¦
¦ ФБВ9.6.6-С ¦ ¦ ¦ ¦ 0,243 ¦ ¦ 0,49 ¦
+—————+ +——-+ +———+———+———-+
¦ ФБП24.4.6-С ¦ ¦ П2 ¦ ¦ 0,439 ¦ 1,46 ¦ 0,88 ¦
¦ ФБП24.5.6-С ¦ ¦ ¦ ¦ 0,526 ¦ ¦ 1,05 ¦
¦ ФБП24.6.6-С ¦ ¦ ¦ ¦ 0,583 ¦ ¦ 1,17 ¦
L—————+———-+——-+——+———+———+————
Примечание. Масса блоков, а также марки монтажных петель приведены для блоков из плотного силикатного бетона средней плотности 2000 кг/м3.
Табл. 2-4 (Измененная редакция, Изм. N 1).
При применении для подъема и монтажа блоков специальных захватных устройств допускается, по согласованию изготовителя с потребителем и проектной организацией, изготовление блоков без монтажных петель.
2. Технические требования
2.1. Материалы, применяемые для приготовления бетона, должны обеспечивать выполнение технических требований, установленных настоящим стандартом, и соответствовать действующим стандартам или техническим условиям на эти материалы.
2.2. Фактическая прочность бетона блоков (в проектном возрасте и отпускная) должна соответствовать требуемой, назначаемой по ГОСТ 18105 в зависимости от нормируемой прочности бетона, указанной в проектной документации на здание или сооружение, и от показателя фактической однородности прочности бетона.
(Измененная редакция, Изм. N 1).
2.3. Морозостойкость и водонепроницаемость бетона должны назначаться в проекте в зависимости от режима эксплуатации конструкций и климатических условий района строительства согласно СНиП 2.03.01 для тяжелого и легкого бетонов и СНиП 2.03.02 — для плотного силикатного бетона.
2.4. Бетон, а также материалы для приготовления бетона блоков, предназначенных для применения в условиях воздействия агрессивной среды, должны удовлетворять требованиям СНиП 2.03.11, а также дополнительным требованиям СНиП 2.03.02 для блоков из плотного силикатного бетона.
2.5. Классы бетона по прочности на сжатие, марки бетона по морозостойкости и водонепроницаемости, а при необходимости и требования к бетону и материалам для его приготовления (см. п. 2.4), должны соответствовать проектным, указываемым в заказах на изготовление блоков.
2.6. Поставку блоков потребителю следует производить после достижения бетоном требуемой отпускной прочности (см. п. 2.2).
2.7. Значение нормируемой отпускной прочности бетона блоков (в процентах от класса по прочности на сжатие) следует принимать равным:
50 — для тяжелого бетона и легкого бетона класса В12,5 и выше;
70 — для тяжелого бетона класса В10 и ниже;
80 — для легкого бетона класса В10 и ниже;
100 — для плотного силикатного бетона.
При поставке блоков в холодный период года допускается повышать нормируемую отпускную прочность бетона, но не более значений (в процентах от класса по прочности на сжатие):
70 — для бетона класса В12,5 и выше;
90 — для бетона класса В10 и ниже.
Значение нормируемой отпускной прочности бетона следует принимать по проектной документации на конкретное здание или сооружение в соответствии с требованиями ГОСТ 13015.0.
Поставку блоков с отпускной прочностью бетона ниже прочности, соответствующей его классу по прочности на сжатие, производят при условии, если изготовитель гарантирует достижение бетоном блоков требуемой прочности в проектном возрасте, определяемой по результатам испытания контрольных образцов, изготовленных из бетонной смеси рабочего состава и хранившихся в условиях согласно ГОСТ 18105.
2.5.-2.7. (Измененная редакция, Изм. N 1).
2.8. При отпуске блоков потребителю влажность легкого бетона не должна быть более 12 %.
(Измененная редакция, Изм. N 1).
2.9. Монтажные петли блоков следует изготовлять из стержневой горячекатанной арматуры гладкой класса А-I марок ВСтЗпс2 ВСтЗсп2 или периодического профиля Ас-II марки 10ГТ по ГОСТ 5781.
Арматуру из стали марки ВСтЗпс2 не допускается применять для монтажных петель, предназначенных для подъема и монтажа блоков при температуре ниже минус 40°С.
2.10. Отклонения проектных размеров блоков не должны превышать, мм:
по длине…………………………. +-13
» ширине и высоте…………………. +-8
» размерам вырезов………………… +-5
2.11. Отклонение от прямолинейности профиля поверхностей блока не должно превышать 3 мм на всей длине и ширине блока.
(Измененная редакция).
2.12. Устанавливаются следующие категории бетонной поверхности блоков:
А3 — лицевой, предназначенной под окраску;
А5 — лицевой, предназначенной под отделку керамическими плитками, укладываемыми по слою раствора;
А6 — лицевой, неотделываемой;
А7 — нелицевой, невидимой в условиях эксплуатации.
Требования к качеству поверхностей блоков — по ГОСТ 13015.0
(Измененная редакция, Изм. N 1).
2.13. (Исключен, Изм. N 1).
2.14. В бетоне блоков, принимаемых согласно разд. 3, не допускаются трещины, за исключением местных поверхностных усадочных, ширина которых не должна превышать 0,1 мм в блоках из тяжелого и плотного силикатного бетонов и 0,2 мм — в блоках из легкого бетона.
(Измененная редакция, Изм. N 1).
2.15. Монтажные петли должны быть очищены от наплывов бетона.
3. Приемка
3.1. Приемку блоков следует производить партиями в соответствии с требованиями ГОСТ 13015.1 и настоящего стандарта.
3.2. Приемку блоков по морозостойкости и водонепроницаемости бетона, отпускной влажности легкого бетона, а также по водопоглащению бетона блоков, предназначенных для эксплуатации в среде с агрессивной степенью воздействия, следует производить по результатам периодических испытаний.
3.3. Испытания бетона на водонепроницаемость и водопоглащение блоков, к которым предъявляют эти требования, следует проводить не реже одного раза в 3 мес.
3.4. Отпускную влажность легкого бетона следует контролировать не реже одного раза в месяц по результатам испытания проб, отобранных из трех готовых блоков.
Оценку фактической отпускной влажности следует производить по результатам проверки каждого контролируемого блока по среднему значению влажности отобранных из него проб.
3.5. Приемку блоков по показателям прочности бетона (классу бетона по прочности на сжатие и отпускной прочности), соответствия монтажных петель требованиям настоящего стандарта, точности геометрических параметров, ширины раскрытия технологических трещин и категории бетонной поверхности блоков следует производить по результатам приемо-сдаточных испытаний.
3.6. Приемку блоков по показателям точности геометрических параметров, категории бетонной поверхности и ширины раскрытия технологических трещин следует осуществлять по результатам выборочного контроля.
3.7. Приемку блоков по наличию монтажных петель, правильности нанесения маркировочных надписей и знаков следует производить путем сплошного контроля с отбраковкой блоков, имеющих дефекты по указанным показателям.
Разд. 3 (Измененная редакция, Изм. N 1).
4. Методы контроля и испытаний
4.1. Прочность бетона на сжатие следует определять по ГОСТ 10180 на серии образцов, изготовленных из бетонной смеси рабочего состава и хранившихся в условиях, установленных ГОСТ 18105.
При испытании блоков неразрушающими методами фактическую отпускную прочность бетона на сжатие следует определять ультразвуковым методом по ГОСТ 17624 или приборами механического действия по ГОСТ 22690, а также другими методами, предусмотренными стандартами на методы испытания бетона.
(Измененная редакция, Изм. N 1).
4.2. (Исключен, Изм. N 1).
4.3. Марку бетона по морозостойкости следует определять по ГОСТ 10060.
4.4. Водонепроницаемость бетона блоков следует определять по ГОСТ 12730.0 и ГОСТ 12730.5 на серии образцов, изготовленных из бетонной смеси рабочего состава.
(Измененная редакция, Изм. N 1).
4.4.1. (Исключен, Изм. N 1).
4.5. Водопоглащение бетона блоков, предназначенных для применения в условиях воздействия агрессивной среды, следует определять в соответствии с требованиями ГОСТ 12730.0 и ГОСТ 12730.3 на серии образцов, изготовленных из бетонной смеси рабочего состава.
(Измененная редакция, Изм. N 1).
4.6. (Исключен, Изм. N 1).
4.7. Влажность легкого бетона следует определять по ГОСТ 12730.0 и ГОСТ 12730.2 испытанием проб, отобранных из готовых блоков.
От каждого блока следует отобрать не менее двух проб.
Допускается определять влажность бетона блоков диэлькометрическим методом по ГОСТ 21718.
(Измененная редакция, Изм. N 1).
4.8. Размеры и отклонения от прямолинейности блоков, положение монтажных петель, ширину раскрытия технологических трещин, размеры раковин, наплывов и околов бетона блоков следует проверять методами, установленными ГОСТ 26433.0 и ГОСТ 26433.1.
(Измененная редакция, Изм. N 1).
5. Маркировка, хранение и транспортирование
5.1. Маркировка блоков — по ГОСТ 13015.2.
Маркировочные надписи и знаки следует наносить на боковую поверхность блока.
(Измененная редакция, Изм. N 1).
5.2. Блоки следует хранить в штабелях рассортированными по маркам и партиям и уложенными вплотную друг к другу.
Высота штабеля из блоков должна быть не более 2,5 м.
5.3. При хранении и транспортировании каждый блок следует укладывать на прокладки, расположенные по вертикали одна над другой между рядами блоков.
Прокладки под нижний ряд блоков следует укладывать по плотному, тщательно выровненному основанию.
5.4. Толщина прокладок должна быть не менее 30 мм.
5.5. При транспортировании блоки должны быть надежно закреплены от смещения.
Высота штабеля при транспортировании устанавливается в зависимости от грузоподъемности транспортных средств и допускаемых габаритов погрузки.
5.6. Погрузку, транспортирование, разгрузку и хранение блоков следует производить с соблюдением мер, исключающих возможность их повреждения.
5.7. Требования к документу о качестве блоков, поставляемых потребителю, — по ГОСТ 13015.3.
Дополнительно в документе о качестве блоков должны быть приведены марки бетона по морозостойкости и водонепроницаемости, а также водопоглащение бетона (если эти показатели оговорены в заказе на изготовление блоков).
(Измененная редакция, Изм. N 1).
6. Гарантии изготовителя
Изготовитель должен гарантировать соответствие поставляемых блоков требованиям настоящего стандарта при соблюдении потребителем правил транспортирования, условий применения и хранения блоков, установленных стандартом.
Приложение
(обязательное)

«Монтажные петли»
Спецификация и выборка стали на одну монтажную петлю
————-T———-T————T————T————T———-¬
¦ Марка ¦ Позиция ¦Диаметр, мм¦ Длина, мм ¦Количество ¦Масса, кг ¦
¦ монтажной ¦ ¦ ¦ ¦ ¦ ¦
¦ петли ¦ ¦ ¦ ¦ ¦ ¦
+————+———-+————+————+————+———-+
¦ П1 ¦ 1 ¦ 8АI ¦ 970 ¦ 1 ¦ 0,38 ¦
¦ П2, П2а ¦ 2 ¦ 10AI ¦ 1180 ¦ ¦ 0,73 ¦
¦ П3 ¦ 3 ¦ 12AI ¦ 1330 ¦ ¦ 1,18 ¦
¦ П4 ¦ 4 ¦ 8AI ¦ 940 ¦ ¦ 0,37 ¦
L————+———-+————+————+————+————
yondi.ru
ГОСТ и ТУ на ФБС блоки
Основные технические характеристики для ЖБ конструкций определяются по ТУ или ГОСТ и ФБС тоже не являются исключением из правил. Такие стандарты определяют не только типовые размеры, но и класс бетона, стали для арматуры и даже количество монтажных петель для каждого размера изделий. Все блоки ФБС ГОСТ предписывает производить только в трех вариантах исполнения:
- ФБС — блоки фундаментные сплошные. Используются в сборных и монолитно-сбрных фундаментах. В сечении они похожи на двухтавровую балку с укороченными полками. По названию ГОСТ Блоки фундаментные для стен подвала понятно, что они одновременно являются и фундаментом и ограждением подвальных помещений. Но ни для каких наземных стен использоваться не могут.
- ФБВ — специальные блоки сплошного сечения, но с вырезом под укладку коммуникаций, фундаментных балок. Укладываются в верхнем ряду фундамента при устройстве технического подполья или подвала.
- ФБП — блоки с вертикально расположенными пустотами, которые открыты на нижней плоскости изделия.
ГОСТ на ФБС определяет также и типоразмеры доборных блоков, или иначе сказать укороченных, которые всегда нужны для соблюдения правила монтажа ФБС со сдвигом соединительных швов.

У всех типов блоков со стороны торца есть специальные выемки. При монтаже на стыках получаются полости, которые замет заполняют бетонным раствором с обязательным уплотнением. Результат — получаем фундамент по прочности на сдвиг не уступающий монолитному основанию. Нормативные документы не меняется ежегодно, так как необходимости в этом нет, технология производства не меняется, типоразмеры также. Поэтому ГОСТ 13579 78 на фундаментные блоки до сих пор остается единственным и действующим.
Стандартная заводская маркировка на блоки ФБС по ГОСТ 13579 78 предусматривает указание размеров во всех трех проекциях. Поэтому, чтобы купить блоки ФБС, соответствующие спецификации в проектной документации, достаточно правильно прочитать маркировку.
Так стандартный длинный ФБС с меткой — ФБС 24.5.6 – Т означает
- Фундаментный блок сплошного сечения
- длина 24 дм
- ширина изделия 5 дм
- высота 6
- Буква Т, последняя в маркировке означает, что блок изготовлен из тяжелого бетона, вместо нее может быть П из пористого из С из силикатного.
Указанный ГОСТ на ФБС единственный нормативный документ, в соответствии с которым изготовлены блоки, продаваемые нашей компании. Никаких дополнительных ТУ на заводе-изготовителе не принималось, и технология производства соблюдается строго.
www.dom-gbi.ru
Блоки ФБС ГОСТ | Фундамент для Дома
Основой любого построения является его фундамент, от надежности которого зависит, сколько продержится и не потревожит вас данное здание. В строительстве домов, будь то одноэтажные или многоэтажные сооружения, очень часто используются фундаментные блоки керамзитного, тяжелого или силикатного бетона.
Фундаментные блоки ФБС – блоки из бетонного раствора, которые используются в сооружении стен для подвалов, армируются при этом монтажной арматурой.
Данные блоки имеют форму прямоугольника, различные размеры, а при установке заполняются пеной.
Применение блоков ФБС (ГОСТ)
Использование в строительстве фундаментных блоков ФБС обеспечит вашему офису, дому либо промышленному зданию уверенность и твердость в земле, а также повысит пожаростойкость помещения. Экологические свойства данных блоков увеличат долговечность фундамента и не подвергнут его коррозии, гниению, старению либо другому процессу распада.
Использование блочной системы фундамента значительно упрощает, удешевляет и ускоряет укладку фундамента. Стоит отметить, что блочный фундамент по своим характеристикам ни чуть не проигрывает монолитному.
Высококачественно выполненная работа по монтажу ФБС обеспечит высокую прочность вашему фундаменту. Такая работа под силу любому частному застройщику, даже не имеющему специальных навыков.
Все показатели фундаментных блоков должны совпадать с техническими требованиями, выдерживать большие нагрузки, соответствовать ГОСТ. Блоки фундаментальные в основном изготовляются на заводах, а при их транспортировке в комплект заказчику ложится паспорт качества.

Основные характеристики блоков ФБС
Документ, который регламентирует изготовление блоков ФБС, ГОСТ 13579. Данный документ действует с 01.01 1979 года.
Акт содержит правила по изготовлению фундаментных бетонных блоков, используемые в качестве стен в подвалах, подпольях, из плотного, легкого, тяжелого силикатного бетона плотностью более 1800 кг/м3.
ГОСТ выделяет 3 типа блоков:
- ФБС сплошные монолитные, цельные блоки.
- ФБВ – блоки с вырезом для установки коммуникаций, перемычек.
- ФБП — пустотные с приоткрытыми отверстиями вниз блоки.
Каждое изделие имеет буквенно-числовую маркировку. Например, ФБС 24-4-3т (ФБС – тип бетонного блока, 24 – это длина блока в дециметрах; 4 – ширина блока; 3 – высота блока; т – вид используемого бетона, применяемого в изготовлении).
Стандарт 13579 разрешает применение сплошных фундаментных блоков из легкого, плотного, тяжелого бетона для сооружений во всевозможных строительствах, а также для возведения фундаментов зданий.

ГОСТ 18105 – документ, содержащий требования к характеристикам бетона, используемого в изготовлении блоков. Водонепроницаемость изделий морозостойкость установлена в СНиП 2.03.01 и зависит от районов применения.
ГОСТ 5781 содержит стандарты, которым должны соответствовать монтажные петли ФБС. Они должны быть изготовлены из горячей, гладкокатанной арматуры (класс А-I, марки ВСт3пс2, ВСт3сп2), арматуры с периодическим профилем (класс Аc-II, марка 10ГТ).
Блоки ФБС (ГОСТ) имеют 4 градации поверхности бетона:
А7 – поверхность не видно при использовании;
А6 – бетон применяется без отделки;
А5 – поверхность можно использовать при укладке керамической плитки;
А3 – поверхность предназначена для покраски.
Блоки ФБС (ГОСТ13579-78) могут иметь некоторые отклонения: 0,13 см для длины, 0,8 см. для высоты и ширины, 0,5 см. для вырезов, 0,3 см — прямолинейности профиля. Блоки не должны иметь трещин, за исключением поверхностных. Уровень сжатия бетона также проверяется на соответствие ГОСТ. Блоки фундаментные необходимо хранить в штабелях (высота до 2,5 метра) по маркам и партиям плотно друг к другу. При перевозках ФБС кладутся на вертикально уложенные деревянные подкладки толщиной не менее 0,3 см.

Размерные характеристики ФБС
Главной характеристикой размера фундаментных сплошных блоков является ширина, второстепенными же – длина и высота, которые также устанавливает ГОСТ. Блоки фундаментные разбиты на 3 типа по длине: 880 мм, 1180 мм и 2380 мм. По высоте фундаментные блоки бывают двух видов: 280-миллиметровые и 580-миллиметровые изделия. При этом высота ФБС в 280 мм используется при длине изделия в 1180 мм.
По ширине фундаментные блоки разделены на четыре вида со следующими габаритами: 300 мм, 400 мм, 500 мм, 600 мм. Таким образом, размер самого маленького фундаментного сплошного блока будет составлять 580х330х880 мм (ширина, высота, длина). Самый большой фундаментный блок ФБС будет иметь следующие параметры: 580х600х2380 мм.

funddom.ru
размеры фундаментных блоков фбс
Вернуться на страницу «Железобетон»
Фундаментные блоки




Согласно ГОСТ 13579-78:
ФБС — сплошные;
ФБВ — сплошные с вырезом для укладки перемычек и пропуска коммуникаций под потолками подвалов и технических подпольев;
ФБП — пустотные (с открытыми вниз пустотами).
| Тип блока | Основные размеры блока, мм | ||
| Длина l | Ширина b | Высота h | |
| ФБС | 2380 | 300;400;500;600 | 580 |
| 1180 | 400;500;600 | ||
| 400;500;600 | 280 | ||
| 880 | 300;400;500;600 | 580 | |
| ФБВ | 400;500;600 | ||
| ФБП | 2380 | 400;500;600 | 580 |
Блоки типа ФБС
А. Блоки шириной 300 мм
Б. Блоки шириной 400, 500 и 600 мм
Черт. 1
Блоки типа ФБВ
1.3. Структура условного обозначения (марок) блоков следующая:
Пример условного обозначения блока типа ФБС, длиной 2380 мм, шириной 400 мм и высотой 580 мм, из тяжелого бетона:
ФБС24.4.6-Т ГОСТ 13579-78
То же, типа ФБВ, длиной 880 мм, шириной 400 мм и высотой 580 мм, из легкого бетона:
ФБВ9.4.6-Л ГОСТ 13579-78
То же, типа ФБП, длиной 2380 мм, шириной 500 мм и высотой 580 мм, из плотного силикатного бетона:
ФБП24.5.6 -С ГОСТ 13579-78
1.4. Марки и характеристики блоков из тяжелого бетона приведены в табл. 2, из легкого бетона — в табл. 3, из плотного силикатного бетона — в табл. 4.
При соответствующем обосновании допускается применение блоков из бетонов классов по прочности на сжатие, отличающихся от указанных в табл. 2 — 4. При этом во всех случаях класс бетона по прочности на сжатие должен приниматься не более В15 и не менее:
В3,5 — для блоков из тяжелого и легкого бетонов;
В12,5 — для блоков из плотного силикатного бетона.
saitinpro.ru
