Грибок для трубы своими руками – Делаем грибок на трубу дымохода своими руками
как сделать для вентиляционной и печной трубы своими руками
Содержание:
Для отведения продуктов горения, образующихся при отоплении домовладения, устанавливают дымовыводящие конструкции. Через дымоход уходят вредные для здоровья человека газы. Чтобы посредством отверстия в нем внутрь помещения не попадал различный мусор, атмосферные осадки, пыль, устанавливают на трубу грибок.

Это приспособление представляет собой простую конструкцию, которая состоит из так называемой «шапочки» и колпака. Грибок на печную трубу предназначен для защиты кирпичной кладки дымохода от разрушительного воздействия ветра. Это изделие усиливает тягу и способствует увеличению КПД системы дымоотведения до 20 %.
Принцип работы
Воздушный поток, достигнув стенки верхнего цилиндра грибка, огибает его, после чего струя воздуха скользит по поверхности изделия, а затем устремляется вверх.

В том случае, когда воздушные потоки перемещаются не в горизонтальном направлении, а под некоторым углом или вертикально, флюгарка все равно срабатывает. Воздух проникает в верхний цилиндр сквозь зазор и уносит продукты горения. Только при низовом ветре мини-вихри, возникающие под колпаком, замедляют выведение дыма.
Выбор формы изделия
Грибок на вентиляционную трубу нужно подбирать в зависимости от цели установки. Он бывает в форме зонта или крышки (прочитайте: «Какие бывают зонты на трубу дымохода или вентиляции, как изготовить своими руками»). В продаже также имеются отводы воды и капельники.
В первом случае приспособление защитит дымоходное отверстие от мусора и осадков, а во втором – локализует потоки влаги и не допустит ее попадания внутрь помещений, а также в зимний период предотвратит заледенение верхних элементов дымохода.
Материал для изготовления грибка для вентиляционной трубы
Чтобы сделать грибок на трубу, используют черный и цветной металл разной толщины. Чаще всего можно встретить изделие, произведенное из оцинкованной жести (прочитайте также: «Как сделать трубу из жести – делаем жестяные трубы своими руками»). На то, чтобы изготовить своими руками грибок унитарной конструкции уходит не более полутора часов, а при наличии опыта – всего 10 минут.
Чтобы приспособление имело более привлекательный вид, его можно покрасить в тон цвета покрытия крыши. Поскольку изделия из черной стали выглядят непривлекательно, их принято украшать коваными элементами. К сожалению, у стальных моделей имеется существенный недостаток – их большой вес, поэтому такой вариант подойдет не для всех крыш.

В продаже можно встретить грибки, изготовленные из меди и легированной стали, которые отличаются прочностью, но при этом имеют высокую стоимость. Поэтому выбор материала, из которого сделано данное изделие, во многом зависит от финансовых возможностей владельца дома. Можно приобрести на рынке готовое приспособление на трубу или выполнить его своими руками, что вполне по силам домашним мастерам.
Самостоятельное изготовление грибка для трубы
В первую очередь следует подготовить расходные материалы и инструменты, в том числе:
- деревянную или резиновую киянку;
- металлический лист толщиной 10 миллиметров;
- маркер;
- ножницы для работ по металлу;
- линейку;
- металлический уголок шириной 50 миллиметров и длиной 1 метр;
- пару перчаток.
Перед тем, как делать грибок для трубы своими руками, необходимо произвести замеры дымохода. Когда на крыше имеется несколько выходов для продуктов горения, измерять следует каждый из них. Колпак должен помещаться на трубу без приложения усилий.
Основу грибка следует делать с запасом 4 -5 сантиметров в сечении, благодаря чему газ и дым не будет скапливаться под крышкой приспособления и тем самым не появится «мертвая зона». Если основа прилегает к дымоходу чересчур плотно, формируется тепловая пробка, мешающая отводу газов. Читайте также: «Для чего нужен колпак на трубу дымохода и как его сделать самостоятельно».

Перед началом работы нужно выполнить на листе картона чертеж и примерить заготовку.
Последовательность действий при изготовлении грибка на трубу вентиляции будет следующей:
- На металлическом листе отмеряют прямоугольник определенного размера и отрезают его.
- Чтобы изготовить заготовку для крышки круглой формы со срезанным краем, нужно вырезать круг из прямоугольника и отрезать до центра уголок в 45 градусов.
- Края пластины подгибают при помощи киянки.
- Заготовке придают изгиб покатой формы. Для этого можно использовать угол рабочего стола или поверхность железного уголка.
- Заготовку соединяют по линиям сгиба и обрабатывают киянкой.
- Для устранения погрешностей формы, необходимо пройтись заготовкой по плоской поверхности. Теперь шапочка подготовлена.
- Для основы также нужно вырезать прямоугольник. Чтобы знать его длину, снимают замеры с трубы и добавляют запасные несколько сантиметров. Торцы заготовки обрабатывают киянкой. Придают пластине цилиндрическую форму и соединяют концы.
- Из остатков металлического листа делают 3 – 4 ножки, складывая отрезки вдвое. На их концах просверливают дырки, потом ножки снизу загибают.
- В шапочке с равными промежутками просверливают дырки и заклепками прикрепляют ножки.
- Примеряют шапочку к основе и при помощи маркера отмечают места для заклепок. Просверлив дырки, скрепляют конструкцию грибка заклепками.
Прежде, чем приступать к окончательной сборке, необходимо убедиться в ровности шапки, поставив конус на максимально ровную поверхность. Перед покраской изделия, до того, как соединять элементы, заготовку зачищают, грунтуют, покрывают антикоррозийным средством. Красящий состав для наружных работ наносят в 2 – 3 слоя.
Грибок (колпак) на трубу дымохода своими руками — расчет размеров | Дефлектор Вольперта — Григоровича
Ключевая функция газохода заключается в выводе из системы продуктов сгорания. Чтобы система работала надежно нужно оснастить дымоход грибком (дефлектором). Он защитит ее от попадания внутрь снега, пыли и других ненужных элементов. Кроме того, наличие указанной детали улучшает тягу.
В этой статье вы узнаете зачем нужен дефлектор на дымовую трубу. Мы сделаем краткий обзор имеющихся вариантов колпаков.

У вас будет возможность сравнить их и узнать о плюсах и минусах каждой разновидности. Мы также расскажем о том, как произвести грибок своими руками. Кроме того, вы сможете посмотреть чертежи и видео по тематике нашей статьи.
Функциональность изделий

Грибки для дымоходных труб представляют собой простые устройства, выполняющие важную функцию. Потоки воздуха разделяясь о колпак проникают в канал, вызывая эффект «подсасывания». Это приводит к появлению участка, где преобладает пониженное давление. В это направление и устремляется дым. Важно учитывать, что воздух может перемещаться горизонтально или же под углом.
Наличие дефлектора снижает риск возгорания. Чтобы повысить его эффективность следует установить искрогаситель. Он представляет собой особую сетку. Использование козырька с турбиной позволяет обеспечить достойными показателями тяги практически любой газоход.
Виды конструкций
На сегодняшний день разработаны грибки самых различных разновидностей. Мы расскажем вам о наиболее популярных из них.
Итак, согласно отзывам потребителей, наибольший интерес представляют:

- Дефлектор Вольперта — Григоровича. Характеризуется круглой формой и конусообразным зонтиком. Как правило, не оснащен капельником.
- Четырехскатный грибок. Имеет прямоугольную форму. Ставится на дымоходы из кирпича с такой же конфигурацией.
- Грибок с полукруглой крышей. Дизайн данной разновидности достаточно эстетичный. Его часто можно увидеть на кровле зданий, сооруженных в европейском стиле. Но эффективность этого грибка к сожалению низкая.
- Плоский козырек. Обладает плоским прямоугольным навесом. Такие изделия характерны при обустройстве домов в стиле минимализма. Важно знать, что на кронштейны данного изделия в зимний период воздействуют сильные нагрузки. Это связано с накапливанием снега на зонтике.
- Стандартный грибок. Имеет пирамидальную конструкцию. Изготовляют данную разновидности из листа металла и соединяют с фартуком-капельником с помощью специальных кронштейнов.
Дефлектор Вольперта — Григоровича
Данная разновидность устройства наиболее эффективная и популярная. Поэтому о ней мы поговорим более детально.

Этот дефлектор часто ставят на дымовые трубы газовых котлов. Ключевая фишка данной конструкции состоит в наличие под зонтом перевернутого конуса. Поэтому во время бокового обдува в канале возникает пониженное давление, и продукты горения устремляются из газохода наружу.
При сильном ветре «сверху вниз» давление в зоне дефлектора может наоборот повышаться. Этот момент нужно учесть при проектировании и монтаже дымоотводящей системы. Но в большинстве случаев обдув происходит именно сбоку. Поэтому рассматриваемая разновидность изделий подойдет для большинства газоходов.
Выглядят они следующим образом:
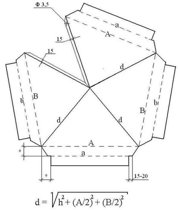
- диаметр диффузора: снизу — 2*D, сверху — 1.5*D;
- высота диффузора — 1.5*D;
- погружение канала в диффузор — 0.15*D;
- высота обоих конусов зонтика — 0.25*D;
- расстояние между диффузором и колпаком — 0.25*D.
Данные соотношения размеров были получены опытным путем. При производстве данной модели обязательно придерживайтесь этих формул.

Изготовление колпака

Сделав все важные расчеты нужно начинать к раскрой металла для создания изделия. Лучше всего для этой цели применять нержавеющую сталь небольшой толщины. В крайнем случае допустимо применять оцинковку.
Выкройка для грибка выглядит как изогнутая полоска стали. Для зонтика она представляет собой два круга с вырезанными элементами.
Также важно оставить металлическую полосочку, размером два или три сантиметра на одном крае для облегчения стыковки. При этом зонтик должен быть на несколько сантиметров больше обратного конуса.
Чтобы не терять время на загибы металла, используйте заклепки и заклепочник. В данном случае вас не должен интересовать уровень герметичности. Это здесь ни к чему. Использование заклепок существенно ускоряет работу.
При выполнении задачи удобно применять оправку из бруса. На нее надевают диффузор. Затем нужно сделать отверстия сразу в двух краях. После этого вставляется заклепка и устанавливается посредством заклепочника.
Таким же образом изготовляется конусы. Не стоит сразу же соединять их вместе. Для закрепления зонтика к диффузору лучше всего воспользоваться отрезками резьбовой шпильки. Чтобы сформировать надежное крепление будет достаточным применить три. Шпильки закрепляются к диффузору на петлях, которые выполняют из металлической полоски. Их также крепят посредством заклепок. Шпильки нужно просто вкрутить и затем зафиксировать с помощью гаек. Таким способом вы сможете оперативно и надежно закрепить зонтик на необходимой вам высоте.

На обратном конусе также нужно просверлить три отверстия. Он фиксируется на определенной высоте посредством гаек с шайбами. Далее закрепляют зонтик. Он несколько больше обратного конуса. Поэтому его подрезают в нескольких местах на один или два сантиметра. Полученную полоску нужно загнуть на нижний конус. Эту операцию нужно проделать несколько раз. Такая система позволит скрепить оба элемента максимально надежно между собой. Благодаря тому, что верхняя часть конструкции больше нижней, дождь или снег не будет способствовать скоплению жидкости внутри пространства между двумя конусами.
Наш грибок готов. Далее нужно установить его на дымоходную трубу. О процессе монтажа конструкции вы сможете прочитать в отдельной статье, размещенной на нашем сайте.
Смотреть видео:
trubtraid.ru
Труба для дымохода своими руками

Очень важно осознать, что от конструкции дымохода непосредственным образом может зависеть даже жизнь проживающих в доме людей, так как отравление скопившимися угарными газами может стать причиной летального исхода. Поэтому подходить к этой работе нужно с особой ответственностью, не забыв даже такие мелочи, как колпаки на трубы дымохода.
Классификация дымоходов
Разнообразие дымоходов довольно велико.
Принято различать их следующие виды:
- Кирпичный дымоход, являющийся традиционным (прочитайте: «Дымоход из кирпича своими руками»).
- Стальной дымоход (одно- или двухконтурный).
- Модульный дымоход (оцинкованный, керамический, нержавейка).
- Внутренний и внешний тип.

Существуют также и гибкие трубы для дымохода, которые также применяются нередко. Однако все чаще при возведении дымохода применяются металлические трубы, что обусловлено простотой и скоростью их установки. Но не стоит слишком легкомысленно подходить к монтажу дымохода такого типа, поскольку и здесь нужно соблюсти определенное количество условий для того, чтобы его эксплуатационные свойства соответствовали всем нормам.
Предъявляемые к дымоходу требования
Очень важным элементом дымоходной трубы является ее диаметр, размер которого напрямую зависит от категории установленного в доме котла или печи.
При покупке котла обязательно нужно уточнить то, какой из диаметров рекомендует применять изготовитель, чтобы не случилось такой ситуации, когда устройство определенного котла в доме неосуществимо из-за невозможности создать для него соответствующий всем нормам дымоход. Читайте также: «Сделать флюгер своими руками».
Поэтому важно знать не только площадь, которую отапливает тот или иной котел, но и вышеописанный момент. Какая-нибудь ошибка может быть допущена только на этапе проектирования дымохода, а переделывать готовую конструкцию – дело не только хлопотное, но и финансово затратное. Качественная труба нержавейка дымоходная, как правило, обеспечит длительный срок службы самого дымохода.Нормы монтажа дымохода
Прежде чем начать установку дымохода своими руками, следует ознакомиться с рядом правил, которые следует выполнять:
- Оснащать газовый котел нужно исключительно вертикально расположенным дымоходом. Возможный допуск отклонения – 30°, а отвод от оси в сторону – максимум 1 метр. Такие сдвиги допустимы только тогда, если расстояние дымохода от котла до места изгиба составляет не меньше 0,5 метра.
- Применение оцинкованных дымоходных труб убирает необходимость изолирования того участка дымовой трубы, который проходит через помещение, поэтому оцинкованная труба для дымохода весьма рекомендована. Но другие участки обязательно нужно утеплить материалом сэндвичного характера.
- Запрещено пропускать неизолированные трубы дымохода сквозь перекрытия. Общая длина дымохода должна равняться минимум 5 метрам.
- При монтаже дымохода обязательно нужно учесть такие показатели, как высота и диаметр, а также их соотношение. Важно помнить, что чем выше труба, тем сильнее тяга, а если диаметр трубы не будет соответствовать ее длине, то потеря тяги неизбежна, так как дымоход просто не справиться с таким объемом.
Таким образом, при изменении длины дымохода можно непосредственным образом влиять на показатели его работы. При увеличении или уменьшении его длины, однако, стоит помнить о минимально допустимых показателях возвышения длины дымохода над кровельным скатом. - Расположение любых стыков должно быть выполнено так, чтобы в любой момент их можно было осмотреть. Устанавливать стыки внутри перекрытия решительно запрещено.
Процесс монтажа дымохода своими руками
Ознакомившись со всеми нормами, можно начинать монтаж дымохода своими руками. При наличии некоторых знаний и навыков работы сварщиком вся система дымохода также может быть сварена своими руками. Если подобных навыков нет, то лучше прибегнуть к комплекту модульных деталей. Так, одним из главных преимуществ дымохода является то, что всю его конструкцию, даже с не самой простой конфигурацией, можно возвести самостоятельно, причем не в самый долгий срок.
Монтаж наружного дымохода
Установка этого типа дымохода является более предпочтительной по ряду причин:
- гораздо проще устанавливать систему дымохода в уже готовом доме;
- целостность перекрытий нарушена не будет;
- более дешевая стоимость установки дымовой трубы модульной категории никоим образом не скажется ни на работе дымохода, ни на качественном выполнении его функций.
Процесс монтажа:
- Выбор перехода от котла к дымоходу. Глубина вставки соединения не должна быть меньше 5 сантиметров. Лучше всего подойдет такой диаметр трубы, который сохранит зазор по периметру при скреплении с трубой от 5 до 10 миллиметров.
Так свободы действий при монтаже получиться больше. Образовавшийся зазор можно легко заделать асбестовым шнуром. Также большой популярностью пользуются асбестовые трубы для дымохода, которые весьма практичны.
В стене должна быть сделана разделка, причем негорючесть материала стены здесь роли не играет. Для этого необходимо установить гильзу, сделанную из сегмента металлической трубы. Ее диаметр надо рассчитать так, чтобы зазор между дымоходом и гильзой составлял примерно 40 – 50 миллиметров. Монтировать гильзу нужно на раствор. - Устройство гильзы. Этот элемент важен потому, что он защищает дымовую трубу от нагрузки, обеспечиваемой несущей стеной. Конечно, вполне можно справиться и без гильзы, но при появлении необходимости замены трубы отвода заблаговременно обустроенная гильза поможет сделать это гораздо быстрее.
Пространство между дымоходом и гильзой рекомендуется заделать раствором, основным компонентом которого является керамзит. Можно так же, как и ранее, применить и асбест. Читайте также: «Гильзование дымохода своими руками». - Изготовление кронштейнов для крепления дымоходной трубы. Их можно выполнить и самостоятельно, используя уголок, или купить уже готовые. Маркером делается разметка на той части стены, где проходит труба, и монтируются кронштейны. Способ крепежа зависит от того, из какого материала выполнена стена. Так или иначе, крепление должно отличаться надежностью и качеством установки. Предназначено оно для отвода конденсата.
- Дымоходная разводка облицовывается кирпичом. Отличный доступ ревизии обеспечивает открывающаяся дверца, которая вставляется в короб из кирпича. Нижняя заглушка дымохода оснащается отверстием с диаметром в 5 – 10 миллиметров.
Фото и видео по монтажу дымохода своими руками предоставляют различные строительные сайты и порталы в Интернете.После всех этих мер можно приступать непосредственно к сборке дымохода, где становятся очевидными все достоинства модульной конструкции. Правильный монтаж всех креплений гарантирует самостоятельную сборку дымохода в срок не больше, чем 1 день.
Процесс утепления дымовой трубы
После окончания всех вышеописанных мероприятий нужно приступать к утеплению дымовой трубы, что является очень важным и требующим особого внимания процессом. Тот дымоход, который не имеет утепления или утеплен плохо, тяга становится гораздо хуже. Причина – быстрое остывание трубы.
Важно как можно лучше предотвратить появление конденсата, так как его влияние на внутреннюю часть трубы является очень негативным, что может выразиться в появлении коррозии (важная информация: «Утепление дымохода — этапы роботы»).
Одним из наиболее популярных типов утепления – сэндвичный. Такое его распространение связано с появлением на строительном рынке новых, инновационно спроектированных котлов (прочитайте также: «Сэндвич труба своими руками»).Но если температура газов у отечественных котлов не превышает 150 градусов, то у зарубежных моделей этот показатель существенно ниже. Хорошее утепление дома позволяет котлу затрачивать меньше энергии. При остывании дымохода появляется конденсат. А после того, как котел запускается автоматически, плохая сила тяги в остывшем дымоходе препятствует его хорошей работе (читайте: «Утепление дымохода от газового котла, основные преимуществ»).Конструкция новых котлов работает по принципу «стоп – старт», то есть система выключается после того, как достигается заданная заранее температура. И наоборот, если температура опускается до заданного параметра, котел автоматически включается.
Итог – больше времени для достижения оптимальной температуры, следовательно, имеет место топливный перерасход.
Заботясь о том, как прочистить трубу дымохода, важно обзавестись необходимым для этого инвентарем и следовать предоставленным производителем инструкциям. Обычно чистка труб дымохода не занимает много времени, но периодически нужно выполнять чистку дымохода, во избежание скоплений слоев копоти внутри дымовой трубы. Чистка дымоходов своими руками — не такая и сложная задача, большинство людей с этим справляются.
Расчет высоты дымохода
Если говорить о высоте дымохода над крышей, то важно помнить, что расстояние от трубы до центра крыши не должно быть меньше 1,5 метра, а высота должна превышать высоту кровельного конька минимум на 0,5 метра. Выполняя расчет дымохода, необходимо учитывать эти данные. Если расстояние больше 1,5 метра, но меньше 3 метров, то труба должна находиться на уровне конька. Трубу, возвышающуюся над крышей более, чем на 2 метра, рекомендуется укрепить, например, кирпичной кладкой. Можно сделать это и при помощи растяжек (подробнее: «Расчет дымовых труб для частных и промышленных дымоходов»).Не стоит забывать и о таком элементе, как насадка на трубу дымохода, которую иногда называют не иначе, как колпак на трубу дымохода (подробнее: «Колпак на дымоход своими руками»).
Специальный зонтик на трубу дымохода или грибок на трубу дымохода защитят дымоход от проникновения в систему любых осадков.
Следуя этим советам, вполне можно смонтировать дымоход своими руками, главное здесь – старание и соблюдение всех правил, в том числе и правил безопасности.
kryshadoma.com
видео-инструкция по монтажу своими руками, особенности зонтиков, грибков, флюгарок, насадок, как изолировать, чем обмотать, цена, фото
После того, как печь будет сложена, а труба – установлена, самое время будет подумать о том, как изолировать трубу дымохода. Это позволит вам защитить крышу от протечек, а сам дом, от пожара. Очень полезно будет подумать об изоляции ещё на этапе проектирования постройки, ведь в таком случае, можно добиться надежной и безопасной изоляции. Если же речь идет об уже возведенном дымоходе, то процедура может повлечь за собой изменения в конструкции кровли и перекрытий.

Правильная изоляция металлического дымохода.
Зачем нужна изоляция
Тепло- и гидроизоляция печной трубы осуществляется по нескольким причинам:
- Перепады давления, которые возникают в дымоходе постоянно. Тяга в трубах является неодинаковой, поскольку элемент отопления не способен поддерживать стабильный уровень давления.
- Температурные перепады.
- Высокий уровень влажности. Погодные условия во многом определяют уровень влажности, который может иметь существенные различия.
- Ветер. Сильные порывы ветра могут негативно отразиться на сроке службы дымохода, потому конструкция должна быть прочной.

Неизолированный дымоход может стать причиной пожара.
Что важно знать перед изоляцией
Перед тем, как определять, чем обмотать трубу дымохода металлическую, необходимо убедиться в том, что конструкция соответствует следующим нормам:
- Для того, чтобы обеспечить хорошую тягу, высота трубы дымохода должна составлять не менее 5 метров.
- В том случае, если кровля выполнена из горючих материалов, таких как ондулин, шифер или рубероид, то необходимо установить наверх трубы искроуловители, представляющий собой металлическую сетку с мелкими ячейками.
- Между трубой и сгораемыми конструкциями, такими, как перекрытия и стропильная система, должно быть расстояние не менее 250 мм.
- Если речь идет о кирпичном дымоходе, в местах, где он проходит через потолок, необходимо выполнять утолщение трубы – распушку, толщиной в один-полтора кирпича.
Способы изоляции

Оштукатуривание кирпичной кладки вокруг дымоотвода.
В современных домах обычно устанавливается два вида труб:
- Кирпичные.
- Металлические.
И способ изоляции во многом зависит от материала изготовления трубы.
| Материал | Способ изоляции |
| Кирпичная | Поскольку внешняя сторона таких дымоходов нагревается не сильно, то вопрос изоляции касается только улучшения эксплуатационных характеристик и продления срока службы. Наиболее рациональным способом является оштукатуривание цементно-известным или цементным раствором. К тому же, цена таких работ является более чем приемлемой. |
| Металлические | Для дымоходных труб из металла лучше всего делать конструкции типа «сендвич». Они позволяют улучшить теплосбережение и защитить дымоход от влаги и температурных перепадов. |
Теплоизоляция металлических конструкций.
Оштукатуривание кирпичной трубы
Для проведения работ вам понадобится:
- Цемент – 25 кн.
- Гашеная известь – 2 ведра.
- Песок или его смесь со шлаковой крошкой.
- Вода – 5 ведер.
Оштукатуривание производится в несколько этапов.
В этом вам поможет следующая инструкция:
- Готовим раствор, смешав цемент с четырьмя ведрами воды. В эту смесь добавляем два ведра гашеной извести и тщательно перемешиваем. После этого в смесь добавляется песок и шлаковая крошка, после чего вливается оставшаяся вода.
Обратите внимание!
Полученный состав используется в течение 5 часов в прохладную погоду.
В жару же его нужно использовать в течение двух часов, поэтому рациональнее всего готовить его частями.

Нанесение первого слоя штукатурки.
- Если поверхность дымоотвода имеют большие неровности, то штукатурку приходится накладывать толстым слоем. Поэтому, лучше предварительно заделать все щели штукатурным раствором, после чего труба обтягивается армирующей сеткой и вновь штукатурится.
- Когда поверхность будет более-менее ровной, производить оштукатуривание нужно в два слоя. Первый из них разводится немного сильнее, по консистенции он должен напоминать сметану. Он наносится методом набрызга, то есть, берется на шпатель или мастерок и набрасывается на поверхность, предварительно очищенную от пыли и слегка увлажненную.
Обратите внимание!
Первый слой выравнивать не нужно.
Это обеспечит лучшее сцепление между слоями.
- Второй слой требует использование более густого раствора. Для его нанесения используют мастерок, затирая им поверхность до идеальной гладкости. Штукатурить следует всю поверхность трубы, начиная от пола и до кровли.
Создание кожуха на металлический дымоход
Наиболее опасным в плане пожара является металлический дымоход, который не защищен теплоизолятором. К тому же, металл быстро остывает, что является значительным минусом для теплосбережения.
При перепадах температур, труба «плачет» вследствие образования конденсата. Поэтому, чаще всего создаются сэндвич-трубы, которые имеют несколько слоев.
Работы можно выполнить своими руками:
- В кровле и перекрытиях выполняем отверстия такого диаметра, чтобы от стенок отвода и до краев отверстия было расстояние около 25 см.

Для теплоизоляции можно использовать специальный утеплитель, выполненный в цилиндрической форме.
- Оборачиваем дымоход матами базальтовой ваты, толщина которых должна составлять не менее 5 см. Обернуть нужно внахлест.

На фото – сэндвич-труба.
- Скрепляем утеплитель несколькими витками стальной проволоки.
- В качестве кожуха следует использовать тонколистовое железо, которое сворачивается по диаметру трубы с утеплителем и заклепывается в месте соединения краев.
Флюгеры и флюгарки

Грибок на трубу дымохода позволяет защитить печь от осадков и улучшить тягу
Насадка на трубу дымохода в виде флюгеров и флюгарок не является только декоративным элементом. Это завершающий штрих отделки, который предохраняет дымоход от попадания влаги и препятствует возникновению обратной тяги.
Справочно: флюгарки на трубу дымохода — это обыкновенный колпак, который может иметь несколько названий: оголовок дымоходной трубы, зонт на трубу дымохода, колпак на дымоход и т.п.
Флюгер на трубу дымохода защищает трубу от осадков, ветра и препятствует возникновению обратной тяги, но при этом является украшением кровли и показывает направление ветра. Это старинный простой прибор, который изначально использовался на кораблях. Сейчас же вращающиеся лопасти флюгера можно заметить на крышах многих домов.

Металлический флюгер с декоративным элементом.
Наиболее простым вариантом таких насадок является зонтик на трубу дымохода. Он крепится к трубе посредством металлических заклепок или болтов.
Заключение
Как видите, процесс изоляции дымохода весьма важен, а работы можно осуществить самостоятельно. Если вы возводите камин или печь, то задумайтесь об изоляции заранее. Это позволит не только обезопасить эксплуатацию сооружения, но и увеличит отдачу тепла. В видео в этой статье вы сможете найти больше практических советов по данной теме.
Понравилась статья? Подписывайтесь на наш канал Яндекс.Дзенgidroguru.com
