Как отрегулировать автоматику на насосной станции: как отрегулировать своими руками, настройка напора воды в системе водоснабжения
как отрегулировать своими руками, настройка напора воды в системе водоснабжения
Реле давления является одной из важных частей насосной станции. Оно отвечает за работу насоса при определенных значениях давления. Периодически реле нуждается в правильной настройке. Для этого следует знать, как оно устроено, его принцип работы и технические характеристики.
Вне зависимости от своих незначительных размеров, реле значительно продлевает срок службы насоса, а также обеспечивает качественную работу насосной станции.
Особенности
Реле давления – элемент, который регулирует подачу воды в системе. За счет реле включается и выключается вся насосная система. Именно реле регулируется напор воды.
По принципу работы реле разделяются на электронные и механические. Использовать электронные реле проще в плане эксплуатации, зато срок службы механических больше. Поэтому механические реле пользуются большим спросом.
Реле могут быть как изначально встроены внутрь насосной станции, так и идти отдельно. Таким образом, по характеристикам можно легко подобрать реле для эффективной работы насосной системы.В воде неизбежно содержатся сторонние частицы, и они являются основной причиной выхода из строя электронных реле. Поэтому лучше использовать специальный отдельный фильтр для очистки воды. Основное преимущество использования электронного реле состоит в том, что оно не дает насосной станции работать вхолостую. После отключения подачи воды электронное устройство продолжает работать еще на протяжении некоторого времени. К тому же такие реле проще в настройке и установке.
Изначальная регулировка не всегда подходит для определенных условий работы станции, и тогда приходится самостоятельно настраивать реле. Конечно, для правильной регулировки лучше всего детальнее ознакомиться с тем, что из себя представляет этот небольшой прибор, и как он работает.
Принцип устройства
Наиболее распространенное механическое реле давления насосной станции представляет собой металлическую пластину, на которой сверху имеется контактная группа, два подпружиненных регулятора и клеммы подключения. На нижней части металлической пластины установлена крышка мембраны. Она прикрывает непосредственно мембрану и прикрепленный к ней поршень. А также на крышке есть резьбовое соединение для установки на переходнике, который находится на насосном оборудовании. Все выше перечисленные детали конструкции накрыты пластиковой крышкой.На рабочей части регулятора данная крышка закреплена винтами.
Ее можно в случае необходимости снять, используя гаечный ключ или отвертку.
Реле могут иметь различную конфигурацию, форму, и даже различаться расположением некоторых элементов или схемой подключения. Бывают реле, имеющие дополнительные защитные элементы, которые сохраняют устройство при работе «всухую» и позволяют обезопасить мотор от перегрева.
Для водоснабжения частного дома используются конструкции станций, в которых регулятором давления выступает РМ-5 или его зарубежные аналоги. Такая модель реле давления внутри имеет подвижную пластину и две пружины с противоположных ее сторон. Пластину перемещает давление воды в системе при помощи мембраны. Вращением прижимной гайки того или иного пружинного блока можно изменять в большую или меньшую сторону пределы, при которых срабатывает реле. Пружины как бы содействуют тому, чтобы давление воды смещало пластину.
Механизм сделан так, что при смещении пластины происходит размыкание или замыкание нескольких групп контактов. Если рассмотреть схему работы, то она будет следующей. При включении насос подает воду в гидроаккумулятор. Через замкнутые контакты реле на двигатель поступает питание. При этом в баке повышается давление воды.
Когда давление достигнет значения, которое задано пружинами верхнего предела, механизм срабатывает, контакт размыкается, и происходит выключение насоса. Жидкость из трубопровода не стекает снова в колодец за счет обратного клапана. По мере того как вода используется, груша становится пустой, давление понижается, и тут срабатывает пружина нижнего параметра, которая замыкает контакты, включая насос. Затем цикл повторяется.
В процессе работы всей насосной станции работа реле давления выглядит следующим образом:
- открывается кран с водой, и она поступает из наполненного гидробака;
- в системе давление начинает снижаться, а мембрана давить на поршень;
- замыкаются контакты и включается насос;
- вода поступает потребителю, а когда кран закроется, наполнит гидробак;
- при наборе воды в гидробак происходит рост давления, оно действует на мембрану, а она, в свою очередь, на поршень, и контакты размыкаются,
- насос перестает работать.
От настроек реле зависит и то, насколько часто будет включаться насос, и напор воды, и срок службы всей системы в целом. Если параметры установлены неправильно, то насос будет работать некорректно.
Подготовка
Груша, в которой накапливается вода, подключена к системе водоснабжения. За счет воздуха в гидробаке груша с водой сжимается, что позволяет поддерживать давление в системе на определенном уровне. Таким образом, когда открывается кран с водой, она движется по трубопроводу под напором, при этом насос не включается.
Перед тем как проверить давление воздуха в гидробаке, надо насосную станцию отключить от сети, а из бака гидроаккумулятора спустить всю воду. Далее следует открыть боковую крышку на баке, найти ниппель и при помощи велосипедного или автомобильного насоса с манометром измерять давление. Хорошо, если его значение составляет около 1,5 атмосферы.В том случае если полученный результат имеет меньшее значение, то давление при помощи того же насоса поднимают до нужного. Стоит напомнить, что в баке воздух всегда должен быть под давлением.
Для гидробака объемом 20-25 литров давление лучше выставить в диапазоне 1,4-1,7 атмосферы, объемом 50-100 литров — 1,7-1,9 атмосферы.
Важно при использовании насосной станции периодически проверять давление воздуха в гидробаке
После проведения регулировки давления в гидроаккумуляторе бывает, что насосная станция перестает работать в обычном режиме. Это значит, что следует отрегулировать непосредственно реле давления.
Как настроить своими руками?
При запуске скважинного насоса и станции очень важна настройка реле. Причем сделана она должна быть правильно.
Несмотря на то что реле давления сразу уже идет с заводскими настройками, лучшим вариантом будет дополнительная их проверка и регулировка. Перед тем как начать регулировать реле, стоит узнать, каковы значения, которые рекомендует производитель, чтобы установить допустимые значения давления. Однако надо учитывать, что выход из строя насосной станции из-за неправильной настройки является негарантийным случаем.
При произведении расчетов допустимых значений давления срабатывания и отключения автоматики, производитель делает учет возможных особенностей эксплуатации. Причем это делается при разработке параметров для работ.
При их подборе учитываются следующие данные:
- необходимое давление в наивысшем участке водопровода;
- разница высот между насосом и наивысшим участком отбора воды;
- возможное падение давления при передаче воды.
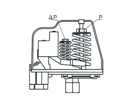
Перед тем как регулировать, надо подготовить инструменты в виде набора отверток и гаечных ключей. Обычно крышку реле делают черного цвета, чтобы она не сливалась со всем гидроаккумулятором. Под крышкой находятся две пружины, которые выступают в роли регулятора. На каждой пружине есть по гайке.
Следует заметить, что размер верхней пружины больший, и гайка на ней регулирует давление на выключение. Ее еще иногда обозначают буквой «Р». Малая гайка на нижней пружине позволяет отрегулировать разницу давлений. Обозначение малой гайки бывает в виде «ΔР» (дельта Р).
Стоит помнить, что точность произведенных настроек лучше всего проверять по манометру, который встроен в систему. Чтобы обеспечить более точные настройки, важно сверять полученные значения с теми, что указаны в паспорте насосной станции. Следите за тем, чтобы не превышать максимальные значения.
Для поднятия значения давления, при котором станция будет отключаться, гайку «Р» затягивают по часовой стрелке, а для снижения — против часовой. Нередко рядом с гайкой проставлены обозначения в виде «+» и «-». Вращение гайки необходимо проводить не спеша, менее оборота за один раз. Полезно запомнить, что при большем значении «Р» воды в груше будет больше, а значит насос будет включаться реже.
До того как переходить непосредственно к настройке реле, следует хотя бы немного разобраться, как работает насосная станция в целом. Гидроаккумулятор содержит в себе резиновую грушу и воздух. Насос качает воду из скважины в грушу. Она наполняется водой, происходит сжатие воздуха, и создается давление на стенки.
Регулировка реле давления позволяет самостоятельно провести установку предела заполнения емкости, то есть момента, когда насос должен отключиться. Давление в системе отображается на манометре. Стоит заметить, что вода в колодец поступать не будет за счет обратного клапана.
Когда кран в доме открывается, вода из груши уходит с напором, который равен выставленному давлению. Вода из груши расходуется, и давление снижается, а когда оно достигнет нижнего порогового значения, насос включится.
При сборке насосной станции реле давления подключается между выходным штуцером гидробака и обратным клапаном на трубопроводе. При сборке лучше всего использовать пятиконечный штуцер, у которого есть резьба под основные детали, в том числе и манометр. Очень важно в правильном порядке установить обратный клапан и штуцер. Иначе будет затруднительно регулировать реле давления.
Стоит заметить, что в состав насосной станции, помимо реле, может еще входить датчик «сухого хода», а также частотный преобразователь при необходимости.
Давление воздуха в гидробаке проверено и имеет оптимальное значение, все фильтры в системе новые или заменены, значит, можно приступить к настройке реле давления. Вначале необходимо отключить насос, затем слить воду из трубопровода, открыв по возможности самый нижний кран. После, используя гаечный ключ или отвертку, необходимо снять пластиковый корпус с реле. Включить насос, и дать системе заполниться водой.
После срабатывания реле и отключения насоса следует записать значение, отображаемое на манометре. Именно это значение и является верхним пределом давления. Далее необходимо частично открыть кран, находящийся на максимально высоком участке системы. В случае одноуровневой системы отбора воды надо открыть кран, наиболее удаленный от насоса.
При понижении давления до определенного показания произойдет запуск насоса. В этот момент необходимо зафиксировать данные при помощи манометра. Получаем значение нижнего давления. Если отнять его от верхнего давления, зафиксированного ранее, то получим значение текущей разницы давлений реле.
Однако, помимо значения давления, нужно проконтролировать, достаточный ли напор воды создается в наивысшем и наиболее удаленном кране системы. Если он слабый, то надо увеличить значение нижнего давления. Вначале устройство отключают от электросети, а затем поджимают гайку, которая находится на большей пружине. В случае сильного напора гайку послабляют, чтобы его убавить.
Теперь можно отрегулировать разницу давлений реле, найденную выше. Обычно оптимальным значением считается 1,4 атмосферы. При меньшем подача воды будет более равномерной, но насос чаще будет включаться, что снижает срок службы системы.
При значении разности давлений реле более 1,4 атмосферы система будет работать не в таком сильном режиме износа, но станет весьма заметной разница между наибольшим и наименьшим напором. Для его настройки следует повернуть гайку на меньшей пружине. Для увеличения значения разности давлений необходимо закрутить гайку по часовой стрелке. При послаблении пружины результат получится противоположным.
При полностью ослабленных пружинах настройку реле производят несколько другим способом. Сперва запускают насосную станцию, чтобы произвести нагнетание давления в системе. Его производят до уровня, пока из наиболее удаленного от насоса крана вода не будет течь приемлемым напором. Например, в данный момент манометр показывал 1,5 атмосферы. Такое давление фиксируют, отключив насос и насосную станцию от электропитания.
Затем снимают с реле пластиковый корпус и подтягивают гайку, которая находится на большей пружине до характерного щелчка, который свидетельствует о срабатывании контактов. Далее корпус реле устанавливают на место, а насосное оборудование запускают. Давление нагнетают на 1,4 атмосферы больше.
После чего устройство снова отключают от электропитания, снимают корпус реле и затягивают гайку меньшей пружины до щелчка. Это щелчок размыкания контактов. Получаем реле давления, настроенное на срабатывание при верхнем давлении в 2,9 атмосферы и нижнем давлении в 1,5 атмосферы. После окончания настройки следует вернуть пластиковый корпус реле на место и подключить насосную станцию к электросети.
Настройка реле при наполненной груше водой не производится. Это обусловлено тем, что верхнее значение давления реле настраивается как сумма давлений воды и воздуха. Получается, что если гидроаккумулятор заполнен, то точно нельзя сказать, сколько в нем атмосфер воды, а сколько воздуха.
Советы
Чтобы вода в вашей системе всегда радовала своим напором, стоит прислушаться к советам, которые касаются настройки реле давления. Особенно важно учитывать некоторые моменты, на которые многие даже не обращают внимания.
Не следует выставлять максимальное значение давления (более 5 атмосфер). А также не следует гайки, которыми осуществляется регулировка давления, закручивать до упора. Иначе реле, вообще, не будет работать.
В ходе эксплуатации насосной станции нужно смотреть за наличием и давлением воздуха в корпусе гидробака. Отдельные неполадки можно определить на слух. Например, если в емкости гидроаккумулятора сниженное давление воздуха, то будет заметно чрезмерно частое включение насоса. Причем автоматика будет включать его практически сразу при открытии крана и выключать при закрытии. В данном случае, когда кран открыт, стрелка манометра будет достигать нижнего значения.
Чтобы мембрана или груша работала как можно дольше, давление воздуха следует установить на 10 процентов ниже, чем значение давления на включение при регулировании реле.
Следует учитывать, что проверка воздушного давления в гидробаке производится, только когда вода слита из водопровода, а насос отключен от электропитания.
Если при регулировании верхнего значения не происходит выключения насоса, а манометр показывает какую-то одну и ту же цифру, то это свидетельствует о малой мощности насоса. Ее просто не хватает, чтобы закачивать воду в установленных пределах.
Ремонтировать реле можно, но это не всегда уместно. Лучше приобрести новое исправное реле, так как оно защищает грушу от повреждений, а насос – от чрезмерной перегрузки. Реле нуждается в постоянном обслуживании, например, можно смазывать внутренние детали, которые трутся. Это позволит снизить сопротивление, и реле будет срабатывать более точно.
Достижение оптимального режима работы насосной станции важно, и он во многом зависит от правильно подобранного давления в гидробаке и правильной настройки реле.
Проверять давление лучше всего автомобильным насосом, в котором менее градуированная шкала. Это позволит обеспечить более точные измерения. В некоторых моделях насосных станций имеются пластиковые манометры, но они не отличаются надежностью и точными показателями. Что касается электронных манометров, то их показания зачастую зависят от окружающей температуры и уровня заряда батареи. Именно поэтому специалисты советуют остановить выбор на обычном механическом манометре в металлическом корпусе.
О том, как правильно настроить реле давления насосной станции, смотрите в следующем видео.
📐 принципы и правила настройки
Для стабильной поставки воды с необходимыми значениями давления недостаточно просто купить насосную станцию. Оборудование надо еще настроить, запустить и грамотно эксплуатировать. Признайтесь, не все из нас знакомы с тонкостями настройки. А перспектива испортить приборы некорректными действиями не слишком прельщает, согласны?
Мы готовы поделиться с вами ценной информацией о том, как производится регулировка насосной станции. В нашей статье приведены приемы и правила устранения нарушений в работе, связанных с недостаточно высоким напором.
Вы узнаете о причинах падения давления и ознакомитесь с методами их устранения. Графические и фото приложения пояснят, как нужно правильно настраивать насосное оборудование.
Содержание статьи:
Особенности устройства насосной станции
Готовая, укомплектованная производителем насосная станция представляет собой механизм для принудительной подачи воды. Схема работы ее до предела проста.
Насос качает воду в эластичную емкость, расположенную внутри гидроаккумулятора, именуемого также гидробаком. При заполнении водой она растягивается и давит на ту часть гидробака, которая заполнена воздухом или газом. Давление, достигая определенного уровня, становиться причиной выключения насоса.
Во время забора воды давление в системе падает, и в определенный момент, при достижении заданных владельцем значений, насос снова начинает работать. За выключение и включение устройства отвечает реле, контроль уровня давления осуществляется с помощью манометра.


Нарушения в работе бытовой насосной станции могут стать причиной поломок сантехнического оборудования
Подробнее с принципом работы, разновидностями и проверенными на практике схемами установки ознакомит рекомендуемая нами статья.
Причины неполадок оборудования
Статистика неполадок в работе бытовых насосных станций говорит, что чаще всего проблемы возникают из-за нарушения целостности мембраны , трубопровода, утечки воды или воздуха, а также из-за различных загрязнений в системе.
Необходимость во вмешательстве в ее работу может возникать вследствие многих причин:
- Песок и различные вещества, растворенные в воде, способны вызывать коррозию, приводят к неполадкам и снижению производительности оборудования. Для предотвращения засорения устройства необходимо использовать фильтры, очищающие воду.
- Снижение воздушного давления в станции становится причиной частого срабатывания насоса и его преждевременного износа. Рекомендуется время от времени проводить измерение давления воздуха и регулировать его, если необходимо.
- Отсутствие герметичности стыков всасывающего трубопровода причина того, что двигатель работает без выключения, но жидкость перекачивать не может.
- Неправильная регулировка напора насосной станции также может стать причиной неудобств и даже поломок в системе.
Чтобы продлить срок эксплуатации станции рекомендуется периодически проводить ревизию. Любые работы по регулировке нужно начинать с отключения от электросети и слива воды.


Следует периодически проверять расход энергии и максимальный напор. Повышение расхода энергии сигнализирует о трение в насосе. Если без обнаруженных в системе протечек упал напор, то оборудование изношено
Исправление погрешности в работе
Прежде чем приступать к более серьезному вмешательству в работу оборудования необходимо принять самые простые меры — прочистить фильтры, устранить протечки. Если они не дали результатов, тогда приступают к дальнейшим шагам, пытаясь выявить первопричину.
Следующее, что необходимо предпринять — настроить давление в баке гидроаккумулятора и .
Галерея изображений
Фото из
Условия для нормальной работы насосной станции
Заполнение водой всасывающей трубы и рабочей полости
Запрет на использование без расхода воды
Исключение попадания воздуха во встасывающую трубу
Насосное оборудование в сухом подвале
Установка агрегата в подсобном помещении
Откачка из открытого водоема
Эксплуатация станции в зимний период
Ниже приводятся самые распространенные нарушения в работе бытовой насосной станции, которые пользователь может попытаться решить самостоятельно. При более серьезных проблемах необходимо обращаться в сервисный центр.
Нарушение правил эксплуатации
Если станция беспрерывно работает, не выключаясь, вероятной причиной является неправильная регулировка реле — выставлено высокое давление выключения. А также случается, что двигатель работает, но станция воду не качает.
Причина может крыться в следующем:
- При первом запуске насос не был заполнен водой. Необходимо исправить ситуацию, залив воду через специальную воронку.
- Нарушена целостность трубопровода или образовалась воздушная пробка в трубе или во всасывающем клапане. Для обнаружения конкретной причины необходимо убедиться, что: приемный клапан и все соединения герметичны, по всей длине всасывающей трубы нет изгибов, сужений, гидравлических затворов. Все неисправности устраняют, при необходимости заменяют поврежденные участки.
- Оборудование работает, не имея доступа к воде (на сухую). Необходимо проверить, почему его нет или выявить и устранить иные причины.
- Засорен трубопровод — необходимо очистить систему от загрязнений.
Бывает, что станция очень часто срабатывает и выключается. Скорее всего это происходит из-за поврежденной мембраны (тогда необходимо заменить ее), или же в системе отсутствует . В последнем случае необходимо измерять наличие воздуха, проверить бак на наличие трещин и повреждений.


Перед каждым запуском необходимо через специальную воронку залить воду в насосную станцию. Она не должна работать без воды. Если есть вероятность работы помпы без воды, следует приобретать насосы-автоматы, оборудованные контролером потока
С меньшей вероятностью, но может случиться, что открыт и заблокирован из-за попадания мусора или постороннего предмета. В такой ситуации придется разобрать трубопровод в районе возможного засорения и устранить проблему.
Неполадки в действии двигателя
Двигатель бытовой станции не работает и не издает шума, возможно, по следующим причинам:
- Оборудование отключено от питания или отсутствует напряжение в сети. Необходимо проверить схему подключения.
- Перегорел предохранитель. В таком случае нужно заменить элемент.
- Если не удается провернуть крыльчатку вентилятора — значит, ее заклинило. Необходимо выяснить почему.
- Повреждено реле. Его нужно попытаться отрегулировать или, если не удастся, заменить новым.
Неполадки в работе двигателя чаще всего вынуждают пользователя воспользоваться услугами сервисного центра.
Проблемы с напором воды в системе
Недостаточный напор воды в системе можно объяснить несколькими причинами:
- Давление воды или воздуха в системе выставлено на недопустимо-низкое значение. Тогда необходимо настроить работу реле в соответствии с рекомендуемыми параметрами.
- Трубопровод или рабочее колесо насоса заблокировано. Очистка элементов насосной станции от загрязнений, возможно, поможет решить проблему.
- В трубопровод попадает воздух. Проверка элементов трубопровода и их соединений на герметичность сможет подтвердить или опровергнуть эту версию.
Плохая подача воды бывает также обусловлена тем, что происходит втягивание воздуха из-за неплотных соединений водопроводных труб или уровень воды упал настолько, что при ее заборе закачивается воздух в систему.


Плохой напор воды может создавать ощутимый дискомфорт при использовании водопроводной системы
Ревизия накопительного бака
Начиная работы по регулировке оборудования, отключают систему от сети, закрывают напорный вентиль со стороны забора воды. Откручивают кран и сливают воду, а остатки спускают через напорный рукав, отсоединив его от . Сначала проверяют воздушное давление в емкости гидроаккумулятора.
Роль гидроаккумулятора в работе системы
Мембранный бак насосной станции является, по сути, металлической емкостью с расположенной внутри резиновой грушей, которая предназначена для сбора воды.
В свободное пространство между резиновой грушей и стенками бака накачивается воздух. В некоторых моделях гидроаккумуляторов бак разделен пополам мембраной, которая размежевывает емкость на два отделения — для воды и воздуха.


Бак гидроаккумулятора поддерживает давление в системе и создает небольшой запас воды. Раз в месяц следует проводить проверку давления в гидропневматическом баке при отключенном насосе и слитой из подающей трубы воды
Чем больше воды поступает в устройство, тем больше она сжимает воздух, увеличивая его давление, которое стремится вытолкнуть воду из емкости. Это позволяет поддерживать стабильный напор воды даже во время бездействия насоса.
Гидроаккумулятор требует регулярного обслуживания, удаления из груши воздуха, который попадает в нее вместе с водой в виде маленьких пузырьков и постепенно накапливается там, уменьшая полезный объем.
Для этого сверху на больших баках предусмотрен специальный клапан. С маленькими емкостями приходится ухищряться, чтобы удалить воздух: обесточивать систему и несколько раз сливать и наполнять бак.


Подбор гидробака по объему производится с учетом наибольшего значения потребления воды для конкретного потребителя. Учитывается допустимое количество включений в час, указанное производителем, а также номинальные показатели давления включения, давления выключения и заданное пользователем давления в гидробаке
Контроль давления воздуха
Хоть производитель и проводит регулировку всех элементов насосной станции еще на этапе производства, перепроверять давление нужно даже в новом оборудовании, так как на момент продажи оно может несколько снизиться. Устройство, которое эксплуатируется, осматривают до двух раз за год.
Для измерений используют как можно более точный манометр, ведь даже небольшая погрешность в 0,5 бар может повлиять на работу оборудования. Если есть возможность воспользоваться автомобильным манометром, со шкалой, с наименьшей градуировкой — это обеспечит более достоверные результаты.
Показатель давления воздуха в мембранном баке должен соответствовать 0,9-кратному давлению включения насосной станции (выставляется с помощью реле). Для баков с различным объемом показатель может составлять от одного до двух бар. Регулировку осуществляют через ниппель, накачивая или стравливая лишний воздух.
Для нормальной работы станцию оснащают обязательными контрольно-регулирующими приборами:
Галерея изображений
Фото из
Обязательными компонентами насосной станции являются реле давления, позволяющее регулировать значения давления в системе, и манометр, необходимый для его контроля
Для настройки параметров давления в системе реле оснащено двумя пружинами, позволяющими задавать верхний и нижний пределы давления в контуре водоснабжения
Для того чтобы повысить верхний предел параметров давления, при котором автоматически прерывается работа помпы, гайку 1 вращают по часовой стрелке. При этом гайку 2, отвечающую за нижний предел, нужно поднять на такую же величину
Все действия по настройке реле давления необходимо проводить с параллельным контролем изменений манометром. Перепад верхнего и нижнего пределов давления рекомендован в интервале 1,2 — 1,6 бар
Обязательные составляющие насосной станции
Пружины для настройки реле давления
Специфика изменения давления с помощью реле
Использование манометра при настройке реле
Чем меньше воздуха закачано в систему, тем больше воды она способна аккумулировать. Напор воды будет сильным при наполненном баке, и все более ослабляться при заборе воды.
Если такие перепады являются комфортными для потребителя, то можно оставить давление на наименьшем допустимом уровне, но не меньше 1 бар. Меньшее значение может привести к трению наполненной водой груши об стенки бака и ее повреждению.
Чтобы установить в сильный напор воды, необходимо зафиксировать давление воздуха в пределах около 1,5 бар. Так, разница напора при наполненном и пустом баке будет менее ощутимой, обеспечивая ровный и сильный поток воды.
Использование реле для регулировки давления
За автоматизацию системы отвечает — прибор, который управляет насосной станцией, выполняя функцию включения и отключения устройства. Оно также предохраняет систему от создания излишнего давления.


Реле давления управляет циклами включение/выключение при достижении заданного пользователем значения рабочего давления. Работоспособность реле давления контролируется с помощью манометра
#1: Принцип работы датчика давления
Главный элемент реле — группа контактов, которая закреплена на металлическом основании и отвечает за включение и отключение устройства.
Рядом находится две пружины разных размеров для регулировки давления внутри системы. Снизу к металлическому основанию крепится крышка мембраны, под которой размещена сама мембрана и поршень из металла. Сверху все закрыто пластиковым колпаком.


Продукция разных производителей и принцип ее действия практически идентичны, отличаться могут лишь в незначительных деталях
В процессе работы действующего устройства можно выделить несколько этапов:
- При включении крана, вода некоторое время поступает к сантехнической точке из наполненного бака. При этом давление, присутствующее в системе, постепенно начинает падать, и мембрана перестает давить на поршень. Происходит замыкание контактов, насос включается.
- Насос работает, качая воду к потребителю, а когда все краны выключены, наполняет бак с водой.
- При постепенном наполнении бака гидроаккумулятора происходит усиление давления, и оно начинает действовать на мембрану, а та давит на поршень. В результате, происходит размыкание контактов, и работа насоса останавливается.
От того, как настроено реле, зависит частота включения станции, напор воды и даже время службы оборудования. При неправильно выставленных параметрах насос не будет срабатывать вовсе или будет работать непрерывно.


Поршень реле давления и чувствительная металлическая пластина, реагирующая на созданный мембраной гидробака напор, скрыты под корпусом — доступ к ним полностью закрыт
#2: Регулировка и расчет необходимого давления
Новое устройство уже имеет заводские настройки реле, но, все же, лучше дополнительно их проверить. Приступая к настройке, необходимо выяснить рекомендованные производителем значения для установки допустимого порога давления (для смыкания и размыкания контактов).
В случае , по причине неправильной регулировки, производитель имеет полное право отказаться от своих гарантийных обязательств.
Расчет допустимого давления, при включении-выключении устройства, производитель проводит с учетом предполагаемых особенностей эксплуатации. Они учитываются в разработке рабочих параметров для разных моделей насосных станций.
Значение включения равно сумме:
- Необходимого давления в наиболее высокой точке водопроводной системы, где производится отбор воды;
- Разницы, между высотой самой верхней точки отбора воды и насосом;
- Потери в трубопроводе водного давления.
Показатель выключения рассчитывается следующим образом: к давлению выключения плюсуют один и отнимают полтора бар. При этом нельзя допускать, чтобы давление выключения превышало максимально допустимое давление, которое возникает на участке выхода трубопровода из насоса.


Нередкой ошибкой, влияющей на работу насосной станции, является не учет всей суммы горизонтальных и вертикальных участков, а также гидравлических потерь при транспортировке воды к точкам водоразбора
#3: Настройка рекомендуемых параметров
Прежде чем изменять настройки, необходимо зафиксировать прежние показатели с помощью манометра. Включив насос, записывают значения давления в момент выключения и включения. Это поможет определить, в какую сторону проводить регулировку — в сторону уменьшения или увеличения.


Необходимо помнить, что любое изменение установленного порога давления в реле требует также соответствующих изменений и в воздушном отделении гидроаккумулятора
Дальнейшие действия имеют следующую очередность:
- Отключают станцию от питания, спускают воду и открывают крышку реле гаечным ключом.
- Давление включения насоса регулируют путем вращения гайки, которая держит большую пружину (Р). Закручивая ее по направлению хода часовой стрелки, добиваются сжатия пружины и установки необходимого давления включения. В различных моделях устройства допустимые показатели могут колебаться от 1,1 до 2,2 бар.
- Вращением маленькой гайки (∆Р) по направлению движения часовой стрелки можно увеличить разрыв между значением давления отключения и включения устройства, который обычно равен 1 бар. Таким образом давление выключение удается зафиксировать на значениях в диапазоне от 2,2 бар до 3,3 бар.
Важным нюансом является то, что малая пружина не регулирует порог отключения, как некоторые ошибочно понимают.
Она задает именно дельту между значениями включения станции, и ее отключением. То есть, полностью ослабленная пружина не создаст разности — дельта будет равна нулю и значения включения и выключения будут одинаковыми. Но чем больше ее затягивать, тем большей будет разница между ними.


Малая пружина реле давления отличается большей чувствительностью, и сжимать ее нужно крайне осторожно
Проверяют правильность выставленных показателей с помощью манометра. Если не удалось достигнуть требуемых значений с первой попытки, регулировку продолжают.
#4: Выбор нестандартных значений давления
Можно установить иной уровень давления в приборе, отличный от рекомендаций производителя, подстроив оборудование под индивидуальные запросы пользователя. Увеличивая диапазон при включении-отключении, добиваются более редких срабатываний станции.
Это делает службу устройства продолжительней, но придает напору воды неравномерный характер. Уменьшая разницу, добиваются стабильного напора, но так насос будет срабатывать чаще.
Выводы и полезное видео по теме
Как отрегулировать давление станции, продемонстрирует видео:
Видеоролик о том, что делать, если станция часто срабатывает:
Проводя самостоятельную регулировку насосной станции, необходимо учитывать, что иногда изменения заводских рекомендаций могут ухудшить работу водопроводной системы. Насос, шланги, сантехнические приборы — все имеют предельные значения давления, нарушение которых, приведет к поломкам. Поэтому прежде, чем приступать к самостоятельным действиям, лучше попросить совета у опытного специалиста.
Оставляйте, пожалуйста, комментарии в расположенном ниже блоке. Делитесь личным опытом в установке и эксплуатации насосных станций, а также в выполнении их настройки. Задавайте вопросы, сообщайте о недочетах в тексте, размещайте фото по теме статьи.
Регулировка насосной станции.Настройка автоматики с реле давления
Под насосной станцией (в бытовом масштабе, безусловно) принято понимать совокупность оборудования, взаимосвязанного между собой, предназначенного для решения общей задачи – бесперебойного обеспечения дома водой. Такая станция может быть приобретена сразу в собранном компактном виде или же монтироваться из отдельных узлов – сколь-нибудь существенно принципа ее строения, регулировки и эксплуатации это не меняет. В любом случае система создается и настраивается так, чтобы ее работа шла в автоматизированном режиме, чтобы свести к минимуму необходимость вмешательства хозяев. Понятно, что при этом в приоритете будут вопросы экономичности, удобства для владельцев жилья, максимальной долговечности оборудования.
При сборке ли в заводских условиях, или при самостоятельном монтаже из отдельных деталей, приборов и узлов, обязательно проводится регулировка насосной станции. Но даже в том случае, если приобретается готовая, знать о принципах и порядке ее настройки – никогда не помешает. Заводские установки не всегда подходят к реальным условиям эксплуатации. Кроме того, и сами эти условия могут измениться, что потребуется перенастройки. Ну и , наконец, любое оборудование может выйти из строя. То есть после проведения ремонта или же замены отдельных узлов проблема регулировки может снова встать во всей своей остроте. А если владелец умеет сам справляться с этой задачей – ему не придется тратиться на вызов мастера.
Тем более что настройка насосной станции – это не так уж и сложно)
Что нужно знать в об общем устройстве и принципе работы насосной станции
В магазинах покупателям предлагаются готовые комплексы, которые так и называются – насосные станции. На их примере удобнее всего изучить строение этой системы, так как все узлы скомпонованы максимально компактно. И вместе с тем – принцип организации останется без особых изменений, даже если приобретать все приборы по отдельности и самостоятельно комплектовать подобную установку с необходимыми параметрами.
Давайте расссмотрим:
Типичное устройство насосной станции
Понятно, что основным прибором станции будет насос (поз. 1), качающий воду из источника и передающий ее далее к точкам потребления. Насос может быть поверхностный, самовсасывающий, как на иллюстрации, или погружной скважинный – все зависит от типа источника, его расположения и глубины.
Вторым, не менее важным, элементом станции обязательно является бак-гидроаккумулятор (поз. 2). Он имеет особую конструкцию, разделён на воздушную и водяную камеры, способен накапливать запас воды под определённым давлением и при необходимости —отдавать его на точки водозабора даже без включения насоса. Способствует минимизации количества включений станции, подержанию ровного давления в водопроводе. С ним эксплуатация домашнего системы водоснабжения становится максимальной комфортной, безопасной и экономной.
Гидроаккумулятор в автономной системе водоснабжения
При всей незамысловатости конструкции таких баков, их значимость в системе автономного водоснабжения частного дома – чрезвычайно велика. Как устроены гидроаккумуляторы для холодной воды, какие функции на них возлагаются, как рассчитываются их основные параметры – в отдельной подробной статье нашего портала.
Эти два основных прибора станции обязательно имеют между собой прямую гидравлическую связь. Это может быть короткий участок трубы или даже усиленной гибкой подводки (как на иллюстрации), если станция скомпонована компактно, или длинная труба, если, например, используется погружной насос. Но в любом случае насос имеет возможность накачивать воду непосредственно в водяной отсек гидроаккумулятора.
Для такой гидравлической связи используются специальные переходники или штуцеры. Очень часто применяется пятивыводной штуцер (поз. 3), который позволяет без проблем подключать всю гидравлику (3 вывода), контрольно-измерительный прибор и автоматику (еще 2 вывода соответственно).
Насос закачивается вводу через всасывающий патрубок (поз. 4), а передается она в разветвление водопроводных труб через один из выводов (поз. 5) упомянутого выше штуцера
Манометр (поз. 6) необходим и при настройке системы, и для визуального контроля за корректностью ее работы уже в ходе эксплуатации.
Питание насоса организуется через коммутационную коробку (поз. 7). Но станция не станет таковой без блока автоматики, отвечающей за своевременное включение и выключение без вмешательства у человека, то есть только по установленным настройкам давления в системе. Роль автоматики доверена реле давления (поз. 8). Именно его правильная регулировка и становится основным «камнем преткновения». То есть кабели питания, прежде чем попасть в коммутационную коробку самого насоса, сначала проходят через это реле.
Это был пример насосной станции компактной компоновки. Но не всегда для конкретных условий эксплуатации бывает достаточно характеристик таких готовых комплексов. Поэтому насосную станцию очень часто собирают самостоятельно из отдельных приборов. При этом принципиальная схема практически не изменяется.
Ниже показана, так сказать, блок-схема подобной станции.
Блок-схема насосной станции, собираемой самостоятельно из отдельных приборов и узлов.
Нумерация основных элементов системы сохранена по аналогии с прошлой схемой – так проще понять устройство. Толстыми синими стрелками показаны гидравлические подключения с направлением движения воды. Зелеными пунктирными – подсоединения к пятивыводному штуцеру (манометр вкручивается в резьбовой патрубок G ¼, а накидная гайка реле давления накручивается на резьбовой штуцер G ¼. Красным цветом показана линия питания от источника 220 В до насоса, проходящая через реле давления, где в автоматическом режиме производится включение и выключение станции.
Теперь в общих чертах о том, как все это работает.
- При настройке станции в первую очередь в воздушной камере гидроаккумулятора создается опред
Регулировка реле давления на насосной станции
Регулировка реле давления и определение порогов срабатывания установки
Реле – это автомат или, другими словами, устройство блокирующее клапан, который создает процесс подачи воды. У насоса есть 2 порога включения – нижний и верхний. Каждый из них зависит от давления в той части гидроаккумулятора, где присутствует воздух. Минимальным давлением считается уровень в 0,1-0,2 атм и выше.


Следует обязательно брать в учет параметры насоса, у которого также есть 2 значения в виде нижнего и верхнего порога. Основываясь на ряде показателей, и проводится выбор порогов. Стоит заметить, что выбор верхнего порога, при котором отключается насос, осуществляется автоматически. Реле изначально с завода имеет определенную дельту разности, настроенную при изготовлении. В целом, эта разница составляет 1,4-1,6 атм. Другими словами, если было вручную выставлено отключение при 1,6 атм, то происходит автоматическое выставление верхнего порога отключения в 3,0 атм.
Если система подачи водоснабжения подключена к большому количеству точек водоразбора, то можно добавить к верхнему порогу несколько атмосфер для предельно допустимого значения, но с соблюдением ряда ограничений
А именно:
- Учитываются параметры контроллера.
- Все модели имеют определенные технические характеристики и эксплуатационные свойства.
- Как правило, верхняя граница давления в насосе установлена от производителя и отключаться насос должен до ее достижения в среднем за 0,2-0,4 атм.
- Если верхним порогом является 3,8 атм, то отключаться он будет при достижении 3,6 атм.
Для длительной и исправной работы насоса, лучше всего делать разницу между порогами как можно больше, так как постоянные перегрузки негативно сказываются на эксплуатации
Особенность реле в том, что не требуется его чистить, а значит, не нужна разборка, а если происходит слабое накачивание воды, то нужно обратить внимание на работу и почистить насос
Подключение реле давления воды
Реле давления воды для насоса подключается сразу к двум системам: к электричеству и водопроводу. Устанавливается оно стационарно, так как перемещать прибор нет необходимости.
Электрическая часть
Для подключения реле давления выделенная линия не обязательна, но желательна — больше шансов на то, что работать устройство будет дольше. От щитка должен идти кабель с цельной медной жилой сечением не менее 2,5 кв. мм. Желательна установка связки автомат+УЗО или дифавтомата. Параметры подбираются по току и зависят больше от характеристик насоса, так как реле давления воды потребляет тока очень мало. В схеме обязательно наличие заземления — сочетание воды и электричества создают зону повышенной опасности.


Схема подключения реле давления воды к электрощитку
Кабели заводятся в специальные вводы на тыльной стороне корпуса. Под крышкой находится клеммная колодка. На ней есть три пары контактов:
- заземление — подключаются соответствующие проводники, идущие от щитка и от насоса;
- клеммы line или «линия» — для подключения фазного и нулевого провода от щитка;
- клеммы для аналогичных проводов от насоса (обычно на колодке, расположенной выше).


Расположение клемм на корпусе реле давления воды
Подключение к трубопроводу
Есть разные способы подключения реле давления воды к водопроводной системе. Самый удобный вариант — установка специального переходника со всеми требуемыми выходами — пятивыводного штуцера. Ту же систему можно собрать из других фитингов, просто готовый вариант всегда использовать площе.
Он накручивается на патрубок на задней части корпуса, к остальным выходам подключают гидроаккумулятор, подающий шланг от насоса и магистраль, которая идет в дом. Можно установить еще грязевик и манометр.


Пример обвязки реле давления для насоса
При такой схеме при большом расходе вода подается напрямую в систему — минуя гидроаккумулятор. Он начинает заполняться после того, как все краны будут в доме закрыты.
Использование реле без гидроаккумулятора
Для некоторых моделей оборудования используется схема подключения скважинного насоса с реле давления без накопительного бака. Специальный автоматический контроллер запускает и останавливает агрегат при достижении граничных показателей. Электронный блок имеет функцию защиты от «сухого хода» и обеспечивает безопасную работу системы.


Электронное реле давления для поверхностного и погружного насоса
Прибор запускает насос при открытии крана, после остановки подачи воды оборудование некоторое время работает для создания заложенного уровня давления. Преимущества автоматического контроллера:
- компактность;
- исключаются расходы на покупку гидроаккумулятора;
- стабильное давление в системе.
Среди недостатков – частое включение насоса, ведущее к преждевременному износу. Такой вид автоматики подходит для сети, используемой для долгого режима включения (полив, наполнение большой емкости).
Монтаж и корректная настройка реле давления насосной станции обеспечивают в системе стабильный напор воды. Правильная регулировка прибора способствует продлению срока эксплуатации оборудования и предотвращает возникновение аварийных ситуаций.
Назначение реле давления
Для того чтобы была правильная работа водяной насосной станции (безбашенки), требуется установка и настройка гидроаккумулятора, а также реле, например, РДМ Type PM5 с насосом Вихрь. Даже если устанавливается самодельное оборудование для системы водоснабжения дома на даче, требуется многое.


А именно:
- Точный просчет всех параметров;
- Учет особенностей подачи воды;
- Грамотный и профессиональный подход.
Эти 2 агрегата нужно подсоединить к насосу, причем реле должно располагаться посередине и ближе к гидроаккумулятору. Существуют модели реле, которые можно монтировать непосредственно на поверхность корпуса насоса, даже к погружному типу. Установка системы водоснабжения должна быть правильной, и потому стоит перед ее сборкой ознакомиться с принципом работы каждого составляющего.
В груше расположен воздух с конкретным давлением, а в мембране вода. То, какое давление установлено в груше и то, сколько воды поступает в мембрану, напрямую зависит от количества накаченного воздуха. Чем его будет больше, тем выше поднимется давление в системе. Как правило, в полость емкости закачивается только половина воды. Например, если в гидробаке может по данным от производителя поместиться 100 л, то там будет находиться 40-50 л. Оптимальное давление в системе водоснабжения, особенно при подключении к бытовым приборам – это 1,4 атм -2,8 атм, а чтобы оно поддерживалось в таком состоянии, должно быть установлено такое устройство, как контроллер или реле.
Первичная настройка с нуля


Если на вашем реле пружины полностью ослаблены, придётся произвести настройку с нуля. В этом случае работу проводят в такой последовательности:
- Производят запуск насосного оборудования и нагнетают давление в системе до того уровня, когда напор воды из самого удалённого от насоса крана не станет более-менее приемлемым для вас. Допустим, что измерительный прибор показал в этот момент значение 1,5 бар. Производим выключение насоса.
- Теперь необходимо отключить насосную станцию от питания, открыть крышку на реле и начать подтягивать гайку на большой пружине, пока не раздастся характерный щелчок, указывающий на замыкание контактов.
- Крышку реле устанавливают на место и производят запуск насосного оборудования. При этом давление нужно довести до 2,9 бар.
- Теперь агрегат нужно снова отключить от питания, крышку на реле опять открываем и поджимаем гайку малой пружины, пока не прозвучит щелчок размыкания контактов.
- После произведённых настроек реле будет срабатывать при нижнем показателе в 1,5 бар и выключать насос при верхнем давлении в 2,9 бар. Крышку на реле возвращаем на место, а станцию подключаем к электросети.
Видео инструкция по регулировке реле давления агрегата водоснабжения своими руками:
Как настроить реле давления. Отрегулировать пружины.
Вариант 1. Отрегулируйте большую пружину. Почему именно большую, а не маленькую? Маленькая пружина (под номером 1 на фото ниже) является дифференциальной, она регулирует разность значения давления, при котором насосная станция будет запускаться и останавливаться. С завода настройка в 20 psi. Но если же вам необходим иная разность, поворачивая гайку по часовой стрелке, дифференциал увеличится, а против часовой — уменьшится.
Итак, на фото вы видите основную или большую центральную (№2) и меньшую пружину слева (№1). Большая центральная пружина будет регулировать как отключение, так и включение насосной станции. Если вы повернете гайку по часовой стрелке, она увеличит значение давления запуска. Автоматически изменится также значение давления остановки насосной станции, так как дифференциальное давление не изменяется. Если вы повернете гайку против часовой стрелки, вы уменьшите как показатель отключения, так и включения. Например, если реле настроено на 30-50 psi, и вы затягиваете большую пружину на три с половиной оборота, то реле будет срабатывать на 40-60 psi.
Вариант 2. Закрутите гайку № 1 для уменьшения показателя давления включения насосной станции, следовательно изменяя также дифференциальное давление. Закрутите гайку № 2 для увеличения показателя давления остановки насосной станции. Соответственно, если нам нужно противоположенные показатели, то крутим в обратном направлении.
Устройство реле давления воды
Гидравлическая часть расположена с тыльной стороны на гидрореле, причем выпуск может быть с резьбой наружного вида или гайкой-американкой. Второй вариант считается более удобным, так как он позволяет провести более легкий монтаж.


Можно осуществить накручивание изделия и на резьбу, что подходит не всегда. Разъемы электрической части расположены с тыльной стороны корпуса, а клеммная колодка для подключения проводов установлена под полостью крышки.
Гидрорегулятор разделен на 3части.
- Электрическую;
- Механическую;
- Гидравлическую.
К первой относят группу контактов, которые замыкаются и размыкаются, что требуется для подключения и отключения насоса. К гидравлической части относится мембрана, оказывающая воздействие на основании из металла и пружину, малого и большого вида, посредством чего регулируется давление внутри насоса, а также осуществляется включение или отключение.
как регулировать настройки датчика регулятора водоснабжения?
Зачем нужна настройка датчика регулятора?
Давление воды в насосной станции влияет на интенсивность поступления воды из крана потребителю. Если хозяева хотят совместить экономное расходование воды с комфортом ее использования, тут и может потребоваться регуляция давления.
Кроме того, разумно проконтролировать наличие заводских настроек, зная, какая опасность таится в превышении давления.
Регулировать или нет — как определить?
В случае, когда оборудование покупается в собранном виде, необходимо убедиться, что давление в насосной станции находится в допустимом диапазоне.
Стандартные заводские настройки лежат в пределах:
- включения – 1,5-1,8 атм.;
- выключения – 2,5-3 атм.
Далее остается проверить, устраивают ли такие параметры семью.
Изменяют параметры системы также, если начинают чувствовать дискомфорт во время пользования водопроводом. Потребитель, для которого удобен средний напор для мытья посуды и принятия душа, выберет низкий порог включения двигателя.
Когда человек активно пользуется гидромассажным устройством, хочет, чтобы ванная и стиральная машина заполнялись водой максимально быстро, ему необходима интенсивная работа станции с частым включением мотора.
Если насос включается при открытии крана и выключается только при его закрытии, это говорит об отсутствии дополнительного напряжения в системе. Из гидроаккумулятора либо вышел воздух, либо в нем прорвана резиновая груша (мембрана).
На какие параметры настраивать станцию водоснабжения?
При первом запуске системы запоминают показания манометра в моменты включения и выключения насоса. Смотрят в паспорте на изделие предельные значения давления в водопроводе. Обычно они лежат в диапазоне 1,5-3 бар.
Если решили поменять настройки, в начале нужно понять, напор требуется уменьшить или увеличить. Для того чтобы вода из кранов вытекала интенсивнее, следует увеличить давление выключения, и наоборот.
Ориентиры для определения нового рабочего диапазона манометра:
- максимальный объем воды, который случается использовать;
- предыдущее давление;
- диаметр трубы;
- количество подключений насоса в час.
Примерный расход жидкости из разных потребляющих приспособлений:
- умывальник — 360 кг/ч;
- душ — 600 кг/ч;
- туалет — 250 кг/ч;
- стиральная машина — 600 кг/ч;
- посудомоечная машина — 500 кг/ч;
- система для полива — 1000 кг/ч.
Просчитав ожидаемый расход воды, проще всего воспользоваться таблицей ниже для определения значения давления, с которого стоит начать регулирование:

Давление включения насоса должно быть не меньше, чем 110% от давления воздуха в гидроаккумуляторе.
Пошаговая инструкция, как отрегулировать своими руками
Настройка проводится при выключенном электропитании. Для проверки результата станцию подключают к сети.
Инструменты
Регуляция системы производится выставлением реле. Инструмент для работы потребуется нехитрый:
- торцевой или рожковый ключ;
- отвертка.
Подготовка
Реле давления находится в черной коробочке возле манометра.
Принцип его работы заключается в замыкании и размыкании электрических контактов. Поэтому вначале:
- Выключают электропитание.
- Отвинчивают отверткой шуруп, находящийся в колпачке.
- Снимают с устройства кожух.
Процесс
Под крышкой реле находятся две пружины: большая и маленькая. Давление в водопроводе действует на них посредством мембраны. Именно от натяжения пружин зависит 2 положения реле.
Действия регулировки:
- Затягивание гайки на большой пружине увеличивает давление выключения. Выбирают направление вращения гайки. 1 оборот гайки изменяет значение нижнего показания манометра приблизительно на 0,4 бара (1 атм. ≈ 1 бар). Ослабив или подтянув на глаз пружину, включают систему и снимают показания контролирующего прибора.
- Если предыдущие действия не привели к желаемому результату, продолжают регулирование большой пружины. После удачной попытки переходят к настройке маленькой пружины.
- Эта пружина выставляет разницу между нижним и верхним показаниями манометра исправного оборудования. Изменение регулируемой ею характеристики требует приблизительно в 2 раза меньше оборотов, чем настраивание большой пружины на ту же величину. Сжимание маленькой пружины приводит к увеличению диапазона работы системы при выключенном моторе. Результаты регулирования проверяются аналогично предыдущему случаю, в реальных условиях работы станции. Теперь сразу можно проверять нижнее и верхнее значение манометра.

Разрыв между давлениями включения и выключения не должен быть меньше 1 атмосферы.
После выставления контрольных значений манометра рекомендуется проследить, чтобы насос запускался не чаще, чем 30 раз в час.
Как проверить результат?
Для того, чтобы узнать точно, к чему привели гаечные манипуляции, необходимо создать реальную рабочую обстановку. Начинают сливать воду и внимательно следят за расположенным рядом манометром, фиксируя его показания в моменты включения и выключения.
Если значения отличаются от искомых, вращают ключом гайки в нужном направлении и снова проверяют результат, открыв водопроводный кран. Прокручивают эти действия, пока задача не будет реализована.
Нужно ли повторять процедуру?
Пересматривать отрегулированные параметры может потребоваться лишь в случае изменения режима эксплуатации оборудования.
К этому могут вынудить следующие ситуации:
- изменение количества членов семьи;
- передача установки вместе с домом или дачей новым жильцам;
- установка гидроаккумулятора другого объема.
Для того, чтобы поддерживать стабильную работу системы в соответствии с настройками, 1 раз в квартал проверяют количество воздуха в накопительном баке.
Видео по теме статьи
Регулировка реле давления насосной станции представлена в видео:
Заключение
Информация, которую нужно запомнить:
- Бытовое применение насосной станции – забор воды из скважины, водоема, централизованной системы водоснабжения и подача ее по трубам в здание.
- При первом включении оборудования проверяют соответствие его режима работы допустимым нагрузкам и логическим ограничениям.
- Давление выключения мотора не должно превышать такого значения, которое способна создать помпа, иначе насос никогда не выключится.
- Для того, чтобы двигатель включался, нижнее положение стрелки манометра не должно показывать значение меньшее, чем давление воздуха в баке.
- Объем воздуха в гидроаккумуляторе контролируют каждые 3 месяца.
- Проверенные настройки иногда необходимо менять.
Регулировка реле давления насосной станции и настройка своими руками
Реле давления – это часть насосной станции, которая отвечает за пуск и отключение насосного оборудования при достижении определённого давления в гидробаке. Как правило, при покупке насосной станции на датчиках давления выставлены заводские настройки. В итоге агрегат, отрегулированный производителем, реагирует на определённые показатели для пуска и остановки насоса. Обычно заводские настройки включения устанавливаются в переделах 1,5-1,8 атм., а настройки на отключения прибора срабатывают при попадании давления в диапазон от 2,5 до 3 атм.
Но иногда для более эффективной эксплуатации станции в определённых условиях требуется изменить настройки прибора. В этом случае проводится регулировка реле давления насосной станции. Из нашей статьи вы узнаете, как это сделать своими руками, а видео в конце статьи поможет более наглядно разобраться в процессе.
Особенности конструкции и принцип работы
Появилось лучшее мобильное приложение для опытных БИгроков и можно абсолютно бесплатно скачать 1xBet на Андроид телефон со всеми последними обновлениями и по новой открыть для себя ставки на спорт.Чтобы вы могли правильно отрегулировать данное реле своими руками, вам стоит разобраться в особенностях его конструкции и понять принцип действия агрегата.
Реле давления насосной станции – это металлическая основа, на верхней части которой зафиксирована контактная группа, два пружинных разно размерных регулятора и клеммная колодка. В нижней части стальной пластины прикреплена крышка мембраны, под которой находится стальной поршень и сама мембрана, а также быстросъёмная гайка для фиксации к переходнику, установленному на насосном оборудовании. Все эти детали накрываются крышкой из пластика. Она в свою очередь крепится к винтовой части большого регулятора. Эта крышка при необходимости легко снимается при помощи гаечного ключа или отвёртки.
Как правило, реле в насосных станциях водоснабжения могут отличаться конфигурацией, формой и расположением отдельных элементов, но обычно они имеют такую конструкцию, как мы описали выше. Иногда реле может укомплектовываться дополнительными элементами, позволяющими защищать агрегат от работы «на сухую» и оберегать мотор от перегрева, для этого прибор будет измерять температуру перекачиваемой жидкости.
Принцип действия этого прибора следующий:
Рекомендуем к прочтению:
- Под действием давления воды, поступающей из насосного оборудования, мембрана за счёт увеличения давления воздуха во второй камере давит на поршень, приводящий в действие контактную группу.
- Эта группа крепится на стальной платформе, укомплектованной двумя шарнирами. В зависимости от того, какое положение она займёт, контакты, через которые идёт напряжение 220 V на насосный агрегат, могут замыкаться или размыкаться, вызывая тем самым запуск или остановку насоса.
- Чтобы уравновесить давление поршня, используется пружина регулятора, воздействующая на платформу для установки контактной группы. Сила сжатия пружины регулируется посредством соответствующей гайки.
- По мере уменьшения количества воды в системе из-за расхода потребителем давление воздуха в баке водоснабжения падает. В итоге пружина, преодолевая воздействие поршня, замыкает контактную группу, что приводит к запуску насоса.
- По мере того, как воды в баке становится больше, давление воздуха возрастает. Это приводит к тому, что поршень постепенно смещает платформу с контактами, несмотря на противодействие пружины. Однако размыкание контактов происходит не сразу, а после смещения платформы на определённое расстояние. Эта величина зависит от того, насколько вторая малая пружина будет сжата. Она так же, как и большая пружина, находится на штоке с гайкой. Как только происходит размыкание контактов, насосный агрегат прекращает работать.
Отсюда получается что, для того чтобы отрегулировать давление включения агрегата водоснабжения, необходимо правильно настроить силу сжатия большой пружины. Давление, регулируемое этим элементом, ещё называют нижним. Чтобы отрегулировать верхнее давление в системе водоснабжения, необходимо настроить срабатывание малой пружины. Сила сжатия этого элемента позволяет установить разницу между давлением отключения и включения.
Настройка реле давления насосной станции может понадобиться в том случае, если заводские настройки хозяина не устаивают либо они сбились. Однако прежде чем приступить к регулировке, необходимо правильно подготовить накопительный бак.
Подготовка гидробака
Гидробак, накопительная ёмкость или гидроаккумулятор – это герметичный резервуар, состоящий из двух частей. В одной части в виде резиновой груши происходит накопление воды. А другая часть – это пространство между стенками груши и внутренней поверхностью гидробака, в которую закачано определённое количество воздуха.
Поскольку в груше происходит накопление воды, она подключается к системе водоснабжения. Закачивание воздуха во вторую камеру можно выполнить при помощи обычного автомобильного насоса. Благодаря этому воздуху происходит сжатие груши с водой, что способствует поддержанию определённого давления в трубах водоснабжения. Благодаря этому после открывания крана движение воды по трубопроводу происходит под напором без включения насоса.
Внимание: если неправильно подобрать давление воздуха в гидробаке, не получится достичь работы системы в оптимальном режиме.
Слишком высокий или низкий показатель может привести к частому пуску и остановке насоса, что негативно скажется на сроке эксплуатации прибора. Пониженное значение может приводить к чрезмерному растяжению груши и быстрому выходу её из строя.
Рекомендуем к прочтению:
Последовательность подготовки гидробака:
- Перед тем как закачивать воздух в гидробак или перед проверкой показателей, необходимо произвести слив воды из трубопровода. Для этого нужно открыть нижний кран. В итоге груша в накопительном баке опустеет.
- Теперь можно производить закачку воздуха и проверку давления. Оно должно быть на 10 процентов меньше, чем нижний показатель. Если вы ещё не настраивали систему и не знаете, какое должно быть нижнее значение, то регулировку делают так:
- если объём гидробака равен 20-25 л, то ставим давление в пределах 1,4-1,7 бар;
- при вместительности накопительного бака в пределах 50-100 л показатель требуется выставить в районе 1,7-1,9 бар.
Важно: не стоит надолго оставлять грушу гидроаккумулятора без воды. От этого её стенки могут рассохнуться или склеиться. Давление воздуха в гидробаке необходимо проверять каждый месяц.
Настройка реле
При правильном давлении воздуха в накопителе и чистых фильтрах можно приступать к настройке реле воды в насосной установке. Работу по регулировке ведём в такой последовательности:
- После отключения насоса производим слив воды из трубопровода. Для этого открываем нижний кран в системе. При помощи отвёртки или гаечного ключа снимаем крышку с реле.
- Включаем насос, который произведёт закачку воды в систему.
- В момент выключения насосного агрегата необходимо записать показания манометра. Так вы узнаете текущее верхнее давление.
- После этого стоит немножко приоткрыть кран, который находится в наивысшей точке системы. Если у вас одноуровневая система, то откройте кран, наиболее удалённый от насоса. Когда давление понизится до определённого значения, насосный агрегат снова запустится. Вам стоит засечь показания манометра в момент запуска и снова их записать. Так вы найдёте текущее нижнее давление. Отняв полученные результаты, вы получите разницу давлений, на которую и настроено ваше реле. Кроме записи показаний оцените напор из открытого крана (самого дальнего в системе).
- Если напор оказался недостаточным, то нижнее давление необходимо увеличить. Для этого агрегат нужно отключить от электропитания и поджать гайку на большой пружине. Если вам нужно уменьшить напор, то пружину стоит ослабить.
- Переходим к настройке разности давлений, которую вы уже узнали, отняв найденные показатели. Оптимальные показатели должны быть в пределах 1,4 атм. Если ваш результат меньше, то это может вам дать более равномерную подачу воды, но более частый запуск насоса. Это может привести к преждевременному износу агрегата. Если ваш результат превышает оптимальные показатели, то работа будет проходить в более щадящем режиме, но станет ощутимой разница между предельно высоким и низким напором. Чтобы настроить этот параметр, нужно поворачивать гайку на малой пружине. Чтобы увеличить разность давлений, необходимо повысить силу сжатия. Ослабление пружины вызовет обратное действие.
- После проведения регулировки стоит проверить её эффективность. Для этого воду из системы снова сливают, к насосному оборудованию подключается электропитание и агрегат запускается. Дальнейшие действия повторяют, пока настройки реле не будут вас устраивать.
Внимание: вторая (малая) пружина очень чувствительная, поэтому её регулировку стоит проводить очень осторожно, подкручивая гайку на небольшой оборот.
Первичная настройка
Если на вашем реле пружины полностью ослаблены, придётся произвести настройку с нуля. В этом случае работу проводят в такой последовательности:
- Производят запуск насосного оборудования и нагнетают давление в системе до того уровня, когда напор воды из самого удалённого от насоса крана не станет более-менее приемлемым для вас. Допустим, что измерительный прибор показал в этот момент значение 1,5 бар. Производим выключение насоса.
- Теперь необходимо отключить насосную станцию от питания, открыть крышку на реле и начать подтягивать гайку на большой пружине, пока не раздастся характерный щелчок, указывающий на замыкание контактов.
- Крышку реле устанавливают на место и производят запуск насосного оборудования. При этом давление нужно довести до 2,9 бар.
- Теперь агрегат нужно снова отключить от питания, крышку на реле опять открываем и поджимаем гайку малой пружины, пока не прозвучит щелчок размыкания контактов.
- После произведённых настроек реле будет срабатывать при нижнем показателе в 1,5 бар и выключать насос при верхнем давлении в 2,9 бар. Крышку на реле возвращаем на место, а станцию подключаем к электросети.
Видео инструкция по регулировке реле давления агрегата водоснабжения своими руками:
Реле давления насосной станции: принцип работы и регулировка
Чтобы сделать в небольшом частном доме автономную систему водоснабжения, будет достаточно обычного насоса, скважинного или поверхностного, с подходящими характеристиками производительности. Но для дома, в котором проживает больше 4 человек, или для 2-3 этажного жилища потребуется устанавливать насосную станцию. Это оборудование уже имеет заводские настройки давления, но иногда их необходимо корректировать. Когда требуется регулировка насосной станции, и как это делать, будет рассказано ниже.
Устройство насосной станции
Чтобы правильно отрегулировать данное насосное оборудование, необходимо иметь хотя бы минимальное представление о том, как оно устроено и по какому принципу работает. Главное предназначение насосных станций, состоящих из нескольких модулей – это обеспечение питьевой водой всех точек водозабора в доме. Также данным агрегатам под силу автоматически повышать и поддерживать давление в системе на необходимом уровне.
Ниже приведена схема насосной станции с гидроаккумулятором.


В состав насосной станции входят следующие элементы (см. рисунок выше).
- Гидроаккумулятор. Выполнен в виде герметичного бака, внутри которого находится эластичная мембрана. В некоторых емкостях вместо мембраны установлена резиновая груша. Благодаря мембране (груше) гидробак делится на 2 отсека: для воздуха и для воды. Последняя закачивается в грушу или в часть бака, предназначенную для жидкости. Подключение гидроаккумулятора происходит на отрезке между насосом и трубой, ведущей к точкам водозабора.
- Насос. Может быть поверхностным или скважинным. Тип насоса должен быть либо центробежным, либо вихревым. Вибрационный насос для станции использовать нельзя.
- Реле давления. Датчик давления автоматизирует весь процесс, при котором вода подается из скважины в расширительный бак. Реле отвечает за включение и выключение двигателя насоса при достижении в баке необходимой силы сжатия.
- Обратный клапан. Препятствует вытеканию жидкости из гидроаккумулятора при отключении насоса.
- Электропитание. Чтобы подключить оборудование к электрической сети, для него требуется протянуть отдельную проводку с сечением, соответствующим мощности агрегата. Также в электрической цепи должна быть установлена система защиты в виде автоматов.
Данное оборудование работает по следующему принципу. После открытия крана в точке водозабора вода из гидроаккумулятора начинает поступать в систему. Одновременно в баке происходит снижение сжатия. Когда сила сжатия снизится до величины, установленной на датчике, происходит замыкание его контактов, и двигатель насоса начинает работать. После прекращения потребления воды в точке водозабора, или при повышении силы сжатия в гидроаккумуляторе до необходимого уровня, происходит срабатывание реле на отключение насоса.
Реле давления насосной станции
Датчик в автоматическом порядке регулирует процесс откачки воды в системе. Именно реле давления отвечает за включение и отключение насосного оборудования. Он же контролирует уровень напора воды. Встречаются механические и электронные элементы.
Механические реле
Устройства такого плана отличаются простой и вместе с тем надёжной конструкцией. Они гораздо реже выходят из строя, чем электронные аналоги, потому как в механических реле перегорать попросту нечему. Регулировка происходит посредством смены натяжения пружин.


Механическое реле давление регулируется натяжением пружин
Механическое реле включает в себя пластину из металла, где закреплена контактная группа. Здесь же находятся клеммы для подключения устройства и пружины для регулировки. Нижняя часть реле отведена под мембрану и поршень. Конструкция датчика достаточно проста, поэтому с самостоятельной разборкой и анализом повреждений серьёзных проблем возникнуть не должно.
Электронные реле
Подобные устройства привлекают в первую очередь удобством пользования и своей точностью. Шаг электронного реле заметно меньше, чем механического, а значит, вариантов регулировки здесь больше. Но электроника, в особенности бюджетная, часто ломается. Поэтому излишняя экономия в этом случае нецелесообразна.


Электронное реле давления воды
Ещё одно явное преимущество электронного реле – это защита техники от холостого хода. Когда напор воды в магистрали будет минимальным, элемент некоторое время будет продолжать работать. Такой подход позволяет защитить основные узлы станции. Отремонтировать электронное реле своими силами гораздо сложнее: кроме технических знаний необходим специфический инструмент. Поэтому диагностику и обслуживание датчика лучше предоставить профессионалам.
Характеристики устройства
В зависимости от модели станции и её типа устройство может располагаться как внутри корпуса, так и крепиться снаружи. То есть, если оборудование идёт без реле, или его функционал не устраивает пользователя, то всегда есть возможность подобрать элемент в отдельном порядке.
Датчики также различаются по максимально допустимому давлению. Добрая половина классических реле настроены на 1,5 атм для запуска системы и 2,5 атм на её деактивацию. Мощные бытовые модели имеют порог в 5 атм.
Когда речь идёт о внешнем элементе, то здесь крайне важно учесть характеристики насосной станции. Если оперировать слишком высоким давлением, то система может не выдержать, и как следствие появятся протечки, разрывы и скорый износ мембраны. Поэтому так важно отрегулировать реле именно с оглядкой на критичные показатели станции.
Особенности работы
Рассмотрим принцип работы устройства на примере одного из самых распространённых реле для насосных станций – РМ-5. В продаже также можно встретить зарубежные аналоги и более продвинутые решения. Подобные модели укомплектованы дополнительной защитой и предлагают расширенные функциональные возможности.


РМ-5 включает в себя подвижную металлическую основу и пару пружин с двух сторон. Мембрана в зависимости от давления двигает пластину. Посредством прижимного болта можно отрегулировать минимальные и максимальные показатели, при которых техника включается или отключается. РМ-5 оснащён обратным клапаном, поэтому вода при деактивации насосной станции не сливается обратно в скважину или колодец.
На рынке также можно встретить заводские и любительские модификации РМ-5. Реле усиливают, дополняют какими-то защитными элементами и функционалом.
Поэтапный разбор работы датчика давления:
- По открытию крана вода начинает поступать из бака.
- По мере убывания жидкости в насосной станции давление постепенно снижается.
- Мембрана воздействует на поршень, а он в свою очередь замыкает контакты, включая технику.
- По закрытию крана бак наполняется водой.
- Как только показатель давления достигает максимальных значений, оборудование отключается.
От имеющихся установок зависит периодичность работы насоса: как часто он будет включаться и отключаться, а также уровень давления. Чем меньше промежуток между запуском и деактивацией оборудования, тем дольше прослужат основные узлы системы и вся техника в целом. Поэтому так важна грамотная регулировка реле давления.
Но на работу оборудования влияет не только датчик. Случается, что устройство настроено правильно, но другие элементы станции сводят на нет работу всей системы. К примеру, проблема может быть из-за неисправного двигателя или засора коммуникаций. Поэтому к осмотру реле стоит подходить после диагностики основных элементов, особенно если речь идёт о механических датчиках. В доброй половине случаев для устранения проблем с разбросом давления достаточно почистить реле от скопившейся грязи: пружины, пластины и контактные группы.
Когда требуется регулировать реле
Как было сказано выше, реле автоматизирует процесс закачивания жидкости в систему водопровода и в расширительный бак. Чаще всего насосное оборудование, купленное в готовом виде, уже имеет базовые настройки реле. Но возникают ситуации, когда требуется срочная регулировка давления насосной станции. Выполнять данные действия придется в случаях, если:
- после запуска двигателя насоса, он сразу же отключается;
- после отключения станции наблюдается слабый напор в системе;
- при работе станции в гидробаке создается чрезмерная сила сжатия, о чем свидетельствуют показания манометра, но аппарат при этом не отключается;
- не срабатывает реле давления, и насос не включается.
Чаше всего, если у агрегата появляются вышеперечисленные симптомы, то ремонт реле не требуется. Нужно всего лишь правильно настроить данный модуль.
Подготовка гидробака и его регулировка
Перед поступлением гидроаккумуляторов в продажу в них на заводе закачивают воздух под определенным давлением. Закачка воздуха происходит через золотник, установленный на данной емкости.
В среднем, давление в насосной станции должно быть таким: в гидробаках объемом до 150 л. — 1,5 бар, в расширительных баках от 200 до 500 л. — 2 бар.
Под каким давлением находится воздух в гидробаке, можно узнать из этикетки, приклеенной к нему. На следующем рисунке красной стрелкой указана строка, в которой обозначено давление воздуха в накопителе.


Также данные замеры силы сжатия в баке можно произвести, используя автомобильный манометр. Измерительный прибор подключается к золотнику бака.


Чтобы начать регулировать силу сжатия в гидробаке, необходимо его подготовить:
- Отключите оборудование от электросети.
- Откройте любой кран, установленный в системе, и дождитесь момента, когда жидкость перестанет течь из него. Конечно же, будет лучше, если кран будет находиться недалеко от накопителя или на одном этаже с ним.
- Далее, замерьте силу сжатия в емкости, используя манометр, и запомните это значение. Для накопителей небольших объемов показатель должен быть около 1,5 бар.
Чтобы правильно отрегулировать накопитель, следует учитывать правило: давление, вызывающее срабатывание реле на включение агрегата, должно превышать силу сжатия в накопителе на 10%. Например, реле насоса включает двигатель при 1,6 бар. Значит, необходимо создать и соответствующую силу сжатия воздуха в накопителе, а именно 1,4-1,5 бар. Кстати, совпадение с заводскими настройками здесь не случайно.
Если датчик настраивается для запуска двигателя станции при большем, чем 1,6 бар силе сжатия, то, соответственно, и настройки накопителя меняются. Увеличить давление в последнем, то есть накачать воздух, можно, если воспользоваться насосом для накачки автомобильных шин.


Совет! Коррекцию силы сжатия воздуха в накопителе рекомендуется проводить хотя бы 1 раз в год, поскольку за зиму она может снижаться на несколько десятых бар.
Настройка реле давления
Бывают случаи, когда настройки датчика по умолчанию не устраивают пользователей насосного оборудования. Например, если открыть кран на каком-либо этаже здания, то можно заметить, что напор воды в нем быстро снижается. Также установка некоторых систем, очищающих воду, невозможна, если сила сжатия в системе находится на уровне меньше 2,5 бар. Если станция настроена на включение при 1,6-1,8 бар, то фильтры в данном случае работать не будут.


Обычно настройка реле давления своими руками не вызывает затруднений и выполняется по следующему алгоритму.
- Запишите показатели манометра при включении и отключении агрегата.
- Выдерните шнур питания станции из розетки или отключите автоматы.
- Снимите крышку с датчика. Обычно она закреплена 1 шурупом. Под крышкой можно увидеть 2 винта с пружинами. Тот, что больше, отвечает за давление, при котором происходит запуск двигателя станции. Обычно возле него стоит маркировка в виде буквы “Р” и нарисованы стрелки с нанесенными возле них знаками “+” и “-”.
- Чтобы увеличить силу сжатия, вращайте гайку по направлению к знаку “+”. И наоборот, чтобы снизить ее, нужно крутить винт к знаку “-”. Сделайте один оборот гайки в требуемом направлении и запустите аппарат.
- Дождитесь, пока станция отключится. Если показания манометра вас не устраивают, то продолжайте вращать гайку и включать аппарат до тех пор, пока давление в накопителе не достигнет требуемого значения.
- На следующем этапе следует настроить момент выключения станции. Для этого предназначен винт меньшего размера с пружиной вокруг. Возле него находится маркировка “ΔP”, а также нарисованы стрелки со знаками “+” и “-”. Настройка регулятора давления на включение устройства проводится так же, как и на отключение аппарата.
В среднем, интервал между силой сжатия, при которой датчик включает двигатель станции, и значением силы сжатия, когда агрегат останавливается, находится в пределах 1-1,5 бар. При этом интервал может увеличиваться, если выключение будет происходить при больших значениях.
Например, агрегат имеет заводские настройки, при которых Рвкл = 1,6 бар, а Рвыкл = 2,6 бар. Из этого следует, что разница не выходит за пределы стандартного значения и равна 1 бар. Если требуется по каким-либо причинам увеличить Рвыкл до 4 бар, то следует увеличить и интервал до 1,5 бар. То есть, Рвкл должно быть около 2,5 бар.
Но при увеличении данного интервала увеличится и перепад давления в системе водоснабжения. Иногда это может вызывать дискомфорт, поскольку придется израсходовать большее количество воды из бака, чтобы станция включилась. Но благодаря большому интервалу между Рвкл и Рвыкл включение насоса будет происходить реже, что увеличит его ресурс.
Вышеописанные манипуляции с настройками силы сжатия возможны только при наличии оборудования соответствующей мощности. К примеру, в тех. паспорте к аппарату указано, что он может выдать не более 3,5 бар. Значит, настраивать на нем Рвыкл = 4 бар не имеет смысла, поскольку станция будет работать без остановки, а давление в баке так и не сможет подняться до необходимого значения. Поэтому, чтобы получить давление в ресивере 4 бар и выше, необходимо приобрести насос соответствующей мощности.
Ваше секретное оружие для движущихся миксов
Автоматизация — секретное оружие динамических и эмоциональных сочетаний.
Это все равно, что проигрывать свои миксы вживую . Во время живого выступления вы можете изменить вокальные эффекты, играть сильнее или нажать на педаль искажения.
Если все это движение происходит естественным образом, разве это не должно происходить и в ваших миксах?
И это абсолютно возможно! Автоматизация — ваш ключ к миксам, которые динамически адаптируются с течением времени.
Все, что нужно, — это ознакомиться с интуитивно понятной и блестящей системой автоматизации Logic.
Автоматизация — там, где оживают миксы
Короче говоря, автоматизация — это ваш способ сообщить Logic, что вы хотите, чтобы изменяли в определенные моменты. Это могут быть:
- Объем
- Панорамирование
- Элементы управления подключаемым модулем
Все начинается с буквы «А». Откройте один из ваших логических миксов и нажмите клавишу «Команда» A , чтобы просмотреть автоматизацию вашего микса:

В заголовках дорожек появится несколько новых меню.По умолчанию Logic предлагает Volume в качестве первого регулируемого параметра:

Допустим, вы хотите, чтобы в определенном месте барабаны становились намного громче. Просто используйте инструмент Marquee Tool, чтобы выбрать это место на Track Lane:
. 
Щелкните выбранную область, и Logic создаст 4 новых точки автоматизации или узлов :

И перетащите линию между узлами вверх, чтобы добавить объема в это место:

Но вы также можете настроить узлы.Вы можете настроить уровень узла:

Или удалите их полностью, дважды щелкнув узел:

Легко, правда?
Вы не ограничены только объемом. Если вы нажмете на меню и перейдете к Main , у вас будет несколько других вариантов:

Оттуда вы можете настроить:
- Панорамирование трека
- Солирование вашего трека
- Выключение трека
Хотите, чтобы трек на мгновение пропал? Установите автоматизацию на Mute, выберите эту часть и настройте ее на Mute:

И помимо , что , вы также можете автоматизировать практически все остальное! Сюда входят параметры плагина и инструмента.
Попробуйте открыть новый трек Drummer. И покопайтесь в меню автоматизации:

Ваш эквалайзер, компрессор, посылы и ударная установка настраиваются!
Вы не представляете возможности?
4 режима автоматизации записи

Автоматизация письма может быть невероятно быстрой с помощью инструмента Marquee Tool:
- Выберите раздел с помощью Marquee Tool,
- Щелкните внутри этого выделения,
- Перетащите узлы или линию вокруг
И я обнаружил, что этот метод мне подходит 99.9% случаев.
Но иногда требуется больше рук для настройки автоматизации. Классический сценарий — Vocal Rides .
Vocal Rides — это когда вы буквально управляете вокалом с фейдером.
Управляя фейдером, вы можете писать детальную и тщательную автоматизацию. Ваш вокал будет звучать ровнее. И вы действительно можете извлечь максимальную пользу из компрессии, проехав на них до компрессора.
Logic учитывает эту потребность и предлагает 3 способа автоматизации.И вы можете получить к ним доступ в поле под вашими выходными данными и группами:
1. Сенсорный режим

Каждый режим позволяет вам писать автоматизацию, когда вы слушаете свой трек. Для этого:
- Нажмите Пробел , чтобы начать воспроизведение,
- Возьмите фейдер, регулятор панорамирования или плагин, а
- Начать настройку во время воспроизведения дорожки
Когда вы настраиваете ручку или фейдер, вы увидите, как автоматизация записывается на ваш трек.
Уникальность каждого режима заключается в том, когда и как он реагирует.Сенсорный режим начинает писать «Автоматизация», когда вы, , начинаете настраивать.
Когда вы прекратите регулировку ручек, сенсорный режим вернется к тому месту, где эта ручка начиналась.
Итак, если фейдер трека был установлен на 0 дБ до того, как вы его коснулись, как только вы отпустите его, он вернется к 0 дБ.
Это может быть удобно, если вы хотите, чтобы Logic впоследствии вернулся к исходным настройкам.
2. Режим фиксации

Latch Mode похож на сенсорный режим, за исключением одного аспекта.Вот что произойдет, когда вы перестанете писать автоматизацию.
Вы знаете, как сенсорный режим возвращает ручку или фейдер туда, где он был запущен, когда вы прекращаете писать автоматизацию?
Latch Mode работает наоборот. Когда вы отпускаете фейдер или ручку, Latch Mode просто оставляет их на месте.
Итак, если вы медленно опустите фейдер до -20 дБ и отпустите, этот фейдер останется на -20 дБ.
Это может быть удобно, если вы хотите завершить автоматизацию на определенном уровне или настройке.
3.Режим записи

Режим записи противоположен двум последним режимам. Видите ли, Touch and Latch не начнет писать, пока вы не начнете настраивать параметры . Но в режиме записи сразу же начинает писать Automation .
Каждый раз, когда вы запускаете воспроизведение в режиме записи, Logic начинает запись автоматизации. Делаете вы что-нибудь или нет!
Это не так уж и часто, когда вы хотите использовать режим записи. 9 раз из 10 Touch и Latch гораздо полезнее.
4. Режим чтения

Режим чтения — это то, что вы устанавливаете, когда закончите писать автоматизацию. Вместо записи Logic просто «читает» или воспроизводит установленную вами автоматизацию.
Всегда лучше менять режим автоматизации на чтение, когда вы добились идеального результата с фейдером или ручкой.
Автоматизация на основе трека и автоматизация на основе регионов

Вы можете не только написать автоматизацию примерно для , но и для в Logic.Но вы также можете решить, какой стиль автоматизации лучше всего подходит для вас!
Если вы работаете с лупами или семплами, возможно, вы захотите, чтобы ваша автоматизация повторялась.
Например, у вас есть шейкерная петля. И вы хотите, чтобы шейкер вращался слева направо очень быстро:

И вы хотите, чтобы этот шейкер работал на протяжении всей песни. Вы хотите написать автоматизацию панорамирования для всей песни?
Черт возьми! Это займет слишком много времени.
Но если вы установите автоматизацию на Автоматизация на основе регионов , сделайте это один раз, и все готово.
Автоматизация, которую вы пишете, зависит от региона. Итак, когда вы зацикливаете этот регион, автоматизация повторяется:

Но в случае с вокалом ваша автоматизация может вообще не зависеть от региона. Вместо этого ваши заезды автоматизации охватывают длину вокальной дорожки.
В этом случае вам понадобится Track-based Automation .
Для выбора между двумя режимами вы можете использовать удобное меню в заголовке трека:

И, что лучше всего, вы можете копировать и вставлять регионы в любом режиме, и вся автоматизация остается неизменной!

Регулировка автоматизации En Masse
После того, как вы напишете автоматизацию в кропотливой детализацией , вы, возможно, обнаружите, что позже вам нужно настроить все узлы.
Допустим, вы играете на своем вокале, и каждый шепот и крик заперты.
Но оказывается, ваш вокал в миксе слишком тихий. Что, черт возьми, ты делаешь?
Вы, черт побери, не хотите возвращаться и переписывать эту автоматизацию. Думаю, мы можем согласиться с тем, что наблюдать высыхание краски было бы интереснее.
Вот почему Logic также предоставляет способ согласовать все вашей автоматизации вместе:

С помощью Automation Trim вы можете повысить или понизить уровень автоматизации на всей трассе!
Вам не нужно ничего выбирать.Вам не нужно беспокоиться о недостающих узлах. Просто нажмите на Обрезку и перетащите.
Заключение
Автоматизация — ваше секретное оружие для динамических миксов, которые перемещают .
Сообщая Logic, что нужно адаптировать ваши плагины и фейдеры, вы усиливаете эмоциональное воздействие и сюжет, который рассказывают ваши миксы.
Так что вперед — дайте своим миксам секрет движения 🙂
Понравился этот пост? Распространяйте любовь LPX:
Связанные
.Control: как добраться до насосной станции
GameRant — Политика конфиденциальностиМы уважаем вашу конфиденциальность и обязуемся защищать вашу конфиденциальность во время работы в сети на нашем сайт. Ниже раскрываются методы сбора и распространения информации для этой сети. сайт.
Последний раз политика конфиденциальности обновлялась 10 мая 2018 г.
Право собственностиGameRant («Веб-сайт») принадлежит и управляется Valnet inc.(«Нас» или «мы»), корпорация зарегистрирован в соответствии с законодательством Канады, с головным офисом по адресу 7405 Transcanada Highway, Люкс 100, Сен-Лоран, Квебек h5T 1Z2.
Собранные персональные данныеКогда вы посещаете наш веб-сайт, мы собираем определенную информацию, относящуюся к вашему устройству, например, ваше IP-адрес, какие страницы вы посещаете на нашем веб-сайте, ссылались ли вы на другие веб-сайт, и в какое время вы заходили на наш веб-сайт.
Мы не собираем никаких других персональных данных.Если вы заходите на наш сайт через учетной записи в социальной сети, пожалуйста, обратитесь к политике конфиденциальности поставщика социальных сетей для получения информации относительно их сбора данных.
Файлы журналаКак и большинство стандартных серверов веб-сайтов, мы используем файлы журналов. Это включает интернет-протокол (IP) адреса, тип браузера, интернет-провайдер (ISP), страницы перехода / выхода, тип платформы, дата / время и количество кликов для анализа тенденций, администрирования сайта, отслеживания пользователей движение в совокупности и собирать широкую демографическую информацию для совокупного использования.
Файлы cookieФайл cookie — это фрагмент данных, хранящийся на компьютере пользователя, связанный с информацией о пользователе. Мы и некоторые из наших деловых партнеров (например, рекламодатели) используем файлы cookie на нашем веб-сайте. Эти файлы cookie отслеживают использование сайта в целях безопасности, аналитики и целевой рекламы.
Мы используем следующие типы файлов cookie:
- Основные файлы cookie: эти файлы cookie необходимы для работы нашего веб-сайта.
- Функциональные cookie-файлы: эти cookie-файлы помогают нам запоминать выбор, который вы сделали на нашем веб-сайте, запоминать ваши предпочтения и персонализировать ваш опыт работы с сайтом.
- Аналитические и рабочие файлы cookie: эти файлы cookie помогают нам собирать статистические и аналитические данные об использовании веб-сайта.
- Файлы cookie социальных сетей: эти файлы cookie позволяют вам взаимодействовать с контентом на определенных платформах социальных сетей, например, «лайкать» наши статьи. В зависимости от ваших социальных сетей настройки, сеть социальных сетей будет записывать это и может отображать ваше имя или идентификатор в связи с этим действием.
- Рекламные и таргетированные рекламные файлы cookie: эти файлы cookie отслеживают ваши привычки просмотра и местоположение, чтобы предоставить вам рекламу в соответствии с вашими интересами. См. Подробности в разделе «Рекламодатели» ниже.
Если вы хотите отключить файлы cookie, вы можете сделать это в настройках вашего браузера. Для получения дополнительной информации о файлах cookie и способах управления ими, см. http://www.allaboutcookies.org/.
Пиксельные тегиМы используем пиксельные теги, которые представляют собой небольшие графические файлы, которые позволяют нам и нашим доверенным сторонним партнерам отслеживать использование вашего веб-сайта и собирать данные об использовании, включая количество страниц, которые вы посещаете, время, которое вы проводите на каждой странице, то, что вы нажимаете дальше, и другую информацию о посещении вашего веб-сайта.
РекламодателиМы пользуемся услугами сторонних рекламных компаний для показа рекламы, когда вы посещаете наш веб-сайт. Эти компании могут использовать информацию (не включая ваше имя, адрес, адрес электронной почты или номер телефона) о ваших посещениях этого и других веб-сайтов для размещения рекламы товаров и услуг, представляющих для вас интерес. Если вы хотите получить дополнительную информацию об этой практике и узнать, как можно отказаться от использования этой информации этими компаниями, щелкните здесь.
Рекламодатели, как сторонние поставщики, используют файлы cookie для сбора данных об использовании и демографических данных для показа рекламы на нашем сайте. Например, использование Google Файлы cookie DART позволяют показывать рекламу нашим пользователям на основе их посещения наших сайтов и других сайтов в Интернете. Пользователи могут отказаться от использования DART cookie, посетив политику конфиденциальности Google для рекламы и содержательной сети.
Мы проверили все политики наших рекламных партнеров, чтобы убедиться, что они соответствуют всем применимым законам о конфиденциальности данных и рекомендуемым методам защиты данных.
Мы используем следующих рекламодателей:
Ссылки на другие веб-сайтыЭтот сайт содержит ссылки на другие сайты. Помните, что мы не несем ответственности за политика конфиденциальности таких других сайтов. Мы призываем наших пользователей знать, когда они покидают нашу сайт, и прочитать заявления о конфиденциальности каждого веб-сайта, который собирает лично идентифицируемая информация. Это заявление о конфиденциальности применяется исключительно к информации, собираемой этим Интернет сайт.
Цель сбора данныхМы используем информацию, которую собираем, чтобы:
- Администрирование нашего веб-сайта, включая устранение неполадок, а также статистический анализ или анализ данных;
- Для улучшения нашего Веб-сайта и повышения качества обслуживания пользователей, обеспечивая вам доступ к персонализированному контенту в соответствии с вашими интересами;
- Анализируйте использование пользователями и оптимизируйте наши услуги.
- Для обеспечения безопасности нашего веб-сайта и защиты от взлома или мошенничества.
- Делитесь информацией с нашими партнерами для предоставления таргетированной рекламы и функций социальных сетей.
Мы не продаем и не сдаем в аренду ваши личные данные третьим лицам. Однако наши партнеры, в том числе рекламные партнеры, может собирать данные об использовании вашего веб-сайта, как описано в настоящем документе. См. Подробности в разделе «Рекламодатели» выше.
Как хранятся ваши данныеВсе данные, собранные через наш Веб-сайт, хранятся на серверах, расположенных в США.Наши серверы сертифицированы в соответствии с Соглашением о защите конфиденциальности между ЕС и США.
IP-адрес и строковые данные пользовательского агента от всех посетителей хранятся в ротационных файлах журнала на Amazon. сервера на срок до 7 дней. Все наши сотрудники, агенты и партнеры стремятся сохранить ваши данные конфиденциальны.
Мы проверили политику конфиденциальности наших партнеров, чтобы убедиться, что они соответствуют аналогичным политикам. для обеспечения безопасности ваших данных.
Согласие в соответствии с действующим законодательствомЕсли вы проживаете в Европейской экономической зоне («ЕЭЗ»), окно согласия появится, когда доступ к этому сайту.Если вы нажали «да», ваше согласие будет храниться на наших серверах в течение двенадцать (12) месяцев, и ваши данные будут обработаны в соответствии с настоящей политикой конфиденциальности. После двенадцати месяцев, вас снова попросят дать согласие.
Мы соблюдаем принципы прозрачности и согласия IAB Europe.
Вы можете отозвать согласие в любое время. Отзыв согласия может ограничить вашу возможность доступа к определенным услугам и не позволит нам обеспечить персонализированный опыт работы с сайтом.
Безопасность данныхНаши серверы соответствуют ISO 27018, сводам правил, направленных на защиту личных данных. данные в облаке. Мы соблюдаем все разумные меры предосторожности, чтобы гарантировать, что ваши данные безопасность.
В случае, если нам станет известно о любом нарушении безопасности данных, изменении, несанкционированном доступе или раскрытие каких-либо личных данных, мы примем все разумные меры предосторожности для защиты ваших данных и уведомит вас в соответствии с требованиями всех применимых законов.
Доступ, изменение и удаление ваших данныхВы имеете право запросить информацию о данных, которые у нас есть для вас, чтобы запросить исправление и / или удаление вашей личной информации. пожалуйста, свяжитесь с нами в [email protected] или по указанному выше почтовому адресу, внимание: Отдел соблюдения требований данных.
ВозрастЭтот веб-сайт не предназначен для лиц младше 16 лет. Посещая этот веб-сайт. Вы настоящим гарантируете, что вам исполнилось 16 лет или вы посещаете Веб-сайт под присмотром родителей. надзор.
Заявление об отказе от ответственностиХотя мы прилагаем все усилия для сохранения конфиденциальности пользователей, нам может потребоваться раскрыть личную информацию, когда требуется по закону, когда мы добросовестно полагаем, что такие действия необходимы для соблюдения действующего судебное разбирательство, постановление суда или судебный процесс, обслуживаемый на любом из наших сайтов.
Уведомление об измененияхКаждый раз, когда мы изменяем нашу политику конфиденциальности, мы будем публиковать эти изменения на этой странице Политики конфиденциальности и других места, которые мы считаем подходящими, чтобы наши пользователи всегда знали, какую информацию мы собираем, как мы ее используем, и при каких обстоятельствах, если таковые имеются, мы ее раскрываем.
Контактная информацияЕсли у пользователей есть какие-либо вопросы или предложения относительно нашей политики конфиденциальности, свяжитесь с нами по адресу [email protected] или по почте на указанный выше почтовый адрес, внимание: Департамент соответствия данных.
.Полное руководство по использованию клипов автоматизации в FL Studio 20 :: GratuiTous
В этой статье мы собираемся научиться создавать клипы автоматизации в FL Studio 20, автоматизировать любой параметр и ручку, автоматизировать микшер и эффекты, и как создавать клипы автоматизации для сторонних плагинов в FL Studio 20.
К концу статьи вы узнаете, как использовать автоматизацию.
Автоматизация позволяет вам автоматически настраивать параметры в вашей песне, которые вы установили заранее.
По большей части, достаточно просто щелкнуть ручку правой кнопкой мыши, выбрать Create Automation Clip , и все готово.
Однако, как и в большинстве случаев в жизни, всегда есть несколько причуд, которым нужно научиться, чтобы действительно понимать, что вы делаете.
Я настоятельно рекомендую использовать VST3-версии ваших плагинов с FL Studio. Это позволяет вам щелкнуть правой кнопкой мыши внутри самого VST, чтобы вы могли копировать значения, создавать клипы автоматизации и обрабатывать сторонний плагин, как если бы это был собственный плагин FL Studio! (Версии VST2 не позволяют создавать клипы автоматизации с помощью щелчка правой кнопкой мыши.Вам нужно пойти Tools -> Last tweaked -> Create automation clip .)Убедитесь, что проверили, что VST3 не вызывает сбой FL Studio. Иногда вам придется использовать версии VST2, если это так!
Кроме того, как FL Studio создает клипы автоматизации, она буквально делает снимок вашего параметра в данный момент времени.
Итак, если вы пытались создать клип автоматизации, а затем отрегулируйте параметр по-другому в начале клипа автоматизации, вы заметите, что по умолчанию используется то, что вы изначально создали, а не новое скорректированное значение.
Это сбивает с толку, когда вы только начинаете, я объясню, как все это работает ниже.
Итак, позвольте мне разбить все, что вам нужно знать о треках автоматизации в FL Studio, и поговорить об их использовании в плейлисте, шаблоне пошагового секвенсора и пианино.
Как создать клип автоматизации в FL Studio
Теперь во многих руководствах показано, как создать клип автоматизации. Круто, правда?
Тем не менее, этот клип автоматизации будет длиться на всю длину песни; Я считаю это бессмысленным, если только вы не будете влиять на этот параметр на протяжении всей песни.
Лично мне нравится просто выделить область ПЕРЕД созданием клипа автоматизации.
Это позволяет клипу автоматизации быть длиной области, которую я хочу автоматизировать.
Вот как это сделать.
(Сначала я покажу, как создать клип автоматизации в списке воспроизведения; позже в этой статье я расскажу о других областях FL Studio, где мы можем использовать автоматизацию.)
В списке воспроизведения, удерживайте CTRL и Левая кнопка мыши + удерживайте в верхней части списка воспроизведения на временной шкале .(Здесь вы можете увидеть полосы вашей песни.)

Отсюда вы можете автоматизировать любой параметр, который хотите!
Допустим, мы хотим автоматизировать ручку атаки в настройках огибающей / инструмента :

После создания клипа вы можете щелкнуть правой кнопкой мыши в любом месте клипа автоматизации, и он создаст новый очков для увеличения или уменьшения значения:

Два дополнительных профессиональных совета после создания клипа автоматизации:
Вы можете Щелкните правой кнопкой мыши на любой точке автоматизации и измените тип кривой для больше творческих способностей, например, изгиб или лестница.(Подробнее об этом позже в статье.)
Вы также можете нажать левой кнопкой + удерживать между точками автоматизации, чтобы увеличить / уменьшить натяжение. Это позволяет точно настроить звук автоматизации, формируя его именно так, как вам хочется.
И это самый простой способ создать клип автоматизации в FL Studio.
Но, как я упоминал ранее, у FL Studio есть свои особенности, и простое создание клипа автоматизации — легкая часть.
На самом деле редактировать и поддерживать это становится непросто, и вы должны знать, как клипы автоматизации работают в FL Studio.
Это приводит нас к Initialized Controls .
Снимки и инициализированные элементы управления — клипы автоматизации
Очень важно понимать, как FL Studio создает клипы автоматизации, потому что это может сильно запутать, когда вы начинаете создавать свой трек.
Так что читайте внимательно, ладно!
FL Studio буквально делает снимок / изображение параметра при создании клипа автоматизации.
Он сохраняет это состояние в FL Browser -> Patterns -> Initialized controls -> [Your Event / Automation Clip] .

Существует два способа фактического управления состоянием автоматизации.
Во-первых, вы можете нажать Right Click на той же ручке, которую вы автоматизировали, и вы заметите, что есть опция Init song с этой позицией :

Init song with this position is наверное, лучшее решение, которое я использую и рекомендую. (Подробнее см. Ниже.)
Или вы можете удалить событие с помощью инициализированных элементов управления.

Удаление события не сбрасывает состояние на новое значение; вот как это работает.
Когда вы создаете клип автоматизации, FL Studio сохраняет состояние этого клипа автоматизации; мы уже знаем это сейчас, верно?
Но FL Studio хитроумно подходит к изменению НАЧАЛА вашей первой точки автоматизации.
Если вы отрегулируете начальную точку клипа автоматизации иначе, чем изначально создали его, и поместите свою позицию воспроизведения в список воспроизведения ПЕРЕД клипом автоматизации, вы увидите, что исходное значение отображается в плагине, даже если вы изменили начальное положение точки автоматизации!
Если вы затем поместите позицию воспроизведения в первую точку автоматизации, вы увидите, что состояние плагина быстро подстраивается под заданное вами значение.(Я объясню подробнее ниже.)
Попробуйте следующее:
Сначала создайте клип автоматизации, как я показал вам выше.
Затем перетащите новое значение для начальной точки клипа автоматизации.
Поместите курсор списка воспроизведения ПЕРЕД клипом автоматизации (не в начале клипа автоматизации, поместите его на целую полосу позади него).
Вы увидите, что состояние параметра возвращается к ОРИГИНАЛЬНОМУ СНИМКУ, когда мы впервые создали клип автоматизации.
Если затем поместить курсор списка воспроизведения НА начало клипа автоматизации, вы увидите, что он МГНОВЕННО переключается на способ перетаскивания первой точки автоматизации по сравнению с этим значением снимка по умолчанию.
Если вы выберете Удалить событие , он удалит этот снимок , но не решит проблему.
Если вы удалите событие, клип автоматизации останется в том состоянии, в котором он воспроизводился в последний раз; который обычно находится в конце клипа автоматизации, потому что ваша песня проиграна до конца этого клипа автоматизации.
Но, если вы находитесь в середине микширования и постоянно играете в этом разделе, иногда, когда вы нажимаете кнопку воспроизведения, состояние клипа автоматизации будет нестабильным, и это просто раздражает!
Таким образом, лучший способ решить эту проблему, если вы хотите, чтобы начало вашего клипа автоматизации отличалось от исходного значения параметра при первом создании клипа автоматизации, — это выбрать Начальная песня с этой позицией .
Теперь будет сохранено ваше новое состояние (создание нового снимка), и при воспроизведении песни ПЕРЕД клипом автоматизации параметр будет находиться на значении начальной точки клипа автоматизации.
Непонятно, но вот как это работает!
Где найти созданные клипы автоматизации в FL Studio
В пошаговом секвенсоре у вас есть доступ к однократным звукам, аудиоклипам и клипам автоматизации из выпадающего меню Channel Filter Groups .

Просто выберите Automation из этого раскрывающегося списка, и тогда вы найдете клип автоматизации, который ищете.
Расширенные параметры / свойства автоматизации
Что вы можете не знать о клипах автоматизации, так это то, что есть некоторые расширенные свойства и быстрые способы копирования всего состояния клипа автоматизации между клипами автоматизации. (Похоже на использование предустановок автоматизации.)
Если вы нажмете на клип автоматизации, появится всплывающее окно:

Вы увидите две ручки вверху: MIN и MAX .
Вы можете настроить их, чтобы контролировать, насколько агрессивен ваш клип автоматизации.На самом деле они ограничивают то, насколько низко или высоко может быть ваш клип автоматизации; это просто делает ваши настройки менее чувствительными.
Вы также увидите раздел LFO. Нажмите кнопку, чтобы включить его, и вы сможете многократно воспроизводить звук, набирая ручки по своему желанию.
Теперь то, о чем многие люди не знают, это то, что вы можете щелкнуть эту стрелку вверху слева, и появится раскрывающееся меню!

Если вы наведете указатель мыши на артикулятор , вы увидите, что он открывает для вас окно возможностей!
Вот как вы можете скопировать одно состояние автоматизации в другой клип автоматизации.
Другой профессиональный совет — использование Shift и CTRL для фиксации вертикальных и горизонтальных перемещений. Когда вы набрали почти идеальный звук и хотите просто переместить точку автоматизации вверх и вниз или влево и вправо, вы можете использовать эти горячие клавиши.
Например:
Если вы щелкните левой кнопкой мыши + удерживайте и удерживайте Shift , вы не сможете перемещаться вверх и вниз, вы можете перемещаться только влево и вправо.
Если нажать левой кнопкой мыши + удерживать и удерживать CTRL , вы сможете перемещаться только вверх и вниз, а не влево или вправо.
Удерживание ALT позволяет отменить привязку, позволяя разместить точку автоматизации в любом месте.
Еще один совет, которым я поделюсь с вами, находится в плейлисте.
В левом верхнем углу списка воспроизведения есть опция для выбора аудиоклипов, клипов автоматизации или шаблонных клипов:

Если вы выберете вкладку клипов автоматизации (средняя), вы увидите вариант под названием Slide .
Это действительно полезная опция. Если бы вы перетащили точку автоматизации, которая находится между начальной и конечной точкой автоматизации, без включенного слайда, размер клипа автоматизации увеличился бы или уменьшился. (Раздражает с точки зрения рабочего процесса.)
Мне нравится, когда Slide включен, так как вы можете свободно перемещать точки автоматизации внутри клипа автоматизации без того, чтобы он постоянно увеличивался / сжимался на вас.
В целях рабочего процесса, если бы я действительно хотел расширить этот клип автоматизации, перетащив среднюю точку, я бы отключил Slide , и клип автоматизации увеличился бы до желаемого размера.
Плейлист, паттерн и автоматизация Piano Roll
FL Studio позволяет автоматизировать различные разделы программного обеспечения DAW, от списка воспроизведения до пошагового секвенсора и индивидуального паттерна, который вы используете.
В плейлисте это называется автоматизацией, а внутри рояля / паттерна это называется данными / свойствами события.
Давайте рассмотрим каждый по отдельности.
Начнем с плейлиста.
Клипы автоматизации — список воспроизведения
Список воспроизведения — это то место, где вы будете проводить большую часть своего времени, когда дело доходит до аранжировки песни и использования клипов автоматизации.
Если вы не знакомы с Audio Painting, вы можете почитать мою книгу. (Это нарушает аранжировку битов.)

Я только что показал вам, как создать клип автоматизации в плейлисте в FL Studio, но я быстро повторю здесь основные моменты:
- Мне нравится выбирать сначала область в списке воспроизведения с помощью Right Click + Hold , вместо того, чтобы создать клип автоматизации для всей песни (если это не параметр, который я буду настраивать на протяжении всей песни.)
- Щелкните правой кнопкой мыши на параметре, который нужно автоматизировать, а затем выберите Создать клип автоматизации . Теперь это будет длина выделенной вами области в списке воспроизведения.
- Вы можете добавить новую точку с помощью Щелкните правой кнопкой мыши .
- Для точной настройки вы можете Щелкните правой кнопкой мыши на точке автоматизации, чтобы выбрать другой тип кривой, или Щелкните левой кнопкой мыши + удерживайте между точками автоматизации, чтобы увеличить / уменьшить натяжение.
И снова, поскольку FL Studio делает снимок состояния параметра при создании клипа автоматизации, если вы хотите сбросить значение по умолчанию начальной точки, вам нужно будет Щелкните правой кнопкой мыши на этом параметре и выберите Исходную песню с этой позицией .
Это поможет вам начать работу с клипами автоматизации в плейлисте FL Studio.
Автоматизация клипов — Piano Roll
Piano Roll позволяет нам управлять событиями на отдельных нотах. Это обеспечивает ПОЛНУЮ гибкость при воспроизведении звука.
Внутри пианино эта автоматизация называется данными события.
Вы получаете доступ к этому внизу рулона пианино.
Убедитесь, что Щелкните правой кнопкой мыши серое поле в левом нижнем углу (см. Красный кружок) редактора событий, чтобы появилось это всплывающее меню:

Теперь вы Обратите внимание, здесь есть две колонки.Они позволяют редактировать заметки аналогичным образом, но только с другим подходом.
Имеются свойства Note и Элементы управления каналами .
Лично мне нравится использовать свойства Note , так как это немного проще; но контроль канала действительно позволяет более точное управление, но я чувствую, что это немного беспорядочно.
С помощью элементов управления Channel вы можете фактически панорамировать звук наполовину во время его воспроизведения, тогда как свойства Note позволяют панорамировать только весь звук, а не где-либо между ними.
Профессиональный совет: вы можете получить еще более точную настройку каналов, выбрав более тонкую настройку привязки, например, 1/4 удара или даже 1/2 шага.

Причина, по которой я называю элементы управления Channel беспорядочными, заключается в том, что после добавления данных о событии их сложно удалить.
Вы должны выбрать инструмент удаления на верхней панели инструментов в пианино.

Если вы случайно изменили данные о событии за пределами MIDI-нот вашего паттерна, это увеличит длину паттерна в вашем плейлисте.(Раздражает !!)
Итак, в конце концов, Channel controls добавляет более точное редактирование, но за счет своей привередливости.
Я просто придерживаюсь свойств Note и автоматизирую звук в плейлисте, если я хочу сделать что-нибудь техническое.
Вот скриншот, как выглядят свойства Note :

Пара ярлыков при работе со свойствами нот :
- Удерживайте ALT + Колесо прокрутки над одной MIDI-нотой (настраивает событие данных вверх или вниз)
- Выберите несколько звуков для одновременной настройки значений с помощью ALT + Колесо прокрутки
- Левый щелчок данные события отдельной ноты
- Удерживайте Щелкните правой кнопкой мыши и перетащите вверх или вниз для создания диагонального восходящего или нисходящего паттерна в примечаниях к событию
Автоматизация в пошаговом секвенсоре
Вот как создать автоматический клип FL Studio для паттерна.
Итак, FL Studio на самом деле не создает клип автоматизации для шаблонов. Вы создаете клипы автоматизации для автоматизации определенных параметров, таких как громкость, панорамирование, фильтры эквалайзера или любые другие различные регуляторы для определенного звука.
Внутри паттерна вы можете настраивать отдельные ноты из звуков с помощью редактора графиков .
Теперь FL Studio фактически удалила эту опцию в FL Studio 20, но вернула ее из-за отзывов сообщества в более поздних версиях FL Studio 20.

Сначала вы хотите выбрать звук, которым хотите управлять. В нашем примере я выбрал бас-барабан.
Затем я выбрал Graph Editor в правом верхнем углу пошагового секвенсора .
Отсюда, под звуком, над которым вы работаете, появится окно, в котором вы сможете настроить различные аспекты каждого отдельного удара, такие как скорость, затяжка, высота тона, панорамирование и даже сдвиг (смещение / свинг ноты!).
Это открывает еще одну огромную возможность для творчества.
Итак, это быстрый и грязный способ настройки звуков, но очень легко забыть, что вы настраивали звуки в этом редакторе графиков .
Если вы загружаете более старый проект, над которым давно не работали, вы можете услышать в звуке что-то, что вы хотите настроить, но забудете, что вы работали в этом Graph Editor .
(То, что я испытал много раз, ха-ха!)
Распространенное использование клипов автоматизации
Давайте поговорим о некоторых популярных применениях клипов автоматизации FL Studio.
Наиболее распространенный способ — это, вероятно, использование фильтра низких или высоких частот с эквалайзером для создания напряжения и эмоций в песне.
Чтобы узнать больше о создании напряжения и эмоций в ваших аранжировках, просмотрите мой курс по структуре и аранжировкам песни!

Вот как автоматизировать эквалайзер в FL Studio 20, а также другие эффекты / фильтры.
Давайте поработаем, например, с Fruity Parametric EQ2 ; мы создадим фильтр высоких частот.
Для этого вам нужно Щелкните правой кнопкой мыши на полосе 7, наведите указатель мыши на Введите , затем выберите Low pass .

Обратите внимание: фильтр верхних частот и фильтр нижних частот — это одно и то же. Я считаю, что фильтр верхних частот проще для понимания и менее запутан.
В списке воспроизведения я Щелкните правой кнопкой мыши + удерживайте в верхней части шкалы времени (полосы) и выберите область, в которой я хочу создать этот клип автоматизации:

Я тогда пойду назад к Parametric EQ2 и Щелкните правой кнопкой мыши на верхнем синем кружке в правом нижнем углу эквалайзера (см. красный квадрат на рисунке).
Создайте клип автоматизации, и теперь вы можете отфильтровать максимумы своей песни.
Это популярное использование для перехода, которое создает у слушателя напряжение и эмоции. Если вам нужна дополнительная информация о переходах, эмоциях и структуре песни, я написал на Amazon книгу под названием Audio Painting!
Теперь, когда вы работаете с этими типами эффектов на своем MASTER-канале, я бы посоветовал вам автоматизировать ручку MIX, чтобы она включалась только тогда, когда вы хотите использовать эффект:

Теперь, не надо t наполовину автоматизируйте эту ручку микширования.Я делаю либо 100% ВКЛ, либо 100% ВЫКЛ.
Volume Automation
Еще одно популярное применение автоматизации в производстве музыки — это автоматизация громкости. Это хороший пример того, как автоматизировать фейдеры микшера в FL Studio.
Если мы работаем с вокалом, вы можете подумать, что вам нужно очень агрессивно сжать вокал, чтобы выделить его.
Что ж, компрессор можно использовать для выравнивания звука (узнайте больше о сжатии из моего курса), или сжатие также можно использовать для формирования / формирования звука или для добавления определенных звуковых характеристик.
Но иногда сжатие может иметь отрицательные артефакты.
Здесь мы можем использовать автоматизацию громкости для более естественного выравнивания звука, а затем применить сжатие до желаемой величины, чтобы звук не получился слишком агрессивным.
Я обычно не люблю автоматизировать фейдеры микшера:

Это потому, что как только вы создаете клип автоматизации с помощью фейдера микшера, начинает происходить то, что я сказал ранее о создании снимка FL Studio, и это превращает смешивание в большой беспорядок.
Если я хочу автоматизировать громкость вокала или любого инструмента, на котором я пытаюсь его выровнять, я лично открываю плагин, например Fruity Limiter, а затем просто автоматизирую ручку усиления. (Я бы поставил потолок до самого верха, чтобы не было никаких ограничений, просто используйте его как плагин усиления.)
Таким образом, у меня есть полный контроль над фейдером микшера, но моя автоматизация все еще происходит без сковал мой контроль над фейдером микшера.
Надеюсь, это несколько идей, которые помогут вам освоить автоматизацию!
Часто задаваемые вопросы об автоматизации клипов в FL Studio
Давайте рассмотрим некоторые популярные вопросы об автоматизации клипов в FL Studio.
Если у вас есть какие-либо вопросы, вы можете связаться со мной, и я отвечу на вопрос, добавив его в эту статью!
Как создавать клипы автоматизации с помощью сторонних плагинов в FL Studio
Как упоминалось выше, вы хотите использовать сторонние плагины VST3 с FL Studio там, где это возможно.
Это позволяет щелкнуть правой кнопкой мыши внутри самого плагина, чтобы скопировать параметры и создать клипы автоматизации.
Однако, если вы застряли в использовании стороннего плагина VST2 в FL Studio, вот как создать клип автоматизации для сторонних плагинов и автоматизировать ЛЮБОЙ параметр.
Сначала переместите ручку / параметр, с помощью которого вы хотите создать клип автоматизации.
Далее вы пойдете Инструменты -> Последние настройки -> Создать клип автоматизации :

А затем просто добавляете свои точки, выбираете типы кривых и увеличиваете / уменьшаете натяжение между точки автоматизации.
Автоматизация клипа не выключается
Теперь это относится к тому, о чем я говорил, когда FL Studio создает моментальный снимок при первоначальном создании клипа автоматизации.
Также существует разница между клипом ДО и ПОСЛЕ автоматизации.
Если ваша проблема ПОСЛЕ клипа автоматизации, просто убедитесь, что последняя точка находится на 0%.
Если проблема связана с клипом автоматизации, вы снова захотите установить первую точку точки автоматизации на 0%, затем щелкните правой кнопкой мыши тот параметр, в котором вы создали клип автоматизации, а затем выберите песню Init с эта позиция .
Это приведет к сбросу состояния начальной точки автоматизации, что позволит вам сбросить способ создания клипа автоматизации.
Сложные штуки, пока вы не увлечетесь клипами автоматизации FL Studio!
Итак, если ваш клип автоматизации FL Studio не выключается, просто убедитесь, что вы установили значение начальной точки на 0%, Начальная песня с этой позицией , а затем вы можете настроить значение начальной точки на все, что захотите. !
Клипы автоматизации в FL Studio 12 — Заключение
Вот и все.
Это почти все, что нужно знать об автоматизации в FL Studio 20.
От работы со списком воспроизведения до пианино и пошагового секвенсора — каждый из них дает вам свой подход к аналогичной задаче.
Если у вас есть какие-либо вопросы о добавлении клипов автоматизации в FL Studio 20, дайте мне знать.
Я могу добавить ваш вопрос в эту статью, чтобы ответить на ваш вопрос.
# GratuiTous
.КАК спроектировать насосную систему
предыдущее
Что такое трение в насосной системе (продолжение) Другой причиной трения являются все фитинги (колена, тройники, y и т. Д.), Необходимые для жидкость из точки A в B. Каждая из них оказывает определенное влияние на линии тока жидкости. Например, в случае колена частицы жидкости, которые находятся ближе всего к плотному внутренний радиус колена отрывается от поверхности трубы, образуя небольшие вихри, которые потребляют энергию.Эта потеря энергии мала для одного локтя, но если у вас несколько локтей и другие приспособления общая сумма может стать значительной. Вообще говоря, они редко представляют более 30% от общего трения из-за общей длины трубы. |

Рисунок 9
Энергия и напор в насосных системах
Энергия и напор — два термина, которые часто используются в насосных системах.Мы используем энергию для описания движения жидкостей в насосных системах, потому что это проще, чем любой другой метод. В насосных системах существует четыре формы энергии: давление, высота, трение и скорость.
Давление создается на дне резервуара, потому что жидкость полностью заполняет резервуар, и ее вес создает силу, которая распределяется по поверхности, являющейся давлением. Этот тип давления называется статическим давлением. Энергия давления — это энергия, которая накапливается, когда частицы жидкости или газа перемещаются немного ближе друг к другу и в результате они выталкиваются наружу в окружающей среде.Хорошим примером является огнетушитель, в котором была проделана работа по наполнению емкости жидкостью и ее герметизации. После закрытия контейнера энергия давления становится доступной для дальнейшего использования.
Энергия подъема — это энергия, доступная жидкости, когда она находится на определенной высоте. Если вы позволите ему разрядиться, он сможет управлять чем-то полезным, например, турбиной, производящей электричество.
Энергия трения — это энергия, которая теряется в окружающую среду из-за движения жидкости по трубам и фитингам в системе.
Энергия скорости — это энергия движущихся объектов. Когда бейсбол бросает питчер
он дает ему энергию скорости, также называемую кинетической энергией. Когда вода выходит из садового шланга, у нее есть энергия скорости.

Рисунок 9a
На рисунке выше мы видим резервуар, полный воды, трубу, полную воды, и велосипедиста на вершине холма. Резервуар создает давление внизу, как и трубка.У велосипедиста есть энергия подъема, которую он будет использовать при движении.
Когда мы открываем клапан на дне резервуара, жидкость покидает резервуар с определенной скоростью, в этом случае энергия давления преобразуется в энергию скорости. То же самое и с трубкой. В случае велосипедиста энергия подъема постепенно преобразуется в энергию скорости.
Три формы энергии: высота, давление и скорость взаимодействуют друг с другом в жидкостях.Для твердых объектов нет энергии давления, потому что они не выходят наружу, как жидкости, заполняющие все доступное пространство, и, следовательно, они не подвержены таким же изменениям давления.
Энергия, которую должен подавать насос, — это энергия трения плюс энергия подъема.
ЭНЕРГИЯ НАСОСА = ЭНЕРГИЯ ТРЕНИЯ + ЭНЕРГИЯ ПОДЪЕМА

Рисунок 9b
Вы, наверное, думаете, где же во всем этом энергия скорости.Ну если жидкость пойдет из системы на высокой скорости, тогда нам придется рассмотреть это, но это не типичный ситуации, и мы можем пренебречь этим для систем, обсуждаемых в этой статье.
Последнее слово по этой теме, это на самом деле разница в энергии скорости, которую нам нужно учитывать. На рисунке 9c скорости в точках 1 и 2 являются результатом положения частицы жидкости в точках 1 и 2 и действие насоса.Разница между этими две энергии скорости — это дефицит энергии, который насос должен обеспечить, но, как вы можете видеть скорости этих двух точек будут довольно малы.
А как насчет головы? На самом деле голова — это способ упростить использование энергии. Чтобы использовать энергию, нам нужно знать вес перемещаемого объекта.
Энергия возвышения E.E. — это вес объекта W, умноженный на расстояние d:
EE = Ш x Г
Энергия трения FE — это сила трения F, умноженная на расстояние, на которое перемещается жидкость, или длину трубы l:
FE = F x l
Голова определяется как энергия, деленная на вес, или количество энергии, использованное для смещения объекта, деленное на его вес.Для энергии подъема высота подъема EH составляет:
.EH = W x d / W = d
Для энергии трения головка трения FH представляет собой энергию трения, деленную на вес вытесненной жидкости:
FH = FE / W = F x l / W (см. Рисунок 9b)
Сила трения F выражается в фунтах, а вес W также в фунтах, так что единицей измерения напора трения являются футы. Это количество энергии, которое насос должен обеспечить для преодоления трения.

Я знаю, вы думаете, что это не имеет смысла, как ноги могут представлять энергию?
Если я прикрепить трубку к нагнетательной стороне насоса, жидкость будет подниматься в трубке на высоту, которая точно уравновешивает давление на выходе насоса. Часть высоты жидкости в трубке связана с требуемой высотой подъема (подъемный напор), а другая — с фрикционной головкой, и, как вы можете видеть, оба значения выражены в футах, и именно так вы можете их измерить.

Рисунок 9c
Статическая головка
Словарь Вебстера определяет голову: «водоем, находящийся в резерве на высоте».

Выражается в футах в британской системе мер и в метрах в метрической системе. Из-за своей высоты и веса жидкость создает давление в нижней точке. Выше резервуар, тем выше давление.

Величина давления на дне резервуара не зависит от его формы, для одного и того же уровня жидкости давление на дне будет одинаковым.Это важно, так как в сложных системах трубопроводов всегда можно узнать давление внизу, если мы знаем высоту. Чтобы узнать, как рассчитать давление по высоте, перейдите в конец статьи.

Когда насос используется для вытеснения жидкости на более высокий уровень, он обычно располагается в нижней точке или близко к ней. Напор резервуара, называемый статическим напором, создает давление на насос, которое необходимо преодолеть после запуска насоса.
Чтобы различать энергию давления, создаваемую напорным баком и всасывающим баком, напор на стороне нагнетания называется статическим напором нагнетания, а на стороне всасывания — статическим напором всасывания.

Обычно жидкость вытесняется из всасывающего бака в сливной бак. Жидкость всасывающего резервуара обеспечивает энергию давления для всасывания насоса, которая помогает насосу. Мы хотим знать, сколько энергии давления должен подавать сам насос, поэтому мы вычитаем энергию давления, создаваемую всасывающей головкой.Статический напор в этом случае представляет собой разницу в высоте поверхности жидкости разгрузочного резервуара минус поверхность жидкости всасывающего резервуара. Статический напор иногда называют полным статическим напором, чтобы указать, что энергия давления, доступная с обеих сторон насоса, была учтена.
Поскольку существует разница по высоте между всасывающим и напорным фланцами или соединениями насоса по соглашению было принято решение, что статический напор будет измеряться относительно возвышение всасывающего фланца.

Если конец выпускной трубы открыт в атмосферу, статический напор измеряется относительно конца трубы.

Иногда конец нагнетательной трубы погружается в воду, тогда статический напор будет представлять собой разницу высот между поверхностью жидкости нагнетательного бака и поверхностью жидкости всасывающего бака. Поскольку текучая среда в системе является непрерывной средой, и все частицы текучей среды связаны давлением, частицы текучей среды, которые расположены на поверхности разгрузочного резервуара, будут способствовать давлению, создаваемому на выходе насоса.Следовательно, высота нагнетательной поверхности — это высота, которую необходимо учитывать при статическом напоре. Избегайте ошибку, используя конец трубы разряда в качестве высоты для расчета статического напора, если конец трубы погружен в воду.
Примечание: если конец выпускного трубопровода погружен в воду, а затем обратный клапан на сброс насоса требуется, чтобы избежать обратного потока, когда насос остановлен.

Статическая головка может быть изменена путем увеличения поверхности выпускного резервуара (предполагается, что конец трубы погружен в воду) или всасывающий резервуар или оба.Все эти изменения повлияют на скорость потока.

Для правильного определения статического напора следуйте за частицами жидкости от начала до конца, начало почти всегда находится на поверхности жидкости всасывающего бака, это называется возвышением на входе. Конец будет происходить там, где вы столкнетесь со средой с фиксированным давлением, такой как открытая атмосфера, эта точка является концом отметки разгрузки или возвышением выхода. Разница между двумя высотами — статический напор.Статический напор может быть отрицательным, поскольку высота выхода может быть ниже, чем высота входа.
Расход зависит от перепада высот или статического напора
Для идентичных систем расход будет изменяться в зависимости от статического напора. Если высота конца трубы велика, расход будет низким (см. Рисунок 10). Сравните это с велосипедистом на холме с небольшим наклоном вверх, его скорость будет умеренной и соответствовать количеству энергии, которое он может отдать для преодоления трения колес о дороге и изменения высоты.

Рисунок 10
Смотрите это видео, чтобы увидеть эффект статического напора и трения
.
Если поверхность жидкости всасывающего бака находится на той же высоте, что и нагнетательный конец трубы, статический напор будет равен нулю, а скорость потока будет ограничена трением в системе. Это эквивалентно велосипедисту на ровной дороге, его скорость зависит от силы трения между колесами и дорогой и сопротивления воздуха (см. Рисунок 11).

Рисунок 11
На Рисунке 12 конец нагнетательной трубы поднимается вертикально до тех пор, пока поток не прекратится, насос не может поднять жидкость выше этой точки, а давление нагнетания максимально. Точно так же велосипедист прилагает максимум усилий к педалям, никуда не попадая.

Рисунок 12
Если конец выпускной трубы находится ниже поверхности жидкости всасывающего резервуара, статический напор будет отрицательным, а скорость потока — высокой (см. Рисунок 13).Если отрицательный статический напор велик, то возможно, что насос не потребуется, поскольку энергии, обеспечиваемой этой разницей в высоте, может быть достаточно для перемещения жидкости через систему без использования насоса, как в случае сифона ( см. глоссарий насосных систем). По аналогии, когда велосипедист спускается с холма, он теряет накопленную энергию подъема, которая постепенно превращается в энергию скорости. Чем ниже он на склоне, тем быстрее идет.

Рисунок 13
Насосы чаще всего оцениваются по напору и расходу.На рисунке 12, конец выпускного трубопровода поднимают на высоту, при которой поток останавливается, это напор насоса при нулевом расходе. Мы измеряем эту разницу в высоте в футах (см. Рис. 13а). Напор варьируется в зависимости от расхода, но в этом случае, поскольку поток отсутствует и, следовательно, отсутствует трение, напор насоса имеет МАКСИМАЛЬНУЮ ВЫСОТУ, НА КОТОРОЙ МОЖНО ПОДНИМАТЬ ЖИДКОСТЬ ОТНОСИТЕЛЬНО ПОВЕРХНОСТИ ВСАСЫВАЮЩЕГО БАКА. Поскольку потока нет, напор (также называемый общим напором), создаваемый насосом, равен статическому напору.

Рисунок 13a
В этой ситуации насос будет обеспечивать максимальное давление. Если конец трубы опускается, как показано на рисунке 10, расход насоса увеличится, а напор (также известный как общий напор) уменьшится до значения, соответствующего расходу. Зачем? Начнем с точки нулевого потока, когда конец трубы находится на максимальной высоте, конец трубы опускается, и начинается поток. Если есть поток, должно быть трение, энергия трения вычитается (потому что она теряется) из максимального общего напора, и общий напор уменьшается.В то же время статический напор уменьшается, что еще больше снижает общий напор.

При покупке насоса вы не указываете максимальный общий напор, который может обеспечить насос, поскольку это происходит при нулевом расходе. Вместо этого вы указываете общий напор, который возникает при требуемом расходе. Этот напор будет зависеть от максимальной высоты, которую вам нужно достичь по отношению к поверхности жидкости всасывающего резервуара, и потерь на трение в вашей системе.
Например, если ваш насос подает воду в ванну на 2-м этаже, вам понадобится напор, достаточный для достижения этого уровня, это будет ваш статический напор, плюс дополнительная сумма для преодоления потерь на трение в трубах и фитингах.Если предположить, что вы хотите наполнить ванну как можно быстрее, то краны на ванне будут полностью открыты и будут обеспечивать очень небольшое сопротивление или потери на трение. Если вы хотите поставить для этой ванны душевую лейку, вам понадобится насос с большей головкой для той же скорости потока, потому что душевая лейка выше и обеспечивает большее сопротивление, чем смесители для ванны.
К счастью, существует множество размеров и моделей центробежных насосов, и вы не можете рассчитывать на покупку насоса, который точно соответствует требуемому напору при желаемом расходе.Вам, вероятно, придется приобрести насос, который обеспечивает немного больший напор и расход, чем вам требуется, и вы будете регулировать расход с помощью соответствующих клапанов.
Примечание. Вы можете увеличить напор насоса, увеличив его скорость или диаметр рабочего колеса, или и то, и другое. На практике домовладельцы не могут вносить эти изменения, и для получения более высокого общего напора необходимо приобрести новый насос.
Расход зависит от трения
Для идентичных систем, скорость потока будет меняться в зависимости от размера и диаметра выпускной трубы.Система с выпускной трубой большого размера будет иметь высокий расход. Вот что происходит, когда вы кладете большую трубу на опорожняемый резервуар, он очень быстро стекает.

Рисунок 14
Чем меньше размер трубы, тем меньше расход. Как насос подстраивается под диаметр трубы, ведь он не знает, какого размера труба будет установлена? Устанавливаемый вами насос предназначен для создания определенного среднего расхода для систем с соответствующим размером труб.Размер рабочего колеса и его скорость позволяют насосу подавать жидкость с определенным расходом. Если вы попытаетесь протолкнуть тот же поток через небольшую трубу, давление на выходе увеличится, а поток уменьшится. Точно так же, если вы попытаетесь опорожнить резервуар с помощью небольшой трубки, для его слива потребуется много времени (см. Рисунок 15).
Позже в этом руководстве будет представлена диаграмма с указанием размеров труб для различных расходов. Или вы можете сразу перейти к нему и вернуться позже.

Рисунок 15
Если труба короткая, трение будет низким, а расход — большим (см. Рисунок 16).

Рисунок 16
, а когда выпускная труба длинная, трение будет большим, а расход — низким (см. Рисунок 17).

Рисунок 17
Как центробежный насос создает давление
Частицы жидкости попадают в насос через всасывающий фланец или соединение.Затем они поворачиваются на 90 градусов в рабочее колесо и заполните пространство между каждой лопастью рабочего колеса.

Рисунок 19
Более подробный вид более реалистичного поперечного сечения насоса с закрытым рабочим колесом можно увидеть на Рисунке 19a
. 
Рисунок 19a
Центробежный насос — это устройство, основное назначение которого — создание давления путем ускорения частицы жидкости до высокой скорости, обеспечивая им энергию скорости.Что такое энергия скорости? Это способ выразить, как скорость объектов может влиять на другие объекты, например на вас. С вами когда-нибудь брались в футбольном матче? Скорость, с которой приходит другой игрок. вы определяете, насколько сильно вас ударили. Масса игрока — тоже немаловажный фактор. В комбинация массы и скорости дает скорость (кинетическую) энергию. Другой пример — ловля бейсбольное поле, ой, небольшому быстро движущемуся бейсбольному мячу может быть выделена определенная скорость.Жидкость частицы, которые движутся с высокой скоростью, обладают энергией скорости, просто положите руку на открытый конец садового шланга.
Частицы жидкости в насосе выбрасывается из кончиков лопастей рабочего колеса на высокой скорости, то они замедляются, поскольку они становятся ближе к патрубку, теряя часть своей энергии скорости. Это уменьшение энергии скорости увеличивает энергию давления. В отличие от трения, которое тратит энергию впустую, уменьшение энергии скорости служит увеличению энергии давления, что является принципом сохранения энергии в действии.То же самое происходит с велосипедистом, который стартует на вершине холма, его скорость постепенно увеличивается по мере того, как он теряет высоту. Энергия подъема велосипедиста была преобразована в энергию скорости, в случае насоса энергия скорости преобразована в энергию давления.
Попробуйте этот эксперимент, найдите пластиковый стаканчик или другой контейнер, в дне которого можно проделать маленькую дырочку. Наполните его водой и прикрепите к нему шнурок, и теперь, когда вы угадали, начинайте его крутить.

Рисунок 20
Чем быстрее вы вращаете, тем больше воды выходит из небольшого отверстия, вода сжимается внутри чашки за счет центробежной силы аналогично центробежному насосу.В случае насоса вращательное движение рабочего колеса выбрасывает частицы жидкости с высокой скоростью в объем между стенкой корпуса и концами рабочего колеса. Перед тем, как покинуть насос, частицы жидкости замедляются до скорости на входе в напорную трубу (см. Рисунки 18 и 19), которая будет одинаковой по всей системе, если диаметр трубы не изменится.
Как изменяется скорость потока, когда конец выпускного трубопровода высота изменяется или когда есть увеличение или уменьшение трения трубы? Эти изменения приводят к увеличению давления на выходе насоса при уменьшении потока, звуки в обратном направлении — нет.Что ж, это не так, и вы поймете почему. Как насос подстраивается под это изменение давления? Или, другими словами, если давление изменяется из-за внешних факторов, как насос реагирует на это изменение.

Давление создается частотой вращения лопастей рабочего колеса. Скорость постоянная. Насос будет создавать определенное давление нагнетания, соответствующее конкретным условиям системы (например, вязкости жидкости, размеру трубы, перепаду высот и т. Д.).). Если изменение чего-либо в системе приводит к уменьшению потока (например, закрытие нагнетательного клапана), давление на выходе насоса возрастет, потому что не происходит соответствующего уменьшения скорости вращения рабочего колеса . Насос производит избыточную энергию скорости, потому что он работает с постоянной скоростью, избыточная энергия скорости преобразуется в энергию давления, и давление увеличивается.
Все центробежные насосы имеют характеристическую кривую, которая похожа на кривую, показанную на рисунке 21 (при условии, что уровень во всасывающем баке остается постоянным), это показывает, как давление нагнетания изменяется в зависимости от скорости потока через насос.

Рисунок 21
Таким образом, при 200 галлонах в минуту этот насос создает давление нагнетания 20 фунтов на кв. Дюйм, а при падении потока давление достигает максимального значения 40 фунтов на квадратный дюйм.
Примечание: это относится к центробежным насосам, у многих домовладельцев есть насосы прямого вытеснения, часто поршневые. Эти насосы обеспечивают постоянный поток независимо от того, какие изменения вносятся в систему.
см. Влияние статического напора на расход в действии в этом видео 
продолжить
Авторское право 2019, PumpFundamentals.com .