Как плитку класть на ванну – Укладка плитки в ванной своими руками
Установка ванны — на плитку или под плитку?
Еще до начала ремонта у многих появляется вопрос — а как правильно выкладывать плитку? До установки ванны или после? Несмотря на то, что сегодня используется и тот и другой вариант, выбор порядка выполнения работ по ремонту и отделке определяется различными факторами и выбирается в каждом конкретном случае в зависимости от материала и формы самой ванны, ее габаритов и размера помещения ванной комнаты.
Давайте посмотрим, чем отличаются варианты установки ванны до укладки плитки и после, а также в каком случае какой вариант будет более предпочтителен.
Установка ванны после укладки плитки
Это один из наиболее распространенных вариантов при капитальном ремонте ванной комнаты, когда старая ванна выкидывается и вместо нее приобретается новая акриловая, стальная или чугунная.
Помещение полностью освобождается от старой мебели, старые сантехприборы демонтируются и ремонт начинается с очистки всех поверхностей от предыдущей отделки — сдирается, отслужившая свое плитка, очищается краска, снимаются обои. Стены выравниваются и надежно грунтуются перед отделкой кафелем. После чего укладывают плитку и приступают к другим работам.
Это же касается и пола — он подготавливается в зависимости от выбранного вида покрытия. После чего выравнивается стяжкой и либо облицовывается плиткой, либо устраивается наливной самовыравнивающийся пол.
После завершения всех отделочных работ приступают к монтажу сантехоборудования и установке ванны.
Если производится установка акриловой ванны, имеющей надежный металлический каркас, то место ее расположения при достаточно просторной ванной может быть выбрано и на каком-то расстоянии от стены.
Если ванна монтируется впритык к стене, еще на этапе укладки плитки следует внимательно контролировать все размеры и расстояния от поверхности плитки на одной стене до поверхности плитки на стене напротив. Ведь в случае ошибки ванна попросту может не влезть и придется отдирать только что уложенный кафель, чтобы ее впихнуть в получившееся «прокрустово ложе».
После установки ванной стык между бортиком и стеной заделывают силиконовым герметиком или любым другим способом.
Такой способ чаще всего используют при установке легкой акриловой ванны, бортик которой, как правило не заделывают в стену, чтобы избежать возникновения напряжений под действием нагрузки от кафеля.
Видео установки ванны после укладки плитки вы можете посмотреть ниже:
Установка ванны до укладки плитки
Этот способ отличается от предыдущего тем, что сначала ставят на пол ванну, надежно фиксируют ее, выровняв по уровню, и уже после этого обкладывают плиткой.

Плитка в этом случае стартует не с уровня чистого пола, а от бортика ванны с небольшим отступом (буквально несколько миллиметров). Впоследствии зазор заделывают герметиком или любым другим способом с использованием современных влагостойких материалов.
Кафель заходит на бортик и ванная словно встраивается в стену.
Видео укладки плитки от бортика ванны вы можете посмотреть ниже:
Замер перед укладкой плитки
При выполнении ремонта может быть использован и третий вариант выполнения очередности всех операций, когда ванну заносят в помещение и ставят к стене так, как она будет стоять в последствии. Делают разметку стены и снова выносят ванну, чтобы она не мешала выполнять отделочные работы. Плитка кладется начиная от отметок края бортика с небольшим зазором и ведется вверх в направлении потолка.

После завершения кладки кафеля ванну заносят и устанавливают на место, тщательно заделывая место ее примыкания к стене.
Этот способ позволяет выполнять облицовку стен с большим удобством (не мешает ванна), но и предъявляет особые требования к тщательности соблюдения всех расстояний — ведь при малейшей ошибке ванна может просто не влезть и придется отдирать плитку и все переделывать.
Какой способ выбрать?
Выбор последовательности действий диктуется следующими факторами:
- размер ванной комнаты;
- материал ванны;
- размер ванны;
- форма ванны.
Выбор способа в зависимости от размера помещения
Если размер ванной комнаты очень мал и ванна только-только влезает, буквально упираясь своими краями в противоположные стены с небольшим зазором, то лучше сначала установить ванну и уже после этого класть плитку.
В противном случае ванна может попросту не втиснуться между стенами, расстояние между которыми уменьшилось за счет выравнивающего слоя и толщины самой плитки.
Выбор способа в зависимости от материала ванны
В зависимости от материала ванны выбор может делаться из следующих соображений.
Чугунную ванну достаточно тяжело перемещать из-за ее значительного веса. Даже для нескольких здоровых мужчин это не такая простая задача. Поэтому чугунные ванны чаще устанавливают до укладки кафельной плитки и потом заделывают бортик в стену.
Чугунная ванна, надежно зафиксированная на ножках, не изменяет своей формы под весом набираемой воды или в зависимости от веса находящегося в ней человека.
Однако этого не скажешь о ванных из более эластичных материалов — акрила или стали. Бортик акриловой или стальной ванны способен «гулять» под нагрузкой. Как следствие — заделанный в стену край ванны со временем расшатывается, а вдоль бортика появляются щели.
Кроме того, акриловые ванны менее долговечны и если вам потребуется ее поменять, то придется ломать нижний ряд плитки, чтобы демонтировать ванну, вмурованную в стену. В случае же установки ванны впритык к плитке таких сложностей не возникнет. Достаточно будет лишь срезать ножом герметик, которым заделана щель между стеной и бортом.

Выбор способа в зависимости от формы и типа ванны
Если с установкой обычной прямоугольной ванны привычных размеров проблем не возникает, то вот монтаж большой угловой ванны, оборудованной гидромассажем, имеющей дополнительную обвязку помимо перелива и сточного отверстия, может вызвать определенные трудности.
Такие ванны лучше не вмуровывать намертво в стену, так как возможные поломки сложного оборудования, которым оснащаются такие ванны, может потребовать доступа для ремонта и обслуживания. Поэтому следует отдать предпочтение установке такой ванны после укладки плитки.
Еще несколько советов
Если вы планируете пользоваться ванной до полного окончания ремонтных работ, то следует подумать о возможности ее установки до окончательной отделки.
Если ваш бюджет ограничен, обкладка плиткой уже установленной ванны может оказаться более предпочтительной, так как позволит сэкономить на покупку и укладку плитки за ванной.
Если вы планируете примерить ванну, а потом по отметкам на стене выложить плитку, то следует учесть, что акриловая ванна под тяжестью воды может изменять свою геометрию. Поэтому перед примеркой такую ванну следует обязательно наполнить водой, чтобы не допустить досадных ошибок и потом не переделывать. Так же следует наполнить водой акриловую ванну перед тем, как заделывать щель между бортиком и стеной с помощью герметика.
Смотрите также:
- < Как установить унитаз на деревянный пол?
- Крепление акриловой ванны к стене>
Добавить комментарий
krasivaya-vannaya.ru
Что сначала: плитка или ванна? Определяем последовательность
Планируя ремонт ванной комнаты, необходимо определиться с последовательностью проведения работ. Что сначала: укладывать плитку или устанавливать ванну? Какой алгоритм является наиболее правильным и рациональным? Ответ на этот вопрос зависит от нескольких факторов. Значение имеют и размер помещения, и материал ванны, и уровень мастерства тех, кто будет осуществлять отделочные и сантехнические работы. Есть и некоторые другие нюансы.
Варианты последовательности
Вариант 1: сначала плитка, потом ванна
Ванна заносится в облицованный санузел. Остается только установить ее. Для заполнения зазора между ванной и стеной чаще всего используют герметик. Он защищает от попадания воды и держит чашу.
Если санузел большой, а ванна — на ножках, можно и вовсе не приставлять ее к стене.

Вариант 2: сначала ванна, потом плитка
Ванна заносится до начала отделки стен. Устанавливается, фиксируется. Только после этого начинается укладка кафеля.
Фактически ванну обкладывают керамикой или, по-другому говоря, встраивают. Плитка заходит на бортик ванны, но не упирается в него, а «висит» с зазором в несколько миллиметров. Зазор впоследствии заполняется герметиком и/или влагостойкой затиркой (лучше эпоксидной). Далее место стыка можно оформить специальным керамическим бордюром или пластиковым уголком.

Вариант 3: сначала замер по ванне, потом укладка плитки
Ванна заносится в неотделанное помещение, устанавливается. Снимаются замеры, делается разметка для плитки. Затем ванна выносится или отодвигается. Кафель кладется не от пола, а от уровня бортика ванны с учетом необходимого зазора. Когда отделка окончена, ванна заводится под уже уложенную плитку.
Ошибки здесь недопустимы: чуть промахнулся с замерами — и ванна может не войти.
Как выбрать подходящий вариант?
В зависимости от размеров помещения
Если ванна помещается ровно от стены до стены, рискованно выбирать первый вариант. Может случиться так, что после выравнивания стен и укладки плитки расстояние сократится, и ванна просто-напросто не влезет. Поэтому, если санузел совсем маленький, сначала нужно установить ванну и уже от нее класть плитку. Так надежнее.
Если ванная, наоборот, большая, можно выбрать третий вариант: занести, установить, померить, сделать разметку, отодвинуть и выложить плитку не от пола, а от уровня бортика ванны.
В зависимости от типа ванны
Следует ознакомиться с инструкцией к новой ванне. Как правило, производители акриловых ванн рекомендуют сначала класть плитку и только потом устанавливать ванну, заделывая стык со стеной герметиком.
Производители стальных ванн не столь категоричны, однако не советуют упирать край плитки непосредственно в бортик. Стальная ванна способна «гулять». Как следствие, ряд плитки, лежащий на бортике, может быть выдавлен. Обкладывать стальную ванну плиткой можно, но необходимо оставлять зазор.
Чугунную ванну чаще всего «встраивают» в плитку, а не приставляют к уже облицованной стене. Такие ванны самые надежные, тяжелые, устойчивые. И служат они, как правило, очень долго. Поэтому их встраивание не влечет за собой особых рисков.
Есть еще один немаловажный аспект, связанный с чугунной ванной. Если обложить санузел плиткой и только потом занести ванну, отделка может пострадать. Чугун твердый и тяжелый, поэтому даже не очень сильный удар по плитке способен привести к сколам и трещинам.
В отличие от чугунной, акриловая ванна, особенно недорогая, может потребовать замены буквально через несколько лет. Если она встроена в плитку, придется ломать конструкцию. Прежде чем определиться с вариантом последовательности, нужно решить — готовы ли вы к незапланированному ремонту? Если же ванна установлена в облицованный санузел, а стык со стеной заполнен только герметиком, особых сложностей с ее заменой не возникнет.

Значение имеет и размер ванны. Если она очень большая (такими габаритами отличаются, например, угловые модели), обкладывать ее плиткой будет, мягко говоря, неудобно. Как это скажется на качестве укладки? Не будет ли повреждена новая ванна в ходе отделочных работ? Может быть, такую ванну стоит устанавливать только в облицованный санузел?
Здесь, конечно, многое зависит от мастерства и опыта плиточника. Если он готов работать в таких условиях и при этом гарантирует, что ванна обойдется без повреждений, можно отдать предпочтение варианту со «встройкой».
Если ванна оснащена дополнительными функциями (гидромассажем), «зашивать» ее в плитку чревато. Случись какая-нибудь поломка, придется либо смириться с ней, либо рушить конструкцию.

Подведем итог по типу ванну.
Рекомендуется устанавливать в санузел, уже обложенный плиткой:
- акриловые ванны, особенно недорогие
- нетипично большие ванны
- ванны с дополнительными функциями
Рекомендуется встраивать в плитку:
- тяжелые чугунные ванны
Исключение — это, конечно, отдельно стоящие чугунные ванны, в том числе на лапах. Их никогда не встраивают и часто вообще не стыкуют со стеной.
В зависимости от бюджета
Укладка плитки только от бортика ванны позволяет сэкономить на материале. Ведь стены под ванной не облицовываются.
Если ремонт делается в квартире, которая будет сдаваться в аренду, целесообразно все-таки занести ванну в уже облицованный санузел. Здесь лучше сэкономить на самой ванне. Благо поменять ее, при таком варианте установки, особого труда не составит.
В зависимости от того, пользуются ли ванной в ходе ремонта
Если хозяева живут в квартире, где протекает ремонт, им хочется максимально сократить период, во время которого санузлы не функционируют. В этой ситуации удобно будет занести и установить ванну в подготовленный, но еще не облицованный санузел, а затем обложить ее плиткой. Пока длится ремонт, ванной можно пользоваться.
В зависимости от мнения мастеров
Если условия позволяют выбирать любой из вариантов, можно довериться мастерам, делающим ремонт. Спецы с большим опытом сами определят оптимальную последовательность и расскажут обо всех возможных плюсах и минусах.
Советы
1. Если от борта ванны идет целая плитка, а не куцый обрезок, картинка получается более привлекательной. Планируя заносить ванну в облицованный санузел, желательно еще до укладки плитки приблизительно определить, на какой высоте будет находиться бортик.
2. Прежде чем промазывать «шов» между стеной и ванной силиконовым герметиком, рекомендуется наполнить чашу водой до слива. Сливать воду можно только после высыхания герметика. Утверждается, что если «герметить» пустую ванну, то после наполнения она может оторваться от стены. Чтобы защитить ванну и стены от следов герметика, перед работой необходимо наклеить на них монтажный скотч.
3. Если хочется «утопить» ванну в давно уложенную плитку, можно сделать неглубокую штрабу в кафеле. Ширина бороздки — по размеру борта ванны. Ванна задвигается в штрабу, стык обрабатывается герметиком и/или влагостойкой затиркой.
Смотрите ещё:
Последовательность ремонтно-отделочных работ в комнате
Розетки в ванной комнате
Чем и как резать плитку?
Волнистая плитка в интерьере
Куда поставить стиральную машину?
Как класть плитку в ванной: горизонтально или вертикально?
www.domfront.ru
Установка ванны до или после укладки плитки — видео инструкция и фото
Ремонт ванной комнаты – длительный, дорогостоящий и технически сложный процесс, от соблюдения технологии которого зависит удобство использования помещения и срок службы отделки. Самый простой выход из ситуации – нанять опытные бригаду мастеров, которые помогут выбрать качественный материал, облицуют стены и пол, установят сантехнику.
Содержание статьи

Однако, многие домовладельцы, желая сэкономить, пытаются справиться своими руками. Не имея опыты, они часто задаются вопросом, когда правильно выполняется установка ванны, до или после укладки керамической плитки на стены, пол. В этой статье мы расскажем секреты монтажа емкости для мытья, которыми с нами поделились отделочники-профессионалы.
Монтаж до облицовки плиткой
Обычно установка ванны опытными мастерами выполняется именно до укладки плитки на стены. Такая технология считается оптимальной, так как в процессе облицовки изменяются размеры помещения. Если установка емкости для мытья производилась предварительно, то класть плитку начинают от ее борта ванны, в результате чего не образуется зазора.

Монтаж до облицовки плиткой
При этом монтажные работы выполняют в следующей очередности:
- В первую очередь в помещении ванной снимается старое декоративное покрытие со стен, потолка, пола.
- Поверхность пола стен, потолка и пола тщательно выравниваются по строительному уровню для укладки керамической плитки или отделки пластиковыми панелями.
- После этого приступают к отделке потолка. Для этого можно использовать технологию подвесного, подвесного или натяжного потолка.
- До установки ванны, выполняют укладку плитки на пол помещения. При этом важно выдержать уровень пола.
- Производится установка емкости для мытья и подключение к канализационной системе. Ванну нужно как можно плотнее придвинуть к стенам и тщательно выровнять борта по строительному уровню. Не нужно делать уклон в сторону слива, так как он чаша и так обладает формой дна, способствующей эффективному оттоку воды.
- После монтажа ванны, начинают облицовывать стены керамической плиткой. Первый ряд выставляют на борт емкости для мытья, как бы опирая на него плитку.
- После укладки плитки заделывают стык между ванной и стеной с помощью герметика, так как зазор между ними при такой технологии выполнения работ минимальный.
Обратите внимание. Технология монтажа емкости для мытья перед облицовкой стен плиткой также позволяет сэкономить немного средств, затрачиваемые на строительные материалы, так как в этом случае пространство за ванной не отделывается.
Монтаж после укладки плитки
Идеальные условия во время ремонта складываются редко и возникают ситуации, когда правильную технологию монтажа емкости для мытья соблюсти не удается. Выполнить монтаж ванны после укладки плитки вполне под силу опытным мастерам. Однако, если установка делается своими руками, могут возникнуть некоторые сложности.

Монтаж после облицовки плиткой
Дело в том, что угадать точные размеры емкости для мытья достаточно сложно, потому между стеной и бортом ванны могут возникнуть широкие зазоры, заделывать которые придется с помощью раствора и керамических бортиков. Технология монтажа купели после укладки плитки состоит из следующих этапов:
- Сначала все поверхности в помещении ванной комнаты очищаются от старых отделочных материалов и загрязнений.
- Затем с пола снимают старую стяжку, организуют новое гидрокорыто и тщательно выравнивают пол, наносят на него грунтовку глубокого проникновения.
- Выравнивают поверхность стен, подготавливая к укладке плитки. Чем ровнее стены в помещении, тем проще ровно уложить кафель.
- После этого облицовывают стены и пол керамической плиткой, отделывают потолок.
- Затем выполняется установка ванны. Емкость для мытья как можно ближе придвигают к стенам, выравнивают по высоте и уровню.
- Зазор между стеной и краем купели заделывают влагостойким бетоном, если он шире 1 см, а затем отделывают керамическим или пластиковым бортиком.
Учтите, что выполнить монтаж емкости для мытья после укладки плитки достаточно сложно. Нарушение правильной последовательности работ часто приводит к порче внешнего вида отделки и появлению огромной щели, в которую затекает вода.
Особенности технологии
Каждый мастер подтвердит, что гораздо проще сначала установить ванну, а затем приступать к облицовке стен. Однако, обратный порядок работ также возможен при наличии определенного опыта и готовности к дополнительным затратам на приобретение бордюра для заделки зазора. Ремонт ванной в такой очередности имеет несколько особенностей:
- Большие затраты на материалы. Если установка емкости для мытья выполняется после отделки стен, то сэкономить на керамической плитке не получится. Такая технология требует в среднем на 2-2,5 квадратных метра кафеля больше, чем традиционная. Кроме того, потребуется керамический бортик для заделки стыка между ванной и стеной.

Бортик для устранения зазора
- Нестабильность размеров. При облицовке стен кафелем размеры помещения сильно изменяются, и предугадать, сколько свободного пространства останется для монтажа купели, может только опытный мастер. Дилетант может столкнуться с тем, что выбранная модель ванны просто не влезет между стенами.
- Риск образования зазора. При установке ванны в обратном порядке увеличивается риск возникновения зазора между ней и стеной, в который заливается вода. Чтобы устранить этот зазор, потребуется немало сил и времени.

Зазор между ванной и плиткой
- Высокая сложность работ. Качественно выполнить монтаж купели после облицовки стен керамической плиткой может только опытный мастер.
Обратите внимание! Средняя толщины плитки вместе с плиточным клеем составляет 1 см, а значит размеры помещения сильно изменятся. Более того, неопытному отделочнику трудно обеспечить стабильность клеевого слоя при кладке, поэтому эти показатели могут значительно варьироваться. Если вы не имеете достаточного опыта в отделочных работах, мы рекомендуем устанавливать ванну перед началом облицовки стен, чтобы облегчить себе задачу.
Видео-инструкция
sovety-vannoy.ru
Ванну устанавливать до плитки или после? > %
Этот вопрос запутан больше всего потому, что достаточно фанатов, у каждого способа. Но мало фактов и доказательств. Обычно, одни эмоции и одностороннее выпячивание достоинств.
Чтобы принять решение, нужно разобрать преимущества и недостатки всех вариантов. Правильный выбор, во многом, зависит от особенностей конкретного санузла.
Ванна после плитки.
Установка ванны по завершению всех отделочных работ в сан блоке – классический вариант, рекомендуемый фирмой РАВАК.
Какие плюсы от такой последовательности работ?
Технология упрощает облицовочные работы. Главное преимущество – ванна не будет «угроблена» в момент облицовки.
Таких моментов предостаточно:
- Падение плитки (особенно на акриловую поверхность).
- Следы от клея и затирки (особенно эпоксидной) на поверхности при нарушенном защитном слое из пленки.
- Последствия укладки плитки, стоя в акриловой ванне, также, непредсказуемы.
Второе преимущество, если установкой сантехники занимаются другие мастера, – им не нужно приходить на установку несколько раз.
Главный аргумент у противников иных способов установки: «Как потом заменить ванную, если что случится?»
Какие недостатки при монтаже ванны после укладки плитки?
- Шов между ванной и стеной получатся значительным из-за неровных краев. Обычно, борт ванны посередине имеет выпуклость, а на углах – закругление:
Кроме того, у некоторых типов акриловых ванн, торец имеет скос, расширяющийся к низу.
В таких случаях ширина шва будет еще больше:
Верхний край ванны, также, не ровный. Плюс, силиконовый шов между плиткой и ванной, получается вогнутый. Там скапливается вода. Со временем – плесень и подрыв силикона:
Кому приходилось снимать старый силикон, то известно, насколько условны герметичность и прочность крепления силиконом. Если потянуть за оторвавшийся край герметика, то можно вытянуть «колбаской» весь силикон.
Как вариант в подобных ситуациях возможно дополнительное приклеивание уголка.
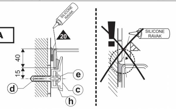
В инструкции RAVAK по монтажу, ванна должна пристыковываться к плитке, без нависания:

Одного такого утверждения от авторитетного источника может прекратить поиски других подходов.
Интересная деталь в чертеже – между ванной и стеной закреплена противошумовая лента. На такие детали редко обращают внимание:
Установка ванны до плитки.
Этот способ во многом зависит от исполнителя работ.
На видео, процесс облицовки выглядит мрачновато. Но в конце получен достойный результат (подробностей не видно). Так бывает не всегда.
Такой способ часто можно встретить на роликах мастеров из США. Интересная деталь – гидроизоляцию выполняют после установки ванны. Изолирующая мастика заходит на ванну примерно на сантиметр. По периметру, на стыке ванны и стены, клеится стеклохолст. Вся поверхность ванны, кроме сантиметровой полоски по периметру, закрыта бумагой и изолентой.

Возможно, такая технология принята из соображений надежной гидроизоляции.
За и под ванной – деревянный каркас с настилом из ДСП. Невидимая протечка вызовет гниение и обрушение каркаса здания.
Возможно есть дополнительные аргументы делать так.

Для контраста – другое, абсолютно противоположное мнение:
Третий способ – установка ванны в процессе облицовки.
Такой вариант уже предлагался раньше. Это наиболее оптимальный (мое мнение).
Этот способ предполагает выбор и покупку ванны на этапе начала штукатурных и гидроизоляционных работ.
Может так случится, что размер помещения не совпадает идеально с размером ванны, на 1-2 см. Увеличение штукатурки на 1 см или выпиливание борозды в стене, с последующей гидроизоляцией, на этом этапе работ, не вызывает сложностей.
Последовательность работ происходит по такой схеме:

Установка ванны в процессе укладки плитки.
Такая технология лишена многих недостатков, рассмотренных выше:
- Шансов остаться невредимой у ванны больше.
- Герметичность достигается двойным нанесением силикона – сперва на стыке ванны со стеной, а затем на стыке силикона с плиткой.
- Силиконовый шов минимальный и может быть 2-3 мм. Герметик заходит за плитку и вырвать его затруднительно.
- Отсутствует накопление воды на силиконовом шве у стены из-за того, что скос борта ванны накрыт плиткой.
Еще одно мнение на эту тему:
Если бы не ролики выше, то такие советы могли бы увести от принятия правильного решения.
Остатки целой плитки, сложенные под ванной, могут выручить не раз:
101ohibka.ru
