Как подключается проходной выключатель – Подключение проходного выключателя — 2 ошибки и недостатки. Схема подключения с двух и 3-х мест.
Как подключить проходной выключатель
В статье рассматривается принцип работы проходного и перекидного выключателя, приводятся схемы подключения выключателей, предназначенных для управления освещением с двух, трех и более мест.
Приведены советы по правильному выполнению монтажных работ, связанных с подключением проходных выключателей. 
Идея, по которой создан проходной выключатель, не нова, первые схемы появились в домах радиолюбителей еще 60-х годов, а особую популярность она набрала в 90-е, когда на рынке появились первые импортные выключатели, «заточенные» под управление светильником из разных мест.
Устройство и принцип работы проходного выключателя
Самым простым представителем семейства проходных выключателей является его одноклавишный вариант.

Внешне он ничем не отличается от обычного выключателя, кроме внутренней схемы, которая обычно указывается на обратной стороне корпуса.

Принцип работы проходного выключателя прост: при перемещении клавиши выключателя внутренний подвижный контакт размыкает одну цепь и автоматически замыкает вторую (так называемый перекидной контакт). На рисунке клемма «2» — общий контакт, клеммы «3» и «6» — выход перекидного.
Принципиальная схема проходного выключателя выглядит так:
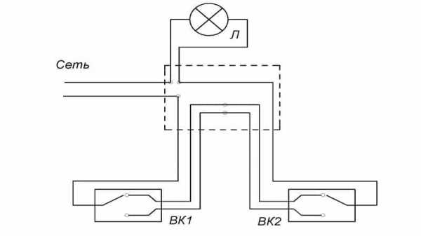
Используя данный эффект, можно создать самую простую схему проходного выключателя, при которой один светильник будет управляться сразу из двух разных мест:
1,2 — проходные выключатели; 3 — к корпусу светильника
Подключение проходного выключателя
Монтаж выполняется трехжильным кабелем. Для упрощения монтажных работ его жилы должны иметь заводскую цветовую маркировку. Сечение выбранного провода должно выдержать подключаемую через него нагрузку. Поскольку мощность контактов выключателя ограничена величиной 10–16 А, для монтажа чаще всего используют медный гибкий кабель с сечением проводов от 1 до 1,5 мм 2.
Как подключить проходной выключатель:
- На проходном выключателе необходимо найти общую клему (на схеме она обозначена цифрой «1»).
- На первый выключатель, расположенный ближе всего к распределительной коробке, подводим «фазу» и подключаем ее на общую клему «1». Для монтажа используем самый яркий провод (обычно красный или оранжевый, на поясняющем рисунке использован белый ).
- Высаживаем на выходные клеммы проходного переключателя (по схеме это клеммы «2» и «3») два оставшихся провода, запоминаем соответствие цвета использованной жилы и маркировки на клеммнике проходного переключателя.
- На втором выключателе выполняем подключение кабеля аналогично первому (строго соблюдаем цветовую маркировку проводов и соответсвующие им клеммы переключателя).
- В распределительной коробке соединяем самый яркий провод (на поясняющем рисунке это белый), пришедший со второго проходного выключателя с фазой светильника.
- Два других провода, в соответствии с цветовой маркировкой, соединяем с аналогичным по цвету проводом, пришедшим с первого выключателя (например,зеленый с зеленым, синий с синим и т. д.), на поясняющем рисунке соединены зеленые и красные провода.
- Нулевой и заземляющий провод в распределительной коробке сразу соединяем с аналогичным по назначению кабелем, уходящим на светильник.
- Подтягиваем скрутки, при необходимости лудим, качественно изолируем оголенные участки проводов.
Также можно использовать следующее соединение:
1 — ответвительная коробка; 2 — к корпусу светильника; 3, 4 — подрозетники
Сборка проходного переключателя выполняется в следующей последовательности:
1. Разбираем выключатель.
2. Подключаем к проходному выключателю провода, согласно схеме.

3. Вставляем выключатель в монтажную коробку и фиксируем его в ней.

4. Закрываем выключатель защитно-декоративными накладками.

Важно! С помощью контрольки удостоверьтесь в том, какой провод в распределительной коробке «фаза». Перед выполнением монтажных работ отключите питающее напряжение. Не соединяйте в одну скрутку медные и алюминиевые провода.
Проверка работы схемы
Необходимо убедиться, что каждый выключатель может как включить, так и отключить лампу, вне зависимости от положения другого выключателя.


Каждое переключение проходного выключателя должно вызывать отключение или включение электрических ламп, если этого не происходит, необходимо найти и устранить ошибку в выполненном монтаже.
Двухклавишные проходные переключатели
Данные проходные выключатели физически состоят из двух одинарных проходных выключателей, собранных в одном корпусе.
1 — проходной двухклавишный выключатель; 2 — проходные выключатели
Двойной проходной переключатель позволяет управлять несколькими лампами сразу. Для этого необходимо собрать следующую схему:
1, 2 — проходной двухклавишный выключатель; 3 — к корпусу светильника
Для коммутации можно использовать как трехжильные провода, проложенные в параллель, так и шестижильные, главное, не ошибиться при подключении.
Собранная схема позволяет независимо включать и выключать две лампы или два светильника с двух разных мест.
Например, включим лампу № 1, изменив положение первого перекидного переключателя.

Аналогично можно включить вторую лампу.

Отключение можно выполнять как с помощью первого, так и второго переключателя.
Управление освещением с трех и более мест
В некоторых случаях недостаточно иметь возможность управлять освещением с двух мест. Для эффективного управления освещением трехэтажного лестничного марша понадобится минимум три точки контроля. В этом случае совместно с классическими проходными выключателями используется дополнительный тип выключателя — перекрестный.
Перекрестный выключатель устанавливается в разрыв связи между двумя проходными переключателями, это позволяет создать еще одну точку управления освещением.
1, 3 — проходные выключатели; 2 — перекрестный выключатель; 4 — к корпусу светильника
С помощью дополнительной последовательной установки перекрестных выключателей можно увеличивать количество мест, с которых производится управление освещением.
Как видно из схемы, переключение любого из выключателей вызовет включение или отключение освещения.

Сборку схемы управления лампой с трех различных мест можно выполнить следующим образом:
1 — проходной выключатель; 2 — перекрестный выключатель; 3, 5 — подрозетники для проходных выключателей; 4 — подрозетник для перекрестного выключателя; 6 — ответвительная коробка; 7 — к корпусу светильника
Монтаж выполняется аналогично рассмотренному выше варианту с одинарным проходным выключателем, для монтажа потребуется двух и трехпроводный кабель.
Как видно из рассмотренного материала, с помощью проходных выключателей можно организовать управление одной лампой с двух разных мест. Использование перекрестного выключателя позволяет увеличить количество мест управления до трех и более.
Влад Тараненко, рмнт.ру
rmnt.mirtesen.ru
Как подключить проходной выключатель: схема подключения
Если у вас имеются длинные коридоры, лестницы или большие комнаты, то для освещения их будет удобно использовать проходные выключатели. Подобные устройства позволяют включать и выключать светильники из двух мест — это очень удобно для крупных помещений. В этой статье мы рассмотрим несколько схем соединения проходных выключателей, разберем принцип их работы и изучим основные типы устройств.
Где применяются
Переключатели проходного типа достаточно редко используются. Это вызвано тем, что многие электрики и пользователи просто не слышали о них.
Классический проходной выключательЭти устройства незаменимы в следующих местах:
- На лестницах в квартирах и жилых домах. К примеру, вы поднимаетесь с первого этажа на второй и вам надо осветить лестницу. Вы включаете свет на первом этаже, поднимаетесь на второй и выключаете его.
- В длинных коридорах. При входе вы включаете свет, на выходе — выключаете. Принцип работы проходного выключателя позволяет использовать их для управления несколькими линиями освещения.
- В спальных комнатах. Один выключатель располагается на входе в комнату, второй — возле кровати.
- В крупных цехах, торговых помещениях, на складах и пр. Позволяет эффективно управлять освещением с нескольких точек.
Подключение устройств
Существует несколько схем подключения этих подобных устройств, разные типы выключателей и разводок. Мы разберем самые популярные из них.
Управление из двух мест
Классическая схема подключения проходного выключателя на 2 точки подразумевает использование специализированных переключателей для проходных сетей с одной кнопкой. Они имеют один входной контакт и два выходных. Схема подключения следующая: от коробки на лампу подается ноль. Фаза уходит из коробки на единственный вход выключателя А. К выходным контактам подключается дополнительный кабель, который уходит на выходные контакты переключателя Б. Из Б через единственный “входной” контакт фаза уходит на лампу.
Принцип работы и устройство проходного выключателя очень простое. В первом переключателе всегда замкнут какой-то контакт. Вторым вы либо размыкаете цепь, либо соединяете ее. Пройдя через коридор, вы размыкаете цепь первым, что приводит к отключению светильника. На обратном пути вы включаете фазу одним и размыкаете ее вторым. Эта схема идеальна, если вам нужно включить один светильник или несколько, расположенных на общем кабеле.
Классическая схема подключения для двух устройствУправление из двух мест несколькими лампами
Эта схема немного сложнее и требует большего количества работ. Подходит для крупных помещений, в которых работают несколько линий освещения. Данная схема подключения проходного выключателя потребует наличия двойных устройств (у них два входных и 4 выходных контакта). Разберем классический принцип подключения на основе двух линий освещения или люстры с двумя режимами работы.
Для создания подобной сети нужно последовательно соединить выходы первого переключателя с выходами второго. Они должны отключать фазу, чтобы при монтаже вас не ударило током. Ноль из коробки уходит на две линии освещения. Фаза из коробки уходит на вход переключателя А. Далее они коммутируются с Б посредством соединений кабелем (выходы соединяются, как было описано выше). Затем фаза уходит из Б на линии.
Принцип работы системы тот же, что и при однокнопочном соединении, просто используется две линии. Мысленно представьте, что у вас два отдельных выключателя и все станет понятно.
Управление из трех мест
Это уже довольно сложная система, которая потребует от монтажника мозговых усилий и навыков. Итак, как подключить проходной выключатель (схема подключения) для троих источников? Рассмотрим наиболее простой вариант, хотя имеются и более сложные. Для создания понадобится два проходных устройства с одной кнопкой (1 вход, 2 выхода) и одно перекрестное (два входа, два выхода).
Схема подключения различных вариацийНоль, как обычно, подается на светильники из коробки. Фаза из нее же уходит на вход в А и уходит через два выхода на два входа перекрестного переключателя. Затем она уходит через два контакта на два выходных в Б и через вход А подается на лампы. В принципе ничего сложного в этом нет, но главное — правильно проложить провода. Обычно подключение делается через коробку, а не по стенам, чтобы во время последующего ремонта не повредить кабеля (из короба делается отдельный выход на А, Б, С, они не соединяются друг с другом по горизонтальному кабелю). Хоть такое подключение и допускается, но его нежелательно использовать.
Используя двойной перекрестный переключаель и двойные проходные можно усложнить процесс, управляя двумя группами светильников из трех мест, но подобные схемы встречаются нечасто. Эти системы можно усложнять до бесконечности, добавляя новые двухклавишные или одноклавишные проходные выключатели.
Внимание: выключатель всегда должен размыкать фазу, она приходит на нижний лепесток патрона, а не на боковой. Это позволит избежать поражения током при замене лампы.
Еще один совет — старайтесь делать отдельные линии освещения на каждую комнату или две комнаты. Это поможет вам избежать обесточивания всей системы при ремонте или замене элементов. К примеру, вам нужно поменять розетку в спальне. Вы обесточиваете ее на щитке, при этом в зале и на кухне у вас есть освещение.
Виды переключателей
Для создания схемы подключения перекидного выключателя вам могут понадобиться следующие устройства:
- Классический одноклавишный переключатель. Имеет 1 вход и 2 выхода.
- Двухклавишный. Имеет 2 входа и 4 выхода. Позволяет управлять двумя линиями.
- Трехклавишный. Позволяет управлять тремя линиями, имеет три входа и 6 выходов.
- Перекрестный. Имеет одну кнопку, два входа и два выхода.
Четырехкнопочные устройства практически не применяются ввиду сложности управления. Но несмотря на это их все же иногда подключают.
Классическое подключение одинарного включателяМонтаж систем
Чтобы правильно построить систему маршевого выключателя, вам нужно составить схему ее подключения и продумать местоположение всех кабелей. Затем можно приступать к работе, закупив нужное оборудование. Для прокладки вам понадобится шлифмашинка с алмазным диском, при помощи которой вы прорежете направляющие под штробы, перфоратор для выбивания штукатурки и создания каналов, а также уровень для нанесения разметки и контроля за вертикалями-горизонталями. Старайтесь делать все аккуратно, не нужно протягивать провода наискосок, создавать в стенах петли и соединения. Все спайки должны располагаться в коробках, в стены кладутся только цельные кабели.
Для бытовых систем освещения вполне достаточно медного кабеля на 1.5 квадрата. Операция по монтажу проходного выключателя выглядит следующим образом:
- Кабеля закладываются в вырезанные штробы.
- Устанавливаются переключатели.
- Кабеля заводятся в щиток, но не подключаются.
- Кабеля подключаются к выключателям, светильникам.
- Происходит соединение кабелей в коробках, вся система собирается.
- Провода подключаются к щитку через автоматы на 16 ампер.
- Проводится тестирование системы.
- Устанавливаются декоративные элементы, кнопки выключения.
Внимание: установка проходного выключателя не вызовет сложностей, если вы правильно спроектируете систему. Просто заранее продумайте все тонкости и нарисуйте схему на бумаге, чтобы не запутаться в процессе монтажа.
Вконтакте
Одноклассники
Google+
knigaelektrika.ru
Схема проходного выключателя с двух мест: пошаговый монтаж
Обычно одна осветительная конструкция управляется одним электровыключателем. То есть, люстру, находящуюся в гостиной, можно выключить только из гостиной.
Кроме того, на одну комнату обычно устанавливается одно коммутирующее устройство, у входа. С его помощью и происходит управление электроосветительными лампами в данном помещении.
Но часто бывают случаи, когда такой способ управления светильниками неудобен.
Общая информация
Когда может быть неудобна классическая схема:
- На лестничных площадках, когда освещение включается только внизу на весь подъезд, или на каждой площадке отдельно для данного этажа.
- В длинных коридорах с двумя выходами. Если включить свет при входе, пройти насквозь коридор и выйти, свет останется гореть впустую. За сутки расход электроэнергии станет непомерно высоким.
- Для внешних фонарей у входа в здание. Часто бывает, что освещением крыльца можно управлять непосредственно от входа в здание. То есть, для того, чтобы включить фонарь в темное время суток, приходится идти до выключателя в темноте. Если же человек вошел в дом и зажег свет, ему придется или оставлять его на всю ночь, или выключать за собой и подниматься в квартиру впотьмах.
- В проходных помещениях. Если даже квартира невелика, встречаются ситуации, когда человек входит в одну комнату, включает электроосвещение. Проходит в следующую, включает лампу там и идет обратно, в первое помещение, чтобы выключить электросветильники, ставшие уже не нужными. Гораздо удобнее будет провести дублирующую клавишу управления в дальнюю комнату.
- У изголовья кровати, чтобы выключать верхнюю люстру. Бывают случаи, когда в спальне включено малое освещение – ночник или бра, и приходится вставать с кровати и идти выключать верхний свет. Чтобы этого избежать, можно установить дополнительный электровыключатель на люстру поблизости от кровати.

Итак, случаев, когда человек нуждается в дублирующих перекидных переключателях, довольно много. В каждом из них придет на помощь устройство, позволяющее включать и выключать светильники из разных помещений, разными клавишами и независимо друг от друга.
Такой способ очень практичен и помимо общего удобства помогает экономить электроэнергию. При помощи проходного электровыключателя не нужно оставлять свет, например, на крыльце, на всю ночь. Можно просто включить его с верхнего этажа по мере необходимости и выключить возле входной двери.
Проходной выключатель (переключатель) отличается от стандартного коммутирующего устройства одной конструктивной особенностью. Он имеет три, а не два контакта и может переключать фазу с одного контакта на другие два по очереди.
Осветительные лампы, подсоединенные по такому принципу, могут быть как люминесцентными, так и лампами накаливания. Кроме того, таким образом можно подключать любые приборы, помимо осветительных, нуждающиеся в подобной схеме включения/выключения.
Схематические особенности
Схема установки такого рода устройств не сложна, но требует внимательности.
ВАЖНО! На этапе создания проводки в местах, где планируется установка перекидных конструкций, нужно проложить трехжильный кабель до первых двух, а если вы хотите установить большее количество переключателей, до следующих нужно протянуть четырехжильный кабель.
Для создания данного типа управления освещением с двух мест потребуются проходные выключатели, имеющие два положения переключения и три контакта. При этом переключение должно иметь перекидной характер, то есть, первый узел будет общим для двух оставшихся. В одном из положений переключения он замыкает первый, а в другом – последующий контакт. Замкнутость трех соединений сразу в этой конструкции исключена.
Если рассматривать составляющие схемы электролинии с двумя перекидными коммутирующими конструкциями, то в нее входит:
- Соединительная коробка, иначе называется ответвительной. Служит для защиты соединений электрокабелей.
- Устанавливается в каждом помещении, а в больших комнатах их бывает несколько.
- Соединительные провода (двух, трех и четырехжильные)
- Два проходных коммутирующих устройства
- Непосредственно светильник
Примерная схема подключения проходных выключателей с двух мест выглядит так:
- Провод «ноль» идет от источника на ответвительную коробку, а после нее – на светильник.
- Провод «фаза» идет от того же источника на ту же коробку, а потом – на общий контакт первого переключателя.
- Перекидные контакты (два) переключателя 1 через разветвительную коробку соединяются с такими же деталями переключателя 2.
- Фаза от общего контакта выключателя 2 идет на другой электроузел светильника.
Примерная схема подключения проходного двухклавишного выключателя с двух мест представлена далее на фото:

Монтаж системы управления одним осветительным прибором из двух точек несложен. Он производится следующим образом:
- На требуемые места установить перекидные коммутирующие конструкции
- Вывести от них кабели трехжильные
- Монтировать электросветильник, или несколько, заведенные в параллельное соединение
- Вывести от него (них) двужильный кабель
- Установить соединительную коробку. Выбор места для нее определяется кратчайшей длиной кабеля и удобного доступа к самой коробке
- Завести в коробку провода от питания, перекидных конструкций и электроосветительных приборов
- Соединить их так, как описано выше
При таком соединении четыре контакта (две пары) с обоих точек соединяются между собой. Для включения освещения фаза идет к осветительному прибору с общего узла электровыключателя 2.
Для примера предлагаем вам посмотреть видео, в котором представлена схема подключения проходных выключателей с двух мест:
Пошаговый монтаж
Монтаж проходных выключателей возможен как при открытом, так и при скрытом типе проводки. Его можно выполнить собственными силами при соблюдении нескольких правил безопасности:
- Обесточьте квартиру перед началом работ.
- Внимательно проверяйте, где расположена фаза, а где ноль.
- Соединяйте провода аккуратной скруткой, обжимайте и изолируйте их.
- Жестко закрепляйте на поверхностях ответвительную коробку и электрофурнитуру.
- Определите мощность осветительного прибора и подбирайте трехжильный кабель соответствующего сечения, исходя из мощности потребления электроэнергии.
Схема включения проходного выключателя из двух мест:

За счет своей конструкции, дублирующие электровыключатели не имеют определенного положения «включено/выключено» своей клавиши. Два соединительных узла в данной конструкции находятся в положении «замкнуто/разомкнуто» в зависимости от положения электроконтактов другого выключателя. Следовательно, положение клавиши при выключенном свете всякий раз будет разным.
К этой особенности использования можно очень быстро привыкнуть и пользоваться проходными переключателями без помех.
Альтернатива
Альтернативой проходным дублирующим переключателям могут стать бистабильные реле или светодиодные электросветильники, оборудованные датчиками движения и освещенности.
Бистабильные реле выгоднее устанавливать, если требуется управлять освещением не двумя, а четырьмя и более электровыключателями. Светильники же с датчиками движения не настолько практичны, нежели проходной выключатель. Скорость перемещения, количество остановок и другие факторы будут влиять на постоянные включения/выключения электроосвещения, что крайне неудобно.
Удобство использования в быту проходных электровыключателей сделало вышеописанную схему управления лампами освещения очень популярной. В настоящее время сложно представить себе жилое или производственное строение, где не применяются перекидные коммутирующие конструкции.
Заметная экономия электроэнергии приводит к повсеместной установке подобных приборов.
В заключение предлагаем вам посмотреть ещё одно познавательное и интересное видео о схеме подключения и установке проходных выключателей из 2 мест:
elektrik24.net
