Как приварить навесы на калитку: как правильно приварить навесы на круглые и квадратные столбы
Как приварить петли к калитке или воротам
Сначала о петлях. Петли бывают разные, с шариком, на подшипниках, с разъемным пальцем и не разъемным.
Ниже на фото представлена петля с неразъемным пальцем на шарике.
Нижняя часть петли с несъёмным пальцем с углублением под шарик.
В углубление вставляется шарик.
Верхняя часть петли.
Верхняя часть петли, «мама», приваривается к самой калитке, нижняя часть петли, «папа», приваривается к коробке.
Петля в сборе.
Следующая петля на подшипнике. На фото в сборе.
В разобранном виде.
Нижняя часть с несъёмным пальцем. Бывает и со съемным пальцем.
Верхняя часть с юбкой. Эта юбка может быть и на нижней части петли. Забегая вперёд, хочу сказать, что при приварке петли нужно быть осторожным, потому что в этом месте можно пропалить стенку этой юбки. Поэтому когда будете приваривать эту петлю, проваривайте её не по всей длине. У меня было два случая, когда я пропалил эту юбку.
Подшипники для петель.
Порядок вставки подшипников в петлю.
Верхняя часть петли имеет шурупчик, который можно откручивать и через отверстие смазать саму петлю, при этом саму калитку не нужно снимать с петель.
Когда я начал работать сварщиком то познакомился со способом приварки петель. Способ такой.
Полотно калитки вставляется в коробку. Между полотном и коробкой ставятся проставочки толщиной 4 мм. Проставочки — это просто небольшие отрезки из полосы металла. Полоса металла имеет толщину 4 мм. Мы её используем для приварки притворов.
Итак, трубу полотна и коробки нужно совместить так, чтобы они были на одном уровне, в одной плоскости. Это, бывает, сделать достаточно сложно, даже если трубы одного размера, так как часто трубы имеют неправильную геометрию. Далее зажимаем трубы в трёх местах струбцинами.
Далее устанавливаем петлю. Под петлю устанавливаем изогнутые проволочки. В таком положении петля находится в очень неустойчивом состоянии.
Здесь главная трудность заключается в том, чтобы обе петли были соосны друг другу. У меня при таком способе не получалось добиться приемлемого результата. Далее прихватываем петлю к трубам. Варить начинаем с трубы и переносим дугу на саму петлю, чтобы не сдвинуть саму петлю во время сварки.
Прихватили петлю, затем снимаем струбцины и проверяем как открывается калитка. Если в какой-то момент калитка открывается с натягом, тогда прихватки срезаются с петли и предварительный процесс повторяется заново. Когда мы добъемся нормального открывания, тогда проварием петли.
Мой напарник уже около полугода именно таким способом приваривает петли и у него все получается. Мне такой способ приварки петель заморочил голову. У меня не получалось нормально приварить петли таким способом и приходилось по нескольку раз перерезать петли. Поэтому я залез на Youtube и на основе рекомендаций из некоторых видео разработал свой способ приварки петель.
Перед приваркой палец петли смазывается, для того, чтобы он не замассировался (не залип) при сварке.
Петли привариваются сверху и снизу на расстоянии равном двойному размеру самой петли по длине. Например, если петля по длине имеет 11 см, то тогда сверху и снизу отступаем по 22 см и привариваем петли.
Далее на одной из труб я провожу линию на определенном расстоянии от внутреннего края трубы. Например, если диаметр петли 26 мм, то она должна располагаться по центру между двумя профтрубками, т.е. делим 26 на два, получается 13, отнимаем 2, получается 11 мм. Почему 2 мм? Потому что промежуток между трубами 4 мм, делим на 2, получается 2. Далее по линии я располагаю небольшой отрезок трубочки, я использую двадцаточку, и прихватываю. Далее устанавливаю петлю и подкладываю под неё спички. Лучше подкладывать 4 спички, 2 спички под верхнюю часть петли и 2 спички под нижнюю часть петли, чтобы петля находилась в одной плоскости. Если подложить только 2 спички, 1 под верхнюю часть и 1 под нижнюю часть, то тогда возможно петля просядет, т.к. она имеет свой люфт. Трубочку я прихватываю немного со смещением, чтобы удобно было делать прихватки.
См. ниже на фото.
Далее придерживаю пальцем верхнюю часть петлю и делаю прихватки.
Далее точно также делаю прихватку на нижней части петли.
Ниже на фото общий вид установленных петель перед приваркой. Видны три струбцины. Вверху я устанавливаю проставочку, кусочек металла толщиной 3 мм, по центру и внизу толщиной 4 мм. Это делается для того, чтобы компенсировать проседание калитки. А проседание калитки происходит из-за того, что во-первых сами петли имеют люфт (иногда достаточно большой), и во вторых калитка проседает (клюёт) под собственным весом.
Вот такая проставочка, зажатая струбциной.
После того, как сделали прихватки, срезаем трубочку (двадцатку), делаем на нижней части петли ещё одну прихватку, и снимаем струбцины. Открываем калитку и проверяем как она открывается, проверяем ход, зазоры.
Если всё нормально, опять устанавливаем проставочки, зажимаем струбцины и провариваем петли. Я провариваю так: сначала привариваю верхнюю часть верхней петли, затем верхнюю часть нижней петли, потом нижнюю часть верхней петли, затем нижнюю часть нижней петли.
Я провариваю за один раз. Мой напарник проваривает за два раза. Сначала корень шва, а затем полностью весь шов.
Проварена нижняя часть петли.
Далее швы зачищаем.
Затем раскрываем калитку. Коробку устанавливаем вертикально. Так удобнее проваривать петли с другой стороны.
Петли с другой стороны.
Провариваем петли с другой стороны.
Зачищаем швы.
Далее шов петли шпаклюется и грунтуется вся калитка. Ну и красится, конечно.
Как приварить петли на калитку из профильной трубы своими руками
Главная » Разное » Как приварить петли на калитку из профильной трубы своими руками
Как приварить петли на калитку
Очень часто калитки изготавливают из металла. Соответственно, все ее комплектующие должны быть прочными и надежными. Например, петли для такой калитки должны выдерживать вес всей конструкции. Поэтому к их выбору следует подходить ответственно. Петли для калитки сегодня приобрели самые разные формы и виды.
В этой статье, мы рассмотрим особенности выбора петель для калитки, а также отдельно рассмотрим технологию их приваривания.
Разновидности петлей
От правильного выбора петлей для калитки зависит продолжительность их эксплуатации. Выбор петель зависит от нескольких факторов, а именно:
- Вес створки калитки.
- Максимально возможная нагрузка.
- Материал, из которого сделан каркас конструкции.
- Размеры створки.
Как правило, петли для распашных ворот рекомендуется использовать с подшипниками. Более того, если вы хотите, чтобы ворота и калитка открывались плавно, то на каждую створку можно установить по три петли. Хотя чаще всего устанавливают по две петли, особенно если длина ворот до 3 метров.
Кроме всего прочего, петли для ворот различаются по способу крепления, среди которых использование гаек и саморезов, сварки, закрутки на винты. Выбирая калиточные петли, обязательно учитывайте следующие факторы:
- Уровень шума при открывании/закрывании калитки должен быть сведен к минимуму.
Отлично, когда калитка открывается вообще тихо. - Полотно калитки после ее установки, не должно провисать.
- Петли должны быть устойчивы к взлому.
- Должны быть изготовлены из качественного материала и долговечными.
- Калитка должна легко поворачиваться.
- Важно учитывать ширину распахивания створки.
Согласно установленному ГОСТу существуют классификации петлей для распашных калиток и ворот. Итак, петли бывают таких классификаций:
- Цилиндрические с опорным подшипником.
- Сквозные.
- Для потайной установки.
- Цилиндрические с усиленной конструкцией.
- Трехсекционные накладные.
Теперь рассмотрим особенности каждого типа петель.
Цилиндрические
Внутри цилиндрических навесов имеется специальный подшипник. Такие навесы обладают небольшой массой и идеально подходят для распашных калиток и ворот. Они способны выдержать нагрузку до 400 килограмм. При покупке обязательно уточните класс навесов, так как от этого и зависит их способность выдерживать массу.
Важно заметить, что такие петли имеют красивый внешний вид, так как вся начинка скрыта корпусом.
Цилиндрические усиленные
Такие навесы способны справиться с массой створок до 600 килограмм. Внутри их также имеется шарик. По внешним характеристикам они ничем не отличаются от обычных цилиндрических. В усиленных имеется две дополнительные пластины для усиления конструкции. Благодаря этому вся нагрузка равномерно распределяется на каркас двери и опорный столб.
Сквозные петли
Этот вариант навесов идеален в тех случаях, когда нет никакой возможности использовать винтовой способ крепления и даже сварку. Для их крепления необходимо просверлить отверстия в опорной колоне ворот и использовать саморезы/болты с гайками. Их производство осуществляется левыми и правыми.
Важно! Один из минусов сквозных навесов заключается в том, что они неспособны выдерживать большую нагрузку, а только до 200 килограмм.
Накладные трехсекционные
Если створка ворот с калиткой имеет большую массу, то трехсекционные навесы идеальное решение.
Они обладают большой популярностью, среди достоинств выделяются следующие моменты:
- Износоустойчивость.
- Надежность.
- Исключает вероятность провисания створки.
- Обеспечивает тихое и плавное открывание.
- Обладают высоким уровнем взломостойкости.
Итак, мы рассмотрели с вами особенности выбора и разновидностей навесов для створки. Теперь подробнее рассмотрим детали их приваривания. Ведь если выбрать качественные навесы, а приварить их неправильно, то они не будут выполнять своей главной задачи.
Также существует петли с доводчиками для установки на калитку. Такие навесы обеспечивают плавное и бесшумное закрывание створки, что положительно сказывается на продолжительности эксплуатации как самой двери, так и навесов.
Крепление петлей сваркой
Существует более простой метод установки навесов – использование саморезов/винтов. Винтами навесы крепятся к створке и к столбу опоры. Но, такую технологию лучше всего использовать для деревянной двери, которая имеет небольшой вес.
Если же у вас металлическая створка, то лучше использовать метод сварки. Рассмотрим с вами технологию того, как правильно приварить металлические петли на калитку. Стоит рассказать о некоторых особенностях этого процесса. Для начала навес приваривается к створке калитки. Вторая половина навеса приваривается к столбу опоры.
Совет! Чтобы дверь свободно открывалась, все должно быть строго вымерено. В противном случае навесы могут не совпадать.
Можно выделить общие рекомендации по проведению этих работ. Ведь важно достичь того, чтобы ворота и створки открывались свободно. Если петли прямые или имеют цилиндрическую форму, то их удобнее приваривать в горизонтальном положении. Например, положить на землю. Перед началом сварки под нижнюю часть створки обязательно следует установить подложку. Ее размер должен быть равен половине всей длине петли. Оставшаяся часть просто придерживается рукой в перчатке.
Чтобы нагрузка на петли была равномерной, дополнительно приварите пластины из металла.
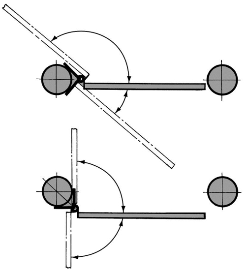
Если столбы опоры имеют прямоугольную форму, то фиксация петлей осуществляется в один уровень с торцевой стороны опоры. Что касается круглых столбов, то обязательно делается выпуск на 5 мм наружу. Процесс сварки следует осуществлять маленькими прихватками. Это важно, ведь по ходу сварочных работ можно что-либо подправить. Перед тем как произвести окончательную сварку, проверьте петли на предмет свободного открывания и закрывания.
Совет! Если вы приобрели скрытые петли, то их установку лучше доверить профессионалу. Такая работа требует опыта и особых навыков.
Итак, теперь поэтапно рассмотрим особенности их приваривания. Как уже говорилось, лучше осуществлять работы в горизонтальном положении. Для этого укладываете дверцу на землю. Под навес изготавливается небольшая подложка. Заранее измерив место установки, выполняете несколько прихваток. Первая прихватка должна быть с торцевой части. Далее определите ее ровность по отношению к створке и столбу опоры.
Это важно, ведь в противном случае дверца не будет закрываться/открываться.
Выровнять на прихватках можно при помощи бруска, который укладывается вдоль петель. После этого ее можно основательно приварить. Сварка осуществляется плавными и небольшими шагами. Когда они приварены к створке, то следующим шагом будет их монтаж к столбам опоры. Сварка осуществляется с внутренней стороны стоек. При этом обязательно проверьте качество открывания/закрывания. Для этого выполните две небольшие прихватки и после несколько раз откройте калитку. Если все работает исправно, то можно осуществлять окончательное обваривание.
Совет! Сварочный шов всегда выполняется снизу вверх, чтобы раскаленный металл удерживался, а не вытекал.
Когда вы закончили сварочные работы, то дайте сварочному шву полностью остыть и только после этого осуществляйте открывание створок.
Итог
Итак, мы рассмотрели с вами основные особенности процесса приваривания навесов к створке и столбам опоры.
Как приварить петли на ворота из профнастила — Ковка, сварка, кузнечное дело
Наиболее удачным решением в плане дизайна, а также экономии и качества являются ворота из профнастила. Даже после долгих лет эксплуатации профлисты не теряют своих рабочих характеристик, они долговечны и сохраняют свой первоначальный вид долгое время. Видов ворот достаточно много, но наиболее простой вариант – это распашные ворота.
Если на территории установлен забор из профнастила на металлических опорных столбах, то петли для ворот привариваются непосредственно на них. Но лучше до того как приварить петли на ворота из профнастила изготовить раму по необходимым размерам. Для ее упрочнения по углам привариваются косынки в виде треугольников из железных труб, а в местах крепления петель также стоит предусмотреть для них площадки в виде пластин металла. Петли к столбам и рамам створок для ворот также можно (как вариант) приварить на ровной площадке на земле до того как столбы будут бетонироваться.
Установка ворот осуществляется на столбы, которые бетонируются с расчетом зазоров между створками.
Последовательность установки петель
- Как приварить петли на ворота так, чтобы металл не повело, а ворота легко открывались. При прямых петлях рекомендуется приварить их на ворота в первую очередь, пока они находятся на ровной плоскости, на земле или монтажном столе.
- На половину длины петли делается подложка в два-четыре миллиметра под нижнюю половину петли, а верхняя часть прихватывается с торца. Если ворота устанавливаются на круглые опоры, то петли выпускаются наружу ворот на 5мм, а если опоры прямоугольные, то варить необходимо заподлицо.
- Процедура для обеих петель идентична. После того как уже петли прихвачены, необходимо при помощи прямоугольного бруска (30х30) выставить петли, приложив его вдоль петель.
- Дальше делаются прихватки с каждой стороны петель по две штуки. Варить петли стоит короткими прихватками, поочередно с каждой стороны петли.

- Потом петли привариваются к столбам. Ворота выставляются с необходимым зазором в один-полтора сантиметра посредине, зазор возле столбов может быть два-два с половиной миллиметра. Низ петель прихватывается к столбам, если необходимо, то можно применить вставки между столбами и петлями из круглого или прямоугольного сечения подходящего размера.
- Теперь можно ворота осторожно открыть, аккуратно придерживая, и если ворота открываются легко, то делается несколько прихваток снаружи.
- После закрывания ворот необходимо сделать посередине подставку, что бы при варке они не просели. Сварочный шов укладывается снизу вверх. После сварки необходимо дать петлям остыть, и только потом можно открыть ворота. Для приваривания петель с другой стороны, также делается подставка под створку ворот.
Метки: ворота, выполнение сварочных работ, Кованые ворота с профнастилом, сварка своими руками, Сварка- основы
Как приварить петли на ворота самостоятельно.
Особенности выбора петельКаждый приусадебный участок нуждается в должной охране. Поэтому хозяева ограждают его забором. Ворота являются важным элементом этой конструкции. От их правильного функционирования зависит не только комфорт хозяев, но и безопасность их имущества. Решившись выполнить ограждение своими силами, необходимо ознакомиться с методикой, которая объясняет, как приварить петли на ворота.
Для этого потребуется специальное оборудование и хотя бы самые начальные навыки проведения сварочных работ. Этот процесс вполне возможно выполнить самостоятельно.
Характеристика сварки петель
Знакомясь с технологией, поясняющей, как приварить петли на ворота, следует рассмотреть все тонкости этого занятия. Даже опытные мастера сталкиваются с трудностями. Человеку, не имеющему опыта в проведении подобных действий, придется преодолеть множество трудностей. Поэтому нужно запастись терпением и выделить для этой работы достаточно времени.
Учитывая все рекомендации специалистов, даже начинающий мастер сможет выполнить установку правильно.
Чтобы качественно собрать гаражные ворота, ограждение для участка, необходимо знать несколько особенностей выполнения подобных действий. Довольно сложно приварить подвижные элементы к круглым стойкам ворот. В этом случае потребуются дополнительные пластины. Воспользовавшись рекомендациями специалистов при выборе и монтаже петель, можно получить в итоге качественную, крепкую калитку.
Подготовительный этап
Перед началом работы необходимо подготовить инструмент, а также соблюсти требования охраны труда. Решая задачу о том, как лучше приварить петли на ворота, следует подобрать нужные орудия труда. От этого во многом зависит результат.
Помимо сварочного аппарата, мастеру понадобится молоток, болгарка, а также рулетка и строительный уровень. Далее, следует позаботиться о технике безопасности. Выполнять сварку допускается исключительно в защитной маске и рукавицах. Ведь это довольно небезопасное оборудование. При неправильном обращении оно может нанести вред здоровью.
Также следует выполнять сварку в специально подготовленном для этого месте. Там не должно быть сухой травы, воспламеняющихся предметов и материалов. При несоблюдении этих правил может возникнуть пожар.
Разновидности петель
Существует множество видов петель, которые подходят для калитки. У каждого из них есть свои особенности. Это учитывают при выборе. Петли в виде цилиндра подходят для легких ворот. Их предельно допустимая нагрузка не превышает 400 кг. Если же конструкция обладает большим весом, применяют усиленные петли для ворот в форме цилиндра. Здесь допустима нагрузка составляет до 600 кг. Самые надежные петли имеют три секции. При их использовании ворота не провисают, их крайне тяжело взломать.
Оригинально и очень красиво смотрятся кованые петли. Они подходят для деревянной калитки и забора. Петля-стрела также является еще одним вариантом для тяжелых ворот. Их механизм имеет шарниры. Они удобны в установке. Регулируемая разновидность применяется для легких конструкций до 200 кг.
Они имеют возможность менять положение створок по высоте.
Выбор петель
Петли необходимо выбирать в соответствии с особенностями конструкции. Например, решая вопрос, как приварить петли на ворота из профнастила, следует отдать предпочтение более простым конструкциям. Они рассчитаны на небольшой вес. Их преимуществом является невысокая стоимость. Для легких заборов и калиток это будет идеальным вариантом.
Усиленные петли, обладающие подшипником, применимы для тяжелых створок. Стоимость таких деталей относительно велика. Но за счет особенностей формы в подобных петлях происходит перераспределение нагрузки. Это увеличивает срок эксплуатации всей системы. Качественные петли не издают посторонних звуков. Их ход очень мягкий.
Также дорогие разновидности оснащают противовзломными элементами. Это мешает ворам выдавить или снять створки калитки.
Процесс сварки
Существует определенная методика, объясняющая, как приварить петли на ворота. Для этого потребуются монтажные пластинки.
Они необходимы для равномерного распределения веса створок. Пластинки приваривают к петлям. Форма и размер подбираются в соответствии с габаритами и весом створок.
Процесс лучше выполнять вдвоем с помощником. Ворота поднимаются вертикально. Уровнем проверяется их ровное положение. Затем требуется приложить петли к калитке в местах крепления. Необходимо проследить, чтоб они стояли на одном уровне и параллельно краю калитки.
Процесс сварки начинается со створок. К ним монтируются петли. После этого следует приварить конструкцию к стойкам. При этом следует делать лишь небольшие привары. Так, в случае необходимости можно будет подправить створки. Если все элементы двигаются правильно, ворота не перекошены, можно приступать к чистовому шву. Нужно контролировать его качество. На завершающем этапе зачищают швы болгаркой.
Ворота из профнастила
Делая гаражные ворота или створки забора из профнастила, следует придерживаться несколько другой методики. Первоначально требуется соорудить несколько перемычек, которые будут идти параллельно верхней и нижней частям.
Эти детали фиксируют при помощи угольников. Перемычки должны разделить полотно на 3 равные части. К ним привариваются петли. Когда работа будет окончена, профнастил прикручивается сверху на петли.
Ознакомившись с технологией, рассказывающей, как приварить петли на ворота, каждый желающий может осуществить эту работу самостоятельно. Выполняя все действия аккуратно, можно получить очень хороший результат.
Создайте свой собственный алюминиевый навес
Питер Опубликовано Опубликовано в Как сделать Tagged with Алюминиевый навес
Поскольку я продал свой внедорожный прицеп, мне нужно было приобрести алюминиевый навес для моего Hilux.
(ПРИМЕЧАНИЕ: эта статья была написана в 2008 году)
На момент написания только простой пустой алюминиевый фонарь стоил мне около 14 000 рандов. Я подсчитала стоимость и поняла, что могу существенно сэкономить, сделав все своими руками. Самостоятельно делать это все равно было довольно дорого. Если вы включите время, которое вы тратите в свои расчеты, вероятно, стоит его купить. Но поскольку строительство — это мой способ расслабиться, я не включаю время, которое трачу в свои расчеты.
В то же время друг и товарищ по форуму Hilux, Нил, решил построить себе навес для предстоящей поездки в Рихтерсвельд.
Итак, мы с Нилом решили построить собственные алюминиевые навесы.
Поскольку я не умею сваривать алюминий, нам пришлось нанять кого-нибудь, кто сделал бы сварку за нас. У нас были какие-то смешные предложения, например, 6000 рублей только за сварку. В конце концов, мы договорились с двумя джентльменами из Langebaan, что мы будем выполнять резку и подгонку, а они сделают для нас сварку.
Для каркаса мы решили использовать квадратную трубу 38x38x3 мм. Решились на это чисто для прочности. Ниэль скоро добавит палатку на крышу к своему навесу, и он большой парень, и я буду стоять на своем навесе, когда фотографирую. Вот почему 38x38x3 казался хорошим сильным вариантом.
Я сомневаюсь, что будет большая разница в весе при использовании стальной трубы sqr с толщиной стенки 1,6 мм по сравнению с алюминиевой трубой с толщиной стенки 3 мм. Сталь вы можете сварить сами, но если вы останетесь здесь, на побережье, вам придется оцинковывать ее.
Сначала сварили нижнюю раму по размеру грузового отсека. У нас обоих есть Hilux 1998 года выпуска. Нил KZ-TE 2004 года, а я Hilux 2700i 1999 года. Грузовые отсеки имеют одинаковый размер, поэтому мы можем построить оба навеса одинакового размера.
Размер базовой рамы: 1410 мм в длину и 1530 мм в ширину
Здесь мы сделали первую небольшую ошибку.
Мы построили базовую раму того же размера, что и грузовой отсек. Только после того, как все было закончено, мы поняли, что он должен быть немного меньше. Причина этого в том, что при одинаковом размере между навесом и кабиной спереди будет очень мало места. Если вы устанавливаете окно, оконные резинки будут касаться друг друга. На картинке ниже вы увидите, что мы сдвинули его примерно на 10 мм назад, чтобы увеличить зазор.
Таким образом, на первом куполе нам пришлось разрезать раму, удалить 10 мм и снова сварить ее. Измерения, которые я дал выше, являются правильным размером. Лучше всего всегда измерять свой автомобиль, так как измерения могут незначительно отличаться в зависимости от автомобиля.
Далее нам нужно было приварить стойки. Вы заметите, что я решил сделать фонарь чуть ниже кабины. Это делается для того, чтобы свести к минимуму сопротивление ветру.
Если вы сделаете фонарь достаточно высоким, чтобы поставить два ящика с патронами друг на друга, он будет слишком сильно выступать над кабиной, и сопротивление ветру будет высоким.
Поэтому я решил сделать его чуть ниже кабины. Единственным недостатком будет то, что я могу разместить только один ряд ящиков с патронами на затворе у передних дверей.
Я видел навесы только с одной дверью с каждой стороны. Решил сделать по две двери с каждой стороны. Во-первых, он добавил еще одну опору посередине, что сделало ее прочнее, а во-вторых, вам не всегда нужно все внутри купола. Иногда вам нужна только кухня, и не нужно позволять остальным быть открытыми для элементов.
На рисунке ниже видно, что навес немного ниже кабины.
На наших куполах были обрезаны вертикальные ножки длиной 465 мм под углом 20 градусов. 20 градусов — это примерно то же самое, что угол наклона кабины.
Сначала мы установили опорную раму на автомобиль, а затем приварили к ней вертикальные стойки. Мы лишь слегка приварили его, чтобы потом можно было его двигать. Затем мы определили размер верхней рамки.
ОБРАТИТЕ ВНИМАНИЕ: чем длиннее ваши вертикальные ноги, тем уже будет верхняя часть рамы.
В нашем случае верхняя рама имеет ширину 1210 мм и длину 1410 мм.0022 Добавление верхней рамы к ногам
Поскольку навес недостаточно высок, чтобы поставить два ящика с боеприпасами друг на друга, я решил сделать переднюю дверь немного больше, чтобы ящик с боеприпасами мог сдвигаться в стороны. Таким образом, я смогу использовать три ящика с патронами за кабиной. Если вы вставите ящики с боеприпасами по всей их длине, вы сможете поместить только два из них.
Расстояние между ножками у передних боковых дверей 575 мм, у задних боковых дверей 720 мм.
Размер задней двери на двух навесах разный. Я хотел, чтобы моя дверь была как можно больше, но без наклона. Ниэль, с другой стороны, хочет добавить свой газовый баллон сзади, рядом с дверью. Для этого вам нужна большая задняя боковая панель, а значит, и дверь меньшего размера.
Ширина задней двери моего фонаря составляет 990 мм. Единственная разница между ними заключается в том, что я передвинул вертикальные опоры задней двери как можно ближе к боковым вертикальным опорам. На картинке ниже показана задняя сторона купола Нила. Обратите внимание на зазор между задней и боковой опорами.
Спереди также приварили две вертикальные опоры. Расстояние между этими опорами равно ширине заднего стекла автомобиля. Нил установит передние и задние окна. Я не буду вставлять окна на данном этапе, но приварю опоры в том же положении на случай, если позже передумаю.
Вверху приварили одну опору по ширине навеса над средней боковой ногой. Затем мы приварили опоры с обеих сторон по всей длине навеса. Эти опоры расположены на правильном расстоянии друг от друга, чтобы на них можно было установить палатку на крыше. Расстояние между центрами этих опор составляет около 870 мм.
Ниже приведены основные размеры, упомянутые до сих пор.
Обратите внимание, что эти размеры являются ориентировочными и будут различаться в зависимости от типа автомобиля.Теперь, когда рама готова, мы должны начать с дверей.
Я решил установить дверные рамы и двери, прежде чем устанавливать обшивку крыши. Причина была проста; это дает вам гораздо больше пространства для работы.
Сам каркас для дверей тоже решил не делать. Я просто использую алюминиевую клетчатую пластину толщиной 3 мм без рамки. Он немного искажается по длинным краям, и я мог бы добавить кусок трубки внутри, чтобы укрепить его позже.
Для дверных резинок мы выбрали тот тип, который используется в автомобилях. Они выглядят как полая трубка. См. фото ниже. Эти каучуки очень эффективны и просты в использовании.
Получить их здесь, нажмите
Чтобы прикрепить резину к раме, я использовал алюминиевый уголок 20x20x1,6 мм. Поскольку полоса очень тонкая, я решил прикрепить ее к раме. Я добавил немного «Sikaflex-221» на заднюю часть ленты, прежде чем прикрепить ее с помощью заклепок.
Sikaflex — это разновидность силикона, но он намного прочнее. Он не только уплотняет раму, но и увеличивает ее прочность. Очевидно, что обычный кремний вызывает коррозию алюминия, а Sikaflex был разработан специально для алюминия. Я также использовал Sikaflex для крепления кровельного покрытия.
Поскольку стойки были приварены по углам, углы не могли быть отрезаны идеально. Эти небольшие щели в углу впоследствии были закрыты с помощью Sikaflex. См. следующие две фотографии
Вы можете видеть, что резинка дверцы аккуратно скользит по углу 20×20.
При установке дверей я обнаружил, что одна сторона петель немного длинновата. Поэтому мне пришлось их укоротить и просверлить новые отверстия.
Для крепления дверей я использовал винты из нержавеющей стали диаметром 5 мм со стопорными гайками.
Замки
Мы купили эти отличные замки. Вы можете получить их на сайте 4x4Direct.co.za по номеру «Pressure Lever Lock» .
Снаружи замок закрывается, ничего не торчит, а внутри притягивает дверь к резине. Он также регулируется, и вы можете заказать все замки с одними и теми же ключами.
Для установки замков необходимо вырезать квадратное отверстие в облицовке. Я добавил немного Sikaflex в отверстие, прежде чем окончательно установить замок. Замок поставляется с резиновым уплотнением, но узоры на рифленой пластине вызывают деформацию уплотнения, и замок не закрывается должным образом. Вот почему я удалил уплотнение и вместо него использовал Sikaflex.
Долженность замка очень мала, поэтому вы должны вырезать отверстие точно такого же размера, как замок.
Ниже фото замка в закрытом и открытом положениях:
Задняя дверь
Я вырезал лист для задней двери на 20мм больше проема. Затем я измерил угол стороны загрузочного бункера. Я отнес его в компанию, у которой есть гибочный станок, и попросил их согнуть нижний конец до такой же степени.
Эта кромка помогает герметизировать дверь на задней двери загрузочного бункера. Это также не позволяет кому-либо открыть заднюю дверь, если фонарь заперт.
Как я уже говорил, для дверей я использовал 3 мм алюминиевую пластину в клетку. Можно использовать более тонкую, легкую и дешевую плиту, но тогда придется соорудить каркас для каждой двери. Хотя двери немного деформируются посередине, этого недостаточно, чтобы вызвать утечку. Я добавлю некоторые поддержки внутри в ближайшем будущем. Я думаю, что использование более толстой пластины экономит много времени и места, так как вам не нужна еще одна рама. |
Для ящиков сзади я использовал фанеру толщиной 9 мм. Я купил половину листа. Этого как раз хватило, чтобы изготовить два ящика сзади.
Я использовал те же алюминиевые уголки 20x20x1,6, чтобы скрепить деревянные панели друг с другом.
Я использовал заклепки, чтобы прикрепить древесину к алюминиевой полосе. Я также добавил дополнительную шайбу на деревянную сторону заклепки, чтобы головка заклепки не проходила через древесину. См. рисунки ниже:
Чтобы прикрепить ящик к раме навеса, я добавил алюминиевый уголок 20x20x1,6 к нижней и задней части рамы. Таким образом, эти опоры останутся на раме, я могу затем снять коробку, если захочу.
Спереди металлический уголок, крепящий коробку, доходит до верха крыши, чтобы его можно было закрепить болтами на опоре в крыше.
Кухня занимает очень много времени, и я думаю, затраты на это будут уникальными на вкус каждого человека. Больше всего мне понравилось строить кухню.
Он показал себя очень хорошо во время своей первой поездки в Намибию в июне 2008 года. Единственное место, куда попало немного пыли, было место соединения задней двери и двери фонаря.
Я все еще буду работать над некоторыми планами, чтобы добавить к нему еще несколько накладок.
Ниже приводится более или менее разбивка затрат (2008 г.):
Дверные резинки 15 м – 342,00 рандов
2 трубки Sikaflex – 160,00 рандов
10 замков – 1 057,00 рандов
10 петель – 264,48 рандов
5 газовых амортизаторов с фитингами — R421.80
Алюминиевая трубка — R2312.17
Алюминиевый рифленый лист — 2000,00 рандов
Резка и гибка — 300,00 рандов
Сварка алюминия — 2500,00 рандов
Гайки, болты, заклепки и т. д. — 200,00 рандов
Общая стоимость — 9557,45 рандов (в 2008 г.)
Вы можете купить большую часть оборудования для сборки собственного купола у 4×4 Direct. Вот ссылки на определенные продукты, которые мы использовали:
Замки
Петли
Sikaflex
Амортизаторы (газовые стойки)
Резиновые уплотнения
Алюминиевые трубки и пластины – Almex в Блэкхите (021)905-5770
Алюминиевый рифленый лист и резка – Завод цветных металлов в Сутривье -(021) 5110286
Сварка и изготовление, прозрачные ву и частоколные ограждения Ворота и навесы
Политики нежелательной почты обновлены.
Просмотрите их внизу этой страницы.
- Все категории
- Услуги
- Производственные услуги
- Металлообработка
- Гаутенг
- Пружины
- Категория: Услуги — Производственные услуги — Изготовление металла
- Регион: Гаутенг — Пружины
- Опубликовано: 27.04.2021
- Тип объявления: Бизнес
- Просмотрено:
- Идентификатор объявления: qr7fhbf
Добавить в список желаний
Свяжитесь со мной
мы занимаемся изготовлением и сваркой, @ аргонной сваркой co2 и сваркой стержнями.
позвоните нам по телефону 0840841759 подробнее 0798764666 подробнее .
- Категория: Услуги — Производственные услуги — Изготовление металла
- Регион: Гаутенг — Пружины
- Опубликовано: 27.04.2021
- Тип объявления: Бизнес
- Просмотрено:
- Идентификатор объявления: qr7fhbf
Сообщить об этом объявлении
Больше объявлений от этого рекламодателя
Поделись объявлением
Похожие объявления в нежелательной почте
Узнайте больше о нежелательной почте, просмотрев похожие объявления ниже.
LTE стекло и алюминий
Свяжитесь со мной
Алюминиевые изделия и стеклянные работы
9 2008
MAXI MATE COMPACT METAL LATHE
RAYR 3557 MAXI MATE MATE MEATL 000
Делаем все стальные конструкции прицепов, защитных ворот, противовзломных ограждений, палисадов
Contact Me
Alucladded garage doors
Contact Me
Welding and cold and freezer rooms
Contact Me
ALUMINIUM FABRICATORS & GLASS WORKS AFG
R 1 200
MJ ENGINEERING
Свяжитесь со мной
Услуги
Свяжитесь со мной
Телефон ватсап Электронная почта
Сварка и изготовление прозрачных ограждений и частоколов Ворота и навесы
Фейсбук
Твиттер
LinkedIn
WhatsApp
Телеграмма
Эл.
адрес
Регистрация прошла успешно.
Эл. адрес *
Контактная информация
Пароль * (минимум 7 символов)
Подтвердить Пароль *
О, неееет! Похоже, что-то пошло не так. Пожалуйста, попробуйте снова зарегистрироваться через некоторое время.
Я принимаю Условия обслуживания и Политику конфиденциальности нежелательной почты.
