Как устанавливают пластиковые окна – Как поставить пластиковые окна самому: инструкция и видео
Как правильно устанавливать пластиковое окно своими руками :: SYL.ru
Пластиковые окна считаются эстетичными, функциональными, надежными и добротными конструкциями. Благодаря этим качествам они получили широкое распространение. В настоящее время пластиковые окна продолжают набирать популярность. Монтаж конструкций, как правило, осуществляет компания, где был сделан заказ. Специалисты, разумеется, знают, как правильно установить металлопластиковые окна. Для проведения работ профессионалы имеют в распоряжении все необходимые инструменты.
Перед тем как установить пластиковые окна, делают замеры. Их тоже осуществляют специалисты выбранной фирмы. Эту работу не рекомендуется осуществлять самостоятельно. Обусловлено это тем, что блок будет изготавливаться по проему. Погрешности при измерении могут привести к тому, что конструкция встанет неровно, или возникнут сложности с ее креплением. Но если замеры лучше всего доверить профессионалу, то монтаж модуля может осуществить домашний мастер сам. Как правильно устанавливать пластиковое окно? Разберемся в статье.

Общие сведения
Раньше считалось, что смонтировать пластиковое окно своими руками очень сложно. Как правило, доверяли это дело профессионалу. Тем не менее сейчас многие потребители решаются сами монтировать пластиковое окно. Установка своими руками позволяет существенно сократить расходы – до 70 у. е. Но при этом крепление конструкции требует определенных знаний. Далее разберем поэтапно, как правильно устанавливать пластиковое окно.
Предварительный расчет размеров
Решение о том, чтобы смонтировать пластиковое окно своими руками, является весьма ответственным. В данном случае большое значение имеет правильный подбор конструкции и качество проведения работ. Перед тем как установить металлопластиковые окна, следует произвести, как уже было отмечено, замеры.
Важные особенности
Следует отметить, что бывает два типа оконных проемов. Есть с четвертью, а есть без нее. Четверть оконного проема — это своеобразный выступ, тянущийся по всему периметру окна. Для точного определения размеров нужно учитывать эти особенности. Рассмотрим их подробнее.
Конструкция с четвертью
В этом случае размер оконного блока может быть определен по следующему алгоритму. Необходимо измерить ширину соответствующего проема между четвертями. Делать это нужно в наиболее узком месте. К полученным измерениям следует добавить до 40 мм. Таким образом будет получено значение ширины конструкции. Также необходимо провести дополнительную проверку. В данном случае сравнивается ширина оконного проема и расстояние между его вертикальными четвертями. Первая должна быть больше второго.
Высоту окна также несложно измерить. Для этого необходимо рассчитать расстояние от верхней четверти до нижней плоскости проема. Искомой величиной будет являться полученный размер.

Второй вариант
В данном случае имеется в виду окно, которое будет устанавливаться в проем без четверти. Получить габаритные значения достаточно легко. Для этого необходимо отнять 50 мм от вертикального размера проема. Это делается для того, чтобы была возможность установить подоконник. Также от величины горизонтального проема нужно отнять 30 мм. Кроме того, требуется определение размеров подоконника и отлива. Для того чтобы сделать это, не понадобится много усилий. Однако необходимо учесть определенные факторы:
- Ширина отлива рассчитывается с учетом предполагаемой обшивки или утепления ограждающих конструкций. Требуется, чтобы он выступал от плоскости стены на расстояние до 100 мм.
- Ширину подоконника следует рассчитывать с учетом его функциональных особенностей. К примеру, некоторые захотят установить цветочные горшки и так далее. В основном элемент подбирается так, чтобы его свободная часть смогла перекрыть радиаторы отопления.
- Длина подоконника рассчитывается примерно на 100 мм больше, чем ширина оконного проема. Таким образом, края подоконника должны уходить в полость откоса. Рекомендуемый минимум – 50 мм.
Модуль
На следующем этапе нужно сделать заказ в специализированном магазине. Прежде всего, следует указать размер подходящего блока. Также необходимо учесть следующие показатели:
- Тип оконного профиля.
- Вид стеклопакета.
- Элементы крепления.
- Сопутствующую фурнитуру.
Рекомендуется ориентироваться на приобретение того окна, которое обладает самым подходящим техническим оснащением.
Демонтажные работы
Перед тем как устанавливать окна ПВХ, следует провести подготовку проема. Начало монтажных работ в эксплуатируемом помещении невозможно без удаления старых конструкций. Стоит отметить, что данная процедура требует аккуратности и тщательности. Весьма велик риск пораниться. Кроме того, необходимо следить за тем, чтобы изделие не выпало наружу. В особенности это становится актуальным в условиях многоэтажек.

Алгоритм удаления старой конструкции
- Прежде всего, требуется освободить оконный блок от открывающихся форточек и створок.
- Конструкция должна быть освобождена от всех стекол. В данном случае предварительно снимаются все удерживающие штапики.
- Далее в горизонтальных и вертикальных элементах рамы требуется сделать пропилы. Целесообразно воспользоваться ножовкой или болгаркой, имеющей отрезной круг по бетону.
- Затем необходимо извлечь конструкцию из проема. Для этого можно воспользоваться такими подручными средствами, как монтировка, лом или молоток.
- В определенных ситуациях конструкция может быть извлечена без деформации. В частности, это относится к тем случаям, когда потребитель хочет сохранить целостность рамы. Стоит отметить, что при таком варианте удаления потребуется большое мастерство. Кроме того, этот процесс займет довольно много времени.
- Рама не единственный элемент, который подлежит удалению. Также это нужно проделать с внешним отливом и подоконником.
- На завершающем этапе следует очистить проем от пыли и строительного мусора.
Схема монтажа
Следуя технологии, достаточно просто закрепить пластиковое окно. Установка своими руками осуществляется в несколько этапов. При этом необходимо будет реализовать целый ряд соответствующих мероприятий.
Первоначальный этап
Перед тем как устанавливать окна ПВХ, следует подготовить конструкцию. В частности, это относится к крепежным пластинам. Они должны быть расположены на верхней и боковых сторонах рамы (к торцу). Крепежные пластины выполняют очень важную роль. В дальнейшем на них в заданном положении будет удерживаться вся конструкция. Большинство специалистов предпочитают использовать подвесы для этих целей. Они, в свою очередь, широко применяются при монтаже гипсокартонных систем. Тем не менее в данном случае наиболее правильным считается применение армирующих установочных пластин. Дело в том, что их отличает большая механическая прочность.
Незаменимые саморезы
При установке монтажных планок требуется аккуратность. Они фиксируются на торцевой части рамы. Необходимо добиться того, чтобы крепежный элемент вошел в металлический профиль оконного блока. На данном этапе очень важно не допустить деформации стеклопакета. Пластины крепятся при помощи саморезов. Они подбираются с учетом размеров оконного блока.
Стандартная конструкция предполагает использование саморезов, которые будут иметь диаметр 4 мм. Оконный блок большего размера требует наличия других крепежных элементов. В данном случае целесообразно использовать изделия, имеющие диаметр до 6 мм. Анкерные планки должны быть зафиксированы в торцевой части рамы. Рекомендуемый шаг их расположения – до 80 см. Отступ от углов конструкции должен находиться в пределах 100-150 мм.

Регулировка положения конструкции
Говоря о том, как правильно установить окно ПВХ, следует сказать и о выравнивании модуля. Оно осуществляется после подготовки оконного блока. Данная процедура может показаться совсем несложной на первый взгляд. Однако от правильности ее реализации зависит многое. Установку блока лучше всего проводить в паре. Один человек будет поддерживать конструкцию, в то время как другой займется осуществлением процедуры. Выравнивание оконной рамы предполагает проведение установки блока в заранее подготовленный проем. О клиньях также рекомендуется позаботиться предварительно. С помощью них осуществляется регулирование положения модуля.
Основные моменты регулировки
При выполнении работы необходимо руководствоваться следующими рекомендациями:
- Конструкция расклинивается не только в нижней части. Это также делается и по бокам.
- Все вертикальные элементы должны быть выставлены в одной плоскости.
- Если есть импост, то клинья должны располагаться и под ним.
Окно ПВХ выставляется по уровню. После этого начинается процесс его фиксации. Анкерные пластины крепятся к полости оконного проема. Это делается с помощью специальных болтов и дюбелей. Очень важно, чтобы элементы были зафиксированы на ограждающих конструкциях. Таким образом, может потребоваться удаление штукатурки, которая находится там, где будут располагаться анкерные пластины.
Особенности сборки конструкции
Безусловно, легче всего монтировать окно в разборе, без створки. Ее закрепляют прежде, чем начать герметизацию швов. Как установить створку пластикового окна? Перед навешиванием рекомендуется на петли надеть декоративные колпачки. Делать это после установки створки будет неудобно. Кроме того, ручка должна быть переведена в открытое (горизонтальное) положение. Чтобы установить створку, ее надевают сначала на нижнюю петлю, а в верхнюю заводится петля-уголок. Элементы фиксируются при помощи штифта. Его следует толкать вверх до момента срабатывания защелки. Чтобы штифт с легкостью вошел в отверстие, створку в этот момент следует прижать (либо почти прижать) к раме.
Герметизация швов
Говоря о том, как правильно устанавливать пластиковое окно, следует сказать об уплотнении конструкции. Итак, блок хорошо зафиксирован. Далее проводится герметизация монтажных швов. Для этого используется специальная пена. На данном этапе нужно учесть определенные свойства материалов. При затвердевании они увеличиваются в объемах. Таким образом, работы должны осуществляться при закрытой створке. Открывать ее можно только спустя сутки после того, как будет полностью завершен монтаж. Применение пены также имеет свои особенности. В данном случае стоит учитывать влажностные и температурные показатели. Перед непосредственным нанесением пены следует подготовить поверхность. Ее нужно увлажнить водой.

Как установить подоконник
Пластиковый элемент должен быть надежно зафиксирован. Для этого используется монтажная пена. Перед тем как установить подоконник, пластиковый элемент должен быть предварительно раскроен в требуемый размер. Для этого лучше всего использовать ножовку с мелкими зубьями или болгарку. Изделие вплотную устанавливается к подставочному профилю. Подоконник должен быть выставлен по уровню. Для этого применяются клинья. Стоит отметить, что небольшой уклон вполне допустим. Подразумевается отвод конденсата. Тем не менее уклон не должен превышать 3 градусов.
Свободная плоскость, которая находится между изнаночной частью элемента и проемом, должна быть заполнена с помощью пены. Требуется исключение деформации подоконника. Она часто возникает из-за расширения пены. Для этого требуется установка грузов (5 кг) на подоконник. Они должны находиться в трех разных точках. Это делается непосредственно перед запениванием.
Рекомендации
Качественная установка подоконника требует выполнения нижеизложенных правил:
- Z-образные пластины должны фиксироваться к подставочному профилю. Это позволит добиться более плотного прилегания изделия к раме.
- В проеме делаются специальные углубления. Это необходимо для того, чтобы расположить подоконник за пределами откоса.
- Зазор, расположенный между блоком и изделием, должен быть герметизирован. Это делается с помощью силикона.
- Торцевые заглушки крепятся с помощью суперклея.
Вот как установить пластиковый подоконник правильно.
Монтаж отлива
Выше приведены основные рекомендации о том, как правильно устанавливать пластиковое окно. Монтаж отлива, как правило, считается завершающим. Первоначально элемент должен быть вырезан в соответствии с заданным размером. Рекомендуется использование ножниц по металлу. Только после этого отлив может быть зафиксирован. Для этого нужно использовать не менее трех саморезов.
Как самостоятельно установить пластиковые откосы
Стоит отметить, что на этот вид работ при найме профессионалов придется потратить крупную сумму. Кроме того, в данном случае качество не всегда соизмеримо с ценой. Прежде всего, нужно заняться подбором подходящего материала. Рекомендуется использовать подоконники. Они будут очень плотно «сидеть». Подобные откосы являются очень прочными. Кроме того, их довольно сложно поцарапать. Стоит отметить, что загнутый край избавит хозяев от необходимости смотреть на отслаивающиеся обои, которые очень часто встречаются в местах стыков.
Многие мастера предлагают своим клиентам установку откосов именно из сэндвич-панелей. Данный материал является достаточно тонким. Стоит отметить, что в большинстве случаев откос имеет совсем неидеальную поверхность. Часто встречаются вогнутые участки и выпуклости. Рекомендуется ставить пластиковые уголки на место стыка со стеной. Однако они довольно часто отклеиваются. Кроме того, их совместная стыковка оставляет желать лучшего.

Инструменты
Перед тем как установить пластиковые откосы, стоит вооружиться всеми необходимыми приспособлениями. Среди них:
- Шуруповерт.
- Перфоратор (ударная дрель).
- Монтажный пистолет (для пены).
- Электрический лобзик.
- Пила с острым зубом.
Подсчитать количество требуемого материала совсем нетрудно. Необходимо измерить длину подоконников и боковин каждого окна. Это также относится и к балконной двери. Лучше всего определяться с необходимым количеством материалов для монтажа уже вместе с консультантом. Кроме того, требуется подсчет заглушек на торцы.
Также не стоит забывать о следующих элементах:
- Саморезы с пресс-шайбой.
- Подвесы.
- Дюбель-гвозди.
- Профессиональная монтажная пена.
Количество всех вышеперечисленных изделий рассчитывается в зависимости от параметров конкретных оконных рам.
Процесс монтажа
Рекомендуется самым тщательным образом замерить расстояние от стены до рамы. К полученной величине нужно прибавить 4 см. Таким образом, откос будет заведен за раму. Выпиливание рекомендуется осуществлять с помощью лобзика. При этом нужно оставить небольшой запас для напуска на стену. После завершения работы с откосом наступает очередь крепежа элементов, которые фиксируются непосредственно на нем. В данном случае используются подвесы. Рекомендуется приобрести их заранее. Из одного подвеса выходят два уголка, которые крепят откос к стене. Они фиксируются на расстоянии примерно 35-40 см друг от друга. Для этого используются саморезы с пресс-шайбой.
В том случае, если верхний элемент является небольшим, можно применить только один крепежный уголок. Необходима примерка откоса. Это нужно делать после того, как все элементы будут зафиксированы. Требуется отметить расположение крепежного уголка. Далее это место поддалбливается. В него утапливается уголок. Его в дальнейшем нужно будет заштукатурить. После нанесения пены откос должен быть аккуратно заведен за раму. Затем необходимо закрепление уголка. В этом случае можно воспользоваться перфоратором или ударной дрелью. Крепление осуществляется с помощью дюбель-гвоздя.
Далее следует приступить к боковым откосам. В некоторых случаях их нужно немного «раскрыть». Для этого требуется проведение перпендикуляра по подоконнику и верхнему откосу. Это делается с помощью большого угольника. От полученной прямой разводятся боковые откосы. Расстояние должно быть одинаковым. Следует отметить, что раскрытые откосы имеют более привлекательный вид.Аналогичные элементы, находящиеся под прямым углом к раме, смотрятся иначе. В этом случае крепеж откосов происходит таким же образом. Стоит отметить, что их главным достоинством считается жесткость. Таким образом, им не нужны распорки и иные аналогичные приспособления. К сожалению, откосы из сэндвич-панелей не имеют подобных свойств.
www.syl.ru
Установка пластикового окна пвх своими руками
Установка пластикового окна ПВХ своими руками не особо сложна. Вам не нужно иметь специфические навыки или специальное профессиональное оборудование для этих действий.Естественно, качественные стеклопакеты из пластика стоят довольно ощутимые суммы денег, но расходы на них можно снизить, если проводить монтаж пластиковых окон своими руками. При этом экономия, приблизительно, составит от 40 до 70 у.е. (долларов) и выше, на каждом установленном самостоятельно стеклопакете, как раз в этой статье нашего блога строительство и ремонт своими руками мы подробно рассмотрим вопрос о самостоятельной установке пластиковых окон, в конце статьи Вы так же найдете тематичесткое видео установка пластиковых окон своими руками по ГОСТ.
Установка пластикового окна — этапы:
- Методы установки — существуют два метода установки окна с распакечиванием и без.
- Крепежные элементы — виды крепежных элементов, схема, глубина погружения креплений.
- Изолирующие материалы — что такое ПСУЛ и диффузинная лента, что где расположить — схема.
- Подготовка проема — как правильно подготовить проем.
- Установка отлива — схема, рекомендации по применению монтажной пены.
- Сборка окна — собираем окно после распакечивания.
- Установка подоконника — рекомендации, практические советы.
- Установка откосов — установка пластиковых откосов своими руками по шагам, схема.
Методы установки окон.
Сегодня есть два метода установки окон из металлопластика: с распаковыванием окна, и без такого действия. Способ монтажа с распаковыванием производится с предварительным процессом разборки стеклопакета: снимают штапики, стекла вынимают из рамы и откладывают в определенное место до ее установки. После этого рама прикрепляется к поверхности стены дюбелями (насквозь), а затем штапики и стеклопакеты устанавливают обратно.Отметим, что такой метод установки пластиковых окон имеет ряд нюансов на которых мы заострим Ваше внимание, потому что именно этот более трудоемкий но более безопасный метод (для пластиковых стеклопакетов) установки мы выбрали для написания статьи и конечно же он же присутствует в видео установка пластиковых окон своими руками. Вынимая стеклопакет необходимо быть очень аккуратным так как неосторожные манипуляции со штапиками могут привести к образованию на них сколов и царапин. Стеклопакеты могут случайно разбиться в процессе их вынимания и переноса, но если все делать аккуратно то ни чего страшного не произойдет.
Если осуществлять данный процесс без распаковывания, то снятие стекол и штапиков не требуется, так как основание прикрепляется к стене с помощью предварительно установленных на наружной площади деталей крепления. Но такой вид крепления не подойдет для объемных окон которые, имеют большую массу.
Также необходимо учитывать, что первый способ лучше применять на более высоких этажах (от 15-ого и выше) так как на них более мощные порывы ветра и парусность. Если Ваша квартира находится ниже, то стеклопакеты можно не распаковывать.
Из этого делаем выводы, что применение первой технологии для установки окна своими руками боле проста и целесообразно, но хватит теории давайте приступим к практике.
Окно обычно состоит из нескольких частей. Эти части могут быть глухими или представлять из себя открывающуюся створку. Давайте сейчас рассмотрим как извлечь стеклопакет из глухой части окна и как правильно демонтировать окрывающуюся створку.Извлечение стеклопакета.
После того как Вам доставлено окно, перед его установкой необходимо извлечь стеклопакеты из глухих (не открывающихся) частей окна. Обычно когда доставляют новое стекло, штапики (штапик — это пластмассовая направляющая, которая непосредственно удерживает стеклопакет) забивают не до конца и есть возможность их легко демонтировать. Если все таки на фирме изготовителе штапики утопили до конца, необходимо в шов между штапиком и оконной рамой вставить небольшой шпатель и осторожными постукиваниями киянки (деревянный молоток) направленными от центра окна к его переферии постараться демонтировать штапики (их 4 штуки). После того как штапики поддадутся и станут выходить из пазов станут выпадать пластиковые фиксаторы, их необходимо собрать, так как они нам понадобятся в момент монтажа штапиков обратно.
Думаем не стоит напоминать, что все необходимо делать очень аккуратно дабы не разбить дорогущий стеклопакет. Лучше всего данную операцию производить вдвоем, так как удержать стеклопакет, который в среднем весит 30 кг и делать, что то параллельно задача не из простых.
Да и еще один момент, складировать снятые стеклопакеты необходимо на чистую твердую поверхность, а еще лучше стеклопакет (стеклопакеты) прислонить к стене, если их несколько, то между ними проложить слой мягкой чистой тряпки.
Демонтаж открывающихся створок.
Для того чтобы снять открывающиеся створки пластикового окна необходимо приоткрыть его, что бы получить доступ к петлям. Демонтаж открывающейся створки необходимо начинать с разбора верхней петли. Для этого надо извлечь шпиндель (вращающийся вал внутри петли), сначала необходимо надавить на него сверху (скорее всего отверткой), после чего часть данного вала появиться снизу. Зацепив нижнюю часть шпинделя плоскогубцами вынимаем его соответственно вниз.После того как верхняя петля разобрана необходимо немного отклонить окно от горизонтальной оси, нижняя петля даст Вам это сделать, затем приподнимите створку ориентировочно на 5 см. После этого створка освободиться и от второй нижней петли. Для выполнения данного демонтажа хорошо бы позвать напарника, который подстрахует Вас, так как массы и створки и стеклопакетов как мы уже отмечали в среднем равны 30 кг.
Крепежные элементы, в нашем случае это анкерные болты распределяются по всему периметру начиная от краев, причем максимальное расстояние между болтами 700 мм, а минимальное 150 (схему см. ниже). Так же крепления должны располагаться возле импостов (импост — горизонтальная или вертикальная планка, которая делит окно на части) как сверху, так и снизу для придания конструкции пластикового окна жесткости.
Виды крепления.
Согласно ГОСТу существует три вида крепления:1. Крепление с использованием шурупа по бетону.
2. Дюбель гвозди с анкерными пластинами.
3. Крепление с помощью анкерного болта.
При установке пластиковых окон пвх своими руками по ГОСТ мы выбираем метод крепления с помощью анкерных болтов. Это одно из самых сложных и в тот же момент самых прочных видов креплений, где можно не задумываться над массой окна.
Крепление с помощью анкерного болта.
Рекомендуемые углубления при креплении пластикового окна своими руками зависят от материала стены:- бетон — 40 мм
- кирпич полнотелый — 40 мм
- кирпич шелевидный — 60 мм
- блоки из пористового природного камня — 50 мм
Установка пластикового окна по ГОСТ подразумевает использование специальных изолирующих материалов, это диктуется тем, что в помещении влажность выше, чем на улице, поэтому некоторая часть влаги проникает внутрь шва даже при установленной пароизоляционной ленте. Если наружный контур шва сделать таким же плотным как внутренний, то влага будет постепенно скапливаться в шве, что приведет к потере его теплозащитных качеств, поэтому при устройстве монтажных швов всегда необходимо соблюдать принцип внутри плотнее чем снаружи.
Для этих целей используют ПСУЛ (предварительно сжатая уплотнительная лента). Если расстояние между донным профилем и несущей стеной менее 40 мм, применяют ПСУЛ, если это расстояние более 40 мм то диффузионную ленту с аналогичными свойствами. ПСУЛ так же как и диффузионная лента клеится на оконную раму, они предназначены для защиты монтажной пены от воздействия внешней среды, а так же для того что бы влага могла выходить из монтажного шва, в процессе эксплуатации пластиковых окон. Пример с диффузионной лентой Вы можете посмотреть в видео установка пластикового окна своими руками, представленного в конце поста, а применение ПСУЛ схематично представлено на рисунке-схеме ниже.
Из всего выше изложенного делаем вывод, что в идеале необходимо применять диффузионную ленту в низу окна, а ПСУЛ сверху и по бокам оконного профиля. Проем необходимо очистить от мусора и пыли. При необходимости края проема нужно выровнять и укрепить. После всех этих процедур необходимо смочить поверхность проема водой для улучшения адгезии (Адгезия — сцепление поверхностей разнородных твёрдых и/или жидких тел).
Рама оконного блока устанавливается в проем при этом коробка не должна ставиться на поверхность проема, а должна устанавливаться на несущие опоры, для этого можно использовать пластиковые клинья. Данные клинья устанавливаются под угловые и импостные соединения рамы и их должно быть не менее трех. Для выравнивая приложите уровень на место базирования штапика, так как фальцевая часть на практике не всегда оказывается ровной, в связи с тем, что в момент сверления она могла деформироваться.
После этого необходимо с приложенным уровнем взять дрель и просверлить отверстия в раме окна и далее в стене. После этого в просверленные отверстия необходимо вставить анкерные болты но не до конца, для того что бы была возможность выровнять раму. После того как все анкерные крепления были установлены в отверстия, повторно проверяем ровно ли установлена рама и если все нормально утапливаем анкерные болты и вкручиваем анкера, в этот момент происходит расклинивание, и рама уже «намертво» закрепляется в оконном проеме.
Следующим этапом установки окон ПВХ своими руками является монтаж отлива. Отлив можно заказать на фирме изготовителе окна, а можно использовать и старый, если конечно он в хорошем состоянии. Отлив крепиться к подставочному профилю на несколько саморезов (см рисунок-схему). Пространство под отливом рекомендуется заполнить монтажной пенной, дабы избежать барабанной дроби в дождь.
Подошел тот момент когда необходимо использовать монтажную пену. В процессе производства работ температура баллона с монтажной пенной не должна быть ниже 20 град.С, поэтому в холодное время года когда температура ниже нуля необходимо одевать специальные шубки, как на ствол пистолета аппликатора так и на сам баллон. Монтажную пену используют при зазорах от 10 до 60 мм, если же ширина составляет более 60 мм рекомендуется уменьшить оконный проем за счет менее дорогого строительного материала — например кирпича или пенопласта. После того как мы смонтировали оконную раму и отлив все внешние работы по установке окна ПВХ своими руками закончены и можно вернуть назад створку и стеклопакет.
Затем необходимо установить створку окна, для этого необходимо приподнять створку и совместить петли, после чего снизу вставить шпинделя и вдавить их до упора (здесь так же можно использовать киянку и аккуратные удары).
При установке подоконника его необходимо предварительно обрезать. Затем вплотную присоединить к подставочному профилю, после этого выравниваем подоконник с помощью уровня и подкладываем различные материалы. Подоконник может иметь небольшой наклон от окна для отвода конденсата, но он ни в коем случае не должен проседать.Далее пространство под подоконником необходимо заполнить монтажной пеной, после чего на него необходимо положить какой нибудь груз, равномерно распределив по всей поверхности подоконника. По истечении 12 часов когда пена застыла груз можно снять и излишки пены необходимо обрезать. Груз был предназначен для того, что бы пена не деформировала подоконник в процессе высыхания.
Очень не желательно чтобы между подоконником и рамой осталась щель, если все таки она осталась заделать ее необходимо силиконом. Надо постараться что бы избежать образования такой щели.
Первое что необходимо сделать при установке откосов это прикрепить к периметру окна (внутренний периметр проема окна см. фото) деревянную планку. Крепление производить шурупами примерно 95 мм длинны, планка не должна выпирать из проема окна, а должна как говориться быть заподлицо. Чтобы откосы получились ровные, необходимо выравнивать планки с помощью уровня.
После этого крепим П-образный стартовый профиль на внешнюю раму окна. Крепление осуществляется на саморезы клопы, которые вкручиваются непосредственно в оконную раму. В данный профиль будут вставлены откосы, поэтому внешние края необходимо как можно аккуратней соединить.

Следующим шагом является установка F-образного профиля, он крепиться строительным степлером. Паз такого профиля располагается напротив паза П-образного профиля, в эти пазы как раз и будут ставиться откосы. У той части, которая располагается выше окна F-образный паз аккуратно срезается либо ножом, либо ножницами по железу, потому что данный паз получается внахлест на верхнюю часть окна.

После того как установлены по всему периметру П-образный и F-образный профили можно вставлять откосы. Если у Вас не получается подогнать ровно швы, то можно промазать их белым силиконом.
Видео установка пластикового окна своими руками.
remont-s-umom.blogspot.com
Как установить пластиковое окно по ГОСТу
Если оценить статистику, большая часть окон, заказываемых людьми в процессе ремонта, изготовлена из пластика. Почему же такие окна пользуются столь большой популярностью?
В первую очередь, следует отметить их жизнеспособность. В сравнении с деревом, такое изделие прослужит без нареканий достаточно долгое время. Кроме того, пластиковые окна значительно более прочные, нежели те, которые производятся из других материалов. В условиях больших городов важным нюансом является и высокая экологичность, отсутствие токсических веществ в составе изделия. Немалую роль также играет презентабельный внешний вид.
В чем же минусы? Единственный недостаток – недочеты в процессе установки таких окон. Нанимая рабочую бригаду, вы должны быть точно уверены в ее профессионализме и том, что ее члены знакомы с требованиями ГОСТа в отношении данной процедуры. Однако одной уверенности недостаточно. Лучший вариант – разобраться во всех тонкостях самостоятельно, чтобы в дальнейшем иметь возможность следить за выполнением работ специалистами. Данная статья поможет вам разобраться в некоторых премудростях установки пластиковых окон.
Вернуться к содержанию
Установка пластиковых окон строительной бригадой
Устанавливая ПВХ окна, необходимо соблюдать несколько ключевых нюансов по ГОСТу.
- Конструкция окна должна включать в себя 3 шва. Они призваны уберечь помещение от влияния погодных условий, сохранять в нем тепло и препятствовать образованию пара.
- В результате оставаться никаких пустот (мосты холода) не должно. Само же окно надо зафиксировать с учетом возможного увеличения пластика в размере — такое случается, если поднимается окружающая температура.
Чтобы вышеперечисленные пункты были соблюдены, ориентируйтесь на сотрудничество с теми специализированными бригадами, которые занимаются установкой исключительно по новому ГОСТу 30971-2002. Обращаясь в маленькие компании, вы рискуете тем, что работы не будут проведены на должном уровне, либо будут выполнены некачественно.
Вернуться к содержанию
Рекомендованные параметры пластиковых окон
Рассмотрим алгоритм замера окон ПВХ по ГОСТу 30971-2002:
- Удалить штукатурку и другие предметы, которые могут помешать при последующей работе.
- Измерить высоту, ширину, а также глубину проема. Нужно помнить о том, что в дальнейшем будет установлен подоконник и положена штукатурка, соответственно, производить все замеры надо грамотно и аккуратно. Также необходимо учитывать то, что блок окна должен быть размещен примерно на две трети его толщины от той части стены, что внутри. Если стена состоит из нескольких слоев, блок устанавливается на уровне утеплительной части.
- Отметить все отступы между проемом и рамой. Если размер окна равен 1,2 м, то зазор составит 150 мм, при 2,2 м ширина его будет равна 200 мм, при 3 м – 250 мм.
- Несоответствие стандарту у оконного блока может быть равным около 15 мм, что также необходимо учитывать. Вертикальная сторона, как и горизонтальная, могут отклоняться примерно на 4мм, однако, если учитывать полную ширину, а также высоту проема, показатели отклонения не должны быть больше 8 мм.

Конструктивные элементы оконного блока
Вернуться к содержанию
Подготовительные мероприятия
Перед тем, как начать установку ПВХ окон, необходимо подготовить рабочее пространство. Перед началом мероприятий, следует запомнить несколько аспектов:
- Для того, чтобы не отступать от норм ГОСТа, необходимо соблюдать все этапы работы аккуратно и точно.
- Для лучшей адгезии в работе используется не вода, а грунтовка.
В первую очередь, следует очистить подоконник, снять занавески с окон и убрать всю мебель, расположенную в непосредственной близости от окна. Желательно накрыть мебель любым удобным материалом, а пространство под окном на полу – газетами или картоном, чтобы предотвратить возможные загрязнения.
Следующая цель – ликвидация окна, которое необходимо заменить на пластиковое. Потребуется перфоратор и электрический лобзик, которые помогут легко очистить поверхность до бетонного или кирпичного основания.

Далее можно приступать к грунтовке откосов.
На этом подготовительные мероприятия могут считаться завершенными.
Вернуться к содержанию
Монтажный шов окна ПВХ по нормам ГОСТ
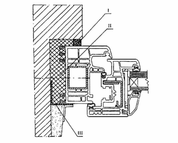
Рассмотрим то, как выглядит монтажный шов (рисунок 1):

I — наружный водоизоляционный паропроницаемый слой;
II — центральный теплоизоляционный слой;
III — внутренний пароизоляционный слой
Рисунок 1 — Принципиальная схема монтажного шва
Как уже упоминалось ранее, в монтажном шве три слоя. Первый, располагающийся снаружи, рассчитан на изоляцию конструкции от влаги и пара. За ним следует центральный, призванный не пропускать тепло во внешнюю среду. Самый последний, внутренний слой, позволяет защитить конструкцию от образования и скопления пара.
Многое зависит от того, когда производятся монтажные работы. Если бригада работает летом, необходимо использовать соответствующие материалы летнего исполнения. Такие позволяют проводить строительные мероприятия в температурном диапазоне от +35 до +5 градусов. Если же необходимо установить пластиковое окно зимой, предпочтение отдается материалам зимнего исполнения. Они используются при температуре от +5 градусов и ниже.
Рассмотрим некоторые изоляционные материалы, которые рекомендованы по ГОСТу.
Выполняя монтажные работы, рекомендованные ГОСТом, нужно использовать материалы, которые помогают предотвратить появление влаги, а также плесени в комнате. Это – одна из многих причин, из-за которых надо придерживаться планомерной и обстоятельной работы, для того, чтобы не нарушить требований ГОСТ. Одно из важнейших требований к материалам вышеупомянутого типа — срок эксплуатации: они должны обеспечивать около 20 лет использования с сохранением всех своих свойств.

Рассмотрим основные виды изоляционных материалов:
- Гидроизоляционная лента. Используется в целях ликвидации влаги из пространства проема окна, утепления и компенсации возможных последующих отклонений монтажного шва по причине усадки дома. Если не использовать такую ленту, со временем в пределах шва образуется конденсат из-за разности температур, что положительно повлияет на развитие плесени в помещении.
- Теплоизоляционная лента. Тканевый материал на базе каучука. Крепится лента такого типа к оконному проему. Ее цель – защитить конструкцию окна от влаги и препятствовать передаче тепла в области шва.
- Пароизоляционную ленту располагают изнутри, причем, для правильной ее прокладки необходимо следить за тем, чтобы материал ложился гладко, не образовалось складок. Нужно рассчитывать длину, при этом учитывая углы самого блока. Нужно также верно рассчитывать нахлест – приблизительно 1/2 от всей ширины материала. Различают два вида ленты, предотвращающей проникновение пара в блок: с покрытием, нанесенным внутри и снаружи. Чаще всего используется первый вариант, однако, если необходимо проложить ленту непосредственно под штукатурку, лучше выбрать материал наружного плана, иначе будет сложно достичь высокой адгезии.
Вернуться к содержанию
Фиксация блока в проеме
Окончив мероприятия по изоляции окна, можно приступать непосредственно к основному этапу – креплению блока в оконном проеме.
Рассмотрим требования ГОСТ к параметрам и расстояниям между материалами, рекомендованные в процессе установки пластиковых окон:
- Крепежные элементы, фиксирующие профильные короба ПВХ белого цвета, должны отстоять друг от друга не более, чем на 700 мм. В случае с коробами цветного профиля данный показатель равен 600 мм.
- Шурупы, предназначенные для крепления анкерных пластин к оконным блокам должны быть около 5 мм и 40 мм в длину.
- Допустимые отклонения при фиксации окна должны составлять не более 1,5 мм на метр длины и 3 мм на метр высоты.
- Высота брусков (чопиков) должна составлять не менее 20 мм.
- Зазор между оконной рамой и откосом в процессе установки стеклопакета на специальные деревянные колодки должен быть равен приблизительно 2 см. Длина колодок – до 200 мм.
- Дюбеля должны входить в стену на глубину не менее 40 мм.

- Строительные шурупы, пластины и винты должны быть изготовлены из нержавеющей стали или цинковой хроматированной стали с нанесенным на нее составом, защищающим от коррозии. Толщина таких крепежей должна составлять не менее 9 мм.
- Не следует применять гвозди для крепления оконных коробов и анкерных пластин к проемам в стене.
- Возможно использование полимерных анкерных конструкций в целях повышения прочности конструкции. Чаще всего это практикуется при наличии стен, выполненных из материалов пониженной прочности.
Параметры допустимых монтажных зазоров
- у оконных блоков из пластиковых белых профилей при размере стороны до 2000 мм;
- у алюминиевых оконных блоков при размере стороны от 2000 мм до 3500 мм.
- у оконных блоков из пластиковых профилей белого цвета при размере стороны от 2000 мм до 3500 мм;
- у оконных блоков из цветных пластиковых профилей при размере стороны до 2000 мм.
Существуют также отдельные требования ГОСТа в отношении крепежей. Более подробно о них можно узнать из руководства ГОСТ, в приложении Б (Требования к крепежным элементам и их установке).

а — металлический рамный дюбель; б — пластмассовый рамный дюбель; в — универсальный пластмассовый дюбель со стопорным шурупом; г — строительные шурупы; д — гибкая анкерная пластина
Рисунок 2 — Примеры крепежных элементов
Вернуться к содержанию
Алгоритм установки пластикового окна
- Подготавливается отверстие в оконном блоке. Далее можно выбирать из двух вариантов фиксации: в первом в готовые отверстия вставляются анкерные дюбеля, после чего блок вставляется в проем. Второй способ состоит в том, чтобы зафиксировать на оконном блоке анкерные пластины. Крепление к проему в данном случае осуществляется с помощью шурупов.
- Далее на подоконнике выкладываются бруски (чопики), цель которых в фиксации оконного блока и облегчения дальнейших мероприятий по изоляции монтажного шва. Прикрепив к блоку окна донный профиль, нужно установить конструкцию в проем и проследить за тем, чтобы она встала ровно. Зафиксировать блок помогут заранее подготовленные клинья. Таким образом можно предохранить изделие от деформации. Не следует устанавливать стеклопакет непосредственно на бетон. Перед этим на поверхность следует выложить обеззараженные колодки из дерева.

а — оконный блок с вертикальным импостом; б — оконный блок с безимпостным (штульповым) притвором; А — расстояние между крепежными деталями
Рисунок 3 — Примеры расположения опорных (несущих) колодок и крепежных деталей
- После того, как блок установлен, следует прикрепить его к стене при помощи дюбелей. Если был применен второй способ крепления окна, необходимо зафиксировать анкерные пластины на оконном блоке и прикрепить их к стене с помощью подходящих крепежных элементов (дюбеля или шурупы).
- Затем можно приступать к установке створок. То, насколько плотно они будут прилегать, зависит от предпочтения владельца помещения. Следует учитывать, что в зимнее время года створки следует зафиксировать более плотно, а летом, соответственно, наоборот – ослабить.
- Далее необходимо ликвидировать подложку, на которую был временно установлен стеклопакет. Фиксация стеклопакетов производится с помощью специальных крепежей (штапики) и киянки. Делать это следует максимально аккуратно и точно, чтобы не деформировать окно.
- Завершив с предыдущими мероприятиями, необходимо воспользоваться монтажной пеной и аккуратно ликвидировать пустоты между стеновым проемом и оконным блоком. Помимо фиксации, пена также обеспечивает удержание тепла в помещении и не пропускает шум с улицы.
- Поверх затвердевшей монтажной пены наносится изоляционный диффузный материал, уже использовавшийся ранее.
Вернуться к содержанию
Монтаж подоконника и отлива
После успешной установки пластиковых окон, необходимо приступить к оборудованию подоконника:
- В первую очередь, необходимо разметить рабочее пространство – оконный проем должен быть уже подоконника примерно на 10 см, а уклон – по направлению к помещению, а не окну.
- Далее нижний монтажный шов с наружной стороны изолируется специальной лентой из металла.
- Бетонное основание на месте старого подоконника покрывается стяжкой из цемента. Это придаст будущему подоконнику прочность и не даст ему провиснуть со временем.
- Необходимо помнить о том, что теплый воздух от батареи должен поступать к окну, чтобы на нем не образовывался конденсат по причине расхождения температурных значений. Соответственно, необходимо точно рассчитать ширину подоконника. Если невозможно обойтись без превышающей требуемую норму ширины, нужно монтировать подоконник со специальными отверстиями, через которые воздух сможет поступать к окну.

- Затем выкладывается гидроизоляционный и паронепроницаемый материал, заливается монтажная пена для большей прочности.
- С помощью саморезов с пресшайбой и сверла крепится отлив с наружной стороны. По ГОСТу, свес отлива должен равняться приблизительно 3-4 см.
- Проверить работоспособность окна, прочность створок.
На этом мероприятия по установке окна можно считать завершенными.
Вернуться к содержанию
Видео
Данное видео обеспечит наглядную демонстрацию того, как правильно устанавливать пластиковые окна:
Полезно? Сохраните себе на стену! Спасибо за лайк!
vse-postroim-sami.ru
Как правильно вставить пластиковые окна +видео

Приняв решение устанавливать самостоятельно пластиковое окно, нужно понимать, что от правильности установки зависит срок его службы.
На самом деле эта работа не имеет особых сложностей, особенно для людей, уже сталкивавшихся с установкой окон или дверей, и займет около четырех часов. Конечно, желательно иметь помощника.
Технологические этапы

Старое окно демонтируется и устанавливается новое. Демонтаж производится вместе с подоконником. Сначала вынимаются стекла, снимаются с петель створки, затем делаются пропилы в нескольких местах на раме и она по частям вынимается. Помочь в этом может перфоратор с насадкой «лопатка».
Способы установки

Установить окна можно двумя способами: с распаковыванием и без распаковывания. Как понятно из названия, способ с распаковыванием предполагает разборку на время установки. Этот способ считается наиболее прочным и подходит для установки в высотных домах и для больших изделий. Распакечивать окна человеку, который никогда этого не делал, очень непросто, поэтому установку таким способом лучше доверить профессионалу.
Последовательность работ при установке с распаковкой:
- Распакечивается окно. Достаточно острый нож ставится в середине между рамой и штапиком. Осторожно ударяйте по лезвию, чтобы появилась щель. Делается это тупой стороной ножа, чтобы не повредить штапик и не оставить царапин. Снимите створки.

- Изделие устанавливается в проем и выравнивается с помощью уровня. Для фиксации можно использовать деревянные бруски и другие подручные средства. В раме и стене делаются крепежные отверстия. Отступ от края рамы до первого отверстия от 25 до 35 см. Для хорошего, жесткого упора крепежа в металлический каркас с внутренней стороны рамы отверстия должны быть такие, чтобы шляпка болта или шурупа, использующегося для крепления, могла свободно пройти в полость оконной коробки.
- Выполняется крепление к стене с помощью болтов или шурупов. Длина болта зависит от ширины зазора между стеной и оконной рамой. После крепления необходимо снова проверить уровнем положение окна, в случае необходимости выровнять его.
- Устанавливаются регулировочные пластины между сливными отверстиями и сам стеклопакет. Сначала монтируется верхний и нижний штапик, обычно их аккуратно вбивают деревянной ручкой молотка, стараясь не задеть стеклопакет и не разбить его.
- Запениваются щели между стеной и окном.

При установке без распаковки крепление к стене производится при помощи крепежных элементов. Этот метод более прост и занимает меньше времени. Для простоты предварительно можно установить монтажный профиль, на который впоследствии установить окно.
Последовательность работ при установке без распаковки:
- Наносится разметка на окно в местах, где будет установлен крепеж. Обычно крепежи устанавливаются с четырех сторон, первый от края на расстоянии от 10 до 15 сантиметров.
- Специальными саморезами по металлу крепятся анкерные пластины так, чтобы они закрепились в металле, находящемся внутри рамы. Если используется обычный саморез, предварительно делается отверстие сверлом. Диаметр саморезов зависит от размера окна: обычное – 4 мм, большое – 8-12 мм.

- Подготавливается стена. То есть вставляется окно и выравнивается. В местах, где будут крепежи, делаются углубления в стене на 3-4 см. Это в дальнейшем упростит работу с откосами. При установке необходимо обратить внимание на штапики, они должны быть внутри. Если установить их наружу, будет возможность демонтажа стеклопакетов с улицы.

- Окно выставляется по уровню. Для выравнивания можно использовать кусочки дерева, пенопласт и др. Удобно сначала закрепить изделие сверху, чтобы оно не болталось. По нормативам отклонение по вертикали и горизонтали должно быть не более 1,5 мм на метр и не более 3 мм на всю длину.
- Закрепляется окно. Сделать это можно дюбелями или анкерами. Для крепления к ракушечнику, пустотному кирпичу или пенобетону лучше использовать анкер с шести или восьми миллиметровым диаметром, а для крепления к дереву обычно используются саморезы с 8-миллиметровым диаметром. Если установка производится не на подоконник, анкерная пластина должна загибаться так, чтобы не мешать его дальнейшей установке.
- С помощью шестигранников регулируется оконная фурнитура. В итоге работы окно должно открываться, не задевая другие части. Открытая створка не должна сама закрываться.
- Крепится отлив. Желательно это делать под окно во избежание просачивания воды. Крепится он специальными саморезами для металла длиной 9 мм.
- Запенивается пространство между стеной и рамой. Важно запенить все щели на 100%. Если щели большие, то лучше запенивать несколько раз. После затвердения пены, ее необходимо закрыть от ультрафиолета. Для этого можно использовать несколько методов: специальная саморасширяющаяся уплотнительная лента, цементный раствор или клей для плитки. Если этого не сделать со временем пена придет в негодность.
Установка подоконника

Они чаще всего идут стандартной длины, поэтому перед установкой его следует обрезать. Обрезанный подоконник придвигается и выравнивается по уровню, для этого можно использовать кусочки пенопласта, кирпича и другое.
Заглушки, загнанные в стену, лучше приклеить на суперклей. Если подоконник выставляется под углом, то он не должен превышать трех градусов. После установки все пространство под ним заполняется монтажной пеной. При этом поверхность необходимо пригрузить, чтобы пена его не выгнула. Если между подоконником и окном остается щель, ее можно заполнить силиконом.
Таких щелей можно избежать, установив сначала подоконник, а на него окно.

После выполнения всех установочных работ необходимо дать конструкции постоять примерно 12 часов, для того чтобы застыла пена. Если образовались излишки, их необходимо аккуратно срезать канцелярским ножом. Защитную ленту лучше снимать после отделки откосов.
На этом процесс окончен, а вы теперь знаете, как правильно вставить пластиковые окна без помощи специалистов.
Видео
Чтобы своими глазами увидеть весь процесс установки окон, вы можете ознакомиться с данным видеороликом.
www.stroitelstvosovety.ru
