Клапан трехходовой смесительный принцип работы – Трехходовой клапан принцип работы — Школа по утеплению дома
Трехходовой клапан на системе отопления: принцип действия, выбор, монтаж
Для постоянного поддержания в доме комфортного теплового баланса в отопительный контур включают такой элемент, как трехходовой клапан на системе отопления, равномерно распределяющий тепло по всем комнатам.
Несмотря на важность этой единицы, сложной конструкцией она не отличается. Давайте разберемся в конструктивных особенностях и принципах работы трехходового клапана. Каких правил стоит придерживаться выбирая приспособление и какие нюансы присутствуют в его монтаже.
Содержание статьи:
Особенности трехходового клапана
Вода, поступающая к радиатору, имеет определенную температуру, влиять на которую зачастую нет возможности. Трехходовой клапан осуществляет регулировку путем изменения не температуры, а количества жидкости.
Это дает возможность, не изменяя площади радиатора, подавать в комнаты нужное количество тепла, но только в границах мощности системы.
Разделительные и смесительные приборы
Визуально трехходовой клапан имеет сходство с тройником, но выполняет совершенно иные функции. Такой узел, оснащенный терморегулятором, относится к запорной арматуре и является одним из главных ее элементов.
Существует два вида этих устройств: разделительные и смесительные.
Первые применяют, когда теплоноситель нужно подать одновременно в нескольких направлениях. Фактически узел представляет собой смеситель, формирующий стабильный поток с установленной температурой. Монтируют его в сеть, по которой подают нагретый воздух, и в водоподающие системы.

Клапан трехходовой применяют как в качестве смесителя, так и распределителя воздуха или теплой воды
Изделия второго вида служат для объединения потоков и их терморегуляции. Для входящих потоков, имеющих разную температуру, предусмотрено два отверстия, а для их выхода — одно. Применяют их при устройстве теплых полов, чтобы предотвратить перегрев поверхности.
Клапан трехходовой и регулятор температуры есть в продаже по отдельности. Для автономных отопительных систем все же более рациональным и эффективным решением считается приобретение конструкции с терморегулятором.
Конструктивное исполнение трехходовых кранов
По конструкционному исполнению клапаны делят на седельные и поворотные. Принцип действия первых основан на ритмичном передвижении штока по вертикали — схема регулировки «шток-седло». Этот вид относится к клапанам смесительного типа. Часто управление осуществляется электромеханическим приводом.
Ключевым элементом поворотной конструкции является вращающийся сектор. Во время движения шток воздействует на шаровую заслонку, и она частично или полностью отсекает подачу теплоносителя. Такую схему регулировки называют «шарик-гнездо».
Эти устройства обладают повышенной износостойкостью. Они адаптированы под большие перепады температур и классифицируются как запорная арматура. В частных домах, где вода расходуется в относительно небольшом количестве, они могут функционировать и как смесители.
Особенностью смесительного клапана является наличие одного выхода и двух входов. Он предназначен для управления температурой рабочей жидкости путем объединения потоков с высокой и низкой температурой. При соответствующей установке, изделие может и разделять потоки.

Здесь схематически отображена работа трехходового крана седельного смесительного и разделительного типа
Трехходовой клапан разделительного типа применяют, когда необходимо подать горячий теплоноситель по нескольким направлениям.
Все модели таких кранов отличаются друг от друга по некоторым признакам:
- механикой затвора — она может быть как натяжной, так и сальниковой;
- формой заглушки — существуют L, T, S-образные;
- типом затвора — встречается цилиндрический, шаровидный, конусный;
- подсоединением к контуру — с использованием муфты, фланца, посредством сварки и др.;
- способом управления — автоматический, полуавтоматический, ручной.
Смесительное устройство снабжено штоком, размещенным по центру, шаровой клапан в нем один. Он перекрывает в нужный момент затвор входного отверстия.
В приборах разделительного типа шток оснащен двумя клапанами, вмонтированными в выходных патрубках.
Функционирует он по несколько другой схеме. Понятней становится работа трехходового клапана после подробного разбора его конструкции.

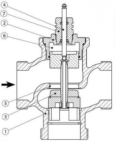
Составными частями трехходового клапана являются: корпус (1), вставка клапана (2), конус клапана (3), полированный штока клапана (4), седло клапана (5), разгрузочная камера (6), сальниковое уплотнение (7)
Корпус у этого типа изделий литой. Изготавливают его из латуни либо бронзы с гальваническим покрытием из хромоникеля. Оно выполняет как защитные, так и декоративные функции. Для соединения с трубопроводом имеются резьбовые отводы — всего три штуки. Тип резьбового соединения зависит от выбранной модели.
Оптимальные параметры давления в отопительной системе для стабильной работы клапана — 10 кг/см². При превышении этого значения, могут возникнуть проблемы.
Существуют ограничения и по температурным показателям — 95º для котлов, 110º — для солнечных батарей. Допустимая регулировка температуры теплоносителя у разных моделей находится в диапазоне 20-60º. Производительность колеблется в пределах 1,6–2,5 м3/ч.
Принцип работы устройства
Установкой смесительного трехходового клапана удается добиться того, что температура жидкости на выходе имеет значение в установленных пределах.
Принцип работы как для замкнутой отопительной системы, так и для системы ГСВ один и тот же. Отличие только в том, что в первом случае теплоноситель равномерно передает тепло от источника к радиаторам, а во втором — переносит теплую воду к бытовым приборам.
До момента, пока термочувствительный элемент не приобретет определенную температуру, теплоноситель подается из фронтального патрубка и беспрепятственно прибывает в правый. По достижении рабочим элементом температуры выше установленной, происходит его расширение.
Это влечет за собой перемещение клапана по вертикали вниз и, как следствие, перекрытие пути поступления нагретого теплоносителя снизу. Следом открывается левый патрубок для подачи холодной жидкости.

На схеме показан порядок подключения трехходового клапана в автономную систему отопления. При его отсутствии в обратном контуре может образовываться конденсат как следствие снижения температуры
Смешивание холодной жидкости с горячей приводит к уравновешиванию температуры. Термочувствительный элемент приобретает прежнюю форму, а заслонка — первоначальное положение.
Если трехходовой клапан установлен в обратный контур, то процесс должен происходить в противоположной последовательности. Когда жидкость охлаждается, напрямую открывается путь для горячей воды из котла.
Приводной механизм прибора
Разным у клапанов может быть и тип приводного механизма. Привод бывает как гидравлическим, так и электромеханическим, пневматическим, ручным.
Привод электромеханический делят на виды, самым распространенным среди которых является простой термостатический. Функционирует в результате расширения жидкости с термоактивным элементом в ее составе. В результате этого возникает давление на шток. Это легкосъемное исполнение, применяемое в изделиях, установленных в бытовых системах.
Следующий вариант — привод с термостатической головкой, укомплектованной чувствительным к изменению температуры элементом. Прибор дополнен выносным датчиком температуры, находящимся непосредственно в трубопроводе. С приводом его соединяет капиллярная трубка.
Этот вид регулировки считается наиболее точным. По желанию простой термостатический привод легко можно сменить на термостатическую головку.

Для клапана с электроприводом пусковым механизмом могут являться электромагниты, сервоприводы, основывающиеся на маломощных электродвигателях или системах передач
Существуют вариант трехходового клапана с электрическим приводом. Управление им осуществляется посредством контроллера, оснащенного температурными датчиками и подающего команды на основной механизм. Упрощенным вариантом привода с контроллером является сервопривод.
Он управляет клапаном напрямую. Самый простой привод — ручной. Здесь регулировку выполняют путем поворота пластмассового колпачка, имеющего резьбовое соединение. Его дно контактирует с концом штока. Путем закручивания или откручивания перемещают золотник.
Наличие электро- или сервопривода позволяет программировать температурный режим с ориентацией по времени суток. Изначально в комплектацию трехходового клапана не входит приводной механизм. Его приобретают отдельно исходя из особенностей конкретной теплосети. Использовать изделие можно в отопительной системе любого исполнения.
Где используют трехходовые клапаны?
Встречаются клапаны этого типа в разных схемах. Их включают в монтажную схему для обеспечения равномерного нагрева всех его участков и исключения перегрева отдельных ответвлений.
В случае наличия твердотопливного котла в его камере часто наблюдается конденсат. Бороться с ним поможет установка трехходового крана.

Клапан, встроенный в систему «теплый пол» отвечает за поддержание температуры на желаемом уровне, подмешивая к теплоносителю небольшие порции горячей воды
Эффективно работает трехходовое устройство в системе отопления, когда существует необходимость подключить контур ГВС и разделить тепловые потоки.
Применение клапана в обвязке радиаторов позволяет обойтись без . Установка его на обратке создает условия для устройства короткого контура.
Нюансы выбора приспособления
Общими при выборе подходящего трехходового клапана являются следующие рекомендации:
- Предпочтительнее авторитетные производители. Часто на рынке встречается некачественная запорная арматура от неизвестных фирм.
- Большей износостойкостью обладают изделия медные или латунные.
- Ручное управление более надежное, но менее функциональное.
Ключевым моментом являются технические параметры системы, в которую его предполагают устанавливать. Учитывают такие ее характеристики: уровень давления, наибольшая температура теплоносителя в точке монтажа прибора, допустимое снижение давления, объем воды, проходящей через клапан.
Хорошо будет работать только клапан с правильно подобранной пропускной способностью. Для этого нужно сравнить производительность своей водопроводной системы с коэффициентом пропускной способности прибора. Она в обязательном порядке обозначена на каждой модели.
Для комнат ограниченной площади, таких как санузел, дорогой клапан с термосмесителем выбирать нерационально.
На больших площадях с теплыми полами необходим прибор с автоматическим регулированием температуры. Ориентиром для выбора также должно являться соответствие изделия ГОСТу 12894-2005.
Стоимость может быть самой разной, все зависит от производителя.
В загородных домах с установленным схема отопления не отличается большой сложностью. Здесь вполне подойдет трехходовой клапан упрощенной конструкции.
Он функционирует автономно и у него нет термоголовки, датчика, и даже штока. Термостатический элемент, управляющий его работой, настроен на какую-то определенную температуру и находится в корпусе.
Производители трехходовых приборов
На рынке присутствует большой ассортимент трехходовых клапанов как от авторитетных, так и никому не известных производителей. Модель можно выбирать после того, как будут определены общие параметры изделия.
Первое место в рейтинге продаж занимают вентили шведской компании Эсбе (Esbe). Это довольно известный бренд, поэтому трехходовые изделия надежны и долговечны.

Трехходовой клапан Esbe смесительного типа применяют как в системах отопления, так и охлаждения. Регулировка у них может быть ручной или автоматической
Среди потребителей известны своим качеством трехходовые клапаны корейского производителя Навьен (Navien). Приобретать их следует при наличии котла этой же компании.
Большая точность регулировки достигается посредством установки прибора датской фирмы Данфосс (Danfoss). Работает он полностью автоматически.
Хорошим качеством и демократичной стоимостью отличаются клапаны Валтек (Valtec), изготавливаемые совместно специалистами из Италии и России.
Эффективны в работе изделия компании из США Ханивел (Honeywell). Эти клапаны имеют простую конструкцию, удобны в установке.
Особенности установки изделия
Во время монтажа трехходовых кранов возникает много нюансов. От их учета зависит бесперебойное функционирование отопительной системы. К каждому вентилю производитель прилагает инструкцию, соблюдение которой позволит избежать впоследствии многих неприятностей.
Общие рекомендации по монтажу
Главное, изначально установить вентиль в правильном положении, руководствуясь подсказками, обозначенными стрелками на корпусе. Указатели указывают траекторию водяного потока.
Символом А обозначен прямой ход, В — перпендикулярное или байпасное направление, АВ — объединенный вход или выход.
Исходя из направления, существуют две модели клапанов:
- с симметричной или Т-образной схемой;
- с ассиметричной или L-образной.
При монтаже по первой из них жидкость поступает в клапан через торцевые отверстия. Выходит через центральное после смешивания.
Во втором варианте теплый поток заходит с торца, а холодный поступает снизу. Выход после смешения разнотемпературной жидкости происходит через второй торец.

Представленная на фото схема монтажа клапана, используется в отопительных системах, запитанных от напорного коллектора
Второй важный момент при монтаже смесительного клапана — нельзя располагать его приводом или термостатической головкой вниз. Перед началом работ необходима подготовка: перед точкой установки перекрывают воду. Далее проверяют трубопровод на наличие в нем остатков, способных стать причиной выхода со строя прокладки клапана.
Главное, выбрать для установки такое место, чтобы к клапану был доступ. Возможно, в дальнейшем его придется проверять или демонтировать. Для всего этого необходимо свободное пространство.
Врезка смесительного клапана
При врезке трехходового клапана смесительного типа в систему централизованного теплоснабжения может быть несколько вариантов. Выбор схемы зависит от характера присоединения системы отопления.
Когда по условиям работы котла является допустимым такое явление, как перегрев теплоносителя в обратке, обязательно возникает избыточное давление. В этом случае монтируют перемычку, дросселирующую избыточный напор. Ее устанавливают параллельно по отношению к подмесу клапана.

Эту схему используют, когда система отопления подключена к безнапорному коллектору. Важно выбирать правильный вариант монтажа исходя из особенностей своего трубопровода
Схема на фото является гарантией качественного регулирования параметров системы. Если трехходовой кран подсоединен непосредственно к котлу, что наиболее часто бывает в автономных отопительных системах, необходима врезка балансировочного клапана.
Если пренебречь рекомендацией по поводу установки балансировочного прибора, в порте АВ могут произойти существенные изменения расхода рабочей жидкости, зависящего от положения штока.
Подключение по приведенной схеме не гарантирует отсутствия циркуляции теплоносителя через источник. Чтобы этого добиться, нужно дополнительно подключить в его контур гидравлический разграничитель и насос циркуляционного типа.
Смесительный клапан монтируют и с целью разделения потоков. Необходимость в этом возникает, когда недопустимо полностью изолировать контур источника, но перепуск жидкости в обратку возможен. Чаще всего такой вариант применяют при наличии автономной котельной.

Балансировочный клапан монтируют в участок трубопровода трехходового клапана, подключенного к порту, обозначенному символом В. Его гидравлическое сопротивление должно быть идентичным сопротивлению котла
Необходимо знать, что при использовании некоторых моделей может возникнуть вибрация и шум. Это происходит по причине несогласованности направлений потока в трубопроводе и смесительном изделии. Из-за этого возможно падение давления на клапане ниже допустимого.
Монтаж разделительного приспособления
Когда температура источника выше, чем необходимо потребителю, в схему включают клапан, разделяющий потоки. В этом случае при постоянном расходе как в контуре котла, так и потребителем, к последнему не придет перегретая жидкость.
Чтобы схема работала, в обоих контурах необходимо присутствие .
На основе вышеизложенного можно подытожить общие рекомендации:
- При монтаже любого трехходового клапана до и после него устанавливают манометры.
- Во избежание попадания всяческих примесей перед изделием монтируют фильтр.
- Корпус прибора не должен подвергаться каким-либо нагрузкам.
- Хорошее регулирование необходимо обеспечить путем врезки перед клапаном приспособлений, дросселирующих избыточное давление.
- При установке клапан не должен находиться над приводом.
Также необходимо выдерживать перед изделием и после него прямые участки, рекомендованные производителем. Несоблюдение этого правила повлечет за собой изменение заявленных технических характеристик. Гарантия на прибор не будет действовать.
Выводы и полезное видео по теме
Нюансы установки, учет которых гарантирует правильную работу клапана:
Подробности установки клапана при монтаже теплого пола:
Такой узел в системе отопления, как термостатический трехходовой клапан необходим, но не во всех случаях. Его наличие — гарантия рационального использования теплоносителя, позволяющая экономно потреблять топливо. Дополнительно он выступает и в роли прибора, обеспечивающего безопасность эксплуатации ТТ котла.
Все же прежде чем приобрести такое устройство, нужно предварительно проконсультироваться по поводу целесообразности его монтажа.
Если у вас есть необходимый опыт или знания по теме статьи и вы можете ими поделиться с посетителями нашего сайта, пожалуйста, оставляйте свои комментарии, задавайте вопросы в расположенном ниже блоке.
sovet-ingenera.com
Трехходовой клапан для отопления с терморегулятором, как работает
Трехходовой клапан для отопления с терморегулятором имеет такую форму, которая напоминает тройник, отсюда и название. Функции же у него совсем другие, он поддерживает в доме комфортный тепловой баланс и равномерно распределяет тепло по всему помещению.
Трехходовой клапан особенно применяется для водяного теплого пола. Обычно температуры в радиаторе подогрева и пола не совпадают, для регулирования этого процесса и применяют устройство.
В данной статье мы поговорим об трехходовом клапане, его устройстве, установке, принципе работы и разновидностях. Применение такого агрегата просто необходимо в системе ГВС.

Устройство трехходового клапана
Конструктивно он представляет два соединенных двухходовых крана в одном корпусе. Но в отличие от них полностью водяной поток горячей воды не перекрывается, а регулируется интенсивность его прохождения. За счет этого меняется температура горячей воды.

- Основные детали клапана:
- корпус;
- шток с запорной шайбой или металлический шарик;
- гайки крепления (муфты).
Клапаны со штоком позволяют автоматизировать управление посредством электромеханического привода. Это позволяет автоматически регулировать температуру воды. Шариковый клапан по принципу действия можно сравнить со смесителем на кухне. Они используются только в клапанах с ручным управлением.
Примите к сведению: выбирая кран, следует обратить внимание на материал, из которого сделан корпус. Латунный более легкий и долговечный в сравнении с чугунным.Чтобы разобраться, из чего состоит и как работает термосмесительный трехходовой кран самого распространенного седельного типа, следует изучить представленную ниже схему.
Внутри латунного корпуса с тремя патрубками методом литья устроены 3 камеры, проходы между которыми перекрываются тарельчатыми клапанами. Они закреплены на одной оси – штоке, выходящем из корпуса с четвертой стороны.

Виды
- Они различаются по способу управления. Условно можно поделить на клапаны:
- с ручным управлением;
- с термоголовкой;
- с электроприводом;
- гидравлические;
- пневматические.
В частном доме наиболее приемлемым будет клапан с электроприводом. Установленные внутри датчики выдают команду через контроллер на привод, если изменяются контролируемые параметры воды.
В результате становится теплее, или наоборот, прохладнее. Термосмесительный эффект происходит автоматически. При этом не важно, какой котел установлен в системе – газовый или твердотопливный.
Если нет возможности в системе отопления установить регулируемый клапан, то лучшим решением в этом случае станет клапан с термоголовкой.
Установка трехходового клапана в системе отопления
Термостатический смеситель устанавливают в систему отопления в смесительном узле при одно – или многоконтурном распределении тепла. Таких контуров может быть несколько. Принципиальная схема не изменится. Добавятся лишь новые элементы.
Например, смесительный узел. Наличие дополнительного контура распределения теплоносителя является его главной отличительной особенностью. Зачем он нужен? Для подключения дополнительных теплопотребителей. Например, теплого пола.
При выполнении монтажных работ по установке клапана необходимо помнить, что он устанавливается перед насосом системы. От соблюдения этого требования зависит работоспособность всей системы.
Во время врезания клапана нужно следить, чтобы в него не попали отходы сварки (шлак, капли расплавленного металла). Так же необходимо предусмотреть возможность легкого снятия клапана в процессе его эксплуатации. Такое действие понадобится при периодической проверке его работоспособности.
Выбор
Чтобы правильно выбрать клапан нужно учитывать очень много различных нюансов.
- В первую очередь:
- количество контуров в отопительной системе;
- конструктивная особенность управления клапаном;
- диаметр входного патрубка;
- пропускная способность трубопроводов системы отопления;
- материал, из которого изготовлен клапан.
С количеством контуров системы отопления легко разобраться самостоятельно. С остальными моментами выбора все обстоит намного сложнее. Чтобы узнать, как устроен и работает трехходовой клапан, достаточно вникнуть в этот вопрос.
А для того, чтобы правильно определить даже его размеры, необходимо иметь понятие в термодинамике.
По своей сути 3-ходовой клапан является вентилем с термостатической головкой. При автоматизированном приводе управления он в состоянии распределять потоки горячей воды в нужном направлении и в необходимом количестве.
Вентили с подобной задачей справиться не в состоянии, что говорит о необходимости наличия трехходового клапана в системе отопления. Используя клапан в системе отпадает необходимость придумывать какой-то выносной пульт управления ею. Все делается без участия человека.
Как работает трехходовой клапан в системе отопления

Принцип работы клапана заключается в смешивании потоков воды с разной температурой. Для чего это нужно делать? Если не вдаваться в технические подробности, можно ответить так: для продления срока службы отопительного котла и его более экономичной работы.
Трехходовой клапан смешивает нагретую воду с остывшей после прохождения по отопительным приборам и направляет ее снова в котел для нагрева. На вопрос, какую воду нагреть быстрее и легче – холодную или горячую – в состоянии ответить каждый.
Одновременно со смешиванием клапан потоки еще и разделяет. Возникает естественное желание автоматизировать сам процесс управления. Для этого клапан оснащается термодатчиком с терморегулятором. В этом случае лучше всего здесь справляется электрический привод. От устройства привода зависит качество функционирования всей системы отопления.
- Такой клапан устанавливается в тех местах трубопровода, где необходимо разбить циркуляционный поток на два контура:
- С постоянным гидравлическим режимом.
- С переменным.
Обычно постоянный гидравлический поток используют потребители, для которых подается качественный теплоноситель определенного объема. Регулируется он в зависимости именно от качественных показателей.
Переменный поток потребляют те объекты, для которых качественные показатели не являются главными. Им важен количественный коэффициент. То есть для них регулировка подачи производится по требуемому количеству теплоносителя.
Есть в категории запорной арматуры и двухходовые аналоги. В чем отличие этих двух видов? Трехходовой клапан работает совершенно по-другому. В его конструкции шток не может перекрыть поток с постоянным гидравлическим режимом.
Он всегда открыт и настроен на определенный объем теплоносителя. А значит, потребители будут получать необходимый объем как в количественном, так и в качественном эквиваленте.
По сути, клапан не может перекрыть подачу на контур с постоянным гидравлическим потоком. А вот переменное направление он перекрывать способен, тем самым позволяя регулировать напор и расход.
Если совместить два двухходовых клапана, то получится трехходовая конструкция. При этом оба клапана должны работать реверсивно, то есть при закрытии первого обязательно открывается второй.
Виды трехходовых клапанов по принципу работы
- По принципу действия этот вид делится на два подвида:
- Смесительные.
- Разделительные.

Уже по названию можно понять, как работает каждый тип. У смесительного один выход и два входа. То есть он выполняет функцию смешивания двух потоков, что необходимо для понижения температуры теплоносителя. Кстати, для создания нужной температуры в системах теплых полов это идеальное устройство.
Регулировать температуру выходящего потолка достаточно просто. Для этого необходимо знать температуру двух входящих потоков и точно рассчитать пропорции каждого, чтобы на выходе получить требуемый температурный режим. Кстати, этот вид устройства, если его правильно установить и отрегулировать, может работать и по принципу разделения потоков.
Трехходовой кран разделительного действия разбивает основной поток на два. Поэтому у него два выхода и один вход. Этот прибор обычно используется для разделения горячей воды в системах горячего водоснабжения. Нередко специалисты устанавливают его в обвязках воздухонагревателей.
По внешнему виду оба устройства ничем не отличаются между собой. Но если рассмотреть их чертеж в разрезе, то есть одно различие, которое сразу же бросается в глаза. В смесительном приборе установлен шток с одним шаровым клапаном.
Он располагается в центре и перекрывает седло главного прохода. В разделительном таких клапанов два на одном штоке, и они устанавливаются в выходных патрубках. Принцип их действия таков — первый закрывает один проход, прижимаясь к седлу, а второй в это время открывается другой проход.
- Современный трехходовой кран делится на два типа по способу управления:
- Ручной.
- Электрический.
Чаще приходится сталкиваться с ручным вариантом, который похож на обычный шаровой кран, только с тремя патрубками — выходами. Электрические автоматические системы чаще всего используются для распределения тепла в частном домостроении.
К примеру, можно настроить температуру по комнатам, распределяя теплоноситель в зависимости от удаленности помещения от нагревательного котла. Или обеспечить совмещение с системой теплого пола. Большие по проходимости приборы устанавливают на теплопроводах между зданиями.
Как и любое устройство, трехходовой кран определяется по диаметру подводящей трубы и давлению теплоносителя. Отсюда и ГОСТ, который позволяет провести сертификацию. Несоблюдение ГОСТа является грубым нарушением, особенно, когда дело касается давления внутри трубопровода.
Схема теплого пола с трехходовым клапаном
Когда есть понимание, что такое трехходовой клапан и в чем состоит его работа, можно рассмотреть различные схемы подключения, зависящие от назначения и роли элемента в отоплении дома.
- Установка термосмесительного клапана производится в таких случаях:
- Для защиты твердотопливного котла от воздействия конденсата и температурного шока после внезапных отключений электроэнергии.
- Теплоноситель в контурах теплых полов должен прогреваться не более чем до 45 °С, что обеспечивается смесительным узлом с трехходовым краном.
- Для поддержания необходимой температуры теплоносителя в разных местах системы.
- Чтобы защитить тепловой агрегат на твердом топливе от образования конденсата, нельзя во время его разогрева допускать подачу в котловой бак остывшей воды из радиаторной сети.
Для этого используется следующая схема подключения котла с байпасом и трехходовым смесительным клапаном:

Схема работает так. Пока теплогенератор не прогрелся, вода циркулирует по малому кругу через байпас. При нагреве теплоносителя в обратке до 50—55 °С клапан начинает открываться и подмешивать холодный теплоноситель из системы. При выходе отопителя на рабочий режим байпас перекрывается и весь поток идет через радиаторы.
В системе теплых полов данный элемент выполняет те же функции. Циркуляционный насос гоняет теплоноситель по греющим контурам до тех пор, пока он не начнет остывать. Как только это произойдет, сработает датчик и термоголовка, после чего трехходовой клапан станет добавлять в замкнутый контур горячую воду, идущую от котла.
Как своими руками правильно выполнить монтаж коллектора теплых полов, насоса и клапана, показано на схеме:
Следующий пример использования и подключение этой важной детали – обвязка твердотопливного теплогенератора и буферной емкости, являющейся аккумулятором тепла.
Чтобы прогреть ее целиком достаточно быстро, температура подаваемого теплоносителя должна быть от 70 до 85 °С, каковая вовсе не нужна в системе радиаторного отопления. Понизить ее как раз и помогает трехходовой клапан, установленный за емкостью вместе с отдельным циркуляционным насосом.

Сложная отопительная система большого коттеджа может иметь множество потребителей, подключаемых посредством гидрострелки и распределительного коллектора.
Причем в каждый из контуров надо подать теплоноситель с разной температурой. Самая высокая нужна бойлеру косвенного нагрева, поэтому на подводке к нему регулирующей арматуры нет. Остальным потребителям нужен более холодный теплоноситель, а потому они подключены через трехходовые клапаны.

- В зависимости от направления потоков, термостатический клапан представлен двумя моделями:
- Т-образная или симметричная схема. При таком подключении вода – горячая и холодная входит через боковые отверстия, а после смешивания жидкость вытекает через центральный ход.
- L-образная или асимметричная схема. В таком случае горячая вода поступает с одного бока, а холодная – снизу. Впоследствии смешанный поток выходит из второго бокового хода.

Схема подключения трехходового смесительного клапана.
Устанавливается смесительный кран, оборудованный терморегулятором, если требуется обеспечить стабильную температуру теплоносителя.
- Рассматривая смесительный узел, можно выделить в нем следующие составные части:
- клапан обратный;
- датчик температурный;
- насос циркуляционный;
- смесительный трехходовой клапан.

Схема смесительного узла для теплого пола
Схема подключения включает циркуляционный насос, монтируемый на подачу. Затем устанавливается температурный датчик, необходимый для определения степени нагрева поступающей воды.
После этого идет термостатический клапан. На «обратку» монтируется обратный клапан с выходом, который присоединяется к трубе с циркулирующей охлажденной жидкостью, направляемой к смесительному клапану.
- При подобной схеме подключения теплоноситель движется по следующему маршруту:
- Закачивание горячей воды при помощи циркуляционного насоса в систему оборудуемого теплого пола. Температура теплоносителя может достигать 80°С.
- Смешивание с холодной водой при прохождении трехходового клапана. В результате достигается нужная температура.
- Распределение теплоносителя по трубам теплого пола.
- Возвращение остывшей воды в «обратку», откуда она забирается в трехходовой клапан для последующего смешивания с горячей жидкостью.
При подобном подключении регулирование степени нагрева поступающей в водяной контур воды осуществляет температурный датчик. Есть и другие способы управления. Самый неэффективный – это ручной метод, когда требуется изменять поступление потоков поворотом рукоятки.
Есть вариант управления при помощи сервопривода, команды на который поступают от контроллера сообразно сигналам, поступающим от датчиков.

Схема узлов на основе трехходового смесительного и термостатического клапанов для теплых полов.
Термостатический кран при оборудовании водяного теплого пола играет важную роль. Не допуская перегревания поступающего в трубы теплоносителя, он позволяет экономить топливо. Кроме этого, обеспечивается безопасность при эксплуатации достаточно сложной системы обогрева и продляется срок безаварийной службы.
Схема установки разделяющего трёхходового клапана
Обеспечивает количественное регулирование у потребителя — за счёт изменения расхода теплоносителя. Применяется, если по условиям эксплуатации источника тепла допускается перепуск теплоносителя в обратный трубопровод и не допускается прекращение циркуляции в контуре источника.
Данная схема установки трёхходового клапана, получила широкое применение в узлах нагрева воды и воздуха, подключённых от автономной котельной. Для увязки гидравлических контуров, потери напора на балансировочном клапане в байпасной линии, должны равняться потерям напора у потребителя.
Данная схема установки трёхходового клапана предназначена для подключения к трубопроводу с избыточным напором. Циркуляция теплоносителя в контуре потребителя обеспечивается за счёт избыточного напора, созданного циркуляционным насосом в контуре источника тепла.

Схема установки разделяющего трёхходового клапана
Схемы установки смешивающего трёхходового клапана на разделение
Обеспечивает количественное регулирование у потребителя с использованием смесительного трёхходового клапана. Применяется если по условиям эксплуатации не допускается прекращение расхода в контуре источника, а перепуск теплоносителя из подающего трубопровода в обратный — допустим.
Подобные схемы подключения трёхходовых клапанов получили широкое распространение в обвязке воздухонагревателей и воздухоохладителей, а также в узлах подогрева воды установленных в автономных котельных.
На подмешивающем патрубке трёхходового клапана рекомендуется установить балансировочный клапан с гидравлическим сопротивлением равным, сопротивлению потребителя. Циркуляция через потребителя и байпас осуществляется за счёт избыточного напора в контуре источника.
При правильном подборе клапана и гидравлической увязке байпаса с контуром потребителя, расход через источник тепла постоянный, а в контуре потребителя — переменный.

Схема подключения смешивающего трёхходового клапана для разделения потока, к напорному коллектору
Так как, поток воды движется в направлении противоположном направлению потока в смешивающем клапане, на некоторых клапанах возможно увеличение шума и вибрации, а также снижение допустимого перепада давлений на клапане.
Схема установки смешивающего трёхходового клапана для разделения к гидравлической стрелке При подключении узла с разделяющим трёхходовым клапаном к источнику тепла непосредственно или безнапорному коллектору, в подающем или обратном трубопроводе необходимо установить циркуляционный насос. Насос может быть общим для нескольких контуров.

Схему подключения трёхходового клапана, разделяющего поток, с дополнительным байпасом в контуре потребителя, параллельным подмешивающей линии, используют при условии превышения температурного режима источника над температурным режимом потребителя.
Особенность данной схемы в том, что расходы в контуре источника и потребителя будут постоянными, а к потребителю не поступит перегретый теплоноситель. У потребителя будет обеспечено качественное регулирование. Для работы данной схемы необходима установка насоса в контуре потребителя и в контуре источника.

Трехходовой смесительный клапан с термоголовкой
Клапан с терморегулятором гарантирует практичность и эффективность функционирования системы. Трехходовые клапаны для отопления призваны регулировать тепловой поток, что обеспечивает комфорт в помещении и экономичность использования.

Прежде чем приступать к проектировке отопительной системы, производится тепловой расчет. На основе его результатов выбирается подходящая мощность и тип отопительных приборов, способных поддерживать оптимальный температурный режим в помещении.
В расчет берется площадь помещения, после чего анализируют возможные теплопотери. Исходя из этого, рассчитывается производительность отопительной системы, необходимая для создания в комнатах комфортного микроклимата. После чего для всех помещений составляется тепловой баланс.
Однако, данные расчеты производятся при конкретных условиях, которые могут меняться в процессе эксплуатации.
- Факторы, влияющие на работу радиатора, различны:
- температурные перепады на улице;
- солнечная активность;
- сила ветра;
- наличие бытовых приборов, генерирующих тепло.
В результате, просчитанный температурный баланс нарушается, и в помещении становится жарко. Однако, изъять из комнаты части радиатора или заглушить тепловое излучение невозможно. Таким образом, возникает необходимость управлять генерируемой тепловыми приборами энергией, чтобы поддерживать в помещении комфортный микроклимат.
- Есть два пути регулировки выделяемой радиатором энергии:
- Качественное изменение свойств радиатора.
- Количественное регулирование выделяемого тепла.
- В обоих случаях необходимы манипуляции с циркулирующей по трубам жидкостью.
В случае, когда вы не можете повлиять на температуру воды, поступающей к радиатору, можно регулировать ее количество. Для этого и необходимо купить трехходовые клапаны для отопления с терморегулятором.
Эти устройства позволяют ограничить количество воды, проходящей через радиатор, и в результате при одной и той же площади батареи в комнату будет поступать больше или меньше тепла, разумеется, в пределах, ограниченных мощностью системы.

Устройство трехходового смесительного клапана с термостатом
Трехходовой клапан для отопительной системы и регулятор температуры, устанавливаемый на радиаторе, могут использоваться по отдельности, однако в автономных отопительных системах современных квартир и частных коттеджей зачастую применяют комбинированный способ для повышения эффективности.
Таким образом, целесообразна покупка трехходового клапана для отопления с терморегулятором.
Важно учитывать, что принцип работы трехходового смесительного клапана позволяет повышать или понижать температуру радиатора лишь в установленных границах. Пределы эти продиктованы техническими характеристиками теплового прибора, а именно, значением его максимальной теплоотдачи, и зависят от каждого конкретного радиатора.
Сервопривод для трехходового клапана
Сервопривод — это электродвигатель, управляемый через отрицательную обратную связь. В данном случае отрицательной обратной связью будет датчик угла поворота вала, который прекращает движение вала при достижении нужного угла.
Для наглядности рассмотрим устройство сервопривода по рисунку:

- Как видно, внутри сервопривода расположены следующие составные части:
- Электрический мотор.
- Редуктор, состоящий из нескольких шестеренок.
- Выходной вал, которым привод вращает клапан или другое устройство.
- Потенциометр — эта та самая отрицательная обратная связь, с помощью которой осуществляется управление углом поворота вала.
- Управляющая электроника, которая расположена на печатной плате.
- Провод, по которому подводятся напряжение питания (220 или 24 В) и управляющий сигнал.
Давайте теперь подробно остановимся на управляющем сигнале. Сервопривод управляется импульсным сигналом с изменяемой шириной импульса. Для тех кто не знает о чем идет речь, привожу еще одну картинку:

То есть ширина импульса (по времени) определяет величину угла поворота вала. Настройка таких управляющих сигналов дело нетривиальное и зависит от конкретного привода. Количество управляющих сигналов зависит от того, сколько положений может занимать выходной вал.
Сервопривод может быть двухпозиционным (2 управляющих сигнала), трехпозиционным (3 управляющих сигнала) и так далее.
Клапан трехходовой регулирующий с электроприводом

В качестве электрического привода трехходовых регулирующих кранов с электроприводом выступают различные элементы.
- Существует две разновидности:
- трехходовые краны для отопления с электроприводом в виде электрического магнита;
- трехходовые клапаны с сервоприводом на базе электрического мотора.
Исполнительный механизм получает команду прямиком от температурных датчиков или от управляющего контроллера. Модели трехходовых кранов для отопления с электроприводом наиболее эффективны, так как позволяют обеспечивать максимально точную регулировку тепловых потоков.
Трёхходовой регулирующий клапан — предназначен для смешения или разделения потока теплоносителя, поэтому их ещё называют смесительными и разделительными клапанами. Трёхходовые регулирующие клапаны имеют три патрубка для присоединения к трубопроводу.
Наиболее широкое распространение получили в системах теплоснабжения подключённых от автономных котельных, в которых нет необходимости в ограничении расхода при сохранении коэффициента смешения.
Они устанавливаются для управления теплоотдачей калориферов системы вентиляции, теплообменных аппаратов систем горячего водоснабжения и отопления подключённых по независимой схеме, управления процессом смешения в системах отопления с зависимым подключением в котельной.
Трёхходовой клапан с электроприводом — это трубопроводная арматура, предназначенная для качественного и количественного регулирования. Трёхходовые клапаны выполняют функцию исполнительного устройства в схемах автоматизации систем теплоснабжения зданий.
Управляют клапаном с помощью электропривода, по сигналу электронного регулятора, либо от центральной системы диспетчеризации. Работа трёхходового клапана основана на создании в циркуляционном кольце контуров с постоянным и переменным гидравлическим режимом, за счёт разделения одного потока или смешения двух потоков теплоносителя.
Вне зависимости от положения штока в трехходовом клапане, циркуляция не прекращается, поэтому такой тип устройства не годится для уменьшения расхода теплоносителя. В этом основное отличие шарового трехходового крана с электроприводом от двухходовых кранов, регуляторов и других устройств.
Данный клапан предназначен для смешивания или разделения, распределения потоков. Разделительный клапан регулирует количество воды, пуская часть жидкости по байпасному пути вместо прямого. Два патрубка устройства служат для выхода, а один – для входа.
Принцип действия трехходового смесительного клапана с термоголовкой основан на подмешивании к горячему теплоносителю более холодного или к холодному более горячего. В результате качественная характеристика, а именно температура теплового потока изменяется, при этом уровень этого изменения зависит от установленной пропорции соединяемых струй.
Два порта для входа и один для выхода могут также выполнять разделительную функцию. Такие клапаны могут использоваться в различных съемах.
Часто актуально использование трехходовых клапанов для твердотопливных котлов, в камере которых выпадает конденсат в начале топки. В таком случае клапан помогает временно отсечь холодную воду, а по короткому контуру пустить часть нагретой жидкости.
Источники: gidotopleniya.ru, teplo.guru, kaminyn.ru, otivent.com, remoo.ru, znayteplo.ru, znayteplo.ru, gidro-term.com.ua, remoo.ru
first-apartment.ru
Термостатические смесительные клапаны, принцип работы, схемы подключения.
Трехходовой смесительный клапан предназначен для смешивания двух входящих в него потоков (холодного и горячего) в один исходящий с заданной температурой. Данные клапаны особенно востребованы в бытовых системах горячего водоснабжения для защиты потребителей от ошпаривания. Они также могут обеспечивать горячее водоснабжение непосредственно от водонагревателей проточного или накопительного типа или использоваться на предварительном этапе подмешивания. Не менее часто применяются и для поддержания стабильной температуры подачи в системах теплых полов.
Принцип работы.
Внутреннее регулирование клапанов осуществляется автоматически благодаря наличию термочувствительного элемента, который контактирует со смешанным потоком и сжимается или расширяется в зависимости от отклонения температуры смеси от заданного выходного значения, тем самым, увеличивая, либо уменьшая входные отверстия горячей или холодной воды.
Как действует защита от ожогов?
Большинство присутствующих сейчас на рынке термостатических клапанов имеют устройство температурной защиты – «защита от ошпаривания». В случае неожиданного прекращения подачи холодной воды в клапан автоматически перекрывается и подача горячей воды, тем самым исключается возможность подачи горячей воды без предварительного подмеса потребителю.
Направление потоков.
Существует две схемы направления потоков в термостатическом клапане – симметричная и асимметричная. Выбор определенной схемы зависит от типа установки и удобства монтажа в той или иной системе отопления или ГВС. Рассмотрим подробнее каждую из них.
ГВ — горячая вода;
ХВ — холодная вода;
СВ — смешанная вода.
Симметричная Т- образная схема направления потоков
Подача холодной и горячей воды производится с противоположных сторон, смешение происходит в середине. Данная схема очень распространена в Европе, что связано с компактностью клапанов.
Асимметричная L – образная схема направления потоков
Подача горячей воды осуществляется сбоку, холодной- снизу. Получила свое распространение благодаря универсальности и простоте получаемого смесительного узла.
Примеры внешнего вида термостатических клапанов c симметричной и асимметричной схемой направления потоков:
Именно о термостатических клапанах с асимметричной схемой расположения потоков далее и пойдет речь.
Сферы применения термостатических смесительных трехходовых клапанов.
Термостатические смесительные клапаны являются универсальными приборами. Их используют как для горячего водоснабжения, так и в системах отопления. Все зависит от правильности выбора самого клапана и его подключения.
Ниже приведены различные схемы подключения данного типа клапанов. Это далеко не все возможные варианты, но чаще всего используемые.
Водоснабжение
Самая простая и используемая схема подключения трехходового термостатического клапана в водоснабжении выглядит следующим образом:

А: обратный клапан
В: трехходовой термостатический смесительный клапан.
1: линия ГВС
2: линия ХВС
3: смешанный поток
Данная схема предназначена для стабилизации температуры в подающей линии на горячее водоснабжение. Как это выглядит на практике:
Рис. 3

Рис. 3 Данная схема подключения используется в тех случаях, когда циркуляционная линия горячей воды отсутствует. В этом случае термостатический клапан должен обязательно комплектоваться обратными клапанами на линиях подачи горячей и холодной воды.
Рис. 4

Рис. 4 Пример установки в систему горячего водоснабжения с циркуляционной линией. Рециркуляционный контур в данном примере служит для подачи нагретой воды к потребителям, без каких- либо задержек.
Рис. 5

Рис. 5 В данном примере одна из водоразборных точек устанавливается перед термостатическим клапаном. При такой схеме перед патрубком подачи горячей воды в смесительный клапан обязательно должен быть установлен обратный клапан.
Схемы подключения термостатических клапанов в напольном отоплении.
Теперь переходим к схемам использования трехходовых термостатических смесителей в системах отопления. Чаще всего клапан используется в смесительном узле для теплых полов.
Схема с одним контуром напольного отопления рис.6

Рис. 6 Термостатический смесительный клапан поддерживает постоянную температуру, установленную в настройках клапана. На контуре напольного отопления в обязательном порядке должен быть установлен собственный циркуляционный насос.
Схема с несколькими контурами напольного отопления рис.7

Остановимся на смесительном блоке поподробнее (рис 8).
Рис. 8

Рис. 8 Главной задачей смесительного узла является присутствие дополнительного контура с отдельным кольцом циркуляции. По этой причине у смесительного блока имеются две входящие и две выходящие точки. Две точки справа- это соединение распределительного коллектора для питания контуров теплого пола. Две точки слева — это циркуляция теплоносителя для получения тепла по мере необходимости.
Ниже приведены два варианта схемы смесительного блока (на самом деле этих вариантов может быть множество, но остановимся на самых распространенных).
Рис. 9

Рис 9 В данной схеме линия №2 необходима для увеличения расхода насоса. Так как у термостатических трехходовых клапанов низкая пропускная способность, что может создавать гидравлическое сопротивление и, как результат — расход насоса будет маленьким, что приведет к неэкономичности системы (насос будет работать с лишними нагрузками и потреблять лишнюю энергию). Также без линии 2 будет проблематично прокачать большое количество контуров. Если предполагается установка термостатического клапана с большой пропускной способностью, то необходимость в линии 2 отпадает.
При такой схеме может возникнуть ситуация, при которой поток на линии 1 опустится ниже критического и контуры теплых полов будут недостаточно нагретыми. Самые распространенные причины такой ситуации:
а) Недостаточный напор на линии 1, вследствие чего клапан слабо пропускает поток в точке 1.
б) Клапан по своим характеристикам не способен пропустить достаточный поток в точке 1. В этом случае единственным вариантом будет замена клапана на прибор с большей пропускной способностью (KVs).
Если предполагается первая причина, то можно сузить сечение линии 2, либо поставить на линию 2 балансировочный клапан (рис.10).
Рис. 10
Рис. 10 Балансировочным клапаном вы сможете регулировать величину потока через линию 2 и, тем самым, увеличивать или уменьшать подачу на линии 1.
Надеемся, эта статья помогла вам понять основные принципы работы и использования трехходовых термостатических клапанов. Подводя итог, хотим особо отметить, что главными преимуществами данных приборов являются относительно невысокая цена и простота установки, а недостатком – низкая пропускная способность самого клапана (Kvs), что ограничивает его использование в системах с большими потоками теплоносителя.
Сейчас на рынке присутствуют более совершенные альтернативы с хорошей пропускной способностью, но все эти варианты значительно дороже и требуют некоторых навыков при их монтаже. Об этом и многом другом мы расскажем в следующих статьях.
Выбрать термостатический смеситель у нас >>
www.altermo.ru
Смесительный клапан: устройство, принцип действия,
3-х ходовой смесительный клапан – это распространенный вид запорно-регулировочной арматуры, используемой в гидравлических и пневматических системах для решения последовательности задач. В системах горячего водоснабжения и отопления этот вид арматуры незаменим и используется достаточно обширно. Мы поведаем об назначении и устройстве смесительного клапана.

Трехходовой клапан
Назначение

Смесительные клапана используются достаточно обширно, поскольку они разрешают решать множество задач, причем в большинстве из них альтернативы этому виду арматуры нет. Устройство имеет форму простого тройника, другими словами у него имеется два входа и один выход.
В случае если во входные патрубки направить потоки воды с различной температурой (холодной и тёплой), то на выходе мы сможем взять такие варианты:
- Холодная вода свободно течет от входа (А) в к выходу (АВ), тёплая вода в выход не попадает;
- Холодная и тёплая вода поступают на выход (АВ) в один момент, наряду с этим их потоки смешиваются, и вода имеет усредненную температуру;
- Холодная вода перекрыта, и на выход (АВ) попадает лишь поток большой температуры (В).

Время от времени имеется еще и четвертое положение – в то время, когда перекрыты оба канала и на выход никакая вода не попадает. В этом случае прибор корректнее именовать четырехходовой клапан.
В случае если мы подключим подачу на выход, тогда мы возьмём такие результаты:
- Поток движется из выхода (АВ) к входу (А), а во вход (В) не попадает;
- Из выходного патрубка (АВ) вода течет во вход (В), а во вход (А) не попадает;
- Поток разделяется на оба канала.
Обратите внимание! Мы видим, что устройство способно смешивать два потока, открывать подачу одного канала и закрывать подачу другого, разделять поток на различные каналы и поворачивать поток в другой канал.
Эти возможности употребляются достаточно обширно. В системах отопления и горячего водоснабжения смесительные клапана устанавливают, как правило, для домеса холодной воды либо воды из обратного трубопровода в тёплый теплоноситель с целью достижения требуемой температуры потока.
Для примера возможно привести систему напольного отопления. Как мы знаем, что для контуров теплого пола температура теплоносителя должна быть в пределах 40 – 50 ?С, но котел выдает теплоноситель, нагретый до 90 – 95 ?С.
Для решения проблемы перед коллектором теплого пола устанавливают смесительный узел, где посредством трехходового клапана производится домес жидкости из обратки в подачу, тем самым достигая нужного значения температуры.

uchebniksantehnika.ru
Клапан трехходовой смесительно разделительный. Термостатические смесительные клапаны
Фев 16, 2017
В процессе проектирования отопительной системы производится расчет необходимой мощности тепловых приборов. Так удается обеспечить в помещениях комфортные условия проживания. Однако, могут присутствовать внешние факторы, из-за которых температурные условия в доме могут изменяться. Чтобы поддерживать заданную температуру в помещении, нужно регулировать температуру теплоносителя в отопительном контуре. Для этой цели предназначен трехходовой клапан для отопления. За счет применения терморегулятора управление температурным режимом становится более удобным.
Еще одним предназначение такого клапана является распределение теплоносителя по разным контурам. Например, в отопительные радиаторы должна поступать вода одной температуры, а в системе «теплого пола» температура теплоносителя должна быть другой. Трехходовой клапан не служит для уменьшения потока рабочей среды, а лишь смешивает несколько потоков в один, сообщая ему заданную температуру. Либо разделяет один поток на два, идущие в разные контуры.
Конструктивно трехходовой клапан для отопления с терморегулятором или без него состоит из металлического корпуса с тремя патрубками. Внутри корпуса находится механизм, который осуществляет управление потоками теплоносителя в автоматическом режиме. Данный механизм бывает двух типов:
- Седельный. Управляется рабочим штоком, который двигается вверх и вниз. Конец штока выполнен в виде конуса. Внутри клапана имеется седло, которое перекрывается частично или полностью конусным наконечником штока в процессе его перемещения.
- Поворотный. Регулятором у него служит шар или сектор, имеющий проем для прохода жидкости. Данный шар поворачивается, открывая или перекрывая поток теплоносителя. Принцип работы такой же, как и у обычного шарового крана.
Кратко рассмотрим, как работает трехходовой клапан, имеющий терморегулятор. Температура теплоносителя удерживается краном в заданных пределах. При изменении температуры относительно такого предела происходит изменение объема расширяющейся жидкости (газа), которая находится в терморегуляторе. Жидкость давит на шток, который приоткрывает магистраль с холодной или горячей жидкостью. Тем самым температура вновь выравнивается до заданных показателей.
Виды клапанов
По принципу работы данная арматура подразделяется на 2 типа:
Внутренняя конструкция двух типов клапанов заметно различается. В клапане смесительного типа установлен шток с одним перекрывающим элементом, который двигается между двумя подающими патрубками. В разделительном же кране на одном штоке находятся 2 таких элемента. Когда один клапан открывает первый проход, второй клапан автоматически перекрывает второй патрубок.
Управление трехходовым клапаном
Трехходовой клапан для отопления с установленным терморегулятором может управляться вручную или автоматически:
1. Ручное управление. Такой трехходовой термостатический смесительный клапан практически ничем не отличается от обычного шарового крана. Его предназначение выдают лишь 3 патрубка на корпусе. Хозяева помещения самостоятельно могут регулировать степень нагрева радиаторов и системы теплого пола, температуру в других контурах. Для этого достаточно просто повернуть ручку в соответствующее положение. Несмотря на то, что такие краны являются недорогими, пользоваться ими не совсем удобно. Необходимо постоянно следить за температурой теплоносителя и регулировать ее.
2. Автоматическое управление. Такой трехходовой клапан работает без постороннего вмешательства. Достаточно лишь единожды выставить ему настройки. Различают следующие разновидности внешних приводов, управляющих работой крана:

Особенности монтажа трехходового клапана
Трехходовой клапан в системе отопления может устанавливаться как при одноконтурном, так и при многоконтурном распределении теплоносителя. Например, такой вариант отлично подойдет для двухконтурной системы, в которой теплоноситель направляется в радиаторы отопления, а т
ruscos.ru
Управление трёхходовым клапаном | LAZY SMART
Трёхходовой клапан (кран) — устройство смешения или разделения потоков рабочей среды (жидкости или газа). В быту чаще всего он используется в системах вентиляции, отопления, ГВС и тёплых полов. С помощью трёхходового крана можно плавно менять расход воды через теплообменник, регулируя тем самым температуру в системе.
Проще говоря, трёхходовой кран применяют тогда, когда нужно перераспределять поток рабочей среды, а не просто открывать или закрывать, как в случае с обычным краном. Это позволяет поддерживать постоянную циркуляцию в системе, улучшить теплосъём и оптимизировать работу отопительных приборов.
Принцип работы трёхходового клапана
Трёхходовые клапаны бывают двух видов: смесительные и разделительные.

Как понятно из названия, первые смешивают два потока, а вторые, наоборот разделяют один поток на два. При этом они имеют схожий принцип работы: внутренний клапан перекрывает два отверстия в определённой пропорции. В этой же пропорции смешиваются или разделяются потоки.
Трёхходовой клапан с электроприводом
Для того чтобы управлять трёхходовым краном автоматически, на него устанавливают электропривод, который позволяет позволяет поворачивать кран на необходимый угол.
Сигналы управления формирует интеллектуальное устройство (контроллер или регулятор), примеры которых будут рассмотрены ниже.
Привод крана может управляться напряжением 220 В или 24 В.
По типу сигнала управления различают два вида приводов трёхходовых клапанов:
- привод с импульсным управлением
- привод с управлением аналоговым сигналом 0-10 В или 4-20 мА
Привод трёхходового клапана с импульсным управлением
Этот тип привода управляется с помощью электрических импульсов разной длительности. Электронная плата привода имеет два дискретных входа, один из которых отвечает за закрытие, а другой — за открытие.
При подаче напряжения на один из дискретных входов клапан начинает открываться или закрываться( в зависимости от того, на какой вход подано напряжение), и делает это до тех пор, пока управляющее напряжение не будет «снято» со входа. Подача напряжения на другой вход приведёт к началу вращения привода в противоположном направлении.
Таким образом, чем дольше подавать управляющее напряжение на вход, тем на больший угол привод успеет повернуть клапан. Подача на дискретные входы импульсов различной длительности позволяет открывать (или закрывать) клапан «по чуть-чуть». Полное время закрытия/открытия клапанов сильно различается и может составлять от нескольких секунд до нескольких минут.
Приводы с импульсным управлением чаще всего имеют датчик положения, для определения текущей степени открытия клапана. Сигнал с этого датчика может использоваться в контроллере для улучшения качества управления или визуализации положения клапана.
Привод трёхходового крана с аналоговым управлением
Электроника такого привода «принимает» на вход унифицированный аналоговый сигнал. Это либо токовый сигнал 4-20 мА, либо сигнал напряжения 0-10 В, либо может управляться любым из этих сигналов.
Принцип управления в данном случае достаточно прост: чем больше ток управляющего сигнала в диапазоне от 4 до 20 мА — тем больше открыт клапан. При сигнале тока 4 мА, он будет полностью закрыт, а при 20 мА — полностью открыт.
С управляющим сигналом по напряжению (0-10 В) всё аналогично.
В таких приводах датчик положения не так важен, поскольку по значению поданного управляющего напряжения можно однозначно определить его положение.
Контроллер управления трёхходовым клапаном
Для того чтобы управлять трёхходовым клапаном по температуре в системе, используют интеллектуальное устройство (контроллер или регулятор).
Для примера рассмотрим систему отопления. В качестве регулятора возьмём «ТРМ12» компании «ОВЕН».
Датчик температуры измеряет температуру в помещении и передаёт показания на регулятор, который управляет трёхходовым клапаном.
Если клапан будет полностью открыт, вся горячая вода от котла потечёт через теплообменник (показано красным цветом на схеме) и мощность нагрева будет максимальной. При полностью закрытом клапане вода будет циркулировать по малому кругу (показан синим цветом) через теплообменник, постепенно остужаясь. При понижении температуры в помещении регулятор будет приоткрывать трёхходовой вентиль, подмешивая горячую воду от котла в поток теплоносителя, циркулирующий через радиатор.
В результате регулятор «подберёт» такое положение вентиля, при котором количество подмешиваемой горячей воды обеспечит заданную температуру в помещении.
ТРМ12 работает по принципу ПИД-регулятора (о нём можно почитать тут). Пользователь задаёт необходимое значение температуры в помещении с управляющей панели прибора. По текущему значению температуры, полученному от датчика, и заданию пользователя контроллер вычисляет, на сколько нужно открыть трёхходовой кран, и посылает управляющие импульсы необходимой длительности.
Для управления приводом клапана с аналоговым входным сигналом ТРМ12 не подходит. Вместо него можно выбрать, например ТРМ10. Вот его функциональная схема:
Как видите, этот регулятор имеет универсальный аналоговый выход (о-10 В или 4-20 мА).
lazysmart.ru
Что представляет собой термосмесительный клапан для тёплого пола?
На сегодняшний день среди используемых систем отопления жилых помещений значительное место отводиться теплым полам. По сложности конструкции и способу монтажа теплый пол трудно назвать легким и доступным вариантом обогрева. Другое дело эффективность. Использование для отопления подогрев полов обеспечивает в жилых помещения максимально комфортный температурный баланс. Сравнивая работу водяных полов с традиционным радиаторным отоплением, первые значительно выигрывают, как в плане эффективности, так и в эстетическом плане. Единственное препятствие, которое не позволяет более широко использовать греющие водяные трубы для подогрева пола – это существенная разница температур теплоносителя.

Автономный котел или центральная система отопления дают воду для обогрева с температурой 75-950С. Теплый пол является низкотемпературной системой, оптимальная температура воды в отопительных трубах водяного контура составляет 35-550С. Как в такой ситуации получить воду для теплого пола нужной температуры? С этой задачей успешно справляется смесительный клапан для теплого пола. Устройство осуществляет смешивание горячей и холодной воды, циркулирующей в системе, т.е. подготовку теплоносителя для последующей подачи в трубопровод вашего пола. Какие бывают смесительные клапаны и какова их работа, рассмотрим все существующие модели и варианты установки.
Место и роль смесительных клапанов в отопительной системе «теплые полы»

Основная задача, с которой приходится сталкиваться потребителям, решая вопрос монтажа теплых полов в своем доме, добиться необходимой температуры теплоносителя. Для радиаторов вода, температурой 750С вполне приемлема, чего не скажешь о трубах, которые уложены в толще бетонной стяжки.
Важно! Чрезмерный нагрев бетонной стяжки приводит к ухудшению температурного баланса внутри отапливаемого помещения. Напольное покрытие (в большинстве случаев на древесной основе) при высоких температурах быстро утрачивает свои эстетические и технологические качества, приходя в негодность.
В соответствии с санитарными нормами, нормальная температура нагрева теплых полов не должна превышать 260С. Тогда срединные слои воздушной массы внутри помещения прогреваются до комфортных значений 20-220С. Для того, что бы получить такие температурные параметры, вода, поступающая в петли водяного контура должна быть нагрета до 500С. Чуть менее 50% тепловой энергии нагретой воды уходит на прогрев слоеного пирога теплого пола. С учетом толщины слоя бетона, материала и разновидности напольного покрытия, происходит снижение температуры на поверхности пола.
Добиться существенного снижение температуры котловой воды на входе в отопительные водяные контуры помогает смесительный узел, представляющий собой комплект взаимосвязанных приборов и устройств. Одну из главных ролей в работе смесителя играет клапан термосмесительный, смешивающий воду для теплого пола. Благодаря этому небольшому приборчику осуществляется смешение двух поток воды, холодной и горячей для того, что бы на выходе получился вода необходимой температуры. Клапаны, устанавливаемые в смесительные узлы, бывают двух типов, трехходовые и двухходовые. Каждый из типов кранов выполняет свои, определенные технологическим процессом задачи и функции. Какой прибор лучше использовать для ваших теплых полов? Что стоит за выбором типа смешивающего и регулирующего устройства?
Что собой представляет смесительный термостатический клапан
Процесс работы теплых полов заключается в подаче горячей воды из нагревательного прибора или другого источника нагрева в смесительный узел. Первое устройство, с которым вступает в контакт горячая вода предохранительный смесительный термостатический клапан. Двухходовой или трехходовой кран специально установлен для того, что бы снижать температуру котловой воды перед тем как она поступит в коллектор. Охлаждение теплоносителя осуществляется в автоматическом режиме, за счет подмеса остывшей воды из трубы обратного потока. Этот процесс происходит постоянно и беспрерывно на протяжении того времени, когда включено отопление.
Выше уже было сказано, что для этих целей используются вентили подмеса двух типов.
Двухходовой термостатический смесительный клапан
Двухходовой термостатический клапан, если говорить обычными словами, представляет собой улучшенный вариант ручного вентиля.

Несложное и понятное устройство вентиля позволяет достаточно эффективно осуществлять регулировку температуры теплоносителя в автоматизированном режиме. Обычно такой прибор ставится в отопительную систему, заменяя ручные краны. К основным достоинствам двухходового типа устройства можно смело отнести:
- автоматизированная работа по снижению температуры воды;
- простая и недорогая конструкция;
- легкий монтаж.
На заметку: Недостатком подобного прибора являются ограничения использования. Такой тип вентилей рассчитан на работу теплых полов небольшой площади. Обычно двухходовой клапан ставится на водяные отопительные контуры небольшой длины (для ванной комнаты, в детской).
Это тип смесительного прибора используется чаще всего, когда речь идет об оборудовании теплых полов в качестве вспомогательной системы отопления. С помощью этого прибора осуществляется корректная регулировка температуры теплоносителя, рабочего давления в системе и интенсивность водяных потоков.
Устройство состоит из цельного, литого корпуса (латунь или бронза). На кране имеется терморегулирующая головка с метрической шкалой. Положение головки может меняться в ручном и в автоматическом режиме. Для простых и недорогих систем отопления обычно используется оборудование с ручной настройкой. В сложных системах принято устанавливать термостатические вентили с дистанционными датчиками температуры. Основной деталью конструкции прибора – седла, одно или два. Двухседельные краны способны перекрывать поток воды полностью в отличие от трехходовых устройств.
Принцип работы устройства заключается в следующем:
- вода, поступающая из обратного контура, снова направляется в петлю теплого пола;
- снижение температуры нагрева отработанной воды ниже установленных параметров, приводит к срабатыванию устройства. В систему запускается горячая вода, смешиваясь внутри прибора с остывшей водой;
- при достижении температуры воды заданных параметров, срабатывает термостатический датчик, вентиль автоматически перекрывает подачу горячей воды в систему.
Другими словами, затвор, состоящий из седла и плунжера, реагирует на механическое действие термостатической головки. Плунжер, опуская вниз, перекрывает поток воды, снижая давление. Опущенный вниз затвор означает полную герметизацию проходных отверстий крана, соответственно вода в систему не поступает. Плунжер установлен перпендикулярно направлению движения воды и может быть игольчатым, тарельчатым или стержневым.
На заметку: если использовать этот тип оборудования при отоплении помещений большой площади, термостат будет работать со сбоями. Вода в длинных контурах быстрее остывает, поэтому термостат вентиля будет срабатывать чаще, добавляя в систему горячую воду.
На практике сегодня применяются вентили трех видов:
- Гидравлические;
- Пневматические;
- С электроприводом.
На рисунке указана схема подключения двухходового смесительного клапана в систему отопления «теплые полы».

Трехходовой смесительный клапан
Что касается трехходового смесительного клапана, то его работа в принципе отличается от принципа действия двухходового устройства. Здесь идет речь о подмесе к горячей воде, поступающей от котла к коллектору, остывшей воды, поступающей из обратки. Плюсы и минусы данного устройства аналогичны двухходовому крану за исключением одной детали:
Во время включения устройства в работу, интенсивность потока теплоносителя никак не меняется. За счет этого достигается равномерное изменение температуры воды, поступающей в петли водяного контура.

К основным особенностям этого устройства следует отнести максимально удобную регулировку температурного режима нагрева водяного пола. Этот тип смесительного устройства рассчитан на работу с масштабными системами отопления (помещения площадью более 250 м2). Однако, несмотря на очевидные преимущества, трехходовой клапан имеет ряд недостатков.
Важно! При срабатывании термостата, кран открывается полностью, давая доступ в систему теплого пола горячего теплоносителя. Это может стать причиной перегрева отопительного контура в лучшем случае, а в худшем варианте, к разрыву трубопровода.
В отличие от двухходового типа, трехходовое устройство подмеса имеет низкую пропускную способность.
Изделие изготавливается из латуни или из бронзы. Оснащается изделие термочувствительной головкой или термостатом. Схема работы этого устройства следующая:
Горячая вода следует через правый и фронтальный патрубки до того момента, пока температура воды отвечает заданным параметрам. При снижении или росте температуры теплоносителя в работу вступает термостат, приводящий в движение шток. В результате движения штока происходит подмес горячей или охлажденной жидкости из других магистралей. Фронтальное отверстие открывается полностью в том случае, когда температура воды снова достигла желаемых параметров.
В зависимости от привода, трехходовые клапаны могут быть следующей конструкции:
- с термостатическим приводом;
- с термостатической головкой;
- с электроприводом;
- с сервоприводом.
Каждая модель имеет свои отличия и особенности, специально рассчитанные для использования в различных гидравлических системах коммуникаций.
Подключается трехходовой клапан следующим образом.

Заключение
Подключаются оба типа смесительных термостатических клапана по-разному. Для двухходового крана характерной является параллельная схема подключения. Для трехходового вентиля используется последовательное подключение.
Первый тип, двухходовой клапан в основном используется для работы с одним или с двумя водяными отопительными контурами. Для этого варианта и используется параллельное подключение.
Трехходовой тип устройства рассчитан на работу с длинными водяными контурами. При последовательном подключении вентиля достигается максимальная производительность теплых полов. Оба устройства монтируются в систему перед смесительным узлом, перед циркуляционным насосом. Надежность работы кранов проверяется во время пробного пуска системы отопления. Правильный монтаж и настройка приборов позволят вашим полам работать длительное время и максимально эффективно.
znatoktepla.ru
