Колпак для дымохода фото – отличие от дымника, козырька и флюгарки, чертежи и схемы, как сделать своими руками
Колпак на трубу дымохода: как сделать своими руками
Конструкция дымохода будет неполной и неэффективной без специального колпака, который представляет собой внешний элемент. Существуют разные варианты колпаков, отличающиеся комплексом особенностей. Для обеспечения наибольшей функциональности дымохода важно выбрать подходящую конструкцию.
Назначение и функции колпака на дымоход
Колпак на внешнюю часть трубы дымохода является довольно важным элементов, выполняющим сразу несколько функций. Правильно подобранная деталь для трубы хорошо дополняет внешний вид здания, подчёркивая стиль дизайна. При этом колпак имеет компактные размеры, легко монтируется и увеличивает эффективность дымохода.

Колпак на дымоход может стать оригинальным украшением кровли жилого дома
Дымоходный колпак изготавливается из металла, так как этот материал обеспечивает прочность и долговечность изделия. Простая конструкция выполняет следующие функции:
- защита внутренней части дымохода от влаги, мусора и пыли;
- усиление тяги в трубе для эффективного прогорания топлива в печи;
- эстетичное дополнение дизайна здания;
- продление срока эксплуатации дымохода в результате его защиты от осадков.
Колпак прямоугольной или квадратной формы — наиболее распространённый вариант. Такой элемент обеспечивает эффективную тягу и хорошо дополняет конструкцию дымохода, с эстетической точки зрения.
Материалы для дымника
Колпак находится снаружи дымохода и подвергается воздействию климатических факторов, ультрафиолетовых лучей. Поэтому для изготовления дымника используют только качественные, прочные, устойчивые к различным факторам материалы.

Металл — практичная основа для дымника
Для изготовления колпака используют различные виды металлов, каждый из которых отличается свойствами и характеристиками. Основными являются следующие варианты:
- сталь листовая;
- листовой алюминий;
- медный металлопрокат;
- нержавеющая сталь в листах;
- цинко — титановый сплав.
В зависимости от материала, который послужил основой для колпака, отличаются и характеристики изделия. Например, срок службы стальных дымников составляет около 5 лет, а модели из листового алюминия можно эксплуатировать в течение 8 лет. Наибольшей долговечностью отличаются колпаки из нержавеющей стали, цинко — титанового сплава и меди, срок службы которых достигает 50–100 лет.
Варианты конструкций
Существует множество вариантов колпаков на дымоход, отличающихся внешним видом. При этом конструкция всех видов изделий включает в себя основание, верхнюю крышу и вертикальные стойки. Такой колпак прост и хорошо защищает дымоход от осадков. Более сложные варианты представляют собой дефлекторы, одна из главных функций которых заключает в усилении тяги.

Дефлекторы разнообразны и могут быть как простыми, так и более сложными
Среди наиболее востребованных вариантов дымников особенно примечательны следующие:
- колпак с открывающейся крышкой;
- плоский дымник для трубы;
- колпак с флюгером;
- колпак многоскатной конструкции;
- дефлектор с вентиляционными отверстиями.
Выбор определённого варианта осуществляется в зависимости от типа кровли, дизайна дома, формы и конструкции дымохода. Например, для металлической круглой трубы оптимальны дефлекторы из металла, обеспечивающие усиленную тягу.
Фотогалерея: виды колпаков для дымохода
Выбор колпака в зависимости от дымохода
Правильный выбор колпака для трубы является залогом эффективного обогрева помещений в доме и отсутствия поломок дымохода. Выбор типа дымника осуществляется в зависимости от варианта трубы и системы отопления. Например, для дымохода газового котла используют только элементы в виде сопла, имеющие открытый верх. Такая модель позволяет исключить покрытие льдом всей поверхности колпака в зимнее время года.

Изделия в виде трубы оптимальны для газовой системы отопления
Для кирпичных выводов часто используют многоскатные, прямоугольные или квадратные элементы. На поверхности таких колпаков не скапливаются осадки и поэтому дымники не подвергаются существенной нагрузке. Форма дефлектора подбирается в зависимости от личных предпочтений, оформления здания. Многие варианты колпаков легко дополнить кованым флюгером или витыми элементами.
Изготовление колпака своими руками
Наиболее распространённым и универсальным вариантом является прямоугольный колпак с четырьмя скатами. Такое изделие несложно приобрести, но сделать своими руками можно более простой, но не менее эффективный полукруглый вариант.

Полукруглый дымник прост и удобен в эксплуатации
Для этого понадобятся лист оцинкованного металла толщиной от 1 мм, заклёпки, ножницы по металлу. Комплекс приспособлений дополняет маркер для проведения разметки. Предварительно определяют размеры конструкции и делают чертёж в натуральную величину на картоне. Сделать чертёж можно самостоятельно или же взяв за основу готовую схему и скорректировав её параметры.

Для полукруглого дымника можно использовать чертеж скатной конструкции, изменив форму крышки
Комплекс работ по изготовлению дымника предполагает следующие этапы:
- Из листа металла вырезают прямоугольник, который станет полукруглой крышей дымника. Для этого на металл переносят чертёж и ножницами вырезают элемент.

Оцинкованная сталь легко подвергается обработке
- Из того же металла нарезают полосы, из которых будет собираться каркас для крепления колпака на трубу. Ширина полос должна быть около 10 см, а длина зависит от размеров дымохода.
Металлические полосы или профили позволяют сделать каркас для крепления колпака
- Конструкцию собирают по чертежу, скрепив заклёпками или сваркой каркас и вертикальные стойки. Затем сгибают прямоугольный лист, фиксируют его с двух сторон к каркасу.

Каркас может иметь ступенчатую форму
Видео: изготовление дымника
Сделать колпак на дымоходную трубу своими руками несложно, но важное значение имеет точное определение параметров изделия. Качественные материалы также являются залогом создания долговечной конструкции.
Оцените статью:(0 голосов, среднее: 0 из 5)
roofs.club
Как сделать колпак на трубу дымохода своими руками: чертежи, фото
Камин и печь в собственном коттедже, бане или беседке – это сложная в инженерном плане конструкция, которая обязана отвечать всем требованиям пожарной безопасности. Для стабильного вывода продуктов горения через трубу дымохода понадобится дефлектор, перенаправляющий воздушные массы и не допускающий попадания воды и снега. Как сделать колпак на дымоход своими руками, определить наиболее практичную форму и составить чертежи?

Форма и функциональность
Основные задачи крышки на дымоотводе:
- Увеличение воздушной тяги;
- Предохранение от случайного залетания птиц в трубу;
- Сохранение кладки дымохода;
- Защита от снега и дождя.
К сведению: применение колпака повышает коэффициент полезного действия дымоотвода почти на 20 процентов.
Навершия отличаются по геометрии форм и размеров. Их разновидности обусловлены стилем фасада дома и особенностями погодных капризов местности.

Виды колпаков:
- Зонт (крышка) – защищают трубу от проникновения дождя и снега. Могут быть изготовлены в форме флюгарки, плоского покрытия или щипцовой крышки.
- Капельник – отводит влагу от стенок трубы и останавливает появление наледи.
Изготавливают колпаки из материалов, устойчивых к разрушительному воздействию погодных явлений. Это изделие закрепляется в очень труднодоступном месте, так что лучше не экономить, и приобрести нержавеющую сталь или листовую медь.
Некоторые особенности применения колпаков:
- Дефлектор в форме полукруга больше подходит для европейского дизайна;
- Зонт с плоским верхом будет органично смотреться на коттедже в стиле модерн;
- Флюгарка с установленным флюгером может быть оборудована заслонкой, которая заставит трубу эффективно работать даже при отсутствии ветра;
- Флюгарка со щипцовой вершиной способствует интенсивному проветриванию;
- Колпаки с подвижной крышей дают возможность легко чистить дымоотвод.
Как работает колпак на дымоходе
Воздух, попадая в стенку крышки, заворачивает наверх и своим движением подтягивает дым. Дымоотвод начинает работать эффективнее и значительно усиливается тяга. При угловом или вертикальном направлении ветра, зонт тоже помогает увеличить тягу. Чтобы не возникало проблем и при низовке, нужно установить на крышку обратный конус. Кроме того, предохраняя трубу от влаги, дефлектор препятствует развитию грибка и экономит топливо.
К сведению: правильно изготовленный и надежно закрепленный колпак не должен шуметь или вибрировать даже при штормовом ветре.
Самостоятельное изготовление навершия дымохода
Сделать крышку на каминную или печную трубу не сложно самому.
Для работы нужно приготовить:
- Лист оцинкованного металла, меди или нержавейки;
- Картон и маркеры;
- Ножницы по металлу;
- Приспособления для сгибания листа;
- Аппарат для сварки.
Прежде чем приступить к изготовлению, важно тщательно измерить трубу дымохода. Потом нужно сделать макет зонта из картона. Чертежи выкройки:

Зонт должен надеваться на трубу без особых усилий, поэтому нужно при составлении чертежа оставить напуск в полсантиметра.
После примерки макета, чертёж наносится на металлический лист. Заготовку вырезают ножницами. С помощью гибов материалу придаётся нужная форма. Стыки скрепляются 3-4 клёпками. Изготовление капельников аналогично.
Кронштейны вырезаются из металлических пластин и при помощи сварки прикрепляются к фартуку и навершию. Точки сварки нужно обработать грунтовкой. Весь колпак дополнительно покрывается составом от ржавчины и краской.
После остаётся лишь одеть его на трубу камина. Все стыки нужно обработать огнестойким герметиком.
Зонт должен покрывать всю плоскость дымохода. На некоторых конструкциях есть выступ в половину кирпича, его тоже нужно прикрыть от дождя.
К сведению: зимой на колпаке может образоваться наледь или шапка снега. Важно так подобрать толщину металла, чтобы его не продавило под такой тяжестью.
Чрезмерно высокая или слишком низкая крышка не будут полноценно отводить дым, поэтому стоит сделать чертежи с учётом всех нужных параметров. Колпаком не сложно исправить дефекты дымохода, например, если он имеет недостаточную высоту.

Украсить дефлектор можно, используя кованый флюгер. Это будет долговечное и практичное решение.
Самостоятельное изготовление колпака на дымоход под силу даже начинающим мастерам. Важно аккуратно произвести замеры и выбрать качественный металл. Грамотно изготовленный дефлектор исправит недочёты в работе дымоотвода и обеспечит постоянную тягу при любой погоде. А если применить в работе немного креатива, то изделие станет украшением фасада дома.
besedkibest.ru
Колпак на трубу дымохода своими руками по чертежам
Дымовую трубу обязательно нужно защищать от осадков. В холодное время вода начинает застывать в трубе, возникает опасность ее разрушения. Для этого верхняя часть закрывается специальным колпаком. Чтобы придать трубе более эстетичный вид, жестянщики изготавливают такие колпаки самой причудливой формы. К примеру, дымоход закрывают колпаком в виде флюгера. Он не только закрывает трубу, он еще показывает, куда дует ветер. Однако колпак на трубу дымохода своими руками можно сделать, если под рукой есть нужный материал.
Общее
Дымоход может закрываться самыми разными системами. Все они выполняют одну и туже функцию, но называются по-разному:
- зонт на трубу;
- грибок;
- оголовок;
- навершие.
Конечно, такое перечисление можно продлить. Существует еще много других обозначений.
Известна очень похожая конструкция, получившая название «флюгарка». Имеется в виду подставочный каркас для флюгера.
Чтобы правильно сделать такое устройство, необходимо точно знать, какие функции должен выполнять колпак для трубы дымохода.
- В помещение не должна попадать влага.
- Он защищает дымоходную трубу от мусора и всевозможных посторонних предметов.
- Колпак на дымовую трубу усиливает тягу благодаря созданию определенной направленности воздушного потока.
Если дымоходную трубу закрывает навершие, его часто делают в виде небольшого зонтика или домика. Причем конструкция крыши и ее форма не имеет ограничений. Иногда навершие представляет собой оригинальное и неповторимое сооружение. Главным остается одно: оно должно выполнять свои основные функции – защищать дымоход.
Форма трубы влияет на конструкцию изделия. Ведь геометрия трубы может иметь несколько видов:
- круглая;
- прямоугольная;
- квадратная.
На внешний вид колпака влияет:
- форма крыши;
- угол наклона;
- «роза ветров».
Конструкция колпаков условно подразделяется на несколько подвидов:
- Классическая флюгарка. Ее внешний вид очень похож на домик, со скатами.
- Зонтик на трубу дымохода своими руками устанавливается в качестве навершия на радиусные трубы.
- Навершие плоского вида.
- Флюгарка, установленная на щипцовой кровле.
- Колпак, оборудованный открывающейся крышкой.
Как мы видим, конструкция колпаков может быть самой разной, для изготовления используется
:- сталь;
- алюминий;
- медь;
- нержавейка;
- сплав цинка и титана.
Колпаками из меди чаще всего закрывают дымоходы плоских крыш.
На зданиях европейского стиля, монтируют колпаки, оборудованные полукруглым навершием.
Очень красиво выглядят дымники, изготовленные из оцинковки или нержавейки. Качество таких изделий и их долговечность не уступают медным сплавам.
Как самостоятельно изготовить дымник
С первого взгляда кажется что конструкция такого колпака настолько проста, что ее изготовление не вызовет никаких сложностей. Однако создать такое приспособление у себя дома довольно сложно.
Если у вас мало опыта подобной работы, сначала нужно сделать точный чертеж будущей конструкции. Затем его нужно скопировать на лист толстого картона.
Шаблон нужно вырезать и решить, как будет крепиться колпак. Возможно, это будет сварное соединение, а можно использовать саморезы.
Решив вопрос с креплением, нужно вырезать все части колпака из металлического листа и начать предварительную сборку.
В процессе работы очень важно, чтобы все замеры трубы были сделаны правильно. По этим размерам выполняется изготовление будущего колпака.
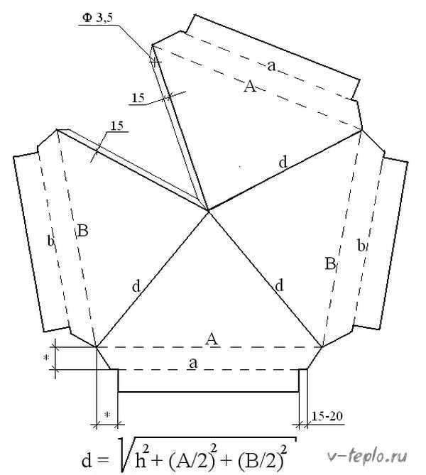
На предоставленном рисунке показан самый простой чертеж колпака, установленного на 4-скатной крыше. Для грамотного определения угла наклона необходимо сделать расчеты по формуле, показанной на рисунке.

Последовательность действий
Первый этап. Металлическая листовая заготовка кладется на стол. Причем фронтальная часть должна «смотреть» вверх. На чертеже показано конкретное место, где нужно просверлить отверстие диаметром 3,5 миллиметра.
Второй этап. Заготовку нужно согнуть строго по пунктирным линиям, показанным на чертеже. Угол сгиба должен быть равен 90 градусам. Вручную сделать такой угол невозможно. Для работы потребуется специальный инструмент – листогиб.
С его помощью можно получить четкие линии. Образование вмятин полностью исключается. Конечно, такой инструмент есть не у каждого. Поэтому его можно заменить другим способом. Край угла крепится струбциной к верстаку. Для сгибания изделия достаточно иметь обычный молоток.
Третий этап. Заготовка сгибается по линиям с отметкой «d». Посоветовать что-то насчет получения угла очень сложно. Он определяется экспериментальным путем. Главное, чтобы получился задуманный вид колпака.
Конструкция не должна иметь видимых деформаций. Она должна быть абсолютно ровной, перекосы не допускаются. Проверить ее прямолинейность можно, поставив колпак на стол.
Если перекосы не обнаружены, маркером отмечаются ребра жесткости, расположенное внизу. Керном делаются насечки и проводится сверление.
Четвертый этап. Готовый дымник скрепляется 3,2 мм заклепками.
Пятый этап. Заготовка сгибается согласно значениям «b – а». Это необходимо чтобы выполнить фиксацию ножки.
Шестой этап. Согласно диаметру дымовой трубы изготавливается основание, к которому будет крепиться колпак. С этой целью дополнительно используются металлические уголки.
Очень важно расположение уголка сделать так, чтобы его одна сторона была сбоку. Вторая касалась кирпичной кладки.
Детали будущей конструкции совместно с ножками соединяются электродуговой сваркой.
Седьмой этап. Проводится зачистка основания. Оно покрывается специальным антикоррозийным составом. Когда он полностью высохнет, основание можно покрасить краской, нанеся несколько слоев. Подойдет любая краска, предназначенная для внешнего использования.
Восьмой этап. Колпак крепится к основанию.
[tip]Если вам сложно сделать квадратный колпак, можно воспользоваться более легким способом.[/tip]
Достаточно взять выгнутый лист металла. Подогнать его под нужные размеры. Технология изготовления колпака в этом случае будет отличаться от приведенной выше.
Этап первый. Нужно тщательно измерить габариты дымохода. Опираясь на полученные размеры, изготавливается основание для будущего дымника.
Этап второй. Стальной уголок требуется установить так, чтобы вся конструкцию была надежно закреплена. Одно ребро уголка будет держать дымоход снаружи, а другое упрется в торец трубы.
Этап третий. Изготавливаются ножки, соединяющие основание со всей конструкцией. Кроме того, они будут поддерживать колпак. Все ножки должны иметь высокую прочность и жесткость. Ведь им придется противостоять сильным ветрам и большому количеству снега.
Четвертый этап. Все детали конструкции покрываются антикоррозийным составом и красятся несколькими слоями краски. Все действия выполняются аналогично вышеописанному варианту.
Пятый этап. Проводится сборка конструкции. Технология такой сборки зависит от вида используемого материала.
Чертеж простого колпака

Стандартизированные изделия
© kolpak.ruКитайская флюгарка, имеющая вогнутые расходящиеся во все стороны листы.
Скругленные грани придают конструкции легкость и элегантность. Все грани крышки изготовлены слегка скругленными. Такие флюгарки на трубу дымохода украсят кровлю, имеющую радиусные грани.
Скачать чертеж можно тут.
© kolpak.ruСтандартная флюгарка
Конструкция имеет второе дно. Устанавливается на печную трубу своими руками, а также на каминных дымоходах. Считается самой востребованной моделью. Такую флюгарку можно устанавливать на любом здании.
Скачать чертеж можно тут.
© kolpak.ruФлюгарка, имеющая решетки, установленная на 4 скатной крыше.
Относится к самым современным конструкциям в европейском стиле.
Скачать чертеж можно тут.
Нестандартные изделия
© kolpak.ruФлюгарка, оборудованная дефлекторами.
Устанавливается на дымоход, если имеется принудительная вентиляция. Благодаря дополнительным воздуховодам, сделанным в крышке, выводится большой объем дыма без дополнительного сопротивления.
Скачать.
© kolpak.ruФлюгарка, имеющая дополнительную крышу
Устанавливается только для наращивания дымохода и работающей принудительной вентиляции. Угарный газ быстро выходит из дополнительной трубы, так как он не доходит до крышки, а сразу выходит из «второго дополнительного этажа» изделия.
Скачать
© kolpak.ruФлюгарка, оборудованная двумя скатами
Конструкция имеет необычный и очень оригинальный дизайн. Воздух выходит очень быстро и не встречает никакой преграды.
Скачать
© kolpak.ruФлюгарка, имеющая закругленную крышку.
Изделие сделано согласно европейской моде. Оно украшает дымоходы Германии и других стран. Конфигурация модели отличается радиусной формой.
Скачать
© kolpak.ruФлюгарка, оборудованная открывающейся крышкой
Такую систему очень легко обслуживать. Чтобы ее почистить не требуется проводить демонтаж всей конструкции. Подход к внутренней поверхности дымохода и вентиляционного канала полностью свободен.
Скачать
© kolpak.ru
Флюгарка, закрытая решетками и имеющая плоскую крышу
Устанавливается на плоских крышах. Один из самых модных европейских стилей. Очень легко устанавливается. Конструкция рассчитана на длительную эксплуатацию.
Скачать
© kolpak.ruФлюгарка декорная
Оборудована двухуровневой гладкой крышей. Имеет кованые ножки.
В изделии объединилась монументальность и некоторая «вычурность». Устанавливается при необходимости создать необычный архитектурный дизайн.
Скачать
© kolpak.ruФлюгарка «Премиум», оборудованная дефлекторами
Устанавливается только при работающей принудительной вентиляции.
Скачать
Похожие статьи:
vseprotruby.ru
Как сделать колпак на трубу дымохода своими руками: чертежи, фото
Камин и печь в собственном коттедже, бане или беседке – это сложная в инженерном плане конструкция, которая обязана отвечать всем требованиям пожарной безопасности. Для стабильного вывода продуктов горения через трубу дымохода понадобится дефлектор, перенаправляющий воздушные массы и не допускающий попадания воды и снега. Как сделать колпак на дымоход своими руками, определить наиболее практичную форму и составить чертежи?

Форма и функциональность
Основные задачи крышки на дымоотводе:
- Увеличение воздушной тяги;
- Предохранение от случайного залетания птиц в трубу;
- Сохранение кладки дымохода;
- Защита от снега и дождя.
К сведению: применение колпака повышает коэффициент полезного действия дымоотвода почти на 20 процентов.
Навершия отличаются по геометрии форм и размеров. Их разновидности обусловлены стилем фасада дома и особенностями погодных капризов местности.

Виды колпаков:
- Зонт (крышка) – защищают трубу от проникновения дождя и снега. Могут быть изготовлены в форме флюгарки, плоского покрытия или щипцовой крышки.
- Капельник – отводит влагу от стенок трубы и останавливает появление наледи.
Изготавливают колпаки из материалов, устойчивых к разрушительному воздействию погодных явлений. Это изделие закрепляется в очень труднодоступном месте, так что лучше не экономить, и приобрести нержавеющую сталь или листовую медь.
Некоторые особенности применения колпаков:
- Дефлектор в форме полукруга больше подходит для европейского дизайна;
- Зонт с плоским верхом будет органично смотреться на коттедже в стиле модерн;
- Флюгарка с установленным флюгером может быть оборудована заслонкой, которая заставит трубу эффективно работать даже при отсутствии ветра;
- Флюгарка со щипцовой вершиной способствует интенсивному проветриванию;
- Колпаки с подвижной крышей дают возможность легко чистить дымоотвод.
Как работает колпак на дымоходе
Воздух, попадая в стенку крышки, заворачивает наверх и своим движением подтягивает дым. Дымоотвод начинает работать эффективнее и значительно усиливается тяга. При угловом или вертикальном направлении ветра, зонт тоже помогает увеличить тягу. Чтобы не возникало проблем и при низовке, нужно установить на крышку обратный конус. Кроме того, предохраняя трубу от влаги, дефлектор препятствует развитию грибка и экономит топливо.
К сведению: правильно изготовленный и надежно закрепленный колпак не должен шуметь или вибрировать даже при штормовом ветре.
Самостоятельное изготовление навершия дымохода
Сделать крышку на каминную или печную трубу не сложно самому.
Для работы нужно приготовить:
- Лист оцинкованного металла, меди или нержавейки;
- Картон и маркеры;
- Ножницы по металлу;
- Приспособления для сгибания листа;
- Аппарат для сварки.
Прежде чем приступить к изготовлению, важно тщательно измерить трубу дымохода. Потом нужно сделать макет зонта из картона. Чертежи выкройки:

Зонт должен надеваться на трубу без особых усилий, поэтому нужно при составлении чертежа оставить напуск в полсантиметра.
После примерки макета, чертёж наносится на металлический лист. Заготовку вырезают ножницами. С помощью гибов материалу придаётся нужная форма. Стыки скрепляются 3-4 клёпками. Изготовление капельников аналогично.
Кронштейны вырезаются из металлических пластин и при помощи сварки прикрепляются к фартуку и навершию. Точки сварки нужно обработать грунтовкой. Весь колпак дополнительно покрывается составом от ржавчины и краской.
После остаётся лишь одеть его на трубу камина. Все стыки нужно обработать огнестойким герметиком.
Зонт должен покрывать всю плоскость дымохода. На некоторых конструкциях есть выступ в половину кирпича, его тоже нужно прикрыть от дождя.
К сведению: зимой на колпаке может образоваться наледь или шапка снега. Важно так подобрать толщину металла, чтобы его не продавило под такой тяжестью.
Чрезмерно высокая или слишком низкая крышка не будут полноценно отводить дым, поэтому стоит сделать чертежи с учётом всех нужных параметров. Колпаком не сложно исправить дефекты дымохода, например, если он имеет недостаточную высоту.

Украсить дефлектор можно, используя кованый флюгер. Это будет долговечное и практичное решение.
Самостоятельное изготовление колпака на дымоход под силу даже начинающим мастерам. Важно аккуратно произвести замеры и выбрать качественный металл. Грамотно изготовленный дефлектор исправит недочёты в работе дымоотвода и обеспечит постоянную тягу при любой погоде. А если применить в работе немного креатива, то изделие станет украшением фасада дома.
besedkibest.ru
Как сделать колпак для дымохода своими руками для частного дома? Чертеж +Фото
Колпак дымохода – простое изделие, и вы легко его сделаете самостоятельно. В нашей статье мы подробно опишем, как выбрать правильный колпак на дымоход или сделать его своими руками.

Типы дымоходных колпаков
Ниже мы подробно рассмотрим основные функции колпаков на дымоходы:
- красивый эстетичный внешний вид трубы;
- защита внутренней полости от попадания различного мусора;
- увеличенный срок службы дымохода, в результате защиты от атмосферных осадков;
- увеличенная тяга и невозможность падения ее под сильным порывом ветра.
Стоит отметить, что декоративные колпаки не улучшают тягу кирпичного дымохода, скорее наоборот, создают существенное сопротивление потоку вырабатываемых газов. В данном случае, исключением будут являться насадки следующих типов:
- схожие по конструкции на промышленные вытяжные устройства;
- флюгер – устройства.
При первом типе поток воздуха от ветра омывает цилиндрический кожух аэродинамического устройства, благодаря чему, внутри появляется незначительное разряжение.
И зонтик – дефлектор увеличивает тягу, но, при отсутствии потоков ветра он, скорее всего, создает еще более высокое сопротивление выходящим газам.
Второй тип насадок намного лучше. Корпус с лепестком флюгера вращается на трубе благодаря подшипнику. А лепесток поддерживает положение корпуса постоянно повернутым к ветру. В результате, внутри полуцилиндра появляется разрежение, и тяга существенно увеличивается. Данный колпак к тому же защищает ее от опрокидывания тяги при задувании ветра.
Основные виды дымоходных колпаков
Колпаки на трубу дымохода представляют собой различные устройства, накрывающие срез кирпичной трубы с определенным зазором для выхода газа. Линейка дымоходных труб настолько разнообразна, что всех их перечислить просто нет возможности.
А вот материалы, из которых колпаки выполнены, мы приведем ниже:
- кровельная сталь;
- медные сплавы;
- оцинкованный металл со специальным покрытием;
- нержавеющая сталь;
- сплав цинка и титана.
Простой самодельный колпак на дымоход обычно выполнен из оцинкованной стали.
Это доступный и распространенный вариант, к тому же изделие прослужит длительное время.
Минус только один – оцинкованный металл быстро потемнеет, и как следствие, колпак со временем будет выглядеть не очень красиво. Данного минуса лишен металл со специальной порошковой покраской, но и стоимость этого материала существенно выше.
Остальные материалы очень долго сохраняют свой внешний вид, и срок их службы не ограничен. Существенным недостатком можно считать только их стоимость.
Стоит отметить, что медь на открытом воздухе со временем также потускнеет.
Чертежи

Советы по выбору колпака для дымохода
Выбор колпака, в первую очередь, будет зависеть от вида котельной установки и типа сжигаемого топлива. Колпаки на кирпичный дымоход, обслуживающие газовое отопление, можно ставить только в виде сопла, и обязательно с открытым верхом.
В Российской Федерации согласно нормативным документам запрещено устанавливать всяческие зонты на дымоходы газоиспользующих установок.
Объяснить данный запрет достаточно просто. При минусовой температуре колпак дымохода обмерзает и покрывается слоем льда. В результате, корка льда перекрывает существенную часть рабочего проема, резко снижая тягу. За счет этого угар будет идти внутрь дома, а это серьезная опасность для жизни людей.
Лед образуется в результате конденсата, который образуется на холодном металле при контакте с выходящими газами и с пониженной температурой. Данную температуру имеет дым от газовых котельных
установок. Вот почему запрещается устанавливать колпаки на дымоходные кирпичные трубы.
Если котел твердотопливный, то КПД его лежит в пределах 70—80%, а температура газов варьируется от 100 до 200 ºС. При таких условиях можно подобрать подходящий колпак, но в процессе эксплуатации он быстро покроется сажей.
Решив вопрос с котельной установкой, перейдем к трубе отвода отработанных газов. Если дымоходная труба собрана из трехслойного сэндвича, то ей не нужна защита от дождя. Осадки, попадающие внутрь канала, промывают трубу изнутри, а вода отводится в специальный сборник конденсата. Для газовых котлов подойдет сопло, для твердотопливных котлов – любая другая насадка.
Если в доме кирпичная труба, обслуживающая твердотопливный котел, то размеры колпака на трубу дымохода можно выбрать любые и из любого материала.
В случае газового отопления, нельзя на трубу дымохода ставить зонт.Так как влага, попадающая в трубу, со временем разрушает материал.
Колпак на трубу дымохода своими руками
При наличии определенных слесарных навыков, дымоходный колпак сделать нетрудно. В интернете можно найти разнообразные чертежи колпаков. Мы рекомендуем вам придерживаться простой версии зонта по типу четырехскатного грибка. Первое, что нужно сделать – это чертеж колпака на трубу дымохода. Второе, – снятие размеров колпака дымохода на месте. Получившиеся результаты необходимо внести на эскиз.
После всех детальных расчетов колпака приступайте к подготовительным работам. Выкройку нужно вырезать из картона и лучше в натуральную величину. Далее приложите ее к листу металла, обведите и приступайте к обрезке.
Колпак дымохода своими руками лучше всего выполнять из оцинкованной стали либо из металла со специальной покраской.
После этого приступайте к следующим этапам:
- металлическую заготовку согните по чертежным линиям;
- все места, где соединяется колпак дымохода, просверлите и соедините на специальные заклепки;
- вырежьте основание и ножки колпака, с этой целью возьмите тот же материал и согните из него уголки;
- четырехскатный дымоходный козырек соедините с основанием при помощи заклепок;
- поставьте готовый колпак на трубу.
Гораздо удобнее купить уже готовый колпак или заказать его в мастерской. На сегодняшний день строительные магазины предлагают широкий выбор зонтов и флюгеров. Но изготовление колпака на трубу дымохода из оцинкованной стали совсем не сложная работа.
9 лучших строительных и мебельных магазинов!
- Parket-sale.ru- Огромный ассортимент ламината, паркета, линолеума, ковролина и сопутствующих материалов!
- Akson.ru- это интернет-гипермаркет строительных и отделочных материалов!
- homex.ru- HomeX.ru предлагает большой выбор качественных отделочных, материалов, света и сантехники от лучших производителей с быстрой доставкой по Москве и России.
- Instrumtorg.ru – это интернет – магазин строительного, автомобильного, крепежного, режущего и другого инструмента, необходимого каждому мастеру.
- Qpstol.ru — «Купистол» стремится предоставить лучший сервис своим клиентам. 5 звёзд на ЯндексМаркет.
- Lifemebel.ru- гипермаркет мебели с оборотом более 50 000 000 в месяц!
- Ezakaz.ru- Представленная на сайте мебель изготавливается на собственной фабрике в Москве, а так же проверенными производителями из Китая, Индонезии, Малайзии и Тайваня.»
- Mebelion.ru- – крупнейший интернет-магазин по продаже мебели, светильников, интерьерного декора и других товаров для красивого и уютного дома.
domsdelat.ru
Колпак на трубу
Колпаки на печных трубах выполняют не только декоративную функцию, они нужны для защиты трубы от осадков. Также такие конструкции позволяют усилить тягу в дымоходе. Но чтобы защитить дымоход, необходимо правильно подобрать дефлектор. Установка колпаков на трубы позволяет защитить их от мусора и усилить тягу.

Виды колпаков
В магазинах можно найти изделия следующих типов:
- Четырехскатная флюгарка. Они обычно устанавливаются на прямоугольных кирпичных трубах.
- Флюгарка, имеющая полукруглый зонтик. Такие колпаки используют на крышах домов, которые выполнены в европейском стиле. Стоит отметить, что такие флюгарки красиво смотрятся на кровле, но менее эффективны с точки зрения увеличения тяги в дымоходе.
- Стандартная флюгарка. Такие колпаки выполнены в форме пирамидки, которая изготовлена из листового металла. Такие конструкции прикрепляются к фартуку капельнику при помощи кронштейнов.

- Плоская флюгарка. Подобные изделия оснащаются плоским зонтиком, имеющим прямоугольную форму. Они устанавливаются на крыше зданий, оформленных в стиле модерн или минимализм. С таких колпаков в зимнее время года не скатывается снег, из-за чего крепления испытывают нагрузку и могут деформироваться.
- Круглая флюгарка. Подобные изделия устанавливаются на круглые трубы из нержавеющей стали. Они не оснащаются капельником.
Важно! Флюгарки могут оснащаться дополнительными элементами.
Например:во время выбора колпака на трубу для своей печи,прежде всего, стоит обращать внимание на его надежность. Красивая, но непродуманная форма изделия может стать причиной возникновения шума и вибраций.

Колпаки для кирпичной печи
Конструкция дымоходов может быть разной, но чаще всего создаются трубы, сечение которых является прямоугольным или квадратным. Стоит отметить, что они менее эффективны, так как в них образуются завихрения, что способствует снижению тяги. При ветре дым может попадать в комнату. Приобретая колпак на кирпичную трубу можно выбрать один из множества вариантов, так как существует множество таких изделий, имеющих разный внешний вид.

Стоит также отметить, что шероховатая поверхность кирпича становится причиной накопления сажи и пыли. При этом в трубу могут попадать листья и другой мусор. Из-за этого просвет трубы постепенно зарастает и тяга сильно ухудшается. Именно поэтому на трубу необходимо устанавливать колпак, который не только защитит трубу, но еще и станет способствовать улучшению тяги.

Дефлекторы создают разрежение в верхней части трубы и поэтому тяга значительно усиливается. Разные типы дефлекторов можно изготовить своими руками.
Дефлекторы для твердотопливных котлов.
Дымоходы для угольных и дровяных котлов обычно выполняются из нержавеющей стали или керамики. Их внутренняя поверхность является гладкой, что способствует усилению тяги. Осадки и конденсат в керамических и нержавеющих трубах стекают в конденсатосборник. Если создается колпак собственными руками, необходимо делать конструкцию согласно инструкции, иначе она будет менее эффективна.
На силу тяги и ее устойчивость больше всего влияет выбора трубы, поэтому перед приобретением или созданием дефлектора необходимо точно рассчитать необходимую длину. Для угольных котлов обычно устанавливаются трубы длиной до 8 метров. Благодаря монтажу дефлектора можно укоротить трубу примерно на 20 процентов.

Стоит отметить, что котлы на дровах работают таким же образом, как и угольные, поэтому на них устанавливается дефлектор, который закрывается сверху крышкой. Стоит отметить, что исключением являются пиролизные котлы. КПД таких изделий составляет до 92 процентов. В трубах таких котлов температура дыма может достигать 180 градусов. Это становится причиной образования большого количества конденсата. Из-за этого на трубе может появиться наледь, а при теплой погоде скапливаться сажа. Именно поэтому на указанный тип котлов рекомендуется ставить колпаки с открытым соплом. Такие конструкции препятствуют попаданию в дымоход осадков, но не препятствуют выходу низкотемпературного дыма.
Дефлекторы для газовых и дизельных котлов
В указанных котлах сжигание происходит практически полностью, из-за чего температура дыма достигает только 150 градусов. При длительном использовании котлов появляющийся в трубе конденсат способен вызывать коррозию металла, так как он имеет кислую реакцию и достаточно агрессивен.

Учитывая особенность использования газовых и дизельных котлов необходимо устанавливать на дымоход дефлекторы, имеющие открытое сопло. Использование другого типа изделий нецелесообразно, так как газовое оборудование оснащается принудительной тягой и дополнительно создаваемое разрежение не нужно. При желании можно сделать колпак для описываемого типа котлов собственными руками.
Принцип работы колпака для труб и его функции
Дефлекторы способствуют защите дымохода потоков воздуха извне, которые могут способствовать созданию обратной тяги. При этом в верхней части трубы создается разрежение, что усиливает тягу и дым удаляется более эффективно.

Дефлектор выполняет следующие функции:
- Защита дымохода от проникновения влаги. При увеличении сырости в дымоходе создаются благоприятные условия для распространения грибка. При этом сырость также влияет на увеличение расхода топлива.
- Защита от попадания в трубу мусора. Колпак защищает от попадания в дымоход различных предметов, что снижает риск возгорания и появления засоров.
- Оптимизация работы дымохода. Правильно подобранное изделие для трубы увеличивает КПД примерно на 15 процентов. При помощи специальных аэродинамических дефлекторов можно значительно увеличить тягу в трубе.
Важно! Колпак для трубы – это в первую очередь функциональный элемент, поэтому во время выбора или создания такого изделия не следует отдавать предпочтение модели, которая может создать вибрацию или шум.

Создание колпака своими руками
Сделать козырек для дымохода можно собственными руками, если следовать определенной инструкции. Но стоит помнить, что при отсутствии опыта лучше собрать простую, но эффективную конструкцию. Для изготовления описываемой конструкции необходимо приобрести листовую оцинкованную сталь. Для работы потребуются такие инструменты, как ножницы по металлу, сварочный аппарат, маркер и гибы.
Сделать колпак на трубу дымохода своими руками можно достаточно просто:
- На первом этапе происходит снятие мерок с дымохода.
- Затем осуществляется создание выкройки будущего изделия из картона. Во время работы нужно учитывать, что зонт должен надеваться на дымоход легко, поэтому к размерам трубы добавляется зазор примерно 4 мм.
- После этого происходит перенесение чертежа с картона на металл при помощи маркера. При помощи ножниц по металлу происходит вырезание заготовки зонтика.
- На следующем этапе происходит вырезание необходимых элементов из металлической пластины, а также сгибание материала. В местах, где края будут соединяться, необходимо сделать отверстия, расстояние между которыми должно составлять около 15 см. После этого козырек фиксируется клепками.
- Затем выкройку фартука-капельника переносят на металл и вырезают. Во время работы важно правильно вырезать материал по размерам, чтобы изделие эффективно выполняло свои функции.
- Далее из металлических пластин создаются кронштейны, которые затем привариваются фартуку и зонтику. После выполнения таких работ необходимо обработать места сварки грунтовкой по металлу.
- На заключительном этапе происходит нанесение антикоррозийного покрытия и краски. После этого необходимо подождать примерно 2 дня, чтобы покрытие полностью высохло. На этом создание колпака для дымохода своими руками завершается.

Во время создания кронштейнов важно учитывать, что в зимнее время на колпак ложится большое количество снега, поэтому пластины должны быть достаточно прочными.
bouw.ru
как выбрать конструкцию или сделать ее своими руками
08
Ноя
 журнал
Часто приходится видеть красивые и необычные колпаки, которые владельцы домов размещают над дымоходными трубами. На первый взгляд, кажется, что они выполняют только декоративную роль, однако у них есть функции, которые очень важны, если речь заходит о сохранности дымоходной системы. Рассмотрим, для чего нужен колпак на трубу дымохода, по какому принципу его подбирают, какие разновидности конструкций существуют и как сделать его своими руками.

Для чего необходим колпак на трубу дымохода
Колпаки на трубе дымохода – достаточно распространенное явление. Тем не менее многие люди заблуждаются касательного того, для чего они необходимы. Бытует мнение, что они защищают трубу от конденсата. Однако, это не совсем так. Испарение и сбор влаги происходит во внутренней части трубы и колпак на трубу дымохода (фото в интернете хорошо демонстрируют принцип его действия) здесь мало чем может помочь.
Для чего же на самом деле нужен колпак на трубу дымохода? Рассмотрим несколько его основных функций:
- защита внутренней части трубы от попадания различных посторонних предметов, пыли и мусора;
- продление эксплуатационного срока службы трубы путем защиты от осадков;
- некоторые колпаки, благодаря своей конструкции, увеличивают тягу в трубе и не позволяют сильным ветрам ее опрокинуть;
- выполняют эстетическую функцию, придавая трубе привлекательный внешний вид.

Стоит признать, что большая часть декоративных флюгарок на трубу дымохода вовсе не улучшают функциональные характеристики трубы, а наоборот, снижают эти показатели. Исключением из этого правила можно считать только насадки, имеющие следующие типы конструкции:
- Флюгеры-дефлекторы.
- Насадки с аналогичными промышленными вытяжными дефлекторами.
Первый вариант намного эффективнее второго. Полуцилиндрический корпус остается подвижным за счет подшипника. Он может вращаться в зависимости от погодных условий, а как лепесток флюгера фиксирует его так, чтобы он постоянно был повернут к ветру задней частью. Как результат, дымовая тяга увеличивается за счет образуемого разрежения внутри.
Принцип работы второго механизма следующий: внутри самого дефлектора появляется некоторое разрежение, благодаря тому, что поток воздуха, образуемый в результате ветровой нагрузки, огибает оголовок на кирпичной трубе дымохода. В итоге такой «зонтик» функционирует по-разному, в зависимости от погодных условий: в ветреную погоду он усиливает тягу, а в штиль, наоборот, снижает.

Обратите внимание! Весомым аргументом в пользу первого варианта является то, что конструкция дымника на трубу дымохода полностью исключает опасность задувания тяги ветром, что все-таки иногда случается в случае использования второго типа системы.
Разновидности колпаков для дымохода
Помимо уже рассмотренных конструкций, существует еще множество других, которые также широко распространены. Все они объединены общим принципом действия и устройства – это приспособления, которые служат для накрывания среза трубы, при этом оставляя небольшой зазор, чтобы продукты горения могли выходить из трубы наружу. По форме дефлектор на трубу дымохода может быть практически любым, а вот по материалу изготовления их можно разделить на несколько групп:
- из оцинкованной (кровельной) стали;
- из оцинкованного металла, поверх которого нанесено порошковое покрытие полиэстер;
- из нержавеющей стали;
- медные;
- сплавленные из титана и цинка.

Если говорить об изготовлении колпака своими руками, то для этого чаще всего используют оцин
farbenliebe.ru

