ΠΡΠΎΠ²Π΅Π»ΡΠ½ΡΠΉ ΠΏΡΠΎΡΠΈΠ»ΠΈΡΠΎΠ²Π°Π½Π½ΡΠΉ Π»ΠΈΡΡ β ΡΠ°Π·ΠΌΠ΅ΡΡ (Π²Π΅Ρ, Π΄Π»ΠΈΠ½Π°, ΡΠΈΡΠΈΠ½Π°, ΡΠΎΠ»ΡΠΈΠ½Π°) ΠΈ Π΄ΡΡΠ³ΠΈΠ΅ ΡΠ΅Ρ Π½ΠΈΡΠ΅ΡΠΊΠΈΠ΅ Ρ Π°ΡΠ°ΠΊΡΠ΅ΡΠΈΡΡΠΈΠΊΠΈ ΠΊΡΠΎΠ²Π΅Π»ΡΠ½ΠΎΠ³ΠΎ ΠΏΠΎΠΊΡΡΡΠΈΡ Π΄Π»Ρ ΠΊΡΡΡΠΈ
ΡΡΠ°Π½Π΄Π°ΡΡΠ½ΡΠ΅ ΡΠ°Π·ΠΌΠ΅ΡΡ Π΄Π»Ρ ΠΊΡΡΡΠΈ, ΡΠΈΡΠΈΠ½Π° Π»ΠΈΡΡΠ°, ΠΎΡΠ»ΠΈΡΠΈΠ΅ ΠΏΠΎ Π²ΠΈΠ΄Π°ΠΌ
ΠΠΎΡΡΠΈΡΠΎΠ²Π°Π½Π½ΡΠ΅ Π»ΠΈΡΡΡ ΠΈΠ· Π³ΠΎΡΡΡΠ΅ΠΊΠ°ΡΠ°Π½ΠΎΠΉ ΡΡΠ°Π»ΠΈ ΠΈΠ·Π³ΠΎΡΠ°Π²Π»ΠΈΠ²Π°ΡΡ Ρ Π·Π°ΡΠΈΡΠ½ΡΠΌ ΡΠ»ΠΎΠ΅ΠΌ ΠΈΠ»ΠΈ Π±Π΅Π· Π½Π΅Π³ΠΎ. Π Π°Π·ΠΌΠ΅ΡΡ ΠΊΡΠΎΠ²Π΅Π»ΡΠ½ΠΎΠ³ΠΎ ΠΏΡΠΎΡΠ½Π°ΡΡΠΈΠ»Π° ΠΏΠΎΠ·Π²ΠΎΠ»ΡΡΡ Π²ΡΠ±ΡΠ°ΡΡ ΠΎΠΏΡΠΈΠΌΠ°Π»ΡΠ½ΡΠ΅ ΠΏΠ°ΡΠ°ΠΌΠ΅ΡΡΡ Π΄Π»Ρ ΠΏΡΠΈΠΌΠ΅Π½Π΅Π½ΠΈΡ Π² ΠΊΠΎΠ½ΠΊΡΠ΅ΡΠ½ΠΎΠΌ ΡΠ»ΡΡΠ°Π΅.
ΠΠ°Π½Π½ΡΠΉ ΠΌΠ°ΡΠ΅ΡΠΈΠ°Π» ΠΈΠΌΠ΅Π΅Ρ ΡΠ°Π·Π»ΠΈΡΠ½ΡΠ΅ Ρ
Π°ΡΠ°ΠΊΡΠ΅ΡΠΈΡΡΠΈΠΊΠΈΠΠΎΠ»Π½Ρ Π½Π° ΠΏΠΎΠ²Π΅ΡΡ Π½ΠΎΡΡΠΈ ΠΌΠ°ΡΠ΅ΡΠΈΠ°Π»Π° Π΄Π΅Π»Π°ΡΡ ΡΠΊΡΡΠ³Π»Π΅Π½Π½ΠΎΠΉ, ΠΊΠ²Π°Π΄ΡΠ°ΡΠ½ΠΎΠΉ, ΡΡΠ°ΠΏΠ΅ΡΠ΅ΠΈΠ΄Π°Π»ΡΠ½ΠΎΠΉ ΠΈ Π΄ΡΡΠ³ΠΎΠΉ ΡΠΎΡΠΌΡ.
ΠΠΎΠΊΡΡΡΠΈΠ΅ ΡΠ°Π·Π»ΠΈΡΠ°ΡΡ Π² Π·Π°Π²ΠΈΡΠΈΠΌΠΎΡΡΠΈ ΠΎΡ Π²ΠΈΠ΄Π° Π³ΠΎΡΡΡ, ΡΠΈΡΠΈΠ½Ρ ΠΈΠ·Π΄Π΅Π»ΠΈΡ, ΠΎΡΠ½ΠΎΠ²Ρ ΠΈ ΡΠΈΠΏΠ° Π·Π°ΡΠΈΡΠ½ΠΎΠΉ ΠΏΠ»Π΅Π½ΠΊΠΈ.
ΠΠΎΠ½ΡΡΠΈΠ΅ ΠΎ ΠΌΠ°ΡΠ΅ΡΠΈΠ°Π»Π΅
ΠΡΠΈ ΠΏΠΎΠ»ΡΡΠ΅Π½ΠΈΠΈ ΠΌΠ΅ΡΠ°Π»ΠΎΠΏΡΠΎΡΠΈΠ»ΡΠ½ΠΎΠ³ΠΎ ΠΌΠ°ΡΠ΅ΡΠΈΠ°Π»Π° Π΄Π»Ρ ΠΊΡΠΎΠ²Π»ΠΈ ΠΏΡΠΈΠΌΠ΅Π½ΡΡΡ Π΄Π²Π΅ ΠΎΠΏΠ΅ΡΠ°ΡΠΈΠΈ. ΠΠ΅ΡΠ²Π°Ρ ΠΏΡΠΎΡΠ΅Π΄ΡΡΠ° Π·Π°ΠΊΠ»ΡΡΠ°Π΅ΡΡΡ Π² ΠΏΡΠΎΠΊΠ°ΡΡΠ²Π°Π½ΠΈΠΈ ΠΏΠ»Π°ΡΡΠ° ΡΠ΅ΡΠ΅Π· Π²Π°Π»ΡΡΡ, Π² ΡΠ΅Π·ΡΠ»ΡΡΠ°ΡΠ΅ ΡΠ΅Π³ΠΎ Π½Π° ΠΏΠΎΠ²Π΅ΡΡ Π½ΠΎΡΡΠΈ ΠΏΠΎΠ»ΡΡΠ°ΡΡΡΡ Π³ΠΎΡΡΠΈΡΠΎΠ²Π°Π½Π½ΡΠ΅ Π²ΠΎΠ»Π½ΠΎΠΎΠ±ΡΠ°Π·Π½ΡΠ΅ Π²ΡΡΡΡΠΏΡ. ΠΡΠΎΡΠΈΠ»ΠΈΡΠΎΠ²Π°Π½Π½Π°Ρ ΡΠΎΡΠΌΠ° ΡΠ²Π΅Π»ΠΈΡΠΈΠ²Π°Π΅Ρ ΠΆΠ΅ΡΡΠΊΠΎΡΡΡ ΠΈ ΠΏΡΠΎΡΠ½ΠΎΡΡΡ ΠΏΠΎΠΊΡΡΡΠΈΡ.
ΠΠΎ Π²ΡΠ΅ΠΌΡ Π²ΡΠΎΡΠΎΠΉ ΠΎΠΏΠ΅ΡΠ°ΡΠΈΠΈ ΠΏΠΎΠ»ΠΎΡΠ΅ Ρ ΠΏΠΎΠΌΠΎΡΡΡ ΠΏΠΎΡΠ΅Π·ΠΊΠΈ ΠΏΡΠΈΠ΄Π°ΡΡ ΡΠ°Π·ΠΌΠ΅ΡΡ ΠΏΡΠΎΡΠ»ΠΈΡΡΠ° Π΄Π»Ρ ΠΊΡΡΡΠΈ. ΠΠ»ΠΈΠ½Π° ΠΈ ΡΠΈΡΠΈΠ½Π° ΠΎΠΏΡΠ΅Π΄Π΅Π»ΡΡΡΡΡ Π½ΠΎΡΠΌΠ°ΠΌΠΈ ΠΠΠ‘Π’ ΠΈΠ»ΠΈ Π΄Π΅Π»Π°ΡΡΡΡ ΠΏΠΎ ΠΈΠ½Π΄ΠΈΠ²ΠΈΠ΄ΡΠ°Π»ΡΠ½ΠΎΠΌΡ Π·Π°ΠΏΡΠΎΡΡ Π·Π°ΠΊΠ°Π·ΡΠΈΠΊΠ°.
ΠΠΎΠ΄ΡΠ°Π·Π΄Π΅Π»Π΅Π½ΠΈΠ΅ Π½Π° Π²ΠΈΠ΄Ρ
ΠΡΠΎΡΠ½Π°ΡΡΠΈΠ» ΠΈΡΠΏΠΎΠ»ΡΠ·ΡΠ΅ΡΡΡ Π½Π΅ ΡΠΎΠ»ΡΠΊΠΎ Π΄Π»Ρ ΡΠΎΠ·Π΄Π°Π½ΠΈΡ ΠΊΡΠΎΠ²Π»ΠΈ Π΄ΠΎΠΌΠΎΠ², Π½ΠΎ ΠΈ ΠΌΠΎΠΆΠ΅Ρ ΡΡΡΠ°Π½Π°Π²Π»ΠΈΠ²Π°ΡΡΡΡ Π² ΠΊΠΎΠ½ΡΡΡΡΠΊΡΠΈΠΈ Π½Π°Π²Π΅ΡΠΎΠ², Π½Π° ΠΊΡΡΡΠ΅ Ρ ΠΎΠ·ΡΠΉΡΡΠ²Π΅Π½Π½ΡΡ Π±Π»ΠΎΠΊΠΎΠ². ΠΠ»Ρ ΡΠ΄Π΅ΡΠ΅Π²Π»Π΅Π½ΠΈΡ, ΡΠΎΠ·Π΄Π°Π½ΠΈΡ ΠΎΠΏΡΠΈΠΌΠ°Π»ΡΠ½ΡΡ ΡΠΊΡΠΏΠ»ΡΠ°ΡΠ°ΡΠΈΠΎΠ½Π½ΡΡ ΡΡΠ»ΠΎΠ²ΠΈΠΉ Π»ΠΈΡΡΡ Π²ΡΠΏΡΡΠΊΠ°ΡΡ ΡΠ°Π·Π»ΠΈΡΠ½ΠΎΠΉ ΠΌΠΎΠ΄ΠΈΡΠΈΠΊΠ°ΡΠΈΠΈ.
Π ΡΡΠΎΠΌ Π²ΠΈΠ΄Π΅ΠΎ Π²Ρ ΡΠ·Π½Π°Π΅ΡΠ΅, ΠΊΠ°ΠΊ ΠΎΡΡΡΠ΅ΡΡΠ²Π»ΡΠ΅Ρ ΠΌΠΎΠ½ΡΠ°ΠΆ ΠΊΡΠΎΠ²Π»ΠΈ:
Π Π·Π°Π²ΠΈΡΠΈΠΌΠΎΡΡΠΈ ΠΎΡ ΠΈΡΡ
ΠΎΠ΄Π½ΠΎΠ³ΠΎ ΠΌΠ°ΡΠ΅ΡΠΈΠ°Π»Π° ΠΎΡΠ½ΠΎΠ²Ρ ΡΡΡΡΠ΅ Π΄Π΅Π»ΡΡ Π½Π° ΡΠΈΠΏΡ:
- ΠΎΡΠΈΠ½ΠΊΠΎΠ²Π°Π½Π½ΡΠΉ Π»ΠΈΡΡ, ΠΏΠΎΠ»ΡΡΠ΅Π½Π½ΡΠΉ ΠΏΡΠΎΠΊΠ°ΡΠ½ΡΠΌ ΠΌΠ΅ΡΠΎΠ΄ΠΎΠΌ β Π½Π΅ ΠΈΠΌΠ΅Π΅Ρ Π±ΡΠΊΠ²Π΅Π½Π½ΠΎΠ³ΠΎ ΠΎΠ±ΠΎΠ·Π½Π°ΡΠ΅Π½ΠΈΡ;
- ΡΠΎΠ½ΠΊΠΎΠ»ΠΈΡΡΠΎΠ²Π°Ρ ΠΎΡΠΈΠ½ΠΊΠΎΠ²ΠΊΠ°, Π² ΠΏΡΠΎΡΠ΅ΡΡΠ΅ ΠΏΡΠΎΠΊΠ°ΡΠ° ΠΏΠΎΠ»ΡΡΠΈΠ²ΡΠ°Ρ Π°Π»ΡΠΌΠΈΠ½ΠΈΠ΅Π²ΠΎΠ΅ ΠΏΠΎΠΊΡΡΡΠΈΠ΅ β ΠΎΠΏΡΠ΅Π΄Π΅Π»ΡΠ΅ΡΡΡ Π»ΠΈΡΠ΅ΡΠ°ΠΌΠΈ ΠΠ¦;
- Π°Π»ΡΠΌΠΈΠ½ΠΈΠΉ ΠΈΠ»ΠΈ ΠΏΡΠΎΠΊΠ°Ρ Ρ Π·Π°ΡΠΈΡΠΎΠΉ ΠΈΠ· ΡΡΠΎΠ³ΠΎ ΠΌΠ°ΡΠ΅ΡΠΈΠ°Π»Π° β Π½Π°ΠΌΠ΅ΡΠ°Π΅ΡΡΡ ΡΠΈΠΌΠ²ΠΎΠ»Π°ΠΌΠΈ Π ΠΈΠ»ΠΈ ΠΠ;
- Π½Π΅ΡΠΆΠ°Π²Π΅ΠΉΠΊΠ° Ρ Π½Π°Π½Π΅ΡΠ΅Π½ΠΈΠ΅ΠΌ ΡΠ»Π΅ΠΊΡΡΠΎΠ»ΠΈΡΠ½ΠΎΠ³ΠΎ ΡΠ»ΠΎΡ ΡΠΈΠ½ΠΊΠ° β ΠΎΠΏΠΈΡΡΠ²Π°Π΅ΡΡΡ ΠΠΠ¦Π.
Π§ΡΠΎΠ±Ρ Π²ΡΠΏΠΎΠ»Π½ΠΈΡΡ ΠΏΠΎΠΊΡΡΡΠΈΠ΅ ΡΡΡΠΎΠ΅Π½ΠΈΡ ΠΈΡΠΏΠΎΠ»ΡΠ·ΡΡΡ ΠΊΡΠΎΠ²Π΅Π»ΡΠ½ΡΠΉ ΠΏΡΠΎΡΠ»ΠΈΡΡ. Π Π°Π·ΠΌΠ΅ΡΡ Π»ΠΈΡΡΠ° Π² ΡΡΠΎΠΌ ΡΠ»ΡΡΠ°Π΅ Π²ΡΠΏΡΡΠΊΠ°ΡΡ ΠΊΡΠ°ΡΠ½ΡΠΌΠΈ ΠΎΡΡΠ΅Π·ΠΊΡ 250 ΠΌΠΌ. ΠΡΠΈ ΡΡΠΎΠΌ ΠΎΠ±ΡΠ°Ρ ΠΌΠ΅ΡΠ½Π°Ρ Π΄Π»ΠΈΠ½Π° ΠΌΠΎΠΆΠ΅Ρ Π±ΡΡΡ 3, 6, 9, ΠΈ 12 ΠΌ. ΠΠ½Π΄ΠΈΠ²ΠΈΠ΄ΡΠ°Π»ΡΠ½ΡΠ΅ Π·Π°ΠΊΠ°Π·Ρ ΠΌΠΎΠ³ΡΡ Π²ΡΠΏΠΎΠ»Π½ΡΡΡΡΡ Ρ Π΄Π»ΠΈΠ½ΠΎΠΉ ΠΏΠΎΠ»ΠΎΡΡ ΠΌΠ΅Π½ΡΡΠ΅ ΡΡΠ΅Ρ ΠΌΠ΅ΡΡΠΎΠ² ΠΈΠ»ΠΈ ΡΠ²ΡΡΠ΅ Π΄Π²Π΅Π½Π°Π΄ΡΠ°ΡΠΈ.
ΠΠ»Ρ ΡΠ°Π·Π»ΠΈΡΠΈΡ ΠΌΠ°ΡΠ΅ΡΠΈΠ°Π»Π° ΠΈΡΠΏΠΎΠ»ΡΠ·ΡΡΡΡΡ ΠΈ Π΄ΡΡΠ³ΠΈΠ΅ ΠΊΡΠΈΡΠ΅ΡΠΈΠΈ:
- ΠΎΠ±Π»Π°ΡΡΡ ΡΡΡΠ°Π½ΠΎΠ²ΠΊΠΈ β Π½Π°Π²Π΅ΡΡ, ΠΊΡΠΏΠΎΠ»Π°, Π³ΠΎΡΠΈΠ·ΠΎΠ½ΡΠ°Π»ΡΠ½ΡΠ΅ ΠΎΠ³ΡΠ°ΠΆΠ΄Π΅Π½ΠΈΡ ΠΆΠΈΠ»ΡΡ Π΄ΠΎΠΌΠΎΠ²;
- ΡΠΎΡΠΌΠ° Π²ΠΎΠ»Π½Ρ β ΠΏΡΠΈΠΌΠ΅Π½ΡΡΡ Π»ΡΠ±ΡΠ΅ Π²ΠΈΠ΄Ρ;
- Π²ΡΡΠΎΡΠ° Π³ΠΎΡΡΡ β Π΄Π»Ρ ΠΊΡΡΡ Π±Π΅ΡΡΡ ΠΏΠΎΠΊΠ°Π·Π°ΡΠ΅Π»Ρ ΡΠ²ΡΡΠ΅ 43 ΠΌΠΌ;
- ΡΠΈΡΠΈΠ½Π° Π»ΠΈΡΡΠ° β Π΄Π»Ρ ΠΊΡΠΎΠ²Π΅Π»ΡΠ½ΠΎΠ³ΠΎ Π½Π°ΡΡΠΈΠ»Π° ΠΈΠ΄Π΅Π°Π»ΡΠ½ΠΎ ΠΏΠΎΠ΄Ρ ΠΎΠ΄ΠΈΡ ΡΠ°Π·ΠΌΠ΅Ρ 0,93-1,2 ΠΌ;
- ΡΠΎΠ»ΡΠΈΠ½Π° ΠΎΡΠ½ΠΎΠ²Ρ β Π²ΡΠ±ΠΈΡΠ°ΡΡ Π·Π½Π°ΡΠ΅Π½ΠΈΠ΅ Π±ΠΎΠ»ΡΡΠ΅ 0,5 ΠΌΠΌ.
ΠΠ°ΡΠΈΡΠ½ΡΠ΅ ΠΏΠΎΠΊΡΡΡΠΈΡ
ΠΠ° Π»ΠΈΡΡ Π½Π°Π½ΠΎΡΡΡ ΡΠ°Π·Π½ΡΠ΅ ΡΠ»ΠΎΠΈ Π΄Π»Ρ ΠΎΠ±Π΅ΡΠΏΠ΅ΡΠ΅Π½ΠΈΡ ΡΠ±Π΅ΡΠ΅Π³Π°ΡΡΠΈΡ ΡΠ²ΠΎΠΉΡΡΠ². ΠΡΠΎΡ ΠΏΠΎΠΊΠ°Π·Π°ΡΠ΅Π»Ρ Π²Π»ΠΈΡΠ΅Ρ Π½Π° Π²ΡΠ΅ΠΌΡ ΡΠΊΡΠΏΠ»ΡΠ°ΡΠ°ΡΠΈΠΈ ΠΊΡΡΡΠΈ Π±Π΅Π· ΡΠ΅ΠΌΠΎΠ½ΡΠ°. ΠΠΎΠΊΡΡΡΠΈΡ Π²ΡΠΏΡΡΠΊΠ°ΡΡ ΡΠ°Π·Π»ΠΈΡΠ½ΡΡ ΡΠ²Π΅ΡΠΎΠ², ΠΈΡ Π²ΠΈΠ΄Ρ ΠΌΠΎΠ³ΡΡ ΡΠΎΡΠ΅ΡΠ°ΡΡΡΡ, ΡΡΠΈΠ»ΠΈΠ²Π°Ρ Π²Π·Π°ΠΈΠΌΠ½ΠΎΠ΅ Π΄Π΅ΠΉΡΡΠ²ΠΈΠ΅. ΠΠ°ΡΠΈΡΠ° Π±ΡΠ²Π°Π΅Ρ ΡΠ»Π΅Π΄ΡΡΡΠΈΡ ΡΠΈΠΏΠΎΠ²:
- ΠΠΎΠ»ΠΈΠΌΠ΅ΡΠ½ΡΠ΅ ΠΊΠΎΠΌΠΏΠΎΠ½Π΅Π½ΡΡ Π² ΡΠΎΡΡΠ°Π²Π΅ ΠΊΠΎΠΌΠΏΠ°ΡΠ½Π΄Π° ΠΏΡΠ΅Π΄ΠΎΡΠ²ΡΠ°ΡΠ°ΡΡ ΠΊΠΎΡΡΠΎΠ·ΠΈΡ ΠΈ ΡΠ°Π·ΡΡΡΠ΅Π½ΠΈΠ΅. ΠΡΠ΄Π΅Π»ΠΎΡΠ½ΡΠΉ ΡΠ»ΠΎΠΉ ΡΠ°ΡΠΏΠΎΠ»Π°Π³Π°ΡΡ Π½Π° ΠΎΠ΄Π½ΠΎΠΉ ΠΈΠ»ΠΈ Π΄Π²ΡΡ ΡΡΠΎΡΠΎΠ½Π°Ρ . ΠΠ»Ρ ΠΏΠΎΠ²ΡΡΠ΅Π½ΠΈΡ ΡΠ°Π±ΠΎΡΠΎΡΠΏΠΎΡΠΎΠ±Π½ΠΎΡΡΠΈ Π½Π°Π½ΠΎΡΡΡ Π½Π΅ΡΠΊΠΎΠ»ΡΠΊΠΎ ΠΏΠ»Π΅Π½ΠΎΠΊ.
- Π§ΡΠΎΠ±Ρ ΠΈΠ·Π±Π΅ΠΆΠ°ΡΡ ΠΏΠΎΡΡΠΈ ΠΊΡΠΎΠ²Π»ΠΈ ΠΎΡ ΡΠ»ΡΡΡΠ°ΡΠΈΠΎΠ»Π΅ΡΠΎΠ²ΡΡ Π»ΡΡΠ΅ΠΉ ΠΈΡΠΏΠΎΠ»ΡΠ·ΡΡΡ Π°ΠΊΡΠΈΠ». ΠΠ°Π΄Π΅ΠΆΠ½Π°Ρ Π·Π°ΡΠΈΡΠ° ΠΎΡΡΠ°Π½ΠΎΠ²ΠΈΡ ΡΠ°Π·ΡΡΡΠ΅Π½ΠΈΠ΅ Π½Π° 30 Π»Π΅Ρ ΠΏΡΠΈ ΡΠΊΡΠΏΠ»ΡΠ°ΡΠ°ΡΠΈΠΈ Π² ΡΠΎΠ»Π½Π΅ΡΠ½ΡΡ ΡΠ°ΠΉΠΎΠ½Π°Ρ .
- ΠΠ»Π°ΡΡΠΈΠ·ΠΎΠ»Π΅Π²Π°Ρ ΠΏΠ»Π΅Π½ΠΊΠ° ΠΏΠΎΠ»ΡΡΠ°Π΅ΡΡΡ ΠΏΡΠΈ Π²Π·Π°ΠΈΠΌΠΎΠ΄Π΅ΠΉΡΡΠ²ΠΈΠΈ ΠΏΠΎΠ»ΠΈΠ²ΠΈΠ½ΠΈΠ»ΠΎΠ² ΠΈ ΠΏΠ»Π°ΡΡΠΈΡΠΈΠΊΠ°ΡΠΎΡΠΎΠ². ΠΡΠΎΡ ΡΠ»ΠΎΠΉ Π²ΠΌΠ΅ΡΡΠ΅ Ρ Π·Π°ΡΠΈΡΠΎΠΉ ΠΎΡ ΡΠ°Π·ΡΡΡΠ΅Π½ΠΈΡ ΠΏΠΎΠ·Π²ΠΎΠ»ΡΠ΅Ρ ΠΈΠ·Π³ΠΈΠ±Π°ΡΡ Π»ΠΈΡΡ Π±Π΅Π· ΡΠ°ΡΡΡΠ΅ΡΠΊΠΈΠ²Π°Π½ΠΈΡ. ΠΠ·Π΄Π΅Π»ΠΈΡ ΠΈΡΠΏΠΎΠ»ΡΠ·ΡΡΡΡΡ ΠΏΡΠΈ ΠΏΠΎΠΊΡΡΡΠΈΠΈ ΠΊΡΠΏΠΎΠ»ΠΎΠ², Π°ΡΠΎΠΊ. ΠΠ· ΠΌΠ°ΡΠ΅ΡΠΈΠ°Π»Π° ΠΈΠ·Π³ΠΎΡΠ°Π²Π»ΠΈΠ²Π°ΡΡ ΠΌΠ΅Π»ΠΊΠΈΠ΅ Π³ΠΈΠ±ΠΊΠΈΠ΅ ΡΠ»Π΅ΠΌΠ΅Π½ΡΡ ΠΊΡΠΎΠ²Π»ΠΈ, Π΄Π΅Π»Π°ΡΡ Π²ΠΎΠ΄ΠΎΡΡΠΎΡΠ½ΡΠ΅ ΠΊΠΎΠ½ΡΡΡΡΠΊΡΠΈΠΈ, ΠΊΠΎΡΠΎΠ±Π°.
- ΠΠΎΠΊΡΡΡΠΈΠ΅ ΠΈΠ· ΠΏΡΡΠ°Π»Π° Π½Π° ΠΏΠΎΠ²Π΅ΡΡ Π½ΠΎΡΡΠΈ ΠΌΠ°ΡΠ΅ΡΠΈΠ°Π»Π° Π½Π°Π½ΠΎΡΡΡ ΠΏΡΠΈ ΡΠ°Π±ΠΎΡΠ΅ ΠΊΡΡΡΠ½ΠΎΠ³ΠΎ Π½Π°ΡΡΠΈΠ»Π° Π² ΡΡΠ»ΠΎΠ²ΠΈΡΡ Π²ΡΠ΅Π΄Π½ΠΎΠ³ΠΎ Π΄Π΅ΠΉΡΡΠ²ΠΈΡ Ρ ΠΈΠΌΠΈΡΠ΅ΡΠΊΠΈΡ Π²Π΅ΡΠ΅ΡΡΠ². Π‘ΡΠΎΠΉΠΊΠΈΠΉ ΡΠ»ΠΎΠΉ ΠΏΠΎΠ»ΡΡΠ°ΡΡ ΡΠΎΡΠ΅ΡΠ°Π½ΠΈΠ΅ΠΌ ΠΏΠΎΠ»ΠΈΠ°ΠΌΠΈΠ΄Π½ΡΡ ΠΊΠΎΠΌΠΏΠΎΠ½Π΅Π½ΡΠΎΠ² ΠΈ ΠΏΠΎΠ»ΠΈΡΡΠ΅ΡΠ°Π½Π°. ΠΠ°ΡΠΈΡΠ° Π°ΠΊΡΠΈΠ²Π½ΠΎ ΡΠΎΠΏΡΠΎΡΠΈΠ²Π»ΡΠ΅ΡΡΡ ΡΠ°ΡΡΡΠ΅ΡΠΊΠΈΠ²Π°Π½ΠΈΡ ΠΏΡΠΈ Π½Π΅ΠΎΠ΄Π½ΠΎΠΊΡΠ°ΡΠ½ΡΡ ΡΠΈΠΊΠ»Π°Ρ ΠΏΡΠΎΠΌΠ΅ΡΠ·Π°Π½ΠΈΡ ΠΈ ΠΎΡΡΠ°ΠΈΠ²Π°Π½ΠΈΡ, Π²ΡΠ΄Π΅ΡΠΆΠΈΠ²Π°Π΅Ρ ΠΏΠΎΠΊΠ°Π·Π°ΡΠ΅Π»ΠΈ ΠΎΡ -30 ΠΈ Π΄ΠΎ +70ΛΠ‘.
- ΠΠ½Π½ΠΎΠ²Π°ΡΠΈΠΎΠ½Π½ΡΡ Π±ΡΠΎΠ½Ρ ΠΈΡΠΏΠΎΠ»ΡΠ·ΡΡΡ Π² ΠΏΠΎΡΠ»Π΅Π΄Π½ΠΈΠ΅ Π³ΠΎΠ΄Ρ. ΠΠ½Π° ΡΠΎΡΡΠΎΠΈΡ ΠΈΠ· ΠΏΠΎΠ»ΠΈΠ²ΠΈΠ½ΠΈΠ»Π΄Π΅Π½ΡΡΠΎΡΠΈΠ΄Π° ΠΈ ΠΏΡΠΈΠΌΠ΅Π½ΡΠ΅ΡΡΡ Π΄Π»Ρ ΠΊΠ°ΡΠ΅ΡΡΠ²Π΅Π½Π½ΠΎΠΉ Π·Π°ΡΠΈΡΡ ΠΎΡΠ½ΠΎΠ²Ρ Π»ΠΈΡΡΠ° ΠΎΡ Π²ΡΠ΅Ρ ΡΠ°Π·ΡΡΡΠ°ΡΡΠΈΡ ΡΠ°ΠΊΡΠΎΡΠΎΠ² ΠΎΠ΄Π½ΠΎΠ²ΡΠ΅ΠΌΠ΅Π½Π½ΠΎ. ΠΠ»Π΅Π½ΠΊΠ° Π½Π΅ ΡΠ°Π·Π»Π°Π³Π°Π΅ΡΡΡ ΠΏΡΠΈ ΠΈΠ·Π³ΠΈΠ±Π΅, Π΄Π΅ΠΉΡΡΠ²ΠΈΠΈ Π²Π»Π°Π³ΠΈ, ΡΠ»ΡΡΡΠ°ΡΠΈΠΎΠ»Π΅ΡΠ°, ΡΠ΅Π»ΠΎΡΠ½ΠΎΠΉ ΠΈ ΡΠΎΠ»Π΅Π²ΠΎΠΉ ΡΡΠ΅Π΄Ρ. ΠΠΎΡΠΎΠ³ ΠΌΠΎΡΠΎΠ·ΠΎΡΡΠΎΠΉΠΊΠΎΡΡΠΈ ΠΎΠΏΡΠ΅Π΄Π΅Π»Π΅Π½ Π² ΠΌΠΈΠ½ΡΡ 60ΛΠ‘.
ΠΡΠΈΠΌΠ΅Π½Π΅Π½ΠΈΠ΅ Π΄Π»Ρ ΠΊΡΠΎΠ²Π»ΠΈ
ΠΡΠΏΠΎΠ»ΡΠ·ΡΡΡ ΠΌΠ°ΡΠ΅ΡΠΈΠ°Π» Ρ Π±ΡΠΊΠ²Π΅Π½Π½ΡΠΌ ΠΎΠ±ΠΎΠ·Π½Π°ΡΠ΅Π½ΠΈΠ΅ΠΌ Π. ΠΡΠΎΡΠ½Π°ΡΡΠΈΠ» ΠΊΡΠΎΠ²Π΅Π»ΡΠ½ΡΠΉ, ΡΠ°Π·ΠΌΠ΅ΡΡ ΠΊΠΎΡΠΎΡΠΎΠ³ΠΎ ΠΏΠΎ ΡΡΠ°Π½Π΄Π°ΡΡΡ ΡΠΎΠΎΡΠ²Π΅ΡΡΡΠ²ΡΡΡ ΡΠΈΡΠΈΠ½Π΅ 930-1200 ΠΌΠΌ, ΠΌΠΎΠ½ΡΠΈΡΡΡΡ Ρ ΠΏΠ΅ΡΠ΅Ρ Π»Π΅ΡΡΠΎΠΌ Π½Π° ΠΎΠ΄Π½Ρ Π²ΡΡΡΡΠΏΠ°ΡΡΡΡ Π²ΠΎΠ»Π½Ρ. ΠΡΠΈ ΡΠ°ΡΡΠ΅ΡΠ΅ ΡΠΈΡΠ»Π° ΠΏΠΎΠ»ΠΎΡ ΡΡΠΈΡΡΠ²Π°ΡΡ, ΡΡΠΎ Π² ΡΠ°Π±ΠΎΡΠ΅ ΡΡΠ°ΡΡΠ²ΡΠ΅Ρ ΡΠΈΡΠΈΠ½Π° Π½Π° 60-90 ΠΌΠΌ ΠΌΠ΅Π½ΡΡΠ΅ ΡΠΊΠ°Π·Π°Π½Π½ΠΎΠΉ Π² Π³Π°Π±Π°ΡΠΈΡΠ°Ρ (ΡΠ°Π·Π½ΠΈΡΠ° Π·Π°Π²ΠΈΡΠΈΡ ΠΎΡ Π²ΠΈΠ΄Π° Π³ΠΎΡΡΡ).
ΠΡΠ΅ΠΏΡΡ ΠΌΠ°ΡΠ΅ΡΠΈΠ°Π» ΡΠ°ΠΌΠΎΡΠ΅Π·Π°ΠΌΠΈ ΡΠΎ ΡΠΏΠ΅ΡΠΈΠ°Π»ΡΠ½ΡΠΌΠΈ Π³ΠΎΠ»ΠΎΠ²ΠΊΠ°ΠΌΠΈ ΡΠ΅ΡΠ΅Π· Π²ΡΡΡΡΠΏΠ°ΡΡΡΡ Π²ΠΎΠ»Π½Ρ ΠΊ ΡΠ΅Π»Ρ ΠΎΠ±ΡΠ΅ΡΠ΅ΡΠΊΠΈ. ΠΡΠΏΠΎΠ»ΡΠ·ΡΡΡ ΠΌΠ΅Π½ΡΡΡΡ ΡΠΎΠ»ΡΠΈΠ½Ρ Π΄Π΅ΡΠ΅Π²ΡΠ½Π½ΡΡ Π±ΡΡΡΠΊΠΎΠ² ΠΏΠΎ ΡΡΠ°Π²Π½Π΅Π½ΠΈΡ Ρ ΠΎΡΠ½ΠΎΠ²Π°Π½ΠΈΠ΅ΠΌ Π΄Π»Ρ Π΄ΡΡΠ³ΠΈΡ ΡΠΈΠΏΠΎΠ² ΠΊΡΠΎΠ²Π»ΠΈ ΠΈΠ·-Π·Π° Π»Π΅Π³ΠΊΠΎΡΡΠΈ ΠΏΡΠΎΡΠ½Π°ΡΡΠΈΠ»Π°. Π§ΡΠΎΠ±Ρ ΠΈΠ·Π±Π΅ΠΆΠ°ΡΡ ΠΏΡΠΎΡΠ΅ΡΠ΅ΠΊ, Π² ΠΌΠ΅ΡΡΠ΅ ΡΠ²Π΅ΡΠ»Π΅Π½ΠΈΡ ΡΡΠ°Π²ΡΡ ΡΠΏΠ΅ΡΠΈΠ°Π»ΡΠ½ΡΠ΅ ΠΏΠΎΠ΄ΠΊΠ»Π°Π΄ΠΊΠΈ ΠΈΠ· ΠΏΡΠΎΡΠ΅Π·ΠΈΠ½Π΅Π½ΠΎΠ³ΠΎ ΠΌΠ°ΡΠ΅ΡΠΈΠ°Π»Π°.
ΠΠ»Ρ ΠΏΡΠΎΡΠ΅ΡΡΠΈΠΎΠ½Π°Π»ΡΠ½ΠΎΠ³ΠΎ ΠΎΡΠΎΡΠΌΠ»Π΅Π½ΠΈΡ ΡΡΡΠΊΠΎΠ² ΠΏΡΠΎΡΠΈΠ»Ρ ΠΏΡΠΈΠΌΠ΅Π½ΡΡΡ ΡΠΏΠ΅ΡΠΈΠ°Π»ΠΈΠ·ΠΈΡΠΎΠ²Π°Π½Π½ΡΠ΅ ΡΠ²Π°ΡΠ½ΡΠ΅ Π°Π³ΡΠ΅Π³Π°ΡΡ.
ΠΠ»Π°Π³ΠΎΠ΄Π°ΡΡ Π±ΠΎΠ»ΡΡΠΎΠΉ ΠΏΡΠΎΡΡΠΆΠ΅Π½Π½ΠΎΡΡΠΈ Π»ΠΈΡΡΠ° ΠΊΡΡΡΡ ΠΏΠ΅ΡΠ΅ΠΊΡΡΠ²Π°ΡΡ ΠΏΠΎ Π²ΡΠ΅ΠΉ Π΄Π»ΠΈΠ½Π΅ ΡΠΊΠ°ΡΠ° Π±Π΅Π· Π²ΡΠΏΠΎΠ»Π½Π΅Π½ΠΈΡ ΠΏΠΎΠΏΠ΅ΡΠ΅ΡΠ½ΡΡ ΡΡΠ΅Π·ΠΎΠ². ΠΡΠΎΠ²Π΅Π»ΡΠ½ΡΠΉ ΠΏΡΠΎΡΠ»ΠΈΡΡ, ΡΠ°Π·ΠΌΠ΅ΡΡ ΠΊΠΎΡΠΎΡΠΎΠ³ΠΎ ΠΌΠΎΠΆΠ½ΠΎ ΠΏΠΎΠ΄ΠΎΠ±ΡΠ°ΡΡ Π² ΠΊΠ°ΠΆΠ΄ΠΎΠΌ ΡΠ»ΡΡΠ°Π΅, ΠΏΡΠΈΠΌΠ΅Π½ΡΠ΅ΡΡΡ Π΄Π»Ρ Π²ΡΡΠΎΠΊΠΈΡ Π°ΡΠΎΠΊ, ΠΏΠΎΠ»ΡΠΊΡΡΠ³Π»ΡΡ ΠΊΡΠΏΠΎΠ»ΠΎΠ² Ρ Π±ΠΎΠ»ΡΡΠΎΠΉ Π΄Π»ΠΈΠ½ΠΎΠΉ ΡΠΊΠ°ΡΠΎΠ². ΠΡΠΎΡΠΌΠ»Π΅Π½ΠΈΠ΅ ΠΊΡΠΈΠ²ΠΎΠ»ΠΈΠ½Π΅ΠΉΠ½ΡΡ ΡΡΡΠΊΠΎΠ² ΠΎΡΡΡΠ΅ΡΡΠ²Π»ΡΡΡ ΠΏΡΠΎΡΠΈΠ»Π΅ΠΌ Ρ Π·Π°ΡΠΈΡΠΎΠΉ ΠΎΡ ΡΡΠ΅ΡΠΈΠ½ ΠΏΡΠΈ ΠΊΡΡΡΠ΅Π½ΠΈΠΈ ΠΈ ΠΈΠ·Π³ΠΈΠ±Π΅.
ΠΡΠΈ ΠΏΡΠΈΠΌΠ΅Π½Π΅Π½ΠΈΠ΅ ΠΊΡΠΎΠ²Π»ΠΈ ΠΈΠΌΠ΅ΡΡΡΡ ΡΠ²ΠΎΠΈ Π½ΡΠ°Π½ΡΡΠΠΎΠ»ΠΎΠΆΠΈΡΠ΅Π»ΡΠ½ΡΠ΅ ΠΈ ΠΎΡΡΠΈΡΠ°ΡΠ΅Π»ΡΠ½ΡΠ΅ ΠΊΠ°ΡΠ΅ΡΡΠ²Π°
Π Π°ΡΠΏΡΠΎΡΡΡΠ°Π½Π΅Π½ΠΎ Π²ΠΎΠ·Π²Π΅Π΄Π΅Π½ΠΈΠ΅ Π»Π΅Π³ΠΊΠΈΡ Π·Π΄Π°Π½ΠΈΠΉ Ρ Π½Π΅Π±ΠΎΠ»ΡΡΠΈΠΌ ΠΏΠΎ ΠΌΠ°ΡΡΠΈΠ²Π½ΠΎΡΡΠΈ ΠΎΡΠ½ΠΎΠ²Π°Π½ΠΈΠ΅ΠΌ. ΠΡΠΈ Π΄ΠΎΠΌΠ° ΡΡΡΠΎΡΡΡΡ Π±ΡΡΡΡΠΎ, Π±Π»Π°Π³ΠΎΠ΄Π°ΡΡ ΠΌΠ°Π»ΠΎΠΉ ΠΏΠΎ Π²Π΅ΡΡ ΠΊΡΠΎΠ²Π»Π΅ ΡΡΠΎΠΈΠΌΠΎΡΡΡ ΡΠ½ΠΈΠΆΠ΅Π½Π°. Π ΡΠ°ΠΊΠΈΡ Π²Π°ΡΠΈΠ°Π½ΡΠ°Ρ ΠΏΡΠΎΡΠ½Π°ΡΡΠΈΠ» ΠΎΡΡΠ°Π΅ΡΡΡ Π½Π΅Π·Π°ΠΌΠ΅Π½ΠΈΠΌΡΠΌ ΠΌΠ°ΡΠ΅ΡΠΈΠ°Π»ΠΎΠΌ Π΄Π»Ρ ΠΊΡΡΡΠΈ Π·Π΄Π°Π½ΠΈΠΉ, ΠΏΠΎΠΊΡΡΡΠΈΡ Π²Π΅ΡΠ°Π½Π΄, Π½Π°Π²Π΅ΡΠΎΠ², Π±ΡΡΠΎΠ²ΡΡ Π±Π»ΠΎΠΊΠΎΠ² ΠΈ Ρ ΠΎΠ·ΡΠΉΡΡΠ²Π΅Π½Π½ΡΡ ΡΡΡΠΎΠ΅Π½ΠΈΠΉ.
Π ΠΏΠΎΠ»ΠΎΠΆΠΈΡΠ΅Π»ΡΠ½ΡΠΌ Ρ Π°ΡΠ°ΠΊΡΠ΅ΡΠΈΡΡΠΈΠΊΠ°ΠΌ Π³ΠΎΡΡΠΈΡΠΎΠ²Π°Π½Π½ΠΎΠ³ΠΎ ΠΏΡΠΎΡΠΈΠ»Ρ ΠΎΡΠ½ΠΎΡΡΡ:
- ΠΡΠ»ΠΈΡΠ½ΠΎΠ΅ ΠΊΠ°ΡΠ΅ΡΡΠ²ΠΎ ΡΡΡΠ΅ΡΡΠ²Π΅Π½Π½ΠΎ Π½Π΅ Π²Π»ΠΈΡΠ΅Ρ Π½Π° ΡΡΠΎΠΈΠΌΠΎΡΡΡ, ΡΡΠΈ ΠΏΠΎΠΊΠ°Π·Π°ΡΠ΅Π»ΠΈ Π½Π°Ρ ΠΎΠ΄ΡΡΡΡ Π² ΠΎΠΏΡΠΈΠΌΠ°Π»ΡΠ½ΠΎΠΌ ΡΠΎΠΎΡΠ½ΠΎΡΠ΅Π½ΠΈΠΈ. ΠΠ»Ρ Π½Π°Π²Π΅ΡΠΎΠ² Ρ Π½Π΅Π±ΠΎΠ»ΡΡΠΈΠΌΠΈ ΡΡΠ΅Π±ΠΎΠ²Π°Π½ΠΈΡΠΌΠΈ Π²ΡΠ±ΠΈΡΠ°ΡΡ Π½Π΅Π΄ΠΎΡΠΎΠ³ΠΈΠ΅ Π²Π°ΡΠΈΠ°Π½ΡΡ.
- ΠΠΈΠ·ΠΊΠΈΠΉ Π²Π΅Ρ ΠΏΡΠΎΡΠΈΠ»ΡΠ½ΠΎΠ³ΠΎ Π»ΠΈΡΡΠ° ΠΏΠ΅ΡΠ΅Π΄ Π΄ΡΡΠ³ΠΈΠΌΠΈ ΠΊΡΠΎΠ²Π΅Π»ΡΠ½ΡΠΌΠΈ ΠΏΠΎΠΊΡΡΡΠΈΡΠΌΠΈ ΡΠΏΠΎΡΠΎΠ±ΡΡΠ²ΡΠ΅Ρ ΠΏΠΎΠ²ΡΡΠ΅Π½ΠΈΡ ΡΠΏΡΠΎΡΠ° Π½Π° ΠΌΠ°ΡΠ΅ΡΠΈΠ°Π», ΠΊΠ²Π°Π΄ΡΠ°Ρ ΡΠ»ΠΎΡ Π·Π°ΡΡΠ³ΠΈΠ²Π°Π΅Ρ ΠΎΡ 7 Π΄ΠΎ 13 ΠΊΠ³. ΠΡΠΎ ΡΡΡΠ΅ΡΡΠ²Π΅Π½Π½ΠΎ ΡΠ½ΠΈΠΆΠ°Π΅Ρ ΡΡΠ΅Π±ΠΎΠ²Π°Π½ΠΈΡ ΠΊ ΡΡΠ½Π΄Π°ΠΌΠ΅Π½ΡΡ ΠΈ Π½Π΅ΡΡΡΠ΅ΠΉ ΡΠΏΠΎΡΠΎΠ±Π½ΠΎΡΡΠΈ ΡΡΠ΅Π½ΠΎΠ²ΠΎΠ³ΠΎ ΠΎΠ³ΡΠ°ΠΆΠ΄Π΅Π½ΠΈΡ.
- Π¨ΠΈΡΠΎΠΊΠΈΠΉ Π΄ΠΈΠ°ΠΏΠ°Π·ΠΎΠ½ ΡΠ²Π΅ΡΠΎΠ² ΠΈ Π²ΠΈΠ΄ΠΎΠ² Π΄Π»Ρ Π²ΡΠ±ΠΎΡΠ° ΠΏΠΎΡΡΠ΅Π±ΠΈΡΠ΅Π»Π΅ΠΌ. Π‘ΠΎΠ²ΡΠ΅ΠΌΠ΅Π½Π½ΡΠ΅ ΠΏΠΎΠΊΡΡΡΠΈΡ ΠΈΠΌΠΈΡΠΈΡΡΡΡ Π΄ΡΠ΅Π²Π΅ΡΠΈΠ½Ρ, ΠΊΠ°ΠΌΠ΅Π½Ρ, ΠΌΡΠ°ΠΌΠΎΡ ΠΈ Π΄ΡΡΠ³ΠΈΠ΅ ΠΏΡΠΈΡΠΎΠ΄Π½ΡΠ΅ ΠΌΠ°ΡΠ΅ΡΠΈΠ°Π»Ρ.
- ΠΡΠΎΡΠ½ΠΎΡΡΡ ΠΈ ΠΆΠ΅ΡΡΠΊΠΎΡΡΡ ΠΏΠΎΠ·Π²ΠΎΠ»ΡΡΡ ΠΈΠ·Π±Π΅ΠΆΠ°ΡΡ ΠΏΡΠΎΠ²ΠΈΡΠ°Π½ΠΈΡ ΠΏΠΎΠΊΡΡΡΠΈΡ Π½Π° Π±ΠΎΠ»ΡΡΠΈΡ ΠΏΡΠΎΠ³ΠΎΠ½Π°Ρ . ΠΠ·-Π·Π° ΡΡΠΎΠ³ΠΎ ΠΊΠ°ΡΠ΅ΡΡΠ²Π° ΠΈΠ½ΠΎΠ³Π΄Π° Π½Π΅ ΡΡΠ΅Π±ΡΠ΅ΡΡΡ ΡΡΡΠ°Π½Π°Π²Π»ΠΈΠ²Π°ΡΡ Π΄ΠΎΠΏΠΎΠ»Π½ΠΈΡΠ΅Π»ΡΠ½ΡΠ΅ Π±ΡΡΡΠΊΠΈ Π΄Π»Ρ ΠΆΠ΅ΡΡΠΊΠΎΡΡΠΈ.
- ΠΡΠΈ Π½Π΅ΡΡΠ°Π½Π΄Π°ΡΡΠ½ΠΎΠΌ ΡΠ²Π΅ΡΠ΅ ΠΈΠ»ΠΈ ΠΈΠΌΠΈΡΠ°ΡΠΈΠΈ ΠΎΠΏΡΠ΅Π΄Π΅Π»Π΅Π½Π½ΠΎΠΉ ΡΠ΅ΠΊΡΡΡΡΡ Π½Π° ΠΊΡΠΎΠ²Π»Π΅ Π²ΡΠ΅ ΠΌΠ΅Π»ΠΊΠΈΠ΅ ΡΠ²ΡΠ·ΡΡΡΠΈΠ΅ ΡΠ»Π΅ΠΌΠ΅Π½ΡΡ Π½Π° ΠΊΡΡΡΠ΅ Π΄Π΅Π»Π°ΡΡ ΠΈΠ· ΡΠΎΠ³ΠΎ ΠΆΠ΅ ΠΌΠ°ΡΠ΅ΡΠΈΠ°Π»Π°.
- ΠΠ·-Π·Π° Π»Π΅Π³ΠΊΠΎΡΡΠΈ Π΄Π»Ρ ΡΡΡΠ°Π½ΠΎΠ²ΠΊΠΈ Π»ΠΈΡΡΠΎΠ² Π² ΠΌΠΎΠ½ΡΠ°ΠΆΠ½ΠΎΠ΅ ΠΏΠΎΠ»ΠΎΠΆΠ΅Π½ΠΈΠ΅ Π½Π΅ Π½ΡΠΆΠ½Π° ΠΏΠΎΠ΄ΡΠ΅ΠΌΠ½Π°Ρ ΡΠ΅Ρ Π½ΠΈΠΊΠ°. ΠΠ»Ρ ΠΏΠΎΠ΄Π½ΡΡΠΈΡ Ρ Π·Π΅ΠΌΠ»ΠΈ ΡΡΠ΅Π±ΡΡΡΡΡ Π΄Π²Π° ΡΠ°Π±ΠΎΡΠΈΡ , ΠΈ ΡΡΠΎΠ»ΡΠΊΠΎ ΠΆΠ΅ ΡΠ΅Π»ΠΎΠ²Π΅ΠΊ ΠΏΡΠΈΠ½ΠΈΠΌΠ°ΡΡ ΠΈΠ·Π΄Π΅Π»ΠΈΠ΅ Π½Π° ΠΊΡΡΡΠ΅.
Π ΠΌΠ°Π»ΠΎΡΠΈΡΠ»Π΅Π½Π½ΡΠΌ Π½Π΅Π΄ΠΎΡΡΠ°ΡΠΊΠ°ΠΌ ΠΏΡΠΎΡΠΈΠ»Ρ ΠΎΡΠ½ΠΎΡΡΡ Π²ΡΡΠΎΠΊΠΎΠ΅ Π·Π²ΡΡΠ°Π½ΠΈΠ΅ ΠΏΠΎΠ²Π΅ΡΡ Π½ΠΎΡΡΠΈ ΠΏΡΠΈ Π²ΠΎΠ·Π΄Π΅ΠΉΡΡΠ²ΠΈΠΈ ΠΏΠ°Π΄Π°ΡΡΠΈΡ ΠΏΡΠ΅Π΄ΠΌΠ΅ΡΠΎΠ², Π½Π°ΠΏΡΠΈΠΌΠ΅Ρ, ΠΌΠ΅Π»ΠΊΠΈΡ ΠΊΠ°ΠΌΠ½Π΅ΠΉ ΠΈΠ»ΠΈ Π΄ΠΎΠΆΠ΄Ρ. ΠΠ΅ΠΌΠ°Π»ΠΎ Π½Π΅ΠΏΡΠΈΡΡΠ½ΠΎΡΡΠ΅ΠΉ ΠΏΡΠΈΠ½ΠΎΡΡΡ ΡΠΊΠ°ΡΡΡΠΈΠ΅ ΠΏΡΠΈΡΡ. ΠΡ ΠΏΠ΅ΡΠ΅Π΄Π²ΠΈΠΆΠ΅Π½ΠΈΠ΅ ΡΡΠ°Π²Π½ΠΈΠΌΠΎ Ρ Π±Π°ΡΠ°Π±Π°Π½Π½ΠΎΠΉ Π΄ΡΠΎΠ±ΡΡ. ΠΠ»Ρ ΡΡΡΡΠ°Π½Π΅Π½ΠΈΡ ΡΡΠΎΠ³ΠΎ Π½Π΅Π΄ΠΎΡΡΠ°ΡΠΊΠ° ΠΈΡΠΏΠΎΠ»ΡΠ·ΡΠ΅ΡΡΡ ΡΠ»ΠΎΠΉ ΠΌΠΈΠ½Π΅ΡΠ°Π»ΡΠ½ΠΎΠΉ Π²Π°ΡΡ, Ρ ΠΏΠΎΠΌΠΎΡΡΡ ΠΊΠΎΡΠΎΡΠΎΠ³ΠΎ Π΄Π΅Π»Π°Π΅ΡΡΡ Π·Π²ΡΠΊΠΎΠΈΠ·ΠΎΠ»ΡΡΠΈΡ.
Π ΠΌΠ΅ΡΡΠ΅ ΠΏΠΎΠ²ΡΠ΅ΠΆΠ΄Π΅Π½ΠΈΡ Π·Π°ΡΠΈΡΠ½ΠΎΠΉ ΠΏΠ»Π΅Π½ΠΊΠΈ, Π½Π°ΠΏΡΠΈΠΌΠ΅Ρ, ΠΏΡΠΈ ΡΠ°ΡΠΏΠΈΠ»ΠΎΠ²ΠΊΠ΅ ΠΌΠ°ΡΠ΅ΡΠΈΠ°Π»Π° Π²ΠΎΠ·Π½ΠΈΠΊΠ°Π΅Ρ ΠΎΠ±Π»Π°ΡΡΡ ΠΏΠΎΠ΄Π²Π΅ΡΠΆΠ΅Π½Π½Π°Ρ ΠΊΠΎΡΡΠΎΠ·ΠΈΠΈ. Π’Π°ΠΊΠΈΠ΅ ΠΏΠΎΠ²Π΅ΡΡ Π½ΠΎΡΡΠΈ ΠΈ ΡΡΠ΅Π·Ρ ΠΎΠ±ΡΠ°Π±Π°ΡΡΠ²Π°ΡΡ ΡΠΏΠ΅ΡΠΈΠ°Π»ΡΠ½ΡΠΌΠΈ ΡΠΎΡΡΠ°Π²Π°ΠΌΠΈ Π΄Π»Ρ Π²ΠΎΡΡΡΠ°Π½ΠΎΠ²Π»Π΅Π½ΠΈΡ ΡΠ΅Π»ΠΎΡΡΠ½ΠΎΡΡΠΈ.
ΠΠΈΠ΄Ρ ΠΏΡΠΎΡΠΈΠ»ΠΈΡΠΎΠ²Π°Π½Π½ΠΎΠ³ΠΎ Π»ΠΈΡΡΠ° ΠΈ ΡΠ°Π·ΠΌΠ΅ΡΡ
ΠΠ΅ΡΠ΅Π΄ ΡΠ΅ΠΌ ΠΊΠ°ΠΊ ΠΏΠΎΠΊΡΠΏΠ°ΡΡ ΠΌΠ°ΡΠ΅ΡΠΈΠ°Π» Π΄Π»Ρ ΡΡΡΠ°Π½ΠΎΠ²ΠΊΠΈ Π² ΠΊΡΠΎΠ²Π΅Π»ΡΠ½ΡΠΉ ΠΏΠΈΡΠΎΠ³, ΠΈΠ½ΡΠ΅ΡΠ΅ΡΡΡΡΡΡ, ΠΊΠ°ΠΊΠ°Ρ ΡΠΈΡΠΈΠ½Π° ΠΏΡΠΎΡΠ»ΠΈΡΡΠ° Π΅ΡΡΡ Π² ΠΏΡΠΎΠ΄Π°ΠΆΠ΅, ΠΈ Π΄Π΅Π»Π°ΡΡ ΡΠ°ΡΡΠ΅Ρ Π½Π° Π²ΠΎΠ·ΠΌΠΎΠΆΠ½ΠΎΡΡΡ Π΅Π΅ ΠΏΡΠΈΠΌΠ΅Π½Π΅Π½ΠΈΡ. ΠΠ°Π³Π°Π·ΠΈΠ½ ΠΌΠΎΠΆΠ΅Ρ ΠΏΡΠ΅Π΄Π»ΠΎΠΆΠΈΡΡ Π΄ΠΎΡΡΠ°Π²ΠΈΡΡ Π½ΡΠΆΠ½ΡΠΉ Π²ΠΈΠ΄ ΠΏΡΠΎΡΠ½Π°ΡΡΠΈΠ»Π° Π² ΠΊΠΎΡΠΎΡΠΊΠΈΠΉ ΠΏΠ΅ΡΠΈΠΎΠ΄ ΠΏΠΎ Π·Π°ΠΏΡΠΎΡΡ Π·Π°ΠΊΠ°Π·ΡΠΈΠΊΠ°. Π‘ΡΠ°Π½Π΄Π°ΡΡΠ½ΡΠ΅ ΡΠ°Π·ΠΌΠ΅ΡΡ ΠΌΠ°ΡΠ΅ΡΠΈΠ°Π»Π° Π² ΡΠΎΠΎΡΠ²Π΅ΡΡΡΠ²ΠΈΠΈ Ρ ΠΠΠ‘Π’ 24045β1994 :
- ΠΏΡΠΎΡΠ»ΠΈΡΡ C 21-1000 β ΡΠΎΠ»ΡΠΈΠ½Π° 0,55-0,77 ΠΌΠΌ, ΠΌΠ°ΡΡΠ° ΠΏΠΎΠ³ΠΎΠ½Π½ΠΎΠ³ΠΎ ΠΌΠ΅ΡΡΠ° 5,95-7,38 ΠΊΠ³, ΠΊΠ²Π°Π΄ΡΠ°Ρ Π²Π΅ΡΠΈΡ 5,95-7,38 ΠΊΠ³, ΡΠΈΡΠΈΠ½Π° ΠΏΠΎΠ»ΠΎΡΡ ΡΠΎΡΡΠ°Π²Π»ΡΠ΅Ρ 1,25 ΠΌΠ΅ΡΡΠ°;
- ΠΏΡΠΎΡΠ½Π°ΡΡΠΈΠ» Π‘ 44-1000 β 0,72-0,82 ΠΌΠΌ, ΠΌΠ°ΡΡΠ° Π»ΠΈΠ½Π΅ΠΉΠ½ΠΎΠ³ΠΎ ΠΌΠ΅ΡΡΠ° 7,42-8,42 ΠΊΠ³, ΠΊΠ²Π°Π΄ΡΠ°ΡΠ½ΡΠΉ ΠΌΠ΅ΡΡ Π²Π΅ΡΠΈΡ 7,5-8,5 ΠΊΠ³, ΡΠΈΡΠΈΠ½Π° ΠΈΠ·Π΄Π΅Π»ΠΈΡ ΡΠΎΡΡΠ°Π²Π»ΡΠ΅Ρ 1,25 ΠΌΠ΅ΡΡΠ°;
- ΠΌΠ°ΡΠ΅ΡΠΈΠ°Π» H60-845 β 0,6-0,8-0,9 ΠΌΠΌ, Π»ΠΈΠ½Π΅ΠΉΠ½ΡΠΉ ΠΌΠ΅ΡΡ Π²Π΅ΡΠΈΡ 7,4-8,3-9,4 ΠΊΠ³, Π²Π΅Ρ ΠΊΠ²Π°Π΄ΡΠ°ΡΠ° ΡΠΎΡΡΠ°Π²Π»ΡΠ΅Ρ 8,82-9,8-11,2 ΠΊΠ³, ΡΠΈΡΠΈΠ½Π° β 1,25 ΠΌΠ΅ΡΡΠ°;
- ΠΏΡΠΎΡΠΈΠ»ΡΠ½ΡΠΉ Π»ΠΈΡΡ Π75 β 0,75-0,85-0,95, ΠΏΠΎΠ³ΠΎΠ½Π½Π°Ρ Π΅Π΄ΠΈΠ½ΠΈΡΠ° Π²Π΅ΡΠΈΡ 7,5-8,5-9,8 ΠΊΠ³, ΠΌΠ°ΡΡΠ° ΠΊΠ²Π°Π΄ΡΠ°ΡΠ° β 9,85-11,2-12,2 ΠΊΠ³, ΡΠΈΡΠΈΠ½Π° ΠΏΡΠΎΠ΄ΡΠΊΡΠ° ΡΠΎΡΡΠ°Π²Π»ΡΠ΅Ρ 1,25 ΠΌΠ΅ΡΡΠ°.
ΠΡΠΎΡΠΈΠ»ΠΈΡΠΎΠ²Π°Π½Π½ΡΠΉ Π½Π°ΡΡΠΈΠ» Π²ΡΠΏΡΡΠΊΠ°ΡΡ Π½Π΅ ΡΠΎΠ»ΡΠΊΠΎ ΠΏΠΎ ΡΡΠ»ΠΎΠ²ΠΈΡΠΌ ΠΠΠ‘Π’, Π½ΠΎ ΠΈ ΠΏΡΠΈΠΌΠ΅Π½ΡΡΡ ΡΠ΅Ρ
Π½ΠΈΡΠ΅ΡΠΊΠΈΠ΅ ΡΡΠ»ΠΎΠ²ΠΈΡ (Π’Π£). ΠΠ»Ρ ΠΏΡΠΎΠΈΠ·Π²ΠΎΠ΄ΡΡΠ²Π° ΠΈΡΠΏΠΎΠ»ΡΠ·ΡΡΡ Π½ΠΎΡΠΌΠ°ΡΠΈΠ²Π½ΡΠ΅ ΡΡΠ΅Π±ΠΎΠ²Π°Π½ΠΈΡ Π’Π£1122β00,2β42,83β1956β02. Π₯Π°ΡΠ°ΠΊΡΠ΅ΡΠΈΡΡΠΈΠΊΠΈ ΠΌΠ°ΡΠ΅ΡΠΈΠ°Π»Π°:
- ΠΏΡΠΎΡΠ½Π°ΡΡΠΈΠ» Π‘15β11,50 β ΡΠΎΠ»ΡΠΈΠ½Π° 0,6-0,75 ΠΌΠΌ, Π²Π΅Ρ ΠΌΠ΅ΡΡΠ° ΠΏΠΎΠ»ΠΎΡΡ 5,9-7,45 ΠΊΠ³, ΠΌΠ°ΡΡΠ° ΠΊΠ²Π°Π΄ΡΠ°ΡΠ½ΠΎΠ³ΠΎ ΠΌΠ΅ΡΡΠ° 5,2-6,4 ΠΊΠ³, ΡΠΈΡΠΈΠ½Π° Π»ΠΈΡΡΠ° 1,25 ΠΌ;
- ΠΏΡΠΎΡΠΈΠ»Ρ Π‘21-ΠΊ β ΡΠΎΠ»ΡΠΈΠ½Π° 0,54-0,7 ΠΌΠΌ, ΠΌΠ΅ΡΡ Π·Π°ΡΡΠ³ΠΈΠ²Π°Π΅Ρ 5,85-7,52 ΠΊΠ³, ΠΊΠ²Π°Π΄ΡΠ°Ρ β 5,86-7,35 ΠΊΠ³, ΠΈΠ·Π΄Π΅Π»ΠΈΠ΅ ΡΠΈΡΠΈΠ½ΠΎΠΉ 1,25 ΠΌ.
Π’ΡΠ΅Π±ΠΎΠ²Π°Π½ΠΈΡ ΠΊ ΠΏΠ»Π΅Π½ΠΎΡΠ½ΠΎΠΌΡ ΡΠ»ΠΎΡ
ΠΡΠΎΠ±Π° ΠΏΠΎΠΊΡΡΡΠΈΡ Π»ΠΈΡΡΠΎΠ² ΠΈΠ· Π°Π»ΡΠΌΠΈΠ½ΠΈΡ, ΠΊΡΠ΅ΠΌΠ½ΠΈΡ, ΠΏΠ»Π°ΡΡΠΈΠ·ΠΎΠ»Π΅Π²ΠΎΠ³ΠΎ ΡΠ»ΠΎΡ, ΠΏΠΎΠ»ΠΈΠ²ΠΈΠ½ΠΈΠ»Π΄Π΅ΡΡΠΎΡΠΈΠ΄Π°, ΠΏΡΡΠ°Π»Π° Π΄ΠΎΠ»ΠΆΠ½Π° ΡΠΎΠΎΡΠ²Π΅ΡΡΡΠ²ΠΎΠ²Π°ΡΡ ΡΡΠ°Π½Π΄Π°ΡΡΠ½ΡΠΌ ΡΡΠ΅Π±ΠΎΠ²Π°Π½ΠΈΡΠΌ, ΠΊΠΎΡΠΎΡΡΠ΅ ΠΏΡΠΎΠΏΠΈΡΠ°Π½Ρ Π² Π½ΠΎΡΠΌΠ°ΡΠΈΠ²Π½ΡΡ Π±ΡΠΌΠ°Π³Π°Ρ ΠΈ Π΄ΠΎΠΊΡΠΌΠ΅Π½ΡΠ°Ρ . Π Π°Π·ΡΠ°Π±ΠΎΡΠ°Π½Ρ ΡΡΠ»ΠΎΠ²ΠΈΡ ΠΊΠ°ΡΠ΅ΡΡΠ²Π° ΠΎΡΠ½ΠΎΠ²Ρ Π΄Π»Ρ ΠΈΡΡ ΠΎΠ΄Π½ΠΎΠ³ΠΎ ΠΏΠΎΠ»ΡΡΠ°Π±ΡΠΈΠΊΠ°ΡΠ°. ΠΠ°ΠΊΠΎΠΊΡΠ°ΡΠΎΡΠ½ΡΠ΅ ΡΠ»ΠΎΠΈ Π½Π° ΠΏΠΎΠ²Π΅ΡΡ Π½ΠΎΡΡΠΈ ΠΎΡΠ΅Π½ΠΈΠ²Π°ΡΡΡΡ Π² ΡΠΎΠΎΡΠ²Π΅ΡΡΡΠ²ΠΈΠΈ Ρ ΠΏΠΎΠΊΠ°Π·Π°ΡΠ΅Π»ΡΠΌΠΈ ΠΠΠ‘Π’ β 302.46. ΠΠ° ΠΏΠ»ΠΎΡΠ°Π΄ΠΈ Π³ΠΎΡΠΎΠ²ΠΎΠ³ΠΎ ΠΈΠ·Π΄Π΅Π»ΠΈΡ Π΄ΠΎΠΏΡΡΠΊΠ°ΡΡΡΡ Π½Π΅Π·Π½Π°ΡΠΈΡΠ΅Π»ΡΠ½ΡΠ΅ ΠΏΡΠΎΡΠ΅ΡΡΠΈΠ²Π°Π½ΠΈΡ, ΠΏΠΎΡΠ΅ΡΡΠΎΡΡΠΈ, ΠΏΠΎΠ»ΡΡΠ΅Π½Π½ΡΠ΅ ΠΏΡΠΈ ΠΏΡΠΎΡ ΠΎΠ΄Π΅ ΡΠΊΠ²ΠΎΠ·Ρ Π²Π°Π»ΠΊΠΈ, Π½ΠΎ ΠΎΠ½ΠΈ Π½Π΅ Π΄ΠΎΠ»ΠΆΠ½Ρ Π½Π°ΡΡΡΠ°ΡΡ ΠΎΡΠ½ΠΎΠ²Π½ΡΡ ΡΠ΅Π»ΠΎΡΡΠ½ΠΎΡΡΡ ΡΠ»ΠΎΡ.
ΠΠΎΠΊΠ°Π·Π°ΡΠ΅Π»ΠΈ ΡΠΎΡΠ½ΠΎΡΡΠΈ ΡΠ°Π·ΠΌΠ΅ΡΠΎΠ²
ΠΠ»Ρ ΠΏΡΠΎΠ²Π΅ΡΠΊΠΈ Π³Π΅ΠΎΠΌΠ΅ΡΡΠΈΡΠ΅ΡΠΊΠΈΡ ΠΏΠ°ΡΠ°ΠΌΠ΅ΡΡΠΎΠ² ΠΊΠ°ΠΆΠ΄ΠΎΠ³ΠΎ Π²ΠΈΠ΄Π° Π³ΠΎΡΡΡ ΡΠΎΠ·Π΄Π°Π½Ρ ΡΠΏΠ΅ΡΠΈΠ°Π»ΡΠ½ΡΠ΅ ΡΠ°Π±Π»ΠΈΡΡ. Π Π½ΠΈΡ ΡΠΊΠ°Π·Π°Π½Ρ ΠΏΠΎΠΊΠ°Π·Π°ΡΠ΅Π»ΠΈ ΡΠΎΠΎΡΠ²Π΅ΡΡΡΠ²ΠΈΡ Π² Π·Π°Π²ΠΈΡΠΈΠΌΠΎΡΡΠΈ ΠΎΡ ΡΠΎΡΠΌΡ. ΠΡΠ΅Π΄Π΅Π»ΡΠ½ΡΠ΅ ΠΎΡΡΡΡΠΏΠ»Π΅Π½ΠΈΡ ΠΎΡ Π½ΡΠΆΠ½ΠΎΠΉ ΡΠΎΠ»ΡΠΈΠ½Ρ ΠΏΡΠΎΡΠ»ΠΈΡΡΠ° Π΄ΠΎΠ»ΠΆΠ½Ρ Π±ΡΡΡ Π² ΠΏΡΠ΅Π΄Π΅Π»Π°Ρ Π΄ΠΎΠΏΡΡΡΠΈΠΌΡΡ Π·Π½Π°ΡΠ΅Π½ΠΈΠΉ Π±Π΅Π· ΡΡΠ΅ΡΠ° ΡΠ»ΠΎΡ ΠΏΠΎΠΊΡΡΡΠΈΡ. ΠΠ° ΡΠΎΠ»ΡΠΈΠ½Ρ ΠΌΠ°ΡΠ΅ΡΠΈΠ°Π»Π° Π² ΠΈΠ·Π³ΠΈΠ±Π°Π΅ΠΌΡΡ ΠΌΠ΅ΡΡΠ°Ρ ΠΏΠ°ΡΠ°ΠΌΠ΅ΡΡΡ ΠΏΡΠΎΠ²Π΅ΡΠΎΡΠ½ΡΡ ΠΏΠΎΠΊΠ°Π·Π°ΡΠ΅Π»Π΅ΠΉ Π½Π΅ ΡΠ°ΡΠΏΡΠΎΡΡΡΠ°Π½ΡΡΡΡΡ.
Π£ ΠΊΠ°ΠΆΠ΄ΠΎΠ³ΠΎ Π²ΠΈΠ΄Π° Π³ΠΎΡΡΡ Π΅ΡΡΡ ΡΠ²ΠΎΠΈ Π·Π½Π°ΡΠ΅Π½ΠΈΡΠ Π°Π·Π½ΠΈΡΠ° ΠΌΠ΅ΠΆΠ΄Ρ ΡΠΈΡΠΈΠ½ΠΎΠΉ ΠΏΠΎΠ»ΠΎΡΠ΅ΠΊ ΠΏΠΎ ΡΡΠΎΡΠΎΠ½Π°ΠΌ Π»ΠΈΡΡΠ° Π΄ΠΎΠΏΡΡΠΊΠ°Π΅ΡΡΡ Π½Π΅ ΠΌΠ΅Π½ΡΡΠ΅ 2 ΠΌΠΌ. ΠΡΠ»ΠΈ ΠΏΠΎΠ»ΠΊΠΈ Π±ΠΎΠ»Π΅Π΅ ΡΠ·ΠΊΠΈΠ΅, ΡΠΎ Π½Π° ΠΈΡ ΠΏΠ»ΠΎΡΠΊΠΎΡΡΠΈ ΡΡΠ°Π²ΡΡ ΠΌΠ°ΡΠΊΠΈΡΠΎΠ²ΠΊΡ Π² ΡΠΎΡΠΌΠ΅ ΠΏΡΠΎΠ΄ΠΎΠ»ΡΠ½ΠΎΠΉ ΠΏΠΎΠ»ΠΎΡΡ, ΠΎΠΊΡΠ°ΡΠΊΠΈ ΠΈΠ»ΠΈ ΠΏΠΎ-Π΄ΡΡΠ³ΠΎΠΌΡ. Π‘Π΅ΡΠΏΠΎΠ²ΠΈΠ΄Π½ΠΎΡΡΡ ΠΏΠΎ Π΄Π»ΠΈΠ½Π΅ ΠΏΡΠΎΡΠΈΠ»Ρ ΡΠ°Π·ΡΠ΅ΡΠ°Π΅ΡΡΡ Π½Π΅ Π±ΠΎΠ»ΡΡΠ΅ 1 ΠΌΠΌ Π½Π° ΠΏΡΠΎΡΡΠΆΠ΅Π½Π½ΠΎΡΡΡ Π² ΠΎΠ΄ΠΈΠ½ ΠΌΠ΅ΡΡ ΠΏΡΠΈ ΠΎΠ±ΡΠ΅ΠΉ ΠΏΡΠΎΡΡΠΆΠ΅Π½Π½ΠΎΡΡΠΈ ΠΏΠΎΠ»ΠΎΡΡ Π΄ΠΎ ΡΠ΅ΡΡΠΈ ΠΌΠ΅ΡΡΠΎΠ². ΠΡΠ»ΠΈ Π΄Π»ΠΈΠ½Π° ΠΏΡΠ΅Π²ΡΡΠ°Π΅Ρ ΡΡΠΎ Π·Π½Π°ΡΠ΅Π½ΠΈΠ΅, ΡΠΎ Π΄ΠΎΠΏΡΡΡΠΈΠΌΠΎΠ΅ ΠΊΠΎΠ»Π΅Π½ΠΎ ΡΠΎΡΡΠ°Π²Π»ΡΠ΅Ρ 1,5 ΠΌΠΌ Π½Π° ΠΏΠΎΠ³ΠΎΠ½Π½ΡΠΉ ΠΌΠ΅ΡΡ. ΠΠ±ΡΠΈΠΉ Π΄Π΅ΡΠ΅ΠΊΡΠ½ΡΠΉ ΠΏΠΎΠΊΠ°Π·Π°ΡΠ΅Π»Ρ Π½Π΅ Π΄ΠΎΠ»ΠΆΠ΅Π½ Π±ΡΡΡ Π±ΠΎΠ»ΡΡΠ΅ ΠΏΡΠΎΠΈΠ·Π²Π΅Π΄Π΅Π½ΠΈΡ ΡΠΈΡΠ»Π° ΠΌΠ΅ΡΡΠΎΠ² Π½Π° ΡΠ°Π·ΡΠ΅ΡΠ΅Π½Π½ΡΡ Π½ΠΎΡΠΌΡ ΠΈΠ·Π³ΠΈΠ±Π°.
ΠΠΎΠ»Π½ΠΈΡΡΠΎΡΡΡ ΠΏΠΎΠ²Π΅ΡΡ Π½ΠΎΡΡΠΈ Π½Π° ΠΏΠ»ΠΎΡΠΊΠΈΡ ΠΎΠ±Π»Π°ΡΡΡΡ ΠΌΠ°ΡΠ΅ΡΠΈΠ°Π»Π° Π½Π΅ Π΄ΠΎΠΏΡΡΠΊΠ°Π΅ΡΡΡ Π²ΡΡΠ΅ 1,5 ΠΌΠΌ, Π±ΡΠ³ΡΠΈΡΡΠΎΡΡΡ ΠΎΡΠ³ΠΈΠ±ΠΎΠ² ΠΊΠΎΠ½Π΅ΡΠ½ΡΡ ΠΏΠΎΠ»ΠΎΡΠ΅ΠΊ Π½Π΅ Π±ΠΎΠ»ΡΡΠ΅ 3 ΠΌΠΌ.
ΠΠ΅ΡΠ΅ΠΊΠΎΡ ΡΡΠ΅Π·ΠΎΠ² ΠΏΡΠΎΡΠΈΠ»Ρ Π½Π΅ Π΄ΠΎΠ»ΠΆΠ΅Π½ ΡΠΏΠΎΡΠΎΠ±ΡΡΠ²ΠΎΠ²Π°ΡΡ Π²ΡΡ ΠΎΠ΄Ρ ΠΎΠ±ΡΠ΅ΠΉ ΠΏΡΠΎΡΡΠΆΠ΅Π½Π½ΠΎΡΡΠΈ ΠΏΠΎΠ»ΠΎΡΡ Π·Π° Π½ΠΎΡΠΌΠΈΡΡΠ΅ΠΌΡΠΉ ΡΡΠ°Π½Π΄Π°ΡΡ ΠΈ ΠΏΡΠ΅Π΄Π΅Π»ΡΠ½ΠΎΠ΅ ΠΎΡΡΡΡΠΏΠ»Π΅Π½ΠΈΠ΅ ΠΏΠΎ Π΄Π»ΠΈΠ½Π΅.
Π’ΡΠ°Π½ΡΠΏΠΎΡΡΠΈΡΠΎΠ²ΠΊΠ° Π½Π° ΡΠ°ΡΡΡΠΎΡΠ½ΠΈΠ΅
Π Π΅ΠΊΠΎΠΌΠ΅Π½Π΄ΡΠ΅ΡΡΡ Π½Π°Π½ΠΈΠΌΠ°ΡΡ ΠΏΠ΅ΡΠ΅Π²ΠΎΠ·ΡΠΈΠΊΠΎΠ², ΠΊΠΎΡΠΎΡΡΠ΅ ΠΈΠΌΠ΅ΡΡ ΠΎΠΏΡΡ Π² ΠΏΠ΅ΡΠ΅Π΄Π²ΠΈΠΆΠ΅Π½ΠΈΠΈ Ρ ΠΎΡΡΠΎΡΠΎΠΆΠ½ΠΎΡΡΡΡ Π΄Π»ΠΈΠ½Π½ΠΎΠΌΠ΅ΡΠ½ΡΡ Π³ΡΡΠ·ΠΎΠ². ΠΡΠΈ ΡΠ°ΠΌΠΎΡΡΠΎΡΡΠ΅Π»ΡΠ½ΠΎΠΌ Π²ΡΠ²ΠΎΠ·Π΅ ΠΈΡΠΏΠΎΠ»ΡΠ·ΡΡΡ ΡΠ°ΠΊΠΎΠΉ Π²ΠΈΠ΄ ΠΌΠ°ΡΠΈΠ½Ρ, ΠΊΠΎΡΠΎΡΡΠΉ ΠΏΠΎΠ·Π²ΠΎΠ»ΡΠ΅Ρ Π½Π°Π΄Π΅ΠΆΠ½ΠΎ Π·Π°ΡΠΈΠΊΡΠΈΡΠΎΠ²Π°ΡΡ ΠΌΠ°ΡΠ΅ΡΠΈΠ°Π» Π½Π° ΠΏΡΠΎΡΡΠΆΠ΅Π½ΠΈΠΈ ΠΏΠΎΠ΅Π·Π΄ΠΊΠΈ. ΠΠΎΠ»ΠΎΡΡ ΡΠΊΠ»Π°Π΄ΠΈΡΡΡΡ ΠΈ ΠΏΠ΅ΡΠ΅Π²ΠΎΠ·ΡΡ ΡΠΎΠ»ΡΠΊΠΎ Π³ΠΎΡΠΈΠ·ΠΎΠ½ΡΠ°Π»ΡΠ½ΠΎ, ΠΏΡΠΈ ΡΡΠΎΠΌ Π²ΡΡ ΠΈΡ Π½ΠΈΠΆΠ½ΡΡ ΠΏΠΎΠ²Π΅ΡΡ Π½ΠΎΡΡΡ ΠΏΠΎΠ»Π½ΠΎΡΡΡΡ ΠΊΠ»Π°Π΄Π΅ΡΡΡ Π½Π° Π΄Π½ΠΎ Π°Π²ΡΠΎΠΌΠΎΠ±ΠΈΠ»ΡΠ½ΠΎΠ³ΠΎ ΠΊΡΠ·ΠΎΠ²Π°.
ΠΠΎΡΠ»Π΅ ΠΏΠΎΠΌΠ΅ΡΠ΅Π½ΠΈΡ ΠΌΠ°ΡΠ΅ΡΠΈΠ°Π»Π° Π² ΠΊΡΠ·ΠΎΠ² ΠΏΠ΅ΡΠ΅Π΄ Π½Π°ΡΠ°Π»ΠΎΠΌ Π΄Π²ΠΈΠΆΠ΅Π½ΠΈΡ ΠΏΠ°ΡΠΊΠ° ΠΊΡΠ΅ΠΏΠΈΡΡΡ ΠΊ ΠΎΠ³ΡΠ°Π½ΠΈΡΠΈΡΠ΅Π»ΡΠ½ΡΠΌ Π±ΠΎΡΡΠ°ΠΌ. ΠΡΠΎ Π΄Π΅Π»Π°Π΅ΡΡΡ Ρ ΠΏΠΎΠΌΠΎΡΡΡ ΡΡΡΠΎΠΏ, ΠΏΠΎΠ΄ ΠΊΠΎΡΠΎΡΡΠ΅ ΠΏΡΠΎΠΊΠ»Π°Π΄ΡΠ²Π°ΡΡ Π°ΠΌΠΎΡΡΠΈΠ·ΠΈΡΡΡΡΠΈΠΉ ΠΌΠ°ΡΠ΅ΡΠΈΠ°Π» Π² ΠΌΠ΅ΡΡΠ°Ρ
Π²ΠΎΠ·ΠΌΠΎΠΆΠ½ΠΎΠ³ΠΎ ΠΊΠΎΠ½ΡΠ°ΠΊΡΠ°. Π’ΡΠΎΡΡ ΡΠ°ΡΠΏΠΎΠ»Π°Π³Π°ΡΡ ΡΠ°ΠΊ, ΡΡΠΎΠ±Ρ ΠΏΡΠΈ Π΄Π²ΠΈΠΆΠ΅Π½ΠΈΠΈ ΠΎΠ½ΠΈ Π½Π΅ Π·Π°Π»Π°ΠΌΡΠ²Π°Π»ΠΈ ΠΊΡΠ°Ρ Π»ΠΈΡΡΠΎΠ² ΠΈ Π½Π΅ ΡΠ°ΡΠ°ΠΏΠ°Π»ΠΈ ΠΏΠΎΠ²Π΅ΡΡ
Π½ΠΎΡΡΡ.
ΠΡΠΎΠ΄ΡΠΌΠ°Π½Π½ΠΎ ΠΏΠΎΠ΄Ρ ΠΎΠ΄ΡΡ ΠΊ ΡΠΈΠΊΡΠ°ΡΠΈΠΈ ΠΏΡΠΈ ΠΏΠ΅ΡΠ΅Π²ΠΎΠ·ΠΊΠ΅ ΠΌΠ°ΡΠ΅ΡΠΈΠ°Π»Π° Π² ΠΊΡΠ·ΠΎΠ²Π΅ Ρ ΠΎΡΠΊΡΡΡΡΠΌ Π·Π°Π΄Π½ΠΈΠΌ ΠΎΠ³ΡΠ°ΠΆΠ΄Π΅Π½ΠΈΠ΅ΠΌ.
ΠΡΠ»ΠΈ Π΄Π½ΠΎ ΠΊΡΠ·ΠΎΠ²Π° ΠΎΠΊΠ°ΠΆΠ΅ΡΡΡ ΠΏΠΎΠ΄ ΡΠΊΠ»ΠΎΠ½ΠΎΠΌ, ΡΠΎ ΠΏΠ°ΡΠΊΠ° ΠΏΠΎΠ»ΠΎΡ ΠΌΠΎΠΆΠ΅Ρ ΠΏΠ΅ΡΠ΅Π΄Π²ΠΈΠ½ΡΡΡΡΡ ΠΈ ΠΏΠΎΠ²ΡΠ΅Π΄ΠΈΡΡ ΠΏΠΎΠ²Π΅ΡΡ Π½ΠΎΡΡΡ. ΠΠΏΠΈΡΠ°ΡΡΠ°ΡΡΡ ΡΠ°ΡΡΡ ΡΡΠΎΠΏΠΊΠΈ ΡΠΎΡΡΠ°Π²Π»ΡΠ΅Ρ Π΄Π²Π΅ ΡΡΠ΅ΡΠΈ ΠΎΡ ΠΎΠ±ΡΠ΅ΠΉ ΠΏΡΠΎΡΡΠΆΠ΅Π½Π½ΠΎΡΡΠΈ. ΠΡΠΎ ΡΡΠ΅Π±ΠΎΠ²Π°Π½ΠΈΠ΅ ΠΏΠΎΠΌΠΎΠΆΠ΅Ρ ΠΈΠ·Π±Π΅ΠΆΠ°ΡΡ ΠΏΠ΅ΡΠ΅Π»ΠΎΠΌΠ° ΠΏΠΎΠ»ΠΎΡ Π² ΠΏΡΠΎΡΠ΅ΡΡΠ΅ Π΄Π²ΠΈΠ³Π°ΡΠ΅Π»ΡΠ½ΠΎΠΉ Π½Π°Π³ΡΡΠ·ΠΊΠΈ.
Π Π°Π·Π³ΡΡΠ·ΠΊΠ° ΠΏΠΎΠ»ΠΎΡ ΠΈ Ρ ΡΠ°Π½Π΅Π½ΠΈΠ΅
ΠΡΠΈ ΡΠ°ΠΊΠ΅Π»Π°ΠΆΠ½ΡΡ ΡΠ°Π±ΠΎΡΠ°Ρ Π½Π΅ Π΄ΠΎΠΏΡΡΠΊΠ°Π΅ΡΡΡ ΠΏΡΠΎΡΡΠ³ΠΈΠ²Π°Π½ΠΈΠ΅ Π»ΠΈΡΡΠ° Ρ ΠΏΠΎΠ²Π΅ΡΡ Π½ΠΎΡΡΠΈ Π΄ΡΡΠ³ΠΎΠ³ΠΎ ΠΈΠ·Π΄Π΅Π»ΠΈΡ. Π‘ ΡΡΠΎΠΉ ΡΠ΅Π»ΡΡ ΡΠ°Π·Π³ΡΡΠΆΠ°ΡΡ ΠΌΠ°ΡΠ΅ΡΠΈΠ°Π» Π΄Π²Π° ΡΠ°Π±ΠΎΡΠ½ΠΈΠΊΠ°, ΡΡΠΎΠ±Ρ Ρ Π½ΠΈΡ Π±ΡΠ»Π° Π²ΠΎΠ·ΠΌΠΎΠΆΠ½ΠΎΡΡΡ ΠΏΠΎΠ΄Π½ΡΡΡ ΠΏΠΎΠ»ΠΎΡΡ ΠΈ ΠΏΠ΅ΡΠ΅Π½Π΅ΡΡΠΈ Π΅Π΅ Π² Π½Π°Π·Π½Π°ΡΠ΅Π½Π½ΠΎΠ΅ ΠΌΠ΅ΡΡΠΎ. ΠΠ΅ ΡΠ°Π·ΡΠ΅ΡΠ΅Π½ΠΎ Π½Π°ΡΡΡΠΏΠ°ΡΡ Π½Π° ΠΏΠΎΠ²Π΅ΡΡ Π½ΠΎΡΡΡ ΡΠΊΠ»Π°Π΄ΠΈΡΠΎΠ²Π°Π½Π½ΠΎΠΉ ΠΏΠ°ΡΠΊΠΈ. ΠΡΠΈ ΠΏΠΎΠ΄Π½ΡΡΠΈΠΈ Π»ΠΈΡΡΠ° ΡΠΎ ΡΠ»ΠΎΠΆΠ΅Π½Π½ΠΎΠΉ ΡΡΠΎΠΏΠΊΠΈ ΠΆΠ΅Π»Π°ΡΠ΅Π»ΡΠ½ΠΎ ΠΏΡΠΈΠ΄Π°Π²Π°ΡΡ ΠΈΠ·Π΄Π΅Π»ΠΈΡ Π²Π΅ΡΡΠΈΠΊΠ°Π»ΡΠ½ΠΎΠ΅ ΠΏΠΎΠ»ΠΎΠΆΠ΅Π½ΠΈΠ΅ Π΄Π»Ρ ΡΠΌΠ΅Π½ΡΡΠ΅Π½ΠΈΡ Π½Π°Π³ΡΡΠ·ΠΊΠΈ ΠΈ ΠΈΠ·Π±Π΅Π³Π°Π½ΠΈΡ ΠΏΠ΅ΡΠ΅Π»ΠΎΠΌΠ°.
ΠΠ»Ρ ΡΠΊΠ»Π°Π΄ΠΈΡΠΎΠ²Π°Π½ΠΈΡ Π²ΡΠ±ΠΈΡΠ°ΡΡ ΠΏΡΠΎΠ²Π΅ΡΡΠΈΠ²Π°Π΅ΠΌΠΎΠ΅ ΠΌΠ΅ΡΡΠΎ. ΠΠ΅ Π²ΡΠ΅ Π²ΠΈΠ΄Ρ ΠΌΠ°ΡΠ΅ΡΠΈΠ°Π»Π° Π²ΡΠ΄Π΅ΡΠΆΠΈΠ²Π°ΡΡ ΠΏΠΎΠ²ΡΡΠ΅Π½Π½ΡΡ Π²Π»Π°ΠΆΠ½ΠΎΡΡΡ, ΠΏΠΎΡΡΠΎΠΌΡ ΠΌΠ΅ΠΆΠ΄Ρ Π»ΠΈΡΡΠ°ΠΌΠΈ ΠΏΡΠΎΡΠΈΠ»Ρ Π±Π΅Π· ΠΏΠΎΠΊΡΡΡΠΈΡ ΡΠ»Π΅Π΄ΡΠ΅Ρ ΠΏΡΠ΅Π΄ΡΡΠΌΠ°ΡΡΠΈΠ²Π°ΡΡ Π²ΠΎΠ·Π΄ΡΡΠ½ΡΠΉ Π·Π°Π·ΠΎΡ. ΠΡΡΡΠ΅ Π²ΡΠ΅Π³ΠΎ Π·Π°ΠΊΠ°Π·Π°ΡΡ ΠΌΠ°ΡΠ΅ΡΠΈΠ°Π» Π½Π° ΡΡΡΠΎΠΈΡΠ΅Π»ΡΡΡΠ²ΠΎ Π΄ΠΎΠΌΠ° ΠΏΠ΅ΡΠ΅Π΄ ΡΠ°ΠΌΡΠΌ Π΅Π³ΠΎ ΠΌΠΎΠ½ΡΠ°ΠΆΠΎΠΌ Π½Π° ΠΊΡΠΎΠ²Π»Ρ.
‘; blockSettingArray[3][«setting_type»] = 5; blockSettingArray[5] = []; blockSettingArray[5][«minSymbols»] = 0; blockSettingArray[5][«minHeaders»] = 0; blockSettingArray[5][«text»] = ‘
‘; blockSettingArray[5][«setting_type»] = 6; blockSettingArray[5][«elementPlace»] = 90; var jsInputerLaunch = 15;
zaborprofi.com
ΠΡΠΎΠ²Π΅Π»ΡΠ½ΡΠΉ ΠΏΡΠΎΡΠ½Π°ΡΡΠΈΠ»: ΠΊΠ°ΠΊΠΎΠΉ ΠΏΡΠΎΡΠ½Π°ΡΡΠΈΠ» Π²Π·ΡΡΡ Π΄Π»Ρ ΠΊΡΡΡΠΈ
ΠΡΠΎΠ²Π΅Π»ΡΠ½ΡΠΉ ΠΏΡΠΎΡΠ½Π°ΡΡΠΈΠ» β ΠΏΠΎΠΆΠ°Π»ΡΠΉ, ΡΠ°ΠΌΡΠΉ ΠΏΠΎΠΏΡΠ»ΡΡΠ½ΡΠΉ ΠΌΠ°ΡΠ΅ΡΠΈΠ°Π» Π΄Π»ΡΒ ΠΎΠ±ΡΡΡΡΠΎΠΉΡΡΠ²Π° ΠΊΡΡΡ Π·Π΄Π°Π½ΠΈΠΉ, Π±Π΅Π·ΡΡΠ»ΠΎΠ²Π½ΠΎ Π»ΠΈΠ΄ΠΈΡΡΡΡΠΈΠΉ Π½Π°Β ΡΡΠ½ΠΊΠ΅ ΠΌΠ°ΡΠ΅ΡΠΈΠ°Π»ΠΎΠ² Π΄Π»ΡΒ Π½Π°ΠΊΠ»ΠΎΠ½Π½ΠΎΠΉ ΠΊΡΠΎΠ²Π»ΠΈ, Π°Β ΡΠ°ΠΊΠΆΠ΅ Π½Π΅ΡΠ΅Π΄ΠΊΠΎ ΠΈΡΠΏΠΎΠ»ΡΠ·ΡΠ΅ΠΌΡΠΉ Π΄Π»ΡΒ Π½Π°ΡΡΠΈΠ»Π° ΠΊΡΠΎΠ²Π»ΠΈ ΠΏΠ»ΠΎΡΠΊΠΎΠΉ. ΠΡΡΡΠ° Π»ΡΠ±ΠΎΠ³ΠΎ Π·Π΄Π°Π½ΠΈΡ, ΡΠ°ΡΠΏΠΎΠ»ΠΎΠΆΠ΅Π½Π½ΠΎΠ³ΠΎ Π²Β ΠΌΠ΅ΡΡΠ½ΠΎΡΡΠΈ ΡΠ΅Π²Π΅ΡΠ½Π΅Π΅ ΡΡΠ±ΡΡΠΎΠΏΠΈΠΊΠΎΠ², Π½Π΅ΡΡΡ Π±ΠΎΠ»ΡΡΠΈΠ΅ Π½Π°Π³ΡΡΠ·ΠΊΠΈ, ΡΠ²ΡΠ·Π°Π½Π½ΡΠ΅ ΡΒ Π½Π΅Π³Π°ΡΠΈΠ²Π½ΡΠΌ Π²ΠΎΠ·Π΄Π΅ΠΉΡΡΠ²ΠΈΠ΅ΠΌ Π°ΡΠΌΠΎΡΡΠ΅ΡΠ½ΡΡ ΡΠ²Π»Π΅Π½ΠΈΠΉ, ΡΠ°ΠΊΠΈΡ , ΠΊΠ°ΠΊΒ ΡΠ½Π΅Π³ ΠΈΒ Π΄ΠΎΠΆΠ΄Ρ, Π²Π΅ΡΠ΅Ρ ΠΈΒ Π³ΡΠ°Π΄.
Π‘ΡΠ΅Π΄ΠΈ Π²ΡΠ΅Ρ ΠΊΡΠΎΠ²Π΅Π»ΡΠ½ΡΡ ΠΌΠ°ΡΠ΅ΡΠΈΠ°Π»ΠΎΠ², ΠΎΡΠΈΠ½ΠΊΠΎΠ²Π°Π½Π½ΡΠΉ ΠΏΡΠΎΡΠ½Π°ΡΡΠΈΠ» ΠΈΠΌΠ΅Π΅Ρ ΡΠ°ΠΌΡΡ Π±ΠΎΠ»ΡΡΡΡ Π½Π΅ΡΡΡΡΡ ΡΠΏΠΎΡΠΎΠ±Π½ΠΎΡΡΡ, ΠΈΠΌΠ΅Π½Π½ΠΎ ΠΏΠΎΡΡΠΎΠΌΡ Π΅Π³ΠΎΒ Π²ΡΠ±ΠΎΡ Π΄Π»ΡΒ ΠΊΡΠΎΠ²Π»ΠΈ Π½Π°ΠΈΠ±ΠΎΠ»Π΅Π΅ ΡΠ΅Π»Π΅ΡΠΎΠ±ΡΠ°Π·Π΅Π½.

ΠΠ΄Π½Π°ΠΊΠΎ Π΄Π»ΡΒ ΠΎΠ±ΡΡΡΡΠΎΠΉΡΡΠ²Π° Π΄Π΅ΠΉΡΡΠ²ΠΈΡΠ΅Π»ΡΠ½ΠΎ Π½Π°Π΄ΡΠΆΠ½ΠΎΠΉ ΠΈΒ Π΄ΠΎΠ»Π³ΠΎΠ²Π΅ΡΠ½ΠΎΠΉ ΠΊΡΠΎΠ²Π»ΠΈ Π²Π°ΠΆΠ½ΠΎ ΠΏΠΎΠ΄ΠΎΠ±ΡΠ°ΡΡ ΠΏΡΠ°Π²ΠΈΠ»ΡΠ½ΡΡ ΠΌΠ°ΡΠΊΡ ΠΏΡΠΎΡΠ½Π°ΡΡΠΈΠ»Π°, Π°Β Π΄Π»ΡΒ ΡΡΠΎΠ³ΠΎ ΡΡΠ΅Π±ΡΠ΅ΡΡΡ Π²Π½ΠΈΠΌΠ°ΡΠ΅Π»ΡΠ½ΠΎ ΠΈΠ·ΡΡΠΈΡΡ ΡΠ΅Ρ Π½ΠΈΡΠ΅ΡΠΊΠΈΠ΅ Ρ Π°ΡΠ°ΠΊΡΠ΅ΡΠΈΡΡΠΈΠΊΠΈ ΠΊΠ°ΠΆΠ΄ΠΎΠΉ ΠΈΠ·Β Π½ΠΈΡ . ΠΒ ΡΡΠΎΠΉ ΡΡΠ°ΡΡΠ΅ ΠΌΡΒ ΡΠ°ΡΡΠΊΠ°ΠΆΠ΅ΠΌ ΠΎΠ±Β ΠΎΡΠΎΠ±Π΅Π½Π½ΠΎΡΡΡΡ ΡΠ°ΠΌΡΡ ΠΏΠΎΠΏΡΠ»ΡΡΠ½ΡΡ ΠΌΠ°ΡΠΎΠΊ ΠΊΡΠΎΠ²Π΅Π»ΡΠ½ΠΎΠ³ΠΎ ΠΏΡΠΎΡΠ»ΠΈΡΡΠ° ΠΈΒ Π΄Π°Π΄ΠΈΠΌ ΠΈΠ½ΡΠΎΡΠΌΠ°ΡΠΈΡ ΠΎΠ±Β ΠΈΡ Β Π΄ΠΎΠΏΡΡΡΠΈΠΌΡΡ Π½Π°Π³ΡΡΠ·ΠΊΠ°Ρ .
ΠΠ°ΠΊΠΎΠΉ ΠΏΡΠΎΡΠ½Π°ΡΡΠΈΠ» ΡΡΠΈΡΠ°ΡΡ ΠΊΡΠΎΠ²Π΅Π»ΡΠ½ΡΠΌ?
Π‘ΠΎΠ±ΡΡΠ²Π΅Π½Π½ΠΎ, ΠΏΡΠΎΡΠ½Π°ΡΡΠΈΠ» ΠΊΡΠΎΠ²Π΅Π»ΡΠ½ΡΠΉ Π½Π΅Β ΠΈΠΌΠ΅Π΅Ρ ΠΎΠ±ΠΎΡΠΎΠ±Π»Π΅Π½Π½ΠΎΠΉ ΠΌΠ°ΡΠΊΠΈΡΠΎΠ²ΠΊΠΈ, ΠΏΠΎΡΠΊΠΎΠ»ΡΠΊΡ Π΄Π»ΡΒ ΡΠ°Π·Π½ΡΡ ΠΊΡΠΎΠ²Π΅Π»Ρ, Π²Β Π·Π°Π²ΠΈΡΠΈΠΌΠΎΡΡΠΈ ΠΎΡΒ ΠΈΡ Β ΡΠ³Π»Π° Π½Π°ΠΊΠ»ΠΎΠ½Π° ΠΈΒ ΡΠ°Π³Π° ΠΎΠ±ΡΠ΅ΡΡΡΠΊΠΈ, ΠΏΠΎΠ΄Ρ ΠΎΠ΄ΡΡ ΡΠ°Π·Π½ΡΠ΅ ΠΌΠ°ΡΠΊΠΈ Π½Π΅ΡΡΡΠ΅Π³ΠΎ ΠΈΒ Π΄Π°ΠΆΠ΅ ΡΡΠ΅Π½ΠΎΠ²ΠΎΠ³ΠΎ (Π½Π΅ Π½Π΅ΡΡΡΠ΅Π³ΠΎ) ΠΏΡΠΎΡΠ½Π°ΡΡΠΈΠ»Π°.
Π ΠΎΠ±ΡΠ΅ΠΌ ΡΠ»ΡΡΠ°Π΅, Π½Π°Β Π½Π°ΠΊΠ»ΠΎΠ½Π½ΡΡ ΠΊΡΠΎΠ²Π»Ρ ΠΏΡΠΈΡ ΠΎΠ΄ΡΡΡΡ ΠΌΠ΅Π½ΡΡΠΈΠ΅ Π½Π°Π³ΡΡΠ·ΠΊΠΈ, Π²Π΅Π΄Ρ ΡΠ½Π΅Π³ ΡΠΎΒ ΡΠΊΠ°ΡΠ½ΡΡ ΠΊΡΡΡ ΠΎΠ±ΡΡΠ½ΠΎ ΡΠ²Π°Π»ΠΈΠ²Π°Π΅ΡΡΡ Π½Π°Β Π·Π΅ΠΌΠ»Ρ, ΠΏΠΎΡΡΠΎΠΌΡ Π΄Π»ΡΒ ΡΠ°ΠΊΠΈΡ ΠΊΠΎΠ½ΡΡΡΡΠΊΡΠΈΠΉ ΠΌΠΎΠΆΠ½ΠΎ ΠΈΡΠΏΠΎΠ»ΡΠ·ΠΎΠ²Π°ΡΡ Π΄Π°ΠΆΠ΅ ΠΏΡΠΎΡΠ»ΠΈΡΡ Π‘20, Ρ ΠΎΡΡ Π»ΡΡΡΠ΅ Π²ΠΎΡΠΏΠΎΠ»ΡΠ·ΠΎΠ²Π°ΡΡΡΡ Π±ΠΎΠ»Π΅Π΅ ΠΏΡΠΎΡΠ½ΡΠΌΠΈ ΠΌΠ°ΡΠΊΠ°ΠΌΠΈ Π½Π΅ΡΡΡΠ΅Π³ΠΎ ΠΏΡΠΎΡΠ½Π°ΡΡΠΈΠ»Π° ΡΒ Π²ΡΡΠΎΡΠΎΠΉ Π³ΠΎΡΡΡ ΠΈΠ·Β Π΄ΠΈΠ°ΠΏΠ°Π·ΠΎΠ½Π° 35-60 ΠΌΠΌ (Π° ΠΈΠΌΠ΅Π½Π½ΠΎ, ΠΌΠ°ΡΠΊΠ°ΠΌΠΈ Π35, Π40, Π44, Π57 ΠΈΒ Π60).
ΠΠ»Ρ ΠΏΠ»ΠΎΡΠΊΠΎΠΉΒ ΠΆΠ΅ ΠΊΡΠΎΠ²Π»ΠΈ Π½Π΅ΠΎΠ±Ρ ΠΎΠ΄ΠΈΠΌΡ ΡΠ°ΠΌΡΠ΅ ΠΏΡΠΎΡΠ½ΡΠ΅ ΠΈΒ Π½Π°Π΄ΡΠΆΠ½ΡΠ΅ Π»ΠΈΡΡΡ ΠΏΡΠΎΡΠ½Π°ΡΡΠΈΠ»Π° ΡΒ Π²ΡΡΠΎΡΠΎΠΉ Π³ΠΎΡΡΡ 75 ΠΈΒ 114 ΠΌΠΌ (ΠΌΠ°ΡΠΊΠΈ Π75 ΠΈΒ Π114).

Π£Π·Π½Π°ΡΡ ΠΎΒ ΡΠΎΠΌ, ΠΊΠ°ΠΊΠΈΠ΅ ΠΌΠ°ΡΠΊΠΈ ΠΏΡΠΎΡΠ½Π°ΡΡΠΈΠ»Π° ΠΏΠΎΠ΄Ρ ΠΎΠ΄ΡΡ ΠΊΒ ΡΠΎΠΉΒ ΠΈΠ»ΠΈ ΠΈΠ½ΠΎΠΉ ΠΊΡΠΎΠ²Π»Π΅, Π°Β ΡΠ°ΠΊΠΆΠ΅ Π²Β ΠΎΠ±ΡΠΈΡ ΡΠ΅ΡΡΠ°Ρ ΠΎΠ·Π½Π°ΠΊΠΎΠΌΠΈΡΡΡΡ ΡΒ ΠΌΠΎΠ½ΡΠ°ΠΆΠΎΠΌ ΠΊΡΠΎΠ²Π΅Π»ΡΠ½ΠΎΠ³ΠΎ ΠΏΡΠΎΡΠ»ΠΈΡΡΠ°, ΠΌΠΎΠΆΠ½ΠΎ Π²Β ΡΠ»Π΅Π΄ΡΡΡΠ΅ΠΌ Π²ΠΈΠ΄Π΅ΠΎ:
ΠΠΎΠΏΡΠ»ΡΡΠ½ΡΠ΅ ΠΌΠ°ΡΠΊΠΈ ΠΊΡΠΎΠ²Π΅Π»ΡΠ½ΠΎΠ³ΠΎ ΠΏΡΠΎΡΠ½Π°ΡΡΠΈΠ»Π°
ΠΠ°Π²Π°ΠΉΡΠ΅ ΠΏΠΎΠ·Π½Π°ΠΊΠΎΠΌΠΈΠΌΡΡ ΡΒ Π²ΡΡΠ΅ΠΏΠ΅ΡΠ΅ΡΠΈΡΠ»Π΅Π½Π½ΡΠΌΠΈ ΠΌΠ°ΡΠΊΠ°ΠΌΠΈ ΠΏΡΠΎΡΠ½Π°ΡΡΠΈΠ»Π° Π΄Π»ΡΒ ΠΊΡΠΎΠ²Π»ΠΈ ΠΏΠΎΠ΄ΡΠΎΠ±Π½Π΅ΠΉ. ΠΠ°ΠΆΠ½ΠΎ ΠΏΠΎΠ΄ΡΠ΅ΡΠΊΠ½ΡΡΡ, ΡΡΠΎΒ Π²ΡΠ΅Β ΡΠ°Π±Π»ΠΈΡΡ Ρ Π°ΡΠ°ΠΊΡΠ΅ΡΠΈΡΡΠΈΠΊ ΠΈΒ Π½ΠΎΡΠΌ Π½Π°Π³ΡΡΠ·ΠΎΠΊ, ΠΊΠΎΡΠΎΡΡΠ΅ Π±ΡΠ΄ΡΡ ΠΏΡΠΈΠ²Π΅Π΄Π΅Π½Ρ Π²Β ΡΡΠΎΠΌ ΡΠ°Π·Π΄Π΅Π»Π΅, ΠΏΡΠΈΠΌΠ΅Π½ΠΈΠΌΡ ΡΠΎΠ»ΡΠΊΠΎ Π΄Π»ΡΒ ΠΏΡΠΎΡΠ½Π°ΡΡΠΈΠ»Π°, ΠΈΠ·Π³ΠΎΡΠΎΠ²Π»Π΅Π½Π½ΠΎΠ³ΠΎ Π²Β ΡΠΎΠΎΡΠ²Π΅ΡΡΡΠ²ΠΈΠΈ ΡΒ ΠΠΠ‘Π’ 24045-94.
ΠΠ±ΡΠΈΠ΅ Ρ Π°ΡΠ°ΠΊΡΠ΅ΡΠΈΡΡΠΈΠΊΠΈ ΠΊΠ°ΠΆΠ΄ΠΎΠΉ ΠΌΠ°ΡΠΊΠΈ β Π²ΡΡΠΎΡΠ° Π³ΠΎΡΡΡ, ΡΠΈΡΠΈΠ½Π° Π»ΠΈΡΡΠ° ΠΈΒ Π΄ΠΈΠ°ΠΏΠ°Π·ΠΎΠ½ ΡΠΎΠ»ΡΠΈΠ½ β ΠΏΡΠΈΠ²Π΅Π΄Π΅Π½Ρ Π²Β ΡΠ»Π΅Π΄ΡΡΡΠ΅ΠΉ ΡΠ°Π±Π»ΠΈΡΠ΅.
ΠΠ°ΡΠΊΠ° ΠΏΡΠΎΡΠ½Π°ΡΡΠΈΠ»Π° | ΠΡΡΠΎΡΠ° Π³ΠΎΡΡΡ, ΠΌΠΌ | Π¨ΠΈΡΠΈΠ½Π° Π»ΠΈΡΡΠ° ΠΏΠΎΠ»Π½Π°Ρ (ΡΠ°Π±ΠΎΡΠ°Ρ), ΠΌΠΌ | Π’ΠΎΠ»ΡΠΈΠ½Π° Π»ΠΈΡΡΠ°, ΠΌΠΌ |
Π‘20 | 20 | 1150 (1100) | 0.5-0.55 |
Π35 | 35 | 1060 (1000) | 0.4-0.8 |
Π40 | 38 | 1050 (960) | 0.5-0.8 |
Π44 | 44 | 1070 (1000) | 0.55-0.8 |
Π57 | 57 | 801 (750) | 0.7 |
Π60 | 60 | 902 (845) | 0.5-1 |
Π75 | 75 | 800 (750) | 0.7 |
Π114 | 114 | 646 (600) | 0.7-1 |
ΠΠ°ΠΊ Π²ΠΈΠ΄ΠΈΠΌ, Π΄ΠΈΠ°ΠΏΠ°Π·ΠΎΠ½ Ρ Π°ΡΠ°ΠΊΡΠ΅ΡΠΈΡΡΠΈΠΊ Π΄Π»ΡΒ ΡΠ°Π·Π½ΡΡ ΠΌΠ°ΡΠΎΠΊ ΠΏΡΠΎΡΠ½Π°ΡΡΠΈΠ»Π° Π²Π΅ΡΡΠΌΠ° ΡΠΈΡΠΎΠΊ β ΠΈΒ ΡΡΠΎΒ Π½Π΅ΡΠ΄ΠΈΠ²ΠΈΡΠ΅Π»ΡΠ½ΠΎ, Π²Π΅Π΄Ρ ΠΊΠ°ΠΆΠ΄Π°Ρ ΠΊΡΠΎΠ²Π»Ρ Π·Π΄Π°Π½ΠΈΡ ΠΏΠΎ-ΡΠ²ΠΎΠ΅ΠΌΡ ΡΠ½ΠΈΠΊΠ°Π»ΡΠ½Π°.
ΠΠΈΠ½ΠΈΠΌΠ°Π»ΡΠ½ΡΠΉ Π½Π°ΠΊΠ»ΠΎΠ½ ΠΊΡΠΎΠ²Π»ΠΈ, ΠΏΠΎΠΊΡΡΡΠΎΠΉ ΠΏΡΠΎΡΠ½Π°ΡΡΠΈΠ»ΠΎΠΌ, ΡΠΎΡΡΠ°Π²Π»ΡΠ΅Ρ 12 Π³ΡΠ°Π΄ΡΡΠΎΠ², Ρ ΠΎΡΡ, ΡΠΎΠ³Π»Π°ΡΠ½ΠΎ ΡΡΠ΅Π±ΠΎΠ²Π°Π½ΠΈΡΠΌ Π‘ΠΠΈΠ, ΠΎΠ½Β ΠΌΠΎΠΆΠ΅Ρ Π±ΡΡΡ ΠΈΒ Π΅ΡΡΒ ΠΌΠ΅Π½ΡΡΠ΅ (Π΄ΠΎ 6 Π³ΡΠ°Π΄ΡΡΠΎΠ²). Π£ΠΊΠ»Π°Π΄ΡΠ²Π°ΡΡ Π»ΠΈΡΡΡ ΠΏΡΠΎΡΠ½Π°ΡΡΠΈΠ»Π° Π½Π°Β Π΄Π΅ΡΠ΅Π²ΡΠ½Π½ΠΎΠ΅ ΠΎΡΠ½ΠΎΠ²Π°Π½ΠΈΠ΅ β ΠΎΠ±ΡΠ΅ΡΡΡΠΊΡ, ΡΠ°Π³Β ΠΊΠΎΡΠΎΡΠΎΠΉ Π·Π°Π²ΠΈΡΠΈΡ ΠΎΡΒ ΡΠ³Π»Π° Π½Π°ΠΊΠ»ΠΎΠ½Π° ΠΊΡΠΎΠ²Π»ΠΈ ΠΈΒ ΠΎΠ±ΡΡΠ½ΠΎ Π²Π°ΡΡΠΈΡΡΠ΅ΡΡΡ ΠΎΡΒ 300 Π΄ΠΎΒ 4000 ΠΌΠΌ.

ΠΠ±ΡΠ΅Π΅ ΠΏΡΠ°Π²ΠΈΠ»ΠΎ Π²ΡΠ±ΠΎΡΠ° ΡΠ°Π³Π° ΠΎΠ±ΡΠ΅ΡΡΡΠΊΠΈ Π·Π°ΠΊΠ»ΡΡΠ°Π΅ΡΡΡ Π²Β ΡΠΎΠΌ, ΡΡΠΎΒ ΡΒ ΡΠ²Π΅Π»ΠΈΡΠ΅Π½ΠΈΠ΅ΠΌ ΡΠ³Π»Π° Π½Π°ΠΊΠ»ΠΎΠ½Π° ΡΠΊΠ°ΡΠ° ΠΊΡΠΎΠ²Π»ΠΈ ΡΠ²Π΅Π»ΠΈΡΠΈΠ²Π°Π΅ΡΡΡ ΠΈΒ ΡΠ°Π³, Π½ΡΒ Π°Β Π½Π°Β ΠΊΡΡΡΠ°Ρ ΡΒ Π½Π΅Π±ΠΎΠ»ΡΡΠΈΠΌ ΡΠΊΠ»ΠΎΠ½ΠΎΠΌ ΠΎΠ±ΡΠ΅ΡΡΡΠΊΠ° ΠΈΒ Π²ΠΎΠ²ΡΠ΅ Π΄ΠΎΠ»ΠΆΠ½Π° Π±ΡΡΡ ΡΠΏΠ»ΠΎΡΠ½ΠΎΠΉ. ΠΡΠΎΡΠ½Π°ΡΡΠΈΠ» ΡΠΊΠ»Π°Π΄ΡΠ²Π°ΡΡ Π½Π°Β ΠΊΡΠΎΠ²Π»Ρ ΡΡΠ΄Π°ΠΌΠΈ ΡΠ½ΠΈΠ·Ρ Π²Π²Π΅ΡΡ ΡΒ ΠΎΠ±ΡΠ·Π°ΡΠ΅Π»ΡΠ½ΡΠΌ Π²Π΅ΡΡΠΈΠΊΠ°Π»ΡΠ½ΡΠΌ ΠΈΒ Π³ΠΎΡΠΈΠ·ΠΎΠ½ΡΠ°Π»ΡΠ½ΡΠΌ Π½Π°Ρ Π»ΡΡΡΠΎΠΌ, ΠΊΠΎΡΠΎΡΡΠΉ ΠΎΠ·Π½Π°ΡΠ°Π΅Ρ ΠΏΠ΅ΡΠ΅ΠΊΡΡΡΠΈΠ΅ ΡΠΎΡΠ΅Π΄Π½ΠΈΠΌΠΈ Π»ΠΈΡΡΠ°ΠΌΠΈ Ρ ΠΎΡΡ Π±ΡΒ ΠΎΠ΄Π½ΠΎΠΉ Π³ΠΎΡΡΡ.
ΠΡΠ»ΠΈ ΡΠ³ΠΎΠ» Π½Π°ΠΊΠ»ΠΎΠ½Π° ΠΊΡΠΎΠ²Π»ΠΈ ΡΠΎΡΡΠ°Π²Π»ΡΠ΅Ρ ΠΌΠ΅Π½Π΅Π΅ 12 Π³ΡΠ°Π΄ΡΡΠΎΠ², ΡΠ²Π΅Π»ΠΈΡΠΈΠ²Π°Π΅ΡΡΡ Π½Π΅ΠΎΠ±Ρ ΠΎΠ΄ΠΈΠΌΠΎΡΡΡ Π½Π°Π΄ΡΠΆΠ½ΠΎΠΉ Π³Π΅ΡΠΌΠ΅ΡΠΈΠ·Π°ΡΠΈΠΈ ΠΏΡΠΎΠ΄ΠΎΠ»ΡΠ½ΡΡ ΠΈΒ ΠΏΠΎΠΏΠ΅ΡΠ΅ΡΠ½ΡΡ ΡΡΡΠΊΠΎΠ²-Π½Π°Ρ Π»ΡΡΡΠΎΠ² ΡΠΈΠ»ΠΈΠΊΠΎΠ½ΠΎΠ²ΡΠΌΠΈΒ ΠΈΠ»ΠΈ ΡΠΈΠΎΠΊΠΎΠ»ΠΎΠ²ΡΠΌΠΈ Π³Π΅ΡΠΌΠ΅ΡΠΈΠΊΠ°ΠΌΠΈ.

Π ΡΠ»Π΅Π΄ΡΡΡΠ΅ΠΉ ΡΠ°Π±Π»ΠΈΡΠ΅ ΠΏΡΠΈΠ²Π΅Π΄Π΅Π½Ρ ΠΌΠΈΠ½ΠΈΠΌΠ°Π»ΡΠ½ΡΠ΅ ΡΡΠ΅Π±ΠΎΠ²Π°Π½ΠΈΡ ΠΊΒ ΡΠ³Π»Π°ΠΌ Π½Π°ΠΊΠ»ΠΎΠ½Π° ΠΊΡΠΎΠ²Π»ΠΈ ΠΈΠ·Β ΠΏΡΠΎΡΠ½Π°ΡΡΠΈΠ»Π°, Π°Β ΡΠ°ΠΊΠΆΠ΅ ΠΊΒ ΡΠ°Π³Ρ ΠΎΠ±ΡΠ΅ΡΡΡΠΊΠΈ ΠΏΠΎΠ΄Β ΠΊΡΠΎΠ²Π΅Π»ΡΠ½ΡΠΉ ΠΏΡΠΎΡΠ½Π°ΡΡΠΈΠ».
ΠΠ°ΡΠΊΠ° ΠΏΡΠΎΡΠ½Π°ΡΡΠΈΠ»Π° | Π£Π³ΠΎΠ» Π½Π°ΠΊΠ»ΠΎΠ½Π° ΠΊΡΠΎΠ²Π»ΠΈ, Π³ΡΠ°Π΄. | Π’ΠΎΠ»ΡΠΈΠ½Π° Π»ΠΈΡΡΠ°, ΠΌΠΌ | ΠΡΠΎΠ±Π΅Π½Π½ΠΎΡΡΠΈ ΠΌΠΎΠ½ΡΠ°ΠΆΠ° | Π¨Π°Π³ ΠΎΠ±ΡΠ΅ΡΡΡΠΊΠΈ |
Β Π‘20 Β | ΠΌΠ΅Π½Π΅Π΅ 15 | 0.5-0.7 | ΠΠ°Ρ Π»ΡΡΡ Π²Β ΠΎΠ΄Π½Ρ Π³ΠΎΡΡΡ | ΡΠΏΠ»ΠΎΡΠ½Π°Ρ ΠΎΠ±ΡΠ΅ΡΡΡΠΊΠ° |
Π±ΠΎΠ»Π΅Π΅ 15 | Π΄ΠΎ 500 ΠΌΠΌ | |||
Π35 ΠΈΒ Π40 | ΠΌΠ΅Π½Π΅Π΅ 15 | 0.5-0.7 | ΠΠ°Ρ Π»ΡΡΡ Π²Β ΠΎΠ΄Π½Ρ Π³ΠΎΡΡΡ | Π΄ΠΎ 500 ΠΌΠΌ |
Π±ΠΎΠ»Π΅Π΅ 15 | Π΄ΠΎ 1000 ΠΌΠΌ | |||
Π44 | ΠΌΠ΅Π½Π΅Π΅ 15 | 0.55-0.7 | ΠΠ°Ρ Π»ΡΡΡ Π²Β ΠΎΠ΄Π½Ρ Π³ΠΎΡΡΡ | Π΄ΠΎ 500 ΠΌΠΌ |
Π±ΠΎΠ»Π΅Π΅ 15 | Π΄ΠΎ 1000 ΠΌΠΌ | |||
Π57 ΠΈΒ Π60 | Π½Π΅ ΠΌΠ΅Π½Π΅Π΅ 8 | 0.7-0.9 | Π Π΅ΠΊΠΎΠΌΠ΅Π½Π΄ΠΎΠ²Π°Π½ΠΎ Π΄Π»ΡΒ ΠΊΡΠΎΠ²Π»ΠΈ ΠΏΡΠΎΠΌΡΡΠ»Π΅Π½Π½ΡΡ ΠΎΠ±ΡΠ΅ΠΊΡΠΎΠ² | Π΄ΠΎ 3000 ΠΌΠΌ |
Π75 ΠΈΒ ΠΒ 114 | ΠΏΠ»ΠΎΡΠΊΠ°Ρ ΠΊΡΠΎΠ²Π»Ρ | 0.7-0.9 | Π Π΅ΠΊΠΎΠΌΠ΅Π½Π΄ΠΎΠ²Π°Π½ΠΎ Π΄Π»ΡΒ ΠΊΡΠΎΠ²Π»ΠΈ ΠΏΡΠΎΠΌΡΡΠ»Π΅Π½Π½ΡΡ ΠΎΠ±ΡΠ΅ΠΊΡΠΎΠ²; ΡΠ°ΠΌΠΎΠ½Π΅ΡΡΡΠΈΠΉ ΠΏΡΠΎΡΠΈΠ»Ρ | Π΄ΠΎ 4000 ΠΌΠΌ |
Β
ΠΡΠ΅Π΄Π»Π°Π³Π°Π΅ΠΌ ΠΎΠ·Π½Π°ΠΊΠΎΠΌΠΈΡΡΡΡ ΡΠΎΒ Π²ΡΠ΅ΠΌΠΈ ΡΡΠ°ΠΏΠ°ΠΌΠΈ ΠΌΠΎΠ½ΡΠ°ΠΆΠ° ΠΏΡΠ°ΠΊΡΠΈΡΠ΅ΡΠΊΠΈ ΠΏΠ»ΠΎΡΠΊΠΎΠΉ ΠΊΡΠΎΠ²Π»ΠΈ ΠΈΠ·Β ΠΏΡΠΎΡΠ½Π°ΡΡΠΈΠ»Π° Π²Β ΡΠ»Π΅Π΄ΡΡΡΠ΅ΠΌ Π²ΠΈΠ΄Π΅ΠΎ:
ΠΠ»Ρ ΠΏΡΠ°Π²ΠΈΠ»ΡΠ½ΠΎΠ³ΠΎ Π²ΡΠ±ΠΎΡΠ° ΠΌΠ°ΡΠΊΠΈ ΠΏΡΠΎΡΠΈΠ»ΠΈΡΠΎΠ²Π°Π½Π½ΠΎΠ³ΠΎ Π»ΠΈΡΡΠ° Π½Π΅ΠΎΠ±Ρ ΠΎΠ΄ΠΈΠΌΠΎ ΠΏΡΠΎΠ²Π΅ΡΡΠΈ ΡΠ°ΡΡΡΡ Π΅Π³ΠΎΒ Π½Π΅ΡΡΡΠ΅ΠΉ ΡΠΏΠΎΡΠΎΠ±Π½ΠΎΡΡΠΈ. ΠΡΠ°Β Π½Π΅ΡΠ»ΠΎΠΆΠ½Π°Ρ ΠΏΡΠΎΡΠ΅Π΄ΡΡΠ° ΠΏΠΎΠ·Π²ΠΎΠ»ΠΈΡ ΠΏΠΎΠ΄ΠΎΠ±ΡΠ°ΡΡ ΠΏΡΠΎΡΠΈΠ»Ρ, ΠΈΠΌΠ΅ΡΡΠΈΠΉ ΠΎΠΏΡΠΈΠΌΠ°Π»ΡΠ½ΠΎΠ΅ ΡΠΎΠΎΡΠ½ΠΎΡΠ΅Π½ΠΈΠ΅ Π½Π°Π΄ΡΠΆΠ½ΠΎΡΡΠΈ ΠΈΒ ΡΡΠΎΠΈΠΌΠΎΡΡΠΈ ΠΈΠΌΠ΅Π½Π½ΠΎ Π΄Π»ΡΒ Π²Π°ΡΠ΅ΠΉ ΠΊΡΡΡΠΈ.
ΠΠ΅ΡΡΡΠ°Ρ ΡΠΏΠΎΡΠΎΠ±Π½ΠΎΡΡΡ ΠΏΡΠΎΡΠ»ΠΈΡΡΠ° Π·Π°Π²ΠΈΡΠΈΡ Π½Π΅Β ΡΠΎΠ»ΡΠΊΠΎ ΠΎΡΒ Π΅Π³ΠΎΒ ΠΌΠ°ΡΠΊΠΈ ΠΈΒ ΡΠΎΠ»ΡΠΈΠ½Ρ, Π½ΠΎΒ ΡΠ°ΠΊΠΆΠ΅ ΠΈΒ ΠΎΡΒ Π΄Π»ΠΈΠ½Ρ ΡΠΊΠ°ΡΠ° ΠΊΡΡΡΠΈ ΠΈΒ Π²ΡΠ±ΡΠ°Π½Π½ΠΎΠΉ ΡΡ Π΅ΠΌΡ ΠΎΠ±ΡΠ΅ΡΡΡΠΊΠΈ. ΠΒ ΡΠ»Π΅Π΄ΡΡΡΠ΅ΠΉ ΡΠ°Π±Π»ΠΈΡΠ΅ ΠΌΡΒ ΠΏΡΠΈΠ²ΠΎΠ΄ΠΈΠΌ ΠΏΡΠ΅Π΄Π΅Π»ΡΠ½ΠΎ Π΄ΠΎΠΏΡΡΡΠΈΠΌΡΠ΅ Π½Π°Π³ΡΡΠ·ΠΊΠΈ, ΡΠ°Π²Π½ΠΎΠΌΠ΅ΡΠ½ΠΎ ΡΠ°ΡΠΏΡΠ΅Π΄Π΅Π»ΡΠ½Π½ΡΠ΅ ΠΏΠΎΒ Π»ΠΈΡΡΠ°ΠΌ ΠΏΡΠΎΡΠ½Π°ΡΡΠΈΠ»Π° Π²Β Π·Π°Π²ΠΈΡΠΈΠΌΠΎΡΡΠΈ ΠΎΡΒ ΡΡ Π΅ΠΌΡ ΠΎΠΏΠΈΡΠ°Π½ΠΈΡ.

ΠΠ°ΡΠΊΠ° ΠΏΡΠΎΡΠ½Π°ΡΡΠΈΠ»Π° | Π’ΠΎΠ»ΡΠΈΠ½Π° ΡΡΠ°Π»ΠΈ, ΠΌΠΌ | Π¨Π°Π³ ΠΎΠΏΠΎΡ, ΠΌ | ΠΡΠ΅Π΄Π΅Π»ΡΠ½Π°Ρ Π½Π°Π³ΡΡΠ·ΠΊΠ°, ΠΊΠ³/Β Β Β ΠΌΒ² | |||
Π‘Ρ Π΅ΠΌΠ° ΠΎΠΏΠΈΡΠ°Π½ΠΈΡ 1 | Π‘Ρ Π΅ΠΌΠ° ΠΎΠΏΠΈΡΠ°Π½ΠΈΡ 2 | Π‘Ρ Π΅ΠΌΠ° ΠΎΠΏΠΈΡΠ°Π½ΠΈΡ 3 | Π‘Ρ Π΅ΠΌΠ° ΠΎΠΏΠΈΡΠ°Π½ΠΈΡ 4 | |||
Π‘20 | 0.6 | 1.8 | 101 | 253 | 208 | 195 |
Π35, Π40, Π44 | 0.6 | 1.5 | 556 | 307 | 349 | 335 |
0.6 | 3.0 | 69 | 154 | 175 | 167 | |
Π57, Π60 | 0.8 | 3.0 | 388 | 324 | 378 | 360 |
Π75 | 0.9 | 3.0 | 645 | 617 | 771 | 720 |
Π114 | 1 | 4.0 | 733 | 733 | 916 | 720 |
Π Π°Π·ΡΠΌΠ΅Π΅ΡΡΡ, ΠΏΡΠ΅Π΄Π΅Π»ΡΠ½Π°Ρ Π½Π°Π³ΡΡΠ·ΠΊΠ° Π½Π°Β Π΅Π΄ΠΈΠ½ΠΈΡΡ ΠΏΠ»ΠΎΡΠ°Π΄ΠΈ ΠΏΡΠΎΡΠ»ΠΈΡΡΠ° Π·Π°Π²ΠΈΡΠΈΡ ΠΎΡΒ ΡΠΎΠ»ΡΠΈΠ½Ρ ΡΡΠ°Π»ΠΈ Π·Π°Π³ΠΎΡΠΎΠ²ΠΊΠΈ, ΠΏΡΠΈΡΡΠΌ ΡΒ ΡΠ²Π΅Π»ΠΈΡΠ΅Π½ΠΈΠ΅ΠΌ ΡΠΎΠ»ΡΠΈΠ½Ρ, Π½Π°Π³ΡΡΠ·ΠΊΠ° ΡΠ²Π΅Π»ΠΈΡΠΈΠ²Π°Π΅ΡΡΡ ΠΏΡΡΠΌΠΎ ΠΏΡΠΎΠΏΠΎΡΡΠΈΠΎΠ½Π°Π»ΡΠ½ΠΎ. ΠΠΎΡΡΠΎΠΌΡ Π΅ΡΠ»ΠΈΒ Π²Π°ΡΒ ΠΏΡΠΎΡΠ½Π°ΡΡΠΈΠ» ΠΈΠΌΠ΅Π΅Ρ ΡΠΎΠ»ΡΠΈΠ½Ρ, ΠΊΠΎΡΠΎΡΠ°Ρ Π½Π΅Β ΠΏΡΠ΅Π΄ΡΡΠ°Π²Π»Π΅Π½Π° Π²Β ΡΠ°Π±Π»ΠΈΡΠ΅, Π½Π°Π³ΡΡΠ·ΠΊΡ Π΄Π»ΡΒ Π½Π΅Π³ΠΎ Π»Π΅Π³ΠΊΠΎ Π²ΡΠ²Π΅ΡΡΠΈ, ΡΠΌΠ½ΠΎΠΆΠΈΠ² Π·Π½Π°ΡΠ΅Π½ΠΈΠ΅ ΠΈΠ·Β ΡΠ°Π±Π»ΠΈΡΡ Π½Π°Β ΡΠΎΠΎΡΠ½ΠΎΡΠ΅Π½ΠΈΠ΅ ΡΠΎΠ»ΡΠΈΠ½Ρ ΡΡΠ°Π»ΠΈ Π²Β ΡΠ°Π±Π»ΠΈΡΠ΅ ΠΊΒ ΡΠΎΠ»ΡΠΈΠ½Π΅ ΡΡΠ°Π»ΠΈ ΠΈΠΌΠ΅ΡΡΠ΅Π³ΠΎΡΡ ΠΌΠ°ΡΠ΅ΡΠΈΠ°Π»Π°.
astprof.ru
ΠΡΠΎΠ²Π»Ρ ΠΈΠ· ΠΏΡΠΎΡΠ½Π°ΡΡΠΈΠ»Π°: ΠΊΠ°ΠΊ ΡΠ»Π΅Π΄ΡΠ΅Ρ Π²ΡΠ±ΠΈΡΠ°ΡΡ
ΠΠ°ΠΊ Π²ΡΠ΅ΠΌ ΠΈΠ·Π²Π΅ΡΡΠ½ΠΎ, Ρ ΠΎΡΠΎΡΠΎ ΡΠΏΡΠΎΠ΅ΠΊΡΠΈΡΠΎΠ²Π°Π½Π½Π°Ρ ΠΊΡΡΡΠ° Π΄ΠΎΠΌΠ° ΡΠ²Π»ΡΠ΅ΡΡΡ ΠΎΡΠ½ΠΎΠ²Π½ΠΎΠΉ Π΅Π³ΠΎ Π·Π°ΡΠΈΡΠ½ΠΎΠΉ ΠΊΠΎΠ½ΡΡΡΡΠΊΡΠΈΠ΅ΠΉ. ΠΠ½Π° Π·Π°ΡΠΈΡΠΈΡ Ρ ΠΎΠ·ΡΠ΅Π² ΠΎΡ Π²ΡΠ΅Ρ ΠΏΠΎΠ³ΠΎΠ΄Π½ΡΡ Π½Π΅Π²Π·Π³ΠΎΠ΄ ΠΈ ΠΏΠΎΠ·Π²ΠΎΠ»ΠΈΡ ΠΊΠΎΠΌΡΠΎΡΡΠ½ΠΎ ΡΡΠ²ΡΡΠ²ΠΎΠ²Π°ΡΡ ΡΠ΅Π±Ρ Π² Π»ΡΠ±ΡΡ ΠΊΠ»ΠΈΠΌΠ°ΡΠΈΡΠ΅ΡΠΊΠΈΡ ΡΡΠ»ΠΎΠ²ΠΈΡΡ . ΠΠΎΡ ΠΏΠΎΡΡΠΎΠΌΡ, ΠΊΠΎΠ³Π΄Π° Π΄Π΅Π»Π°Π΅ΡΡΡ ΠΊΡΠΎΠ²Π»Ρ ΠΈΠ· ΠΏΡΠΎΡΠ½Π°ΡΡΠΈΠ»Π°, Π½ΡΠΆΠ½ΠΎ ΡΡΠ°ΡΠ΅Π»ΡΠ½ΡΠΌ ΠΎΠ±ΡΠ°Π·ΠΎΠΌ ΠΏΠΎΠ΄ΠΎΠ±ΡΠ°ΡΡ Π½Π°ΠΈΠ±ΠΎΠ»Π΅Π΅ ΡΡΡΠ΅ΠΊΡΠΈΠ²Π½ΡΠΉ ΠΈ ΠΊΠ°ΡΠ΅ΡΡΠ²Π΅Π½Π½ΡΠΉ ΠΊΡΠΎΠ²Π΅Π»ΡΠ½ΡΠΉ ΠΌΠ°ΡΠ΅ΡΠΈΠ°Π» (Π»ΠΈΡΡ ΠΏΡΠΎΡΠΈΠ»ΠΈΡΠΎΠ²Π°Π½Π½ΡΠΉ), ΠΈ Π΄ΠΎΠ»ΠΆΠ½Π° Π±ΡΡΡ ΠΏΡΠΎΠ΄ΡΠΌΠ°Π½Π° ΡΡ Π΅ΠΌΠ° ΠΌΠΎΠ½ΡΠ°ΠΆΠ° ΠΈ Π²Π΅Π½ΡΠΈΠ»ΡΡΠΈΡ.

ΠΡΠΈ ΠΌΠΎΠ½ΡΠ°ΠΆΠ΅ ΠΏΡΡΠΌΠΎΡΠ³ΠΎΠ»ΡΠ½ΠΎ-ΡΠΊΠ°ΡΠ½ΠΎΠΉ ΠΊΡΠΎΠ²Π»ΠΈ, ΡΠ΅ΠΊΠΎΠΌΠ΅Π½Π΄ΡΠ΅ΡΡΡ Π½Π°ΡΠΈΠ½Π°ΡΡ ΠΌΠΎΠ½ΡΠ°ΠΆ ΠΊΡΡΡΠΈ ΠΈΠ· ΠΏΡΠΎΡΠ½Π°ΡΡΠΈΠ»Π° ΠΏΠΎΡΠ»Π΅ ΡΡΡΠ°Π½ΠΎΠ²ΠΊΠΈ ΡΠΎΡΡΠΎΠ² ΠΊΡΡΡΠΈ.
Π Π½Π°ΡΠ΅ Π²ΡΠ΅ΠΌΡ ΡΠ°ΠΌΡΠΌ Π°ΠΊΡΡΠ°Π»ΡΠ½ΡΠΌ ΠΌΠ°ΡΠ΅ΡΠΈΠ°Π»ΠΎΠΌ Π΄Π»Ρ ΠΊΡΠΎΠ²Π»ΠΈ Ρ ΡΡΠ΅ΡΠΎΠΌ ΡΠ΅Π½Ρ ΠΈ ΠΊΠ°ΡΠ΅ΡΡΠ²Π° ΡΠ²Π»ΡΠ΅ΡΡΡ ΠΏΡΠΎΡΠ»ΠΈΡΡ Π΄Π»Ρ ΠΊΡΠΎΠ²Π»ΠΈ (Π»ΠΈΡΡ ΠΏΡΠΎΡΠΈΠ»ΠΈΡΠΎΠ²Π°Π½Π½ΡΠΉ). ΠΠ»Π°Π³ΠΎΠ΄Π°ΡΡ ΡΠΎΠΌΡ ΡΡΠΎ ΠΊΡΡΡΠ° ΠΈΠ· ΠΏΡΠΎΡΠ½Π°ΡΡΠΈΠ»Π°, ΠΊΠΎΡΠΎΡΡΠΉ Π·Π°ΠΌΠ΅Π½ΡΠ΅Ρ ΡΠΈΡΠ΅Ρ ΠΈ ΡΠ²Π»ΡΠ΅ΡΡΡ ΡΠΊΠΎΠ»ΠΎΠ³ΠΈΡΠ΅ΡΠΊΠΈ ΡΠΈΡΡΡΠΌ ΠΌΠ°ΡΠ΅ΡΠΈΠ°Π»ΠΎΠΌ, ΠΈΠ·Π³ΠΎΡΠΎΠ²Π»Π΅Π½Π½ΡΠΌ ΠΈΠ· ΠΎΡΠΈΠ½ΠΊΠΎΠ²Π°Π½Π½ΠΎΠΉ ΡΡΠ°Π»ΠΈ, ΠΏΠΎΠΊΡΡΡΠΎΠΉ ΡΠΏΠ΅ΡΠΈΠ°Π»ΡΠ½ΡΠΌ ΡΠΎΡΡΠ°Π²ΠΎΠΌ, ΠΎΠ½Π° ΠΏΡΠΎΡΠ»ΡΠΆΠΈΡ Π΄ΠΎΠ»Π³ΠΎ ΠΈ ΡΠΊΡΠ°ΡΠΈΡ Π»ΡΠ±ΠΎΠ΅ ΠΆΠΈΠ»ΠΈΡΠ΅, Π΄ΠΎΠΏΠΎΠ»Π½ΠΈΠ² Π΅Π³ΠΎ ΠΈΠ·ΡΡΠΊΠ°Π½Π½ΡΠΌΠΈ ΠΎΡΠ΅ΡΡΠ°Π½ΠΈΡΠΌΠΈ. Π¨ΠΈΡΠΎΠΊΠΈΠΉ Π²ΡΠ±ΠΎΡ ΡΠ²Π΅ΡΠΎΠ²ΠΎΠΉ Π³Π°ΠΌΠΌΡ ΠΏΠΎΠ·Π²ΠΎΠ»ΠΈΡ ΡΠ΄ΠΎΠ²Π»Π΅ΡΠ²ΠΎΡΠΈΡΡ Π»ΡΠ±ΠΎΠΉ ΠΏΡΠΈΠ²Π΅ΡΠ΅Π΄Π»ΠΈΠ²ΡΠΉ Π²ΠΊΡΡ. ΠΡΡΠ΅ΡΡΠ²Π΅Π½Π½ΠΎ, ΠΏΡΠΈ Π²ΡΠ΅ΠΌ ΡΡΠΎΠΌ ΡΠΎΠ»ΡΠΊΠΎ ΠΏΡΠ°Π²ΠΈΠ»ΡΠ½ΠΎ ΡΠΌΠΎΠ½ΡΠΈΡΠΎΠ²Π°Π½Π½ΡΠ΅ ΠΊΡΠΎΠ²Π»ΠΈ ΠΈΠ· ΠΏΡΠΎΡΠ½Π°ΡΡΠΈΠ»Π° ΠΏΠΎΠ·Π²ΠΎΠ»ΡΡ ΠΎΠ±Π΅ΡΠΏΠ΅ΡΠΈΡΡ Π²ΡΡΠΎΠΊΡΡ Π³Π΅ΡΠΌΠ΅ΡΠΈΡΠ½ΠΎΡΡΡ, Π·Π°ΡΠΈΡΡ ΠΎΡ ΠΏΡΠΎΡΠ΅ΠΊΠ°Π½ΠΈΡ ΠΈ ΡΠ΅ΠΏΠ»ΠΎΠΈΠ·ΠΎΠ»ΡΡΠΈΡ Π΄ΠΎΠΌΡ.
ΠΠ°ΠΊ ΡΠ»Π΅Π΄ΡΠ΅Ρ Π²ΡΠ±ΠΈΡΠ°ΡΡ ΠΏΡΠΎΡΠ»ΠΈΡΡ Π΄Π»Ρ ΠΊΡΠΎΠ²Π»ΠΈ

ΠΡΠΎΡΠΈΠ»ΠΈΡΠΎΠ²Π°Π½Π½ΡΠΉ Π»ΠΈΡΡ ΡΠ°Π·Π»ΠΈΡΠ°ΡΡ ΠΏΠΎ ΡΠΎΠ»ΡΠΈΠ½Π΅ Π»ΠΈΡΡΠ°, Π²ΡΡΠΎΡΠ΅ Β«ΡΠ΅Π±Π΅ΡΒ» ΠΈ ΡΠ°ΡΡΡΠΎΡΠ½ΠΈΡ ΠΌΠ΅ΠΆΠ΄Ρ Π½ΠΈΠΌΠΈ, ΡΡΠΈΡΡΠ²Π°Π΅ΡΡΡ ΠΈ Π³Π°Π±Π°ΡΠΈΡΠ½ΡΠΉ ΡΠ°Π·ΠΌΠ΅Ρ ΠΏΡΠΎΡΠ»ΠΈΡΡΠ°.
Π‘Π°ΠΌΠΎΠ΅ Π³Π»Π°Π²Π½ΠΎΠ΅ ΠΎΡΠ»ΠΈΡΠΈΠ΅ ΠΏΡΠΈ ΠΌΠ½ΠΎΠ³ΠΎΠΎΠ±ΡΠ°Π·ΠΈΠΈ ΡΠ°Π·Π½ΠΎΠ²ΠΈΠ΄Π½ΠΎΡΡΠ΅ΠΉ ΠΏΡΠΎΡΠΈΠ»ΠΈΡΠΎΠ²Π°Π½Π½ΠΎΠ³ΠΎ Π»ΠΈΡΡΠ° — ΡΡΠΎ ΡΠΎΠ»ΡΠΈΠ½Π° Π»ΠΈΡΡΠΎΠ²ΠΎΠΉ ΡΡΠ°Π»ΠΈ ΠΈ Π²ΡΡΠΎΡΠ° ΠΏΡΠΎΡΠΈΠ»Ρ (ΠΏΡΠ°Π²ΠΈΠ»ΡΠ½ΠΎ — Π³ΠΎΡΡΡ). Π ΡΠΎΠΆΠ΅ Π²ΡΠ΅ΠΌΡ ΠΎΡΠ½ΠΎΠ²Π½ΡΠΌ ΠΊΡΠΈΡΠ΅ΡΠΈΠ΅ΠΌ, Π²Π»ΠΈΡΡΡΠΈΠΌ Π½Π° Π²ΡΠ±ΠΎΡ ΡΠΎΠ³ΠΎ ΠΈΠ»ΠΈ ΠΈΠ½ΠΎΠ³ΠΎ ΠΏΡΠΎΡΠΈΠ»ΠΈΡΠΎΠ²Π°Π½Π½ΠΎΠ³ΠΎ Π»ΠΈΡΡΠ°, ΡΠ²Π»ΡΡΡΡΡ ΠΊΠ»ΠΈΠΌΠ°ΡΠΈΡΠ΅ΡΠΊΠΈΠ΅ ΡΡΠ»ΠΎΠ²ΠΈΡ ΡΠ°ΠΉΠΎΠ½Π°, Π² ΠΊΠΎΡΠΎΡΠΎΠΌ Π½Π°Ρ ΠΎΠ΄ΠΈΡΡΡ ΡΡΡΠΎΡΡΠ΅Π΅ΡΡ ΡΠΎΠΎΡΡΠΆΠ΅Π½ΠΈΠ΅.
Π Π·Π°Π²ΠΈΡΠΈΠΌΠΎΡΡΠΈ ΠΎΡ ΡΡΠΎΠ³ΠΎ ΠΏΡΠΈ Π²ΡΠ±ΠΎΡΠ΅ ΡΡΠΈΡΡΠ²Π°Π΅ΡΡΡ Π²ΡΡΠΎΡΠ° Π³ΠΎΡΡΡ ΠΈ Π½Π°Π»ΠΈΡΠΈΠ΅ Π΄ΠΎΠΏΠΎΠ»Π½ΠΈΡΠ΅Π»ΡΠ½ΡΡ ΡΠ΅Π±Π΅Ρ ΠΆΠ΅ΡΡΠΊΠΎΡΡΠΈ.
ΠΠΎΡΠΎΠΌΡ, Π½Π°ΠΏΡΠΈΠΌΠ΅Ρ, ΠΏΡΠΈ ΠΎΠ±ΠΈΠ»ΡΠ½ΡΡ ΠΎΡΠ°Π΄ΠΊΠ°Ρ ΠΆΠ΅Π»Π°ΡΠ΅Π»ΡΠ½ΠΎ ΡΠ΄Π΅Π»Π°ΡΡ ΡΠ°ΠΊ, ΡΡΠΎΠ±Ρ ΠΆΠ΅Π»ΠΎΠ± Π±ΡΠ» Π±ΠΎΠ»ΡΡΠ΅, Π° ΡΡΠ°Π»Ρ — ΠΊΠ°ΠΊ ΠΌΠΎΠΆΠ½ΠΎ ΡΠΎΠ»ΡΠ΅.
ΠΠ°ΠΈΠ±ΠΎΠ»Π΅Π΅ ΡΡΡΠ΅ΠΊΡΠΈΠ²Π½Π° Π² ΡΠΊΡΠΏΠ»ΡΠ°ΡΠ°ΡΠΈΠΈ ΠΊΡΠΎΠ²Π»Ρ, ΠΏΡΠΎΡΠ½Π°ΡΡΠΈΠ» Π½Π° ΠΊΠΎΡΠΎΡΠΎΠΉ ΠΏΠΎΠΊΡΡΠ²Π°Π΅Ρ Π²ΡΡ Π΅Π΅ Π΄Π»ΠΈΠ½Ρ ΡΠΊΠ°ΡΠ°. ΠΠ΅ ΡΠ΅ΠΊΠΎΠΌΠ΅Π½Π΄ΡΠ΅ΡΡΡ ΠΏΠΎΠΊΡΡΠ²Π°ΡΡ ΠΊΡΡΡΠΈ ΠΏΡΠΎΡΠΈΠ»ΠΈΡΠΎΠ²Π°Π½Π½ΡΠΌ Π»ΠΈΡΡΠΎΠΌ, Π΅ΡΠ»ΠΈ Π΄Π»ΠΈΠ½Π° ΡΠΊΠ°ΡΠ° ΠΏΡΠ΅Π²ΡΡΠ°Π΅Ρ 12 ΠΌ. ΠΡΠΎ ΡΠΎΠΆΠ΅ ΡΠ²Π»ΡΠ΅ΡΡΡ ΡΡΠ»ΠΎΠ²ΠΈΠ΅ΠΌ ΠΏΡΠΈ Π²ΡΠ±ΠΎΡΠ΅ ΠΏΡΠΎΡΠ»ΠΈΡΡΠ°. Π’ΠΎ Π΅ΡΡΡ Π²ΡΠ±ΠΈΡΠ°Π΅ΡΡΡ Π½Π°ΠΈΠ±ΠΎΠ»Π΅Π΅ ΠΎΠΏΡΠΈΠΌΠ°Π»ΡΠ½Π°Ρ Π΄Π»ΠΈΠ½Π°, ΠΊΠΎΡΠΎΡΠ°Ρ ΠΎΠ±Π΅ΡΠΏΠ΅ΡΠΈΡ Π½Π°ΠΈΠΌΠ΅Π½ΡΡΠ΅Π΅ ΠΊΠΎΠ»ΠΈΡΠ΅ΡΡΠ²ΠΎ ΡΡΡΠΊΠΎΠ² ΠΏΡΠΈ ΠΌΠΎΠ½ΡΠ°ΠΆΠ΅ ΠΊΡΠΎΠ²Π»ΠΈ ΠΈΠ· ΡΠ°ΠΊΠΎΠ³ΠΎ ΠΌΠ°ΡΠ΅ΡΠΈΠ°Π»Π°.
ΠΡΡ ΠΎΠ΄Ρ ΠΈΠ· ΡΠΎΠ³ΠΎ, ΡΡΠΎ ΠΎΠ΄ΠΈΠ½ Π»ΠΈΡΡ Π±ΡΠ΄Π΅Ρ ΠΏΠΎΠΊΡΡΠ²Π°ΡΡ Π²ΡΡ Π΄Π»ΠΈΠ½Ρ ΡΠΊΠ°ΡΠ° ΠΊΡΡΡΠΈ, ΠΏΠΎΠ΄ΡΡΠ΅Ρ ΠΎΠ±ΡΠ΅Π³ΠΎ ΠΊΠΎΠ»ΠΈΡΠ΅ΡΡΠ²Π° Π»ΠΈΡΡΠΎΠ² Π±ΡΠ΄Π΅Ρ ΠΏΡΠ΅Π΄ΡΡΠ°Π²Π»ΡΡΡ ΡΠΎΠ±ΠΎΠΉ ΡΠ΅Π·ΡΠ»ΡΡΠ°Ρ ΠΎΡ Π΄Π΅Π»Π΅Π½ΠΈΡ ΡΠΈΡΠΈΠ½Ρ ΠΊΡΡΡΠΈ Π½Π° ΡΠΈΡΠΈΠ½Ρ ΠΏΡΠΎΡΠ»ΠΈΡΡΠ°.
ΠΠ°Π»Π΅Π΅ Π² Π·Π°Π²ΠΈΡΠΈΠΌΠΎΡΡΠΈ ΠΎΡ ΡΠΈΠ½Π°Π½ΡΠΎΠ²ΡΡ Π²ΠΎΠ·ΠΌΠΎΠΆΠ½ΠΎΡΡΠ΅ΠΉ Π²Π»Π°Π΄Π΅Π»ΡΡΠ° Π΄ΠΎΠΌΠ° ΠΈ Π²ΡΠ΄Π΅Π»Π΅Π½Π½ΡΡ ΠΈΠΌ ΡΡΠ΅Π΄ΡΡΠ² Π½Π° ΡΡΡΠΎΠΈΡΠ΅Π»ΡΡΡΠ²ΠΎ ΠΊΡΠΎΠ²Π»ΠΈ ΠΈΠ· ΠΏΡΠΎΡΠ½Π°ΡΡΠΈΠ»Π° Π²ΡΠ±ΠΈΡΠ°Π΅ΡΡΡ ΠΎΠ±ΡΡΠ½ΡΠΉ ΠΎΡΠΈΠ½ΠΊΠΎΠ²Π°Π½Π½ΡΠΉ Π»ΠΈΡΡ ΠΈΠ»ΠΈ Π»ΠΈΡΡ ΡΠΎ ΡΠΏΠ΅ΡΠΈΠ°Π»ΡΠ½ΡΠΌ ΠΏΠΎΠ»ΠΈΠΌΠ΅ΡΠ½ΡΠΌ ΠΏΠΎΠΊΡΡΡΠΈΠ΅ΠΌ. Π Π°Π·Π½ΠΈΡΠ° Ρ ΡΡΠΈΡ Π΄Π²ΡΡ ΡΠΈΠΏΠΎΠ² Π±ΡΠ΄Π΅Ρ Π² Π³Π°ΡΠ°Π½ΡΠΈΡΠΎΠ²Π°Π½Π½ΠΎΠΌ ΡΡΠΎΠΊΠ΅ ΡΠ»ΡΠΆΠ±Ρ. ΠΠ΅ΡΠ²ΡΠΉ ΡΠΈΠΏ ΠΎΠ±Π΅ΡΠΏΠ΅ΡΠΈΡ ΡΠ»ΡΠΆΠ±Ρ 30 Π»Π΅Ρ, Π° Π²ΡΠΎΡΠΎΠΉ ΠΈ ΡΠΎΠ³ΠΎ Π±ΠΎΠ»Π΅Π΅ — ΠΌΠΈΠ½ΠΈΠΌΡΠΌ 40-50 Π»Π΅Ρ.
ΠΡΠ½ΠΎΠ²Π½ΡΠ΅ Π½ΡΠ°Π½ΡΡ ΠΏΡΠΈ ΡΠΎΠΎΡΡΠΆΠ΅Π½ΠΈΠΈ ΠΊΡΠΎΠ²Π»ΠΈ ΠΈΠ· ΠΏΡΠΎΡΠ»ΠΈΡΡΠ°
ΠΠΎΠ½Π°Π΄ΠΎΠ±ΡΡΡΡ ΡΠ»Π΅Π΄ΡΡΡΠΈΠ΅ ΠΌΠ°ΡΠ΅ΡΠΈΠ°Π»Ρ:
- ΠΏΡΠΎΡΠ»ΠΈΡΡ;
- ΠΌΠΈΠ½Π²Π°ΡΠ°;
- Π΄ΡΠ΅Π»Ρ.

ΠΠΎΡΡΠΎΠΈΠ½ΡΡΠ²Π° ΠΌΠΈΠ½Π΅ΡΠ°Π»ΡΠ½ΠΎΠΉ Π²Π°ΡΡ : Π½Π΅ΡΠ³ΠΎΡΠ°Π΅ΠΌΠΎΡΡΡ; Ρ ΠΎΡΠΎΡΠ°Ρ ΡΠ΅ΡΠΌΠΎΠΈΠ·ΠΎΠ»ΡΡΠΈΡ; ΠΏΠ°ΡΠΎΠΏΡΠΎΠ½ΠΈΡΠ°Π΅ΠΌΠΎΡΡΡ; Ρ ΠΎΡΠΎΡΠ°Ρ Π·Π²ΡΠΊΠΎΠΈΠ·ΠΎΠ»ΡΡΠΈΡ; ΡΡΡΠΎΠΉΡΠΈΠ²ΠΎΡΡΡ ΠΊ Β Ρ ΠΈΠΌΠΈΡΠ΅ΡΠΊΠΈΠΌΠΈ ΠΈ Π±ΠΈΠΎΠ»ΠΎΠ³ΠΈΡΠ΅ΡΠΊΠΈΠΌΠΈ (Π³ΡΡΠ·ΡΠ½Ρ, Π³ΡΠΈΠ±Ρ, Π½Π°ΡΠ΅ΠΊΠΎΠΌΡΠ΅) ΡΡΠ΅Π΄ΡΡΠ²Π°ΠΌΠΈ.
Π ΠΏΠ΅ΡΠ²ΡΡ ΠΎΡΠ΅ΡΠ΅Π΄Ρ ΠΏΡΠΈ ΠΏΠΎΠ΄Π³ΠΎΡΠΎΠ²ΠΊΠ΅ ΠΊΡΡΡΠΈ Π΄Π»Ρ ΠΌΠΎΠ½ΡΠΈΡΠΎΠ²Π°Π½ΠΈΡ ΠΏΡΠΎΡΠ»ΠΈΡΡΠ° ΡΠ΅ΠΊΠΎΠΌΠ΅Π½Π΄ΡΠ΅ΡΡΡ Π·Π°ΡΠΈΡΠΈΡΡ Π΅Π΅ Ρ ΠΏΠΎΠΌΠΎΡΡΡ Π³ΠΈΠ΄ΡΠΎ- ΠΈ ΠΏΠ°ΡΠΎΠΈΠ·ΠΎΠ»ΡΡΠΈΠΎΠ½Π½ΠΎΠΉ ΠΏΠ»Π΅Π½ΠΊΠΈ ΠΈ ΠΏΡΠΎΠ΄ΡΠΌΠ°ΡΡ, ΠΊΠ°ΠΊΠΎΠΉ Π½ΡΠΆΠ½ΠΎ Π±ΡΠ΄Π΅Ρ ΡΠ΄Π΅Π»Π°ΡΡ Π²Π΅Π½ΡΠΈΠ»ΡΡΠΈΡ. ΠΡΡΡΠ°, ΠΏΡΠΎΡΠ½Π°ΡΡΠΈΠ» Π½Π° ΠΊΠΎΡΠΎΡΡΡ ΡΠΆΠ΅ ΡΠ»ΠΎΠΆΠ΅Π½, ΠΏΠ»ΠΎΡ ΠΎ ΠΏΠΎΠ΄Π΄Π°Π΅ΡΡΡ ΠΈΠ·ΠΌΠ΅Π½Π΅Π½ΠΈΡΠΌ Π² ΠΊΠΎΠ½ΡΡΡΡΠΊΡΠΈΠΈ. ΠΠ»Π°Π³ΠΎΠ΄Π°ΡΡ ΠΏΠ»Π΅Π½ΠΊΠ΅ ΠΊΠΎΠ½Π΄Π΅Π½ΡΠ°Ρ Π½Π΅ ΠΏΠΎΠΏΠ°Π΄Π°Π΅Ρ Π½Π° ΡΡΠ΅ΠΏΠ»ΠΈΡΠ΅Π»Ρ, ΡΠ΅ΠΌ ΡΠ°ΠΌΡΠΌ ΠΏΡΠ΅Π΄ΠΎΡΠ²ΡΠ°ΡΠ°Π΅ΡΡΡ Π΅Π³ΠΎ ΠΏΡΠΎΠΌΠ΅ΡΠ·Π°Π½ΠΈΠ΅. Π’Π°ΠΊΠΈΠΌ ΠΎΠ±ΡΠ°Π·ΠΎΠΌ ΠΊΡΠΎΠ²Π»Ρ ΠΈΠ· ΠΏΡΠΎΡΠ»ΠΈΡΡΠ° ΠΏΡΠ΅Π΄ΠΎΡ ΡΠ°Π½ΡΠ΅ΡΡΡ ΠΎΡ ΠΎΠ±Π»Π΅Π΄Π΅Π½Π΅Π½ΠΈΡ Π½Π°ΡΡΠΆΠ½ΠΎΠΉ ΡΡΠΎΡΠΎΠ½Ρ ΠΊΡΡΡΠΈ, ΠΊΠΎΡΠΎΡΠ°Ρ ΠΈ ΡΠ°ΠΊ Π½Π°ΠΈΠ±ΠΎΠ»Π΅Π΅ ΠΏΠΎΠ΄Π²Π΅ΡΠΆΠ΅Π½Π° Π°ΡΠΌΠΎΡΡΠ΅ΡΠ½ΠΎΠΌΡ Π²Π»ΠΈΡΠ½ΠΈΡ.
Π’Π°ΠΊΠΆΠ΅ ΡΠ»Π΅Π΄ΡΠ΅Ρ ΡΡΠ΅ΡΡΡ ΡΠΎΡ ΡΠ°ΠΊΡ, ΡΡΠΎ Π½Π°ΠΈΠ±ΠΎΠ»Π΅Π΅ Π΄ΠΎΠ»Π³ΠΎΠ²Π΅ΡΠ½ΡΠΌ Π±ΡΠ΄Π΅Ρ ΡΠΎΡ ΠΏΡΠΎΡΠ»ΠΈΡΡ Π΄Π»Ρ ΠΊΡΠΎΠ²Π»ΠΈ, ΡΡΡΠ°Π½ΠΎΠ²ΠΊΠ° ΠΊΠΎΡΠΎΡΠΎΠ³ΠΎ ΠΏΡΠΎΠΈΠ·Π²Π΅Π΄Π΅Π½Π° Π±ΡΠ»Π° ΡΠ°ΠΊΠΈΠΌ ΠΎΠ±ΡΠ°Π·ΠΎΠΌ, ΡΡΠΎ ΠΎΡΡΠ°Π»ΠΎΡΡ Π²Π΅Π½ΡΠΈΠ»ΠΈΡΡΠ΅ΠΌΠΎΠ΅ ΠΏΡΠΎΡΡΡΠ°Π½ΡΡΠ²ΠΎ ΡΠ°Π·ΠΌΠ΅ΡΠΎΠΌ ΠΎΡ 20 Π΄ΠΎ 40 ΠΌΠΌ, ΠΈ ΠΏΡΠΎΡΠ»ΠΈΡΡ Π΄Π»Ρ ΠΊΡΠΎΠ²Π»ΠΈ Π»Π΅ΠΆΠΈΡ ΠΏΠ»ΠΎΡΠ½ΠΎ. ΠΡΠΎ ΡΠ°ΡΡΡΠΎΡΠ½ΠΈΠ΅ Π΄ΠΎΠ»ΠΆΠ½ΠΎ ΡΠΎΠ±Π»ΡΠ΄Π°ΡΡΡΡ ΠΌΠ΅ΠΆΠ΄Ρ ΠΏΡΠΎΡΠΈΠ»ΠΈΡΠΎΠ²Π°Π½Π½ΡΠΌ Π»ΠΈΡΡΠΎΠΌ ΠΈ ΡΠ»ΠΎΠ΅ΠΌ Π³ΠΈΠ΄ΡΠΎΠΈΠ·ΠΎΠ»ΡΡΠΈΠΈ. ΠΠ»Ρ Π²ΡΠΏΠΎΠ»Π½Π΅Π½ΠΈΡ ΡΡΠΎΠ³ΠΎ Π½Π΅ΠΌΠ°Π»ΠΎΠ²Π°ΠΆΠ½ΠΎΠ³ΠΎ ΡΡΠ»ΠΎΠ²ΠΈΡ ΠΊΡΡΡΡ Π½Π΅ΠΎΠ±Ρ ΠΎΠ΄ΠΈΠΌΠΎ ΠΏΡΠ΅Π΄Π²Π°ΡΠΈΡΠ΅Π»ΡΠ½ΠΎ ΠΏΠΎΠΊΡΡΡΡ ΠΎΠ±ΡΠ΅ΡΠ΅ΡΠΊΠΎΠΉ, ΠΊΠΎΡΠΎΡΠ°Ρ, Π² ΡΠ²ΠΎΡ ΠΎΡΠ΅ΡΠ΅Π΄Ρ, Π±ΡΠ΄Π΅Ρ ΡΠΈΠΊΡΠΈΡΠΎΠ²Π°ΡΡ Π³ΠΈΠ΄ΡΠΎΠΈΠ·ΠΎΠ»ΡΡΠΈΡ. Π ΡΠΎΠΌΡ ΠΆΠ΅, ΠΎΠ±ΡΠ΅ΡΠ΅ΡΠΊΠ° ΡΠ²Π»ΡΠ΅ΡΡΡ ΡΠ²ΡΠ·ΡΡΡΠΈΠΌ ΡΠ»Π΅ΠΌΠ΅Π½ΡΠΎΠΌ ΠΌΠ΅ΠΆΠ΄Ρ ΡΡΡΠΎΠΏΠΈΠ»Π°ΠΌΠΈ ΠΈ ΠΏΡΠΎΡΠ½Π°ΡΡΠΈΠ»ΠΎΠΌ.
ΠΠ»Ρ ΠΊΡΠ΅ΠΏΠ»Π΅Π½ΠΈΡ ΠΏΡΠΎΡΠ½Π°ΡΡΠΈΠ»Π° (Π»ΠΈΡΡΠ° ΠΏΡΠΎΡΠΈΠ»ΠΈΡΠΎΠ²Π°Π½Π½ΠΎΠ³ΠΎ) Π½Π΅ ΡΠ»Π΅Π΄ΡΠ΅Ρ ΠΈΡΠΏΠΎΠ»ΡΠ·ΠΎΠ²Π°ΡΡ ΠΎΠ±ΡΡΠ½ΡΠ΅ Π³Π²ΠΎΠ·Π΄ΠΈ ΠΈΠ»ΠΈ ΡΠ°ΠΌΠΎΡΠ΅Π·Ρ. ΠΡΠ»ΠΈ ΠΈΡΠΏΠΎΠ»ΡΠ·ΠΎΠ²Π°ΡΡ ΠΈΠΌΠ΅Π½Π½ΠΎ ΠΈΡ , ΡΠΎ ΠΊΡΠΎΠ²Π»ΠΈ ΠΈΠ· ΠΏΡΠΎΡΠ»ΠΈΡΡΠ° Π½Π΅ Π±ΡΠ΄ΡΡ Π³Π΅ΡΠΌΠ΅ΡΠΈΡΠ½Ρ, ΠΈ Π²Π»Π°Π³Π° Π½Π°Π²Π΅ΡΠ½ΡΠΊΠ° ΠΏΠΎΠΏΠ°Π΄Π΅Ρ ΠΏΠΎΠ΄ ΠΏΠΎΠ²Π΅ΡΡ Π½ΠΎΡΡΡ Π»ΠΈΡΡΠ°. Π§ΡΠΎΠ±Ρ ΠΈΠ·Π±Π΅ΠΆΠ°ΡΡ ΡΡΠΎΠ³ΠΎ, ΠΏΡΠΎΡΠ½Π°ΡΡΠΈΠ», Π΄ΠΎΠ»ΠΆΠ΅Π½ ΠΊΡΠ΅ΠΏΠΈΡΡΡΡ Ρ ΠΏΠΎΠΌΠΎΡΡΡ ΡΠΏΠ΅ΡΠΈΠ°Π»ΡΠ½ΡΡ ΡΠ°ΠΌΠΎΡΠ΅Π·ΠΎΠ² Ρ ΠΏΡΠΎΠΊΠ»Π°Π΄ΠΊΠΎΠΉ. Π Π½ΠΈ Π² ΠΊΠΎΠ΅ΠΌ ΡΠ»ΡΡΠ°Π΅ Π½Π΅Π»ΡΠ·Ρ Π΄ΠΎΠΏΡΡΠΊΠ°ΡΡ ΡΠΎΠ³ΠΎ, ΡΡΠΎΠ±Ρ ΡΠ°ΠΌΠΎΠ·Π΅ΡΡ Π²ΠΊΡΡΡΠΈΠ²Π°Π»ΠΈΡΡ ΠΏΠΎΠ΄ ΡΠ³Π»ΠΎΠΌ, Π½Π°ΡΡΡΠ°Ρ ΡΠ΅ΠΌ ΡΠ°ΠΌΡΠΌ Π³Π΅ΡΠΌΠ΅ΡΠΈΡΠ½ΠΎΡΡΡ Π²ΡΠ΅Π³ΠΎ ΠΏΠΎΠΊΡΡΡΠΈΡ. ΠΠ°ΠΆΠ½ΠΎ ΠΏΠΎΠ½ΠΈΠΌΠ°ΡΡ, ΡΡΠΎ ΠΊΠ°ΡΠ΅ΡΡΠ²Π΅Π½Π½ΠΎΠΉ ΡΠ²Π»ΡΠ΅ΡΡΡ ΡΠ° ΠΊΡΠΎΠ²Π»Ρ, ΠΏΡΠΎΡΠ½Π°ΡΡΠΈΠ» (Π»ΠΈΡΡ ΠΏΡΠΎΡΠΈΠ»ΠΈΡΠΎΠ²Π°Π½Π½ΡΠΉ), ΠΊΠΎΡΠΎΡΠΎΠΉ ΡΠΈΠΊΡΠΈΡΡΠ΅ΡΡΡ ΠΊ ΠΎΠ±ΡΠ΅ΡΠ΅ΡΠΊΠ΅ ΡΠΎΠ»ΡΠΊΠΎ Π² ΠΌΠ΅ΡΡΠ°Ρ ΠΏΠ»ΠΎΡΠ½ΠΎΠ³ΠΎ ΠΏΡΠΈΠ»Π΅Π³Π°Π½ΠΈΡ. Π ΡΠΎΠ»ΡΠΊΠΎ ΠΏΠΎΡΠ»Π΅ Π²ΡΠΏΠΎΠ»Π½Π΅Π½ΠΈΡ Π²ΡΠ΅Ρ ΡΡΠΈΡ ΡΡΠ»ΠΎΠ²ΠΈΠΉ ΠΊΡΠΎΠ²Π»Ρ, ΠΏΡΠΎΡΠ½Π°ΡΡΠΈΠ» Π½Π° ΠΊΠΎΡΠΎΡΠΎΠΉ Π·Π°ΠΊΡΠ΅ΠΏΠ»Π΅Π½ Π΄ΠΎΠ»ΠΆΠ½ΡΠΌ ΠΎΠ±ΡΠ°Π·ΠΎΠΌ, Π±ΡΠ΄Π΅Ρ Π·Π°ΡΠΈΡΠ΅Π½Π° ΠΏΠΎΠ»Π½ΠΎΡΡΡΡ ΠΎΡ ΠΎΡΠ°Π΄ΠΊΠΎΠ².

ΠΡΠΈ ΠΌΠΎΠ½ΡΠ°ΠΆΠ΅ ΠΊΡΠΎΠ²Π»ΠΈ ΠΈΠ· ΠΏΡΠΎΡΠ½Π°ΡΡΠΈΠ»Π° ΡΠ²ΠΎΠΈΠΌΠΈ ΡΡΠΊΠ°ΠΌΠΈ Π½Π΅ ΡΡΠΎΠΈΡ Π·Π°Π±ΡΠ²Π°ΡΡ ΠΎ Π³ΠΈΠ΄ΡΠΎΠΈΠ·ΠΎΠ»ΡΡΠΈΠΈ.
ΠΡΠ»ΠΈ Π½Π΅ ΡΠΎΠ±Π»ΡΠ΄Π°Π»Π°ΡΡ ΡΠ΅Ρ Π½ΠΎΠ»ΠΎΠ³ΠΈΡ ΡΠΊΠ»Π°Π΄ΠΊΠΈ ΠΈ ΠΈΠ½ΡΡΡΡΠΊΡΠΈΡ ΠΏΠΎ ΠΈΡΠΏΠΎΠ»ΡΠ·ΠΎΠ²Π°Π½ΠΈΡ, ΠΊΡΡΡΠ° ΠΈ ΠΏΡΠΎΡΠ½Π°ΡΡΠΈΠ» (ΠΏΡΠΎΡΠΈΠ»ΠΈΡΠΎΠ²Π°Π½Π½ΡΠΉ Π»ΠΈΡΡ), ΠΊΠΎΡΠΎΡΠΎΠΉ ΠΈΠΌΠ΅Π΅Ρ ΠΆΠ΅ΡΡΠΊΠΎΠ΅ ΠΊΡΠ΅ΠΏΠ»Π΅Π½ΠΈΠ΅, Π±ΡΠ΄ΡΡ Π²ΡΠ³Π»ΡΠ΄Π΅ΡΡ Π½Π΅ΠΊΡΠ°ΡΠΈΠ²ΠΎ. ΠΠΌΠ΅Π½Π½ΠΎ ΡΠ΅Ρ Π½ΠΎΠ»ΠΎΠ³ΠΈΡ, ΡΠΊΠ»Π°Π΄ΠΊΠ° ΠΈ ΠΈΠ½ΡΡΡΡΠΊΡΠΈΡ ΠΏΠΎ ΠΈΡΠΏΠΎΠ»ΡΠ·ΠΎΠ²Π°Π½ΠΈΡ ΠΏΠΎΠ·Π²ΠΎΠ»ΡΡΡ ΠΏΡΠ°Π²ΠΈΠ»ΡΠ½ΠΎ ΠΏΡΠΎΠΈΠ·Π²Π΅ΡΡΠΈ ΠΌΠΎΠ½ΡΠ°ΠΆ, ΠΊΠΎΠ³Π΄Π° ΠΊΠ»Π°Π΄Π΅ΡΡΡ ΠΏΡΠΎΡΠΈΠ»ΠΈΡΠΎΠ²Π°Π½Π½ΡΠΉ Π»ΠΈΡΡ.
ΠΠ΅ΠΎΠ±Ρ ΠΎΠ΄ΠΈΠΌΠΎ ΠΏΡΠ°Π²ΠΈΠ»ΡΠ½ΠΎ ΡΠ΄Π΅Π»Π°ΡΡ ΠΌΠΎΠ½ΡΠ°ΠΆ — ΠΏΡΠΎΡΠ½Π°ΡΡΠΈΠ» ΠΏΡΠΈΠΊΡΡΡΠΈΠ²Π°Π΅ΡΡΡ ΡΠ°ΠΌΠΎΡΠ΅Π·Π°ΠΌΠΈ ΠΈΠ· ΡΠ°ΡΡΠ΅ΡΠ° 5-7 ΡΡΡΠΊ Π½Π° ΠΎΠ΄ΠΈΠ½ ΠΊΠ². ΠΌ. ΠΡΡΡΠ°, ΠΏΡΠΎΡΠ½Π°ΡΡΠΈΠ» Π½Π° ΠΊΠΎΡΠΎΡΠΎΠΉ ΠΏΠ»ΠΎΡ ΠΎ Π·Π°ΠΊΡΠ΅ΠΏΠ»Π΅Π½, Π² Π±ΡΠ΄ΡΡΠ΅ΠΌ ΠΏΡΠΈΠ½Π΅ΡΠ΅Ρ Π½Π΅ΠΌΠ°Π»ΠΎ Ρ Π»ΠΎΠΏΠΎΡ, ΠΏΠΎΡΡΠΎΠΌΡ Π½Π΅ ΡΡΠΎΠΈΡ ΠΏΡΠ΅Π½Π΅Π±ΡΠ΅Π³Π°ΡΡ ΡΠ΅ΠΊΠΎΠΌΠ΅Π½Π΄Π°ΡΠΈΡΠΌΠΈ ΠΈ Π΄Π΅Π»Π°ΡΡ ΠΊΡΠ΅ΠΏΠ»Π΅Π½ΠΈΠ΅ Π»ΠΈΡΡΠ° ΠΌΠ΅Π½ΡΡΠΈΠΌ ΠΊΠΎΠ»ΠΈΡΠ΅ΡΡΠ²ΠΎΠΌ ΡΠ°ΠΌΠΎΡΠ΅Π·ΠΎΠ², ΡΠ΄Π΅Π»Π°ΡΡ ΡΡΠΎ Π½Π΅ΡΠ»ΠΎΠΆΠ½ΠΎ.
Π ΡΠΎ ΠΆΠ΅ Π²ΡΠ΅ΠΌΡ Π½Π° ΠΊΡΠ°ΡΡ ΠΊΡΡΡΠΈ ΡΠ°ΠΌΠΎΡΠ΅Π·Ρ Π²ΠΊΡΡΡΠΈΠ²Π°ΡΡΡΡ Π² ΠΊΠ°ΠΆΠ΄ΡΠΉ ΠΏΡΠΎΠΌΠ΅ΠΆΡΡΠΎΠΊ ΠΌΠ΅ΠΆΠ΄Ρ Π³ΠΎΡΡΠ°ΠΌΠΈ.
ΠΡΠΎ ΠΎΠ±ΡΡΠ»ΠΎΠ²Π»Π΅Π½ΠΎ ΡΠ΅ΠΌ, ΡΡΠΎ ΠΊΡΠΎΠ²Π»ΠΈ, ΠΏΡΠΎΡΠ½Π°ΡΡΠΈΠ» Ρ ΠΊΠΎΡΠΎΡΡΡ Π½Π°Ρ ΠΎΠ΄ΠΈΡΡΡ ΠΏΡΠΎ ΠΊΡΠ°ΡΠΌ, ΠΏΠΎΠ΄Π²Π΅ΡΠ³Π°ΡΡΡΡ Π½Π°ΠΈΠ±ΠΎΠ»ΡΡΠ΅ΠΉ Π½Π°Π³ΡΡΠ·ΠΊΠ΅ ΠΏΡΠΈ ΡΠΈΠ»ΡΠ½ΠΎΠΌ Π²Π΅ΡΡΠ΅, ΠΊΠ°ΠΊ ΠΈ ΠΊΡΡΡΠΈ, ΠΏΡΠΎΡΠ½Π°ΡΡΠΈΠ» Ρ ΠΊΠΎΡΠΎΡΡΡ Π½Π΅ Π·Π°Π³Π½ΡΡ. Π ΡΠ²ΡΠ·ΠΈ Ρ ΡΡΠΈΠΌ ΠΏΡΠΎΡΠ½Π°ΡΡΠΈΠ» ΠΌΠΎΠΆΠ΅Ρ ΠΏΡΠΎΡΡΠΎ ΡΠΎΡΠ²Π°ΡΡ Π²Π΅ΡΡΠΎΠΌ Ρ ΠΊΡΡΡΠΈ, Π½Π΅ ΡΠ»Π΅Π΄ΡΠ΅Ρ Π·Π°Π±ΡΠ²Π°ΡΡ ΠΎΠ± ΡΡΠΎΠΌ ΡΠΎΠΆΠ΅. ΠΡΠ΅ ΠΎΡΡΠ°Π»ΡΠ½ΡΠ΅ Π»ΠΈΡΡΡ ΠΊΡΠΎΠ²Π»ΠΈ ΠΈΠ· ΠΏΡΠΎΡΠ½Π°ΡΡΠΈΠ»Π° (ΡΠ°ΡΠΏΠΎΠ»ΠΎΠΆΠ΅Π½Π½ΡΠ΅ Π²Π½ΡΡΡΠΈ) ΠΌΠΎΠΆΠ½ΠΎ ΠΊΡΠ΅ΠΏΠΈΡΡ ΡΠ΅ΡΠ΅Π· ΠΎΠ΄Π½Ρ Π²ΠΎΠ»Π½Ρ, ΡΡΠΎ Π½ΠΈΠΊΠ°ΠΊΠΈΠΌ ΠΎΠ±ΡΠ°Π·ΠΎΠΌ Π½Π΅ ΠΏΠΎΠ²Π»ΠΈΡΠ΅Ρ Π½Π° ΠΆΠ΅ΡΡΠΊΠΎΡΡΡ Π΅Π΄ΠΈΠ½ΠΎΠ³ΠΎ ΠΊΠ°ΡΠΊΠ°ΡΠ°, ΠΈ ΡΠ΄Π΅Π»Π°ΡΡ ΡΡΠΎ Π½Π΅ ΡΡΡΠ΄Π½ΠΎ.

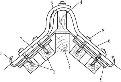
ΠΡΠΎΡΠΌΠ»Π΅Π½ΠΈΠ΅ ΠΊΠΎΠ½ΡΠΊΠ° ΡΠΈΡΠ΅ΡΠ½ΠΎΠΉ ΠΊΡΡΡΠΈ: 1 β ΡΠ΅Π½ΡΡΠ°Π»ΡΠ½ΡΠΉ Π±ΡΡΡΠΎΠΊ; 2 β Π±ΡΡΡΠΎΠΊ ΠΎΠ±ΡΠ΅ΡΠ΅ΡΠΊΠΈ; 3 β ΡΠΊΠΎΠ±Π° Π΄Π»Ρ Π»Π΅ΡΡΠ½ΠΈΡΡ;
4 β ΠΊΠΎΠ½ΡΠΊΠΎΠ²ΡΠΉ Π±ΡΡΡΠΎΠΊ; 5 β ΡΠ»ΠΎΠΉ ΡΡΠ±Π΅ΡΠΎΠΈΠ΄Π°; 6 β Π½ΠΈΠΆΠ½ΠΈΠΉ ΡΠ΄Π»ΠΈΠ½Π΅Π½Π½ΡΠΉ ΠΊΠΎΠ½Π΅ΠΊ; 7 β Π²Π΅ΡΡ
Π½ΠΈΠΉ ΡΠΊΠΎΡΠΎΡΠ΅Π½Π½ΡΠΉ ΠΊΠΎΠ½Π΅ΠΊ; 8 β Π³Π²ΠΎΠ·Π΄Ρ; 9 β Π»ΠΈΡΡ ΠΎΡΠ½ΠΎΠ²Π½ΠΎΠ³ΠΎ ΠΏΠΎΠΊΡΡΡΠΈΡ
ΠΡΠΎΠ²Π»Ρ ΠΏΡΠΎΡΠ½Π°ΡΡΠΈΠ»ΠΎΠΌ Π½Π΅Π΄ΠΎΡΡΠ°ΡΠΎΡΠ½ΠΎΠΉ Π΄Π»Ρ ΠΏΠ΅ΡΠ΅ΠΊΡΡΡΠΈΡ ΡΠΊΠ°ΡΠ° Π΄Π»ΠΈΠ½Ρ ΠΎΡΡΡΠ΅ΡΡΠ²Π»ΡΠ΅ΡΡΡ ΠΏΡΡΠ΅ΠΌ ΡΠ°ΡΠΏΠΎΠ»ΠΎΠΆΠ΅Π½ΠΈΡ Π»ΠΈΡΡΠΎΠ² Π²Π½Π°Ρ Π»Π΅ΡΡ ΠΏΠΎ ΡΠΊΠ°ΡΡ. ΠΠΈΡΡΡ Π΄ΠΎΠ»ΠΆΠ½Ρ ΠΏΠ΅ΡΠ΅ΠΊΡΡΠ²Π°ΡΡΡΡ Π½Π΅ ΠΌΠ΅Π½Π΅Π΅ ΡΠ΅ΠΌ Π½Π° 20-30 ΠΌΠΌ Ρ ΠΏΠΎΡΠ»Π΅Π΄ΡΡΡΠ΅ΠΉ Π³Π΅ΡΠΌΠ΅ΡΠΈΠ·Π°ΡΠΈΠ΅ΠΉ ΡΡΡΠΊΠ°. ΠΠ»Ρ Π³Π΅ΡΠΌΠ΅ΡΠΈΠ·Π°ΡΠΈΠΈ ΡΠΏΠ΅ΡΠΈΠ°Π»ΠΈΡΡΡ ΡΠ΅ΠΊΠΎΠΌΠ΅Π½Π΄ΡΡΡ Π±ΠΈΡΡΠΌΠ½ΡΠΉ Π³Π΅ΡΠΌΠ΅ΡΠΈΠΊ.
ΠΠ΅Π·Π°Π²ΠΈΡΠΈΠΌΠΎ ΠΎΡ ΠΊΠΎΠ½ΡΡΡΡΠΊΡΠΈΠΈ ΠΈ ΡΠ»ΠΎΠΆΠ½ΠΎΡΡΠΈ ΡΠΊΠ°ΡΠ° ΠΊΡΡΡΠΈ ΠΏΡΠΎΡΠ½Π°ΡΡΠΈΠ» Π΄ΠΎΠ»ΠΆΠ΅Π½ Π±ΡΡΡ ΡΠ°ΡΠΏΠΎΠ»ΠΎΠΆΠ΅Π½ Π³ΠΎΡΠΈΠ·ΠΎΠ½ΡΠ°Π»ΡΠ½ΠΎ. ΠΡΠΈ ΡΡΠΎΠΌ Π½Π΅ΠΎΠ±Ρ ΠΎΠ΄ΠΈΠΌΠΎ ΠΏΠΎΠ»Π½ΠΎΡΡΡΡ ΡΠΎΠ±Π»ΡΠ΄Π°ΡΡ ΡΠ΅Ρ Π½ΠΈΠΊΡ Π±Π΅Π·ΠΎΠΏΠ°ΡΠ½ΠΎΡΡΠΈ. Π£ΠΊΠ»Π°Π΄ΠΊΠ° ΠΏΡΠΎΡΠ½Π°ΡΡΠΈΠ»Π°, ΠΊΠΎΡΠΎΡΡΠΉ Π½Π΅ Π²ΡΡΡΡΠΏΠ°Π΅Ρ Π½Π° 40 ΠΌΠΌ Π·Π° ΠΊΠ°ΡΠ½ΠΈΠ·, ΡΡΠΈΡΠ°Π΅ΡΡΡ Π½Π΅ΠΏΡΠ°Π²ΠΈΠ»ΡΠ½ΠΎ Π²ΡΠΏΠΎΠ»Π½Π΅Π½Π½ΠΎΠΉ, ΡΠ°ΠΊ ΠΊΠ°ΠΊ ΠΌΠ΅Π½Π΅Π΅ ΡΡΠΎΠ³ΠΎ Π·Π°Π·ΠΎΡΠ° ΠΌΠΎΠΆΠ΅Ρ Π½Π΅ Ρ Π²Π°ΡΠΈΡΡ Π΄Π»Ρ ΠΎΡΠΎΡΠΌΠ»Π΅Π½ΠΈΡ Π²Π΅ΡΡΠΎΠ²ΠΎΠΉ ΡΠ΅ΠΉΠΊΠΈ.
ΠΡΠΈΠΌΡΠΊΠ°Π½ΠΈΠ΅ ΡΠΊΠ°ΡΠ° ΠΊΡΡΡΠΈ ΠΊ ΡΡΠ΅Π½Π΅
ΠΠ΅ΡΡΠ° ΠΏΡΠΈΠΌΡΠΊΠ°Π½ΠΈΡ ΠΊΡΠΎΠ²Π»ΠΈ ΠΊ ΡΡΠ΅Π½Π΅ ΠΊΡΡΡΠΈ ΡΠ²Π»ΡΡΡΡΡ Π·ΠΎΠ½Π°ΠΌΠΈ ΠΏΠΎΠ²ΡΡΠ΅Π½Π½ΠΎΠ³ΠΎ ΡΠΈΡΠΊΠ° Π½Π° ΠΏΡΠ΅Π΄ΠΌΠ΅Ρ ΠΏΡΠΎΡΠ΅ΡΠ΅ΠΊ.
ΠΠ½ΠΎΠ³Π΄Π° ΡΠ»ΡΡΠ°Π΅ΡΡΡ ΡΠ°ΠΊ, ΡΡΠΎ ΠΊΡΠΎΠ²Π»Ρ ΠΈΠ· ΠΏΡΠΎΡΠ»ΠΈΡΡΠ° ΠΏΡΠΈΠΌΡΠΊΠ°Π΅Ρ ΠΊ ΡΡΠ΅Π½Π΅. ΠΡΠ»ΠΈ Π±ΡΠ»ΠΈ ΡΠ΄Π΅Π»Π°Π½Ρ Π½Π΅ΠΏΡΠ°Π²ΠΈΠ»ΡΠ½ΡΠ΅ ΡΠ°ΡΡΠ΅ΡΡ, Π½Π΅Π²Π΅ΡΠ½Π°Ρ ΠΈΠ½ΡΡΡΡΠΊΡΠΈΡ, ΠΏΠ»ΠΎΡ ΠΎΠ΅ ΠΊΡΠ΅ΠΏΠ»Π΅Π½ΠΈΠ΅ ΠΈ Π½Π΅ΡΠΎΡΠ½Π°Ρ ΡΠΊΠ»Π°Π΄ΠΊΠ°, ΡΠΎ ΠΏΡΠΎΡΠ»ΠΈΡΡ Π΄Π»Ρ ΠΊΡΠΎΠ²Π»ΠΈ Π»ΡΠΆΠ΅Ρ ΠΊΡΠΈΠ²ΠΎ, ΠΊΠ°ΠΊΠΎΠ΅ Π±Ρ Π΄ΠΎΡΠΎΠ³ΠΎΠ΅ ΠΊΡΠ΅ΠΏΠ»Π΅Π½ΠΈΠ΅ Π½ΠΈ Π±ΡΠ»ΠΎ ΠΈ ΠΊΠ°ΠΊ Π±Ρ ΡΠΎΡΠ½ΠΎ Π½ΠΈ ΡΠΎΠ±Π»ΡΠ΄Π°Π»Π°ΡΡ ΡΠΊΠ»Π°Π΄ΠΊΠ°. Π ΡΠ°ΠΊΠΎΠΌ ΡΠ»ΡΡΠ°Π΅ ΡΡΠΎΡ ΡΡΡΠΊ ΡΠΊΡΡΠ²Π°Π΅ΡΡΡ (ΠΊΡΠ΅ΠΏΠ»Π΅Π½ΠΈΠ΅ ΡΠΎΠΆΠ΅) Ρ ΠΏΠΎΠΌΠΎΡΡΡ ΡΠΏΠ΅ΡΠΈΠ°Π»ΡΠ½ΠΎΠΉ ΡΠ³Π»ΠΎΠ²ΠΎΠΉ ΠΏΠ»Π°Π½ΠΊΠΈ (ΡΠ΄Π΅Π»Π°ΡΡ ΠΊΡΠ΅ΠΏΠ»Π΅Π½ΠΈΠ΅ Π½Π΅ ΡΠΎΡΡΠ°Π²ΠΈΡ ΡΡΡΠ΄Π°). Π’Π΅ΠΌ Π²ΡΠ΅ΠΌΠ΅Π½Π΅ΠΌ ΡΠ³Π»ΠΎΠ²Π°Ρ ΠΏΠ»Π°Π½ΠΊΠ° Π΄ΠΎΠ»ΠΆΠ½Π° ΡΠΊΠ»Π°Π΄ΡΠ²Π°ΡΡΡΡ, ΠΏΠ΅ΡΠ΅ΠΊΡΡΠ²Π°Ρ Π΄ΡΡΠ³ Π΄ΡΡΠ³Π° Π½Π° 10-15 ΡΠΌ Ρ ΡΠ°Π³ΠΎΠΌ ΠΎΡ 20 Π΄ΠΎ 30 ΡΠΌ (Π΅ΡΠ»ΠΈ ΡΠΎΠ±Π»ΡΠ΄Π°Π΅ΡΡΡ ΡΡ Π΅ΠΌΠ° ΡΠΊΠ»Π°Π΄ΠΊΠΈ). Π Π·Π°Π²ΠΈΡΠΈΠΌΠΎΡΡΠΈ ΠΎΡ ΡΠ³Π»Π° ΠΏΡΠΈΠΌΡΠΊΠ°Π½ΠΈΡ ΠΈ ΠΎΡ ΡΠΎΠ³ΠΎ, ΠΊΠ°ΠΊΠΎΠ²Π° ΡΡΡΠ°Π½ΠΎΠ²ΠΊΠ° Π»ΠΈΡΡΠΎΠ², Π²ΡΠ±ΠΈΡΠ°Π΅ΡΡΡ ΠΏΠ»Π°Π½ΠΊΠ° Ρ ΡΡΠΏΡΠΌ ΠΈΠ»ΠΈ ΠΏΡΡΠΌΡΠΌ ΡΠ³Π»ΠΎΠΌ. ΠΡΠ΅ΠΏΠΈΡΡΡ ΡΠ°ΠΊΠ°Ρ ΠΏΠ»Π°Π½ΠΊΠ° ΡΠ°ΠΌΠΎΡΠ΅Π·Π°ΠΌΠΈ Ρ Π³Π΅ΡΠΌΠ΅ΡΠΈΠ·Π°ΡΠΈΠ΅ΠΉ Ρ ΠΏΠΎΠΌΠΎΡΡΡ ΡΠΈΠ»ΠΈΠΊΠΎΠ½Π°, ΠΏΡΠΈ ΡΡΠΎΠΌ ΡΠΎΠ±Π»ΡΠ΄Π°Π΅ΡΡΡ Π²Π΅Π½ΡΠΈΠ»ΡΡΠΈΡ ΠΏΠΎΠ΄ΠΊΡΠΎΠ²Π΅Π»ΡΠ½ΠΎΠ³ΠΎ ΠΏΡΠΎΡΡΡΠ°Π½ΡΡΠ²Π°.
Π€ΠΈΠ½Π°Π»ΡΠ½Π°Ρ ΡΠ°ΡΡΡ, ΠΎΡΠΎΡΠΌΠ»Π΅Π½ΠΈΠ΅ ΠΊΠΎΠ½ΡΠΊΠ°
ΠΠΎΠ³Π΄Π° ΡΠΌΠΎΠ½ΡΠΈΡΠΎΠ²Π°Π½Ρ ΡΠ»Π΅ΠΌΠ΅Π½ΡΡ ΠΊΡΡΡΠΈ, ΠΏΡΠΎΡΠ½Π°ΡΡΠΈΠ» ΡΠ»ΠΎΠΆΠ΅Π½ Ρ ΡΠΎΠ±Π»ΡΠ΄Π΅Π½ΠΈΠ΅ΠΌ Π²ΡΠ΅Ρ ΠΏΡΠ°Π²ΠΈΠ», ΠΎΡΡΠ°Π΅ΡΡΡ ΡΠΎΠ»ΡΠΊΠΎ ΠΎΡΠΎΡΠΌΠΈΡΡ ΠΊΠΎΠ½Π΅ΠΊ. Π£ΠΊΠ»Π°Π΄ΠΊΠ° ΠΊΠΎΠ½ΡΠΊΠ° Π½Π΅ΠΎΠ±Ρ ΠΎΠ΄ΠΈΠΌΠ° ΠΈ ΠΏΡΠΎΠΈΠ·Π²ΠΎΠ΄ΠΈΡΡΡ Ρ Π½Π°Ρ Π»Π΅ΡΡΠΎΠΌ 15-20 ΡΠΌ, ΡΠΊΠ»Π°Π΄ΠΊΡ ΠΏΡΠΈ ΡΡΠΎΠΌ Π½Π°ΡΠΈΠ½Π°ΡΡ Ρ ΠΏΠΎΠ΄Π²Π΅ΡΡΠ΅Π½Π½ΠΎΠΉ ΡΡΠΎΡΠΎΠ½Ρ ΠΊΡΡΡΠΈ. ΠΡΠΎΡΠ½Π°ΡΡΠΈΠ» ΠΏΡΠΈ ΡΡΠΎΠΌ ΠΏΡΠΈΠΊΡΡΡΠΈΠ²Π°Π΅ΡΡΡ Ρ ΡΡΠΈΠ»ΠΈΠ΅ΠΌ.
ΠΠ±ΡΠ°ΡΠ°Π΅ΡΡΡ Π²Π½ΠΈΠΌΠ°Π½ΠΈΠ΅ Π½Π° ΡΠΎ, ΡΡΠΎ Π΄Π»Ρ ΠΊΠΎΠ½ΡΠΊΠ° Π½ΡΠΆΠ½ΠΎ ΠΈΡΠΏΠΎΠ»ΡΠ·ΠΎΠ²Π°ΡΡ ΡΠ°ΠΌΠΎΡΠ΅Π·Ρ ΡΠΎ ΡΠΏΠ΅ΡΠΈΠ°Π»ΡΠ½ΡΠΌΠΈ ΠΏΡΠΎΠΊΠ»Π°Π΄ΠΊΠ°ΠΌΠΈ, ΡΠ°ΠΊΠΈΠ΅ ΠΆΠ΅, ΠΊΠ°ΠΊ ΠΈ Π΄Π»Ρ ΠΏΡΠΎΡΠ»ΠΈΡΡΠ°, Π½ΠΎ Π±ΠΎΠ»ΡΡΠ΅ΠΉ Π΄Π»ΠΈΠ½Ρ. Π¨Π°Π³ ΡΠΊΠ»Π°Π΄ΠΊΠΈ Π²ΡΠ΄Π΅ΡΠΆΠΈΠ²Π°Π΅ΡΡΡ Π² ΠΏΡΠ΅Π΄Π΅Π»Π°Ρ ΠΎΡ 20 Π΄ΠΎ 30 ΡΠΌ. ΠΠ»Ρ ΡΡΡΠ΅ΠΊΡΠΈΠ²Π½ΠΎΡΡΠΈ Π³Π΅ΡΠΌΠ΅ΡΠΈΠ·Π°ΡΠΈΠΈ ΠΌΠ΅ΠΆΠ΄Ρ ΡΠ»Π΅ΠΌΠ΅Π½ΡΠ°ΠΌΠΈ ΠΊΡΡΡΠΈ, ΠΏΡΠΎΡΠ½Π°ΡΡΠΈΠ»ΠΎΠΌ ΠΈ ΠΊΠΎΠ½ΡΠΊΠΎΠΌ ΡΠΊΠ»Π°Π΄ΡΠ²Π°Π΅ΡΡΡ ΠΊΡΠΎΠ²Π΅Π»ΡΠ½ΡΠΉ ΡΠΏΠ»ΠΎΡΠ½ΠΈΡΠ΅Π»Ρ.
ΠΡΠΎΡΠΈΠ»ΠΈΡΠΎΠ²Π°Π½Π½ΡΠΉ Π»ΠΈΡΡ ΠΊΠ°ΠΊ Π·Π°ΠΌΠ΅Π½Π° ΠΆΠ΅Π»Π΅Π·ΠΎΠ±Π΅ΡΠΎΠ½Π½ΡΡ ΠΏΠ»ΠΈΡ
ΠΡΡΡΠΈ, ΠΏΡΠΎΡΠ½Π°ΡΡΠΈΠ» ΠΊΠΎΡΠΎΡΡΡ Ρ ΠΎΡΠΎΡΠΎ ΡΠ»ΠΎΠΆΠ΅Π½, ΠΎΠ±Π»Π°Π΄Π°ΡΡ ΡΡΠ΄ΠΎΠΌ Π΄ΠΎΡΡΠΎΠΈΠ½ΡΡΠ² Π² ΠΎΡΠ»ΠΈΡΠΈΠ΅ ΠΎΡ ΠΆΠ΅Π»Π΅Π·ΠΎΠ±Π΅ΡΠΎΠ½Π½ΡΡ ΠΏΠ»ΠΈΡ ΠΈ Π°Π½Π°Π»ΠΎΠ³ΠΈΡΠ½ΡΡ ΠΊΠΎΠ½ΡΡΡΡΠΊΡΠΈΠΉ. ΠΡΠΎΠ²Π»Ρ ΠΈΠ· ΠΏΡΠΎΡΠ»ΠΈΡΡΠ° — Π»ΡΡΡΠ°Ρ Π·Π°ΠΌΠ΅Π½Π° ΠΆΠ΅Π»Π΅Π·ΠΎΠ±Π΅ΡΠΎΠ½Π½ΠΎΠΉ. Π ΠΏΠ΅ΡΠ²ΡΡ ΠΎΡΠ΅ΡΠ΅Π΄Ρ ΡΡΠΎ, ΠΊΠΎΠ½Π΅ΡΠ½ΠΎ ΠΆΠ΅, Π±ΡΡΡΡΠΎΡΠ° ΠΈ Π»Π΅Π³ΠΊΠΎΡΡΡ ΠΌΠΎΠ½ΡΠ°ΠΆΠ°. ΠΠ½Π° ΠΏΡΠ΅ΠΊΡΠ°ΡΠ½ΠΎ ΠΌΠΎΠΆΠ΅Ρ ΡΠ»ΡΠΆΠΈΡΡ ΠΎΡΠ½ΠΎΠ²Π°Π½ΠΈΠ΅ΠΌ Π΄Π»Ρ ΡΠΊΠ»Π°Π΄ΠΊΠΈ Π½Π° Π½Π΅Π³ΠΎ ΠΏΠ°ΡΠΎΠΈΠ·ΠΎΠ»ΡΡΠΈΠΈ, ΡΡΠ΅ΠΏΠ»ΠΈΡΠ΅Π»Ρ ΠΈ ΡΡΡΠΆΠΊΠΈ. ΠΠΎΠ³Π΄Π° ΡΡΠ΅ΠΏΠ»ΠΈΡΠ΅Π»Ρ Π·Π°ΠΏΠΎΠ»Π½ΡΠ΅Ρ Π²ΠΎΠ»Π½Ρ ΠΏΡΠΎΡΠΈΠ»ΡΠ½ΠΎΠ³ΠΎ Π»ΠΈΡΡΠ°, ΡΠΎΠ·Π΄Π°Π΅ΡΡΡ ΡΡΡΠ΅ΠΊΡ ΡΠ΅Π±Π΅Ρ ΠΆΠ΅ΡΡΠΊΠΎΡΡΠΈ, ΡΠ°ΠΊΠΈΠΌ ΠΎΠ±ΡΠ°Π·ΠΎΠΌ ΠΏΡΠΎΡΠ»ΠΈΡΡ Π΄Π»Ρ ΠΊΡΠΎΠ²Π»ΠΈ ΠΏΡΠ΅Π²ΡΠ°ΡΠ°Π΅ΡΡΡ Π² ΡΠΏΠ»ΠΎΡΠ½ΠΎΠΉ ΠΌΠΎΠ½ΠΎΠ»ΠΈΡΠ½ΡΠΉ ΠΊΠ°ΡΠΊΠ°Ρ, ΠΊΠΎΡΠΎΡΡΠΉ Π½Π΅ Π±ΠΎΠΈΡΡΡ Π½Π°Π³ΡΡΠ·ΠΎΠΊ ΠΈ ΠΏΡΠΎΡΠ»ΡΠΆΠΈΡ Π΄ΠΎΠ»Π³ΠΈΠ΅ Π³ΠΎΠ΄Ρ. ΠΠΌΠ΅Π½Π½ΠΎ ΠΏΡΠΎΡΠ»ΠΈΡΡΡ Π΄Π»Ρ ΠΊΡΠΎΠ²Π»ΠΈ Π±ΡΠ΄ΡΡ Π½Π°ΠΈΠ±ΠΎΠ»Π΅Π΅ ΠΎΠΏΡΠΈΠΌΠ°Π»ΡΠ½ΡΠΌΠΈ ΠΏΡΠΈ ΡΡΡΠΎΠΈΡΠ΅Π»ΡΡΡΠ²Π΅ ΠΊΡΡΡΠΈ ΠΈ ΡΠΎΠΎΡΠ²Π΅ΡΡΡΠ²ΠΎΠ²Π°ΡΡ ΡΡΠ΅Π±ΠΎΠ²Π°Π½ΠΈΡΠΌ ΡΠ΅Π½Ρ ΠΈ ΠΊΠ°ΡΠ΅ΡΡΠ²Π°. Π‘Π»Π΅Π΄ΡΠ΅Ρ ΠΏΡΠΈΠ½ΡΡΡ Π²ΠΎ Π²Π½ΠΈΠΌΠ°Π½ΠΈΠ΅, ΡΡΠΎ ΡΡΠ΅ΠΏΠ»Π΅Π½Π½Π°Ρ ΠΊΡΠΎΠ²Π»Ρ ΠΈΠ· ΠΏΡΠΎΡΠ½Π°ΡΡΠΈΠ»Π° ΠΏΠΎΠΌΠΎΠΆΠ΅Ρ ΠΏΡΠΎΠ΄Π»ΠΈΡΡ ΡΠΊΡΠΏΠ»ΡΠ°ΡΠ°ΡΠΈΠΎΠ½Π½ΡΠΉ ΡΡΠΎΠΊ Π²ΡΠ΅Π³ΠΎ Π·Π΄Π°Π½ΠΈΡ.
1profnastil.ru
ΠΡΠΎΠ²Π΅Π»ΡΠ½ΡΠΉ ΠΏΡΠΎΡΠ½Π°ΡΡΠΈΠ» ΠΎΡΠΈΠ½ΠΊΠΎΠ²Π°Π½Π½ΡΠΉ: ΡΠ°Π·ΠΌΠ΅ΡΡ, ΠΌΠ°ΡΠ΅ΡΠΈΠ°Π»Ρ Π΄Π»Ρ ΠΊΡΠΎΠ²Π»ΠΈ
ΠΠΎΠ½ΡΠ°Π²ΠΈΠ»Π°ΡΡ ΡΡΠ°ΡΡΡ? Π‘Π»Π΅Π΄ΠΈΡΠ΅ Π·Π° Π½ΠΎΠ²ΡΠΌΠΈ ΠΈΠ΄Π΅ΡΠΌΠΈ ΠΈΠ· ΠΌΠΈΡΠ° Π΄ΠΈΠ·Π°ΠΉΠ½Π° ΠΈΠ½ΡΠ΅ΡΡΠ΅ΡΠΎΠ², Π° ΡΠ°ΠΊ ΠΆΠ΅ ΠΏΠΎΠ»Π΅Π·Π½ΡΡ ΡΠΎΠ²Π΅ΡΠΎΠ² Π² Π½Π°ΡΠ΅ΠΌ ΠΊΠ°Π½Π°Π»Π΅. ΠΠΎΠ΄ΠΏΠΈΡΡΠ²Π°ΠΉΡΠ΅ΡΡ Π½Π° Π½Π°Ρ Π² Π―Π½Π΄Π΅ΠΊΡ.ΠΠ·Π΅Π½Π΅. ΠΠΎΠ΄ΠΏΠΈΡΠ°ΡΡΡΡ.
Π‘ΡΠ΅Π΄ΠΈ ΠΏΠΎΠΏΡΠ»ΡΡΠ½ΡΡ
ΡΠ΅Π³ΠΎΠ΄Π½Ρ ΠΌΠ°ΡΠ΅ΡΠΈΠ°Π»ΠΎΠ² Π΄Π»Ρ ΠΎΠ±ΡΡΡΡΠΎΠΉΡΡΠ²Π° ΠΊΡΠΎΠ²Π»ΠΈ ΠΎΡΠΎΠ±ΠΎΠ΅ ΠΌΠ΅ΡΡΠΎ Π·Π°Π½ΠΈΠΌΠ°Π΅Ρ ΠΎΡΠΈΠ½ΠΊΠΎΠ²Π°Π½Π½ΡΠΉ ΠΊΡΠΎΠ²Π΅Π»ΡΠ½ΡΠΉ ΠΏΡΠΎΡΠ½Π°ΡΡΠΈΠ».
ΠΠ»Π°Π³ΠΎΠ΄Π°ΡΡ ΡΠ²ΠΎΠΈΠΌ ΡΠΊΡΠΏΠ»ΡΠ°ΡΠ°ΡΠΈΠΎΠ½Π½ΡΠΌ ΠΊΠ°ΡΠ΅ΡΡΠ²Π°ΠΌ, ΡΡΡΠ΅ΡΠΈΡΠ½ΠΎΠΌΡ Π²Π½Π΅ΡΠ½Π΅ΠΌΡ Π²ΠΈΠ΄Ρ, ΡΠΊΠΎΠ»ΠΎΠ³ΠΈΡΠ½ΠΎΡΡΠΈ, Π° ΡΠ°ΠΊΠΆΠ΅Β β ΡΠΌΠ΅ΡΠ΅Π½Π½ΠΎΠΉ ΡΡΠΎΠΈΠΌΠΎΡΡΠΈ ΠΏΡΠΎΡΠ½Π°ΡΡΠΈΠ» ΡΠ²Π»ΡΠ΅ΡΡΡ Π²ΠΎΡΡΡΠ΅Π±ΠΎΠ²Π°Π½Π½ΡΠΌ ΠΌΠ°ΡΠ΅ΡΠΈΠ°Π»ΠΎΠΌ Π² ΡΠ°ΡΡΠ½ΠΎΠΌ ΡΡΡΠΎΠΈΡΠ΅Π»ΡΡΡΠ²Π΅.
Π Π΄Π°Π½Π½ΠΎΠΉ ΡΡΠ°ΡΡΠ΅ ΠΌΡ ΡΠ°ΡΡΠΊΠ°ΠΆΠ΅ΠΌ Π²Π°ΠΌ ΠΎ ΠΏΡΠ΅ΠΈΠΌΡΡΠ΅ΡΡΠ²Π°Ρ ΠΏΡΠΎΡΠ½Π°ΡΡΠΈΠ»Π°, Π° ΡΠ°ΠΊΠΆΠ΅ β ΠΎΠ± ΠΎΡΠΎΠ±Π΅Π½Π½ΠΎΡΡΡΡ ΡΠ°Π±ΠΎΡΡ ΡΡΠΈΠΌ Ρ ΠΊΡΠΎΠ²Π΅Π»ΡΠ½ΡΠΌ ΠΌΠ°ΡΠ΅ΡΠΈΠ°Π»ΠΎΠΌ.
Π§ΡΠΎ ΡΠ°ΠΊΠΎΠ΅ ΠΏΡΠΎΡΠ½Π°ΡΡΠΈΠ»?
ΠΠ»Ρ Π½Π°ΡΠ°Π»Π° Π½Π΅ΠΎΠ±Ρ ΠΎΠ΄ΠΈΠΌΠΎ ΡΠ°Π·ΠΎΠ±ΡΠ°ΡΡΡΡ, ΡΡΠΎ ΠΆΠ΅ ΠΏΡΠ΅Π΄ΡΡΠ°Π²Π»ΡΠ΅Ρ ΡΠΎΠ±ΠΎΠΉ ΠΏΡΠΎΡΠ½Π°ΡΡΠΈΠ» Π΄Π»Ρ ΠΊΡΠΎΠ²Π»ΠΈ?

ΠΡΠΎΡΠ½Π°ΡΡΠΈΠ»
ΠΡΠΎΡΠ½Π°ΡΡΠΈΠ» β ΡΡΠΎ ΠΌΠ΅ΡΠ°Π»Π»ΠΈΡΠ΅ΡΠΊΠΈΠΉ Π»ΠΈΡΡ ΡΠΎΠ»ΡΠΈΠ½ΠΎΠΉ Π΄ΠΎ ΠΎΡ 0,5 Π΄ΠΎ 1,2 ΠΌΠΌ Ρ ΡΠΈΠ½ΠΊΠΎΠ²ΡΠΌ, Π°Π»ΡΠΌΠΎΡΠΈΠ½ΠΎΠΊΠΎΠ²ΡΠΌ, ΠΏΠΎΠ»ΠΈΠΌΠ΅ΡΠ½ΡΠΌ ΠΈΠ»ΠΈ ΠΊΠΎΠΌΠ±ΠΈΠ½ΠΈΡΠΎΠ²Π°Π½Π½ΡΠΌ ΠΏΠΎΠΊΡΡΡΠΈΠ΅ΠΌ, ΠΏΠΎΠ΄Π²Π΅ΡΠ³Π½ΡΡΡΠΉ Ρ ΠΎΠ»ΠΎΠ΄Π½ΠΎΠΉ Π³ΠΈΠ±ΠΊΠ΅ ΠΏΠΎ ΠΎΠΏΡΠ΅Π΄Π΅Π»Π΅Π½Π½ΠΎΠΌΡ ΠΏΡΠΎΡΠΈΠ»Ρ.
Π ΡΠ΅Π·ΡΠ»ΡΡΠ°ΡΠ΅ Π³ΠΈΠ±ΠΊΠΈ Π½Π° Π»ΠΈΡΡΠ΅ ΠΊΡΠΎΠ²Π΅Π»ΡΠ½ΠΎΠ³ΠΎ ΠΏΡΠΎΡΠ½Π°ΡΡΠΈΠ»Π° ΡΠΎΡΠΌΠΈΡΡΡΡΡΡ Π³ΠΎΡΡΡ β ΡΡΠ°ΠΏΠ΅ΡΠΈΠ΅Π²ΠΈΠ΄Π½ΡΠ΅ ΠΏΡΠΎΠ΄ΠΎΠ»ΡΠ½ΡΠ΅ ΡΠ΅Π±ΡΠ° ΠΆΠ΅ΡΡΠΊΠΎΡΡΠΈ, ΠΊΠΎΡΠΎΡΡΠ΅ ΠΈ ΠΏΡΠΈΠ΄Π°ΡΡ ΠΏΡΠΎΡΠ½Π°ΡΡΠΈΠ»Ρ ΠΏΡΠΎΡΠ½ΠΎΡΡΡ ΠΈ ΡΡΠ°Π±ΠΈΠ»ΡΠ½ΡΡ Π³Π΅ΠΎΠΌΠ΅ΡΡΠΈΡ.
ΠΡΠΎΡΠΈΠ»Ρ ΡΠ΅Π±Π΅Ρ ΠΆΠ΅ΡΡΠΊΠΎΡΡΠΈ, Π° ΡΠ°ΠΊΠΆΠ΅ ΠΈΡ Π²ΡΡΠΎΡΠ° ΠΈ ΠΎΠΏΡΠ΅Π΄Π΅Π»ΡΡΡ, Π½Π°ΡΠΊΠΎΠ»ΡΠΊΠΎ ΠΏΡΠΎΡΠ½ΡΠΌ Π±ΡΠ΄Π΅Ρ ΠΏΡΠΎΡΠ½Π°ΡΡΠΈΠ» ΠΊΡΠΎΠ²Π΅Π»ΡΠ½ΡΠΉ:Β ΡΠ°Π·ΠΌΠ΅ΡΡ ΡΠ΅Π±Π΅Ρ ΠΏΡΡΠΌΠΎ ΠΏΡΠΎΠΏΠΎΡΡΠΈΠΎΠ½Π°Π»ΡΠ½Ρ ΠΏΡΠΎΡΠ½ΠΎΡΡΠΈ ΡΠ°ΠΌΠΎΠ³ΠΎ Π»ΠΈΡΡΠ°. ΠΠ°ΠΈΠ±ΠΎΠ»Π΅Π΅ ΡΠ°ΡΠΏΡΠΎΡΡΡΠ°Π½Π΅Π½Π½ΡΠ΅ ΡΠ°Π·ΠΌΠ΅ΡΡ ΠΏΡΠΎΡΠΈΠ»ΠΈΡΠΎΠ²Π°Π½ΠΈΡ Π΄Π»Ρ ΠΊΡΠΎΠ²Π΅Π»ΡΠ½ΡΡ ΠΌΠΎΠ΄Π΅Π»Π΅ΠΉ ΠΏΡΠΎΡΠ½Π°ΡΡΠΈΠ»Π° β 10, 20, 45 ΠΈ 57 ΠΌΠΌ.
ΠΠ»Ρ ΠΎΠ±ΡΡΡΡΠΎΠΉΡΡΠ²Π° ΠΊΡΠΎΠ²Π»ΠΈ ΡΠ°ΡΠ΅ Π²ΡΠ΅Π³ΠΎ ΠΏΡΠΈΠΌΠ΅Π½ΡΡΡΡΡ Π»ΠΈΡΡΡ ΠΏΡΠΎΡΠ½Π°ΡΡΠΈΠ»Π° Ρ ΡΠ΅Π±ΡΠ°ΠΌΠΈ Π½Π΅Π±ΠΎΠ»ΡΡΠΎΠ³ΠΎ ΡΠ°Π·ΠΌΠ΅ΡΠ° (Π±Π»Π°Π³ΠΎ, ΠΊΡΠΎΠ²Π΅Π»ΡΠ½ΠΎΠ΅ ΠΏΠΎΠΊΡΡΡΠΈΠ΅ Π½Π΅ ΡΡΠ΅Π±ΡΠ΅Ρ Π²ΡΡΠΎΠΊΠΈΡ Π½Π΅ΡΡΡΠΈΡ Ρ Π°ΡΠ°ΠΊΡΠ΅ΡΠΈΡΡΠΈΠΊ), ΠΎΡΠΈΠ½ΠΊΠΎΠ²Π°Π½Π½ΡΠ΅ ΠΈΠ»ΠΈ ΠΏΠΎΠΊΡΡΡΡΠ΅ ΠΏΠΎΠ»ΠΈΠΌΠ΅ΡΠ½ΡΠΌ ΡΠΎΡΡΠ°Π²ΠΎΠΌ.
ΠΠ°ΠΊ ΡΠΈΠ½ΠΊΠΎΠ²ΠΎΠ΅, ΡΠ°ΠΊ ΠΈ ΠΏΠΎΠ»ΠΈΠΌΠ΅ΡΠ½ΠΎΠ΅ ΠΏΠΎΠΊΡΡΡΠΈΠ΅ Π²ΡΠΏΠΎΠ»Π½ΡΡΡ Π²Π°ΠΆΠ½ΡΡ ΡΡΠ½ΠΊΡΠΈΡ β Π·Π°ΡΠΈΡΡ ΠΌΠ΅ΡΠ°Π»Π»ΠΈΡΠ΅ΡΠΊΠΎΠΉ ΠΎΡΠ½ΠΎΠ²Ρ ΠΏΡΠΎΡΠ½Π°ΡΡΠΈΠ»Π° ΠΎΡ ΠΊΠΎΡΡΠΎΠ·ΠΈΠΈ ΠΏΡΠΈ Π²ΠΎΠ·Π΄Π΅ΠΉΡΡΠ²ΠΈΠΈ Π°ΡΠΌΠΎΡΡΠ΅ΡΠ½ΠΎΠΉ Π²Π»Π°Π³ΠΈ. ΠΡΠΎΠΌΠ΅ ΡΠΎΠ³ΠΎ, ΠΈΠΌΠ΅Π½Π½ΠΎ Π΄Π»Ρ ΠΊΡΠΎΠ²Π΅Π»ΡΠ½ΠΎΠ³ΠΎ ΠΏΡΠΎΡΠ½Π°ΡΡΠΈΠ»Π° ΠΏΠΎΠ»ΠΈΠΌΠ΅ΡΠ½ΠΎΠ΅ ΠΏΠΎΠΊΡΡΡΠΈΠ΅ Π²ΡΠΏΠΎΠ»Π½ΡΠ΅Ρ Π²Π°ΠΆΠ½ΡΡ Π΄Π΅ΠΊΠΎΡΠ°ΡΠΈΠ²Π½ΡΡ ΡΡΠ½ΠΊΡΠΈΡ.
ΠΠΎΠΊΡΡΡΠ°Ρ ΡΠ°ΠΊΠΈΠΌ ΠΌΠ°ΡΠ΅ΡΠΈΠ°Π»ΠΎΠΌ ΠΊΡΡΡΠ° ΠΈΠ· ΠΏΡΠΎΡΠ½Π°ΡΡΠΈΠ»Π° ΡΠ²ΠΎΠΈΠΌΠΈ ΡΡΠΊΠ°ΠΌΠΈ Π±ΡΠ΄Π΅Ρ Π΄ΠΎΠ»Π³ΠΎΠ΅ Π²ΡΠ΅ΠΌΡ ΡΠΎΡ ΡΠ°Π½ΡΡΡ ΡΡΠΊΠΈΠΉ ΡΠ²Π΅Ρ, ΡΠ°ΠΊ ΠΊΠ°ΠΊ ΠΈΡΠΏΠΎΠ»ΡΠ·ΡΠ΅ΠΌΡ ΠΏΠΎΠ»ΠΈΠΌΠ΅ΡΡ ΠΎΠ±Π»Π°Π΄Π°ΡΡ Π²ΡΡΠΎΠΊΠΎΠΉ ΡΡΡΠΎΠΉΡΠΈΠ²ΠΎΡΡΡΡ ΠΊ Π²ΡΠ³ΠΎΡΠ°Π½ΠΈΡ ΠΏΠΎΠ΄ Π΄Π΅ΠΉΡΡΠ²ΠΈΠ΅ΠΌ ΡΠ»ΡΡΡΠ°ΡΠΈΠΎΠ»Π΅ΡΠ°.
ΠΡΠ΅ΠΈΠΌΡΡΠ΅ΡΡΠ²Π° ΠΏΡΠΎΡΠ½Π°ΡΡΠΈΠ»Π°
ΠΠΎΠ½ΡΠ°ΠΆ ΠΎΡΠΈΠ½ΠΊΠΎΠ²Π°Π½Π½ΠΎΠ³ΠΎ ΠΏΡΠΎΡΠ½Π°ΡΡΠΈΠ»Π°
ΠΠΎΡΠ΅ΠΌΡ ΠΆΠ΅ ΠΏΡΠΎΡΠ½Π°ΡΡΠΈΠ» ΠΊΡΠΎΠ²Π΅Π»ΡΠ½ΡΠΉ ΠΎΡΠΈΠ½ΠΊΠΎΠ²Π°Π½Π½ΡΠΉ ΡΠ°ΠΊ ΠΏΠΎΠΏΡΠ»ΡΡΠ΅Π½?
ΠΠ±ΡΡΡΠ½ΡΠ΅ΡΡΡ ΡΡΠΎ Π² ΠΏΠ΅ΡΠ²ΡΡ ΠΎΡΠ΅ΡΠ΅Π΄Ρ Π΅Π³ΠΎ Π²ΡΡΠΎΠΊΠΈΠΌΠΈ ΡΠΊΡΠΏΠ»ΡΠ°ΡΠ°ΡΠΈΠΎΠ½Π½ΡΠΌΠΈ ΠΊΠ°ΡΠ΅ΡΡΠ²Π°ΠΌΠΈ: ΠΌΠ΅Ρ Π°Π½ΠΈΡΠ΅ΡΠΊΠΎΠΉ ΠΏΡΠΎΡΠ½ΠΎΡΡΡΡ, ΡΡΡΠΎΠΉΡΠΈΠ²ΠΎΡΡΡΡ ΠΊΠΎ Π²Π½Π΅ΡΠ½ΠΈΠΌ Π²ΠΎΠ·Π΄Π΅ΠΉΡΡΠ²ΠΈΡΠΌ (Π°ΡΠΌΠΎΡΡΠ΅ΡΠ½ΡΠ΅ ΠΎΡΠ°Π΄ΠΊΠΈ, Π³ΡΠ°Π΄, ΠΌΠ΅Ρ Π°Π½ΠΈΡΠ΅ΡΠΊΠΈΠ΅ Π²ΠΎΠ·Π΄Π΅ΠΉΡΡΠ²ΠΈΡ), ΡΡΡΠΎΠΉΡΠΈΠ²ΠΎΡΡΡΡ ΠΊ ΠΊΠΎΡΡΠΎΠ·ΠΈΠΈ.
Π’Π°ΠΊΠΆΠ΅ Π½Π΅ΠΌΠ°Π»ΠΎΠ²Π°ΠΆΠ½ΡΡ ΡΠΎΠ»Ρ ΠΈΠ³ΡΠ°Π΅Ρ ΠΌΠ°Π»ΡΠΉ ΡΠ΄Π΅Π»ΡΠ½ΡΠΉ Π²Π΅Ρ ΠΏΡΠΎΡΠ½Π°ΡΡΠΈΠ»Π°: Π΄Π»Ρ Π±ΠΎΠ»ΡΡΠΈΠ½ΡΡΠ²Π° ΡΠΈΠΏΠΎΡΠ°Π·ΠΌΠ΅ΡΠΎΠ² ΠΎΠ½ Π½Π°Ρ ΠΎΠ΄ΠΈΡΡΡ Π² ΠΏΡΠ΅Π΄Π΅Π»Π°Ρ 5,5 β 9,5 ΠΊΠ³/ΠΌ2 (Π² Π·Π°Π²ΠΈΡΠΈΠΌΠΎΡΡΠΈ ΠΎΡ ΡΠΎΠ»ΡΠΈΠ½Ρ ΠΌΠ΅ΡΠ°Π»Π»Π°).
ΠΡΠΈΠ²Π»Π΅ΠΊΠ°ΡΠ΅Π»ΡΠ½ΡΠΌ Π΄Π»Ρ ΠΌΠ°ΡΡΠ΅ΡΠΎΠ² ΠΏΡΠΎΡΠ½Π°ΡΡΠΈΠ» ΠΊΡΠΎΠ²Π΅Π»ΡΠ½ΡΠΉ ΡΠ²Π»ΡΠ΅ΡΡΡ Π±Π»Π°Π³ΠΎΠ΄Π°ΡΡ ΠΏΡΠΎΡΡΠΎΡΠ΅ ΠΌΠΎΠ½ΡΠ°ΠΆΠ° ΠΈ Π½Π΅Π²ΡΡΠΎΠΊΠΎΠΉ ΡΡΠΎΠΈΠΌΠΎΡΡΠΈ. Π’Π°ΠΊ ΡΡΠΎ Π΅ΡΠ»ΠΈ Π²Ρ ΠΈΡΠ΅ΡΠ΅ Π½Π΅Π΄ΠΎΡΠΎΠ³ΠΎΠΉ, ΠΏΡΠ°ΠΊΡΠΈΡΠ½ΡΠΉ ΠΌΠ°ΡΠ΅ΡΠΈΠ°Π» Π΄Π»Ρ ΠΊΡΠΎΠ²Π»ΠΈ, ΠΊΠΎΡΠΎΡΡΡ ΠΏΠ»Π°Π½ΠΈΡΡΠ΅ΡΠ΅ ΡΠΊΠ»Π°Π΄ΡΠ²Π°ΡΡ ΡΠ°ΠΌΠΎΡΡΠΎΡΡΠ΅Π»ΡΠ½ΠΎ, ΡΠΎ ΠΏΡΠΎΡΠ½Π°ΡΡΠΈΠ» β ΡΡΠΎ ΠΎΡΠ»ΠΈΡΠ½ΡΠΉ Π²Π°ΡΠΈΠ°Π½Ρ.
ΠΠΎΠ΄Π³ΠΎΡΠΎΠ²ΠΊΠ° ΠΊ ΠΌΠΎΠ½ΡΠ°ΠΆΡ ΠΏΡΠΎΡΠ½Π°ΡΡΠΈΠ»Π°
ΠΠΈΠ½ΠΈΠΌΠ°Π»ΡΠ½ΡΠΉ ΡΠ³ΠΎΠ» ΡΠΊΠ°ΡΠ° Π΄Π»Ρ ΠΌΠΎΠ½ΡΠ°ΠΆΠ° ΠΊΡΠΎΠ²Π΅Π»ΡΠ½ΠΎΠ³ΠΎ ΠΏΡΠΎΡΠ½Π°ΡΡΠΈΠ»Π° ΡΠΎΡΡΠ°Π²Π»ΡΠ΅Ρ 13-140.

ΠΠΎΠ΄ΠΊΠ»Π°Π΄ΠΊΠ° ΠΏΠΎΠ΄ ΠΏΡΠΎΡΠ½Π°ΡΡΠΈΠ»
Π ΠΏΡΠΈΠ½ΡΠΈΠΏΠ΅ Π΄ΠΎΠΏΡΡΠΊΠ°Π΅ΡΡΡ ΠΌΠΎΠ½ΡΠ°ΠΆ ΠΊΡΠΎΠ²Π»ΠΈ ΠΈΠ· ΡΡΠΎΠ³ΠΎ ΠΌΠ°ΡΠ΅ΡΠΈΠ°Π»Π°Ρ Π½Π° ΡΠΊΠ°ΡΠ°Ρ ΠΎΡ 80, ΠΎΠ΄Π½Π°ΠΊΠΎ Π² ΡΡΠΎΠΌ ΡΠ»ΡΡΠ°Π΅ ΡΡΠ΅Π±ΡΠ΅ΡΡΡ ΡΠ°ΠΌΠΎΠ΅ ΠΏΡΠΈΡΡΠ°Π»ΡΠ½ΠΎΠ΅ Π²Π½ΠΈΠΌΠ°Π½ΠΈΠ΅ ΠΎΠ±ΡΠ°ΡΠ°ΡΡ Π½Π° Π²Π΅Π½ΡΠΈΠ»ΡΡΠΈΡ ΠΊΡΠΎΠ²Π»ΠΈ, ΡΠΏΠ»ΠΎΡΠ½Π΅Π½ΠΈΠ΅ ΡΡΡΠΊΠΎΠ² ΠΈ Π»ΡΠ±ΡΡ ΠΎΡΠ²Π΅ΡΡΡΠΈΠΉ (Π²ΠΊΠ»ΡΡΠ°Ρ ΠΌΠ΅ΡΡΠ° ΠΊΡΠ΅ΠΏΠ΅ΠΆΠ°) β ΠΈΠ½Π°ΡΠ΅ ΡΠΈΡΠΊ ΠΏΡΠΎΡΠ΅ΡΠΊΠΈ Π²ΠΎΠ·ΡΠ°ΡΡΠ°Π΅Ρ ΠΌΠ½ΠΎΠ³ΠΎΠΊΡΠ°ΡΠ½ΠΎ.
ΠΠΏΡΠΈΠΌΠ°Π»ΡΠ½ΠΎ ΠΈΡΠΏΠΎΠ»ΡΠ·ΠΎΠ²Π°Π½ΠΈΠ΅ ΠΏΠΎΠ΄ΠΊΠ»Π°Π΄ΠΊΠΈ ΠΏΠΎΠ΄ ΠΊΡΠΎΠ²Π΅Π»ΡΠ½ΡΠΉ ΠΏΡΠΎΡΠ»ΠΈΡΡ β Π»ΡΡΡΠ΅ Π²ΡΠ΅Π³ΠΎ, Π΅ΡΠ»ΠΈ ΡΡΠΎ Π±ΡΠ΄Π΅Ρ ΡΡΠΏΠ΅ΡΠ΄ΠΈΡΡΡΠ·ΠΈΠΎΠ½Π½Π°Ρ ΠΌΠ΅ΠΌΠ±ΡΠ°Π½Π°. ΠΡΠ½ΠΎΠ²Π½ΠΎΠ΅ Π½Π°Π·Π½Π°ΡΠ΅Π½ΠΈΠ΅ ΠΏΠΎΠ΄ΠΊΠ»Π°Π΄ΠΊΠΈ β ΠΏΡΠ΅Π΄ΠΎΡΠ²ΡΠ°ΡΠ΅Π½ΠΈΠ΅ ΠΊΠΎΠ½Π΄Π΅Π½ΡΠ°ΡΠΎΠΎΠ±ΡΠ°Π·ΠΎΠ²Π°Π½ΠΈΡ Π² ΠΏΠΎΠ΄ΠΊΡΠΎΠ²Π΅Π»ΡΠ½ΠΎΠΌ ΠΏΡΠΎΡΡΡΠ°Π½ΡΡΠ²Π΅.
ΠΠΎΠ΄ΠΊΠ»Π°Π΄ΠΊΡ ΡΠΊΠ»Π°Π΄ΡΠ²Π°Π΅ΠΌ ΡΠ°ΠΊΠΈΠΌ ΠΎΠ±ΡΠ°Π·ΠΎΠΌ, ΡΡΠΎΠ±Ρ ΠΌΠ΅ΠΆΠ΄Ρ Π½Π΅ΠΉ ΠΈ ΠΏΠ΅ΡΠ²ΠΎΠΉ Π΄ΠΎΡΠΊΠΎΠΉ ΠΎΠ±ΡΠ΅ΡΠ΅ΡΠΊΠΈ Π² ΡΠ°ΠΉΠΎΠ½Π΅ ΠΊΡΠΎΠ²Π΅Π»ΡΠ½ΠΎΠ³ΠΎ ΡΠ²Π΅ΡΠ° ΠΎΠ±ΡΠ°Π·ΠΎΠ²Π°Π»Π°ΡΡ Π²Π΅Π½ΡΠΈΠ»ΡΡΠΈΠΎΠ½Π½Π°Ρ ΡΠ΅Π»Ρ Π½Π΅ ΠΌΠ΅Π½Π΅Π΅ 50 ΠΌΠΌ.
ΠΡΠ΅ΠΏΠΈΡΡΡ ΠΏΠΎΠ΄ΠΊΠ»Π°Π΄ΠΊΠ° Ρ ΠΏΠΎΠΌΠΎΡΡΡ ΠΊΠΎΡΠΎΡΠΊΠΈΡ Π³Π²ΠΎΠ·Π΄Π΅ΠΉ (25-30 ΠΌΠΌ) Ρ ΡΠΈΡΠΎΠΊΠΎΠΉ ΡΠ»ΡΠΏΠΊΠΎΠΉ. Π¨Π°Π³ Π·Π°ΠΊΡΠ΅ΠΏΠ»Π΅Π½ΠΈΡΒ ΠΏΠΎΠ΄ΠΊΠ»Π°Π΄ΠΊΠΈ ΡΠΎΡΡΠ°Π²Π»ΡΠ΅Ρ ΠΎΠΊΠΎΠ»ΠΎ 20 β 30 ΡΠΌ, ΠΏΡΠΈ ΡΡΠΎΠΌ Π·Π°ΠΊΡΠ΅ΠΏΠ»Π΅Π½ΠΈΡ Π½Π°ΡΠΈΠ½Π°Π΅ΠΌ ΠΎΡ ΠΊΡΠΎΠ²Π΅Π»ΡΠ½ΠΎΠ³ΠΎ ΡΠ²Π΅ΡΠ° ΠΈ ΠΏΠΎΡΡΠ΅ΠΏΠ΅Π½Π½ΠΎ ΠΏΡΠΎΠ΄Π²ΠΈΠ³Π°Π΅ΠΌΡΡ Π² ΡΡΠΎΡΠΎΠ½Ρ Π³ΡΠ΅Π±Π½Ρ.
ΠΠΎΠ²Π΅ΡΡ ΠΏΠΎΠ΄ΠΊΠ»Π°Π΄ΠΊΠΈ Π½Π° ΡΡΡΠΎΠΏΠΈΠ»Π° ΠΊΡΠ΅ΠΏΠΈΠΌ ΠΊΠΎΠ½ΡΡΡΠ΅ΠΉΠΊΡ β ΠΎΠ½Π° Π΄ΠΎΠ»ΠΆΠ½Π° ΠΏΡΠ΅Π΄ΠΎΡΠ²ΡΠ°ΡΠΈΡΡ ΠΏΠΎΠ²ΡΠ΅ΠΆΠ΄Π΅Π½ΠΈΠ΅ ΡΡΠΏΠ΅ΡΠ΄ΠΈΡΡΡΠ·ΠΈΠΎΠ½Π½ΠΎΠΉ ΠΌΠ΅ΠΌΠ±ΡΠ°Π½Ρ ΠΊΡΠ΅ΠΏΠ΅ΠΆΠ½ΡΠΌΠΈ ΡΠ»Π΅ΠΌΠ΅Π½ΡΠ°ΠΌΠΈ.
ΠΠΎΡΠ»Π΅ ΡΠΎΠ³ΠΎ ΠΊΠ°ΠΊ Π·Π°Π²Π΅ΡΡΠ΅Π½Ρ Π²ΡΠ΅ ΠΏΠΎΠ΄Π³ΠΎΡΠΎΠ²ΠΈΡΠ΅Π»ΡΠ½ΡΠ΅ ΡΠ°Π±ΠΎΡΡ, ΠΌΠΎΠΆΠ½ΠΎ ΠΏΡΠΈΡΡΡΠΏΠ°ΡΡ Π½Π΅ΠΏΠΎΡΡΠ΅Π΄ΡΡΠ²Π΅Π½Π½ΠΎ ΠΊ ΠΌΠΎΠ½ΡΠ°ΠΆΡ Π»ΠΈΡΡΠΎΠ² ΠΏΡΠΎΡΠ½Π°ΡΡΠΈΠ»Π° Π½Π° ΠΊΡΠΎΠ²Π»Ρ.
ΠΠΎΠ½ΡΠ°ΠΆ ΠΊΡΠΎΠ²Π΅Π»ΡΠ½ΠΎΠ³ΠΎ ΠΏΡΠΎΡΠ½Π°ΡΡΠΈΠ»Π°

ΠΠΎΠ½ΡΠ°ΠΆ ΠΏΡΠΎΡΠ½Π°ΡΡΠΈΠ»Π° Π±Π΅Π· ΠΏΠΎΠΏΠ΅ΡΠ΅ΡΠ½ΡΡ ΡΡΡΠΊΠΎΠ²
ΠΠΈΡΡΡ ΠΊΡΠΎΠ²Π΅Π»ΡΠ½ΠΎΠ³ΠΎ ΠΏΡΠΎΡΠ½Π°ΡΡΠΈΠ»Π° Π² ΠΎΠ±ΡΠ·Π°ΡΠ΅Π»ΡΠ½ΠΎΠΌ ΠΏΠΎΡΡΠ΄ΠΊΠ΅Β ΡΠΊΠ»Π°Π΄ΡΠ²Π°ΡΡ Ρ Π½Π°Ρ Π»Π΅ΡΡΠΎΠΌ.
Π ΠΏΡΠΈΠ½ΡΠΈΠΏΠ΅, Ρ Π½Π°Ρ Π»Π΅ΡΡΠΎΠΌ Π΄Π»Ρ ΠΎΠ±Π΅ΡΠΏΠ΅ΡΠ΅Π½ΠΈΡ Π³Π΅ΡΠΌΠ΅ΡΠΈΡΠ½ΠΎΡΡΠΈ ΡΠΊΠ»Π°Π΄ΡΠ²Π°ΡΡΡΡ ΠΏΡΠ°ΠΊΡΠΈΡΠ΅ΡΠΊΠΈ Π»ΡΠ±ΡΠ΅ ΠΊΡΠΎΠ²Π΅Π»ΡΠ½ΡΠ΅ ΠΌΠ°ΡΠ΅ΡΠΈΠ°Π»Ρ β ΠΏΡΠΎΡΠ½Π°ΡΡΠΈΠ» Π½Π΅ ΡΠ²Π»ΡΠ΅ΡΡΡ ΠΈΡΠΊΠ»ΡΡΠ΅Π½ΠΈΠ΅ΠΌ.
ΠΠ°ΠΊ ΠΏΡΠ°Π²ΠΈΠ»ΠΎ, Π±ΠΎΠΊΠΎΠ²ΠΎΠΉ Π½Π°Ρ Π»Π΅ΡΡ Π΄Π»Ρ ΠΊΡΠΎΠ²Π΅Π»ΡΠ½ΠΎΠ³ΠΎ ΠΏΡΠΎΡΠ½Π°ΡΡΠΈΠ»Π° ΡΠΎΡΡΠ°Π²Π»ΡΠ΅Ρ ΠΏΠΎΠ»ΠΎΠ²ΠΈΠ½Ρ Π²ΠΎΠ»Π½Ρ ΠΏΡΠΎΡΠΈΠ»Ρ, Π½ΠΎ Π΄Π»Ρ ΠΎΠ΄Π½ΠΎΡΠΊΠ°ΡΠ½ΡΡ ΠΏΠΎΠ»ΠΎΠ³ΠΈΡ ΠΊΡΡΡ ΠΈΠ· ΠΏΡΠΎΡΠ½Π°ΡΡΠΈΠ»Π° (Ρ ΡΠΊΠ»ΠΎΠ½ΠΎΠΌ ΡΠΊΠ°ΡΠ° 8 β 120) ΡΠ΅ΠΊΠΎΠΌΠ΅Π½Π΄ΡΠ΅ΡΡΡ ΠΏΡΠΈΠΌΠ΅Π½ΡΡΡ ΡΠΊΠ»Π°Π΄ΠΊΡ Ρ Π±ΠΎΠ»Π΅Π΅ ΡΠΈΡΠΎΠΊΠΈΠΌ Π½Π°Ρ Π»Π΅ΡΡΠΎΠΌ. Π’Π°ΠΊΠ°Ρ ΡΠΊΠ»Π°Π΄ΠΊΠ° ΠΏΠΎΠ·Π²ΠΎΠ»ΠΈΡ Π³Π°ΡΠ°Π½ΡΠΈΡΠΎΠ²Π°ΡΡ ΠΎΡΡΡΡΡΡΠ²ΠΈΠ΅ ΠΏΡΠΎΡΠ΅ΡΠ΅ΠΊ.
ΠΠ΅ΡΡ Π½ΠΈΠΉ Π½Π°Ρ Π»Π΅ΡΡ ΡΠ°ΠΊΠΆΠ΅ Π·Π°Π²ΠΈΡΠΈΡ ΠΎΡ ΡΠ³Π»Π° ΡΠΊΠ°ΡΠ°:
- ΠΠ»Ρ ΠΊΡΡΡ Ρ ΡΠΊΠ»ΠΎΠ½ΠΎΠΌ Π±ΠΎΠ»Π΅Π΅ 100 Π½Π°Ρ Π»Π΅ΡΡ ΡΠΎΡΡΠ°Π²Π»ΡΠ΅Ρ 100ΠΌΠΌ
- ΠΠ»Ρ ΠΊΡΡΡ Ρ ΡΠΊΠ»ΠΎΠ½ΠΎΠΌ 100 ΠΈ ΠΌΠ΅Π½Π΅Π΅ Π½Π°Ρ Π»Π΅ΡΡ Π»ΡΡΡΠ΅ ΡΠ²Π΅Π»ΠΈΡΠΈΡΡ Π΄ΠΎ 200-2500 ΠΌΠΌ.

Π£ΠΊΠ»Π°Π΄ΠΊΠ° ΠΏΡΠΎΡΠ½Π°ΡΡΠΈΠ»Π° Π² ΠΎΠ±Π»Π°ΡΡΠΈ ΠΊΠΎΠ½ΡΠΊΠ°
Π’Π°ΠΊΠΆΠ΅ Π΄Π»Ρ ΠΏΠΎΠ»ΠΎΠ³ΠΈΡ ΠΊΡΡΡ ΠΎΠΏΡΠ°Π²Π΄Π°Π½ΠΎ ΠΈΡΠΏΠΎΠ»ΡΠ·ΠΎΠ²Π°Π½ΠΈΠ΅ Π½Π° ΡΡΡΠΊΠ°Ρ ΠΏΠ»ΠΈΡ ΠΏΡΠΎΡΠ½Π°ΡΡΠΈΠ»Π° ΡΠΏΠ»ΠΎΡΠ½ΠΈΡΠ΅Π»ΡΠ½ΡΡ Π»Π΅Π½ΡΡ ΠΈΠ»ΠΈΒ ΠΌΠ°ΡΡΠΈΠΊΡ. ΠΠΏΡΠΎΡΠ΅ΠΌ, ΡΠ°ΠΌΠΎΠ΅ Π»ΡΡΡΠ΅Π΅ ΡΠ΅ΡΠ΅Π½ΠΈΠ΅ β ΡΡΠΎ ΠΈΡΠΏΠΎΠ»ΡΠ·ΠΎΠ²Π°ΡΡ ΠΏΡΠΎΡΠ½Π°ΡΡΠΈΠ», Π΄Π»ΠΈΠ½Π° ΠΊΠΎΡΠΎΡΠΎΠ³ΠΎ ΡΠ°Π²Π½Π° ΠΈΠ»ΠΈ Π½Π΅ΡΠΊΠΎΠ»ΡΠΊΠΎ ΠΏΡΠ΅Π²ΡΡΠ°Π΅Ρ Π΄Π»ΠΈΠ½Ρ ΡΠΊΠ°ΡΠ°
ΠΡΠ»ΠΈ ΠΌΡ ΠΈΡΠΏΠΎΠ»ΡΠ·ΡΠ΅ΠΌ Π΄ΠΎΡΡΠ°ΡΠΎΡΠ½ΠΎ Π΄Π»ΠΈΠ½Π½ΡΠΉ Β ΠΏΡΠΎΡΠ½Π°ΡΡΠΈΠ» Β β ΠΊΡΠΎΠ²Π»Ρ, Π»ΠΈΡΠ΅Π½Π½Π°Ρ ΠΏΠΎΠΏΠ΅ΡΠ΅ΡΠ½ΡΡ ΡΡΡΠΊΠΎΠ², ΠΎΠ±Π»Π°Π΄Π°Π΅Ρ Π³ΠΎΡΠ°Π·Π΄ΠΎ Π»ΡΡΡΠΈΠΌΠΈ Π³ΠΈΠ΄ΡΠΎΠΈΠ·ΠΎΠ»ΡΡΠΈΠΎΠ½Π½ΡΠΌΠΈ ΡΠ²ΠΎΠΉΡΡΠ²Π°ΠΌΠΈ.
ΠΡΠ΅ΠΏΠΈΠΌ ΠΏΡΠΎΡΠ½Π°ΡΡΠΈΠ» ΠΊ ΠΎΠ±ΡΠ΅ΡΠ΅ΡΠΊΠ΅ Ρ ΠΏΠΎΠΌΠΎΡΡΡ ΡΠΏΠ΅ΡΠΈΠ°Π»ΡΠ½ΡΡ ΠΊΡΠΎΠ²Π΅Π»ΡΠ½ΡΡ ΡΠ°ΠΌΠΎΡΠ΅Π·ΠΎΠ² 4,8Ρ 20 ΠΈΠ»ΠΈ Β 4,8Ρ 35 ΠΌΠΌ. Π’Π°ΠΊΠΈΠ΅ ΡΠ°ΠΌΠΎΡΠ΅Π·Ρ ΠΈΠΌΠ΅ΡΡ Π±ΡΡ ΠΈ ΠΎΡΠ½Π°ΡΠ΅Π½Ρ Π½Π΅ΠΎΠΏΡΠ΅Π½ΠΎΠ²ΠΎΠΉ ΠΏΡΠΎΠΊΠ»Π°Π΄ΠΊΠΎΠΉ. Π‘ΡΠ΅Π΄Π½ΠΈΠΉ ΡΠ°ΡΡ ΠΎΠ΄ ΡΠ°ΠΌΠΎΡΠ΅Π·ΠΎΠ² ΡΠΎΡΡΠ°Π²Π»ΡΠ΅Ρ ΠΎΠΊΠΎΠ»ΠΎ 6 ΡΡ/ΠΌ2.
Π ΠΎΡΠ»ΠΈΡΠΈΠ΅ ΠΎΡ ΡΠΈΡΠ΅ΡΠ° ΠΏΡΠΎΡΠ½Π°ΡΡΠΈΠ» ΠΎΠ±ΡΠ·Π°ΡΠ΅Π»ΡΠ½ΠΎ ΠΊΡΠ΅ΠΏΠΈΡΡΡ Π² Π½ΠΈΠΆΠ½ΡΡ ΡΠ°ΡΡΡ Π²ΠΎΠ»Π½Ρ, ΠΏΡΠΈ ΡΡΠΎΠΌ ΡΠ°ΠΌΠΎΡΠ΅Π·Ρ Π½Π΅ ΡΠ»Π΅Π΄ΡΠ΅Ρ ΠΏΠ΅ΡΠ΅ΡΡΠ³ΠΈΠ²Π°ΡΡ β ΠΏΠΎΠ²ΡΠ΅ΠΆΠ΄Π΅Π½Π½Π°Ρ ΠΏΡΠΎΠΊΠ»Π°Π΄ΠΊΠ° ΠΎΠ±Π»Π°Π΄Π°Π΅Ρ Ρ ΡΠ΄ΡΠΈΠΌΠΈ Π³ΠΈΠ΄ΡΠΎΠΈΠ·ΠΎΠ»ΠΈΡΡΡΡΠΈΠΌΠΈ ΡΠ²ΠΎΠΉΡΡΠ²Π°ΠΌΠΈ. Π Π²Π΅ΡΡ Π½Π΅ΠΉ ΡΠ°ΡΡΠΈ Π²ΠΎΠ»Π½Ρ ΠΏΠ»ΠΈΡΡ ΠΏΡΠΎΡΠ½Π°ΡΡΠΈΠ»Π° Π·Π°ΠΊΡΠ΅ΠΏΠ»ΡΡΡΡΡ ΡΠΎΠ»ΡΠΊΠΎ Π² ΠΎΠ±Π»Π°ΡΡΠΈ Π½Π°Ρ Π»Π΅ΡΡΠ°.
ΠΠ±ΡΠ°ΡΠΈΡΠ΅ Π²Π½ΠΈΠΌΠ°Π½ΠΈΠ΅! ΠΠΎΠ½ΡΠΊΠΎΠ²ΡΠ΅ ΡΠ»Π΅ΠΌΠ΅Π½ΡΡ ΠΊΡΠ΅ΠΏΡΡΡΡ Π² Π²Π΅ΡΡ Π½ΡΡ ΡΠ°ΡΡΡ Π²ΠΎΠ»Π½Ρ Ρ ΠΏΠΎΠΌΠΎΡΡΡ ΡΠ°ΠΌΠΎΡΠ΅Π·ΠΎΠ² Π΄Π»ΠΈΠ½ΠΎΠΉ 80 ΠΌΠΌ ΠΈ Π±ΠΎΠ»Π΅Π΅.
ΠΡΠΎΡΠ½Π°ΡΡΠΈΠ» ΠΎΡΠΈΠ½ΠΊΠΎΠ²Π°Π½Π½ΡΠΉ ΠΊΡΠΎΠ²Π΅Π»ΡΠ½ΡΠΉ Π½Π° ΡΡΠΎΠ½ΡΠΎΠ½Π°Ρ ΠΎΠ±ΡΠ·Π°ΡΠ΅Π»ΡΠ½ΠΎ Π·Π°ΠΊΡΠ΅ΠΏΠ»ΡΠ΅ΡΡΡ ΡΠ°ΠΊ Π½Π°Π·ΡΠ²Π°Π΅ΠΌΠΎΠΉ Π²Π΅ΡΡΠΎΠ²ΠΎΠΉ ΠΏΠ»Π°Π½ΠΊΠΎΠΉ β ΠΏΡΠΎΡΠΈΠ»Π΅ΠΌ, ΠΏΡΠΈΠ·Π²Π°Π½Π½ΡΠΌ Π·Π°ΡΠΈΡΠΈΡΡ ΠΏΡΠΎΡΠ½Π°ΡΡΠΈΠ» ΠΎΡ ΡΡΠ΅Π·ΠΌΠ΅ΡΠ½ΡΡ Π²Π΅ΡΡΠΎΠ²ΡΡ Π½Π°Π³ΡΡΠ·ΠΎΠΊ.
Π Π΅Π±ΡΠ°, Π΅Π½Π΄ΠΎΠ²Ρ ΠΈ ΡΠ·Π»Ρ ΠΏΡΠΈΠΌΡΠΊΠ°Π½ΠΈΡ ΠΊΡΠΎΠ²Π»ΠΈ ΠΊ ΡΡΠ΅Π½Π°ΠΌ ΠΈ Π΄ΡΡΠ³ΠΈΠΌ ΠΏΠΎΠ²Π΅ΡΡ
Π½ΠΎΡΡΡΠΌ (Π½Π°ΠΏΡΠΈΠΌΠ΅Ρ, ΠΊ ΠΏΠ΅ΡΠ½ΡΠΌ ΡΡΡΠ±Π°ΠΌ) ΠΏΠ΅ΡΠ΅ΠΊΡΡΠ²Π°Π΅ΠΌ ΡΠ³Π»ΠΎΠ²ΡΠΌΠΈ ΠΏΠ»Π°Π½ΠΊΠ°ΠΌΠΈ β ΠΎΠ½ΠΈ Π·Π°ΡΠΈΡΠ°ΡΡ ΠΊΡΠΎΠ²Π»Ρ ΠΎΡ ΠΏΡΠΎΠ½ΠΈΠΊΠ½ΠΎΠ²Π΅Π½ΠΈΡ Π²Π»Π°Π³ΠΈ.
ΠΡΠΎΠ²Π΅Π»ΡΠ½ΡΠΉ ΠΏΡΠΎΡΠ½Π°ΡΡΠΈΠ» β ΠΎΡΠΈΠ½ΠΊΠΎΠ²Π°Π½Π½ΡΠΉ ΠΈΠ»ΠΈ ΠΏΠΎΠΊΡΡΡΡΠΉ ΠΏΠΎΠ»ΠΈΠΌΠ΅ΡΠΎΠΌ β ΡΠ²Π»ΡΠ΅ΡΡΡ Π·Π°ΠΌΠ΅ΡΠ°ΡΠ΅Π»ΡΠ½ΡΠΌ ΠΌΠ°ΡΠ΅ΡΠΈΠ°Π»ΠΎΠΌ, ΡΠ°Π±ΠΎΡΠ° Ρ ΠΊΠΎΡΠΎΡΡΠΌ Π½Π΅ ΠΏΡΠ΅Π΄ΡΡΠ°Π²Π»ΡΠ΅Ρ ΡΠ»ΠΎΠΆΠ½ΠΎΡΡΠ΅ΠΉ Π΄Π°ΠΆΠ΅ Π΄Π»Ρ Π½Π΅ ΠΎΡΠ΅Π½Ρ ΠΎΠΏΡΡΠ½ΠΎΠ³ΠΎ ΠΌΠ°ΡΡΠ΅ΡΠ°. Π’Π°ΠΊ ΡΡΠΎ Π΅ΡΠ»ΠΈ Π²Ρ Π·Π°Π΄ΡΠΌΠ°Π»ΠΈ ΡΠ°ΠΌΠΎΡΡΠΎΡΡΠ΅Π»ΡΠ½ΠΎΠ΅ ΡΠΎΠΎΡΡΠΆΠ΅Π½ΠΈΠ΅ ΠΊΡΠΎΠ²Π»ΠΈ, ΡΠΎ ΠΏΡΠΎΡΠ½Π°ΡΡΠΈΠ» β Π²Π΅ΡΠ½ΡΠΉ Π²ΡΠ±ΠΎΡ.
krovlyakryshi.ru
