Насосы для колодцев погружной – какой лучше выбрать, виды колодезных насосов
как выбрать для дачи, для чистки, цена
Некоторые виды перекачивающих агрегатов чувствительны к наличию в воде примесей. Что же делать, если возникает необходимость транспортировки жидкости с незначительной степенью загрязнения, например, для опустошения бассейнов, резервуаров для полива и пр. Дренажные насосы для откачки воды из колодца и других аналогичных операций подходят как нельзя лучше.
Сфера применения
Насосы дренажные для дачи – незаменимое оборудование. Их можно использовать для осушения резервуаров, удаления из колодца жидкости перед осмотром или ремонтом и даже в системе полива из баков или естественного водоема, если параметры жидкости соответствуют требованиям, которые предъявляются инструкцией по эксплуатации.
Дренажный насос пригодится:
- при повышении уровня грунтовых вод,
- во время паводка,
- для осушения подвалов и погребов,
- для ликвидации последствий прорывов магистралей,
- для приведения в порядок территории после обильных осадков,
- для обслуживания искусственных прудов и бассейнов,
- для подачи воды в фонтаны,
- для организации капельного полива на больших территориях.
Виды дренажных насосов
Все дренажные насосы для откачки воды из колодцев можно разделить на категории в соответствии с различными параметрами. Например, по типу установки различают поверхностные и погружные модели.
Погружной дренажный насос для колодца размещается в толще воды. Он помещается туда при помощи троса и фиксируется на определенной глубине (обычно – 50-100 см от дна).
Преимуществами таких конструкций являются:
- небольшие размеры и вес моделей по сравнению с поверхностными при равных эксплуатационных возможностях,
- способность длительное время исправно работать без технического обслуживания,
- большой диапазон возможностей относительно степени загрязненности транспортируемой жидкости (дренажный насос для чистки колодца может перекачивать мало- и сильнозагрязненную воду),
- хорошая производительность (до 40 кубометров в час),
- простота и удобство использования за счет наличия поплавковой защиты и возможности подключения агрегата к автоматическим системам.
Недостатки погружных моделей:
- низкий (по сравнении с поверхностными агрегатами) напор, особенно при большой глубине источника,
- невозможность производить фильтрацию воды в процессе ее перекачивания.
Погружной дренажный насос с поплавковой защитойВажно: Дренажные погружные насосы для колодцев могут быть центробежными или вибрационными. Первые более производительные, а вторые имеют меньшую стоимость.
Если вы ищете дренажный насос для колодца — как выбрать подходящий агрегат можно понять, только изучив особенности всех видов.
Использование поверхностных моделей
К их преимуществам следует отнести:
- хороший напор, позволяющий осуществлять транспортировку на большие расстояния по горизонтали,
- больший (по сравнению с погружными моделями) срок службы из-за более комфортных для техники условий эксплуатации,
- более низкая цена,
- экономичность при эксплуатации за счет низкого потребления электроэнергии.
Недостатки поверхностных агрегатов:
- небольшая глубина всасывания — до 8 м (поверхностные насосы могут работать только в неглубоких колодцах),
- высокий уровень шума во время работы.
Критерии и правила выбора
Перед тем, как выбрать агрегат, следует произвести некоторые замеры и вычисления.
- Глубина колодца проще всего определяется бечевкой или шнуром с грузом.
- Обычной рулеткой можно измерить диаметр шахты или длину ее стороны, если у вашего колодца шахта квадратная.
Эти две величины помогут вам определить полный объем воды, которую предстоит откачать, когда проводится чистка колодца дренажным насосом. В некоторых случаях при проведении вычислений делают поправку на уровень нахождения зеркала воды, поскольку вода заполняет шахту не полностью.
Степень загрязнения воды можно оценить визуальноКачество воды в данном случае допустимо определять визуально, без проведения каких-либо исследований. Достаточно лишь оценить количество примесей и их линейные размеры. Допустимые параметры указываются в инструкции к насосу, и они должны соответствовать качеству воды.
Условия работы – еще один важный фактор. При сезонной или периодической эксплуатации можно использовать переносные модели, а установленные стационарно агрегаты рекомендуется освобождать от воды и консервировать на время длительного перерыва в работе. Круглогодичное использование перекачивающего поверхностного агрегата предъявляет особые требования: насос в этом случае должен размещаться в отапливаемом или теплоизолированном помещении, чтобы избежать замораживания системы.
Максимально точный подбор модели можно сделать, если учитывать нюансы «поведения» воды в колодце – максимальный и минимальный уровень, среднее положение, дебет источника (интенсивность прибывания жидкости).
Основные закономерности выбора:
- Для небольших по глубине источников или для сбора жидкости из верхней части водяного столба рекомендуется выбирать поверхностные модели, при большой глубине шахты предпочитают погружные модификации.
- Системы защиты от перегрева и от «сухого хода» не только продлят срок эксплуатации перекачивающего агрегата, но и повысят безопасность системы в целом.
Расчет напора и производительности
Напор и производительность – основные характеристики дренажных насосов. Для точного выбора модели необходимо знать алгоритм расчета эти параметров.
- Производительность агрегата — объем перекачиваемой жидкости за единицу времени. Самостоятельно нужная производительность подбирается, беря во внимание полный объем воды в источнике и то время, за которое данный объем должен быть откачен. Оптимальная длительность перекачивания без остановок указывается обычно в сопроводительной документации.
- Напорные характеристики определяются как сумма глубины забора воды и длины горизонтального перемещения жидкости до точки сброса, разделенной на 10.
Нюансы конструкции
При выборе насоса для чистки колодца обращайте внимание на особенности его конструкции.
- Расположенное в нижней части всасывающее отверстие обеспечит максимально полное удаление жидкости из шахты.
- Чугунные корпуса надежны, но обладают большим весом, легкие пластиковые недостаточно прочны, оптимальным вариантом можно назвать стальной корпус.
- Размер рабочей камеры определяет допустимый размер включений.
- Чем проще конструкция перекачивающего агрегата, тем реже он будет ломаться и тем проще будет его починить.
Техника выполнения работ
Грязевой насос для чистки колодцев важно не только правильно выбрать, но и установить без нарушений, а также грамотно использовать.
Порядок установки
- Всасывающий патрубок насоса соединяется с напорной магистралью.
- Если перекачивающий агрегат будет установлен стационарно и при этом он оснащен поплавковой защитой, целесообразно установить дополнительно обратный клапан.
- Перед подключением насоса к трехфазной сети важно проверить направление вращения двигателя.
Проверка направления вращения выполняется следующим образом: установленный на ровной поверхности насос включают и быстро отключают. Определяют направление вращения вала и делают выводы:
- вращение по часовой стрелке говорит о правильном подключении,
- если вал вращается в противоположную сторону — фазы меняют местами.
Если агрегат уже подсоединен к трубопроводу, алгоритм меняется:
- включают насос и замеряют параметры работы, мощность напора.
- после отключения меняют фазы местами и повторяют тестирование.
Правильное подключение то, при котором показатели выше.
Очистка колодца
Удаление загрязненной воды из колодца при помощи погружного насоса выполняется в определенной последовательности.
Чистка колодца погружным насосом- Агрегат устанавливается в соответствии с инструкцией и включается (выдерживается требуемое расстояние от дна), а его выходной патрубок подает откаченную воду обратно в колодец.
- При таком процессе интенсивное движение потоков жидкости станет способствовать разрушению донных илистых отложений, которые затем будут задерживаться на фильтре насоса.
- Время непрерывной работы агрегата определяется возможностями моделями, однако в любом случае раз в несколько часов требуется отключение насоса и его очистка.
- Циклы повторяют до тех пор, пока перекачиваемая вода не станет чистой, а фильтр насоса не перестанет загрязняться.
Более подробно про поверхностный насос для грязной воды мы рассказали в отдельной статье.
Говоря о том, как почистить колодец своими руками, нужно отметить и другие способы, которые также являются эффективными.
А про монтаж дачного водопровода от колодца читайте здесь.
Нюансы использования
Чтобы повысить эффективность очистки колодца при помощи дренажного насоса, следует учитывать также некоторые нюансы.
- При сильном загрязнении шахты (колодец долго не очищался, образовалось много отложений) лучше использовать фекальные, а не дренажные насосы.
- Требуемая мощность дренажного насоса зависит от периодичности очистки. Если вы часто профилактически «прокачиваете» воду, достаточно небольшой мощности, если предпочитаете редкие капитальные уборки – лучше предпочесть перекачивающий агрегат с большей мощностью.
Многие пользователи предпочитают очистку колодца с помощью мощных насосов один раз в 1 или 2 года. Следует только учитывать, что время промывки при таких условиях составит около одной недели. По окончании работ насос требуется снять, слить с него воду и хранить до следующего применения в сухом помещении.
Данное видео поможет вам в выборе дренажного насоса для чистки колодца или для других целей.
Цена
Ниже приведена средняя цена на дренажные насосы для колодца популярных моделей.
| Модель | Мощность, Вт | Производительность, л/мин | Размер частиц, мм | Высота подъема жидкости, м | Цена, руб |
| ДЖИЛЕКС ДРЕНАЖНИК 110/6 | 200 | 110 | 5 | 6 | 2500 |
| GARDENA 6000 Classic | 220 | 100 | 25 | 5 | 3900 |
| Калибр НПЦ-750/35П | 750 | 225 | 30 | 8 | 3200 |
| ВИХРЬ ДН-900 | 900 | 258 | 35 | 8 | 3400 |
| MAKITA PF0800 | 800 | 220 | 5 | 9 | 5400 |
okanalizacii.ru
выбираем между погружным и поверхностным
Устроив у себя на участке колодец, вы столкнётесь с необходимостью поднимать из него воду. Можно обойтись по-старинке — ведром, и именно это одно из положительных отличий колодца от скважины: вы всегда сможете получить воду, даже если отключат электричество. Многие так и делают. А можно упростить процесс, поставив насос.
Как выбрать насос для колодца
Насос — это гидравлическая машина. Она преобразует механическую энергию — мускульную или двигателя, в энергию потока жидкости или газа (в нашем случае — воды). Благодаря этой энергии мы можем поднять воду из глубины, переместить её на определённое расстояние, в том числе по вертикали, и задать скорость протока.
Первый насос, известный учёным, изобрёл древнегреческий инженер и математик Ктезибий, живший в 300-х годах до н. э. Ктезибий, считающийся «отцом» гидравлики и пневматики, описал общий принцип, на котором основано действие многих разработанных впоследствии насосов: плунжерного, крыльчатого, роторного, импеллерного и других. Но перейду к практической стороне — какой выбрать насос для колодца на даче?
Погружной или поверхностный?
Для конечного пользователя не так уж важен принцип действия агрегата: поднимает он воду с помощью поршня, шестерней, кулачков, мягкого ротора или синусоидного диска. Все бытовые насосы для перекачки жидкости делятся на два типа:- погружные, у которых механизм находится в перекачиваемой жидкости;
- поверхностные — устанавливаются на поверхности, а в жидкость погружается только всасывающий патрубок.
Ручной поверхностный насос
Прежде чем отправиться за покупкой, определите, погружной или поверхностный насос вам подходит. И тут придётся вспомнить уроки физики.
«На каждого человека, даже партийного, давит атмосферный столб …». Остап Бендер
Помните главу из учебника про открытие атмосферного давления Эванджелисты Торричелли — опыты с трубками и ртутью? Насос не втягивает воду. Он создаёт разряжение в камере своего корпуса, в которую атмосферным давлением «заталкивается» вода.Поэтому поверхностный насос не сможет поднять воду с глубины, большей чем 10,3 м. Именно на эту высоту поднимается в трубке вода, вытесняемая давлением атмосферы на зеркало воды в колодце.
Погружной насос для колодца. Фото с сайта gipostroy.ru
Также не стоит забывать, что 10,3 м — это величина, справедливая только для идеальных условий (как в школьном задачнике). В реальности глубина, с которой насос может поднять воду, меньше: если колодец находится выше уровня моря, эта величина снижается. Также на неё влияют потери на трение и прочее.
Поверхностный центробежный насос. Фото с сайта peakpx.com
Поэтому производители насосов говорят о 9 м, которые на практике уменьшаются ещё больше — метров до 7. То есть можно уверенно сказать, что насос поднимет воду с 5 м без снижения напора. Если, конечно, ваша дача находится не в горах.
Как бороться с законами физики
Чтобы победить одни законы физики, на помощь могут прийти другие её законы. Обыкновенный поверхностный насос подойдёт для неглубоких колодцев — в пределах 7 м. Если уровень воды находится глубже, то можно попробовать приблизить сам агрегат к воде, разместив поверхностный насос внутри колодца на устроенной в шахте площадке или «плотике».
Насосное оборудование, размещённое в кессоне. Фото с сайта bkankor.ru
Другой вариант — размещение насоса в кессоне рядом с колодцем, глубина которого компенсирует «лишние» метры. Этот же способ работает, если вода вам нужна для водоснабжения дома и есть подвал, который и послужит кессоном. Правда, устраивать кессон и подвал глубже 4 метров может быть нецелесообразно.
Если источник воды находится ниже 7 м, то до некоторой степени (всё равно есть предел) проблему решит другой физический закон — закон Бернулли. На его принципе работает эжектор — устройство, подающее в трубу насоса струю воды или газа, имеющую больший напор. Это усиливает мощность и основной поднимаемой струи.
Закон Бернулли. Фото с сайта met-all.org
Насосные станции, оборудованные эжектором, способны поднимать воду с глубины 25-40 м. Учитывайте, что КПД насоса с эжектором будет невысоким.
Если вода в колодце ещё глубже — тогда вам в отдел, где продают погружные насосы. Определившись с типом агрегата (поверхностный или погружной), можно переходить к другим параметрам выбора.
Производительность насоса
Производительность насоса (расход) — количество воды, которое насос перекачивает за единицу времени. Измеряется в кубических метрах в час (м³/ч) или литрах в секунду (л/с). Потребители стараются приобретать более продуктивные — чтобы точно хватило.Во многих источниках предлагают выбирать производительность насоса, подсчитав максимальный расход воды, то есть с учётом одновременного включения всех водопотребителей в доме: раковин, ванн, душей, стиральных и посудомоечных машин. Называются и ориентировочные нормы расхода — 1000 л на человека в час. Не знаю, как можно вылить куб воды за час, учитывая среднюю скорость протока в обычном смесителе 4 л в минуту.
Производительность насоса — количество воды, перекачиваемое за единицу времени
Предлагаемые для подсчёта таблицы составлены для подбора насосного оборудования для крупных объектов — производственных предприятий, многоквартирных домов. На мой взгляд, такие величины потребления нужны для того, чтобы объяснить, зачем продаются насосы с производительностью, например, 4500 л/час. Такие мощные агрегаты актуальны для высокопроизводительных скважин. Владельцам же колодцев стоит в первую очередь ориентироваться не на собственное водопотребление, а на дебит своего источника воды, потому что приток в колодце за час может быть меньше производительности насоса.
В этом случае стоит устроить систему водоснабжения с водяным аккумулятором — ёмкостью, объём которой заведомо превышает суточное потребление воды в доме. Тогда насос с небольшой производительностью, сообразной с дебитом колодца, будет наполнять ёмкость, из которой вода будет подаваться к кранам в доме.
Напор насоса
Другая важная характеристика для подбора оборудования — напор насоса. Как уже говорилось выше, насос — это гидравлическая машина, то есть устройство, преобразующее энергию. Конструкция его такова, что сила (двигателя или мускулов), приложенная к насосу, не только позволяет перекачивать воду, но и сообщает ей потенциальную и кинетическую энергию. Количественная характеристика суммы энергии называется напором насоса — это сила, создаваемая конструкцией насоса, для того чтобы двигать перекачиваемую среду, в нашем случае — воду.
Соотношение напора и расхода насоса. Фото с сайта c-o-k.ru/
Напор насоса принято измерять в метрах. И при расчётах учитывают только вертикальное направление перемещения воды, то есть, на какую высоту может быть заполнена вертикальная труба, присоединённая к выпускному патрубку насоса.
Так как пользователь заинтересован не только в доставке воды в максимально высокую точку, но и чтобы в этой точке работал смеситель, то кроме высоты подъёма интересно ещё и давление. В стандартных системах водоснабжения рабочее давление от 1,5 до 3 атмосфер. Оно расходуется на преодоление гидравлического сопротивления: трение воды о стенки труб, прохождение поворотов, горизонтальное перемещение. А также на создание струи определённой мощности из излива смесителя — кому понравится мыться под душем, из которого вода еле-еле сочится?
Приятно мыться под душем
Рабочее давление в водопроводе зависит от напора насоса, а значит, от высоты подъёма. Каждые 10 м подъёма равны 1 атмосфере. То есть, если в характеристике насоса указано, что максимальная высота подъёма равна 50 м, это означает, что либо на выходе из насоса будет создано давление в 5 атмосфер, либо вода может подняться на высоту 50 м, либо положенные 3 атмосферы в системе будут на высоте 20 м.
КПД насоса
Коэффициент полезного действия любого агрегата рассчитывается как соотношение полезной мощности к затраченной. КПД насоса обусловливается его конструкцией, а также видом перекачиваемой жидкости или газа.
Насос упростит процесс подъёма воды. Фото с сайта ozon.ru
Полезное действие, совершаемое насосом, зависит не только от самого агрегата, но и от всей гидравлической системы: большое количество поворотов, сужений и расширений трубопровода увеличивает вихревые потери, что в свою очередь снижает эффективность насосного оборудования. В целом КПД погружного агрегата выше, чем поверхностного: насосу, который находится в воде, не нужно тратить силы на всасывание воды.
Вот и все важные параметры выбора насоса. А с брендом и стоимостью каждый сможет определиться самостоятельно.
7dach.ru
Как выбрать погружные насосы для колодцев
Ссылка на статью успешно отправлена!
Отправим материал вам на e-mail
В загородных домах система водоснабжения зачастую зависит от колодца или скважины, которые обустраивают на глубине 8-10 метров. Достать воду с такой глубины самостоятельно не представляется возможным. Тем более, неудобно каждый раз, когда понадобится свежая питьевая вода, выходить наружу. Поэтому, владельцам дач и загородного жилья стоит особое внимание обратить на модели погружных устройств. Они обеспечат бесперебойное водоснабжение жилища. Давайте рассмотрим, как выбрать погружные насосы для колодцев и принцип работы механизма.

Как выглядит погружной насос
Содержание статьи
Принцип работы и устройство погружного насоса
Погружной насос работает в воде. Он поднимает жидкость даже с очень глубоких скважин и колодцев на поверхность. Стоит различать колодезные и скважинные устройства. Скважинные, как правило, имеют более продолговатую форму для работы в узких скважинах и более высокий напор для подъема воды с большой глубины.

Скважинные насосы
Данные виды имеют незначительные различия в устройстве. В основном все агрегаты состоят из следующих деталей:
- Рабочее колесо, которое является основным элементом конструкции. Оно приводит в движение все остальные детали конструкции;

Рабочее колесо прибора
- Лопасти колеса. Они вырабатывают центробежную силу, которая необходима для быстрого всасывания воды;
- Область всасывания;
- Корпус рабочего колеса. Он защищает его от негативного влияния окружающей среды;
- Клапан – задерживают воду в насосе и предотвращает ее обратный выход в скважину;
- Защитная сетка – необходима для защиты питьевой воды от вредных примесей, которые могут негативно повлиять на здоровье жильцов дома.

Конструкция погружного агрегата

Устройство в разрезе
Погружной нагнетатель работает с помощью электроэнергии. Она заставляет рабочее колесо вращаться. Таким образом, жидкость поступает из скважины или колодца в трубопровод, который, в свою очередь, проводит воду к системе водопровода.

Схема работы системы
Как мы видим, принцип работы, как и сама конструкция нагнетателя элементарны. А теперь давайте узнаем, какие виды этих устройств существуют и как выбрать погружной насос для колодца.
Видео: принцип работы и конструкция погружного насоса
Классификация погружных агрегатов
По конструктивному исполнению выделяют следующие типы:
- Вибрационный – представляет собой конструкцию из вибратора, электромагнита и корпуса. Широко используется на дачных участках не только для откачки и доставки воды в дом, но и для полива огорода и сада. Вибрационные устройства показывают хорошие показатели касательно давления и мощности. При этом, их цена невелика;

Устройство вибрационного насоса

Вибрационные – наиболее распространенные типы
- Вихревой – состоит из нагнетательной области и электродвигателя. Первый элемент используется для перекачки жидкости, второй – для поставки воды в дом. Такой тип способен поднять воду с глубины 12 метров. При этом процесс происходит достаточно быстро;

Принцип работы устройства вихревого типа

Вихревой агрегат
- Центробежный – комплекс из двух блоков: рабочей камеры и двигателя. Выкачивают до несколько сотен литров в час благодаря наличию особого центробежного вала. Однако, у таких устройств есть один существенный недостаток: они потребляют слишком много электроэнергии.

Принцип самовсасывания центробежного насоса

Центробежный агрегат
Критерии выбора погружных устройств
Чтобы устройство подходило для вашего дома, вам следует определиться со следующими параметрами:
- Расстояние от скважины до жилища. Чем больше расстояние, тем мощнее модель насоса следует выбирать;
- Объем потребляемой воды. Как показывает практика, для обычных семей, состоящих из 4-5 человек, подойдет самый обычный пнагнетатель средней мощности. Но если в доме проживают большее количество людей, стоит подобрать модель посильнее;
- Производительность. Данный параметр измеряется в литрах жидкости, которые насос может поднять за единицу времени. В среднем производительность достигает 4,2÷4,5 кубометров. Однако, если устройство необходимо не только для обычного водоснабжения жилища, но и для полива просторного приусадебного участка, то стоит обратить внимание на модели с производительностью 4,8 кубометров и выше;
- Мощность. Обозначается в киловаттах. Данный показатель обозначает объем поставляемой воды за единицу времени. Но не следует покупать устройство по принципу «чем больше мощность, тем лучше». Если вашей семье не нужно слишком много воды, то берите нагнетатель со средней мощностью, так как слишком мощное устройство потребляет большое количество энергии.

Формула расчета требуемого напора
Ориентируясь на данные показатели, вы подберете оптимальный агрегат для своего жилища, который будет служить вам много лет подряд.

Правильная организация работы системы водозабора
Какой выбрать насос для колодца: обзор популярных моделей
Видео: колодезные насосы Grundfoss
Если вы не знаете, какой выбрать погружной насос для колодца, ознакомьтесь с нижеприведенной табличкой:
Наименование бренда | Описание | Кому стоит покупать |
«Pedrollo» | Качественное устройство от итальянского производителя. Корпус изготовлен из нержавеющей стали, благодаря чему срок службы устройства достигает десятки лет. Отсутствуют модели с диаметром «3». | — Тем, кто хочет установить качественный импортный насос за адекватную сумму. |
«Grundfoss» | Немецко-датский бренд. Существуют дополнительные функции, такие как «защита от сухого хода» и «плавный пуск». | — Тем, кто готов выложить большие деньги за качество.— Тем, кому нужен агрегат с диаметром «4». |
«Sprut» | Украинско-китайское производство. В продукции присутствуют насосы с диаметром «3». Невысокая цена. | — Тем, кто хочет оборудовать небольшой дачный участок, где не нужна большая мощность насоса. |
«ЭЦВ» | Украинское производство. В сравнении с европейскими производителями имеет низкую стоимость и, тем не менее, высокую производительность. Однако вместе с тем такие модели потребляют неоправданное количество электроэнергии. | — Тем, кто хочет оборудовать производственные сельские предприятия. |

Продукция фирмы Pedrollo

Продукция компании Grundfoss

Устройства Sprut

Глубинные нагнетатели ЭЦВ
Данная табличка сориентирует вас с тем, какой выбрать насос для скважины или колодца.
Выводы
- Погружной насос – это необходимое устройство для дачных участков, где главным источником жидкости является колодец;
- Агрегат проводит воду с глубины более 10-ти метров;
- Чем больше нужно воды, тем большая мощность должны быть.
Видео: как выбрать насос и какие бывают

Экономьте время: отборные статьи каждую неделю по почте
homemyhome.ru
как выбрать + правила эксплуатации
Ранее работы по очищению колодезного дна проводились исключительно вручную с использованием ведер и веревок. Сейчас с этой проблемой помогает справиться насосное оборудование. С использованием техники процедура очистки производится значительно проще и гораздо быстрее. Согласны?
Мы расскажем, как подобрать идеальный насос для чистки колодцев, способный перекачивать воду с включением песка и мелкого гравия. У нас вы узнаете, скважинная или дренажная модель лучше избавит шахту от ила и минеральных отложений. Вы сможете выбрать наиболее эффективное оборудование.
В предложенной нами статье подробно описаны технологии чистки колодезной шахты разными типами насосов. Для наглядного восприятия информации к ней приложены схемы, фото-подборки, видео-инструкции.
Содержание статьи:
Дренажные насосы и их возможности
В процессе интенсивной эксплуатации колодца происходит заиливание его дна, что ведет к помутнению воды, снижению ее поступления, появлению неприятного запаха. Чтобы источник воды оставался всегда в пригодном для использования состоянии, необходимо периодически очищать его дно от намывшегося песка, глины и других твердых примесей.
Рекомендуется чистить колодцы один раз в три года. За исключением сооружений, выкопанных на мелких песках, которые нуждаются в ежегодной очистке. Частные гидротехнические сооружения чистят с помощью – аппаратов, наделенных большими функциональными возможностями.
Галерея изображений
Фото из
Дренажник в чистке колодца
Чистка колодца двумя насосами
Поплавковый механизм насоса
Погружение дренажника в колодец
Дренажные насосы способны справиться с откачкой чистой и замутненной воды из колодцев, залитых котлованов, бассейнов, погребов, подвалов. Насос подойдет также для оперативного устранения неприятных последствий коммунальных аварий.
Помимо этого дренажник может применяться для обеспечения постоянной циркуляции воды в садовых фонтанах, прудах и других искусственных водоемах.

Бытовые дренажные насосы могут перекачивать грязную воду с твердыми частицами до 35 мм диаметром
Для того чтобы подобрать оптимальное по техническим параметрам устройство, нужно четко представлять, с какой водой, грязной или чистой, придется работать насосному оборудованию. Под чистой водой принято подразумевать жидкость, имеющую включения размером не превосходящим 5 мм.
Дренажные насосы, предназначенные для откачки чистой и грязной воды, отличаются:
- диаметром отводящего патрубка;
- диаметром сечения всасывающего отверстия;
- материалом, взятым для изготовления деталей устройства.
В грязной воде могут быть твердые частицы до 35 мм в разрезе. Далее необходимо определить величину общего объема перекачиваемой воды.
Немаловажно узнать и глубину, с которой предполагается организовывать забор воды, а также учесть состав донного фильтра – какого размера гравий применялся для его устройства.

Кроме очистки колодцев дренажные насосы могут осушать затопленные подвалы, стимулировать циркуляцию воды в искусственных водоемах
Выбор насоса по производительности и напору
Кроме качества воды к важнейшим параметрам относятся его производительность и напор. Под производительностью понимают объем воды, который насос способен перекачать в определенную единицу времени.
Обычно производительность насосного оборудования измеряется в л/ч или м3/ч, что соответственно означает литры в час или кубические метры в час. Данный технический параметр показывает, насколько быстро по времени аппарат сможет очистить колодец от загрязненной воды.

Для того чтобы выбрать насос для очистки колодца надо знать глубину забора воды и состав донного фильтра
Напор – это показатель высоты подъема воды, измеряемый в атмосферах, барах и метрах. Данный показатель дренажных насосов обычно небольшой, так как откачка воды проводится с небольшой глубины. Не стоит забывать о соотношении вертикального и горизонтального напора, составляющего 1:10.
Например, если вы откачиваете воду из колодца глубиной 8 м и перемещаете ее на расстояние 10 м по лежащему на земле шлангу, чтобы отвести ее за границы вашего участка, то напор у насоса должен составлять не менее 9 метров.
Также необходимо помнить о том, что насосы в зависимости от величины высоты подъема будут функционировать с разным уровнем производительности. Графики зависимости обоих указанных величин можно посмотреть в инструкции, прилагаемой к аппарату.
Виды погружных насосов
Для откачки воды владельцы загородных земельных участков используют погружные насосы, которые могут быть вибрационными или центробежными. Модели отличаются способом всасывания воды, поэтому качество последней играет не последнюю роль при выборе насосного оборудования.

О том, что в колодце откачена вода, сигнализирует поплавок, благодаря которому оборудование не работает “всухую”
Погружные насосы с центробежным механизмом
Модели, в которых в качестве всасывающего устройства используется колесо с лопастями, называют центробежными. Данная особенность конструкции влияет на увеличение производительности насоса, а также не допускает попадание в него абразивных частиц, находящихся в перекачиваемой колодезной воде.
Камеры для воды и центробежные колеса в зависимости от модели могут быть изготовлены:
- из стали;
- из высококачественного полимера.
Также отличительной особенностью погружных дренажников является наличие в их конструкции поплавкового или электронного выключателя. Приборы с поплавковым выключателем шире распространены, потому что они проще, дешевле, а главное, надежнее. Выключатель нужен для того, чтобы автоматизировать процесс перекачки воды.

В некоторых моделях дренажных насосов применяется центробежный механизм. Перед их покупкой следует выяснить, может ли помпа качать абразивные частицы
Поплавок – это небольшой герметичный контейнер, внутри которого расположен блок контактов. При снижении уровня воды постепенно опускается, пока не достигнет допустимых пределов. На предельной глубине он выключает работу двигателя, не допуская его сухого хода. Работа “всухую” приводит к выходу насосного устройства из строя.
Корпус дренажного насоса всегда должен быть погруженным в жидкость, так как вода способствует охлаждению работающего механизма. Также вода выступает и в качестве смазки вращающихся деталей.
Установка дренажного насоса: пошаговая инструкция
Перед началом работ для установки насоса определяют или устраивают ровную площадку, чтобы он функционировал в строго в вертикальном положении, затем:
- К напорному патрубку подключают шланг, применяя для крепления соединительные элементы.
- При наличии у модели поплавкового выключателя устанавливают на напорную магистраль обратный клапан.
- Устройство, оснащенное трехфазным электродвигателем, проверяют обязательно на правильность вращения центробежного колеса.
- Включают оборудование и сразу же отключают, обращая внимание на направление вращения вала насоса: по часовой стрелке – все подключено верно, если нет – меняют фазы местами.
- Насос подсоединяют с помощью карабина к тросу электролебедки или к веревке, следя за тем, чтобы напорный патрубок оставался направленным вверх.
- Агрегат медленно опускают на дно заиленного колодца.
- При работе насосного оборудования соблюдают требования техники безопасности.
При появлении признаков сбоя в работе оборудования необходимо немедленно отключить электропитание и прекратить откачку.
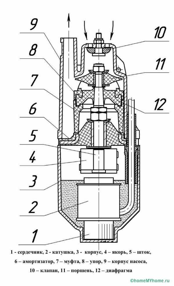
Вибрационные погружные насосы
Насосное оборудование вибрационного типа работает за счет изменения внутрикорпусного давления, вызывающего колебания диафрагмы. Разница в давлениях появляется в результате действия магнитного поля, образующегося при прохождении электрического тока через катушку.
Детали, приводящиеся в поочередное движение под воздействием магнитного поля, поднимают водяной поток вверх. Вибрационные насосы питаются от электросети 220В и потребляют в час приблизительно 270 Вт (показатель зависит от мощности модели).

Вибрационные насосы с верхним и нижним забором воды устанавливаются на разной высоте от колодезного дна
Погружные вибрационные насосы могут выпускаться с верхним или нижним забором воды из колодца:
- Приборы с верхним забором воды функционируют без перегрузок, так как не нагреваются при эксплуатации за счет охлаждения всей системы. Также такие насосы не засасывают ил, осевший на дне колодца, и не способствуют помутнению воды во время забора. Поэтому их нецелесообразно использовать для очистки колодца.
- Аппараты с нижним всасыванием воды, не оснащенные автоматикой и системой термозащиты, так как устройства могут перегреться даже при кратковременной работе «на сухую». Для защиты механизмов от засасывания песка и ила используют механический фильтр. Умельцы заменяют фильтр обычным железным ведром, в которое помещают насос. Опускают ведро с аппаратом в низкодебетовый колодец и качают воду.
Вибрационные насосы долговечны в эксплуатации, так как в их конструкции отсутствуют вращающиеся элементы и подшипники, а потому детали, не подвергаясь трению, не выходят из строя.
При чистке колодцев насосное оборудование вибрационного типа можно применять лишь для откачки замутненной воды, а песок и илистые отложения вычерпывать вручную ведрами, самодельными черпаками, ковшами грейферами и иными приспособлениями.
Галерея изображений
Фото из
Недорогой вибрационный насос
Уход за вибрационным насосом
Система из двух вибрационных насосов
Погружение насоса в ведре
Подбор шланга для перекачки воды
Шланги или трубки для насосов должны выбираться в зависимости от силы давления, а также от диаметра сечения выходного патрубка. Главное требование заключается в том, что диаметр шланга должен соответствовать диаметру выходного патрубка.
Соблюдение данного требования многократно продлит срок службы купленного насоса и окажет благотворное влияние на его производительность.
В качестве гибкого шланга можно использовать пожарный рукав, который крепят на выходном патрубке с помощью хомута. На краю колодезного кольца рукав пережимается, и насос не может протолкнуть выкачанную воду. Устранить данную проблему позволяет пластиковый уголок, к которому подсоединяют с двух сторон пожарные рукава.

После откачки грязной воды из колодца насосом донный ил надо собрать ведром и вынести его на поверхность
Особенности подключения погружных насосов
Прежде чем опускать насос в колодец, проводят ряд подготовительных мероприятий, а именно:
- определяют глубину расположения аппарата в источнике;
- закрепляют шланг на патрубке, используя для этого пластиковый хомут;
- продевают капроновый шнур или стальной трос небольшого диаметра в специальные проушины, имеющиеся на корпусе насоса;
- на корпус натягивают специальное резиновое кольцо, которое защитит вибронасос от механических повреждений в случае прикасания к бетонным стенкам колодезной шахты;
- к верхнему концу шнура привязывают эластичную резину длиной 0,5 метра для того, чтобы она гасила вибрации.
Насос с нижним забором воды размещают на расстоянии 1,0 м метра от дна колодца, а с верхним слегка ниже – 0,5 м. Трос, к которому прицеплен насос, закрепляют к перекладине, устанавливаемую на верхнее колодезное кольцо. Завершив монтаж оборудования, подключают насос к электричеству.
Если не хватает длины шнура, то его удлиняют дополнительным кабелем, при этом соединение должно находиться вне шахты колодца. Во время откачки воды следят за ее напором, не допуская “сухого” хода мотора. Через два часа непрерывной работы отключают насос на 15 минут, чтобы избежать перегрева электродвигателя.
Галерея изображений
Фото из
Скважинные насосы в чистке колодцев
Не подходящая для перекачки среда
Погружной насос после чистки колодца
Откачка продизенфицированной воды
Очистка сильно заиленного колодца
При сильном заиливании колодца эффективность использования дренажного насоса резко снижается. Оборудование быстро забивается песком, а потому не справляется с возложенными на него задачами.
Некоторые дачники советуют использовать в этом случае еще один поверхностный насос, который под давлением сбрасывает очищенную от песка воду обратно в колодезную шахту, тем самым способствует размыву донных отложений.
Метод заключается в следующем:
- около колодца устанавливается бочка или иная емкость, объем которой составляет 200-300 литров;
- в колодезную шахту опускают дренажный насос, который откачивает мутную воду из колодца в приготовленную емкость;
- чистая вода, отстоявшаяся в бочке, направляется вторым насосом обратно в колодец, а песок со дна емкости – удаляется;
- струя воды, пущенная под напором, размывает донный песок, который вместе с водой поднимается наверх в бочку дренажным насосом, и все повторяется заново.
У данного способа очистки колодца есть противники, которые считают его экономически нецелесообразным. По их мнению, выгоднее нанять бригаду работников, способных спуститься вниз и вычерпать ил ведрами, подняв его на поверхность. Если такой возможности нет, почему бы не попробовать вариант с двумя насосами.

Вибрационные насосы применяются для откачки грязной воды без твердых включений
С помощью насосного оборудования легко и быстро очищается заиленный колодец. После откачивания мутной воды колодец наполняется кристально чистой живительной влагой и начинает радовать своих хозяев вкусной холодненькой водой.
После проведения чистки насос всегда можно использовать и для решения других задач. Недорогие вибрационные модели применяются в после проведения бурения. Во время паводков и подъема грунтовых вод затопленные подвалы быстро освобождаются от хлынувшей воды.
Недорогим вибрационным насосом, например , можно откачать пруд, очистив его дно от илистых скоплений. Рачительный хозяин всегда найдет способ повышения коэффициента полезного действия приобретенного оборудования.
Правила эксплуатации насоса при чистке колодца
Выбирая необходимую модель для чистки колодца, внимательно изучите инструкцию. Ведь некоторые дренажные насосы изначально предназначены для подъема и перекачки только чистой воды, не содержащей примесей. Об этом производитель предупреждает в описании технических характеристик оборудования.
Если такими устройствами начать откачку загрязненной воды, то они быстро выйдут из строя. Помните, что чистку заиленного колодца нужно производить дренажным насосом, способным справиться с забором загрязненной жидкости, имеющей в своем составе примеси и даже небольшие волокна.
При появлении устойчивых отложений на стенках и дне колодезной шахты перед применением насоса нужно , чтобы быстрее избавиться от загрязнений и предупредить засорение рабочих частей насоса.
Обзор популярных моделей
На рынке насосного оборудования представлены модели российских и зарубежных производителей. У каждого бренда есть свои поклонники.
Бюджетные насосы российских компаний “Вихрь” и “Малыш” привлекают доступной ценой и хорошими эксплуатационными качествами. Немецкие насосы марки Wilo Drain, Grundfos, Karcher, как и японские Makita, не нуждаются в рекламе.
Эти устройства обладают высокой производительностью и надежностью в течение всего срока эксплуатации. При покупке насосного оборудования обязательно проверяйте наличие всех комплектующих, указанных в прилагаемой инструкции.
Обращайте внимание на ограничения в применении, указываемые производителем. Помните, что технические характеристики у разных моделей насосов могут существенно отличаться, что влияет и на способ их эксплуатации.
Выводы и полезное видео по теме
В видеоролике даны рекомендации по откачке воды из колодца дренажным погружным насосом и последующей выемкой песка самодельным совком.
Практический совет: при чистке колодцев поплавок привязывают к веревке или к тросу, на котором закреплен насос, для того, чтобы откачать воду с максимально возможной глубины. При этом, конечно же, нарушаются рекомендации производителя к эксплуатации оборудования, но удается освободить колодец от воды почти до самого дна.
В конце этого видеоролика вы увидите, как использовать два погружных насоса с верхним и нижним забором воды для очистки колодца.
Просмотрев данный видеоролик, вы узнаете, как почистить колодец вибрационным насосом, обычно используемым лишь для подъема чистой воды.
Дренажные насосы являются незаменимыми помощниками на садовом и загородном участке. Эти недорогие аппараты отличаются простотой в эксплуатации, удобством в монтаже и эффективностью результата их применения.
Хотите рассказать о том, как чистили насосом колодец на загородном участке? Возникли вопросы в ходе ознакомления со статьей? Пишите, пожалуйста, в блоке, находящемся ниже.
sovet-ingenera.com
Виды насосов для колодца: технические характеристики + фото
Наличие на дачном участке или во дворе частного коттеджа колодца или артезианской скважины существенно повышает комфорт проживания, поскольку они предполагают возможность организации постоянного водоснабжения всего дома. Естественно, для этого потребуется установка специального насоса, который будет обеспечивать перекачку воды из колодца. Все водяные насосы для колодцев отличаются по своим техническим характеристикам, в состоянии работать в колодцах разной глубины, перекачивать разное количество воды и обладают различными требованиями к качеству самой воды, допуская наличие определенного количество твердых примесей (песок, глина).
Прежде, чем определиться с конкретной моделью
Существуют несколько важных моментов, которые просто необходимо учитывать при выборе насоса, они позволят приобрести наиболее оптимальную модель, которая в состоянии обеспечить существующую потребность в воде.
- Характеристики непосредственно колодца или скважины. Основным его «параметром» является максимальное количество воды, который он в состоянии «выдать» за определенный срок. От этого зависит мощность устройства, поскольку в колодец с небольшим объемом поступающей воды не имеет смысла устанавливать мощный, производительный прибор, если уровень воды постоянно низкий.
- Характеристики самого устройства. От этого зависит какой напор он будет в состоянии обеспечивать, и сколько точек разбора он будет в состоянии обслуживать.
- Особенности будущего водоснабжения и основные его задачи. Следует решить, когда будет осуществляться водозабор – круглогодично, или только в летний период, тип будущего водопровода – летний или постоянный. Также заранее определяется необходимость использования дополнительной автоматики для поддержания необходимого давления в магистрали, и оборудования – к примеру, гидроаккумулятора.
Если выбрать насос для колодца на дачу не так уж и сложно, процесс выбора техники для организации постоянного водоснабжения дома простотой не отличается. Как правило, требуется установка сопутствующего оборудования, утепления наружного трубопровода и тщательного расчета мощности и производительности насоса, которые принято делить на 2 основных типа – наружные (поверхностные) и погружные. Каждый из этих видов имеет как преимущества, так и недостатки.
Некоторые тонкости выбора производительного и недорогого насоса можно увидеть на видео
Погружной насос вибрационного типа
Погружные вибрационные насосы для колодцев являются наиболее востребованными для сезонного и эпизодического водоснабжения, могут использоваться даже в неглубоких колодцах или для забора воды из природного водоема. Большинство моделей допускают определенное содержание в перекачиваемой воде твердых включений. Тем не менее, нерастворимые примеси способствуют сокращению срока службы устройства, и для защиты насоса целесообразно использовать специальные фильтры, которые устанавливаются на входное отверстие (можно легко изготовить самостоятельно).
Наиболее частой областью использования таких насосов становится временная подача воды из небольших колодцев (для полива, к примеру). В отличие от других модификаций, это оптимальный насос для колодца с низким уровнем воды, поскольку имеются две модификации – с нижним и верхним забором воды. Вариант с нижним забором позволит использовать всю воду из колодца, зато модель с верхним забором гарантировано защищена от перегрева во время работы, поскольку всегда остается полностью в воде, которая служит для его охлаждения. Корпуса таких насосов изготавливаются из материалов, не подверженных коррозии – алюминий или нержавеющая сталь. Производительность таких устройств может достигать 430 л/час при напоре 40 метров.
Погружной центробежный насос
Достаточно широкий спектр, которые в состоянии обеспечить эффективный подъем воды из глубоких скважин, а модели без поплавков часто применяются и для водоотвода из больших колодцев, обладающих достаточным уровнем воды. Такой погружной насос для колодца может использоваться не только для периодичского водоснабжения небольшого объема, но и организации круглогодичной подачи воды в частный дом/коттедж. Конечно, колодец должен соответствовать определенным требованиям, поскольку насос проектировался именно как скважинный, а именно:
- глубина колодца должна быть достаточной для того, чтобы под насосом оставалось не менее 1-1,5 метра воды, и примерно столько же сверху;
- в колодце не должно фиксироваться выраженное уменьшение уровня воды;
- вода должна быть чистой, с низким содержанием взвешенных частиц.
Чтобы точно ответить на вопрос какой выбрать насос для колодца, следует принять во внимание два основных параметра.
- Напор, т. е. расстояние от самого насоса до конечной точки разбора воды (крана).
- Производительность, т. е. количество воды, подаваемое насосом в минуту.
Среди центробежных погружных насосов следует отдельно обозначить модели, штатно оснащенные поплавковым выключателем. Установка таких насосов особенно актуально именно в колодцах, а не в скважинах, поскольку большое расстояние между стенками колодца и корпусом насоса предполагает свободное перемещение поплавка, и в случае критического снижения ее количества, опущение поплавка блокирует насос. Это делает невозможным его работу «в сухую», и соответственно, выход из строя. В зависимости от конкретной модификации. Погружные модели с поплавком могут обеспечить напор до 150 метров, при производительности до 60 л/мин.
Дренажные насосы – для воды, не отличающейся своей чистотой
Поскольку дренажные насосы для откачки воды из колодца обладают небольшой мощностью, они могут использоваться лишь для эпизодической подачи воды, для которой подходят неглубокие колодцы или открытые водоемы. В зависимости от конкретной модификации, он может быть рассчитан на перекачу воды, содержащей значительное количество песка, глины, ила и других взвешенных частиц. Такой можно использовать как грязевой насос для чистки колодцев, помня о том, что допустимые значения загрязненности воды отличаются для каждой модели.
Благодаря простоте конструкции, малому весу и невысокой стоимости, такие модели достаточно распространены среди дачников, поскольку его легко привозить и увозить, не оставляя на даче. Вполне естественно, что дренажные варианты могут использоваться и в более глубоких колодцах, но, как правило, показатели мощности напора у таких моделей не превышают 10-15 метров, что не позволит установить насос в более глубокий колодец.
Поверхностные модели
Если возник вопрос, какой поверхностный насос выбрать для колодца, следует знать, что если предполагается круглогодичное его использование, то его установка должна осуществляться только в теплом помещении, колодец должен быть утепленным, также, как и водопроводная магистраль, ведущая к нему. Всасывающий патрубок обязан располагаться глубоко в воде, ниже возможной точки промерзания. Все поверхностные модели можно разделить на две группы:
- вихревой аппарат, работающий самостоятельно или совместно с дополнительной автоматикой;
- насосные станции – это комплекс, включающий сам насос, гидроаккумулятор и блок автоматики.
Оба этих вида могут применяться для организации постоянной системы водоснабжения частного дома, но наиболее удобны в использовании насосные станции. Они создают и поддерживают постоянное давление в водопроводной системе за счет гидроаккумулятора, емкость которого может быть различна. При открытом кране, когда давление воды снижается ниже нормы, срабатывает автоматика, запускающая насос, и гидроаккумулятор вновь заполняется.
Такая система может быть установлена буквально в течение одного дня, и в отличие от глубинного насоса для колодца, не потребует использования дополнительного оборудования. Несмотря на все удобство станций, их использование несколько ограничивает тот факт, они не отличаются большой глубиной всасывания, и применение возможно лишь в не самых глубоких колодцах.
Совет! На конце всасывающего шланга, расположенного в воде и ведущего к самой станции лучше заранее установить качественный обратный клапан, что позволит избежать вытекание воды, и самопроизвольного включения станции.
В случае наличия более глубокой скважины или колодца, и невозможности/нежелания устанавливать погружные модификации, для водоснабжения, особенно сезонного, можно использовать поверхностный вихревой насос, подающий воду напрямую в подготовленный водопровод. Такое решение оправдано для обеспечения полива на огороде, для газонов, теплиц, мойки транспортных средств и т. д.
Установка выбранного оборудования в колодец не отличается сложностью, и, в основном, может осуществляться своими руками. При этом, особое внимание необходимо уделить трубопроводу, по которому будет подаваться вода. После того, как определено, какой насос лучше для колодца конкретного типа, следует выбрать подходящий шланг. Если используются ручные насосы для скважин и колодцев, или вибрационные, которые опускаются лишь по мере надобности, а затем извлекаются, можно использовать простой резиновый шланг, фиксируемый на патрубке насоса хомутом.
Если устанавливается центробежная модель, которую планируется извлекать из колодца лишь для проведения технического обслуживания, более целесообразно будет использовать трубопровод из жесткого ПВХ или металла – более сложный монтаж с лихвой компенсируется надежностью и долгим сроком эксплуатации.
bouw.ru
Насосы для колодцев погружной какой лучше выбрать
Не всегда на загородном участке обустройство скважины оправдано. В некоторых случаях ее создание слишком затратно. Если использование будет исключительно сезонное, то лучше предпочесть колодец. Имеются и другие факторы, из-за которых предпочтение отдается колодцам. В частности, возможность его создания собственными силами без привлечения техники. Чем бы ни был обусловлен такой выбор, потребуется техническое оснащение для выкачивания воды. Необходимо определить, какой насос лучше для колодца.
Рис. 1 Хороший колодец украшает участокЭтот вариант источника питьевой воды имеет ряд особенностей по сравнению со скважиной. В первую очередь следует отметить относительно небольшой уровень воды. Он колеблется в зависимости от сезона и количества осадков, но чаще всего значительным объемом жидкости колодец похвастаться не может. Если лето засушливое, то уровень воды может располагаться в метре от дна, а это повышает вероятность взбаламучивания осадка. Кроме того, выкачивание сразу большого объема может привести к срабатыванию датчиков сухого хода. Все эти особенности следует учесть, обдумывая как выбрать наружные или погружные насосы для колодцев.
Содержание статьи:
Какие характеристики требуется учесть?
Прежде чем приступать к выбору модели устройства в магазине, следует выполнить подготовку у колодца. Сначала измеряются следующие параметры источника:
- Глубина от поверхности земли до дна. Для такой цели можно использовать шнур, к концу которого привязан груз.
- Статический уровень – расстояние от поверхности земли до воды. Замерять лучше после того, как колодцем несколько дней не пользовались, чтобы он мог максимально наполниться. Если такой возможности нет, то утром, после ночного перерыва в заборе воды.
- Динамический уровень определяется при выкачивании воды. Сначала ее количество относительно резко понизится, а потом перестанет уменьшаться. Этот постоянное количество и называется динамическим. Если продолжать откачку около получаса, а уровень воды понизится не сильно, то колодец имеет высокую производительность. Если же она меньше производительности насосного оборудования, то есть опасность на время осушить источник.
- Диаметр источника измеряют для вычисления объема.
Помимо определения количества воды, надо определиться с ее качеством. Наличие большого количества взвеси и твердых частиц негативно отражается на насосных устройствах, предназначенных для чистой жидкости. Однако всегда можно подобрать модель, которая будет справляться с определенным количеством включений.
Рис. 2 Статический и динамический уровень: как выбранный агрегат для воды изменяет объемОпределяется необходимая мощность насоса, чтобы ее было достаточно для пиков потребления. Несколько уменьшить ее позволит накопительный бак.
Очень важно, как будет использоваться оборудование в течение года. Есть множество моделей для теплого периода. Вариантов для круглогодичной эксплуатации гораздо меньше.
Не менее значимым показателем является сфера использования воды. Если она требуется для полива или наполнения резервуара, то подойдет агрегат без гидроаккумуляторов или накопительных емкостей. Он будет работать непрерывно, но вполне определенный промежуток времени. Для обеспечения водой дома, накопитель понадобится. При прерывистой подаче необходимо уменьшать частоту включений и отключений.
Разновидности насосов для колодца
Агрегаты, которые могут использоваться для подачи воды из колодца, делятся на поверхностные и погружные.
Поверхностные модели
Эти виды насосных агрегатов не погружаются в воду. Их можно размещать не только в значительном удалении от поверхности воды, но и поблизости, например, в колодце на поплавке. Такие устройства имеют ограничения по высоте подъема жидкости. Средним показателем является шесть метров, а максимальным – десять. Есть устройства с эжекторами, которые увеличивают этот показатель.
Рис. 3 Поверхностный насос для колодцаМодели поверхностных насосов различаются по характеру работы. Они бывают вибрационными и центробежными. По особенностям всасывания системы делятся на нормально всасывающие и самовсасывающие. В последних вода подтягивается из-за образующегося разреживания воздуха, т.е. система не всегда заполнена жидкостью полностью. Самовсасывающий вариант отлично подходит в тех случаях, когда не требуется повышать давление в системе.
Агрегаты такого типа могут использоваться при любой частоте включений. Они комплектуются узлами автоматики и накопительными емкостями.
Погружные модели
Такие насосы полностью опускаются в воду. Они обладают герметичным корпусом, который защищен от коррозии. Такие устройства способны поднять жидкость с большой глубины и отличаются значительной производительностью. Однако при выборе следует учитывать дебет колодца, чтобы обеспечить стабильную работу без отключений из-за сухого хода.
Рис. 4 Погружной колодезный насосТакже должен учитываться такой фактор, как создание конуса всасывания. Мощный насос создает завихрения, втягивающие воду. Но если он расположен недалеко от дна, то одновременно поднимается осадок, создающий загрязнение. Поэтому такое устройство рекомендуется располагать на расстоянии не менее мета от дна. Обязательно на устройстве должен быть фильтр и защитные автоматические системы.
В любом случае, при выборе насоса для колодцев погружного какой лучше, следует обратить внимание на модели, которые выдерживают большое количество примесей.
Как правильно выбрать насос?
Если предстоит выбрать насос для колодца, то возникает основной вопрос: поверхностный или погружной вариант предпочесть.
В первую очередь учитывают рабочую глубину источника. Если она небольшая и запас воды тоже невелик, ее приходится добывать практически от самого дна, то лучшим вариантом станет поверхностная модель. Как выбрать конкретный агрегат, следует задуматься на основе имеющихся характеристик.
Если источник глубокий, с большим дебетом, то требуется остановить выбор на погружных насосах для колодца. Выбирать следует устройства с высоким качеством сборки. Если корпус разгерметизируется, то вода окажется загрязнена маслом.
Среди современного ассортимента подобрать лучший насос для колодца не составит особого труда. Самое главное, чтобы он был оснащен необходимой автоматикой для отключения и соответствовал качеству воды.
Возможно вам также будет интересно почитать:
Пользуясь сайтом oBurenie.ru вы автоматически соглашаетесь с политикой конфиденциальности для использования любых доступных средств коммуникации таких как: комментарии, чат, форма обратной связи и т.д.oburenie.ru
Какой насос для колодца выбрать
Существует два основных типа насосов, отличающихся друг от друга расположением насосного агрегата относительно перекачиваемой воды. Это погружные и поверхностные насосы. Зачастую любой из этих насосов можно быть использовать и для колодца, и для неглубокой скважины, и для простого забора воды из открытого водоема. В этой статье будут рассмотрены насосы, подходящие для работы в обычных колодцах.
Перед покупкой насоса для вашего колодца, необходимо обратить внимание на следующие моменты:
- Параметры самого колодца. Объем воды, который может дать колодец за определенную единицу времени;
- Основные характеристики насоса. Его размеры, объем перекачиваемой воды за единицу времени, его мощность и производительность (прямопропорциональна дальности и высоте транспортировки выкаченной из источника воды по трубам), величина потребления электроэнергии, фильтры.
- Режим и задачи планируемого водоснабжения загородного деревянного дома. Будет ли он выполнять свои функции круглогодично, либо только в летний период.
Среди огромного многообразия видов марок погружных и поверхностных колодезных насосов, представленных на Российском рынке для подачи воды из колодца достаточно рассмотреть лишь самые основные.
Погружные насосы для колодцев
Самый распространенный вид насосов, используемых в быту для добычи воды из колодца. Как следует из названия, такой насос во время работы должен быть полностью погружен под воду. Дело в том, что вода является естественным охладителем для таких насосов, препятствующих их перегреву. Погружные насосы для колодцев подразделяются на центробежные, дренажные и вибрационные.
Погружные центробежные насосы с поплавковым выключателем

Погружной центробежный насос с поплавковым выключателем
Используются как для сезонной подачи воды, так и круглогодичного водоснабжения. Прекрасно подходят для глубоких колодцев с высоким уровнем воды. По соотношению цена/качество является самым оправданным видом насосов для колодца. Качает быстро и много, а благодаря системе поплавкового выключателя никогда не допустит сухого хода в случае снижения уровня воды в колодце до критического.
Таблица самых распространенных на рынке погружных центробежных насосов с поплавковым переключателем
| Модель насоса | Производительность | Мощность, кВт |
| «Водомет» 150/45 А | 9 м3/час | 1,1 |
| «Водомет» 150/60 А | 9 м3/час | 1,94 |
| «Водомет» 60/32 А | 3,6 м3/час | 0,6 |
| «Водомет» 60/52 А | 3,6 м3/час | 0,7 |
Простой погружной центробежный насос

Погружной центробежный насос
Полный аналог первого варианта, но без предохранительной системы от холостого хода. Вполне может подойти и для некоторых видов скважин, для которых он изначально и был спроектирован. При использовании его в колодце необходимо строго следить за тем, чтобы уровень воды не упал ниже точки забора и не допустить сухого хода. В противном случае погружной центробежный насос без поплавкового переключателя сразу выйдет из строя.
| Модель насоса | Производительность | Мощность, кВт |
| «Гарант» БЦПЭ 25-85 | 3,6 м3/час | 0,37 |
| «Гарант» БЦПЭ 40-85 | 3,6 м3/час | 0,55 |
| «Гарант» БЦПЭ 20-85 | 3,6 м3/час | 0,25 |
| «Гарант» НГВП 35-100 | 3,6 м3/час | 0,5 |
| «Гарант» НГВП 45-100 | 2,7 м3/час | 0,5 |
| «Водолей» БЦПЭ 0,5-16У | 3,6 м3/час | 0,38 |
| «Водолей» БЦПЭ 0,5-25У | 0,5 | |
| «Водолей» БЦПЭ 0,5-32У | 0,65 | |
| «Водолей» БЦПЭ 0,5-40У | 0,72 |
Погружные дренажные насосы

Дренажный насос
В принципе такой вид насосов изначально применяется для откачек излишков воды, например из свежевыкопанных котлованов, помещений и пр. Погружной дренажный насос без проблем справится и с такими включениями в воде как ил, песок, глина. Эти насосы вполне могут быть использованы для неглубоких колодцев. Но от вышеперечисленных марок их отличает то, что они могут быть применимы лишь для эпизодического, непостоянного применения.
| Модель насоса | Производительность | Мощность, кВт |
| «Гарант» НД-400 | 9 м3/час | 0,4 |
| «Гарант» НД-550 | 12 м3/час | 0,55 |
| «Гарант-Комфорт» 1,5-12-0,25 | 1,5 м3/час | 0,25 |
| «Гарант-Комфорт» 1,5-17-0,37 | 1,5 м3/час | 0,37 |
Погружные вибрационные насосы

Погружной вибрационный насос
Подходят для неглубоких колодцев как с чистой водой, так и содержащей твердые включения. Может применяться круглогодично. Погружной вибрационный насос – самый излюбленный вид среди владельцев загородных дачных участков именно за свою небольшую производительность, и как следствие – невысокую цену. Вместе с тем обладающий хорошими напорными характеристиками. Бывает как с верхним так и с нижним забором. Нижний забор воды прекрасно подходит для неглубоких колодцев и позволяет выкачать максимальный объем воды.
| Модель насоса | Производительность | Мощность, кВт |
| «Малыш» 10, 16, 25, 40, 50 | 0,4 м3/час | 0,245 |
| «Малыш-3» 25, 40, 50 | 0,4 м3/час | 0,165 |
| «Ручеек-1» 10, 15, 25, 40 | 0,4 м3/час | 0,225 |
| «Тайфун-2» | 0,9 м3/час | 0,24 |
| «Ливень» | 0,5 м3/час | 0,25 |
Поверхностные насосы для воды
Поверхностные насосы для воды, используемые для колодца, можно условно разделит на два типа: поверхностные вихревые насосы и насосные станции.
Несмотря на то, что, как правило, используется только для теплого периода года, может быть использован и в холодное время года. Но обязательно должен находится в отапливаемом помещении, так же как и трубные магистрали от источника воды до насоса или насосной станции и до источника потребления, производить забор может только из непромерзшего источника воды.
Поверхностный вихревой насос
Поверхностные насосы для воды, как и насосные станции можно применять в качестве насосов для колодца. Главным отличием их от насосных станций является отсутствие гидроаккумулятора и накачивание воды непосредственно в магистраль. При выборе вихревого насоса следует учитывать высоту всасывания, создаваемый напор, производительность насоса и его мощность. Так же не стоит забывать, что такие насосы предназначены для перекачки чистой воды и возможные примеси будут пагубно сказываться на их работе.

Поверхностный вихревой насос
Примеры насосов по моделям и приблизительной их производительности приведены ниже
| Модель насоса | Производительность | Мощность, кВт |
| «Джамбо» 70/50 Н | 3.9 м3/час | 1,1 |
| «Джамбо» 60/35 П | 3.6 м3/час | 0,6 |
| «Гарант» 60-1 | 2,4 м3/час | 0,37 |
| «Гарант» 70-1 | 3,0 м3/час | 0,60 |
| «Гарант» 80-1 | 3,6 м3/час | 0,75 |
Насосная станция для воды

Насосная станция
Насосные станции для воды являются надежным и достаточно удобным вариантом бесперебойным подачи воды из колодца в магистраль с постоянным напором благодаря наличию гидроаккумулятора и системы автоматики. Кроме того, насосная станция, благодаря расположению в помещении, легкодоступна, благодаря чему можно контролировать ее работу и осуществлять осмотры и обслуживание.
Модель насоса | Производительность | Мощность, кВт |
| «АКВАРОБОТ» JS 100 | 1,2 м3/час | 0,75 |
| «АКВАРОБОТ» JS 80 | 1,2 м3/час | 0,6 |
| «АКВАРОБОТ» JS 60 | 1,2 м3/час | 0,45 |
| «Гарант» НСВ 70-1А | 3,0 м3/час | 0,6 |
| «Гарант» НСВ 80-1А | 3,6 м3/час | 0,75 |
| «Джилекс Джамбо» 60/35 Н-24 | 3,6 м3/час | 0,6 |
| «Джилекс Джамбо» 50/28 Ч-24 | 3,0 м3/час | 0,5 |
Так же перед выбором необходимо обратить внимание на характеристики высоты всасывания воды (высоты от водозаборного отверстия до входного отверстия поверхностного насоса).
© 2013 – 2017, Деревянный Дом. Все права защищены. При копировании статьи или любого ее фрагмента ссылка на первоисточник обязательна.
log-cabin.ru
