Ограничитель тока для светодиода – Схемы стабилизаторов тока для светодиодов на транзисторах и микросхемах
Правильный расчет резистора для светодиода (онлайн калькулятор)
Светодиод является полупроводниковым прибором с нелинейной вольт-амперная характеристикой (ВАХ). Его стабильная работа, в первую очередь, зависит от величины, протекающего через него тока. Любая, даже незначительная, перегрузка приводит к деградации светодиодного чипа и снижению его рабочего ресурса.
Чтобы ограничить ток, протекающий через светодиод на нужном уровне, электрическую цепь необходимо дополнить стабилизатором. Простейшим, ограничивающим ток элементом, является резистор.
Важно! Резистор ограничивает, но не стабилизирует ток.
Расчет резистора для светодиода не является сложной задачей и производится по простой школьной формуле. А вот с физическими процессами, протекающими в p-n-переходе светодиода, рекомендуется познакомиться ближе.
Теория
Математический расчет
Ниже представлена принципиальная электрическая схема в самом простом варианте. В ней светодиод и резистор образуют последовательный контур, по которому протекает одинаковый ток (I). Питается схема от источника ЭДС напряжением (U). В рабочем режиме на элементах цепи происходит падение напряжения: на резисторе (U
В приведенных формулах R – это сопротивление рассчитываемого резистора (Ом), RLED – дифференциальное сопротивление светодиода (Ом), U – напряжения (В).
Значение RLED меняется при изменении условий работы полупроводникового прибора. В данном случае переменными величинами являются ток и напряжение, от соотношения которых зависит величина сопротивления. Наглядным объяснением сказанного служит ВАХ светодиода.
На начальном участке характеристики (примерно до 2 вольт) происходит плавное нарастание тока, в результате чего RLED имеет большое значение. Затем p-n-переход открывается, что сопровождается резким увеличением тока при незначительном росте прикладываемого напряжения.
Путём несложного преобразования первых двух формул можно определить сопротивление токоограничивающего резистора: ULED является паспортной величиной для каждого отдельного типа светодиодов.
Графический расчет
Имея на руках ВАХ исследуемого светодиода, можно рассчитать резистор графическим способом. Конечно, такой способ не имеет широкого практического применения. Ведь зная ток нагрузки, из графика можно легко вычислить величину прямого напряжения. Для этого достаточно с оси ординат (I) провести прямую линию до пересечения с кривой, а затем опустить линию на ось абсцисс (ULED). В итоге все данные для расчета сопротивления получены.
Тем не менее, вариант с использованием графика уникален и заслуживает определенного внимания.
Рассчитаем резистор для светодиода АЛ307 с номинальным током 20 мА, который необходимо подключить к источнику питания 5 В. Для этого из точки 20 мА проводим прямую линию до пересечения с кривой LED. Далее через точку 5 В и точку на графике проводим линию до пересечения с осью ординат и получаем максимальное значение тока (I
В каких случаях допускается подключение светодиода через резистор?
Подключать светодиод через резистор можно, если вопрос эффективности схемы не является первостепенным. Например, использование светодиода в роли индикатора для подсветки выключателя или указателя сетевого напряжения в электроприборах. В подобных устройствах яркость не важна, а мощность потребления не превышает 0,1 Вт. Подключая светодиод с потреблением более 1 Вт, нужно быть уверенным в том, что блок питания выдаёт стабилизированное напряжение.
Если входное напряжение схемы не стабилизировано, то все помехи и скачки будут передаваться в нагрузку, нарушая работу светодиода. Ярким примером служит автомобильная электрическая сеть, в которой напряжение на аккумуляторе только теоретически составляет 12 В. В самом простом случае делать светодиодную подсветку в машине следует через линейный стабилизатор из серии LM78XX. А чтобы хоть как-то повысить КПД схемы, включать нужно по 3 светодиода последовательно. Также схема питания через резистор востребована в лабораторных целях для тестирования новых моделей светодиодов. В остальных случаях рекомендуется использовать стабилизатор тока (драйвер). Особенно тогда, когда стоимость излучающего диода соизмерима со стоимостью драйвера. Вы получаете готовое устройство с известными параметрами, которое остаётся лишь правильно подключить.
Примеры расчетов сопротивления и мощности резистора
Чтобы помочь новичкам сориентироваться, приведем пару практических примеров расчета сопротивления для светодиодов.
Cree XM–L T6
В первом случае проведем вычисление резистора, необходимого для подключения мощного светодиода Cree XM–L к источнику напряжения 5 В. Cree XM–L с бином T6 имеет такие параметры: типовое U
Используя наиболее распространённые резисторы из ряда Е24, не всегда удаётся подобрать нужный номинал. Решить эту проблему можно двумя способами. Первый подразумевает последовательное включение добавочного токоограничительного сопротивления, который должен компенсировать недостающие Омы. Его подбор должен сопровождаться контрольными измерениями тока.
Второй способ обеспечивает более высокую точность, так как предполагает установку прецизионного резистора. Это такой элемент, сопротивление которого не зависит от температуры и прочих внешних факторов и имеет отклонение не более 1% (ряд Е96). В любом случае лучше оставить реальный ток немного меньше от номинала. Это не сильно повлияет на яркость, зато обеспечит кристаллу щадящий режим работы.
Мощность, рассеиваемая резистором, составит:
Рассчитанную мощность резистора для светодиода обязательно следует увеличить на 20–30%.
Вычислим КПД собранного светильника:
Пример с LED SMD 5050
По аналогии с первым примером разберемся, какой нужен резистор для SMD светодиода 5050. Здесь нужно учесть конструкционные особенности светодиода, который состоит из трёх независимых кристаллов.
Если LED SMD 5050 одноцветный, то прямое напряжение в открытом состоянии на каждом кристалле будет отличаться не более, чем на 0,1 В. Значит, светодиод можно запитать от одного резистора, объединив 3 анода в одну группу, а три катода – в другую. Подберем резистор для подключения белого SMD 5050 с параметрами: типовое U
Принимаем к монтажу ограничительный резистор мощностью 0,25 Вт и сопротивлением в 30 Ом ±5%.
У RGB светодиода SMD 5050 различное прямое напряжение каждого кристалла. Поэтому управлять красным, зелёным и синим цветом, придётся тремя резисторами разного номинала.
Онлайн-калькулятор
Представленный ниже онлайн калькулятор для светодиодов – это удобное дополнение, которое произведет все расчеты самостоятельно. С его помощью не придётся ничего рисовать и вычислять вручную. Всё что нужно – это ввести два главных параметра светодиода, указать их количество и напряжение источника питания. Одним кликом мышки программа самостоятельно произведёт расчет сопротивления резистора, подберёт его номинал из стандартного ряда и укажет цветовую маркировку. Кроме этого, программа предложит уже готовую схему включения.
Дополняя вышесказанное стоит отметить, что если прямое напряжение светодиода значительно ниже напряжения питания, то схемы включения через резистор малоэффективны. Вся лишняя энергия впустую рассеивается резистором, существенно занижая КПД устройства.
Читайте так жеledjournal.info
Стабилизатор тока для светодиодов: виды, схемы, как сделать
Главным электрическим параметром светодиодов (LED) является их рабочий ток. Когда в таблице характеристик светодиода мы встречаем рабочее напряжение, то нужно понимать, что речь идет о падении напряжения на светодиоде при протекании рабочего тока. То есть рабочий ток определяет рабочее напряжение LED. Поэтому только стабилизатор тока для светодиодов может обеспечить их надежную работу.
Назначение и принцип работы
Стабилизаторы должны обеспечивать постоянный рабочий ток светодиодов когда в сети питания есть проблемы с отклонением напряжения от нормы (вам будет интересно узнать, как подключить светодиод от сети 220 вольт). Стабильный рабочий ток в первую очередь необходим для защиты LED от перегрева. Ведь при превышении максимально допустимого тока, светодиоды выходят из строя. Также стабильность рабочего тока обеспечивает постоянство светового потока прибора, например, при разряде аккумуляторных батарей или колебаниях напряжения в питающей сети.
Стабилизаторы тока для светодиодов имеют разные виды исполнения, а обилие вариантов схем исполнения радует глаз. На рисунке приведены три самые популярные схемы стабилизаторов на полупроводниках.

- Схема а) — Параметрический стабилизатор. В этой схеме стабилитрон задает постоянное напряжение на базе транзистора, который включен по схеме эмиттерного повторителя. Благодаря стабильности напряжения на базе транзистора, напряжение на резисторе R тоже постоянно. В силу закона Ома ток на резисторе также не меняется. Так как ток резистора равен току эмиттера, то стабильны токи эмиттера и коллектора транзистора. Включая нагрузку в цепь коллектора, мы получим стабилизированный ток.
- Схема б). В схеме, напряжение на резисторе R стабилизируется следующим образом. При увеличении падения напряжения на R, больше открывается первый транзистор. Это приводит к уменьшению тока базы второго транзистора. Второй транзистор немного закрывается и напряжение на R стабилизируется.
- Схема в). В третьей схеме ток стабилизации определяется начальным током полевого транзистора. Он не зависит от напряжения, приложенного между стоком и истоком.
В схемах а) и б) ток стабилизации определяется номиналом резистора R. Применяя вместо постоянного резистора подстрочный можно регулировать выходной ток стабилизаторов.
Производители электронных компонентов производят множество микросхем стабилизаторов для светодиодов. Поэтому в настоящее время в промышленных изделиях и в радиолюбительских конструкциях чаще применяются стабилизаторы в интегральном исполнении. Почитать про все возможные способы подключения светодиодов можно здесь.
Обзор известных моделей
Большинство микросхем для питания светодиодов выполнены в виде импульсных преобразователей напряжения. Преобразователи, в которых роль накопителя электрической энергии выполняет катушка индуктивности (дроссель) называются бустерами. В бустерах преобразование напряжения происходит за счет явления самоиндукции. Одна из типичных схем бустера приведена на рисунке.

Схема стабилизатора тока работает следующим образом. Транзисторный ключ находящийся внутри микросхемы периодически замыкает дроссель на общий провод. В момент размыкания ключа в дросселе возникает ЭДС самоиндукции, которая выпрямляется диодом. Характерно то, что ЭДС самоиндукции может значительно превышать напряжение источника питания.
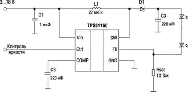
Как видно из схемы для изготовления бустера на TPS61160 производства фирмы Texas Instruments требуется совсем немного компонентов. Главными навесными деталями являются дроссель L1, диод Шоттки D1, выпрямляющий импульсное напряжение на выходе преобразователя, и Rset.
Резистор выполняет две функции. Во-первых, резистор ограничивает ток, протекающий через светодиоды, а во-вторых, резистор служит элементом обратной связи (своего рода датчиком). С него снимается измерительное напряжение, и внутренние схемы чипа стабилизируют ток, протекающий через LED, на заданном уровне. Изменяя номинал резистора можно изменять ток светодиодов.
Преобразователь на TPS61160 работает на частоте 1.2 МГц, максимальный выходной ток может составлять 1.2 А. С помощью микросхемы можно питать до десяти светодиодов включенных последовательно. Яркость светодиодов можно изменять путем подачи на вход «контроль яркости» сигнала ШИМ переменной скважности. КПД приведенной схемы составляет около 80%.
Нужно заметить, что бустеры обычно используются, когда напряжение на светодиодах выше напряжения источника питания. В случаях, когда требуется понизить напряжение, чаще применяют линейные стабилизаторы. Целую линейку таких стабилизаторов MAX16xxx предлагает фирма MAXIM. Типовая схема включения и внутренняя структура подобных микросхем представлена на рисунке.

Как видно из структурной схемы, стабилизация тока светодиодов осуществляется Р-канальным полевым транзистором. Напряжение ошибки снимается с резистора Rsens и подается на схему управления полевиком. Так как полевой транзистор работает в линейном режиме, КПД подобных схем заметно ниже, чем у схем импульсных преобразователей.
Микросхемы линейки MAX16xxx часто применяются в автомобильных приложениях. Максимальное входное напряжение чипов составляет 40 В, выходной ток – 350 мА. Они, как и импульсные стабилизаторы, допускают ШИМ-диммирование.
Стабилизатор на LM317
В качестве стабилизатора тока для светодиодов можно использовать не только специализированные микросхемы. Большой популярностью у радиолюбителей пользуется схема LM317.
LM317 представляет собой классический линейный стабилизатор напряжения имеющий множество аналогов. В нашей стране эта микросхема известна как КР142ЕН12А. Типовая схема включения LM317 в качестве стабилизатора напряжения показана на рисунке.

Для превращения этой схемы в стабилизатор тока достаточно исключить из схемы резистор R1. Включение LM317 в качестве линейного стабилизатора тока выглядит следующим образом.

Выполнить расчет этого стабилизатора довольно просто. Достаточно вычислить номинал резистора R1, подставив значение тока в следующую формулу:
R1=1.25*I0.
Мощность, рассеиваемая на резисторе равна:
W=I2R1.
Регулируемый стабилизатор
Предыдущую схему легко превратить в регулируемый стабилизатор. Для этого нужно постоянный резистор R1 заменить на потенциометр. Схема будет выглядеть так:

Как сделать стабилизатор для светодиода своими руками
Во всех приведенных схемах стабилизаторов используется минимальное количество деталей. Поэтому самостоятельно собрать подобные конструкции сможет даже начинающий радиолюбитель освоивший навыки работы с паяльником. Особенно просты конструкции на LM317. Для их изготовления даже не нужно разрабатывать печатную плату. Достаточно припаять подходящий резистор между опорным выводом микросхемы и ее выходом.
Также к входу и выходу микросхемы нужно припаять два гибких проводника и конструкция будет готова. В случае, если с помощью стабилизатора тока на LM317 предполагается питать мощный светодиод, микросхему нужно оснастить радиатором который обеспечит отвод тепла. В качестве радиатора можно использовать небольшую алюминиевую пластинку площадью 15-20 квадратных сантиметров.
Изготавливая конструкции бустеров, в качестве дросселей можно использовать катушки фильтров различных блоков питания. Например, для этих целей хорошо подойдут ферритовые кольца от блоков питания компьютеров, на которые следует намотать несколько десятков витков эмалированного провода диаметром 0.3 мм.
Какой стабилизатор использовать в авто
Сейчас автолюбители часто занимаются модернизацией светотехники своих машин, применяя для этих целей светодиоды или светодиодные ленты (читайте, как подключить светодиодную ленту в авто). Известно, что напряжение бортовой сети автомобиля может сильно меняться в зависимости от режима работы двигателя и генератора. Поэтому в случае с авто особенно важно применять не стабилизатор 12 вольт, а рассчитанный на конкретный тип светодиодов.
Для автомобиля можно посоветовать конструкции на основе LM317. Также можно использовать одну из модификаций линейного стабилизатора на двух транзисторах, в которой в качестве силового элемента использован мощный N-канальный полевой транзистор. Ниже приведены варианты подобных схем, в том числе и схема светодиодного драйвера.

Вывод
Подводя итог можно сказать, что для надежной работы светодиодных конструкций их необходимо питать с помощью стабилизаторов тока. Многие схемы стабилизаторов просты и доступны для изготовления своими руками. Мы надеемся, что приведенные в материале сведения будут полезны всем, кто интересуется данной темой.
ledno.ru
Осторожно, Светодиоды! Или подводные камни при питании LED-ламп на CS-CS.Net: Лаборатория Электрошамана
Ну что? Пост я хотел написать уже как год назад, но тогда не было повода. А сейчас повод снова есть! Светодиодное освещение входит в массы тотально как и китайскими лампочками с барахолок, так и злыми светодиодными прожекторами или спотами в потолок.
Светодиоды — это тренд, это круто, мощно и удобно. Они потребляют меньше мощности, более компактны. Но не всё так гладко, как кажется, и не все моменты учитывают. Лично мне не нравится, когда светодиодный фонарь на столбе лучит как точечный источник света и из-за этого прямо под столбом светло и хорошо, но зато слепит глаза, а в трёх метрах ни черта не видно.
Но дело не только в том, насколько удобно или не удобно это освещение! Есть ещё одно техническое западло, которое не все учитывают, но которое приводит к нехорошим последствиям. Для того, чтобы понять о том, какое же это такое западло, мы возвращаемся к самому началу и вспоминаем ранний пост про импульсные блоки питания, в котором коряво описано их устройство. Давайте его повторим?
Итак, блоки питания с трансформатором почти насовсем отошли нафиг. Почему? А потому что тяжело стабилизировать напряжение, потому что сам трансформатор тяжёлый и громоздкий и не везде его позапихаешь. Оказалось удобнее делать такие же блоки питания, но где трансформатор работает на более высокой частоте. Вот в нашей сети частота всего 50 Гц. А если её поднять до 25-30 кГц, то огромный трансформатор на 200 Ватт превратится в маленькую фиговинку.
А как поднять частоту сети? А сделать свой собственный генератор этой частоты на микросхеме или транзисторах! Пущай он наш маленький трансформатор и питает! А уже сам генератор мы будем питать обычным сетевым напряжением. Рассмотрим логику создателей ИБП дальше. Каким родом тока проще всего питать генератор? Постоянным, выпрямленным. А значит у нас появляется выпрямитель и фильтрующий конденсатор. И вот тут-то и начинается самое главное западло.
Повторим всё ещё раз. Обычное сетевое напряжение переменного тока выпрямляется при помощи диодного моста и попадает на фильтрующий конденсатор. После этого напряжение постоянного тока идёт на генератор высокой частоты. Напряжение высокой частоты проходит через трансформатор, понижается до нужного уровня, выпрямляется, стабилизируется и подаётся на выход блока питания.
И вот это вот конденсатор и создаёт нам самое главное западло. Когда мы подаём питание на любой импульсный блок питания (а это и компьютерный, и зарядка для сотового, и драйвер или блок питания для LED-светильника), то кратковременно на доли секунды потребляемый ток подскакивает до космических величин (раз в 10 больше обычного потребления).
ВНИМАНИЕ! Всё, описанное и подсчитанное ниже, подходит для тех случаев, когда вы ставите светодиодные светильники с отдельным внешним драйвером (в том числе и светодиодные прожекторы)! Если вы просто переходите на светодиодные лампы, которые питаются от 220 напрямую и в которых драйвер встроен внутрь, то обычно никаких проблем с освещением не возникает.
Давайте возьмём какой-нибудь драйвер от Mean Well и посмотрим на его спецификацию. Я наобум выбрал APC-16-350. Это хиленький такой драйвер на 16 Ватт со стабилизацией тока. Для какого-нибудь светодиода на 10 Ватт сгодится.

Внимательно изучаем указанные там параметры и первым видим параметр «Потребляемый ток» («AC Current») — 0,3 ампера. И тут наши добрые люди (в том числе и те, кто заказывает мне щиты) как раз и пишут мне что-то типа «А, да у меня освещение светодиодное, всего десять драйверов по 0,3 ампера каждый, потребление фигня».
И когда-то я тоже думал, что потребление фигня. Ну смотрите сами: 0,3 х 10 = 3 ампера. Да это ж любая хилая релюшка справится, а защищать такие линии надо автоматом на 6А. Верно?
А вот НЕТ! Добрый производитель дал нам классный параметр «Стартовый ток» («Inrush Current»), который составляет.. 45 (сорок пять!) ампер за время 0,000 21 секунды! Представляете? Какие-то ничтожные 0,3 ампера при включении блока превращаются в 45! Это в 150 раз больше нормального потребления! И чтобы мы совсем уже расстроились, следующий параметр, который нам дают — это то, сколько таких драйверов можно навесить на автомат номиналом в 16А (а не 10А, которым мы обычно защищаем освещение): на B16 можно поставить 13 штук драйверов, а на С16 — 23 штуки.
Давайте ещё раз переосмыслим всё это. При старте хилый драйвер жрёт ток в 150 раз больше обычного (45 ампер)! А на автомат B16 их можно поставить всего 13 штук!
И вот из-за этого сейчас происходит всё больше и больше вот таких вот случаев (все они из первых рук, потому что это были мои заказчики):
- В щите стоял автомат B6 для «хилых драйверов по 10 Вт». Драйверов было десять штук. При включении света обычным выключателем автомат наглухо вышибало. Заменили автомат на B10 — всё равно вышибало. Вышибать перестало на C10. Заменить автомат на C16 нельзя, потому что на освещение заложен стандартный кабель 3х1,5 кв.мм.
- Регулярно (раз в месяц) сваривались контакты выключателя, который включал пяток светодиодов с их драйверами. Пришлось менять светильники на другие, в которых нет таких злобных драйверов (про это ниже).
- Собрали щит с ПЛК и релюшками CR-P на 16А. Я как-то пропустил то, что светодиодные лампы там тоже с драйверами. После парочки включений этих ламп (тоже десяток светильников) релюшки спаялись и умерли. Хотя они, заметьте, расчитаны на 16А активной нагрузки.
И что делать? Как это исправлять? Положим, если бы горели какие-то там хилые релюшки! А горят даже выключатели! Обычные выключатели, рассчитанные на 10А. Давайте подумаем про возможные варианты:
- Менять релюшки на контакторы серии ESB20 (на 20А с более прочными контактами). Но выдержат ли они? Стартовый ток десяти таких драйверов будет 45 х 10 = 450 ампер. При этом контакторы ESB20 не очень хорошие. Их магнитная система работает на переменном токе в отличие от всех других контакторов серии ESB и часто гудит или перегревается.
- Ставить более злые контакторы. Ну это уже смешно. Прикиньте, сколько будет стоить щит на ESB24, если их понадобится поставить штук 25?
- Использовать установочные реле E297 (аналог импульсных по размерам и типу, но без фиксации). Они заказные и рассчитаны на токи 16А. И мы ничего не выигрываем!
- Использовать PTC-Термисторы, включенные последовательно с таким драйвером, чтобы облегчить его стартовый режим. Так делают в импульсных блоках питания на большие мощности. Я никогда не рассматривал этот вариант и буду благодарен, если мне кто-то подскажет в комментариях, что это такое и с чем их едят.
А как обойти фишку подгорания контактов у выключателя? Действительно, что ли, ставить контактор и закладывать магистраль 3х4 под автоматом C20 на такие светильники?..
Так что будьте ОЧЕНЬ внимательны со светодиодным освещением большой мощности! Не всё так легко и просто, и не всё так дешёво как может показаться: возможно, что вам придётся тратить денег на хитрую начинку щита для управления драйверами светодиодных ламп и только потом уже высчитывать общую экономию по потреблению электроэнергии!
Дополнение от 10.2018. Ура! Проблема, кажется, решена! Меандр выпустил реле МРП-101, которое ограничивает эти стартовые токи. Читайте пост про него (и его применение)!
cs-cs.net
Что нужно светодиоду — стабилизатор напряжения или тока?
Все светодиоды, независимо от форм-фактора и электрических параметров, питаются током. Правильно заданный ток – это гарантия длительной и стабильной работы осветительного прибора. Так почему же производители светодиодной продукции часто вместо стабилизатора тока устанавливают стабилизатор напряжения? Как это сказывается на работе светодиодных ламп, лент, фонарей и прожекторов? Попробуем разобраться.
Стабилизаторы напряжения
Исходя из названия, эти устройства предназначены для поддержания напряжения в нагрузке на определённом уровне. При этом величина выходного тока зависит от самой нагрузки. Другими словами, сколько потребуется нагрузки, столько она возьмёт, но не более максимально возможного значения. Допустим, стабилизатор напряжения обладает такими выходными параметрами: 12В и 1 А. То есть на выходе всегда будет поддерживаться 12В, а ток потребления может быть в диапазоне от нуля до одного ампера. Существует два вида стабилизаторов напряжения: линейные и импульсные.
Как правило, регулирующим элементом в схеме стабилизатора является биполярный или полевой транзистор. Если этот транзистор работает в активном режиме, то стабилизатор называют линейным. Если же регулирующий транзистор работает в ключевом режиме, то стабилизатор называют импульсным.
Наиболее распространенными и недорогими являются линейные стабилизаторы напряжения, однако они имеют ряд недостатков:
- низкий КПД;
- при большом токе нагрузки нуждаются в теплоотводе;
- имеют достаточно высокое падение напряжения.
Чтобы не сталкиваться с подобными недостатками, рекомендуется использовать стабилизаторы напряжения импульсного типа. Они бывают трех типов: повышающие, понижающие и универсальные. Импульсные стабилизаторы имеют высокий КПД, не нуждаются в дополнительном отводе тепла при больших токах нагрузки, но имеют более высокую стоимость.
Стабилизаторы тока
Простейший ограничитель тока – резистор. Его часто называют простейшим стабилизатором, что неверно, так как резистор не способен стабилизировать ток при колебании напряжения на своем входе.
Применение резистора в схеме питании светодиода допустимо только при стабилизированном входном напряжении. В противном случае все скачки напряжения передаются в нагрузку и негативно отражаются на работе светодиода. Эффективность резистивных ограничителей тока очень низкая, так как вся потребляемая ими энергия рассеивается в виде тепла.
Немного выше КПД у конструкций на базе готовых интегральных микросхем (ИМ) линейных стабилизаторов. Схемы линейных стабилизаторов на базе ИМ выделяющиеся минимальным набором элементов, отсутствием помех и простой настройкой.
Чтобы избежать перегрева регулирующего элемента, разность входного и выходного напряжения должна быть небольшой, но достаточной (3-5 вольт). Иначе корпус микросхемы вынужден будет рассеивать невостребованную энергию, тем самым снижая КПД.
Драйверы для светодиодов на основе готовых ИМ линейных стабилизаторов выделяются дешевизной и доступностью элементов для сборки своими руками.
Наиболее эффективными принято считать токовые драйверы с широтно-импульсной модуляцией (ШИМ). Их конструируют на базе специализированных микросхем с цепью обратной связи и элементами защиты, что в несколько раз повышает надёжность всего устройства. Наличие в них импульсного трансформатора ведет к удорожанию схемы, но оправдано высоким КПД и сроком службы. Токовые ШИМ стабилизаторы с питанием от источника 12В несложно сделать своими руками, используя специализированную микросхему. Например, ИМС PT4115 от компании PowTech, которая разработана специально для схем питания светодиодов мощностью от 1 до 10 Вт.
Параметры питания светодиодов
У светодиодов, кроме номинального тока существует ещё один важный параметр – прямое падение напряжения. Роль этого параметра также существенна, именно поэтому его указывают в первом ряду технических параметров полупроводникового прибора.
Чтобы через p-n переход начал протекать ток, к нему нужно приложить какое-то минимальное прямое напряжение Uмин.пр.. Значение минимального прямого напряжения указывается в документации светодиода и отражается на графике вольт — амперных характеристик (ВАХ).
На зеленом участке ВАХ светодиода видно, что только при достижении Uмин.пр. начинает протекать ток Iпр. Дальнейший незначительный рост Uпр приводит к резкому росту Iпр. Именно поэтому даже небольшие перепады напряжения свыше Uмакс..пр. губительны для кристалла светодиода. В момент превышения Uмакс.пр. ток достигает своего пика и происходит разрушение кристалла. Для каждого типа светодиодов существует номинальный ток и соответствующее ему напряжение (паспортные данные), при которых прибор должен отработать заявленный срок службы.
Правильное и неправильное включение
Больше всего ошибок допускают автомобилисты, когда пытаются сэкономить на схеме питания светодиодного освещения. Часто автолюбители включают светодиодные приборы напрямую от аккумулятора, а потом жалуются на разные неполадки: моргание, потерю яркости и полное погасание кристалла. Всё это происходит из-за отсутствия промежуточного преобразователя, который должен компенсировать перепады напряжения в интервале от 10 до 14,5В. Ещё одна ошибка владельцев авто – подключение только через резистор, рассчитанный на среднее показание аккумулятора 12В. Резистор – линейный элемент, а значит, ток через него растет пропорционально напряжению. Подключение через резистор допускается при условии его расчета на 14,5В, но тогда придется смириться с неполной светоотдачей светодиодов при низких и средних значениях напряжения в бортовой сети. Поэтому однозначный верный способ подключения светодиодов в автомобиле – это использование стабилизатора тока, желательно импульсного типа.
В различных осветительных конструкциях на основе светодиодов часто используются именно стабилизаторы напряжения. Почему так происходит? Во-первых, они намного дешевле качественных токовых драйверов. Во-вторых, чтобы из стабилизатора напряжения получился более-менее надёжный драйвер достаточно на выходе установить резистор, грамотно рассчитав его мощность и сопротивление. Такое схемотехническое решение часто применяется в недорогих LED лампах и осветительных конструкциях с применением светодиодных лент.
Большинство светодиодных лент питается стабильным напряжением 12В. Если рассмотреть конструкцию ленты более детально, то можно увидеть, что она разделена на небольшие участки. Как правило, каждый участок состоит из трёх SMD светодиодов и одного токозадающего резистора. Падение напряжения на одном светоизлучающем элементе в среднем составляет 2,5-3,5 В, то есть максимум 10,5В в сумме. Остаток гасится резистором, номинал которого изготовитель подбирает под тип используемых светодиодов. Поэтому подключение светодиода через связку из стабилизатора напряжения и резистора можно считать правильной.
Выходная мощность стабилизатора должна быть больше потребляемой мощности нагрузки примерно на 30%.
Если использовать простой блок питания без стабилизации (трансформатор, диодный мост и конденсатор), то при небольшом увеличении напряжения сети, его пропорционально уменьшенная часть будет равномерно распределяться на всех четырёх элементах каждого участка ленты. В итоге вырастет ток, температура кристалла и, как следствие, начнется необратимый процесс деградации светодиодов.
Самым правильным схемотехническим решением является применение стабилизатора тока импульсного типа. На сегодняшний день – это оптимальный вариант, который используют все ведущие производители светодиодных изделий. Токовый драйвер с ШИМ регулятором практически не греется, эффективен и надёжен.
Так чему же отдать предпочтение: дешевому стабилизатору напряжения с резистором или более дорогому токовому драйверу? Правильный ответ скрыт в выражении: «Любая экономия должна быть оправдана». Если Вам нужно подключить десяток слаботочных светодиодов или не более одного метра ленты, то выбор в пользу первого варианта нельзя назвать ошибочным.
Но если ваша цель – запитать фирменные светодиоды с мощностью каждого кристалла более 1 Вт, то без качественного токового драйвера не обойтись. Потому что стоимость таких излучающих диодов намного выше цены на драйвер.
Читайте так жеledjournal.info
Питание светодиодов с помощью ZXSC300
Давиденко Юрий. г. Луганск |
Целесообразность использования светодиодов в фонарях, велофарах, в устройствах местного и дежурного освещениям на сегодняшний день не вызывает сомнений. Светоотдача и мощность светодиодов растет, а цены на них падают. Источников света, в которых вместо привычной лампы накаливания используются светодиоды белого свечения становиться всё больше и купить их не составляет труда. Магазины и рынки заполнены светодиодной продукцией китайского производства. Но качество этой продукции оставляет желать лучшего. По этому возникает необходимость в модернизации доступных (в первую очередь по цене) светодиодных источников света. Да и заменить лампы накаливания на светодиоды в добротных фонарях советского производства тоже имеет смысл. Надеюсь, что приведенная далее информация будет не лишней.
Как известно, светодиод имеет нелинейную вольтамперную характеристику с характерной «пяткой» на начальном участке.
Рис. 1 Вольт-амперная характерисика светодиода белого свечения.
Как мы видим, светодиод начинает светиться, если на него подано напряжение больше 2,7 В. При питании его от гальванической или аккумуляторной батареи, напряжение которой процессе эксплуатации постепенно уменьшается, яркость излучения будет изменяться широких пределах. Чтобы избежать, этого необходимо питать светодиод стабилизированным током. А ток должен быть номинальным для данного типа светодиода. Обычно для стандартных 5-мм светодиодов он составляет среднем 20 мА.
По этой причине приходится применять электронные стабилизаторы тока, которые ограничивают стабилизируют ток, протекающий через светодиод. Часто бывает необходимо запитать светодиод от одного или двух элементов питания напряжением 1,2 – 2,5 В. Для этого используют повышающие преобразователи напряжения. Поскольку любой светодиод является, по сути, токовым прибором, точки зрения энергоэффективности выгодно обеспечивать прямое управление током, протекающим через него. Это позволяет исключить потери, возникающие на балластном (токоограничительном) резисторе.
Одним из оптимальных вариантов питания различных светодиодов от автономных источников тока небольшого напряжения 1-5 вольт является использование специализированной микросхемы ZXSC300 фирмы ZETEX. ZXSC300 это импульсный (индуктивный) повышающий преобразователь DC-DC c частотно-импульсной модуляцией.
Особенности:
|
Рассмотрим принцип работы ZXSC300.
На рисунке Рис.2 показана одна из типовых схем питания белого светодиода импульсным током с помощью ZXSC300. Импульсный режим питания светодиода позволяет максимально эффективно использовать энергию, имеющуюся в батарейке или аккумуляторе.
Кроме самой микросхемы ZXSC300 преобразователь содержит: элемент питания 1,5 В, накопительный дроссель L1, силовой ключ – транзистор VT1, датчик тока – R1.
Работает преобразователь традиционным для него образом. В течение некоторого времени за счет импульса, поступающего с генератора G (через драйвер), транзистор VT1 открыт и ток через дроссель L1 нарастает по линейному закону. Процесс длиться до момента, когда на датчике тока -низкоомном резисторе R1 падение напряжение достигнет величины 19 мВ. Этого напряжения достаточно для переключения компаратора (на второй вход которого подано небольшое образцовое напряжение с делителя). Выходное напряжение с компаратора поступает на генератор, в результате чего силовой ключ VT1 закрывается и энергия, накопленная в дросселе L1, поступает в светодиод VD1. Далее процесс повторяется. Таким образом, из первичного источника питания в светодиод поступает фиксированные порции энергии, которые он преобразует в световую.
Управление энергией происходит с помощью частотно-импульсной модуляции ЧИМ (PFM Pulse Frequency Modulation). Принцип ЧИМ заключается в том, что изменяется частота, а постоянным остаётся длительность импульса или паузы, соответственно, открытого (On-Time) и закрытого (Off-Time) состояния ключа. В нашем случаи неизменным остаётся время Off-Time, т.е. длительность импульса, при котором внешний транзистор VT1 находится в закрытом состоянии. Для контроллера ZXSC300 Toff составляет 1,7 мкс.
Это время достаточно для передачи накопленной энергии из дросселя в светодиод. Длительность импульса Ton, в течение которого открыт VT1, определяется величиной токоизмерительного резистора R1, входным напряжением, и разницей между входным и выходным напряжением, а энергия, которая накапливается в дросселе L1, будет зависеть от его величины. Оптимальным считается, когда полный период Т равен 5мкс (Toff +Ton). Соответственна рабочая частота F=1/5мкс =200 кГц.
При указанных на схеме Рис.2 номиналах элементов осциллограмма импульсов напряжения на светодиоде имеет вид
Рис.3 вид импульсов напряжения на светодиоде. (сетка 1В/дел, 1мкс/дел)
Немного подробнее об используемый деталях.
Транзистор VT1 -FMMT617, n-р-n транзистор с гарантированным напряжением насыщения коллектор-эмиттер не более 100 мВ при токе коллектора 1 А. Способен выдерживать импульсный ток коллектора до 12 А (постоянный 3 А), напряжение коллектор-эмиттер 18 В, коэффициент передачи тока 150…240. Динамические характеристики транзистора: время включения/ выключения 120/160 нс, f =120 МГц, выходная емкость 30 пф.
FMMT617 является лучшим коммутационным устройством, которое можно использовать совместно с ZXSC300. Он позволяет получить высокий КПД преобразования при входном напряжении меньше одного вольта.
Накопительный дроссель L1.
В качестве накопительного дросселя можно использовать как промышленные SMD Power Inductor, так и самодельные. Дроссель L1 должен выдерживать максимальный ток силового ключа VT1 без насыщения магнитопровода. Активное сопротивление обмотки дросселя не должно превышать 0,1 Ом иначе КПД преобразователя заметно снизиться. В качестве сердечника для самостоятельной намотки хорошо подходят кольцевые магнитопроводы (К10x4x5) от дросселей фильтров питания использующиеся в старых компьютерных материнских платах. На сегодняшний день б/у компьютерное «железо» можно приобрести по бросовым ценам на любом радиорынке. А «железо» — это неисчерпаемый источник разнообразный деталей для радиолюбителей. При самостоятельной намотки для контроля понадобится измеритель индуктивности.
Токоизмерительный резистор R1. Низкоомный резистор R1 47мОм получен параллельным соединением двух SMD резисторов типоразмера1206 по 0,1 Ом.
Светодиод VD1.
Светодиод VD1 белого свечения с номинальным рабочим током 150 мА. В авторской конструкции используется два четырехкристальных светодиода соединенные параллельно. Номинальный ток одного из них составляет 100 мА, другого 60 мА. Рабочий ток светодиода определен путем пропускания через него, стабилизированного постоянного тока и контроля температуры катодного (минусового) вывода, который является радиатором и отводит тепло от кристалла.
При номинальном рабочем токе температура теплоотводящего вывода не должна превышать 40 — 45 градусов. Вместо одного светодиода VD1 также можно использовать восемь параллельно соединенных стандартный 5 мм светодиодов с током 20 мА.
Внешний вид устройства
|
Рис. 4a. |
Рис. 4b. |
Печатная плата показана на Рис. 5
Рис. 5 (размер 14 на 17 мм).
При разработке плат для подобных устройств необходимо стремиться к минимальным значениям емкости и индуктивности проводника соединяющий К VT1 с накопительным дросселем и светодиодом, а также к минимальным индуктивности и активному сопротивлению входных и выходных цепей и общего провода. Сопротивление контактов и проводов через которые поступает напряжение питания должно быть тоже минимально.
На следующих схемах Рис. 6 и Рис. 7 показан способ питания мощных светодиодов типа Luxeon с номинальным рабочим током 350 мА
Рис. 6 Способ питания мощных светодиодов типа Luxeon
Рис. 7 Способ питания мощных светодиодов типа Luxeon — ZXSC300 запитана от выходного напряжения.
В отличие от рассмотренной ранее схемы здесь питание светодиода происходит не импульсным, а постоянным током. Это позволяет легко контролировать рабочий ток светодиода и КПД всего устройства. Особенность преобразователя на Рис. 7 заключается в том, что ZXSC300 запитана от выходного напряжения. Это позволяет ZXSC300 работать (после запуска) при снижении входного напряжения вплоть до 0,5 В. Диод VD1 — Шотки рассчитанный на ток 2А. Конденсаторы С1 и С3 — керамические SMD, С2 и С3 — танталовые SMD.
Печатные платы показаны на Рис. 8 Рис. 9 (размер 25 на 25 мм).
|
Рис. 8 |
Рис. 9 |
На Рис. 10 показана схема питания 5-6 светодиодов включённых последовательно с рабочим током 20мА.
Рис. 10 Схема питания 5-6 светодиодов включённых последовательно с рабочим током 20мА.
В таблице 1 приведены рекомендации по выбору элементов схемы.
| Входное напряжение питание, В. | Рабочий ток светодиодов, мА | Количество светодиодов последовательно соединенных. | Сопротивление токоизмерительного резистора, мОм. | Индуктивность накопительного дросселя, мкГн. |
|---|---|---|---|---|
| 1,5 | 20 | 1 | 270 | 68 |
| 1,5 | 30 | 1 | 180 | 68 |
| 1,5 | 50 | 1 | 100 | 68 |
| 1,5 | 20 | 2 | 150 | 100 |
| 1,5 | 30 | 2 | 100 | 100 |
| 1,5 | 50 | 2 | 39 | 100 |
| 3,5 | 20 | 3 | 220 | 68 |
| 3,5 | 20 | 4 | 150 | 68 |
| 3,5 | 20 | 6 | 77 | 68 |
| 3,5 | 30 | 6 | 47 | 68 |
| 5 | 20 | 4 | 270 | 68 |
| 5 | 30 | 6 | 100 | 68 |
На сегодняшний день стали доступны в использовании мощные 3 – 5 Вт светодиоды различных производителей (как именитых так и не очень).
И в этом случаи применение ZXSC300 позволяет легко решить задачу эффективного питание светодиодов с рабочим током 1 А и более.
В качестве силового ключа в данной схеме удобно использовать подходящий по мощности n-канальный (работающий от 3 В) Power MOSFET, можно также использовать сборку серии FETKY MOSFET (с диодом Шотки в одном корпусе SO-8).
С помощью ZXSC300 и нескольких светодиодов можно легко вдохнуть вторую жизнь в старый фонарь. Модернизации был подвергнут аккумуляторный фонарь ФАР-3.
Рис.11 внешний вид модернизированного фонаря ФАР-3.
Светодиоды использовались 4-х кристальные с номинальным током 100 мА — 6 шт. Соединены последовательно по 3. Для управления световым потоком применены два преобразователя на ZXSC300, имеющих независимое вкл/выкл. Каждый преобразователь работает на свою тройку светодиод.
Рис.12 внешний вид преобразователей и платы со светодиодами.
Платы преобразователей выполнены на двухстороннем стеклотекстолите, вторая сторона соединена с минусом питания.
Рис.13 — принципиальные схемы преобразователей для питания трех светодиодов с номинальным током 100 мА.
Рис.14 — принципиальные схемы преобразователей для питания трех светодиодов с номинальным током 100 мА.
В фонаре ФАР-3 в качестве элементов питания используются три герметичных аккумулятора НКГК-11Д (KCSL 11). Номинальное напряжение этой батареи 3,6 В. Конечное напряжение разряженной батареи составляет 3 В (1 В на элемент). Дальнейший разряд нежелателен т. к. это приводит к сокращению срока службы батареи. А дальнейший разряд возможен — преобразователи на ZXSC300 работают, как мы помним, вплоть до 0,9 В.
Поэтому для контроля напряжения на батарее было спроектировано устройство, схема которого показана на Рис. 15.
Рис.15 — принципиальная схема устройства контроля напряжения на батареи 3 НКГК-11Д.
В данном устройстве используется недорогая доступная элементная база. DA1 — LM393 всем известный сдвоенный компаратор. Опорное напряжения 2,5 В получаем с помощью TL431 (аналог КР142ЕН19). Напряжение срабатывания компаратора DA1.1 около 3 В задаётся делителем R2 -R3 (для точного срабатывания возможно потребуется подбор этих элементов). Когда напряжение на батареи GB1 снижается до 3 В загорается красный светодиод HL1, если напряжение больше 3 В то HL1 гаснет и загорается зеленый светодиод HL2. Резистор R4 определяет гистерезис компаратора.
Печатная плата устройства контроля показана на Рис. 16 (размер 34 на 20 мм).
Если у вас возникли трудности с приобретением микросхемы ZXSC300, транзистора FMMT617 или низкоомных SMD резисторов 0,1 Ом, можно обращаться к автору на e-mail david_ukr (аt) list.ru
Вы можете приобрести следующие компоненты (доставка почтой)
| № | Элементы | Количество | Цена, $ | Цена, грн |
|---|---|---|---|---|
| 1 | Микросхема ZXSC 300 + транзистор FMMT 617 | 1 пара | 1.5 $ | 7 грн. |
| 2 | Резистор 0,1 Ом SMD типоразмер 0805 | 15 шт | 1 $ | 5 грн. |
| 3 | Печатная плата Рис. 8 | 3 шт. | 1 $ | 5 грн. |
www.qrz.ru
Alex_EXE » Драйвер тока светодиода на LM317
Светодиоды питаются не напряжением, а током, поэтому важной задачей является ограничение тока проходящего через диод. Где то можно обойтись простым резистором, но если напряжение не очень стабильно, или диод потребляет большой ток – то лучше применить что-нибудь посерьезнее. Стабилизаторы тока бывают линейные и импульсные, в этой статье речь пойдёт о самом простом ограничителе тока на LM317.

10Вт RGB светодиод в работе (2% мощности)
Эта микросхема очень универсальна, на ней можно строить как всевозможные линейные стабилизаторы напряжении, так и ограничители тока, зарядные устройства… Но остановимся на ограничители тока. Микросхема ограничивает ток, а напряжение диод берёт столько, сколько ему нужно. Схема очень проста, состоит всего из двух деталей: самой микросхемы и задающий ток резистора:
Схема драйвера (из datasheet)
Схема включения драйвера тока
Минимальное напряжение должно быть минимум на 2-4В больше чем напряжение питания кристалла светодиода. Схема позволяет ограничивать ток от 10мА до 1,5А с максимальным входным напряжением 35В. При большом перепаде напряжений и(или) больших токах микросхему нужно посадить на радиатор. Если же требуются большие входные напряжения или ток, или нужно уменьшить потери, или тепловыделение то уже стоит использовать импульсный драйвер (будет рассмотрен позже).
Резистор рассчитывается по следующей формуле:
R1=1.25В/Iout
где ток взят в Амперах, а сопротивление в Омах.
Небольшая рассчитанная таблица:
Платой из трёх таких драйверов запитал 10Вт трехцветный светодиод.

Драйвер RGB светодиода на LM317
Драйвер разместился на втором радиаторе с обратной стороны 10Вт светодиода, на момент написания статьи надёжно прикручен к радиатору и прикрыт алюминиевой пластиной.
Кристаллы светодиода потребляют до 350мА, напряжения: Красный 8-9В, Синий и Зелёный 10-11В. Напряжение на входе драйвера 13-14В, максимальный потребляемый ток 9,6А.
Статья обновлена 18.1.2012
alex-exe.ru
Как правильно подключать светодиоды
Новиков М.Г.
09.02.2007
Те, кому лень изучать данный материал, могут ознакомиться с более компактной версией этой статьи, где просто изложены правила подключения светодиодов без их объяснений. Также там есть глава часто задаваемых вопросов по подключению светодиодов. Остальным предлагаю ознакомится с этой статьёй, где подробно расписана сущность каждого правила, а также очень доступно объяснены основные понятия электротехники.
Сразу хочу заметить, что современные светодиоды зачастую содержат в себе не только сам светоизлучающий кристалл, но и целые схемы по стабилизации тока и прочие навороты. О таких светодиодах в этой статье речь не пойдёт. Здесь будет рассмотрено лишь подключение классических светодиодов, не включающих в себя никакие дополнительные сборки.
Правило 1. Светодиод нельзя подключать к питающему напряжению напрямую. Это делается только через ограничивающий ток резистор или специальную микросхему, автоматически ограничивающую ток (драйвер светодиода), например, CL1, CL2 и т.п.
Правило 2. Светодиоды не различают по напряжению питания! Нет такой характеристики у светодиода, и ближайшая к ней по смыслу характеристика — прямое падение напряжения. Именно так и следует расценивать неграмотное упоминание питающего напряжения на многих сайтах, если только светодиод не снабжён встроенным стабилизатором.
Содержание
Введение
Всем нам с детства знакомы эти красивые яркие лампочки. Сегодня они присутствуют практически в любой аппаратуре. Те, кто постарше, помнят, как покупали их по 40–50 копеек за штуку и вставляли в магнитофоны «Электроника 302».
Сегодня их тоже используют «самоделкины», но в основном для создания красивой подсветки автомобилей, компьютеров или других устройств (т.н. моддинг). Но правильно ли их подключают? Почему они то работают годами, а то сгорают в первые же дни, хотя подключены к одинаковому напряжению? Ответы на эти вопросы вы найдёте в этой статье.
Статья рассчитана на дилетантов в электронике, простым языком объясняя основные её понятия, необходимые для осмысленного подключения светодиодов к различным источникам питания.
[Вернуться в начало]
Терминология русским языком
Последовательное включение радиодеталей — это когда детали соединены между собой только одной стороной, т.е. последовательно:
Параллельное включение радиодеталей — это когда детали соединены между собой в двух точках — в начале и в конце.
Напряжение — сила, с которой электричество «вдавливается» в
провод, чтобы создать его ток.
Аналогична разности давления в начале и конце трубопровода, зависящей от силы насоса,
загоняющего воду в трубу.
Измеряется в вольтах (В).
Ток — «количество электричества», проходящее по проводу
в единицу времени.
Аналогичен количеству проходящей воды в трубе.
Измеряется в Амперах (А).
Сопротивление — сила, препятствующая прохождению электричества.
Аналогично сужению трубы, препятствующему свободному протоку воды.
Измеряется в омах (Ом).
Мощность — характеристика, отражающая способность, например,
резистора без вреда для себя (перегрева или разрушения) пропускать электрический ток.
Аналогична толщине стенок места сужения трубы.
Постоянный ток — это когда электричество течёт постоянно в
одну сторону, от плюса к минусу.
Это батарейки, аккумуляторы, ток после выпрямителей.
Аналогичен потоку воды, гоняемой насосом по закольцованной трубе в одну сторону.
Падение напряжения — разность потенциалов до и после детали,
дающей сопротивление электрическому току, то есть напряжение, замеренное на контактах этой детали.
Аналогично разности давления воды, гоняемой насосом по кругу, до и после одного из сужений трубы.
Переменный ток — это когда электричество течёт
то вперёд, то назад, меняя направление движения на противоположное с определённой частотой, например,
50 раз в секунду.
Это электрическая сеть освещения, розетки.
В них один провод (ноль) является общим,
относительно которого в другом проводе (фазе) напряжение то положительное, то отрицательное. В
результате при включении в розетку, например, электрочайника, ток в нём течёт то в одну, то в
другую сторону.
Аналогичен движению воды, которую
насос через трубу (фазу), опущенную сверху, то выдавливает в бак (ноль), то всасывает из него.
Частота переменного тока — число полных циклов (периодов) изменения
направления тока (туда-обратно) за секунду.
Измеряется в герцах (Гц). Один период за секунду равен частоте в 1 герц.
Переменный ток имеет прямой и обратный (т.е. положительный и отрицательный) полупериод.
В Российских
бытовых электросетях (в розетках и в лампочках) частота равна 50 герцам.
[Вернуться в начало]
Важнейшие характеристики светодиодов
1. Полярность.
Светодиод — это полупроводник. Он пропускает через себя ток только в одном направлении (также, как и обычный диод). В этот момент он и зажигается. Поэтому, при подключении светодиода важна полярность его подключения. Если же светодиод подключается к переменному току (полярность которого меняется, например, 50 раз в секунду, как в розетке), то светодиод будет пропускать ток в одном полупериоде и не пропускать в другом, то есть быстро мигать, что, впрочем, практически незаметно для глаза.
Замечу, что при подключении светодиода к переменному току необходимо обезопасить его от действия напряжения обратного полупериода, поскольку максимально допустимое обратное напряжение большинства индикаторных светодиодов лежит в пределах единиц вольт. Для этого параллельно светодиоду, но с обратной полярностью, нужно включить любой кремниевый диод, который даст току течь в обратном направлении и организует на себе падение напряжения, не превышающее максимально допустимое обратное напряжение светодиода. В качестве такого диода можно использовать и такой же светодиод, просто включённый обратно первому.
Минус (катод) светодиода обычно помечается небольшим спилом корпуса или более коротким выводом. При отсутствии указанных меток полярность можно определить и опытным путём, кратковременно подключая светодиод к питающему напряжению через соответствующий резистор. Однако это не самый удачный способ определения полярности. Кроме того, во избежание теплового пробоя светодиода или резкого сокращения срока его службы, нельзя определять полярность «методом тыка» без соответствующего резистора!
2. Напряжение питания и падение напряжения.
Напряжение питания — параметр для светодиода неприменимый. Нет у светодиодов такой характеристики, потому что нельзя подключать светодиоды к источнику питания напрямую. Главное, чтобы напряжение, от которого (через резистор) питается светодиод, было выше прямого падения напряжения светодиода (прямое падение напряжения указывается в характеристике вместо напряжения питания и у обычных индикаторных светодиодов колеблется в среднем от 1,8 до 3,6 вольт).
Напряжение питания не может являться характеристикой светодиода, поскольку для каждого экземпляра светодиода одного и того же номинала подходящее для него напряжение может быть разным. Включив несколько светодиодов одного и того же номинала параллельно, и подключив их к напряжению, например, 2 вольта, мы рискуем из-за разброса характеристик быстро спалить одни экземпляры и недосветить другие. Поэтому при подключении светодиода надо отслеживать не напряжение, а ток.
3. Ток.
Номинальный ток большинства индикаторных светодиодов соответствует либо 10, либо 20 миллиамперам (у зарубежных светодиодов чаще указывают 20 мА), и регулируется он индивидуально для каждого светодиода сопротивлением последовательно включённого резистора. Кроме того, мощность резистора не должна быть ниже расчётного уровня, иначе он может перегреться. Местоположение резистора (со стороны плюса светодиода или со стороны минуса) безразлично.
Поскольку светодиоду важно, чтобы его ток соответствовал номинальному, становится ясно, почему его нельзя подключать к напряжению питания напрямую. Если, например, при напряжении 1,9 вольта ток равен 20 миллиамперам, то при напряжении 2 вольта ток будет равен уже 30 миллиамперам. Напряжение изменилось всего на десятую часть вольта, а величина тока подскочила на 50% и существенно сократила жизнь светодиоду. А если включить в цепь последовательно со светодиодом даже приблизительно рассчитанный резистор, то он произведёт гораздо более тонкую регулировку тока.
[Вернуться в начало]
Расчёт ограничивающего ток резистора
Сопротивление резистора:
R = (Uпит. − Uпад.) / (I * 0,75)
- R — сопротивление резистора в омах.
- Uпит. — напряжение источника питания в вольтах.
- Uпад.— прямое падение напряжения на светодиоде в вольтах (указывается в характеристиках и обычно находится в районе 2-х вольт). При последовательном включении нескольких светодиодов величины падений напряжений складываются.
- I — максимальный прямой ток светодиода в амперах (указывается в характеристиках и составляет обычно либо 10, либо 20 миллиамперам, т.е. 0,01 или 0,02 ампера). При последовательном соединении нескольких светодиодов прямой ток не увеличивается.
- 0,75 — коэффициент надёжности для светодиода.
Минимальная мощность резистора:
P = (Uпит. − Uпад.)2 / R
- P — мощность резистора в ваттах.
- Uпит. — действующее (эффективное, среднеквадратичное) напряжение источника питания в вольтах.
- Uпад.— прямое падение напряжения на светодиоде в вольтах (указывается в характеристиках и обычно находится в районе 2-х вольт). При последовательном включении нескольких светодиодов величины падений напряжений складываются. .
- R — сопротивление резистора в омах.
Пример 1:
Запитать светодиод (характеристики: ток 10 мА т.е. 0,01 А, падение напряжения 2 В) от автомобильного аккумулятора 12 В.
R = (12 − 2) / (0,01 * 0,75) = 1333
То есть последовательно со светодиодом нужно ставить резистор 1,333 кОм. Ближайшим по номиналу будет резистор 1,3 кОм (1300 Ом).
Теперь посчитаем минимальную мощность такого резистора.
Сначала посчитаем фактический ток, ибо он будет отличаться от номинального светодиодного 0,01 А за счёт коэффициента надёжности и соответствующего увеличения сопротивления. Итак,
I = U / (Rрез.+ Rсветодиода), где
Rсветодиода = Uпад.номин. / Iномин. = 2 / 0,01 = 200 Ом, значит ток в цепи будет:
I = 12 / (1300 + 200) = 0,008 А
Отсюда фактическое падение напряжения на светодиоде будет:
Uпад.светодиода = Rсветодиода * I = 200 * 0,008 = 1,6 В
Теперь посчитаем мощность:
P = (Uпит. − Uпад.)2 / R = (12 −1,6)2 / 1300 = 0,0832 Вт).
Мощность резистора должна быть не менее этой величины (0,0832 Вт), а лучше немного больше, чтобы избежать его нагрева. Ближайшим большим по мощности будет резистор 0,125 Вт.
Результат: Для подключения светодиода с указанными характеристиками к автомобильному аккумулятору нам потребуется резистор 1,3 кОм мощностью 0,125 Вт.
Пример 2:
Запитать светодиод (характеристики: ток 10 мА т.е. 0,01 А, падение напряжения 2 В) от сети переменного тока 220 В. Поскольку физика светодиода несколько отличается от физики простого теплоизлучателя, то для расчёта номинала резистора мы берём не среднеквадратичные 220 вольт, а настоящие присутствующие в розетке амплитудные 311 вольт.
R = (311 − 2) / (0,01 * 0,75) = 41200
То есть, последовательно со светодиодом нужно ставить резистор 41,2 кОм. Такой номинал существует в номинальном ряду Е96, но можно взять и более распространённый резистор из номинального ряда Е24 — 43 кОм и даже 39 кОм из номинального ряда Е12. Последний вариант даже более предпочтителен, поскольку напряжение питания достигает 311 вольт лишь в кратком пике, и поэтому имеет смысл округлить номинал резистора вниз.
Теперь посчитаем минимальную мощность такого резистора.
Сначала посчитаем фактический ток, ибо он будет отличаться от номинального светодиодного 0,01 А за счёт коэффициента надёжности и соответствующего увеличения сопротивления. Поскольку мы рассчитываем мощность резистора, а резистор является простым теплоизлучателем, то в расчётах используем среднеквадратичное напряжение 220 вольт. Итак,
I = U / (Rрез.+ Rсветодиода), где
Rсветодиода = Uпад.номин. / Iномин. = 2 / 0,01 = 200 Ом, значит ток в цепи будет:
I = 220 / (39000 + 200) ≈ 0,006 А
Отсюда фактическое падение напряжения на светодиоде будет:
Uпад.светодиода = Rсветодиода * I = 200 * 0,006 = 1,2 В
Теперь посчитаем мощность:
P = (Uпит. − Uпад.)2 / R = (220 −1,2)2 / 39000 ≈ 1,23 Вт).
Мощность резистора должна быть не менее этой величины (1,23 Вт), а лучше немного больше, чтобы избежать его нагрева. Ближайшим по мощности будет резистор 2 Вт.
Результат: Для включения светодиода с указанными характеристиками в сеть переменного тока 220 В нам потребуется резистор 39 кОм мощностью 2 Вт. Кроме того, следует оградить светодиод от вредного воздействия обратного напряжения, о чём подробно будет рассказано в следующей главе.
Замечание: Поскольку светодиод питается только одним полупериодом, а второй полупериод по идее пропускать не должен, то мощность резистора можно было бы уменьшить в 2 раза. Но, во-первых, при напряжении 220 вольт у светодиода на каждой волне обратного полупериода происходит электрический пробой, а значит ток будет проходить и в обратном направлении, а во вторых, мы в конце концов будем специально пропускать обратный полупериод (другим обратно включённым параллельным диодом), чтобы не насиловать светодиод электрическими пробоями. Поэтому нагрузку на резистор всё равно надо рассчитывать исходя из двухполупериодных 220 вольт, что мы и сделали.
[Вернуться в начало]
Ограничение обратного напряжения при подключении светодиода к переменному току
При подключении светодиода к переменному току необходимо ограничить влияние опасного для него напряжения обратного полупериода. У большинства светодиодов предельно допустимое обратное напряжение составляет всего около 2 вольт, а поскольку светодиод в обратном направлении заперт и ток по нему практически не течёт, то падение напряжения на нём становится полным, то есть равным напряжению питания. В результате на выводах диода оказывается полное напряжение питания обратного полупериода.
Для того, чтобы создать на светодиоде приемлемое падение напряжения для обратного полупериода, надо пропустить «через него» обратный ток. Для этого параллельно светодиоду, но с обратной полярностью, надо включить любой кремниевый диод (маркировка начинается на 2Д… или КД…), который рассчитан на прямой ток не менее того, что течёт в цепи (напр. 10 мА).
Диод пропустит проблемный полупериод и создаст на себе падение напряжения, являющегося обратным для светодиода. В результате обратное напряжение светодиода станет равным прямому падению напряжения диода (для кремниевых диодов это примерно в 0,5–0,7 В), что ниже ограничения большинства светодиодов в 2 вольта. Обратное же максимально допустимое напряжение для диода значительно выше 2 вольт, и в свою очередь с успехом снижается прямым падением напряжения светодиода. В результате все довольны.
Исходя из соображения экономии места, предпочтение следует отдать малогабаритным диодам (например, диоду КД522Б, который используется, кстати, в сетевых фильтрах «Пилот» именно для этой цели). Вместо кремниевого диода можно также поставить второй светодиод с аналогичным или более высоким максимальным прямым током, но при условии, что для обоих светодиодов падение напряжения одного светодиода не будет превышать максимально допустимое обратное напряжение другого.
Примечание: Некоторые радиолюбители не защищают светодиод от обратного напряжения, аргументируя это тем, что светодиод и так не перегорает. Тем не менее такой режим опасен. При обратном напряжении свыше указанного в характеристиках светодиода (обычно 2 В) при каждом обратном полупериоде в результате воздействия сильного электрического поля в р-n-переходе, происходит электрический пробой светодиода и через него проходит ток в обратном направлении.
Сам по себе электрический пробой обратим, т. е. он не приводит к повреждению диода, и при снижении обратного напряжения свойства диода восстанавливаются. Для стабилитронов, например, это вообще рабочий режим. Тем не менее, этот дополнительный ток, хоть он и ограничен резистором, может вызвать перегрев р-n-перехода светодиода, в результате чего произойдёт необратимый тепловой пробой и дальнейшее разрушение кристалла. Поэтому не стоит лениться ставить шунтирующий диод. Тем более, для этого подходит практически любой кремниевый диод, поскольку у них (в отличие от германиевых) малый обратный ток, а, следовательно, он не будет забирать его на себя, снижая яркость шунтируемого светодиода.
[Вернуться в начало]
Наиболее распространённые ошибки при подключении светодиодов
1. Подключение светодиода напрямую к источнику питания без ограничителя тока (резистора или специальной микросхемы-драйвера). Обсуждалось выше. Светодиод быстро выходит из строя из-за плохо контролируемой величины тока.
2. Подключение параллельно включённых светодиодов к общему резистору. Во-первых, из-за возможного разброса параметров, светодиоды будут гореть с разной яркостью. Во-вторых, что более существенно, при выходе из строя одного из светодиодов, ток второго возрастёт вдвое, и он может тоже сгореть. В случае использования одного резистора целесообразнее подключать светодиоды последовательно. Тогда при расчёте резистора ток оставляем прежним (напр. 10 мА), а прямое падение напряжения светодиодов складываем (напр. 1,8 В + 2,1 В = 3,9 В).
3. Включение последовательно светодиодов, рассчитанных на разный ток. В этом случае один из светодиодов будет либо работать на износ, либо тускло светиться — в зависимости от настройки тока ограничивающим резистором.
4. Установка резистора недостаточного сопротивления. В результате текущий через светодиод ток оказывается слишком большим. Поскольку часть энергии из-за дефектов кристаллической решётки превращается в тепло, то при завышенных токах его становится слишком много. Кристалл перегревается, в результате чего значительно снижается срок его службы. При ещё большем завышении тока из-за разогрева области p-n-перехода снижается внутренний квантовый выход, яркость светодиода падает (это особенно заметно у красных светодиодов) и кристалл начинает катастрофически разрушаться.
5. Подключение светодиода к сети переменного тока (напр. 220 В) без принятия мер по ограничению обратного напряжения. У большинства светодиодов предельно допустимое обратное напряжение составляет около 2 вольт, тогда как напряжение обратного полупериода при запертом светодиоде создаёт на нём падение напряжения, равное напряжению питания. Существует много различных схем, исключающих разрушающее воздействие обратного напряжение. Простейшая рассмотрена выше.
6. Установка резистора недостаточной мощности. В результате резистор сильно нагревается и начинает плавить изоляцию касающихся его проводов. Потом на нём обгорает краска, и в конце концов он разрушается под воздействием высокой температуры. Резистор может безболезненно рассеять не более той мощности, на которую он рассчитан.
[Вернуться в начало]
Если нет нужного резистора
Нужное сопротивление (R) и мощность (P) резистора можно получить, комбинируя в последовательно-параллельном порядке резисторы других номиналов и мощностей.
Формула сопротивления для последовательного соединения резисторов
R = R1 + R2
Формула сопротивления для параллельного соединения резисторов
двух:
R = (R1 * R2) / (R1 + R2) или R = 1 / (1 / R1 + 1 / R2)
неограниченного количества:
R = 1 / (1 / R1 + 1 / R2 + … + 1 / Rn)
Мощности резисторов
Мощности резисторов в сборке рассчитываются исходя из тех-же формул, что и одиночные резисторы. При последовательном включении, в формулу вычисления мощности подставляется напряжение источника питания за вычетом падения напряжения на других последовательно стоящих резисторах и светодиоде. Подробнее это будет показано на нижеследующих примерах.
Примеры
1. Заменим резистор 1,3 кОм 0,125 Вт из первого примера последовательной сборкой.
1,3 кОм = 1 кОм + 100 Ом + 100 Ом + 100 Ом
Рассчитаем минимальные мощности для каждого резистора. Для этого посчитаем фактическое падение напряжения на каждом резисторе, для чего сначала посчитаем фактический ток, ибо он будет отличаться от номинального светодиодного 0,01 А за счёт коэффициента надёжности и соответствующего увеличения сопротивления. Итак,
I = U / (Rрез.+ Rсветодиода), где
Rсветодиода = Uпад.номин. / Iномин. = 2 / 0,01 = 200 Ом, значит ток в цепи будет:
I = 12 / (1300 + 200) = 0,008 А
Теперь вычисляем фактическое падение напряжения на резисторах и светодиоде:
Uпад.рез_1000 = Rрез_1000 * I = 1000 * 0,008 = 8 В
Uпад.рез_100 = Rрез_100 * I = 100 * 0,008 = 0,8 В
Uпад.светодиода = Rсветодиода * I = 200 * 0,008 = 1,6 В
Теперь у нас есть все данные для расчёта мощностей:
Pрез_1000 = (12 −(0,8 + 0,8 + 0,8 + 1,6))2 / 1000 = 0,064 Вт
Pрез_100 = (12 −(8 + 0,8 + 0,8 + 1,6))2 / 100 ≈ 0,0064 Вт
Итого, исходя из стандартных мощностей резисторов, получаем 1 кОм 0,125 Вт и 3 резистора 100 Ом по 0,05 Вт. Включив резисторы указанного номинала последовательно, мы получим общее сопротивление 1,3 кОм нужной нам мощности.
2. Заменим резистор 39 кОм 2 Вт из второго примера параллельной сборкой.
Занеся формулу R = 1 / (1 / R1 + 1 / R2 + 1 / R3) в Excel, выясним, что
41,2 кОм ≈ параллельному соединению 100 кОм, 130 кОм и 150 кОм. Точнее это будет сопротивление 41053 Ом.Рассчитаем минимальные мощности для каждого резистора. Для этого посчитаем фактическое падение напряжения на каждом резисторе, для чего сначала посчитаем фактический ток, ибо он будет отличаться от номинального светодиодного 0,01 А за счёт коэффициента надёжности и соответствующего увеличения сопротивления. Итак,
I = U / (Rрез.+ Rсветодиода), где
Rсветодиода = Uпад.номин. / Iномин. = 2 / 0,01 = 200 Ом, значит ток в цепи будет:
I = 220 / (41053 + 200) ≈ 0,005 А
Теперь вычисляем фактическое падение напряжения на светодиоде:
Uпад.светодиода = Rсветодиода * I = 200 * 0,005 = 1 В
Теперь у нас есть все данные для расчёта мощностей:
Pрез_68 = (220 −1)2 / 100000 ≈ 0,48 Вт
Pрез_100 = (220 –1)2 / 130000 ≈ 0,37 Вт
Pрез_110 = (220 –1)2 / 150000 ≈ 0,32 Вт
Итого, исходя из стандартных мощностей резисторов, получаем все резисторы по 0,5 Вт. Включив резисторы указанного номинала параллельно, мы получим общее сопротивление 41 кОм нужной нам мощности.
Указанные выше параллельный и последовательный способы можно комбинировать, без проблем создавая вот такие сборки, которые также легко рассчитываются при их разбивании на фрагменты:
[Вернуться в начало]
Полезные ссылки:
Физика работы светодиода — моя статья о физических процессах на уровне электронов, вызывающих свечение светодиода.
novikov.gq
