Отопление в теплице своими руками видео – Отопление теплицы своими руками — 4 варианта + инструкции!
Как сделать отопление теплицы из поликарбоната
Наличие собственного земельного участка, заставляет задумываться о рациональном его использовании не только летом, но и в зимний период. Самый распространенный вариант – обустройство парников и даже тепличных комплексов, которые смогут обеспечивать свежими фруктами, овощами и ягодами круглый год. Если подойти к вопросу возведения теплицы грамотно и учесть даже незначительные нюансы эксплуатации такой конструкции, то можно вырастить богатый урожай не только местных культур, но и тропических.
Наиболее популярные и подходящие для таких целей – парники, возведенные из панелей поликарбоната. Особым условием качественной постройки является наличие отопления. Изучив вопрос монтажа отопительной системы, становится понятно, что все работы можно без труда сделать своими руками. Главное, чтобы эффект от сделанной отопительной системы оправдал ожидания, нужно заранее хорошо продумать какой именно тип отопления, должен присутствовать в теплице, уточнить особенности его монтажа, и только тогда приступать к работе.

Виды обогрева теплицы
Существует множество способов сделать отопление в теплице своими руками, более подробно рассмотрим наиболее популярные из них.
Солнечное отопление
Тепло от солнечных лучей – простой способ согреть помещение, не требующий никаких материальных затрат. Солнечный свет, проникая через прозрачное покрытие стен теплицы, нагревает не только воздух внутри помещения, но и почву. В летнее время, жаркое и яркое солнце дает достаточно энергии, чтобы прогреть воздух в теплице. Главное сделать конструкцию на защищенном от ветра месте, подальше от тени деревьев.
Недостатком такого способа отопления, является недостаточное тепло в зимнее время, когда сокращается световой день, и солнце уже не дает такой силы света. Чтобы обеспечить тепло в парнике нужного уровня зимой, как правило, используют несколько другие способы обогрева.

Воздушное отопление
Данный способ предполагает эксплуатацию отопительно–вентиляционных приборов. Их можно приобрести как заводской сборки, так и сделать своими руками. Для этого небольшую стальную трубу устанавливают следующим образом: один конец располагается внутри помещения, второй выводят наружу через дымоотвод. Данный способ имеет один незначительный минус, для того чтобы в зимнее время теплый воздух поступал внутрь парника, его подогревают при помощи костров, что очень пожароопасно.
Использование печей

Этот способ является самым давним для обогрева помещений. Различные варианты использования топлива делают его достаточно экономичным. Котел устанавливают внутри теплицы, а на внешнюю сторону, выводиться только дымоход. Существует один довольно существенный недостаток использования такой системы отопления – опасность возгорания, вследствие чрезмерного нагрева стенок котла.

Обогрев биологическими видами топлива
Отходы жизнедеятельности животных и птиц (навоз, птичий помет, коровяк) перегнивая и разлагаясь, выделяют тепло. Этим можно воспользоваться с целью обогрева помещения.
Важно! Стоит отметить, что биологические отходы в процессе разложения, увлажняют воздух и создают очень благоприятный микроклимат для роста и развития растений.

Газовое отопление
Тенденция постоянного роста стоимости газа делают данный способ очень дорогим, а выращивание в таких условиях овощей и фруктов – экономически невыгодным. Газ можно подвести к теплице от централизованной системы, а можно воспользоваться сжиженным газом в баллонах. Одним из неоспоримых преимуществ газового отопления является возможность беспрерывной подачи тепла в парник.

Использование электрической энергии
Достаточно простой в использовании метод, на сегодняшний день он теряет свою популярность, в связи с повышением расценок на электричество. Однако разнообразие приборов отопления, работающих от сети, позволяет выбрать оптимальный для себя вариант.
Одним из таких устройств является конвектор. Он представляет собой прибор, оснащенный нагревающим элементом в виде спирали. Теплый воздух, равномерно распределяется по теплице, прогревает в основном воздух. К сожалению, для прогрева грунта, тепла от конвектора недостаточно.

Калорифер – это небольшой вентилятор, который оснащен функцией обогрева воздуха. Привлекает своей недорогой ценой и простотой использования. Калорифер не только способен прогреть воздух, но и обеспечить его циркуляцию.

Кабель как элемент отопления. Принцип использования кабеля, с целью прогреть теплицу, состоит в следующем: его располагают по периметру парника, и расположению грядок. Подключенный к сети кабель блокирует прохождение холодного воздуха через почву, тем самым сохраняя теплый воздух внутри помещения.

Водяное отопление. Довольно сложный в монтаже и затратный по деньгам метод. Монтируется система труб, по которым циркулирует нагретая вода. Таким образом, разогревается не только поверхность труб, но и воздух в помещении. Также стоит отметить, чтобы водяная система отопления функционировала эффективно, ее монтажом должны заниматься только профессионалы.

Как выбрать систему отопления
Чтобы выбрать и сделать отопление в теплице правильно, необходимо грамотно подойти к вопросу и учесть следующие факторы:
- габариты парника;
- вид отопления, который применяется в жилом доме;
- сумма денег, составляющая бюджет монтажа будущей системы отопления.
Если теплица уже имеет место быть, то сделать будущую систему отопления необходимо с учетом уже готового сооружения. Пример: не рационально и не практично сделать дорогую отопительную систему, в небольшой теплице.
Важно! Расход тепла должен быть рационально просчитан и распределен по всей площади парника.

Монтаж водяного отопления

Для того чтобы сделать отопление с помощью водяной системы быстро, а результат был оправдан ожиданиям, стоит придерживаться довольно простой инструкции по ее монтажу:
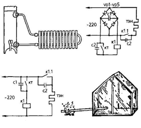
- В качестве обогревателя можно использовать старый огнетушитель, который уже выполнил свое прямое назначение. Для дальнейшего использования, верхушку огнетушителя нужно будет срезать.
- На дно колбы устанавливаются тэны, мощность которых не должна превышать 1кВт. Для таких целей отлично подойдут электронагревающие элементы, взятые от старого самовара.
- Изготавливаем из любых доступных подручных средств крышку для корпуса обогревателя.
- Подсоединяем к основанию обогревателя две трубы от радиатора. Для этого нужно воспользоваться гайками, и специальными резиновыми уплотнителями, которые предотвратят протечки воды.
- Чтобы собранное устройство работало в автоматическом режиме, удобно будет сделать специальное реле, напряжением в 220 В. Данный механизм позволяет блокировать работу электронагревателей, по достижению воды нужной температуры.

Монтаж воздушного отопления
Чтобы сделать отопление с помощью воздушной системы необходимо воспользоваться следующим алгоритмом проведения работ:
- Подбираем стальную трубу, длина которой составляет порядка 25 метров, диаметр – 600мм.
- Одни конец трубы выводят наружу теплицы, а другой оставляют внутри помещения.
- С внешней стороны, на участке расположенном под трубой, разводят костер, горение которого необходимо постоянно поддерживать. За счет пламени воздух в трубе нагревается и поступает внутрь теплицы.
Внимание! Такой способ очень простой в исполнении, единственное что, требует свободного времени, для поддержания силы пламени в костре.

Монтаж электрического отопления
Данную систему отопления можно сделать, основываясь на принципе функционирования «теплого пола».
В данном случае вместо пола, выступает поверхность грунта в теплице. Электрический кабель или трубы водяного отопления располагаются в толще почвы, на предварительно подготовленную поверхность. Для этого снимают верхний слой почвы глубиной порядка 30 см. На дно укладывается теплоизолирующий материал, поверх которого насыпают песок и укладывают нагревательные элементы.
Совет! Чтобы в процессе рыхления почвы, их случайно не повредить, поверх трубы или кабеля необходимо сделать специальную защитную сетку. На последнем этапе необходимо сделать засыпку грунта и высадить растения.

Отопление теплицы с помощью инфракрасных обогревателей
В теплице, по её длине, можно расположить несколько инфракрасных обогревателей, которые помогут обогреть растения. На теплицу шириной 3 метра, длиной 6 метров и высотой 2 метра достаточно будет смонтировать 3 устройства. Обязательно вместе с обогревателями необходимо смонтировать датчик температурный и электрощит с терморегулятором

Отопление теплицы из поликарбоната
Благодаря тому, что поликарбонат удерживает тепло лучше, чем стекло или полиэтилен, такие конструкции получили свое широкое распространение среди садоводов и огородников. Также стоит отметить, что данный синтетический материал очень легкий и доступный по цене. Монтаж отопительной системы в парниках из поликарбоната, ничем не отличается от любых других теплиц.

Заключение
Очень сложно ответит на вопрос, какое отопление является наиболее выгодным в экономическом плане и эффективным по уровню отдаваемого тепла. Каждый их известных способов имеет свои положительные и отрицательные стороны. Поэтому сделать правильный выбор отопления может только потребитель, который в меру своих материальных возможностей сможет выбрать идеальный для себя вариант.
Какие ошибки делают садоводы и огородники при установке отопления в теплице, рассмотрим в следующем видео
bouw.ru
Отопление теплицы своими руками — лучшие проекты на видео
Сделать отопление теплицы своими руками стремятся многие садоводы по двум причинам: можно сэкономить на материалах и оборудовании, а также не платить за монтаж наемным мастерам. С теми способами, что мы предложим в этой статье, справится любой рукастый хозяин.
Как сделать воздушное отопление в теплице
Воздушное отопление можно собрать из б/у изделий и материалов, и потому оно обычно обходится очень недорого. Из навыков понадобится умение работать с болгаркой и сварочным аппаратом, иногда шуруповертом или дрелью. При этом вы получите топку достаточно длительного горения, возможность отопить теплицы большой площади и любой длины.
Простейший вариант дровяной топки
Самое несложное отопление зимней теплицы своими руками можно сделать из двух последовательно соединенных металлических бочек и металлической трубы. Любое дровяное топливо, сгорая в камере, нагревает отводящую продукты горения трубу, которая, благодаря теплообмену, нагревает воздух в теплице. Конец трубы выводится через крышу на улицу.

Длина трубы может быть достаточно большой. Если не удается прогреть всю теплицу за счет потери тепла по длине, можно установить несколько таких систем последовательно. Для доступа воздуха с противоположной стороны удлиненной бочки днище переделывается в дверку с возможностью регулировки степени открывания самыми простейшими способами.
Поскольку труба врезается максимально высоко в днище лежащей бочки, то прокладывается она на некотором расстоянии от земли, поэтому интенсивного нагрева грунта не происходит. Другой недостаток — неравномерное распределение тепла по мере удаления от трубы. На видео ниже очень доходчиво объяснена реализация этой идеи.
Бубафоня из бочки
Для бубафони можно использовать разные цилиндрические емкости из металла, включая газовые баллоны. Длительность горения будет зависеть от диаметра и высоты топочной камеры, поэтому емкости чаще наращивают по высоте. Мы представим, как сделать отопление в теплице с использованием бочки, как менее сложный вариант.

- Под крышкой бочки делается отверстие Ø20 см для отводящей трубы, которая выводится наружу в виде дымохода через стену или крышу.
- Для притока воздуха, необходимого для горения, делается клапан (поршень) в виде приваренной к круглой металлической пластине трубы, в данном случае диаметром 1,5 дюйма. В пластине предварительно делается отверстие в центре того же диаметра, а сама пластина должна быть немного уже внутреннего диаметра бочки.
- Для укрепления основания клапана сверху на пластине приваривают ребра, предотвращающие деформацию.
- Снизу пластины клапана приваривают уголки или любой другой профиль, который будет формировать зазор между пластиной и топливом, своеобразную воздушную камеру.
- В крышке бочки вырезается центральное отверстие чуть больше диаметра трубы клапана.
Бочка заглубляется в грунт. Это приносит два плюса: отводящая продукты горения труба проходит ниже к грунту грядок, а через саму трубу удобно переступать во время работы. В качестве топлива можно использовать любые древесные материалы, бумагу и картон, мусор, шишки, опилки. Автор видео даже сжигал резину.
Топливо разжигается, сверху устанавливается клапан, на него надевается крыша. По мере сгорания топлива клапан будет опускаться вниз. Через отверстие трубы процесс несложно контролировать. Длительность горения около 8 часов. Предлагаем посмотреть видео с реализацией этой идеи.
Воздушная теплоизоляция грунта вместо отопления
Можно ли предотвратить промерзания грунта без прямого отопления? Оказывается, да. Повысить температуру грунта можно, направив под него нагретый воздух самой теплицы. До серьезных морозов этот прием действует как отопление теплиц своими руками, самые лучшие проекты могут включать этот способ как основной вариант поздней осенью и в начале весны, и как дополнительный в разгар суровой зимы.

Таким образом, прогрев грунта в теплице воздухом потребует в процессе эксплуатации только минимальных затрат на работу воздушного насоса, необходимого для циркуляции воздуха по проложенным под грунтом трубам. Воздух будет работать как теплоизоляция от холодной земли. Предлагаем внимательно посмотреть ролик, где подробно описан и принцип устройства, и детали его воплощения, и демонстрация эффективности.
Отопление теплицы электрокотлом и незамерзайкой
Электрокотел проще в обслуживании, чем любой другой. Не нужно заботиться о запасе топлива, нет опасности протечек жидкого топлива, не нужно следить за бесперебойной подачей. Насколько дорогим получится решение? В приведенном нами примере используется котел на 2КВт для средней дачной теплицы. Это доступно по расходам, а также вполне впишется в действующие лимиты на энергопотребление. Ниже схема системы.

В качестве теплоносителя используется автомобильный омыватель стекол (незамерзайка). Отопительная труба сечением 60х80 мм проложена по трем сторонам теплицы в виде двух Г-образных сегментов, соединенных между собой и с остальными частями системы полипропиленовыми трубами Ø 40 мм. Для безопасности системы используется автомат 25А, который вместе с коробкой размещен на внешней стороне перед входом.
Предлагаем посмотреть про данное отопление теплицы своими руками видео, где подробно показаны все детали этой отопительной системы, а также продемонстрировано, какие режимы удается достичь в теплице в разное время суток.
Водяное отопление теплицы из переделанной буржуйки
Умелые руки даже из старой буржуйки могут создать самодельную систему водяного отопления теплицы по схеме «ленинградка» без насоса. Для этого буржуйка заглубляется в землю, сверху помещается бак из широкой трубы, которая будет выполнять функцию бойлера.

Для этого в трубу изнутри помещаются 6 труб сечением 4х4 мм, хотя затем в комментариях автор признает, что, возможно, эффективнее было бы использовать одну большего диаметра. Сверху и снизу бойлера врезаются выход под воду и вход для обратки. Предлагаем посмотреть, как сделать подобное отопление теплицы своими руками, и обязательно почитать комментарии под видео с полезными идеями усовершенствования.
eco-teplichka.ru
Отопление теплицы своими руками, зимний проект, схема, видео
Теплица позволяет получить урожай тогда, когда другие огородники еще только поливают или сажают свои растения. Теплица позволяет выращивать ранние продукты благодаря отоплению теплицы своими руками, так как солнечное тепло позволяет расти урожаю только в летнее время. Свежие продукты благодаря такой конструкции можно выращивать даже в зимнее время. Минимально допустимая температура в парнике должна быть +18 градусов. Однако для того чтобы получить такие условия, не будет достаточным лишь непроницаемых стен.

Отапливаемая теплица зимой
Наиболее экономичным будет устройство теплицы в том месте, где проходит тепловая трасса. В такой ситуации необходимо только подыскать наиболее удачное место и можно приступать к сооружению теплицы. В иных ситуациях сооружение теплицы будет более сложным процессом, однако его тоже можно будет осуществить своими руками – также, как и отопление теплицы своими руками.
Отопление с помощью солнечных батарей
Отопление теплицы с помощью солнечных лучей
Обогреть тепличное сооружение и сделать самодельное отопление в теплице можно и посредством солнечных лучей. Первым этапом сооружения теплицы будет ройка ямы глубиной около 15 см. Далее землю необходимо покрыть слоем полистирола или другого теплоизолятора. Сверху это все накрывается слоем полиэтиленовой пленки, чтобы обеспечить гидроизоляцию. На пленку кладут влажный песок и накрывают землей. Такого вида приспособление, хотя и является довольно простым, но, тем не менее, может поддерживать в теплице оптимальную температуру.
Можно сделать в теплице и простое воздушное отопление теплиц своими руками. Наиболее простым методом для отопления парника будет воздушное отопление – хорошее решение вопроса, как сделать отопление в теплице, какое описано ниже:
- Нужно взять кусок стальной трубы длиной от 2 до 2,5 м и с диаметром от 50 до 60 см.
- Под одним концом трубы нужно разжечь костер, а второй конец ввести в парник, покрытый пленкой.
- Костер должен поддерживаться всегда. Воздух в трубке будет нагреваться довольно быстро, и растения будут получать необходимо тепло.
Данный способ отопления, в тоже время, один из самых легких, но и наиболее неудобный, так как костер необходимо поддерживать все время.

Схема простого отопления в теплице
Обогрев теплицы посредством газа
Основным достоинством газа является то, что в плане подачи он намного более стабилен и доступен чем огонь костра. Для того чтобы в зимний период обогреть парник, не нужно проводить газ из дома к теплице, так как это не совсем целесообразно. Также такая схема отопления теплицы потребует и некоторых затрат. Лучше всего приобрести несколько баллонов газа, которых должно вполне хватить. Однако стоит обратить внимание на тот факт, что слишком большое количество углекислого газа может привести к тому, что растения не вырастут как надо.
Рекомендуем к прочтению:

Схема отопления газом
Также на негативный рост растений может повлиять и плохая вентиляция теплицы. В теплицу также будет необходимым установить средство для вытяжки отходов горения.
Нагревательные приборы, которые будут использоваться для вашей теплицы, должны быть оснащены специальными датчиками.
Они необходимы для того чтобы в случае прекращения горения и выделения газа в воздух такие устройства сразу сработали и перекрыли подачу газа в горелку.
Обогрев парника посредством твердотопливного котла
Такого рода проекты теплиц с отоплением можно располагать как в самой теплице, так и за ее пределами в любом другом помещении. Второй вариант обладает некоторыми преимуществами, так как для того чтобы добавить топливо или дрова в костер, не будет необходимости идти в теплицу. Минусом такого варианта является то, что если бы котел находился прямо в теплице, он бы тоже выделял некоторое количество тепла.
В тепловой генератор нужно добавлять топливо всего лишь два раза в сутки. К тому же, с точки зрения пожарной безопасности, такая зимняя теплица своими руками не представляет угрозы. Благодаря этому параметру ее можно смело оставлять на всю ночь без присмотра. Еще одним плюсом котла является то, что ему требуется минимальный расход топливного материала.
Рекомендуем к прочтению:
Печное отопление теплицы
Печное отопление теплицы своими руками, по сравнению с электрическим, не настолько сильно обременяет финансовыми расходами. Простую печь для теплицы можно легко соорудить своими руками, при этом фактически не затрачиваясь.
Принцип устройства печи для теплицы:
- В тепличном тамбуре выкладывается топка печи, сделанная из кирпича.
- По всей длине парника выкладывается дымоход.
- Дымовая труба выводится из парника с другой стороны для того чтобы угарный газ выветривался, а тепло оставалось внутри. Дистанция между топкой теплицы и ее торцевой стороной должна составлять не меньше, чем 25 см. Дистанция от грядки с растениями до верхней части борова должна быть не менее, чем 15 см.

Отопление теплицы с помощью печки
Перед тем, как построить теплицу с отоплением своими руками, можно изучить и другой способ:
- Находим бочку больших размеров, объемом не менее, чем в 3 куба. Внутри бочку окрашиваем в 2 слоя, чтобы предотвратить процесс ржавчины.
- Во внутренней части бочки делаются отверстия, одно из которых предназначено для дымохода, а другие – для расширительного бачка и для крана.
- Варим печку и вставляем ее в бочку.
- Дымоход выводится из бочки, а с наружной части устанавливается труба длиной около 5 метров.
- На бочку монтируется расширительный бачок объемом на 20 литров, который перед этим необходимо сварить из обычного листового железа.
- Из профильной трубы, которая имеет размеры 40х20х1,5 см, варится само отопление. Трубы нужно разложить на земле таким образом, чтобы они располагались на расстоянии 1,2 метра. Подобное расположение труб позволит прогреву почвы в тех местах, где находятся корни растений.
- Для того чтобы обеспечить циркуляцию воды, для таких самодельных систем необходимо приобрести специальный насос.

Переделанная бочка под печь для теплицы
Водяное отопление теплицы
Если брать расчет отопления теплицы, то в сравнении с другими видами, наиболее выгодным будет обустройство водяного отопления парника. Водяное отопление теплицы своими руками – электрический водяной нагреватель можно сделать просто:
- Необходимо взять корпус старого огнетушителя, а верхушку его срезать.
- На дно огнетушителя устанавливается ТЭН с рабочей мощностью в 1 кВт. Такой тэн можно взять и из старого самовара.
- Сверху устройства делаем крышку съемного типа для того чтобы в обогреватель можно было заливать воду.
- К корпусу устройства присоединяем две трубки, связанные с радиатором. Трубки крепим посредством гаек и уплотняющих прокладок. Для того чтобы подобный обогреватель работал в автоматическом режиме, можно использовать схему с реле переменного тока и напряжения в 220В.

Регистр из труб, где внутри находится вода и электрический тэн
При обустройстве системы отопления для парника или теплицы самое важное – это соблюдать все необходимые инструкции, а также правила техники безопасности. Видео о том, как обустроить отопление теплицы своими руками, можно посмотреть ниже.
otoplenie-doma.org
сделать встраиваемое, видео, построить воздушный большой водяной парник
Теплица позволяет получить качественный и большой урожай, причем порой в таких климатических условиях, где, казалось бы, невозможно выращивать огурцы или помидоры. Стоит заметить, что в теплице можно выращивать различные культуры на протяжении не только лета, но и всего круглого года. Для этого нужно сделать отопление теплицы, причем это можно осуществить своими руками. Отапливаемая теплица открывает новые возможности и горизонты, например, в виде увеличения объема получаемого урожая, улучшения его качества и потребления фруктов и овощей 365 дней в году.
Отапливаемая теплица своими руками
Просто построить большую теплицу – это слишком мало для отличного урожая, так как нужно: укрепить ее, сделать утепление и провести отопление.
Вид отопления теплицы может быть самым различным, а именно:
- Газовое;
- Печное;
- Паровое;
- Водяное.
Чтобы постройка парника смогла оправдать ожидания, требуется тщательно подойти к выбору отопления, так как оно должно быть сделано не только правильно, но и так, чтобы строительство не принесло вреда для растений.
Система отопления должна выбираться по определенным критериям:
- Габариты теплицы.
- Какая система отопления установлена в пространстве дома или гаража.
- Какой предполагается затратить бюджет.
- Особенности системы отопления, например, будет ли устройство автономное или обычное.
На сегодня есть готовые отопительные системы, но стоимость их достаточно высока, а дешево будет выбирать самодельное оборудование, устройство которого провести не сложно. Помимо этого, стоит обращать внимание на то, как сложно провести определенное отопление, какие потребуются дополнительные материалы и приспособления или крепежной материал. Обязательно нужно учитывать преимущества и недостатки каждого вида отопительного прибора, провести расчеты того, насколько оно будет эффективно работать и потребуются ли дополнительные установки, устройство которых поможет создать благоприятный климат в помещении.
Как сделать отопление в теплице: водяная конструкция
Среди всех видов отопления, опытные садоводы предпочитают выбирать именно водяное, так как его намного проще сделать самому.
А также оно:
- Долговечное;
- Качественное;
- Практичное;
- Легкое в эксплуатации.
Водяное отопление считается наиболее выгодным вариантом из-за того, что с его помощью можно осуществить прогрев всей теплицы, в частности и земли, и воздуха. В отличие от него воздушное отопление греет только пространство внутри помещения, но не грунт. Именно потому за счет водяного отопительного контура создается наиболее благоприятный климат, способствующий активному росту растений любого вида.
К тому же данный способ не сушит воздух, а значит, не потребуется дополнительно устанавливать увлажнители и беспокоиться за возникновение заболеваний от сильной засухи.
Естественно устройство обогрева теплицы будет полностью соответствовать всем необходимым требованиям при условии качественного выполнения монтажа. К тому же с его помощью можно обогреть теплицу любого размера, а топится система: дровами, торфом, мусором, различными отходами, углем.
Состоит система отопления из:
- Печей или отопительных котлов;
- Труб;
- Радиаторов;
- Дымохода;
- Расширительного бака;
- Насоса для циркуляции воды.
Стоит заметить, что выбирать котел нужно в зависимости от того, какие коммуникации есть на участке. Например, при наличии газопровода, стоит установить газовый котел, а если есть возможность подключить электричество, то допустима установка электрокотла, работающего за счет твердого топлива.
Рекомендации: как построить большую теплицу с отоплением в 2 контура
Более эффективным считается отопление в 2 контура, так как оно: качественное, практичное, удобное и максимально эффективное. Поэтому стоит формировать двухконтурное отопление, но при условии установки циркуляционного насоса, подающего воду в трубы. Просто установив трубы без насоса не получится достичь нужного эффекта и поддержания оптимальной температуры на протяжении длительного времени.
Конфигурация первого контура состоит из труб ПП, которые могут выдерживать высокую температуру, и они прокладываются в прикорневой части растений.
За счет второго контура обеспечивается обогрев пространства под куполом, а вода протекает по трубам и радиаторам. Если в систему будет подключен терморегулятор, то она будет автоматической и без участия владельца теплицы произойдет контролирование обогрева помещения, что исключит слишком сильное повышение температуры и нанесение вреда растениям. Радиаторы, подключаемы в систему могут быть различного типа.
В частности:
- Биметаллического;
- Алюминиевого;
- Чугунного.
Обязательно наличие расширительного бачка, который бывает закрытого и открытого типа. Бак вполне возможно также сделать своими руками, для чего потребуется использовать лист металла. Не менее важно подобрать правильный дымоход, для чего применяют или трубу из металла или из асбестоцемента. Некоторые устанавливают на дымоход сэндвич-трубу.
Инструкция: как сделать водяное отопление в теплице
Чтобы отопление в теплице, хоть паровое, хоть геотермальное было качественным, нужно: правильно подобрать трубы, установить необходимое количество радиаторов, провести грамотный монтаж и расположение приборов отопления. Строительные котлы и печь устанавливают в пространстве тамбура теплицы, где также нужно оборудовать специальные полки под уголь и дрова. Установить прибор для отопления помещения в самой теплице – вполне оптимальный и выгодный вариант, так как он не будет отапливать улицу, а исключительно саму теплицу.
Если планируется дополнительное прокладывание труб для водяного контура, то нужно сделать ряд определенных действий:
- Соорудить фундамент, на котором будет установлена печь, причем для кирпичной конструкции нужно выбрать бетонное основание, а для металлической или котла оно будет из асбестоцементного или стального листа.
- Обязательно должен присутствовать дымоход, через который будут уходить продукты сгорания, а также копоть и сажа.
- Для заделывания стыков самостоятельно используют раствор на основе глины. Цемент при слишком большой температуре будет трескаться и постепенно начнет высыпаться.
- Не стоит забывать про монтаж качественной вентиляции, которую делают из металлических труб одинакового диаметра.
- Прежде чем установить водяное отопления, требуется вмонтирование расширительного бачка, который нужно расположить на самой верхней точке помещения рядом с печью и котлом.
- Далее монтируется контролер системы отопления.
- Если на радиаторах есть кран, то нужно сделать перемычки между выходящими и входящими трубами.
Опытные дачники предпочитают проводить все ремонтные работы самостоятельно, так как это не требует дополнительных затрат, а также будет более качественным, ведь где гарантия, что вызванный мастер сможет выполнить все как требуется. Помимо этого, нужно выбирать только качественные материалы, которые прослужат немало времени, полностью будут соответствовать всем требованиям и получится сделать отопление, способное обогреть помещение.
Отопление в теплице своими руками (видео)
Вполне не сложно создать микроклимат приемлемый для растений всевозможных видов, но только с соблюдением выше представленных рекомендаций. При использовании отопления с водяным контуром, нужно следить за безопасностью изделия и его функционированием, чтобы исключить опустошение труб и взрыв бачка.
Примеры отопления в теплице своими руками (фото)
homeli.ru
Отопление в теплице своими руками видео

При обустройстве отопления теплицы учитывайте размер суммарных издержек на установка системы и ее сервис. Некоторые варианты отопления требуют суровых валютных вложений, и их внедрение в маленьких теплицах будет нецелесообразным. Другие же ординарны и недороги в обустройстве, но потребляют сильно много горючего в процессе работы.
Делаем отопление в теплице своими руками
Отзывы:
Сергей Кочнев пишет: Второй слой поликарбоната реально способствует сохранению тепла?
Сергей Кочнев пишет: Второй слой поликарбоната реально способствует сохранению тепла?

В остальном же обладатель должен сам принять решение, как прибыльным будет внедрение того либо другого варианта подогрева непосредственно для его ситуации. Главное, чтобы система обеспечивала равномерное распределение тепла по помещению, не пересушивала воздух и создавала оптимальные условия для развития выращиваемых культур.
#video_insert_place

Выбор отопительного котла находится в зависимости от конкретной ситуации. В газифицированной местности наиболее популярны экономичные газовые котлы. Однако возможны и варианты построения систем с электронагревательными котлами и котлами под твердое топливо. Самый простой вариант – это печка из кирпича или металла, работающая на угле или на дровах, которую можно соорудить своими собственными руками.
Обычное отопление водой или обогрев теплиц воздухом без подогрева грунта ведет к большим потерям тепла и к большим энергозатратам. Рекомендуем вам также узнать как лакомиться свежими овощами круглый год, прочитав статью выращивание редиса в теплице: как получить хороший урожай.отопление в теплице часть 2 (выпускаем воздух)
Отзывы:
Сергей Конюхов пишет: молодец . только насос поставь горизонтально так долго не протянет
Daniel Teplaykov пишет: огромедная теплица
aуbek artykbay пишет: можете начертить схему отопление трубы? Как идет подача и обратка? Дело в том что у вас в каждой грядке есть трубы?
Марк Аврелий пишет: отопление для теплиц на отработке (без дыма и гари) 89280064194)
venera venera пишет: спасибо что делитесь опытом,а какие у вас зимы?до скольки градусов доходит?у нас до 35 бывает ,не всегда ,но факт.хотелось бы больше информации по постройке .заранее благодарю.

Если требуется сделать обогрев теплицы из поликарбоната, то лучшим вариантом является использование приборов инфракрасного излучения или электрического греющего кабеля, проложенного непосредственно в земле под растущими растениями. Можно греющий кабель прокладывать и в ограждающих конструкциях, но в данном случае часть тепла будет уходить на нагрев наружных стен и, соответственно, наружного воздуха, что не очень выгодно, учитывая тарифы на электроэнергию.
Выбирая кабельное отопление теплицы необходимо учитывать мощность греющего кабеля. Сильный нагрев грунта может привести к тому, что корневая система растений будет подвергаться высокой температуре, от чего они могут страдать точь-в-точь как и от низкой температуры грунта. Принцип обогрева теплицы посредством греющего кабеля похож на систему «теплый пол». Большой популярностью для устройства подобного отопления пользуются греющие кабели:
#video_insert_place
bevelavita.ru
Отопление теплицы своими руками: варианты обогрева
Содержание:1. Обогрев парника газом
2. Обогрев твердотопливным котлом
3. Печное отопление
4. Водяное отопление
5. Отопление парника с помощью солнечных батарей
6. Воздушное отопление
Отапливаемые теплицы дают возможность кушать овощи, зелень и фрукты круглый год. Минимальная температура, которую необходимо обеспечить в парнике, чтобы выращивать культуры – 18 градусов. Для сохранения в ней такого температурного режима, одних только стен недостаточно, из какого бы материала они бы ни были сделаны. Как выглядят обогревательные устройства, подходящие для теплицы, можно посмотреть на фото.
Экономнее всего будет построить парник в том месте, где проходит теплотрасса. В этом случае нужно будет только подыскать наиболее подходящее место для постройки. В противном случае сооружению постройки придется уделить больше внимания. Но в обоих вариантах система отопления теплицы просто необходима.
Обогрев парника газом
Газовая система отопления теплиц является довольно популярной. Не рекомендуется проводить подачу газа от дома к парнику – это будет слишком дорого. Лучше купить несколько газовых баллонов – их должно хватить на зиму (прочитайте: «Как устроить обогрев теплицы зимой»). Такой вариант будет намного экономнее. При использовании такого оборудования следует учитывать, что продукты горения природного газа не лучшим образом сказываются на растениях. По этой причине в теплице обязательно нужно сделать вентиляцию и вытяжку для вывода их наружу.

При покупке обогревательного прибора следует обратить внимание на то, чтобы он имел специальный датчик. Он нужен для того, чтобы в случае прекращения горения сразу же перекрывалась подача газа в горелку.
Обогрев твердотопливным котлом
Такое отопительное оборудование лучше устанавливать не в самом помещении теплицы, а в тамбуре. Такой вариант более предпочтителен по той причине, что не придется по несколько раз в день открывать дверь в помещение, впуская в нее холодный воздух, чтобы добавить очередную порцию топлива. Но в то же время, в этом случае обогрев теплицы из поликарбоната будет менее эффективен, поскольку тепло идет и от стенок самого котла. Нужно правильно выполнить расчет отопления теплицы, чтобы устройство было достаточно мощным (прочитайте также: «Самодельный твердотопливный котел своими руками»).
Основной недостаток твердотопливных котлов – это необходимость регулярно добавлять топливо. Но и эту проблему можно решить – недавно появились устройства длительного горения, которые могут работать на одной закладке топлива до 36 часов. Такие котлы экономичны и безопасны в эксплуатации.
Печное отопление
Если выполнить отопление теплицы своими руками, тогда можно значительно сократить свои расходы. Одним из экономных способов обогрева парника является устройство печи. Простую конструкцию можно сделать и самостоятельно, денежные затраты в этом случае будут минимальными.

- сначала в тамбуре парника выкладывают из кирпича топку печи;
- по всей длине сооружения прокладывают дымоход;
- затем дымовую трубу выводят из парника с противоположной стороны, чтобы тепло оставалось в помещении, а продукты горения выходили наружу. Расстояние между топкой и торцевой стороной должно составлять не менее 25 сантиметров, а между верхней частью и грядкой с растениями – минимум 15 сантиметров.
Существует и второй способ, как провести отопление в теплицу. Для этого потребуется бочка большого размера – ее объем должен быть не менее 3 кубов. Чтобы емкость не проржавела, ее изнутри окрашивают двумя слоями краски. В бочке делают отверстия. Одно из них предназначено для дымохода, а другие – для крана и расширительного бачка. Дальше в бочку вставляют сваренную печь, выводят дымоход, а снаружи устанавливают трубу длиной примерно в 5 метров (прочитайте также: «Отопление теплицы дровами — классика жанра»).
Затем к бочке прикрепляют расширительный бак объемом на 20 литров – его сваривают из листового металла. Из профильной трубы размером 40х20х1,5 сантиметров сваривается отопительная система. Трубы прокладывают по земле таким образом, чтобы между ними было расстояние 120 сантиметров. Такое расположение труб позволит прогревать почву. Для обеспечения циркуляции воды в такой отопительной системе потребуется специальный насос.
Водяное отопление
Обогрев теплицы с помощью водяной системы является более эффективным по сравнению с другими способами (читайте также: «Делаем водяное отопление на даче своими руками»). Отапливаемые теплицы своими руками сделать несложно, если следовать приведенной инструкции. Основным элементом конструкции является водяной электрический нагреватель (прочитайте также: «Солнечные нагреватели воды — экономная энергия»).

Отопление парника с помощью солнечных батарей
Обогревать теплицу можно и устройствами, поглощающими солнечные лучи.
Для создания такой системы отопления:
- сначала роют яму глубиной примерно 15 сантиметров;
- потом на землю настилают слой полистирола или любого другого теплоизоляционного материала;
- поверх помещают полиэтиленовую пленку для обеспечения гидроизоляции;
- сверху на пленку насыпают влажный песок и грунт.

Такая система очень проста и не требует финансовых затрат, но при этом вполне подходит для поддержания в теплице температуры, оптимальной для роста растений. При этом на крыше должны находиться специальные устройства, которые будут поглощать солнечную энергию и тем самым способствовать обогреву парника. Стоит учитывать, что в зимнее время такая система будет малоэффективна – в пасмурные дни теплица не сможет прогреваться (прочитайте также: «Солнечное отопление дома своими руками — принцип изготовления»).
Также нужно сделать расчет отопления для теплицы, чтобы оно было эффективным.
Отопление теплицы своими руками, подробно на видео:
Воздушное отопление
Такой метод также довольно прост, к тому же он не требует финансовых затрат. Сначала берут кусок железной трубы длиной 2-2,5 метра и диаметром 50-60 сантиметров. Затем один конец трубы вводят в парник, а под вторым разжигают костер. Воздух, находящийся в трубе, будет прогреваться довольно быстро. Такой способ вполне подходит для поддержания комфортной температуры в парнике.
Главным недостатком такого метода отопления является то, что костер необходимо поддерживать постоянно. Если огонь погаснет, в теплице очень быстро понизится температура. Поэтому такой обогрев парника встречается не часто. Читайте также: «Как сделать отопление теплицы – возможные варианты».

teplospec.com
Отопление теплицы своими руками — самые лучшие экономные проекты (фото+видео)
Отапливаемая теплица позволяет иметь свежую зелень круглый год. Кроме того, можно выращивать не только традиционные для своей широты овощи и цветы, но также теплолюбивые экзотические растения вплоть до ананасов и бахчевых в Сибири или на Урале. Смонтировать отопление теплицы своими руками вполне реально. Существует несколько способов эффективного обогрева теплицы. В этой статье мы остановимся на каждом из них для того, чтобы вы смогли выбрать оптимальный для себя вариант.

Как материал влияет на теплопотери
Выбор отопительной системы в первую очередь должен отталкиваться от площади помещения теплицы и материала, из которого она построена. Каждая разновидность имеет свой коэффициент теплопотерь. Чаще всего для строительства теплиц используют:
- стекло – коэффициент теплопотерь составляет 5,5 Вт/кВ.м;
- полиэтиленовую пленку – K=12 Вт/кВ.м;
- поликарбонат – 2,8 Вт/кВ.м.
Как видно, сотовый поликарбонат за счет своей ячеистой структуры имеет самые низкие показатели потерь тепла, а полиэтиленовая пленка – наоборот, самые высокие. Очень важно, чтобы отопление не пересушивало в парнике воздух, а тепло распределялось по всей площади равномерно.
Оптимальные варианты
Среди огромного множества вариантов обогрева теплиц в домашних условиях мы рассмотрим только те, которые можно построить самостоятельно, не прибегая к помощи профессионалов. Итак, самые распространённые способы самодельного обогрева парников:
Электрические системы отопления

УФ-лампы для обогрева растений и грунта
В основном практикуют ультрафиолетовые лампы, которые позволяют нагревать почву и, соответственно, растения. Воздух не нагревается. Он получает тепло от земли и поэтому не пересушивается. В таком климате растения чувствуют себя очень комфортно.
Количество ультрафиолетовых ламп для помещений рассчитывают по упрощенной схеме: на каждые 10 кв.м требуется 1 кВт мощности обогревателя.
Поскольку использование электричества для отопления – это самый дорогостоящий способ обогреться, такой вариант нельзя отнести к экономным. Но если вы планируете круглогодично выращивать ягоды или цветы в домашних парниках, то этот вариант следует рассматривать, как оптимальный.
Для оптимизации расходов необходимо установить регуляторы и датчики температуры и тем самым автоматизировать отопление. Также может понадобиться дополнительное освещение и автоматизированная система полива.
ВИДЕО: Электро подогрев теплицы своими руками
Газовый обогрев парников
По обустройству это самый дорогой проект, но по эксплуатации – самый дешевый. Можно использовать, как котлы, работающие на газе, так газовые баллоны. Для использования газового оборудования необходимо специальное разрешение, а для его монтажа привлечение специалистов.
Для того, чтобы построить газовое отопление теплицы своими руками, ее пристраивают к дому и тянут коммуникации оттуда. В целом процесс не сложный, так как понадобится только нарастить трубы и закольцевать их в связке с домом. Отдельно строить газовую систему для помещения теплицы целесообразно только в том случае, если ее помещение превышает 100 кв.м и используются она для коммерческих целей.
Печки на твердом топливе или отработке
Сделать печное отопление в теплице своими руками сможет любой. По сути, это самая обычная печка – стационарная каменная или мобильная металлическая, посредством которой отапливают все помещение.

Тепло от печки разгоняет вентилятор
Доступно огромное множество чертежей с подробным пошаговым описанием, как построить теплицу своими руками с отоплением или, как обустроить печной обогрев уже готового парника. Можно самостоятельно выложить печку внутри либо в отдельном тамбуре, или приобрести дровяную печь.
Кроме того, на рынке представлен огромный выбор современных твердотопливных котлов длительного горения. Они снимают самое большое неудобство использования печки – частую закладку дров, угля и т.д. Таким образом, сделать отопление в теплице своими силами может каждый желающий. Стоимость твердого топлива в разы дешевле в сравнении с электричеством.
Паровое отопление
Паровое отопление теплицы своим руками можно выполнить двумя способами: подключить к отоплению дома или сделать самостоятельную систему. Этот способ можно считать усовершенствованным вариантом печного обогрева. У него более высокий уровень КПД и безопасности, но вместе с тем, выше затраты на обслуживание.
Выше были перечислены самые эффективные способы отопления домашних теплиц. Каждый выбирает наиболее подходящий именно ему вариант. Мы предлагаем остановить свой выбор на последнем способе, который к тому же имеет массу вариаций.
Обогрев паром
Если вы не знаете, как сделать отопление в теплице паром, то необходимо прислушаться к советам специалистов. Они советуют подключать парник к отопительной системе дома лишь в том случае, когда он находится на расстоянии максимум 10 метров от дома. Иначе такое подключение экономически не выгодно и лучше остановиться на варианте установки котла или печки. К слову, самая обычная буржуйка справится с задачей отопления на все 100%. Она простая в обслуживании, ее легко чистить и заправлять.
Схемы парового отопления:



Если под парник был выбран участок возле дома для подключения к общей отопительной системе, то необходимо выполнение двух требований:
- мощности котла должно хватать для обогрева как дома, так теплицы;
- трубопровод, пролегающий по улице, следует надежно утеплить.
Вне зависимости от того, где будет установлен котел, а также какого он будет типа, самодельное отопление в теплице строится по одной схеме. Кроме котла вам понадобится приобрести такое оборудование:
- радиаторы;
- трубы;
- циркуляционный насос;
- группу безопасности;
- расширительный бак;
- балансировочный вентиль;
- фильтр грубой очистки.
Для обеспечения тепла очень важно правильно определить количество радиаторов. Если высота теплицы не превышает 3 м, то можно воспользоваться упрощенным алгоритмом расчета: площадь теплицы умножить на 120, после чего разделить на тепловую мощность одной секции радиатора по техпаспорту.
Алгоритм подключения парового отопления
Рассмотрим пошаговый алгоритм монтирования оборудования:
- Устанавливаем котел на предварительно подготовленный бетонный фундамент. Если вы остановили свой выбор на твердотопливном котле, то для него лучше соорудить специальный тамбур – так вы не будете открывать теплицу при каждой загрузке топлива.

Варианты строительства теплиц с входным тамбуром
- Подключаем котел к дымоходу. Более предпочтительный вариант – вертикальный сэндвич-дымоход из нержавейки, который выводят наружу через крышу или стену. Во-первых, его очень легко монтировать. Во-вторых, у него надежная конструкция.
- Трубами подключают радиаторы. Оптимальный диаметр труб: 20-25 мм. Радиаторы необходимо выбирать самой меньшей высоты. Если у вас после замены системы отопления в квартире или доме остались старые радиаторы и трубы, то используйте их. Так, вы существенно удешевите обустройство парника. На каждый радиатор следует установить воздушный клапан – кран Маевского, а также вентиль, позволяющий перекрыть поступление воды.
- Подсоединяем группу безопасности сразу после выхода из котла (место максимальной температуры, а также давления). Она представляет собой стальной коллектор, на котором размещен манометр, воздухоотводчик и предохранительный клапан. Коллектор оснащен муфтой при помощи, которой присоединяется к трубе.
- Монтируем расширительный бак снизу через вентиль. Его устанавливают на участке от выхода из котла до циркуляционного насоса.
- Устанавливаем циркуляционный насос для поддержания стабильного давления в системе. Он крепится на обратной трубе перед входом в котел. Перед ним обязательно следует установить фильтр грубой очистки.
Итак, система собрана, вам нужно отпрессовать ее воздухом, чтобы выявить возможные дефекты монтажа. Для этого подключают специальный компрессор. Предварительно при помощи губки намыливают все стыки. Потом закрывают вентили и краны. Компрессором подают давление, предусмотренное техпаспортом котла и радиаторов. Внимательно осматривают стыки – на них не должно быть мыльных пузырей. Если все хорошо, то можно заполнять систему водой для пробного включения котла.
Альтернатива отоплению
Далеко не все используют парники для круглогодичного выращивания зелени, овощей и фруктов. Для личных нужд к посадкам приступают в основном в середине февраля и заканчивают уже в октябре. Монтировать отдельную систему отопления в данном случае нерационально, равно как и использовать мощные электрические системы. В качестве альтернативы можно предложить теплые грядки или инфракрасный подогрев полов.
Теплые грядки

Как сделать теплые грядки
Это комбинация определенных материалов, которые при взаимодействии выделяют тепло. Для создания теплых грядок выкапывают ров глубиной 70-80 см, куда закладывают следующие составные:
- крупные ветки для аэрации;
- солома, сено, сухая трава
Срезанную ботву с грядок лучше не использовать, так как в ней может находиться патогенная флора – личинки насекомых, вирусы и пр.
- навоз;
- торф;
- дерновая земля.
Все это укладывают послойно и спустя 2 недели можно приступать к посадкам. Навоз и солома начинают преть, выделяя при этом довольно большое количество тепла. Этого достаточно, чтобы подогреть корневую систему, тем самым создав для растения комфортные условия.
Инфракрасные полы
Это разновидность электрической системы отопления, но по сравнению с УФ-лампами, она не такая расточительная. За счет большой теплоотдающей поверхности нагрев происходит быстрее. Конструктивно это тонкая пленка, которую раскатывают на поверхности, фиксируют и запускают. Можно использовать ИК-полы непосредственно для подогрева грядок, а также разместить по стенам или в междурядье.

Организация ИК-подогрева грядок
Придерживаясь этих рекомендаций, вы сможете легко настроить отопление своей теплицы и получить желаемый урожай, даже если раньше вы с этим не сталкивались!
ВИДЕО: Как сделать отопление теплицы своими руками
www.portalteplic.ru
