Печь в баню своими руками из металла чертежи – Чертежи банных печей из металла с размерами
Чертежи печи для бани из металла
Что самое главное в бане — конечно же печь. Существует множество готовых решений печей, которые можно купить в магазине, но в этой статье мы рассмотрим чертежи для самостоятельного изготовления печей из металла.
Печь для бани из металла своими рукамиЭтапы изготовления
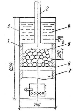
Чертежей печи для бани достаточно много и каждый из них имеет свою функциональность. Начнем с топки для печи.
- Топка — первое что нужно сделать. Размеры топки вы определяете самостоятельно, исходя из размеров вашей парной.
Главное помнить, что ширина и высота топки должны быть одинаковы. - На некоторых чертежах печей из металла вы можете увидеть готовые решения, которые можно купить в магазине ,а не вырезать и варить самостоятельно. Например, дверцы, решетки, ручки и так далее. Вы сэкономите массу времени, если приобретете их в магазине.
- Почти на всех чертежах топка состоит из 2 частей. В одной части горят дрова, а другая предназначена для сбора золы и также выполняет функцию поддувала.
- Если на верхнюю часть топки будут ложиться камни, то ее следует сделать из решетки. Можно сделать декоративную решетку для красоты.

Важно! Если Вы решили сварить печь для бани самостоятельно — отнеситесь с особым вниманием к толщине металла. Металл должен быть не менее 5 мм, чтобы при нагревании его не повело.
Подробный чертеж печи для бани из металлаБак для воды и место для камней
Чертеж печи из металла с каменкой и баком для водыТрубу также необходимо изготавливать из трубы с большой толщиной металла. Так она не сразу прогорит и будет служить вам долго.
Печь для бани с трубой, проходящей через каменку и водяной бакДымоход
Также на чертеже печи для бани необходимо указать место, где дымоход будет проходить через крышу. Это место необходимо тщательно изолировать, так как воздух, проходящий через трубу очень горячий.
Дымоход для баниДля изоляции дымохода от крыши лучше приобрести готовые решения, которые продаются в специализированных магазинах для бани.
Таким образом сделать печь для бани по чертежам самому не так уж и сложно. К тому же в магазинах продается много готовых решений (решетки, дверцы, баки, трубы, дымоходы, изоляция дымохода), применяя которые соорудить печь будет еще проще.
Как сделать печь для бани своими руками из металла видео:
pristroika.pro
Чертежи и советы по установке металлических и каменный печей для бани
Чтобы получить в бане наиболее оптимальную температуру, нужно иметь правильно подобранную, хорошую печь. При этом к выбору и обустройству следует отнестись очень ответственно, ведь выбранная печь для бани будет влиять не только на температуру воздуха, но и на его влажность.

При использовании некачественной печи вы никогда не сможете создать хорошую баню, нахождение в которой приносило бы отдых, расслабление и избавление от болезней. И чтобы выбрать подходящую печь, обязательно следует разобраться, чем же баня отличается от своей ближайшей «родственницы» – финской сауны.
Вернуться к оглавлениюСодержание материала
Чем баня отличается от сауны
Знатокам известно, что между настоящей русской баней и, к примеру, финской сауной
лежит настоящая пропасть. В саунах влажность воздуха сравнительно невысока, зато температура может достигать 110-130 градусов. В бане же температура обычно не поднимается выше 70-90 градусов. Только под самым потолком, где предпочитают париться экстремалы, она приближается к отметке в сотню градусов. Зато влажность в русской бане может составлять 50-70 процентов.Поэтому баня оказывает более мягкое воздействие на человека, чем сауна. Влажный воздух с ароматом дубовых или берёзовых листьев позволяет избавиться от заболеваний, поражающих органы дыхательных путей. А сравнительно невысокая температура (при высокой влажности 60 градусов воспринимается не хуже, чем 120 градусов в сауне) не даёт большой нагрузки на сердце, стимулируя выделение пота, содержащего соли и шлаки.
Также, в отличие от сауны, которая довольно быстро нагревается и быстро остывает, баня прогревается дольше, зато очень долго держит тепло.Каким требованиям должна отвечать печь
Сегодня в продаже можно увидеть самые разные модели печей. Они могут различаться по размерам, конструкции и материалам. Вы можете купить печь из кирпича или металла, подходящую для прогрева маленького или большого помещения. Но делать окончательный выбор следует лишь после того, как вы определились с размерами самой бани и парилки.

Примерный список требований к печи для бани:
- Компактность. В большинстве случаев бани имеют небольшой размер, что позволяет протопить их сравнительно быстро.
- Пожаробезопасность. Вся обивка в хорошей бане (полы, потолки, стены, полки) изготовлены из дерева. Поэтому в некоторых случаях бывает достаточно одной искры, чтобы всё это вспыхнуло.
- Мощность. Этот показатель подбирается под определённую баню. Печь из металла или кирпича должна обладать достаточной мощностью, чтобы быстро протапливать баню, нагревать нужное количество воды, обеспечивать посетителей бани паром и горячим воздухом, а также качественно просушивать парную после завершения всех процедур.
Да, печь для бани должна отвечать всего трём главным критериям. Но если она не отвечает хотя бы одному, значит, она не подходит. Лучше подыскать другую модель, благо, современный рынок предлагает огромный выбор.
Сегодня, придя в специализированный магазин, можно увидеть две разновидности устройств: парогенераторы и классические печки-каменки.
Парогенераторы напоминают по конструкции огромные электрочайники, обычно квадратной или прямоугольной формы. Почти все модели имеют функцию регулировки мощности. Печка каменка может заменяться ею, или же дополняться, чтобы увлажнять воздух до оптимального показателя. Впрочем, парогенераторы сравнительно малоизвестны большинству людей, а кроме того – резко отличаются от привычных печей-каменок. Поэтому, несмотря на удобство и простоту использования, они пользуются малой популярностью.
Схема установки парогенератора в банеПечки-каменки обычно делят на две группы – закрытые и открытые. Первые чаще всего изготавливают из камня или кирпича. Именно они лучше всего подходят для качественного отопления больших бань.
Вернуться к оглавлениюКакими бывают современные банные печи
Специалисты делят все современные печи на две категории – по типу используемой энергии: дровяные печи и электрические каменки. Каждый из них имеет определённые достоинства, о которых обязательно следует знать, чтобы не допустить ошибок при выборе подходящей модели.
Конструкция металлической печки-каменки может быть самой разной. Одни из них изготовлены кустарным методом, из подручных материалов и при помощи газосварки. Другие же созданы на фабриках и имеют особый, разработанный профессионалами дизайн. Но все они отличаются быстротой повышения температуры. Достаточно уложить сухие, качественные дрова и поджечь их, чтобы через 30-40 минут температура в бане поднялась до подходящего для мытья уровня.

Опасность отравления угарными газами полностью исключена. Печь со всех сторон закрывается металлом, не пропускающим дым в баню. Камни, из которых сложена каменка, нагревается в результате того, что пламя передает тепло железу, а уже железо проводит их до камней и отдаёт жар им.
Увы, классическая металлическая печь для бани имеет серьёзный минус. Теплоёмкость таких печей не слишком велика. Они быстро нагреваются и, стремительно отдавая жар помещению, быстро остывают. Из-за этого не создаются условия, подходящие для равномерного нагревания тела. Чтобы исправить это, специалисты рекомендуют облицовывать их кирпичом, оставляя лишь зазор в несколько сантиметров для прослойки из воздуха. Это не только позволяет долгое время сохранять тепло (кирпич имеет высокую теплоёмкость), но и снизить опасность ожога.

Некоторые печи даже футеруют огнеупорным кирпичом внутреннюю сторону топливника. Это даёт возможность повысить теплоёмкость печи и увеличить сроки её службы.
При изготовлении печей-каменок чаще всего используется листовой железо толщиной около 5 миллиметров. Бак с водой располагается с любой стороны – это зависит от места установки и размеров бани.
Некоторые модели изготавливаются из нержавеющей стали или обычной, покрытой цинком. Их главным плюсом является малый вес и быстрота прогрева. Увы, их долговечность сравнительно невелика, и, что ещё хуже, они не способны аккумулировать тепло. В бане будет жарко до тех пор, пока в печи горит огонь. Но достаточно дровам прогореть, и спустя всего 10-20 минут температура в парилке начнет стремительно снижаться, что вовсе не радует пользователей.

Альтернативой может стать чугунная печь. Да, она весит значительно больше – порой до 200 килограмм, что значительно усложняет процесс установки. Зато она является практически вечной. Высокая температура, повышенная влажность – всё это не способно нанести ни малейшего вреда чугуну. Достаточно взглянуть на чертежи печей для бани, чтобы убедиться – это действительно монументальная вещь. Не менее важно, что чугунная печь, благодаря массивности, может долгое время сохранять тепло. Даже когда дрова прогорели без остатка, в бане ещё долго будет жарко. Но и нагревается такая печь существенно дольше, то есть, имеет высокую тепловую инерцию.

Конечно, ещё одним неотъемлемым плюсом классической печки-каменки является едва уловимый дымок. Многие люди не могут представить себе настоящую баню без этого запаха.
Электрические каменки значительно отличаются от обычных печей. При этом отличаются они в лучшую сторону. Они безопасны, удобны в эксплуатации и очень легки в управлении. Серьёзный недостаток у них всего один – тарифы на электричество стремительно растут, а для поддержания хорошего жара в парилке электрическая каменка должна работать непрерывно.
Главным конструктивным достоинством, каким обладают электрические каменки, является многослойный корпус, изготовленный при использовании листовой стали. Он позволяет повысить теплоёмкость, а также снизить опасность ожога при случайном контакте. Немаловажно, что у электрических каменок обычно имеются специальные предохранители от перегрева и термостаты. Многим пользователям нравится, что электропечь может быть включена и выключена в любую минуту.

При выборе электрической каменки обязательно учитывайте рабочее напряжение конкретной модели. Оно может составлять 220 или 380 вольт. Модели, мощность которых превышает 7 киловатт, обычно имеют напряжение 380 вольт. Не забывайте, что хотя печи, имеющие корпус из нержавеющей стали, стоят дороже, чем оцинкованные, они способны прослужить значительно дольше.
Если вы решили приобрести электрическую каменку, произведенную в Европе, убедитесь, что сможете подключить её. Ведь большинство европейских моделей имеют заземление, что снижает вероятность поражения ударом тока. А в нашей стране далеко не все розетки предусматривают заземление.
Вернуться к оглавлениюКонструкция каменной печи для бани
Как сделать печь-каменку своими руками можно посмотреть в данном видео
Постройка печи, которая будет полностью сделана из кирпича — это дорогостоящий процесс. Кроме того вы также потратите на сооружение такой серьёзной конструкции достаточно большое количество времени.
Также всегда следует учитывать размеры и планировку бани. Печь с одной стороны должна занимать минимум места, а с другой стороны – обеспечивать поступление достаточного количества тепла необходимого для обогрева нескольких человек. Внизу на чертежах вы может видеть различные конструкции печей-каменок, которые подойдут практически для бань любых размеров. Соответственно, верхние – для больших бань, нижние – для небольших сооружений.

Схема устройства металлической печи-каменки
Здесь представлен чертёж печки, которую можно сделать своими руками.

- Наружная кирпичная кладка;
- Остов печи;
- Внутренняя кирпичная кладка;
- Проволочные скрепы;
- Водонагревательный бак;
- Дымовая труба;
- Нагревательные камни;
- Паровой люк;
- Оградительная решётка;
- Планка;
- Топочная дверца;
- Дверца для поддувала;
- Опорный металлический лист.
На схеме представлена наиболее часто используемая конструкция печи-каменки, которая подойдёт для любой небольшой бани. Она позволит создать в помещении необходимую температуру, которая позволит одновременно париться нескольким человекам.
Металлический каркас такой печи-каменки изготавливают из стального листа, обладающего толщиной 5 мм. Также сверху непосредственно на саму печку нужно поставить бак для нагрева воды.

В холодное время года такие печи могут прогревать помещение 10 м3 примерно за 2 часа, при этом температура камней может достигать и быть более 300 градусов по Цельсию.
На этом видео можете посмотреть, как была сделана своими руками простая металлическая печь-каменка
Вернуться к оглавлениюКонструкция металлической печи для бани
Не менее долговечными и надёжными являются чисто металлические печи для бани.
Чертёж самой простой железной печи для баниЖелезную печь рекомендуется обложить огнеупорным кирпичом, чтобы не получить серьёзные травмы и ожоги вместо удовольствия во время банных процедур. Печь можно сделать из обычного листового железа, но более надёжная и долговечная конструкция получится из хромированной стали.
Схема устройства современной металлической печи для бани из хромированной сталиЕстественно, при обустройстве следует учитывать все меры противопожарной безопасности, которые являются обязательными при возведении любой печи. Обязательно проконсультируйтесь насчёт этого момента со специалистами, даже если вы решили строить печь своими руками.
Ещё одна схема обустройства металлической печи для бани, которую можно сделать самостоятельноУстановка металлической печи
Устанавливая металлическую печь для бани, необходимо придерживаться определённых рекомендаций:
- Устанавливать печь нужно не вплотную к стенам, расстояние должно составлять не менее одного метра.
- Печь нужно ставить как можно ближе к дымоходу.
- Лучше сделать перед печью огороженное или каким-то образом отмеченное расстояние хотя бы пару метров.
- Саму конструкцию следует устанавливать на прочную основу. Она должна быть обязательно из негорючих материалов. Ни в коем случае не следует делать её из дерева.

Простую металлическую печь разных размеров вполне можно сделать собственными силами, не тратя деньги на услуги сторонних специалистов.
Вернуться к оглавлениюЧто нужно знать о камнях для каменки
Глупо спорить – печь для бани с баком для воды является одним из главных элементов. Но его неотъемлемой частью являются и камни. Им необходимо уделить немалое внимание, чтобы впоследствии не пришлось проделывать титаническую работу по переделке каменки.
К камням обычно предъявляют несколько простых требований:
- Высокая теплоёмкость.
- Высокая прочность.
- Отсутствие радиоактивности.
Другими словами, подходящие камни хорошо аккумулируют тепло, а потом отдают его долгое время. Также они должны без вреда для себя выдерживать не только высокую температуру, но и резкие перепады (не трескаться при контакте с холодной водой). Именно поэтому лучше выбирать однородные, плотные, примерно одинаковые по размеру и форме камни.

Размер не должен быть слишком большим или маленьким. Мелкие камни слишком быстро остывают, в результате чего каменная кладка не может держать тепло. Большие же чаще трескаются и просто смотрятся не слишком изящно. Оптимальным выбором будут камни размером чуть меньше кулака.
Конечно, недопустимо использование грубых камней с острыми и неаккуратными гранями. Они не только не привлекательны, но и зачастую быстро крошатся. Лучше отдать предпочтение аккуратным, обкатанным водой, речным гладышам.
Если нет возможности купить камни в специализированном магазине, можно просто проверить те, которые есть под рукой. Возьмите два камня в руки и сильно ударьте ими друг по другу. Если они не раскололись, значит, тест на прочность они прошли. После этого следует раскалить камни, положив на несколько минут в огонь, после чего окунуть его в воду. Если он прошел и это испытание, то он подходит для использования на каменке в бане.
Но лучше будет приобрести подходящие камни в компаниях, которые продают оборудование для бань. Специалисты рекомендуют использовать несколько разновидностей горных пород:
- жадеит,
- базальт,
- талькохлорид,
- габбро-диабаз.
Жадеит является самостоятельным минералом, в то время как остальные имеют вулканическое происхождение. Все эти камни неплохо выполняют свою функцию на каменке. Но если есть возможность выбирать, то лучше отдать предпочтение жадеиту. Да, как не странно, но правильно выбранные камни не менее важны, чем правильно подобранный чертёж банной печи. Жадеит может выдерживать практически бесконечное количество циклом «нагрев-остывание», не покрываясь трещинами. Эксперты утверждают, что он вообще не крошится, а может лишь плавиться. Но для этого температура должна превышать 1200 градусов по Цельсию.

Когда подходящие камни выбраны, это ещё не конец. За ними нужно соответственно ухаживать. Хотя бы раз в год старайтесь просматривать все камни на каменке. Промывайте их в тёплой воде, чтобы избавить от неприятного запаха, который может возникнуть при длительной эксплуатации. Если некоторые камни потрескались, замените их, предварительно удалив пыль с каменки. Ведь каменная пыль может содержать серу, которая при нагреве сгорает, а вам придётся дышать этим опасным веществом.
Вернуться к оглавлениюБезопасность при установке классической банной печки
Когда подходящая схема печки для бани выбрана, а сама она изготовлена или куплена, можно приступать к установке. Здесь следует запомнить несколько правил, которые позволят снизить опасность пожара.
- Поддувало и топка должны выходить не в саму баню, а в соседнее помещение – предбанник. Это позволит не выпускать лишнее тепло при топке, а также обезопасить деревянные полы в бане от возгорания.
- Все пространство перед топкой и поддувалом следует соответственно обработать. Если полы в предбаннике деревянные, то площадь в половину квадратного метра следует защитить теплоизоляционным материалом, поверх которого укладывается стальной лист. Благодаря этому, даже если из топки выкатится уголёк, который останется незаметным, деревянным полам ничего не угрожает – он просто будет тлеть на железе.
- Сама печь должна устанавливаться на прочное, негорючее основание. Прекрасно подходит как кирпичная кладка (в этом случае лучше использовать огнеупорный кирпич, способный прослужить многие десятки лет при частых перепадах температур), так и бетонное основание.

- Поблизости от печи не должно быть деревянных предметов, будь то косяк двери, оконная рама или обивка стен. Длительное воздействие высокой температуры может привезти к возгоранию. Если такой вариант установки невозможен, стоит задуматься о покупке и установке специальных тепловых экранов. Это позволит гарантировать надёжную защиту от пожара.
- Последним этапом установки печи является монтаж дымохода. Она должна выходить в верхней части конька крыши – это обеспечит наилучшую тягу. В случаях, когда труба проходит через чердак, необходимо сделать её распушку. Это позволит предотвратить передачу большого количества тепла деревянным стропилам, что может привезти к пожару.

- Если вы используете обычную, металлическую трубу из нескольких элементов, необходимо внимательно следить как при установке, так и при эксплуатации, чтобы дым не просачивался через стыки. В противном случае посетители бани могут получить отравление угарным газом.
Запомнив эти нехитрые советы, вы без труда сможете создать баню, которая будет радовать вас и ваших близких многие годы, помогая прекрасно проводить время, расслабляться и оздоравливаться.
proekt-sam.ru
Металлическая печь для бани своими руками: чертеж, сборка, установка
Баня является чрезвычайно популярна в России. Сегодня это обязательный атрибут дачи, частного дома или загородной усадьбы. Печное оборудование можно классифицировать по разным параметрам: кто-то выстраивает кирпичные каменки, кто-то предпочитает металлические печи, собранные своими руками. Последний вариант на практике оказывается более экономичным, ведь такая модель может быть сделана из подручных материалов.

Почему стоит выбрать металлическую печь
Металлическая печь для бани своими руками собирается сегодня многими домашними мастерами. Это обусловлено множеством факторов, например:
- компактностью;
- отсутствием необходимости возведения массивного фундамента;
- возможностью поддержания постоянного процесса горения;
- возможностью сооружения конструкции из имеющихся материалов.
Такие печи действительно получаются довольно компактными, а значит, установить их можно будет даже в небольшой парилке. Массивного фундамента конструкция не потребует, для этого можно будет возвести облегченное основание. Это не только упростит процесс монтажа печного оборудования, но и сэкономит время. Благодаря тому, что процесс горения можно будет поддерживать постоянно, температура будет удерживаться на необходимом уровне.

Минусы металлической печи
Несмотря на то что металлическая печь для бани своими руками может быть собрана, многие отказываются от такой конструкции в пользу дорогостоящих кирпичных сооружений, возвести которые под силу лишь опытному специалисту. Это объясняется некоторыми минусами металлических печей, среди них:
- быстрое остывание;
- низкая способность нагрева помещения с большой площадью;
- необходимость обеспечения противопожарной защиты.
Металлические печи достаточно быстро нагреваются, но и быстро остывают. Накапливать тепловую энергию у таких конструкций не получается. Для того чтобы добиться в бане нормальной температуры для процедур, необходимо будет поддерживать процесс горения. Некоторые владельцы бань отказываются от металлических печей еще и по той причине, что такие конструкции необходимо защищать, чтобы обеспечить нормальный уровень пожарной безопасности. Некоторые, например, используют дополнительную обшивку корпуса.

Устройство металлической печи
Простая металлическая печь для бани обычно имеет две части, одна предназначается для топки, вторая – для бака с водой. Поддувало располагается в нижней части трубы, над ним находится круглая стальная пластина. Над топкой должна находиться каменка, от верха до дна должно быть 10 см или больше. В баке для горячей воды проделывается отверстие для дымовой трубы. Важно при этом обеспечить герметичность швов. Металлическая печь для русской бани имеет преимущества перед кирпичной в том, что она довольно быстро нагревается, а вероятность отравления угарным газом отсутствует. Кроме того, изготовить такую конструкцию довольно просто самостоятельно.

Рекомендации по параметрам печи
Если вами будет изготавливаться металлическая печь-каменка для бани, то вы можете сделать ее по своему чертежу. Однако если создавать его нет желания, то можно изготовить короб из заготовок следующих размеров:
- две пластины с размерами 600х1400 мм;
- одна пластина с размерами 270х600 мм;
- одна пластина с размерами 270х140 мм.
Для того чтобы выполнить нишу для камней, следует вырезать из листового 5-мм железа две заготовки со следующими параметрами: 270х300 мм. Ещё две заготовки должны иметь другие размеры: 270х250 мм. Один лист стали должен иметь следующие размеры: 25х300 мм. Однако довольно часто металлические печи для бани из трубы изготавливаются. В этом случае подойдет заготовка с параметрами, которые упоминаются в статье.

Самостоятельное изготовление металлической печи: выбор формы корпуса
Если будет собираться металлическая печь для бани своими руками, то на первом этапе предстоит выбрать форму корпуса. Этот параметр будет влиять на производительность оборудования и удобство его эксплуатации. Печь может быть:
- цилиндрической;
- фигурной;
- горизонтальной;
- прямоугольной.
Последняя разновидность более популярна и удобна. Если печь будет иметь такую конфигурацию, то форма сохранится наиболее длительное время. А об углы будет довольно сложно обжечься, ведь именно эти зоны подвергаются минимальному накалу. Равномерность нагрева конструкции и помещения будет зависеть от формы печи. Вы должны учитывать еще и необходимость обеспечения устойчивости конструкции. Например, цилиндрический или круглый корпус обладает низкой устойчивостью. Кроме того, такое оборудование требует более плотных стенок, так как нагреваться будет сильнее.

Выбор конструктивных особенностей и подготовка материалов
Металлические банные печи известны довольно давно, за это время умельцы разработали множество разновидностей и исполнений таких устройств. Наиболее простым решением станет печь-каменка, которую можно изготовить из бочки. Для этого у емкости срезаются крышка и дно. В результате удастся получить цилиндр, который до половины наполняется кирпичами, установленными на ребро.
Сверху следует уложить колосниковую решетку. Оставшаяся половина бочки должна быть заполнена камнями на 2/3. Конструкцию следует дополнить дымоходом и установить на печь крышку. Такая технология довольно проста, но конструкция не отличается удобством в использовании. Если будет выполняться металлическая печь для бани своими руками, то для проведения работ можно использовать листовую сталь, которая тоже ляжет в основу корпуса печи-каменки.
Внутренняя поверхность конструкции должна быть выложена кирпичом. Какой бы вариант исполнения вы ни выбрали, следует подготовить некоторые материалы, среди них:
- листовая сталь;
- 10-мм прут;
- щеколды;
- трубы;
- металлическая труба;
- колосник;
- водный кран.
Листовая сталь должна иметь толщину, равную 8 мм или больше. Что касается металлической трубы, то толщина ее стенок должна составить 10 мм, тогда как диаметр может изменяться в пределах от 50 до 60 см. Для топочной камеры понадобятся не только щеколды, но и дверки.
Подготавливая трубу, вы должны позаботиться о наличии 90-см отрезка, который пойдёт на топку. Для бака понадобится 60-см отрезок, тогда как на второстепенные детали пойдет 50-см труба. Когда выполняются печи для бани на дровах, довольно часто дверцы изготавливаются самостоятельно. Что касается инструментов, то для проведения работ следует подготовить сварочный аппарат и углошлифовальную машину.

Изготовление печи с закрытой каменкой
Если вам нужна печь с закрытой каменкой, то вы должны быть готовы к тому, что для подачи пара необходимо будет открыть дверку. Такая конструкция изготавливается по следующей технологии. В большом куске трубы, диаметр которой составляет 50 см или больше, необходимо проделать проем для поддувала. Его размер должен быть равен 5х20 см. Внутри нужно приварить крепление для установки колосника. Для этого можно применить металлическую пластину с проушинами.
Теперь можно начинать работы по обустройству топки. Для неё прорезается отверстие с размерами, которые равны 25х20 см. Для прутов каменки необходимо приварить крепления. Для того чтобы сделать колосниковую решетку, можно использовать сантиметровые прутья, но некоторые домашние умельцы предпочитают приобретать данный элемент печи.
На противоположной стенке следует прорезать отверстие, через которое будет поступать пар. Каменка заполняется камнями, которые подойдут для такой конструкции. Лучше всего выбрать диабаз или талькохлорит, однако отказаться стоит от кремния, слюдосодержащих камней и гранита. В крышке следует проделать отверстие для дымоходной трубы, установив ее на следующем этапе.
По такой технологии вами могут быть выполнены печи для бани на дровах. Дополнительно конструкция может быть усовершенствована, для этого можно использовать бак для горячей воды. Для этого подготавливается отрезок трубы внушительного диаметра, в который нужно вварить кран. Для бака с водой следует подготовить крышку. Ее нужно разрезать на две части, в одной из них вырезается проем для дымохода, эту часть нужно будет приварить сверху бака. Вторая часть крышки будет съемной, для удобства к ее поверхности необходимо приварить ручку и петли.
Изготовление металлической печи с открытой каменкой
Если вам удастся подготовить чертеж печи для бани из металла, то он значительно упростит проведение работ. В качестве альтернативного решения вы можете воспользоваться схемой, которая представлена в статье. Перед началом сборки конструкции следует ознакомиться с еще одной технологией, которая предусматривает изготовление печи с открытой каменкой. Если в наличии есть металлический лист, то соорудить агрегат будет достаточно просто.
Конструкция будет иметь вид трубы, которую следует разделить на два отсека колосниковой решеткой. Верхняя часть станет топкой, тогда как нижняя будет выполнять функцию зольника поддувала. Отделения необходимо дополнить дверцами, через которые можно будет закладывать дрова, и обеспечить подачу воздуха, а также удалять продукты сгорания.
В дальнем на торце трубы необходимо установить патрубок дымохода, диаметр которого составит 100 мм. Поверх корпуса нужно приварить металлический короб, заполняемый камнями. С помощью колена дымохода вы сможете обеспечить нагревание камней, ведь контактирующая поверхность станет больше.
Если вы задумались о том, как сделать металлическую печь для бани, то конструкция может быть выполнена в форме параллелепипеда. В этом случае следует подготовить листы металла, а не трубу. Для такого оборудования понадобится водогрейный бак. В прямоугольной печи бак может быть размещен по одному из нескольких способов. Его иногда располагают на любой стороне, фиксируют сверху, врезают трубы на подачу и забор воды, выполняют рубашку по нескольким сторонам. Для того чтобы добиться максимально удобного способа получения горячей воды, можно установить теплообменный бак, который должен располагаться на трубе дымохода.
Водонагреватель может быть выполнен самостоятельно или приобретён в магазине, в последнем случае конструкция будет дополнена трубой стандартных размеров. При этом дымоход нужно будет врезать в бак, а вертикальную часть расположить над корпусом печи. При достаточном объеме воды бак будет выполнять функцию резервуара или выступать в качестве теплообменника, который можно подключить к емкости.
Изготовление печи открытого типа с кирпичными стенами
Довольно часто домашними мастерами изготавливается металлическая печь для бани, обложенная кирпичом. В этом случае конструкция будет иметь открытый тип. Оборудование довольно сложно в исполнении, но у него будет отличная способность накапливать тепло. Конструкция будет иметь металлический корпус, внутри которого – кирпичная кладка.
Требования к толщине металла при этом следует снизить, можно использовать 2-мм лист. Для кладки следует приобрести огнеупорный шамотный кирпич. Укладка материала осуществляется на готовую смесь, которая предназначается для проведения печных работ. Замес проводится с учетом требований инструкции.
Перед тем как сделать металлическую печь для бани, необходимо подготовить основание. К нему привариваются ножки и пятки, что позволит сделать сооружение более устойчивым. На данное основание необходимо уложить сплошной кирпичный ряд. Для остальных видов возле топки необходимо осуществлять кладку в полкирпича, тогда как в области дымоходных каналов стоит использовать четверть кирпича.
Как только камера-поддувало будет готово, можно переходить к монтажу чугунного колосника. Расположить его нужно между зольником и топкой. Для того чтобы оформить проемы загрузочного окна и поддувала, следует использовать металлические уголки квадратного сечения со стороной в 20 мм. Важно при этом следить за тем, чтобы швы между рядами были максимально ровными.
Металлическая решетка из прутьев должна быть уложена над топочной камерой. Диаметр прутьев может быть равен 12 мм. Как только вы достигните уровня каменки, слева и справа следует оставить проем. В него вы будете загружать камни, чистить и доставать их. В это окно во время процедур можно будет плескать водой, чтобы получить пар.
Рекомендации по проведению работ
Рассмотрев схемы металлических печей для бани, вы можете взять за основу описываемую в данном разделе конструкцию. В ней дымоходный канал лучше сделать извилистым. Это будет способствовать максимальному прогреву корпуса и сгоранию топлива. В том месте, где труба будет поворачиваться наверх, следует создать ревизионное окно. В нём должна быть задвижка, которая будет сохранять тепло после завершения процесса топки.
Верхние ряды кирпичей следует сделать сплошными, оставив проем для установки дымохода. Как только кирпичная кладка будет завершена, раствор следует оставить до момента схватывания. Затем можно начинать варить стенки металлического корпуса. В данном случае он будет напоминать футляр. По стыкам следует пустить уголок квадратного сечения с вышеупомянутыми размерами, который позволит облегчить работы по сварке. Важно обеспечить герметичность швам.
Когда выполняется передняя стенка, не следует забывать вырезать в ней проемы для загрузочной камеры и зольника. Передняя стенка после этого устанавливается на свое место, петли для дверей нужно будет приварить на следующем этапе. Если двери вы хотите изготовить самостоятельно, то их ширина должна быть больше на 10 мм с каждой стороны по сравнению с проемами. Это обеспечит герметичность. Дополнительно можно использовать для этого асбестовый уплотнитель, который прокладывается по периметру дверки или по внутренней поверхности.
Дополнительные советы специалиста
Вами тоже может быть осуществлено изготовление металлических печей для бань. Если вы решили использовать описываемую технологию, то в боковой стенке необходимо сделать проем для окна под образование пара. Металлическую дверь нужно установить с уплотняющим материалом. Желательно сделать ее открывающейся вниз. На крышке вырезается отверстие для дымоходной трубы, а после крышку можно вварить на место. Как только дымоходный канал будет установлен, его следует проварить по периметру. Металлическую печь на следующем этапе можно установить на место и наполнить камнями.
Особенности установки металлической печи
Размеры металлической печи для бани будут определены трубой или бочкой, которая ляжет в основу конструкции. Однако для правильной и безопасной эксплуатации отопительного оборудования важно не только соблюдать технологию проведения сборки, но и позаботиться о том, чтобы были учтены правила установки конструкции.
Банная печь должна быть удалена от стен на 1 м или больше. Сооружение следует расположить близко от дымохода. Важно разместить конструкцию на специальную подставку или фундамент из огнеупорных материалов. Стены парной, возле которой будет располагаться печь, необходимо отделать огнеупорным листовым материалом.
Заключение
Подготовив чертеж печи для бани из металла, вы облегчите себе работу. Однако схема не обеспечивает успех. При работах по сварке деталей важно удостовериться в герметичности швов, в противном случае конструкция может оказаться опасной при эксплуатации. Если вы хотите избежать ошибок, вами должно быть более подробно изучено устройство.
Металлические печи для бани обычно изготавливаются из труб или листовой стали. Первый вариант окажется проще, ведь количество работ по сварке можно будет сократить. Облегчить сборку печи можно ещё несколькими способами. Например, купив готовые дверки, решетку, ручки и навесы. Некоторые домашние умельцы пытаются изготовить эти элементы самостоятельно. Кроме того, чертеж вовсе нет необходимости составлять самостоятельно, можно воспользоваться готовыми решениями. Некоторые варианты представлены в статье. Они позволят вам понять, какими размерами должна обладать печь, а также какое устройство она имеет.
fb.ru
