Печь в гараж своими руками чертежи: Самодельные металлические печи для гаража: 40 идей с чертежами
Печка для гаража (фото, чертежи, видео)
Печка для гаража (фото, чертежи, видео)
Вопросы обогрева гаражей в зимний период приходится решать владельцам построек, не подключенных к централизованной сети или не встроенных в единую отопительную систему загородного участка. Нередко дополнительная печка для гаража спасает автолюбителей, чья индивидуальная стоянка для авто отапливается с недостаточной эффективностью. С холодом, пагубно влияющим на автомобиль, не дающим работать в гараже хозяину, можно справиться несколькими способами. Выбор целесообразного варианта зависит от экономического состояния обладателя авто и типа постройки для его хранения.
Зачем нужен обогрев в гараже?
Нормативами регламентирован благоприятный для хранения автомашины температурный показатель, он составляет 5° С и допускает отклонения в один градус. Что происходит с авто при более низкой температуре, наверняка известно каждому автолюбителю. Большинство из них без сомнений успело столкнуться с трудоемким запуском двигателя в морозы, особенно ощутимым после длительной стоянки машины.
От воздействия низкой температуры может замерзнуть даже антифриз. Автолюбители, использующие для охлаждения простую воду и ежедневно сливающие ее на ночь, не могут заполнить радиатор горячей водой. От этого может лопнуть застывший от мороза блок цилиндров и головка данного узла. Попадая в сильно охлажденную среду, кипяток через пару мгновений замерзает и закупоривает каналы ледяными пробками.
Примитивный дорогостоящий метод предотвращения данных неприятностей – круглосуточная работа двигателя, сокращающая ресурс мотора и влекущая большие расходы. Причем владельцу авто все равно необходимо будет разогревать трансмиссию паяльной лампой или элементарным костром. После ознакомления со списком угроз и получения практического опыта, хозяин гаража приходит к естественному выводу: ему нужен заводской обогреватель или самодельная печка для гаража, поддерживающая постоянный температурный режим с продиктованными нормативами параметрами.
Типы печей для гаражей
- На выбор оптимального способа обогрева оказывают влияние два основных аспекта:
- период времени, в течение которого потребуется отапливать гараж;
- размер суммы, которую хозяин в состоянии вложить в устройство печи.

Если гараж является бытовой пристройкой к жилому зданию, есть смысл оборудовать его отопительными устройствами с последующим подключением к общей сети. В автономном гараже, расположенном вдалеке от жилых строений с коммуникациями, нужно будет сделать индивидуальную систему.
Все используемые в наше время отопительные агрегаты для гаражей классифицируются на основании разницы в принципе работы источника энергии. Оснастить постройку можно, установив в гараже:
Газовый отопительный котел. Достаточно продуктивное оборудование отличает доступная цена, независимость от источников электропитания. Однако на участках, не имеющих доступа к центральным сетям газоснабжения, этот способ обогрева невозможен. К недостаткам отнесена взрывоопасность.
Агрегаты, поставляющие тепловую энергию за счет сгорания твердых видов топлива. Можно купить печь заводского зарубежного или отечественного производства, можно сделать простейшую печку для гаража собственноручно. Это наиболее рациональный метод отопления по затратам и получаемому эффекту.
Электрические отопительные приборы, привлекательной стороной которых является возможность выбрать оборудование с точно соответствующей потребностям мощностью. Отрицательное качество систем, питающихся от электросети, расход энергии с немаленькой оплатой.
Печи, функционирующие на отработанном машинном масле.
Отопительное электрооборудование представлено сейчас широким рядом заводских изделий. Основной аргумент в их пользу – мобильность, позволяющая устанавливать агрегаты в зонах, в максимальной степени нуждающихся в высоких темпах обогрева. Владельцы гаражей, не слишком обеспокоенные расходом электроэнергии, могут приобрести в магазинах инфракрасные системы, масляные радиаторы или тепловые пушки.
Выпускаемая производителями техника оснащается устройствами, с помощью которых можно задать направление теплового потока, скорректировать мощность. Есть колесики для удобства перемещения оборудования, системы, обеспечивающие пользователям безопасность, предупреждающие преждевременный износ и поломку агрегатов.
Тепловые пушки и инфракрасные обогреватели есть также в ассортименте газовых систем.
Обширный ассортиментный ряд заводских печей для гаража позволяет выбрать и купить агрегат с любой производительностью, перерабатывающий оптимальный для хозяина вид топлива.
Продуктивность с экономичностью сочетает оборудование, работающее на стандартном твердом топливе, в качестве которого используют уголь, специальные паллеты, дрова. Их в широком диапазоне выпускает промышленность.
Выполненные из жаропрочных материалов отопительные системы от производителей простейшим способом, описанным в инструкции, устанавливаются в указанных изготовителями местах. Однако элементарная печка для гаража на дровах, сделанная собственными руками, будет настолько же продуктивна, только обойдется в десятки раз дешевле.
Преимущества дровяной печки
Экономичная дровяная печь, сделанная собственными руками, проста в обслуживании, многие ее считают лучшим вариантом для обустройства автономно расположенных гаражей.
Печь-буржуйка может использоваться лишь в помещениях, имеющих отверстия, обеспечивающие приток воздуха, и трубопроводы, посредством которых осуществляется вытяжная вентиляция.
Установить обогревательную конструкцию необходимо в зоне гаража, удаленной от легковоспламеняющихся предметов, элементов из древесины, от мест размещения смазочных, горючих расходных материалов.
Один из вариантов печки-буржуйки может быть установлена только в гаражах с естественной или искусственной вентиляцией.
Кроме экономичности и оперативных темпов обогрева помещения популярность данной конструкции обосновывают следующие убедительные достоинства:
- предельно низкая стоимость оборудования и доступная цена требующегося для его функционала топлива;
- возможность при минимальных финансовых расходах самостоятельно смонтировать производительную прочную печь;
- отличный КПД при незначительных размерах агрегата;
- дешевая установка;
- не трудоемкое обслуживание;
- отсутствие необходимости в сооружении специального фундамента под печку;
- возможность использовать собственноручное изделие для разогрева и приготовления пищи.

Недостатки у данного способа тоже имеются. Основной среди них довольно большой расход недорогого, но отнимающего некую сумму топлива. Быстро расходуются дрова, потому что металлическая конструкция не способна аккумулировать генерируемое тепло. Полученная в результате сгорания дров энергия тут же передается воздушной массе, но после того, как печь перестанут топить, металлический корпус очень быстро остывает.
Есть метод уменьшения топливных издержек, состоящий в модернизации конструкции. Печка-буржуйка потребует значительно меньше дров, если патрубок будет вмонтирован в корпус почти над дверцей, а не по традиции возле задней стенки.
Благодаря перемещению положения патрубка в первую очередь нагреваться будут стенки печки, а уже затем продукты сгорания попадут в трубу. Одновременно увеличится время отдачи тепловой энергии, так как глинобетонный, утепленный металлический или кирпичный трубопровод остывает медленнее, чем металл корпуса. К тому же будет сокращен период, требующийся для нагревания внутреннего пространства в гараже.
Конструктивные составляющие буржуйки
Вариативность конструкций печей типа «буржуйка» предопределяет отсутствие четких регламентов. Каждый мастер делает ее по своему усмотрению, сообразуясь с личными пристрастиями. Но независимо от того, какую схему предпочел изготовитель, у всех отопительных агрегатов данной разновидности есть общие конструктивные элементы, это:
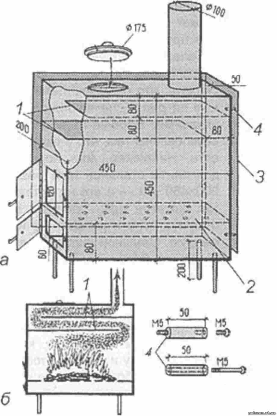
Конструктивная схема простейшей печки-буржуйки
- топка, представляющая собой стандартную камеру сгорания, ее конфигурация и размеры не декларируются строгими канонами;
- колосниковая решетка, устанавливаемая в основании конструкции, она нужна для создания тяги и для размещения дров;
- дымоходный трубопровод, он может быть изогнутым или спиральным, в случае использования стандартной прямой трубы, следует учесть, что длина прямых горизонтально установленных отрезков дымохода по строительным нормативам не должна превышать 1го метра.

- зольник, расположенный под колосниковой решеткой, являющийся приспособлением для сбора золы.
Простейшая «буржуйская» печка состоит из металлического корпуса, оснащенного дверкой для подачи топлива, и патрубка, расположение которого определяется изготовителем. В качестве поддувала можно сделать небольшие отверстия в днище, они помогут создать неплохую тягу. Извилистость дымохода продиктована необходимостью сократить скорость движения горячего воздуха по трубе. Дым, задерживаясь в дымоходе, будет отдавать тепловую энергию помещению, а не «вылетать в трубу» с нежелательной стремительностью.
Печь, работающая на «отработке»
Главный плюс данного обогревательного оборудования – использование самого дешевого, зачастую бесплатного топлива. Простой надежный агрегат действует без форсунки и капельницы. Это предельно дешевая печка — своими руками в гараж ее сделать несложно, также не проблематично всегда находить для нее топливо.
Стандартная схема печки для гаража, функционирующей на отработанном масле, размеры мастер может подобрать свои.
Конструктивно перерабатывающая отработанное масло печь представляет собой две соединенные перфорированной трубой емкости. Нижний элемент с объемом 12 л выполняет функцию топки и топливного бачка. На верхней плоскости нижней части печки должно быть отверстие, оснащенное крышкой. Отверстие нужно для заливки топлива, крышка необходима для контроля работы самодельного оборудования. Приоткрывая и закрывая крышку, хозяин будет контролировать поступление требующегося для горения кислорода, от которого зависит продуктивность обогрева.
Верхняя емкость и соединяющая две основные части труба играют роль нагревательных элементов печи. Раскалиться данный самодельный прибор может до 800-900° С. Чтобы емкости не прогорели для их изготовления используют листовое железо толщиной от 4 до 6 мм. К верхней части печки приваривается патрубок, на который устанавливается выполненная из оцинкованного стального сплава вытяжная труба. Вся печная конструкция не должна быть монолитной, так как верхнюю емкость нужно будет снимать для удаления копоти из горелки.
Конструктивные составляющие будущей печки для гаража, перерабатывающей отработанное масло.
Как сделать печку своими руками
Для изготовления такого прибора не потребуются чертежи, какие-либо углубленные технические знания, профессиональные навыки. Расходовать агрегат будет до полутора литров в час, весит вся система не более 30ти кг. Стандартные размеры, не учитывающие вытяжную трубу, изменяются в пределах от 35 до 70 см. Чаще всего для изготовления вытяжки используют трубу с сечением 105 мм.
Для тех, кто желает узнать, как сделать печку в гараже правильно, и как быть, чтобы эксплуатация самоделки не вызывала проблем, есть несколько важных рекомендаций:
- Предпочтительная высота дымохода около 4х метров, что необходимо для формирования хорошей тяги.
- Печку, функционирующую на отработке, нужно чистить через каждые десять дней.
- Сажи будет гораздо меньше, если диаметр верхней трубы больше, чем размеры выхлопного элемента.

- Агрегат должен быть установлен в зоне гаража так, чтобы не было близко расположенных взрывоопасных веществ, возгораемых предметов.
Для работы печки годиться масло с любой степенью очистки. Вполне подойдет неочищенный состав. Если договориться с собственниками рядом стоящих гаражей и поставить для слива масла какой-нибудь резервуар, топливо для печки будет вообще бесплатным. Использовать для нагрева гаража можно трансмиссионное, трансформаторное, машинное масло, дизель, любое печное топливо.
Колоссальное количество печек для отработки, имеющих аналогичную конструкцию и работающих по единому принципу.
Такая печка-самоделка разжигается с помощью вложенной в нижний резервуар бумаги, газеты, поверх которой заливается топливо. Кипеть содержимое начнет минут через десять, процесс горения инициируется за счет способности масла самовозгораться. Топливо подливают порциями по 5 л. При использовании очищенных составов уходом за конструктивными элементами можно будет заниматься реже, в чем также окажет содействие увеличение сечения дымохода.
Видео: изготовление и советы по эксплуатации:
Функциональная эффективная печь для гаражной постройки может быть сделана собственными руками с минимальными затратами. Без особых проблем, непомерных затрат труда и профессиональных навыков сделать ее в состоянии начинающий мастер. Самодельные печки просты в использовании, продуктивны, при соблюдении правил безопасны.
Как делается печка для гаража своими руками
Чертеж буржуйки своими рукамиВладельцы дач и коттеджей достаточно часто прибегают к отоплению гаража при помощи различных самодельных обогревателей.
Особенно этот вопрос актуален для зимнего периода. Ведь слишком низкая температура воздуха создает некомфортные условия для работы, например, мелкого ремонта машины или ее технического обслуживания. Простой выход — сделать своими руками печку для гаража, чертежи которой можно найти как на специализированных сайтах, так и в технической учебной литературе.
Еще одним аргументом в пользу обязательного обогрева является то, что холодный воздух оказывает неблагоприятное воздействие на автомобиль, тем самым сокращая период его эксплуатации.
В помещении следует поддерживать температурный режим в пределах +5 градусов. В противном случае двигатель будет запускаться с большим трудом, а антифриз попросту замерзнет. Столкнувшись с подобными проблемами, владелец транспортного средства приходит к мысли, что ему требуется печь для гаража. Ее можно приобрести в магазине или же соорудить по чертежам своими руками.
Содержание
- Как правильно выбрать печку?
- Особенности конструкции печи на «отработке»
- Этапы сооружения печи
- Последний штрих
- Заключение
Как правильно выбрать печку?
Перед тем как приобрести наиболее подходящий вариант отопительного прибора, владелец гаража должен определить промежуток времени, в течение которого будет обогреваться его автостоянка.
Важно! Если здание располагается отдельно, то в нем обязательно нужно смонтировать индивидуальную систему отопления, а также систему вентиляции и дымоотведения.
В гараже можно установить котел, функционирующий на жидком, твердом или газовом топливе. Такое устройство обладает большим КПД, к тому же оно доступно по стоимости. Главное условие, которое предъявляется к подобным изделиям — это мобильность и безопасность использования.
Электрические приборы представляют собой недешёвый способ обогрева, но владелец гаража может подобрать себе изделие с необходимой мощностью, чтобы максимально сэкономить на отоплении. Также в качестве отопительного устройства можно использовать печь, работающую на машинном масле, то есть на отработке.
Наиболее популярными разновидностями печей для отопления гаража являются:
Схема буржуйки- Булерьян.
Это довольно дорогое по стоимости оборудование, которое функционирует по принципу конвертерного сжигания топлива. В его качестве для агрегата можно использовать дрова, торф, уголь или любые отходы древесины, кроме газообразных и жидких веществ. Однако подобный агрегат требует устройства дымохода с качественной теплоизоляцией. Да и само изготовление такой печи по силам лишь специалистам. - Буржуйка — самый компактный, дешевый и удобный вид печи, которую можно без труда сделать своими руками, предварительно выполнив правильный чертеж. Ее основное достоинство заключается в демократичной стоимости всех составляющих, которые без труда собираются в надежную и простую отопительную конструкцию. Но буржуйка при всей ее дешевизне требует постоянного контроля и отличается повышенной пожароопасностью.
- Самый дешевый вариант обогревателя для гаража — это изделие, созданное собственными руками. Наиболее эффективной и экономной печью станет агрегат, функционирующий на «отработке», то есть на машинном масле, оставшемся после его смены в двигателе.

Особенности конструкции печи на «отработке»
Принципиальная схема на отработкеИзготавливается такой тип печи по простой схеме — без форсунки и капельницы, поэтому от мастера не требуется ни особых знаний, ни умений в таком деле. Главный плюс агрегата — одновременное решение с его помощью нескольких вопросов:
- Обеспечивается эффективное отопление помещения.
- Печь при правильном расчете и изготовлении практически не дымит и не загрязняет воздух.
- Владелец экономит на эксплуатационных расходах, так как для отопления требуется или дешевое, или вовсе бесплатное отработанное топливо.
- Доступность источников горючего — можно использовать трансмиссионное, машинное или трансформаторное масло.
Конструктивно такая печь состоит из двух емкостей, которые между собой соединяются при помощи перфорированной трубы с большим количеством отверстий. Желательно, чтобы схема конструкции имела следующие технические характеристики:
Оборудование в гараже- Вес в пределах 30 кг.

- Вместимость в пределах 12 литров.
- Размеры в среднем 70x50x35 см.
- Расход отработки в пределах 1 литр/ час.
- Сечение вытяжки — 105 сантиметров.
Конструкция довольно проста, поэтому от владельца не требуется особой подготовки. Изначально нужно договориться с соседями по гаражу и установить на территории емкость для сбора отработки. Она должна быть обязательно из металла толщиной не менее 3 мм.
Для самой печи вам понадобится:
- Стальная труба.
- Две емкости.
- Металлический уголок.
Важно соблюдать толщину выбираемого материала — она должна быть не меньше 4 мм. Температура горения доходит до +700–900 градусов, и более тонкий металл быстро прогорит. В качестве емкости можно использовать, например, корпус старого компрессора от пришедшего в негодность холодильника советского образца, а также небольшой старый пропановый баллон.
Этапы сооружения печи
Резка по металлуПроцесс создания печи на «отработке» для гаража состоит из следующих этапов:
- Установите нижнюю емкость на ножки.
Для этого изготовьте детали высотой 20 сантиметров из металлического уголка, уложите емкость горизонтально и приварите к ней ножки. - При помощи сварки прорежьте посредине нижнего корпуса отверстие, приварите трубу в вертикальном положении и соедините 2 емкости. Печи, которые делаются своими руками, рекомендуется выполнять из 2-х частей, чтобы верхняя емкость была съемной. Так удобнее чистить горелку от копоти. Нижняя емкость будет служить топкой и топливным бачком, а верхняя с соединительной трубкой — нагревательным элементом.
- В трубе сделайте отверстия в количестве не менее 10 штук на высоте 0,5 м. При разметке главное помнить, что отверстия должны начинаться в 10 сантиметрах от корпуса печи.
- На верхней плоскости топки подготовьте отверстие для заливки топлива и приварите крышку, благодаря которой можно будет регулировать степень нагрева помещения и мощность горения.
- Следующий этап — приварите на верхнюю емкость патрубок.
- В заключение соорудите вытяжную трубу длиной не меньше 4 метров и прочно закрепите ее на патрубке.
Желательно сделать ее из оцинкованной стали.
По окончании изготовления печи следует ее сделать более презентабельной — покрасить смесью из силикатного клея, молотого мела и алюминиевой пудры.
Последний штрих
Простой вариантВ завершение работ нужно установить конструкцию и разжечь ее:
- Вложите в топливный бак для растопки некоторое количество бумаги, используя нижнее отверстие печи.
- Залейте отработанное масло в количестве примерно 1 литра.
- Подожгите бумагу и подождите несколько минут, пока масло не начнет закипать.
- Печь, сделанная подобным образом своими руками, очень проста в эксплуатации. После того как масло начнет гореть, достаточно время от времени подливать по 3–5 литров топлива.
Несмотря на достоинства подобных печей нужно все-таки остановиться и на недостатках. Их не так уж много, но они существуют:
- К первому минусу можно отнести тот факт, что дымоход не должен иметь длину менее 4 метров. Кроме того, при его устройстве следует избегать горизонтального положения отдельных участков.

- И второй недостаток — это еженедельная очистка емкости для масла и дымохода. Чтобы эти недостатки не переросли в большую проблему, необходимо делать съемную емкость и такой же конструкции дымоход.
Заключение
Печь в работеПеред тем как приступить к созданию печи, следует просчитать все варианты, чтобы не только отопить свой гараж, но еще и сэкономить деньги на приобретении топлива. К тому же за подобной конструкцией необходимо правильно ухаживать — прочищать систему отработанного топлива, удалять налет в трубе, а перед топочной дверцей расположить негорючие материалы, покрытые листом металла. При правильном подходе даже самая простая печь, созданная умелыми руками, может сделать ваш гараж теплым и очень комфортным.
Читайте далее:
Гараж для кухонной техники своими руками — Анжела Мари Сделано
Узнайте, как построить гаражный шкаф для кухонной техники и как спрятать микроволновую печь или другой беспорядок на столешнице!
Я знал, что мне нужно включить гараж для кухонной техники, чтобы спрятать нашу микроволновую печь, мелкую бытовую технику и некоторые другие беспорядок на столешнице при планировании наших встроенных шкафов для кухни .
Впервые я обнаружил гаражные шкафы для бытовой техники на Pinterest, и с тех пор я хочу такой! Хотя они являются очень нестандартной функцией на кухне, это не значит, что вы не можете их иметь. Я собираюсь показать вам шаг за шагом, как построить и установить его!
Но сначала давайте поговорим о том, что такое гараж для бытовой техники и какие существуют типы петель для него.
Что такое гараж для бытовой техники?
Если вы никогда не слышали о гараже для бытовой техники, то это тип кухонного шкафа, где дверь открывается вверх и вниз, как настоящая дверь гаража или опускающаяся вниз дверь. Хотя есть некоторые стили, в которых есть две дверцы шкафа, которые открываются сбоку и уходят назад, как задвигающиеся двери.
Задумывались ли вы когда-нибудь, как спрятать технику на прилавке? Гараж для бытовой техники — отличное решение для сокрытия мелкой бытовой техники, потому что он широко открыт и отлично подходит для хранения настольных приборов.
Гаражный шкаф для бытовой техники обычно устанавливается на прилавке или может быть установлен на стене, как часть верхних шкафов или в угловом пространстве как часть углового шкафа.
Таким образом, он легко доступен для предметов повседневного обихода или небольших приборов, которые вам нужно быстро взять, но не хотите, чтобы они были на открытом воздухе, вызывая беспорядок.
Это также отличный способ спрятать микроволновую печь, кастрюлю быстрого приготовления, миксер, кофеварку, кухонный комбайн и любую другую мелкую кухонную технику, которая может быть некрасивой на вид, но требует ежедневного доступа на многих кухнях!
Гаражи для бытовой техники отлично подходят для организации кухни как на маленьких, так и на больших кухнях.
Обратите внимание, этот пост содержит несколько партнерских ссылок. Для получения дополнительной информации см. мои раскрытия здесь.
Гаражные петли для бытовой техники
Ключом к созданию гаражного шкафа для бытовой техники являются правильные петли. На рынке представлено несколько различных петель.
Я думаю, что очень важно иметь качественную петлю, которая хорошо работает в гараже для бытовой техники, который вы, вероятно, будете использовать несколько раз в день, если он скрывает микроволновую печь или другие часто используемые предметы.
По этой причине я купил самую доступную и качественную петлю, какую смог найти. Петля, которую я купил, относится к подъемным системам Blum AVENTOS HL . Blum известен своими высококачественными петлями. №
Эту петлю Blum можно использовать на шкафах высотой от 11-13/16″ до 22-13/16″ и шириной шкафа до 72″.
Инструкции по монтажу для петель подъемной системы, предоставленные Blum, точно объясняют, какие детали вам нужны. Вот детали Blum, которые мы заказали для нашего гаража для бытовой техники:
- Комплект подъемных механизмов шкафа — Деталь № 20L2300.N5 (доступны различные модели в зависимости от веса дверцы шкафа)
- Набор крышек шарниров — Деталь № 20L8020.NA (доступны различные модели в зависимости от высоты шкафа)
- Набор деревянных монтажных пластин — Деталь № 20S4200
- Стержень стабилизатора — Деталь № 20Q1061UA
Не все детали были доступны/на складе в одном месте, поэтому Пришлось заказывать в двух других интернет-магазинах, в том числе в Сборка с корпусными деталями Ferguson и .
Общая стоимость частей шарнира плюс стоимость доставки, которую я заплатил, составила менее 250 долларов.
Другие варианты петель для гаража
Если вам интересно, вот несколько других вариантов петель для гаража, которые я нашел в своем исследовании, которые работают при движении вверх и вниз.
В более дешевом сегменте была бюджетная петля . Однако отзывы неоднозначны, и не похоже, чтобы он работал так же гладко, как петля Blum.
Более дорогой вариант эта петля которую я нашел из этот гараж для бытовой техники от Chris Loves Julia это очень круто. Это очень дорого, но выглядит очень качественно и дорого!
Как построить кухонный гараж гараж DIY
Материалы
- Шкаф с дверью ( См. Шаг № 1 )
- Гараж гараж 9008 9007
Инструменты
Инструменты
- 9007 9007 9007
- 9007 9007
.
0007 Dremel SAW и Металлический режущий лезвие (или другой металлический режущий инструмент)Гараж бытовой техники своими руками Видеоруководство:
Подпишитесь на мой канал YouTube здесь !
Получите всю информацию о гараже для бытовой техники и посмотрите на установку в действии в Гараж бытовой техники своими руками ВИДЕО здесь!
1. Соберите (или купите) шкаф и дверь и установите шкаф на стену
Самый первый шаг в гараже для кухонной техники своими руками – это построить (или купить) шкаф и дверь и установить шкаф на стена.
У меня есть пошаговое руководство о том, как мы построили наш гаражный шкаф для бытовой техники как часть нашего шкафа со столешницей (который находится поверх нашей столешницы из мясного блока) в моем руководстве по встроенным шкафам своими руками .
Я заказал заранее изготовленную дверь нестандартного размера онлайн для двери гаража, но вы также можете сделать дверь, как мы сделали для нашего настенного шкафа DIY и двери .
Варианты готовых шкафов и дверей для гаража для техники своими руками
Другой вариант — купить готовый шкаф и дверь, также известный как стандартный шкаф. Что-то вроде этих шкафов для шейкеров , которые бывают разной высоты и ширины. Хотя для их изготовления или заказа потребуется однопанельная дверь.
Другие готовые кухонные шкафы, которые подойдут, — это шкафы IKEA или комбинация шкафов IKEA Sektion , в которой есть и шкаф, и подходящая дверца, готовые к работе. Идеально подходит для взлома IKEA!
Доступ к электрической розетке
Важной особенностью гаража для бытовой техники является возможность скрыть технику, которой требуется доступ к электричеству или сетевой розетке. Так что убедитесь, что он у вас есть, если вы хотите эту функцию!
У нас была розетка в углу на стене, где мы устанавливали наши шкафы.
Но на самом деле нам пришлось переместить его, потому что петли нужно было установить там, где находилась наша розетка. Подробнее о том, как мы это сделали, вы можете узнать в нашем учебник по встроенным шкафам для нашей кухни !
2. При необходимости сделайте гаражный шкаф без рамы
Если ваш шкаф имеет лицевую рамку, как у нас, то его необходимо сделать «безрамным». Если ваш шкаф уже представляет собой бескаркасный шкаф, вы можете пропустить этот шаг!
Мы должны были сделать это раньше для петель шкафа, включая установку двери для нашего встроенного шкафа для нашей прихожей и нашего настенного шкафа DIY и двери .
Вы можете увидеть это в действии в видеоролике гаража для бытовой техники , но вам просто нужно установить кусок дерева толщиной 3/4″, чтобы лицевая рама и внутренняя часть шкафа были на одном уровне друг с другом.
На этом куске дерева будут установлены петли для гаража, поэтому поместите его в верхний левый и правый углы внутри шкафа.
И убедитесь, что винты утоплены или головки винтов не мешают тому месту, где будет установлена петля.
Кроме того, убедитесь, что кусок дерева имеет размеры не менее 7 дюймов в высоту и 11 дюймов в длину.
3. Отметьте и просверлите отверстия под штифты для петель
Шаги 3–9 соответствуют указаниям по петлям Blum , но я их разбил и объяснил более подробно вместе с фотографиями и видеоуроком тоже!
Сначала отметьте и просверлите отверстия под штифты для петель внутри шкафа, чтобы петля была установлена в правильном положении.
Мы разметили наши в соответствии с направлениями, которые мы преобразовали из миллиметров в дюймы с помощью метрического конвертера Google.
Мы использовали наш комбинированный квадрат , чтобы помочь с этим шагом.
Используйте сверло 3/16″, чтобы просверлить отверстия глубиной около 1/8″. Обратите внимание, символ Ø5 в направлениях означает сверло 3/16″ .
4. Прикрепите петли к шкафу в гараже
Совместите два штифта на петлях с просверленными отверстиями. Затем закрепите петлю в шкафу с помощью прилагаемых винтов.
Передний край петли будет совмещен с верхним угловым краем шкафа после установки.
И с другой стороны:
5. Прикрепите узел рычага
После установки шарниров с обеих сторон можно прикрепить узлы рычага. Они просто защелкиваются на месте, когда вы толкаете их вверх и внутрь к петле. Посмотрите, как это работает, в видеоролике гаража бытовой техники !
В соответствии с указаниями, после установки кронштейнов не следует нажимать на них во избежание травм.
6. Прикрепите стабилизирующий стержень
Следующим шагом будет прикрепление стабилизирующего стержня, но сначала его необходимо обрезать по размеру в соответствии с указаниями, в которых указано, что это должен быть внутренний проем шкафа минус 5 1/16″.
Брэндон использовал нашу пилу Dremel со специальным диском , которым можно резать металл и алюминий, чтобы разрезать стержень.
Затем поставил его на место на дужках и закрыл концы заглушками.
7. Прикрепите монтажные пластины
Чтобы прикрепить дверь, сначала необходимо установить на нее монтажные пластины.
Опять же, следуя шаблону инструкций для модели рычага, мы должны определить, где установить пластины с каждой стороны задней части нашей двери.
Для этого шага мы использовали винты ¾”, которые были под рукой, потому что в комплекте с пластинами не было винтов.
8. Прикрепите дверцу шкафа к гаражу для кухонной техники. Сделай сам
Наконец, дверцу можно прикрепить, прикрепив пластины к кронштейнам в сборе.
Поначалу наша дверь стояла очень хорошо, но нам пришлось ее немного отрегулировать.
Одним из преимуществ этих петель является то, что они регулируются! Вы можете регулировать дверь влево/вправо, вверх/вниз и внутрь/наружу. Вы также можете отрегулировать натяжение для открытия / закрытия!
Заметка о сборке рычага и двери шкафа
Первое, что мы заметили после установки двери, это то, что наша дверь не поднималась полностью над шкафом, а находилась на несколько дюймов ниже его верхней части.
Это раздражает, потому что затрудняет доступ ко всему.
Я купил модель в сборе с правым рычагом в соответствии с инструкциями, но высота нашего шкафа чуть ниже максимальной высоты 15 ¾ дюйма для этой модели в сборе с рычагом.
Итак, я решил купить следующий размер, чтобы заменить его. Я заменил деталь № BA20L3500.06 на деталь № BA20L3800.06.
К счастью, инструкции также говорят вам, как удалить все!
После установки нового узла длинной стрелы наш гараж для бытовой техники работает отлично, а высота двери в самый раз!
9. Прикрепите крышки к петлям
Самый последний шаг – прикрепите крышки к петлям, они просто встают на место и придают чистый законченный вид.
Мне очень нравится наш новый гараж для настольных приборов! Это весело, супер просто и удобно в использовании. Вы можете увидеть, как плавно он открывается и закрывается, в видео гаража бытовой техники !
Закрывается медленно и идеально подходит для повседневного использования.
В закрытом состоянии выглядит очень острым и красивым:
Мне нравится, когда наша микроволновая печь и беспорядок на столешнице спрятаны в шкафу в гараже. Это очень приятно.
Пробовал и с другими мелкими бытовыми приборами!
Я думаю, что это лучший способ и лучшая кухонная идея для того, чтобы спрятать микроволновую печь и не оставлять ее на кухонном столе! Я могу даже добавить сюда нашу тостерную печь, чтобы скрыть ее!
Этот гараж для кухонной техники, сделанный своими руками, дополняет наши встроенные кухонные шкафы «Сделай сам» . В ближайшем будущем у нас все еще есть остальная часть кухни, поэтому обязательно следите за новостями, чтобы не пропустить ее вместе со всеми другими нашими проектами нового дома!
Подписывайтесь на Instagram и YouTube !
Сохранить на Pinterest:
Делиться заботой!
591 акции
- Поделиться
- Электронная почта
12 лучших способов обогреть гараж зимой — Семейный мастер на все руки
Даже зимой проекты, ремонт и хобби должны продолжаться.
А это часто означает, что вы будете проводить время в гараже. Вместо того, чтобы рисковать замерзнуть, рассмотрите эти 12 способов безопасного и надежного обогрева вашего гаража зимой.Наши редакторы и эксперты тщательно отбирают каждый продукт, который мы представляем. Мы можем получать комиссию от ваших покупок.
1 / 12
Are Barstad/Shutterstock
Определите свои потребности в отоплении
Насколько сложно будет обогреть гараж в самый разгар зимы? Насколько легко получить дешевое тепло в вашем гараже? Учитывайте, насколько холодно в вашей части мира, площадь вашего помещения и достаточно ли у вас теплоизоляции. Тепловая мощность измеряется в БТЕ или британских термальных единицах. Чтобы получить это число, вам нужно будет измерить свое пространство и подумать о том, насколько теплым оно должно быть. После того, как вы получите этот номер, вы готовы купить единицу!
2 / 12
Изоляция гаража
Прежде чем инвестировать в систему отопления гаража, убедитесь, что в вашем гараже достаточно теплоизоляции.
Изолируйте двери гаража, где это возможно, а также стены и потолки. Вы можете легко и недорого оклеить окна прозрачной пластиковой термоусадочной пленкой для дополнительной защиты от холода. Как только вы установите систему отопления в гараже, вы не захотите, чтобы весь ваш теплый воздух, не говоря уже о деньгах, которые вы тратите на оплату счетов за коммунальные услуги, просачивался сквозь щели.
3 / 12
Семейный мастер на все руки
Нагреватель с принудительной подачей воздуха
Вы можете использовать установку с принудительной подачей воздуха для обогрева своего холодного гаража. Эти обогреватели различаются по цене и размеру и не так дороги, как источник инфракрасного тепла. Вот некоторые факторы, которые следует учитывать: Нагнетательные воздухонагреватели работают, нагнетая горячий воздух в помещение. Они также могут быть профессионально установлены для подключения к газовой или пропановой линии вашего дома. Недостатком здесь является то, что если вы много работаете с деревом, например, принудительный воздух будет разносить грязь и мусор, что является серьезным недостатком, особенно когда вы рисуете, окрашиваете и отделываете проекты.
4 / 12
Евгений Прожирко/Shutterstock
Конвекционный обогреватель
При выборе лучшего обогревателя для гаража конвекционный обогреватель является еще одним универсальным вариантом обогревателя для гаража. Вы можете выбрать агрегат, работающий на электричестве, природном газе или пропане. Эти нагреватели работают за счет конвекционных потоков воздуха, циркулирующих через устройство и его нагревательный элемент, нагревая, таким образом, воздух вокруг вас. В зависимости от типа и размера вашего прибора, он может нагреваться довольно быстро, в то время как другим требуется немного больше времени, чтобы нагреть комнату. Итак, при выборе системы конвекционного отопления учитывайте, насколько холодно в вашем гараже и как долго вы готовы ждать, пока он прогреется.
5 / 12
Семейный мастер на все руки
Бесканальное отопление и охлаждение
Существует множество причин, по которым стоит использовать бесканальную систему отопления и охлаждения для обогрева вашего гаража.
Иногда называемые сплит-системами, мульти-сплит-системами или системами без воздуховодов, бесканальная система нагревает или охлаждает с помощью одного устройства. Они эффективно используют энергию, тем самым экономя ваши деньги на счетах за коммунальные услуги. А бесканальные системы экологически безопасны, поскольку они соответствуют самым высоким и наиболее эффективным требованиям к энергопотреблению. Если этого недостаточно, чтобы рассмотреть этот вариант, их проще установить, чем большинство систем HVAC.
6 / 12
Семейный мастер на все руки
Теплый пол
Теплые полы теперь не только для ванных комнат! Они также отлично подходят для обогрева гаражей и идеально подходят для механика, работающего неполный рабочий день. Если вы обнаружите, что восстанавливаете этот классический автомобиль с нуля, побалуйте свои пальцы ног, спину, шею и многое другое с помощью системы подогрева пола. Это отличное дополнение к любому другому источнику тепла в комнате.
Узнайте, как начать работу с трубами PEX для системы лучистого отопления и стать на шаг ближе к гаражу своей мечты.
7 / 12
Добавьте пропановый обогреватель
Независимо от того, где вы возитесь в гараже или выполняете более серьезную работу, зимой вам нужно чувствовать себя комфортно. При поиске источника тепла вы столкнетесь со многими вариантами, включая пропановый прибор. Пропан, доступный источник тепла, также обеспечивает отличное тепло. С пропановым обогревателем вы можете стать большим или маленьким, в зависимости от ваших потребностей. С этим типом обогревателя вы добавляете топливо в прибор и начинаете мгновенно обогревать помещение. Устройство обычно обеспечивает автоматическую настройку или ручное зажигание. Доступность и мобильность делают их отличным вариантом для обогрева помещения.
8 / 12
Семейный мастер на все руки
Электрические потолочные панели
Если вы ищете основной способ обогреть свой гараж зимой, обратите внимание на излучающую электрическую потолочную панель.
Эти панели толщиной 1 дюйм крепятся к потолку и могут быть энергоэффективным вариантом, который быстро нагревается и так же быстро остывает. Кроме того, если ваш гараж должен не только хорошо функционировать, но и хорошо выглядеть, вы не ошибетесь с этими панелями для утончения потолка.
9 / 12
Семейный мастер на все руки
Подумайте о навесном электрическом обогревателе
Настенный электрический обогреватель больше, чем переносной обогреватель, и является одним из лучших способов обогреть гараж зимой. Здесь вы обычно рассматриваете установку проводного блока на 240 вольт. Еще один плюс — эти настенные обогреватели проще установить, чем систему принудительного воздушного отопления, поэтому вам, возможно, не придется обращаться за помощью к профессионалам.
10 / 12
Дмитрий Галаганов/Shutterstock
Переносной обогреватель
Переносной обогреватель, который используется для обогрева холодной комнаты в вашем доме, — это простой способ дополнить существующий источник тепла, чтобы лучше обогреть ваш гараж за счет супер-холодные зимние дни.
В зависимости от того, сколько дополнительного тепла вы ищете, обогреватель для гаража выпускается практически любого размера, чтобы соответствовать любому бюджету. Кроме того, они очень портативны и легко доступны. Советы Министерства энергетики США по покупке и установке обогревателя могут помочь вам решить, какой тип и размер устройства подходит для вашего гаража, чтобы вы могли купить лучший обогреватель для гаража.
11 / 12
Семейный мастер на все руки
Установка инфракрасного обогревателя
Инфракрасный трубчатый обогреватель низкой интенсивности может быть одним из лучших способов обогреть гараж. (Не тот, который светится красным, так как это может быть потенциальной опасностью пожара.) Вместо того, чтобы дуть воздух, как устройство с принудительной подачей воздуха, трубчатый обогреватель излучает тепло по всему помещению. Этот тип обогревателя имеет тенденцию сначала нагревать предметы, а затем людей. Итак, вы почувствуете себя комфортно, но это может занять некоторое время.
Ознакомьтесь с этими советами о том, как установить инфракрасный обогреватель или блок принудительной вентиляции, чтобы быть готовым к работе, если вы выберете этот тип системы.
12 / 12
SpeedKingz/Shutterstock
Дровяная печь для дешевого тепла
Дровяная печь — это экономичный способ обогреть гараж зимой, если все сделано безопасно. Точно так же, как вы предпринимаете шаги, чтобы сделать свой домашний дровяной камин безопасным, вы захотите сделать то же самое со своей гаражной печью. Во-первых, уточните в местном муниципалитете разрешения, которые могут потребоваться. Затем обратитесь в свою страховую компанию, чтобы убедиться, что установка дровяной печи в гараже для получения дешевого тепла не аннулирует полис вашего домовладельца. После получения необходимых разрешений вы можете заказать дровяную печь в местном хозяйственном магазине. После установки не забывайте периодически чистить дымоход и дымоход или нанять профессионала.
