Печка для бани своими руками – 4 вида с чертежами, фото и порядовкой
Как изготовить печку для бани своими руками
Печка для бани своими руками изготовляется в том случае, когда устройства промышленного производства чем-то не устраивают домовладельца. Дело всё в том, что для бани характерно создание уникального микроклимата, так как в ней поддерживается строго определенный показатель влажности и температуры в зависимости от типа парилки. Парная же может при этом иметь самую разнообразную конфигурацию, размеры и расположение полок. В результате приобретённые в магазине печи не всегда качественно протапливают её, и приходится изготавливать необходимую конструкцию самостоятельно.
Требования к самодельным печам для бани
Самодельные банные печи в любом случае должны отвечать определенным требованиям. Так, например, они должны быть абсолютно безопасны в пожарном отношении. Особенно это важно, когда железная печка для бани, изготовленная своими руками, устанавливается в помещениях со стенами из дерева. При этом они должны поддерживать комфортный уровень температуры в вашей бане.

Кроме того, существуют и чисто технические моменты, которые должна выдерживать любая печь. Во-первых, по общему требованию банного искусства для образования лёгкого и приятного пара необходимо, чтобы камни в печи нагрелись до 200-700 °C. Для этого необходимо правильно обустраивать в неё топку и дымоход.
Если печь для бани правильно сварить или выложить, она будет поддерживать во время парения и мытья температуру у пола в 40-45 °C и под полоком 90-100 °C. Такой жар позволит парильщику долгое время находиться в помещении бани без всякого ущерба для своего здоровья. При этом жар должен в печи держаться как минимум 3 часа с момента окончания подачи в неё топлива.
Во-вторых, в неё обязательно должна быть устроена эффективная система отведения угарного газа, дыма и иных продуктов сгорания. В противном случае вместо получения удовольствия парильщикам грозит серьёзный вред здоровью, и даже смерть от удушья. Вентиляционная система и дымоход могут быть при этом как естественными, так и работающими с помощью нагнетателя.

В-третьих, необходимо правильно выбрать место для установки печи. Так, например, установка печки в бане, сложенной своими руками, производится исключительно на специально возведённый ранее фундамент. Это защищает баню от пожара и позволяет построить для её стен и иных конструктивных элементов более лёгкую фундаментную конструкцию.
Металлическая сварная печь также должна быть установлена в соответствии с особенными требованиями, так, в целях защиты здания от пожара она иногда обкладывается кирпичом. В том же случае, когда это невозможно сделать, необходимо установить её на некотором удалении от стен, на пол под ней положить толстый лист асбеста.
Оптимальные технические параметры самодельных банных печей
Печка для бани на дровах, изготовленная своими руками, должна соответствовать и некоторым оптимальным техническим параметрам. Например, она должна иметь достаточно высокую теплоотдачу мощность, так как при помощи нее прогреваются воздух и камни для парогенерации в парилке, а кроме этого, еще и воздух в смежных помещениях. Для нормального функционирования банного комплекса мощность печки должна составлять минимум 28 кВт.
Конструкция печи должна быть приспособлена под то помещение, в котором она будет размещаться. Например, существуют конструкции с открытыми и закрытыми каменками, а также целые парогенераторы, которые для своего размещения требуют помещения большой площади.
Большинство технических параметров печей напрямую влияют на расход топлива и, соответственно, на плату за него.
Кроме того, все самодельные печи необходимо конструировать и собирать с учётом характеристик пола или же фундамента как печи, в случае ее строительства, так и всего здания. Дело в том, что если вы, например, сварите массивную металлическую печь, то пол бани может её просто не выдержать, а ведь необходимо ещё учитывать также и вес топлива, загружаемого в неё.
Таким образом, собираясь самостоятельно изготовить печку для парной, вам нужно будет первым делом произвести расчеты и выяснить, можно ли вашу конструкцию в принципе разместить в бане. Далее необходимо составить схему строительства или, что лучше, проект. Придерживаясь их, вы сможете оптимальным образом обустроить вашу баню, обеспечив эффективное её отопление.
Виды печей для бань
Собираясь изготовить такое устройство, как печка для бани своими руками, чертежи для этого стоит подбирать с учётом того материала, из которого вы планируете её изготовить, а также вида топлива, при помощи которого вы собираетесь отапливать баню. В настоящее время популярны следующие конструкции:
- металлические;
- кирпичные.
В зависимости от используемого типа топлива печи для банного комплекса можно разделить на несколько категорий:
- печи, работающие на дровах и угле;
- печи, работающие с использованием в качестве топлива газа;
- электрические печи для бани.
Если вы знаете, как сварить печку для бани своими руками, вы должны также иметь представление и о плюсах данной конструкции.

Например, печи из металла устойчивы даже к серьёзным механическим повреждениям, быстро нагреваются и имеют долгий срок эксплуатации. При этом из металлических печей наиболее востребованы чугунные изделия, так как они не деформируются под воздействием жара и долго держать тепло. В быту же чаще всего они изготовляются из нержавеющей стали толщиной не менее 5 мм.
Недостатком же печей из металла является их большая пожароопасность, так как при высоких температурах металл раскаляется, и при попадании на него горючего материала возможно возгорание. Каменные печки от такого недостатка избавлены, но они дороги, боятся механических повреждений, да и не каждый печник сейчас их может сложить.
Что же касается топлива, то большинство печей для загородных бань питается дровами. При этом используются не только сами дрова, но древесные отходы и пеллеты. К достоинствам подобных систем относится: экономичность, низкая стоимость топлива, независимость от электропроводки и газопровода.

Также стоит отметить и такое обстоятельство, как неповторимая атмосфера, создающаяся во время отдыха. К минусам же дровяных печей относятся следующие моменты: долгий прогрев помещений и самой печи, необходимость часто чистить дымоход, а также обязанность владельца бани всегда держать и пополнять запас дров.
Электрические и газовые печи, в свою очередь, могут работать полностью в автоматическом режиме, без участия человека. Начинают они работать с момента включения электричества или же зажигания газа в топке. В результате парилка подготовляется для парения буквально за 10-15 минут. При этом данные виды банных печей нуждаются в обустройстве качественной и эффективной вентиляции. Кроме того специалисты банного дела отмечают тот факт, газ будет стоить дороже дров, а электричество дешевле.
Изготовление самодельной металлической печи
Печка в баню своими руками из железа изготовляется в соответствии с типовыми чертежами, которые можно достаточно легко найти в Интернете. Для начала вам нужно будет подобрать необходимый для производства работ материал и инструмент. При этом практически все операции по сбору печи вы будете производить с помощью сварочного аппарата и угловой шлифовальной машины.

Что же касается материала, то вам понадобится металлический лист, желательно хромированный, толщиной не менее 5 мм. Он пойдёт на зольник. На каркас печи можно использовать такой лист и одновременно металлический уголок, толщиной 3-5 мм.
Для изготовления топки и дна водяного бака придётся приготовить материал потолще – 7-10 мм. Нужны также будут металлические трубы разного диаметра для обустройства дымохода и системы трубопроводов печи. А вот дверцы для топки нужно будет приобрести уже готовые в магазине строительных и бытовых товаров. Лучше всего, если они будут изготовлены из чугуна, но в случае необходимости их можно и сварить самому из остатков толстостенного трубопровода.
Также можно купить и сетку для камней, но в любом случае фитинги и запорная арматура, а также колосники придётся приобретать, так как изготовить данные элементы самостоятельно не удастся. Стоят они недорого, поэтому купить их вы сможете достаточно легко.
После того, как материал будет подготовлен, можно приступать к сбору печи. Для этого берут чертёж и на его основании начинают при помощи УШМ вырезать заготовки и сваривать их вместе. При этом особое внимание стоит уделить сборке дымохода и топки как наиболее ответственным участкам всей конструкции.
Отдельно стоит отметить то обстоятельство, что когда встает вопрос о том, как сделать печку в баню своими руками, всегда интересуются, нужно ли металлическую конструкцию обкладывать кирпичами? Против такого решения выступает возможный перерасход топлива, ведь печи, кроме металла, придётся прогревать и кирпич. Однако всё может быть компенсировано прекрасным внешним видом вашей парной и уникальным микроклиматом, образующемся в помещении от нагретого кирпича.
Самодельная каменная печь
Вторым популярным вариантом отопления бани, наряду с изделиями из металла, является каменная печь. Дело в том, что печка каменка для бани, сложенная своими руками, формирует уникальный русский дизайн в помещении парной. Кроме того, каменная печь формирует качественный жар и воздух, находящийся в помещении бани, и поэтому не будет иметь каких-либо посторонних запахов и включений.

Строительство подобной отопительной системы начинается с закладки фундамента. Обычно котлован под него вырывают глубиной в 70 см, при этом его дно выстилают смесью песка и щебня. Потом добавляют битый кирпич, проливают водой и укладывают после её высыхания арматуру, после чего происходит заливка котлована бетоном.
При этом до начала заливки монтируют опалубку, выступающую на 15 см над грунтом. После окончания процедуры заливки она удаляется, и в вашем распоряжении оказывается готовый фундамент. Его бока в целях гидроизоляции промазываются несколькими слоями гудрона, а свободное пространство между его стенами и грунтом засыпается мелким гравием и крупнозернистым песком.
Печка для бани из кирпича, сложенная своими руками, – довольно сложное сооружение, поэтому, если у вас нет навыков кладки печей, то стоит поручить выполнение подобной работы опытному печнику. В том же случае, когда ваших знаний вполне достаточно для кладки данного сооружения, вам необходимо будет начать кладку стен печи. При этом следует руководствоваться заранее подготовленной схемой, которую можно отыскать в Интернете.

При выкладывании кладки в массив стены монтируются дверцы для каменки и топки. Через них печь будет загружаться топливом, и можно будет подавать воду на каменку. Далее устанавливается над топочным отделением колосниковая решётка, имеющая зазоры по 5 мм с каждой стороны с учётом теплового расширения. Над каменкой также устанавливается заранее подготовленный бак для хранения воды, его можно приобрести готовым, а можно сварить самостоятельно из толстостенного металла.
В любом случае кладку нужно начинать вести от дверки для того, чтобы её хорошо укрепить в стенном массиве. Работая, постоянно проверяйте ровность кладки с помощью уровня и отвеса. Дело в том, что для создания прочной конструкции кладка должна быть идеально ровной, а вертикальный шов между кирпичами должен перекрываться кирпичами следующего ряда.
Существует несколько элементов каменных печей обязательных для выполнения. Так это камера для накаливания камней, дымоход, а также отделение для хранения дров или топливник. Каждый из элементов печи имеет свои нюансы в выкладке. Так, например, между котлом и стенками печи в обязательном порядке оставляют зазор для быстрого прохождения горячих газов и нагрева воды. Также зазор в тринадцать сантиметров должен иметься между обрешёткой крыши и трубой во избежание пожара.

Особое внимание нужно будет уделить обустройству дымохода, так как в том случае, когда он устроен неправильно, в помещении бани может оставаться угарный газ. В результате парильщики могут получить отравление или даже погибнуть во время принятия банных процедур.
Выкладка печи завершается отделочными работами. Для этого можно её оштукатурить, а можно оставить стенку как есть, в естественном виде, просто покрыв кирпич жаростойким лаком. В результате вы получите оригинальный дизайн интерьера вашего парного помещения.
banyabest.ru
Печь для бани своими руками
Практически у каждого владельца частного дома, дачи или загородного коттеджа возникает желание возвести на своем участке настоящую баню, в которой можно было бы с удовольствием отдохнуть и поправить здоровье. Сердцем любой парной является печь. Разобравшись в технологии, этот агрегат можно будет сложить своими руками, сэкономив довольно ощутимые денежные суммы на услугах сторонних печников и строителей.

Печь для бани своими руками
Подготовка к строительству печи
Для самостоятельного обустройства банной печи не нужно владеть никакими особыми строительными навыками. В наличии должны быть лишь эскизы, чертежи, инструменты, материалы и некоторое количество времени.
Преимуществом самостоятельного строительства печи является то, что вы будете полностью контролировать процесс возведения агрегата и сможете, в частности, сэкономить на используемых материалах. Вовсе необязательно, чтобы они были самыми дорогими. Подойдет даже тот материал, который остался от предыдущих строительных работ.
Для установки печи нужно подобрать такое место, чтобы одной частью агрегата обогревалась непосредственно парилка, а другая его часть создавала комфортные условия в предбаннике и комнате отдыха.

Печь для бани
Работа по обустройству банной печи требует наличия целого ряда инструментов и материалов. Подготовьте их заранее, чтобы не отвлекаться на такие мелочи в будущем.

Кирпичная печь в баню
Набор для строительства печи своими руками
- Кирпичи.
- Уровень.
- Плоскогубцы.
- Емкость для замешивания строительного раствора.
- Молоток.
- Ведро.
- Лопата для рытья котлована.
- Мастерок.
- Отвес.
Перед тем как приступать к «полноценной» кладке, настоятельно рекомендуется выложить хотя бы несколько рядов печи «насухо», т.е. без применения раствора. Это позволит сориентироваться и выбрать максимально правильное направление действий.
Внутренние работы и обустройство фундамента
В первую очередь выполняются внутренние работы в помещении, выделенном для установки печи. Изучите стены и перегородки рассматриваемой комнаты. Если они выложены из горючих стройматериалов, нужно будет предварительно выполнить некоторые действия. Прежде всего, купите асбестовый картон и зашейте им поверхности, контактирующие с топливником. Поверх асбестового гипсокартона закрепите листовой металл. Этот материал должен иметь не менее 4 мм в толщину.
Важно, чтобы печь была установлена на расстоянии не менее 30 см от незащищенных поверхностей и не менее 25 см от защищенных.

Как построить печь для бани
Банная печь – это довольно тяжелая конструкция, поэтому ее лучше строить на индивидуальном фундаменте. Делается это предельно просто. Сначала роется котлован глубиной порядка 70-80 см. Дно ямы засыпается примерно 15-сантиметровым слоем важного песка, сверху него – слой битого кирпича либо щебенки. Далее нужно обустроить опалубку из деревянных досок и можно заливать бетонный раствор. По периметру опалубку следует заполнить крупнофракционным песком.
Фундамент подлежит обязательной гидроизоляции. В бане с ее функциями отлично справятся 2 слоя рубероида. При отсутствии гидроизоляции фундамент будет постепенно разрушаться, что очень опасно для печки и в целом бани.
Из чего делать печь?
Для кладки банной печи рекомендуется использовать высококачественный кирпич. Раствор для строительства готовится из глины. Подходит материал, добытый не менее чем с 50-сантиметровой глубины. Глина должна быть несколько влажной, чтобы ее можно было безо всяких сложностей обрабатывать.
Второй важной составляющей кладочного раствора является песок. Он должен быть максимально чистым, какие-либо дополнительные примеси не допускаются. Предварительно просейте материал через сито, чтобы избавиться от ненужных сторонних включений. Лучше всего использовать горный песок. Речной песок для приготовления такого раствора лучше не применять, т.к. его песчинки имеют округлую гладкую форму, из-за которой качество сцепления будет снижаться.
Разомните глину с помощью т.н. «весла» и приступайте к приготовлению раствора. Смешайте вместе основные компоненты, добавьте к полученной смеси воду и, вооружившись дрелью со специальной насадкой либо же полноценным строительным миксером, перемешивайте смесь, пока она не достигнет консистенции густой сметаны.
Для проверки готовности смеси достаточно взять сухую палку и окунуть ее в раствор. Если на поверхности палки останется слой раствора толщиной порядка 2 мм, то смесь уже готова к применению. В случае же если раствора меньше, в смесь нужно добавить еще воды. Если на палке остается больше смеси, добавляется песок.
Руководство по возведению банной печи
Контролируйте ровность кладки, отклонения способны привести к необратимым и категорически неблагоприятным последствиям.
Первый ряд кирпичей кладется насухо. Второй и дальнейшие ряды надо размещать так, чтобы свежеуложенные кирпичи находились на стыке соседних кирпичей прошлого ряда. В 3-м ряду обустраивается поддувальная дверца. Для ее закрепления подойдут полоски стали или проволока.

Строительство печи своими руками
В 4-м ряду нужно подготовить углубления для сбора золы и вентиляционные решетки. Задняя стенка решетки должна быть округлой. Чтобы соблюсти это правило, используйте осколки кирпича. Установите поддувальную дверцу, колосник, дверку топочной камеры. По возможности следует использовать дверцы из чугуна. Они отличаются наиболее высокой прочностью и стойкостью к воздействию огня.

Установка дверок в кирпичной печи для бани
В процессе выкладки 8-го ряда нужно обустроить перегородку для дымоотводящей трубы. На 14-м ряду устанавливаются швеллеры. В передней стене оставляется проем под емкость с горячей водой. Основа разделительной перегородки делается из половинок кирпичей. Следующие ряды выполняются аналогично начальным. Выложите еще несколько рядов и сделайте дверцу, через которую будет уходить пар. Обложите емкость под горячую воду битым кирпичом. В конце установите трубу для отведения дыма.
Обустройство дымохода

Устройство дымохода для печи бани
Размер дымохода определяется в соответствии с характеристиками печного агрегата. Если печь массивная, то и труба должна быть довольно габаритной с соответствующим диаметром сечения. Стенки дымоотводящей трубы должны иметь толщину не менее 15 см. В идеале труба должна быть проложена без изгибов. Прямой дымоход – наиболее оптимальный и безопасный вариант. Минимально допустимая длина дымовой трубы – 500 см. Конструкция обязательно должна быть оборудована заслонкой.

Дымоход для бани
При выкладке печи следите за тем, чтобы ее внутренняя поверхность была максимально гладкой. Любого рода дефекты и сколы недопустимы. Внутреннюю поверхность нельзя обмазывать глиной, т.к. при нагревании она может отслоиться, из-за чего дымоход засорится.
Перед запуском готовой печи в эксплуатацию конструкции нужно дать просохнуть. Сушка может быть принудительной и естественной. В естественных условиях на сушку понадобится около 2 недель. За это время испарится лишняя влага, и конструкция станет максимально прочной. Преимуществом естественной сушки является то, что печь будет просыхать максимально равномерно, а это практически полностью исключает риск возникновения трещин.
При желании сократить время сушки следует обратиться к принудительным методам. Обычно печь попросту протапливается с применением древесной щепы либо бумаги. При условии соблюдения всех требований в процессе строительства, поверхность печки равномерно прогреется примерно до 90 градусов. Топка продолжается до полного высыхания конструкции. В среднем на это уходит 3-5 дней.
После завершения сушки внимательно проверьте печь на предмет наличия трещин и прочих дефектов. Любые из них должны быть заделаны в кратчайшие сроки. После этого можно запускать печь в полноценную эксплуатацию либо же выполнить дополнительную внешнюю отделку.

Схема порядовки дымохода
Финишная отделка печки
Выполнение данного этапа остается на усмотрение владельца. Поверхность печного агрегата можно оштукатурить глиняным раствором с включением гипса либо асбеста. После оштукатуривания печь будет иметь более законченный и привлекательный внешний вид, дополнительно возрастут показатели ее пожаробезопасности.

Печь для бани
Иногда перед нанесением штукатурки на поверхность печи прикрепляется армирующая сетка. Использование этого приспособления способствует повышению прочности декоративного слоя.
Прежде чем приступать к отделочным работам печку нужно тщательно протопить. После завершения оштукатуривания поверхность затирается до получения максимально ровного покрытия и отделывается побелкой.

Печь для бани
Для отделки печи подходят самые разнообразные способы. Наиболее простым вариантом является рустовка. В процессе ее выполнения на штукатурном слое создаются небольшие канавки малой глубины. Выглядит очень красиво и оригинально.
Также печь можно отделать гашеной известью либо же покрасить. Для отделки таких агрегатов применяются специальные клеевые краски.
При наличии достаточной суммы денег и желания владелец может приобрести изразцы либо глазурованную плитку и использовать этот материал для отделки своей банной печи.
Таким образом, в строительстве печи для бани своими руками нет ничего особо сложного. Следуйте полученным рекомендациям и у вас все получится. Удачной работы!
Видео – Печь для бани своими руками
tolkostroyka.ru
Кирпичная печь для бани своими руками
Строительство своей бани – это, бесспорно, решение, достойное уважения. Баня не просто позволяет, не выходя со двора решать вопросы проведения гигиенических процедур, причем, невзирая на время года, но поможет поправить здоровье и привести в норму нервную систему.
Целебные свойства бани известны с незапамятных времен и являются частью народной медицины во многих странах.При этом важно понимать, что во многом эти качества обуславливаются особыми способами протапливания помещения. Например, нередки случаи, когда для того, чтобы баня «заработала, как надо» ее необходимо топить в течение нескольких часов, при этом используя специальные дрова и добавки. А, следовательно, и печь для такой бани нужна, способная выдерживать такие интенсивные температурные нагрузки.
В статье мы поговорим о том, как сделать кирпичную печь для бани своими руками, дадим пошаговую инструкцию, чертежи, фото и видео материалы.
Общее описание
Печь каменка
Прежде чем переходить к рассмотрению технологического процесса изготовления печи для бани, необходимо несколько слов сказать о том, в чём будут заключаться общие моменты проведения работ и какие материалы и инструменты для этого потребуются.
Для начала необходимо сказать, что печь для бани будет в значительной степени отличаться от простой печи, устанавливаемой в доме. Главным образом отличия будут обусловлены функциональным предназначением печки. Дело в том, что постройка печи в доме предполагает ее использование в целях отопления помещения, приготовления пищи и в некоторых случаях использования ее в качестве спального места. При этом использовать ее планируется в помещении, которое имеет нормальные показатели влажности. А если речь идет о печи для бани, то она кроме обогрева помещения, должна нагревать еще и воду, а происходить это всё будет в помещении с, мягко говоря, повышенной влажностью. Кроме того, от банной печи зачастую требуются более высокие температуры, чем от ее домашнего аналога. Эти обстоятельства накладывают отпечаток и на технологию проведения работ и на используемые при этом материалы.
Процесс изготовления
Порядовка
Для того чтобы в общих чертах понимать то, как сделать кирпичную печь для бани нужно уточнить для себя, что задача предстоит не из легких. Даже в деревнях, где печное отопление является привычным моментом и без преувеличения частью жизни, за изготовление печей берутся лишь единицы. Секреты процесса передаются устно и требуют длительной практики. Хотя с другой стороны, сделать простую печку, при должном объеме знаний и наличии опыта в принципе возможно. Работы при этом можно разделить на несколько этапов, выполнять которые стоит последовательно.
Подготовка
Кирпич огнеупорный
Одним из важнейших моментов любого дела является подготовка. В случае монтажа печки в баню речь идет о том, что нужно закупить все нужные материалы и подготовить инструменты. Здесь всё, казалось бы, просто, но есть некоторые нюансы:
- Прежде всего, важно отметить, что для изготовления печи потребуется несколько сортов кирпича. Так, для монтажа топки нужен жаропрочный (шамотный) кирпич, а для изготовления дымоходов можно обойтись и обычным.
- На этом же этапе необходимо приготовить все металлические элементы печи, такие как дверцы, заглушки, колосники и прочее. Важно проверить, чтобы детали не имели трещин, так как это сократит срок эксплуатации и возникнет риск возникновения пожароопасных ситуаций.
- Если планируется установка нагревательного котла для воды, то это также должно быть учтено на подготовительном этапе, так как в зависимости от места его расположения будут несколько отличаться и действия. К слову, можно для того, чтобы обеспечить посетителей горячей водой можно обойтись и без оборудования нагревательного бака.
- Также на этом этапе нужно определиться с местом расположения будущей печи и демонтировать напольное покрытие, а также выпилить лаги, если пол уже установлен.
Монтаж основания
Фундамент под кирпичную печь
Для того чтобы печь стояла долго и выполняла свои функции качественно не обойтись без монтажа прочного и ровного основания.
- Для этого в месте предполагаемой установки демонтируется напольное покрытие и лаги, а земляное основание немного заглубляется по форме будущей печи.
- Затем в углублении выполняется цементно-песчаная стяжка. При этом необходимо принимать во внимание, что толщина стяжки должна быть не менее 30 см, а также слой её должен быть армирован стальной арматурой, толщина которой должна составлять не менее 10 мм.
- После того как стяжка просохнет необходимо уложить первый слой кирпичей, которые будут играть роль основания всей последующей кладки.
Здесь можно добавить, что работы, связанные с цементным раствором вряд ли можно назвать чистыми, поэтому, если есть желание обезопасить от загрязнений поверхности, например, пола, их необходимо закрыть пленкой.
Дальнейший монтаж
Кладка банной печи
После того как основание будет готово можно приступать к укладке последующих рядов кирпича. Кстати говоря, полная и подробная порядовка кирпичной печи для бани будет отличаться в зависимости от выбранной конструкции. Ее подробное описание представляет собой отдельный материал, ниже будет приведен лишь примерный порядок действий.
- Сначала укладывается первый ряд кирпича. Уже на этом этапе необходимо отразить все конструктивные особенности печи. Здесь имеются в виду воздуховоды, непосредственно место топки, будущая труба и так далее. Кирпичи укладываются вплотную друг к другу на раствор. Остатки снимаются мастерком.
- Далее, по рядам аналогичным образом укладываются последующие слои кирпича до места установки первой дверцы воздуховода (поддувала). После установки оной, укладка кирпича продолжается. Здесь можно добавить, что если выполнить не просто воздуховод, а над поддувалом оставить свободное место, то с его помощью можно решить вопрос подачи горячей воды в моечное отделение. Внутрь этого пространства помещается гофрированный металлический шланг, который выводится концами наружу. Когда печка будет топиться, шланг будет соответственно немало нагреваться. Если запустить по нему воду, то, на выходе получится горячая вода. Таким образом, отпадает необходимость в нагревательном баке, что особенно актуально для помещений, имеющих скромные габариты.
- Так, двигаясь постепенно по рядам, формируется «тело» печки. Когда подойдет очередь установки колосников, для удобства можно выбрать некоторое пространство в двух кирпичах, равное толщине колосников и устанавливать их в это место.
- После того как будет сформировано топочное пространство, в соответствии с проектом печи, можно либо перекрыть его кирпичами, либо уложить металлическое основание, на которые в дальнейшем будут уложены камни.
- Далее, примерно таким же образом, выкладывается вытяжная труба, в самом верху которой, для экономии материала, можно присоединить металлическую трубу и вывести сквозь крышу.
Печь-каменка

Важнейшим элементом бани является печь. В наше время для этих целей обычно используются печи-каменки. Они бывают кирпичными и металлическими. Сказать из какого материала печь-каменка лучше сложно. Тут скорее все зависит от некоторых обстоятельств, а именно от площади бани, количества человек, пребывающих за день в этом помещении и т. д. Ввиду этого, рассмотрим особенности металлической и кирпичной каменки по отдельности.
Каменки также бывают закрытыми и открытыми. Открытая каменка быстро нагревается, но и также быстро остывает. Она отлично проходит для небольших компаний. Камни в такой печи уложены над топливником кучей. Их температура может поднять до 250º.
Закрытая каменка передает тепло на одном уровне. В ней предусмотрена паровая дверь. В процессе сжигания топлива дверь закрыта, благодаря чему дым от огня не проникает в помещение. Дверцу можно открыть только перед входом в парилку. Благодаря этому температура в парилке прогревается до 60º.
Из кирпича

Особенность кирпичной печи-каменки заключается в том, что она имеет толстые стенки, построенные из жаростойкого кирпича. Печь этого типа довольно габаритна, имеет закрытую каменку и большой объем камней. Сжигать в ней можно только твердое топливо. Как правило, это дрова или торф.
Среди преимуществ печи стоит отметить следующие:
- Возможность отапливать бани более 30 м2.
- Конструкция пожаробезопасная.
- Долго сохраняет тепло в бане.
- Даже на второй день тепло в бане сохраняется в районе 20º, что позволяет использовать помещение, например, для стирки белья.
Из металла

Металлические каменки всего 1,5–2 часа нагревают баню. Они довольно компактны, поэтому идеально подходят для небольших помещений. Каменки обычно открытого типа. Камни греются за счет камеры сгорания. В металлической печи можно сжигать разные виды топлива в зависимости от модели.
Основные преимущества печи:
- Быстрый нагрев бани.
- Конструкция малогабаритна, имеет небольшой вес, а это уменьшает затрат на ее монтаж.
- Возможность принятия банных процедур в процессе топки.
О том, как сделать печь-каменку вы можете узнать из этой статьи «Печь-каменка своими руками».
На этом общее описание процесса установки кирпичной печи для бани можно считать законченным. Для наиболее полного понимания процесса можно ознакомиться с соответствующими видео по тематике.
Видео
В этом видео очень подробно и доходчиво объясняется, как сделать кирпичную печь для бани своими руками:
Также предлагаем вам прочитать статью «Котел для бани своими руками».
Фото
Печь отделана декоративным кирпичом
Облицована кафелем
С баком для воды
Печь в деревенской бане
Печь-камин из кирпича
В комнате отдыха
С функцией котла
Чертежи
Чертеж железной печи
Чертеж кирпичной печки
Чертеж металлической печи
Печь из трубы
Конструктивная схема печи
Из баллона
Второй вариант
Схема каменки
Схема печи

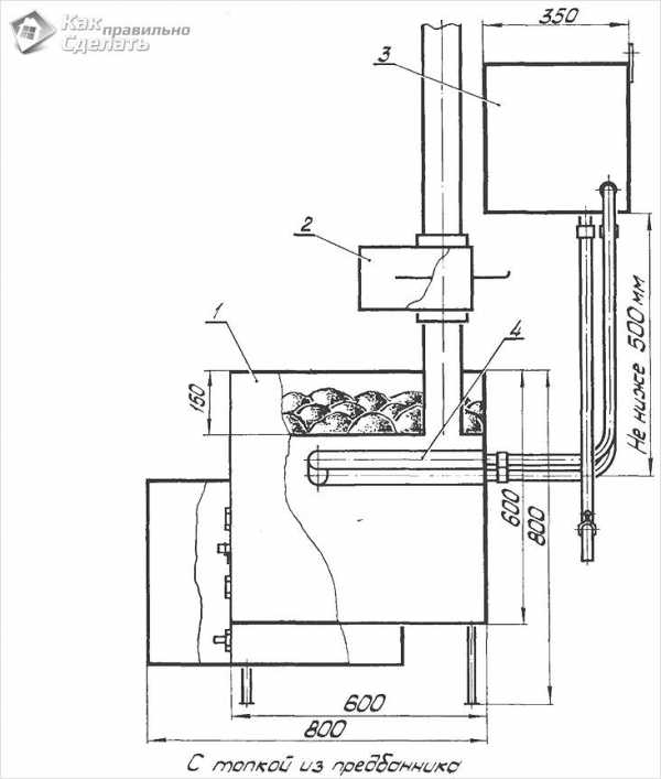
С топкой из предбанника
Парная в схематичном формате
Принцип тяги и распределения воздуха в печи
Железная печка для бани
kakpravilnosdelat.ru
Печь для бани своими руками: виды, преимущества, советы
Сегодня трудно представить загородный дом без настоящей русской парной и ее главного атрибута – печи. Среди большого ассортимента типов, трудно подобрать устройство, соответствующее всем необходимым запросам и отвечающее финансовому состоянию. Дочитав эту статью до конца вы сможете без труда соорудить печь для бани своими руками.

Банные печи — виды и преимущества
Первым делом, нужно выбрать подходящий тип обогревательного узла для парной, чтобы она быстро нагревалась и держала тепло во время отдыха. Основными свойствами, которыми обладает выбранная конструкция, являются:
- Компактность;
- Удобство в использовании;
- Пожаробезопасность;
- Регулировка мощности.
По своей классификации печи для бани подразделяются на нагревательные конструкции постоянного, переменного и комбинированного воздействия.
- К устройствам постоянного действия относят печи электрокаменки. Конструкция этой печи для бани представляет собой емкость из чугуна с камнями, которые нагреваются при растопке дровами. Приступать к банным процедурам можно после как камни начнут выдавать пар при соприкосновении с водой. Достоинства каменки: простота в эксплуатации, отсутствие угарного газа и быстрый нагрев. В электрокаменках нет специальной заслонки, сохраняющей нужную температуру, поэтому подкладывать дрова следует постоянно, что не удобно. Изготовить и установить эту печь можно самостоятельно, получив разрешение инспекции по пожарной безопасности. Особенностью каменок — необходимость создания заземления.
- Печи комбинированного действия представляет собой устройство, совмещающее в себе свойства печей постоянного действия и переменного. Эти модели равномерно нагревают парное помещение и пользуются спросом у современных собственников загородных владений. Конструкция имеет разделение топочного и дровяного отсека, а бак для воды может отсутствовать. Такие печи покупают в специализированных магазинах в виду того, что изготовление является не простым процессом.
- К приборам для обогрева бани с переменным действием относятся кирпичные печи. Кладка печи выполняется из огнеупорного кирпича, а камни в ней нагреваются с помощью открытого огня. Из достоинств можно выделить долгое сохранение тепла в помещении, максимальная прочность, экологичность и привлекательный внешний вид. Растапливать печь следует несколько часов. Низкая экономия ресурсов – чтобы растопить такую печь тратится большое количество дров. Для самостоятельного возведения такого рода печи требуются специальные знания и значительные вложения.

Как видно по приведенному выше списку, лучшим вариантом для бани является печь-каменка. По виду топлива такой отопительный узел делится на:
- Дровяная печь. Применяются дрова лиственных и хвойных пород деревьев, это придает помещению нужную атмосферу и настраивает на релакс.
- Электрическая печь. Она монтируется в помещениях, где не предусмотрен дымоотвод и обладает рядом достоинств, среди которых короткие сроки нагрева, экологичность, компактность и простота в использовании. Выбираю данную модель, вам не придется отвлекаться на поддержание тепла, и вы полностью отдадитесь банным наслаждениям. У электрической печи для бани имеется существенный недостаток – она потребляет большое количество электричества.
- Газовая печь. Такие отопительные узлы имеют большие габариты и потребляют много газа. Если говорить о достоинствах, то это простота в использовании, быстрота нагрева воды и поддержание заданной температуры в помещении.
На прилавках магазинов встречается разнообразие печей-каменок, но какое удовольствие сделать ее своими руками.
Как соорудить металлическую печь для бани своими руками
Каркасом для отопительного устройства послужит металл высокого качества, его использование не требует особых умений и знаний.В готовом виде, печь должна обладать пожаробезопасностью и герметичной конструкцией, во избежании попадания угарного газа в помещение.
Чтобы приступить к изготовлению вам понадобятся следующие материалы:

- Металл, толщиной 6 мм, или дачная бочка;
- Дверца из чугуна;Фитинги и арматура;
- Металлическая решетка для камней.
Внизу вы видите главные элементы будущего обогревательного прибора:
Печь для бани своими руками создается поэтапно:
- Первым делом изготавливается поддувало размером 200х60 мм и располагается оно внизу будущей печи. Закрывается поддувало чугунной дверкой;
- На втором этапе создается камера сгорания. Если вы используете бочку, то данный элемент вырезается посередине. Внизу камеры помещаются колосники, на них укладываются дрова для растопки печи. Сверху устанавливается дымоход, для качественного крепления лучше обварить его металлом.
- Заключительным этапом служит установка каменки.
Ниже представлены чертежи, которые помогут вам без труда соорудить печь для бани своими руками.

Печь для бани, будь-то она вашим детищем, или вы приобрели ее в магазине, имеет специальные требования к монтажу:
- Сначала печь нужно протестировать (не помещая в нее камни), это позволит оценить герметичность швов и прочность конструкции;
- Место монтажа печи для бани подбирается таким образом, чтобы одна конструкция прогрела все помещение парной;
- Стены за печкой обкладываются специальной плиткой, имеющей устойчивость к жару. Также используются металлические листы;
- Легковоспламеняющиеся предметы должны быть отдалены на безопасное расстояние;
- Чтобы не контактировать с горячей печью, он ограждается специальной решеткой;
- Лежак располагаться в умеренной удаленности от нагревательного устройства;
- Место, где труба дымохода выходит из парилки на улицу обивается металлическим листом, это не даст стенке обуглиться;
- Сама печь для бани, созданная своими руками ставится на пластину из металла, это делается чтобы случайно упавшие камни не стали причиной возгорания.
Установка печи – это важный процесс, ошибки при которой приводят к плачевным последствиям.
Делаем кирпичную печь самостоятельно
Для того, чтобы выполнить кладку печи из кирпича следует знать в каком порядке выкладываются ряды и кипичи какой марки следует применять. Ниже вы можете увидеть порядовку кирпичной печи, выполненную профессионалом.
Существуют разные варианты кладки, если вы делаете печь впервые, то лучше подобрать простой вариант, на качестве устройства это не отразится. По сравнению с каменкой для кирпичной печки выкладывают фундамент и накрывают его рубероидом. Только после этого можно приступать к самой кладке.

Кирпич для печи выбирают специальный, высокого качества. Стандартный кирпич имеет размеры 250х120х65, это позволяет делать ровную кладку. В случае, если вы приобретаете обычный кирпич (он в разы дешевле печного, то его размеры могут не совпадать со стандартами. Раствор для кладки приобретают в строительном магазине или делают самостоятельно, замешивая песок, глину и воду. Правильно выполненный раствор похож на сметанную смесь.
Процесс кладки печи для бани из кирпича объяснить сложно, лучше всего показать на фото. Здесь вы можете рассмотреть каждый этап по отдельности.
Какую печь выбрать для бани: советы специалистов
Если вы решили купить печь для бани в специализированном магазине, то прочитайте рекомендации специалистов и ответьте на следующие вопросы:
- Какая печь вам нужна: дровяная или электрическая?Если сравнивать электрические и печи на дровах, то отмечают, что в первом случае, это простота использования и широкий выбор дизайна. Такие устройства требуют затраты энергии, что во многих случаях не приемлемо.Дровяные же печи абсолютно экологичны, быстро растапливаются и не зависят от электроэнергии. Единственным минусом данного обогревательного узла считается постоянная необходимость подбрасывания топлива. Для людей, соблюдающих традиции русской бани – эти недостатки становятся преимуществом.
- В каком месте располагается топочная дверь?Имеется два вида расположения дверцы: внутри парилки и снаружи (в комнате отдыха). Преимуществом второго варианта является наличие камина в комнате отдыха и отсутствие необходимости выделения места в парилке для хранения дров.
- Будете ли вы нагревать воду или вам нужна печь без бака?Этот вопрос даже не обсуждается – вода нужна всегда. Во-первых, для мытья, а во-вторых, чтобы подбрасывать воду на камни. Осталось только определиться какого объема вам будет достаточно для осуществления полноценных банных процедур.
- Сколько камней должно помещаться в печи?От количества камней зависит атмосфера в помещении. Чем больше заложено в печи камней, тем мягче пар.
- Какой производитель лучше?Этот вопрос , наверно, один из сложных, потому что в современном мире существует огромное количество разнообразных печей для бань с различными функциями и характеристиками. Чтобы выбрать устройство, отвечающее всем требованиям, надо определиться с функциями, которыми оно должно обладать. Распространенными являются банные печи Harvia и Kastor.
Соорудить печь для бани своими руками не сложно, если выполнять вышеперечисленные инструкции и соблюдать все технологии. Если вы примените при изготовлении фантазию, то у вас получится уникальное, привлекательное, а главное функциональное устройство для обогрева парного помещения.

Оригинальные печи-каменки для бани: фото
Ниже вы ознакомитесь с необычными и оригинальными отопительными приборами для бани, созданными дачниками самостоятельно.
Какую печь выбрать для собственной загородной бани – это индивидуальное дело каждого, главное, чтобы она была прочна, долговечна и отвечала всем требованиям безопасности.
43 фото и схем печей для бани:
couo.ru
Железные печи для бани своими руками как сделать печь в баню из металла + фото
Возможно, вы уже выстроили парилку самостоятельно или только планируете это сделать. В таком случае знать, как делаются железные печи для бани своими руками просто необходимо. Кирпичные изделия по некоторым параметрам превосходят упомянутые нагреватели, но найти хорошего мастера и договориться за сносную цену довольно сложно.
Взвешиваем все за и против
Что выбрать?Невозможно сделать правильный выбор, не обдумав всех подводных камней. Положительные стороны:
- Простота монтажа. Обычно установка сводится к выбору места и выводу дымохода. В некоторых случаях топка находится в комнате отдыха или предбаннике, тогда необходимо предусмотреть соответствующий проем в перегородке.
- Простота обслуживания и ремонта. Почистить такую конструкцию значительно легче, чем кирпичную.
- Удобство установки бака для подогрева воды.
- Быстрый нагрев. Кирпичным аналогам может потребоваться до 5 часов, чтобы развить ту температуру, которую металлическая печь наберет за 1 час.
- Доступность материалов для самостоятельной сборки.
- Возможность творческого подхода. Собрать конструкцию можно такого вида, который будет лучше подходить под общий интерьер.
Минусами такой конструкции являются:
- Сложность создания условий пара настоящей русской бани.
- Сильный разогрев самого агрегата, что может привести к ожогам.
- Быстрое остывание. Если вы планируете пребывание в бане на протяжении нескольких часов, тогда ее периодически нужно будет подтапливать.
- Высокая пожароопасность при неправильном монтаже.
Обратите внимание! Для того чтобы было легче выполнять сборку и последующий монтаж, перед началом работ хорошо было бы подготовить примерные чертежи всей конструкции.
Отдельный фундамент
Фундамент под массивную железную печьКакой бы вариант вы ни решили использовать, важно, чтобы под печь был заложен отдельный фундамент. Делается это для того, чтобы снизить нагрузку на лаги, а также предотвратить возможность возгорания напольного покрытия и впоследствии всей бани.
Обратите внимание! Можно установить приобретенную металлическую печь и без фундамента, но самодельная конструкция, обычно, имеет немалый вес, поэтому лучше под нее сделать мощное основание.
Свайный фундамент для печкиОснование должно быть рассчитано еще на этапе проектирования. Это очень важно, ведь в случае использования свайного фундамента желательно разместить дополнительный опорный элемент под нагревателем. Когда все строение готово, это будет сделать невозможно. Но из каждой ситуации есть выход и можно изготовить бетонную подпорку. Для этого понадобится следующее:
- Точно под местом расположения печи выкапывается яма глубиной в 50 см. Ее размеры должны превышать длину и ширину печки на 5‒10 см.
- На дно укладывается слой песка в 10 см. Он хорошо трамбуется, после этого смачивается водой. После высыхания досыпается необходимое количество и снова трамбуется.
- Изготавливается металлическая обрешетка и укладывается на подставки из кирпичей. При большой высоте решеток понадобится две (более 80 см). Можно до определенного уровня сделать бетонное основание, а остальное доложить кирпичом.
- Из доски сбиваются щиты для опалубки. Желательно, чтобы между планками не было зазора. По возможности лучше использовать ламинированную фанеру, тогда конструкция получится с ровными торцами.
- Внутрь заливается раствор и хорошо утрамбовывается. Лучше делать это при помощи вибратора, чтобы заполнить все щели и полости.
- Поднять фундамент необходимо на несколько сантиметров выше уровня чистового пола.
- Сверху укладывается гидроизоляция из рубероида или бикроста, чтобы отсечь попадание влаги к печи и внутрь помещения.
Обратите внимание! В местностях, где высокая подвижность грунта или очень неустойчивый верхний слой, углубляться необходимо ниже уровня промерзания. Только в таком случае удастся обеспечить требуемый упор.
Печь из автомобильных дисков
Печь из колесных дисковЭтот вариант является одним из самых простых в изготовлении. Из составляющих понадобится 4 диска от грузовика КамАЗ (если в планах есть монтаж бака для воды, то необходимо будет еще 2 диска) и листовой металл толщиной в 8 мм.
- Листовой металл вырезается по диаметру отверстия диска. В середине делается окошко с размером 20×30 см. Привариваются металлические прутья диаметром в 12 мм через каждый см. Они будут служить колосниками. Затем эта деталь фиксируется к одному из торцов обода.
- Второй диск с одной стороны закрывается точно таким же образом. Но в крышке необходимо изготовить отверстие под переходник для дымохода.
- Два диска соединяются между собой. Необходимо следить, чтобы шов был без раковин, это необходимо для обеспечения хорошей тяги.
- При помощи болгарки или плазменного резака вырезается дверца для загрузки дров. Ее размеры могут быть 20×30 см.
- Делаются импровизированные петли из арматуры, которую загибают крючками и гаек. Можно использовать готовые решения для сварных изделий. Заслонка устанавливается на свое место. Изготавливается запорный механизм.
- Снизу фиксируется еще один диск, он будет служить в роли поддувала. В нем изготавливается отверстие 15×30 см. Такого же размера изготавливается ящик для сборки золы. Он будет находиться как раз под колосниками, поэтому прогоревшие угли будут падать в него, его достаточно просто будет вытрусить в ведро.
- Сверху крепится диск, который будет служить емкостью для камней. Его торцы можно не закрывать заглушками.
- Для того чтобы изготовить бак для воды, две основы для колес свариваются между собой. Их торцы закрываются листовым металлом. В середине делается два отверстия и в них вставляется гильза. По внутреннему диаметру она должна быть больше дымохода, чтобы его свободно можно было пропустить.
- В стенку бака вваривается патрубок на ½»с резьбой для крана. Его можно установить непосредственно на конструкцию или через металлический шланг вывести и смонтировать на стену.
- Для заливки жидкости можно закрепить еще один патрубок для подвода шланга. Есть другой вариант – в верхнем торце делается небольшая дверца.
Обратите внимание! Для парилок на одного человека можно изготовить еще меньший по габаритам вариант. Для него понадобятся диски от «Волги». Принцип будет точно таким, как описан выше.
Печь из металлической трубы

Для того чтобы собрать такой вариант, из материала понадобится труба с внешним диаметром в 50 см (длина желательно не меньше 70 см), лучше, если толщина стенки будет 8 мм. Дополнительно нужен листовой металл 8 мм и кругляк диаметром в 10‒12 мм.
- Чтобы было легче представлять рабочий процесс, необходимо знать, что в итоге труба будет располагаться в горизонтальном положении.
- От одного из краев берется отступ в 10‒15 см. Делается вырез размером 20×35 см. С внутренней стороны приваривается колосник из отрезков арматуры. Вместо этого можно приобрести чугунный и сделать вырез четко под него. В таком случае он будет съемным, что облегчит чистку печи.
- По диагонали от установленной решетки с отступом в 5 см от края делается отверстие под трубу для дымохода. Она вставляется и хорошо проваривается.
- Торец, который ближе к трубе, закрывается при помощи листового материала. Верхняя часть вырезается по форме окружности, а нижняя так и остается прямоугольной, она будет служить подставкой.
- Второй торец закрывается точно таким же образом.
- Если планируется, что подкидывать дрова можно будет из самой парилки, тогда достаточно вырезать окошко размерами 20×33 см и закрепить дверцу по принципу, как описано в предыдущем варианте. Когда отверстие топки должно выходить в комнату отдыха, тогда необходимо сделать дополнительный выступ. Для этого замеряется ширина перестенка. Вырезаются прямоугольники длиной 20 и 33 см, а шириной на 5 см больше ширины стены. Они навариваются вокруг вырезанного отверстия в торце, и к ним фиксируется дверца.
- Под колосником приваривается емкость с размером в 35×25×15 см. В листе, который закрывает торец трубы, вырезается отверстие размером 25×15 см, оно необходимо, чтобы в него установить совок для сбора золы. Тяга будет зависеть от того, насколько он выдвинут.
- Из листового материала изготавливается емкость 40×20×50 см. Она приваривается к задней части печки и будет служить для нагрева воды. В верхнем торце бака предусматривается дверца для заливки воды. В нижней части врезается патрубок с резьбой на ½» для крана.
- Для того чтобы уложить сверху камни, необходимо подготовить конструкцию, которая напоминает ящик без дна. Его размеры 20×40×20 см. При этом торцевые стенки должны повторять контур окружности, чтобы лечь впритык.
Обратите внимание! Если в семье есть дети, то всю конструкцию можно интересно декорировать. Например, ее можно сделать похожей на небольшой поезд. Для этого под топкой приваривается отбойник, как у настоящего локомотива, а по бокам круглые заготовки для колес.
Печь из листового материала

В этом случае вариантов будет масса. Проектировать можно под конкретные условия. Мы рассмотрим одну конструкцию, которую вы сможете подгонять под свои условия.
- Из листового металла в 8 мм вырезаются заготовки. Пять размером 60×40 см, еще две – 40×40 см.
- К днищу приставляется одна стенка. Она фиксируется при помощи сварочного аппарата несколькими прихватками. Металлическим угольником подгоняется угол под 90°. Приставляется задняя стенка 40×40 см и прихватывается к днищу и боковой стенке. Еще раз проверяется угол, если все соответствует, тогда можно хорошо проварить все швы.
- Следующим шагом будет крепление еще одной боковой стенки.
- С внутренней стороны на боках, на высоте 15 см, крепится два уголка 3×3 см. Они необязательно должны проходить через всю длину. Их цель – полочка для внутренней перегородки, так ее удобнее монтировать. Она укладывается на подставки и проваривается по всему периметру.
- В ней делается вырез 20×30. На него наваривается готовый колосник или делается из круглой арматуры.
- Закрепляется и проваривается верхняя часть конструкции.
- На расстоянии 5‒7 см от задней стенки в верхнем торце делается вырез под патрубок для дымохода. Он вставляется на свое место и проваривается по окружности.
- Монтируется лицевая стенка. В ней делается вырез 20×20 см под дверцу для загрузки поленьев. Ниже там, где находится отсек для сборки золы, изготавливается окошко размером 20×10 см. Под него изготавливается совок таких же размеров. Он будет регулятором тяги, а также позволит быстро чистить печку после протопки.
- Чтобы организовать каменку, необходимо сверху еще наварить бортики. Их высота будет зависеть от того, сколько голышей необходимо разместить.
- Бак для воды можно приварить к одной из боковых стенок. Он изготавливается по принципу, как описано для предыдущего варианта.
Обратите внимание! Лучше, чтобы каменка не закрывала пространство вокруг трубы. Дело в том, что камни хорошо сохраняются температуру, а это увеличивает скорость прогорания швов.
Советы по монтажу
Печка облицована кирпичомПравильная установка печи внутри помещения гарантирует то, что будет достигнута желаемая температура.
- Если загрузка дров будет осуществляться в самой парилке, тогда отверстие топки должно смотреть в сторону двери. Это очень важно, чтобы был достаточный приток воздуха. Это правило неактуально, когда поленья подкидываются из комнаты отдыха.
- Печь разогревается до больших температур, что может привести к порче отделочного материала, чтобы этого не произошло, необходимо защитить пространство вокруг отопительного прибора. Для этого по периметру можно уложить огнеупорный кирпич под расшивку, это улучшит внешний вид и будет препятствовать перегреву.
- Внутреннюю часть дымохода можно сделать по технологии сэндвич (две трубы, одна находится внутри другой, а между ними уложен огнеупорный утеплитель). Это позволит предотвратить возможные ожоги.
- Место, где труба проходит через потолок или стену, дополнительно обкладывается огнеупорным материалом, также можно закрепить листы из нержавеющей стали.
- Печь должна находиться как можно ближе к полке для сиденья, но на достаточном расстоянии, чтобы можно было спокойно перемещаться без опасности получить ожог.
Обратите внимание! Обязательно устанавливайте внутри градусник и песочные часы. Это позволит вам контролировать максимальную температуру и время, проведенное в середине. Если не следить за этим, то можно получить тепловой удар, последствия которого бывают очень печальными.
Нам очень интересно знать, как у вас получилось реализовать свой проект. Делитесь своими решениями, а также ссылками на фотографии в комментариях.
Видео
В этом видео показано, как сделать хорошую печь для бани из трубы:
Комментарии эксперта помогут вам определиться с выбором типа печки для бани:
Фото
Печь из двух труб
Печь для бани из газового баллона
Печь из листового металла
Банная печь с баком
Печь из стальной трубы
Самодельная печь для бани
Печь для бани на дровах
Из этой трубы будет сделана печь
stroysvoimirukami.ru
Печь банная своими руками — Школа по утеплению дома
07.09.2014Печь в любой бане – ее основа. Она отвечает за качество влажности воздуха и температуру, которые должны быть максимально комфортны для человеческого организма. Кто-то отдает предпочтение классическим кирпичным конструкциям, кто-то более простым – металлическим. Среди огромного количества вариантов, есть возможность выбрать самый подходящий и построить печь для бани своими руками с небольшими материальными затратами.
Содержание статьи:
Особенность возведения простой кирпичной печи для бани
Безусловно, классическая печь банная должна возводиться из кирпича. Подобные конструкции значительно легче тех, которые устанавливаются в доме для отопления. Их единственное предназначение – вскипятить воду любым удобным методом и образовывать пар.



Другие варианты порядовок. Кликните для увеличения изображения
Один из простых вариантов порядовки приведен на изображении выше. Но прежде чем приступать к работе, необходимо возвести фундамент и подготовить песчано-глиняный раствор.
Основание необходимо углублять ниже точки промерзания почвы (около 0.5-1 м). Чтобы обезопасить себя от движения грунта, дно котлована делается с расширением.
Первые 15 см засыпают песчаной подушкой. Слив обильно ее водой, насыпают слой до 20 см битого камня или кирпича. Затем засыпается примерно такой же слой щебня.
Подготовив площадку под фундамент, устанавливаются опалубка, армирующий каркас и вливается бетон не достигая 15 см над уровнем земли. Зазор от демонтируемой опалубки засыпается смесью крупного песка и гравия.
Бетонная стяжка накрывается рубероидом и начинается кирпичная кладка первых двух сплошных рядов.
В качестве смеси для кладочных швов использую песчано-глиняный раствор. Каждый печник сам выбирает соотношение входящих в него компонент. Важны степень густоты (как у жирной сметаны) и хорошая липкость. Раствор должен не растекаться, а ложиться лепками и плавно разглаживаться.
Сравнение брикетов для отопления — узнайте их основные достоинства по сравнению дровами
Порядовка кирпичной банной печи
Возводиться печь банная своими руками должна на хорошо гидроизолированный фундамент на основе битума. Если позади имеются деревянные поверхности, придется защитить их от возгорания, соорудив небольшую стенку.

Укладывая ряды, необходимо следить за правильностью углов и горизонтальностью всех боковых поверхностей. Швы между кирпичами не рекомендуется делать толще 5 см, при этом недолжно оставаться даже малейших зазоров.
Второй, третий и последующие ряды обязательно кладутся на таким образом, чтоб перекрывались стыки двух нижних кирпичей.

Дверцу поддувала устанавливают во время работы над третьим рядом. Чтобы она стояла надежно, ее укрепляют оцинкованной проволокой. В кирпичах для этого вырезаются небольшие углубления.

Затем, согласно схеме, укладывается четвертый ряд. Здесь очень важно еще раз проверить насколько ровные углы и стенки.

Примерно в шестом-седьмом ряду устанавливается колосниковая решетка, разделяющая топочную и зольник. Ее монтируют в небольшое углубление, выбитое из кирпичей, размер которого должен незначительно превышать изделие (до 1 см в каждую сторону), так как металл будет при нагревании расширяться.

Рекомендуется использовать чугунные изделия, так как они лучше и дольше всех противостоят пламени. Здесь же необходимо подготовить и установить емкость, которая будет заполняться водой. Она должна вертикально держаться на боковых стенках кладки.

С восьмого по четырнадцатый ряды укладка ведется одинаково. Тут же продумывается перегородка, служащая началом дымохода.

С шестнадцатого по восемнадцатый ряды выкладывают как первый – каждый из кирпичей будет закрывать стыки на предыдущем ряду.
Примерно на девятнадцатом ряду нужно смонтировать дверцу, через которую будет выходиться пар. В двадцать первом ряду рамка паровой дверцы закрывается.

С двадцать третьего ряда устанавливают дымовую трубу. Ее размеры зависят от высоты помещения и конструкционных особенностей печей. Выводиться наружу труба должна минимум чем на 0.5 м над крышей.
Когда кирпичная печь для бани своими руками будет готова, можно приступать к финишной отделке. Наилучший и безопасный вариант – оштукатурить поверхности раствором с добавлением асбеста. Можно воспользоваться смесями гипса, глины и песка.


Схемы печи для бани. Кликните для увеличения изображения
Смотрите так же инструкцию по кладке печи Голландка
Видео урок по кладке своими руками
Несложная металлическая печь-калорифер для бани
Одна из самых простых конструкций – металлическая прямоугольная печь-калорифер. Чтобы ее изготовить, необходимо обзавестись:
- Стальными листами (более 5 мм)
- Резаком (можно воспользоваться болгаркой)
- Сварочным аппаратом
- Трубы
- Камни и шамотный кирпич
- Металлические уголки
- Дверки и комплектующие к ним (завесы, задвижки)

Основой установки является бак, наполненный водой. Одна из его поверхностей является стенкой печи, поделенной зонально на две части: каменка и топочная. Дым удаляется на улицу посредством дымоходной трубы.
Возводится такая печь для бани своими руками из металла очень легко и быстро. Вначале необходимо определиться с габаритами будущей конструкции и вырезать из подготовленного металла дно, боковые и заднюю стенки. Между собой они надежно свариваются. Изнутри на определенной высоте увариваются металлические уголки – они буду служить опорами для дна каменки (вырезается из листа потолще).

Периметр передней стенки обваривается стальными полосками и монтируется дверца. У нее снизу должны быть высверлены отверстия, через которые будет поступать требуемый для горения кислород.

Чтобы металл не контактировал непосредственно с огнем, пространство внутри топки необходимо обложить шамотным кирпичом.
В листе, который будет опирать на уголки и образовывать дно каменки, необходимо вырезать отверстие, равное диаметру дымохода, и приварить к нему патрубок.

Далее необходимо подумать об установке емкости для воды. Она будет состоять из дна и трех стенок, привариваясь непосредственно к одному боку уже готовой печи. В одной из сторон (кому как удобнее) снизу делается отверстие и вваривается патрубок с краном, сливающим воду.
Монтировать подобную конструкцию можно на основание, выложенное из кирпичей (25-30 см), или на каркас, сваренный их металлических профилей. Поверх каменки укладывают камни диаметром до 12 см, но не менее 5 см. Прекрасно подойдет базальт, порфирит и т. д.
Затем нужно закончить дымоход от патрубка, который был выведен ранее. Бак наполняется водой и закрывается крышкой. В топке разгораются дрова и смотрится, чтоб весь дым удалялся наружу.

Не составит никакого труда внести некоторые изменения в построенную печь для бани своими руками и обустроить под топкой зольник. Таким образом появится возможность:
- Проще делать очистку от продуктов горения
- Дверкой поддувала увеличивать/уменьшать тягу

Установить задвижку можно непосредственно на дымовой трубе. С ее помощью появится возможность не менее эффективно управлять процессом горения.
Видео инструкция
Альтернативное отопление с помощью теплового насоса, узнайте как
Круглая печь для бани своими руками
Несложной выглядит конструкция круглой печи, у которой бак расположен прямиком над топливником. Приступая к работе, нужно подготовит бак или трубу диаметром 0.5 м и высотой около 1.5 м с толщиной стен от 1 см, арматуру, кран врезной, трубу в диаметре 0.35 м, дверцы, петли и завесы, стальные листы.

Начинаем строительство печи в баню своими руками:
- Большую трубу нужно раскроить на две части – 60 и 90 см, водяной бак и топка соответственно
- Из листовой стали вырезается круг, соответствующий диаметру топки (50 см), и приваривается к трубе
- Тут же можно приварить каркас ножек высотой до 15 см
- Далее необходимо вырезать около дна одно отверстие для зольника, чуть выше – для топочной, соответствующие размерам закупленных дверок, привариваются петли и скоба для щеколды
- Внутри приваривается колосниковая решетка, пропускающая воздух в топку из поддувала, ее располагают на высоте до 15 см от дна
- Из арматурных прутьев изготавливается корзина и связывается пластичной проволокой – это будет каменка. Она устанавливается вверху трубы, делается дверца подходящей формы для укладки камней
- Теперь нужно обустроить водяной бак из куска трубы 60 см. К нему приваривается дно, сквозь которое проходит дымоходная труба, ближе к низу вваривается трубка с вентилем
- Обе конструкционные части печи воедино стыкуются и свариваются
- Сверху делается двустворчатая крышка. Первая часть приваривается к трубе, а вторая крепится на завесы и оборудуется ручкой




Подводим итоги
Возводить печи в баню своими руками достаточно просто, однако необходимо подходить к работе максимально ответственно. Если конструкция будет изготовлена некачественно или с даже с незначительными на первый взгляд погрешностями, она не будет давать желаемого количества качественного пара и может быть весьма опасной в эксплуатации.
Приступая к работе, рекомендуется увидеть несколько печей в отчую. Если есть знакомый мастер или печник – не следует стесняться спросить у него совет.
Вам может понравиться
v-teplo.ru
Собираем печь для бани своими руками из металла » Сделай камин
Очень много конструкций печи для бани своими руками из металла уже сделано и придумано, но тема до конца не раскрыта и актуальна до сих пор. Своими руками металлические банные печи можно изготовить из подручных металлических материалов, нужно только желание и немного времени.

Металлические печи для бани своими руками
Просмотрев эту статью и соблюдая технологию, а также добавив фантазии, можно придумать что-то самому. В результате вы не только отлично попаритесь в баньке, но и удивите соседей и друзей уникальными решениями. О некоторых расскажем более подробно. Разберемся, как может быть изготовлена металлическая печь, каковы должны быть ее размеры и устройство, а также расскажем, как подготовить основание (фундамент), чтобы установить собранную конструкцию.

Печь с решеткой для камней и нагревом воды
Что нужно для работы?
Если будет строиться металлическая печь для бани своими руками, то сначала нужно составить проект, определив размеры агрегата, а также подготовить все необходимое.
Инструмент
- Сварочный аппарат.
- Электроды диаметром 3-4.
- Болгарка.
Материал металлический
Если изготавливается самодельная печь для бани из трубы, потребуется:
- Колёсные диски — 4 шт.
- Труба диаметром 100-150 мм.
- Листовое железо толщиной 2-3 мм.
- Арматура железная диаметром 8-10 мм или прут.
Материал строительный
- Кирпич — 300-350 шт.
- Цемент — 2-3 мешка по 50 кг.
- Щебень, песок — 0.1 куб.
Обратите внимание: тяга создаётся путём разряжения, т.е разряженный холодный воздух вытягивает тёплый. Тёплый воздух, в свою очередь, стремится вверх под действием Архимедовой силы. Тяга зависит от погоды: летом воздух тёплый и влажный — тяга, естественно, меньше, зимой всё наоборот. Тяга также зависит от диаметра трубы.

Чертёж печи каменки
Если труба тонкая, то газы и тёплый воздух путём трения о стены трубы будут тормозиться и не успевать покинуть дымоход. В результате создаётся дымовая пробка и дым идёт путём наименьшего сопротивления, т.е. в помещение.
Поэтому при изготовлении металлической банной печи своими руками, всегда руководствуйтесь принципами давления, тяги, правильно выбирая размеры дымохода и топки. Если труба широкая — дым и газы будут медленно подниматься вверх, тяга будет плохая и очень большая засоренность трубы, её очень часто придётся чистить. Так как всё будет оседать на стенах трубы, нормальная скорость при выходе из трубы 5-8 м/с.
Впервые дымоходами стали пользоваться римляне (3-8 век до н.э.) — знаменитые римские термы.
Работы по возведению печи
Итак, приступим к постройке металлической банной печи своими руками. Прежде всего, нужно подготовить фундамент, то есть, основание, на которое планируется установить конструкцию. Несмотря на то, что железная печь для бани из трубы весит немного, фундамент под нее стоит подготовить обязательно. Очень важно, чтобы железная печь была установлена на ровный фундамент.
Возводим фундамент
- Для фундамента под печь сбиваем опалубку, ее размеры – 1х1 м, высота 20 см.
- Армируем будущий фундамент в один слой, укладывая арматуру вдоль и поперёк квадратами 20х20 см. Арматуру в местах соединения друг с другом связываем вязальной проволокой. Она не должна лежать на земле, для этого вбиваем в землю по краям решетки 4 куска арматуры и привязываем к ним решетку на весу. Прежде чем начать заливать фундамент, убедитесь, что решетка находится посередине.
- После заливки выдерживаем фундамент около 2-х недель, открываем все двери и окна в бане для лучшей вентиляции и укладываем мокрые тряпки на залитый фундамент. Это делается для того, чтобы при высыхании не образовывались трещины. В течение 2-х недель тряпки смачиваем.
Подготовка и сборка печи
Собирается железная печь так:
- Берём задний обод от колеса, завариваем все дыры, кроме той, что посередине.
- Берём следующий обод, обрезаем выпуклую верхушку, первый обод вставляем во второй и завариваем. Дырок и щелей быть не должно, устройство должно быть герметичным, после сварки отбиваем шлак и проверяем сварочный шов, если где-то не доварили, довариваем, проверяем ещё раз, отбив шлак.

Моменты сборки печи для бани
- Обод А привариваем к трубе, на обод А надеваем обод Б и завариваем, чтобы не было дырок, т.к это будет емкость для горячей воды.
- Как мы видим на рисунке, обод А и Б приваривают друг к другу — образуется емкость. После внутри обода Б с трёх сторон лучами навариваем арматуру к трубе для жесткости и устойчивости.
- В ободе А высверливаем дыру диаметром 25 в самом низу и привариваем трубу тем же диаметром, вкрученным в неё краном для спуска воды.
- Берём обод А1, он тоже снизу полностью обварен, кроме средины, точная копия обода А, и обод Б1 — точная копия обода Б. Надеваем обод Б1 на трубу (иначе после мы его уже не вставим), обод А1 переворачиваем и привариваем к краю трубы.
- Сверху привариваем обод Б1 и так же, как и в первом случае, завариваем и лучами с трёх сторон привариваем арматуру.

Сборка деталей 2-го этапа печи
- Фундамент для печи готов, снимаем опалубку и начинаем укладывать кирпич, вместо цементного раствора используем глину.
Здесь сделаем небольшое отступление. Если у вас уже есть предбанник, то прежде чем установить новую печь, придётся вырубить в стене квадратное отверстие, т.к печь будет начинаться оттуда — это двери поддувала и топки, всё остальное находится в бане.

Чертёж внутренности печи
Если у вас не было предбанника, то мы его будем строить вместе с печкой для бани. Угол, в котором стоит железная печь, должен быть обложен кирпичной стеной, это делается в целях пожарной безопасности, ведь внутри баня всегда отделана деревом.

Вид сбоку
Итак, начинаем делать печь, если нет опыта в печных делах или никогда не клали кирпич, то лучше позвать мастера, который сложит вам печь по всем правилам. Но если хотите попробовать сами, что неплохо, то самое время попробовать, а я расскажу, как это сделать.

Вид спереди
- Выкладываем основание полностью из кирпича, вторым рядом начинаем уже выкладывать зольник (поддувало).

Шахта зольника, поддувало
- Зольник — шахта, через которую выбирается зола и поступает холодный воздух, что создаёт усиленную тягу. Зольник обычно открывают перед растопкой печи. Зольник должен быть немного меньше самой шахты сгорания в длину. Объясню причину: при открытии дверцы холодный воздух с силой врывается в шахту и ударяется о стены, отлетает назад, прихватив часть дыма с собой, поэтому у некоторых при открытии поддувала выходит дым в помещение.
- Далее ставим дверку поддувала, обкладываем ее, сверху укладываем ещё один ряд и поверх шахты зольника ставим колосник.
- Начинаем выкладывать саму топку, после колосника выкладываем ряд и второй, оставляя место под дверку топки. Выкладываем дверку и сверху ещё два ряда, печь готова.
После кладки печь должна просохнуть минимум 2 недели, если её затопить сразу, то появятся микротрещины, что нарушит целостность печи. Открываем все поддувала и входы-выходы, чтобы печь высыхала. Допускается протопить мелкими щепками на пару часов. Печь считается высохшей, если на дверце топки нет влаги и стены все просохли. Можно прогнать печь по полной для профилактики, и печь готова к использованию.
- Теперь посмотрим на трубу, на рисунке показан готовый вид трубы, который ставится на сложенную нами печь.
- У железной печи каменка находится прямо на самом корпусе, у нас она находится на трубе, и там же находится бак для горячей воды.

Сама печь в сборе
Замечу, что сама конструкция будет достаточно тяжелой, поэтому её можно разделить на детали и собирать внутри помещения. Металлическая банная печь своими руками оригинальной конструкции готова. Если отделка внутри уже есть — прикрыть от сварки хоть рубероидом, хоть листами железа.
Внимание. Не забываем, при сварочных работах внутри помещений в целях пожарной безопасности нужно иметь ведро воды и брызгалку. Брызгалку можно сделать из обыкновенной полуторалитровой пластиковой бутылки, пробив в крышке отверстие. После сварки обрызгиваем шов и окалины.
- Верх дымохода (см. Металлические дымоходы) укрепляем двумя арматурами для жесткости, привариваем к трубе и крепим к одной стене и к другой. Для крепления к стене используем уголок или пластину, приваренную к арматуре и просверленную с двух сторон.
- Сверлим кирпич перфоратором с буром диаметром 6 мм, 5-6 см вглубь и крепим на анкера, таким образом, у нас получился угол жесткости и устойчивая конструкция.

Вид в полном объёме: печь металлическая для бани своими руками

Печь для бани из металла своими руками с решеткой под камни
Варианты сбора печи другой конструкции
Печи металлические для бани своими руками бывают разных форм. Рассмотрим печь, собранную из трубы, её составные части и схему сборки. На первый взгляд печь для бани из трубы имеет максимально простое устройство, но здесь есть свои хитрости и технология конструкции. В начале статьи я указал принцип работы печи, тяги и дымохода. Во всех случаях эти принципы должны использоваться, иначе печь не будет работать.

Печь для бани своими руками металлическая со встроенной каменкой
При самостоятельном воплощении конструкции и каких-то оригинальных решениях, чтобы у вас получилась своими руками металлическая печь для бани, руководствуйтесь ими, и у вас всё получится. Не забывайте, что для нас с вами нет ничего невозможного, поэтому будем дерзать, стремиться и удивлять окружающих, улучшая мастерство. Тогда построенная банная печь своими руками металлическая или просто печь не будет для вас непрочитанной книгой. Печь на фото выше — это простой вариант, так как основание почти готово — кусок трубы диаметром 525 мм, длиной 650 мм.
Снизу прорезаем отверстие в длину размером 335 мм, шириной 180 мм, это будет у нас колосник, навариваем прутья или железную полосу, друг от друга около 1 см. Отдельно изготавливаем короб из листового железа 2-3 мм, по размеру:
- 600х140 мм, 2 шт.
- 270х600 мм, 1 шт.
- 270х140 мм, 1шт.
Свариваем короб, зачищаем шлак.
Привариваем к нему дверку и пока отложим в сторонку деталь. Займёмся 525 трубой, нам надо вырезать заглушки, боковины с двух сторон.
- Диаметр трубы у нас 525, делим на 2, получаем 262,5 мм.
- С помощью циркуля вымерив 262,5, чертим 2 круга, хотя можно и проще. Приложите нашу заготовку (трубу 525) на лист и просто обведите его.
Если вам надо скопировать несколько деталей,то копировать всегда надо с оригинала, а не с их готовых копий, так как теряется точность размеров. Если вы разметили деталь и вырезали её, то лучше сделать замер ещё раз и изготовить другую, чем копировать с готовой.

Металлическая печь для бани своими руками с большой каменкой
Пока изготовим детали, но сборку будем проводить по порядку. Сначала сделаем внутренности печи и соберём их внутри самой печки, все остальные детали будем поочерёдно накладывать и проваривать.
Вверху прорезаем два отверстия. Одно — для дымохода, круглое, диаметром 110 мм, отступив от края 525 трубы до середины (дымохода 110 трубы) 100 мм. Другое — квадратное, для каменки, отступив от края 525 трубы 215 мм, срезаем размер вдоль 525 трубы 300 мм, поперёк 250 мм. Чтобы соблюсти симметричность конструкции, используем уровень (вертикаль, горизонталь) или отвес (вертикаль). Для вырезанного отверстия готовим нишу для камней, вырезаем детали из листа железа 5 мм.
- 270х300 мм, 2шт.
- 270х250 мм,2шт.
- 250х300 мм,1шт.
Все детали свариваем, делаем квадратный короб, как показано, зачищаем от шлака, промазываем швы обильно керосином и смотрим, нет ли подтёков. Отставляем готовую деталь печи в сторону.
Отвес можно изготовить из любого тяжелого груза (болт, гайка, камешек, гвоздь) и любая верёвки, лески, нити. Но вес груза должен держать верёвки, лески, нити натянутыми. Остальное всё сделает сила тяжести, нить с висящим на ней грузом всегда показывает вертикаль в идеальном виде, так же как и вода показывает линию горизонтали.

Металлическая печь для бани своими руками: чертежи
Следующий шаг: вырезаем из листа железа 4-5 мм перегородку для шахты печи (отгораживает топку от дымохода, тем самым препятствуя быстрой утечке тепла в дымоход).

Перегородка для шахты печи
Как показано на рисунке, отмеряем сверху 180 мм и по факту, т.е какой будет размер, узнаем только по ходу работы. Замер можно произвести при помощи рулетки и уровня. Ставим уровень, отмечаем от верха 180 мм до верха уровня. Для заметки расскажу, как обойтись подручными средствами, если нет уровня, и отметить горизонтальную линию. Берём прозрачный стеклянный сосуд, это может быть стакан, пластиковая бутылка или любой прозрачный, но достаточно твёрдый предмет, имеющий основание.
От дна отмечаем по бокам одинаковое расстояние и ставим маркером отметки. Наливаем воду по меткам — и вот уровень готов. Ставим на нужную нам поверхность: вода должна находится в уровень с метками, тогда у нас будет уровень горизонта.
- Выставляем сам уровень, не забывая о размере 180 мм, его надо соблюдать, прижимаем уровень к трубе так, чтобы он у вас не гулял, и ставим внутри метки по краям, маркером или мелом. Такую же процедуру производим и с другого края.
- Делаем замер от метки до метки.
- Чертим перегородку на куске металла и вырезаем.
- Берём нишу для камней, вставляем её в приготовленное отверстие, делаем сбоку пару прихваток и переворачиваем трубу (ниша для камней должна быть снизу).
- Вставляем перегородку по сделанным меткам, если всё сходится, то начинаем обваривать перегородку, если нет — делаем пометки, где именно не сходится или мешает, вытаскиваем перегородку, подравниваем болгаркой. Если есть зазоры — ничего страшного, это заваривается электросваркой.
- Также обвариваем нишу для камней.
Итак, банная металлическая печь своими руками — следующий этап сборки. У нас идут заглушки или боковины. На одной делаем разметку для дверцы топки, отступая от низа 50 мм, и вырезаем по размеру дверки, которая у нас приготовлена заранее с одним уточнением: отверстие делаем по всем краям меньше на 1 см. Если у нас размер дверцы 220х320 мм, то вырезаем отверстие 210х310 мм. И вырезаем ещё одно отверстие для чистки дымохода 70х130 мм.

Печи для бани из металла своими руками с баком для нагрева воды
Если изготовленная металлическая печь в баню своими руками имеет не прямой выход с топки в дымоход, а с шахтами, то всегда надо делать отверстия для чистки дымоходов, если туда нельзя добраться. Если этого не сделать, то осадки золы и мелкие частицы пепла и нагар скоро уменьшат доступ в дымоход и печь начнёт дымить. Придётся или прорезать окошко, или спиливать и заваривать трубу постоянно.
- Сначала ставим боковину с будущей дверкой, обвариваем снаружи. Через окошко для топки свариваем перегородку с боковиной. Дверку для топки мы поставим в последний момент. Теперь свариваем другую боковину, которая у нас без отверстий, всё зачищаем шлифмашинкой.
- Ставим дымоход в прорезанное отверстие, прихватываем, берём уровень и мерим вертикаль с двух сторон не параллельно, а углом. Чтобы дымоход не был завален. Всё обвариваем, внизу ставим усилие для дымохода.
- Следующий этап: ставим зольник — поддувало снизу, закрывая колосник, и обвариваем его.
- И завершение сборки — привариваем дверки к топке и к отверстию для чистки дымохода, у зольника дверка есть. И привариваем ножки.
Осталось установить печь на предназначенное ей место. При этом установка проводится так, чтобы каменка расположена не в печи, а снаружи, что затрудняет нагрев камней. Камни будут нагреваться намного дольше обычного, но эффект всё же будет. Камни для печи лучше использовать морские, они быстрее нагреваются, дольше держат тепло, при содержании в них соли и йода благоприятно влияют на организм. Очень важная деталь. Если у вас изготовлена своими руками железная печь для бани, то нужно установить ее так, чтобы пол под поддувалом был из жести или плитки, в общем из негорючего материала.
sdelaikamin.ru



