Подключение одинарного выключателя – Как подключить выключатель с одной клавишей: схемы как подсоединить
схема установки, как подключить провода
После сборки и подключения входного щитка с защитными автоматами, монтажа проводки с распределительными коробками, наступает время установки выключателей света. Правильный монтаж этих коммутационных устройств позволит не только рационально осветить любую зону в помещении, но и сэкономить электроэнергию.

Установка любого выключателя может производиться своими руками. Никаких ограничений по этому поводу в законодательстве не предусмотрено. Однако существуют «Правила устройства электроустановок» (ПУЭ). Их соблюдение внутри квартиры надзорными органами не проверяется, но для общей безопасности рекомендуется их выполнять.
Общие принципы монтажа выключателей
Если вы не монтируете сложную систему проходных выключателей, существует только две основные схемы подключения:
- В корпус выключателя заводятся обе линии: фаза и ноль. Из коммутационного устройства выходит готовый жгут питающих проводников, который напрямую подключается к источнику освещения. То есть, установка выключателя фактически совмещается с монтажом распределительной коробки.

При таком способе схема более понятна (особенно для тех, кто будет впоследствии обслуживать или модернизировать систему освещения). Однако с точки зрения расхода кабеля и количества проводов в линии (штробе, гофре), подобный подход нерационален.
Еще один недостаток: в корпусе приходится монтировать контактные колодки или скрутки проводов. Поэтому для реализации схемы требуются монтажные коробки большего размера (как минимум глубины).
Несмотря на определенные сложности, многие домовладельцы выбирают именно такую схему монтажа. Во-первых, это удобно для реализации сложных схем включения света. Во-вторых, всегда есть возможность изменить конфигурацию без прокладки новых линий. Это особенно важно при замене световой точки на более «продвинутую».
Кроме того, схема с прямым подключением к источнику питания (ноль-фаза), дает возможность простой установки регуляторов освещения, а также RGB систем.
Обязательное условие при создании подобной схемы (она может быть уникальной для каждого конкретного случая), отображение разводки в графическом виде. Тогда новым владельцам помещения будет проще в ней разобраться. Да и сам хозяин со временем может забыть, что он придумал в момент подключения.
- Вынесенный выключатель. При таком способе, вся разводка выполняется в распределительных коробках, а к выключателю подводятся лишь проводники для размыкания линии.

Это стандартная схема при типовом монтаже проводки в готовых квартирах. Способ не обязательный, ПУЭ не предписывают никаких конкретных схем монтажа. Традиция зародилась еще во времена СССР, когда жилье было государственным, и бригады электриков должны были экономить на всем.
Помимо экономии проводки, есть еще один существенный плюс: стандартную схему поймет любой электрик с классическим образованием. Во всех типовых постройках советских времен, подключение света одинаковое.
Недостатки так же имеются. Как минимум, требуется установка дополнительных распределительных коробок: по одной на каждый коммутатор. Это портит эстетику стен.

Более серьезная проблема — сложности с модернизацией. Например, установка дополнительного источника света на одной линии с основным, невозможна без прокладки новой линии. Кроме того, вынесенный клавишник нельзя просто так поменять на интеллектуальный регулятор уровня освещения. При такой схеме возможна лишь установка примитивных резисторных (симисторных) систем, которые просто приглушают яркость, не экономя при этом электроэнергию.

Чаще всего, подобная схема применяется, когда требуется установка одноклавишного выключателя, не предусматривающая дальнейшей модернизации.
Тем не менее, оба способа имеют право на жизнь. Схему выбирает владелец, исходя из сложности системы освещения, и расчета затрат на электрику.
Вопросы безопасности при монтаже выключателей
Первое правило — мощность коммутатора должна превышать расчетную нагрузку как минимум в полтора раза. Контактная группа выдерживает определенный ток. При его превышении, металл будет подгорать, сопротивление возрастет. Помимо моргающего света, владельца ждут и более серьезные неисправности. Постоянное искрение в корпусе, может привести к расплавлению выключателя, и даже к его возгоранию.

Качество исполнения также имеет значение. Не следует выбирать продукцию малоизвестных брендов, и выключатели, выполненные по ТУ. На упаковке должна быть сертификация в соответствии с ГОСТ Р 50345–2010 (МЭК 60898–1), желательно ISO-9000. В дешевых подделках применяются некачественные контакты, которые быстро изнашиваются даже при допустимой нагрузке.
Следующие критерии не обязательны, но они также влияют на безопасность использования:
- прочный корпус
- надежная фиксация клавиш (они не должны перекашиваться и выпадать при переключениях)
- качественное крепление в стене
На последнем пункте остановимся подробнее. Почти все владельцы старых квартир видели выпадающие из стен розетки, и болтающиеся в коробках выключатели. В лучшем случае, такая «свобода движения» могла привести к замыканию контактов о металлическую установочную коробку, а в худшем — в темноте можно было получить поражение электротоком.
Стальные коробки устанавливались раньше, если у вас старая квартира — из соображений безопасности надо заменить их на пластиковые. Проблема в следующем: на любом выключателе внутреннего исполнения есть два варианта монтажа. Либо распорными анкерами, либо с помощью шурупов-саморезов. Первый вариант как раз применялся в металлических монтажных коробках. Со временем, упругость анкеров теряется, и упоры не держат коммутационное устройство в посадочном месте.

В бетонных стенах панельных домов уже есть цилиндрические посадочные места для коробочек. Иногда недобросовестные электрики игнорируют установку монтажных коробок, закрепляя выключатели на распорках-анкерах. Это нарушение безопасного монтажа. На бетонных, или любых других стенах, сначала с помощью строительной смеси устанавливается монтажная коробка, затем к ней крепится выключатель.

Существуют коробки для гипсокартона и СИП панелей. В любом случае, корпус встроенного выключателя, с помощью саморезов крепится именно к коробке.
Следующий важный вопрос — правильность подключения размыкаемого проводника. С одной стороны, в сетях переменного напряжения 220 вольт нет полярности. Любой электроприбор будет работать вне зависимости от того, на какие контакты подан ноль или фаза (речь идет о бытовой однофазной сети). И если для розетки этот вопрос не актуален, подключение выключателя света строго регламентировано.
Важно! На размыкающий контакт (группу контактов, если у вас двух-трех клавишник) подается только фазный провод.
Рассмотрим типовой монтаж одноклавишного выключателя. На патрон для электролампы подается два провода: ноль и фаза. Допустим, с помощью выключателя вы размыкаете нулевой провод. Свет будет гаснуть, но на одном из контактов патрона всегда будет опасный потенциал 220 вольт. Если вы при замене лампу коснетесь этого контакта, получите поражение электротоком. И это при выключенном приборе!
Кроме того, при использовании люминесцентных ламп (так называемых «экономок), в темноте будет наблюдаться паразитное свечение, которое мешает уснуть. Это же явление наблюдается на некоторых светодиодных лампах.
Поэтому нулевой провод всегда идет напрямую к источнику освещения, а фазный провод проходит через контакты выключателя.
По этому поводу, есть положительный «побочный эффект» при выборе схемы монтажа выключателя с заведением в корпус «ноля» и «фазы». Благодаря «высокой компетенции» электриков, возможна смена нулевого и фазного ввода в ваш дом. Вы можете сменить так называемую «полярность» на входе, не меняя конфигурацию всей проводки.
Выключатель с заземлением
Несмотря на кажущуюся абсурдность, есть и такие модели. Вообще, заземляющий контур не должен иметь размыкающих приспособлений по всей длине. Поэтому, контакты выключателя с заземлением не пересекаются. Могут быть заземлены металлические части корпуса: например, монтажная подложка для прочности часто выполняется из стали. При установке внутренних выключателей в ванной комнате (что в принципе нежелательно), или в местах, где на корпус потенциально может попасть влага, применяется защитное заземление. При возникновении опасного потенциала 220 вольт на корпусе и мокрой стене, произойдет замыкание либо утечка тока. Сработает защитный автомат, либо УЗО.
Геометрия коммутационных устройств в помещении
Строгих правил, за нарушение которых предусмотрены санкции, не существует. Вы можете размещать их так, как вам удобно. Например, вместо установки двухклавишного выключателя, допустимо разместить два одноклавишника рядом. Однако есть принятые в Евросоюзе и Российской Федерации стандарты, выполнение которых рекомендовано для вашей же безопасности.
- Выключатели размещаются на высоте 90–120 си от пола. Это удобно при использовании (не надо тянуться рукой вверх), и безопасно для детей. Чтобы дотянуться до выключателя на высоте 160 см, ребенок вынужден подставлять табурет. Это может привести к падению.
- Выключатели не рекомендуется располагать рядом с розетками. В темноте вы можете прикоснуться к ним мокрой рукой — это небезопасно.
- Из соображений эргономики, выключатели устанавливаются на расстоянии не менее 10 см от дверных косяков, оконных проемов и углов (как внутренних, так и наружных).
- Разумеется, не должно быть никаких коммутационных устройств внутри мебели. Перед монтажом электропроводки, следует предусмотреть места установки шкафов, полок и пр.
- Типовое расположение клавиш — снизу вверх «включено», сверху вниз «выключено». Установка двойного (тройного) выключателя выполняется по принципу: ближняя клавиша — малый свет, каждый следующий шаг — увеличение яркости.
- Включение света в разных комнатах на спаренном выключателе не рекомендуется, за исключением туалета и ванной комнаты. Да и в этом случае, рациональнее установить двойной модуль на каждое помещение: одна клавиша — свет, вторая клавиша — вентилятор.
Нужна ли подсветка выключателей

Это удобная функция, в темноте не придется нащупывать клавиши. Однако есть и побочные явления. Вне зависимости от того, как реализована подсветка (светодиод с резистором или неоновая лампа), возникает небольшая гальваническая связь между фазным и нулевым проводом. Это не влияет на безопасность, но некоторые типы ламп могут слегка светиться в состоянии «выключено».
Подключение двух или трехклавишных выключателей
Если у вас не реализована система регулировки яркости освещения, есть смысл подключать многорожковый люстру комбинированным способом. Например, двухклавишник дает возможность выбрать 3 уровня освещения (на светильнике с 6 лампами):
- первая клавиша — 2 лампы
- вторая клавиша — 4 лампы
- обе клавиши — 6 ламп
Схема подключения не зависит от способа установки выключателя (смотреть раздел «Общие принципы монтажа выключателей»). На общий контакт подается фазный провод, а к выходным контактам подключаются необходимые группы потребителей (2 лампы или 4 лампы на люстре).
При подключении различных источников света, принцип подключения тот же, за исключением объединенного нулевого провода. Он должен быть разведен на обе светоточки.
Например, с помощью одного трехклавишного блока, можно включать люстру с тремя степенями яркости (смотреть описание выше), и ночник. На практике обычно применяются выключатели не более чем с двумя клавишами в одном корпусе. Исключение лишь в случае с тотальной экономией места.
Бесконтактные выключатели
Для комфорта использования, выпускаются коммутационные устройства без механических клавиш. Например:
- сенсорные срабатывают на поднесенную руку;

- акустические включают (выключают) свет по хлопку или голосовой команде;
- выключатели с датчиками движения (присутствия) также срабатывают без механического контакта.
Существуют еще автоматические выключатели, которые срабатывают по таймеру, либо при подаче внешней команды (звонок по телефону, СМС, или управление с помощью компьютерного приложения). Правда, монтаж автоматических выключателей должен предусматривать возможность принудительной разблокировки. На случай, если электроника даст сбой.
Установка сенсорного выключателя, равно как и любого другого со схемой управления, с точки зрения электромонтажных работ ничем не отличается от обычной «механики». Силовые контакты подключаются по тому же принципу. Разве что схема «вынесенный выключатель» от распределительной коробки может не сработать.
А вот схема управления может потребовать квалифицированного подхода. Как минимум, блок управления требует отдельного питания. Это может быть встроенный модуль в корпусе, либо вынесенное устройство, которое необходимо скрытно смонтировать неподалеку.
Автоматические выключатели для систем освещения
Несмотря на то, что установка автоматического выключателя для питания световых точек практически не применяется, для экономии оборудования такое подключение допустимо. В этом случае, на щитке питания выделяется отдельная группа «автоматов», на которые напрямую заведена осветительная сеть. Подключение производится по стандартной схеме: контакты размыкают фазу.
Не рекомендуется установка автоматических выключателей для освещения рядом с иными «автоматами».

Иначе при выключении света, можно ошибочно обесточить важный узел. Если есть возможность, такие выключатели размещаются в отдельном щитке.
Преимущество способа: автоматы рассчитаны на более высокую нагрузку, и сразу включают в себя функции защиты. Надежность таких устройств выше, в сравнении с бытовыми выключателями. Недостаток — при использовании в жилом помещении такой коммутатор выглядит не эстетично.
Итог
Как видно из описания, установка домашних выключателей не представляет сложности. Для сравнения, монтаж вакуумного выключателя на производстве требует сложного оборудования, и квалифицированного персонала. Применяются специальные сплавы, высокопрочные болтовые стяжки.

А контактные группы бытовых электроприборов рассчитаны на прямое подключение проводов, без использования специальных клемм.
Видео по теме
profazu.ru
Установка и подключение выключателя своими руками
Освещение в квартире является важной составляющей всей домашней электропроводки. В свою очередь, освещение без выключателей представить сложно. Поэтому установка выключателя довольно востребованный вид электромонтажных работ, научиться которому не составит большого труда. В этой статье мы подробно рассмотрим, как выполнить подключение выключателя своими руками.

Виды выключателей
Современные выключатели классифицируются на несколько видов.
По своей конструкции:
- одноклавишные;
- двухклавишные.
По способу монтажа:
- внутренние;
- наружные.
Выбор, какой именно установить, зависит от вида вашей электропроводки и от типа светильника.
Особенности подключения выключателя
Выключатель представляет собой коммутационное устройство для замыкания и размыкания электрической цепи путем разрыва фазы.
Поэтому через выключатель должен проходить именно фазный провод, никак не нулевой, который должен проходить к месту установки светильника напрямую от распределительной коробки.
В некоторых квартирах иногда встречается неправильное подключение. Это чревато тем, что при выключенном свете во время замены лампочки может произойти поражение электрическим током, так как вместо фазы отключен ноль, и патрон от лампочки находится под напряжением.

Схема подключения выключателей
При обнаружении такого неправильного подключения следует поменять фазность проводов. Для этого в распределительной коробке нужно поменять схему на правильную.
При установке данного устройства возникает вопрос, на какой высоте устанавливать его, есть ли какие-то правила и стандарты. Согласно правил устройства электроустановок:
- Выключатели рекомендуется устанавливать на стене со стороны дверной ручки на высоте до 1 м, допускается устанавливать их под потолком с управлением при помощи шнура.
- Любые выключатели и штепсельные розетки должны находиться на расстоянии не менее 0,6 м от дверного проема душевой кабины.
- Минимальное расстояние от выключателей, штепсельных розеток и элементов электроустановок до газопроводов должно быть не менее 0,5 м.
В советское время были несколько иные требования, на какой высоте устанавливать выключатели в квартире. Стандартная высота была на уровне 1,6 м. Поэтому во многих квартирах они и сейчас расположены «на уровне глаз».

Подготовка рабочего места
При выполнении любых электромонтажных работ в первую очередь необходимо отключить подачу электроэнергии, проверить отсутствие напряжения, исключить возможность повторного несанкционированного включения напряжения. С помощью индикатора напряжения определить, какой из проводов в распределительной коробке является фазным, и пометить его маркером.
Подготовить необходимые инструменты:
- пассатижи;
- индикатор напряжения;
- отвертка;
- нож строительный;
- маркер.

Подключение внутреннего одноклавишного выключателя
Выключатель такого типа устанавливается в квартирах с внутренней электропроводкой, то есть вся проводка скрыта в стене.
В месте установки розетки должно быть углубление, в которое установлена специальная коробка для выключателя, в которую выведен провод.
Порядок работы:
- Подготовка выключателя к монтажу. Необходимо разобрать выключатель, для этого, открутив винты, соединяющие кнопку с рамкой, нужно снять ее с рамки.
- Срезать изоляцию с проводов в месте их присоединения, оставив около 1 сантиметра оголенного участка на каждом.
- В отверстия для проводов вставить оба фазных провода: идущий от распределительной коробки во входное отверстие и идущий от выключателя к месту установки светильника в выходное отверстие.
- Туго закрутить винты для надежной фиксации проводов, которые не должны свободно двигаться.
- Установить механизм в специальную коробку в стене и надежно зафиксировать во избежание расшатывания.
- Установить на механизм снятую ранее рамку и закрепить ее винтами.
- Установить клавиши выключателя.

Если речь идет не о замене, а о монтаже нового выключателя возникает необходимость монтажа специальной коробки под выключатель. Делается это следующим образом:
- В месте установки выключателя электропроводки сделать нишу-углубление в стене по размеру чуть больше размеров коробки.
- Вывести через отверстие в дне коробки фазный провод. Закрепить коробку в нише с помощью любого раствора для штукатурки.
Подключение наружного одноклавишного выключателя
Если домашняя электропроводка выполнена открытым способом, то есть поверх стен, то применяются наружные выключатели. В данном случае коробка под выключатель не применяется, выключатель крепится прямо на стену с помощью саморезов, а в некоторых случаях, и дюбелей.
Порядок работы:
- Разобрать выключатель. Для этого снять с него клавиши, открутить винты, крепящие механизм к корпусу.
- Срезав изоляцию на концах проводов, вставить фазный провод, идущий от распределительной коробки во входное отверстие механизма, а идущий от выключателя к месту монтажа светильника в выходное отверстие.
- Закрутить винты для надежной фиксации проводов.
- Закрепить на стене подрозетник с механизмом, соединить с корпусом выключателя. Некоторые модели выключателей бывают без подрозетника, в таком случае механизм крепится прямо на стену.
- Установить клавишу.

Наружный одноклавишный выключатель
Подключение двухклавишного выключателя
Установка такого вида выключателя применяется в следующих случаях:
- Плафоны люстры разделены на секции для регулирования уровня освещенности, каждая секция подключается к отдельной кнопке выключателя.
- Выключатель подключен к автономным светильникам.
Если с одноклавишным выключателем все понятно и просто, то подключение двухклавишного кажется намного сложнее: клеммная коробка отличается и проводов побольше. На самом деле больших затруднений это вызвать не должно, алгоритм подключения тот же. Устройство ненамного отличается от одноклавишного.
Порядок работы:
- Разобрать выключатель. Механизм несколько отличается от одноклавишного. Но в этом нет ничего страшного: в современных выключателях все контакты маркируются. L — контакт для питающей фазы, отходящие контакты обозначены стрелками вниз.
- Срезав изоляцию с проводов в месте их присоединения, присоединяем провода к соответствующим контактам механизма.
- При внутренней установке закрепить механизм в специальной коробке в стене, надеть снятую ранее рамку. При наружной — закрепить на стене, установить корпус выключателя.
- Установить клавиши.
Подключение выключателя с подсветкой
Кто хотя бы однажды в поисках выключателя в полной темноте, не спотыкался об лежащую на полу обувь и другие предметы, и, ругаясь, с трудом нашаривал на стене заветную кнопку? Эта ситуация всем до боли знакома. Поэтому для облегчения поисков и был создан выключатель с подсветкой. При выключенном свете индикатор светится и указывает на его местонахождение.
Принцип конструкции и работы выключателя с подсветкой
В отличие от обычного, выключатель с подсветкой снабжен световой индикацией, в роли индикатора выступает неоновая лампа или светодиод, подключенный параллельно к контактам устройства и токоограничивающий резистор, понижающий напряжение в сети.
Когда мы отключаем свет, и в контактах выключателя происходит разрыв фазы, идущей к светильнику. Но при этом цепь, к которой подключен светодиод индикатора, не разрывается. Резистор понижает входящее напряжение до минимума, необходимого для включения светодиода.
При включении света, индикатор отключается. Это происходит от того, что ток идет по пути наименьшего сопротивления. К светильнику подведен провод с сечением значительно большего, чем у провода, идущего к светодиоду, а значит и сопротивление значительно меньше.

Выключатель с подсветкой
Возникает резонный вопрос: если загорается светодиод индикатора, значит есть напряжение, почему тогда не включается лампа в светильнике? Все дело в резисторе, через который проходит ток к светодиоду. Он понижает напряжение до уровня, которого не хватает для включения лампочки в люстре, но хватает для включения светодиода.
Подключение выключателя с подсветкой выполняется так же, как и обычного.
Выключатель с подсветкой не рекомендуется подключать совместно с люминесцентными или светодиодными лампами, оснащенными пускорегулирующим устройством. Причина в том, что при отключенном выключателе ток, идущий через светодиод к лампе, заряжает фильтрующий конденсатор, которому для зарядки много тока не нужно. Конденсатор, в свою очередь, пытается включить схему запуска энергосберегающей лампы. Однако заряда конденсатора не хватает, он разряжается, и лампа снова гаснет. И так может продолжаться бесконечно.
Поэтому выключатель с подсветкой устанавливается только на лампы накаливания или галогенные лампы.
Также следует обратить внимание на то, что если лампа отсутствует или перегорела, подсветка не будет работать. По той простой причине, что светодиодному индикатору, чтобы он загорелся, нужны и ноль, и фаза. А ноль к индикатору идет от выключенной люстры на потолке. Если лампа отсутствует, то значит и цепь питания разорвана.

Схема подключения выключателя с подсветкой
Соблюдение техники безопасности
Ну вот мы и разобрали, как выполнить установку выключателей – одну из наиболее простых электромонтажных работ, не требующей особых умений и талантов. Если заранее все изучить и понять, что, как и почему именно так делается, то Вы легко и быстро сможете проделать эту доселе не знакомую процедуру установки выключателя.
И один из важнейших моментов – это соблюдение техники безопасности, иначе сила тока будет проверять вас на прочность. А правил техники безопасности не так уж и много:
- Перед началом работы прекратить подачу электроэнергии, отключив автоматы в электрощите. Принять меры для исключения возможности повторной подачи напряжения.
- Все инструменты должны быть исправны. Необходимо проверить отсутствие повреждений и сколов на изолирующих частях инструментов.
Видео об установке выключателей
otlichnyjremont.ru
Как установить выключатель :: Инфониак
Полезные советы Содержание:
Подключение одинарного выключателя
Подключение двойного выключателя
Как установить выключатель (видео)
В каждом доме имеется электрический выключатель, который поистине можно назвать домашним тружеником. Поэтому каждый из нас хоть раз в жизни сталкивался с проблемой, как поставить новый выключатель, при этом не каждый знает, как это правильно делать.
В нашей традиционной рубрике «Полезные советы» мы расскажем и покажем, как нужно устанавливать выключатель.
Читайте также:
Как установить розетку
Как установить межкомнатную дверь
Как выбрать ламинат
Как выбрать краску для стен и потолка
Как класть ламинат
Виды обоев: преимущества и недостатки
Как клеить обои
Как правильно красить стены
Подключение одинарного выключателя

Для того чтобы произвести электромонтаж выключателя, вовсе необязательно быть электриком высшего разряда. Скажем так: если следовать четким инструкциям и не работать с включенным напряжением, то все у Вас получится.
В основу принципа работы выключателя входит подача им на контакты патрона лампы фазы. Согласно стандартам безопасности, ноль соединяется напрямую, не обрываясь, до лампы. Поэтому работать предстоит только с проводом фазы.
Нам необходимо будет прервать фазный провод, прежде чем он дойдет до лампы, что даст возможность управлять электроподачей (в данном случае с помощью выключателя).
Соответственно для этого фазный провод нужно «пропустить» через наш выключатель, чтобы через него подавать ток, когда мы пожелаем, на условную электролампу. Под электролампой подразумевается любой светильник или люстра.
Конечно, нужно знать, где в Вашем помещении с электропроводкой ноль, а где фаза. Об этом было подробно рассказано в статье «Как подключить розетку».
Ноль в нашем случае идет напрямую к лампе, и это нельзя изменять.
Следует отметить, что выключатели бывают наружные и внутренние. Наружные выключатели безопаснее, а внутренние эстетичнее.
Расположение выключателя

Во время проведения современного ремонта принято располагать выключатель света со стороны ручки двери, причем на расстоянии не менее 10 см от двери. Высота, на которую ставят выключатель, обычно составляет 0,9 м.
Однако правила ПУЭ (правила устройства электроустановок) не указывают на конкретные расстояния, по которым должен располагаться выключатель в доме (квартире), кроме минимальных норм:
7.1.48 Выключатель должен находиться на расстоянии не менее 0,6 м от душевой кабины.
7.1.50 От газопровода выключатель должен находиться на расстоянии не менее 0,5 м.
Порядок подключения
Вам понадобятся:
- Нож
- Индикаторная отвертка
- Плоскогубцы
- Уровень.
1. Сначала обязательно отключите все провода от электропитания с помощью автоматов в щитовой.
2. Нам нужно смонтировать подрозетник. Это делается также, как и с розеткой. Подробно об этом можете прочитать здесь.
3. После того, как смонтирован подрозетник и проведены провода, снимаем с конца фазного провода изоляционный слой плоскогубцами примерно на 1 см.
4. Теперь нужно присоединить к выключателю входящий провод (обычно он обозначается буквой «L» на розетке) и исходящий провод, идущий на лампу (обычно обозначающийся стрелкой, направленной вниз). Фиксируются провода к выключателю с помощью вспомогательных небольших болтов.
5. Затем помещаем наш выключатель в подрозетник. Если конструкция выключателя имеет принцип натяжки лапок, то закручиваем их поочередно для равномерного входа розетки в подрозетник. Если же розетка без лапок, то просто прикручиваем имеющиеся болты. При этом пользуемся уровнем для равномерного расположения выключателя.
6. Теперь защелкиваем или закрепляем болтами (опять же таки в зависимости от конструкции) внешнюю крышку выключателя.
Подключение двойного выключателя

Принцип подключения одинарного выключателя и двойного остается прежним с той лишь разницей, что теперь у нас будет один вход и два выхода.
Схемы подключения к разным выключателям могут быть разные из-за того, что входной контакт может располагаться по-разному (слева, справа, вверху или внизу).
Для определения входа в выключателе можно воспользоваться мультиметром.

1. Сначала поставим на мультиметре режим прозвона посредством замыкания щупов прибора. После чего, услышав звуковой сигнал, определяем вход выключателя.
Не забывайте! При любых работах с электропроводкой обязательно ее полностью отключаем от электропитания.
2. Устанавливаем кнопки на нашем выключателе в положение «вкл.».
3. Один щуп мультиметра прикладываем к предполагаемому входу, а другой – к предполагаемому выходу. Если Вы услышали звуковой сигнал, то это значит, что Вы все делаете правильно, а если нет, то продолжаем «гадать», где вход, а где выход.
4. Когда Вы найдете вход и два выхода, то лучше себя перепроверить. Для этого при воткнутых щупах мультиметра включите выключатель клавишами. Если вход и выходы были найдены правильно, то сигнал прибора будет прерываться, а, следовательно, также будет включаться и выключаться лампа.
Совет! Конечно же, не у каждого имеется в хозяйстве такой прибор как мультиметр. В этом случае можем посоветовать обратить внимание на пометки с тыльной стороны выключателя.
Такими пометками, как правило, обозначают:
- L3 (вход)
- L1 (выход)
- L2 (выход).

В крайнем случае, можно при покупке выключателя проконсультироваться у продавца по этому вопросу.
5. Вот и все. Устанавливаем выключатель в подрозетник. Закрепляем. Устанавливаем декоративную крышку.
Возобновляем электропитание и проверяем проделанную работу.
Как установить выключатель (видео)
www.infoniac.ru
Схема подключения выключателей – одинарного и двойного
При покупке выключателей обратите внимание на то, нанесена ли на обратной стороне схема контактов, в противном случае придется прозванивать выключатель тестером для ее определения.
Внимательно изучите схему выключателя, определите, где общий вывод выключателя, где разорванные фазы. Следует отметить, что разорванной может быть только фаза, размыкать нулевую фазу запрещено ПУЭ (ПУЭ-2009, п.6.6.26). Нулевая фаза соединяется в обход выключателя.
Итак, место установки выключателя определено, на нем вырезано углубление под распределительную коробку. В распределительную коробку заведено питание, как правило, это двужильный провод, одна жила которого является фазным проводником, другая – рабочим нулевым. Если для устройства проводки использован провод без цветовой маркировки, при помощи тестера необходимо определить где какая жила и пометить их любым удобным способом. Для подключения светильника потребуется двухжильный провод для одноклавишного выключателя и трехжильный для подключения двухклавишного выключателя. Если провод не имеет цветовой маркировки – жилы необходимо пометить любым удобным способом на обоих концах. Провод необходимо монтировать на стену и потолок, оставив необходимое количество для монтажа светильника и выключателя.
Далее следует обесточить провод питания и обязательно проверить, действительно ли нет тока, например, при помощи индикаторной отвертки. Теперь можно приступать к монтажу выключателя.
Фазу от питания подключаем к общему выводу выключателя, нулевую жилу от питания соединяем с нулевой жилой от светильника методом опрессовки, пайки или при помощи специальных наконечников (скрутки пока не запрещены, но их применение не приветствуется контролирующими органами). Оставшиеся фазные жилы провода от светильника подключаем к соответствующим выходам выключателя. Подключенный выключатель можно закреплять на стене.
Теперь можно подключить светильник. С одинарным выключателем все просто – фазу – к фазе люстры, ноль – к нулю люстры (жила синего цвета). При подключении люстры к двойному выключателю необходимо соединить жилы – нулевые к нулю, каждую фазу к своей клавише на выключателе. Если же люстра более, чем на две лампочки, то необходимо их разделить на две группы и в каждой группе соединить между собой фазные провода, нулевые соединить все вместе и подключить к нулевой жиле, ведущей к распределительной коробке, фазный провод одной группы – к одной клавише, второй – к другой.
Схема подключения одинарного выключателя:

Схема подключения двойного выключателя:

Схема подключения пятирожковой люстры к двойному выключателю:

Все соединения выполнять методом спайки, опрессовки или используя специальные наконечники и, конечно же, каждый контакт как следует изолировать.
После проверки всех контактов и закрепления люстры можно подавать напряжение.
ucc.com.ua
Подключить выключатель: пошаговая инструкция + фото
На сегодняшний день выключатели света просто поражают своим разнообразием. На рынке вы сможете найти широкий ассортимент этой продукции. После покупки вам необходимо будет подключить выключатель света в своем доме. Этот процесс считается простым в том случае, если у вас есть определенные знания.
В этой статье мы предоставили вашему вниманию наиболее подробную информацию. Здесь вы узнаете, как подключить выключатель света с одной, двумя и тремя клавишами. Для начала вам необходимо будет изучить и понять, где необходимо использовать эти модели.
На сегодняшний день практически каждый человек знает, зачем нужен выключатель света. Обычно одноклавишное изделие используют для того, чтобы обесточить одну группу светильников. Этот продукт вы сможете установить практически в любой комнате, которая имеет только одну группу светильников.
Двухклавишный выключатель соответственно позволяет осуществлять свою работу с двумя группами светильников. Например, если в вашей комнате установлено основное освещение и софиты, тогда управлять их работой можно отдельно. Одна клавиша будет отвечать за основное освещение, а вторая за дополнительное.
Трехклавишный выключатель способен регулировать работу трех групп лампочек. Обычно это изделие пользуется высокой популярностью в гостиной или в спальне.
Сейчас вы узнаете, как правильно подключить включатель с одной, двумя или тремя клавишами. Мы предоставили вашему вниманию не только информационную, но и фото инструкцию, которая сможет помочь вам выполнить этот процесс правильно.
Подготовительные этапы работ
Перед тем как выполнить подключение выключателя вам необходимо будет определиться с инструментами и технологией монтажа. Вот основные моменты, которые помогут выполнить правильный монтаж вашей конструкции:
- Для подключения проводов можно использовать способы пайки или подключение провода с помощью клемм.
- Перед началом работ вам необходимо будет отключить подачу электроэнергии.
- Для правильной работы выключателя к нему необходимо подводить только фазный, а не нейтральный провод. Если вы неправильно выполните подключение, тогда вас может ударить током.
- Перед тем как подключить свое устройство вам необходимо изучить цветовую маркировку проводов.
Вот это основные рекомендации, которых вам необходимо придерживаться для того, чтобы подключить выключатель света своими руками. Также вам потребуется следующий список инструментов, который позволит выполнить подключение:
- Плоскогубцы.
- Нож электрика.
- Отвертки.
- Соединители.
Правильная разводка провода
При подключении выключателя любого вида вам потребуется схема разводки проводов. На схеме должна изображаться прокладка провода от распределительной коробки и до выключателя. Сейчас мы рассмотрим все схемы подключения. Для трехклавишного выключателя провода необходимо разводить подобным образом.
Одна клавиша
Подключить одноклавишный выключатель достаточно просто. Выполнить этот процесс сможет даже неопытный электрик.
Вводный ноль вам необходимо будет подключить с нолем на выключателе. Обычно этот провод имеет синий цвет. Фазный провод сначала будет идти к вашему выключателю, а затем он будет возвращаться к распределительной коробке. Только после этого он соединится с лампой. Как видите, со схем, которые мы вам предоставили, этот процесс не является сложным.
Две клавиши
Схема подключения двухклавишного выключателя может немного отличаться. Этот процесс в первую очередь связан с тем, что разрыв цепей будет осуществляться отдельно для каждой клавиши. Здесь в распределительную коробку будет отходить две группы проводов. При входе в коробку вам необходимо соединить свой синий проводник с другими проводами.
Фаза при подключении будет вестись на разрыв двух кнопок, а затем она будет фиксироваться в отдельном отверстии. Два исходящих провода в этом выключателе будут идти к каждой группе светильников.
Как правило, двухклавишный выключатель может иметь три отверстия. Два из них будут находиться, с одной стороны. Еще одно отверстие будет находиться, с другой стороны. Там, где располагается одно отверстие вам необходимо подключить входящую фазу. С другой стороны вам необходимо подключить исходящие фазы. Здесь вы можете прочитать, как провести разборку выключателя.
Три клавиши
Для того чтобы подключить трехклавишный выключатель вам потребуются определенные знания. Ноль, как и в предыдущих случаях, вам необходимо будет соединить еще в распределительной коробке. Вводная фаза должна направляться на разрыв. После ввода необходимо подключить исходящие фазы, которые будут идти на три группы светильников.
Как подключить выключатель?
После того как вы выполнили все соединения проводов в выключателе вам необходимо будет его установить. Монтаж выключателя может выполнить практически каждый, и сейчас мы об этом поговорим. После того как вы подвели провода их необходимо надежно закрепить.
Теперь можно приступать к его фиксации в распределительной коробке. В распределительной коробке он будет крепиться с помощью специальных зажимов. Они располагаются по бокам этого изделия. Сначала вставьте выключатель в розетку, а затем отверткой зажмите его контакты. После зажима болтов выключатель будет надежно держаться в стене.
После того как сердцевина выключателя будет надежно закреплена в штробе вы можете приступить к установке декоративной рамки. После того как декоративная рамка будет установлена вы можете приступать к проверке устройства на работоспособность устройства. Вот это была подробная инструкция по установке этого прибора. Как видите, подключить выключатель может практически каждый.
Читайте также: подключение двухклавишного выключателя.
vse-elektrichestvo.ru
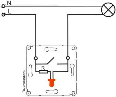
Схема подключения и установка одноклавишного выключателя
Одноклавишный выключатель является простейшим изделием, предназначенным для управления освещением дома.
Время от времени такие изделия приходиться ремонтировать или заменять, поэтому желательно представлять схему их включения и принцип работы.
В нашей статье вы найдете ответы на свои вопросы, схему и видео-рекомендации по подключению одноклавишного выключателя.
Где применяется
Выключатель является частью схемы, в состав которой входят источник и потребитель электроэнергии. В данном варианте это сеть в 220 В и светильник. Для включения и выключения такого светильника между ним и сетью должно иметься отключающее устройство.
Выключатель, имеющий одну клавишу, включается последовательно в фазовую линию сети. В принципе, он может быть включен и в нулевую линию, но это, во-первых, будет противоречить правилам ПУЭ, а, во-вторых, это будет небезопасно при обслуживании электрических аппаратов.
Опасность состоит в том, что при установке прибора в нулевую линию узлы потребителя энергии будут находиться под напряжением даже тогда, когда он находится в выключенном состоянии. И при прикосновении к электроаппарату человек может оказаться пораженным током.
Для подключения осветительной лампы к сети с использованием выключателя обычно используется распределительная коробка, в которой производится коммутация. При этом к ней подходит 6 электрических линий – по двум подается напряжение, две идут к лампе и две идут к выключателю.
Как правильно выбрать
В зависимости от вида электропроводки (открытой или скрытой) в доме могут быть применены выключатели одного или другого вида. Они отличаются своей конструкцией в части установки их на стену. В первом случае аппарат устанавливается на размещенную на поверхности стены деревянную пластинку, во втором — в заглубленный в стену металлический или пластмассовый подрозетник.
В любом случае при выборе коммутатора следует обращать внимание на его предельные характеристики. Обычно величина рабочего напряжения стандартного аппарата равно 220 В, а рабочего тока -10 А.
В паспорте указывается также максимальная коммутируемая мощность (стандартная -2,2 кВт).
При этом, мощность потребителя, например, осветительных средств дома, не должна превышать этой максимальной мощности.Установка и видео-инструкции
При монтаже системы управления светом наибольшее внимание надо уделять:
- Правильному соединению элементов в коробке (блоке) распределения.
- Правильному подключению самого выключателя.
Схема подключения одноклавишного выключателя к лампочке:

Для выполнения первого правила надо сделать следующие операции:
- Определить фазовую линию, подходящую с сетевой стороны. Для этого можно использовать пробник – отвертку с неоновой лампочкой. Если поднести пробник к фазе, то неоновая лампочка начнет светиться. Если же пробник поднести к нулю, то свечения не будет.
- Отключить питание на квартирном щите.
- Соединить фазу с одним из кабелей, идущих к выключателю.
- Соединить второй кабель, идущий от выключателя, с проводом, который подходит к центральному контакту цоколя осветительной лампы.
- Соединить с сетевым нулем провод, идущий от внешнего контакта цоколя.
Соединение зачищенных концов можно осуществлять различными способами:
- скруткой и последующей пайкой с дальнейшим изолированием этого места лентой или специальными колпачками;
- винтовыми или болтовыми зажимами;
- с помощью клеммных колодок;
- пружинными зажимами, например, типа Wago.
Наиболее надежный контакт в данном случае обеспечивает первый вариант. Винтовые и болтовые соединения надежны, но при их выполнении возможны повреждения соединяемых элементов. Пружинные зажимы можно выполнить очень быстро, но со временем пружины ослабевают, что приводит к искрению и подгоранию.
Для выполнения второго правила надо выполнить такие операции:
- Снять клавишу устройства с применением отвертки с тонким жалом. При этом следует учитывать, что современные пластмассовые корпуса приборов имеют очень хрупкое строение, поэтому действовать надо осторожно.
- Укрепить накладной вариант прибора шурупами на деревянном подрозетнике. Винтами подсоединить к контактам проводники, идущие от блока распределения.
- При скрытой проводке вначале произвести подключение проводов. Затем корпус установить в нишу стены и закрепить его специальными лапками путем затягивания винтов крепления.
- Установить клавишу на место.
Узнайте из этого видео, как правильно подключить одноклавишный выключатель света:
В следующем видео мы расскажем, как правильно установить одноклавишный выключатель:
В заключение надо включить автомат на щитке и проверить работоспособность системы и ее регулировку.
Подведем итоги. Для управления отключением потребляющих электроэнергию средств, например освещения, используются одноклавишные выключатели. Такие аппараты включаются в фазовый провод последовательно со средством освещения.
Монтаж системы отключения устройств, использующих электроэнергию, производится с использованием специальной распределительной коробки.
Прибор необходимо выбирать таким образом, чтобы его предельные электрические характеристики были равны или больше таких характеристик потребителей тока.
elektrik24.net
Подключение выключателя
Подключаем включатель сами

Как писалось раннее для того что бы сделать электромонтаж необязательно быть профессиональным электриком. Главное внимательно изучить предстоящую задачу и ни в коем случае не работать, под напряжением. В этой статье рассмотрим варианты подключения выключателя. Для кого то это мелочь но для людей, которые не слишком разбираются в электрике это достаточно сложный вопрос.
Итак, вспоминаем программу по физике за седьмой класс, готовим индикаторную отвертку, плоскогубцы и нож. Перед тем как приступить к подробному описанию подключения выключателя, объясню вкратце принцип его работы.
Принцип выключателя достаточно прост, если вы не помните школьную программу по физике то это не беда.
Для того что бы лампочка зажглась нам необходимо подать на контакты патрона фазу и ноль. По существующим стандартам электробезопасности ноль идет напрямую и без разрыва до конечного потребителя (в нашем случае это электролампочка).
Исходя из выше написанного, работать нам предстоит с фазным проводом. Прежде чем дойти до лампочки его необходимо прервать, для того что бы мы могли управлять освещением. Для этого мы пропускаем Фазу через выключатель, то есть с распределительной коробки фаза приходит на выключатель а с него мы подаем в нужное время эту же фазу, на электролампочку.
А теперь, хватит теории давайте рассмотрим наглядно, подключение выключателя к лампочке.

Взглянув на схему выше, вы убедились, что она довольна проста. Справа в распределительную коробку входят коричневый и синий провод, то есть это питающие провода распределительной коробки.
Синий провод (ноль) сразу идет к лампочке, и ни в коем случае не нужно это изменять.
Коричневый провод (Фаза) нам необходимо довести до выключателя, При помощи скрутки или клемника присоединяем провод идущий к выключателю (если у вас одинарный выключатель то для его подключения достаточно двух проводов).
После распределительной коробки Фаза подключается к нижнему контакту выключателя (опционально для каждой марки выключателя). Второй провод присоединяем к выходу выключателя, смотрим внимательно на схему. С выключателя он возвращается в распределительную коробку и с помощью скрутки или клемника подсоединяется к второму проводу идущему от электролампочки.
Вот и все мы благополучно присоединили одинарный выключатель к электролампочке.
Запомните !!!
1. На выключатель подается только Фаза независимо одинарный он или двойной.
2. Ноль строго без разрывов идет из распределительной коробки к электролапочке.
3. Все работы проводятся строго без напряжения.
После того как вы все сделали необходимо проверить что именно вы подключили к выключателю. Берем индикаторную отвертку и приставляем ее к входу в выключатель, если сигнальная лампочка загорелась то все в порядке, если нет смотрим схему подключения в распределительной коробке и при необходимости меняем местами фазу и ноль.
Следующий этап это подключение двухклавишного выключателя.
Суть подключения одинарного и двухклавишного выключателя остается прежней ВХОД и ВЫХОД.
Если в случае с одинарным выключателем мы получили один вход и один выход, то с двухклавишным у нас получается один вход и два выхода. Как вы уже поняли для его подключения нам необходимо проложить от распределительной коробки не два, а три провода.
Смотрим ниже схему подключения двухклавишного выключателя.

Как видите мы просто размножили выход с выключателя а принцип его работы точно такой же как и у одинарного.
Предоставленные выше схемы подключения могут отличатся благодаря расположению входного контакта на выключателе. На разных моделях он может быть установлен по разному (внизу, вверху, справа и слева).
Определение входа в выключатель
Для того что бы определить где именно вход в выключатель на потребуется мультиметр. Ставим мультиметр на прозвонку, то есть предварительно замкнув два щупа мультеметра, щелкаем переключателем. Когда раздастся звуковой сигнал, приступаем к определению входа выключателя.
На двухклавишном выключателе три контакта

Один из них вход и два выхода, значит, включаем выключатель и приступаем к прозвонке. Один щуп ставим на предполагаемый вход и оставшийся щуп на предполагаемый выход. Если раздался звуковой сигнал значит, вы угадали, ну а если нет то меняем расположение щупов. После того как вы нашли один вход и два выхода пощелкайте клавишами выключателя, если все правильно то сигнал будет прерываться а следовательно и отключать электролампочку.
Конечно, не в каждом доме есть мультиметр, ну на нет и суда нет. Смотрим на выключатель с обратной стороны. В основном на двухклавишных выключателях вход это L3 а L1 и L2 соответственно выход. На крайний случай спросите у продавца, где на выключателе вход и он вам с удовольствием поможет в этом нелегком деле)))))).
| < Теплый пол | Выбор штробореза > |
|---|
| < Предыдущая | Следующая > |
|---|
elektro-blog.ru










