Π Π΅Π³ΡΠ»ΡΡΠΎΡ ΠΎΡΠ²Π΅ΡΠ΅Π½ΠΈΡ Π΄Π»Ρ Π»Π°ΠΌΠΏΡ Π½Π°ΠΊΠ°Π»ΠΈΠ²Π°Π½ΠΈΡ β Π£ΡΡΡΠΎΠΉΡΡΠ²ΠΎ, ΡΡ Π΅ΠΌΠ° ΠΈ ΠΏΠΎΠ΄ΠΊΠ»ΡΡΠ΅Π½ΠΈΠ΅ Π΄ΠΈΠΌΠΌΠ΅ΡΠ° Π΄Π»Ρ Π»Π°ΠΌΠΏ Π½Π°ΠΊΠ°Π»ΠΈΠ²Π°Π½ΠΈΡ
ΠΠΈΠΌΠΌΠ΅Ρ Π΄Π»Ρ Π»Π°ΠΌΠΏ Π½Π°ΠΊΠ°Π»ΠΈΠ²Π°Π½ΠΈΡ — ΡΡ Π΅ΠΌΡ ΠΏΠΎΠ΄ΠΊΠ»ΡΡΠ΅Π½ΠΈΡ, ΠΊΠ°ΠΊ Π²ΡΠ±ΡΠ°ΡΡ ΠΈ ΡΡΡΠ°Π½ΠΎΠ²ΠΈΡΡ
ΠΠ°ΠΌΠΏΡ Π½Π°ΠΊΠ°Π»ΠΈΠ²Π°Π½ΠΈΡ, Π½Π΅ΡΠΌΠΎΡΡΡ Π½Π° Π½Π΅ΡΠΊΠΎΠ½ΠΎΠΌΠΈΡΠ½ΠΎΡΡΡ ΠΈ Π½Π΅Π΄ΠΎΠ»Π³ΠΎΠ²Π΅ΡΠ½ΠΎΡΡΡ ΠΏΠΎ-ΠΏΡΠ΅ΠΆΠ½Π΅ΠΌΡ ΠΏΡΠΈΡΡΡΡΡΠ²ΡΡΡ Π² Π°ΡΡΠΎΡΡΠΈΠΌΠ΅Π½ΡΠ΅ Π²ΡΠ΅Ρ ΠΌΠ°Π³Π°Π·ΠΈΠ½ΠΎΠ², ΠΏΡΠΎΠ΄Π°ΡΡΠΈΡ ΠΎΡΠ²Π΅ΡΠΈΡΠ΅Π»ΡΠ½ΡΠ΅ ΠΏΡΠΈΠ±ΠΎΡΡ. Π Π½ΠΈΡ ΠΏΡΠΈΠ²Π»Π΅ΠΊΠ°Π΅Ρ Π½ΠΈΠ·ΠΊΠ°Ρ ΡΠ΅Π½Π°, Π° ΡΠΎΠ²ΡΠ΅ΠΌΠ΅Π½Π½ΠΎΠ΅ ΡΠ»Π΅ΠΊΡΡΠΎΡΡΡΠ°Π½ΠΎΠ²ΠΎΡΠ½ΠΎΠ΅ ΠΎΠ±ΠΎΡΡΠ΄ΠΎΠ²Π°Π½ΠΈΠ΅ ΠΏΠΎΠΌΠΎΠ³Π°Π΅Ρ ΠΈΡΠΏΠΎΠ»ΡΠ·ΠΎΠ²Π°ΡΡ ΠΈΡ ΡΠΊΠΎΠ½ΠΎΠΌΠ½Π΅ΠΉ. ΠΠ»Ρ ΡΡΠΎΠ³ΠΎ ΠΏΡΠΈΠΌΠ΅Π½ΡΠ΅ΡΡΡ Π΄ΠΈΠΌΠΌΠ΅Ρ Π΄Π»Ρ Π»Π°ΠΌΠΏ Π½Π°ΠΊΠ°Π»ΠΈΠ²Π°Π½ΠΈΡ.
Π€ΡΠ½ΠΊΡΠΈΠΈ ΠΈ ΡΡΡΡΠΎΠΉΡΡΠ²ΠΎ
ΠΠ°Π΄Π°ΡΠ° Π΄ΠΈΠΌΠΌΠ΅ΡΠ° ΠΈΠ»ΠΈ ΡΠ΅Π³ΡΠ»ΡΡΠΎΡΠ° ΡΡΠΊΠΎΡΡΠΈ Π² ΠΏΡΠ΅Π΄ΠΎΡΡΠ°Π²Π»Π΅Π½ΠΈΠΈ Π²ΠΎΠ·ΠΌΠΎΠΆΠ½ΠΎΡΡΠΈ ΠΈΡΠΏΠΎΠ»ΡΠ·ΠΎΠ²Π°ΡΡ ΠΎΡΠ²Π΅ΡΠ΅Π½ΠΈΠ΅ Ρ Π±ΠΎΠ»ΡΡΠΈΠΌ ΠΊΠΎΠΌΡΠΎΡΡΠΎΠΌ, ΠΏΡΠΈ ΡΡΠΎΠΌ ΠΏΡΠΎΠΈΡΡ ΠΎΠ΄ΠΈΡ ΡΠΊΠΎΠ½ΠΎΠΌΠΈΡ ΡΠ»Π΅ΠΊΡΡΠΎΡΠ½Π΅ΡΠ³ΠΈΠΈ.
ΠΠ°ΠΆΠ½ΠΎ! ΠΠΈΠΌΠΌΠ΅Ρ (dimmer) Π² Π±ΡΠΊΠ²Π°Π»ΡΠ½ΠΎΠΌ ΠΏΠ΅ΡΠ΅Π²ΠΎΠ΄Π΅ Ρ Π°Π½Π³Π»ΠΈΠΉΡΠΊΠΎΠ³ΠΎ β ΡΡΠΎ Β«Π³Π°ΡΠΈΡΠ΅Π»ΡΒ», Β«Π΄Π΅Π»Π°ΡΡΠΈΠΉ ΡΡΡΠΊΠ»ΡΠΌΒ».
Π€ΡΠ½ΠΊΡΠΈΠΈ:
- Π€ΠΎΡΠΌΠΈΡΠΎΠ²Π°Π½ΠΈΠ΅ ΡΡΡΠ½ΡΡ ΠΈ ΠΊΠΎΠΌΡΠΎΡΡΠ½ΡΡ ΡΡΠ»ΠΎΠ²ΠΈΠΉ Π΄Π»Ρ ΡΠ°Π·Π½ΡΡ Π΄Π΅ΠΉΡΡΠ²ΠΈΠΉ Π² ΠΆΠΈΠ»ΠΎΠΌ ΠΏΠΎΠΌΠ΅ΡΠ΅Π½ΠΈΠΈ. ΠΡΠ»ΠΈ Π½ΡΠΆΠ½ΠΎ ΠΈΠ½ΡΠ΅Π½ΡΠΈΠ²Π½ΠΎΡΡΡ ΠΎΡΠ²Π΅ΡΠ΅Π½ΠΈΡ ΡΠ²Π΅Π»ΠΈΡΠΈΠ²Π°Π΅ΡΡΡ. ΠΠ°ΠΏΡΠΈΠΌΠ΅Ρ, Π΄Π»Ρ ΡΡΠ΅Π½ΠΈΡ, Π½Π° Π²ΡΠ΅ΠΌΡ ΠΎΡΠ΄ΡΡ Π° ΠΈΠ»ΠΈ ΠΏΡΠΎΡΠΌΠΎΡΡΠ° ΠΊΠΈΠ½ΠΎ, ΠΌΠΎΡΠ½ΠΎΡΡΡ ΡΠΌΠ΅Π½ΡΡΠ°Π΅ΡΡΡ.
- Π’Π°ΠΊΠΎΠΉ ΡΠ»Π΅ΠΌΠ΅Π½Ρ ΡΠΈΡΡΠ΅ΠΌΡ ΡΡΠ°Π½Π΅Ρ ΡΡΠΈΠ»ΡΠ½ΡΠΌ Π΄ΠΎΠΏΠΎΠ»Π½Π΅Π½ΠΈΠ΅ΠΌ ΠΊ ΠΈΠ½ΡΠ΅ΡΡΠ΅ΡΡ. Π ΡΠΎΠΌΡ ΠΆΠ΅ ΠΊΠΎΠ½ΡΡΠΎΠ»Ρ ΠΈΠ½ΡΠ΅Π½ΡΠΈΠ²Π½ΠΎΡΡΠΈ ΠΎΡΠ²Π΅ΡΠ΅Π½ΠΈΡ ΠΏΠΎΠΌΠΎΠ³Π°Π΅Ρ ΠΏΠΎΠ΄Π΄Π΅ΡΠΆΠΈΠ²Π°ΡΡ ΠΏΡΠΈΠ²Π»Π΅ΠΊΠ°ΡΠ΅Π»ΡΠ½ΡΡ ΡΡΠΈΠ»ΠΈΡΡΠΈΠΊΡ.
- Π£ΠΌΠ΅Π½ΡΡΠ΅Π½ΠΈΠ΅ ΠΏΠΎΡΡΠ΅Π±Π»Π΅Π½ΠΈΡ ΡΠ»Π΅ΠΊΡΡΠΎΡΠ½Π΅ΡΠ³ΠΈΠΈ. ΠΠ½ΡΠ΅Π½ΡΠΈΠ²Π½ΠΎΡΡΡ ΡΠ²Π΅ΡΠ° Π² ΡΠΎΡ ΠΈΠ»ΠΈ ΠΈΠ½ΠΎΠΉ ΠΌΠΎΠΌΠ΅Π½Ρ ΡΠ΅Π³ΡΠ»ΠΈΡΡΠ΅ΡΡΡ Π½Π° ΡΠΎΠ±ΡΡΠ²Π΅Π½Π½ΠΎΠ΅ ΡΡΠΌΠΎΡΡΠ΅Π½ΠΈΠ΅.
- ΠΠ½ΠΎΠ³ΠΎΡΡΠ½ΠΊΡΠΈΠΎΠ½Π°Π»ΡΠ½ΠΎΡΡΡ. ΠΡΠΎΠΌΠ΅ ΡΠΏΡΠ°Π²Π»Π΅Π½ΠΈΡ ΠΈΠ½ΡΠ΅ΡΠ½ΠΈΠ²Π½ΠΎΡΡΡΡ ΡΠ²Π΅ΡΠ°, ΠΎΠ½ Π΅ΡΠ΅ ΠΈ ΠΈΠ³ΡΠ°Π΅Ρ ΡΠΎΠ»Ρ Π²ΡΠΊΠ»ΡΡΠ°ΡΠ΅Π»Ρ.
ΠΠ°ΠΊ ΡΡΡΡΠΎΠ΅Π½ Π΄ΠΈΠΌΠΌΠ΅Ρ?
Π ΡΡΡΠΊΠΈΠΉ ΡΠΊΠ²ΠΈΠ²Π°Π»Π΅Π½Ρ Π°Π½Π³Π»ΠΈΠΉΡΠΊΠΎΠ³ΠΎ Β«Π΄ΠΈΠΌΠΌΠ΅ΡΒ» β ΡΡΠΎ ΡΠ΅Π³ΡΠ»ΡΡΠΎΡ ΡΡΠΊΠΎΡΡΠΈ. Π Π°Π½Π΅Π΅ Π°Π½Π°Π»ΠΎΠ³ΠΈΡΠ½ΡΡ ΡΠΎΠ»Ρ ΠΈΡΠΏΠΎΠ»Π½ΡΠ» ΡΠ΅ΠΎΡΡΠ°Ρ. ΠΠΎ ΡΡΡ Π΄Π΅Π»ΠΎ Π½Π΅ ΠΊΠ°ΡΠ°Π»ΠΎΡΡ ΡΠΊΠΎΠ½ΠΎΠΌΠΈΠΈ ΡΠ»Π΅ΠΊΡΡΠΎΡΠ½Π΅ΡΠ³ΠΈΠΈ ΠΏΡΠΎΡΡΠΎ ΠΎΡΠ²Π΅ΡΠ΅Π½ΠΈΠ΅ ΡΡΠ°Π½ΠΎΠ²ΠΈΠ»ΠΎΡΡ Π½Π΅ ΡΠ°ΠΊΠΈΠΌ ΡΡΠΊΠΈΠΌ Π·Π° ΡΡΠ΅Ρ ΡΠΎΠ³ΠΎ, ΡΡΠΎ ΡΠ°ΡΡΡ ΠΏΠΎΡΡΡΠΏΠ°ΡΡΠ΅ΠΉ Π½Π° Π»Π°ΠΌΠΏΡ ΡΠ½Π΅ΡΠ³ΠΈΠΈ ΠΏΡΠ΅Π²ΡΠ°ΡΠ°Π»Π°ΡΡ Π² ΡΠ΅ΠΏΠ»ΠΎ.
ΠΠ½Π΅ΡΠ½ΠΈΠΉ Π²ΠΈΠ΄ Π΄ΠΈΠΌΠΌΠ΅ΡΠ°, ΡΡΡΠ°Π½ΠΎΠ²Π»Π΅Π½Π½ΠΎΠ³ΠΎ ΡΡΠ΄ΠΎΠΌ Ρ Π²ΡΠΊΠ»ΡΡΠ°ΡΠ΅Π»Π΅ΠΌΠ‘ ΡΠ°Π·Π²ΠΈΡΠΈΠ΅ΠΌ ΠΏΠΎΠ»ΡΠΏΡΠΎΠ²ΠΎΠ΄Π½ΠΈΠΊΠΎΠ²ΠΎΠΉ ΡΠ΅Ρ Π½ΠΎΠ»ΠΎΠ³ΠΈΠΈ Π΄ΠΈΠΌΠΌΠ΅ΡΡ ΠΈΠ·ΠΌΠ΅Π½ΠΈΠ»ΠΈΡΡ. ΠΡΠ½ΠΎΠ²Π½ΡΠ΅ Β«Π΄Π΅ΠΉΡΡΠ²ΡΡΡΠΈΠ΅ Π»ΠΈΡΠ°Β» Π² ΡΠ΅Π³ΡΠ»ΡΡΠΎΡΠ°Ρ β ΡΠΈΠΌΠΈΡΡΠΎΡ ΠΈ Π΄ΠΈΠ½ΠΈΡΡΠΎΡ. Π£ ΡΠ΅Π³ΡΠ»ΡΡΠΎΡΠ° Π΅ΡΡΡ 2 Π²ΡΠ²ΠΎΠ΄Π°, Ρ ΠΏΠΎΠΌΠΎΡΡΡ ΠΊΠΎΡΠΎΡΡΡ ΠΏΡΠΎΠ²ΠΎΠ΄ΠΈΡΡΡ ΠΏΠΎΠ΄ΠΊΠ»ΡΡΠ΅Π½ΠΈΠ΅ ΠΊ ΡΠ΅ΡΠΈ ΠΈ ΡΠ²Π΅ΡΠΈΠ»ΡΠ½ΠΈΠΊΡ Ρ Π»Π°ΠΌΠΏΠΎΠΉ Π½Π°ΠΊΠ°Π»ΠΈΠ²Π°Π½ΠΈΡ.
ΠΠ½Π΅Π½ΠΈΠ΅ ΡΠΊΡΠΏΠ΅ΡΡΠ°
ΠΠ»Π΅ΠΊΡΠ΅ΠΉ ΠΠ°ΡΡΠΎΡ
Π‘ΠΏΠ΅ΡΠΈΠ°Π»ΠΈΡΡ ΠΏΠΎ ΡΠ΅ΠΌΠΎΠ½ΡΡ, ΠΎΠ±ΡΠ»ΡΠΆΠΈΠ²Π°Π½ΠΈΡ ΡΠ»Π΅ΠΊΡΡΠΎΠΎΠ±ΠΎΡΡΠ΄ΠΎΠ²Π°Π½ΠΈΡ ΠΈ ΠΏΡΠΎΠΌΡΡΠ»Π΅Π½Π½ΠΎΠΉ ΡΠ»Π΅ΠΊΡΡΠΎΠ½ΠΈΠΊΠΈ.
ΠΠ°Π΄Π°ΡΡ Π²ΠΎΠΏΡΠΎΡ ΡΠΊΡΠΏΠ΅ΡΡΡΠΠ°ΠΆΠ½ΠΎ! ΠΡΠ΅ Π»Π°ΠΌΠΏΡ Π½Π°ΠΊΠ°Π»ΠΈΠ²Π°Π½ΠΈΡ, ΡΠ°ΠΊ ΠΆΠ΅ ΠΊΠ°ΠΊ Π³Π°Π»ΠΎΠ³Π΅Π½Π½ΡΠ΅ ΡΠ°Π±ΠΎΡΠ°ΡΡ Ρ Π΄ΠΈΠΌΠΌΠ΅ΡΠ°ΠΌΠΈ. ΠΡΠΎΠ³ΠΎ Π½Π΅Π»ΡΠ·Ρ ΡΠΊΠ°Π·Π°ΡΡ ΠΏΡΠΎ Π»ΡΠΌΠΈΠ½Π΅ΡΡΠ΅Π½ΡΠ½ΡΠ΅ ΠΈ ΡΠ²Π΅ΡΠΎΠ΄ΠΈΠΎΠ΄Π½ΡΠ΅, ΠΏΠΎΠ»ΡΡΠ°ΡΡΠΈΠ΅ ΠΏΠΈΡΠ°Π½ΠΈΠ΅ 12 V.
ΠΠΎΠ½Π΅ΡΠ½ΠΎ, Π²Π½Π΅Π΄ΡΠ΅Π½ΠΈΠ΅ Π² ΡΠ΅ΠΏΡ ΡΠ΅Π³ΡΠ»ΡΡΠΎΡΠ° Π½Π΅ ΡΠ΄Π΅Π»Π°Π΅Ρ Π»Π°ΠΌΠΏΠΎΡΠΊΡ Π½Π°ΠΊΠ°Π»ΠΈΠ²Π°Π½ΠΈΡ ΡΠΊΠΎΠ½ΠΎΠΌΠΊΠΎΠΉ. Π£ΠΌΠ΅Π½ΡΡΠ΅Π½ΠΈΠ΅ ΠΈΠ½ΡΠ΅Π½ΡΠΈΠ²Π½ΠΎΡΡΠΈ ΡΠ²Π΅ΡΠ° Π½Π° 50%, Π΄Π°ΡΡ ΡΠΊΠΎΠ½ΠΎΠΌΠΈΡ ΡΠ»Π΅ΠΊΡΡΠΎΡΠ½Π΅ΡΠ³ΠΈΠΈ Π² 15%.
ΠΠ»ΡΡΡ ΠΈ ΠΌΠΈΠ½ΡΡΡ ΡΠ΅Π³ΡΠ»ΡΡΠΎΡΠΎΠ² ΡΡΠΊΠΎΡΡΠΈ
ΠΡΠΏΠΎΠ»ΡΠ·ΠΎΠ²Π°Π½ΠΈΠ΅ ΡΠ°ΡΡΠΌΠ°ΡΡΠΈΠ²Π°Π΅ΠΌΠΎΠ³ΠΎ ΡΠ»Π΅ΠΊΡΡΠΎΡΡΡΠ°Π½ΠΎΠ²ΠΎΡΠ½ΠΎΠ³ΠΎ ΠΎΠ±ΠΎΡΡΠ΄ΠΎΠ²Π°Π½ΠΈΡ ΠΈΠΌΠ΅Π΅Ρ ΡΡΠ΄ ΠΏΡΠ΅ΠΈΠΌΡΡΠ΅ΡΡΠ², ΡΡΠ΅Π΄ΠΈ Π½ΠΈΡ :
- Π£Π΄ΠΎΠ±Π½ΠΎΠ΅ ΠΈ Π»Π΅Π³ΠΊΠΎΠ΅ ΡΠΏΡΠ°Π²Π»Π΅Π½ΠΈΠ΅ ΠΈΠ½ΡΠ΅Π½ΡΠΈΠ²Π½ΠΎΡΡΡΡ ΡΠ²Π΅ΡΠ° ΡΠΎΠ³ΠΎ ΠΈΠ»ΠΈ ΠΈΠ½ΠΎΠ³ΠΎ ΠΏΡΠΈΠ±ΠΎΡΠ°.
- Π£Π»ΡΡΡΠ΅Π½ΠΈΠ΅ ΠΏΠ°ΡΠ°ΠΌΠ΅ΡΡΠ° ΡΠ½Π΅ΡΠ³ΠΎΡΡΡΠ΅ΠΊΡΠΈΠ²Π½ΠΎΡΡΠΈ.
- Π£Π²Π΅Π»ΠΈΡΠ΅Π½ΠΈΠ΅ ΠΏΠ΅ΡΠΈΠΎΠ΄Π° ΠΈΡΠΏΠΎΠ»ΡΠ·ΠΎΠ²Π°Π½ΠΈΡ ΠΊΠ°ΠΆΠ΄ΠΎΠΉ ΠΎΡΠ΄Π΅Π»ΡΠ½ΠΎΠΉ Π»Π°ΠΌΠΏΡ Π½Π°ΠΊΠ°Π»Π°. ΠΠ° ΡΡΠ΅Ρ ΠΏΠ»Π°Π²Π½ΠΎΠ³ΠΎ Π²ΠΊΠ»ΡΡΠ΅Π½ΠΈΡ ΠΈ Π²ΡΠΊΠ»ΡΡΠ΅Π½ΠΈΡ, Π±Π΅Π· ΡΠ΅Π·ΠΊΠΈΡ ΡΠΊΠ°ΡΠΊΠΎΠ².
- ΠΠΊΠ»ΡΡΠΈΠ² Π»Π°ΠΌΠΏΡ Π½Π°ΠΊΠ°Π»ΠΈΠ²Π°Π½ΠΈΡ Π½Π° ΠΌΠΈΠ½ΠΈΠΌΠ°Π»ΡΠ½ΡΡ ΠΈΠ½ΡΠ΅Π½ΡΠΈΠ²Π½ΠΎΡΡΡ ΡΠ²Π΅Ρ ΠΌΠΎΠΆΠ½ΠΎ ΠΎΡΡΠ°Π²ΠΈΡΡ Π½Π° Π²ΡΠ΅ΠΌΡ ΡΠ²ΠΎΠ΅Π³ΠΎ ΠΎΡΡΡΡΡΡΠ²ΠΈΡ. ΠΡΠΎ ΡΠΎΠ·Π΄Π°ΡΡ ΠΎΡΡΡΠ΅Π½ΠΈΡ ΠΏΡΠΈΡΡΡΡΡΠ²ΠΈΡ Ρ ΠΎΠ·ΡΠ΅Π² Π΄ΠΎΠΌΠ°. Π Π·Π½Π°ΡΠΈΡ ΡΠ½ΠΈΠ·ΠΈΡΡΡΡ ΡΠΈΡΠΊ ΠΏΡΠΎΠ½ΠΈΠΊΠ½ΠΎΠ²Π΅Π½ΠΈΡ Π² Π΄ΠΎΠΌ Π·Π»ΠΎΡΠΌΡΡΠ»Π΅Π½Π½ΠΈΠΊΠΎΠ².
- ΠΠΎΠ·ΠΌΠΎΠΆΠ½ΠΎΡΡΡ ΡΠΏΡΠ°Π²Π»ΡΡΡ Π΄ΠΈΠΌΠΌΠ΅ΡΠΎΠΌ ΡΠ°Π·Π½ΡΠΌΠΈ ΡΠΏΠΎΡΠΎΠ±Π°ΠΌΠΈ. Π’Π°ΠΊ, ΡΠΎΠ²ΡΠ΅ΠΌΠ΅Π½Π½ΡΠ΅ ΠΌΠΎΠ΄Π΅Π»ΠΈ ΠΈΠΌΠ΅ΡΡ Π²ΠΎΠ·ΠΌΠΎΠΆΠ½ΠΎΡΡΡ Π΄ΠΈΡΡΠ°Π½ΡΠΈΠΎΠ½Π½ΠΎΠ³ΠΎ ΡΠΏΡΠ°Π²Π»Π΅Π½ΠΈΡ ΡΠ΅ΡΠ΅Π· ΠΏΠ΅ΡΠ΅Π΄Π°ΡΡ Π·Π²ΡΠΊΠΎΠ²ΠΎΠ³ΠΎ ΡΠΈΠ³Π½Π°Π»Π° ΠΈΠ»ΠΈ ΠΏΡΠ»ΡΡ ΠΠ£.
- Π£ΡΡΠ°Π½ΠΎΠ²ΠΊΠ° ΡΠ΅Π³ΡΠ»ΡΡΠΎΡΠ° ΠΏΠΎΠΌΠΎΠΆΠ΅Ρ ΠΎΡΠΊΠ°Π·Π°ΡΡΡΡ ΠΎΡ ΠΌΠΎΠ½ΡΠ°ΠΆΠ° Π΄ΠΎΠΏΠΎΠ»Π½ΠΈΡΠ΅Π»ΡΠ½ΡΡ ΠΈΡΡΠΎΡΠ½ΠΈΠΊΠΎΠ² ΡΠ²Π΅ΡΠ° Ρ ΠΌΠ΅Π½ΡΡΠ΅ΠΉ ΠΌΠΎΡΠ½ΠΎΡΡΡΡ.
- ΠΠ½ΠΎΠ³ΠΎΡΡΠ½ΠΊΡΠΈΠΎΠ½Π°Π»ΡΠ½ΠΎΡΡΡ β Π±ΠΎΠ»ΡΡΠΈΠ½ΡΡΠ²ΠΎ ΠΏΠΎΠ΄ΠΎΠ±Π½ΡΡ ΠΏΡΠΈΠ±ΠΎΡΠΎΠ² Π²ΡΠΏΠΎΠ»Π½ΡΡΡ ΡΡΠ½ΠΊΡΠΈΠΈ Π²ΡΠΊΠ»ΡΡΠ°ΡΠ΅Π»Ρ.
- Π£ΡΡΠ°Π½ΠΎΠ²ΠΊΠ° ΠΈΠ½ΡΠ΅Π½ΡΠΈΠ²Π½ΠΎΡΡΠΈ ΡΠ²Π΅ΡΠ° Π²ΡΠ΅ΠΌΠ΅Π½Π½Π°Ρ, Π° Π·Π½Π°ΡΠΈΡ Π΄ΠΎΠ±Π°Π²ΠΈΡΡ ΠΈΠ»ΠΈ ΡΠΌΠ΅Π½ΡΡΠΈΡΡ ΡΡΠΎΡ ΠΏΠ°ΡΠ°ΠΌΠ΅ΡΡ ΠΌΠΎΠΆΠ½ΠΎ Π² Π»ΡΠ±ΠΎΠΉ ΠΌΠΎΠΌΠ΅Π½Ρ.
ΠΠ΅Π΄ΠΎΡΡΠ°ΡΠΊΠΈ ΡΠΎΠΆΠ΅ Π΅ΡΡΡ:
- ΠΠ΅ΡΠΎΡΡΠ½ΠΎ Π½Π°Π»ΠΈΡΠΈΠ΅ ΠΌΠ΅ΡΡΠ°Π½ΠΈΡ, Π΅ΡΠ»ΠΈ ΠΈΠ½ΡΠ΅Π½ΡΠΈΠ²Π½ΠΎΡΡΡ ΡΠ²Π΅ΡΠ΅Π½ΠΈΡ ΡΠ»ΠΈΡΠΊΠΎΠΌ ΡΠΌΠ΅Π½ΡΡΠΈΡΡ.
- ΠΠ½ΠΈ ΡΡΠ²ΡΡΠ²ΠΈΡΠ΅Π»ΡΠ½Ρ ΠΊ ΠΏΠ΅ΡΠ΅ΠΏΠ°Π΄Π°ΠΌ ΡΠ΅ΠΌΠΏΠ΅ΡΠ°ΡΡΡΡ, ΠΎΡΠΎΠ±Π΅Π½Π½ΠΎ Π½Π΅ΠΆΠ΅Π»Π°ΡΠ΅Π»ΡΠ½Ρ ΠΏΠ΅ΡΠ΅Π³ΡΠ΅Π²Ρ. ΠΡΠ»ΠΈ ΡΠ΅Π³ΡΠ»ΡΡΠΎΡ Π²ΡΡΠ΅Π» ΠΈΠ· ΡΡΡΠΎΡ ΠΏΠΎ ΡΡΠΎΠΉ ΠΏΡΠΈΡΠΈΠ½Π΅, ΡΠΎ Π½Π΅ΠΈΡΠΏΡΠ°Π²Π½ΠΎΡΡΡ ΠΏΠΎΠ»ΡΡΠΈΡΡΡ ΡΡΡΡΠ°Π½ΠΈΡΡ ΡΠ°ΠΌΠΎΡΡΠΎΡΡΠ΅Π»ΡΠ½ΠΎ.
ΠΠΈΠΌΠΌΠ΅Ρ Π² ΡΠ°Π±ΠΎΡΠ΅ Ρ Π»Π°ΠΌΠΏΠΎΠΉ Π½Π°ΠΊΠ°Π»ΠΈΠ²Π°Π½ΠΈΡΠΊ ΡΠΎΠ΄Π΅ΡΠΆΠ°Π½ΠΈΡ βΠ Π°Π·Π½ΠΎΠ²ΠΈΠ΄Π½ΠΎΡΡΠΈ
ΠΠ°ΡΠΈΠ°Π½ΡΠΎΠ² ΡΠ΅Π³ΡΠ»ΡΡΠΎΡΠΎΠ² Π½Π° ΡΡΠ½ΠΊΠ΅ ΠΏΡΠ΅Π΄ΡΡΠ°Π²Π»Π΅Π½ΠΎ ΠΌΠ½ΠΎΠ³ΠΎ, ΠΏΡΠΈΠ½ΡΠΈΠΏ ΡΠ°Π±ΠΎΡΡ Ρ Π½ΠΈΡ ΠΎΠ΄ΠΈΠ½, Π½ΠΎ ΡΠΏΠΎΡΠΎΠ±Ρ ΡΠΏΡΠ°Π²Π»Π΅Π½ΠΈΡ ΡΠ°Π·Π»ΠΈΡΠ°ΡΡΡΡ:
- ΠΠΎΠ²ΠΎΡΠΎΡΠ½ΡΠΉ. ΠΠΎΠ½ΡΡΡΡΠΊΡΠΈΡ Π΅Π³ΠΎ ΡΠ°ΠΌΠ°Ρ ΠΏΡΠΎΡΡΠ°Ρ, ΡΡΠΎ ΠΈ ΡΠ²Π»ΡΠ΅ΡΡΡ ΠΏΡΠΈΡΠΈΠ½ΠΎΠΉ Π΄ΠΎΡΡΡΠΏΠ½ΠΎΠΉ ΡΠ΅Π½Ρ. Π Π°ΡΠΏΡΠΎΡΡΡΠ°Π½Π΅Π½ΠΈΠ΅ ΠΏΠΎΠ²ΠΎΡΠΎΡΠ½ΡΡ ΡΠ΅Π³ΡΠ»ΡΡΠΎΡΠΎΠ² ΡΠ°ΠΌΠΎΠ΅ Π±ΠΎΠ»ΡΡΠΎΠ΅ ΡΡΠ΅Π΄ΠΈ Π΄ΡΡΠ³ΠΈΡ Π²ΠΈΠ΄ΠΎΠ². ΠΡΠ½ΠΎΠ²Π½ΠΎΠΉ ΠΌΠ΅Ρ Π°Π½ΠΈΠ·ΠΌ β ΡΡΠΎ ΠΏΠ΅ΡΠ΅ΠΌΠ΅Π½Π½ΡΠΉ ΡΠ΅Π·ΠΈΡΡΠΎΡ, ΠΏΡΠΈ ΠΏΡΠΎΠΊΡΡΡΠΈΠ²Π°Π½ΠΈΠΈ ΠΊΠΎΡΠΎΡΠΎΠ³ΠΎ ΠΏΡΠΎΠΈΡΡ ΠΎΠ΄ΠΈΡ ΡΠΌΠ΅Π½Π° ΠΈΠ½ΡΠ΅Π½ΡΠΈΠ²Π½ΠΎΡΡΠΈ ΠΎΡΠ²Π΅ΡΠ΅Π½ΠΈΡ. Π§Π°ΡΠ΅ Π²ΡΠ΅Π³ΠΎ ΠΎΠ½ΠΈ ΡΠΎΠ²ΠΌΠ΅ΡΠ°ΡΡ Π² ΡΠ΅Π±Π΅ Π΅ΡΠ΅ ΠΈ Π²ΡΠΊΠ»ΡΡΠ°ΡΠ΅Π»Ρ β Π΅ΡΠ»ΠΈ Π·Π°Π΄Π°ΡΡ ΠΌΠΈΠ½ΠΈΠΌΠ°Π»ΡΠ½ΠΎΠ΅ Π·Π½Π°ΡΠ΅Π½ΠΈΠ΅ Π½Π° Π΄ΠΈΠΌΠΌΠ΅ΡΠ΅ ΡΡΠΎ ΠΎΡΠΊΠ»ΡΡΠΈΡ ΡΠ²Π΅Ρ Π² ΠΏΠΎΠΌΠ΅ΡΠ΅Π½ΠΈΠΈ.
- ΠΠΎΠ²ΠΎΡΠΎΡΠ½ΠΎ-Π½Π°ΠΆΠΈΠΌΠ½ΠΎΠΉ. Π‘ΡΡΡ Π΅Π³ΠΎ ΡΠ°Π±ΠΎΡΡ ΡΠ°ΠΊΠ°Ρ ΠΆΠ΅, Π½ΠΎ ΡΡΠΎΠ±Ρ Π²ΠΊΠ»ΡΡΠΈΡΡ/ΠΎΡΠΊΠ»ΡΡΠΈΡΡ ΡΠ²Π΅Ρ Π² ΠΊΠΎΠΌΠ½Π°ΡΠ΅ Π½Π° Π½Π΅Π³ΠΎ Π½ΡΠΆΠ½ΠΎ Π½Π°ΠΆΠ°ΡΡ. ΠΠ΅ΡΠ΅ΠΌΠ΅ΡΠ΅Π½ΠΈΠ΅ ΠΆΠ΅ Ρ ΠΏΠΎΠΌΠΎΡΡΡ ΠΊΠΎΠ»Π΅ΡΠΈΠΊΠ° Π΄Π°Π΅Ρ ΠΊΠΎΠ½ΡΡΠΎΠ»Ρ ΡΡΠΊΠΎΡΡΠΈ.
- ΠΠ»Π°Π²ΠΈΡΠ½ΡΠΉ. ΠΠΎΡΡΠ°ΡΠΎΡΠ½ΠΎ ΡΠ²Π΅ΠΆΠ°Ρ ΡΠ°Π·ΡΠ°Π±ΠΎΡΠΊΠ°, ΠΏΠΎΡΡΠΎΠΌΡ ΠΏΠΎΠΏΡΠ»ΡΡΠ½ΠΎΡΡΡ Π΅ΡΠ΅ Π·Π°ΡΠ°Π±ΠΎΡΠ°ΡΡ Π½Π΅ ΡΡΠΏΠ΅Π»Π°. ΠΠΎ Π²Π½Π΅ΡΠ½Π΅ΠΌΡ Π²ΠΈΠ΄Ρ ΠΎΠ½Π° ΠΎΡΠ΅Π½Ρ ΠΏΠΎΡ ΠΎΠΆ Π½Π° ΡΡΠ°Π½Π΄Π°ΡΡΠ½ΡΠΉ Π²ΡΠΊΠ»ΡΡΠ°ΡΠ΅Π»Ρ. Π Π΅Π³ΡΠ»ΠΈΡΠΎΠ²ΠΊΠ° ΠΈΠ½ΡΠ΅Π½ΡΠΈΠ²Π½ΠΎΡΡΠΈ ΡΠ²Π΅ΡΠ° ΠΎΡΡΡΠ΅ΡΡΠ²Π»ΡΠ΅ΡΡΡ ΠΏΡΠΈ ΠΏΠΎΠΌΠΎΡΠΈ ΠΊΠ»Π°Π²ΠΈΡ. Π‘ΠΎΠ±ΡΡΠ²Π΅Π½Π½ΠΎ ΡΠ΅Π³ΡΠ»ΠΈΡΠΎΠ²ΠΊΠ° ΠΏΡΠΎΠΈΡΡ ΠΎΠ΄ΠΈΡ Π·Π° ΡΡΠ΅Ρ ΡΠ°Π·Π½ΠΎΠΉ ΡΠΈΠ»Ρ Π½Π°ΠΆΠ°ΡΠΈΡ.
- Π‘Π΅Π½ΡΠΎΡΠ½ΡΠΉ. ΠΠ½Π½ΠΎΠ²Π°ΡΠΈΠΎΠ½Π½Π°Ρ ΡΠ°Π·ΡΠ°Π±ΠΎΡΠΊΠ°, ΠΊΠΎΡΠΎΡΠ°Ρ ΠΏΡΠΈΡΠ»Π°ΡΡ ΠΏΠΎ Π΄ΡΡΠ΅ ΠΌΠ½ΠΎΠ³ΠΈΠΌ ΠΏΠΎΠΊΡΠΏΠ°ΡΠ΅Π»ΡΠΌ ΠΏΠΎΡΡΠΈ ΡΡΠ°Π·Ρ. ΠΠΌΠ΅Π΅Ρ ΠΏΡΠΈΠ²Π»Π΅ΠΊΠ°ΡΠ΅Π»ΡΠ½ΡΠΉ, ΡΠΎΠ²ΡΠ΅ΠΌΠ΅Π½Π½ΡΠΉ Π΄ΠΈΠ·Π°ΠΉΠ½ β Π½Π΅Ρ ΠΊΠ½ΠΎΠΏΠΎΠΊ, ΠΊΠΎΠ»Π΅ΡΠΈΠΊΠΎΠ² ΠΈ Π΄ΡΡΠ³ΠΈΡ ΠΌΠ΅Ρ Π°Π½ΠΈΠ·ΠΌΠΎΠ² ΡΠΏΡΠ°Π²Π»Π΅Π½ΠΈΡ ΠΏΡΠ΅Π΄ΡΡΠ°Π²Π»Π΅Π½Π½ΡΡ Π²ΡΡΠ΅. Π£ΠΏΡΠ°Π²Π»Π΅Π½ΠΈΠ΅ ΠΏΡΠΎΠΈΡΡ ΠΎΠ΄ΠΈΡ ΠΏΡΠΈ ΠΏΠΎΠΌΠΎΡΠΈ ΡΠ΅Π½ΡΠΎΡΠ°, ΠΏΠΎ Π°Π½Π°Π»ΠΎΠ³ΠΈΠΈ Ρ Π½Π°Π²ΠΈΠ³Π°ΡΠΈΠ΅ΠΉ ΠΏΠΎ ΡΠΌΠ°ΡΡΡΠΎΠ½Ρ ΠΈΠ»ΠΈ ΠΏΠ»Π°Π½ΡΠ΅ΡΡ.
- ΠΡΠΎΠ²ΠΎΠ΄Π½ΠΎΠΉ. Π£ΡΡΡΠΎΠΉΡΡΠ²ΠΎ ΠΏΡΠ°ΠΊΡΠΈΡΠ΅ΡΠΊΠΈ ΡΠ°ΠΊΠΎΠ΅ ΠΆΠ΅, ΠΊΠ°ΠΊ Ρ ΠΏΠΎΠ²ΠΎΡΠΎΡΠ½ΠΎΠ³ΠΎ. Π‘Π°ΠΌ ΠΏΠ΅ΡΠ΅ΠΌΠ΅Π½Π½ΡΠΉ ΡΠ΅Π·ΠΈΡΡΠΎΡ ΡΠ΅Π³ΡΠ»ΠΈΡΠΎΠ²ΠΊΠΈ Π½Π°Ρ ΠΎΠ΄ΠΈΡΡΡ Π½Π° ΠΊΠ°Π±Π΅Π»Π΅.
ΠΠΈΠΌΠΌΠ΅ΡΡ ΠΏΠΎΠ²ΠΎΡΠΎΡΠ½ΡΠΉ ΠΈ ΡΠ΅Π½ΡΠΎΡΠ½ΡΠΉΠ£ΡΡΡΠΎΠΉΡΡΠ²ΠΎ Π΄ΠΈΠΌΠΌΠ΅ΡΠΎΠ² Π·Π°Π²ΠΈΡΠΈΡ ΠΎΡ ΡΡ Π΅ΠΌΡ, ΠΈΡΠΏΠΎΠ»ΡΠ·ΠΎΠ²Π°Π½Π½ΠΎΠΉ ΠΏΡΠΎΠΈΠ·Π²ΠΎΠ΄ΠΈΡΠ΅Π»Π΅ΠΌ. Π’Π°ΠΊΠΆΠ΅ ΡΠ°Π·Π½ΠΈΡΠ° Π·Π°ΠΊΠ»ΡΡΠ°Π΅ΡΡΡ Π² ΠΊΠ°ΡΠ΅ΡΡΠ²Π΅ ΡΠ°ΠΌΠΈΡ Π΄Π΅ΡΠ°Π»ΠΈ ΠΈ ΡΠ±ΠΎΡΠΊΠ΅. Π ΠΎΡΠ΄Π΅Π»ΡΠ½ΡΡ ΠΌΠ΅Ρ Π°Π½ΠΈΡΠ΅ΡΠΊΠΈΡ Π²Π°ΡΠΈΠ°ΡΠΎΡΠ°Ρ Π΅ΡΡΡ ΠΊΠΎΠΌΠΏΠΎΠ½Π΅Π½ΡΡ, ΠΊΠΎΡΠΎΡΡΠ΅ ΠΎΡΠ²Π΅ΡΠ°ΡΡ Π·Π° ΡΡΠ°Π±ΠΈΠ»ΡΠ½ΡΡ ΡΠ°Π±ΠΎΡΡ ΠΏΡΠΈΠ±ΠΎΡΠ°, ΡΠ»ΡΡΡΠ΅Π½Π½ΡΡ ΠΏΠ»Π°Π²Π½ΠΎΡΡΡ ΡΠ΅Π³ΡΠ»ΡΡΠΈΠΈ ΠΈ Π²ΠΎΠ·ΠΌΠΎΠΆΠ½ΠΎΡΡΡ ΡΠ°Π±ΠΎΡΡ Π½Π° ΠΌΠ°Π»ΡΡ ΠΌΠΎΡΠ½ΠΎΡΡΡΡ .
ΠΡΡΡ ΠΌΠΎΠ΄Π΅Π»ΠΈ, Π² ΠΊΠΎΡΠΎΡΡΡ ΠΏΡΠΈΡΡΡΡΡΠ²ΡΡΡ ΠΊΠ½ΠΎΠΏΠΊΠΈ (ΡΠ΅Π½ΡΠΎΡΠ½ΡΠ΅ ΠΈΠ»ΠΈ ΠΎΠ±ΡΡΠ½ΡΠ΅), Ρ ΠΈΡ ΠΏΠΎΠΌΠΎΡΡΡ ΠΏΠΎΠ»ΡΠ·ΠΎΠ²Π°ΡΠ΅Π»Ρ ΠΌΠΎΠΆΠ΅Ρ ΠΏΡΠΎΠ²ΠΎΠ΄ΠΈΡΡ ΠΏΠΎΠ΄ΡΡΡΠΎΠΉΠΊΡ. ΠΠΎΠ·ΠΌΠΎΠΆΠ½ΠΎΡΡΠΈ:
- ΠΠΎΠ΄ΠΊΠ»ΡΡΠ΅Π½ΠΈΠ΅ ΠΏΡΠ»ΡΡΠΎΠ² ΠΠ£ Π΄Π»Ρ ΡΠΏΡΠ°Π²Π»Π΅Π½ΠΈΡ Π²Π°ΡΠΈΠ°ΡΠΎΡΠ°ΠΌΠΈ Π² ΡΠ°Π·Π½ΡΡ ΡΡΠ°ΡΡΠΊΠ°Ρ ΠΏΠΎΠΌΠ΅ΡΠ΅Π½ΠΈΡ.
- ΠΠΈΡΡΠ°Π½ΡΠΈΠΎΠ½Π½ΠΎΠ΅ ΡΠ΅Π³ΡΠ»ΠΈΡΠΎΠ²Π°Π½ΠΈΠ΅ ΡΡΠΊΠΎΡΡΠΈ.
- ΠΡΠ³Π°Π½ΠΈΠ·Π°ΡΠΈΡ ΠΎΡΠ²Π΅ΡΠ΅Π½ΠΈΠ΅ ΠΏΠΎ ΠΏΡΠ΅Π΄ΡΡΡΠ°Π½ΠΎΠ²Π»Π΅Π½Π½ΠΎΠΉ ΠΏΡΠΎΠ³ΡΠ°ΠΌΠΌΠ΅.
- ΠΠΎΠ΄ΠΊΠ»ΡΡΠ΅Π½ΠΈΠ΅ Π΄ΠΈΠΌΠΌΠ΅ΡΠ° ΠΊ Π΄Π°ΡΡΠΈΠΊΡ ΠΎΡΠ²Π΅ΡΠ΅Π½ΠΈΡ, Π·Π° ΡΡΠ΅Ρ ΡΠ΅Π³ΠΎ ΡΡΠΊΠΎΡΡΡ Π»Π°ΠΌΠΏΡ Π±ΡΠ΄Π΅Ρ ΠΊΠΎΡΡΠ΅ΠΊΡΠΈΡΠΎΠ²Π°ΡΡΡΡ Π°Π²ΡΠΎΠΌΠ°ΡΠΈΡΠ΅ΡΠΊΠΈ.
ΠΡΠ°Π½ΡΡ Π²ΡΠ±ΠΎΡΠ°
ΠΡΠΏΠΎΠ»ΡΠ·ΠΎΠ²Π°Π½ΠΈΠ΅ Π΄ΠΈΠΌΠΌΠ΅ΡΠ° ΡΠ΄ΠΎΠ±Π½ΠΎ ΠΈ ΠΏΡΠ°ΠΊΡΠΈΡΠ½ΠΎ, Π½ΠΎ ΡΡΠΎ Π²ΠΎΠ·ΠΌΠΎΠΆΠ½ΠΎ ΡΠΎΠ»ΡΠΊΠΎ ΠΏΡΠΈ ΠΏΡΠ°Π²ΠΈΠ»ΡΠ½ΠΎΠΌ Π΅Π³ΠΎ Π²ΡΠ±ΠΎΡΠ΅. Π‘Π»Π΅Π΄ΡΠ΅Ρ ΠΎΠ±ΡΠ°ΡΠ°ΡΡ Π²Π½ΠΈΠΌΠ°Π½ΠΈΠ΅ Π½Π°:
- Π‘ΠΎΠ²ΠΌΠ΅ΡΡΠΈΠΌΠΎΡΡΡ Ρ Π»Π°ΠΌΠΏΠ°ΠΌΠΈ. ΠΠ°ΠΊ ΡΠΆΠ΅ Π±ΡΠ» ΡΠΊΠ°Π·Π°Π½ΠΎ, ΠΊ Π»Π°ΠΌΠΏΠ°ΠΌ Π½Π°ΠΊΠ°Π»ΠΈΠ²Π°Π½ΠΈΡ ΠΏΠΎΠ΄Ρ ΠΎΠ΄ΡΡ Π»ΡΠ±ΡΠ΅ ΡΠ΅Π³ΡΠ»ΡΡΠΎΡΡ.
- ΠΠ½Π΅ΡΠ½ΠΈΠΉ Π²ΠΈΠ΄. Π‘Π»ΠΎΠΆΠ½ΠΎΡΡΠ΅ΠΉ Π² ΠΏΠΎΠ΄Π±ΠΎΡΠ΅ ΠΏΠΎΠ΄Ρ ΠΎΠ΄ΡΡΠ΅Π³ΠΎ ΠΏΠΎ Π²Π½Π΅ΡΠ½Π΅ΠΌΡ Π²ΠΈΠ΄Ρ ΠΏΡΠΈΠ±ΠΎΡΠ° Π½Π΅ Π±ΡΠ΄Π΅Ρ, ΡΠ΄Π°ΡΡΡΡ ΠΏΠΎΠ΄ΠΎΠ±ΡΠ°ΡΡ, Π² ΡΠΎΠΌ ΡΠΈΡΠ»Π΅ Π²Π°ΡΠΈΠ°Π½ΡΡ Ρ Π½Π΅ΡΠΈΠΏΠΈΡΠ½ΡΠΌ Π΄ΠΈΠ·Π°ΠΉΠ½ΠΎΠΌ. ΠΠ°ΠΆΠ½ΠΎ, ΡΡΠΎΠ±Ρ ΡΡΠΈΠ»ΠΈΡΡΠΈΠΊΠ° ΡΠΎΠΎΡΠ²Π΅ΡΡΡΠ²ΠΎΠ²Π°Π»Π° ΠΎΡΠΎΡΠΌΠ»Π΅Π½ΠΈΡ ΠΏΠΎΠΌΠ΅ΡΠ΅Π½ΠΈΡ Π² ΡΠ΅Π»ΠΎΠΌ.
- Π¦Π΅Π½ΠΎΠ²ΠΎΠΉ Π΄ΠΈΠ°ΠΏΠ°Π·ΠΎΠ½. ΠΠΎΠ΄Π±ΠΈΡΠ°Ρ ΠΌΠΎΠ΄Π΅Π»Ρ Π΄Π»Ρ Π»Π°ΠΌΠΏ Π½Π°ΠΊΠ°Π»ΠΈΠ²Π°Π½ΠΈΡ Π½Π΅Ρ ΡΠΌΡΡΠ»Π° ΠΏΡΠΈΠΎΠ±ΡΠ΅ΡΠ°ΡΡ Π΄ΠΎΡΠΎΠ³ΠΎΠΉ ΡΠ΅Π½ΡΠΎΡΠ½ΡΠΉ ΡΠ΅Π³ΡΠ»ΡΡΠΎΡ.
- ΠΠ»Π΅ΠΌΠ΅Π½ΡΡ Π·Π°ΡΠΈΡΡ. ΠΠ»Ρ ΡΡΠΎΠ³ΠΎ Π² ΡΡΡΡΠΎΠΉΡΡΠ²Π΅ Π΄ΠΎΠ»ΠΆΠ΅Π½ ΠΏΡΠΈΡΡΡΡΡΠ²ΠΎΠ²Π°ΡΡ Π°Π²ΡΠΎΠΌΠ°Ρ ΠΈΠ»ΠΈ ΠΏΡΠ΅Π΄ΠΎΡ ΡΠ°Π½ΠΈΡΠ΅Π»Ρ.
- ΠΠΎΡΠ½ΠΎΡΡΡ.Β ΠΡΠ΅Π½Ρ ΡΠ°ΡΡΠΎ ΠΌΠΎΡΠ½ΠΎΡΡΡ Π² Π΄Π΅ΠΉΡΡΠ²ΠΈΡΠ΅Π»ΡΠ½ΠΎΡΡΠΈ ΠΎΠΊΠ°Π·ΡΠ²Π°Π΅ΡΡΡ ΠΌΠ΅Π½ΡΡΠ΅, ΡΠ΅ΠΌ Π² ΠΏΠ°ΡΠΏΠΎΡΡΠ΅ ΠΈΠ·Π΄Π΅Π»ΠΈΡ.
- ΠΡΠΎΠΈΠ·Π²ΠΎΠ΄ΠΈΡΠ΅Π»Ρ. ΠΠ΅ΠΎΠ±Ρ ΠΎΠ΄ΠΈΠΌΠΎ ΠΏΡΠΈΠΎΠ±ΡΠ΅ΡΠ°ΡΡ ΡΠΎΠ»ΡΠΊΠΎ ΡΠ΅Π³ΡΠ»ΡΡΠΎΡΡ ΠΎΡ ΠΏΡΠΎΠΈΠ·Π²ΠΎΠ΄ΠΈΡΠ΅Π»Π΅ΠΉ, ΠΊΠΎΡΠΎΡΡΠ΅ ΡΡΠΏΠ΅Π»ΠΈ ΡΠ΅Π±Ρ Π·Π°ΡΠ΅ΠΊΠΎΠΌΠ΅Π½Π΄ΠΎΠ²Π°ΡΡ. ΠΡΠΈ ΡΡΠΎΠΌ Π½Π΅ ΡΠ»Π΅Π΄ΡΠ΅Ρ ΠΎΠΏΠΈΡΠ°ΡΡΡΡ ΡΠΎΠ»ΡΠΊΠΎ Π½Π° ΡΠ΅Π½Ρ, Π²Π΅Π΄Ρ ΡΠΊΠΎΠ½ΠΎΠΌΠΈΡ Π±ΡΠ΄Π΅Ρ ΡΠΎΠΌΠ½ΠΈΡΠ΅Π»ΡΠ½ΠΎΠΉ. ΠΠΎΠΏΡΠ»ΡΡΠ½ΡΠ΅ Π±ΡΠ΅Π½Π΄Ρ β Legrand, Derne Group, Simon, ABB.
ΠΡΠΈ Π²ΡΠ±ΠΎΡΠ΅ ΡΠ»Π΅Π΄ΡΠ΅Ρ ΠΎΠ±ΡΠ°ΡΠ°ΡΡ Π²Π½ΠΈΠΌΠ°Π½ΠΈΠ΅ ΡΠ°ΠΊΠΆΠ΅ Π½Π° ΡΠΈΠΏ ΠΈ ΡΡΠΎΠ²Π΅Π½Ρ ΠΌΠΎΡΠ½ΠΎΡΡΠΈ Π»Π°ΠΌΠΏΡ, ΠΏΡΠΈΠ½ΠΈΠΌΠ°ΡΡ Π²ΠΎ Π²Π½ΠΈΠΌΠ°Π½ΠΈΠ΅ ΡΡΠΌΠΌΠ°ΡΠ½ΡΡ Π½Π°Π³ΡΡΠ·ΠΊΡ. ΠΠΊΡΠΏΠ΅ΡΡΡ ΡΠΎΠ²Π΅ΡΡΡΡ ΠΊ ΠΎΠ±ΡΠ΅ΠΉ Π½Π°Π³ΡΡΠ·ΠΊΠ΅ ΠΏΡΠΈΠ±Π°Π²ΠΈΡΡ Π΅ΡΠ΅ ΠΈ Π·Π°ΠΏΠ°Ρ ΠΌΠΎΡΠ½ΠΎΡΡΠΈ Π² ΡΠ°Π·ΠΌΠ΅ΡΠ΅ 10β20%, ΠΏΠΎ ΠΏΠΎΠ»ΡΡΠ΅Π½Π½ΠΎΠΌΡ ΡΠ΅Π·ΡΠ»ΡΡΠ°ΡΡ ΠΈ ΠΈΡΠΊΠ°ΡΡ Π΄ΠΈΠΌΠΌΠ΅Ρ.
ΠΊ ΡΠΎΠ΄Π΅ΡΠΆΠ°Π½ΠΈΡ βΠΠ°ΠΆΠ½ΠΎ! ΠΡΠΈ Π²ΡΠ±ΠΎΡΠ΅ ΠΎΠ±ΡΠ·Π°ΡΠ΅Π»ΡΠ½ΠΎ Π½ΡΠΆΠ½ΠΎ ΠΏΡΠΎΠ²Π΅ΡΡΡΡ ΡΠ°Π±ΠΎΡΠΎΡΠΏΠΎΡΠΎΠ±Π½ΠΎΡΡΡ Π² ΠΌΠ°Π³Π°Π·ΠΈΠ½Π΅, Π² ΠΏΡΠΎΡΠΈΠ²Π½ΠΎΠΌ ΡΠ»ΡΡΠ°Π΅ Π²Π΅ΡΠ½ΡΡΡ ΠΏΡΠΈΠ±ΠΎΡ Π±ΡΠ΄Π΅Ρ ΠΏΡΠΎΠ±Π»Π΅ΠΌΠ°ΡΠΈΡΠ½ΠΎ.
Π‘Ρ Π΅ΠΌΡ ΠΏΠΎΠ΄ΠΊΠ»ΡΡΠ΅Π½ΠΈΡ
Π₯ΠΎΡΡ ΡΡΡΠ΅ΡΡΠ²ΡΡΡ ΡΠ°Π·Π½ΡΠ΅ Π²Π°ΡΠΈΠ°Π½ΡΡ ΡΠ΅Π³ΡΠ»ΡΡΠΎΡΠΎΠ², ΡΡ Π΅ΠΌΡ ΠΏΠΎΠ΄ΠΊΠ»ΡΡΠ΅Π½ΠΈΡ Ρ Π½ΠΈΡ ΠΎΠ΄ΠΈΠ½Π°ΠΊΠΎΠ²ΡΠ΅. ΠΡΠ½ΠΎΠ²Π½ΡΠ΅ ΠΏΡΠ΅Π΄ΡΡΠ°Π²Π»Π΅Π½Ρ Π½ΠΈΠΆΠ΅.
ΠΠ· ΠΎΠ΄Π½ΠΎΠΉ ΡΠΎΡΠΊΠΈ

Π£ΠΊΠ°Π·Π°Π½Π½Π°Ρ ΡΡ Π΅ΠΌΠ° ΠΏΠΎΠ΄Ρ ΠΎΠ΄ΠΈΡ Π΄Π»Ρ Π²ΡΠ΅Ρ ΡΠΈΠΏΠΎΠ² Π΄ΠΈΠΌΠΌΠ΅ΡΠΎΠ². Π ΠΎΡΠ½ΠΎΠ²Π½ΠΎΠΌ ΠΎΠ½Π° ΠΏΡΠΈΠΌΠ΅Π½ΡΠ΅ΡΡΡ Π΄Π»Ρ ΡΠ΅Π³ΡΠ»ΡΡΠΎΡΠΎΠ² Π½Π°ΠΆΠΈΠΌΠ½ΠΎΠ³ΠΎ ΠΈ ΡΠ΅Π½ΡΠΎΡΠ½ΠΎΠ³ΠΎ ΡΠΈΠΏΠ°. ΠΠΎΠ²ΠΎΡΠΎΡΠ½ΡΠΉ ΡΠ΅Π³ΡΠ»ΡΡΠΎΡ ΠΏΠΎΠ΄ΠΊΠ»ΡΡΠΈΡΡ ΠΌΠΎΠΆΠ½ΠΎ, Π½ΠΎ ΠΌΠΎΠ³ΡΡ Π²ΠΎΠ·Π½ΠΈΠΊΠ°ΡΡ ΡΠ»ΠΎΠΆΠ½ΠΎΡΡΠΈ Ρ Π΅Π³ΠΎ ΡΠ΅Π³ΡΠ»ΡΡΠ½ΠΎΠΉ ΡΠΊΡΠΏΠ»ΡΠ°ΡΠ°ΡΠΈΠ΅ΠΉ.
ΠΠ· Π΄Π²ΡΡ ΡΠΎΡΠ΅ΠΊ

Π£Π΄ΠΎΠ±Π½ΠΎ ΠΏΠΎ ΠΏΠΎΠ΄ΠΎΠ±Π½ΠΎΠΉ ΡΡ Π΅ΠΌΠ΅ ΠΌΠΎΠ½ΡΠΈΡΠΎΠ²Π°ΡΡ ΠΏΡΠΈΠ±ΠΎΡ Π² ΡΠΏΠ°Π»ΡΠ½Π΅, ΠΊΠΎΡΠΈΠ΄ΠΎΡΠ΅, Π½Π° Π»Π΅ΡΡΠ½ΠΈΡΠ΅. ΠΠ΄ΠΈΠ½ ΡΠ»Π΅ΠΌΠ΅Π½Ρ ΠΌΠΎΠ½ΡΠΈΡΡΠ΅ΡΡΡ Ρ Π΄Π²Π΅ΡΠΈ Π²ΠΎΠ·Π»Π΅ Π²Ρ ΠΎΠ΄Π°, Π²ΡΠΎΡΠΎΠΉ Π²ΠΎΠ·Π»Π΅ ΠΊΠΎΠ½Π΅ΡΠ½ΠΎΠΉ ΡΠΎΡΠΊΠΈ ΡΠ»Π΅Π΄ΠΎΠ²Π°Π½ΠΈΡ. ΠΠ΅ΡΠ²ΡΠΌ Π²Π°ΡΠΈΠ°ΡΠΎΡΠΎΠΌ ΡΠ²Π΅Ρ Π²ΠΊΠ»ΡΡΠ°Π΅ΡΡΡ, Π²ΡΠΎΡΡΠΌ ΠΌΠΎΠΆΠ΅Ρ ΡΠ΅Π³ΡΠ»ΠΈΡΠΎΠ²Π°ΡΡΡΡ Π΄ΠΎ Π½ΡΠΆΠ½ΠΎΠΉ ΠΈΠ½ΡΠ΅Π½ΡΠΈΠ²Π½ΠΎΡΡΠΈ ΠΈΠ»ΠΈ Π²ΠΎΠ²ΡΠ΅ ΠΎΡΠΊΠ»ΡΡΠ°ΡΡΡΡ.
ΠΠ· ΠΎΠ΄Π½ΠΎΠΉ ΡΠΎΡΠΊΠΈ ΠΈ ΡΠΏΡΠ°Π²Π»Π΅Π½ΠΈΠ΅ ΠΈΠ· Π΄Π²ΡΡ ΡΠΎΡΠ΅ΠΊ

ΠΠ· ΡΡΡΠ΅ΡΡΠ²ΡΡΡΠΈΡ , ΡΡΠ° ΡΡ Π΅ΠΌΠ° ΡΡΠ° ΡΠ°ΠΌΠ°Ρ ΡΠ΄ΠΎΠ±Π½Π°Ρ. ΠΡΠΏΠΎΠ»ΡΠ·ΠΎΠ²Π°ΡΡΡΡ ΠΌΠΎΠΆΠ΅Ρ Π² ΡΠ°Π·Π½ΡΡ ΡΡΠ»ΠΎΠ²ΠΈΡΡ . ΠΠ° Π²Ρ ΠΎΠ΄Π΅ Π² ΠΊΠΎΠΌΠ½Π°ΡΡ ΠΌΠΎΠ½ΡΠΈΡΡΠ΅ΡΡΡ ΠΎΠ±ΡΡΠ½ΡΠΉ Π²ΡΠΊΠ»ΡΡΠ°ΡΠ΅Π»Ρ, Π² ΠΌΠ΅ΡΡΠ΅, Π³Π΄Π΅ ΡΠ΅Π»ΠΎΠ²Π΅ΠΊ Π±ΠΎΠ»ΡΡΠ΅ Π²ΡΠ΅Π³ΠΎ Π½Π°Ρ ΠΎΠ΄ΠΈΡΡΡΡ β ΡΠ΅Π³ΡΠ»ΡΡΠΎΡ. Π ΡΠ»ΡΡΠ°Π΅ ΡΠΎ ΡΠΏΠ°Π»ΡΠ½Π΅ΠΉ β ΡΡΠΎ ΠΊΡΠΎΠ²Π°ΡΡ, Π΄Π»Ρ Π΄Π΅ΡΡΠΊΠΎΠΉ ΠΊΠΎΠΌΠ½Π°ΡΡ Ρ Π΄Π΅ΡΡΠΊΠΎΠΉ ΠΊΡΠΎΠ²Π°ΡΠΈ, Π΄Π»Ρ ΠΊΡΡ Π½ΠΈ, ΡΠ°Π±ΠΎΡΠ°Ρ Π·ΠΎΠ½Π°. ΠΡΠΈ ΡΡΠΎΠΌ Π²ΡΠΊΠ»ΡΡΠ°ΡΠ΅Π»Ρ Π·Π°ΠΏΡΡΠΊΠ°Π΅Ρ Π² ΡΠ°Π±ΠΎΡΡ Π»Π°ΠΌΠΏΡ, Π° Ρ ΠΏΠΎΠΌΠΎΡΡΡ ΡΠ΅Π³ΡΠ»ΡΡΠΎΡΠ° ΠΏΡΠΎΠΈΡΡ ΠΎΠ΄ΠΈΡ ΡΠ΅Π³ΡΠ»ΡΡΠΈΡ ΠΈΠ½ΡΠ΅Π½ΡΠΈΠ²Π½ΠΎΡΡΠΈ.
ΠΠ· ΠΎΠ΄Π½ΠΎΠΉ ΡΠΎΡΠΊΠΈ ΠΈ ΡΠΏΡΠ°Π²Π»Π΅Π½ΠΈΠ΅ ΠΈΠ· ΡΡΠ΅Ρ ΡΠΎΡΠ΅ΠΊ

ΠΠ°Π½Π½ΡΠΉ Π²Π°ΡΠΈΠ°Π½Ρ ΠΏΠΎΠ΄ΠΊΠ»ΡΡΠ΅Π½ΠΈΠ΅ ΠΏΡΠ°ΠΊΡΠΈΠΊΡΠ΅ΡΡΡ, Π΅ΡΠ»ΠΈ Π½ΡΠΆΠ½ΠΎ ΡΠΏΡΠ°Π²Π»ΡΡΡ ΠΎΡΠ²Π΅ΡΠ΅Π½ΠΈΠ΅ΠΌ ΠΈΠ· Π΄Π²ΡΡ ΡΠΎΡΠ΅ΠΊ. Π£Π΄ΠΎΠ±Π½Π° ΠΎΠ½Π° ΠΏΡΠΈ ΠΌΠΎΠ½ΡΠ°ΠΆΠ΅ ΠΎΡΠ²Π΅ΡΠ΅Π½ΠΈΡ Π² ΠΊΠΎΡΠΈΠ΄ΠΎΡΠ°Ρ , Π»Π΅ΡΡΠ½ΠΈΡΠ°Ρ , Π»ΡΠ±ΡΡ Π΄Π»ΠΈΠ½Π½ΡΡ ΠΏΠΎΠΌΠ΅ΡΠ΅Π½ΠΈΡΡ . ΠΡΠΎΠΌΠ΅ ΡΠ΅Π³ΡΠ»ΡΡΠΎΡΠ°, ΠΈΡΠΏΠΎΠ»ΡΠ·ΡΡΡΡΡ Π΅ΡΠ΅ 2 ΠΏΡΠΎΡ ΠΎΠ΄Π½ΡΡ Π²ΡΠΊΠ»ΡΡΠ°ΡΠ΅Π»Ρ. Π‘ΠΎΠ±ΡΡΠ²Π΅Π½Π½ΠΎ ΠΏΠΎΠ΄ΠΊΠ»ΡΡΠ΅Π½ΠΈΠ΅ ΡΡΠ°Π½Π΄Π°ΡΡΠ½ΠΎΠ΅, ΡΠΎΠ³Π»Π°ΡΠ½ΠΎ ΡΡ Π΅ΠΌΠ΅.
ΠΠ°ΠΌΠ΅Π½Π° Π²ΡΠΊΠ»ΡΡΠ°ΡΠ΅Π»Ρ Π΄ΠΈΠΌΠΌΠ΅ΡΠΎΠΌ
ΠΠ»Π³ΠΎΡΠΈΡΠΌ Π·Π°ΠΌΠ΅Π½Ρ ΠΎΠ±ΡΡΠ½ΠΎΠ³ΠΎ Π²ΡΠΊΠ»ΡΡΠ°ΡΠ΅Π»Ρ Π΄ΠΈΠΌΠΌΠ΅ΡΠΎΠΌ Π΄ΠΎΡΡΠ°ΡΠΎΡΠ½ΠΎ ΠΏΡΠΎΡΡΠΎΠΉ, ΡΠΎΠ²Π΅ΡΡΠ°ΡΡ Π΄Π΅ΠΉΡΡΠ²ΠΈΡ Π½ΡΠΆΠ½ΠΎ Π² ΡΠ°ΠΊΠΎΠΌ ΠΏΠΎΡΡΠ΄ΠΊΠ΅:
- ΠΡΠΊΠ»ΡΡΠ΅Π½ΠΈΠ΅ ΠΏΠΈΡΠ°Π½ΠΈΡ Π΄Π»Ρ ΡΠ΅Π»Π΅Π²ΠΎΠ³ΠΎ ΠΊΠ°Π±Π΅Π»Ρ Π½Π° ΡΠ°ΡΠΏΡΠ΅Π΄Π΅Π»ΠΈΡΠ΅Π»ΡΠ½ΠΎΠΌ ΡΠΈΡΠ΅.
- ΠΠ΅ΠΌΠΎΠ½ΡΠ°ΠΆ Π²ΡΠΊΠ»ΡΡΠ°ΡΠ΅Π»Ρ.
- ΠΠ·ΡΡΠ΅Π½ΠΈΠ΅ ΠΌΠ°ΡΠΊΠΈΡΠΎΠ²ΠΊΠΈ ΠΈ ΠΊΠ»Π΅ΠΌΠΌ Π½Π° ΡΠ΅Π³ΡΠ»ΡΡΠΎΡΠ΅ β ΡΡΡΠ΅Π»ΠΊΠΈ ΠΏΠΎΠΊΠ°Π·ΡΠ²Π°ΡΡ Π½Π° ΡΠ°Π·Ρ.
- ΠΠ°ΠΉΡΠΈ ΡΠ°Π·Ρ ΡΡΠ°ΡΠΎΠ³ΠΎ Π²ΡΠΊΠ»ΡΡΠ°ΡΠ΅Π»Ρ. ΠΡΠΈ ΠΏΡΠΎΠ²Π΅ΡΠΊΠ΅Β Π½Π΅ΠΎΠ½ΠΎΠ²ΡΠΌ ΠΈΠ½Π΄ΠΈΠΊΠ°ΡΠΎΡΠΎΠΌ ΡΡΠΎΡ ΠΊΠΎΠ½ΡΠ°ΠΊΡ Π±ΡΠ΄Π΅Ρ ΡΠ²Π΅ΡΠΈΡΡΡΡ.
- ΠΠΎΠ΄ΠΊΠ»ΡΡΠ΅Π½ΠΈΠ΅ ΠΊ ΡΠΎΠΎΡΠ²Π΅ΡΡΡΠ²ΡΡΡΠΈΠΌ ΠΊΠΎΠ½ΡΠ°ΠΊΡΠ°ΠΌ.
- ΠΡΠ΅ΠΏΠ»Π΅Π½ΠΈΠ΅ Π΄ΠΈΠΌΠΌΠ΅ΡΠ°.
- ΠΠΎΡΠΎΠ±ΠΊΠ° ΡΡΡΡΠΎΠΉΡΡΠ²Π° ΠΌΠΎΠ½ΡΠΈΡΡΠ΅ΡΡΡ Π½Π° ΡΡΠ΅Π½Ρ ΠΏΠΎΠΌΠ΅ΡΠ΅Π½ΠΈΡ.
Π‘Π°ΠΌΡΠ΅ ΡΠ°ΡΡΡΠ΅ ΠΎΡΠΈΠ±ΠΊΠΈ, ΡΡΠΎ Π΄ΠΎΠΏΡΡΠΊΠ°ΡΡΡΡ Π² ΠΏΡΠΎΡΠ΅ΡΡΠ΅ ΠΌΠΎΠ½ΡΠ°ΠΆΠ°:
- Π£ΡΡΠ°Π½ΠΎΠ²ΠΊΠ° Π² Π½Π΅ΠΏΠΎΠ΄Ρ ΠΎΠ΄ΡΡΠΈΡ ΡΠ΅ΠΌΠΏΠ΅ΡΠ°ΡΡΡΠ½ΡΡ ΡΡΠ»ΠΎΠ²ΠΈΡΡ , ΠΊΠ°ΠΊ ΡΠ΅Π·ΡΠ»ΡΡΠ°Ρ ΠΏΡΠΈΠ±ΠΎΡ Π±ΡΡΡΡΠΎ Π²ΡΡ ΠΎΠ΄ΠΈΡ ΠΈΠ· ΡΡΡΠΎΡ. ΠΡΠΈΡΠΈΡΠ½ΡΠ΅ ΠΏΠΎΠΊΠ°Π·Π°ΡΠ΅Π»ΠΈ +27 ΠΈ Π²ΡΡΠ΅.
- ΠΠ°ΠΆΠ½ΠΎ ΠΏΡΠ°Π²ΠΈΠ»ΡΠ½ΠΎ ΠΏΠΎΠ΄Π±ΠΈΡΠ°ΡΡ ΡΡ Π΅ΠΌΡ ΠΏΠΎΠ΄ΠΊΠ»ΡΡΠ΅Π½ΠΈΡ, ΠΎΡΠΈΠ΅Π½ΡΠΈΡΡΡΡΡ Π½Π° ΡΠ΅Π»ΠΈ ΠΈΡΠΏΠΎΠ»ΡΠ·ΠΎΠ²Π°Π½ΠΈΡ ΠΈ ΠΏΡΠ΅Π΄Π½Π°Π·Π½Π°ΡΠ΅Π½ΠΈΡ ΠΊΠΎΠΌΠ½Π°ΡΡ.
- ΠΠ»Ρ ΡΠ°Π·Π½ΡΡ ΡΠΈΠΏΠΎΠ² Π»Π°ΠΌΠΏ, ΠΈΡΠΏΠΎΠ»ΡΠ·ΡΠ΅ΡΡΡ ΠΎΠ΄ΠΈΠ½ Π΄ΠΈΠΌΠΌΠ΅Ρ.
Π Π΅Π³ΡΠ»ΡΡΠΎΡ ΡΡΠΊΠΎΡΡΠΈ ΡΠ²ΠΎΠΈΠΌΠΈ ΡΡΠΊΠ°ΠΌΠΈ
ΠΠΎΠΊΡΠΏΠΊΠ° ΡΠ΅Π³ΡΠ»ΡΡΠΎΡΠ° Π½Π΅ ΡΠΈΠ»ΡΠ½ΠΎ Π±ΡΠ΅Ρ ΠΏΠΎ ΡΠ΅ΠΌΠ΅ΠΉΠ½ΠΎΠΌΡ Π±ΡΠ΄ΠΆΠ΅ΡΡ, Π½ΠΎ ΠΈΠ½ΠΎΠ³Π΄Π° ΠΏΡΠΈΡ ΠΎΠ΄ΠΈΡΡΡ Π΄Π΅Π»Π°ΡΡ ΡΠ°ΠΊΠΎΠ΅ ΠΎΠ±ΠΎΡΡΠ΄ΠΎΠ²Π°Π½ΠΈΠ΅ ΡΠ°ΠΌΠΎΡΡΠΎΡΡΠ΅Π»ΡΠ½ΠΎ. ΠΡΠ½ΠΎΠ²Π½Π°Ρ ΠΏΡΠΈΡΠΈΠ½Π° β ΠΏΡΠΎΠ±Π»Π΅ΠΌΡ Ρ ΠΏΠΎΠΈΡΠΊΠΎΠΌ ΠΌΠΎΠ΄Π΅Π»Ρ, ΠΊΠΎΡΠΎΡΠ°Ρ ΠΏΠΎΠ΄Ρ ΠΎΠ΄ΠΈΡ Π΄Π»Ρ ΠΎΡΠ²Π΅ΡΠΈΡΠ΅Π»ΡΠ½ΠΎΠ³ΠΎ ΠΏΡΠΈΠ±ΠΎΡΠ°. ΠΡΠ΅Π΄ΡΡΠ°Π²Π»Π΅Π½Π½ΡΠΉ Π²Π°ΡΠΈΠ°Π½Ρ ΡΠ°ΡΡΡΠΈΡΠ°Π½ Π½Π° ΡΠ΅Π³ΡΠ»ΠΈΡΠΎΠ²Π°Π½ΠΈΠ΅ ΡΡΠΊΠΎΡΡΠΈ ΡΠ²Π΅ΡΠ΅Π½ΠΈΡ Π»Π°ΠΌΠΏΡ Π½Π°ΠΊΠ°Π»ΠΈΠ²Π°Π½ΠΈΡ, ΡΠ°Π±ΠΎΡΠ°ΡΡΠ΅ΠΉ Π² ΡΠ΅ΡΠΈ 220 Π.
Π§ΡΠΎ Π΄Π»Ρ ΡΡΠΎΠ³ΠΎ ΠΏΠΎΡΡΠ΅Π±ΡΠ΅ΡΡΡ?
Π§ΡΠΎΠ±Ρ ΡΠ΄Π΅Π»Π°ΡΡ ΠΏΡΠΎΡΡΠ΅ΠΉΡΡΡ ΠΌΠΎΠ΄Π΅Π»Ρ Π½ΡΠΆΠ½Ρ:
- ΠΠΈΠ½ΠΈΡΡΠΎΡ DΠ3.
- Π‘ΠΈΠΌΠΈΡΡΠΎΡ ΠΠ’134 Π½Π° 700 Π²Π°ΡΡ, Π΄ΠΎΠΏΡΡΠΊΠ°Π΅ΡΡΡ ΠΏΠΎΠ΄Π±ΠΈΡΠ°ΡΡ ΠΈ Π΄ΡΡΠ³ΠΈΠ΅ Π²Π°ΡΠΈΠ°Π½ΡΡ, ΠΊ ΠΏΡΠΈΠΌΠ΅ΡΡ, ΠΠ’138, ΠΠΠ‘212-8.
- Π Π΅Π·ΠΈΡΡΠΎΡ Π½Π° 10 ΠΊΠΠΌ, Π΅Π³ΠΎ Π΄ΠΎΠΏΡΡΡΠΈΠΌΠ°Ρ ΠΌΠΎΡΠ½ΠΎΡΡΡ 0,25-2 ΠΡ.
- ΠΠΎΠΌΠΏΠ°ΠΊΡΠ½ΡΠΉ ΠΏΠ΅ΡΠ΅ΠΌΠ΅Π½Π½ΡΠΉ ΡΠ΅Π·ΠΈΡΡΠΎΡ, ΡΠΎΠΏΡΠΎΡΠΈΠ²Π»Π΅Π½ΠΈΠ΅ ΠΎΡ 470 Π΄ΠΎ 500 ΠΊΠΠΌ.
- ΠΠ°ΡΠ»ΡΠ½ΠΈΠΊ ΠΈ ΡΠ°ΡΡ ΠΎΠ΄Π½ΠΈΠΊΠΈ.
- ΠΡΡΠ°ΡΠΊΠΈ.
- ΠΡΡΠ΅Π· ΠΊΠ°Π±Π΅Π»Ρ, Ρ ΡΠ΅ΡΠ΅Π½ΠΈΠ΅ΠΌ 1 ΠΊΠ². ΠΌΠΌ.
- ΠΠ·ΠΎΠ»Π΅Π½ΡΠ° ΠΈΠ»ΠΈ Π’Π£Π’ ΠΏΠΎΠ΄Ρ ΠΎΠ΄ΡΡΠ΅Π³ΠΎ Π΄ΠΈΠ°ΠΌΠ΅ΡΡΠ°.
Π‘ΠΎΠ΅Π΄ΠΈΠ½ΡΡΡ ΡΠ»Π΅ΠΌΠ΅Π½ΡΡ ΡΠ»Π΅Π΄ΡΠ΅Ρ ΠΏΠΎ ΠΏΡΠ΅Π΄ΡΡΠ°Π²Π»Π΅Π½Π½ΠΎΠΉ Π½ΠΈΠΆΠ΅ ΡΡ Π΅ΠΌΠ΅.
Β


Π‘ΠΎΠ²Π΅ΡΡ ΠΏΠΎ ΠΈΡΠΏΠΎΠ»ΡΠ·ΠΎΠ²Π°Π½ΠΈΡ
Π’Π°ΠΊΠΎΠΉ Π²Π°ΡΠΈΠ°Π½Ρ ΡΠΏΡΠ°Π²Π»Π΅Π½ΠΈΡ ΠΎΡΠ²Π΅ΡΠ΅Π½ΠΈΠ΅ΠΌ ΡΠ΄ΠΎΠ±Π½ΡΠΉ, Π½ΠΎ ΠΊ Π½Π΅ΠΌΡ ΡΡΠ΅Π±ΡΠ΅ΡΡΡ ΠΏΡΠΈΠ²ΡΠΊΠ½ΡΡΡ, Π² ΠΏΡΠΎΡΠ΅ΡΡΠ΅ ΡΠΊΡΠΏΠ»ΡΠ°ΡΠ°ΡΠΈΠΈ ΡΠ»Π΅Π΄ΡΠ΅Ρ Π²Π·ΡΡΡ Π²ΠΎ Π²Π½ΠΈΠΌΠ°Π½ΠΈΠ΅ ΡΠ°ΠΊΠΈΠ΅ ΡΠ΅ΠΊΠΎΠΌΠ΅Π½Π΄Π°ΡΠΈΠΈ:
- ΠΡΠ»ΠΈ ΠΏΠΎΠΊΡΠΏΠΊΠ° ΡΡΡΡΠΎΠΉΡΡΠ²Π° ΠΏΡΠΈΠ·Π²Π°Π½Π° ΠΎΠ±Π΅ΡΠΏΠ΅ΡΠΈΡΡ ΡΠΊΠΎΠ½ΠΎΠΌΠΈΡ, ΡΠΎ Π½Π΅ΠΎΠ±Ρ ΠΎΠ΄ΠΈΠΌΠΎ ΡΡΡΠ°Π½Π°Π²Π»ΠΈΠ²Π°ΡΡ Π½Π° ΡΠ΅Π³ΡΠ»ΡΡΠΎΡΠ΅ ΠΌΠΈΠ½ΠΈΠΌΠ°Π»ΡΠ½ΡΠ΅ ΠΏΠΎΠΊΠ°Π·Π°ΡΠ΅Π»ΠΈ. Π’ΠΎΠ»ΡΠΊΠΎ Π² ΡΡΠΎΠΌ ΡΠ»ΡΡΠ°Π΅ Π»Π°ΠΌΠΏΠ° Π½Π°ΠΊΠ°Π»ΠΈΠ²Π°Π½ΠΈΡ ΡΡΠ°Π½Π΅Ρ ΡΠΊΠΎΠ½ΠΎΠΌΠ½Π΅ΠΉ Π½Π° 15%. Π ΠΎΡΡΠ°Π»ΡΠ½ΡΡ ΡΠ»ΡΡΠ°ΡΡ ΡΠ²Π΅Ρ ΠΏΡΠΎΡΡΠΎ ΡΠ°ΡΡΠ΅Π²Π°Π΅ΡΡΡ.
- ΠΠ΅ ΡΡΠΎΠΈΡ ΠΈΡΠΏΠΎΠ»ΡΠ·ΠΎΠ²Π°ΡΡ Π΅Π³ΠΎ, ΠΊΠΎΠ³Π΄Π° ΡΠ΅ΠΌΠΏΠ΅ΡΠ°ΡΡΡΠ° Π² ΠΏΠΎΠΌΠ΅ΡΠ΅Π½ΠΈΠΈ ΠΏΡΠ΅Π²ΡΡΠΈΠ»Π° ΠΎΡΠΌΠ΅ΡΠΊΡ +27β°. ΠΡΠΎ ΡΡΠ΅Π²Π°ΡΠΎ ΠΏΠ΅ΡΠ΅Π³ΡΠ΅Π²ΠΎΠΌ ΠΈ Π²ΡΡ ΠΎΠ΄ΠΎΠΌ ΠΈΠ· ΡΡΡΠΎΡ.
- ΠΡΠ»ΠΈ ΡΠ΅Π³ΡΠ»ΡΡΠΎΡ Π²ΡΡΠ΅Π» ΠΈΠ· ΡΡΡΠΎΡ ΠΈΠ·-Π·Π° ΠΏΠ΅ΡΠ΅Π³ΠΎΡΠ΅Π²ΡΠ΅Π³ΠΎ ΡΠΈΠΌΠΈΡΡΠΎΡΠ°, ΠΏΠΎΡΠ»Π΅Π΄Π½ΠΈΠΉ ΡΠ΄Π°ΡΡΡΡ Π·Π°ΠΌΠ΅Π½ΠΈΡΡ. ΠΡΠΈΡΠ΅ΠΌ Π»ΡΡΡΠ΅ Π²ΡΠ±ΡΠ°ΡΡ ΡΠΈΠΌΠΈΡΡΠΎΡ Ρ Π±ΠΎΠ»Π΅Π΅ Π²ΡΡΠΎΠΊΠΈΠΌ ΠΏΠΎΡΠΎΠ³ΠΎΠΌ ΠΌΠΎΡΠ½ΠΎΡΡΠΈ. ΠΡΠΈΡΠΈΠ½ΠΎΠΉ ΡΠ°ΠΊΠΎΠΉ ΠΏΠΎΠ»ΠΎΠΌΠΊΠΈ ΡΠ²Π»ΡΠ΅ΡΡΡ ΠΊΠΎΡΠΎΡΠΊΠΎΠ΅ Π·Π°ΠΌΡΠΊΠ°Π½ΠΈΠ΅ Π² ΡΠ΅ΡΠΈ ΠΈΠ»ΠΈ ΠΏΡΠ΅Π²ΡΡΠ΅Π½ΠΈΠ΅ Π΄ΠΎΠΏΡΡΡΠΈΠΌΠΎΠΉ Π½Π°Π³ΡΡΠ·ΠΊΠΈ Π½Π° ΠΏΡΠΈΠ±ΠΎΡ.
ΠΡΠ²ΠΎΠ΄
ΠΡΠΏΠΎΠ»ΡΠ·ΠΎΠ²Π°Π½ΠΈΠ΅ Π΄ΠΈΠΌΠΌΠ΅ΡΠΎΠ² Π΄Π»Ρ Π»Π°ΠΌΠΏ Π½Π°ΠΊΠ°Π»ΠΈΠ²Π°Π½ΠΈΡ Π±ΡΠ΄Π΅Ρ ΡΠΊΠΎΠ½ΠΎΠΌΠ½ΡΠΌ, ΡΠΎΠ»ΡΠΊΠΎ Π΅ΡΠ»ΠΈ ΠΎΡΠ²Π΅ΡΠ΅Π½ΠΈΠ΅ ΡΠ΄Π΅ΡΠΆΠΈΠ²Π°ΡΡ Π½Π° ΠΌΠΈΠ½ΠΈΠΌΠ°Π»ΡΠ½ΠΎΠΌ ΡΡΠΎΠ²Π½Π΅. Π ΠΎΡΡΠ°Π»ΡΠ½ΡΡ ΡΠ»ΡΡΠ°ΡΡ ΡΡΠΎ ΠΎΠ±ΠΎΡΡΠ΄ΠΎΠ²Π°Π½ΠΈΠ΅ ΠΏΡΠΎΡΡΠΎ Π΄Π°Π΅Ρ Π²ΠΎΠ·ΠΌΠΎΠΆΠ½ΠΎΡΡΡ ΡΠΏΡΠ°Π²Π»ΡΡΡ ΠΈΠ½ΡΠ΅Π½ΡΠΈΠ²Π½ΠΎΡΡΡΡ ΡΠ²Π΅ΡΠ°.
lampaexpert.ru
ΠΠΈΠΌΠΌΠ΅Ρ Π΄Π»Ρ Π»Π°ΠΌΠΏ Π½Π°ΠΊΠ°Π»ΠΈΠ²Π°Π½ΠΈΡ: ΠΏΡΠΈΠ½ΡΠΈΠΏ ΡΠ°Π±ΠΎΡΡ ΠΈ Π²ΠΈΠ΄Ρ

ΠΠΈΠΌΠΌΠ΅Ρ Π΄Π»Ρ Π»Π°ΠΌΠΏ Π½Π°ΠΊΠ°Π»ΠΈΠ²Π°Π½ΠΈΡ ΡΠ²Π»ΡΠ΅ΡΡΡ ΡΠ²ΠΎΠ΅ΠΎΠ±ΡΠ°Π·Π½ΡΠΌ ΡΠ΅Π³ΡΠ»ΡΡΠΎΡΠΎΠΌ ΠΌΠΎΡΠ½ΠΎΡΡΠΈ ΠΈΡΡΠΎΡΠ½ΠΈΠΊΠ° ΡΠ²Π΅ΡΠ°.
Π’Π°ΠΊΠΎΠ΅ ΡΡΡΡΠΎΠΉΡΡΠ²ΠΎ ΠΎΠ±ΡΠ·Π°ΡΠ΅Π»ΡΠ½ΠΎ Π΄ΠΎΠ»ΠΆΠ½ΠΎ ΠΏΠΎΠ»Π½ΠΎΡΡΡΡ ΡΠΎΠΎΡΠ²Π΅ΡΡΡΠ²ΠΎΠ²Π°ΡΡ ΡΡΠΎΠ²Π½Ρ ΠΎΠ±ΡΠ΅ΠΉ ΠΏΠΎΡΡΠ΅Π±Π»ΡΠ΅ΠΌΠΎΠΉ ΠΌΠΎΡΠ½ΠΎΡΡΠΈ ΠΎΡΠ²Π΅ΡΠΈΡΠ΅Π»ΡΠ½ΠΎΠ³ΠΎ ΠΏΡΠΈΠ±ΠΎΡΠ°, Π½ΠΎ Ρ Π½Π΅Π±ΠΎΠ»ΡΡΠΈΠΌ Π·Π°ΠΏΠ°ΡΠΎΠΌ.
ΠΠ°ΠΊ ΠΌΠΎΠΆΠ½ΠΎ ΡΠ΅Π³ΡΠ»ΠΈΡΠΎΠ²Π°ΡΡ ΡΡΠΊΠΎΡΡΡ Π»Π°ΠΌΠΏ Π½Π°ΠΊΠ°Π»ΠΈΠ²Π°Π½ΠΈΡ?
Π‘ΡΠ°Π½Π΄Π°ΡΡΠ½Π°Ρ Π»Π°ΠΌΠΏΠ° Π½Π°ΠΊΠ°Π»ΠΈΠ²Π°Π½ΠΈΡ ΠΎΡΠ½ΠΎΡΠΈΡΡΡ ΠΊ ΠΊΠ°ΡΠ΅Π³ΠΎΡΠΈΠΈ ΠΏΡΠΎΡΡΡΡ
ΠΈΡΡΠΎΡΠ½ΠΈΠΊΠΎΠ² ΡΠ²Π΅ΡΠ°, ΠΈ ΡΡΠΎΠ±Ρ ΡΠΌΠ΅Π½ΡΡΠΈΡΡ ΡΡΠΎΠ²Π΅Π½Ρ ΡΡΠΊΠΎΡΡΠΈ ΡΠ²Π΅ΡΠ΅Π½ΠΈΡ, ΡΡΠ΅Π±ΡΠ΅ΡΡΡ ΡΠ½ΠΈΠ·ΠΈΡΡ ΠΏΠΎΠΊΠ°Π·Π°ΡΠ΅Π»ΠΈ ΠΏΠΎΠ΄Π°Π²Π°Π΅ΠΌΠΎΠ³ΠΎ ΡΠ»Π΅ΠΊΡΡΠΈΡΠ΅ΡΠΊΠΎΠ³ΠΎ Π½Π°ΠΏΡΡΠΆΠ΅Π½ΠΈΡ.
Π’Π΅Ρ Π½ΠΈΡΠ΅ΡΠΊΠΈ ΡΠ΅ΡΠΈΡΡ ΡΠ°ΠΊΡΡ Π·Π°Π΄Π°ΡΡ Π²ΠΏΠΎΠ»Π½Π΅ ΠΌΠΎΠΆΠ½ΠΎ:
- ΡΠ°ΡΡΠ΅ΠΈΠ²Π°Π½ΠΈΠ΅ΠΌ ΡΠ»Π΅ΠΊΡΡΠΎΡΠ½Π΅ΡΠ³ΠΈΠΈ Π½Π° Π²Ρ ΠΎΠ΄Π΅ ΠΊ ΠΈΡΡΠΎΡΠ½ΠΈΠΊΡ ΡΠ²Π΅ΡΠ°;
- ΠΏΡΠΈΠΌΠ΅Π½Π΅Π½ΠΈΠ΅ΠΌ ΠΏΠΈΡΠ°ΡΡΠ΅Π³ΠΎ Π½Π°ΠΏΡΡΠΆΠ΅Π½ΠΈΡ Π½Π° Π·Π°ΠΏΡΡΠΊ ΡΠ΅Π³ΡΠ»ΡΡΠΎΡΠ°.
Π ΠΏΠ΅ΡΠ²ΠΎΠΌ ΡΠ»ΡΡΠ°Π΅ ΡΠ°ΡΠ΅ Π²ΡΠ΅Π³ΠΎ ΠΏΡΠΈΠΌΠ΅Π½ΡΠ΅ΡΡΡ ΠΎΠ±ΡΡΠ½ΡΠΉ ΡΠ΅ΠΎΡΡΠ°Ρ, ΡΠ°ΡΡΡΠΈΡΠ°Π½Π½ΡΠΉ Π½Π° 220 Π²ΠΎΠ»ΡΡ. Π§ΡΠΎΠ±Ρ ΠΏΡΠ΅Π΄ΠΎΡΠ²ΡΠ°ΡΠΈΡΡ ΡΠΈΠ»ΡΠ½ΡΠΉ ΠΏΠ΅ΡΠ΅Π³ΡΠ΅Π² ΡΠ°ΠΊΠΎΠ³ΠΎ ΠΏΡΠΈΠ±ΠΎΡΠ°, ΡΠ΅Π»Π΅ΡΠΎΠΎΠ±ΡΠ°Π·Π½ΠΎ ΠΈΡΠΏΠΎΠ»ΡΠ·ΠΎΠ²Π°ΡΡ Π±Π°Π»Π»Π°ΡΡΠ½ΡΠ΅ Π±ΡΡΠΎΠ²ΡΠ΅ ΡΡΠ°Π½ΡΡΠΎΡΠΌΠ°ΡΠΎΡΡ, Π²ΠΊΠ»ΡΡΠ°Π΅ΠΌΡΠ΅ Π² ΡΠ΅ΠΏΡ ΠΏΠΈΡΠ°Π½ΠΈΡ ΠΈ ΠΊΠΎΠΌΠΏΠ΅Π½ΡΠΈΡΡΡΡΠΈΠ΅ Π²ΡΠ΅ΠΌΠ΅Π½Π½ΡΠ΅ Π±ΡΠΎΡΠΊΠΈ Π½Π°ΠΏΡΡΠΆΠ΅Π½ΠΈΡ.
Π‘ ΡΠ΅Π»ΡΡ ΠΎΡΡΡΠΈΠΌΠΎΠΉ ΡΠΊΠΎΠ½ΠΎΠΌΠΈΠΈ ΡΠ»Π΅ΠΊΡΡΠΈΡΠ΅ΡΠΊΠΎΠΉ ΡΠ½Π΅ΡΠ³ΠΈΠΈ, Π½Π° ΡΡΠ°ΡΡΠΊΠ΅ ΠΎΡ Π»Π°ΠΌΠΏΡ Π½Π°ΠΊΠ°Π»ΠΈΠ²Π°Π½ΠΈΡ Π΄ΠΎ Π²ΡΠΊΠ»ΡΡΠ°ΡΠ΅Π»Ρ, ΡΡΡΠ°Π½Π°Π²Π»ΠΈΠ²Π°Π΅ΡΡΡ ΡΠΏΠ΅ΡΠΈΠ°Π»ΡΠ½ΡΠΉ ΠΏΡΠΈΠ±ΠΎΡ Ρ ΡΠ΅Π³ΡΠ»ΠΈΡΡΠ΅ΠΌΠΎΠΉ Π²ΡΡ ΠΎΠ΄Π½ΠΎΠΉ ΠΌΠΎΡΠ½ΠΎΡΡΡΡ. Π ΠΊΠ°ΡΠ΅ΡΡΠ²Π΅ ΡΠ°ΠΊΠΎΠ³ΠΎ ΡΡΡΡΠΎΠΉΡΡΠ²Π° ΠΌΠΎΠΆΠ½ΠΎ ΡΠ°ΡΡΠΌΠ°ΡΡΠΈΠ²Π°ΡΡ ΠΎΠ±ΡΡΠ½ΡΠΉ Π³Π΅Π½Π΅ΡΠ°ΡΠΎΡ Π°Π²ΡΠΎΠΌΠ°ΡΠΈΡΠ΅ΡΠΊΠΈΡ ΠΊΠΎΠ»Π΅Π±Π°Π½ΠΈΠΉ.
Π‘Π»Π΅Π΄ΡΠ΅Ρ ΠΎΡΠΌΠ΅ΡΠΈΡΡ, ΡΡΠΎ Π²Π°ΡΠΈΠ°Π½Ρ ΡΠ°ΡΡΠ΅ΠΈΠ²Π°Π½ΠΈΡ Π½Π΅ ΡΠ²Π»ΡΠ΅ΡΡΡ ΡΠΊΠΎΠ½ΠΎΠΌΠΈΡΠ΅ΡΠΊΠΈ ΡΠ΅Π»Π΅ΡΠΎΠΎΠ±ΡΠ°Π·Π½ΡΠΌ, ΡΠ°ΠΊ ΠΊΠ°ΠΊ Π² ΡΡΠ»ΠΎΠ²ΠΈΡΡ Π²ΠΊΠ»ΡΡΠ΅Π½Π½ΠΎΠ³ΠΎ ΡΠ΅ΠΎΡΡΠ°ΡΠ° ΠΈ Π½Π΅ΠΏΠΎΠ»Π½ΠΎΠΉ ΡΠ²Π΅ΡΠΎΠ²ΠΎΠΉ ΠΎΡΠ΄Π°ΡΠΈ Π»Π°ΠΌΠΏΡ Π½Π°ΠΊΠ°Π»ΠΈΠ²Π°Π½ΠΈΡ, ΡΠ°ΡΡ ΠΎΠ΄ ΡΠ»Π΅ΠΊΡΡΠΈΡΠ΅ΡΠΊΠΎΠΉ ΡΠ½Π΅ΡΠ³ΠΈΠΈ ΠΎΡΡΠ°ΡΡΡΡ Π½Π° ΠΏΡΠ΅ΠΆΠ½Π΅ΠΌ ΡΡΠΎΠ²Π½Π΅.
ΠΠ»ΡΡΡ ΠΈ ΠΌΠΈΠ½ΡΡΡ ΡΠ΅Π³ΡΠ»ΡΡΠΎΡΠΎΠ²
Π£ΡΡΠ°Π½ΠΎΠ²ΠΊΠ° ΡΠΎΠ²ΡΠ΅ΠΌΠ΅Π½Π½ΡΡ
ΡΠ΅Π³ΡΠ»ΡΡΠΎΡΠΎΠ² ΠΌΠΎΡΠ½ΠΎΡΡΠΈ ΠΎΡΠ²Π΅ΡΠ΅Π½ΠΈΡ, ΠΏΡΠ΅Π΄ΡΡΠ°Π²Π»Π΅Π½Π½ΡΡ
Π΄ΠΈΠΌΠΌΠ΅ΡΠ°ΠΌΠΈ, ΠΈΠΌΠ΅Π΅Ρ Π±ΠΎΠ»ΡΡΠΎΠ΅ ΠΊΠΎΠ»ΠΈΡΠ΅ΡΡΠ²ΠΎ ΠΏΡΠ΅ΠΈΠΌΡΡΠ΅ΡΡΠ²:
- Π²ΠΎΠ·ΠΌΠΎΠΆΠ½ΠΎΡΡΡ ΡΠ΄ΠΎΠ±Π½ΠΎ ΠΈ Π»Π΅Π³ΠΊΠΎ ΠΎΡΡΡΠ΅ΡΡΠ²Π»ΡΡΡ ΠΏΠΎΠ»Π½ΠΎΡΠ΅Π½Π½ΠΎΠ΅ ΡΠΏΡΠ°Π²Π»Π΅Π½ΠΈΠ΅ Π»ΡΠ±ΡΠΌΠΈ ΠΎΡΠ²Π΅ΡΠΈΡΠ΅Π»ΡΠ½ΡΠΌΠΈ ΠΏΡΠΈΠ±ΠΎΡΠ°ΠΌΠΈ;
- ΠΏΠΎΠ²ΡΡΠ΅Π½ΠΈΠ΅ ΡΠ½Π΅ΡΠ³ΠΎΡΡΡΠ΅ΠΊΡΠΈΠ²Π½ΠΎΡΡΠΈ ΠΎΡΠ²Π΅ΡΠ΅Π½ΠΈΡ;
- ΡΠ²Π΅Π»ΠΈΡΠ΅Π½ΠΈΠ΅ ΡΡΠΎΠΊΠ° ΡΠΊΡΠΏΠ»ΡΠ°ΡΠ°ΡΠΈΠΈ ΠΎΡΠ²Π΅ΡΠΈΡΠ΅Π»ΡΠ½ΡΡ ΠΏΡΠΈΠ±ΠΎΡΠΎΠ².
ΠΠΎΡΡΠ΅Π΄ΡΡΠ²ΠΎΠΌ Π΄ΠΈΠΌΠΌΠ΅ΡΠ° ΠΎΡΡΡΠ΅ΡΡΠ²Π»ΡΠ΅ΡΡΡ ΠΏΠ»Π°Π²Π½ΠΎΠ΅ Π²ΠΊΠ»ΡΡΠ΅Π½ΠΈΠ΅ ΠΈ ΠΎΡΠΊΠ»ΡΡΠ΅Π½ΠΈΠ΅ ΡΠ²Π΅ΡΠΈΠ»ΡΠ½ΠΈΠΊΠ°, Π±Π»Π°Π³ΠΎΠ΄Π°ΡΡ ΡΠ΅ΠΌΡ ΠΎΡΡΡΡΡΡΠ²ΡΡΡ ΡΠ΅Π·ΠΊΠΈΠ΅ Π±ΡΠΎΡΠΊΠΈ ΡΠΎΠΊΠ° ΡΠ΅ΡΠ΅Π· Π»Π°ΠΌΠΏΡ Π½Π°ΠΊΠ°Π»ΠΈΠ²Π°Π½ΠΈΡ ΠΈ, ΠΊΠ°ΠΊ ΡΠ»Π΅Π΄ΡΡΠ²ΠΈΠ΅, ΠΏΡΠΎΠ΄Π»Π΅Π²Π°Π΅ΡΡΡ ΡΡΠΎΠΊ ΡΠ»ΡΠΆΠ±Ρ ΠΈΡΡΠΎΡΠ½ΠΈΠΊΠ° ΡΠ²Π΅ΡΠ°.
ΠΡΠΎΠΌΠ΅ Π²ΡΠ΅Π³ΠΎ ΠΏΡΠΎΡΠ΅Π³ΠΎ, ΡΠ°ΠΌΡΠ΅ ΡΠΎΠ²ΡΠ΅ΠΌΠ΅Π½Π½ΡΠ΅ ΠΌΠΎΠ΄Π΅Π»ΠΈ Ρ ΡΠ°ΡΡΠΈΡΠ΅Π½Π½ΡΠΌ ΡΡΠ½ΠΊΡΠΈΠΎΠ½Π°Π»ΠΎΠΌ Π΄Π°ΡΡ Π²ΠΎΠ·ΠΌΠΎΠΆΠ½ΠΎΡΡΡ ΠΈΠΌΠΈΡΠΈΡΠΎΠ²Π°ΡΡ ΠΏΡΠΈΡΡΡΡΡΠ²ΠΈΠ΅ ΡΠ΅Π»ΠΎΠ²Π΅ΠΊΠ°, ΡΡΠΎ ΠΏΠΎΠ·Π²ΠΎΠ»ΡΠ΅Ρ ΡΠ½ΠΈΠ·ΠΈΡΡ ΡΠΈΡΠΊ ΠΎΠ³ΡΠ°Π±Π»Π΅Π½ΠΈΡ ΠΏΡΠΈ ΠΎΡΡΡΡΡΡΠ²ΠΈΠΈ ΠΆΠΈΠ»ΡΡΠΎΠ². Π‘ ΡΡΠΎΠΉ ΡΠ΅Π»ΡΡ Π² ΡΠ΅Π³ΡΠ»ΠΈΡΡΡΡΠ΅ΠΌ ΡΡΡΡΠΎΠΉΡΡΠ²Π΅ ΠΏΡΠΈΠΌΠ΅Π½ΡΠ΅ΡΡΡ ΡΠΏΠ΅ΡΠΈΠ°Π»ΡΠ½ΡΠΉ ΠΏΡΠΎΠ³ΡΠ°ΠΌΠΌΠ½ΡΠΉ ΡΠ΅ΠΆΠΈΠΌ, ΠΊΠΎΡΠΎΡΡΠΌ Π°Π²ΡΠΎΠΌΠ°ΡΠΈΡΠ΅ΡΠΊΠΈ ΠΎΡΡΡΠ΅ΡΡΠ²Π»ΡΠ΅ΡΡΡ Π²ΠΊΠ»ΡΡΠ΅Π½ΠΈΠ΅ ΠΈ ΠΎΡΠΊΠ»ΡΡΠ΅Π½ΠΈΠ΅ ΠΎΡΠ²Π΅ΡΠ΅Π½ΠΈΡ Π² ΡΠ°Π·Π½ΡΡ ΠΏΠΎΠΌΠ΅ΡΠ΅Π½ΠΈΡΡ , ΡΡΠΎ ΡΠΎΠ·Π΄Π°ΡΡ ΠΈΠ»Π»ΡΠ·ΠΈΡ ΠΏΡΠ΅Π±ΡΠ²Π°Π½ΠΈΡ ΡΠ΅Π»ΠΎΠ²Π΅ΠΊΠ°.
Π§Π°ΡΠ΅ Π²ΡΠ΅Π³ΠΎ ΠΎΡΠ΅ΡΠ΅ΡΡΠ²Π΅Π½Π½ΡΠ΅ ΠΏΠΎΡΡΠ΅Π±ΠΈΡΠ΅Π»ΠΈ ΡΡΠ°Π»ΠΊΠΈΠ²Π°ΡΡΡΡ Ρ Π½Π΅Π΄ΠΎΡΡΠ°ΡΠΊΠ°ΠΌΠΈ ΡΠ²Π΅ΡΠΎΡΠ΅Π³ΡΠ»ΡΡΠΎΡΠΎΠ² ΠΏΡΠΈ ΠΏΡΠΈΠΎΠ±ΡΠ΅ΡΠ΅Π½ΠΈΠΈ ΡΠ°ΠΌΡΡ Π΄Π΅ΡΠ΅Π²ΡΡ ΠΈ Π½Π΅ΠΊΠ°ΡΠ΅ΡΡΠ²Π΅Π½Π½ΡΡ ΠΌΠΎΠ΄Π΅Π»Π΅ΠΉ Π΄ΠΈΠΌΠΌΠ΅ΡΠΎΠ², ΠΊΠΎΡΠΎΡΡΠ΅ Π²ΡΠΏΡΡΠΊΠ°ΡΡΡΡ Π½Π΅Π΄ΠΎΠ±ΡΠΎΡΠΎΠ²Π΅ΡΡΠ½ΡΠΌΠΈ ΠΏΡΠΎΠΈΠ·Π²ΠΎΠ΄ΠΈΡΠ΅Π»ΡΠΌΠΈ.
Π ΠΌΠΈΠ½ΡΡΠ°ΠΌ ΡΠ°ΠΊΠΈΡ ΠΏΡΠΈΠ±ΠΎΡΠΎΠ² ΠΌΠΎΠΆΠ½ΠΎ ΠΎΡΠ½Π΅ΡΡΠΈ:
- ΠΏΠΎΡΠ²Π»Π΅Π½ΠΈΠ΅ Π½Π΅Π·Π°ΠΏΠ»Π°Π½ΠΈΡΠΎΠ²Π°Π½Π½ΠΎΠ³ΠΎ ΠΌΠ΅ΡΡΠ°ΡΡΠ΅Π³ΠΎ ΡΡΡΠ΅ΠΊΡΠ° ΠΏΡΠΈ Π½Π΅Π±ΠΎΠ»ΡΡΠΎΠΌ ΡΡΠΎΠ²Π½Π΅ ΡΠ²Π΅ΡΠΎΠ²ΠΎΠΉ ΠΎΡΠ΄Π°ΡΠΈ Π»Π°ΠΌΠΏΠΎΠΉ Π½Π°ΠΊΠ°Π»ΠΈΠ²Π°Π½ΠΈΡ;
- ΠΎΡΡΡΠΈΠΌΠΎΠ΅ ΡΠΎΠΊΡΠ°ΡΠ΅Π½ΠΈΠ΅ ΡΡΠΎΠΊΠ° ΡΠΊΡΠΏΠ»ΡΠ°ΡΠ°ΡΠΈΠΈ ΠΈΡΡΠΎΡΠ½ΠΈΠΊΠ° ΡΠ²Π΅ΡΠ°;
- ΡΠ΅Π·ΠΊΠΎΠ΅ ΡΠ½ΠΈΠΆΠ΅Π½ΠΈΠ΅ ΠΏΠΎΠΊΠ°Π·Π°ΡΠ΅Π»Π΅ΠΉ ΡΠ½Π΅ΡΠ³ΠΎΡΡΡΠ΅ΠΊΡΠΈΠ²Π½ΠΎΡΡΠΈ.
Π’Π°ΠΊΠΆΠ΅ Π½ΡΠΆΠ½ΠΎ ΠΏΠΎΠΌΠ½ΠΈΡΡ, ΡΡΠΎ ΠΎΡΠ½ΠΎΠ²Π½ΠΎΠΉ ΠΎΡΠΎΠ±Π΅Π½Π½ΠΎΡΡΡΡ Π²ΡΡ ΠΎΠ΄Π½ΠΎΠ³ΠΎ Π½Π°ΠΏΡΡΠΆΠ΅Π½ΠΈΡ ΡΠ²Π»ΡΠ΅ΡΡΡ Π½Π΅Π»ΠΈΠ½Π΅ΠΉΠ½Π°Ρ Π·Π°Π²ΠΈΡΠΈΠΌΠΎΡΡΡ ΠΎΡ ΠΏΠΎΠΊΠ°Π·Π°ΡΠ΅Π»Π΅ΠΉ ΡΠ΅Π·ΠΈΡΡΠΎΡΠ½ΠΎΠ³ΠΎ ΡΠΎΠΏΡΠΎΡΠΈΠ²Π»Π΅Π½ΠΈΡ Π² ΡΡ Π΅ΠΌΠ΅ ΡΠ»Π΅ΠΊΡΡΠΎΠ½Π½ΠΎΠ³ΠΎ ΡΠ΅Π³ΡΠ»ΡΡΠΎΡΠ°.
Π§ΡΠΎΠ±Ρ ΠΌΠΈΠ½ΠΈΠΌΠΈΠ·ΠΈΡΠΎΠ²Π°ΡΡ Π½Π΅Π΄ΠΎΡΡΠ°ΡΠΊΠΈ, Π½Π΅ΠΎΠ±Ρ ΠΎΠ΄ΠΈΠΌΠΎ ΡΡΠΈΡΡΠ²Π°ΡΡ Π½Π΅ΡΠΈΠ½ΡΡΠΎΠΈΠ΄Π°Π»ΡΠ½ΡΡ ΡΠΎΡΠΌΡ Π²ΡΡ ΠΎΠ΄Π½ΠΎΠ³ΠΎ Π½Π°ΠΏΡΡΠΆΠ΅Π½ΠΈΡ ΡΠ»Π΅ΠΊΡΡΠΎΠ½Π½ΡΡ ΡΠ΅Π³ΡΠ»ΡΡΠΎΡΠΎΠ², ΠΏΠΎΡΡΠΎΠΌΡ ΠΏΠΎΠ΄ΠΊΠ»ΡΡΠ΅Π½ΠΈΠ΅ ΠΏΠΎΠ½ΠΈΠΆΠ°ΡΡΠΈΡ ΡΡΠ°Π½ΡΡΠΎΡΠΌΠ°ΡΠΎΡΠΎΠ² ΡΠ²Π»ΡΠ΅ΡΡΡ Π½Π΅ΠΆΠ΅Π»Π°ΡΠ΅Π»ΡΠ½ΡΠΌ.
Π‘Ρ Π΅ΠΌΠ° Π΄ΠΈΠΌΠΌΠ΅ΡΠ° Π΄Π»Ρ Π»Π°ΠΌΠΏ Π½Π°ΠΊΠ°Π»ΠΈΠ²Π°Π½ΠΈΡ
Π‘Ρ Π΅ΠΌΠ° Π΄ΠΈΠΌΠΌΠ΅ΡΠ°: ΠΏΡΠΈΠΌΠ΅Ρ

ΠΡΠ΅ ΠΎΠ΄ΠΈΠ½ ΠΏΡΠΈΠΌΠ΅Ρ ΡΡ Π΅ΠΌΡ
ΠΡΠΈΠ½ΡΠΈΠΏ ΡΠ°Π±ΠΎΡΡ ΠΈ ΡΡΡΡΠΎΠΉΡΡΠ²ΠΎ Π΄ΠΈΠΌΠΌΠ΅ΡΠ° Π΄Π»Ρ Π»Π°ΠΌΠΏ Π½Π°ΠΊΠ°Π»ΠΈΠ²Π°Π½ΠΈΡ
ΠΡΠΎΡΠ΅ΡΡ Π΄ΠΈΠΌΠΌΠΈΡΠΎΠ²Π°Π½ΠΈΡ ΠΎΡΠ½ΠΎΠ²Π°Π½ Π½Π° Β«ΡΠ°Π·ΠΎΠ²ΠΎΠΉ ΠΎΡΡΠ΅ΡΠΊΠ΅Β», ΠΊΠΎΡΠΎΡΠ°Ρ ΡΠΎΠΏΡΠΎΠ²ΠΎΠΆΠ΄Π°Π΅ΡΡΡ ΠΎΡΡΠ΅ΡΠ΅Π½ΠΈΠ΅ΠΌ ΡΠ°ΡΡΠΈ ΡΠΈΠ½ΡΡΠΎΠΈΠ΄Ρ ΡΠ΅ΡΠ΅Π²ΠΎΠ³ΠΎ Π½Π°ΠΏΡΡΠΆΠ΅Π½ΠΈΡ ΠΈ ΡΠΌΠ΅Π½ΡΡΠ΅Π½ΠΈΠ΅ΠΌ ΠΏΠΈΡΠ°Π½ΠΈΡ ΠΎΡΠ²Π΅ΡΠ΅Π½ΠΈΠ΅.
ΠΡΠΈ ΠΎΡΡΠ΅ΠΊΠ°Π½ΠΈΠΈ Π² Π½Π°ΡΠ°Π»Π΅ ΡΠΈΠ½ΡΡΠΎΠΈΠ΄Ρ, ΠΏΡΠΎΠΈΡΡ ΠΎΠ΄ΠΈΡ Β«ΡΠ΅Π³ΡΠ»ΡΡΠΈΡ ΠΏΠ΅ΡΠ΅Π΄Π½Π΅Π³ΠΎ ΡΡΠΎΠ½ΡΠ°Β», Π° Π² ΠΊΠΎΠ½ΡΠ΅ ΡΠΈΠ½ΡΡΠΎΠΈΠ΄Ρ, β Β«Π΄ΠΈΠΌΠΌΠΈΡΠΎΠ²Π°Π½ΠΈΠ΅ Π·Π°Π΄Π½Π΅Π³ΠΎ ΡΡΠΎΠ½ΡΠ°Β».
Π ΠΊΠ°ΠΆΠ΄ΠΎΠΌ ΠΊΠΎΠ½ΠΊΡΠ΅ΡΠ½ΠΎΠΌ ΡΠ»ΡΡΠ°Π΅ ΠΏΠΎΠ΄Π±ΠΈΡΠ°Π΅ΡΡΡ ΠΎΠΏΡΠΈΠΌΠ°Π»ΡΠ½ΡΠΉ Π²Π°ΡΠΈΠ°Π½Ρ ΡΡΡΠ°Π½ΠΎΠ²ΠΊΠΈ Π΄ΠΈΠΌΠΌΠ΅ΡΠ°. ΠΠΎ Π²ΡΠ΅Ρ ΡΡΠ°Π½Π΄Π°ΡΡΠ½ΡΡ ΡΡΡΡΠΎΠΉΡΡΠ²Π°Ρ ΠΎΠ±ΡΠ·Π°ΡΠ΅Π»ΡΠ½ΠΎ ΠΏΡΠ΅Π΄ΡΡΠΌΠ°ΡΡΠΈΠ²Π°Π΅ΡΡΡ Π½Π°Π»ΠΈΡΠΈΠ΅ ΡΠΈΡΡΠ΅ΠΌΡ Π·Π°ΡΠΈΡΡ ΠΎΡ ΠΏΠ΅ΡΠ΅Π³ΡΠ΅Π²Π° ΠΈ ΠΊΠΎΡΠΎΡΠΊΠΎΠ³ΠΎ Π·Π°ΠΌΡΠΊΠ°Π½ΠΈΡ, Π° ΡΠ°ΠΊΠΆΠ΅ ΡΡΡΠ°Π½Π°Π²Π»ΠΈΠ²Π°ΡΡΡΡ ΠΊΠ»Π΅ΠΌΠΌΡ, ΠΏΠΎΠ·Π²ΠΎΠ»ΡΡΡΠΈΠ΅ ΠΎΡΡΡΠ΅ΡΡΠ²Π»ΡΡΡ ΠΏΡΠ°Π²ΠΈΠ»ΡΠ½ΠΎΠ΅ ΠΏΠΎΠ΄ΠΊΠ»ΡΡΠ΅Π½ΠΈΠ΅.
ΠΠ»Ρ ΠΏΠΎΠ»ΡΡΠ΅Π½ΠΈΡ ΡΡΠ°Π±ΠΈΠ»ΡΠ½ΠΎΠΉ ΡΠ°Π±ΠΎΡΡ ΡΡΡΡΠΎΠΉΡΡΠ²Π°, ΠΊΠ°ΠΊ ΠΏΡΠ°Π²ΠΈΠ»ΠΎ, ΠΈΡΠΏΠΎΠ»ΡΠ·ΡΠ΅ΡΡΡ ΡΡΡΡ ΠΆΠΈΠ»ΡΠ½ΡΠΉ ΠΏΡΠΎΠ²ΠΎΠ΄ Π½Π° Β«ΡΠ°Π·ΡΒ», Β«Π½ΠΎΠ»ΡΒ» ΠΈ Β«Π·Π°Π·Π΅ΠΌΠ»Π΅Π½ΠΈΠ΅Β», Π½ΠΎ ΠΏΡΠΈΠΌΠ΅Π½Π΅Π½ΠΈΠ΅ ΠΌΠ°Π»ΠΎΠ³ΠΎ ΡΠ΅Π³ΡΠ»ΡΡΠΎΡΠ° ΠΏΠΎΠ·Π²ΠΎΠ»ΡΠ΅Ρ ΡΡΡΠ°Π½Π°Π²Π»ΠΈΠ²Π°ΡΡ ΡΡΠ°Π½Π΄Π°ΡΡΠ½ΡΠΉ Π΄Π²ΡΡ ΠΆΠΈΠ»ΡΠ½ΡΠΉ ΠΏΡΠΎΠ²ΠΎΠ΄.
ΠΠΈΠ΄Ρ ΠΏΡΠΈΠ±ΠΎΡΠ° ΠΈ ΠΊΠ°ΠΊ ΡΠ°Π±ΠΎΡΠ°Π΅Ρ Π΄ΠΈΠΌΠΌΠ΅Ρ Π΄Π»Ρ Π»Π°ΠΌΠΏ Π½Π°ΠΊΠ°Π»ΠΈΠ²Π°Π½ΠΈΡ?
ΠΡΠΎΠ±Π΅Π½Π½ΠΎΡΡΡ ΡΠ°ΠΌΡΡ ΠΏΠ΅ΡΠ²ΡΡ Π΄ΠΈΠΌΠΌΠ΅ΡΠΎΠ² Π·Π°ΠΊΠ»ΡΡΠ°Π»Π°ΡΡ Π² ΠΌΠ΅Ρ Π°Π½ΠΈΡΠ΅ΡΠΊΠΎΠΌ ΡΠΏΠΎΡΠΎΠ±Π΅ ΡΠΏΡΠ°Π²Π»Π΅Π½ΠΈΡ ΠΈ ΡΠΏΠΎΡΠΎΠ±Π½ΠΎΡΡΠΈ ΡΠΎΠ»ΡΠΊΠΎ ΠΈΠ·ΠΌΠ΅Π½ΡΡΡ ΡΡΠΊΠΎΡΡΡ ΠΎΡΠ²Π΅ΡΠΈΡΠ΅Π»ΡΠ½ΠΎΠ³ΠΎ ΠΏΡΠΈΠ±ΠΎΡΠ°. Π£ΡΠΎΠ²Π΅ΡΡΠ΅Π½ΡΡΠ²ΠΎΠ²Π°Π½Π½ΡΠ΅ ΡΡΡΡΠΎΠΉΡΡΠ²Π° ΠΎΡΠ»ΠΈΡΠ°ΡΡΡΡ ΠΌΠ½ΠΎΠ³ΠΎΡΡΠ½ΠΊΡΠΈΠΎΠ½Π°Π»ΡΠ½ΠΎΡΡΡΡ.

- ΡΠΏΡΠ°Π²Π»ΡΡΡ ΡΡΠΊΠΎΡΡΡΡ ΡΠ²Π΅ΡΠΎΠ²ΠΎΠ³ΠΎ ΠΏΠΎΡΠΎΠΊΠ°;
- ΠΎΡΡΡΠ΅ΡΡΠ²Π»ΡΡΡ ΠΎΡΠΊΠ»ΡΡΠ΅Π½ΠΈΠ΅ Π² Π°Π²ΡΠΎΠΌΠ°ΡΠΈΡΠ΅ΡΠΊΠΎΠΌ ΡΠ΅ΠΆΠΈΠΌΠ΅;
- ΠΈΠΌΠΈΡΠΈΡΠΎΠ²Π°ΡΡ ΠΏΡΠΈΡΡΡΡΡΠ²ΠΈΠ΅ ΡΠ΅Π»ΠΎΠ²Π΅ΠΊΠ° Π² ΠΏΠΎΠΌΠ΅ΡΠ΅Π½ΠΈΠΈ;
- ΠΏΠ»Π°Π²Π½ΠΎ Π²ΠΊΠ»ΡΡΠ°ΡΡ ΠΈ ΠΎΡΠΊΠ»ΡΡΠ°ΡΡ ΠΈΡΡΠΎΡΠ½ΠΈΠΊ ΠΎΡΠ²Π΅ΡΠ΅Π½ΠΈΡ;
- ΠΏΡΠΈΠΌΠ΅Π½ΡΡΡ ΡΠ°Π·Π½ΡΠ΅ ΡΠ΅ΠΆΠΈΠΌΡ ΠΈ ΡΡΡΠ΅ΠΊΡΡ, Π²ΠΊΠ»ΡΡΠ°Ρ Π·Π°ΡΠ΅ΠΌΠ½Π΅Π½ΠΈΠ΅ ΠΈ ΠΌΠΈΠ³Π°Π½ΠΈΠ΅;
- ΡΠΏΡΠ°Π²Π»ΡΡΡ ΠΏΡΠΈΠ±ΠΎΡΠΎΠΌ Π΄ΠΈΡΡΠ°Π½ΡΠΈΠΎΠ½Π½ΠΎ.
ΠΠΎ ΡΠΈΠΏΡ ΠΈΡΠΏΠΎΠ»Π½Π΅Π½ΠΈΡ Π²ΡΠ΄Π΅Π»ΡΡΡΡΡ ΠΌΠΎΠ½ΡΠΈΡΡΠ΅ΠΌΡΠ΅ Π² ΡΠ°ΡΠΏΡΠ΅Π΄Π΅Π»ΠΈΡΠ΅Π»ΡΠ½ΠΎΠΌ ΡΠΈΡΠ΅ ΠΌΠΎΠ΄ΡΠ»ΡΠ½ΡΠ΅ Π΄ΠΈΠΌΠΌΠ΅ΡΡ, ΠΌΠΎΠ½ΠΎΠ±Π»ΠΎΡΠ½ΡΠ΅ ΠΌΠΎΠ΄Π΅Π»ΠΈ Ρ ΡΡΡΠ°Π½ΠΎΠ²ΠΊΠΎΠΉ Π½Π° ΡΠ°Π·ΡΡΠ² ΡΠ°Π·Ρ Π² ΡΠ΅ΠΏΠΈ, Π° ΡΠ°ΠΊΠΆΠ΅ Π±Π»ΠΎΡΠ½ΡΠ΅ ΡΠ΅Π³ΡΠ»ΡΡΠΎΡΡ Β«ΡΠΎΠ·Π΅ΡΠΊΠ°-Π²ΡΠΊΠ»ΡΡΠ°ΡΠ΅Π»ΡΒ».
Π Π·Π°Π²ΠΈΡΠΈΠΌΠΎΡΡΠΈ ΠΎΡ ΠΊΠΎΠ½ΡΡΡΡΠΊΡΠΈΠΎΠ½Π½ΡΡ ΠΎΡΠΎΠ±Π΅Π½Π½ΠΎΡΡΠ΅ΠΉ ΠΈ ΡΡΠΎΠ²Π½Ρ ΡΡΠ½ΠΊΡΠΈΠΎΠ½Π°Π»ΡΠ½ΠΎΡΡΠΈ, Π²ΡΠ΅ Π΄ΠΈΠΌΠΌΠ΅ΡΡ ΠΌΠΎΠ³ΡΡ Π±ΡΡΡ ΠΏΡΠ΅Π΄ΡΡΠ°Π²Π»Π΅Π½Ρ Π½Π΅ΡΠΊΠΎΠ»ΡΠΊΠΈΠΌΠΈ ΡΠ°Π·Π½ΠΎΠ²ΠΈΠ΄Π½ΠΎΡΡΡΠΌΠΈ:
- Π½Π°ΠΈΠ±ΠΎΠ»Π΅Π΅ ΠΏΡΠΎΡΡΡΠ΅ ΠΈ ΡΠ°ΡΠΏΡΠΎΡΡΡΠ°Π½Π΅Π½Π½ΡΠ΅ ΠΏΠΎΠ²ΠΎΡΠΎΡΠ½ΡΠ΅ ΠΌΠΎΠ΄Π΅Π»ΠΈ, ΠΏΠΎΠ·Π²ΠΎΠ»ΡΡΡΠΈΠ΅ ΡΠ΅Π³ΡΠ»ΠΈΡΠΎΠ²Π°ΡΡ ΡΡΠΊΠΎΡΡΡ ΡΠ²Π΅ΡΠ° ΠΏΠΎΡΡΠ΅Π΄ΡΡΠ²ΠΎΠΌ ΠΊΡΡΠ³Π»ΠΎΠ³ΠΎ ΠΏΠΎΠ²ΠΎΡΠΎΡΠ½ΠΎΠ³ΠΎ ΡΡΡΡΠΎΠΉΡΡΠ²Π°;
- ΠΊΠ½ΠΎΠΏΠΎΡΠ½ΡΠ΅ ΠΌΠΎΠ΄Π΅Π»ΠΈ, ΠΏΠΎΠ·Π²ΠΎΠ»ΡΡΡΠΈΠ΅ ΡΠΏΡΠ°Π²Π»ΡΡΡ ΠΎΡΠ²Π΅ΡΠΈΡΠ΅Π»ΡΠ½ΡΠΌ ΠΏΡΠΈΠ±ΠΎΡΠΎΠΌ ΠΏΠΎΡΡΠ΅Π΄ΡΡΠ²ΠΎΠΌ Π½Π°ΠΆΠ°ΡΠΈΡ ΡΠΏΠ΅ΡΠΈΠ°Π»ΡΠ½ΠΎ Π²ΡΠ΄Π΅Π»Π΅Π½Π½ΡΡ ΠΊΠ»Π°Π²ΠΈΡ;
- ΡΠ΅Π½ΡΠΎΡΠ½ΡΠ΅ ΠΌΠΎΠ΄Π΅Π»ΠΈ, ΠΊΠΎΡΠΎΡΡΠ΅ ΡΠ°ΡΡΠΎ ΠΎΡΠ½Π°ΡΠ°ΡΡΡΡ ΡΠΈΡΡΠ΅ΠΌΠ°ΠΌΠΈ Π°Π²ΡΠΎΠΌΠ°ΡΠΈΡΠ΅ΡΠΊΠΎΠ³ΠΎ Π²ΡΠΊΠ»ΡΡΠ΅Π½ΠΈΡ, ΡΠ°ΠΉΠΌΠ΅ΡΠΎΠΌ ΠΈ ΡΡΡΠ΅ΠΊΡΠΎΠΌ ΠΏΡΠΈΡΡΡΡΡΠ²ΠΈΡ.
Π Π½Π°ΠΈΠ±ΠΎΠ»Π΅Π΅ ΡΠΎΠ²ΡΠ΅ΠΌΠ΅Π½Π½ΡΠΌ ΡΡΡΡΠΎΠΉΡΡΠ²Π°ΠΌ ΠΎΡΠ½ΠΎΡΡΡΡΡ ΠΌΠΎΠ΄Π΅Π»ΠΈ Ρ ΠΏΡΠ»ΡΡΠΎΠΌ, ΠΏΠΎΠ·Π²ΠΎΠ»ΡΡΡΠΈΠ΅ ΠΎΡΡΡΠ΅ΡΡΠ²Π»ΡΡΡ ΡΠΏΡΠ°Π²Π»Π΅Π½ΠΈΠ΅ ΠΎΡΠ²Π΅ΡΠ΅Π½ΠΈΠ΅ΠΌ Π΄ΠΈΡΡΠ°Π½ΡΠΈΠΎΠ½Π½ΡΠΌ ΡΠΏΠΎΡΠΎΠ±ΠΎΠΌ. Π’Π°ΠΊΠΈΠΌΠΈ Π΄ΠΈΠΌΠΌΠ΅ΡΠ°ΠΌΠΈ, ΠΏΠΎΠΌΠΈΠΌΠΎ Π²ΠΊΠ»ΡΡΠ΅Π½ΠΈΡ ΠΈ Π²ΡΠΊΠ»ΡΡΠ΅Π½ΠΈΡ ΠΈΡΡΠΎΡΠ½ΠΈΠΊΠ° ΡΠ²Π΅ΡΠ°, ΠΌΠΎΠΆΠ½ΠΎ Π»Π΅Π³ΠΊΠΎ ΡΠ΅Π³ΡΠ»ΠΈΡΠΎΠ²Π°ΡΡ ΡΡΠΎΠ²Π΅Π½Ρ ΡΠ²Π΅ΡΠΎΠ²ΠΎΠΉ ΠΎΡΠ΄Π°ΡΠΈ.
ΠΠΌΠ΅Π½Π½ΠΎ ΡΠ΅Π½ΡΠΎΡΠ½ΡΠΉ Π΄ΠΈΠΌΠΌΠ΅Ρ Π΄Π»Ρ Π»Π°ΠΌΠΏ Π½Π°ΠΊΠ°Π»ΠΈΠ²Π°Π½ΠΈΡ Β (Ρ ΠΠ£-ΠΏΡΠ»ΡΡΠΎΠΌ) ΠΏΡΠΈΠΌΠ΅Π½ΡΠ΅ΡΡΡ ΠΏΡΠΈ ΠΎΠ±ΡΡΡΡΠΎΠΉΡΡΠ²Π΅ ΡΠΈΡΡΠ΅ΠΌΡ Β«ΡΠΌΠ½ΡΠΉ Π΄ΠΎΠΌΒ», Π° Π΄ΠΈΡΡΠ°Π½ΡΠΈΠΎΠ½Π½ΠΎΠ΅ ΡΠΏΡΠ°Π²Π»Π΅Π½ΠΈΠ΅ ΠΌΠΎΠΆΠ΅Ρ ΠΎΡΡΡΠ΅ΡΡΠ²Π»ΡΡΡΡΡ ΠΏΠΎΡΡΠ΅Π΄ΡΡΠ²ΠΎΠΌ ΠΈΠ½ΡΡΠ°ΠΊΡΠ°ΡΠ½ΠΎΠ³ΠΎ ΠΈΠ»ΠΈ ΡΠ°Π΄ΠΈΠΎΠΊΠ°Π½Π°Π»Π°, Π°ΠΊΡΡΡΠΈΡΠ΅ΡΠΊΠΈΠΌΠΈ ΠΈΠ»ΠΈ Π³ΠΎΠ»ΠΎΡΠΎΠ²ΡΠΌΠΈ ΠΊΠΎΠΌΠ°Π½Π΄Π°ΠΌΠΈ.
ΠΠ°ΡΠΈΠ°Π½ΡΡ ΠΏΠΎΠ΄ΠΊΠ»ΡΡΠ΅Π½ΠΈΡ
ΠΡΠ΅ΠΆΠ΄Π΅ ΡΠ΅ΠΌ ΠΏΡΠΈΡΡΡΠΏΠΈΡΡ ΠΊ ΡΠ°ΠΌΠΎΡΡΠΎΡΡΠ΅Π»ΡΠ½ΠΎΠΉ ΡΡΡΠ°Π½ΠΎΠ²ΠΊΠ΅ Π΄ΠΈΠΌΠΌΠ΅ΡΠ°, Π½Π΅ΠΎΠ±Ρ
ΠΎΠ΄ΠΈΠΌΠΎ Ρ ΡΠ΅Π»ΡΡ ΠΎΠ±Π΅ΡΠΏΠ΅ΡΠ΅Π½ΠΈΡ Π±Π΅Π·ΠΎΠΏΠ°ΡΠ½ΠΎΠ³ΠΎ ΠΏΡΠΎΠ²Π΅Π΄Π΅Π½ΠΈΡ ΡΠ°Π±ΠΎΡ ΠΎΡΠΊΠ»ΡΡΠΈΡΡ ΡΠ»Π΅ΠΊΡΡΠΈΡΠ΅ΡΠΊΠΎΠ΅ ΠΏΠΈΡΠ°Π½ΠΈΠ΅ Π² ΡΠΈΡΠΊΠ΅. ΠΠ° ΡΠ΅Π³ΠΎΠ΄Π½ΡΡΠ½ΠΈΠΉ Π΄Π΅Π½Ρ ΠΏΡΠ°ΠΊΡΠΈΠΊΡΠ΅ΡΡΡ Π΄Π²Π° ΠΎΡΠ½ΠΎΠ²Π½ΡΡ
ΡΠΏΠΎΡΠΎΠ±Π° ΠΏΠΎΠ΄ΠΊΠ»ΡΡΠ΅Π½ΠΈΡ ΡΠ΅Π³ΡΠ»ΡΡΠΎΡΠ°.
ΠΡΠΈ ΠΏΡΠΎΡΡΠΎΠΌ ΠΏΠΎΠ΄ΠΊΠ»ΡΡΠ΅Π½ΠΈΠΈ Π΄Π΅ΠΌΠΎΠ½ΡΠΈΡΡΠ΅ΡΡΡ ΡΡΠ°ΡΡΠΉ Π²ΡΠΊΠ»ΡΡΠ°ΡΠ΅Π»Ρ, Π° ΠΊΠΎΠ½ΡΡ ΠΏΡΠΎΠ²ΠΎΠ΄ΠΎΠ² Π·Π°ΡΠΈΡΠ°ΡΡΡΡ, ΠΏΠΎΡΠ»Π΅ ΡΠ΅Π³ΠΎ ΠΊ Π²Ρ ΠΎΠ΄Π½ΠΎΠΉ ΠΊΠ»Π΅ΠΌΠΌΠ΅, ΠΎΠ±ΠΎΠ·Π½Π°ΡΠ°Π΅ΠΌΠΎΠΉ Β«INΒ» ΠΈΠ»ΠΈ Β«βΒ» ΠΏΠΎΠ΄ΠΊΠ»ΡΡΠ°Π΅ΡΡΡ ΠΊΡΠ°ΡΠ½ΡΠΉ/ΠΊΠΎΡΠΈΡΠ½Π΅Π²ΡΠΉ ΠΏΡΠΎΠ²ΠΎΠ΄. ΠΠ° Π²ΡΡ ΠΎΠ΄Π½ΡΡ ΠΊΠ»Π΅ΠΌΠΌΡ, ΠΎΠ±ΠΎΠ·Π½Π°ΡΠ΅Π½Π½ΡΡ Β«OUTΒ» ΠΈΠ»ΠΈ Β«βΒ», ΡΠΈΠΊΡΠΈΡΡΠ΅ΡΡΡ Π³ΠΎΠ»ΡΠ±ΠΎΠΉ ΠΏΡΠΎΠ²ΠΎΠ΄. ΠΠΈΠ»Ρ ΠΆΠ΅Π»ΡΠΎ-Π·Π΅Π»Π΅Π½ΠΎΠ³ΠΎ ΡΠ²Π΅ΡΠ° ΡΠ»Π΅Π΄ΡΠ΅Ρ Π·Π°ΠΈΠ·ΠΎΠ»ΠΈΡΠΎΠ²Π°ΡΡ. ΠΠ»Ρ ΡΠΈΠΊΡΠ°ΡΠΈΠΈ ΠΏΡΠΎΠ²ΠΎΠ΄ΠΎΠ² ΠΏΡΠΈΠΌΠ΅Π½ΡΡΡΡΡ Π²ΠΈΠ½ΡΠΎΠ²ΡΠ΅ ΡΠΎΠ΅Π΄ΠΈΠ½Π΅Π½ΠΈΡ, ΠΏΠΎΡΠ»Π΅ ΡΠ΅Π³ΠΎ ΠΎΡΡΡΠ΅ΡΡΠ²Π»ΡΠ΅ΡΡΡ ΡΡΡΠ°Π½ΠΎΠ²ΠΊΠ° ΠΈ ΡΠΈΠΊΡΠ°ΡΠΈΡ ΠΌΠΎΠ΄ΡΠ»Ρ Π² ΠΏΠΎΠ΄ΡΠΎΠ·Π΅ΡΠ½ΠΈΠΊΠ΅.
ΠΡΠΈ Π±ΠΎΠ»Π΅Π΅ ΡΠ»ΠΎΠΆΠ½ΠΎΠΌ ΠΏΠΎΠ΄ΠΊΠ»ΡΡΠ΅Π½ΠΈΠΈ Π΅ΡΡΡ Π²ΠΎΠ·ΠΌΠΎΠΆΠ½ΠΎΡΡΡ ΠΎΡΡΡΠ΅ΡΡΠ²Π»ΡΡΡ ΡΠΏΡΠ°Π²Π»Π΅Π½ΠΈΠ΅ ΠΈΡΡΠΎΡΠ½ΠΈΠΊΠΎΠΌ ΡΠ²Π΅ΡΠ° Π΄ΠΈΡΡΠ°Π½ΡΠΈΠΎΠ½Π½ΡΠΌ ΡΠΏΠΎΡΠΎΠ±ΠΎΠΌ. Π’Π°ΠΊΠΎΠΉ Π²Π°ΡΠΈΠ°Π½Ρ ΡΡΡΡΠΎΠΉΡΡΠ²Π° Π΄ΠΎΠ»ΠΆΠ΅Π½ ΠΈΠΌΠ΅ΡΡ ΡΡΠΈ ΠΊΠΎΠ½ΡΠ°ΠΊΡΠ° Π½Π° ΠΏΠΎΠ΄ΠΊΠ»ΡΡΠ΅Π½ΠΈΠ΅, ΠΏΠΎΡΡΠΎΠΌΡ ΡΡΠ΅Π±ΡΠ΅Ρ ΠΈΡΠΏΠΎΠ»ΡΠ·ΠΎΠ²Π°Π½ΠΈΡ ΡΡΠ΅Ρ ΠΆΠΈΠ»ΡΠ½ΠΎΠ³ΠΎ ΠΏΡΠΎΠ²ΠΎΠ΄Π°. Π€Π°Π·Π½ΡΠΉ ΠΏΠΎΠ΄Π°ΡΡΠΈΠΉ ΠΏΡΠΎΠ²ΠΎΠ΄ Π΄ΠΎΠ»ΠΆΠ΅Π½ ΠΏΠΎΠ΄ΠΊΠ»ΡΡΠ°ΡΡΡΡ ΠΊ Π²ΡΠΊΠ»ΡΡΠ°ΡΠ΅Π»Ρ, Π° Β«ΡΠ°Π·Π°Β», ΠΈΠ΄ΡΡΠ°Ρ Π½Π° ΠΎΡΠ²Π΅ΡΠΈΡΠ΅Π»ΡΠ½ΡΠΉ ΠΏΡΠΈΠ±ΠΎΡ, β ΠΊ Π΄ΠΈΠΌΠΌΠ΅ΡΡ. ΠΡΠΈ ΡΡΡΠ°Π½ΠΎΠ²ΠΊΠ΅ ΡΡΠ°Π½Π΄Π°ΡΡΠ½ΠΎΠ³ΠΎ Π²ΡΠΊΠ»ΡΡΠ°ΡΠ΅Π»Ρ Π½Π° ΠΎΠ΄Π½ΠΎΠΌ ΡΡΠ°ΠΆΠ΅, ΡΠ΅Π³ΡΠ»ΡΡΠΎΡ ΠΌΠΎΠ½ΡΠΈΡΡΠ΅ΡΡΡ Π½Π° Π΄ΡΡΠ³ΠΎΠΌ, ΡΡΠΎ ΠΏΠΎΠ·Π²ΠΎΠ»ΡΠ΅Ρ ΠΊΠΎΠ½ΡΡΠΎΠ»ΠΈΡΠΎΠ²Π°ΡΡ ΡΡΠΎΠ²Π΅Π½Ρ ΡΡΠΊΠΎΡΡΠΈ ΠΎΡΠ²Π΅ΡΠΈΡΠ΅Π»ΡΠ½ΡΡ ΠΏΡΠΈΠ±ΠΎΡΠΎΠ² Π½Π° ΡΠ°ΡΡΡΠΎΡΠ½ΠΈΠΈ.
Π ΠΏΡΠΎΡΠ΅ΡΡΠ΅ ΠΏΡΠΎΠ΅ΠΊΡΠΈΡΠΎΠ²Π°Π½ΠΈΡ Π²ΡΠ΅ΠΉ ΡΠΈΡΡΠ΅ΠΌΡ ΡΡΠ΅Π±ΡΠ΅ΡΡΡ ΠΏΡΠ°Π²ΠΈΠ»ΡΠ½ΠΎ ΡΠ°ΡΡΡΠΈΡΠ°ΡΡ ΠΊΠΎΠ»ΠΈΡΠ΅ΡΡΠ²ΠΎ ΠΈ ΠΏΠΎΠΊΠ°Π·Π°ΡΠ΅Π»ΠΈ ΠΌΠΎΡΠ½ΠΎΡΡΠΈ ΡΠ°ΠΊΠΈΡ ΡΡΡΡΠΎΠΉΡΡΠ², Π° ΡΠ°ΠΊΠΆΠ΅ ΠΎΠΏΡΠ΅Π΄Π΅Π»ΠΈΡΡΡΡ Ρ ΠΈΡ ΡΠ°ΡΠΏΠΎΠ»ΠΎΠΆΠ΅Π½ΠΈΠ΅ΠΌ ΠΈ ΡΠΈΠΏΠΎΠΌ ΠΏΠΎΠ΄Π²Π΅Π΄Π΅Π½ΠΈΡ ΡΠ»Π΅ΠΊΡΡΠΈΡΠ΅ΡΠΊΠΎΠΉ ΠΏΡΠΎΠ²ΠΎΠ΄ΠΊΠΈ.
ΠΡΠ°Π½ΡΡ Π²ΡΠ±ΠΎΡΠ°
Π§Π°ΡΠ΅ Π²ΡΠ΅Π³ΠΎ Π΄Π»Ρ Π»Π°ΠΌΠΏ Π½Π°ΠΊΠ°Π»ΠΈΠ²Π°Π½ΠΈΡ ΡΡΡΠ°Π½Π°Π²Π»ΠΈΠ²Π°ΡΡΡΡ ΠΏΡΠΎΡΡΠ΅ΠΉΡΠΈΠ΅ Π΄ΠΈΠΌΠΌΠ΅ΡΡ ΡΠΎΠΎΡΠ²Π΅ΡΡΡΠ²ΡΡΡΠ΅ΠΉ Π½Π°Π³ΡΡΠ·ΠΊΠΈ.Π’Π΅ΠΌ Π½Π΅ ΠΌΠ΅Π½Π΅Π΅, ΡΠΏΠ΅ΡΠΈΠ°Π»ΠΈΡΡΡ Π½Π°ΡΡΠΎΡΡΠ΅Π»ΡΠ½ΠΎ ΡΠΎΠ²Π΅ΡΡΡΡ ΠΏΡΠΈΡΠΌΠΎΡΡΠ΅ΡΡΡΡ ΠΊ ΡΠ½ΠΈΠ²Π΅ΡΡΠ°Π»ΡΠ½ΡΠΌ ΡΠ²Π΅ΡΠΎΡΠ΅Π³ΡΠ»ΡΡΠΎΡΠ°ΠΌ ΡΠ΅ΡΠΈΠΈ Living-Light ΠΎΡ ΠΈΡΠ°Π»ΡΡΠ½ΡΠΊΠΎΠ³ΠΎ ΠΏΡΠΎΠΈΠ·Π²ΠΎΠ΄ΠΈΡΠ΅Π»Ρ ΠΠ’iΡinΠΎ, ΠΈ ΡΠ΅ΡΠΈΠΈ ΠtikΠ° ΠΎΡ ΠΏΡΠΎΠΈΠ·Π²ΠΎΠ΄ΠΈΡΠ΅Π»Ρ LΠ΅grΠ°nd.
ΠΡΠΈ Π²ΡΠ±ΠΎΡΠ΅ ΡΠ²Π΅ΡΠΎΡΠ΅Π³ΡΠ»ΡΡΠΎΡΠ° ΡΠ΅Π»Π΅ΡΠΎΠΎΠ±ΡΠ°Π·Π½ΠΎ ΠΈΡΡ ΠΎΠ΄ΠΈΡΡ ΠΈΠ· ΡΠΈΠΏΠ° ΠΈ ΡΡΠΎΠ²Π½Ρ ΠΌΠΎΡΠ½ΠΎΡΡΠΈ ΠΈΡΡΠΎΡΠ½ΠΈΠΊΠ° ΡΠ²Π΅ΡΠ°, Π° ΡΠ°ΠΊΠΆΠ΅ Π² ΠΎΠ±ΡΠ·Π°ΡΠ΅Π»ΡΠ½ΠΎΠΌ ΠΏΠΎΡΡΠ΄ΠΊΠ΅ ΡΡΠΈΡΡΠ²Π°ΡΡ ΡΡΠΌΠΌΠ°ΡΠ½ΡΡ Π½Π°Π³ΡΡΠ·ΠΊΡ.
ΠΠ°ΠΊ ΠΏΠΎΠΊΠ°Π·ΡΠ²Π°Π΅Ρ ΠΏΡΠ°ΠΊΡΠΈΠΊΠ°, ΠΏΡΠΈΠΎΠ±ΡΠ΅ΡΠ°Ρ Π΄ΠΈΠΌΠΌΠ΅Ρ Π½ΡΠΆΠ½ΠΎ ΠΏΡΠΈΠ½ΠΈΠΌΠ°ΡΡ Π²ΠΎ Π²Π½ΠΈΠΌΠ°Π½ΠΈΠ΅ ΠΎΠ±ΡΡΡ Π½Π°Π³ΡΡΠ·ΠΊΡ, Π½Π° ΠΊΠΎΡΠΎΡΡΡ ΡΠ°ΡΡΡΠΈΡΠ°Π½ΠΎ ΡΡΡΡΠΎΠΉΡΡΠ²ΠΎ + ΠΎΠ±ΡΠ·Π°ΡΠ΅Π»ΡΠ½ΡΠΉ Π·Π°ΠΏΠ°Ρ ΠΌΠΎΡΠ½ΠΎΡΡΠΈ ΠΏΡΠΈΠΌΠ΅ΡΠ½ΠΎ Π² 10-20%.
ΠΠ°ΠΊΠ»ΡΡΠ΅Π½ΠΈΠ΅
ΠΠ°ΠΌΠ΅Π½Π° ΡΡΠ°ΡΠ½ΠΎΠ³ΠΎ Π²ΡΠΊΠ»ΡΡΠ°ΡΠ΅Π»Ρ Π΄ΠΈΠΌΠΌΠ΅ΡΠΎΠΌ β ΠΎΠΏΡΠΈΠΌΠ°Π»ΡΠ½ΡΠΉ Π²Π°ΡΠΈΠ°Π½Ρ, ΠΊΠΎΡΠΎΡΡΠΉ ΠΏΠΎΠ·Π²ΠΎΠ»ΡΠ΅Ρ ΠΏΠΎΠ»ΡΡΠΈΡΡ Π»Π΅Π³ΠΊΠΎΠ΅ ΠΈ ΡΠ΄ΠΎΠ±Π½ΠΎΠ΅ ΡΠΏΡΠ°Π²Π»Π΅Π½ΠΈΠ΅ ΡΠΈΡΡΠ΅ΠΌΠΎΠΉ ΠΎΡΠ²Π΅ΡΠ΅Π½ΠΈΡ.
ΠΠ΄Π½Π°ΠΊΠΎ, ΠΏΡΠΈ ΠΈΡ ΡΡΡΠ°Π½ΠΎΠ²ΠΊΠ΅ Π½ΡΠΆΠ½ΠΎ ΠΏΠΎΠΌΠ½ΠΈΡΡ, ΡΡΠΎ ΡΠ°ΠΊΠΈΠ΅ ΡΡΡΡΠΎΠΉΡΡΠ²Π°, ΠΊΠ°ΠΊ ΠΏΡΠ°Π²ΠΈΠ»ΠΎ, ΠΊΡΠΈΡΠΈΡΠ½Ρ ΠΊ ΡΠ΅ΠΌΠΏΠ΅ΡΠ°ΡΡΡΠ½ΠΎΠΌΡ ΡΠ΅ΠΆΠΈΠΌΡ Π² Π·ΠΎΠ½Π΅ ΡΠΊΡΠΏΠ»ΡΠ°ΡΠ°ΡΠΈΠΈ, Π° ΡΠ°ΠΊΠΆΠ΅ ΡΠΎΠ²Π΅ΡΡΠ΅Π½Π½ΠΎ Π½Π΅ ΡΠ°ΡΡΡΠΈΡΠ°Π½Ρ Π½Π° ΠΏΡΠ΅Π²ΡΡΠ΅Π½ΠΈΠ΅ Π΄ΠΎΠΏΡΡΡΠΈΠΌΠΎΠΉ Π½Π°Π³ΡΡΠ·ΠΊΠΈ.
ΠΠΈΠ΄Π΅ΠΎ Π½Π° ΡΠ΅ΠΌΡ
proprovoda.ru
Π²ΠΈΠ΄Ρ, ΠΊΠ°ΠΊ Π²ΡΠ±ΡΠ°ΡΡ, Π»ΡΡΡΠΈΠ΅ ΠΌΠΎΠ΄Π΅Π»ΠΈ ΠΈ ΠΏΡΠΎΠΈΠ·Π²ΠΎΠ΄ΠΈΡΠ΅Π»ΠΈ
Π‘ΠΎΠ²ΡΠ΅ΠΌΠ΅Π½Π½ΡΠ΅ ΡΠ»Π΅ΠΊΡΡΠΎΡΡΡΡΠΎΠΉΡΡΠ²Π° ΠΏΡΠ΅Π΄ΠΎΡΡΠ°Π²Π»ΡΡΡ ΡΡΠ΄ Π΄ΠΎΠΏΠΎΠ»Π½ΠΈΡΠ΅Π»ΡΠ½ΡΡ Π²ΠΎΠ·ΠΌΠΎΠΆΠ½ΠΎΡΡΠ΅ΠΉ. ΠΠ½ΠΎΠ³ΠΈΠ΅ ΠΏΠΎΠ»ΡΠ·ΠΎΠ²Π°ΡΠ΅Π»ΠΈ ΡΠΆΠ΅ ΠΎΡΠ΅Π½ΠΈΠ»ΠΈ ΡΠ²Π΅ΡΠΎΡΠ΅Π³ΡΠ»ΡΡΠΎΡΡ, ΠΏΠΎΠ·Π²ΠΎΠ»ΡΡΡΠΈΠ΅ ΠΏΠ»Π°Π²Π½ΠΎ ΠΏΡΠΈΠ³Π»ΡΡΠ°ΡΡ ΠΎΡΠ²Π΅ΡΠ΅Π½ΠΈΠ΅, ΡΠΎΠ·Π΄Π°Π²Π°Ρ ΠΊ ΠΊΠΎΠΌΠ½Π°ΡΠ΅ Π°ΡΠΌΠΎΡΡΠ΅ΡΡ ΡΡΡΠ° ΠΈ ΠΊΠΎΠΌΡΠΎΡΡΠ°.
ΠΡΠΈ Π²ΡΠ±ΠΎΡΠ΅ ΡΠ°ΠΊΠΈΡ ΠΏΡΠΈΡΠΏΠΎΡΠΎΠ±Π»Π΅Π½ΠΈΠΉ Π²Π°ΠΆΠ½ΠΎ ΠΎΠ±ΡΠ°ΡΠ°ΡΡ Π²Π½ΠΈΠΌΠ°Π½ΠΈΠ΅ Π½Π° ΠΈΡ ΡΠΎΠ²ΠΌΠ΅ΡΡΠΈΠΌΠΎΡΡΡ Ρ ΠΊΠ°ΡΠ΅Π³ΠΎΡΠΈΠ΅ΠΉ ΡΠ²Π΅ΡΠΎΠ²ΠΎΠ³ΠΎ ΠΈΡΡΠΎΡΠ½ΠΈΠΊΠ°. ΠΠ°ΠΏΡΠΈΠΌΠ΅Ρ, Π΄ΠΈΠΌΠΌΠ΅Ρ Π΄Π»Ρ Π»Π°ΠΌΠΏ Π½Π°ΠΊΠ°Π»ΠΈΠ²Π°Π½ΠΈΡ ΠΏΡΠ΅Π΄Π½Π°Π·Π½Π°ΡΠ΅Π½ ΠΈΠΌΠ΅Π½Π½ΠΎ Π΄Π»Ρ ΡΡΠΎΠ³ΠΎ ΡΠΈΠΏΠ° ΠΎΡΠ²Π΅ΡΠΈΡΠ΅Π»ΡΠ½ΡΡ ΠΏΡΠΈΠ±ΠΎΡΠΎΠ².
Π§ΡΠΎΠ±Ρ Π½Π΅ ΡΠ°ΡΡΠ΅ΡΡΡΡΡΡ Π² ΠΌΠ°Π³Π°Π·ΠΈΠ½Π΅ ΠΈ Π½Π΅ Π·Π°ΠΏΡΡΠ°ΡΡΡΡ Π² ΠΌΠ½ΠΎΠ³ΠΎΠΎΠ±ΡΠ°Π·ΠΈΠΈ ΠΏΡΠ΅Π΄Π»ΠΎΠΆΠ΅Π½ΠΈΠΉ, ΠΏΡΠ΅Π΄Π²Π°ΡΠΈΡΠ΅Π»ΡΠ½ΠΎ ΡΠ»Π΅Π΄ΡΠ΅Ρ ΡΠ·Π½Π°ΡΡ Π±ΠΎΠ»ΡΡΠ΅ ΠΈΠ½ΡΠΎΡΠΌΠ°ΡΠΈΠΈ ΠΎ ΡΠ²Π΅ΡΠΎΡΠ΅Π³ΡΠ»ΡΡΠΎΡΠ°Ρ , ΡΠΎΠ³Π»Π°ΡΠ½Ρ? ΠΡΠ΅ Π½ΡΠΆΠ½ΡΠ΅ ΡΠ²Π΅Π΄Π΅Π½ΠΈΡ ΡΠΎΠ±ΡΠ°Π½Ρ Π² Π½Π°ΡΠ΅ΠΉ ΡΡΠ°ΡΡΠ΅.
ΠΡ ΠΎΠΏΠΈΡΠ°Π»ΠΈ ΠΏΡΠΈΠ½ΡΠΈΠΏ ΡΠ°Π±ΠΎΡΡ, ΠΏΠ»ΡΡΡ ΠΈ ΠΌΠΈΠ½ΡΡΡ ΠΏΡΠΈΠΌΠ΅Π½Π΅Π½ΠΈΡ Π΄ΠΈΠΌΠΌΠ΅ΡΠΎΠ², ΠΏΡΠΈΠ²Π΅Π»ΠΈ ΠΏΠΎΠ΄ΡΠΎΠ±Π½ΡΡ ΠΊΠ»Π°ΡΡΠΈΡΠΈΠΊΠ°ΡΠΈΡ ΠΏΡΠΈΠ±ΠΎΡΠΎΠ² ΠΈ ΠΎΠ±ΠΎΠ·Π½Π°ΡΠΈΠ»ΠΈ ΠΏΡΠ°Π²ΠΈΠ»Π° ΠΈΡ ΠΏΠΎΠ΄ΠΊΠ»ΡΡΠ΅Π½ΠΈΡ. ΠΠ±Π·ΠΎΡ Π»ΡΡΡΠΈΡ ΠΏΡΠΎΠΈΠ·Π²ΠΎΠ΄ΠΈΡΠ΅Π»Π΅ΠΉ ΠΈ ΠΌΠΎΠ΄Π΅Π»Π΅ΠΉ ΠΏΠΎΠΌΠΎΠΆΠ΅Ρ ΠΏΠΎΠ΄ΠΎΠ±ΡΠ°ΡΡ ΠΏΡΠ°ΠΊΡΠΈΡΠ½ΡΡ ΠΈ ΠΊΠ°ΡΠ΅ΡΡΠ²Π΅Π½Π½ΡΡ ΠΌΠΎΠ΄Π΅Π»Ρ ΡΠ΅Π³ΡΠ»ΡΡΠΎΡΠ° ΡΠ²Π΅ΡΠ°.
Π‘ΠΎΠ΄Π΅ΡΠΆΠ°Π½ΠΈΠ΅ ΡΡΠ°ΡΡΠΈ:
ΠΡΠΈΠ½ΡΠΈΠΏ Π΄Π΅ΠΉΡΡΠ²ΠΈΡ Π΄ΠΈΠΌΠΌΠ΅ΡΠΎΠ²
Π‘Π²Π΅ΡΠΎΡΠ΅Π³ΡΠ»ΡΡΠΎΡΡ β ΡΠ΄ΠΎΠ±Π½ΡΠ΅ ΠΏΡΠΈΠ±ΠΎΡΡ, ΠΏΠΎΠ·Π²ΠΎΠ»ΡΡΡΠΈΠ΅ ΠΌΠ΅Π½ΡΡΡ ΡΡΠ΅ΠΏΠ΅Π½Ρ ΠΎΡΠ²Π΅ΡΠ΅Π½Π½ΠΎΡΡΠΈ ΠΏΠΎΠΌΠ΅ΡΠ΅Π½ΠΈΠΉ, ΡΠ½ΠΈΠΆΠ°Ρ ΠΌΠΎΡΠ½ΠΎΡΡΡ Π»Π°ΠΌΠΏ. Π ΠΎΡΠ½ΠΎΠ²Ρ ΡΠ°ΠΊΠΈΡ ΡΡΡΡΠΎΠΉΡΡΠ² ΠΌΠΎΠ³ΡΡ Π±ΡΡΡ ΠΏΠΎΠ»ΠΎΠΆΠ΅Π½Ρ ΡΠ°Π·Π»ΠΈΡΠ½ΡΠ΅ ΡΠ΅ΡΠ΅Π½ΠΈΡ.
ΠΠ°ΠΈΠ±ΠΎΠ»Π΅Π΅ ΠΏΡΠΎΡΡΡΠΌ ΠΏΡΠΈΡΠΏΠΎΡΠΎΠ±Π»Π΅Π½ΠΈΠ΅ΠΌ ΡΠ²Π»ΡΠ΅ΡΡΡ ΠΎΠ±ΡΡΠ½ΡΠΉ ΡΠ΅ΠΎΡΡΠ°Ρ, Π½Π΅Π΄ΠΎΡΡΠ°ΡΠΊΠΎΠΌ ΠΊΠΎΡΠΎΡΠΎΠ³ΠΎ ΡΠ²Π»ΡΠ΅ΡΡΡ Π·Π½Π°ΡΠΈΡΠ΅Π»ΡΠ½ΡΠΉ Π½Π°Π³ΡΠ΅Π² Π² ΠΏΡΠΎΡΠ΅ΡΡΠ΅ ΠΏΠΎΠ»ΡΠ·ΠΎΠ²Π°Π½ΠΈΡ.
Π§ΡΠΎΠ±Ρ ΠΈΠ·Π±Π΅ΠΆΠ°ΡΡ ΡΡΠΎΠ³ΠΎ, Π² ΡΠ΅ΠΏΡ ΠΏΠΈΡΠ°Π½ΠΈΡ Π²ΠΊΠ»ΡΡΠ°ΡΡ Π±Π°Π»Π»Π°ΡΡΠ½ΡΠ΅ Π±ΡΡΠΎΠ²ΡΠ΅ ΡΡΠ°Π½ΡΡΠΎΡΠΌΠ°ΡΠΎΡΡ, ΠΊΠΎΠΌΠΏΠ΅Π½ΡΠΈΡΡΡΡΠΈΠ΅ Π²ΡΠ΅ΠΌΠ΅Π½Π½ΡΠ΅ Π±ΡΠΎΡΠΊΠΈ Π½Π°ΠΏΡΡΠΆΠ΅Π½ΠΈΡ.

ΠΠ°ΠΆΠ΅ ΠΏΡΠΎΡΡΠ΅ΠΉΡΠΈΠΉ ΡΠ²Π΅ΡΠΎΡΠ΅Π³ΡΠ»ΡΡΠΎΡ ΠΌΠΎΠΆΠ΅Ρ Π²ΡΠΏΠΎΠ»Π½ΡΡΡ Π²Π°ΠΆΠ½ΡΠ΅ ΡΡΠ½ΠΊΡΠΈΠΈ (+)
ΠΠΎΠ»Π΅Π΅ ΡΠΎΠ²ΡΠ΅ΠΌΠ΅Π½Π½ΡΠΌΠΈ ΠΈ ΡΠ΄ΠΎΠ±Π½ΡΠΌΠΈ ΡΡΡΡΠΎΠΉΡΡΠ²Π°ΠΌΠΈ ΡΡΠΈΡΠ°ΡΡΡΡ ΡΠ΅Π³ΡΠ»ΡΡΠΎΡΡ ΡΠ²Π΅ΡΠ°, ΠΊΠΎΠ½ΡΡΡΡΠΊΡΠΈΡ ΠΊΠΎΡΠΎΡΡΡ Π±Π°Π·ΠΈΡΡΠ΅ΡΡΡ Π½Π° ΠΏΠΎΠ»ΡΠΏΡΠΎΠ²ΠΎΠ΄Π½ΠΈΠΊΠ°Ρ β ΡΠΈΠ½ΠΈΡΡΠΎΡΠ°Ρ , ΡΠΈΡΠΈΡΡΠΎΡΠ°Ρ , Π΄ΠΈΠ½ΠΈΡΡΠΎΡΠ°Ρ .
Π’Π°ΠΊΠΈΠ΅ ΠΏΡΠΈΡΠΏΠΎΡΠΎΠ±Π»Π΅Π½ΠΈΡ Π³Π°ΡΠ°Π½ΡΠΈΡΡΡΡ Π»Π΅Π³ΠΊΠΎΠ΅ ΡΠΏΡΠ°Π²Π»Π΅Π½ΠΈΠ΅ ΠΌΠΎΠΌΠ΅Π½ΡΠ°ΠΌΠΈ ΠΎΡΠΏΠΈΡΠ°Π½ΠΈΡ/Π·Π°ΠΏΠΈΡΠ°Π½ΠΈΡ, ΡΠ²ΡΠ·Π°Π½Π½ΡΠΌΠΈ Ρ ΠΈΠ·ΠΌΠ΅Π½Π΅Π½ΠΈΠ΅ΠΌ Π½Π°ΠΏΡΠ°Π²Π»Π΅Π½ΠΈΡ ΡΠΎΠΊΠ° Π² ΡΠ΅ΠΏΠΈ.

Π‘Ρ Π΅ΠΌΠ° Π΄ΠΈΠΌΠΌΠ΅ΡΠ° Π½Π° ΡΠΈΡΠΈΡΡΠΎΡΠ°Ρ . ΠΠ°ΠΈΠ±ΠΎΠ»Π΅Π΅ ΠΏΡΠΎΡΡΠΎΠΉ Π²ΠΈΠ΄ ΡΠ²Π΅ΡΠΎΡΠ΅Π³ΡΠ»ΠΈΡΡΡΡΠ΅Π³ΠΎ ΠΏΡΠΈΠ±ΠΎΡΠ°, ΠΊΠΎΡΠΎΡΡΡ Π»Π΅Π³ΠΊΠΎ ΠΌΠΎΠΆΠ½ΠΎ ΠΈΠ·Π³ΠΎΡΠΎΠ²ΠΈΡΡ ΡΠ²ΠΎΠΈΠΌΠΈ ΡΡΠΊΠ°ΠΌΠΈ, ΠΈΠΌΠ΅Ρ ΡΠ»Π΅ΠΌΠ΅Π½ΡΠ°ΡΠ½ΡΠ΅ ΡΠ΅Ρ Π½ΠΈΡΠ΅ΡΠΊΠΈΠ΅ Π½Π°Π²ΡΠΊΠΈ (+)
ΠΠΏΠΏΠ°ΡΠ°ΡΡ, Π³Π΅Π½Π΅ΡΠΈΡΡΡΡΠΈΠ΅ Π°Π²ΡΠΎΠΊΠΎΠ»Π΅Π±Π°Π½ΠΈΡ, ΠΈΠ·Π³ΠΎΡΠΎΠ²Π»ΡΡΡΡΡ ΡΠ°ΠΊΠΆΠ΅ Π½Π° ΠΎΡΠ½ΠΎΠ²Π΅ ΡΡΠ°Π½Π·ΠΈΡΡΠΎΡΠΎΠ²: Π² ΡΡΠΎΠΌ ΡΠ»ΡΡΠ°Π΅ Π³Π»Π°Π²Π½ΡΠΌΠΈ ΡΠ·Π»Π°ΠΌΠΈΒ ΡΠ²Π»ΡΡΡΡΡ ΠΏΠΎΠ»Π΅Π²ΡΠ΅ ΡΠ»Π΅ΠΌΠ΅Π½ΡΡ Π±ΠΎΠ»ΡΡΠΎΠΉ ΠΌΠΎΡΠ½ΠΎΡΡΠΈ.
ΠΠΎΠ΄ΡΠΎΠ±Π½Π΅Π΅ ΠΎΠ± ΡΡΡΡΠΎΠΉΡΡΠ²Π΅ ΠΈ ΠΏΡΠΈΠ½ΡΠΈΠΏΠ΅ ΡΠ°Π±ΠΎΡΠ΅ Π΄ΠΈΠΌΠΌΠ΅ΡΠ° ΡΠΈΡΠ°ΠΉΡΠ΅ Π² .
Π‘Π²Π΅ΡΠΎΡΠ΅Π³ΡΠ»ΡΡΠΎΡΡ: Π΄ΠΎΡΡΠΎΠΈΠ½ΡΡΠ²Π° ΠΈ Π½Π΅Π΄ΠΎΡΡΠ°ΡΠΊΠΈ
Π ΡΠΈΡΠ»Ρ ΠΏΠ»ΡΡΠΎΠ² Π΄ΠΈΠΌΠΌΠ΅ΡΠΎΠ² ΠΌΠΎΠΆΠ½ΠΎ ΠΎΡΠ½Π΅ΡΡΠΈ:
- ΠΠΎΠΌΡΠΎΡΡΠ½ΠΎΠ΅ ΡΠΏΡΠ°Π²Π»Π΅Π½ΠΈΠ΅ ΡΡΠΊΠΎΡΡΡΡ ΠΎΡΠ²Π΅ΡΠ΅Π½ΠΈΡ. Π Π½Π΅ΠΊΠΎΡΠΎΡΡΡ ΡΠ»ΡΡΠ°ΡΡ ΡΡΠΎ ΠΌΠΎΠΆΠ½ΠΎ ΡΠ΄Π΅Π»Π°ΡΡ Π΄ΠΈΡΡΠ°Π½ΡΠΈΠΎΠ½Π½ΠΎ ΠΈΠ»ΠΈ Ρ ΠΏΠΎΠΌΠΎΡΡΡ Π°ΠΊΡΡΡΠΈΡΠ΅ΡΠΊΠΎΠ³ΠΎ ΡΠΈΠ³Π½Π°Π»Π°.
- ΠΠΎΠ·ΠΌΠΎΠΆΠ½ΠΎΡΡΡ ΠΈΡΠΏΠΎΠ»ΡΠ·ΠΎΠ²Π°Π½ΠΈΡ ΡΠ΅Π³ΡΠ»ΡΡΠΎΡΠΎΠ² Π² ΠΊΠ°ΡΠ΅ΡΡΠ²Π΅ Π²ΡΠΊΠ»ΡΡΠ°ΡΠ΅Π»Π΅ΠΉ Π΄Π»Ρ Π·Π°ΠΆΠΈΠ³Π°Π½ΠΈΡ ΠΈ ΡΡΡΠ΅Π½ΠΈΡ Π»Π°ΠΌΠΏ.
- Π£ΠΌΠ΅Π½ΡΡΠ΅Π½ΠΈΠ΅ Π½Π°Π³ΡΡΠ·ΠΊΠΈ ΡΠΏΠΎΡΠΎΠ±ΡΡΠ²ΡΠ΅Ρ ΠΏΡΠΎΠ΄Π»Π΅Π½ΠΈΡ ΠΏΠ΅ΡΠΈΠΎΠ΄Π° ΡΠΊΡΠΏΠ»ΡΠ°ΡΠ°ΡΠΈΠΈ ΠΎΡΠ²Π΅ΡΠΈΡΠ΅Π»ΡΠ½ΡΡ ΠΏΡΠΈΠ±ΠΎΡΠΎΠ².
- Π‘ΠΎΠ²ΡΠ΅ΠΌΠ΅Π½Π½ΡΠ΅ ΠΌΠΎΠ΄Π΅Π»ΠΈ ΡΠ°ΡΡΠΎ ΠΈΠΌΠ΅ΡΡ ΡΡΠ½ΠΊΡΠΈΡ ΠΏΡΠΎΠ³ΡΠ°ΠΌΠΌΠΈΡΠΎΠ²Π°Π½ΠΈΡ, ΡΡΠΎ ΠΏΠΎΠ·Π²ΠΎΠ»ΡΠ΅Ρ ΠΈΠΌΠΈΡΠΈΡΠΎΠ²Π°ΡΡ ΠΏΡΠΈΡΡΡΡΡΠ²ΠΈΠ΅ Ρ ΠΎΠ·ΡΠΈΠ½Π° Π² ΡΠ»ΡΡΠ°Π΅ ΠΎΡΡΠ΅Π·Π΄Π°.
Π Π°ΡΡΠΎΡΡΠΈΠΌΠ΅Π½ΡΠ΅ ΡΠΏΠ΅ΡΠΈΠ°Π»ΠΈΠ·ΠΈΡΠΎΠ²Π°Π½Π½ΡΡ ΠΌΠ°Π³Π°Π·ΠΈΠ½ΠΎΠ² ΠΏΡΠ΅Π΄ΡΡΠ°Π²Π»Π΅Π½ ΡΠΈΡΠΎΠΊΠΈΠΉ ΠΌΠΎΠ΄Π΅Π»ΡΠ½ΡΠΉ ΡΡΠ΄ ΡΡΡΡΠΎΠΉΡΡΠ², ΠΊΠΎΡΠΎΡΡΠ΅ ΡΠ°Π·Π»ΠΈΡΠ°ΡΡΡΡ ΠΏΠΎ ΡΠ²ΠΎΠ΅ΠΉ ΠΊΠΎΠ½ΡΡΡΡΠΊΡΠΈΠΈ, Π΄ΠΈΠ·Π°ΠΉΠ½Ρ, ΡΡΠΎΠΈΠΌΠΎΡΡΡ, Π½Π°Π±ΠΎΡΡ ΡΠ°Π·Π»ΠΈΡΠ½ΡΡ ΠΎΠΏΡΠΈΠΉ.

Π§ΡΠ΅Π·Π²ΡΡΠ°ΠΉΠ½ΠΎ ΡΠ΄ΠΎΠ±Π½ΡΠΌ ΡΡΡΡΠΎΠΉΡΡΠ²ΠΎΠΌ ΡΠ²Π»ΡΠ΅ΡΡΡ Π΄ΠΈΡΡΠ°Π½ΡΠΈΠΎΠ½Π½ΡΠΉ Π΄ΠΈΠΌΠΌΠ΅Ρ, ΠΏΠΎΠ·Π²ΠΎΠ»ΡΡΡΠΈΠΉ Π·Π°ΠΆΠΈΠ³Π°ΡΡ ΠΈ Π³Π°ΡΠΈΡΡ ΡΠ²Π΅Ρ, Π° ΡΠ°ΠΊΠΆΠ΅ ΠΈΠ·ΠΌΠ΅Π½ΡΡΡ Π΅Π³ΠΎ ΡΡΠΊΠΎΡΡΡ Π½Π° ΡΠ°ΡΡΡΠΎΡΠ½ΠΈΠΈ ΠΏΡΠΈ ΠΏΠΎΠΌΠΎΡΠΈ ΠΏΡΠ»ΡΡΠ°
Π ΡΠΎ ΠΆΠ΅ Π²ΡΠ΅ΠΌΡ ΡΡΠΈ ΠΏΡΠΈΠ±ΠΎΡΡ ΠΈΠΌΠ΅ΡΡ ΡΡΠ΄ ΠΎΠΏΡΠ΅Π΄Π΅Π»Π΅Π½Π½ΡΡ Π½Π΅Π΄ΠΎΡΡΠ°ΡΠΊΠΎΠ². ΠΡΠ΅ΠΆΠ΄Π΅ Π²ΡΠ΅Π³ΠΎ, ΠΎΠ½ΠΈ ΡΡΠ²ΡΡΠ²ΠΈΡΠ΅Π»ΡΠ½Ρ ΠΊ ΠΏΠ΅ΡΠ΅Π³ΡΠ΅Π²Ρ, ΠΏΠΎΡΡΠΎΠΌΡ ΡΠ΅ΠΊΠΎΠΌΠ΅Π½Π΄ΡΠ΅ΡΡΡ ΡΡΡΠ°Π½Π°Π²Π»ΠΈΠ²Π°ΡΡ ΠΈΡ Π² ΠΏΠΎΠΌΠ΅ΡΠ΅Π½ΠΈΡΡ Ρ ΡΠ΅ΠΌΠΏΠ΅ΡΠ°ΡΡΡΠΎΠΉ Π½Π΅ Π²ΡΡΠ΅ +25Β°C.
ΠΡΠΈ ΠΈΡΠΏΠΎΠ»ΡΠ·ΠΎΠ²Π°Π½ΠΈΠΈ Π΄ΠΈΠΌΠΌΠ΅ΡΠΎΠ² Π½ΡΠΆΠ½ΠΎ ΡΠΎΠ±Π»ΡΠ΄Π°ΡΡ ΠΌΠΈΠ½ΠΈΠΌΠ°Π»ΡΠ½ΡΠΉ ΡΡΠΎΠ²Π΅Π½Ρ Π½Π°Π³ΡΡΠ·ΠΎΠΊ, ΡΠ°Π²Π½ΡΠΉ 40 ΠΡ. ΠΡΠ»ΠΈ ΡΠ°ΡΡΠΎ Π½Π°ΡΡΡΠ°ΡΡ ΡΡΠΎΡ ΠΏΠΎΠΊΠ°Π·Π°ΡΠ΅Π»Ρ, ΡΠ΅Π³ΡΠ»ΠΈΡΡΡΡΠΈΠΉ ΠΌΠ΅Ρ Π°Π½ΠΈΠ·ΠΌ ΠΏΡΠ΅ΠΆΠ΄Π΅Π²ΡΠ΅ΠΌΠ΅Π½Π½ΠΎ Π²ΡΠΉΠ΄Π΅Ρ ΠΈΠ· ΡΡΡΠΎΡ.
ΠΠΎΠ΄Π°Π²Π°Π΅ΠΌΡΠ΅ ΠΈΠΌΠΏΡΠ»ΡΡΡ ΠΌΠΎΠ³ΡΡ ΡΡΠ°ΡΡ ΠΈΡΡΠΎΡΠ½ΠΈΠΊΠ°ΠΌΠΈ ΡΠ°Π΄ΠΈΠΎΠΏΠΎΠΌΠ΅Ρ . ΠΠ»Ρ ΠΊΠΎΠΌΠΏΠ΅Π½ΡΠ°ΡΠΈΠΈ ΡΡΠΎΠ³ΠΎ Π½Π΅ ΡΠ»ΠΈΡΠΊΠΎΠΌ ΠΏΡΠΈΡΡΠ½ΠΎΠ³ΠΎ ΡΡΡΠ΅ΠΊΡΠ° Π² ΡΡ Π΅ΠΌΡ ΠΏΠΎΡΠΎΠΉ Π²Π²ΠΎΠ΄ΡΡΒ ΠΊΠ°ΡΡΡΠΊΠΈ Ρ ΠΊΠΎΠ½Π΄Π΅Π½ΡΠ°ΡΠΎΡΠ°ΠΌΠΈ (LG ΡΠΈΠ»ΡΡΡΡ).
ΠΡΠ»ΠΈ Π² ΡΠ΅ΠΏΡ Π²ΠΊΠ»ΡΡΠ΅Π½Ρ ΠΌΠΎΡΠ½ΡΠ΅ Π»Π°ΠΌΠΏΡ Ρ Π΄Π»ΠΈΠ½Π½ΡΠΌΠΈ Π½ΠΈΡΡΠΌΠΈ Π½Π°ΠΊΠ°Π»ΠΈΠ²Π°Π½ΠΈΡ, ΡΠ»Π΅Π΄ΡΠ΅Ρ ΠΎΡΡΠ΅ΡΠ΅Π³Π°ΡΡΡΡ ΠΏΠΎΠ΄Π°Π²Π°ΡΡ Π½Π° Π½ΠΈΡ ΠΌΠΈΠ½ΠΈΠΌΠ°Π»ΡΠ½ΠΎΠ΅ Π½Π°ΠΏΡΡΠΆΠ΅Π½ΠΈΠ΅, ΠΏΠΎΡΠΊΠΎΠ»ΡΠΊΡ ΠΏΡΠΈΠ±ΠΎΡΡ ΠΌΠΎΠ³ΡΡ Π½Π°ΡΠ°ΡΡ Β«ΠΏΠ΅ΡΡΒ».
Π ΡΡ Π΅ΠΌΠ΅ ΠΏΠΈΡΠ°Π½ΠΈΡ ΡΡΡΠΎΠ³ΠΎ Π·Π°ΠΏΡΠ΅ΡΠ΅Π½ΠΎ ΠΏΠΎΠ΄ΠΊΠ»ΡΡΠ°ΡΡ ΡΠ΅Π»Π΅Π²ΠΈΠ·ΠΎΡΡ, ΠΊΠΎΠΌΠΏΡΡΡΠ΅ΡΡ, ΠΏΠ»Π°Π½ΡΠ΅ΡΡ, ΡΠ°Π΄ΠΈΠΎΠΏΡΠΈΠ΅ΠΌΠ½ΠΈΠΊΠΈ. ΠΠ΅ Π΄ΠΎΠΏΡΡΠΊΠ°Π΅ΡΡΡ ΠΏΠΎΠ΄ΡΠΎΠ΅Π΄ΠΈΠ½Π΅Π½ΠΈΠ΅ ΠΠΠ Π (ΡΠ»Π΅ΠΊΡΡΠΎΠ½Π½ΡΠ΅ ΠΏΡΡΠΊΠΎΡΠ΅Π³ΡΠ»ΠΈΡΡΡΡΠΈΠ΅ Π°ΠΏΠΏΠ°ΡΠ°ΡΡ), Π»ΡΠΌΠΈΠ½Π΅ΡΡΠ΅Π½ΡΠ½ΡΡ Π»Π°ΠΌΠΏ.

Π‘ΠΎΠ³Π»Π°ΡΠ½ΠΎ ΡΠ°ΡΡΠ΅ΡΠ°ΠΌ ΡΠΏΠ΅ΡΠΈΠ°Π»ΠΈΡΡΠΎΠ², 50% ΡΠ½ΠΈΠΆΠ΅Π½ΠΈΠ΅ ΠΌΠΎΡΠ½ΠΎΡΡΠΈ Π»Π°ΠΌΠΏΡ Π½Π°ΠΊΠ°Π»ΠΈΠ²Π°Π½ΠΈΡ ΠΏΡΠΈ ΠΏΠΎΠΌΠΎΡΠΈ ΡΠΎΠ²ΡΠ΅ΠΌΠ΅Π½Π½ΡΡ Π΄ΠΈΠΌΠΌΠ΅ΡΠΎΠ² ΠΏΠΎΠ·Π²ΠΎΠ»ΡΠ΅Ρ ΡΡΠΊΠΎΠ½ΠΎΠΌΠΈΡΡ 15% ΡΠ»Π΅ΠΊΡΡΠΈΡΠ΅ΡΠΊΠΎΠΉ ΡΠ½Π΅ΡΠ³ΠΈΠΈ
ΠΠΈΡΠΊΡΡΡΠΈΠΎΠ½Π½ΡΠΌ Π²ΠΎΠΏΡΠΎΡΠΎΠΌ ΡΠ²Π»ΡΠ΅ΡΡΡ ΡΠΊΠΎΠ½ΠΎΠΌΠΈΡ ΡΠ»Π΅ΠΊΡΡΠΎΡΠ½Π΅ΡΠ³ΠΈΠΈ ΠΏΡΠΈ ΡΠ΅Π³ΡΠ»ΠΈΡΠΎΠ²Π°Π½ΠΈΠΈ ΡΠ°Π±ΠΎΡΡ .
ΠΡΡΠ»Π΅Π΄ΠΎΠ²Π°Π½ΠΈΡ ΡΡΠ΅Π½ΡΡ ΠΏΠΎΠΊΠ°Π·Π°Π»ΠΈ, ΡΡΠΎ ΠΏΡΠΈΠΌΠ΅Π½Π΅Π½ΠΈΠ΅ ΡΠΎΠ²ΡΠ΅ΠΌΠ΅Π½Π½ΡΡ Π²ΠΈΠ΄ΠΎΠ² Π΄ΠΈΠΌΠΌΠ΅ΡΠΎΠ² ΡΠΏΠΎΡΠΎΠ±ΡΡΠ²ΡΠ΅Ρ Π½Π΅ΠΊΠΎΡΠΎΡΠΎΠΌΡ ΡΠ½ΠΈΠΆΠ΅Π½ΠΈΡ ΡΠ»Π΅ΠΊΡΡΠΎΠΏΠΎΡΡΠ΅Π±Π»Π΅Π½ΠΈΡ, ΠΎΠ΄Π½Π°ΠΊΠΎ ΡΡΠΎΡ ΠΏΠΎΠΊΠ°Π·Π°ΡΠ΅Π»Ρ Π²ΡΡΠ΄ Π»ΠΈ ΠΌΠΎΠΆΠ½ΠΎ Π½Π°Π·Π²Π°ΡΡ Π²Π½ΡΡΠΈΡΠ΅Π»ΡΠ½ΡΠΌ.
ΠΠΈΠ΄Ρ ΡΠ΅Π³ΡΠ»ΡΡΠΎΡΠΎΠ² Π΄Π»Ρ Π»Π°ΠΌΠΏ Π½Π°ΠΊΠ°Π»ΠΈΠ²Π°Π½ΠΈΡ
Π‘ΡΡΠ΅ΡΡΠ²ΡΠ΅Ρ Π½Π΅ΡΠΊΠΎΠ»ΡΠΊΠΎ Π²Π°ΡΠΈΠ°Π½ΡΠΎΠ² ΠΊΠ»Π°ΡΡΠΈΡΠΈΠΊΠ°ΡΠΈΠΉ ΠΏΡΠΈΠ±ΠΎΡΠΎΠ² Π΄Π»Ρ ΡΠΏΡΠ°Π²Π»Π΅Π½ΠΈΡ ΡΡΠΊΠΎΡΡΡΡ ΡΠ²Π΅ΡΠ΅Π½ΠΈΡ Π»Π°ΠΌΠΏΠΎΡΠ΅ΠΊ.
ΠΠΎ ΠΏΡΠΈΠ½ΡΠΈΠΏΡ ΡΠ°Π±ΠΎΡΡ ΡΠ΅Π³ΡΠ»ΡΡΠΎΡΠΎΠ²
ΠΡΠ΅ ΠΌΠΎΠ΄Π΅Π»ΠΈ ΠΌΠΎΠΆΠ½ΠΎ ΡΠ°Π·Π΄Π΅Π»ΠΈΡΡ Π½Π° Π΄Π²Π΅ Π±ΠΎΠ»ΡΡΠΈΠ΅ ΠΊΠ°ΡΠ΅Π³ΠΎΡΠΈΠΈ:
- ΠΌΠ΅Ρ Π°Π½ΠΈΡΠ΅ΡΠΊΠΈΠ΅;
- ΡΠ»Π΅ΠΊΡΡΠΎΠ½Π½ΡΠ΅.
ΠΠ΅Ρ Π°Π½ΠΈΡΠ΅ΡΠΊΠΈΠ΅. Π Π½ΠΈΠΌ ΠΎΡΠ½ΠΎΡΡΡΡΡ ΠΏΡΠΎΡΡΡΠ΅ Π±ΡΠ΄ΠΆΠ΅ΡΠ½ΡΠ΅ ΡΡΡΡΠΎΠΉΡΡΠ²Π°, Π΄Π΅ΠΉΡΡΠ²ΡΡΡΠΈΠ΅ ΠΏΠΎ ΠΏΡΠΈΠ½ΡΠΈΠΏΡ ΡΠ΅ΠΎΡΡΠ°ΡΠ°. Π Π½ΠΈΡ ΠΏΡΠ΅Π΄ΡΡΠΌΠΎΡΡΠ΅Π½Π° ΡΡΡΠΊΠ°, ΠΏΠΎΠ²ΠΎΡΠ°ΡΠΈΠ²Π°Ρ ΠΊΠΎΡΠΎΡΡΡ ΠΌΠΎΠΆΠ½ΠΎ ΡΠ²Π΅Π»ΠΈΡΠΈΠ²Π°ΡΡ ΠΈΠ»ΠΈ ΡΠΌΠ΅Π½ΡΡΠ°ΡΡ Π½Π°ΠΏΡΡΠΆΠ΅Π½ΠΈΠ΅, ΡΡΠΎ Π²ΡΠ·ΡΠ²Π°Π΅Ρ ΠΈΠ·ΠΌΠ΅Π½Π΅Π½ΠΈΠ΅ ΠΈΠ½ΡΠ΅Π½ΡΠΈΠ²Π½ΠΎΡΡΠΈ ΡΠ²Π΅ΡΠΎΠ²ΠΎΠ³ΠΎ ΠΏΠΎΡΠΎΠΊΠ°.
ΠΠ΅Ρ Π°Π½ΠΈΡΠ΅ΡΠΊΠΈΠ΅ ΠΏΡΠΈΡΠΏΠΎΡΠΎΠ±Π»Π΅Π½ΠΈΡ, Π²ΡΠΏΡΡΠΊΠ°Π΅ΠΌΡΠ΅ ΡΠ°Π·Π½ΡΠΌΠΈ ΠΏΡΠΎΠΈΠ·Π²ΠΎΠ΄ΠΈΡΠ΅Π»ΡΠΌΠΈ, ΠΈΠΌΠ΅ΡΡ ΠΎΠ΄Π½ΠΎΡΠΈΠΏΠ½ΡΡ ΠΊΠΎΠ½ΡΡΡΡΠΊΡΠΈΡ. Π’Π΅ΠΌ Π½Π΅ ΠΌΠ΅Π½Π΅Π΅, ΠΎΠ½ΠΈ ΠΌΠΎΠ³ΡΡ ΡΠ°Π·Π»ΠΈΡΠ°ΡΡΡΡ ΠΏΠΎ ΠΊΠ°ΡΠ΅ΡΡΠ²Ρ ΠΈΠ·-Π·Π° ΡΠ΅Ρ Π½ΠΈΡΠ΅ΡΠΊΠΈΡ Ρ Π°ΡΠ°ΠΊΡΠ΅ΡΠΈΡΡΠΈΠΊ ΠΈΡΠΏΠΎΠ»ΡΠ·ΡΠ΅ΠΌΡΡ Π΄Π΅ΡΠ°Π»Π΅ΠΉ ΠΈ ΡΡΠ°ΡΠ΅Π»ΡΠ½ΠΎΡΡΠΈ ΡΠ±ΠΎΡΠΊΠΈ.
Π ΠΌΠ΅Ρ Π°Π½ΠΈΠ·ΠΌΡ ΠΎΡΠ΄Π΅Π»ΡΠ½ΡΡ ΠΌΠΎΠ΄Π΅Π»Π΅ΠΉ ΡΠ°ΠΊΠΆΠ΅ ΠΌΠΎΠ³ΡΡ Π±ΡΡΡ Π΄ΠΎΠ±Π°Π²Π»Π΅Π½Ρ ΡΠΏΠ΅ΡΠΈΠ°Π»ΡΠ½ΡΠ΅ ΡΠ·Π»Ρ, ΡΠΏΠΎΡΠΎΠ±ΡΡΠ²ΡΡΡΠΈΠ΅ ΠΏΠ»Π°Π²Π½ΠΎΠΌΡ ΡΠΏΡΠ°Π²Π»Π΅Π½ΠΈΡ ΠΏΡΠΎΡΠ΅ΡΡΠΎΠΌ ΠΈ/ΠΈΠ»ΠΈ ΠΎΠ±Π΅ΡΠΏΠ΅ΡΠΈΠ²Π°ΡΡΠΈΠ΅ ΡΡΠ°Π±ΠΈΠ»ΡΠ½ΡΡ ΡΠ°Π±ΠΎΡΡ Π΄ΠΈΠΌΠΌΠ΅ΡΠ° ΠΏΡΠΈ ΠΌΠΈΠ½ΠΈΠΌΠ°Π»ΡΠ½ΠΎΠΉ ΠΏΠΎΠ΄Π°ΡΠ΅ ΡΠ»Π΅ΠΊΡΡΠΈΡΠ΅ΡΠΊΠΎΠ³ΠΎ ΡΠΎΠΊΠ°.
ΠΠ»Π΅ΠΊΡΡΠΎΠ½Π½ΡΠ΅. Π Π΅Π³ΡΠ»ΡΡΠΎΡΡ ΠΏΡΠ΅Π΄ΡΡΠ°Π²Π»ΡΡΡ ΡΠΎΠ±ΠΎΠΉ Π΄ΠΎΠ²ΠΎΠ»ΡΠ½ΠΎ ΡΠ»ΠΎΠΆΠ½ΡΠ΅ ΠΏΡΠΈΠ±ΠΎΡΡ, ΡΠΏΡΠ°Π²Π»Π΅Π½ΠΈΠ΅ ΠΊΠΎΡΠΎΡΡΠΌΠΈ ΠΎΡΡΡΠ΅ΡΡΠ²Π»ΡΠ΅ΡΡΡ Π½Π° ΠΎΡΠ½ΠΎΠ²Π΅ ΠΎΠ±ΡΡΠ½ΡΡ ΠΈΠ»ΠΈ ΡΠ΅Π½ΡΠΎΡΠ½ΡΡ ΠΊΠ½ΠΎΠΏΠΎΠΊ.
Π‘ΠΎΡΡΠ°Π²Π½ΠΎΠΉ ΡΠ°ΡΡΡΡ ΠΏΠΎΠ΄ΠΎΠ±Π½ΡΡ ΡΡΡΡΠΎΠΉΡΡΠ² ΡΠ²Π»ΡΠ΅ΡΡΡ ΠΌΠΈΠΊΡΠΎΠΊΠΎΠ½ΡΡΠΎΠ»Π»Π΅Ρ, ΠΊΠΎΡΠΎΡΡΠΉ Π·Π°ΠΌΠ΅ΡΠ½ΠΎ ΡΠ°ΡΡΠΈΡΡΠ΅Ρ ΠΈΡ Π²ΠΎΠ·ΠΌΠΎΠΆΠ½ΠΎΡΡΠΈ ΠΏΠΎ ΡΡΠ°Π²Π½Π΅Π½ΠΈΡ Ρ ΠΌΠ΅Ρ Π°Π½ΠΈΡΠ΅ΡΠΊΠΈΠΌΠΈ Π°Π½Π°Π»ΠΎΠ³Π°ΠΌΠΈ.

Π ΠΌΠΎΠ΄Π΅Π»ΡΡ ΡΠ²Π΅ΡΠΎΡΠ΅Π³ΡΠ»ΡΡΠΎΡΠΎΠ² ΠΊΠ°ΠΊ ΠΏΡΠ°Π²ΠΈΠ»ΠΎ ΠΏΡΠ΅Π΄ΡΡΠΌΠ°ΡΡΠΈΠ²Π°Π΅ΡΡΡ Π·Π°ΡΠΈΡΠ° ΠΎΡ ΠΏΠ΅ΡΠ΅Π³ΡΠ΅Π²Π°, ΠΎΡΠΊΠ»ΡΡΠ°ΡΡΠ°Ρ ΠΏΡΠΈΠ±ΠΎΡ ΠΏΡΠΈ Π΄ΠΎΡΡΠΈΠΆΠ΅Π½ΠΈΠΈ ΠΎΠΏΡΠ΅Π΄Π΅Π»Π΅Π½Π½ΠΎΠΉ ΡΠ΅ΠΌΠΏΠ΅ΡΠ°ΡΡΡΡ, Π° ΡΠ°ΠΊΠΆΠ΅ ΠΎΡ ΠΊΠΎΡΠΎΡΠΊΠΎΠ³ΠΎ Π·Π°ΠΌΡΠΊΠ°Π½ΠΈΡ
ΠΠΎΡ Π»ΠΈΡΡ Π½Π΅ΡΠΊΠΎΠ»ΡΠΊΠΎ Π΄ΠΎΠΏΠΎΠ»Π½ΠΈΡΠ΅Π»ΡΠ½ΡΡ ΡΡΠ½ΠΊΡΠΈΠΉ, ΠΊΠΎΡΠΎΡΡΠΌΠΈ ΠΌΠΎΠ³ΡΡ Π±ΡΡΡ ΠΎΡΠ½Π°ΡΠ΅Π½Ρ ΠΏΠΎΠ΄ΠΎΠ±Π½ΡΠ΅ ΠΏΡΠΈΠ±ΠΎΡΡ:
- ΠΌΠΎΠ½ΡΠ°ΠΆ Π½Π΅ΡΠΊΠΎΠ»ΡΠΊΠΈΡ ΠΏΡΠ»ΡΡΠΎΠ² ΡΠΏΡΠ°Π²Π»Π΅Π½ΠΈΡ, ΡΠ°Π·ΠΌΠ΅ΡΠ΅Π½Π½ΡΡ Π² ΡΠ°Π·Π»ΠΈΡΠ½ΡΡ Π·ΠΎΠ½Π°Ρ ΠΊΠΎΠΌΠ½Π°ΡΡ;
- Π²ΠΎΠ·ΠΌΠΎΠΆΠ½ΠΎΡΡΡ ΡΠ΅Π³ΡΠ»ΠΈΡΠΎΠ²Π°Π½ΠΈΡ ΡΠ°Π±ΠΎΡΡ ΡΠ΅Π³ΡΠ»ΡΡΠΎΡΠΎΠ² Π½Π° ΡΠ°ΡΡΡΠΎΡΠ½ΠΈΠΈ;
- ΠΈΡΠΏΠΎΠ»ΡΠ·ΠΎΠ²Π°Π½ΠΈΠ΅ ΡΡΠ°Π½Π΄Π°ΡΡΠ½ΡΡ ΠΈ ΠΏΠΎΠ»ΡΠ·ΠΎΠ²Π°ΡΠ΅Π»ΡΡΠΊΠΈΡ ΡΠ΅ΠΆΠΈΠΌΠΎΠ² ΠΈΡΡΠΎΡΠ½ΠΈΠΊΠΎΠ² ΡΠ²Π΅ΡΠ°;
- ΠΏΠΎΠ΄ΡΠΎΠ΅Π΄ΠΈΠ½Π΅Π½ΠΈΠ΅ Π΄ΠΈΠΌΠΌΠ΅ΡΠ° ΠΊ Π΄Π°ΡΡΠΈΠΊΡ ΠΎΡΠ²Π΅ΡΠ΅Π½ΠΈΡ, Π±Π»Π°Π³ΠΎΠ΄Π°ΡΡ ΡΠ΅ΠΌΡ Π΄ΠΎΡΡΠΈΠ³Π°Π΅ΡΡΡ Π°Π²ΡΠΎΠΌΠ°ΡΠΈΡΠ΅ΡΠΊΠ°Ρ ΠΊΠΎΡΡΠ΅ΠΊΡΠΈΡΠΎΠ²ΠΊΠ° ΠΈΠ½ΡΠ΅Π½ΡΠΈΠ²Π½ΠΎΡΡΠΈ ΠΈΡΠΊΡΡΡΡΠ²Π΅Π½Π½ΠΎΠ³ΠΎ ΠΎΡΠ²Π΅ΡΠ΅Π½ΠΈΡ Π² Π·Π°Π²ΠΈΡΠΈΠΌΠΎΡΡΠΈ ΠΎΡ ΡΡΠ΅ΠΏΠ΅Π½ΠΈ Π΅ΡΡΠ΅ΡΡΠ²Π΅Π½Π½ΠΎΠ³ΠΎ.
ΠΠ»Π΅ΠΊΡΡΠΎΠ½Π½ΡΠ΅ ΡΡΡΡΠΎΠΉΡΡΠ²Π° ΡΡΠ΅Π·Π²ΡΡΠ°ΠΉΠ½ΠΎ ΡΠ΄ΠΎΠ±Π½Ρ Π² ΡΠΊΡΠΏΠ»ΡΠ°ΡΠ°ΡΠΈΠΈ, ΠΈΡ Π½Π΅Π΄ΠΎΡΡΠ°ΡΠΊΠΎΠΌ ΠΌΠΎΠΆΠ½ΠΎ ΡΡΠΈΡΠ°ΡΡ Π»ΠΈΡΡ Π²ΡΡΠΎΠΊΡΡ ΡΡΠΎΠΈΠΌΠΎΡΡΡ.
ΠΠΎ ΡΠΈΠΏΡ ΠΊΠΎΠ½ΡΡΡΡΠΊΡΠΈΠΈ ΠΏΡΠΈΠ±ΠΎΡΠΎΠ²
Π Π·Π°Π²ΠΈΡΠΈΠΌΠΎΡΡΠΈ ΠΎΡ ΠΊΠΎΠ½ΡΡΡΡΠΊΡΠΈΠ²Π½ΡΡ ΠΎΡΠΎΠ±Π΅Π½Π½ΠΎΡΡΠ΅ΠΉ ΠΌΠΎΠΆΠ½ΠΎ Π²ΡΠ΄Π΅Π»ΠΈΡΡ ΡΡΠΈ ΠΎΡΠ½ΠΎΠ²Π½ΡΡ ΡΠΈΠΏΠ° ΡΠ²Π΅ΡΠΎΡΠ΅Π³ΡΠ»ΡΡΠΎΡΠΎΠ²:
- ΠΠΎΠ΄ΡΠ»ΡΠ½ΡΠ΅, Π²Π½Π΅ΡΠ½ΠΈΠΉ Π²ΠΈΠ΄ ΠΊΠΎΡΠΎΡΡΡ Π½Π°ΠΏΠΎΠΌΠΈΠ½Π°Π΅Ρ Π°Π²ΡΠΎΠΌΠ°ΡΡ-Π²ΡΠΊΠ»ΡΡΠ°ΡΠ΅Π»ΠΈ. ΠΠΎΠ΄ΠΎΠ±Π½ΡΠ΅ ΠΏΡΠΈΠ±ΠΎΡΡ, ΡΠΎΠ²ΠΌΠ΅ΡΡΠΈΠΌΡΠ΅ Ρ Π»Π°ΠΌΠΏΠ°ΠΌΠΈ Π½Π°ΠΊΠ°Π»ΠΈΠ²Π°Π½ΠΈΡ, ΠΎΠ±ΡΡΠ½ΠΎ ΡΡΡΠ°Π½Π°Π²Π»ΠΈΠ²Π°ΡΡΡΡ Π² ΡΠ°ΡΠΏΡΠ΅Π΄Π΅Π»ΠΈΡΠ΅Π»ΡΠ½ΡΡ ΡΠΊΠ°ΡΠ°Ρ . ΠΡ ΡΠ΅Π³ΡΠ»ΠΈΡΠΎΠ²ΠΊΠ° ΠΏΡΠΎΠΈΠ·Π²ΠΎΠ΄ΠΈΡΡΡ ΠΊΠ½ΠΎΠΏΠΊΠΎΠΉ Π»ΠΈΠ±ΠΎ ΠΊΠ»Π°Π²ΠΈΡΠ΅ΠΉ.
- ΠΠΌΠΎΠ½ΡΠΈΡΠΎΠ²Π°Π½Π½ΡΠ΅, Ρ ΡΡΡΠ°Π½ΠΎΠ²ΠΊΠΎΠΉ Π² ΡΠΏΠ΅ΡΠΈΠ°Π»ΡΠ½ΡΠ΅ ΠΊΠΎΡΠΎΠ±ΠΊΠΈ, ΡΡΡΡΠΎΠΉΡΡΠ²ΠΎ ΠΊΠΎΡΠΎΡΡΡ ΠΏΡΠ΅Π΄ΡΡΠΌΠ°ΡΡΠΈΠ²Π°Π΅ΡΡΡ Π½Π° ΡΡΠ°Π΄ΠΈΠΈ ΡΠ»Π΅ΠΊΡΡΠΎΠΌΠΎΠ½ΡΠ°ΠΆΠ½ΡΡ ΡΠ°Π±ΠΎΡ. ΠΠ½ΠΈ ΡΠΎΠ²ΠΌΠ΅ΡΡΠΈΠΌΡ Ρ ΡΠ°Π·Π»ΠΈΡΠ½ΡΠΌΠΈ ΡΠΈΠΏΠ°ΠΌΠΈ ΠΎΡΠ²Π΅ΡΠΈΡΠ΅Π»ΡΠ½ΡΡ ΠΏΡΠΈΠ±ΠΎΡΠΎΠ².
- ΠΠΎΠ½ΠΎΠ±Π»ΠΎΡΠ½ΡΠ΅, ΡΠ°Π±ΠΎΡΠ°ΡΡΠΈΠ΅ Π°Π½Π°Π»ΠΎΠ³ΠΈΡΠ½ΠΎ ΠΎΠ±ΡΡΠ½ΡΠΌ Π²ΡΠΊΠ»ΡΡΠ°ΡΠ΅Π»ΡΠΌ. Π£ΡΡΡΠΎΠΉΡΡΠ²Π° ΡΡΠ΅Π±ΡΡΡ Π΄Π²ΡΡ ΠΏΡΠΎΠ²ΠΎΠ΄Π½ΠΎΠ³ΠΎ ΠΏΠΎΠ΄ΠΊΠ»ΡΡΠ΅Π½ΠΈΡ, ΡΡΠΎ Π΄Π°Π΅Ρ Π²ΠΎΠ·ΠΌΠΎΠΆΠ½ΠΎΡΡΡ ΡΠ°Π·ΡΡΠ²Π°ΡΡ ΡΠ΅ΠΏΡ ΡΠ°Π·Π½ΠΎΠ³ΠΎ ΠΏΡΠΎΠ²ΠΎΠ΄Π°, Π²ΡΠ·ΡΠ²Π°Ρ Π½Π°Π³ΡΡΠ·ΠΊΡ.
ΠΠ»Ρ ΡΠΏΡΠ°Π²Π»Π΅Π½ΠΈΡ ΠΎΡΠ²Π΅ΡΠ΅Π½ΠΈΠ΅ΠΌ Π² ΠΆΠΈΠ»ΡΡ ΠΏΠΎΠΌΠ΅ΡΠ΅Π½ΠΈΡΡ ΡΠ°ΡΠ΅ Π²ΡΠ΅Π³ΠΎ ΠΏΡΠΈΠΌΠ΅Π½ΡΠ΅ΡΡΡ ΠΏΠΎΡΠ»Π΅Π΄Π½ΠΈΠΉ Π²Π°ΡΠΈΠ°Π½Ρ.
Π‘ΠΎΠ³Π»Π°ΡΠ½ΠΎ ΠΌΠ΅ΡΠΎΠ΄Ρ ΠΌΠΎΠ½ΡΠ°ΠΆΠ° ΡΠ»Π΅ΠΊΡΡΠΎΠΏΡΠΈΠ±ΠΎΡΠΎΠ²
Π Π·Π°Π²ΠΈΡΠΈΠΌΠΎΡΡΠΈ ΠΎΡ Π²Π°ΡΠΈΠ°Π½ΡΠ° ΡΡΡΠ°Π½ΠΎΠ²ΠΊΠΈ Π²ΡΠ΄Π΅Π»ΡΠ΅ΡΡΡ Π΄Π²Π° ΡΠΈΠΏΠ° ΡΠ²Π΅ΡΠΎΡΠ΅Π³ΡΠ»ΡΡΠΎΡΠΎΠ²: Π²Π½ΡΡΡΠ΅Π½Π½ΠΈΠ΅ ΠΈ Π²Π½Π΅ΡΠ½ΠΈΠ΅.
ΠΠ½ΡΡΡΠ΅Π½Π½ΠΈΠΉ ΠΌΠΎΠ½ΡΠ°ΠΆ. ΠΡΠΎΡ Π²Π°ΡΠΈΠ°Π½Ρ ΠΈΡΠΏΠΎΠ»ΡΠ·ΡΡΡ ΠΏΡΠΈ ΠΏΡΠΎΠΊΠ»Π°Π΄ΠΊΠ΅ ΡΠΊΡΡΡΠΎΠΉ ΠΏΡΠΎΠ²ΠΎΠ΄ΠΊΠΈ. Π ΡΡΠΎΠΌ ΡΠ»ΡΡΠ°Π΅ ΠΏΡΠΈΠ±ΠΎΡΡ ΠΌΠΎΠ½ΡΠΈΡΡΡΡΡΡ Π² ΠΎΡΠΎΠ±ΡΡ ΠΊΠΎΡΠΎΠ±ΠΊΠ°Ρ , ΠΊΠΎΡΠΎΡΡΠ΅ ΡΠΏΠ΅ΡΠΈΠ°Π»ΡΠ½ΠΎ ΡΡΡΡΠ°ΠΈΠ²Π°ΡΡΡΡ Π² ΡΡΠ΅Π½Π½ΡΡ Π½ΠΈΡΠ°Ρ .

ΠΡΠΎΠΈΠ·Π²ΠΎΠ΄ΠΈΡΠ΅Π»ΠΈ ΡΠ΄Π΅Π»ΡΡΡ ΠΎΡΠΎΠ±ΠΎΠ΅ Π²Π½ΠΈΠΌΠ°Π½ΠΈΠ΅ ΡΠ°Π·ΡΠ°Π±ΠΎΡΠΊΠ΅ ΠΌΠΎΠ΄Π΅Π»Π΅ΠΉ Π½Π°ΠΊΠ»Π°Π΄Π½ΡΡ Π΄ΠΈΠΌΠΌΠ΅ΡΠΎΠ². Π£ΡΡΡΠΎΠΉΡΡΠ²Π° ΡΠ°ΡΡΠΎ ΠΈΠΌΠ΅ΡΡ ΠΎΡΠΈΠ³ΠΈΠ½Π°Π»ΡΠ½ΡΠΉ Π΄ΠΈΠ·Π°ΠΉΠ½ ΠΈ ΠΈΠ·ΡΡΠΊΠ°Π½Π½ΡΡ ΡΠ²Π΅ΡΠΎΠ²ΡΡ Π³Π°ΠΌΠΌΡ
ΠΠ°ΡΡΠΆΠ½ΠΎΠ΅ ΡΠ°Π·ΠΌΠ΅ΡΠ΅Π½ΠΈΠ΅. Π ΡΠ»Π΅ΠΊΡΡΠΎΡΠ΅ΠΏΠΈ Π½Π° ΠΏΠΎΠ²Π΅ΡΡ Π½ΠΎΡΡΠΈ ΡΡΠ΅Π½ ΡΡΡΠ°Π½Π°Π²Π»ΠΈΠ²Π°ΡΡΡΡ Π½Π°ΠΊΠ»Π°Π΄Π½ΡΠ΅ Π΄ΠΈΠΌΠΌΠ΅ΡΡ.
ΠΠ»Π°Π³ΠΎΠ΄Π°ΡΡ ΠΏΡΠΈΠ²Π»Π΅ΠΊΠ°ΡΠ΅Π»ΡΠ½ΠΎΠΌΡ Π²ΠΈΠ΄Ρ ΠΎΠ½ΠΈ ΠΈΠΌΠ΅ΡΡ Π½Π΅ ΡΠΎΠ»ΡΠΊΠΎ ΠΏΡΠ°ΠΊΡΠΈΡΠ΅ΡΠΊΠΎΠ΅ Π·Π½Π°ΡΠ΅Π½ΠΈΠ΅, Π½ΠΎ ΠΈ Π²ΡΠΏΠΎΠ»Π½ΡΡΡ Π΄Π΅ΠΊΠΎΡΠ°ΡΠΈΠ²Π½ΡΡ ΡΡΠ½ΠΊΡΠΈΡ, ΡΠ°ΡΡΡΠ°Π²Π»ΡΡ Π°ΠΊΡΠ΅Π½ΡΡ Π² ΠΈΠ½ΡΠ΅ΡΡΠ΅ΡΠ΅.
ΠΠΎ ΡΠΏΠΎΡΠΎΠ±Ρ ΡΠ΅Π³ΡΠ»ΠΈΡΠΎΠ²Π°Π½ΠΈΡ ΠΎΡΠ²Π΅ΡΠ΅Π½ΠΈΡ
ΠΡΠΈ Π²ΡΠ±ΠΎΡΠ΅ ΠΌΠΎΠ΄Π΅Π»ΠΈ Π½ΡΠΆΠ½ΠΎ ΡΡΠ΅ΡΡΡ, ΠΊΠ°ΠΊΠΈΠΌ ΠΎΠ±ΡΠ°Π·ΠΎΠΌ ΠΏΡΠΎΠΈΠ·Π²ΠΎΠ΄ΠΈΡΡΡ Π²ΠΊΠ»ΡΡΠ΅Π½ΠΈΠ΅/Π²ΡΠΊΠ»ΡΡΠ΅Π½ΠΈΠ΅/ΡΠ΅Π³ΡΠ»ΠΈΡΠΎΠ²ΠΊΠ°.
ΠΠΏΠΈΡΠ°ΡΡΡ Π½Π° ΡΡΠΎΡ ΠΊΡΠΈΡΠ΅ΡΠΈΠΉ, ΠΌΠΎΠΆΠ½ΠΎ Π²ΡΠ΄Π΅Π»ΠΈΡΡ ΡΠ»Π΅Π΄ΡΡΡΠΈΠ΅ Π²Π°ΡΠΈΠ°Π½ΡΡ:
- ΠΠΎΠ²ΠΎΡΠΎΡΠ½ΠΎ-Π½Π°ΠΆΠΈΠΌΠ½ΡΠ΅ β ΡΠ΅Π³ΡΠ»ΡΡΠΎΡΡ Ρ ΠΊΠ½ΠΎΠΏΠΊΠΎΠΉ, Π½Π°ΠΆΠ°ΡΠΈΠ΅ Π½Π° ΠΊΠΎΡΠΎΡΡΡ ΠΏΠΎΠ·Π²ΠΎΠ»ΡΠ΅Ρ Π²ΠΊΠ»ΡΡΠ°ΡΡ/Π²ΡΠΊΠ»ΡΡΠ°ΡΡ ΡΠ²Π΅Ρ, Π° Π²ΡΠ°ΡΠ΅Π½ΠΈΠ΅ β ΡΠΏΡΠ°Π²Π»ΡΡΡ Π΅Π³ΠΎ ΠΈΠ½ΡΠ΅Π½ΡΠΈΠ²Π½ΠΎΡΡΡΡ.
- ΠΠΎΠ²ΠΎΡΠΎΡΠ½ΡΠ΅ β ΠΏΡΠΈ Π²ΠΊΠ»ΡΡΠ΅Π½ΠΈΠΈ Π»Π°ΠΌΠΏΠ° Π·Π°Π³ΠΎΡΠ°Π΅ΡΡΡ Ρ ΠΌΠΈΠ½ΠΈΠΌΠ°Π»ΡΠ½ΠΎΠΉ ΡΡΠ΅ΠΏΠ΅Π½ΡΡ ΡΡΠΊΠΎΡΡΠΈ, ΠΊΠΎΡΠΎΡΠ°Ρ ΠΏΠΎΠ²ΡΡΠ°Π΅ΡΡΡ ΠΏΡΠΈ ΠΏΠΎΠΌΠΎΡΠΈ Π²ΡΠ°ΡΠ΅Π½ΠΈΡ ΠΊΠ½ΠΎΠΏΠΊΠΈ.
- ΠΠ»Π°Π²ΠΈΡΠ½ΡΠ΅ β ΡΠ΅Π³ΡΠ»ΠΈΡΠΎΠ²ΠΊΠ° ΠΎΡΠ²Π΅ΡΠ΅Π½ΠΈΡ ΠΏΡΠΎΠΈΡΡ ΠΎΠ΄ΠΈΡ Ρ ΠΏΠΎΠΌΠΎΡΡΡ ΡΠ΄Π΅ΡΠΆΠ°Π½ΠΈΡ Π½Π°ΠΆΠ°ΡΠΎΠΉ ΠΊΠ»Π°Π²ΠΈΡΠΈ.
- Π‘Π΅Π½ΡΠΎΡΠ½ΡΠ΅ β ΡΠΎΠ²ΡΠ΅ΠΌΠ΅Π½Π½ΡΠΉ Π²Π°ΡΠΈΠ°Π½Ρ, ΠΏΠΎΠ·Π²ΠΎΠ»ΡΡΡΠΈΠΉ ΡΠΏΡΠ°Π²Π»ΡΡΡ ΠΎΡΠ²Π΅ΡΠ΅Π½ΠΈΠ΅ΠΌ, ΠΊΠ°ΡΠ°ΡΡΡ ΡΡΠ²ΡΡΠ²ΠΈΡΠ΅Π»ΡΠ½ΠΎΠΉ ΠΏΠ»Π°ΡΡΠΈΠ½Ρ ΡΠΊΡΠ°Π½Π°.
- ΠΠΈΡΡΠ°Π½ΡΠΈΠΎΠ½Π½ΡΠ΅ β ΡΠ΅Π³ΡΠ»ΠΈΡΠΎΠ²Π°Π½ΠΈΠ΅ ΡΠ°Π±ΠΎΡΡ ΠΎΡΡΡΠ΅ΡΡΠ²Π»ΡΠ΅ΡΡΡ Π½Π° ΡΠ°ΡΡΡΠΎΡΠ½ΠΈΠΈ ΠΏΡΠΈ ΠΏΠΎΠΌΠΎΡΠΈ ΠΠ£-ΠΏΡΠ»ΡΡΠΎΠ², Π½ΠΎ ΡΠ°ΡΡΠΎ Π΄ΡΠ±Π»ΠΈΡΡΠ΅ΡΡΡ ΡΡΠ°Π΄ΠΈΡΠΈΠΎΠ½Π½ΡΠΌ ΡΠΏΠΎΡΠΎΠ±ΠΎΠΌ.
Π‘ΡΡΠ΅ΡΡΠ²ΡΡΡ ΡΠ°ΠΊΠΆΠ΅ ΠΌΠΎΠ΄Π΅Π»ΠΈ, Π³Π΄Π΅ ΠΈΡΠΏΠΎΠ»ΡΠ·ΡΠ΅ΡΡΡ Π°ΠΊΡΡΡΠΈΡΠ΅ΡΠΊΠΈΠΉ ΠΏΡΠΈΠ½ΡΠΈΠΏ. Π ΡΡΠΎΠΌ ΡΠ»ΡΡΠ°Π΅ Π·Π°ΠΆΠ΅ΡΡ ΠΈΠ»ΠΈ ΠΏΠΎΠ³Π°ΡΠΈΡΡ ΠΎΡΠ²Π΅ΡΠΈΡΠ΅Π»ΡΠ½ΠΎΠ΅ ΡΡΡΡΠΎΠΉΡΡΠ²ΠΎ ΠΌΠΎΠΆΠ½ΠΎ Π³ΠΎΠ»ΠΎΡΠΎΠ²ΠΎΠΉ ΠΊΠΎΠΌΠ°Π½Π΄ΠΎΠΉ ΠΈΠ»ΠΈ Ρ Π»ΠΎΠΏΠΊΠΎΠΌ.
Π‘ΡΠ°Π½Π΄Π°ΡΡΠ½ΡΠΉ Π²Π°ΡΠΈΠ°Π½Ρ ΠΏΠΎΠ΄ΠΊΠ»ΡΡΠ΅Π½ΠΈΡ
ΠΠΎΠ΄ΡΠΎΠ΅Π΄ΠΈΠ½Π΅Π½ΠΈΠ΅ ΡΠ΅Π³ΡΠ»ΡΡΠΎΡΠ° ΡΡΠΊΠΎΡΡΠΈ ΠΊ ΠΎΡΠ²Π΅ΡΠΈΡΠ΅Π»ΡΠ½ΠΎΠΉ ΡΠΈΡΡΠ΅ΠΌΠ΅ Π²ΡΠΏΠΎΠ»Π½ΡΠ΅ΡΡΡ Π΄ΠΎΠ²ΠΎΠ»ΡΠ½ΠΎ Π»Π΅Π³ΠΊΠΎ, ΡΠ»Π΅Π΄ΡΠ΅Ρ Π»ΠΈΡΡ ΡΡΠΈΡΡΠ²Π°ΡΡ, ΡΡΠΎ Π² Π·Π°Π²ΠΈΡΠΈΠΌΠΎΡΡΠΈ ΠΎΡ ΠΌΠΎΠ΄ΠΈΡΠΈΠΊΠ°ΡΠΈΠΈ ΠΏΡΠΈΠ±ΠΎΡ ΠΌΠΎΠΆΠ΅Ρ ΠΈΠΌΠ΅ΡΡ Π΄Π²Π΅ ΠΈΠ»ΠΈ ΡΠ΅ΡΡΡΠ΅ ΠΊΠ»Π΅ΠΌΠΌΡ.

ΠΡΠΈ ΠΏΠΎΠ΄ΠΊΠ»ΡΡΠ΅Π½ΠΈΠΈ ΡΡΡΡΠΎΠΉΡΡΠ²Π° Π² ΡΠ΅ΠΏΡ Π½Π΅ΠΎΠ±Ρ ΠΎΠ΄ΠΈΠΌΠΎ ΡΠΎΠ±Π»ΡΠ΄Π°ΡΡ ΠΏΡΠ°Π²ΠΈΠ»Π° ΡΠ΅Ρ Π½ΠΈΠΊΠΈ Π±Π΅Π·ΠΎΠΏΠ°ΡΠ½ΠΎΡΡΠΈ. ΠΡΠ΅ ΠΌΠ°Π½ΠΈΠΏΡΠ»ΡΡΠΈΠΈ ΡΠ»Π΅Π΄ΡΠ΅Ρ ΠΏΡΠΎΠ²ΠΎΠ΄ΠΈΡΡ ΠΏΡΠΈ ΠΎΡΠΊΠ»ΡΡΠ΅Π½Π½ΠΎΠΌ ΡΠ»Π΅ΠΊΡΡΠΈΡΠ΅ΡΡΠ²ΠΎΠΌ, ΠΈΡΠΏΠΎΠ»ΡΠ·ΡΡ ΠΈΠ½ΡΡΡΡΠΌΠ΅Π½ΡΡ Ρ ΠΈΡΠΏΡΠ°Π²Π½ΠΎΠΉ ΠΈΠ·ΠΎΠ»ΡΡΠΈΠ΅ΠΉ
ΠΠΎΠ½ΡΡΡΡΠΊΡΠΈΡ ΠΌΠΎΠ½ΠΎΠ±Π»ΠΎΡΠ½ΡΡ ΠΌΠΎΠ΄Π΅Π»Π΅ΠΉ ΠΏΡΠ΅Π΄ΡΡΠΌΠ°ΡΡΠΈΠ²Π°Π΅Ρ Π΄Π²Π΅ ΠΊΠ»Π΅ΠΌΠΌΡ, ΡΠ΅ΡΠ΅Π· ΠΊΠΎΡΠΎΡΡΠ΅ Π½Π°Π΄ΠΎ ΠΏΠΎΠ΄ΠΊΠ»ΡΡΠΈΡΡ ΡΠ°Π·ΠΎΡΠ²Π°Π½Π½ΡΡ ΡΠ°Π·Ρ ΠΎΡΠ²Π΅ΡΠΈΡΠ΅Π»ΡΠ½ΠΎΠΉ ΡΠ΅ΠΏΠΈ. ΠΠ°ΠΊ ΠΏΡΠ°Π²ΠΈΠ»ΠΎ, ΡΠ°ΠΊΠΈΠ΅ ΠΏΡΠΈΠ±ΠΎΡΡ ΡΡΡΠ°Π½Π°Π²Π»ΠΈΠ²Π°ΡΡΡΡ Π²ΠΌΠ΅ΡΡΠΎ Π²ΡΠΊΠ»ΡΡΠ°ΡΠ΅Π»Π΅ΠΉ Π² ΠΈΠΌΠ΅ΡΡΠ΅Π΅ΡΡ Π³Π½Π΅Π·Π΄ΠΎ.
ΠΠ½ΡΡΡΡΠΊΡΠΈΡ ΠΏΠΎΠ΄ΠΊΠ»ΡΡΠ΅Π½ΠΈΡ ΡΠ²Π΅ΡΠΎΡΠ΅Π³ΡΠ»ΡΡΠΎΡΠ°
ΠΡΠΎΡΠ΅ΡΡ ΡΠΎΡΡΠΎΠΈΡ ΠΈΠ· ΡΠ»Π΅Π΄ΡΡΡΠΈΡ ΡΡΠ°ΠΏΠΎΠ²:
- ΠΡΠ΅ΠΆΠ΄Π΅ Π²ΡΠ΅Π³ΠΎ, Π½Π΅ΠΎΠ±Ρ ΠΎΠ΄ΠΈΠΌΠΎ ΠΎΡΠ²ΠΈΠ½ΡΠΈΡΡ Π±ΠΎΠ»ΡΡ ΠΈ ΡΠ½ΡΡΡ Π²ΡΠΊΠ»ΡΡΠ°ΡΠ΅Π»Ρ, ΠΎΡΡΠΎΠ΅Π΄ΠΈΠ½ΠΈΠ² ΠΎΡ ΡΠ»Π΅ΠΊΡΡΠΎΠΏΡΠΎΠ²ΠΎΠ΄ΠΊΠΈ.
- ΠΠ°ΡΠ΅ΠΌ Π²Π½ΠΈΠΌΠ°ΡΠ΅Π»ΡΠ½ΠΎ ΡΠ°ΡΡΠΌΠΎΡΡΠ΅ΡΡ ΠΌΠ°ΡΠΊΠΈΡΠΎΠ²ΠΊΡ ΠΊΠ»Π΅ΠΌΠΌ, Π³Π΄Π΅ ΡΡΡΠ΅Π»ΠΊΠ°ΠΌΠΈ ΡΠΊΠ°Π·ΡΠ²Π°Π΅ΡΡΡ ΠΏΡΠΈΡ ΠΎΠ΄ΡΡΠ°Ρ ΠΈ ΠΈΡΡ ΠΎΠ΄ΡΡΠ°Ρ ΡΠ°Π·Π°. ΠΠ»Ρ ΡΡΠΎΡΠ½Π΅Π½ΠΈΡ Π²ΠΎΠ·ΠΌΠΎΠΆΠ½ΠΎ Π²ΡΠΏΠΎΠ»Π½ΠΈΡΡ ΠΏΡΠΎΠ²Π΅ΡΠΊΡ ΡΠ΅ΡΡΠ΅ΡΠΎΠΌ.
- Π‘ ΡΠΎΠ±Π»ΡΠ΄Π΅Π½ΠΈΠ΅ΠΌ ΠΏΠΎΠ»ΡΡΠ½ΠΎΡΡΠΈ ΠΆΠΈΠ»Ρ, ΠΎΡΡΠ°Π²ΡΠΈΠ΅ΡΡ Π² Π³Π½Π΅Π·Π΄Π΅, ΠΏΠΎΠ΄ΡΠΎΠ΅Π΄ΠΈΠ½ΡΡΡΡΡ ΠΊ ΠΊΠ»Π΅ΠΌΠΌΠ°ΠΌ ΡΠ²Π΅ΡΠΎΡΠ΅Π³ΡΠ»ΡΡΠΎΡΠ°.
- ΠΠΎΡΠ»Π΅ ΡΡΠΎΠ³ΠΎ Π΄ΠΈΠΌΠΌΠ΅Ρ Π²ΡΡΠ°Π²Π»ΡΠ΅ΡΡΡ Π² ΠΊΠΎΡΠΎΠ±ΠΊΡ ΠΈ ΡΠΊΡΠ΅ΠΏΠ»ΡΠ΅ΡΡΡ ΠΏΡΠΈ ΠΏΠΎΠΌΠΎΡΠΈ ΡΠ°ΠΌΠΎΡΠ΅Π·ΠΎΠ² ΠΈΠ»ΠΈ Π΄ΡΡΠ³ΠΈΠΌ ΡΠΏΠΎΡΠΎΠ±ΠΎΠΌ.
- Π Π·Π°Π²Π΅ΡΡΠ΅Π½ΠΈΠΈ ΠΏΡΠΎΡΠ΅ΡΡΠ° Π² ΡΠ΅ΠΏΡ Π²Π½ΠΎΠ²Ρ ΠΏΠΎΠ΄Π°Π΅ΡΡΡ ΡΠ»Π΅ΠΊΡΡΠΈΡΠ΅ΡΠΊΠΈΠΉ ΡΠΎΠΊ, ΡΡΠΎΠ±Ρ ΠΏΡΠΎΠ²Π΅ΡΠΈΡΡ ΠΊΠΎΡΡΠ΅ΠΊΡΠ½ΠΎΡΡΡ ΡΠ°Π±ΠΎΡΡ ΠΏΠΎΠ΄ΠΊΠ»ΡΡΠ΅Π½Π½ΠΎΠ³ΠΎ ΠΎΠ±ΠΎΡΡΠ΄ΠΎΠ²Π°Π½ΠΈΡ.
ΠΡΠΈ Β Ρ ΡΠ΅ΡΡΡΡΠΌΡ ΠΊΠ»Π΅ΠΌΠΌΠ°ΠΌΠΈ, Π΄Π²Π΅ ΠΈΠ· Π½ΠΈΡ ΠΊΡΠ΅ΠΏΡΡΡΡ ΠΊ ΡΠ°Π·ΠΎΡΠ²Π°Π½Π½ΠΎΠΉ ΡΠ°Π·Π΅ ΡΠ΅ΠΏΠΈ ΠΎΡΠ²Π΅ΡΠ΅Π½ΠΈΡ, Π° ΠΊ Π΄Π²ΡΠΌ Π΄ΡΡΠ³ΠΈΠΌ Π²ΡΠ½ΠΎΡΠΈΡΡΡ ΠΊΠ½ΠΎΠΏΠΊΠ° ΡΠΏΡΠ°Π²Π»Π΅Π½ΠΈΡ.
Π‘ΠΎΠ²Π΅ΡΡ ΠΏΠΎ Π²ΡΠ±ΠΎΡΡ Π΄ΠΈΠΌΠΌΠ΅ΡΠΎΠ²
ΠΡΠΈ ΠΏΠΎΠ΄Π±ΠΎΡΠ΅ ΡΠ΅Π³ΡΠ»ΡΡΠΎΡΠ° Π΄Π»Ρ Π»Π°ΠΌΠΏ Π½Π°ΠΊΠ°Π»ΠΈΠ²Π°Π½ΠΈΡ, Π²Π°ΠΆΠ½ΠΎ ΡΡΠ΅ΡΡΡ Π²ΡΠ΅ ΠΏΠ΅ΡΠ΅ΡΠΈΡΠ»Π΅Π½Π½ΡΠ΅ Π²ΡΡΠ΅ ΠΎΡΠΎΠ±Π΅Π½Π½ΠΎΡΡΠΈ. ΠΡΠΎΠΌΠ΅ ΡΠΎΠ³ΠΎ, ΡΠΏΠ΅ΡΠΈΠ°Π»ΠΈΡΡΡ ΡΠ΅ΠΊΠΎΠΌΠ΅Π½Π΄ΡΡΡ ΠΎΠ±ΡΠ°ΡΠΈΡΡ Π²Π½ΠΈΠΌΠ°Π½ΠΈΠ΅ Π½Π° ΡΡΠ΄ Π΄ΠΎΠΏΠΎΠ»Π½ΠΈΡΠ΅Π»ΡΠ½ΡΡ Π½ΡΠ°Π½ΡΠΎΠ².
ΠΡΠ»ΠΈ ΠΏΡΠΈΠ±ΠΎΡ ΠΏΠ»Π°Π½ΠΈΡΡΠ΅ΡΡΡ ΠΏΠΎΠΌΠ΅ΡΡΠΈΡΡ Π² ΠΊΠΎΠΌΠ½Π°ΡΠ΅, ΡΠ΅ΠΌΠΏΠ΅ΡΠ°ΡΡΡΠ° ΠΊΠΎΡΠΎΡΠΎΠΉ ΠΏΡΠ΅Π²ΡΡΠ°Π΅Ρ +25 Β°C, Π»ΡΡΡΠ΅ Π²ΠΎΡΠΏΠΎΠ»ΡΠ·ΠΎΠ²Π°ΡΡΡΡ ΠΌΠΎΠ΄Π΅Π»ΡΡ, ΠΎΡΠ½Π°ΡΠ΅Π½Π½ΠΎΠΉ Π²ΡΡΡΠΎΠ΅Π½Π½ΠΎΠΉ Π²Π΅Π½ΡΠΈΠ»ΡΡΠΈΠ΅ΠΉ ΠΈΠ»ΠΈ ΠΏΡΠ΅Π΄ΠΎΡ ΡΠ°Π½ΠΈΡΠ΅Π»Π΅ΠΌ.

Π Π΅Π³ΡΠ»ΠΈΡΠΎΠ²Π°Π½ΠΈΠ΅ ΡΠ²Π΅ΡΠ° ΠΏΡΠΈ ΠΏΠΎΠΌΠΎΡΠΈ Π΄ΠΈΠΌΠΌΠ΅ΡΠ° ΠΏΡΠΎΠΈΠ·Π²ΠΎΠ΄ΠΈΡΡΡ Ρ ΠΏΠΎΠΌΠΎΡΡΡ ΠΌΠ΅ΡΠΎΠ΄Π° Β«ΡΠ°Π·ΠΎΠ²ΠΎΠΉ ΠΎΡΡΠ΅ΡΠΊΠΈΒ». Π ΡΡΠΎΠΌ ΡΠ»ΡΡΠ°Π΅ ΡΠ°ΡΡΡ ΡΠΈΠ½ΡΡΠΎΠΈΠ΄Ρ ΠΎΡΡΠ΅ΠΊΠ°Π΅ΡΡΡ, ΡΡΠΎ Π²Π΅Π΄Π΅Ρ ΠΊ ΡΠΌΠ΅Π½ΡΡΠ΅Π½ΠΈΡ Π½Π°ΠΏΡΡΠΆΠ΅Π½ΠΈΡ, ΠΊΠΎΡΠΎΡΠΎΠ΅ ΠΏΠΎΠ΄Π°Π΅ΡΡΡ Π½Π° ΠΎΡΠ²Π΅ΡΠ΅Π½ΠΈΠ΅
ΠΠΈΠΌΠΌΠ΅ΡΡ ΡΠ°ΡΡΡΠΈΡΠ°Π½Ρ Π½Π° ΠΎΠΏΡΠ΅Π΄Π΅Π»Π΅Π½Π½ΡΡ ΠΌΠΎΡΠ½ΠΎΡΡΡ ΠΎΡΠ²Π΅ΡΠΈΡΠ΅Π»ΡΠ½ΡΡ ΠΏΡΠΈΠ±ΠΎΡΠΎΠ², ΠΊΠΎΡΠΎΡΡΡ Π½Π΅Π»ΡΠ·Ρ ΠΏΡΠ΅Π²ΡΡΠ°ΡΡ. ΠΡΠ»ΠΈ ΡΠ΅Π³ΡΠ»ΠΈΡΡΡΡΠ΅Π΅ ΡΡΡΡΠΎΠΉΡΡΠ²ΠΎ ΠΏΠ»Π°Π½ΠΈΡΡΠ΅ΡΡΡ ΠΏΠΎΠ΄ΠΊΠ»ΡΡΠΈΡΡ ΠΊ Π»ΡΡΡΡΠ΅ ΠΈΠ»ΠΈ Π³ΡΡΠΏΠΏΠ΅ ΡΠ²Π΅ΡΠΈΠ»ΡΠ½ΠΈΠΊΠΎΠ², Π½ΡΠΆΠ½ΠΎ ΡΡΠΈΡΡΠ²Π°Π΅ΡΡΡ ΡΡΠΌΠΌΠ°ΡΠ½ΡΠΉ ΠΏΠΎΠΊΠ°Π·Π°ΡΠ΅Π»Ρ.
Π‘ΡΠΎΠΈΠΌΠΎΡΡΡ ΠΈΠ·Π΄Π΅Π»ΠΈΠΉ Π²Π°ΡΡΠΈΡΡΠ΅ΡΡΡ Π² ΡΠΈΡΠΎΠΊΠΈΡ ΠΏΡΠ΅Π΄Π΅Π»Π°Ρ . ΠΠ°ΠΈΠ±ΠΎΠ»Π΅Π΅ Π±ΡΠ΄ΠΆΠ΅ΡΠ½ΡΠΌΠΈ Π²Π°ΡΠΈΠ°Π½ΡΠ°ΠΌΠΈ ΡΠ²Π»ΡΡΡΡΡ ΠΊΠ»Π°Π²ΠΈΡΠ½ΡΠ΅ ΠΈ ΠΏΠΎΠ²ΠΎΡΠΎΡΠ½ΡΠ΅ ΠΌΠΎΠ΄Π΅Π»ΠΈ, ΠΎΠ΄Π½Π°ΠΊΠΎ ΡΠ»Π΅ΠΊΡΡΠΎΠ½Π½ΡΠ΅ ΠΏΡΠ΅Π΄ΠΎΡΡΠ°Π²Π»ΡΡΡ Π±ΠΎΠ»ΡΡΠ΅ Π²ΠΎΠ·ΠΌΠΎΠΆΠ½ΠΎΡΡΠ΅ΠΉ. ΠΡΠΈ ΠΆΠ΅Π»Π°Π½ΠΈΠΈ, ΠΌΠΎΠΆΠ½ΠΎ ΡΠΎΠ±ΡΠ°ΡΡ ΠΏΡΠΎΡΡΡΡ ΠΌΠΎΠ΄Π΅Π»Ρ .
ΠΠΎΡΠΊΠΎΠ»ΡΠΊΡ ΡΠ°Π±ΠΎΡΠ° ΡΠ»Π΅ΠΊΡΡΠΎΠΎΠ±ΠΎΡΡΠ΄ΠΎΠ²Π°Π½ΠΈΡ Π½Π°ΠΏΡΡΠΌΡΡ ΡΠ²ΡΠ·Π°Π½Π° Ρ Π±Π΅Π·ΠΎΠΏΠ°ΡΠ½ΠΎΡΡΡΡ ΠΆΠΈΠ»ΡΡ, Π»ΡΡΡΠ΅ ΠΎΡΠ΄Π°ΡΡ ΠΏΡΠ΅Π΄ΠΏΠΎΡΡΠ΅Π½ΠΈΠ΅ ΡΠΎΠ²Π°ΡΠ°ΠΌ Π°Π²ΡΠΎΡΠΈΡΠ΅ΡΠ½ΡΡ Π±ΡΠ΅Π½Π΄ΠΎΠ², ΠΏΡΠΎΠ΄ΡΠΊΡΠΈΡ ΠΊΠΎΡΠΎΡΡΡ Π²ΡΡΠΎΠΊΠΎ ΠΎΡΠ΅Π½ΠΈΠ²Π°Π΅ΡΡΡ Π² ΠΎΡΠ·ΡΠ²Π°Ρ ΠΏΠΎΠ»ΡΠ·ΠΎΠ²Π°ΡΠ΅Π»Π΅ΠΉ.
ΠΡΡΡΠΈΠ΅ ΠΏΡΠΎΠΈΠ·Π²ΠΎΠ΄ΠΈΡΠ΅Π»ΠΈ Π΄ΠΈΠΌΠΌΠ΅ΡΠΎΠ²
ΠΠ°Π·ΠΎΠ²Π΅ΠΌ Π½Π΅ΡΠΊΠΎΠ»ΡΠΊΠΎ ΠΈΠ·Π²Π΅ΡΡΠ½ΡΡ Π±ΡΠ΅Π½Π΄ΠΎΠ² ΡΠ»Π΅ΠΊΡΡΠΎΡΠ΅Ρ Π½ΠΈΡΠ΅ΡΠΊΠΈΡ ΡΠΎΠ²Π°ΡΠΎΠ², Π² ΠΊΠ°ΡΠ°Π»ΠΎΠ³Π°Ρ ΠΊΠΎΡΠΎΡΡΡ Π·Π½Π°ΡΠΈΡΠ΅Π»ΡΠ½ΠΎΠ΅ ΠΌΠ΅ΡΡΠΎ ΠΎΡΠ²Π΅Π΄Π΅Π½ΠΎ ΠΌΠ΅Π»ΠΊΠΈΠΌ ΠΈΠ·Π΄Π΅Π»ΠΈΡΠΌ, Π² ΡΠΎΠΌ ΡΠΈΡΠ»Π΅ ΠΈ ΡΠ°Π·Π»ΠΈΡΠ½ΡΠΌ Π²ΠΈΠ΄Π°ΠΌ ΡΠ²Π΅ΡΠΎΡΠ΅Π³ΡΠ»ΡΡΠΎΡΠΎΠ².
Legrand. ΠΡΡΠΏΠ½Π°Ρ ΡΡΠ°Π½ΡΡΠ·ΡΠΊΠ°Ρ ΠΊΠΎΠΌΠΏΠ°Π½ΠΈΡ, ΡΡΠΈΡΠ°ΡΡΠ°ΡΡΡ Π»ΠΈΠ΄Π΅ΡΠΎΠΌ Π½Π° ΠΌΠΈΡΠΎΠ²ΠΎΠΌ ΠΏΡΠΎΡΠΈΠ»ΡΠ½ΠΎΠΌ ΡΡΠ½ΠΊΠ΅.
ΠΠ° ΠΌΠ½ΠΎΠ³ΠΎΡΠΈΡΠ»Π΅Π½Π½ΡΡ ΠΏΡΠ΅Π΄ΠΏΡΠΈΡΡΠΈΡΡ , ΡΠ°ΡΠΏΠΎΠ»ΠΎΠΆΠ΅Π½Π½ΡΡ Π² 80-ΡΠΈ Π³ΠΎΡΡΠ΄Π°ΡΡΡΠ²Π°Ρ , ΠΏΡΠΎΠΈΠ·Π²ΠΎΠ΄ΠΈΡΡΡ Π±ΠΎΠ»Π΅Π΅ 215 ΡΡΡΡΡ Π½Π°ΠΈΠΌΠ΅Π½ΠΎΠ²Π°Π½ΠΈΠΉ ΠΏΡΠΎΠ΄ΡΠΊΡΠΈΠΈ, Π²ΠΊΠ»ΡΡΠ°Ρ ΡΠ°Π·Π½ΠΎΠΎΠ±ΡΠ°Π·Π½ΡΠ΅ ΠΌΠΎΠ΄ΠΈΡΠΈΠΊΠ°ΡΠΈΠΈ Π΄ΠΈΠΌΠΌΠ΅ΡΠΎΠ².
Π‘Π²Π΅ΡΠΎΡΠ΅Π³ΡΠ»ΡΡΠΎΡΡ Legrand ΠΎΡΠ»ΠΈΡΠ°ΡΡΡΡ Π½Π°Π΄Π΅ΠΆΠ½ΠΎΠΉ Π±Π΅Π·ΠΎΠΏΠ°ΡΠ½ΠΎΠΉ ΡΠ°Π±ΠΎΡΠΎΠΉ ΠΈ Π΄ΠΎΠ»Π³ΠΈΠΌ ΡΡΠΎΠΊΠΎΠΌ ΠΏΠΎΠ»ΡΠ·ΠΎΠ²Π°Π½ΠΈΡ. ΠΠΎΠ΄Π΅Π»ΡΠ½ΡΠΉ ΡΡΠ΄ Π΄ΠΎΠ²ΠΎΠ»ΡΠ½ΠΎ ΡΠΈΡΠΎΠΊ: Π² ΠΊΠ°ΡΠ°Π»ΠΎΠ³Π°Ρ ΠΌΠΎΠΆΠ½ΠΎ Π½Π°ΠΉΡΠΈ ΠΊΠ°ΠΊ ΡΡΠ°Π΄ΠΈΡΠΈΠΎΠ½Π½ΡΠ΅, ΡΠ°ΠΊ ΠΈ ΠΎΡΠΈΠ³ΠΈΠ½Π°Π»ΡΠ½ΡΠ΅ Π²Π°ΡΠΈΠ°Π½ΡΡ.

ΠΠ»Ρ Π΄ΠΈΠΌΠΌΠ΅ΡΠΎΠ² ΠΈΠ· ΡΠ΅ΡΠΈΠΈ Celiane Ρ Π°ΡΠ°ΠΊΡΠ΅ΡΠ½Ρ Π²ΡΡΠΎΠΊΠΈΠ΅ ΡΠ°Π±ΠΎΡΠΈΠ΅ Ρ Π°ΡΠ°ΠΊΡΠ΅ΡΠΈΡΡΠΈΠΊΠΈ, Π° ΡΠ°ΠΊΠΆΠ΅ ΠΈΠ·ΡΡΠ½ΡΠΉ Π΄ΠΈΠ·Π°ΠΉΠ½. ΠΠ»Ρ ΠΎΡΠΎΡΠΌΠ»Π΅Π½ΠΈΡ ΡΡΡΡΠΎΠΉΡΡΠ² ΠΏΡΠΎΠΈΠ·Π²ΠΎΠ΄ΠΈΡΠ΅Π»Ρ ΠΏΡΠ΅Π΄Π»Π°Π³Π°Π΅Ρ ΡΠ°ΠΊΠΆΠ΅ ΡΠΌΠ΅Π½Π½ΡΠ΅ ΡΠ°ΠΌΠΊΠΈ ΡΠ°Π·Π»ΠΈΡΠ½ΡΡ ΡΠ²Π΅ΡΠΎΠ²
Π ΡΠΈΡΠ»Ρ ΠΏΡΠ΅ΠΈΠΌΡΡΠ΅ΡΡΠ² ΠΌΠΎΠΆΠ½ΠΎ ΠΎΡΠ½Π΅ΡΡΠΈ Π³ΠΈΠ±ΠΊΡΡ ΡΠ΅Π½ΠΎΠ²ΡΡ ΠΏΠΎΠ»ΠΈΡΠΈΠΊΡ. Π€ΠΈΡΠΌΠ° ΠΏΡΠ΅Π΄Π»Π°Π³Π°Π΅Ρ ΠΊΠ°ΠΊ ΡΠΊΡΠΊΠ»ΡΠ·ΠΈΠ²Π½ΡΠ΅ Π΄ΠΎΡΠΎΠ³ΠΎΡΡΠΎΡΡΠΈΠ΅ ΠΏΡΠΈΠ±ΠΎΡΡ, ΡΠ°ΠΊ ΠΈ ΡΡΡΡΠΎΠΉΡΡΠ²Π° ΠΏΠΎ Π±ΡΠ΄ΠΆΠ΅ΡΠ½ΠΎΠΉ ΡΠ΅Π½Π΅.
Simon. ΠΡΠΏΠ°Π½ΡΠΊΠΈΠΉ Ρ ΠΎΠ»Π΄ΠΈΠ½Π³ ΡΠΎ ΡΡΠ°Π±-ΠΊΠ²Π°ΡΡΠΈΡΠΎΠΉ Π² ΠΠ°ΡΡΠ΅Π»ΠΎΠ½Π΅. ΠΠΎΠΌΠΏΠ°Π½ΠΈΡ ΡΠΏΠ΅ΡΠΈΠ°Π»ΠΈΠ·ΠΈΡΡΠ΅ΡΡΡ Π½Π° Π²ΡΠΏΡΡΠΊΠ΅ ΡΠ»Π΅ΠΊΡΡΠΎΡΡΡΠ°Π½ΠΎΠ²ΠΎΡΠ½ΠΎΠΉ ΡΠ΅Ρ Π½ΠΈΠΊΠΈ ΡΠ°Π·Π½ΡΡ ΡΠ΅Π½ΠΎΠ²ΡΡ ΠΊΠ°ΡΠ΅Π³ΠΎΡΠΈΠΉ. Π Π°ΡΡΠΎΡΡΠΈΠΌΠ΅Π½ΡΠ΅ ΠΏΡΠ΅Π΄ΡΡΠ°Π²Π»Π΅Π½Ρ Π»ΠΈΠ½Π΅ΠΉΠΊΠΈ ΡΠ»ΠΈΡΠ½ΠΎΠΉ ΠΏΡΠΎΠ΄ΡΠΊΡΠΈΠΈ ΠΈ ΠΌΠΎΠ΄Π΅Π»ΠΈ Π±ΡΠ΄ΠΆΠ΅ΡΠ½ΠΎΠ³ΠΎ ΠΊΠ»Π°ΡΡΠ°.
ΠΠ·Π΄Π΅Π»ΠΈΡ Simon ΠΏΡΠ°ΠΊΡΠΈΡΠ½Ρ, ΡΡΠ½ΠΊΡΠΈΠΎΠ½Π°Π»ΡΠ½Ρ, ΠΈΠΌΠ΅ΡΡ ΠΎΡΠΈΠ³ΠΈΠ½Π°Π»ΡΠ½ΡΠΉ Π²Π½Π΅ΡΠ½ΠΈΠΉ Π²ΠΈΠ΄. Π ΠΊΠ°ΡΠ°Π»ΠΎΠ³Π°Ρ ΠΌΠΎΠΆΠ½ΠΎ Π½Π°ΠΉΡΠΈ ΡΠ°Π·Π»ΠΈΡΠ½ΡΠ΅ ΠΌΠΎΠ΄ΠΈΡΠΈΠΊΠ°ΡΠΈΠΈ ΡΠ²Π΅ΡΠΎΡΠ΅Π³ΡΠ»ΡΡΠΎΡΠΎΠ², Π²ΠΊΠ»ΡΡΠ°Ρ ΡΠ΅Π½ΡΠΎΡΠ½ΡΠ΅ ΠΈ ΠΏΠΎΠ²ΠΎΡΠΎΡΠ½ΡΠ΅, Π° ΡΠ°ΠΊΠΆΠ΅ ΡΡΡΠ΅ΠΊΡΠ½ΡΠ΅ ΡΠ΅ΡΠ΅Π½ΠΈΡ Ρ ΠΏΠΎΠ΄ΡΠ²Π΅ΡΠΊΠΎΠΉ.
Dernek GROUP. ΠΡΡΠΏΠ½ΡΠΉ ΠΏΡΠΎΠΈΠ·Π²ΠΎΠ΄ΠΈΡΠ΅Π»Ρ, Π²ΡΠΏΡΡΠΊΠ°ΡΡΠΈΠΉ Π²ΡΠ΅Π²ΠΎΠ·ΠΌΠΎΠΆΠ½ΡΠ΅ ΡΠ»Π΅ΠΊΡΡΠΎΡΠ΅Ρ Π½ΠΈΡΠ΅ΡΠΊΠΈΠ΅ ΠΈΠ·Π΄Π΅Π»ΠΈΡ ΠΏΠΎΠ΄ ΠΌΠ°ΡΠΊΠΎΠΉ Lezard, ΡΡΠ°Π²ΠΈΡ ΡΠ²ΠΎΠ΅ΠΉ Π·Π°Π΄Π°ΡΠ΅ΠΉ Π²ΡΠΏΡΡΠΊ Π΄ΠΎΡΡΡΠΏΠ½ΠΎΠΉ ΠΏΡΠΎΠ΄ΡΠΊΡΠΈΠΈ Π²ΡΡΠΎΠΊΠΎΠ³ΠΎ ΠΊΠ°ΡΠ΅ΡΡΠ²Π°.
Dernek ΠΎΡΠΈΠ΅Π½ΡΠΈΡΡΠ΅ΡΡΡ ΠΏΡΠ΅ΠΆΠ΄Π΅ Π²ΡΠ΅Π³ΠΎ Π½Π° ΠΌΠ°ΡΡΠΎΠ²ΡΠΉ ΡΠΏΡΠΎΡ, ΠΏΡΠ΅Π΄Π»Π°Π³Π°Ρ ΡΠΎΠ²Π°ΡΡ Ρ ΠΏΡΠΎΡΡΡΠΌ Π΄ΠΈΠ·Π°ΠΉΠ½ΠΎΠΌ ΠΏΠΎ Π΄Π΅ΠΌΠΎΠΊΡΠ°ΡΠΈΡΠ½ΡΠΌ ΡΠ΅Π½Π°ΠΌ.

ΠΠ·Π΄Π΅Π»ΠΈΡ, Π²ΠΊΠ»ΡΡΠ΅Π½Π½ΡΠ΅ Π² Π»ΠΈΠ½Π΅ΠΉΠΊΡ Mira (Lezard), ΠΏΡΠ΅Π΄Π»Π°Π³Π°ΡΡΡΡ Π² ΡΠ°Π·Π»ΠΈΡΠ½ΠΎΠΉ ΡΠ²Π΅ΡΠΎΠ²ΠΎΠΉ Π³Π°ΠΌΠΌΠ΅. Π‘ΡΠ΅Π΄ΠΈ ΠΏΡΠ΅Π΄Π»Π°Π³Π°Π΅ΠΌΡΡ Π²Π°ΡΠΈΠ°Π½ΡΠΎΠ² β ΡΡΡΠ΅ΠΊΡΠ½ΡΠΉ ΠΎΡΡΠ΅Π½ΠΎΠΊ Β«Π·ΠΎΠ»ΠΎΡΠΎΠΉ ΠΌΠ΅ΡΠ°Π»Π»ΠΈΠΊΒ»
Π ΡΠΎ ΠΆΠ΅ Π²ΡΠ΅ΠΌΡ ΡΠ»Π΅ΠΊΡΡΠΎΠΏΡΠΈΠ±ΠΎΡΡ Lezard Π΄Π΅ΠΌΠΎΠ½ΡΡΡΠΈΡΡΡΡ Ρ ΠΎΡΠΎΡΠΈΠ΅ ΡΠ°Π±ΠΎΡΠΈΠ΅ ΡΠ²ΠΎΠΉΡΡΠ²Π°. ΠΡΠΈ ΠΈΡ ΠΈΠ·Π³ΠΎΡΠΎΠ²Π»Π΅Π½ΠΈΠΈ ΠΏΡΠΈΠΌΠ΅Π½ΡΠ΅ΡΡΡ Π²ΡΡΠΎΠΊΠΎΠΊΠ»Π°ΡΡΠ½ΡΠΉ ΠΏΠ»Π°ΡΡΠΈΠΊ ΠΈ Π½Π΅ΡΠΆΠ°Π²Π΅ΡΡΠ°Ρ ΡΡΠ°Π»Ρ, Π° ΠΏΡΠΎΠ΄ΡΠΌΠ°Π½Π½ΡΠΉ ΠΌΠ΅Ρ Π°Π½ΠΈΠ·ΠΌ ΡΡΡΡΠΎΠΉΡΡΠ²Π° ΡΠ½Π°Π±ΠΆΠ΅Π½ ΠΏΡΠ΅Π΄ΠΎΡ ΡΠ°Π½ΠΈΡΠ΅Π»Π΅ΠΌ.
Berker. ΠΠ΅ΠΌΠ΅ΡΠΊΠ°Ρ ΡΠ΅ΠΌΠ΅ΠΉΠ½Π°Ρ ΡΠΈΡΠΌΠ°, ΠΎΡΠ½ΠΎΠ²Π°Π½Π½Π°Ρ Π² 1919 Π³ΠΎΠ΄Ρ. ΠΡΡ ΠΏΡΠΎΠΈΠ·Π²Π΅Π΄Π΅Π½Π½Π°Ρ ΠΏΠΎΠ΄ ΡΡΠΈΠΌ Π±ΡΠ΅Π½Π΄ΠΎΠΌ ΠΏΡΠΎΠ΄ΡΠΊΡΠΈΡ Π²ΡΠΏΡΡΠΊΠ°Π΅ΡΡΡ Π½Π° ΠΊΡΡΠΏΠ½ΠΎΠΌ ΠΏΡΠ΅Π΄ΠΏΡΠΈΡΡΠΈΠΈ, ΡΠ°ΡΠΏΠΎΠ»ΠΎΠΆΠ΅Π½Π½ΠΎΠΌ Π² ΠΠ΅ΡΠΌΠ°Π½ΠΈΠΈ Π² Π³. Π¨Π°Π»ΡΠΊΡΠΌΡΠ»Π΅.
ΠΡΠ΅ΠΈΠΌΡΡΠ΅ΡΡΠ²Π΅Π½Π½ΠΎ Π±ΡΠ΅Π½Π΄ Π²ΡΠΏΡΡΠΊΠ°Π΅Ρ ΠΈΠ·Π΄Π΅Π»ΠΈΡ Π² ΡΡΠ°Π΄ΠΈΡΠΈΠΎΠ½Π½ΠΎΠΌ Π΄ΠΈΠ·Π°ΠΉΠ½Π΅ ΠΏΠΎ Π΄ΠΎΡΡΡΠΏΠ½ΡΠΌ ΡΠ΅Π½Π°ΠΌ. ΠΠ»Ρ Π΄ΠΈΠΌΠΌΠ΅ΡΠΎΠ² Berker Ρ Π°ΡΠ°ΠΊΡΠ΅ΡΠ½ΠΎΒ Π±Π΅Π·ΡΠΏΡΠ΅ΡΠ½ΠΎΠ΅ ΠΊΠ°ΡΠ΅ΡΡΠ²ΠΎ ΠΌΠ΅Ρ Π°Π½ΠΈΠ·ΠΌΠΎΠ², ΡΠ΄ΠΎΠ±ΡΡΠ²ΠΎ Π² ΠΈΡΠΏΠΎΠ»ΡΠ·ΠΎΠ²Π°Π½ΠΈΠΈ, Π°ΠΊΠΊΡΡΠ°ΡΠ½ΡΠΉ Π²Π½Π΅ΡΠ½ΠΈΠΉ Π²ΠΈΠ΄.
Schneider Electric. ΠΡΠ½ΠΎΠ²Π°Π½Π½Π°Ρ Π΅ΡΠ΅ Π² XIX ΡΡΠΎΠ»Π΅ΡΠΈΠΈ ΡΡΠ°Π½ΡΡΠ·ΡΠΊΠ°Ρ ΠΊΠΎΠΌΠΏΠ°Π½ΠΈΡ ΠΏΡΠ΅Π΄Π»Π°Π³Π°Π΅Ρ Π±ΠΎΠ»ΡΡΠΎΠΉ Π°ΡΡΠΎΡΡΠΈΠΌΠ΅Π½Ρ ΡΠ»Π΅ΠΊΡΡΠΎΡΡΡΠ½ΠΈΡΡΡΡ, ΠΊΠΎΡΠΎΡΡΡ Π²ΡΡΠΎΠΊΠΎ ΡΠ΅Π½ΡΡ ΠΏΡΠΎΡΠ΅ΡΡΠΈΠΎΠ½Π°Π»Ρ.
Π‘ΡΠ΅Π΄ΠΈ ΡΠΈΡΠΌΠ΅Π½Π½ΠΎΠΉ ΠΏΡΠΎΠ΄ΡΠΊΡΠΈΠΈ ΠΊΠ½ΠΎΠΏΠΎΡΠ½ΡΠ΅ ΠΈ ΠΏΠΎΠ²ΠΎΡΠΎΡΠ½ΡΠ΅ ΡΠ΅Π³ΡΠ»ΡΡΠΎΡΡ, Π° ΡΠ°ΠΊΠΆΠ΅ ΡΠ½ΠΈΠ²Π΅ΡΡΠ°Π»ΡΠ½ΡΠ΅ ΠΌΠΎΠ΄Π΅Π»ΠΈ, ΠΏΠΎΠ΄Ρ ΠΎΠ΄ΡΡΠΈΠ΅ Π΄Π»Ρ ΡΠ°Π·Π½ΡΡ ΡΠΈΠΏΠΎΠ² Π»Π°ΠΌΠΏ.

ΠΠ»Ρ ΠΏΡΠΎΠ΄ΡΠΊΡΠΈΠΈ ΠΊΠΎΠΌΠΏΠ°Π½ΠΈΠΈ Β«Π¨Π½Π΅ΠΉΠ΄Π΅ΡΒ» Ρ Π°ΡΠ°ΠΊΡΠ΅ΡΠ΅Π½ ΠΎΡΠΈΠ³ΠΈΠ½Π°Π»ΡΠ½ΡΠΉ Π΄ΠΈΠ·Π°ΠΉΠ½, Π° ΡΠ°ΠΊΠΆΠ΅ ΡΠΊΡΠΊΠ»ΡΠ·ΠΈΠ²Π½ΠΎΠ΅ ΠΊΠ°ΡΠ΅ΡΡΠ²ΠΎ, Π³Π°ΡΠ°Π½ΡΠΈΡΡΡΡΠ΅Π΅ Π½Π°Π΄Π΅ΠΆΠ½ΡΡ ΡΠ°Π±ΠΎΡΡ ΠΈ Π΄ΠΎΠ»Π³ΠΈΠΉ ΡΡΠΎΠΊ ΡΠΊΡΠΏΠ»ΡΠ°ΡΠ°ΡΠΈΠΈ ΠΈΠ·Π΄Π΅Π»ΠΈΠΉ
ΠΡΡΠΎΠΊΠΎΠΊΠ»Π°ΡΡΠ½ΡΠ΅ ΠΈΠ·Π΄Π΅Π»ΠΈΡ ΠΎΡΠ»ΠΈΡΠ°ΡΡΡΡ Π½Π°Π΄Π΅ΠΆΠ½ΠΎΡΡΡΡ ΠΈ ΠΏΡΠΎΡΠ½ΠΎΡΡΡΡ, ΠΈΡΠΏΠΎΠ»ΡΠ·ΠΎΠ²Π°Π½ΠΈΠ΅ΠΌ ΠΌΠΎΠ΄ΡΠ»Π΅ΠΉ ΠΈ ΡΠΌΠ΅Π½Π½ΡΡ ΡΠ°ΠΌΠΎΠΊ. Π Π½Π΅Π΄ΠΎΡΡΠ°ΡΠΊΠ°ΠΌ ΠΌΠΎΠΆΠ½ΠΎ ΠΎΡΠ½Π΅ΡΡΠΈ Π»ΠΈΡΡ ΠΎΡΠ½ΠΎΡΠΈΡΠ΅Π»ΡΠ½ΠΎ Π²ΡΡΠΎΠΊΡΡ ΡΡΠΎΠΈΠΌΠΎΡΡΡ.
ABB. Π¨Π²Π΅Π΄ΡΠΊΠΈ-ΡΠ²Π΅ΠΉΡΠ°ΡΡΠΊΠ°Ρ ΠΊΠΎΠΌΠΏΠ°Π½ΠΈΡ, Π·Π°Π½ΠΈΠΌΠ°ΡΡΠ°Ρ Π»ΠΈΠ΄ΠΈΡΡΡΡΡΡ ΠΏΠΎΠ·ΠΈΡΠΈΡ Π² Π²ΡΠΏΡΡΠΊΠ΅ Π²ΡΡΠΎΠΊΠΎΡΠ΅Ρ Π½ΠΎΠ»ΠΎΠ³ΠΈΡΠ½ΠΎΠ³ΠΎ ΡΠ»Π΅ΠΊΡΡΠΎΠΎΠ±ΠΎΡΡΠ΄ΠΎΠ²Π°Π½ΠΈΡ.
ΠΡΠΈ ΠΏΡΠΎΠΈΠ·Π²ΠΎΠ΄ΡΡΠ²Π΅ ΠΏΡΠΎΠ΄ΡΠΊΡΠΈΠΈ ΠΈΡΠΏΠΎΠ»ΡΠ·ΡΡΡΡΡ ΡΠ΄Π°ΡΠΎΠΏΡΠΎΡΠ½ΡΠ΅ ΠΈ ΡΡΠΎΠΉΠΊΠΈΠ΅ ΠΊ UV-ΠΈΠ·Π»ΡΡΠ΅Π½ΠΈΡ ΠΌΠ°ΡΠ΅ΡΠΈΠ°Π»Ρ, ΡΡΠΎ ΡΠΎΠΎΠ±ΡΠ°Π΅Ρ ΠΈΠ·Π΄Π΅Π»ΠΈΡΠΌ ΠΏΠΎΠ²ΡΡΠ΅Π½Π½ΡΡ ΠΏΡΠΎΡΠ½ΠΎΡΡΡ ΠΈ ΠΏΡΠΎΠ΄Π»Π΅Π²Π°Π΅Ρ ΡΡΠΎΠΊ ΡΠΊΡΠΏΠ»ΡΠ°ΡΠ°ΡΠΈΠΈ.
ΠΠΈΠ·Π°ΠΉΠ½ ΡΠ²Π΅ΡΠΎΡΠ΅Π³ΡΠ»ΡΡΠΎΡΠΎΠ² ΠΎΡΠ»ΠΈΡΠ°Π΅Ρ ΡΠ»Π΅Π³Π°Π½ΡΠ½ΠΎΡΡΡ ΠΈ Π²ΡΡΠ°Π·ΠΈΡΠ΅Π»ΡΠ½ΡΠ΅ ΡΠ²Π΅ΡΠ°; Π΄Π°ΠΆΠ΅ Π² Π±Π°Π·ΠΎΠ²ΡΡ ΠΊΠΎΠ»Π»Π΅ΠΊΡΠΈΡΡ ΠΏΡΠΈΠΌΠ΅Π½ΡΡΡΡΡ ΡΡΡΠ΅ΠΊΡΠ½ΡΠ΅ ΡΠ»ΡΠΎΡΠ΅ΡΡΠ΅Π½ΡΠ½ΡΠ΅ ΠΌΠ°ΡΠΊΠΈ.
Π Π΄ΠΎΡΡΠΎΠΈΠ½ΡΡΠ²Π°ΠΌ ΠΌΠΎΠΆΠ½ΠΎ ΠΎΡΠ½Π΅ΡΡΠΈ ΡΠ°ΠΊΠΆΠ΅ Π»Π΅Π³ΠΊΠΎΡΡΡ Π² ΠΌΠΎΠ½ΡΠ°ΠΆΠ΅, ΠΊΠΎΠΌΡΠΎΡΡ Π² ΠΏΡΠΈΠΌΠ΅Π½Π΅Π½ΠΈΠΈ, Π²ΠΎΠ·ΠΌΠΎΠΆΠ½ΠΎΡΡΡ ΠΌΠΎΠ΄ΡΠ»ΡΠ½ΡΡ ΡΠ΅ΡΠ΅Π½ΠΈΠΉ.
Makel. Π’ΡΡΠ΅ΡΠΊΠΈΠΉ ΠΏΡΠΎΠΈΠ·Π²ΠΎΠ΄ΠΈΡΠ΅Π»Ρ, Π·Π°Π½ΠΈΠΌΠ°ΡΡΠΈΠΉΡΡ Π²ΡΠΏΡΡΠΊΠΎΠΌ ΡΠ»Π΅ΠΊΡΡΠΎΡΠ΅Ρ Π½ΠΈΡΠ΅ΡΠΊΠΈΡ ΡΠΎΠ²Π°ΡΠΎΠ² ΠΏΠΎΡΡΠΈ ΡΠ΅ΡΡΡΠ΅ Π΄Π΅ΡΡΡΠΊΠ° Π»Π΅Ρ.
ΠΠΈΠ½Π΅ΠΉΠΊΠΈ ΠΈΠ·Π΄Π΅Π»ΠΈΠΉ ΠΈΠ·Π³ΠΎΡΠΎΠ²Π»ΡΡΡΡΡ Π½Π° Π½Π΅ΠΌΠ΅ΡΠΊΠΎΠΌ ΠΎΠ±ΠΎΡΡΠ΄ΠΎΠ²Π°Π½ΠΈΠΈ ΠΏΡΠΈ ΡΡΠ°ΡΠ΅Π»ΡΠ½ΠΎΠΌ ΠΊΠΎΠ½ΡΡΠΎΠ»Π΅ Π²ΡΠ΅Ρ ΠΏΡΠΎΡΠ΅ΡΡΠΎΠ². Π ΠΊΠ°ΡΠ°Π»ΠΎΠ³Π΅ ΠΏΡΠ΅Π΄ΡΡΠ°Π²Π»Π΅Π½Ρ ΡΠ°Π·Π»ΠΈΡΠ½ΡΠ΅ Π²ΠΈΠ΄Ρ ΠΏΡΠΎΠ΄ΡΠΊΡΠΈΠΈ, ΡΠΊΡΠΏΠΎΡΡ ΠΊΠΎΡΠΎΡΠΎΠΉ Π²Π΅Π΄Π΅ΡΡΡ Π² 40 ΡΡΡΠ°Π½ ΠΌΠΈΡΠ°.

ΠΠ΅ΠΌΠΎΠΊΡΠ°ΡΠΈΡΠ½ΡΠ΅ ΡΠΎΠ²Π°ΡΡ Makel Π²ΡΠΏΡΡΠΊΠ°Π΅ΡΡΡ Π² Π±ΠΎΠ»ΡΡΠΎΠΌ Π°ΡΡΠΎΡΡΠΈΠΌΠ΅Π½ΡΠ΅, Π±Π»Π°Π³ΠΎΠ΄Π°ΡΡ ΡΠ΅ΠΌΡ Π»Π΅Π³ΠΊΠΎ ΠΏΠΎΠ΄ΠΎΠ±ΡΠ°ΡΡ ΠΏΡΠΈΠ²Π»Π΅ΠΊΠ°ΡΠ΅Π»ΡΠ½ΡΡ ΠΌΠΎΠ΄Π΅Π»Ρ Π΄ΠΈΠΌΠΌΠ΅ΡΠ° ΠΈΠ»ΠΈ Π΄ΡΡΠ³ΠΎΠΉ ΡΠ»Π΅ΠΊΡΡΠΎΡΡΡΠ½ΠΈΡΡΡΡ
ΠΠΎΡΡΡΠΏΠ½ΡΠ΅ ΠΈΠ·Π΄Π΅Π»ΠΈΡ Makel ΠΎΡΠ»ΠΈΡΠ°ΡΡΡΡ Ρ ΠΎΡΠΎΡΠΈΠΌΠΈ ΡΠ°Π±ΠΎΡΠΈΠΌΠΈ Ρ Π°ΡΠ°ΠΊΡΠ΅ΡΠΈΡΡΠΈΠΊΠ°ΠΌΠΈ, ΠΏΡΠ°ΠΊΡΠΈΡΠ½ΠΎΡΡΡΡ ΠΈ ΡΡΠ½ΠΊΡΠΈΠΎΠ½Π°Π»ΡΠ½ΠΎΡΡΡΡ.
Π§ΡΠΎΠ±Ρ ΠΎΠ±Π»Π΅Π³ΡΠΈΡΡ ΠΌΠΎΠ½ΡΠ°ΠΆ, ΠΈΡΠΏΠΎΠ»ΡΠ·ΡΡΡΡΡ ΠΎΠΊΡΠ°ΡΠ΅Π½Π½ΡΠ΅ Π² ΡΠ°Π·Π½ΡΠ΅ ΡΠ²Π΅ΡΠ° ΠΏΡΠΎΠ²ΠΎΠ΄Π½ΠΈΠΊΠΈ, Π° ΡΠ°ΠΊΠΆΠ΅ ΠΏΡΠΎΡΠ½ΡΠ΅ ΠΊΡΠ΅ΠΏΠ΅ΠΆΠ½ΡΠ΅ Π·Π°ΠΆΠΈΠΌΡ, Π³Π°ΡΠ°Π½ΡΠΈΡΡΡΡΠΈΠ΅ ΡΡΡΠΎΠΉΡΠΈΠ²ΡΠ΅ ΠΊΠΎΠ½ΡΠ°ΠΊΡΡ.
ΠΡΡΡΠΈΠ΅ ΠΌΠΎΠ΄Π΅Π»ΠΈ Π΄Π»Ρ Π»Π°ΠΌΠΏ Π½Π°ΠΊΠ°Π»ΠΈΠ²Π°Π½ΠΈΡ
ΠΡΠΈΠ²Π΅Π΄Π΅ΠΌ Π½Π΅ΡΠΊΠΎΠ»ΡΠΊΠΎ ΠΏΡΠΈΠΌΠ΅ΡΠΎΠ² ΠΏΠΎΠΏΡΠ»ΡΡΠ½ΡΡ ΠΏΡΠΈΠ±ΠΎΡΠΎΠ² Π² ΡΠ°Π·Π½ΡΡ ΡΠ΅Π½ΠΎΠ²ΡΡ ΠΊΠ°ΡΠ΅Π³ΠΎΡΠΈΡΡ , ΡΠΎΡΡΠ°Π²ΠΈΠ² ΠΈΠ· Π½ΠΈΡ ΡΠ²ΠΎΠ΅ΠΎΠ±ΡΠ°Π·Π½ΡΡ ΡΠ΅ΡΠ²Π΅ΡΠΊΡ Π»ΠΈΠ΄Π΅ΡΠΎΠ².
Π£Π½ΠΈΠ²Π΅ΡΡΠ°Π»ΡΠ½ΡΠΉ Π΄ΠΈΠΌΠΌΠ΅Ρ DELTA ΠΎΡ Siemens
Π ΡΠ΅ΡΠΈΡ Π²Ρ ΠΎΠ΄ΡΡ ΠΊΠ°ΠΊ ΠΊΠ½ΠΎΠΏΠΎΡΠ½ΡΠ΅, ΡΠ°ΠΊ ΠΈ ΠΊΠ»Π°Π²ΠΈΡΠ½ΡΠ΅ ΡΠ²Π΅ΡΠΎΡΠ΅Π³ΡΠ»ΡΡΠΎΡΡ. ΠΠ΅Π³ΠΊΠΈΠΉ Π² ΠΌΠΎΠ½ΡΠ°ΠΆΠ΅ ΠΈ ΡΠΊΡΠΏΠ»ΡΠ°ΡΠ°ΡΠΈΠΈ ΠΏΡΠΈΠ±ΠΎΡ ΠΌΠΎΠΆΠ½ΠΎ ΠΈΡΠΏΠΎΠ»ΡΠ·ΠΎΠ²Π°ΡΡ Π΄Π°ΠΆΠ΅ ΠΏΡΠΈ Π·Π½Π°ΡΠΈΡΠ΅Π»ΡΠ½ΡΡ Π½Π°Π³ΡΡΠ·ΠΊΠ°Ρ , ΠΏΠΎΠ΄Π°ΡΡΠΈΡ ΡΡ Π½Π° Π»Π°ΠΌΠΏΡ.

ΠΠΈΠΌΠΌΠ΅Ρ DELTA ΠΎΡ ΠΊΡΡΠΏΠ½Π΅ΠΉΡΠ΅Π³ΠΎ Π½Π΅ΠΌΠ΅ΡΠΊΠΎΠ³ΠΎ ΠΏΡΠΎΠΈΠ·Π²ΠΎΠ΄ΠΈΡΠ΅Π»Ρ ΠΎΡΠ»ΠΈΡΠ°Π΅ΡΡΡ ΠΊΠ»Π°ΡΡΠΈΡΠ΅ΡΠΊΠΈΠΌ Π΄ΠΈΠ·Π°ΠΉΠ½ΠΎΠΌ ΠΈ ΠΏΡΠ΅ΠΊΡΠ°ΡΠ½ΡΠΌ ΠΊΠ°ΡΠ΅ΡΡΠ²ΠΎΠΌ. Π£ΡΡΡΠΎΠΉΡΡΠ²ΠΎ Π²ΡΠΏΠΎΠ»Π½Π΅Π½ΠΎ ΠΈΠ· Π²ΡΡΠΎΠΊΠΎΠΊΠ»Π°ΡΡΠ½ΠΎΠ³ΠΎ ΠΏΠ»Π°ΡΡΠΈΠΊΠ°, ΡΡΡΠΎΠΉΡΠΈΠ²ΠΎΠ³ΠΎ ΠΊ ΠΌΠ΅Ρ Π°Π½ΠΈΡΠ΅ΡΠΊΠΈΠΌ ΠΏΠΎΠ²ΡΠ΅ΠΆΠ΄Π΅Π½ΠΈΡΠΌ
ΠΡΠΈΠ±ΠΎΡΡ ΠΏΠΎΠ΄Ρ ΠΎΠ΄ΡΡ Π΄Π»Ρ ΡΠ°Π·Π»ΠΈΡΠ½ΡΡ , Π²ΠΊΠ»ΡΡΠ°Ρ Π»Π°ΠΌΠΏΡ Π½Π°ΠΊΠ°Π»ΠΈΠ²Π°Π½ΠΈΡ. ΠΡΠ΄Π΅Π»ΡΠ½ΡΠ΅ ΠΌΠΎΠ΄ΠΈΡΠΈΠΊΠ°ΡΠΈΠΈ, Π²Ρ ΠΎΠ΄ΡΡΠΈΠ΅ Π² Π»ΠΈΠ½Π΅ΠΉΠΊΡ, ΠΈΠΌΠ΅ΡΡ Π΄ΠΎΠ±Π°Π²ΠΎΡΠ½ΡΠ΅ ΡΡΠ½ΠΊΡΠΈΠΈ.
Π Π½ΠΈΠΌ, Π½Π°ΠΏΡΠΈΠΌΠ΅Ρ, ΠΎΡΠ½ΠΎΡΠΈΡΡΡ ΡΠΏΠΎΡΠΎΠ±Π½ΠΎΡΡΡ Π·Π°ΠΏΠΎΠΌΠΈΠ½Π°ΡΡ ΡΡΠΎΠ²Π΅Π½Ρ ΡΠ²Π΅ΡΠ°, ΡΡΡΠ°Π½ΠΎΠ²Π»Π΅Π½Π½ΡΠΉ ΠΏΡΠΈ ΠΏΡΠ΅Π΄ΡΠ΄ΡΡΠ΅ΠΌ Π²ΠΊΠ»ΡΡΠ΅Π½ΠΈΠΈ, ΠΈΠ»ΠΈ Π²ΠΎΠ·ΠΌΠΎΠΆΠ½ΠΎΡΡΡ ΡΠ΅Π³ΡΠ»ΠΈΡΠΎΠ²Π°ΡΡ ΠΏΠΎΡΠΎΠΊ ΡΠ²Π΅ΡΠ° ΠΈΠ· ΡΠ°Π·Π½ΡΡ ΠΌΠ΅ΡΡ ΠΊΠΎΠΌΠ½Π°ΡΡ.
Π Π΅Π³ΡΠ»ΡΡΠΎΡ ΡΠ²Π΅ΡΠ° Celiane ΠΎΡ Legrand
Π‘Π΅ΡΠΈΡ Celiane ΠΎΡ ΠΈΠ·Π²Π΅ΡΡΠ½ΠΎΠ³ΠΎ ΡΡΠ°Π½ΡΡΠ·ΡΠΊΠΎΠ³ΠΎ ΠΏΡΠΎΠΈΠ·Π²ΠΎΠ΄ΠΈΡΠ΅Π»Ρ ΠΎΠ±ΡΠ΅Π΄ΠΈΠ½ΡΠ΅Ρ ΠΌΠΎΠ΄Π΅Π»ΠΈ Π΄ΠΈΠΌΠΌΠ΅ΡΠΎΠ², ΡΠΎΠ²ΠΌΠ΅ΡΡΠΈΠΌΡΠ΅ Ρ ΡΠ°Π·Π»ΠΈΡΠ½ΡΠΌΠΈ Π»Π°ΠΌΠΏΠ°ΠΌΠΈ, Π²ΠΊΠ»ΡΡΠ°Ρ ΠΏΡΠΈΠ±ΠΎΡΡ Π½Π°ΠΊΠ°Π»ΠΈΠ²Π°Π½ΠΈΡ. Π Π»ΠΈΠ½Π΅ΠΉΠΊΡ Π²Ρ ΠΎΠ΄ΡΡ ΠΈΠ·Π΄Π΅Π»ΠΈΡ, ΡΠ°ΡΡΡΠΈΡΠ°Π½Π½ΡΠ΅ Π½Π° ΠΎΠ±ΡΡΡ ΠΌΠΎΡΠ½ΠΎΡΡΡ ΠΎΡ 300 Π΄ΠΎ 600 Π²Π°ΡΡ.
ΠΠΎΠ΄Π΅Π»ΠΈ Π²ΡΠΏΠΎΠ»Π½Π΅Π½Ρ Π² ΡΠ΅ΡΡΡΠ΅Ρ ΠΈΠ·ΡΡΠΊΠ°Π½Π½ΡΡ ΠΎΡΡΠ΅Π½ΠΊΠ°Ρ : Π±Π΅Π»ΡΠΉ, ΡΠ»ΠΎΠ½ΠΎΠ²Π°Ρ ΠΊΠΎΡΡΡ, ΡΠΈΡΠ°Π½ ΠΈ Π³ΡΠ°ΡΠΈΡ. ΠΠΎΠΌΠΈΠΌΠΎ ΠΎΠ±ΡΡΠ½ΡΡ , ΠΏΡΠ΅Π΄ΡΡΠ°Π²Π»Π΅Π½Ρ ΡΠ°ΠΊΠΆΠ΅ Π²ΠΎΠ΄ΠΎΡΡΠΎΠΉΠΊΠΈΠ΅ ΠΌΠΎΠ΄ΠΈΡΠΈΠΊΠ°ΡΠΈΠΈ Ρ Π²ΡΡΠΎΠΊΠΎΠΉ .
ΠΠ½ΡΠ΅ΡΠ΅Ρ Π²ΡΠ·ΡΠ²Π°Π΅Ρ ΠΈΠ½ΡΠ΅Π»Π»Π΅ΠΊΡΡΠ°Π»ΡΠ½ΡΠΉ Π²Π°ΡΠΈΠ°Π½Ρ ΠΏΡΠΈΠ±ΠΎΡΠ°, Π±Π»Π°Π³ΠΎΠ΄Π°ΡΡ ΠΊΠΎΡΠΎΡΠΎΠΌΡ Π΄ΠΎΡΡΡΠΏΠ½ΠΎ ΠΏΠ»Π°Π²Π½ΠΎΠ΅ ΠΏΠ°Π΄Π΅Π½ΠΈΠ΅ ΠΌΠΎΡΠ½ΠΎΡΡΠΈ Π»Π°ΠΌΠΏΡ Π½Π° ΠΏΡΠΎΡΡΠΆΠ΅Π½ΠΈΠΈ ΡΠ°ΡΠ° ΠΈΠ»ΠΈ ΡΡΡΠΏΠ΅Π½ΡΠ°ΡΠ°Ρ ΡΠ΅Π³ΡΠ»ΠΈΡΠΎΠ²ΠΊΠ° ΠΈΠ½ΡΠ΅Π½ΡΠΈΠ²Π½ΠΎΡΡΠΈ ΡΠ²Π΅ΡΠ°.
ΠΠΎΠ²ΠΎΡΠΎΡΠ½ΠΎ-Π½Π°ΠΆΠΈΠΌΠ½ΠΎΠΉ Π΄ΠΈΠΌΠΌΠ΅Ρ ΠΎΡ ABB
Π‘Π²Π΅ΡΠΎΡΠ΅Π³ΡΠ»ΡΡΠΎΡΡ 651500842 Ρ ΠΏΠΎΠ²ΠΎΡΠΎΡΠ½ΠΎ-Π½Π°ΠΆΠΈΠΌΠ½ΡΠΌ ΠΌΠ΅Ρ Π°Π½ΠΈΠ·ΠΌΠΎΠΌ ΠΏΠΎΠ΄Ρ ΠΎΠ΄ΡΡ Π΄Π»Ρ ΠΈΡΠΏΠΎΠ»ΡΠ·ΠΎΠ²Π°Π½ΠΈΡ Ρ Π»Π°ΠΌΠΏΠ°ΠΌΠΈ Π½Π°ΠΊΠ°Π»ΠΈΠ²Π°Π½ΠΈΡ ΠΌΠΎΡΠ½ΠΎΡΡΡΡ 60-400 ΠΡ.
Π£ΡΡΡΠΎΠΉΡΡΠ²Π° ΡΡΠΎΠΉ ΡΠ΅ΡΠΈΠΈ, Π²ΡΠΏΠΎΠ»Π½Π΅Π½Π½ΡΠ΅ Π² ΠΎΡΠΈΠ³ΠΈΠ½Π°Π»ΡΠ½ΠΎΠΉ ΡΠ²Π΅ΡΠΎΠ²ΠΎΠΉ Π³Π°ΠΌΠΌΠ΅, ΠΈΠ·Π³ΠΎΡΠΎΠ²Π»ΡΡΡΡΡ ΠΈΠ· ΠΎΡΠΎΠ±ΠΎ ΠΏΡΠΎΡΠ½ΠΎΠΉ ΠΏΠ»Π°ΡΡΠΌΠ°ΡΡΡ ΠΈ ΠΌΠ΅ΡΠ°Π»Π»ΠΈΡΠ΅ΡΠΊΠΈΡ ΡΠΏΠ»Π°Π²ΠΎΠ², ΡΡΠΎΠΉΠΊΠΈΡ ΠΊ ΠΊΠΎΡΡΠΎΠ·ΠΈΠΈ ΠΈ Π΄Π΅ΡΠΎΡΠΌΠ°ΡΠΈΠΈ.

Π ΠΊΠΎΠΌΠΏΠ»Π΅ΠΊΡ ΠΊ Π΄ΠΈΠΌΠΌΠ΅ΡΡ ABB 651500842 Π²Ρ ΠΎΠ΄ΠΈΡ ΡΠ°ΠΊΠΆΠ΅ Π½Π°ΠΊΠ»Π°Π΄ΠΊΠ° ΠΈ ΡΡΠΏΠΏΠΎΡΡ, ΠΈΡΠΏΠΎΠ»ΡΠ·ΡΠ΅ΠΌΡΠ΅ ΠΏΡΠΈ ΠΌΠΎΠ½ΡΠ°ΠΆΠ΅ ΠΈΠ·Π΄Π΅Π»ΠΈΡ Π½Π° Π²Π΅ΡΡΠΈΠΊΠ°Π»ΡΠ½ΡΡ ΠΏΠΎΠ²Π΅ΡΡ Π½ΠΎΡΡΡΡ
Π‘Ρ Π΅ΠΌΠ° Π΄Π»Ρ ΠΏΠΎΠ΄ΠΊΠ»ΡΡΠ΅Π½ΠΈΡ ΠΏΡΠΈΠ±ΠΎΡΠ° ΠΏΠΎΠ·Π²ΠΎΠ»ΡΠ΅Ρ ΠΏΠΎΠ΄ΡΠΎΠ΅Π΄ΠΈΠ½ΠΈΡΡ ΠΊ Π½Π΅ΠΌΡ ΠΏΠ΅ΡΠ΅ΠΊΠ»ΡΡΠ°ΡΠ΅Π»Ρ. ΠΡΠΎ Π΄Π΅Π»Π°Π΅Ρ Π²ΠΎΠ·ΠΌΠΎΠΆΠ½ΡΠΌ Π·Π°ΠΆΠΈΠ³Π°Π½ΠΈΠ΅ ΠΈ Π³Π°ΡΠ΅Π½ΠΈΠ΅ ΡΠ²Π΅ΡΠ° Ρ Π΄Π²ΡΡ ΡΠ°Π·Π»ΠΈΡΠ½ΡΡ ΠΌΠ΅ΡΡ, ΠΎΠ΄Π½Π°ΠΊΠΎ Π΄ΠΎΡΡΡΠΏ ΠΊ ΡΠΏΡΠ°Π²Π»Π΅Π½ΠΈΡ ΠΏΡΠ΅Π΄ΠΎΡΡΠ°Π²Π»ΡΠ΅ΡΡΡ Π»ΠΈΡΡ Ρ ΠΎΡΠ½ΠΎΠ²Π½ΠΎΠ³ΠΎ ΡΡΡΡΠΎΠΉΡΡΠ²Π°.
ΠΠ»Ρ Π²ΠΊΠ»ΡΡΠ΅Π½ΠΈΡ Π»Π°ΠΌΠΏΡ Π½ΡΠΆΠ½ΠΎ Π½Π°ΠΆΠ°ΡΡ Π½Π° ΡΡΡΠΊΡ, ΠΏΠΎΠ²ΠΎΡΠ°ΡΠΈΠ²Π°Ρ ΠΊΠΎΡΠΎΡΡΡ ΠΌΠΎΠΆΠ½ΠΎ ΡΠ²Π΅Π»ΠΈΡΠΈΠ²Π°ΡΡ ΠΈΠ»ΠΈ ΡΠ½ΠΈΠΆΠ°ΡΡ ΡΡΠΊΠΎΡΡΡ ΠΎΡΠ²Π΅ΡΠ΅Π½ΠΈΡ.
ΠΡΠΈ Π²ΡΠΊΠ»ΡΡΠ΅Π½ΠΈΠΈ Π°ΠΏΠΏΠ°ΡΠ°Ρ Π·Π°ΠΏΠΎΠΌΠ½ΠΈΡ ΠΏΠΎΡΠ»Π΅Π΄Π½Π΅Π΅ ΠΏΠΎΠ»ΠΎΠΆΠ΅Π½ΠΈΠ΅ ΠΊΠ½ΠΎΠΏΠΊΠΈ, Π±Π»Π°Π³ΠΎΠ΄Π°ΡΡ ΡΠ΅ΠΌΡ ΠΏΡΠΈ ΡΠ»Π΅Π΄ΡΡΡΠ΅ΠΌ Π²ΠΊΠ»ΡΡΠ΅Π½ΠΈΠΈ ΡΡΠΊΠΎΡΡΡ ΡΠ²Π΅ΡΠ° Π±ΡΠ΄Π΅Ρ ΡΡΡΠ°Π½ΠΎΠ²Π»Π΅Π½Π° Π°Π²ΡΠΎΠΌΠ°ΡΠΈΡΠ΅ΡΠΊΠΈ.
Π‘Π²Π΅ΡΠΎΡΠ΅Π³ΡΠ»ΡΡΠΎΡ Mira ΠΊΠΎΠΌΠΏΠ°Π½ΠΈΠΈ Lezard
ΠΠ΅Ρ Π°Π½ΠΈΡΠ΅ΡΠΊΠΎΠ΅ ΠΏΡΠΈΡΠΏΠΎΡΠΎΠ±Π»Π΅Π½ΠΈΠ΅ ΡΠ°ΡΡΡΠΈΡΠ°Π½ΠΎ Π½Π° Π½Π°Π³ΡΡΠ·ΠΊΡ, Π½Π΅ ΠΏΡΠ΅Π²ΡΡΠ°ΡΡΡΡ 800 Π²Π°ΡΡ. Π Π΅Π³ΡΠ»ΠΈΡΠΎΠ²Π°Π½ΠΈΠ΅ ΠΎΡΡΡΠ΅ΡΡΠ²Π»ΡΠ΅ΡΡΡ Π²ΡΠ°ΡΠ΅Π½ΠΈΠ΅ΠΌ ΠΊΡΡΠ³Π»ΠΎΠΉ ΡΡΡΠΊΠΈ: ΡΡΠΎ ΠΏΠΎΠ·Π²ΠΎΠ»ΡΠ΅Ρ ΠΌΠ΅Π½ΡΡΡ ΡΠΎΠΏΡΠΎΡΠΈΠ²Π»Π΅Π½ΠΈΠ΅, ΡΡΠΎ ΠΏΡΠΈΠ²ΠΎΠ΄ΠΈΡ ΠΊ ΠΏΠΎΠ²ΡΡΠ΅Π½ΠΈΡ ΠΈΠ»ΠΈ ΡΠ½ΠΈΠΆΠ΅Π½ΠΈΡ ΡΡΠΊΠΎΡΡΠΈ Π»Π°ΠΌΠΏΡ.
ΠΡΠΈΠ±ΠΎΡ Π·Π°ΠΊΠ»ΡΡΠ΅Π½ Π² ΠΊΠΎΡΠΏΡΡ, ΡΡΠ°Π½Π΄Π°ΡΡΠ½ΡΠΉ Π΄Π»Ρ ΠΏΠΎΠ΄ΠΎΠ±Π½ΠΎΠ³ΠΎ Π²ΠΈΠ΄Π° ΡΠ»Π΅ΠΊΡΡΠΎΡΠ΅Ρ Π½ΠΈΡΠ΅ΡΠΊΠΎΠΉ Π°ΡΠΌΠ°ΡΡΡΡ. ΠΠ³ΠΎ ΠΊΠΎΠ½ΡΡΡΡΠΊΡΠΈΡ ΠΏΠΎΠ·Π²ΠΎΠ»ΡΠ΅Ρ Ρ Π»Π΅Π³ΠΊΠΎΡΡΡΡ ΠΎΡΡΡΠ΅ΡΡΠ²ΠΈΡΡ ΠΏΠΎΠ΄ΡΠΎΠ΅Π΄ΠΈΠ½Π΅Π½ΠΈΠ΅ Π΄ΠΈΠΌΠΌΠ΅ΡΠ° Π² ΡΠΆΠ΅ ΠΏΡΠΎΠ»ΠΎΠΆΠ΅Π½Π½ΡΠ΅ ΡΡ Π΅ΠΌΡ ΠΎΡΠ²Π΅ΡΠ΅Π½ΠΈΡ.
Π Π΄ΠΎΡΡΠΎΠΈΠ½ΡΡΠ²Π°ΠΌ ΠΌΠΎΠ΄Π΅Π»ΠΈ ΠΎΡΠ½ΠΎΡΠΈΡΡΡ ΠΏΡΠΎΡΡΠΎΡΠ° Π² ΠΈΡΠΏΠΎΠ»ΡΠ·ΠΎΠ²Π°Π½ΠΈΠΈ, Π΄Π»ΠΈΡΠ΅Π»ΡΠ½ΡΠΉ ΠΏΠ΅ΡΠΈΠΎΠ΄ ΡΠΊΡΠΏΠ»ΡΠ°ΡΠ°ΡΠΈΠΈ, Π±ΡΠ΄ΠΆΠ΅ΡΠ½Π°Ρ ΡΠ΅Π½Π°.
Β
ΠΡΠ²ΠΎΠ΄Ρ ΠΈ ΠΏΠΎΠ»Π΅Π·Π½ΠΎΠ΅ Π²ΠΈΠ΄Π΅ΠΎ ΠΏΠΎ ΡΠ΅ΠΌΠ΅
ΠΠ° ΠΏΡΠ΅Π΄ΡΡΠ°Π²Π»Π΅Π½Π½ΠΎΠΌ ΡΠΎΠ»ΠΈΠΊΠ΅ ΠΏΠΎΠ΄ΡΠΎΠ±Π½ΠΎ ΡΠ°ΡΡΠΊΠ°Π·ΡΠ²Π°Π΅ΡΡΡ ΠΎ ΡΡΠ΅Ρ ΠΌΠΎΠ΄ΠΈΡΠΈΠΊΠ°ΡΠΈΡΡ ΡΠ²Π΅ΡΠΎΡΠ΅Π³ΡΠ»ΡΡΠΎΡΠΎΠ², ΠΈΠ·Π²Π΅ΡΡΠ½ΠΎΠΉ ΡΡΠ°Π½ΡΡΠ·ΡΠΊΠΎΠΉ ΠΊΠΎΠΌΠΏΠ°Π½ΠΈΠΈ Schneider Electric, Π° ΡΠ°ΠΊΠΆΠ΅ ΡΠ°ΡΡΠΊΠ°Π·ΡΠ²Π°Π΅ΡΡΡ ΠΎ ΡΠΏΠΎΡΠΎΠ±Π΅ ΠΈΡ ΠΏΠΎΠ΄ΠΊΠ»ΡΡΠ΅Π½ΠΈΡ:
Π Π΅Π³ΡΠ»ΡΡΠΎΡΡ ΡΠ²Π΅ΡΠ°, ΠΏΡΠ΅Π΄Π½Π°Π·Π½Π°ΡΠ΅Π½Π½ΡΠ΅ Π΄Π»Ρ ΡΠ°Π±ΠΎΡΡ Ρ Π»Π°ΠΌΠΏΠ°ΠΌΠΈ Π½Π°ΠΊΠ°Π»ΠΈΠ²Π°Π½ΠΈΡ, β ΡΠ΄ΠΎΠ±Π½ΡΠ΅ ΠΏΡΠΈΠ±ΠΎΡΡ, ΠΏΠΎΠ²ΡΡΠ°ΡΡΠΈΠ΅ ΠΊΠΎΠΌΡΠΎΡΡ ΠΈ ΠΊΠ°ΡΠ΅ΡΡΠ²ΠΎ ΠΆΠΈΠ·Π½ΠΈ. Π ΠΏΡΠΎΠ΄Π°ΠΆΠ΅ ΠΏΡΠ΅Π΄ΡΡΠ°Π²Π»Π΅Π½ ΡΠΈΡΠΎΠΊΠΈΠΉ Π°ΡΡΠΎΡΡΠΈΠΌΠ΅Π½Ρ ΠΈΠ·Π΄Π΅Π»ΠΈΠΉ, ΠΊΠΎΡΠΎΡΡΠ΅ ΠΌΠΎΠ³ΡΡ ΠΎΡΠ»ΠΈΡΠ°ΡΡΡΡ ΡΠ΅Ρ Π½ΠΈΡΠ΅ΡΠΊΠΈΠΌ ΡΠ΅ΡΠ΅Π½ΠΈΠ΅ΠΌ, Π½Π°Π»ΠΈΡΠΈΠ΅ΠΌ Π²ΡΠ΅Π²ΠΎΠ·ΠΌΠΎΠΆΠ½ΡΡ ΡΡΠ½ΠΊΡΠΈΠΉ, ΡΠ°Π·Π½ΠΎΠΎΠ±ΡΠ°Π·Π½ΡΠΌ Π΄ΠΈΠ·Π°ΠΉΠ½ΠΎΠΌ.
ΠΠΈΠΌΠΌΠ΅ΡΡ ΡΠ°Π·Π½ΡΡ Π²ΠΈΠ΄ΠΎΠ² ΡΡΠ΅Π·Π²ΡΡΠ°ΠΉΠ½ΠΎ ΠΏΡΠΎΡΡΡ Π² ΠΌΠΎΠ½ΡΠ°ΠΆΠ΅, ΡΡΠΎ ΠΏΠΎΠ·Π²ΠΎΠ»ΡΠ΅Ρ ΠΏΡΠΎΠ²ΠΎΠ΄ΠΈΡΡ ΡΡΡΠ°Π½ΠΎΠ²ΠΊΡ ΡΠ°ΠΌΠΎΡΡΠΎΡΡΠ΅Π»ΡΠ½ΠΎ. ΠΠ°ΠΆΠ½ΠΎ Π»ΠΈΡΡ ΡΡΡΠΎΠ³ΠΎ ΡΠΎΠ±Π»ΡΠ΄Π°ΡΡ ΠΏΡΠ°Π²ΠΈΠ»Π° Π±Π΅Π·ΠΎΠΏΠ°ΡΠ½ΠΎΡΡΠΈ ΠΈ Π°ΠΊΠΊΡΡΠ°ΡΠ½ΠΎ Π²ΡΠΏΠΎΠ»Π½ΡΡΡ Π²ΡΠ΅ ΠΌΠ°Π½ΠΈΠΏΡΠ»ΡΡΠΈΠΈ.
ΠΡΡΡ ΠΎΠΏΡΡ Π²ΡΠ±ΠΎΡΠ° ΠΈΠ»ΠΈ ΠΈΡΠΏΠΎΠ»ΡΠ·ΠΎΠ²Π°Π½ΠΈΡ Π΄ΠΈΠΌΠΌΠ΅ΡΠ° Π΄Π»Ρ Π»Π°ΠΌΠΏ Π½Π°ΠΊΠ°Π»ΠΈΠ²Π°Π½ΠΈΡ? ΠΠ»ΠΈ Ρ ΠΎΡΠΈΡΠ΅ Π·Π°Π΄Π°ΡΡ Π²ΠΎΠΏΡΠΎΡΡ ΠΏΠΎ ΡΠ΅ΠΌΠ΅? ΠΠΎΠΆΠ°Π»ΡΠΉΡΡΠ°, ΠΊΠΎΠΌΠΌΠ΅Π½ΡΠΈΡΡΠΉΡΠ΅ ΠΏΡΠ±Π»ΠΈΠΊΠ°ΡΠΈΡ ΠΈ ΡΡΠ°ΡΡΠ²ΡΠΉΡΠ΅ Π² ΠΎΠ±ΡΡΠΆΠ΄Π΅Π½ΠΈΡΡ . ΠΠ»ΠΎΠΊ ΠΎΠ±ΡΠ°ΡΠ½ΠΎΠΉ ΡΠ²ΡΠ·ΠΈ ΡΠ°ΡΠΏΠΎΠ»ΠΎΠΆΠ΅Π½ Π½ΠΈΠΆΠ΅.
sovet-ingenera.com
ΠΊΠ°ΠΊ ΡΠ°Π±ΠΎΡΠ°Π΅Ρ ΡΠ΅Π½ΡΠΎΡΠ½ΡΠΉ ΡΠ²Π΅ΡΠΎΡΠ΅Π³ΡΠ»ΡΡΠΎΡ, ΡΠ΅Π³ΡΠ»ΡΡΠΎΡ ΡΡΠΊΠΎΡΡΠΈ ΠΈ Π½Π°ΠΏΡΡΠΆΠ΅Π½ΠΈΡ ΡΠ²ΠΎΠΈΠΌΠΈ ΡΡΠΊΠ°ΠΌΠΈ
ΠΠΈΠΌΠΌΠ΅Ρ Π΄Π»Ρ Π»Π°ΠΌΠΏ Π½Π°ΠΊΠ°Π»ΠΈΠ²Π°Π½ΠΈΡ β ΡΠΏΡΠ°Π²Π»ΡΠ΅ΠΌΡΠΉ Π²ΡΠΊΠ»ΡΡΠ°ΡΠ΅Π»Ρ, ΠΏΡΠ΅Π΄Π½Π°Π·Π½Π°ΡΠ΅Π½Π½ΡΠΉ Π΄Π»Ρ ΡΠ΅Π³ΡΠ»ΠΈΡΠΎΠ²ΠΊΠΈ ΡΡΠΊΠΎΡΡΠΈ ΠΈ ΡΠΊΠΎΠ½ΠΎΠΌΠΈΠΈ ΡΠ»Π΅ΠΊΡΡΠΎΡΠ½Π΅ΡΠ³ΠΈΠΈ. Π ΠΎΡΠ»ΠΈΡΠΈΠ΅ ΠΎΡ ΠΏΡΠΎΡΡΠΎΠ³ΠΎ Π²ΡΠΊΠ»ΡΡΠ°ΡΠ΅Π»Ρ, ΠΊΠΎΡΠΎΡΡΠΉ ΠΏΠΎΡΡΠ΅Π΄ΡΡΠ²ΠΎΠΌ ΡΠ΅Π·ΠΊΠΈΡ Π±ΡΠΎΡΠΊΠΎΠ² ΠΏΠ΅ΡΠ΅Π΄Π°ΡΡ Π½Π΅Π³Π°ΡΠΈΠ²Π½ΠΎΠ΅ Π½Π°ΠΏΡΡΠΆΠ΅Π½ΠΈΠ΅ Π² Π»Π°ΠΌΠΏΡ Π½Π°ΠΊΠ°Π»ΡΠ²Π°Π½ΠΈΡ, ΡΡΠΎΡ Π°Π³ΡΠ΅Π³Π°Ρ ΠΎΡΡΡΠ΅ΡΡΠ²Π»ΡΠ΅Ρ ΠΏΠ»Π°Π²Π½ΡΡ ΠΏΠ΅ΡΠ΅Π΄Π°ΡΡ ΡΠ»Π΅ΠΊΡΡΠΈΡΠ΅ΡΠΊΠΈΡ ΠΏΠΎΡΠΎΠΊΠΎΠ².
ΠΠ°ΠΊ ΡΠ°Π±ΠΎΡΠ°Π΅Ρ?
ΠΠ΅ΠΉΡΡΠ²ΠΈΠ΅ Π΄ΠΈΠΌΠΌΠ΅ΡΠ° ΠΎΡΠ½ΠΎΠ²Π°Π½ΠΎ Π½Π° ΡΠΊΡΠΏΠ»ΡΠ°ΡΠ°ΡΠΈΠΈ ΡΠ°Π·Ρ ΡΠ΅Π³ΡΠ»ΠΈΡΠΎΠ²ΠΊΠΈ. ΠΡΠΎ ΠΏΡΠΎΠΈΡΡ ΠΎΠ΄ΠΈΡ Π±Π»Π°Π³ΠΎΠ΄Π°ΡΡ ΠΎΡΡΠ΅ΡΠ΅Π½ΠΈΡ Π»ΠΈΠ±ΠΎ ΠΏΠ΅ΡΠ΅Π΄Π½Π΅Π³ΠΎ, Π»ΠΈΠ±ΠΎ Π·Π°Π΄Π½Π΅Π³ΠΎ ΠΏΠΎΡΠΎΠΊΠ° Π²ΠΎΠ»Π½Ρ ΡΠΎΠΊΠ°. ΠΡΠΎΡΠ΅ΡΡ ΠΎΡΡΡΠ΅ΡΡΠ²Π»ΡΠ΅ΡΡΡ ΠΏΠΎΠ΄ ΠΏΠ°ΡΡΠΎΠ½Π°ΠΆΠ΅ΠΌ Π΄Π²ΡΠ½Π°ΠΏΡΠ°Π²Π»Π΅Π½Π½ΠΎΠ³ΠΎ ΡΠΈΡΠΈΡΡΠΎΡΠ°. Π’Π°ΠΊ, ΡΡΠ°Π±Π°ΡΡΠ²Π°Π½ΠΈΠ΅ΠΌ ΡΠΈΡΠΈΡΡΠΎΡΠ° ΠΏΡΠΎΠΈΡΡ ΠΎΠ΄ΠΈΡ ΡΠ΅Π³ΡΠ»ΠΈΡΠΎΠ²ΠΊΠ° ΠΏΠ΅ΡΠ΅Π΄Π°ΡΠΈ ΡΠ»Π΅ΠΊΡΡΠΈΡΠ΅ΡΠΊΠΎΠ³ΠΎ Π½Π°ΠΏΡΡΠΆΠ΅Π½ΠΈΡ ΠΊ Π»Π°ΠΌΠΏΠ΅ Π½Π°ΠΊΠ°Π»ΠΈΠ²Π°Π½ΠΈΡ Π² ΠΎΠ±ΡΠΈΡΠ½ΡΡ ΠΏΡΠ΅Π΄Π΅Π»Π°Ρ .

Π ΡΡΡΡΠΎΠΉΡΡΠ²Π΅ Π΄ΠΈΠΌΠΌΠ΅ΡΠ° ΠΈΠΌΠ΅Π΅ΡΡΡ Π½Π΅ΡΠΊΠΎΠ»ΡΠΊΠΎ ΠΏΡΠΎΡΠ΅ΠΊΡΠΈΠΎΠ½Π½ΡΡ ΡΡΠ½ΠΊΡΠΈΠΉ:
- ΠΠ°ΡΠΈΡΠ° ΠΎΡ ΠΏΠ΅ΡΠ΅Π³ΡΠ΅Π²Π°, ΠΊΠΎΡΠΎΡΠ°Ρ ΡΡΠ°Π±Π°ΡΡΠ²Π°Π΅Ρ ΠΏΡΠΈ ΠΎΡΠΊΠ»ΡΡΠ΅Π½ΠΈΠΈ Π°ΠΏΠΏΠ°ΡΠ°ΡΠ°. ΠΡΠΈ ΡΡΠΎΠΌ ΠΏΠΎΠ²ΡΠΎΡΠ½ΠΎ Π°ΠΊΡΠΈΠ²ΠΈΡΠΎΠ²Π°ΡΡ Π΄ΠΈΠΌΠΌΠ΅Ρ Π²ΠΎΠ·ΠΌΠΎΠΆΠ½ΠΎ ΡΠ΅ΡΠ΅Π· Π½Π΅ΠΊΠΎΡΠΎΡΠΎΠ΅ Π²ΡΠ΅ΠΌΡ, ΠΏΠΎΠΊΠ° ΠΊΠΎΠΌΠΏΠΎΠ½Π΅Π½ΡΡ Π½Π΅ ΠΎΡ Π»Π°Π΄ΡΡΡΡ.
- ΠΠ°ΡΠΈΡΠ° ΠΎΡ ΠΊΠΎΡΠΎΡΠΊΠΎΠ³ΠΎ Π·Π°ΠΌΡΠΊΠ°Π½ΠΈΡ β ΠΏΡΠΎΠΈΡΡ ΠΎΠ΄ΠΈΡ ΠΎΡΠΊΠ»ΡΡΠ΅Π½ΠΈΠ΅ Π²ΡΡ ΠΎΠ΄Π°, Π³Π΄Π΅, ΡΠΎΠ±ΡΡΠ²Π΅Π½Π½ΠΎ, ΠΏΡΠΎΠΈΠ·ΠΎΡΠ»ΠΎ Π·Π°ΠΌΡΠΊΠ°Π½ΠΈΠ΅. Π‘ΡΠΎΠΈΡ ΠΎΡΠΌΠ΅ΡΠΈΡΡ, ΡΡΠΎ Π² Π΄Π°Π½Π½ΠΎΠΌ ΡΠ»ΡΡΠ°Π΅ ΠΎΡΡΡΠ΅ΡΡΠ²Π»ΡΠ΅ΡΡΡ Π΄Π΅ΠΉΡΡΠ²ΠΈΠ΅ Π² ΠΌΠΎΠ΄Π΅ ΡΠ°Π·ΠΎΠ²ΠΎΠΉ ΠΎΡΡΠ΅ΡΠΊΠΈ. Π’Π°ΠΊΠΈΠΌ ΠΎΠ±ΡΠ°Π·ΠΎΠΌ, 7-ΡΠ΅ΠΊΡΠ½Π΄Π½ΠΎΠ΅ ΠΎΡΡΡΡΡΡΠ²ΠΈΠ΅ ΡΠ°Π·Π½ΠΎΠ³ΠΎ ΡΠΎΠ΄Π° Π΄Π΅ΡΠ΅ΠΊΡΠΎΠ² ΡΠΏΠΎΡΠΎΠ±ΡΡΠ²ΡΠ΅Ρ Π°Π²ΡΠΎΠΌΠ°ΡΠΈΡΠ΅ΡΠΊΠΎΠΉ Π°ΠΊΡΠΈΠ²Π°ΡΠΈΠΈ. Π ΠΏΡΠΎΡΠΈΠ²Π½ΠΎΠΌ ΡΠ»ΡΡΠ°Π΅, Π²ΠΊΠ»ΡΡΠ΅Π½ΠΈΠ΅ Π°Π³ΡΠ΅Π³Π°ΡΠ° ΠΏΡΠΎΠΈΡΡ ΠΎΠ΄ΠΈΡ Π²ΡΡΡΠ½ΡΡ.
ΠΠ°ΠΊ ΡΡΡΡΠΎΠ΅Π½?
Π Π΅Π³ΡΠ»ΡΡΠΎΡΡ ΡΡΠΊΠΎΡΡΠΈ β ΡΡΡΡΠΊΠΈΠΉ ΡΠΊΠ²ΠΈΠ²Π°Π»Π΅Π½Ρ Π°Π½Π³Π»ΠΈΠΉΡΠΊΠΎΠ³ΠΎ ΠΏΠΎΠ½ΡΡΠΈΡ Β«Π΄ΠΈΠΌΠΌΠ΅ΡΒ» β ΠΈΡΠΏΠΎΠ»ΡΠ·ΡΡΡΡΡ Π² Π½Π°ΡΠ΅ΠΌ ΡΠ·ΡΠΊΠ΅ Π΄ΠΎΡΡΠ°ΡΠΎΡΠ½ΠΎ Π΄Π°Π²Π½ΠΎ. ΠΠ΄Π½Π°ΠΊΠΎ Π² ΠΏΠ΅ΡΠ²ΠΎΠ½Π°ΡΠ°Π»ΡΠ½ΡΡ Π²Π΅ΡΡΠΈΡΡ ΡΡΡΡΠΎΠΉΡΡΠ²ΠΎ Π½Π΅ ΡΠΏΠΎΡΠΎΠ±ΡΡΠ²ΠΎΠ²Π°Π»ΠΎ ΡΠΊΠΎΠ½ΠΎΠΌΠΈΠΈ ΡΠ»Π΅ΠΊΡΡΠΈΡΠ΅ΡΠΊΠΎΠΉ ΡΠ½Π΅ΡΠ³ΠΈΠΈ. ΠΠ½ΠΎ ΠΏΡΠ΅Π΄ΡΡΠ°Π²Π»ΡΠ»ΠΎ ΡΠΎΠ±ΠΎΠΉ ΡΠΈΠΏΠΈΡΠ½ΡΠΉ ΡΠ΅ΠΎΡΡΠ°Ρ.

ΠΠΎΡΠ²Π»Π΅Π½ΠΈΠ΅ ΠΏΠΎΠ»ΡΠΏΡΠΎΠ²ΠΎΠ΄Π½ΠΈΠΊΠΎΠ²ΠΎΠΉ ΡΠ΅Ρ Π½ΠΎΠ»ΠΎΠ³ΠΈΠΈ Π²ΡΠ΄Π²ΠΈΠ½ΡΠ»ΠΎ Π΄ΠΈΠΌΠΌΠ΅ΡΡ Π½Π° Π½ΠΎΠ²ΡΠΉ ΡΡΠΎΠ²Π΅Π½Ρ. ΠΠ»Π°Π³ΠΎΠ΄Π°ΡΡ ΡΠΈΠΌΠΈΡΡΠΎΡΡ ΠΈ Π΄ΠΈΠ½ΠΈΡΡΠΎΡΡ, Π³Π»Π°Π²Π½ΡΠΌ ΠΊΠΎΠΌΠΏΠΎΠ½Π΅Π½ΡΠ°ΠΌ ΡΠΎΠ²ΡΠ΅ΠΌΠ΅Π½Π½ΡΡ ΡΠ΅Π³ΡΠ»ΡΡΠΎΡΠΎΠ², Π΄ΠΈΠΌΠΌΠ΅Ρ Π΄Π»Ρ Π»Π°ΠΌΠΏΡ Π½Π°ΠΊΠ°Π»ΠΈΠ²Π°Π½ΠΈΡ ΡΡΠ°Π»ΠΈ Π±ΠΎΠ»Π΅Π΅ ΠΏΡΠΎΠΈΠ·Π²ΠΎΠ΄ΠΈΡΠ΅Π»ΡΠ½ΡΠΌΠΈ ΠΈ ΡΠΎΠ²Π΅ΡΡΠ΅Π½Π½ΡΠΌΠΈ.
ΠΠ°ΠΊ Π»ΡΠ±ΠΎΠΉ Π²ΡΠΊΠ»ΡΡΠ°ΡΠ΅Π»Ρ, Π΄ΠΈΠΌΠΌΠ΅Ρ Π΄Π»Ρ Π»Π°ΠΌΠΏΡ Π½Π°ΠΊΠ°Π»ΡΠ²Π°Π½ΠΈΡ ΠΎΡΠ½Π°ΡΡΠ½ ΠΏΠ°ΡΠΎΠΉ Π²ΡΠ²ΠΎΠ΄ΠΎΠ², Π±Π»Π°Π³ΠΎΠ΄Π°ΡΡ ΠΊΠΎΡΠΎΡΡΠΌ ΠΎΠ½ Π²ΠΊΠ»ΡΡΠ°Π΅ΡΡΡ Π² ΡΠ΅ΠΏΠΈ ΡΠ²Π΅ΡΠΈΠ»ΡΠ½ΠΈΠΊΠ°. Π’Π΅ΠΌ Π½Π΅ ΠΌΠ΅Π½Π΅Π΅, Ρ ΡΠ΅Π³ΡΠ»ΡΡΠΎΡΠ°ΠΌΠΈ ΡΡΠΊΠΎΡΡΠΈ ΠΏΡΠΎΠ²ΠΎΠ΄Π° ΠΌΠ΅Π½ΡΡΡ Π½Π΅Π»ΡΠ·Ρ, ΠΏΠΎΡΠΊΠΎΠ»ΡΠΊΡ ΠΎΠ΄ΠΈΠ½ ΠΈΠ· Π½ΠΈΡ ΠΏΠΎΠ΄ΠΊΠ»ΡΡΠ°Π΅ΡΡΡ ΠΊ Π½Π°Π³ΡΡΠ·ΠΊΠ΅, Π° Π΄ΡΡΠ³ΠΎΠΉ β ΠΊ ΡΠΎΠ±ΡΡΠ²Π΅Π½Π½ΠΎ ΡΠ°Π·Π΅.
ΠΠΈΠΌΠΈΡΡ Π½Π° ΡΠΊΡΠΏΠ»ΡΠ°ΡΠ°ΡΠΈΡ Π΄ΠΈΠΌΠΌΠ΅ΡΠΎΠ² Π΄Π»Ρ Π»Π°ΠΌΠΏ Π½Π°ΠΊΠ°Π»ΡΠ²Π°Π½ΠΈΡ ΠΎΡΡΡΡΡΡΠ²ΡΡΡ. ΠΠ°ΠΆΠ½ΠΎ ΡΡΠ΅ΡΡΡ, ΡΡΠΎ Π²ΡΠ΅ ΡΠΈΠΏΡ Π»Π°ΠΌΠΏ ΠΏΡΠΈΡΠΎΠ΅Π΄ΠΈΠ½ΡΡΡΡΡ ΡΠ΅ΡΠ΅Π· Π΄Π°Π½Π½ΡΠΉ ΡΠ΅Π³ΡΠ»ΡΡΠΎΡ.
ΠΠΠΠΠΠΠΠ! ΠΠ»Π°Π³ΠΎΠ΄Π°ΡΡ ΡΡΡΠ°Π½ΠΎΠ²ΠΊΠ΅ Π΄ΠΈΠΌΠΌΠ΅ΡΠ° Π½Π° Π»Π°ΠΌΠΏΡ Π½Π°ΠΊΠ°Π»ΡΠ²Π°Π½ΠΈΡ Π²ΡΠΎΡΠ°Ρ Π½Π΅ ΡΡΠ°Π½Π΅Ρ ΠΏΠΎΠ»Π½ΠΎΡΡΡΡ ΡΠ½Π΅ΡΠ³ΠΎΡΠ±Π΅ΡΠ΅Π³Π°ΡΡΠ΅ΠΉ. Π£ΠΌΠ΅Π½ΡΡΠ΅Π½ΠΈΠ΅ ΡΡΠΊΠΎΡΡΠΈ Π΄ΠΎ 50% ΠΏΠΎΠ·Π²ΠΎΠ»ΠΈΡ ΡΡΠΊΠΎΠ½ΠΎΠΌΠΈΡΡ Π΄ΠΎ 15% ΡΠ»Π΅ΠΊΡΡΠΎΡΠ½Π΅ΡΠ³ΠΈΠΈ.
ΠΠ»ΡΡΡ ΠΈ ΠΌΠΈΠ½ΡΡΡ ΡΠ΅Π³ΡΠ»ΡΡΠΎΡΠΎΠ² ΡΡΠΊΠΎΡΡΠΈ
Π£ΡΡΠ°Π½ΠΎΠ²ΠΊΠ° ΡΠ΅Π³ΡΠ»ΡΡΠΎΡΠΎΠ² ΡΡΠΊΠΎΡΡΠΈ, ΠΏΡΠ΅Π΄ΡΡΠ°Π²Π»Π΅Π½Π½ΡΡ Π² Π²ΠΈΠ΄Π΅ Π΄ΠΈΠΌΠΌΠ΅ΡΠΎΠ², ΠΈΠΌΠ΅Π΅Ρ ΡΠ»Π΅Π΄ΡΡΡΠΈΠ΅ ΠΏΡΠ΅ΠΈΠΌΡΡΠ΅ΡΡΠ²Π°:
- Π²ΠΎΠ·ΠΌΠΎΠΆΠ½ΠΎΡΡΡ Π±ΡΡΡΡΠΎΠΉ ΠΈ ΠΏΡΠΎΡΡΠΎΠΉ ΡΠ΅Π³ΡΠ»ΡΡΠΈΠΈ ΡΠ°Π±ΠΎΡΡ Π»Π°ΠΌΠΏ Π½Π°ΠΊΠ°Π»ΡΠ²Π°Π½ΠΈΡ ΠΈ ΠΏΡΠΎΡΠΈΡ ΠΎΡΠ²Π΅ΡΠΈΡΠ΅Π»ΡΠ½ΡΡ Π°Π³ΡΠ΅Π³Π°ΡΠΎΠ²;
- ΡΠ²Π΅Π»ΠΈΡΠ΅Π½ΠΈΠ΅ ΡΡΠΎΠΊΠ° ΡΠΊΡΠΏΠ»ΡΠ°ΡΠ°ΡΠΈΠΈ ΡΠ°ΠΌΠΈΡ ΠΎΡΠ²Π΅ΡΠΈΡΠ΅Π»ΡΠ½ΡΡ ΠΏΡΠΈΠ±ΠΎΡΠΎΠ²;
- ΡΠ²Π΅Π»ΠΈΡΠ΅Π½ΠΈΠ΅ ΡΠ½Π΅ΡΠ³ΠΎΡΡΡΠ΅ΠΊΡΠΈΠ²Π½ΠΎΡΡΠΈ ΠΈΡΠΊΡΡΡΡΠ²Π΅Π½Π½ΠΎΠ³ΠΎ ΠΎΡΠ²Π΅ΡΠ΅Π½ΠΈΡ.
ΠΠΈΠΌΠΌΠ΅Ρ ΡΠΏΠΎΡΠΎΠ±ΡΡΠ²ΡΠ΅Ρ ΠΏΠ»Π°Π²Π½ΠΎΠΌΡ Π²ΠΊΠ»ΡΡΠ΅Π½ΠΈΠ΅ ΠΈ Π²ΡΠΊΠ»ΡΡΠ΅Π½ΠΈΡ ΠΎΡΠ²Π΅ΡΠΈΡΠ΅Π»ΡΠ½ΠΎΠ³ΠΎ ΠΏΡΠΈΠ±ΠΎΡΠ°. ΠΠ»Π°Π³ΠΎΠ΄Π°ΡΡ ΡΡΠΎΠΌΡ ΡΡΡΠ΅ΡΡΠ²Π΅Π½Π½ΠΎ ΡΠΎΠΊΡΠ°ΡΠ°Π΅ΡΡΡ ΠΊΠΎΠ»ΠΈΡΠ΅ΡΡΠ²ΠΎ ΡΠ΅Π·ΠΊΠΈΡ ΡΠ»Π΅ΠΊΡΡΠΈΡΠ΅ΡΠΊΠΈΡ Π±ΡΠΎΡΠΊΠΎΠ² ΡΠ΅ΡΠ΅Π· Π½Π°ΠΊΠ°Π»ΡΠ²Π°Π΅ΠΌΡΡ Π»Π°ΠΌΠΏΡ, Π² ΡΠ΅Π·ΡΠ»ΡΡΠ°ΡΠ΅ ΡΠ΅Π³ΠΎ ΡΡΡΠ΅ΡΡΠ²Π΅Π½Π½ΠΎ ΡΠ²Π΅Π»ΠΈΡΠΈΠ²Π°Π΅ΡΡΡ Π²ΡΠ΅ΠΌΡ Π΄Π΅ΠΉΡΡΠ²ΠΈΡ ΡΠ²Π΅ΡΠΎΠ²ΠΎΠ³ΠΎ ΠΈΡΡΠΎΡΠ½ΠΈΠΊΠ°.
ΠΠ ΠΠΠΠΠ’ΠΠ£! ΠΌΠΎΠ΄Π΅ΡΠ½ΠΈΠ·ΠΈΡΠΎΠ²Π°Π½Π½ΡΠ΅ Π°ΠΏΠΏΠ°ΡΠ°ΡΡ, ΠΎΡΠ½Π°ΡΡΠ½Π½ΡΠ΅ ΠΏΠ΅ΡΠ΅Π΄ΠΎΠ²ΡΠΌΠΈ ΡΠ΅Ρ Π½ΠΎΠ»ΠΎΠ³ΠΈΡΠΌΠΈ, ΡΠΏΠΎΡΠΎΠ±Π½Ρ ΠΈΠΌΠΈΡΠΈΡΠΎΠ²Π°ΡΡ ΠΏΡΠΈΡΡΡΡΡΠ²ΠΈΠ΅ ΡΠ΅Π»ΠΎΠ²Π΅ΠΊΠ°. ΠΠ»Ρ ΡΡΠΎΠ³ΠΎ Π² ΡΠ΅Π³ΡΠ»ΠΈΡΡΡΡΠ΅ΠΌ ΡΡΡΡΠΎΠΉΡΡΠ²Π΅ ΠΏΡΠΈΠΌΠ΅Π½ΡΠ΅ΡΡΡ ΠΏΡΠΎΠ³ΡΠ°ΠΌΠΌΠ½ΡΠΉ ΠΌΠΎΠ΄, ΠΊΠΎΡΠΎΡΡΠΉ Π°Π²ΡΠΎΠΌΠ°ΡΠΈΡΠ΅ΡΠΊΠΈ Π²ΠΊΠ»ΡΡΠ°Π΅Ρ ΠΈ ΠΎΡΠΊΠ»ΡΡΠ°Π΅Ρ ΡΠ²Π΅Ρ Π² ΠΏΠΎΠΌΠ΅ΡΠ΅Π½ΠΈΠΈ.
ΠΠ°ΡΠ°ΡΡΡΡ ΠΏΠΎΡΡΠ΅Π±ΠΈΡΠ΅Π»ΠΈ ΠΈ Π½Π΅Π΄ΠΎΡΡΠ°ΡΠΊΠ°ΠΌΠΈ ΡΠ΅Π³ΡΠ»ΡΡΠΎΡΠΎΠ² ΡΡΠΊΠΎΡΡΠΈ, ΠΏΠΎΠΊΡΠΏΠ°Ρ Π½Π° ΡΡΠ½ΠΊΠ΅ Π΄Π΅ΡΡΠ²ΡΠ΅ ΠΈ, ΠΊΠ°ΠΊ ΡΠ»Π΅Π΄ΡΡΠ²ΠΈΠ΅, Π½Π΅ΠΊΠ°ΡΠ΅ΡΡΠ²Π΅Π½Π½ΡΠ΅ ΠΌΠΎΠ΄Π΅Π»ΠΈ. Π―ΡΠΊΠΎ Π²ΡΡΠ°ΠΆΠ΅Π½Π½ΡΠ΅ ΠΌΠΈΠ½ΡΡΡ ΡΠ°ΠΊΠΈΡ ΠΏΡΠΈΠ±ΠΎΡΠΎΠ² Π·Π°ΠΊΠ»ΡΡΠ°ΡΡΡΡ Π² ΡΠ»Π΅Π΄ΡΡΡΠ΅ΠΌ:
- ΡΠΎΠΊΡΠ°ΡΠ΅Π½ΠΈΠ΅ Π²ΡΠ΅ΠΌΠ΅Π½ΠΈ ΡΠ°Π±ΠΎΡΡ ΠΈ ΠΏΡΠΎΠΈΠ·Π²ΠΎΠ΄ΠΈΡΠ΅Π»ΡΠ½ΠΎΡΡΠΈ Π»Π°ΠΌΠΏ Π½Π°ΠΊΠ°Π»ΡΠ²Π°Π½ΠΈΡ ΠΈΠ»ΠΈ Π΄ΡΡΠ³ΠΈΡ ΠΎΡΠ²Π΅ΡΠΈΡΠ΅Π»ΡΠ½ΡΡ ΠΏΡΠΈΠ±ΠΎΡΠΎΠ²;
- Π²ΠΎΠ·Π½ΠΈΠΊΠ½ΠΎΠ²Π΅Π½ΠΈΠ΅ Π² Ρ ΠΎΠ΄Π΅ ΡΠΊΡΠΏΠ»ΡΠ°ΡΠ°ΡΠΈΠΈ ΠΌΠ΅ΡΡΠ°ΡΡΠ΅ΠΉ ΠΎΡΠ΄Π°ΡΠΈ;
- ΡΠΌΠ΅Π½ΡΡΠ΅Π½ΠΈΠ΅ ΠΏΠΎΠΊΠ°Π·Π°ΡΠ΅Π»Ρ ΡΠ½Π΅ΡΠ³ΠΎΡΡΡΠ΅ΠΊΡΠΈΠ²Π½ΠΎΡΡΠΈ.
ΠΠ°ΠΆΠ½ΠΎ! ΠΡΠ½ΠΎΠ²Π½Π°Ρ ΠΎΡΠΎΠ±Π΅Π½Π½ΠΎΡΡΡ Π²ΡΡ ΠΎΠ΄Π½ΠΎΠ³ΠΎ Π½Π°ΠΏΡΡΠΆΠ΅Π½ΠΈΡ β Π½Π΅Π»ΠΈΠ½Π΅ΠΉΠ½Π°Ρ Π·Π°Π²ΠΈΡΠΈΠΌΠΎΡΡΡ ΠΎΡ ΡΠ΅Π·ΡΠ»ΡΡΠ°ΡΠΎΠ² ΡΠ΅Π·ΠΈΡΡΠΎΡΠ½ΠΎΠ³ΠΎ ΡΠΎΠΏΡΠΎΡΠΈΠ²Π»Π΅Π½ΠΈΡ. Π§ΡΠΎΠ±Ρ ΡΠ±ΡΠ°ΡΡ Π±ΠΎΜΠ»ΡΡΡΡ ΡΠ°ΡΡΡ Π½Π΅Π΄ΠΎΡΡΠ°ΡΠΊΠΎΠ², ΡΠ»Π΅Π΄ΡΠ΅Ρ ΡΡΠ΅ΡΡΡ Π½ecΠΈΠ½ΡcoΠΈΠ΄aΠ»ΡΠ½ΡΡ ΡΠΎΡΠΌΡ Π²ΡΡ ΠΎΠ΄Π½ΠΎΠ³ΠΎ Π½Π°ΠΏΡΡΠΆΠ΅Π½ΠΈΡ. Π ΡΠ²ΡΠ·ΠΈ Ρ ΡΡΠΈΠΌ Π½Π΅ ΠΆΠ΅Π»Π°ΡΠ΅Π»ΡΠ½ΠΎ ΠΏΠΎΠ΄ΠΊΠ»ΡΡΠ°ΡΡ ΠΏΠΎΠ½ΠΈΠΆΠ°ΡΡΠΈΠ΅ ΡΡΠ°Π½ΡΡΠΎΡΠΌΠ°ΡΠΎΡΡ.
ΠΠ±Π·ΠΎΡ ΡΠ°Π·Π½ΠΎΠ²ΠΈΠ΄Π½ΠΎΡΡΠ΅ΠΉ
Π‘ΠΎΠ²ΡΠ΅ΠΌΠ΅Π½Π½ΡΠ΅ Π΄ΠΈΠΌΠΌΠ΅ΡΡ ΠΏΠΎΠ΄ΡΠ°Π·Π΄Π΅Π»ΡΡΡΡΡ Π½Π° 2 Π±ΠΎΠ»ΡΡΠΈΠ΅ Π³ΡΡΠΏΠΏΡ:
ΠΠ»Π΅ΠΊΡΡΠΎΠ½Π½ΡΠ΅
ΠΠ°Π½Π½ΡΠ΅ ΡΠ²Π΅ΡΠΎΠ²ΡΠ΅ ΡΠ΅Π³ΡΠ»ΡΡΠΎΡΡ ΠΎΡΠ»ΠΈΡΠ°ΡΡΡΡ Π½Π΅ ΡΠΎΠ»ΡΠΊΠΎ ΡΠ»ΠΎΠΆΠ½ΠΎΡΡΡΡ ΡΡΡΡΠΎΠΉΡΡΠ²Π°, Π½ΠΎ ΠΈ ΡΠΏΠΎΡΠΎΠ±ΠΎΠΌ ΡΠΏΡΠ°Π²Π»Π΅Π½ΠΈΡ. Π’Π°ΠΊ, ΠΏΠ°ΡΠ°ΠΌΠ΅ΡΡΡ Π½Π°ΠΏΡΠ°Π²Π»Π΅Π½ΠΈΡ Π½Π° ΠΏΠΎΠ»ΡΠ·ΠΎΠ²Π°ΡΠ΅Π»Π΅ Π·Π°Π΄Π°ΡΡΡΡ ΠΏΠΎΡΡΠ΅Π΄ΡΡΠ²ΠΎΠΌ ΠΌΠ΅Ρ Π°Π½ΠΈΡΠ΅ΡΠΊΠΈΡ ΠΈ ΡΠ΅Π½ΡΠΎΡΠ½ΡΡ ΠΊΠ»Π°Π²ΠΈΡ. Π Π½Π°Π»ΠΈΡΠΈΠ΅ ΠΌΠΈΠΊΡΠΎΠΊΠΎΠ½ΡΡΠΎΠ»Π»ΡΡΠΎΠ² ΠΏΠΎΠ·Π²ΠΎΠ»ΠΈΡ ΡΠ΅Π°Π»ΠΈΠ·ΠΎΠ²Π°ΡΡ ΡΡΠ΄ ΡΠ°Π·Π½ΠΎΠΎΠ±ΡΠ°Π·Π½ΡΡ ΡΠ΅ΡΠ΅Π½ΠΈΠΉ:
- ΡΡΡΠ°Π½ΠΎΠ²ΠΊΠ° Π½Π΅ΡΠΊΠΎΠ»ΡΠΊΠΈΡ ΠΏΡΠ»ΡΡΠΎΠ² ΡΠ΅Π³ΡΠ»ΠΈΡΠΎΠ²ΠΊΠΈ;
- ΡΠ²ΡΠ·ΠΊΠ° Π΄ΠΈΠΌΠΌΠ΅ΡΠ° Ρ ΠΎΡΠ²Π΅ΡΠΈΡΠ΅Π»ΡΠ½ΡΠΌ Π΄Π°ΡΡΠΈΠΊΠΎΠΌ, Π±Π»Π°Π³ΠΎΠ΄Π°ΡΡ ΡΠ΅ΠΌΡ Π°ΠΊΡΠΈΠ²ΠΈΡΡΠ΅ΡΡΡ ΡΡΠ½ΠΊΡΠΈΡ Π°Π²ΡΠΎΡΡΠΊΠΎΡΡΠΈ;
- Π·Π°ΠΏΠ»Π°Π½ΠΈΡΠΎΠ²Π°Π½Π½ΡΠΉ ΡΠ΅ΠΆΠΈΠΌ ΡΠ°Π±ΠΎΡΡ β Π²ΠΊΠ»ΡΡΠ΅Π½ΠΈΠ΅ ΠΈ Π²ΡΠΊΠ»ΡΡΠ΅Π½ΠΈΠ΅ Π² Π·Π°ΠΏΡΠΎΠ³ΡΠ°ΠΌΠΌΠΈΡΠΎΠ²Π°Π½Π½ΠΎΠ΅ Π²ΡΠ΅ΠΌΡ;
- Π΄ΠΈΡΡΠ°Π½ΡΠΈΠΎΠ½Π½Π°Ρ ΡΠ΅Π³ΡΠ»ΠΈΡΠΎΠ²ΠΊΠ° ΡΡΠΊΠΎΡΡΠΈ.

ΠΠ΅Ρ Π°Π½ΠΈΡΠ΅ΡΠΊΠΈΠ΅
ΠΠ΅Ρ Π°Π½ΠΈΡΠ΅ΡΠΊΠΈΠ΅ Π΄ΠΈΠΌΠΌΠ΅ΡΡ ΡΠ°ΠΊΠΆΠ΅ Π½Π°Π·ΡΠ²Π°ΡΡΡΡ ΡΠΎΡΠΎΡΠ½ΡΠΌΠΈ ΠΈ ΠΏΠΎΠ²ΠΎΡΠΎΡΠ½ΡΠΌΠΈ. ΠΡΠΎΡΡΠΎΠΉ Π² ΠΏΠ»Π°Π½Π΅ ΠΈΡΠΏΠΎΠ»ΡΠ·ΠΎΠ²Π°Π½ΠΈΡ ΠΈ ΠΎΡΠ½ΠΎΡΠΈΡΠ΅Π»ΡΠ½ΠΎ Π±ΡΠ΄ΠΆΠ΅ΡΠ½ΡΠΉ Π²Π°ΡΠΈΠ°Π½Ρ ΡΠ΅Π³ΡΠ»ΡΡΠΎΡΠ° ΡΡΠΊΠΎΡΡΠΈ. Π§ΡΠΎΠ±Ρ ΠΈΠ·ΠΌΠ΅Π½ΠΈΡΡ Π½Π°ΠΏΡΡΠΆΠ΅Π½ΠΈΠ΅ Π½Π° ΡΠ²Π΅ΡΠΈΠ»ΡΠ½ΠΈΠΊΠ΅, Π½Π΅ΠΎΠ±Ρ ΠΎΠ΄ΠΈΠΌΠΎ ΠΏΠΎΠ²ΠΎΡΠ°ΡΠΈΠ²Π°ΡΡ ΡΡΡΠΊΡ ΠΏΠΎΡΠ΅Π½ΡΠΈΠΎΠΌΠ΅ΡΡΠ°.
ΠΠ°Π½Π½ΡΠ΅ Π°Π³ΡΠ΅Π³Π°ΡΡ (Π½Π΅ Π·Π°Π²ΠΈΡΠΈΠΌΠΎ ΠΎΡ ΠΏΡΠΎΠΈΠ·Π²ΠΎΠ΄ΠΈΡΠ΅Π»Ρ) ΠΈΠΌΠ΅ΡΡ ΠΈΠ΄Π΅Π½ΡΠΈΡΠ½ΠΎΠ΅ ΡΡΡΠΎΠ΅Π½ΠΈΠ΅. Π Π°Π·Π½ΠΈΡΠ° ΡΠΎΡΡΠΎΠΈΡ Π»ΠΈΡΡ Π² ΠΊΠ°ΡΠ΅ΡΡΠ²Π΅ Π²ΡΡΡΠ°ΠΈΠ²Π°Π΅ΠΌΡΡ ΠΊΠΎΠΌΠΏΠΎΠ½Π΅Π½ΡΠΎΠ² ΠΈ ΡΠ°ΠΌΠΎΠΉ ΡΠ±ΠΎΡΠΊΠΈ.
Π‘Ρ Π΅ΠΌΡ ΠΏΠΎΠ΄ΠΊΠ»ΡΡΠ΅Π½ΠΈΡ ΡΠ²Π΅ΡΠΎΡΠ΅Π³ΡΠ»ΡΡΠΎΡΠΎΠ² Π½Π° 220 Π²
ΠΠΎΠ΄ΠΊΠ»ΡΡΠ΅Π½ΠΈΠ΅ Π΄ΠΈΠΌΠΌΠ΅ΡΠ° ΠΏΡΠ°ΠΊΡΠΈΡΠ΅ΡΠΊΠΈ Π½Π΅ ΠΎΡΠ»ΠΈΡΠ°Π΅ΡΡΡ ΠΎΡ ΡΡΠ°Π΄ΠΈΡΠΈΠΎΠ½Π½ΠΎΠ³ΠΎ Π²ΡΠΊΠ»ΡΡΠ°ΡΠ΅Π»Ρ. ΠΠΎΠ΄ΠΊΠ»ΡΡΠΈΡΡ Π΄ΠΈΠΌΠΌΠ΅Ρ β Π·Π°Π΄Π°ΡΠ° ΠΏΠΎ ΡΠΈΠ»Π°ΠΌ Π°Π±ΡΠΎΠ»ΡΡΠ½ΠΎ ΠΊΠ°ΠΆΠ΄ΠΎΠΌΡ ΡΠ°Π·Π±ΠΈΡΠ°ΡΡΠ΅ΠΌΡΡΡ Π² ΡΠ»Π΅ΠΊΡΡΠΈΡΠ΅ΡΠΊΠΈΡ ΠΏΡΠΈΠ±ΠΎΡΠ°Ρ ΡΠ΅Π»ΠΎΠ²Π΅ΠΊΡ. ΠΠΎΠ΄ΠΊΠ»ΡΡΠ΅Π½ΠΈΠ΅ ΠΊΠ°ΠΆΠ΄ΠΎΠ³ΠΎ ΠΊΠΎΠ½ΠΊΡΠ΅ΡΠ½ΠΎΠ³ΠΎ ΡΠ²Π΅ΡΠΎΡΠ΅Π³ΡΠ»ΡΡΠΎΡΠ° ΠΎΡΡΡΠ΅ΡΡΠ²Π»ΡΠ΅ΡΡΡ Ρ ΠΏΠΎΠΌΠΎΡΡΡ ΡΠ»Π΅ΠΊΡΡΠΎΡΠ΅ΠΏΠΈ. ΠΠ°Π½Π½ΡΠΉ ΠΊΠΎΠΌΠΏΠΎΠ½Π΅Π½Ρ ΡΠΎΡΡΠΎΠΈΡ ΠΈΠ· ΠΊΠ°Π±Π΅Π»Ρ, ΡΠ°Π·ΡΡΠ²Π°Π΅ΠΌΠΎΠ³ΠΎ Π² ΠΎΠΏΡΠ΅Π΄Π΅Π»ΡΠ½Π½ΠΎΠΌ ΠΌΠ΅ΡΡΠ΅ ΡΠ΅ΠΏΠΈ. ΠΠ° Π΄Π°Π½Π½ΠΎΠΌ ΠΏΡΠΎΠΌΠ΅ΠΆΡΡΠΊΠ΅ ΡΡΠ°Π²ΠΈΡΡΡ ΡΠΎΠ±ΡΡΠ²Π΅Π½Π½ΠΎ ΡΠ²Π΅ΡΠΎΠ²ΠΎΠΉ ΡΠ΅Π³ΡΠ»ΡΡΠΎΡ.
ΠΡΠΈ ΠΏΠΎΡΠ»Π΅Π΄ΠΎΠ²Π°ΡΠ΅Π»ΡΠ½ΠΎΠΌ ΠΏΠΎΠ΄ΠΊΠ»ΡΡΠ΅Π½ΠΈΠΈ Π΄ΠΈΠΌΠΌΠ΅ΡΠ° ΠΈ ΠΏΡΠΎΡ ΠΎΠ΄Π½ΠΎΠ³ΠΎ ΠΎΡΠΊΠ»ΡΡΠ°ΡΠ΅Π»Ρ ΠΏΠΎΠ»ΡΠ·ΠΎΠ²Π°ΡΠ΅Π»Ρ Π±Π΅Π· ΠΏΡΠΎΠ±Π»Π΅ΠΌ ΡΠΌΠΎΠΆΠ΅Ρ Π²ΠΊΠ»ΡΡΠΈΡΡ ΡΠ²Π΅Ρ Π² ΠΎΠ΄Π½ΠΎΠΉ ΡΠΎΡΠΊΠ΅, Π° ΡΠΏΡΠ°Π²Π»ΡΡΡ ΡΠ²Π΅ΡΠΎΠ²ΠΎΠΉ ΠΏΠΎΠ΄Π°ΡΠ΅ΠΉ Π² Π΄ΡΡΠ³ΠΎΠΉ. Π Π²Π½Π΅Π΄ΡΠ΅Π½ΠΈΠ΅ Π² ΡΠ»Π΅ΠΊΡΡΠΎΠ½Π½ΡΡ ΡΡ Π΅ΠΌΡ Π²ΡΠΎΡΠΎΡΡΠ΅ΠΏΠ΅Π½Π½ΡΡ ΠΊΠΎΠΌΠΏΠΎΠ½Π΅Π½ΡΠΎΠ² ΠΌΠ½ΠΎΠ³ΠΎΠΊΡΠ°ΡΠ½ΠΎ ΡΠ°ΡΡΠΈΡΠΈΡ Π²ΠΎΠ·ΠΌΠΎΠΆΠ½ΠΎΡΡΠΈ Π΄ΠΈΠΌΠΌΠ΅ΡΠ° ΠΊΠ°ΠΊ Π°Π³ΡΠ΅Π³Π°ΡΠ°. ΠΠ°ΠΏΡΠΈΠΌΠ΅Ρ, ΠΏΡΠΈ ΠΏΠΎΠΌΠΎΡΠΈ ΡΠΎΠ²ΡΠ΅ΠΌΠ΅Π½Π½ΠΎΠ³ΠΎ ΡΠ°Π·ΠΎΠ²ΠΎΠ³ΠΎ ΠΌΠ΅ΡΠΎΠ΄Π° Π»ΡΠ΄ΠΈ ΠΏΠΎΠ»ΡΡΠ°ΡΡ Π²ΠΎΠ·ΠΌΠΎΠΆΠ½ΠΎΡΡΡ ΡΠ΅Π³ΡΠ»ΠΈΡΠΎΠ²Π°ΡΡ Π²Π΅Π½ΡΠΈΠ»ΡΡΠΈΠΎΠ½Π½ΡΠΌΠΈ ΠΎΠ±ΠΎΡΠΎΡΠ°ΠΌΠΈ.
ΠΠ· ΠΎΠ΄Π½ΠΎΠΉ ΡΠΎΡΠΊΠΈ
ΠΠ°Π½Π½Π°Ρ ΡΡ Π΅ΠΌΠ° ΡΡΠ°Π΄ΠΈΡΠΈΠΎΠ½Π½Π° Π΄Π»Ρ Π»ΡΠ±ΠΎΠ³ΠΎ Π²ΠΈΠ΄Π° Π΄ΠΈΠΌΠΌΠ΅ΡΠ°. ΠΠ°ΠΊ ΠΏΡΠ°Π²ΠΈΠ»ΠΎ, Π² ΠΏΡΠΈΠ²Π΅Π΄ΡΠ½Π½ΠΎΠΉ Π²ΡΡΠ΅ ΡΡ Π΅ΠΌΠ΅ ΠΈΡΠΏΠΎΠ»ΡΠ·ΡΡΡΡΡ ΡΠ΅Π³ΡΠ»ΡΡΠΎΡΡ, ΠΊΠ½ΠΎΠΏΠΎΡΠ½ΡΠ΅ ΠΈΠ»ΠΈ ΡΠ΅Π½ΡΠΎΡΠ½ΡΠ΅. Π ΡΡΠΎΠΌ ΡΠ»ΡΡΠ°Π΅ Π±ΡΠ°ΡΡ ΠΏΠΎΠ²ΠΎΡΠΎΡΠ½ΡΠΉ Π΄ΠΈΠΌΠΌΠ΅Ρ Π½Π΅ ΡΠ΅ΠΊΠΎΠΌΠ΅Π½Π΄ΡΠ΅ΡΡΡ, ΠΏΠΎΡΠΎΠΌΡ ΠΊΠ°ΠΊ Π² Ρ ΠΎΠ΄Π΅ ΡΠΊΡΠΏΠ»ΡΠ°ΡΠ°ΡΠΈΠΈ Π²ΠΎΠ·Π½ΠΈΠΊΠ½ΡΡ Π½Π΅ΡΠ΄ΠΎΠ±ΡΡΠ²Π°.

ΠΠ· Π΄Π²ΡΡ ΡΠΎΡΠ΅ΠΊ
Π’Π°ΠΊΠ°Ρ ΡΡ Π΅ΠΌΠ° Π΅ΡΡΡ ΠΎΠΏΡΠΈΠΌΠ°Π»ΡΠ½ΡΠΉ Π²Π°ΡΠΈΠ°Π½Ρ Π΄Π»Ρ ΡΡΡΠ°Π½ΠΎΠ²ΠΊΠΈ Π² ΡΠΏΠ°Π»ΡΠ½ΠΎΠΉ ΠΊΠΎΠΌΠ½Π°ΡΠ΅. ΠΠ΄ΠΈΠ½ ΠΈΠ· ΡΠ²Π΅ΡΠΎΡΠ΅Π³ΡΠ»ΡΡΠΎΡΠΎΠ² ΡΡΡΠ°Π½Π°Π²Π»ΠΈΠ²Π°Π΅ΡΡΡ Ρ Π΄Π²Π΅ΡΠ½ΠΎΠ³ΠΎ ΠΏΡΠΎΡΠΌΠ°, Π΄ΡΡΠ³ΠΎΠΉ β ΠΎΠΊΠΎΠ»ΠΎ ΠΊΡΠΎΠ²Π°ΡΠΈ. Π’Π°ΠΊ, ΠΊΠΎΠ³Π΄Π° ΡΠ΅Π»ΠΎΠ²Π΅ΠΊ Π·Π°Ρ ΠΎΠ΄ΠΈΡ Π² ΡΠΏΠ°Π»ΡΠ½Ρ, ΡΠ²Π΅Ρ Π²ΠΊΠ»ΡΡΠ°Π΅ΡΡΡ Ρ ΠΏΠΎΠΌΠΎΡΡΡ ΠΏΠ΅ΡΠ²ΠΎΠ³ΠΎ Π΄ΠΈΠΌΠΌΠ΅ΡΠ°. Π Ρ ΠΏΠΎΠΌΠΎΡΡΡ Π²ΡΠΎΡΠΎΠ³ΠΎ ΡΠ΅Π³ΡΠ»ΠΈΡΡΠ΅Ρ ΡΠ²Π΅ΡΠΎΠΏΠ΅ΡΠ΅Π΄Π°ΡΡ.

ΠΠ· ΠΎΠ΄Π½ΠΎΠΉ ΡΠΎΡΠΊΠΈ ΠΈ ΡΠΏΡΠ°Π²Π»Π΅Π½ΠΈΠ΅ ΠΈΠ· Π΄Π²ΡΡ ΡΠΎΡΠ΅ΠΊ
ΠΠΎΠ»ΡΡΠΈΠ½ΡΡΠ²ΠΎ ΡΠΎΡΡΠΈΡΠ½ ΠΎΡΠ΄Π°ΡΡ ΠΏΡΠ΅Π΄ΠΏΠΎΡΡΠ΅Π½ΠΈΠ΅ Π΄ΠΈΠΌΠΌΠ΅ΡΠ°ΠΌ Π΄Π»Ρ ΡΠ΅Π³ΡΠ»ΠΈΡΠΎΠ²ΠΊΠΈ ΠΎΡΠ²Π΅ΡΠ΅Π½ΠΈΡ ΠΈΠ· ΠΎΠ΄Π½ΠΎΠΉ ΡΠΎΡΠΊΠΈ ΠΈ ΡΠΏΡΠ°Π²Π»Π΅Π½ΠΈΡ ΡΠ»Π΅ΠΊΡΡΠΎΠΏΡΠΈΠ±ΠΎΡΠ°ΠΌΠΈ ΠΈΠ· Π΄Π²ΡΡ ΡΠΎΡΠ΅ΠΊ. ΠΡΠ΅Π΄Π»ΠΎΠΆΠ΅Π½Π½Π°Ρ Π²ΡΡΠ΅ ΡΡ Π΅ΠΌΠ° ΡΠ²Π»ΡΠ΅ΡΡΡ ΡΠ½ΠΈΠ²Π΅ΡΡΠ°Π»ΡΠ½ΠΎΠΉ, ΠΏΠΎΡΠΊΠΎΠ»ΡΠΊΡ ΠΈΡΠΏΠΎΠ»ΡΠ·ΡΠ΅ΡΡΡ ΠΏΡΠ°ΠΊΡΠΈΡΠ΅ΡΠΊΠΈ Π² Π»ΡΠ±ΡΡ ΡΡΠ»ΠΎΠ²ΠΈΡΡ . Π’Π°ΠΊ, Ρ Π²Ρ ΠΎΠ΄Π° Π² ΠΊΠΎΠΌΠ½Π°ΡΡ ΡΡΡΠ°Π½Π°Π²Π»ΠΈΠ²Π°ΡΡ ΠΏΡΠΎΡΡΠΎΠΉ Π²ΡΠΊΠ»ΡΡΠ°ΡΠ΅Π»Ρ, Π° Π²ΠΎΠ·Π»Π΅ Π΄ΠΈΠ²Π°Π½Π° ΠΈΠ»ΠΈ ΠΊΡΠΎΠ²Π°ΡΠΈ (Π² Π·Π°Π²ΠΈΡΠΈΠΌΠΎΡΡΠΈ ΠΎΡ ΡΠΈΠΏΠ° ΠΊΠΎΠΌΠ½Π°ΡΡ) β Π΄ΠΈΠΌΠΌΠ΅Ρ.

ΠΠ· ΠΎΠ΄Π½ΠΎΠΉ ΡΠΎΡΠΊΠΈ ΠΈ ΡΠΏΡΠ°Π²Π»Π΅Π½ΠΈΠ΅ ΠΈΠ· ΡΡΠ΅Ρ ΡΠΎΡΠ΅ΠΊ
Π’Π°ΠΊΠΎΠ³ΠΎ Π²Π°ΡΠΈΠ°Π½ΡΠ° Π½Π΅ΠΎΠ±Ρ ΠΎΠ΄ΠΈΠΌΠΎ ΠΏΡΠΈΠ±Π΅Π³Π½ΡΡΡ Π»ΠΈΡΡ ΡΠΎΠ³Π΄Π°, ΠΊΠΎΠ³Π΄Π° ΡΠ΅Π³ΡΠ»ΠΈΡΠΎΠ²Π°ΡΡ ΡΡΠ΅ΠΏΠ΅Π½Ρ ΠΎΡΠ²Π΅ΡΡΠ½Π½ΠΎΡΡΠΈ ΠΏΠΎΠΌΠ΅ΡΠ΅Π½ΠΈΡ Π½Π΅ΠΎΠ±Ρ ΠΎΠ΄ΠΈΠΌΠΎ ΠΈΠ· 2-Ρ ΡΠΎΡΠ΅ΠΊ. ΠΠ°ΠΊ ΠΏΡΠ°Π²ΠΈΠ»ΠΎ, ΠΏΠΎΠ΄ΠΊΠ»ΡΡΠ΅Π½ΠΈΠ΅ ΡΠ΅Π³ΡΠ»ΡΡΠΎΡΠ° ΡΠ²Π΅ΡΠ° ΠΈΠ· ΠΎΠ΄Π½ΠΎΠΉ ΡΠΎΡΠΊΠΈ ΠΈ ΡΠΏΡΠ°Π²Π»Π΅Π½ΠΈΡ ΠΈΠ· ΡΡΠ΅Ρ ΡΠΎΡΠ΅ΠΊ ΡΡΠ΅Π±ΡΠ΅ΡΡΡ Π² Π΄Π»ΠΈΠ½Π½ΡΡ ΠΊΠΎΡΠΈΠ΄ΠΎΡΠ°Ρ .

ΠΠ±ΡΠ°ΡΠΈΡΠ΅ Π²Π½ΠΈΠΌΠ°Π½ΠΈΠ΅! ΠΡΠΎΠΌΠ΅ ΡΠ΅Π³ΡΠ»ΡΡΠΎΡΠ° ΡΠ²Π΅ΡΠ°, Π² ΠΏΡΠ΅Π΄ΡΡΠ°Π²Π»Π΅Π½Π½ΠΎΠΉ ΡΠ»Π΅ΠΊΡΡΠΎΠ½Π½ΠΎΠΉ ΡΠ΅ΠΏΠΈ ΠΈΠΌΠ΅Π΅ΡΡΡ ΠΏΠ°ΡΠ° ΠΏΡΠΎΡ ΠΎΠ΄Π½ΡΡ Π²ΡΠΊΠ»ΡΡΠ°ΡΠ΅Π»Π΅ΠΉ.
ΠΠ°ΠΌΠ΅Π½Π° Π²ΡΠΊΠ»ΡΡΠ°ΡΠ΅Π»Ρ Π΄ΠΈΠΌΠΌΠ΅ΡΠΎΠΌ
ΠΠ°ΠΌΠ΅Π½Π° Π²ΡΠΊΠ»ΡΡΠ°ΡΠ΅Π»Ρ Π΄ΠΈΠΌΠΌΠ΅ΡΠΎΠΌ β ΠΏΡΠΎΡΠ΅Π΄ΡΡΠ°, Π½Π΅ ΡΡΠ΅Π±ΡΡΡΠ°Ρ ΡΠΏΠ΅ΡΠΈΠ°Π»ΡΠ½ΡΡ Π½Π°Π²ΡΠΊΠΎΠ². ΠΠ»Ρ ΡΡΠΎΠ³ΠΎ Π½Π΅ΠΎΠ±Ρ ΠΎΠ΄ΠΈΠΌΠΎ ΡΠ½ΡΡΡ Π²ΡΠΊΠ»ΡΡΠ°ΡΠ΅Π»Ρ ΡΠΎ ΡΡΠ΅Π½Ρ ΠΈ ΠΏΡΠΎΠ΄Π΅Π»Π°ΡΡ Π½Π΅ΡΠΊΠΎΠ»ΡΠΊΠΎ ΠΏΡΠΎΡΡΡΡ Π΄Π΅ΠΉΡΡΠ²ΠΈΠΉ:
- ΠΎΠ±Π΅ΡΡΠΎΡΠΈΡΡ ΡΠ»Π΅ΠΊΡΡΠΈΡΠ΅ΡΠΊΡΡ ΡΠ΅ΠΏΡ, Π΄Π΅Π°ΠΊΡΠΈΠ²ΠΈΡΠΎΠ²Π°ΡΡ Π·Π°ΡΠΈΡΠ½ΡΠΉ Π°Π²ΡΠΎΠΌΠ°Ρ ΠΈ Π²ΡΠ²Π΅ΡΠ½ΡΡΡ ΠΏΡΠΎΠ±ΠΊΠΈ;
- ΡΠ½ΡΡΡ ΠΊΠ»Π°Π²ΠΈΡΠΈ, Π²ΠΎΡΠΏΠΎΠ»ΡΠ·ΠΎΠ²Π°Π²ΡΠΈΡΡ ΠΏΡΠΎΡΡΠΎΠΉ ΡΡΠΎΠ»ΡΡΠ½ΠΎΠΉ ΠΎΡΠ²ΡΡΡΠΊΠΎΠΉ;
- ΠΎΡΠΊΡΡΡΠΈΡΡ Π²ΠΈΠ½ΡΡ, ΡΠ½ΡΡΡ ΡΠ°ΠΌΠΊΡ ΠΈ Π²ΡΠ½ΡΡΡ Π²ΡΠΊΠ»ΡΡΠ°ΡΠ΅Π»Ρ, ΠΏΡΠ΅Π΄Π²Π°ΡΠΈΡΠ΅Π»ΡΠ½ΠΎ ΠΎΡΡΠΎΠ΅Π΄ΠΈΠ½ΠΈΠ² Π΅Π³ΠΎ ΠΎΡ ΠΏΡΠΎΠ²ΠΎΠ΄ΠΎΠ².
ΠΠ° ΠΌΠ΅ΡΡΠΎ Π²ΡΠΊΠ»ΡΡΠ°ΡΠ΅Π»Ρ ΠΏΠΎΠΌΠ΅ΡΡΠΈΡΡ Π΄ΠΈΠΌΠΌΠ΅Ρ. ΠΠ°ΠΆΠ½ΠΎ ΠΏΠΎΠ΄ΡΠ΅ΡΠΊΠ½ΡΡΡ, ΡΡΠΎ Π΄Π»Ρ ΡΠ΅Π°Π»ΠΈΠ·Π°ΡΠΈΠΈ ΡΠ°ΠΊΠΎΠ³ΠΎ ΠΏΠΎΡΠ°Π΄ΠΎΡΠ½ΡΠ΅ Π³Π°Π±Π°ΡΠΈΡΡ Π°Π³ΡΠ΅Π³Π°ΡΠΎΠ² Π΄Π΅Π»Π°ΡΡΡΡ ΡΠ½ΠΈΡΠΈΡΠΈΡΠΎΠ²Π°Π½Π½ΡΠΌΠΈ. Π£ΡΡΠ°Π½ΠΎΠ²ΠΊΠ° Π΄ΠΈΠΌΠΌΠ΅ΡΠ° ΠΎΡΡΡΠ΅ΡΡΠ²Π»ΡΠ΅ΡΡΡ Π² ΠΎΠ±ΡΠ°ΡΠ½ΠΎΠΉ ΠΏΠΎΡΠ»Π΅Π΄ΠΎΠ²Π°ΡΠ΅Π»ΡΠ½ΠΎΡΡΠΈ ΠΎΡΠ½ΠΎΡΠΈΡΠ΅Π»ΡΠ½ΠΎ ΠΏΡΠΎΡΠ΅Π΄ΡΡΡ ΡΠ½ΡΡΠΈΡ Π²ΡΠΊΠ»ΡΡΠ°ΡΠ΅Π»Ρ. Π Ρ ΠΎΠ΄Π΅ ΡΡΠΎΠΉ ΠΎΠΏΠ΅ΡΠ°ΡΠΈΠΈ ΡΠ»Π΅Π΄ΡΠ΅Ρ ΠΎΠ±ΡΠ°ΡΠΈΡΡ Π²Π½ΠΈΠΌΠ°Π½ΠΈΠ΅ Π½Π° ΠΊΠ°ΡΠ΅ΡΡΠ²ΠΎ ΠΏΡΠΈΡΠΎΠ΅Π΄ΠΈΠ½Π΅Π½ΠΈΡ ΠΏΡΠΎΠ²ΠΎΠ΄ΠΊΠΎΠ² Π½Π΅ΠΏΠΎΡΡΠ΅Π΄ΡΡΠ²Π΅Π½Π½ΠΎ ΠΊ ΠΊΠ»Π΅ΠΌΠΌΠ°ΠΌ Π΄ΠΈΠΌΠΌΠ΅ΡΠ°, ΡΡΠΎ Π²Π»ΠΈΡΠ΅Ρ Π½Π° ΠΊΠ°ΡΠ΅ΡΡΠ²ΠΎ ΠΈ Π±Π΅Π·ΠΎΠΏΠ°ΡΠ½ΠΎΡΡΡ ΡΠ°Π±ΠΎΡΡ ΠΎΠ±ΠΎΡΡΠ΄ΠΎΠ²Π°Π½ΠΈΡ.
Π’Π°ΠΊΠΈΠΌ ΠΎΠ±ΡΠ°Π·ΠΎΠΌ, Π·Π°ΠΌΠ΅Π½Π° ΡΡΠ°ΡΠ½ΠΎΠ³ΠΎ Π²ΡΠΊΠ»ΡΡΠ΅Π½ΠΈΡ Π΄ΠΈΠΌΠΌΠ΅ΡΠΎΠΌ β ΠΎΠΏΡΠΈΠΌΠ°Π»ΡΠ½ΡΠΉ ΡΠΏΠΎΡΠΎΠ± ΠΏΠΎΠ»ΡΡΠΈΡΡ ΠΌΠ°ΠΊΡΠΈΠΌΠ°Π»ΡΠ½ΠΎ ΡΠ΄ΠΎΠ±Π½ΡΠΉ Π΄ΠΎΡΡΡΠΏ ΠΊ ΡΠΈΡΡΠ΅ΠΌΠ΅ ΡΠΏΡΠ°Π²Π»Π΅Π½ΠΈΡ ΠΎΡΠ²Π΅ΡΠΈΡΠ΅Π»ΡΠ½ΠΎΠΉ ΡΠΈΡΡΠ΅ΠΌΠΎΠΉ. Π’Π΅ΠΌ Π½Π΅ ΠΌΠ΅Π½Π΅Π΅, Π²Π°ΠΆΠ½ΠΎ ΡΡΠ΅ΡΡΡ ΡΠΎΡ ΡΠ°ΠΊΡ, ΡΡΠΎ ΡΠ°ΠΊΠΎΠ΅ ΡΡΡΡΠΎΠΉΡΡΠ²ΠΎ, ΠΊΠ°ΠΊ Π΄ΠΈΠΌΠΌΠ΅Ρ, ΠΊΡΠΈΡΠΈΡΠ½ΠΎ ΠΊ ΠΏΠΎΠ²ΡΡΠ΅Π½Π½ΡΠΌ ΡΠ΅ΠΌΠΏΠ΅ΡΠ°ΡΡΡΠ°ΠΌ, Π° ΡΠ°ΠΊΠΆΠ΅ Π½Π΅ ΡΠ°ΡΡΡΠΈΡΠ°Π½ΠΎ Π½Π° ΠΏΡΠ΅Π²ΡΡΠ΅Π½ΠΈΠ΅ ΠΌΠ°ΠΊΡΠΈΠΌΠ°Π»ΡΠ½ΠΎΠΉ Π΄ΠΎΠΏΡΡΡΠΈΠΌΠΎΠΉ Π½Π°Π³ΡΡΠ·ΠΊΠΈ.
Π Π΅Π³ΡΠ»ΡΡΠΎΡ Π½Π°ΠΏΡΡΠΆΠ΅Π½ΠΈΡ ΡΠ²ΠΎΠΈΠΌΠΈ ΡΡΠΊΠ°ΠΌΠΈ
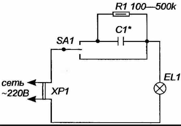
ΠΠ΅ΡΠ°Π»ΠΈ, ΠΌΠ°ΡΠ΅ΡΠΈΠ°Π»Ρ ΠΈ ΠΎΠ±ΠΎΡΡΠ΄ΠΎΠ²Π°Π½ΠΈΡ, Π½Π΅ΠΎΠ±Ρ ΠΎΠ΄ΠΈΠΌΡΠ΅ Π΄Π»Ρ ΠΈΠ·Π³ΠΎΡΠΎΠ²Π»Π΅Π½ΠΈΡ ΡΠ΅Π³ΡΠ»ΡΡΠΎΡΠ° ΡΡΠΊΠΎΡΡΠΈ ΡΠ²ΠΎΠΈΠΌΠΈ ΡΡΠΊΠ°ΠΌΠΈ:
- ΡΠ΅ΠΌΠΈΡΡΠΎΡ BT134 ΠΌΠΎΡΠ½ΠΎΡΡΡΡ 700 Π;
- Π΄ΠΈΠ½ΠΈΡΡΠΎΡ DB3;
- Π½Π΅ΠΏΠΎΠ»ΡΡΠ½ΡΠΉ ΠΊΠΎΠ½Π΄Π΅Π½ΡΠ°ΡΠΎΡ ΡΠΌΠΊΠΎΡΡΡΡ ΠΎΡ 0,1 Π΄ΠΎ 0,22 ΠΌkΠ€, ΠΌΠΎΡΠ½ΠΎΡΡΡΡ 250 Π;
- ΠΏΠ΅ΡΠ΅ΠΌΠ΅Π½Π½ΡΠΉ ΡΠ΅Π·ΠΈΡΡΠΎΡ ΡΠΎΠΏΡΠΎΡΠΈΠ²Π»Π΅Π½ΠΈΠ΅ΠΌ Π΄ΠΎ 500 kOΠΌ;
- ΡΠ΅Π·ΠΈΡΡΠΎΡ ΡΠΎΠΏΡΠΎΡΠΈΠ²Π»Π΅Π½ΠΈΠ΅ΠΌ 10 kOΠΌ, ΠΌΠΎΡΠ½ΠΎΡΡΡΡ Π΄ΠΎ 2 BΡ;
- ΠΊΡΡΠ°ΡΠΊΠΈ;
- ΠΏΠ°ΡΠ»ΡΠ½ΠΈΠΊ + ΠΏΡΠΈΠΏΠΎΠΉ ΠΈΠ»ΠΈ ΠΊΠ°Π½ΠΈΡΠΎΠ»Ρ;
- ΠΈΠ·ΠΎΠ»Π΅Π½ΡΠ°;
- ΡΠ°ΡΡΡ Π»ΡΠ±ΠΎΠ³ΠΎ ΠΏΡΠΎΠ²ΠΎΠ΄Π°, ΠΏΠ»ΠΎΡΠ°Π΄Ρ ΠΏΠΎΠΏΠ΅ΡΠ΅ΡΠ½ΠΎΠ³ΠΎ ΡΠ΅ΡΠ΅Π½ΠΈΡ ΠΊΠΎΡΠΎΡΠΎΠ³ΠΎ ΡΠΎΡΡΠ°Π²Π»ΡΠ΅Ρ 1 ΠΌΠΌ2.
ΠΠ°ΡΠ΅ΡΠΈΠ°Π»Ρ ΡΠΎΠ΅Π΄ΠΈΠ½ΡΠ΅ΠΌ ΠΏΠΎ ΡΠ»Π΅Π΄ΡΡΡΠ΅ΠΉ ΡΡ Π΅ΠΌΠ΅.

Π’Π°ΠΊΠΈΠΌ ΠΎΠ±ΡΠ°Π·ΠΎΠΌ, Π΄ΠΈΠΌΠΌΠ΅Ρ (ΡΠ²Π΅ΡΠΎΡΠ΅Π³ΡΠ»ΡΡΠΎΡ) β ΡΠ΄ΠΎΠ±Π½ΠΎΠ΅ ΠΈ ΠΏΡΠ°ΠΊΡΠΈΡΠ½ΠΎΠ΅ ΡΡΡΡΠΎΠΉΡΡΠ²ΠΎ, ΠΊΠΎΡΠΎΡΠΎΠ΅ ΡΡΠ°Π½Π΅Ρ ΠΈΠ΄Π΅Π°Π»ΡΠ½ΡΠΌ Π΄ΠΎΠΏΠΎΠ»Π½Π΅Π½ΠΈΠ΅ΠΌ ΠΊΠ°ΠΊ Π΄ΠΎΠΌΠ°ΡΠ½Π΅Π³ΠΎ, ΡΠ°ΠΊ ΠΈ ΡΠ°Π±ΠΎΡΠ΅Π³ΠΎ ΠΏΠΎΠΌΠ΅ΡΠ΅Π½ΠΈΡ. ΠΡΠΎΡΡΠΎΡΠ° ΡΡΡΠ°Π½ΠΎΠ²ΠΊΠΈ ΠΈ Π½Π°ΡΡΡΠΎΠΉΠΊΠΈ, ΡΠ΅Π½ΠΎΠ²Π°Ρ ΠΏΡΠΈΠ΅ΠΌΠ»Π΅ΠΌΠΎΡΡΡ, Π΄ΠΎΡΡΡΠΏΠ½ΠΎΡΡΡ Π½Π΅ΠΎΠ±Ρ ΠΎΠ΄ΠΈΠΌΡΡ ΠΌΠ°ΡΠ΅ΡΠΈΠ°Π»ΠΎΠ² β Π±Π»Π°Π³ΠΎΠ΄Π°ΡΡ ΡΡΠΈΠΌ ΡΠ°ΠΊΡΠΎΡΠ°ΠΌ ΠΊΠ°ΠΆΠ΄ΡΠΉ ΡΠ΅Π»ΠΎΠ²Π΅ΠΊ ΡΠΌΠΎΠΆΠ΅Ρ Π±Π΅Π· ΠΏΡΠΎΠ±Π»Π΅ΠΌ ΡΠΏΡΠΎΡΡΠΈΡΡ ΠΏΠΎΠ²ΡΠ΅Π΄Π½Π΅Π²Π½ΡΡ ΠΆΠΈΠ·Π½Ρ.
osvescheniepro.com
ΠΠΈΠΌΠΌΠ΅Ρ Π΄Π»Ρ Π»Π°ΠΌΠΏΡ Π½Π°ΠΊΠ°Π»ΠΈΠ²Π°Π½ΠΈΡ ΡΠ²ΠΎΠΈΠΌΠΈ ΡΡΠΊΠ°ΠΌΠΈ. Π‘Ρ Π΅ΠΌΠ° ΠΈ ΠΎΠΏΠΈΡΠ°Π½ΠΈΠ΅
ΠΡΠ½ΠΎΠ²Π½ΠΎΠΉ ΡΡΠ½ΠΊΡΠΈΠ΅ΠΉ ΠΏΡΠ΅Π΄Π»Π°Π³Π°Π΅ΠΌΠΎΠΉ ΡΡ Π΅ΠΌΡ ΡΠ²Π»ΡΠ΅ΡΡΡ ΡΠ΅Π³ΡΠ»ΠΈΡΠΎΠ²ΠΊΠ° ΡΡΠΊΠΎΡΡΠΈ ΡΠ²Π΅ΡΠ΅Π½ΠΈΡ Π»Π°ΠΌΠΏ Π½Π°ΠΊΠ°Π»ΠΈΠ²Π°Π½ΠΈΡ, ΠΏΠΈΡΠ°Π΅ΠΌΡΡ ΠΎΡ ΡΠ»Π΅ΠΊΡΡΠΎΡΠ΅ΡΠΈ 220Π. ΠΠ΅ΡΠ°ΡΠ½Π°Ρ ΠΏΠ»Π°ΡΠ° ΡΠ°Π·ΡΠ°Π±ΠΎΡΠ°Π½Π° ΡΠ°ΠΊΠΈΠΌ ΠΎΠ±ΡΠ°Π·ΠΎΠΌ, ΡΡΠΎΠ±Ρ ΠΎΠ½Π° ΠΏΠΎΠΌΠ΅ΡΠ°Π»Π°ΡΡ Π² ΡΠ°ΡΠΏΡΠ΅Π΄Π΅Π»ΠΈΡΠ΅Π»ΡΠ½ΡΡ ΠΊΠΎΡΠΎΠ±ΠΊΡ, Π·Π°ΠΌΠ΅Π½ΠΈΠ² ΡΠΎΠ±ΠΎΠΉ ΡΡΠ°Π½Π΄Π°ΡΡΠ½ΡΠΉ Π²ΡΠΊΠ»ΡΡΠ°ΡΠ΅Π»Ρ ΠΎΡΠ²Π΅ΡΠ΅Π½ΠΈΡ.
ΠΠ΅Π· Π΄ΠΎΠΏΠΎΠ»Π½ΠΈΡΠ΅Π»ΡΠ½ΠΎΠ³ΠΎ ΡΠ°Π΄ΠΈΠ°ΡΠΎΡΠ° ΡΡ Π΅ΠΌΠ° ΠΌΠΎΠΆΠ΅Ρ ΡΠΏΡΠ°Π²Π»ΡΡΡ Π½Π°Π³ΡΡΠ·ΠΊΠΎΠΉ Π΄ΠΎ 200 ΠΡ, Π° Π² ΡΠ»ΡΡΠ°Π΅ ΠΏΡΠΈΠΌΠ΅Π½Π΅Π½ΠΈΡ Π΄ΠΎΠΏΠΎΠ»Π½ΠΈΡΠ΅Π»ΡΠ½ΠΎΠ³ΠΎ ΠΎΡ Π»Π°ΠΆΠ΄Π΅Π½ΠΈΡ, ΠΌΠΎΡΠ½ΠΎΡΡΡ Π»Π°ΠΌΠΏΡ Π·Π°Π²ΠΈΡΠΈΡ Π² ΠΎΡΠ½ΠΎΠ²Π½ΠΎΠΌ ΡΠΎΠ»ΡΠΊΠΎ ΠΎΡ Π΄ΠΎΠΏΡΡΡΠΈΠΌΠΎΠ³ΠΎ ΡΠΎΠΊΠ° ΠΈΡΠΏΠΎΠ»ΡΠ·ΡΠ΅ΠΌΠΎΠ³ΠΎ ΡΠΈΠΌΠΈΡΡΠΎΡΠ°.

Π Π΅Π³ΡΠ»ΠΈΡΠΎΠ²Π°Π½ΠΈΠ΅ ΡΡΠΊΠΎΡΡΠΈ ΡΠ²Π΅ΡΠ΅Π½ΠΈΡ Π»Π°ΠΌΠΏ Π½Π°ΠΊΠ°Π»ΠΈΠ²Π°Π½ΠΈΡ Π½Π΅ ΡΠ²Π»ΡΠ΅ΡΡΡ Π΅Π΄ΠΈΠ½ΡΡΠ²Π΅Π½Π½ΡΠΌ ΠΏΡΠΈΠΌΠ΅Π½Π΅Π½ΠΈΠ΅ΠΌ Π΄Π°Π½Π½ΠΎΠ³ΠΎ ΡΡΡΡΠΎΠΉΡΡΠ²Π°. ΠΠ³ΠΎ ΠΌΠΎΠΆΠ½ΠΎ ΡΠ°ΠΊΠΆΠ΅ ΠΈΡΠΏΠΎΠ»ΡΠ·ΠΎΠ²Π°ΡΡ Π΄Π»Ρ ΠΏΠ»Π°Π²Π½ΠΎΠΉ ΡΠ΅Π³ΡΠ»ΠΈΡΠΎΠ²ΠΊΠΈ ΠΌΠΎΡΠ½ΠΎΡΡΠΈ Π΄ΡΡΠ³ΠΈΡ ΠΏΠΎΡΡΠ΅Π±ΠΈΡΠ΅Π»Π΅ΠΉ ΠΏΠ΅ΡΠ΅ΠΌΠ΅Π½Π½ΠΎΠ³ΠΎ ΡΠΎΠΊΠ°, Π° ΡΠ°ΠΊΠΆΠ΅ Π΄Π»Ρ ΡΠ΅Π³ΡΠ»ΠΈΡΠΎΠ²ΠΊΠΈ ΠΌΠΎΡΠ½ΠΎΡΡΠΈ ΠΊΠΎΠ»Π»Π΅ΠΊΡΠΎΡΠ½ΡΡ Π΄Π²ΠΈΠ³Π°ΡΠ΅Π»Π΅ΠΉ (Π½Π°ΠΏΡΠΈΠΌΠ΅Ρ, Π΄ΡΠ΅Π»ΠΈ, ΡΠ»ΠΈΡΠΎΠ²Π°Π»ΡΠ½ΠΎΠΉ ΠΌΠ°ΡΠΈΠ½Ρ). Π‘Ρ Π΅ΠΌΠ° ΠΌΠΎΠΆΠ΅Ρ ΡΠΏΠΎΡΠΎΠ±ΡΡΠ²ΠΎΠ²Π°ΡΡ ΠΏΠΎΠ»ΡΡΠ΅Π½ΠΈΡ Π·Π½Π°ΡΠΈΡΠ΅Π»ΡΠ½ΠΎΠΉ ΡΠΊΠΎΠ½ΠΎΠΌΠΈΠΈ Π² ΠΏΠΎΡΡΠ΅Π±Π»Π΅Π½ΠΈΠΈ ΡΠ»Π΅ΠΊΡΡΠΎΡΠ½Π΅ΡΠ³ΠΈΠΈ.
Π₯Π°ΡΠ°ΠΊΡΠ΅ΡΠΈΡΡΠΈΠΊΠΈ Π΄ΠΈΠΌΠΌΠ΅ΡΠ° Π΄Π»Ρ Π»Π°ΠΌΠΏΡ Π½Π°ΠΊΠ°Π»ΠΈΠ²Π°Π½ΠΈΡ
- ΠΌΠ°ΠΊΡΠΈΠΌΠ°Π»ΡΠ½Π°Ρ Π½Π°Π³ΡΡΠ·ΠΊΠ° 2,5 ΠΊΠΡ
- Π½ΠΈΠ·ΠΊΠΈΠΉ ΡΡΠΎΠ²Π΅Π½Ρ ΡΠΎΠ·Π΄Π°Π²Π°Π΅ΠΌΡΡ ΠΏΠΎΠΌΠ΅Ρ
- Π²ΠΎΠ·ΠΌΠΎΠΆΠ½ΠΎΡΡΡ ΡΠ°Π±ΠΎΡΡ Π² ΠΊΠ°ΡΠ΅ΡΡΠ²Π΅ ΡΠ΅Π³ΡΠ»ΡΡΠΎΡ ΠΎΠ±ΠΎΡΠΎΡΠΎΠ² ΠΈΠ»ΠΈ ΠΊΠ°ΠΊ Π΄ΠΈΠΌΠΌΠ΅Ρ Π΄Π»Ρ ΡΡΠ°Π΄ΠΈΡΠΈΠΎΠ½Π½ΡΡ Π»Π°ΠΌΠΏ Π½Π°ΠΊΠ°Π»ΠΈΠ²Π°Π½ΠΈΡ
- ΡΠ°Π·ΠΌΠ΅ΡΡ ΠΏΠ΅ΡΠ°ΡΠ½ΠΎΠΉ ΠΏΠ»Π°ΡΡ: 55 Ρ 55 ΠΌΠΌ
- ΠΏΠΈΡΠ°Π½ΠΈΠ΅: 220 Π²ΠΎΠ»ΡΡ
Π Π΅Π³ΡΠ»ΠΈΡΠΎΠ²ΠΊΠ° ΠΌΠΎΡΠ½ΠΎΡΡΠΈ ΠΏΠΎΡΡΠ΅Π±ΠΈΡΠ΅Π»Π΅ΠΉ ΠΏΠ΅ΡΠ΅ΠΌΠ΅Π½Π½ΠΎΠ³ΠΎ ΡΠΎΠΊΠ° Π½Π΅ ΡΠ²Π»ΡΠ΅ΡΡΡ Π»Π΅Π³ΠΊΠΈΠΌ Π΄Π΅Π»ΠΎΠΌ. Π‘Π°ΠΌΡΠΌ ΠΏΡΠΎΡΡΡΠΌ, Π½ΠΎ ΠΈ ΠΎΠ΄Π½ΠΎΠ²ΡΠ΅ΠΌΠ΅Π½Π½ΠΎ Π½Π°ΠΈΠΌΠ΅Π½Π΅Π΅ ΡΡΡΠ΅ΠΊΡΠΈΠ²Π½ΡΠΌ ΡΠΏΠΎΡΠΎΠ±ΠΎΠΌ ΡΠ²Π»ΡΠ΅ΡΡΡ ΠΏΡΠΈΠΌΠ΅Π½Π΅Π½ΠΈΠ΅ ΡΠΎΠΏΡΠΎΡΠΈΠ²Π»Π΅Π½ΠΈΡ, Π²ΠΊΠ»ΡΡΠ΅Π½Π½ΠΎΠ³ΠΎ ΠΏΠΎΡΠ»Π΅Π΄ΠΎΠ²Π°ΡΠ΅Π»ΡΠ½ΠΎ Ρ Π½Π°Π³ΡΡΠ·ΠΊΠΎΠΉ. ΠΠ΄Π½Π°ΠΊΠΎ ΠΏΡΠΈ ΡΡΠΎΠΌ ΠΏΠ»Π°Π²Π½Π°Ρ ΡΠ΅Π³ΡΠ»ΠΈΡΠΎΠ²ΠΊΠ° ΠΌΠΎΡΠ½ΠΎΡΡΠΈ Π² Π΄Π°Π½Π½ΠΎΠΌ ΡΠ»ΡΡΠ°Π΅ ΠΏΡΠ°ΠΊΡΠΈΡΠ΅ΡΠΊΠΈ Π½Π΅Π²ΠΎΠ·ΠΌΠΎΠΆΠ½Π°.
Π Π°Π½ΡΡΠ΅ ΡΠ°ΡΡΠ½ΡΠΌ ΡΠ»ΡΡΠ°Π΅ΠΌ ΡΠ°ΠΊΠΎΠ³ΠΎ ΡΠΏΠΎΡΠΎΠ±Π° ΡΠ΅Π³ΡΠ»ΠΈΡΠΎΠ²Π°Π½ΠΈΡ Π±ΡΠ»ΠΎΒ Π²ΠΊΠ»ΡΡΠ΅Π½ΠΈΠ΅ ΡΠ΅ΡΠΌΠΈΡΡΠΎΡΠ° ΠΏΠΎΡΠ»Π΅Π΄ΠΎΠ²Π°ΡΠ΅Π»ΡΠ½ΠΎ Ρ Π»Π°ΠΌΠΏΠΎΠΉ Π½Π°ΠΊΠ°Π»ΠΈΠ²Π°Π½ΠΈΡ ΠΌΠ°Π»ΠΎΠΉ ΠΌΠΎΡΠ½ΠΎΡΡΠΈ, Π½Π°ΠΏΡΠΈΠΌΠ΅Ρ, Π½ΠΎΡΠ½ΠΈΠΊΠ°. Π ΡΡΠΎΠΌ ΡΠ»ΡΡΠ°Π΅ ΠΈΡΠΏΠΎΠ»ΡΠ·ΠΎΠ²Π°Π»ΠΈΡΡ ΡΠ΅ΡΠΌΠΈΡΡΠΎΡΡ Π±ΠΎΠ»ΡΡΠΎΠΉ ΠΌΠΎΡΠ½ΠΎΡΡΠΈ, ΠΏΡΠΈΠΌΠ΅Π½ΡΠ΅ΠΌΡΠ΅ Π² Π»Π°ΠΌΠΏΠΎΠ²ΡΡ ΡΠ΅Π»Π΅Π²ΠΈΠ·ΠΎΡΠ°Ρ Π΄Π»Ρ Π·Π°ΡΠΈΡΡ Π½ΠΈΡΠ΅ΠΉ Π½Π°ΠΊΠ°Π»ΠΈΠ²Π°Π½ΠΈΡ ΠΎΡ ΠΏΠΎΠ²ΡΠ΅ΠΆΠ΄Π΅Π½ΠΈΡ Π² ΠΌΠΎΠΌΠ΅Π½Ρ Π²ΠΊΠ»ΡΡΠ΅Π½ΠΈΡ ΠΏΠΈΡΠ°Π½ΠΈΡ. ΠΡΠΎ Π±ΡΠ»ΠΎ Π΄ΠΎΠ²ΠΎΠ»ΡΠ½ΠΎ ΠΏΡΠΈΠ²Π»Π΅ΠΊΠ°ΡΠ΅Π»ΡΠ½ΡΠΌ ΡΠ΅ΡΠ΅Π½ΠΈΠ΅ΠΌ, Π½ΠΎ Π² Π½Π°ΡΡΠΎΡΡΠ΅Π΅ Π²ΡΠ΅ΠΌΡ, ΠΏΠΎΠ΄ΠΎΠ±Π½ΡΠ΅Β ΡΠ΅ΡΠΌΠΈΡΡΠΎΡΡ ΡΡΡΠ΄Π½ΠΎ Π½Π°ΠΉΡΠΈ.
ΠΡΡΠ³ΠΎΠΉ, ΠΏΠΎΠΆΠ°Π»ΡΠΉ, Π»ΡΡΡΠΈΠΉ ΠΌΠ΅ΡΠΎΠ΄ ΡΠ΅Π³ΡΠ»ΠΈΡΠΎΠ²Π°Π½ΠΈΡ ΠΌΠΎΡΠ½ΠΎΡΡΠΈ Π½Π°Π³ΡΡΠ·ΠΊΠΈ 220Π ΡΠ²Π»ΡΠ΅ΡΡΡ ΠΏΡΠΈΠΌΠ΅Π½Π΅Π½ΠΈΠ΅ Π°Π²ΡΠΎΡΡΠ°Π½ΡΡΠΎΡΠΌΠ°ΡΠΎΡΠ° (ΠΠΠ’Π ). ΠΡΠΎ ΡΠ΅ΡΠ΅Π½ΠΈΠ΅ ΠΏΡΠ°ΠΊΡΠΈΡΠ΅ΡΠΊΠΈ Π»ΠΈΡΠ΅Π½ΠΎ Π½Π΅Π΄ΠΎΡΡΠ°ΡΠΊΠΎΠ², Π·Π° ΠΈΡΠΊΠ»ΡΡΠ΅Π½ΠΈΠ΅ΠΌ Π΄Π²ΡΡ : Π²ΡΡΠΎΠΊΠΎΠΉ ΡΡΠΎΠΈΠΌΠΎΡΡΠΈ Π°Π²ΡΠΎΡΡΠ°Π½ΡΡΠΎΡΠΌΠ°ΡΠΎΡΠ° ΠΈ Π΅Π³ΠΎ Π±ΠΎΠ»ΡΡΠΈΡ ΡΠ°Π·ΠΌΠ΅ΡΠΎΠ². ΠΠ°ΡΠΎ ΠΎΠ³ΡΠΎΠΌΠ½ΡΠΌ ΠΏΡΠ΅ΠΈΠΌΡΡΠ΅ΡΡΠ²ΠΎΠΌ ΠΏΡΠΈΠΌΠ΅Π½Π΅Π½ΠΈΡ ΡΠ°ΠΊ Π½Π°Π·ΡΠ²Π°Π΅ΠΌΡΡ Π°Π²ΡΠΎΡΡΠ°Π½ΡΡΠΎΡΠΌΠ°ΡΠΎΡΠ², ΡΠ²Π»ΡΠ΅ΡΡΡ ΠΏΠΎΠ»ΡΡΠ΅Π½ΠΈΠ΅ Π½Π° Π²ΡΡ ΠΎΠ΄Π΅ Π½Π΅ΠΈΠ·ΠΌΠ΅Π½Π΅Π½Π½ΠΎΠ³ΠΎ ΡΠΈΠ½ΡΡΠΎΠΈΠ΄Π°Π»ΡΠ½ΠΎΠ³ΠΎ ΡΠΈΠ³Π½Π°Π»Π° ΠΈ Π²ΠΎΠ·ΠΌΠΎΠΆΠ½ΠΎΡΡΡ ΠΏΠΎΠ²ΡΡΠ΅Π½ΠΈΡ ΠΈΠ»ΠΈ ΠΏΠΎΠ½ΠΈΠΆΠ΅Π½ΠΈΡ Π½Π°ΠΏΡΡΠΆΠ΅Π½ΠΈΡ.
ΠΠ²ΡΠΎΡΡΠ°Π½ΡΡΠΎΡΠΌΠ°ΡΠΎΡ, ΡΡ Π΅ΠΌΠ° ΠΊΠΎΡΠΎΡΠΎΠ³ΠΎ ΠΌΠΎΠΆΠ½ΠΎ Π²ΠΈΠ΄Π΅ΡΡ Π½Π° ΡΠΈΡΡΠ½ΠΊΠ΅ Π½ΠΈΠΆΠ΅, ΡΠ²Π»ΡΠ΅ΡΡΡ Π±Π΅ΡΡΠ΅Π½Π½ΡΠΌ ΠΈΠ½ΡΡΡΡΠΌΠ΅Π½ΡΠΎΠΌ Π² ΠΌΠ°ΡΡΠ΅ΡΡΠΊΠΎΠΉ ΡΠ°Π΄ΠΈΠΎΠ»ΡΠ±ΠΈΡΠ΅Π»Ρ. ΠΠ½ ΠΏΠΎΠ·Π²ΠΎΠ»ΡΠ΅Ρ ΡΠ΅ΡΡΠΈΡΠΎΠ²Π°ΡΡ ΡΡΡΡΠΎΠΉΡΡΠ²Π°, ΠΏΠΈΡΠ°Π΅ΠΌΡΡ ΠΎΡ ΡΠ»Π΅ΠΊΡΡΠΈΡΠ΅ΡΠΊΠΎΠΉ ΡΠ΅ΡΠΈ ΠΈ ΠΏΡΠΎΠ²Π΅ΡΡΡΡ ΠΈΡ ΡΡΡΠΎΠΉΡΠΈΠ²ΠΎΡΡΡ ΠΎΡ ΠΏΠ΅ΡΠ΅ΠΏΠ°Π΄ΠΎΠ² ΠΏΠΈΡΠ°ΡΡΠ΅Π³ΠΎ Π½Π°ΠΏΡΡΠΆΠ΅Π½ΠΈΡ.

ΠΡ ΠΆΠ΅ ΡΠ°ΡΡΠΌΠΎΡΡΠΈΠΌ Π΄Π΅ΡΠ΅Π²ΡΡ ΠΈ ΠΏΡΠΎΡΡΡΡ ΡΡ Π΅ΠΌΡ, ΡΠ°Π±ΠΎΡΠ°ΡΡΡΡ ΠΏΠΎ ΠΏΡΠΈΠ½ΡΠΈΠΏΡ ΡΠ°Π·Π½ΠΎΠ³ΠΎ ΡΠ΅Π³ΡΠ»ΠΈΡΠΎΠ²Π°Π½ΠΈΡ. ΠΠ°ΠΊ Π²ΠΈΠ΄Π½ΠΎ, ΡΡ Π΅ΠΌΠ° ΠΎΡΠ΅Π½Ρ ΠΏΡΠΎΡΡΠ°Ρ ΠΈ ΡΠΎΡΡΠΎΠΈΡ Π²ΡΠ΅Π³ΠΎ ΠΈΠ· Π½Π΅ΡΠΊΠΎΠ»ΡΠΊΠΈΡ ΡΠ»Π΅ΠΌΠ΅Π½ΡΠΎΠ². Π‘Π°ΠΌΡΠΌ ΠΈΠ½ΡΠ΅ΡΠ΅ΡΠ½ΡΠΌ ΠΈΠ· Π½ΠΈΡ ΡΠ²Π»ΡΠ΅ΡΡΡ Π΄ΠΈΠ½ΠΈΡΡΠΎΡ DB3 (Diac). ΠΡΠΈΠΌΠ΅Π½Π΅Π½ΠΈΠ΅ ΠΈΠΌΠ΅Π½Π½ΠΎ ΡΡΠΎΠ³ΠΎ ΡΠ»Π΅ΠΌΠ΅Π½ΡΠ° ΠΏΠΎΠ·Π²ΠΎΠ»ΠΈΠ»ΠΎ ΡΠ°Π·ΡΠ°Π±ΠΎΡΠ°ΡΡ ΠΏΡΠΎΡΡΡΡ ΡΡ Π΅ΠΌΡ.
ΠΡΠΈΠ½ΡΠΈΠΏ Π΄Π΅ΠΉΡΡΠ²ΠΈΡ Π΄ΠΈΠ½ΠΈΡΡΠΎΡΠ° Π·Π°ΠΊΠ»ΡΡΠ°Π΅ΡΡΡ Π² ΡΠ»Π΅Π΄ΡΡΡΠ΅ΠΌ: ΠΎΠ½ Π½Π΅ ΠΏΡΠΎΠ²ΠΎΠ΄ΠΈΡ ΡΠΎΠΊ ΠΏΠΎΠΊΠ° Π½Π°ΠΏΡΡΠΆΠ΅Π½ΠΈΡ Π½Π° Π½Π΅ΠΌ Π½ΠΈΠΆΠ΅ ΠΎΠΏΡΠ΅Π΄Π΅Π»Π΅Π½Π½ΠΎΠ³ΠΎ ΠΏΠΎΡΠΎΠ³ΠΎΠ²ΠΎΠ³ΠΎ Π·Π½Π°ΡΠ΅Π½ΠΈΡ, ΠΊΠ°ΠΊ ΠΏΡΠ°Π²ΠΈΠ»ΠΎ 12β¦20Π. ΠΠ΄Π½Π°ΠΊΠΎ, Π΅ΡΠ»ΠΈ ΡΡΠΎ Π½Π°ΠΏΡΡΠΆΠ΅Π½ΠΈΠ΅ Π±ΡΠ΄Π΅Ρ ΠΏΡΠ΅Π²ΡΡΠ΅Π½ΠΎ, Π΄ΠΈΠ½ΠΈΡΡΠΎΡ Π½Π°ΡΠΈΠ½Π°Π΅Ρ ΠΏΡΠΎΠ²ΠΎΠ΄ΠΈΡΡ ΡΠΎΠΊ ΠΏΠΎΠΊΠ° Π½Π°ΠΏΡΡΠΆΠ΅Π½ΠΈΠ΅ Π½Π΅ ΡΠΏΠ°Π΄Π΅Ρ Π΄ΠΎ Π·Π½Π°ΡΠ΅Π½ΠΈΡ Π±Π»ΠΈΠ·ΠΊΠΎΠ³ΠΎ ΠΊ Π½ΡΠ»Ρ. ΠΡΠΎΡΠΎΠΉ, ΠΎΡΠ΅Π½Ρ Π²Π°ΠΆΠ½ΠΎΠΉ ΠΎΡΠΎΠ±Π΅Π½Π½ΠΎΡΡΡΡ Π΄ΠΈΠ°ΠΊΠ° ΡΠ²Π»ΡΠ΅ΡΡΡ ΡΠΎΡ ΡΠ°ΠΊΡ, ΡΡΠΎ ΠΏΠΎΠ»ΡΡΠ½ΠΎΡΡΡ Π½Π°ΠΏΡΡΠΆΠ΅Π½ΠΈΡ Π΄Π»Ρ Π½Π΅Π³ΠΎ ΡΠΎΠ²Π΅ΡΡΠ΅Π½Π½ΠΎ Π½Π΅ ΠΈΠΌΠ΅Π΅Ρ Π·Π½Π°ΡΠ΅Π½ΠΈΡ, ΡΡΠΎ ΠΏΠΎΠ·Π²ΠΎΠ»ΡΠ΅Ρ ΠΏΡΠΈΠΌΠ΅Π½ΡΡΡ ΡΡΠΎΡ ΡΠ»Π΅ΠΌΠ΅Π½Ρ Π² ΡΠ΅ΠΏΡΡ ΠΏΠ΅ΡΠ΅ΠΌΠ΅Π½Π½ΠΎΠ³ΠΎ ΡΠΎΠΊΠ°.
ΠΠ΅ΠΉΡΡΠ²ΠΈΠ΅ ΡΡΠΎΠ³ΠΎ ΠΏΠΎΠ»Π΅Π·Π½ΠΎΠ³ΠΎ ΡΠ°Π΄ΠΈΠΎΠΊΠΎΠΌΠΏΠΎΠ½Π΅Π½ΡΠ° Π»ΡΡΡΠ΅ Π²ΡΠ΅Π³ΠΎ ΠΈΠ»Π»ΡΡΡΡΠΈΡΡΠ΅Ρ ΡΠ»Π΅Π΄ΡΡΡΠΈΠΉ ΡΠΈΡΡΠ½ΠΎΠΊ.

ΠΠ°Π²Π°ΠΉΡΠ΅ ΡΠ΅ΠΏΠ΅ΡΡ ΠΎΠ±ΡΡΠ΄ΠΈΠΌ ΡΠ°Π±ΠΎΡΡ Π½Π°ΡΠ΅Π³ΠΎ Π΄ΠΈΠΌΠΌΠ΅ΡΠ°. ΠΠ½Π°Π»ΠΈΠ· Π΅Π³ΠΎ ΡΠ°Π±ΠΎΡΡ ΠΌΡ Π½Π°ΡΠ½Π΅ΠΌ Π² ΠΌΠΎΠΌΠ΅Π½Ρ ΠΏΠ΅ΡΠ΅Ρ
ΠΎΠ΄Π° ΡΠ΅ΡΠ΅Π²ΠΎΠ³ΠΎ Π½Π°ΠΏΡΡΠΆΠ΅Π½ΠΈΡ ΡΠ΅ΡΠ΅Π· Π½ΠΎΠ»Ρ, ΠΊΠΎΠ³Π΄Π° Π½Π°ΠΏΡΡΠΆΠ΅Π½ΠΈΠ΅ Π½Π° ΠΊΠΎΠ½Π΄Π΅Π½ΡΠ°ΡΠΎΡΠ΅ C1 ΡΠ°ΠΊΠΆΠ΅ Π±Π»ΠΈΠ·ΠΊΠΎ ΠΊ Π½ΡΠ»Ρ. ΠΠ°ΠΏΡΡΠΆΠ΅Π½ΠΈΠ΅ Π² ΡΠ΅ΡΠΈ Π½Π°ΡΠΈΠ½Π°Π΅Ρ Π½Π°ΡΠ°ΡΡΠ°ΡΡ, Π·Π°ΡΡΠΆΠ°Ρ ΠΊΠΎΠ½Π΄Π΅Π½ΡΠ°ΡΠΎΡ C1 ΡΠ΅ΡΠ΅Π· ΡΠ΅Π·ΠΈΡΡΠΎΡ R1 ΠΈ ΠΏΠΎΡΠ΅Π½ΡΠΈΠΎΠΌΠ΅ΡΡ P1.

ΠΠΎΠ½ΡΡΠ½ΠΎ, ΡΡΠΎ ΡΠΊΠΎΡΠΎΡΡΡ Π·Π°ΡΡΠ΄Π° Π·Π°Π²ΠΈΡΠΈΡ ΠΎΡ Π²Π΅Π»ΠΈΡΠΈΠ½Ρ ΠΏΠΎΡΠ»Π΅Π΄ΠΎΠ²Π°ΡΠ΅Π»ΡΠ½ΠΎ ΡΠΎΠ΅Π΄ΠΈΠ½Π΅Π½Π½ΡΡ ΡΠΎΠΏΡΠΎΡΠΈΠ²Π»Π΅Π½ΠΈΠΉ R1 ΠΈ P1, ΠΈ, ΡΠ»Π΅Π΄ΠΎΠ²Π°ΡΠ΅Π»ΡΠ½ΠΎ, Ρ ΠΏΠΎΠΌΠΎΡΡΡ ΠΏΠΎΡΠ΅Π½ΡΠΈΠΎΠΌΠ΅ΡΡΠ° P1 ΠΌΠΎΠΆΠ½ΠΎ ΠΈΠ·ΠΌΠ΅Π½ΡΡΡ ΡΡΡ ΡΠΊΠΎΡΠΎΡΡΡΒ Π² ΡΠΈΡΠΎΠΊΠΈΡ ΠΏΡΠ΅Π΄Π΅Π»Π°Ρ .

Π ΠΊΠ°ΠΊΠΎΠΉ-ΡΠΎ ΠΌΠΎΠΌΠ΅Π½Ρ Π½Π°ΠΏΡΡΠΆΠ΅Π½ΠΈΠ΅ Π½Π° ΠΊΠΎΠ½Π΄Π΅Π½ΡΠ°ΡΠΎΡΠ΅ C1 Π΄ΠΎΡΡΠΈΠ³Π°Π΅Ρ Π·Π½Π°ΡΠ΅Π½ΠΈΡ ΠΏΡΠΎΠ±ΠΎΡ Π΄ΠΈΠ½ΠΈΡΡΠΎΡΠ°. ΠΠΈΠ½ΠΈΡΡΠΎΡ ΡΠ°Π·ΡΡΠΆΠ°Π΅Ρ ΠΊΠΎΠ½Π΄Π΅Π½ΡΠ°ΡΠΎΡ ΡΠ΅ΡΠ΅Π· ΡΠΏΡΠ°Π²Π»ΡΡΡΠΈΠΉ Π²ΡΠ²ΠΎΠ΄ ΡΠΈΠΌΠΈΡΡΠΎΡΠ° Q1. Π‘ΠΈΠΌΠΈΡΡΠΎΡ ΠΎΡΠΊΡΡΠ²Π°Π΅ΡΡΡ, Π²ΠΊΠ»ΡΡΠ°Ρ Π½Π°Π³ΡΡΠ·ΠΊΡ Π·Π°ΠΌΡΠΊΠ°Π΅Ρ ΡΠ΅ΠΏΡ Π·Π°ΡΡΠ΄Π° ΠΊΠΎΠ½Π΄Π΅Π½ΡΠ°ΡΠΎΡΠ° Π‘1 ΠΏΡΠ΅Π΄ΠΎΡΠ²ΡΠ°ΡΠ°Π΅Ρ Π΅Π³ΠΎ ΠΏΠ΅ΡΠ΅Π·Π°ΡΡΠ΄ΠΊΡ.
ΠΡΠΈ ΡΠ»Π΅Π΄ΡΡΡΠ΅ΠΌ ΠΏΠ΅ΡΠ΅Ρ ΠΎΠ΄Π΅ Π½Π°ΠΏΡΡΠΆΠ΅Π½ΠΈΡ ΡΠ΅ΡΠ΅Π· Π½ΠΎΠ»Ρ, ΡΠΈΠΌΠΈΡΡΠΎΡ Π²ΡΠΊΠ»ΡΡΠ°Π΅ΡΡΡ, ΠΊΠΎΠ½Π΄Π΅Π½ΡΠ°ΡΠΎΡ C1 ΡΠ½ΠΎΠ²Π° Π½Π°ΡΠΈΠ½Π°Π΅Ρ Π·Π°ΡΡΠΆΠ°ΡΡΡΡ, ΠΈ Π²Π΅ΡΡ ΡΠΈΠΊΠ» ΠΏΠΎΠ²ΡΠΎΡΡΠ΅ΡΡΡ ΡΡΠΎ ΡΠ°Π· Π² ΡΠ΅ΠΊΡΠ½Π΄Ρ. ΠΠΎΠ½ΡΡΠ½ΠΎ, ΡΡΠΎ ΡΠ΅ΠΌ ΠΌΠ΅Π½ΡΡΠ΅ Π·Π°ΡΡΠ΄ΠΈΡΡΡ ΠΊΠΎΠ½Π΄Π΅Π½ΡΠ°ΡΠΎΡ C1, ΡΠ΅ΠΌ ΠΌΠ΅Π½ΡΡΠ΅ ΠΏΠΎ Π²ΡΠ΅ΠΌΠ΅Π½ΠΈ Π±ΡΠ΄Π΅Ρ ΠΎΡΠΊΡΡΡ ΡΠΈΠΌΠΈΡΡΠΎΡ ΠΈ ΡΠΎΠΎΡΠ²Π΅ΡΡΡΠ²Π΅Π½Π½ΠΎ ΠΌΠ΅Π½ΡΡΠ°Ρ ΠΌΠΎΡΠ½ΠΎΡΡΡ ΠΏΠΎΡΡΡΠΏΠΈΡ Π½Π° Π½Π°Π³ΡΡΠ·ΠΊΡ.
Π’Π°ΠΊΠΈΠΌ ΠΏΡΠΎΡΡΡΠΌ ΡΠΏΠΎΡΠΎΠ±ΠΎΠΌ ΠΌΡ ΠΏΠΎΠ»ΡΡΠ°Π΅ΠΌ ΠΏΠ»Π°Π²Π½ΡΡ ΡΠ΅Π³ΡΠ»ΠΈΡΠΎΠ²ΠΊΡ ΠΌΠΎΡΠ½ΠΎΡΡΠΈ ΠΏΡΠ°ΠΊΡΠΈΡΠ΅ΡΠΊΠΈ ΠΎΡ 0 Π΄ΠΎ 99%. Π Π°Π±ΠΎΡΡ ΡΡ Π΅ΠΌΡ Π»ΡΡΡΠ΅ Π²ΡΠ΅Π³ΠΎ ΠΈΠ»Π»ΡΡΡΡΠΈΡΡΠ΅Ρ ΡΠ»Π΅Π΄ΡΡΡΠΈΠΉ ΡΠΈΡΡΠ½ΠΎΠΊ. ΠΠΎΠΏΠΎΠ»Π½ΠΈΡΠ΅Π»ΡΠ½ΡΠ΅ Π΄Π²Π° ΡΠ»Π΅ΠΌΠ΅Π½ΡΠ°, Π΄ΡΠΎΡΡΠ΅Π»Ρ D1 ΠΈ ΠΊΠΎΠ½Π΄Π΅Π½ΡΠ°ΡΠΎΡ Π‘2, ΡΠ»ΡΠΆΠ°Ρ Π΄Π»Ρ ΡΡΡΡΠ°Π½Π΅Π½ΠΈΡ ΡΠ΅ΡΡΠ΅Π·Π½ΠΎΠ³ΠΎ Π½Π΅Π΄ΠΎΡΡΠ°ΡΠΊΠ° ΡΡ Π΅ΠΌΡ: Π³Π΅Π½Π΅ΡΠ°ΡΠΈΠΈ ΡΠ°Π΄ΠΈΠΎΠΏΠΎΠΌΠ΅Ρ ΠΏΠΎΠΌΠ΅Ρ .
Π ΡΡ Π΅ΠΌΡ Π΄ΠΎΠ±Π°Π²Π»Π΅Π½ ΡΠ΅Π·ΠΈΡΡΠΎΡ R2 (Π΅Π³ΠΎ Π·Π½Π°ΡΠ΅Π½ΠΈΠ΅ Π½Π΅ΠΎΠ±Ρ ΠΎΠ΄ΠΈΠΌΠΎ ΠΏΠΎΠ΄ΠΎΠ±ΡΠ°ΡΡ). ΠΠ°Π·Π½Π°ΡΠ΅Π½ΠΈΠ΅ Π΄Π°Π½Π½ΠΎΠ³ΠΎ ΡΠ΅Π·ΠΈΡΡΠΎΡΠ° β ΠΏΠΎΠ΄Π΄Π΅ΡΠΆΠΈΠ²Π°ΡΡ Π½ΠΈΡΡ Π½Π°ΠΊΠ°Π»Π° Π»Π°ΠΌΠΏΡ Π² Β«ΡΠ΅ΠΏΠ»ΠΎΠΌΒ» ΡΠΎΡΡΠΎΡΠ½ΠΈΠΈ. ΠΡΠΎ Ρ ΠΎΡΠΎΡΠΈΠΉ ΡΠΏΠΎΡΠΎΠ± ΡΠ²Π΅Π»ΠΈΡΠΈΡΡ ΡΡΠΎΠΊ ΡΠ»ΡΠΆΠ±Ρ Π»Π°ΠΌΠΏ Π½Π°ΠΊΠ°Π»ΠΈΠ²Π°Π½ΠΈΡ, ΠΊΠΎΡΠΎΡΡΠ΅ ΡΠ°ΡΠ΅ Π²ΡΠ΅Π³ΠΎ ΠΏΠ΅ΡΠ΅Π³ΠΎΡΠ°ΡΡ Π² ΠΌΠΎΠΌΠ΅Π½Ρ ΠΈΡ Π²ΠΊΠ»ΡΡΠ΅Π½ΠΈΡ, ΠΏΠΎΡΠΊΠΎΠ»ΡΠΊΡ Ρ ΠΎΠ»ΠΎΠ΄Π½Π°Ρ Π½ΠΈΡΡΒ ΠΈΠΌΠ΅Π΅Ρ Π½ΠΈΠ·ΠΊΠΎΠ΅ ΡΠΎΠΏΡΠΎΡΠΈΠ²Π»Π΅Π½ΠΈΠ΅. ΠΡΠΈ ΠΈΡΠΏΠΎΠ»ΡΠ·ΠΎΠ²Π°Π½ΠΈΠΈ ΡΠ΅Π·ΠΈΡΡΠΎΡΠ° R2 ΠΏΡΠΎΡΠ΅ΠΊΠ°ΡΡΠΈΠΉ ΡΠ΅ΡΠ΅Π· Π»Π°ΠΌΠΏΡ ΡΠΎΠΊ, Π½ΠΈΡΡΠΎΠΆΠ½ΠΎ ΠΌΠ°Π».
ΠΠ½ΠΈΠΌΠ°Π½ΠΈΠ΅. ΠΠΈΠΌΠΌΠ΅Ρ Π²ΠΎ Π²ΡΠ΅ΠΌΡ ΡΠ°Π±ΠΎΡΡ Π½Π°Ρ ΠΎΠ΄ΠΈΡΡΡ ΠΏΠΎΠ΄ ΠΎΠΏΠ°ΡΠ½ΡΠΌ Π΄Π»Ρ ΠΆΠΈΠ·Π½ΠΈ Π½Π°ΠΏΡΡΠΆΠ΅Π½ΠΈΠ΅ΠΌ ΡΠ΅ΡΠΈ 220 Π²ΠΎΠ»ΡΡ! ΠΠΎΠ½ΡΠ°ΠΆ ΠΈ Π½Π°ΡΡΡΠΎΠΉΠΊΡ ΠΏΡΠΎΠΈΠ·Π²ΠΎΠ΄ΠΈΡΡ ΡΠΎΠ»ΡΠΊΠΎ ΠΏΡΠΈ ΠΏΠΎΠ»Π½ΠΎΠΌ ΠΎΡΠΊΠ»ΡΡΠ΅Π½ΠΈΠΈ ΠΎΡ ΡΠ΅ΡΠΈ. ΠΡΠ»ΠΈ Π²Ρ Π½Π΅ ΡΠ²Π΅ΡΠ΅Π½Ρ Π² ΡΠ²ΠΎΠΈΡ ΡΠΈΠ»Π°Ρ , ΡΠΎ ΠΏΠΎΠΏΡΠΎΡΠΈΡΠ΅ ΠΏΠΎΠΌΠΎΡΡ Π² ΡΠ±ΠΎΡΠΊΠ΅ Π΄Π°Π½Π½ΠΎΠ³ΠΎ ΡΡΡΡΠΎΠΉΡΡΠ²Π° Π±ΠΎΠ»Π΅Π΅ ΠΎΠΏΡΡΠ½ΠΎΠ³ΠΎ ΡΠΏΠ΅ΡΠΈΠ°Π»ΠΈΡΡΠ°.
www.joyta.ru
ΠΠ°ΠΊ ΡΠ΄Π΅Π»Π°ΡΡ Π΄ΠΈΠΌΠΌΠ΅Ρ Π½Π° 220 ΠΈ 12 Π: ΡΡ Π΅ΠΌΡ, Π²ΠΈΠ΄Π΅ΠΎ, ΠΈΠ½ΡΡΡΡΠΊΡΠΈΡ
ΠΡΠ΅Π½Ρ ΡΠ°ΡΡΠΎ Π²ΠΎΠ·Π½ΠΈΠΊΠ°Π΅Ρ ΠΏΠΎΡΡΠ΅Π±Π½ΠΎΡΡΡ Π² ΡΠ΅Π³ΡΠ»ΠΈΡΠΎΠ²Π°Π½ΠΈΠΈ ΡΡΠΊΠΎΡΡΠΈ Π»Π°ΠΌΠΏΡ Π² ΠΏΡΠ΅Π΄Π΅Π»Π°Ρ ΠΎΠΏΡΠ΅Π΄Π΅Π»Π΅Π½Π½ΠΎΠΉ Π²Π΅Π»ΠΈΡΠΈΠ½Ρ, ΡΡΠΎ ΠΊΠ°ΠΊ ΠΏΡΠ°Π²ΠΈΠ»ΠΎ, ΠΎΡ 20% Π΄ΠΎ 100%.Β ΠΡΡΡΠ°Π²Π»ΡΡΡ ΡΡΠΊΠΎΡΡΡ ΠΌΠ΅Π½ΡΡΠ΅ Π½Π΅ ΠΈΠΌΠ΅Π΅Ρ ΡΠΌΡΡΠ»Π°, ΠΏΠΎΡΠΊΠΎΠ»ΡΠΊΡ Π±ΠΎΠ»ΡΡΠΈΠ½ΡΡΠ²ΠΎ Π»Π°ΠΌΠΏ ΠΏΡΠΎΡΡΠΎ Π½Π΅ ΡΠ°Π±ΠΎΡΠ°ΡΡ Π² ΡΠ°ΠΊΠΎΠΌ ΡΠ΅ΠΆΠΈΠΌΠ΅ ΠΈΠ»ΠΈ Π΄Π°ΡΡ ΠΌΠΈΠ·Π΅ΡΠ½ΠΎΠ΅ ΠΊΠΎΠ»ΠΈΡΠ΅ΡΡΠ²ΠΎ ΡΠ²Π΅ΡΠ°, ΠΊΠΎΡΠΎΡΠΎΠ³ΠΎ Ρ Π²Π°ΡΠΈΡ ΡΠΎΠ»ΡΠΊΠΎ Π½Π° ΡΠ²Π΅ΡΠ΅Π½ΠΈΠ΅ Π»Π°ΠΌΠΏΡ, Π½ΠΎ ΠΏΡΠΈ ΡΡΠΎΠΌ Π½ΠΈΡΠ΅Π³ΠΎ ΠΎΡΠ²Π΅ΡΠ°ΡΡ ΠΎΠ½Π° Π½Π΅ Π±ΡΠ΄Π΅Ρ.Β ΠΠΎΠΆΠ½ΠΎ ΠΏΠΎΠΉΡΠΈ Π² ΠΌΠ°Π³Π°Π·ΠΈΠ½ ΠΈ ΠΊΡΠΏΠΈΡΡ Π³ΠΎΡΠΎΠ²ΡΠΉ ΠΏΡΠΈΠ±ΠΎΡ, Π½ΠΎ ΡΠ΅ΠΉΡΠ°Ρ ΡΠ΅Π½Ρ Π½Π° Π΄Π°Π½Π½ΡΠ΅ ΡΡΡΡΠΎΠΉΡΡΠ²Π° ΠΎΡΠ΅Π½Ρ Π·Π°Π²ΡΡΠ΅Π½Ρ ΠΈ Π½Π΅ ΡΠΎΠΎΡΠ²Π΅ΡΡΡΠ²ΡΡΡ ΠΏΠΎΠ»ΡΡΠ°Π΅ΠΌΠΎΠΌΡ ΠΈΠ·Π΄Π΅Π»ΠΈΡ. Π’Π°ΠΊ ΠΊΠ°ΠΊ ΠΌΡ Ρ Π²Π°ΠΌΠΈ ΠΌΠ°ΡΡΠ΅ΡΠ° Π½Π° Π²ΡΠ΅ ΡΡΠΊΠΈ, ΡΠΎ Π±ΡΠ΄Π΅ΠΌ Π΄Π΅Π»Π°ΡΡ Π΄Π°Π½Π½ΡΠ΅ Π΄Π΅Π²Π°ΠΉΡΡ ΡΠ°ΠΌΠΎΡΡΠΎΡΡΠ΅Π»ΡΠ½ΠΎ.Β Π‘Π΅Π³ΠΎΠ΄Π½Ρ ΡΠ°ΡΡΠΌΠΎΡΡΠΈΠΌ Π½Π΅ΡΠΊΠΎΠ»ΡΠΊΠΎ ΡΡ Π΅ΠΌ,Β Π±Π»Π°Π³ΠΎΠ΄Π°ΡΡ ΠΊΠΎΡΠΎΡΡΠΌ Π²Π°ΠΌ ΡΡΠ°Π½Π΅Ρ ΠΏΠΎΠ½ΡΡΠ½ΠΎ, ΠΊΠ°ΠΊ ΡΠ΄Π΅Π»Π°ΡΡ Π΄ΠΈΠΌΠΌΠ΅Ρ Π½Π° 12 Π ΠΈ 220 Π ΡΠ²ΠΎΠΈΠΌΠΈ ΡΡΠΊΠ°ΠΌΠΈ.
ΠΠ° ΡΠΈΠΌΠΈΡΡΠΎΡΠ΅
ΠΠ»Ρ Π½Π°ΡΠ°Π»ΠΎ ΡΠ°ΡΡΠΌΠΎΡΡΠΈΠΌ ΡΡ Π΅ΠΌΡ ΡΠ²Π΅ΡΠΎΡΠ΅Π³ΡΠ»ΡΡΠΎΡΠ°, ΡΠ°Π±ΠΎΡΠ°ΡΡΠ΅Π³ΠΎ ΠΎΡ ΡΠ΅ΡΠΈ 220 ΠΠΎΠ»ΡΡ.Β ΠΠ°Π½Π½ΡΠΉ ΡΠΈΠΏ ΡΡΡΡΠΎΠΉΡΡΠ² ΡΠ°Π±ΠΎΡΠ°Π΅Ρ ΠΏΠΎ ΠΏΡΠΈΠ½ΡΠΈΠΏΡ ΡΠ°Π·ΠΎΠ²ΠΎΠ³ΠΎ ΡΠΌΠ΅ΡΠ΅Π½ΠΈΡ ΠΎΡΠΊΡΡΠ²Π°Π½ΠΈΡ ΡΠΈΠ»ΠΎΠ²ΠΎΠ³ΠΎ ΠΊΠ»ΡΡΠ°. Π‘Π΅ΡΠ΄ΡΠ΅ΠΌ Π΄ΠΈΠΌΠΌΠ΅ΡΠ°Β ΡΠ²Π»ΡΠ΅ΡΡΡ RC ΡΠ΅ΠΏΠΎΡΠΊΠ°. Π£Π·Π΅Π» ΡΠΎΡΠΌΠΈΡΠΎΠ²Π°Π½ΠΈΡ ΡΠΏΡΠ°Π²Π»ΡΡΡΠ΅Π³ΠΎ ΠΈΠΌΠΏΡΠ»ΡΡΠ°, Π² ΠΊΠ°ΡΠ΅ΡΡΠ²Π΅ ΠΊΠΎΡΠΎΡΠΎΠ³ΠΎ Π²ΡΡΡΡΠΏΠ°Π΅Ρ ΡΠΈΠΌΠΌΠ΅ΡΡΠΈΡΠ½ΡΠΉ Π΄ΠΈΠ½ΠΈΡΡΠΎΡ. Π ΡΠΎΠ±ΡΡΠ²Π΅Π½Π½ΠΎ, ΡΠ°ΠΌ ΡΠΈΠ»ΠΎΠ²ΠΎΠΉ ΠΊΠ»ΡΡ, ΡΠΏΡΠ°Π²Π»ΡΡΡΠΈΠΉ Π½Π°Π³ΡΡΠ·ΠΊΠΎΠΉ β ΡΠΈΠΌΠΈΡΡΠΎΡ.

Π Π°ΡΡΠΌΠΎΡΡΠΈΠΌ ΡΠ°Π±ΠΎΡΡ ΡΡ Π΅ΠΌΡ. Π Π΅Π·ΠΈΡΡΠΎΡΡ R1 ΠΈ R2 ΠΎΠ±ΡΠ°Π·ΡΡΡ Π΄Π΅Π»ΠΈΡΠ΅Π»Ρ Π½Π°ΠΏΡΡΠΆΠ΅Π½ΠΈΡ. Π’Π°ΠΊ ΠΊΠ°ΠΊ R1 ΡΠ²Π»ΡΠ΅ΡΡΡ ΠΏΠ΅ΡΠ΅ΠΌΠ΅Π½Π½ΡΠΌ, ΡΠΎ Ρ Π΅Π³ΠΎ ΠΏΠΎΠΌΠΎΡΡΡ ΠΌΠ΅Π½ΡΠ΅ΡΡΡ Π½Π°ΠΏΡΡΠΆΠ΅Π½ΠΈΠ΅ Π² ΡΠ΅ΠΏΠΎΡΠΊΠ΅ R2C1. ΠΠΈΠ½ΠΈΡΡΠΎΡ DB3 Π²ΠΊΠ»ΡΡΠ΅Π½ Π² ΡΠΎΡΠΊΡ ΠΌΠ΅ΠΆΠ΄Ρ Π½ΠΈΠΌΠΈ ΠΈ ΠΏΡΠΈ Π΄ΠΎΡΡΠΈΠΆΠ΅Π½ΠΈΠΈ Π½Π°ΠΏΡΡΠΆΠ΅Π½ΠΈΡ ΠΏΠΎΡΠΎΠ³Π° Π΅Π³ΠΎ ΠΎΡΠΊΡΡΠ²Π°Π½ΠΈΡ Π½Π° ΠΊΠΎΠ½Π΄Π΅Π½ΡΠ°ΡΠΎΡΠ΅ C1 ΠΎΠ½ ΡΡΠ°Π±Π°ΡΡΠ²Π°Π΅Ρ ΠΈ ΠΏΠΎΠ΄Π°Π΅Ρ ΠΈΠΌΠΏΡΠ»ΡΡ Π½Π° ΡΠΈΠ»ΠΎΠ²ΠΎΠΉ ΠΊΠ»ΡΡ β ΡΠΈΠΌΠΈΡΡΠΎΡ VS1. ΠΠ½ ΠΎΡΠΊΡΡΠ²Π°Π΅ΡΡΡ ΠΈ ΠΏΡΠΎΠΏΡΡΠΊΠ°Π΅Ρ ΡΠ΅ΡΠ΅Π· ΡΠ΅Π±Ρ ΡΠΎΠΊ, ΡΠ΅ΠΌ ΡΠ°ΠΌΡΠΌ Π½Π° Π²ΡΡ ΠΎΠ΄Π΅ ΠΌΡ ΠΏΠΎΠ»ΡΡΠ°Π΅ΠΌ Π½Π°ΠΏΡΡΠΆΠ΅Π½ΠΈΠ΅.Β ΠΡ ΠΏΠΎΠ»ΠΎΠΆΠ΅Π½ΠΈΡ ΡΠ΅Π³ΡΠ»ΡΡΠΎΡΠ° Π·Π°Π²ΠΈΡΠΈΡ, ΠΊΠ°ΠΊΠ°Ρ ΡΠ°ΡΡΡ Π²ΠΎΠ»Π½Ρ ΠΏΠΎΠΉΠ΄Π΅Ρ Π½Π° Π»Π°ΠΌΠΏΡ. Π§Π΅ΠΌ Π±ΡΡΡΡΠ΅Π΅ Π·Π°ΡΡΠΆΠ°Π΅ΡΡΡ ΠΊΠΎΠ½Π΄Π΅Π½ΡΠ°ΡΠΎΡ, ΡΠ΅ΠΌ Π±ΡΡΡΡΠ΅Π΅ ΠΎΡΠΊΡΡΠ²Π°Π΅ΡΡΡ ΠΊΠ»ΡΡ, ΠΈ Π±ΠΎΠ»ΡΡΠ°Ρ ΡΠ°ΡΡΡ Π²ΠΎΠ»Π½Ρ ΠΈ ΠΌΠΎΡΠ½ΠΎΡΡΠΈ ΠΏΠΎΠΉΠ΄Π΅Ρ Π½Π° Π½Π°Π³ΡΡΠ·ΠΊΡ. Π’Π°ΠΊΠΈΠΌ ΠΎΠ±ΡΠ°Π·ΠΎΠΌ, ΡΡ Π΅ΠΌΠ° Π±ΡΠΊΠ²Π°Π»ΡΠ½ΠΎ ΠΎΡΡΠ΅Π·Π°Π΅Ρ ΡΠ°ΡΡΡ ΡΠΈΠ½ΡΡΠΎΠΈΠ΄Ρ. ΠΠΈΠΆΠ΅ ΠΏΡΠ΅Π΄ΡΡΠ°Π²Π»Π΅Π½ Π³ΡΠ°ΡΠΈΠΊ ΡΠ°Π±ΠΎΡΡ ΡΡΡΡΠΎΠΉΡΡΠ²Π°.

ΠΠ½Π°ΡΠ΅Π½ΠΈΠ΅ (t*) β ΡΡΠΎ Π²ΡΠ΅ΠΌΡ, Π·Π° ΠΊΠΎΡΠΎΡΠΎΠ΅ ΠΊΠΎΠ½Π΄Π΅Π½ΡΠ°ΡΠΎΡ Π·Π°ΡΡΠΆΠ°Π΅ΡΡΡ Π΄ΠΎ ΠΏΠΎΡΠΎΠ³Π° ΠΎΡΠΊΡΡΠ²Π°Π½ΠΈΡ ΡΠΈΠ»ΠΎΠ²ΠΎΠ³ΠΎ ΡΠ»Π΅ΠΌΠ΅Π½ΡΠ°. ΠΡΠ° ΡΡ Π΅ΠΌΠ° Π΄ΠΈΠΌΠΌΠ΅ΡΠ° ΠΏΡΠΎΡΡΠ° ΠΈ Π»Π΅Π³ΠΊΠΎ ΠΏΠΎΠ²ΡΠΎΡΡΠ΅ΡΡΡ Π½Π° ΠΏΡΠ°ΠΊΡΠΈΠΊΠ΅. ΠΡΡΡΠ΅ Π²ΡΠ΅Π³ΠΎ ΠΎΠ½Π° ΡΠ°Π±ΠΎΡΠ°Π΅Ρ Π½Π° Π»Π°ΠΌΠΏΠ°Ρ Π½Π°ΠΊΠ°Π»ΠΈΠ²Π°Π½ΠΈΡ, ΠΈΠ·-Π·Π° ΡΠΎΠ³ΠΎ ΡΡΠΎ ΡΠΏΠΈΡΠ°Π»Ρ Π² Π»Π°ΠΌΠΏΠ΅ ΠΈΠΌΠ΅Π΅Ρ ΠΈΠ½Π΅ΡΡΠ½ΠΎΡΡΡ, Π° Π²ΠΎΡ ΡΠΎ ΡΠ²Π΅ΡΠΎΠ΄ΠΈΠΎΠ΄Π½ΡΠΌΠΈ ΠΈ ΠΈΠ½ΡΠΌΠΈ Π»Π°ΠΌΠΏΠ°ΠΌΠΈ ΠΌΠΎΠ³ΡΡ Π²ΠΎΠ·Π½ΠΈΠΊΠ½ΡΡΡ ΠΏΡΠΎΠ±Π»Π΅ΠΌΡ, ΠΏΠΎΡΡΠΎΠΌΡ Π½Π΅ΠΎΠ±Ρ ΠΎΠ΄ΠΈΠΌΠΎ ΠΏΠ΅ΡΠ΅Π΄ ΠΎΠΊΠΎΠ½ΡΠ°ΡΠ΅Π»ΡΠ½ΠΎΠΉ ΡΡΡΠ°Π½ΠΎΠ²ΠΊΠΎΠΉ ΠΏΡΠΎΠ²Π΅ΡΠΈΡΡ ΡΠ°Π±ΠΎΡΠΎΡΠΏΠΎΡΠΎΠ±Π½ΠΎΡΡΡ ΡΡ Π΅ΠΌΡ ΠΊΠΎΠ½ΠΊΡΠ΅ΡΠ½ΠΎ Π½Π° Π²Π°ΡΠΈΡ ΠΏΠΎΡΡΠ΅Π±ΠΈΡΠ΅Π»ΡΡ . Π Π΅ΠΊΠΎΠΌΠ΅Π½Π΄ΡΠ΅ΠΌ ΠΏΡΠΎΡΠΌΠΎΡΡΠ΅ΡΡ ΠΏΡΠ΅Π΄ΠΎΡΡΠ°Π²Π»Π΅Π½Π½ΠΎΠ΅ Π½ΠΈΠΆΠ΅ Π²ΠΈΠ΄Π΅ΠΎ, Π² ΠΊΠΎΡΠΎΡΠΎΠΌ Π½Π°Π³Π»ΡΠ΄Π½ΠΎ ΠΏΠΎΠΊΠ°Π·ΡΠ²Π°Π΅ΡΡΡ, ΠΊΠ°ΠΊ ΡΠ΄Π΅Π»Π°ΡΡ ΡΠ²Π΅ΡΠΎΡΠ΅Π³ΡΠ»ΡΡΠΎΡ Π½Π° ΡΠΈΠΌΠΈΡΡΠΎΡΠ΅:
Π‘ΠΈΠΌΠΈΡΡΠΎΡΠ½ΡΠΉ ΡΠ΅Π³ΡΠ»ΡΡΠΎΡ ΠΌΠΎΡΠ½ΠΎΡΡΠΈ Π½Π° 1000 ΠΡ
ΠΠ° ΡΠΈΡΠΈΡΡΠΎΡΠ°Ρ
ΠΡ ΠΌΠΎΠΆΠ΅ΡΠ΅ Π½Π΅ ΠΏΠΎΠΊΡΠΏΠ°ΡΡ ΡΠΈΠΌΠΈΡΡΠΎΡ, Π° ΡΠ΄Π΅Π»Π°ΡΡ ΠΏΡΠΎΡΡΠΎΠΉ ΡΠ²Π΅ΡΠΎΡΠ΅Π³ΡΠ»ΡΡΠΎΡ Π½Π° ΡΠΈΡΠΈΡΡΠΎΡΠ°Ρ , ΠΊΠΎΡΠΎΡΡΠ΅ ΠΌΠΎΠΆΠ½ΠΎ Π»Π΅Π³ΠΊΠΎ Π΄ΠΎΡΡΠ°ΡΡ ΠΈΠ· ΡΡΠ°ΡΠΎΠΉ Π½Π΅ΡΠ°Π±ΠΎΡΠ°ΡΡΠ΅ΠΉ Π°ΠΏΠΏΠ°ΡΠ°ΡΡΡΡ ΠΈ ΠΏΠ»Π°Ρ, ΠΏΠΎ ΡΠΈΠΏΡ ΡΠ΅Π»Π΅Π²ΠΈΠ·ΠΎΡΠΎΠ², ΠΌΠ°Π³Π½ΠΈΡΠΎΡΠΎΠ½ΠΎΠ² ΠΈ Ρ.Π΄.Β Π‘Ρ Π΅ΠΌΠ° Π½Π΅ΠΌΠ½ΠΎΠ³ΠΎ ΠΎΡΠ»ΠΈΡΠ°Π΅ΡΡΡ ΠΎΡ ΠΏΡΠ΅Π΄ΡΠ΄ΡΡΠ΅ΠΉ, ΡΠ΅ΠΌ ΡΡΠΎ Π΄Π»Ρ ΠΊΠ°ΠΆΠ΄ΠΎΠΉ ΠΏΠΎΠ»ΡΠ²ΠΎΠ»Π½Ρ ΡΡΠΎΠΈΡ ΡΠ²ΠΎΠΉ ΡΠΈΡΠΈΡΡΠΎΡ, ΠΈ ΡΠ΅ΠΌ ΡΠ°ΠΌΡΠΌ ΡΠ²ΠΎΠΉ Π΄ΠΈΠ½ΠΈΡΡΠΎΡ Π΄Π»Ρ ΠΊΠ°ΠΆΠ΄ΠΎΠ³ΠΎ ΠΊΠ»ΡΡΠ°.

ΠΡΠ°ΡΠΊΠΎ ΠΎΠΏΠΈΡΠ΅ΠΌ ΠΏΡΠΎΡΠ΅ΡΡ ΡΠ΅Π³ΡΠ»ΠΈΡΠΎΠ²Π°Π½ΠΈΡ. ΠΠΎ Π²ΡΠ΅ΠΌΡ ΠΏΠΎΠ»ΠΎΠΆΠΈΡΠ΅Π»ΡΠ½ΠΎΠΉ ΠΏΠΎΠ»ΡΠ²ΠΎΠ»Π½Ρ Π΅ΠΌΠΊΠΎΡΡΡ C1 Π·Π°ΡΡΠΆΠ°Π΅ΡΡΡ ΡΠ΅ΡΠ΅Π· ΡΠ΅ΠΏΠΎΡΠΊΡ R5, R4, R3. ΠΡΠΈ Π΄ΠΎΡΡΠΈΠΆΠ΅Π½ΠΈΠΈ ΠΏΠΎΡΠΎΠ³Π° ΠΎΡΠΊΡΡΠ²Π°Π½ΠΈΡ Π΄ΠΈΠ½ΠΈΡΡΠΎΡΠ° V3, ΡΠΎΠΊ ΡΠ΅ΡΠ΅Π· Π½Π΅Π³ΠΎ ΠΏΠΎΠΏΠ°Π΄Π°Π΅Ρ Π½Π° ΡΠΏΡΠ°Π²Π»ΡΡΡΠΈΠΉ ΡΠ»Π΅ΠΊΡΡΠΎΠ΄ ΡΠΈΡΠΈΡΡΠΎΡΠ° V1. ΠΠ»ΡΡ ΠΎΡΠΊΡΡΠ²Π°Π΅ΡΡΡ, ΠΏΡΠΎΠΏΡΡΠΊΠ°Ρ ΠΏΠΎΠ»ΠΎΠΆΠΈΡΠ΅Π»ΡΠ½ΡΡ ΠΏΠΎΠ»ΡΠ²ΠΎΠ»Π½Ρ ΡΠ΅ΡΠ΅Π· ΡΠ΅Π±Ρ. ΠΡΠΈ ΠΎΡΡΠΈΡΠ°ΡΠ΅Π»ΡΠ½ΠΎΠΉ ΡΠ°Π·Π΅ ΡΠΈΡΠΈΡΡΠΎΡ Π·Π°ΠΏΠΈΡΠ°Π΅ΡΡΡ, Π° ΠΏΡΠΎΡΠ΅ΡΡ ΠΏΠΎΠ²ΡΠΎΡΡΠ΅ΡΡΡ Π΄Π»Ρ Π΄ΡΡΠ³ΠΎΠ³ΠΎ ΠΊΠ»ΡΡΠ° V2 ΠΈ ΠΊΠΎΠ½Π΄Π΅Π½ΡΠ°ΡΠΎΡΠ° Π‘2, ΠΊΠΎΡΠΎΡΡΠΉ Π·Π°ΡΡΠΆΠ°Π΅ΡΡΡ ΡΠ΅ΡΠ΅Π· ΡΠ΅ΠΏΠΎΡΠΊΡ R1, R2, R5.
Π€Π°Π·Π½ΡΠ΅ ΡΠ΅Π³ΡΠ»ΡΡΠΎΡΡ β Π΄ΠΈΠΌΠ΅ΡΡ ΠΌΠΎΠΆΠ½ΠΎ ΠΈΡΠΏΠΎΠ»ΡΠ·ΠΎΠ²Π°ΡΡ Π½Π΅ ΡΠΎΠ»ΡΠΊΠΎ Π΄Π»Ρ ΡΠ΅Π³ΡΠ»ΠΈΡΠΎΠ²ΠΊΠΈ ΡΡΠΊΠΎΡΡΠΈ Π»Π°ΠΌΠΏ Π½Π°ΠΊΠ°Π»ΠΈΠ²Π°Π½ΠΈΡ, Π° ΡΠ°ΠΊΠΆΠ΅ Π΄Π»Ρ ΡΠ΅Π³ΡΠ»ΠΈΡΠΎΠ²Π°Π½ΠΈΡ ΡΠΊΠΎΡΠΎΡΡΠΈ Π²ΡΠ°ΡΠ΅Π½ΠΈΡ Π²Π΅Π½ΡΠΈΠ»ΡΡΠΎΡΠ° Π²ΡΡΡΠΆΠΊΠΈ, ΠΌΠΎΠΆΠ½ΠΎ ΡΠ΄Π΅Π»Π°ΡΡ ΠΏΡΠΈΡΡΠ°Π²ΠΊΡ Π΄Π»Ρ ΠΏΠ°ΡΠ»ΡΠ½ΠΈΠΊΠ° ΠΈ ΡΠ΅Π³ΡΠ»ΠΈΡΠΎΠ²Π°ΡΡ ΡΠ°ΠΊΠΈΠΌ ΠΎΠ±ΡΠ°Π·ΠΎΠΌ ΡΠ΅ΠΌΠΏΠ΅ΡΠ°ΡΡΡΡ Π΅Π³ΠΎ ΠΆΠ°Π»Π° Π΄Π»Ρ ΡΠ»ΡΡΡΠ΅Π½ΠΈΡ ΠΊΠ°ΡΠ΅ΡΡΠ²Π° ΠΏΠ°ΠΉΠΊΠΈ.
ΠΠΈΠ΄Π΅ΠΎ ΠΈΠ½ΡΡΡΡΠΊΡΠΈΡ ΠΏΠΎ ΡΠ±ΠΎΡΠΊΠ΅:
Π‘Π±ΠΎΡΠΊΠ° ΡΠΈΡΠΈΡΡΠΎΡΠ½ΠΎΠ³ΠΎ Π΄ΠΈΠΌΠΌΠ΅ΡΠ°
ΠΠ°ΠΆΠ½ΠΎ!Β ΠΠ°Π½Π½ΡΠΉ ΡΠΏΠΎΡΠΎΠ± ΡΠ΅Π³ΡΠ»ΠΈΡΠΎΠ²Π°Π½ΠΈΡ Π½Π΅ ΠΏΠΎΠ΄Ρ ΠΎΠ΄ΠΈΡ Π΄Π»Ρ ΡΠ°Π±ΠΎΡΡ Ρ Π»ΡΠΌΠΈΠ½Π΅ΡΡΠ΅Π½ΡΠ½ΡΠΌΠΈ, ΡΠΊΠΎΠ½ΠΎΠΌΠ½ΡΠΌΠΈ ΠΊΠΎΠΌΠΏΠ°ΠΊΡΠ½ΡΠΌΠΈ ΠΈ ΡΠ²Π΅ΡΠΎΠ΄ΠΈΠΎΠ΄Π½ΡΠΌΠΈ Π»Π°ΠΌΠΏΠ°ΠΌΠΈ ΠΈΠ·-Π·Π° ΠΎΡΠΎΠ±Π΅Π½Π½ΠΎΡΡΠ΅ΠΉ ΠΈΡ ΡΠ°Π±ΠΎΡΡ.
ΠΠΎΠ½Π΄Π΅Π½ΡΠ°ΡΠΎΡΠ½ΡΠΉ ΡΠ²Π΅ΡΠΎΡΠ΅Π³ΡΠ»ΡΡΠΎΡ
ΠΠ° ΡΡΠ΄Ρ Ρ ΠΏΠ»Π°Π²Π½ΡΠΌΠΈ ΡΠ΅Π³ΡΠ»ΡΡΠΎΡΠ°ΠΌΠΈ Π² Π±ΡΡΡ ΠΏΠΎΠ»ΡΡΠΈΠ»ΠΈ ΡΠ°ΡΠΏΡΠΎΡΡΡΠ°Π½Π΅Π½ΠΈΠ΅ ΠΊΠΎΠ½Π΄Π΅Π½ΡΠ°ΡΠΎΡΠ½ΡΠ΅ Π΄ΠΈΠΌΠΌΠ΅ΡΡ. Π Π°Π±ΠΎΡΠ° Π΄Π°Π½Π½ΠΎΠ³ΠΎ Π΄Π΅Π²Π°ΠΉΡΠ° ΠΎΡΠ½ΠΎΠ²Π°Π½Π° Π½Π° Π·Π°Π²ΠΈΡΠΈΠΌΠΎΡΡΠΈ ΠΏΠ΅ΡΠ΅Π΄Π°ΡΠΈ ΠΏΠ΅ΡΠ΅ΠΌΠ΅Π½Π½ΠΎΠ³ΠΎ ΡΠΎΠΊΠ° ΠΎΡ Π²Π΅Π»ΠΈΡΠΈΠ½Ρ Π΅ΠΌΠΊΠΎΡΡΠΈ. Π§Π΅ΠΌ Π±ΠΎΠ»ΡΡΠ΅ Π΅ΠΌΠΊΠΎΡΡΡ ΠΊΠΎΠ½Π΄Π΅Π½ΡΠ°ΡΠΎΡΠ°, ΡΠ΅ΠΌ Π±ΠΎΠ»ΡΡΠΈΠΉ ΡΠΎΠΊ ΠΎΠ½ ΠΏΡΠΎΠΏΡΡΠΊΠ°Π΅Ρ ΡΠ΅ΡΠ΅Π· ΡΠ΅Π±Ρ. Π’Π°ΠΊΠΈΠΌ ΠΎΠ±ΡΠ°Π·ΠΎΠΌ, Ρ ΠΏΠΎΠΌΠΎΡΡΡ ΠΊΠΎΠ½Π΄Π΅Π½ΡΠ°ΡΠΎΡΠ° ΠΌΠΎΠΆΠ½ΠΎ ΡΠΌΠ΅Π½ΡΡΠΈΡΡ ΠΌΠΎΡΠ½ΠΎΡΡΡ, ΠΏΠΎΠ΄Π°Π²Π°Π΅ΠΌΡΡ Π½Π° Π»Π°ΠΌΠΏΡ, ΠΎΠ΄Π½Π°ΠΊΠΎ ΡΡΠΎΡ ΡΠΏΠΎΡΠΎΠ± Π½Π΅ ΠΏΠΎΠ·Π²ΠΎΠ»ΡΠ΅Ρ ΠΏΡΠΎΠΈΠ·Π²ΠΎΠ΄ΠΈΡΡ ΡΠ΅Π³ΡΠ»ΠΈΡΠΎΠ²ΠΊΡ ΠΏΠ»Π°Π²Π½ΠΎ. ΠΠ°Π½Π½ΡΠΉ Π²ΠΈΠ΄ ΡΠ°ΠΌΠΎΠ΄Π΅Π»ΡΠ½ΠΎΠ³ΠΎ Π΄ΠΈΠΌΠΌΠ΅ΡΠ°Β ΠΌΠΎΠΆΠ΅Ρ Π±ΡΡΡ Π΄ΠΎΠ²ΠΎΠ»ΡΠ½ΠΎ ΠΊΠΎΠΌΠΏΠ°ΠΊΡΠ½ΡΠΌ, Π²ΡΠ΅ Π·Π°Π²ΠΈΡΠΈΡ ΠΎΡ ΡΡΠ΅Π±ΡΠ΅ΠΌΡΡ ΠΏΠ°ΡΠ°ΠΌΠ΅ΡΡΠΎΠ² ΡΡΠΊΠΎΡΡΠΈ, Π° ΡΠ»Π΅Π΄ΠΎΠ²Π°ΡΠ΅Π»ΡΠ½ΠΎ, ΠΎΡ Π΅ΠΌΠΊΠΎΡΡΠΈ ΠΊΠΎΠ½Π΄Π΅Π½ΡΠ°ΡΠΎΡΠ°, ΠΊΠΎΡΠΎΡΠ°Ρ ΡΠ²ΡΠ·Π°Π½Π° Ρ Π΅Π³ΠΎ ΡΠ°Π·ΠΌΠ΅ΡΠ°ΠΌΠΈ.

ΠΠ°ΠΊ Π²ΠΈΠ΄Π½ΠΎ ΠΈΠ· ΡΡ Π΅ΠΌΡ, Π΅ΡΡΡ ΡΡΠΈ ΠΏΠΎΠ»ΠΎΠΆΠ΅Π½ΠΈΡ: 100% ΠΌΠΎΡΠ½ΠΎΡΡΠΈ, ΡΠ΅ΡΠ΅Π· Π³Π°ΡΡΡΠΈΠΉ ΠΊΠΎΠ½Π΄Π΅Π½ΡΠ°ΡΠΎΡ (ΡΠΌΠ΅Π½ΡΡΠ΅Π½ΠΈΠ΅ ΠΌΠΎΡΠ½ΠΎΡΡΠΈ) ΠΈ Π²ΡΠΊΠ»ΡΡΠ΅Π½ΠΎ. Π ΡΡΡΡΠΎΠΉΡΡΠ²Π΅ ΠΈΡΠΏΠΎΠ»ΡΠ·ΡΠ΅ΡΡΡ Π½Π΅ΠΏΠΎΠ»ΡΡΠ½ΡΠΉ Π±ΡΠΌΠ°ΠΆΠ½ΡΠΉ ΠΊΠΎΠ½Π΄Π΅Π½ΡΠ°ΡΠΎΡ, ΠΊΠΎΡΠΎΡΡΠΉ ΠΌΠΎΠΆΠ½ΠΎ ΡΠ°Π·Π΄ΠΎΠ±ΡΡΡ Π² ΡΡΠ°ΡΠΎΠΉ ΡΠ΅Ρ Π½ΠΈΠΊΠ΅. Π ΡΠΎΠΌ, ΠΊΠ°ΠΊ ΠΏΡΠ°Π²ΠΈΠ»ΡΠ½ΠΎ Π²ΡΠΏΠ°ΠΈΠ²Π°ΡΡ ΡΠ°Π΄ΠΈΠΎΠ΄Π΅ΡΠ°Π»ΠΈ ΠΈΠ· ΠΏΠ»Π°Ρ ΠΌΡ ΡΠ°ΡΡΠΊΠ°Π·Π°Π»ΠΈ Π² ΡΠΎΠΎΡΠ²Π΅ΡΡΡΠ²ΡΡΡΠ΅ΠΉ ΡΡΠ°ΡΡΠ΅!
ΠΠΈΠΆΠ΅ ΠΏΡΠΈΠ²Π΅Π΄Π΅Π½Π° ΡΠ°Π±Π»ΠΈΡΠ°, ΡΠ²ΡΠ·ΡΠ²Π°ΡΡΠ°Ρ Π΅ΠΌΠΊΠΎΡΡΡ ΠΈ Π½Π°ΠΏΡΡΠΆΠ΅Π½ΠΈΠ΅ Π½Π° Π»Π°ΠΌΠΏΠ΅.

ΠΠ° ΠΎΡΠ½ΠΎΠ²Π΅ ΡΡΠΎΠΉ ΡΡ Π΅ΠΌΡ ΠΌΠΎΠΆΠ½ΠΎ ΡΠ°ΠΌΠΎΠΌΡ ΡΠΎΠ±ΡΠ°ΡΡ ΠΏΡΠΎΡΡΠΎΠΉ Π½ΠΎΡΠ½ΠΈΠΊ ΠΈ Ρ ΠΏΠΎΠΌΠΎΡΡΡ ΡΡΠΌΠ±Π»Π΅ΡΠ° ΠΈΠ»ΠΈ ΠΏΠ΅ΡΠ΅ΠΊΠ»ΡΡΠ°ΡΠ΅Π»Ρ ΡΠΏΡΠ°Π²Π»ΡΡΡ ΡΡΠΊΠΎΡΡΡΡ ΡΠ²Π΅ΡΠΈΠ»ΡΠ½ΠΈΠΊΠ°.
ΠΠ° ΠΌΠΈΠΊΡΠΎΡΡ Π΅ΠΌΠ΅
ΠΠ»Ρ ΡΠ΅Π³ΡΠ»ΠΈΡΠΎΠ²Π°Π½ΠΈΡ ΠΌΠΎΡΠ½ΠΎΡΡΡΡ, ΠΏΠΎΠ΄Π°Π²Π°Π΅ΠΌΠΎΠΉ Π½Π° Π½Π°Π³ΡΡΠ·ΠΊΡ Π² ΡΠ΅ΠΏΡΡ ΠΏΠΎΡΡΠΎΡΠ½Π½ΠΎΠ³ΠΎ ΡΠΎΠΊΠ° 12 ΠΠΎΠ»ΡΡ, ΡΠ°ΡΡΠΎ ΠΈΡΠΏΠΎΠ»ΡΠ·ΡΡΡ ΠΈΠ½ΡΠ΅Π³ΡΠ°Π»ΡΠ½ΡΠ΅ ΡΡΠ°Π±ΠΈΠ»ΠΈΠ·Π°ΡΠΎΡΡ β ΠΠ ΠΠΠΊΠΈ. ΠΡΠΈΠΌΠ΅Π½Π΅Π½ΠΈΠ΅ ΠΌΠΈΠΊΡΠΎΡΡ Π΅ΠΌΡ ΡΠΏΡΠΎΡΠ°Π΅Ρ ΡΠ°Π·ΡΠ°Π±ΠΎΡΠΊΡ ΠΈ ΠΌΠΎΠ½ΡΠ°ΠΆ ΡΡΡΡΠΎΠΉΡΡΠ² Π·Π° ΡΡΠ΅Ρ ΠΌΠ°Π»ΠΎΠ³ΠΎ ΡΠΈΡΠ»Π° ΡΠ°Π΄ΠΈΠΎΠ΄Π΅ΡΠ°Π»Π΅ΠΉ. Π’Π°ΠΊΠΎΠΉ ΡΠ°ΠΌΠΎΠ΄Π΅Π»ΡΠ½ΡΠΉ Π΄ΠΈΠΌΠΌΠ΅ΡΒ ΠΏΡΠΎΡΡ Π² Π½Π°ΡΡΡΠΎΠΉΠΊΠ΅ ΠΈ ΠΎΠ±Π»Π°Π΄Π°Π΅Ρ Π½Π΅ΠΊΠΎΡΠΎΡΡΠΌΠΈ ΡΡΠ½ΠΊΡΠΈΡΠΌΠΈ Π·Π°ΡΠΈΡΡ.

Π‘ ΠΏΠΎΠΌΠΎΡΡΡ ΠΏΠ΅ΡΠ΅ΠΌΠ΅Π½Π½ΠΎΠ³ΠΎ ΡΠ΅Π·ΠΈΡΡΠΎΡΠ° R2 ΡΠΎΠ·Π΄Π°Π΅ΡΡΡ ΠΎΠΏΠΎΡΠ½ΠΎΠ΅ Π½Π°ΠΏΡΡΠΆΠ΅Π½ΠΈΠ΅ Π½Π° ΡΠΏΡΠ°Π²Π»ΡΡΡΠ΅ΠΌ ΡΠ»Π΅ΠΊΡΡΠΎΠ΄Π΅ ΠΌΠΈΠΊΡΠΎΡΡ Π΅ΠΌΡ. Π Π·Π°Π²ΠΈΡΠΈΠΌΠΎΡΡΠΈ ΠΎΡ Π²ΡΡΡΠ°Π²Π»Π΅Π½Π½ΠΎΠ³ΠΎ ΠΏΠ°ΡΠ°ΠΌΠ΅ΡΡΠ° ΡΠ΅Π³ΡΠ»ΠΈΡΡΠ΅ΡΡΡ Π·Π½Π°ΡΠ΅Π½ΠΈΠ΅ Π½Π° Π²ΡΡ ΠΎΠ΄Π΅ ΠΎΡ ΠΌΠ°ΠΊΡΠΈΠΌΡΠΌΠ° Π² 12 Π Π΄ΠΎ ΠΌΠΈΠ½ΠΈΠΌΡΠΌΠ° Π² Π΄Π΅ΡΡΡΡΠ΅ Π΄ΠΎΠ»ΠΈ ΠΠΎΠ»ΡΡΠ°.Β ΠΠ΅Π΄ΠΎΡΡΠ°ΡΠΎΠΊ Π΄Π°Π½Π½ΡΡ ΡΠ΅Π³ΡΠ»ΡΡΠΎΡΠΎΠ² Π² ΠΌΠ°Π»ΠΎΠΌ ΠΠΠ ΠΈ ΠΌΠ°ΠΊΡΠΈΠΌΠ°Π»ΡΠ½ΠΎ Π²ΠΎΠ·ΠΌΠΎΠΆΠ½ΠΎΠΉ ΠΌΠΎΡΠ½ΠΎΡΡΠΈ ΠΏΠΎΠ΄ΠΊΠ»ΡΡΠ°Π΅ΠΌΠΎΠΉ Π½Π°Π³ΡΡΠ·ΠΊΠΈ, Π² ΡΠ»Π΅Π΄ΡΡΠ²ΠΈΠ΅ ΡΡΠΎΠ³ΠΎ, Π΅ΡΡΡ Π½Π΅ΠΎΠ±Ρ ΠΎΠ΄ΠΈΠΌΠΎΡΡΡ ΡΡΡΠ°Π½ΠΎΠ²ΠΊΠΈ Π΄ΠΎΠΏΠΎΠ»Π½ΠΈΡΠ΅Π»ΡΠ½ΠΎΠ³ΠΎ ΡΠ°Π΄ΠΈΠ°ΡΠΎΡΠ° Π΄Π»Ρ Ρ ΠΎΡΠΎΡΠ΅Π³ΠΎ ΠΎΡ Π»Π°ΠΆΠ΄Π΅Π½ΠΈΡ ΠΠ ΠΠ, ΠΏΠΎΡΠΊΠΎΠ»ΡΠΊΡ ΡΠ°ΡΡΡ ΡΠ½Π΅ΡΠ³ΠΈΠΈ Π²ΡΠ΄Π΅Π»ΡΠ΅ΡΡΡ Π½Π° Π½Π΅ΠΌ Π² Π²ΠΈΠ΄Π΅ ΡΠ΅ΠΏΠ»Π°. ΠΠ΄Π½Π°ΠΊΠΎ, ΡΡΠΎ ΠΈΠ΄Π΅Π°Π»ΡΠ½ΡΠΉ Π²Π°ΡΠΈΠ°Π½Ρ Π΄Π»Ρ ΠΌΠ°Π»ΠΎΠΌΠΎΡΠ½ΡΡ ΡΡ Π΅ΠΌ ΠΏΠΎΡΡΠΎΡΠ½Π½ΠΎΠ³ΠΎ ΡΠΎΠΊΠ° ΠΈ Π½ΠΈΠ·ΠΊΠΎΠ³ΠΎ Π½Π°ΠΏΡΡΠΆΠ΅Π½ΠΈΡ, Π·Π° ΡΡΠ΅Ρ ΡΠ²ΠΎΠ΅ΠΉ ΠΏΡΠΎΡΡΠΎΡΡ ΠΈ ΡΠ½ΠΈΠ²Π΅ΡΡΠ°Π»ΡΠ½ΠΎΡΡΠΈ.
ΠΠ°Π½Π½ΡΠΉ ΡΠ΅Π³ΡΠ»ΡΡΠΎΡ ΠΎΡΠ²Π΅ΡΠ΅Π½ΠΈΡ Π±ΡΠ» ΠΏΠΎΠ²ΡΠΎΡΠ΅Π½ ΠΌΠ½ΠΎΠΉ ΠΈ ΠΎΡΠ»ΠΈΡΠ½ΠΎ ΡΠΏΡΠ°Π²Π»ΡΠ»ΡΡ ΡΠΎ ΡΠ²Π΅ΡΠΎΠ΄ΠΈΠΎΠ΄Π½ΠΎΠΉ Π»Π΅Π½ΡΠΎΠΉ 12 ΠΠΎΠ»ΡΡ, Π΄Π»ΠΈΠ½ΠΎΡ ΡΡΠΈ ΠΌΠ΅ΡΡΠ° ΠΈ Π΄Π°Π²Π°Π» Π²ΠΎΠ·ΠΌΠΎΠΆΠ½ΠΎΡΡΡ ΡΠ΅Π³ΡΠ»ΠΈΡΠΎΠ²Π°ΡΡΒ ΡΡΠΊΠΎΡΡΡ ΡΠ²Π΅ΡΠΎΠ΄ΠΈΠΎΠ΄ΠΎΠ² ΠΎΡ Π½ΠΎΠ»Ρ Π΄ΠΎ ΠΌΠ°ΠΊΡΠΈΠΌΡΠΌΠ°.
ΠΡΠ»ΠΈΡΠ½ΡΠΉ Π²Π°ΡΠΈΠ°Π½Ρ β Π΄ΠΈΠΌΠΌΠ΅ΡΒ Π½Π° ΠΈΠ½ΡΠ΅Π³ΡΠ°Π»ΡΠ½ΠΎΠΌ ΡΠ°ΠΉΠΌΠ΅ΡΠ΅ 555, ΠΊΠΎΡΠΎΡΡΠΉ ΡΠΏΡΠ°Π²Π»ΡΠ΅Ρ ΡΠΈΠ»ΠΎΠ²ΡΠΌ ΠΊΠ»ΡΡΠΎΠΌ ΠΠ’819Π, ΠΊΠΎΡΠΎΡΠΊΠΈΠΌΠΈ Π¨ΠΠ ΠΈΠΌΠΏΡΠ»ΡΡΠ°ΠΌΠΈ. Π£ΡΡΠ°Π½ΠΎΠ²ΠΈΠ² Π²ΡΡΠΎΠΊΡΡ ΡΠ°ΡΡΠΎΡΡ ΡΠ°Π±ΠΎΡΡ ΡΡ Π΅ΠΌΡ, ΠΌΠΎΠΆΠ½ΠΎ ΠΈΠ·Π±Π°Π²ΠΈΡΡΡΡ ΠΎΡ ΠΌΠ΅ΡΡΠ°Π½ΠΈΡ, ΠΊΠΎΡΠΎΡΠΎΠ΅ ΡΠ°ΡΡΠΎ Π²ΠΎΠ·Π½ΠΈΠΊΠ°Π΅Ρ ΠΈΠ·-Π·Π° Π΄Π΅ΡΠ΅Π²ΡΡ ΠΏΠΎΠΊΡΠΏΠ½ΡΡ Π΄ΠΈΠΌΠΌΠ΅ΡΠΎΠ² ΠΈ Π²ΡΠ·ΡΠ²Π°Π΅Ρ Π±ΡΡΡΡΡΡ ΡΡΡΠ°Π»ΠΎΡΡΡ ΠΈ ΡΠ°Π·Π΄ΡΠ°ΠΆΠ΅Π½ΠΈΠ΅ Π³Π»Π°Π· Ρ ΡΠ΅Π»ΠΎΠ²Π΅ΠΊΠ°.
Π ΡΠ°ΠΊΠΎΠΌ ΡΠ΅ΠΆΠΈΠΌΠ΅ ΡΡΠ°Π½Π·ΠΈΡΡΠΎΡ ΠΏΡΠ΅Π±ΡΠ²Π°Π΅Ρ Π² Π΄Π²ΡΡ ΡΠΎΡΡΠΎΡΠ½ΠΈΡΡ : ΠΏΠΎΠ»Π½ΠΎΡΡΡΡ ΠΎΡΠΊΡΡΡ ΠΈΠ»ΠΈ ΠΏΠΎΠ»Π½ΠΎΡΡΡΡ Π·Π°ΠΊΡΡΡ. ΠΠ°Π΄Π΅Π½ΠΈΠ΅ Π½Π°ΠΏΡΡΠΆΠ΅Π½ΠΈΡ Π½Π° Π½Π΅ΠΌ ΠΌΠΈΠ½ΠΈΠΌΠ°Π»ΡΠ½Ρ, ΡΡΠΎ ΠΏΠΎΠ·Π²ΠΎΠ»ΡΠ΅Ρ ΠΏΠΎΠ΄ΠΊΠ»ΡΡΠ°ΡΡ Π±ΠΎΠ»Π΅Π΅ ΠΌΠΎΡΠ½ΡΡ Π½Π°Π³ΡΡΠ·ΠΊΡ ΠΈ ΠΈΡΠΏΠΎΠ»ΡΠ·ΠΎΠ²Π°ΡΡ ΡΡ Π΅ΠΌΡ Ρ ΠΌΠ°Π»ΡΠΌ ΡΠ°Π΄ΠΈΠ°ΡΠΎΡΠΎΠΌ, ΡΡΠΎ ΠΏΠΎ ΡΡΠ°Π²Π½Π΅Π½ΠΈΡ Ρ ΠΏΡΠ΅Π΄ΡΠ΄ΡΡΠ΅ΠΉ ΡΡ Π΅ΠΌΠΎΠΉ Ρ ΡΠ΅Π³ΡΠ»ΡΡΠΎΡΠΎΠΌ Π½Π° ΠΠ ΠΠ, Π²ΡΠ³ΠΎΠ΄Π½ΠΎ ΠΎΡΠ»ΠΈΡΠ°Π΅ΡΡΡ ΠΏΠΎ Π³Π°Π±Π°ΡΠΈΡΠ°ΠΌ ΠΈ ΡΠΊΠΎΠ½ΠΎΠΌΠΈΡΠ½ΠΎΡΡΠΈ.

ΠΠ°ΠΏΠΎΡΠ»Π΅Π΄ΠΎΠΊ ΡΠ΅ΠΊΠΎΠΌΠ΅Π½Π΄ΡΠ΅ΠΌ ΠΏΡΠΎΡΠΌΠΎΡΡΠ΅ΡΡ Π΅ΡΠ΅ ΠΎΠ΄ΠΈΠ½ ΠΌΠ°ΡΡΠ΅Ρ-ΠΊΠ»Π°ΡΡ, Π² ΠΊΠΎΡΠΎΡΠΎΠΌ ΠΏΠΎΠΊΠ°Π·Π°Π½ΠΎ, ΠΊΠ°ΠΊ ΠΌΠΎΠΆΠ½ΠΎ ΡΠ΄Π΅Π»Π°ΡΡ ΡΠ΅Π³ΡΠ»ΡΡΠΎΡ ΠΎΡΠ²Π΅ΡΠ΅Π½ΠΈΡ Π΄Π»Ρ ΡΠ²Π΅ΡΠΎΠ΄ΠΈΠΎΠ΄ΠΎΠ²:
ΠΠ·Π³ΠΎΡΠΎΠ²Π»Π΅Π½ΠΈΠ΅ ΡΠ΅Π³ΡΠ»ΡΡΠΎΡΠ° ΡΠ²Π΅ΡΠ° Π½Π° 12 ΠΠΎΠ»ΡΡ
ΠΠΎΡ ΡΠΎΠ±ΡΡΠ²Π΅Π½Π½ΠΎ ΠΈ Π²ΡΠ΅ ΠΈΠ΄Π΅ΠΈ ΡΠ±ΠΎΡΠΊΠΈ ΠΏΡΠΎΡΡΠΎΠ³ΠΎ ΡΠ²Π΅ΡΠΎΡΠ΅Π³ΡΠ»ΡΡΠΎΡΠ° Π² Π΄ΠΎΠΌΠ°ΡΠ½ΠΈΡ ΡΡΠ»ΠΎΠ²ΠΈΡΡ . Π’Π΅ΠΏΠ΅ΡΡ Π²Ρ Π·Π½Π°Π΅ΡΠ΅, ΠΊΠ°ΠΊ ΡΠ΄Π΅Π»Π°ΡΡ Π΄ΠΈΠΌΠΌΠ΅Ρ ΡΠ²ΠΎΠΈΠΌΠΈ ΡΡΠΊΠ°ΠΌΠΈ Π½Π° 220 ΠΈ 12Π.
ΠΡΠ΄Π΅Ρ ΠΈΠ½ΡΠ΅ΡΠ΅ΡΠ½ΠΎ ΠΏΡΠΎΡΠΈΡΠ°ΡΡ:
samelectrik.ru
ΠΠΈΠΌΠΌΠ΅Ρ Π΄Π»Ρ Π»Π°ΠΌΠΏ Π½Π°ΠΊΠ°Π»ΠΈΠ²Π°Π½ΠΈΡ — ΡΡΡΡΠΎΠΉΡΡΠ²ΠΎ ΠΈ ΠΏΡΠΈΠ½ΡΠΈΠΏ ΡΠ°Π±ΠΎΡΡ
Π‘ΠΈΠ»Π° ΡΠ²Π΅ΡΠ° Π² ΠΏΠΎΠΌΠ΅ΡΠ΅Π½ΠΈΠΈ Π½Π΅ ΡΠΎΠ»ΡΠΊΠΎ ΡΠ²ΡΠ·Π°Π½Π° Ρ ΠΊΠ°ΠΊΠΈΠΌ-ΡΠΎ Π·Π°Π½ΡΡΠΈΠ΅ΠΌ ΠΈΠ»ΠΈ ΡΠ°Π±ΠΎΡΠΎΠΉ, ΠΊΠΎΡΠΎΡΠ°Ρ Π²ΡΠΏΠΎΠ»Π½ΡΠ΅ΡΡΡ, Π½ΠΎ ΠΈ Π²Π»ΠΈΡΠ΅Ρ Π½Π°Β Π½Π°ΡΡΡΠΎΠ΅Π½ΠΈΠ΅. ΠΠΎΠΆΠ½ΠΎ Π²ΠΊΠ»ΡΡΠΈΡΡ ΠΎΠ΄Π½Ρ, Π΄Π²Π΅, ΡΡΠΈ ΠΈΠ»ΠΈ Π±ΠΎΠ»ΡΡΠ΅Π΅ ΡΠΈΡΠ»ΠΎ Π»Π°ΠΌΠΏΠΎΡΠ΅ΠΊ. ΠΠΎ ΠΈΠΌΠ΅Ρ Π²ΠΎΠ·ΠΌΠΎΠΆΠ½ΠΎΡΡΡ ΠΏΠ»Π°Π²Π½ΠΎΠΉ ΡΠ΅Π³ΡΠ»ΠΈΡΠΎΠ²ΠΊΠΈ ΡΠΈΠ»Ρ ΡΠ²Π΅ΡΠ°, ΠΌΠΎΠΆΠ½ΠΎ ΠΏΠΎΠ»ΡΡΠΈΡΡ Π½Π°ΠΌΠ½ΠΎΠ³ΠΎ Π±ΠΎΠ»ΡΡΠ΅ Π²Π°ΡΠΈΠ°Π½ΡΠΎΠ² ΠΎΡΠ²Π΅ΡΠ΅Π½ΠΈΡ. ΠΠ»Ρ ΡΡΠΎΠ³ΠΎ ΠΈ Π±ΡΠ» ΠΏΡΠΈΠ΄ΡΠΌΠ°Π½ Π΄ΠΈΠΌΠΌΠ΅Ρ. ΠΠ½ ΠΏΠΎΡΠ²ΠΈΠ»ΡΡ ΠΊΠ°ΠΊ ΡΠ΅Π³ΡΠ»ΡΡΠΎΡ ΡΠ²Π΅ΡΠ° Π»Π°ΠΌΠΏΡ Π½Π°ΠΊΠ°Π»ΠΈΠ²Π°Π½ΠΈΡ. Π‘ Π³Π°Π»ΠΎΠ³Π΅Π½Π½ΡΠΌΠΈ Π»Π°ΠΌΠΏΠΎΡΠΊΠ°ΠΌΠΈ ΠΎΠ½ ΡΠ°ΠΊΠΆΠ΅ Π±ΡΠ΄Π΅Ρ Π½ΠΎΡΠΌΠ°Π»ΡΠ½ΠΎ ΡΠ°Π±ΠΎΡΠ°ΡΡ. ΠΠΎ ΠΏΡΠΈ ΡΡΠΎΠΌ Π΄ΠΈΠΌΠΌΠ΅ΡΡ ΠΌΠΎΠ³ΡΡ Π²ΡΠΏΠΎΠ»Π½ΡΡΡ ΡΡΠ½ΠΊΡΠΈΡ ΡΠΎΡ ΡΠ°Π½Π΅Π½ΠΈΡ Π»Π°ΠΌΠΏ ΠΈ Π½Π° Π½Π΅ΡΠΊΠΎΠ»ΡΠΊΠΎ Π»Π΅Ρ ΠΏΡΠΎΠ΄Π»Π΅Π²Π°ΡΡ ΡΡΠΎΠΊ ΠΈΡ ΡΠ»ΡΠΆΠ±Ρ.
ΠΠ± ΡΡΠΎΠΌ, Π° ΡΠ°ΠΊΠΆΠ΅ ΠΎ Π΄ΡΡΠ³ΠΈΡ Π½ΡΠ°Π½ΡΠ°Ρ , ΡΠ²ΡΠ·Π°Π½Π½ΡΡ Ρ Π΄ΠΈΠΌΠΌΠ΅ΡΠ°ΠΌΠΈ, ΡΠ°ΡΡΠΊΠ°ΠΆΠ΅ΠΌ Π² ΡΡΠ°ΡΡΠ΅ Π΄Π°Π»Π΅Π΅.
ΠΠΎΠ½ΡΡΡΡΠΊΡΠΈΠ²Π½ΡΠ΅ ΠΎΡΠΎΠ±Π΅Π½Π½ΠΎΡΡΠΈ
ΠΠ΅ΡΠ΅Π΄ ΡΠ΅ΠΌ ΠΊΠ°ΠΊ ΠΏΠΎΠ΄ΠΊΠ»ΡΡΠΈΡΡ Π΄ΠΈΠΌΠΌΠ΅Ρ ΠΊ ΡΠ΅ΠΌ ΠΈΠ»ΠΈ ΠΈΠ½ΡΠΌ ΡΡΡΡΠΎΠΉΡΡΠ²Π°ΠΌ, Π½Π΅ Π±ΡΠ΄Π΅Ρ Π»ΠΈΡΠ½ΠΈΠΌ ΠΏΠΎΠ»ΡΡΠΈΡΡ ΠΎΠ±ΡΠ΅Π΅ ΠΏΡΠ΅Π΄ΡΡΠ°Π²Π»Π΅Π½ΠΈΠ΅ ΠΎ ΡΠΎΠΌ, ΠΊΠ°ΠΊ ΠΎΠ½ ΡΠ°Π±ΠΎΡΠ°Π΅Ρ. ΠΠ»Ρ ΡΡΠΎΠ³ΠΎ Π½Π°Π΄ΠΎ Π²ΡΠΏΠΎΠΌΠ½ΠΈΡΡ ΠΎ ΠΏΠ°ΡΠ°ΠΌΠ΅ΡΡΠ°Ρ Π½Π°ΠΏΡΡΠΆΠ΅Π½ΠΈΡ Π² ΡΠ΅ΡΠΈ 220 Π. ΠΠ½ΠΈ ΡΠ»Π΅Π΄ΡΡΡΠΈΠ΅:
- Π½Π°ΠΏΡΡΠΆΠ΅Π½ΠΈΠ΅ ΠΏΠ΅ΡΠ΅ΠΌΠ΅Π½Π½ΠΎΠ΅;
- ΡΠΎΡΠΌΠ° ΡΠΈΠ½ΡΡΠΎΠΈΠ΄Π°Π»ΡΠ½Π°Ρ;
- ΡΠ°ΡΡΠΎΡΠ° 50 ΠΡ;
- Π΄Π΅ΠΉΡΡΠ²ΡΡΡΠ΅Π΅ Π·Π½Π°ΡΠ΅Π½ΠΈΠ΅ Π½Π°ΠΏΡΡΠΆΠ΅Π½ΠΈΡ ΡΠ°Π²Π½ΠΎ 220 Π;
- Π°ΠΌΠΏΠ»ΠΈΡΡΠ΄Π½ΠΎΠ΅ Π·Π½Π°ΡΠ΅Π½ΠΈΠ΅ Π½Π°ΠΏΡΡΠΆΠ΅Π½ΠΈΡ 311 Π.

ΠΡΠΎΠ±ΡΠ°ΠΆΠ΅Π½ΠΈΠ΅ ΡΠ΅ΡΠ΅Π²ΠΎΠ³ΠΎ Π½Π°ΠΏΡΡΠΆΠ΅Π½ΠΈΡ 220 Π Π½Π° ΡΠΊΡΠ°Π½Π΅ ΠΎΡΡΠΈΠ»Π»ΠΎΠ³ΡΠ°ΡΠ°
ΠΠ° ΠΈΠ·ΠΎΠ±ΡΠ°ΠΆΠ΅Π½ΠΈΠΈ ΠΏΠΎΠΊΠ°Π·Π°Π½Π° ΡΠΎΠ»ΡΠΊΠΎ ΡΠ°ΡΡΡ ΡΠΈΠ½ΡΡΠΎΠΈΠ΄Ρ. Π Π΅Π°Π»ΡΠ½ΠΎ ΡΡΠ° ΡΠΈΠ½ΡΡΠΎΠΈΠ΄Π° ΡΠ°ΡΠΏΡΠΎΡΡΡΠ°Π½ΡΠ΅ΡΡΡ Π²ΠΏΡΠ°Π²ΠΎ Π² ΡΠ΅ΡΠ΅Π½ΠΈΠ΅ Π²ΡΠ΅Π³ΠΎ Π²ΡΠ΅ΠΌΠ΅Π½ΠΈ ΡΡΡΠ΅ΡΡΠ²ΠΎΠ²Π°Π½ΠΈΡ Π½Π°ΠΏΡΡΠΆΠ΅Π½ΠΈΡ. ΠΡΠ»ΠΈ ΠΏΡΠΈΠΌΠ΅Π½ΠΈΡΡ ΡΠΏΠ΅ΡΠΈΠ°Π»ΡΠ½ΡΠΉ ΠΏΠ΅ΡΠ΅ΠΊΠ»ΡΡΠ°ΡΠ΅Π»Ρ, ΠΊΠΎΡΠΎΡΡΠΉ ΡΠ°ΠΊΠΆΠ΅ Π±ΡΠ΄Π΅Ρ ΠΈΠΌΠ΅ΡΡ ΠΏΠ΅ΡΠΈΠΎΠ΄ ΡΡΠ°Π±Π°ΡΡΠ²Π°Π½ΠΈΡ, ΡΠΎΠΎΡΠ²Π΅ΡΡΡΠ²ΡΡΡΠΈΠΉ ΡΠΈΠ½ΡΡΠΎΠΈΠ΄Π΅, ΠΎΠ½ ΡΠΌΠΎΠΆΠ΅Ρ ΠΎΡΠΊΠ»ΡΡΠ°ΡΡ Π½Π°Π³ΡΡΠ·ΠΊΡ Π² ΠΎΠΏΡΠ΅Π΄Π΅Π»Π΅Π½Π½ΡΠΉ ΠΌΠΎΠΌΠ΅Π½Ρ. Π’Π°ΠΊΠΈΠΌ ΠΊΠΎΠΌΠΌΡΡΠ°ΡΠΎΡΠΎΠΌ ΠΈ ΡΠ²Π»ΡΠ΅ΡΡΡ Π΄ΠΈΠΌΠΌΠ΅Ρ.
ΠΡΡΠΈΠ»Π»ΠΎΠ³ΡΠ°ΠΌΠΌΡ Π½Π°ΠΏΡΡΠΆΠ΅Π½ΠΈΠΉ

ΠΠ°ΠΊ Π΄ΠΈΠΌΠΌΠ΅Ρ Π²Π»ΠΈΡΠ΅Ρ Π½Π° Π°ΠΌΠΏΠ»ΠΈΡΡΠ΄Ρ Π½Π°ΠΏΡΡΠΆΠ΅Π½ΠΈΡ
ΠΠ° ΠΈΠ·ΠΎΠ±ΡΠ°ΠΆΠ΅Π½ΠΈΠΈ-ΠΎΡΡΠΈΠ»Π»ΠΎΠ³ΡΠ°ΠΌΠΌΠ΅ Π·Π΅Π»Π΅Π½ΡΠΌ ΡΠ²Π΅ΡΠΎΠΌ ΠΏΠΎΠΊΠ°Π·Π°Π½Π° ΡΠ° ΡΠ°ΡΡΡ ΡΠΈΠ½ΡΡΠΎΠΈΠ΄Ρ, ΠΊΠΎΡΠΎΡΠ°Ρ ΠΏΡΠΎΠΏΡΡΠΊΠ°Π΅ΡΡΡ ΠΊ Π½Π°Π³ΡΡΠ·ΠΊΠ΅. ΠΠ½Π° Π²ΡΠ±ΡΠ°Π½Π° Π΄Π»Ρ ΠΏΡΠΈΠΌΠ΅ΡΠ°. ΠΠΎΡΠΈΠ·ΠΎΠ½ΡΠ°Π»ΡΠ½Π°Ρ ΠΆΠ΅Π»ΡΠ°Ρ Π»ΠΈΠ½ΠΈΡ ΡΠΎΠΎΡΠ²Π΅ΡΡΡΠ²ΡΠ΅Ρ Π²ΠΊΠ»ΡΡΠ΅Π½Π½ΠΎΠΌΡ ΡΠΎΡΡΠΎΡΠ½ΠΈΡ Π΄ΠΈΠΌΠΌΠ΅ΡΠ°. ΠΠ΅ΡΡΠΈΠΊΠ°Π»ΡΠ½Π°Ρ ΠΆΠ΅Π»ΡΠ°Ρ Π»ΠΈΠ½ΠΈΡ ΠΈΠ»Π»ΡΡΡΡΠΈΡΡΠ΅Ρ ΠΏΡΠΎΡΠ΅ΡΡ Π²ΡΠΊΠ»ΡΡΠ΅Π½ΠΈΡ Π΅Π³ΠΎ ΡΠ»Π΅ΠΊΡΡΠΎΠ½Π½ΠΎΠ³ΠΎ ΠΊΠ»ΡΡΠ°. ΠΠΌΠ΅Π½Π½ΠΎ ΠΏΠΎΡΠ²Π»Π΅Π½ΠΈΠ΅ ΠΏΠΎΠ»ΡΠΏΡΠΎΠ²ΠΎΠ΄Π½ΠΈΠΊΠΎΠ²ΡΡ ΠΏΡΠΈΠ±ΠΎΡΠΎΠ², ΡΠ°Π±ΠΎΡΠ°ΡΡΠΈΡ Π² ΠΊΠ»ΡΡΠ΅Π²ΠΎΠΌ ΡΠ΅ΠΆΠΈΠΌΠ΅, ΠΈ ΠΎΠ±Π΅ΡΠΏΠ΅ΡΠΈΠ»ΠΎ Π²ΠΎΠ·ΠΌΠΎΠΆΠ½ΠΎΡΡΡ ΡΠΎΠ·Π΄Π°Π½ΠΈΡ ΡΡΠΈΡ ΡΠ²Π΅ΡΠΎΡΠ΅Π³ΡΠ»ΡΡΠΎΡΠΎΠ².
ΠΠΎΡΠΈΠ·ΠΎΠ½ΡΠ°Π»ΡΠ½Π°Ρ ΠΆΠ΅Π»ΡΠ°Ρ Π»ΠΈΠ½ΠΈΡ ΠΌΠΎΠΆΠ΅Ρ Π±ΡΡΡ Π»ΡΠ±ΠΎΠΉ Π΄Π»ΠΈΠ½Ρ Π² ΠΏΡΠ΅Π΄Π΅Π»Π°Ρ ΠΏΠΎΠ»ΡΠ²ΠΎΠ»Π½Ρ ΡΠΈΠ½ΡΡΠΎΠΈΠ΄Π°Π»ΡΠ½ΠΎΠ³ΠΎ Π½Π°ΠΏΡΡΠΆΠ΅Π½ΠΈΡ. ΠΠ° ΠΈΠ·ΠΎΠ±ΡΠ°ΠΆΠ΅Π½ΠΈΠΈ ΠΎΠ½Π° ΠΏΡΠΈΠΌΠ΅ΡΠ½ΠΎ ΡΠ°Π²Π½Π° ΠΏΠΎΠ»ΠΎΠ²ΠΈΠ½Π΅ ΠΎΡ ΡΠ²ΠΎΠ΅ΠΉ ΠΌΠ°ΠΊΡΠΈΠΌΠ°Π»ΡΠ½ΠΎΠΉ Π΄Π»ΠΈΠ½Ρ. ΠΡΠΎ Π·Π½Π°ΡΠΈΡ, ΡΡΠΎ ΡΠ»Π΅ΠΊΡΡΠΎΠ½Π½ΡΠΉ ΠΊΠ»ΡΡ ΠΏΡΠΎΠΏΡΡΠΊΠ°Π΅Ρ ΡΠΎΠ»ΡΠΊΠΎ ΠΏΠΎΠ»ΠΎΠ²ΠΈΠ½Ρ ΡΠΈΠ½ΡΡΠΎΠΈΠ΄Π°Π»ΡΠ½ΠΎΠ³ΠΎ Π½Π°ΠΏΡΡΠΆΠ΅Π½ΠΈΡ. ΠΠΎΡΡΠΎΠΌΡ Π½Π° Π½Π°Π³ΡΡΠ·ΠΊΠ΅ Π΄Π΅ΠΉΡΡΠ²ΡΡΡΠ΅Π΅ Π½Π°ΠΏΡΡΠΆΠ΅Π½ΠΈΠ΅ Π±ΡΠ΄Π΅Ρ ΠΏΡΠΈΠΌΠ΅ΡΠ½ΠΎ ΡΠ°Π²Π½ΠΎ 110 Π. ΠΡΠ»ΠΈ ΠΆΠ΅Π»ΡΠ°Ρ Π»ΠΈΠ½ΠΈΡ Π±ΡΠ΄Π΅Ρ ΠΊΠΎΡΠΎΡΠ΅, ΡΠ΅ΠΌ Π½Π° ΠΈΠ·ΠΎΠ±ΡΠ°ΠΆΠ΅Π½ΠΈΠΈ, Π·Π½Π°ΡΠΈΡ, Π΄Π΅ΠΉΡΡΠ²ΡΡΡΠ΅Π΅ Π·Π½Π°ΡΠ΅Π½ΠΈΠ΅ Π½Π°ΠΏΡΡΠΆΠ΅Π½ΠΈΡ Π±ΡΠ΄Π΅Ρ Π² ΠΏΡΠ΅Π΄Π΅Π»Π°Ρ ΠΎΡ 0 ΠΈ Π΄ΠΎ 110 Π Π² Π·Π°Π²ΠΈΡΠΈΠΌΠΎΡΡΠΈ ΠΎΡ Π΅Π΅ Π΄Π»ΠΈΠ½Ρ. ΠΡΠ»ΠΈ ΠΎΠ½Π° Π±ΡΠ΄Π΅Ρ Π΄Π»ΠΈΠ½Π½Π΅Π΅, Π·Π½Π°ΡΠΈΡ, ΡΡΠΎ Π½Π°ΠΏΡΡΠΆΠ΅Π½ΠΈΠ΅ Π½Π°Ρ ΠΎΠ΄ΠΈΡΡΡ Π² ΠΏΡΠ΅Π΄Π΅Π»Π°Ρ ΠΎΡ 110 Π΄ΠΎ 220 Π.
ΠΡΠ»ΠΈ Π½Π°ΠΏΡΡΠΆΠ΅Π½ΠΈΠ΅, ΠΏΡΠΎΠΏΡΡΠΊΠ°Π΅ΠΌΠΎΠ΅ ΡΠ»Π΅ΠΊΡΡΠΎΠ½Π½ΡΠΌ ΠΊΠ»ΡΡΠΎΠΌ, ΠΈΠ·ΠΌΠ΅Π½ΡΠ΅ΡΡΡ Π΄ΠΎ Π΅Π³ΠΎ ΡΡΠ°Π±Π°ΡΡΠ²Π°Π½ΠΈΡ, Π·Π½Π°ΡΠΈΡ, ΡΡΠΎΡ ΠΊΠ»ΡΡ ΡΡΠ°Π±Π°ΡΡΠ²Π°Π΅Ρ Π½Π° ΠΎΡΠΊΠ»ΡΡΠ΅Π½ΠΈΠ΅. Π’Π°ΠΊΠΈΠΌΠΈ ΡΠ»Π΅ΠΊΡΡΠΎΠ½Π½ΡΠΌΠΈ ΠΊΠ»ΡΡΠ°ΠΌΠΈ ΡΠ²Π»ΡΡΡΡΡ Π·Π°ΠΏΠΈΡΠ°Π΅ΠΌΡΠ΅ ΡΠΈΡΠΈΡΡΠΎΡΡ ΠΈ ΡΡΠ°Π½Π·ΠΈΡΡΠΎΡΡ. ΠΡΠ»ΠΈ Π½Π°ΠΎΠ±ΠΎΡΠΎΡ, ΠΏΠΎΡΠ»Π΅ ΡΡΠ°Π±Π°ΡΡΠ²Π°Π½ΠΈΡ ΠΊΠ»ΡΡΠ°, Π·Π½Π°ΡΠΈΡ, ΡΡΠΎ ΠΎΠ±ΡΡΠ½ΡΠΉ ΡΠΈΡΠΈΡΡΠΎΡ. Π’ΡΠ°Π½Π·ΠΈΡΡΠΎΡ ΠΈ Π·Π°ΠΏΠΈΡΠ°Π΅ΠΌΡΠΉ ΡΠΈΡΠΈΡΡΠΎΡ ΡΠ²Π»ΡΡΡΡΡ ΡΠ½ΠΈΠ²Π΅ΡΡΠ°Π»ΡΠ½ΡΠΌΠΈ ΠΊΠ»ΡΡΠ°ΠΌΠΈ ΠΈ ΠΌΠΎΠ³ΡΡ Π²ΡΠΏΠΎΠ»Π½ΡΡΡ ΡΡΠ½ΠΊΡΠΈΠΈ Π»ΡΠ±ΠΎΠ³ΠΎ ΡΠΈΠΏΠ° ΠΊΠ»ΡΡΠ΅ΠΉ.
- ΠΠΈΠΌΠΌΠ΅ΡΡ Π²Π½ΠΎΡΡΡ Π±ΠΎΠ»ΡΡΠΈΠ΅ ΠΈΡΠΊΠ°ΠΆΠ΅Π½ΠΈΡ Π² Π½Π°ΠΏΡΡΠΆΠ΅Π½ΠΈΠ΅ Π½Π° Π½Π°Π³ΡΡΠ·ΠΊΠ΅. ΠΠΎ ΡΡΠΎΠΉ ΠΏΡΠΈΡΠΈΠ½Π΅ ΠΎΠ½ΠΈ Π΄ΠΎΠ»ΠΆΠ½Ρ ΠΏΡΠΈΠΌΠ΅Π½ΡΡΡΡΡ ΡΠΎΠ»ΡΠΊΠΎ Π² ΡΠ΅Ρ ΡΠ»ΡΡΠ°ΡΡ , ΠΊΠΎΠ³Π΄Π° Π½Π΅ ΠΏΠΎΡΠ²Π»ΡΡΡΡΡ ΡΡΡΠ΅ΡΡΠ²Π΅Π½Π½ΡΠ΅ ΠΏΠΎΡΠ΅ΡΠΈ ΠΈΠ·-Π·Π° ΠΈΡΠΊΠ°ΠΆΠ΅Π½ΠΈΡ ΡΠΈΠ½ΡΡΠΎΠΈΠ΄Π°Π»ΡΠ½ΠΎΠΉ ΡΠΎΡΠΌΡ Π½Π°ΠΏΡΡΠΆΠ΅Π½ΠΈΡ. ΠΠΎΡΡΠΎΠΌΡ ΠΏΡΠΈΠΌΠ΅Π½Π΅Π½ΠΈΠ΅ ΡΠ°ΠΊΠΎΠ³ΠΎ ΡΠ΅Π³ΡΠ»ΡΡΠΎΡΠ° ΠΎΠΏΡΠ°Π²Π΄Π°Π½ΠΎ ΡΠΎΠ»ΡΠΊΠΎ Π΄Π»Ρ ΠΊΠΎΠ»Π»Π΅ΠΊΡΠΎΡΠ½ΠΎΠ³ΠΎ Π΄Π²ΠΈΠ³Π°ΡΠ΅Π»Ρ.
ΠΠΎΠΏΡΠ»ΡΡΠ½ΡΠ΅ Π±ΡΠ΅Π½Π΄Ρ ΠΈ ΡΠ΅ΠΊΠΎΠΌΠ΅Π½Π΄Π°ΡΠΈΠΈ ΠΏΡΠΈ ΠΏΠΎΠ΄ΠΊΠ»ΡΡΠ΅Π½ΠΈΠΈ
ΠΠΎΡΠΊΠΎΠ»ΡΠΊΡ ΡΡΠ½ΠΎΠΊ ΠΏΠΎΠ»ΡΠΏΡΠΎΠ²ΠΎΠ΄Π½ΠΈΠΊΠΎΠ²ΡΡ ΠΏΡΠΈΠ±ΠΎΡΠΎΠ² Π½Π°ΠΏΠΎΠ»Π½Π΅Π½ ΠΎΠ³ΡΠΎΠΌΠ½ΡΠΌ ΡΠ°Π·Π½ΠΎΠΎΠ±ΡΠ°Π·ΠΈΠ΅ΠΌ ΠΈΠ·Π΄Π΅Π»ΠΈΠΉ, Π½Π° ΠΈΡ ΠΎΡΠ½ΠΎΠ²Π΅ ΡΡΡΠ΅ΡΡΠ²ΡΠ΅Ρ ΡΠ°ΠΊΠΆΠ΅ ΠΎΠ³ΡΠΎΠΌΠ½ΠΎΠ΅ ΡΠ°Π·Π½ΠΎΠΎΠ±ΡΠ°Π·ΠΈΠ΅ Π΄ΠΈΠΌΠΌΠ΅ΡΠΎΠ². ΠΠ΄Π½Π°ΠΊΠΎ ΠΏΠΎ ΠΌΠ΅ΡΠ΅ ΠΈΡ ΠΈΡΠΏΠΎΠ»ΡΠ·ΠΎΠ²Π°Π½ΠΈΡ Π²ΡΡΠ²Π»ΡΡΡΡΡ ΠΌΠΎΠ΄Π΅Π»ΠΈ, ΠΊΠΎΡΠΎΡΡΠ΅ Π±ΠΎΠ»Π΅Π΅ Π½Π°Π΄Π΅ΠΆΠ½Ρ ΠΈ Π΄ΠΎΠ»Π³ΠΎΠ²Π΅ΡΠ½Ρ, ΠΈ ΠΏΠΎ ΡΡΠΎΠΉ ΠΏΡΠΈΡΠΈΠ½Π΅ ΠΎΠ½ΠΈ ΡΡΠ°Π½ΠΎΠ²ΡΡΡΡ Π±ΠΎΠ»Π΅Π΅ Π²ΠΎΡΡΡΠ΅Π±ΠΎΠ²Π°Π½Π½ΡΠΌΠΈ. ΠΠ΅Π΄Ρ ΠΊΡΠΎΠΌΠ΅ ΡΡΠ½ΠΊΡΠΈΠΉ ΡΠ΅Π³ΡΠ»ΠΈΡΠΎΠ²Π°Π½ΠΈΡ Π½Π΅ΠΎΠ±Ρ ΠΎΠ΄ΠΈΠΌΠΎ Π΅ΡΠ΅ ΠΈ ΡΡΠ°Π±ΠΈΠ»ΡΠ½ΠΎ ΠΏΠΎΠ΄Π΄Π΅ΡΠΆΠΈΠ²Π°ΡΡ Π²ΡΠ±ΡΠ°Π½Π½ΡΠΉ ΡΠ΅ΠΆΠΈΠΌ ΠΏΠΈΡΠ°Π½ΠΈΡ Π½Π°Π³ΡΡΠ·ΠΊΠΈ. ΠΡΠΎ ΠΎΡΠΎΠ±Π΅Π½Π½ΠΎ Π²Π°ΠΆΠ½ΠΎ, Π΅ΡΠ»ΠΈ ΠΏΠΎΠ΄ΠΎΠ±Π½Π°Ρ ΡΡΠ½ΠΊΡΠΈΡ Π·Π°Π΄Π΅ΠΉΡΡΠ²ΠΎΠ²Π°Π½Π° Π² Π΄ΠΈΠ·Π°ΠΉΠ½Π΅ ΠΈΠ½ΡΠ΅ΡΡΠ΅ΡΠ°. ΠΡΠΈΠΌΠ΅ΡΠΎΠΌ ΠΌΠΎΠΆΠ΅Ρ Π±ΡΡΡ Π½ΠΈΡΡ Π»Π°ΠΌΠΏΡ, Π³ΠΎΡΡΡΠ°Ρ Π²ΠΏΠΎΠ»Π½Π°ΠΊΠ°Π»Π° Π²Π΅ΡΡ ΡΠ°Π±ΠΎΡΠΈΠΉ Π΄Π΅Π½Ρ Π³Π΄Π΅-ΡΠΎ Π² Π²ΠΈΡΡΠΈΠ½Π΅ ΠΈΠ»ΠΈ Π² ΡΠ΅ΡΡΠΎΡΠ°Π½Π΅ Π½Π°Π΄ ΡΡΠΎΠ»ΠΈΠΊΠΎΠΌ.
ΠΠ· Π½Π΅Π΄ΠΎΡΠΎΠ³ΠΈΡ , ΡΠ°ΠΊ Π½Π°Π·ΡΠ²Π°Π΅ΠΌΡΡ Π±ΡΠ΄ΠΆΠ΅ΡΠ½ΡΡ ΠΌΠ°ΡΠΎΠΊ Ρ ΠΎΡΠΎΡΠΎ Π·Π°ΡΠ΅ΠΊΠΎΠΌΠ΅Π½Π΄ΠΎΠ²Π°Π»ΠΈ ΡΠ΅Π±Ρ ΡΠ΅Π³ΡΠ»ΡΡΠΎΡΡ ΡΠΈΡΠΌΡ MAKEL. ΠΠΎ ΠΌΠ½ΠΎΠ³ΠΈΡ ΠΌΠΎΠ΄Π΅Π»ΡΡ Π²ΡΡΡΠΎΠ΅Π½Ρ ΠΏΠ»Π°Π²ΠΊΠΈΠ΅ ΠΏΡΠ΅Π΄ΠΎΡ ΡΠ°Π½ΠΈΡΠ΅Π»ΠΈ. ΠΡΠΈΡΠ΅ΠΌ ΠΈΡ ΠΏΡΠΈΠΌΠ΅Π½Π΅Π½ΠΎ Π΄Π²Π°, ΠΈ ΠΎΠ΄ΠΈΠ½ ΠΈΠ· Π½ΠΈΡ Π·Π°ΠΏΠ°ΡΠ½ΠΎΠΉ. ΠΠΎΠ΄ΠΊΠ»ΡΡΠ΅Π½ΠΈΠ΅ Π΄ΠΈΠΌΠΌΠ΅ΡΠ° ΠΊ Π½Π°Π³ΡΡΠ·ΠΊΠ΅ ΡΠ΅ΡΠ΅Π· ΠΏΡΠ΅Π΄ΠΎΡ ΡΠ°Π½ΠΈΡΠ΅Π»Ρ Π·Π°ΡΠΈΡΠ°Π΅Ρ Π΅Π³ΠΎ ΠΎΡ ΠΊΠΎΡΠΎΡΠΊΠΎΠ³ΠΎ Π·Π°ΠΌΡΠΊΠ°Π½ΠΈΡ. ΠΠ΄Π½Π°ΠΊΠΎ ΠΏΠΎ ΠΎΠΏΡΡΡ ΠΌΠ½ΠΎΠ³ΠΈΡ ΠΏΠΎΠ»ΡΠ·ΠΎΠ²Π°ΡΠ΅Π»Π΅ΠΉ ΡΡΠ° ΠΌΠ΅ΡΠ° Π±Π΅Π·ΠΎΠΏΠ°ΡΠ½ΠΎΡΡΠΈ ΠΎΠ±ΡΡΠ½ΠΎ ΠΎΡΡΠ°Π΅ΡΡΡ Π½Π΅Π²ΠΎΡΡΡΠ΅Π±ΠΎΠ²Π°Π½Π½ΠΎΠΉ, ΡΠ°ΠΊ ΠΊΠ°ΠΊ Π·Π°ΠΏΠ°ΡΠ½ΠΎΠΉ ΠΏΡΠ΅Π΄ΠΎΡ ΡΠ°Π½ΠΈΡΠ΅Π»Ρ Π½Π΅ Π½Π°Ρ ΠΎΠ΄ΠΈΡ ΠΏΡΠΈΠΌΠ΅Π½Π΅Π½ΠΈΡ. ΠΠ³ΠΎ Π½Π΅ ΡΡΡΠ°Π½Π°Π²Π»ΠΈΠ²Π°ΡΡ Π²ΠΌΠ΅ΡΡΠΎ ΡΠ³ΠΎΡΠ΅Π²ΡΠ΅Π³ΠΎ ΠΏΡΠ΅Π΄ΠΎΡ ΡΠ°Π½ΠΈΡΠ΅Π»Ρ. ΠΠΎΡΠΎΡΠΊΠΈΠ΅ Π·Π°ΠΌΡΠΊΠ°Π½ΠΈΡ Π² Π΄ΠΎΠΌΠ°ΡΠ½ΠΈΡ ΠΎΡΠ²Π΅ΡΠΈΡΠ΅Π»ΡΠ½ΡΡ ΡΠΈΡΡΠ΅ΠΌΠ°Ρ Π²ΡΡΡΠ΅ΡΠ°ΡΡΡΡ ΡΠ΅Π΄ΠΊΠΎ.


ΠΠΎΠ΄Π΅Π»Ρ Π΄ΠΈΠΌΠΌΠ΅ΡΠ° ΡΠΎ Π²ΡΡΡΠΎΠ΅Π½Π½ΡΠΌΠΈ ΠΏΡΠ΅Π΄ΠΎΡ ΡΠ°Π½ΠΈΡΠ΅Π»ΡΠΌΠΈ
Π Π°ΡΡΠΌΠ°ΡΡΠΈΠ²Π°Π΅ΠΌΠ°Ρ ΠΌΠΎΠ΄Π΅Π»Ρ ΡΠ²Π»ΡΠ΅ΡΡΡ Ρ ΠΎΡΠΎΡΠΈΠΌ ΠΏΡΠΈΠΌΠ΅ΡΠΎΠΌ, ΠΊΠΎΡΠΎΡΡΠΉ ΠΏΠΎΠΊΠ°Π·ΡΠ²Π°Π΅Ρ, ΠΊΠ°ΠΊ ΠΏΡΠ°Π²ΠΈΠ»ΡΠ½ΠΎ ΠΏΠΎΠ΄ΠΊΠ»ΡΡΠΈΡΡ Π΄ΠΈΠΌΠΌΠ΅Ρ. ΠΠ΅ ΠΊΠ»Π΅ΠΌΠΌΡ ΠΈΠ·ΠΎΠ±ΡΠ°ΠΆΠ΅Π½Ρ Π΄Π°Π»Π΅Π΅ Ρ ΠΏΠΎΡΡΠ½Π΅Π½ΠΈΠ΅ΠΌ ΠΈΡ ΠΎΠ±ΠΎΠ·Π½Π°ΡΠ΅Π½ΠΈΡ.
ΠΡΠΎΠ±Π΅Π½Π½ΠΎΡΡΡ ΡΡΠΎΠ³ΠΎ ΡΠ΅Π³ΡΠ»ΡΡΠΎΡΠ° ΡΠΈΡΠΌΡ MAKEL ΡΠ°ΠΊΠ°Ρ ΠΆΠ΅, ΠΊΠ°ΠΊ ΠΈ Ρ ΠΌΠ½ΠΎΠ³ΠΈΡ Π΄ΡΡΠ³ΠΈΡ ΠΌΠΎΠ΄Π΅Π»Π΅ΠΉ, ΠΊΠΎΡΠΎΡΡΠ΅ ΠΏΠΎΠ΄ΠΊΠ»ΡΡΠ°ΡΡΡΡ ΠΎΠ΄Π½ΠΈΠΌ ΠΏΡΠΎΠ²ΠΎΠ΄ΠΎΠΌ ΠΊ ΡΠ°Π·Π΅, Π° Π΄ΡΡΠ³ΠΈΠΌ ΠΏΡΠΎΠ²ΠΎΠ΄ΠΎΠΌ ΠΊ Π½Π°Π³ΡΡΠ·ΠΊΠ΅. ΠΡΠ»ΠΈ ΠΏΡΠΎΠ²ΠΎΠ΄Π° ΠΏΠ΅ΡΠ΅ΠΏΡΡΠ°ΡΡ, Π²ΠΎΠ·ΠΌΠΎΠΆΠ½Π° ΠΏΠΎΠ»ΠΎΠΌΠΊΠ°. ΠΠ΄Π½Π°ΠΊΠΎ Π½Π΅ Π²ΡΠ΅ ΠΌΠΎΠ΄Π΅Π»ΠΈ ΡΡΠ²ΡΡΠ²ΠΈΡΠ΅Π»ΡΠ½Ρ ΠΊ ΠΏΠΎΠ»ΠΎΠΆΠ΅Π½ΠΈΡ ΡΠ°Π·Π½ΠΎΠ³ΠΎ ΠΏΡΠΎΠ²ΠΎΠ΄Π° Π² ΠΊΠ»Π΅ΠΌΠΌΠ°Ρ . ΠΠ°Π»Π΅Π΅ Π±ΡΠ΄Π΅Ρ ΠΏΠΎΠΊΠ°Π·Π°Π½Π° ΠΌΠΎΠ΄Π΅Π»Ρ ΠΌΠ°ΡΠΊΠΈ Legrand, ΠΊ ΠΊΠΎΡΠΎΡΠΎΠΉ ΠΌΠΎΠΆΠ½ΠΎ ΠΏΠΎΠ΄ΠΊΠ»ΡΡΠ°ΡΡ ΠΏΡΠΎΠ²ΠΎΠ΄Π°, Π½Π΅ Π·Π°Π΄ΡΠΌΡΠ²Π°ΡΡΡ ΠΎΠ± ΠΈΡ ΡΠΎΠΎΡΠ²Π΅ΡΡΡΠ²ΠΈΠΈ ΠΊΠ»Π΅ΠΌΠΌΠ°ΠΌ.

ΠΠ»Π΅ΠΌΠΌΠ° Π΄Π»Ρ ΠΏΡΠΈΡΠΎΠ΅Π΄ΠΈΠ½Π΅Π½ΠΈΡ ΡΠ°Π·Π½ΠΎΠ³ΠΎ ΠΏΡΠΎΠ²ΠΎΠ΄Π° ΠΎΠ±ΠΎΠ·Π½Π°ΡΠ΅Π½Π° ΠΏΠ΅ΡΠ΅ΡΠ΅ΡΠΊΠ½ΡΡΡΠΌ ΠΊΡΡΠ³ΠΎΠΌ
- ΠΡΠΏΠΎΠ»ΡΠ·ΡΡ Π΄ΠΈΠΌΠΌΠ΅Ρ, ΡΡ Π΅ΠΌΡ Π²ΠΊΠ»ΡΡΠ΅Π½ΠΈΡ Π½Π°Π΄ΠΎ Π²ΡΠ±ΠΈΡΠ°ΡΡ Π² ΡΠΎΠΎΡΠ²Π΅ΡΡΡΠ²ΠΈΠΈ Ρ Π΅Π³ΠΎ ΠΈΠ½ΡΡΡΡΠΊΡΠΈΠ΅ΠΉ ΠΏΠΎ ΡΠΊΡΠΏΠ»ΡΠ°ΡΠ°ΡΠΈΠΈ.
- ΠΡΠΈ ΠΏΠΎΠ΄ΠΊΠ»ΡΡΠ΅Π½ΠΈΠΈ Π΄ΠΈΠΌΠΌΠ΅ΡΠ° Π½Π°Π΄ΠΎ ΠΎΠ±ΡΠ·Π°ΡΠ΅Π»ΡΠ½ΠΎ ΡΠ±Π΅Π΄ΠΈΡΡΡΡ Π² ΡΠΎΠΎΡΠ²Π΅ΡΡΡΠ²ΠΈΠΈ Π΅Π³ΠΎ ΠΏΠ°ΡΠΏΠΎΡΡΠ½ΡΡ Π΄Π°Π½Π½ΡΡ ΠΏΠΎ ΠΌΠΎΡΠ½ΠΎΡΡΠΈ Ρ ΠΏΠ°ΡΠ°ΠΌΠ΅ΡΡΠ°ΠΌΠΈ Π½Π°Π³ΡΡΠ·ΠΊΠΈ. ΠΠ±ΡΡΠ½ΠΎ ΠΌΠΎΡΠ½ΠΎΡΡΡ ΡΠΊΠ°Π·Π°Π½Π° Π½Π° ΡΠ°ΠΌΠΎΠΌ ΠΈΠ·Π΄Π΅Π»ΠΈΠΈ, Π½Π° ΠΊΠΎΡΠΏΡΡΠ΅.
- ΠΠ»Π°Π½ΠΈΡΡΡ ΡΠΈΡΡΠ΅ΠΌΡ ΠΎΡΠ²Π΅ΡΠ΅Π½ΠΈΡ, ΡΠ΅ΠΊΠΎΠΌΠ΅Π½Π΄ΡΠ΅ΡΡΡ ΠΏΠΎΠ»ΡΡΠΈΡΡ Π±ΠΎΠ»ΡΡΠ΅ ΠΈΠ½ΡΠΎΡΠΌΠ°ΡΠΈΠΈ ΠΎ Π½Π°ΠΈΠ±ΠΎΠ»Π΅Π΅ ΠΏΠΎΠΏΡΠ»ΡΡΠ½ΡΡ ΠΌΠΎΠ΄Π΅Π»ΡΡ . Π‘ΡΡΠ΅ΡΡΠ²ΡΡΡ Π±ΡΠ΅Π½Π΄Ρ, Π² ΠΈΠ·Π΄Π΅Π»ΠΈΡΡ ΠΊΠΎΡΠΎΡΡΡ Π΅ΡΡΡ ΡΠ°ΠΊ Π½Π°Π·ΡΠ²Π°Π΅ΠΌΠ°Ρ ΡΠΈΡΠΊΠ°. ΠΠ°ΠΏΡΠΈΠΌΠ΅Ρ, ΡΠΈΡΠΌΠ° Legrand ΠΏΠΎΠ΄ ΡΠΎΡΠ³ΠΎΠ²ΠΎΠΉ ΠΌΠ°ΡΠΊΠΎΠΉ VALENA Π² ΡΠ²ΠΎΠΈ Π΄ΠΈΠΌΠΌΠ΅ΡΡ Π²ΡΡΡΠ°ΠΈΠ²Π°Π΅Ρ Π²ΡΠΊΠ»ΡΡΠ°ΡΠ΅Π»Ρ ΡΠΏΠ΅ΡΠΈΠ°Π»ΡΠ½ΠΎΠΉ ΠΊΠΎΠ½ΡΡΡΡΠΊΡΠΈΠΈ. ΠΠ½ ΡΠΎΠ²ΠΌΠ΅ΡΠ΅Π½ Ρ ΠΏΠΎΠ²ΠΎΡΠΎΡΠ½ΡΠΌ ΡΠ΅Π³ΡΠ»ΡΡΠΎΡΠΎΠΌ. ΠΠ°ΠΆΠ°ΡΠΈΠ΅ΠΌ Π½Π° Π½Π΅Π³ΠΎ Π½Π°Π³ΡΡΠ·ΠΊΠ° ΠΎΡΠΊΠ»ΡΡΠ°Π΅ΡΡΡ ΠΈΠ»ΠΈ ΡΠ½ΠΎΠ²Π° ΠΏΠΎΠ΄ΠΊΠ»ΡΡΠ°Π΅ΡΡΡ ΠΊ ΡΠ΅ΡΠΈ. ΠΠΎΠ»ΡΡΠ°Π΅ΡΡΡ Π΄ΠΈΠΌΠΌΠ΅Ρ Π²ΠΌΠ΅ΡΡΠΎ Π²ΡΠΊΠ»ΡΡΠ°ΡΠ΅Π»Ρ. ΠΡΠΈ ΡΡΠΎΠΌ ΡΡΠΎΡ ΠΏΡΠΈΠ±ΠΎΡ ΡΠ½Π°Π±ΠΆΠ΅Π½ Π½Π°Π΄Π΅ΠΆΠ½ΠΎΠΉ ΡΡ Π΅ΠΌΠΎΠΉ, ΠΊΠΎΡΠΎΡΠ°Ρ Π½Π΅ Π»ΠΎΠΌΠ°Π΅ΡΡΡ ΠΏΡΠΈ Π·Π°ΠΌΡΠΊΠ°Π½ΠΈΡΡ Π² Π½Π°Π³ΡΡΠ·ΠΊΠ΅.
ΠΡΠΈΠΌΠ΅ΡΠΎΠΌ ΡΠ΅Π³ΡΠ»ΡΡΠΎΡΠ° ΡΠΈΡΠΌΡ Legrand, ΠΊΠΎΡΠΎΡΡΠΉ Π½Π΅ ΡΡΠ²ΡΡΠ²ΠΈΡΠ΅Π»Π΅Π½ ΠΊ ΡΠ°Π·Π½ΠΎΠΌΡ ΠΏΡΠΎΠ²ΠΎΠ΄Ρ, ΠΌΠΎΠΆΠ΅Ρ Π±ΡΡΡ ΠΌΠΎΠ΄Π΅Π»Ρ, ΠΏΠΎΠΊΠ°Π·Π°Π½Π½Π°Ρ Π΄Π°Π»Π΅Π΅. ΠΠ° Π΅Π³ΠΎ ΠΊΠΎΡΠΏΡΡΠ΅ ΠΏΡΠΈΠ²Π΅Π΄Π΅Π½Π° ΡΡ Π΅ΠΌΠ° ΠΏΠΎΠ΄ΠΊΠ»ΡΡΠ΅Π½ΠΈΡ Π΄ΠΈΠΌΠΌΠ΅ΡΠ°, ΠΊΠΎΡΠΎΡΠ°Ρ Π½Π°Π³Π»ΡΠ΄Π½ΠΎ ΠΏΠΎΠΊΠ°Π·ΡΠ²Π°Π΅Ρ ΡΠ½ΠΈΠ²Π΅ΡΡΠ°Π»ΡΠ½ΠΎΡΡΡ ΠΏΠΎΠ»ΠΎΠΆΠ΅Π½ΠΈΡ ΡΠ°Π·Π½ΠΎΠ³ΠΎ ΠΈ Π½ΡΠ»Π΅Π²ΠΎΠ³ΠΎ ΠΏΡΠΎΠ²ΠΎΠ΄ΠΎΠ² ΠΎΡΠ½ΠΎΡΠΈΡΠ΅Π»ΡΠ½ΠΎ ΠΊΠ»Π΅ΠΌΠΌ.
- ΠΠ΅ΠΏΡΠ°Π²ΠΈΠ»ΡΠ½ΠΎΠ΅ ΠΏΡΠΈΡΠΎΠ΅Π΄ΠΈΠ½Π΅Π½ΠΈΠ΅ ΡΠ°Π·Π½ΠΎΠ³ΠΎ ΠΏΡΠΎΠ²ΠΎΠ΄Π° β ΡΡΠΎ Π½Π°ΠΈΠ±ΠΎΠ»Π΅Π΅ ΡΠ°ΡΡΠ°Ρ ΠΏΡΠΈΡΠΈΠ½Π° ΠΏΠΎΠ»ΠΎΠΌΠΊΠΈ ΠΏΡΠΈΠ±ΠΎΡΠ°. ΠΠ΅ΡΠ΅Π΄ Π΅Π³ΠΎ ΠΏΠΎΠ΄ΠΊΠ»ΡΡΠ΅Π½ΠΈΠ΅ΠΌ Π½Π°Π΄ΠΎ ΠΎΠ±ΡΠ·Π°ΡΠ΅Π»ΡΠ½ΠΎ ΡΠ°Π·ΠΎΠ±ΡΠ°ΡΡΡΡ Ρ Π΅Π³ΠΎ ΠΊΠΎΠ½ΡΡΡΡΠΊΡΠΈΠ²Π½ΡΠΌΠΈ ΠΎΡΠΎΠ±Π΅Π½Π½ΠΎΡΡΡΠΌΠΈ. ΠΡΠ»ΠΈ ΡΠ°Π·ΠΎΠ²ΡΠΉ ΠΏΡΠΎΠ²ΠΎΠ΄ Π½Π°Π΄ΠΎ ΠΏΡΠΈΡΠΎΠ΅Π΄ΠΈΠ½ΡΡΡ ΡΠΎΠ»ΡΠΊΠΎ ΠΊ ΠΎΠ΄Π½ΠΎΠΉ ΠΈΠ· Π΄Π²ΡΡ ΠΊΠ»Π΅ΠΌΠΌ, ΠΏΠ΅ΡΠ΅Π΄ ΡΡΠΈΠΌ Π½Π΅ΠΎΠ±Ρ ΠΎΠ΄ΠΈΠΌΠΎ ΠΏΡΠΎΠ²Π΅ΡΠΈΡΡΒ Π²ΡΠΊΠ»ΡΡΠ°ΡΠ΅Π»Ρ ΠΈ ΡΠΎΠ»ΡΠΊΠΎ ΠΏΠΎΡΠ»Π΅ ΡΡΠΎΠ³ΠΎ ΠΏΠΎΠ΄ΠΊΠ»ΡΡΠΈΡΡ ΡΠ΅Π³ΡΠ»ΡΡΠΎΡ. ΠΡΠΊΠ»ΡΡΠ°ΡΠ΅Π»Ρ Π΄ΠΎΠ»ΠΆΠ΅Π½ ΡΠ°ΡΠΏΠΎΠ»Π°Π³Π°ΡΡΡΡ ΠΌΠ΅ΠΆΠ΄Ρ ΡΠ°Π·ΠΎΠ²ΡΠΌ ΠΏΡΠΎΠ²ΠΎΠ΄ΠΎΠΌ ΠΈ ΡΠ²Π΅ΡΠΈΠ»ΡΠ½ΠΈΠΊΠΎΠΌ. Π‘Ρ Π΅ΠΌΠ° ΠΏΠΎΠ΄ΠΊΠ»ΡΡΠ΅Π½ΠΈΡ Π΄ΠΈΠΌΠΌΠ΅ΡΠ° Π²ΡΠ΅Π³Π΄Π° ΡΠΊΠ°Π·ΡΠ²Π°Π΅ΡΡΡ Π»ΠΈΠ±ΠΎ Π½Π° ΡΠ°ΠΌΠΎΠΌ ΠΈΠ·Π΄Π΅Π»ΠΈΠΈ, Π»ΠΈΠ±ΠΎ Π² Π΅Π³ΠΎ ΡΠ΅Ρ Π½ΠΈΡΠ΅ΡΠΊΠΎΠΉ Π΄ΠΎΠΊΡΠΌΠ΅Π½ΡΠ°ΡΠΈΠΈ. ΠΠ½Π΄ΠΈΠΊΠ°ΡΠΎΡΠ½Π°Ρ ΠΎΡΠ²Π΅ΡΡΠΊΠ° ΡΠ²Π΅ΡΠΈΡΡΡ ΡΠΎΠ»ΡΠΊΠΎ ΠΎΡ ΠΏΡΠΈΠΊΠΎΡΠ½ΠΎΠ²Π΅Π½ΠΈΡ ΠΊ ΡΠ°Π·Π½ΠΎΠΌΡ ΠΏΡΠΎΠ²ΠΎΠ΄Ρ.
- ΠΡΠΏΠΎΠ»Π½ΡΡ ΠΏΠΎΠ΄ΠΊΠ»ΡΡΠ΅Π½ΠΈΠ΅ Π΄ΠΈΠΌΠΌΠ΅ΡΠ° Ρ Π²ΡΠΊΠ»ΡΡΠ°ΡΠ΅Π»Π΅ΠΌ, ΡΠ°ΠΊΠΆΠ΅ ΡΠ΅ΠΊΠΎΠΌΠ΅Π½Π΄ΡΠ΅ΡΡΡ ΡΡΠΎΡΠ½ΡΡΡ Π΄Π΅ΡΠ°Π»ΠΈ ΠΏΡΠΈΡΠΎΠ΅Π΄ΠΈΠ½Π΅Π½ΠΈΡ ΠΊ ΡΠ°Π·Π½ΠΎΠΌΡ ΠΏΡΠΎΠ²ΠΎΠ΄Ρ ΠΈ ΠΏΡΠΈ Π½Π΅ΠΎΠ±Ρ ΠΎΠ΄ΠΈΠΌΠΎΡΡΠΈ Π²ΡΡΠ²Π»ΡΡΡ ΡΡΠΎΡ ΠΏΡΠΎΠ²ΠΎΠ΄ ΠΈΠ½Π΄ΠΈΠΊΠ°ΡΠΎΡΠ½ΠΎΠΉ ΠΎΡΠ²Π΅ΡΡΠΊΠΎΠΉ. Π ΠΎΠ±ΡΡΠ½ΡΠΉ, ΠΈ ΠΏΡΠΎΡ ΠΎΠ΄Π½ΠΎΠΉ Π²ΡΠΊΠ»ΡΡΠ°ΡΠ΅Π»Ρ Ρ Π΄ΠΈΠΌΠΌΠ΅ΡΠΎΠΌ ΡΠ΅ΠΊΠΎΠΌΠ΅Π½Π΄ΡΠ΅ΡΡΡ ΠΌΠΎΠ½ΡΠΈΡΠΎΠ²Π°ΡΡ ΠΌΠ΅ΠΆΠ΄Ρ ΡΠ°Π·ΠΎΠ²ΡΠΌ ΠΏΡΠΎΠ²ΠΎΠ΄ΠΎΠΌ ΠΈ Π»Π°ΠΌΠΏΠΎΡΠΊΠΎΠΉ.

ΠΠΎΠ΄Π΅Π»Ρ Ρ ΡΠ½ΠΈΠ²Π΅ΡΡΠ°Π»ΡΠ½ΡΠΌ ΠΏΠΎΠ΄ΠΊΠ»ΡΡΠ΅Π½ΠΈΠ΅ΠΌ Π½ΡΠ»Π΅Π²ΠΎΠ³ΠΎ ΠΈ ΡΠ°Π·Π½ΠΎΠ³ΠΎ ΠΏΡΠΎΠ²ΠΎΠ΄ΠΎΠ²
Π€ΠΈΡΠΌΠΎΠΉ Legrand Π½Π°ΡΡΠ΄Ρ Ρ Π΄ΡΡΠ³ΠΈΠΌΠΈ ΠΏΡΠΎΠΈΠ·Π²ΠΎΠ΄ΠΈΡΠ΅Π»ΡΠΌΠΈ Π²ΡΠΏΡΡΠΊΠ°ΡΡΡΡ ΠΌΠΎΠ΄Π΅Π»ΠΈ Ρ ΠΎΡΠ΄Π΅Π»ΡΠ½ΠΎΠΉ Π΄ΠΎΠΏΠΎΠ»Π½ΠΈΡΠ΅Π»ΡΠ½ΠΎΠΉ ΠΊΠ»Π°Π²ΠΈΡΠ΅ΠΉ. ΠΠ΅ ΠΌΠΎΠΆΠ½ΠΎ ΠΏΡΠΈΠΌΠ΅Π½ΠΈΡΡ, ΠΏΡΠΈΡΠΎΠ΅Π΄ΠΈΠ½ΠΈΠ² Π»ΠΈΠ±ΠΎ Π²ΠΌΠ΅ΡΡΠ΅ Ρ ΡΠ΅Π³ΡΠ»ΡΡΠΎΡΠΎΠΌ, Π»ΠΈΠ±ΠΎ ΠΊ ΠΎΡΠ΄Π΅Π»ΡΠ½ΠΎΠΌΡ ΡΠ²Π΅ΡΠΈΠ»ΡΠ½ΠΈΠΊΡ. ΠΡΠΎ Π΄ΠΎΠΏΠΎΠ»Π½ΠΈΡΠ΅Π»ΡΠ½ΠΎΠ΅ ΡΠ΄ΠΎΠ±ΡΡΠ²ΠΎ, ΠΊΠΎΡΠΎΡΠΎΠ΅ ΠΏΠΎΠ·Π²ΠΎΠ»ΡΠ΅Ρ Π²ΠΊΠ»ΡΡΠ°ΡΡ ΡΠ΅Π³ΡΠ»ΠΈΡΡΠ΅ΠΌΡΠΉ ΡΠ²Π΅ΡΠΈΠ»ΡΠ½ΠΈΠΊ Ρ ΡΠ°ΠΊΠΎΠΉ ΠΆΠ΅ ΡΡΠΊΠΎΡΡΡΡ, ΠΊΠ°ΠΊΠ°Ρ Π±ΡΠ»Π° ΠΏΡΠΈ Π΅Π³ΠΎ Π²ΡΠΊΠ»ΡΡΠ΅Π½ΠΈΠΈ.
ΠΡΠΈ ΡΡΠΎΠΌ Π² ΠΎΠ΄Π½ΠΎΠΌ ΠΊΠΎΡΠΏΡΡΠ΅ ΡΠΎΠ²ΠΌΠ΅ΡΠ°ΡΡΡΡ Π΄Π²Π° ΡΠ°ΠΌΠΎΡΡΠΎΡΡΠ΅Π»ΡΠ½ΡΡ ΡΡΡΡΠΎΠΉΡΡΠ²Π°. Π’Π°ΠΊΡΡ ΠΌΠΎΠ΄Π΅Π»Ρ ΡΠ΄ΠΎΠ±Π½ΠΎ ΠΏΡΠΈΠΌΠ΅Π½ΠΈΡΡ ΠΊΠ°ΠΊ ΠΏΡΠΎΡ ΠΎΠ΄Π½ΠΎΠΉ Π΄ΠΈΠΌΠΌΠ΅Ρ. ΠΠΎ Π²ΠΎ Π²ΡΠ΅Ρ ΠΌΠΎΠ΄Π΅Π»ΡΡ ΠΏΡΠ΅Π΄ΡΡΠΌΠΎΡΡΠ΅Π½ ΡΠ°Π·ΡΡΠ² ΡΠ»Π΅ΠΊΡΡΠΈΡΠ΅ΡΠΊΠΎΠΉ ΡΠ΅ΠΏΠΈ Ρ Π½Π°Π³ΡΡΠ·ΠΊΠΎΠΉ ΠΏΡΠΈ ΠΏΠΎΠ²ΠΎΡΠΎΡΠ΅ ΡΠ΅Π³ΡΠ»ΠΈΡΠΎΠ²ΠΊΠΈ Π² ΠΊΡΠ°ΠΉΠ½Π΅Π΅ Π»Π΅Π²ΠΎΠ΅ ΠΏΠΎΠ»ΠΎΠΆΠ΅Π½ΠΈΠ΅. ΠΠ΄Π½Π°ΠΊΠΎ ΠΏΡΠΈ ΡΡΠΎΠΌ Π½Π°ΡΡΡΠΎΠΉΠΊΠ° ΡΡΠΊΠΎΡΡΠΈ ΡΠ²Π΅ΡΠ° ΠΏΡΠΈ ΠΏΠΎΠ²ΡΠΎΡΠ½ΠΎΠΌ Π²ΠΊΠ»ΡΡΠ΅Π½ΠΈΠΈ Π΄Π΅Π»Π°Π΅ΡΡΡ Π·Π°Π½ΠΎΠ²ΠΎ.
Π ΠΏΡΠΎΠ΄Π»Π΅Π½ΠΈΠΈ ΡΡΠΎΠΊΠ° ΡΠ»ΡΠΆΠ±Ρ Π»Π°ΠΌΠΏ Π½Π°ΠΊΠ°Π»ΠΈΠ²Π°Π½ΠΈΡ
Π’Π΅ΠΏΠ΅ΡΡ ΠΊΠΎΠΌΠΌΠ΅Π½ΡΠ°ΡΠΈΠΉ ΠΎ Π²Π°ΠΆΠ½Π΅ΠΉΡΠ΅ΠΉ ΡΠ±Π΅ΡΠ΅Π³Π°ΡΡΠ΅ΠΉ ΡΡΠ½ΠΊΡΠΈΠΈ Π΄ΠΈΠΌΠΌΠ΅ΡΠ°. ΠΠ΅Π»ΠΎ Π² ΡΠΎΠΌ, ΡΡΠΎ ΠΎΠ±ΡΡΠ½ΡΠΉ ΡΡΠΎΠΊ ΡΠ»ΡΠΆΠ±Ρ Π»Π°ΠΌΠΏΠΎΡΠΊΠΈ Π½Π°ΠΊΠ°Π»ΠΈΠ²Π°Π½ΠΈΡ ΠΎΠΊΠΎΠ»ΠΎ 1 000 ΡΠ°ΡΠΎΠ². ΠΠΎ Π² ΡΡΠΎ Π²ΡΠ΅ΠΌΡ ΠΎΠ½Π° ΠΈΡΠΏΠΎΠ»ΡΠ·ΡΠ΅ΡΡΡ Π΄Π»Ρ ΡΡΠΎΠΏΡΠΎΡΠ΅Π½ΡΠ½ΠΎΠΉ ΠΌΠΎΡΠ½ΠΎΡΡΠΈ. ΠΡΠ»ΠΈ Π΅Π΅ ΡΠΌΠ΅Π½ΡΡΠΈΡΡ Π½Π° 25%, ΠΏΡΠΎΠ΄ΠΎΠ»ΠΆΠΈΡΠ΅Π»ΡΠ½ΠΎΡΡΡ ΡΠ°Π±ΠΎΡΡ Π²ΠΎΠ·ΡΠ°ΡΡΠ°Π΅Ρ ΠΌΠ½ΠΎΠ³ΠΎΠΊΡΠ°ΡΠ½ΠΎ. ΠΠΏΡΡ ΡΠ°ΠΊΠΈΡ Π½Π°Π±Π»ΡΠ΄Π΅Π½ΠΈΠΉ Π΅ΡΡΡ.
ΠΠ°ΠΌΠΏΠΎΡΠΊΠΈ Π½Π°ΠΊΠ°Π»ΠΈΠ²Π°Π½ΠΈΡ β ΡΡΠΎ ΡΠ°ΠΌΡΠΉ ΠΏΡΠΈΠ΅ΠΌΠ»Π΅ΠΌΡΠΉ ΠΈΡΡΠΎΡΠ½ΠΈΠΊ ΡΠ²Π΅ΡΠ° Π΄Π»Ρ ΠΎΡΠ²Π΅ΡΠ΅Π½ΠΈΡ Π»Π΅ΡΡΠ½ΠΈΡΠ½ΡΡ ΠΏΠ»ΠΎΡΠ°Π΄ΠΎΠΊ ΠΈ ΠΏΠΎΠ΄ΡΠ΅Π·Π΄ΠΎΠ². ΠΠ»Ρ ΡΡΠΎΠ³ΠΎ Π΄ΠΎΡΡΠ°ΡΠΎΡΠ½ΠΎ 75-Π²Π°ΡΡΠ½ΠΎΠΉ Π»Π°ΠΌΠΏΡ Π½Π°ΠΊΠ°Π»ΠΈΠ²Π°Π½ΠΈΡ. ΠΠΎ ΠΌΠΎΠΆΠ½ΠΎ ΠΈΡΠΏΠΎΠ»ΡΠ·ΠΎΠ²Π°ΡΡ ΠΈ 100-Π²Π°ΡΡΠ½ΡΡ Π»Π°ΠΌΠΏΡ Ρ Π΄ΠΈΠΌΠΌΠ΅ΡΠΎΠΌ, ΠΎΠ³ΡΠ°Π½ΠΈΡΠΈΠ² Π΅Π΅ ΠΌΠΎΡΠ½ΠΎΡΡΡ. ΠΡΠΈ ΡΡΠΎΠΌ Π΅Π΅ ΡΠ²Π΅Ρ ΠΏΠΎ ΡΠΈΠ»Π΅ Π±ΡΠ΄Π΅Ρ ΡΠ°ΠΊΠΈΠΌ ΠΆΠ΅, ΠΊΠ°ΠΊ ΠΈ Ρ 75-Π²Π°ΡΡΠ½ΠΎΠΉ.
- ΠΠΎ Π½Π°Π±Π»ΡΠ΄Π΅Π½ΠΈΡΠΌ ΡΠΎΡΡΡΠ΄Π½ΠΈΠΊΠΎΠ² ΠΊΠΎΠΌΠΌΡΠ½Π°Π»ΡΠ½ΡΡ ΡΠ»ΡΠΆΠ±, ΠΊΠΎΡΠΎΡΡΠ΅ Π²Π½Π΅Π΄ΡΠΈΠ»ΠΈ Ρ ΡΠ΅Π±Ρ ΡΠ°ΠΊΠΎΠ΅ ΠΎΡΠ²Π΅ΡΠ΅Π½ΠΈΠ΅, Π»Π°ΠΌΠΏΠΎΡΠΊΠ°, ΠΊΠΎΡΠΎΡΠ°Ρ ΡΠ²Π΅ΡΠΈΡ Ρ ΠΎΠ³ΡΠ°Π½ΠΈΡΠ΅Π½ΠΈΠ΅ΠΌ ΠΌΠΎΡΠ½ΠΎΡΡΠΈ, ΠΌΠΎΠΆΠ΅Ρ ΠΏΡΠΎΡΠ»ΡΠΆΠΈΡΡ ΠΎΠΊΠΎΠ»ΠΎ Π΄Π΅ΡΡΡΠΈ Π»Π΅Ρ. ΠΠΎΡΡΠΎΠΌΡ ΡΡΡΠ°Π½ΠΎΠ²ΠΊΠ° Π΄ΠΈΠΌΠΌΠ΅ΡΠ°, ΠΊΠΎΡΠΎΡΡΠΉ ΠΎΠ³ΡΠ°Π½ΠΈΡΠΈΠ²Π°Π΅Ρ ΠΌΠΎΡΠ½ΠΎΡΡΡ Π²ΡΠ΅Ρ Π»Π°ΠΌΠΏΠΎΡΠ΅ΠΊ, Π½Π°ΡΠΈΠ½Π°Ρ ΠΎΡ Π²Ρ ΠΎΠ΄Π° Π² ΠΏΠΎΠ΄ΡΠ΅Π·Π΄ ΠΈ Π²ΡΡΠ΅ ΠΏΠΎ ΡΡΠ°ΠΆΠ°ΠΌ, Π΄Π°Π΅Ρ ΠΎΡΡΡΠΈΠΌΡΠΉ ΡΠΊΠΎΠ½ΠΎΠΌΠΈΡΠ΅ΡΠΊΠΈΠΉ ΡΡΡΠ΅ΠΊΡ. ΠΡΠ»ΠΈ Π·Π°ΠΌΠ΅Π½ΠΈΡΡ ΡΡΠΈ Π»Π°ΠΌΠΏΡ Π½Π°ΠΊΠ°Π»ΠΈΠ²Π°Π½ΠΈΡ ΡΠ½Π΅ΡΠ³ΠΎΡΠ±Π΅ΡΠ΅Π³Π°ΡΡΠΈΠΌΠΈ ΠΈΠ»ΠΈ ΡΠ²Π΅ΡΠΎΠ΄ΠΈΠΎΠ΄Π½ΡΠΌΠΈ, Π²ΡΡΠΎΠΊΠ° Π²Π΅ΡΠΎΡΡΠ½ΠΎΡΡΡ ΠΈΡ Ρ ΠΈΡΠ΅Π½ΠΈΡ.
Π‘Π΄Π΅Π»Π°ΡΡ ΠΌΠΎΠ½ΡΠ°ΠΆ Π΄ΠΈΠΌΠΌΠ΅ΡΠ° Π² ΡΠ°ΡΠΏΡΠ΅Π΄Π΅Π»ΠΈΡΠ΅Π»ΡΠ½ΠΎΠΌ ΡΠΈΡΠ΅ ΠΆΠΈΠ»ΠΎΠ³ΠΎ Π΄ΠΎΠΌΠ° Π½Π΅ ΡΠ»ΠΎΠΆΠ½ΠΎ. ΠΠ° ΡΡΠ½ΠΊΠ΅ Π΅ΡΡΡ ΠΌΠ½ΠΎΠ³ΠΎ ΡΠ°Π·Π½ΡΡ Π²Π°ΡΠΈΠ°Π½ΡΠΎΠ² ΠΈΡΠΏΠΎΠ»Π½Π΅Π½ΠΈΡ ΡΡΠΈΡ ΠΏΡΠΈΠ±ΠΎΡΠΎΠ² Π΄Π»Ρ ΡΠ°Π·Π»ΠΈΡΠ½ΡΡ ΠΈΠ½ΡΡΠ°Π»Π»ΡΡΠΈΠΉ. Π ΡΠΎΠΌ ΡΠΈΡΠ»Π΅ ΠΈ Π΄Π»Ρ ΠΌΠΎΠ½ΡΠ°ΠΆΠ° Π½Π° DIN-ΡΠ΅ΠΉΠΊΡ. ΠΠ΄Π½Π° ΠΈΠ· ΡΠ°ΠΊΠΈΡ ΠΌΠΎΠ΄Π΅Π»Π΅ΠΉ ΠΏΠΎΠΊΠ°Π·Π°Π½Π° Π΄Π°Π»Π΅Π΅ Π½Π° ΠΈΠ·ΠΎΠ±ΡΠ°ΠΆΠ΅Π½ΠΈΠΈ.

ΠΠΈΠΌΠΌΠ΅Ρ ΠΌΠΎΠ΄ΡΠ»ΡΠ½ΠΎΠΉ ΠΊΠΎΠ½ΡΡΡΡΠΊΡΠΈΠΈ Π΄Π»Ρ ΠΌΠΎΠ½ΡΠ°ΠΆΠ° Π½Π° DIN-ΡΠ΅ΠΉΠΊΡ
ΠΠ΅ΡΠ΅Π΄ ΡΠ΅ΠΌ ΠΊΠ°ΠΊ ΡΡΡΠ°Π½ΠΎΠ²ΠΈΡΡ Π΄ΠΈΠΌΠΌΠ΅Ρ Π² ΠΆΠΈΠ»ΡΡ ΠΈ ΠΎΡΠΈΡΠ½ΡΡ ΠΏΠΎΠΌΠ΅ΡΠ΅Π½ΠΈΡΡ , ΠΌΠΎΠΆΠ½ΠΎ ΡΠ°Π·ΠΎΠ±ΡΠ°ΡΡ Π²ΡΠΊΠ»ΡΡΠ°ΡΠ΅Π»Ρ, Π²ΠΌΠΎΠ½ΡΠΈΡΠΎΠ²Π°Π½Π½ΡΠΉ Π² ΡΡΠ΅Π½Ρ. Π‘Π²ΠΎΠΈΠΌΠΈ ΠΎΡΠ½ΠΎΠ²Π½ΡΠΌΠΈ ΡΠ°Π·ΠΌΠ΅ΡΠ°ΠΌΠΈ Π±ΠΎΠ»ΡΡΠΈΠ½ΡΡΠ²ΠΎ ΠΌΠΎΠ΄Π΅Π»Π΅ΠΉ Π½Π°ΡΡΠ΅Π½Π½ΡΡ ΡΠ²Π΅ΡΠΎΡΠ΅Π³ΡΠ»ΡΡΠΎΡΠΎΠ² ΠΏΠΎΠ²ΡΠΎΡΡΡΡ Π²ΡΠΊΠ»ΡΡΠ°ΡΠ΅Π»ΠΈ. ΠΠ°ΠΏΠΎΠΌΠΈΠ½Π°Π΅ΠΌ, ΡΡΠΎ ΠΏΠ΅ΡΠ΅Π΄ ΠΏΡΠΈΡΠΎΠ΅Π΄ΠΈΠ½Π΅Π½ΠΈΠ΅ΠΌ ΡΠ΅Π³ΡΠ»ΡΡΠΎΡΠ° Π² ΡΠ°Π·ΠΎΠ±ΡΠ°Π½Π½ΠΎΠΌ ΠΏΠΎΡΠ°Π΄ΠΎΡΠ½ΠΎΠΌ ΠΌΠ΅ΡΡΠ΅ Π½Π°Π΄ΠΎ Π½Π°ΠΉΡΠΈ ΠΏΡΠΈ ΠΏΠΎΠΌΠΎΡΠΈ ΠΈΠ½Π΄ΠΈΠΊΠ°ΡΠΎΡΠ½ΠΎΠΉ ΠΎΡΠ²Π΅ΡΡΠΊΠΈ ΡΠ°Π·ΠΎΠ²ΡΠΉ ΠΏΡΠΎΠ²ΠΎΠ΄Π½ΠΈΠΊ ΠΈ ΠΏΡΠΈΡΠΎΠ΅Π΄ΠΈΠ½ΠΈΡΡ Π΅Π³ΠΎ ΡΠΎΠΎΡΠ²Π΅ΡΡΡΠ²Π΅Π½Π½ΠΎ ΠΈΡΠΏΠΎΠ»ΡΠ·ΡΠ΅ΠΌΠΎΠΉ ΠΌΠΎΠ΄Π΅Π»ΠΈ.
ΠΠ½Π°Π»ΠΎΠ³ΠΈΡΠ½ΡΡ ΠΏΡΠΎΠ²Π΅ΡΠΊΡ Π½Π°Π΄ΠΎ ΡΠ΄Π΅Π»Π°ΡΡ, Π΅ΡΠ»ΠΈ Π΅ΡΡΡ Π½Π°ΠΌΠ΅ΡΠ΅Π½ΠΈΠ΅ ΠΈΡΠΏΠΎΠ»ΡΠ·ΠΎΠ²Π°ΡΡ Π΄ΠΈΠΌΠΌΠ΅Ρ Π½Π° ΠΏΡΠΎΠ²ΠΎΠ΄Π΅ Π²Π·Π°ΠΌΠ΅Π½ ΠΏΡΠΎΠ²ΠΎΠ΄Π½ΠΎΠ³ΠΎ Π²ΡΠΊΠ»ΡΡΠ°ΡΠ΅Π»Ρ, ΠΏΠΎΠ΄ΠΊΠ»ΡΡΠ΅Π½Π½ΠΎΠ³ΠΎ ΠΊ ΡΠΎΡΡΠ΅ΡΡ, Π±ΡΠ° ΠΈΠ»ΠΈ Π½Π°ΡΡΠΎΠ»ΡΠ½ΠΎΠΉ Π»Π°ΠΌΠΏΠ΅. ΠΠΎΡΠ»Π΅ ΡΡΠΎΠ³ΠΎ ΡΠ΅Π³ΡΠ»ΡΡΠΎΡ ΡΡΠ°Π½Π΅Ρ Π½Π΅ ΡΠΎΠ»ΡΠΊΠΎ Π²ΡΠΊΠ»ΡΡΠ°ΡΠ΅Π»Π΅ΠΌ, Π½ΠΎ ΠΈ Π²Π°ΠΆΠ½ΡΠΌ ΡΠ»Π΅ΠΌΠ΅Π½ΡΠΎΠΌ Π΄Π»Ρ ΠΎΡΠΎΡΠΌΠ»Π΅Π½ΠΈΡ ΠΈΠ½ΡΠ΅ΡΡΠ΅ΡΠ°. Π’Π΅ΠΏΠ΅ΡΡ ΡΠ²Π΅ΡΠΈΠ»ΡΠ½ΠΈΠΊ ΠΌΠΎΠΆΠ΅Ρ ΡΠ»ΡΠΆΠΈΡΡ Π½ΠΎΡΠ½ΠΈΠΊΠΎΠΌ. ΠΠΎ Π΅ΡΠ»ΠΈ ΠΏΡΠΈ ΡΠΎΡΠ΅ΡΠ°Π½ΠΈΠΈ Π΄ΠΈΠΌΠΌΠ΅ΡΠ° Ρ Π»ΡΠ±ΡΠΌΠΈ Π»Π°ΠΌΠΏΠ°ΠΌΠΈ Π½Π°ΠΊΠ°Π»ΠΈΠ²Π°Π½ΠΈΡ Ρ ΠΏΠΎΠ»ΡΠ·ΠΎΠ²Π°ΡΠ΅Π»Ρ Π½ΠΈΠΊΠ°ΠΊΠΈΡ ΠΏΡΠΎΠ±Π»Π΅ΠΌ Π½Π΅ Π²ΠΎΠ·Π½ΠΈΠΊΠ°Π΅Ρ, Ρ ΡΠ½Π΅ΡΠ³ΠΎΡΠ±Π΅ΡΠ΅Π³Π°ΡΡΠΈΠΌΠΈ ΠΈ ΡΠ²Π΅ΡΠΎΠ΄ΠΈΠΎΠ΄Π½ΡΠΌΠΈ Π»Π°ΠΌΠΏΠ°ΠΌΠΈ ΠΌΠΎΠ³ΡΡ Π±ΡΡΡ ΡΠ»ΠΎΠΆΠ½ΠΎΡΡΠΈ.

ΠΡΠΎΠ²ΠΎΠ΄Π½ΠΎΠΉ Π΄ΠΈΠΌΠΌΠ΅Ρ
ΠΠ΅ Π²ΡΠ΅ ΠΌΠΎΠ΄Π΅Π»ΠΈ ΡΡΠΈΡ ΠΈΡΡΠΎΡΠ½ΠΈΠΊΠΎΠ² ΡΠ²Π΅ΡΠ° ΠΏΠΎΠ΄Π΄Π°ΡΡΡΡ ΡΠ΅Π³ΡΠ»ΠΈΡΠΎΠ²Π°Π½ΠΈΡ. Π’ΠΎΠ»ΡΠΊΠΎ Π»Π°ΠΌΠΏΡ Ρ Π½Π°Π΄ΠΏΠΈΡΡΡ Β«DimmableΒ» ΠΌΠΎΠ³ΡΡ ΠΈΡΠΏΠΎΠ»ΡΠ·ΠΎΠ²Π°ΡΡΡΡ ΡΠΎ ΡΠ²Π΅ΡΠΎΡΠ΅Π³ΡΠ»ΡΡΠΎΡΠΎΠΌ. ΠΡΡ ΠΎΡΠΎΠ±Π΅Π½Π½ΠΎΡΡΡ ΠΈΡΡΠΎΡΠ½ΠΈΠΊΠΎΠ² ΡΠ²Π΅ΡΠ° ΡΠ»Π΅Π΄ΡΠ΅Ρ ΡΡΠΈΡΡΠ²Π°ΡΡ ΠΏΡΠΈ ΠΏΠΎΠΊΡΠΏΠΊΠ΅.

lampagid.ru
