Π‘Π΄Π΅Π»Π°ΡΡ ΠΊΡΡΡΠΊΡ Π΄Π»Ρ ΠΊΠΎΠ»ΠΎΠ΄ΡΠ° ΡΠ²ΠΎΠΈΠΌΠΈ ΡΡΠΊΠ°ΠΌΠΈ β ΠΡΡΡΠΊΠ° Π΄Π»Ρ ΠΊΠΎΠ»ΠΎΠ΄ΡΠ° ΡΠ²ΠΎΠΈΠΌΠΈ ΡΡΠΊΠ°ΠΌΠΈ: ΠΏΠΎΡΠ°Π³ΠΎΠ²Π°Ρ ΠΈΠ½ΡΡΡΡΠΊΡΠΈΡ ΠΊΠ°ΠΊ ΡΠ΄Π΅Π»Π°ΡΡ ΠΈΠ· Π΄Π΅ΡΠ΅Π²Π°, ΠΌΠ΅ΡΠ°Π»Π»Π°, Π±Π΅ΡΠΎΠ½Π°, ΠΏΠ»Π°ΡΡΠΈΠΊΠ°
π§ ΠΡΡΡΠΊΠ° Π΄Π»Ρ ΠΊΠΎΠ»ΠΎΠ΄ΡΠ° ΡΠ²ΠΎΠΈΠΌΠΈ ΡΡΠΊΠ°ΠΌΠΈ: Π²Π°ΡΠΈΠ°Π½ΡΡ ΠΈΠ·Π³ΠΎΡΠΎΠ²Π»Π΅Π½ΠΈΡ
ΠΡΡΡΠΊΠ° Π΄Π»Ρ ΠΊΠΎΠ»ΠΎΠ΄ΡΠ° ΡΠ²ΠΎΠΈΠΌΠΈ ΡΡΠΊΠ°ΠΌΠΈ ΠΏΡΠΈΠ³ΠΎΠ΄ΠΈΡΡΡ Π² ΡΠ΅Ρ ΡΠ»ΡΡΠ°ΡΡ , Π΅ΡΠ»ΠΈ Π½Π° ΡΠ΅ΡΡΠΈΡΠΎΡΠΈΠΈ ΡΠ°ΡΡΠ½ΠΎΠ³ΠΎ Π΄ΠΎΠΌΠ° ΡΡΡΠ°Π½ΠΎΠ²Π»Π΅Π½ ΠΈΠ½Π΄ΠΈΠ²ΠΈΠ΄ΡΠ°Π»ΡΠ½ΡΠΉ Π²Π°ΡΠΈΠ°Π½Ρ Π²ΠΎΠ΄ΠΎΡΠ½Π°Π±ΠΆΠ΅Π½ΠΈΡ. Π‘ ΠΏΠΎΠΌΠΎΡΡΡ ΡΠ°ΠΊΠΎΠ³ΠΎ Π΄ΠΎΠΏΠΎΠ»Π½Π΅Π½ΠΈΡ ΠΌΠΎΠΆΠ½ΠΎ Π½Π΅ ΡΠΎΠ»ΡΠΊΠΎ Π·Π°ΡΠΈΡΠΈΡΡ ΠΊΠΎΠ»ΠΎΠ΄Π΅Ρ ΠΎΡ Π·Π°ΡΠΎΡΠ΅Π½ΠΈΡ, Π½ΠΎ ΠΈ Π΄ΠΎΠ±Π°Π²ΠΈΡΡ Π½Π΅ΠΊΠΎΡΠΎΡΡΠΉ ΡΡΡΠ΅ΠΊΡ Π»Π°Π½Π΄ΡΠ°ΡΡΠ½ΠΎΠΌΡ Π΄ΠΈΠ·Π°ΠΉΠ½Ρ. Π ΡΠ΅Π³ΠΎΠ΄Π½ΡΡΠ½Π΅ΠΉ ΠΏΡΠ±Π»ΠΈΠΊΠ°ΡΠΈΠΈ ΡΠ΅Π΄Π°ΠΊΡΠΈΡ Homius Π΄Π΅ΡΠ°Π»ΡΠ½ΠΎ ΡΠ°ΡΡΠΊΠ°ΠΆΠ΅Ρ ΠΎ Π²ΠΎΠ·ΠΌΠΎΠΆΠ½ΡΡ Π²Π°ΡΠΈΠ°Π½ΡΠ°Ρ ΠΎΡΠΎΡΠΌΠ»Π΅Π½ΠΈΡ Π΄Π°Π½Π½ΠΎΠΉ ΠΊΠΎΠ½ΡΡΡΡΠΊΡΠΈΠΈ Ρ ΡΠΎΡΠΎΠΈΠ½ΡΡΡΡΠΊΡΠΈΡΠΌΠΈ.
ΠΠ°Π΄Π΅ΠΊΠΎΡΠΈΡΠΎΠ²Π°ΡΡ ΠΊΠΎΠ½ΡΡΡΡΠΊΡΠΈΡ ΠΌΠΎΠΆΠ½ΠΎ Π»ΡΠ±ΡΠΌ ΠΏΠΎΠ΄ΡΡΡΠ½ΡΠΌ ΠΌΠ°ΡΠ΅ΡΠΈΠ°Π»ΠΎΠΌΠ€ΠΠ’Π: manesu.com
Π‘ΠΎΠ΄Π΅ΡΠΆΠ°Π½ΠΈΠ΅ ΡΡΠ°ΡΡΠΈ
ΠΡΡΡΠΊΠ° Π΄Π»Ρ ΠΊΠΎΠ»ΠΎΠ΄ΡΠ° ΠΈΠ· Π΄Π΅ΡΠ΅Π²Π° ΡΠ²ΠΎΠΈΠΌΠΈ ΡΡΠΊΠ°ΠΌΠΈ: ΠΊΠ°ΠΊ ΡΠ΄Π΅Π»Π°ΡΡ ΠΏΡΠ°Π²ΠΈΠ»ΡΠ½ΠΎ
ΠΡΠ»ΠΈ Π΅ΡΡ Π½Π΅ΡΠΊΠΎΠ»ΡΠΊΠΎ Π΄Π΅ΡΡΡΠΊΠΎΠ² Π»Π΅Ρ Π½Π°Π·Π°Π΄ ΠΊΠΎΠ»ΠΎΠ΄Π΅Π·Π½Π°Ρ ΠΊΡΡΡΠΊΠ° ΠΏΡΠ΅Π΄ΡΡΠ°Π²Π»ΡΠ»Π° ΡΠΎΠ±ΠΎΠΉ ΠΎΠ±ΡΡΠ½ΡΠΉ Π΄Π΅ΡΠ΅Π²ΡΠ½Π½ΡΠΉ ΠΊΠ°ΡΠΊΠ°Ρ, ΡΠΎ ΡΠ΅Π³ΠΎΠ΄Π½Ρ ΡΡΡΠ΅ΡΡΠ²ΡΠ΅Ρ Π±ΠΎΠ»ΡΡΠΎΠ΅ ΡΠ°Π·Π½ΠΎΠΎΠ±ΡΠ°Π·ΠΈΠ΅ Π²Π°ΡΠΈΠ°ΡΠΈΠΉ, ΠΊΠΎΡΠΎΡΡΠ΅ Π»Π΅Π³ΠΊΠΎ ΡΠ΄Π΅Π»Π°ΡΡ Π² Π΄ΠΎΠΌΠ°ΡΠ½ΠΈΡ ΡΡΠ»ΠΎΠ²ΠΈΡΡ , ΠΈΠΌΠ΅Ρ ΠΏΠΎΠ΄ ΡΡΠΊΠΎΠΉ Π½Π΅ΠΊΠΎΡΠΎΡΡΠΉ ΠΈΠ½ΡΡΡΡΠΌΠ΅Π½Ρ ΠΈ Π½Π°Π²ΡΠΊ. ΠΡΠ±Π°Ρ ΠΈΠ· ΠΌΠΎΠ΄ΠΈΡΠΈΠΊΠ°ΡΠΈΠΉ ΠΈΠ·Π΄Π΅Π»ΠΈΠΉ ΠΈΠ·Π±Π°Π²ΠΈΡ ΠΊΠΎΠ»ΠΎΠ΄Π΅Ρ ΠΎΡ ΠΌΡΡΠΎΡΠ° ΠΈ Π½Π΅ΠΆΠ΅Π»Π°ΡΠ΅Π»ΡΠ½ΡΡ Π½Π°ΡΠ΅ΠΊΠΎΠΌΡΡ .
ΠΠ΅ΠΏΠ»ΠΎΡ
ΠΎ ΡΠΌΠΎΡΡΡΡΡΡ Π²Π°ΡΠΈΠ°Π½ΡΡ ΠΎΡΠΎΡΠΌΠ»Π΅Π½ΠΈΡ ΠΊΠΎΠ»ΠΎΠ΄ΡΠ΅Π², ΡΠ»Π΅ΠΌΠ΅Π½ΡΡ ΠΊΠΎΡΠΎΡΡΡ
ΠΈΠ·Π³ΠΎΡΠΎΠ²Π»Π΅Π½Ρ ΠΈΠ· Π½Π°ΡΡΡΠ°Π»ΡΠ½ΠΎΠ³ΠΎ Π½Π΅ΠΎΠ±ΡΠ°Π±ΠΎΡΠ°Π½Π½ΠΎΠ³ΠΎ Π΄Π΅ΡΠ΅Π²Π°Π€ΠΠ’Π: obrawa.ru
ΠΡΡΡΠΊΠ° Π² Π²ΠΈΠ΄Π΅ ΡΠΈΡΠ°
ΠΡΠΎΠΌΠ΅ ΠΏΠΎΠ»Π΅Π·Π½ΠΎΠΉ ΠΈ ΡΡΡΠ΅ΡΠΈΡΠ΅ΡΠΊΠΎΠΉ ΡΡΠ½ΠΊΡΠΈΠΈ, ΠΊΡΡΡΠΊΠ°-ΡΠΈΡ ΠΎΠ±Π΅ΡΠ΅Π³Π°Π΅Ρ Π²ΡΠ΅Ρ ΠΆΠΈΠ»ΡΡΠΎΠ² ΠΎΡ ΡΠ»ΡΡΠ°ΠΉΠ½ΠΎΠ³ΠΎ ΠΏΠ°Π΄Π΅Π½ΠΈΡ Π² ΡΠ°Ρ ΡΡ ΠΊΠΎΠ»ΠΎΠ΄ΡΠ°. ΠΠ·Π³ΠΎΡΠ°Π²Π»ΠΈΠ²Π°ΡΡΡΡ ΡΠ°ΠΊΠΎΠ΅ ΠΏΡΠΈΡΠΏΠΎΡΠΎΠ±Π»Π΅Π½ΠΈΠ΅ ΠΌΠΎΠΆΠ΅Ρ ΠΈΠ· ΠΌΠ΅ΡΠ°Π»Π»Π°, ΠΏΠ»Π°ΡΡΠΈΠΊΠ°, Π΄ΡΠ΅Π²Π΅ΡΠΈΠ½Ρ ΠΈ Π΄ΡΡΠ³ΠΎΠ³ΠΎ ΡΡΡΡΡ. Π Π°ΡΡΠΌΠΎΡΡΠΈΠΌ ΠΏΠΎΡΠ°Π³ΠΎΠ²ΡΡ ΠΈΠ½ΡΡΡΡΠΊΡΠΈΡ ΡΠΎΠ·Π΄Π°Π½ΠΈΡ ΠΊΠΎΠ½ΡΡΡΡΠΊΡΠΈΠΈ ΠΈΠ· ΠΏΠ»ΠΎΡΠ½ΠΎΠΉ ΡΠ°Π½Π΅ΡΡ.
Π‘Π°ΠΌ ΠΊΠΎΠ»ΠΎΠ΄Π΅Ρ, ΠΊΠ°ΠΊ ΠΈ Π΅Π³ΠΎ Π·Π°ΡΠΈΡΠ½Π°Ρ ΠΊΡΡΡΠΊΠ°, ΠΌΠΎΠ³ΡΡ Π±ΡΡΡ ΠΈΠ·Π³ΠΎΡΠΎΠ²Π»Π΅Π½Ρ ΠΈΠ· ΠΎΠ±ΡΠΊΠ½ΠΎΠ²Π΅Π½Π½ΡΡ
Π΄ΠΎΡΠΎΠΊΠ€ΠΠ’Π: vodakanazer.ru
Π‘ΠΏΠΈΡΠΎΠΊ ΠΌΠ°ΡΠ΅ΡΠΈΠ°Π»ΠΎΠ²
Π§ΡΠΎΠ±Ρ ΠΈΠ·Π³ΠΎΡΠΎΠ²ΠΈΡΡ ΡΠΈΡ Π½Π° ΠΊΠΎΠ»ΠΎΠ΄Π΅Ρ Π²Π°ΠΌ ΠΏΠΎΠ½Π°Π΄ΠΎΠ±ΠΈΡΡΡ:
- ΡΠ°Π½Π΅ΡΠ° ΠΈΠ»ΠΈ Π»ΠΈΡΡ ΠΠ‘Π ΡΠΎΠ»ΡΠΈΠ½ΠΎΠΉ Π½Π΅ ΠΌΠ΅Π½Π΅Π΅ 20 ΠΌΠΌ;
- ΡΠ»Π΅ΠΊΡΡΠΈΡΠ΅ΡΠΊΠΈΠΉ Π»ΠΎΠ±Π·ΠΈΠΊ;
- ΠΌΠ°Π»ΡΡΠ½ΡΠΉ ΠΈΠ»ΠΈ ΠΏΡΠΎΡΡΠΎΠΉ ΠΊΠ°ΡΠ°Π½Π΄Π°Ρ;
- Π΄ΠΎΡΠΊΠΈ ΠΈ Π±ΡΡΡΠΊΠΈ ΠΎΠ΄ΠΈΠ½Π°ΠΊΠΎΠ²ΠΎΠΉ ΡΠΎΠ»ΡΠΈΠ½Ρ;
- ΡΡΠ±Π΅ΡΠΎΠΈΠ΄ ΠΈ Π³ΠΈΠ΄ΡΠΎΠΈΠ·ΠΎΠ»ΡΡΠΈΡ;
- Π½ΠΎΠΆ, Π½ΠΎΠΆΠ½ΠΈΡΡ;
- ΡΠ»ΠΈΡΠΎΠ²Π°Π»ΡΠ½Π°Ρ ΠΌΠ°ΡΠΈΠ½ΠΊΠ° ΠΈΠ»ΠΈ Π±ΠΎΠ»Π³Π°ΡΠΊΠ° Ρ Π½Π°ΠΆΠ΄Π°ΡΠ½ΡΠΌ ΠΊΡΡΠ³ΠΎΠΌ;
- ΠΌΠΎΠ½ΡΠ°ΠΆΠ½ΡΠΉ ΠΊΠ»Π΅ΠΉ.
ΠΠ΅Π»Π°ΡΠ΅Π»ΡΠ½ΠΎ Π²ΡΠ΅ ΡΠ°Π±ΠΎΡΡ ΠΏΡΠΎΠ²ΠΎΠ΄ΠΈΡΡ, Π½Π΅ ΠΎΡΡ ΠΎΠ΄Ρ Π΄Π°Π»Π΅ΠΊΠΎ ΠΎΡ ΠΊΠΎΠ»ΠΎΠ΄ΡΠ°, ΡΡΠΎΠ±Ρ Π²ΡΠ΅Π³Π΄Π° Π±ΡΠ»Π° Π²ΠΎΠ·ΠΌΠΎΠΆΠ½ΠΎΡΡΡ Π½Π΅ΡΠΊΠΎΠ»ΡΠΊΠΎ ΡΠ°Π· ΠΏΡΠΎΠ²Π΅ΡΠΈΡΡ ΠΏΡΠ°Π²ΠΈΠ»ΡΠ½ΠΎΡΡΡ Π·Π°ΠΌΠ΅ΡΠΎΠ².
ΠΡΠΎΡΠΌΠ»Π΅Π½ΠΈΠ΅ ΠΊΠΎΠ»ΠΎΠ΄ΡΠ° Π² ΠΎΠ΄Π½ΠΎΠΌ ΡΡΠΈΠ»Π΅ Ρ Π»Π°Π½Π΄ΡΠ°ΡΡΠ½ΡΠΌ Π΄ΠΈΠ·Π°ΠΉΠ½ΠΎΠΌ ΡΡΠ°Π½Π΅Ρ ΠΈΠ·ΡΠΌΠΈΠ½ΠΊΠΎΠΉ Π²ΠΎ Π΄Π²ΠΎΡΠ΅Π€ΠΠ’Π: livemaster.ru
ΠΠΎΡΠ°Π³ΠΎΠ²Π°Ρ ΠΈΠ½ΡΡΡΡΠΊΡΠΈΡ ΠΏΠΎ ΠΈΠ·Π³ΠΎΡΠΎΠ²Π»Π΅Π½ΠΈΡ
ΠΠ»Ρ ΡΠ°Π±ΠΎΡΡ Π½Π΅ΠΎΠ±Ρ ΠΎΠ΄ΠΈΠΌΠΎ ΠΈΡΠΏΠΎΠ»ΡΠ·ΠΎΠ²Π°ΡΡ ΡΠΎΠ»ΡΠΊΠΎ ΡΡΡ ΠΎΠΉ Π΄ΡΠ΅Π²Π΅ΡΠ½ΡΠΉ ΠΌΠ°ΡΠ΅ΡΠΈΠ°Π», Π² ΠΏΡΠΎΡΠΈΠ²Π½ΠΎΠΌ ΡΠ»ΡΡΠ°Π΅, Π½Π° ΠΊΡΡΡΠΊΠ΅ ΠΌΠΎΠΆΠ΅Ρ ΠΏΠΎΡΠ²ΠΈΡΡΡΡ Π³ΡΠΈΠ±ΠΎΠΊ ΠΈΠ»ΠΈ ΡΠ°Π·ΡΠ°ΡΡΡΡΡΡ ΠΌΠΎΡ . Π Π°Π±ΠΎΡΡ ΠΏΡΠΎΠ²ΠΎΠ΄ΡΡΡΡ ΠΏΠΎ ΡΠ»Π΅Π΄ΡΡΡΠ΅ΠΌΡ Π°Π»Π³ΠΎΡΠΈΡΠΌΡ.
- ΠΡΠΈΠΊΠ»Π°Π΄ΡΠ²Π°Π΅ΠΌ Π»ΠΈΡΡ ΡΠ°Π½Π΅ΡΡ Π½Π° ΠΎΠ±ΠΎΠ΄ ΠΊΠΎΠ»ΠΎΠ΄ΡΠ° ΠΈ ΠΎΡΠΌΠ΅ΡΠ°Π΅ΠΌ Π½Π΅ΠΎΠ±Ρ ΠΎΠ΄ΠΈΠΌΡΡ ΠΎΠΊΡΡΠΆΠ½ΠΎΡΡΡ.
- ΠΡΡΡΠΊΠΈ Π΄Π»Ρ ΠΊΠΎΠ»ΠΎΠ΄ΡΠ΅Π² ΠΌΠΎΠ³ΡΡ ΡΡΡΠ°Π½Π°Π²Π»ΠΈΠ²Π°ΡΡΡΡ Π² Π³Π»ΡΠ±ΠΈΠ½Π΅ ΡΠ΅Π·Π΅ΡΠ²ΡΠ°ΡΠ°
Π€ΠΠ’Π: moikolodets.ruΠΡΠΈ ΡΠ°Π·ΠΌΠ΅ΡΠΊΠ΅ ΡΡΠΎΠΈΡ Π±ΡΠ°ΡΡ Π½Π΅ΠΊΠΎΡΠΎΡΡΠΉ Π·Π°ΠΏΠ°Ρ, ΡΠ°ΠΊ ΠΊΠ°ΠΊ Π² Π΄Π°Π»ΡΠ½Π΅ΠΉΡΠ΅ΠΌ ΠΏΠΎΡΡΠ΅Π±ΡΠ΅ΡΡΡ ΡΠ»ΠΈΡΠΎΠ²ΠΊΠ°.
- ΠΡΡΠ΅Π·Π°Π΅ΠΌ ΠΎΠΊΡΡΠΆΠ½ΠΎΡΡΡ ΠΏΠΎ ΠΎΡΠΌΠ΅ΡΠ΅Π½Π½ΠΎΠΉ Π»ΠΈΠ½ΠΈΠΈ Ρ ΠΏΠΎΠΌΠΎΡΡΡ ΡΠ»Π΅ΠΊΡΡΠΈΡΠ΅ΡΠΊΠΎΠ³ΠΎ Π»ΠΎΠ±Π·ΠΈΠΊΠ°. ΠΠ°ΡΠ°Π½Π΅Π΅ Π³ΠΎΡΠΎΠ²ΠΈΠΌ Π΄ΠΎΡΠΊΠΈ ΠΈ Π±ΡΡΡΠΊΠΈ Π½ΡΠΆΠ½ΠΎΠΉ Π΄Π»ΠΈΠ½Ρ.
- ΠΡΠΏΠΎΠ»Π½ΡΠ΅ΠΌ ΡΠ°Π·ΠΌΠ΅ΡΠΊΡ ΠΎΡΠ²Π΅ΡΡΡΠΈΡ Π² ΡΠ΅ΡΠ΅Π΄ΠΈΠ½Π΅ Π±ΡΠ΄ΡΡΠ΅Π³ΠΎ Π»ΡΠΊΠ°, ΡΠ°ΠΊ, ΡΡΠΎΠ±Ρ ΡΠ΅ΡΠ΅Π· Π½Π΅Π³ΠΎ ΠΏΡΠΎΡ ΠΎΠ΄ΠΈΠ»ΠΎ Π²Π΅Π΄ΡΠΎ Π΄Π»Ρ Π½Π°Π±ΠΎΡΠ° Π²ΠΎΠ΄Ρ.
- ΠΡΡΠ΅Π·Π°Π΅ΠΌ ΠΎΡΠ²Π΅ΡΡΡΠΈΠ΅ (ΠΌΠΎΠΆΠ½ΠΎ ΠΏΡΠΈΠ΄Π°ΡΡ Π΅ΠΌΡ ΡΠΎΡΠΌΡ ΠΏΠ΅Π½ΡΠ°Π³ΠΎΠ½Π°), Π΄Π΅Π»Π°Π΅ΠΌ Π±ΠΎΡΡΠΈΠΊΠΈ. ΠΠ»Ρ ΡΡΠΎΠ³ΠΎ ΠΏΠΎ Π²Π½ΡΡΡΠ΅Π½Π½Π΅ΠΌΡ ΠΊΡΠ°Ρ ΠΊΠ»Π΅ΠΈΠΌ Π±ΡΡΡΠΊΠΈ Π²ΡΡΠΎΡΠΎΠΉ 20-30 ΠΌΠΌ ΠΏΠΎ Π²ΡΠ΅ΠΌΡ ΠΊΡΡΠ³Ρ.
- ΠΠ±ΡΠ°Π±Π°ΡΡΠ²Π°Π΅ΠΌ Π³ΠΈΠ΄ΡΠΎΠΈΠ·ΠΎΠ»ΡΡΠΈΠ΅ΠΉ Π²ΡΡ Π·Π°Π³ΠΎΡΠΎΠ²ΠΊΡ. ΠΠ°ΡΠΌ ΠΏΡΠΎΡΠΎΡ Π½ΡΡΡ. Π‘Π²Π΅ΡΡ Ρ Π½Π°ΠΊΠ»Π΅ΠΈΠ²Π°Π΅ΠΌ ΡΡΠ±Π΅ΡΠΎΠΈΠ΄ ΠΈ Π²ΡΠΊΠ»Π°Π΄ΡΠ²Π°Π΅ΠΌ Π±ΡΡΡΠΊΠΈ ΡΠ°ΠΊ, ΡΡΠΎΠ±Ρ ΠΎΠ½ΠΈ Π·Π°ΠΊΡΡΠ»ΠΈ Π²ΡΡ ΠΏΠΎΠ²Π΅ΡΡ Π½ΠΎΡΡΡ ΠΊΡΡΡΠΊΠΈ, ΠΊΡΠΎΠΌΠ΅ Π»ΡΠΊΠ°.
- ΠΡΠ΅ΠΏΠΈΠΌ ΠΈΡ ΡΠΎΠ½ΠΊΠΈΠΌΠΈ Π³Π²ΠΎΠ·Π΄ΡΠΌΠΈ. Π§ΡΠΎΠ±Ρ ΠΎΠ½ΠΈ Π½Π΅ ΡΠΎΡΡΠ°Π»ΠΈ Ρ ΠΎΠ±ΡΠ°ΡΠ½ΠΎΠΉ ΡΡΠΎΡΠΎΠ½Ρ, Π·Π°Π³ΠΈΠ±Π°Π΅ΠΌ ΠΈΡ .
- ΠΠ· ΠΊΠ²Π°Π΄ΡΠ°ΡΠ½ΠΎΠ³ΠΎ ΠΊΡΡΠΊΠ° ΡΠ°Π½Π΅ΡΡ Π½Π΅ΠΌΠ½ΠΎΠ³ΠΎ Π±ΠΎΠ»ΡΡΠ΅Π³ΠΎ ΡΠ°Π·ΠΌΠ΅ΡΠ°, ΡΠ΅ΠΌ ΠΎΡΠ²Π΅ΡΡΡΠΈΠ΅ Π»ΡΠΊΠ° Π² ΡΠ΅ΡΠ΅Π΄ΠΈΠ½Π΅, Π΄Π΅Π»Π°Π΅ΠΌ ΠΌΠ°Π»Π΅Π½ΡΠΊΡΡ ΠΊΡΡΡΠΊΡ, ΡΠ²Π΅ΡΡ Ρ ΠΎΠ±Π±ΠΈΠ²Π°Π΅ΠΌ Π΅Ρ Π΄ΠΎΡΠΊΠ°ΠΌΠΈ.
ΠΡΡΠ°Π΅ΡΡΡ ΡΠΎΠ»ΡΠΊΠΎ ΠΏΡΠΎΡΠ»ΠΈΡΠΎΠ²Π°ΡΡ Π²ΡΠ΅ ΠΊΡΠ°Ρ ΠΈ, ΠΏΡΠΈ Π½Π΅ΠΎΠ±Ρ ΠΎΠ΄ΠΈΠΌΠΎΡΡΠΈ, ΠΏΠΎΠΊΡΡΡΡ ΡΠΈΡ Π»Π°ΠΊΠΎΠΌ Π΄Π»Ρ Π΄Π΅ΡΠ΅Π²Π°.
Π§ΡΠΎΠ±Ρ ΠΎΠ±ΠΈΠ²ΠΊΠ° ΠΊΡΡΡΠΊΠΈ ΠΏΠΎΠ»ΡΡΠΈΠ»Π°ΡΡ ΠΊΡΠ°ΡΠΈΠ²ΠΎΠΉ, Π½Π΅ΠΎΠ±Ρ ΠΎΠ΄ΠΈΠΌΠΎ ΠΈΡΠΏΠΎΠ»ΡΠ·ΠΎΠ²Π°ΡΡ ΡΠ΅ΡΡΡΠ΅ Π΄ΠΎΡΠΊΠΈ ΠΏΠΎ 8-10 ΡΠΌ, Π±ΡΡΡΠΊΠΈ ΡΠ°Π·ΠΌΠ΅ΡΠΎΠΌ 3-4 ΡΠΌ ΠΈ Π±ΡΡΡΠΎΡΠΊΠΈ Π² ΡΠΎΡΠΌΠ΅ ΡΡΠ΅ΡΠ³ΠΎΠ»ΡΠ½ΠΈΠΊΠΎΠ², ΠΊΠΎΡΠΎΡΡΠ΅ Π±ΡΠ΄ΡΡ Π²ΡΡΡΠ°Π²Π»ΡΡΡΡΡ ΠΌΠ΅ΠΆΠ΄Ρ Π΄ΠΎΡΠΊΠ°ΠΌΠΈ ΠΈ Π±ΡΡΡΠΊΠ°ΠΌΠΈ. Π’Π°ΠΊ ΠΌΠΎΠΆΠ½ΠΎ ΡΡΠΎΡΠΌΠΈΡΠΎΠ²Π°ΡΡ ΠΊΡΠ°ΡΠΈΠ²ΡΡ ΠΎΠΊΡΡΠΆΠ½ΠΎΡΡΡ.
ΠΡΡΡΠΊΠ° Π² ΡΠΎΡΠΌΠ΅ Π΄ΠΎΠΌΠΈΠΊΠ° Ρ Π΄Π²Π΅ΡΡΠ΅ΠΉ
ΠΠ°ΡΠΈΠ°Π½Ρ ΠΊΡΡΡΠΊΠΈ-Π΄ΠΎΠΌΠΈΠΊΠ° Π½Π° ΠΊΠΎΠ»ΠΎΠ΄ΡΠ΅ ΡΠΌΠΎΡΡΠΈΡΡΡ Π²Π΅ΡΡΠΌΠ° ΠΏΡΠΈΠ²Π»Π΅ΠΊΠ°ΡΠ΅Π»ΡΠ½ΠΎ, ΠΎΡΠΎΠ±Π΅Π½Π½ΠΎ, Π΅ΡΠ»ΠΈ Π² ΡΠ΅Π»ΠΎΠΌ Π²Π΅ΡΡ Π΄Π²ΠΎΡ ΠΎΠ±ΡΡΡΡΠΎΠ΅Π½ Π² Π΄Π΅ΡΠ΅Π²Π΅Π½ΡΠΊΠΎΠΌ ΡΡΠΈΠ»Π΅. ΠΠ»Ρ ΠΏΡΠΈΠ³ΠΎΡΠΎΠ²Π»Π΅Π½ΠΈΡ ΡΠ°ΠΊΠΎΠΉ ΠΊΠΎΠ½ΡΡΡΡΠΊΡΠΈΠΈ Π½Π΅ΠΎΠ±Ρ ΠΎΠ΄ΠΈΠΌΠΎ ΠΈΠΌΠ΅ΡΡ Π½Π°Π²ΡΠΊ ΠΏΠ»ΠΎΡΠ½ΠΈΠΊΠ°, ΡΠ°ΠΊ ΠΊΠ°ΠΊ ΠΏΡΠΈΠ΄ΡΡΡΡ ΡΠ°Π±ΠΎΡΠ°ΡΡ Ρ Π΄ΡΠ΅Π²Π΅ΡΠΈΠ½ΠΎΠΉ.
ΠΠΎΠΌΠΈΠΊ ΠΌΠΎΠΆΠ½ΠΎ ΠΎΠ±ΡΠΈΠ²Π°ΡΡ Π²Π°Π³ΠΎΠ½ΠΊΠΎΠΉ, ΠΏΠ»Π°ΡΡΠΈΠΊΠΎΠΌ ΠΈΠ»ΠΈ Π»ΡΠ±ΡΠΌ Π΄ΡΡΠ³ΠΈΠΌ ΡΠ΄ΠΎΠ±Π½ΡΠΌ ΠΌΠ°ΡΠ΅ΡΠΈΠ°Π»ΠΎΠΌΠ€ΠΠ’Π: babaich.ru
ΠΠ°ΡΠ΅ΡΠΈΠ°Π»Ρ ΠΈ ΠΈΠ½ΡΡΡΡΠΌΠ΅Π½ΡΡ
ΠΠ΅ΠΎΠ±Ρ ΠΎΠ΄ΠΈΠΌΠΎ ΠΎΠ±Π·Π°Π²Π΅ΡΡΠΈΡΡ Π΄Π΅ΡΠ΅Π²ΡΠ½Π½ΡΠΌΠΈ Π±ΡΡΡΠΊΠ°ΠΌΠΈ ΠΎΠ΄ΠΈΠ½Π°ΠΊΠΎΠ²ΠΎΠΉ ΡΠΎΠ»ΡΠΈΠ½Ρ. ΠΡ Π΄ΠΎΠ»ΠΆΠ½ΠΎ Ρ Π²Π°ΡΠΈΡΡ Π½Π° ΡΠΎΠΎΡΡΠΆΠ΅Π½ΠΈΠ΅ Π²ΡΠ΅Π³ΠΎ ΠΊΠ°ΡΠΊΠ°ΡΠ°. Π’Π°ΠΊΠΆΠ΅ ΠΏΡΠΈΠ³ΠΎΠ΄ΠΈΡΡΡ Π΄ΡΠ΅Π»Ρ ΡΠΎ ΡΠ²ΡΡΠ»Π°ΠΌΠΈ, ΡΠ°ΠΌΠΎΡΠ΅Π·Ρ, Π½Π°Π²Π΅ΡΡ, Π±ΠΈΡΡΠΌΠ½Π°Ρ ΠΈΠ»ΠΈ Π°Π½Π΄ΡΠ»ΠΈΠ½ΠΎΠ²Π°Ρ ΡΠ΅ΡΠ΅ΠΏΠΈΡΠ°, Π»ΠΎΠ±Π·ΠΈΠΊ. ΠΠ»Ρ Π²ΡΠΏΠΎΠ»Π½Π΅Π½ΠΈΡ Π·Π°ΠΌΠ΅ΡΠΎΠ² ΠΏΠΎΡΡΠ΅Π±ΡΠ΅ΡΡΡ ΡΡΠ»Π΅ΡΠΊΠ°.
ΠΡΠ»ΠΈΡΠ½ΠΎΠΉ Π΄Π΅ΠΊΠΎΡΠ°ΡΠΈΠ΅ΠΉ ΠΊ ΠΊΠΈΡΠΏΠΈΡΠ½ΠΎΠΌΡ ΠΊΠΎΠ»ΠΎΠ΄ΡΡ ΠΏΠΎΡΠ»ΡΠΆΠΈΡ ΠΊΡΡΡΠΊΠ° Ρ Π°Π½Π΄ΡΠ»ΠΈΠ½ΠΎΠ²ΠΎΠΉ ΡΠ΅ΡΠ΅ΠΏΠΈΡΠ΅ΠΉΠ€ΠΠ’Π: babaich.ru
ΠΠΎΡΠ°Π³ΠΎΠ²Π°Ρ ΠΈΠ½ΡΡΡΡΠΊΡΠΈΡ ΠΏΠΎ ΠΈΠ·Π³ΠΎΡΠΎΠ²Π»Π΅Π½ΠΈΡ Ρ ΡΠΎΡΠΎ
ΠΠ±Π»Π°Π³ΠΎΡΠ°ΠΆΠΈΠ²Π°ΡΡ ΠΊΠΎΠ»ΠΎΠ΄Π΅Ρ Π½Π° Π΄Π°ΡΠ΅ ΠΌΠΎΠΆΠ½ΠΎ ΡΠ°ΠΌΡΠΌΠΈ ΡΠ°Π·Π½ΡΠΌΠΈ ΡΠΏΠΎΡΠΎΠ±Π°ΠΌΠΈ, Π½ΠΎ Π΄Π»Ρ Π½ΠΎΠ²ΠΈΡΠΊΠΎΠ² Π² ΡΡΠΎΠΌ Π΄Π΅Π»Π΅ ΠΏΡΠ΅Π΄ΡΡΠΌΠΎΡΡΠ΅Π½ ΠΎΠ±Π»Π΅Π³ΡΡΠ½Π½ΡΠΉ Π°Π»Π³ΠΎΡΠΈΡΠΌ.
ΠΠΎΡΠ»Π΅ ΡΠΎΠ³ΠΎ, ΠΊΠ°ΠΊ ΠΊΡΡΡΠ° Π²ΡΠΏΠΎΠ»Π½Π΅Π½Π°, ΠΊΠΎΠ»ΠΎΠ΄ΡΠ΅ΠΌ ΠΌΠΎΠΆΠ½ΠΎ ΠΏΠΎΠ»ΡΠ·ΠΎΠ²Π°ΡΡΡΡ. ΠΠΎΠ½ΡΡΡΡΠΊΡΠΈΡ ΠΆΠ΅Π»Π°ΡΠ΅Π»ΡΠ½ΠΎ Π΄Π΅Π»Π°ΡΡ ΡΠΎ ΡΠ»ΠΎΠ΅ΠΌ Π³ΠΈΠ΄ΡΠΎΠΈΠ·ΠΎΠ»ΡΡΠΈΠΎΠ½Π½ΠΎΠ³ΠΎ ΠΌΠ°ΡΠ΅ΡΠΈΠ°Π»Π° ΠΊΠ°ΠΊ Π²Π½ΡΡΡΠΈ, ΡΠ°ΠΊ ΠΈ ΡΠ½Π°ΡΡΠΆΠΈ. ΠΡΠΎ ΠΏΡΠ΅Π΄ΡΠΏΡΠ΅Π΄ΠΈΡ ΡΠ°Π·Π±ΡΡ Π°Π½ΠΈΠ΅ ΠΊΡΠΎΠ²Π»ΠΈ.
Π ΠΊΠ°ΡΠ΅ΡΡΠ²Π΅ ΠΎΠ±ΡΠΈΠ²ΠΊΠΈ ΠΌΠΎΠΆΠ΅Ρ ΠΏΡΠΈΠΌΠ΅Π½ΡΡΡΡΡ ΠΈ Π»Π°ΠΊΠΈΡΠΎΠ²Π°Π½Π½Π°Ρ Π΄ΡΠ΅Π²Π΅ΡΠΈΠ½Π°Π€ΠΠ’Π: kanaliza.ru
Π ΠΊΠ°ΠΊ Π½Π° ΡΡΡΡ ΠΌΠΈΠ½ΠΈ-Π΄ΠΎΠΌΠΈΠΊΠ° Π½Π° ΡΠ°ΡΡΠ½ΠΎΠΌ ΡΡΠ°ΡΡΠΊΠ΅ Ρ ΠΏΠΎΠ»Π½ΠΎΡΡΡΡ ΠΎΡΠΊΠΈΠ΄ΡΠ²Π°ΡΡΠ΅ΠΉΡΡ ΡΠ΄ΠΎΠ±Π½ΠΎΠΉ ΠΊΡΡΡΠΊΠΎΠΉΠ€ΠΠ’Π: vodatyt.ru
ΠΡΡΡΠΊΠ° Π΄Π»Ρ ΠΊΠΎΠ»ΠΎΠ΄ΡΠ° ΠΈΠ· ΠΌΠ΅ΡΠ°Π»Π»Π° ΠΈ ΡΠ΅ΠΊΡΡΠΎΠ»ΠΈΡΠ°
ΠΠ°Π½Π½Π°Ρ ΠΊΠΎΠ½ΡΡΡΡΠΊΡΠΈΡ Π΄ΠΎΠ»ΠΆΠ½Π° Π²ΡΠΏΠΎΠ»Π½ΡΡΡΡΡ ΠΏΡΠΎΡΠ΅ΡΡΠΈΠΎΠ½Π°Π»Π°ΠΌΠΈ, ΡΠ°ΠΊ ΠΊΠ°ΠΊ Π΄Π»Ρ ΡΡΠΎΠΉ ΡΠ΅Π»ΠΈ ΠΏΠΎΠ½Π°Π΄ΠΎΠ±ΠΈΡΡΡ ΡΠ²Π°ΡΠΎΡΠ½ΡΠΉ Π°ΠΏΠΏΠ°ΡΠ°Ρ ΠΈ ΡΠΎΠΎΡΠ²Π΅ΡΡΡΠ²ΡΡΡΠΈΠΉ ΠΌΠ°ΡΠ΅ΡΠΈΠ°Π» Π΄Π»Ρ ΠΎΠ±ΡΠ°Π±ΠΎΡΠΊΠΈ ΠΌΠ΅ΡΠ°Π»Π»Π°. ΠΡΠΎΠΌΠ΅ ΡΠΎΠ³ΠΎ, ΠΈΠ· ΠΌΠ°ΡΠ΅ΡΠΈΠ°Π»ΠΎΠ² ΠΏΡΠΈΠ³ΠΎΠ΄ΡΡΡΡ Π±Π΅ΡΠΎΠ½, ΠΏΡΡΠΌΠΎΡΠ³ΠΎΠ»ΡΠ½ΡΠ΅ ΡΡΡΠ±Ρ, ΠΏΡΠΎΡΠΈΠ»Ρ. ΠΠ»Ρ Π½Π°ΡΠ΅Π·ΠΊΠΈ ΠΌΠ΅ΡΠ°Π»Π»Π° Π½Π΅ΠΎΠ±Ρ ΠΎΠ΄ΠΈΠΌΠΎ ΠΎΠ±Π·Π°Π²Π΅ΡΡΠΈΡΡ Π±ΠΎΠ»Π³Π°ΡΠΊΠΎΠΉ.
ΠΡΡΡΠΊΠΈ ΠΈΠ· ΡΠ΅ΠΊΡΡΠΎΠ»ΠΈΡΠ° ΡΡΡΠΎΠΉΡΠΈΠ²Ρ ΠΊ Π»ΡΠ±ΡΠΌ ΠΊΠ»ΠΈΠΌΠ°ΡΠΈΡΠ΅ΡΠΊΠΈΠΌ ΡΡΠ»ΠΎΠ²ΠΈΡΠΌΠ€ΠΠ’Π: samdizajner.ru
ΠΠΎ Π²ΠΎΠ·ΠΌΠΎΠΆΠ½ΠΎΡΡΠΈ Π΄Π΅ΠΊΠΎΡ ΠΌΠΎΠΆΠ½ΠΎ Π²ΡΠΏΠΎΠ»Π½ΠΈΡΡ ΠΈΠ· ΡΠ΅ΠΌΠ΅Π½ΡΠ° ΠΈ Π΄Π΅ΠΊΠΎΡΠ°ΡΠΈΠ²Π½ΠΎΠΉ ΡΡΡΠΊΠ°ΡΡΡΠΊΠΈΠ€ΠΠ’Π: samdizajner.ru
Π’Π°ΠΊΠΈΠ΅ ΠΊΠΎΠ½ΡΡΡΡΠΊΡΠΈΠΈ Π΄ΠΎΠΏΡΡΡΠΈΠΌΡ Π½Π΅ ΡΠΎΠ»ΡΠΊΠΎ Π΄Π»Ρ ΠΊΠΎΠ»ΠΎΠ΄ΡΠ΅Π², Π½ΠΎ ΠΈ Π΄Π»Ρ ΡΠ΅ΠΏΡΠΈΠΊΠΎΠ²Π€ΠΠ’Π: stroy-podskazka.ru
ΠΡΠ°ΠΏΡ ΠΏΠΎΡΠ°Π³ΠΎΠ²ΠΎΠ³ΠΎ ΡΠΎΠ·Π΄Π°Π½ΠΈΡ ΠΊΠΎΠ½ΡΡΡΡΠΊΡΠΈΠΈ
Π§ΡΠΎΠ±Ρ ΠΊΡΡΡΠΊΠ° Π΄Π»Ρ ΠΊΠΎΠ»ΠΎΠ΄ΡΠ° Π±ΡΠ»Π° Π²ΡΠΏΠΎΠ»Π½Π΅Π½Π° ΠΊΠ°ΡΠ΅ΡΡΠ²Π΅Π½Π½ΠΎ, Π½Π΅ΠΎΠ±Ρ ΠΎΠ΄ΠΈΠΌΠΎ ΡΡΠΈΡΡΠ²Π°ΡΡ Π½Π΅ΠΊΠΎΡΠΎΡΡΠ΅ ΠΎΡΠΎΠ±Π΅Π½Π½ΠΎΡΡΠΈ Π² ΡΠ°Π±ΠΎΡΠ΅ Ρ Π·Π°Π³ΠΎΡΠΎΠ²ΠΊΠ°ΠΌΠΈ. Π‘Π°ΠΌΠΎΠ΅ Π³Π»Π°Π²Π½ΠΎΠ΅, Π²ΡΠΏΠΎΠ»Π½ΡΡΡ Π²ΡΡ ΠΏΠΎ ΡΡΡΠΎΠ³ΠΎΠΌΡ Π°Π»Π³ΠΎΡΠΈΡΠΌΡ.
- ΠΠΎΡΠΎΠ²ΠΈΠΌ ΠΌΠ΅ΡΠ°Π»Π»ΠΈΡΠ΅ΡΠΊΠΈΠ΅ ΡΠ³ΠΎΠ»ΠΊΠΈ. ΠΡΠΈ ΡΡΠΎΠΌ, ΡΠ»Π΅Π΄ΡΠ΅Ρ ΠΎΡΠΈΠ΅Π½ΡΠΈΡΠΎΠ²Π°ΡΡΡΡ Π½Π° ΡΠ°Π·ΠΌΠ΅ΡΡ ΡΠ°ΠΌΠΎΠ³ΠΎ ΠΊΠΎΠ»ΠΎΠ΄ΡΠ°, Π° ΡΠ°ΠΊΠΆΠ΅ Π½Π΅ΠΏΠΎΠ΄Π²ΠΈΠΆΠ½ΠΎΠ³ΠΎ ΠΊΠ°ΡΠΊΠ°ΡΠ°. Π ΡΠΎΡΡΠ΅Π²ΡΡ ΡΠ°ΡΡΡΡ Π΄Π΅Π»Π°Π΅ΠΌ ΡΠ³Π»Ρ ΠΏΠΎ 45ΒΊ.
- Π‘ΠΎΠ±ΠΈΡΠ°Π΅ΠΌ ΠΌΠ΅ΡΠ°Π»Π»ΠΈΡΠ΅ΡΠΊΡΡ ΡΠ°ΠΌΡ. ΠΡΠΏΠΎΠ»Π½ΡΠ΅ΡΡΡ ΡΡΠΎ ΠΈΠ· ΡΠ°ΡΡΠ΅ΠΉ ΠΊΠ°ΡΠΊΠ°ΡΠ° Ρ ΠΏΠΎΠΌΠΎΡΡΡ ΡΠ²Π°ΡΠΎΡΠ½ΠΎΠ³ΠΎ Π°ΠΏΠΏΠ°ΡΠ°ΡΠ° ΠΏΠΎ ΠΏΡΠ΅Π΄Π²Π°ΡΠΈΡΠ΅Π»ΡΠ½ΠΎ ΡΠ°Π·ΠΌΠ΅ΡΠ΅Π½Π½ΠΎΠΌΡ ΡΠ΅ΡΡΠ΅ΠΆΡ.
- ΠΠ΅Π»Π°Π΅ΠΌ ΠΏΠΎΠ΄Π²ΠΈΠΆΠ½ΡΡ ΡΠ°ΠΌΡ, ΠΊΠΎΡΠΎΡΠ°Ρ ΡΠΎΡΡΠΎΠΈΡ ΠΈΠ· ΠΊΠ°ΡΠΊΠ°ΡΠ° Π½ΡΠΆΠ½ΡΡ ΡΠ°Π·ΠΌΠ΅ΡΠΎΠ². ΠΠΎΡΠ»Π΅ ΡΠ²Π°ΡΠΊΠΈ ΠΊ Π½Π΅ΠΌΡ Π·Π°ΠΊΡΠ΅ΠΏΠ»ΡΡΡΡΡ Π»ΠΈΡΡΡ ΡΠ΅ΠΊΡΡΠΎΠ»ΠΈΡΠ° Ρ ΠΏΠΎΠΌΠΎΡΡΡ ΡΠ°ΠΌΠΎΡΠ΅Π·ΠΎΠ².
- ΠΠ°Π»Π΅Π΅ ΡΠΎΠ±ΠΈΡΠ°Π΅ΠΌ ΠΎΠΏΠ°Π»ΡΠ±ΠΊΡ Π²ΠΎΠΊΡΡΠ³ Π³ΠΎΡΠ»ΠΎΠ²ΠΈΠ½Ρ ΠΊΠΎΠ»ΠΎΠ΄Π΅Π·Π½ΠΎΠΉ ΡΠ°Ρ ΡΡ. ΠΠ°ΠΊΠ»Π°Π΄ΡΠ²Π°Π΅ΠΌ Π² Π½Π΅Ρ ΠΌΠ΅ΡΠ°Π»Π»ΠΈΡΠ΅ΡΠΊΡΡ Π»Π΅Π½ΡΡ ΠΈ Π·Π°Π»ΠΈΠ²Π°Π΅ΠΌ Π±Π΅ΡΠΎΠ½ΠΎΠΌ. ΠΡΡ ΡΡΠΎ Π΄Π΅Π»Π°Π΅ΡΡΡ Ρ ΡΡΡΡΠΎΠΌ ΡΠ°Π·ΠΌΠ΅ΡΠΎΠ² ΠΊΠΎΠ»ΠΎΠ΄ΡΠ°.
- ΠΠΎΡΠ»Π΅ ΡΠΎΠ³ΠΎ, ΠΊΠ°ΠΊ Π±Π΅ΡΠΎΠ½Π½ΠΎΠ΅ ΠΎΡΠ½ΠΎΠ²Π°Π½ΠΈΠ΅ Π·Π°ΡΡΡΠ»ΠΎ, Π³ΠΎΡΠΎΠ²ΡΠΉ ΠΊΠ°ΡΠΊΠ°Ρ ΡΡΡΠ°Π½Π°Π²Π»ΠΈΠ²Π°Π΅ΡΡΡ ΡΠ²Π΅ΡΡ Ρ ΠΈ ΡΠΈΠΊΡΠΈΡΡΠ΅ΡΡΡ Ρ ΠΏΠΎΠΌΠΎΡΡΡ ΠΌΠ΅ΡΠ°Π»Π»ΠΈΡΠ΅ΡΠΊΠΈΡ ΡΡΡΡΠ΅ΠΉ Π»ΠΈΠ±ΠΎ ΡΠ°ΠΌΠΎΡΠ΅Π·Π°ΠΌΠΈ.
ΠΠ΅ΡΠ°Π»Π»ΠΈΡΠ΅ΡΠΊΠ°Ρ ΠΊΡΡΡΠΊΠ° ΠΌΠΎΠΆΠ΅Ρ Π±ΡΡΡ Π²ΡΠΏΠΎΠ»Π½Π΅Π½Π° ΡΠ°ΠΊΠΈΠΌ ΠΎΠ±ΡΠ°Π·ΠΎΠΌ, ΡΡΠΎ Π±ΡΠ΄Π΅Ρ ΠΏΡΠΎΡΡΠΎ Π½Π°Π΄Π΅Π²Π°ΡΡΡΡ Π½Π° ΠΊΠΎΠ»ΠΎΠ΄Π΅Ρ. Π’Π°ΠΊΠΎΠΉ Π²Π°ΡΠΈΠ°Π½Ρ ΡΠ΄ΠΎΠ±Π΅Π½ Π΄Π»Ρ ΠΎΠ±ΡΠ»ΡΠΆΠΈΠ²Π°Π½ΠΈΡΠ€ΠΠ’Π: notperfect.ru
Π’Π°ΠΊ ΠΌΠΎΠΆΠ½ΠΎ ΠΈΠ·Π³ΠΎΡΠΎΠ²ΠΈΡΡ ΡΡΡΠΌΠ½ΡΡ ΠΊΠΎΠ½ΡΡΡΡΠΊΡΠΈΡ. ΠΠ΅ΠΏΠ»ΠΎΡ ΠΎ Π±ΡΠ΄Π΅Ρ ΡΠΌΠΎΡΡΠ΅ΡΡΡΡ ΠΊΡΡΡΠΊΠ° ΠΊΠΎΠ½ΡΡΠΎΠΎΠ±ΡΠ°Π·Π½ΠΎΠΉ ΡΠΎΡΠΌΡ. ΠΠ½Π° ΡΡΠΈΡΠ°Π΅ΡΡΡ Π½Π°ΠΈΠ±ΠΎΠ»Π΅Π΅ Π±Π΅Π·ΠΎΠΏΠ°ΡΠ½ΠΎΠΉ ΠΈ ΠΏΡΠΎΡΠ½ΠΎΠΉ. ΠΡΠ»ΠΈ Π΅ΡΡΡ ΠΎΡΡΡΠ°Ρ Π½Π΅ΠΎΠ±Ρ ΠΎΠ΄ΠΈΠΌΠΎΡΡΡ, ΡΠΎ Π½Π° ΡΠ°ΠΊΠΎΠ΅ ΡΡΡΡΠΎΠΉΡΡΠ²ΠΎ Π»Π΅Π³ΠΊΠΎ ΡΡΡΠ°Π½ΠΎΠ²ΠΈΡΡ Π·Π°ΠΌΠΎΠΊ.
ΠΠ΅ΡΠΎΠ½Π½Π°Ρ ΠΊΡΡΡΠΊΠ° Π΄Π»Ρ ΠΊΠΎΠ»ΠΎΠ΄ΡΠ°: ΠΌΠ°ΡΡΠ΅Ρ-ΠΊΠ»Π°ΡΡ ΠΏΠΎ ΠΈΠ·Π³ΠΎΡΠΎΠ²Π»Π΅Π½ΠΈΡ
ΠΠ»Ρ Π±ΠΎΠ»Π΅Π΅ Π½Π°Π΄ΡΠΆΠ½ΠΎΠΉ Π·Π°ΡΠΈΡΡ Π³ΠΎΡΠ»ΠΎΠ²ΠΈΠ½Ρ ΠΊΠΎΠ»ΠΎΠ΄ΡΠ°, ΠΌΠΎΠΆΠ½ΠΎ Π²ΠΎΡΠΏΠΎΠ»ΡΠ·ΠΎΠ²Π°ΡΡΡΡ ΡΠΎΠ²Π΅ΡΠ°ΠΌΠΈ ΠΏΠΎ ΡΠΎΠ·Π΄Π°Π½ΠΈΡ Π±Π΅ΡΠΎΠ½Π½ΠΎΠ³ΠΎ Π»ΡΠΊΠ° ΡΠ²ΠΎΠΈΠΌΠΈ ΡΡΠΊΠ°ΠΌΠΈ. Π‘ ΡΡΠΎΠΉ ΡΠ°Π±ΠΎΡΠΎΠΉ ΡΠΏΡΠ°Π²ΠΈΡΡΡ Π΄Π°ΠΆΠ΅ Π½ΠΎΠ²ΠΈΡΠΎΠΊ, ΠΏΠΎΡΡΠΎΠΌΡ Π½Π΅ ΡΡΠΎΠΈΡ ΠΏΡΠΈΠΎΠ±ΡΠ΅ΡΠ°ΡΡ ΡΠΏΠ΅ΡΠΈΠ°Π»ΡΠ½ΠΎΠ΅ ΠΎΠ±ΠΎΡΡΠ΄ΠΎΠ²Π°Π½ΠΈΠ΅.
ΠΡΠΈ ΡΠΎΠΎΡΡΠΆΠ΅Π½ΠΈΠΈ Π±Π΅ΡΠΎΠ½Π½ΡΡ
ΠΊΡΡΡΠ΅ΠΊ ΠΌΠΎΠΆΠ½ΠΎ ΠΏΡΠ΅Π΄ΡΡΠΌΠΎΡΡΠ΅ΡΡ ΠΊΡΡΡΠΊΠΈ Π² Π°ΡΠΌΠ°ΡΡΡΠ΅, ΡΡΠΎΠ±Ρ Π±ΡΠ»ΠΎ ΡΠ΄ΠΎΠ±Π½ΠΎ ΠΏΠΎΠ΄Π½ΠΈΠΌΠ°ΡΡ Π»ΡΠΊΠ€ΠΠ’Π: ltbaza.ru
ΠΠ°ΡΠ΅ΡΠΈΠ°Π»Ρ Π΄Π»Ρ ΡΠΎΠ·Π΄Π°Π½ΠΈΡ ΠΊΡΡΡΠΊΠΈ
ΠΠ»Ρ ΡΠΎΠ³ΠΎ, ΡΡΠΎΠ±Ρ Π² ΠΏΡΠΎΡΠ΅ΡΡΠ΅ ΡΠ°Π±ΠΎΡΡ Π²ΡΡ Π±ΡΠ»ΠΎ ΠΏΠΎΠ΄ ΡΡΠΊΠΎΠΉ, Π½Π΅ΠΎΠ±Ρ ΠΎΠ΄ΠΈΠΌΠΎ ΠΏΡΠΈΠ³ΠΎΡΠΎΠ²ΠΈΡΡ:
Π§ΡΠΎΠ±Ρ Π±Π΅ΡΠΎΠ½ Π½Π΅ ΡΠ°Π·Π»ΠΈΠ²Π°Π»ΡΡ ΠΈΠ· ΠΎΠΏΠ°Π»ΡΠ±ΠΊΠΈ, ΠΊΠΎΠ½ΡΡΡΡΠΊΡΠΈΡ ΡΠΈΠΊΡΠΈΡΡΡΡ ΠΊΠΈΡΠΏΠΈΡΠΎΠΌΠ€ΠΠ’Π: nsk.pulscen.ru
ΠΡΠΌΠ°ΡΡΡΡ ΠΌΠΎΠΆΠ½ΠΎ ΡΠ΄Π΅Π»Π°ΡΡ ΡΠ°ΠΌΠΎΡΡΠΎΡΡΠ΅Π»ΡΠ½ΠΎ ΠΈΠ· Π»ΡΠ±ΠΎΠ³ΠΎ ΠΌΠ΅ΡΠ°Π»Π»Π°, ΠΊΠΎΡΠΎΡΡΠΉ Π΅ΡΡΡ Π² Ρ ΠΎΠ·ΡΠΉΡΡΠ²Π΅ ΠΈΠ»ΠΈ ΠΏΡΠΈΠΎΠ±ΡΠ΅ΡΡΠΈ ΡΠΏΠ΅ΡΠΈΠ°Π»ΡΠ½ΠΎ ΠΈΠ·Π³ΠΎΡΠΎΠ²Π»Π΅Π½Π½ΡΠΉ ΠΌΠ°ΡΠ΅ΡΠΈΠ°Π».
ΠΠΏΡΠΈΠΌΠ°Π»ΡΠ½Π°Ρ ΡΠΎΠ»ΡΠΈΠ½Π° Π±Π΅ΡΠΎΠ½Π½ΠΎΠΉ ΠΊΡΡΡΠΊΠΈ 8-12 ΡΠΌΠ€ΠΠ’Π: jb-kolca.kh.ua
ΠΠΎΠΆΠ½ΠΎ ΠΎΡΠ΄Π΅Π»ΡΠ½ΠΎ ΠΈΠ·Π³ΠΎΡΠΎΠ²ΠΈΡΡ ΠΎΡΠ½ΠΎΠ²Π°Π½ΠΈΠ΅ ΠΏΠΎΠ΄ ΠΌΠ΅ΡΠ°Π»Π»ΠΈΡΠ΅ΡΠΊΡΡ ΠΊΡΡΡΠΊΡ, ΠΎΡΡΠ°Π²ΠΈΠ² ΠΎΡΠ²Π΅ΡΡΡΠΈΠ΅, ΡΠΌΠ΅ΡΡΠ½Π½ΠΎΠ΅ Π² Π±ΠΎΠΊΠ€ΠΠ’Π: beton-house.com
ΠΠ°ΠΆΠ½ΠΎ! ΠΠΏΡΠΈΠΌΠ°Π»ΡΠ½ΡΠΉ Π΄ΠΈΠ°ΠΌΠ΅ΡΡ Π»ΡΠΊΠ° Π΄Π»Ρ ΠΊΠΎΠ»ΠΎΠ΄ΡΠ° 1,5 ΠΌ.
ΠΠΎΡΠ°Π³ΠΎΠ²Π°Ρ ΠΈΠ½ΡΡΡΡΠΊΡΠΈΡ
ΠΠΎΡΠ»Π΅ ΠΏΠΎΠ΄Π³ΠΎΡΠΎΠ²ΠΊΠΈ Π²ΡΠ΅Ρ ΠΌΠ°ΡΠ΅ΡΠΈΠ°Π»ΠΎΠ², Π½Π΅ΠΎΠ±Ρ ΠΎΠ΄ΠΈΠΌΠΎ Π²ΡΠ±ΡΠ°ΡΡ ΠΌΠ΅ΡΡΠΎ, Π³Π΄Π΅ Π±ΡΠ΄Π΅Ρ ΠΏΡΠΎΠΈΡΡ ΠΎΠ΄ΠΈΡΡ Π²Π΅ΡΡ ΠΏΡΠΎΡΠ΅ΡΡ ΠΈΠ·Π³ΠΎΡΠΎΠ²Π»Π΅Π½ΠΈΡ ΠΊΡΡΡΠΊΠΈ. ΠΠ°ΠΆΠ½ΠΎ, ΡΡΠΎΠ±Ρ ΡΡΠΎ Π±ΡΠ»ΠΎ ΠΏΠΎΠ΄ Π·Π°ΠΊΡΡΡΠΎΠΉ ΠΊΡΡΡΠ΅ΠΉ. ΠΠ½Π°ΡΠ΅ ΠΎΡΠ°Π΄ΠΊΠΈ ΠΈΠ»ΠΈ ΠΏΠ°Π»ΡΡΠ΅Π΅ ΡΠΎΠ»Π½ΡΠ΅ ΠΌΠΎΠ³ΡΡ ΠΏΠΎΠ²ΡΠ΅Π΄ΠΈΡΡ ΠΊΠΎΠ½ΡΡΡΡΠΊΡΠΈΡ.
- ΠΡΠΊΠ»Π°Π΄ΡΠ²Π°Π΅ΠΌ ΠΏΠ»ΡΠ½ΠΊΡ Π½Π° ΠΌΠ΅ΡΡΠΎ, Π³Π΄Π΅ Π±ΡΠ΄Π΅Ρ Π·Π°Π»ΠΈΠ²Π°ΡΡΡΡ ΠΊΡΡΡΠΊΠ°. ΠΠΎΠ²Π΅ΡΡ Π½Π΅Ρ ΡΠΎΠΎΡΡΠΆΠ°Π΅ΠΌ ΠΎΠΊΡΡΠΆΠ½ΠΎΡΡΡ ΠΈΠ· ΠΊΠΈΡΠΏΠΈΡΠ΅ΠΉ. ΠΡΡΡΠ°Π²Π»ΡΠ΅ΠΌ ΠΈΡ Π½Π° Π±ΠΎΠΊΠΎΠ²ΠΈΠ½Ρ, ΠΎΡΠΈΠ΅Π½ΡΠΈΡΡΡΡΡ Π½Π° Π½Π΅ΠΎΠ±Ρ ΠΎΠ΄ΠΈΠΌΡΠΉ Π΄ΠΈΠ°ΠΌΠ΅ΡΡ ΠΊΡΡΡΠΊΠΈ.
- ΠΡΠΊΠ»Π°Π΄ΡΠ²Π°Π΅ΠΌ Ρ Π²Π½ΡΡΡΠ΅Π½Π½Π΅ΠΉ ΡΡΠΎΡΠΎΠ½Ρ Π»Π΅Π½ΡΡ ΡΡΠ±Π΅ΡΠΎΠΈΠ΄Π° ΡΠ°ΠΊ, ΡΡΠΎΠ±Ρ ΠΎΠ½Π° ΠΎΠ±ΡΠ°Π·ΠΎΠ²Π°Π»Π° Π½Π΅ΡΠ°Π·ΡΡΠ²Π½ΡΡ ΠΎΠΊΡΡΠΆΠ½ΠΎΡΡΡ Π±Π΅Π· Π·Π°Π·ΠΎΡΠΎΠ².
- ΠΠ°Π»ΠΈΠ²Π°Π΅ΠΌ Π² ΡΡΠΎ ΠΌΠ΅ΡΡΠΎ ΠΏΡΠΈΠ³ΠΎΡΠΎΠ²Π»Π΅Π½Π½ΡΠΉ Π±Π΅ΡΠΎΠ½, Π² ΡΠΎΡΡΠ°Π²Π΅ ΠΊΠΎΡΠΎΡΠΎΠ³ΠΎ ΡΠ΅ΠΌΠ΅Π½Ρ ΠΈ ΠΏΠ΅ΡΠΎΠΊ Π² ΠΏΡΠΎΠΏΠΎΡΡΠΈΡΡ 1:2. Π₯ΠΎΡΠΎΡΠΎ ΡΠ°Π·ΡΠ°Π²Π½ΠΈΠ²Π°Π΅ΠΌ ΠΌΠ°ΡΡΡ ΠΏΠΎ ΠΏΠΎΠ²Π΅ΡΡ Π½ΠΎΡΡΠΈ. ΠΠ΅ΠΎΠ±Ρ ΠΎΠ΄ΠΈΠΌΠΎ ΠΏΠΎΠ»ΡΡΠΈΡΡ ΠΊΡΡΡΠΊΡ ΠΎΠ΄ΠΈΠ½Π°ΠΊΠΎΠ²ΠΎΠΉ ΡΠΎΠ»ΡΠΈΠ½Ρ ΡΠΎ Π²ΡΠ΅Ρ ΡΡΠΎΡΠΎΠ½.
- ΠΡΠΊΠ»Π°Π΄ΡΠ²Π°Π΅ΠΌ Π°ΡΠΌΠΈΡΡΡΡΡΡ ΡΠ΅ΡΠΊΡ ΠΏΡΡΠΌΠΎ Π² ΡΠ°ΡΡΠ²ΠΎΡ. ΠΠ΅ΠΌΠ½ΠΎΠ³ΠΎ ΡΡΠ°ΠΏΠ»ΠΈΠ²Π°Π΅ΠΌ Π΅Ρ Π² ΠΌΠ°ΡΡΡ, Π·Π°ΠΌΠ΅ΡΠΈΠ²Π°Π΅ΠΌ Π½ΠΎΠ²ΡΡ ΠΏΠΎΡΡΠΈΡ Π±Π΅ΡΠΎΠ½Π° ΠΈ Π·Π°Π»ΠΈΠ²Π°Π΅ΠΌ ΠΏΠΎΠ²Π΅ΡΡ ΠΌΠ΅ΡΠ°Π»Π»Π°.
- ΠΠ΅ΡΡ Π½ΠΈΠΉ ΡΠ»ΠΎΠΉ ΡΠΎΡΠ½ΠΎ ΡΠ°ΠΊΠΆΠ΅ ΡΠ°Π·ΡΠ°Π²Π½ΠΈΠ²Π°Π΅ΠΌ ΠΌΠ°ΡΡΠ΅ΡΠΊΠΎΠΌ. ΠΡΡΠ°Π²Π»ΡΠ΅ΠΌ Π΄ΠΎ Π·Π°ΡΡΡΠ²Π°Π½ΠΈΡ. ΠΡΡΠ°ΡΡΡΡ ΡΡΠ°Π½ΡΠΏΠΎΡΡΠΈΡΠΎΠ²Π°ΡΡ ΠΊΠΎΠ½ΡΡΡΡΠΊΡΠΈΡ Π² ΠΌΠ΅ΡΡΠΎ Π½Π°Π·Π½Π°ΡΠ΅Π½ΠΈΡ.
ΠΠ»Π°Π²Π½ΠΎΠ΅ Π½Π΅ΡΠ΄ΠΎΠ±ΡΡΠ²ΠΎ Π±Π΅ΡΠΎΠ½Π½ΠΎΠΉ ΠΊΡΡΡΠΊΠΈ Π½Π° ΠΊΠΎΠ»ΠΎΠ΄Π΅Ρ Π² ΡΠΎΠΌ, ΡΡΠΎ ΠΎΠ½Π° ΠΈΠΌΠ΅Π΅Ρ Π²Π½ΡΡΠΈΡΠ΅Π»ΡΠ½ΡΠΉ Π²Π΅Ρ. ΠΡΡΡΠ½ΡΡ ΠΏΠ΅ΡΠ΅Π½ΠΎΡΠΈΡΡ ΠΈ ΠΎΡΠΊΡΡΠ²Π°ΡΡ ΡΠ°Ρ ΡΡ Π±ΡΠ΄Π΅Ρ Π½Π΅ΡΠ΄ΠΎΠ±Π½ΠΎ. ΠΠΎΡΡΠΎΠΌΡ ΡΠ΅Π»Π΅ΡΠΎΠΎΠ±ΡΠ°Π·Π½ΠΎ ΠΈΡΠΏΠΎΠ»ΡΠ·ΠΎΠ²Π°ΡΡ Π΄Π°Π½Π½ΡΠΉ ΡΠΈΠΏ Π»ΡΠΊΠ° ΡΠΎΠ»ΡΠΊΠΎ Π² ΡΠ»ΡΡΠ°ΡΡ , ΠΊΠΎΠ³Π΄Π° ΠΊΠΎΠ»ΠΎΠ΄ΡΠ΅ΠΌ ΠΏΡΠΈΡ ΠΎΠ΄ΠΈΡΡΡ ΠΏΠΎΠ»ΡΠ·ΠΎΠ²Π°ΡΡΡΡ Π½Π΅ΡΠ°ΡΡΠΎ.
ΠΡΠΎΠ΄Π°ΡΡΡΡ ΡΠΏΠ΅ΡΠΈΠ°Π»ΡΠ½Π°Ρ Π°ΡΠΌΠΈΡΠΎΠ²Π°Π½Π½Π°Ρ ΡΠ΅ΡΠΊΠ° Ρ Π·Π°Π³ΠΎΡΠΎΠ²ΠΊΠΎΠΉ ΠΎΡΠ²Π΅ΡΡΡΠΈΡ ΠΏΠΎΠ΄ Π±ΡΠ΄ΡΡΠΈΠΉ Π»ΡΠΊΠ€ΠΠ’Π: brestregion.slanet.by
Π§ΡΠΎΠ±Ρ ΡΠ΄Π΅Π»Π°ΡΡ ΡΠΈΡ, ΠΏΠΎΠΌΠ΅ΡΠ°Π΅ΠΌΡΠΉ Π²Π½ΡΡΡΡ ΠΊΠΎΠ»ΠΎΠ΄Π΅Π·Π½ΠΎΠ³ΠΎ ΠΊΠΎΠ»ΡΡΠ°, Π½Π΅ΠΎΠ±Ρ
ΠΎΠ΄ΠΈΠΌΠΎ ΠΏΠΎΠ΄Π³ΠΎΡΠΎΠ²ΠΈΡΡ Π΄Π»Ρ ΡΡΠΎΠ³ΠΎ ΡΠΏΠ΅ΡΠΈΠ°Π»ΡΠ½ΡΡ ΠΏΠΎΠ΄ΡΡΠ°Π²ΠΊΡ ΠΈΠ· Π΄Π΅ΡΠ΅Π²ΡΠ½Π½ΡΡ
Π±ΡΡΡΠΊΠΎΠ²Π€ΠΠ’Π: dachnoe-delo.ru
Π Π·Π°Π²Π΅ΡΡΠ΅Π½ΠΈΠ΅ ΡΠ΅ΠΊΠΎΠΌΠ΅Π½Π΄ΡΠ΅ΠΌ ΠΏΠΎΡΠΌΠΎΡΡΠ΅ΡΡ ΠΎΠ±ΡΡΠ°ΡΡΠΈΠΉ Π²ΠΈΠ΄Π΅ΠΎΡΠΎΠ»ΠΈΠΊ, ΠΊΠΎΡΠΎΡΡΠΉ ΡΠ°ΡΡΠΊΠ°ΠΆΠ΅Ρ, ΠΊΠ°ΠΊΠΎΠΉ Π΅ΡΡ Π·Π°ΡΠΈΡΠ½ΡΠΉ Π»ΡΠΊ ΠΌΠΎΠΆΠ½ΠΎ ΡΠ΄Π΅Π»Π°ΡΡ Π΄Π»Ρ ΠΊΠΎΠ»ΠΎΠ΄ΡΠ° Ρ Π²ΠΎΠ΄ΠΎΠΉ.
Π£Π²Π°ΠΆΠ°Π΅ΠΌΡΠ΅ ΡΠΈΡΠ°ΡΠ΅Π»ΠΈ, Π° ΠΊΠ°ΠΊΠΎΠΉ ΡΠΏΠΎΡΠΎΠ± Π·Π°ΡΠΈΡΡ ΠΊΠΎΠ»ΠΎΠ΄ΡΠ° Π²ΠΎ Π΄Π²ΠΎΡΠ΅ Π²ΡΠ±Π΅ΡΠΈΡΠ΅ Π΄Π»Ρ ΡΠ΅Π±Ρ Π²Ρ. ΠΠ΅Π»ΠΈΡΠ΅ΡΡ ΡΠ²ΠΎΠΈΠΌ ΠΌΠ½Π΅Π½ΠΈΠ΅ΠΌ ΠΈ Π·Π°Π΄Π°Π²Π°ΠΉΡΠ΅ Π²ΠΎΠΏΡΠΎΡΡ Π² ΠΊΠΎΠΌΠΌΠ΅Π½ΡΠ°ΡΠΈΡΡ ΠΏΠΎΠ΄ ΡΡΠ°ΡΡΡΠΉ. ΠΡ Π±ΡΠ΄Π΅ΠΌ ΡΠ°Π΄Ρ ΠΎΠ±ΡΡΠ΄ΠΈΡΡ Ρ Π²Π°ΠΌΠΈ ΠΈΠ½ΡΠ΅ΡΠ΅ΡΡΡΡΠΈΠ΅ ΠΌΠΎΠΌΠ΅Π½ΡΡ. Π, ΠΊΠΎΠ½Π΅ΡΠ½ΠΎ ΠΆΠ΅, Π½Π΅ Π·Π°Π±ΡΠ²Π°ΠΉΡΠ΅ ΠΎΡΠ΅Π½ΠΈΠ²Π°ΡΡ ΠΏΡΠ±Π»ΠΈΠΊΠ°ΡΠΈΡ.
ΠΡΠ΅Π΄ΡΠ΄ΡΡΠ°ΡΠΠ΅Π±Π΅Π»ΡΠΠ°ΠΆΠ΄Π°Ρ ΠΈΠ³ΡΡΡΠΊΠ° Π½Π° ΠΌΠ΅ΡΡΠ΅: ΠΏΠΎΠ΄Π±ΠΈΡΠ°Π΅ΠΌ ΡΡΠ΅Π»Π»Π°ΠΆΠΈ ΠΈ ΡΡΠΈΠΊΠΈ Π΄Π»Ρ Π΄Π΅ΡΡΠΊΠΎΠΉ ΠΊΠΎΠΌΠ½Π°ΡΡ
Π‘Π»Π΅Π΄ΡΡΡΠ°ΡΠΠ‘Π’ΠΠ ΠΠΠΡΠ΅ΠΌΡ ΡΡΠ΅ΠΏΠ»ΡΡΡ Π΄ΠΎΠΌ: ΠΌΠΎΡ ΠΈΡΡΠΎΡΠΈΡ ΡΠΎΠ·Π΄Π°Π½ΠΈΡ ΠΊΠ»Π°ΡΡΠ½ΠΎΠ³ΠΎ ΡΠ°ΡΠΏΡΠ»ΠΈΡΠ΅Π»Ρ Π΄Π»Ρ ΠΌΠΎΠ½ΡΠ°ΠΆΠ½ΠΎΠΉ ΠΏΠ΅Π½Ρ
ΠΠΎΠ½ΡΠ°Π²ΠΈΠ»Π°ΡΡ ΡΡΠ°ΡΡΡ? Π‘ΠΎΡ ΡΠ°Π½ΠΈΡΠ΅, ΡΡΠΎΠ±Ρ Π½Π΅ ΠΏΠΎΡΠ΅ΡΡΡΡ!
ΠΠΠΠΠΠΠΠ ΠΠΠ Π’ΠΠΠΠ ΠΠ£ΠΠΠ’ ΠΠΠ’ΠΠ ΠΠ‘ΠΠ:
homius.ru
ΠΠ°ΠΊ ΡΠ΄Π΅Π»Π°ΡΡ ΠΊΡΡΡΠΊΡ Π΄Π»Ρ ΠΊΠΎΠ»ΠΎΠ΄ΡΠ° ΡΠ²ΠΎΠΈΠΌΠΈ ΡΡΠΊΠ°ΠΌΠΈ. +ΡΠΎΡΠΎ ΠΈΠ΄Π΅ΠΈ
ΠΡΠ±ΠΎΠΉ ΠΊΠΎΠ»ΠΎΠ΄Π΅Ρ Ρ ΡΠ°ΡΡΠ½ΠΎΠ³ΠΎ ΡΡΡΠΎΠ΅Π½ΠΈΡ ΠΈΠ»ΠΈ Π½Π° Π΄Π°ΡΠ½ΠΎΠΌ ΡΡΠ°ΡΡΠΊΠ΅ β ΡΡΠΎ Π½Π΅ ΡΠΎΠ»ΡΠΊΠΎ ΠΈΡΡΠΎΡΠ½ΠΈΠΊ Π²Π΅Π»ΠΈΠΊΠΎΠ»Π΅ΠΏΠ½ΠΎΠΉ ΠΏΡΠΎΡ Π»Π°Π΄Π½ΠΎΠΉ Π²ΠΎΠ΄Ρ, Π½ΠΎ ΡΠ°ΡΡΠΈΡΠ½ΠΎ ΠΈ ΠΊΠΎΠΌΠΏΠΎΠ½Π΅Π½Ρ Π΄Π΅ΠΊΠΎΡΠ°.
Π£ΡΠ°ΡΡΠΎΠΊ Π±ΡΠ΄Π΅Ρ ΡΠΌΠΎΡΡΠ΅ΡΡΡΡ Π±ΠΎΠ»Π΅Π΅ ΠΈΠ·ΡΡΠΊΠ°Π½ΠΎ, Π΅ΡΠ»ΠΈ ΠΈΡΡΠΎΡΠ½ΠΈΠΊ Π²ΠΎΠ΄Ρ Π΅ΡΡΠ΅ΡΡΠ²Π΅Π½Π½ΠΎ Π²Ρ ΠΎΠ΄ΠΈΡ Π² Π΅Π΄ΠΈΠ½ΡΠΉ ΡΡΠΈΠ»Ρ ΡΡΠ°Π΄ΡΠ±Ρ, ΡΠΎΡΠ΅ΡΠ°Π΅ΡΡΡ Ρ Π΄ΡΡΠ³ΠΈΠΌΠΈ ΠΏΠΎΡΡΡΠΎΠΉ
ΠΠ΅Π΄Π°ΡΠΎΠΌ Ρ ΠΎΠ·ΡΠ΅Π²Π° ΡΠ²ΠΎΠΈΡ Π΄ΠΎΠΌΠΎΠ² Π»ΡΠ±ΡΡ ΡΠ°Π·ΠΌΠ΅ΡΡΠΈΡΡ Π½Π° ΡΠΎΠ±ΡΡΠ²Π΅Π½Π½ΠΎΠΉ ΡΠ΅ΡΡΠΈΡΠΎΡΠΈΠΈ ΠΈΠ½ΡΠ΅ΡΠ΅ΡΠ½ΡΠ΅ Π΄Π΅ΠΊΠΎΡΠ°ΡΠΈΠ²Π½ΡΠ΅ ΠΊΠΎΠ»ΠΎΠ΄Π΅Π·Π½ΡΠ΅ ΡΠΎΠΎΡΡΠΆΠ΅Π½ΠΈΡ, ΡΠ΅Π·Π½ΡΠ΅, ΡΠΈΠ»Π΅Π½ΡΠ°ΡΡΠ΅, Ρ Π²Π΅Π»ΠΈΠΊΠΎΠ»Π΅ΠΏΠ½ΡΠΌΠΈ ΡΡΠ°ΡΡΠΊΠ°ΠΌΠΈ Ρ Π΄Π΅ΠΊΠΎΡΠ°ΡΠΈΠ²Π½ΡΠΌΠΈ ΡΠ°ΡΡΠ΅Π½ΠΈΡΠΌΠΈ Π½Π° ΠΊΡΡΡΠΊΠ΅.
ΠΡΡΡΠΊΡ Π΄Π»Ρ ΠΊΠΎΠ»ΠΎΠ΄ΡΠ° ΠΌΠΎΠΆΠ½ΠΎ Π²ΡΠΏΠΎΠ»Π½ΠΈΡΡ ΠΈΠ· ΡΠ΅Ρ ΠΈΠ»ΠΈ ΠΈΠ½ΡΡ ΠΌΠ°ΡΠ΅ΡΠΈΠ°Π»ΠΎΠ²: ΠΌΠ΅ΡΠ°Π»Π», ΠΏΠ»Π°ΡΡΠΈΠΊ, Π΄Π΅ΡΠ΅Π²ΠΎ, ΡΠ°Π½Π΅ΡΠ° ΠΈ Π΄ΡΡΠ³ΠΎΠ΅. ΠΡΡΡΠΊΠ° ΠΎΠ±ΡΠ·Π°Π½Π° Π±ΡΡΡ Π³Π΅ΡΠΌΠ΅ΡΠΈΡΠ½ΠΎΠΉ, Ρ ΠΎΡΠΎΡΠ΅ΠΉ, ΠΏΡΠΎΠΏΡΡΠΊΠ°ΡΡ ΠΏΠΎΡΠΎΠΊ ΡΠΈΡΡΠΎΠ³ΠΎ Π²ΠΎΠ·Π΄ΡΡ Π°, Π½ΠΎ ΡΠ΄Π΅ΡΠΆΠΈΠ²Π°ΡΡ ΠΌΡΡΠΎΡ, ΠΎΡΠ΅Π½Ρ ΠΌΠ°Π»Π΅Π½ΡΠΊΠΈΡ ΠΆΠΈΠ²ΠΎΡΠ½ΡΡ ΠΈ Π½Π°ΡΠ΅ΠΊΠΎΠΌΡΡ .
Π‘ΠΏΠ΅ΡΠΈΡΠΈΠΊΠΈ ΠΊΡΡΡΠΊΠΈ ΠΊΠΎΠ»ΠΎΠ΄ΡΠ°
ΠΠ°ΠΆΠ΄Π°Ρ ΠΊΠΎΠ»ΠΎΠ΄Π΅Π·Π½Π°Ρ ΠΊΡΡΡΠΊΠ° β ΡΡΠΎ ΠΏΡΠ°ΠΊΡΠΈΡΠ½ΡΠΉ ΡΠ»Π΅ΠΌΠ΅Π½Ρ Π·Π°ΡΠΈΡΡ ΠΎΠ³ΠΎΠ»ΠΎΠ²ΠΊΠ° (Π½Π°ΡΡΠΆΠ½ΠΎΠΉ ΡΠ°ΡΡΠΈ) Π²ΠΎΠ΄ΠΎΠΈΡΡΠΎΡΠ½ΠΈΠΊΠ°.
Π€ΡΠ½ΠΊΡΠΈΠΈ ΠΊΡΡΡΠΊΠΈ Π·Π°Π²ΠΈΡΡΡ ΠΎΡ Π²Π°ΡΠΈΠ°Π½ΡΠ° ΡΠ°ΠΌΠΎΠ³ΠΎ ΡΡΡΠΎΠ΅Π½ΠΈΡ:
ΠΡΡ ΠΎΠ΄Ρ ΠΈΠ· ΠΏΡΠ°ΠΊΡΠΈΡΠ½ΡΡ ΡΠ²ΠΎΠΉΡΡΠ² ΠΊΡΡΡΠΊΠΈ, ΠΌΠΎΠΆΠ½ΠΎ ΠΎΡΠΌΠ΅ΡΠΈΡΡ ΠΊ Π½Π΅ΠΉ ΡΡΠ΄ ΡΡΠ»ΠΎΠ²ΠΈΠΉ.
- ΠΠ½Π° ΠΎΠ±ΡΠ·Π°Π½Π° Π±ΡΡΡ Π΄ΠΎΠ²ΠΎΠ»ΡΠ½ΠΎ Π³Π΅ΡΠΌΠ΅ΡΠΈΡΠ½ΠΎΠΉ ΠΈ ΠΏΡΠ΅Π΄ΡΠΏΡΠ΅ΠΆΠ΄Π°ΡΡ ΠΏΠΎΠΏΠ°Π΄Π°Π½ΠΈΠ΅ Π² ΠΊΠΎΠ»ΠΎΠ΄Π΅Ρ ΠΎΡΠ°Π΄ΠΊΠΎΠ², ΠΌΡΡΠΎΡΠ° ΠΈ ΠΏΡΠ»ΠΈ.
- ΠΠΎΠ»Π΅Π΅ ΡΠΎΠ³ΠΎ, Π΅Π΅ Π²Π΅ΡΠ° Π΄ΠΎΠ»ΠΆΠ½ΠΎ Π±ΡΡΡ Π΄ΠΎΡΡΠ°ΡΠΎΡΠ½ΠΎ Π΄Π»Ρ ΡΠΎΠ³ΠΎ, Π΄Π°Π±Ρ ΡΠΎΠΏΡΠΎΡΠΈΠ²Π»ΡΡΡΡΡ ΠΏΠΎΡΡΠ²Π°ΠΌ Π²Π΅ΡΡΠ°, Π΄Π° ΠΈ ΠΏΡΠΎΡΡΠΎ ΡΠ»ΡΡΠ°ΠΉΠ½ΡΠΌ Π²Π»ΠΈΡΠ½ΠΈΡΠΌ.
- ΠΡΠΈ ΡΡΠΎΠΌ ΠΎΠ½Π° Π΄ΠΎΠ»ΠΆΠ½ΠΎ Π»Π΅Π³ΠΊΠΎ ΠΈ ΠΊΠΎΠΌΡΠΎΡΡΠ½ΠΎ ΠΏΠΎΠ΄Π½ΠΈΠΌΠ°ΡΡΡΡ, Π΄Π°Π±Ρ Π½Π΅ ΡΡΠ»ΠΎΠΆΠ½ΡΡΡ ΠΏΡΠΎΡΠ΅ΡΡ ΠΏΠΎΠ΄Π½ΡΡΠΈΡ Π²ΠΎΠ΄Ρ.
- ΠΠ΅ΠΎΠ±ΡΠΊΠ½ΠΎΠ²Π΅Π½Π½ΡΠΌΠΈ ΡΡΠ΅Π±ΠΎΠ²Π°Π½ΠΈΡΠΌΠΈ ΡΠ²Π»ΡΡΡΡΡ Π²Π»Π°Π³ΠΎΡΡΠΎΠΉΠΊΠΎΡΡΡ, ΠΌΠ΅Ρ Π°Π½ΠΈΡΠ΅ΡΠΊΠ°Ρ Π½Π°Π΄ΡΠΆΠ½ΠΎΡΡΡ, ΡΡΠΎΠΉΠΊΠΎΡΡΡ ΠΊ Π°Π³ΡΠ΅ΡΡΠΈΠ²Π½ΡΠΌ ΠΏΠΎΠ³ΠΎΠ΄Π½ΡΠΌ ΠΏΡΠΎΡΠ²Π»Π΅Π½ΠΈΡΠΌ.
- ΠΡ ΠΈ, Π΅ΡΡΠ΅ΡΡΠ²Π΅Π½Π½ΠΎ, Π±ΡΠ΄Π΅Ρ Π»ΡΡΡΠ΅ Π΄Π°Π±Ρ ΠΎΠ½Π° Π±ΡΠ»Π° ΠΊΡΠ°ΡΠΈΠ²ΠΎΠΉ, ΡΠ΄ΠΎΠ±Π½ΠΎΠΉ ΠΈ ΠΏΡΠΎΡΠ»ΡΠΆΠΈΠ»Π° ΠΎΡΠ΅Π½Ρ Π΄ΠΎΠ»Π³ΠΎ.
ΠΠ· ΠΊΠ°ΠΊΠΎΠ³ΠΎ ΠΌΠ°ΡΠ΅ΡΠΈΠ°Π»Π° ΠΌΠΎΠΆΠ½ΠΎ ΡΠ΄Π΅Π»Π°ΡΡ ΠΊΡΡΡΠΊΠΈ?
ΠΡΡΡΠΊΠΈ Π΄Π»Ρ ΠΊΠΎΠ»ΠΎΠ΄ΡΠ΅Π² Π΄ΡΠ΅Π²Π΅ΡΠ½ΡΠ΅
ΠΠ°ΡΡΠΎΡΡΠ°Ρ Π΄ΡΠ΅Π²Π΅ΡΠΈΠ½Π° β ΡΡΠΎ, Π²ΡΠ΅ ΡΠ°ΠΊΠΈ, ΠΎΠ΄ΠΈΠ½ ΠΈΠ· ΡΠ°ΠΌΡΡ ΠΏΠΎΠ΄Ρ ΠΎΠ΄ΡΡΠΈΡ ΠΌΠ°ΡΠ΅ΡΠΈΠ°Π»ΠΎΠ² Π΄Π»Ρ ΠΏΡΠΎΠΈΠ·Π²ΠΎΠ΄ΡΡΠ²Π° ΠΊΡΡΡΠΊΠΈ. ΠΡΠΎ Π±Π΅Π·ΠΎΠΏΠ°ΡΠ½ΡΠΉ Π² ΡΠΊΠΎΠ»ΠΎΠ³ΠΈΡΠ΅ΡΠΊΠΎΠΌ ΠΏΠ»Π°Π½Π΅ ΠΌΠ°ΡΠ΅ΡΠΈΠ°Π», ΠΎΠ½ Ρ ΠΎΡΠΎΡΠΎ Π²ΡΠ³Π»ΡΠ΄ΠΈΡ ΠΈ ΠΈΠΌΠ΅Π΅Ρ ΡΠΎΡΠΊΠΎΡΠ½ΡΠ΅ Ρ Π°ΡΠ°ΠΊΡΠ΅ΡΠΈΡΡΠΈΠΊΠΈ ΡΠΊΡΠΏΠ»ΡΠ°ΡΠ°ΡΠΈΠΈ. ΠΠΎΠ΄ΠΎΠ±Π½Π°Ρ ΠΊΡΡΡΠΊΠ°, ΠΎΡΠ΄Π΅Π»Π°Π½Π½Π°Ρ ΡΠ΅Π·ΡΠ±ΠΎΠΉ ΠΈ ΡΠ°ΠΌΡΠΌΠΈ ΡΠ°Π·Π½ΡΠΌΠΈ ΡΠ»Π΅ΠΌΠ΅Π½ΡΠ°ΠΌΠΈ, ΡΠΌΠΎΡΡΠΈΡΡΡ Π½Π΅ΠΎΠ±ΡΡΠ½ΠΎ ΠΈ ΠΊΡΠ°ΡΠΈΠ²ΠΎ.
ΠΠ·Π³ΠΎΡΠΎΠ²Π»Π΅Π½ΠΈΠ΅ ΠΊΡΡΡΠΊΠΈ ΡΠΎΠ±ΡΡΠ²Π΅Π½Π½ΡΠΌΠΈ ΡΠΈΠ»Π°ΠΌΠΈ

ΠΠ±ΡΡΠ½ΡΡ Π΄ΡΠ΅Π²Π΅ΡΠ½ΡΡ ΠΊΡΡΡΠΊΡ ΠΎΡΠ΅Π½Ρ ΠΏΡΠΎΡΡΠΎ ΡΠ΄Π΅Π»Π°ΡΡ ΡΠ°ΠΌΠΎΡΡΠΎΡΡΠ΅Π»ΡΠ½ΠΎ, ΠΏΡΠΎΡΠ΅ΡΡ Π΅Π΅ ΠΈΠ·Π³ΠΎΡΠΎΠ²Π»Π΅Π½ΠΈΡ ΠΎΡΠ΅Π½Ρ ΠΏΡΠΎΡΡΠΎΠΉ. ΠΠ»Ρ ΠΈΠ·Π΄Π΅Π»ΠΈΡ ΠΏΠΎΠ½Π°Π΄ΠΎΠ±ΠΈΡΡΡ Π² ΠΎΡΠΎΠ±Π΅Π½Π½ΠΎΡΡΠΈ ΠΊΡΠ΅ΠΏΠΊΠ°Ρ Π΄ΡΠ΅Π²Π΅ΡΠΈΠ½Π°.
ΠΠΎΠ΄ΠΎΠΉΠ΄ΡΡ ΠΈ ΠΊΠ»Π°ΡΡΠΈΡΠ΅ΡΠΊΠ°Ρ ΡΠΎΡΠ½Π°, Π½ΠΎ Π΅Π΅ Π΄ΡΠ΅Π²Π΅ΡΠΈΠ½Π° Π½Π°ΠΌΠ½ΠΎΠ³ΠΎ ΠΌΡΠ³ΡΠ΅. Π€ΠΎΡΠΌΠ° ΠΊΡΡΡΠΊΠΈ ΠΈ Π΅Π΅ ΡΠ°Π·ΠΌΠ΅Ρ ΠΎΠΏΡΠ΅Π΄Π΅Π»ΡΡΡΡΡ Π² ΡΠΎΠ³Π»Π°ΡΠΈΠΈ Ρ Π³ΠΎΡΠ»ΠΎΠ²ΠΈΠ½ΠΎΠΉ ΠΊΠΎΠ»ΠΎΠ΄ΡΠ° ΠΈ Π΅Π΅ ΡΠΈΠΏΠΎΠΌ.
ΠΠΎΠ΄Π³ΠΎΡΠΎΠ²ΠΈΡΠ΅Π»ΡΠ½ΡΠ΅ ΡΠ°Π±ΠΎΡΡ
ΠΡΠ΅Π½Ρ ΠΏΡΠΎΡΡΠΎΠΉ ΠΊΡΡΡΠΊΠΎΠΉ Π±ΡΠ΄Π΅Ρ ΠΈΠ·Π΄Π΅Π»ΠΈΠ΅ Π² ΡΠΎΡΠΌΠ΅ ΠΏΡΠΎΡΡΠΎΠ³ΠΎ Π»ΡΠΊΠ°:
- ΠΠ»Ρ Π΅Π³ΠΎ ΠΈΠ·Π³ΠΎΡΠΎΠ²Π»Π΅Π½ΠΈΡ Π½Π΅ΠΎΠ±Ρ ΠΎΠ΄ΠΈΠΌΡ Π±ΡΠ΄ΡΡ ΡΡΡ ΠΈΠ΅ Π΄ΠΎΡΠΊΠΈ, ΡΠΏΠ΅ΡΠΈΠ°Π»ΠΈΠ·ΠΈΡΠΎΠ²Π°Π½Π½ΡΠ΅ ΡΠ°ΡΠ½ΠΈΡΡ, Π³Π²ΠΎΠ·Π΄ΠΈ, ΠΌΠ΅ΡΠ½ΡΠ΅ ΠΈΠ½ΡΡΡΡΠΌΠ΅Π½ΡΡ, ΡΡΡΠΊΠΈ, Π±ΡΡΡΠΊΠΈ, ΠΏΠ΅ΡΠ»ΠΈ, Π½ΠΎΠΆΠΎΠ²ΠΊΠ°, ΡΠ΅Π·ΠΈΠ½ΠΎΠ²ΡΠΉ ΡΠ΅ΠΌΠ΅Π½Ρ, ΠΌΠΎΠ»ΠΎΡΠΎΠΊ ΠΈ ΠΎΡΠ²Π΅ΡΡΠΊΠ°.
- ΠΠΎΠ»Π΅Π΅ ΡΡΡΠ΅ΠΊΡΠ½ΠΎΠΉ Π±ΡΠ΄Π΅Ρ Π΄Π²ΠΎΠΉΠ½Π°Ρ ΠΊΡΡΡΠΊΠ° ΠΈΠ· Π΄Π΅ΡΠ΅Π²Π°. ΠΠ°Β ΡΡΡΡ ΡΡΠΎΠ³ΠΎ, Π² Π·ΠΈΠΌΠ½ΠΈΠΉ ΠΏΠ΅ΡΠΈΠΎΠ΄ ΠΎΠ½Π° Π½Π΅ Π±ΡΠ΄Π΅Ρ ΠΌΠ΅ΡΠ·Π½ΡΡΡ. ΠΠ½Π° ΠΌΠΎΠΆΠ΅Ρ Π±ΡΡΡ ΡΡΠ΅ΠΌΠ½ΠΎΠΉ Π»ΠΈΠ±ΠΎ ΠΎΡΠΊΠΈΠ΄Π½ΠΎΠΉ β ΠΎΠΏΡΠ΅Π΄Π΅Π»Π΅Π½Π½ΡΠΉ Π΅Π΅ Π²ΠΈΠ΄ ΡΠ΄ΠΎΠ±Π½Π΅Π΅ ΠΎΠΏΡΠ΅Π΄Π΅Π»ΠΈΡΡ ΠΏΡΠΈ ΡΠΎΠ·Π΄Π°Π½ΠΈΠΈ ΡΠ°Π±ΠΎΡΠ΅Π³ΠΎ ΠΏΠ»Π°Π½Π°.
Π Π°Π±ΠΎΡΡ Π² Π±ΠΎΠ»ΡΡΠΈΠ½ΡΡΠ²Π΅ ΡΠ»ΡΡΠ°Π΅Π² Π½Π°ΡΠΈΠ½Π°ΡΡ Ρ Π½ΡΠΆΠ½ΡΡ Π·Π°ΠΌΠ΅ΡΠΎΠ² ΠΈ ΠΈΠ·Π³ΠΎΡΠΎΠ²Π»Π΅Π½ΠΈΡ ΠΎΠ±ΡΠ΅ΡΠ΅ΡΠΊΠΈ. ΠΡΠΎ Π½Π΅ΠΎΠ±Ρ ΠΎΠ΄ΠΈΠΌΡΠΉ ΡΠ»Π΅ΠΌΠ΅Π½Ρ, Π±Π»Π°Π³ΠΎΠ΄Π°ΡΡ Π΅ΠΌΡ Π»ΡΠΊ Π±ΡΠ΄Π΅Ρ ΠΏΡΠΎΡΠ½ΠΎ Π΄Π΅ΡΠΆΠ°ΡΡΡΡ Π² Π³ΠΎΡΠ»ΠΎΠ²ΠΈΠ½Π΅. ΠΠΎΠ½ΡΡΡΡΠΊΡΠΈΡ ΠΌΠΎΠΆΠ½ΠΎ ΠΎΠ±ΡΠΈΡΡ ΡΠ΅ΡΠΎΠΌ, ΠΏΠΎΡΠΎΠΌ Π·Π°ΠΊΡΠ΅ΠΏΠΈΡΡ ΠΊ Π½Π΅ΠΉ ΡΠ°ΡΠ½ΠΈΡΡ ΠΈΠ· ΠΌΠ΅ΡΠ°Π»Π»Π°. ΠΠ·Π°ΠΌΠ΅Π½ Π½ΠΈΡ ΠΌΠΎΠΆΠ½ΠΎ ΠΏΡΠΈΠΌΠ΅Π½ΡΡΡ ΡΠ΅ΠΌΠ΅Π½Ρ ΠΈΠ· ΠΏΡΠΎΡΠ½ΠΎΠΉ ΡΠ΅Π·ΠΈΠ½Ρ. ΠΠ΄ΠΈΠ½ Π΅Π³ΠΎ ΠΊΠΎΠ½Π΅Ρ ΠΏΡΠΈΠΊΡΠ΅ΠΏΠ»ΡΠ΅ΡΡΡ Π½Π° ΡΠ²ΠΎΡΠΈΠ»ΠΎ, Π° Π΄ΡΡΠ³ΠΎΠΉ ΠΏΡΠΈΠ±ΠΈΠ²Π°Π΅ΡΡΡ ΠΊ ΠΊΠΎΠ»ΠΎΠ΄Π΅Π·Π½ΠΎΠΉ ΠΊΡΡΡΠΊΠ΅.
ΠΠ»Π°Π²Π½ΠΎΠ΅ Π½Π°Π·Π½Π°ΡΠ΅Π½ΠΈΠ΅ Π²ΡΠΎΡΠΎΠΉ ΡΡΠ²ΠΎΡΠΊΠΈ (Π΅ΡΠ»ΠΈ ΠΏΡΠ΅Π΄ΠΏΠΎΡΡΠ΅Π½ ΡΡΠΎΡ Π²Π°ΡΠΈΠ°Π½Ρ) β ΠΏΠ΅ΡΠ΅ΠΊΡΡΡΠΈΠ΅ ΠΈΠΌΠ΅ΡΡΠΈΡ ΡΡ ΡΠ΅Π»Π΅ΠΉ ΠΈ Π·Π°ΡΠΈΡΠ°. ΠΠΎ ΡΠ°ΠΌΠΎΠΌΡ ΡΠ΅Π½ΡΡΡ ΠΊΡΡΡΠΊΡ ΠΊΡΠ΅ΠΏΡΡ ΡΠ½ΠΈΠ·Ρ Π΄Π»Ρ ΠΏΡΠΎΡΠ½ΠΎΡΡΠΈ Π±ΡΡΡΠΎΠΌ. ΠΡΠΆΠ½ΠΎ ΡΠ΄Π΅Π»Π°ΡΡ Π½ΠΈΠΆΠ½ΡΡ ΠΈ Π½ΠΈΠΆΠ½ΡΡ ΠΊΡΡΡΠΊΡ β Π΄Π²Π΅ ΠΏΠΎΡ ΠΎΠΆΠΈΡ . Π‘Π½ΠΈΠ·Ρ Π³ΠΎΡΠ»ΠΎΠ²ΠΈΠ½Ρ ΡΠ°Π·ΠΌΠ΅ΡΠ°Π΅ΡΡΡ Π½ΠΈΠΆΠ½ΡΡ ΠΊΡΡΡΠΊΠ°, Π² Π²Π΅ΡΡ Π½Π΅ΠΉ, ΠΈΡΡ ΠΎΠ΄Ρ ΠΈΠ· ΡΡΠΎΠ³ΠΎ, ΡΠ°Π·ΠΌΠ΅ΡΠ°Π΅ΡΡΡ Π²Π΅ΡΡ Π½ΡΡ. Π Ρ ΠΎΠ»ΠΎΠ΄Π½ΡΠΉ ΡΠ΅Π·ΠΎΠ½ ΠΌΠ΅ΠΆΠ΄Ρ Π½ΠΈΠΌΠΈ Π·Π°ΠΊΠ»Π°Π΄ΡΠ²Π°Π΅ΡΡΡ ΠΏΠ»ΠΎΡΠ½Π°Ρ ΠΏΠΎΠ΄ΡΡΠΊΠ° ΠΈΠ· ΡΠΎΠ»ΠΎΠΌΡ Π΄Π»Ρ ΡΠ΅ΠΏΠ»ΠΎΠΈΠ·ΠΎΠ»ΡΡΠΈΠΈ.
ΠΡΠ»ΠΈ Π² Π²Π°ΡΠ΅ΠΉ ΠΊΠ»ΠΈΠΌΠ°ΡΠΈΡΠ΅ΡΠΊΠΎΠΉ Π·ΠΎΠ½Π΅ Π·ΠΈΠΌΠ½ΠΈΠ΅ ΡΠ΅ΠΌΠΏΠ΅ΡΠ°ΡΡΡΡ ΠΌΠΎΠ³ΡΡ Π΄ΠΎΡΡΠΈΠ³Π°ΡΡ 20 Π³ΡΠ°Π΄ΡΡΠΎΠ² ΠΌΠΎΡΠΎΠ·Π° ΠΈ Π±ΠΎΠ»ΡΡΠ΅, ΡΠΎ Π΄Π²ΠΎΠΉΠ½Π°Ρ ΠΊΡΡΡΠΊΠ° ΠΎΠ±ΡΠ·Π°ΡΠ΅Π»ΡΠ½ΠΎ Π½ΡΠΆΠ½Π°. Π Π΄ΡΡΠ³ΠΎΠΌ ΡΠ»ΡΡΠ°Π΅ Π²ΠΎΠ΄Π° Π·Π°ΠΌΠ΅ΡΠ·Π½Π΅Ρ.

ΠΡΡΡΠΊΠΈ, Π½Π°Π±ΠΈΡΡΠ΅ ΠΏΠ°ΡΠ°Π»Π»Π΅Π»ΡΠ½ΠΎ ΠΎΠ΄ΠΈΠ½ ΠΈΠ½ΠΎΠΌΡ, ΠΌΠΎΠ³ΡΡ ΠΈΠ³ΡΠ°ΡΡ ΡΠΎΠ»Ρ ΠΏΡΠΎΡΡΡΡ ΡΡΡΠ΅ΠΊ Π΄Π»Ρ ΠΊΡΡΡΠΊΠΈ ΠΈΠ· Π΄Π΅ΡΠ΅Π²Π°. ΠΠΎ Π²ΠΎΡΠΏΠΎΠ»ΡΠ·ΡΠΉΡΠ΅ΡΡ Π³ΠΎΡΠΎΠ²ΡΠΌΠΈ ΡΡΡΠΊΠ°ΠΌΠΈ, ΠΆΠ΅Π»Π΅Π·Π½ΡΠΌΠΈ ΠΈΠ»ΠΈ ΠΈΠ· Π΄Π΅ΡΠ΅Π²Π° β ΠΎΠ½ΠΈ Π±ΠΎΠ»Π΅Π΅ ΠΊΡΠ°ΡΠΈΠ²Ρ ΠΈ ΠΊΠΎΠΌΡΠΎΡΡΠ½Ρ.
ΠΠ΅ΠΎΠ±Ρ ΠΎΠ΄ΠΈΠΌ Π»ΠΈ Π·Π°ΠΌΠΎΠΊ? β ΡΡΠΎ ΡΠ΅ΡΠ°ΡΡ Π²Π»Π°Π΄Π΅Π»ΡΡΡ. ΠΠ΅ΠΊΠΎΡΠΎΡΡΠ΅ Π²Π»Π°Π΄Π΅Π»ΡΡΡ Π½Π° ΠΎΠΏΡΠ΅Π΄Π΅Π»Π΅Π½Π½ΡΠΉ ΠΏΠ΅ΡΠΈΠΎΠ΄ Π²ΡΠ΅ΠΌΠ΅Π½ΠΈ ΠΎΡΡΡΡΡΡΠ²ΠΈΡ Π·Π°ΠΏΠΈΡΠ°ΡΡ ΠΊΠΎΠ»ΠΎΠ΄Π΅Π·Π½ΡΠ΅ ΡΠΎΠΎΡΡΠΆΠ΅Π½ΠΈΡ Π΄Π»Ρ Π³Π°ΡΠ°Π½ΡΠΈΡΠΎΠ²Π°Π½Π½ΠΎΠΉ Π±Π΅Π·ΠΎΠΏΠ°ΡΠ½ΠΎΡΡΠΈ.
ΠΠ΅ΠΊΠΎΡΠ°ΡΠΈΠΈ Π΄Π»Ρ ΠΊΠΎΠ»ΠΎΠ΄ΡΠ°
ΠΠΎΠ³Π΄Π° ΠΊΡΡΡΠΊΠ° Π³ΠΎΡΠΎΠ²Π°, ΠΌΠΎΠΆΠ½ΠΎ Π·Π°Π½ΡΡΡΡΡ Π΄Π΅ΠΊΠΎΡΠΈΡΠΎΠ²Π°Π½ΠΈΠ΅ΠΌ ΠΊΠΎΠ»ΠΎΠ΄ΡΠ°. ΠΡΡΡ ΡΠ°Π·Π½ΠΎΠΎΠ±ΡΠ°Π·Π½ΡΠ΅ Π²Π°ΡΠΈΠ°Π½ΡΡ. ΠΠΎΠΆΠ½ΠΎ ΠΏΠΎΡΡΠ°Π²ΠΈΡΡ Π½Π°Π΄ ΠΊΠΎΠ»ΠΎΠ΄ΡΠ΅ΠΌ ΠΏΠ»ΠΎΡΠΊΡΡ ΠΏΡΡΠΌΠΎΡΠ³ΠΎΠ»ΡΠ½ΡΡ ΠΈΠ»ΠΈ ΠΎΠΊΡΡΠ³Π»ΡΡ ΠΊΡΡΡΡ. ΠΠ΅ΠΊΠΎΡΠΎΡΡΠ΅ Π΄Π΅Π»Π°ΡΡ Π΄Π΅ΠΊΠΎΡΠ°ΡΠΈΠ²Π½ΡΠΉ Π΄ΠΎΠΌΠΈΠΊ Π½Π° ΡΡΠΎΠ»Π±Π°Ρ .
ΠΠ° ΡΠ²ΠΎΡ ΡΡΠΌΠΎΡΡΠ΅Π½ΠΈΠ΅, ΠΊΡΡΡΡ ΠΌΠΎΠΆΠ½ΠΎ Π²ΡΠΏΠΎΠ»Π½ΠΈΡΡ ΠΏΠ»ΠΎΡΠΊΠΎΠΉ, Π΄Π²ΡΡΠΊΠ°ΡΠ½ΠΎΠΉ, Π½Π°ΠΊΠ»ΠΎΠ½Π½ΠΎΠΉ. ΠΠ»Ρ Π΅Π΅ ΡΠΊΡΠ°ΡΠ΅Π½ΠΈΡ ΠΏΡΠΈΠΌΠ΅Π½ΡΡΡ ΡΠ°ΠΌΡΠ΅ ΡΠ°Π·Π½ΠΎΠΎΠ±ΡΠ°Π·Π½ΡΠ΅ ΠΌΠ°ΡΠ΅ΡΠΈΠ°Π»Ρ β Π±ΠΈΡΡΠΌΠ½ΡΡ ΠΈ Π³Π»ΠΈΠ½ΡΠ½ΡΡ ΡΠ΅ΡΠ΅ΠΏΠΈΡΡ, ΡΠ΅Π·Π½ΠΎΠΉ Π΄Π΅ΠΊΠΎΡ, ΡΠΎΠ»ΠΎΠΌΡ, Π»ΠΈΠ°Π½Ρ ΠΈ Π»ΠΎΠ·Ρ, Π΄ΠΎΡΠΊΠΈ, Π°ΡΠ±Π΅ΡΡΠΎΡΠ΅ΠΌΠ΅Π½ΡΠ½ΡΠΉ Π²ΠΎΠ»Π½ΠΈΡΡΡΠΉ ΠΊΡΠΎΠ²Π΅Π»ΡΠ½ΡΠΉ Π»ΠΈΡΡ,Β ΠΊΡΠΎΠ²Π΅Π»ΡΠ½ΡΡ ΡΠ΅ΡΠ΅ΠΏΠΈΡΡ ΠΈΠ· ΠΌΠ΅ΡΠ°Π»Π»Π° ΠΈΠ»ΠΈ ΠΌΠ΅ΡΠ°Π»Π»ΠΈΡΠ΅ΡΠΊΠΈΠΉ ΡΠΈΡΠ΅Ρ.
ΠΡΡΡΠΊΠ° Π΄Π»Ρ ΠΊΠΎΠ»ΠΎΠ΄ΡΠ° ΠΈΠ· ΡΠ΅ΠΊΡΡΠΎΠ»ΠΈΡΠ°
ΠΠΎΠ»ΠΎΠ΄Π΅Π·Π½ΡΡ ΠΊΡΡΡΠΊΡ ΠΌΠΎΠΆΠ½ΠΎ ΡΠ΄Π΅Π»Π°ΡΡ ΠΈΠ· Π³ΠΎΡΠΎΠ²ΡΡ ΡΠ³ΠΎΠ»ΠΊΠΎΠ² ΠΈΠ· ΠΌΠ΅ΡΠ°Π»Π»Π° ΠΈ ΡΠ΅ΠΊΡΡΠΎΠ»ΠΈΡΠ°.

ΠΠ»Ρ ΡΠ°Π±ΠΎΡΡ Π²Π°ΠΌ ΠΏΠΎΠ½Π°Π΄ΠΎΠ±ΠΈΡΡΡ:
- Π³Π΅ΡΠΌΠ΅ΡΠΈΠΊ,
- ΠΏΠ΅ΡΠ»ΠΈ ΠΈ ΡΡΡΠΊΠΈ,
- ΠΏΡΠΈΠ±ΠΎΡ Π΄Π»Ρ ΡΠ²Π°ΡΠΊΠΈ, ΡΠ³Π»ΠΎΡΠ»ΠΈΡΠΎΠ²Π°Π»ΡΠ½Π°Ρ ΠΌΠ°ΡΠΈΠ½ΠΊΠ°,
- ΡΠ°ΠΌΠΎΡΠ²Π΅ΡΠ»ΡΡΠΈΠ΅ ΡΡΡΡΠΏΡ, Π±ΠΎΠ»ΡΡ,
- ΠΎΡΠ²Π΅ΡΡΠΊΠΈ, ΠΌΠΎΠ»ΠΎΡΠΎΠΊ,
- ΡΠ΅ΠΊΡΡΠΎΠ»ΠΈΡ,
- ΠΏΡΠΎΡΠΈΠ»ΠΈΡΠΎΠ²Π°Π½Π½ΡΠ΅ ΡΡΡΠ±Ρ,
- ΡΠ΅ΠΌΠ΅Π½Ρ,
- ΡΡΠ»Π΅ΡΠΊΠ°.
ΠΡΠΈ ΠΏΠΎΠΌΠΎΡΠΈ ΡΡΠ»Π΅ΡΠΊΠΈ ΠΏΡΠΎΠΈΠ·Π²ΠΎΠ΄ΠΈΠΌ Π½ΡΠΆΠ½ΡΠ΅ Π΄Π»Ρ ΡΡΠΎΠ³ΠΎ Π·Π°ΠΌΠ΅ΡΡ, ΠΏΠΎΡΠ»Π΅ ΠΏΠΎΠ΄ ΡΠ³ΠΎΠ» 45 Π³ΡΠ°Π΄ΡΡΠΎΠ² ΡΠ΅ΠΆΠ΅ΠΌ ΡΠ³ΠΎΠ»ΠΊΠΈ ΠΈΠ· ΠΌΠ΅ΡΠ°Π»Π»Π°.

4-ΡΠ΅ ΠΏΠΎΠ»ΡΡΠ΅Π½Π½ΡΠ΅ ΠΎΡΡΠ΅Π·ΠΊΠ° ΡΠ²Π°ΡΠΊΠΎΠΉ ΠΎΠ±ΡΠ΅Π΄ΠΈΠ½ΡΡΡ Π² ΡΠ΅ΡΡΡΠ΅Ρ ΡΠ³ΠΎΠ»ΡΠ½ΠΈΠΊ. Π£Π³Π»Ρ ΡΠ²Π°ΡΠΈΠ²Π°ΡΡΡΡ ΠΈ ΠΈΠ·Π½ΡΡΡΠΈ, ΠΈ Ρ Π²Π½Π΅ΡΠ½Π΅ΠΉ β Π΄Π»Ρ ΠΎΡΠ½Π°ΡΠ΅Π½ΠΈΡ ΠΊΡΠ΅ΠΏΠΎΡΡΠΈ ΠΊΠ°ΡΠΊΠ°ΡΠ°. Π£Π³Π»ΠΎΠ²ΠΎΠΉ ΡΠ»ΠΈΡΠΌΠ°ΡΠΈΠ½ΠΎΠΉ ΡΠ΄Π°Π»ΡΡΡ ΡΠ»Π΅Π΄Ρ ΡΠ²Π°ΡΠΊΠΈ.
ΠΡΠΎΡΠΈΠ»ΠΈΡΠΎΠ²Π°Π½Π½ΡΠ΅ ΡΡΡΠ±Ρ ΡΠ΅ΠΆΠ΅ΠΌ ΡΠ°ΠΊΠΈΠΌ ΠΎΠ±ΡΠ°Π·ΠΎΠΌ, ΡΡΠΎΠ±Ρ ΠΎΠ½ΠΈ Π±ΡΠ»ΠΈ Π½Π° ΠΎΠ΄ΠΈΠ½ ΡΠ°Π½ΡΠΈΠΌΠ΅ΡΡ ΠΊΠΎΡΠΎΡΠ΅, ΡΠ΅ΠΌ ΡΠ³ΠΎΠ»ΠΊΠΈ. Π ΠΊΠ°ΡΠΊΠ°Ρ ΠΈΠ· ΠΌΠ΅ΡΠ°Π»Π»Π° ΠΏΠΎ Π²ΡΠ΅ΠΉ Π΄Π»ΠΈΠ½Π΅ ΠΏΠ΅ΡΠΈΠΌΠ΅ΡΡΠ° ΠΎΡΠ½ΠΎΠ²Π°Π½ΠΈΡ ΠΏΠΎΠΌΠ΅ΡΠ°Π΅ΠΌ ΠΎΡΡΠ΅Π·ΠΊΠΈ ΡΡΡΠ±, ΠΏΡΠΈΠ²Π°ΡΠΈΠ²Π°Π΅ΠΌ ΠΈΡ
ΠΊ ΡΠ°ΠΌΠΎΠΌΡ ΠΎΡΠ½ΠΎΠ²Π°Π½ΠΈΡ, ΡΠ³Π»ΠΎΠ²ΠΎΠΉ ΡΠ»ΠΈΡΠΌΠ°ΡΠΈΠ½ΠΎΠΉ Π·Π°ΡΠΈΡΠ°Π΅ΠΌ ΡΠ²Ρ.
ΠΠ°Π±Ρ ΠΎΠ±ΡΠ΅Π΄ΠΈΠ½ΠΈΡΡ ΠΊΠ°ΡΠΊΠ°Ρ ΠΈ ΠΈΠ·Π³ΠΎΡΠΎΠ²Π»Π΅Π½Π½ΡΡ ΠΊΡΡΡΠΊΡ, ΡΠ²Π°ΡΠΊΠΎΠΉ ΠΈΠ»ΠΈ Π±ΠΎΠ»ΡΠ°ΠΌΠΈ ΡΡΡΠ°Π½Π°Π²Π»ΠΈΠ²Π°ΡΡ ΠΏΠ΅ΡΠ»ΠΈ Π΄Π»Ρ ΠΊΡΠ΅ΠΏΠ΅ΠΆΠ°. Π’Π΅ΠΊΡΡΠΎΠ»ΠΈΡΠΎΠ²Π°Ρ ΠΊΡΡΡΠΊΠ° Π³ΠΎΡΠΎΠ²Π°. ΠΠ°Π±Ρ ΡΡΡΠ°Π½ΠΎΠ²ΠΈΡΡ Π΅Π΅, Π½Π΅ΠΎΠ±Ρ ΠΎΠ΄ΠΈΠΌΠΎ ΡΠ΄Π΅Π»Π°ΡΡ Π½Π° ΠΊΠΎΠ»ΠΎΠ΄ΡΠ΅ ΠΎΠΏΠ°Π»ΡΠ±ΠΊΡ ΠΈΠ· Π΄ΠΎΡΠΎΠΊ, ΠΏΠΎΡΠΎΠΌ Π²ΡΠ΅ Π·Π°ΡΠ΅ΠΌΠ΅Π½ΡΠΈΡΠΎΠ²Π°ΡΡ.

ΠΠΎΠ³Π΄Π° ΠΊΠ°ΡΠΊΠ°Ρ Ρ ΠΊΡΡΡΠΊΠΎΠΉ ΡΡΡΠ°Π½ΠΎΠ²Π»Π΅Π½Ρ, ΠΎΠ½ΠΈ ΡΠΎΠΆΠ΅ ΠΏΠΎΠΊΡΡΠ²Π°ΡΡΡΡ Π±Π΅ΡΠΎΠ½Π½ΡΠΌ ΡΠ»ΠΎΠ΅ΠΌ. ΠΠ»Ρ ΠΊΠΎΠΌΡΠΎΡΡΠ° ΠΏΠΎΠ»ΡΠ·ΠΎΠ²Π°Π½ΠΈΡ ΠΊΡΡΡΠΊΠΎΠΉ ΠΊ Π½Π΅ΠΉ Π½Π΅ΠΎΠ±Ρ ΠΎΠ΄ΠΈΠΌΠΎ Π·Π°ΠΊΡΠ΅ΠΏΠΈΡΡ ΡΡΡΠΊΡ.
Π‘ΠΎΠΎΡΡΠΆΠ΅Π½ΠΈΠ΅ ΠΌΠΎΠΆΠ½ΠΎ ΠΎΡΡΠ°Π²ΠΈΡΡ Π² ΠΏΠΎΠ΄ΠΎΠ±Π½ΠΎΠΌ Π²ΠΈΠ΄Π΅, Π° ΠΌΠΎΠΆΠ½ΠΎ ΡΠ΄Π΅Π»Π°ΡΡ ΠΊΡΠ°ΡΠΈΠ²Π΅Π΅ Π΅Π³ΠΎ ΠΏΡΠΈ ΠΏΠΎΠΌΠΎΡΠΈ ΠΏΠΎΠΊΡΠ°ΡΠΊΠΈ ΠΈΠ»ΠΈ Π΄Π΅ΠΊΠΎΡΠ°ΡΠΈΠ²Π½ΠΎΠΉ ΠΎΠ±Π»ΠΈΡΠΎΠ²ΠΊΠΈ. ΠΠ΅ΡΠΆΠ°Π²Π΅ΠΉΠΊΡ ΡΠΎΠΆΠ΅ ΠΌΠΎΠΆΠ½ΠΎ ΠΏΡΠΈΠΌΠ΅Π½ΡΡΡ Π΄Π»Ρ ΠΈΠ·Π³ΠΎΡΠΎΠ²Π»Π΅Π½ΠΈΡ ΠΊΡΡΡΠΊΠΈ, Π½ΠΎ ΠΏΠΎΠ΄ΠΎΠ±Π½ΡΠΉ Π²Π°ΡΠΈΠ°Π½Ρ Π±ΠΎΠ»Π΅Π΅ ΠΏΠΎΠ΄ΠΎΠΉΠ΄Π΅Ρ Π΄Π»Ρ ΠΌΠΎΠ½ΠΎΠ»ΠΈΡΠ½ΠΎ Π±Π΅ΡΠΎΠ½Π½ΠΎΠ³ΠΎ ΠΊΠΎΠ»ΠΎΠ΄ΡΠ°.
ΠΠ΅ΡΠΎΠ½Π½ΡΠ΅ ΠΊΡΡΡΠΊΠΈ Π΄Π»Ρ ΠΊΠΎΠ»ΠΎΠ΄ΡΠ΅Π²
ΠΠ΅ΡΠ΅Π΄ΠΊΠΎ ΡΠ΅Ρ Π½ΠΈΡΠ΅ΡΠΊΠΈΠ΅ ΠΊΠΎΠ»ΠΎΠ΄Π΅Π·Π½ΡΠ΅ ΡΠΎΠΎΡΡΠΆΠ΅Π½ΠΈΡ, Π² ΠΎΡΠΎΠ±Π΅Π½Π½ΠΎΡΡΠΈ ΠΈΠ·Π³ΠΎΡΠΎΠ²Π»Π΅Π½Π½ΡΠ΅ ΠΈΠ· ΠΊΠΎΠ»Π΅Ρ Π±Π΅ΡΠΎΠ½Π°, ΠΏΡΠΈΠΊΡΡΠ²Π°Π΅Ρ ΠΏΠ»ΠΈΡΠ° Ρ Π»ΡΠΊΠΎΠΌ Π»ΠΈΠ±ΠΎ ΠΎΡΠ΄Π΅Π»ΡΠ½Π°Ρ Π±Π΅ΡΠΎΠ½Π½Π°Ρ ΠΊΡΡΡΠΊΠ° Π² Π²ΠΈΠ΄Π΅ ΠΏΠ»ΠΈΡΡ. Π ΠΊΠΎΠ»ΠΎΠ΄ΡΠ°Ρ Ρ ΡΠΈΡΡΠΎΠΉ Π²ΠΎΠ΄ΠΎΠΉ ΠΌΠΎΠΆΠ½ΠΎ ΠΏΡΠΈΠΌΠ΅Π½ΡΡΡ ΡΠΎΠ»ΡΠΊΠΎ ΠΊΠΎΠ»Π΅Ρ Π±Π΅ΡΠΎΠ½Π°, ΠΎΡΠ½Π°ΡΠ΅Π½Π½ΡΡ Π»ΡΠΊΠΎΠΌ.
ΠΠΎΠΆΠ½ΠΎ Π»ΠΈ ΡΠ΄Π΅Π»Π°ΡΡ ΠΏΠ»ΠΈΡΡ ΠΈΠ· Π±Π΅ΡΠΎΠ½Π° ΡΠΎΠ±ΡΡΠ²Π΅Π½Π½ΡΠΌΠΈ ΡΡΠΊΠ°ΠΌΠΈ?
Π Π°Π±ΠΎΡΠΈΠΉ ΠΏΠΎΡΡΠ΄ΠΎΠΊ Π±ΡΠ΄Π΅ΡΒ Π² ΠΏΡΠΎΡΠ΅ΡΡΠ΅ ΠΈΠ·Π³ΠΎΡΠΎΠ²Π»Π΅Π½ΠΈΡ ΠΏΠ»ΠΈΡΡ Π±Π΅ΡΠΎΠ½Π° ΡΠΎΠ±ΡΡΠ²Π΅Π½Π½ΡΠΌΠΈ ΡΡΠΊΠ°ΠΌΠΈ:

- Π Π·Π°Π²ΠΈΡΠΈΠΌΠΎΡΡΠΈ ΠΎΡ ΡΠΎΡΠΌΡ ΠΏΠ»ΠΈΡΡ Π²ΡΠΊΠ°ΠΏΡΠ²Π°Π΅ΡΡΡ ΠΊΠ²Π°Π΄ΡΠ°ΡΠ½Π°Ρ ΠΈΠ»ΠΈ ΠΊΡΡΠ³Π»Π°Ρ ΡΠΌΠ°, Π³Π»ΡΠ±ΠΈΠ½Π° ΠΊΠΎΡΠΎΡΠΎΠΉ ΡΠ°Π²Π½ΡΠ΅ΡΡΡ 10-15 ΡΠ°Π½ΡΠΈΠΌΠ΅ΡΡΠ°ΠΌ β ΡΠΎΠ»ΡΠΈΠ½Π΅ ΠΏΠ»ΠΈΡΡ.
- ΠΠ½ΠΈΡΠ΅ Π΅Π΅ Π·Π°ΠΊΡΡΠ²Π°ΡΡ Π»ΠΈΡΡΠΎΠΌ ΡΠ°Π½Π΅ΡΡ ΠΈΠ»ΠΈ ΠΏΠΎΠ»ΠΈΡΡΠΈΠ»Π΅Π½ΠΎΠ²ΠΎΠΉ ΠΏΠ»Π΅Π½ΠΊΠΎΠΉ. ΠΠΏΠ°Π»ΡΠ±ΠΊΠ° ΠΈΠ· Π΄Π΅ΡΠ΅Π²Π° ΡΡΠ°Π²ΠΈΡΡΡ ΡΠ°ΠΌ, Π³Π΄Π΅ ΡΡΠΎΠΈΡ ΠΎΡΠΎΡΠΌΠΈΡΡ ΠΎΡΠ²Π΅ΡΡΡΠΈΠ΅ Π΄Π»Ρ Π»ΡΠΊΠ°. Π Π°ΡΡΠ²ΠΎΡ Π±Π΅ΡΠΎΠ½Π° Π²ΡΠΏΠΎΠ»Π½ΡΡΡ ΠΏΠΎ ΠΊΠ»Π°ΡΡΠΈΡΠ΅ΡΠΊΠΎΠΉ ΡΠ΅ΡΠ΅ΠΏΡΡΡΠ΅ β ΠΈΠ· ΡΠ΅ΠΌΠ΅Π½ΡΠ°, ΡΠ΅Π±Π½Ρ ΠΈ ΠΏΠ΅ΡΠΊΠ°. ΠΠ΅ΡΠ²ΡΠΉ Π·Π°Π»ΠΈΡΡΠΉ ΡΠ»ΠΎΠΉ ΠΈΠΌΠ΅Π΅Ρ ΡΠΎΠ»ΡΠΈΠ½Ρ ΠΎΠΊΠΎΠ»ΠΎ ΠΏΡΡΠΈ ΡΠ°Π½ΡΠΈΠΌΠ΅ΡΡΠΎΠ². ΠΠΎΠΊΠ° ΡΠ°ΡΡΠ²ΠΎΡ Π½Π΅ ΠΎΡΠ²Π΅ΡΠ΄Π΅Π» ΡΠ΅Π»ΠΈΠΊΠΎΠΌ, Π² Π½Π΅Π³ΠΎ ΠΏΠΎΠΌΠ΅ΡΠ°ΡΡΡΡ ΠΎΡΠΎΠ±ΡΠ΅ ΡΠ»Π΅ΠΌΠ΅Π½ΡΡ Π΄Π»Ρ Π°ΡΠΌΠΈΡΠΎΠ²ΠΊΠΈ β ΡΠΎΠ»ΡΡΠ°Ρ ΠΏΡΠΎΠ²ΠΎΠ»ΠΎΠΊΠ° ΠΈΠ· ΡΡΠ°Π»ΠΈ ΠΈΠ»ΠΈ ΡΠ΅ΡΠΊΠ°.
- ΠΠΎΡΠΎΠΌ Π΄ΠΎ ΠΎΡΠΌΠ΅ΡΠΊΠΈ ΠΏΠΎΠ²Π΅ΡΡ Π½ΠΎΡΡΠΈ Π³ΡΡΠ½ΡΠ° Π·Π°Π»ΠΈΠ²Π°ΡΡ Π²ΡΠΎΡΠΈΡΠ½ΡΠΉ Π±Π΅ΡΠΎΠ½Π½ΡΠΉ ΡΠ»ΠΎΠΉ. Π Π°ΡΡΠ²ΠΎΡ ΡΡΠ°ΡΠ΅Π»ΡΠ½ΠΎ Π²ΡΡΠ°Π²Π½ΠΈΠ²Π°ΡΡ ΠΈ Π·Π°ΡΡΠ°ΠΌΠ±ΠΎΠ²ΡΠ°ΡΡ.
- ΠΠΎΠ³Π΄Π° ΡΠ°ΡΡΠ²ΠΎΡ ΡΠ΅Π»ΠΈΠΊΠΎΠΌ Π·Π°ΡΡΡΠ½Π΅Ρ, ΠΏΠ»ΠΈΡΡ ΠΌΠΎΠΆΠ½ΠΎ ΡΡΡΠ°Π½Π°Π²Π»ΠΈΠ²Π°ΡΡ Π½Π° ΠΊΠΎΠ»ΠΎΠ΄Π΅Ρ.
- Π Π°ΡΡΠ²ΠΎΡΠΎΠΌ ΠΈΠ· ΡΠ΅ΠΌΠ΅Π½ΡΠ° Π±Π΅ΡΠ΅ΠΆΠ½ΠΎ Π·Π°Π΄Π΅Π»ΡΠ²Π°ΡΡ ΡΡΡΠΊ.
- Π ΠΏΠ»ΠΈΡΠ΅ Π΄ΡΠ±Π΅Π»ΡΠΌΠΈ ΠΊΡΠ΅ΠΏΡΡΡΡ ΠΏΠ΅ΡΠ»ΠΈ, ΠΏΠΎΡΠΎΠΌ ΡΡΠ°Π²ΠΈΡΡΡ Π΄Π²Π΅ΡΠΊΠ°. ΠΠ»Ρ ΡΠ΅ΠΌΠ΅Π½ΡΠ½ΠΎ-ΠΏΠ΅ΡΡΠ°Π½ΠΎΠΉ ΠΊΡΡΡΠΊΠΈ Π΅Π΅ Π»ΡΠ±ΡΡ Π΄Π΅Π»Π°ΡΡ ΠΈΠ· ΠΌΠ΅ΡΠ°Π»Π»Π°.
ΠΠΎΠ»ΠΎΠ΄Π΅Π·Π½ΡΠ΅ ΠΊΡΡΡΠΊΠΈ ΠΆΠ΅Π»Π΅Π·Π½ΡΠ΅
ΠΠΎΠ»ΠΎΠ΄Π΅Π·Π½Π°Ρ ΠΆΠ΅Π»Π΅Π·Π½Π°Ρ ΠΊΡΡΡΠΊΠ° ΠΌΠΎΠΆΠ΅Ρ Π±ΡΡΡ Π΄Π²ΠΎΠΉΠ½ΠΎΠΉ ΠΈΠ»ΠΈ ΡΠ΅Π»ΡΠ½ΠΎΠΉ, ΠΈΠ· ΠΎΠ΄Π½ΠΎΠ³ΠΎ ΠΌΠ΅ΡΠ°Π»Π»Π° ΠΈΠ»ΠΈ Π² ΠΊΠΎΠΌΠ±ΠΈΠ½ΠΈΡΠΎΠ²Π°Π½ΠΈΠΈ Ρ Π΄ΡΡΠ³ΠΈΠΌΠΈ ΠΌΠ°ΡΠ΅ΡΠΈΠ°Π»Π°ΠΌΠΈ.
Π‘Π°ΠΌΠ°Ρ ΠΏΡΠΎΡΡΠ°Ρ ΠΊΠΎΠ½ΡΡΡΡΠΊΡΠΈΡ Π²ΡΡΠ΅Π·Π°Π΅ΡΡΡ ΠΈΠ· ΡΠΎΠ»ΡΡΠΎΠ³ΠΎ (5-10ΠΌΠΌ) Π»ΠΈΡΡΠ° ΡΡΠ°Π»ΠΈ, ΠΏΡΠΈ ΡΡΠΎΠΌ ΡΡΠΆΡΠ»Π°Ρ ΠΌΠ°ΡΡΠΈΠ²Π½Π°Ρ ΡΠΈΡΡΠ΅ΠΌΠ° ΠΎΡΠ½ΠΎΡΠΈΡΡΡ ΠΊ ΠΎΡΡΡΠΎΠΉΠ½ΠΈΠΊΠ°ΠΌ.
ΠΠΎΠ½ΡΡΡΡΠΊΡΠΈΡ, ΡΠ΄Π΅Π»Π°Π½Π½Π°Ρ ΠΈΠ· ΠΏΡΠΈΠ²Π°ΡΠ΅Π½Π½ΠΎΠ³ΠΎ ΠΊ ΡΠ°ΠΌΠ΅ ΠΈΠ· ΡΠ³ΠΎΠ»ΠΊΠΎΠ² Π»ΠΈΡΡΠ° ΡΡΠ°Π»ΠΈ, ΡΡΠΈΡΠ°Π΅ΡΡΡ ΡΠ΅Π»ΡΠ½ΠΎΠΉ ΠΈ ΠΎΡΠ΅Π½Ρ ΡΠ»ΠΎΠΆΠ½ΠΎΠΉ.
ΠΠ»Ρ ΠΏΡΠΎΠΈΠ·Π²ΠΎΠ΄ΡΡΠ²Π° ΡΠΎΠ±ΡΡΠ²Π΅Π½Π½ΡΠΌΠΈ ΡΡΠΊΠ°ΠΌΠΈ ΠΏΠΎΠ½Π°Π΄ΠΎΠ±ΡΡΡΡ ΠΌΠ°ΡΠ΅ΡΠΈΠ°Π»Ρ ΠΈ ΠΎΠ±ΠΎΡΡΠ΄ΠΎΠ²Π°Π½ΠΈΠ΅:

- ΠΏΡΠΈΠ±ΠΎΡ Π΄Π»Ρ ΡΠ²Π°ΡΠΊΠΈ;
- Π½ΠΎΠΆΠΎΠ²ΠΊΠ° ΠΏΠΎ ΠΌΠ΅ΡΠ°Π»Π»Ρ;
- ΡΠ»Π΅ΠΊΡΡΠΎΠ΄ΡΠ΅Π»Ρ;
- ΠΌΠΎΠ»ΠΎΡΠΎΠΊ;
- ΡΠΎΠΆΠΊΠΎΠ²ΡΠ΅ ΠΊΠ»ΡΡΠΈ;
- ΡΡΠ°Π»ΡΠ½Π°Ρ Π»ΠΈΠ½Π΅ΠΉΠΊΠ°;
- ΡΠ³Π»ΠΎΡΠ»ΠΈΡΠΎΠ²Π°Π»ΡΠ½Π°Ρ ΠΌΠ°ΡΠΈΠ½ΠΊΠ°;
- Π½ΠΎΠΆΠ½ΠΈΡΡ Π΄Π»Ρ ΡΠ°Π±ΠΎΡΡ Ρ ΠΌΠ΅ΡΠ°Π»Π»ΠΎΠΌ;
- Π·ΡΠ±ΠΈΠ»ΠΎ;
- Π½Π°ΠΏΠΈΠ»ΡΠ½ΠΈΠΊ;
- ΠΊΠΈΡΡΡ Π΄Π»Ρ ΠΌΠ°Π»ΡΡΠ½ΡΡ ΡΠ°Π±ΠΎΡ;
- ΡΡΠ»Π΅ΡΠΊΠ°.
ΠΠ΅ΡΠ°Π»Π»ΠΈΡΠ΅ΡΠΊΠΎΠΉ Π΄Π΅ΡΠ°Π»ΠΈ Π½Π΅ ΡΠΆΠ°Π²Π΅ΡΡ ΠΈ ΠΈΠΌΠ΅ΡΡ Π±ΠΎΠ»ΡΡΡΡ ΠΏΡΠΎΡΠ½ΠΎΡΡΡ. ΠΡΠ΅ ΡΠ°ΠΊΠΈ, ΠΈΠΌ ΡΡΠ΅Π±ΡΠ΅ΡΡΡ Π·Π°ΡΠΈΡΠ° ΠΎΡ ΠΊΠΎΡΡΠΎΠ·ΠΈΠΉΠ½ΠΎΠ³ΠΎ ΡΠ°Π·ΡΡΡΠ΅Π½ΠΈΡ.Β ΠΠ»Ρ ΡΡΠΎΠ³ΠΎ ΠΈΡ Π½Π°ΠΊΡΡΠ²Π°ΡΡ 2-ΠΌΡ ΡΠ»ΠΎΡΠΌΠΈ ΠΊΡΠ°ΡΠΊΠΈ: ΡΠ½Π°ΡΠ°Π»Π° Π³ΡΡΠ½ΡΠΎΠ²ΠΎΡΠ½ΠΎΠΉ ΡΠΌΠ΅ΡΡΡ, ΠΏΠΎΡΠΎΠΌ ΠΊΠ»ΡΡΠ΅Π²ΡΠΌ ΠΏΠΎΠΊΡΡΡΠΈΠ΅ΠΌ.
ΠΠ΅Π»Π΅Π·Π½ΡΠ΅ Π»ΡΠΊΠΈ ΠΎΡΡΡΠΈΠΌΠΎ ΡΡΡΡΠΏΠ°ΡΡ ΠΏΠΎ Π΄Π΅ΠΊΠΎΡΠ°ΡΠΈΠ²Π½ΠΎΡΡΠΈ ΠΊΠΎΠ½ΡΡΡΡΠΊΡΠΈΡΠΌ ΠΈΠ· Π΄Π΅ΡΠ΅Π²Π°. ΠΠ»Π°Π³ΠΎΠ΄Π°ΡΡ ΡΡΠΎΠΌΡ ΠΌΠ΅ΡΠ°Π»Π» Π½Π΅ΡΠ΅Π΄ΠΊΠΎ ΡΠΎΡΠ΅ΡΠ°ΡΡ Ρ Π΄Π΅ΡΠ΅Π²ΠΎΠΌ, ΡΠ΅ΠΊΡΡΠΎΠ»ΠΈΡΠΎΠΌ ΠΈΠ»ΠΈ ΠΏΠ»Π°ΡΡΠΈΠΊΠΎΠΌ.
Π£ΡΡΠ°Π½ΠΎΠ²ΠΊΠ° ΠΊΡΡΡΠΊΠΈ ΠΊΠΎΠ»ΠΎΠ΄ΡΠ° Π² ΡΠΎΡΠΌΠ΅ Π΄ΠΎΠΌΠΈΠΊΠ°

ΠΡΡΡΠΊΠ° ΠΌΠΎΠΆΠ΅Ρ Π±ΡΡΡ ΡΠ΄Π΅Π»Π°Π½Π° Π² ΡΠΎΡΠΌΠ΅ ΡΠΈΠΏΡΠΎΠ²ΠΎΠΉ ΠΊΡΡΡΠΈ (Π΄ΠΎΠΌΠΈΠΊΠ° ΠΈΠ· Π΄Π΅ΡΠ΅Π²Π°). ΠΠΎ ΡΠ°ΠΊΠΎΠΉ ΠΆΠ΅ ΡΠ°ΠΌΠΎΠΉ ΡΠ΅Ρ Π½ΠΎΠ»ΠΎΠ³ΠΈΠΈ, ΡΡΠΎ ΠΏΡΠΈΠΌΠ΅Π½ΡΠ΅ΡΡΡ Π΄Π»Ρ ΡΠΈΠΏΡΠΎΠ²ΠΎΠΉ ΠΊΡΡΡΠΈ, Π΄Π΅Π»Π°Π΅ΡΡΡ ΠΊΠ°ΡΠΊΠ°Ρ Π½Π΅ΠΎΠ±Ρ ΠΎΠ΄ΠΈΠΌΡΡ ΡΠ°Π·ΠΌΠ΅ΡΠΎΠ².
ΠΠ° Π»ΠΈΡΠ΅Π²ΠΎΠΌ ΡΠΊΠ°ΡΠ΅ Π΄Π΅ΠΊΠΎΡΠ°ΡΠΈΠ²Π½ΠΎΠ³ΠΎ Π΄ΠΎΠΌΠΈΠΊΠ° ΠΏΠΎΠ΄Π³ΠΎΡΠ°Π²Π»ΠΈΠ²Π°Π΅ΡΡΡ ΠΎΠ΄Π½ΠΎΠΏΠΎΠ»Π°Ρ Π΄Π²Π΅ΡΠΊΠ°, ΠΊΠΎΡΠΎΡΠ°Ρ Π½ΡΠΆΠ½Π° Π΄Π»Ρ Π΄ΠΎΡΡΡΠΏΠ° ΠΊ Π²ΠΎΠ΄Π΅. ΠΠ°ΡΠΊΠ°Ρ ΡΠ΄Π΅Π»Π°Π½ ΠΈΠ· Π΄Π΅ΡΠ΅Π²Π°, ΠΎΠ½ ΠΌΠΎΠΆΠ΅Ρ Π±ΡΡΡ ΠΎΠ±ΡΠΈΡ ΠΏΠΎΠ΄Ρ ΠΎΠ΄ΡΡΠΈΠΌ ΠΌΠ°ΡΠ΅ΡΠΈΠ°Π»ΠΎΠΌ Π΄Π»Ρ ΠΊΡΠΎΠ²Π»ΠΈ ΠΈΠ»ΠΈ ΠΎΠΊΡΠ°ΡΠ΅Π½.
Π ΡΠ΅Π·ΡΠ»ΡΡΠ°ΡΠ΅ Π²ΡΠΉΠ΄Π΅Ρ Π»ΡΠ±ΠΎΠΏΡΡΠ½Π°Ρ ΠΈ ΠΊΡΠ°ΡΠΈΠ²Π°Ρ ΠΊΡΡΡΠΊΠ°. ΠΠ°Π²Π΅ΡΡΠΈΠ΅ Π² Π²ΠΈΠ΄Π΅ Π΄ΠΎΠΌΠΈΠΊΠ° β Π²Π΅Π»ΠΈΠΊΠΎΠ»Π΅ΠΏΠ½ΡΠΉ ΠΊΠΎΠΌΠΏΠΎΠ½Π΅Π½Ρ Π΄Π΅ΠΊΠΎΡΠ°, Π° Π½Π΅ ΠΏΡΠΎΡΡΠΎ ΡΠΏΠ΅ΡΠΈΠ°Π»ΡΠ½ΡΠΉ Π²Π°ΡΠΈΠ°Π½Ρ ΠΊΡΡΡΠΊΠΈ. Π’Π°ΠΊΠΎΠΉ Π΄ΠΎΠΌΠΈΠΊ ΠΌΠΎΠΆΠ½ΠΎ ΡΠ΄Π΅Π»Π°ΡΡ ΠΈΠ· ΡΠΎΠ²Π½ΠΎΠ³ΠΎ Π³Π»Π°Π΄ΠΊΠΎΠ³ΠΎ Π±ΡΡΡΠ°.
ΠΠ»Ρ ΠΊΡΠΎΠ²Π»ΠΈ ΠΏΡΠ΅ΠΊΡΠ°ΡΠ½ΠΎ ΠΏΠΎΠ΄ΠΎΠΉΠ΄Π΅Ρ ΠΏΡΠΈΠΌΠΈΡΠΈΠ²Π½Π°Ρ Π΅Π²ΡΠΎΡΠ΅ΡΠ΅ΠΏΠΈΡΠ°. ΠΠΎΠ½ΡΡΡΡΠΊΡΠΈΡ ΠΌΠΎΠΆΠ½ΠΎ ΠΎΠ±ΠΎΡΡΠ΄ΠΎΠ²Π°ΡΡ Ρ ΠΎΡΠΎΡΠΈΠΌΠΈ Π΄Π²ΡΠΏΠΎΠ»ΡΠ½ΡΠΌΠΈ Π΄Π²Π΅ΡΠΊΠ°ΠΌΠΈ Ρ Ρ ΠΎΡΠΎΡΠΈΠΌΠΈ ΡΡΡΠΊΠ°ΠΌΠΈ. ΠΠ½Π° Π±ΡΠ΄Π΅Ρ Ρ ΠΎΡΠΎΡΠ΅ΠΉ ΠΎΡ ΡΠ°Π½ΠΎΠΉ Π΄Π»Ρ ΠΊΠΎΠ»ΠΎΠ΄ΡΠ°.
ΠΠΎΠΌΠΈΠΊ Π΄Π»Ρ ΠΊΠΎΠ»ΠΎΠ΄ΡΠ°: 65 Π²ΠΈΠ΄ΠΎΠ²
ΠΡΡΡΠΊΠ° Π΄Π»Ρ ΠΊΠΎΠ»ΠΎΠ΄ΡΠ° ΡΠ²ΠΎΠΈΠΌΠΈ ΡΡΠΊΠ°ΠΌΠΈ
Π’ΡΠΆΠ΅Π»ΠΎ ΠΏΡΠ΅Π΄ΡΡΠ°Π²ΠΈΡΡ Π΄Π°ΡΡ ΠΈΠ»ΠΈ Π·Π°Π³ΠΎΡΠΎΠ΄Π½ΡΠΉ Π΄ΠΎΠΌ, Π² ΠΊΠΎΡΠΎΡΡΡ Π½Π΅Ρ Π²ΠΎΠ΄ΠΎΠΏΡΠΎΠ²ΠΎΠ΄Π° ΠΈΠ»ΠΈ ΠΊΠΎΠ»ΠΎΠ΄ΡΠ°. ΠΠ΅Π΄Ρ Π±Π΅Π· Π²ΠΎΠ΄Ρ, ΠΎΡΠΎΠ±Π΅Π½Π½ΠΎ Π»Π΅ΡΠΎΠΌ, Π² ΠΈΠ·Π½ΡΡΡΡΡΡΡ ΠΆΠ°ΡΡ, Π½Π΅Π²ΠΎΠ·ΠΌΠΎΠΆΠ½ΠΎ ΠΊΠΎΠΌΡΠΎΡΡΠ½ΠΎΠ΅ ΡΡΡΠ΅ΡΡΠ²ΠΎΠ²Π°Π½ΠΈΠ΅ ΡΠ΅Π»ΠΎΠ²Π΅ΠΊΠ°. ΠΡΠ»ΠΈ Π²Ρ ΡΡΠ°ΡΡΠ»ΠΈΠ²ΡΠΉ ΠΎΠ±Π»Π°Π΄Π°ΡΠ΅Π»Ρ ΠΊΠΎΠ»ΠΎΠ΄ΡΠ°, ΡΡΠ° ΡΡΠ°ΡΡΡ Π΄Π»Ρ Π²Π°Ρ.
ΠΡΠ΅ΠΌ ΠΈΠ·Π²Π΅ΡΡΠ½ΠΎ, ΡΡΠΎ ΠΊΠΎΠ»ΠΎΠ΄Π΅Ρ β ΡΡΠΎ Π½Π΅ ΡΠΎΠ»ΡΠΊΠΎ ΠΈΡΡΠΎΡΠ½ΠΈΠΊ Π²ΠΊΡΡΠ½ΠΎΠΉ, ΡΡΠΎΠ»ΡΡΡΠ΅ΠΉ ΠΆΠ°ΠΆΠ΄Ρ Π²ΠΎΠ΄Ρ, Π½ΠΎ ΠΈ Π½Π΅ΠΌΠ°Π»ΠΎΠ²Π°ΠΆΠ½ΡΠΉ Π°ΡΡ ΠΈΡΠ΅ΠΊΡΡΡΠ½ΡΠΉ ΡΠ»Π΅ΠΌΠ΅Π½Ρ Π΄Π°ΡΠ½ΠΎΠ³ΠΎ ΡΡΠ°ΡΡΠΊΠ° Π² ΡΠ΅Π»ΠΎΠΌ. ΠΠΎΠ΄ΡΠ²Π΅ΡΠΆΠ΄Π΅Π½ΠΈΠ΅ΠΌ ΡΠΎΠΌΡ ΡΠ²Π»ΡΠ΅ΡΡΡ ΠΎΠ³ΡΠΎΠΌΠ½ΠΎΠ΅ ΠΊΠΎΠ»ΠΈΡΠ΅ΡΡΠ²ΠΎ Π΄Π°ΡΠ½ΠΈΠΊΠΎΠ², ΡΠΊΡΠ°ΡΠ°ΡΡΠΈΡ ΡΠ²ΠΎΠΈ ΠΊΠΎΠ»ΠΎΠ΄ΡΡ Π·Π°ΡΠ΅ΠΉΠ»ΠΈΠ²ΡΠΌΠΈ Π΄Π΅ΠΊΠΎΡΠ°ΡΠΈΠ²Π½ΡΠΌΠΈ ΡΠ»Π΅ΠΌΠ΅Π½ΡΠ°ΠΌΠΈ, ΡΠΊΡΠ°ΡΠ΅Π½Π½ΡΠΌΠΈ ΡΠ΅Π·ΡΠ±ΠΎΠΉ, ΠΊΠΎΠ²ΠΊΠΎΠΉ ΠΈΠ»ΠΈ ΡΠΈΡΡΠ½ΠΊΠ°ΠΌΠΈ Π½Π° ΠΏΠΎΠ²Π΅ΡΡ Π½ΠΎΡΡΠΈ. ΠΡΠ»ΠΈ ΠΆΠ΅ Π²Π°Ρ ΠΊΠΎΠ»ΠΎΠ΄Π΅Ρ Π½Π΅ ΠΎΡΠ½ΠΎΡΠΈΡΡΡ ΠΊ ΡΠΈΡΠ»Ρ ΠΊΠΎΠ»ΠΎΠ΄ΡΠ΅Π²-ΠΏΡΠΎΠΈΠ·Π²Π΅Π΄Π΅Π½ΠΈΠΉ ΠΈΡΠΊΡΡΡΡΠ²Π°, Π½Π΅ ΠΎΡΡΠ°ΠΈΠ²Π°ΠΉΡΠ΅ΡΡ, Π²Π΅Π΄Ρ ΡΡΠΎ Β«Π½Π΅Π΄ΠΎΡΠ°Π·ΡΠΌΠ΅Π½ΠΈΠ΅Β» Π»Π΅Π³ΠΊΠΎ ΠΈΡΠΏΡΠ°Π²ΠΈΠΌΠΎ. ΠΠ°ΠΏΠ°ΡΠΈΡΠ΅ΡΡ ΡΠ΅ΡΠΏΠ΅Π½ΠΈΠ΅ΠΌ, ΠΆΠ΅Π»Π°Π½ΠΈΠ΅ΠΌ ΠΈΠ·ΠΌΠ΅Π½ΠΈΡΡ ΡΠ²ΠΎΠΉ ΠΊΠΎΠ»ΠΎΠ΄Π΅Ρ ΠΈ ΡΠ°Π½ΡΠ°Π·ΠΈΠ΅ΠΉ, ΠΈ Π²ΡΠ΅Π³ΠΎ ΡΠ΅ΡΠ΅Π· ΠΏΠ°ΡΡ ΡΠ°ΡΠΎΠ² Π²Π°Ρ ΠΊΠΎΠ»ΠΎΠ΄Π΅Ρ Π±ΡΠ΄Π΅Ρ ΠΈΠΌΠ΅ΡΡ Π°Π±ΡΠΎΠ»ΡΡΠ½ΠΎ ΠΈΠ½ΠΎΠΉ, ΡΡΡΠ½ΡΠΉ ΠΈ ΠΊΡΠ°ΡΠΈΠ²ΡΠΉ Π²ΠΈΠ΄.
ΠΠ°ΠΊ ΠΆΠ΅ Π΄Π΅ΠΊΠΎΡΠΈΡΠΎΠ²Π°ΡΡ ΠΊΠΎΠ»ΠΎΠ΄Π΅Ρ Π½Π° Π΄Π°ΡΠ΅? ΠΠ°ΡΠΈΠ°Π½ΡΠΎΠ² ΠΌΠ°ΡΡΠ°, Π½ΠΎ ΡΠ°ΠΌΡΠΌ ΡΠ°ΡΠΏΡΠΎΡΡΡΠ°Π½Π΅Π½Π½ΡΠΌ ΠΈ Π»Π΅Π³ΠΊΠΎ Π²ΡΠΏΠΎΠ»Π½ΠΈΠΌΡΠΌ ΡΠ²Π»ΡΠ΅ΡΡΡ ΡΠΎΠ·Π΄Π°Π½ΠΈΠ΅ ΠΊΠΎΠ»ΠΎΠ΄Π΅Π·Π½ΠΎΠΉ ΠΊΡΡΡΠΊΠΈ, ΠΈΠ·Π³ΠΎΡΠΎΠ²Π»Π΅Π½Π½ΠΎΠΉ ΠΈΠ· Π΄ΡΠ΅Π²Π΅ΡΠΈΠ½Ρ, ΡΠ΅ΠΊΡΡΠΎΠ»ΠΈΡΠ°, Π»ΠΈΠ±ΠΎ Π²ΡΠΏΠΎΠ»Π½Π΅Π½Π½ΠΎΠΉ Π² Π²ΠΈΠ΄Π΅ ΠΌΠΈΠ½ΠΈΠ°ΡΡΡΠ½ΠΎΠ³ΠΎ Π΄ΠΎΠΌΠΈΠΊΠ°.
ΠΠ°ΡΠΈΠ°Π½Ρ ΠΏΠ΅ΡΠ²ΡΠΉ β ΠΊΡΡΡΠΊΠ° Π΄Π»Ρ ΠΊΠΎΠ»ΠΎΠ΄ΡΠ° ΠΈΠ· Π΄Π΅ΡΠ΅Π²Π°. ΠΠΎΡΠ΅ΠΌΡ ΠΈΠΌΠ΅Π½Π½ΠΎ ΠΈΠ· Π΄Π΅ΡΠ΅Π²Π°? ΠΡΠ΅Π²Π΅ΡΠΈΠ½Π° ΡΠ²Π»ΡΠ΅ΡΡΡ ΡΠΊΠΎΠ»ΠΎΠ³ΠΈΡΠ½ΡΠΌ ΠΌΠ°ΡΠ΅ΡΠΈΠ°Π»ΠΎΠΌ, Π΄ΠΎΡΡΠ°ΡΠΎΡΠ½ΠΎ ΠΈΠ·Π½ΠΎΡΠΎΡΡΡΠΎΠΉΡΠΈΠ²Π° ΠΈ Π»Π΅Π³ΠΊΠ° Π² ΡΠ°Π±ΠΎΡΠ΅. Π ΡΠΎΠΌΡ ΠΆΠ΅, Π²ΡΠΏΠΎΠ»Π½Π΅Π½Π½Π°Ρ Ρ Π΄Π΅ΠΊΠΎΡΠ°ΡΠΈΠ²Π½ΡΠΌΠΈ ΡΠ»Π΅ΠΌΠ΅Π½ΡΠ°ΠΌΠΈ ΠΊΠΎΠ»ΠΎΠ΄Π΅Π·Π½Π°Ρ ΠΊΡΡΡΠΊΠ° Π½Π΅ ΡΠΎΠ»ΡΠΊΠΎ ΠΏΡΠ°ΠΊΡΠΈΡΠ½Π°, Π½ΠΎ Π΅ΡΠ΅ ΠΈ ΠΎΡΠ΅Π½Ρ ΠΊΡΠ°ΡΠΈΠ²Π°.
ΠΠ»Ρ Π΅Π΅ ΠΈΠ·Π³ΠΎΡΠΎΠ²Π»Π΅Π½ΠΈΡ ΡΠ»Π΅Π΄ΡΠ΅Ρ ΠΏΠΎΠ΄Π³ΠΎΡΠΎΠ²ΠΈΡΡ ΠΏΡΠΎΡΠ½ΡΡ Π΄ΡΠ΅Π²Π΅ΡΠΈΠ½Ρ, Π½Π°ΠΏΡΠΈΠΌΠ΅Ρ ΠΎΡΠΈΠ½Ρ, Π³Π²ΠΎΠ·Π΄ΠΈ, ΠΌΠ΅ΡΠ°Π»Π»ΠΈΡΠ΅ΡΠΊΠΈΠ΅ ΠΏΠ΅ΡΠ»ΠΈ ΠΈ Π½Π΅ΠΎΠ±Ρ ΠΎΠ΄ΠΈΠΌΡΠΉ ΠΈΠ½ΡΡΡΡΠΌΠ΅Π½Ρ.
Π‘ΠΎΠ²Π΅Ρ: Π΅ΡΠ»ΠΈ Π²Ρ ΠΏΡΠΎΠΆΠΈΠ²Π°Π΅ΡΠ΅ Π² Ρ ΠΎΠ»ΠΎΠ΄Π½ΠΎΠΌ ΡΠ΅Π³ΠΈΠΎΠ½Π΅, Π³Π΄Π΅ ΡΠ΅ΠΌΠΏΠ΅ΡΠ°ΡΡΡΠ° Π²ΠΎΠ·Π΄ΡΡ Π° Π·ΠΈΠΌΠΎΠΉ ΠΎΠΏΡΡΠΊΠ°Π΅ΡΡΡ Π½ΠΈΠΆΠ΅ -20 Π³ΡΠ°Π΄ΡΡΠΎΠ², ΡΠ΅ΠΊΠΎΠΌΠ΅Π½Π΄ΡΠ΅ΠΌ ΡΠ΄Π΅Π»Π°ΡΡ ΡΠ°ΠΊΡΡ ΠΊΡΡΡΠΊΡ Π΄Π²ΠΎΠΉΠ½ΠΎΠΉ ΠΈ ΡΡΠ΅ΠΏΠ»Π΅Π½Π½ΠΎΠΉ, Π²ΠΎ ΠΈΠ·Π±Π΅ΠΆΠ°Π½ΠΈΠ΅ Π·Π°ΠΌΠ΅ΡΠ·Π°Π½ΠΈΡ Π²ΠΎΠ΄Ρ Π² ΠΊΠΎΠ»ΠΎΠ΄ΡΠ΅.
Π‘ΠΎΠ·Π΄Π°Π½ΠΈΠ΅ ΡΠ°ΠΊΠΎΠΉ ΠΊΡΡΡΠΊΠΈ Π½Π°ΡΠΈΠ½Π°Π΅ΡΡΡ Ρ Π·Π°ΠΌΠ΅ΡΠΎΠ² ΠΊΠΎΠ»ΠΎΠ΄ΡΠ° ΠΈ ΠΎΠΏΡΠ΅Π΄Π΅Π»Π΅Π½ΠΈΡ ΡΠ°Π·ΠΌΠ΅ΡΠΎΠ² ΠΊΡΡΡΠΊΠΈ; ΠΏΠΎΡΠ»Π΅ Π΄Π΅Π»Π°Π΅ΡΡΡ ΠΎΠ±ΡΠ΅ΡΠ΅ΡΠΊΠ° ΠΏΠΎ ΡΠ°Π·ΠΌΠ΅ΡΡ ΠΊΠΎΠ»ΠΎΠ΄ΡΠ° ΠΈ ΠΎΠ±ΡΠΈΠ²Π°Π΅ΡΡΡ ΠΏΠΎΠ΄Π³ΠΎΡΠΎΠ²Π»Π΅Π½Π½ΡΠΌΠΈ Π·Π°ΡΠ°Π½Π΅Π΅ Π΄ΠΎΡΠΊΠ°ΠΌΠΈ; Π½Π° ΠΏΠΎΠ»ΡΡΠ΅Π½Π½ΡΡ ΠΊΠΎΠ½ΡΡΡΡΠΊΡΠΈΡ ΠΊΡΠ΅ΠΏΡΡΡΡ ΠΌΠ΅ΡΠ°Π»Π»ΠΈΡΠ΅ΡΠΊΠΈΠ΅ ΠΏΠ΅ΡΠ»ΠΈ Π»ΠΈΠ±ΠΎ ΡΠ΅Π·ΠΈΠ½ΠΎΠ²ΡΠΉ ΡΠ΅ΠΌΠ΅Π½Ρ β ΠΎΠ΄Π½ΠΈΠΌ ΠΊΠΎΠ½ΡΠΎΠΌ Π½Π° ΠΊΡΡΡΠΊΡ, Π° Π΄ΡΡΠ³ΠΈΠΌ β Π½Π° ΠΊΠΎΠ»ΠΎΠ΄Π΅Ρ.

ΠΠΎΡΠ»Π΅ ΡΡΡΠ°Π½ΠΎΠ²ΠΊΠΈ ΠΊΡΡΡΠΊΠΈ Π½Π° Π΅Π΅ ΠΏΠΎΠ²Π΅ΡΡ Π½ΠΎΡΡΡ ΡΡΡΠ°Π½Π°Π²Π»ΠΈΠ²Π°Π΅ΡΡΡ ΡΡΡΠΊΠ° Π΄Π»Ρ Π±ΠΎΠ»Π΅Π΅ ΡΠ΄ΠΎΠ±Π½ΠΎΠ³ΠΎ ΠΎΡΠΊΡΡΠ²Π°Π½ΠΈΡ ΠΊΠΎΠ»ΠΎΠ΄ΡΠ°. ΠΠ°Π²Π΅ΡΡΠ°ΡΡΠΈΠΌ ΡΡΠ°ΠΏΠΎΠΌ ΡΠ²Π»ΡΠ΅ΡΡΡ Π΄Π΅ΠΊΠΎΡΠΈΡΠΎΠ²Π°Π½ΠΈΠ΅ ΠΏΠΎΡΡΡΠΎΠ΅Π½Π½ΠΎΠΉ ΠΊΡΡΡΠΊΠΈ β ΠΈ ΡΡΡ Π½Π°ΠΌ Π½Π° ΠΏΠΎΠΌΠΎΡΡ ΠΏΡΠΈΡ ΠΎΠ΄ΠΈΡ Π±ΠΈΡΡΠΌΠ½Π°Ρ ΠΈΠ»ΠΈ Π½Π°ΡΡΡΠ°Π»ΡΠ½Π°Ρ ΡΠ΅ΡΠ΅ΠΏΠΈΡΠ°, ΠΌΠ΅ΡΠ°Π»Π»ΠΎΡΠ΅ΡΠ΅ΠΏΠΈΡΠ°, ΡΠΈΡΠ΅Ρ ΠΈ Π΄Π°ΠΆΠ΅ ΡΠΎΠ»ΠΎΠΌΠ°.

ΠΠ°ΡΠΈΠ°Π½Ρ Π²ΡΠΎΡΠΎΠΉ β ΠΊΡΡΡΠΊΠ° ΠΈΠ· ΡΠ΅ΠΊΡΡΠΎΠ»ΠΈΡΠ°. ΠΠ»Ρ Π΅Π΅ ΡΠΎΠ·Π΄Π°Π½ΠΈΡ ΠΏΠΎΠ΄Π³ΠΎΡΠΎΠ²ΡΡΠ΅ Π·Π°ΡΠ°Π½Π΅Π΅ ΡΠ»Π΅Π΄ΡΡΡΠΈΠ΅ ΠΌΠ°ΡΠ΅ΡΠΈΠ°Π»Ρ: ΡΠ°ΠΌ ΡΠ΅ΠΊΡΡΠΎΠ»ΠΈΡ, ΠΌΠ΅ΡΠ°Π»Π»ΠΈΡΠ΅ΡΠΊΠΈΠ΅ ΡΠ³ΠΎΠ»ΠΊΠΈ, ΠΏΡΠΎΡΠΈΠ»ΡΠ½ΡΠ΅ ΡΡΡΠ±Ρ, ΠΌΠ΅ΡΠ°Π»Π»ΠΈΡΠ΅ΡΠΊΠΈΠ΅ ΠΏΠ΅ΡΠ»ΠΈ, ΠΈΠ·ΠΌΠ΅ΡΠΈΡΠ΅Π»ΡΠ½ΡΡ ΡΡΠ»Π΅ΡΠΊΡ, Π±ΠΎΠ»ΡΡ ΠΈ Π½Π΅ΠΎΠ±Ρ ΠΎΠ΄ΠΈΠΌΡΠΉ ΠΈΠ½ΡΡΡΡΠΌΠ΅Π½Ρ. ΠΠ°ΠΊ ΠΈΠ·Π²Π΅ΡΡΠ½ΠΎ, ΡΠ΅ΠΊΡΡΠΎΠ»ΠΈΡ β ΡΡΠΎ ΠΏΡΠΎΡΠ½ΡΠΉ, ΡΠΎΡΡΠΎΡΡΠΈΠΉ ΠΈΠ· ΠΌΠ½ΠΎΠΆΠ΅ΡΡΠ²Π° ΡΠ»ΠΎΠ΅Π² ΡΡΡΠΎΠΈΡΠ΅Π»ΡΠ½ΡΠΉ ΠΌΠ°ΡΠ΅ΡΠΈΠ°Π», ΠΎΡΠ»ΠΈΡΠ°ΡΡΠΈΠΉΡΡ Π»Π΅Π³ΠΊΠΎΡΡΡΡ Π² ΡΠ°Π±ΠΎΡΠ΅ ΠΈ ΠΏΠΎΠ²ΡΡΠ΅Π½Π½ΠΎΠΉ ΠΏΡΠΎΡΠ½ΠΎΡΡΡΡ ΠΏΡΠΈ ΡΠΊΡΠΏΠ»ΡΠ°ΡΠ°ΡΠΈΠΈ.
ΠΠ΅ΡΠ²ΡΠΌ ΡΠ°Π³ΠΎΠΌ Π² ΡΠΎΠ·Π΄Π°Π½ΠΈΠΈ ΡΠ°ΠΊΠΎΠΉ ΠΊΡΡΡΠΊΠΈ Π±ΡΠ΄Π΅Ρ ΠΏΠΎΡΠ΅Π·ΠΊΠ° ΠΌΠ΅ΡΠ°Π»Π»ΠΈΡΠ΅ΡΠΊΠΈΡ
ΡΠ³ΠΎΠ»ΠΊΠΎΠ² Π½Π° 4 ΠΎΡΡΠ΅Π·ΠΊΠ° ΠΎΠ΄ΠΈΠ½Π°ΠΊΠΎΠ²ΠΎΠΉ Π΄Π»ΠΈΠ½Ρ; ΠΏΠΎΡΠ»Π΅, ΠΏΠΎΠ»ΡΡΠ΅Π½Π½ΡΠ΅ ΠΎΡΡΠ΅Π·ΠΊΠΈ Π½Π΅ΠΎΠ±Ρ
ΠΎΠ΄ΠΈΠΌΠΎ ΡΠ²Π°ΡΠΈΡΡ ΠΌΠ΅ΠΆΠ΄Ρ ΡΠΎΠ±ΠΎΠΉ ΠΈ ΠΎΠ±ΡΠ°Π±ΠΎΡΠ°ΡΡ ΡΠ²Ρ ΡΠ²Π°ΡΠΈΠ²Π°Π½ΠΈΡ Π±ΠΎΠ»Π³Π°ΡΠΊΠΎΠΉ. ΠΠΎΠ»ΡΡΠ΅Π½Π½ΡΠΉ ΠΌΠ΅ΡΠ°Π»Π»ΠΈΡΠ΅ΡΠΊΠΈΠΉ ΠΊΠ²Π°Π΄ΡΠ°Ρ ΡΠΈΠΊΡΠΈΡΡΠ΅ΠΌ Π½Π° ΠΏΠΎΠ²Π΅ΡΡ
Π½ΠΎΡΡΠΈ ΠΊΠΎΠ»ΠΎΠ΄ΡΠ°, ΠΈ ΠΎΠ±ΡΠΈΠ²Π°Π΅ΠΌ Π΄ΠΎΡΠΊΠ°ΠΌΠΈ, ΠΎΡΡΠ°Π²Π»ΡΡ Π»ΡΠΊ Π΄Π»Ρ Π±ΡΠ΄ΡΡΠ΅ΠΉ ΠΊΡΡΡΠΊΠΈ.

ΠΠΎΡΠ»Π΅ ΠΏΡΠΈΡΡΡΠΏΠ°Π΅ΠΌ ΠΊ ΡΠΎΠ·Π΄Π°Π½ΠΈΡ ΡΠ°ΠΌΠΎΠΉ ΠΊΡΡΡΠΊΠΈ. ΠΠ»Ρ ΡΡΠΎΠ³ΠΎ Π±Π΅ΡΠ΅ΠΌ ΠΌΠ΅ΡΠ°Π»Π»ΠΈΡΠ΅ΡΠΊΠΈΠΉ ΠΏΡΠΎΡΠΈΠ»Ρ ΠΈ ΡΠ½ΠΎΠ²Π° ΠΎΡΡΠ΅Π·Π°Π΅ΠΌ ΠΏΡΠΈ ΠΏΠΎΠΌΠΎΡΠΈ Π±ΠΎΠ»Π³Π°ΡΠΊΠΈ ΡΠ΅ΡΡΡΠ΅ ΠΎΡΡΠ΅Π·ΠΊΠ° ΠΎΠ΄ΠΈΠ½Π°ΠΊΠΎΠ²ΠΎΠΉ Π΄Π»ΠΈΠ½Ρ, ΠΊΠ°ΠΆΠ΄ΡΠΉ ΠΈΠ· ΠΊΠΎΡΠΎΡΡΡ Π΄ΠΎΠ»ΠΆΠ΅Π½ Π±ΡΡΡ ΡΠ»Π΅Π³ΠΊΠ° ΠΊΠΎΡΠΎΡΠ΅, ΡΠ΅ΠΌ ΠΎΡΡΠ΅Π·Π°Π½Π½ΡΠ΅ ΡΠ°Π½Π΅Π΅ ΠΎΡΡΠ΅Π·ΠΊΠΈ Π΄Π»Ρ ΠΊΠ°ΡΠΊΠ°ΡΠ°.

Π’Π°ΠΊΠΆΠ΅ ΡΠ²Π°ΡΠΈΠ²Π°Π΅ΠΌ ΠΏΠΎΠ»ΡΡΠ΅Π½Π½ΡΠ΅ ΠΎΡΡΠ΅Π·ΠΊΠΈ ΠΈ ΡΠ²Π΅ΡΡ Ρ ΠΎΠ±ΡΠΈΠ²Π°Π΅ΠΌ ΡΠ΅ΠΊΡΡΠΎΠ»ΠΈΡΠΎΠΌ, ΠΈΡΠΏΠΎΠ»ΡΠ·ΡΡ Π΄Π»Ρ ΡΠΎΠ΅Π΄ΠΈΠ½Π΅Π½ΠΈΡ ΡΠ°ΠΌΠΎΡΠ΅Π·Ρ ΠΈ ΠΎΠ±ΡΠ°Π±ΠΎΡΠ°Π² ΡΠ²Ρ Π³Π΅ΡΠΌΠ΅ΡΠΈΠΊΠΎΠΌ. ΠΠΎΠ»ΡΡΠ΅Π½Π½Π°Ρ ΠΊΡΡΡΠΊΠ° Π΄ΠΎΠ»ΠΆΠ½Π° ΠΏΠ»ΠΎΡΠ½ΠΎ Π²Ρ ΠΎΠ΄ΠΈΡΡ Π² ΡΡΡΠ°Π½ΠΎΠ²Π»Π΅Π½Π½ΡΠΉ Π½Π° ΠΊΠΎΠ»ΠΎΠ΄ΡΠ΅ ΠΊΠ°ΡΠΊΠ°Ρ; ΠΊΡΡΡΠΊΡ ΠΈ ΠΊΠ°ΡΠΊΠ°Ρ ΡΠΎΠ΅Π΄ΠΈΠ½ΡΠ΅ΠΌ Ρ ΠΏΠΎΠΌΠΎΡΡΡ ΠΌΠ΅ΡΠ°Π»Π»ΠΈΡΠ΅ΡΠΊΠΈΡ ΠΏΠ΅ΡΠ΅Π»Ρ. Π Π·Π°Π²Π΅ΡΡΠ΅Π½ΠΈΠ΅ ΡΠ°Π±ΠΎΡΡ Π½Π° ΠΊΡΡΡΠΊΡ ΠΌΠΎΠ½ΡΠΈΡΡΠ΅ΡΡΡ ΡΡΡΠΊΠ° Π΄Π»Ρ ΡΠ΄ΠΎΠ±Π½ΠΎΠ³ΠΎ ΠΈΡΠΏΠΎΠ»ΡΠ·ΠΎΠ²Π°Π½ΠΈΡ ΠΊΠΎΠ»ΠΎΠ΄ΡΠ°.
Π ΠΏΠΎΡΠ»Π΅Π΄Π½ΠΈΠΉ, ΡΡΠ΅ΡΠΈΠΉ Π²Π°ΡΠΈΠ°Π½Ρ ΠΈΠ·Π³ΠΎΡΠΎΠ²Π»Π΅Π½ΠΈΡ ΠΊΡΡΡΠΊΠΈ Π² Π²ΠΈΠ΄Π΅ ΠΌΠΈΠ½ΠΈΠ°ΡΡΡΠ½ΠΎΠ³ΠΎ Π΄ΠΎΠΌΠΈΠΊΠ°. ΠΠ»Ρ ΡΡΠΎΠ³ΠΎ ΠΈΠ·Π³ΠΎΡΠ°Π²Π»ΠΈΠ²Π°Π΅ΡΡΡ ΠΊΠ°ΡΠΊΠ°Ρ Π΄Π»Ρ ΠΊΠΎΠ»ΠΎΠ΄ΡΠ° ΠΏΠΎ ΠΈΠ·Π»ΠΎΠΆΠ΅Π½Π½ΡΠΌ Π² ΠΏΠ΅ΡΠ²ΠΎΠΌ Π²Π°ΡΠΈΠ°Π½ΡΠ΅ ΡΠ΅Ρ
Π½ΠΎΠ»ΠΎΠ³ΠΈΡΠΌ Π² Π²ΠΈΠ΄Π΅ Π΄Π²ΡΡΠΊΠ°ΡΠ½ΠΎΠΉ ΠΊΡΡΡΠΈ, Π½Π° ΠΎΠ΄Π½ΠΎΠΌ ΠΈΠ· ΡΠΊΠ°ΡΠΎΠ² ΡΠ°ΠΊΠΎΠΉ Β«ΠΊΡΡΡΠΈΒ» Π΄Π΅Π»Π°Π΅ΡΡΡ ΠΌΠ°Π»Π΅Π½ΡΠΊΠ°Ρ Π΄Π²Π΅ΡΠΊΠ°, ΡΠ΅ΡΠ΅Π· ΠΊΠΎΡΠΎΡΡΡ ΠΈ Π±ΡΠ΄Π΅Ρ ΠΏΡΠΎΠΈΡΡ
ΠΎΠ΄ΠΈΡΡ Π·Π°Π±ΠΎΡ Π²ΠΎΠ΄Ρ ΠΈΠ· ΠΊΠΎΠ»ΠΎΠ΄ΡΠ°.

ΠΡΡΡΠ° ΠΎΠ±ΡΠΈΠ²Π°Π΅ΡΡΡ Π±ΠΈΡΡΠΌΠ½ΠΎΠΉ Π»ΠΈΠ±ΠΎ ΠΈΠ½ΠΎΠΉ ΡΠ΅ΡΠ΅ΠΏΠΈΡΠ΅ΠΉ, ΠΏΡΠΎΡΠΈΠΌΠΈ ΠΊΡΠΎΠ²Π΅Π»ΡΠ½ΡΠΌΠΈ ΠΌΠ°ΡΠ΅ΡΠΈΠ°Π»Π°ΠΌΠΈ; Π²Π΅ΡΡ ΠΊΠ°ΡΠΊΠ°Ρ Π² Π²ΠΈΠ΄Π΅ Π΄ΠΎΠΌΠΈΠΊΠ° ΠΏΠΎΠΊΡΡΠ²Π°Π΅ΡΡΡ Π»Π°ΠΊΠΎΠΌ. Π’Π°ΠΊΠΎΠΉ Π²Π°ΡΠΈΠ°Π½Ρ ΠΏΠΎΡΠ°Π΄ΡΠ΅Ρ Π²Π°Ρ Π½Π΅ ΡΠΎΠ»ΡΠΊΠΎ ΡΠ²ΠΎΠ΅ΠΉ ΠΏΡΠ°ΠΊΡΠΈΡΠ½ΠΎΡΡΡΡ ΠΈ ΡΠ΄ΠΎΠ±ΡΡΠ²ΠΎΠΌ Π² ΠΏΠΎΠ»ΡΠ·ΠΎΠ²Π°Π½ΠΈΠΈ, Π½ΠΎ ΠΈ ΠΏΡΠ΅ΠΊΡΠ°ΡΠ½ΡΠΌ Π²Π½Π΅ΡΠ½ΠΈΠΌ Π²ΠΈΠ΄ΠΎΠΌ.
ΠΡΠ΅ ΠΏΡΠ΅Π΄Π»ΠΎΠΆΠ΅Π½Π½ΡΠ΅ Π²ΡΡΠ΅ Π²Π°ΡΠΈΠ°Π½ΡΡ Π½Π΅ ΡΠΎΠ»ΡΠΊΠΎ Π²ΡΠΏΠΎΠ»Π½ΡΡΡ ΡΠ²ΠΎΡ Π±Π°Π·ΠΎΠ²ΡΡ ΡΡΠ½ΠΊΡΠΈΡ Π·Π°ΡΠΈΡΡ ΠΊΠΎΠ»ΠΎΠ΄ΡΠ°, Π½ΠΎ ΠΈ ΠΎΠ±Π»Π°Π΄Π°ΡΡ ΠΏΡΠΈΠ²Π»Π΅ΠΊΠ°ΡΠ΅Π»ΡΠ½ΠΎΠΉ Β«Π²Π½Π΅ΡΠ½ΠΎΡΡΡΡΒ» ΠΈ Π³Π°ΡΠΌΠΎΠ½ΠΈΡΠ½ΠΎ Π²ΠΏΠΈΡΡΡΡΡ Π² ΠΈΠ½ΡΠ΅ΡΡΠ΅Ρ ΠΏΡΠ°ΠΊΡΠΈΡΠ΅ΡΠΊΠΈ Π»ΡΠ±ΠΎΠ³ΠΎ Π΄Π°ΡΠ½ΠΎΠ³ΠΎ ΡΡΠ°ΡΡΠΊΠ°, Π½Π΅ ΡΡΡΡΠΏΠ°Ρ ΠΏΠΎ ΠΊΠ°ΡΠ΅ΡΡΠ²Ρ ΠΏΡΠ΅Π΄Π»ΠΎΠΆΠ΅Π½Π½ΡΠΌ Π² ΠΌΠ°Π³Π°Π·ΠΈΠ½Π°Ρ Π²Π°ΡΠΈΠ°Π½ΡΠ°ΠΌ.
ΠΠΎΡΡΠ°Π²ΠΊΠ° Π½ΠΎΠ²ΡΡ
ΡΠ°ΠΌΠΎΠ΄Π΅Π»ΠΎΠΊ Π½Π° ΠΏΠΎΡΡΡΠΠΎΠ»ΡΡΠ°ΠΉΡΠ΅ Π½Π° ΠΏΠΎΡΡΡ ΠΏΠΎΠ΄Π±ΠΎΡΠΊΡ Π½ΠΎΠ²ΡΡ ΡΠ°ΠΌΠΎΠ΄Π΅Π»ΠΎΠΊ. ΠΠΈΠΊΠ°ΠΊΠΎΠ³ΠΎ ΡΠΏΠ°ΠΌΠ°, ΡΠΎΠ»ΡΠΊΠΎ ΠΏΠΎΠ»Π΅Π·Π½ΡΠ΅ ΠΈΠ΄Π΅ΠΈ!
*ΠΠ°ΠΏΠΎΠ»Π½ΡΡ ΡΠΎΡΠΌΡ Π²Ρ ΡΠΎΠ³Π»Π°ΡΠ°Π΅ΡΠ΅ΡΡ Π½Π° ΠΎΠ±ΡΠ°Π±ΠΎΡΠΊΡ ΠΏΠ΅ΡΡΠΎΠ½Π°Π»ΡΠ½ΡΡ Π΄Π°Π½Π½ΡΡ
Π‘ΡΠ°Π½ΠΎΠ²ΠΈΡΠ΅ΡΡ Π°Π²ΡΠΎΡΠΎΠΌ ΡΠ°ΠΉΡΠ°, ΠΏΡΠ±Π»ΠΈΠΊΡΠΉΡΠ΅ ΡΠΎΠ±ΡΡΠ²Π΅Π½Π½ΡΠ΅ ΡΡΠ°ΡΡΠΈ, ΠΎΠΏΠΈΡΠ°Π½ΠΈΡ ΡΠ°ΠΌΠΎΠ΄Π΅Π»ΠΎΠΊ Ρ ΠΎΠΏΠ»Π°ΡΠΎΠΉ Π·Π° ΡΠ΅ΠΊΡΡ. ΠΠΎΠ΄ΡΠΎΠ±Π½Π΅Π΅ Π·Π΄Π΅ΡΡ.usamodelkina.ru
Π£ΡΠ΅ΠΏΠ»Π΅Π½Π½Π°Ρ ΠΊΡΡΡΠΊΠ° Π΄Π»Ρ ΠΊΠΎΠ»ΠΎΠ΄ΡΠ° ΡΠ²ΠΎΠΈΠΌΠΈ ΡΡΠΊΠ°ΠΌΠΈ

ΠΠ°ΠΌ ΠΈΠ½ΡΠ΅ΡΠ΅ΡΠ½ΠΎ ΠΊΠ°ΠΊ Π·Π°ΡΠΈΡΠΈΡΡ ΠΊΠΎΠ»ΠΎΠ΄Π΅Ρ Π½Π° Π΄Π°ΡΠ΅ ΠΎΡ Π·Π°ΠΌΠ΅ΡΠ·Π°Π½ΠΈΡ Π²ΠΎΠ΄Ρ? ΠΡΠ»ΠΈ Π΄Π°,- ΡΠΌΠΎΡΡΠΈΡΠ΅ ΠΊΠ°ΠΊ ΡΠ΄Π΅Π»Π°ΡΡΒ ΡΠ²ΠΎΠΈΠΌΠΈ ΡΡΠΊΠ°ΠΌΠΈ ΡΡΠ΅ΠΏΠ»Π΅Π½Π½ΡΡ ΠΊΡΡΡΠΊΡ Π½Π° ΠΊΠΎΠ»ΠΎΠ΄Π΅Ρ Β ΠΈΠ· ΠΏΠ΅Π½ΠΎΠΏΠ»Π°ΡΡΠ° ΠΈ ΠΏΠ»Π°ΡΡΠΈΠΊΠ°.
ΠΠ»Ρ ΠΈΡΠΊΠ»ΡΡΠ΅Π½ΠΈΡ ΡΠ»ΡΡΠ°Π΅Π² Π·Π°ΠΌΠ΅ΡΠ·Π°Π½ΠΈΡ Π²ΠΎΠ΄Ρ Π² ΠΊΠΎΠ»ΠΎΠ΄ΡΠ΅ ( Π±ΡΠ»ΠΎ Π½Π΅ΡΠΊΠΎΠ»ΡΠΊΠΎ ΡΠ°Π· Π² ΠΎΡΠΎΠ±ΠΎ Ρ ΠΎΠ»ΠΎΠ΄Π½ΡΠ΅ Π·ΠΈΠΌΡ) Ρ ΡΠ΄Π΅Π»Π°Π» ΠΏΡΠΎΡΠ»ΡΠΌ Π»Π΅ΡΠΎΠΌ ΡΡΠ΅ΠΏΠ»Π΅Π½Π½ΡΡΒ ΠΊΡΡΡΠΊΡ. Π ΡΠ΅ΡΠΈ Π½Π°ΡΠ»ΠΎΡΡ Π½Π΅ΡΠΊΠΎΠ»ΡΠΊΠΎ ΠΊΠΎΠ½ΡΡΡΡΠΊΡΠΈΠΉ. ΠΠ°ΠΊ ΠΏΡΠ°Π²ΠΈΠ»ΠΎ, ΡΡΠ΅Π±ΠΎΠ²Π°Π½ΠΈΠ΅ ΠΎΠ΄Π½ΠΎ:Β ΠΊΡΡΡΠΊΠ° Π΄ΠΎΠ»ΠΆΠ½Π° Π±ΡΡΡ ΡΠ°ΡΠΏΠΎΠ»ΠΎΠΆΠ΅Π½Π° Π±Π»ΠΈΠ·ΠΊΠΎ ΠΊ Π²ΠΎΠ΄Π΅ ΠΈ ΠΈΠΌΠ΅ΡΡ ΠΌΠΈΠ½ΠΈΠΌΠ°Π»ΡΠ½ΡΡ ΡΠ΅ΠΏΠ»ΠΎΠΏΡΠΎΠ²ΠΎΠ΄Π½ΠΎΡΡΡ.
Π ΠΏΡΠ΅Π΄Π»Π°Π³Π°Π΅ΠΌΡΡ ΠΊΡΡΡΠΊΠ°Ρ ΠΈΡΠΏΠΎΠ»ΡΠ·ΡΠ΅ΡΡΡΒ Π΄Π²Π° Π»ΠΈΡΡΠ° ΡΠΎΠ»ΡΡΠΎΠΉΒ ΡΠ°Π½Π΅ΡΡ Ρ ΠΏΠ΅Π½ΠΎΠΏΠ»Π°ΡΡΠΎΠΌ ΠΌΠ΅ΠΆΠ΄Ρ Π½ΠΈΠΌΠΈ. ΠΡΠΈΡΡΠΌ, Π΄Π»Ρ ΠΎΠ±Π΅ΡΠΏΠ΅ΡΠ΅Π½ΠΈΡ Π»ΡΡΡΠ΅ΠΉ ΠΈΠ·ΠΎΠ»ΡΡΠΈΠΈ, ΠΏΡΠΎΡΡΡΠ°Π½ΡΡΠ²ΠΎ ΠΌΠ΅ΠΆΠ΄Ρ Π²Π΅ΡΡ Π½Π΅ΠΉ ΠΈ Π½ΠΈΠΆΠ½Π΅ΠΉ ΡΠ°Π½Π΅ΡΠΎΠΉ ΡΠ²Π΅Π»ΠΈΡΠ΅Π½ΠΎ Π΄Π»Ρ ΡΠΎΠ·Π΄Π°Π½ΠΈΡ Π΄ΠΎΠΏΠΎΠ»Π½ΠΈΡΠ΅Π»ΡΠ½ΡΡ Π²ΠΎΠ·Π΄ΡΡΠ½ΡΡ ΠΊΠ°ΠΌΠ΅Ρ (Π½Π°Π΄ ΠΈ ΠΏΠΎΠ΄ ΠΏΠ΅Π½ΠΎΠΏΠ»Π°ΡΡΠΎΠΌ). ΠΡΠΎ Π΄ΠΎΡΡΠΈΠ³Π°Π΅ΡΡΡ ΡΡΡΠ°Π½ΠΎΠ²ΠΊΠΎΠΉ Π±ΡΡΡΠΊΠΎΠ² ΠΌΠ΅ΠΆΠ΄Ρ ΡΠ°Π½Π΅ΡΠΊΠ°ΠΌΠΈ. Π Π±ΠΎΠΊΠΎΠ²Π°Ρ ΠΏΠΎΠ²Π΅ΡΡ Π½ΠΎΡΡΡ ΠΏΠΎΠ»ΡΡΠΈΠ²ΡΠ΅Π³ΠΎΡΡ ΡΡΠ½Π΄Π²ΠΈΡΠ° ΠΊΠ°ΠΊΠΈΠΌ Π»ΠΈΠ±ΠΎ ΡΠΏΠΎΡΠΎΠ±ΠΎΠΌ Π·Π°ΠΊΡΡΠ²Π°Π΅ΡΡΡ. Π Π²ΡΡ ΡΡΠΎ ΠΏΠΎΠΊΡΡΠ²Π°Π΅ΡΡΡ ΡΠ΅ΠΌ Π»ΠΈΠ±ΠΎ ΠΎΡ Π³Π½ΠΈΠ΅Π½ΠΈΡ. ΠΠ½ΠΎΠΉ ΠΆΠ΅ ΠΈΡΠΏΠΎΠ»ΡΠ·ΠΎΠ²Π°Π½ ΡΠΎΠΆΠ΅ ΠΏΠ΅Π½ΠΎΠΏΠ»Π°ΡΡ, Π° ΡΠΎΠ»Ρ Π²ΠΎΠ·Π΄ΡΡΠ½ΡΡ ΠΊΠ°ΠΌΠ΅Ρ Π²ΡΠΏΠΎΠ»Π½ΡΠ΅Ρ ΡΡΠ΅Π½ΠΎΠ²ΠΎΠΉ ΠΌΠ°ΡΠ΅ΡΠΈΠ°Π» Ρ.Π½. ΠΏΠ°Π½Π΅Π»ΠΈΡ. ΠΠ½ Π½Π΅ Π³Π½ΠΈΡΡ, ΡΠΊΠΎΠ»ΠΎΠ³ΠΈΡΠ΅Π½ ΠΈ ΠΈΠΌΠ΅Π΅Ρ ΡΠΎΡΠΎΠ²ΡΡ Π»ΠΈΠ½Π΅ΠΉΠ½ΡΡ ΡΡΡΡΠΊΡΡΡΡ.
ΠΠΎΡΠ»Π΅ ΠΈΠ·Π³ΠΎΡΠΎΠ²Π»Π΅Π½ΠΈΡ ΠΎΡΠΊΡΡΡΡΠ΅ ΠΊΠΎΠ½ΡΡ ΠΏΠ°Π½Π΅Π»Π΅ΠΉ Π·Π°ΠΊΡΡΡΡ ΡΠ°Π½ΠΈΡΠ°ΡΠ½ΡΠΌ Π³Π΅ΡΠΌΠ΅ΡΠΈΠΊΠΎΠΌ ( ΡΠΎΡΠΎ ΠΊΡΡΡΠΊΠΈ ΡΠ΄Π΅Π»Π°Π½ΠΎ Π΄ΠΎ Π³Π΅ΡΠΌΠ΅ΡΠΈΠ·Π°ΡΠΈΠΈ ΠΏΠ°Π½Π΅Π»ΠΈΡΠ°). ΠΠ΅ΠΆΠ΄Ρ Π½ΠΈΠΆΠ½ΠΈΠΌ Π±Π»ΠΎΠΊΠΎΠΌ ΠΏΠ°Π½Π΅Π»ΠΈΡΠ° ΠΈ ΠΏΠ΅Π½ΠΎΠΏΠ»Π°ΡΡΠΎΠΌ ΡΠ»ΠΎΠΆΠ΅Π½ ΡΠΎΠ»ΡΡΡΠΉ ΠΌΠ°ΡΠ΅ΡΠΈΠ°Π» (Π±Π°ΠΉΠΊΠ°), ΠΎΠ½ ΠΎΠ±Π΅ΡΠΏΠ΅ΡΠΈΠ²Π°Π΅Ρ ΠΏΠ»ΠΎΡΠ½ΠΎΠ΅ ΠΏΡΠΈΠ»Π΅Π³Π°Π½ΠΈΠ΅ ΠΊΡΡΡΠΊΠΈ ΠΊ ΡΡΠ΅Π½Π°ΠΌ ΠΊΠΎΠ»ΠΎΠ΄ΡΠ°. ΠΠ±ΡΠ·Π°ΡΠ΅Π»ΡΠ½ΡΠΉ ΡΠ»Π΅ΠΌΠ΅Π½Ρ ΠΏΠΎΠ΄ΠΎΠ±Π½ΡΡ ΠΊΡΡΡΠ΅ΠΊ ΡΠΊΠ²ΠΎΠ·Π½Π°Ρ ΡΡΡΠ±ΠΊΠ° Π΄Π»Ρ Π²Π΅Π½ΡΠΈΠ»ΡΡΠΈΠΈ (ΡΠ΄Π°Π»Π΅Π½ΠΈΡ Π²ΠΎΠ΄ΡΠ½ΡΡ ΠΏΠ°ΡΠΎΠ²).
ΠΡΠ΅ Π΄Π΅ΡΠ°Π»ΠΈ ΡΠΊΡΠ΅ΠΏΠ»Π΅Π½Ρ ΠΊΠ°ΠΏΡΠΎΠ½ΠΎΠ²ΡΠΌ ΡΡΠΎΡΠΈΠΊΠΎΠΌ. (ΠΠ΅ Π³Π½ΠΈΡΡ ΠΈ Π½Π΅ ΡΠΆΠ°Π²Π΅Π΅Ρ). ΠΠ»Ρ ΡΠ°Π·ΠΌΠ΅ΡΠ΅Π½ΠΈΡ Π² ΠΊΠΎΠ»ΠΎΠ΄ΡΠ΅ Π½Π° Π½ΡΠΆΠ½ΠΎΠΌ ΡΡΠΎΠ²Π½Π΅ ΠΈΡΠΏΠΎΠ»ΡΠ·ΡΡΡΡΡ ΡΠΎΠΆΠ΅ ΠΊΠ°ΠΏΡΠΎΠ½ΠΎΠ²ΡΠ΅ ΡΡΠΎΡΠΈΠΊΠΈ-ΡΡΠΈ ΡΡΠΎΡΠ° Π·Π°ΠΊΡΠ΅ΠΏΠ»ΡΠ½Π½ΡΠ΅ Π½Π° ΠΎΠ³ΠΎΠ»ΠΎΠ²ΠΊΠ΅ ΠΊΠΎΠ»ΠΎΠ΄ΡΠ° ΠΈ Π½Π° ΠΊΡΡΡΠΊΠ΅.

ΠΠ»Ρ ΠΈΠ·Π±Π°Π²Π»Π΅Π½ΠΈΡ ΠΎΡ Π·Π°ΠΌΠ΅ΡΠ·Π°Π½ΠΈΡ ΠΏΠΎΠ΄Π°ΡΡΠ΅ΠΉ ΡΡΡΠ±Ρ (Π±ΡΠ»ΠΎ ΠΈ ΡΠ°ΠΊΠΎΠ΅ Π½Π΅ΡΠΊΠΎΠ»ΡΠΊΠΎ Π»Π΅Ρ Π½Π°Π·Π°Π΄) Π² ΠΎΡΠΎΠ±ΠΎ ΠΌΠΎΡΠΎΠ·Π½ΡΠ΅ Π·ΠΈΠΌΡΒ Π² ΠΏΠΎΠ΄Π°ΡΡΠ΅ΠΉ ΡΡΡΠ±Π΅ ΡΠ°Π·ΠΌΠ΅ΡΠ΅Π½ ΡΠ°ΠΌΠΎΠ»Π΅Π³ΡΠ»ΠΈΡΡΡΡΠΈΠΉΡΡ Π½Π°Π³ΡΠ΅Π²Π°ΡΠ΅Π»ΡΠ½ΡΠΉ ΠΊΠ°Π±Π΅Π»Ρ ( 10 Π²Π°ΡΡ Π½Π° ΠΌΠ΅ΡΡ). Β ΠΠ° ΡΠΎΡΠΎ Π²ΠΈΠ΄Π΅Π½ ΡΠΈΠ½ΠΈΠΉ ΠΊΠ°Π±Π΅Π»Ρ, Π²ΡΡ ΠΎΠ΄ΡΡΠΈΠΉΒ Β ΠΈΠ· ΡΡΠΎΠΉΠ½ΠΈΠΊΠ°. ΠΠ°Π±Π΅Π»Ρ ΠΏΠΎΠ΄ΠΊΠ»ΡΡΠ΅Π½ ΡΠ΅ΡΠ΅Π· Π°Π²ΡΠΎΠΌΠ°Ρ ΠΈ Π£ΠΠ.Β ΠΠ° Π²ΡΡΠΊΠΈΠΉ ΡΠ»ΡΡΠ°ΠΉ: Π΅ΡΠ»ΠΈ ΠΠ°ΠΌ Π½Π°Π΄ΠΎ ΠΏΠΎΠ΄ΠΊΠ»ΡΡΠΈΡΡ ΡΠ²Π΅ΡΠΎΠ΄ΠΈΠΎΠ΄ ΠΊ 12 Π²ΠΎΠ»ΡΡΠ°ΠΌ,- Π²ΠΎΡΠΏΠΎΠ»ΡΠ·ΡΠΉΡΠ΅ΡΡ Π½Π°ΡΠΈΠΌ ΠΎΠ½Π»Π°ΠΉΠ½ ΠΊΠ°Π»ΡΠΊΡΠ»ΡΡΠΎΡΠΎΠΌ ΠΊΠΎΡΠΎΡΡΠΉ ΠΏΠΎΠΌΠΎΠΆΠ΅Ρ ΡΠ΄Π΅Π»Π°ΡΡ ΠΏΡΠ°Π²ΠΈΠ»ΡΠ½ΡΠΉ ΡΠ°ΡΡΠ΅Ρ.
ΠΠ²ΡΠΎΡ ΡΡΠ°ΡΡΠΈ Β«ΡΡΠ΅ΠΏΠ»Π΅Π½Π½Π°Ρ ΠΊΡΡΡΠΊΠ° Π΄Π»Ρ ΠΊΠΎΠ»ΠΎΠ΄ΡΠ° ΡΠ²ΠΎΠΈΠΌΠΈ ΡΡΠΊΠ°ΠΌΠΈΒ»β ΠΡΡΠ΅ΡΠ»Π°Π² ΠΠ°Π½ΠΎΠ²
Π‘ΠΌΠΎΡΡΠΈΡΠ΅ ΡΠ°ΠΊΠΆΠ΅ ΡΡΠ°ΡΡΠΈ ΠΈΠ· ΡΠ°Π·Π΄Π΅Π»Π° ΠΏΠΎΠ»Π΅Π·Π½ΡΡ ΡΠ°ΠΌΠΎΠ΄Π΅Π»ΠΎΠΊ Π΄Π»Ρ Π΄ΠΎΠΌΠ° Π΄Π°ΡΠΈ ΠΈ Π³Π°ΡΠ°ΠΆΠ°:
samodelka.info
ΠΠ· ΡΠ΅Π³ΠΎ ΡΠ΄Π΅Π»Π°ΡΡ ΠΊΡΡΡΠΊΡ Π΄Π»Ρ ΠΊΠΎΠ»ΠΎΠ΄ΡΠ°
ΠΠ°ΠΊ ΡΠ΄Π΅Π»Π°ΡΡ ΠΊΡΡΡΠΊΡ Π΄Π»Ρ ΠΊΠΎΠ»ΠΎΠ΄ΡΠ° ΡΠ²ΠΎΠΈΠΌΠΈ ΡΡΠΊΠ°ΠΌΠΈΠΠΎΠ»ΠΎΠ΄Π΅Ρ Π²ΠΎΠ·Π»Π΅ Π΄ΠΎΠΌΠ° ΠΈΠ»ΠΈ Π½Π° Π΄Π°ΡΠ½ΠΎΠΌ ΡΡΠ°ΡΡΠΊΠ΅ Π²ΡΠΏΠΎΠ»Π½ΡΠ΅Ρ Π½Π΅ ΡΠΎΠ»ΡΠΊΠΎ ΠΏΡΠ°ΠΊΡΠΈΡΠ΅ΡΠΊΡΡ ΡΠΎΠ»Ρ ΠΏΠΎ ΠΎΠ±Π΅ΡΠΏΠ΅ΡΠ΅Π½ΠΈΡ Π²ΠΎΠ΄ΠΎΠΉ, Π½ΠΎ ΠΎΠ½ ΡΠ²Π»ΡΠ΅ΡΡΡ ΠΈ ΡΠ°ΡΡΡΡ Π΄ΠΈΠ·Π°ΠΉΠ½Π°. Π§ΡΠΎΠ±Ρ Π²Π½ΡΡΡΡ Π½Π΅ ΠΏΠΎΠΏΠ°Π΄Π°Π»ΠΈ ΡΠ»ΡΡΠ°ΠΉΠ½ΡΠ΅ ΠΏΡΠ΅Π΄ΠΌΠ΅ΡΡ, ΠΈ Π½Π΅ Π·Π°ΠΌΠ΅ΡΠ·Π°Π»Π° Π²ΠΎΠ΄Π°, Π½Π΅ΠΎΠ±Ρ ΠΎΠ΄ΠΈΠΌΠ° ΠΊΡΡΡΠΊΠ° Π΄Π»Ρ ΠΊΠΎΠ»ΠΎΠ΄ΡΠ°, ΠΊΠΎΡΠΎΡΡΡ ΠΌΠΎΠΆΠ½ΠΎ ΡΠ΄Π΅Π»Π°ΡΡ ΡΠ²ΠΎΠΈΠΌΠΈ ΡΡΠΊΠ°ΠΌΠΈ ΠΈΠ»ΠΈ ΠΊΡΠΏΠΈΡΡ Π³ΠΎΡΠΎΠ²ΡΡ.
ΠΠ΅Π»Π°ΡΡ Π»ΡΠΊ ΠΌΠΎΠΆΠ½ΠΎ ΠΈΠ· ΡΠ°Π·Π»ΠΈΡΠ½ΡΡ ΠΌΠ°ΡΠ΅ΡΠΈΠ°Π»ΠΎΠ². ΠΠ»Π°Π²Π½ΠΎΠ΅, ΡΡΠΎΠ±Ρ ΠΊΡΡΡΠΊΠ° Π±ΡΠ»Π° ΠΏΡΠΎΡΠ½Π°Ρ ΠΈ ΠΎΠ±Π΅ΡΠΏΠ΅ΡΠΈΠ²Π°Π»Π° Π²Π΅Π½ΡΠΈΠ»ΡΡΠΈΡ, Π½Ρ ΠΈ Π΅ΡΡΠ΅ΡΡΠ²Π΅Π½Π½ΠΎ ΡΡΡΠ΅ΡΠΈΡΠ½ΠΎ Π²ΡΠ³Π»ΡΠ΄Π΅Π»Π°. ΠΠ°ΠΈΠ±ΠΎΠ»Π΅Π΅ ΡΠ°ΡΠΏΡΠΎΡΡΡΠ°Π½Π΅Π½Π½ΡΠ΅ Π΄Π΅ΡΠ΅Π²ΡΠ½Π½ΡΠ΅ ΠΊΡΡΡΠΊΠΈ ΠΈΠ»ΠΈ ΠΈΠ· ΡΡΠ°Π»ΡΠ½ΡΡ ΡΠ³ΠΎΠ»ΠΊΠΎΠ².
ΠΠΎ Π²Π½Π΅ΡΠ½Π΅ΠΌΡ Π²ΠΈΠ΄Ρ Π½Π°ΠΈΠ±ΠΎΠ»Π΅Π΅ ΠΏΡΠΈΠ²Π»Π΅ΠΊΠ°ΡΠ΅Π»ΡΠ½ΡΠ΅ ΠΊΡΡΡΠΊΠΈ, ΡΠ΄Π΅Π»Π°Π½Π½ΡΠ΅ ΠΈΠ· Π΄Π΅ΡΠ΅Π²Π°. Π ΡΠΎΠΌΡ ΠΆΠ΅, ΠΈΡ ΠΏΡΠΎΡΠ΅ Π²ΡΠ΅Π³ΠΎ ΠΈΠ·Π³ΠΎΡΠ°Π²Π»ΠΈΠ²Π°ΡΡ. ΠΠ»Ρ ΠΈΡΡ ΠΎΠ΄Π½ΠΎΠ³ΠΎ ΠΌΠ°ΡΠ΅ΡΠΈΠ°Π»Π° Π»ΡΡΡΠ΅ Π²ΡΠ΅Π³ΠΎ ΠΏΠΎΠ΄ΠΎΠΉΠ΄ΡΡ Π΄ΡΠ± ΠΈΠ»ΠΈ ΡΠΎΡΠ½Π°, Ρ ΠΎΡΡ ΠΎΡΠΈΠ½Π° ΠΈ Π±Π΅ΡΠ΅Π·Π° ΡΠΎΠΆΠ΅ Π½Π΅ΠΏΠ»ΠΎΡ ΠΎΠΉ ΠΌΠ°ΡΠ΅ΡΠΈΠ°Π». ΠΠ΅ΡΠ΅Π²ΡΠ½Π½ΡΠ΅ ΠΊΡΡΡΠΊΠΈ ΠΌΠΎΠΆΠ½ΠΎ Π΄Π΅ΠΊΠΎΡΠΈΡΠΎΠ²Π°ΡΡ ΡΠ΅Π·ΡΠ±ΠΎΠΉ, Π΄ΠΎΠ±Π°Π²Π»ΡΡΡ ΡΠ°Π·Π»ΠΈΡΠ½ΡΠ΅ ΡΠ»Π΅ΠΌΠ΅Π½ΡΡ ΠΈ ΠΏΠΎΠΊΡΡΠ²Π°ΡΡ Π»Π°ΠΊΠΎΠΌ.
Π Π½Π°ΡΠ°Π»Π΅ Π½Π΅ΠΎΠ±Ρ
ΠΎΠ΄ΠΈΠΌΠΎ ΠΏΡΠΎΠ²Π΅ΡΡΠΈ Π·Π°ΠΌΠ΅ΡΡ ΡΠ²ΠΎΡΠΈΠ»Π°, ΠΈΠ· Π±ΡΡΡΠΊΠΎΠ² ΡΠ΄Π΅Π»Π°ΡΡ ΠΎΠ±ΡΠ΅ΡΠ΅ΡΠΊΡ ΠΈ ΠΎΠ±ΠΈΡΡ Π΄ΠΎΡΠΊΠ°ΠΌΠΈ. Π’Π°ΠΊ ΠΆΠ΅ Π΄Π΅Π»Π°Π΅ΡΡΡ ΠΈ Π²Π΅ΡΡ
Π½ΡΡ ΠΊΡΡΡΠΊΠ°. ΠΠ°ΡΠ΅ΠΌ ΠΊ ΡΠ²ΠΎΡΠΈΠ»Ρ ΠΊΡΠ΅ΠΏΠΈΠΌ ΡΠ΅ΠΌΠ΅Π½Ρ, Π²ΡΠΎΡΠ°Ρ ΡΠ°ΡΡΡ ΠΊΠΎΡΠΎΡΠΎΠ³ΠΎ ΠΊΡΠ΅ΠΏΠΈΡΡΡ ΠΊ ΠΊΡΡΡΠΊΠ΅. ΠΠΎ ΠΏΠ΅ΡΠΈΠΌΠ΅ΡΡΡ ΠΈΠ· Π±ΡΡΡΠ° Π΄Π΅Π»Π°Π΅ΠΌ ΠΏΠ»ΠΎΡΠ°Π΄ΠΊΡ.
ΠΠ΅Π»Π°ΡΡ ΡΠ°ΠΊΠΆΠ΅ ΠΈ Π΄Π²ΡΡ
ΡΡΠ²ΠΎΡΡΠ°ΡΡΠ΅ ΠΊΡΡΡΠΊΠΈ, ΡΡΡΠ°Π½ΠΎΠ²ΠΈΠ² Π² ΡΠ΅Π½ΡΡΠ΅ ΡΡΡΠΊΠΈ, Π° ΠΏΠΎΠ»ΠΎΠ²ΠΈΠ½ΠΊΠΈ Π·Π°ΠΊΡΠ΅ΠΏΠΈΠ² Π½Π° ΡΠ°ΡΠ½ΠΈΡΠ°Ρ
.
ΠΠΎΠ»Π΅Π΅ Π½Π°Π΄Π΅ΠΆΠ½Π° ΠΊΡΡΡΠΊΠ° ΡΠ΄Π΅Π»Π°Π½Π½Π°Ρ ΠΈΠ· ΡΡΠ°Π»ΡΠ½ΡΡ ΡΠ³ΠΎΠ»ΠΊΠΎΠ². ΠΠ»Ρ Π΅Π΅ ΠΈΠ·Π³ΠΎΡΠΎΠ²Π»Π΅Π½ΠΈΡ Π³ΠΎΡΠΎΠ²ΠΈΠΌ Π½ΡΠΆΠ½ΠΎΠ³ΠΎ ΡΠ°Π·ΠΌΠ΅ΡΠ° ΡΠ΅ΡΡΡΠ΅ ΡΠ³ΠΎΠ»ΠΊΠ°. ΠΠ°ΡΠ΅ΠΌ ΡΠ²Π°ΡΠΈΠ²Π°Π΅ΠΌ, ΡΡΠΎΠ±Ρ ΠΏΠΎΠ»ΡΡΠΈΠ»ΡΡ ΠΊΠ²Π°Π΄ΡΠ°Ρ. ΠΠ°ΡΠ΅ΠΌ ΡΠ΅ΠΆΠ΅ΠΌ ΠΏΡΠΎΡΠΈΠ»ΡΠ½ΡΠ΅ ΡΡΡΠ±Ρ ΠΈ ΡΠΊΠ»Π°Π΄ΡΠ²Π°Π΅ΠΌ ΠΊΡΠ΅ΡΡ-Π½Π°ΠΊΡΠ΅ΡΡ Π²Π½ΡΡΡΡ ΠΊΠ°ΡΠΊΠ°ΡΠ°. ΠΠΎ ΡΠ°Π·ΠΌΠ΅ΡΡ Π²ΡΡΠ΅Π·Π°Π΅ΠΌ ΡΠ΅ΠΊΡΡΠΎΠ»ΠΈΡ ΠΈ ΠΌΠ΅ΠΆΠ΄Ρ Π½ΠΈΠΌ ΡΡΠ°Π²ΠΈΠΌ ΡΡΠ΅ΠΏΠ»ΠΈΡΠ΅Π»Ρ. ΠΠ° ΡΠ²Ρ Π½Π°ΠΊΠ»Π°Π΄ΡΠ²Π°Π΅ΠΌ Π³Π΅ΡΠΌΠ΅ΡΠΈΠΊ.
ΠΠ°ΡΠ΅ΠΌ ΡΠ²Π°ΡΠΊΠΎΠΉ ΠΈΠ»ΠΈ Π±ΠΎΠ»ΡΠ°ΠΌΠΈ ΠΊΡΠ΅ΠΏΠΈΠΌ ΠΊ ΠΊΠ°ΡΠΊΠ°ΡΡ ΠΌΠ΅ΡΠ°Π»Π»ΠΈΡΠ΅ΡΠΊΠΈΠ΅ ΠΏΠ΅ΡΠ»ΠΈ ΠΈ Π·Π°ΠΊΡΠ΅ΠΏΠ»ΡΠ΅ΠΌ ΠΊΡΡΡΠΊΡ.
ΠΠ°Π»Π΅Π΅ Π½Π΅ΠΎΠ±Ρ
ΠΎΠ΄ΠΈΠΌΠΎ ΡΡΡΠ°Π½ΠΎΠ²ΠΈΡΡ ΠΎΠΏΠ°Π»ΡΠ±ΠΊΡ, ΠΊ ΠΊΠΎΡΠΎΡΠΎΠΉ ΠΊΡΠ΅ΠΏΠΈΡΡΡ ΠΊΠ°ΡΠΊΠ°Ρ Ρ ΠΊΡΡΡΠΊΠΎΠΉ. ΠΠΎΡΠ»Π΅ ΡΡΠΎΠ³ΠΎ Π·Π°Π»ΠΈΠ²Π°Π΅ΠΌ ΡΠ΅ΠΌΠ΅Π½Ρ. Π Π·Π°Π²Π΅ΡΡΠ΅Π½ΠΈΠΈ ΠΊΡΠ΅ΠΏΠΈΠΌ ΡΡΡΠΊΡ ΠΈ ΠΊΡΠ°ΡΠΈΠΌ.
ΠΠΎ ΠΈΠ·Π±Π΅ΠΆΠ°Π½ΠΈΠ΅ ΡΠ°Π·Π»ΠΈΡΠ½ΡΡ ΡΠ»ΡΡΠ°Π΅Π², ΠΆΠ΅Π»Π°ΡΠ΅Π»ΡΠ½ΠΎ ΡΡΡΠ°Π½ΠΎΠ²ΠΈΡΡ Π·Π°ΠΌΠΎΠΊ.
www.novamett.ru
ΠΡΡΡΠΊΠ° Π΄Π»Ρ ΠΊΠΎΠ»ΠΎΠ΄ΡΠ° ΡΠ²ΠΎΠΈΠΌΠΈ ΡΡΠΊΠ°ΠΌΠΈ

ΠΠΎΠ»ΠΎΠ΄Π΅Ρ Π½Π° Π·Π°Π³ΠΎΡΠΎΠ΄Π½ΠΎΠΌ ΡΡΠ°ΡΡΠΊΠ΅ ΡΠ²Π»ΡΠ΅ΡΡΡ ΠΈΡΡΠΎΡΠ½ΠΈΠΊΠΎΠΌ ΡΠΈΡΡΠΎΠΉ ΠΏΡΠΎΡ Π»Π°Π΄Π½ΠΎΠΉ Π²ΠΎΠ΄Ρ, Π° ΡΠ°ΠΊΠΆΠ΅ ΡΡΠΎ ΡΠΎΠΎΡΡΠΆΠ΅Π½ΠΈΠ΅ ΡΠ²Π»ΡΠ΅ΡΡΡ Π΄Π΅ΠΊΠΎΡΠ°ΡΠΈΠ²Π½ΡΠΌ. ΠΡΠ»ΠΈ ΠΊΠΎΠ»ΠΎΠ΄Π΅Ρ Π±ΡΠ΄Π΅Ρ ΠΎΡΠΎΡΠΌΠ»Π΅Π½ Π² ΠΎΠ΄Π½ΠΎΠΌ ΡΡΠΈΠ»Π΅ Ρ Π΄ΡΡΠ³ΠΈΠΌΠΈ ΠΏΠΎΡΡΡΠΎΠΉΠΊΠ°ΠΌΠΈ, Π²Π°Ρ ΡΡΠ°ΡΡΠΎΠΊ ΠΏΠΎΠ»ΡΡΠΈΡ Π±ΠΎΠ»Π΅Π΅ ΠΏΡΠΈΠ²Π»Π΅ΠΊΠ°ΡΠ΅Π»ΡΠ½ΡΠΉ Π²ΠΈΠ΄. ΠΠ΅ΡΠΏΡΠΎΡΡΠ° ΠΌΠ½ΠΎΠ³ΠΈΠ΅ Π΄Π°ΡΠ½ΠΈΠΊΠΈ ΡΠ°ΡΠΏΠΎΠ»Π°Π³Π°ΡΡ Ρ ΡΠ΅Π±Ρ Π½Π° ΡΡΠ°ΡΡΠΊΠ°Ρ ΠΈΡΠΊΠ»ΡΡΠΈΡΠ΅Π»ΡΠ½ΠΎ Π΄Π΅ΠΊΠΎΡΠ°ΡΠΈΠ²Π½ΡΠ΅ ΠΊΠΎΠ»ΠΎΠ΄ΡΡ: Π΄Π΅ΡΠ΅Π²ΡΠ½Π½ΡΠ΅ Ρ ΡΠ΅Π·ΡΠ±ΠΎΠΉ ΠΈΠ»ΠΈ Ρ ΠΈΠΌΠΏΡΠΎΠ²ΠΈΠ·ΠΈΡΠΎΠ²Π°Π½Π½ΡΠΌΠΈ ΠΊΠ»ΡΠΌΠ±Π°ΠΌΠΈ Π²ΠΌΠ΅ΡΡΠΎ ΠΊΡΡΡΠΊΠΈ. Π‘Π΄Π΅Π»Π°ΡΡ ΡΠ°ΠΌΠΎΡΡΠΎΡΡΠ΅Π»ΡΠ½ΠΎ ΠΊΡΡΡΠΊΡ Π΄Π»Ρ ΠΊΠΎΠ»ΠΎΠ΄ΡΠ° Π²Ρ ΠΌΠΎΠΆΠ΅ΡΠ΅ ΠΈΠ· ΡΠ°Π·Π½ΡΡ ΠΌΠ°ΡΠ΅ΡΠΈΠ°Π»ΠΎΠ²:
- ΠΏΠ»Π°ΡΡΠΈΠΊ;
- Π΄ΡΠ΅Π²Π΅ΡΠΈΠ½Π°;
- ΠΌΠ΅ΡΠ°Π»Π»;
- ΡΠ°Π½Π΅ΡΠ° ΠΈ ΠΏΡ.
Π‘ΠΎΠ΄Π΅ΡΠΆΠ°Π½ΠΈΠ΅ ΡΡΠ°ΡΡΠΈ:
Π§ΡΠΎΠ±Ρ Π½Π°ΡΠ΅ΠΊΠΎΠΌΡΠ΅, ΠΌΡΡΠΎΡ ΠΈ ΠΌΠ΅Π»ΠΊΠΈΠ΅ ΠΆΠΈΠ²ΠΎΡΠ½ΡΠ΅ Π½Π΅ ΠΏΠ°Π΄Π°Π»ΠΈ Π² ΠΊΠΎΠ»ΠΎΠ΄Π΅Ρ, ΠΊΡΡΡΠΊΡ Π½ΡΠΆΠ½ΠΎ Π΄Π΅Π»Π°ΡΡ Π½Π°Π΄Π΅ΠΆΠ½ΡΡ ΠΈ ΠΏΡΠΎΡΠ½ΡΡ, Π½ΠΎ ΡΡΠΎΠ±Ρ ΠΎΠ½Π° ΠΎΠ±Π΅ΡΠΏΠ΅ΡΠΈΠ²Π°Π»Π° Ρ ΠΎΡΠΎΡΠΈΠΉ ΠΏΡΠΈΡΠΎΠΊ Π²ΠΎΠ·Π΄ΡΡ Π°. Π Π°ΡΡΠΌΠΎΡΡΠΈΠΌ Π½Π΅ΡΠΊΠΎΠ»ΡΠΊΠΎ Π²ΠΎΠ·ΠΌΠΎΠΆΠ½ΡΡ Π²Π°ΡΠΈΠ°Π½ΡΠΎΠ² ΡΠΎΠ·Π΄Π°Π½ΠΈΡ ΠΊΡΡΡΠ΅ΠΊ.

ΠΠ΅ΡΠ΅Π²ΠΎ ΡΠ²Π»ΡΠ΅ΡΡΡ ΠΎΠ΄Π½ΠΈΠΌ ΠΈΠ· Π»ΡΡΡΠΈΡ ΠΌΠ°ΡΠ΅ΡΠΈΠ°Π»ΠΎΠ² Π΄Π»Ρ ΠΈΠ·Π³ΠΎΡΠΎΠ²Π»Π΅Π½ΠΈΡ ΠΊΡΡΡΠΊΠΈ Π΄Π»Ρ ΠΊΠΎΠ»ΠΎΠ΄ΡΠ°. ΠΡΠ΅Π²Π΅ΡΠΈΠ½Π° ΠΈΠΌΠ΅Π΅Ρ ΠΏΡΠΈΠ²Π»Π΅ΠΊΠ°ΡΠ΅Π»ΡΠ½ΡΠΉ Π²ΠΈΠ΄ ΠΈ ΡΠ²Π»ΡΠ΅ΡΡΡ ΡΠΊΠΎΠ»ΠΎΠ³ΠΈΡΠ΅ΡΠΊΠΈ ΡΠΈΡΡΡΠΌ, Π° ΡΠ°ΠΊΠΆΠ΅ ΠΎΡΠ»ΠΈΡΠ°Π΅ΡΡΡ Ρ ΠΎΡΠΎΡΠΈΠΌΠΈ ΡΠΊΡΠΏΠ»ΡΠ°ΡΠ°ΡΠΈΠΎΠ½Π½ΡΠΌΠΈ ΠΊΠ°ΡΠ΅ΡΡΠ²Π°ΠΌΠΈ. ΠΡΠΈ ΠΈΡΠΏΠΎΠ»ΡΠ·ΠΎΠ²Π°Π½ΠΈΠΈ Π΄Π΅ΠΊΠΎΡΠ°ΡΠΈΠ²Π½ΡΡ ΡΠ»Π΅ΠΌΠ΅Π½ΡΠΎΠ² Π΄Π΅ΡΠ΅Π²ΡΠ½Π½Π°Ρ ΠΊΡΡΡΠΊΠ° ΠΏΠΎΠ»ΡΡΠ°Π΅Ρ ΠΎΡΠ΅Π½Ρ ΡΡΡΠ΅ΡΠΈΡΠ½ΡΠΉ Π²ΠΈΠ΄.
ΠΠ±ΡΡΠ½Π°Ρ ΠΊΡΡΡΠΊΠ° ΠΈΠ· Π΄Π΅ΡΠ΅Π²Π°
ΠΠ΅ΠΊΠΎΡΠ°ΡΠΈΠ²Π½Π°Ρ ΠΊΠΎΠ»ΠΎΠ΄Π΅Π·Π½Π°Ρ ΠΊΡΡΡΠΊΠ° ΠΈΠ· Π΄Π΅ΡΠ΅Π²Π° ΠΌΠΎΠΆΠ΅Ρ Π±ΡΡΡ ΡΠ΄Π΅Π»Π°Π½Π° Π²Π°ΠΌΠΈ ΡΠ²ΠΎΠΈΠΌΠΈ ΡΡΠΊΠ°ΠΌΠΈ, ΡΠ°ΠΊ ΠΊΠ°ΠΊ Π² ΡΡΠΎΠΌ Π½Π΅Ρ Π½ΠΈΡΠ΅Π³ΠΎ ΡΠ»ΠΎΠΆΠ½ΠΎΠ³ΠΎ. ΠΠ»Ρ ΠΊΡΡΡΠΊΠΈ Π²Π°ΠΌ ΠΏΠΎΡΡΠ΅Π±ΡΠ΅ΡΡΡ ΠΏΡΠΎΡΠ½Π°Ρ Π΄ΡΠ΅Π²Π΅ΡΠΈΠ½Π°, Π½Π°ΠΏΡΠΈΠΌΠ΅Ρ, ΠΎΡΠΈΠ½Π° ΠΈΠ»ΠΈ Π²ΡΠ·. ΠΠΎΠΆΠ΅ΡΠ΅ ΡΠ°ΠΊΠΆΠ΅ ΠΈΡΠΏΠΎΠ»ΡΠ·ΠΎΠ²Π°ΡΡ ΡΠΎΡΠ½Ρ, Π½ΠΎ Π΄ΡΠ΅Π²Π΅ΡΠΈΠ½Π° ΠΈΠ· Π½Π΅Π΅ ΠΌΡΠ³ΡΠ΅. Π€ΠΎΡΠΌΠ° ΠΈ ΡΠ°Π·ΠΌΠ΅Ρ ΠΈΠ·Π΄Π΅Π»ΠΈΡ Π·Π°Π²ΠΈΡΡΡ ΠΎΡ ΡΠΈΠΏΠ° ΠΊΠΎΠ½ΡΡΡΡΠΊΡΠΈΠΈ ΠΈ Π³ΠΎΡΠ»ΠΎΠ²ΠΈΠ½Ρ ΠΊΠΎΠ»ΠΎΠ΄ΡΠ°.

ΠΠ°ΡΠ΅ΡΠΈΠ°Π»Ρ ΠΈ ΠΈΠ½ΡΡΡΡΠΌΠ΅Π½ΡΡ
ΠΡΠΎΡΠ΅ Π²ΡΠ΅Π³ΠΎ Π΄Π΅Π»Π°ΡΡ ΠΊΡΡΡΠΊΡ Π² ΡΠΎΡΠΌΠ΅ Π»ΡΠΊΠ°. ΠΠ°ΠΌ ΠΏΠΎΡΡΠ΅Π±ΡΡΡΡΡ ΡΠ»Π΅Π΄ΡΡΡΠΈΠ΅ ΠΌΠ°ΡΠ΅ΡΠΈΠ°Π»Ρ ΠΈ ΠΈΠ½ΡΡΡΡΠΌΠ΅Π½ΡΡ:
- ΡΡΡ ΠΈΠ΅ Π΄ΠΎΡΠΊΠΈ Ρ ΠΏΠ°Π·Π°ΠΌΠΈ;
- Π³Π²ΠΎΠ·Π΄ΠΈ;
- ΡΠ°ΡΠ½ΠΈΡΡ;
- ΠΈΠ·ΠΌΠ΅ΡΠΈΡΠ΅Π»ΡΠ½ΡΠ΅ ΠΈΠ½ΡΡΡΡΠΌΠ΅Π½ΡΡ;
- ΠΏΠ΅ΡΠ»ΠΈ;
- ΡΡΡΠΊΠΈ;
- Π±ΡΡΡΠΊΠΈ;
- Π½ΠΎΠΆΠΎΠ²ΠΊΠ°;
- ΠΎΡΠ²Π΅ΡΡΠΊΠΈ;
- ΠΌΠΎΠ»ΠΎΡΠΎΠΊ;
- ΡΠ΅Π·ΠΈΠ½ΠΎΠ²ΡΠΉ ΡΠ΅ΠΌΠ΅Π½Ρ.
ΠΡΡΡΠ΅ Π΄Π΅Π»Π°ΠΉΡΠ΅ Π΄Π΅ΡΠ΅Π²ΡΠ½Π½ΡΡ ΠΊΡΡΡΠΊΡ Π΄Π²ΠΎΠΉΠ½ΠΎΠΉ, ΡΡΠΎΠ±Ρ Π·ΠΈΠΌΠΎΠΉ ΠΎΠ½Π° Π½Π΅ ΠΏΡΠΎΠΌΠ΅ΡΠ·Π°Π»Π°. ΠΠΎΠΆΠ΅ΡΠ΅ ΡΠ΄Π΅Π»Π°ΡΡ ΡΡΠ΅ΠΌΠ½ΡΠΉ ΠΈΠ»ΠΈ ΠΎΡΠΊΠΈΠ΄Π½ΠΎΠΉ Π²Π°ΡΠΈΠ°Π½Ρ β ΡΠ΅ΡΠ°ΠΉΡΠ΅, ΡΡΠΎ Π²Π°ΠΌ Π±ΡΠ΄Π΅Ρ ΡΠ΄ΠΎΠ±Π½Π΅Π΅.

ΠΠ°ΠΌΠ΅ΡΡ ΠΈ ΠΊΠ°ΡΠΊΠ°Ρ
Π Π°Π±ΠΎΡΡ ΡΠ»Π΅Π΄ΡΠ΅Ρ Π½Π°ΡΠ°ΡΡ Ρ ΠΏΡΠΎΠ²Π΅Π΄Π΅Π½ΠΈΡ Π²ΡΠ΅Ρ Π½Π΅ΠΎΠ±Ρ ΠΎΠ΄ΠΈΠΌΡΡ Π·Π°ΠΌΠ΅ΡΠΎΠ² ΠΈ ΡΠ±ΠΎΡΠΊΠΈ ΠΎΠ±ΡΠ΅ΡΠ΅ΡΠΊΠΈ. Π§ΡΠΎΠ±Ρ Π»ΡΠΊ ΡΠ΄Π°ΡΠ½ΠΎ ΠΈ Π½Π°Π΄Π΅ΠΆΠ½ΠΎ ΡΠ°Π·ΠΌΠ΅ΡΡΠΈΠ»ΡΡ Π² Π³ΠΎΡΠ»ΠΎΠ²ΠΈΠ½Π΅, Π²Π°ΠΌ ΠΏΡΠΈΠ΄Π΅ΡΡΡ ΡΠ΄Π΅Π»Π°ΡΡ Ρ ΠΎΡΠΎΡΡΡ ΠΎΠ±ΡΠ΅ΡΠ΅ΡΠΊΡ. ΠΠ΅ ΠΈΠ·Π³ΠΎΡΠ°Π²Π»ΠΈΠ²Π°Π΅ΠΌ ΠΈΠ· Π±ΡΡΡΠΊΠΎΠ² Ρ ΡΡΠ΅ΡΠΎΠΌ ΡΠ°Π·ΠΌΠ΅ΡΠΎΠ² Π³ΠΎΡΠ»ΠΎΠ²ΠΈΠ½Ρ. ΠΠ±ΡΠΈΠ²Π°ΡΡ ΠΊΠΎΠ½ΡΡΡΡΠΊΡΠΈΡ ΠΌΠΎΠΆΠ½ΠΎ ΡΠ΅ΡΠΎΠΌ. ΠΡΠ΅ΠΏΠΈΠΌ ΠΊ ΠΊΡΡΡΠΊΠ΅ ΠΌΠ΅ΡΠ°Π»Π»ΠΈΡΠ΅ΡΠΊΠΈΠ΅ ΡΠ°ΡΠ½ΠΈΡΡ, Π²ΠΌΠ΅ΡΡΠΎ ΠΊΠΎΡΠΎΡΡΡ ΠΌΠΎΠΆΠ½ΠΎ ΠΈΡΠΏΠΎΠ»ΡΠ·ΠΎΠ²Π°ΡΡ ΡΠ΅Π·ΠΈΠ½ΠΎΠ²ΡΠΉ ΡΠ΅ΠΌΠ΅Π½Ρ, ΠΊΠΎΠ½Π΅Ρ ΠΊΠΎΡΠΎΡΠΎΠ³ΠΎ Π½Π°Π΄ΠΎ ΠΏΡΠΈΠ±ΠΈΡΡ Π½Π° ΠΊΡΡΡΠΊΡ, Π° Π΄ΡΡΠ³ΠΎΠΉ β Π½Π° ΡΠ²ΠΎΡΠΈΠ»ΠΎ.

Π£ΠΊΡΠ΅ΠΏΠ»Π΅Π½ΠΈΠ΅ ΠΈ ΡΡΠ΅ΠΏΠ»Π΅Π½ΠΈΠ΅
Π ΠΎΡΠ½ΠΎΠ²Π½ΡΠΌ ΡΡΠ½ΠΊΡΠΈΡΠΌ Π²ΡΠΎΡΠΎΠΉ ΡΡΠ²ΠΎΡΠΊΠΈ (Π΅ΡΠ»ΠΈ Π²Ρ Π΄Π΅Π»Π°Π΅ΡΠ΅ Π΄Π²ΠΎΠΉΠ½ΡΡ ΠΊΡΡΡΠΊΡ) ΠΎΡΠ½ΠΎΡΡΡ Π΄ΠΎΠΏΠΎΠ»Π½ΠΈΡΠ΅Π»ΡΠ½ΡΡ Π·Π°ΡΠΈΡΡ ΠΈ ΠΏΠ΅ΡΠ΅ΠΊΡΡΠ²Π°Π½ΠΈΠ΅ Π·Π°Π·ΠΎΡΠΎΠ². ΠΠ»Ρ Π΄ΠΎΠΏΠΎΠ»Π½ΠΈΡΠ΅Π»ΡΠ½ΠΎΠΉ ΠΏΡΠΎΡΠ½ΠΎΡΡΠΈ ΠΊΡΡΡΠΊΡ Π² ΡΠ΅ΡΠ΅Π΄ΠΈΠ½Π΅ ΡΠ½ΠΈΠ·Ρ ΡΠΊΡΠ΅ΠΏΠ»ΡΡΡ Π΄Π΅ΡΠ΅Π²ΡΠ½Π½ΡΠΌ Π±ΡΡΡΠΎΠΌ. ΠΠ°Π΄ΠΎ ΡΠ΄Π΅Π»Π°ΡΡ Π΄Π²Π΅ ΠΎΠ΄ΠΈΠ½Π°ΠΊΠΎΠ²ΡΠ΅ ΠΊΡΡΡΠΊΠΈ β Π²Π΅ΡΡ Π½ΡΡ ΠΈ Π½ΠΈΠΆΠ½ΡΡ β Π΄Π»Ρ Π²Π΅ΡΡ Π½Π΅ΠΉ ΠΈ Π½ΠΈΠΆΠ½Π΅ΠΉ ΡΠ°ΡΡΠΈ Π³ΠΎΡΠ»ΠΎΠ²ΠΈΠ½Ρ ΡΠΎΠΎΡΠ²Π΅ΡΡΡΠ²Π΅Π½Π½ΠΎ. ΠΡΠ»ΠΈ Ρ Π²Π°Ρ Π·ΠΈΠΌΠΎΠΉ ΡΠ΅ΠΌΠΏΠ΅ΡΠ°ΡΡΡΠ° ΠΏΠ°Π΄Π°Π΅Ρ Π΄ΠΎ -20 Π³ΡΠ°Π΄ΡΡΠΎΠ² ΠΈ Π±ΠΎΠ»Π΅Π΅, Π²Π°ΠΌ Π½ΡΠΆΠ½Π° Π΄Π²ΠΎΠΉΠ½Π°Ρ ΠΊΡΡΡΠΊΠ°, ΠΈΠ½Π°ΡΠ΅ Π²ΠΎΠ΄Π° ΠΌΠΎΠΆΠ΅Ρ Π·Π°ΠΌΠ΅ΡΠ·Π½ΡΡΡ.

Π ΡΡΠΊΠΈ ΠΈ Π·Π°ΠΏΠΎΡΠ½ΠΈΠΊΠΈ
Π‘Π°ΠΌΡΠ΅ ΠΎΠ±ΡΡΠ½ΡΠ΅ ΡΡΡΠΊΠΈ Π΄Π»Ρ ΠΊΠΎΠ»ΠΎΠ΄Π΅Π·Π½ΠΎΠΉ ΠΊΡΡΡΠΊΠΈ ΠΈΠ· Π΄Π΅ΡΠ΅Π²Π° ΠΈΠΌΠ΅ΡΡ Π²ΠΈΠ΄ ΠΏΠ°ΡΠ°Π»Π»Π΅Π»ΡΠ½ΠΎ Π½Π°Π±ΠΈΡΡΡ Π±ΡΡΡΠΊΠΎΠ². ΠΠ»Ρ ΡΠ΄ΠΎΠ±ΡΡΠ²Π° ΠΈ ΡΡΡΠ΅ΡΠΈΡΠ½ΠΎΡΡΠΈ ΠΌΠΎΠΆΠ½ΠΎ ΡΡΡΠ°Π½ΠΎΠ²ΠΈΡΡ Π³ΠΎΡΠΎΠ²ΡΠ΅ ΠΌΠ΅ΡΠ°Π»Π»ΠΈΡΠ΅ΡΠΊΠΈΠ΅ ΠΈΠ»ΠΈ Π΄Π΅ΡΠ΅Π²ΡΠ½Π½ΡΠ΅ ΠΈΠ·Π΄Π΅Π»ΠΈΡ. ΠΠΎ ΠΆΠ΅Π»Π°Π½ΠΈΡ Π²Ρ ΠΌΠΎΠΆΠ΅ΡΠ΅ ΡΡΡΠ°Π½ΠΎΠ²ΠΈΡΡ Π·Π°ΠΌΠΎΠΊ Π½Π° ΠΊΡΡΡΠΊΡ. ΠΠ΅ΠΊΠΎΡΠΎΡΡΠ΅ ΠΈΡΠΏΠΎΠ»ΡΠ·ΡΡΡ Π·Π°ΠΏΠΎΡΠ½ΠΈΠΊΠΈ Π΄Π»Ρ ΠΏΠΎΠ²ΡΡΠ΅Π½ΠΈΡ Π±Π΅Π·ΠΎΠΏΠ°ΡΠ½ΠΎΡΡΠΈ ΠΊΠΎΠ»ΠΎΠ΄ΡΠ° ΠΏΡΠΈ ΠΎΡΡΡΡΡΡΠ²ΠΈΠΈ Π΄ΠΎΠΌΠΎΠ²Π»Π°Π΄Π΅Π»ΡΡΠ΅Π².

ΠΠ΅ΠΊΠΎΡΠΈΡΠΎΠ²Π°Π½ΠΈΠ΅
ΠΠΎΡΠ»Π΅ ΡΠΎΠ·Π΄Π°Π½ΠΈΡ ΠΊΡΡΡΠΊΠΈ ΠΏΠΎΠ΄ΡΠΌΠ°ΠΉΡΠ΅ Π½Π°Π΄ Π΄Π΅ΠΊΠΎΡΠΎΠΌ ΠΊΠΎΠ»ΠΎΠ΄ΡΠ°. Π‘ΡΡΠ΅ΡΡΠ²ΡΠ΅Ρ Π΄Π²Π° ΡΡΠ°Π½Π΄Π°ΡΡΠ½ΡΡ Π²Π°ΡΠΈΠ°Π½ΡΠ°:
- ΡΠΎΠ·Π΄Π°Π½ΠΈΠ΅ Π΄Π΅ΠΊΠΎΡΠ°ΡΠΈΠ²Π½ΠΎΠ³ΠΎ Π΄ΠΎΠΌΠΈΠΊΠ° Π½Π° ΡΡΠΎΠ»Π±Π°Ρ ;
- ΡΡΡΠ°Π½ΠΎΠ²ΠΊΠ° ΠΏΠ»ΠΎΡΠΊΠΎΠΉ ΠΊΡΡΠ³Π»ΠΎΠΉ ΠΈΠ»ΠΈ ΠΏΡΡΠΌΠΎΡΠ³ΠΎΠ»ΡΠ½ΠΎΠΉ ΠΊΡΡΡΠΈ.

ΠΡΡΡΡ ΠΌΠΎΠΆΠ΅ΡΠ΅ ΡΠ΄Π΅Π»Π°ΡΡ Π΄Π²ΡΡΠΊΠ°ΡΠ½ΠΎΠΉ Π² ΡΠΎΡΠΌΠ΅ Π΄ΠΎΠΌΠΈΠΊΠ°, ΠΊΡΡΠ³Π»ΠΎΠΉ, ΠΏΠ»ΠΎΡΠΊΠΎΠΉ ΠΈΠ»ΠΈ Π½Π°ΠΊΠ»ΠΎΠ½Π½ΠΎΠΉ. ΠΠΎΠΆΠ΅ΡΠ΅ ΠΈΡΠΏΠΎΠ»ΡΠ·ΠΎΠ²Π°ΡΡ Π΄Π»Ρ ΡΠΊΡΠ°ΡΠ΅Π½ΠΈΡ ΡΠ°Π·Π½ΡΠ΅ ΠΌΠ°ΡΠ΅ΡΠΈΠ°Π»Ρ, ΡΠ°ΠΊΠΈΠ΅ ΠΊΠ°ΠΊ:
- Π±ΠΈΡΡΠΌΠ½Π°Ρ ΠΈΠ»ΠΈ Π½Π°ΡΡΡΠ°Π»ΡΠ½Π°Ρ ΡΠ΅ΡΠ΅ΠΏΠΈΡΠ°;
- ΠΌΠ΅ΡΠ°Π»Π»ΠΎΡΠ΅ΡΠ΅ΠΏΠΈΡΠ°;
- Π»ΠΎΠ·Π° ΠΈ Π»ΠΈΠ°Π½Π°;
- ΡΠΎΠ»ΠΎΠΌΠ°;
- ΡΠΈΡΠ΅Ρ;
- Π΄ΠΎΡΠΊΠΈ;
- ΡΠ΅Π·Π½ΠΎΠΉ Π΄Π΅ΠΊΠΎΡ ΠΈ ΠΏΡ.
Π’Π΅ΠΊΡΡΠΎΠ»ΠΈΡΠΎΠ²Π°Ρ ΠΊΡΡΡΠΊΠ°
ΠΡΡΡΠΊΠ° ΠΊΠΎΠ»ΠΎΠ΄Π΅Π·Π½Π°Ρ ΠΌΠΎΠΆΠ΅Ρ Π±ΡΡΡ ΠΈΠ·Π³ΠΎΡΠΎΠ²Π»Π΅Π½Π° ΠΈΠ· ΠΌΠ΅ΡΠ°Π»Π»ΠΈΡΠ΅ΡΠΊΠΈΡ ΡΠ³ΠΎΠ»ΠΊΠΎΠ² ΠΈ ΡΠ΅ΠΊΡΡΠΎΠ»ΠΈΡΠ°. ΠΠ»Ρ Π΅Π΅ ΡΠΎΠ·Π΄Π°Π½ΠΈΡ Π²Π°ΠΌ ΠΏΠΎΠ½Π°Π΄ΠΎΠ±ΡΡΡΡ ΡΠ»Π΅Π΄ΡΡΡΠΈΠ΅ ΠΌΠ°ΡΠ΅ΡΠΈΠ°Π»Ρ ΠΈ ΠΈΠ½ΡΡΡΡΠΌΠ΅Π½ΡΡ:
- ΠΏΡΠΎΡΡΡΡΠ±Π°;
- Π³Π΅ΡΠΌΠ΅ΡΠΈΠΊ;
- ΡΠ΅ΠΊΡΡΠΎΠ»ΠΈΡ;
- ΡΠ΅ΠΌΠ΅Π½Ρ;
- ΠΏΠ΅ΡΠ»ΠΈ ΠΈ ΡΡΡΠΊΠΈ;
- ΡΡΠ»Π΅ΡΠΊΠ°;
- ΡΠ²Π°ΡΠΎΡΠ½ΡΠΉ Π°ΠΏΠΏΠ°ΡΠ°Ρ;
- ΡΠ°ΠΌΠΎΡΠ΅Π·Ρ;
- Π±ΠΎΠ»ΡΡ;
- Π±ΠΎΠ»Π³Π°ΡΠΊΠ°;
- ΠΌΠΎΠ»ΠΎΡΠΎΠΊ;
- ΠΎΡΠ²Π΅ΡΡΠΊΠΈ.

ΠΠ°ΠΌΠ΅ΡΡ ΠΈ ΠΊΠ°ΡΠΊΠ°Ρ
Β
Π‘ ΠΏΠΎΠΌΠΎΡΡΡ ΡΡΠ»Π΅ΡΠΊΠΈ ΠΏΡΠΎΠΈΠ·Π²ΠΎΠ΄ΠΈΠΌ Π·Π°ΠΌΠ΅ΡΡ ΡΠ²ΠΎΡΠΈΠ»Π°, Π° Π·Π°ΡΠ΅ΠΌ Π½Π°ΡΠ΅Π·Π°Π΅ΠΌ ΡΠ³ΠΎΠ»ΠΊΠΈ ΠΏΠΎΠ΄ ΡΠ³Π»ΠΎΠΌ 45 Π³ΡΠ°Π΄ΡΡΠΎΠ². Π§Π΅ΡΡΡΠ΅ ΠΎΡΡΠ΅Π·ΠΊΠ° ΠΌΠ΅ΡΠ°Π»Π»Π° Π½Π°Π΄ΠΎ ΡΠ²Π°ΡΠΈΡΡ Π²ΠΌΠ΅ΡΡΠ΅, ΡΡΠΎΡΠΌΠΈΡΠΎΠ²Π°Π² ΡΠ΅ΡΡΡΠ΅Ρ ΡΠ³ΠΎΠ»ΡΠ½ΠΈΠΊ. ΠΠ»Ρ Π΄ΠΎΠΏΠΎΠ»Π½ΠΈΡΠ΅Π»ΡΠ½ΠΎΠΉ ΠΏΡΠΎΡΠ½ΠΎΡΡΠΈ ΡΠ³Π»Ρ Π½Π°Π΄ΠΎ ΡΠ²Π°ΡΠΈΡΡ ΠΈΠ·Π½ΡΡΡΠΈ ΠΈ ΡΠ½Π°ΡΡΠΆΠΈ, Π° ΡΠ»Π΅Π΄Ρ ΡΠ²Π°ΡΠΊΠΈ ΠΏΠΎΠ΄ΡΠΎΠ²Π½ΡΠΉΡΠ΅ Π±ΠΎΠ»Π³Π°ΡΠΊΠΎΠΉ.
ΠΠ±ΡΠΈΠ²ΠΊΠ° ΠΊΠ°ΡΠΊΠ°ΡΠ°

Β
ΠΡΠΎΡΠΈΠ»ΡΠ½ΡΠ΅ ΡΡΡΠ±Ρ Π½Π°ΡΠ΅ΠΆΡΡΠ΅ ΡΠ°ΠΊ. Π§ΡΠΎΠ±Ρ ΠΎΠ½ΠΈ Π±ΡΠ»ΠΈ Π½Π° 1 ΡΠΌ ΠΊΠΎΡΠΎΡΠ΅ Π΄Π»ΠΈΠ½Ρ ΡΠ³ΠΎΠ»ΠΊΠΎΠ². ΠΡΡΠ°Π²ΡΡΠ΅ ΠΎΡΡΠ΅Π·ΠΊΠΈ ΡΡΡΠ± Π² ΠΌΠ΅ΡΠ°Π»Π»ΠΈΡΠ΅ΡΠΊΠΈΠΉ ΠΊΠ°ΡΠΊΠ°Ρ ΠΏΠΎ ΠΏΠ΅ΡΠΈΠΌΠ΅ΡΡΡ ΠΎΡΠ½ΠΎΠ²Π°Π½ΠΈΡ ΠΈ ΠΏΡΠΈΠ²Π°ΡΠΈΡΠ΅ ΠΈΡ , Π° ΡΠ²Ρ ΠΎΠ±ΡΠ°Π±ΠΎΡΠ°ΠΉΡΠ΅ Π±ΠΎΠ»Π³Π°ΡΠΊΠΎΠΉ.
ΠΠ΅Π»Π°Π΅ΠΌ ΠΈΠ· ΡΠ΅ΠΊΡΡΠΎΠ»ΠΈΡΠ° Π΄Π²Π΅ ΠΏΠ»Π°ΡΡΠΈΠ½Ρ, ΠΏΠΎ ΡΠ°Π·ΠΌΠ΅ΡΡ ΡΠΎΠΏΠΎΡΡΠ°Π²ΠΈΠΌΡΠ΅ Ρ ΡΠ°Π·ΠΌΠ΅ΡΠ°ΠΌΠΈ ΠΊΠ°ΡΠΊΠ°ΡΠ°. ΠΠ΅ΠΆΠ΄Ρ ΠΏΠ»Π°ΡΡΠΈΠ½ ΡΠΊΠ»Π°Π΄ΡΠ²Π°Π΅ΠΌ ΡΡΠ΅ΠΏΠ»ΠΈΡΠ΅Π»Ρ, Π° ΠΏΠΎΡΠΎΠΌ ΡΠΊΡΠ΅ΠΏΠ»ΡΠ΅ΠΌ ΠΈΡ Π²ΠΌΠ΅ΡΡΠ΅ ΠΏΡΠΈ ΠΏΠΎΠΌΠΎΡΠΈ ΡΠ°ΠΌΠΎΡΠ΅Π·ΠΎΠ², ΡΠΎΠ² ΠΎΠ±ΡΠ°Π±Π°ΡΡΠ²Π°Π΅ΠΌ Π³Π΅ΡΠΌΠ΅ΡΠΈΠΊΠΎΠΌ.
Π‘ΠΎΠ΅Π΄ΠΈΠ½ΠΈΡΡ ΠΏΠΎΠ»ΡΡΠΈΠ²ΡΡΡΡΡ ΠΊΡΡΡΠΊΡ ΠΈ ΠΊΠ°ΡΠΊΠ°Ρ ΠΌΠΎΠΆΠ½ΠΎ ΠΏΠ΅ΡΠ»ΡΠΌΠΈ, ΠΊΠΎΡΠΎΡΡΠ΅ ΡΡΡΠ°Π½Π°Π²Π»ΠΈΠ²Π°ΡΡΡΡ ΠΏΡΠΈ ΠΏΠΎΠΌΠΎΡΠΈ Π±ΠΎΠ»ΡΠΎΠ² ΠΈΠ»ΠΈ ΡΠ²Π°ΡΠΊΠΈ.
Π£ΡΡΠ°Π½ΠΎΠ²ΠΊΠ°
Π’Π΅ΠΊΡΡΠΎΠ»ΠΈΡΠΎΠ²Π°Ρ ΠΊΡΡΡΠΊΠ° Π΄Π»Ρ ΠΊΠΎΠ»ΠΎΠ΄ΡΠ° Π³ΠΎΡΠΎΠ²Π°, Π° Π΄Π»Ρ Π΅Π΅ ΡΡΡΠ°Π½ΠΎΠ²ΠΊΠΈ Π½ΡΠΆΠ½ΠΎ ΡΠ΄Π΅Π»Π°ΡΡ ΠΎΠΏΠ°Π»ΡΠ±ΠΊΡ ΠΈΠ· Π΄ΠΎΡΠΎΠΊ ΠΈ Π²ΡΠ΅ Π·Π°ΡΠ΅ΠΌΠ΅Π½ΡΠΈΡΠΎΠ²Π°ΡΡ. ΠΠΎΡΠ»Π΅ ΠΌΠΎΠ½ΡΠ°ΠΆΠ° ΠΊΠ°ΡΠΊΠ°Ρ Ρ ΠΊΡΡΡΠΊΠΎΠΉ Π½Π°Π΄ΠΎ ΠΏΠΎΠΊΡΡΡΡ ΡΠ»ΠΎΠ΅ΠΌ ΡΠ΅ΠΌΠ΅Π½ΡΠ°. ΠΠ»Ρ Π±ΠΎΠ»ΡΡΠ΅Π³ΠΎ ΡΠ΄ΠΎΠ±ΡΡΠ²Π° ΠΈΡΠΏΠΎΠ»ΡΠ·ΠΎΠ²Π°Π½ΠΈΡ ΠΊΡΡΡΠΊΠΈ ΠΊ Π½Π΅ΠΉ ΠΏΡΠΈΠΊΡΡΡΠΈΠ²Π°ΡΡ ΡΡΡΠΊΡ. ΠΠΎΠΆΠ΅ΡΠ΅ ΠΎΡΡΠ°Π²ΠΈΡΡ ΠΊΠΎΠ½ΡΡΡΡΠΊΡΠΈΡ Π² ΡΠΎΠΌ Π²ΠΈΠ΄Π΅, ΠΊΠ°ΠΊ ΠΎΠ½Π° ΠΏΠΎΠ»ΡΡΠΈΠ»Π°ΡΡ, Π° ΠΌΠΎΠΆΠ΅ΡΠ΅ ΡΠΊΡΠ°ΡΠΈΡΡ Π΄Π»Ρ ΡΡΡΠ΅ΡΠΈΡΠ½ΠΎΡΡΠΈ.
ΠΡΡΡΠΊΠ° Π² Π²ΠΈΠ΄Π΅ Π΄ΠΎΠΌΠΈΠΊΠ°

ΠΡΡΡΠΊΡ Π΄Π»Ρ ΠΊΠΎΠ»ΠΎΠ΄ΡΠ° Π²Ρ ΠΌΠΎΠΆΠ΅ΡΠ΅ ΡΠ΄Π΅Π»Π°ΡΡ Π² Π²ΠΈΠ΄Π΅ Π΄ΠΎΠΌΠΈΠΊΠ° Ρ Π΄Π²ΡΡΠΊΠ°ΡΠ½ΠΎΠΉ ΠΊΡΡΡΠΈ. Π‘Π½Π°ΡΠ°Π»Π° Π½Π°Π΄ΠΎ ΠΈΠ·Π³ΠΎΡΠΎΠ²ΠΈΡΡ ΠΊΠ°ΡΠΊΠ°Ρ ΠΏΠΎ ΡΠ°ΠΊΠΎΠΉ ΠΆΠ΅ ΡΠ΅Ρ Π½ΠΎΠ»ΠΎΠ³ΠΈΠΈ, ΠΊΠ°ΠΊ ΡΠΎΠ·Π΄Π°Π΅ΡΡΡ Π΄Π²ΡΡΠΊΠ°ΡΠ½Π°Ρ ΠΊΡΠΎΠ²Π»Ρ, Π½ΠΎ ΡΠ°Π·ΠΌΠ΅ΡΡ Π΄ΠΎΠ»ΠΆΠ½Ρ Π±ΡΡΡ ΡΠΎΠΎΡΠ²Π΅ΡΡΡΠ²ΡΡΡΠΈΠΌΠΈ. ΠΠ»Ρ ΠΎΠ±Π΅ΡΠΏΠ΅ΡΠ΅Π½ΠΈΡ Π΄ΠΎΡΡΡΠΏΠ° ΠΊ Π²ΠΎΠ΄Π΅ Π½Π° Π»ΠΈΡΠ΅Π²ΠΎΠΌ ΡΠΊΠ°ΡΠ΅ Π΄ΠΎΠΌΠΈΠΊΠ° Π½ΡΠΆΠ½ΠΎ ΡΠ΄Π΅Π»Π°ΡΡ ΠΎΠ΄Π½ΠΎΡΡΠ²ΠΎΡΡΠ°ΡΡΡ Π΄Π²Π΅ΡΠΊΡ. ΠΠ°ΡΠΊΠ°Ρ ΡΠΎΠ±ΠΈΡΠ°Π΅ΠΌ ΠΈΠ· Π΄Π΅ΡΠ΅Π²Π°, ΠΎΠΊΡΠ°ΡΠΈΠ²Π°Π΅ΠΌ Π΅Π³ΠΎ ΠΈΠ»ΠΈ ΠΎΠ±ΡΠΈΠ²Π°Π΅ΠΌ ΠΊΡΠΎΠ²Π΅Π»ΡΠ½ΡΠΌ ΠΌΠ°ΡΠ΅ΡΠΈΠ°Π»ΠΎΠΌ. Π ΡΠ΅Π·ΡΠ»ΡΡΠ°ΡΠ΅ Ρ Π²Π°Ρ ΠΏΠΎΠ»ΡΡΠΈΡΡΡ ΡΡΡΠ΅ΡΠΈΡΠ΅ΡΠΊΠΈ ΠΏΡΠΈΠ²Π»Π΅ΠΊΠ°ΡΠ΅Π»ΡΠ½Π°Ρ Π΄Π΅ΠΊΠΎΡΠ°ΡΠΈΠ²Π½Π°Ρ ΠΊΠΎΠ»ΠΎΠ΄Π΅Π·Π½Π°Ρ ΠΊΡΡΡΠΊΠ°.
ΠΠ΅ΡΠ΅Π²ΡΠ½Π½Π°Ρ ΠΊΡΡΡΠΊΠ°, ΡΠΎΠ±ΡΠ°Π½Π½Π°Ρ ΡΠ²ΠΎΠΈΠΌΠΈ ΡΡΠΊΠ°ΠΌΠΈ, Π½ΠΈΡΠ΅ΠΌ Π½Π΅ ΡΡΡΡΠΏΠ°Π΅Ρ Π³ΠΎΡΠΎΠ²ΠΎΠΌΡ ΠΈΠ·Π΄Π΅Π»ΠΈΡ. ΠΡΠ°ΠΊΡΠΈΡΠ½Π°Ρ ΠΊΠΎΠ½ΡΡΡΡΠΊΡΠΈΡ Π΄Π»Ρ Π·Π°ΡΠΈΡΡ ΠΈΡΡΠΎΡΠ½ΠΈΠΊΠ° Π²ΠΎΠ΄Ρ ΠΎΡ ΠΏΠΎΠ³ΠΎΠ΄Π½ΡΡ ΡΡΠ»ΠΎΠ²ΠΈΠΉ ΠΈ ΠΌΡΡΠΎΡΠ° ΠΌΠΎΠΆΠ΅Ρ Π±ΡΡΡ ΡΠ΄Π΅Π»Π°Π½Π° ΡΠ°ΠΌΠΎΡΡΠΎΡΡΠ΅Π»ΡΠ½ΠΎ, Π° Π²Ρ ΠΏΡΠΈ ΡΡΠΎΠΌ ΡΡΠΊΠΎΠ½ΠΎΠΌΠΈΡΠ΅ Π΄Π΅Π½ΡΠ³ΠΈ.
ΠΠΏΠΈΡΠ°Π½Π½ΡΠ΅ Π²ΡΡΠ΅ Π²Π°ΡΠΈΠ°Π½ΡΡ Π΄ΠΎΠ»ΠΆΠ½Ρ Π΄Π°ΡΡ Π²Π°ΠΌ ΠΏΡΠ΅Π΄ΡΡΠ°Π²Π»Π΅Π½ΠΈΠ΅ ΠΎ ΡΠΎΠΌ, ΠΊΠ°ΠΊ ΡΠ΄Π΅Π»Π°ΡΡ ΠΊΠΎΠ»ΠΎΠ΄Π΅Π·Π½ΡΡ ΠΊΡΡΡΠΊΡ ΡΠ²ΠΎΠΈΠΌΠΈ ΡΡΠΊΠ°ΠΌΠΈ. ΠΠ΅ ΠΈΠ·Π³ΠΎΡΠΎΠ²Π»Π΅Π½ΠΈΠ΅ Π½Π΅ ΠΎΡΠ½ΠΈΠΌΠ΅Ρ ΠΌΠ½ΠΎΠ³ΠΎ Π²ΡΠ΅ΠΌΠ΅Π½ΠΈ, Π° ΠΊΠΎΠ»ΠΎΠ΄Π΅Ρ ΠΏΠΎΠ»ΡΡΠΈΡ Ρ
ΠΎΡΠΎΡΡΡ Π·Π°ΡΠΈΡΡ.
ΠΠΎΠ΄ΡΠΎΠ±Π½Π°Ρ Π²ΠΈΠ΄Π΅ΠΎ-ΠΈΠ½ΡΡΡΡΠΊΡΠΈΡ Π½ΠΈΠΆΠ΅:
sdelais.ru
ΠΡΡΡΠ° ΠΈ ΠΡΡΡΠΊΠ° Π΄Π»Ρ ΠΠΎΠ»ΠΎΠ΄ΡΠ° Π‘Π²ΠΎΠΈΠΌΠΈ Π ΡΠΊΠ°ΠΌΠΈ: ΠΠΈΠ΄Ρ, ΠΠ½ΡΡΡΠΊΡΠΈΡ

ΠΡΡΡΠ° ΡΠ°Ρ ΡΠ½ΠΎΠ³ΠΎ ΠΊΠΎΠ»ΠΎΠ΄ΡΠ°
Π ΡΠΎΠΎΡΡΠΆΠ΅Π½ΠΈΠΈ ΠΊΠΎΠ»ΠΎΠ΄ΡΠ° Π½Π° Π·Π°Π³ΠΎΡΠΎΠ΄Π½ΠΎΠΌ ΡΡΠ°ΡΡΠΊΠ΅ ΠΈΡΠΏΠΎΠ»ΡΠ·ΡΡΡΡΡ Π½Π΅ ΡΠΎΠ»ΡΠΊΠΎ ΠΌΠ°ΡΠ΅ΡΠΈΠ°Π»Ρ, Ρ ΠΏΠΎΠΌΠΎΡΡΡ ΠΊΠΎΡΠΎΡΡΡ
Π²ΡΠΏΠΎΠ»Π½ΡΡΡ Π²Π½ΡΡΡΠ΅Π½Π½Π΅Π΅ ΠΎΠ±ΡΡΡΡΠΎΠΉΡΡΠ²ΠΎ ΠΊΠΎΠ½ΡΡΡΡΠΊΡΠΈΠΈ, Π½ΠΎ ΠΈ ΡΠ΅, ΠΊΠΎΡΠΎΡΡΠ΅ ΠΏΠΎΠΌΠΎΠ³Π°ΡΡ ΠΏΡΠΈΠ΄Π°ΡΡ Π΅ΠΉ ΠΏΡΠΈΠ²Π»Π΅ΠΊΠ°ΡΠ΅Π»ΡΠ½ΡΠΉ Π²Π½Π΅ΡΠ½ΠΈΠΉ Π²ΠΈΠ΄ ΡΠ½Π°ΡΡΠΆΠΈ. ΠΠΎ ΡΡΠΎΠΉ ΠΏΡΠΈΡΠΈΠ½Π΅ ΡΠΎΠΎΡΡΠΆΠ°ΡΡΡΡ Π½Π΅ ΡΠΎΠ»ΡΠΊΠΎ Π΄Π΅ΠΊΠΎΡΠ°ΡΠΈΠ²Π½ΡΠ΅ Π΄ΠΎΠΌΠΈΠΊΠΈ, Π½ΠΎ ΠΈ ΠΊΡΡΡΠ° Π½Π°Π΄ ΠΊΠΎΠ»ΠΎΠ΄ΡΠ΅ΠΌ ΡΠ²ΠΎΠΈΠΌΠΈ ΡΡΠΊΠ°ΠΌΠΈ.
Π€ΡΠ½ΠΊΡΠΈΠΈ ΠΊΡΡΡΠΈ ΠΈΠ»ΠΈ ΠΊΡΡΡΠΊΠΈ Π΄Π»Ρ ΠΊΠΎΠ»ΠΎΠ΄ΡΠ°
ΠΠ°ΠΊ ΠΏΡΠ°Π²ΠΈΠ»ΠΎ, ΠΈΠ·Π³ΠΎΡΠ°Π²Π»ΠΈΠ²Π°Π΅ΡΡΡ ΠΊΡΡΡΠΊΠ° Π΄Π»Ρ ΠΊΠΎΠ»ΠΎΠ΄ΡΠ° ΡΠ²ΠΎΠΈΠΌΠΈ ΡΡΠΊΠ°ΠΌΠΈ ΡΠΎΠ»ΡΠΊΠΎ Π΄Π»Ρ ΠΊΠΎΠ½ΡΡΡΡΠΊΡΠΈΠΉ ΡΠ°Ρ
ΡΠ½ΠΎΠ³ΠΎ ΡΠΈΠΏΠ°.
Π€ΡΠ½ΠΊΡΠΈΠΈ:
- ΠΡΠ½ΠΎΠ²Π½ΡΠΌΠΈ ΡΡΠ½ΠΊΡΠΈΡΠΌΠΈ ΡΠ°ΠΊΠΎΠ³ΠΎ ΠΏΡΠΈΡΠΏΠΎΡΠΎΠ±Π»Π΅Π½ΠΈΡ ΡΠ²Π»ΡΠ΅ΡΡΡ Π·Π°ΡΠΈΡΠ° ΠΎΡ ΠΏΠΎΠΏΠ°Π΄Π°Π½ΠΈΡ Π²Π½ΡΡΡΡ ΠΏΠΎΡΡΠΎΡΠΎΠ½Π½ΠΈΡ ΠΏΡΠ΅Π΄ΠΌΠ΅ΡΠΎΠ².
- Π’Π°ΠΊΠΆΠ΅, Π±Π»Π°Π³ΠΎΠ΄Π°ΡΡ ΡΠ°ΠΊΠΎΠΉ Π·Π°ΡΠΈΡΠ΅ Π² Π²Π½ΡΡΡΡ ΠΊΠΎΠ½ΡΡΡΡΠΊΡΠΈΠΈ Π½Π΅ ΠΏΠΎΠΏΠ°Π΄Π°ΡΡ ΠΎΡΠ°Π΄ΠΊΠΈ.
ΠΡΡΡΠ° Π½Π° ΠΊΠΎΠ»ΠΎΠ΄Π΅Ρ ΡΠ²ΠΎΠΈΠΌΠΈ ΡΡΠΊΠ°ΠΌΠΈ ΡΠΎΠΎΡΡΠΆΠ°Π΅ΡΡΡ, Π² ΠΎΡΠ½ΠΎΠ²Π½ΠΎΠΌ, Π΄Π»Ρ Π΄Π΅ΠΊΠΎΡΠ°ΡΠΈΠ²Π½ΡΡ
Π΄ΠΎΠΌΠΈΠΊΠΎΠ².
Π Π°ΡΡΠΌΠΎΡΡΠΈΠΌ ΠΏΠΎΠ΄ΡΠΎΠ±Π½Π΅Π΅:
- ΠΡΡΡΠ° ΡΡΡΠ°Π½Π°Π²Π»ΠΈΠ²Π°Π΅ΡΡΡ Π½Π° ΠΏΠΎΠ΄ΠΏΠΎΡΠΊΠ°Ρ .
- ΠΠΎΠΆΠ½ΠΎ ΠΈΡΠΏΠΎΠ»ΡΠ·ΠΎΠ²Π°ΡΡ ΠΊΡΡΡΡ Π±Π΅Π· ΡΠΎΠΎΡΡΠΆΠ΅Π½ΠΈΡ Π΄ΠΎΠΏΠΎΠ»Π½ΠΈΡΠ΅Π»ΡΠ½ΡΡ ΠΊΠΎΠ½ΡΡΡΡΠΊΡΠΈΠΉ.
ΠΡΡΡΠΊΠΈ Π΄Π»Ρ ΡΠ°Ρ ΡΠ½ΡΡ ΠΊΠΎΠ»ΠΎΠ΄Π΅Π·Π½ΡΡ ΠΊΠΎΠ½ΡΡΡΡΠΊΡΠΈΠΉ
ΠΡΡΡΠΊΠ° Π΄Π»Ρ Π²ΠΎΠ΄ΠΎΠΏΡΠΎΠ²ΠΎΠ΄Π½ΠΎΠ³ΠΎ ΠΊΠΎΠ»ΠΎΠ΄ΡΠ° ΠΈ ΠΊΠ°Π½Π°Π»ΠΈΠ·Π°ΡΠΈΠΎΠ½Π½ΠΎΠ³ΠΎ ΠΎΡΠ»ΠΈΡΠ°Π΅ΡΡΡ.
ΠΠ»Ρ ΡΠΎΠΎΡΡΠΆΠ΅Π½ΠΈΡ ΠΊΠ°Π½Π°Π»ΠΈΠ·Π°ΡΠΈΠΎΠ½Π½ΡΡ
ΠΊΡΡΡΠ΅ΠΊ ΠΈΡΠΏΠΎΠ»ΡΠ·ΡΡΡ:
- ΠΠ΅ΡΠ°Π»Π».
- ΠΠ»Π°ΡΡΠΈΠΊ.
- ΠΠ΅ΡΠΎΠ½Π½ΡΠ΅ ΠΊΠΎΠ½ΡΡΡΡΠΊΡΠΈΠΈ.
- ΠΡΠ΅Π²Π΅ΡΠΈΠ½Ρ.
Π¦Π΅Π½Π° Π½Π° ΠΊΠ°ΠΆΠ΄ΡΠΉ Π²ΠΈΠ΄ ΠΊΡΡΡΠΊΠΈ ΡΠ°Π·Π½Π°Ρ.
ΠΠ΅ΡΠ°Π»Π»ΠΈΡΠ΅ΡΠΊΠΈΠ΅ ΠΊΡΡΡΠΊΠΈ
Π‘Π°ΠΌΠΎΠΉ ΠΏΡΠΎΡΠ½ΠΎΠΉ ΠΈ Π΄ΠΎΠ»Π³ΠΎΠ²Π΅ΡΠ½ΠΎΠΉ ΡΠ²Π»ΡΠ΅ΡΡΡ ΠΌΠ΅ΡΠ°Π»Π»ΠΈΡΠ΅ΡΠΊΠ°Ρ ΠΊΡΡΡΠΊΠ°.
Π₯Π°ΡΠ°ΠΊΡΠ΅ΡΠΈΡΡΠΈΠΊΠΈ:
- ΠΠ΅ΡΠ°Π»Π»ΠΈΡΠ΅ΡΠΊΠΈΠ΅ ΠΊΡΡΡΠΊΠΈ ΠΏΡΠ΅Π΄ΡΡΠ°Π²Π»ΡΡΡ ΡΠΎΠ±ΠΎΠΉ Π½Π΅ Π²ΡΠ΅Π³Π΄Π° ΠΌΠ°ΡΡΠΈΠ²Π½ΡΠ΅ ΠΊΠΎΠ½ΡΡΡΡΠΊΡΠΈΠΈ.
- ΠΠ·Π³ΠΎΡΠ°Π²Π»ΠΈΠ²Π°ΡΡΡΡ ΠΎΠ½ΠΈ ΠΈΠ· Π»ΠΈΡΡΠΎΠ²ΠΎΠ³ΠΎ ΠΌΠ΅ΡΠ°Π»Π»Π°.
- Π’ΠΎΠ»ΡΠΈΠ½Π° Π΅Π³ΠΎ Π΄ΠΎΡΡΠΈΠ³Π°Π΅Ρ 2 ΠΌΠΌ.
- ΠΠ° ΠΏΠΎΠ²Π΅ΡΡ Π½ΠΎΡΡΠΈ ΠΊΡΡΡΠΊΠΈ ΠΎΠ±ΡΠ·Π°ΡΠ΅Π»ΡΠ½ΠΎ ΡΡΡΠ°Π½Π°Π²Π»ΠΈΠ²Π°Π΅ΡΡΡ ΡΡΡΠΊΠ°.
Π‘ΠΎΠ²Π΅Ρ. Π’Π°ΠΊ ΠΊΠ°ΠΊ ΠΌΠ΅ΡΠ°Π»Π» ΠΏΠΎΠ΄Π²Π΅ΡΠ³Π°Π΅ΡΡΡ ΠΊΠΎΡΡΠΎΠ·ΠΈΠΈ ΠΈΠ·-Π·Π° ΠΏΠΎΠ²ΡΡΠ΅Π½Π½ΠΎΠΉ Π²Π»Π°ΠΆΠ½ΠΎΡΡΠΈ Π²ΠΎΠ·Π΄ΡΡ Π°, ΡΠΎ Π΅Π³ΠΎ ΠΏΠΎΠ²Π΅ΡΡ Π½ΠΎΡΡΡ Ρ Π΄Π²ΡΡ ΡΡΠΎΡΠΎΠ½ Π½Π° ΠΊΡΡΡΠΊΠ΅ Π²ΡΠ΅Π³Π΄Π° ΠΏΠΎΠΊΡΡΠ²Π°Π΅ΡΡΡ Π³ΡΡΠ½ΡΠΎΠ²ΡΠΌ ΡΠ°ΡΡΠ²ΠΎΡΠΎΠΌ, Π° Π·Π°ΡΠ΅ΠΌ β ΠΊΡΠ°ΡΠΊΠΎΠΉ.
ΠΠ΅ ΠΌΠΎΠΆΠ½ΠΎ ΠΏΡΠΈΠΎΠ±ΡΠ΅ΡΡΠΈ Π² ΡΠΏΠ΅ΡΠΈΠ°Π»ΠΈΠ·ΠΈΡΠΎΠ²Π°Π½Π½ΡΡ ΠΌΠ°Π³Π°Π·ΠΈΠ½Π°Ρ ΠΈΠ»ΠΈ ΡΠ΄Π΅Π»Π°ΡΡ ΡΠ°ΠΌΠΎΡΡΠΎΡΡΠ΅Π»ΡΠ½ΠΎ.

ΠΠ΅ΡΠ°Π»Π»ΠΈΡΠ΅ΡΠΊΠ°Ρ ΠΊΡΡΡΠΊΠ° Π΄Π»Ρ ΠΊΠΎΠ»ΠΎΠ΄ΡΠ° Π·Π°Π²ΠΎΠ΄ΡΠΊΠΎΠ³ΠΎ ΠΏΡΠΎΠΈΠ·Π²ΠΎΠ΄ΡΡΠ²Π°
ΠΠ»Ρ ΡΡΠΎΠ³ΠΎ Π½ΡΠΆΠ½ΠΎ:
- ΠΠΈΡΡΠΎΠ²ΠΎΠΉ ΠΌΠ΅ΡΠ°Π»Π», ΡΠΎΠ»ΡΠΈΠ½ΠΎΠΉ Π½Π΅ ΠΌΠ΅Π½Π΅Π΅ 2 ΠΌΠΌ.
ΠΡΠΈΠΌΠ΅ΡΠ°Π½ΠΈΠ΅. ΠΡΠ»ΠΈ ΠΏΠΎ ΠΊΡΡΡΠΊΠ΅ Π½ΠΈΠΊΡΠΎ Π½Π΅ Π±ΡΠ΄Π΅Ρ Ρ ΠΎΠ΄ΠΈΡΡ, ΡΠΎ ΠΌΠΎΠΆΠ½ΠΎ Π±ΡΠ°ΡΡ ΡΠ°ΠΌΡΡ ΠΌΠΈΠ½ΠΈΠΌΠ°Π»ΡΠ½ΡΡ ΡΠΎΠ»ΡΠΈΠ½Ρ ΠΌΠ΅ΡΠ°Π»Π»ΠΈΡΠ΅ΡΠΊΠΎΠ³ΠΎ Π»ΠΈΡΡΠ°.
- ΠΡΠΌΠ°ΡΡΡΠ°, Π΄Π»Ρ ΠΈΠ·Π³ΠΎΡΠΎΠ²Π»Π΅Π½ΠΈΡ Π½Π° ΠΊΡΡΡΠΊΠ΅ ΡΡΡΠΊΠΈ.
- Π‘Π²Π°ΡΠΎΡΠ½ΠΎΠ΅ ΠΎΠ±ΠΎΡΡΠ΄ΠΎΠ²Π°Π½ΠΈΠ΅ Π΄Π»Ρ ΠΏΡΠΈΠΊΡΠ΅ΠΏΠ»Π΅Π½ΠΈΡ Π½Π° ΠΏΠΎΠ²Π΅ΡΡ Π½ΠΎΡΡΠΈ ΡΡΡΠΊΠΈ.
- ΠΠΎΠ»Π³Π°ΡΠΊΠ° Π΄Π»Ρ ΡΠ°Π·ΡΠ΅Π·Π°Π½ΠΈΡ ΠΌΠ΅ΡΠ°Π»Π»Π° ΠΈ Π·Π°ΡΠΈΡΠΊΠΈ ΡΠ²ΠΎΠ² ΡΠ²Π°ΡΠΊΠΈ.
- Π¨ΠΏΠ°ΠΊΠ»Π΅Π²ΠΊΠ° Π΄Π»Ρ Π·Π°ΠΌΠ°Π·ΠΊΠΈ Π΄Π΅ΡΠ΅ΠΊΡΠΎΠ² ΡΠ²Π°ΡΠΊΠΈ ΠΈ Π»ΠΈΡΡΠΎΠ²ΠΎΠ³ΠΎ ΠΌΠ΅ΡΠ°Π»Π»Π°.
- Π Π°ΡΡΠ²ΠΎΡΠΈΡΠ΅Π»Ρ Π΄Π»Ρ ΠΎΠ±Π΅Π·ΠΆΠΈΡΠΈΠ²Π°Π½ΠΈΡ ΠΏΠΎΠ²Π΅ΡΡ Π½ΠΎΡΡΠΈ ΠΈΠ·Π΄Π΅Π»ΠΈΡ ΠΏΠ΅ΡΠ΅Π΄ ΠΏΠΎΠΊΡΠ°ΡΠΊΠΎΠΉ.
- ΠΡΡΠ½ΡΠΎΠ²ΠΊΠ° Π΄Π»Ρ ΠΏΠΎΠ΄Π³ΠΎΡΠΎΠ²ΠΊΠΈ ΠΏΠΎΠ²Π΅ΡΡ Π½ΠΎΡΡΠΈ ΠΊ ΠΎΠΊΡΠ°ΡΠΈΠ²Π°Π½ΠΈΡ.
- ΠΡΠ°ΡΠΊΠ°.
Π‘ΠΎΠ²Π΅Ρ. ΠΡΠ°ΡΠΊΠ°, ΠΊΠΎΡΠΎΡΠΎΠΉ Π±ΡΠ΄Π΅Ρ ΠΎΠΊΡΠ°ΡΠΈΠ²Π°ΡΡΡΡ ΠΌΠ΅ΡΠ°Π»Π»ΠΈΡΠ΅ΡΠΊΠ°Ρ ΠΏΠΎΠ²Π΅ΡΡ Π½ΠΎΡΡΡ Π½Π΅ Π΄ΠΎΠ»ΠΆΠ½Π° Π±ΡΡΡ Π½Π° ΠΎΡΠ½ΠΎΠ²Π΅ Π²ΠΎΠ΄Ρ.
Π Π΅ΠΊΠΎΠΌΠ΅Π½Π΄Π°ΡΠΈΠΈ:
- ΠΠ° ΠΏΠΎΠ²Π΅ΡΡ Π½ΠΎΡΡΠΈ ΠΌΠ΅ΡΠ°Π»Π»ΠΈΡΠ΅ΡΠΊΠΎΠΉ ΠΊΡΡΡΠΊΠΈ ΠΌΠΎΠΆΠ½ΠΎ ΡΠ°Π·ΠΌΠ΅ΡΡΠΈΡΡ Π½Π΅ ΡΠΎΠ»ΡΠΊΠΎ ΡΡΡΠΊΡ.
- Π’Π°ΠΊΠΆΠ΅ Π½Π° Π½Π΅ΠΉ ΠΏΡΠΈΠ²Π°ΡΠΈΠ²Π°ΡΡ Π΄Π΅ΠΊΠΎΡΠ°ΡΠΈΠ²Π½ΡΠ΅ ΠΊΠΎΠ²Π°Π½Π½ΡΠ΅ ΡΠ»Π΅ΠΌΠ΅Π½ΡΡ Π΄Π»Ρ ΡΠΎΠ³ΠΎ, ΡΡΠΎΠ±Ρ ΡΠΊΡΠ°ΡΠΈΡΡ ΠΊΠΎΠ½ΡΡΡΡΠΊΡΠΈΡ.
ΠΡΡΡΠΊΠΈ ΠΈΠ· Π±Π΅ΡΠΎΠ½Π°
ΠΠ΅ΡΠΎΠ½Π½ΡΠ΅ ΠΊΡΡΡΠΊΠΈ Π±ΠΎΠ»Π΅Π΅ ΡΡΠ°Π½Π΄Π°ΡΡΠ½ΡΠ΅.
Π Π°ΡΡΠΌΠΎΡΡΠΈΠΌ ΠΏΠΎΠ΄ΡΠΎΠ±Π½Π΅Π΅:
- ΠΠ·Π³ΠΎΡΠ°Π²Π»ΠΈΠ²Π°ΡΡΡΡ ΠΎΠ½ΠΈ Π½Π° ΠΎΡΠ½ΠΎΠ²Π΅ Π±Π΅ΡΠΎΠ½Π½ΠΎΠ³ΠΎ ΡΠ°ΡΡΠ²ΠΎΡΠ°, ΠΊΠΎΡΠΎΡΡΠΉ Π·Π°Π»ΠΈΠ²Π°Π΅ΡΡΡ Π² ΡΠΏΠ΅ΡΠΈΠ°Π»ΡΠ½ΡΡ ΡΠΎΡΠΌΡ.
- Π’Π°ΠΊΠΆΠ΅ Π² Π½Π΅Π΅ ΠΏΡΠΎΠΊΠ»Π°Π΄ΡΠ²Π°ΡΡ Π°ΡΠΌΠ°ΡΡΡΠ½ΡΡ ΡΠ΅ΡΠΊΡ Π½Π΅Π±ΠΎΠ»ΡΡΠΎΠΉ ΡΠΎΠ»ΡΠΈΠ½Ρ. ΠΠ½Π° ΠΏΡΠΈΠ΄Π°Π΅Ρ ΠΊΠΎΠ½ΡΡΡΡΠΊΡΠΈΠΈ ΠΏΡΠΎΡΠ½ΠΎΡΡΠΈ.
- Π’ΠΎΠ»ΡΠΈΠ½Π° ΡΠ°ΠΊΠΈΡ ΠΊΡΡΡΠ΅ΠΊ Π΄ΠΎΡΡΠΈΠ³Π°Π΅Ρ 5 ΡΠΌ.
- ΠΠΎΠΊΡΡΠ³ Π½Π΅Π΅ ΠΏΡΡΠΊΠ°ΡΡ Π»ΠΈΡΡΠΎΠ²ΠΎΠΉ ΠΌΠ΅ΡΠ°Π»Π» Π΄Π»Ρ ΠΎΠ±ΡΠ°ΠΌΠ»Π΅Π½ΠΈΡ ΠΊΡΠ°Π΅Π². ΠΠ½ΠΈ Π½Π΅ Π΄Π°ΡΡ Π²ΠΎΠ·ΠΌΠΎΠΆΠ½ΠΎΡΡΠΈ ΡΠ°ΡΠΊΡΠ°ΡΠΈΠ²Π°ΡΡΡΡ ΠΊΡΡΡΠΊΠ΅.
ΠΡΠΈΠΌΠ΅ΡΠ°Π½ΠΈΠ΅. Π’Π°ΠΊΠ°Ρ ΠΊΡΡΡΠΊΠ° Π½Π° ΠΊΠΎΠ»ΠΎΠ΄Π΅Ρ ΡΠ²ΠΎΠΈΠΌΠΈ ΡΡΠΊΠ°ΠΌΠΈ ΠΈΠ·Π³ΠΎΡΠ°Π²Π»ΠΈΠ²Π°Π΅ΡΡΡ Π±ΡΡΡΡΠΎ ΠΈ ΠΏΡΠΎΡΡΠΎ.
ΠΠ»Ρ ΡΠ°Π±ΠΎΡ ΠΏΠΎΠ½Π°Π΄ΠΎΠ±ΠΈΡΡΡ:
- Π Π°ΡΡΠ²ΠΎΡ Π±Π΅ΡΠΎΠ½Π°, ΠΊΠΎΡΠΎΡΡΠ΅ ΠΏΡΠΈΠ³ΠΎΡΠ°Π²Π»ΠΈΠ²Π°Π΅ΡΡΡ ΡΠ°ΠΌΠΎΡΡΠΎΡΡΠ΅Π»ΡΠ½ΠΎ ΠΈΠ· Π²ΡΡΠΎΠΊΠΎΠΏΡΠΎΡΠ½ΠΎΠ³ΠΎ ΡΠ΅ΠΌΠ΅Π½ΡΠ°, Π²ΠΎΠ΄Ρ ΠΈ ΠΏΠ΅ΡΠΊΠ°.
- ΠΡΠΌΠ°ΡΡΡΠ½Π°Ρ ΡΠ΅ΡΠΊΠ° Ρ Π½Π΅Π±ΠΎΠ»ΡΡΠΈΠΌΠΈ ΡΡΠ΅ΠΉΠΊΠ°ΠΌΠΈ.
- ΠΠ΅ΡΠ΅Π²ΡΠ½Π½Π°Ρ ΠΈΠ»ΠΈ ΠΌΠ΅ΡΠ°Π»Π»ΠΈΡΠ΅ΡΠΊΠ°Ρ ΡΠΎΡΠΌΠ°.
Π‘ΠΎΠ²Π΅Ρ. ΠΡΠ»ΠΈ ΡΠΎΡΠΌΠ° Π΄Π»Ρ Π²ΡΠ»ΠΈΠ²Π°Π½ΠΈΡ ΠΊΡΡΡΠΊΠΈ ΠΈΠ· Π΄ΡΠ΅Π²Π΅ΡΠΈΠ½Ρ, ΡΠΎ ΠΎΠ½Π° Π΄ΠΎΠ»ΠΆΠ½Π° Π±ΡΡΡ ΡΠ°Π·Π±ΠΎΡΠ½ΠΎΠΉ. ΠΡΠΎ Π΄Π°ΡΡ Π²ΠΎΠ·ΠΌΠΎΠΆΠ½ΠΎΡΡΡ Π»Π΅Π³ΠΊΠΎ Π²ΡΠ½ΡΡΡ ΠΏΠΎΠ»ΡΡΠ΅Π½Π½ΠΎΠ΅ ΠΈΠ·Π΄Π΅Π»ΠΈΠ΅. ΠΡΠ»ΠΈ ΠΆΠ΅ ΡΠΎΡΠΌΠ° ΠΌΠ΅ΡΠ°Π»Π»ΠΈΡΠ΅ΡΠΊΠ°Ρ, ΡΠΎ Π΄Π»Ρ ΠΏΡΠΎΡΡΠΎΡΡ Π²ΡΠ½ΠΈΠΌΠ°Π½ΠΈΡ ΠΈΠ· Π½Π΅Π΅ ΠΊΠΎΠ½ΡΡΡΡΠΊΡΠΈΠΈ ΠΏΡΠ΅Π΄Π²Π°ΡΠΈΡΠ΅Π»ΡΠ½ΠΎ ΠΊΡΠ°Ρ ΠΏΡΠΎΠΌΠ°Π·ΡΠ²Π°ΡΡΡΡ ΡΠΏΠ΅ΡΠΈΠ°Π»ΡΠ½ΡΠΌ ΡΡΠ΅Π΄ΡΡΠ²ΠΎΠΌ.
ΠΡΡΡΠΊΠΈ ΠΈΠ· ΠΏΠΎΠ»ΠΈΠΌΠ΅ΡΠ° (ΠΏΠ»Π°ΡΡΠΈΠΊΠ°)

ΠΠ»Π°ΡΡΠΈΠΊΠΎΠ²Π°Ρ ΠΊΡΡΡΠΊΠ° Π΄Π»Ρ ΠΊΠΎΠ»ΠΎΠ΄ΡΠ°
ΠΠΎΠ»ΡΡΠΎΠΉ ΠΏΠΎΠΏΡΠ»ΡΡΠ½ΠΎΡΡΡΡ ΠΏΠΎΠ»ΡΠ·ΡΡΡΡΡ Π³ΠΎΡΠΎΠ²ΡΠ΅ ΠΊΡΡΡΠΊΠΈ Π½Π° ΠΊΠΎΠ»ΠΎΠ΄Π΅Ρ ΠΈΠ· ΠΏΠΎΠ»ΠΈΠΌΠ΅ΡΠ°:
- ΠΠ»Π°ΡΡΠΈΠΊ (ΠΏΠΎΠ»ΠΈΠΌΠ΅Ρ) ΡΠ²Π»ΡΠ΅ΡΡΡ ΡΠΊΠΎΠ»ΠΎΠ³ΠΈΡΠ΅ΡΠΊΠΈ ΡΠΈΡΡΡΠΌ.
- ΠΠ½ Π½Π΅ Π½Π°Π½Π΅ΡΠ΅Ρ Π²ΡΠ΅Π΄Π° ΠΈΡΡΠΎΡΠ½ΠΈΠΊΡ Π²ΠΎΠ΄Ρ.
- Π£ΡΡΠ°Π½Π°Π²Π»ΠΈΠ²Π°Π΅ΡΡΡ ΡΠ°ΠΊΠ°Ρ ΠΊΡΡΡΠΊΠ° Π΄ΠΎΠ²ΠΎΠ»ΡΠ½ΠΎ ΠΏΡΠΎΡΡΠΎ.
- ΠΠ»Ρ ΡΡΠΎΠ³ΠΎ Π΅ΡΡΡ ΡΠΏΠ΅ΡΠΈΠ°Π»ΡΠ½ΡΠ΅ ΠΎΠΏΠΎΡΠ½ΡΠ΅ ΠΏΠ»Π°ΡΡΠΈΠΊΠΎΠ²ΡΠ΅ ΠΊΠΎΠ»ΡΡΠ°.
- ΠΠ½ΠΈ ΠΊΡΠ΅ΠΏΡΡΡΡ Π½Π° ΠΊΠΎΠ½ΡΡΡΡΠΊΡΠΈΠΈ (ΠΏΠ»Π°ΡΡΠΈΠΊΠ΅, ΠΆΠ΅Π»Π΅Π·ΠΎΠ±Π΅ΡΠΎΠ½Π΅ ΠΈΠ»ΠΈ Π΄ΠΎΠΌΠΈΠΊΠ΅).
- ΠΠΎΡΠ»Π΅ ΡΡΠΎΠ³ΠΎ ΡΠΏΠ΅ΡΠΈΠ°Π»ΡΠ½ΡΠ΅ ΠΌΠ΅ΡΠ°Π»Π»ΠΈΡΠ΅ΡΠΊΠΈΠΌΠΈ ΡΡΠ΅ΡΠΆΠ½ΡΠΌΠΈ ΠΊΡΡΡΠΊΠΈ Π·Π°ΠΊΡΠ΅ΠΏΠ»ΡΡΡΡΡ Π½Π° Π½ΠΈΡ .
ΠΡΠΈΠΌΠ΅ΡΠ°Π½ΠΈΠ΅. ΠΡΡΡΠΊΠ° ΠΈΠ· ΠΏΠ»Π°ΡΡΠΈΠΊΠ°, Π² ΠΎΡΠ½ΠΎΠ²Π½ΠΎΠΌ, ΠΈΡΠΏΠΎΠ»ΡΠ·ΡΠ΅ΡΡΡ Π·Π° Π·Π°ΠΊΡΡΡΠΈΡ ΠΏΠ»Π°ΡΡΠΈΠΊΠΎΠ²ΡΡ Π΅ΠΌΠΊΠΎΡΡΠ΅ΠΉ. ΠΡ ΠΆΠ΅ Π·Π°ΠΊΡΡΠ²Π°ΡΡ ΠΏΡΠΎΡΡΠΎΠΉ ΠΊΠΎΠ»ΠΎΠ΄Π΅Ρ, ΠΎΠ±ΡΡΡΡΠΎΠ΅Π½Π½ΡΠΉ ΠΏΠ»Π°ΡΡΠΈΠΊΠΎΠ²ΡΠΌΠΈ ΠΊΠΎΠ»ΡΡΠ°ΠΌΠΈ.
ΠΠ΅ΡΠ΅Π²ΡΠ½Π½ΡΠ΅ ΠΊΡΡΡΠΊΠΈ
ΠΠ΅ΡΠ΅Π²ΡΠ½Π½ΡΠ΅ ΠΊΡΡΡΠΊΠΈ Π΄Π»Ρ Π·Π°ΠΊΡΡΡΠΈΡ ΠΊΠΎΠ»ΠΎΠ΄Π΅Π·Π½ΡΡ
Π»ΡΠΊΠΎΠ² ΠΈΡΠΏΠΎΠ»ΡΠ·ΡΡΡ ΡΠΆΠ΅ Π½Π° ΠΏΡΠΎΡΡΠΆΠ΅Π½ΠΈΠΈ ΠΌΠ½ΠΎΠ³ΠΈΡ
Π»Π΅Ρ.
ΠΠΎΠ΄ΡΠΎΠ±Π½Π΅Π΅:
- ΠΡΡΡΠΊΠ° ΠΈΠ·Π³ΠΎΡΠ°Π²Π»ΠΈΠ²Π°Π΅ΡΡΡ ΠΈΠ· Π΄Π΅ΡΠ΅Π²ΡΠ½Π½ΡΡ Π΄ΠΎΡΠΎΠΊ Π½Π΅Π±ΠΎΠ»ΡΡΠΎΠΉ ΡΠΎΠ»ΡΠΈΠ½Ρ.
- Π’ΠΎΠ»ΡΠΊΠΎ ΡΡΡ ΡΡΠΎΠΈΡ ΡΡΠ΅ΡΡΡ, ΡΡΠΎ Π΅ΡΠ»ΠΈ ΠΏΠΎ Π½Π΅ΠΉ Π±ΡΠ΄ΡΡ Ρ ΠΎΠ΄ΠΈΡΡ, ΡΠΎ Π΄ΠΎΡΠΊΠΈ Π΄ΠΎΠ»ΠΆΠ½Ρ Π±ΡΡΡ ΠΏΡΠΎΡΠ½ΡΠΌΠΈ.
Π‘ΠΎΠ²Π΅Ρ. ΠΡΡΡΠ΅ Π²ΡΠ΅Π³ΠΎ Π΄Π»Ρ ΡΠ°ΠΊΠΈΡ ΡΠ΅Π»Π΅ΠΉ ΠΏΡΠΈΠΌΠ΅Π½ΡΡΡ ΠΎΠ±ΡΠ°Π±ΠΎΡΠ°Π½Π½ΡΡ Π΄ΡΠ΅Π²Π΅ΡΠΈΠ½Ρ, ΠΊΠΎΡΠΎΡΠ°Ρ ΠΏΡΠΎΡΠ»Π° Π΄Π»ΠΈΡΠ΅Π»ΡΠ½ΡΠΉ ΠΏΡΠΎΡΠ΅ΡΡ ΡΡΡΠΊΠΈ.
- ΠΠ±ΡΠ·Π°ΡΠ΅Π»ΡΠ½ΠΎ Π½Π°ΡΡΠΆΠ½ΡΡ ΠΈ Π²Π½ΡΡΡΠ΅Π½Π½ΡΡ ΠΏΠΎΠ²Π΅ΡΡ Π½ΠΎΡΡΠΈ ΡΠ°ΠΊΠΎΠΉ ΠΊΡΡΡΠΊΠΈ ΠΏΠΎΠΊΡΡΡΡ Π»Π°ΠΊΠΎΠΌ ΠΈΠ»ΠΈ ΠΊΡΠ°ΡΠΊΠΎΠΉ.
- ΠΠ±ΡΡΠ»ΠΎΠ²Π»Π΅Π½ΠΎ ΡΡΠΎ ΡΠ΅ΠΌ, ΡΡΠΎ Π΄ΡΠ΅Π²Π΅ΡΠΈΠ½Π° ΡΠΏΠΎΡΠΎΠ±Π½Π° ΡΠ΅Π°Π³ΠΈΡΠΎΠ²Π°ΡΡ Π΄Π΅ΡΠΎΡΠΌΠ°ΡΠΈΠ΅ΠΉ Π½Π° Π²Π»Π°ΠΆΠ½ΡΡ ΡΡΠ΅Π΄Ρ. Π Π² ΠΊΠΎΠ»ΠΎΠ΄ΡΠ΅ Π²ΡΠ΅Π³Π΄Π° ΠΏΠΎΠ²ΡΡΠ΅Π½Π½Π°Ρ Π²Π»Π°ΠΆΠ½ΠΎΡΡΡ Π²ΠΎΠ·Π΄ΡΡ Π°.

ΠΠ΅ΡΠ΅Π²ΡΠ½Π½Π°Ρ ΠΊΡΡΡΠΊΠΈ Π² ΠΊΠΎΠ½ΡΡΡΡΠΊΡΠΈΠΈ Π΄ΠΎΠΌΠΈΠΊΠ° Π΄Π»Ρ ΠΊΠΎΠ»ΠΎΠ΄ΡΠ°
ΠΡΠΎΡΡΠ° Π² ΡΠΎΠΎΡΡΠΆΠ΅Π½ΠΈΠΈ Π΄Π΅ΡΠ΅Π²ΡΠ½Π½Π°Ρ ΠΊΡΡΡΠΊΠ° Π΄Π»Ρ ΠΊΠΎΠ»ΠΎΠ΄ΡΠ° ΡΠ²ΠΎΠΈΠΌΠΈ ΡΡΠΊΠ°ΠΌΠΈ.
ΠΠ»Ρ ΡΠ°Π±ΠΎΡ ΠΏΠΎΠ½Π°Π΄ΠΎΠ±ΠΈΡΡΡ:
- ΠΠ΅ΡΠ΅Π²ΡΠ½Π½ΡΠ΅ Π΄ΠΎΡΠΊΠΈ.
- ΠΡΡΡΠΊΠΈ.
- Π‘Π°ΠΌΠΎΡΠ΅Π·Ρ ΠΏΠΎ Π΄Π΅ΡΠ΅Π²Ρ ΠΈΠ»ΠΈ ΠΏΡΠΎΡΡΡΠ΅ Π³Π²ΠΎΠ·Π΄ΠΈ Ρ Π΄Π»ΠΈΠ½Π½ΡΠΌΠΈ Π½ΠΎΠΆΠΊΠ°ΠΌΠΈ.
- ΠΠ»Π΅ΠΉ ΠΠΠ.
- Π‘ΡΡΠΎΠΈΡΠ΅Π»ΡΠ½ΡΠΉ ΡΡΠΎΠ²Π΅Π½Ρ.
- Π€ΠΎΡΠΌΠ°, ΠΏΠΎ ΠΊΠΎΡΠΎΡΠΎΠΉ ΡΡΡΠ°Π½Π°Π²Π»ΠΈΠ²Π°Π΅ΡΡΡ ΡΠ°Π·ΠΌΠ΅Ρ ΠΊΡΡΡΠΊΠΈ.
- Π Π΅Π·ΠΈΠ½ΠΎΠ²ΡΠ΅ ΠΏΡΠΎΠΊΠ»Π°Π΄ΠΊΠΈ, ΠΊΠΎΡΠΎΡΡΠ΅ ΠΎΠ±Π΅ΡΠΏΠ΅ΡΠΈΠ²Π°ΡΡ Π³Π΅ΡΠΌΠ΅ΡΠΈΡΠ½ΠΎΡΡΡ ΠΊΠΎΠ½ΡΡΡΡΠΊΡΠΈΠΈ.
- ΠΠ»Π΅ΠΊΡΡΠΎΠ»ΠΎΠ±Π·ΠΈΠΊ Π΄Π»Ρ ΠΏΠΎΠ΄ΡΠ΅Π·Π°Π½ΠΈΡ ΡΠ°Π·ΠΌΠ΅ΡΠΎΠ² ΠΊΡΡΡΠΊΠΈ ΠΏΠΎΡΠ»Π΅ Π΅Π΅ ΠΈΠ·Π³ΠΎΡΠΎΠ²Π»Π΅Π½ΠΈΡ.
Π‘ΠΎΠ²Π΅Ρ. ΠΠ΅ΡΠ΅Π²ΡΠ½Π½ΡΠ΅ ΠΊΡΡΡΠΊΠΈ Π½Π°ΠΈΠ±ΠΎΠ»Π΅Π΅ ΡΠ°ΡΡΠΎ ΠΈΡΠΏΠΎΠ»ΡΠ·ΡΡΡ Π΄Π»Ρ Π²ΠΎΠ΄ΠΎΠΏΡΠΎΠ²ΠΎΠ΄Π½ΡΡ ΠΊΠΎΠ»ΠΎΠ΄ΡΠ΅Π². ΠΠ±ΡΡΠ»ΠΎΠ²Π»Π΅Π½ΠΎ ΡΡΠΎ ΡΠ΅ΠΌ, ΡΡΠΎ ΡΡΡΡΠΊΡΡΡΠ° Π΄ΡΠ΅Π²Π΅ΡΠΈΠ½Ρ ΡΠΏΠΎΡΠΎΠ±Π½Π° Π²ΠΏΠΈΡΡΠ²Π°ΡΡ Π·Π°ΠΏΠ°Ρ ΠΈ. Π’Π΅ΠΌ Π±ΠΎΠ»Π΅Π΅, ΠΌΠ°ΡΠ΅ΡΠΈΠ°Π» ΡΠ²Π»ΡΠ΅ΡΡΡ ΡΠΊΠΎΠ»ΠΎΠ³ΠΈΡΠ΅ΡΠΊΠΈ ΡΠΈΡΡΡΠΌ ΠΈ Π½Π΅ Π½Π°Π½Π΅ΡΠ΅Ρ Π²ΡΠ΅Π΄Π° ΠΈΡΡΠΎΡΠ½ΠΈΠΊΡ Π²ΠΎΠ΄Ρ Π½Π° Π·Π°Π³ΠΎΡΠΎΠ΄Π½ΠΎΠΌ ΡΡΠ°ΡΡΠΊΠ΅.
ΠΠΎΡΡΠ΄ΠΎΠΊ ΡΠ°Π±ΠΎΡ Π·Π°ΠΊΠ»ΡΡΠ°Π΅ΡΡΡ Π² ΡΠ»Π΅Π΄ΡΡΡΠ΅ΠΌ:
- ΠΠ΅Π»Π°ΡΡΡΡ Π½Π΅ΠΎΠ±Ρ ΠΎΠ΄ΠΈΠΌΡΠ΅ Π·Π°ΠΌΠ΅ΡΡ.
- ΠΡΠΏΠΎΠ»Π½ΡΠ΅ΡΡΡ ΡΡΡΡΠΎΠΉΡΡΠ²ΠΎ ΠΎΠ±ΡΠ΅ΡΠ΅ΡΠΊΠΈ. ΠΠ½Π° Π½Π΅ΠΎΠ±Ρ ΠΎΠ΄ΠΈΠΌΠ° Π΄Π»Ρ ΠΏΡΠΎΡΠ½ΠΎΡΡΠΈ ΡΠ°ΡΠΏΠΎΠ»ΠΎΠΆΠ΅Π½ΠΈΡ Π² Π³ΠΎΡΠ»ΠΎΠ²ΠΈΠ½Π΅ Π»ΡΠΊΠ°. ΠΠ·Π³ΠΎΡΠ°Π²Π»ΠΈΠ²Π°Π΅ΡΡΡ ΠΎΠ±ΡΠ΅ΡΠ΅ΡΠΊΠ° ΠΏΠΎ ΡΠ°Π·ΠΌΠ΅ΡΠ°ΠΌ Π³ΠΎΡΠ»ΠΎΠ²ΠΈΠ½Ρ ΠΈΠ· Π±ΡΡΡΠΊΠΎΠ².
- ΠΠΎΠ½ΡΡΡΡΠΊΡΠΈΡ ΠΎΠ±ΡΠΈΠ²Π°Π΅ΡΡΡ. ΠΠ»Ρ ΡΡΠΎΠ³ΠΎ ΠΌΠΎΠΆΠ½ΠΎ ΠΈΡΠΏΠΎΠ»ΡΠ·ΠΎΠ²Π°ΡΡ ΡΠ΅Ρ.
- ΠΡΠ΅ΠΏΠ»Π΅Π½ΠΈΠ΅ ΠΌΠ΅ΡΠ°Π»Π»ΠΈΡΠ΅ΡΠΊΠΈΡ ΡΠ°ΡΠ½ΠΈΡΠΎΠ². ΠΠΌΠ΅ΡΡΠΎ Π½ΠΈΡ ΠΌΠΎΠΆΠ½ΠΎ ΠΈΡΠΏΠΎΠ»ΡΠ·ΠΎΠ²Π°ΡΡ ΡΠ΅Π·ΠΈΠ½ΠΎΠ²ΡΠ΅ ΡΠ΅ΠΌΠ½ΠΈ. Π ΡΡΠΎΠΌ ΡΠ»ΡΡΠ°Π΅ ΠΎΠ΄ΠΈΠ½ ΠΊΠΎΠ½Π΅Ρ Π΅Π³ΠΎ ΠΏΡΠΈΠ±ΠΈΠ²Π°Π΅ΡΡΡ Π½Π° ΠΊΡΡΡΠΊΡ, Π²ΡΠΎΡΠΎΠΉ β Π½Π° ΡΠ²ΠΎΡΠΈΠ»ΠΎ.
- ΠΠ»Ρ ΡΠ²Π΅Π»ΠΈΡΠ΅Π½ΠΈΡ ΠΏΡΠΎΡΠ½ΠΎΡΡΠΈ ΠΏΠΎ ΡΠ΅Π½ΡΡΡ ΠΊΡΡΡΠΊΠ° ΡΠΊΡΠ΅ΠΏΠ»ΡΠ΅ΡΡΡ Π±ΡΡΡΠΎΠΌ.
- ΠΠ·Π³ΠΎΡΠ°Π²Π»ΠΈΠ²Π°ΡΡΡΡ Π΄Π²Π΅ ΠΎΠ΄ΠΈΠ½Π°ΠΊΠΎΠ²ΡΠ΅ ΠΊΡΡΡΠΊΠΈ: Π²Π΅ΡΡ Π½ΡΡ ΠΈ Π½ΠΈΠΆΠ½ΡΡ.
- ΠΠ»Ρ ΡΡΠ΅ΠΏΠ»Π΅Π½ΠΈΡ Π² Π·ΠΈΠΌΠ½ΠΈΠΉ ΠΏΠ΅ΡΠΈΠΎΠ΄ ΠΌΠ΅ΠΆΠ΄Ρ ΡΠ»Π΅ΠΌΠ΅Π½ΡΠ°ΠΌΠΈ ΠΏΡΠΎΠΊΠ»Π°Π΄ΡΠ²Π°Π΅ΡΡΡ ΡΠΎΠ»ΠΎΠΌΠ΅Π½Π½Π°Ρ ΠΏΠΎΠ΄ΡΡΠΊΠ°.
- ΠΠΌΠ΅ΡΡΠΎ ΡΡΡΠ΅ΠΊ ΠΌΠΎΠΆΠ½ΠΎ Π½Π°Π±ΠΈΡΡ Π±ΡΡΡΠΊΠΈ ΠΏΠ°ΡΠ°Π»Π»Π΅Π»ΡΠ½ΠΎ Π΄ΡΡΠ³ Π΄ΡΡΠ³Ρ. ΠΠΎ Π»ΡΡΡΠ΅ ΠΈΡΠΏΠΎΠ»ΡΠ·ΠΎΠ²Π°ΡΡ Π³ΠΎΡΠΎΠ²ΡΠ΅ ΠΌΠ΅ΡΠ°Π»Π»ΠΈΡΠ΅ΡΠΊΠΈΠ΅ ΠΈΠ»ΠΈ Π΄Π΅ΡΠ΅Π²ΡΠ½Π½ΡΠ΅.
- ΠΡΠΈ Π½Π΅ΠΎΠ±Ρ ΠΎΠ΄ΠΈΠΌΠΎΡΡΠΈ ΡΡΡΡΠ°ΠΈΠ²Π°Π΅ΡΡΡ Π·Π°ΠΌΠΎΠΊ.
ΠΡΠ»ΠΈ ΠΊΡΡΡΠΊΠ° Π²ΡΠ΅Π³Π΄Π° Π½Π°Ρ ΠΎΠ΄ΠΈΡΡΡ Π½Π° Π²ΠΈΠ΄Ρ, ΡΠΎ ΠΌΠΎΠΆΠ½ΠΎ ΠΏΠΎΠ²Π΅ΡΡ Π½Π΅Π΅ ΡΠ΄Π΅Π»Π°ΡΡ Π΄Π΅ΠΊΠΎΡΠ°ΡΠΈΠ²Π½ΡΡ ΡΠ΅Π·ΡΠ±Ρ ΠΈΠ»ΠΈ ΠΏΡΠΈΠ΄ΡΠΌΠ°ΡΡ ΠΊΠ°ΠΊΠΈΠ΅-Π»ΠΈΠ±ΠΎ Π΄Π΅ΡΠ΅Π²ΡΠ½Π½ΡΠ΅ ΡΠ»Π΅ΠΌΠ΅Π½ΡΡ.
ΠΡΡΡΠΊΠΈ Π΄Π»Ρ ΡΡΡΠ±Π½ΡΡ ΠΊΠΎΠ»ΠΎΠ΄ΡΠ΅Π²
ΠΠ»Ρ Π²ΠΎΠ΄ΠΎΠΏΡΠΎΠ²ΠΎΠ΄Π½ΡΡ
ΠΊΠΎΠ»ΠΎΠ΄ΡΠ΅Π², ΠΊΠΎΡΠΎΡΡΠ΅ ΠΈΠΌΠ΅ΡΡ ΠΊΠΎΠ½ΡΡΡΡΠΊΡΠΈΡ ΡΠΊΠ²Π°ΠΆΠΈΠ½Ρ, ΠΊΡΡΡΠΊΠΈ ΡΠ°ΠΊΠΆΠ΅ ΠΈΡΠΏΠΎΠ»ΡΠ·ΡΡΡΡΡ.
ΠΠΎΠ΄ΡΠΎΠ±Π½Π΅Π΅:
- ΠΡΡΡΠΊΠΈ Π΄Π»Ρ ΡΠΊΠ²Π°ΠΆΠΈΠ½Ρ ΠΈΠΌΠ΅ΡΡ ΠΌΠ°Π»Π΅Π½ΡΠΊΠΈΠ΅ ΡΠ°Π·ΠΌΠ΅ΡΡ.
- ΠΠ½ΠΈ Π½Π΅ Π·Π°ΠΊΡΠ΅ΠΏΠ»ΡΡΡΡΡ Π½Π° ΠΊΠΎΠ½ΡΡΡΡΠΊΡΠΈΠΈ (ΠΏΠ΅ΡΠ΅Π½ΠΎΡΠ½ΡΠ΅).
- ΠΡΡΡΠΊΠ° ΠΊΠΎΠ»ΠΎΠ΄ΡΠ° ΡΠ²ΠΎΠΈΠΌΠΈ ΡΡΠΊΠ°ΠΌΠΈ Π΄Π»Ρ ΡΠΊΠ²Π°ΠΆΠΈΠ½Ρ ΠΈΠ·Π³ΠΎΡΠ°Π²Π»ΠΈΠ²Π°Π΅ΡΡΡ ΠΈΠ· Π°Π½Π°Π»ΠΎΠ³ΠΈΡΠ½ΡΡ ΠΌΠ°ΡΠ΅ΡΠΈΠ°Π»ΠΎΠ².
Π‘ΠΎΠ²Π΅Ρ. ΠΡΡΡΠ΅ Π²ΡΠ΅Π³ΠΎ ΡΠΊΠ²Π°ΠΆΠΈΠ½Ρ Π·Π°ΠΊΡΡΡΡ ΠΎΡ ΠΏΠΎΠΏΠ°Π΄Π°Π½ΠΈΡ ΠΌΡΡΠΎΡΠ° Π² Π½Π΅Π΅ Π»ΠΈΡΡΠΎΠ²ΡΠΌ ΠΌΠ΅ΡΠ°Π»Π»ΠΎΠΌ ΠΈΠ»ΠΈ ΡΡΡΠ°Π½ΠΎΠ²ΠΈΡΡ Π½Π΅Π²ΡΡΠΎΠΊΡΡ Π΄Π΅ΠΊΠΎΡΠ°ΡΠΈΠ²Π½ΡΡ ΠΊΡΡΡΡ.
ΠΠ°ΡΠΊΠΈΡΠΎΠ²ΠΊΠ° Π΄Π»Ρ ΠΊΠ°Π½Π°Π»ΠΈΠ·Π°ΡΠΈΠΎΠ½Π½ΠΎΠΉ ΠΊΡΡΡΠΊΠΈ

ΠΠ³ΡΠ° Π΄Π»Ρ Π²Π·ΡΠΎΡΠ»ΡΡ β Π½Π°ΠΉΡΠΈ ΡΠΊΡΡΡΡΠΉ, Π½Π΅ΠΏΡΠΈΠ³Π»ΡΠ΄Π½ΡΠΉ ΠΎΠ±ΡΠ΅ΠΊΡ ΠΊΡΡΡΠΊΠΈ ΠΊΠΎΠ»ΠΎΠ΄ΡΠ°
ΠΠ° Π΄Π°ΡΠ΅, Π³Π΄Π΅ Π±Π΅Π· ΠΏΡΠΎΠ»ΡΡΠΈΠ½ Π²ΡΡΠ°ΡΠ΅Π½Π° Π·Π΅Π»Π΅Π½Π°Ρ ΡΡΠ°Π²ΠΊΠ°, ΠΎΡΠΎΡΠΌΠ»Π΅Π½ ΠΊΡΠ°ΡΠΈΠ²ΡΠΉ Π»ΡΠΆΠΎΠΊ, ΠΏΠΎ ΠΊΠΎΡΠΎΡΠΎΠΌΡ ΠΏΡΠΈΡΡΠ½ΠΎ Ρ
ΠΎΠ΄ΠΈΡΡ Π±ΠΎΡΡΠΌΠΈ Π½ΠΎΠ³Π°ΠΌΠΈ, Π²Π΄ΡΡΠ³ Π½Π°ΡΡΠΊΠ°Π΅ΡΡΡΡ Π½Π° ΠΊΠ°Π½Π°Π»ΠΈΠ·Π°ΡΠΈΠΎΠ½Π½ΡΠΉ ΠΊΠΎΠ»ΠΎΠ΄Π΅Ρ, Π²Π΅ΡΠ½Π΅Π΅ Π½Π° Π΅Π³ΠΎ ΠΊΡΡΡΠΊΡ. Π’Π°ΠΊ Π²ΠΎΡ, ΡΡΠΎΠ±Ρ Π·Π°ΠΌΠ°ΡΠΊΠΈΡΠΎΠ²Π°ΡΡ Π΅Π³ΠΎ Π½Π΅ΠΏΡΠΈΠ³Π»ΡΠ΄Π½ΡΠΉ Π²ΠΈΠ΄, ΠΈΡΠΏΠΎΠ»ΡΠ·ΡΡΡΡΡ Π½Π΅ΠΊΠΎΡΠΎΡΡΠ΅ Π΄Π΅ΠΊΠΎΡΠ°ΡΠΈΠ²Π½ΡΠ΅ ΠΏΡΠΈΠ΅ΠΌΡ.
ΠΡΠ°ΠΊ:
- ΠΡΠΊΡΡΡΡΠ²Π΅Π½Π½ΡΠΉ Π²Π°Π»ΡΠ½, ΡΡΡΠ°Π½Π°Π²Π»ΠΈΠ²Π°Π΅ΡΡΡ ΠΏΡΠΎΡΡΠΎ ΠΏΠΎΠ²Π΅ΡΡ ΠΊΡΡΡΠΊΠΈ Π»ΡΠΊΠ°.
- ΠΠ΅ΠΊΠΎΡΠ°ΡΠΈΠ²Π½ΡΠΉ ΠΊΠ°ΠΌΠ΅Π½Ρ Π»Π΅Π³ΠΊΠΈΠΉ ΠΏΠΎ Π²Π΅ΡΡ, ΠΎΠ΄Π½Π° ΡΡΠΎΡΠΎΠ½Π° Ρ Π½Π΅Π³ΠΎ ΠΈΠΌΠ΅Π΅Ρ Π³Π»Π°Π΄ΠΊΡΡ ΠΏΠΎΠ²Π΅ΡΡ Π½ΠΎΡΡΡ. ΠΡΠΎ ΠΈΠ·Π΄Π΅Π»ΠΈΠ΅ ΠΏΠΎΠ»ΠΎΠ΅ Π²Π½ΡΡΡΠΈ, Π½ΠΎ ΠΎΡΠ΅Π½Ρ Π΄ΠΎΠ»Π³ΠΎ ΡΠΎΡ ΡΠ°Π½ΡΠ΅Ρ ΡΠ²ΠΎΡ Π²Π½Π΅ΡΠ½ΡΡ ΠΏΡΠΈΠ²Π»Π΅ΠΊΠ°ΡΠ΅Π»ΡΠ½ΠΎΡΡΡ.
- ΠΠ°Π»ΡΡΠ΅Π΅ ΡΠΎΠ»Π½ΡΠ΅ ΠΈ ΡΡΡΡΠΈ Π΄ΠΎΠΆΠ΄Ρ Π½Π΅ Π²ΡΠ΅Π΄ΡΡ Π΅Π³ΠΎ ΠΊΡΠ°ΡΠΎΡΠ΅.
- ΠΠΎ ΠΌΠ΅ΡΠ΅ Π½Π΅ΠΎΠ±Ρ ΠΎΠ΄ΠΈΠΌΠΎΡΡΠΈ ΠΏΡΠΎΠΈΠ·Π²ΠΎΠ΄ΡΡΠ²Π° ΡΠ°Π±ΠΎΡ ΠΏΠΎ ΠΎΠ±ΡΠ»ΡΠΆΠΈΠ²Π°Π½ΠΈΡ ΠΊΠΎΠ»ΠΎΠ΄ΡΠ°, ΠΈΡΠΊΡΡΡΡΠ²Π΅Π½Π½ΡΠΉ Π²Π°Π»ΡΠ½ ΠΏΡΠΎΡΡΠΎ ΠΎΡΡΡΠ°Π²Π»ΡΠ΅ΡΡΡ Π² ΡΡΠΎΡΠΎΠ½Ρ, ΡΡΠΎΠ±Ρ Π²Π΅ΡΠ½ΡΡΡΡΡ ΠΏΠΎΡΠΎΠΌ Π½Π° ΠΌΠ΅ΡΡΠΎ.
- ΠΠ½ΡΠ΅ΡΠ΅ΡΠ½Π°Ρ ΠΈΠ΄Π΅Ρ Π΄Π΅ΠΊΠΎΡΠΈΡΠΎΠ²Π°Π½ΠΈΡ β ΡΠΎΠ·Π΄Π°Π½ΠΈΠ΅ ΠΊΡΡΡΠΊΠΈ-ΠΊΠ»ΡΠΌΠ±Ρ ΠΈ Π΅Ρ ΡΡΡΠ°Π½ΠΎΠ²ΠΊΠ°.
- ΠΠ»Π΅ΠΌΠ΅Π½Ρ Π²ΡΠΏΠΎΠ»Π½Π΅Π½ Π² Π²ΠΈΠ΄Π΅ ΠΊΡΡΡΠΊΠΈ, Π²Π²Π΅ΡΡ Ρ ΠΊΠΎΡΠΎΡΠΎΠ³ΠΎ ΠΈΠΌΠ΅Π΅ΡΡΡ ΠΏΠΎΠ»ΠΎΡΡΡ.
- ΠΠΎΠ»ΠΎΡΡΡ Π·Π°ΡΡΠΏΠ°Π΅ΡΡΡ ΠΏΠ»ΠΎΠ΄ΠΎΡΠΎΠ΄Π½ΠΎΠΉ ΠΏΠΎΡΠ²ΠΎΠΉ, Π²ΡΡΠ°ΠΆΠΈΠ²Π°ΡΡΡΡ ΡΠ²Π΅ΡΡ ΠΈ ΠΏΡΠΎΡΡΠ°Ρ ΠΊΠ°Π½Π°Π»ΠΈΠ·Π°ΡΠΈΠΎΠ½Π½Π°Ρ ΠΊΡΡΡΠΊΠ° ΠΏΡΠ΅Π²ΡΠ°ΡΠ°Π΅ΡΡΡ Π² ΡΠ²Π΅ΡΠΎΡΠ½ΡΡ ΠΊΠ»ΡΠΌΠ±Ρ.
- ΠΡΡΡΠΊΠΈ ΠΌΠΎΠΆΠ½ΠΎ ΠΏΡΠΈΠΎΠ±ΡΠ΅ΡΡΠΈ Π³ΠΎΡΠΎΠ²ΡΠΌΠΈ ΠΈΠ·Π΄Π΅Π»ΠΈΡΠΌΠΈ. ΠΡΠΎΠΈΠ·Π²ΠΎΠ΄ΡΡΡΡ ΠΎΠ½ΠΈ ΠΈΠ· ΠΏΡΠΎΡΠ½ΠΎΠ³ΠΎ ΠΏΠΎΠ»ΠΈΡΡΠΈΠ»Π΅Π½Π°. Π’Π°ΠΊΠΎΠΉ ΠΌΠ°ΡΠ΅ΡΠΈΠ°Π» Π½Π΅ ΠΏΠΎΠ΄Π²Π΅ΡΠ³Π°Π΅ΡΡΡ ΠΊΠΎΡΡΠΎΠ·ΠΈΠΈ ΠΈ ΠΌΠΎΠΆΠ΅Ρ ΠΏΠΎΡΠ°Π΄ΠΎΠ²Π°ΡΡ Ρ ΠΎΠ·ΡΠ΅Π² Π½Π° ΠΏΡΠΎΡΡΠΆΠ΅Π½ΠΈΠΈ 50 Π»Π΅Ρ, Π΅ΡΠ»ΠΈ Π½Π΅ Π½Π°Π΄ΠΎΠ΅ΡΡ.
- ΠΠΎΠ»ΠΎΡΡΡ ΠΊΡΡΡΠΊΠΈ Π½Π° ΡΠ΅ΠΏΡΠΈΠΊΠ΅ ΠΏΡΠ΅Π΄ΠΎΡΡΠ°Π²Π»ΡΠ΅Ρ ΠΏΠΎΠ»Π½ΡΡ ΡΠ²ΠΎΠ±ΠΎΠ΄Ρ ΡΠ²ΠΎΡΡΠ΅ΡΠΊΠΎΠΉ ΠΌΡΡΠ»ΠΈ. ΠΠ΅ ΡΠΎΠ»ΡΠΊΠΎ ΡΠ²Π΅ΡΡ ΠΈ Π³Π°Π·ΠΎΠ½Π½Π°Ρ ΡΡΠ°Π²Π° ΠΌΠΎΠ³ΡΡ ΡΠΊΡΠ°ΡΠ°ΡΡ ΠΊΡΡΡΠΊΡ, ΠΎΠ½Π° ΠΌΠΎΠΆΠ΅Ρ Π±ΡΡΡ Π·Π°ΠΏΠΎΠ»Π½Π΅Π½Π° ΠΊΡΠ°ΡΠΈΠ²ΡΠΌΠΈ ΠΊΠ°ΠΌΠ΅ΡΠΊΠ°ΠΌΠΈ, ΠΏΠ΅ΡΠΊΠΎΠΌ, ΠΊΠΎΠΌΠ±ΠΈΠ½ΠΈΡΠΎΠ²Π°Π½Π½ΡΠΌΠΈ ΠΌΠ°ΡΠ΅ΡΠΈΠ°Π»Π°ΠΌΠΈ.
ΠΡΡΡΠΈ Π΄Π»Ρ ΠΊΠΎΠ»ΠΎΠ΄ΡΠ΅Π² ΠΈ ΠΈΡ ΠΊΠΎΠ½ΡΡΡΡΠΊΡΠΈΠΈ

ΠΡΡΡΠ° Π΄Π»Ρ ΠΊΠΎΠ»ΠΎΠ΄ΡΠ°
Π’Π°ΠΊΠΎΠ΅ ΠΎΠ±ΡΡΡΡΠΎΠΉΡΡΠ²ΠΎ Π±ΠΎΠ»Π΅Π΅ ΠΌΠ°ΡΡΡΠ°Π±Π½ΠΎΠ΅, Π² ΠΎΡΠ»ΠΈΡΠΈΠΈ ΠΎΡ ΠΏΡΠΎΡΡΠΎΠΉ ΠΊΡΡΡΠΊΠΈ.
ΠΡΠ°ΠΊ:
- ΠΡΡΡΠΈ ΠΌΠΎΠ³ΡΡ Π±ΡΡΡ ΡΡΠ°ΡΠΈΠΎΠ½Π°ΡΠ½ΡΠΌΠΈ ΠΈ ΡΡΡΠ°Π½Π°Π²Π»ΠΈΠ²Π°ΡΡΡΡ Π½Π° Π΄ΠΎΠΌΠΈΠΊΠ°Ρ Π΄Π»Ρ ΠΊΠΎΠ»ΠΎΠ΄ΡΠ° ΠΈΠ»ΠΈ Π±Π΅Π· Π½ΠΈΡ .
- ΠΡΠ½ΠΎΠ²Π½ΡΠΌ ΠΈΡ ΠΎΡΠ»ΠΈΡΠΈΠ΅ΠΌ ΡΠ²Π»ΡΡΡΡΡ ΠΏΠΎΠ΄ΠΏΠΎΡΠΊΠΈ.
- ΠΠ½ΠΈ Π΄Π΅Π»Π°ΡΡ ΠΊΠΎΠ½ΡΡΡΡΠΊΡΠΈΡ Π²ΡΡΠΎΠΊΠΎΠΉ.
Π Π°ΡΡΠΌΠΎΡΡΠΈΠΌ ΠΏΠΎΠ΄ΡΠΎΠ±Π½Π΅Π΅:
- ΠΡΡΡΠ° ΠΌΠΎΠΆΠ΅Ρ Π±ΡΡΡ ΡΠ°Π·Π½ΠΎΠ³ΠΎ ΡΠ°Π·ΠΌΠ΅ΡΠ° ΠΈ ΠΈΠΌΠ΅ΡΡ ΡΠ°Π·Π»ΠΈΡΠ½ΡΠ΅ ΡΠΎΡΠΌΡ.
- ΠΠ»Ρ Π΅Π΅ ΠΎΠ±ΡΡΡΡΠΎΠΉΡΡΠ²Π° ΠΆΠ΅Π»Π°ΡΠ΅Π»ΡΠ½ΠΎ ΠΈΡΠΏΠΎΠ»ΡΠ·ΠΎΠ²Π°ΡΡ ΡΠΎΠ»ΡΠΊΠΎ Π²Π»Π°Π³ΠΎΡΡΠΎΠΉΠΊΠΈΠ΅ ΠΌΠ°ΡΠ΅ΡΠΈΠ°Π»Ρ, ΠΊΠΎΡΠΎΡΡΠ΅ Π½Π΅ ΡΠΏΠΎΡΠΎΠ±Π½Ρ ΡΠ΅Π°Π³ΠΈΡΠΎΠ²Π°ΡΡ Π½Π° ΠΊΠ»ΠΈΠΌΠ°ΡΠΈΡΠ΅ΡΠΊΠΈΠ΅ ΠΈ ΠΏΠΎΠ³ΠΎΠ΄Π½ΡΠ΅ ΡΡΠ»ΠΎΠ²ΠΈΡ.
ΠΠΈΠ΄Ρ ΠΊΡΡΡΠΈ:
- ΠΠ΄Π½ΠΎΡΠΊΠ°ΡΠ½Π°Ρ.
- ΠΠΎΠΌΠ°Π½Π½Π°Ρ.
- ΠΠ²ΡΡΠΊΠ°ΡΠ½Π°Ρ.
ΠΡΠΈΠΌΠ΅ΡΠ°Π½ΠΈΠ΅. ΠΠΏΡΠΈΠΌΠ°Π»ΡΠ½ΠΎΠΉ Π²ΡΡΠΎΡΠΎΠΉ ΠΊΡΡΡΠΈ Π΄Π»Ρ ΠΊΠΎΠ»ΠΎΠ΄ΡΠ° ΡΡΠΈΡΠ°Π΅ΡΡΡ 1,5 ΠΌ. ΠΡΠ»ΠΈ ΠΆΠ΅ ΠΊΡΡΡΠ° ΠΎΡΠ΄Π΅Π»ΡΠ½ΠΎ ΡΡΠΎΡΡΠ°Ρ ΠΈ Π½Π΅ ΠΌΠΎΠ½ΡΠΈΡΠΎΠ²Π°Π½Π° Π½Π° Π΄ΠΎΠΌΠΈΠΊ, ΡΠΎ Π²ΡΡΠΎΡΠ° Π΅Π΅ ΠΌΠΎΠΆΠ΅Ρ Π΄ΠΎΡΡΠΈΠ³Π°ΡΡ 1,7-1,8 ΠΌ.
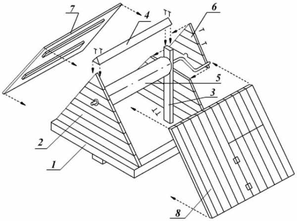
ΠΠ· ΡΠ΅Π³ΠΎ ΡΠΎΡΡΠΎΠΈΡ ΠΊΡΡΡΠ° Π΄Π»Ρ ΠΊΠΎΠ»ΠΎΠ΄ΡΠ°
ΠΠΎΠ½ΡΡΡΡΠΊΡΠΈΡ ΠΊΡΡΡΠΈ ΡΠΎΡΡΠΎΠΈΡ ΠΈΠ· Π½Π΅ΡΠΊΠΎΠ»ΡΠΊΠΈΡ ΡΠ»Π΅ΠΌΠ΅Π½ΡΠΎΠ²:
- ΠΠΎΠ΄ΠΏΠΎΡΠΎΠΊ.
- ΠΠ°ΡΠΊΠ°ΡΠ° Π΄Π»Ρ ΠΊΡΠΎΠ²Π»ΠΈ.
- ΠΡΠ½ΠΎΠ²Π½ΡΡ ΠΈ ΠΏΠΎΠ΄Π΄Π΅ΡΠΆΠΈΠ²Π°ΡΡΠΈΡ ΠΊΠΎΠ½ΡΡΡΡΠΊΡΠΈΠΉ.
ΠΡΠΈΠΌΠ΅ΡΠ°Π½ΠΈΠ΅. Π‘ΠΎΠΎΡΡΠΆΠ°Π΅ΡΡΡ Π»Π΅Π³ΠΊΠΎ ΠΈ Π±ΡΡΡΡΠΎ ΠΊΡΡΡΠ° Π΄Π»Ρ ΠΊΠΎΠ»ΠΎΠ΄ΡΠ° ΡΠ²ΠΎΠΈΠΌΠΈ ΡΡΠΊΠ°ΠΌΠΈ ΡΡ Π΅ΠΌΠ° ΠΊΠΎΡΠΎΡΠΎΠΉ ΡΠΎΡΡΠ°Π²Π»ΡΠ΅ΡΡΡ ΠΏΡΠ΅Π΄Π²Π°ΡΠΈΡΠ΅Π»ΡΠ½ΠΎ.
Π Π°ΡΡΠΌΠΎΡΡΠΈΠΌ ΠΏΠΎΠ΄ΡΠΎΠ±Π½Π΅Π΅:
- ΠΠ·Π½Π°ΡΠ°Π»ΡΠ½ΠΎ ΡΠΎΡΡΠ°Π²Π»ΡΠ΅ΡΡΡ ΠΏΡΠΎΠ΅ΠΊΡ ΠΊΡΡΡΠΈ.
- Π Π½Π΅ΠΌ ΡΠΊΠ°Π·ΡΠ²Π°ΡΡΡΡ ΠΏΠ°ΡΠ°ΠΌΠ΅ΡΡΡ ΠΊΠΎΠ½ΡΡΡΡΠΊΡΠΈΠΈ, ΡΡΠΈΡΡΠ²Π°Ρ Π³ΡΡΠ½ΡΠΎΠ²ΠΎΠ΅ Π·Π°Π³Π»ΡΠ±Π»Π΅Π½ΠΈΠ΅.
- ΠΠΎΡΠ»Π΅ ΡΡΠΎΠ³ΠΎ ΠΏΡΠΎΡΡΠΈΡΡΠ²Π°Π΅ΡΡΡ Π½Π΅ΠΎΠ±Ρ ΠΎΠ΄ΠΈΠΌΠΎΠ΅ ΠΊΠΎΠ»ΠΈΡΠ΅ΡΡΠ²ΠΎ ΠΌΠ°ΡΠ΅ΡΠΈΠ°Π»Π° ΠΈ Π²ΡΠ±ΠΈΡΠ°ΡΡΡΡ ΠΌΠ΅ΡΠΎΠ΄Ρ ΡΠΎΠΎΡΡΠΆΠ΅Π½ΠΈΡ ΠΊΠΎΠ½ΡΡΡΡΠΊΡΠΈΠΈ.
Π‘Ρ Π΅ΠΌΠ° ΠΊΡΡΡΠΈ Π΄Π»Ρ ΠΊΠΎΠ»ΠΎΠ΄ΡΠ° ΠΏΠΎΠΊΠ°Π·Π°Π½Π° Π½Π° ΡΠΎΡΠΎ.

Π‘Ρ Π΅ΠΌΠ° ΠΊΡΡΡΠΈ ΠΈΠ· Π΄Π΅ΡΠ΅Π²ΡΠ½Π½ΡΡ Π΄ΠΎΡΠΎΠΊ
ΠΠΎΠ΄ΠΏΠΎΡΠΊΠΈ Π΄Π»Ρ ΠΊΡΡΡΠΈ
ΠΡΠΈ ΡΠ»Π΅ΠΌΠ΅Π½ΡΡ ΠΊΠΎΠ½ΡΡΡΡΠΊΡΠΈΠΈ Π΄ΠΎΠ»ΠΆΠ½Ρ Π±ΡΡΡ ΠΏΡΠΎΡΠ½ΡΠΌΠΈ ΠΈ Π΄ΠΎΠ»Π³ΠΎΠ²Π΅ΡΠ½ΡΠΌΠΈ.
ΠΠΎΡΠ΅ΠΌΡ:
- ΠΠΌΠ΅Π½Π½ΠΎ Π½Π° Π½ΠΈΡ ΠΌΠΎΠ½ΡΠΈΡΡΠ΅ΡΡΡ ΠΊΠ°ΡΠΊΠ°Ρ ΠΊΡΡΡΠΈ.
- ΠΠΎΡΠ»Π΅ ΡΡΠΎΠ³ΠΎ ΡΡΡΠ°Π½Π°Π²Π»ΠΈΠ²Π°Π΅ΡΡΡ ΠΊΡΠΎΠ²Π»Ρ.
- ΠΠΎΠ΄ΠΏΠΎΡΠΊΠΈ, ΠΊΠΎΡΠΎΡΡΠ΅ Π½Π΅ ΡΠ²Π»ΡΡΡΡΡ ΡΠ»Π΅ΠΌΠ΅Π½ΡΠΎΠΌ Π΄ΠΎΠΌΠΈΠΊΠ°, Π±Π΅ΡΠΎΠ½ΠΈΡΡΡΡΡΡ Π² Π³ΡΡΠ½Ρ.
- ΠΠ»ΡΠ±ΠΈΠ½Π° ΡΠ°ΠΊΠΎΠ³ΠΎ Π±Π΅ΡΠΎΠ½ΠΈΡΠΎΠ²Π°Π½ΠΈΡ Π·Π°Π²ΠΈΡΠΈΡ ΠΎΡ ΡΡΠΎΠ²Π½Ρ ΠΏΡΠΎΠΌΠ΅ΡΠ·Π°Π½ΠΈΡ Π³ΡΡΠ½ΡΠ°, ΡΠ°ΠΊ ΠΊΠ°ΠΊ Π² ΠΏΠΎΡΠ»Π΅Π΄ΡΡΠ²ΠΈΠ΅ ΠΎΡΡΠ°ΠΈΠ²Π°Π½ΠΈΡ ΡΠ½Π΅Π³ΠΎΠ² ΠΊΠΎΠ½ΡΡΡΡΠΊΡΠΈΡ ΠΏΡΠΈ Π½Π΅ΠΏΡΠ°Π²ΠΈΠ»ΡΠ½ΠΎΠΉ Π³Π»ΡΠ±ΠΈΠ½Π΅ ΠΌΠΎΠΆΠ΅Ρ ΠΏΠΎΠ²Π΅ΡΡΠΈ.
ΠΠ·Π³ΠΎΡΠ°Π²Π»ΠΈΠ²Π°ΡΡΡΡ ΠΏΠΎΠ΄ΠΏΠΎΡΠΊΠΈ:
- ΠΠ· ΠΌΠ΅ΡΠ°Π»Π»Π°.
- ΠΠ΅ΡΠ΅Π²ΡΠ½Π½ΡΡ Π±ΡΡΡΡΠ΅Π².
- ΠΠΈΡΠΏΠΈΡΠ° ΠΈΠ»ΠΈ Π΄ΡΡΠ³ΠΎΠ³ΠΎ ΠΏΠΎΠ΄ΠΎΠ±Π½ΠΎΠ³ΠΎ ΠΌΠ°ΡΠ΅ΡΠΈΠ°Π»Π°.
ΠΡΠ΅ ΠΎΠ½ΠΈ ΠΏΡΠ°ΠΊΡΠΈΡΠ½ΡΠ΅ ΠΈ ΠΏΡΠΎΡΠ½ΡΠ΅, Π° ΡΠ°ΠΊΠΆΠ΅ ΠΈΠΌΠ΅ΡΡ Π΄Π»ΠΈΡΠ΅Π»ΡΠ½ΡΠΉ ΡΡΠΎΠΊ ΡΠΊΡΠΏΠ»ΡΠ°ΡΠ°ΡΠΈΠΈ.
Π‘ΠΎΠ²Π΅Ρ. ΠΠ±ΡΠ·Π°ΡΠ΅Π»ΡΠ½ΠΎ Π½Π°Π΄ΠΎ ΡΠ΄Π΅Π»Π°ΡΡ ΠΏΠ΅ΡΠ΅Π²ΡΠ·ΠΊΡ ΠΏΠΎΠ΄ΠΏΠΎΡΠΎΠΊ, ΡΡΠΎΠ±Ρ ΠΎΠ½ΠΈ Π½Π΅ ΠΎΡΠΊΠ»ΠΎΠ½ΡΠ»ΠΈΡΡ.
ΠΠ»Ρ ΡΡΡΠ°Π½ΠΎΠ²ΠΊΠΈ ΠΏΠΎΠ΄ΠΏΠΎΡΠΎΠΊ Π±Π΅Π· ΠΊΠΎΠ½ΡΡΡΡΠΊΡΠΈΠΈ Π΄ΠΎΠΌΠΈΠΊΠ° ΠΏΠΎΠ½Π°Π΄ΠΎΠ±ΠΈΡΡΡ:
- ΠΡΡΡΡΡ ΡΠΌΡ ΠΈ ΡΠ΄Π΅Π»Π°ΡΡ Π² Π½ΠΈΡ ΠΏΠΎΠ΄ΡΡΠΏΠΊΡ ΠΈΠ· ΠΏΠ΅ΡΠΊΠ° ΠΈ ΡΠ΅Π±Π½Ρ.
- Π£ΡΡΠ°Π½ΠΎΠ²ΠΈΡΡ ΠΏΠΎ ΡΡΠΎΠ²Π½Ρ ΠΏΠΎΠ΄ΠΏΠΎΡΠΊΠΈ ΠΈ Π·Π°ΠΊΡΠ΅ΠΏΠΈΡΡ Π² Π½ΡΠΆΠ½ΠΎΠΌ ΠΏΠΎΠ»ΠΎΠΆΠ΅Π½ΠΈΠΈ.
- ΠΠ·Π³ΠΎΡΠΎΠ²ΠΈΡΡ Π±Π΅ΡΠΎΠ½Π½ΡΠΉ ΡΠ°ΡΡΠ²ΠΎΡ ΠΈ Π·Π°Π»ΠΈΡΡ Π΅Π³ΠΎ Π² ΡΠΌΡ ΡΠΎ ΡΡΠΎΠ»Π±Π°ΠΌΠΈ, ΠΏΡΠΈ ΡΡΠΎΠΌ ΡΠΈΠΊΡΠ°ΠΆ Π½Π΅ ΡΠ±ΠΈΡΠ°Π΅ΡΡΡ.
ΠΡΠΈΠΌΠ΅ΡΠ°Π½ΠΈΠ΅. Π‘ΡΠ°Π·Ρ Π½Π° ΡΠ°ΠΊΡΡ ΠΊΠΎΠ½ΡΡΡΡΠΊΡΠΈΡ Π½Π΅Π»ΡΠ·Ρ ΠΌΠΎΠ½ΡΠΈΡΠΎΠ²Π°ΡΡ ΠΊΡΡΡΡ. Π¦Π΅ΠΌΠ΅Π½Ρ Π΄ΠΎΠ»ΠΆΠ΅Π½ Π½Π°ΡΡΠΎΡΡΡΡΡ ΠΈ Ρ ΠΎΡΠΎΡΠΎ Π²ΡΡΠΎΡ Π½ΡΡΡ. ΠΡΠΎΡ ΠΏΠ΅ΡΠΈΠΎΠ΄ Π·Π°ΠΉΠΌΠ΅Ρ Π½Π΅ΡΠΊΠΎΠ»ΡΠΊΠΎ Π΄Π½Π΅ΠΉ.
ΠΠ°ΡΠ΅ΡΠΈΠ°Π»Ρ, ΠΊΠΎΡΠΎΡΡΠ΅ ΠΈΡΠΏΠΎΠ»ΡΠ·ΡΡΡ Π΄Π»Ρ ΡΠΎΠΎΡΡΠΆΠ΅Π½ΠΈΡ ΠΊΡΡΡΠΈ
ΠΠ·Π³ΠΎΡΠ°Π²Π»ΠΈΠ²Π°Π΅ΡΡΡ ΠΊΡΡΡΠ° ΠΊΠΎΠ»ΠΎΠ΄ΡΠ° ΡΠ²ΠΎΠΈΠΌΠΈ ΡΡΠΊΠ°ΠΌΠΈ ΠΈΠ· ΠΏΡΠ°ΠΊΡΠΈΡΠ½ΡΡ ΠΌΠ°ΡΠ΅ΡΠΈΠ°Π»ΠΎΠ².

ΠΠΎΠ»ΠΈΠΊΠ°ΡΠ±ΠΎΠ½Π°Ρ Π² ΠΏΠΎΠΊΡΡΡΠΈΠΈ ΠΊΡΡΡΠΈ ΠΊΠΎΠ»ΠΎΠ΄ΡΠ°
ΠΡΠΎ ΠΌΠΎΠΆΠ΅Ρ Π±ΡΡΡ:
- ΠΠΎΠ»ΠΈΠΊΠ°ΡΠ±ΠΎΠ½Π°Ρ Π»ΡΠ±ΠΎΠ³ΠΎ ΠΎΡΡΠ΅Π½ΠΊΠ°.
- ΠΠ΅ΡΠ°Π»Π»ΠΈΡΠ΅ΡΠΊΠΈΠΉ Π»ΠΈΡΡ.
- ΠΠ»Π°ΡΡΠΈΠΊ ΠΈΠ»ΠΈ ΡΠ°ΠΉΠ΄ΠΈΠ½Π³.
- Π‘ΡΠ΅ΠΊΠ»ΠΎ ΠΈΠ»ΠΈ ΠΏΠ»Π΅Π½ΠΊΠ°.
- ΠΡΠΎΡΠ½Π°ΡΡΠΈΠ» ΠΈ ΡΠ°ΠΊ Π΄Π°Π»Π΅Π΅.
ΠΡΠ΅ ΡΡΠΈ ΠΌΠ°ΡΠ΅ΡΠΈΠ°Π»Ρ ΠΊΡΠ΅ΠΏΡΡΡΡ Π΄ΠΎΠ²ΠΎΠ»ΡΠ½ΠΎ ΠΏΡΠΎΡΡΠΎ. ΠΠ°ΠΊ ΡΠ΄Π΅Π»Π°ΡΡ ΠΊΡΡΡΡ Π½Π° ΠΊΠΎΠ»ΠΎΠ΄Π΅Ρ ΡΠ²ΠΎΠΈΠΌΠΈ ΡΡΠΊΠ°ΠΌΠΈ?
ΠΡΠΎΠ²Π΅Π΄Π΅Π½ΠΈΠ΅ ΡΠ°Π±ΠΎΡ:
- ΠΠ·Π½Π°ΡΠ°Π»ΡΠ½ΠΎ Π½ΡΠΆΠ½ΠΎ ΡΠ΄Π΅Π»Π°ΡΡ ΠΊΠ°ΡΠΊΠ°Ρ.
- ΠΠ½ ΠΌΠΎΠΆΠ΅Ρ Π±ΡΡΡ ΠΌΠ΅ΡΠ°Π»Π»ΠΈΡΠ΅ΡΠΊΠΈΠΌ ΠΈΠ»ΠΈ Π΄Π΅ΡΠ΅Π²ΡΠ½Π½ΡΠΌ.
Π‘ΠΎΠ²Π΅Ρ. ΠΠ»Ρ ΡΠΎΠ³ΠΎ, ΡΡΠΎΠ±Ρ ΡΠ΄Π΅Π»Π°ΡΡ ΠΌΠ΅ΡΠ°Π»Π»ΠΈΡΠ΅ΡΠΊΠΈΠΉ ΠΊΠ°ΡΠΊΠ°Ρ ΠΊΡΡΡΠΈ ΠΏΠΎΠ΄ΠΏΠΎΡΠΊΠΈ ΡΠ°ΠΊΠΆΠ΅ Π΄ΠΎΠ»ΠΆΠ½Ρ Π±ΡΡΡ ΠΌΠ΅ΡΠ°Π»Π»ΠΈΡΠ΅ΡΠΊΠΈΠ΅. ΠΡΠΏΠΎΠ»ΡΠ·ΡΡΡ ΡΠΎΠ½ΠΊΠΎΡΡΠ΅Π½Π½ΡΠ΅ ΡΡΡΠ±Ρ Π΄Π»Ρ ΡΡΠΎΠ³ΠΎ, ΠΊΠΎΡΠΎΡΡΠ΅ Π½Π΅ ΠΈΠΌΠ΅ΡΡ Π±ΠΎΠ»ΡΡΠΎΠ³ΠΎ Π²Π΅ΡΠ° ΠΈ Π½Π΅ ΡΠΎΠ·Π΄Π°Π΄ΡΡ Π΄ΠΎΠΏΠΎΠ»Π½ΠΈΡΠ΅Π»ΡΠ½ΠΎΠΉ Π½Π°Π³ΡΡΠ·ΠΊΠΈ Π½Π° ΠΊΠΎΠ½ΡΡΡΡΠΊΡΠΈΡ.
- ΠΠ΅ΡΠ΅Π²ΡΠ·ΠΊΠ° ΠΊΠ°ΡΠΊΠ°ΡΠ° Π΄Π΅Π»Π°Π΅ΡΡΡ Π½Π° ΡΡΠΌΠΎΡΡΠ΅Π½ΠΈΠ΅ ΠΈ ΡΠ²ΠΎΠΈΠΌΠΈ ΡΡΠΊΠ°ΠΌΠΈ ΡΠΎΠ³Π»Π°ΡΠ½ΠΎ ΠΏΡΠΎΠ΅ΠΊΡΠ° ΠΊΡΡΡΠΈ. Π’ΡΡ Π½Π΅Ρ Π½ΠΈΠΊΠ°ΠΊΠΈΡ ΡΠ΅ΠΊΠΎΠΌΠ΅Π½Π΄Π°ΡΠΈΠΉ.
- ΠΠ΄ΠΈΠ½ΡΡΠ²Π΅Π½Π½ΠΎΠ΅, ΡΡΠΎ Π½ΡΠΆΠ½ΠΎ ΡΡΠ΅ΡΡΡ β Π»Π΅Π³ΠΊΠΈΠΉ ΠΌΠΎΠ½ΡΠ°ΠΆ ΠΊΡΠΎΠ²Π΅Π»ΡΠ½ΠΎΠ³ΠΎ ΠΌΠ°ΡΠ΅ΡΠΈΠ°Π»Π° ΠΈ Π½Π°Π΄Π΅ΠΆΠ½ΠΎΠ΅ Π΅Π³ΠΎ Π·Π°ΠΊΡΠ΅ΠΏΠ»Π΅Π½ΠΈΠ΅.
Π Π΅ΠΊΠΎΠΌΠ΅Π½Π΄Π°ΡΠΈΠΈ:
- ΠΠΎΠ»ΠΈΠΊΠ°ΡΠ±ΠΎΠ½Π°Ρ ΠΌΠΎΠ½ΡΠΈΡΡΠ΅ΡΡΡ ΡΠΏΠ΅ΡΠΈΠ°Π»ΡΠ½ΡΠΌΠΈ ΡΠ΅Π·ΠΈΠ½ΠΎΠ²ΡΠΌΠΈ Π΄ΡΠ±Π΅Π»ΡΠΌΠΈ. ΠΠΎΠ²Π΅ΡΡ Π½ΠΎΡΡΡ ΠΏΡΠΈ ΡΡΠΎΠΌ ΠΌΠΎΠΆΠ΅Ρ Π±ΡΡΡ ΠΊΠ°ΠΊ ΠΌΠ΅ΡΠ°Π»Π»ΠΈΡΠ΅ΡΠΊΠΎΠΉ, ΡΠ°ΠΊ ΠΈ Π΄Π΅ΡΠ΅Π²ΡΠ½Π½ΠΎΠΉ.
- Π‘ΡΠ΅ΠΊΠ»ΠΎ ΠΌΠ΅Π½Π΅Π΅ ΠΏΡΠ°ΠΊΡΠΈΡΠ½ΠΎ Π² ΠΌΠΎΠ½ΡΠ°ΠΆΠ΅, ΡΠ°ΠΊ ΠΊΠ°ΠΊ ΠΌΠΎΠΆΠ΅Ρ Π±ΡΡΡ ΠΈΡΠΏΠΎΠ»ΡΠ·ΠΎΠ²Π°Π½ΠΎ ΡΠΎΠ»ΡΠΊΠΎ Π½Π° Π΄Π΅ΡΠ΅Π²ΡΠ½Π½ΠΎΠΌ ΠΊΠ°ΡΠΊΠ°ΡΠ΅. ΠΠ»Ρ Π΅Π³ΠΎ Π·Π°ΠΊΡΠ΅ΠΏΠ»Π΅Π½ΠΈΡ Π½ΡΠΆΠ½Ρ ΡΠ΅ΠΉΠΊΠΈ ΠΈ Π² ΠΊΠ°ΡΠΊΠ°ΡΠ΅ ΠΏΡΠΎΠ΄Π΅Π»ΡΠ²Π°ΡΡΡΡ ΡΠ³Π»ΡΠ±Π»Π΅Π½ΠΈΡ Π΄Π»Ρ Π΅Π³ΠΎ ΡΡΡΠ°Π½ΠΎΠ²ΠΊΠΈ.
- ΠΠ»Π΅Π½ΠΊΠ° ΡΠ²Π»ΡΠ΅ΡΡΡ Π²ΡΠ΅ΠΌΠ΅Π½Π½ΡΠΌ ΠΏΠΎΠΊΡΡΡΠΈΠ΅ΠΌ, ΡΠ°ΠΊ ΠΊΠ°ΠΊ Π½Π° ΡΠ°ΠΊΠΎΠΉ ΠΊΠΎΠ½ΡΡΡΡΠΊΡΠΈΠΈ Π½Π΅ ΠΏΡΠΎΡΠ»ΡΠΆΠΈΡ Π΄ΠΎΠ»Π³ΠΎ. ΠΠΎΠ½ΡΠΈΡΠΎΠ²Π°ΡΡ Π΅Π΅ ΠΌΠΎΠΆΠ½ΠΎ ΡΠ°ΠΊΠΆΠ΅ Π½Π° Π»ΡΠ±ΠΎΠΉ ΠΊΠ°ΡΠΊΠ°Ρ.
- ΠΠ΅ΡΠ°Π»Π»ΠΈΡΠ΅ΡΠΊΠΈΠ΅ Π»ΠΈΡΡΡ ΠΈ ΠΏΡΠΎΡΠ½Π°ΡΡΠΈΠ», ΠΊΠΎΡΠΎΡΡΠΉ ΠΏΠΎ ΡΠ²ΠΎΠ΅ΠΉ ΡΡΡΠΈ ΡΠ²Π»ΡΠ΅ΡΡΡ ΠΈΡ Π²ΠΈΠ΄ΠΎΠΌ ΠΌΠΎΠ³ΡΡ ΠΈΡΠΏΠΎΠ»ΡΠ·ΠΎΠ²Π°ΡΡΡΡ Π½Π° ΠΌΠ΅ΡΠ°Π»Π»ΠΈΡΠ΅ΡΠΊΠΎΠΌ ΠΊΠ°ΡΠΊΠ°ΡΠ΅, Π½ΠΎ Π½Π΅ ΡΠ΅Π΄ΠΊΠΎ ΠΏΡΠΈΠΌΠ΅Π½ΡΡΡΡΡ ΠΈ Π½Π° Π΄Π΅ΡΠ΅Π²ΡΠ½Π½ΠΎΠΌ.
- Π‘Π°ΠΉΠ΄ΠΈΠ½Π³ ΠΈΠ»ΠΈ ΠΏΠ»Π°ΡΡΠΈΠΊ ΠΊΡΠ΅ΠΏΡΡ ΡΠΎΠ»ΡΠΊΠΎ Π½Π° Π΄Π΅ΡΠ΅Π²ΡΠ½Π½ΡΠΉ ΠΊΠ°ΡΠΊΠ°Ρ.
Π‘ΠΎΠ²Π΅Ρ. ΠΠ°ΡΠΊΠ°Ρ ΠΈ ΠΏΠΎΠ΄ΠΏΠΎΡΠΊΠΈ ΠΈΠ· Π΄Π΅ΡΠ΅Π²Π° ΠΈΠ»ΠΈ ΠΌΠ΅ΡΠ°Π»Π»Π° ΠΏΠΎΡΠ»Π΅ ΡΡΡΠ°Π½ΠΎΠ²ΠΊΠΈ ΡΡΠ΅Π±ΡΡΡ ΡΠΏΠ΅ΡΠΈΠ°Π»ΡΠ½ΠΎΠΉ ΠΎΠ±ΡΠ°Π±ΠΎΡΠΊΠΈ. ΠΡ ΠΎΠ±ΡΠ·Π°ΡΠ΅Π»ΡΠ½ΠΎ ΠΎΠΊΡΠ°ΡΠΈΠ²Π°ΡΡ, ΡΡΠΎΠ±Ρ ΡΠ²Π΅Π»ΠΈΡΠΈΡΡ ΡΡΠΎΠΊ ΡΠ»ΡΠΆΠ±Ρ ΠΊΠΎΠ½ΡΡΡΡΠΊΡΠΈΠΈ.
ΠΠΈΠ΄Π΅ΠΎ ΠΏΠΎΠΌΠΎΠΆΠ΅Ρ ΡΠ΄Π΅Π»Π°ΡΡ ΠΊΡΡΡΡ Π΄Π»Ρ ΠΊΠΎΠ»ΠΎΠ΄ΡΠ° ΡΠ°ΠΌΠΎΡΡΠΎΡΡΠ΅Π»ΡΠ½ΠΎ ΠΈ ΡΡΠΊΠΎΠ½ΠΎΠΌΠΈΡΡ ΡΡΠ΅Π΄ΡΡΠ²Π°.
moikolodets.ru
