Шумоизоляция для стен в квартире материалы – современные звукоизоляционные материалы, монтаж звукоизоляции своими руками, отзывы » Интер-ер.ру
Способы шумоизоляции стен в квартире современными материалами
ПОДЕЛИТЕСЬ
В СОЦСЕТЯХ
Проблема шумового загрязнения среды обитания человека в современном мире стоит очень остро. Проживание в многоквартирных домах с не очень качественной защитой от шума становится для жильцов все более не комфортным. Шум проникает в квартиру не только с улицы через окна, но и от соседей через смежные стены. В связи с этим, многие решают эту проблему, благодаря шумоизоляции стен в квартире современными материалами.

Шумоизоляция стен защитит квартиру от посторонних звуков
Шумоизоляция стен в квартире: современные материалы
и их характеристики
Сегодня шумоизолирующие материалы являются очень востребованными на строительном рынке. Постоянно возрастающий уровень шума заставляет людей искать эффективные способы защиты от него. Особенно это касается тех, кто проживает в старых обветшалых домах, стены которых не способны удерживать звуковой поток. Существует два основных способа снизить шумовую нагрузку:
- Обить все стены материалами, поглощающими звуковые волны. Они имеют вид толстых пористых матрасов.
- Наклеить тонкие (до 15 мм.) упругие рулонные материалы, эффективно отражающие звук.

Звукоизоляция стен в квартире с использованием рулонных материалов
Шумоизоляция стен в квартире современными материалами может быть проведена наиболее эффективно, если комбинировать оба этих способа.
Полезный совет! Перед тем, как решить вопрос о проведении работ по шумоизоляции, необходимо точно определить источники шумового воздействия. Это поможет не только избежать лишних расходов, но и эффективней разрешить эту проблему. Ведь, если шум города не слышен, а мешают только соседи, то совсем не обязательно изолировать внешние стены.

Схема прохождения, отражения и поглощения звука через гипсокартон и шумоизолирующий материал
Плюсы и минусы различных материалов для шумоизоляции
Что касается видов материалов, применяемых для защиты стен от шумового воздействия, то выбирать их стоит, зная о достоинствах и недостатках.
- гипсокартонные листы в сочетании с пористыми материалами: эковата, минеральная вата, целлюлозный утеплитель. Плюсами таких материалов являются: хорошая защита от шума и создание дополнительной теплоизоляции внешних стен. К минусам можно отнести: сложность монтажа и большое количество пыли при нем, потеря значительной площади помещения, так как утеплитель имеет толщину до 12 см;

Сравнение уровня звукоизоляции различных конструкций гипсокартонных перегородок
- декоративные панели. Этот современный шумоизоляционный материал изготовлен из волокон деревьев хвойных пород. Он имеет вид стандартных стеновых панелей с пазами и шипами на торцах для удобства монтажа. Их поверхность обладает декоративным покрытием, что освобождает от необходимости дополнительной отделки. Данный материал очень хорошо подходит для больших помещений. Из недостатков можно отметить только высокую стоимость;

Пример шумоизоляции стен в квартире
- полиуретановые плиты, благодаря хорошим звукоизолирующим качествам, используют даже в студиях звукозаписи. Они имеют стандартные размеры 600х1200 мм. Толщина листов не более 15 мм. Плюсы материала: легкость, простота в монтаже, хороший эффект. Его минус: высокая стоимость;
- звукоизолирующие мембраны. Это современный материал, имеющий толщину всего 35 мм, что дает возможность его использования в комплексе с другими видами звукоизоляции. Монтировать мембрану очень легко, так как она очень гибкая и может загибаться под углом. При этом материал обладает высокой плотностью, что позволяет создать прекрасную защиту от шума. Его недостатком тоже является очень высокая цена;

Шумоизоляция стены пенополистирольными плитами
- пробковое покрытие имеет очень красивый декоративный вид, легко монтируется обычным наклеиванием. Оно очень тонкое. Звукоизолирующие качества хорошие, но ниже, чем у других материалов;
- сэндвич-панели представляют собой стекловолоконные панели, заключенные между двумя гипсовыми листами. Этот материал обладает хорошими звукоизоляционными качествами, прост в монтаже, но имеет большую толщину, что критично для небольших помещений.

Схема звукоизоляции стены с помощью сэндвич-панели
Для шумоизоляции стен в квартире современных материалов достаточно много. Выбирать их нужно, не только «по карману», но и понимая особенности монтажа каждого из них. Кроме того, нужно оценить степень шумового загрязнения в квартире. Не стоит перестраховываться и монтировать толстые материалы в ущерб и без того маленькой площади. Может быть, достаточно будет использовать более тонкую защиту.

Шумоизоляция стен в квартире с помощью минваты
Полезный совет! Нельзя использовать для звукоизоляции пенопласт. Он является хорошим утеплителем, но звук не поглощает.
Материалы для шумоизоляции стен (видео)
Порядок работ по шумоизоляции стен в квартире современными материалами
С монтажом тонких материалов, которые наклеиваются на стены, проблем ни у кого не возникнет. Технологию производства работ по шумоизоляции стен в квартире современными материалами, имеющими большую толщину, необходимо разобрать подробно.
Перед началом работ необходимо отключить электричество и заделать все отверстия в стенах под розетками с помощью минеральной ваты или аналогичных материалов. При этом нужно использовать гипс для замазки. Он быстро схватывается и не нужно будет долго ждать. С отверстиями от труб и других коммуникаций нужно поступить аналогично.

Обзор современных шумоизоляционных материалов
Затем на стены, с помощью строительного уровня, вертикально устанавливаются металлические направляющие профили на расстоянии 40 — 60 см. друг от друга. Крепить профиль прямо к стене не следует. Нужно отступить, так, чтобы под него можно было подложить звукоизоляцию.
Между профилями очень плотно укладываются матрасы стекловолокна, минеральной ваты или любого другого материала. Они крепятся к стене специальными анкерами с широкими шляпками. Стыки запениваются или замазываются шпаклевкой. Необходимо обратить внимание на плотность крепления направляющих профилей. Если она будет недостаточной, вибрация еще больше усилит шум в комнате. После всего этого с помощью саморезов на готовый каркас из профилей крепятся гипсокартонные листы. Затем проводятся все необходимые работы по финишной отделке стен.

Схема шумоизоляции стены минеральной ватой
Полезный совет! Использование двух слоев гипсокартона или сэндвич-панелей из гипсоволокна значительно увеличивает звукоизолирующий эффект.
Если для звукоизоляции использовались современные панели с декоративным покрытием, то отделка гипсокартоном не требуется. Не нужен и монтаж направляющих, так как данный материал крепится непосредственно к плоскости стены с помощью жидких гвоздей. Однако, если стены не ровные и имеют большие перепады, то предварительно нужно сделать обрешетку, на которую затем закрепит панели.
Наиболее эффективной шумоизоляцией является комбинированная. Для ее создания требуется использовать два различных материала. Например, на плиты из минеральной ваты закрепить звукоизолирующую мембрану. Затем все закрыть гипсокартоном. Этот прием даст очень хороший эффект, хотя и значительно увеличит стоимость ремонта.

Звукоизоляция стен с помощью хлопко-волоконных материалов
Полезный совет! Металлопрофиль не должен нигде соприкасаться непосредственно со стенами, несущими конструкциями, трубами и другими элементами. Все точки соприкосновения должны быть изолированы специальной утеплительной лентой в 2 слоя. Это снизит вибрацию и, как следствие, проникновение в помещение шума.
Правильно смонтированная шумоизоляция стен в квартире современными материалами, гарантирует покой и прекрасный отдых в своем доме, не только от городского шума, но и от слишком беспокойных и шумных соседей.
Звукоизоляционные панели для стен (видео)
ОЦЕНИТЕМАТЕРИАЛ Загрузка… ПОДЕЛИТЕСЬ
В СОЦСЕТЯХ
СМОТРИТЕ ТАКЖЕ
REMOO В ВАШЕЙ ПОЧТЕremoo.ru
Шумоизоляция стен, какие материалы использовать
От того, какая шумоизоляция сделана в квартире, зависит комфорт и даже состояние здоровья проживающих. Обычные ограждения в жилых домах не обеспечивают полную защиту жилищ от шума, поступающего с улицы и из соседних квартир.
Единственное решение проблемы – это надежная защита от шума стен, пола, перегородок и потолка. На фото ниже изображено, как производится монтаж каркаса с тепло,- и шумоизоляцией под гипсокартон.
Утепление и шумоизоляция стены в домеВиды шумов и влияющие факторы
Перед тем, как сделать шумоизоляцию, сначала следует разобраться с видами звуковых помех и способами защиты от них.
Типы шумов бывают следующие:
- ударный – образуется от механического воздействия на строительную конструкцию: стук каблуков, падение предметов на пол, прыжки детей и др.;
- структурный – периодические механические воздействия на строительную конструкцию и распространение вибрации по всему зданию: работа электроинструментов, перестановка мебели и др.;
- воздушный – передача звуковых волн через воздух с улицы, из соседних квартир от работающей аудио,- и телеаппаратуры, разговорной речи и др.
Прежде чем бороться с распространением звука и попаданием его в квартиру, надо знать способы его передачи.
Звуковые волны распространяются двумя путями:
- прямой – передача звука в окна или через смежные поверхности;
- косвенный – прохождение через несущие конструкции здания, коммуникации, отверстия и щели.
На распространение звука влияют факторы:
- у дверей и окон отсутствуют уплотнения;
- материалы строительных конструкций имеют плохие звукоизолирующие свойства;
- пустоты, щели и трещины в сооружениях обладают свойством резонанса;
- некачественные отделочные материалы.
С чем бороться: с шумом или звуками
Многие считают звукоизоляцию и шумоподавление синонимами, но это не так. Между ними существуют различия. Звукоизоляция стен, пола и потолков заключается в изменении спектра нежелательных звуков до такого уровня, что различимые на слух осмысленные компоненты становятся невнятными.
Даже при той же интенсивности невнятный звук меньше вызывает раздражение, а при длительном воздействии не приносит человеку вреда.
Шумоизоляция заключается в общем подавлении посторонних звуков. Фон от шума остается, но психофизиологически не воспринимается. Даже резкие звуки не переходят порог комфортности. Их слышно, но они не раздражают.
Полная тишина человеку не нужна и даже вредна. Небольшой фоновый шум всегда должен быть.
Уровни шума
Звукоизолирующие свойства закладываются в несущие ограждающие конструкции при проектировании и строительстве. Прежде всего, они обеспечиваются их массивностью. Защита от воздушного шума стенами и перекрытиями задается в диапазоне 45-55 дБ.
Сейчас этого недостаточно: для акустического комфорта она не должна превышать уровень 62 дБ, а для межкомнатных перегородок – 52 дБ. Большинству ограждающих конструкций требуется дополнительная установка шумоизоляции.
Индекс звукоизоляции и коэффициент поглощения звука
Средства защиты могут отражать звук или поглощать его. Звукоотражающие материалы подбираются по индексу звукоизоляции Rw – числовой характеристике в децибелах, показывающей их способность отражать звук.
В звукоизоляции основную роль играют масса и плотность. Чем эти параметры больше, тем выше защитные свойства. Наиболее распространенными являются бетон, кирпич, МДФ, гипсокартон.
Индексы звукоизоляции материалов
| Материал | Толщина, см | Вес конструкции, кг/м² | Индекс изоляции воздушного шума, дБ |
|---|---|---|---|
| Керамический кирпич | 12 (полкирпича) | 267 | 40 |
| Силикатный кирпич | 12 (полкирпича) | 330 | 45 |
| Газобетонные блоки | 10 | 74 | 40 |
| Гипсобетонные плиты | 10 | 92 | 40-45 |
| ГКЛ (один слой) с деревянным каркасом | 8,5 | 30-40 | 35 |
| ГКЛ (один слой) с каркасом из металлического профиля | 10 | 21,5 | 40 |
| Стеклоблоки | 10 | 65-75 | 45 |
| Раздвижные из дерева, стекла, алюминия | — | 6-20 | — |
Rw зависит от толщины перегородки и ее плотности. На стены целесообразно крепить легкий шумоизоляционный материал, поскольку увеличение их толщины в 2 раза улучшает защиту всего на 10-15 дБ, что говорит о низкой эффективности. Здесь можно решить проблему, если купить в строительном магазине материал с Rw = 15-20дБ и покрыть им стену. После этого разговор за стенкой становится не слышимым.
В расчетах используют еще один показатель – коэффициент звукопоглощения. Способностью уменьшать силу звука за счет его поглощения обладают пористые, мягкие и ячеистые структуры. В их среде звук преодолевает множество преград и ослабевает.
Для оценки звукопоглощения используется шкала в диапазоне между 0 и 1. Чем ближе параметр приближается к верхнему пределу, тем лучше звукоизоляция стен или пола у защитного материала. Равенство нулю означает полное отражение звука. В таблице ниже представлены значения коэффициента звукопоглощения некоторых материалов. Из нее следует, что на его величину также влияет частота звука.
Коэффициент звукопоглощения материалов
| Материал, объект | Частотная характеристика, Гц | |||||
|---|---|---|---|---|---|---|
| 125 | 250 | 500 | 1000 | 2000 | 4000 | |
| Штукатурка гипсовая | 0,02 | 0,026 | 0,04 | 0,062 | 0,058 | 0,028 |
| Штукатурка известковая | 0,024 | 0,046 | 0,06 | 0,085 | 0,043 | 0,056 |
| Древесноволокнистые плиты (ДВП), 12 мм | 0,22 | 0,30 | 0,34 | 0,32 | 0,41 | 0,42 |
| Панель гипсовая 10 мм с относом от стены на 100 мм | 0,41 | 0,28 | 0,15 | 0,06 | 0,05 | 0,02 |
| Пол паркетный | 0,04 | 0,04 | 0,07 | 0,06 | 0,06 | 0,07 |
| Пол дощатый на лагах | 0,20 | 0,15 | 0,12 | 0,10 | 0,08 | 0,07 |
| Застекленные оконные переплеты | 0,35 | 0,25 | 0,18 | 0,12 | 0,07 | 0,04 |
| Двери лакированные | 0,03 | 0,02 | 0,05 | 0,04 | 0,04 | 0,04 |
| Ковер шерстяной толщиной 9 мм по бетону | 0,02 | 0,08 | 0,21 | 0,26 | 0,27 | |
Звукопоглощающие свойства материалов становятся заметными, начиная с толщины около 50 мм. Их различают по трем категориям жесткости:
- Мягкие – с волокнистой хаотичной структурой. В их число входят войлок, вата, базальтовая вата. Достоинством матов или панелей из них является высокий коэффициент звукопоглощения (0,7-0,95) при небольшом удельном весе (не более 80 кг/м³). Значительный эффект достигается, начиная с толщины не менее 10 см.
- Полужеские – плиты с волокнами и ячейками. Материалы содержат минвату или вспененные полимеры. У них коэффициент звукопоглощения чуть ниже (0,5-0,8), а удельный вес достигает 130 кг/м³.
- Твердые – изделия, содержащие вату в виде гранул или суспензии с наполнителями типа вермикулита или пемзы. Коэффициент звукопоглощения составляет около 0,5, а удельный вес – до 400 кг/м³.
Установка шумоизоляции из матов и панелей требует большого пространства в помещении. Занимаемый объем можно уменьшить, если наклеивать панели с наружной декоративной отделкой непосредственно на стену.
Наклеивание на стену шумоизолирующих панелейЗвукоизоляция от воздушного шума
Звукоизоляционные панели для стен входят в состав конструкций, где Rw находится в пределах 0-20 дБ. Человек воспринимает это как снижение шума в 2 раза.
Увеличение массы стены неэффективно и приводит к росту нагрузки на основание здания. Уменьшить толщину звукоизоляции можно путем применения многослойных панелей, где используются как звукоотражающие, так и звукопоглощающие свойства разных слоев.
При этом важно, чтобы между ними создавались воздушные промежутки. Особенно звуковая волна ослабевает, переходя из одного материала в другой через воздушную прослойку. Специалисты предлагают звукопоглощающие материалы в составе многослойных конструкций. 
Однородные изделия дают меньше эффекта, чем многослойные плиты. Жесткие и мягкие изделия нужно чередовать, где первые отвечают за звукоизоляцию, а вторые – за звукопоглощение. Ватные матрасы изготавливаются не тоньше 5 см и занимают более половины конструкции по толщине.
Шумоизоляцию стен производят с помощью каркасных и бескаркасных конструкций. Сэндвич-панели помещаются между несущими стенами и облицовкой гипсокартоном. Узлы крепления при этом содержат виброизолирующие прокладки, чтобы не было звуковых мостиков.
Звукоизоляция от ударного и структурного шумов
Чтобы звуковая волна не передавалась через строительные конструкции, применяют комплексную звукоизоляцию. Особенно важна защита пола, например, стяжкой толщиной до 60 мм. Эффективной конструкцией является плавающий пол, состоящий из упругого слоя звукоизоляции, на плитах перекрытия и уложенной на него сборной или монолитной стяжки.
Устройство плавающего пола в помещенииСейчас здания часто сдаются в эксплуатацию без отделки, где пол состоит только из перекрытия. Если соседи сверху не защитят свой пол от ударного шума, это создаст в дальнейшем проблемы для всех, живущих на нижних этажах.
Материалы для шумоизоляции несущих стен
Популярным материалом является стеклохолст с хаотичными мелкими волокнами. Упругие стеклянные нити хорошо поглощают звуковые волны. Тонкий материал подходит для оклеивания стыков строительных конструкций и может применяться для стен.
- Пенополистирол – хороший материал, которым обеспечивается влагостойкость, тепло,- и шумоизоляция. Недостатком является горючесть материала.
- Минеральная вата – негорючий материал и самая лучшая звукоизоляция в плане соотношения цены и качества. Ее часто используют для укладки под гипсокартон, но она теряет свойства при попадании в нее влаги. Поэтому ее применяют преимущественно в сухих помещениях и с надежной гидроизоляцией.
- Пробка – качественный и экологически чистый материал используется чаще для пола. Преимуществом является малая толщина покрытия, но материал не очень эффективный по сравнению с другими. Применение ограничено из-за большой цены.
Современные звукоизоляционные материалы
Возрастающий уровень шума приводит к необходимости создания от него надежной защиты. Для этого применяют шумопоглощающие материалы в виде толстых матрасов или звукоотражающие стеновые панели. Лучшая шумоизоляция достигается при комбинировании этих способов.
Перед тем, как сделать звукоизоляцию стен, прежде всего, следует установить источник шума. Если городской шум не мешает, а звуки доносятся от соседей, внешние стены изолировать не обязательно.
Необходимо знать, какие следует выбрать изоляционные материалы для стен, их достоинства и недостатки.
Гипсокартонные конструкции, заполненные пористыми материалами, хорошо защищают помещения от шума и холода. Недостатками являются потери площади, сложность и трудоемкость монтажа, накопление внутри пыли и влаги.
Декоративные панели на основе древесины легко собираются, благодаря соединению шип-паз. На наружной поверхности уже есть декоративное покрытие, что избавляет от необходимости производить отделку. Данный звукоизоляционный экологичный материал для стен позволяет быстро отделать большое помещение, хотя он далеко не самый дешевый.
Декоративные панели на основе древесиныЛисты из полиуретана обладают хорошими звукозащитными свойствами. При этом их толщина составляет 15 мм. Материал удобно монтировать в связи с небольшим весом, упругостью и легкостью обработки. Недостатками являются высокая цена и горючесть.
Пенополистирол или пенопласт представляет собой вспененный термопласт с микроскопическими воздушными полостями. Он является надежным теплоизолятором, но защиту от шума он обеспечивает слабую.
Звукоизолирующие мембраны имеют толщину всего 35 мм и могут применяться вместе с другими материалами. Материал обладает высокой гибкостью и достаточно плотный. Стоимость его также высокая.
Сэндвич-панели представляют собой звукопоглощающий материал, размещенный между гипсовыми листами. Материал больше применяется для защиты общественных помещений, торговых залов, павильонов в связи с большой толщиной панелей. Крепится с помощью дюбелей или саморезов.
Шумоизоляция стен в квартире
Звукоизоляция стен своими руками выполняется на стадии ремонта. Подобную внутреннюю отделку целесообразно производить при достаточных размерах помещений, поскольку с каждой стены уберется до 8 см.
Для работы следует приобрести профили, листы гипсокартона, шумопоглощающий материал и крепеж. Эффективность звукоизоляции можно значительно повысить, если использовать:
- современные звукоизоляционные и звукопоглощающие материалы;
- звукоизоляционные прокладки под каркас;
- специальный профиль;
- облицовку большей толщины (можно сделать двойную).
Сначала сооружается прочный каркас по ширине мата, например, из минеральной ваты. Под направляющие профили укладывается мягкая лента для защиты от вибраций. Лучше сделать изоляцию в два слоя. На стойки также наклеивается звукоизоляционная лента.
Затем прокладывается электропроводка. Здесь важно соблюдать правила электро,- и пожаробезопасности, особенно, если используется горючий материал для звукопоглощения. Концы проводов выводятся наружу.
Звукопоглощающий материал укладывается плотно. Это могут быть панели, матрасы из минеральной ваты, стекловолокна и др. Зазоров в стыках и полостей внутри каркаса быть не должно. Много ваты накладывать также не рекомендуется, иначе после на стенах образуются бугры. Матрасы следует крепить дюбелями с широкими шляпками.
Эффективным дополнением к минеральной вате является звукоизолирующая мембрана. Ее крепят поверх плиты или на слой утеплителя.
Как выглядит звукоизолирующая мембранаСтена зашивается гипсокартоном. Можно приобрести акустические ГКЛ с отверстиями, снижающими уровень шума и наклеенным изнутри нетканым полотном. Двухслойная обшивка существенно повышает защитные свойства. Только швы не должны совпадать. Для этого потребуется больше стоек каркаса. Ремонт обойдется дороже, но он того стоит.
Если точка росы окажется внутри помещения, под звукоизоляцией будет скапливаться влага. Целесообразной является наружная тепловая изоляция несущих стен. Тогда стена внутри будет сухой, и не образуется плесень.
При использовании наружного утеплителя со звукоизолирующими свойствами внутренняя отделка помещений может не понадобиться. Если применить шумоизолирующий материал в составе штукатурки, эффект звуковой защиты усилится.
Производители звукоизоляционных панелей
Панели «PhoneStar» немецкой компании «Wolf Bavaria» производят материал европейского качества. Наличие в России дочерних предприятий позволяет покупать материал по доступным ценам. Панели пригодны для снижения воздушного и ударного шума при толщине всего 12 мм, что дает им неоспоримые преимущества перед толстыми шумопоглощающими матами, занимающими значительную полезную площадь помещений.
Панели «PhoneStar» для снижения шумаОтечественная компания «ЭкоЗвукоИзол» производит аналогичные плиты, используя немецкие технологии. Небольшая толщина панелей (13 мм) и наличие ассортимента размеров дают возможность применять их в квартирах, промышленных и общественных зданиях.
«Acoustic Group», немецкая компания, разработала инновационный продукт, уникальный по акустическим свойствам – панельную систему ЗИПС. Основой является древесное волокно с магнезитовым связующим, обладающее высокой звукопоглощающей способностью. Компания также разработала виброизоляционные материалы, которые можно использовать в сочетании со звукопоглощающими плитами. Продукция отличается многочисленными вариантами дизайна.
«ЭкоХор» – акустические плиты со стильным дизайном и хорошими характеристиками.
Видео: шумоизоляция пола
Шумоизоляция стен наиболее эффективна, когда действует комплексная защита, включающая отражение и поглощение звуковых волн, а также тепловую изоляцию. Прежде всего, следует определить источник шума, а затем подобрать против него эффективные защитные средства. Шумоизоляция стен делается своими руками, если все выполнять правильно.
Качественная звукоизоляция жилища требует дополнительных мероприятий: установки стеклопакетов, применения уплотнений на дверях, отделки квартиры облицовкой с высокими звукоотражающими свойствами и др.
teplota.guru
Шумоизоляция Стен в Квартире: Применяем Современные Материалы
СохранитьSavedRemoved 0

Акустический комфорт чрезвычайно важен для полноценного отдыха – нервная система человека нуждается в периодах покоя, и отсутствие раздражающего шума благотворно сказывается на состоянии здоровья. В современных многоквартирных домах высокая звукопроводимость, и если шум от соседей мешает нормально жить, стоит позаботиться о частичной или полной звукоизоляции квартиры. Шумоизоляцию стен можно выполнить своими руками, используя современные специализированные материалы.
Содержание этой статьи
Функциональное назначение шумоизоляции
Читайте также: Как сделать монтаж водяного теплого пола своими руками: пошагавшая инструкция монтажа на все виды покрытий (20+ Фото & Видео) +Отзывы

Звукопоглощающая защита
При выборе звукоизоляционных материалов и технологии монтажа необходимо учитывать, какую функцию должна выполнять защитная система. Это может быть:
- Звукоизоляция. Материал защищает от звуков извне, отражая звуковые волны, идущие из соседних помещений или с улицы. Это обеспечивает необходимый уровень акустического комфорта в квартире
- Звукопоглощение. Материал гасит звуковые волны, источник которых находится внутри квартиры, благодаря чему деятельность ее жильцов не будет доставлять соседям акустический дискомфорт
Виды шума в многоквартирном доме
Читайте также: Наливной пол: устройство, рекомендации и пошаговая инструкция как сделать своими руками (50 Фото & Видео) +Отзывы

Шумы подразделяются на несколько типов в зависимости от их источника и характера
Шумы могут быть:
- акустическими
- воздушными
- ударными
- структурными
Акустический шум рождается в самом помещении из-за отражения звука от стен. Данный эффект всем знаком как эхо. Чтобы его избежать, достаточно продуманно расставить мебель, использовать текстиль для оформления интерьера.
Под воздушным шумом подразумевают звуковые колебания, передающиеся по воздуху – разговоры людей, голоса животных, музыка, шум работающего телевизора или радиоприемника.
Читайте также: [Инструкция] Ламинат на деревянный пол своими руками: полное описание процесса. Схемы укладки, какие материла следует использовать (Фото & Видео) +Отзывы

Как спастись от ударного шума
Ударный шум распространяется не только по воздуху, но и по конструкциям в виде вибраций. Стук молотка, топот соседей сверху, звук падающих предметов – знакомый всем ударный шум в многоквартирном доме.
Источник структурного шума – оборудование, при работе которого распространяются вибрации. Это может быть механизм лифта, перфоратор (в этом случае присутствует и ударный, и структурный шум), электродрель и т.д.
Выбор шумоизолирующего материала для стен, пола и потолка
Читайте также: Как утеплить частный дом своими руками: кровлю, стены и фундамент, описание предлагаемых на рынке теплоизоляционных материалов (Фото & Видео) +Отзывы

Материалы для звукоизоляции
На российском рынке представлен широкий выбор отечественных и импортных материалов для звукоизоляции строительных конструкций. Можно сочетать различные типы материалов для стен, пола и потолка, чтобы обеспечить акустический комфорт в помещении.
Мягкая изоляция
Читайте также: Какая должна быть электропроводка в частном доме, укладка своими руками, инструкция для новичков

Звукоизоляционная мембрана
В данную категорию входят следующие рулонные материалы:
- Звукоизоляционные мембраны. Изготавливаются из волокон натурального или синтетического происхождения, могут иметь клеевой слой для монтажа. Материал пригоден для изоляции стен, потолка, пола. Специально для пола выпускают мембраны на основе битумных полимеров и полиэфирного войлока – такой материал гасит ударные вибрации и одновременно служит гидроизоляцией
- Иглопробивное стекловолокно. Применяется для стен, потолка, каркасных конструкций
- Полиэфирное полотно. Служит подложкой под «плавающий» пол, в первую очередь под настил из ламината
- Минеральная вата. Полотно из базальтового волокна одновременно является эффективным теплоизолятором. Подходит для монтажа на стены и потолок, требует качественной гидроизоляции при укладке на пол
Читайте также: Дизайн кухни совмещенной с гостиной (110+ Фото & Видео): Интерьер в частном доме и квартире +Отзывы

Подложка под ламинат
Твердая изоляция
Категория включает плитные материалы, выполненные из различного сырья, включая:
- базальтовое волокно (в том числе с водоотталкивающей пропиткой)
- полиэфирное волокно (применяется в каркасном строительстве)
- стекловолокно штапельного плетения (рассчитано на изоляцию подвесных потолков, каркасов на стенах)
Читайте также: Банные печи с баком для воды (120+ Фото): устройство и принципы работы, типы, выбор модели, самостоятельное изготовление (Видео) +Отзывы

Комбинированная панель
К твердым звукоизоляционным материалам также относятся комбинированные панели. Внешние слои изготавливают из ДВП, плит из пробки или синтетического материала, а прослойкой служит кварцевый песок, минеральная вата или иной волокнистый материал.
Такая конструкция позволяет легко монтировать панели на стены, получая при этом поверхность, готовую под финишную отделку. Внутренняя прослойка, благодаря своей структуре, гасит звуковые волны и вибрацию.
Варианты шумоизоляции с невысокой эффективностью
Читайте также: Канализация в частном доме своими руками – быстро и без проблем. Описание устройства, какие бывают виды и схемы (20 Фото & Видео) +Отзывы

Ковер на стене для звукоизоляции
Если уровень шума, производимого соседями, не критичен и просто хочется его дополнительно приглушить (и заодно меньше мешать соседям своим шумом), можно использовать следующие способы:
- установить мебельную стенку у стены, общей с соседями
- повесить на стену большой ковер
- уложить на пол ковролин
Рассмотрим подробнее применение материалов, которые считаются звукоизолирующими, но на практике не оправдывают ожиданий.
Акустическая штукатурка
Читайте также: Навес, пристроенный к дому: какие бывают виды, выбор материалов и советы по монтажу (95 Фото & Видео) +Отзывы

Звукопоглощающая штукатурка
Оштукатуривание стен специальным составом, где наполнителем служат легкие пористые материалы (пемза, вспученный вермикулит, перлит и т.д.), позволяет создать слой, гасящий звуковые волны.
Но важно понимать, что акустическая штукатурка поможет снизить уровень исходящего шума и практически не уменьшит децибелы входящего воздушного шума. Против ударных и структурных шумов оштукатуривание тем более не спасет.
Пенополистирол
Доступный по цене пенопласт часто включают в перечень звукоизолирующих материалов. Но закрытоячеистая структура пенопласта не позволяет ему эффективно гасить звуковые волны, в отличие от плит с волокнистой структурой.
Читайте также: Козырек над крыльцом: какие бывают виды, устройство, чертежи, пошаговая инструкция изготовления своими руками (80 Фото & Видео) +Отзывы

Наклеивание пенопласта на стену
Если использовать пенопласт в комплексе со штукатуркой или иными материалами, можно несколько снизить уровень входящего шума за счет разлома звуковой волны на стыке сред с разной плотностью и структурой, но результат будет заметно хуже, чем при использовании специализированных материалов. Вибрацию пенопласт не гасит.
Пробка
Структура пробки позволяет материалу демпфировать (гасить) ударные нагрузки. Напольное покрытие из пробкового ламината, использование рулонной пробки в качестве подложки имеет ряд преимуществ, одним из которых является бесшумность. Это свойство по достоинству оценят соседи снизу, которых не будет беспокоить шум шагов и стук падающих предметов над головой.
Читайте также: Отмостка вокруг дома: виды, устройство, схематические чертежи, инструкция как правильно сделать своими руками (30 Фото & Видео) +Отзывы

Пробковая подложка
Но звукоизолятором пробка не является, и оклейка стен и потолка панелями из данного материала не защитит от входящих шумов. Пробковое покрытие гасит эхо внутри самого помещения, поэтому может казаться, что после отделки стен в комнате стало тише.
Звукоизолирующие обои

Тафтинг-обои
Производители предлагают специальные обои, способные гасить звуковые вибрации, это:
- тафтинг-обои, состоящие из плотной тканевой основы и ворсистого материала поверхности
- синтетический велюр (бумажное полотно с волокнами из винила)
- пробковые обои (тонкий слой прессованной пробки)
Сами по себе обои, наклеенные на стену, не спасут от внешнего шума. Структура их поверхности поможет гасить эхо в помещении, уменьшить исходящий воздушный шум. Звукоизолирующие обои (о чем производители упоминают лишь вскользь) используются в комплексе с каркасной звукоизоляцией или вспененными изолирующими подложками.
Общая толщина конструкции под обои должна составлять не менее 3,5 см, чтобы уровень входящего шума стал ниже.
Поверхность велюровых и тафтинг-обоев электризуется и притягивает пыль, их следует регулярно чистить пылесосом. Это важно учитывать людям, страдающим от астмы, аллергии, заболеваний верхних дыхательных путей.
Вспомогательные материалы
Независимо от типа выбранного шумоизоляционного материала при монтаже следует придерживаться единого принципа: покрытие должно быть цельным и прилегать без зазоров к сопрягающимся конструкциям. Для заделки стыков и швов по периметру, отверстий, требуется использовать специальный герметик.
Благодаря низкому модулю упругости такой герметик имеет отличные виброакустические свойства и служит демпфирующим слоем при вибрационных нагрузках на конструкции.

Виброизолирующее крепление
Технология монтажа многих звукоизоляционных материалов предполагает установку на стены или потолок каркаса из металлического профиля. Важно использовать крепление со специальными эластичными элементами, которые будут гасить вибрацию, передающуюся от конструкций.
Подготовка конструкций
Шумоизолировать помещение можно собственными силами. Наибольший эффект даст звукоизоляция не только стен, общих с соседями, но пола с потолком, поскольку по конструкциям передается вибрация.

Заделка трещин
На подготовительном этапе требуется внимательно осмотреть стену для выявления щелей и трещин – именно они способствуют повышенной звукопроводимости. Щели и трещины требуется тщательно зашпаклевать, тем самым повысив звукоизолирующие свойства самой стены.
Особое внимание уделяется розеткам – отверстия под них тоже слабое место в защите от внешнего шума. Перед началом работ следует обесточить помещение, отключив соответствующий автомат или рубильник на щитке. Затем при помощи индикаторной отвертки требуется проверить розетку на наличие тока. Убедившись, что она отключена, розетку демонтируют и аккуратно вытягивают провода из стены, тщательно заизолировав их концы.
В дальнейшем розетку устанавливают поверх звукоизолирующей конструкции. Отверстие в стене заполняют негорючим шумоизолятором (минвата или стекловата) и заделывают гипсом, алебастром или шпатлевкой.

Заделка трещин
Если через стену проходят трубы системы отопления, швы вокруг них расчищают на максимальную глубину, а затем заполняют специальным герметиком для звукоизоляционных работ.
Герметик должен быть устойчив к нагреву и сохранять эластичность при резких перепадах температуры.
Если выбрана каркасная технология монтажа шумоизоляции, на этом подготовительный этап заканчивается. Под оклейку стен рулонным или плитным материалом может потребоваться выравнивание поверхности штукатуркой.
Технологии шумоизоляции стен и потолка

Шумоизоляция стен
Принципы обустройства звукоизоляции зависят от особенностей выбранного материала – его помещают в каркас из профиля или наклеивают непосредственно на поверхность конструкций.
Каркасная технология
Это наиболее эффективный вариант защиты помещения от проникновения шума извне. К преимуществам каркасной технологии можно отнести:
- сочетание материалов (волокнистый изолятор и гипсокартон), которое позволяет гасить звуковые волны различной частоты
- широкий выбор вариантов отделки поверхности
Недостатком является большая толщина системы – от 7 см. Каркасная технология применяется для шумоизоляции стен и потолка.

Каркасная технология
Комплекс работ включает следующие этапы:
Монтаж панелей

Декоративные панели
- Жесткие звукоизоляционные панели обычно крепятся на каркас по тому же принципу, что и гипсокартон. У панелей, заполненных кварцевым песком, после подрезки требуется заклеивать торцы специальной самоклеющейся лентой, чтобы песок не высыпался. Элементы крепятся на каркас вразбежку, стыки и углубления от саморезов шпатлюются. После зачистки поверхность готова к финишной отделке.
- Существует и бескаркасная технология – жесткие панели можно наклеивать непосредственно на стену, если у нее ровная поверхность. Клеящим составом служат жидкие гвозди или монтажная пена. Между стеной и панелями крепится виброгасящая прокладка, стыки заполняются герметиком.
- Производители предлагают и декоративные акустические панели, которые не требуют финишной отделки. Их приклеивают к обрешетке, устанавливая встык, либо используют пазо-гребневое соединение. Декоративные панели различаются по материалу изготовления, фактуре, цвету, что позволяет найти решение для любого интерьера.
- Акустические декоративные панели снижают уровень исходящего шума, в квартире их рационально использовать в помещениях, где установлена аудиоаппаратура, домашний кинотеатр, где играют на музыкальных инструментах.
Рулонная звукоизоляция

Монтаж рулонной звукоизоляции
- Самый простой и малозатратный способ защитить помещение от входящих шумов – монтаж рулонного материала. Его просто наклеивают на подготовленные стены вертикальными полосами, как обои, используя специальный клей.
- Преимуществом технологии является простота и бюджетность, недостатком – относительно невысокая эффективность. Уровень входящего шума уменьшится примерно в два раза. От звуков соседского перфоратора или дрели такая шумоизоляция не спасет, но звуки голосов и работающего телевизора из-за стены будут практически не слышны.
Технология шумоизоляции пола

Звукоизоляция пола
Современные материалы позволяют качественно звукоизолировать пол, чтобы:
- блокировать шум, проникающий снизу
- снизить шумовое воздействие на перекрытия, чтобы не мешать соседям ниже этажом
Применяются два способа изоляции пола – монтаж каркасной конструкции или обустройство «плавающего» пола.
Каркасный пол

Каркасный пол
- Для изготовления каркаса используется деревянный брус 100х50 мм. Лаги рекомендуется укладывать на виброизоляционные подкладки из резины или другого материала, способного гасить вибрации. Между лагами плотно, без зазоров, укладывается волокнистый звукоизоляционный материал – полужесткие плиты или более мягкий рулонный в два или три слоя. Поверх крепится настил из досок, листов ДСП или фанеры, а затем настилается финишное покрытие.
Между стенами и деревянными конструкциями должен оставаться зазор не менее 10 мм. Древесина расширяется под воздействием влаги и повышенных температур, без компенсационных зазоров по периметру пол может деформироваться.
«Плавающий» пол с бетонной стяжкой

Схема устройства пола
- Данный вариант звукоизоляции позволяет параллельно обустроить водяной обогрев пола.
- На подготовленную плиту перекрытия укладывают звукоизоляционный материал. По периметру помещения и вокруг конструкций (колонны, трубы) прокладывают полоски изолятора или демпфирующую ленту, чтобы обеспечить температурный зазор вокруг стяжки.
- Верхний слой настеленного изолятора обрабатывают водоотталкивающим составом, чтобы материал не впитал влагу из бетонной смеси. Затем монтируется решетка из арматуры, приподнятая на пластиковых подставках. При заливке бетонной смеси ее сразу же разравнивают. Для высыхания стяжки может понадобиться от трех дней до двух недель, на полный набор прочности – около месяца. Компенсационный зазор заполняют герметиком с виброгасящими свойствами, после чего укладывают финишное покрытие.
«Плавающий» пол засыпной
- Засыпная стяжка позволяет обойтись без мокрых работ. Для обустройства такого пола требуется использовать мелкий керамзит и звукоизоляционный материал с жесткой структурой – битумно-полимерную мембрану с полиэфирным войлоком, пробку и т.д. Волокнистые материалы под нагрузками могут просесть.

Засыпная стяжка
- После укладки звукоизолятора, пол засыпается слоем мелкого керамзита. Его необходимо тщательно разровнять и проверить строительным уровнем горизонтальность. Поверх засыпной стяжки укладывают вразбежку плиты ГВЛ или ДСП с пазо-гребневым соединением. Между настилом и стенами должен оставаться зазор 1-2 см на температурную деформацию. Поверх монтируется финишное покрытие.
Часто встречающиеся ошибки

Крепление гипсокартона
Самостоятельный монтаж звукоизоляции не приведет к желаемым результатам и даже ухудшит ситуацию, если допущены грубые ошибки – к примеру, гипсокартонная конструкция при неправильном монтаже усиливает звуки, проникающие извне.
Чаще всего встречаются следующие недочеты:
Заключение

Многослойная система
Если верить рекламе, справиться с шумом от соседей и с улицы очень просто – достаточно оклеить комнату специальными обоями и положить на пол пробковое покрытие. Однако в реальности дело обстоит иначе – полноценная шумоизоляция требует применения специализированных строительных материалов и монтажа многослойной конструкции, свойства которой позволяют гасить звуковые волны и вибрации.
Видео о монтаже акустических панелей:
Видео о каркасной шумоизоляции:
8.7 Общий Балл
Для нас очень важна обратная связь с нашими читателями. Если Вы не согласны с данными оценками, оставьте свой рейтинг в комментариях с аргументацией Вашего выбора. Благодарим за ваше участие. Ваше мнение будет полезно другим пользователям.
БЕЗОПАСНОСТЬ
8
Добавить свой отзывkrrot.net
Как шумоизолировать стены в квартире современными материалами?
Приходя домой с работы, человек, прежде всего, хочет отдохнуть. Но посторонний шум не позволяет расслабиться и восстановиться. Появляется необходимость его устранить, для чего нужна шумоизоляция стен в квартире. Современные материалы позволяют это сделать, но изначально следует разобраться с источниками звуков, чтобы правильно организовать акустическую защиту. Шумоизоляция должна быть надежной и органично вписываться в дизайн.
Шумоизоляция стен и пола в комнатеМеста проникновения шумов
Проникновение в квартиру посторонних звуков происходит по разным причинам:
- через стыки стен;
- через соединения перекрытий и стен;
- через окна и двери;
- при недостаточной толщине перекрытий и стен.
Стеновые панели соединяются между собой раствором из песка и цемента, которым также заделываются щели. Со временем в межстыковом материале образуются трещины, через которые проникает звук. Звукоизоляция стен в квартире может быть улучшена путем ремонта, если расшить и очистить швы между стенами и перекрытиями, после чего заделать щели на стыках и выровнять обратно стены раствором и шпаклевкой.
Эффективно использование монтажной пены для заделки крупных трещин и полостей. В какой-то мере она выполняет функцию звукоизолирующей прослойки, которой наверняка нет в домах старой постройки.
При небольшой толщине стен шум проникает через них. Единственный способ защиты – это обшивка звукоизоляцией. Перед тем, как сделать шумоизоляцию в квартире, следует определить, насколько она уменьшает пространство помещений. Для этого материал подбирается по толщине.
Виды шумов
Шум в квартире разделяется на 3 вида:
- Ударный – возникающий при механическом действии на строительные конструкции: падение предметов, работа перфоратором, прыжки детей, стук каблуков и т.п. Для подавления шумовой волны применяют звукоизоляцию ячеистой структуры.
- Воздушный – передаваемый по воздуху внутри дома или с улицы: при разговоре, работе телевизора, разный уличный шум. Звуковую волну гасят волокнистым или пористым материалом.
- Структурный – вибрация, возникающая от воздействия на строительные конструкции работающими вентиляторами и инструментами, лифтами в подъездах, насосами подачи воды. Передача звуков происходит на стыках панелей и перекрытий, которые следует защищать звукоизолирующими прокладками.
На рисунке ниже изображен уровень интенсивности различных звуков в дБ. Если он высокий, человек будет испытывать дискомфорт.
Интенсивность различных звуковЕстественный звуковой фон составляет 25-30 дБ и считается комфортным. Безопасным для здоровья принято считать уровень порядка 85 дБ, действующий на человека не более 8 часов в день. Если такой шум будет действовать постоянно, он вызовет утомление и расстройство нервной системы. Идеальным вариантом является снижение уровня шума в квартире до естественного фона.
Способ борьбы с воздушным шумом – это создание герметичного помещения: заделка щелей и полостей между помещениями, применение облицовочных конструкций. Заделываются раствором отверстия под розетки и выключатели (частично), а также под все коммуникации.
Уменьшить структурный шум можно только за счет звукоизолирующих прокладок между конструкциями, которые закладываются только в процессе строительства. Эффективно использование монтажной пены для заделки крупных трещин и полостей.
В какой-то мере она выполняет функцию звукоизолирующей прослойки, которая раньше не применялась в домах старой постройки. Сделанный таким образом ремонт – это экономичный, трудоемкий, но недостаточный способ борьбы с проникновением шума в квартиру.
Как предотвратить распространение звуков
Для борьбы с распространением шума применяют два типа материалов: звукоотражающий и звукопоглощающий. Первый – оценивается по индексу звукоизоляции Rw, показывающему, на какую величину материал способен отразить звук. Он измеряется в децибелах.
Отражение звука
Стена вместе со связующим материалом (цементом) должна быть герметичной, с отсутствием щелей, трещин, пустот и отверстий. Чем больше ее масса, тем лучше она задерживает звук. В таблице ниже приведены значения индекса изоляции от воздушного шума для разных строительных материалов.
Индексы звукоизоляции разных материалов
| Материал | Индекс звукоизоляции R, дБ |
|---|---|
| Кирпичная стена 50 мм | 35 |
| Кирпичная стена 100 мм | 42 |
| Кирпичная стена 230 мм | 48 |
| Кирпичная стена 100 мм со слоем штукатурки 12 мм | 45 |
| Кирпичная стена 230 мм со слоем штукатурки 12 мм | 49 |
| Кирпичная стена 450 мм со слоем штукатурки 12 мм | 55 |
| Двойная кирпичная стена с воздушной прослойкой 50 мм | 65 |
| Цемент 100 мм | 45 |
| Цемент 150 мм | 47 |
| Цемент 200 мм | 50 |
| Перегородка из 2-х листов ГКЛ по 12 мм с заполнением минватой 50 мм | 36 |
| Перегородка из 2-х листов ГКЛ по 24 мм с заполнением минватой 75 мм | 45 |
| Дверь одинарная | 15 |
| Дверь с уплотнителем | 20 |
| Монолитная дверь толщиной 60 мм с уплотнителем | 30 |
| Стекло 4 мм | 23 |
| Стекло 6 мм | 27 |
| Два стекла толщиной 6 мм и воздушным зазором 12 мм | 28 |
| Стекло 10 мм, воздушный зазор 150 мм, стекло 8 мм | 44 |
| Стекло 10 мм, воздушный зазор 200 мм, стекло 8 мм | 52 |
Современные СНИП требуют, чтобы Rw наружных стен был не ниже 52 дБ. Этот показатель несколько превышает бетонная стена плотностью 2400 кг/м3 и толщиной 160 мм (53 дБ). Если ее толщина составляет 140 мм, как у большей части старого жилья, индекс звукоизоляции уже составляет 51 дБ. Этого явно недостаточно.
Поглощение звука
Звукопоглощающие материалы гасят звук внутри себя за счет волокнистой, ячеистой или зернистой структуры. Оценка поглощения производится по шкале от 0 до 1. Чем ближе показатель к 1, тем лучше у него защитные свойства.
Материал относится к категории звукопоглощающего, если коэффициент превышает величину 0,4. В некоторых источниках указывается порог 0,2. В таблице ниже приведены значения показателей звукопоглощения разных материалов. Широкие пределы изменения для одного материала зависят от способа его изготовления.
Показатели звукопоглощения разных материалов
| Вид материала | Коэффициент звукопоглащения (при среднегеометрической частоте 1000 Гц) | Динамический модуль упругости, МПа |
|---|---|---|
| Открытое окно (за единицу звукопоглащения условно принимают 1 кв.м. открытого окна) | 1 | — |
| Плиты древесноволокнистые, мягкие | 0,4-0,8 | 1,4 |
| Плиты минераловатные из базальтового или стеклянного волокна | 0,25-0,4 | 0,045-0,25 |
| Специальные акустические плиты «Акмигран», «Аскорд» и др. | 0,7-0,9 | 0,5-1,0 |
| Вермикулит вспученный | 0,7-0,8 | 1,8 |
| Древесина | 0,06-0,1 | Не используется как звукоизолирующий материал |
| Кирпич | 0,032 | Не используется как звукоизолирующий материал |
| Пенополиэтилен | 0,24-0,38 | 0,4-0,72 |
| Пенополистирол | 0,15-0,35 | 0,5-1,3 |
| Звукопоглощающая штукатурка на гипсовом связующем и вспученном вермикулите | 0,48-0,8 | Не используется как звукоизолирующий материал |
Материалы шумоизоляции
Для шумоизоляции стен в квартире их обшивают гипсокартоном. ГКЛ имеют небольшую толщину, и эффект от них небольшой, но в совокупности с другими материалами получаются отличные результаты:
- Минеральная вата – наиболее дешевый и эффективный вариант мягкого шумоизоляционного материала. В жилых помещениях ее применять не рекомендуется из-за наличия в ней микровзвеси, раздражающей дыхательные пути жильцов. Для наружной отделки под вентилируемый фасад материал подходит хорошо. Важно то, что наружная защита намного эффективней внутренней. Наиболее вероятно, что в данном случае внутренняя звукоизоляция не потребуется. При решении вопроса, как сделать звукоизоляцию в квартире, многие выбирают данный материал, поскольку он экономный и эффективный.
- Шуманет – материал на основе базальтовой ваты. Чтобы волокна не попадали в помещение, мат покрывают с одной стороны стекловолокном. Материал не только снижает вредное воздействие на человека, но также придает прочность мягкой плите, сохраняя ее целостность. Коэффициент звукопоглощения у него составляет 0,95. Кроме того, материал негорючий, легкий, плохо поглощает влагу и является дополнительным утеплителем.
- Вспененный полиуретан в виде панелей толщиной до 10 см, который можно приклеить на стены. Относится к полужестким звукопоглотителям с коэффициентом около 0,75.
- Сэндвич-панели из стекловолокна с одной или двумя гипсовыми плитами. Панели крепят к стенам дюбелями сквозь материал или через готовые отверстия. Между собой они соединяются системой паз-гребень. Сверху их закрывают гипсокартоном или другим материалом.
На рисунке ниже представлены звукоизоляционные материалы для стен, поставляемые в виде плит.
Звукоизоляционные материалыТонкие звукоизолирующие материалы
Недорогие звукоизолирующие материалы имеют значительную толщину и занимают много пространства в помещениях. Особой проблемой здесь является звукоизоляция потолка, когда защитный материал занимает большую высоту. При этом их теплоизолирующие свойства не всегда нужны, поскольку смещают точку росы в стене внутрь помещения. При этом в шумоизоляции начинает конденсироваться влага, приводящая к появлению грибков и плесени.
В связи с указанными недостатками потребовался шумоизоляционный материал меньшей толщины. Сейчас их производится несколько видов. Материалы шумоизоляция стен в квартире как современные материалы – это многослойные панели из разнородных материалов:
- Изоплат – натуральный продукт, основой которого являются древесные волокна. Одна сторона плиты делается ровной и не требует последующей отделки. При толщине всего 10 мм звукопоглощение составляет 23 дБ. Монтаж может делаться непосредственно на стену, с помощью клея.
- Крафт – стеновая панель из слоев ДВП, гофрированного картона и вощеной бумаги. Толщина составляет 12 мм, а Rw = 23 дБ. Шумоизоляция хорошо подходит для внутренних стен и перегородок квартиры. Панель приклеивается к стене и способна «дышать», впитывая в себя влагу, а потом отдавая ее обратно.
- ЭкоЗвукоИзол – плиты из 7 слоев спрессованного картона. Внешние слоя выполнены гладкими, а внутренние – волнистыми, с заполнением пространства между ними мелким кварцевым песком. Толщина сэндвича составляет 13 мм. Материал легко обрабатывается и приклеивается к стенам. Сверху рекомендуется настилать ГКЛ. Индекс звукоизоляции составляет 28 дБ – один из самых высоких из всех известных материалов для стен.
- ISOTEX – декоративные панели для шумоизоляции стен. Отходы хвойных пород измельчаются до волокнистой массы, отмачиваются в воде и спрессовываются под высоким давлением. Полученные листы ДВП не содержат в своем составе клея, которым служит природная смола. На лицевую панель наклеивают обои или делают имитацию льняной ткани, фактурной штукатурки, дерева и т.п. прямо на производстве. Монтаж производится на деревянную обрешетку с креплением с помощью степлера.
Жидкие звукоизоляционные материалы
Совсем недавно появились жидкие материалы для шумоизоляции стен. Такое название они получили из-за способа нанесения. Если судить по рекламам, звукоизоляция Green-Glue в виде пасты – это лучшая из известных тонких материалов, но отзывы о ней противоречивые. Тонкая шумоизоляция проявляет себя хорошо в многослойных панелях.
Состав наносится равномерно на поверхность пистолетом для герметика, а затем плотно сжимается двумя слоями строительного материала ГКЛ, ГВЛ или фанеры. При суммарной толщине 52 мм система дает тот же эффект, что и панель ЗИПС толщиной 133 мм. На 3 м2 площади расходуется одна туба объемом 882 мл.
Звукоизоляция Green-GlueПринцип действия материала заключается в том, что под действием вибрации энергия рассеивается внутри слоя. По отзывам пользователей известно, что более экономичным решением является применение вместо Green-Glue обычного силиконового герметика. Эффект при этом будет несколько меньше.
Особенности монтажа
Шумоизоляция стен в квартире своими руками большей частью делается с применением каркаса. При конструировании нужно учитывать его особенности. Если он сделан из дерева, возможна усадка, приводящая к смещению или поломке плит. Для деревянных конструкций можно применять плавающие кронштейны.
Металлические части каркаса являются мостиками передачи звука, снижающими эффективность звукопоглощения. Кронштейны устанавливают на стены через прокладки, гасящие вибрацию. Самый эффективный подвес – это устройство из металлической обоймы с прокладкой из микропористого полиуретанового эластомера. Он выпускается двух типов: для потолка и для стен. Различие заключается в несущей способности, например, одно крепление SoundGuard Vibro Top V для стен рассчитано на 30 кг, а для потолка – на 20 кг.
Монтажный П-образный усиленный элемент закреплен между прокладками эластомера с повышенной площадью контакта. Каркас выполнен цельнометаллическим.
Виброизолирующее креплениеКонструкция подвеса получается с высокой несущей способностью и надежной акустической защитой.
Выбор звукоизоляции
Для конкретных помещений подбираются определенные материалы. Если комната мала по габаритам, применяется звукоотражающее вещество небольшой толщины. Здесь целесообразно применять плотные тяжелые панели с фракционным наполнителем, например, обычный лист гипсокартона. Также применяют многослойные материалы для звукоизоляции, где плотные слои чередуются с волокнистыми или ячеистыми.
Разные свойства каждой прослойки позволяют эффективно рассеивать звуковые волны. Проще всего применить упругую изоляцию, закрытую гипсокартонными листами. На рис. ниже изображена акустическая защита кирпичной стены, где применяется упругая звукоизоляция, двойной слой ГКЛ и кирпичная кладка со слоем звукоизоляционной штукатурки.
Многослойная шумоизоляцияОсобое внимание уделяется помещениям с повышенной влажностью или перепадами температуры. Для кухни подбирается стойкая прослойка, которая не слеживается и не приводит к оголению стен. В прихожую хорошо подходит также влагостойкий материал, но дополнительно обладающий теплоизолирующими свойствами. Это позволит поднять в ней температуру, которая обычно ниже, чем в комнатах.
Некоторые материалы имеют большой удельный вес, который не повлияет на несущие стены в квартире или в коттедже. В каркасный дом подбирается легкий материал, чтобы он не снижал прочность сооружения.
Прежде чем приобретать инновационные материалы, следует собрать о них достаточно информации. Не всегда они так хороши, как рекламируются, а цены на них высокие. Для звукоизоляции стен в квартире рекомендуется применять хорошо проверенные средства.
Монтаж звукоизоляции в квартире
Процесс является трудоемким, требующим затрат времени и сил:
- Подготовка стены. Удаляются старые обои и проверяется качество поверхности на наличие трещин и отверстий. При обнаружении их следует заделать шпаклевкой. На проникновение шума в квартиру влияет даже отверстие от гвоздя. Заделывание щелей уже улучшает качество звукоизоляции стены.
- Обязательно изолируются розетки и выключатели от проникновения шума. Иногда сквозные отверстия для розеток находятся между квартирами. Звукоизоляция заключается в заделывании свободного пространства стекловолокном или другим огнестойким материалом и последующей обработке раствором гипса.
- Между трубами и отверстиями в стенах имеются щели, которые следует тщательно заделать материалом, препятствующим распространению вибрации между металлом и строительной конструкцией. Кроме того, труба фиксируется, и вибрация уменьшается.
- Установка каркаса из металлического профиля. Подвесы снабжаются резиновыми прокладками от вибрации, а на профиль сверху наклеивается звукоизоляция, которая должна располагаться между ним и листом гипсокартона.
- На стену укладывается пленка пароизоляции, после чего каркас плотно заполняется матами или панелями звукоизоляции. Желательно оставить между ними и ГКЛ воздушный зазор, повышающий эффективность акустической защиты.
- Делается обшивка каркаса гипсокартоном. Стыки между листами проклеиваются специальной сеткой. Затем шпаклюются зазоры и шляпки саморезов, после чего наносится финишное покрытие.
На рисунке ниже изображено, как производится монтаж звукоизоляции в квартире с укладкой материала между стойками каркаса и обшивкой сверху гипсокартоном.
Монтаж шумоизоляции в помещенииВидео: шумоизоляция стен
Проблема шумоизоляции стен решается легко, благодаря широкому ассортименту материалов. Для больших помещений можно подобрать недорогие, но эффективные материалы. Для маленьких комнат подходят тонкие панели. В любом случае рекомендуется для несущих стен, выходящих на улицу, применять системы большей толщины. Можно сделать звукоизоляцию стен в квартире своими руками, если правильно выбрать материалы и сделать монтаж по технологии.
teplota.guru
Шумоизоляция стен в квартире от соседей: материалы, цены и технология
Избежать поступления посторонних шумов в вашу квартиру поможет комплексная звукоизоляция стен, потолка и пола. Но делать полную звукоизоляцию квартиры очень дорого и не всегда целесообразно, особенно в тех случаях, когда источником раздражающего шума является какая-то определённая квартира. Если вас достали соседи по этажу, можно избавится от шума в их квартире при помощи звукоизоляции смежных стен. В этой статье разберемся, как сделать звукоизоляцию стен.
Материалы
При строительстве новых домов, все чаще просматривается тенденция уменьшать вес конструкции. Это позволяет снизить затраты на фундамент, что негативно отражается на звукоизоляции помещения. Далеко не всем интересно слышать чем занимаются его соседи. Именно поэтому звукоизоляция квартиры, забота не только тех, кто живет в старых панельных домах, но и в новостройках тоже.
Из-за большого ассортимента на рынке звукоизоляционных материалов можно растеряться. К выбору стоит подходить ответственно, ведь у каждого материала есть свое предназначение. Все чаще людей интересует не только как хорошо материал будет бороться со звуком, но и безопасно ли его использовать в жилом помещении. Дышать парами фенола и монтировать стекловату захочет не каждый.
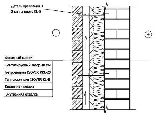
В данной статье мы рассмотрим материалы для звукоизоляции стен российского производителя МаксФорте.
Которые можно применять для каркасных и бескаркасных схем.
МаксФорте ЭкоПлита

Звукопоглощающие базальтовые плиты из вулканической породы.
Обладают превосходными акустическими свойствами. Плиты применяются для звукоизоляции самых сложных объектах: кинотеатры, звукозаписывающие студии.
Материал с безупречной экологией. Можно использовать в качестве огнезащиты. Высокий коэффициент звукопоглощения αW на всех частотах (включая низкие).
Без фенола и шлаков.
- Негорючий материал.
- Без запаха.
- Устойчивы к влаге.
- Максимальный класс «А» по звукопоглощению.
МаксФорте ЭкоАкустик
Плиты из полиэфирных волокон (акустический синтепон), без клея в составе. Для придания формы, используется технология термоскрепления. Материал не выделяет и не содержит вредных веществ. При производстве используется только первичное сырье. Для максимального поглощения звука, используется аэродинамическая укладка волокна. При работе с материалом не требуется спецодежда, перчатки и респиратор.
- Изготавливаются из однородного сырья.
- Без стекловолокна.
- Гипоаллергенный продукт.
- Не боятся воды.
- Максимальный класс «А» по звукопоглощению.
МаксФорте SoundPro

Рулонный композитный материал, нового поколения. Создан с учетом теоретических наработок в области строительной акустики. При толщине в 12 мм, обеспечивает максимальную защиту от воздушного и ударного шума. Незаменимый материал в небольших квартирах. Без клея в составе и химии. Также выступает в качестве огнезащиты и теплоизоляции.
- Полностью негорючий.
- Не боятся воды.
- Без фенола и запаха.
- Простой монтаж.
- Максимальный класс «А» по звукопоглощению.

Для усиленной звукоизоляции, рекомендуется комбинация материалов, например – МаксФорте SoundPro и МаксФорте ЭкоПлита. Использование такой схемы позволит получить максимально высокое поглощение звука, включая низкие частоты (стерео системы, домашние кинотеатры)
Для усиленной звукоизоляции, рекомендуется комбинация материалов, например – МаксФорте SoundPro и МаксФорте ЭкоПлита. Использование такой схемы позволит получить максимально высокое поглощение звука, включая низкие частоты (стерео системы, домашние кинотеатры)
Но не всегда есть возможность, «съедать» драгоценные сантиметры от стены и нужно сделать максимально тонко и эффективно. В этом случае проверенным вариантом будет бескаркасная звукоизоляция.
Как осуществить монтаж звукоизоляции без изготовления каркаса с МаксФорте SoundPro:
Каждый выбирает оптимальный для себя способ исходя из расчет сил, личных предпочтений и финансовых возможностей.
Если вы сделаете звукоизоляцию согласно нашим рекомендациям, можете смело рассчитывать на хороший комфорт и тишину.
Звукоизоляция стен производится при помощи следующих материалов:

- Самоклеющиеся звукоизоляционные мембраны.

- Комбинированные панели с прослойкой из звукопоглощающих материалов.

- Плиты из синтетических и минеральных материалов.

- Минеральная вата.

- Пробковые панели.
Для более качественной звукоизоляции, рекомендуются комбинации материалов, например – мембраны и плиты.
Помимо основных материалов, в зависимости от выбранного вами способа звукоизоляции, вам понадобятся:
- Металлический профиль или деревянные бруски, для направляющих каркаса.
- Гипсокартон, древесностружечные плиты или другое декоративное покрытие для отделки стен.
- Дубель-шурупы.
- Крепления для плит.
- Шурупы.

У каждого производителя звукоизоляции существует своя технология монтажа, поэтому, вам могут понадобится дополнительные расходные материалы, не вошедшие в список.
Монтаж звукоизоляции
Подготовительные работы
Перед тем как приступить к установке звукоизоляции, необходимо произвести ряд подготовительных работ:
- Удалите старое покрытие стены (обои, декоративные панели).
- Демонтируйте розетки и выключатели. Если на стене имеется распределительная коробка для проводки, снимите с неё крышку. Не забудьте предварительно обесточить проводку.
- Вытащите провода из коробки и гнёзд для выключателя и розеток.
- Нарастите провода для выключателя и розеток, на длину размера будущей изоляции.
- Временно заизолируйте оголённые концы проводов.
- Заполните гнёзда и коробку цементным раствором или монтажной пеной.
- Осмотрите стену и стыки между плитами на предмет наличия трещин.
- Заделайте трещины цементным раствором.

Если вы слабо разбираетесь в электричестве, то для работ связанных с проводкой, пригласите профессионального электрика.
Изготовление каркаса
Лучшим способом блокировки звука, является каркасный способ звукоизоляции, поэтому мы и рассмотрим его в нашей статье:

- Наклейте по всей площади стены, тонкую звукоизолирующую мембрану. Можно использовать самоклеющуюся мембрану или применять для закрепления специальный клей.
- Изготовьте раму каркаса, для этого установите вертикальные направляющие по краям стены, а также горизонтальные, под потолком и на полу. Для закрепления направляющих используйте дюбель-шурупы.
- Установите вертикальные направляющие внутрь рамы, на расстояние 40-50 сантиметров друг от друга.
- Поместите звукоизолирующий материал, между направляющими каркаса. Для закрепления звукоизоляции в каркасе, можно использовать клей или гнущуюся металлическую ленту, присоединённую к направляющим шурупами.
- Осмотрите каркас на наличие пустот и зазоров. В каркасе не должно быть щелей и пустого пространства.
- Выведите провода выключателя, розеток и проводки сквозь изоляцию.
- Установите на каркас листы гипсокартона или другие отделочные плиты. Производя монтаж панелей, сделайте отверстия под распределительную коробку, выключатель и розетки.
- Заделайте швы между панелями.
- Произведите монтаж финишного покрытия стен (обои, штукатурка).
- Установите розетки, выключатель и распределительную коробку.
Способы звукоизоляции без каркаса
Ради экономии пространства, многие предпочитают использовать бескаркасный способ звукоизоляции. Этот способ действительно позволяет сократить толщину звукоизоляции на 2-3 сантиметра, но при этом, значительно снижается качество изоляции шума.
Для звукоизоляции без каркаса, в основном используют комбинированные панели, которые клеятся сразу на стену. После этого, панели штукатурятся или оклеиваются обоями. Кроме наклеивания, панели и плиты звукоизоляции, можно устанавливать на стену с помощью специальных креплений, располагающихся по углам.
Помимо жёстких плит и панелей, произвести звукоизоляцию без каркаса можно с помощью мягкого рулонного материала, например – самоклеющейся мембраны. Мембрана клеится на стену и закрывается отделочными панелями. Правда качество звукоизоляции при таком способе, оставляет желать лучшего.
Как произвести звукоизоляцию без изготовления каркаса, вы можете посмотреть в видеоролике:
Какой бы способ вы не выбрали, помните, что стопроцентное избавление от шума обеспечит только комплексная звукоизоляция квартиры, в которую входят изоляция пола, потолка и стен.
‘; blockSettingArray[0][«minSymbols»] = 0;blockSettingArray[0][«minHeaders»] = 0;blockSettingArray[2] = []; blockSettingArray[2][«setting_type»] = 3; blockSettingArray[2][«element»] = «»; blockSettingArray[2][«directElement»] = «.sb-a»; blockSettingArray[2][«elementPosition»] = 1; blockSettingArray[2][«text»] = ‘
‘; blockSettingArray[2][«minSymbols»] = 0;blockSettingArray[2][«minHeaders»] = 0;blockSettingArray[3] = []; blockSettingArray[3][«setting_type»] = 3; blockSettingArray[3][«element»] = «»; blockSettingArray[3][«directElement»] = «.footer-a»; blockSettingArray[3][«elementPosition»] = 1; blockSettingArray[3][«text»] = ‘
‘; blockSettingArray[3][«minSymbols»] = 0;blockSettingArray[3][«minHeaders»] = 0;blockSettingArray[5] = []; blockSettingArray[5][«setting_type»] = 1; blockSettingArray[5][«element»] = «h3»; blockSettingArray[5][«elementPosition»] = 0; blockSettingArray[5][«elementPlace»] = 3; blockSettingArray[5][«text»] = ‘
‘; blockSettingArray[5][«minSymbols»] = 0;blockSettingArray[5][«minHeaders»] = 3; blockSettingArray[6] = []; blockSettingArray[6][«setting_type»] = 1; blockSettingArray[6][«element»] = «h3»; blockSettingArray[6][«elementPosition»] = 0; blockSettingArray[6][«elementPlace»] = 5; blockSettingArray[6][«text»] = ‘
‘; blockSettingArray[6][«minSymbols»] = 0;blockSettingArray[6][«minHeaders»] = 5; var jsInputerLaunch = 15;
remboo.ru
Чем лучше сделать шумоизоляцию стен в квартире?

Всем привет! Проблема звукоизоляции в многоквартирных домах — это притча во языцех, она присуща не только старым зданиям, как думают многие, но и в некоторых новостройках очень даже актуальна. И если вы хотите жить в тишине, то во время ремонта лучше не поскупиться и сделать-таки шумоизоляцию стен, а с чего начинается любой ремонт, конечно – же с выбора материала, вот именно о выборе шумоизоляуии мы сегодня и поговорим.
Основные виды шумоизоляционных материалов
Минеральная вата. Классический вариант. Для отделки внутри квартиры используется стекловата или базальтовая вата. Волокнистый материал успешно гасит звуковые волны, но обратите внимание, что для данных работ не рекомендуется использовать полужесткие и жесткие маты – их звукопоглощающие свойства заметно ниже.
К преимуществам минеральной ваты можно отнести доступную стоимость, огнестойкость, экологическую чистоту (если материал изготовлен без использования формальдегидных смол, о чем должен иметься сертификат).
К недостаткам шумоизоляции с использованием минеральной ваты относится необходимость монтажа обрешетки и дальнейшей обшивки гипсокартоном. Обрешетка крепится к стенам через демпфирующую подкладку из резины, которая гасит вибрации, распространяющиеся по строительным конструкциям. Таким образом, монтаж всей шумоизолирующей системы с минералватным наполнителем отнимет немало полезной площади помещения – толщина конструкции для каждой из стен составит около 10 см.
Также следует отметить склонность минеральной ваты к поглощению влаги. Такой шумоизолятор нельзя использовать в кухне и других влажных помещениях. Перед монтажом обшивки требуется закрепить пароизоляционную мембрану.
Минеральные шумоизоляционные плиты. Материал изготавливается на основе базальтового волокна, внешняя сторона плиты каширована стекловолокном – это придает дополнительную жесткость и препятствует проникновения мельчайших волокон базальта в помещение.
К преимуществам плитного материала относится низкое водопоглощение, он подходит для использования в мокрых помещениях. При этом монтаж осуществляется по той же схеме, что и в случае с минеральной ватой.
«Тексаунд» (и аналогичные мембраны). Сравнительно новый материал, который еще не в полной мере завоевал рынок и используется не часто. К преимуществам данного материала можно отнести небольшую толщину и отсутствие необходимости монтировать обрешетку – такая шумоизоляция не скрадывает площадь комнат.
Материал представляет собой эластичную и гибкую мембрану, выполненную на основе карбоната кальция и полимеров, безопасных для здоровья человека. «Тексаунд» отражает и рассеивает звуковые волны, проникающие через стены, а также идущие из помещения. Это означает, что такая шумоизоляция защитит и вас от посторонних звуков, и ваших соседей от шума, который производите вы. Следует отметить, что эффект будет достигнут только в том случае, если материалом будут покрыты не только стены, но и пол с потолком.
«Тексаунд» подходящей толщины, с дополнительным теплоизолятором или без него, наклеивается на подготовленные поверхности при помощи специального состава. Также существует самоклеющийся материал в рулонах. Важно герметично проклеить стыки «жидкими гвоздями» или сварить горелкой. Шумоизоляционный материал данного типа можно монтировать под обои.
Акустический поролон. Вспененный полимерный материал с пористой структурой эффективно поглощает и рассеивает звуковые и вибрационные волны. Плиты с различным рельефом гасят волны определенных частот. В первую очередь такая шумоизоляция нужна в помещении с мощной звуковой аппаратурой, чтобы прослушивание музыки не мешало соседям по дому.
Маты из акустического поролона приклеиваются на стену при помощи двухстороннего скотча, «жидких гвоздей», расплавленного силикона. Чтобы поролоновая поверхность не собирала пыль, можно смонтировать обшивку из гипсокартона – это уменьшит площадь помещения, но на качестве звукоизоляции не скажется. Обрешетка крепится поверх матов.
Декоративные шумоизоляционные панели. Материалом изготовления служат древесные волокна хвойных пород. Структура панели позволяет качественно гасить звуковые волны. Панели снабжены пазо-гребневым соединением и легко монтируются на стену, образуя цельный шумоизолирующий слой. Благодаря внешнему декоративному покрытию дополнительная отделка не требуется. К недостаткам материала можно отнести высокую стоимость таких панелей.
Плиты из полиуретана. Шумоизоляционные плиты из этого материала применяются даже для обустройства звукозаписывающих студий. Плиты из полиуретана имеют стандартный формат: 120 = 60 см, толщина материала не превышает 15 мм. Материалом оклеиваются стены в помещении, но для дальнейшей отделки рекомендуется смонтировать гипсокартонную обшивку на обрешетке. Минус материала – высокая стоимость.
Подложка под обои. Это рулонный материал, выполненный из вспененного полиэтилена. Производители предлагают различные разновидности такого шумоизолятора. Его главное преимущество – небольшая толщина и удобство монтажа. Также можно отметить доступную стоимость. Но по шумоизоляционным показателям этот вариант проигрывает тем, что приведены выше.
Критерии выбора
Современные материалы для шумоизоляции стен обладают высокими эксплуатационными параметрами, но достаточно дорого стоят. При выборе обратите внимание:
- на технологию монтажа;
- на толщину конструкции;
- на возможности внешней отделки.
Лучшая шумоизоляция стен – это многослойная конструкция из мембраны и плитного материала. Но в условиях обычной квартиры редко требуется обустраивать дорогостоящую конструкцию из нескольких видов материалов. По отзывам хорошо себя зарекомендовали минеральные плиты «Шуманет».
Видео:
postroju-dom.ru
Современные материалы для шумоизоляции стен в квартире.
Комфорт в доме — это не только красивый интерьер, удобная мебель, тепло и работающий телевизор, вещающий приятные новости, но в это понятие обязательно следует включить и степень шумового загрязнения помещения.
Содержание этой статьи
В условиях города найти объекты, полностью защищенные от внешних звуков и шума невозможно, но используя современные материалы для шумоизоляции стен в квартире или офисе легко можно справиться с этой проблемой.
Причины шума в квартире
Перед тем как приступить к работам по звукоизоляции стен, следует определить характер шумов, которые по своей природе неоднородны. Различают несколько видов:
- воздушные;
- ударные;
- акустические;
- структурные.
Источником первого типа шумов являются звуки проезжающих автомобилей, работающего недалеко завода, доносящаяся с открытой площадки кафе музыка, работающий у соседей телевизор и т. д., то есть это все те звуки, распространение которых происходит благодаря воздушным колебаниям.
Ударные шумы знакомы практически каждому и основным их производителем является сосед, затеявший ремонт в своей квартире. Особенностью их является то, что они по большей части временные, но не всегда. Например, если дом расположен в зоне застройки, то на несколько лет звуковым сопровождением станет звук забиваемых свай.
Аналогичная проблема характерна для домов, расположенных недалеко от железнодорожных путей или линий городского метро.
Причиной появления акустического шума является само помещение: его площадь, высота потолков, вид строительных и отделочных материалов стен. Он характерен для просторных комнат, отличающихся довольно аскетичным убранством.
Как правило, справиться в этом случае с проблемой довольно просто – достаточно более активно использовать текстиль, предметы мягкой мебели, ковровое покрытие, то есть материалы, способные активно поглощать звук.
Еще одним источником шумов в квартире являются различные работающие механизмы в доме: лифт, мусоропровод, вентиляционные шахты, канализационные трубы и т. д. Создавая вибрации при работе, они передают их конструкциям дома, в том числе стенам, межэтажным перекрытиям, в результате чего они преобразуются в звуковые колебания, которые вносят свою лепту в общую какофонию звуков современной квартиры.
Коэффициент поглощения и выбор материалов для звукоизоляции
После того как определены источники шума и их вид, следует немного углубиться в природу звуковых волн, которые и являются причиной дискомфорта. Но сразу следует учесть, что современный человек, привыкший к постоянному шумовому сопровождению работающего компьютера или холодильника, тихонечко жужжащего кондиционера, наверное, не способен жить в абсолютной тишине – в этом случае у него может случиться паника. Но и агрессивный шум тоже неприемлем.
В многоквартирных домах основной проблемой являются звуки, доносящиеся с городских улиц и шум из квартир соседей.
И, хотя для человеческого уха звуковые колебания в диапазоне от 20 до 45 дБ не вызывают особого дискомфорта, постоянное шумовое сопровождение создает определенные сложности для повседневной жизни. А превышение этого предела, например, от 60 дБ и выше вообще нежелательно.
Конечно, материалы, используемые при строительстве домов, обладают способностью поглощать звуковые колебания или гасить волны. Но проблема в том, что у них разный коэффициент поглощения: для кирпича он составляет, например, всего 0,05 единиц, а для дерева уже 0,15.
Следует учитывать, что современные строительные материалы с высокой плотностью хуже справляются с задачей поглощения звуковых волн, поэтому и неудивительно, что в панельных домах соседи хорошо знакомы с особенностями жизни и секретами друг друга.
Именно звукоизоляция стен в квартире от соседей является основной задачей при решении этой проблемы, так как от городского шума неплохо защищают более толстые наружные стены, а основной лазейкой, через которую звук просачивается в квартиру, являются окна. Но замена традиционных деревянных блоков остеклением из стеклопакетов радикально справляется с этой задачей.
Источником шума от соседей из смежных квартир являются не только стены, но и пол и потолок. Поэтому при выборе материалов этот факт следует учитывать, как правило, потребуется проведение комплексных мер.
Это выгодно не только экономически, но и в целях экономии площади помещений, так как многие материалы для этого вида работ имеют большую толщину, а для некоторых может потребоваться устройство обрешетки или каркаса.
Шумоизоляция стен в квартире своими руками. Видео:
Характеристики звукоизоляционных и шумопоглощающих материалов
Учитывая волновую природу звука, устранить или минимизировать его воздействие можно, используя материалы, обладающие свойствами:
- звукопоглощения;
- звукоотражения.
Звукопоглощающие материалы имеют пористо-волокнистую структуру и отличаются довольно большой толщиной. Звукоотражающие пленки или мембраны работают по-другому: попадающие на них звуковые волны преломляются и меняют свое направление движения.
Современный рынок звукоизоляционных материалов довольно широк, но для того, чтобы выбрать правильный вид, следует учитывать природу возникновения шума:
- воздушные лучше всего гасятся материалами на основе минеральной ваты, стекловолокна, деревянными конструкциями или многослойными композитными панелями. Хорошим изолятором в этом случае выступает и керамический кирпич, поэтому, если стена выполнена из этого строительного материала, то во многих случаях особо защищаться от соседского шума не потребуется;
- для поглощения ударных звуковых волн рекомендуется использовать пробковые декоративные материалы, а также различные подложки на основе битума, пенополиуретана или полиэтилена;
- со структурными шумами справиться сложнее всего, обычные звукоизоляционные материалы для этого неэффективны, так как причиной их появления является вибрация, передающаяся конструктивным элементам дома. В этом случае можно использовать материалы на эластичной основе или на базе кремнезема, а также виброакустические герметики, стеклохолст и другие изделия с аналогичными характеристиками.
Отличным звукоизолятором является и гипсокартон, популярный материал для возведения перегородок и отделки стен.
Особенно эффективно его использование вместе с звуко- и теплоизоляционными материалами, которые легко можно укладывать в подготовленный для монтажа листов каркас.
Но во время установки металлических профилей следует позаботиться о том, чтобы изолировать их от стен – для этого можно применять специальные эластичные прокладки, например, из резины, но вполне можно использовать и теплоизоляцию из минеральной ваты.
Кроме того, при проведении звукоизоляционных работ внимание нужно обращать не только непосредственно на обрабатываемые плоскости, но и на проложенные в них коммуникации – их также следует изолировать, чтобы исключить с их помощью возможность передачи звука.
Как выбирать материалы для звукоизоляции квартиры?
В некоторых случаях может происходить подмена понятий, что следует учитывать при выборе материалов. Связано это с тем, что основная масса утеплителей обладает определенными звукопоглощающими способностями, но если требуется решение вопроса шумопоглощения, то требуется приобретать предназначенные специально для этого изделия.
Если ориентироваться по классам, то материалы с буквенными сериями от A до D относятся к изделиям с высокими звукоизолирующими характеристиками. Если для ремонта приобретаются материалы, на которых нанесено буквенное обозначение Rw, то следует принимать во внимание рядом стоящее число: чем он больше, тем лучшими шумопоглощающими способностями они характеризуются.
Но не всегда следует покупать изделия с самыми высокими коэффициентами звукоизоляции и шумопоглощения – иногда в этом просто нет необходимости, вполне может быть достаточно уложить изолятор со средними характеристиками.
Такие материалы часто имеют меньшую толщину, что позволит сэкономить полезную площадь помещения и приобрести их за более низкую стоимость, что благоприятно скажется на семейном бюджете.
Но, чтобы точно определить, какой материал необходимо использовать, обязательно перед началом работ и покупкой материалов нужно точно определить источники шума и их природу.
Также, независимо от выбранного вида изделий для звукоизоляции квартиры, следует обращать внимание на следующие их свойства и качества:
экологичность;
токсичную безопасность для людей;
огнестойкость и пожаробезопасность;
долговечность;
устойчивость к деформации (слеживанию, растягиванию и т. д.) под собственным весом или в результате воздействия внешних факторов.
Для работ в квартире нет необходимости приобретать материалы, предназначенные для звукоизоляции в общественных, промышленных или студийных помещениях с индексом от 22 дБ и более. Для дома вполне достаточно использование материала с показателями от 10 до 15 дБ.
Профессиональные тесты шумоизоляционных материалов. Видео:
Материалы для звукоизоляции и шумопоглощения
Все материалы для звукоизоляционных работ независимо от их вида, сырья, используемого для изготовления и размеров, можно разделить на три больших группы:
- мягкие – имеют волокнистую структуру, а для их производства используется минеральная вата, войлок и стекловолокно;
- жесткие (твердые) – производятся из вермикулита, пемзы, гранулированной каменной ваты, пробки и т. д.;
- полужесткие – для их изготовления в основном используется полиуретан — эластичный материал, способный хорошо сохранять свои размеры и форму, а также восстанавливать ее после механической деформации.
В зависимости от вида материала коэффициент поглощения звука может сильно отличаться, например, средние показатели:
- для мягких материалов составляют от 0,7 до 0,9;
- для жестких он равен 0,5;
- для полужестких от 0,5 до 0,75.
Наиболее часто мягкие материалы используются вместе с гипсокартоном – в этом случае удается добиться максимального эффекта, в том числе и за счет создания воздушной прослойки, которая также выступает в роли естественного изолятора.
Как выбрать антисептик для древесины? — здесь больше полезной информации.
Но их монтаж способен «откусить» солидную площадь помещения, поэтому для небольших комнат это не самый лучший вариант.
Для полужестких материалов не всегда возникает необходимость в устройстве обрешетки, а кроме того их толщина меньше. Наиболее тонкими изделиями для звукоизоляции являются твердые материалы, представленные в листовом исполнении. Часто одновременно могут выступать и в другой роли – в качестве декоративно-отделочных элементов.
Некоторые особенности проведения звукоизоляционных работ в квартире
Определить общие правила монтажа звукоизоляционных материалов невозможно в силу их большого разнообразия, но выработать общий алгоритм работы с таким изделиями для ремонта дома несложно:
Вас заинтересует эта статья — Виды натяжных потолков. Как выбрать подходящий дизайн?
- выбор способа монтажа зависит от вида материала – для этого можно использовать каркасный и бескаркасный метод укладки;
- обязательно следует подготовить поверхность стены, пола или потолка: очистить, выровнять, при необходимости – отремонтировать. Надо помнить о том, что наличие трещин может способствовать распространению звуков;
- крепление и фиксация может производиться с помощью клеевых составов, саморезов и другого крепежа, а также укладки между направляющими профилями каркаса;
- после проведения монтажных работ по укладке звукоизолятора производятся работы по декоративной или финишной отделки обрабатываемой поверхности. Для стен это может быть обшивка гипсокартоном, шпаклевание или оклеивание обоями, для потолка – установка навесной или натяжной конструкции, а для пола – укладка напольного покрытия, но в некоторых случаях (при проведении капитального ремонта) – устройство стяжки или основания.
В этом случае монтировать каркас следует с использованием плавающих кронштейнов, которые не позволят ему смещаться вслед за строительной конструкцией, а значит не произойдет и деформация звукоизоляционного материала, в результате смещения он может также и повредиться, оголив пространство для прохождения звуковых волн.
Для проведения монтажа звукоизоляционных и шумопоглощающих материалов нужно подготовить и необходимый инструмент, ассортимент которого также будет определяться масштабами проводимых работ и видом изолятора. Но без рулетки, строительного уровня, шуруповерта и молотка не обойтись.
Для крепления потребуются саморезы, в том числе и с зонтичными шляпками, которыми легко закрепить минераловатные, пенополиуретановые или поролоновые акустические плиты.
Для фиксации многих материалов используются и специальные клеевые составы, выбор которых следует делать, руководствуясь рекомендациями производителя. Также необходимо приобрести и стройматериалы для финишной отделки поверхностей: гипсокартон, обои, шпаклевочные смеси, краски, керамическую плитку и т. д. – в этом случае выбор определяется пожеланиями владельца квартиры, а также функциональным назначением помещения.
You need to enable JavaScript to voteПонравилась статья ? Покажите её друзьям:
Смотрите дальше на DimDom.ru:
Дополните статью вашими комментариями , фото и видео :
dimdom.ru
