Система унитаза – устройство, принцип работы, обзор конструкций
Типы унитазов по сливу и их особенности
Кроме того, что все унитазы отличаются дизайном и конструкцией, они имеют различную систему слива. Многие данный момент не учитывают при выборе сантехники, но, он есть крайне важным, поскольку воздействует на уровень качества смыва и отсутствие для того чтобы неприятного явления, как разбрызгивание воды.
В данной статье мы рассмотрим варианты реализации слива, и другие кое-какие конструктивные изюминки различных моделей данной сантехники.

От чего зависит уровень качества слива
Дабы выяснить какой лучше слив унитаза, нужно ознакомиться со всеми изюминками конструкции сантехнического прибора, к каким относится:
- Форма чаши;
- Тип слива;
- Тип выпуска.
Само собой разумеется, дабы сделать выбор в пользу той либо другой модели оборудования, возможно посоветоваться с продавцом-консультантом. Но, как показывает опыт, далеко не всегда продавцы смогут дать исчерпывающий ответ на вопрос клиента. Исходя из этого ниже подробней ознакомимся с разными вариантами конструкций оборудования и их влиянием на систему слива.

Форма чаши
Прежде всего уровень качества слива зависит от формы чаши, которую условно возможно поделить на три типа:
| С полочкой | Данная форма есть классической, причем, в период СССР виделись унитазы лишь для того чтобы типа. Их изюминкой, как не сложно додуматься из названия, есть наличие полочки, которая предотвращает всплеск брызг в ходе применения прибора. К недостаткам данной формы относится то, что в ходе смыва полочка не хорошо очищается, в следствии чего появляется потребность в дополнительной ее чистке ершиком для унитаза. |
| Воронкообразной формы | В этом случае сливное отверстие расположено посередине. Такая форма снабжает качественный смыв, но, в ходе применения смогут появляться брызги. |
| С наклонной задней стенкой | есть компромиссом между чашей и классическим вариантом воронкообразной форы. При применении прибора отсутствуют брызги и одновременно с этим стены чаши хорошо очищаются. Из этого следует, что унитаз с косым сливом есть наиболее предпочтительным. |

Обратите внимание! На отсутствие брызг при применении сантехнического прибора воздействует кроме этого уровень воды в чаше. Чем он ниже, тем лучше. Выяснить уровень воды в новом приборе возможно своими руками кроме того в магазине — он соответствует уровню нижней точке выпуска.
Тип слива
Уровень качества слива так же сильно зависит от типа его реализации.
На сегодня в продаже видятся сантехнические устройства с тремя типами сливов:
- Унитаз с каскадным сливом – водяной поток замечательным напором стекает по задней стенке, которая больше всего загрязняется, и таким методом смывает содержимое чаши. Недостатком таковой конструкции есть то, что на передней стенке остаются брызги, каковые потом очищаются при помощи бытовой химии.

- Унитаз с круговым сливом либо, как его еще именуют, душевым. В этом случае водяные потоки распределяются по всему периметру благодаря особым каналам и равно
uchebniksantehnika.ru
Сливные системы для унитазов — Всё о сантехнике
Разновидности сливных систем для унитазов, особенности и принципы установки
Для комфортного проживания в квартире, конечно же, необходим оборудованный санузел. Неотъемлемой частью любого унитаза является сливной бачок. Без этой конструкции сантехническое устройство будет напоминать обыкновенный горшок. Поэтому в данной статье мы расскажем о том, что такое сливные системы для унитазов, как они работают и из каких элементов состоят.
Составляющие части унитаза
Чтобы понять, как устанавливать сантехнический прибор, и впоследствии производить его ремонт в случае необходимости, необходимо четко представлять себе его конструктивные особенности.
Унитаз состоит из таких основных частей:
- Чаша унитаза;
- Смывное устройство, которое включает в себя сифон и его составляющие;
- Бачок для слива.

Унитаз со смывным баком
Основное предназначение бачков – наполнять емкость необходимым уровнем жидкости и затем сливать ее в унитаз. При воздействии на кнопку, вся жидкость из бака льется в чашу унитаза, при этом смывая все его содержимое, и стекает в канализацию. Благодаря сифону наша ванная комната не наполняется неприятными запахами канализации.
Ознакомившись с особенностями конструкций унитазов. а также с принципом действия каждого компонента, может быть выполнена его установка своими руками, что даст вам возможность значительно сэкономить средства на вызове сантехника.
Из каких элементов состоит смывной бачок и как он работает
На первый взгляд, внутреннее устройство сливного бачка. очень простое, так как при внешнем осмотре можно увидеть два основных компонента:
- Механизм подачи воды;
- Механизм для слива.
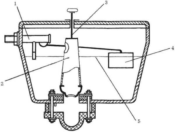
Благодаря механизмам, которые отвечают за подачу воды, жидкость в нужном количестве накапливается в бачке. После этого клапан закрывает доступ воды. При нажатии на соответствующий рычаг в унитазе, начинает работать сливной механизм. При этом напор жидкости поступает в унитаз и смывает все его содержимое. Помимо этих основных компонентов бачок состоит из груши, поплавка, рычагов, перелива и поплавочного клапана.

Подвесной смывной бачок
Все вышеперечисленные составляющие могут отличаться по своей конструкции и изготавливаемому материалу, однако принцип действия при этом остается одинаковым. Подача воды в бачок осуществляется за счет арматуры. При этом впускной канал может располагаться или сбоку бака, или снизу. При первом способе с одного края рычага находится поплавок, а с другого – клапан, который отвечает за прекращение подачи воды, когда она достигнет необходимого уровня. Во втором варианте поплавок движется по вертикальному штоку, что обеспечивает более бесшумную работу.
Когда вода из бачка выливается, поплавок опускается на дно. В связи с этим специальные рычаги приводят в действие запорный клапан. При этом бачок наполняется жидкостью, и поплавок постепенно поднимается. Когда вода достигнет определенного уровня, ее подача блокируется клапаном.
Сливная система бачка унитаза предназначена для спуска воды. Состоит она из следующих основных элементов:
- Устройство для спуска;
- Сифон для слива.
Когда вы воздействуете на устройство для спуска, проще говоря, нажимаете на кнопку, то начинает свою работу шток. Он поднимает вверх сифон, который может быть выполнен в разных конфигурациях. Далее открывается запирающий клапан, и вся жидкость, вместе с содержимым унитаза, выливается в канализационные трубы.
Сливная система в бачке унитаза
Еще одной составляющей бачка является система перелива, которая защищает всю конструкцию от чрезмерного наполнения резервуара в том случае, если по каким-то причинам уровень воды будет превышать установленный. В этом случае лишняя жидкость будет направлена непосредственно в канализацию, а не потечет по всему помещению.
Выбираем систему слива
Для того чтобы разобраться в устройстве системы слива, нужно ознакомиться с возможным расположением отверстий для слива, формой выпуска, арматурой сливного бачка, а также с расположением зеркала воды в чаше.
Схема сливной системы напрямую зависит от формы выпуска, среди которых известны следующие:
- Вертикальный, который используется преимущественно в старых постройках, отвод канализации находится у соседей снизу на их потолке.
- Косой, для него характерен наклонный раструб канализации под углом 45 градусов. Чтобы подсоединить к нему сантехническое изделие с горизонтальным выпуском, можно применять различные гофры.
- Горизонтальный выпуск, который позволяет разместить унитаз возле стояка канализации.
Выбирайте форму выпуска в соответствии с формой раструба в вашей ванной комнате. Переделать конструкцию можно, однако при этом придется пожертвовать свободным местом в и без того маленьком помещении.
Разбираемся со сливными отверстиями в унитазе
Различают определенные виды сливной системы, в зависимости от расположения сливных отверстий в унитазе. При заднем сливе жидкость из бачка протекает по задней стенке унитаза одной струей. Это позволяет лучше очищать унитаз именно с задней стороны, которая больше всего подвергается различным загрязнениям. Однако такой способ оставляет без внимания все остальные поверхности чаши, поэтому постоянно приходится отмывать их вручную при помощи ершика и применения бытовой химии.
Также существует круговой слив воды. При этом вся жидкость из сливного бачка проходит через несколько отверстий в чаше унитаза, и он обмывается более равномерно, чем в первом случае.
Как видите, потоки воды направлены в каждом случае по-разному. Каждый способ имеет свои достоинства и недостатки, поэтому выбирайте систему слива исходя из своих личных предпочтений.
Установка сливной системы своими руками
Теперь вы знаете основное устройство сливного бачка, поэтому при необходимости сможете его самостоятельно установить, а затем полностью разобрать и устранить все неисправности в случае необходимости.
Чтобы выход из строя определенного элемента не стал для вас неожиданностью, вы должны заранее ознакомиться с возможными неисправностями и знать меры борьбы с ними.
Начинается разборка бачка со снятия крышки. Делать это нужно очень аккуратно, потому что при ее повреждении, вам придется приобретать новый бачок, а может быть, даже полностью новый унитаз. Это связано с тем, что крышки для сливных бачков идут только в комплекте, а по отдельности не продаются. Для того, чтобы понять механизм крепления крышки, у вас есть инструкция от производителя, поэтому стоит внимательно с ней ознакомиться.
Установка сливной системы
При внешнем осмотре, вы сможете обнаружить наиболее частые проблемы, которые связаны с перекосом поплавка, повреждением его механизма, а также с износом прокладок и резиновых уплотнителей. Устранить эти повреждения несложно, однако если произошла более серьезная поломка, то придется менять сливное оборудование.
Установка бачка может выполняться несколькими способами, которые зависят от модели унитаза. В любом случае учитывайте, что система смыва должна крепиться аккуратно, без прикладывания значительных усилий, потому что это может привести к различным трещинам и другим повреждениям.
Если требуется произвести монтаж бачка отдельно от унитаза, то для этого к бачку необходимо прикрепить смывную трубу. После этого нужно отметить на стене точки, в которых будет крепиться смывное устройство. Затем в отмеченных местах необходимо просверлить отверстия и установить бачок крепежными элементами.
Если необходимо произвести установку бачка на полке унитаза, то для начала надевают уплотнительную прокладку с помощью силикона. Далее закрепите бачок специальными болтами с прокладками в виде конуса. Такую конструкцию далее необходимо установить на полочку унитаза, совместить все крепежные отверстия и зафиксировать положение. После этих операций должно следовать подключение системы подачи воды, что достигается за счет использования гибкого шланга.
Сливные механизмы, которые встраиваются в стену, позволяют значительно экономить место в помещении. За счет того, что бачок надежно скрыт, практически не слышен шум во время работы.
Кроме того, такие конструкции позволяют обеспечить удобство при уборке ванной комнаты и придают помещению оригинальности. Чаще всего такие конструкции устанавливают на специальные системы инсталляции, которые являются достаточно прочными и надежными, позволяют выдержать нагрузку до четырехсот килограмм.
- Засор в посудомоечной машине: причины, способы исправления, профилактика
- Принцип работы, особенности и устройство сливного бачка с кнопкой
- Ремонт однорычажного смесителя своими руками: этапы работы
- Расчет пропускной способности трубы – способы, определение оптимального диаметра
- Установка душевой кабины своими руками
- Сборка душевой кабины своими руками
- Душевые ограждения из стекла без поддона своими руками
- Размеры душевых кабин
© 2014-2017, Aqua-Sovet.ru Использование материалов разрешено только при наличии индексируемой ссылки
на страницу с материалом. Контакты: [email protected]
Устройство сливных механизмов для унитаза, выбор и инструкции монтажа
Сливной механизм для унитаза как правило идет в комплекте с унитазом. Однако нужно выбирать надежное сливное устройство для бачка. Если разобраться во всех нюансах работы сливной системы, особенностях установки бачка слива, а также в исправлении наиболее часто встречающихся проблем, вы существенно сэкономите себе деньги, время, нервы. Более того, вам не придется конфликтовать с соседями по причине их затопления.
- 1 Способы установки слива
- 2 Особенности сливов
- 3 Неисправности и способы устранения
Способы установки слива
Слив, то есть сливной бачок, может быть установлен одним из трех способов. Каждый из них имеет свои особенности. При этом выбор способа слива для унитаза выбирается индивидуально.
- Крепление бака достаточно высоко над унитазом. С точки зрения эстетики — это не самый лучший вариант. Подобные конструкции словно отправляют нас к советским временам. Зато подобная система обладает явными преимуществами. К их числу можно отнести простоту доступа к сливу, легкий ремонт. Также не стоит забывать про силу притяжения. Поскольку бак расположен выше унитаза, вода будет поступать к сливному отверстию, по трубе и в унитаз с большей скоростью. Следовательно, эффективность смыва значительно улучшится.
- Установка на унитазе или площадке. Выбирая такой вариант, соединение осуществляется при помощи резиновых манжеток. В итоге конструкция получается более привлекательной внешне, а также занимает намного меньше пространства.
- Установка в стену. Встраивать бачок внутрь стен начали не так давно. Подобный вариант монтажа возможен при условии, что в доме проводится капительный ремонт. Встраивание позволит существенно сэкономить пространство, а доступ к системе для ремонта бака будет обеспечен через отверстие сливной кнопки.
Особенности сливов
Следует отметить, что сливы для унитазов с точки зрения механизма их работы, можно разделить на два типа:
2 устройства механизма сливных бачков унитазов
Особенность однорежимного проста — слив осуществляется однократный, с использованием сразу всей воды, что имеется в бачке. В случае с двухрежимным используется только половина бака. Это актуально для больших семей, где задумываются об экономии воды.
Несмотря на разницу в механизме работы, принцип действия остается идентичным для всех унитазов. Только запирающие клапаны могут иметь определенные отличия в своей работе. В некоторых случаях перекрывающие клапаны располагаются на концах трубчатых штоков, которые выступают в роли переливов лишнего объема воды. В иных ситуациях перекрывающие клапаны открывают, закрывают с использованием цепочки из пластика, металла. Такие системы не самые удачные, поскольку быстро ломаются.
Если говорить про кнопки в сливной системе для унитаза, то они делятся на два типа. Первый тип не зависит друг от друга, о крепление осуществляется к крышке с использованием цепочек, или методом вкручивания в сливной механизм. Второй же тип открывает клапаны при помощи рычагов, выполненных из пластика.
Спусковые устройства могут быть двух типов:
- Боковые системы. Их применяют на тех бачках, которые располагают достаточно высоко над унитазом. Чтобы запустить механизм, следует потянуть за закрепленную цепочку сбоку. Есть и боковые системы с кнопками. На таких бачках кнопка находится сбоку, а применяются при низком расположении бака.
- Верхние системы. Они актуальны для сливных бачков, которые расположены внизу, либо встроены в стены. Работает механизм за счет кнопки, головки, установленной сверху бачка. Кстати, механизм может быть ручным или автоматическим.
Неисправности и способы устранения
Стандартный набор частей из которых состоит сливной механизм
Система слива имеет ряд характерных неисправностей, с которыми мы сталкиваемся довольно часто. Основные из них связаны с невозможностью удержать воду внутри бачка, либо же с повреждением различных узлов.
- Наиболее часто можно встретить такую проблему как поврежденный рычаг. Увы, их конструкция стала достаточно сложной в современных унитазах, а сами элементы выполняют из пластика. Получается, что отремонтировать их не представляется возможным. Потому единственное решение проблемы — это замена сломанного, поврежденного конструктивного элемента на новый.
- Другая распространенная поломка — переливание воды. Чтобы исправить ситуацию, потребуется отрегулировать механизм, а именно поднять перелив несколько выше, чтобы он располагался ниже тех отверстий, которые расположены на корпусе бака. После этого регулируется положение поплавка, чтобы вода перекрывалась на более низком уровне, нежели перелив сливов.
- При подтекании воды через запирающие клапаны нужно определить причину. Их может быть две. Первая заключается в пересыхании мембраны, выполненной из резины. Чтобы исправить ситуацию, отсоединяется сливной бачок, в верхней части которого располагается прокладка. Ее снимают, выворачивая против часовой стрелки. После этого осуществить замену мембраны очень просто. Вторая же причина может состоять в засорении клапана мусором, осадком от грязной воды. Устранить проблему можно простым очищением пространства под клапаном.
Не забывайте, что во время ремонта бачка следует перекрыть кран, который подает воду в емкость. В противном случае вы столкнетесь с лужами. Пару прокруток на нужную сторону избавят вас от лишних хлопот, позволят легко, быстро и просто осуществить ремонт.
Можно сказать, что слив унитаза может проработать долго, очень эффективно при соблюдении достаточно простых условий. Первое — приобрести хороший унитаз с надежной, эффективной системой слива. Второе — проводить периодическую профилактику, которая позволит значительно продлить срок службы сливной системы, а также избавить вас от лишних хлопот по ремонту. Как ни крути, но профилактика обходится значительно дешевле, нежели ремонт. Это касается не только туалетов, но и ряда другого оборудования, используемого в каждом доме, квартире.
Обязательно ознакомьтесь с материалами:
- Устройство полотенцесушителя для ванной
- Кран маевского для полотенцесушителя
- Измельчитель для унитаза
Какие бывают сливные системы для унитазов?
- Как располагаются сливные отверстия в унитазе?
- Расположение зеркала воды
- Виды слива в бачке унитаза
Сливная система унитаза бывает разной. Для того чтобы разобрать системы слива для унитаза, необходимо затронуть все, что имеет отношение к сливу воды: сливные отверстия могут располагаться внутри унитаза, нужно разобраться с расположением зеркала воды в чаше, арматуру бачка и форму выпуска.

Схема основных элементов бачка: 1 – поплавковый клапан, 2 – груша, совмещенная с переливом, 3 – тяга, 4 – поплавок, 5 – уровень воды.
Что касается выпуска, то их бывают 3 формы:
- Вертикальный, который использовался в основном в сталинских постройках середины прошлого века, при этом отвод канализации к стояку был на потолке у соседей снизу.
- Косой выпуск, который является непременным атрибутом всех туалетов в домах, которые были построены в конце 20 века. К наклонному раструбу канализации возможно подключение унитаза с горизонтальным выпуском, для этого используются гофры (гибкие канализационные трубы из пластика с манжетами-уплотнителями).
- Горизонтальный выпуск, который особыми достоинствами не обладает, но его герметизация сложнее, если используется такой выпуск, то унитаз можно поставить ближе к канализационному стояку. Для этого нужно вставить выпуск унитаза в тройник на стояке.
Какой же тип выпуска выбрать? Если не планируется переделывать канализацию, то форма выпуска унитаза должна соответствовать форме раструба в туалете. При этом не стоит забывать о том, что возможна любая адаптация выпуска к канализации, тем не менее она съест некоторое расстояние в туалете. Если проектируется система разводки канализации с нуля, то вертикальный выпуск удобен тем, что канализация прячется в пол.
Как располагаются сливные отверстия в унитазе?
Сливная система унитаза бывает круговой и задней.
Схема ремонта сливного бачка.
Задний слив: вода из бачка протекает одной струей, поток проходит по задней стенке чаши. Задняя поверхность при этом загрязняется сильнее, а мощный поток воды ее очищает лучше. Но на передней стенке унитаза остаются брызги, чистка осуществляется посредством бытовой химии.
Круговой слив: из бачка вода поступает в унитаз через некоторое количество отверстий по всей окружности чаши, таким образом омывается вся поверхность унитаза. Задняя стенка при этом очищается хуже, зато в целом чаша очищается от брызг. Что касается выбора слива для унитазов, то тут нужно руководствоваться личными предпочтениями, продавцы в основном предлагают круговую систему, однако специалисты советуют отдавать предпочтение заднему сливу.
Вернуться к оглавлению
Расположение зеркала воды
Если чаша унитаза воронкообразная, то зеркало воды располагается посередине. Есть определенный недостаток: если ее использовать по прямому назначению, то раздается всплеск, что создает определенного рода дискомфорт.
Если зеркало воды располагается спереди, то перед ним есть козырек с контруклоном, количество воды при этом небольшое. Есть одна проблема – не самый приятный запах.
Если зеркало воды располагается впереди, то к нему ведется покатый спуск, такая система является наиболее предпочтительной, так как брызг нет и запахи минимальные.
Вернуться к оглавлению
Виды слива в бачке унитаза
Схема устройства и принцип действия безпоплавкового бачка.
Сливная система для унитаза под названием колокол является одной из самых распространенных. Работает такая система таким образом: чугунный бачок нужно соединить с унитазом трубой, сделанной из стали. Внутри бачка есть рычаг, на котором закреплена цепочка, второе плечо рычага поднимает колокол, который представляет собой чугунную пробку, имеющую большой вес, с прокладкой на нижней поверхности.
После того как пробка поднята, вода поступает в сливную систему, потом опускается цепочка, пробка при этом опущена, но вода все равно льется по трубе, в результате чего создается разряжение в верхней части. Таким образом вся вода в бачке высасывается через П-образный пролив. Такой слив для унитаза имеет и некоторые проблемы: прокладка, которая сделана из мягкой резины, деформируется, при этом утрачивается эластичность, поэтому ее нужно раз в несколько лет менять. В течение нескольких десятков лет внутри перелива накапливается ржавчина, что снижает эффективность слива. Для того чтобы это исправить, колокол отжигается на открытом огне, потом вытряхивается окалина, затем собирается бачок, при этом меняются прокладки. После этого колокол может функционировать еще несколько десятилетий.
Гофра – система слива для унитаза с верхним бачком. Каким образом работает такой слив? Человек тянет за веревку, которая закреплена над пластиком рычаге гофры, наклонившись, она высасывает воду. Когда опущена веревка, раструб гофры сохраняет наклон до той поры, пока объем воды не будет израсходован окончательно. Есть в такой системе проблема: пластик гофры через несколько лет начинает протекать на перегибе, возле основания гофры, тогда ее нужно заменять. Если сливная труба сделана из пластика, то замена не является сложным процессом, а если труба стальная, то придется приложить усилия.
Если заменяется гофра со стальной сливной трубой, то рекомендуется пройти метчиком на 1 ¼ дюйма муфту под бачком. Тогда новая гофра будет без особого труда вкручиваться на место.
Современные сливные системы для унитаза работают по одному и тому же принципу: рычаг нажимается (может нажиматься и кнопка), груша поднимается из седла, тем самым дорога воде открыта. Со временем резина утрачивает эластичность и груша дает течь, в связи с чем нужно менять грушу или прокладку на ней.
Седло может быть загрязнено шлаком, отложениями или песком, в результате чего понадобится очистка. Описан принцип работы разных систем слив унитаза, что касается конкретной реализации, то она различается от комплекта к комплекту, в механике некоторых сливных систем бывает нелегко разобраться даже опытному специалисту. Таким образом, общие рекомендации такие: выбор следует останавливать на самых простых в механическом плане комплектах от известного производителя. Если все сделать правильно, то унитаз долгое время будет функционировать нормально долгое время.
Поделитесь полезной статьей:
Источники: http://aqua-sovet.ru/unitazy/slivnye-sistemy-dlya-unitazov.html, http://tavannaya.ru/santexnika/unitaz/slivnoj-mexanizm-dlya-unitaza.html, http://bezsantexnika.ru/ustrojstvo/sistema-sliva-unitaza.html
santex1.ru
виды сифонов, система слива для бачка, начинка, спусковой механизм, сифон
Содержание:
Унитаз является основным элементом туалета в квартире или загородном доме, который обеспечивает отправление естественных надобностей. Вне зависимости от модели сантехнического прибора, на качество его работы напрямую влияет сливной механизм для унитаза.

Общая информация
По ходу обустройства санузла современный пользователь сталкивается с проблематикой громадного ассортимента моделей сантехнических приборов. Приходится учитывать материал их изготовления, стилистику оформления, размеры и пр. При этом важно понимать, что внешняя красота не всегда подкреплена функциональной надежностью. Поэтому качество такой детали, как сифон для унитаза, тяжело переоценить.

Несмотря на широкое конструктивное разнообразие гигиенических приборов, принцип слива воды внутри них практически идентичен. Это существенно облегчает обслуживание и ремонт начинки для унитаза. Неполадки с водоподачей обычно указывают на проблемы сливного механизма. Следует держать во внимании, что именно этот узел сантехнического прибора ломается чаще всего. Поэтому при выборе унитаза важно обращать внимание на его качество и долговечность.
Разновидности сливных механизмов
Бачок для слива воды есть в конструкции любого унитаза, и представляет собой емкость с 2-3 технологическими отверстиями. Через них вода поступает в бачок или сливается из него. Сверху емкость закрыта крышкой, что повышает декоративность всего устройства. Процесс работы механизма слива для бачка унитаза с кнопкой не отличается большой сложностью. Вода на первой стадии поступает в емкость и находится там до тех пор, пока не будет нажата кнопка на бачке. Это происходит в основном через прикладывание механического усилия, после чего определенный объем воды выливается в чашу. Ее поток смывает нечистоты, удаляя их в канализационную трубу.
Что касается внутреннего устройства сливного бачка, то там тоже нет ничего оригинального или сложного. Состоит этот механизм из пары элементов. Задачей первого из них является подача и перекрывание воды из общей трубы, что позволяет заполнить пустой бак необходимым количеством жидкости. Второе приспособление отвечает за выливание содержимого бачка внутрь чаши после нажатия кнопки. Читайте также: «Какой унитаз выбрать – виды, различия, преимущества и недостатки».

Классификация сливных бачков по типу материала:
- Керамические (фаянсовые). Отличаются надежностью и дешевизной. Классические бюджетные варианты, которые наиболее распространены в жилищах.
- Металлические. Уступая по декоративности керамическому варианту, они превосходят его в плане прочности и долговечности.
- Пластиковые (полиэтиленовые). Главное достоинство пластиковых сливных бачков заключается в их небольшом весе и простой установке.
В зависимости от способа крепления и точки расположения, сливные бачки делятся на 2 группы:
- Низкорасположенные. Помещаются непосредственно на унитазной чаше.
- Высокорасположенные. Прикрепляются к задней стене или внутри инсталляционной ниши. Высокорасположенные емкости входят в конструкцию раздельных унитазов. Изделия данного типа особенны тем, что их бачок и чаша разделены. Для коммутации двух частей используется сливная труба, по которой и двигается вода. Мощность подачи воды для слива зависит от высоты расположения накопительного бака. Читайте также: «Запорная арматура для унитаза – выбор и правила замены арматуры бачка для слива воды в унитазе».

В плане эстетичности раздельные модификации проигрывают совмещенным моделям, т.к. отдельно висящая емкость смотрится не очень красиво. Однако если применяется инсталляция унитаза, то именно такие конструкции рекомендуется приобретать для установки. В большинстве стандартных ситуаций сливной бачок размещен на краю унитазной чаши. Такие приборы имеют более компактный и эстетичный вид.
Способы водоподачи унитазов
В состав системы слива унитаза с кнопкой входят следующие детали:
- Поплавковый клапан (задвижка).
- Поплавок (обычно из пластика).
- Рычаги.
Вода внутрь емкости поступает через боковое отверстие в корпусе. Оно может находиться справа, слева либо снизу. Если подача осуществляется справа или слева, поплавок устанавливают на конце горизонтального рычага: данный элемент коммутируется с вентилем шарового крана. Когда отверстие для заполнения бака расположено на дне, поплавок крепят на вертикальный шток. Это приспособление помещено внутри подводящей трубы.

Алгоритм функционирования сливного бака водой не сдержит никаких сложностей. После того, как воды будет слита и емкость опустошена, поплавок вместе с уровнем воды опустится на дно. Его движение вниз провоцирует активизацию клапан задвижки на водопроводе, что обеспечивает заполнения накопителя. Когда вода вновь начинает поступать, вместе с увеличением ее уровня начинается движение поплавка в обратном направлении. После достижения высшей точки подача воды будет прекращена.
Сутью работы сливной системы для унитаза являются элементарные законы физики. Входящие в состав начинки элементы не нуждаются в питании электричеством, что заметно увеличивает их экономичность и надежность. Типичными неисправностями выступает недостаток или преизбыток воды в бачке. Проблемы этого рода устраняются через регулировку поплавка, что позволяет добиться оптимального уровня заполнения накопительной емкости водой. Также бывают случаи, когда рычаг ломается, после чего спусковой механизм для унитаза подлежит полной замене. Читайте также: «Как правильно выбрать унитаз – важные нюансы выбора».
Какие бывают механизмы слива
Все, что необходимо сделать для смыва унитаза после посещения туалета – нажать кнопку на бачке. Далее весь механизм работает самостоятельно: открывается задвижка спуска воды посредством сливного клапана. После этого содержимое бачка вытекает в чашу, смывая своим потоком все фекалии и нечистоты.
Механизм слива для унитаза может активизироваться несколькими способами:
- Через нажатие на кнопку.
- Упором на рычаг.
- Дерганьем за цепочку.

Конфигурация и оформление сливного бачка бывает разной. Типичные емкости стандартно обладают объемом 6 и 4 л, оснащаясь отверстиями для поступления воды типовых диаметров. Механизмы сифонов для бачка унитаза представлены в нескольких разновидностях. Устанавливаются они достаточно просто, поэтому при поломке внутреннего блока его можно без проблем заменить. Читайте также: «Устройство унитаза – что обязательно нужно знать».
Простейшей разновидностью сливных сифонов являются грушеобразные изделия, похожие на обычные вантузы из резины. Когда на них начинает давить вода, изделия плотно ложатся поверх сливного отверстия. Как результат, движение воды через трубку прекращается. После активации рычага «вантуз» поднимается под воздействием механического усилия. После этого слив открывается, и вода вытекает в унитазную чашу. В опустошенную емкость начинает набираться жидкость, что утяжелят сифон: он снова опускается в нишу, перекрывая движение воды. И так по кругу.
На случай выхода из строя сифон для туалета в сливном механизме имеется предохранительный перелив. Если уровень воды в бачке превышает установленную черту, жидкость начнет переливаться в специальную трубку и выводиться напрямую в канализацию. Система сконструирована с таким расчетом, что риск перелива воды из бачка на пол туалета сводится к нулю. Хотя во время постоянных переливов и возрастает расход воды, зато помещение ограждается от затопления. Читайте также: «Как выполнить крепление бачка к унитазу – варианты и способы установки».

Конструкция спуска воды в унитазе бывает двух видов:
- Горизонтальная. Самый распространенный вариант, где вода поступает сплошным потоком с одного отделения емкости. Горизонтальный механизм относится к бюджетным вариантам. Однако расход воды при его использовании достаточно большой, а уровень обмыва чаши – средний.
- Круговая. Данный способ подачи воды имеет улучшенные характеристики, т.к. жидкость во время выхода в чашу образует потоки по окружности ее обвода. Из недостатков круговой системы можно выделить небольшой диаметр сливного отверстия. Если в магистралях данной местности подается очень жесткая вода, это грозит закупоркой слива и уменьшением количества струй.
Как работает слив на два режима
Большинство современных сливных бачков оснащаются двухрежимными сливными механизмами для унитаза. Благодаря этому существенно экономится вода при пользовании туалетом.
Приборы данного типа работают в следующих режимах:
- Обычный. В унитазную чашу выпускается весь объем сливного бака (4-6 л).
- Половинный. Для слива используется часть содержимого емкости (2-3 л). Более экономичный режим работы, при котором расход воды снижается до 50%. Однако такие конструкции менее надежны и чаще ломаются, чем стандартные. Это объясняется увеличенным числом внутренних деталей, что, как правило, повышает вероятность поломки спускового механизма унитаза.

Для регулировки подачи воды двухрежимные приборы могут оснащаться не только двумя, но также одной кнопкой. В первом варианте каждая из кнопок отвечает за свой режим. Во втором – активизация того или другого режима зависит от силы нажатия единственной клавиши. Строго говоря, вода сливается, пока на рычаг оказывается воздействие. Как только человек убирает руку с кнопки, слив воды в чашу прекращается.
Рекомендации по выбору и ремонту начинки бачка
Советы от специалистов:
- Определяясь с моделью унитазного бачка, прибегают к традиционной формуле соотношения цена/качество. Металлические изделия демонстрируют большую надежность и долговечность, однако их стоимость на порядок выше, чем на пластиковые изделия.
- Менее шумными считаются дорогие модели с нижним подводом воды в бачок. При этом важно учитывать, что на установку приборов данного типа уходит на порядок больше времени и сил.
- Конструкция поплавка бывает двух типов: пустой герметичный цилиндр или перевернутый стакан. Большую надежность демонстрируют цилиндрические поплавки. Однако любая пробоина корпуса выводит их из строя, т.к. внутрь изделия начинает попадать вода и оно теряет свою функциональность. Полноценная работа цилиндра возможна только при заполнении его воздухом. Пробитый поплавок подлежит замене.
Почему протекает слив
Одна из причин протекания слива – попадание грязи внутрь спускного клапана. Как результат, между резиновой накладкой и посадочным местом скапливаются твердые частицы. Это может быть коррозия металлических труб или ил. В таком случае можно обойтись без замены. Устраняется проблема простым снятием крышки бака и чисткой пространства под резиновой манжетой. Для этого используют тряпку или губку. Исключение составляют лишь случаи, когда резиновый элемент состарился или износился, что предполагает его замену.
Перед началом монтажа клапана внутри бака проводится его фиксация на чаше. Специфика конструкции сантехники для унитаза и слива не дает возможность после установки внутренней начинки достать стяжные болты. Поэтому первым делом осуществляют монтаж сливного бачка на унитазной чаше. И только после этого можно переходить к установке внутренних механизмов подачи и слива воды. Читайте также: «Что делать, если течет бачок унитаза – возможные причины и способы устранения».

Ремонт сифона для напольного унитаза производится в следующем порядке:
- Снять поплавок с поверхности сливной емкости.
- Разобрать головку поплавкового механизма, тщательно протерев каждую деталь.
- Путем визуального осмотра определить, в каком месте повреждена мембрана.
- Если повреждение серьезное, заменить дефектную головку на новую.
Как отрегулировать уровень воды
Проблема с преизбыточным или недостаточным уровнем воды является наиболее распространенной в универсальном сливном механизме для унитаза. При боковом размещении подающего отверстия регулировка уровня проводится через изменение длины спицы. Этот элемент начинки служит для фиксации поплавка. Практически во всех старых моделях сливного бачка спица изготовлялась из латунной проволоки. Для сдвигания местоположения поплавка вниз или верх рычаг сгибают посредине. Повышение уровня его расположения приводит к увеличению объема заполнения бака.
В современных моделях унитазов рычаги используются не металлические, а пластиковые. Как известно, сгибать пластик довольно опасно, т.к. из-за этого он может разломаться. Чтобы отрегулировать уровень набора воды в бак, здесь проводится сдвигание в одну или другую сторону. Это дает возможность увеличивать либо уменьшать плечо рычага. Чтобы повысить объем воды в емкости, поплавок необходимо перемещать в сторону от клапана. Если наполнение бака происходит через нижнее отверстие, плечо поплавка ориентировано в вертикальном положении. Это значительно упрощает настройку уровня объема: достаточно сдвинуть поплавок вверх или вниз. Когда нужное положение будет найдено, стакан фиксируют зажимной гайкой.

Главная сложность при регулировке объема заполнения бака заключается в том, что приходится демонтировать крышку емкости. Дело в том, что на ней находится клавиша слива, которая чаще всего соединена жесткой сцепкой со спускным механизмом. Поэтому действовать приходится очень осторожно и неторопливо. Первым делом аккуратно отвинчивают зажимную накладку на кнопке. Это дает возможность без опасения сдвинуть крышку.
Большинство элементов современных сливных механизмов производятся из пластика. Металлические детали встречаются в основном на старых советских моделях. Это объясняет снижение долговечности сифонов для унитаза: их гораздо проще заменить, чем отремонтировать. Для облегчения обслуживания в сантехнических отделах представлены собранные модули или их отдельные узлы. Поэтому в случае поломки необходимо снять поврежденный элемент и отправиться с ним в магазин. Там опытные консультанты подскажут, как лучше действовать – менять эту деталь или весь механизм.
Итог
В ходе эксплуатации унитаза иногда возникают проблемы со сливным бачком. Самая распространенная из них – сбой уровня заполнения емкости. Чтобы его отрегулировать, нужно снять крышку и изменить размер плеча рычага.
kanalizaciyadoma.com
устройство, виды, функции, как выбрать, производители
Унитаз — техника, без которой не обходится ни один дом. Его устройство, тип и материал определяют базовую комфортность.

Устройство унитаза
Любой унитаз состоит из чаши и сливной системы.
Как это работает:
- Резервуар содержит воду для последующей промывки чаши.
- Активация смыва рычагом поднимает откидной клапан, позволяющий заданному количеству воды стечь внутрь через отверстия, расположенные под туалетным ободком.
- S-образный изгиб канализационного переходника служит двум целям, главная из которых — непосредственный отток жидкости из устройства. Вторая — предотвращение обратного хода канализационных газов в помещение.
- Вода при опорожнении бака вызывает снижение поплавка, одновременно толкая содержимое чаши в сточную трубу.
- После этого клапан вновь запускает набор чистой воды, чтобы заполнить резервуар до нормального уровня.
Устройство сливного бачка
Вода из подведенной трубы поступает по шлангу в резервуар, которым в базовых моделях выступает сам бак. Внутри находятся два механизма: один отвечает за прием воды, второй — за слив.
- Наливная система накапливает воду до определенного вручную или конструкционно допустимого уровня.
- Поплавковый механизм (в старых моделях он выполнен в виде пузыря или груши) определяет, дошла ли вода до отметки.
- Когда уровень воды в бачке превышает допустимый (по ГОСТ — на 20 мм ниже перелива), поплавковый клапан перекрывает ее приток.
- Сливная система вступает в действие при нажатии кнопки смыва. Механизм, как правило, совмещается со страховкой от переливания.
- Нажатие кнопки открывает запорную заслонку, предоставляя воде доступ в чашу унитаза через специальные сливные отверстия.

Виды унитазов
Распространено два вида конструкций: компакт и без бачка. Практических преимуществ или различий в их использовании нет.
Компакт. Стандартный или открытый тип, состоящий из двух частей, долгое время был единственным. Представляет собой чашу с установленным поверх нее сливным баком. Система фиксируется на болты с шайбами, установка напольная.
Без бачка. Скрытый тип — смывная система маскируется за плоскостью стены, в нишах или мебели. Модель смыва герметична, вода не просачивается внутрь стен. Все компоненты доступны через съемную панель для кнопки слива — снимать плитку для мелкого ремонта конструкции не потребуется.
По ГОСТ 30493–96, деление унитазов на основные типы выглядит так:
- по форме — тарельчатый, козырьковый и воронкообразный;
- по типу выпуска — косой или прямой;
- с цельноотлитой полочкой или без нее.
Дополнительно определяется число крепежных отверстий:
- в унитазах бытовых помещений — два или четыре отверстия;
- допускается изготовлять без отверстий для крепления по желанию потребителя.
Типы смывных бачков по тому же ГОСТу:
- устанавливаемый на унитазе с боковым или верхним пуском;
- низко-, средне- и высокорасполагаемый вид с боковым пуском.
Монтаж
По способу монтажа унитазы делятся на подвесные и напольные типы.
Напольный унитаз
Унитаз устанавливают в подготовленное место: постамент крепят болтами или шурупами к полу в зависимости от конструкции.
Достоинства напольной системы:
- устойчивость и надежность — невозможно сломать чашу, сидя на ней, даже обладателям серьезной массы тела;
- доступность технических узлов;
- стандартность — легко подобрать запчасти и аксессуары даже от другого производителя.
Подвесной унитаз
Особенности настенной или подвесной системы:
- свободный пол под чашей, который удобно мыть;
- стильный внешний вид;
- в большинстве случаев оборудованы половинным сливом;
- унитаз должен выдерживать собственный вес и массу того, кто на нем сидит.
Этот тип требователен к каркасу и системе крепления. В монтажном комплекте идет стальная рама, способная выдержать вес несколько сотен килограмм. Но если конструкция устанавливается внутрь каркаса из профилей, последнему потребуется дополнительное усиление брусом, чтобы удерживать систему в единой плоскости.

Канализация, подводка воды и сливной бак в результате будут спрятаны внутри рамы и за ней. После обшивки каркаса снаружи останется лишь сама чаша, выпирающая из стены, и декоративная кнопка слива, напоминающая выключатель.
В качестве достоинств подвесного типа часто упоминается экономия пространства. По факту ее нет, ведь рама и каркас тоже потребуют места.
Выпуск
Выпускная система или слив также делится на типы, каждому из которых присущи свои особенности.
- вертикальный — монтируется в фановое отверстие, которое расположено в полу;
- горизонтальный — установка непосредственно в стену, где расположена фановая труба, практически параллельно полу;
- косой — ставится в отверстие в стене под углом 40—45 градусов;
- универсальный — раструб отдален от стенки устройства, что позволяет присоединить его к любой форме канализационного отвода.
Горизонтальный и универсальный типы — современные. Модели с косым и вертикальным выходом морально устарели еще в XX веке. Их невозможно подключить к несоответствующему типу канализационной трубы без использования переходников.
Из чего делают унитазы
Основные материалы для производства унитазов — керамика и сталь. Доступны и вариации из чугуна, пластика или стекла, но их практичность значительно ниже.
Керамические — производят из санфаянса или санфарфора, поэтому их подавляющее большинство белого или бежевого цвета.
- материал гигиеничен, ему легко задается обтекаемая форма, способствующая удобной очистке;
- срок службы фаянсовых изделий около 30, а фарфоровых — до 50 лет;
- не впитывают запах.
Из нержавеющей стали — модели, как правило, используются в учреждениях с большой проходимостью. Этот тип прочен и неприхотлив в обслуживании, но из-за непрезентабельного внешнего вида и характерных ассоциаций редко применяется в жилых помещениях.

Из литьевого мрамора — материал напоминает натуральный, но имеет повышенную прочность в сравнении с ним. Сантехника, изготовленная из него, отличается гигиеничностью и теплой поверхностью.
Из акрила — легкие устройства с толщиной стенок до 6 мм. Чаще используются в качестве гостевых вариаций. Прочность сравнима с керамическими, но требуется особый уход без химических растворителей и абразива.
Форма чаши унитаза
В соответствии с внутренней формой чаши унитазы делятся на 3 типа.
- Козырьковые — самый популярный тип. Пологая задняя стенка чащи обеспечивает аккуратный смыв. Форма наиболее гигиенична.
- Воронкообразные — отверстие для смыва расположено по центру чаши. Преимущество этой формы заключается в равномерном мгновенном сливе воды. Недостаток — поток повышенной силы способствует разбрызгиванию.
- Тарельчатые — внутри чаши установлено подобие платформы, накапливающее отходы. Тип устаревший и негигиеничный.
Дополнительное разделение по внешнему виду формы:
- Круглый — такая чаша экономит пространство маленькой ванной. Длина унитазов этого типа минимальна.
- Овальный или удлиненный — вариант с максимальной длиной чаши, считается наиболее удобным в эксплуатации.

Подвод воды
Нижний подвод — шланги незаметны и не портят интерьер. Подсоединение требует сноровки, так как стыки спрятаны под бачок. Нижняя разводка требует повышенного внимания к герметичности соединений, так как давление воды способствует протеканиям.
Боковой подвод — коммуникации остаются на виду, вариант не слишком эстетичен, но максимально удобен при сборке и дальнейшем обслуживании. Протечек не бывает, кроме случаев, связанных с поломкой поплавка и естественным переливом воды.
Функции унитазов
Базовая функциональность унитазов одинакова, а дополнительная определяется наличием или возможностью установки аксессуаров.
Половинный слив
Конструкция сливного механизма содержит дополнительный клапан, ответственный за частичное опорожнение резервуара. Модели с таким сливом идут в комплекте с двойной кнопкой, которая допускает при полном зажиме стандартное опустошение бака целиком.
Некоторые виды предусматривают регулировку объема, но в большинстве случаев идет автоматическая установка клапана на высоте середины бака. При нажатии одной кнопки происходит слив заданного дополнительным клапаном объема.
Экономия воды при использовании этой функции достигает трети месячной нормы, потребляемой унитазом.
Автоматический слив
Сливная система запускается по датчику движения, установленному в санузле. Как только обнаружено присутствие, в бачке начинается набор воды. Слив включается автоматически, когда человек покидает помещение.
У системы есть ряд особенностей:
- Любителям посиделок в туалете с книгами потребуется время от времени шевелить руками, чтобы датчик фиксировал присутствие.
- Система реагирует на домашних животных. Если кот приучен к унитазу, автоматика избавит хозяев от контроля чистоты техники после посещений туалета питомцем.

Гигиенический душ
Аксессуар, превращающий унитаз в подобие биде. Некоторые модели идут сразу в комплекте с душем, встроенным в крышку или боковину. Если такая функциональность не предусмотрена, аксессуар можно установить как самостоятельный элемент на стену рядом с устройством.
Устройство применяют не только по прямому назначению, но и для удобного набора воды в высокие емкости, а также для ухода за лотками животных.
Микролифт сиденья
Своеобразный доводчик, позволяющий плавное опускание и подъем крышки. Механизм микролифта — шток для жесткого крепления крышки и пружина, тормозящая его вращение.
Особенности:
- Сиденье с этим аксессуаром закрывается бесшумно.
- Крышку не удастся опустить быстрее, чем предусмотрено механизмом. Если применить силу, механизм сломается.
Аксессуар не имеет привязки к типу унитаза. Достаточно установки сиденья, поддерживающего эту опцию.
Автоподнятие/опускание сиденья
Упоминание этой функции в большинстве случаев означает разговор о микролифте. Но есть и редкий специализированный аксессуар. Это механизм с педалью и приводом, который приводит в действие сиденье — как на советских мусорных баках.
Достоинства:
- гигиеничность — не придется прикасаться к сиденью руками;
- простота установки без привязки к моделям;
- удобство для людей с ограниченными возможностями.
Чаще используется в общественных местах: аэропортах, отелях.

Подогрев сиденья
Аксессуар подходит для всех типов устройств, нагревательный элемент встроен непосредственно в крышку.
- в продвинутых моделях подогрев регулируется датчиком, доступны разные температурные режимы и контроль безопасности;
- часто совмещается с другими редкими функциями — массажером, измерителем пульса, самоочищающимися выдвижными соплами.
Поставляется в комплекте с эргономичными сиденьями для повышенного комфорта. Чаще с пультом управления — отдельным или встроенным сбоку.
Сушка воздухом
Эта функция чаще совмещена со встроенным гигиеническим душем. Встречается в элитных моделях. Бывает двух типов:
- После применения встроенного душа для гигиенических процедур теплый воздух, подаваемый унитазом, служит для замены туалетной бумаги. На западе такие модели позиционируются как техника для людей с ограниченными возможностями, беременных и проходящих реабилитационный период после полостных операций.
- Второй тип не предполагает наличия душа, частично заменяет системы подогрева.

Антибактериальное покрытие унитазов
Защита позволяет содержать крышку и внутреннюю поверхность в чистоте. Доступны вариации покрытия на основе серебра или циркония. Чаще в комбинации с ультрафиолетовым антибактериальным освещением.
Два основных типа:
- Защита не меняет облик сантехники. Модели, оснащенные ей, на ощупь чуть грубее обычных. Этот тип покрытия предназначен только для керамических моделей, наносится до производственного обжига.
- Другой вид — с наружным напылением антибактериальных металлов.
Любое из перечисленных покрытий предотвращает появление бактерий и плесени.
Плюсы
Достоинства унитазов зависят от способа их установки, подвода воды и канализации. Последние два параметра определяют потребность в дополнительных трубах, фитингах и переходниках. Подчас в помещениях со сложной геометрией набор переходников и удлинителей сравним по затратам с расходами на сам унитаз.
Обилие стыков означает большее количество слабых мест, подверженных поломке и протечкам. Поэтому преимущество остается за вариантами, требующими минимального комплекта фитингов.
С баком:
- быстрый доступ к стыковочным узлам коммуникаций для обслуживания;
- для установки не требуется ремонт помещения и монтирование каркасов;
- устойчивость вне зависимости от веса сидящего, сантехника надежна;
Без бака напольные:
- лишены недостатков компакт-систем, эстетичны;
- неприхотливы в обслуживании.
Без бака подвесные:
- неприглядные детали скрыты от посторонних глаз;
- технологические ниши и каркасы чаще не съедают пространство целиком — на их основе создаются функциональные шкафчики или полки;
- открытый пол — удобство мытья, не скапливается мусор.

Проблемы
Неудобства зависят от типа изделия.
Унитазы с баком
- системы этого типа всегда напольные;
- пространство, требуемое под бак, в большинстве случаев нефункционально;
- неудобства при мытье пола, за постаментом скапливается пыль и мусор, до которых сложно добраться.
- неэстетичность — коммуникации на виду.
Длина моделей с цельноотлитой полкой не менее 605 мм, компактные модели от 330 мм неудобны в быту. В сочетании с размером бака, который даже в уменьшенных моделях обычно выходит по габаритам за пределы устройства, унитаз потребует не менее полуметра свободного пространства.
Без бака
Подвесные:
- доступ к коммуникациям затруднен — требуется ревизионный люк для крупных работ, остальные выполняются через отверстие для кнопки.
- стальную раму в шкаф не спрятать — потребуется обшивка гипсокартоном или панелями, а с ней и дополнительные расходы на отделочные материалы.
Напольные:
- для установки нужна ниша или каркас, маскирующий сливную систему;
- сочетают неудобства в обслуживании подвесных и напольных моделей.
Все системы без бака объединены общей проблемой — затратная установка.
Ширина рамы в подвесных моделях достигает 50 см. Уменьшенные вариации 35 и 40 см менее надежны в эксплуатации и выдерживают меньший вес. Рама крепится к полу и базовым стенам санузла.
Часто требуется усиление обшивочного каркаса. В первозданном виде конструкцию оставлять неуместно — она должна быть защищена от влаги и декорирована. Трудозатраты по установке сравнимы с полным ремонтом помещения.

Дальнейшее обслуживание подвесной системы в случае поломок и протечек подразумевает доступ через крышку кнопки. Отверстие небольшое — двумя руками работать сложно. Соответственно, подтяжка и герметизация фитингов, не говоря о замене деталей, отнимет в несколько раз больше времени, чем при работе с обычным бачковым унитазом.
Для упрощения доступа принято в неприметном месте за унитазом оставлять ревизионный люк. Это позволит ускорить доступ к коммуникациям и облегчит обслуживание.
Люки дополняют специальными дверцами (чаще готовыми пластиковыми) необходимого размера. Комфортный для работы — на ширину двух стандартных стеновых плиток 15 на 20 см. В итоге ширина люка выйдет чуть менее 30 см с учетом бортиков и каркаса.
Как выбрать унитаз
При выборе стоит обратить внимание на ряд параметров.
Размеры — убедитесь, что новый унитаз соответствует возможностям пространства. Для этого нужно измерить расстояния:
- От стены позади запланированного места установки до максимальной точки, на которую может выдвинуться унитаз, не создавая проблем с перемещениями. Актуально для небольших санузлов.
- От центра ближайшей канализационной трубы до точки, в которой будет патрубок устройства. Замерять нужно с запасом на стыковки труб — они индивидуальны, зависят от материала.
- Третий размер — от трубы холодного водоснабжения до места установки. Оптимально сделать сразу два замера — один с учетом боковой подводки, второй — для нижнего варианта. Размеры помогут определить потребность в наращивании гибких шлангов.
Форма и высота — существуют модели с повышенной или пониженной высотой постамента для комфортного использования в зависимости от роста и длины ног. Глубина устройства чаще зависит от его формы. Удлиненные вариации сантехники удобнее в быту, но требовательнее к пространству.
Очистка — решите, какой должна быть система смыва: с антивсплеском, прямая или круговая. Последний вариант встречается с возможностью ускоренной очистки устройства.
Сюда же относится потребность в антибактериальном покрытии или свободном месте под унитазом для упрощения мытья пола.

Изолированный бак — возможность его установки определяется параметрами пространства. Без частичного ремонта санузла здесь обойтись не получится. Но эстетичность и комфорт чаще оправдывают затраты на реорганизацию.
Крепежи и сливная система — при выборе устройства проверьте комплектность, удостоверьтесь в цельности поплавка и пластиковых элементов арматуры. В подвесных моделях нужно обратить внимание на швы и стыки рамы – там не должно быть надрывов, облезшей краски и следов коррозии.
Убедитесь, что крепежи свободно входят в свои гнезда, подходят по размеру. Монтажная поверхность (место стыка со стеной в подвесных моделях, а в остальных — с полом) должна быть ровной, без перепадов и зазубрин.
Какой лучше
Лучший тип унитаза для каждого индивидуален:
- Устройство должно быть легким в уходе и обслуживании, гармонировать с другой техникой и вписываться в габариты помещения, не создавая неудобств.
- Подводка воды и канализации в идеале не должна требовать докупания труб и фитингов. В этом случае для установки унитаза понадобится лишь крепление и подсоединение необходимых коммуникаций.
- Доступность сервисных центров и точек гарантийного обслуживания в первый год эксплуатации приоритетна.
- Запасные части для устройств малоизвестных производителей будет сложно найти, если унитаз отличается от стандартного.
Как пользоваться
Первый шаг после установки любого типа сантехники — предотвращение попадания воды в незапланированные места. Все стыки с поверхностями необходимо обработать санитарным силиконовым герметиком. Его потребуется обновлять время от времени.

Как понять, что герметик нуждается в замене:
- Слой силикона пожелтел или стал серым — обновление в эстетических целях.
- Герметик выглядит нормально, но пропускает воду — полное снятие излишне, достаточно точечного обновления.
- Силикон покрылся налетом черного цвета — в помещении проблемы с вентиляцией. Налет — это грибок. Если не планируется менять вытяжку и устанавливать дополнительный вентилятор, герметик придется обновлять каждые полгода.
Дальнейшее обслуживание унитаза сводится к его гигиенической очистке.
Независимо от типа устройства и материала, из которого оно изготовлено, недопустимо чистить технику острыми металлическими предметами.
- Глазурованные поверхности очищают любыми подручными средствами вплоть до растворителей и щелочей. Поверхность не пострадает.
- Акриловые модели нельзя очищать с помощью химических растворителей.
- Образовавшийся налет снимается специальными средствами. Применяются и бытовые смеси — сода с лимонным соком, вода с уксусом в равных пропорциях.
- По завершении мытья и очистки устройство протирают сухой мягкой тканью без ворса.
Технику следует предохранять от падений и ударов. Все модели, кроме изготовленных из нержавеющей стали, можно сломать. Вариант из нержавейки не расколется, но может деформироваться.

Гарантия
Гарантийные обязательства производителей не распространяются на механические повреждения унитаза или бака. Применение неподходящих средств очистки, некорректная установка или эксплуатация также не входит в число гарантийных случаев.
Производители выполняют ремонт или замену только при наличии заводских дефектов и брака, поэтому многолетние гарантийные сроки не являются преимуществом, достаточно минимального — 1 год. Если в устройстве присутствуют производственные дефекты, они будут выявлены в течение этого периода.
Большинство производителей предоставляет стандартную гарантию на сантехнику в пределах 3–5 лет.
Неисправности и ремонт
Чаще ломается начинка сливного бака. Большинство неисправностей можно привести в порядок самостоятельно.
Вода продолжает течь после разжатия кнопки слива
Чтобы определить источник проблемы, потребуется снять с устройства крышку и понаблюдать за работой системы.
- Дождитесь, пока бак наполнится водой.
- Если при наполнении жидкость продолжает убывать, это свидетельствует о некорректной работе заслонки.
- Проверьте герметичность запорного клапана, целостность и отсутствие следов коррозии или известкового налета.
При обнаружении наслоений достаточно их очистки подходящим средством. В случае разгерметизации применяется санитарный силикон — для этого бачок придется опорожнить и высушить. Если заслонка погнулась или отверстие расширилось из-за жесткой воды, потребуется замена запорного кольца.

Протечка бака
Об этой проблеме свидетельствует поступление воды из непредусмотренных конструкцией мест. Причин может быть несколько:
- Износ резиновой прокладки между баком и унитазом — происходит чаще из-за неустойчивости бачка и слабости крепежа. Встречаются варианты износа из-за некачественной старой резины, известкового налета или механических повреждений. Вердикт во всех этих случаях один — прокладка подлежит замене. Приобрести аналог можно в любом сантехническом магазине. Для установки потребуется скручивание бака и герметизация соединений.
- Разносились шайбы болтов, на которые бак крепится к устройству — потребуется демонтаж бачка. Дальнейший осмотр шайб подскажет, нуждаются они в полной замене или достаточно обновить герметик. Важно не перетянуть болты при монтаже.
- Некорректная работа поплавка — из-за жесткой воды днище поплавка покрывается известковым налетом. Его отпадание в процессе смывания может деформировать поплавок или вызвать бесконтрольные переливы. Если целостность устройства не подлежит сомнению, нет следов деформации, достаточно очистки днища от наслоений. В иных случаях придется менять поплавок, а в редких моделях и весь сливной механизм.
- Трещина в баке — приобретите комплект для ремонта фарфора или изготовьте самостоятельно, растерев в порошок небольшой кусок фаянса и смешав с эпоксидным клеем. В момент ремонта бак должен быть опорожнен и высушен. Исправьте трещину, нанеся смесь шпателем. Оставьте на сутки, чтобы просохнуть, а затем осторожно наполните бак водой. Если протечка устранена — он прослужит еще несколько лет с заплаткой. В сложных случаях бак подлежит замене.
Затрудненный смыв
Проблема связана с низким уровнем воды в баке или слишком быстрым закрытием заслонки клапана.
- Поднимите крышку бачка, чтобы проверить уровень воды. Его задает поплавок — резиновый или пластиковый шар, плавающий на поверхности. Если уровень низок, отрегулируйте его вручную, чтобы бак наполнялся до нужного объема.
- В случае проблемы с клапаном, проверьте длину цепи, присоединенной к нему. Отрегулируйте натяжение, не перетягивая цепь.

Не уходит вода
Засорилась канализационная труба.
Способы прочистки:
- Средство для устранения засоров — поможет в легких случаях или при забивке бытовыми отходами, жиром.
- Вантуз — создает вакуум, выталкивающий на поверхность отдельные частицы засора.
- Механическая чистка — в сложных случаях. В зависимости от глубины проблемного места, понадобится длинная спица, обрезок гибкого шланга или специальный трос. Вытягивание и проталкивание для эффективности сочетают с заливанием отверстия обезжиривающими средствами.
Если ни одно из решений не сработало, вызовите сантехника.
Не работает кнопка
Повреждена тяга. Потребуется снять крышку, отсоединить кнопку и проверить характер повреждения. Если деталь металлическая — в большинстве случаев она будет деформирована, но цела. Выпрямляется подручными средствами, после чего кнопочная система собирается в обратной последовательности.
В случае с пластиковой арматурой кнопки речь может идти о надрыве или отламывании ножек детали. Потребуется замена. В качестве временного решения сломанная тяга заменяется куском толстой проволоки или длинной тонкой щепкой.
Для устранения неисправностей сливной системы перекрывается запорный вентиль, а механизм отсоединяется от водопроводной сети во избежание разливов.

Производители унитазов
Представленные производители специализируются на керамической продукции.
Cersanit — польский производитель керамической сантехники: душевых кабин и поддонов, раковин, ванн и унитазов. Предлагает собственную программу для расчета вида будущих интерьеров с учетом их техники. Гарантия на санитарную керамику 10 лет, продукция сертифицирована. Сайт: www.cersanit.ru.
Duravit — немецкий производитель, специализируется на мебели и технике для ванных. Керамические унитазы подвесного типа. Предусмотрена 5-летняя гарантия на технику. Сайт: ru.duravit.com.
Gustavsberg — шведская компания, производитель сантехники и аксессуаров: смесителей и оборудования для душа. Унитазы подвесного и напольного типа. Гарантия 25 лет, есть сеть российских сервисных центров. Сайт: www.gustavsberg.com.
Jika — производитель из Чехии. Специализируется на мебели для ванных и сантехнике. Фаянсовые унитазы подвесного типа. Гарантия на продукцию составляет 5 лет. Сайт: www.jika.eu.
Laufen — компания из Швейцарии. Позиционирует себя как элитный производитель дизайнерской сантехники. Унитазы всех типов, керамика. Гарантийный срок 5 лет. Сайт: www.laufen.ru.
Roca — испанский производитель сантехники и сопутствующих аксессуаров. Унитазы всех типов, доступны модели с нестандартной расцветкой. На изделия из санфарфора гарантия 10 лет. Сайт: www.ru.roca.com.
Sanita Luxe — российский производитель. Специализируется на сантехнике, доступны компактные и подвесные модели разного цвета. Внешне неотличимы от европейских аналогов. Гарантия на керамические изделия составляет 15 лет, на арматуру — ограничивается 5 годами. Сайт: www.sanitaluxe.ru.
Santek — российский производитель санитарной керамики. Унитазы представлены в коллекциях для ванных комнат. Основная часть продукции компактного типа, с сиденьями из дюропласта. Гарантия 10 лет. Сайт: www.santek.ru.
Villeroy & Boch — немецкая корпорация. Специализируется на технике для ванных и кухонь. Унитазы подвесного и компактного типа. Продукция не рассчитана на средний бюджет. Гарантия 2 года. Сайт: www.villeroy-boch.ru.
vash.market
Сливная система для унитаза: как выбрать ее наиболее
Нереально представить комфортное проживание без современных сантехнических устройств. Туалет мы посещаем каждый день, и выход из строя какой-либо детали заставляет очень сильно понервничать. Значительно чаще подводит сливной бачок, поскольку в нем достаточно большое количество элементов, любой из которых по-своему ответствен.

Классификация устройств
Сейчас имеется возможность выбора модели бачка, подходящего вам по всем параметрам. Современная система слива унитаза подбирается как под изюминки интерьера, так и под вкус хозяина. В далеком прошлом придуманный принцип действия не изменился, но появилась масса модификаций.
Размещение приспособления

- Бачок, совмещенный с унитазом. В совокупности получается эргономичная и компактная единая система. Конструкция монтируется сходу, нет необходимости устанавливать переходную трубу между накопителем и унитазом воды.
- Подвесной тип. Похожими были самые первые унитазы. Ретро мода придала нотку элегантности обыденному «дерни за веревочку», сейчас системы выглядят весьма эстетично. Качественный смыв благодаря замечательному напору портит мелкий минус – подвесная система смыва для унитаза шумит громче других моделей.
- Скрытые (встроенные) системы. Снаружи остается лишь чаша для применения, система же слива монтируется в стенке.
Обратите внимание! Конструкция совершенна для мелкого туалета, и под стиль минимализм. Достаточно надавить расположенную на панели кнопку, и вода смоет все ненужное.
Тип спускового механизма

И тут все сделано для удобства пользователя либо под неспециализированный стиль. Ультрасовременные экземпляры открывают воду машинально, руководствуясь заложенной программой.
Но это чаще эксклюзивные вещи, сделанные по большей части под заказ.
- Наиболее популярная кнопочная система бачка унитаза. Кнопку располагают сбоку либо по центру чаши слива, в закрытых типах устройств. Считается одной из самых надежных и эргономичных.
- Вытяжная разновидность. Мало устаревший аналог, но хорошо зарекомендовавший себя. Вода льется по окончании поднятия вверх штока, открывающего ей отверстие в бачка.

- Рычажная система. Спуск создают, надавив на рычаг либо потянув за цепочку. Дополнения находятся сбоку и значительно чаще на подвесных моделях.
Материал
На сегодня возможно отметить три наиболее востребованные разновидности – устройства из керамики, пластика и чугуна.
- Значительно чаще употребляются фаянсовые элементы, удачно функционирующие как в подвесном, так и в совмещенном варианте.
- Пластиковая система спуска воды в унитазе оптимальна для встроенных в стенке конструкций. В большинстве случаев, у них нестандартная форма и более компактные габариты.
- Чугун использовался в ветхих модел
uchebniksantehnika.ru
конструкция, действие, выбор, сливные отверстия, инструкция по монтажу своими руками
Для комфортного проживания в квартире, конечно же, необходим оборудованный санузел. Неотъемлемой частью любого унитаза является сливной бачок. Без этой конструкции сантехническое устройство будет напоминать обыкновенный горшок. Поэтому в данной статье мы расскажем о том, что такое сливные системы для унитазов, как они работают и из каких элементов состоят.
Составляющие части унитаза
Чтобы понять, как устанавливать сантехнический прибор, и впоследствии производить его ремонт в случае необходимости, необходимо четко представлять себе его конструктивные особенности.
Унитаз состоит из таких основных частей:
- Чаша унитаза;
- Смывное устройство, которое включает в себя сифон и его составляющие;
- Бачок для слива.

Унитаз со смывным баком
Основное предназначение бачков – наполнять емкость необходимым уровнем жидкости и затем сливать ее в унитаз. При воздействии на кнопку, вся жидкость из бака льется в чашу унитаза, при этом смывая все его содержимое, и стекает в канализацию. Благодаря сифону наша ванная комната не наполняется неприятными запахами канализации.
Ознакомившись с особенностями конструкций унитазов, а также с принципом действия каждого компонента, может быть выполнена его установка своими руками, что даст вам возможность значительно сэкономить средства на вызове сантехника.
Из каких элементов состоит смывной бачок и как он работает
На первый взгляд, внутреннее устройство сливного бачка, очень простое, так как при внешнем осмотре можно увидеть два основных компонента:
- Механизм подачи воды;
- Механизм для слива.
Благодаря механизмам, которые отвечают за подачу воды, жидкость в нужном количестве накапливается в бачке. После этого клапан закрывает доступ воды. При нажатии на соответствующий рычаг в унитазе, начинает работать сливной механизм. При этом напор жидкости поступает в унитаз и смывает все его содержимое. Помимо этих основных компонентов бачок состоит из груши, поплавка, рычагов, перелива и поплавочного клапана.

Подвесной смывной бачок
Все вышеперечисленные составляющие могут отличаться по своей конструкции и изготавливаемому материалу, однако принцип действия при этом остается одинаковым. Подача воды в бачок осуществляется за счет арматуры. При этом впускной канал может располагаться или сбоку бака, или снизу. При первом способе с одного края рычага находится поплавок, а с другого – клапан, который отвечает за прекращение подачи воды, когда она достигнет необходимого уровня. Во втором варианте поплавок движется по вертикальному штоку, что обеспечивает более бесшумную работу.
Когда вода из бачка выливается, поплавок опускается на дно. В связи с этим специальные рычаги приводят в действие запорный клапан. При этом бачок наполняется жидкостью, и поплавок постепенно поднимается. Когда вода достигнет определенного уровня, ее подача блокируется клапаном.
Сливная система бачка унитаза предназначена для спуска воды. Состоит она из следующих основных элементов:
- Устройство для спуска;
- Сифон для слива.
Когда вы воздействуете на устройство для спуска, проще говоря, нажимаете на кнопку, то начинает свою работу шток. Он поднимает вверх сифон, который может быть выполнен в разных конфигурациях. Далее открывается запирающий клапан, и вся жидкость, вместе с содержимым унитаза, выливается в канализационные трубы.
Сливная система в бачке унитаза
Еще одной составляющей бачка является система перелива, которая защищает всю конструкцию от чрезмерного наполнения резервуара в том случае, если по каким-то причинам уровень воды будет превышать установленный. В этом случае лишняя жидкость будет направлена непосредственно в канализацию, а не потечет по всему помещению.
Выбираем систему слива
Для того чтобы разобраться в устройстве системы слива, нужно ознакомиться с возможным расположением отверстий для слива, формой выпуска, арматурой сливного бачка, а также с расположением зеркала воды в чаше.
Схема сливной системы напрямую зависит от формы выпуска, среди которых известны следующие:
- Вертикальный, который используется преимущественно в старых постройках, отвод канализации находится у соседей снизу на их потолке.
- Косой, для него характерен наклонный раструб канализации под углом 45 градусов. Чтобы подсоединить к нему сантехническое изделие с горизонтальным выпуском, можно применять различные гофры.
- Горизонтальный выпуск, который позволяет разместить унитаз возле стояка канализации.
Выбирайте форму выпуска в соответствии с формой раструба в вашей ванной комнате. Переделать конструкцию можно, однако при этом придется пожертвовать свободным местом в и без того маленьком помещении.
Разбираемся со сливными отверстиями в унитазе
Различают определенные виды сливной системы, в зависимости от расположения сливных отверстий в унитазе. При заднем сливе жидкость из бачка протекает по задней стенке унитаза одной струей. Это позволяет лучше очищать унитаз именно с задней стороны, которая больше всего подвергается различным загрязнениям. Однако такой способ оставляет без внимания все остальные поверхности чаши, поэтому постоянно приходится отмывать их вручную при помощи ершика и применения бытовой химии.
Также существует круговой слив воды. При этом вся жидкость из сливного бачка проходит через несколько отверстий в чаше унитаза, и он обмывается более равномерно, чем в первом случае.
Как видите, потоки воды направлены в каждом случае по-разному. Каждый способ имеет свои достоинства и недостатки, поэтому выбирайте систему слива исходя из своих личных предпочтений.
Установка сливной системы своими руками
Теперь вы знаете основное устройство сливного бачка, поэтому при необходимости сможете его самостоятельно установить, а затем полностью разобрать и устранить все неисправности в случае необходимости.
Чтобы выход из строя определенного элемента не стал для вас неожиданностью, вы должны заранее ознакомиться с возможными неисправностями и знать меры борьбы с ними.
Начинается разборка бачка со снятия крышки. Делать это нужно очень аккуратно, потому что при ее повреждении, вам придется приобретать новый бачок, а может быть, даже полностью новый унитаз. Это связано с тем, что крышки для сливных бачков идут только в комплекте, а по отдельности не продаются. Для того, чтобы понять механизм крепления крышки, у вас есть инструкция от производителя, поэтому стоит внимательно с ней ознакомиться.
Установка сливной системы
При внешнем осмотре, вы сможете обнаружить наиболее частые проблемы, которые связаны с перекосом поплавка, повреждением его механизма, а также с износом прокладок и резиновых уплотнителей. Устранить эти повреждения несложно, однако если произошла более серьезная поломка, то придется менять сливное оборудование.
Установка бачка может выполняться несколькими способами, которые зависят от модели унитаза. В любом случае учитывайте, что система смыва должна крепиться аккуратно, без прикладывания значительных усилий, потому что это может привести к различным трещинам и другим повреждениям.
Если требуется произвести монтаж бачка отдельно от унитаза, то для этого к бачку необходимо прикрепить смывную трубу. После этого нужно отметить на стене точки, в которых будет крепиться смывное устройство. Затем в отмеченных местах необходимо просверлить отверстия и установить бачок крепежными элементами.
Если необходимо произвести установку бачка на полке унитаза, то для начала надевают уплотнительную прокладку с помощью силикона. Далее закрепите бачок специальными болтами с прокладками в виде конуса. Такую конструкцию далее необходимо установить на полочку унитаза, совместить все крепежные отверстия и зафиксировать положение. После этих операций должно следовать подключение системы подачи воды, что достигается за счет использования гибкого шланга.
Сливные механизмы, которые встраиваются в стену, позволяют значительно экономить место в помещении. За счет того, что бачок надежно скрыт, практически не слышен шум во время работы.
Кроме того, такие конструкции позволяют обеспечить удобство при уборке ванной комнаты и придают помещению оригинальности. Чаще всего такие конструкции устанавливают на специальные системы инсталляции, которые являются достаточно прочными и надежными, позволяют выдержать нагрузку до четырехсот килограмм.
aqua-sovet.ru
инструкция по выбору, виды, параметры, советы
Современные унитазы обладают многими существенными отличиями, в результате чего очень часто люди сталкиваются со слишком сложным выбором, когда просто невозможно точно сказать, какой именно вариант считается самым оптимальным и подходящим. Однако важно учитывать, что при выборе данного сантехнического прибора следует ориентироваться не только на его основные параметры, внешний вид или стоимость, но и на нюансы монтажа, а также важно, чтобы он хорошо подходил к определенному санузлу. Многие люди задумываются о том, какой слив в унитазе лучше, а для этого можно выбрать одну модель из трех вариантов.
При этом важно учитывать, что выбор здесь зависит не от предпочтений людей, а от того какими особенностями обладает канализационная система в квартире или доме. Также важно учитывать конфигурацию самого слива, поскольку от него зависит эффективность смывания фекальных масс и загрязнений со стенок изделия в сливное отверстие. Также важной особенностью является то, что в процессе слива не должно возникать каких-либо постоянных брызг, которые будут выходить за пределы чаши унитаза.

Горизонтальный слив
Выбор сливного выхода изделия
Первоначально важно определиться, какой конструкцией и иными параметрами будет обладать сливной выход данного сантехнического прибора. Выпуск может быть разным, а при этом изначально выделяется три главные разновидности:
- Горизонтальный выпуск считается наиболее популярным и часто устанавливающимся. Это обусловлено тем, что в российских условиях наиболее часто все элементы канализационной системы прокладываются именно в стенах помещения, поэтому для подключения слива к этой системе нужно пользоваться горизонтальным выпуском.
- Вертикальный выпуск применяется в том случае, если трубы канализации проходят в плитах перекрытия между этажами, а именно под напольным покрытием. Такая конструкция сейчас начинает встречаться все чаще, поскольку она обладает многими положительными качествами, а также за счет того, что трубы от унитаза уходят вниз, обеспечивается наиболее качественный и оптимальный слив, что позволяет с высоким комфортом пользоваться данным изделием.
- Косой выпуск применяется довольно редко, поскольку его монтаж считается специфической работой, при которой данный элемент должен быть установлен под углом в 45 градусов к полу помещения. При этом такая конструкция считается обязательной, если трубы канализации находятся на немного другом уровне относительно самого сливного бачка унитаза.
Советы по выбору учитывают, что здесь нужно ориентироваться только на ту канализационную систему, которая имеется в конкретном санузле. Дело в том, что если трубы системы канализации будут находиться в полу, то установить унитаз с горизонтальным выпуском просто не получится.
Выбор унитаза относительно его основных особенностей
Как только будет решено, какой именно выпуск будет иметься у этого оборудования, можно выбирать из оставшихся вариантов такие, которые будут иметь все нужные основные параметры. Первоначально важно учитывать, что в процессе слива не должно создаваться какого-либо дискомфорта для людей, которые пользуются данным оборудованием, а также после использования не должно возникать ситуации, когда придется много времени уделять очищению чаши унитаза от образовавшихся загрязнений. Данные вопросы могут быть решены только при правильном выборе конфигурации чаши унитаза.
Можно выделить три разновидности этих чаш:
- Воронкообразная чаша встречается чаще всего, а она обычно представляет собой конструкцию, в которой в центре чаши имеется сливное отверстие. Во время использования такого унитаза постоянно будут возникать неприятные брызги и всплески, которые ведут к тому, что вода из унитаза будет попадать на человека. Такая форма чаши встречалась практически во всех старых унитазах, а при этом считается одной из самых неприятных, поскольку доставляет пользователям массу дискомфорта.

Чаша унитаза
- Тарелкообразные формы чаши так же являются достаточно популярными, а в них полностью решена проблема, которая связана с возникновением различных брызг. Здесь первоначально фекальные массы, а также разливные загрязнения, которые загружаются в унитаз, попадают на специальную полочку, на которой имеется только минимальное количество воды, в результате чего можно быть уверенным в том, что в процессе данных действий никаким образом не будут возникать ненужные брызги и всплески. Однако здесь имеется другая проблема, которая заключается в том, что после каждого применения такого сантехнического оборудования придется пользоваться различными чистящими средствами и щетками для очищения его стенок. Это так же доставляет массу дискомфорта, поскольку для обслуживания унитаза приходится тратить много времени и усилий.
- Козырьковая чаша на сегодняшний день считается наиболее удобной и приемлемой, а создается она таким образом, чтобы к сливному отверстию вели стенки с определенным уклоном. В результате массы будут первоначально попадать на стенки, причем на достаточно близком расстоянии к самому отверстию, после чего будут стекать в него. В этом случае можно добиться того, что будут отсутствовать ненужные всплески, а также не придется очищать большую часть поверхностей такого сантехнического прибора.

Система антивсплеск
- Дополнительно важно выделить такую уникальную систему, как антивсплеск, которая специально разработана для того, чтобы в процессе применения сантехники никаким образом не возникало ненужных брызг. При этом заключается она в том, что создаются уникальные и необычные формы чаши унитаза, которые за счет своей эксклюзивной конфигурации не допускают данного процесса. Такие разновидности унитаза считаются достаточно дорогими, но и самыми приятными и удобными для использования.
Как определиться с системой слива и другими параметрами изделия?
Далее решается вопрос о том, с каким сливом выбрать унитаз, чтобы он был наиболее комфортным и удобным. Для этого важно изучить все имеющиеся на рынке разновидности, чтобы точно знать, какая модель считается наиболее подходящей. При этом можно выделить несколько разных видов системы слива:
- Горизонтальная система предполагает, что слив воды из бачка выполняется только по задней стенке чаши унитаза. Такая модель обладает определенными минусами, к которым первоначально важно отнести то, что затрагивается только одна часть чаши, а другие поверхности не омываются водой. В этом случае, если в унитаз смываются различные жидкости, которые могут загрязнить разные стенки, очистить их без усилий не получится.

Функционирование туалета
- Круговой вариант считается наиболее оптимальным, а при этом он обеспечивает самую высокую гигиеничность унитаза. Он обеспечивает очищение водой всех стенок чаши, за счет чего они легко омываются.
- Смешанная система может быть установлена в различных видах унитаза, а при этом предполагает, что на бачке будет иметься две разные кнопки, одна из которых будет отвечать за прямой слив, а другая за круговой. При этом в определенных ситуациях можно экономить и включить первый вариант, а при сильных загрязнениях можно пользоваться другой кнопкой.
Выбор слива в унитазе зависит от предпочтений пользователей, а также от того, какие именно средства на эти цели они могут выделить. Дополнительно важно учитывать и другие параметры унитаза, а именно крышка этого изделия может быть многофункциональной, поскольку она может быть снабжена автоматическими элементами, обеспечивающими ее самостоятельное закрывание после каждого использования оборудования. Также крышки могут быть обычными и стандартными.
Дополнительно важно учитывать, из какого материала изготовлен унитаз, какими размерами и другими параметрами он обладает. Только тогда можно получить сантехническое оборудование, которое будет качественным, красивым, недорогим, хорошо вписывающимся в конкретный санузел, а также комфортным для постоянного использования.
Особенности правильного выбора унитаза
Какой слив в унитазе лучше — сказать сложно, поскольку для каждого человека имеются свои критерии выбора. Определенный вариант для одного человека будет подходящим и оптимальным, а для другого вовсе не приемлемым.
Именно поэтому важно выбирать конкретный сантехнический прибор относительно всех параметров, которыми он обладает. В этом случае можно рассчитывать на то, что будет получено изделие, идеально подходящее для будущих собственников, а пользоваться им на самом деле будет приятно и легко.
aqua-sovet.ru



