Схема подключения светодиодной ленты через выключатель – Устройство, подключение и питание светодиодной ленты
Бесконтактные и сенсорные выключатели для светодиодной ленты — правила и ошибки подключения.

Одним из самых неудобных моментов монтажа подсветки светодиодной лентой, является необходимость установки отдельного выключателя под нее.
Мало кто закладывает его изначально, вследствие чего, потом и приходится ломать голову, где же его лучше расположить, как вывести и подключить провода, дабы все это не выбивалось из общего дизайна комнаты.
Особенно этот момент актуален для подсветки рабочей зоны на кухне. Если на самом первом этапе проектирования вы не заложили электрику под это дело, то впоследствии столкнетесь с рядом проблем.
Для решения всех этих задач сегодня существуют миниатюрные, сенсорные или инфракрасные (бесконтактные) выключатели, которые имеют ширину самой ленты и идеально подходят под алюминиевый профиль.

Вы их спокойно размещаете в самое начало светодиодной ленты и закрываете рассеивателем, так что их даже не будет видно.
Давайте рассмотрим несколько моделей подобных девайсов, чем они отличаются, как подключаются, их сильные и слабые стороны.
Сенсорный диммер с пружинкой
Для начала обратим внимание на сенсорные модели. Как уже говорилось выше, шириной они со светодиодную ленту, а длиной не более спичечного коробка.

На своей плате имеют пружинку, при нажатии на которую, происходит включение и отключение освещения. Рассчитаны они на низкое напряжение 12-24 вольта.
Подключать их напрямую в сеть 220в нельзя!
То есть, устанавливаются они после блока питания светодиодной ленты.
Как правило, в самом ее начале.
Такие модели играют роль не просто выключателей, но и способны регулировать яркость Led освещения. Фактически, выступая в качестве полноценных диммеров.
Со всеми их плюсами и недостатками.
Для диммирования вам нужно просто подольше подержать нажатой пружинку.


Главный недостаток всех подобных устройств – малая мощность.
Обычно к ним можно подключить нагрузку от 20 до 48Вт, не более. А это всего около 2-х метров достаточно яркой светодиодной ленты.
Для увеличения мощности, например до 100Вт, потребуется напряжение 24 вольта. При этом сама лента + блок питания у вас должны быть аналогичными.
Подключение и монтаж
Как они подключаются? Давайте рассмотрим на примере уже почти готовой подсветки. Допустим, у вас есть алюминиевый профиль, с проложенной Led лентой внутри.

Для начала отщелкиваете заглушку и рассеиватель.
Чтобы добраться до проводов, срезаете термоусадку. Готовые комплекты Led подсветки, как раз таки идут уже с припаянными проводами и выведенным коннектором.

Так как модуль выключателя занимает определенное место, один сегмент ленты придется отрезать.

Далее переходим к паяльным работам.
Выбираете паяльник малой мощности (до 40Вт) и выпаиваете провода.

Теперь нужно правильно расположить модуль. Какие провода, куда должны подключаться?
На задней стороне ищите соответствующие подсказки и надписи. Например:
- GND (-) и VCC (+) – это основное питание с блока
- Led (-) и led (+) – выход на нагрузку

Если никаких надписей нет или они стерлись, то ориентируйтесь следующим образом. На дальние контакты от кнопки подается питание 12-24В, а ближние идут на саму ленту.
При таком расположении модуля (фото вверху), нижние контакты будут минусовыми, а верхние – плюсовыми.
Сначала припаиваете провода от блока питания.

После этого обязательно изолируйте соединения термоусадкой, чтобы исключить случайное замыкание внутри алюминиевого профиля на его корпус.

Далее жилками сечением 0,5-0,75мм2 соединяете лед ленту. Только не перепутайте плюс с минусом.
Зачастую приходится делать подключение крест-накрест, дабы соблюсти полярность.

Эти провода также в обязательном порядке изолируются. Сам модуль выключателя приклеивается к поверхности короба на двухсторонний скотч.
Почему диммер иногда не работает
На место ставится заглушка и рассеиватель. При этом никаких отверстий под пружинку вырезать не нужно!

Если подключить такой модуль без прижатия пружины рассеивателем и просто нажимать ее рукой, то возможны сбои и не корректная работа устройства. Поэтому и рекомендуется его ставить в профиль с крышечкой.

Кроме того, это защищает выключатель от пыли и влаги.
Первые модели подобных диммеров-выключателей вообще могли идти с неприпаянной пружинкой. Ее просто прижимали крышкой к контактной площадке в нужном месте.

Также обратите внимание, что защитная придавливающая крышечка не должна быть толстой. Экран от рассеивателя толщиной в 1мм идеально подходит, а вот если поместить такой выключатель за более толстый материал ( оргстекло более 2-3мм), то реакции на тактильное нажатие уже не дождетесь.

В режиме ожидания, место куда нужно нажимать пальцем, должно подсвечиваться светодиодом.

Нажмете чуть левее или правее – выключатель реагировать не будет.
Кстати, в режиме ожидания девайс потребляет всего 10мА. Так что в огромные киловатты на счетчике в конце месяца, такая подсветка вам не выльется.
Чтобы включить свет, нужно слегка нажать или прикоснуться к рассеивателю в месте установки пружинки. При нажатии с длительным удержанием, яркость начнет изменяться, достигая своего максимума.


Чтобы ее уменьшить, отпускаете руку и нажимаете вновь, опять же удерживая пружинку определенное время. Яркость плавно падает.
Для отключения подсветки достаточно кратковременного касания.
Бесконтактный инфракрасный выключатель
Тем, кому не нравится прикасаться к пружинке, есть такие же миниатюрные бесконтактные выключатели, работающие на инфракрасном излучении от взмаха руки.

Именно их стараются монтировать для подсветки рабочей зоны на кухне или в медицинских кабинетах, где врачам нужно максимально избегать контакта рук с посторонними предметами.
При выборе таких моделей будьте внимательны. Есть варианты, где микросхемы размещаются снизу, а сам силовой ключ, коммутирующий нагрузку в 2-3А, сверху.

Это значит, что вы уже не сможете безопасно приклеить их на нижнюю поверхность профиля. Он у вас будет болтаться внутри, не говоря уже о вопросе изоляции всех контактов.
Такие модели предназначены в первую очередь для установки в пластиковый корпус светильников, а не для монтажа в алюминиевые профиля.
Да и размер у них на несколько миллиметров шире самой ленты, поэтому не во всякий профиль они могут влезть.
Вам нужно выбирать те выключатели, у которых ровное и гладкое нижнее основание. Все элементы у них расположены сверху.

Один из инфракрасных элементов является излучателем, а другой приемником. Таким образом, при появлении в пределах 2-7см от поверхности бесконтактного выключателя какого-то предмета (ваша рука, хвост кошки или севшая муха), сигнал отражается и выключатель реагирует.

Для подобного рода девайсов, в рассеивателях необходимо вырезать окошко. Иначе выключатель срабатывать не будет.

Перед покупкой обратите внимание, что происходит с таким датчиком при внезапном исчезновении напряжения и его появлении через какое-то время. Например, у вас в доме или во всем районе, сетевая компания “отключила свет”. Через 2-3 часа он появился.
Так вот, в дешевых моделях таких датчиков, по умолчанию заложен режим автоматического включения подсветки при внезапном исчезновении питания и его возобновлении.
Уехали вы в отпуск на пару недель, а освещение без вашего участия само включится и накрутит лишние киловатты.
Так что спрашивайте у продавцов все характеристики товара.
Миниатюрный датчик движения
Существуют подобного рода и датчики движения. То есть, не те здоровые коробки, которые вешаются на стенах или под потолком, а такие же самые миниатюрные выключатели, собранные на узкой плате.

Их также встраивают в профиль или непосредственно в мебель. Главное их отличие – радиус действия. Здесь уже речь идет не о нескольких сантиметрах, а о расстоянии в 2-3 метра.
Такие датчики можно подключать для организации подсветки на потолке или на полу в коридоре. Очень удобно их вставлять в плинтуса.
При наличии такого датчика движения, достаточно войти в помещение и свет загорится автоматически. При бездействии порядка 30 секунд, свет отключается.
Угол охвата девайса около 100 градусов. Исходя из этого и рассчитывайте его размещение.
Реагирующий на движение элемент, также необходимо выводить из корпуса. Просверливаете в профиле или в светильнике отверстие нужного диаметра и выставляете колпачок наружу.


Все остальное вместе с проводами остается спрятанным внутри.
Подводя итог обзора китайских моделей, можно кратко перечислить ошибки, которых вам стоит избегать при выборе и подключении сенсорных и бесконтактных выключателей для светодиодной ленты:
1Не поджатая пружинка для тактильного управления. Либо слишком толстая крышка сверху нее.
2Отсутствие изоляции на проводах и контактах выключателя, расположенных внутри алюминиевого профиля. 3Подключение слишком мощной светодиодной ленты большой протяженности. Все эти модели рассчитаны на 20-30Вт.
4Монтаж выключателя, у которого элементы расположены с обоих сторон платы, в тонкий алюминиевый профиль, хотя он изначально предназначен для установки в корпус светильника.
5Отсутствие отверстия в крышке профиля под инфракрасный «глазок» датчика. 
Если вы не доверяете надежности китайской продукции, можете обратить внимание на аналоги таких бесконтактных диммируемых выключателей от наших производителей.
Умный диммер Fulogy
Например, нечто подобное и даже лучше, есть у компании Fulogy. Называется это устройство Smart Dimmer.

Собран данный светорегулятор на основе инфракрасного сенсора. Напряжение питания – 12-24 вольта.
Максимальный ток нагрузки – до 10А! Мощность подключаемой ленты:
Не слабо так, правда. Особенно после хиленьких китайских экземпляров.
Высота его всего 2,7мм. Он спокойно поместится в любой самый тонкий профиль.
Пружинок в нем никаких нет. Отверстия под инфракрасные датчики в крышке профиля вырезать не нужно.
Чувствительность – от 0 до 10см. Причем расстояние настраивается вручную. Отсюда и отсутствие необходимости дырявить крышку рассеивателей.

По умолчанию настройка идет на максимальное расстояние.
Работает выключатель даже на морозе при температуре до -20С. Так что с его помощью можно легко управлять уличным освещением или фонарем на входе в дом.
Имеется встроенная защита от переполюсовки. Перепутали плюс с минусом при подключении? Не беда. У вас ничего не сгорит, просто освещение не включится.
Поменяйте провода местами и все заработает.
Кстати, функция диммирования в отличие от большинства подобных устройств, у этого выключателя не сопровождается пульсацией.
Объясняется это частотой работы девайса. Здесь пульсации происходят на частоте 10 000Гц. А как известно, все что больше 300Гц — безопасно для человека и никак на него не влияет.
Минусом можно назвать ступенчатое изменение яркости. Она падает или увеличивается не плавно, а процентно в соотношении 25-50-100% Но это предустановленные настройки.

Если они вас не устраивают, можете их изменить. Вместо 25% оставить 5% и использовать подсветку в этом режиме как ночник.
На сайте компании есть подробная инструкция как это перепрограммируется.
Помимо регулировки яркости, в девайсе заложено несколько иных интересных режимов работы. Например, “вежливая подсветка”.
Это когда вы в спальне при входе просто взмахнули рукой, удобно устроились в кровати, и только спустя заданное время, свет сам собой погас.

Еще на плате есть дополнительные контактные площадки, куда можно подключать внешние датчики. К примеру, выносной датчик движения, или физическую кнопку включения-отключения.


Можно запараллелить несколько таких кнопок и синхронизировать их работу.
Не любите паять? Выбирайте модели с быстрозажимными клеммниками.

Стоимость сенсора конечно дороже, чем у китайцев, но качество и заложенный функционал не идут ни в какое сравнение. Плюс присутствует 3-х годичная гарантия.
svetosmotr.ru
Как подключить светодиодную ленту к 220 вольт своими руками
Все большую популярность набирает скрытая светодиодная подсветка потолка и отдельных объектов в комнате: зеркал, полок в шкафу, кровати. Для такого вариант освещения используют специальную ленту, которая может быть одноцветной или же многоцветной (RGB). Если Вы не знаете, как подключить светодиодную ленту к 220 вольт своими руками, далее мы предоставим пошаговую инструкцию со схемами, фото и видеоуроками.Одноцветная

Подключение одноцветной светодиодной ленты не представляет ничего сложного. Все, что нужно – приобрести составляющие элементы подсветки, отрезать нужную длину LED ленты, припаять ее к блоку питания и заизолировать оголенные контакты. Сейчас мы подробно рассмотрим каждый из этапов подключения.
Выбираем схему подключения
Чтобы самостоятельно подключить светодиодную ленту к сети 220 вольт, нужно в первую очередь выбрать схему подсоединения всех элементов. Если Вы решили сделать подсветку, используя при этом не более 5 метров изделия, тогда достаточно соединить ленту с блоком питания 220 на 12 в, а БП подключить к домашней сети через шнур с вилкой.
Однако часто бывает, что нужно подключить более 5 метров светодиодной ленты – 10, 15 либо даже 20 метров. В этом случае соединять все отрезки последовательно запрещается, т.к. произойдет перегрев первого 5-метрового отрезка и в то же время напряжение на последующих участках значительно упадет. Такое подсоединение сократит срок службы LED подсветки. Все самые популярные схемы подключения светодиодной ленты мы подробно рассмотрели в соответствующей статье. Для примера предоставим их еще раз.
Последовательно (допускается, если нужно добавить небольшой отрезок):

Параллельно:

С двумя блоками питания (если лента большой длины):

Обращаем Ваше внимание на то, что можно подключить светодиодную ленту через выключатель либо диммер, что очень удобно при создании дополнительной подсветки в кухне либо другой комнате. В этом случае выключатель света подключается перед блоком питания в разрыв фазы, как показано на схеме ниже:

Диммер нужно подключать после блока питания, так, как показано на этом примере:

Со схемами подключения светодиодов к сети 220v разобрались, теперь переходим к самому процессу соединения элементов цепи.
Соединяем комплектующие
В самом простом примере мы имеем блок питания 220/12v и 5 метров одноцветной LED ленты. Чтобы подключить все элементы к 220 вольтам, нужно выполнить следующие действия:
- Отрезать подходящую длину изделия. О том, как правильно резать светодиодную ленту, мы уже рассказывали. Разрезать проводник нужно в строго отведенных местах, обозначенных пунктирной линией либо значком ножниц, как показано на фото ниже:

- Подготовить провода для подключения. Если длина не более 5 метров, можно смело выбирать провод, сечением 1,5 мм2. При большой длине ленты рекомендуем рассчитать сечение провода по мощности и току, чтобы выбрать подходящее значение.
- Подготовить паяльник, канифоль и припой.
- Обезжирить контактные площадки светодиодного проводника, используя ватку и спирт.
- Зачистить провода для подключения изделия на 2-3 мм для пайки.
- Выполнить лужение проводов и контактных площадок для пайки.
- Припаять проводки к светодиодной ленте. Лучше всего для пайки использовать оловяно-свинцовый припой. Важно не перепутать жилы по цветам, иначе светодиоды не загорятся. Черный либо синий провод нужно подсоединить к клемме «-», а красный к «+».

- Заизолировать место пайки, используя термоусадочную трубку. Кстати, вместо термоусадки также можно использовать клеевой пистолет, который надежно защитит оголенные контакты.
- Подключить провода от ленты к блоку питания, также руководствуясь цветовой маркировкой.
- К клеммам L, N и PE подсоединить кабель от сети 220 вольт. Не забудьте перед этим отключить электричество в доме либо квартире.
Вот и вся пошаговая инструкция для чайников по подключению светодиодной ленты к блоку питания и сети своими руками. Следует отметить, что подключить изделие можно даже без пайки, используя специальные коннекторы, как на фото ниже.

Недостаток таких переходников в том, что со временем контакт будет ухудшаться, чего нельзя сказать о более надежной пайке проводов. Увидеть, как подключить светодиодную ленту с помощью коннекторов и пайки Вы можете на видео ниже:
Наглядная инструкция по подсоединению контактов
Многоцветная
Если Вы хотите подключить цветную RGB ленту в домашних условиях, технология соединения не слишком изменится. В схему с многоцветным устройством добавится контроллер, без которого схема работать не сможет, а также на выходе будет 4 контакта вместо двух. Схемы подключения RGB ленты мы также рассматривали, предоставляем их еще раз к Вашему вниманию.
Стандартный способ:

Параллельное включение:

Использование усилителя:

Два блока питания:

В остальном инструкция по соединению аналогична предыдущей – провода паяют, оголенные контакты изолируются, после чего проверяется правильность подключения всех элементов цепи! Наглядно увидеть, как подсоединить разноцветную RGB ленту к сети своими руками, Вы можете на видео ниже:
Инструкция по подсоединению многоцветной ленты
Вот и все, что мы хотели рассказать Вам о том, как подключить светодиодную ленту к 220 вольт своими руками. Как Вы видите, инструкция по подключению многоцветной и одноцветной модели не сильно отличаются, главное – правильно подсоединить провода по цветам. Если вдруг у Вас возникли вопросы, можете задать их, используя форму Вопрос электрику!
samelectrik.ru
схемы для устройства с подсветкой
Для выполнения элементарных электротехнических работ совершенно необязательно вызывать мастера. Зная, как подключить светодиодный выключатель, можно самостоятельно провести его монтаж. Согласитесь, такой навык особенно пригодится, если предстоит капитальный ремонт и обновление электропроводки.
Мы расскажем о схеме подключения, способе установки и о трудностях, которые могут возникнуть во время монтажа. Вы также сможете своими руками усовершенствовать обычный выключатель, сделав в нем подсветку.
Содержание статьи:
Как устроен и работает выключатель с подсветкой
Конструкцию светодиодного выключателя опишем на примере двухклавишного устройства с подсветкой.
Механизм состоит из следующих элементов:
- одной входной, двух выходных клемм;
- токоограничивающего резистора;
- подвижных контактов.
Конструкция также включает в себя корпус, декоративную панель и накладки-клавиши.

Некоторые модели выключателей с подсветкой имеют готовый подключенный механизм подсветки. Выпускают также модели, в которых проводники подсветки нужно подключать к клеммам самостоятельно
При размыкании контактов светодиодного выключателя ток, поступающий по фазному проводу, поступает на резистор, затем на светодиод или неоновую лампу. Далее, напряжение проходит через осветительный прибор и выходит через ноль.
Так как лампа подсветки подключена через токоограничивающий резистор, напряжение в сети понижается и его хватает для подсветки, но недостаточно для работы люстры.

По такой схеме работает светодиодный выключатель. Если осветительная лампа перегорит или ее выкрутят, то цепь будет разомкнута, и подсветка в устройстве работать не будет (+)
После замыкания контактов выключателя ток, который всегда движется по цепи с наименьшим сопротивлением, проходит через сеть, питающую лампу освещения, — в этой цепи напряжение практически равно нулю. Ток поступает и на цепь подсветки, но он настолько мал, что его недостаточно даже для работы неоновой лампы.

Схема включает токоограничивающий резистор и светодиодную или неоновую лампу. В остальном конструкция и способ подключения те же, что и у обычного устройства (+)
Применение светодиодного выключателя
Оснащенный подсветкой выключатель устанавливается там, где даже в дневное время темно, а постоянное использование осветительного прибора нецелесообразно. Применяют его также в помещениях, доступ к которым необходим ночью.

Выключатель со светодиодной подсветкой, так же как и обычный, может быть цельнокорпусным или состоять из одной, двух и более клавиш
Чем больше источников освещения, тем больше потребуется клавиш на выключателе. Для управления освещением, состоящим из более трех осветительных приборов, используют наборные выключатели, которые устанавливают в один ряд.
Для управления освещением из нескольких мест приобретают специальный с подсветкой.
Как выбрать светодиодный выключатель
Покупая светодиодный выключатель нет необходимости гнаться за дорогостоящими керамическими устройствами, так как потребляемая мощность приборов освещения в основном не очень большая.
В условиях бытового использования достаточно будет применения качественного пластикового светодиодного выключателя с надежной контактной группой. Ресурс таких приборов — около 40 000 коммутаций.

Для гостиничных номеров используют выключатели с подсветкой, которыми управляют с помощью ключ-карты. Они могут быть с задержкой времени отключения или без нее
Осуществляют выбор также, исходя из дизайна устройства, типа включения — производят клавишные и поворотные, кнопочные, сенсорные и шнуровые.
По способу установки различают внутренние и наружные устройства. Разным может быть также материал корпуса — используют пластик, стекло, медь, нержавеющую сталь, а в качестве декоративного покрытия применяют сланец, позолоту и даже кожу.
Но на что действительно нужно обратить внимание, так это на — он указывает на возможность применения оборудования в тех или иных условиях.
Например:
- Класс IP от 20 свидетельствует о том, что устройство слабо защищено от попадания пыли и влаги. Такое оборудование используют в жилых помещениях.
- Класс IP 45 и выше используется для маркировки выключателей, пригодных для подключения в помещениях с высокой влажностью — ваннах, банях, кухнях, туалетах и т. д.
- Класс с IP от 65 означает, что выключатель может применяться на улице. Такое электротехническое оборудование имеет повышенную защиту от пыли, попадания влаги. Устанавливается снаружи здания — под крыльцом, навесом, на крытых верандах. Имеет более массивные клавиши, а в месте ввода электропровода резиновый уплотнитель.
Чем выше класс, тем больше защищен прибор от внешних факторов. Это касается не только выключателей, но и розеток, тумблеров, остального электротехнического оборудования.
Как правильно провести монтаж
Механизм выключателя с подсветкой предполагает наличие небольшой лампы, которая светится, когда он выключен. Для подсветки устройства может использоваться небольшая неоновая лампа или светодиод вместе с элементом сопротивления. От лампы подсветки тянутся провода, которые необходимо подключить к питанию во время установки.
Подготовка к установке и обязательные меры безопасности
Без элементарных знаний по технике безопасности лучше вовсе не приступать к работе с электротехническим оборудованием. Неграмотный электромонтаж может привести к поражению током, выходу из строя электроприборов, возникновению пожара.
Основные правила поведения при работе с электричеством:
- все работы должны проводиться в обесточенной сети;
- недопустимо перегружать электросеть;
- на соответствие к подключаемой сети;
- поврежденный участок сети лучше заменить, а не ремонтировать;
- нельзя прикасаться к подключенному оборудованию мокрыми руками.
Определить характер проводников — где ноль, а где фаза — поможет обычная отвертка-индикатор или мультиметр. Индикатора достаточно, если электрическая сеть однофазная. Для анализа трехфазной сети используют мультиметр.

Поднеся одно из щупалецев мультиметра к фазе, другую фиксируют на любом из проводников. Выставляют диапазон для переменного тока 220 Вт. Ноль при контакте покажет значение около 220 Вт, заземление — всегда ниже
Пример монтажа 2-клавишного выключателя с подсветкой
Основные конструкционные отличия светодиодных выключателей — в механизме подсветки. Он может быть готовым к использованию и не требовать никаких действий для его подключения. В другом типе конструкции необходимо подсоединять провода, которые питают светодиодную или неоновую лампу.
Рассмотрим более сложный вариант — как подключить устройство с подсветкой, в котором проводники нужно подсоединять самостоятельно.

Особенность конструкции, в которой есть свободный доступ к проводам подсветки, может пригодиться, если понадобиться ее отключить
В первую очередь поддевают клавиши отверткой или другим подходящим инструментом и снимают их. Отделяют сердцевину (внутренний механизм) от корпуса.
Далее определяют правильность положения выключателя, используя индикатор. Для этого, с помощью касания к контактам отверткой с одной стороны и индикатором с другой, проверяют, включен или выключен прибор.
Если индикатор загорится — значит, включен. В этом состоянии поворачивают его так, чтобы клавиши нажатой стороной располагались сверху.

Чтобы обычная отвертка-индикатор сработала, нужно держать ее правильно — металлическая часть должна касаться контактной пластины, а к верхушке притрагиваться большой палец руки
Один из проводов, идущих от индикатора, подключают к входной клемме, а второй присоединяют к контакту клавиши. Если клавиш несколько, то провод подключают к первой из них, начиная слева. Одновременно с проводом, идущим от индикатора к входной клемме, подсоединяют и фазный проводник.
Два отводящих фазных провода, которые идут к люстре, подключают к выходным клеммам одновременно со вторым проводом подсветки, следя, чтобы тот не выпал из контакта.
При таком способе подключения подсветка будет включаться после размыкания контактов с помощью первой клавиши. Вторая никакого влияния не будет иметь на выключение подсветки, и лампочка будет гореть даже при включенном освещении.
Чтобы индикаторная лампочка гасла при нажатии на любую из клавиш, необходимо самостоятельно делать перемычку, которая будет соединять индикатор с обеими клавишами.
Если не брать во внимание подключение подсветки, монтаж проходит как в обычном устройстве. Через на выключатель ведут фазный проводник и подсоединяют его к входной клемме L, заводя его в отверстие и прикручивая винтом.
Далее к контактам устройства L1 и L2 подсоединяют два отводящих фазных провода, которые ведут к люстре также через распределительную коробку. Один из них подключают к одной лампе, другой к двум остальным. Ноль проходит через распаячный узел в монтажной коробке, далее идет на все лампы люстры, замыкая контакт.
В результате правильного подключения первая клавиша будет включать одну лампу, вторая две, а две включенные клавиши приведут к активизации всего осветительного прибора. В выключенном состоянии должен светиться светодиод (+)
Почему мигают энергосберегающие лампы
Светодиодный выключатель несовместим с работой . Конфликт устройств проявляется в кратковременном вспыхивании лампы в отключенном состоянии или в так называемом тлеющем режиме, когда лампа не выключается полностью, а еле-еле светится.

Время службы светодиодной или энергосберегающей лампы в неправильном режиме существенно сокращается и составляет от одного до двух месяцев
Происходит это потому, что внутри люминесцентной лампы есть электронный преобразователь (конденсатор), который постепенно подзаряжаясь от тока, проходящего через лампу подсветки, вспыхивает.
Аналогичное явление происходит и с блоками питания светодиодных лент, в которых также есть конденсатор, и который подпитывается от небольшого тока, поступающего от выключателя с подсветкой.
Производители энергосберегающих ламп указывают, что использование их продукции не совместимо с применением светодиодных выключателей и светорегуляторов.
Обойти это ограничение можно, если управлять работой осветительного прибора с помощью реле. От выключателя команда поступает сначала к реле, которое уже непосредственно руководит освещением.
Реле выпускается многими производителями электротоваров: Schneider Electric, ABB, Siemens. Поместить его можно под колпачком люстры, за карнизом, в котором установлена светодиодная линейка.
Можно применить еще один вариант решения проблемы — отключить неоновую лампу или светодиод от питания. Сделать это можно путем отсоединения проводов подсветки от клемм. Но тогда светодиодный выключатель утратит свои преимущества.
Рассмотрим решения, которые все же позволяют совместить подсветку и использование энергосберегающих ламп.
Как совместить лампы и выключатель
Если после выключения люминесцентная лампа мигает или слабо светится, проблему можно устранить, подключив параллельно точке освещения дополнительное сопротивление (резистор или конденсатор).
Для этого понадобится резистор номиналом 50 кОм и мощностью 2 Вт. Он поглотит лишний ток при включенной подсветке и не даст заряжаться конденсатору лампы.

Размещают резистор в распаечной коробке в плафоне или патроне люстры, предварительно подсоединив к двум проводам и заизолировав оголенные участки. Для изоляции можно использовать термоусадочную трубку (+)
Такой способ устранения причины мигания энергосберегающих ламп считается довольно опасным и опытные электрики не советуют применять его без достаточных навыков в проведении электротехнических работ.
Лучше использовать готовый блок защиты для люминесцентных и светодиодных ламп, который устраняет мерцание, защищает от перепадов электроэнергии, исключает помехи, идущие от ламп. Его подключение обязательно, если используется выключатель с подсветкой.

Максимальная мощность ламп при использовании блока ГРАНИТ БЗ-300-Л — 300 Вт. Защита срабатывает при напряжении в сети 275—300 Вт
Защитный блок подключается параллельно лампам, которые работают некорректно — мерцают или слабо светятся в выключенном состоянии. Устанавливают его в корпус светильника или в стакан люстры.

При использовании осветительных приборов с двумя и более группами освещения на каждую из групп устанавливают отдельный блок (+)
Решения популярных проблем и неисправностей светодиодных ламп подробно изложены в этих статьях:
Выключатель с подсветкой своими руками
В процессе эксплуатации электрооборудования иногда оказывается, что в каком-то из помещений неплохо было бы иметь подсветку выключателя. Для этого необязательно покупать устройство — можно самостоятельно усовершенствовать старое.
Что для этого понадобится:
- обычный выключатель;
- светодиод с любыми характеристиками;
- резистор на 470 кОм;
- диод 0,25 Вт;
- провод;
- паяльник;
- дрель.
С помощью паяльника начинают собирать схему. Катод диода (помечен черной полоской) подсоединяют к аноду светодиода (у анода ножка длиннее). Резистор припаивается к положительному контакту светодиода и к проводу, который будет служить соединением с выключателем. Второй провод подсоединяется к катоду светодиода.

Если под рукой нет резистора подходящей мощности или не хватает места для размещения, то его можно заменить двумя резисторами меньшей мощности выполнив их последовательное подключение (+)
Далее подсоединяют все к механизму включения-выключения. Фазный проводник, который ведет к лампе, подключают в клемму вместе с одним из проводов, ведущих к светодиоду. Другой проводок подключают к входной клемме вместе с фазным проводом, который подает ток из электросети.
Нужно тщательно заизолировать оголенные участки провода и исключить касание проводников к корпусу, это особенно важно сделать, если он металлический.
Проверяют схему подключения выключателя с подсветкой на работоспособность так: клавиша, замыкая контакт, приводит к загоранию люстры или светильника, в выключенном состоянии загорается лампа светодиода. Если схема работает правильно, можно устанавливать приспособление в корпус.
Чтобы было видно освещение, выводят лампу светодиода в просверленное отверстие вверху корпуса. Делать это необязательно, если корпус светлый — свет будет пробиваться сквозь него.

Подсветку выключателя можно выполнить с помощью неоновой лампы. В схеме используется газоразрядная лампочка HG1 и сопротивление любого типа номиналом 0,5—1,0 МОм с мощностью более 0,25 Вт (+)
Выключатель с индикатором включения
Выключатели с индикаторами отличаются от светодиодных совершенно другим принципом использования — лампа в них загорается тогда, когда включено освещение. Основное назначение контрольной лампы — сигнализировать о включенном освещении в подвале, на чердаке, в кладовой или на улице.
Используется для контроля расхода электроэнергии. Индикатор может устанавливаться для каждой из клавиш или только для одной из них.
Схема подключения и работы выключателя с функцией подсветки выстроена по следующему принципу. Контрольная лампа параллельно подключается к клеммам выключателя. Когда цепь замыкается, ток проходит через индикатор и осветительный прибор — оба загораются. Если выключатель выключен, ток не поступает ни к индикатору, ни к лампе.

Индикация включенного освещения может быть выполнена в комбинации: 1 контрольная лампа на одну клавишу или для каждой клавиши по одной лампе (+)
Выводы и полезное видео по теме
Инструкция по подключению светодиодного выключателя:
Как установить подсветку своими руками:
Что делать, если энергосберегающие лампы светятся или мигают после выключения:
Выключатель с подсветкой может участвовать практически во всех схемах электрического освещения. Но для его правильного монтажа необходимо изучить конструкцию, принцип работы и нюансы, возникающие при взаимодействии с другим электротехническим оборудованием.
Поделитесь с читателями вашим опытом подключения светодиодного выключателя. Пожалуйста, оставляйте комментарии, задавайте вопросы по теме статьи и участвуйте в обсуждениях – форма для отзывов расположена ниже.
sovet-ingenera.com
2 способа — как подключить светодиодную ленту в машине. Откуда и как подать напряжение 12В. Прикуриватель и стабилизатор напряжения.
С момента появления светодиодного освещения его активно стали использовать во всех автомобилях.
При этом, кроме замены обычных ламп на диодные, многие умельцы нашли разнообразные способы применения и для светодиодной ленты. Причем, даже в тех местах, где подсветки и освещения никогда и не было.
Места подсветки в машине
Смонтировать дополнительное освещение в авто можно в нескольких ее частях и узлах:
- приборная доска

Здесь можно обойтись совсем короткими отрезками, которые остались у вас после ремонта освещения в доме или квартире.
- салон или двери машины

Также довольно частое применение — это подсветка дверей. Она загорается при их открывании и освещает выход из автомобиля.
- фары

Такую подсветку еще прозвали «ангельские глаза». Просто пускаете ленту по периметру фар, причем не обязательно по всей окружности.
Помимо дизайна, это еще и улучшит ближний свет. Некоторые дорогие иномарки уже изначально идут с таким тюнингом.
Здесь не должно быть разноцветной RGB радуги.
- кузов

Лента монтируется на днище или порогах. В итоге получается эффект парения авто в воздухе над дорогой.
Только не приклеивайте светодиоды в месте установки домкрата. Иначе это будет одноразовая подсветка, до первого подъема машины при ремонтных работах.
Все эти подсветки можно сделать своими руками и подключить двумя способами:
- напрямую от прикуривателя или проводов 12В
- через отдельный источник питания
Самое главное, правильно подобрать источник питания и саму светодиодную ленту.
Подключение от прикуривателя
Сетевое напряжение в автомобиле 12В. По крайне мере, таким оно должно быть теоретически.
Однако в реальности, данное значение запросто может превышать 14В и более.
Светодиодная лента, которая изначально рассчитана на 12 вольт, очень не любит перенапряжение.
Из-за этого выходят из строя и перегорают кристаллы светодиодов.
Поэтому подключать такую ленту напрямую к автомобильному прикуривателю, аккумулятору или существующим уже проложенным проводам не рекомендуется.
Обратите внимание, что разного рода зарядки для мобильных телефонов от прикуривателя также не подойдут. У них выходное напряжение обычно около 5В, а вам нужны стабильные 12В.
Некоторые пытаются исхитриться и искусственно понизить напряжение. Для этого заранее просчитывают потребление подсветки и подключают перед лентой мощное сопротивление.
Расчет можно выполнить по формуле:
Таким образом подбирается резистор и впаивается в схему. В итоге напряжение питания на ленте падает на два и более вольт. Все это дело после расчетов нужно фактически перепроверять замерами мультиметром или тестером.
Такой способ имеет ряд недостатков. Кроме того, что это долгая процедура, еще и сопротивление будет существенно греться.
Стабилизатор напряжения
Поэтому лучший вариант — это использование стабилизатора. Если немного разбираетесь в электронике, схему можно собрать самостоятельно.
И уже через нее подключить все светодиодные источники освещения. При этом не стоит путать драйвер с блоком питания.
Основная задача драйвера — стабилизировать ток. Напряжение на нем может как повышаться так и понижаться.
А блок — это в первую очередь источник стабильного напряжения.
Для подключения светодиодной ленты в машине, вам необходим именно блок питания.
Поэтому применять микросхемы, которые используют для светодиодных ламп нельзя. Подключить этот блок можно не только от прикуривателя, но и вообще в любом месте авто, куда доходят провода 12В.Ранее такой стабилизатор собирался на микросхеме типа КРЕН 7812.
Подключение довольно не замысловатое. Слева это плюсовой вход. Средний контакт — общая масса. Правый — выход на ленту.
Однако из-за постоянного перегрева, сейчас стали использовать импульсные источники. Для них уже не нужны огромные радиаторы охлаждения, да и мощность у них по более.
Импульсный блок питания
Питание, что на один, что на другой стабилизатор рекомендуется подключать через предохранители.
Если вы не радиолюбитель и не знакомы с пайкой схем, да и заморачиваться с этим делом нет желания, можете купить уже готовый стабилизатор.
При том, что стоят они на сайте AliExpress очень дешево. Буквально один-два доллара. Представляют из себя миниатюрную коробочку на основе микросхемы «LM2596».
Найти их в разнообразном количестве можно здесь.
Такой стабилизатор практически не требует никакой настройки, просто припаиваете провода на вход и выход и пускаете их на ленту.
Рассчитан он на ток до 1,5А, а значит через него можно подключать светодиодные ленты мощностью до 20Вт.
Если лента RGB идет с блоком управления, то импульсный источник питания должен подключаться перед блоком.
Кстати, с помощью такого блока, лучше подавать даже не 12В, а всего 10В.
Поверьте, для глаз это практически не заметно, а вот срок службы светодиодов увеличится в разы! Регулировать напряжение можно отверткой, подкручивая специальный винтик.
Если же вас пугают все эти сложности с импульсными источниками и блоками питания, то можно поступить по-простому и запитать всю подсветку в автомобиле от батарейки.
В первую очередь при покупке обращайте внимание на напряжение. Вам нужны модели именно на 12В.
Ведь встречаются еще 24В-36В и даже 220В.
Лучше подбирать одноцветный вариант, чтобы не заморачиваться с подключением RGB контроллера.
А еще из монохромных видов, проще всего подбирать цвета под кузов.
Практически все ленты изначально идут на самоклеющейся основе. Так что проблем с ее размещением и закреплением не должно возникнуть.
Из модельного ряда стоит присмотреться к двум основным вариантам:
- светодиодная лента SMD 3528
- светодиодная лента SMD 5050
Мощность подсветки будет зависеть от количества светодиодов в одном метре ленты.
А она может быть весьма разнообразна:
- SMD3528 — 60,120,240 диодов на метр
- SMD5050 — 30,60,120 диодов на метр
Чем больше диодов, тем ярче подсветка и соответственно ее мощность. Причем изменять эти параметры можно самостоятельно.
Достаточно отрезать изделие по соответствующим меткам, тем самым уменьшив число светодиодов и итоговое потребление и яркость.
Следующий параметр для выбора — это влагозащищенность. Внутри салона авто можно использовать ленту без какой-либо изоляции. Это класс защиты IP20.
На фары покупайте подсветку с защитой IP65.
Ну а под кузов — IP68.
Она уже полностью герметичная и способна сколь угодно долгое время нормально работать под воздействием воды и грязи.
Для дверей также лучше использовать вариант IP68.
Где и как смонтировать и подключить
Первым делом отмеряете необходимый метраж ленты.
И отрезаете строго по специальным меткам.
Далее прикидываете где будут уложены провода питания. Если позволяет конструкция, логичнее всего их будет спрятать.
Может быть даже придется просверлить пару отверстий.
К каждому отрезку подсоединяете провода. В машине лучше всего это сделать при помощи пайки, а не коннекторами.
Если лента у вас в силиконе, то контактные площадки придется зачистить и снять часть герметика.
Все хитрости и правила пайки светодиодной ленты можно узнать из статьи ниже.
Когда лента готова к монтажу, следует тщательно обезжирить поверхность на которую она будет наклеиваться. Смачиваете чистую тряпочку в растворителе и очищаете ей будущие места подсветки.
Припаянные провода заправляете в отверстие.
Отделяете защитный слой скотча и плотно надавливаете на подложку.
Как показывает практика, одного только скотча бывает не достаточно. Во-первых, поверхность не идеально ровная.
Во-вторых, сказываются наши перепады температуры. От минусовых значений до плюсовых, иногда в течение нескольких часов.
В итоге, даже качественная лента в конце концов отклеивается. Поэтому рекомендуется по краям, пройтись обычным термоклеем.
При организации подсветки кузова, клей вряд ли поможет. На днище, под порогами для крепления лучше использовать профиль с пластиковыми хомутиками.
Места, где была снята защита с контактных площадок и припаяны провода, также не помешает залить толстым слоем клея.
Подобным образом светодиодная лента монтируется в любые части машины. Если хотите повысить яркость и блок питания позволяет это сделать, то можно наклеить рядом одновременно две ленты.
Провода заранее выбирайте такой длины, чтобы их можно было протянуть в одну общую точку с нескольких подсветок одновременно. В ней и будет происходить подача питания 12В.
Кстати, прежде чем заделывать обшивку, всю схему желательно проверить на работоспособность от небольшого источника питания 12V. Например, можно взять батарейку А23.
Схемы подключения могут быть разнообразными, в зависимости от того, какой участок авто подсвечивается. Вот пример для светодиодной подсветки дверцы машины:
Более подробно с процессом подключения можно ознакомиться в видеоролике:
Все провода после проверки работоспособности заизолируйте в отдельные пучки.
На выходе у вас должен получиться один-единственный пучок с проводами, на которые и следует подать 12 вольт.
Общий плюс и один или несколько минусов (в зависимости от схемы и вида подсветки).
Питающие провода можно подпаять специальными автомобильными клеммами папа-мама и спокойно подключать их через колодки бортовой сети.
Например к штатному модулю управления светом, или от других кнопок, либо вообще через свой отдельный микровыключатель посадить на предохранители.
Также никто не запрещает все запитать через прикуриватель.
Естественно, после блока питания стабилизирующего напряжение, как уже оговаривалось выше.
svetosmotr.ru
Подключение светодиодной ленты своими руками
Пошаговая инструкция по подключению светодиодной ленты
Подключение одноцветной светодиодной ленты не представляет ничего сложного. Все, что нужно – приобрести составляющие элементы подсветки, отрезать нужную длину LED ленты, припаять ее к блоку питания и заизолировать оголенные контакты. Сейчас мы подробно рассмотрим каждый из этапов подключения.
Выбираем схему подключения
Чтобы самостоятельно подключить светодиодную ленту к сети 220 вольт, нужно в первую очередь выбрать схему подсоединения всех элементов. Если Вы решили сделать подсветку, используя при этом не более 5 метров изделия, тогда достаточно соединить ленту с блоком питания 220 на 12 в, а БП подключить к домашней сети через шнур с вилкой.
Однако часто бывает, что нужно подключить более 5 метров светодиодной ленты – 10, 15 либо даже 20 метров. В этом случае соединять все отрезки последовательно запрещается, т.к. произойдет перегрев первого 5-метрового отрезка и в то же время напряжение на последующих участках значительно упадет. Такое подсоединение сократит срок службы LED подсветки. Все самые популярные схемы подключения светодиодной ленты мы подробно рассмотрели в соответствующей статье. Для примера предоставим их еще раз.
Последовательно (допускается, если нужно добавить небольшой отрезок):


С двумя блоками питания (если лента большой длины):

Обращаем Ваше внимание на то, что можно подключить светодиодную ленту через выключатель либо диммер, что очень удобно при создании дополнительной подсветки в кухне либо другой комнате. В этом случае выключатель света подключается перед блоком питания в разрыв фазы, как показано на схеме ниже:

Диммер нужно подключать после блока питания, так, как показано на этом примере:

Со схемами подключения светодиодов к сети 220v разобрались, теперь переходим к самому процессу соединения элементов цепи.
Соединяем комплектующие
В самом простом примере мы имеем блок питания 220/12v и 5 метров одноцветной LED ленты. Чтобы подключить все элементы к 220 вольтам, нужно выполнить следующие действия:
- Отрезать подходящую длину изделия. О том, как правильно резать светодиодную ленту. мы уже рассказывали. Разрезать проводник нужно в строго отведенных местах, обозначенных пунктирной линией либо значком ножниц, как показано на фото ниже:

- Подготовить провода для подключения. Если длина не более 5 метров, можно смело выбирать проводки, сечением 1,5 мм 2. При большой длине ленты рекомендуем рассчитать сечение провода по мощности и току. чтобы выбрать подходящее значение.
- Подготовить паяльник, канифоль и припой.
- Обезжирить контактные площадки светодиодного проводника, используя ватку и спирт.
- Зачистить провода для подключения изделия на 2-3 мм для пайки.
- Выполнить лужение проводов и контактных площадок для пайки.
- Припаять проводки к светодиодной ленте. Лучше всего для пайки использовать оловяно-свинцовый припой. Важно не перепутать жилы по цветам, иначе светодиоды не загорятся. Черный либо синий провод нужно подсоединить к клемме «-», а красный к «+».

- Заизолировать место пайки, используя термоусадочную трубку. Кстати, вместо термоусадки также можно использовать клеевой пистолет, который надежно защитит оголенные контакты.
- Подключить провода от ленты к блоку питания, также руководствуясь цветовой маркировкой.
- К клеммам L, N и PE подсоединить кабель от сети 220 вольт. Не забудьте перед этим отключить электричество в доме либо квартире.
Вот и вся пошаговая инструкция для чайников по подключению светодиодной ленты к блоку питания и сети своими руками. Следует отметить, что подключить изделие можно даже без пайки, используя специальные коннекторы, как на фото ниже.

Недостаток таких переходников в том, что со временем контакт будет ухудшаться, чего нельзя сказать о более надежной пайке проводов. Увидеть, как подключить светодиодную ленту с помощью коннекторов и пайки Вы можете на видео ниже:
Наглядная инструкция по подсоединению контактов
Многоцветная
Если Вы хотите подключить цветную RGB ленту в домашних условиях, технология соединения не слишком изменится. В схему с многоцветным устройством добавится контроллер, без которого схема работать не сможет, а также на выходе будет 4 контакта вместо двух. Схемы подключения RGB ленты мы также рассматривали, предоставляем их еще раз к Вашему вниманию.



Два блока питания:

В остальном инструкция по соединению аналогична предыдущей – провода паяют, оголенные контакты изолируются, после чего проверяется правильность подключения всех элементов цепи! Наглядно увидеть, как подсоединить разноцветную RGB ленту к сети своими руками, Вы можете на видео ниже:
Инструкция по подсоединению многоцветной ленты
Вот и все, что мы хотели рассказать Вам о том, как подключить светодиодную ленту к 220 вольт своими руками. Как Вы видите, инструкция по подключению многоцветной и одноцветной модели не сильно отличаются, главное – правильно подсоединить провода по цветам. Если вдруг у Вас возникли вопросы, можете задать их, используя форму Вопрос-ответ !
Наглядная инструкция по подсоединению контактов
Инструкция по подсоединению многоцветной ленты
Подключение светодиодной ленты к сети 220В схема
Устройство подсветки деталей интерьера очень часто выполняется с помощью светодиодных лент. Они отличаются высокой экономичностью, могут быть одноцветными или многоцветными. Каждый тип этих источников освещения имеет свои особенности, в том числе и схема подключения светодиодной ленты к сети 220 В которая используется в жилых помещениях. Основной отличительной чертой таких лент является возможность их разреза только через 1 метр, а в определенных условиях – и через 0,5 метра. При подключении нужно обращать внимание на соблюдение полярности в процессе соединения проводников между собой.
Работа LED лент от сети 220 вольт
Большинство изделий данного типа рассчитаны на подключение к сетям постоянного тока с напряжением 12 вольт. Таким образом, питание светодиодных лент осуществляется, преимущественно, с помощью специального блока питания. Однако существуют схемы, позволяющие выполнять подключение данных источников света к сети с напряжением 220 вольт. Для того чтобы эта операция завершилась успехом, необходимо произвести определенную доработку.
С этой целью пятиметровая светодиодная лента 12 вольт, разрезается на 20 равных частей. Разрезы выполняются в специально отмеченных местах, в противном случае, несколько светодиодов выпадут из общей схемы и не будут работать. Для выпрямления напряжения в 220 вольт применяется диодный мост.
Части ленты соединяются между собой таким образом, чтобы плюсовое значение одного отрезка соединялось с минусовым выходом следующего отрезка. Если в процессе эксплуатации светодиоды немного мерцают. в схему обязательно включается конденсатор. Величина тока, протекающего по дорожкам ленты. нужно обязательно контролировать. Если это значение превышает норму, в схему включаются дополнительные резисторы или части изделия.
Как подключить светодиодную ленту к блоку питания 12 вольт
Номинальное напряжение светодиодных лент составляет 12 или 24 вольта. Поэтому их эксплуатация возможна только с применением импульсного блока питания. Он осуществляет понижение напряжения, а на выходе образуется постоянный ток. Подключение светодиодной ленты к блоку питания выполняется через соответствующие полюса, обозначенные маркировкой «плюс» и «минус».

Мощность каждой ленты может быть различной, в зависимости от количества светодиодов. В соответствии с этим параметром выбирается наиболее подходящий блок питания. Если мощность ленты и технические характеристики блока не совпадают, это может привести к тусклому свечению светодиодов или выходу из строя самого прибора в результате перегрузки. Чтобы рассчитать характеристики блока питания, к значению мощности нужно добавить от 20 до 30%, компенсирующих потери, возникающие за счет длины проводников. Таким образом, при мощности ленты 24 ватта, понадобится выпрямитель, мощность которого составляет 32 Вт.
Наиболее простым вариантом является подключение одноцветной светодиодной ленты к выбранному блоку питания. Стандартную пятиметровую полосу нужно просто подключить к соответствующим выходам выпрямителя с обозначенной маркировкой полярности тока. Соединение проводов с контактами ленты осуществляется методом пайки. С этой целью используется паяльник с малой мощностью, чтобы избежать повреждения изделия. В случае необходимости соединительный проводник можно удлинить жилами сечением 1,5 мм2. В большинстве схем красный цвет провода означает плюс, а черный или синий – минус.
Подключение одноцветных лент имеет специфические особенности. Например, нельзя подключать последовательно два изделия. Это приведет к отсутствию нормального свечения на второй ленте. Кроме того, токоведущие дорожки первой полоски могут перегреться, что приведет к выходу из строя светодиодов. Наиболее корректное подключение осуществляется путем параллельного соединения светодиодных лент. В этом случае соединение второй полосы выполняется с помощью отдельных проводов, подключенных напрямую к блоку питания через удлиняющий проводник.
Как подключить светодиодную ленту к 220 без блока питания
Светодиодные полосы освещения, изготовленные в заводских условиях, рассчитаны на совместную эксплуатацию с блоком питания. Данное устройство преобразует переменный ток домашней сети в постоянный. При этом, напряжение понижается с 220 до 12 вольт. Однако, в определенных условиях, возможно подключение таких приборов освещения непосредственно в сеть, напряжением 220 вольт.
Для правильного выполнения такого подключения 12-тивольтовую полосу, длиной 5 метров, нужно разрезать на 20 частей. В дальнейшем, переменный ток 220 вольт выпрямляется с помощью диодного моста. включенного в общую схему. Далее все части ленты последовательно соединяются между собой разноименными полюсами. То есть плюс соединяется с минусом и, наоборот. В некоторых случаях может появиться мерцание, частота которого составляет 25 Гц. Оно убирается с помощью конденсатора на 5-10 мф, на 300 В, смонтированного в общую систему.
Подключение с контроллером
Многоцветные светодиодные ленты могут использоваться не только для освещения, но и в качестве дополнительного украшения интерьера помещения. Они разделены на группы и управляются с помощью пульта и специального контроллера. Таким образом, в схему добавляются дополнительные элементы.

Цветовая гамма передается тремя цветами. Это красный (Red), зеленый (Green) и синий (Blue). Поэтому разноцветные светодиодные ленты относятся к типу RGB. В каждой полосе имеются три группы светодиодов, которые светятся этими тремя цветами. У светодиодов одинакового цвета отсутствуют схематические связи между собой. У каждой группы имеется свой собственный выход, поэтому любая лента оборудована четырьмя контактами, три из которых соответствуют группам цветов, а один служит для подачи питания.
При подключении всех трех управляемых контактов к общему сигнальному выходу получится белый цвет. Если включить их по одному, они будут давать только красный, синий или зеленый цвет. Для получения различных оттенков и управления ими, светодиодная лента должна подключаться через контроллер. Контроллер обеспечивает одновременное включение всех трех линий. Однако интенсивность сигнала в каждом канале будет различной.
По типу управления эти устройства могут быть механическими или электронными. В первом случае коммутация осуществляется вручную, например, с помощью обычного трехклавишного выключателя. Главным недостатком этого способа считается существенное ограничение спектра цветовых эффектов. Электронные контроллеры обеспечивают управление не только количеством имеющихся светодиодов. Они регулируют интенсивность их свечения. Эти приборы могут быть оборудованы одним или несколькими каналами, в зависимости от количества лент, подлежащих управлению. У каждого контроллера имеется отдельный выход в виде провода с чувствительным элементом на конце. Он необходим для регулировки света пультом управления.
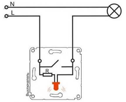
Как подключить светодиодную ленту через выключатель
Наиболее простой схемой считается подключение от выключателя к блоку питания, а затем к светодиодной ленте. Таким образом, включение и выключение подсветки происходит с помощью обычного выключателя.

Подключение выполняется очень просто. К обычному выключателю, находящемуся в домашней сети 220 вольт, подключается блок питания. При этом фазный провод подключается к входному коричневому проводнику L, а нулевой провод соединяется с проводником N синего цвета. Затем блок питания соединяется со светодиодной лентой. В этом случае необходимо строгое соблюдение полярности, чтобы плюс соединялся с плюсом, а минус – с минусом.
Размещение блока питания рекомендуется выполнять максимально близко к ленте. Длина прокладываемого кабеля не должна превышать 7 метров, в противном случае яркость свечения может значительно уменьшиться. Если все же возникла необходимость в прокладке слишком длинной линии, необходимо использовать проводник с увеличенным сечением жил.
Использование совместно с диммером
После того как осветительные приборы подключены, необходимо отрегулировать яркость их свечения. Простейшими способами являются переменные резисторы в виде потенциометра или реостата. Однако даже при незначительной потере мощности, такие устройства становятся неэффективными. Поэтому в настоящее время регулировка светового потока осуществляется с помощью специальных активных диммерных схем на полупроводниках.

Питания диммеров происходит от сети с напряжением 12 или 24 вольта. Сам прибор включается в схему в промежутке между светодиодной лентой и блоком питания. Выход блока соединяется со входом диммера, а затем выход диммера соединяется с лентой. Во время подключения необходимо строго соблюдать полярность. Мощность регулировочного устройства должна соответствовать определенному количеству ленты. Если же мощности диммера недостаточно, необходимо воспользоваться специальным усилителем.
Подключение нескольких светодиодных лент
Когда выполняется подключение не более двух лент, в этом случае возможно их последовательное соединение, при условии, что вторая полоса имеет незначительную длину. В местах соединения выполняется проверка на возможное падение напряжения.

Чаще всего одноцветные ленты подключаются параллельно. С этой целью используется блок питания повышенной мощности, соответствующей подключаемым приборам освещения. То же самое касается и многоцветных лент. Единственным отличием будет использование в схеме усилителя. Он соединяется с концом первой ленты и началом второй. В некоторых схемах применяется сразу несколько блоков питания.
Различные методы позволяют выполнять не только подключение светодиодной ленты к сети 220 В, схема которой получила наибольшее распространение. Разнообразие коммутирующих и регулировочных устройств позволяют использовать светодиоды в самых различных помещениях, практически с любыми интерьерами.
Подключение светодиодной ленты
Светодиодные ленты очень распространены и представляют собой гибкую полоску, которая имеет клейкий слой. Светящийся элемент – плоские лампочки полупроводникового типа. Светиться такая лента может практически любыми цветами и используется в основном для декоративного оформления интерьера, экстерьера помещений, транспортных средств, но главное предназначение – обрамление наружной или внутренней рекламы.

У ленты много плюсов – она надёжна, компактна, экономна, существует возможность управления цветами, имеет пульт. Недостатки – относительно недолговечна, со временем тускнеет, не подлежит починке. Но нужно брать во внимание соответствующую цену. Разумеется, подключение цветной светодиодной ленты можно осуществить самостоятельно. Данная статья будет являться своеобразной инструкцией по подключению.
Схема подключения светодиодной ленты

Прежде чем приступить к работе, следует понять, какие устройства понадобятся для подключения. Это – сама лента, контроллер, управляющий режимом цветности, далее пульт, который должен подходить к данному контроллеру, и блок питания; его тип можно определить самостоятельно, критического значения он не имеет. Сейчас будет описан самый простой способ подключения светодиодной ленты RGB своими руками и представлена схема.

Кабель ленты и контроллера имеет 4 цветных провода, один из которых питающий; это либо жёлтый, либо коричневый провод. Необходимо соединять проводки согласно цветам: синий с синим, зелёный с зелёным и красный с красным. Эти цвета зарезервированы и на ленте, и на контроллере, то есть они будут обязательно – других там быть просто-напросто не может. В последнюю очередь нужно соединять питающий провод – цвет его может как различаться, так и совпадать.

Соединение производить необходимо при помощи термоусаживаемой трубки, или же можно применить уплотнитель кабельных проходов. После этого необходимо позаботиться о питании – то есть подключить контроллер к блоку питания. Важно помнить, что L это фаза, N – нуль. На данном этапе необходимо определить где минус, а где плюс. Это можно сделать методом пробы, то есть подключить блок питания к сети и присоединить проводки, ведущие от контроллера цветности.

Если лента большой длины, то нужно обратить внимание на её суммарную мощность: если она в районе 60 Вт и более, вероятно будет необходим более мощный блок питания. Иначе лента будет светиться тускло и неровно, не будет соответствовать параметру светового потока, величина которого оговорена в таблице на упаковке. Для того чтобы произвести надёжное соединение проводов, понадобятся следующие подсобные материалы: многоразовые клеммы, термоусадка. Соединение проводов следует производить при помощи паяльника.

Приобретая ленты данного типа, следует обратить внимание, что они делятся на два основных класса: Normal и Elite. Вторая группа претендует на увеличение яркости в 30%. Для дома это добавление излишне. Подытожить можно тем, что работы по установке данного светового оборудования нужно производить согласно инструкции подключения светодиодных лент; очень хорошо бы ознакомиться с видео, предложенным на нашей странице. В этом случае, вы произведёте подключение легко и верно.
Настоятельно рекомендуем вызвать электриков-профессионалов, если вы не уверены в своих силах! Ведь работа с электрикой опасна для здоровья и жизни!
Видео подключения светодиодной ленты
Для наглядности предлагаем вам посмотреть видео урок подключения светодиодной ленты своими руками.
Хорошая тема термопанели! Быстро тепло и надежно! Есть еще термопанели из керамобетона делали офис просто круть.
Построил дом из газобетона и собираюсь обшить его снаружи термопанелями. Кто уже их монтировал? Как результаты? Или может проще и дешевле сделать мокрый фасад, хотя он не.
Спасибо за подробную инструкцию! У меня на даче как раз валяется стиральная машинка старая. Надо будет использовать моторчик от нее для создания наждачного станка. Единст.
Интересное дизайнерское решение, возьму на заметку! Единственное, что не понравилось из увиденного на фото то, что такую плитку используют в качестве фартука на кухне. Оч.
Этот стиль очень напомнил мне фильм Великий Гэтсби, в котором интерьеры домов и квартир в 1930х годах были оформлены очень роскошно и помпезно. Конечно, это была прерогат.
Источники: http://samelectrik.ru/poshagovaya-instrukciya-po-podklyucheniyu-svetodiodnoj-lenty.html, http://electric-220.ru/news/podkljuchenie_svetodiodnoj_lenty_k_seti_220_v_skhema/2016-08-08-1035, http://mainavi.ru/kvartira/elektrika/podklyuchenie-svetodiodnoj-lenty/
electricremont.ru
Светодиодная подсветка потолка своими руками
— Расчет светодиодной ленты
— Выбор трансформатора для светодиодной лены
— Схема подключения трансформатора
— Подключение трансформатора к светодиодной ленте
— Как соединить светодиодную ленту
Светодиодная подсветка потолка, последнее время, стала необычайно популярна и это неудивительно, ведь светодиодная лента, используемая при этом, обладает массой преимуществ перед освещением другого типа, подробнее об этом мы писали в статьях «Замена ламп на светодиодные» и «характеристика светодиодных ламп». Рекомендуем прочитать эти статьи, они будут полезны при выборе типа светодиодной ленты.
Расчет светодиодной ленты
Необходимое количество светодиодной ленты для подсветки потолка выбирается очень просто, измеряется длина предполагаемой подсвечиваемой зоны. Так в нашем случае, светодиодная лента, будет расположена в нише короба из гипсокартона на потолке, ее длина 12м, соответственно нам необходимо 12 метров светодиодной ленты для эффективной подсветки этой ниши.

Так как светодиодная лента поставляется в бухтах по пять метров, мы приобретаем две целых бухты и одну трех метровую полоску LED ленты, чтоб получилось необходимое нам количество.
Выбор трансформатора для светодиодной лены
Далее необходимо правильно подобрать трансформатор или блок питания для светодиодной ленты т.к. ей для работы требуется 12В постоянного тока. Для выбора трансформатора, необходимо выяснить суммарную мощность светодиодной ленты, которая будет к нему подключена и выбрать трансформатор исходя из этого.
Рассмотрим выбор трансформатора для светодиодной ленты на нашем примере. Все необходимые параметры указаны на упаковке ленты.

Итак, 1 метр нашей светодиодной ленты потребляет 14.4 Вт, а значит мощность 12 метров ленты составит 172.8 Вт. Подбираем трансформатор большей мощности, это значит нам необходимо взять трансформатор на 200 Вт.
Но в нашем случае крайне критичны габаритные размеры трансформатора, ведь монтаж светодиодной подсветки выполняется в нишу, где сильно ограничено пространство для его скрытой установки, а так как трансформатор на 200 Вт имеет большие габариты, его может быть видно, а это сильно испортит внешний вид инсталляции. Поэтому было решено взять два трансформатора по 100Вт и разделить ленту на две части, каждая из которых запитана от собственного трансформатора.
Схема подключения трансформатора
Стандартная схема подключения трансформатора для светодиодной подсветки через выключатель выглядит следующим образом –

Давайте более детально рассмотрим на нашем примере, данную схему подключения трансформатора к светодиодной ленте.

Подключение трансформатора к светодиодной ленте
Следуя схеме, подключаем наши трансформаторы к питающему кабелю, фазный провод которого проходит через выключатель.

Аккуратно размещаем трансформаторы в нише потолка, затем снимаем оплетку с питающего кабеля и зачищаем изоляцию с концов проводов, примерно на 5мм.

Коричневые провода от трансформатора, с маркировкой «ACL» на корпусе, подключаем к фазному проводу питающего кабеля, а синие, с маркировкой «ACN» рабочему нулю.

Далее, подключаем светодиодную ленту, строго по цветовой маркировке проводов, красный (+) от трансформатора к красному проводу от светодиодной ленты, а черный (-) к черному.

После этого уже можно включить подачу электрического тока и проверить работоспособность собранной схемы.

Затем крепим светодиодную ленту в нише потолка. Для надежной фиксации на любой поверхности, на обратной стороне светодиодной ленты расположена клеевая основа. Отклеиваем защитный слой, но не со всей ленты сразу, а постепенно, по мере приклеивания подсветки в нише.

Закрепленная в нише лента, выглядит вот так –

Таким же образом укладываем led ленту по всей длине ниши. Но как вы помните, у нас светодиодная лента состоит из трех частей. Следующим этапом будет соединение двух полосок светодиодной подсветки между собой.
Как соединить светодиодную ленту
Для соединения светодиодной ленты, мы советуем использовать специальные компактные соединители —

Принцип работы таких соединителей максимально простой, а значит надежный. Концы соединяемых светодиодных лент помещаются в него и фиксируются там. Процесс не требует использования специального инструмента, паяльника и т.п. Соединение светодиодных полосок выполняется механически, буквально за несколько действий, что по силам каждому. Давайте посмотрим как это работает.
Для этого берем светодиодную ленту и соединитель —

И помещаем нашу ленту в соединитель так, чтоб контактные площадки нашей светодиодной ленты попали под соединительные контакты коннектора.

После чего закрываем крышку-замок соединителя, и лента надежно фиксируется.

Осталось соединить ленту с той, которая уже проложена нами в нише потолка. Для этого отрезаем у этой светодиодной ленты заднюю часть с проводами так, чтобы с краю ленты оказались контактные площадки.

Сразу расскажу правила укорачивания светодиодных лент. Для удобства использования и возможности достаточного точного регулирования длины светодиодных лент, в их производителями предусмотрена возможность изменения длины — укорачивания.
Любая современная светодиодная лента состоит из модулей, каждый из которых независим и если его вырезать из ленты, он все равно будет работать, если подключить его к трансформатору.
В зависимости от типа ленты и производителя размеры этих модулей, а значит и интервалы через которые можно ленту обрезать различаются.

Обычно линии для разреза обозначены пунктирной линией, а на нашей ленте имеется еще и значок ножниц, ошибиться тяжело.
Итак, помещаем вторую ленту в соединитель, по той же самой технологии и закрываем крышку-замок. Теперь светодиодные ленты соединены, и будут работать вместе как одно целое.

ВАЖНО: Соединять светодиодные ленты от разных трансформаторов между собой, в месте их встречи, НЕ НУЖНО!
Крепим оставшуюся ленту в нишу на потолке, в месте встречи со светодиодной лентой подключенной ко второму выключателю, отрезаем по необходимости до нужного размера. Желательно избегать больших перехлестов светодиодных лент, как и случаев когда ленты сильно не сходятся друг с другом, чтоб подсветка потолка была равномерной.
ВАЖНО! ОБЯЗАТЕЛЬНО ПРОЧИТАЙТЕ НАШУ СТАТЬЮ «Как надежно закрепить светодиодную ленту | Секрет установки», для лучшего результата.
Когда монтаж светодиодной ленты завершен, включаем и тестируем.


На этом установка светодиодной подсветки потолка завершена.
Если будут какие-то вопросы- задавайте их в комментариях к статье, будем рады ответить.
rozetkaonline.ru
Подключение своими руками светодиодной ленты.
Сегодня большой популярностью стали пользоваться новые виды светодиодных светильников в виде тонких гибких лент длиной 5 метров, которые возможно наращивать и легко разрезать на отдельные отрезки любой длины, да же в несколько сантиметров.
Светодиодной ленте легко придать любую геометрическую форму. Она широко применяется для подсветки фасадов, рекламы и др. Многие начали активно ее использовать и в домашних условиях для освещения аквариума, подсветки в кухне, подвесного потолка и т. п.
Подробно узнайте из отдельной нашей статьи о всевозможных самых распространенных методах установки светодиодных лент. А Я далее остановлюсь на вопросах по их подключению.
Светодиодные ленты работают на пониженном напряжении 12 Вольт (реже 24 В ) от источников постоянного тока: аккумуляторной батареи или блока питания. Поэтому важно, при их подключении соблюдать полярность. Если неправильно подключите ничего страшного не случится- просто она не будет работать. Поменяйте полярность и у Вас все заработает!
Благодаря тому что светодиодные ленты работают от постоянного тока с величиной напряжения 12 Вольт- ее можно напрямую подключить к бортовой сети электропитания вашего автомобиля.
Общая принципиальная схема подключения светодиодной ленты к домашней электросети 220 Вольт.
Внимание! Светодиодные светильники в отличии от аналогичных с другими типами ламп— нельзя напрямую подключать в электрическую розетку на 220 Вольт. Подключение стоит проводить только через специальный блок питания, который трансформирует напряжение до необходимого более низкого значения= 12 (реже 24) Вольт, а кроме этого преобразует переменный ток в постоянный. Величина напряжения наносится по всей ее длине ленты.
Пример самого простого варианта подключения на картинке снизу.

На два провода «Вход»и ли «Input» подключаются фаза и ноль от розетки 220 Вольт или распределительной коробки домашней электропроводки.
На «Выходе» (Output): красный- это +, а черный или синий- это минус. Подключать к светодиодной ленте необходимо правильно с соблюдением полярности, а иначе светодиоды не будут светиться.
Как правило, перед блоком питания на фазе делается разрыв при помощи выключателя, что позволяет включать и выключать блок питания и соответственно светодиодную ленту.
При покупке блока питания необходимо обратить внимание не только на необходимую величину выдаваемого им напряжения, например 12 Вольт, но и на его мощность, которая должна быть достаточной для работы одной или нескольких светодиодных лент. Рекомендую брать с 20 процентным запасом.
Как рассчитать требуемую мощность блока питания (БП). Сразу смотрим на характеристики светодиодной ленты. Например, потребляемая мощность ее равна 9 Вт/м. Значит при длине 5 метров общая мощность составит 9 умножаем на длину и получаем 45 Ватт. Для подключения одной ленты понадобится БП мощностью 45 Ватт + 20% или 54 Ватт. Выбираем и покупаем близкий по требуемой мощности блок питания. Если будем подключать 2 одинаковые ленты к одному блоку 54 умножаем на 2 и получаем 108 Ватт.
Помните, что не рекомендуется подключать к концу одной светодиодной ленты начало другой, потому что вторая лента будет светить тусклее, а последние светодиоды вообще будут еле светится. При малой мощности светодиодов, несмотря на то что у них всех яркость станется одинаковой- будут перегреваться дорожки электропитания из-за прохождения тока выше номинальных значений. А перегрев, как хорошо известно, довольно значительно сокращает время службы светодиодов. В практике распространены два проверенных и правильных способа подключения светодиодных лент, изображенных на картинке снизу.

На первом изображении- схема подключения с 2 блоками питания, каждый из которых питает отдельно ленту. Общим у них будет только электропитание 220 Вольт. Но если, необходимо подключить 2 светодиодные ленты рядом, лучше купить по-мощнее блок питания и оба начала лент подключить с соблюдением полярности к 12 Вольтовому выходу из БП, как показано на втором изображении.
Схема подключения с диммером.
Диммер или светорегулятор позволяет плавно регулировать яркость и включить или выключить светодиодную ленту без отключения блока питания. Подключить его очень просто.

Устанавливается светорегулятор перед светодиодными лентами на выходе из блока питания с соблюдением полярности, указанной на его корпусе.
Схема подключения светодиодной ленты типа RGB.
RGB лента обладает возможностью менять цвет своего свечения. Ее часто называют многоцветными или разноцветными. Для управления работой RGB ленты необходима установка специального RGB контролера, который управляет цветностью и яркостью свечения светодиодов. Управление самим контролером осуществляется при помощи пульта дистанционного управления.
Схема подключения довольна проста.

С блока питания плюс и минус соответственно подключается ко входу контролера, а выходить уже будет один общий + черного цвета и три провода для управления каждым каналом: R- красным, G- зеленным и B- голубой.
Обращайте на класс защиты при покупке самый высокий IP: IP65 означает водонепроницаемость, что позволяет работать светодиодной ленте в воде.
Я постарался рассказать о самых главных деталях и способах подключения, если есть вопросы задавайте ниже в комментариях.
jelektro.ru
