Токарный станок ученический – Школьный токарный станок по металлу
Школьный токарный станок по металлу
Содержание статьи:
Изначально школьные модели токарных станков предназначены для организации учебного процесса и формирования первичных навыков работы на этом оборудовании. Однако со временем область их применения значительно расширилась. Сейчас школьный токарный станок, предназначенный для обработки металла и деревянных изделий, можно встретить не только в учебных специализированных классах, но и во многих домашних мастерских.
Требования к учебному оборудованию

Пример школьного токарного станка
Такая популярность школьных станков обусловлена простотой их конструкции, возможностью выполнять основные виды токарных работ, а также низкими требованиями к эксплуатации. Однако наряду с этим необходимо учитывать предъявляемые требования к компоновке и эксплуатационным качествам оборудования этого типа.
Главной особенностью конструкции школьных станков являются ее большие размеры. Большинство моделей настольного типа, что значительно снижает требования к условиям монтажа. Благодаря этому обрабатывающий механизм может использоваться в условиях домашней мастерской или небольшого производственного цеха. Но при этом следует учитывать особенности применения школьных станков.
Для полноценного анализа необходимо изучить основные эксплуатационные и технические параметры оборудования:
- производительность. Этот показатель значительно меньше, чем у профессиональных заводских станков. Изначально школьные установки не рассчитаны для массового производства деталей;
- ограничение по размеру заготовок. Так как большинство станков по металлу имеют небольшие размеры — на них можно выполнять токарные работы только для небольших заготовок;
- точность выполнения операции. Управление работой станка в большинстве случаев осуществляется вручную. Это негативным образом сказывается на качестве токарных работ;
- простота в эксплуатации. Для выполнения ремонтных и профилактических работ не понадобится специальное оборудование. Конструкция станка устроена таким образом, что большинство мероприятий можно выполнять самостоятельно, ознакомившись с инструкцией по эксплуатации.
Но одним из главных преимуществ школьных токарных станков является безопасность работы на них. В конструкции предусмотрены компоненты, предотвращающие появление опасных для жизни ситуаций. Обязательными являются установка защитных прозрачных панелей, в наличии имеется устройство принудительного выключения оборудования в случае возникновения сбоев в работе.
В настоящее время школьные токарные модели по металлу практически не выпускаются из-за низкого спроса. Поэтому чаще всего используется оборудование, изготовленное в 70-х и 80-х годах прошлого века.
Конструктивные элементы школьных учебных станков
Конструкция школьной модели ТВ-7
Компоновка учебных токарных станков в большинстве случаев классическая. Разница между моделями заключается в их исполнении, настольные или напольные, а также перечнем технических характеристик. Но для актуальности использования данного типа оборудования необходимо ознакомиться с его конструкцией.
Расположение элементов практически любого школьного токарного станка можно охарактеризовать как классическое. На станине, изготовленной из чугуна или металлических листов, монтируются основные блоки оборудования — передняя и задняя бабки, резцедержатель и суппорт. Однако при этом следует учитывать требуемую простоту конструкции. Она заключается в следующем:
- отсутствие коробки передач. Смена режимов происходит вручную;
- изменение скоростей выполняется с помощью ременного привода. Наличие шестеренчатой коробки нецелесообразно, так как это усложнит конструкцию;
- упрощенная конструкция шпиндельной головки. Она предназначена для фиксации заготовки и передачи крутящего момента. В большинстве случаев функция изменения положения продольной оси детали в конструкции станка отсутствует;
- на станине отсутствует выемка для обработки массивных деталей.
Подача охлаждающей жидкости осуществляется за счет встроенной системы. В случае ее отсутствия обработка СОЖ выполняется вручную.
В токарном станке по металлу обязательно должен присутствовать механический тормоз. Он срабатывает во время установки рукояти и управления шпинделем в нейтральное положение. Это обеспечивает минимизацию появления брака во время обработки.
Характеристики и параметры станков для обучения

Настольная школьная токарная модель
Так как школьное оборудование имеет худшие показатели производительности и относительно низкие технические параметры, к анализу возможностей станка следует подойти профессионально. Для этого необходимо детально изучить паспорт, определить перечень выполняемых операций и требования к характеристикам заготовки.
Определяющим параметром выбора является расстояние от плоскости станины до центров. Аналогичным нему является удаление до оси вращения шпинделя. Таким образом можно определить максимально допустимый диаметр обрабатываемой заготовки. На ее длину влияет расстояние между передней и задней бабками. При этом необходимо учитывать параметры смещения последней.
Дополнительно для полноценного анализа школьного станка изучаются следующие характеристики:
- пределы частот вращения шпиндельной головки;
- номинальная мощность электродвигателя;
- диаметр отверстия шпинделя для установки прутка;
- параметры блока подачи режущего инструмента — значение продольных и поперечных смещений;
- характеристики передвижения пиноли задней бабки;
- виды и параметры формируемой резьбы.
Немаловажным моментом являются размеры и габариты конструкции. От этого зависят требования к ее установке и дальнейшей эксплуатации. Большинство школьных моделей имеют небольшие размеры, что дает возможность выполнить монтаж даже в условиях небольшой домашней мастерской.
Резцедержатель некоторых моделей школьных станков по металлу может предусматривать установку нескольких резцов. Это позволит выполнять различные типы операций по токарной обработке без смены режущего инструмента.
Для корректной эксплуатации оборудования необходимо придерживаться следующих основных правил:
- электрические элементы должны быть заземлены;
- рабочее место обеспечивается хорошим освещением;
- обязательное использование средств индивидуальной защиты;
- перед началом работы необходимо ознакомиться с функциональными возможностями станка, а также техникой безопасности;
- соблюдение правил эксплуатации — своевременное выполнение профилактических и ремонтных работ.
В целом школьный станок, предназначенный для токарных работы по металлу, можно охарактеризовать как надежное недорогое оборудование. Для повышения его функциональности в некоторых случаях выполняется небольшая модернизация.
Для детального ознакомления с возможностями оборудования предлагается посмотреть видеоматериал, в котором подробно описывается работа модели ТВ-4:
stanokgid.ru
Станок токарный школьник
Школьный токарный станок ТВ-6: устройство, технические характеристики, описание и отзывы
Практические занятия являются залогом успешного образования специалиста. Нельзя стать настоящим токарем, только лишь изучая теорию по учебникам. Здесь необходимо в первую очередь научиться работать за станком. С этой целью еще в 80-х прошлого века было начато производство токарно-винторезного станка ТВ-6. Выпускали его на Ростовском заводе учебно-станочного оборудования. Данный станок изготавливали для обучения азам, которые должен знать каждый токарь. Эту модель можно было встретить во многих школах и специальных учебных заведениях.
Назначение
Токарный станок ТВ-6 разрабатывался для обучения азам токарного дела. Поэтому никаких заоблачных характеристик от него ждать не нужно. Станок подходит для выполнения наиболее простых операций:
- Выполнение метрической резьбы.
- Расточка деталей, имеющих цилиндрическую (коническую) форму.

Токарный станок ТВ-6 («школьник», как его еще называют) может работать только с цветными металлами и сталью. Такой выбор объясняется тем, что материал во время обработки не должен выделять летучие соединения и пыль, оказывающие пагубное воздействие на окружающих.
Основные характеристики
Токарный станок ТВ-6 при первом осмотре удивляет своими небольшими размерами. При весе 300 килограммов его длина составляет 144 сантиметра, ширина – 47 см, высота – 110 см. Благодаря этому станок прекрасно вписывается даже в небольшие мастерские.
Результатом небольших габаритов являются небольшие размеры деталей, которые могут обрабатываться на станке. Агрегат позволяет работать с деталью, длина которой не превышает 35 см. При этом протачивание возможно на промежутке, длина которого не больше 30 см. Если говорить о высоте, то над станиной могут обрабатываться детали с диаметром до 20 см. Над суппортом это значение составляет всего 8 сантиметров.
Главные характеристики в сравнении с показателями других агрегатов можно увидеть на фотографии ниже.

Устройство токарного станка ТВ-6
Лучше понять возможности аппарата поможет понимание того, из каких узлов и механизмов состоит агрегат. Ведь именно конструкция обеспечивает указанные технические характеристики.
Конструкция представлена следующими основными механизмами:
- Тумба (условно разделена на две части).
- Экран для обеспечения безопасности.
- Бабка (также условно выделяют переднюю и заднюю).

Коробка скоростей с 6 ступенями является передним узлом. К ней присоединен вал, который передает вращение от двигателя. Для этого используется ременная передача. Направление движения держателя резцов изменяется за счет специального механизма, установленного в коробке. Регулируется это с помощью рукояти. При ее повороте шестерня передвигается в одно из крайних положений. Если зубчатое колесо вращается влево, то происходит процесс прямого вращения. В этом процессе участвует блок шестеренок. Если же зубчатое колесо передвигается в правое положение, происходит вращение в обратную сторону. От радиального биения защищает задний узел. Кроме того, он позволяет обрабатывать отверстия при помощи сверла.
Разберем устройство токарно-винторезного станка ТВ-6 более подробно. Для этого рассмотрим основные его механизмы и узлы (их принцип действия и устройство) отдельно.
Тумба
Конструкция токарного станка разделяет тумбу на две части: переднюю и заднюю. Они имеют схожее, но неодинаковое устройство.
Передняя тумба собрана в форме буквы «П». Чтобы конструкция была более прочной, снизу и сверху монтированы ребра жесткости. Сзади тумбы размещен двигатель. Включается (выключается) он нажатием кнопки, которая находится спереди тумбы.
Отличием задней тумбы является то, что ее конструкция вместо двигателя включает электрический щиток.
Гитара и коробка передач
Гитарой называют передаточный механизм зубчатых колес. Она необходима для передачи движения от главного вала непосредственно к коробке. Гитара представляет собой кронштейн с закрепленными на нем шестернями. Токарный станок ТВ-6 имеет постоянное передаточное число, которое равно одной четвертой.

Гитара передает вращение на коробку передач. Она, в свою очередь, состоит из следующих деталей:
- Шестеренки (5 шт. с разными характеристиками).
- Рукоять для настроек (2 шт.).
Параметры резьбы определяются за счет изменения настроек рукояти, которая размещается на лицевой стороне коробки передач. При ее вращении (а она имеет 3 положения) блок шестерня, двигающаяся по шлицам, зацепляет другую шестерню. На панели коробки находится еще одна рукоять, которая запускает ходовой валик и винт.
Фартук
Фартук необходим для подачи суппорта от ходового валика (винта) механическим или ручным способом. Если необходимо выполнить подачу вручную, следует вращать маховик, который расположен на валу-шестерне. Последний смыкается с шестерней, которая находится на валике реечного зубчатого колеса.
Червяк, соединенный при помощи скользящей шпонки с валиком, обеспечивает механическую подачу. Он передает движение на червячную шестерню. От нее по следующему зубчатому колесу и кулачковой муфте движение передается реечной шестерне. Кулачковая муфта соединена с рукоятью, поворот которой приводит к механической подаче.

Суппорт
Установка резцов в токарном станке по металлу ТВ-6 осуществляется благодаря суппорту. Благодаря наличию 4 салазок (кареток) резцы двигаются:
- По направляющим в осевом направлении.
- В направлении, перпендикулярном движению первой каретки.
- В осевом направлении по направляющим третьей салазки.
Каретки установлены последовательно, то есть друг на друге. Деталь закрепляется на четвертой каретке с помощью специального механизма. При повороте рукоятки механизм отжимается, и его положение закрепляется штифтом.

Бабка
Второй конец детали при обработке на токарном станке ТВ-6 фиксируется с помощью задней бабки. Она имеет основание и корпус, за счет которых крепится к направляющим станины. По ним бабка и осуществляет движение. Внутри за счет маховика двигается в продольном направлении пиноль. Во внутреннее отверстие пиноли, по форме напоминающее конус, вставляются сверла, патроны и другой инструмент.
Отзывы
Токарный станок ТВ-6 — прекрасный представитель времен Советского Союза. Изготовленный в восьмидесятых прошлого века, он встречается до сих пор. И отказываться от него многие пользователи не собираются. Это надежный, долговечный станок, качественно выполняющий свои функции.

Решаясь на покупку данной модели токарн
i-perf.ru
устройство, технические характеристики, описание и отзывы
Практические занятия являются залогом успешного образования специалиста. Нельзя стать настоящим токарем, только лишь изучая теорию по учебникам. Здесь необходимо в первую очередь научиться работать за станком. С этой целью еще в 80-х прошлого века было начато производство токарно-винторезного станка ТВ-6. Выпускали его на Ростовском заводе учебно-станочного оборудования. Данный станок изготавливали для обучения азам, которые должен знать каждый токарь. Эту модель можно было встретить во многих школах и специальных учебных заведениях.
Назначение
Токарный станок ТВ-6 разрабатывался для обучения азам токарного дела. Поэтому никаких заоблачных характеристик от него ждать не нужно. Станок подходит для выполнения наиболее простых операций:
- Подготовка отверстий.
- Обрезка торцов.
- Отрезка части заготовки.
- Выполнение метрической резьбы.
- Расточка деталей, имеющих цилиндрическую (коническую) форму.

Токарный станок ТВ-6 («школьник», как его еще называют) может работать только с цветными металлами и сталью. Такой выбор объясняется тем, что материал во время обработки не должен выделять летучие соединения и пыль, оказывающие пагубное воздействие на окружающих.
Основные характеристики
Токарный станок ТВ-6 при первом осмотре удивляет своими небольшими размерами. При весе 300 килограммов его длина составляет 144 сантиметра, ширина – 47 см, высота – 110 см. Благодаря этому станок прекрасно вписывается даже в небольшие мастерские.
Результатом небольших габаритов являются небольшие размеры деталей, которые могут обрабатываться на станке. Агрегат позволяет работать с деталью, длина которой не превышает 35 см. При этом протачивание возможно на промежутке, длина которого не больше 30 см. Если говорить о высоте, то над станиной могут обрабатываться детали с диаметром до 20 см. Над суппортом это значение составляет всего 8 сантиметров.
Главные характеристики в сравнении с показателями других агрегатов можно увидеть на фотографии ниже.

Устройство токарного станка ТВ-6
Лучше понять возможности аппарата поможет понимание того, из каких узлов и механизмов состоит агрегат. Ведь именно конструкция обеспечивает указанные технические характеристики.
Конструкция представлена следующими основными механизмами:
- Тумба (условно разделена на две части).
- Экран для обеспечения безопасности.
- Коробка передач.
- Бабка (также условно выделяют переднюю и заднюю).
- Электрический двигатель.

Коробка скоростей с 6 ступенями является передним узлом. К ней присоединен вал, который передает вращение от двигателя. Для этого используется ременная передача. Направление движения держателя резцов изменяется за счет специального механизма, установленного в коробке. Регулируется это с помощью рукояти. При ее повороте шестерня передвигается в одно из крайних положений. Если зубчатое колесо вращается влево, то происходит процесс прямого вращения. В этом процессе участвует блок шестеренок. Если же зубчатое колесо передвигается в правое положение, происходит вращение в обратную сторону. От радиального биения защищает задний узел. Кроме того, он позволяет обрабатывать отверстия при помощи сверла.
Разберем устройство токарно-винторезного станка ТВ-6 более подробно. Для этого рассмотрим основные его механизмы и узлы (их принцип действия и устройство) отдельно.
Тумба
Конструкция токарного станка разделяет тумбу на две части: переднюю и заднюю. Они имеют схожее, но неодинаковое устройство.
Передняя тумба собрана в форме буквы «П». Чтобы конструкция была более прочной, снизу и сверху монтированы ребра жесткости. Сзади тумбы размещен двигатель. Включается (выключается) он нажатием кнопки, которая находится спереди тумбы.
Отличием задней тумбы является то, что ее конструкция вместо двигателя включает электрический щиток.
Гитара и коробка передач
Гитарой называют передаточный механизм зубчатых колес. Она необходима для передачи движения от главного вала непосредственно к коробке. Гитара представляет собой кронштейн с закрепленными на нем шестернями. Токарный станок ТВ-6 имеет постоянное передаточное число, которое равно одной четвертой.

Гитара передает вращение на коробку передач. Она, в свою очередь, состоит из следующих деталей:
- Шестеренки (5 шт. с разными характеристиками).
- Блок-шестерня.
- Сливная пробка.
- Ходовой валик.
- Рукоять для настроек (2 шт.).
Параметры резьбы определяются за счет изменения настроек рукояти, которая размещается на лицевой стороне коробки передач. При ее вращении (а она имеет 3 положения) блок шестерня, двигающаяся по шлицам, зацепляет другую шестерню. На панели коробки находится еще одна рукоять, которая запускает ходовой валик и винт.
Фартук
Фартук необходим для подачи суппорта от ходового валика (винта) механическим или ручным способом. Если необходимо выполнить подачу вручную, следует вращать маховик, который расположен на валу-шестерне. Последний смыкается с шестерней, которая находится на валике реечного зубчатого колеса.
Червяк, соединенный при помощи скользящей шпонки с валиком, обеспечивает механическую подачу. Он передает движение на червячную шестерню. От нее по следующему зубчатому колесу и кулачковой муфте движение передается реечной шестерне. Кулачковая муфта соединена с рукоятью, поворот которой приводит к механической подаче.

Суппорт
Установка резцов в токарном станке по металлу ТВ-6 осуществляется благодаря суппорту. Благодаря наличию 4 салазок (кареток) резцы двигаются:
- По направляющим в осевом направлении.
- В направлении, перпендикулярном движению первой каретки.
- В осевом направлении по направляющим третьей салазки.
Каретки установлены последовательно, то есть друг на друге. Деталь закрепляется на четвертой каретке с помощью специального механизма. При повороте рукоятки механизм отжимается, и его положение закрепляется штифтом.

Бабка
Второй конец детали при обработке на токарном станке ТВ-6 фиксируется с помощью задней бабки. Она имеет основание и корпус, за счет которых крепится к направляющим станины. По ним бабка и осуществляет движение. Внутри за счет маховика двигается в продольном направлении пиноль. Во внутреннее отверстие пиноли, по форме напоминающее конус, вставляются сверла, патроны и другой инструмент.
Отзывы
Токарный станок ТВ-6 — прекрасный представитель времен Советского Союза. Изготовленный в восьмидесятых прошлого века, он встречается до сих пор. И отказываться от него многие пользователи не собираются. Это надежный, долговечный станок, качественно выполняющий свои функции.

Решаясь на покупку данной модели токарного станка, опытные пользователи советуют ответить для себя на два главных вопроса:
- Какая точность нужна.
- Какие виды работ планируется выполнять на станке.
Конечно же, современные импортные аналоги обходят станок ТВ-6 по точности. Но если нужно снять более толстый слой металла, то равных «школьнику» не найти.
Что касается второго вопроса, то не все работы станок способен выполнить. К примеру, как отмечают некоторые из пользователей, на станке не удалось заточить трубу для резцов. Для расширения функциональных возможностей понадобится набор сменных шестеренок, которые необходимы для нарезания резьбы с помощью резца. Они позволят изменить при необходимости размер шага.
Из недостатков можно назвать то, что станок работает от электрической сети с напряжением 380 В. Если дома нет силовой линии, то аппарат нужно переделывать под 220 В. Еще один минус данного токарного станка – во время работы он очень громко шумит. Но с другой стороны, если установить его на своем частном дворе, то никаких проблем с этим не будет.
Как видно, отечественный токарный станок для работы с металлом ТВ-6, который производился с целью обучения токарному мастерству, нашел свое применение и в быту. Им пользуются многие любители изготовить своими руками полезные самоделки. Это надежный, долговечный агрегат, который даже спустя почти четыре десятилетия пользуется спросом.
fb.ru
Школьный токарный станок ТВ 6:устройство,фото,видео,характеристики
Кинематическая схема токарного станка ТВ 6

фото:кинематическая схема токарного станка
Электрическая схема токарного станка ТВ 6

фото:электрическая схема токарного станка
Передняя бабка токарного станка ТВ 6
Передняя бабка предназначена для поддержания обрабатываемой заготовки и передачи ей вращательного движения. В токарном станке ТВ 6 передняя бабка является и коробкой скоростей и имеет шесть ступеней скоростей.
Монтаж передней бабки осуществляется по линии центров в горизонтальной плоскости при помощи двух установочных винтов. Шпиндель передней бабки установлен на двух упорных подшипниках 9 и радиальном подшипнике 19.
Вращательное движение передается от электродвигателя через ременную передачу на ведущий вал коробки скоростей. Внутри коробки, движение передается через вал 2 и неподвижное зубчатое колесо 3 на вал 4 с неподвижными шестернями 12, 6 и блоком шестерен 5.
Блок шестерня 5 принимает участие только при реверсе подачи.
Вращение заготовки, закрепленной в трехкулачковом патроне или планшайбы, передается от шпинделя. При обработке заготовки в центрах, в шпиндель вставляется неподвижный центр.
В коробке скоростей установлено устройство для изменения направления суппорта. Это осуществляется перемещением зубчатого колеса 15 в левое или правое положение при помощи рукоятки 3.
В левом положении зубчатого колеса 15 выполняется прямое вращение от блока шестерен 16. В правом положении колеса 15 выполняется обратное вращение при помощи паразитной шестерни 6.

фото:передняя бабка токарного станка
Гитара сменных зубчатых колес токарного станка ТВ 6
Гитара – передаточный механизм, служащий для передачи вращательного движения от шпинделя коробки скоростей к коробке подач.
Гитара состоит из кронштейна 1 и шестерен 2,4,7.

фото:гитара токарного станка
Коробка подач школьного токарного станка ТВ 6
Вращательное движение на коробку подач передается от коробки скоростей через передаточный механизм.
Поворачивая рукоятку 4 в трех положениях, блок-шестерен 6 перемещается по шлицам вала 5 и поочередно входит в зубчатое зацепление зубчатыми колесами 2,3,4. Что дает возможность нарезать метрическую резьбу с шагом 0,8; 1; 1,25 мм и продольную подачу суппорта 0,08; 0,1; 0,12 мм/об.
Рукояткой 5 осуществляется включение ходового винта и валика.
Смазка трущихся поверхностей и шестерен осуществляется фитилями.

фото:коробка подач токарного станка
Фартук настольного токарного станка ТВ 6
Фартук предназначен для механической продольной подачи суппорта от ходового валика, винта и ручной продольной подачи.
Маховиком 1 осуществляется ручная подача. Маховик сидит на валу 4, на котором установлено зубчатое колесе 11, входящее в зацепление с шестерней 3. Шестерня 3 сидит на валике реечной шестерни 2.Реечная шестерня, в свою очередь, входит в зацепление с зубчатой рейкой.
Механическая подача осуществляется червяком 5, установленном на ходовом валике 10 при помощи шпоночного соединения. Червяк входит в зацепление с червячной шестерней 13 и далее через муфту передается на реечную шестерню.

фото:фартук токарного станка
Задняя бабка токарного станка ТВ 6
Задняя бабка предназначена для поддержания конца заготовки, во избежание радиального биения. Кроме этого, в заднюю бабку устанавливается сверло для обработки отверстий.
Корпус 1 расположенный в основании 2 перемещается по направляющим станины.
Пиноль перемещается в осевом направлении в корпусе. В пиноли имеется коническое отверстие, в которое вставляется различные инструменты для выполнения токарных и сверлильных работ (упорный центр, сверло, развертки и т.д.). Осевое перемещение пиноли осуществляется при помощи маховика 4 и винта 5.
Регулировка сооснтости пиноли задней бабки и шпинделя осуществляется гайкой 12 и двумя винтами 11, расположенных с обеих сторон задней бабки.
Фиксация задней бабки в нужном положении выполняется поворотом вправо рукоятки 13.

фото:задняя бабка токарного станка
Техническая характеристика школьного токарно-винторезного станка по металлу ТВ 6
| Основные параметры | ТВ 6 |
|---|---|
| Наибольший диаметр обрабатываемой заготовки,мм | 12 |
| Наибольший диаметр заготовки, устанавливаемый над станиной,мм | 200 |
| Наибольший диаметр заготовки, устанавливаемый над суппортом,мм | 80 |
| Наибольшая длина обтачивания,мм | 300 |
| Шаг нарезаемой резьбы,мм | 0,8;1;1,25 |
| Высота центров,мм | 108 |
| Расстояние между центрами,мм | 350 |
| Частота вращения шпинделя,об/мин | 130…170 |
| Суппорт | |
| Перемещение на одно деление лимба,мм: | |
| продольное | 0,5 |
| поперечное | 0,025 |
| Перемещение на один оборот лимба,мм: | |
| продольное | 30 |
| поперечное | 2 |
| Масса станка,кг | 300 |
| Габаритные размеры,мм: | |
| длина | 1100 |
| высота | 470 |
| ширина | 110 |
Видео:Токарный станок ТВ 6
www.metalstanki.com.ua
Токарный станок по металлу школьный
Школьный токарный станок по дереву
При появившейся возможности приобрести школьный токарный станок не стоит долго думать. Не смотря на свою простоту конструкции, он полностью соответствует всем требованиям, предъявляемым к такому оборудованию.
Токарный станок ТВ 4
При проведении работ по металлу в домашних условиях, используя токарный школьный станок, можно без проблем обработать цилиндрические и конические заготовки, придать им нужную форму, нарезать резьбу, отшлифовать или заточить инструмент.
Читайте также: в чем преимущества рейсмусового станка Интерскол?
Область применения
Изначально школьный токарный станок предназначался только для обучения в школах и на производственных комбинатах. Но за счет своей простоты и достаточно больших возможностей стал популярным не только в учебных заведениях, но и в личном пользовании. Один такой станок способен заменить собой целый набор различных инструментов, предназначенных для работы по металлу.
Основные преимущества, которые дает школьный токарный станок:
- возможность выполнить весь набор стандартных операций по обработке деталей токарным методом;
- компактность (небольшие габаритные размеры) позволяет установить его не только в мастерской, но и в гараже или подсобном помещении;
- наличие дополнительных приспособлений, которые значительно расширяют возможность выполнения сложных работ по металлу;
- неприхотливость в энергетическом обеспечении.

Станок популярен не только в учебных заведениях, но и в личном пользовании
к меню ↑Токарный школьный станок ТВ-4
Самая распространенная модель, которая досталась в наследство от общеобразовательных программ советского обучения. Такие токарные станки имелись практически в каждой школе, где производственных классах (мастерских) проводились уроки труда.
Не смотря на солидный возраст оборудования, оно все еще, в большинстве своем, в отличном состоянии. И в работах по металлу могут обойти по качеству и простоте использования современные настольные токарные станки.
Школьный токарный станок ТВ-4 имеет нормальный класс точности обработки деталей, поэтому его и сейчас охотно используют в личных целях люди, которым нравится работать по металлу своими руками.
к меню ↑Обзор токарного станка ТВ-4 (видео)
к меню ↑
Технические характеристики
Читайте также: технические характеристики модельного ряда токарных станков Корвет.
Школьный токарный станок ТВ-4 для работы по металлу относится к разряду инструментов, с помощью которых можно обрабатывать детали до 300 мм. Имеет шесть скоростей, что позволяет регулировать интенсивность воздействия на изделие, при этом скорость вращения шпинделя может устанавливаться от 120 до 710 оборотов за минуту.
Максимальный диаметр заготовок, которые можно обрабатывать, используя токарный школьный станок, равняется 200 мм, а диаметр обрабатываемых прутков не должен превышать 15 мм.
Продольная подача возможна в пределах 0,08-0,12 мм за один оборот регулирующего колеса. Нарезать резьбу можно с шагом 0,8; 1; 1,25 мм. Мощность электрического двигателя равна 0,6 кВт, а отверстие в шпинделе имеет диаметр в 16 мм.
Читайте также: технические характеристики четырехстороннего деревообрабатывающего станка.
к меню ↑
Принцип работы
Практически все токарные станки имеют один и тот же принцип работы.

Токарные станки, в большинстве, имеют один и тот же принцип работы
Школьный токарный станок не является исключением. Набор основных рабочих элементов у него такой же, как и у промышленных моделей:
- станина;
- стержневой инструмент;
- передняя (шпиндельная) бабка;
- суппорт;
- задняя бабка;
- коробка подачи;
- электрощита.
Станина — это то основание, на котором крепятся все остальные рабочие узлы. Шпиндель (вращающийся вал) установленный на подшипниках, получает крутящий момент от электродвигателя через ременную передачу.
На конце вала, направленного к задней бабке имеется резьба, с помощью которой крепится один из узлов удерживающих обрабатываемую деталь — патрон или планшайба.
Шпиндельная бабка обеспечивает надежно закрепленной в ней детали вращение. При необходимости, когда заготовка имеет большую длину, свободный ее конец крепится на задней бабке, что обеспечивает большую устойчивость при вращении а, следовательно, и соблюдение заданных параметров обрабатываемой заготовки.
При помощи вращения маховика, задняя бабка подводится к правому концу детали и специальными зажимами надежно фиксирует ее.

Пиноль задней бабки
Пиноль задней бабки позволяет разместить в ней стержневой инструмент для проделывания или обработки отверстий в заготовках.
Суппорт предназначен для надежной фиксации режущего элемента (резца по дереву) и перемещению его вдоль обрабатываемой детали по заданным параметрам в двух направлениях — по глубине и ширине.
Одним из важнейших узлов станка является коробка подачи. Через шестерни передаточного устройства этот элемент получает движение, которое передается от коробки скоростей. Выставив соответствующую рукоятку в требуемом положении, получают метрическую резьбу (шаг 0,8; 1,0; 1,25 м) или продольную подачу (шаг 0,08; 0,1; 0,12 мм).
Читайте также: обзор видов резьбонарезных станков для нарезки резьбы.
Таким же образом активируют ходовой валик и винт. При этом, конструктивно заложено, что передвигаться может только один из этих элементов.
При заполнении специальной емкости, которая находится на верхней части коробки подачи, маслом обеспечивается смазка деталей, что увеличивает срок их рабочего состояния. Смазывающая жидкость поступает через фитили.
Набор инструментов (токарных резцов) может состоять всего лишь из нескольких единиц, но при выполнении достаточно большого объема работ их количество может быть ограничено только финансовыми возможностями владельца.
Электрооборудование состоит из трехфазного асинхронного электромотора, магнитного пускателя, трансформатора, предохранителей (плавких вставок), которые расположены на электрощите. Там же находятся выключатели дополнительного освещения и пуска/остановки.
Читайте также: «Как работает 3D станок для резьбы по дереву?» и «Разбираемся в устройстве и принципе работе долбежных станков».
к меню ↑
Правила эксплуатации
Проводить работы по металлу, используя школьный токарный станок, достаточно просто. Именно поэтому он и используется в обучении основам токарного мастерства.

Станок токарный ТВШ 3
Перед началом работы в обязательном порядке следует ознакомиться с правилами техники безопасности:
- включать станок и
i-perf.ru
ТВ-7 (ТВ7) Станок токарно-винторезный учебный. Схемы, описание, характеристики
Сведения о производителе учебного токарно-винторезного станка ТВ-7
Производителем станка ТВ-7 являлся Ростовский завод малогабаритного станочного оборудования МАГСО, основанный в 1956 году.
Завод МАГСО входит в Финансово-промышленную группу КомТех, которая на рынке станочного оборудования существует уже несколько лет и имеет приоритет по выпуску малогабаритных металлорежущих станков токарных, фрезерных, вибрационных, заточных, сверлильных, которыми комплектуются школы, профтехучилища, колледжи, институты, ремонтно-монтажные организации всех регионов России.
Станки, выпускаемые Ростовским заводом малогабаритного станочного оборудования МАГСО
- ТВ-4 — Токарно-винторезный учебный станок Ø 200, РМЦ 350 мм
- ТВ-6 — Токарно-винторезный учебный станок Ø 200, РМЦ 350 мм
- ТВ-6М — Токарно-винторезный учебный станок Ø 200, РМЦ 350 мм Дубно
- ТВ-7 — Токарно-винторезный учебный станок Ø 220, РМЦ 330 мм
- ТВ-7М — Токарно-винторезный учебный станок Ø 220 мм, РМЦ 275 мм
- ТВ-9 — Токарно-винторезный учебный станок Ø 220 мм, РМЦ 525 мм
- ТВ-11 — Токарно-винторезный учебный станок с частотным преобразователем Ø 240, РМЦ 750 мм
- НГФ-110Ш3 — Фрезерный станок небольшой мощности 0,6кВт, размер стола 100х400 мм
- НГФ-110Ш4 — Фрезерный станок небольшой мощности 0,75кВт, размер стола 100х400 мм
- НС-16 — Сверлильный станок Ø 16
- СНВШ-1 — Сверлильный станок Ø 12
ТВ-7 (ТВ7) станок токарно-винторезный учебный. Назначение, область применения
Станок ТВ-7 (часто называемый «школьник») является учебным универсальным токарно-винторезным станком и предназначается для всевозможных токарных работ в мастерских школ для политехнического обучения и по холодной обработке металлов резанием.
Токарный станок модели ТВ-7 позволяет эффективно осваивать как теоретические, так и практические навыки токарного дела. Станок пользуется огромной популярностью в домашних мастерских.
Учебный токарно-винторезный станок ТВ-7 заменил в серийном производстве станок модели ТВ-6.
Токарно-винторезный станок ТВ-7 позволяет производить следующие виды токарных работ:
- Проточку и расточку цилиндрических и конических поверхностей
- Подрезку торцов
- Отрезку
- Нарезание резцом 6-и метрических резьб
- Сверление осевых отверстий, нрезание резьб метчиком и ряд других работ
Основные технические характеристики школьного токарно-винторезного станка ТВ-7
Изготовитель — Завод «Учебное оборудование № 1» г. Ростов на Дону.
- Наибольший диаметр заготовки типа Диск, обрабатываемой над станиной — Ø 220, мм
- Наибольший диаметр заготовки типа Вал, обрабатываемой над верхней частью суппорта — Ø 100 мм
- Расстояние между центрами — 330 мм
- Наибольшая длина обтачивания — 300 мм
- Мощность электродвигателя — 1,1 кВт
- Вес станка полный — 400 кг
Шпиндель токарно-винторезного станка ТВ-7
- Конец шпинделя резбовой — М45х4,5
- Диаметр отверстия в шпинделе — Ø 18 мм
- Пределы чисел оборотов шпинделя в минуту — (8 ступеней) 60..1000 об/мин
Подачи и резьбы токарно-винторезного станка ТВ-7
- Пределы продольных подач: — (6 шагов) 0,1; 0,12; 0,16; 0,20; 0,24; 0,32 мм/об
- Пределы шагов резьб метрических — (6 шагов) 0,8; 1; 1,25; 1,5; 2,0; 2,5 мм
Данный станок пришел на смену модели ТВ-6, которая была подвергнута незначительной модернизации. Основное отличие данных школьных станков состоит в том, что у них по-разному устроены коробки скоростей и шпиндельные бабки.
Понижающая коробка скоростей токарного станка ТВ-7 имеет два режима работы. Частота вращения шпинделя регулируется с ее помощью, а также посредством ручной переброски приводного ремня на требуемую позицию. В конструкции ТВ-7 не предусмотрены рычаги для переключения скоростей, которые присутствовали в более ранних моделях.
Основные отличия параметров станка ТВ-7 от станка модели ТВ-6 в следующем:
- Отсутствие коробки скоростей в передней бабке станка ТВ-7
- Наличие двухскоростной понижающей коробки в левой тумбе станка ТВ-7
- Уменшенное РМЦ — 330 мм вместо 350 мм станка ТВ-6
- Увеличенная высота центров — 120 мм вместо 108 мм станка ТВ-6. Соответственно дамметр обработки над станиной 220 мм и 200 мм
- Конец шпинделя имеет больший диаметр резьбы — М45 х 4,5 вместо М36 х 6, следовательно стандартный патрон Ø125 мм вместо Ø100 мм
- Большее количество ступеней вращения шпинделя — 8 и 6
- Большее число подач — 6 и 3, соответственно число нарезаемых метрических резьб
- Масса станка ТВ-7 — 400 кг, ТВ-6 — 300 кг соответственно.
Шпиндель токарно-винторезного станка ТВ-7 установлен на четырех радиально-упорных подшипниках по два в передней и задней опорах. На заднем конце шпинделя закреплен четырехступенчатый шкив, передний конец шпинделя — резьбовой М45 х 4,5 под промежуточный фланец ГОСТ 3889 исполнение 1 и стандартный патрон Ø125 мм.
Шпиндель токарного станка ТВ-7 получает 8 скоростей вращения: от двухскоростной понижающей коробки скоростей и четырехступенчатого шкива. Поэтому в передней бабке станка ТВ-7 отсутствует коробка скоростей, скорости шпинделя переключаются переброской приводного ремня и при помощи двухскоростной понижающей коробки в левой тумбе станка.
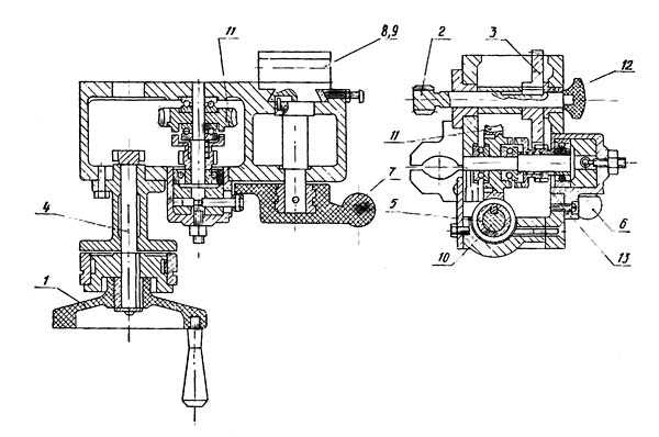
Общий вид токарно-винторезного станка ТВ-7

Фото токарно-винторезного станка ТВ-7

Фото суппорта токарно-винторезного станка ТВ-7

Фото гитары токарно-винторезного станка ТВ-7

Фото фартука токарно-винторезного станка ТВ-7

Фото редуктора токарно-винторезного станка ТВ-7
Расположение составных частей ТВ-7

Расположение составных частей токарного станка ТВ-7
Спецификация составных частей токарно-винторезного станка ТВ-7
- Станина
- Передняя бабка
- Задняя бабка
- Суппорт
- Гитара
- Фартук
- Коробка подач
- Коробка понижающая двухскоростная
- Переключатель
- Тумбы
- Кожух защитный
- Щитки защитные
- Светильник
- Экран защитный
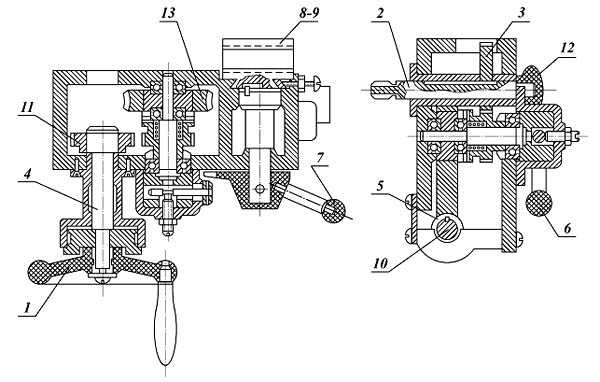
Расположение органов управления токарно-винторезным станком ТВ-7

Расположение органов управления токарно-винторезным станком ТВ-7
Спецификация органов управления токарно-винторезного станка ТВ-7
- Рукоятка установки частоты вращения шпинделя
- Рукоятка установки величины подач и шага резьбы
- Рукоятка включения ходового валика и ходового винта
- Рукоятка изменения направления подач
- Рукоятка ручного перемещения поперечной салазки
- Рукоятка крепления резцовой головки
- Рукоятка ручного перемещения верхней салазки
- Рукоятка крепления пиноли задней бабки
- Рукоятка крепления задней бабки к направляющим станины
- Маховик перемещения пиноли задней бабки
- Кнопка включения и выключения реечной шестерни
- Рукоятка включения гайки ходового винта
- Рукоятка включения продольной механической подачи
- Кнопка аварийного отключения станка
- Маховик ручного перемещения продольной каретки
- Рукоятка реверсивного включения электродвигателя
- Пакетный выключатель местного освещения
- Пакетный выключатель сети (общий)
- Рукоятка натяжения ремня шкивного редуктора
Схема кинематическая токарно-винторезного станка ТВ-7

Кинематическая схема токарно-винторезного станка ТВ-7
Схема кинематическая токарно-винторезного станка ТВ-7. Смотреть в увеличенном масштабе
Конструкция токарно-винторезного станка ТВ-7
Станина станка
Станина является базовым узлом, на котором, за исключением привода, монтируются все остальные узлы и механизмы станка.
Станина — литая, чугунная, коробчатой формы с окнами. Имеет две призматические и две плоские направляющие.
Передняя призматическая и задняя плоская направляющие служат для перемещения суппорта, а задняя призматическая и передняя плоская направляющие служат для перемещения задней бабки.
Станина установлена на две тумбы станка.
Передняя бабка токарно-винторезного станка ТВ-7

Передняя бабка токарно-винторезного станка ТВ-7
Передняя бабка станка токарно-винторезного станка ТВ-7. Смотреть в увеличенном масштабе
Передняя бабка служит для закрепления или поддержания обрабатываемой детали и сообщения вращательного движения.
Передняя бабка крепится в левой части станины.
Движение с коробки понижающей, клиноременной передачей через шкив передается непосредственно на шпиндель передней бабки.
Шпиндель имеет 8 ступеней скоростей 60, 90, 130, 190, 350, 500, 730, 1000 об/мин.
В передней и задней опорах шпинделя установлены по два радиально-упорных подшипника.
Шпиндель передает вращение обрабатываемой детали при помощи трехкулачкового патрона или планшайбы с поводком, которые навинчиваются на его резьбовую часть. При обработке деталей в центрах, в шпиндель вставляется центр.
Движение подач суппорта заимствуется от шпинделя. Вал 9 получает вращение через шестерни 3—4—6—8. С вала 9 движение передается сменной шестерне гитары — 10.
В передней бабке смонтировано устройство, позволяющее изменять направление перемещения суппорта — реверсировать подачу. Реверсирование производится перемещением шестерни 8 в левое и правое крайние положения рукояткой 4 (рис. 3). При левом крайнем положении шестерня 8 получит прямое вращение непосредственно от блока шестерен 6, расположенного на валу 5. При правом крайнем положении шестерня 8 получит обратное вращение через паразитную шестерню 7, которая находится в постоянном зацеплении со второй ступенью блока шестерен 6.
На лицевой стороне корпуса передней бабки расположен маслоуказатель 11. С обратной стороны имеется пробка 12 для слива масла
Коробка понижающая токарно-винторезного станка ТВ-7

Коробка понижающая токарно-винторезного станка ТВ-7
Коробка понижающая токарно-винторезного станка ТВ-7. Смотреть в увеличенном масштабе
Коробка понижающая (рис. 6) служит для расширения диапазона чисел оборотов шпинделя передней бабки (см. табл. 5).
Коробка установлена в передней тумбе станка, на общей с электродвигателем салазке.
Движение от электродвигателя на входной вал 2 коробки понижающей передается клиноременной передачей через шкив 1. Переставляя ремень поочередно в один из ручьев шкива 1 и шкива, расположенного на валу электродвигателя, можно получить 4 различные скорости вращения вала 2 (см. табл. 5).
Ослабление ремня производится поворотом рукоятки 19 (рис. 3) вниз на себя. После перестановки ремень натягивается поворотом рукоятки 19 в обратном направлении (вверх на себя).
Вал 7 получает вращение через (перебор) шестерни 3—4—5—6, либо напрямую соединяется с валом 2 через кулачковую муфту, выполненную на торцах шестерен 3 и 6. Для этого необходимо поворотом рукоятки 1 (рис. 3) переместить шестерню 3 в крайнее левое положение (включить муфту). Одновременно выходят из зацепления шестерни 3—4 и 5—6.
Таким образом, на выходном валу 7 коробки понижающей можно получить 8 разных скоростей. С вала 7 клиноременной передачей через шкив 8 движение передастся на шпиндель передней бабки.
На передней стороне корпуса коробки понижающей имеется маслоуказатель 9, на основании — пробка 19 для слива масла, Пробка для залива масла расположена на крышке 11.
Гитара токарно-винторезного станка ТВ-7

Гитара токарно-винторезного станка ТВ-7
Гитара (передаточный механизм) (рис. 7) служит для передачи вращения от шпинделя передней бабки к коробке подач.
В станке ТВ-7 часть шестерен гитары — шестрени 3, 4, 6, 8 (см. рис. 5) и механизм реверса подачи, работа которого описана в пункте 1.5.6., расположены в корпусе передней бабки. Такое расположение позволило снизить шум, создаваемый передаточным механизмом во время работы, и улучшить его смазку.
Передаточное отношение шестерен 3—4—6—8 составляет:
i = 48/60 * 30/48 = ½
Таким образом сменная шестерня гитары а (см. рис. 7) по отношению к шпинделю имеет в два раза меньше оборотов.
Применение сменных шестерен a (Z = 32; Z = 48; Z = 64) позволяет расширить диапазон нарезаемых резьб и величин подач суппорта.
Со сменной шестерни а, движение через паразитную шестерню 1 передается шестерне 2, расположенной на входном валу коробки подач. Шестерня 1 установлена на пальце 3, запрессованном в кронштейне 4
Коробка подач токарного станка ТВ-7

Коробка подач токарного станка ТВ-7
Коробка подач токарно-винторезного станка ТВ-7. Смотреть в увеличенном масштабе
Движение от шпинделя передней бабки станка через передаточный механизм (гитару) передается валу 1 коробки подач (рис. 8).
При повороте рукоятки 2 (рис. 3), которая имеет три фиксированных положения, блок-шестерня 6 перемещается по шлицам вала 5 и ее венцы поочередно входят в зацепление с шестернями 2, 3, 4, неподвижно сидящими на валу 1 (рис. 8).
Это дает возможность вместе со сменными шестернями гитары получить метрическую резьбу с шагом 0,8; 1,0; 1,25; 1,5; 2,0; 2,5 мм и продольную механическую подачу суппорта 0,10; 0,12; 0,15; 0,16; 0,18; 0,20; 0,24; 0,32 мм/об.
Включение ходового винта или ходового валика осуществляется попоротом рукоятки 3 (рис. 3).
В положении, указанном на рис. 8, осуществляется вращение ходового винта.
При перемещении шестерни 9 вправо, она выйдет из зацепления с шестерней 10 и войдет в зацепление с муфтой 11, которая передает вращение на ходовой валик 7.
Таким образом, в конструкции коробки подач исключается возможность одновременного вращения ходового винта и ходового валика.
Изменение направления вращения ходового винта и ходового валика производится поворотом рукоятки 4 (рис. 3).
Для смазки механизма коробки подач в верхней ее части имеется лоток для заливки масла.
Масло на шестерни и трущиеся поверхности полается фитилями.
Во время работы станка в лотке коробки подач постоянно должно находиться небольшое количество масла.
Для слива масла в нижней части коробки подач имеется сливная пробка 13.
При нарезании резьбы ходовой винт не должен иметь осевого перемещения.
Устранение осевого люфта производится подтягиванием двух круглых гаек 12.
Фартук токарно-винторезного станка ТВ-7

Фартук токарно-винторезного станка ТВ-7
Фартук токарно-винторезного станка ТВ-7. Смотреть в увеличенном масштабе
С помощью фартука (рис. 9) можно производить механическую продольную подачу суппорта от ходового валика и от ходового винта, а также ручную продольную подачу.
Ручная подача осуществляется вращением маховика 1, насаженного на вал-шестерню 4, входящего в зацепление с шестерней 3, сидящей на валике реечной шестерни 2.
Последняя входит в зацепление с зубчатой рейкой, жестко прикрепленной к станине. Механическая подача от ходового валика 10 осуществляется червяком 5, связанным с валиком скользящей шпонкой. Червяк приводит во вращение червячную шестерню 11 и далее через кулачковую муфту и шестерни 13, 3 вращение передастся па реечную шестерню. Для включения механической подачи надо рукоятку 6 повернуть на себя, при этом включается кулачковая муфта.
Механическая подача от ходового винта осуществляется поворотом вниз рукоятки 7, соединяющей разъемную маточную гайку 8—9 с ходовым винтом.
Реечную шестерню 2 при нарезании резьбы надо обязательно выводить из зацепления с рейкой движением рукоятки 12 на себя.
При механической подаче от ходового валика и при ручной подаче суппорта с помощью маховичка 1 реечную шестерню вводят обязательно в зацепление с зубчатой рейкой движением рукоятки 12 от себя.
В конструкции фартука предусмотрена блокировка, не позволяющая одновременно включать механическую подачу от ходового валика и маточную гайку.
Суппорт токарного станка ТВ-7

Суппорт станка токарно-винторезного станка ТВ-7
Суппорт станка токарно-винторезного станка ТВ-7. Смотреть в увеличенном масштабе
Суппорт (рис. 10) предназначен для закрепления и перемещения резца, он имеет четыре салазки.
Салазка 1 перемещается в продольном направлении по направляющим станины.
Салазка 2 перемещается по поперечным направляющим салазки 1 и служит для поперечного перемещения резца.
Салазка 4, несущая четырехпозиционную резцовую головку, имеет только продольное перемещение по направляющим салазки 3, которая имеет возможность поворачиваться на 40° от среднего положения в ту или иную сторону.
Поперечное перемещение салазки 2 по направляющим нижней салазки 1 производится винтом 6 и гайкой 5.
Винт 6 приводится во вращение от руки рукояткой 12.
Сверху салазка 2 имеет углубление, куда входит выступ новоротной части верхнего суппорта; для закрепления поворотной части имеются 2 болта, головки которых входят в Т-образный паз салазки 2.
Верхнюю салазку 4 суппорта можно перемещать по направляющим вручную, рукояткой 7, которая вращает винт 8. Направляющие станины, салазок и клиньев от продолжительной работы изнашиваются настолько, что между ними может появиться зазор.
В результате резец будет вибрировать, и снизится точность работы станка. Для устранения вибрации нужно отрегулировать прижимные планки 10 салазки 1 винтами 11.
Регулировка клиньев производится винтами, расположенными в торцах салазки 2 и салазки 4 суппорта.
Резцедержатель закрепляется на салазке 4 болтом 13 и рукояткой 14. При отворачивании рукоятки резцедержатель отжимается вверх от верхней салазки.
Для фиксации положения резцедержателя на салазке 4 имеется опорный штифт.
В резцедержателе можно закреплять одновременно до четырех резцов. Резцы крепятся болтами 15.
Задняя бабка токарно-винторезного станка ТВ-7

Задняя бабка токарно-винторезного станка ТВ-7
Задняя бабка (рис. 11) служит для поддержания второго конца обрабатываемой детали. Корпус 1 расположен на основании 2, перемещающемся по направляющим станины станка.
В корпусе продольно перемещается пиноль 3.
Пиноль имеет коническое отверстие (конус Морзе 2), в которое вставляется упорный центр или другой инструмент; сверла, развертки, патрон сверлильный и т. д. Перемещение пиноли производится маховичком 4, вращающим винт 5.
Для удобства вращения на маховике закреплена рукоятка 6.
Чтобы пиноль при вращении маховичка не поворачивалась, она имеет шпоночную канавку, в которую входит винт-шпонка 7. Рукоятка 8 служит для зажима пиноли в корпусе бабки. Оси шпинделя и пиноли задней бабки должны совпадать.
Механика токарно-винторезного станка ТВ-7

Механика токарно-винторезного станка ТВ-7
Схема электрическая токарно-винторезного станка ТВ-7

Электрическая схема токарно-винторезного станка ТВ7
Электрооборудование токарно-винторезного станка ТВ-7
К электрооборудованию станка относятся: трехфазный асинхронный электродвигатель мощностью 1,1 кВт, переключатель кулачковый универсальный, светильник местного освещения и электрощит, на котором смонтированы магнитные пускатели, пакетные выключатели сети и местного освещения, трансформатор местного освещения и предохранители. Щит с электроаппаратурой установлен в задней тумбе станка. Электродвигатель расположен в передней тумбе, а переключатель кулачковый универсальный крепится на станине с обратной стороны станка.
Токарно-винторезный универсальный станок ТВ-7. Видеоролик.
Основные технические характеристики станка ТВ-7
| Наименование параметра | ТВ-4 | ТВ-6 | ТВ-7 |
|---|---|---|---|
| Основные параметры станка | |||
| Класс точности | Н | Н | Н |
| Наибольший диаметр заготовки над станиной, мм | 200 | 200 | 220 |
| Наибольший диаметр заготовки над суппортом, мм | 125 | 80 | 100 |
| Высота центров над плоскими направляющими станины, мм | 108 | 108 | 120 |
| Наибольшая длина заготовки в центрах (РМЦ), мм | 350 | 350 | 330 |
| Наибольшая длина заготовки в патроне, мм | 310 | ||
| Диаметр заготовки устанавливаемой в патроне, мм | 5..110 | ||
| Наибольшая длина обтачивания, мм | 300 | 300 | 300 |
| Наибольшая высота держателя резца, мм | 10 х 12 | 12 х 12 | 16 х 16 |
| Высота от опорной поверхности резца до линии центров, мм | 12 | 12 | |
| Наибольшее расстояние от оси центров до кромки резцедержателя, мм | 78 | 78 | |
| Передняя бабка. Шпиндель | |||
| Резьбовой конец шпинделя, мм | М36 х 4,5 | М36 х 4,5 | М45 х 4,5 |
| Диаметр стандартного патрона, мм | 100 | 100 | 125 |
| Диаметр сквозного отверстия в шпинделе, мм | 16 | 18 | |
| Наибольший диаметр прутка, мм | 15 | 12 | |
| Конус Морзе шпинделя | №2 | №3 | №3 |
| Число ступеней частот прямого вращения шпинделя | 6 | 6 | 8 |
| Частота прямого вращения шпинделя, об/мин | 120, 160, 230, 375, 500, 710 | 130, 170, 235, 385, 510, 700 | 60,90, 130, 190, 350, 500, 730, 1000 |
| Торможение шпинделя | нет | нет | нет |
| Блокировка рукояток | нет | нет | нет |
| Суппорт. Подачи | |||
| Наибольшее продольное перемещение суппорта, мм | 300 | 300 | 260 |
| Перемещение суппорта продольное на одно деление лимба, мм | 0,5 | 0,25 | 0,25 |
| Наибольшее поперечное перемещение суппорта, мм | 100 | 100 | |
| Перемещение суппорта поперечное на одно деление лимба, мм | 0,025 | 0,025 | 0,025 |
| Наибольшее перемещение резцовых салазок, мм | 50 | 85 | 85 |
| Перемещение резцовых салазок на одно деление лимба, мм | 0,025 | 0,025 | 0,025 |
| Угол поворота резцовых салазок, град | ±45° | ±45° | ±40° |
| Число ступеней продольных подач суппорта | 3 | 3 | 6 |
| Пределы продольных рабочих подач суппорта, мм/об | 0,08; 0,1; 0,12 | 0,08; 0,1; 0,12 | 0,1; 0,12; 0,16; 0,20; 0,24; 0,32 |
| Пределы рабочих поперечных подач суппорта, мм/об | нет | нет | нет |
| Количество нарезаемых резьб метрических | 3 | 3 | 6 |
| Пределы шагов нарезаемых резьб метрических, мм | 0,8; 1,0; 1,25 | 0,8; 1,0; 1,25 | 0,8; 1,0; 1,25; 1,5; 2,0; 2,5 |
| Пределы шагов нарезаемых резьб дюймовых | нет | нет | нет |
| Пределы шагов нарезаемых резьб модульных | нет | нет | нет |
| Пределы шагов нарезаемых резьб питчевых | нет | нет | нет |
| Задняя бабка | |||
| Конус Морзе задней бабки | №2 | №2 | №2 |
| Наибольшее перемещение пиноли, мм | 65 | 65 | 65 |
| Электрооборудование | |||
| Электродвигатель главного привода, кВт | 1,0 | 1,1 | 1,1 |
| Габариты и масса станка | |||
| Габариты станка (длина ширина высота), мм | 1440 х 470 х 1020 | 1100 х 470 х 110 | 1050 х 535 х 1200 |
| Масса станка, кг | 280 | 300 | 400 |
Связанные ссылки. Дополнительная информация
Каталог справочник токарно-винторезных станков
Паспорта и схемы к токарно-винторезным станкам и оборудованию
Справочник деревообрабатывающих станков
Купить каталог. Купить справочник. Купить базу данных: Прайс-лист информационных изданий
stanki-katalog.ru
ТВ-4 (ТВ4) Станок токарно-винторезный школьный. Схемы, описание, характеристики
Сведения о производителе учебного токарно-винторезного станка ТВ-4
Производитель токарно-винторезного станка модели ТВ-4 (ТВ4) — Ростовский завод малогабаритного станочного оборудования МАГСО, основанный в 1956 году.
Завод МАГСО входит в Финансово-промышленную группу КомТех, которая на рынке станочного оборудования существует уже несколько лет и имеет приоритет по выпуску малогабаритных металлорежущих станков токарных, фрезерных, вибрационных, заточных, сверлильных, которыми комплектуются школы, профтехучилища, колледжи, институты, ремонтно-монтажные организации всех регионов России.
Другим производителем станка ТВ-4 являлся Дубненский литейно-механический завод «Октябрь» — г. Дубно Ровенской области на Украине.
Станки, выпускаемые Ростовским заводом малогабаритного станочного оборудования МАГСО
ТВ-4 (ТВ4) Станок токарно-винторезный учебный. Назначение, область применения
Станок ТВ-4 является учебным универсальным токарно-винторезным станком и предназначается для всевозможных токарных работ в мастерских школ для политехнического обучения и по холодной обработке металлов резанием.
Станок ТВ-4 заменил устаревшие первые школьные токарно-винторезные станки ТВШ-2 и ТВШ-3 (ТВ-3) и выпускался в 70-х годах прошлого века.
Учебный токарно-винторезный станк ТВ-4, несмотря на упрощенную конструкцию, имеет все узлы «взрослого» токарно-винторезного станка: коробку скоростей шпинделя, гитару, коробку подач, ходовой вал и ходовой винт, суппорт с механической подачей.
Станок позволяет производить следующие виды токарных работ:
- Проточку и расточку цилиндрических и конических поверхностей
- Подрезку торцов
- Отрезку
- Нарезание метрических резьб
- Сверление и ряд других работ
Основные технические характеристики школьного токарно-винторезного станка ТВ-4
Изготовитель — Завод «Учебное оборудование № 1» г. Ростов на Дону.
Основные параметры станка — в соответствии с ГОСТ 18097-93. Станки токарно-винторезные и токарные. Основные размеры. Нормы точности.
- Наибольший диаметр заготовки типа Диск, обрабатываемой над станиной — Ø 200, мм
- Наибольший диаметр заготовки типа Вал, обрабатываемой над верхней частью суппорта — Ø 125 мм
- Расстояние между центрами — 350 мм
- Наибольшая длина обтачивания — 300 мм
- Мощность электродвигателя — 0,6 кВт
- Вес станка полный — 280 кг
Шпиндель токарно-винторезного станка ТВ-4
- Конец шпинделя резбовой — М36х4
- Диаметр отверстия в шпинделе — Ø 16 мм
- Наибольший диаметр обрабатываемого прутка — Ø 15 мм
- Пределы чисел оборотов шпинделя в минуту — (6 ступеней) 120, 160, 230, 375, 500, 710 об/мин
- Диаметр стандартного патрона — Ø 100 мм
Подачи и резьбы токарно-винторезного станка ТВ-4
- Пределы продольных подач: — (3 шага) 0,08; 0,1; 0,12 мм/об
- Пределы шагов резьб метрических — (3 шага) 0,8; 1; 1,25 мм
Передний конец шпинделя станка ТВ-4 имеет резьбу М36х4 для установки промежуточного фланца с патроном (смотрите статью Токарные патроны). Стандартный патрон для станка ТВ-4 — Ø100 мм.
Шпиндель токарного станка ТВ-4 получает 6 ступеней вращения (120, 160, 230, 375, 500, 710 об/мин) от коробки скоростей в передней бабке.
Коробка скоростей за счет переключения шестерен позволяет понизить частоту вращения шпинделя, необходимую для резьбонарезания метчиками, а также для тяжелых работ, требующих повышенного крутящего момента. Повышенная скорость шпинделя используется для чистовых работ.
Привод станка осуществляется от асинхронного электродвигателя ~220В. Через клиноременную передачу и одноступенчатые шкивы движение передается на входной вал коробки скоростей. Внутри коробки скоростей движение через шестерни передается на шпиндель. Шпиндель, в зависимости от положения рукояток на передней бабке, вращается с одной из 6-и скоростей. Направление вращения шпинделя определяется двигателем.
От шпинделя движение передается на выходной вал коробки скоростей, затем на гитару, и от нее на входной вал коробки подач.
Коробка подач обеспечивает 3 скорости подач суппорта и может нарезать 3 метрические резьбы без перестановки шестерен в гитаре.
На выходе коробки подач имеются ходовой вал и ходовой винт, которые вращаются попеременно с одной из 3-х скоростей.
Ходовой винт включается при нарезании резьб. Скорость ходового винта задается рукоятками на коробке подач и определяет одну из 3-х метрических резб (ходовой винт можно использовать в режиме продольной подачи, но не используется, чтобы не изнашивать его). Направление вращения ходового винта задается левой рукояткой на передней бабке.
Ходовой вал дает возможность получить одну из 3-х продольных подач суппорта. Скорость подачи задается рукоятками на передней стенке коробки подач.
Ходовой винт и ходовой вал проходят сквозь фартук суппорта, который преобразует вращательное движение ходового винта или ходового валика в поступательное продольное движение суппорта. Поперечное механическое движение суппорта в станке ТВ-4 не предусмотрено.
Смазка коробки скоростей — разбрыгиванием шестернями масла из масляной ванны на дне передней бабки. Смазка коробки подач — фитильная с лотка, который заполняется маслом раз в смену. Фартук, суппорт, гитара, задняя бабка и станина смазываются вручную раз в смену.
Габаритные размеры рабочего пространства станка ТВ-4

Габаритные размеры рабочего пространства станка ТВ-4
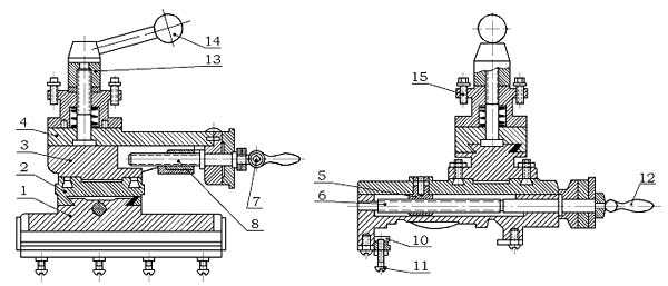
Общий вид токарно-винторезного станка ТВ-4

Фото токарно-винторезного станка ТВ-4
Расположение составных частей и органов управления токарным станком ТВ-4

Расположение составных частей и органов управления токарным станком ТВ-4
Спецификация составных частей и органов управления токарно-винторезного станка ТВ-4
- Рукоятка установки чисел оборотов шпинделя
- Рукоятка установки чисел оборотов шпинделя
- Рукоятка установки нарезания правой и левой резьб и изменение направления подач
- Рукоятка установки величины подач и шага резьбы
- Рукоятка переключения ходового валика
- Маховик ручного перемещения продольной каретки
- Кнопка включения и выключения реечной шестерни
- Рукоятка включения продольной механической подачи
- Рукоятка включения гайки ходового винта
- Рукоятка ручного перемещения поперечной салазки
- Рукоятка крепления резцовой головки
- Рукоятка крепления пиноли задней бабки
- Маховик перемещения пиноли задней бабки
- Понижающий трансформатор местного освещения
- Пакетный выключатель местного освещения
- Предохранительная колодка
- Реверсивный магнитный пускатель
- Реверсивная кнопка включения и остановки станка
- Светильник
- Рукоятка крепления задней бабки к направляющим станины
- Пакетный выключатель сети (общий)
- Защитный экран
Схема кинематическая токарно-винторезного станка ТВ-4

Схема кинематическая токарно-винторезного станка ТВ-4
Конструкция токарно-винторезного станка ТВ-4
Токарно-винторезный станок состоит из следующих основных узлов: передняя тумба, задняя тумба, станина, передняя бабка, коробка подач, гитара, фартук, суппорт, задняя бабка, защитный кожух, корыто, электрооборудование, защитный экран.
Передняя тумба
Передняя тумба выполнена П-образной формы с ребрами жесткости в верхней и нижней частях.
Приводной электродвигатель установлен на задней стороне тумбы, на передней — реверсивная кнопка включения и выключения электродвигателя.
Задняя тумба
Задняя тумба выполнена П-образной формы с ребрами жесткости в верхней и нижней частях. В задней тумбе смонтирован щиток с электрооборудованием станка.
Станина станка
Станина служит для поддержания, закрепления и взаимного соединения всех узлов станка.
Станина станка коробчатой формы с окнами. Имеет две призматические направляющие.
Передняя направляющая служит для передвижения каретки, задняя — для перемещения задней бабки.
На передней стороне станины установлены ходовой винт и рейка
Станина установлена на две тумбы.
Передняя бабка токарно-винторезного станка ТВ-4

Чертеж передней бабки токарного станка ТВ-4

Чертеж передней бабки токарного станка ТВ-4
Передняя бабка токарно-винторезного станка ТВ-4

Фото передней бабки токарно-винторезного станка ТВ-4

Фото передней бабки станка ТВ-4. Вариант с укороченным ведущим валом
Передняя бабка (рис. 2 и 3) крепится в левой части станины. Установка коробки скоростей по линии центров в горизонтальной плоскости осуществляется двумя установочными винтами с гайками.
Движение коробки скоростей передается от индивидуального электродвигателя через клиноременную передачу на шкив. Передняя бабка служит для поддержания обрабатываемой детали и сообщения ей вращательного движения. В станке типа ТВ-4 передняя бабка является и коробкой скоростей, поэтому в дальнейшем будет применяться этот термин.
Внутри коробки движение передается через вал 2 и шестерню 3, сидящую на валу неподвижно, на вал 4, на котором сидят неподвижные шестерня 12 и блок-шестерня 5; шестерня 6 участвует только в работе трензеля.
На валу 7 находятся блочные шестерни 8 и 11, которые перемещаются на валу по шпонке при помощи рукояток 1 и 2 (рис. 1). Рукоятка /имеет три положения, получаемые поворотом вправо и влево. Рукоятка 2 имеет два положения.
Тройная блочная шестерня 8 имеет возможность находиться в постоянном зацеплении с блоком 5 или шестерней 12 и тем самым передавать движение валу 7 и блочной шестерне 13, находящейся непосредственно на шпинделе станка 14.’
Шпиндель передает вращение обрабатываемой детали при помощи трехкулачкового патрона или планшайбы с поводком, которые поворачиваются на его резьбовую часть. При обработке деталей в центрах в шпиндель вставляется центр.
В коробке скоростей смонтировано устройство, позволяющее изменять направление вращения ходового винта и ходового валика, т. е. изменять направление перемещения суппорта. Это производится перемещением шестерни 15 в левое и правое крайнее положение рукояткой 3 (рис. 1).
При левом крайнем положении рукоятки шестерня 15 получит прямое вращение непосредственно от блока шестерен 16, расположенного на шпинделе. При правом крайнем положении рукоятки шестерня 15 получит обратное вращение за счет зацепления с паразитной шестерней 6, которая в свою очередь получает вращение от второй ступени блока шестерен 16.
Вращение вала 17 передается шестерне 18, которая находится в постоянном зацеплении с шестернями передаточного механизма и далее с механизмом коробки подач.
При среднем нейтральном положении рукоятки и шестерни 15 вращение от шпинделя не будет передаваться к коробке подач, т. е. ни ходовой винт, ни ходовой валик вращаться не будут.
Шпиндель передней бабки получает от приемного шкива шесть чисел оборотов. Таблица с указанием чисел оборотов шпинделя в минуту в зависимости от положения рукояток размещается на верхней крышке коробки подач.
Передняя шейка шпинделя вращается в двух упорно-радиальных подшипниках, а задняя—в радиальном подшипнике. Для регулирования осевого натяжения на шпинделе установлены две гайки. Для фиксации осевого перемещения валиков на передней крышке коробки скоростей установлены регулировочные винты 10. На передней стороне коробки скоростей имеется указатель уровня масла, на задней стенке — пробка для слива масла 22.
Передаточный механизм (гитара) токарно-винторезного станка ТВ-4

Гитара токарно-винторезного станка ТВ-4
Передаточный механизм (рис. 4) служит для передачи вращения от шпинделя коробки скоростей к коробке подач. Механизм состоит из кронштейна 1, на котором смонтированы шестерни 7, 4, 2. Передаточный механизм характеризуется передаточным отношением, и для станка ТВ-4 оно составляет:
i = 24/60 * 40/64 = 1/4
Для этого станка такое передаточное отношение постоянно, так как сменные шестерни к станку не прилагаются.
Коробка подач токарно-винторезного станка ТВ-4

Чертеж коробки подач токарно-винторезного станка ТВ-4

Фото коробки подач токарно-винторезного станка ТВ-4
Коробка подач (рис. 5) получает движение от коробки скоростей через шестерни передаточного механизма. Механизм коробки подач дает возможность получить метрическую резьбу с шагом 0,8; 1,0; 1,25 мм и продольную подачу суппорта в пределах 0,08; 0,1; 0,12 мм на один оборот шпинделя.
Необходимые резьбы и подачи устанавливаются путем поворота рукоятки 4 (рис. 1), расположенной на передней крышке коробки подач.
Включение ходового винта или ходового валика осуществляется поворотом рукоятки 5 (рис. 1).
В положении, указанном на рисунке 5, осуществляется вращение ходового винта. При перемещении шестерни 9 вправо она выйдет из зацепления с шестерней 10 и войдет в зацепление с муфтой 11, которая передаст вращение на ходовой валик.
Таким образом, в конструкции коробки подач исключается возможность одновременного вращения ходового винта и ходового валика.
Изменение направления вращения ходового винта и ходового валика производится поворотом рукоятки 3 (рис. 1).
Для смазки механизма коробки подач в верхней ее части имеется корыто для заливки масла.
Масло на шестерни и трущиеся поверхности подается фитилями.
При работе необходимо следить, чтобы в корыте коробки подач постоянно находилось небольшое количество масла.
Суппорт токарно-винторезного станка ТВ-4

Чертеж суппорта токарно-винторезного станка ТВ-4
Суппорт (рис. 8) предназначен для закрепления и перемещения резца. Суппорт имеет четыре салазки.
Салазка 1 перемещается в продольном направлении по направляющим станины.
Салазка 2 перемешается по поперечным направляющим салазки 1 и служит для поперечного перемещения резца.
Салазка 4, несущая четырехпозиционную резцовую головку, имеет только продольное перемещение по направляющим салазки 3, которая имеет возможность поворачиваться на 40° от среднего положения в ту или иную сторону.
Поперечное перемещение салазки 2 по направляющим нижней салазки 1 производится винтом 6 и гайкой 5.
Винт 6 приводится во вращение от руки рукояткой 12.
Сверху салазка 2 имеет углубление, куда входит выступ поворотной части верхнего суппорта; для закрепления поворотной части имеются 2 болта, головки которых входят в Т-образный паз салазки 2.
Верхнюю салазку 4 суппорта можно перемещать по направляющим вручную рукояткой 7, которая вращает винт 8. Направляющие станины, салазок и клиньев от продолжительной работы изнашиваются настолько, что между ними может появиться зазор.
Фартук токарно-винторезного станка ТВ-4

Чертеж фартука токарно-винторезного станка ТВ-4
С помощью фартука (рис. 7) можно производить механическую продольную подачу суппорта от ходового валика и от ходового винта, а также ручную продольную подачу.
Ручная подача осуществляется вращением маховика 1, насаженного на вал-шестерню 4, входящего в зацепление с шестерней 3, сидящей на валике реечной шестерни 2.
Реечная шестерня входит в зацепление с зубчатой рейкой, жестко прикрепленной к станине. Механическая подача от ходового валика 10 осуществляется червяком 5, связанным с валиком скользящей шпонкой. Червяк приводит во вращение червячную шестерню 11 и далее через кулачковую муфту и шестерни 13, 3 вращение передается на реечную шестерню. Для включения механической подачи надо рукоятку 6 повернуть на себя, при этом включается кулачковая муфта.
Задняя бабка токарно-винторезного станка ТВ-4

Чертеж задней бабки токарно-винторезного станка ТВ-4
Задняя бабка служит для поддержания второго конца обрабатываемой детали. Корпус 1 расположен на основании 2, перемещающемся по направляющим станины станка.
В корпусе продольно переметается пиноль 3.
Пиноль имеет коническое отверстие (конус Морзе 2), в которое вставляется упорный центр или другой инструмент; сверла, развертки, патрон сверлильный и т. д. Перемещение пиноли производится маховичком 4, вращающим винт 5.
Схема электрическая токарно-винторезного станка ТВ-4

Электрическая схема токарно-винторезного станка ТВ4
Электрооборудование токарно-винторезного станка ТВ-4
К электрооборудованию станка относятся: трехфазный короткозамкнутый асинхронный электродвигатель мощностью 1,0 кВт; магнитный пускатель с кнопочной станцией и электрощит, на котором смонтированы переключатели местного освещения и общего включения станка; трансформатор местного освещения и плавкие вставки.
Щиток электрооборудования и магнитный пускатель установлены в правой тумбе станка, электродвигатель и кнопочная станция — в левой тумбе.
Токарно-винторезный станок ТВ-4. Видеоролик
Обзор токарного станка ТВ-4
На что обратить внимание при покупке токарного станка ТВ-4
Токарно-винторезный станок ТВ-4
Основные технические характеристики станка ТВ-4
| Наименование параметра | ТВ-4 | ТВ-6 | ТВ-7 |
|---|---|---|---|
| Основные параметры станка | |||
| Класс точности | Н | Н | Н |
| Наибольший диаметр заготовки над станиной, мм | 200 | 200 | 220 |
| Наибольший диаметр заготовки над суппортом, мм | 125 | 80 | 100 |
| Высота центров над плоскими направляющими станины, мм | 108 | 108 | 120 |
| Наибольшая длина заготовки в центрах (РМЦ), мм | 350 | 350 | 330 |
| Наибольшая длина заготовки в патроне, мм | 310 | ||
| Наибольшая длина обтачивания, мм | 300 | 300 | 300 |
| Наибольшая высота держателя резца, мм | 10 х 12 | 12 х 12 | 16 х 16 |
| Высота от опорной поверхности резца до линии центров, мм | 12 | 12 | |
| Наибольшее расстояние от оси центров до кромки резцедержателя, мм | 78 | 78 | |
| Шпиндель | |||
| Резьбовой конец шпинделя, мм | М36 х 4 | М36 х 4 | М45 х 4 |
| Диаметр стандартного патрона, мм | 100 | 100 | 125 |
| Диаметр сквозного отверстия в шпинделе, мм | 16 | 18 | |
| Наибольший диаметр прутка, мм | 15 | 12 | |
| Конус Морзе шпинделя | №2 | №3 | №3 |
| Число ступеней частот прямого вращения шпинделя | 6 | 6 | 8 |
| Частота прямого вращения шпинделя, об/мин | 120, 160, 230, 375, 500, 710 | 130, 170, 235, 385, 510, 700 | 60..1000 |
| Число ступеней частот обратного вращения шпинделя | 6 | 6 | 8 |
| Частота обратного вращения шпинделя, об/мин | 120, 160, 230, 375, 500, 710 | 130, 170, 235, 385, 510, 700 | 60..1000 |
| Торможение шпинделя | нет | нет | нет |
| Блокировка рукояток | нет | нет | нет |
| Суппорт. Подачи | |||
| Наибольшее продольное перемещение суппорта, мм | 300 | 300 | 260 |
| Перемещение суппорта продольное на одно деление лимба, мм | 0,5 | 0,25 | 0,25 |
| Наибольшее поперечное перемещение суппорта, мм | 100 | 100 | |
| Перемещение суппорта поперечное на одно деление лимба, мм | 0,025 | 0,025 | 0,025 |
| Наибольшее перемещение резцовых салазок, мм | 50 | 85 | 85 |
| Перемещение резцовых салазок на одно деление лимба, мм | 0,025 | 0,025 | 0,025 |
| Угол поворота резцовых салазок, град | ±45° | ±45° | ±40° |
| Число ступеней продольных подач суппорта | 3 | 3 | 8 |
| Пределы продольных рабочих подач суппорта, мм/об | 0,08; 0,1; 0,12 | 0,08; 0,1; 0,12 | 0,1; 0,12; 0,15; 0,16; 0,18; 0,20; 0,24; 0,32 |
| Пределы рабочих поперечных подач суппорта, мм/об | нет | нет | нет |
| Количество нарезаемых резьб метрических | 3 | 3 | 6 |
| Пределы шагов нарезаемых резьб метрических, мм | 0,8; 1,0; 1,25 | 0,8; 1,0; 1,25 | 0,8; 1,0; 1,25; 1,5; 2,0; 2,5 |
| Пределы шагов нарезаемых резьб дюймовых | нет | нет | нет |
| Пределы шагов нарезаемых резьб модульных | нет | нет | нет |
| Пределы шагов нарезаемых резьб питчевых | нет | нет | нет |
| Задняя бабка | |||
| Конус Морзе задней бабки | №2 | №2 | №2 |
| Наибольшее перемещение пиноли, мм | 65 | 65 | 65 |
| Электрооборудование | |||
| Электродвигатель главного привода, кВт | 1,0 | 1,1 | 1,1 |
| Габариты и масса станка | |||
| Габариты станка (длина ширина высота), мм | 1440 х 470 х 1020 | 1100 х 470 х 110 | 1050 х 535 х 1200 |
| Масса станка, кг | 280 | 300 | 400 |
Связанные ссылки. Дополнительная информация
Каталог справочник токарно-винторезных станков
Паспорта и схемы к токарно-винторезным станкам и оборудованию
Справочник деревообрабатывающих станков
Справочник КПО
Купить каталог, справочник, базу данных: Прайс-лист информационных изданий
тв-4 Паспорт токарно-винторезного станка, Скачать
stanki-katalog.ru
