Трансформатор для светодиодной ленты своими руками – Блок питания для светодиодной ленты своими руками
Трансформатор для светодиодной ленты 12 вольт: расчет, выбор
Новые линейные источники света, светодиодные ленты, используют в качестве светоизлучающих приборов сверхъяркие светодиоды (LED). Рабочее напряжение светодиодов составляет несколько вольт. Поэтому для питания применяют трансформатор для светодиодной ленты 12 вольт.
Часто у неискушенного человека возникают вопросы, какой трансформатор нужен для питания LED? Как рассчитать мощность трансформатора? Можно ли изготовить трансформатор своими руками? Как подобрать трансформатор из имеющихся в наличии? Можно ли обойтись без трансформатора? В этом материале читатель найдет ответы на эти и другие вопросы.

Назначение
Выпускаемые промышленностью светодиодные ленты питаются постоянным напряжением 12 или 24 вольт. Чаще применяют ленты, рассчитанные на 12 В. Поэтому питать светодиодные ленты непосредственно от осветительной сети 220 В нельзя. Для их питания необходим понижающий трансформатор. Точнее – блок питания на 12 В. Так как светодиоды работают на постоянном токе, блок питания помимо понижающего трансформатора должен содержать выпрямитель и сглаживающий фильтр.
Выпрямитель, подключаемый к вторичной обмотке трансформатора, служит для преобразования переменного тока в постоянный. В качестве выпрямителя могут использоваться диоды, собранные по мостовой или полумостовой схеме. Рабочий ток диодов должен превышать суммарный рабочий ток светодиодных лент, подключаемых к блоку питания.
На выходе выпрямителя получается пульсирующее напряжение. Частота пульсаций равна удвоенной частоте питающей сети. Для устранения пульсаций применяются сглаживающие фильтры. На практике для сглаживания пульсаций применяются электролитические конденсаторы с рабочим напряжением, превышающим выходное напряжение трансформатора. Величина емкости конденсаторов зависит от мощности блока питания.
Пульсации напряжения питания напрямую влияют на коэффициент пульсаций светового потока. Чем ниже коэффициент пульсаций света, тем комфортнее чувствует себя человек, находясь в помещении с искусственным освещением. Если емкость конденсаторов сглаживающего фильтра выбрана правильно, то коэффициент пульсаций светового потока не будет превышать нескольких процентов, что считается хорошим показателем.
Имея небольшие навыки в электротехнике из трансформатора, диодов и конденсаторов можно самостоятельно, своими руками изготовить блок питания для LED.
Виды
Для питания светодиодных лент применяют два типа блоков питания содержащих:
- обычный понижающий трансформатор;
- импульсный преобразователь напряжения (электронный трансформатор).
В качестве понижающего трансформатора, в зависимости от типа LED ленты, подойдет любой трансформатор 12В или 24В соответствующей мощности с выпрямителем и сглаживающими конденсаторами. Это может быть трансформатор, намотанный на Ш-образном или тороидальном сердечнике.
Хорошо подходят, имеющиеся в широкой продаже, тороидальные трансформаторы, предназначенные для питания низковольтных ламп для точечных светильников. Они имеют компактные размеры и мощность достаточную для подключения светодиодной ленты.

Блоки питания для светодиодных лент, выпускаемые промышленностью, обычно выполняются в виде импульсных преобразователей напряжения (инверторов). В них сетевое напряжение последовательно выпрямляется, преобразуется в высокочастотное напряжение (до 40 кГц), трансформируется импульсным трансформатором, выпрямляется и сглаживается. На таком же принципе основана работа блоков питания компьютеров, телевизоров и многих других электронных устройств.
Благодаря сравнительно большой частоте преобразования, импульсные блоки питания значительно выигрывают по массогабаритным показателям у трансформаторных БП. По той же причине они не гудят, у них низкий коэффициент пульсаций. Большим достоинством импульсных блоков питания является то, что они выдают стабильное напряжение в широком диапазоне входного сетевого напряжении.

Расчет
Независимо от того, какой тип трансформатора предполагается применить для питания светодиодной ленты, сначала нужно определить мощность подключаемой нагрузки. Для этого необходимо знать, какую мощность потребляет один погонный метр ленты и сколько метров будет потрачено для организации освещения. Такую информацию можно получить из технической документации на данный тип LED или узнать ее у продавца.
К сожалению, часто заявленные технические характеристики не соответствуют реальным. В случае если возникли сомнения, лучше произвести несложные измерения, чтобы узнать реальные цифры. Для этого светодиодную ленту необходимо подключить к подходящему источнику напряжения и измерить потребляемый ток. Таким источником может послужить лабораторный блок питания, зарядное устройство для автомобильных аккумуляторов или сам аккумулятор на 12 или на 24 вольт.
Измерения тока проводят, включив в разрыв цепи амперметр постоянного тока или используя токоизмерительные клещи постоянного тока. Вычислить мощность, потребляемую подключенной лентой можно по формуле:
P=U*I
Где P – потребляемая мощность; U – напряжение; I – потребляемый ток.
Разделив полученное значение на длину подключенной ленты, получим мощность одного погонного метра светодиодной ленты. Зная «метраж» ленты, которую предполагается установить, легко вычислить потребляемую мощность. Мощность блока питания лучше выбрать с запасом в несколько десятков процентов. Это позволит избежать излишнего нагрева, повысит надежность системы освещения.
Выбор
Как выбрать мощность трансформатора мы уже обсудили. Однако в некоторых случаях целесообразнее применить несколько трансформаторов небольшой мощности вместо одного мощного аппарата. Это может быть сделано, например, по соображениям расположения отдельных участков светодиодной ленты. Или, исходя из габаритов, когда встает вопрос, куда спрятать трансформатор большой мощности.
Мы уже останавливались на достоинствах «электронных» трансформаторов. Однако применяемые в них электронные компоненты более требовательны к эффективному охлаждению. Часто для охлаждения электроники таких БП, внутрь корпуса устанавливают вентиляторы.
К выбору блоков питания следует подходить с некоторой осторожностью, так как со временем вентиляторы иногда начинают довольно громко шуметь и для устранения шума приходится предпринимать меры. Лучше остановить свой выбор на преобразователях, в которых корпус служит радиатором для отвода тепла. Такие корпуса имеют развитую ребристую поверхность.

Выбирая трансформатор необходимо учесть место его установки. Если освещение предполагается устанавливать на улице или в сырых помещениях, необходимо выбирать аппарат с соответствующим классом защиты.
Дополнительно про выбор трансформатора можете посмотреть интересное видео. Автор дает полезные замечания, которые обязательно пригодятся при выборе трансформатора.
Подключение светодиодной ленты к трансформатору
Подключение светодиодной ленты к блоку питания не представляет особой сложности. При подключении главное не перепутать полярность и подключить плюс к плюсу, а минус к минусу. На светодиодной ленте и на блоках питания полюса обычно промаркированы. Часто для подключения LED ленты к заводским БП используются специальные разъемы. Они имеют специальные выступы – «ключи» и, поэтому, ошибиться с подключением невозможно.
Для подключения блоков питания к сети необходимо использовать кабель в двойной изоляции. Сечение жил кабеля должно быть не меньше 1.5 мм2. Для подключения низкого напряжения, в зависимости от мощности нагрузки, подойдет провод или кабель с сечением жил от 0.75 мм2 или больше. Такое небольшое сечение объясняется тем, что светодиоды потребляют в 8 – 10 раз меньше электроэнергии, чем лампы накаливания. Подключение кабелей к трансформаторам должно осуществляться с помощью штатных разъемов или с помощью винтовых или пружинных зажимов.
Подключение «трехцветных» (RGB) светодиодных лент имеет некоторые особенности. RGB ленты обычно работают со специальными контролерами. Поэтому при подключении трехцветных светодиодных лент к блоку питания подключается не сама лента, а контроллер, который в свою очередь питает светодиоды. Также существует ограничение на длину ленты подключаемой к контроллеру. Поэтому для наращивания цепочки светодиодных лент используются специальные усилители. Эти усилители также должны получать энергию от блока питания.

Еще следует сказать несколько слов об электромагнитной совместимости. Импульсные блоки питания для светодиодных лент могут быть причиной помех. Поэтому стоит подумать о применении сетевых фильтров. Для эффективного подавления помех они должны располагаться в непосредственной близости от БП.
Как самому сделать трансформатор
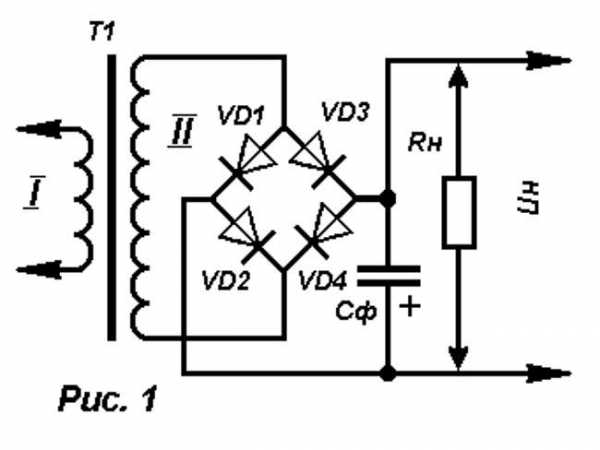
Простейший трансформатор для светодиодной ленты можно изготовить самостоятельно. Сначала необходимо рассчитать мощность и потребляемый светодиодной лентой ток. Исходя из потребляемой мощности, выбрать понижающий трансформатор на 12 В. Также понадобятся четыре выпрямительных диода или диодный мост в интегральном исполнении. Максимально допустимый ток диодов должен превышать ток, потребляемый светодиодной лентой. Для сглаживания пульсаций выпрямленного напряжения потребуются электролитические конденсаторы. Рабочее напряжение конденсаторов 12-тивольтового БП должно быть не ниже 25В. Суммарную емкость можно подсчитать исходя из 3000 микрофарад на один ампер нагрузки. Все детали нужно спаять по приведенной ниже схеме.

Получившуюся конструкцию нужно поместить в подходящий для нее корпус.
Учитывая все вышеизложенное, можно сказать, что применение качественного трансформатора является необходимым условием длительной и надежной работы светодиодной ленты. При этом он должен иметь запас по мощности, обеспечивать низкий коэффициент пульсаций, не бояться бросков сетевого напряжения и иметь класс защиты соответствующий условиям эксплуатации.
ledno.ru
виды изделий для Led-систем, основные характеристики и размеры
В повседневной жизни современных людей все чаще появляются различные световые источники на основе диодов. Они могут отличаться по мощности и цвету. С их помощью нередко украшают помещения, витрины магазинов, елки на Новый Год и т. д. В силу этого многих интересует вопрос, как правильно подобрать электронный трансформатор для светодиодной ленты на 12 вольт и провести расчет требуемой мощности элемента питания.
Характеристики изделий
Led ленты представляют собой длинные эластичные платы, на которых расположены контакты и диоды. Между ними имеется определенная дистанция. Чтобы ограничить силу тока, протекающего по системе, в конструкцию впаяны специальные резисторы.
Дизайнеры часто используют светодиоды для декора интерьера, зрительного расширения пространства комнаты, сокрытия световых источников при обустройстве разнообразных потолочных конструкций.
Существует несколько видов светодиодных конструкций. Некоторые из них:
- Клеящиеся. Для фиксации изделия необходимо удалить с липкого слоя защитную пленку и изгибая ленту под нужным углом приложить ее к ровной поверхности.
- Бесклеевые. Для крепежа используются специальные скобки из пластмассы.
- Влагозащищенные востребованы при установке подсветки в помещениях, где имеются повышенные показатели влажности.
- Герметичные нужны для осветительной системы в местах высокой влажности, а также в бассейнах.
- Открытые. Используются для монтажа освещения под потолочной конструкцией или на стенах.
- Многоцветные системы изменяют цветовые характеристики под действием специального элемента — контроллера.
- Одноцветные (белые). Уровень их яркости можно отрегулировать специальным диммером.
В лед системах может быть разнообразное количество элементов подсветки различного типа. Самые востребованные устройства с маркировкой 3528 или 5050. Цифровые значения указывают на размер диодов: 3,5 на 2,8 мм или 5 на 5 мм. Первые оборудованы специальным корпусом из пластмассы с одним кристаллом. Последние также оснащены пластиковой конструкцией, в которой расположены три кристалла, поэтому они освещают гораздо ярче.
Кроме этого, сегодня выпускаются двухрядные системы со множеством диодов. В магазинах можно приобрести новинки, которые оснащены чипами SMD 2850. С их помощью световые характеристики значительно улучшаются.
Ввиду небольшой стоимости и высокой способности отдавать свет изделия становятся популярными с каждым днем. Такие ленты функционируют в безопасном режиме со сниженными показателями тока. Этот фактор способствует увеличению эксплуатационного срока без утраты степени яркости. Они могут проработать 50 тысяч часов. Именно такие показатели заявлены производителем.
Достоинства конструкций
Для светодиодных систем характерно минимальное потребление электричества. Сейчас имеется множество типов с различными мощностными показателями от 4,8 до 14,4 Вт/мин и выше. Диоды выдают достаточно яркий свет, поэтому ими можно пользоваться не только для вспомогательной подсветки, но и в качестве основного источника света. Зачастую для этого применяют наиболее яркие ленты LED-ТED.

Светодиодная подсветка обладает рядом неоспоримых преимуществ по сравнению с другими системами освещения. Некоторые из них:
- Длительный срок службы не менее 10 лет.
- Освещение распределяется равномерно по площади всей комнаты.
- Высокие показатели пожарной безопасности.
- Свет остается ярким на протяжении всего эксплуатационного периода.
- Экологически безопасные материалы в составе.
- Минимальное потребление электричества.
- Возможность фиксации ленты под различными углами.
- Разнообразная цветовая палитра.
- В составе светодиодов отсутствует ртуть.
- Устойчивость к радиопомехам.
- В комнату выделяется минимум тепловой энергии.
Правила выбора
Питающий трансформатор для диодной ленты нужен для обеспечения работоспособности системы. Сети с номинальным значением 220 В нельзя использовать для таких видов подсветки ввиду того, что при подключении системы к сети она сгорит. Поэтому все элементы питания зачастую производят с показателями выходного напряжения в 12 В. Кроме того, бывают изделия с показателями 24 и 36 В.
Любая светодиодная лента может функционировать от батареек или аккумулятора в автомобиле, но ее эксплуатационный срок будет ограничен. Именно поэтому следует подбирать понижающий блок питания, учитывая указанную производителем мощность. На изделиях зачастую расположена информация касательно значений мощности. Показатели могут быть в амперах или ваттах. Трансформатор необходимо выбирать после покупки самой конструкции.
Типы трансформаторов
Блоки питания необходимо выбирать, ориентируясь на показатели некоторых параметров. Среди них такие, как напряжение, мощность и степень влагозащиты.
В зависимости от системы охлаждения, конструкции бывают активными и пассивными. В последних системах корпус изделия имеет питание по типу блока ноутбуков. Вверху устройство закрыто крышкой.
Активный прибор оборудован вентилятором, который значительно уменьшает размеры изделия, а также увеличивает показатели мощности. Минусом является шум во время работы охлаждающей конструкции, который со временем только нарастает. Спустя год-два после покупки потребуется чистка внутренней поверхности адаптера, вентилятор нужно будет заменить или обработать специальным маслом.
Кроме этого, все адаптеры можно классифицировать по функциональным характеристикам. Конструкции бывают:
- Простые — способствуют обеспечению питания системы.
- Имеющие встроенный диммер.
- Оборудованные пультом ДУ для функционирования с помощью радио- или инфракрасного канала.
- Конструкции, называемые многофункциональными. В них имеется как диммер, так и пульт ДУ. Подобные системы способствуют ограничению использования множества трансформаторов в разных местах.
В силу того, что светодиодные конструкции бывают на 12 или 24 В, трансформатор для лед ленты должен давать именно такое выходное напряжение.
Степень влагозащиты изделия напрямую зависит от места установки. Если монтаж будет проводиться в сухом помещении, можно купить обычный агрегат. Для ванной или бассейна следует приобрести систему с защищенным от влаги корпусом.
Виды источников питания
Блоки питания могут быть изготовлены из различных материалов, в зависимости от места использования. Некоторые из них:
- Черный пластик, на котором обозначены технические характеристики. Подобные конструкции являются наиболее востребованным вариантом.
- Герметичный корпус из алюминия. Такие изделия предназначены для влажных помещений. Адаптер не боится конденсата.
- Конструкция с металлическим корпусом имеет небольшие отверстия для циркуляции воздушных потоков. Применяются исключительно в сухих помещениях, монтаж осуществляется в недоступных для людей местах и специальном корпусе, который препятствует попаданию пыли.
Адаптер в непроницаемом корпусе из надежного пластика небольших размеров имеет малый вес и аккуратный внешний вид. Основные недостатки блока: сложный процесс теплообмена, обусловленный строением изделия, ограниченная мощность, а также высокая стоимость.
Устройство в прочной коробке из алюминия имеет гораздо больше преимуществ, однако модель более тяжелая и дорогая. Это прочный и надежный прибор хорошо осуществляет теплообмен. Устойчив к перепадам температур, влаге и воздействию ультрафиолетовых лучей. Зачастую применяется для оборудования наружной фасадной рекламы бутиков и других зданий.
Открытый трансформатор — популярный и доступный агрегат. Нередко применяется для подсветки жилых помещений. Существенными минусами являются: большие размеры, непрезентабельный вид и отсутствие специального защитного корпуса.
Сетевой трансформатор — компактное и простое изделие, для которого не нужна стационарная установка. Мощность прибора не выше 60 Вт. Зачастую используется для питания светодиодных лент, длина которых не более 5 м. Основным достоинством такого адаптера является простота использования и возможность подключения в обычную розетку.
Популярные марки
Сегодня имеется большое разнообразие производителей понижающих адаптеров, которые необходимы для подсоединения светодиодных лент. Одним из самых распространенных брендов является Arlight.

Фирма предлагает трансформаторы, изготовленные в защитном корпусе из металла или пластика. Все адаптеры этой марки оснащены специальной защитой от перегрузок и замыкания. Внутри конструкции залит компаунд, имеющий степень защиты Ip 65 и 67. При работе устройство издает незначительный шум, показатели мощности колеблются от 20 до 3000 Вт.
Негерметичные конструкции в корпусе из металла полностью отвечают требованию цена-мощность. Специалисты не советуют устанавливать подобные системы в жилых помещениях из-за сильного шума. Высокомощные конструкции оснащены встроенным вентилятором для охлаждения.
Din-рейки предназначаются для монтажа в специальных щитах. Ввиду того, что система находится на определенной удаленной дистанции, при эксплуатации следует учитывать показатели падения напряжения. Кроме того, нужно покупать провод нужного сечения. Мощность систем составляет от 50 до 240 Вт. Если требуется подключить конструкцию с небольшой мощностью, подойдет агрегат Electronic Light CS 31350 М. Это небольшая конструкция, особенностью которой является маленький размер и простота использования. Может работать при напряжении 110−240 В.
Монтаж небольшого агрегата Brille DR-75W допустимо проводить в любом месте комнаты. Входное напряжение составляет 110−120/220−240 В, выходное — 12 В.
В пластмассовых устройствах также залит компаунд. Степень защиты Ip65, приемлемая цена, небольшие габариты и высокий класс шумоизоляции. Значение мощности — 5−2000 Вт.
Пластиковые блоки питания с коннектором на выходном проводе применяются для подключения к сети небольших отрезков светодиодных лент. Мощность составляет 4−84 Вт.
Конструкция фирмы Brille DR-15W подходит для питания небольших участков. Выходная номинальная мощность — 15 В, рабочее напряжение — 170−250 В. Корпус Ip67 защищает от пыли и влаги.
Особенности установки
Монтаж трансформатора необходимо проводить по схеме. Последняя обязательно должна быть приложена в комплекте со светодиодными лентами. В конструкции должен быть предусмотрен токоограничивающий резистор.

Перед приобретением необходимо убедиться, что агрегат допустимо использовать для светодиодов. Многие по незнанию выбирают приборы, применяемые для галогеновых ламп. Они, безусловно, могут снижать напряжение до требуемых 12 В, но несовместимость заключается в том, что на выходе они дают переменный ток, а для функционирования светодиодных систем требуется постоянный. Некоторые рекомендации по установке:
- Устройство должно иметь запас мощности примерно 20−30%.
- Если монтаж блок осуществляется в небольшом помещении, адаптер будет перегреваться, что чревато поломками.
- Требуется присутствие системы плавного пуска, что значительно увеличит срок работы LED ленты.
- Обязательно нужно учитывать степень защиты адаптеров.
Для многих людей подключение лед системы — очень трудная процедура. Если выполнить все манипуляции в соответствии с инструкцией и схемой, можно приобрести трансформатор и осуществить подключение самостоятельно без помощи специалистов.
rusenergetics.ru
Трансформатор для светодиодной ленты | Каталог самоделок
Для функционирования светодиодной ленты необходимо применение трансформаторов. Данная потребность объясняется тем, что для работы большинства лент требуется напряжение 12 – 24 вольт. Практически все розетки, которые находятся в обыкновенных жилых помещениях, рассчитаны на 220 вольт. Для создания необходимого уровня напряжения в сети и существуют трансформаторы. Кроме того, для правильного функционирования светодиодная лента должна получать постоянный ток, а электросеть способна предоставить только переменное напряжение.
В настоящее время можно приобрести светодиодную ленту любого цвета для любой цели – установки в квартире, частном доме, бассейне или на открытом воздухе. В связи с таким поистине широким разнообразием ассортимента определиться с выбором блока питания для светодиодной ленты бывает не так-то просто. Приобретение первого попавшегося в поле зрения прибора будет просто бессмысленным, так как трансформатор должен в точности соответствовать всем необходимым характеристикам.

Как выбрать блок питания для светодиодной ленты?
При выборе данного устройства следует исходить из следующих параметров:
- Максимальная величина напряжения.
- Соответствие требуемому уровню мощности.
- Качество защиты от внешних факторов.
Величина напряжения определяется исходя из типа светодиодной ленты. Величина мощности – из таких показателей, как мощность одного метра ленты, ее общая длина. При определении необходимого уровня мощности следует умножить мощность одного метра приобретенной ленты на ее длину и прибавить ориентировочно 20%. При использовании светодиодной ленты в местах с повышенной влажностью воздуха не стоит забывать о такой важной характеристике трансформатора, как его защищенность от влаги.
Установка трансформатора
Самостоятельно подключить блок питания к светодиодной ленте не составляет больших усилий и не требует специальных знаний и навыков.
В зависимости от разновидности трансформатора, он может иметь или не иметь выведенные наружу шнуры, а также зажимы. В том случае, если блок питания снабжен шнурами, то при его установке достаточно внимательно посмотреть на цвет и маркировку. Черный провод соответствует отрицательному заряду, а красный подключается к положительному. В некоторых случаях данное правило может не выполняться, поэтому перед началом установки необходимо ознакомиться с инструкцией.

Для присоединения проводов можно воспользоваться коннектором или же просто припаять их.
volt-index.ru
Выбираем трансформатор для светодиодных лент 12 вольт
Трансформатор для светодиодных лент, обеспечивающий на выходе 12 вольт, используется с целью создания приемлемых условий эксплуатации названных осветительных приборов.
От его качества, а также выходных параметров зависит эффективность работы излучателей и надежность системы освещения в целом. Достаточную мощность этого узла легко рассчитать самостоятельно. Устанавливается питающий элемент довольно просто.
Определение мощности трансформатора
В зависимости от типа диодов, предусмотренных в ленте, входное напряжение питания может быть разным: 12В, 24В, 36В. Чем больше значение этого параметра, тем дороже осветительный прибор и потребуется более мощный блок питания, который тоже предлагается по высокой цене. Чтобы не ошибиться и подобрать нужную модель, необходимо предварительно рассчитать мощность трансформатора.
Для этого достаточно лишь определиться с тем, какой вариант ленты нужен. Следует также рассчитать достаточный уровень освещенности на участке, где будет устанавливаться подсветка. Производитель обычно указывает в характеристиках изделия мощность 1 м LED-ленты. Умножив значение данного параметра на общую протяженность диодной полосы, можно получить уровень создаваемой нагрузки на трансформатор.
Например, если мощность 1 м ленты равна 7,2 Вт, а ее общая длина – 10 м. Умножив эти значения, получится 72 Вт – расчетная нагрузка подключаемого осветительного прибора. Но чтобы выбрать блок питания на 12 вольт, к полученной величине рекомендуется прибавить небольшой запас по мощности.
Экономить не следует, а значит, можно взять запас, равный 30%. Соответственно, итоговое значение мощности трансформатора для LED-ленты составляет 93,4 Вт.
Классификация и принцип действия
Блок питания существует в двух исполнениях:
- на основе трансформатора;
- импульсный прибор.
Оба варианта подают на вход осветительного прибора 12 вольт. Трансформаторный блок питания характеризуется довольно крупными габаритами, что порой усложняет задачу по монтажу. Есть и другие минусы у таких моделей: подверженность перегрузкам в сети, а также невысокий КПД. Импульсный аналог, наоборот, компактный, благодаря чему его легко спрятать в любом месте.
Принцип действия подобных устройств заключается в понижении сетевого напряжения до нужного уровня (12В, 24В). Причем в отличие от драйверов (обеспечивают стабильный ток), используемых для питания светодиодов в LED-лампах, блок питания является источником напряжения.
Соответственно, осветительный прибор не ограничивается по току данным устройством. Для этой цели конструкцией диодной ленты предусмотрены токоограничивающие резисторы.

Различные виды трансформаторов
Встречаются разные виды трансформаторов, отличных по конструкции:
- компактный пластиковый корпус;
- алюминиевый герметичный корпус;
- перфорированный корпус.
Каждый из вариантов рассчитан на эксплуатацию в разных условиях. Например, второй вариант может контактировать с водой без изменений характеристик, а блок питания с перфорированным корпусом, наоборот, используется только в сухих помещениях и должен быть хорошо защищен от пыли.
Что следует учесть перед покупкой?
Трансформатор для LED-осветительных элементов подбирается на основании трех основных критериев:
- Входные и выходные характеристики. Блок питания с одной стороны подключается к сети 220 вольт, а с другой стороны к ленте – 12 вольт. Это наиболее популярный вариант, но может потребоваться установка подсветки напряжением 24 или 36 вольт. Соответственно, на выходе блока питания должно быть эквивалентное напряжение. Существуют универсальные устройства, рассчитанные на 12 вольт и 24 вольт в зависимости от характеристик ленты. Их цена будет выше.
- Мощность. Чтобы LED-лента не вышла из строя, и сам трансформатор не сгорел, уровень мощности последнего не должен быть ниже, чем нагрузка осветительного прибора. Это в теории, на практике же следует подбирать блок питания, мощность которого превышает эквивалентный параметр ленты на 25-30%. Определить нужное значение довольно просто и вполне можно сделать расчет самостоятельно (см. выше).
- Защищенность от внешних факторов. На данном этапе необходимо оценить условия эксплуатации ленты 12В: пыль, влага, прямой контакт с водой, установка на улице или работа в сухом помещении. В каждом из случаев нужно выбирать разные конструкции блоков питания. Для помещений с нормальным уровнем влажности подойдут интерьерные модели, незащищенные от контакта с водой. Для ванных, бассейнов следует использовать герметичный алюминиевый вариант.
Выбор производителя
Рынок предлагает множество китайских «безымянных» приборов. Их цена заметно ниже. Но в этом случае сложно спрогнозировать, как долго прослужит такой прибор и подключенная к нему лента 12 вольт.
Наиболее востребованы изделия марки Mean Well (Тайвань). В ассортименте продукции представлены модели для сухих помещений и для уличной эксплуатации. Этот производитель предлагает множество универсальных исполнений блоков питания, рассчитанных на напряжение 12 вольт и 24 вольта.
Если в будущем возникнет желание увеличить освещаемую площадь, можно просто заменить ленту. При этом блок питания останется тот же. Еще один производитель, который пользуется популярностью – Haitalk. Его продукция предлагается по более доступной цене.
Монтаж, схема подключения
В зависимости от того, какой тип диодной ленты используется: монохромная или RGB, будет разниться и схема соединения. Прежде всего, рассматривается установка блока питания для монохромного осветительного прибора.
С двух сторон трансформатора предусмотрены выводы – провода разных цветов. С одной стороны прибор подключается к сети 220 вольт, с другой – к диодной ленте 12 вольт.
Соединения должны быть выполнены в соответствии с полярностью: плюс (красный провод) подключается к плюсу, минус (синий или черный провод) – к минусу. Если при включении прибора в сеть лента не горит, значит, нужно изменить полярность подключения. Обычно диодные полосы продаются отрезками по 5 м.

Устройство блока питания
Если нужно использовать несколько таких отрезков, рекомендуется подключать их параллельно. Совокупная мощность в данном случае будет довольно большой, что повлияет на размеры блока питания. Упрощает задачу использование нескольких маломощных трансформаторов для каждой ленты 12 вольт. Размеры из таких приборов намного меньше, а значит, их легче спрятать
Схема соединения:
Для данного варианта достаточно выбрать провод, соединяющий второй блок питания, небольшим сечением, например, 0,75 мм. А в случае, когда на несколько отрезков лент приходится один трансформатор, необходимо использовать провод сечением 1,5 мм. Если рассматривать исполнение полосы RGB, то для нормальной работы потребуется еще и контроллер.
В схеме он располагается между питающим элементом и лентой. Управление работой осветительного прибора выполняется посредством контроллера, с одной стороны которого отходит 4 провода
Схема подключения:
Как и в случае с монохромным исполнением, такой вариант допускает подключение еще одной диодной полосы. Это возможно лишь при условии, что общая нагрузка подсветки меньше мощности питающего элемента. Но предпочтительным является вариант подключения нескольких блоков питания.
Схема:
Для двух и более ленточных приборов используется один контроллер. В схему при необходимости включается усилитель, способствующий синхронизированному управлению лентами. Этот прибор может питаться от основного блока.
Если нужно, для него устанавливается отдельный питающий элемент. Определение характеристик контролера и усилителя, равно как и трансформатора, выполняется на основании параметров ленточных приборов.
Таким образом, светодиодные осветительные приборы с входным напряжением 12 вольт подключаются к сети 220 вольт исключительно лишь через питающий элемент. Выбирается этот узел на основании трех ключевых критериев: мощность, соответствие условиям эксплуатации, входные и выходные параметры.
Нагрузка 1 м ленты позволяет рассчитать достаточный уровень мощности трансформатора. Но для полноценной и эффективной эксплуатации нужно учитывать еще и запас по мощности (25-30%). Цена блока питания зависит от его характеристик и возможностей.
Оценка статьи:
Загрузка…Поделиться с друзьями:
proosveschenie.ru
Трансформатор для светодиодной ленты — как выбрать и как установить?
Практически все выпускаемые в настоящее время светодиодные ленты предполагают применение напряжения на 12 вольт.Именно по этой причине преобразующий трансформатор для светодиодной ленты является обязательным элементом правильного подключения диодного осветительного прибора.
Трансформатор для светодиодной ленты 12 вольт – выбор
Какой нужен трансформатор для светодиодной ленты и как его подобрать?Традиционно блок питания, используемый для подключения светодиодных лент, называется «трансформатором» для диодной ленты или «электронным трансформатором».
Тем не менее, такое устройство является импульсным преобразователем, и своими функциями очень напоминает стандартный компьютерный блок питания.
В настоящее время выпускаются устройства в герметичном и негерметичном корпусе. Первый вариант обладает максимальным уровнем защиты, поэтому отлично подходят для помещений с высоким уровнем влажности или уличного использования. Негерметичный источник питания, как правило, имеет защитную систему, срабатывающую в условиях короткого замыкания, однако его установка допускается только внутри помещения.
Герметичный блок характеризуется показателями мощности в пределах 20-300 Ватт, и может быть представлен металлическим корпусом с вентилятором.+Однако для короткой светодиодной лампы можно приобретать бюджетные пластиковые модели с минимальным уровнем мощности.
Расчёт мощности трансформатора
Прежде чем приобрести светодиодную ленту и блок питания к этому осветительному прибору, целесообразно выполнить самостоятельный предварительный расчёт общего потребления электрической энергии.
Чтобы определиться с энергопотреблением, необходимо суммировать длину светодиодного ленточного источника света, после чего умножить полученный показатель на номинальный уровень потребление питания погонным метром.
Последнее значение всегда отображается в сопроводительной документации на светодиодную ленту.
Оптимальный запас уровня мощности светодиодных трансформаторов необходим, что обусловлено следующими особенностями устройства:
- на переходной стадии выброса питания, в процессе включения и выключения устройства, наличие предельно допустимых нагрузок часто провоцирует выход из строя не только блока питания, но и подключенной к нему осветительной ленты;
- в условиях предельно допустимой нагрузки часто возникает понижение напряжения на наиболее удалённых от подключенного блока питания участках осветительного прибора, что способно негативно сказываться на показателях локальной световой отдачи.
При расчёте мощности очень важно помнить, что особенностью токоведущих проводников в ленточных светодиодных источниках является высокий показатель внутреннего сопротивления.
Значительные потребляемые мощности на уровне 20-200 Ватт и более, предполагают применение оптимального осветительного прибора с точки зрения светотехнических параметров, при максимально возможном напряжении и полностью соответствующем блоке питания.
Особенности установки
Светодиодные ленты потребляют небольшое количество электроэнергии, поэтому для их запитывания обязательно применяются специальные блоки питания понижающего типа.
На выход в таких трансформаторах выдаётся всего 12 вольт, но в условиях неправильного подключения диоды на ленте перегорают, а их полная замена – слишком дорогое удовольствие.

Подключение светодиодной ленты через трансформатор
В зависимости от типа диодного ленточного осветителя подбирается стандартная схема подсоединения:
- При установке блока питания на монохромный осветительный прибор, нужно найти по двум сторонам трансформатора провода на вывод. Красный «плюсовой» провод подключается к «плюсу», а «минусовой» провод синего или черного окрашивания подсоединяется к «минусу». Одна сторона прибора подключается к электросети на 220 вольт, а другая – к осветительной ленте на 12 вольт.
- При использовании нескольких отрезков монохромной ленты целесообразно использовать параллельное подключение с учётом совокупной мощности. В этом случае можно применять определенное количество маломощных блоков питания, а также провода с сечением в 0,75мм. При запитывании всех отрезков ленты на единственный трансформатор обязательно используется провод с сечением в 1,5мм.
В процессе подключения пары или более RGB-приборов ленточного типа, применяется один контроллер, но желательно включить в схему усилитель, который позволит осуществлять синхронизированное управление осветителем.
При подключении RGB-светодиодной ленты, нормальная работоспособность осветительного прибора осуществляется при помощи контроллера, который нужно расположить на участке от питающего элемента до ленты.
На что обратить внимание при выборе?
В процессе выбора подходящего трансформаторного устройства в качестве источника питания на 12В, крайне важно учитывать три основных параметра, представленных:

- Номинальным выходным напряжением. Такой критерий чаще всего является кратным 12В, поэтому может составлять 12В, 24В, 36В 48В или более. В любом случае показатели должны подходить для номинального напряжения светодиодного осветительного прибора.
- Номинальным током на выходе или уровнем мощности. Этот критерий не может быть меньше, чем суммарная потребляемая мощность всего источника света. Специалисты советуют рассчитывать показатели мощности с некоторым запасом.
- Типом исполнения, включая параметры, представленные уровнем защиты от пыли и влаги, что позволяет применять осветительный прибор в уличных условиях, а также помещениях, имеющих специфический микроклимат.
Герметичные светодиодные трансформаторы со степенью защиты IP-67, могут устанавливаться в ванных комнатах и саунах, а также снаружи дома. Негерметичный блок питания со степенью защиты IP-20 – оптимальный вариант для монтажа исключительно в сухом и только в хорошо проветриваемом помещении.
Качественный блок питания обладает системой, обеспечивающей плавный пуск, что позволяет значительно продлить срок эксплуатации осветительной ленты, а запас мощности не должен быть менее 20%.
Подключение трансформатора к светодиодной ленте
Самостоятельный монтаж светодиодного ленточного осветителя в помещении иногда предполагает подведение выделенной электрической линии, что позволит предотвратить перегрузку и, как следствие, выход диодов из строя в результате скачков напряжения.
Схема подключения ленты светодиодного типа на 12В и устройства на 24В максимально простая, поэтому не имеет существенных различий.

Схема подключения трансформатора
Однако, очень важно предварительно предусмотреть целый ряд некоторых особенностей:
- на первом этапе важно определиться с общей протяженностью осветительной линии, и только после этого приступать к нарезке полос правильной длины;
- нарезка ленты осуществляется в отмеченных производителем участках, что позволит предотвратить разрыв электрической цепи и выход прибора из строя;
- перед подключением диодного осветителя требуется ознакомиться с руководством, данным производителем, а также в обязательном порядке учитывать полярность.
Присоединение блока питания, понижающего сетевое напряжение с 220В до показателей в 12В, осуществляется посредством стандартного двухжильного провода. Внутри светодиодного трансформатора двухжильный провод фиксируется при помощи клемм, а к самой осветительной ленте другой конец провода припаивается на контактной площадке.
Важно помнить, что присоединение блока питания для светодиодного осветителя на 12 вольт обязательно выполняется с учетом полярности, поэтому «плюс» крепится к «плюсу», а «минус» – только к «минусу».
Перед тем, как выполнить установку, рекомендуется самостоятельно перепаять все провода, которые подходят к осветительной ленте, что обусловлено отсутствием должного уровня качества соединений при заводском производстве.
Заключение
Для самостоятельного монтажа диодного ленточного осветителя с трансформатором, необходимо правильно определится с уровнем мощности устройства, а также грамотно подобрать все комплектующие.Как показывает практика, прежде чем осуществить монтаж светодиодной ленты, желательно провести пробный вариант подключения, что позволит своевременно определить работоспособность схемы.
При соблюдении всех рекомендаций, полученная конструкция будет безопасной, удобной в эксплуатации и максимально долговечной.
Каждому человеку не лишним будет знать, как подключить лампу дневного света. В этом нет ничего сложного. Следуйте инструкции и у вас все получится.
Принцип работы лампы дневного света подробно описан в этой статье. А также даны советы по выбору прибора.
Видео на тему
proprovoda.ru
Трансформатор для светодиодной ленты
Использование трансформаторов просто необходимо для работы светодиодной ленты. Почему? Большинство из используемых лент работает при стабильном напряжении в 12-24 вольт. Так как розетки в наших домах рассчитаны на 220, необходимо устройство, которое будет преобразовывать то, что имеем, в то, что нужно. Кроме того, в электросети напряжение переменное, а светодиодным лентам необходимо постоянное, иначе они очень быстро выйдут из строя. Трансформаторы называют так же блоком питания, потому что большинство из них сделаны на основе трансформаторов разной величины и мощности.
Так как на рынке представлено большое разнообразие лент: одно- и многоцветные, используемые для дома, улицы, бассейнов и т.п. то и выбор подходящего трансформатора становится не таким простым. Нельзя взять первый попавшийся — трансформатор для светодиодной ленты должен подходить по параметрам, и соответствовать условиям, в которых он будет работать.

Как выбрать трансформатор для светодиодов?
Выбор будет отталкиваться от следующих параметров:
- Максимальное напряжение
- Соответствие мощности
- Защищенность от внешних воздействий
Напряжение на выходе должно быть 12 или 24 вольт, в зависимости от типа вашей светодиодной ленты.
Мощность так же рассчитывается исходя из параметров ленты: мощности одного метра, общего количества метров, которые будут подключены к трансформатору. Формула проста: мощность одного метра умножаете на количество и прибавляете около 20%. Запас нужен для того, чтобы избежать перегрева или внезапные перегрузки на трансформатор.
Защищенность от внешней среди предполагает в первую очередь защиту от попадания воды. Это необходимо в таких местах как кухня, бассейн, бар, а так же просто на улице.
Чтобы не перепутать параметры, внимательно читайте характеристики на упаковке. Например, « А-240W-12V» значит следующее: мощность – 240 вольт, напряжение – 12 вольт и не защищен от влаги.
Установка трансформатора
Подключить трансформатор к ленте очень просто. В разных блоках питания могут быть выведены шнуры или нет, так же могут быть специальные зажимы, чтобы подключить ленту.
Если шнуры изначально есть, самый простой вариант – смотреть на их цвет и буквы. Черный провод означает отрицательный заряд, красный – положительный (иногда это не так, так что лучше сначала прочитать инструкцию).
Если шнуров нет – купите их отдельно.
Как именно присоединяются провода? Проще и надежнее – припаять их, так же можно присоединить ленту к трансформатору коннектором.
Случается так, что нужно к одному трансформатору подключить не одну, а две или три ленты. В такой ситуации подключать ленты лучше всего параллельно: это не даст напряжению спадать по мере удаленность ленты, и перегреваться самому трансформатору.
Если вы подключаете ленту rbg, вам нужен будет контроллер. Он подключается к трансформатору (так же как одноцветная лента), а потом уже к контроллеру подключается лента.
Перед вами будет четыре провода: зеленый (G), красный (R), синий (B) и один общий. Присоединяются они так же: либо припаиваются, либо через коннекторы.
Если после подключения лента не горит, проверьте полярность и качество соединения контактов.

le-diod.ru
Трансформатор для светодиодных лент 12 вольт
И хотя светодиодная осветительная техника дороже всех остальных, она постепенно вытесняет лампы накаливания и энергосберегающие люминесцентные источники света. И это понятно, LED лампы в разы меньше потребляют электроэнергии. Разнообразие LED конструкций достаточно большое, особой популярностью пользуются светодиодные ленты, особенно, когда есть необходимость подчеркнуть какой-то элемент дизайна помещения. Такая подсветка легко устанавливается на любую поверхность, но вот вопросы ее подключения встречаются сегодня часто. Итак, начнем с того, что этот вид освещения может работать только через блок питания, который собой представляет обычный трансформатор. Самое главное, что трансформатор для светодиодных лент 12 вольт – это компактное устройство, которое можно легко спрятать, так что оно не будет видно.

Виды блоков питания
В принципе, все трансформаторы для светодиодных лент – это стандартные конструкции, которые отличаются друг от друга материалом, из которого изготавливается их корпус. Или полным отсутствием данной части блока питания. Поэтому четыре разновидности:
- Корпус трансформатора изготовлен из пластика. Это герметичный прибор, малогабаритный, с небольшим весом и превосходным дизайном. Правда, герметичность конструкции затрудняет происходить теплообмену, к недостаткам можно добавить дороговизну изделия и низкую мощность. Как правило, такие модели не обладают мощностью больше 100 ватт.
- Блок питания в алюминиевом корпусе. Сразу же надо отметить, что такие приборы используются на профессиональном уровне. С их помощью подключают светодиодные ленты или другие LED источники света, которые используются в уличной рекламе. Трансформатор в алюминиевом корпусе является обладателем большого ряда достоинств. Это и высочайшая прочность изделия, и высокая надежность плюс герметичность. Именно поэтому такой трансформатор для светодиодной ленты прекрасно выдерживает влажностные, температурные и механические нагрузки. Он прекрасно закрывают внутреннюю электрическую начинку от солнечных лучей. К тому же алюминий является металлом, поэтому сам прибор не перегревается. Единственный недостаток – высокая цена.
- Трансформатор открытого типа. На сегодняшний день это самый простой, дешевый и очень популярный вариант. Именно его используют в домашних условиях для организации освещения с помощью светодиодной ленты. Правда, у такого прибора куча недостатков. Во-первых, большие габаритные размеры, превышающие почти в два раза предыдущие две модели. Во-вторых, это трансформатор без корпуса (то есть, металлический корпус есть, но он перфорированный), поэтому его элементы и детали открыты пыли и влаге, что негативно влияет на его корректную работу и срок службы. В-третьих, полностью отсутствует дизайн аппарата, внешний вид у него оставляет желать лучшего.
- И последний трансформатор для светодиодной ленты – компактный сетевой вариант. Это миниатюрное устройство, которое не требует крепления к какой-нибудь конструкции. Его можно просто положить на полку или на подвесной потолок, ничем не скрепляя. Основное достоинство – простота использования и установки. Здесь всего лишь одна операция – подключить трансформатор к светодиодной подсветке и вставить вилку от него в розетку. К недостаткам можно отнести тот факт, что это маломощные блоки питания (не больше 60 ватт). Одного такого трансформатора хватает на пять метров длины подсветки.
Как выбрать трансформатор
Не будем здесь разбирать, какой из описанных трансформаторов лучше. Необходимо рассмотреть другой вопрос, который касается расчета и подбора блока питания под LED конструкцию. Поэтому основной упор необходимо сделать на технические характеристики самой светодиодной ленты, где основные показатели – это напряжение и мощность.
Так как нами разбирается тема, касающаяся трансформаторов для светодиодных лент 12 вольт, то необходимо сказать, что такие источники света могут быть разной мощности. Все будет зависеть от количества установленных на ленте светодиодов и от их мощности. Поэтому оптимальный вариант – брать расчет одного метра ленты, а уже потом умножать полученный показатель на количество метров в светодиодной конструкции.

Давайте рассмотрим один пример. Вот его исходные значения.
- Будем рассматривать подключение светодиодной ленты SMD 3528, в которой расположено 60 диодов на одном метре.
- Напряжение прибора 12В.
- Мощность – 4,8 Вт/м.
- Длина ленты стандартная – пять метров. Соответственно мощность всей ленты будет – 24 ватта.
Итак, наша задача подобрать трансформатор для ленты светодиодной длиною 5 м и мощностью 24 Вт. Наверное, сразу можно услышать ответ, мол, что тут думать, если мощность светодиодной ленты 24 ватт, то и мощность блока питания будет такой же. Давайте не будем спешить, ведь существует определенное правило, которое запрещает устанавливать блок питания одинаковой мощности с источником света. Будет происходить банальное перегревание прибора, что приведет его к быстрой порче. Особенно, если трансформатор не будет хорошо охлаждаться, к примеру, будет недостаточного воздухообмена.
Естественно, если мощность блока питания будет меньше, то лента просто не загорится. Поэтому специалисты рекомендуют приобретать трансформаторы с большей мощностью, примерно на треть. Поэтому в нашем случае придется покупать прибор мощностью 30 ватт.

А если возникнет вот такая ситуация. К примеру, вам не требуется лента такой длины, но такой марки. Что делать в этом случае? Все очень даже просто. Для примера возьмем необходимую длину, равную 2 м. Теперь надо сделать несколько математических выкладок:
2х4,8=9,6 Вт – это мощность двухметровой ленты.
9,6х30%=12,5 Вт – это мощность требуемого трансформатора. Правда, таких приборов не существует, поэтому выбираем ближайший больший – это будет 15 ватт.
Подводя итог всему, что было сказано выше, необходимо учитывать тот факт, что блоки питания выбираются по техническим характеристикам осветительных конструкций. А вот будет он с корпусом из алюминия или пластика, или вообще без такового – дело второе. Хотя открытые модели устанавливать на улице не стоит, не выдержат атмосферных нагрузок.
onlineelektrik.ru
