Виброплита своими руками с бензиновым двигателем – с электродвигателем, бензиновая, самодельная, чертежи, как сделать самому
Виброплита своими руками
Виброплита – универсальный трамбующий инструмент, посредством которого удается уплотнять поверхности из гравия в смеси с грунтом, песка или асфальта. Он незаменим, когда нужно подготовить площадку для тротуарной плитки или основание под фундамент, например. Несмотря на функциональность и кажущуюся сложность этого устройства, выяснилось, что виброплита своими руками – это вполне реально.
Принцип работы
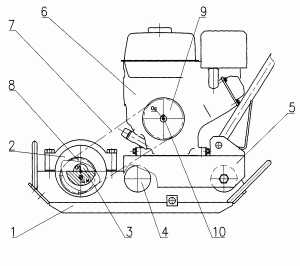
Чтобы понять, как работает виброплита, сначала потребуется рассмотреть ее схему и устройство. Конструкция агрегата с вибровалом состоит из следующих узлов:
- Рама.
- Двигатель (мотор).
- Стальная плита определенного размера.
- Вибратор.
Самая важная деталь конструкции – металлическая плита, находящаяся в основании агрегата. Над ней по центру располагается вибрационный механизм, а поверху крепится двигатель. Вращающий момент от мотора передается на вибратор посредством муфты и ременной передачи. При этом вращательное движение вала с помощью эксцентрика трансформируется в колебания.

Схема виброплиты
Затем колебательные импульсы поступают на саму плиту, которая за счет этого уплотняет поверхности. В качестве приводного механизма вибромашины для уплотнения грунта используются либо электродвигатели, либо бензиновые моторы. Типовые модели отличаются такими важными показателями, как номинальная мощность двигателя, развиваемое им вибрационное усилие, а также масса агрегата.
Виброплита с электрическим двигателем своими руками
Чтобы собрать виброплиту с электродвигателем своими руками, необходимо подготовить следующие запчасти и детали:
- Любой подходящий электродвигатель, рассчитанный на 220 Вольт.
- Фирменный вибратор.
- Кусок листового металла и два швеллера.
- Тонкая труба примерно полтора метра в длину.
- Пластиковые колеса (достаточно двух штук).
- Болты размерами на М10 и на М12, а также эластичные подкладки, вырезанные из резинового коврика.
Рабочая площадка плиты изготавливается на основе куска листового металла, размер которого – 45 на 80 мм, а толщина – 8 мм. Болты на М12 необходимы для фиксации на раме электромотора. Когда все детали готовы – можно приступит к сборке. Последовательность операций, выполняемых согласно подготовленному ранее чертежу, выглядит так:
- Сначала на листовой заготовке примерно в 100 мм от каждого края посредством болгарки делаются два надреза глубиной около 5 мм.
- Затем, воспользовавшись молотком, нужно выгнуть края металлического листа по линии надреза ориентировочно на 25 градусов.
- Впоследствии эти места завариваются, что позволяет упрочить положение торцов импровизированной плиты.
- После этого берется фирменный площадочный вибратор и фиксируется на двух швеллерах болтами подходящего размера (они подгоняются так, чтобы не выступать за срез поверхности).
- Получившаяся сборная конструкция приваривается затем к плите.
На заключительном этапе поверх вибратора монтируется электродвигатель, который фиксируется на раме с помощью болтов. На ней же крепятся ручки агрегата, изготовленные из заготовки трубы (при монтаже их необходимо проложить эластичными прокладками).

При помощи виброплиты утрамбовываются различные поверхности
Самодельная бензиновая вибротрамбовка
Виброплита с бензиновым двигателем отличается от уже рассмотренной электрической модели только одним узлом – двигателем. Вместо электрического привода в данном случае выбирается мощный бензиновый мотор, позволяющий управлять эксцентриком вибратора.
В качестве двигателя для самодельного агрегата специалисты советуют взять одноцилиндровый мотор производства фирмы Хонда.
Рама устройства с вибратором и плитой собирается таким же образом, как это было описано для электрической вибротрамбовки. После того как она готова, на ней останется закрепить бензиновый мотор.
Некоторым умельцам удается собрать бензиновый агрегат из мотоблока, убрав с него все лишнее и смонтировав на раме нужные заготовки для виброплиты. Такая переделка упрощает все рабочие операции и заметно сокращает время сборки. Другой вариант самодельной виброплиты предполагает ее изготовление из перфоратора, устройство которого очень удобно для заявленных целей. Для его переделки потребуется еще меньше усилий.
Заключение
Перед тем как сделать вибрирующую плиту самостоятельно, сначала важно внимательно изучить ее конструкцию. И лишь после этого можно переходить к подготовке необходимых деталей и узлов. Основное внимание при сборке самодельного агрегата уделяется правильному выбору мотора, приводящего в движение исполнительный механизм. Если следовать приведенной выше инструкции, можно надеяться на получение работоспособного устройства. Со всеми деталями процесса сборки проще всего ознакомиться при просмотре видео роликов, в большом количестве приводимых в Интернете.
Если вы нашли ошибку, пожалуйста, выделите фрагмент текста и нажмите Ctrl+Enter.
Вконтакте
Google+
traktoramira.ru
Виброплита электрическая, бензиновая своими руками
Виброплита своими руками значительно снижает бюджет строительства, обеспечивает необходимую прочность песчаной подушки под фундаментом здания, наружными коммуникациями. Для ее изготовления используется электрический либо бензиновый привод, в зависимости от индивидуальных условий в пятне застройки (наличие энергоснабжения, рельеф, объем работ, тип фундамента).
Конструкция виброплиты
Основным назначением вибрационного инструмента является механизация ручного труда, увеличение качества уплотнения нерудных материалов (смесь ПГС, песок, щебень). Поэтому, оборудование должно иметь солидную массу при небольших габаритах, обычно ограниченных шириной траншеи для ленточного фундамента. Самодельная виброплита своими руками состоит из узлов:
- рама – является силовым каркасом конструкции;
- плита – чугунная, стальная заготовка, крепящаяся к раме в нижней части;
- привод – электромотор, бензиновый двигатель;
- вибратор – любой механизм с эксцентриком для обеспечения колебательных движений.
Виброплита своими руками с электродвигателем является энергозависимым агрегатом, требует дополнительного оборудования (удлинитель), не может использоваться в непогоду. Бензиновый привод шумный, однако, обеспечивает мобильность виброинструмента в пределах объекта.
Для удобства эксплуатации, обеспечения максимального ресурса, необходимой ремонтопригодности редуктор обычно крепится к рабочему органу (плите), двигатель крепится к раме на собственной площадке (пластина либо конструкция из металлопроката, сваренная на раме). Вращение передается с бензинового двигателя на вал вибратора клиновым ремнем, преобразуется в колебательные движения плиты.
Помимо типа привода виброплиты классифицируются по массе:
- Тяжелые – от 145 кг, за один заход уплотняют 60 см слои, но, не годятся для асфальтных работ.
- Средние – 140 – 90 кг, используются в дорожном строительстве, прокладке инженерных систем.
- Универсальные – 90 – 75 кг, пригодны для большинства земляных работ, укладки асфальта, изготовления бетонных конструкций.
- Легкие – вес в пределах 70 кг, уплотнение за один проход 15 – 5 см слоя.
Масса плиты подбирается в зависимости от мощности привода, специалисты рекомендуют соотношение 50 кг/2,5 л. с.
[tip]Слабыми толчками (низкое усилие вибрации в основании инструмента) невозможно уплотнить твердый грунт. У стальных плит при одинаковом размере с чугунными давление на единицу поверхности ниже. При правильной балансировке инструмент самостоятельно продвигается вперед, даже на уклонах, по вязким материалам.[/tip]
Электрические модификации гораздо дешевле, даже с покупкой удлинителя, поэтому, перед тем, как сделать виброплиту своими руками, следует рассмотреть этот вариант.
Самые качественные чертежи виброплиты своими рукамипредусматривают наличие дополнительных опций:
- реверс – актуально в ограниченных пространствах;
- элементы защиты – кожухи обеспечивают безопасность оператора от случайного наматывания на подвижные детали элементов одежды;
- орошение – удобно при движении по твердым шероховатым поверхностям.
Описание и обзор экскаватора-погрузчика Нью Холланд.
Узнайте больше о сфере применения мини экскаватора JCB 8018 здесь.
Изготовление виброплиты с бензиновым приводом
Простейшей конструкцией этого инструмента является модель без редуктора. Виброплита бензиновая своими руками собирается поэтапно:
- Изготовление плиты – по краям толстостенного листа нужного размера делаются надрезы УШМ («болгаркой») на половину толщины для загиба краев под 60 – 45° (в противном случае плита зароется в уплотняемый материал), после загиба швы обвариваются для восстановления начальной прочности заготовки.
- Сооружение рамы двигателя – вторая плита с отверстиями для фиксации двигателя (специалисты рекомендуют одноцилиндровый трехтактный Honda).
- Сборка – в передней части плиты устанавливается вал с эксцентриком, вращающийся в двух подшипниках, в задней плита, на которой закреплен двигатель, к верхней площадке присоединяются рукоятки.
Виброплита своими руками на фото относится к универсальной категории, как и большинство бензиновых моделей. Солидная масса обусловлена весом двигателя, для снижения вибраций на рукоятки, мышечный каркас оператора под креплением площадки мотора установлены резиновые бобышки.
Кун для минитрактора своими руками, правила работы и описание.
Поэтапное изготовленимя погрузчика на минитрактор на этой странице.
Обзор минитрактора JCB 160 вы найдете перейдя по этой ссылке.
Электропривод для виброплиты
Электромоторы имеют меньший вес, поэтому, для рабочего органа инструмента требуется заготовка большей массы. Виброплита электрическая своими руками гораздо проще бензинового аналога. Для изготовления достаточно выполнить последовательность действий:
- изготовление плиты – аналогично предыдущему варианту;
- установка двигателя – промышленность выпускает площадочные вибраторы, которые проще выбрать по характеристикам, чем самостоятельно мастерить эксцентрик;
- крепление рукояток – через резиновые бобышки-амортизаторы.
В данных конструкциях вибродвигатель чаще крепится на швеллер, приваренный к самой плите.Вибрация полностью передается на рукоятки. Поэтому, используется двойная схема виброгашения:
- трубчатая рукоятка крепится через амортизатор к уголку;
- который, в свою очередь, фиксируется через такой же амортизатор к плите.
Виброплита своими руками на видео собрана из металлопроката, обеспечивает удобную работу за счет установки резиновых прокладок. Практика показывает, что, оптимальной схемой является крепление рукояток к переднему загибу плиты. Такая конструкция требует меньших усилий при перемещении, головки болтов с обратной стороны не мешают движению, не портят материал трамбуемой поверхности.
Чертежи, фото виброплиты своими руками позволяют справиться с конструированием этого инструмента домашнему мастеру с минимальными навыками сварщика. При необходимости сварочные соединения можно заказать у специалиста, осуществить самостоятельно лишь сборку готового инструмента.
Электроприводная плита для уплотнения предпочтительнее в самостоятельном изготовлении, позволяет сэкономить на этапе покупки привода. Однако, в отсутствие электричества на объекте потребуется дополнительная аренда, покупка генератора. Используя выше приведенные советы, с изготовлением виброплиты справится любой домашний мастер.
spectechzone.com
Как сделать виброплиту для уплотнения грунта своими руками
Виброплита может стать полезным инструментом на приусадебном участке. Если не планируется проводить большое количество работ по утрамбовке грунта, то агрегат можно взять в аренду. Однако при частом использовании целесообразно сделать виброплиту своими руками. Она имеет довольно простую конструкцию, и процесс ее изготовления не займет много времени, а также не потребует больших финансовых вложений.
Область применения и принцип работы
Виброплиты активно используются во время проведения строительных и ремонтных работ различной сложности, например, при прокладке дорог или тротуаров и т. д. Агрегат имеет небольшие габариты, что позволяет его использовать в труднодоступных местах, включая траншеи. Конструкция инструмента состоит из четырех основных элементов:
- Рабочей плиты, изготовленной из стали или чугуна.
- Вибратора.
- Рамы.
- Силовой установки.

Основой агрегата является массивная плита, в центре которой располагается вибратор. Он соединяется с силовой установкой с помощью клиноременной передачи или муфты. Вибратор необходим для конвертации вращательного движения в колебательное. В качестве силовой установки агрегата могут использоваться двигатели внутреннего сгорания или электромоторы.
Основные технические характеристики
Наиболее важной характеристикой агрегата является масса рабочей плиты. Она определяет около 70% всей производительности самодельной виброплиты, а также соответствие инструмента выполняемым работам. В зависимости от этого показателя принято выделять четыре категории агрегатов:
- Легкие — масса не превышает 75 кг.
- Универсальные — плита весит 75−140 кг.
- Среднетяжелые — масса находится в пределах 90−140 кг.
- Тяжелые — масса плиты превышает 140 кг.

Для домашнего использования вполне достаточно изготовить своими руками вибротрамбовку первой категории. Также большое влияние на производительность и качество выполняемых работ оказывает мощность силовой установки. Оптимальным соотношением массы и мощности является 5 л. с. на каждые 100 кг веса.
Среди дополнительных характеристик агрегата следует выделить три:
- Вибрационное усилие — показывает мощность вибраций основания.
- Габариты рабочей плиты — определяет давление основания на единицу обрабатываемой поверхности и этот показатель не должен быть менее 0,3.
- Вид силового агрегата — на виброплиты можно устанавливать электрические, бензиновые и дизельные моторы.
Инструкция по изготовлению
Сделанная своими руками виброплита с электродвигателем позволит хорошо сэкономить, так как промышленные агрегаты обладают достаточно высокой стоимостью. Конструкция инструмента не отличается высокой сложностью, и сделать его самостоятельно можно достаточно быстро. Среди необходимых материалов и запчастей следует отметить:
Силовая установка — выбирается в зависимости от личных предпочтений. Многие владельцы приусадебных участков решают изготовить своими руками виброплиту электрическую 220 В на основе площадочного вибратора модели ИВ-98Е или любого другого.- Швеллер — 2 шт.
- Основа для рабочей плиты — листовое железо толщиной не менее 8 мм.
- Мягкие подушки — устанавливаются на ручки инструмента и необходимы для гашения вибрации.
- Крепежные элементы для мотора.
- Колеса — 2 шт.
- Труба.
Из всего этого списка необязательными можно считать колеса, но благодаря им транспортировка инструмента станет более простым делом. Также можно изготовить своими руками трамбовку для уплотнения грунта с реверсом, что позволит облегчить работу на узких или небольших участках земли.
На стальном листе болгаркой следует сделать 2 надреза с двух сторон глубиной в 5 мм. Они должны располагаться примерно в 10 мм от края симметрично. Затем края листа следует согнуть, придав ему форму лыж, чтобы избежать зарывания плиты в процессе работы. Места надрезов необходимо сварить, зафиксировав тем самым их положение.
Вибратор монтируется на швеллеры, которые не должны выступать за уровень рабочей плиты. Приваривать швеллеры необходимо надежно, и поэтому линии сварки желательно располагать поперек. Расстояние между ними выбирается в соответствии с расположением крепежных отверстий на силовой установке.

Труба потребуется для изготовления ручек, к которым затем необходимо прикрепить мягкие подушки. Без них работать с инструментом будет крайне неудобно, ведь из-за сильной вибрации плиту будет сложно удерживать. Если на агрегате используется электрическая силовая установка, то особого ухода за ней не требуется.
Этого нельзя сказать о бензиновом двигателе внутреннего сгорания. Перед началом работ всегда необходимо проверить надежность всех соединений. Крайне важно периодически очищать свечи от нагара, чтобы увеличить срок эксплуатации. Между первой и второй заменой масла не должно пройти более 25 рабочих часов. Последующая замена может выполняться через 80 или даже 100 часов.
tokar.guru
Самодельная виброплита с бензиновым двигателем: правила эксплуатации
Наверняка тому, кто сталкивался со строительством дома или дачи, на финальном этапе приходилось обустраивать прилегающую территорию (приусадебный участок). Как правило, основная часть таких работ связана с облагораживанием дорожек и ранее разрытых под различные коммуникации площадок. В первую очередь качество такого рода работ связано с тем, насколько ровной является поверхность грунта. Так, например, для того чтобы обеспечить максимальное сцепление тротуарной плитки, при ее укладке грунт должен быть хорошо уплотнен и выровнен.

После установки всех элементов основание выравнивается и трамбуется виброплитой.
Для таких площадных работ, которые не позволяют использовать специальную технику на участке, лучше всего подойдет виброплита. Она служит именно для трамбовки почвы, независимо от ее вида, и позволяет обеспечить довольно высокую ее плотность. Хотя на рынке достаточно большой выбор виброплит, но порой именно цена останавливает многих хозяев приобрести ее.
В этот самый момент возникает вопрос: а возможно ли собрать такую плиту самому? По большому счету любой человек, обладающий минимальными техническими знаниями, в состоянии осилить эту задачу. Не стоит бросаться сразу искать чертежи и рекомендации по ее изготовлению — в первую очередь необходимо определиться с тем, нужна она все-таки или нет. Конечно, если на участке необходимо утрамбовать 100 кв.м, то такая самодельная плита будет незаменимым помощником, а вот если это всего-навсего 10 кв.м дорожки к дому, то не стоит терять время на ее изготовление.
Если все же решение принято в пользу самоделки, необходимо тщательно разобрать, какие типы виброплит существуют.
Типы виброплит
После утрамбовки основания приступаем к установке поребриков. Сначала нужно установить все поребрики и только потом готовить основание под трамбовку и укладку.
В настоящее время виброплиты представлены тремя видами: бензиновая, дизельная и электрическая. Как понятно, основное их отличие — это тип применяемого двигателя для создания вибрации и, соответственно, их мощность. Наиболее востребованы в наше время бензиновые виброплиты. Так, дизельная виброплита, по сравнению с бензиновой, отличается повышенной мощностью и большим ресурсом работы. Но это абсолютно не требуется при строительстве частного дома или дачи. Что касается электрических виброплит, то их использование ограничено в первую очередь наличием и расположением источника питания. Их применяют, как правило, в закрытых помещениях. Единственный выход снять это ограничение — использовать электрическую виброплиту вместе с переносным бензиновым генератором. В то же время это потребует дополнительных затрат, что и обуславливает их неконкурентоспособность.
Виброплиты отличаются в зависимости от направления перемещения при выполнении работ. Вибротрамбовка может быть с прямым или реверсным ходом. Реверсная виброплита позволяет двигаться в разных направлениях, что существенно увеличивает эффективность трамбовки покрытия, в основном они имеют скорость перемещения до 30 м/мин. В отличие от таких плит, плиты с прямым ходом двигаются в одном направлении и требуют, при необходимости, повторного прохождения трамбуемого участка. Их действие аналогично обычному катку.
Вернуться к оглавлению
Основные характеристики виброплит
Металлическое основание для виброплиты можно изготовить из листового металла толщиной 8 мм и размером 80 см на 45 см.
Все виброплиты имеют общие характеристики, такие как компактность, и то, что колебания плиты осуществляются за счет вибровозбудителя.
В то же время к качественным характеристикам виброплит относятся:
- Частота вибрации.
- Амплитуда колебаний.
При подготовке к самодельному конструированию виброплиты нужно учитывать тот факт, какая именно поверхность будет трамбоваться. Для трамбовки на цветных поверхностях, таких как песок, гравий, щебень, наиболее эффективной будет виброплита с высокой частотой вибрации, а вот при подготовке грунта нужно ориентироваться на амплитуду колебаний. Чем выше амплитуда колебаний, тем лучше трамбуется грунт. В частности, в самодельной виброплите необходимо предусмотреть амортизационную систему, которая существенно облегчит и сделает комфортной работу оператора.
В зависимости от весовых показателей, виброплиты подразделяются на легкие, с весом до 100 кг, и тяжелые, вес которых не превышает 900 кг.
Вернуться к оглавлению
Выбираем двигатель для виброплиты
Если поставить виброплиту на ровную поверхность, два диагональных угла будут приподняты примерно на 2-5 мм.
При выборе двигателя для самодельной виброплиты будем руководствоваться следующим:
- Электрический мотор не подойдет, так как все работы будут привязаны к месту нахождения источника питания.
- Виброплита с дизельным двигателем получится достаточно тяжелой, да и ее мощность вряд ли пригодится в рядовом хозяйстве.
Исходя из этого, самым оптимальным в данном случае является бензиновый двигатель. Основные его преимущества заключаются в его мобильности, неприхотливости и наличии достаточной мощности и производительности. Виброплита с бензиновым двигателем прекрасно подойдет для уплотнения всех видов насыпей и грунтов, а также асфальта и тротуарной плитки, независимо от их объемов. Центробежная сила, создаваемая бензиновым двигателем, составляет 30 кН. Для самодельной виброплиты подойдет трехтактный с одним цилиндром двигатель. Что касается надежности, то наиболее качественными являются моторы от производителя Хонда. Двигатели этого бренда, хотя в ценовом пределе и дороже многих китайских собратьев, но в то же время дешевле в обслуживании. Двигатели такого бренда на данный момент наиболее востребованы, поэтому не возникнет проблем с поиском запчастей и их отремонтируют практически везде.
Необходимые для изготовления материалы:
- Двигатель бензиновый (вибратор площадной) — 1 шт.
- Листовой металл толщиной 8-10 мм (80х45 см) — 1 шт.
- Швеллер — 2 шт.
- Болты М12 для крепления двигателя — 4 шт.
- Труба для изготовления ручки (Ø 15-25 мм).
- Подушки для автомобильного двигателя — 2 шт.
- Колеса — 2 шт.
Необходимые инструменты:
- Сварочный аппарат.
- Болгарка.
- Дрель.
- Молоток.
- Отрезные круги — 2 шт.
- Электроды.
- Чертилка (мел).
- Рулетка.
- Защитные очки.
- Сварочная маска.
- Рулетка.
Вернуться к оглавлению
Инструкция по изготовлению самодельной виброплиты с бензиновым двигателем
Во время работы для еще большего гашения вибрации на ручке помогает петля из любой крепкой веревки.
С выбором двигателя определились, теперь нужно изготовить рабочую поверхность с каркасом.
Для изготовления площадки для виброплиты необходимо взять заготовленный листовой металл и с помощью болгарки сделать надрезы на расстоянии 10 см от края. Глубина надрезов не должна превышать 5 мм, чтобы металл не переломался. Далее с помощью молотка металл загибается по надрезу, до образования угла 25-35 градусов. Это необходимо сделать для того, чтобы виброплита не зарывалась в трамбуемую поверхность. Для обеспечения неподвижности торцов в местах изгибов нужно их проварить вдоль швов сваркой. Именно такая фиксация не позволит им разогнуться. Не стоит экспериментировать и пытаться согнуть плиту без надрезов, вряд ли получится согнуть металл такой толщины.
Для самодельной виброплиты подойдет плошадочный двигатель ИВ-98Е (220В).
Следующий шаг заключается в подгонке заготовленных швеллеров, так чтобы они не выступали за края рабочей поверхности. Подогнанные швеллеры привариваются к подготовленной поверхности на расстоянии 7-10 см друг от друга относительно центра плиты, с учетом расположения крепежных отверстий на двигателе. Сварка швеллеров к основанию плиты является наиболее важным моментом в процессе изготовления, так как если они будут некачественно приварены, то может нарушиться целостность всей конструкции в целом. Виброплита в таком случае будет ненадежна. Во время сварки не рекомендуется перегревать рабочую поверхность, иначе ее может повести по диагонали. В таком случае давление на трамбуемую поверхность не будет равномерным.
С помощью рулетки замеряется расстояние между крепежными отверстиями двигателя. На швеллерах с помощью дрели просверливаются на том же расстоянии отверстия так, чтобы они совпали с отверстиями на двигателе при постановке его на станину. Когда отверстия готовы, прикручиваем двигатель к рабочей поверхности болтами М12.
Основной этап закончен, виброплита с бензиновым двигателем почти изготовлена, осталось только сделать ручку.
Заключительный этап состоит в изготовлении ручки, которая представляет собой просто изогнутую трубу, прикрученную через амортизационные подушки к загнутому краю рабочей поверхности.
Самодельная виброплита готова, общий ее вес составляет 60-70 кг, осталось только позаботиться о ее мобильности и прикрутить колеса, предусмотрев возможность их снимать.
Вернуться к оглавлению
Правила эксплуатации виброплиты
Ручка к виброплите крепится при помощи двух эластичных подушек.
Для того чтобы самодельная виброплита служила как можно дольше, нужно придерживаться определенных правил.
В первую очередь необходимо перед началом работ провести внешний осмотр виброплиты на отсутствие видимых повреждений и проверить надежность крепления составных частей.
Так как виброплита оснащена именно бензиновым двигателем, то периодически нужно менять, очищать и плотно закручивать свечи.
Что касается двигателя, то основное условие правильной его эксплуатации — это наличие уровня масла в моторе. Периодичность смены масла должна составлять при первой замене через 25 часов работы, последующие замены разрешается проводить с периодичностью 80-100 часов. Рекомендуется, перед тем как производить замену масла, сначала разогреть двигатель.
Обращается внимание на то, что масло нужно менять и в вибраторе. Если вдруг замечены подтеки масла в вибраторе, то его нужно обязательно отвезти в ремонт. Отсутствие масла в вибраторе может привести к порче подшипника или эксцентрика.
При возможности нужно проводить техническое обслуживание двигателя, чтобы предупредить большинство возможных неисправностей, которые могут возникнуть на этапе эксплуатации.
Чистота двигателя играет также немаловажную роль, так как может привести к чрезмерному его нагреву.
Необходимо периодически проводить чистку воздушного фильтра двигателя. Выполнение этих простых правил позволит увеличить срок службы составных частей двигателя, таких как карбюратор, поршневая группа.
Запрещается заправлять виброплиту с включенным двигателем.
Транспортировать виброплиту рекомендуется с помощью колесиков.
Не стоит забывать, что виброплита не предназначена для работы на твердых поверхностях, таких как бетон и застывший асфальт.
1stones.ru
Виброплита своими руками. Советы, инструкции :: SYL.ru
В условиях дачи или частного земельного участка уплотнение виброплитой является незаменимым решением при работах на небольших площадях, ведь в этом случае вряд ли получится использовать другую специальную технику.
Виброплиты применяют в работах по благоустройству приусадебных участков, мощению садовых дорожек и других территорий, которые ранее были разрыты.
Рынок предлагает сегодня домашним строителям большой выбор такого оборудования. Они имеют различные характеристики и подходят для работы в разных условиях. И все бы хорошо, однако цены не устраивают большинство людей. Поэтому самое лучшее решение – виброплита, своими руками сделанная.
Какие преимущества имеет оборудование, собранное самостоятельно?
Одно из главных преимуществ – это максимально быстрая сборка. Если есть определенные навыки и большое желание, то любой человек сможет собрать это устройство чуть больше, чем за пять часов.

Еще одно преимущество – это высокий уровень безопасности. Можно самостоятельно контролировать уровень вибраций. Это придает уверенность. Также можно выделить очень простую эксплуатацию. Это оборудование работает автономно, нужно лишь регулировать направление движения плиты.
Еще важное преимущество – монтаж на оборудование системы бесперебойного питания.
Из чего состоят виброплиты?
Прежде чем начать работы по сборке, необходимо создать эскиз. Очень важно знать, какие понадобятся запчасти для виброплиты.
Так, для постройки этой системы нам нужны: сама базовая часть, рама, виброузел, силовой агрегат, трансмиссия, а также ручка для удобного управления.
Подошву можно изготовить из чугунных сплавов. Это идеальное решение для этих целей. Но нужно помнить, что низкокачественный чугун может растрескаться при работах по песчаному либо гравийному грунту. В такой почве преобладают мелкие камушки, которые при работы с плитой могут не лучшим образом воздействовать на поверхность подошвы.
Размер имеет значение
Здесь нужно знать, что размеры базовой части – это очень важно. Правильная геометрия подошвы, а также небольшие ее размеры – высокая эффективность и дополнительные преимущества. Так, рабочая часть может отлично самоочищаться. Чем меньших размеров поверхность плиты, тем лучше эффективность работы.

Так, если изготовляется виброплита своими руками, то подошва должна иметь небольшие размеры, конечно, если это не снизит вибрационные характеристики.
Узел, который создает вибрации, закрепляют на рабочей части. В этом случае все крепления, а также все узлы должны быть очень тщательно собраны. Каждая, даже самая небольшая деталь должна иметь максимальную надежность. Ведь предстоит работать в условиях сильных вибраций.
Сальник вибрационного узла не должен пропускать смазку, он также защищает детали от попадания пыли и грязи. Сальник должен быть надежным, чтобы выдержать серьезные нагрузки в течение длительного времени.
В качестве привода будет использован электрический двигатель, а чтобы работа такого оборудования была более эффективной и качественной, можно использовать бензиновые либо дизельные моторы. Так будет обеспечена максимальная отдача мощности и отличная утрамбовка в любых, даже самых неблагоприятных условиях.
Какая плита подойдет лучше всего?
Различают три вида вибрационных плит. Это бензиновое оборудование, дизельное и виброплита электрическая. Каждое из устройств производит различную мощность, поэтому могут использоваться в различных условиях и многих сферах. Зачастую домашние мастера приобретают и собирают бензиновые системы.
Дизельные плиты обладают высокой мощностью и огромным ресурсом. Их можно применять при выполнении масштабных работ по обустройству дорог. Эта плита не подойдет для использования на вашем участке.
Электрическое оборудование ограничено определенным радиусом. Такая плита работает, насколько позволит длина шнура. Все ее преимущества можно ощутить в закрытых помещениях. Это отличный выбор, но не всегда такая виброплита, своими руками изготовленная, полностью оправдывает время и средства, затраченные на ее сборку.
Прямое или реверсное трамбование?
Эти устройства различают по направлению хода во время работы. Существует оборудование с прямым либо реверсным ходом. Первые работают лишь в одном направлении. На самом деле это обыкновенный каток.

Реверсные модели могут работать по-разному. Это позволяет значительно увеличить эффективность от применения и позволяет снизить временные затраты. Данный метод применяется преимущественно на тяжелых плитах.
Рабочая поверхность грунта
Прежде чем виброплита своими руками будет вами собрана, нужно провести анализ поверхности, на которой предстоит работать. Если машина будет использоваться по цветным поверхностям, тогда может потребоваться более высокая частота создания вибраций. Наиболее эффективно такая машина сможет работать по песку, гравию и щебню.
Если же поверхность грунта будет из отложений, то для облегчения вашей работы можно применить плиту с более высокой амплитудой. Чем выше амплитуда движения, тем легче и лучше пойдет процесс утрамбовки. Однако такая самодельная виброплита требует системы амортизации.
Приступаем к делу
Теперь вы знаете о виброплитах практически все, так что нужно и можно приступать к сборке. Любое подобное оборудование не может функционировать без мотора. Для использования на дачном участке или в частном домовладении подойдет виброплита электрическая.
Мотор
Идеальным для этих целей будет ИВ-98. Этот мотор отлично работает в условиях средних нагрузок, а вы можете регулировать мощность вибраций. Двигатель хорош тем, что может работать много часов подряд.
Приобрести этот агрегат можно от 7000 р. Однако всегда можно снять мотор с систем, которые не используются больше.
В качестве основания можно применить обыкновенный металлический лист, который легко купить на любой металлобазе. Лист должен иметь 8 мм в толщину, а длина и ширина должны составлять не более 80 и 45 см соответственно.
Кроме всего этого, нам понадобится металлическая пластина, которую мы будем использовать в качестве подошвы. Она закрепляется на рабочем основании снизу. Не желательно приобретать сильно толстый лист для этих целей. Отлично подойдет толщина в 5 мм.
Чтобы машина не закапывалась в почву, края следует отогнуть. Это легко делается с помощью болгарки. Нужно сделать срезы по 5 мм в 10 см от края подошвы, а края загнуть при помощи молотка.

Теперь можно монтировать двигатель. Для этого следует заранее разметить рабочую часть. Желательно подобрать наиболее подходящие места для закрепления болтов. Для креплений нужно просверлить отверстия и нарезать в них резьбу. Затем с помощью уровня выставим двигатель и закрепим его посредством швеллеров и шпилек.
Для комфортного использования
Чтобы вы могли удобно работать с этой машиной, нужна ручка для перемещения. Она может быть закреплена на основании плиты. Можно для этого приварить два болта. Для гашения вибраций рекомендуется установить ручку через сайлентблоки, и ваши руки будут вам за это благодарны.

Вот и готова наша виброплита. Характеристики ее не хуже, чем у промышленных образцов, однако по цене она обходится гораздо дешевле.
www.syl.ru

