Замена проводки электрик – Замена проводки стоимость работ в Москве. Электропроводка в квартире
Замена электропроводки в квартире – как заменить проводку своими руками
Инженерные коммуникации в старых многоквартирных домах все чаще сегодня после 20–40 лет эксплуатации выходят из строя. И если поменять трубы не так сложно, то с внутриквартирной электросетью все гораздо сложнее. В подобной ситуации замена электропроводки в квартире часто превращается в проблему. Не зря делать это рекомендуется при капитальном ремонте жилища, так как по-быстрому здесь что-либо подремонтировать и подлатать не получится. Электрическую проводку нередко приходится перекладывать полностью.
Содержание
- Постановка вопроса
- Что нужно сделать
Постановка вопроса
Если дом старый и возрастом более 30-ти лет, то электропроводку в квартире менять надо в обязательном порядке и как можно скорее. В советские годы вся она делалась из алюминиевых проводов и по схеме TN-C (с глухозаземленной нейтралью). Такой вариант был наиболее дешев и прост в исполнении, его и применяли повсеместно.
Но со временем выяснилось, что находящиеся под постоянным напряжением ~220 В алюминиевые жилы постепенно деградируют и становятся хрупкими. Как неизбежное следствие – замыкания и пожары.
Плюс сама по себе схема заземления TN-C не слишком практична в плане безопасности. При обрыве PEN проводника защита от поражения током в такой сети фактически прекращает свое существование. Поэтому при первой возможности или при капремонте в квартире подобную проводку следует полностью менять. Причем замене подлежат не только электропровода, но также распределительный щиток и выключатели с розетками.

Варианты прокладки электропроводки
Что нужно сделать для замены
Чтобы заменить электрическую проводку в квартире, необходимо:
- Разработать проект и схему разводки проводов.
- Демонтировать старую сеть.
- Проложить новые электропровода (открытым либо закрытым способом).
- Установить и подключить электроустановочные изделия и приборы освещения с выключателями.
- Смонтировать распределительный щит с защитой.
- Проверить созданную электросеть в целом и каждую отдельную линию на короткие замыкания.
Принципиально сложного ничего здесь нет. При наличии минимальных навыков в электромонтаже все можно выполнить своими руками. Однако подобную замену обязательно следует делать поэтапно шаг за шагом и при строгом соблюдении правил ПУЭ.
Разработка схемы
Составление схемы разводки электропроводов по квартире позволяет четко определить нужное количество расходных материалов и объемы работ. В ней указываются все потребители электроэнергии и места расположения розеток, выключателей и т.п.
Основной момент здесь – это общая потребляемая мощность.
Когда готовится план под новую электропроводку в частном доме за городом, то приходится у энергетиков заранее получать техусловия на подводимые к участку киловатты. Обычно это порядка 5–15 кВт.
Квартирная электросеть уже существует и уже подключена к общедомовой сети. И чаще всего значение разрешенной мощности для нее колеблется в пределах 1,3–5 кВт. Только в современных многоэтажках без газовых плит этот параметр может доходить до 10 кВт.
Выходить при замене электропроводки за установленный максимум нельзя. Это приведет к аварии и срабатыванию защиты на общей сети, а потом ЖЭКовские электрики моментально вычислят проблемную квартиру и предъявят претензии. Существующую разрешенную мощность надо сначала узнать в ЖЭКе, а уже потом отталкиваться от этих цифр и разбивать внутриквартирных потребителей на группы.

Схема электропроводки в квартире
Согласование
Формально все, что находится в квартире, является собственностью хозяина жилья. Поэтому в принципе внутреннюю проводку можно менять как угодно. Однако если сделано это будут с ошибками и после произойдет авария с пострадавшими, то вся ответственность ляжет на подобного хозяина-самоделкина.
Жесткие требования по согласованию в ЖилИнспекции относятся только к перепланировкам. Обычная замена проводки к этой категории работ не относится. Но при глобальных изменениях во внутриквартирной сети и полной ее переделке с подключением электрического бойлера или электроплиты с большой мощностью, заказать план и согласовать его в ЖЭКе (или у энергетиков, зависит от региона) все же придется. А вот просто переложить провода со сменой старых алюминиевых на новые медные возможно без хождения по инстанциям.
Прокладка электропроводки
Самостоятельный монтаж электропроводки в квартире обойдется дешевле, нежели альтернатива с вызовом профессиональных электриков. Однако если навыков подобных работ нет, а «киловатты», «УЗО», «заземление» и «амперы» являются какими-то совершено непонятными терминами, то лучше обратиться к профессионалам. В противном случае за замену проводки в квартире можно взяться и самому.

Схема размещения розеток для кухонной техники
Подготовка материалов
При выборе для внутриквартирного электромонтажа медных проводов по сечению рекомендуется ориентироваться на следующие нормы:
- Для электроплиты и других подобных мощных потребителей нужны жилы в 6 мм2 (автомат на линии – 32–40 А).
- Для розеток и под бытовой кондиционер требуется 2,5 мм2 (автомат 16–20 А).
- Для групп освещения хватит 1,5 мм2 (автомат 10–16 А).
Розетки рекомендуется устанавливать из расчета одну на 6 квадратов жилой площади в комнате. Если после автоматического выключателя ставится еще УЗО, то оно должно превосходить автомат по амперам на 10–20%. Кабель лучше всего взять ВВГ, ПВС либо NYM.

Виды кабеля для электропроводки
Если от щитка до каждой розетки прокидывать отдельный провод, то общий их метраж в создаваемой электросети выйдет огромным. Обычно в квартире устанавливают распределительные коробки для электропроводки и разводку делают по группам. Этот вариант дешевле и кабель-каналы требует меньшего размера.

Схема размещения электроприборов в зале
Этапы работ
Самостоятельная замена электропроводки в своей квартире – это много работы перфоратором и строительной грязи. Обычно внутриквартирные провода прокладывают скрытым способом в штробы в стенах, которые делать придется самому. Штробить потребуется даже в панельном доме, прокинуть новые кабели в существующих полостях в панелях не всегда возможно. Нередко эти каналы в некоторых местах бывают залиты бетоном.

Как спрятать кабеля без штробления стен
Демонтаж старой проводки
Перед началом демонтажа старой проводки в квартире её надо полностью обесточить, выключив общий квартирный рубильник в щитке на этаже. После этого следует проверить наличие напряжения в розетках с помощью отвертки-индикатора или вольтметра. Только после проверки можно преступать к дальнейшим работам по замене кабелей.
Разметка и подготовка стен в квартире
Чтобы упростить прокладку проводки по квартире, сначала на стенах следует разметить все линии разводки и места монтажа розеток, распределительных (распаячных) коробок и выключателей. Затем можно приступать к штроблению и вырезанию отверстий для подрозетников.

Разметка стен для прокладки электропроводки
Прокладка электропроводки
Внутреннюю электропроводку в деревянном доме рекомендуется делать открытым способом с укладкой проводов в кабель-каналы. А в квартирах её принято монтировать наоборот скрытой. Такую разводку потом проще закрыть декором, а риск ее повреждения впоследствии минимален. Фиксация электропроводов в штробах производится дюбель-хомутами либо гипсовым раствором.
Размещение электроприборов в коридоре
Установка защитных систем
Во многих старых многоэтажках в принципе невозможно от щитка в квартиру проложить трехжильный провод с заземляющей жилой. Это не предусмотрено проектом. Но в некоторых квартирная проводка идет двухжильная, однако ее без проблем возможно поменять на современную трехжильную. Надо лишь правильно подключить все в щитке на этаже.
Возможность переделки советской электропроводки TN-C на более надежный вариант TN-S или TN-C-S надо уточнять у электриков ЖЭКа. Самостоятельно что-либо менять в этажном щитке запрещено категорически. Это заземление в частном доме можно выполнить самому, в многоквартирном все гораздо сложнее.
Расчет параметров УЗО и дифавтоматов и вовсе в обязательном порядке стоит доверить специалисту в данной области. Ошибки здесь чреваты серьезными проблемами.

Схема подключения системы безопасности в квартире
Подключение к щитку
Если на руках есть выполненный профессионалами электропроект, то собрать по нему защитные устройства в щите на этаже несложно. Однако лучше всего это дело перепоручить приглашенному электрику, который заодно потом прозвонит систему для проверки ее работоспособности и отсутствия в ней коротких замыканий.
Меры безопасности
Полная замена электрических проводов – дело достаточно сложное и трудоемкое, но вполне реализуемое своими руками. Главное не забывать о мерах безопасности. Все работы следует производить только после полного обесточивания электросети и инструментом с прорезиненными ручками.

Разметка для размещения электроприборов в ванной комнате
Заключение
Для самостоятельной замены проводки в городской квартире из инструментов потребуются пассатижи, отвертка и перфоратор для штробления стен. Если есть опыт работы с ними, то особых сложностей возникнуть не должно. Главные ошибки обычно допускаются при подготовке электропроекта, а не на этапе монтажа. Поэтому проектирование с расчетами защиты и толщин проводов стоит заказать у специалистов. А вот большую часть электромонтажных работ вполне можно выполнить самому, немного сэкономив на квартирном ремонте.
Смотрите также видео о
Читайте про другие наши материалы:
Замена проводки в квартире своими руками
5 (100%) 1 vote[s]sdelat-dom.ru
Замена электропроводки в квартире: советы и правила
Из этой статьи вы узнаете:
- В каких случаях требуется замена электропроводки в квартире
- Из каких этапов состоит замена электропроводки в квартире
- Как грамотно создать схему и план замены электропроводки в квартире
- Какие материалы и инструменты нужны для замены электропроводки в квартире
- Как демонтировать старую электропроводку в квартире
- Как заменить электропроводку в квартире своими руками
- Каких правил придерживаться при замене электропроводки в квартире
Проводите капитальный ремонт в своем жилище в Москве? Есть один важный момент, на который стоит обратить внимание — замена старой проводки в квартире. Электропроводка в многоквартирных домах, построенных во времена СССР, уже не справляется с современными нагрузками. А это может привести к неприятным последствиям. Поэтому, выполняя отделку в помещении, не стоит забывать про проводку. В нашей статье вы узнаете, как производится замена электропроводки в квартире, а также какие приемы позволят вам избежать основных ошибок.
В каких случаях нужна замена электропроводки в квартире
Следует проводить замену электропроводки в жилых помещениях, которым более 20 лет. Дело в том, что в таких квартирах используется проводка старого образца, которая давно устарела во всех смыслах этого слова. В те времена, когда строились эти дома, для создания внутренних электросетей применялись провода из алюминия.

На алюминиевой проводке образуется коррозия, а сама структура металла претерпевает необратимые изменения. Как следствие, электросеть становится ненадежной, а изношенная изоляция не способна защитить от возгораний из-за короткого замыкания.
Основные недостатки старой электропроводки включают в себя:
- использование глухозаземленных нейтралей, а не современного защитного заземления;
- создание разводки методом разветвления;
- отсутствие автоматов для защитного отключения;
- недостаточное количество розеток.
Проектные величины старых электросетей не рассчитаны на возросшую за последние 15-20 лет нагрузку. Вкупе с техническими недостатками такой проводки, все вышеперечисленное может привести к непоправимым последствиям: возникновению аварийной пожароопасной ситуации.

Итак, следует в обязательном порядке произвести замену электропроводки в квартире или доме, если:
- помещению больше 20 лет;
- розетки в доме искрят;
- розетки перестают работать;
- включая электроприбор в сеть, вы чувствуете запах паленой изоляции;
- вы без труда можете сломать провода;
- вы обнаружили утечку тока через стены.
Если у вас наблюдаются практически все названые признаки, необходимо срочно заняться заменой электропроводки в квартире.
Не стоит выполнять замену проводки частично, потому что это может ухудшить текущее положение дел. Частичная замена выполняется, только чтобы устранить обрыв.
Читайте также: Ремонт однокомнатной квартиры в новостройке: порядок выполнения работ и расчет стоимостиЭтапы работы по замене электропроводки в квартире
Изучим подробнее, каким образом происходит полная замена электропроводки в квартире. Итак, 6 шагов по реализации этого мероприятия:
- Создание схемы внутренних цепей.
- Разработка плана разводки.
- Согласование плана и схемы с энергоинспекцией, а затем их регистрация.
- Создание времянки (временный доступ к электричеству, освещение).
- Прокладка проводки.
- Монтаж точек подключения, а также механизмов защиты.






Создаём схему замены электропроводки в квартире
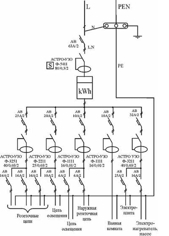
Не стоит думать, что замена проводки — легкая задача. Придется не только провести замену электропроводки в квартире, но также и разработать план прокладки новых проводов, который затем нужно согласовать с электриками.
- Базовое изучение схемы.
Для начала просто посмотрите на изображение. Для лучшего понимания поясним следующее: kWA — это счетчик электроэнергии; УЗО — устройство защитного отключения. При этом схема электропитания однолинейная.

Внимательно посмотрите на две косые черточки, они зачеркивают обозначение провода. Означает это то, что на самом деле там 2 провода: фазный (L) и нулевой (N — нейтраль), которые были проложены вместе.
Далее, защитный провод (РЕ) не перечеркнут: это означает, что он проложен отдельно. В случае, когда ввод трехфазный, соответственно и черточек на схеме его проводов будет 3.
Мы не будем рассматривать системы, где нейтраль изолирована, потому как в быту они не используются.
А сейчас всмотритесь в изображение это однолинейная схема электропитания квартиры премиум-класса площадью 200 квадратных метров. В том случае, если вы без труда разобрались даже в такой сложной схеме, то легко создадите схему электропитания для собственной квартиры.

- Процесс продумывания электроснабжения.
Проведение электропроводки в жилом помещении определяется потребляемой мощностью. Установленное ограничение потребления, к примеру, в коттеджных поселках, составляет 10-20 кВт на дом. При таких показателях для многоквартирного дома у вас постоянно будет выбивать автомат в подъезде, или же сгорит домовая проводка. Если же говорить про хрущевки, в которых чаще всего и необходима замена электропроводки в квартирах, ограничение составляет 1,3 кВт, максимум — 2 кВт.
Понятно, что жители многоквартирного дома не включают все электроприборы, к примеру, даже кондиционеры работают не одновременно. Таким образом, среднестатистической потребляемой мощности в 4,3 кВт хватает, и домовая проводка функционирует. При расчете необходимо ориентироваться на этот показатель. Не стоит допускать ситуации, когда одновременно будут включены, например, стиральная машинка, утюг, кондиционер и бойлер, так как главный автомат вырубит всю квартиру. К сожалению, с этим ничего не поделаешь.

Не будем детально разбирать расчет, а возьмем данные для замены электропроводки в двухкомнатной квартире площадью 40-100 квадратных метров:
- Главный автомат: 25-32 А (зависит от размеров помещения). Коэффициент запаса на точку составляет 1,3-1,5. Устанавливать 2 в городских квартирах запрещено, поскольку общая электропроводка не выдержит.
- Квартирное УЗО — 50 А 30 мкА разбаланс.
- Кухня: 2 ветви проводки по 4 кв. мм, при этом на каждой автомат на 25 А и УЗО 30 А 30 мкА. Запитка ванной происходит из кухни (на схеме не обозначено).
- Кондиционер: ветвь 2,5 кв. мм, автомат — 16 А, УЗО — 20 А 30 мкА.
- Розеточные цепи, а также цепи освещения: по одной цепи в каждую комнату, исключая ванную и туалет (в этих комнатах — только освещение). Провода с сечением 2,5 кв. мм, автоматика отключения не требуется, так как с этим справится общеквартирная.
Мы перечислили все исходные данные для построения однолинейной схемы электропитания жилого помещения. Приступаем к вычерчиванию.

- Вычерчиваем схему.
В качестве образца ориентируйтесь на самую первую схему, приведенную в статье. Верх схемы, начиная с выходов из счетчика, не меняем — просто используем свои численные данные. Производитель УЗО не играет роли, можно поставить как АСТРО-УЗО, так и любое другое.
Если не можете разобраться с обозначениями, обратитесь к Приложению к ПУЭ (Правила устройства электроустановок потребителей) или посмотрите ГОСТ 2.755-87 (CT СЭВ 5720-86).
Создавая чертеж схемы, нельзя изменять размеры условных обозначений элементов. Так, электрический конденсатор обозначен двумя параллельными прямыми, толщина которых 0,5 мм и длина 10 мм, расположены они на расстоянии 2 мм друг от друга. Не стоит делать масштабирование, даже если этот элемент один и располагается на листе формата А0.

- Готовим план.
Далее разберем рисунок, на котором представлен план электропроводки. Составление плана — следующий этап после того, как будет готова схема.

Поясним план:
- От счетчика во все комнаты идут две ветви: для цепей освещения и розеток.
- Так как в стандартной квартире один туалет, то система дополнительного уравнивания потенциалов (ДСУ) не требуется. Ее ветвь схематично изображается пунктирной линией.
- В ванной комнате обозначают светильник на потолке во влагозащищенном исполнении, а также бойлер, если он у вас есть.
- Обозначать следует ветви к розеткам, а также стационарным электроустановкам (жестко закрепленным на несущих конструкциях или запитанным не через разъемное соединение). Так, бойлер или теплый пол будут стационарными, а вот стиральная или посудомоечная машинки, духовка — нестационарными. Электрики не будут обращать внимание на то, что они подключены к другим коммуникациям.
- Не стоит указывать в схеме такие детали, как светодиодная подсветка или удлинитель для балкона. Дело в том, что все эти мелочи могут послужить тому, что инспектор забракует даже хороший план.
- Нельзя указывать ветви, идущие на балкон или лоджию, так как это является нарушением ПУЭ. Согласно правилам, запитывание этих помещений должно происходить от розеток из других комнат.

Далее приведем советы по упрощению плана:
- Обратитесь в ДЭЗ или БТИ, где вам должны предоставить план квартиры.
- Сделайте скан плана, а если он большой – сканируйте по частям.
- При помощи программы Photoshop объедините сканы в один рисунок, удалите старые обозначения проводки стационарных электроприборов и точек подключения.
- Затем укажите новые обозначения согласно схеме, ориентируясь на образец приведенного плана электропроводки. Лучше выполнить это в CorelDraw (векторный графический редактор). После этого экспортируйте получившийся план в растровое изображение, при этом сохранив и вектор. Дело в том, что план скорее всего вернут, указав, что необходимо доработать.
- Далее, в Photoshop разбейте все изображение в нужном масштабе на небольшие куски, чтобы можно было распечатать их на принтере. После распечатки вы сможете склеить части в одно целое: выполняйте это так, чтобы линии совпали. В случае если они немного не сходятся, завершите работу вручную, дочертив детали.

Примечания:
- Если туалет и ванна расположены в отдалении от кухни, стоит разместить группу розеток для санузла в смежной комнате.
- Группы розеток в таком случае располагаются одна напротив другой через стену. Так, просверлив стену, вы запитаете обе группы одной ветвью, а это уже неплохая экономия кабеля и трубы.
- При анфиладной планировке (квартира-трамвай) в дальнем от счетчика помещении можно запитывать группы розеток одна от другой (не больше двух, помните, что это допускается на практике, но не по ПУЭ). Можно сэкономить полветви, если ближняя группа запитывается через стену из гостиной.
- Местное освещение (бра) можно запитывать от розеток или последовательно в пределах помещения, когда в нем есть потолочный светильник (также допускается на практике, но не по ПУЭ).
- Потолочные светильники необходимо запитывать отдельной ветвью. Запрещается запитывать их друг от друга или от розеток, так как цепи общего освещения — наиболее важные.
- Точечные светильники обозначаются на плане как люстра, поэтому для них проводим ветвь в центр потолка, при этом разводку можно выполнять наиболее удобным и безопасным способом.

Подготовленные схемы электропитания, а также план электропроводки необходимо зарегистрировать и утвердить в энергослужбе. Эта процедура является бесплатной.
Обратите внимание на составление плана. Грамотно составленный план позволит вам сократить свои расходы в 2 раза.

Какие материалы и инструменты нужны для замены электропроводки в квартире
Чтобы выполнить замену электропроводки в квартире, вам потребуются следующие инструменты:
- Перфоратор, а также набор сверл по бетону, бур по бетону 16-20 мм, корончатое сверло 90-100 мм, долото 25-30 мм.

- Паяльник 40 Вт.
- Болгарка с кругом по камню.
- Пассатижи, бокорезы, отвертки.
- Фазоуказатель.
- Тестер.

- Уровень и шнур.
- Фонарик.
- Монтажный нож.

Для того чтобы точно просчитать требуемый метраж проводов, вам нужно измерить расстояние от щитка до точки подключения, с учетом углов, выступов, ниш. Повороты проводки производятся под углом 90 о. Получившиеся значения складывают, затем приплюсовывают еще 15 %.
Наиболее простой метод подсчета необходимого количества проводов: умножаем общую площадь жилого помещения на 2. Одна третья от получившегося значения приходится на осветительные провода, две трети — на создание розеточных групп подключения.

Помимо проводов, необходимы клеммники — 3 секции по 10 контактов. Не стоит покупать клеммники в полиэтиленовом корпусе. Также в отверстие должны помещаться 2 провода сечением 2,5 кв. мм.
Подбирать тип крепления провода можно по своему желанию, однако многие считают, что по сравнению с винтами, зажимные пластины более удобны и надежны.
На подрозетниках должны быть внешние выступы, чтобы сцепление с алебастром было лучше. Для прокладки сетей внутри квартир стоит покупать кабели российского производства, например, ВВГ, ВВГнГ, ПУНП.

Вам понадобится вводный щит, на котором будут установлены 4 клеммника, 4 автомата, а также концы проводов, гофры для кабеля, матерчатая изолента плюс электропроводящая смазка.
Рекомендуется приобретать металлический гофр, поскольку вы сможете заземлить его дополнительно для повышенной надежности защиты проводки. Более того, даже если случится пожар, металл не загорится, вдобавок он нетоксичен.

Времянка — это двойная или тройная розетка, которую закрепляют на доске. С помощью кабеля 4 кв. мм через автомат на 16 А времянку прикрепляют к квартирной дозе. Можно использовать скрутку для временного соединения.
Как демонтировать старую электропроводку в квартире
Демонтаж напрямую зависит от того, каким образом проводилась укладка старой электропроводки. Была ли она уложена в специальные каналы внутри стены или же она просто находится прямо в стене. Разберемся в этих нюансах далее.
- Прежде всего, отключаем электропроводку, которая идет от счетчика. Затем напрямую от счетчика запитываем удлинитель временного электропитания.

- В том случае, когда старая электропроводка была уложена в каналы, то демонтировать ее и прокладывать новую необходимо одновременно. Происходит это следующим образом: к одному концу старого кабеля наматываем новый, затем удаляем второй конец старой электропроводки. Действуя так, вы избавите себя от необходимости бить стены для демонтажа старой проводки, а прокладка новой пройдет без проблем. Однако если по новому плану старая и новая проводки не совпадают, вам придется пробивать в стенах штробы.

- Если старая проводка вмуровывалась в стену, необходимо определить, где она находится. Посмотрите на стену: на ней вы можете увидеть заделанные штробы. Также можно приобрести специальный прибор для поиска. После этого можно начинать демонтаж, затем проложить новую проводку.

Замена электропроводки в квартире своими руками: пошаговая инструкция
Далее изучим, как происходит замена электропроводки в квартире своими руками.
- Ранее мы уже упоминали, что прежде чем приступать к демонтажу, необходимо отключить электропитание. Но для создания штроб необходимо электричество. Поэтому вам придется сделать времянку.

Соорудить ремонтную времянку можно с помощью дощечки из дерева. На нее крепится двойная розетка и автоматический выключатель на 16 А. Подсоедините к ним кабель с сечением 4 кв. мм.
- Следующий шаг — выкручиваем пробки, выключаем квартирный автомат. Затем обдалбливаем и снимаем ручную дозу у электросчетчика. После этого можно выводить провода, подключать времянку.
С этой целью кабели, идущие от электросчетчика, прикручиваем к проводам времянки, делаем их изоляцию — используем изоленту. Теперь к розетке времянки вы можете подсоединить удлинитель и включать электроприборы.
- Переходим к пробиванию штроб, которые должны быть прямолинейными, располагаем их вертикально или горизонтально. Запрещено делать штробы наклонными.

- Затем при помощи перфоратора создаем желобок, а в углах— косые срезы, которые выполняются с использованием болгарки. Выбиваем лунку, чтобы изгибы гофрорукава получились плавными.
Выбивая лунки для подрозетников на кирпичных стенах, воспользуйтесь коронкой, а при работе с бетонными стенами — долотом. Используя его же можно сделать и выемку для вводного щита.

- Завершив штробление, начинайте устанавливать кабели. Прямо на полу протяните кабели в гофры. Затем на алебастровую подушку уложите подрозетники.

- Устанавливаем гофры: вводим их концы в подрозетники. Подмазываем гофры алебастром через каждые 50 см.

- Завершив монтаж гофров, их концы следует ввести в середину вводного щитка (ВЩ). Концы смазываются токопроводящей пастой и перехватывают жестяным хомутом с винтом. Затем винт соединяют с заземляющей клеммой.
- Вводный щиток вставляем в выемку, отмечаем точки, в которых будем просверливать отверстия для дюбелей. Вводный щиток убираем, просверливаем отверстия, вставляем дюбеля.
- Отключаем электричество, убираем времянку, вводим провода от счетчика в щиток. Таким же образом вводим и подключаем заземляющий провод. Следующий шаг — устанавливаем на стену щиток.

- Очередной этап замены электропроводки в квартире — оштукатуривание штроб, подключение розеток и выключателей. Подключаем провода в щитке к клеммникам, проверяем кабели на наличие короткого замыкания.

- По завершении этого этапа подключаем провода от электросчетчика. На пару секунд включаем подачу электричества, чтобы определить фазный и нулевой провода. Снова отключаем ток, подключаем провода от электросчетчика, и, если короткого замыкания нет, можно включать электричество.
Рекомендуемые статьи по данной теме:
Указания по замене электропроводки в разных комнатах
- Ванная комната.
Замена электропроводки в ванной комнате — сложная работа. Повышенная влажность помещения создает высокий риск удара электротоком. В ванной обычно функционирует техника с высокой мощностью, например, стиральная машина или бойлер. У них большой ток утечки, они работают при повышенной температуре и влажности. Вследствие этого оголенный контакт под напряжением, даже под крышкой розетки, может нанести угрозу здоровью и жизни человека.

Как решить эту проблему?
- Заменяем электрошнуры вентилятора и бойлера длинными, их должно хватить через отверстие в стене до кухонных розеток (розеток в смежной комнате). У бойлера нет штатного шнура, и даже если вы потеряете гарантию на относительно дешевый вентилятор — ничего страшного. Кроме того, практически все случаи возврата вентиляторов — негарантийные. Используем трехжильные шнуры с защитным проводником.
- Покупаем удлинитель без шнура, с заземляющими контактами (евро), на 3 гнезда, с фильтрующими отверстиями сзади, чтобы можно было подвесить на стену, оборудуем его трехжильным шнуром.
- Выводим все 3 шнура сквозь отверстие в углу стены, над плинтусом на кухню (в смежную комнату), устанавливаем евровилки, укладываем короб из ПВХ. Таким образом, снизу и в углу он не будет попадать в поле видимости.

- Включаем вилку бойлера в розетку «насовсем», ведь никакие инструкции не определяют время включения вилки в розетку. То же самое и с вилкой вентилятора, особенно если он реагирует на определенную температуру и влажность.
- Подвешиваем удлинитель в ванной при помощи саморезов в дюбелях.
- Включаем стиральную машину в удлинитель «насовсем». В оставшиеся 2 гнезда включаем светильники у зеркала, а также фен.
- В смежной комнате по мере необходимости включаем в розетку вилку удлинителя.
При таком обустройстве электропроводки в ванной вы исключите возможность появления оголенных концов под напряжением. Соблюдая правила безопасности, вы снизите возможность поражения током к минимуму. Кроме того, согласно ПУЭ и ПТБ удлинитель, пусть со шнуром в коробе и подвешенный на стену, останется просто удлинителем, а не розеткой.

- Туалет.
В уборной, так же как и в ванной комнате, будет одна осветительная ветвь для потолочного светильника. Запитываем светильники ванной и туалета последовательно по одной ветви — и ни один специалист по электрике не сможет придраться.
- Кухня.
Для замены электропроводки на кухне потребуются 2 ветви — одна для ванной, вторая непосредственно для кухни. В случае, когда санузел находится далеко от кухни, придется пустить ветвь для ванной в смежную комнату. Расскажем об этом способе подробнее.
Про сечение провода (4 кв. мм), а также про защитную автоматику для двух ветвей мы уже упоминали ранее. Разница заключается в точках подключения: для ванной нам понадобится одна розетка, в то время как для кухни — две тройные. К ним всегда будут подключены посудомоечная машина, духовой шкаф, кухонный комбайн, а также точечная подсветка. Не рекомендуется запитывать отдельной ветвью галогеновые светильники на исподе кухонного гарнитура — это запрещено по ПУЭ, а кроме того, повысит ваши расходы на электроэнергию.
Оставшиеся точки распределим так: одна для кухонного вентилятора, вторая — для подключения удлинителя, подвешенного, как и в ванной, на стену или на шкаф. Его можно использовать для включения вафельницы, пылесоса и другой техники. Подсоединяем холодильник к розетке дополнительной группы на противоположной стене.

Лучше всего поместить розетки ванной и основной группы за нижним шкафом кухонного гарнитура, прямо под столешницей, и как можно дальше от раковины. Если потребуется, в нижнем шкафу с задней стенкой сделайте проем. Чтобы шнуры свободно проходили, задние углы столешниц необходимо обрезать.
Осветительная ветвь в кухню — по такому же принципу, как и везде.

- Прихожая и коридор.
Для этих комнат понадобятся 2 ветви: одна для розеток, вторая для света. Если коридор вытянутой формы, нужно сделать 2 точки освещения. При этом самую близкую к розетке лучше сделать в виде бра, а потом запитывать от нее. Дальняя точка будет для потолочного светильника, который запитывается по своей ветви.

- Детская.
Согласно ПУЭ в детских учреждениях высота розеток и выключателей должна быть как минимум 180 см от линии пола. Однако это требование не касается детских комнат в квартирах.
Опасаетесь, что ваш малыш будет играть с розеткой? Чтобы не допустить неприятных ситуаций, установите в детской комнате розетку с защитным диском. Она имеет крышечку, которую вы закрываете на специальный ключ. Так ваше чадо точно не причинит себя вред.

- Жилые комнаты.
Чтобы запитать потолочные светильники, а также две группы розеток в жилой комнате, воспользуйтесь формулой 2N+1 ветвь, где N — число комнат.
Разберем этот случай подробнее на примере замены электропроводки в трехкомнатной квартире:
- Гостиная — 1 ветвь основной розеточной группы, 1 — дополнительной группы, 1 —осветительная ветвь.
- Спальня — 1 ветвь основной группы, 1 осветительная ветвь. Запитывание дополнительной группы происходит через стену от дополнительной группы гостиной.
- Детская — 1 ветвь основной группы, 1 осветительная ветвь. Запитывание дополнительной группы происходит через стену от дополнительной группы спальни.
- Дополнительную группу кухни запитываем от спальни или детской комнате, в зависимости от планировки квартиры.

Для замены электропроводки в двухкомнатной квартире (как и в трехкомнатной) потребуется от 12 до 15 ветвей, в том числе и для кондиционера.
Для него ветвь должна оканчиваться розеткой, несмотря на то, что кондиционер представляет собой стационарное оборудование. Делается это, во-первых, в целях безопасности и комфорта, а во-вторых, потому что у климатического оборудования есть штатный литой шнур. Если вы обрежете его, то гарантия на сервисное обслуживание закончится.
Правила техники безопасности при замене электропроводки в квартире
- Производить замену электропроводки в квартире необходимо строго инструментами с изолированными ручками, используя прорезиненные перчатки.

- Штробить стены нужно с использованием козлов, стремянки с горизонтальным упором. Не рекомендуется брать для работы обыкновенную стремянку, так как с нее можно упасть.

- Проводить работы можно строго соблюдая ПУЭ и правила безопасности. Конечно, невозможно полностью перечислить их все. Однако мы приведем перечень основных ошибок, которые может допустить непрофессионал. Обратите внимание на следующие моменты, чтобы избежать возникновения проблемных ситуаций во время работы с электропроводкой.
Наиболее часто встречающиеся ошибки:
- Ни в коем случае нельзя устанавливать автоматические выключатели, предохранители в нулевых рабочих и заземляющих проводниках.
- Проводку сети 220 В нужно выполнять трехфазным проводом: 1 провод — фазный, 1 провод — нулевой, и 1 провод — заземление.
- Исходя из пункта 7.1.37 ПУЭ, устанавливать розетки в ванной комнате, душевой или в бане запрещено. Кроме того, пункт 7.1.39 не допускает также размещение в этих комнатах выключателей.
- Соединять провода можно при помощи пайки, опрессовки, сварки или болтовым соединением.
- Соединять провода следует с запасом, чтобы можно было произвести повторное соединение, если это потребуется.
- Обязательно необходимо заземлить металлические части проводки: короба, лотки, горфированные шланги.

Также производить замену электропроводки в квартире необходимо с соблюдением следующих правил:
- Электропроводка должна быть размещена либо горизонтально, либо вертикально. В противном случае шансы повреждения проводки сильно увеличиваются.
- Размещайте выключатели и розетки на одной высоте.
- Нельзя допускать пересечения проводов.
- Запрещается размещать розетки и электропроводку рядом с отопительными приборами, а также системами водоснабжения.

Производить замену электропроводки в квартире своими силами — тяжелый труд. Если умеете читать и составлять схемы электроснабжения, то можете смело начинать работу. Однако в противном случае рекомендуется обратиться за помощью к специалистам.

Сколько стоит замена электропроводки в квартире
При замене электропроводки в квартире, стоимость работ зависит в первую очередь от того, какие розетки и выключатели вы планируете сделать — скрытые или наружные. В первом случае проводку (а также розетки, выключатели) выполняют с помощью штробления стен. Во втором случае используется кабель-канал, гофру и тому подобное.
Вы определились и собираетесь прятать провода? Тогда важно знать, что штробление подразумевает под собой проведение черновых работ, которые необходимо выполнить до чистовой отделки (шпатлевание, поклейка обоев). В то время как проведение наружной проводки никак не отразится на отделке в помещении.

При замене электропроводки в квартире цена работы зависит от следующего:
- Технологии прокладки проводки (розеток и выключателей): скрытая или наружная.
- Число групп (автоматов), которое определяется количеством комнат и, соответственно, розеток.
Итак, вы решили, как будете прокладывать электропроводку. Затем нужно посчитать требуемый метраж штробы или кабель-канала. Кроме того, немаловажную роль играет материал вашего дома — бетонные плиты или же кирпич.
Если вы решили пригласить для замены электропроводки в квартире специалистов, стоимость работы просчитывается индивидуально. Для этого мастеру необходимо увидеть проект, посмотреть «поле работы», согласовать сроки, оплату и тому подобное.

Сотрудничать с Компанией «Мой ремонт» – это надежно и престижно.
Специалисты, работающие здесь, – это профессионалы высочайшего уровня. Компания «Мой Ремонт» работает по всей Москве и Московской области.
myremontnow.ru
Заказать замену электропроводки в квартире в Москве в компании «МосЭлектрика»
Меню- О компании
О компании
Назад
- Регионы работ
- Галерея
- Отзывы
- Электрики
- Сертификаты
- Услуги
Услуги
Назад
- Все услуги
Все услуги
Назад
- Замена автомат
Замена автомат
Назад
- Замена автомат
- Замена УЗО
- Установка розеток
Назад
- Установка розеток
- Установка телефонных розеток
- Установка интернет-розетки
- Установка наружных розеток
- Установка розеток TV TF
- Установка внутренних розеток
- Установка люстры
Назад
- Установка люстры
- Настенные светильники
- Установка светодиодных светильников
- Установка армстронг
- Установка светильников и люстр
- Установка светодиодной ленты
- Установка точечных светильников
- Монтаж электропроводки
Назад
- Монтаж электропроводки
- Демонтаж электропроводки
- Диагностика электропроводки
- Монтаж наружной проводки в трубах
- Монтаж проводки под полом
- Монтаж проводки по потолку
- Монтаж проводки в штробе
- Монтаж распределительного щита
- Монтаж ретро-проводки
- Прокладка электрокабеля в квартире
- Прокладка силового кабеля
- Разводка электрики
- Ремонт проводки
- Установка распаечной коробки
- Внутренний монтаж
- Замена электропроводки в квартире
- Перенос розеток
- Подключение духового шкафа
- Подключение вытяжки
- Прокладка кабеля в гофре
- Прокладка сетевого кабеля
- Прокладка тв-кабеля
- Установка бра
- Установка диммера (реостата)
- Установка электросчетчиков
- Установка щитков
- Установка теплого пола
- Установка выключателей
- Установка звонка
- Замена розеток
- Прокладка телефонного кабеля
- Подключение двухклавишного выключателя
- Установка проходного выключателя
- Установка наружного (накладного) выключателя
- Установка внутренних выключателей
- Замена автомат
Замена автомат
Назад
- Электромонтаж в домах
Электромонтаж в домах
Назад
- Электромонтаж в домах
- Электромонтаж в бане
- Электромонтаж на даче
- Наружная проводка в деревянном доме
- Открытая проводка в деревянном доме
- Скрытая проводка в деревянном доме
- Электрика в деревянном доме
- Электромонтаж дома из бруса
- Монтаж электрики в кирпичном доме
- Монтаж электропроводки в каркасном доме
- Электромонтаж в коттедже
- Электрика в деревянном доме под ключ
- Электромонтаж в загородном доме
- Электромонтаж в квартирах
Электромонтаж в квартирах
Назад
- Электромонтаж в квартирах
- Электрика в четырехкомнатной квартире
- Электромонтаж блока «Туалет-Ванная-Кухня»
- Электрика в двухкомнатной квартире
- Электромонтаж на балконе
- Электромонтаж на кухне
- Электрика в однокомнатной квартире
- Прокладка электрики в новостройке под ключ
- Ремонт электропроводки в квартире в Москве
- Электрика в трехкомнатной квартире
- Электромонтаж в хрущевке
- Замена проводки в одной комнате
- Электромонтаж в коридоре
- Электромонтаж в панельном доме
- Электромонтаж в п
- Все услуги
Все услуги
Назад
www.mos-elektrika.ru
Замена электропроводки в квартире. Этапы замены электропроводки
Проводка квартир домов, построенных в 60-х годах прошлого столетия, рассчитывалась с учетом нагрузки до 1 кВт для городов, население которых не превышало миллиона жителей, и 1,5 кВт для городов с более, чем миллионным населением.
Современную квартиру невозможно представить без микроволновки, водонагревателя, холодильника, кондиционера мощность которых часто превышает 1,5 кВт, не говоря уже о каминах, теплых полах или современных электроплитах, мощность которых достигает 10 кВт.
Как видно, пределы современной нагрузки на электропроводку, по сравнению с той, которая была полвека назад, увеличились в несколько раз. Тем более, что гарантийные сроки эксплуатации электропроводки не превышают 20 лет – потом ее изоляция начинает разрушаться, что может стать причиной возгорания электропроводки.
Раньше для электропроводки в домах преимущественно использовался алюминиевый провод с одинарной изоляцией (АППВ), ведь алюминий намного дешевле меди. Алюминиевая проводка, по сравнению с медной, гораздо хуже выдерживает продолжительные токовые нагрузки. Очень часто современными стандартами применение алюминиевой проводки, по причине недолговечности и малой надежности, не допускается.
Неправильная эксплуатация электропроводки, когда превышается ее номинальная мощность, приводит к значительному снижению ее срока службы, а также может стать причиной короткого замыкания.
План или схема электропроводки
Перед заменой электропроводки, необходимо составить масштабный чертеж или схему квартиры, на котором нанести точки установки выключателей, розеток, осветителей.

Гораздо удобнее, когда все потребители будут разбиты на группы:
- — освещение;
- — розетки;
- — электроплита;
- — санузел.
От распределительного щита к каждой группе должен быть проложен свой кабель. Такая схема, в случае выхода из строя одной из групп, обеспечивает работу остальных. При этом можно сэкономить на проводе: чем он толще, тем дороже. Если вести один толстый кабель, то ответвления придется делать в распределительных коробках, а большое количество соединений снижает надежность проводки.

Не стоит к одной группе подключать всю проводку. Ванную комнату рекомендуется подключать отдельной линией, так как она представляет собой помещение с высокой вероятностью поражения электричеством. Эту линию лучше оборудовать дифавтоматом или УЗО.
Как выбрать автомат?
Кроме УЗО, рекомендуется замена входных автоматов в распределительном щите. Выбирая автоматические выключатели, необходимо пользоваться правилом: для освещения ставится автомат типа В номиналом 10 А, на розетки – 16 А.
Тип автомата определяется исходя из характера нагрузки. В квартирах не устанавливаются мощные электрические двигатели, поэтому выбираются автоматы общего назначения.
Как выбрать провода?
Провода – это сердце электропроводки. В большинстве случаев старая проводка в наших квартирах является алюминиевой. В любом случае нужно производить замену электропроводки на новую (желательно на медную), ведь с течением времени изоляция проводки трескается, при этом сами алюминиевые провода быстро окисляются, они являются очень хрупкими на изгибах.
Вместо алюминиевых необходимо устанавливать медные провода, у которых гораздо меньшее удельное сопротивление (они намного лучше проводят ток). Также медные провода более гибкие и удобные при монтаже (они хорошо паяются).
| Не рекомендуется новые медные провода соединять со старыми алюминиевыми. Эти два металла обладают различными химическими свойствами, поэтому в местах таких соединений начинается процесс окисления, который разрушает контакт. |
Итак, необходимо определить, проводом какой марки будет проложена электропроводка квартиры. Очень распространенным для этих целей является провод марки ВВГ, а также негорючий провод ВВГ НГ.
Розетки необходимо запитывать трехжильным кабелем (фаза, ноль, защитное заземление) сечением не меньше 2,5мм2. Освещение может быть запитано двухжильным проводом ВВГ сечением 1,5 мм2. Проводка для электроплиты прокладывается трехжильным кабелем, сечение которого должно быть не меньше 4 мм2.
Провода соединяются несколькими способами:
- — скруткой;
- — с помощью клемм;
- — пайкой.
Традиционным способом соединения проводов является скрутка, однако не каждый сможет сделать такое соединение качественно.
Намного надежнее соединение с помощью пайки, но этот процесс слишком долгий.

Использование клеммников – компромиссный вариант между скруткой и пайкой.

Как удалить старую проводку?
В первую очередь необходимо в щите выключить пакетный выключатель, чтобы обесточить квартиру. Только после этого можно демонтировать приборы и старые провода.
Демонтировать провода следует начинать от распределительных коробок. Обычно их крышки находятся на стенах под потолком. Открывая их, нужно найти вводный провод – его нужно обрезать и изолировать.
Далее удаляются все провода. Если же провод не поддается удалению, его нужно обрезать и изолировать.
Прокладка новой проводки
После удаления старой проводки можно начинать прокладывать новую. В квартирах, как правило, используется скрытая проводка, под которою в стенах необходимо сделать штробы с помощью перфоратора или дискового инструмента.
| Штробы должны быть параллельными или перпендикулярными плоскости пола – проводка ни в коем случае не прокладывается по диагонали! Так делается для того, чтобы потом случайно не попасть в проводку гвоздем или сверлом, вешая картину или, скажем, полку. |

Распределительные коробки, выключатели и розетки устанавливаются в углубления в стене соответствующих размеров. Их проще всего сделать с помощью специальных коронок для перфоратора.
Также можно по заранее намеченному кругу насверлить отверстия, после чего доработать углубление с помощью зубила. Нет необходимости придавать этим отверстиям идеальную форму – штукатурка все исправит.
Прежде чем делать углубления под розетки и выключатели, необходимо подумать о высоте их установки. Выключатели обычно устанавливаются на высоте около одного метра, а розетки – 30 см от уровня пола. Однако никакие стандарты не оговаривают высоту их монтажа, здесь главное – удобство обитателей жилища.
Проверка качества выполненных работ
После укладки электропроводки и закрепления в каналах стены, необходимо смонтированную линию проверить на отсутствие коротких замыканий. Для этого обычно используется комбинированный прибор, часто называемый тестером.

Только после проверки отсутствия короткого замыкания в проводке линия может быть подключена к напряжению. После этого проверяется работоспособность всех светильников и розеток с помощью того же тестера или фазового индикатора. По завершению поверочных работ можно заделывать каналы штукатурным раствором. Замена электропроводки в квартире готова.
Понравилась статья — сохрани на стену!
electricvdome.ru
Замена электропроводки в квартире своими руками: видео, схема, фото
Замена электропроводки в квартире чаще всего осуществляется во время капитального ремонта. Необходимость поменять старую линию вызвана тем, что она не предназначена для современных электроприборов. При возведении панельных домов старого образца (хрущевок и сталинок) на каждую квартиру выделялась сеть, способная выдержать нагрузку в 3 кВт, чего очевидно мало для современных бытовых нужд. Далее мы подробно рассмотрим все этапы работ по замене проводки, а также наглядную видео инструкцию, в которой подробно рассмотрен весь процесс.
Этап 1 – Определяемся с фронтом работ
Первое, с чего нужно начать — eзнать в управляющей компании или энергосбытовой организации, можно ли увеличить выделенную мощность, поскольку замена проводки без увеличения выделенной мощности не решит проблему выбивающего автомата при включении стиралки и электрочайника. Даже если в увеличении выделенной мощности вы получили отказ, всё равно рассчитывайте проводку под необходимую нагрузку и прокладывайте трёхпроводную схему на случай реконструкции вашего дома и замены стояка с организацией заземления в квартире.
Далее вы должны определить, полностью ли поменять линию или только определенные участки. Тут, конечно же, дело Ваше, но с уверенностью можно сказать, что постройки 60-х годов применяли для создания электросети алюминиевый проводник небольшого сечения, скорее всего без заземления. Такой вариант крайне опасный и даже не подлежит частичному восстановлению, поэтому лучше один раз полностью заменить проводку в квартире своими руками и быть спокойным.
Если проводники в таком состоянии, квартирную электропроводку нужно обязательно поменять:


Также Вы должны оценить свои силы и решить, самостоятельно ли будут осуществляться замена проводки в квартире или все-таки вызов специалиста потребуется. Тут уже палка с двух концов. С одной стороны, особых сложностей в разводке линии нет, но с другой стороны потребуется специальный инструмент, расчеты и определенные навыки работ с электричеством. Если Вы все же желаете испытать свои силы, далее мы подробно рассмотрим все этапы работ в виде пошаговой инструкции.
Сразу же рекомендуем просмотреть этапы замены электропроводки на видео:
Наглядный пример электромонтажных работ
Этап 2 – Определяемся со схемой и материалами
Теперь непосредственно переходим к расчетным работам. Для начала Вам необходимо самому составить схему проводки, на которой будут указаны места установки новых выключателей, розеток, распределительных коробок и мощной бытовой техники, которая будет запитываться напрямую (к примеру, электрическая плита).
Рекомендуем перед началом замены просмотреть схему электропроводки в однокомнатной квартире, на которой предоставлен простейший вариант вывода группы освещения и розеток по всем комнатам. Далее на основании схемы нужно подсчитать количество материалов, одновременно выбирая наиболее подходящие характеристики.
Сразу же следует отметить, что в квартире применяется монтаж скрытой проводки, что связано с множеством нюансов: электробезопасность, влияние на интерьер комнат, пожаробезопасность и т.д. В то же время заменить электропроводку в квартире своими руками на открытую никто не запрещает, все зависит от Ваших предпочтений и сил.
Советуем придерживаться следующих рекомендаций, чтобы выполнить замену проводки грамотно:
- Кабель – медный, трехжильный, сечением не менее 2,5 мм2 для розеточной группы, 1,5 мм2 для светильников и 4 мм2 для мощных электроприборов. Рекомендуем осуществить расчет сечения кабеля, чтобы точно определить подходящий диаметр жил. Что касается марки, лучше отдавать предпочтение дорогому иностранному изделию маркировки NYM. Из отечественных, которые подешевле, советуем использовать ВВГ или лучше ВВГнг-LS.
- Защитная автоматика. Без нее не обойтись, т.к. обязательно при замене электропроводки в квартире необходимо защитить проводку от утечек тока, короткого замыкания и перегрузок. Для этого используется УЗО и автоматический выключатель (либо совмещенный прибор – дифавтомат). Автомат и УЗО имеют различные характеристики, которые выбираются исходя из нагрузок на линию. К примеру, для трехкомнатной квартиры, на розетки принято устанавливать автоматы на 16А , для освещения – 10А, для мощной электроплиты – 32А. Номинал вводного автоматического выключателя на распределительном щитке указывается в договоре на электроснабжение, т.к. ограничивается выделенной мощностью. Устройство защитного отключения ставят на номинал выше автомата. Из производителей советуем отдавать предпочтение лидирующим компаниям – ABB, Schneider Electric и Legrand.

- Распределительные коробки для квартиры выбираются исходя из разветвленности групп и сечения всех проводников. Прямоугольные и квадратные коробки более вместительные, но круглые значительно проще в установке.
- Розетки должны быть с заземлением, для защиты от детей приобретайте изделия со специальными шторками, которые предотвратят попадание посторонних предметов внутрь. Обращайте внимание на маркировку продукции, чтобы розетка могла выдержать токовые нагрузки, иначе проблем в дальнейшем не избежать при подключении мощной бытовой техники.
- Скрутки запрещено использовать, перечень разрешенных соединений приведен в ПУЭ 2.1.21 (Глава 2.1 ПУЭ), мы же их перечислили в следующем пункте.
- Жилы проводов и кабелей можно соединять с помощью винтовых и пружинных зажимов и клеммников, сваркой, пайкой, болтами, при помощи опресовки. В настоящее время одним из наиболее удобных и популярных видов соединения являются клеммники ваго, они отлично подходят для большинства случаев и просты в использовании. Обжимка гильзами неплохой вид соединения, но требуется специальный инструмент. Тем не менее самым надежным соединением являются сварка и пайка, но и наиболее трудоёмким. Подробнее с этим вопросом можете ознакомится в статье https://samelectrik.ru/sposoby-soedineniya-provodov-v-raspredelitelnoj-korobke.html
- К выключателям особых требований не предъявляются, главное чтобы они были удобными и безопасными. Среди всех видов выключателей света популярностью пользуются клавишные и диммеры.
Подсчитав количество всех материалов для электромонтажа и выбрав наиболее подходящие модели изделий, со списком идите в магазин за покупками, после чего переходите к замене проводки в квартире.
Этап 3 – Демонтируем старую линию
Теперь можно заменить старую электропроводку. Для этого обязательно отключаем электроэнергию на вводе в квартиру, убираем всю мешающую мебель и начинаем разрушать отделку стен.
Замена электропроводки в квартире осуществляется от распределительных коробок в каждой из комнат. Обнаружить эти электрические «точки» можно по пластиковым крышкам в стене либо выделяющимся контурам сквозь обои. Крышка скручивается, после чего все скрутки разъединяются, а старый кабель аккуратно освобождается из зашпаклеванных штроб. Также найти провод в стене можно с помощью самодельного металлоискателя, который создается из подручных средств за считанные минуты.
Обращаем Ваше внимание на то, что в некоторых местах линию невозможно демонтировать со стены без существенных повреждений конструкции. В этом случае можно обойтись без штробления, если обрезать проблемный участок и тщательно заизолировать, оставив в старой штробе!
Этап 4 – Прокладываем новую проводку
Теперь самое главное – нужно самостоятельно заменить электропроводку в квартире на новую, более надежную.
Мы не будем подробно останавливаться на данном этапе, т.к. подробно монтаж электропроводки в квартире мы рассматривали в соответствующей статье.
Когда замена квартирной проводки будет завершена, обязательно необходимо сфотографировать разводку кабеля по стенам. Делается это для того, чтобы при возникновении проблем, можно было запросто найти поврежденный участок по фото.
Замазывать штробы раствором не торопитесь, делать это нужно после того, как вся проводка будет проверена на работоспособность.
На видео ниже наглядно демонстрируется пример новой проводки в квартире, после замены:
Готовая электропроводка
Этап 5 – Контрольная проверка
Ну и последнее, не менее важное мероприятие – прозвонка новой проводки в квартире мультиметром. Данное устройство позволит определить работоспособность электропроводки и наличие короткого замыкания, если вдруг Вы что-нибудь не так подсоединили. Если прибор не показал ошибок, значит можно подключать готовую линию к вводному щитку и проверять работоспособность всех светильников, выключателей и розеток. О том, как выполняется прозвонка кабеля, мы рассказывали в отдельной статье.
Если все элементы цепи работают, снова отключите электроэнергию и переходите к заделке штроб. На этом замена электропроводки в квартире своими руками считается завершенной. Как Вы видите, мероприятие довольно трудоемкое и требует навыков, но все же при огромном желании и внимательности можно самостоятельно осуществить электромонтаж. Надеемся, наша пошаговая инструкция была для вас полезной и понятной!
Напоследок рекомендуем просмотреть видео, благодаря которому станет понятно, стоит ли менять старую проводку в квартире или можно обойтись частичной заменой электросети:
Плюсы и минусы замены проводки
Материал по теме:
samelectrik.ru
пошаговая инструкция, видео, фото, схема

Многие дома городов нашей страны строились, начиная с пятидесятых годов прошлого века. Массовая застройка проводилась в 60-80-ые годы. На тот момент требования к монтажу электрической проводки квартир носили совершенно другой характер, чем современные требования. Развитие современных технологий и рост разнообразия бытовой техники привело к тому, что в наших домах появились:
- стиральные и посудомоечные машины
- микроволновые печи
- электрические духовки
- электрические бойлеры
- системы кондиционирования
- теплый пол и другое.
Все это требует большого одновременного потребления электрической энергии, которое не может обеспечиваться электропроводкой старого образца.
Старая электропроводка в квартире — причина возникновения пожаров!

Несоответствие сечения и мощности электропроводки квартиры к потребляемой мощности может привести к поломкам электробытовой техники, нагреванию проводки, короткому замыканию и даже пожару.Для того чтобы избежать подобных ситуаций, необходимо задуматься о замене электрики в квартире.
Ремонт проводки ведет к значительным материальным затратам, включающим затраты на материалы и на работу. С целью экономии можно часть или весь объем работ выполнить самостоятельно. На материалах экономить не рекомендуется, так как от их качества зависит безопасность эксплуатации электробытовых приборов квартиры.
Если все работы по монтажу проводки планируются без привлечения сторонней помощи, то необходимо определить перечень работ, их последовательность, особенности каждого этапа.

Обязательно посмотрите нашу пошаговую видео инструкцию о замене старой электропроводки в квартире своими руками от щитка!
Этапы работ по монтажу новой проводки в квартире от щитка:
- Составление плана разводки электрической проводки всей квартиры.
- Расчет необходимого количества всех материалов. Калькуляция затрат на замену электропроводки. Приобретение материалов.
- Демонтаж старой проводки и аксессуаров.
- Прокладка новой проводки, подключение осветительных приборов, розеток, выключателей, электробытовых приборов.
- Ввод в эксплуатацию, подключение новой электропроводки.
Как заменить старую эл проводку в квартире своими руками от щитка? С чего начать прокладку проводки в квартире?
Перед тем, как приступить непосредственно к работе по прокладке новой проводки в квартире, запаситесь специальным инструментом, оборудованием, мешками для мусора, чтобы в процессе работы не тратить время на поиск нужных инструментов.
В работе вам понадобятся:
- тестер
- отвертки
- плоскогубцы
- кусачки
- монтажный нож
- рулетка
- изолирующая лента
- молотки
- перфоратор с различными сверлами и коронками разных размеров
- пассатижи
- уровень
- простой карандаш.
Разнообразие используемого инструмента может значительно облегчить труд.
Также нелишним будет изучение разных статей по прокладке электропроводки и советов практикующих электриков. Это поможет избежать простых ошибок и сократить время работ.
Схема разводки электропроводки в квартире

На этом этапе составляется план разводки электрической проводки каждого помещения, на ней отмечаются места монтажа розеток, выключателей, осветительных приборов, рассчитывается потребляемая мощность всех бытовых приборов, планируется запас мощности для каждого помещения.
Данный этап носит важный характер. Здесь должна учитываться любая мелочь: сколько розеток и для чего должно быть предусмотрено в каждой комнате, где удобнее расположить источники света. Если пропустить какую-то деталь, то в лучшем случае вы получите лишние розетки и соответственно затраты, а в худшем – неисправность работы электрической проводки. Будет обидно, если после окончания ремонта появится необходимость делать любые изменения и доработки в электрике квартиры.
Отличный пример схемы разводки электропроводки в трёхкомнатной квартире

При составлении плана разводки электрики нужно учитывать размещение всех бытовых устройств, а, так же мебели в помещениях. Каждое устройство имеет свою потребляемую мощность. Составляя схему, учитывайте это в каждом помещении. Суммируйте потребляемую мощность, в случае необходимости для мощных приборов предусмотрите отдельный кабель.
Не существует каких-либо норм по установке выключателей и розеток по высоте. Их следует устанавливать исходя из удобства использования. Исключения составляют помещения ванной комнаты и кухни. Здесь расстояние от розетки до источника воды должно превышать 1 м.
Все типы потребления электроэнергии (освещение, электрические точки, кондиционер, электрический бойлер) целесообразно разделить на группы. Каждая группа должна иметь свой кабель питания, проведенный от электрического щитка. В таком случае ванную комнату и кухню можно выделить в отдельные группы. Каждая группа имеет разную мощность потребления, поэтому могут использоваться кабели различной мощности и сечения. Это позволяет экономить средства, приобретая для отдельных групп провода с пониженной мощностью. К тому же, неисправности работы одной группы не влияет на работу остальных групп квартиры.
Выбор и приобретение материалов

Правильно составленная схема разводки и план работы помогут достаточно точно рассчитать необходимое количество всех материалов. Нужно устанавливать УЗО и новые входные автоматы в распределительном щитке, а также заменить сам щиток. При выборе автоматов следует учитывать характер нагрузок. Так как в квартире планируется использование только бытовых приборов, то лучше выбирать автомат общего назначения.
Особое внимание следует уделить выбору проводов. Раньше проводка в квартирах делалась в основном с помощью алюминиевых проводов в изоляции. Со временем изоляция высыхает, алюминий начинает окисляться, ломаться на изгибах провода. Поэтому лучше использовать провода с медным основанием. Они обладают лучшей электропроводностью, более эластичны на изгибах, паяются без проблем.
Провода с медным окончанием — идеальный выбор для вашей квартиры!

Для розеток, освещения и под конкретные виды техники могут подбираться разные провода. Их следует соединять спайкой, скруткой или при помощи клемм. Не используйте алюминиевые и медные провода в одной квартире. Места соединения таких проводов являются недостаточно надежными, со временем могут привести к неисправности проводки в помещении.
К выбору материалов следует относиться очень внимательно. Работы по замене электрики в квартире, как правило, проводятся один раз за несколько десятилетий. И связаны они с дорогостоящим капитальным ремонтом квартиры в целом. Поэтому важно выбирать только качественные компоненты для монтажа электрической проводки в квартире жилого дома. В то же время, имея на руках схему разводки электрики, можно точно определить, на чем можно сэкономить. Закупка всех необходимых материалов будет достаточно масштабной. Это позволяет рассчитывать на оптовые цены у поставщиков. В том случае, если вы хотите сэкономить на материалах, проанализируйте рынок производителей, узнайте цены у разных поставщиков, пообщайтесь с менеджерами магазинов на предмет скидок. Покупайте материалы только проверенных производителей у официальных дилеров. Это поможет избежать подделок и материалов низкого качества.
Порой последствия экономии на материалах оказываются довольно плачевными.

Демонтаж старой проводки

Для начала следует обесточить квартиру, выключив электричество в щитке. Затем можно приступить к демонтажу розеток, выключателей, распределительных коробок и самих проводов. Перед тем, как начать работы по удалению старых проводов и оснастки, проверьте тестером отсутствие напряжения в каждой точке. Удаляйте провода, начиная с распределительных коробок. Отсоедините все провода от входного кабеля, заизолируйте его и приступайте к демонтажу старой проводки. Бывают случаи, когда достаточно сложно извлечь провод из стены, например, когда в панельных домах провода заложены в бетонную стену. В таких ситуациях край провода следует заизолировать и оставить в стене.
В целом демонтаж проводки не вызывает особых трудностей. Важно правильно подобрать инструмент и четко соблюдать последовательность работ. После того, как будут убраны все провода можно демонтировать электрический щиток или вводные автоматы. Если для них предусмотрено углубление в стене, то его возможно использовать для нового щитка.
Выполняя демонтаж старой проводки, не увлекитесь. Оставьте пару рабочих розеток или проведите временный провод от распределительного щитка. Оставив полностью квартиру без электричества, вы не сможете дальше выполнять ремонтные работы. Этот момент должен быть продуман заранее.
Еще один совет. Очищайте квартиру от ненужных материалов и мусора после каждого этапа работ. Это значительно облегчает поиск необходимых материалов и проведение работы в целом.
Монтаж новой электропроводки

Перед тем, как приступить непосредственно к прокладыванию кабелей, на стенах и потолке квартиры нужно сделать всю необходимую разметку. Она должна соответствовать составленной схеме разводки. На этом этапе возможно еще вносить какие-либо изменения в свою схему разводки электрики. Разметка на стенах более наглядно показывает размещение всех электрических точек, чем обозначения в схеме разводки проводки.
Подготовка стен для прокладки кабелей и монтажа розеток занимает, обычно, достаточно много времени и требует определенных усилий. Важно, чтобы под рукой находился весь необходимый инструмент, который может значительно облегчить труд.
В квартирах, чаще всего, предусмотрен скрытый способ прокладывания электрических проводов. Он предусматривает штробление стен и закладывание проводов в полученные каналы. Всю проводку следует прокладывать строго параллельно и перпендикулярно линии пола. Это правило позволяет избежать случайного повреждения электропроводки в случае дальнейшей необходимости сверления стен. Для распределительных коробок, розеток и выключателей необходимо подготовить специальные углубления в стене нужных размеров.
В редких случаях электрические провода в квартире прокладываются открытым способом, в специальных кабель каналах. Это делается в том случае, если старая проводка не функционирует или небезопасна для использования, а капитальный ремонт квартиры не планируется в ближайшее время. Такой способ монтажа используется чаще в офисах и производственных помещениях. Но если, все же, возникла необходимость такого метода монтажа электропроводки в квартире, он значительно упрощает все работы и сокращает необходимое время монтажа.
Прокладка электропроводки открытым способом в кабель каналах в больнице

Если все подготовительные работы будут проведены правильно, то можно приступать к монтажу проводки: прокладывать все линии (каждую ветвь, как указано в плане), устанавливать распределительные коробки, коробки для розеток, выключателей, монтировать автоматы и щиток. Провода в стене лучше прокладывать в специальной трубе или гофре, а затем фиксировать их гипсовым раствором. В щитке перед установкой автоматов провода лучше маркировать, отметив на них каждую группу. Это поможет в дальнейшем избежать какой-либо путаницы.
Когда все провода будут проложены, можно начинать устанавливать и подключать розетки, выключатели и все осветительные приборы.
Ввод в эксплуатацию,подключение новой электропроводки

Перед тем как подключить новую электросеть к напряжению, нужно проверить ее на отсутствие коротких замыканий в цепи. Если проблемы не обнаружены, подключайте квартиру к внешнему источнику электропитания. С этой целью лучше воспользоваться услугами электрика, отвечающего за электрообеспечение вашего дома.
После того, как квартира будет подключена к электропитанию, поочередно проверьте работоспособность всех розеток, выключателей и осветительных приборов. Если все работает, то монтаж был произведен правильно. После этого можно начинать проводить любые отделочные и ремонтные работы в квартире.
Как видите, объем работ достаточно большой и потребует определенных навыков и достаточного количества времени. Если все делать последовательно, то никаких трудностей не должно возникнуть. Но если вы все же сомневаетесь в своих силах, то обращайтесь за помощью исключительно к профессиональным электрикам. Они смогут частично или полностью выполнить монтаж новой электрической проводки вашей квартиры. Не экономьте на мелочах, чтобы в дальнейшем не тратиться на непредвиденный ремонт.
mrelektrik.ru
Как без проблем заменить проводку в квартире

Меняем проводку в квартире своими руками
Если вы решились на ремонт в месте своего постоянного проживания, то замена старой проводки в квартире должна стать для вас обязательным пунктом. Ведь дома, которые строились еще в советские времена, не были рассчитаны на современные нагрузки.
Поэтому, если, выполнив ремонт, вы не уделили должного внимания электропроводке, это может стать серьезной головной болью в дальнейшем.
Возможные варианты и схемы замены электропроводки
Выбор варианта прокладки электропроводки
Выбранный вариант схемы электропроводки по квартире во многом зависит от выбранного вами метода ее прокладки. На данный момент существуют два основных вида — это открытый и скрытый способ. Скрытый способ прокладки электропроводки предполагает укладку провода внутри стен с последующим их оштукатуриванием.
К преимуществам такого метода относятся:
- Экономия свободного пространства квартиры
- Полная скрытость всех токоведущих частей, которые не портят внешний вид вашей комнаты
- Отсутствие необходимости дополнительной защиты проводов от механических повреждений
- Более высокие степени допуска по нагрузке и перегрузке для любых проводов, проложенных скрытым способом
К недостаткам скрытого метода проводки можно отнести следующие параметры:
- Сложность и трудоемкость выполнения работ по прокладке провода
- Сложность определения неисправностей и ремонта скрытой проводки

Скрытая проводка
Вторым способом замены электропроводки является открытый метод. Условно его можно разделить на прокладку проводки в плинтусах и прокладку в кабельных каналах.
Конечно, еще существуют другие методы прокладки открытой проводки, но в квартирах они используются очень редко ввиду своей неприглядности.
К преимуществам замены электропроводки своими руками открытым способом можно отнести:
- Относительная простота монтажа
- Простота определения мест повреждения и ремонта проводки
- Простота прокладки дополнительной проводки для новых источников питания, а также внесение изменений в схему электроснабжения квартиры
Но и недостатков у открытого метода прокладки проводки достаточно много:
- Скрадывание свободного пространства наших и без того небольших квартир. При установке мебели дополнительные короба могут сильно мешать
- Если используется метод прокладки проводки в плинтусах, то количество возможных проводов очень ограничено. Это вносит существенные ограничения в варианты выбора схемы электроснабжения
- Провода при прокладке открытым способом требуют дополнительной защиты от механических повреждений и его изоляции друг от друга и от горючих поверхностей в целях пожарной безопасности. Из-за этого цена такой прокладки электропроводки несколько выше.
- Для открытой проводки несколько ниже параметры максимально допустимой нагрузки и перегрузки вследствие их худшего охлаждения.

Открытая проводка
Выбор схемы электроснабжения квартиры
На следующем этапе замена проводки в квартире подразумевает выбор схемы электроснабжения.
На данный момент существует два основных варианта:
- Первый, который наверняка использовался в вашем доме еще советской постройки, это прокладка одного основного провода от которого отходят все провода электроприемников квартиры. Этот метод не обеспечивает должную защиту электрической сети вашей квартиры. Ведь в случае повреждения даже одного участка, у вас обесточится вся квартира.
- Так же следует отметить, что согласно пункта 6.2.2 «Правил устройства электроустановок» (ПУЭ), групповые сети внутреннего освещения должны быть оснащены автоматическим выключателем не более 25 А. Это вносит определенные ограничения на суммарную мощность электроприборов в квартире.
Поэтому такую схему электропроводки советуют применять только для однокомнатных квартир или при открытом способе прокладке провода в плинтусах. Ведь проложить в плинтусах большое количество проводов для питания по другой схеме будет крайне проблематично. - Более распространенной сейчас является так называемая «европейская» схема электроснабжения. Она подразумевает наличие распределительного щитка и наличие автоматических выключателей для каждого отдельного потребителя.
Это может быть одна комната или один вид потребителей в комнате. Тут все зависит от предполагаемой нагрузки, ваших пожеланий по безопасности электросети и ваших финансовых возможностей.

На фото изображена «европейская» схема электроснабжения
Иногда можно встретить применение смешанных схем электропроводки. Это достаточно редкий случай, но он также имеет право на существование. Здесь все зависит от характера и вида нагрузок.
Расчет электропроводки
Так как заменить электропроводку в квартире панельного дома или любом другом месте нельзя без точного расчета, то на следующем этапе приступаем к расчетам.
Внимание: В первую очередь, нам необходимо определить возможные нагрузки на каждом участке электрической сети, защищенной автоматическим выключателем. Исходя из этих нагрузок, выбирается не только провод, но и сам автоматический выключатель.
Итак:
- Для определения нагрузки используем формулу ; где P – номинальная мощность электроприбора, а U – номинальное напряжение электрической сети. Исходя из этой формулы, для сети 220В можно принять, что 1кВт мощности электроприборов это 5 А нагрузки для провода.
При этом упрощенно можно принять, что медный провод сечением 1 см2 пропускает ток в 10А, а алюминиевый провод таким же сечением — 5А. Это, конечно, весьма упрощенный расчет, но в большинстве случаев его достаточно.
Обратим внимание! Для точного расчета необходимого сечения провода следует пользоваться пунктом 1.3 ПУЭ. Здесь вы найдете поправочные коэффициенты в зависимости от условий прокладки, методов прокладки, количества и сечения проложенных рядом проводов, поправочные температурные и перегрузочные коэффициенты, а также расчетные параметры для проводов с различной структурой изоляции.
- Сразу предупредим вас от наиболее частых ошибок. В первую очередь, обратите внимание, что сечение провода одного из присоединений не может быть больше сечения провода ввода. Автоматические выключатели должны соответствовать максимально допустимому току присоединения.

Таблица расчета сечения провода
Обратите внимание! При расчете не стоит учитывать работу всех электроприборов сразу, иначе это приведет к существенному удорожанию вашей электросети. Помните, любые электрические провода допускают кратковременную перегрузку до 10 – 15% на 1 час в сутки.
Советы и требования при монтаже электропроводки
Замена электропроводки в квартире выполняется только с соблюдением норм ПУЭ и элементарных правил. Привести все из них достаточно сложно, поэтому ниже мы приведем только наиболее частые ошибки не профессионалов, которые могут привести к проблемам в процессе эксплуатации.
Итак:
- Запрещена установка автоматических выключателей и предохранителей в нулевых рабочих и заземляющих проводниках.
- Проводка сети 220В должна выполняться трехфазным проводом, где 1 провод – фазный, 1 провод – нулевой и 1 провод – заземление.
- Согласно пункта 7.1.37 ПУЭ, установка розеток в ванных и душевых комнатах, а также банях не допускается. А, согласно пункта 7.1.39, в этих помещениях запрещено устанавливать выключатели.
- Соединение проводов должно производиться пайкой, опрессовкой, сваркой или же болтовым соединением.
- В местах соединения проводов необходимо предусмотреть запас, обеспечивающий повторное соединение.
- Металлические элементы электропроводки ( короба, лотки, гофрированные шланги) должны быть заземлены.

Прокладка проводки в плинтусе
Кроме того, замена эл проводки в квартире подразумевает соблюдение элементарных правил:
- Проводку проводов следует выполнять строго вертикально или горизонтально. Иначе вероятность последующего повреждения провода резко возрастает.
- Выключатели и розетки следует располагать на одной высоте.
- Следует избегать пересечения проводов.
- Не стоит располагать розетки и проводку слишком близко к отопительному оборудованию и системам водоснабжения.
Выводы
Наша нехитрая инструкция проведения работ по замене электропроводки позволит вам выполнить работы в полном соответствии с требованиями ПУЭ. При этом, произведя правильный выбор схемы и способа прокладки провода, вы наверняка сможете справиться со всеми работами в кратчайшие сроки и при минимальных затратах.
elektrik-a.su
