Жалюзи тряпочные – вертикальные и горизонтальные модели из ткани на окна, шторы-жалюзи в интерьере
Вертикальные тканевые жалюзи Лайн светло-бежевый на пластиковые окна
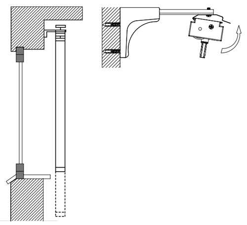
1. Разметка
Разметьте места крепления крепёжных элементов (защёлки или кронштейны с защёлками) на расстоянии не менее 60 см друг от друга.
Разметки для крепления к потолку «Armstrong» не требуются.
2. Крепление
Крепление к потолку или в оконный проём осуществляется саморезами при помощи защёлок. Этот способ крепления подходит для ровных потолков.

При креплении к стене используются кронштейны:
- стандартные кронштейны — 10.5 см;
- кронштейны специальные — 15, 20, 25, 30 см (по заказу).

Стандартного кронштейна достаточно для обхода препятствия (ручка окна, подоконник, батарея) до 5 см для свободного поворота ламелей. Чтобы обойти большее препятствие, нужны кронштейны 15, 20, 25, 30 см.
Выбор такого кронштейна осуществляется из расчёта размеров максимального препятствия +6 см.
Монтаж кронштейнов к стене осуществляется саморезами. Крепление защёлки к кронштейну — винтом и гайкой.
Крепление к потолку «Armstrong» не требует сверления. Защёлка кронштейна для потолков «Armstrong» снабжена специальным элементом, позволяющим использовать для монтажа устройство самого потолка.

3. Установка карниза
Закрепите карниз жалюзи в установленных защёлках. Проверьте надёжность крепления карниза.
4. Установка ламелей
Вставьте держатели ламелей в клипсы бегунков.

rulonki.com
Жалюзи вертикальные тканевые – и удобно, и практично
Жалюзи вертикальные тканевые — исключительный вид штор среди популярных современных солнцезащитных систем. Они смотрятся не так официозно, как, например, горизонтальные модели. Вертикальные тканевые жалюзи имеют уникальную способность – не только откорректировать, но и полностью изменить интерьер комнаты, внося в него элементы чарующей загадочности, неповторимой уникальности и необыкновенной привлекательности.

В интерьере
Огромная ассортиментная линия материалов, служащих основой для изготовления тканевых жалюзи, имеет образцы тканей полупрозрачных или вообще не пропускающих потоки солнечного света. Большой выбор изделий удовлетворяет любые предпочтения клиентов и пожелания к дизайнерскому оформлению вертикальных жалюзи. И практичные прагматики, и капризные хозяйки, и даже требовательные дизайнеры не в силах устоять перед их красотой, простотой и функциональностью. Что же делает тканевые жалюзи такими популярными и привлекательными?
Тканевые вертикальные жалюзи – это поистине гармония качества и эстетики.
Ранее жалюзи вертикальные в основном дополняли исключительно офисный интерьер, украшая окна служебных помещений. Сегодня ситуация изменилась. Их с охоткой используют в жилых интерьерах, причем как в сочетании с декоративными занавесками, так и индивидуально. Такое решение обусловлено функциональными особенностями штор. Они позволяют комнате наполниться мягкими рассеянными лучами солнечного света, а играя цветовой палитрой, можно придать всему интерьеру ощущение самодостаточности и завершенности.
Вертикальные тканевые жалюзи называют так потому, что их основу составляют тканевые вертикальные полосы, которые обработаны специальным составом, придающим ткани особую жесткость.
Функциональность данных штор зависит исключительно от особенностей ткани. Если вы хотите просто рассеять солнечный свет – выбирайте жалюзи из тонкой и прозрачной ткани. Если желаете создать в комнате мягкий полумрак – остановите свой выбор на тканях средней плотности. Если предпочитаете полное затемнение – выбирайте ткань непрозрачную. Уникальная конструкция вертикальных жалюзи позволяет выбирать самому их предназначение. С их помощью вы можете не только защитить себя от бликов ночного города, но и, наоборот, впустить в комнату яркие лучи солнца, сдвинув жалюзи к стене и открыв вид за окном.

Особенности конструкции
Тканевые вертикальные ламели в конструкции жалюзи связаны с тремя основными составляющими:
- верхним карнизом;
- цепочкой управления;
- связующей цепочкой внизу.
Тканевые жалюзи обладают рядом особенностей.
- Оригинальный внешний вид, позволяющий создавать комфортную, уютную и теплую атмосферу.
- Огромный диапазон регулирования ламелей позволяет плавно изменять попадание света в комнату.
- Богатая гамма цветов и фактуры позволяет выбрать шторы на любой вкус.
- Удобство при эксплуатации. Управление жалюзи осуществляется с помощью цепочной системы и шнура.
- Разнообразие креплений. Изделие может крепиться к стене или к потолку. При желании можно закрепить шторы и в оконном проеме.
- Элементы управления располагаются с любой стороны – как с правой, так и с левой. Можно использовать разнообразные варианты при открытии шторы, например, движение от механизма управления или к нему, от центра или к центру.
Совет
Учтите, что, если планируется устанавливать вертикальные жалюзи в оконный проем, следует заранее учесть ширину и высоту штору.
В идеале она должна быть меньше, чем оконный проем, на 1 сантиметр, а высота должна быть тоже меньше, но уже на 2 сантиметра, чем проем окна.
Если в комнате имеется ковровое покрытие или неровный пол, а вы выбрали жалюзи от пола до потолка, тогда высота шторы должна быть меньше на 4 сантиметра.

Разнообразие тканевых вертикальных систем
Отличаться ламели тканевых штор могут по:
- цвету (однотонные; комбинированные; жалюзи, имеющие форму волны; жалюзи лесенкой; с фотопечатью)
- фактуре ткани
- плотности материи
Ламели жалюзи могут быть:
- Ткаными (например, их основой могут служить натуральные природные материалы: хлопок, лен или шелк)
- Неткаными (основа материала изготовлена из полиэстера или стекловолокна)
В большинстве случаев ламели изготовляют из материала высокой прочности – полиэстера. Данное вещество имеет огромный спектр преимуществ, среди которых наиболее существенными являются устойчивость к воздействию солнечных лучей и легкая чистка.
Ширина ламелей бывает двух видов:
В соответствии с этим ламели делят на узкие и широкие.
Если в помещении большие окна или имеются перегородки между комнатами, зонирующие пространство, лучшим вариантом станет использование жалюзи с широкими ламелями. Если проемы узкие, выбирайте узкие ламели.
Оба варианта отлично вращаются в диапазоне 180 градусов, контролируя при этом степень освещенности комнаты. Влево, вправо, к центру и от центра – варианты открытия на ваш выбор. Технические характеристики – жалюзи их сильная сторона.
Вертикальные жалюзи с ламелями из ткани обладают следующими преимуществами.
- Удобство при эксплуатации. Отпадает необходимость стирки. Такие шторы не надо утюжить.
- Простотой механизм действия и надежность конструкции.
- Полный контроль над уровнем освещенности помещения.
- Надежная защита от попадания лучей яркого палящего солнца.
- Доступная ценовая категория.
Единственное, что может ограничить вас в использовании таких жалюзи в помещениях с высокими санитарными требованиями, это невысокая степень стерильности и неустойчивость к пыли.

Выбираем цвет
Цветовое решение для тканых вертикальных жалюзи не должно идти в разрез с общим дизайнерским оформлением комнаты. Гармония цвета творит чудеса.
Если вы выбираете однотонные тканевые жалюзи для гостиной или спальни, то шторы светло-зеленого цвета и соответствующих оттенков — идеальное решение. Кроме этого, они хорошо гармонируют с белыми обоями. Дополните комнату живыми цветами – и будьте уверены, что в ней вы будете чувствовать себя комфортно и расслаблено после тяжелых трудовых будней.
Комбинированные жалюзи могут соединять в себе ламели различных оттенков и даже фактур. Интересно, ярко выглядят модели, сочетающие в себе ламели красные, желтые и голубые. Такая цветовая комбинация – идеальный вариант для детской комнаты.
Имеются вертикальные жалюзи, края которых выполнены в форме волны. Их называют жалюзи-волна. Отличный вид для тех, кому надоело однообразие и скука в интерьере. Динамичность таких штор вносит в комнату игру света и тени. Легкие и воздушные жалюзи-волна нежно-сиреневого цвета добавляют помещению оригинальности.
Жалюзи лесенкой наполняют комнату уютом. Очень хорошо дополняют кухонный интерьер, позволяют использовать возможности арочного проема.
Жалюзи с нанесенной фотопечатью сделают любой интерьер уникальным. На кухню подойдут ламели с изображением цветов, овощей и фруктов. В гостиной отлично будут смотреться модели с изображением, например, Манхеттена. А любимые сказочные персонажи – лучший выбор для детской комнаты.

Простой уход
Очень важный аспект, на который обращает внимание большая часть покупателей, – это эксплуатационные возможности изделия. Что касается тканевых жалюзи, то здесь никаких проблем. Всего лишь раз в год уделите внимание внешнему виду, и они снова будут радовать глаз. Если нет возможности воспользоваться услугами специализированных фирм, не беда. Можно придать свежесть шторам в домашних условиях. Огромное разнообразие сильнодействующих моющих средств и ваша сноровка способны творить чудеса.
Соблюдайте порядок действий во время стирки, и ваши тканевые шторы будет невозможно отличить от новых.
- Снимите нижнюю цепочку.
- Выньте грузики.
- Снимите ламели с бегунков.
- Приготовьте мыльный раствор.
- Замочите тканевые полосы.
Внимание! Ни в коем случае не надо их тереть.
- После некоторого времени загрязнения исчезнут самостоятельно
- Ополосните ламели под потоком чистой воды.
- Повесьте ламели. Дайте возможность стечь воде.
В результате процедуры вы получаете чистые, сухие и ровные вертикальные жалюзи.
Вы обожаете инновационные идеи и шагаете в ногу со временем?
Тканевые жалюзи вертикального направления – яркое тому подтверждение. Они универсальны, практичны, функциональны. Отлично дополнят урбанистическую атмосферу служебных помещений и украсят оконные проемы таунхауса.
Тряпочные жалюзи
Жалюзи — практичное и привлекательное решение для современного интерьера, достойная альтернатива гардинам и портьерам из толстой тяжелой ткани. При этом важно знать, как выбирать тряпочные жалюзи, чтобы они смотрелись действительно стильно, служили украшением и важной составной частью интерьера. Об этом и пойдет речь в статье.
к содержанию ↑В чем их преимущества?
Жалюзи современного дизайна находятся на пике моды, а поэтому смотрятся гораздо привлекательнее традиционных штор.
Важно! Классические жалюзи как вертикального, так и горизонтального типа состоят из отдельных полос, называемых ламелями. Ламели соединены между собой. Пользуясь специальным шнуром управления, можно изменять угол поворота ламелей.
Плюсы стандартных жалюзи
Основные их преимущества:
- Удобство.
- Функциональность.
- Практичность.
- Экономия места в зоне окна.
- Простота ухода.
- Огромное количество вариантов и дизайнерских решений.
- Обеспечение равномерного освещения комнаты.
Очень популярны жалюзи из пластика, металла, дерева. Но мы поговорим об “одежде для окон” из текстиля, благо, вариантов более чем достаточно.
Некоторые скептики по-старинке утверждают, что если заменить привычные шторы современными тряпичными жалюзи, интерьер приобретет несколько официальный, “офисный” оттенок. Однако если подобрать жалюзи по фактуре ткани и оттенку, то они очень органично дополнят основной интерьер.
Важно! Есть и компромиссный вариант для консерваторов: жалюзи из текстиля прекрасно сочетаются и с “классикой” — гардинами и шторами.
Плюсы тканевых жалюзи
Жалюзи из текстиля обладают такими преимуществами:
- Свободный доступ к окну и подоконнику. У любителей комнатных растений появляется прекрасная возможность оформить окно по своему вкусу. Декор получается поистине великолепный.
- Защита от солнечных лучей. Если вы хотите отдохнуть в дневное время и спрятаться от назойливых солнечных лучей — опустите штору, и она прекрасно защитит вас от избытка света.
- Возможность регулирования прохождения света через окно.
- Хорошая сочетаемость современных тканевых жалюзи с традиционными видами занавесок.
- Нет необходимости в частых стирках и специальном уходе.
- Стильный вид, устойчивость у выгоранию и загрязнениям.
к содержанию ↑Важно! Как следует из приведенных преимуществ, приобретение тряпочных жалюзи 0 прекрасное денежное вложение в уют и комфорт дома. Они замечательно смотрятся во всех помещениях, в том числе и в детской, более чем уместны на кухне.
Рулонные жалюзи — что они собой представляют?
Устройство предельно простое: ткань, вал и подъемный механизм. При необходимости ткань опускается посредством механизма или наоборот — наматывается на вал, сворачиваясь в рулон (отсюда и название).
Различают управляющие механизмы следующих видов:
- Цепочный.
- Шнуровой.
- Пружинный.
- Автоматический.
Важно! Автоматизированным устройством можно управлять при помощи дистанционного пульта или переключателя настенного типа. При помощи такого механизма корректировка освещения становится совсем простым делом.
Закрепляют тряпичные жалюзи на стене, потолке или непосредственно в оконном проеме. Практика показывает, что удобнее всего, когда жалюзи крепятся на каждую оконную секцию отдельно. В этом случае окно можно беспрепятственно открывать или устанавливать на режим проветривания.
Важно! Если вы монтируете рулонные шторы на пластиковое окно, важно устанавливать их именно в оконный проем, чтобы не повредить стеклопакеты.
Ткань, которая применяется для изготовления рулонных штор, пропитывается составами с антибактериальным и водоотталкивающим эффектом. Материал устойчив к воздействию ультрафиолетового излучения, а если подобран со вкусом — замечательно дополняет интерьер комнаты.
к содержанию ↑Классификация
В зависимости от типа системы крепления, различают рулонные жалюзи открытого и закрытого типа:
- В “открытых” системах тряпочные жалюзи накручиваются на вал, прикрепленный к окну при помощи специальных уголков. Чтобы полотно висело прямо, в нижней части расположена планка-утяжелитель. Благодаря этой планке, материя равномерно распределяется в оконном проеме и не уходит в сторону.
Важно! Для регулирования естественного освещения комнаты применяется механизм цепочного типа. Это — простейшая система с минимальным количеством комплектующих. В то же время, работает она достаточно хорошо.
- Закрытая (кассетная) конструкция имеет более сложное строение. Такая система намного надежнее и практичнее открытой. Как и в открытой системе, ткань наматывается на вал, но он скрыт в коробе (кассете). Ткань защищена от пыли. Полотно движется по направляющим, в нижней части его прикреплена планка из алюминия.
к содержанию ↑Важно! Преимущество в том, что полотно хорошо зафиксировано. Зазоры между окном и тканью отсутствуют. Если окно поставлено на проветривание, то полотно не провисает.
Как правильно выбрать материал?
Выбор материи влияет на способность тряпичных жалюзи пропускать свет. Широкий ассортимент дает возможность приобрести изделия для всех комнат.
Важно! В зависимости от назначения комнаты, нужно подбирать ткань с определенной светопропускной способностью. К примеру, для спальни и детской желательны более плотные шторы, а для гостиной уместна ткань, лучше пропускающая свет.
Для тканевых штор-жалюзи чаще всего применяются такие виды тканей:
Важно! Иногда, при изготовлении изделий по индивидуальному заказу, применяются кожа и стеклоткань.
В зависимости от применяемого материала, различают такие виды рулонных штор.
- Шторы “dim-out”. Для их изготовления применяется полупрозрачная, легкая ткань. Они хорошо пропускают свет. Прекрасно подходят для домашней мини-оранжереи или зимнего сада.
- День-ночь. Изготавливаются из специальных тканей с чередованием горизонтальных полос, прозрачных и непрозрачных для света.
- Тряпочные жалюзи “black-out”. Полностью непроницаемы для света. Хорошо подходят для спальни или гостиной, если там расположен домашний кинотеатр.
к содержанию ↑Важно! Ткань может использоваться однотонная или с рисунками. Отдельно стоит упомянуть о принтах, нанесенных способом фотопечати. Это может быть морской, горный, городской пейзаж и даже семейная фотография.
Полезные советы по выбору:
- При установке конструкции на пластиковое окно рамы сверлить не рекомендуется. Специалисты советуют приобрести вместе с тряпочными жалюзи двусторонний скотч или специальный кронштейн.
- При выборе изделия обязательно учитывайте место монтажа:
- Если вы собираетесь устанавливать конструкцию внутри оконного проема, отнимите от высоты оконного проема 15-20 мм, чтобы ткань не ложилась на поверхность подоконника.
- Если вы планируете опустить шторы до пола, то расстояние между напольным покрытием и нижним краем шторы должно быть от 50 мм.
- Обязательно продумайте систему управления. Если собираетесь управлять шторой вручную, то к системе управления должен быть свободный доступ.
Обзор компаний-производителей
Если соответствующими навыками для пошива такого оконного декора своими руками вы не обладаете, тогда чтобы не прогадать при покупке, надо правильно сориентироваться среди всего разнообразия предлагаемой продукции. Отлично себя зарекомендовали такие бренды:
- Inspire — один из лучших производителей тряпичных жалюзи, в частности, рулонных штор. Применяет натуральные материалы, поэтому стоимость продукции достаточно высокая. Однако продукция компании постоянно востребована из-за высокого качества и проверенной на практике экологической чистоты.
- Lotari (Китай). Основная масса продукции этой компании изготавливается из полиэстера. Изделия дешевые, но качество нередко оставляет желать лучшего.
- “Уют” (Россия) — производит продукцию из различных материалов с разными декоративными и функциональными особенностями (например, тряпочные жалюзи “день-ночь”).
Как ухаживать за изделиями?
По мере загрязнения ткани рулонных штор в процессе эксплуатации, возникает вопрос, как стирать их так, чтобы они как можно дольше не потеряли своей привлекательности и функциональных качеств. Обычная стирка для таких изделий не очень подходит.
Несколько базовых советов помогут вам как можно дольше сохранять привлекательный вид этих изделий:
- Покупая тряпочные жалюзи, выбирайте самые качественные и дорогостоящие ткани. Чем добротнее материал, тем лучше он обработан веществами с антидеформирующим и грязеотталкивающим эффектом.
- Нельзя использовать рулонные шторы в непосредственной близости от отопительных приборов.
- Во время мытья окна сворачивайте полотно в рулон.
- Берегите ткань от порезов и проколов, избегайте образования заломов на полотне.
- Чаще открывайте окно в ветреную погоду, чтобы избавить тряпочные жалюзи от лишней пыли и посторонних запахов.
- Стирка возможна, но поскольку она неблагоприятно влияет на состояние пропитки, старайтесь реже стирать изделия.
- Смазывайте время от времени механизм рулонных штор специальным составом.

Сухая чистка
Лучшим средством сухой чистки тряпочных жалюзи является пылесос. Действовать им нужно очень осторожно, чтобы мощная воздушная струя не деформировала ткань.
Химчистка
Обратитесь в специальный сервис. Специалисты подскажут, какой способ химчистки — сухой или влажный, более предпочтителен. Конечно, придется немного раскошелиться, зато трудоемкость этого метода минимальна.
Очистка пятен:
- Небольшие нестойкие загрязнения на тряпичных жалюзи можно устранить при помощи обычного ластика. Потрите резинкой загрязненные места, и грязь отойдет.
- Жирные пятна хорошо устраняются натуральными пятновыводителями. Если вы применяете пятновыводитель, не нужно сильно тереть ткань. Вы рискуете получить достаточно некрасивое пятно.
Важно! Использовать растворитель ни в коем случае нельзя, так как он может повредить полотно.
Влажная чистка
Стирка рулонных штор может быть только щадящей и только тогда, когда это необходимо.
Важно! Для влажной чистки можно применять только нейтральные моющие средства, поскольку отдушки и добавки могут изменить интенсивность окраски.
Алгоритм действий:
- Наносите моющий раствор при помощи влажной мягкой губки.
- Затем осторожно смываете раствор чистой водой.
- Выполаскивать изделие нужно особенно тщательно, чтобы при высыхании не осталось разводов.
к содержанию ↑Важно! Сушить полотно тряпочных жалюзи нужно в расправленном виде на ровной поверхности, чтобы штора не растянулась. Если ткань мнущаяся, ее можно отпарить через влажную ткань.
Видеоматериал
Надеемся, вы не усомнились в своем решении относительно покупки тряпочных жалюзи, а правильный уход поможет вам содержать их в образцовом порядке. Значит — дом всегда будет выглядеть уютно и красиво.
Поделиться в соц. сетях:
serviceyard.net
