Эл котлы для отопления дома – Какой электрокотел выбрать для отопления частного дома и как его подключить
Как выбрать электрический котел для отопления частного дома
С наступлением осени пора задуматься про систему отопления в доме. Поговорим о том, как выбрать электрический котел отопления для частного дома.
Отопление электричеством хоть и дороже отопления дровами и углем, но система, созданная на базе электрического котла, не требует отдельного помещения котельной и создания дымохода. В этой статье мы поговорим о том, как выбрать электрический котел отопления для частного дома.
Электрический котел
Есть несколько предпосылок к выбору электрического котла отопления:
- Отсутствие поблизости от дома газовой магистрали.
- Нежелание или невозможность выделения площади под котельную и места для хранения твердого топлива (уголь, дрова, пеллеты).
- Электрический котел проще поддается автоматизации и интеграции в систему управления домом.
Плюсы систем отопления электрическим котлом:
- КПД на уровне 92–99%.
Компактные размеры.- Не требуется регистрация в надзорных органах.
- Электрический котел обладает меньшей инертностью, быстрее прогревает дом. Реакция на изменение настроек может ощущаться уже через 2–5 минут.
- Электрический котел работает автоматически, не требует постоянного внимания пользователя.
- Нет необходимости в отдельном помещении для установки отопительного оборудования.

Минусы:
- Требуются значительные мощности электричества.
- Система отопления энергозависима.
- Требуется обязательное заземление всех компонентов системы теплоснабжения.
Характеристики и особенности электрических котлов
В электрическом котле отопления теплоноситель нагревается за счет выделения тепла в проводнике, по которому течет электрический ток.
По способу реализации разделяют котлы:
- ТЭНовые;
- индукционные;
- электродные.
ТЭНовые
Нагревательными элементами выступают тугоплавкие проводники, изолированные керамикой и слоем меди с высоким показателем теплопроводности в качестве оболочки. Они называются ТЭНами.
Теплообменник чаще проточного типа с 2–3 ТЭНами, хотя нет никаких ограничений для использования объемной емкости, аккумулирующей тепло.
Основной недостаток, приписываемый таким котлам — это образование накипи на ТЭНах в ходеэксплуатации. Накипь снижает скорость теплоотдачи, повышает температуру нагревательного элемента, снижает ресурс работы котла. Но тепло все равно поступает, и КПД снижается незначительно. Повышается инертность системы и риск перегорания нагревательного элемента.
Данный аспект устраняется простой подготовкой теплоносителя. Воду перед закачкой в систему достаточно деминерализовать или использовать дистиллированную воду с антифризом.
Индукционные
Действует индукционный электрический котел по принципу трансформатора. Первичная обмотка — это индуктивная катушка, вторичной обмоткой является специальный сердечник из металла и корпус теплообменника.

Ток в катушке наводит с помощью электромагнитных волн на корпусе токи высокого номинала, от чего последний нагревается, а тепло передается теплоносителю. За счет большой площади теплообмена возможна работа котла без элементов с высокой температурой. Для сравнения, в ТЭНах проводник нагревается до 500–600 °С.
Индукционный котел почти не чувствителен к качеству теплоносителя. За счет отсутствия поверхностного кипения жидкости накипь не образуется.

Основным недостатком является высокая стоимость оборудования, сопоставимая со стоимостью газового котла.
Электродные
Инновационным является способ нагрева в таких котлах. Ток пропускается непосредственно через теплоноситель с выделением тепла.

Используется всегда конструкция проточного типа, в корпусе которого располагается электрод, подключенный к фазе питания. Вторым электродом выступает корпус.
В числе достоинств очень быстрый нагрев воды, минимальные габариты. Диаметр котла всего в три-четыре раза больше, чем диаметр подсоединяемой трубы при длине порядка полуметра.
Электролизного разложения воды на водород и кислород не происходит за счет постоянной смены полярности на электродах на частоте питающей сети 50 Гц.
Однако электродный котел обладает самым внушительным числом эксплуатационных требований и особенностей:
- Теплоноситель обязан иметь проводимость свыше 1000 Ом/см.
- Используется дистиллированная вода с добавлением соли в строгой пропорции, которую приходится подбирать на месте во время пусконаладочных работ.
- Риск поражения электрическим током при контакте с любой металлической поверхностью системы отопления.
- Электрод со временем «съедается», разрушается.
- Нежелательно использовать электродный котел с чугунными и алюминиевыми радиаторами.
Выбор котла
Все три варианта электрических котлов подойдут для обустройства системы отопления частного дома. Так что окончательный выбор следует сделать на основании следующих критериев:
- стоимость оборудования и его установки;
- сложность монтажа, наладки и запуска отопления;
- особенности эксплуатации, комфорт.
В отношении первого и последнего пункта и частично второго выигрывает ТЭНовый котел. Низкая стоимость и простота обслуживания идут ему на пользу. Достаточно не заливать в систему воду из-под крана или из колодца. Менять нагревательные элементы, весьма недорогие, придется лишь раз в 5–10 лет.

Индукционные и электродные котлы самые компактные, в дополнение к высокой скорости нагрева теплоносителя. Однако за это в обоих случаях придется больше потратить на приобретение оборудования. Индукционные котлы способны работать даже с нефтепродуктами и, соответственно, с любым типом теплоносителя при низких эксплуатационных затратах.
Электродные котлы чересчур требовательны в эксплуатации. Слишком много факторов, касающихся установки и запуска системы, влияют на эффективность отопления.
Подбор характеристик и установка
Подбор мощности электрического котла осуществляется по стандартной схеме. Определяются общие теплопотери здания и подбирается номинальная мощность котла с запасом в 20–30%. Чем больше запас по мощности, тем реже будет включаться нагревательный элемент, но повышаются стартовые и эксплуатационные токи. Как правило, мощность котла вычисляют, исходя из площади дома, умноженной на региональный коэффициент. Полученный результат делят на 10. Для южных регионов применяют коэффициент 0,7–09, для средней полосы — 1–1,2, а для районов севера 1,5–2.
Если площадь вашего дома в средней полосе равна 150 м2, то мощность котла должна быть не менее 150 х 1/10 = 15 кВт.
Для любого типа электрического котла нужен мощный электрический ввод, отдельная линия питания с проводами большого сечения в соответствии с требованиями производителя, отдельные автоматы и защитные включатели, а также надежное заземление.
Установка ТЭНового и индукционного котла с циркуляционным насосом допускается в любом удобном месте, откуда проще выполнить прокладку труб и обеспечить нормальный доступ к оборудованию для техобслуживания. Электродный котел устанавливают в самой нижней точке системы, учитывая мощный конвекционный поток, создаваемый им самим.
Общие затраты на установку электрического котла для отопления частного дома не намного выше даже газового оборудования. Это возможно, благодаря использованию точной автоматики и программаторов, способных выставить наиболее экономичный и при этом комфортный режим работы теплоснабжения. опубликовано econet.ru Если у вас возникли вопросы по этой теме, задайте их специалистам и читателям нашего проекта здесь.
P.S. И помните, всего лишь изменяя свое потребление — мы вместе изменяем мир! © econet
econet.ru
Электрические котлы для отопления частного дома – советы по выбору
Здесь вы узнаете:
Котел – основа отопительной системы. Именно выбор этого устройства виляет на производительность и эффективность отопления. Разберемся, как сориентироваться с видами электрокотлов, выберем схему подключения, рассчитаем мощность устройства и разберемся с самостоятельной установкой.
Виды электрических котлов для дома
Электрические отопительные котлы отличаются следующими признаками:
- число контуров;
- мощность;
- место для установки;
- механизм нагрева теплоносителя.
Рассмотрим подробнее каждый аспект.
Количество контуров

Двухконтурные электрические котлы отопления обеспечат вас не только теплом, но и горячей водой.
Здесь все просто: бывают одноконтурные и двухконтурные электрокотлы . Первые способны обеспечить отопительную систему частного дома или коттеджа. Другие устройства предназначены для разветвления на две линии и также подают горячую воду на бытовые краны.
Мощность имеет значение
Бывают электрические котлы для отопления дома 220 В и 380 В. Показатель мощности варьируется в зависимости от схемы электропитания котла. Последняя бывает двух видов:
- однофазная – используется общая сеть 220 B, а мощность не превышает 5 кВт;
- трехфазная – задействовано силовое напряжение 380 B, что требует монтажа кабеля большого сечения, при этом мощность стартует от 15 кВт и выше.
Место установки
Котлы разделяются на настенные и напольные модели. При выборе особое внимание уделяют размерам помещения и техники, возможности монтировать устройство на стену или оставить на полу. Подвесные модели разрабатываются более легкими и компактными, подходят для небольших помещений. Для здания в несколько этажей понадобится напольный электрокотел для отопления дома.
Большинство крупных моделей имеют вмонтированную систему нагрева. Такие дополнительные элементы не влияют на вес и габариты техники, что позволяет сэкономить пространство.
Электрокотел по принципу нагрева
Отдельной классификацией считается разделение устройств по способу нагрева. Так, котлы для частного дома разделяются на:
- тэновые;
- индукционные;
- электродные.
Именно этот принцип играет важную роль при выборе устройства. От способа нагрева зависит работоспособность.
Тэновые
Принцип работы тэновых котлов схож с работой электрочайника. Здесь теплоносителем является вода, которая нагревается с помощью ТЭНов, что обеспечивает естественную циркуляцию жидкости.
Теновые модели имеют терморегуляцию, что обеспечивает поддержание температуры на одной отметке без вмешательства пользователя. Регулировка происходит автоматически, при этом учитывается температура воздуха в помещении. В зависимости от модели пользователь может выставлять желаемую температуру воздуха в комнате или температуру теплоносителя. Мощность можно изменять, включая и отключая ТЭНы при необходимости. Не плохо зарекомендовали себя электрические котлы Эван.
Единственный недостаток – образование накипи с течением времени. ТЭН с накипью больше потребляет электроэнергии и имеет слабую теплоотдачу.
Индукционные
Основа этого оборудования – индукционный нагрев с помощью материалов из ферромагнитных сплавов. Теплоноситель не входит в контакт с катушкой индуктивности, которая находится в отдельном контейнере. Поэтому теплоноситель – не только вода, а любая другая жидкость, которая не замерзает.
Система работает согласно законам электромагнитной индукции: жидкость протекает по трубам из ферромагнитного материала, который соприкасается с сердечником. Трубки постепенно набирают температуру под влиянием электромагнитного поля и нагревают протекающую воду.
Устройство полностью безопасно и имеет высокий КПД, так как в электроде или ТЭНе нет необходимости. Благодаря конструкции прибор не засоряется, также здесь отсутствуют детали, подверженные поломке. Единственные неудобства для пользователя – большая стоимость системы и достаточное количество пространства для увесистого прибора.

Электродные
Теплоносителем в таких устройствах выступает вода, нагревание обеспечивает электрод. Последний отдает жидкости электрический заряд, что повышает температуру благодаря собственному сопротивлению. При расщеплении воды на ионы происходит интенсивный нагрев теплоносителя. Электрокотлы электродного типа также имеют небольшой размер, удобны в эксплуатации и установке, постепенно набирают номинальную мощность. Прибор полностью безопасен: если уровень воды упадет, система автоматически выключится. Хорошо зарекомендовали себя электрические котлы отопления Галан.
У электродных систем есть существенный недостаток – электрический котел отопления для дома использует только воду, имеющую низкое удельное сопротивление (хорошо проводящую ток). Такой теплоприводник не всегда есть возможность изменить и подготовить в быстрые сроки. В процессе работы электроды растворяются, что снижает эффективность системы. Также важна постоянная достаточная циркуляция жидкости, или же вода может закипеть (оборудование отключается при сбое).
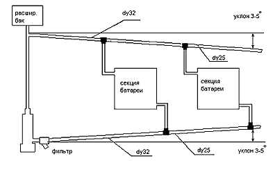
Схемы подключения электрокотлов
Электрические котлы для отопления частного дома основываются на принципе принудительной и естественной циркуляции. В принудительной схеме работает нанос, в естественной – теплоноситель движется благодаря разнице плотности.

Естественная и принудительная схемы циркуляции теплоносителя в системе отопления.
В схему подключения электрокотлов входит разводка отопления:
- Однотрубная разводка проста в монтаже и устройстве, такую систему можно устанавливать своими руками без специальной подготовки. Единственный существенный недостаток, из-за которого и отказываются от этого способа, выступает разница температур в батареях. Однотрубный вариант применим лишь для очень маленьких помещений на небольшое количество радиаторов. Если установить такую систему в обычном доме, то первые радиаторы будут горячими, а замыкающие постоянно холодными – жидкость туда доходит уже охлажденной. Для решения такой проблемы часто ставят перемычки и добавляют секции в радиатор, иногда устанавливают насос.
- Двухтрубная система – самая популярная и практичная. Радиаторы имеют одинаковую температуру, а с помощью запорных вентилей можно задать нужную температуру в отдельных помещениях. Существенный недостаток – затратное планирование и монтаж, большое количество расходников и комплектующих.
Как рассчитать мощность электрического котла

Материалы, из которых построен ваш дом, имеют разные показатели теплопотерь. Только хороший специалист учтет все теплопотери вашего дома и правильно подберет мощность котла.
Самостоятельные расчеты покажут вам лишь примерные цифры, а основную работу стоит доверить специалистам. Профессиональные теплотехнические расчеты включают следующие показатели:
- температурные данные вашего региона;
- информация о толщине, составе стен;
- количество, размеры и качество окон;
- тип разводки отопления;
- высота потолков и проемов, соотношение с площадью;
- информация о каждой комнате, включая число радиаторов, наличие теплых полов и бытовой техники, вырабатывающей тепло.
Если вы все же решились рассчитать мощность котла самостоятельно, предлагаем следующий метод.
Обратите внимание, что расчеты, приведенные ниже, не учитывают теплопотери отдельно взятого дома и не могут гарантировать точный показатель.
Простой метод
Расчет по квадратуре – самый простой метод вычисления ориентировочной мощности устройства. Считается, что для 1 м² площади потребуется 100 Вт при условии, что высота потолка 2,5 метра. Цифры корректируют согласно удельному показателю мощности домашнего региона. Далее приведена таблица со значениями для разных климатических зон нашей страны.
| Регион | Wуд |
|---|---|
| Москва, Московская область, Центральные области Европейской части России (включая Ленинградскую на севере и Курскую на юге) | 0,10-0,15 кВт/м2 |
| Северные регионы (Карелия, Архангельская область, республика Коми и др.) | 0,15-0,2 кВт/м2 |
| Южные регионы (Воронежская, Волгоградская области, Краснодарский край и др.) | 0,07-0,09 кВт/м2 |
Формула расчета выглядит следующим образом: W = q * S
При этом q – удельный коэффициент мощности вашей области, показатель S – площадь дома.
С помощью этой таблицы вы сможете подобрать идеально подходящий для вашей семьи электрический котел отопления.
Например, вам необходимо купить электрокотел для одноэтажного здания с общей площадью 80 м², находящегося в Московской области. По формуле выходит: (80*100) * 1,2 = 9600 Вт. Финальное значение для одноконтурного котла составит 11,04 кВт, для двухконтурного с приоритетом ГВС – 11,52.
Обратите внимание, что расчеты приблизительны и не учитывают реальные теплопотери и особенности строения.
Как установить электрокотел своими руками
Установка системы происходит строго по расписанной заранее схеме/плану согласно модели котла и дополнительных элементов. Конечный результат зависит от точности монтажных работ и профессионализма специалистов.

Схема подключения электрического котла отопления к электросчетчику, используя УЗО и автомат.
- Первый этап – разметка и монтаж. Так как есть риск короткого замыкания, место для котла выбирают подальше от водопровода. Дюбели и анкерные болты обязательны для закрепления прибора. Прежде чем монтировать котел, прибор выравнивают по уровню. Если у вас напольный котел, то под него обязательно устанавливают специальный поддон.
- Необходимо перекрыть водопровод в доме. С помощью переходников и муфт устройство подсоединяют к отопительной системе. После всех работ подключают электрооборудование: автоматический выключатель и УЗО.
- Для котла делают заземление: все провода упаковывают в специальный кожух и направляют в отверстия для проводки. При этом чем больше мощность устройства, тем больше сечение кабеля.
- После заземления проводят тестирование и первый запуск.
Итог
Чтобы сделать правильный выбор, не стоит ориентироваться только на стоимость или марку. При покупке обратитесь за консультацией к специалисту. Если хотите сэкономить средства, заранее рассчитайте необходимую мощность прибора с учетом особенностей вашего жилища и факторов, влияющих на конечную температуру в помещениях.
remont-system.ru
Электрический котел отопления для частного дома: подбор, устройство, принцип работы
Обычно для обогрева своего жилища домовладельцы используют отопительное оборудование, сжигающее различные виды твердого, жидкого или газообразного топлива. Альтернативой процессу нагрева с помощью горения может служить электричество. Если энергетическая компания выделила достаточно большой лимит потребляемой мощности, а хозяин жилища озаботился установкой многотарифного счетчика, то электричество можно использовать в целях обогрева. Нужно только знать, как подобрать электрический котел для отопления частного дома и правильно смонтировать его в помещении котельной.

Электрический котел
Общие сведения об электрических отопительных установках
Электронагреватели появились тогда же, когда люди начали пользоваться электричеством. Любой из них работает согласно закону физики: чтобы обеспечить тепловой поток мощностью 1 кВт нужно затратить 1 кВт электроэнергии. То есть, в таких нагревателях 100% энергии переходит из электрической в тепловую. Вопрос только в том, сколько тепла котел передаст теплоносителю, а какая его часть рассеется в качестве потерь. Но и здесь есть свой плюс: эти потери в размере примерно 1—3% все равно остаются в доме, поскольку возникают при косвенном нагреве проводников и различных элементов электронных схем.

Электрический котел для отопления дачи
В действительности КПД тепловой установки, работающей от электричества, составляет 97—99%, а так называемые экономные электрические котлы отопления – просто миф или рекламный ход. Любая электроустановка, производящая тепло, работает очень эффективно, а вопрос экономии энергии целиком ложится на домовладельца. Вот перечень мероприятий, позволяющих меньше платить за отопление частного дома электричеством:
- Установка многотарифного счетчика энергии. Благодаря этому ночью можно использовать электричество для обогрева в 2 раза дешевле обычного.
- Мероприятие по установке бака – теплоаккумулятора связано с п.1, тогда днем электрический котел можно отключать.
- Свести потери тепла через наружные стены и кровлю к минимуму путем утепления дома.
- Устройство систем отопления с более низкой температурой теплоносителя – теплых полов.
- Автоматизация, позволяющая снизить расход электроэнергии для электрического котла отопления. Это регулирование температуры теплоносителя в зависимости от погодных условий и для поддержания необходимой температуры воздуха в каждом помещении в отдельности.
Виды электрических нагревателей
Поскольку все нагреватели являются, по сути, преобразователями электрической энергии в тепловую, то различия между ними заключаются только в способе этого преобразования. На современном рынке предлагаются следующие виды электрических котлов отопления:
- классические котлы, нагревающие теплоноситель с помощью ТЭНов;
- электродные водонагреватели;
- индукционные электрокотлы.
В этом перечне отопительные установки представлены в порядке возрастания стоимости.
Электрокотлы с ТЭНами
Тепловой электрический нагреватель (ТЭН) представляет собой металлическую трубку, заполненную кварцевым песком или другим керамическим изоляционным материалом. Внутри проходит спираль из вольфрама либо нихрома, концы которой приварены к металлическим контактам для подключения проводов. Классический ТЭН выполнен в форме латинской U, провода присоединяются к двум контактам на концах устройства. Более современные изделия производятся в виде стержня с одним контактом, материал трубки – нержавеющая сталь. Вторым контактом служит корпус самого ТЭНа.

ТЭН для электрического котла
Рабочая часть котла представляет собой бак для теплоносителя, в который погружены несколько ТЭНов, их количество зависит от расчетной мощности установки. Бак может располагаться в горизонтальном или вертикальном положении, принцип работы электрического котла отопления от этого не меняется. Главное, чтобы ТЭНы были полностью покрыты водой, иначе они быстро перегреются и выйдут из строя. Как правило, современные котлы укомплектованы блоком управления, следящим за температурой и давлением воды в баке с помощью датчиков. Дополнительно установка может быть оснащена собственным циркуляционным насосом. Все это оборудование находится в металлическом ящике, имеющем привлекательный эстетический вид.

Устройство электрического котла отопления
При запуске и прогреве системы контроллер включает все ТЭНы одновременно, потребление энергии в это время самое высокое. При достижении температуры, выставленной термостатом или на дисплее, нагрев прекращается и дальше температура воды может поддерживаться включением одного или двух ТЭНов. Чтобы продлить их ресурс, в системе отопления лучше использовать обессоленную или дистиллированную воду. Тогда на рабочей поверхности трубок будет меньше отложений.
Бытовой электрический отопительный котел для дома с ТЭНами имеет такие недостатки:
- Длительный нагрев воды обусловлен тем, что тепло от спирали поступает не напрямую к воде, а через материал изоляции и стенки трубок.
- Слой солевых отложений на трубках еще больше замедляет процесс нагрева. Отложения рекомендуется удалять не реже 1 раза в год, если конструкция котла позволяет это сделать.
- Раскаленная вольфрамовая проволока достаточно быстро уменьшается в диаметре и перегорает. Долговечность работы таких котлов невелика (до 10 лет).
- Самые дешевые модели агрегатов представляют собой бак, покрытый теплоизоляцией и имеющий минимум автоматики. Его придется доукомплектовать самостоятельно.
- Среди всех электрических котлов данный вид имеет наибольшие габариты.
Достоинства отопительного агрегата заключаются в доступной стоимости и высокой ремонтопригодности. По этой причине его часто используют как электрический котел для отопления дачи. Если в конструкции применены нагреватели стержневого типа, то они прослужат дольше обычных, а заменить сгоревший ТЭН не представляет большой сложности.
Котлы электродного типа
Каждый человек хоть раз в жизни видел самодельный кипятильник, сделанный из двух лезвий. Принцип действия основан на проводимости обыкновенной воды благодаря присутствию в ней солей разных металлов. Такой же способ нагрева теплоносителя используется в электродных установках. Из-за этого в системах отопления, нагреваемых такими котлами, нельзя использовать дистиллированную или обессоленную воду, она обладает низкой проводимостью.
Установка состоит из резервуара в виде металлической трубы, покрытой изоляционным слоем. Внутри находится стальной электрод, к которому присоединяется фазный провод электросети. Нулевой провод подключается к корпусу, он служит вторым электродом. При включении вода между корпусом и главным электродом интенсивно нагревается. Такое устройство электрического котла отопления обусловливает его малые размеры.

Существуют и трехфазные электрические котлы для дома, в их корпус вводится не один электрод, а три. Вода поступает внутрь через боковой патрубок, а выходит через верхний. Скорость нагрева зависит от химического состава воды, по этой причине многие производители в инструкции по эксплуатации изделия указывают необходимые параметры теплоносителя. Некоторые из них даже дают рекомендации по насыщению теплоносителя солевыми растворами, если их концентрация в исходной воде низкая. Чтобы определить эту концентрацию, потребуется сделать химический анализ воды.
Если с помощью одного котла не удается достигнуть требуемой температуры теплоносителя, то ставится второй и третий, включая их последовательно один за другим. В любом случае придется приобрести комплект автоматики для контроля и поддержания температуры. Здесь и кроется главный недостаток: мощностью котельной установки управлять невозможно, она все время работает на максимуме. Температура воды регулируется включением / выключением котла, а эту операцию по команде блока управления выполняют электротехнические устройства.
Когда отапливаемая площадь небольшая и применяются электрические котлы малой мощности, их коммутируют бесшумные тиристорные пускатели. В случае если мощность большая, устройство включается и выключается магнитным пускателем, он при срабатывании издает громкий щелчок, поэтому в помещении топочной нужно будет сделать звукоизоляцию. Кроме этого недостатка существуют и другие:
- Влияние химического состава воды на эффективность работы. Со временем теплоноситель в системе теряет проводимость, так как соли в горячей воде постепенно выпадают в виде осадка, который задерживается фильтром.
- Более сложная обвязка по сравнению с предыдущим котлом на ТЭНах и необходимость подбора и закупки комплекта автоматики.
- На электродах образуется накипь, которую нужно удалять.
Индукционные электрические нагреватели
Данный источник тепла декларируется торговыми представителями как самый экономичный электрический котел отопления. В действительности в нем реализован только новый метод нагрева воды электричеством, используя давно открытый физический закон, экономии здесь нет никакой. Как можно судить из названия, для этого используется принцип электромагнитной индукции. В катушку с определенным количеством витков вводится металлический сердечник, который нагревается от возникающих в ней вихревых токов. Далее, тепло от сердечника передается теплоносителю, циркулирующему вокруг него.
Конструкция несколько напоминает электродного «собрата», только корпус котла имеет больший диаметр, поскольку в него по всей высоте встроена катушка. Мощность регулируется тиристорными пускателями, автоматику нужно будет устанавливать отдельно.

Индукционный электрический нагреватель
По сравнению с предыдущими типами нагревателей индукционный котел имеет наибольший срок службы и требует минимального обслуживания. Если в системе применять обессоленную воду, то о накипи на поверхностях нагрева можно забыть. На практике агрегат работает с КПД 99%, скорость прогревания всей системы немного ниже, чем у электродного аппарата. Также невелики и его габаритные размеры, позволяющие установить котел прямо на стене любой топочной. Индукционный метод нагрева позволяет изготавливать электрические котлы большой мощности, линейка некоторых производителей достигает значения 60 кВт. Из недостатков стоит выделить самую высокую цену изделия относительно остальных и выполнение отдельной схемы автоматики и обвязки.
Хорошая статья в тему: Как сделать индукционный нагреватель
Рекомендации по выбору электрического источника тепла
Первое, что нужно сделать, чтобы осуществить подбор электрического котла отопления – определить количество тепла, уходящего через наружные стены, кровлю и полы при заданной разнице температур в помещении и на улице. Обычно температуру наружного воздуха принимают как минимальную в самую холодную пятидневку, внутри помещений – в зависимости от их назначения. Высчитывают площадь каждой стены, отдельно площадь окон и дверей и находят потери тепла по формуле:
Q = 1/R х (tв – tн) х А, где:
- Q – количество тепла, уходящее через стену или кровлю, Вт;
- R – значение сопротивления теплопередаче материала стены, м2 ºС / Вт;
- А – ее площадь, м2;
- tв – температура внутри дома;
- tн – температура наружного воздуха.
Значение R требуется рассчитать в зависимости от материала, из которого сделана стена:
R = δ / k
Здесь δ (м) – толщина стеновой или кровельной ограждающей конструкции, k – коэффициент теплопроводности материала, Вт/(м · ºС). Значение k – величина справочная, ее можно найти в соответствующей литературе. Если ограждающие конструкции состоят из нескольких материалов, то сопротивление теплопередаче R нужно будет найти для каждого из них. Получившиеся значения Q для каждой стены, кровли и пола суммируют, это и будет искомое количество тепловых потерь, которые должна компенсировать система отопления. Для подбора электрокотла по мощности нужно полученное количество тепла умножить на коэффициент запаса 1.2, это и будет требуемая мощность отопительной установки.
Чтобы организовать отопление загородного дома электрическим котлом определенного типа, следует обратить внимание на особенности каждого из них и принять к установке наиболее приемлемый вариант. Например, электродные агрегаты будут вызывать перепады напряжения в сети во время срабатывания пускателей. Это может оказаться неудобным для вас или ваших соседей. Вполне возможно, что вас устроит классический котел с ТЭНами, который и по стоимости доступнее, и требует меньше вмешательства при эксплуатации. Стоит учесть, что неисправный ТЭН стержневого типа можно легко заменить на новый, некоторые конструкции бака позволяют это сделать без опорожнения системы.
Электрический нагреватель часто используется как дополнение к основному, твердотопливному агрегату. Это делается с целью обогрева здания в ночное время, когда вставать и загружать дрова неудобно, а тариф на электроэнергию самый низкий. Установка будет работать периодически, несколько часов в сутки. Соответственно, вы разберетесь, какой электрический котел лучше подойдет для отопления частного дома в ваших условиях, — приобретать недорогой аппарат с ТЭНами или все делать основательно и устанавливать индукционный котел.
Заключение
Каждый из вышеперечисленных видов электрических отопительных установок обладает своими достоинствами и недостатками и любой из них может использоваться в определенных условиях. Например, приняв электричество как основной энергоноситель для обогрева жилища, есть смысл приобрести надежный и долговечный котел, пусть и несколько дороже. Для периодического протапливания может быть достаточно и дешевого агрегата, особенно если в обвязке существующего котла на твердом топливе задействована автоматика, которую можно связать с управлением нового электронагревателя.
cotlix.com
Котел электрический для отопления дома: как выбрать?
Рассматривая варианты отопления своего дома, можно обратить внимание на котел электрический. Он более прост в установке, как в монтажном, так и в «бюрократическом» смысле (на него нет необходимости «добывать» разрешение на установку). Отсутствуют такие черты характера, как «взрывоопасность» и «недержание газа». Но вот в отношении мощности электрического ввода в дом он требователен. Ведь для отопления дома площадью 250-300 м2 понадобится мощность не менее 25 кВт.
Как правильно подобрать электрический котел?
Трехфазныйэлектрический котел отопленияГазовые котлы — оптимальный выбор отопительных приборов с точки зрения экономичности (газ является самым дешевым энергоносителем) и автоматизации процесса отопления. Но в случае отсутствия магистральной трубы возле дома, трудностей с получением разрешения на установку и эксплуатацию оптимальным выходом из ситуации может стать котел электрический, жидкотопливный или твердотопливный. Разберемся более подробно с электрическим типом устройства отопления.
Преимущества электрических котлов
Электрические котлы отопления надежны, неприхотливы в работе, работают бесшумно и без отходов «производства». Они не «требуют» к себе постоянного внимания и отдельного помещения для установки, как твердотопливные или даже котлы на жидком топливе. Для таких котлов характерны также малый размер, невысокая цена, безопасность эксплуатации, отсутствие дымохода, отсутствие вредных выбросов (экологичность) в процессе эксплуатации. Напряжение питания котлов небольшой мощности (до 12 кВт) может быть как 220 В так и 380 В. Котлы большей мощности уже все имеют трехфазную систему питания 380 В. Отопление загородного дома электрическим котлом малой мощности, например, можно без согласования с поставщиком электроэнергии.
Внимание! Установка и эксплуатация нагревательного оборудования большой мощности (более 10 кВт) осуществляется после получения согласия и разрешения от энергоснабжающей организации! Подводящая линия может быть просто не рассчитана на такую мощность!
Электрические котлы отопления по типу нагрева воды делятся на:
- ТЕНовые;
- Электродные.
Нагревательный элемент ТЕНВообще, при сравнении различных типов котлов (твердотопливных, газовых, электрических, жидкотопливных), можно сделать вывод: все они структурно подобны (подключаются к одинаковым системам отопления, используют циркуляционный насос, расширительный бак и пр.), а отличаются только конструкцией теплообменника и принципом преобразования различных видов энергоносителей в тепловую энергию!
ТЭНовый котел
Устройство котла
Котел электрический, использующий ТЕНы как нагревательные элементы, имеет простую и «очевидную» конструкцию. Он состоит из теплообменника и блока управления и автоматического регулирования. В качестве теплоносителя в таких котлах обычно используется вода. При необходимости и после изучения технической документации на котел можно использовать незамерзающие жидкости — антифризы.
Котел электрическийПринцип действия и схема подключения
Вода проходит через теплообменник, где ей ТЕН (ы) передают тепловую энергию. Далее теплоноситель (вода) по трубам системы отопления поступает в радиаторы, где и отдает тепло окружающему их воздуху.
Устройство электрического котла отопления
Схема подключения котла электрического в систему отопленияФункциональность электрических котлов
Проточный электрический котел обычно имеет один контур нагрева теплоносителя, но… С его помощью можно организовать в доме или квартире горячее водоснабжение для хозяйственных нужд. Обычный котел в «одиночку» с такой задачей не справится. Поэтому для получения горячей проточной воды используется специальный бойлер косвенного нагрева, через теплообменник которого циркулирует вода из системы отопления.
Бойлер косвеного нагреваРабочий объем таких бойлеров косвенного нагрева колеблется в пределах от 80 до 1000 литров. Соответственно величине объема изменяется и время нагрева воды в таком бойлере от 15-30 минут до нескольких часов. Эта «временная» величина зависит еще и от мощности отопительного котла и мощности (площади поверхности) нагревательного змеевика в нем.
Схема подключения бойлера косвенного нагрева к системе отопления
По способу подключения котлов к системе отопления различают:
- котлы с нижним расположением входного и выходного патрубков;
- котлы с нижним расположением входного патрубка и верхним выходным патрубком.
Двухконтурные котлы электрические
Электрический котел отопления может иметь два контура для нагрева воды: первый используется для системы отопления, второй для обеспечения горячей воды в доме. При этом контуры такого котла могут работать независимо друг от друга. Например, для чего включать отопление в летний период? А горячая вода в доме нужна практически постоянно – контур ГВС это обеспечит!
Двухконтурный электрический котелКотлы отопления электрические двухконтурные обычно уже укомплектованы двумя термонагревателями, расширительным баком, системой безопасности (предохранительным клапаном и воздухоотводчиком), системой автоматики и циркуляционным насосом. Подключать такие котлы рекомендуется с качественным заземлением и устройствами защитного отключения (УЗО).
Электродный электрический котел
Электродный котел относится к группе агрегатов прямого действия — в нем нет нагревательного элемента. А нагрев теплоносителя происходит в процессе протекания электрического переменного тока с частотой 50 Гц через теплоноситель, который является электролитом из-за находящихся в нем солей. Нагрев происходит из-за хаотичного движения ионов жидкости от анода к катоду с частотой 50 колебаний в секунду (50Гц). Это «принудительное» движение ионов приводит к увеличению температуры самого теплоносителя (воды). То есть «проводник» благодаря своему сопротивлению нагревается при прохождении по нему электрического тока (Забыли? Идем в школу!..)
Принцип действия электродного котлаЭто интересно! «Качество» нагрева теплоносителя будет зависеть от концентрации примесей в нем. Кроме этого, в такой системе явления электролиза (разложения воды на водород и кислород) не наблюдается, так как через теплоноситель проходит не постоянный, а переменный ток, который «меняет местами» анод и катод 50 раз за секунду.
Электродный мини-котел ЭВН-2,5 кВтПреимущества и особенности электродных котлов
- Высокий коэффициент полезного действия (КПД) до 96-98%. Аргументируется простотой конструкции и минимизацией тепловых потерь.
- Отсутствие проблемы «сухого кода» — работы котла на «перегрев» при вытекании теплоносителя и з системы отопления. В случае возникновения такой ситуации электродный котел просто перестанет функционировать из-за размыкания электрической цепи и не создаст аварийной ситуации.
- Потребляемая мощность электродного котла зависит от температуры теплоносителя. Более низкая температура теплоносителя соответствует более низкому энергопотреблению. Режим номинального энергопотребления устанавливается при температуре теплоносителя в сисетеме75ОС. Превышение этого значения температуры приводит к повышению потребляемой мощности котла.
- Электродные котлы обладают меньшей инертностью, что позволяет более динамично и оперативно изменять температуру в системе, используя управляющую автоматику.
- Такие котлы не чувствительны к перепадам напряжения в сети — эти «скачки» просто влияют на изменение мощности, а не работоспособность устройства.
- Супер-малые габариты котлов.
- «Требовательность» таких котлов к качеству теплоносителя!
Осторожно! Внимание! Отопление электрическим котлом электродного типа возможно только при наличии КАЧЕСТВЕННОГО ЗАЗЕМЛЕНИЯ! Установка устройств защитного отключения (УЗО) для таких котлов нецелесообразна из-за высоких токов утечки.
Способы монтажа электродных котлов
Электродные котлы устанавливаются в системы с естественной циркуляцией теплоносителя ( подъем до 20м) и с принудительной циркуляцией.
Система отопления с естественным движением теплоносителя и электродным котлом
Подключение в систему с циркуляционным насосом электродного котла отопленияПри необходимости возможны варианты последовательного и параллельного подключения таких электродных котлов.
Ступенчатое подключение в систему электродных котлов
Параллельное подключение в систему электродных котлов
Подключение в систему электродного котла отопленияКак выбирать котел электрический?
- Если Вы ищете электрический котел для отопления дачи или дома, то вначале следует определиться с его типом и функциональностью. Это будет ТЕНовый или электродный, одноконтурный или двухконтурный электрический котел отопления.
- Далее определяется необходимая мощность котла из расчета 1 кВт на 30 м3 отапливаемого помещения. При использовании двухконтурного котла с предполагаемым активным режимом использования горячей воды мощность котла необходимо выбирать с запасом.
- К однофазной линии электроснабжения может быть подключен котел мощностью до 6 кВт. Если качество электропроводки хорошее можно выбирать котел мощностью до 12 кВт при напряжении питания 220 В. Для установки более мощного котла электрического необходима сеть трехфазного тока 380 В.
Обратите внимание! Некоторые модели котлов предполагают два варианта подключения 220/380 В. И все же перед покупкой уточните предельную допустимую потребляемую мощность для Вашего дома.
- Когда Вы установите электрические котлы отопления расход электроэнергии следует «ожидать» существенный. С целью экономии «недешевой» электроэнергии при использовании котлов большой мощности их делают с возможностью ступенчатого регулирования мощности, что позволяет использовать только часть мощности котла в весенний или осенний период. Оптимально такая функция реализована в котлах с программируемыми автоматическими блоками управления.
- Выбирайте электрический котел для отопления дома, соответствующий необходимой мощности и укомплектованный циркуляционным насосом, расширительным бачком, группой безопасности. Для комфортного управления может стать полезным и выносной программатор.
- Важно! Уделите особое внимание наличию у котла оборудованной системы безопасности, которая защищает котел от падения или превышения давления теплоносителя в системе, от перегрева. Наличие фильтра, очищающего теплоноситель, также может быть полезным.
Итак, выберите «правильный» электрический котел! И будьте в тепле и с горячей водой.
plusteplo.ru
Электрические котлы для отопления частного дома
Содержание:1. Особенности электрокотлов
2. ТЭНы
3. Характеристики электрокотлов
4. Монтаж электрокотлов
5. Достоинства и недостатки электрокотлов
У владельцев недвижимости, не имеющих доступа к магистральному газопроводу, часто возникает вопрос насчет того, насколько хорошо подходят электрические котлы для отопления частного дома. Существуют различные модели электрокотлов, которые отличаются мощностью, принципом работы и способом подключения. Чтобы сделать правильный выбор, следует разобраться с основными характеристиками этого отопительного оборудования. Как выглядят электрические котлы, можно посмотреть на фото.
Особенности электрокотлов
Современные электрические котлы бывают разной мощности и конфигурации. Отопление загородного дома электрическим котлом актуально в том случае, если в данной местности отсутствует возможность подключения к газопроводу. Иногда в этом случае устанавливают и дровяной котел отопления, но необходимо учитывать, что при его использовании в воздух попадают продукты сгорания. Если нет возможности выделить под электрокотел для отопления частного дома отдельное помещение, то лучшим вариантом станет приобретение именно электрокотла – он имеет небольшие размеры, а в процессе его эксплуатации не образуются вредные для здоровья человека вещества.
Электрические агрегаты стабильно выделяют тепло и поддерживают в доме постоянную температуру. Теплый воздух равномерно распределяется по помещению, прогревая стены, пол и мебель. Современные электрокотлы предоставляют возможность регулировать степень нагрева воздуха с помощью настроек мощности оборудования.
Несмотря на все преимущества использования электрических отопительных систем, их нельзя назвать экономичными. Специалисты считают более целесообразным создание традиционного водяного отопления, сам же нагрев теплоносителя будет осуществляться с помощью электрокотла. Такая система отопления экономичнее, чем установка по всему дому инфракрасных обогревателей. Но и ее нельзя назвать дешевой.

Электрические котлы для загородного дома представлены в различных модификациях. Мощность оборудования может достигать 24 кВт, а последние модели обладают еще большими возможностями. От этого показателя зависит, какую площадь можно будет эффективно обогревать. Чтобы узнать, какой мощности прибор потребуется для электроотопления частного дома, нужно поделить площадь здания на 10. Для северных регионов котел должен быть в полтора-два раза мощнее (подробнее: «Расчет мощности электрического котла отопления: основные принципы»). Например, для дома площадью 60 «квадратов» будет достаточно оборудования мощностью 6 кВт, если же он находится в местности с суровым климатом – то придется купить устройство мощностью 9-12 кВт.
Несомненным преимуществом электрокотлов является их безопасность в эксплуатации. Они экологичны, поскольку во время работы нет открытого огня, соответственно, отсутствуют продукты сгорания. Благодаря этому упрощается и монтаж отопительного оборудования: в отличие от газовых и дровяных котлов, нет необходимости сооружать дымоход.
Все вышеперечисленное снижает расходы на монтаж отопительной системы. Кроме того, работают электрокотлы для частного дома практически бесшумно, они легко настраиваются.
Также электрические приборы имеют высокий КПД. У некоторых моделей, при условии правильной установки отопительной системы, данный показатель достигает 96-98%. Новые модели обладают автоматической системой управления и не нуждаются в особом уходе в процессе эксплуатации.
ТЭНы
Основная часть теплообменника – термонагревательный элемент. Современные котлы имеют и дополнительные устройства – регулятор мощности, датчик температуры. Такие элементы делают использование прибора более удобным.

Характеристики электрокотлов
Одной из самых важных характеристик электрических котлов является мощность. Выбирать устройство по данному параметру нужно, ориентируясь на площадь дома, качество теплоизоляции, материал и толщину стен (подробнее: «Важно знать: как выбрать электрический котел отопления»).
Для отопления частных домовладений используют электрокотлы с питанием от сети 220 В и 380 В. Приборы с небольшой мощностью обычно рассчитаны на однофазное напряжение питания (220 В). Устройства мощностью более 12 кВт рассчитаны на трехфазное напряжение (380 В).
В зависимости от способа установки, электрические котлы делятся на напольные и настенные устройства.
Монтаж электрокотлов
Большинство современных моделей отличается компактными размерами и эстетичным внешним видом, благодаря чему не требуется их устанавливать в отдельном помещении. Кроме того, они абсолютно безопасны для здоровья человека. Установить электрокотел не так уж и сложно, а поскольку он не займет много места, то подойдет и для обогрева домов небольшой площади (прочитайте также: «Самодельный электрокотел для отопления: легко и надежно»). Так как современные модели имеют небольшие габариты и вес, то прибор при необходимости можно перенести и в другое место.
Монтаж отопительной системы с электрокотлом не занимает много времени, с работой вполне можно справиться собственными силами. Если же нужно установить не только его, но и всю отопительную систему, то лучше обратиться к специалистам – если разводка труб выполнена неправильно, обогрев дома будет менее эффективен. В зависимости от мощности, такой системой можно обогреть строение площадью до 600 «квадратов». Для регистрации и постановки на учет электрического отопительного оборудования требуется гораздо меньше документов и разрешений по сравнению с газовыми и дровяными котлами. Перед началом монтажа нужно согласовать свои действия с ответственной организацией – обычно это Энергонадзор.

После соединения системы с котлом переходят к его подключению к электрической сети. Обязательно устанавливают автоматический выключатель и УЗО нужных характеристик для предохранения оборудования от короткого замыкания и утечки электротока на землю. Также является обязательным заземление электрического котла.
Сечения проводов для подключения устройства должны соответствовать рекомендациям производителя, а также мощности. После подсоединения электрического котла к сети в систему набирают воду и проводят тестирование.
Как выбрать электрокотел, подробное видео:
Достоинства и недостатки электрокотлов
Целесообразно ли устанавливать электрический котел для отопления загородного дома, зависит от каждой конкретной ситуации – у этого оборудования немало достоинств, но присутствуют и недостатки.
Электрокотлы нельзя назвать экономичными, но если отсутствует доступ к газопроводу, то установка такого оборудования является лучшим выходом из ситуации (прочитайте: «Как выбрать самый экономичный электрический котел отопления: давайте разберемся»). Основными достоинствами этих приборов являются компактность, отсутствие шума при работе, экологичность. Современные модели имеют такую конструкцию, которая позволяет некоторое время поддерживать комфортную температуру даже при выключении устройства, что дает возможность сэкономить на электричестве (подробнее: «Экономические электрокотлы для отопления дома: виды»). Как отмечают потребители, электрические котлы весьма удобны в эксплуатации. В их пользу говорит и невысокая цена моделей средней мощности. Но в основном электрические приборы покупают в том случае, если нет возможности установить газовое оборудование.

Незаменимы электрокотлы и для отопления домов небольшой площади – газовые нагреватели необходимо устанавливать в отдельном помещении, а это не всегда возможно. Что же касается электрического оборудования, то его подсоединить можно в любой точке – оно полностью безопасно. Во время его работы не выделяются вредные вещества, а автоматический выключатель не допустит замыкания и возгорания.
Что касается недостатков, то самый главный из них – большое потребление электроэнергии. Но эти расходы можно уменьшить, пользуясь устройством не на полную мощность тогда, когда это возможно.
teplospec.com
отзывы, характеристики, расход электроэнергии, цены
Отопление частного дома электрокотлом – удовольствие недешевое, но порой единственно доступное. К тому же зачастую системы автономного обогрева оснащаются такими приборами только в виде резерва, например, если потухнет твердотопливник. Сами электрокотлы можно купить относительно недорого, в обслуживании они тоже особых проблем не создают. Но из-за большого расхода энергии покупателям приходится тщательно подбирать оборудование по характеристикам и экономичности.
Оглавление:
- Разновидности электрокотлов
- Критерии выбора
- Отзывы пользователей
- Расценки и характеристики моделей
Виды и особенности электрокотлов
1. ТЭНовые электрические котлы отопления.
Роль нагревателей здесь играют трубчатые элементы – такие же, как в бойлере или чайнике, только мощнее. Эти приборы могут работать как в системах, заполненных водой, так и с антифризами. Их недостаток – высокая температура на поверхности ТЭНов, что приводит к появлению накипи. Если ее вовремя не убирать, КПД, по отзывам специалистов, падает до 70%. Но гораздо хуже, что нагреватель от этого может просто сгореть.

2. Ионные или электродные.
Очень компактные электрокотлы для отопления осуществляют нагрев воды в системе косвенно. Расположенные в их корпусе электроды сами тепло не выделяют, а пропускают ток через жидкость. В результате изменяется движение потоков отрицательных и положительных частиц, а встреченное ими сопротивление порождает тепловую энергию для обогрева вашего дома.
Ионные электрические котлы имеют очень маленькие размеры, лучшую «скорость» и невысокую стоимость. Но для их эффективной работы нужна, во-первых, правильная вода с соответствующим удельным сопротивлением, а во-вторых, регулярная замена электродов, которые постепенно тают. По отзывам, самостоятельно устанавливать или обслуживать такие агрегаты очень сложно, и вообще они требуют постоянного контроля. А к системам отопления с чугунными радиаторами или трубами электродники и вовсе подключать нельзя.

3. Индукционные электрические котлы отопления .
Электромагнитная индукция тоже способна увеличить температуру теплоносителя, при этом без прямого контакта с ним. То есть никаких наростов на нагревательном приборе не будет, а сам он прослужит долго. Одна беда – хорошее оборудование с индукционной катушкой стоит в несколько раз дороже классических агрегатов. А специалисты в своих отзывах не рекомендуют использовать подобные системы при теплопотерях зданий свыше 200 кВт/сут – невыгодно.

4. Резистивные электрические котлы.
Принцип их работы похож на процессы в ТЭНовых моделях, но в качестве нагревающегося сопротивления выступает слой вольфрама, запаянный в толстую пленку. Он греет участок трубы, то есть тип носителя, циркулирующий внутри, для него значения не имеет. И хотя резистивное оборудование просто так не купить, оно считается наиболее эффективным. По сути это самый экономичный электрокотел, снижающий затраты по отоплению примерно на четверть. Но и стоимость его очень высока.
Примерное энергопотребление
Стоит ли вообще использовать для обогрева электрокотел или лучше приобрести более экономичный вид оборудования? То, что КПД таких приборов вплотную приближается к единице, еще не означает выгодного решения проблемы с отоплением. Цена электроэнергии немаленькая, а «кушать» ее ваш котел будет весь сезон и помногу.
Сперва сделайте ориентировочный расчет для своего дома по такой схеме:
1. Требуемая производительность в киловаттах – площадь отапливаемых помещений, поделенная на 10.
2. Величина теплоты – полученная в п.1 мощность, умноженная на суммарное время функционирования прибора за сутки. Здесь уже нужно знать, будет ли обогрев частного дома электрическим котлом «главным» или резервным. Для первого варианта по минимуму можно взять 12 ч, в случае с комбинированной системой – вычесть время работы основного оборудования.
3. Суточную величину удобнее сразу перевести в показатели за месяц – умножаем на 30. Чтобы выйти на годовую цифру – еще на 7 (столько обычно длится холодный сезон).

Подсчитав таким образом расход электроэнергии, не спешите пугаться – результат еще нужно разделить на 2, чтобы приблизить его к реальному режиму работы системы отопления. На максимальной мощности эксплуатируется от силы 2-3 месяца. В остальное время температура за окном не -20, а значит, и энергопотребление будет регулироваться в сторону уменьшения.
Определив расход по действующим тарифам, рассчитайте, в какую сумму вам обойдется электрообогрев за год и за каждый месяц отопительного сезона. Только после этого можно решать, насколько целесообразной будет покупка.
Что учесть покупателю?
Помимо приведенной в нашем обзоре классификации существует и более простое разделение электрокотлов отопления на виды, понятное любому человеку. Зачастую на эти параметры он и ориентируется при выборе.
1. Способ монтажа:
- Настенные электрические котлы отопления чаще устанавливают в квартирах и небольших частных домах. Эстетичные и аккуратные, они могут развивать довольно серьезную мощность.
- Напольные – это уже промышленные или полупромышленные модели, выдающие от 24 кВт и выше.
2. Подключение к электросети:
- Однофазные – экономичные электрокотлы небольшой производительности достаточно включить в розетку на 220 В.
- Трехфазные – приборы средней и высокой мощности, нагрузку от которых обычная бытовая сеть уже не выдержит. Под них нужно специально вести линию на 380 В.
3. Число подключаемых веток: здесь, как у всех котлов отопления, идет разделение на одно- и двухконтурные модели. Первые работают только на обогрев, вторые дополнительно обеспечивают частный дом горячей водой в кранах.
4. Все эти особенности нужно учитывать при выборе, но главной по-прежнему остается производительность. От нее зависит, сколько потребляет электроэнергии электрокотел отопления, и какую площадь он может обогреть. Необходимый минимум — 100-110 Вт на квадратный метр, но чем хуже изолировано жилье, тем большая мощность должна быть у прибора. В идеале следует сделать расчет теплопотерь всей постройки для самых низких температур в регионе, а результат увеличить на 3-5%, чтобы получить искомую производительность.

5. Поскольку подобное оборудование технически более сложное, чем аналогичные газовые и твердотопливные модели, нужно еще правильно выбрать подходящие электрокотлы для отопления частного дома. Автономные системы предъявляют к ним определенные требования:
- Сила тока – не выше 35-40 А.
- Диаметр патрубков электрокотла – в соответствии с подключаемым контуром, но не меньше 1 ½ ″.
- Давление в системе – максимум 3-6 атм.
- Регулировка мощности – хотя бы в пределах 2-3 ступеней.
Кроме параметров электрического котла отопления придется поинтересоваться, на что способна сама сеть. Например, в загородных домах напряжение может быть слабым и падать по вечерам до 150-180 Вт, а большинство импортного оборудования при такой нагрузке даже не включится. Имейте в виду, что слишком мощный электрокотел в 10-15 кВт уже будет отбирать напряжение у соседей по улице. Также поинтересуйтесь характеристиками трансформатора, от которого запитаны дома в вашей части поселка. Нередко для подключения электрокотла высокой производительности приходится тянуть ветку в обход.
Мнения покупателей
«Третий год эксплуатирую на даче одноконтурный Protherm Скат 9. Что сказать? Электрокотел надежен, компактен, прост в управлении. На мой вкус, даже чересчур – так и тянет подключить парочку датчиков и сделать какой-нибудь выносной блок + ДУ, чтобы не бегать к нему. Из минусов – отсутствие защиты от скачков в сети, шумноват внутренний насос, да и отопление дома с таким электрокотлом никак не назовешь экономичным».
Дмитрий, Москва.
«В частном доме стоит Зевс от Ferroli на 6 кВт – выбирал по отзывам в Сети в помощь дровяному камину. Залил в систему отопления глицерин, так как дом посещаем нерегулярно. В первую же зиму вылезла проблема – электрокотел не запустился из-за низкой температуры носителя (на тот момент +1°С). Прогрел все подручными средствами до +5°С, только тогда он включился. В остальном работает хорошо, если стабильное напряжение. В первые сутки расход по электроэнергии получился не экономичный – около 100-120 кВт».
Станислав, Новосибирск.
«По долгу службы довелось столкнуться с ионным котлом – я раньше это чудо техники видел только на картинках с описанием. По факту: Галан (как помнится) отказал на третий месяц работы. Вытащили стержни в непонятном налете – сняли его аккуратненько наждачкой. Попробовали, а электрокотел греет слабо. Долго бились, пока не докопались до истины: хозяева залили в контур обычную воду. Только когда на следующий день поменяли теплоноситель, все наладилось. В общем, капризная техника».
Владимир Хабаров, Санкт-Петербург.
«Мы с поисками электрокотла намучились: перерыли кучу информации, перечитали горы отзывов и запытали насмерть десяток консультантов. Выбрали Эван Warmos-QX на 12 кВт. Отопление загородного дома рассматривалось только электрическое, а у нас еще и теплые полы в некоторых помещениях. В модели есть все, что нужно: 3 режима мощности, вход под отдельный датчик, свой термостат. Дорого, но когда нам настроили электрокотел, я почувствовала себя хозяйкой «умного дома» – пусть только на зимнее время».
Александра, Московская область.
Цены и характеристики
| Модель | Мощность, кВт | Ступени | КПД, % | Размеры (ШхВхГ), мм | Цена, рубли |
| ТЭНовые электрокотлы | |||||
| Zota-3 Lux | 1 – 3 | 3 | до 99 | 290х730х160 | 15 800 |
| Эван Expert 7,5 | 0,8 – 7,5 | 9 | 93 | 420х775х302 | 45 100 |
| Ferroli Zews 12 | 3 – 12 | 6 | 99 | 440х740х340 | 29 500 |
| Электродные котлы (ионные) | |||||
| Галан Очаг-5 | 0 – 5 | 3 | 98 | 110х320х80 | 10 900 |
| Stafor Eko 5-10 | 5 – 10 | — | до 99 | 150х400х150 | 53 280 |
| Индукционные котлы | |||||
| Инэра Prof SAV-10 | 0 – 10 | 3 | до 98 | 121х1000х121 | 48 000 |
| Miratron А015 | 1,5 – 15 | 5 | 98 | 400х1600х300 | 65 000 |
obogrevguru.ru
Электрический котел для отопления частного дома: виды и что выбрать
Как и любое оборудование длительной эксплуатации, электрические котлы для отопления выбрать непросто: слишком много предложений. Потому нужно разобраться в основных отличиях, и на основании этой информации делать выбор, но уже осознанно.
Любой электрокотел состоит из:
- Нагревательного элемента. Этот элемент может быть трех типов: индукционный нагреватель, ТЭН, электрод.
- Блока управления и контроля. Обязательный элемент современных котлов, который гарантирует безопасную работу и поддерживает заданный температурный режим в помещении.
- Расширительного бачка.
- Наружного кожуха (корпуса). Как любой электрический прибор, для обеспечения безопасности электрокотел должен иметь надежный корпус, который предохранит от случайного касания к токоведущим частям.

Современный электрический котел для отопления частного дома выглядит примерно так
Есть еще целый ряд элементов, которые обеспечивают работоспособность системы, например, циркуляционный насос, группа безопасности и т.д., но они в разных вариациях могут располагаться как в самом устройстве, так и приобретаться и устанавливаться отдельно.
Виды нагревательных элементов в электрических котлах
Как уже говорили, теплоноситель в электрических котлах греется тремя видами нагревательных элементов. Самые популярные — известные всем ТЭНы, есть еще нагреватели, работающие на принципе индукции и использующие два электрода.
Электрокотлы на ТЭНах
Этот способ нагрева применяется давно, котлы с таким нагревательным элементом часто делают своими руками народные умельцы. Хороши они тем, что можно в один корпус подключить несколько элементов, которые будут включаться/выключаться по мере необходимости. Для активного набора температуры включаются в работу все ТЭНы, для поддержания параметров – работают один-два, остальные отключаются. Руководит этим процессом узел контроля.
При условии такого построения котел на ТЭНах будет использовать только то количество энергии, которое необходимо для поддержания заданной температуры. Но все дело в том, что только последние модели имеют такую многоступенчатую систему нагрева. Они надежны, экономичны и функциональны, но отличаются высокой стоимостью. Хотя, если посчитать экономию электроэнергии при эксплуатации, то все-таки целесообразнее покупать такой котел, чем с одним мощным ТЭНом.
Имеет многоступенчатый котел и еще одно преимущество: при выходе из строя одного из целой группы нагревательных элементов эффективность работы чуть снижается, но он остается работоспособным, а если «вылетает» единственный нагреватель, требуется срочная замена.

Обогрев дома электрическим котлом на ТЭНах — самый распространенный вариант электроотопления
Есть у ТЭНов одна особенность, которая может уменьшить эффективность работы оборудования: в процессе нагрева воды на них образуется накипь. Слой отложений в 2-3 мм снижает КПД до 30%. Но есть простой выход: использовать в системе не воду, или воду, но дистиллированную.
Дело в том, что ТЭНам все равно, что греть. Можно залить масло, антифриз, любую жидкость. И система будет работать. Если система закрытого типа (циркулирует в сети определенный объем жидкости), то образование налета некритично: не так много примесей в 40-120 литрах воды в системе. Самый главный недостаток такого оборудования – ТЭНы часто горят и приходится их менять, что в морозы грозит разморозкой системы.
К плюсам электрических котлов отопления с ТЭНами нужно отнести их меньшую, по сравнению с котлами, использующими другие типы нагрева теплоносителя, стоимость: отсутствуют сложные конструкции. Все просто и проверено, потому – недорого. Этого нельзя сказать про многоступенчатые модели – они довольно дороги, но зато прилично экономят расход электроэнергии во время эксплуатации. Как недостаток можно отметить большие габариты: нагревательным элементам нужен определенный объем жидкости для нагрева, да и сами они имеют не самые маленькие размеры.
Электродные котлы отопления

Электродные котлы отопления имеют небольшие размеры
Этот тип котлов называют еще ионными котлами. Нагревание воды происходит за энергии счет передвижения ионов, вот отсюда и название. Сразу нужно сказать, что работают эти котлы только на воде. Причем не дистиллированной: в ней должно быть достаточное количество солей, чтобы вода служила проводником тока.
В резервуаре с теплоносителем (водой) размещают два электрода разной полярности. Между ними образуется электрический ток, ионизированные молекулы начинают движение к одному из электродов, выделяя при этом тепло, которое и нагревает воду. Так как электроды подключены к сети переменного тока, то и между ними ток образуется переменный с частотой 50 Гц.
Теперь об особенностях работы и недостатках электродных котлов:
- Для обеспечения безопасности требуется отдельный контур заземления.
- Движение воды в системе обеспечивается работой циркуляционного насоса. Без него система неработоспособна, а длительный застой воды ведет к выходу котла из строя.
- С течением времени электроды истончаются и требуют замены, требуется также периодическая фильтрация теплоносителя и контроль за его составом.
- Электродные котлы очень требовательны к составу теплоносителя.
Из положительных моментов можно отметить, что нет необходимости контролировать наличие воды в системе, так как только при таком условии система будет работать.
Радует отсутствие тепловой инерции: включение и выключение происходит практически мгновенно, вода нагревается быстро, так как отсутствует промежуточное звено, которому передается температура (как в ТЭНах и индукционных котлах). Еще одна отличительная особенность электродных котлов – они малочувствительны к перепадам напряжения. Работают даже при 180-130 В. Мощность котла и скорость нагрева воды при этом падает, но система работает.
О котлах российского производства «Галан» читайте тут.
Индукционные котлы
Индукционные котлы отопления эффективно используют наводимые индукционные токи, применяя массивные медные индукторы (индуктивные катушки), которые заключены в металлическом корпусе-теплообменнике. Для повышения теплоотдачи корпус сделан в виде лабиринта. Холодная вода нагревается, омывая ферро-магнитный лабиринт и «отбирая» его тепло.
Отопительные котлы с использованием индукционного обмена в несколько раз дороже, чем котлы с ТЭНами. Но они имеют много преимуществ:
- Грамотно собранная система отопления (с фильтром-отстойником и гидромагнитной системой) работать без вмешательства может до 30 лет.
- Высокая надежность элемента нагрева. Индукционные нагреватели не перегорают: нет спирали с высокой температурой.
- Может работать без отдельного заземляющего контура: пробой элемента из-за массивности конструкции маловероятен. Не повредит катушке даже гроза.
- При использовании массивного лабиринта образование накипи почти не происходит: вода не нагревается до таких температур, при которых образуются отложения, сердечник постоянно вибрирует из-за прохождения токов, так что никакие отложения на нем не могут образоваться.
- Безопасность системы обеспечивается самой схемой и принципом работы, что гораздо надежнее защитных устройств. Единственный параметр, который требует контроля – наличие в системе теплоносителя. Отсутствие теплоносителя не отключает работу нагревательного элемента, и если работа «вхолостую» продолжается достаточно долго, корпус начнет плавиться.
- Небольшие размеры. Весь котел — просто небольшой отрезок трубы, который легко закрепить в любом месте. К нему идет также группа безопасности и пульт управления (он смотрится массивнее самого котла).

Индукционные котлы занимают совсем мало места и отличаются высокой надежностью
Получается, что единственный минус таких котлов – их высокая цена. Может, еще необходимость контроля уровня воды (антифриза, масла и т.п.). Некоторые модели (не все) при работе достаточно сильно шумят. Других недостатков, пока не обнаружили. Есть, правда, еще одна особенность, но это не недостаток, а именно особенность использования: совместим индукционный котел только с пластиковыми (металлопластиковыми) трубами.
Как выбрать электрический котел отопления
Очень большой разницы, как видите, нет. У каждого есть как положительные, так и отрицательные моменты.
Если говорить о стоимости, то самые дешевые – котлы на ТЭНах (и то, нужно сравнивать, современные многоступенчатые стоят очень прилично). Менее требовательны к напряжению в сети электродные, а самые долговечные – индукционные. Решите для себя, что в вашем случае является приоритетным, и подбирайте такой вариант. Стоит еще сказать, что для водяных систем теплых полов рекомендуют использовать индукционные или электродные нагреватели.

Электрические котлы для отопления частного дома могут быть напольными или настенными
В остальном, осталось определиться с мощностью котла. В упрощенном варианте в расчет принимается только отапливаемая площадь: общая площадь делится на 10 (справедливо для помещений с потолком не более 3 метров высоты). Полученная цифра – требуемая мощность котла. Так как климат в нашей стране достаточно суровый и непредсказуемый, можно добавить запас в 10%. Теперь, исходя из полученной мощности, смотрите, от какой сети будет запитываться котел: если мощность до 12 кВт, то подключается он в сеть 220 В, если больше – требуется ввод с напряжением 380 В.
О более точной методике определения мощности котла для дома читайте тут.

Для подключения электрического котла потребуется отдельный ввод электропитания
Вот тут и начнутся сложности: не везде есть возможность провести 380 В. Чтобы это выяснить, придется посетить соответствующее учреждение. Даже если вам нужна сеть в 220 В, просто подключить котел в розетку не выйдет: не рассчитаны наши сети на такие мощности. Если вы так поступите, скорее всего быстро «выбьет» пробки, может даже расплавиться проводка. Потому рисковать не стоит.
Для подключения любого электрического котла придется тянуть отдельную линию и устанавливать на нее УЗО. Но и такую линию протянуть не всегда есть возможность: у электриков есть свои нормы в каждом районе. Так что можно или нет подключить электрокотел на 220 В, нужно выяснять тоже у них.
Если с линиями электросети разобрались, далее смотрите на характеристики котлов, дополнительные функции, гарантии завода и т.п. Электрические котлы могут также отличатся способом установки: есть настенные модели (их большинство), а есть напольные. Может вам необходимо не только отопление дома, но и обеспечение горячей водой. В таком случае ищите двухконтурные модели. Тогда придется еще принимать во внимание производительность при нагреве воды: все они действуют по принципу проточного водонагревателя, а не бойлера.
Какие дополнительные функции могут быть полезны
Однозначно хорошо если есть возможность поддержания температуры в помещении. Не теплоносителя в системе, а именно температуры воздуха в помещении. Для этого или в самом котле или за его пределами устанавливают датчик (второй вариант предпочтительнее), который выставляется на комфортную для вас температуру. Как только в помещении температура опускается ниже заданной отметки, от датчика поступает сигнал на блок управления, который включает котел. При достижении нужной температуры автоматика отключает электорпитание. Очень удобно и комфортно. Тем более что настройки датчика может менять: днем выставлять более высокую температуру, на ночь – более низкую.
Неплохо иметь встроенную автоматику, контролирующую давление воды в системе, регулирующую мощность обогревателей и т.д. Но тут нужно руководствоваться целесообразностью: чем больше возможностей контроля и сервиса, тем дороже стоимость оборудования.
Сегодня есть возможность сделать управление котлом дистанционным: можно управлять по витой паре с расстояния около 1 км, а можно через мобильный телефон или компьютер. Понятно, что все эти дополнительные функции увеличиваются стоимость котла, но комфорт также повышают.

На этом фото представлены некоторые электрокотлы для отопления частного дома
Очень удобны комбинированные котлы: они могут работать на нескольких видах топлива. Например, на твердом топливе и электричестве. Это, скорее, твердотопливный котел, дополненный электрическим проточным нагревательным элементом, но факт от этого не изменяется – это комбинированный котел на твердом топливе и электричестве.
Основной источник энергии – дрова, уголь, брикеты и т.п. Пока они горят, электрическая часть отключена. Как только огонь затухает, в системе понижается температура. При достижении порогового значения автоматика включает электрический нагреватель, система продолжает функционировать, по трубам бежит теплая вода. Но нужно сказать, что в таких котлах электрическая часть способна выдать только 1/3 тепловой мощности агрегата. Потому полноценного отопления на электричестве в этом случае не получится. Но поддерживать работоспособность системы такое устройство способно даже в самые сильные морозы.
Если еще учесть, что цена на комбинированные котлы на твердом топливе и электричестве почти не отличается от стоимости обычного твердотопливного котла, то такое решение можно назвать оптимальным. Ведь не всегда есть возможность вовремя добавить топлива в топку, а так вы всегда будете уверены, что система будет работоспособна и не замерзнет, а в доме будет тепло. Удобен такой котел и при наличии многозонового счетчика: на ночь можно включать электрическую часть котла, тем более что ночью требуется поддерживать более низкую температуру.
teplowood.ru
