Стабилизатор напряжения 220в для дома своими руками – Стабилизатор напряжения своими руками | Схемы создания, принцип действия, детали для сборки – на промышленном портале Myfta.Ru
Самодельный стабилизатор напряжения 220в | Сабвуфер своими руками
Электронный стабилизатор напряжения — это промежуточное устройство между бытовой электросети и электропотребителем (нагрузкой). Такое устройство предназначено для поддержания напряжения на определенном уровне, а в частности 220В.
Нередко случается в квартирах, а часто в своих домах, напряжения в розетке далеко от идеала 220В, оно или сильно занижено, либо завышено, а порой просто резко скачет. В таких ситуациях включенные бытовые приборы в розетку ведут себя как-то странно, освещение тускло горит, холодильник начинает гудеть, вода в электрочайнике медленно закипает. На помощь нам приходит стабилизатор сетевого напряжения.
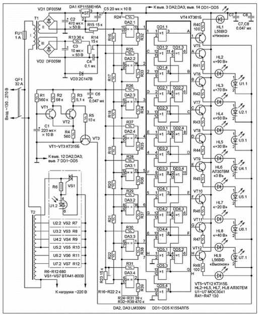
Стабилизаторы бывают промышленные и бытовые. Промышленные стабилизаторы напряжения работают от трех фазного напряжения 380В, бытовые от однофазного и делятся на электронные, феррорезонансные, релейные, электромеханические, инверторные.Рассмотрим принципиальную схему упрощенного электронного стабилизатора напряжения. В диодном мосту VD2 по диагонали расположен полевой транзистор VT2, когда он закрыт, то первичная обмотка вольтодобавочного трансформатора Т1 отключена от сети. Выходное U на холостом ходу, равно сетевому за исключением, малого падения напряжения на вторичной обмотке трансформатора Т1.
По схеме начало первичной обмотки L1-1 трансформатора Т1 соединен непосредственно к сети 220В. Для того чтобы подключить второй конец первичной обмотки L2-1’ трансформатора Т1 к сети 220В, необходимо открыть полевой транзистор VT2 (IRF840), после чего к нагрузке приложится сумма напряжений на вторичной обмотке L1 1-2, L2 2’-1’ и напряжения сети.
На биполярный транзистор VT1 структуры n-p-n перехода подается напряжение, через нагрузку, трансформатор Т2 и диодный мост VD1. Потенциометром R1 выставляется выходное U=220В порог срабатывания устройства на нагрузке, биполярный транзистор VT1 открывается, при этом транзистор VT2 закрывается. Если напряжение в сети упадет и станет ниже 220В, то закроется транзистор VT1, откроется транзистор VT2.
Диодный мост VD1 КЦ405В выпрямляет переменное U=12В на вторичной обмотке трансформатора Т2, после постоянное напряжение подается на стабилизатор DA1 КР142ЕН8А и запитывает коллекторную цепь транзистора VT1 КТ972А. Конденсатор С5 и резистор R6 соединены параллельно истоку стоку транзистора VT2 и образуют гасящую цепочку от нежелательных скачков напряжения. С1 выполняет роль фильтрующего конденсатора от сетевых помех, тем самым улучшает процесс работы устройства.
Подбирая номиналы сопротивлений резисторов R3, R5 добиваются наилучшей и устойчивой работы стабилизации напряжения. Включение/выключение устройства и нагрузки осуществляется выключателем SA1. В стабилизаторе напряжения предусмотрено отключение стабилизирующего напряжения на нагрузке выключателем SA2. Собранный по схеме стабилизатор включают в сеть 220В и переменным резистором R1 выставляют U=220В на нагрузке.
Вольтодобавочный трансформатор Т1 собран на основе готового трансформатора марки СТ-320, ранее использовавшегося в БП-1 блоках питания телевизоров УЛПЦТ-59. Трансформатор необходимо разобрать полностью, снять магнитосердечник, после чего смотать все вторичные обмотки, необходимо оставить только сетевую (первичную обмотку). Заново намотать поровну вторичные обмотки эмалированным медным проводом ПЭВ, ПЭЛ.
Одинаковые две катушки имеют следующие намоточные данные:
Полевой транзистор VT2 необходимо закрепить на радиаторе!
www.radiochipi.ru
Стабилизатор напряжения 220в для дома своими руками схема
Бытовые устройства чувствительны к скачкам напряжения, быстрее подлежат износу, и появляются неисправности. В электрической сети напряжение часто изменяется, снижается, либо возрастает. Это взаимосвязано с отдаленностью источника энергии и некачественной линии питания.
Чтобы подключать приборы к устойчивому питанию, в жилых помещениях применяют стабилизаторы напряжения. На его выходе напряжение обладает стабильными свойствами. Стабилизатор можно приобрести в торговой сети, однако такой прибор можно изготовить своими руками.
Имеются допуски на изменение напряжения не более 10% от номинального значения (220 В). Это отклонение должно быть соблюдено как в большую сторону, так и в меньшую. Но идеальной электрической сети не бывает, и величина напряжения в сети часто меняется, усугубляя тем самым работу подключенных к ней устройств.
Электрические приборы отрицательно реагируют на такие капризы сети и могут быстро выйти из строя, потеряв при этом свои заложенные функции. Чтобы избежать таких последствий, люди применяют самодельные приборы под названием стабилизаторы напряжения. Эффективным стабилизатором стал прибор, выполненный на симисторах. Как сделать стабилизатор напряжения своими руками мы и рассмотрим.
Характеристика стабилизатора
Это устройство стабилизации не будет иметь повышенную чувствительность к изменениям напряжения, подающегося по общей линии. Сглаживание напряжения будет производиться в том случае, если на входе напряжение будет находиться в пределах от 130 до 270 вольт.
Включенные в сеть устройства будут питаться напряжением, имеющим величину от 205 до 230 вольт. От такого прибора можно будет питать электрические устройства, суммарная мощность которых до 6 кВт. Стабилизатор будет производить переключение нагрузки потребителя за 10 мс.
Устройство стабилизатора

Схема устройства стабилизации.
Стабилизатор напряжения по указанной схеме имеет в своем составе следующие части:
- Питающий блок, в который входят емкости С2, С5, компаратор, трансформатор, теплоэлектрический диод.
- Узел, задерживающий подключение нагрузки потребителя, и состоящий из сопротивлений, транзисторов, емкости.
- Выпрямительного моста, измеряющего амплитуду напряжения. Выпрямитель состоит из емкости, диода, стабилитрона, нескольких делителей.
- Компаратора напряжения. Его составными частями являются сопротивления и компараторы.
- Логического контроллера на микросхемах.
- Усилителей, на транзисторах VТ4-12, резисторов, ограничивающих ток.
- Светодиодов в качестве индикаторов.
- Оптитронных ключей. Каждый из ник снабжается симисторами и резисторами, а также оптосимисторами.
- Электрического автомата, либо предохранителя.
- Автотрансформатора.
Принцип действия
Рассмотрим, как функционирует стабилизатор напряжения, выполненный своими руками.
После подключения питания емкость С1 находится в состоянии разряда, транзистор VТ1 открытый, а VТ2 закрытый. VТ3 транзистор также остается закрытым. Через него поступает ток на все светодиоды и оптитрон на основе симисторов.
Так как этот транзистор пребывает в закрытом состоянии, то светодиоды не горят, а каждый симистор закрыт, нагрузка выключена. В этот момент ток поступает через сопротивление R1 и приходит на С1. Дальше конденсатор начинает заряжаться.
Диапазон выдержки идет три секунды. За этот период производятся все процессы перехода. После их окончания срабатывает триггер Шмитта на основе транзисторов VТ1 и VТ2. После этого открывается 3-й транзистор и подключается нагрузка.
Напряжение, выходящее с 3-й обмотки Т1, выравнивается диодом VD2 и емкостью С2. Далее ток поступает на делитель на сопротивлениях R13-14. Из сопротивления R14, напряжение, величина которого прямо зависит от величины напряжения, включена в каждый неинвертирующий компараторный вход.
Число компараторов становится равным 8. Они все выполнены на микросхемах DА2 и DА3. В то же время на инвертируемый вход компараторов подходит постоянный ток, подающийся с помощью делителей R15-23. Дальше вступает в действие контроллер, осуществляющий прием входного сигнала каждого компаратора.
Стабилизатор напряжения и его особенности
Когда напряжение входа становится меньше 130 вольт, то на выходах компараторов появляется логический уровень малого размера. В этот момент транзистор VТ4 находится в открытом виде, первый светодиод мигает. Эта индикация сообщает о наличии низкого напряжения, что означает невозможность выполнения регулируемым стабилизатором своих функций.Все симисторы закрытии и нагрузка отключена. Когда напряжение находится в пределах 130-150 вольт, то сигналы 1 и А имеют свойства высокого значения логического уровня. Такой уровень имеет низкое значение. В таком случае транзистор VТ5 открывается, и начинает сигнализировать второй светодиод.
Оптосимистор U1.2 открывается, так же, как и симистор VS2. Через симистор будет протекать нагрузочный ток. Затем нагрузка зайдет в верхний вывод катушки автотрансформатора Т2.
Если напряжение входа 150 – 170 В, то сигналы 2, 1 и В имеют повышенное значение логического уровня. Другие сигналы имеют низкий уровень. При таком напряжении входа транзистор VТ6 открывается, 3-й светодиод включается. В этот момент 2-й симистор открывается и ток поступает на второй вывод катушки Т2, являющийся 2-м сверху.
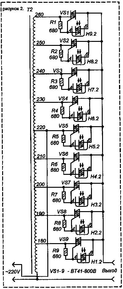
Собранный самостоятельно стабилизатор напряжения на 220 вольт будет соединять обмотки 2-го трансформатора, если уровень напряжения входа достигнет соответственно: 190, 210, 230, 250 вольт. Чтобы сделать такой стабилизатор, необходима печатная плата 115 х 90 мм, изготовленная из фольгированного стеклотекстолита.

Изображение платы можно отпечатать на принтере. Затем с помощью утюга переносят это изображение на плату.
Изготовление трансформаторов
Изготовить трансформаторы Т1 и Т2 можно самостоятельно. Для Т1, мощность которого 3 кВт, необходимо применить магнитопровод с поперечным сечением 1,87 см2, и 3 провода ПЭВ – 2. 1-й провод диаметром 0,064 мм. Им наматывают первую катушку, с количеством витков 8669. Другие 2 провода применяются для образования остальных обмоток. Провода на них должны быть одного диаметра 0,185 мм, с числом витков 522.
Чтобы не изготавливать самому такие трансформаторы, можно применить готовые варианты ТПК – 2 – 2 х 12 В, соединенные последовательно.

Чтобы изготовить трансформатор Т2 на 6 кВт, применяют магнитопровод тороидальной формы. Обмотку наматывают проводом ПЭВ – 2 с числом витков 455. На трансформаторе необходимо вывести 7 отводов. Первые 3 из них наматываются проводом 3 мм. Остальные 4 отвода наматываются шинами сечением 18 мм2. С таким сечением провода трансформатор не нагреется.
Отводы выполняют на таких витках: 203, 232, 266, 305, 348 и 398. Витки считают с нижнего отвода. В этом случае электрический ток сети должен поступать по отводу 266 витка.
Детали и материалы
Остальные элементы и детали стабилизатора для самостоятельной сборки приобретаются в торговой сети. Перечислим их перечень:
- Симисторы (отптроны) МОС 3041 – 7 шт.
- Симисторы ВТА 41 – 800 В – 7 шт.
- КР 1158 ЕН 6А (DА1) стабилизатор.
- Компаратор LМ 339 N (для DА2 и DА3) – 2 шт.
- Диоды DF 005 М (для VD2 и VD1) – 2 шт.
- Резисторы проволочные СП 5 или СП 3 (для R13, R14 и R25) – 3 шт.
- Резисторы С2 – 23, с допуском 1% — 7 шт.
- Резисторы любого номинала с допуском 5% — 30 шт.
- Резисторы токоограничивающие – 7 шт, для пропускания ими тока 16 миллиампер (для R 41 – 47) – 7 шт.
- Конденсаторы электролитические – 4 шт (для С5 – 1).
- Конденсаторы пленочные (С4 – 8).
- Выключатель, оснащенный предохранителем.
Оптроны МОС 3041 заменяются на МОС 3061. КР 1158 ЕН 6А стабилизатор можно менять на КП 1158 ЕН 6Б. Компаратор К 1401 СА 1 можно установить в качестве аналога LM 339 N. Вместо диодов можно использовать КЦ 407 А.
Микросхему КР 1158 ЕН 6А надо устанавливать на теплоотвод. Для его изготовления применяют алюминиевую пластинку 15 см2. Также на него необходимо установить симисторы. Для симисторов допускается применять общий теплоотвод. Площадь поверхности должна превышать 1600 см2. Стабилизатор необходимо снабдить микросхемой КР 1554 ЛП 5, выступающей в качестве микроконтроллера. Девять светодиодов располагаются так, что попадают в отверстия на панели прибора спереди.
Если устройство корпуса не дает установить их таким образом, как на схеме, то их размещают на другой стороне, где расположены печатные дорожки. Светодиоды необходимо устанавливать мигающего типа, но можно монтировать и немигающие диоды, при условии, что они будут светиться ярким красным светом. Для таких целей применяют АЛ 307 КМ или L 1543 SRC — Е.
Можно выполнить сборку более простых исполнений приборов, но они будут иметь определенными особенностями.
Достоинства и недостатки, отличия от заводских моделей
Если перечислять достоинства стабилизаторов, изготовленных самостоятельно, то основным достоинством является низкая стоимость. Производители приборов часто завышают цены, а своя сборка в любом случае обойдется меньшей стоимостью.
Другим преимуществом можно определить такой фактор, как возможность простого ремонта своими руками устройства, Ведь кто, если не вы знаете лучше устройство, собранное своими руками.
В случае поломки хозяин прибора сразу найдет неисправный элемент и заменит его на новый. Простая замена деталей создается таким фактором, что все детали приобретались в магазине, поэтому их можно будет легко снова купить в любом магазине.
Недостатком самостоятельно собранного стабилизатора напряжения необходимо выделить его сложную настройку.
Простейший стабилизатор напряжения своими руками
Рассмотрим, каким образом можно изготовить самостоятельно стабилизатор на 220 вольт собственными руками, имея под рукой несколько простых деталей. Если в вашей электрической сети напряжение значительно снижено, то такой прибор подойдет вам как нельзя кстати. Чтобы его изготовить, понадобится готовый трансформатор, и несколько простых деталей. Лучше взять такой пример прибора себе на заметку, так как получается неплохое устройство, обладающее достаточной мощностью, например, для микроволновки.
Для холодильников и различных других бытовых устройств понижение напряжения сети очень вредно, больше чем повышение. Если поднять величину напряжения сети, применяя автотрансформатор, то во время уменьшения напряжения сети на выходе прибора напряжение будет нормальной величины. А если в сети напряжение станет в норме, то на выходе мы получим повышенное значение напряжения. Например, возьмем трансформатор на 24 В. При напряжении на линии 190 В на выходе устройства получится 210 В, при значении сети 220 В на выходе получится 244 В. Это вполне допустимо и нормально для работы бытовых устройств.

Для изготовления нам понадобится основная деталь – это простой трансформатор, но не электронный. Его можно найти готовый, либо изменить данные на уже имеющемся трансформаторе, например, от сломанного телевизора. Трансформатор будем соединять по схеме автотрансформатора. Напряжение на выходе будет получаться примерно на 11% выше напряжения сети.
При этом нужно соблюдать осторожность, так как во время значительного перепада напряжения в сети в большую сторону, на выходе устройства получится напряжение, которое значительно превышает допустимую величину.
Автотрансформатор будет добавлять к напряжению линии сети всего 11%. Это значит, что мощность автотрансформатора берется также на 11% от мощности потребителя. Например, мощность микроволновки равна 700 Вт, значит трансформатор берем 80 Вт. Но лучше брать мощность с запасом.
Регулятор SA1 дает возможность, если нужно, подсоединять нагрузку потребителя без автотрансформатора. Конечно, это не полноценный стабилизатор, но зато для его изготовления не требуется больших вложений и много времени.
ostabilizatore.ru
Схема стабилизатора напряжения: 12в — 220в своими руками
Содержание:
- Схема стабилизатора напряжения 220в своими руками
- Схемы стабилизаторов напряжения на транзисторах
- Схема линейного стабилизатора напряжения 12в
- Регулируемый стабилизатор напряжения схема
- Схема симисторного стабилизатора напряжения 220в
- Стабилизатор напряжения с защитой по току схема
- Схема релейного стабилизатора напряжения 220
- Видео: Стабилизатор напряжения и тока на LM2576
В электрических цепях постоянно возникает необходимость в стабилизации тех или иных параметров. С этой целью применяются специальные схемы управления и слежения за ними. Точность стабилизирующих действий зависит от так называемого эталона, с которым и сравнивается конкретный параметр, например, напряжение. То есть, когда значение параметра будет ниже эталона, схема стабилизатора напряжения включит управление и отдаст команду на его увеличение. В случае необходимости выполняется обратное действие – на уменьшение.
Данный принцип работы лежит в основе автоматического управления всеми известными устройствами и системами. Точно так же действуют и стабилизаторы напряжения, несмотря на разнообразие схем и элементов, используемых для их создания.
Схема стабилизатора напряжения 220в своими руками
При идеальной работе электрических сетей, значение напряжения должно изменяться не более чем на 10% от номинала в сторону увеличения или уменьшения. Однако на практике перепады напряжения достигают гораздо больших значений, что крайне отрицательно сказывается на электрооборудовании, вплоть до его выхода из строя.

Защититься от подобных неприятностей поможет специальное стабилизирующее оборудование. Однако из-за высокой стоимости, его применение в бытовых условиях во многих случаях экономически невыгодно. Наилучшим выходом из положения становится самодельный стабилизатор напряжения 220в, схема которого достаточно простая и недорогая.
За основу можно взять промышленную конструкцию, чтобы выяснить, из каких деталей она состоит. В состав каждого стабилизатора входят трансформатор, резисторы, конденсаторы, соединительные и подключающие кабели. Самым простым считается стабилизатор переменного напряжения, схема которого действует по принципу реостата, повышая или понижая сопротивление в соответствии с силой тока. В современных моделях дополнительно присутствует множество других функций, обеспечивающих защиту бытовой техники от скачков напряжения.
Среди самодельных конструкций наиболее эффективными считаются симисторные устройства, поэтому в качестве примера будет рассматриваться именно эта модель. Выравнивание тока этим прибором будет возможно при входном напряжении в диапазоне 130-270 вольт. Перед началом сборки необходимо приобрести определенный набор элементов и комплектующих. Он состоит из блока питания, выпрямителя, контроллера, компаратора, усилителей, светодиодов, автотрансформатора, узла задержки включения нагрузки, оптронных ключей, выключателя-предохранителя. Основными рабочими инструментами служат пинцет и паяльник.
Для сборки стабилизатора на 220 вольт в первую очередь потребуется печатная плата размером 11,5х9,0 см, которую нужно заранее подготовить. В качестве материала рекомендуется использовать фольгированный стеклотекстолит. Схема размещения деталей распечатывается на принтере и переносится на плату с помощью утюга.

Трансформаторы для схемы можно взять уже готовые или собрать самостоятельно. Готовые трансформаторы должны иметь марку ТПК-2-2 12В и соединяться последовательно между собой. Для создания первого трансформатора своими руками потребуется магнитопровод сечением 1,87 см2 и 3 кабеля ПЭВ-2. Первый кабель применяется в одной обмотке. Его диаметр составит 0,064 мм, а количество витков – 8669. Оставшиеся провода используются в других обмотках. Их диаметр будет уже 0,185 мм, а число витков составит 522.
Второй трансформатор изготавливается на основе тороидального магнитопровода. Его обмотка выполняется из такого же провода, как и в первом случае, но количество витков будет другим и составит 455. Во втором устройстве делаются отводы в количестве семи. Первые три изготавливаются из провода диаметром 3 мм, а остальные из шин, сечением 18 мм2. За счет этого предотвращается нагрев трансформатора во время работы.
Все остальные комплектующие рекомендуется приобретать в готовом виде, в специализированных магазинах. Основой сборки является принципиальная схема стабилизатора напряжения, заводского изготовления. Вначале устанавливается микросхема, выполняющая функцию контроллера для теплоотвода. Для ее изготовления используется алюминиевая пластина площадью свыше 15 см2. На эту же плату производится монтаж симисторов. Теплоотвод, предназначенный для монтажа, должен быть с охлаждающей поверхностью. После этого сюда же устанавливаются светодиоды в соответствии со схемой или со стороны печатных проводников. Собранная таким образом конструкция, не может сравниваться с заводскими моделями ни по надежности, ни по качеству работы. Такие стабилизаторы используются с бытовыми приборами, не требующими точных параметров тока и напряжения.
Схемы стабилизаторов напряжения на транзисторах
Качественные трансформаторы, применяемые в электрической цепи, эффективно справляются даже с большими помехами. Они надежно защищают бытовую технику и оборудование, установленные в доме. Настроенная система фильтрации позволяет бороться с любыми скачками напряжения. За счет контроля над напряжением происходят изменения величины тока. Предельная частота на входе увеличивается, а на выходе – уменьшается. Таким образом, ток в цепи преобразуется в течение двух этапов.

В начале на входе задействуют транзистор с фильтром. Далее происходит включение в работу диодного моста. Для завершения преобразования тока в схеме применяется усилитель, чаще всего устанавливаемый между резисторами. За счет этого в устройстве поддерживается необходимый уровень температуры.
Схема выпрямления действует следующим образом. Выпрямление переменного напряжения с вторичной обмотки трансформатора происходит с помощью диодного моста (VD1-VD4). Сглаживание напряжения выполняет конденсатор С1, после чего оно попадает в систему компенсационного стабилизатора. Действие резистора R1 задает стабилизирующий ток на стабилитроне VD5. Резистор R2 является нагрузочным. При участии конденсаторов С2 и С3 происходит фильтрация питающего напряжения.
Значение выходного напряжения стабилизатора будет зависеть от элементов VD5 и R1 для выбора которых существует специальная таблица. Транзистор VT1 устанавливается на радиаторе, у которого площадь охлаждающей поверхности должна быть не менее 50 см2. Отечественный транзистор КТ829А может быть заменен зарубежным аналогом BDX53 от компании Моторола. Остальные элементы имеют маркировку: конденсаторы – К50-35, резисторы – МЛТ-0,5.
Схема линейного стабилизатора напряжения 12в
В линейных стабилизаторах используются микросхемы КРЕН, а также LM7805, LM1117 и LM350. Следует отметить, что символика КРЕН не является аббревиатурой. Это сокращение полного названия микросхемы стабилизатора, обозначаемой как КР142ЕН5А. Таким же образом обозначаются и другие микросхемы этого типа. После сокращения такое название выглядит по-другому – КРЕН142.

Линейные стабилизаторы или стабилизаторы напряжения постоянного тока схемы получили наибольшее распространение. Их единственным недостатком считается невозможность работы при напряжении, которое будет ниже заявленного выходного напряжения.
Например, если на выходе LM7805 нужно получить напряжение в 5 вольт, то входное напряжение должно быть, как минимум 6,5 вольт. При подаче на вход менее 6,5В, наступит так называемая просадка напряжения, и на выходе уже не будет заявленных 5-ти вольт. Кроме того, линейные стабилизаторы очень сильно нагреваются под нагрузкой. Это свойство лежит в основе принципа их работы. То есть, напряжение, выше стабилизируемого, преобразуется в тепло. Например, при подаче на вход микросхемы LM7805 напряжения 12В, то в этом случае 7 из них уйдут для нагрева корпуса, и лишь необходимые 5В поступят потребителю. В процессе трансформации происходит настолько сильный нагрев, что данная микросхема просто сгорит при отсутствии охлаждающего радиатора.
Регулируемый стабилизатор напряжения схема
Нередко возникают ситуации, когда напряжение, выдаваемое стабилизатором, необходимо отрегулировать. На рисунке представлена простая схема регулируемого стабилизатора напряжения и тока, позволяющая не только стабилизировать, но и регулировать напряжение. Ее можно легко собрать даже при наличии лишь первоначальных познаний в электронике. Например, входное напряжение составляет 50В, а на выходе получается любое значение, в пределах 27 вольт.

В качестве основной детали стабилизатора используется полевой транзистор IRLZ24/32/44 и другие аналогичные модели. Данные транзисторы оборудуются тремя выводами – стоком, истоком и затвором. Структура каждого из них состоит из металла-диэлектрика (диоксида кремния) – полупроводника. В корпусе расположена микросхема-стабилизатор TL431, с помощью которой и настраивается выходное электрическое напряжение. Сам транзистор может оставаться на радиаторе и соединяться с платой проводниками.
Данная схема может работать с входным напряжением в диапазоне от 6 до 50В. Выходное напряжение получается в пределах от 3 до 27В и может быть отрегулировано с помощью подстрочного резистора. В зависимости от конструкции радиатора, выходной ток достигает 10А. Емкость сглаживающих конденсаторов С1 и С2 составляет 10-22 мкФ, а С3 – 4,7 мкФ. Схема сможет работать и без них, однако качество стабилизации будет снижено. Электролитические конденсаторы на входе и выходе рассчитываются примерно на 50В. Мощность, рассеиваемая таким стабилизатором, не превышает 50 Вт.
Схема симисторного стабилизатора напряжения 220в
Симисторные стабилизаторы работают по аналогии с релейными устройствами. Существенным отличием является наличие узла, переключающего обмотки трансформатора. Вместо реле используются мощные симисторы, работающие под управлением контроллеров.
Управление обмотками с помощью симисторов – бесконтактное, поэтому при переключениях нет характерных щелчков. Для намотки автотрансформатора используется медный провод. Симисторные стабилизаторы могут работать при пониженном напряжении от 90 вольт и высоком – до 300 вольт. Регулировка напряжения осуществляется с точностью до 2%, отчего лампы совершенно не моргают. Однако во время переключений возникает ЭДС самоиндукции, как и в релейных устройствах.

Симисторные ключи обладают повышенной чувствительностью к перегрузкам, в связи с чем они должны иметь запас по мощности. Данный тип стабилизаторов отличается очень сложным температурным режимом. Поэтому установка симисторов осуществляется на радиаторы с принудительным вентиляторным охлаждением. Точно так же работает схема тиристорного стабилизатора напряжения 220В своими руками.
Существуют устройства с повышенной точностью, работающие по двухступенчатой системе. На первой ступени выполняется грубая регулировка выходного напряжения, а на второй ступени этот процесс осуществляется значительно точнее. Таким образом, управление двумя ступенями выполняется с помощью одного контроллера, что фактически означает наличие двух стабилизаторов в едином корпусе. Обе ступени имеют обмотки, намотанные в общем трансформаторе. При наличии 12 ключей, эти две ступени позволяют регулировать выходное напряжение в 36 уровнях, чем и обеспечивается его высокая точность.
Стабилизатор напряжения с защитой по току схема
Данные устройства обеспечивают питание преимущественно для низковольтных устройств. Такой стабилизатор тока и напряжения схема отличается простотой конструкции, доступной элементной базой, возможностью плавных регулировок не только выходного напряжения, но и тока, при котором срабатывает защита.
Основой схемы является параллельный стабилизатор или регулируемый стабилитрон, а также биполярный транзистор с высокой мощностью. С помощью так называемого измерительного резистора контролируется ток, потребляемый нагрузкой.

Иногда на выходе стабилизатора возникает короткое замыкание или ток нагрузки превышает установленное значение. В этом случае на резисторе R2 падает напряжение, а транзистор VT2 открывается. Происходит и одновременное открытие транзистора VT3, шунтирующего источник опорного напряжения. В результате, значение выходного напряжения снижается практически до нулевого уровня, и регулирующий транзистор оказывается защищенным от перегрузок по току. Для того чтобы установить точный порог срабатывания токовой защиты, применяется подстроечный резистор R3, включаемый параллельно с резистором R2. Красный цвет светодиода LED1 указывает на срабатывание защиты, а зеленый LED2 – на выходное напряжение.
После правильно выполненной сборки схемы мощных стабилизаторов напряжения сразу же включаются в работу, достаточно всего лишь выставить необходимое значение выходного напряжения. После загрузки устройства реостатом выставляется ток, при котором срабатывает защита. Если защита должна срабатывать при меньшем токе, для этого необходимо увеличить номинал резистора R2. Например, при R2 равном 0,1 Ом, минимальный ток срабатывания защиты будет составлять около 8А. Если же нужно, наоборот, увеличить ток нагрузки, следует параллельно включить два и более транзисторов, в эмиттерах которых имеются выравнивающие резисторы.
Схема релейного стабилизатора напряжения 220
С помощью релейного стабилизатора обеспечивается надежная защита приборов и других электронных устройств, для которых стандартный уровень напряжения составляет 220В. Данный стабилизатор напряжения 220В, схема которого всем известна. Пользуется широкой популярностью, благодаря простоте своей конструкции.

Для того чтобы правильно эксплуатировать это устройство, необходимо изучить его устройство и принцип действия. Каждый релейный стабилизатор состоит из автоматического трансформатора и электронной схемы, управляющей его работой. Кроме того, имеется реле, помещенное в надежный корпус. Данный прибор относится к категории вольтодобавочных, то есть с его помощью лишь добавляется ток в случае низкого напряжения.
Добавление необходимого количества вольт осуществляется путем подключения обмотки трансформатора. Обычно для работы используется 4 обмотки. В случае слишком высокого тока в электрической сети, трансформатор автоматически уменьшает напряжение до нужного значения. Конструкция может быть дополнена и другими элементами, например, дисплеем.
Таким образом, релейный стабилизатор напряжения имеет очень простой принцип работы. Ток измеряется электронной схемой, затем, после получения результатов, он сравнивается с выходным током. Полученная разница в напряжении регулируется самостоятельно путем подбора необходимой обмотки. Далее, подключается реле и напряжение выходит на необходимый уровень.
Стабилизатор напряжения и тока на LM2576
electric-220.ru
Стоит ли собирать стабилизатор напряжения своими руками
Идеальным вариантом работы электросетей является изменение значений тока и напряжения как в сторону уменьшения, так и увеличения не более чем на 10% от номинальных 220 В. Но поскольку в реальности скачки характеризуются большими изменениями, то электроприборам, подключенным к сети напрямую, грозит потеря проектных возможностей и даже выход из строя.
Избежать неприятностей поможет использование специального оборудования. Но поскольку оно отличается весьма высокой ценой, то многие предпочитают собирать стабилизатор напряжения сделанный своими руками. Насколько оправдан такой шаг и что потребуется для его реализации?
Конструкция и принцип действия стабилизатора

Конструкция прибора
Решив собрать прибор самостоятельно придется заглянуть внутрь корпуса промышленной модели. Она состоит из нескольких основных деталей:
- Трансформатора;
- Конденсаторов;
- Резисторов;
- Кабеля для соединения элементов и подключения устройства.
Принцип действия самого простого стабилизатора основан на работе реостата. Он повышает или понижает сопротивление в зависимости от силы тока. Более современные модели обладают широким набором функций и способны в полной мере защитить бытовую технику от скачков напряжения в сети.
Виды приборов и их особенности
Виды и их применения
Классификация оборудования зависит от методов, используемых для регулировки тока. Поскольку эта величина представляет собой направленное движение частиц, то воздействовать на нее можно одним из способов:
- Механическим;
- Импульсным.
Первый основывается на законе Ома. Приборы, работа которых основана на нем называют линейными. Они включают в себя два колена, которые соединяются при помощи реостата. Поданное на один элемент напряжение проходит по реостату и таким образом оказывается на другом, с которого поступает к потребителям.
Приборы этого типа позволяют очень только выставлять параметры выходного тока и могут быть модернизированы дополнительными узлами. Но использовать такие стабилизаторы в сетях, где разница между входным и выходным током велика нельзя, так как они не смогут обезопасить бытовую технику от КЗ при больших нагрузках.
Смотрим видео, принцип работы импульсного прибора:
Импульсные модели работают по принципу амплитудной модуляции тока. В цепи стабилизатора используется выключатель, разрывающий ее через определенные промежутки времени. Такой подход позволяет равномерно накапливать ток в конденсаторе, а после его полной зарядки и далее на приборы.
В отличие от линейных стабилизаторов импульсные не имеют возможности задавать определенную величину. В продаже встречаются модели повышающе-понижающие – это идеальный выбор для дома.
Также стабилизаторы напряжения делятся на:
- Однофазные;
- Трехфазные.
Но так как большинство бытовых приборов работают от однофазной сети, то в жилых помещениях используют как правило оборудование, относящееся к первому типу.
Приступаем к сборке: комплектующие, инструменты
Поскольку наиболее эффективным считается симисторный аппарат, то в своей статье мы рассмотрим, как самостоятельно собрать именно такую модель. Сразу следует отметить, что этот стабилизатор напряжения, выполненный своими руками, будет выравнивать ток при условии, что входное напряжение находится в диапазоне от 130 до 270В.
Допустимая мощность приборов, подключаемых к такому оборудованию не сможет превышать 6 кВт. При этом переключение нагрузки будет осуществляться за 10 миллисекунд.
Что касается комплектующих, то для сборки такого стабилизатора понадобятся следующие элементы:
- Блок питания;
- Выпрямитель для измерения амплитуды напряжения;
- Компаратор;
- Контроллер;
- Усилители;
- Светодиоды;
- Узел задержки включения нагрузки;
- Автотрансформатор;
- Оптронные ключи;
- Выключатель-предохранитель.
Из инструментов буду необходимы паяльник и пинцет.
Этапы изготовления
Чтобы собрать стабилизатор напряжения 220В для дома своими руками сначала нужно подготовить печатную плату размером 115х90 мм. Она изготавливается из фольгированного стеклотекстолита. Схема размещения деталей может быть напечатана на лазерном принтере и при помощи утюга перенесена на плату.
Смотрим видео, самодельный несложный прибор:

схема электрическая принципиальная
Далее переходим к сборке трансформаторов. Для одного такого элемента потребуется:
- магнитопровод площадью сечения 1,87 см²;
- три кабеля ПЭВ-2.
Первый провод используется для создания одной обмотки, при этом его диаметр составляет 0,064 мм. Число витков должно равняться 8669.
Два оставшихся провода потребуются для выполнения других обмоток. Они отличаются от первого диаметром, составляющим 0,185 мм. Количество витков для этих обмоток будет равно 522.
Если хотите упростить себе задачу, то можно воспользоваться двумя готовыми трансформаторами ТПК-2-2 12В. Их соединяют последовательно.
В случае изготовления этих деталей самостоятельно после того как будет готов один из них переходят к созданию второго. Для него будет нужен тороидальный магнитопровод. Для обмотки выбирают тот же ПЭВ-2, что и в первом случае, только количество витков составит 455.
Также во втором трансформаторе придется выполнить 7 отводов. Причем для первых трех используется провод диаметром 3мм, а для остальных – шины, сечением 18 мм². Это поможет избежать нагревания трансформатора в процессе работы.

соединение двух трансформаторов
Все остальные комплектующие для прибора, создаваемого своими руками лучше приобретать в магазине. После того, как все необходимое закуплено можно приступать к сборке. Начинать лучше всего с установки микросхемы, выполняющей роль контроллера на теплоотвод, который изготавливается из алюминиевой платины площадью более 15 см². На него также монтируются симисторы. Причем теплоотвод, на который предполагается их установка должен иметь охлаждающую поверхность.
Далее необходимо установить на плату светодиоды. Причем лучше выбирать мигающие. Если не получается расположить их согласно схеме, то можно разместить на стороне, где находятся печатные проводники.
Если сборка симисторного стабилизатора напряжения 220В своими руками для вас кажется сложной, то можно остановиться на более простой линейной модели. Она будет обладать аналогичными свойствами.
Эффективность изделия, выполненного своими руками
Что толкает человека на изготовление того или иного прибора? Чаще всего – его высокая стоимость. И в этом смысле стабилизатор напряжения, собранный своими руками, конечно, превосходит фабричную модель.
К преимуществам самодельных устройств можно отнести и возможность самостоятельного ремонта. Человек, собравший стабилизатор разобрался как в его принципе действия, так и строении и поэтому сможет устранить неисправность без посторонней помощи.
Кроме того, все детали для такого прибора предварительно покупались в магазине, поэтому в случае выхода их из строя всегда можно будет найти аналогичную.
Если же сравнивать надежность стабилизатора, собранного своими руками и произведенного на предприятии, то здесь преимущество на стороне заводских моделей. В домашних условиях разработать модель, отличающуюся высокой производительностью практически невозможно, так как нет специального измерительного оборудования.
Заключение
Существуют различные типы стабилизаторов напряжения, причем некоторые из них вполне реально сделать своими руками. Но для этого придется разобраться в нюансах работы оборудования, приобрести необходимые комплектующие и выполнить их грамотный монтаж. Если вы не уверены в своих силах, то лучший вариант – приобретение устройства заводского изготовления. Стоит такой стабилизатор дороже, но и по качеству значительно превосходит модели, собираемые самостоятельно.
generatorvolt.ru
Метка: стабилизатор напряжения 220в своими руками. Стабилизатор напряжения 220в для дома своими руками схема
ГлавнаяСхемаСтабилизатор напряжения 220в для дома своими руками схемаСтабилизатор напряжения для дома | Заметки электрика

Здравствуйте, уважаемые читатели сайта http://zametkielectrika.ru.
Тема сегодняшней статьи относится к таким неотъемлемым в настоящее время устройствам, как стабилизаторы напряжения для дома. Сейчас я Вам поясню почему неотъемлемые. Энергоснабжающая организация не уделяет должного внимания на качество поставляемой электроэнергии потребителям. Причиной этому может являться отсутствие законов и наложение санкций при несоответствующем качестве. К тому же не стоит забывать, что энергоснабжающая организация является монополистом по поставке электрической энергии.
Поставляемая электроэнергия является товаром. И если этот «товар» будет не надлежащего качества, то это может привести к выходу из строя электрооборудования. Поэтому каждый потребитель должен позаботиться о себе сам, применив стабилизаторы напряжения для дома, которые предназначены для поддержания стабильного напряжения питания нагрузок бытового и промышленного назначения.
Что же такое «качество» электрической энергии?
Для этого обратимся к следующим нормативным документам, где регламентируются параметры электрической сети от источника питания до потребителя.
1. Гражданский кодекс Российской Федерации

2. ГОСТы


В этих ГОСТах представлена расшифровка параметров и цифровые показатели качества электрической энергии, методы их измерения, причины и вероятности появления того или иного отклонения качества.
3. ПУЭ
Кстати, скачать ПУЭ 7 издание Вы можете с моего сайта.
Теперь давайте рассмотрим основные показатели качества электрической энергии, согласно ГОСТ 13109-97.
Основные показатели электрической энергии
1. Отклонение напряжения
Существуют следующие нормы отклонений:
- нормально-допустимые (±5%)
- предельно-допустимые (±10%)
Согласно ГОСТа 21128-83, номинальное действующее напряжение однофазной бытовой сети должно составлять 220 (В). Отсюда следует, что предел напряжений от 209 — 231 (В) является нормально-допустимым отклонением, а предел напряжений от 198 — 242 (В) — предельно-допустимым отклонением.
2. Провал напряжения
Провал напряжения — это падение напряжения ниже, чем 198 (В) длительностью более 30 секунд. Глубина провала напряжения может достигать до 100%.
3. Перенапряжение
Перенапряжение — это превышение амплитудного значения напряжения больше 339 (В).
Напоминаю, что амплитудное значение 310 (В) соответствует действующему значению 220 (В).
Более подробно о причинах возникновения перенапряжений читайте в моей статье: виды перенапряжений и их опасность.
Стабилизатор напряжения для дома
Так что же такое стабилизатор напряжения для дома?
Стабилизатор напряжения — это автоматическое устройство, которое при изменении входного напряжения, на выход выдает стабильное заданное напряжение 220 (В). Схематично можно изобразить так:

Рассмотрим проблемы, которые могут возникнуть с питающим напряжением в своих домах, коттеджах и садах.
Наружная электропроводка для большинства дачных поселков была построена и рассчитана еще в прошлом веке, когда нормы потребления на каждый дом принимались около 2 (кВт). В настоящее время только один электрический чайник потребляет около 1 (кВт), стиральная машинка около 2 (кВт), не говоря уже об электрических плитах, мощность которых достигает 10 (кВт) и больше.
По причине долгого срока эксплуатации состояние питающих линий с каждым годом ухудшается. Обслуживающие электрики приезжают на линию только по аварийным заявкам и вызовам. Периодические проверки и обслуживание линий ведется по минимуму.

От воздействий атмосферных осадков происходит окисление проводов, что уменьшает их сечение, в местах соединений проводов ухудшается электрический контакт, что приводит к дополнительным потерям. Также увеличивается число потребителей на одну и ту же линию. Хотя в последнее время в технических условиях на подключение дома энергоснабжающая организация обязывает установку ограничителей мощности.
Что в итоге мы имеем?
Когда линия не нагружена, то величина питающего напряжения не выходит за рамки норм. Как только нагрузка на линии начинает постепенно расти (люди приходят с работы), питающее напряжение начинает уменьшаться. По личному примеру скажу, что в одной из деревень величина напряжения в вечернее время достигала 150 (В). При таком напряжении холодильники выходят из строя, лампочки светят тускло, электрические печи не греют до номинальной температуры и т.д.
Как выходит из данной ситуации энергоснабжающая организация?
Очень просто.

Они выставляют на питающем трансформаторе с помощью привода ПБВ или РПН изначально повышенный уровень напряжения, чтобы в часы максимальной нагрузки напряжение было в норме, ну или почти в норме. Но ведь изначально выставленный повышенный уровень напряжения на питающем трансформаторе приводит к скорому перегоранию лампочек, а также к выходу из строя бытовой аппаратуры и техники.

Что же получается? Палка о «двух концах»?
Кто в данном тексте увидел свою проблему, то рекомендую Вам позабот
xn—-7sbeb3bupph.xn--p1ai
Схема стабилизатора напряжения сети | Мастер Винтик. Всё своими руками!
Стабилизатор представляет собой сетевой автотрансформатор, отводы обмотки которого переключаются автоматически в зависимости от величины напряжения в электросети.
Стабилизатор позволяет поддерживать выходное напряжение на уровне 220V при изменении входного от 180 до 270 V. Точность стабилизации 10V.
Принципиальную схему можно разделить на слаботоковую схему (или схему управления) и сильнотоковую (или схему автотрансформатора).
Схема управления показана на рисунке 1. Роль измерителя напряжения возложена на поликомпараторную микросхему с линейной индикацией напряжения, — А1 (LM3914).

Сетевое напряжение поступает на первичную обмотку маломощного трансформатора Т1. У этого трансформатора есть две вторичные обмотки, по 12V на каждой, имеющие один общий вывод (или одна обмотка на 24V с отводом от середины).
Выпрямитель на диоде VD1 служит для получения питающего напряжения. Напряжение с конденсатора С1 поступает на цепь питания микросхемы А1 и светодиодов оптопар Н1.1-Н9.1. А так же, он служит для получения образцовых стабильных напряжений минимальной и максимальной отметки шкалы. Для их получения используется параметрический стабилизатор на УЗ и Р1. Предельные значения измерения устанавливаются подстроечными резисторами R2 и R3 (резистором R2 — верхнее значение, резистором RЗ -нижнее).
Измеряемое напряжение берется с другой вторичной обмотки трансформатора Т1. Оно выпрямляется диодом VD2 и поступает на резистор R5. Именно по уровню постоянного напряжения на резисторе R5 производится оценка степени отклонения сетевого напряжения от номинального значения. В процессе налаживания резистор R5 предварительно устанавливают в среднее положение, а резистор RЗ в нижнее по схеме.
Затем, на первичную обмотку Т1 от автотрансформатора типа ЛАТР подают повышенное напряжение (около 270V) и резистором R2 выводят шкалу микросхемы на значение, при котором горит светодиод, подключенный к выводу 11 (временно вместо светодиодов оптопар можно подключить обычные свето-диоды). Затем входное переменное напряжение уменьшают до 190V и резистором RЗ выводят шкалу на значение когда горит светодиод, подключенный к выводу 18 А1.
Если вышеуказанные настройки сделать не удается, нужно подстроить немного R5 и повторить их снова. Так, путем последовательных приближений добиваются результата, когда изменению входного напряжения на 10V соответствует переключение выходов микросхемы А1.
Всего получается девять пороговых значений, — 270V, 260V, 250V, 240V, 230V, 220V, 210V, 200V, 190V.

Принципиальная схема автотрансформатора показана на рисунке 2. В его основе лежит переделанный трансформатор типа ЛАТР. Корпус трансформатора разбирают и удаляют ползунковый контакт, который служит для переключения отводов. Затем по результатам предварительных измерений напряжений от отводов делают выводы (от 180 до 260V с шагом в 10V), которые, в дальнейшем переключают при помощи симисторных ключей VS1-VS9, управляемых системой управления посредством оптопар Н1-Н9. Оптопары подключены так, что при снижении показания микросхемы А1 на одно деление (на 10V) происходит переключение на повышающий (на очередные 10V) отвод автотрансформатора. И наоборот, — увеличение показаний микросхемы А1 приводит к переключению на понижающий отвод автотрансформатора. Подбором сопротивления резистора R4 (рис. 1) устанавливают ток через светодиоды оптопар, при котором симис-торные ключи переключаются уверенно. Схема на транзисторах VТ1 и VT2 (рис. 1) служит для задержки включения нагрузки автотрансформатора на время, необходимое на завершение переходных процессов в схеме после включения. Эта схема задерживает подключение светодиодов оптопар к питанию.
Вместо микросхемы LM3914 нельзя использовать аналогичные микросхемы LM3915 или LM3916, из-за того, что они работают по логарифмическому закону, а здесь нужен линейный, как у LM3914. Трансформатор Т1 — малогабаритный китайский трансформатор типа TLG, на первичное напряжение 220V и два вторичных по 12V (12-0-12V) и ток 300mА. Можно использовать и другой аналогичный трансформатор.
Трансформатор Т2 можно сделать из ЛАТРа, как описано выше, или намотать его самостоятельно.
Симисторы можно использовать другие, — все зависит от мощности нагрузки. Можно даже использовать в качестве элементов коммутации элекромагнитные реле.
Сделав другие настройки резисторами R2, RЗ, R5 (рис. 1) и, соответственно, другие отводы Т2 (рис. 2) можно изменить шаг переключения напряжения.
Кривошеим Н. Радиоконструктор. 2006г. №6.
Литература:
- Андреев С. Универсальный логический пробник, ж. Радиоконструктор 09-2005.
- Годин А. Стабилизатор переменного напряжения, ж. Радио, №8, 2005
P.S. В нашем «Магазине Мастера» вы можете приобрести готовые модули стабилизаторов, усилителей, индикаторов напряжения и тока, а также различные радиолюбительские наборы для самостоятельной сборки.
Наш «Магазин Мастера«
П О П У Л Я Р Н О Е:
- ИСТОЧНИК ПИТАНИЯ С ГАЛЬВАНИЧЕСКОЙ РАЗВЯЗКОЙ на LT1070.
- Мощный самодельный трансформаторный стабилизатор
- Микромощный стабилизатор на LM134
Существуют схемы усилителей НЧ, передатчиков, других устройств, которые требуют питания не только от двуполярного источника, но и от двух гальванически развязанных источников, не имеющих соединения с «землей» или общих связанных цепей. Организовать питание такого устройства в стационарных условиях весьма просто, так как источником питания служит электросеть, а значит будет силовой или импульсный трансформатор. Достаточно сделать две вторичные обмотки, не соединенные с другими цепями, и переменные напряжения с них подать на отдельные независимые выпрямители. Подробнее…
Простой мощный стабилизатор из старых телевизионных трансформаторов
Из старых давно отслуживших свою службу ламповых телевизоров типа «Рекорд», «Горизонт», «Темп», «Электрон», «Фотон», «Радуга», «Рубин», «Чайка» и им подобных, а точнее их силовых трансформаторов можно сделать достаточно мощный (2-3 кВт) стабилизатор сетевого напряжения. Для этого трансформаторы нужно соединить специальным способом.
Подробнее…
Стабилизатор на LM134
Характеристики:
Напряжение стабилизации: 1,25В
Выходной ток: 5 mkA
Подробнее…
Подробнее…
>>
ПОДЕЛИТЕСЬ С ДРУЗЬЯМИ:
Популярность: 41 116 просм.
www.mastervintik.ru
Как правильно подключить стабилизатор напряжения
Стабилизаторы напряжения приобретают не от хорошей жизни, и раз вы это сделали, то у вас, скорее всего уже есть или были проблемы с напряжением.
Стандартный уровень напряжения согласно норм, должен быть 230 вольт (не 220, как многие до сих пор считают).
Когда приобретается маленький аппарат для защиты одного конкретного прибора – компьютер, холодильник, телевизор, котел, то с подключением проблем не возникает.
На стабилизаторе имеется вилка и розетка. Тут разберется даже школьник.
А вот если вы хотите установить мощный аппарат, для защиты электроприборов всего дома одновременно, тогда придется повозиться со схемой подключения.
Что нужно для подключения
Помимо самого стабилизатора, вам понадобится ряд дополнительных материалов:
- трехжильный кабель ВВГнГ-Ls

Сечение провода должно быть точно таким же, как и на вашем вводном кабеле, который приходит на рубильник или автомат главного ввода. Так как через него будет идти вся нагрузка дома.
- выключатель трехпозиционный

Данный выключатель в отличие от простых, имеет три состояния:
1включен потребитель №1 2выключено 3включен потребитель №2Можно использовать и обычный модульный автомат, но при такой схеме, если понадобится отключиться от стабилизатора, придется каждый раз полностью обесточивать весь дом и перекидывать провода.
Есть конечно же режим байпас или транзит, но чтобы перейти на него, нужно соблюдать строгую последовательность. Подробнее об этом будет сказано ниже.
С данным переключателем, вы одним движением целиком отсекаете агрегат, а дом остается со светом напрямую.
- провод ПУГВ разных цветов

Вы должны четко понимать, что стабилизатор напряжения устанавливается строго до электросчетчика, а не после него.
Ни одна энергоснабжающая организация вам не разрешит подключиться по другому, как бы вы не доказывали, что тем самым, кроме эл.оборудования в доме, вы хотите защитить и сам прибор учета.
Стабилизатор имеет свой холостой ход и также потребляет эл.энергию, даже работая без нагрузки (до 30Вт/ч и выше). И эта энергия должна быть учтена и подсчитана.
Второй важный момент – крайне желательно, чтобы в схеме до места подключения прибора стабилизации было либо УЗО, либо дифф.автомат.
Это рекомендуют все производители популярных марок Ресанта, Sven, Лидер, Штиль и т.п. Это может быть вводной дифф.автомат на весь дом, не важно. Главное, чтобы само оборудование было защищено от утечек тока.

А пробой обмоток трансформатора на корпус, не такая уж и редкая вещь.
Инструкция по подключению в щитке
Первым делом монтируете в электрощитке, сразу после вводного автомата трехпозиционный переключатель.
- в первом положении, когда язычок поднят вверх, напряжение будет подаваться в дом напрямую с электросети, без задействования стабилизатора

Вдруг он у вас вышел из строя или нужно провести какие либо ревизионные работы. Не будете же каждый раз откидывать провода и обесточивать всю квартиру.
- во втором положении II (язычок автомата смотрит вниз) – эл.снабжение будет идти через стабилизатор

- положение «0» – все электроприборы отключены, как от стабилизатора, так и от внешней сети

Выбираете место установки стабилизатора напряжения. Ставить где попало его тоже нельзя. Существуют определенные правила, которых следует придерживаться.
Прокладываете от щитка до этого места два кабеля ВВГнГ-Ls.
Каждый из них желательно промаркировать и сделать соответствующие надписи с обоих концов:
- вход на стабилизатор
- выход из стабилизатора

Снимаете изоляцию с жил и сначала подключаете кабель в электрощитке. Фазу с того провода, что идет на вход стабилизатора, подсоединяете к выходным зажимам вводного автомата.
Далее разбираетесь с кабелем стабилизатор-выход. Фазную жилу (пусть это будет белый провод), подключаете к контакту №2 на трехпозиционном выключателе.
Ноль и землю с обоих кабелей сажаете на соответствующие шинки.
Теперь нужно подать фазу непосредственно с вводного автомата на трехпозиционный. Зачищаете монтажный провод ПУГВ, оконцовываете жилы наконечниками НШВИ и заводите его с фазного выхода вводного автомата на зажим №4 выключателя.
Все что остается сделать в щитке – запитать все автоматы с клеммы №1 трехпозиционника.
Проделываете эту операцию опять же гибкими монтажными проводами.
Таким образом по схеме вы подали фазу с вводного автомата на 3-х позиционный, а уже далее через его контакты распределили нагрузку, путем подключения через стабилизатор (контакт №2-№1) и напрямую без него (контакт №4-№1).
В вашем конкретном случае данные номера контактов могут не совпадать с указанными здесь цифрами! Обязательно уточняйте все в инструкции или в паспорте на автомат.
Подключение стабилизатора
Теперь переходим к непосредственному подключению самого стабилизатора. Для того, чтобы подобраться к его контактам, может понадобиться снять внешнюю крышку.
Пропускаете два кабеля (вход и выход) через отверстия и зажимаете под клеммы по следующей схеме:
- фазную жилу входного кабеля стабилизатора затягиваете на клемме ВХОД (Lin)
- нулевую жилу (синего цвета) к клемме N (Nin)
- заземляющую жилу к винтовому зажиму с обозначением ”земля”

Кстати, отдельной клеммы ”земля” может и не быть. Тогда данную жилу закручиваете под винт на самом корпусе аппарата.
Есть модели с клеммниками всего под 3 провода. В них назад возвращается только фаза.
Ноль на питание электроприборов берется с общего щитка.
Теперь когда вы подали напряжение от щитка до стабилизатора, вам нужно вернуть это напряжение, но уже стабилизированное обратно в общий щит.
Для этого подсоединяете кабель — выход со стабилизатора.
- его фазную жилу к зажиму ВЫХОД (Lout)
- нулевую к N (Nout)
- жилу заземления, туда же где и заземляющая жила от входного кабеля

Еще раз визуально проверяете всю схему и закрываете крышку.
Проверка схемы
Первое включение нужно осуществлять без нагрузки. То есть все автоматы кроме вводного и того, что идет на стабилизатор должны быть отключены.
Запускаете его на холостой ход и контролируете работу. Входные и выходные параметры, нет ли посторонних шумов или писка.
Также не помешает проверить правильность и точность тех.данных, что высвечиваются на электронном табло.
Если у вас дома трехфазная сеть 380В, то для такого подключения рекомендуется использовать 3 однофазных стабилизатор напряжения, с подключением каждого по отдельной фазе.
Более подробно о преимуществах трехфазных и однофазных аппаратов и когда какой нужно выбирать, можно ознакомиться в статье ”Как выбрать стабилизатор напряжения для дома”.
Ошибки подключения
1Неправильное расположение и место установки
У вас может быть все идеально подключено и соблюдена схема, но стабилизатор будет постоянно греться и отключаться, либо на его табло выскакивать ошибки.
О том, где можно, а где ни в коем случае нельзя располагать данный прибор подробно читайте в статье ”Где устанавливать стабилизатор напряжения в доме”.
2Подключение через простой автомат, а не трехпозиционный
Безусловно, данный пункт и ошибкой то трудно назвать. Тем более 90% потребителей именно так и делают.
Однако, этот выключатель может реально спасти ваш прибор от выхода из строя.
Дело в том, что переключение стабилизатора напряжения из обычного режима в режим “транзит”, должно выполняться с определенной последовательностью.Сначала вы отключаете автоматы на панели стабика.
Потом сам переключатель переводите в положение ТРАНЗИТ или БАЙПАС.
И только затем снова включаете автоматы.
Многие забывают об этом и делают переключение под нагрузкой. Что в итоге приводит к поломкам.
С 3-х позиционным автоматом такое исключено. Вы автоматически переключаете напряжение, без каких либо манипуляций на стабилизаторе. И все это одной клавишей!
Никакой последовательности запоминать не нужно. Так что данную процедуру можно смело доверять любому члену семьи.
3Использование для подключения кабеля меньшего сечения чем вводной
Вы можете выбирать меньшее сечение, только когда запитываете отдельные электроприемники.
Если же у вас на стабилизаторе сидит весь дом, то будьте добры соблюдать параметры по вводу согласно всей общедомовой нагрузке.
4Отсутствие наконечников на многожильных проводах
Почему-то многие забывают, что зачастую через стабилизатор проходит вся нагрузка вашего дома. Ровно такая же как и на вводом автомате.
При этом в электрощите все провода обжаты, даже на выключателях освещения с минимальными токами, а вот на клеммниках стабилизатора или его автоматах, постоянно можно встретить голый провод просто поджатый винтом.
Поэтому не скупитесь, и заранее вместе с аппаратом приобретайте соответствующие наконечники.
5Выбивает общий автомат в щитке
Иногда после подключения стабилизатора, начинает выбивать вводной автомат. При этом без стабилизатора, все нормально и ничего не отключается.
Многие сразу грешат на неправильную схему подключения или дефект аппарата. Везут его на гарантийный ремонт и т.п.
А причина может быть совсем в другом. Если у вас через чур низкое напряжение 150-160В, то при его повышении до стандартных 220-230В, ток в сети значительно вырастет.
Отсюда и все проблемы. Обращайте на это внимание, прежде чем нести его обратно в магазин.
Источники — https://cable.ru, Кабель.РФ
Статьи по теме
domikelectrica.ru
