Схема автоматического полива – Автополив своими руками: особенности разных типов орошения
Система полива своими руками — 2 лучших варианта!
Ручной полив участка со временем превращается в обременяющую задачу, выполнять которую хочется все меньше и меньше. Решить проблему поможет автоматическое либо автоматизированное орошение. С проектированием системы и монтажом всех ее составляющих можно справиться собственными силами. Как? Читайте далее.

Система полива своими руками
Содержание статьи
Выбираем источник водоснабжения
Мы приводим инструкции по монтажу двух систем полива: масштабной автоматической с использованием программируемого контроллера и скромной неавтоматизированной, обустроенной на основе бочки.
Прежде чем приступать к обустройству любой из двух рассматриваемых систем, нужно выбрать источник воды и подходящее для конкретной ситуации насосное оборудование. Воду можно брать из:
- главного водопровода. Самый удобный вариант. Если ваш дом оснащен собственным водоснабжением, достаточно попросту врезать в него главную трубу системы полива. Никакие насосы в большинстве ситуаций устанавливать не приходится;
- скважины. Требуется установка погружного либо поверхностного (в зависимости от глубины источника) насоса;

Насос для скважины
- колодца. В систему включается поверхностный или погружной насос;

Поверхностный насос
- бочки или другой емкости для воды. В установке насоса, как правило, нет необходимости;
- природного источника (река, озеро, пруд и т.д.). Тип насоса и его мощность выбираются в соответствии с условиями конкретной ситуации.
Узнайте, какой выбрать насос для полива огорода, а также рассмотрите разновидности и процесс монтажа, в нашей статье.
Таблица. Насос Малыш, используемый для перекачки воды из открытых водоемов, колодцев и скважин. Характеристики
| Насос Малыш, характеристики | Показатели |
|---|---|
| Тип насоса | Бытовой вибрационный погружной |
| Сила потребляемого тока | 3 А |
| Мощность | 165 Вт |
| Забор воды | Нижний |
| Напор | 40 м |
| Производительность | 432 л/мин |
| Длина кабеля | 10-40 м |
| Непрерывная работа | Не более 12 часов подряд |
| Необходимость отключения питания на 15-20 минут | Через каждые 2 часа |
| Подклключение | К гибкому шлангу |
Делаем полноценный автоматический полив

Автоматическое орошение
Чертим план
Начнем с оформления плана участка. В масштабе обозначим на нем основные элементы нашей усадьбы: дом, веранду, подъезд, уличную печь и т.д. – так мы сможем определить допустимую площадь действия дождевателей.

Схема орошения
На схеме отмечаем точку водозабора. В случае если источников воды несколько, и они расположены в разных местах участка, выбираем кран, находящийся примерно посередине. В такой ситуации мы сможем обеспечить приблизительно равную длину линий полива
Выбираем метод орошения

Определяем количество воды
В рассматриваемом примере система обустраивается для полива большого газона и нескольких грядок, а также участка с кустарниками и деревьями. Вы же можете корректировать планировку с учетом особенностей вашего участка.

Cистемы автоматического полива
Часть с газоном и клумбами будем поливать с помощью выдвижных дождевателей. При включении они поднимаются над поверхностью, а после завершения полива опускаются и становятся практически незаметными.
Для второй части нашего участка подобный вариант орошения не подходит: насаждения слишком высокие, а ширина участка небольшая.

Роторные дождеватели
Важное замечание! Использовать дождеватели для полива участков, ширина которых составляет менее 2 м, не рекомендуется. Такие устройства имеют слишком большой радиус действия, что может доставить ряд неудобств.

Осциллирующие дождеватели
Для полива этой части насаждений мы укладываем капельную линию. Она представляет собой трубу необходимой длины с отверстиями, обустроенными по всей протяженности. Такую трубу можно закопать либо попросту уложить между грядками.
Составляем схему полива
Отмечаем на плане нашего участка точки установки дождевателей и радиусы их покрытия. Придерживаемся такого порядка проектирования:
- по углам участка устанавливаем дождеватели для полива на 90 градусов;
- вдоль границ территории устанавливаем устройства, орошающие пространство на 180 градусов вокруг себя;
- по углам участка возле различных зданий и построек устанавливаем дождеватели на 270 градусов;
- по площади устанавливаем устройства, поливающие на 360 градусов.
Количество дождевателей подбираем так, чтобы радиусы покрытия устанавливаемых рядом приборов пересекались. При таком размещении устройств ни одно растение не будет обделено влагой. Однако этот метод актуален только для больших участков, имеющих правильную форму.
В нашем примере площадь участка сравнительно небольшая, при этом он имеет узкую полосу вдоль жилого дома. Поэтому мы составляем проект в следующем порядке:
- сначала отмечаем места установки дождевателей, имеющих наибольший радиус действия. Их мы будем использовать для полива основной части сада;
- по узкой стороне участка отмечаем места для дождевателей с более скромным радиусом орошения;
- в местах, куда не достают дождеватели, планируем укладку капельной линии.
Важно! Перепроверьте проект. Убедитесь, что все насаждения будут получать воду.
Проверяем водозабор на пропускную способность
Готовый план позволяет нам установить нужное количество дождевателей. Однако перед монтажом системы мы должны узнать, хватит ли производительности источника водоснабжения для эффективного обслуживания обустраиваемой системы. Делаем это следующим образом:
- берем метровый шланг диаметром порядка 2 см и подключаем его к источнику воды;

Поливочный шланг с пвх фитингом
- погружаем второй конец шланга в 10-литровое ведро и замеряем время, за которое оно наполнится водой. Для получения более точных результатов измерения проводим несколько раз, в запланированное время полива участка;
- измеряем расстояние между точкой водозабора и наиболее удаленным дождевателем. Далее на каждые 15 м полученного расстояния добавляем по 1 секунде к времени, затраченному ранее на наполнение ведра водой. В нашем примере пропускная способность источника составляет 60.
Теперь определяем, сможет ли водозабор обеспечивать одновременную работу всех запланированных линий полива. Потребность дождевателей остается одинаковой и определяется в соответствии с площадью их покрытия. В нашем примере мы устанавливаем:
- устройства на 180 градусов с площадью покрытия до 200 м2— 2 штуки. Потребность каждого прибора в воде составляет 12, в сумме – 24;
- дождеватели на 270 градусов с площадью покрытия до 200 м2– 2 штуки. Потребность каждого составляет 14, итого – 28;
- устройство на 180 градусов с покрытием до 50 м2– 1 штука. Потребность – 7;
- прибор на 270 градусов с покрытием до 50 м2– 1. Потребность – 9;
- дождеватель на 90 градусов с площадью покрытия до 50 м
2– 1. Потребность в воде – 6.
В сумме потребность наших оросительных устройств в воде составляет 74. Водозабор способен выдать только 60. Подключить все устройства к одной линии для одновременного использования не удастся. Для решения проблемы делаем две линии дождевателей. Одна будет использоваться для обслуживания больших устройств, другая – для маленьких.
Для капельного полива делаем третью линию. Она требует индивидуального управления, т.к. основные линии включаются примерно на полчаса каждые сутки, а капельные же должны работать не меньше 40-50 минут, в зависимости от особенностей грунта и потребностей насаждений.
Подключать капельную линию и дождеватели к общей линии нельзя. При подобном обустройстве системы будет либо слишком обильно поливаться участок, обслуживающийся дождевателями, либо же территория с капельным поливом не сможет получать жидкость в достаточном объеме.
Автоматизируем систему
Заказываем материалы
Для регулирования работы системы устанавливаем программируемый контроллер. При помощи этого устройства мы сможем настроить время включения и выключения орошения. Для сохранности устройства его рекомендуется устанавливать в помещении, к примеру, в подвале.
Возле крана водоснабжения устанавливаем входную колонку для подсоединения системы, а также специальную монтажную коробку для размещения отсекающих клапанов по количеству линий полива. У нас их 3. Каждый клапан соединяем с контроллером с помощью двухжильного кабеля. От клапанов отводим по одной оросительной линии. Подобное обустройство системы позволит запрограммировать ее на включение каждой оросительной линии по отдельности.

Система автоматического полива
Мы обустроили линии следующим образом:
- одну отвели для питания больших дождевателей. Для изготовления самой линии использовали 19-миллиметровые трубы, для отводов к дождевателям – трубы 16-миллиметрового диаметра;
- вторую пустили на маленькие дождеватели, обслуживающие площадь до 50 м2. Трубы использовали аналогичные;
- третью линию выделили для капельного орошения. Для изготовления этой линии использовали 19-миллиметровую трубу. Далее мы подсоединили к ней специальную капельную трубу. Она выполнена в виде двух замкнутых петель. Конец капельной трубы мы подключили к питающей трубе.
Для повышения эффективности полива мы включили в состав системы датчик дождя. Он не позволит поливу включаться во время осадков. Датчик подключаем к контроллеру по прилагающейся инструкции. Непосредственно контроллеры в большинстве случаев включаются в обыкновенную розетку, что очень удобно.
Подключаем и настраиваем полив
Первый шаг. Размещаем на участке элементы полива и соединяем их между собой с помощью специальных соединителей и разветвителей. Следим, чтобы в трубы не попадала земля.

Дождеватель можно установить в любом нужном месте

Конструкция соединителей очень проста — с работой легко справится даже женщина
Второй шаг. Подключаем собранную систему к водоснабжению и делаем пробный запуск. Выставляем дождеватели в нужных направлениях. Если все в порядке, переходим к выполнению земляных работ.
Третий шаг. Выкапываем по ходу трубопровода 200-250-миллиметровую канаву.
Четвертый шаг. Засыпаем дно траншеи слоем щебенки. Засыпка возьмет на себя функции дренажной подушки, обеспечивающей отведение остатков воды.
Пятый шаг. Аккуратно укладываем трубы и прочие элементы системы в канаву.

Аккуратно укладываем трубы и прочие элементы системы в канаву
Шестой шаг. Выполняем обратную засыпку траншеи.
Седьмой шаг. Включаем систему для проверки. Регулируем дождеватели.
Восьмой шаг. Программируем контроллер на включение и выключение орошения в необходимое время. Помним: линии должны работать поочередно, включать их одновременно можно только при достаточной пропускной способности водозабора.

Монтаж насосной группы и емкости

Монтаж контроллера и автоматики
Полив подключен и настроен. Можем принимать его в постоянную эксплуатацию. В будущем регулярно проверяем состояние и правильность работы элементов оросительной системы.
Бюджетный вариант полива

Пример схемы капельного полива

Пример схемы капельного полива

Схема простого капельного полива

Система капельного полива
Нет необходимости в обустройстве масштабного автоматического полива? Тогда используйте простой бюджетный вариант на основе бочки.
Первый шаг
Делаем подставку для бочки. Используем профилированную трубу или швеллер. Оптимальная высота опоры – 1,5-2 м. Опорные стойки должны быть наклонены друг к другу под таким углом, чтобы размеры верхней рамы позволяли устойчиво уложить нашу бочку. Соединяем опоры горизонтальными перемычками внизу, посередине и вверху. Роем 70-80-сантиметровые ямы для установки опор, выставляем конструкцию, засыпаем 10-15 см высоты каждой ямы щебенкой и заливаем бетон. Важно! На время застывания бетона фиксируем опоры распорками.

Бочка на каркасе

Капельный полив — бак с водой
Второй шаг
Готовим емкость для воды. Подойдет любая целая и не ржавая бочка. В верхней части бочки врезаем патрубок для подключения шланга. Через него бочка будет наполняться водой. Второй конец данного шланга подключим к водозабору. В нижней части также обустраиваем патрубок. К нему подключаем шланг для полива. Оба шланга укомплектовываем кранами для включения-выключения подачи воды. Укладываем бочку на опору. Для большей надежности закрепляем ее с помощью хомутов, болтов и гаек.
Третий шаг
На плане участка указываем места, нуждающиеся в поливе. Чертим схему системы орошения с указанием всех разветвителей, соединителей, заглушек, кранов, труб, шлангов и прочих элементов.
Четвертый шаг
Собираем систему орошения. Самый простой и удобный вариант – купить готовый комплект для обустройства капельного полива. Также такую систему можно сделать самостоятельно. Для этого достаточно подготовить нужное количество труб или шлангов, проделать по их длине отверстия, соединить элементы в единую систему с помощью соединителей и разветвителей, а затем выполнить подключение к шлангу, выходящему из бочки.

Тройник в системе капельного полива растений

Вариант устройства полива с капельными лентами

Схема ленты для капельного полива
Узнайте, как установить баню бочку своими руками, изучив пошаговую инструкцию для умелых хозяев дома, в нашей статье.
Принцип действия такого полива предельно прост: вы открываете кран на выпускном шланге, вода устремляется по всем разветвлениям, выходит сквозь отверстия и поливает насаждения.

Как сделать систему капельного полива самому

Система капельного полива

Распылитель для полива

Умная теплица

Капельный полив своими руками
Удачной работы!
Видео – Система полива своими руками
stroyday.ru
Автополив на даче своими руками: особенности монтажа, примеры систем

Даже опытные дачники знают, как непросто ухаживать за приусадебным участком – особенно когда наступает летний зной. Много времени и сил уходит на обеспечение полива. Можно ли оптимизировать выполнение этой задачи и как-то ускорить процесс? Снять добрую половину забот с плеч поможет автоматический или капельный полив, который вполне реально организовать своими руками. В связи с многочисленными вопросами по данной теме мы решили написать подробное руководство о том, как сделать автополив на даче своими руками с минимальными затратами.
Содержание:
Показать все содержаниеПреимущества систем автополива
Прежде чем перейти к сооружению системы, не лишним будет выяснить, какими именно преимуществами она обладает, какую пользу может принести садоводу.
- Пожалуй, самый главный плюс в том, что у вас появится больше свободного времени. Теперь не нужно стоять со шлангом часами или, чего доброго, носить воду в ведрах. Растения поливаются в автоматическом режиме без вашего участия.
- Второй плюс – экономия воды. Далеко не на каждой даче вода есть в изобилии, так что капельный полив для многих садоводов становится настоящей находкой.
- Поскольку вода будет поступать регулярно, урожайность овощей и фруктов существенно возрастет. Кстати, сами растения тоже будут выглядеть гораздо лучше.
- Можно выбирать время полива – например, утром и вечером.
У автополива есть много достоинств — удобство на первом местеА есть ли у автоматической системы недостатки?
Идеальной системы орошения, увы, не существует. Определенные недостатки имеет и капельный полив, хотя по сравнению с большим количеством плюсов, они не так существенны. Водопровод может ломаться, что приведет не только к перебоям водоснабжения, но и полному отсутствию воды на участке.
Естественно, понадобится закупка материалов и оборудования, а это уже определенные расходы. Вся соль в том, что когда система автополива на даче обустраивается своими руками, вы уже экономите, чем если бы покупали готовый комплект.
Существуют три основных типа: капельное, дождевание и прикорневое. Каждый из них будет рассмотрен подробно.
Материалы для системы автополива «Жук»Дождевание
Когда автополив своими руками организован по принципу дождевания, на территории участка устанавливают специальные форсунки. Они разбрызгивают воду, прекрасно имитируя дождь. Отсюда и название – дождевание.
Трубы для орошения могут находиться как под землей, так и над ней. Если есть такая возможность, лучше спрятать их в грунте. Данный тип организации полива считается более долговечным и аккуратным.
Поговорим о достоинствах и недостатках дождевания. Из плюсов хочется отметить равномерное распределение влаги по всему участку полива, увлажнение не только земли, но и воздуха. Это весомое преимущество, если речь идет о теплице. Плоды и листья прекрасно омываются водой – настоящая имитация дождя!
Система полива — дождеваниеВпрочем, как и после настоящего дождя, на верхнем слое почвы часто образуется корочка. Это ухудшает поступление кислорода. Воды расходуется много, да и электричество работает с большой нагрузкой. Он идеален для газона и больших территорий, но в остальных случаях лучше поискать другую систему полива в связи с не экономностью.
Технология сборки такой системы выглядит следующим образом. Сначала вам нужно будет начертить схему и указать в ней все здания и насаждения. Делать это нужно осенью, чтобы уже в апреле-мае любоваться первоклассным, сочным газоном.
Сборка автополива (видео)
Если в общих чертах, то для создания дождевания вам потребуется комплект, состоящий из насосной станции, бесперебойного источника воды, водопровода и дождевателей. Источников воды может быть много: центральное водоснабжение, другой водоем, колодец. Насос позволяет поддерживать нужное давление, а трубопровод легко собирается из труб ПВХ. Почему именно поливинилхлорид? Такие трубы имеют много преимуществ. Например, они легко собираются, соединения с фитингами получаются очень надежными. Что касается самих дождевателей, они приобретаются с различным углом разбрызгивания. Все зависит от требований вашего участка.
Когда закуплены все комплектующие, можно приступать к обустройству траншеи. Ее глубина составляет 30 сантиметров. В траншею закладываются ПВХ трубы и собираются в трубопровод. Прежде чем закапывать траншею, проверьте целостность системы и ее работоспособность. Если все стабильно и хорошо работает, можно зарывать и сеять газон.
Таким образом, для обустройства участка с зеленым газоном лучше всего наладить автополив, который называется дождевание.
Рекомендуем также прочитать
- Декор участка своими руками: клумбы из покрышек
- Бетономешалка своими руками
Капельное орошение
Поговорим о капельном орошении. Самая распространенная система капельного полива «Жук» используется для полива кустарниковых растений. Также она прекрасно зарекомендовала себя на участках, где количество насаждений невелико. Например, в садах. Деревья находятся на большой расстоянии друг от друга, посадка культур параллельная. Допускается надземное или подземное расположение системы.
Если говорить о преимуществах, которыми обладает капельный полив, на первом месте стоит экономность.
Покупать насос не нужно, вода расходуется минимально. Зато организация системы может вызвать определенные трудности у новичков. Она отличается трудоемкостью. А если трубопровод расположен под землей, время от времени он будет забиваться мусором.
Вот почему рекомендуется использовать надземный, а не подземный капельный полив. Вы раскладываете его весной, а осенью легко собираете, перераспределяя посадку на даче.
Схема полива капельным способомСборка автополива начинается с закупки гибких шлангов, которые легко проткнуть. Их пронизывают тонкими трубочками и подводят воду к каждому кусту отдельно. Насос не потребуется – давления, которое возникает из-за нахождения воды на высоте, вполне достаточно.
Вода медленно вытекает из тонких трубочек. Достаточно один раз обложить шлангами деревья в саду – и почва будет влажной постоянно. Хотите создать сразу несколько веток полива на даче? В этом случае вам точно пригодится коллекторный узел или сборка из фитингов.
Монтаж капельной системы полива (видео)
Прикорневое орошение
Если на вашей даче растут растения, требующие особого ухода, а территория участка ограничена, советуем обратить внимание на комплект для организации прикорневого полива. Орошение осуществляется под землей. Оно не позволяет корням разрастаться по поверхности. Корни начинают стремиться к источнику влаги и не лезут вверх. Растение держится в земле гораздо крепче.
Давайте взвесим все за и против. Сам по себе автополив на даче своими руками достаточно экономный. Он не нуждается в мощном напоре воды, способен отлично работать за счет разницы в высоте между сосудами. Поскольку весь комплект находится под землей, гарантировано минимальное испарение.
Прикорневой полив для виноградаИз недостатков можно отметить трудоемкость сборки и вероятность засорения системы. Организацию прикорневого полива на уже облагороженном участке сложно назвать удобной. Особенно не рекомендуется ставить такой тепличный комплект, когда у растений начинают завязываться соцветия или плоды. Сделанная осенью прикорневая система полива будет гораздо предпочтительнее.
Поскольку вода поступает не на поверхность, а сразу в почву, лучше использовать данную систему для орошения многолетних растений.
В период урожайности они особенно сильно нуждаются в поступлении влаги. Чтобы повысить эффективность системы в целом, в прикорневую зону укладывается песок, гравий. Создается дренажный слой, как в горшочке для цветов.
Подводка воды точно такая же, как и в предыдущих способах полива. Трубы могут быть гибкими и жесткими – все зависит от того, что именно вы предпочитаете, какой грунт, растения и так далее.
Как управлять автополивом?
Согласитесь, когда система полива полностью автоматизирована, ею гораздо проще и приятнее управлять. В отличие от ручного, компьютерный способ управления стоит дороже, но он быстро окупается многолетним и достаточно комфортным использованием, великолепным видом участка и блестящим урожаем.
Чтобы установить компьютерное управление автополивом, не нужно обладать какими-то специальными знаниями. На регулируемых участках размещаются датчики влажности. Как только земля становится сухой, они подают сигнал центральному компьютеру о том, что время полива пришло. Можно обойтись и без датчиков. Достаточно просто настроить автоматическую подачу воды через заданные промежутки времени – и огород будет поливаться с определенной частотой. Например, каждый день в 7 утра или раз в 2 дня в 18.00. У каждого прибора своя конкретная инструкция по установке, поэтому подробно расписывать ее мы не будем.
Любопытно, что некоторыми современными моделями можно управлять с помощью мобильного телефона и Интернета. То есть, находясь в нескольких десятках км от дачи вы берете в руки телефон, запускаете мобильное приложение – и по трубам начинает бежать вода!
Делаем выводы
Автоматическая система полива на даче – полезная и эффективная инновация, требующая определенных финансовых, временных и трудовых вложений. Впрочем, подключение автоматической системы быстро окупается. Вы можете обратиться к профессионалам или собрать ее самостоятельно.
Советуем заранее продумать функциональность – благо, современный рынок располагает множеством вариантов и богатым набором комплектующих для каждого конкретного случая. Надеемся, статья была полезной для вас – задавайте вопросы!
Система автополива — один раз вложился и заслуженно отдыхаешь!lanshaft.com
устройство и преимущества технологии, как своими руками изготовить автополив на даче
Успешность выращивания на приусадебном участке овощей и фруктов будет напрямую зависеть от обеспечения посадкам правильного ухода. Садоводу необходимо вручную орошать грядки или обустроить автоматический полив, что позволит несколько упростить уход за садом, выращивая на грядках влаголюбивые овощи и фрукты. Можно использовать как покупные системы автополива, так и изготовить их самостоятельно.
Описание технологии
Первоначально системы автоматического полива использовались лишь на крупных фермерских хозяйствах, однако сегодня с совершенствованием технологии появились бытовые установки, которые отличаются простотой конструкции и предлагаются покупателям по доступным ценам. Под системами полива принято понимать технологический комплекс, обеспечивающий регулярное и равномерное орошение грядок водой. Это могут быть как относительно простые конструкции, которые оснащены лишь одним мощным насосом и электротаймером, так и полностью автоматизированные установки, за работу которых отвечают современные компьютеры.
Стандартная конструкция автополива будет включать следующие элементы:
- Водяной насос.
- Контроллер, управляющий работой оборудования.
- Систему шлангов.
- Краны и капельницы.
Даже простейшую систему, которая состоит из подающей помпы и управляющей автоматики, можно будет настроить таким образом, чтобы полив включался в строго определенное время, а зная производительность насосов, можно будет до литра рассчитать объем воды, которым орошаются грядки. Какого-либо последующего обслуживания такая система не потребует, а при необходимости садовод может внести соответствующие корректировки, в зависимости от погоды на дворе и состоянии растений на грядках.
Преимущества и недостатки автополива
Популярность автоматических систем орошения во многом объясняется универсальностью таких конструкций, их простотой эксплуатации, надежностью и долговечностью.
Садоводы существенно упрощают себе уход за грядками, им не требуется приезжать на дачу каждые два-три дня и поливать огород.
К преимуществам технологии можно отнести следующее:
- Простота эксплуатации.
- Полная автономность работы.
- Возможность регулировки интенсивности и частоты полива.
- «Продвинутые» системы имеют встроенные датчики дождя, что позволяет им подстраиваться под погоду.
- Долговечность эксплуатации.
- Доступная стоимость.
В продаже в садоводческих магазинах можно найти относительно простые варианты, в которых даже отсутствуют водяные помпы, а вода к грядкам поступает самотёком через систему труб и установленный на небольшой высоте пластиковый бак. Также можно приобрести и смонтировать разветвленные системы, которые одновременно могут использоваться для орошения грядок и полива газона.

Разновидности автоматического орошения
Благодаря своей доступной стоимости и функциональности автоматический полив огорода получил сегодня популярность на отечественном рынке и с одинаковым успехом используются как дачниками, так и владельцами частных домов, которые на приусадебной территории обустраивают натуральный газон.
Распространение получили следующие системы автоматического полива:
- Дождевальные.
- Капельные.
- Комбинированные.
Использование дождевальных систем полива позволяет имитировать капли дождя, что положительно сказывается на состоянии растений, улучшая их рост и последующую урожайность. Основой такой системы являются специальные распылители, которые разбрызгивают воду мелкими каплями. Необходимо лишь правильно спланировать конструкцию, настроить автоматику и в последующем вносить те или иные корректировки в работу оборудования.
Капельные системы станут отличным вариантом для грядок, где выращиваются овощи и фрукты с мощными материнскими растениями и разветвленной корневой системой у посадок. Садовод получает возможность подвести капельный полив непосредственно к корням и стволу растений, что, в свою очередь, экономит расход воды, обеспечивая правильное орошение посадок.
Обустройство полива
Одним из условий для прокладки полностью автономной системы полива станет наличие водопровода. Если таковая на даче или в частном доме отсутствует, то в качестве источника воды может использоваться любая емкость, которую располагают на высоте не менее полутора метров над землей. Рекомендуют использовать непрозрачные пластиковые ёмкости, объем которых выбирают в зависимости от необходимого количества воды для еженедельного орошения грядок.
Для обустройства капельного автополива на даче потребуется:
- Автоматический контроллер.
- Регулятор давления.
- Капельная лента.
- Фитинги и разводящая труба.
Используемая капельная лента может быть выполнена из поливинилхлоридной тонкостенной трубы. Также в садоводческих магазинах можно приобрести уже готовые капельные ленты, которые выполняются из мягкого пластика, сшитого полипропилена или других аналогичных материалов.
С внутренней стороны капельной ленты на равном расстоянии устанавливаются небольшие капельницы, которые отвечают непосредственно за подачу воды к выращиваемым растениям. Величина промежутков между капельницами рассчитывается исходя из схемы посадки овощей и фруктов на грядках.
Регулятор давления потребуется в тех случаях, если в качестве источника водоснабжения используется центральный водопровод. В водопроводе могут часто отмечаться скачки напряжения, которые могут отрицательно сказаться на состоянии капельной ленты и целостности подающей трубы.

Выбор контроллера, который представляет собой электронный блок автоматического управления работой всей системы, будет зависеть непосредственно от разветвленности автополива и финансовых возможностей садовода. Можно подобрать полностью автоматизированную конструкцию, которая оснащается различными дополнительными датчиками, отличается универсальностью и функциональностью в использовании, а в случае эконом-варианта можно купить обычный электротаймер, который по установленной программе будет подавать напряжение на используемый насос.
Разводящие трубы используются в тех случаях, если выполняется полив сразу нескольких грядок и требуется обеспечить режим орошения для выращиваемых на садовом участке овощных культур. Для выполнения такой разводящей трубы используется обычная пластиковая сантехника, диаметр которой должен составлять не меньше 32 миллиметра.
Все соединения труб и капельной ленты должны быть обязательно герметичными. Потребуется использовать соответствующие пластиковые или металлопластиковые фитинги, отличающиеся простотой в использовании. Предпочтительно выполнять разборное соединение, что при необходимости позволит внести корректировки и усовершенствовать используемую систему полива.
Сборка компонентов
Несмотря на кажущуюся сложность такой автоматической капельной системы полива, с ее сборкой справится каждый садовод.
Последовательность действий при сборке капельного автополива будет следующей:
- Рассчитывается примерный расход воды и площадь полива.
- Согласно полученным данным выбирают объем резервуара и мощность подающей помпы.
- Выполняется прокладка разводящей трубы, для которой выкапывают траншею глубиной в 15−20 сантиметров.
- Устанавливается контроллер, к которому подводят провод для питания.
- Монтируют капельную ленту, закапывая ее в землю или укладывают непосредственно по грядкам.
- Система соединяется фитингами, выполняется проверка работоспособности автополива и при необходимости устраняются протечки.
- Проводится настройка системы с установкой программы орошения грядок.
Выполняя сборку капельного орошения и монтируя трубы, необходимо следить за горизонтальностью их расположения под землёй. Любой уклон может отрицательно сказаться на движении жидкости, уменьшится эффективность выполненного полива, и в итоге проведённый монтаж придется проводить заново.
Использование промышленных установок
Если до недавнего прошлого промышленные установки автоматического орошения имели высокую стоимость, то сегодня в продаже можно найти простейшие варианты, которые отличаются универсальностью и функциональностью в использовании, предлагаясь покупателям по доступным ценам. Всё, что потребуется сделать — это приобрести и смонтировать систему на даче, обеспечив правильный полив грядок.
Преимуществом использования покупных систем автополива является качество их изготовления, а также возможность последующей модернизации и улучшения всей конструкции, что позволяет дополнительно монтировать различные контроллеры и датчики или же увеличивать общую площадь трубопровода, подключая к системе всё новые и новые грядки на участке.

Нормы и время полива
При использовании капельной системы орошения грядок существенно уменьшается необходимый объем воды. Садоводу нужно будет правильно рассчитывать нормы полива, отталкиваясь от влаголюбивости тех или иных растений, состояния грунта и ряда других факторов. Если при ручном поливе на каждое растение будет уходить около ведра воды, то при капельном орошении норма расхода снижается до 2−3 литров.
Садоводу необходимо будет наблюдать за состоянием растений и общей влажностью почвы и исходя из полученных данных, вносить корректировки, увеличивая или уменьшая объём воды, поступающей к садовым культурам.
Использование системы автоматического полива позволит дачникам и садоводам существенно упростить уход за возделываемыми на участке овощами и фруктами. Можно приобрести как уже готовые системы орошения, так и изготовить их своими руками, что позволит сократить затраты. Потребуется правильно подобрать используемые компоненты и в последующем выполнить грамотный монтаж системы, которая будет работать в полностью автоматическом режиме, осуществляя качественное орошение грядок и лужайки у дома.
sotka.guru
Полив участка — 130 фото вариантов современных автоматических систем
С наступлением лета все дачники задаются вопросом полива на приусадебном участке. Много лет поливали растения из шланга, ведер и леек, однако теперь присутствуют более удобные способы ухода за участком. Сейчас существует несколько видов полива, которые выполнят это энегрозатратную работу за Вас, потратив меньше ресурсов и дав Вам время для релакса и отдыха на даче.
Краткое содержимое статьи:
Принципы полива садового участка
Для того, чтобы земельный участок был равно увлажнен, применяют разные типа садового полива. Эффективность систем полива напрямую зависит от того, насколько оборудование качественно, правильной проектировки схемы полива и правильной установки системы.

Ресурсы систем автополива
- автономное регулирование активации и дезактивации системы, силы подачи воды;
- поэтапный полив отдельных зон участка;
- зависимость от погодных условий: чувствительность дождя и снега, заморозков.

Виды систем полива
Растения могут быть включены в структуру автополива, если они высажены на подоконнике, на грунте или в теплице.
Дождевателями. Вода распыляется по почве, имитируя дождь, часто такое распыление используется для газонов. Часто подобное распыления является чрезмерно обильным для некоторых видов растений.

Капельный прикорневой полив. При таком способе полива вода подается прямо к корню растения каплями или же небольшими струйками воды.

Этот метод полива часто используют для овощных или ягодных культур в огороде и теплице, уменьшенный вариант такого полива может быть применен на подоконнике.

Подземное внесение воды. Этот тип полива очень схож с предыдущим, отличие в том, что в данном случае используются шланги из более прочного материала.

Устройства и оборудование
Главное оборудование, используемое в конструкциях полива, одинаково:
- насос;
- фильтр;
- резевуар для регулирования температуры воды;
- редуктор;
- магистральный трубопровод;
- участковый трубопровод.

Несомненным же различием является то, как подается вода: в виде моросящего дождя или напрямую к корню растения.

Как сделать полив на даче самостоятельно
Регулярный полив обеспечивает насыщение влагой культуры в независимости от того, следите Вы за этой системой или же нет, в дождливую погоду техника адаптируется и прекращает автополив. Поэтому приехав отдохнуть на дачу, в любое время вы получите цветущие и здоровые растения на своем дачном участке.

Вы можете контролировать полив растений через смартфон, определяя распрыскивание воды на разное время, вплоть до года. Эта система способна к сравнительной экономии электроэнергии и воды, что обеспечивает сбережение не только собственно Ваших сил.

Вместе с поливом Вы можете удобрять растения, а значит, значительно облегчить свой труд и своих близких. Для исправной работы этой структуры требуется лишь изредка проверять ее исправность, соответствующим образом подготавливать к зиме.

Этапы проектирования и установки полива
Изготовление доскональной схемы полива
Это основополагающий элемент Вашего будущего проекта конструкции автополива, данную услугу Вы можете купить у специалистов или же изготовить самостоятельно. Следует изобразить Ваш дачных участок в масштабе 1:100, фиксируя точное расположение на нем дома, различных хозяйственных объектов, качель, беседок, заборов, деревьев, огородных культур, клумб и прочих расположенных в Вашем саду растений и культур.

Так как каждое растение требует определенное влагопотребление, ее избыток может спровоцировать гибель овоща или фрукта.
Постарайтесь поставить воду в середине участка, таким образом, благодаря ориентировочно одинаковой протяженности водных каналов, ориентировочный нажим воды в системе сопоставим на всей ее протяженности.

После того, как Вы составили подробную схему своего участка следует избрать тип водоснабжения для отдельных его частей. Предпочтительно для газонов и зерновых культур использовать дождевание, для кустов и ягод в приоритете капельный тип полива.

Определение количества воды, пропускаемого системой орошения
Теперь нужно выяснить, какое максимальное число одновременно функционирующих дождевателей на Вашем участке. Это определяет и действие оросительных каналов в системе: смогут ли они функционировать одновременно или же потребуется запускать поочередно.

Для того чтобы узнать пропускную способность потребуется шланг длиной 1 м и диаметром 19 мм. Требуется зафиксировать в секундах за какое время наполнится этим шлангом десятилитровое ведро воды. После этого подсчитываем расстояние непосредственно от самого крана до отдаленного дождевателя так, что через 15 метров к общему времени еще по 2 секунды добавляем.

Все полученные значения нужно сложить вместе и сравнить с таблицей, прилагаемой к системам орошения. Так Вы сможете определить допустимое количество дождевателей.

Выбор оборудования
Нужно найти и правильно выбрать оборудование, как правило, размеры оборудования варьируются от размера самого участка.
- пластиковые трубы;
- соединители;
- дождеватели;
- капельные шланги;
- автоматические клапаны;
- насос;
- резервуар для воды;
- датчики дождя или влажности почвы;
- программируемый контроллер.

Проведение монтажа системы
Для начала работы следует подготовить каналы для орошающих траншей. В соответствии со схемой копаем траншеи, выкапываем орошающие каналы, кладем трубы, ставя на них заглушки, дабы земля не оказалась в них. Так же изготовляем оросительную гребенку коробки для вентилей, в доме ставим контроллер.

Так же провода требуется протянуть на улицу и уложить в траншею под трубу, оставляя при этом достаточные петли, дабы снизить возможность критического напряжения, посредством влагонепроницаемых соединителей провода подключаем к гребенке.

Далее требуется установить дождеватели согласно ранее определенной схеме, выполнить конструкцию капельного полива сада. Для того чтобы это осуществить встраиваем капельницы к основной ветке полива или же подводим полив для каждого отдельного куста при содействии иных трубок и распрыскивателей. Закапываем траншеи.
Далее в настройках контроллера рассчитываем по необходимости частоту поливки цветов, овощей и фруктов и размера воды для них. Обусловленность типом поливаемого растения расход воды будет разным: для цветов и некоторых видов овощей он составит до 2 литров в час, кустарникам и деревьям понадобиться больший объем воды – до 8 литров в час. Так же важно учитывать тип почвы, меньшее количество воды потребуется для глинистых почв.

Сделав автополив самостоятельно, вы сможете отдыхать каждый вечер или вовсе уехать с дачного участка, а осенью же получать богатый урожай, а также обилие красок кустарников.

Если система кажется Вам сложной для выполнения, вы всегда можете обратиться за помощью к специалистам, вплоть до того, что всю конструкцию смонтируют и установят, Вам же нужно будет лишь периодически контролировать ее работоспособность. Практичность и внешний вид Вы можете оценить, посмотрев фото полива на участке.

Сделайте сад местом Вашего отдыха, а не необходимостью оставлять все силы и время в борьбе за скудный урожай из-за засухи или иных погодных неприятностей.

Фото полива участка



























landshaftdizajn.ru
Описание и обзор систем автоматического полива
Система полива — это сочетание нескольких устройств, предназначенных для автоматического полива ограниченной территории. Для конструирования системы капельного орошения понадобятся:
- источник водоснабжения, которым может быть городской водопровод или водоём;
- трубы, распределяющие воду по всей орошаемой территории;
- насосы для полива, монтируемые для бесперебойной подачи жидкости;
- фильтры для очистки воды от примесей и загрязнений;
- распределительные устройства, через которые вода распыляется мелкими каплями;
- система автоматического контроля.

Схема соединения узлов системы автоматического полива
Устанавливать подобную систему можно на любом участке, который требует регулярного орошения растений. Из этого следует, что система автоматического полива способна круглосуточно обслуживать газоны, цветники, поля, сады и огороды, не нуждаясь в постоянном контроле. Залогом её работоспособности станут качественное проектирование и грамотный монтаж.
Разрабатывая систему полива, в случае заказа её у специалистов, проектный отдел будет использовать программы, предусмотренные для расчёта и подбора надёжного оборудования. Сотрудники монтажных организации, руководствуясь своим опытом и накопленными знаниями, сумеют выполнить работу быстро и качественно.
Преимущества применения автоматических систем полива
Системы орошения и полива использовать выгоднее, чем ручные способы увлажнения. Почему?
- Система автоматизации контролирует время полива и его интенсивность. Пользователь может задать определённые установки, требуемые на конкретной территории. Таким образом, орошение цветников и лужаек можно предусмотреть в утренние часы, чтобы к обеденному времени газоны выглядели свежими и сочными. Поливку зерновых культур на полях устраивают несколько раз в день в зависимости от количества воды, необходимой растениям для роста.
- Экономия ресурсов максимальна. Полив происходит в соответствии с заданными настройками. Когда программа будет выполнена, подача воды автоматически отключится.
- Система очень просто выводится из эксплуатации на холодный период года. Для этого достаточно перекрыть запорный кран около источника и слить оставшуюся в трубах воду. Разбирать водопровод при этом не нужно.
Разновидности систем автоматического орошения

Разновидности систем устройства автоматического полива
Всего выделяют два вида поливочных систем. Они отличаются размером капель воды, выпускаемых поливочными форсунками (брызгалками).
Система капельного полива может применяться в теплицах, полях и на огороде. Для орошения здесь используются перфорированные трубы, уложенные под растениями прямо на землю. Вода небольшими дозами подаётся в каждую распределяющую ветку, равномерно смачивая почву. К таким устройствам относят систему полива «Водомерка».
Система мелкодисперсного полива применяется для орошения газонов и лужаек. Её рабочий орган — насадка с мелкими отверстиями. Через прорези вода разбрызгивается в воздух настолько маленькими капельками, что над травой образуется туман. Хороший пример такой конструкции — система полива «Туман».

Система полива по типу «Туман»
Обзор систем полива
Сегодня автоматические системы орошения производят во многих странах, в том числе и в России.
Российская система полива «Жук» разработана для полива небольших площадей. Её можно использовать для увлажнения почвы двух шестиметровых грядок. Краны, входящие в комплект, предназначены для регулирования подачи воды. Поливать можно обе грядки одновременно или каждую по очереди.

Система капельного полива «Жук»
Преимущество капельной системы полива «Аква Дуся» в том, что перфорированные шланги, по которым подаётся вода, поставляются целыми рулонами. Длина подающих веток может регулироваться пользователем самостоятельно с учётом размера грядки. Источником воды служит ёмкость, размещаемая на солнечной стороне участка. За день вода нагревается, и к вечеру растения орошаются тёплой водой.

Система капельного полива «Аква Дуся»
«Гардена» — система полива зарубежного производства. Применять ее удобно там, где нужен многоярусный полив растений. Такая конструкция собирается на нескольких уровнях, обеспечивая полив растений разной высоты.

Система автоматического полива — установка и монтаж (видео)
Системы капельного полива (видео)
Заключение
Выбор системы полива зависит от вида насаждений и площади территории, которую необходимо орошать. В любом случае устройство автоматического полива на участке позволит сэкономить время, силы и энергетические ресурсы. Как сделать систему автоматического полива своими руками, можно узнать по ссылке.
Задавайте вопросы в комментариях ниже либо по почте. Подписывайтесь на новостную рассылку. Успехов вам, и добра вашей семье!Ссылки в статье на сторонние ресурсы размещены на правах рекламы.
chonemuzhik.ru
Как сделать автополив на даче своими руками
Какие бывают виды систем автоматического полива
Если вы собрались делать все самостоятельно, тогда вас вряд ли заинтересует полив для спортивных объектов, муниципальных нужд и крупных аграрных комплексов. Опустим технические детали для этих видов орошения и перейдем к тому, что интересно для установки и орошения растений на частном участке.
Виды дождевания
- газонное орошение;
- капельный полив;
- микрокапельное дождевание.
Автоматическое орошение газонной травы
Чтобы газон всегда был изумрудно зеленым и не желтел в любую жару проще всего установить своими руками именно газонное орошение.
Газон поливается с помощью выдвижных спринклеров с регулируемыми соплами на концах выдвижного штока. Проще всего понять, как это происходит, посмотрев видео.
Капельный полив
Капельный полив растений очень просто смонтировать своими руками для теплицы или на клумбах с цветами.
Обычно такая система состоит из таймера на одну или несколько зон и капельной трубки диаметром 16мм. На трубке с шагом от 33 до 50 см расположены отверстия — эммитеры, пропускающие определенное количество воды в единицу времени.
Посмотрите видео отзыв нашего клиента, где он рассказывает как приобрел оборудование и установил систему для полива помидоров в парнике.
Микрокапельный полив
Микрокапельный полив отличается тем, что в нем используются специальные капельницы на стойках. К этим капельницам подводится вода через микротрубки диаметром 6 мм.
Очень удобная система для полива клумб, деревьев в питомниках, горшочных комнатных растений и любых культур, требующих ииндивидуального прикорневого полива.
Например, с помощью такой системы орошаются все растения на одном из балконов дома в центре Москвы.
avto-poliv.net
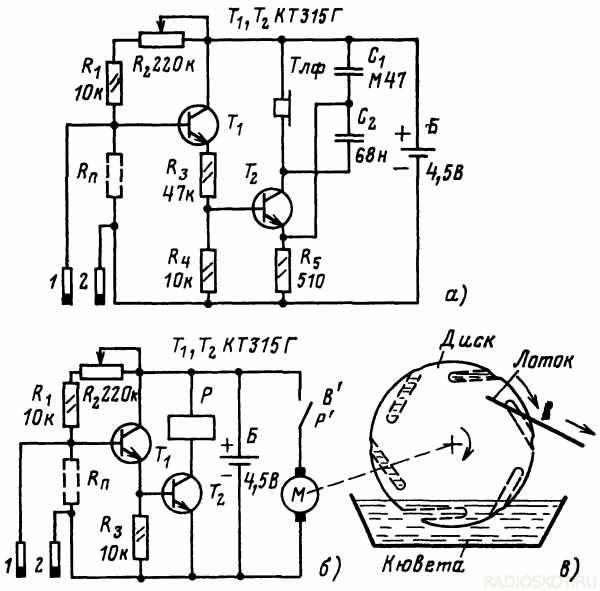
УСТРОЙСТВО ДЛЯ АВТОМАТИЧЕСКОГО ПОЛИВА РАСТЕНИЙ
Всем привет. Сегодня я хотел бы рассказать, про устройство для автоматического полива растений. Это устройство может использоваться для полива огорода, полива газона, и для полива растений дома. Принцип работы основан на прохождении тока, между пластинками в мокрой земле. Если земля влажная, то полив не нужен как только земля высыхает она автоматически её польёт.
Схема устройства

За основу принята вот эта известная принципиальная схема, только немного переделанная.

Для сборки схемы нам понадобятся:
- Переменный резистор на 33 кОм.
- Переменный резистор на 1 мОм.
- Кремниевый транзистор, n-p-n перехода кт940.
- Кремниевый транзистор, p-n-p перехода кт837.
- Конденсатор на 0.01 мкФ.
- Резистор на 1 кОм.
- Диод 4007
- Резистор на 10 Ом.
- Электромагнитное реле на 12 Вольт.
Печатная плата тут. Фото спаянной платы далее:

Изготовление водяного насоса
Для сборки водяного насоса нам понадобятся
- Электрический двигатель.
- Крышки от пластиковых бутылок 2 штуки.
- ДВД диск.
- Крепление для винта.
Для изготовления насоса нам понадобится любой эл.двигатель, крышки от пластиковых бутылок, ДВД диск, и фломастер. Дальше идёт фото сессия по изготовлению водяного насоса.










Изготовление сосуда для воды
Заранее к железному сосуду были припаяны болты и медный штуцер.



И прикрепляем насос к ёмкости.
Видео
Автор статьи 4ei3
Форум
Обсудить статью УСТРОЙСТВО ДЛЯ АВТОМАТИЧЕСКОГО ПОЛИВА РАСТЕНИЙ
radioskot.ru
