Дождевой колпак на дымоход – Ветрозащитный колпак на дымоход
Ветрозащитный колпак на дымоход
Дефлектор – это колпак на трубу дымохода, что монтируется на оголовок дымоотводящего устройства и защищает дымовой канал от сильных порывов ветра и попадания атмосферных осадков. В силу своей защитной функции колпаки на дымоходы довольно часто называют зонтами.
Дефлекторы для дымохода
Современные колпаки на дымовые трубы – это настоящие произведения искусства, которые украшают здание, придают ему уникального стиля и дизайна. В продаже можно встретить колпаки на трубы самых различных конфигураций, а простейшее устройство легко сделать самому.
Вернуться к содержанию ↑
Разновидности дефлекторов для дымоотводов
Колпаки на дымовые трубы выпускаются в различном дизайне и различной формы. Самые распространенные разновидности включают:
- Колпак на трубу, имеющий плоскую верхнюю крышку;
- Колпак на дымоход с открывающейся крышкой;
- Колпак на трубу, что имеет полукруглую верхнюю крышку;
- Колпак на дымоход, имеющий щипцовую крышу.
Тип конструкции следует подбирать с учетом архитектурного стиля сооружения. Так, плоские крышки этого приспособления лучше всего гармонируют со зданиями в стиле модерн, а полукруглые – с современными постройками. Открывающаяся крышка позволяет усиленно контролировать процесс отвода дыма. Щипцовая крыша отлично зарекомендовала себя на местности со значительными атмосферными осадками в зимнее время года и способствует быстрому удалению снега.
Если говорить о материале изготовления, колпаки для печных труб производятся преимущественно из оцинкованного железа, хотя в последнее время получили распространение колпаки на трубы, что покрыты сверху эмалью или пластиком.
Дефлектор двойной и Цаги
Также различают следующие конструкции данного приспособления:
- ЦАГИ;
- «Дымовой зуб»;
- Открытый Astato;
- Н-образный;
- Григоровича;
- Двойной;
- «Шенард» в виде звезды;
- Вольперт;
- Шаровидный с вращением.
Вернуться к содержанию ↑
Из каких элементов состоит дефлектор
Колпак на дымоходную трубу имеет несложную конструкцию, которую легко воссоздать в случае необходимости. Ключевые элементы, из которых состоит колпак для дымохода:
- Верхний стакан, что также носит названия диффузора;
- Нижний стакан;
- Крышка;
- Кронштейны.
Устройство дефлектора
Вернуться к содержанию ↑
Принцип действия дефлектора дымового канала
Колпак для дымохода увеличивает тягу в дымовом канале на 20 %. Более детально принцип действия дефлектора выглядит таким образом:
- При воздействии ветра воздушные потоки ударяются о наружную поверхность дефлектора.
- Воздух огибает преграду, которую создает колпак для дымохода и тем самым создается разряжение воздуха.
- Разряжение воздуха увеличивает тягу в дымовом канале.
Явление разряжения воздуха в результате воздействия преграды носит название закона аэродинамики Бернулли.
Главным недостатком приспособления для усиления тяги считаются вихри, что образуются внутри устройства, когда дует низовой ветер. Они препятствуют выходу дыма. Однако данный недостаток можно легко ликвидировать путем установки обратного конуса под зонтом, что хорошо справляется с задачей по разделению воздушным потоков.
Вернуться к содержанию ↑
Где применяется дефлектор на трубу
Колпаки на трубы используются для отопительных приборов и устройств.
Дефлектор Вольперт, Григоровича и шаровидный
Основным применением является их использование для таких конструкций:
- Устройств для естественной вентиляции;
- Дымовых труб частных домов;
- Каналов выброса продуктов переработки топлива твердотопливного котла, колонки, теплогенератора;
- Стояков мусоропроводов.
Вернуться к содержанию ↑
Как изготовить устройство своими руками
В случае необходимости, можно сделать дефлектор на дымоход своими руками. Для этого понадобится заранее подготовить материалы:
- Оцинкованное железо;
- Нержавеющая сталь;
- Медь.
Для того чтобы сделать колпак на дымоход своими руками, потребуется выполнить такие несложные действия:
- Нарисовать на картоне детальную схему основных элементов, из которых состоит колпак для дымохода: верхний и нижний стакан, крышка.
- Перенести выкройку на металл.
- Вырезать колпак для дымохода из металлического листа специальными ножницами.
- Соединить элементы с помощью болтов, заклепок и сварки.
- Вырезать из металлического листа тонкие полосы. Они будут использованы в качестве кронштейнов.
- Закрепить колпак для дымохода кронштейнами снаружи.
- Прикрепить сверху крышку.
Вернуться к содержанию ↑
Установка устройства: этапы монтажа
От правильной установки и работы дефлектора зависит работоспособность котла. Для того чтобы произвести монтаж, необходимо выполнить следующие действия:
- Установить нижний стакан на трубу.
- Закрепить нижний стакан с помощью болтов.
- Соединить все детали заклепками и/или сваркой.
- Закрепить на кронштейнах зонт-колпак и обратный конус.
Установка дефлектора
Установка модели «Дымовой зуб» также предполагает:
- Размещение устройства дверкой в направлении дымосборника.
- Для удобства монтажа футероозные пластины с задней и боковой стенок рекомендуется на время снять.
- Две ручки на конструкции предназначены для регулировки работы печи.
Вернуться к содержанию ↑
Дефлектор с ветрозащитным механизмом
Помимо стандартного устройства существует также колпак для дымохода с ветрозащитным флюгером. Колпаки на трубы с ветрозащитным механизмом состоят из таких элементов:
- А – дымовая труба;
- Б – вертикальная ось;
- В – флюгер;
- Г — крыша дефлектора;
- Д — полуцилиндрическая ширма;
- Е – нижний подшипник;
- Ж – верхний подшипник.
Устройство дефлектора с ветрозащитным механизмом
Колпак для дымохода с ветрозащитным механизмом вращается в зависимости от порыва ветра. Принцип его работы состоит в следующем:
- Повороте флюгера в сторону «по ветру» и одновременном повороте ширмы, что заслоняет дымовой канал. В этот момент дым беспрепятственно выходит наружу.
- Благодаря полуцилиндрической форме крыши, потоки ветра скользят по ней и тем самым усиливают тягу.
- Подшипник дефлектора необходимо регулярно смазывать, чтобы он свободно вращался по ветру. В зимнее время необходимо защищать ось от обледенения.
Значительное обледенение дефлектора при установке на отводящую трубу газового котла вызвало запрет на использование устройства для газовых приборов.
Вернуться к содержанию ↑
Особенности использования дефлектора
Колпаки на трубы, что отводят продукты сгорания твердотопливного котла, печи или камина необходимо правильно установить. Грамотная организация процесса отвода дыма и копоти — это не только забота об окружающей среде и отопительных приборах, но и вопрос безопасности для человека.
Дефлектор для дымоотвода
Правила применения устройств включают такие положения:
- Для того чтобы закрепить дефлекторы с круглым сечением на газоходе котла, что имеет прямоугольную или квадратную форму, необходимо использовать переходной патрубок.
- Если дымоотводы котла или камина имеют слишком большое сечение, к дефлектору необходимо подсоединять специальные ножки – подпорки из стали.
- Переход от кирпичного дымоотвода котла или печи к круглому сечению дефлектора выполняется исключительно после напуска кирпичной кладки.
- Запрещено устанавливать дефлекторы на трубы газового котла.
Запрет на монтаж дефлектора на дымоотводящие каналы газового котла регулируется СНиП 2.04.05 «Устройство дымовых и вентиляционных каналов».
Выводы: Важным элементом каждой системы отопления является дымоотводящий канал. Дефлектор на дымоотвод устанавливается на трубы, выводящие продукты переработки топлива твердотопливных котлов и печей, и способствует увеличению тяги в канале. Эффективное устройство для улучшения работы отопительного прибора можно изготовить и установить своими руками. Запрещено использование данной конструкции для дымовых труб газового котла.
Вернуться к содержанию ↑
Дефлектор для дымохода своими руками
Интересное по теме:
Вы замечали когда-нибудь на крыше у соседей специальный колпак над дымоходом? Это дефлектор. В дословном переводе это слово означает «отражатель». По сути, дефлектор представляет собой короткую трубу, обечайку, которая монтируется обычно на оголовок с зонтом и предназначена для защиты верхнего срезы дымохода от сильного ветра. А еще дефлектор на дымоход еще называют дымником или флюгаркой, — это старинный архитектурный элемент. Некоторые его варианты и до сегодня остаются настоящим произведением искусства. Почему бы не приукрасить им и вашу парную?
Что такое дефлектор и зачем он нужен?
Сам по себе дефлектор усиливает тягу отклонением воздушных потоков. Здесь ветер попросту наталкивается на препятствие, и перед дымоходной трубой оказывается зона низкого давления. Вот так и усиливается тяга.
Специальные исследования показали, что при использовании даже обычного дефлектора КПД любой дымовой трубы увеличивается на целых 20%! А ведь еще он хорошо защищает трубы от попадания в них снега, дождя и растительного мусора, который может разносить ветер. Причем дефлектор работает хорошо в любых условиях – вне зависимости от того, как именно и куда ветер дует.
Давайте более пристально рассмотрим принцип работы дефлектора. Воздушные потоки ударяются в его наружную поверхность, обтекают его и создают, таким образом, разрежение воздуха. В физике явление называется эффектором Бернулли – когда воздух движется быстро и огибает преграду, то разряжается, и именно это процесс значительно увеличивает тягу в дымоходе.

Самые популярные виды дефлекторов
Современные дефлекторы бывают:
- С плоским навершием;
- С открывающейся крышкой;
- С щипцовой крышей – два ската на трубе;
- С полукруглым навершием.
С плоским навершием из меди часто ставят дефлектора на дома, которые строят в стиле модерн. А вот для современных построек больше подходит колпак с полукруглым навершием. С щипцовой же крышей они лучше всего защищают дымоход от снега.
В основном дефлекторы изготовляют из листов оцинкованного железа, хотя в последнее время все чаще можно увидеть в продаже такие дефлекторы, в которых металл покрыт эмалью или даже слоем пластика.
Идем дальше. Конструкторов дефлектора в нашей стране используется немало:
- Дефлектор ЦАГИ;
- «Дымовой зуб»;
- Дефлектор Григоровича;
- Шаровидный дефлектор с вращением;
- Открытый Астато;
- Круглый дефлектор «Воллер»;
- Звезда «Шенард».
Самый распространенный сегодня – дефлектор ЦАГИ. Давайте рассмотрим его строение:
- Входной патрубок;
- Диффузор;
- Корпус дефлектора;
- Кронштейны;
- Зонтик.
Также популярна сегодня отечественная модель дефлектора «Дымовой зуб». Вставлять его нужно дверкой в направлении к дымосборнику. Выглядит это вот так: заводим один край на стенку, приподнимаем второй и опускаем на место. Для удобного монтажа снимите футероозные пластины с задней и боковых стенок. Еще вы перед собой видите две ручки – они называются «холодной рукой» и предназначен для управления и регулировки работы печи.

Выбрали модель? А теперь давайте рассмотрим, как можно сделать дефлектор на дымоход своими руками – для вашей парной.
Как самому соорудить дефлектор?
У дефлектора есть свои параметры. Так, его высота должна составлять 1,6-1,7 от внутреннего диаметра дымоходного канала, а ширина – 1,7-1,9. Ширина диффузора – 1,2-1,3. Но сначала давайте определимся с материалом, из которого он будет сделан:
- Медь;
- Оцинкованное железо;
- Нержавеющая сталь.
Почему медь, если это такой дорогой материал? Дело в том, что дефлектор находится в одном из самых недоступных мест бани, а потому, чтобы его не пришлось ремонтировать, лучше сделать его максимально стойким к атмосферным явлениям. А медь в этом плане – самая лучшая.
И вот как можно сделать дефлектор:
- Начертите на картоне развертку всех основных деталей, таких, как колпак, диффузор и внешний цилиндр.
- Перенесите все на металл и вырежьте с помощью ножниц по металлу по этим выкройкам.
- Соедините детали друг с другом при помощи заклепок, болтов или сварки.
- Из полосы металла сделайте кронштейны – ими вы закрепите на поверхности колпак.
- К колпаку прикрепите обратный конус.
Сам дефлектор нужно сначала собрать, а только потом – установить на крышу. Ставим сначала нижний цилиндр и фиксируем болтами и гайками. С помощью хомутов закрепляем на нижнем цилиндре диффузор, а на нем – колпак с обратным конусом.
Флюгер-дефлектор: последнее слово техники
Это такое специальное устройство, у которого корпус вращается одновременно с изогнутыми на нем козырьками-дефлекторами. А те – соединены с подшипниковым узлом. В верхней части – флюгер, который позволяет всей конструкции всегда находиться «по ветру».
Как работает эта штука? Довольно просто и гениально: поток воздуха проходит в пространстве между козырьками, ускоряется и создает тем самым зону разрежения. В итоге тяга в дымоходе усиливается, топливо в печи хорошо сгорает, а воздухообмен улучшается – если дополнительно создавалась еще и вентиляция. Такие дефлекторы хороши для предотвращения обратной тяги, искрообразования и срыва пламени.
Сделать такое чудо техники вы можете и сами! Потом просто саму конструкцию прикрепите на срез дымовой трубы с помощью кольца с подшипниковым узлом. Качественный приток свежего чистого воздуха и хороший отвод продуктов сгорания – это самый главный секрет хорошей работы печи и легкого пара!
Все замечали возвышающийся над дымоходной трубой колпак, но далеко не все знают, зачем он там установлен и какое его предназначение. Эта деталь называется дефлектором. На русский язык это переводится как «отражатель».
Он представляет собой небольшой навес над трубой и служит для ее защиты от агрессивного воздействия окружающей среды: ветра, осадков и для создания необходимой тяги.
Иногда его называют –дымник, а выполненный в какой-либо стильной форме – флюгаркой. Дефлектор установленный на трубу дымохода – это пришедший к нам со старины архитектурный элемент, и сегодня он может также приукрасить крышу любого здания. К тому же он выполняет кроме декоративной роли, еще и важную практическую функцию – усиливает движение воздуха в трубе.
Содержание:
- Что из себя представляет и зачем нужен
- Какие бывают виды
- Флюгер-дефлектор
- Изготавливаем своими руками
- Советы от специалистов
Что это такое и зачем он нужен?
Независимо от того, какое в доме используется отопительное оборудование и какой применяется теплоноситель, любая отопительная система обустраивается дымоходом. Благодаря ему обеспечивается вытяжка продуктов горения. От того как он будет функционировать напрямую зависит каким будет качество работы всей системы.

Но не всегда красивый и установленный по всем правилам дымоход идеально функционирует. Особенно это заметно при сильном ветре, когда на газы в трубе оказывается сильное давление. Чтобы ничто не могло препятствовать правильномуфункционированию всей отопительной системы используетсядефлектор, одеваемый на трубу дымохода.
Его основное назначение – повышать тягу, препятствуя воздушным потокам. Ветер, огибая препятствие, приводит к образованию вокруг трубы зоны низкого давления. В результате происходит усиление тяги. Независимо от конструкции дефлекторов, все они задействованы в одном и том же процессе – возникновении зоны пониженного давления при обтекании воздухом препятствия. Благодаря устройству ветер не уменьшает, а наоборот, усиливает тягу.

Воздушные потоки, соприкасаясь с поверхностью дефлектора, огибают его и начинают двигаться быстрее, создавая область разрежения. В физике такое явление называют эффектом Бернулли. Именно благодаря ему и увеличивается тяга в трубе.
Проведенные исследования свидетельствуют о том, что при использовании дефлектора, даже самого обычного, КПД дымохода возрастает на 20 %. Его полезность состоит еще и в том, что он защищает трубу от переносимого ветром мусора и осадков, в виде дождя, града или снега. Дымник одинаково функционирует при любых условиях, независимо от особенностей погодных условий на улице.
Популярные виды изделия
Вы, наверное, заметили то, что они бывают различной формы. Современные устройства могут иметь разное навершие:
- Плоское
- Полукруг
- С крышкой
- С двускатной щипцовой крышей

Полукруглый колпак
Первый тип чаще всего устанавливается на домах, выполненных в стиле модерн. Для обычных современных построек применяют в основном полукруглый колпак. Щипцовая крыша дефлектора лучше всего справляется с защитой дымохода от снега.
Главным образом дымники изготавливают из оцинкованного железа, реже из меди. Но сегодня входят в моду изделия, покрытые эмалью или жаростойким полимером. Если устройство используется на вентиляционных каналах, где отсутствует прямой контакт с нагретым воздухом, то можно применять колпак из пластика.
Конструкции дефлекторов также различные.
На отечественном рынке самыми востребованными считаются:
- Дефлектор ЦАГИ, шаровидный с вращением, открытый «Астато»
- Устройство Григоровича
- «Дымовой зуб»
- Круглый дымник «Воллер»
- Звезда «Шенард»

Различные варианты колпаков на дымоход
Самым популярным на российских просторах стал дефлектор ЦАГИ. В его комплектацию входят:
- Патрубок (входной)
- Каркас
- Диффузор
- Зонтик
- Кронштейны
Можно купить заводской дефлектор и установить на дымоход, но некоторые предпочитают делать его самостоятельно из подручных материалов. Для этого следует придерживаться нескольких несложных правил.
Флюгер-дефлектор
Это механизм имеющий вращающийся корпуси имеющий соединение с подшипниковым узлом, на нем закреплены специально изогнутые детали,. Сам флюгер находится сверху, он позволяет всему устройству как бы постоянно держаться по ветру.

Флюгер
Кольцо со встроенным в нем подшипниковым узлом с помощью прочных болтов крепят к срезу дымохода. Проходящий между козырьками поток воздуха ускоряется что приводит к созданию разреженной зоны. Тяга, соответственно, усиливается и повышается эффективность вывода продуктов сгорания.
Флюгер-дефлектор выполняется из материалов с высокой устойчивостью к коррозии. Он имеет элементарную конструкцию и может использоваться в дымоходах на любых зданиях.
Как правильно изготовить дефлектор на дымоход своими руками
Сначала необходимо определиться из какого материала он будет создан. Это может быть оцинкованное железо или нержавеющая сталь. Пригодна также и медь, несмотря на то, что это дорогой материал. Использование именно этих металлов связанно с тем, что дефлектор должен быть максимально стойким к перепадам температур и атмосферным воздействиям.
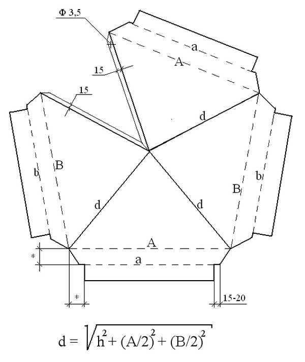
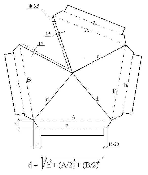
Устройство имеет свои определенные параметры, которых необходимо придерживаться. Например, высота дымника должна составлять 1,6-1,7 часть от внутреннего диаметра трубы, а ширина – 1,9.
Последовательность работ по самостоятельному созданию дефлектора следующая:
- На картоне чертим развертку главных деталей.
- Переносим выкройки на металл и вырезаем отдельные детали.
- Соединяем все элементы один с другим, используя для этого крепежные изделия или сварочные работы.
- Изготавливаем из стали кронштейны, нужные для крепления на поверхности дымохода колпака.
- Собираем колпак.
Дефлектор изготовленный своими руками, сначала собирается и только потом монтируется на трубу. Первым устанавливают цилиндр, который фиксируется крепежными изделиями. С применением хомутов на нем закрепляется диффузор, а также колпак, в виде обратного конуса.Этот простой элемент позволяет устройству функционировать при любом ветре.
Смотрим видео, делаем самостоятельно и поэтапно:
Чтобы самостоятельно сделать колпак потребуются следующие предметы и инструменты:
- Резиновая или деревянная киянка
- Гибы
- Молоток
- Брусок
- Зажимы
- Ножницы для работы с металлом
- Стальной уголок.
Чтобы упростить процесс сборки устройства, на всех деталяхспециальносрезают уголки с двух сторон.
Советы специалистов
Установка дефлектора обязательна и наиболее эффективна при наличии непрямого дымохода.
При изготовлении устройства самостоятельно необходимо строго придерживаться пропорций, указанных выше. Если дефлектор, устанавливаемый на дымоход, не будет соответствовать этим параметрам, то и свою основную функцию по созданию хорошей тяги он выполнять должным образом не сможет.
Делаем колпак самостоятельно, видеообзор:
Выполняя заготовки из металла самостоятельно, делать это лучше всего по лекалам из картона, вырезанными по требуемым размерам. Приложив их к листу металла, достаточно будет обвести детали по контуру и можно смело вырезать, не боясь ошибиться.
Наличие под колпаком обратного конуса также обязательное требование к конструкции. С его помощью дымник будет эффективно фуекционировать при любых климатических условиях.
Если у трубы максимально допустимый диаметр, то для монтажа потребуется применение растяжки, выполненной из проволоки.
Хорошая тяга – важнейшее условие для нормальной работы любой печи. Чаще всего проблемы с тягой вызваны ветром, атмосферными осадками и мусором, забивающим дымоход. Самым удобным и простым решением в таких ситуациях является установка дефлектора. Это устройство не дает ветру задувать трубу, защищает дымоход от попадания осадков и листьев, способствует свободному отводу продуктов сгорания. Чтобы правильно выполнить монтаж дефлектора, следует подробнее ознакомиться с особенностями его конструкции.

Дефлектор на дымоход
Принцип действия дефлекторов

Принцип действия дефлекторов
Стандартное устройство включает три основных элемента – цилиндр, диффузор, защитный колпак (зонтик). Дополнительно конструкция оснащается кольцевыми отбоями, которые располагаются в нижней части и вокруг диффузора. Существует несколько разновидностей дефлекторов, которые отличаются формой, размерами и количеством элементов, но все они, независимо от вида, работают по одному принципу.

Дефлекторы
Конструкция устанавливается на самом верху дымовой трубы и создает препятствие воздушным потокам. Когда ветер ударяется о стенки цилиндра, он теряет свою силу и разбивается на множество мелких воздушных потоков слабой интенсивности. Часть из них поднимается по корпусу и захватывает дым, выходящий из трубы. Именно это и увеличивает тягу в дымоходном канале.
Благодаря отсутствию завихрений, дым и угарный газ не попадают обратно в трубу, а полностью выводятся наружу. Кроме того, дефлектор препятствует засорению трубы через верх и выполняет декоративные функции.

Декоративные дефлекторы
Доказано, что после монтажа дефлектора КПД отопительного прибора возрастает на 15-20%. Разумеется, сам дефлектор ничего не даст, если дымоход установлен недостаточно высоко или неверно подобрано сечение соединительного патрубка. Имеет значение и расположение трубы на крыше.
Виды дефлекторов
![]() Дефлектор ЦАГИ | Самый распространенный вариант. Имеет цилиндрическую форму, изготавливается из нержавейки или оцинкованной стали. Тип соединения – ниппельный, фланцевый |
Круглый Волпер | Конструкция похожа на дефлектор ЦАГИ, но имеет небольшие отличия в верхней части. Изготавливается из оцинковки, нержавеющей стали и меди, чаще всего используется для дымоходов в банях |
![]() Дефлектор Григоровича | Усовершенствованный вариант ЦАГИ, предназначен для участков с преобладающим низким ветром. Обеспечивает хорошую тягу даже в безветренную погоду |
Тарельчатый Astato | Очень эффективная и простая конструкция открытого типа. Обеспечивает качественную тягу независимо от направления ветра. Изготавливается из оцинковки и нержавеющей стали |
![]() Н-образный | Надежная конструкция, эффективная при любом направлении ветра. Изготавливается из нержавейки, соединение выполняется при помощи врезки на патрубке устройства |
Дефлектор-флюгер | Устройство с вращающимся корпусом и закрепленным в верхней части флюгером. Изготавливается из нержавейки или окрашенной углеродистой стали |
Вращающийся дефлектор | Устройство вращается только в одном направлении, эффективно защищает дымоход от засорения и осадков, отлично подходит для газовых котлов. Не работает в штиль и при обледенении |
Основные отличия заключаются в форме конструкции и количестве составляющих. Материалом для изготовления таких устройств является нержавеющая и оцинкованная сталь, реже – медь. По форме они бывают цилиндрическими, квадратными, круглыми, открытого и закрытого типа. Устройства одного вида могут отличаться в верхней части: одни изделия выполняются с конусообразным зонтиком, другие имеют двускатную или вальмовую крышу, третьи делают плоскими или с декоративными фигурными элементами.

Дефлекторы
Диаметр дефлектора варьируется в пределах 100-500 мм, ширина диффузора от 240 до 1000 мм, высота конструкции – от 14 до 60 см.

Размеры дефлекторов
Крепится устройство к дымоходу при помощи кронштейнов, хомутов, болтов, с применением уплотнительной ленты. Для изготовления используется сталь толщиной от 0,5 до 1 мм, в зависимости от диаметра самого дефлектора. Дополнительно устройство может оснащаться искрогасителем, если существует риск возгорания кровли.

Дефлекторы с искрогасителями
Особенности монтажа
Расположение дефлектора прямо влияет на эффективность его работы. При установке конструкции на дымоход следует соблюдать определенные условия:
Самостоятельное изготовление устройства
Для работы понадобится:
- лист оцинковки или нержавеющей стали толщиной 0,5-1 мм;
- ножницы по металлу;
- заклепочник;
- дрель;
- лист плотной бумаги или картона.
Самый важный этап – составление чертежа. Для этого необходимо измерить внутренний диаметр дымохода и рассчитать параметры изделия по таблице.
Таблица размеров
Расчет дефлектора
Если внутренний диаметр вашего дымохода отличается от приведенных параметров в таблице, расчеты выполняют следующим образом:
- ширина диффузора составляет 1,2 d;
- ширина защитного зонта – 1,7-1,9 d;
- общая высота конструкции – 1,7 d.
И замеры, и расчеты должны быть максимально точными, чтобы не возникло затруднений при монтаже конструкции и ее последующей эксплуатации. Если труба имеет квадратное сечение, то и дефлектор необходимо делать квадратным, хотя угловатость корпуса немного снижает эффективность работы устройства.
| Шаг 1. | На бумаге выполняют чертеж деталей дефлектора в натуральную величину и вырезают. | Чертеж Вырезанные из бумаги детали |
| Шаг 2. | Заготовки скрепляют и примеряют друг к другу. Если все элементы совпадают, можно приступать к раскрою оцинковки. | Подготовка к раскрою |
| Шаг 3. | Шаблоны раскладывают на оцинковке, тщательно обводят маркером, вырезают ножницами по металлу. На срезах металл подгибают на 5 мм пассатижами и пристукивают молотком. | |
| Шаг 4. | В местах загибов металл нужно расклепать молотком, чтобы сделать края тоньше. | |
| Шаг 5. | Заготовку диффузора сворачивают цилиндром, просверливают отверстия для крепежей и соединяют болтами или заклепками. Можно использовать и сварку, но только не дуговую, а полуавтомат, чтобы не прожечь металл насквозь. | Свернутая заготовка |
| Шаг 6. | Точно так же делают внешний цилиндр. Далее сворачивают конусом заготовку колпака и тоже соединяют заклепками или сваркой. | Заготовка-конус |
| Шаг 7. | Из оцинковки вырезают 3-4 полоски шириной 6 см и длиной до 20 см. Полоски подгибают с двух сторон вдоль, простукивают молотком по всей длине. С внутренней стороны колпака, отступив от края примерно 5 см, просверливают по окружности нужное количество отверстий под болты. Закрепляют полоски оцинковки на колпаке и придают им П-образную форму. | Крепление полос Загиб полосок |
| Шаг 8. | При помощи этих самодельных скоб присоединяют колпак к диффузору, а затем вставляют всю конструкцию в обечайку. | Сборка деталей |
Если в конструкции должен быть обратный конус (дефлектор Григоровича), диаметр защитного зонта делают на 3-4 см больше, чем диаметр конуса. После сборки обоих элементов конус прикладывают с внутренней стороны зонта и обводят по периметру маркером. Затем делают два надреза на выступающей части зонта и подгибают образовавшуюся полоску внутрь. Таким же образом делают еще 6-8 полосок на равном расстоянии друг от друга, загибают их внутрь и надежно фиксируют обратный конус без дополнительных крепежей и сварки.

Схема дефлектора Григоровича
К диффузору колпак с обратным конусом удобнее крепить строительными шпильками. Для этого перед установкой конуса на зонт в нем просверливают три отверстия по окружности, вставляют концы шпилек и закручивают гайки. Затем надевают сверху зонт, фиксируют конус описанным выше способом. В верхней части диффузора, с внешней стороны, приклепывают петли из жести или алюминия и вставляют в них нижние концы шпилек. Такая конструкция выдерживает сильные порывы ветра, служит долго и надежно.
Подобным способом можно собрать дефлектор любого типа, главное – составить правильный чертеж. Единственное отличие будет в количестве и форме деталей. Готовое устройство остается только смонтировать на дымоход.
Ветрозащитные дефлекторы
Монтаж дефлектора
Установить конструкцию можно двумя способами – непосредственно на дымоход и на отрезок трубы, который потом надевается на дымоотводящий канал. Второй способ гораздо удобнее и безопаснее, так как самый трудоемкий процесс выполняется внизу, а не на крыше. Большинство заводских моделей имеют нижний патрубок, который просто надевают на трубу и закрепляют металлическим хомутом.

Закрепленный дефлектор — фото
Чтобы установить самодельный дефлектор, понадобится отрезок трубы, диаметром чуть больше диаметра дымохода, и резьбовые шпильки.
Шаг 1. На одном конце трубы, отступив от среза 10-15 см, отмечают по окружности места сверления под крепежи. Такие же метки ставят и на широкой части диффузора.
Шаг 2. Просверливают отверстия в диффузоре и трубе, примеряют элементы друг к другу. Верхние и нижние отверстия должны точно совпадать, иначе крепежи не получится установить ровно.
Шаг 3. Продевают сквозь отверстия шпильки и фиксируют их гайками с обеих сторон на диффузоре и на трубе. Гайки закручивать следует равномерно, чтобы корпус дефлектора не деформировался.
Установка дефлектора
Шаг 4. Поднимают конструкцию на крышу, надевают трубу на дымоход и закрепляют хомутами.
Установка и фиксация дефлектора
Очень важно, чтобы на этом участке не оставалось зазоров между элементами, а потому затягивать хомут необходимо очень плотно. Дополнительно можно обработать стык по периметру термостойким герметиком.
Установка дефлектора-флюгера

Установка дефлектора-флюгера
Монтаж такого дефлектора выполняется немного иначе, так как его конструкция имеет определенные отличия. Сначала в дымовой трубе сверлят три отверстия на одном уровне под крепежные болты. В срез дымохода вставляют кольцевую часть устройства и фиксируют болтами. Далее в кольцевой подшипник вставляется ось, на нее одевается цилиндр, затем полотно флюгера, защитный колпак. Все элементы соединяются при помощи кронштейнов или заклепками.
При выборе дефлектора с флюгером помните о том, что подшипники требуют регулярной смазки, иначе устройство не будет вращаться. Также нельзя допускать обледенения корпуса, и сбивать наледь, как только она появляется.
Видео — Дефлектор на дымоход
Видео – Изготовление дефлектора своими руками
beton-stroyka.ru
металлический защитный грибок на круглую трубу своими руками, как сделать
Содержание:
Дымоход является основным защитным элементом любой постройки, в котором установлена печь, камин или отопительный котел, поскольку через него из здания выводятся различные газы и продукты от сжигания топлива вредные для человеческого организма. В статье речь пойдет о таком важном конструкционном элементе, как колпак на трубу дымохода, необходимый для повышения эффективности отведения дыма и украшения трубы.

Что собой представляет дымоходный колпак
Итак, увидев подобную насадку на трубе, можно подумать, что она предназначена для украшения дымохода, ведь нередко колпак выполняется в виде изящной кованой фигуры с узорной резкой или другими декоративными элементами. На самом деле защитный колпак на трубу – это эффективная модификация дымохода, которая играет вспомогательную роль в процессе удаления дыма. От того, насколько правильно смонтирован данный элемент зависит: будет ли дым вовсе выходить из трубы или ввернется обратно в здание, вредя всем находящимся в нем.
Нередко люди задаются вопросом, зачем надеваются зонты на трубы дымохода и каково назначение такой конструкции. Именно вид зонта или козырька имеет дымоходный колпак, защищая внутреннюю часть трубы от выпадающих осадков. На сегодняшний день можно встретить большое количество разнообразных колпаков, которые создаются под конкретную форму и размер дымохода.

Общие элементы для конструкции дымоходного колпака:
- Защитный зонтик. Данный элемент увенчивает колпак и выглядит в виде конической, пирамидальной или полукруглой насадки (могут быть и более изысканные формы). Такой зонт не позволяет попадать в трубу осадкам, мусору, птицам и животным.
- Фартук-капельник. Защитная надстройка на оголовке трубы, которая необходима для блокировки брызг от воды, что попадает на зонтик. Это очень важный элемент, увеличивающий предельный срок эксплуатации дымоходного канала посредством защиты от коррозионного воздействия, образования грибков и плесени. Нужен фартук для труб в форме прямоугольника или квадрата.
- Кронштейны. Это специальные металлические пластины, используемые для объединения козырька и фартука. Количество таких пластин варьируется в зависимости от размеров дымоходной трубы и веса устанавливаемого зонтика (прочитайте также: «Какие бывают зонты на трубу дымохода или вентиляции, как изготовить своими руками»). Соединение элементов выполняется посредством сварки.

Стоит сказать, что создать колпак на трубу дымохода своими руками достаточно просто, но речь может идти лишь о примитивной резке листов металла. Более изящные изделия можно приобрести в готовом виде или под заказ в тематических магазинах. Самым удобным, функциональным и эффективным считается колпак в виде зонтика с механически открываемой крышкой. Подобная конструкция удобна при чистке дымохода, поскольку ее не нужно демонтировать.
Предельный срок эксплуатации дымоходного колпака может быть получен, если при производстве будет использоваться листовой металл с хорошим сопротивлением коррозионным эффектам. Также очень ценятся среди народных умельцев оцинкованная сталь, медь или алюминий. К примеру, медь очень красива и в отдельных случаях может сравниться с более дорогими видами цветных металлов.
Существующие виды колпаков на дымоход
Большое количество разновидностей дымоходных колпаков возникает из-за разнообразия самих труб по форме, стилистике и габаритам.
На сегодняшний день в специализированных строительных магазинах предлагаются следующие виды колпаков:
- Флюгарка стандартного типа. Это пирамидальный зонтик, производимый из листового металла и закрепляемый на фартуке-капельнике посредством кронштейнов.
- Флюгарка на четыре ската. Внешне изделия напоминают вальмовую крышу с четырьмя скатами. Идеально такой колпак сочетается с прямоугольной кирпичной трубой.
- Флюгарка, дополненная зонтиком в виде полукруга. Обычно такое изделие можно встретить на крышах домов, оформленных в европейском стиле. Считается, что такой колпак малоэффективен и выделяется лишь оригинальным внешним видом.
- Плоская флюгарка. Выглядит как плоский зонт в форме прямоугольника и устанавливается на зданиях таких архитектурных стилей, как минимализм или модерн. Недостатком такой конструкции является то, что снег скапливается на плоском основании и кронштейны деформируются под его весом.
- Круглая флюгарка с конусовидным зонтом. Чаще всего устанавливается такой колпак на круглую трубу из нержавеющей стали. На данную модель капельник не устанавливается.

Основной задачей покупателя при выборе флюгарки является выбор максимально эффективного колпака. Не нужно отвлекаться на различные модификации и декоративную отделку, которые увеличат массу флюгарки и сделают ее менее надежной. Самой большой проблемой является неправильная форма, приводящая к появлению излишних шумов и вибрации дымоотвода.
Принцип работы флюгарки и основные ее функции
Если установить грибок на трубу дымохода своими руками, то канал дымоотвода будет надежно защищен от проникновения в него влаги и лишнего мусора. Это значительно повлияет на тягу внутри системы. Воздух, поступающий в систему по горизонтали или под углом будет делиться и спускаться по дымоходу, создавая эффект подсасывания. В этом случае будет образована зона пониженного давления, куда будет перемещаться дым из очага сгорания топлива. Читайте также: «Как сделать и установить грибок на трубу вентиляции – правила устройства».

Функции, выполняемые дефлектором (флюгаркой):
- Влагозащита системы (недопущение проникновения осадков). Повышенная влажность и эффект сырости в дымоходе приводят к повышению расходования топлива и созданию благоприятных условий для образования грибка.
- Также в трубопровод не проникнет различный мусор (ветки, листья, отходы жизнедеятельности птиц), на нем не будут гнездиться птицы и т.д. Колпак повышает пожарную безопасность всей системы дымоотведения.
- Наконец, качественный козырек вызывает прирост производительности системы на 10-15%. Если дополнить систему аэродинамическим дефлектором с турбиной, то можно устранить такую проблему, как отсутствие тяги воздуха.
Собственноручное изготовление колпака на дымоход
Создавать дымоходный колпак значительно проще, если делать выбор в пользу моделей проверенных временем.
Потребуется следующий набор материалов и приспособлений:
- листовая «оцинковка»;
- ножницы для резки металла;
- гибы;
- маркер для разметки;
- плотный картон;
- аппарат для сварки.


При наличии готового чертежа работы выполняются по следующей схеме:
- Перед тем как сделать колпак на трубу, нужно выполнить замеры дымохода. Лучше всего применять для этих целей длинную металлическую линейку или измерительную ленту. Важно делать все замеры аккуратно.
- Затем выполняется кройка шаблона с использованием картона. Колпак должен без затруднений надеваться на трубу, а потому необходимо оставить зазор в 4-5 миллиметров.
- Чертеж переносят на кусок металлического листа посредством маркера и вырезают заготовку ножницами по металлу.
- Заготовка размещается удобным образом на прочном основании, чтобы разметка была сверху. По пунктирным линиям лист металла сгибается под прямым углом, а потом переходят к сгибу по линиям с отметкой «d».
- В тех местах, где будут крепиться элементы колпака, нужно сделать 3 отверстия с интервалом в 15-20 сантиметров, а затем произвести фиксацию при помощи клепок.
- Затем берется шаблон фартука-капельника и переносится на листовой кусок металла с последующим вырезанием. Каждый сгиб нужно обработать листогибом и объединить элементы конструкции при помощи клепок.
- Используя металлические пластины нужно изготовить кронштейны (длина подбирается по чертежу) и соединить их посредством сварки с фартуком и зонтом (колпаком). В стыках, где производилась сварка, нужно выполнить обработку при помощи грунтового состава.
- Поверх готового колпака наносится антикоррозионный состав, а затем его покрывают 1-2 слоями краски. Через 1-2 дня краска высохнет, и колпак можно будет надеть на дымоходную трубу.
Итог
В статье подробно описаны дымоходные колпаки, а также представлена инструкция того, как создается металлический колпак на трубу своими руками. Только при правильном выполнении замеров, качественной кройке и грамотном проведении работ можно получить эффективный, надежный и безопасный колпак для дымохода. Конечно же, можно доверить работу специалистам, которые возьмут на себя ответственность за подбор качественного чертежа, закупку необходимых материалов и введения всей системы в эксплуатацию.
trubaspec.com
Колпак на дымовую трубу — Всё о металлочерепице

Как сделать колпак на трубу дымохода
Ни что не вечно под луной, в том числе и дымоход. Он рушится под воздействием атмосферных осадков, ветров и другой агрессивной среды. Разрушение системы дымоотвода влечёт нарушение функционирования всей отопительной системы. поскольку кусочки кирпича связующего состава попадают в систему вытяжки дыма, перекрывают её местами. И дым уже не весь уходит в атмосферу. а частично попадает в жилище. Без очистки дальнейшее функционирование будет ущербным. Мусор, а вместе с ним и сажа будут накапливаться, и вот образовалась большая проблема.
А ведь её можно было избежать. Для этого нужен-то всего лишь колпак на трубу дымохода. Это небольшое сооружение имеет и другие названия – дымник, козырек на дымоход. дефлектор, флюгарка. Возникает вопрос, почему так много названий у такого незаметного предмета. Всё дело в том, что этот предмет из разряда «маленький, да удаленький». Ведет свое существование с давних времён и несет в своем образе прошлое. Умело сделанный дефлектор, логично завершает все строительное сооружение. Некоторые и вовсе являются произведением искусства. Итак, колпак для дымохода нужен для того, чтобы :
- защитить и обеспечить максимально долгое функционирование отопительного сооружения,
- обеспечить более мощную тягу в дымоотводе (увеличивает почти на 20 % ),
- обеспечить эстетическую завершенность всей отопительной системе и строению .
Наиболее распространенными для изготовления дымника на трубу являются такие материалы, как медь, оцинкованное железо, нержавеющая сталь. Именно эти материалы обеспечат высокую стойкость к коррозии в такой агрессивной среде. как крыша.
Нередко используют и алюминиевую пластину, сталь с полимерным покрытием, латунь. Учитывая тот факт, что колпак на дымоход находится в труднодоступном месте, следует подобрать максимально качественный материал, чтобы продлить срок службы на долгие годы. Качественную защиту трубы обеспечат вместе с зонтом юбка и фартук.
Разновидности колпаков
Время и умелые руки мастеров создали несколько типов козырьков:
- Стандартная флюгарка с четырьмя скатами.
- Флюгарка с флюгером для крыши дома.
- Колпак с полукруглым навершием.
- Колпак с плоским односторонним навершием.
- Флюгарка с открывающейся крышкой.
- Флюгарка с щипцовой или многощипцовой крышей .
Можно в общий список внести ещё один вид. Несколько десятилетий назад, когда было достаточно трудно найти материал для зонта для дымохода, находчивые хозяева делали оберег для труб из обыкновенного ведра или большой, отслужившей свой век. кастрюли, которые приспосабливали к трубе верх дном, ставя их на металлические ножки. Некоторые деревенские бани до сих пор функционируют с самодельными колпаками такого порядка. Кстати, и фартук для трубы круглого сечения тоже создавался из нескольких старых ведер .
Схемы для колпака
Чтобы сделать колпак на дымоход своими руками. необходимо произвести измерения и нарисовать чертеж. Во-первых, зонт для дымохода должен закрыть всю горизонтальную поверхность трубы, поэтому при измерении и составлении чертежа необходимо добавить ко всей площади по 0,5 см со всех сторон. Это нужно для того, чтобы конструкция легко вошла на трубу. Некоторые трубы имеют выступ (оголовок ) на полкирпича, он так же должен быть под колпаком. Именно на него и будет опираться всё создаваемое своими руками сооружение. Тело или 4 стороны зонта могут быть в виде решетки, могут иметь другие отверстия, чтобы отводить дым. Но вот стойки угловые должны присутствовать целиком в обязательном порядке. Именно на них ляжет все давление, которое будет на крышке от скопления снега, от дождя .
Затем следует сделать схему для навершия. Оно может быть круглым. Такое навершие будет уместно, если труба в сечении имеет квадрат или круг. Если же труба прямоугольная с разными парами противоположных сторон, то лучше подойдет навершие четырёхскатное. Теперь необходимо определить высоту верхней части. Нужно учесть пропорции: слишком большая и высокая верхняя часть может сгубить всю конструкцию, низкий верх не обеспечит полноценный сброс дыма .
Флюгарка может исправить некоторые недоделки или ошибки в устройстве всей отопительной системы. Так, если дымоход по какой-то причине оказался низким, то монтаж дымников на трубы – это решение проблемы. Он удлинит вашу трубу не только визуально, но и реально. На флюгарках возможно применение различных кованых элементов. Кованый зонт на дымоход – это вечное изделие, он прослужит вам и вашим детям.
Изготовление дымника на трубы без станка и профессиональных инструментов
Вариант 1
Самостоятельно колпак на трубу дымохода вырезать и собрать может практически любой человек, который держал в руках молоток и знает, чем отличается он от киянки. Для работы понадобится киянка, небольшой молоток, гибы, ножницы по металлу. Гибы – инструмент, который похож по конструкции на клещи, плоскогубцы; отличается наконечниками, с помощью которых сгибают листовой металл. Кроме этого понадобится линейка, карандаш, маркер, металлический брусок.
После того, как вырезали из металла 4 заготовки для стенок. можно начать процесс монтажа. Сначала необходимо загнуть по 0,5 мм плоскогубцами те края металла, которые будут соединением для двух частей. Край одной детали загибается на внешнюю сторону, а у другой – на внутреннюю .
Их следует совместить, гибами ещё раз загнуть, чтобы спрятать острые края, получится на месте соединения 4 слоя. Поставить на твёрдую основу и с помощью небольшого молотка соединить. Для верха можно использовать прокат с полимерным покрытием. Легче всего сделать односкатное покрытие. Соединить с основой .
Вырезать для основания прямоугольный лист из металла. Он должен быть больше, чем площадь верха трубы. Вырезать отверстие, соответствующее отверстию трубы .
- Отрезать 4 стойки из стального уголка. На концах просверлить отверстия для крепежа. Соединить с помощью крепежных деталей.
- Согнуть в дугу металлический лист, соединить получившуюся крышку с основной конструкцией .
Монтаж защитного фартука вокруг трубы
Чтобы примыкание крышного настила к системе дымоотвода было герметичным, на скате кровли устанавливается фартук. Вернее устанавливается два: внутренний и внешний. Внутренний находится под финишным крышным настилом, а внешний – над. Гидроизоляционный оклад необходим для того, чтобы талая вода не попала на чердак и в дом .
Необходим металлический листовой прокат высотой 40-45 см. Подойдет гибкая свинцовая или алюминиевая лента, которая легко режется ножницами по металлу. На трубе на высоте 20 – 25 см от стропил отмечается линия со всех четырёх сторон, которая будет параллельна настилу стропил. По этой линии прокладывается штроба глубиной 1,5 см по всему периметру. Её можно пропилить болгаркой, затем вымыть пропил или сдуть опилки.
Обустройство металлического фартука начинается с нижней стенки трубы. Взять кусок листа на 15 см длиннее ширины стенки трубы. Для ввода в штробу загнуть жесть по краю на 1 см под углом 90º в одну сторону и через 20 — 25 см загнуть оставшуюся часть под углом 90º в другую сторону, оставшиеся 20 см используйте для нахлёста под крышное покрытие. Таким образом, будет исключена протечка. Обработать так со всех четырех сторон. Края доборных элементов, вставленные в штробу, залейте теплостойким герметиком.
После того, как будет установлено финишное покрытие крыши, можно обустроить внешний фартук. Он более необходим как эстетический элемент. Поэтому подбирается для него такой материал, который будет гармоничен с крышей. Прокат с полимерным покрытием легко подобрать и по цвету и по качеству. Фартук на печную трубу круглого сечения можно приобрести в магазине, он бывает металлический с регулируемыми размерами и силиконовый (резиновый), который легко регулируется благодаря эластичности материала. Сделать вручную кровельный проход ещё проще, чем колпак на дымоход.
Крепить такую конструкцию можно только к крышной системе. поскольку усадка дома может сыграть злую шутку и преждевременно вывести из строя либо трубу, либо фартук. На трубу необходимо надеть хомут с эластичной термостойкой прокладкой .
Похожие статьи:
Флюгарки на трубу дымохода
Как и из чего сделать зонтики на трубы дымохода Оголовник на дымоходную трубу Установка дымохода на крыше
Как изготовить колпак на дымоход камина своими руками
Камин и печь в собственном коттедже, бане или беседке – это сложная в инженерном плане конструкция, которая обязана отвечать всем требованиям пожарной безопасности. Для стабильного вывода продуктов горения через трубу дымохода понадобится дефлектор, перенаправляющий воздушные массы и не допускающий попадания воды и снега. Как сделать колпак на дымоход своими руками, определить наиболее практичную форму и составить чертежи?

Форма и функциональность
Основные задачи крышки на дымоотводе:
- Увеличение воздушной тяги;
- Предохранение от случайного залетания птиц в трубу;
- Сохранение кладки дымохода;
- Защита от снега и дождя.
К сведению: применение колпака повышает коэффициент полезного действия дымоотвода почти на 20 процентов.
Навершия отличаются по геометрии форм и размеров. Их разновидности обусловлены стилем фасада дома и особенностями погодных капризов местности.

- Зонт (крышка) – защищают трубу от проникновения дождя и снега. Могут быть изготовлены в форме флюгарки, плоского покрытия или щипцовой крышки.
- Капельник – отводит влагу от стенок трубы и останавливает появление наледи.
Изготавливают колпаки из материалов, устойчивых к разрушительному воздействию погодных явлений. Это изделие закрепляется в очень труднодоступном месте, так что лучше не экономить, и приобрести нержавеющую сталь или листовую медь.
Некоторые особенности применения колпаков:
- Дефлектор в форме полукруга больше подходит для европейского дизайна;
- Зонт с плоским верхом будет органично смотреться на коттедже в стиле модерн;
- Флюгарка с установленным флюгером может быть оборудована заслонкой, которая заставит трубу эффективно работать даже при отсутствии ветра;
- Флюгарка со щипцовой вершиной способствует интенсивному проветриванию;
- Колпаки с подвижной крышей дают возможность легко чистить дымоотвод.
Как работает колпак на дымоходе
Воздух, попадая в стенку крышки, заворачивает наверх и своим движением подтягивает дым. Дымоотвод начинает работать эффективнее и значительно усиливается тяга. При угловом или вертикальном направлении ветра, зонт тоже помогает увеличить тягу. Чтобы не возникало проблем и при низовке, нужно установить на крышку обратный конус. Кроме того, предохраняя трубу от влаги, дефлектор препятствует развитию грибка и экономит топливо.
К сведению: правильно изготовленный и надежно закрепленный колпак не должен шуметь или вибрировать даже при штормовом ветре.
Самостоятельное изготовление навершия дымохода
Сделать крышку на каминную или печную трубу не сложно самому.
Для работы нужно приготовить:
- Лист оцинкованного металла, меди или нержавейки;
- Картон и маркеры;
- Ножницы по металлу;
- Приспособления для сгибания листа;
- Аппарат для сварки.
Прежде чем приступить к изготовлению, важно тщательно измерить трубу дымохода. Потом нужно сделать макет зонта из картона. Чертежи выкройки:
Зонт должен надеваться на трубу без особых усилий, поэтому нужно при составлении чертежа оставить напуск в полсантиметра.
После примерки макета, чертёж наносится на металлический лист. Заготовку вырезают ножницами. С помощью гибов материалу придаётся нужная форма. Стыки скрепляются 3-4 клёпками. Изготовление капельников аналогично.
Кронштейны вырезаются из металлических пластин и при помощи сварки прикрепляются к фартуку и навершию. Точки сварки нужно обработать грунтовкой. Весь колпак дополнительно покрывается составом от ржавчины и краской.
После остаётся лишь одеть его на трубу камина. Все стыки нужно обработать огнестойким герметиком.
Зонт должен покрывать всю плоскость дымохода. На некоторых конструкциях есть выступ в половину кирпича, его тоже нужно прикрыть от дождя.
К сведению: зимой на колпаке может образоваться наледь или шапка снега. Важно так подобрать толщину металла, чтобы его не продавило под такой тяжестью.
Чрезмерно высокая или слишком низкая крышка не будут полноценно отводить дым, поэтому стоит сделать чертежи с учётом всех нужных параметров. Колпаком не сложно исправить дефекты дымохода, например, если он имеет недостаточную высоту.

Украсить дефлектор можно, используя кованый флюгер. Это будет долговечное и практичное решение.
Самостоятельное изготовление колпака на дымоход под силу даже начинающим мастерам. Важно аккуратно произвести замеры и выбрать качественный металл. Грамотно изготовленный дефлектор исправит недочёты в работе дымоотвода и обеспечит постоянную тягу при любой погоде. А если применить в работе немного креатива, то изделие станет украшением фасада дома.
Как сделать барбекю
Печь на дачном участке: покупка или кладка своими руками
Коптильня своими руками из барабана стиральной машины
Колпак на дымоходную трубу
Как устроен колпак на трубу по выведению дыма и его предназначение
Колпак на дымовую трубу еще называют флюгарка или дымник. Он необходим для усиление тяги, чтобы в трубу не попадала грязь. Флюгарка это новшество, но и это дань старине. Сейчас все коттеджи оборудованы колпаками.
Предназначение колпака на трубу
- Колпак называют разными выражениями: флюгарка или Дымник.
- Колпак нужен, чтобы тяга была лучше.
- А также, он не дает попадать снегу в трубу дымохода, а также дождю, когда идет косой дождь.
- При установке сетки во флюгарку, в дымоход не будет попадать грязь и птицы, которые любят, гнездиться в дымоходе.
- Если флюгарку выполняет профессионал, то предотвращение шума и вибрации.
Какие колпаки бывают
- Плоские колпаки.
- Полукруглые колпаки.
- Четырех скатные колпаки.
- Колпак с флюгером.
- Колпаки, которые открываются.
- Для четырех скатной крыши.
Функции, которые выполняет флюгарка
- Тяга увеличивается в три раза.

- На 30% происходит увеличение КПД для трубы дымохода.
- Не дает попадать дождю и снегу.
- Вид крыши становится презентабельнее.
- Кладка кирпича становится во много раз лучше и крепче.
- Придает эстетичности трубы для дымохода.
- Удерживает тепло в доме и создает горение яркого пламени.
- Каждая флюгарка это искусство.
- С помощью флюгарки, в доме будет уют и тепло, которое производит камин или печь.
- Когда зима, осадки и талый снег не стекают в трубу, и не дает эффекта разрушения.
- Дымник не даст верхнему ряду кирпичей разрушаться
Как устроен колпак для трубы дымохода
- Крышка.
- Сетка.
- Стек воды или по- другому названию капельник.
- Угол наклона крыши, должен составлять 45 — 50 градусов, но можно угол наклона сделать больше или меньше, сделать высоту крышки.
- Сетка даст возможность, не селиться птицам и делать гнезда. Это в будущем решит множество проблем.
- Крышка предназначена для того, чтобы атмосферные осадки не попадали в трубу.
- Стек воды или капельник предназначен для того, чтобы вода с колпака стекала вниз.
Принципы работы козырька для дымоходной трубы
- Не дает стекать воде.
- Не дает образовываться льду. что способствует долговечности кладки и всей конструкции в целом.
- Потоки воздуха бьются об стенки и происходит обход со всех сторон.
- Струя воздуха подхватывает дым и поднимает выше.
- Из-за того, что воздух движется, он становится сильнее и тяга становится больше.
- Если дымоход делают профессионалы. то это без проблем позволит, чтобы в доме сохранялось тепло, когда будете отапливать дом.
То, что может быть на флюгарке
Размер флюгарки в зависимости от диаметра дымовой трубы
Классификация козырьков по форме
- В виде шатра.
- Четырехскатный козырек.
- Двухскатный козырек.
- В виде ровного листа.
- В виде шпиля.
- Сводчатый козырек.
- В виде четырех щипцов.
- Козырек в виде ровного листа, сделан из медного листа. Делают на дома в стиле модерн.
- Если дом построен, как в Европе, то на такой дом устанавливают полукруглый козырек.
- При установке четырехщипцового козырька, дымовая труба не заполнится снегом.
Классификация козырьков по типу металла
От материала зависит срок службы козырька. Следует обратить внимание на материал, из которого он изготовлен. Так, как козырек находится в недоступном месте, нет возможности за ним постоянно следить. Если колпак не будет выдерживать условия погоды, то система будет работать не стабильно.
- Самым популярным материалом считается медные сплавы и сама медь. Козырьки из меди самые надежные. При правильной установке козырька из меди, козырек прослужит 70 лет.
- На втором месте сталь из оцинкованного железа. По качеству долговечности наравне с медью и медными сплавами.
- На третьем месте идет козырьки из стальных листов. Они уступают меди по времени работы. Они прослужат порядка 40 лет.
- Железо из нержавейки.
- Сплавы из титана и из самого титана. Хорошо зарекомендовали себя. Долговечность гарантированна, мягкие, прочные.
Монтаж козырька на дымоход
- Нужно нарисовать план сборки и установки козырька.
- Капельник должен иметь юбку, чтобы осадки не попадали на дымовую трубу. Так колпак не даст влаге попасть ни внутрь, ни наружу.
- Козырек находится в таком месте, где нет доступа за ним постоянно следить. Поэтому, чтобы он был устойчив к погоде, нужно выбрать качественный материал.
Материалы, подходящие для изготовления козырька
- Оцинкованное железо.
- Железо из нержавейки.
- Сплавы меди.
- Медь.
- Стальные листы.
- Титан.
- Сплавы из титана.
- Хромированное железо.
- Сплавы из цинка.
Инструменты, которые нужны будут для создания козырька
- Ножницы, чтобы резать металл.
- Деревянный молоток.
- Металлические прутки.
- Для того чтобы крепить козырек. Уголки.
- Молоток специальный.
Чтобы сделать правильные расчеты. необходимо начертить козырек на бумаге и написать все нужные размеры. И с этого чертежа будет легче сделать козырек.
По чертежу необходимо приступить к резке титанового листа и начинать выгибать лист по чертежу.
Козырек для дымохода своими руками
Первый пример крепления козырька
Необходимо взять 4 металлических прутка, из них получатся стойки.- Из листа титана надо вырезать прямоугольник, но с таким запасом при сгибание листа. Он должен быть больше отверстия, чем в дымоходе.
- Прутки надо нагреть и расплющить и сделать дырки, чтобы эти стойки и лист крепить.
- Сделанный прямоугольник необходимо закрепить на стойках, лучше всего заклепками.
- Лист из титана нужно согнуть в виде дуги. Можно вставлять в дымоход, но стойки должны плотно соприкасаться со стенками дымовой трубы.
- На последнем этапе козырек необходимо закрепить на дымовой трубе саморезами.
Второй пример крепления
- Необходимо использовать болты и гайки М5 и закрепить стойки, которые находятся в нижнем цилиндре.
- Верхний цилиндр нужно прикрепить к нижнему цилиндру.
- Заклепками нужно прикрепить конусный колпак. Все это можно собрать самому с помощью сварки.
- Чтобы все получалось, необходимо учитывать диаметр трубы и какого размера будет козырек.
Почему трубы задымляются
Неправильно выбран диаметр трубы.- Неправильная длина трубы, а также высота.
- Если ветер усиливается, холодный воздух попадает в дымовую трубу. Тяга становится меньше так, как на дым воздействует давление ветра, дым перестает уходить из дымовой трубы и, в конечном результате, дым остается в дымовой трубе.
- Дымовая труба засорена сажей. Нельзя при чистке дымовой трубы использовать никакую химию, чтобы почистить дымовую трубу, необходимо пригласить специалиста.
- Возможно, из кладки упал кирпич. При поднятие сильных ветров случаются случаи, когда кирпичи падают из кладки. Необходимо убрать кирпич и заделать отверстие глиной.
- Кладка начинает трескаться и холодный воздух попадает в щели, тяга уменьшается, и камин будет дымить. Все трещины необходимо заделать раствором с глиной.
- Выделение конденсата, в результате чего печь становится сырой. Причина: при понижение температуры газов, которые выделяются при горение топлива. Из-за сажи, которая накапливается на стенках трубы, она уменьшает теплоизоляцию.
- Если неправильно был построен дымоход.
- Если стены трубы неровные и малое сечение дымоходной трубы.
- Если дымоход установлен ниже крыши.
- При установке дымохода вблизи высоких деревьев и домов.
- Если дымоход пропускает воздух через кирпичную кладку.
- Если помещение плохо вентилируется.
- Дождь, снег.
- Когда на улице теплее, чем в здание.
- Когда первый раз разжигаете при замерзшем дымовой трубы.
Причины поломок и их устранение
Есть три вида работы и устранение поломок:
- Профилактиктический ремонт
- Капитальный ремонт.
- Частичный ремонт.
Профилактика проводится для чистки от сажи. Помощь профессионала не нужна. Необходимо следить за всеми частями печи, чистить от сажи и пепла.
Печь дымит и плохо горит. Необходимо проверить тягу печи и подходит ли топливо для именно этой печи.- Плохая отдачи тепла печи. Необходимо проверить, как плотно закрывается поддувало и дверца у топки, нужно использовать специальный жгут.
- Сильная тяга. будет весь жар уходить на улицу и прогреваться помещение не будет.
- Если будет хорошая тяга. то газы будут уходить через дымовую трубу, не будет образовываться угарные газы.
- Печь не прогревается. В дымовой трубе имеются трещины. Необходимо заделать трещины. Основной канал сужен, нужно суженный канал разобрать.
- Нет тяги. Очистить трубу с помощью гири. Если этим способом не удалось очистить, придется разбирать дымовую трубу, чтобы очистить ее. Если сажа от смолы, то необходимо развести в дымоходе огонь и таким методом очистить, также есть химические средства.
- Печь начинает дымить. Эта проблема возникает при постоянной топке печки. Нужно разобрать печь и отремонтировать внутреннюю кладку дымовой трубы. Засорился стояк. Необходимо разобрать дымовую трубу ближе к засоренному стояку и прочистить. От сильного ветра. Установить дефлектор.
- При возникновение мокрых пятен на трубе. Это образование конденсата. Обделать трубу стекловатой, нельзя топить печь сырыми дровами или топливом, сделать топливник более большим, всю дымоходную трубу сделать намного короче.
- Если после того, как долго топили печь и все равно она не нагревается, необходимо очистить дымовую трубу от сажи.
- Если появляются трещины. то нужно замазать раствором глины.
- После того, как долгое время не топили. пропадет тяга. Это означает, что в трубе стоит холодный воздух. Необходимо поджечь листок бумаги, и будет снова тяга.
Эксплуатационные поломки
- Плохая тяга и накопленная сажа в дымоходной трубе.
- В конструкции происходит разрушение материала.
- Происходит разрушение у каналов стенки.
- Оголовки начинают обмерзать.
Источники: http://poluchi-teplo.ru/dyim/kak-sdelat-kolpak-na-trubu-dyimohoda.html, http://besedkibest.ru/pechi/kolpaki-na-trubu-dymohoda-svoimi-rukami.html, http://krovlya777.ru/stroika/kolpak-na-dymoxodnuyu-trubu.html
stroykrishu.ru
Колпак на вентиляционную трубу — Всё о кровле
Выбор и установка колпака на дымоход
Колпак на трубу (дымник, флюгарка) был придуман еще в старину. Такое архитектурное решение имеет не только декоративные свойства, но и практические. Колпак на трубу предназначен в первую очередь для защиты от внешних природных воздействий: дождя, снега и дополнительной вентиляции. В наше время такой элемент защиты активно используется при строительстве частных домов и коттеджей. Фантазия современных дизайнеров не знает границ. И поэтому такая, казалось бы, простая деталь имеет множество форм, придающих дымоходам оригинальный вид.
Виды колпаков дымников.
Выбирая колпак на трубу дымохода, сначала смотрите на его функциональные возможности и только потом на дизайн. Кстати, о дизайне: многие современные флюгарки внешне очень похожи на своих старинных собратьев.
Для чего нужно такое приспособление
Для каких целей служит колпак на трубу дымохода? Он защищает дымоход от осадков и ветра, которые способны повредить ее, разрушить кирпичи. Также колпак на дымоходную трубу защищает от попадания в дом влаги. Да и отсыревшая труба прослужит недолго. От регулярного попадания осадков внутрь дымохода разрушается каменная кладка трубы. Установка такого приспособления укрепляет верхнюю часть трубы и способствует вентиляции. Конструкция флюгарки должна быть оснащена сеткой, которая препятствует попаданию в дымоход посторонних предметов. Сетка должна иметь крупные отверстия, чтобы не препятствовать свободному прохождению дыма из трубы.
Материалы, используемые для флюгарки

Пример медного колпака на дымоход. Помимо эстетических качеств медь долговечна, благодаря процессу окисления.
Для эффективного функционирования защитного приспособления необходимо со всей серьезностью подойти к выбору материала для его изготовления. Медь — самый часто применяемый материал, идеально подходящий для этих целей. Она долговечна, может прослужить не одно десятилетие и обладает эстетическим видом. Если в качестве основного материала вы выбрали что-то другое, в любом случае все крепежные элементы должны быть медными. Лучше не смешивать разные материалы, используемые для таких приспособлений. Например, медь, соприкасаясь с другими материалами, вызывает нежелательные химические реакции, окисление. В результате чего сокращается срок службы дымника для вентиляции. Главный плюс меди в том, что с годами она приобретает более благородный вид.
Эффектно смотрятся дымники на вентиляционную трубу. сделанные из нержавеющей стали либо из оцинкованного железа. Оцинкованное железо обычно покрывают цветными полимерными материалами — так флюгарка становится красивее. Благодаря такому подходу легко оптимизировать цвет дымника под цвет кровли вашего дома. А кровля в наше время может обладать любой цветовой палой. Каждый владелец дома или коттеджа мечтает превратить его в сказочный дворец, и это легко достигается благодаря цветной кровле.
Разновидности колпаков на дымоход
Флюгарки имеют множество разновидностей. Это напрямую зависит от конструкции трубы, ее внешней формы. Итак, давайте рассмотрим основные виды дымников на вентиляционную трубу:
Виды колпаков для трубы.
- Стандартная флюгарка. Такой тип выглядит как маленький домик на верхушке трубы. Дымник-домик может иметь разную форму, все зависит от фантазии дизайнера.
- Европейские колпаки на дымовые трубы. На данный момент один из самых модных и популярных видов. Внешне европейский колпак похож на стандартный колпак, но имеет закругленную крышу. Такой дизайнерский компонент монтируется на вентиляционные шахты и дымоходы. Способствует предотвращению образованию конденсата и предназначен для вентиляции помещения.
- Флюгарка с многоскатной крышей.Обладает двумя скатами. Обладает отличной защитой трубы от попадания в нее снега и прочих осадков, а также для вентиляции.
- Колпаки на дымовые трубы с флюгерами. Внешне выглядят весьма эффектно и стильно: сверху на них устанавливаются металлические фигурки животных, кораблей и других фигурок.
- С открывающейся крышкой. Крышка предназначена для быстрой профилактики, чистки и прочих операций по обслуживанию дымохода, она способствует общей вентиляции.
- Приспособления с дефлектором. Кроме дефлектора, такой дымник на кирпичную трубу может быть оснащен и открывающимися вентиляционными отверстиями. Оказывает влияние на силу тяги в дымоходной трубе .
При выборе подходящего вида такого устройства для дымохода соотнесите его парамы с конструкцией крыши.
Кто должен производить монтаж
Естественно, качественный монтаж сделают только профессиональные специалисты. Им доступны любые качественные материалы. Имея огромный опыт, мастер может осуществить любую вашу идею.
Ремонт кровли и крыши
Колпак на дымоход своими руками – конструкция и чертежи
Через дымоход на улицу выходит смесь газов с продуктами сгорания топлива из каминов, печей и отопительных котлов. Рассматривая частные дома, можно заметить, что оголовок трубы венчает специальный козырек или зонтик. С первого взгляда на эти приспособления, украшенные фигурной ковкой, затейливыми узорами и фигурками, складывается впечатление, что они всего лишь элемент декора. На самом деле колпак на дымоход является важным элементом системы дымоудаления, правильность конструкции и монтажа которого отражается на эффективности ее работы. Эта статья расскажет о принципах работы, видах и способах самостоятельного изготовления дефлекторов своими руками.
Конструкция
Колпак на дымоход – устройство, напоминающее по виду зонт или козырек, устанавливаемое на оголовок трубы с целью защиты от попадания влаги. Существует огромное множество вариаций внешнего облика флюгарок, в зависимости от формы и размера канала дымоудаления. Конструкция колпаков всех видов состоит из следующих элементов:
Конструкция колпака для дымохода
- Защитный зонтик. Навершие колпака в виде конуса, пирамиды, полукруга или других, более сложные форм. Зонт защищает трубу от попадания в нее атмосферных осадков, мусора, проникновения в дымоход птиц.
- Фартук-капельник. Этот элемент колпака защищает оголовок трубы от капель, отскакивающих от зонтика. Он помогает увеличить срок службы дымохода, предотвращает появление коррозии, грибка. Фартук применяют в случае, когда устанавливают колпак на трубу прямоугольной или квадратной формы.

Важно! Для дымохода можно сделать колпак своими руками из листового металла, однако, более сложные модели проще купить или заказать. Наиболее удобный в обслуживании и эксплуатации вид – защитный зонтик с открывающейся крышкой. Благодаря подвижности этого элемента, защитный козырек не снимают во время прочистки или осмотра дымохода .
Чтобы сделать долговечный колпак для трубы дымохода используют листовой металл, не подверженный коррозии. Распространено изготовление своими руками из оцинкованной стали, меди или алюминия. Зонт на оголовок из меди имеет благородный оттенок, он выглядит респектабельно, однако часто становится «жертвой» сборщиков цветного металла.
Разновидности
Изобилие форм и видов дымоходов вынуждают производителей выпускать колпаки разнообразных форм, стилей, размеров. В строительных магазинах встречаются изделия следующих видов:
- Стандартная флюгарка. Ее зонтик представляет собой пирамидку, изготовленную из листового металла, с помощью кронштейнов прикрепленную к фартуку-капельнику.
- Четырехскатная флюгарка. Навершие таких моделей напоминает вальмовую четырехскатную крышу. Как правило, их используют для прямоугольных труб из кирпича.
- Флюгарка с полукруглым зонтиком. Ее используют для монтажа на крышах домов в европейском стиле. С точки зрения увеличения тяги она имеет низкую эффективность, однако, красиво смотрится на скате.
- Плоская флюгарка. Ее оснащают плоским прямоугольным зонтиком, используют для зданий в стиле минимализм и модерн. Плоская крышка колпака не позволяет скатываться снегу, из-за чего кронштейны таких моделей испытывают повышенную нагрузку, иногда деформируются.
- Круглая флюгарка с зонтиком в виде конуса. Из применяют для защиты труб круглого сечения из нержавейки, такие модели не оснащают капельником.
Разновидности колпаков для дымохода
Разные виды колпаков на трубу
Обратите внимание! Флюгарки снабжают дополнительными функциональными элементами: заслонками, двойными крышами, откидными дверками. Не стоит увлекаться вычурными деталями, ведь главное в выборе дефлектора – долговечность и эффективность. Непродуманная форма может стать причиной возникновения шумов или вибрации в трубе.
Принципы работы и функции
Колпак на дымоход не только защищает от попадания мусора и воды в канал дымоудаления, он влияет на силу тяги. Воздушный поток, двигающийся горизонтально или под углом, разделяется и уходит вниз, это вызывает «подсасывающий» эффект. Благодаря этому, создается зона с пониженным давлением, в которую устремляется дым из топки. Защитный дефлектор выполняет следующие функции:

Оптимизация тяги с помощью дефлектора
- Предотвращает проникновение влаги внутрь дымоходной трубы. Сырость в дымоходе увеличивает расход топлива и создает благоприятные условия для распространения грибка.
- Закрывает отверстие трубы от попадания веток, листьев, мусора, а также гнездования птиц. Зонт снижает риск возникновения возгорания, засоров. Благодаря ему дымоход реже засоряется и эффективнее функционирует.
- Оптимизирует работу дымохода. Правильно подобранный козырек на 10-15% увеличивает КПД дымохода. А с помощью специальных аэродинамических дефлекторов с турбинами решают проблему отсутствия тяги.
Важно! Хотя защитный зонт дымохода считают элементом декора, в первую очередь это функциональный элемент дымоудаления. Правильно подобранный дефлектор не должен создавать шум или вибрацию внутри дымоходного канала.



Изготовление своими руками
Чтобы сделать козырек для дымохода своими руками, лучше выбрать модель попроще. Для работы потребуется листовая оцинкованная сталь, ножницы по металлу, гибы, маркер, картон, сварочный аппарат. Процесс выполняют в следующем порядке:
- Изготовление защитного колпака своими руками начинается со снятия мерок с дымохода. Для этого удобнее пользоваться металлической линейкой или мерной лентой. Измерения производятся точно, без спешки.
- Следующий этап – создание выкройки на картоне. Учтите, что зонт должен надеваться на дымоход легко, без усилия, поэтому к размерам трубы прибавляют зазор 4-5 мм.
Чертеж будущей флюгарки



Важно! Сделать колпак на дымоход своими руками проще всего, если изготовить из выгнутого дугой листа металла. При создании чертежа учитывайте, что в зимний период на кронштейны ложится вес снежной шапки, поэтому выбирайте металл достаточной толщины и прочности.
Самостоятельно изготавливая зонт для защиты дымохода от проникновения влаги, точно измеряйте размеры трубы. Правильно подобранная модель дефлектора улучшает внешний вид крыши и оптимизирует работу системы дымоудаления.
Видео-инструкция
Колпак на трубу дымохода: для чего нужен и как сделать
На многих дымоходах сверху надеты какие-то колпаки. Форму они имеют разную – прямоугольную, квадратную, плоскую, конусообразную, гнутую и т.п. Эти устройства имеют множество названий:
- Колпак на дымоход
- Зонт на дымоход
- Грибок на дымоход
- Дымник
Примерно такая же конструкция называется флюгаркой, но первоначально флюгарка на дымоход была основой для флюгера – устройства, которое поворачивалось в зависимости от направления ветра. Сегодня же некоторые этим термином называют любой колпак, надетый на дымоход.

Флюгарка на дымоход
Есть еще одно особое устройство — дефлекторы или аэродинамические колпаки на дымоход. Их разрабатывают специально для усиления тяги с учетом законов аэродинамики. Любой колпак на дымоходе является препятствием для воздушного потока, который разделяется, «обходя» его и создавая вихревые потоки. При этом возле трубы образуется зона с более низким давлением, что увеличивает тягу. Конструкция делекторов разрабатывается специально, потому их эффективность (в смысле улучшения тяги) намного выше.
Для чего нужен колпак на трубе дымохода
Традиция устанавливать на дымоходах колпаки пришла к нам из прошлого. Еще в 19 веке они были только коваными, ведь других способов из готовить изделие из железа попросту не было. Так как труд кузнеца был недешев, то и позволить себе такое украшение на крыше могли далеко не все. Зато на богатых домах и замках колпаки на дымоход были украшены целыми композициями из металла. Чаще всего изображали фигурки людей, животных и птиц. Иногда владельцы какого-либо бизнеса заказывали в качестве флюгера изображение предмета, который символизировал занятия хозяина. Такая себе наглядная реклама.

Флюгарка на дымоход
В действительности функций у зонта, установленного на дымоход, несколько:
- Защищает трубу от попадания воды и снега. При обильных осадках в трубе может оказаться достаточное количество влаги, чтобы «запереть» тягу. Надетый сверху, но не мешающий выходу дыма колпак, значительно снижает ее количество. Потому форму колпака стоит подбирать исходя не только из эстетических соображений: если в вашем регионе выпадает много снега, то лучший вариант – колпак в виде маленькой вальцевой крыши с достаточно большим углом. С таких зонтов хорошо сходит снег.
- Колпак на кирпичной трубе дымохода защищает кирпич от разрушения. Большая часть современных изделий имеют специальные канавки для отведения конденсата, который неизбежно образуется на холодной металлической поверхности, при контакте с разогретым дымом (или воздухом, если это выход вентканала).
- Предотвращает попадание в дымоход насекомых, животных, птиц, листвы и других предметов, которые может занести ветер.
- Улучшает тягу. Специально для улучшения тяги разработаны дефлекторы разных модификаций, но любой грибок на трубе тоже неплохо справляется с такой задачей: она повышается примерно на 20%.
Для чего нужен зонт над трубой дымохода теперь понятно. Осталось понять из чего его делать и какую форму лучше выбрать.
Какие материалы используют для изготовления колпаков их крепежа
Изготавливают колпаки на дымоход из материалов, который стойки к коррозии, переносят высокие температуры и имеют длительный срок эксплуатации. Требование по температурному режиму действует, только если устройство закрывать будете дымоход. Для вентканалов вполне подойдет изделие из полиэстера, пурала и т.п. Во всех других случаях используют:
- Оцинкованную сталь
- Нержавеющую сталь
- Медь
- Сплав цинк-титан
Флюгарки (дымники) из меди служат долго, от 50 до 100 лет. Это один из самых долговечных материалов, но при его монтаже необходимо использовать метизы из меди. В противном случае начнутся активные коррозионные процессы, которые значительно сократят сроки жизни устройства. Установка цинк-титанового колпака на дымоход предусматривает по тем же причинам использование только оцинкованных метизов. Цинк-титан – новый сплав, который недавно использовался только для изготовления кровельных материалов, но сегодня многие кампании стали производить из него и колпаки на дымоход. Они имеют полувековой срок гарантии и цену гораздо меньше, чем у медных. Устанавливать на трубу колпаки из остальных материалов можно обычными метизами, хотя лучше все-таки брать те, которые не поддаются окислению и разрушению: большая часть флюгарок служить может десятилетиями, а лезть на крышу потому что ее сорвало ветром из-за разрушившегося крепления — не самое приятное времяпровождение. Если говорить о кирпичной трубе, то использовать можно или обычные длинные гвозди или нарезные (но их демонтировать практически невозможно), можно воспользоваться дюбелями. В каждом конкретном случае система крепления подбирается исходя из формы и материала трубы, имеющихся отверстий для крепления и т.п.

Кованые колпаки на дымоходы
Самый популярный вид этой продукции – это дымник из нержавейки с полимерным покрытием или без такого. Срок эксплуатации в этом случае составляет 20 лет, но зато и цена намного ниже. Особо популярен вариант с полимерным покрытием – цвет можно подобрать в тон кровли, а если и дизайн будет в стиле кровли, смотрится такой вариант замечательно.
Что ставить в оголовке дымохода зонт или дефлектор?
По строительным нормам дефлектор на выход газовых котлов ставить нельзя. Это связано с тем, что в зимнее время из-за низких температур выходного потока на горизонтальных участках трубы образуются сосульки, ухудшающие тягу. Дефлектор же такую картину только усугубляет. Потому на выходы газовых котлов ставят только простые зонты для защиты от попадания мусора и осадков.

Аэродинамический колпаки на дымоход. Один из вариантов
Дефлекторы специалисты рекомендуют устанавливать на металлическую трубу котлов, работающих на твердом топливе. Во всех остальных вариантах рекомендованы колпаки на дымоходы. Форма колпака выбирается в соответствии с формой дымохода: на круглые обычно ставят круглые зонты, на квадратные и прямоугольные – в виде небольшой скатной крыши. Нужно учесть, что на дымоходах-сэндвичах дымники должны иметь специальную юбку, которая будет закрывать теплоизоляцию. Для кирпичных дымоходов рекомендуется делать колпак с основанием, которое закроет все кирпичи, выступающие над кровлей.
Не очень хорошее отношение у специалистов к флюгерам: постоянная вибрация и немалый вес достаточно быстро разрушают даже капитально построенные трубы. Так что если вы хотели иметь флюгер, хорошо над этим подумайте: он не только неблагоприятно влияет на дымоход, но и сам быстро изнашивается из- за постоянного трения.
Как сделать грибок на трубу своими руками
Самостоятельное изготовление колпака на дымоход – дело нелегкое. Если у вас нет особого опыта в этой области, можно для начала перенести чертеж на лист картона, вырезать его и продумать способы соединения и крепления. После того, как картина станет более-менее ясной, можно вырезать части из металла и приступать к сборке. Очень важно измерить дымоход точно и строго придерживаться измеренных величин при изготовлении.
Вот один из чертежей дымника в виде небольшой скатной крыши. Угол определяется по формуле, которая указана на первом листе.

Чертеж колпака на дымоход

Чертеж колпака на дымоход
Порядок действий такой:
- Заготовку из металла положить на стол лицевой стороной вверх, в указанном на чертеже месте, просверлить отверстие диаметром 3,5мм.
- Погнуть деталь по всем пунктирным линиям на 90 о. Для этого лучше использовать листогиб. Тогда линии получатся четкие, без вмятин. Если такого устройства нет, придется применять подручные средства: кусок уголка закрепить на верстаке полкой вверх. Чтобы можно было согнуть сразу всю (или почти всю) линию, можно воспользоваться бруском.
- Погнуть деталь по линиям «d». Угол определяется экспериментально: должен получиться цельный колпак. Конструкция должна быть ровной, без перекосов (поставьте ее на стол, чтобы проверить). Если все «сошлось», наметьте на нижнем ребре жесткости маркером точку через просверленное отверстие, накерните будущее отверстие, затем просверлите.
- Соедините колпак и зафиксируйте заклепкой 3,2мм.
- По линиям «а» и «b» подогните все так, чтобы можно было установить ножки.
- По внешнему периметру трубы изготовьте основание колпака из уголков. Уголки располагайте так, чтобы один край упирался в кладку, а второй был сбоку. Подготовьте «ножки» для колпака. Соединяют все при помощи сварки.
- Готовое основание нужно зачистить, покрыть антикоррозионным составом, затем покрасить в несколько слоев краской для наружных работ.
- Соединить колпак с основанием.
Если изготовление квадратного дымника кажется вам сложным, может такой вариант будет легче. Его реализация будет совсем простой, если у вас есть кусок изогнутого листового металла подходящего размера. Если же имеется обычный лист, можно согнуть его на специальном устройстве (обычно есть у жестянщиков).

Дымник для изготовления своими руками
Порядок работы такой: готовите основание колпака из уголка по результатам измерений вашего дымохода. Уголок располагаете так, чтобы конструкция хорошо держалась: одно ребро опирается на край дымохода, другое охватывает его снаружи. Изготовьте ножки, которые будут поддерживать колпак и соединять его с основанием. Делайте их достаточно мощными, чтобы они могли противостоять ветровым нагрузкам и выдерживать снежную массу. Все части обработайте антикоррозионным составом и покрасьте. Соберите конструкцию в единое целое. Метод сбора зависит от материала.
Вот пример того, как изготовить дефлектор на металлическую трубу. У автора этого видео он установлен на вентиляционной трубе подвала, хотя подобную конструкцию можно использовать на металлической трубе от котла на твердом топливе.
В этом видео изготовление обычного зонта на трубу.
Всегда пожалуйста)) А как крепить колпак — зависит от материала трубы. Судя по тому, что развертка есть только на квадратную или прямоугольную — у вас труба кирпичная. Если так — можно флюгарку закрепить на дюбеля, да почаще. И не в шов, а только в кирпич.
Если ветра сильные, можно сделать нижнюю часть, которая будет надеваться на трубу, широкой и крепеж бить не в один ряд, а в шахматном порядке: сверху-снизу.
Если не угадали с материалом — отпишитесь.
Добавить комментарий Отменить ответ
Источники: http://experttrub.ru/dymovye/kolpak-na-dymoxod.html, http://krovlyakrishi.ru/elementy-kryshi/dymoxod/kolpak-na-dymoxod-svoimi-rukami.html, http://teplowood.ru/kolpak-na-trubu-dymoxoda.html
krovlya-mp.ru
сделать своими руками, выбрать, виды
Установка отопительной печи или камина в загородном доме приводит к необходимости правильно оборудовать дымоход и обеспечить его защиту от внешних воздействий. Попадание в трубу осадков может негативно сказаться на качестве обогрева, а постоянное отсыревание ее стенок ведет к их быстрому разрушению. Колпак на трубу дымохода — решение для защиты трубы.
Защитный зонт для дымохода позволит избежать этих неприятных последствий, он также является декоративным элементом, способным дополнительно украсить кровлю.
Как сделать козырек для дымохода знают даже малоопытные строители, конструкция и принцип действия таких устройств достаточно простой. Обычно грибок на дымоход представляет собой защитную пластину, устанавливаемую на краях трубы на небольшой высоте, таким образом дым свободно выходит наружу, но отверстие трубы надежно прикрыто сверху. Колпаки для защиты дымохода бывают самых разнообразных типов:
- круглые,
- прямоугольные,
- плоские,
- конусообразные,
- с двумя или более скатами,
- дизайнерские — различных сложных форм,
- украшенные фигурками и флюгерами,
- с защитными сетками от птиц,
- с функцией улучшения тяги,
- разъемные — для облегчения технического обслуживания трубы.

По типу материала изготовления выделяют следующие типы:
- жестяные,
- алюминиевые,
- из нержавеющей стали,
- из сплава цинка с титаном,
- медные,
- отлитые из чугуна,
- из прочного пластика,
- покрытые гидроизоляцией,
- покрытые черепицей.
На заметку
Дерево для изготовления дымников не используется из-за опасности возгорания и неустойчивости к воздействию осадков.
Разновидности ↑
Из всего разнообразия конструкций можно выделить несколько основных типов:
- Зонт — самый простой классический тип защиты, который чаще всего устанавливают на трубу. Свое название он получил за круглую форму — зонт эффективно защищает от осадков, создает минимум сопротивления выходящему дыму, а изготовить его можно самостоятельно из плотного листа жести. Самый распространенный тип — зонтик на трубу дымохода в виде конуса, который сворачивается из жести, и вставляется в трубу с помощью распорных элементов. Также распространен зонт юбка — когда крепление выполняется в виде пояса, охватывающего трубу по диаметру.
- Грибок — достаточно простое устройство, обычно устанавливающееся на дымоходы, которые задействуются периодически(например в бане). Главная функция — искроуловитель. Изготавливается грибок на вентиляционную трубу чаще всего из жести или стали.

- Колпак — простые дымники на кирпичные трубы знакомы каждому, эти устройства по конструкции похожи на зонты, иногда отличаются прямоугольной формой, и соответственно имеют скаты. Часто колпаки оборудуются разъемной крышкой, чтобы удобно было чистить дымоход, не снимая конструкцию целиком. Колпаками также называется приспособление, которое закрывает место прохода металлической трубы через кровлю -например фартук-колпак для трубы круглого сечения.

- Флюгарка — их главная особенность в том, что зонт на дымоход по своей площади делается больше, чем выходное отверстие трубы. Свое название эти устройства получили за обыкновение прикреплять к их поверхности или козырьку флюгеры для определения направления ветра. Верхняя часть флюгерки может быть как в виде конуса, так и в виде двускатной крыши. Плоская флюгарка также часто используется благодаря простоте изготовления. Широко распространен вариант флюгарки с полукруглым зонтиком — такую модель легко изготовить из жести своими руками, при этом ее конструкция позволяет не только избежать накопления снега на крышке колпака, но и собирания конденсата на его внутренней поверхности.

- Дефлекторы — отличается особенной конструкцией, увеличивающей скорость вывода продуктов сгорания, а также улучшающей качество тяги. Это устройство лучше всего защищает от задувания дымохода ветром и образования обратной тяги. Дефлекторы бывают как простых конструкций, так и необычных, например в форме шара из изогнутых лопастей. Дефлекторы для дымохода разрешены к использованию только для твердотопливных устройств, применение их для газовых котлов может быть небезопасно.
Кроме основных типов очень часто можно увидеть оголовок дымовой трубы, выполненный по собственному оригинальному чертежу, такие устройства выполняют кроме основных еще и декоративную функцию.
Принцип работы ↑

Простой грибок на трубу выполняет в основном функции защиты от попадания в отверстие трубы мусора, снега и дождя, проникновения птиц, а также улавливает искры, летящие из топки. Для этого достаточно, чтобы зонт был поднят над трубой на достаточное расстояние, и рекомендуется установка дополнительной сетки. Более сложный оголовок дымохода, такой как дефлектор, имеет своей задачей улучшить качество тяги и таким образом увеличить КПД отопительного прибора.
Принцип действия дефлектора основан на законе аэродинамики — когда ветер сталкивается с преградой в виде оголовка трубы, возникает эффект разрежение воздуха, который используется для увеличения тяги. С помощью различных конструкций можно усилить действие этого эффекта. Очень важно защитить дымоход от образования обратной тяги — для этого используется либо дополнительный колпак(может привести к образованию конденсата), или устанавливается под крышкой обратный конус, помогающий разбивать движение воздуха, либо конструкция дефлектора делается поворотной. Тогда поворачиваясь по направлению потока воздуха, колпак закрывается от ветра заслонкой, выступающей также в роли преграды для разрежения воздуха.
Самостоятельное изготовление ↑

Для того чтобы сделать колпак или грибок на трубу дымохода своими руками, нужно сначала определить какой тип устройства будет наиболее подходящим. В случае если отопительным прибором пользуются не так часто, подойдет простой зонт на трубу дымохода, при регулярном интенсивном протапливании здания, необходимо более прочное и надежное устройство, например колпак-дымник или дефлектор.
После выбора модели нужно определиться с материалами. Чтобы сделать грибок на вытяжную трубу своими руками лучше всего обратиться к удобным в работе материалам:
- алюминий — благодаря податливости, изготовление колпака из этого металла не составит труда,
- оцинкованный металл — также отличается мягкостью, его легко резать и сгибать, что облегчит выполнение работ,
- жесть — хорошо поддается резке специальным инструментом, просто сгибается.
Остановившись на одном из материалов, необходимо внимательно снять мерки(измерить внутреннее сечение, и обхват трубы), а затем подготовить чертеж будущего изделия. Рассмотрим как сделать грибок на трубу.

Чертеж состоит из круга — будущего зонтика, диаметр которого должен быть примерно на 10см больше обхвата трубы. Для креплений вычерчивается три полосы 20-25см в длину и 2-3см в ширину.
Перед тем как приступать к работе необходимо подготовить инструменты:
- сантиметр, циркуль, маркер на спиртовой основе,
- ножницы по металлу,
- дрель,
- металлический хомут,
- металлическая сетка,
- крепежные элементы,
- защитные перчатки.
Порядок работы будет следующим:
1С помощью кальки и маркера чертеж переносится на лист металла. 2Детали чертежа вырезаются при помощи ножниц по металлу. 3В вырезанном круге из центра откладываются два радиуса под углом 30-40 градусов, после чего получившийся сегмент вырезается ножницами. 4Круг с вырезанным сегментом сворачивается в конус, в месте где края находят друг на друга, просверливаются отверстия, в которые вставляются крепежные элементы(заклепки). 5Три металлические полосы на равном расстоянии друг от друга крепятся к краям конуса при помощи заклепок. 6Зонт устанавливается на трубу так, чтобы между краем конуса и дымохода было минимум 10см, затем крепежные стойки стягиваются металлическим хомутом. 7При необходимости в трубе устанавливается металлическая сетка для защиты от мусора и проникновения птиц, она также будет выполнять искроулавливающие функции. Для крепления сетки к стойкам грибка можно использовать заклепки.При правильном выборе и установке колпак для дымохода обеспечит надежную защиту трубы от внешних воздействий и продлит срок ее службы. Кроме того, это устройство может заметно увеличить эффективность работы отопительного прибора, а также украсить собой внешний вид кровли.
© 2019 stylekrov.ru
stylekrov.ru
Колпак на трубу дымохода — как выбрать и сделать своими руками
С давних времен домовладельцы стремились облагородить дымовые трубы своих жилищ различными декоративными колпаками, флюгарками и зонтами. Но все эти насадки служат не только для красоты, кроме этого они выполняют и другие функции. Козырек на трубу – изделие незамысловатое, поэтому зачастую его изготавливают самостоятельно. Цель нашей статьи – рассказать о роли, которую играет колпак на трубу дымохода, как осуществить выбор той или иной насадки либо сделать ее своими руками.
Назначение и виды дымоходных козырьков
Что касается защитных свойств зонтов, то здесь не все так однозначно, как принято считать. Например, когда ведут речь о назначении различных насадок, то среди прочих функций упоминается защита дымоходных труб от конденсата.

Колпак на трубу
Это утверждение некорректно, поскольку конденсат образовывается внутри трубы от разности температур продуктов горения и наружного воздуха, а зонт находится снаружи и не имеет к этому процессу никакого отношения.
Для чего же тогда нужны козырьки? Перечислим их основные функции:
- придают наружному участку трубы эстетичный вид;
- защищают внутреннюю полость от попадания туда разного мусора и посторонних предметов;
- продлевают срок службы кирпичного дымохода, защищая его от осадков;
- увеличивают тягу и не позволяют ее опрокинуть сильным порывам ветра, при условии, что конструкция колпака это предусматривает.
Вообще-то, декоративные колпаки никоим образом не улучшают тягу дымохода, наоборот, создают дополнительное сопротивление потоку выбрасываемых газов. Исключением являются насадки двух типов:
- аналогичные промышленным вытяжным дефлекторам;
- флюгер – дефлекторы.
Принцип работы первого типа следующий: поток воздуха от ветровой нагрузки омывает цилиндрический кожух дефлектора, из-за чего внутри него появляется небольшое разрежение.

Поток воздуха от ветровой нагрузки
Получается, что зонтик – дефлектор тягу все же повышает, хотя при отсутствии ветра он, наоборот, создает еще большее сопротивление дымовым газам. Как это работает, показано на рисунках:

Колпак для дымохода
Второй тип гораздо эффективнее. Корпус в виде полуцилиндра с лепестком флюгера может вращаться на трубе за счет подшипника. Лепесток обеспечивает такое положение корпуса, чтобы он постоянно был повернут «спиной к ветру». Таким образом, внутри полуцилиндра образуется разрежение и дымовая тяга увеличивается. Кроме того, подобный колпак дымовой трубы на 100% защищает ее от эффекта опрокидывания тяги при задувании ветром. Принцип действия представлен на схеме:

Корпус в виде полуцилиндра с лепестком флюгера
Виды колпаков для дымохода
Все остальные колпаки на дымоходы представляют собой самые разнообразные устройства, накрывающие собой срез трубы с определенным зазором для выхода продуктов горения. Разнообразие форм настолько велико, что все их перечислить попросту невозможно.

Колпак металлический с порошковой покраской
Зато список материалов, из которых козырьки изготавливаются, не столь уж велик:
- оцинкованная (кровельная) сталь;
- оцинкованный металл с порошковым покрытием полиэстер;
- нержавеющая сталь;
- медь;
- сплав титана с цинком.
Простейший зонт на дымоход, сделанный своими руками, чаще всего и выполнен из оцинкованной стали толщиной до 0.8 мм. Это наиболее доступный вариант, к тому же изделие служит достаточно долго – не менее 20 лет. Недостаток только один – оцинкованная поверхность быстро тускнеет от воздействия внешней среды и зонтик выглядит не очень эстетично. Этого недостатка лишен металл с порошковой покраской, из него тоже часто мастерят колпаки, хотя стоимость материала несколько дороже.

Колпак из меди
Про остальные материалы стоит лишь сказать, что они очень долго сохраняют презентабельный внешний вид, а срок службы изделий из них измеряется десятилетиями. Хотя медь на открытом воздухе тоже постепенно тускнеет. Недостаток нержавейки, меди и сплава состоит в их значительной стоимости. Еще дороже обойдутся эксклюзивные изделия с элементами ковки и флюгерами.

Колпак для дымохода своими руками
Рекомендации по выбору
Как ни странно, в первую очередь выбор колпака зависит от типа котельной установки и вида сжигаемого топлива. Например, насадки на дымовые трубы, обслуживающие газовые котлы, можно ставить лишь одной конструкции – в виде сопла, с открытым верхом.
Важно! Нормативные документы Российской Федерации и Украины строго запрещают установку всяческих зонтов на дымоходы всех газоиспользующих установок. Возможно, подобные ограничения есть и в нормативных базах других стран, так что перед покупкой насадки следует обратить на это внимание, чтобы избежать неприятностей.

Сопло с открытым верхом
Объясняются подобные запреты очень просто. При отрицательной температуре колпак дымохода начнет обмерзать и покрываться слоем льда. Последний постепенно перекроет большую часть рабочего проема, дыму некуда будет деваться, а тяга резко снизится. Результат – угар идет внутрь дома, жизнь людей подвергается серьезной опасности. Ниже – фото, где хорошо видно обледеневший зонтик:

Обледеневший зонтик дымохода
Причина – конденсат, выпадающий на холодном металле при контакте с продуктами горения с низкой температурой. Такую температуру имеет дым от котельных установок с высоким КПД, то есть – газовых. Из-за этого колпак на кирпичную трубу дымохода – и то ставить запрещается. Другое дело, когда котел – твердотопливный, его КПД варьируется в пределах 70—80%, а температура газов на выходе – от 150 до 250 ºС. Тут можно смело подбирать насадку, особенно на кирпичный канал, разрушаемый осадками. Только следует помнить, что она быстро покроется черной сажей.
Примечание. Пеллетные котлы, работающие на качественном топливе, тоже могут развивать КПД порядка 90%, так что лучше не рисковать и в качестве козырька на трубу использовать открытое сопло.
Когда вопрос по котельным установкам прояснен, перейдем к самой трубе отвода газов. Проще всего, если она собрана из трехслойного модульного сэндвича, тогда защита дымохода от дождя не требуется вовсе. Попадание осадков внутрь канала даже идет ему на пользу, труба промывается изнутри, а затем вода отводится в конденсатосборник. Для газового котла выбираем сопло, для твердотопливного – любую другую насадку, предпочтительнее всего с технической точки зрения – дефлектор-флюгер.
А как быть с кирпичной трубой? Нет проблем, когда она обслуживает твердотопливный котел, можно выбирать колпак из любого материала и какой угодно формы, по вашим средствам. Если же по каналу отводятся продукты горения от газового котла, то зонт на трубу дымохода ставить нельзя вовсе, а постоянное попадание внутрь канала влаги разрушает материал. Тем не менее из сложившейся ситуации выход есть, чтобы в этом убедиться, достаточно взглянуть на фото:

Защитный короб для дымохода
Здесь хорошо видно, что колпак сделан как защитный короб, полностью перекрывающий кирпичное основание. Поскольку на фото изображена труба с несколькими каналами, часть из которых – вентиляционные, то патрубки и зонты использованы разные. Но на дымоходных каналах в соответствии с нормами установлены сопла.
Как сделать зонт на дымоход?
В принципе, при наличии навыков в слесарном деле дымоходный колпак нетрудно сделать самостоятельно. На просторах интернета можно найти самые разные чертежи колпака различных конструкций. Мы же дадим рекомендации по изготовлению простой версии зонта в виде четырехскатного грибка. Для начала заготовьте простой эскиз на бумаге, а затем снимите размеры дымохода по месту. Результаты нанесите на чертеж:

Чертеж колпака
Далее, пользуясь формулой и готовой разверткой, приведенными ниже, рассчитайте все размеры колпака и приступайте к заготовительным работам. Для удобства рекомендуется вырезать выкройку ножницами из картона в натуральную величину. Затем надо приложить ее к листу металла, обвести острым предметом и приступать к обрезке.
cotlix.com
Как сделать колпак на трубу дымохода своими руками легко и просто
ПОДЕЛИТЕСЬ В СОЦСЕТЯХ
Этот хорошо видимый издали самый высокий элемент здания дизайнеры часто используют для формирования гармоничного внешнего вида. Колпак на трубу дымохода выполняет важные декоративные и практические функции. Правильный выбор поможет реализовать полностью полезные характеристики изделия. С помощью точного выполнения специальных инструкций его можно изготовить своими руками, без лишних затрат, в соответствии с особыми индивидуальными потребностями.

Оригинальная флюгарка украшает дом
Содержание статьи
Основные параметры и правила выбора
Чтобы приобрести колпак на трубу дымохода без досадных ошибок и лишних расходов, надо уточнить его целевое предназначение.Пригодятся сведения о готовых изделиях, способах их изготовления. Для комплексной оценки понадобится внимательное изучение разных конструкций.

Такое изделие обладает не высокими защитными характеристиками
Какие функции выполняет колпак на трубу дымохода
Такие изделия устанавливают для решения следующих задач:
- Они предотвращают прямое попадание внутрь механических загрязнений атмосферных осадков. Это помогает не создавать внутри излишнюю влажность. Если части изделий прикрывают кирпичную кладку, внутрь строительных конструкций не будет попадать вода. При замерзании зимой она способна буквально за несколько сезонов создать значительные повреждения.
- Колпак защитит от проникновения в трубу птиц, грызунов.
- Некоторые модели увеличивают тягу. С их помощью обеспечивается качественная вентиляция без применения специализированного оборудования и расхода электроэнергии.
Отменный внешний вид кованых элементовУлучшение эстетических характеристик следует отметить особо. На рисунке видна крупная труба в простейшем варианте исполнения. Такой кованый колпак повышает респектабельность. Он будет выглядеть уместно на дорогой постройке, созданной в классическом стиле.
Характеристики, преимущества и недостатки разных конструкций
На следующих картинках отмечены важные детали.

Эти элементы выполняют декоративные функции. Большие отверстия не предотвратят проникновение птиц

Здесь защита гораздо лучше

Можно установить надежную стальную сетку с ячейками нужных размеров

Такой колпак можно сделать по индивидуальному заказу в профильной мастерской

Эти дефлекторы увеличивают тягу

Флюгер указывает направление ветра

Создать качественный стык с кровлей, обеспечить надежность и герметичность проще на соответствующем этапе строительства

Комбинированная конструкция указывает направление ветра и улучшает тягу
Как купить колпак на дымоход без ошибок
Для изготовления изделий данной категории применяют разные материалы:
- Оцинкованное железо в наши дни используют редко. Отпугивает неказистый внешний вид, относительно невысокая стойкость к атмосферным воздействиям. Но создавать из этого материала изделия сложной формы не трудно.

Существенное преимущество оцинкованного дефлектора – низкая стоимость
- Более долговечными являются изделия из листовой стали с многослойными полимерно-красочными покрытиями. Они долговечны, обладают высокой прочностью и небольшим весом.
- Кованые конструкции выглядят эксклюзивно. Их внешний вид и целостность сохранятся в течение многих лет эксплуатации. Ограничивают сферу применения относительно высокие цены.

Следует учитывать большой вес такой конструкции при монтаже
- Изделия из нержавеющей стали не нуждаются в дополнительных защитных и декоративных покрытиях. Но их высокую стоимость следует учитывать при выборе.

Такой дымник хорошо смотрится в сочетании с ультрасовременным дизайном дома
- Медь со временем покрывается патиной. Но такой эффект опытные дизайнеры специально используют для создания «старинного» внешнего вида.

Из меди создают сложные и крупные конструкции с безупречными эстетическими характеристиками
- При необходимости, можно использовать комбинации из разных материалов.

Легкие конструктивные части закреплены на прочном стальном каркасе
Следует отметить, что все колпаки, кроме специального дефлектора для трубы дымохода, несколько снижают тягу. Но действующий запрет на установку любых насадок на дымоходы газовых котлов объясняется следующим образом. Зимой в отечественных условиях нередко происходят сильные перепады температуры, что способствует возникновению аварийных ситуаций.

По мере роста лед способен полностью перекрыть воздуховод

Для дымоходов газовых котлов разрешены только открытые сверху насадки
Дефлекторы следует рассмотреть отдельно. Эта группа изделий отличается тем, что она способна улучшить базовые тяговые характеристики трубы до 15-20%. Такой эффект обеспечивается созданием области с низким давлением при столкновении ветра с препятствием определенной формы.

Разные виды дефлекторов, колпаков на трубу дымохода
Как сделать дефлектор на дымоход своими руками, чертежи и фото
Для реализации данного проекта лучше выбрать стационарное изделие. Качественную вращающуюся конструкцию сделать сложнее. Далее будет рассмотрен вариант «ЦАГИ». Специфическая аббревиатура позволяет надеяться, что есть какое-то отношение к «Центральному Аэро-Гидродинамическому Институту имени профессора Н. Е. Жуковского». А это значит, что эффективность изделия подкреплена научными расчетами и проверкой аэродинамических параметров, увеличивающих тягу.

Как сделать колпак на трубу дымохода своими руками с применением чертежей дефлектора ЦАГИ
| D1 | D | h3 | H |
|---|---|---|---|
| 200 | 100 | 120 | 220 |
| 320 | 160 | 190 | 310 |
| 400 | 200 | 240 | 400 |
| 510 | 315 | 300 | 510 |
| 730 | 400 | 430 | 710 |
| 950 | 500 | 550 | 952 |
Все значения в таблице приведены в миллиметрах. Диаметр D соответствует размерам дымохода. На рисунке не указан стыковочный узел. Его создают с учетом параметров конкретной вентиляционной трубы.

Образцы изделий из плотной бумаги
Если нет предыдущего опыта работы с листовым металлом, то можно создать такие макеты. Их составные части можно использовать для точной разметки перед вырезанием заготовок. Соединение элементов конструкции можно выполнить заклепками. Присоединение к дымоходу будет проще, если установить в нем отрезок трубы несколько меньшего диаметра, чем D из таблицы. Фиксацию дефлекторов выполняют болтами.

При точном совпадении размеров болтовое соединение не потребуется
Дымники на кирпичные трубы и кованые колпаки на дымоходы: решение сложных вопросов
При выборе подходящего изделия надо оценивать сложность реализации проекта. В следующем списке перечислены вопросы, на которые следует обратить внимание:
- При установке сложной флюгарки на трубе дымохода может потребоваться смазка маслом, замена подшипников. Для технического обслуживания различных устройств и очистки вентиляционных каналов устанавливают специальные стационарные трапы. Они предотвращают повреждение мягкой кровли.
- Обшивка кирпичных труб металлом обеспечит защиту от влаги. Рис. 23. Эту операцию можно совместить с установкой колпака.
- Кованые изделия облазают значительным весом. При необходимости, устанавливаются специальные закладные в силовой каркас здания для надежной фиксации тяжелой конструкции.
- Только на вентиляционных каналах, где не выходят горячие продукты горения, допустима установка колпаков, сделанных из полимерных материалов.
Выводы и рекомендации
При выборе подходящего изделия учитывайте перечисленные выше факты в комплексе. Сравнительно несложные изделия вполне по силам создать собственными руками. Художественную ковку, литье, сварку лучше поручать опытным специалистам. Конечно, можно освоить незнакомые профессии. Но в общие затраты придется добавить приобретение соответствующего оборудования, обучение.
Как закрепить дымник на кирпичную трубу (видео)
ПОДЕЛИТЕСЬ В СОЦСЕТЯХ
Загрузка…aquatic-home.ru



