Горизонтально фрезерный станок – — LaserCut
Горизонтально-фрезерные станки
(Рис. 2) Данный тип оборудования имеет горизонтально расположенный шпиндель. Применяется для обработки небольших деталей/заготовок. Конструкция станка позволяет обрабатывать винтовые и фасонные, горизонтальные и вертикальные поверхности, а также углы и пазы. Работы выполняются с помощью дисковых и цилиндрических, угловых и концевых, торцевых и фасонных фрез. Обработка, требующая винтового движения или деления возможна только с применением дополнительных приспособлений.
Отличительной особенностью станка является возможность перемещать стол как перпендикулярно, так и параллельно оси шпинделя. Все «жизненно важные» узлы оборудования установлены на станине, внутри которой также находится коробка скоростей и шпиндельный узел. Коробка подач размещена на консоли, та в свою очередь перемещается по вертикальным направляющим. А оправку с инструментами поддерживает хобот с серьгами.

Рис. 2
Пример: НГФ-110-Ш4, 6П80Г, 6М82ГБ (на базе станка 6М82Г).
Сверлильно-фрезерные станки
(Рис. 3) Сверлильно-фрезерные станки по металлу предназначены для обработки горизонтальных, вертикальных и наклонных плоскостей, а также пазов в крупногабаритных заготовках. Благодаря отличному совмещению двух наиболее часто выполняемых операций в одном станке, существенно экономится производственное пространство и материальные средства. Стоит отметить, что сверлильно-фрезерная головка позволят производить обработку наклонных поверхностей и сверлить под углом. Также головка оснащена автоматическим реверсивным циклом.

Рис. 3.
Примеры: ВСМ-029, СФ-1, Stalex ZX50C, Stalex ZX7550C с УЦИ.
Универсальный фрезерный станок
(Рис. 4) Данный вид станков используется для изготовления деталей методом фрезерования в мелкосерийном производстве, в инструментальных цехах и небольших ремонтно-механических мастерских. Применяется для обработки вертикальных и горизонтальных плоскостей, моделей штампов, спиралей и т. д.
Коробка скоростей и шпиндельный узел размещены внутри станины вместе с основными узлами оборудования. Консоль передвигается по вертикальным направляющим, а по консольным направляющим перемещаются салазки с поворотным устройством, на котором располагается специальный стол, он в свою очередь, перемещается в горизонтальной плоскости под разными углами относительно оси шпинделя. Благодаря конструкционным особенностям, производимые работы выполняются быстро и качественно.

Рис 4.
Некоторые модели: XW6136, X6436, XN6336C, PROMA FVV-30, Optimum MF1 Vario.
Настольные фрезерные станки
(Рис. 5) Благодаря своей компактности этот тип станков обрел широкую популярность среди ремонтных мастерских и автосервисов, школ и ПТУ. С его помощью выполняются такие операции — сверление отверстий, нарезание резьбы, горизонтальное фрезерование цилиндрическими, дисковыми, фасонными, и другими фрезами, вертикальное фрезерование торцевыми, концевыми, шпоночными и другими фрезами.
Среди конструкционных особенностей выделяют особую жесткость (при правильной установке станка), благодаря чему все работы выполняются с относительной точностью. Данный тип станков применят для серийного производства различных деталей. Основные преимущества настольных фрезерных станков это низкий уровень потребления энергии, мобильность, невысокая стоимость и компактность.

Рис 5.
Пример: Optimum BF16 Vario, ВМД-16В (WMD16V), ВМД-20В (WMD20V).
studfiles.net
ГОРИЗОНТАЛЬНО ФРЕЗЕРНЫЙ СТАНОК по металлу [особенности, технология]
Такое устройство, как [горизонтально-фрезерный станок], относится к категории оборудования, предназначенного для различных видов обработки металлических заготовок.
Такие агрегаты обладают широким спектром функциональных возможностей и позволяют выполнять операции с металлом самой разной сложности.
При помощи данной категории станков можно производить не только сверловку и разметку металлических деталей, но и выполнять их расточку и фрезеровку, а также множество других необходимых действий.
Такое функциональное оборудование широко востребовано на промышленных предприятиях, где используется огромное количество самых разных модификаций этих агрегатов.

Горизонтально-фрезерный станок является одной из разновидностей оборудования данного типа, который предназначен для решения определенных задач.
В настоящее время современные агрегаты оснащаются ЧПУ, что дает возможность сделать процесс обработки более качественным и быстрым.
ЧПУ позволяет полностью автоматизировать рабочий процесс и сделать участие человека в работе станка минимальным.
Данный агрегат состоит из определенных элементов и узлов, каждый из которых выполняет свои функции.
Виды и типы станков
Для работы по металлу существуют самые разные типы специального оборудования, однако наиболее востребованным считается фрезерного типа.
Такие фрезерные устройства, главным образом, выполнят вертикальное, а также горизонтальное фрезерование металлических заготовок.
При его работе используются самые разные типы фрез, среди которых можно выделить фасонные, шпоночные, а также торцевые и концевые.
Такие универсальные станки, главным образом, используются на различных производствах. С помощью фрезерных агрегатов выполняется при необходимости обработка различных типов металлов.
Так, такие устройства позволяют выполнить качественную расточку и разметку обрабатываемого материала.
Станки данного типа позволят проводить обработку вертикальных и горизонтальных плоскостей, а также рамок, пазов, в том числе и угловых соединений.
Современные устройства, которые оснащены ЧПУ, значительно упрощают рабочий процесс за счет его автоматизации.
Необходимые операции с металлическими заготовками осуществляются исключительно на специальных агрегатах.
Помимо фрезеровального оборудования, к таким устройствам можно отнести и другие типы станков, например, электроэрозионный.
В том случае, если требуется вертикальная фрезеровка заготовки, то для этих целей используется, соответственно, фрезерный станок вертикального исполнения.
Фрезерные агрегаты между собой условно можно разделить, исходя из типа выполняемых ими операций.
Видео:
Стоит отметить, что в настоящее время есть высокотехнологичные современные станки для фрезерования, которые способны одновременно выполнять практически все типы работ.
Такие универсальные агрегаты, как правило, оборудуются блоком ЧПУ, а также оснащаются дополнительными элементами, которые делают процесс фрезерования еще более совершенным и технологичным.
Современные станки, которые используются для фрезерования металлических заготовок, отличаются высокой точностью выполнения операций и качеством исполняемых работ.
Особенности фрезеровальных станков
Современное универсальное фрезеровальное оборудование, которое выполняет практически все типы операций с металлами, оснащается специальным поворотным столом, который позволяет перемещать заготовку в заданном направлении.
Такие станки успешно работают с горизонтальными металлическими деталями, а также и с вертикальными.
Следует отметить, что универсальный станок качественно обрабатывает угловые соединения на заготовках, производит работу с винтовыми деталями и способен фрезеровать сложные пазы.
Такое совершенное оборудование можно встретить практически на всех крупных предприятиях, которые выполняют самые разные работы по металлу.
В свою очередь, горизонтальный фрезерный станок дает возможность проводить обработку всех горизонтальных плоскостей заготовки.
Горизонтальная плоскость в этом случае выбирается параллельно рабочему столу.
Несмотря на то, что фрезеровальный станок вертикального исполнения, за счет возможности выполнения работ со смещением, считается более функциональным, устройства горизонтального типа дают возможность выполнять работы с высокой точностью.
Среди фрезеровального оборудования достаточно востребованным считается консольный станок.
Консольный фрезеровальный агрегат имеет отличительную особенность, которая заключается в наличии специальной консоли.
Видео:
На этой консоли устраивается каретка с рабочим столом. Консольный станок дает возможность перемещать закрепленную на рабочем столе заготовку непосредственно к фрезе.
За счет консоли удается добиться высочайшей точности всех выполняемых работ. Консольный станок может выпускаться как в горизонтальном, так и в вертикальном исполнении.
В станках горизонтального исполнения консольного типа шпиндель располагается в горизонтальной плоскости, а рабочий стол оснащается поворотным механизмом, что делает эти устройства универсальными.
В настоящее время есть и более технологичное оборудование консольного исполнения, которое оснащается ЧПУ и имеет как горизонтальную шпиндельную головку, так и вертикальную.
Такие агрегаты предназначены для работы по металлу и обеспечивают высокое качество выполняемых операций.
Устройство станка
Как и любой другой фрезерный агрегат, станки горизонтального типа состоят из определенных деталей и элементов.
Основным элементом, который обеспечивает его жесткость и устойчивость, является станина, которая выполняется, как правило, из толстого металла.
Также обязательно такое оборудование оснащается кронштейном, шпинделем и хоботом. В их состав входит блок ЧПУ, а также коробка скоростей и передач, поперечные салазки.

Все необходимые операции на горизонтально-фрезерных станках выполняются на рабочем столе. Все составные элементы устройства монтируются на станине, которая выполняется преимущественно в коробчатой форме.
В ее верхней части обычно располагают направляющие для хобота в горизонтальном положении.
Консоль осуществляет свои перемещения непосредственно по вертикально расположенным направляющим.
Под корпусом станины незаметно располагают блок ЧПУ, а также мощный электродвигатель и шпиндель.
У горизонтально-фрезерных устройств за счет конструктивных особенностей рабочего стола обрабатываемая металлическая деталь может свободно перемещаться в трех различных направлениях в процессе своей обработки.
Стоит отметить, что вместе с самим столом обеспечивается одновременное перемещение салазок за счет использования винтового механизма.
Консоль осуществляет свое движение также при помощи винтового механизма.
Фиксация металлической заготовки происходит при помощи специальных тисков, которые максимально прочно крепятся к поверхности стола.
Сами фрезерные оправки на таком оборудовании монтируются непосредственно на самом шпинделе. Следует отметить, что оправки предназначены для фиксации дисковой фрезы. Чаще всего используют расточные оправки.
Кроме этого, в оправки может крепиться и стержень, оснащенный резьбой, который используется для торцевой фрезы. Работа расточной оправки зависит от качества используемого материала.
За вращение режущего инструмента и самой расточной оправки отвечает шпиндель. Для бесперебойной работы расточной оправки стоит регулярно следить за состоянием инструмента.
Конец расточной оправки в станках данного горизонтального типа входит в специальное отверстие конической формы, расположенное на шпинделе.
Особенности станков с числовым управлением
Фрезерные агрегаты по металлу с ЧПУ позволяют выполнять множество самых разных операций.
При помощи них можно не только фрезеровать заготовку, но и производить сверлильные работы, а также выполнять сложную обработку.
Следует отметить и то, что оборудование по металлу, которое оснащено ЧПУ, имеет более высокую производительность, а также обладает повышенной точностью и надежностью.
Возможности фрезеровального оборудования с ЧПУ просто огромны. Все это в полной мере относится и к горизонтально-фрезерным станкам.
Видео:
Агрегаты с ЧПУ по металлу имеют свою условную классификацию в зависимости от признаков их работы. Так, бывают устройства с различным вариантом подачи элементов резки.
Кроме этого, к отдельной категории относят устройства с различным местом расположения шпинделя, а также с разным числом рабочего инструмента.
Агрегаты с ЧПУ для работы по металлу могут иметь и самую разную компоновку, что, главным образом, определяет их функциональные возможности.
Сами системы ЧПУ для фрезерного оборудования имеют различия и между собой. Так, числовое управление может быть разомкнутым.
В этом случае установленный на агрегате шаговый двигатель самостоятельно дозирует передвижение всех рабочих узлов, что позволяет не использовать датчики для обратной связи.
В том случае, когда ЧПУ имеет замкнутое исполнение, то на станке устанавливаются специальные датчики, которые осуществляют максимально полный контроль за всеми производимыми оборудованием операциями.
В таких агрегатах для работы по металлу перемещение рабочих узлов осуществляется исключительно по непрерывной схеме.
Фрезерные устройства горизонтального исполнения, оснащенные ЧПУ, обладают большими функциональными возможностями и используются на многих промышленных предприятиях.
rezhemmetall.ru
Горизонтально фрезерные станки
Горизонтально-фрезерный станок
Главная / Слесарное дело / Совершенствование навыков выполнения слесарных и токарных работ / Обработка металлов резанием / Горизонтально-фрезерный станок
На фрезерных станках обрабатывают плоские и криволинейные поверхности деталей, нарезают зубья, выполняют канавки, выемки и выступы и другие работы.
На фрезерных станках достигают высокой производительности труда.
Различают горизонтальные и вертикальные фрезерные станки.Горизонтально-фрезерный станок состоит из следующих основных частей: станины, консоли (кронштейна), шпинделя, хобота, стола, коробки скоростей, коробки подач, поперечных салазок.
Горизонтально-фрезерный станок

На чугунной станине коробчатой формы крепят все части станка. В верхней части станины имеются тщательно обработанные горизонтальные направляющие для хобота. По точно обработанным вертикальным направляющим передней поверхности станины перемещается консоль. Внутри станины расположены электродвигатель, коробка скоростей и шпиндель.
Чугунная консоль — жесткая массивная пустотелая опора для стола. Консоль тщательно обработана, так как она должна легко перемещаться по вертикальным направляющим станины.
На верхней части консоли по направляющим для салазок перемещается стол.
Стол станка имеет три направления движения (подачи) обрабатываемой заготовки: продольное, поперечное, вертикальное. Стол состоит из непосредственно стола и поперечных салазок. Салазки можно перемещать вместе со столом по направляющим консоли в поперечном направлении при помощи винтового механизма (поперечная подача).
При помощи винтового механизма можно также перемещать стол по продольным направляющим верхней части салазок (продольная подача).
Для вертикальной подачи (перемещения заготовки вверх и вниз) служит винтовой механизм, при помощи которого перемещают консоль.
Обрабатываемые заготовки зажимают в машинных тисках, надежно прикрепляемых к столу.
На шпинделе (пустотелом стальном валу) крепят фрезерную оправку с дисковой фрезой или длинный стальной стержень с резьбой на конце для торцовой фрезы. Шпиндель вращает режущий инструмент.
В коническое отверстие передней части шпинделя плотно входит конический конец фрезерной оправки. Хобот поддерживает другой конец фрезерной оправки. Хобот можно передвигать вдоль горизонтальных направляющих станины, что позволяет закреплять оправку на нужном расстоянии. Расстояние фрезы от шпинделя зависит от ширины обрабатываемой заготовки.
Коробка скоростей
Коробка скоростей станка позволяет изменять число оборотов шпинделя. Устроена она так же, как и у товарного станка. В коробке скоростей помещен и реверсивный механизм. Благодаря ему можно изменять направление вращения шпинделя (обратный ход).
Коробка подач станка
Коробка подач станка изменяет скорость механической подачи стола в продольном, поперечном и вертикальном направлениях. Коробка состоит из цилиндрических и конических зубчатых колес и кулачковых муфт сцепления. Она помещена в консоли станка. Движение коробки подач не связано с вращением шпинделя. Движение к коробке подач передается от общего электродвигателя через зубчатые колеса и при помощи раздвижного вала.
Вопросы
- Для чего предназначены фрезерные станки?
- На какие виды делятся фрезерные станки?
- Из каких основных частей состоит горизонтально-фрезерный станок?
- Из какого металла изготовляют станину и для чего она предназначена?
- Для чего служит консоль?
- Каково назначение стола?
- Для чего служит шпиндель?
- Каково назначение коробки скоростей?
- Для чего служит коробка подач?
«Слесарное дело», И.Г.Спиридонов,Г.П.Буфетов, В.Г.Копелевич
Правила безопасной работы на фрезерном станке
При работе на фрезерных станках очень опасны засорения, ранения и ожоги глаз мелкой отлетающей стружкой. Поэтому перед работой необходимо надевать очки. Следят также за тем, чтобы фреза не захватила одежду или руки работающего. Для этого нужно закрывать фрезу экраном или колпаком, изготовленным из прозрачного материала (оргстекла). Защитный экран Наблюдают, чтобы вращающаяся фреза не имела биений,…
Основные виды строгальных работ
Различают следующие виды строгания: горизонтальных поверхностей; скосов на заготовках; наклонных поверхностей; поверхностей с уступами; пазов и сопряженных поверхностей. При строгании горизонтальных поверхностей главное движение (возвратно-поступательное) совершает суппорт с резцом (рабочий ход), а движение подачи (поперечной) — стол с закрепленной на нем заготовкой. Движения строгального станка Скосы на заготовках строгают с одной подачей — суппорта с…
Инструмент и приспособления для фрезерных станков
Фрезерные станки получили свое название от многозубого режущего инструмента — фрез, которыми на этих станках обрабатывают металлы. На горизонтально-фрезерных станках в зависимости от вида обрабатываемой поверхности применяют цилиндрические, дисковые, торцовые и фасонные фрезы. Фрезы а — цилиндрические; б — дисковые; в — торцовая; г — фасонные. Цилиндрическими фрезами обрабатывают широкие поверхности, дисковыми — канавки, пазы…
Резание металлов ручными инструментами и на металлорежущих станках
Как вы знаете, резать металлы можно ручными инструментами и на станках. В зависимости от материала и размеров заготовки различают резание металлов без снятия стружки (скалыванием) — ножницами, кусачками и со снятием стружки. Работа ножницами а — разрезание; б — вырезание по кривым линиям; в — отрезание; г — вырезание отверстия. Ручными ножницами можно: разрезать заготовку…
Резание металлов механической ножовкой
Механическая ножовка состоит из станины, стола (на котором зажимают в тисках обрабатываемый материал), тисков (передвигаемых вдоль стола и поворачиваемых вокруг своей оси), хобота (направляющей для рамки с полотном) и электродвигателя. Механическая ножовка До этого мы рассматривали виды разрезания в основном листового металла. На станке, показанном на рисунке выше, разрезают металл различного профиля. Механической ножовкой можно…
www.ktovdome.ru
Горизонтально фрезерный станок — с ЧПУ — Устройство Характеристики
Ни одно, как мелкое, так и промышленное предприятие по производству стальных изделий и выполнению работ по дереву не обходится без фрезерных станков. Процесс фрезерования является первым и ключевым в обработке стальных и деревянных заготовок.
Горизонтально-фрезерный станок с ЧПУ
Самыми востребованными среди данной категории агрегатов являются горизонтально фрезерны
i-perf.ru
Горизонтально-фрезерный станок: назначение, описание, характеристики
Содержание статьи:
Фрезерная обработка заготовок является одной из ключевых операций по производству стальных изделий. Для выполнения этой операции используют несколько типов оборудования. Наиболее распространенным является горизонтально-фрезерный станок. Для первичного ознакомления с ним требуется изучить специфику расположения компонентов и технические параметры.
Особенности конструкции

Схема расположения элементов
Горизонтально-фрезерные станки были одними из первых типов оборудования для выполнения операций по обработке металлических изделий. С их помощью выполняется шлифование, расточку, фрезеровки, а в некоторых моделях – сверление. При этом компоновка моделей зачастую одинакова.
На основании установлена станина, выполняющая функцию опорной стойки. На ее передней части располагается рабочий стол с коробкой передач и движущимися каретками. Они необходимы для смещения поверхности по осям X и Y. В задней части конструкции установлен электродвигатель, соединенный со шпиндельной бабкой через коробку скоростей. Несмотря на столь общее описание, следует учитывать возможные изменения или дополнения, свойственные для конкретной модели.
В зависимости от специфики назначения горизонтально-фрезерные станки могут иметь следующие дополнительные узлы и агрегаты:
- консольная конструкция. С ее помощью можно изменять положение заготовки относительно фрезы. Некоторые типы оборудования имеют возможность поворота рабочего стола под определенным углом;
- установка магнитного стола. Для обработки деталей сложной формы рекомендуется применять электромагнитные столы, исключающие надобность механического крепления. Таким образом можно повысить качество фрезерной обработки;
- станки с ЧПУ. Это современные аналоги классического оборудования. С помощью блока CNC можно задать алгоритм работы станка в автоматическом или полуавтоматическом режиме. Актуальны для приборостроения или при обработке больших заготовок из твердых сортов стали.
В отдельную категорию можно отнести универсальные горизонтально-фрезерные станки. Их назначение – выполнение всего спектра операций по обработке. Для этого в конструкции устанавливают дополнительную шпиндельную головку на гибком приводе. Это дает возможность осуществлять фрезерование сложных элементов.
Одним из главных параметров станка являются характеристики подач рабочего стола. Они определяют скорость обработки металлической заготовки, а также максимально допустимые размеры детали.
Принцип работы оборудования

Станок с ЧПУ
После ознакомления со спецификой конструкции горизонтально-фрезерного станка и его назначения следует изучить принцип обработки заготовок. Для этого лучше всего проанализировать каждый этап работ и выявить оптимальный режим обработки для конкретного случая.
После установки детали на поверхности рабочего стола и ее фиксации вычисляются режим обработки. Это зависит от конфигурации заготовки и степени ее фрезерования. Затем происходит установка оптимальной фрезы. Именно с ее помощью происходит обработка поверхности. За счет вращения и контакта режущей части инструмента с металлической поверхностью происходит процесс контролируемого удаления материала.
В зависимости от вида работы можно выбрать следующие типы фрез, каждая из которых имеет определенное назначение:
- плоскостное фрезерование. Для этого необходимо применять цилиндрические фрезы. Они отличаются конфигурацией режущих частей и могут иметь несколько типов зубьев. Их главная функция – удаление определенного объема материала со всей поверхности заготовки;
- торцевые. Применяются для обработки вертикальных плоскостей. Они могут быть установлены только в универсальные горизонтально-фрезерные станки. Главным отличием от цилиндрических заключается в том, что обработка происходит только за счет контакта вершин режущих поверхностей, в результате чего формируется определенная профильная структура;
- угловые фрезы. Необходимы для придания кромки детали формы нужной конфигурации.

Виды фрез
Кроме этих моделей существуют специальные фрезы, предназначенные для выполнения узкопрофильных операций. Для работы на ученических станках чаще всего устанавливают универсальные режущие инструменты.
Для формирования отверстий применяются концевые фрезы. Аналогичной конструкцией обладают шпоночные. Разница между ними заключается в конфигурации режущей части.
Технические характеристики

Станок с ручным управлением
Для анализа технических характеристик фрезерного оборудования рекомендуется изучить паспорт конкретной модели. В этом документе указываются не только основные качества, которыми обладает горизонтально-фрезерный станок, но и правила его эксплуатации.
Оборудование этого типа имеет вертикальное расположение компонентов. Поэтому необходимо учитывать общую высоту конструкции. Если же в ней есть возможность установки дополнительного стола – к размерам станка прибавляют его габариты. Средняя масса оборудования составляет от 800 кг до 5-ти тонн.
Для анализа технических возможностей модели необходимо знать такие параметры, которыми должен обладать горизонтально-фрезерный станок:
- количество оборотов головки шпинделя. Обычно этот параметр варьируется от 400 до 3500 об/мин;
- число скоростей переключения частоты вращения;
- характеристики хода стола в продольном поперечном и вертикальном направлении. Учитывается тип подачи – ручная или механическая;
- мощность силовой установки;
- наличие системы охлаждения;
- тип управления – электронный или ручной.
На основании этих данных составляются оптимальные технологические схемы применения фрезеровального оборудования. Также все модели имеют ограничения по массе заготовки и ее габаритах. Чаще всего производитель указывается максимально допустимый вес детали, распложенной в центре стола.
Дополнительная накладная головка может проворачиваться на угол до 360°. Это необходимо учитывать при составлении технологической схемы обработки.
Правила эксплуатации
Работа на станке
Помимо обязательных к исполнению требований производителя горизонтально-фрезерного станка в течение всего периода эксплуатации необходимо придерживаться общих рекомендаций и описания правил. В основном они относятся к организации рабочего процесса и соблюдении техники безопасности.
Прежде всего необходимо подготовить рабочее место для установки оборудования. Учитывается его масса и габариты. Важно, чтобы опорная платформа могла частично гасить колебания, возникающие в процессе работы станка. Для этого можно установить специальные опоры с компенсирующими подушками и возможностью регулировки уровня.
Также во время эксплуатации необходимо учитывать такие факторы:
- при массе заготовки более 20 кг ее монтаж на рабочий стол выполняется с помощью подъемных механизмов;
- работник не должен надевать защитные перчатки или рукавицы. Это может привести к опасной ситуации;
- для защиты глаз необходимо применять рабочие очки;
- при возникновении вибрации станок следует немедленно остановить. Чаще всего это явление происходит из-за неправильной фиксации фрезы;
- в течение фрезеровки проверяется уровень подачи СОЖ;
- по окончании работы станок необходимо очистить от металлической стружки.
В случае возникновения аварийных ситуаций эксплуатация оборудования запрещена. Устранением их должны заниматься только специалисты. Попытки выполнить ремонт без должного уровня знаний устройства станка может только усугубить ситуацию.
В видеоматериале показан пример работы на горизонтально-фрезерном станке:
stanokgid.ru
Горизонтально фрезерный станок — с ЧПУ
СодержаниеНи одно, как мелкое, так и промышленное предприятие по производству стальных изделий и выполнению работ по дереву не обходится без фрезерных станков. Процесс фрезерования является первым и ключевым в обработке стальных и деревянных заготовок.
Горизонтально-фрезерный станок с ЧПУ
Самыми востребованными среди данной категории агрегатов являются горизонтально фрезерные станки.
Особенности горизонтально фрезерного станка
Горизонтально-фрезерный станок – один из первых агрегатов, применяемых для обработки металлических заготовок и различных работ по дереву. С их помощью выполняется фрезерование, расточка, шлифование, а иногда и сверление. Однако комплектация и технические характеристики подобных агрегатов приблизительно одинаковы.
Главная особенность горизонтального консольно-фрезерного устройства – горизонтальное расположение шпинделя. Сама же рабочая поверхность может перемещаться под разными углами относительно фрезы.
Горизонтально фрезерный станок, как и другие промышленные агрегаты, не обошел стороной технический прогресс. Кроме привычных станков, где все работы фрезой выполняет оператор, появились новые агрегаты по металлу и дереву с ЧПУ (числовым программным управлением).
Такое устройство не требует вмешательства оператора в сам процесс обработки заготовок. Оператор станков с ЧПУ должен иметь навыки не столько работы по металлу или дереву, как знания в области компьютерных технологий и программ.
Читайте также: сфера применения фрезерных станков с ЧПУ по металлу.

Устройство горизонтально-фрезерного станка
На компьютере создается 3Д модель будущей детали, прорисовывается траектория фрезы и прочие технические характеристики, программа переносится на станок, а все работы по обработке заготовки станок выполняет под управлением ЧПУ без вмешательства человека.
Читайте также: «Занимаемся сборкой сверлильного станка для печатных плат».
к меню ↑
Базовая комплектация
Своим основанием данное устройство имеет станину, на которой располагаются остальные рабочие элементы агрегата. Станина должна быть максимально прочной и виброустойчивой, поэтому изготавливают ее из чугуна или высокопрочной стали.
На станине устанавливаются следующие узлы и механизмы:
- коробка передач. С ее помощью настраивается скорость вращения фрезы;
- консоль. Устройство для перемещения рабочей поверхности консольно-фрезерного агрегата по вертикальным направляющим;
- рабочий стол. Данное устройство оснащается зажимными механизмами или тисками для установки заготовок по металлу или дереву. Рабочий стол консольно-фрезерного станка сделан таким образом, чтобы перемещать его можно было в трех направлениях: продольно по направляющим салазок; поперечно с помощью перемещения самих салазок по направляющим консоли; вертикально, движением консольно-опорного механизма по направляющим станины;
- шпиндель. Главное вращающееся устройство, на котором находится оправка для фиксации фрез;
- хобот. Элемент корпуса, на котором крепится подвеска со шпинделем;
- фрезерная оправка крепится на конце шпинделя;
- двигатель. Промышленные агрегаты оснащаются трехфазным двигателем, бытовые – двухфазным. Мощность двигателя должна быть не ниже 1200—1500 Вт, чтобы обеспечить нужную скорость вращения шпинделя. Горизонтально фрезерный станок по металлу или дереву должен поддерживать скорость вращения фрезы от 400 до 4500 оборотов в минуту;
- дополнительное оборудование. Кроме перечисленной выше комплектации станки могут дополнительно оснащаться платами ЧПУ, стружкоотсосами, магнитными столами для беззажимного крепления заготовок.

Консоль управления горизонтально-фрезерным станком
к меню ↑
Фрезы
Очень важно, чтобы горизонтально фрезерный станок позволял производить быструю замены фрез, так как каждый режущий инструмент выполняет лишь свою узкопрофильную функцию. К тому же, крепление фрезы должно быть максимально жестким.
Любые вибрации или выгибы режущего инструмента приведут к порче фрез и заготовок при работе по металлу или дереву. Для прочности крепления фрезы оправка должна быть установлена на подвеске. Само крепление производится с помощью колец и гаек.
data-ad-client=»ca-pub-8514915293567855″
data-ad-slot=»5929285318″>
- обработку горизонтальных поверхностей фрезерный станок 6р81, 6р82 и другие его аналоги производит при помощи цилиндрической фрезы;
- вертикальные работы по металлу или дереву устройство выполняет при помощи торцевых или дисковых фрез;
- комбинированная обработка требует смены нескольких различных по функциональности режущих инструментов.
Читайте также: что такое широкоуниверсальный фрезерный станок?
Для повышения точности выполнения фрезерных работ по металлу или дереву фрезерный станок 6м82 рекомендуется оснастить платой ЧПУ.
к меню ↑
Типы станков
Отметим, что консольно-фрезерные станки бывают как бытовыми, так и профессиональными. Они позволяют обрабатывать заготовки весом от нескольких грамм до тысяч килограмм.

Плоские фрезы для фрезерного станка
Исходя из размеров оборудования, консольно-фрезерные станки по металлу или дереву делятся на три группы:
- первая группа – легкое оборудование весом до 1 тонны;
- вторая группа – среднее оборудование вес которого находится в пределах от 1 до 10 тонн;
- третья группа – тяжелые агрегаты, весом от 10 до 100 тонн;
- существует и четвертая группа – специальные станки, вес которых превышает 100 тонн.
Любой из указанных выше агрегатов может быть оснащен ЧПУ.
Вторым критерием подразделения консольно-фрезерных агрегатов на группы является способ управления. Управление станком может быть ручным, полуавтоматическим или автоматическим с помощью ЧПУ.
- Станки с ручным управлением требуют полного контроля со стороны фрезеровщика. Он должен установить заготовку, включить станок, подвести режущий инструмент, регулировать траекторию и скорость движения фрезы, выключить станок, снять деталь.
- Полуавтоматические устройства настраиваются на выполнение определенной циклической задачи. Оператор устанавливает заготовку и запускает станок. Агрегат самостоятельно выполняет запрограммированный цикл и останавливается. Рабочий должен после этого снять деталь с фиксатора и выключить станок.
- Автоматические агрегаты оснащены ЧПУ. В данном случае, фрезеровщик должен уметь пользоваться не столько станком, сколько компьютером и соответствующими программами. Его задача – создать 3д модель будущей детали и прорисовать траекторию движения фрезы, а так же другие технические параметры работы станка. После перенесения числового кода на станок, установки заготовки и запуска агрегата, станок с ЧПУ самостоятельно выполнит все работы. Задача оператора лишь наблюдать за его работой.

Горизонтально-фрезерный станок 6Р80Г с ручным управлением
к меню ↑
Правила эксплуатации горизонтально-фрезерных агрегатов
В техническом паспорте любой модели консольно-фрезерного станка прописываются правила его установки, сборки, особенности эксплуатации. Однако существуют и общие правила, касающиеся любого типа оборудования с ручным управлением или с ЧПУ. Эти требования относятся к организации технического процесса и соблюдению рабочими правил безопасности.
Первая задача инженера на производстве – правильно выбрать и подготовить место установки агрегата. Оно подбирается в зависимости от габаритов и массы станка. Важным является так же наличие компенсации вибраций агрегата со стороны платформы, на которую он устанавливается. Пол под станком должен быть жестким, обычно его заливают из прочного железобетона. Дополнительно могут устанавливаться опоры с компенсационными подушками.
Сборка и техническое обслуживание любого агрегата должно производиться специалистом. Эксплуатация агрегата с малейшими техническими неисправностями категорически запрещена!

Сборку и наладку станка должен проводить обученный специалист
Так же к общим эксплуатационным требованиям горизонтально-фрезерных станков относят:
- Оператор горизонтально-фрезерного агрегата должен производить работы в специальной одежде. Использование же защитных перчаток или рукавиц категорически запрещено.
- Все работы на станке фрезеровщик должен производить в защитных очках.
- Если заготовка для фрезерования весит более 20 кг, ее установка на рабочий стол производится с помощью подъемных механизмов.
- При возникновении нестандартной вибрации или колебания станок должен быть немедленно остановлен. Чаще всего подобное нарушение в работе бывает вызвано неправильной установкой фрезы.
- Часто на устройствах горизонтально-фрезерного типа устанавливают дополнительно стружкоотсос. Но даже в этом случае рабочий должен тщательно очистить станок от стружки и пыли.
Горизонтально-фрезерный станок AWEA AH-630 (видео)
data-full-width-responsive=»true»
data-ad-client=»ca-pub-8514915293567855″data-ad-slot=»8040443333″>
ostanke.ru
Горизонтально-фрезерный станок 6Р82: характеристики, паспорт
Горизонтальный консольно-фрезерный станок 6Р82 начал выпускаться Горьковским заводом фрезерных станков с 1970 года. С тех пор, когда начали выпускаться такие станки, прошло больше 40 лет, но горизонтально-фрезерный станок 6Р82 продолжает работать на многих предприятиях. На нем с высокой точностью выполняются работы по обработке металлов различной сложности. Эта модель фрезеровочных станков причисляется к патриархам отечественного станкостроения, и она до сих пор числится одной из самых распространенных и общедоступных моделей.
Горизонтально-фрезерный станок 6Р82Завод и сегодня выпускает горизонтальные универсальные станки, но уже спроектированные по новым технологиям. Массово начали развиваться системы числовых программных управлений (ЧПУ). Современный фрезерный станок с ЧПУ по металлу 6Р82 получил широкое применение в малом бизнесе.
Расшифровка названия станка означает:
- 6 — фрезерные станки;
- Р – модификация станка;
- 8 – этой цифрой принято обозначать горизонтально-фрезерные станки;
- 2 – указывается на типоразмер (габариты) рабочего стола.
Консольные фрезерные станки 6Р82 относятся к самым популярным агрегатам, используемым для фрезерования. Им дали определение как «консольно-фрезерные» благодаря своим конструктивным решениям.
Роль консоли выполняют специальные кронштейны, которые являются опорами стола. Габариты размеры станка составляют 320х1250 мм.
Горизонтально-фрезерный станок 6Р82 входит в группу горизонтальных агрегатов. Это связано с тем, что шпиндель на таком станке во время его работы, всегда остается в неизменном положении. Он всегда расположен в горизонтальном положении. На станках рабочие столы можно устанавливать в перпендикулярном положении по отношению к шпинделю.
Предназначение станка 6Р82
Назначение фрезерного станка 6Р82 прописано в его паспорте. Эти станки разрабатывались с целью выполнения на них различных видов фрезеровальных работ. На них можно фрезеровать, используя различные типы фрез.
Технические характеристики станков предусматривают расширение их потенциальных возможностей. Для этого следует использовать дополнительное оборудование и приспособления, которые могут поставляться в комплекте со станком.
Станки применяются на предприятиях различных отраслей промышленности, начиная от мелких мастерских и заканчивая крупными машиностроительными гигантами. Они очень высокотехнологичны, и способны производить обработку деталей с высоким качеством, а главное с высокой точностью.
Техническая компоновка разработана с условием создания оператору максимальных удобств в обслуживании станка.
Фрезерный станок 6Р82, технические характеристики которого дают возможность пользователю легко настраивать его для работы в автоматическом или полуавтоматическом режиме, а, следовательно, это дает возможность применять такой агрегат для комплектации единой автоматизированной линии.
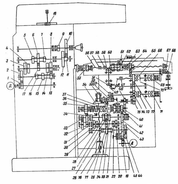
Устройство станка – основные узлы и механизмы

- Кинематическая схема станка 6Р82

- Перечень к кинематической схеме станка 6Р82
Паспорт и схема станка 6Р82 предусматривает следующие важные конструктивные детали, узлы и механизмы:
Станина
Станина относится к фундаменту станка, на котором устанавливаются все его рабочие детали, узлы и механизмы. Станина крепится на опорную плиту фрезерного станка. Чтобы придать ей жесткости она фиксируется штифтами.
Хобот и серьги
Эти детали размещаются на станине. Хобот закрепляется и скользит по направляющим. Серьги монтируются на других направляющих, которые располагаются на хоботе. Внутри хобота расположена коробка скоростей, посредством которой передается вращение шпинделю.

Хобот с серьгами станка 6Р82
Серьги устанавливаются в специально предусмотренных для этих целей отверстиях. Размер отверстий выбирается по индивидуальному принципу, на каждом станке отверстия разные. Следовательно, серьги не могут быть взаимозаменяемые.
Для регулировки зазоров в подшипниках серьги, предусмотрена специальная гайка. Регулировка проводится с контролем по результатам температуры нагрева серьги. Измерение температуры нагрева должна производиться после обкатки станка. Время обкатки должно быть не менее одного часа, а число оборотов шпинделя устанавливается максимальным. Перед обкаткой следует убедиться в том, что поверхностная часть опорной втулки в хорошем состоянии и в ней находится достаточное количество смазки. Если температура подшипников находится в пределах 50 — 60 °C, то можно начинать регулировку.
Масло, которым смазываются подшипники, находится в специальных углублениях (нишах), расположенных на серьге. Масло поступает в подшипник через втулочные оконные проемы.
Коробка подач
Коробка подач 6Р82 предназначена для обеспечения перемещения всех движущихся частей и агрегатов станка.

Коробка подач станка 6Р82
Главное движение обеспечивается приводом, в состав которого входит фланцевый электрический двигатель и соединительная муфта. Электродвигатель привода подач устанавливается внутри консоли станка. Консольно-фрезерные станки 6Р82, паспорт которых предусматривает изменение скорости шпиндельного узла, могут работать на 18 фиксированных скоростях. Регулировка осуществляется посредством зубчатых колесных блоков. Порядок переключения скоростей устанавливает инструкция по эксплуатации и паспорт станка.
В коробке подач предусмотрен режим быстрого перемещения. Такой режим перемещения возможен только после приведения в действие фрикциона форсированного хода. Фрикционная передача позволяет передавать вращающий момент от электродвигателя главного хода на консоль, а уже потом к винтам перемещений.
Консоль
Описание консоли дает паспорт. Конструкция консоли изготовлена в виде металлической коробчатой отливки. Она передвигается по вертикальным направляющим, которые соединены со станиной.
Внутри консоли расположены основные механизмы коробки подач. Эти механизмы предназначены для передачи движения от коробки подач к винтовым валам.
Коробка переключения скоростей
Коробка скоростей на фрезерном станке 6Р82 расположена непосредственно на станине (в хоботе) и предназначена для установки необходимого скоростного режима обработки детали. Конечным узлом коробки скоростей является ее шпиндель, который представляет собой вал, удерживающийся на трех опорах. Роль опор выполняют подшипники.

Разрез по шпинделю станка 6Р82
Шпиндель предназначен для передачи вращательного момента от силовой коробки передач, к закрепленному в нем инструменту. Вращательный момент коробка передач получает от вала электродвигателя главного хода станка, соединенных между собой соединительной муфтой.
Для перехода от одной оптимальной величины вращения шпинделя к другой нет необходимости последовательного перехода по скоростным промежуточным ступеням. Основными деталями коробки скоростей являются: рейка, рукоятка переключателя, зубчатые колеса и шестерни.
Для осмотра внутренних деталей коробки, на ней установлено смотровое окно. Переключение скоростей осуществляется рукояткой. Необходимая скорость выбирается по указателю оборотов шпинделя. С помощью коробки скоростей можно устанавливать 19 различных скоростей вращения шпинделя.
Стол и салазки
Эти конструктивные узлы предназначены для передвижения стола в продольных и поперечных плоскостях. Стол фиксируется на направляющих салазок и в рабочем цикле скользит по ним. Его площадка является основанием для крепления на ней подвергающихся обработке деталей, зажимных устройств и технологических приспособлений. Чтобы все это оборудование было надежно закреплено и при работе удерживалось на столе, он снабжен продольными пазами, выполненными в виде Т-образного профиля. Стол приводится в движение от ходового винта, через механизм передачи вращательного движения винта в поступательное движение стола.

Внешний вид фрезерного станка 6Р82
Стол и ходовой винт соединяются по торцам стола с помощью кронштейнов. Кронштейны, после установки фиксируются штифтами. Места для крепления кронштейнов определяются по реальному размещению винта. Для предотвращения продольного изгиба, винт размещают на опорных подшипниках. Необходимое натяжение ходового винта регулируется специальной гайкой.
Механизм разворота стола обеспечивает установку его на угол в 45° от его первоначального положения. Механизм разворота размещается в промежутке между рабочим столом и салазками. Чтобы развернуть стол на оптимальный угол, необходимо выполнить следующее: переместить салазки в крайнее переднее местоположение; снять хвостовой кулачок, ограничивающий поперечный ход, и уже только затем разворачивать стол.
Салазки выполняют функцию буферной части между консолью и столом. Они передвигаются по горизонтальным направляющим, которые расположены на консоли.
Электрооборудование станка
Электроснабжение горизонтально-фрезерного станка 6Р82 определяет его паспорт. В станке предусмотрены два основных привода: привод главного хода и привод механизма подач. Приводы главного хода и механизма подач приводятся в действие электрическими асинхронными двигателями.

Электрическая схема станка 6Р82
Кроме этого электрическая схема предусматривает работу других технологических систем, таких как система охлаждения.
Консольно-фрезерные станки 6Р82, руководство по эксплуатации которых предусматривает электроснабжение на переменном напряжении, поставляются заказчику с различными классами напряжения.
Фрезерный станок 6Р82, электрическая схема которого может работать от источника 3-фазного напряжения следует размещать на участках, где есть классы напряжения от 220 В до 440 В.
Все электрические двигатели, в зависимости от индивидуального исполнения, могут работать на напряжениях от 220 В до 440 В.
Электрическая схема разработана на применение следующих классов напряжения: для рабочего освещения — 24, 36 или 110 В, в зависимости от индивидуального исполнения; для цепей управления — 110-220 В; для цепей электродинамического торможения – 56 В. Местное освещение осуществляется от светильников, которые распложены на станине.
Эксплуатация станка 6Р82
Эксплуатация горизонтально-фрезерных станков определяется руководством по эксплуатации, которое поставляется заказчику в комплекте со станком. В руководстве приводится основная характеристика каждого станка, а также подробная инструкция по его эксплуатации. Кроме этого в руководстве по эксплуатации прописываются основные правила безопасности, которые необходимо выполнять при работе со станком.
Скачать паспорт (инструкцию по эксплуатации) горизонтально-фрезерного станка 6Р82
В руководстве прописаны также правила управления станком и порядок поддержания его в рабочем состоянии.
Управление станком осуществляется от аппаратов управления, которые расположены сбоку и на передней части станка. Для управления используются специальные рукоятки, кнопочные станции и переключатели.
Уход за станком может осуществлять только его оператор, который закреплен за данным станком и хорошо знает его устройство.
Перед каждым пуском станка необходимо убедиться в том, что на направляющих отсутствует пыль, грязь или стружка. Проверить работу системы смазки и охлаждения, обратив особое внимание на наличие масла и охлаждающей жидкости.
Для выколачивания оправки или фрезы из шпинделя следует применять молоток, изготовленный из латуни или меди.
Особое внимание следует уделять столу. Загружать на стол инструмент, приспособления или заготовки можно только тогда, когда его поверхность очищена от посторонних предметов, а также от сгустков промасленной грязи и стружки.
Для того чтобы детали станка проработали как можно дольше, следует вовремя проводить смазку трущихся и вращающихся деталей. Порядок и сроки смазки прописаны в специальном разделе руководства по эксплуатации. Наличие смазки в агрегатных узлах станка контролируется по маслоуказателям.
Следует помнить, что станок будет надежно работать только тогда, когда будут в установленные сроки проводиться текущие регламентные работы, а также капитальные ремонты его отдельных агрегатов.
Если вы нашли ошибку, пожалуйста, выделите фрагмент текста и нажмите Ctrl+Enter.
stankiexpert.ru
Горизонтально-фрезерный станок — Обработка металлов резанием — Совершенствование навыков выполнения слесарных и токарных работ
На фрезерных станках обрабатывают плоские и криволинейные поверхности деталей, нарезают зубья, выполняют канавки, выемки и выступы и другие работы.
На фрезерных станках достигают высокой производительности труда.
Различают горизонтальные и вертикальные фрезерные станки.
Горизонтально-фрезерный станок состоит из следующих основных частей: станины, консоли (кронштейна), шпинделя, хобота, стола, коробки скоростей, коробки подач, поперечных салазок.
Горизонтально-фрезерный станок
На чугунной станине коробчатой формы крепят все части станка. В верхней части станины имеются тщательно обработанные горизонтальные направляющие для хобота. По точно обработанным вертикальным направляющим передней поверхности станины перемещается консоль. Внутри станины расположены электродвигатель, коробка скоростей и шпиндель.
Чугунная консоль — жесткая массивная пустотелая опора для стола. Консоль тщательно обработана, так как она должна легко перемещаться по вертикальным направляющим станины.
На верхней части консоли по направляющим для салазок перемещается стол.
Стол станка имеет три направления движения (подачи) обрабатываемой заготовки: продольное, поперечное, вертикальное. Стол состоит из непосредственно стола и поперечных салазок. Салазки можно перемещать вместе со столом по направляющим консоли в поперечном направлении при помощи винтового механизма (поперечная подача).
При помощи винтового механизма можно также перемещать стол по продольным направляющим верхней части салазок (продольная подача).
Для вертикальной подачи (перемещения заготовки вверх и вниз) служит винтовой механизм, при помощи которого перемещают консоль.
Обрабатываемые заготовки зажимают в машинных тисках, надежно прикрепляемых к столу.
На шпинделе (пустотелом стальном валу) крепят фрезерную оправку с дисковой фрезой или длинный стальной стержень с резьбой на конце для торцовой фрезы. Шпиндель вращает режущий инструмент.
В коническое отверстие передней части шпинделя плотно входит конический конец фрезерной оправки. Хобот поддерживает другой конец фрезерной оправки. Хобот можно передвигать вдоль горизонтальных направляющих станины, что позволяет закреплять оправку на нужном расстоянии. Расстояние фрезы от шпинделя зависит от ширины обрабатываемой заготовки.
Коробка скоростей
Коробка скоростей станка позволяет изменять число оборотов шпинделя. Устроена она так же, как и у товарного станка. В коробке скоростей помещен и реверсивный механизм. Благодаря ему можно изменять направление вращения шпинделя (обратный ход).
Коробка подач станка
Коробка подач станка изменяет скорость механической подачи стола в продольном, поперечном и вертикальном направлениях. Коробка состоит из цилиндрических и конических зубчатых колес и кулачковых муфт сцепления. Она помещена в консоли станка. Движение коробки подач не связано с вращением шпинделя. Движение к коробке подач передается от общего электродвигателя через зубчатые колеса и при помощи раздвижного вала.
Вопросы
- Для чего предназначены фрезерные станки?
- На какие виды делятся фрезерные станки?
- Из каких основных частей состоит горизонтально-фрезерный станок?
- Из какого металла изготовляют станину и для чего она предназначена?
- Для чего служит консоль?
- Каково назначение стола?
- Для чего служит шпиндель?
- Каково назначение коробки скоростей?
- Для чего служит коробка подач?
«Слесарное дело», И.Г.Спиридонов,
Г.П.Буфетов, В.Г.Копелевич

При работе на фрезерных станках очень опасны засорения, ранения и ожоги глаз мелкой отлетающей стружкой. Поэтому перед работой необходимо надевать очки. Следят также за тем, чтобы фреза не захватила одежду или руки работающего. Для этого нужно закрывать фрезу экраном или колпаком, изготовленным из прозрачного материала (оргстекла). Защитный экран Наблюдают, чтобы вращающаяся фреза не имела биений,…

Различают следующие виды строгания: горизонтальных поверхностей; скосов на заготовках; наклонных поверхностей; поверхностей с уступами; пазов и сопряженных поверхностей. При строгании горизонтальных поверхностей главное движение (возвратно-поступательное) совершает суппорт с резцом (рабочий ход), а движение подачи (поперечной) — стол с закрепленной на нем заготовкой. Движения строгального станка Скосы на заготовках строгают с одной подачей — суппорта с…

Фрезерные станки получили свое название от многозубого режущего инструмента — фрез, которыми на этих станках обрабатывают металлы. На горизонтально-фрезерных станках в зависимости от вида обрабатываемой поверхности применяют цилиндрические, дисковые, торцовые и фасонные фрезы. Фрезы а — цилиндрические; б — дисковые; в — торцовая; г — фасонные. Цилиндрическими фрезами обрабатывают широкие поверхности, дисковыми — канавки, пазы…

Как вы знаете, резать металлы можно ручными инструментами и на станках. В зависимости от материала и размеров заготовки различают резание металлов без снятия стружки (скалыванием) — ножницами, кусачками и со снятием стружки. Работа ножницами а — разрезание; б — вырезание по кривым линиям; в — отрезание; г — вырезание отверстия. Ручными ножницами можно: разрезать заготовку…

Механическая ножовка состоит из станины, стола (на котором зажимают в тисках обрабатываемый материал), тисков (передвигаемых вдоль стола и поворачиваемых вокруг своей оси), хобота (направляющей для рамки с полотном) и электродвигателя. Механическая ножовка До этого мы рассматривали виды разрезания в основном листового металла. На станке, показанном на рисунке выше, разрезают металл различного профиля. Механической ножовкой можно…
www.ktovdome.ru


