Металлическая печь для гаража своими руками – самодельная печь медленного горения, кирпичная, на отработке для отопления гаража, фото и видео иллюстрации
Металлическая печь для гаража своими руками

Любой гараж в суровой климатической зоне необходимо систематически отапливать для поддержания комфортной температуры в помещении. Оптимальным вариантом будет сооружение «буржуйки», так как железная печь довольно быстро конструируется и не требует создания массивного фундамента под собой. Собственник гаража при помощи незатейливых чертежей и простейшего строительного материала сделает отопительный агрегат своими руками.
В повседневной жизни металлическая печь имеет множество вариаций создания, поэтому источник тепла способен расположиться в гараже в любом запланированном месте. Изготовленная своими руками по корректным чертежам печка выделит такой же высокий КПД действия, как и купленный аналог.
Выбираем форму
Сначала определяемся, какой формы сооружается металлическая печь. Если собственник решил создать агрегат своими руками на основе толстостенной железной трубы большого диаметра, то печь из металла получится круглой формы. Данный вариант востребован.
При использовании металлических листов целесообразно сделать печь прямоугольной формы. В обоих случаях тщательно продумываются сектора топки и поддувала (пространство для отвода продуктов горения и место для скапливания золы). Желательно, чтобы металлическая печь изготавливалась компактной, небольшой для безопасного и удобного функционирования в гараже.
Простая, но эффективная печь из металла
Металлическая печь для гаража
Буржуйка востребована в тех случаях, когда проблем с древесным материалом нет. Основные компоненты для создания печки своими руками:- металлические уголки;
- железная труба с десятисантиметровым диаметром;
- листы стали для днища и крышки.
Если отсутствует труба, из железных листов сваривает корпус характерной формы. Проемы для топки и поддувала располагаются на одной оси на расстоянии 10 см друг от друга. Внизу печки устанавливается дверца поддувала, над ней задвижка топочного отсека.
Внутри металлической формы из уголков изготавливаются колосники, которые привариваются к корпусу. Верхняя и нижняя крышка крепятся в самую последнюю очередь, так как корректно исправлять дефекты механизма после окончательной герметизации не получится.
Дымоходная труба в печь своими руками проходит сквозь заранее подготовленный проем в крышке. Для получения герметичности используется сварочный шов.
Особенности создания дверцей:
- С тыльной стороны самодельных створок привариваются навесные петли.
- В петли вдеваются прутки, которые затем привариваются к «телу» печки.
- Для каждой дверцы своими руками изготавливается запирающая пластина.
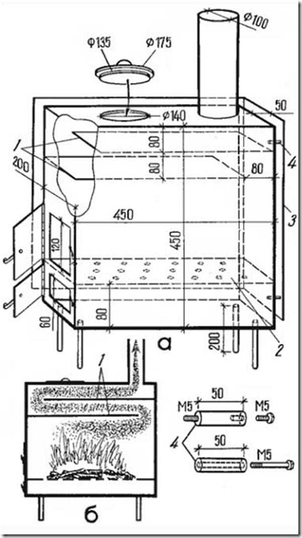
Буржуйка с долгим обогревом
Печь длительного горения для гаража
Данная металлическая печь отличается от других аналогов принципом функционирования топки. Через отверстие крышки в топку опускается груз, который приваривается к трубе. Дымоходный механизм выходит не через крышку, а в верхнюю часть цилиндра. Створок для поддувала и топки не предусмотрено.Воздушные массы, регулируемые заслонкой, подаются по трубе с грузом. Древесный материал сгорает частично, так как груз в виде поршня давит на угли сверху. Таким образом, уменьшается наполненность в объеме топочного отсека. С данной конструктивной особенностью гараж без присмотра обогревается всю ночь. Корпус дольше остается горячим за счет продления времени тления дров.
Самодельный котел для гаража на отработанном масле
Хотя изделие отличается особой пожароопасностью, печка все же востребована, так как собирается всего за несколько часов из подручных материалов. Для ее создания понадобится несколько труб разного диаметра. Толстостенные металлические шланги свариваются в Н-образную форму с дымоотводящей трубой.
Рекомендации:
- если агрегат скомпонован по самой простой схеме, в работающем режиме оставлять его без присмотра нельзя;
- металлическая печь устанавливается вдали от горючих предметов в гараже.
Буржуйка, обложенная кирпичом

Схема работы печи на отработанном масле
Данный тип обогрева является самым безопасным и эффективным. Кроме того, железный корпус в кирпичном футляре имеет множество вариантов внешнего оформления.Устанавливается нужного диаметра фундамент, так как изделие будет иметь больший вес. Если железно кирпичная печь монтируется у стены, между плоскостями фиксируется лист металла.
Кладка в любом случае основывается на заранее просчитанной порядовке. Между цокольным кирпичом и фундаментом укладывается двухслойный рубероид. Первый ряд, уложенный на ребро, особенно важен, так как он создаст вертикаль кирпичной печи в целом.
Для ровности кладки строитель пользуется самодельными отвесами и уровнем. На четвертом ряде выводится отверстие для топки. Под проемом оставляется в один кирпич отверстие для поддувала. Компактная железно кирпичная печь имеет дымоотводную трубу в задней стенке прибора, либо металлический шланг выводится через крышу.

Печь, обложенная кирпичом в гараже
Нагретый воздух внутри экрана циркулирует. Тепло через кирпич выходит в помещение. Металл в кожухе прослужит намного дольше.Итоговый результат:
- Обложенная железная печь значительно меньше по весу своих кирпичных аналогов.
- Конструкция получается полностью энергонезависимой по сравнению с простой печью из металла.
- Агрегат лучше аккумулирует тепло и обогревает гараж.
- КПД существенно выше буржуйки.
Кладка ведется на десятисантиметровом расстоянии от стенок металла. В верхней и нижней части кирпичного «пазла» предусматриваются специальные вентиляционные отверстия.
Почему кирпичная печь своими руками неактуальна в гараже?
Конструкция обязательно получается громоздкой, что неудобно при хранении транспортного средства в боксе.
Для данного источника топления обязательным условием качественной работы является ровный микроклимат помещения. В комнате с сильными перепадами температуры глиняно-кладочная масса быстро растрескается и «поплывет», ведь необожженная глина имеет гигроскопичную структуру.
Конвекция сооружения слабая, чтобы запустить механизм качественного обогрева требуются длительные манипуляции. Для появления в боксе тепла, истапливать печь придется заранее.
Чтобы металлическая печь долго служила
- Если печь из металла отапливается дровами, прорези в перегородке топочного отдела должны составлять 4 см. Для угля и мелкой древесины достаточно 2 см.
- Когда труба дымохода устанавливается на тыльной стороне агрегата, для хорошей тяги угол наклона шланга составляет не менее 30 градусов.
- Для увеличения теплоемкости и теплоотдачи по бокам под прямым углом крепятся дополнительные ребра (металлическая пластина 5 мм).
- Удобно сконструировать металлическую емкость для сбора золы, которая зайдет в поддувальный отсек.
- Если железная печь редко эксплуатируется, резонно предусмотреть съемную дымоходную трубу.
stroybudni.ru
Печь для гаража своими руками из металла
Зачастую в гараже не устанавливают полноценную систему отопления. Это обусловлено относительно редким использованием помещения и его небольшой площадью. Но для продолжительной работы в холодное время года рекомендуется сделать печь для гаража из металла, что вполне возможно своими руками. Чертежи и характеристики конструкции могут отличаться в зависимости от требований к теплоснабжению.
Самодельная печь для гаража: параметры и условия эксплуатации
Важно изначально определиться с местоположением конструкции. Она не должна занимать много места, во время работы не препятствовать свободному перемещению по гаражу или выполнению тех или иных операций. Чаще всего выбирают угловое расположение печи.

Изготовление и монтаж печи осуществляется согласно следующим условиям:
- Обязательное обустройство дымохода. Его высота должна быть минимум 3 метра.
- Выбор топлива. Оптимальный вариант – использование дров, угля или дизтоплива. Намного реже делают электрические печи или работающие на баллонном газе.
- Подготовка основания для установки котла, монтаж жаропрочных материалов на стены.
Перед началом этих работ необходимо выбрать оптимальную конструкцию печи для гаража. Выбор зависит от объема отапливаемой площади, наличию варочной поверхности и общего бюджета. В качестве примера можно рассмотреть чертежи наиболее подходящих самоделок.
Схема простой «буржуйки»
Это лучший вариант для экономии места. Конструктивно печь состоит из корпуса цилиндрической или кубической формы, разделенного на камеру сгорания и зольник. Она может изготавливаться из бочек. Толщина стали должна быть не менее 1,5 мм. Раструб для дымоходной трубы располагается в задней части конструкции для подключения вертикального патрубка.

Рекомендации по изготовлению:
- В качестве корпуса можно использовать газовый баллон. Предварительно его очищают от краски, делают отверстия для дверец, устанавливают колосник.
- При самостоятельном изготовлении корпуса из металла применяется сталь толщиной 1,5 мм, соединение выполняется с помощью сварки.
- Регулирование интенсивности сгорания топлива происходит с помощью изменения положения дверцы зольника. Таким образом контролируется тяга.
- Дополнительно можно поставить отсекатель – полку на 2/3 высоты камеры сгорания. Это способствует экономному расходу сжигаемого топлива.

Преимуществом этой конструкции является простота изготовления и возможность монтажа варочной поверхности. Недостаток – большой расход топлива.
Мини-котел длительного горения
Для продолжительного отопления гаража рекомендуется рассмотреть вариант изготовления печи длительного горения. Суть ее работы заключается в использовании древесных газов в качестве топлива. Они возникают в результате тления дров. В отличие от вышеописанного варианта, печь для гаража из металла длительного горения имеет большую камеру для загрузки топлива, систему давления, состоящую из телескопической трубы и плоского основания. Этот блок располагается в верхней части конструкции.

После загрузки топлива оно подпаливается снизу. Ограничение притока кислорода провоцирует процесс тления. Образовавшийся газ попадает в камеру дожига, где обогащается кислородом и возгорается.
Особенности изготовления конструкции:
- в качестве корпуса можно использовать бочку или газовый баллон;
- для обогащения газа кислородом устанавливают маломощный вентилятор;
- патрубок для подключения дымохода располагается горизонтально;
- низкая температура в дымоходной трубе может стать причиной появления конденсата, поэтому рекомендуется использовать сэндвич-конструкции.
Среднее время работы на одной загрузке топлива может составлять 8-12 часов. Это зависит от объема печи и скорости подачи воздуха в камеру дожига.
Печь для гаража на отработанном масле
Принцип работы печи на отработанном масле заключается в использовании паров топлива. Для ее изготовления также можно взять небольшой газовый баллон. В нижней части располагается емкость для топлива. Пары поднимаются по трубе с отверстиями, там же происходит возгорание.

Использовать подобную модель для гаража не рекомендуется. Это обусловлено высокой вероятностью загазованности помещения, так как продукты сгорания частично попадают в гараж до поступления в дымоход. Также могут возникнуть проблемы с хранением топлива.
При выборе чертежа печи для гаража следует учитывать трудоемкость ее обслуживания и частоту использования. Но определяющими факторами являются себестоимость конструкции и сложность ее изготовления.
ismith.ru
Печь для гаража своими руками: 21 фото пошагового изготовления

Самодельная печь для гаража на дровах: чертежи печи, фото пошагового изготовления своими руками.
В зимний период иногда приходится поработать в гараже, чтобы не крутить гайки на морозе, автор задумал собрать простую дровяную печь из материалов, что были в наличии.
Для изготовления печи были использованы вот эти чертежи печи, размеры пришлось немного изменить исходя из наличия материалов.

Фото изготовления буржуйки.
Из листового метала толщиной 3 мм, был сварен корпус печи, сделана дверца для топки.


Вид с торца, показаны две перегородки лабиринта для дыма, перегородки позволяют снять больше тепла с дыма, ведь у печей буржуек большая часть тепла уходит в дымоход.


На стенках топки дополнительно наварены листы металла.



Из профильной трубы сделаны ножки, печь установлена в гараже.

Дымоход сделан из трубы диаметром 80 мм, конечно для дымохода это маловато, но другой трубы не было.


Колосники сварены из того что было под рукой.

Зольник.


Топка.



Испытания прошли успешно, печь не дымит, греет хорошо.



Для отопления гаража такой печки буржуйки вполне достаточно.

Популярные самоделки из этой рубрики
Печь ракета своими руками
Чертеж печки на отработанном масле…
Печь булерьян своими руками…
Буржуйка из газового баллона своими руками: 17 фот…
Самодельная печь ракета
Самодельная печь для гаража…
Печь длительного горения самодельная…
Самая эффективная буржуйка своими руками: 30 фото…
Походная печь своими руками…
Как сделать электроплитку
Буржуйка в гараж
Самодельная буржуйка тепловая пушка…
sam-stroitel.com
лучшие 4-ре самодельных варианта » Аква-Ремонт

К сожалению множества автолюбителей, центральное отопление для гаражей, расположенных далеко от дома, технологиями не предусмотрено. В холодное время года температура в помещении становится, мягко говоря, не комфортной, а в сильные морозы — попросту невыносимой. Стандартный электрический обогреватель с проблемой практически не справляется: счета за электроэнергию растут, а количество тепла остается почти неизменным. Выход из ситуации — сделать печь для гаража своими руками.
Гараж — место специфическое. Это помещение с ограниченным пространством, в котором автовладелец порой проводит очень много времени. Поэтому к устройству печки для гаража предъявляются такие требования:
- компактные размеры;
- возможность использования твердого или жидкого топлива;
- способность быстро разогреваться;
- способность длительно поддерживать высокую температуру в помещении;
- простая конструкция;
- относительно невысокая цена материалов;
- удобство в эксплуатации и обслуживании.
Проверку на соответствие этим требованиям выдерживает небольшая печь из огнеупорного кирпича, некоторые разновидности буржуек, а также агрегаты, в которых используют отработанные материалы.
Планируя изготовление печки в гараж своими руками, не стоит забывать о вопросах безопасности. Отопительное оборудование не должно заметно снижать количество кислорода в помещении и выделять при нагреве опасные вещества. Кроме того, следует предотвратить возможность возгорания окружающих печку материалов.
Вариант #1 — надежный и эффективный кирпич
Кирпичные печи в гаражах встречаются не часто, поскольку вариант это достаточно трудоемкий. Такое устройство занимает небольшую площадь, примерно 2Х2,5 кирпича. Для кладки берут огнеупорный кирпич, а также замешивают раствор из песка, огнеупорной глины и шамотного порошка.

При изготовлении кирпичной печи для гаража используют специальный шамотный кирпич, а во время замешивания раствора рекомендуется добавлять шамотный порошок
Для топочной камеры используют шамотный кирпич на уровне второго, третьего и четвертого рядов кирпичной кладки. Высота такой кирпичной печи обычно равна девяти кирпичам. Для отвода печных газов устраивают кирпичный дымоход, в который вставляют гильзу из нержавеющей стали. Выводят дымоход, как правило, через крышу.
Начинающим строителям, решившим возвести в гараже кирпичную печку, следует обсудить нюансы проекта с опытным печником — ведь это целая наука, достойная отдельной профессии. Если при работе будут допущены значительные огрехи, кладку придется разрушить и полностью переделать.
Кирпичные печи широко используются не только для отопления гаража, но и для обеспечения теплом домов. Сложить их можно самостоятельно. На нашем сайте представлены подробные инструкции и статьи, посвящённые этой теме. Например, эта: https://aqua-rmnt.com/otoplenie/kirpichnye-pechi-svoimi-rukami-sekrety-remesla.html.
Вариант #2 — самодельная буржуйка
Изготовить печь своими руками для гаража проще всего из металла, т. е. сделать обычную буржуйку. Для этого используют листовой металл, металлическую трубу или бочку. Из металлического листа проще сделать агрегат кубической формы, а из трубы или бочки, разумеется, получится цилиндрическая буржуйка. Толщина металла в любом случае должна быть не менее 5 мм. Подходящая для изготовления буржуйки металлическая труба должна быть достаточно широкой, не менее 300 мм диаметром.

Чтобы сделать буржуйку для гаража своими руками, понадобится листовой металл или подходящая по размеру металлическая емкость, а также уголок, трубы и другие материалы
Вывод дымоходной трубы предпочтительнее организовать сверху, однако иногда это удобнее делать с задней стенки. В последнем случае необходимо позаботиться, чтобы уклон дымохода составлял не менее 30 градусов. Для эффективного отвода отработанных газов предпочтительно использовать металлическую трубу диаметром 120 мм и более. На первых метрах дымоходная труба должна быть достаточно толстой — 2-3 мм. Более тонкий материал при постоянном нагревании быстро прогорит.
Непосредственно под топкой следует организовать место для вывода золы. Для этого используют горизонтальную металлическую пластину с прорезями. Размеры прорезей зависят от размеров буржуйки и вида топлива. Для небольшой печки, работающей на угле и мелких дровах размеры прорезей должны составлять 10-12 мм, а для большой дровяной печи следует сделать прорези не менее 40 мм.
Под перегородкой устанавливают съемный ящик, который периодически вычищают по мере накапливания золы. Для ящика используют трехмиллиметровую листовую сталь. Чтобы повысить КПД буржуйки, перпендикулярно к ее бокам приваривают металлические пластины толщиной 5 мм. Таким образом увеличивается площадь соприкосновения воздуха с обогревающим агрегатом и помещение нагревается быстрее.
Подробную инструкцию по монтажу печи-буржуйки для дачи и гаража вы найдёте в нашей следующей статье: https://aqua-rmnt.com/otoplenie/bani-i-garazh/pechka-burzhujka-svoimi-rukami.html.
При раскрое листового металла следует учитывать толщину собственно материала, а также толщину диска болгарки. Интересный вариант изготовления буржуйки из газовых баллонов представлен в видеоматериале:
Вариант #3 — печка на отработанном масле
Дрова и уголь доступны не везде, а вот некоторым количеством отработанного машинного масла обладает каждый автолюбитель. Поэтому агрегат, в котором используется такое масло, очень популярен. Хотя его конструкция несколько сложнее, чем у буржуйки, можно без проблем изготовить такую печку для гаража своими руками.

Печь на отработке для гаража состоит из двух отделов, в первом из которых сгорает отработанное масло, а второй предназначен для горения образовавшихся газов, смешанных с воздухом
Печь на отработке представляет собой Н-образное устройство, состоящее из:
- топливного бака;
- камеры дожигания;
- температурной камеры;
- дымохода.
Пары, образующиеся при сгорании основного топлива, поступают в следующую камеру и смешиваются в ней с воздухом. Здесь происходит дополнительное горение при очень высокой температуре, что обеспечивает высокую эффективность работы устройства.
Изготавливают печь на отработанном масле из листового металла. Для нижнего бака можно использовать готовый металлический ящик, к которому следует приварить ножки. В нем необходимо сделать отверстие с металлической заслонкой. В него подают топливо, а заслонкой регулируют подачу первичного воздуха.
Верхняя камера имеет цилиндрическую форму. Она соединена с баком металлической трубой, в которой сделаны отверстия диаметром 10 мм для поступления вторичного воздуха. Дымоход в такой печке следует устанавливать исключительно сверху.
В такой печи можно использовать самые разные виды отработки: соляровое масло, трансмиссионное, нефтяное, трансформаторное, а также керосин, дизтопливо, мазут и т. п. Однако применение таких легковоспламеняющихся веществ, как ацетон, бензин или растворители недопустимо, хотя небольшое количество бензина можно использовать при розжиге печи.
Подробнее про такой вариант печи у нас написано в статье: Печка буржуйка своими руками для дачи и гаража — инструкция для самостоятельного изготовления
Вариант #4 — дровяная печь длительного горения
Особенность печи длительного горения в том, что дрова в нее не нужно подкладывать в течение 10-15 и даже 20 часов. Достигается такой результат с помощью полной загрузки топливом и специальной заслонки. Тяга в печи становится умеренной, после чего дрова не горят, а скорее медленно тлеют. Интенсивность горения регулируется с помощью продуха.

В печи длительного горения дрова не горят, а тлеют, что позволяет обогревать гараж в течение 10-20 часов, не добавляя дрова в топку
Для изготовления печи длительного горения рекомендуется использовать уже готовую металлическую бочку объемом 200 литров. Верхнюю часть бочки срезают и делают в ней отверстие под дымоходную трубу. Кроме того, следует сделать отверстие для 100-миллиметровой трубы, через которую будет поступать воздух. Чтобы обеспечить эффективную тягу и полное удаление продуктов сгорания топлива, диаметр дымохода печи длительного сгорания должен быть не менее 150 мм.
Подробнее про дымоход для такой печки читайте в статье: Как правильно сделать дымоход для буржуйки: устройство простейшего дымоотвода по шагам
Затем изготавливают груз. Это круг, вырезанный из листового металла, к которому приваривают пару кусков швеллера. Размеры круга должны позволять ему свободно двигаться внутри бочки. Затем вырезают отверстие, к которому приваривается отрезок 100-миллиметровой трубы. В качестве альтернативы бочке можно использовать достаточно длинный отрезок металлической трубы большого диаметра. Чтобы сделать дно, к краю трубы можно приварить не круглый, а квадратный кусок металла, чтобы сделать конструкцию более устойчивой.
Груз вставляют в бочку, а сверху ее накрывают крышкой. При этом труба для подачи воздуха вставляется в вырезанное для нее отверстие. Остается вырезать два люка: для подачи в печь дров и для удаления золы. Люки закрывают металлическими крышками. Готовую печь длительного горения обычно устанавливают на специальный кирпичный фундамент.
Оцените статью: Поделитесь с друзьями!aqua-rmnt.com
Печь для гаража своими руками на дровах (самодельная)
Краткое содержание
Для обогрева гаража можно своими руками легко смастерить печь на дровах. Это не займет много времени и обойдется совсем недорого, поскольку допускается использование подручных материалов.
Зачем нужно отапливать нежилое помещение?

Буржуйка своими руками
Государственными стандартами установлено, что в гараже температура воздуха не должна опускаться ниже +5°С. Если не придерживаться этих стандартов, двигатель не запустится, особенно после длительного простоя автомобиля.
При сильном морозе может замерзнуть даже антифриз. Значительно увеличивается число поломок авто из-за негативного воздействия затвердевшей воды. Также, согласитесь, проводить ремонт транспортного средства намного комфортнее в тепле.
Преимущества и недостатки отопления дровами

Вертикальная круглая печь на дровах
Выбрав твердое топливо в качестве источника энергии для обогрева гаража, можно получить такие плюсы:
- низкая стоимость дров;
- не нужно покупать дорогих установок и дополнительно тратиться на электричество;
- небольшие габариты печки при высоких показателях продуктивности;
- отопительный прибор можно дополнительно использовать для приготовления и разогрева пищи;
- простота изготовления и монтажа установок на дровах. Не нужно дополнительно обустраивать массивный фундамент.
К недостаткам можно отнести, что такие отопительные приборы быстро нагреваются, но при этом также быстро отдают тепло в окружающую среду. Для поддержания оптимальной температуры нужно постоянно подкидывать свежие дрова. Расход топлива значительно увеличивается.
Разновидности отопительных приборов
Отопительный прибор длительного горения
Для отопления гаража можно сделать своими руками такие типы печек:
- буржуйка с металлическим корпусом;
- печь из кирпича;
- отопительный прибор длительного горения.
Чтоб самостоятельно установить буржуйку нужно иметь навыки работы с болгаркой и сварочным аппаратом. Кирпичную кладку в этом случае произвести намного проще.
Буржуйка – особенности изготовления и конструктивные элементы

Схема буржуйки
Это достаточно простая конструкция, которая состоит из таких элементов:
- загрузочная камера или топка;
- колосниковая решетка;
- поддувало;
- зольник;
- металлическая дверца;
- дымоход.
Для изготовления установки используйте толстый металл толщиной 4 мм. При креплении дымоотводной трубы к верхней стенке топочной камеры нужно усилить ее. Это место считается самым слабым, металл чаще все прогорает именно здесь.
В качестве колосниковой решетки используйте прочную металлическую сетку. Можно взять готовую или сделать своими руками из уголка или проволоки. В колосниковой решетке сделайте много мелких отверстий для удаления золы.
Для увеличения мощности устройства рекомендуется на его внешнюю поверхность приварить вертикальные ребра, которые увеличат площадь отопительного прибора. Также можете установить внутри топки перегородку как у двухходовой печки.
Пошаговая инструкция изготовления буржуйки из стальной трубы
Буржуйка из трубы
- Используйте стальную трубу диаметром 0,4-0,5 м длиной 1 м, к которой нужно приварить ножки.
- Из стального листа вырежьте два круга того же диаметра, что и труба.
- В одном круге сделайте дверцу для топки и отверстие под поддувало.
- Длина колосниковой решетки равна длине буржуйки, а максимальная ширина – диаметру. Лучше всего использовать металлическую сетку шириной, которая немного меньше диаметра корпуса. Вставьте ее в трубу и приварите к стенкам.
- Приварите металлические круги к трубе. Следите за качеством шва, чтоб добиться герметичности печки.
- Около отверстия в круге прикрепите петли, на которые насадите дверцы.
- На крышке корпуса ближе к задней стенке сделайте отверстие диаметром 100 мм под дымоотводную трубу.
Каркасная буржуйка
Следующая схема печи на дровах для гаража подойдет, если у вас нет металлической трубы. Сделать ее своими руками очень просто, используя при этом обрезки металла.
Технология изготовления:
Схема крепежа угла каркаса
- Для каркаса используйте уголок шириной 50 мм. Порежьте его на несколько кусков. Для ножек отмерьте по 1 м материала, а для горизонтальных перекладин – на длину печки.
- При помощи сварки соедините все элементы, чтоб получился каркас печки.
- С прочного металлического листа вырежьте прямоугольники для стенок топки.
- На боковых стенках приварите небольшой уголок на расстоянии 100 мм от низа листа. Он нужен для фиксации колосниковой решетки.
- На куске металла, который предназначен для передней части буржуйки, вырежьте отверстие под дверцу.

Каркасная буржуйка
- Соберите все части печи. Хорошо проварите металл, что не было никаких зазоров. На передней части буржуйки прикрепите завесы, на которые наживите дверцу с засовом.
- По контуру листа, который исполняет роль дверцы, наварите шинку толщиной 10 мм. Это предотвратит попадание дыма через топочную камеру в гараж.
- Сварите арматуру в виде решетки с мелкими ячейками для колосниковой решетки.
- В верхней части печи сдайте отверстие диаметром 100 мм для дымохода.
Буржуйка из кирпича

Схема кирпичной буржуйки
Для установки кирпичной печи для гаража своими руками понадобится дополнительная заливка небольшого плитного фундамента глубиной 200 мм. Топочную камеру полностью выкладите с огнеупорного кирпича.
На передней стенке конструкции оставьте окно для дверцы и поддувала. Из частей кирпича сделайте на дне отопительного прибора небольшие выступы для установки колосниковой решетки.
Для монтажа крышки уложите на стенки арматуру. Сверху произведите кладку 1-2 рядов кирпича.
Также для обустройства верхней стенки можно использовать металлический лист. Его уложите на буржуйку, после чего щели замажьте шамотной глиной. В верхней части устройства предусмотрите отверстие под дымоход.
Конструкция печей длительного горения
Благодаря наличию специальной заслонки, самодельные печи этого типа очень эффективны, поскольку дрова не горят, а тлеют длительное время. При помощи продухов можно контролировать интенсивность пламени и мощность отопительного прибора.
Печь длительного горения своими руками
Схематическое изображение печи длительного горения
Для изготовления установки для обогрева гаража своими руками нужно использовать металлическую цистерну объемом 200 л. В ее верхней части сделайте отверстие для дымохода диаметром 150 мм. Также предусмотрите отверстие для трубопровода, через который будет поступать свежий воздух в бочку.
Для груза вырежьте круг из металла, который соответствует диаметру бочки. К нему приварите швеллеры. Также сделайте отверстие диаметром 100 мм, куда вставьте небольшой кусок трубы. Такой груз поместите в бочку под крышку. В корпусе отопительного прибора сделайте два отверстия для подачи топлива и удаления золы. Каждое из них дополнительно оборудуйте дверцами.
Сделать отопительный прибор своими руками достаточно просто, используя простые материалы – металлический лист или бочку, уголки, трубы, кирпич.
Видео: Супер буржуйка для гаража
kaminyn.ru
Печка для гаража своими руками
Гараж для большинства автовладельцев – это не только пристанище для машины или мини-мастерская, но и место для свободного времяпрепровожде

Печка для гаража своими руками
Содержание пошаговой инструкции:
Покупка или самостоятельное изготовление?
Оптимальным вариантом для обогрева станет печка для гаража своими руками. Подготовка всех комплектующих для этого не составит особого труда, но вначале нужно определиться с типом печки. Для этого учитываются следующие моменты:
- простота эксплуатации;
- надежность;
- низкий расход топлива.
Чтобы выбрать подходящий вариант, нужно ознакомиться со всеми типами конструкций печей.
Основные виды печек
Современное отопительное оборудование можно классифицировать по ряду характеристик, но главной из них является тип используемого топлива. Исходя из этого, можно выделить следующие группы.
- Газовые печи характеризуются высоким КПД и приемлемой стоимостью, но при установке такого оборудования требуется доступ к централизованной газовой магистрали.

Газовые печи
Обратите внимание! Монтаж газового котла лучше доверить профессионалам, чтобы были соблюдены все правила обращение с подобного рода приборами.
- Преимуществом электропечек является возможность выбрать ту модель, которая больше всего подходит по уровню мощности. Но есть и недостаток, притом значительный – высокий расход электричества. Конструирование подобных агрегатов также лучше доверить специалисту во избежание аварийных ситуаций.

Электрический обогреватель
- Твердотопливные печи продаются во всех специализированн
ых магазинах, но при желании их можно изготовить в домашних условиях, что поможет существенно сэкономить. 
Твердотопливные печи
- Печи, работающие на отработанном масле, отличаются экономичностью и простотой эксплуатации.

Печка на отработке в гараж
Гаражная печка – какой она должна быть
Для выбора подходящей конструкции нужно заранее определиться с несколькими важными моментами, среди которых:
- площадь гаража;
- планируемые сроки отопления;
- максимальный бюджет.
Обратите внимание! Если гараж выполнен в виде пристройки к дому, то желательно установить прибор, который будет подключаться к электро- или газовой сети. Если же это отдельное помещение, то лучше организовать автономную систему.
Печь должна иметь следующие параметры:
- сечение вытяжного канала – 10 см;
- вес – не более 35 кг;
- размеры – 70х50х35 см;
- объем – не больше 12 л.
Изготовление печки на дровах

Изготовление печки на дровах
Это простой вариант, который идеально подходит для обогрева гаражного помещения. Самой популярной среди автолюбителей является конструкция под названием «буржуйка».
Основные преимущества

Буржуйка своими руками
Среди многочисленных положительных качеств, которыми обладает такая печь, стоит отметить:
- отсутствие необходимости в строительстве фундамента;
- простоту эксплуатации;
- возможность использования как для обогрева, так и для приготовления пищи;
- экономичность;
- автономность от коммуникаций;
- низкую стоимость;
- небольшие габариты;
- высокий КПД.
Обратите внимание! Единственным минусом можно считать высокий расход топлива, пускай и относительно недорогого. Древесина быстро перегорает, а тепло, образующееся при этом, не аккумулируется. Как только прекращают топить, корпус печи начинает остывать.
Конструкция «буржуйки»

Конструкция «буржуйки»

Конструкция «буржуйки»
Каких-либо четких требований касаемо конструкции нет, каждый может сделать «буржуйку» с учетом собственных потребностей и предпочтений. Но в любом случае печка должна состоять из четырех основных элементов.
- Топочная камера – емкость, в которой будет сгорать топливо.
- Решетка, расположенная рядом с основанием. Она обеспечивает тягу и используется для укладки дров.
- Зольник устанавливается ниже решетки. Он необходим для удаления сажевых скоплений.
- Дымоход.
При желании «буржуйку» можно несколько усовершенствоват

Изготовление буржуйки

Изготовление буржуйки

Изготовление буржуйки
Что потребуется в работе
Для изготовления дровяной печи требуются такие материалы:
- швеллер;
- железная емкость на 200 л;
- трубы.
Для определения объемов расходных материалов ознакомьтесь с чертежами гаражной печи, тщательно изучите все соединяющие узлы.
Сборка конструкции

Сборка конструкции

Приблизительная схема печи
Шаг 1. Вначале срезается верхняя часть емкости. Для этого можно воспользоваться болгаркой.

200-литровая бочка
Шаг 2. Равняются образованные кромки. Края бочки заворачиваются молотком внутрь. Аналогичным образом подгибаются края крышки, но в этот раз наружу.
Шаг 3. В центре крышки вырезается отверстие ø10-15 см под трубу. Для этого можно воспользоваться молотком и зубилом.
Шаг 4. К крышке приваривается швеллер. При этом отверстие для пробки можно как заварить, так и оставить для визуального контроля процесса горения.

Прижимной круг

Установка прижимного круга в печь
Шаг 5. В верхней части корпуса проделывается отверстие ø10 см под дымоход, приваривается труба.
Шаг 6. В отверстие на крышке вставляется труба соответствующего диаметра так, чтобы слегка поднималась над поверхностью. С помощью этой трубы будет подаваться воздух в конструкцию.

Элементы печи

Печь для гаража
Печь-«буржуйка» готова.

Установка дымохода

Установка дымохода

Установка дымохода

Установка дымохода

Установка дымохода
Особенности эксплуатации
После сборки печи необходимо провести тестирование на предмет правильности функционирования

Загрузка дров
Шаг 1. Вначале топочная камера на треть заполняется дровами.
Шаг 2. Устанавливается и закрывается крышкой труба для подачи воздуха. В ходе сжигания топлива крышка понемногу опускается.
Шаг 3. Вставляются дрова, слегка смачиваются бензином, кидается зажженная спичка.
Обратите внимание! Если все сделано правильно, то этих дров хватит примерно на семь часов работы. Время теплоотдачи заполненной дровами печи может достигать шестидесяти часов.

Печь в работе
Видео – «Буржуйка» своими руками
Изготовление печи на отработке

Отработанное масло для печи
Схема агрегата на отработанном масле во многом напоминает описанную выше «буржуйку», но все же имеет свои особенности.

Изготовление печи на отработке
Основные преимущества
К сильным сторонам конструкции стоит отнести:
- простоту монтажа;
- возможность контроля температурного режима;
- экологичность;
- безопасность эксплуатации;
- мобильность;
- использование дешевого топлива, подлежащего утилизации.

Изготовление печи на отработке
Что потребуется в работе
Для конструирования печи на отработке нужно позаботиться о:
- вытяжной трубе;
- паре металлических емкостей с толщиной стенок минимум 4 мм;
- патрубке под верхнюю емкость;
- соединительной трубе, имеющей множество отверстий.
Сборка конструкции
Последовательнос
Шаг 1. Одна из емкостей объемом в 10-15 л послужит нижней частью конструкции – именно сюда будет подаваться отработка. В верхней части этой емкости проделывается отверстие.

Конструктивные элементы будущей печки для отработки
Шаг 2. Приваривается крышка. Это нужно сделать так, чтобы с ее помощью можно было регулировать подачу воздуха при горении отработки – для этого крышка должна подниматься/опус
Шаг 3. Верхняя емкость будет служить одновременно топочной камерой и нагревательным прибором. Толщина стенок емкости, как уже говорилось, должна быть минимум 4 мм, ведь конструкция будет накаляться до 900ᵒС.

Сорка печи на отработке
Шаг 4. Емкости соединяются между собой перфорированной трубой ø36 см.
Обратите внимание! Если используется цельнолитое изделие, то в нем необходимо проделать 48 отверстий ø1 см – 6 рядов по 8 штук в каждом.
Шаг 5. К верхней емкости приваривается патрубок.

Печь на отработке
Шаг 6. К патрубку присоединяется оцинкованная труба для вытяжки. Для обеспечения хорошей тяги высота дымохода должна составлять минимум 4 м.
Если все сделано правильно, то в результате получится печка с такими характеристиками
- вес – 30 кг;
- габариты – 50-70 см;
- расход – 2 л/час.

Печь на отработке
Советы по эксплуатации конструкции
Для полноценного обогрева всего помещения нужно придерживаться определенных требований.
- Печь необходимо установить как можно дальше от горючих материалов.
- Раз в две недели нужно чистить конструкцию.
- Если диаметр вытяжной трубы больше, чем выхлопной, то снизится количество сажи.
- Если вместо отработки используется чистый материал, то чистку можно проводить реже – примерно раз в месяц.
Пробный запуск печки

Печь на отработке
После сборки самодельной конструкции необходимо выполнить следующие действия.
Шаг 1. В нижнюю емкость помещается кусок бумаги, поверх него заливается отработка.
Шаг 2. Топливо зажигается (примерно через десять минут).
Шаг 3. При дальнейшей работе отработку необходимо заливать пропорционально – по 4 л за один раз.
Обратите внимание! Вместо отработки можно использовать дизельное топливо.
Печь на отработке
Для более детального ознакомления с конструкцией, посмотрите тематический видеоматериал.
Видео – Печь на отработанном масле
svoimi-rykami.ru
обзор 4-х лучших самодельных конструкций
Автолюбители, имеющие гараж на приличном расстоянии от дома, всегда сталкиваются с проблемой его обогрева в зимний период. Ведь никакого смысла в холодном гараже нет. Поэтому каждый старается выдумать что-то для обогрева. Самое простое – включить электрический обогреватель, но проблема в том, что он не способен в полной мере прогреть такое помещение, как гараж. Кроме того, электричество не является дешевым видом энергии. Существует много вариантов создания эффективного отопления в гараже. Мы предлагаем вашему вниманию некоторые из них. Итак, делаем печь для гаража своими руками: обзор 4-х лучших самодельных конструкций.
Какие требования предъявляются к гаражным печам
В большинстве случаев гараж является не очень просторным помещением. Особенно это чувствуется, когда там находится машина. Тем не менее, автолюбитель проводит достаточно много времени в этом замкнутом пространстве. Исходя из этого, к печи, которой планируется оборудовать это помещение, предъявляются следующие требования:
- Ее размеры должны быть компактными, чтобы она не мешала свободному проходу людей и въезду автомобиля.
- Работать печь должна на твердом или жидком топливе, а лучше на обоих видах.
- Разогрев печи до рабочей температуры должен происходить как можно быстрее.
- Температуру в гараже печь должна поддерживать длительное время.
- Конструкция обязана быть простой и легкой в изготовлении.
- Стоимость материалов не может превышать разумных пределов.
- Печь должна быть практична, удобна в обслуживании и повседневной эксплуатации.
- Отопительный агрегат не должен выжигать кислород слишком сильно и выделять вредные вещества в помещение гаража.
- Окружающие печку материалы должны быть надежно защищены от возгорания.
Всем эти требованиям, по нашему мнению, соответствуют следующие виды самодельных печей: кирпичная, металлическая буржуйка, агрегат на отработке, печь длительного горения. Рассмотрим каждую из них более подробно.
Кирпичная печь для гаража
Использование огнеупорного кирпича для сооружения печки в гараже не очень сильно распространено, поскольку этот вариант является достаточно трудоемким. Вместе с тем, кирпичная печь обладает рядом достоинств и полностью соответствует предъявляемым требованиям. Размеры такой печки небольшие: достаточно сложить ее на площади 2Х2,5 кирпича. Работает она на обычных дровах, а температуру поддерживает долго, так как кирпич обладает прекрасной теплоемкостью. Стоимость материалов невысока, а риск воспламенения чего-либо от такой печи минимален, так как кирпич не способен нагреться до очень высокой температуры.
Вместе с тем, имеются у этого варианта и недостатки. В первую очередь это сложность сооружения. Не каждый умеет обращаться с кирпичом и делать правильно кладку, не говоря уже о тонкостях печного дела. Поэтому, для кладки кирпичной печки лучше нанять печника, который предусмотрит все нюансы. Еще один недостаток – не слишком быстрый нагрев печи до рабочей температуры по сравнению с другими вариантами.
Если вы все же решили самостоятельно сложить печь в гараже, то для этой цели нужно использовать шамотный кирпич. В раствор тоже рекомендуют добавлять шамотный порошок. Под печь делают фундамент из бетона, на котором производят кладку. Длина печи 2,5 кирпича, а ширина 2 кирпича. Если вы хотите сделать плиту для нагревания емкости с водой, то длину нужно увеличить до 3,5 кирпичей. Высота печи обычно составляет 9 рядов кирпичей, после чего делают дымоход. Он может быть выполнен полностью из кирпича по типу шахты, проходящей через перекрытие. Другой вариант – металлическая труба диаметром 120 – 150- мм. В этом случае нужно позаботиться о грамотной огнезащите перекрытий и кровли.

Варианты кирпичных печей для гаража.
Буржуйка – простейший прибор для отопления гаража
Самым простым и удобным в изготовлении вариантом обогревательного устройства для гаража является всем известная буржуйка. Это металлическая печь небольших размеров. Делают буржуйку из листового металла или из старой бочки. Подойдет и любая труба большого диаметра. В любом случае, главным критерием в выборе должна быть толщина металла. Она не должна быть меньше 5 мм.
Для изготовления буржуйки понадобится болгарка и сварочный аппарат. Для сооружения печки из листового металла, его режут болгаркой по шаблону. Чтобы размер был оптимальным для использования полноценных дров, длину деталей лучше взять 70 см, а ширину 30 см. Из четырех элементов указанных размеров сваривают параллелепипед. Заднюю стенку заваривают квадратом 30х30 см, а в передней стенке такого же размера вырезают проем для топки 25х25 см. Для этого проема делают дверцу с запорным устройством, и навешивают на шарниры, которые крепят сваркой. В дверце просверливают несколько отверстий для создания тяги.
Снизу приваривают ножки из швеллера или уголка необходимой длины, а сверху в задней части прорезают круглое отверстие диаметром 100 мм. Поверх него приваривают отрезок 110 миллиметровой трубы длиной 15 – 20 см. На нее будет надеваться дымоход, который должен быть хорошо изолирован от перекрытий и кровли. Его возможно вывести и в стену, но угол поворота должен быть не более 30 градусов.
Более эффективный вариант буржуйки получается, если устроить в ней поддувало и зольник. Для этого в нижней части топки делают небольшое отделение, которое от топки отделено колосником, либо самодельной пластиной с прорезями. В это отделение предусмотрена отдельная дверца, через которую можно будет удалять золу.
Прямоугольная металлическая буржуйка для гаража.
Сделать буржуйку из бочки или обрезка трубы еще проще. В случае бочки нужно только устроить дверцу, дымоход и ножки. Если у вас есть обрезок трубы, диаметром не менее 300 мм, то можно сделать из листового металла заднюю часть печки и дверцу. Все остальное сооружают аналогично предыдущим вариантам. Некоторые умельцы делают хорошие буржуйки из старых газовых баллонов. Для их разрезания, нужно сначала просверлить аккуратно отверстие, поливая сверло водой. Затем слить из баллона конденсат и залить туда воду. Только после полного промывания можно начинать резать баллон болгаркой.
Круглая буржуйка из бочки для гаража.
Буржуйка обладает всеми необходимыми качествами: работает на дровах или угле, нагревается очень быстро, проста в изготовлении и обслуживании, практически ничего не стоит, если делать ее из бросового материала. В качестве недостатка можно назвать достаточно быстрое остывание при прогорании дров. Из-за сильного нагрева металлическая печка должна быть хорошо изолирована от стен гаража, если они деревянные. Чтобы КПД такого агрегата был больше, можно приварить к поверхности буржуйки перпендикулярные пластины шириной 5 см. Это увеличит площадь нагрева при незначительном увеличении габаритов.
Самодельная печка на отработанном масле
Не всегда дрова и уголь доступны для автомобилистов по доступной цене. А вот отработанное масло можно найти в любом гараже. Хорошо если у вас есть знакомые на ближайшем СТО. Тогда проблем с топливом для самодельной печки на отработке не будет и вовсе. Агрегат такого типа сегодня достаточно популярен, даже несмотря на его несколько замысловатую конструкцию. Впрочем, тот, кто умеет обращаться со сварочным аппаратом и болгаркой, сделает такую печь без особого труда.
Принцип действия такого агрегата основан на том, что газообразные вещества при смешивании с воздухом способны гореть с выделением большого количества тепла. Задача печи – перевести топливо из жидкого состояния в газообразное и воспламенить полученную газовую смесь. Для выполнения такой задачи, печь делают из двух отделов. В нижний заливают отработку, в котором она горит, выделяя еще более горючие газы. Они поднимаются во второй отдел, имеющий вид трубы с отверстиями для поступления воздуха. При контакте с кислородом происходит их воспламенение и сгорание с выделением колоссального количества тепла, несравнимого ни с каким другим видом печей.

Самодельная печь для гаража на отработке.
Изготавливают такую жидкотопливную печь следующим образом. Берут листовое железо и варят из него нижнюю часть, которая является топливным баком. Его соединяют трубой, имеющей множество дыр диаметром 10 мм, с верхней камерой, где происходит догорание отработанных газов. Она в свою очередь соединяется с дымоходом, который должен быть строго вертикальным. В топливном баке имеется отверстие, в которое заливают отработку и поджигают ее. Это отверстие закрывают регулируемой заслонкой. С помощью нее контролируют количество поступающего воздуха, а, следовательно, и интенсивность горения. Если есть возможность изготовить такую печь из бочки или газового баллона, то это еще удобней.
Такая печь способна работать на любом жидком топливе, исключая легкие воспламеняющиеся вещества, такие, как бензин, ацетон или эфир. Лучше всего в качестве топлива подходят: соляровое масло, трансмиссионное, нефтяное, трансформаторное, а также керосин, дизтопливо, мазут. Из-за высокой температуры сгорания газа и присутствия открытого огня обращаться с такой печью нужно осторожно. Установлена она должна быть жестко, чтобы исключить ее случайное опрокидывание, так как горящее жидкое топливо, разлившееся по полу, вряд ли удастся быстро потушить. Ни в коем случае нельзя оставлять такую печь без присмотра. Агрегат можно усовершенствовать, соорудив устройство для капельной подачи отработки в бак.
Печь на дровах длительного горения
Это самый экономичный, эффективный, но в то же время и самый сложный агрегат. Принцип его действия основан на сгорании пиролизных газов. Они имеют очень высокую энергию сгорания и выделяют большое количество тепла. Появляются пиролизы в результате медленного тления древесины при ограниченном доступе кислорода. В этом случае органические вещества распадаются на твердые и газообразные. Твердые тлеют, а газ поднимается в верхнюю камеру и возгорается, выделяя большое количество энергии.
Достоинством такой печи является ее очень высокий КПД. Одна охапка дров способна поддерживать работоспособность агрегата в течение 15 – 20 часов. Кроме дров в такой печи могут использоваться любые отходы деревопереработки: опилки, кора, сучки. Как более дорогой вариант: топливные брикеты, паллеты и другое современное твердое топливо.
Главной задачей при изготовлении печи длительного горения является создание в ней условий, позволяющих отделять пиролизы и воспламенять их отдельно от дров. Чаще всего для этого берут готовую 200 литровую металлическую бочку. Верх бочки отрезают и делают в нем отверстие, куда будет входить дымоход диаметром не менее 150 мм. Еще одно отверстие прорезают диаметром 100 мм. Туда будет вставлена труба для поступления воздуха. Затем делают тяжелый поршень. Для этого из листового металла вырезают круг чуть меньшего диаметра, чем бочка. В нем прорезают отверстие под трубу подачи воздуха и приваривают эту трубу. Снизу к получившемуся поршню приваривают пару кусков тяжелого швеллера. Поршень вместе с трубой вставляют сверху в бочку и закрывают всю конструкцию крышкой так, чтобы труба для воздуха вышла в приготовленное для нее отверстие. На ней делают еще и заслонку для регулирования потока.
Внизу бочки вырезают отверстия для люков подачи дров и зольника. Они должны закрываться плотно, чтобы исключить попадание туда воздуха, так как подаваться он должен через трубу в поршне. Устанавливают всю конструкцию на бетонный фундамент или кирпичную кладку.

Усовершенствованный вариант печи длительного горения из бочки.
Для заправки печи дровами, поршень нужно поднять за трубу в верхнее положение и зафиксировать там. Для этого можно придумать какие-нибудь фиксаторы. В топку накладывают дрова «под завязку». Затем поршень опускают, прижимая им дрова. Производят розжиг с помощью любой горючей жидкости, кроме бензина. Когда дрова разгорятся хорошо, доступ кислорода ограничивают. Выделившиеся пиролизы попадут в камеру над поршнем и воспламенятся там. Они будут гореть, выделяя очень много тепла, хотя дрова будут только тлеть.
При выборе варианта устройства печи в гараже необходимо руководствоваться принципом простоты и экономичности. Все предложенные варианты отвечают данным критериям и могут быть с успехом приняты автолюбителями.
Если же вы хотите сделать печь для бани своими руками, то смело переходите по ссылке.
stroyvopros.net







