Самодельные приспособления в гараж – Cамоделки для гаража — полезные идеи
Самодельные приспособления для гаража + видео
Обычно гараж – это второй дом настоящего мужчины. Это и место для хранения транспорта, и кладовка, и мастерская и уголок для отдыха. Гараж оборудуется разными верстаками, полками, столами и шкафчиками, чтобы обеспечить комфортное пребывание как человека, так и транспортного средства. Чтобы не покупать дорогостоящие элементы, можно сделать необходимые самодельные приспособления для гаража, которые упростят использование помещения.

Мы рассмотрим рекомендации и советы, как именно можно сделать приспособления для гаража своими руками. Что это за приспособления? Что нужно сделать в гараж? Как его правильно обустроить, чтобы все было под ругой? Советы из этой статьи помогут в этом. К тому же мы рассмотрим наглядные видео для упрощения задачи.
Общие рекомендации по созданию для гаража
Существует большой перечень того, что мужчина хотел бы видеть в своем гараже. Ведь оно должно быть довольно вместительным, чтобы обустроить там мастерскую, чистым, чтобы ничего не мешало работе, а также комфортным и правильно обустроенным. Никто не хочет искать отвертку среди груды металла и других инструментов.

Для обеспечения комфортных условий в гараже нужно учитывать основные требования касательно обустройства пространства внутри:
- Внутри гаража должны быть полки для хранения сезонных шин, а также полки для инструментов и других вещей. Это позволит сэкономить пространство и правильно его организовать.
- Требуется обеспечить качественное освещение, так как обычно в гараже нету окон, или оно одно. Недостаток освещения делает гараж мрачным и непривлекательным. К тому же работать в полумраке не совсем полезно для здоровья, да и можно ошибиться, что-то повредив.
- Чтобы расширить диапазон работ внутри гаража, требуется установить строительный верстак, станок, смотровую яму и другие приспособления.
Ниже приводится схема-пример, как можно выполнить обустройство гаража и приспособлений для него.

Она расшифровывается так:
- Место для открытых кронштейнов и крючков, куда помещаются самые полезные и часто используемые инструменты.
- Место для стеллажа, для мелких инструментов и приспособлений.
- Полки для автомобильных запчастей и шин.
- Место для стеллажа с крупными инструментами и приспособлениями.
- Шкафы для других вещей, таких как садовые инструменты, веник, швабра и т. д.
- Верстак с полками.

Теперь, когда мы выяснили пример того, как можно организовать пространство, рассмотрим, как сделать самодельные станки и приспособления для гаража.
Полки для гаража своими руками
Практически 80% полок в гараже нужны для того, чтобы хранить разные приспособления и принадлежности, такие как:
- инструменты и дополнительные приспособления для гаража;
- комплектующие детали для транспортного средства;
- аксессуары.
Очень часто полки, которые делают своими руками, совмещают со стеллажом. Он тоже делается своими руками. Именно стеллаж рассматривают как основное место для хранения вещей. А когда стеллаж установлен, остается заполнить его вместительными и удобными полками для приспособлений гаража.

Требуется выделить место в гараже под хранение рабочей одежды. Лучше разместить его около двери, чтобы вы могли сразу раздеться по приходу в гараж, а потом снова переодеться, выходя из него. Не нужно создавать целый шкаф или большую вешалку. Иногда достаточно одной полки с крючком. Однако, все зависит от потребностей.
Стоит учитывать, что гараж – это помещение с опасными легковоспламеняющимися материалами: бензин, масло, краска, растворитель, полироль и т. д. Поэтому нужно сделать отдельный шкаф, где будут храниться все эти материалы. Возле него установить огнетушитель и бочонок с песком, которого хватит на ликвидацию воспламенения.
Совет! Чтобы защитить колеса от пыли и грязи (так как они будут находиться на кронштейнах), можно использовать большие пакеты или купить специальные чехлы для шин.
Из этого видео вы можете наглядно увидеть, как именно сделать полки для хранения инструментов и других приспособлений для гаража.
Кронштейны и полки для шин
Комплект запасной резины является громоздким и забирает много места. Обычно ее хранят в гараже. И чтобы она не занимала много полезного пространства, их можно подвесить. Участок на высоте не нужен, поэтому на высоте фиксируются кронштейны для хранения шин.
Конструкция приспособления для гаража следующая:
- две рамки, сделанные в форме треугольника из уголков. Между ними устанавливаются перемычки. Для этой цели подходит прочный металл;
- треугольные рамки делаются под углом в 90° и монтируются на выбранном участке. Колеса устанавливаются перпендикулярно несущему элементу конструкции. Сами шины следует немного утопить между перемычками. Так они будут надежней висеть, зафиксировавшись под собственным весом. На фото видно, как это реализовать.

Совет! Размещайте полку для колес повыше к потолку. Это позволит удобно хранить их, они не будут забирать полезное пространство.
Чтобы компактно хранить колеса в гараже, некоторые используют стеллаж с четырьмя широкими полками. Он используется для колес вместе с дисками. Их удобно располагать друг над другом горизонтально. Стеллаж можно сделать угловым и установить повыше к потолку.
Для создания приспособления потребуются:
- бруски из дерева;
- деревянные доски;
- несколько листов ДСП.
О том, как сделать такие самодельные приспособления для гаража своими руками узнаете из видео.
Идеи для хранения инструментов
Чтобы хранить инструменты, запчасти и другие приспособления для гаража, можно организовать зону для их размещения. Достаточно сделать своими руками вместительный стеллаж и полки. В магазине есть множество разнообразных вариантов приспособлений, но они обойдутся дороже. Да и вещь, сделанная своими руками, ценится намного больше. К тому же габариты приспособлений для гаража будут созданы под его параметры.
Важно! Минимально выдерживаемые нагрузки для полки и стеллажей – 150 кг и больше. А вот одна секция должна иметь максимальное ограничение по весу 500 кг.

Существует несколько правил, если приспособление для гаража будет сделана из дерева:
- Подходит дерево твердых пород, такие как бук, дуб или граб. Обычно применяют сосну, так как она дешевле и проще в обработке. Однако, твердые породы надежнее.
- Перед тем как выполнять сборку приспособлений, требуется обработать дерево специальными защитными пропитками и антисептиками. Это продлит срок их эксплуатации
- Детали, из которых состоит каркас, требуется обработать наждачной или шлифмашинкой. Это сделает эксплуатацию более безопасной.
- Полки лучше создавать из листов ДСП, фанеры или ОСБ. Как вариант использовать плиты ДВЛ, толщина которых не меньше 4 мм.
Выбирать толщину дерева нужно от нагрузок, возлагаемых на него. Существуют некоторые рекомендации по изготовлению гаражных полок. Для начала нужно создать план размещения полок, определиться с размером и сделать разметку. Дальше подготавливается материал (доски, крепежи) и инструмент. Перфоратором в стене просверливаются отверстия, в них вставляются дюбели с крючками. Это позволит усилить фиксацию приспособлений. На досках закрепляются подвесы, после чего осуществляется фиксация готовых приспособлений. При этом важно пользоваться строительным уровнем, чтобы сделать все ровно.
Важно! При изготовлении полок лучше создавать несколько коротких конструкций, чем делать одно большое. Дело в том, что большое может не выдержать вес инструмента и проломится по центру под весом.
Остается только покрасить изделие или оклеить специальной клеящей декоративной пленкой.

А теперь рассмотрим технологию создания стеллажа для гаража. Нам потребуется доска, шириной 10 и 20 см. Но, габариты конструкции каждый выбирает сам. Инструкция:
- Доску 10 см шириной, нужно распилить на несколько частей, длина которых 18, 27,5 и 30 см. Эти детали служат распорками.
- Доска 20 см разрезается на части по 36 см. Из них будут формироваться полки в стеллаже.
- Доска, служащая основанием для конструкции, нуждается в разметке. Нужно отметить места с распорками. С каждой стороны делается отступ в 2,5 см.
- Верхняя распорка приклеивается, к ней фиксируется верхняя полка с распоркой. По такому же принципу формируются следующие детали. Нижняя распорка монтируется в самом конце.
- Приспособление переворачивается, а распорки стягиваются посредством шурупов вместе с основой конструкции.
- Осталось отшлифовать изделие наждачкой и покрыть его 2 слоями лака или другим материалом.
- Приспособление фиксируется на стене анкерными шурупами как под верхней, так и под нижней полкой.
Если нужно укрепить стеллаж, между секциями устанавливаются деревянные бруски. Благодаря им нагрузка равномерно распределяется по конструкции.

Обратите внимание! Комфортность в гараже обеспечивается и за счет качественного освещения, вентиляции и обогрева.
Для освещения используются лампочки или светильники, а в качестве вентиляции достаточно сделать продухи в кирпичной кладке. Их закрывают решетками. Отопление можно делать печным, газовым, воздушным или водяным.
Создание верстака для гаража
Конструкция верстака включает в себя столешницу и подстолье, и несколько элементов зажимного типа. Требуется правильно выбрать высоту верстака. Она зависит от роста того, кто будет работать в гараже. Для ориентира можно использовать высоту собственного кухонного стола. Для создания верстака лучше пользоваться чертежами, как на этом фото.

Такие чертежи только пример, их можно подогнать под собственные размеры. Теперь можно приступать к работе:
- Собирается столешница. Для этого нужны 20 досок, размером 5х10х200 см, имеющие пазы 2,5х2,5 см в пятом и шестнадцатом элементе. Крепление клеевым составом и металлическими стяжками. Нужно дождаться, когда дерево высохнет.
- Дальше делаются ножки. Для этого потребуется брус 10х10х80 см, имеющие пазы под кронштейны на опорах спереди. Фиксируются они посредством кронштейнов.
- Выполняется сборка основания подстольника. Делаются две рамы из досок 5х10 см. Тип крепления: шип в паз, глубиной 2,5 см, а также болты.
- Фиксируются боковые и задние опорные стенки из плит ДСП, толщиной 10 мм. Здесь используются шурупы.
- Осталось зафиксировать верхнюю столешницу к верней раме при помощи болтов.
Чтобы приспособление прослужило долго и не подвергалось гниению, деревянные элементы нужно обработать олифой и вскрыть лаком.
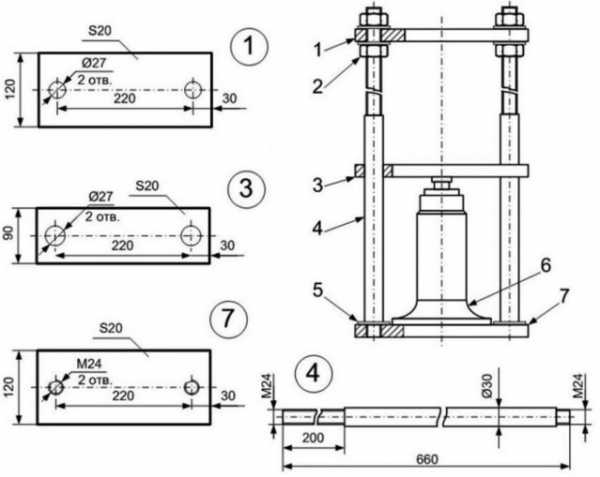
Теперь, когда стол готов, можно сделать пресс для гаража. Его можно купить, но если есть желание, то он делается своими руками. Для этого потребуется 4 отрезка труб из металла, из которых делается каркас. Его габариты 178х80 см. Детали соединяются сваркой. Дальше устанавливается:
- Фиксатор.
- Съемный упор.
- Гидравлический или бутылочный домкрат.

Выше приводится схема, на которой указано верхнюю силовую платформу (1), гайки (2), нижнюю платформу (3), шпильки, диаметр которых 30 мм (4), нижнюю резьбу шпилек (5), гидравлический домкрат (6), основание, толщина которого 20 мм (7).
Ниже приводится видео, как сделать верстак из металла для гаража.
Заключение
Сделать самодельные приспособления для гаража своими руками несложно, если иметь инструкцию и подходящие инструменты. Зато они могут значительно упростить работу в гараже. Есть еще и другие приспособления, которые будут полезны, каждый сам решает, что именно ему еще нужно в гараже.
bouw.ru
Полезные приспособления для гаража своими руками
Д ля рационального использования пространства используются коммуникации и приспособления для гаража своими руками из подручных материалов. Необходимо задействовать в процессе стены, подземный уровень, разместить внутри помещения станки, организовать нормальное освещение.

Приспособления-самоделки для гаража
Для комфортной эксплуатации помещения, предназначенного для хранения авто, следует придерживаться определенных рекомендаций:
- инструмент обязан быть максимально доступным;
- места хранения, оборудованные полками/стеллажами, значительно удобнее;
- верстаки, смотровая яма, самодельные станки и приспособления для гаража своими руками расширяют возможности автовладельца;
- погреб позволяет сэкономить пространство участка;
- от качества освещения зависит производительность работ, мелкого ремонта.

Организация рабочего пространства внутри гаража
В зависимости от габаритов постройки площадь, занятая оборудованием, приспособлениями, коммуникациями, не должна быть больше 10 – 20% от размеров пола гаража.
В 80% случаев приспособления для гаража своими руками сооружаются для хранения аксессуаров, инструмента, комплектации автомобиля. При этом следует учесть, что самыми громоздкими деталями машины являются комплекты зимней/летней резины в зависимости от сезона.

Правила хранения шин
Хранить колеса удобнее на кронштейнах следующей конструкции:
- две треугольных рамки из уголка, соединенные перемычками из любого металлопроката;
- треугольники крепятся к стене, колеса устанавливаются перпендикулярно несущей конструкции, чуть проваливаясь между перемычками.

Кронштейны для хранения колес
Это самый экономичный вариант хранения резины в межсезонье. Наиболее востребованы автолюбителями прямые и угловые верстаки. Нижнее пространство обычно заполняется полками или ящиками, на столешнице располагаются заточные станки, тиски.

Самодельный гаражный верстак

Пример организации углового рабочего места

Весьма удобным может стать складной верстак

Дерево — универсальный материал как для верстаков, так и для стеллажей
Деревянный верстак проще соорудить самостоятельно, однако он обладает меньшим ресурсом, чем аналог из металлопроката, который нужно сваривать. Если в несущие стены при строительстве не заложены уголки для полок, проще изготовить стеллажи из металлопроката или пиломатериала.

Самодельные гаражные стеллажи

Использование для стоек стеклянных бутылок

Встроенные шкафы обладают большой компактностью

Оригинальные подвесные полки подойдут для хранения длинномеров
Конструкция и расположение стеллажей внутри каждого гаража слишком индивидуально, чтобы следовать общим рекомендациям.
Нужным приспособлением для гаража своими руками становится смотровая яма. Причем, владельцу не обязательно производить весь ремонт самостоятельно. Подземная коммуникация может использоваться в случаях:
- осмотр ходовой, рулевой, тормозной системы перед дальней поездкой;
- замена масла, позволяющая сэкономить, не занимающая много времени;
- мелкий ремонт, который позволяет осуществлять квалификация владельца.

Смотровая яма в гараже
Вход в погреб удобнее устраивать из ямы, так как это позволит забетонировать несколько ступеней вместо использования приставной лестницы.

Погреб под гаражом
Основными нюансами этих конструкций являются:
- вспучивание глинистых грунтов вредно для подземных конструкций;
- поэтому утепляются пенополистиролом снаружи все элементы ямы и погреба;
- в подстилающем слое перед бетонированием, обратных засыпках пазух котлованов используется песок или щебень;
- по периметру подземных конструкций на уровне подошвы укладываются дрены для сбора и отвода воды.

Ширина ямы должна позволять заезжать на нее водителю без освещения.
В гаражах чаще используются параллельные схемы осветительных приборов. Один светильник позволяет пользоваться конкретной зоной, несколько приборов включаются во время крупного ремонта, посещения погреба. Минимальный расход электроэнергии обеспечивается светодиодными лампами. Большим ресурсом обладают приборы дневного освещения .

В автомобилях используются ядовитые, вредные ГСМ, поэтому становятся актуальными приспособления для вентиляции гаража своими руками, позволяющие создать воздухообмен. Приток организуется снизу:
- гараж – продухи в кладке, защищенные решетками;
- погреб – труба из гаража или с улицы.

Вентиляция гаража и погреба под ним
Вытяжка монтируется под перекрытием погреба, крышей гаража либо имеет вид продухов в капитальных стенах в самых высоких точках.
Вентиляция в гараже своими руками. Из данной публикации вы узнаете почему так важна вентиляция гаража, какие существуют схемы воздухообмена, нюансы монтажа.
Полезные приспособления для гаража своими руками могут изготавливаться из использованной посуды, инвентаря, оставшихся после стройки материалов. Например, приклеив крышки пластиковых банок горизонтально/вертикально, владелец получает удобную прозрачную посуду для оснастки или метизов, которая всегда под рукой.

Приспособление для хранения мелких деталей, инструментов, метизов

Интересная стойка для хранения отверток из ПВХ-трубы
Из электроинструмента можно собрать самодельные станки и приспособления для гаража:
- сверлильный – дрель, зафиксированная хомутами в приспособлении, перемещающемся шестерней по рейке;

Сверлильный станок из дрели
- отрезной – зажатая аналогичным образом УШМ с оснасткой по металлу или дереву;

Отрезной станок из УШМ
- токарный по дереву – передняя бабка из дрели, задняя из патрона, закреплены на раме из квадратной трубы.

Токарный станок из дрели
Преимуществом станков является более точное позиционирование оснастки относительно заготовки. Оборудование получается разборным, дрель и УШМ моно снять, применить по назначению.
Токарный станок по металлу для гаража. Виды станков, технические характеристики, конструкция, обзор популярных моделей в специальной публикации нашего онлайн-журнала.
Простейшая конструкция гидравлического пресса получается из автомобильного гидродомкрата. Для выпрессовки/запрессовки подшипников, прижима/сжатия деталей потребуется соорудить раму и съемный подвижный упор. Рама состоит из 4 швеллеров, приваренных друг к другу. Наверху конструкция усилена ребрами жесткости (косынками), снизу добавлены поперечные уголки, придающие рамке устойчивость.

Гидропресс своими руками из домкрата
Упор подтянут в нормальном положении к верхней перекладине рамки мощными пружинами. Между ними устанавливается гидродомкрат, по мере необходимости прижимающий упор к нижней перекладине рамки. Усилие пресса регулируется домкратом, габариты рабочей зоны подбираются в зависимости от размеров заготовок.
И напоследок еще несколько примеров полезных вещей для гаража.

Стеллажи у потолка

Кармашки для хранения отрезных дисков из одноразовых тарелок


Приспособление для удобного использования ниток и веревок

Обрезки ПВХ трубы — идеальный материал для создания удобных мест хранения

Удобные выдвижные стеллажи для хранения инструмента
Некоторые решения очень даже интересны. Как раз планирую привести в порядок свой гараж, да никак руки не доходят. Но в копилку идей кое что добавил. Правда для реализации всех планов, наверное придется брать отпуск)
Дельные советы! У меня есть своя хитрость. Поскольку гараж короткий очень сложно уместится. Повесил на стене шину в которую упираюсь. С ее помощью могу спокойно заезжать и не боятся поцарапать.
В качестве полезной приспособы пойдет хорошо установленный трубогиб, (вкопанный). Кроме прямого назначения, его можно использовать, как примитивное противоугонное средство. Один конец цепи за автомобиль, второй за трубогиб. Угонщику придется повозиться.
Еще в качестве самодельного приспособления можно использовать газовые баллоны, со срезанным автогеном оголовком, хороши для хранения гаражной химии. Крышку желательно металлическую, но можно и деревянную. Дополнительная защита, не помешает.
vizada.ru
Полезные самоделки для гаража | Свой ремонт авто, покраска, жестянка, видео
Здесь фото полезных самоделок и приспособлений, которые использую в гараже и при ремонте машины.
Отдельное предупреждение про пену в порогах. От пены металл превращается “в бумагу”.
Из-за отсутствия вентиляции это уязвимое место (пороги) за год-полтора просто “сгорают”.
На мерседесе даже двери делают с вентиляцией. А у наших людей идёт борьба с вентиляцией. Пену нельзя использовать в порогах , независимо от её качества и её каких то разных свойств (некоторые предлагают использовать какую то особенную пену). Три-четыре раза за практику вычищал пену из порогов. Состояние внутренних полостей порогов после пены всегда катастрофическое, метал преет от недостатка проветривания и вентиляции.
Пена никакая не подойдёт.
Это мой самодельный обратный молоток. Как он вытягивает можно посмотреть в записи про вытягивание.
Ремонт ударенного Фольцвагена. Этот инструмент меня часто выручает, очень удачное получилось соотношение длины хода груза и его массы. Про обратный молоток есть отдельная запись.


Фото про изготовление самодельного крепления на головную фару… Случай, когда например от удара, сломались все три крепления .
Если ломаются части площадок крепления, склеивать их- вариант хлопотный и ненадёжный. Я делал новые крепления просто из металических пластинок – аккуратно гнул их по форме и крепил самыми малыми саморезами.

Фото опять про использование обратного молотка. Я раньше приваривал толстые пластинки. Сейчас пришёл уважаемый человек и показал, как они поступали у себя в серьёзном сервисе где-то в 80-х годах. Я тоже попробовал приваривать именно куски электродов. Это оказалось очень удобно во всех отношениях. Ни разу не порвал ни один электрод, иногда выдирал их с корнем, так хорошо они держатся за счёт аккуратной приварки.
Саморезы через год-два из подкрылков бывает очень трудно выкрутить. Очень простой способ, но появился он не сразу. Нужна болгарка и диск 1.2 мм (лучше его остаток). Если шляпка от старости обломится два раза, тогда просто срежем у неё оставшиеся края и потом выкрутим остаток кусачками.

На болгарке чаще всего в первую очередь выходит из строя выключатель. Его можно заменить любой кнопкой панели приборов авто. У таких кнопок два режима – от нажатия и фиксированный. Болгарка с такой кнопкой остаётся безопасной в работе.
Давно хотел показать свою малую греющую лампу. Это лампа со строительного рынка или рынка “Садовод”. Такие используют в фермерских хозяйствах (обогрев поголовья…). Продавцы на рынках греют зимой руки, я грею и сушу всё подряд – краску, шпаклёвку, грунт, аккамуляторы для камеры которая снимает и т.д.
Есть также запись про изготовление полноценной греющей лампы, которую можно использовать для сушки покрашенных деталей. Точнее, запись про изготовление крепления в самодельный корпус этой греющей лампы для сушки.
Мои вентиляторы от Москвича 2141 на вытяжку. Подключены к старому аккамулятору, который стоит на постоянной подзарядке. Эффект вытяжки поражает воображение. За три минуты можно полностью освежить гараж от запаха пахнущей краски или от запаха горелого антикора (когда идёт сварка).
Вместо заезда на яму или использования домкратов можно просто наехать на наезды. Это быстрее.
Экспресс навес от падающих листьев, если красить частично бампер.
Двигатель можно вынуть самому, без посторонней помощи. Снять головку блока и отсоединить коробку. Главное подготовить промежуточную остановку, чтобы не бросать его на пол. Устанавливать обратно лучше вдвоём, чтобы себя в моторном отсеке не оставить. Ставить одному лучше не пробовать.
Иногда нужно найти длинный саморез с маленькой аккуратной шляпкой. Если его всё таки нет – можно обточить любой другой, сняв лишнее на болгарке. По такому принципу можно делать малозаметные крепления бампера.
Фильтры в маску быстро забиваются, но стотят недёшево. Я нашёл себе много фильтров от противогазов. Эффект тот же что у фирмы 3M.
Вместо съёмника руля можно использовать деревянный брус и длинный болт с очень грубой резьбой (на Москвиче такой держит запаску). Создаётся мощный натяг и в этот момент по болту надо приложиться молотком-кувалдой.
Самодельная греющая лампа. Есть запись как поставить инфракрасную лампу в самодельный корпус. Получается лампа для сушки.
Красить диски можно не снимая резину. Надо продавить скаченное колесо и под диск подложить что-либо в виде проставок. Я нашёл много корпусов от очищающих салфеток для рук. Можно вставить просто бруски. Запись про покраску дисков
Посмотрел на сваренные у других специалистов площадки-опоры, на которых висят крашенные детали и сделал себе что то похожее из дерева. Отдельно для дверей, отдельно для передних крыльев, отдельно для капота. На них крашу.
Можно переделать старинный шприцеватель и закачивать им пушсало в скрытые полости авто. Как это делаю есть на плеере в записи про пушсало.
Очень долго нее мог получить симметричный второй край бампера из самодельного стеклопластика. Всё стало просто, когда сделал “слепок” снятый с правильной части бампера и поместил его рядом с частью бампера, которую надо подправлять по форме. Светлый материал – это один слой стеклоткани плюс смола. Т.е. это работа со стеклопластиком

Давно не пользуюсь покупными воронками. Они всегда пачкаются и их надо периодически отмывать. Удобнее иметь что-либо чистое и одноразовое.
Для заливки масла я использую воронку из плотной бумаги, а для заливки бензина в бак использую обрезанные пластиковые бутылки.
Мои неказистые резиновые бруски для ручной обработки шпаклёвки. Надо сразу такие сделать “правильного” размера.
Для половины стандартного листа шкурки, для четверти и 1/8-ой
Самодельное приспособление для покраски. Делается своими руками, есть инструкция, можно красить небольшие деталюшки, и даже что то большее. Ссылка на страницу
Есть похожая запись про полезные приёмы и интересные подходы в ремонте авто.
Пока нет схожих записей
sergius41.ru
