Швеллер гнутый размеры таблица – Размеры гнутого швеллера — Размеры Инфо
Вес гнутого швеллера — швеллер гнутый вес метра
Таблица веса гнутого швеллера по ГОСТ
| Размер h*b*s | вес 1 пог. метра кг. |
| 50x40x3 | 2,81 |
| 60x32x2.5 | 2,26 |
| 60x32x3 | 2,67 |
| 60x32x4 | 3,43 |
| 80x32x4 | 4,05 |
| 80x50x4 | 5,18 |
| 80x60x4 | 5,81 |
| 100x50x3 | 4,47 |
| 100x50x4 | 5,81 |
| 100x50x5 | 7,14 |
| 120x50x3 | 4,91 |
| 120x60x4 | 7,07 |
| 120x60x5 | 8,71 |
| 140x50x4 | 7,28 |
| 140x60x4 | 7,59 |
| 140x60x5 | 9,49 |
| 160x50x4 | 7,7 |
| 160x60x4 | 8,32 |
| 160x60x5 | 10,28 |
| 160x80x4 | 9,58 |
| 160x80x5 | 11,85 |
| 180x50x4 | 8,32 |
| 180x60x5 | 11,38 |
| 180x70x5 | 11,68 |
| 180x70x6 | 14,02 |
| 180x80x4 | 10,21 |
| 180x80x5 | 12,68 |
| 200x100x5 | 14,82 |
| 200x100x6 | 17,79 |
| 200x80x4 | 10,83 |
| 250x125x6 | 20,63 |
Вес гнутого швеллера таблицы

Размеры швеллеров и масса 1 м швеллера должны соответствовать параметрам указанным в таблицах 1 и 2.
Таблица размера и веса швеллера гнутого из стали углеродистой кп/пс кипящей и полуспокойной
| h*b*s | R, не более радиус кривизны | Масса 1 м, кг |
| 28х27х2,5 | 4 | 1,42 |
| 30х25х3 | 5 | 1,61 |
| 30х30х2 | 3 | 1,30 |
| 32х25х3 | 5 | 1,66 |
| 32х32х2 | 3 | 1,39 |
| 38х95х2,5 | 3 | 4,30 |
| 40х20х2 | 3 | 1,14 |
| 40х20х3 | 5 | 1,61 |
| 40х302 | 3 | 1,45 |
| 40х30х2,5 | 3 | 1,79 |
| 40х40х2 | 3 | 1,77 |
| 40х40х2,5 | 3 | 2,18 |
| 40х40х3 | 5 | 2,55 |
| 42х42х4 | 6 | 3,49 |
| 43х45х2 | 3 | 1,97 |
| 45х25х3 | 5 | 1,96 |
| 45х31х2 | 3 | 1,56 |
| 48х70х5 | 7 | 6,67 |
| 50х30х2 | 3 | 1,61 |
| 50х30х2,5 | 3 | 1,99 |
| 50х32х2,5 | 3 | 2,07 |
| 50х40х2 | 3 | 1,92 |
| 50х40х2,5 | 3 | 2,38 |
| 50х40х3 | 4 | 2,81 |
| 50х40х4 | 6 | 3,62 |
| 50х47х6 | 9 | 5,73 |
| 50х50х2,5 | 3 | 2,77 |
| 50х50х3 | 4 | 3,28 |
| 50х50х4 | 6 | 4,24 |
| 60х26х2,5 | 4 | 2,01 |
| 60х30х2,5 | 3 | 2,19 |
| 60х30х3 | 5 | 2,55 |
| 60х32х2,5 | 3 | 2,26 |
| 60х32х3 | 4 | 2,67 |
| 60х32х4 | 6 | 3,43 |
| 60х40х2 | 3 | 2,08 |
| 60х40х3 | 4 | 3,04 |
| 60х50х3 | 5 | 3,50 |
| 60х60х3 | 4 | 3,99 |
| 60х60х4 | 6 | 5,18 |
| 60х80х3 | 5 | 4,91 |
| 60х90х5 | 7 | 8,71 |
| 63х21х2,2 | 3 | 1,68 |
| 65х75х4 | 6 | 6,28 |
| 68х27х1 | 2 | 0,93 |
| 70х30х2 | 3 | 1,92 |
| 70х40х3 | 5 | 3,26 |
| 70х50х3 | 5 | 3,73 |
| 70х50х4 | 6 | 4,87 |
| 70х60х4 | 6 | 5,50 |
| 78х46х6 | 9 | 6,96 |
| 80х25х4 | 6 | 3,61 |
| 80х32х4 | 6 | 4,05 |
| 80х35х4 | 6 | 4,24 |
| 80х40х2,5 | 3 | 2,97 |
| 80х40х3 | 4 | 3,51 |
| 80х50х4 | 6 | 5,18 |
| 80х60х3 | 4 | 4,46 |
| 80х60х4 | 6 | 5,81 |
| 80х60х6 | 9 | 8,37 |
| 80х80х3 | 4 | 5,40 |
| 80х80х4 | 6 | 7,07 |
| 6 | 7,38 | |
| 80х100х6 | 9 | 12,14 |
| 90х50х3,5 | 5 | 4,87 |
| 90х54х5 | 7 | 7,06 |
| 90х100х2,5 | 4 | 5,50 |
| 100х40х2,5 | 3 | 3,36 |
| 100х40х3 | 5 | 3,97 |
| 100х50х3 | 4 | 4,47 |
| 100х50х4 | 6 | 5,81 |
| 100х50х5 | 7 | 7,14 |
| 100х50х6 | 9 | 8,37 |
| 100х60х3 | 4 | 4,93 |
| 100х60х4 | 6 | 6,44 |
| 100х80х3 | 4 | 5,87 |
| 100х80х4 | 6 | 7,70 |
| 100х80х5 | 7 | 9,49 |
| 100х100х3 | 5 | 6,79 |
| 100х100х6 | 9 | 13,08 |
| 100х160х4 | 6 | 12,72 |
| 104х20х2 | 3 | 1,14 |
| 106х50х4 | 6 | 6,00 |
| 108х70х6 | 9 | 10,63 |
| 110х26х2,5 | 3 | 3,01 |
| 110х50х4 | 6 | 6,13 |
| 110х50х5 | 7 | 7,53 |
| 110х100х4 | 6 | 9,27 |
| 120х25х4 | 6 | 4,87 |
| 120х50х3 | 5 | 4,91 |
| 120х50х4 | 6 | 6,44 |
| 120х50х6 | 9 | 9,31 |
| 120х60х4 | 6 | 7,07 |
| 120х60х5 | 7 | 8,71 |
| 120х60х6 | 9 | 10,25 |
| 120х70х5 | 7 | 9,49 |
| 120х80х4 | 6 | 8,32 |
| 120х80х5 | 7 | 10,28 |
| 140х40х2,5 | 3 | 4,15 |
| 140х40х3 | 5 | 4,91 |
| 140х60х3 | 5 | 5,85 |
| 140х60х5 | 7 | 9,49 |
| 140х60х6 | 9 | 11,20 |
| 140х70х5 | 7 | 10,28 |
| 140х80х4 | 6 | 8,95 |
| 140х80х5 | 7 | 11,06 |
| 145х65х3 | 5 | 6,20 |
| 148х25х4 | 6 | 5,75 |
| 160х40х2 | 3 | 3,66 |
| 160х40х3 | 5 | 5,38 |
| 160х40х5 | 7 | 8,71 |
| 160х50х2,5 | 4 | 4,92 |
| 160х50х4 | 6 | 7,70 |
| 160х50х5 | 7 | 9,49 |
| 160х50х6 | 9 | 11,20 |
| 160х60х2,5 | 4 | 5,31 |
| 160х60х3 | 5 | 6,32 |
| 160х60х4 | 6 | 8,32 |
| 160х60х5 | 7 | 10,28 |
| 160х60х6 | 9 | 12,14 |
| 160х70х4 | 6 | 8,95 |
| 160х80х2,5 | 3 | 6,11 |
| 160х80х3 | 5 | 7,26 |
| 160х80х4 | 6 | 9,58 |
| 160х80х5 | 7 | 11,85 |
| 160х80х6 | 9 | 14,02 |
| 160х100х3 | 5 | 8,28 |
| 160х100х6 | 9 | 15,91 |
| 160х120х5 | 7 | 14,99 |
| 160х20х6 | 9 | 17,79 |
| 160х160х6 | 9 | 21,56 |
| 170х60х4 | 6 | 8,64 |
| 170х70х5 | 7 | 11,45 |
| 170х70х6 | 9 | 13,55 |
| 180х40х3 | 5 | 5,85 |
| 180х40х4 | 6 | 7,70 |
| 180х50х4 | 6 | 8,32 |
| 180х70х6 | 9 | 14,02 |
| 180х80х4 | 6 | 10,21 |
| 180х80х5 | 7 | 12,68 |
| 180х80х6 | 9 | 14,96 |
| 180х100х5 | 7 | 14,20 |
| 180х100х6 | 9 | 16,84 |
| 180х130х8 | 12 | 25,76 |
| 185х100х3 | 5 | 8,79 |
| 200х50х3 | 5 | 6,79 |
| 200х50х4 | 6 | 8,95 |
| 200х80х4 | 6 | 10,83 |
| 200х80х5 | 7 | 13,42 |
| 200х80х6 | 9 | 15,91 |
| 200х100х3 | 5 | 9,15 |
| 200х100х6 | 9 | 17,79 |
| 200х180х6 | 9 | 25,33 |
| 205х38х2,5 | 3 | 5,34 |
| 206х75х6 | 9 | 15,72 |
| 210х57х4 | 6 | 9,71 |
| 250х35х3 | 5 | 7,26 |
| 250х60х3 | 5 | 8,44 |
| 250х60х4 | 6 | 11,15 |
| 250х60х5 | 7 | 13,81 |
| 250х60х6 | 9 | 16,38 |
| 250х125х6 | 9 | 22,50 |
| 270х100х7 | 10 | 24,42 |
| 280х60х3,9 | 6 | 11,80 |
| 280х140х5 | 7 | 21,27 |
| 300х80х6 | 9 | 20,62 |
| 300х100х8 | 12 | 29,53 |
| 310х100х6 | 9 | 22,97 |
| 380х65х6 | 9 | 22,97 |
| 400х95х8 | 12 | 35,18 |
| 410х65х6 | 9 | 24,38 |
Таблица размера и веса швеллера гнутого из стали углеродистой сп/09г2с спокойной и низколегированной стали
| h*b*s | R, не более радиус кривизны | Масса 1 м, кг |
| 40х20х2 | 5 | 1,11 |
| 5 | 1,43 | |
| 40х30х2,5 | 6 | 1,74 |
| 40х40х2 | 5 | 1,74 |
| 40х40х2,5 | 6 | 2,13 |
| 40х40х3 | 7 | 2,51 |
| 48х70х5 | 12 | 6,50 |
| 50х30х2 | 5 | 1,58 |
| 50х30х2,5 | 6 | 1,94 |
| 50х40х2 | 5 | 1,90 |
| 50х40х2,5 | 6 | 2,33 |
| 50х40х3 | 7 | 2,75 |
| 50х50х2,5 | 6 | 2,72 |
| 50х50х3 | 7 | 3,22 |
| 50х50х4 | 10 | 4,13 |
| 50х60х4 | 10 | 4,76 |
| 60х30х2,5 | 6 | 2,13 |
| 60х30х3 | 7 | 2,51 |
| 60х32х2,5 | 6 | 2,21 |
| 60х32х3 | 7 | 2,61 |
| 60х40х2 | 5 | 2,05 |
| 60х40х3 | 7 | 2,98 |
| 60х50х3 | 7 | 3,45 |
| 60х60х3 | 7 | 3,93 |
| 60х60х4 | 10 | 5,08 |
| 60х90х5 | 12 | 8,54 |
| 65х40х4 | 10 | 3,98 |
| 65х75х4 | 10 | 6,18 |
| 70х40х3 | 7 | 3,22 |
| 70х60х4 | 10 | 5,39 |
| 70х65х4 | 10 | 5,70 |
| 78х46х6 | 14 | 6,75 |
| 80х32х4 | 10 | 3,95 |
| 80х35х4 | 10 | 4,14 |
| 80х40х2,5 | 6 | 2,92 |
| 80х40х3 | 7 | 3,45 |
| 80х50х4 | 10 | 5,08 |
| 80х60х3 | 7 | 4,40 |
| 80х60х4 | 10 | 5,70 |
| 80х60х6 | 14 | 8,17 |
| 80х80х3 | 7 | 5,34 |
| 80х80х4 | 10 | 6,96 |
| 80х85х4 | 10 | 7,28 |
| 90х54х5 | 12 | 6,89 |
| 90х115х5 | 12 | 11,68 |
| 100х40х2,5 | 6 | 3,31 |
| 100х40х3 | 7 | 3,93 |
| 100х50х3 | 7 | 4,40 |
| 100х50х4 | 10 | 5,70 |
| 100х50х5 | 12 | 6,97 |
| 100х50х7 | 18 | 9,21 |
| 100х60х3 | 7 | 4,87 |
| 100х60х4 | 10 | 6,33 |
| 100х80х3 | 7 | 5,81 |
| 100х80х4 | 10 | 7,69 |
| 100х80х5 | 12 | 9,32 |
| 100х120х8 | 20 | 19,06 |
| 100х160х4 | 10 | 12,61 |
| 110х26х2,5 | 6 | 2,96 |
| 110х50х4 | 10 | 6,02 |
| 110х50х5 | 12 | 7,36 |
| 120х25х4 | 10 | 4,76 |
| 120х50х3 | 7 | 4,87 |
| 120х60х4 | 10 | 6,96 |
| 120х60х5 | 12 | 8,54 |
| 120х60х6 | 14 | 10,05 |
| 120х75х4 | 10 | 7,90 |
| 120х80х4 | 10 | 8,22 |
| 120х80х5 | 12 | 10,11 |
| 120х90х7 | 18 | 14,75 |
| 120х105х8 | 20 | 18,43 |
| 130х135х8 | 20 | 22,82 |
| 140х40х2,5 | 6 | 4,10 |
| 110х60х4 | 10 | 7,59 |
| 140х60х5 | 12 | 9,32 |
| 140х60х6 | 14 | 10,99 |
| 140х70х5 | 12 | 10,11 |
| 140х80х4 | 10 | 8,84 |
| 140х80х5 | 12 | 10,89 |
| 145х65х3 | 7 | 6,16 |
| 145х75х5 | 12 | 10,70 |
| 160х40х3 | 7 | 5,34 |
| 160х40х5 | 12 | 9,32 |
| 160х50х4 | 10 | 7,60 |
| 160х50х5 | 12 | 9,32 |
| 160х60х3 | 7 | 6,28 |
| 160х60х4 | 10 | 8,22 |
| 160х60х5 | 10 | 10,18 |
| 160х60х6 | 14 | 11,93 |
| 160х75х8 | 20 | 17,17 |
| 160х80х2,5 | 6 | 6,06 |
| 160х80х4 | 10 | 9,47 |
| 160х80х5 | 12 | 11,68 |
| 160х120х6 | 14 | 17,59 |
| 160х160х6 | 14 | 21,36 |
| 170х70х5 | 12 | 11,29 |
| 170х70х6 | 14 | 13,35 |
| 180х50х4 | 10 | 8,22 |
| 180х70х5 | 12 | 11,68 |
| 180х70х6 | 14 | 13,82 |
| 180х70х7 | 18 | 15,80 |
| 180х80х4 | 10 | 10,10 |
| 180х80х5 | 12 | 12,46 |
| 180х80х6 | 14 | 14,76 |
| 180х80х8 | 20 | 19,05 |
| 180х100х5 | 12 | 14,03 |
| 180х100х6 | 14 | 16,64 |
| 180х130х8 | 20 | 25,33 |
| 200х60х4 | 10 | 9,47 |
| 200х80х4 | 10 | 10,75 |
| 200х80х5 | 12 | 13,25 |
| 200х80х6 | 14 | 15,70 |
| 200х100х5 | 12 | 14,82 |
| 200х100х6 | 14 | 17,59 |
| 200х160х8 | 20 | 30,36 |
| 205х38х2,5 | 6 | 5,29 |
| 206х75х6 | 14 | 15,52 |
| 210х57х4 | 10 | 9,60 |
| 250х25х3 | 7 | 5,75 |
| 250х60х4 | 10 | 11,04 |
| 250х60х5 | 12 | 13,64 |
| 250х60х6 | 14 | 16,17 |
| 250х90х8 | 20 | 24,71 |
| 250х125х6 | 14 | 22,30 |
| 270х100х7 | 18 | 24,04 |
| 280х60х3,9 | 10 | 11,89 |
| 280х60х6 | 14 | 17,58 |
| 300х80х6 | 14 | 20,41 |
| 310х100х6 | 14 | 22,77 |
При вычислении массы 1 м профиля плотность стали принята равной 7,85 г/см2.
ros-met.com
Швеллер гнутый равнополочный по ГОСТ 8278–83
Сортамент на гнутые равнополочные швеллеры регламентируется ГОСТ 8278–83. Данный стандарт распространяется на стальные гнутые равнополочные швеллеры, изготовляемые на профилегибочных станах из холоднокатаной и горячекатаной рулонной стали обыкновенного качества, углеродистой качественной конструкционной и низколегированной.
По точности профилирования швеллеры подразделяют на:
- высокой точности — А;
- повышенной точности — Б;
- обычной точности — В.

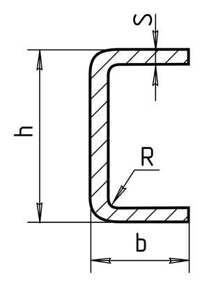
Рис. 1. Швеллер гнутый по ГОСТ 8278–83
Условные обозначения: h — высота швеллера; S — толщина полки; b — ширина полки; R — радиус внутреннего закругления.
Таблица 1. Размеры и масса гнутых швеллеров
из углеродистой кипящей и полуспокойной стали
| h, мм | b, мм | S, мм | R, не более, мм | Масса 1 м, кг |
| 25 | 26 | 2 | 3 | 1,092 |
| 25 | 30 | 2 | 3 | 1,218 |
| 28 | 27 | 2,5 | 4 | 1,423 |
| 30 | 25 | 3 | 5 | 1,611 |
| 30 | 30 | 2 | 3 | 1,296 |
| 32 | 25 | 3 | 5 | 1,658 |
| 32 | 32 | 2 | 3 | 1,39 |
| 38 | 95 | 2,5 | 3 | 4,305 |
| 40 | 20 | 2 | 3 | 1,139 |
| 40 | 20 | 3 | 5 | 1,611 |
| 40 | 30 | 2 | 3 | 1,453 |
| 40 | 30 | 2,5 | 3 | 1,793 |
| 40 | 40 | 2 | 3 | 1,767 |
| 40 | 40 | 2,5 | 3 | 2,185 |
| 40 | 40 | 3 | 5 | 2,553 |
| 42 | 42 | 4 | 6 | 3,49 |
| 43 | 45 | 2 | 3 | 1,971 |
| 45 | 25 | 3 | 5 | 1,965 |
| 45 | 31 | 2 | 3 | 1,563 |
| 48 | 70 | 5 | 7 | 6,666 |
| 50 | 30 | 2 | 3 | 1,61 |
| 50 | 30 | 2,5 | 3 | 1,989 |
| 50 | 32 | 2,5 | 3 | 2,068 |
| 50 | 40 | 2 | 3 | 1,924 |
| 50 | 40 | 2,5 | 3 | 2,382 |
| 50 | 40 | 3 | 4 | 2,809 |
| 50 | 40 | 4 | 6 | 3,615 |
| 50 | 47 | 6 | 9 | 5,732 |
| 50 | 50 | 2,5 | 3 | 2,774 |
| 50 | 50 | 3 | 4 | 3,28 |
| 50 | 50 | 4 | 6 | 4,243 |
| 60 | 26 | 2,5 | 4 | 2,011 |
| 60 | 30 | 2,5 | 3 | 2,185 |
| 60 | 30 | 3 | 5 | 2,553 |
| 60 | 32 | 2,5 | 3 | 2,264 |
| 60 | 32 | 3 | 4 | 2,668 |
| 60 | 32 | 4 | 6 | 3,427 |
| 60 | 40 | 2 | 3 | 2,081 |
| 60 | 40 | 3 | 4 | 3,045 |
| 60 | 50 | 3 | 5 | 3,495 |
| 60 | 60 | 3 | 4 | 3,987 |
| 60 | 60 | 4 | 6 | 5,185 |
| 60 | 80 | 3 | 5 | 4,908 |
| 60 | 90 | 5 | 7 | 8,707 |
| 63 | 21 | 2,2 | 3 | 1,677 |
| 65 | 75 | 4 | 6 | 6,284 |
| 68 | 27 | 1 | 2 | 0,9252 |
| 70 | 30 | 2 | 3 | 1,924 |
| 70 | 40 | 3 | 5 | 3,26 |
| 70 | 50 | 3 | 5 | 3,731 |
| 70 | 50 | 4 | 6 | 4,871 |
| 70 | 60 | 4 | 6 | 5,499 |
| 78 | 46 | 6 | 9 | 6,957 |
| 80 | 25 | 4 | 6 | 3,615 |
| 80 | 32 | 4 | 6 | 4,055 |
| 80 | 35 | 4 | 6 | 4,243 |
| 80 | 40 | 2,5 | 3 | 2,97 |
| 80 | 40 | 3 | 4 | 3,516 |
| 80 | 50 | 4 | 6 | 5,185 |
| 80 | 60 | 3 | 4 | 4,458 |
| 80 | 60 | 4 | 6 | 5,813 |
| 80 | 60 | 6 | 9 | 8,37 |
| 80 | 80 | 3 | 4 | 5,4 |
| 80 | 80 | 4 | 6 | 7,069 |
| 80 | 85 | 4 | 6 | 7,383 |
| 80 | 100 | 6 | 9 | 12,14 |
| 90 | 50 | 3,5 | 5 | 4,869 |
| 90 | 54 | 5 | 7 | 7,059 |
| 90 | 100 | 2,5 | 4 | 5,505 |
| 100 | 40 | 2,5 | 3 | 3,363 |
| 100 | 40 | 3 | 5 | 3,966 |
| 100 | 50 | 3 | 4 | 4,458 |
| 100 | 50 | 4 | 6 | 5,813 |
| 100 | 50 | 5 | 7 | 7,137 |
| 100 | 50 | 6 | 9 | 8,37 |
| 100 | 60 | 3 | 4 | 4,929 |
| 100 | 60 | 4 | 6 | 6,441 |
| 100 | 80 | 3 | 4 | 5,871 |
| 100 | 80 | 4 | 6 | 7,697 |
| 100 | 80 | 5 | 7 | 9,492 |
| 100 | 100 | 3 | 5 | 6,792 |
| 100 | 100 | 6 | 9 | 13,08 |
| 100 | 160 | 4 | 6 | 12,72 |
| 104 | 20 | 2 | 3 | 2,144 |
| 106 | 50 | 4 | 6 | 6,002 |
| 108 | 70 | 6 | 9 | 10,63 |
| 110 | 26 | 2,5 | 3 | 3,01 |
| 110 | 50 | 4 | 6 | 6,127 |
| 110 | 50 | 5 | 7 | 7,53 |
| 110 | 100 | 4 | 6 | 9,267 |
| 120 | 25 | 4 | 6 | 4,871 |
| 120 | 50 | 3 | 5 | 4,908 |
| 120 | 50 | 4 | 6 | 6,441 |
| 120 | 50 | 6 | 9 | 9,312 |
| 120 | 60 | 4 | 6 | 7,069 |
| 120 | 60 | 5 | 7 | 8,707 |
| 120 | 60 | 6 | 9 | 10,25 |
| 120 | 70 | 5 | 7 | 9,492 |
| 120 | 80 | 4 | 6 | 8,325 |
| 120 | 80 | 5 | 7 | 10,28 |
| 140 | 40 | 2,5 | 3 | 4,148 |
| 140 | 40 | 3 | 5 | 4,908 |
| 140 | 60 | 3 | 5 | 5,85 |
| 140 | 60 | 5 | 7 | 9,492 |
| 140 | 60 | 6 | 9 | 11,2 |
| 140 | 70 | 5 | 7 | 10,28 |
| 140 | 80 | 4 | 6 | 8,953 |
| 140 | 80 | 5 | 7 | 11,06 |
| 145 | 65 | 3 | 5 | 6,204 |
| 148 | 25 | 4 | 6 | 5,75 |
| 160 | 40 | 2 | 3 | 3,651 |
| 160 | 40 | 3 | 5 | 5,379 |
| 160 | 40 | 5 | 7 | 8,707 |
| 160 | 50 | 2,5 | 4 | 4,916 |
| 160 | 50 | 4 | 6 | 7,697 |
| 160 | 50 | 5 | 7 | 9,492 |
| 160 | 50 | 6 | 9 | 11,2 |
| 160 | 60 | 2,5 | 4 | 5,308 |
| 160 | 60 | 3 | 5 | 6,321 |
| 160 | 60 | 4 | 6 | 8,325 |
| 160 | 60 | 5 | 7 | 10,28 |
| 160 | 60 | 6 | 9 | 12,14 |
| 160 | 70 | 4 | 6 | 8,953 |
| 160 | 80 | 2,5 | 3 | 6,11 |
| 160 | 80 | 3 | 5 | 7,263 |
| 160 | 80 | 4 | 6 | 9,581 |
| 160 | 80 | 5 | 7 | 11,85 |
| 160 | 80 | 6 | 9 | 14,02 |
| 160 | 100 | 3 | 5 | 8,205 |
| 160 | 100 | 6 | 9 | 15,91 |
| 160 | 120 | 5 | 7 | 14,99 |
| 160 | 120 | 6 | 9 | 17,79 |
| 160 | 160 | 6 | 9 | 21,56 |
| 170 | 60 | 4 | 6 | 8,639 |
| 170 | 70 | 5 | 7 | 11,45 |
| 170 | 70 | 6 | 9 | 13,55 |
| 180 | 40 | 3 | 5 | 5,85 |
| 180 | 40 | 4 | 6 | 7,697 |
| 180 | 50 | 4 | 6 | 8,325 |
| 180 | 70 | 6 | 9 | 14,02 |
| 180 | 80 | 4 | 6 | 10,21 |
| 180 | 80 | 5 | 7 | 12,63 |
| 180 | 80 | 6 | 9 | 14,96 |
| 180 | 100 | 5 | 7 | 14,2 |
| 180 | 100 | 6 | 9 | 16,85 |
| 180 | 130 | 8 | 12 | 25,76 |
| 185 | 100 | 3 | 5 | 8,794 |
| 200 | 50 | 3 | 5 | 6,792 |
| 200 | 50 | 4 | 6 | 8,953 |
| 200 | 80 | 4 | 6 | 10,84 |
| 200 | 80 | 5 | 7 | 13,42 |
| 200 | 80 | 6 | 9 | 15,91 |
| 200 | 100 | 3 | 5 | 9,147 |
| 200 | 100 | 6 | 9 | 17,79 |
| 200 | 180 | 6 | 9 | 25,33 |
| 205 | 38 | 2,5 | 3 | 5,345 |
| 210 | 57 | 4 | 6 | 9,707 |
| 250 | 35 | 3 | 5 | 7,263 |
| 250 | 60 | 3 | 5 | 8,441 |
| 250 | 60 | 4 | 6 | 11,15 |
| 250 | 60 | 5 | 7 | 13,81 |
| 250 | 60 | 6 | 9 | 16,38 |
| 250 | 125 | 6 | 9 | 22,5 |
| 270 | 100 | 7 | 10 | 24,42 |
| 280 | 60 | 3,9 | 6 | 11,8 |
| 280 | 140 | 5 | 7 | 21,27 |
| 300 | 80 | 6 | 9 | 20,62 |
| 300 | 100 | 8 | 12 | 29,53 |
| 310 | 100 | 6 | 9 | 22,97 |
| 380 | 65 | 6 | 9 | 22,97 |
| 400 | 95 | 8 | 12 | 35,18 |
| 410 | 65 | 6 | 9 | 24,38 |
Примечание. Масса 1 м профиля вычислена по номинальным размерам при плотности материала 7850 кг/м3 и является справочной величиной.
Таблица 2. Размеры и масса гнутых швеллеров
из углеродистой спокойной и низколегированной стали
| h, мм | b, мм | s, мм | R, не более, мм | Масса 1 м, кг |
| 25 | 26 | 2 | 5 | 1,065 |
| 25 | 30 | 2 | 5 | 1,191 |
| 30 | 25 | 3 | 7 | 1,571 |
| 30 | 30 | 2 | 5 | 1,269 |
| 38 | 95 | 2,5 | 6 | 4,254 |
| 40 | 20 | 2 | 5 | 1,112 |
| 40 | 30 | 2 | 5 | 1,426 |
| 40 | 30 | 2,5 | 6 | 1,742 |
| 40 | 40 | 2 | 5 | 1,74 |
| 40 | 40 | 2,5 | 6 | 2,135 |
| 40 | 40 | 3 | 7 | 2,513 |
| 48 | 70 | 5 | 12 | 6,498 |
| 50 | 30 | 2 | 5 | 1,583 |
| 50 | 30 | 2,5 | 6 | 1,938 |
| 50 | 40 | 2 | 5 | 1,897 |
| 50 | 40 | 2,5 | 6 | 2,331 |
| 50 | 40 | 3 | 7 | 2,748 |
| 50 | 50 | 2,5 | 6 | 2,723 |
| 50 | 50 | 3 | 7 | 3,219 |
| 50 | 50 | 4 | 10 | 4,135 |
| 50 | 60 | 4 | 10 | 4,763 |
| 60 | 30 | 2,5 | 6 | 2,135 |
| 60 | 30 | 3 | 7 | 2,513 |
| 60 | 32 | 2,5 | 6 | 2,213 |
| 60 | 32 | 3 | 7 | 2,607 |
| 60 | 40 | 2 | 5 | 2,054 |
| 60 | 40 | 3 | 7 | 2,984 |
| 60 | 50 | 3 | 7 | 3,455 |
| 60 | 60 | 3 | 7 | 3,926 |
| 60 | 60 | 4 | 10 | 5,077 |
| 60 | 90 | 5 | 12 | 8,539 |
| 65 | 40 | 4 | 10 | 3,978 |
| 65 | 75 | 4 | 10 | 6,176 |
| 70 | 40 | 3 | 7 | 3,219 |
| 70 | 60 | 4 | 10 | 5,391 |
| 70 | 65 | 4 | 10 | 5,705 |
| 78 | 46 | 6 | 14 | 6,754 |
| 80 | 32 | 4 | 10 | 3,947 |
| 80 | 35 | 4 | 10 | 4,135 |
| 80 | 40 | 2,5 | 6 | 2,92 |
| 80 | 40 | 3 | 7 | 3,455 |
| 80 | 50 | 4 | 10 | 5,077 |
| 80 | 60 | 3 | 7 | 4,397 |
| 80 | 60 | 4 | 10 | 5,705 |
| 80 | 60 | 6 | 14 | 8,167 |
| 80 | 80 | 3 | 7 | 5,339 |
| 80 | 80 | 4 | 10 | 6,961 |
| 80 | 85 | 4 | 10 | 7,275 |
| 90 | 54 | 5 | 12 | 6,89 |
| 90 | 115 | 5 | 12 | 11,68 |
| 100 | 40 | 2,5 | 6 | 3,312 |
| 100 | 40 | 3 | 7 | 3,926 |
| 100 | 50 | 3 | 7 | 4,397 |
| 100 | 50 | 4 | 10 | 5,705 |
| 100 | 50 | 5 | 12 | 6,969 |
| 100 | 50 | 7 | 18 | 9,207 |
| 100 | 60 | 3 | 7 | 4,868 |
| 100 | 60 | 4 | 10 | 6,333 |
| 100 | 80 | 3 | 7 | 5,81 |
| 100 | 80 | 4 | 10 | 7,589 |
| 100 | 80 | 5 | 12 | 9,324 |
| 100 | 120 | 8 | 20 | 19,05 |
| 100 | 160 | 4 | 10 | 12,61 |
| 110 | 26 | 2,5 | 6 | 2,959 |
| 110 | 50 | 4 | 10 | 6,019 |
| 110 | 50 | 5 | 12 | 7,361 |
| 120 | 25 | 4 | 10 | 4,763 |
| 120 | 50 | 3 | 7 | 4,868 |
| 120 | 60 | 4 | 10 | 6,961 |
| 120 | 60 | 5 | 12 | 8,539 |
| 120 | 60 | 6 | 14 | 10,051 |
| 120 | 75 | 4 | 10 | 7,903 |
| 120 | 80 | 4 | 10 | 8,217 |
| 120 | 80 | 5 | 12 | 10,11 |
| 120 | 90 | 7 | 18 | 14,7 |
| 120 | 105 | 8 | 20 | 18,43 |
| 130 | 135 | 8 | 20 | 22,82 |
| 140 | 40 | 2,5 | 6 | 4,097 |
| 140 | 60 | 4 | 10 | 7,589 |
| 140 | 60 | 5 | 12 | 9,324 |
| 140 | 60 | 6 | 14 | 10,99 |
| 140 | 70 | 5 | 12 | 10,11 |
| 140 | 80 | 4 | 10 | 8,845 |
| 140 | 80 | 5 | 12 | 10,89 |
| 145 | 65 | 3 | 7 | 6,163 |
| 145 | 75 | 5 | 12 | 10,7 |
| 160 | 40 | 3 | 7 | 5,339 |
| 160 | 40 | 5 | 12 | 8,539 |
| 160 | 50 | 4 | 10 | 7,589 |
| 160 | 50 | 5 | 12 | 9,324 |
| 160 | 60 | 3 | 7 | 6,281 |
| 160 | 60 | 4 | 10 | 8,217 |
| 160 | 60 | 5 | 10 | 10,18 |
| 160 | 60 | 6 | 14 | 11,94 |
| 160 | 75 | 8 | 20 | 17,17 |
| 160 | 80 | 2,5 | 6 | 6,06 |
| 160 | 80 | 4 | 10 | 9,473 |
| 160 | 80 | 5 | 12 | 11,68 |
| 160 | 120 | 6 | 14 | 17,59 |
| 160 | 160 | 6 | 14 | 21,36 |
| 170 | 70 | 5 | 12 | 11,29 |
| 170 | 70 | 6 | 14 | 13,35 |
| 180 | 50 | 4 | 10 | 8,217 |
| 180 | 70 | 5 | 12 | 11,68 |
| 180 | 70 | 6 | 14 | 13,82 |
| 180 | 70 | 7 | 18 | 15,8 |
| 180 | 80 | 4 | 10 | 10,1 |
| 180 | 80 | 5 | 12 | 12,46 |
| 180 | 80 | 6 | 14 | 14,76 |
| 180 | 80 | 8 | 20 | 19,05 |
| 180 | 100 | 5 | 12 | 14,03 |
| 180 | 100 | 6 | 14 | 16,65 |
| 180 | 130 | 8 | 20 | 25,33 |
| 200 | 60 | 4 | 10 | 9,473 |
| 200 | 80 | 4 | 10 | 10,73 |
| 200 | 80 | 5 | 12 | 13,25 |
| 200 | 80 | 6 | 14 | 15,7 |
| 200 | 100 | 5 | 12 | 14,82 |
| 200 | 100 | 6 | 14 | 17,59 |
| 205 | 38 | 2,5 | 6 | 5,294 |
| 206 | 75 | 6 | 14 | 15,52 |
| 210 | 57 | 4 | 10 | 9,599 |
| 250 | 25 | 3 | 7 | 6,752 |
| 250 | 60 | 4 | 10 | 11,04 |
| 250 | 60 | 5 | 12 | 13,64 |
| 250 | 60 | 6 | 14 | 16,17 |
| 250 | 90 | 8 | 20 | 24,71 |
| 250 | 125 | 6 | 14 | 22,3 |
| 270 | 100 | 7 | 18 | 24,04 |
| 280 | 60 | 3,9 | 10 | 11,69 |
| 280 | 60 | 6 | 14 | 17,59 |
| 300 | 80 | 6 | 14 | 20,41 |
| 310 | 100 | 6 | 14 | 22,77 |
Примечание. Масса 1 м профиля вычислена по номинальным размерам при плотности материала 7850 кг/м3 и является справочной величиной.
Швеллеры изготавливают длиной от 3 до 11,8 мм. По длине швеллеры подразделяют на:
- мерной длины;
- мерной длины с немерными отрезками в количестве не более 7 % от массы партии;
- кратной мерной длины;
- кратной мерной длины с немерными отрезками в количестве не более 7 % от массы партии;
- немерной длины.
Допускается изготавливать швеллеры длиной 12 м по требованию потребителя.
вернуться к содержанию
Таблица 3. Предельные отклонения высоты швеллера, мм
| Высота стенки швеллера, мм | Точность профилирования | |||
| Высокая по толщине | Повышенная | Обычная | ||
| До 2,5 | Св. 2,5 | |||
| До 50 включ. | ±0,50 | ±0,75 | ±1,00 | ±1,00 |
| От 50 до 100 включ. | ±0,75 | ±1,30 | ±1,30 | ±1,50 |
| От 100 до 150 включ. | ±1,25 | ±1,50 | ±1,50 | ±2,00 |
| от 150 | ±1,50 | ±2,00 | ±2,00 | ±2,50 |
Таблица 4. Предельные отклонения ширины полки
| Высота стенки швеллера, мм | Точность профилирования | |||
| Высокая по толщине | Повышенная | Обычная | ||
| До 2,5 | Св. 2,5 | |||
| До 50 включ. | ±0,50 | ±0,75 | ±1,00 | ±1,00 |
| От 50 до 100 включ. | ±0,75 | ±1,30 | ±1,30 | ±1,50 |
| От 100 до 150 включ. | ±1,25 | ±1,50 | ±1,50 | ±2,00 |
| До 150 | ±1,50 | ±2,00 | ±2,00 | ±2,50 |
Предельные отклонения от угла 90° не должны превышать:
- ± 1°30′ — при ширине полки до 100 мм;
- ± 1° — при ширине полки свыше 100 мм.
вернуться к содержанию
Таблица 5. Предельные отклонения по длине мерной и кратной мерной длины
| Длина, м | Предельные отклонения точности порезки, мм |
| До 7 | 40 |
| От 7 | +40 и +5 на каждый метр длины свыше 7 м |
Скручивание швеллеров вокруг продольной оси не должно превышать 1° на один метр длины швеллера, но не более 10°. Кривизна швеллеров не должна превышать 0,1 % длины. Волнистость полок швеллеров не должна превышать 2 мм на 1 м. Контроль размеров поперечного сечения швеллеров, а также скручивания и кривизны проводят на расстоянии: при высокой точности профилирования — не менее 80 мм от торцов, повышенной — 100 мм и обычной — 200 мм. Высота швеллера определяется в плоскости на расстоянии, равном значению внешнего радиуса кривизны (R+S).
вернуться к содержанию
www.metalika.ua
Швеллер стальной горячекатанный. Швеллер гнутый. ГОСТ 8240-89, 19425-74, 8278-75, 8281-80 Челябинск
- Швеллеры подразделяются на:
• стальные специальные. ГОСТ 19425-74;
• стальные гнутые равнополочные. ГОСТ 8278-75;
• стальные гнутые неравнополочные. ГОСТ 8281-80.
-
Швеллеры стальные горячекатанные (гост 8240-89), в свою очередь, делятся на:
• с параллельными гранями полок.
Сечение швеллера с уклоном внутренних граней полок, с параллельными гранями полок:

Размеры и вес швеллера горячекатанного. ГОСТ 8240-89
| № швеллера | h, мм | b, мм | s, мм | t, мм | Масса 1 м, кг | Метров в тонне |
| Швеллер с уклоном граней | ||||||
| 5 | 50 | 32 | 4,4 | 7,0 | 4,84 | 206,6 |
| 6,5 | 65 | 36 | 4,4 | 7,2 | 5,9 | 169,5 |
| 8 | 80 | 40 | 4,5 | 7,4 | 7,05 | 141,84 |
| 10 | 100 | 46 | 4,5 | 7,6 | 8,59 | 116,4 |
| 12 | 120 | 52 | 4,8 | 7,8 | 10,4 | 96,154 |
| 14 | 140 | 58 | 4,9 | 8,1 | 12,3 | 81,3 |
| 16 | 160 | 64 | 5,0 | 8,4 | 14,2 | 70,42 |
| 18 | 180 | 70 | 5,1 | 8,7 | 16,3 | 61,35 |
| 20 | 200 | 76 | 5,2 | 9,0 | 18,4 | 54,35 |
| 22 | 220 | 82 | 5,4 | 9,5 | 21,0 | 47,62 |
| 24 | 240 | 90 | 5,6 | 10,0 | 24,0 | 41,67 |
| 27 | 270 | 95 | 6,0 | 10,5 | 27,7 | 36,1 |
| 30 | 300 | 100 | 6,5 | 11,0 | 31,8 | 31,447 |
| 40 | 400 | 115 | 8,0 | 13,5 | 48,3 | 20,7 |
| Швеллер с параллельными гранями | ||||||
| 5П | 50 | 32 | 4,4 | 7,0 | 4,84 | 206,6 |
| 6,5П | 65 | 36 | 4,4 | 7,2 | 5,9 | 169,5 |
| 8П | 80 | 40 | 4,5 | 7,4 | 7,05 | 141,84 |
| 10П | 100 | 46 | 4,5 | 7,6 | 8,59 | 116,4 |
| 12П | 120 | 52 | 4,8 | 7,8 | 10,4 | 96,154 |
| 14П | 140 | 58 | 4,9 | 8,1 | 12,3 | 81,3 |
| 16П | 160 | 64 | 5,0 | 8,4 | 14,2 | 70,42 |
| 18П | 180 | 70 | 5,1 | 8,7 | 16,3 | 61,35 |
| 20П | 200 | 76 | 5,2 | 9,0 | 18,4 | 54,35 |
| 22П | 220 | 82 | 5,4 | 9,5 | 21,0 | 47,62 |
| 24П | 240 | 90 | 5,6 | 10,0 | 24,0 | 41,67 |
| 27П | 270 | 95 | 6,0 | 10,5 | 27,7 | 36,1 |
| 30П | 300 | 100 | 6,5 | 11,0 | 31,8 | 31,447 |
| 40П | 400 | 115 | 8,0 | 13,5 | 48,3 | 20,7 |
Размеры и вес швеллера гнутого, равнополочного. ГОСТ 8278-75.
| h, мм | b, мм | s, мм | R (не более), мм | Масса 1 м, кг |
| 80 | 40 | 3 | 7 | 3,45 |
| 80 | 60 | 3 | 7 | 4,4 |
| 80 | 60 | 4 | 10 | 5,7 |
| 80 | 80 | 4 | 10 | 6,96 |
| 100 | 50 | 3 | 7 | 4,4 |
| 100 | 50 | 4 | 10 | 5,7 |
| 100 | 60 | 3 | 7 | 4,87 |
| 100 | 60 | 4 | 10 | 6,33 |
| 120 | 60 | 4 | 10 | 6,96 |
| 120 | 60 | 5 | 12 | 8,54 |
| 140 | 60 | 4 | 10 | 7,59 |
| 140 | 60 | 5 | 12 | 9,32 |
| 160 | 80 | 4 | 10 | 9,47 |
| 160 | 80 | 5 | 12 | 11,68 |
| 180 | 70 | 5 | 12 | 11,68 |
| 180 | 70 | 6 | 14 | 13,82 |
| 200 | 80 | 4 | 10 | 10,75 |
| 200 | 80 | 5 | 12 | 13,25 |
| 200 | 80 | 6 | 14 | 15,7 |
| 200 | 100 | 5 | 12 | 14,82 |
| 200 | 100 | 6 | 14 | 17,59 |
| 250 | 60 | 5 | 12 | 13,64 |
| 250 | 60 | 6 | 14 | 16,17 |
| 250 | 90 | 8 | 20 | 24,71 |
| 250 | 125 | 6 | 14 | 22,3 |
| 300 | 80 | 6 | 14 | 20,41 |
Теги: швеллер горячекатанный, швеллер гнутый, гост, размер, вес.
Он-лайн консультация
Телефон/факс:
(351)261-51-84
Телефоны:
(351)261-43-54
(351)260-40-83
rumetchel.ru
|
|
|
|
|
tolyati.metal100.ru
|
|
|
|
|
spb.metal100.ru
Швеллер гнутый размеры таблица | ТРАСТ МЕТАЛЛ
Сортовой прокат
Листовой прокат
Нержавеющая сталь
Метизы и метсырье
Цветные металлы
Разумеется, рассчитать массу таких изделий можно, но это требует использования специальных формул. OАО «ТрастМеталл» . Предприятие расположено на Урале, основано князем Голицыным в 1879 году. Кроме этого, между полками могут располагаться трубы для быстрой подводки инженерных коммуникаций и кабельных линий. С уклоном внутренних граней полок. Литеры определяют дополнительные свойства изделия. Кроме этого, швеллеры применяют для армирования линий электропередач, мостов, производственных зданий и сооружений.
Сейчас завод специализируется на производстве горячекатаного швеллера и другой продукции металлопроката. OАО «ТрастМеталл» . Стоит отметить, что в продаже имеются перфорированные изделия. Как упоминалось ранее, швеллеры применяются в капитальном строительстве. Размерный ряд швеллеров довольно разнообразен и не зависит от технологии изготовления или производителя. Масса швеллера зависит от нескольких параметров. Л – облегчённая конструкция.
Сфера применения. Это расстояние между параллельно расположенными полками, измеряемое в миллиметрах. Не нужно объяснять, что швеллер 12П изготовленный из стали и алюминиевого сплава будет относиться к разным весовым категориям при идентичных внешних характеристиках. Толщина поперечной балки. Это расстояние от внешнего угла швеллера до кончика параллельных граней. С параллельными гранями полок.
Сейчас компания является объединением из десятка сталелитейных предприятий. Однако такая продукция в основном изготавливается под заказ. Существуют швеллеры, изготовленные из алюминиевого сплава, применяемые для возведения облегчённых конструкций. В зависимости от категории, этот параметр составляет 4.4-8 мм. Данный параметр варьируется в пределах 50-400 мм. Например: П – параллельное расположение внешних граней.
Здесь предусмотрены специальные отверстия, предназначенные для быстрого монтажа без использования электросварки. В частности, ключевую роль играют: Толщина поперечной балки и параллельных полок. Числовая маркировка указывает на расстояние между параллельными гранями, выраженное в сантиметрах. В частности, внутренних перегородок внутренних помещений, стеллажей, витрин. Компания расположена в Кемеровской области и по праву считается одним из старейших заводов Сибири.
Швеллер гнутый размеры таблица
История предприятия началась в 1816 году, в настоящее время функционирует сталеплавильный цех, сорто – и шаропрокатная линии. Стоит отметить, что на рынке встречается продукция, чья длина превышает это значение. Среди отечественных производителей, можно обратить внимание на продукцию таких предприятий: OОО «ТрастМеталл» . Здесь играют размеры 32-115 мм. Длина стандартного швеллера не превышает 12 метров. Компания специализируется на изготовлении уголков, стальных полос и швеллеров с острым углом полок по технологии горячего проката. Маркировка по нормам ГОСТ. ГОСТ 8240-97. h — высота швеллера, b — ширина полки, S — толщина стенки, R — радиус внутреннего закругления полок, t — толщина полки, r — радиус закругления полок.
Здесь применяются стандартные типоразмеры, которые выглядят так: Высота изделия. Производители. Согласно действующим нормам ГОСТ и европейским стандартам допускается отклонение 6.5% для каждого изделия, при условии, что разность в массе общей партии не будет превышать 4% . Толщина полок. Учитывая, что производители применяют идентичные технологии, рассматривать продукцию западных компаний не имеет смысла: при аналогичном качестве, изделия отличаются более высокой стоимостью. С – специальная продукция. «ТрастМеталл», где определяющими критериями являются длина и ширина изделия.
Таблицы размеров. В зависимости от маркировки изделия, толщина граней может составлять 7-13.5 мм. У – полки расположены под уклоном. Швеллеры, изготовленные по стандартным размерам, имеют вес от 4.8 до 48.3 килограмм. Э – швеллеры экономичной категории. Нужно отметить, что ММК является лидером по производству металлопроката в российском регионе.
Швеллер гнутый размеры
Например, маркировка швеллера 18АП обозначает следующее: высокоточное прокатное изделие, имеющее расстояние 18 сантиметров между полками, которые расположены под прямым углом. Это легендарная «Магнитка» выдавшая первый металл в году. Ширина полки. Швеллеры являются довольно востребованной продукцией, поэтому изготавливаются отечественными и западными компаниями. Основное предназначение изделий – усиление бетонных конструкций, что существенно увеличивает прочность и долговечность конструкции. К основным предприятиям России можно отнести и «Верхнесалдинский металлургический завод».
ГОСТ 8240-97. Кроме этого, встречаются разнополочные изделия, где профиль подразумевает наличие боковых граней разной длины. Если говорить о стандартизации ГОСТ , швеллеры маркируются буквенными и цифровыми обозначениями.
Смотрите также
Швеллер гнутый размеры
Данный стандарт распространяется на гнутые стальные равнополочные швеллеры , которые изготавливают из холоднокатаной и горячекатаной стали обыкновенного…
Размеры гнутого швеллера таблица
Размеры и масса швеллеров с параллельными гранями полок – серия П по ГОСТ 8240-97. Таблица. Размеры и масса швеллеров с уклоном внутренних граней полок –…
Швеллер гнутый 180 размеры
Также следует учитывать, что эксплуатационные характеристики швеллера гнутого зависят от марки стали, из которой он произведен (марки стали исходной…
Швеллер гнутый размеры и вес цена
Вес метра швеллера гнутого равен составляет от 1 до 11 кг в зависимости от конкретной модели металлоизделия. Типоразмер везде имеет одинаковую толщину….
Швеллер гнутый размеры таблица цена за метр
В маркировке может присутствовать цифра. На основании представленных показателей требуется осуществлять выбор подходящего изделия. Если возникают…
trastmetal.ru
Швеллер гнутый неравнополочный по ГОСТ 8281–80
Сортамент на гнутые неравнополочные швеллеры регламентируется ГОСТ 8281–80. Данный стандарт распространяется на стальные гнутые неравнополочные швеллеры, изготовляемые на профилегибочных станах из горячекатаной рулонной углеродистой обыкновенного качества, углеродистой качественной конструкционной и низколегированной стали.
По точности прокатки швеллеры подразделяют на:
- высокой точности — А;
- повышенной точности — Б;
- обычной точности — В.

Рис. 1. Швеллер гнутый по ГОСТ 8281–80
Условные обозначения: h — высота швеллера; b — ширина большей полки; S — толщина полки; b1 — ширина меньшей полки; R и R1 — радиусы внутреннего закругления.
Таблица 1. Размеры и масса гнутых швеллеров из углеродистой кипящей
и полуспокойной стали с временным сопротивлением разрыву не более 460 МПа
| h, мм | b, мм | b1, мм | S, мм | R, не более, мм | Масса 1 м, кг |
| 32 | 22 | 12 | 3 | 5 | 1,261 |
| 32 | 32* | 20 | 2 | 3 | 1,189 |
| 32 | 40* | 15 | 3 | 5 | 1,756 |
| 32 | 50 | 20 | 4 | 6 | 2,709 |
| 37 | 60 | 32 | 3 | 5 | 2,745 |
| 35 | 35 | 26 | 2,5 | 4 | 1,681 |
| 40 | 32* | 20 | 2 | 3 | 1,314 |
| 40 | 40* | 20 | 2 | 3 | 1,440 |
| 40 | 50* | 32 | 3 | 5 | 2,580 |
| 43 | 106 | 32 | 3 | 5 | 3,970 |
| 45 | 25 | 15 | 3 | 5 | 1,709 |
| 50 | 40 | 12 | 2,5 | 4 | 1,798 |
| 50 | 48 | 15 | 3 | 5 | 2,368 |
| 50 | 40* | 20 | 2 | 3 | 1,597 |
| 50 | 50* | 15 | 3 | 5 | 2,415 |
| 50 | 50* | 25 | 2 | 3 | 1,832 |
| 50 | 50* | 25 | 3 | 5 | 2,651 |
| 50 | 50* | 25 | 4 | 6 | 3,431 |
| 50 | 55 | 30 | 2 | 3 | 1,989 |
| 50 | 60 | 32 | 3 | 5 | 3,051 |
| 50 | 60* | 32 | 4 | 6 | 3,965 |
| 50 | 92 | 60 | 3 | 5 | 4,464 |
| 60 | 40* | 20 | 2 | 3 | 1,754 |
| 60 | 50* | 25 | 3 | 5 | 2,886 |
| 60 | 60* | 32 | 3 | 5 | 3,287 |
| 65 | 55 | 20 | 2,5 | 4 | 2,544 |
| 65 | 65 | 40 | 4 | 6 | 4,844 |
| 67 | 65 | 35 | 3 | 5 | 3,640 |
| 70 | 80 | 50 | 4 | 6 | 5,786 |
| 80 | 50* | 25 | 3 | 5 | 3,357 |
| 80 | 60* | 32 | 3 | 5 | 3,758 |
| 80 | 60* | 40 | 3 | 5 | 3,946 |
| 80 | 80* | 40 | 3 | 5 | 4,417 |
| 80 | 80* | 40 | 5 | 7 | 7,104 |
| 80 | 80 | 50 | 4 | 6 | 6,100 |
| 90 | 80 | 50 | 4 | 6 | 6,414 |
| 100 | 50* | 25 | 3 | 5 | 3,828 |
| 100 | 60* | 32 | 3 | 5 | 4,229 |
| 100 | 80* | 40 | 3 | 5 | 4,888 |
| 100 | 80 | 50 | 4 | 6 | 6,728 |
| 100 | 80 | 50 | 5 | 7 | 8,281 |
| 100 | 100* | 60 | 4 | 6 | 7,670 |
| 100 | 100 | 60 | 6 | 9 | 11,16 |
| 100 | 180 | 35 | 8 | 12 | 17,86 |
| 120 | 45* | 35 | 5 | 7 | 7,104 |
| 120 | 60 | 50 | 5 | 7 | 8,281 |
| 130 | 108 | 50 | 4 | 6 | 8,549 |
| 135 | 50 | 36 | 4 | 6 | 6,446 |
| 140 | 70 | 30 | 4 | 6 | 7,042 |
| 144 | 160 | 90 | 6 | 9 | 17,47 |
| 160 | 50 | 30 | 3 | 5 | 5,359 |
| 160 | 50* | 30 | 4 | 6 | 7,042 |
| 160 | 80 | 50 | 5 | 7 | 10,64 |
| 200 | 50 | 30 | 4 | 6 | 8,298 |
| 270 | 90 | 72 | 8 | 12 | 25,21 |
| 270 | 90 | 80 | 6 | 9 | 19,63 |
| 300 | 80 | 40 | 4 | 6 | 12,69 |
| 300 | 80 | 40 | 5 | 7 | 15,74 |
* – швеллеры, обозначенные звездочкой, изготавливаются по требованию потребителя.
Примечание. Масса 1 м швеллера вычислена по номинальным размерам при плотности материала 7850 кг/м3 и является справочной величиной. R1=R+2 мм.
Таблица 2. Размеры и масса гнутых швеллеров углеродистой спокойной
и низколегированной стали с временным сопротивлением разрыву более 460 МПа
| h, мм | b, мм | b1, мм | S, мм | R, не более, мм | Масса 1 м, кг |
| 32 | 22 | 12 | 3 | 7 | 1,221 |
| 32 | 32* | 20 | 2 | 5 | 1,162 |
| 32 | 40* | 15 | 3 | 7 | 1,716 |
| 32 | 50 | 20 | 4 | 10 | 2,601 |
| 35 | 35 | 26 | 2,5 | 6 | 1,647 |
| 37 | 60 | 32 | 3 | 7 | 2,705 |
| 40 | 32* | 20 | 2 | 5 | 1,287 |
| 40 | 40* | 20 | 2 | 5 | 1,413 |
| 40 | 50* | 32 | 3 | 7 | 2,54 |
| 43 | 106 | 32 | 3 | 7 | 3,929 |
| 45 | 25 | 15 | 3 | 7 | 1,668 |
| 50 | 40 | 12 | 2,5 | 6 | 1,765 |
| 50 | 48 | 15 | 3 | 7 | 2,328 |
| 50 | 40* | 20 | 2 | 5 | 1,57 |
| 50 | 50* | 15 | 3 | 7 | 2,375 |
| 50 | 50* | 25 | 2 | 5 | 1,805 |
| 50 | 50* | 25 | 3 | 7 | 2,61 |
| 50 | 50 | 25 | 4 | 10 | 3,323 |
| 50 | 55 | 30 | 2 | 5 | 1,962 |
| 50 | 60 | 32 | 3 | 7 | 3,011 |
| 50 | 60* | 32 | 4 | 10 | 3,857 |
| 50 | 92 | 60 | 3 | 7 | 4,424 |
| 60 | 40* | 20 | 2 | 5 | 1,727 |
| 60 | 50* | 25 | 3 | 7 | 2,846 |
| 60 | 60* | 32 | 3 | 7 | 3,246 |
| 65 | 55 | 20 | 2,5 | 6 | 2,51 |
| 65 | 65 | 40 | 4 | 10 | 4,736 |
| 67 | 65 | 35 | 3 | 7 | 3,6 |
| 70 | 80 | 50 | 4 | 10 | 5,678 |
| 80 | 50* | 25 | 3 | 7 | 3,317 |
| 80 | 60* | 32 | 3 | 7 | 3,717 |
| 80 | 60* | 40 | 3 | 7 | 3,906 |
| 80 | 80* | 40 | 3 | 7 | 4,377 |
| 80 | 80* | 40 | 5 | 12 | 6,935 |
| 80 | 80 | 50 | 4 | 10 | 5,992 |
| 90 | 80 | 50 | 4 | 10 | 6,306 |
| 100 | 50* | 25 | 3 | 7 | 3,788 |
| 100 | 60* | 32 | 3 | 7 | 4,188 |
| 100 | 80* | 40 | 3 | 7 | 4,848 |
| 100 | 80 | 50 | 4 | 10 | 6,62 |
| 100 | 80 | 50 | 5 | 12 | 8,113 |
| 100 | 100* | 60 | 4 | 10 | 7,562 |
| 100 | 100 | 60 | 6 | 14 | 10,95 |
| 100 | 180 | 35 | 8 | 20 | 17,43 |
| 120 | 45* | 35 | 5 | 12 | 6,935 |
| 120 | 60 | 50 | 5 | 12 | 8,113 |
| 130 | 108 | 50 | 4 | 10 | 8,442 |
| 135 | 50 | 36 | 4 | 10 | 6,338 |
| 140 | 70 | 30 | 4 | 10 | 6,934 |
| 144 | 160 | 90 | 6 | 14 | 17,26 |
| 160 | 50 | 30 | 3 | 7 | 5,319 |
| 160 | 50* | 30 | 4 | 10 | 6,934 |
| 160 | 80 | 50 | 5 | 12 | 10,47 |
| 200 | 50 | 30 | 4 | 10 | 8,19 |
| 270 | 90 | 72 | 8 | 20 | 24,78 |
| 270 | 90 | 80 | 6 | 14 | 19,43 |
| 300 | 80 | 40 | 4 | 10 | 12,59 |
| 300 | 80 | 40 | 5 | 12 | 15,57 |
* — швеллеры, обозначенные звездочкой, изготавливаются по требованию потребителя.
Примечание. Масса 1 м швеллера вычислена по номинальным размерам при плотности материала 7850 кг/м3 и является справочной величиной. R1=R+2 мм.
Швеллеры в соответствии с заказом изготавливают длиной от 4 до 11,8 м. По длине швеллеры подразделяют на:
- мерной длины;
- мерной длины с немерными отрезками в количестве не более 7 % от массы партии;
- кратной мерной длины;
- кратной мерной длины с немерными отрезками в количестве не более 7 % от массы партии;
- немерной длины.
Немерными отрезками считают швеллеры длиной не менее 3 м.
вернуться к содержанию
Таблица 3. Предельные отклонения по высоте швеллера
| Высота швеллера, мм | Предельные отклонения, мм | ||
| Высокая точность | Повышенная точность | Обычная точность | |
| До 40 включ. | ±0,5 | ±1,0 | ±1,0 |
| От 40 до 50 включ. | ±1,2 | ±1,5 | |
| От 50 до 60 включ. | +0,5/-1,0 | ||
| От 60 до 100 включ. | ±1,5 | ±2,0 | |
| От 100 до 160 включ. | +1,0/-1,5 | ||
| От 160 до 220 включ. | ±2,0 | ±2,5 | |
| От 220 | +1,5/-2,0 | ||
Таблица 4. Предельные отклонения по ширине полок швеллера
| Ширина полок | Предельные отклонения, мм | ||
| Высокая точность | Повышенная точность | Обычная точность | |
| До 40 включ. | ±0,5 | ±1,0 | ±1,0 |
| Св. 40 до 50 включ. | ±1,2 | ±2,0 | |
| От 50 до 60 включ. | +0,5/-1,0 | ||
| От 60 до 80 включ. | ±1,5 | ±2,5 | |
| От 80 до 120 включ. | ±1,0 | ||
| От 120 | ±2,0 | ±2,0 | ±3,0 |
Предельные отклонения по толщине неравнополочных швеллеров должны соответствовать предельным отклонениям толщины заготовки шириной 1000–2000 мм нормальной точности прокатки Б, приведенным в ГОСТ 19903–74. Допускается изготовление швеллеров из заготовки повышенной точности прокатки А.
вернуться к содержанию
Стандарт регламентирует предельные отклонения по длине швеллеров мерной и кратной мерной длины. Они не должны превышать:
- для профилей обычной точности:
- +40 мм — для швеллеров длиной до 6 м;
- +80 мм — для швеллеров длиной свыше 6 м.
- для профилей высокой точности:
- +30 мм для профилей длиной до 6 м;
- +5 мм на каждый метр для швеллеров длиной свыше 6 м.
вернуться к содержанию
www.metalika.ua
