Система очистки и подачи воздуха – Cистема очистки и подачи воздуха трактора
Cистема очистки и подачи воздуха трактора
Категория:
ТО трактора
Публикация:
Cистема очистки и подачи воздуха трактора
Читать далее:
Cистема очистки и подачи воздуха трактора
Влияние состояния системы очистки и подачи воздуха на работу дизеля
Система очистки и подачи воздуха в цилиндр включает воздухоочиститель, впускной патрубок и турбокомпрессор, применяемый на дизелях некоторых типов для повышения их мощности и экономичности за счет нагнетения в цилиндры дополнительных порций воздуха.
Воздухоочиститель — один из основных агрегатов, предохраняющих двигатель внутреннего сгорания от преждевременного износа. Особенно велико его значение для тракторных дизелей, работающих в облаке пыли. При выполнении сельскохозяйственных работ пылесо-держание колеблется в значительных пределах. Например, на пахоте оно может составлять от 0,005 до 0,5 г пыли на 1 м3 воздуха, на бороновании — от 0,03 до 1,5 г на 1 м3. В отдельных случаях содержание пыли достигает 2 г на 1 м3, причем размеры пылинок, находящихся в воздухе во взвешенном состоянии, могут быть от десятых долей микрометра до сотен микрометров.
Рекламные предложения на основе ваших интересов:
В процессе эксплуатации трактора рабочие характеристики воздухоочистителя изменяются по мере накопления в нем пыли, уноса и испарения масла в поддоне, изнашивания и уплотнения фильтрующих элементоз. При этом степень и тонкость очистки воздуха от пыли резко ухудшаются, в результате увеличивается и количество пыли, поступающей на трущиеся поверхности деталей дизеля. По мере засорения воздушного фильтра возрастает сопротивление движению воздуха. Вследствие этого в фильтре и во впускном патрубке возникает дополнительное разрежение, которое, с одной стороны, создает опасность подсоса в камеры сгорания неочищенного, запыленного воздуха (через неплотности системы), с другой — снижает массу, температуру и давление воздушного заряда, поступающего в камеры сгорания.
В результате резко повышается интенсивность изнашивания дизеля и одновременно с этим из-за недостатка воздуха -снижается мощность и экономичность его. При подсосе запыленного воздуха через неплотности системы значительно повышается не только количество, но и размер пылинок, попадающих в камеры сгорания.
Эффективность работы инерционно-масляных воздухоочистителей во многом зависит от состояния масла в поддоне. По мере насыщения частицами пыли оно густеет, на поверхности масляного слоя образуется плотная пленка, и степень очистки воздуха снижается.
Абразивные частицы (твердые пылинки), проникшие из камер сгорания в картер, попадают в смазочное масло и, циркулируя вместе с ним многократно, оказывают вредное действие, изнашивая зеркала цилиндров, поршневые кольца, поршни, шейки коленчатого вала, вкладыши и другие детали дизеля до тех пор, пока абразивы не будут задержаны масляными фильтрами. Интенсивность изнашивания перечисленных деталей зависит от размеров и свойств абразива. Наиболее опасны в этом отношении частицы, имеющие высокую твердость (кварцевую пыль). В смеси с маслом эти абразивы действуют подобно наждаку.
Чтобы обеспечить нормальную работу системы очистки и подачи воздуха, необходимо своевременно и качественно проводить техническое обслуживание воздухоочистителя, периодически очищать и промывать его составные части, своевременно заменять масло в поддоне, подтягивать крепления и проверять герметичность соединений. Масло в поддон следует заливать до нормального уровня. Избыток масла в поддоне засасывается вместе с пылью в дизель; а недостаток его влечет за собой ухудшение процесса очистки воздуха от пыли.
Определение засоренности воздухоочистителя
Согласно правилам технического обслуживания тракторов сельскохозяйственного значения, состояние воздухоочистителя следует проверять при ТО-1, а в случае работы в условиях повышенной запыленности — через каждые три смены. При отсутствии средств безразборного контроля для проверки засоренности воздухоочистителя его разбирают частично, но это сопряжено с высокой трудоем костыо.
Засоренность воздухоочистителя можно определить по разрежению во впускном воздушном тракте: чем сильнее засорен воздухоочиститель, тем больше разрежение. Для этой цели применяют сигнализатор засоренности воздухоочистителя ОР-9928-ГОСНИТИ. Состоит: из корпуса со смотровым окном, камеры атмосферного давления, рабочей камеры, поршня-указателя с нажимным стержнем, диафрагмы п обратного клапана с нажимной пружиной.
Сигнализатор устанавливают на впускном трубопроводе. При нерабочем состоянии сигнализатора рабочая камера разобщена со впускным воздушным трактом дизеля, так как под действием пружины клапан находится в закрытом состоянии.
Чтобы проверить засоренность воздухоочистителя, устанавливают номинальную частоту вращения коленчатого вала и нажимают пальцем на стержень, открыв обратный клапан. При этом рабочая камера сообщается со впускным воздушным трактом и под действием избыточного давления над диафрагмой поршень-указатель переместится вниз, сжимая пружину. Чем больше разрежение, тем ниже опустится поршень-указатель, нижняя часть которого окрашена в зеленый цвет, а верхняя — в красный.
Появление в смотровом окне красной полосы свидетельствует о предельном засорении воздухоочистителя н необходимости очистки и промывки фильтрующих элементов.

Рис. 1. Установка сигнализатора засоренности воздухоочистителя ОР-9928- ГОСНИТИ на дизеле: 1 —нажимной стержень; 2 — смотровое окно; 3 — впускной воздушный патрубок
Для кратковременного подключения сигнализатора к впускному воздушному тракту (при ТО) его снабжают резиновой присоской, а для постоянного — штуцером с резьбой.
Очистка и промывка воздухоочистителя
Инерционный фильтр грубой очистки воздуха. При периодическом техническом обслуживании следует прочищать защитную сетку, через которую поступает неочи-щенный воздух, и щели для автоматического выбрасывания пыли. При очистке щелей нельзя допускать изменения их ширины, так как от этого снижается эффективность очистки воздуха.
Инерционно-масляный воздухоочиститель. Следует своевременно проверять и при засорении прочищать пылесборные щели и сетку воздухоочистителя (фильтра грубой очистки воздуха), а также центральную трубу воздухоочистителя.
Необходимо периодически (при ТО-1) проверять уровень масла в поддоне второй ступени воздухоочистителя, а также его засоренность. При наличии большого количества отложений следует заменить масло, предварительно промыв поддон и прочистив отверстия в чашке масляной ванны. Поддон заполнять до средней линии кольцевого пояска дизельным маслом. При температуре ниже 0°С масло следует разбавлять дизельным топливом на 1/3 объема.
При сильном засорении воздухоочистителя необходимо снять съемные кассеты и фильтрующие элементы и промыть их в бензине или керосине. После промывки элементы из пенополиуретана следует отжать и просушить, а сетчатые и капроновые элементы слегка смочить дизельным маслом.
При наличии в воздухоочистителе различных типов фильтров тонкой очистки воздуха необходимо следить за правильностью сборки и постановки их на место. В верхней части устанавливают фильтры более тонкой очистки. Например, у инерционно-масляного воздухоочистителя дизелей А-01М, А-41 сначала устанавливают пенополиуретановую пластину с мелкими порами (толщина 25 мм), затем с более крупными (толщина 40 мм) и внизу — кассету с капроновыми элементами.
Для полной очистки и промывки воздухоочистителя с него снимают фильтр грубой очистки и поддон, вышн мают съемные фильтрующие элементы (кассеты). Снимают корпус воздухоочистителя с трактора. Очищают и промывают водой фильтр грубой очистки. Очищают специальным скребком центральную трубу воздухоочистителя. Устанавливают корпус воздухоочистителя в ванну заборной трубой вниз. Промывают трубу с закрепленными фильтрующими элементами до тех пор, пока из головки не будет вытекать чистый керосин. После того как керосин стечет, сетчатые и капроновые фильтрующие элементы слегка смачивают дизельным маслом, а пенополиуретановые просушивают.
Воздухоочиститель собирают в последовательности, обратной разборке. При постановке сетчатых элементов в корпус воздухоочистителя следят за тем, чтобы гофры соседних кассет перекрещивались, а планки находились одна над другой.
Мультициклонный воздухоочиститель. Чтобы обеспечить нормальную работу воздухоочистителя, следует проверять состояние воздухозаборника, кассет и циклонов. При загрязнении их необходимо тщательно очищать и протирать, особенно внутреннюю часть циклонов. Если внутренняя часть циклонов покрыта налетом масла с пылью, циклоны нужно промыть в керосине или дизельном топливе.
При сборке воздухоочистителя следует не забыть присоединить отвесную трубу, в противном случае неизбежна авария дизеля. У трактора Т-130 тщательно проверяют плотность соединений циклонного воздухоочистителя с инерционно-масляным.
Бумажный воздухоочиститель. Для тонкой очистки воздуха от пыли широко применяют бумажные фильт-ры-патроны (кассеты), изготовленные из высокопористого картона, которые обслуживают в следующем порядке.
Вынимают фильтры-патроны (кассеты) из корпуса воздухоочистителя и продувают сжатым воздухом до полного удаления пыли. Во избежание повреждения бумажной “шторы давление воздуха должно быть не более 3 кгс/см2 (при продувке кассет воздухоочистителя дизеля ЯМЗ-240Б — не более 7 кгс/см2). При этом струю воздуха следует направлять под углом к боковой поверхности фильтра-патрона (кассеты) и регулировать давление воздуха изменением расстояния от наконечника шланга до поверхности фильтра-патрона.
В процессе обслуживания необходимо оберегать фильтр-патрон от механических повреждений и замасливания.
Если при продувке пыль удаляется неэффективно, что возможно при замасленных или закопченных фильтрах-патронах, их следует промыть в растворе моющих средств. Для этого растворяют мыльную пасту поверхностно-активного вещества ОП-7 или ОП-10 в воде, нагретой до температуры 40…60 °С (из расчета 20 г пасты на 1 л воды). Погружают фильтры-патроны в приготовленный раствор на 2 ч, после чего прополаскивают в растворе 10…20 мин. Затем промывают фильтры-патро-ны в чистой воде, имеющей температуру 35…40 °С, и просушивают на воздухе.
Если нет пасты ОП-7 или ОП-Ю, допускается промывка фильтров-патронов каким-либо универсальным моющим средством.
Во избежание прорыва бумажной шторы после промывки и просушки фильтров-патронов дизель должен работать 20…60 мин при частоте вращения коленчатого вала не свыше 1000 об/мин.
Первую продувку новых фильтров-патронов допускается проводить при ТО-2 — через 480 мото-ч, а первую продувку после промывки — через 360 мото-ч. Во избежание снижения фильтрующей способности картона число промывок в течение всего срока службы фильтра-патрона должно быть не более трех.
Нельзя промывать картонные фильтры-патроны в дизельном топливе и керосине.
При сборке воздухоочистителя следует тщательно проверять состояние уплотнений. Поврежденные прокладки необходимо заменять. После сборки убеждаются в отсутствии неплотностей в местах соединений составных частей воздухоочистителя и всего впускного воздушного тракта, обратив особое внимание на состояние соединительных шлангов и надежность их креплений.
Для обнаружения мест подсоса воздуха в воздушном тракте применяют жидкостный индикатор КИ-4870-ГОСНИТИ. В корпусе индикатора имеется П-образный канал, заполненный водой. Канал с одной стороны закрыт пробкой, а с другой к нему присоединен резиновый шланг со сменным наконечником для поиска мест подсоса воздуха.
Места подсоса воздуха выявляют при работе дизеля на максимальном скоростном режиме. Для этого вывинчивают пробку настолько, чтобы через сверление в ней левый канал сообщался с атмосферой. Удерживая корпус в вертикальном положении и прижимая наконечник к местам возможного подсоса воздуха, наблюдают за уровнем воды в стеклянной трубке. Понижение уровня воды в трубке свидетельствует о негерметичности системы.
После устранения обнаруженных неисправностей герметичность проверяют повторно. По окончании проверки необходимо ввинтить пробку до отказа; это предохранит жидкость от выливания.
Проверка работы турбокомпрессора (К-700, Т-150, Т-150К, Т-130). От технического состояния турбокомпрессора в значительной мере зависят мощность и топливная экономичность дизеля. Одной из частых причин ухудшения мошносгных и топливных показателей является загрязнение проточных частей компрессора, влекущее за собой снижение частоты вращения ротора (давления наддува) и, как следствие этого, коэффициента наполнения цилиндров воздухом. Частота вращения ротора может быть заниженной также по причине недостаточной смазки подшипников при чрезмерном загрязнении фильтра турбокомпрессора.
Причиной снижения турбонаддува может быть также чрезмерное засорение воздухоочистителя и неисправность топливной аппаратуры, что объясняется ухудшением процесса сгорания топлива. Кроме того, в этом случае из-за догорания топлива на линии расширения и возрастания температуры отработавших газов повышается температура деталей турбокомпрессора, а следовательно, снижается его надежность и долговечность,
Чтобы обеспечить длительную и бесперебойную работу турбокомпрессора, необходимо строго соблюдать правила эксплуатации и технического обслуживания дизеля.
В первую очередь необходимо своевременно проводить техническое обслуживание воздухоочистителя и топливной аппаратуры, выявлять и устранять неисправности, ухудшающие процесс горения топлива.
Согласно правилам технического обслуживания при ТО-1, ТО-2 и ТО-3 заменяют фильтрующий элемент фильтра турбокомпрессора трактора К-700, а при ТО-2 и ТО-3 — промывают элемент фильтра турбокомпрессора тракторов Т-150, Т-150К, Т-130. При ТО-2 и ТО-3 проверяют и, если необходимо, подтягивают гайки крепления турбокомпрессора к впускному коллектору.
Перед остановкой дизеля после длительной работы под нагрузкой необходимо в течение 3… 5 мин проработать на холостом ходу (с целью охлаждения деталей турбокомпрессора смазочным маслом), в противном случае ротор может заклиниться в подшипниках, покоробятся корпусные детали и выйдут из строя уплотнитель-ные резиновые кольца.
Турбокомпрессор работает нормально, если после остановки дизеля прослушивается характерный звук высокого тона (свист).
Работу турбокомпрессора можно также проверить по выбегу ротора после остановки дизеля. Для этого после 3…5 мин работы дизеля вхолостую при минимальной устойчивой частоте вращения коленчатого вала устанавливают максимальный скоростной режим, после чего, выключив подачу топлива, прослушивают с помощью автостетоскопа выбег ротора турбокомпрессора. Ровный, постепенно затухающий звук от вращения ротора, прослушиваемый не менее 5 с, свидетельствует о нормальной работе турбокомпрессора.
При наличии признаков неудовлетворительной работы турбокомпрессора и исправном состоянии системы питания следует проверить легкость вращения ротора ири неработающем дизеле. Для этого, открыв доступ к колесу компрессора, вращают рукой колесо сначала в одну сторону, а затем в другую, выбирая осевой зазор.
Если ротор вращается туго, необходимо промыть компрессорную часть, разобрав турбокомпрессор частично. Если же ротор совсем не вращается или вращается туго и задевает за неподвижные детали, турбокомпрессор следует отправить на специализированное ремонтное предприятие.
Рекламные предложения:
Читать далее: Cистема питания дизеля трактора топливом
Категория: — ТО трактора
Главная → Справочник → Статьи → Форум
stroy-technics.ru
Система питания воздухом двигателя
Система питания воздухом служит для очистки его от пыли и подвода к цилиндрам двигателя.
Основная функция рассматриваемой системы — очистка воздуха от пыли, поскольку, попадая в цилиндр двигателя, ее частицы вызывают интенсивное абразивное изнашивание деталей кривошипно-шатунного механизма, в основном стенок цилиндров, поршневых колец, шеек и подшипников коленчатого вала. Износ приводит к снижению мощности двигателя, сокращению срока его службы, увеличению расхода топлива и смазочного масла. Если воздух, поступающий в цилиндры, не очищать, то срок службы двигателя резко уменьшается. Например, при движении по проселку гусеничной машины без воздухоочистителя выход из строя двигателя происходит после 15… 20 ч работы.
В систему питания воздухом входят воздухозаборник, воздухоочиститель и впускной коллектор, по которому очищенный воздух поступает из воздухоочистителя к цилиндрам двигателя. В некоторых случаях система питания может включать в себя устройства отсоса пыли из пылесборников воздухоочистителей.
Экспериментально установлено, что практически безвредны для работы двигателя пылинки размером 0,001 мм. Однако такая степень очистки воздуха связана со значительными потерями мощности, поэтому допускается попадание в двигатель частиц большего размера, но в очень малой концентрации.
Параметр воздуха, характеризующий концентрацию пыли в нем, называется запыленностью. Под запыленностью воздуха понимают массу пыли в граммах, содержащейся в 1 м3 воздуха. Если запыленность не превышает 0,001 г/м3, то пыль практически не влияет на работу двигателя. На входе в воздухоочиститель запыленность воздуха изменяется в широких пределах и зависит в основном от следующих факторов: климатические и дорожные условия, конструкция ходовой части, скорость движения и высота воздухозаборника над уровнем дороги. Особенно существенно она меняется по высоте.
Воздухоочиститель ТС должен удовлетворять следующим требованиям:
- обеспечивать высокую степень очистки
- иметь минимальное и стабильное во времени сопротивление проходу воздуха
- обладать малой массой и небольшими габаритами
- иметь ресурс, равный ресурсу двигателя
- длительно работать без промывки или смены фильтрующего элемента
- обеспечивать малую трудоемкость работ по обслуживанию и эффективное глушение шума при впуске
Конструкции воздухоочистителей современных колесных и гусеничных машин отличаются многообразием. Однако среди них можно выделить следующие основные типы: инерционные, инерционно-центробежные, фильтрующие, комбинированные, т.е. имеющие не менее двух ступеней очистки.
В инерционных воздухоочистителях используется сила инерции движущихся с большой скоростью пылинок. При резком изменении направления движения воздуха в этих очистителях частицы пыли продолжают двигаться по инерции в первоначальном направлении и, вылетая из воздушного потока, поступающего в двигатель, удаляются наружу либо задерживаются в пылесборниках или специальных масляных ваннах.
В инерционно-центробежных воздухоочистителях наряду с силами инерции, возникающими при резком изменении направления потока воздуха, используются также центробежные силы: воздух, проходя через такой очиститель, закручивается с помощью спиральных направляющих, тангенциального (расположенного по касательной к цилиндрической стенке) входа или другими способами. Частицы пыли отбрасываются центробежным силами к стенке корпуса воздухоочистителя и скатываются по ней в пылесборник.
Инерционно-центробежные воздухоочистители без вращающихся деталей называются циклонами. Существуют также инерционно-центробежные воздухоочистители роторного типа, в которых очистка воздуха от пыли осуществляется за счет действия центробежных сил, вызванных вращающимся ротором. В таком очистителе ротор вращается обычно вследствие взаимодействия его лопастей с потоком воздуха, стремящимися попасть во впускную трубу из-за разрежения, создаваемого работающим двигателем.
Серьезным преимуществом инерционных и инерционно-центробежных воздухоочистителей является возможность выброса сухой пыли из их пылесборников в атмосферу путем отсоса. Это особенно важно при сильной запыленности воздуха, когда необходимо непрерывное удаление пыли. Возможность отсоса сухой пыли из пылесборника обусловлена разрежением, создаваемым в выпускной трубе двигателя с помощью эжекционного устройства. Основной недостаток инерционных и инерционно-центробежных воздухоочистителей — недостаточно высокая эффективность при очистке воздуха от мельчайших частиц.
Фильтрующие воздухоочистители при очистке воздуху от пыли обеспечивают его фильтрацию в пористых материалах или адсорбцию пылевых частиц на смоченных маслом поверхностям В качестве фильтрующего элемента могут применяться смоченные маслом металлические сетки, промасленные кассеты с капроновой ,или проволочной набивкой, пропитанная маслом полиуретановая пена, синтетические материалы на перфорированном каркасе и т.д. Однако в настоящее время наиболее широкое распространение получили сухие фильтрующие элементы из картона, уложенного «гармошкой». Картонные фильтры, эффективные при любом режиме работы двигателя, задерживают более 99 % частиц размером свыше 2 мкм.
Относительно недавно на некоторых ТС начато использование так называемого марлевого фильтра, в котором помимо обычных принципов фильтрации в пористых материалах реализуется принцип удержания пылевых частиц на поверхности фильтрующего элемента за счет статического электричества. Дело в том, что двойной каркас из алюминиевой сетки и пропитанная специальным силиконовым составом марлевая набивка такого фильтра образуют своеобразный конденсатор, который заряжается статическим электричеством при трении между пылинками. В результате пылинки как бы налипают на наружную поверхность фильтра, образуя подобие «шубы». Ресурс такого фильтрующего элемента значительно больше, чем у обычного картонного, так как пыль не остается внутри фильтра, а скапливается на его поверхности и может быть легко удалена при очередном техническом обслуживании.
Достоинством фильтрующих воздухоочистителей является их способность задерживать мельчайшие частицы пыли, а недостатком — необходимость периодической очистки, промывки или замены фильтрующих элементов.
Комбинированные воздухоочистители сочетают в себе преимущества очистителей рассмотренных типов. Они широко используются как на колесных, так и на гусеничных машинах. Чаще всего применяют две ступени очистки. На первой ступени (действует инерционный очиститель или циклон) из воздуха удаляются наиболее крупные и тяжелые частицы, на второй (фильтрующий очиститель) — мелкие пылинки.
ustroistvo-avtomobilya.ru
Влияние состояния системы очистки и подачи воздуха на работу дизеля
Влияние состояния системы очистки и подачи воздуха на работу дизеля. Система очистки и подачи воздуха в цилиндры состоит из воздухоочистителя (впускного патрубка и турбокомпрессора), применяемого на многих современных дизелях для повышения их мощности и экономичности за счет нагнетания в цилиндры дополнительных порций воздуха.
Современные тракторные дизели выпускаются с турбонад- дувом. При среднем наддуве мощность дизеля повышается на 50-70 %, а вообще мощность двигателя может быть увеличена в несколько раз. В целях обеспечения прочности и допускаемой тепловой напряженности при применении наддува в дизелях их мощность увеличивают не более чем в два раза.При применении наддува не только увеличивается мощность 142 двигателей, но и решаются не менее важные вопросы развития двигателей — снижаются токсичность и удельный расход топлива.
По давлению наддува турбокомпрессоры делятся на группы: низкого давления со степенью повышения давления от 1.3 до 1,9 включительно; среднего давления — от 1,9 до 2,5 включительно; высокого давления — от 2,5 до 3,5.
Воздухоочиститель — один из основных агрегатов, предохраняющих двигатель внутреннего сгорания от преждевременного износа. Велико его значение для тракторных дизелей, работающих в облаке пыли. При сельскохозяйственных работах пылесодержание колеблется в значительных пределах. Например, на пахоте — от 0,005 до 0,5 г пыли на 1 м3 воздуха, на бороновании — от 0,03 до 1,5 г/м3. Иногда содержание пыли достигает 2 г/м3. Размеры пылинок, находящихся в воздухе во взвешенном состоянии, могут быть от десятых долей микрона до сотен микрон.
В процессе эксплуатации трактора рабочие характеристики воздухоочистителя изменяются по мере накопления в нем пыли, уноса и испарения масла в поддоне, изнашивания и уплотнения фильтрующих элементов (ФЭ). При этом степень и тонкость очистки воздуха от пыли резко ухудшаются, а количество пыли, поступающей на трущиеся поверхности деталей дизеля, увеличивается. По мере засорения воздушного фильтра возрастает сопротивление движению воздуха. В результате в фильтре и во впускном патрубке возникает дополнительное разрежение, которое создает опасность подсоса в камеры сгорания неочищенного, запыленного воздуха (через неплотности системы), снижает массу, температуру и давление воздушного заряда, поступающего в камеры сгорания. Это резко повышает интенсивность изнашивания двигателя и снижает его мощность и экономичность. При подсосе запыленного воздуха через неплотности системы значительно повышается количество и размер пылинок, попадающих в камеры сгорания.
Эффективность работы инерционно-масляных воздухоочистителей зависит от состояния масла в поддоне. По мере нассыщения частицами пыли оно густеет, на поверхности масляного слоя образуется плотная пленка, и степень очистки воздуха 143 снижается.
Абразивные частицы, проникающие из камеры сгорания в картер, попадают в моторное масло и, циркулируя вместе с ним многократно, оказывают вредное действие. Они изнашивают зеркала цилиндров, поршневые кольца, поршни, шейки коленчатого вала, вкладыши и другие детали двигателя до тех пор, пока не будут задержаны масляными фильтрами. Интенсивность изнашивания деталей зависит от размеров и свойств абразива. Очень опасны в этом отношении частицы с высокой твердостью. В смеси с маслом абразивы действуют подобно наждаку.
Для обеспечения нормальной работы системы очистки и подачи воздуха необходимо своевременно и качественно проводить техническое обслуживание воздухоочистителя, периодически очищать и промывать его составные части, своевременно заменять масло в поддоне, подтягивать крепления и проверять герметичность соединений. Масло в поддон следует заливать до нормального уровня. Избыток масла в поддоне засасывается вместе с пылью в двигатель, а недостаток ухудшает процесс очистки воздуха от пыли.
belagrotorg.ru
2.Задание
1. Уточнить факторы, влияющие на качество работы топливной аппаратуры.
2.Изучить операции технического обслуживания системы питания двигателя.
3.Проверить засоренность воздушного фильтра, его герметичность и выявить места подсоса воздуха,
4.Проверить состояние топливоподкачивающего насоса, перепускного клапана и фильтра тонкой очистки топлива
5.Проверить и отрегулировать форсунки без снятия их с дизеля и то же со снятием.
6.Проверить состояние прецизионных пар топливного насоса.
7. Проверить и отрегулировать угол начала нагнетания топлива на дизеле.
8. Обсудить значения замеренных показателей и дать заключение о состоянии системы питания дизеля.
3.Указания по технике безопасности
Очищают и промывают фильтры, воздухоочиститель, форсунки щетинной щеткой, скребками, предупреждающими повреждение кожи рук абразивами и заусенциями, а также загрязнение ее смолистыми веществами, вызывающими тяжелые последствия.
При проверке давления впрыскивания и качества распыливания топлива форсунками нельзя допускать попадания струи топлива на руки, так как распыленные частицы топлива пробивают, кожный покров и проникают в организм. Недопустимо также попадание паров топлива в зону дыхания.
4. Методические указания к выполнению работы.
4.1. Техническое обслуживание систем подачи воздуха и топлива
В таблице 11.1 приведены основные операции технического обслуживания.
Таблица 11.1 -Операции технического обслуживания
Наименование операции | Вид ТО |
Проверить наличие подтекания топлива, уровень масла в корпусах топливного насоса и регулятора. | ЕТО |
Провести обслуживание воздухоочистителя | ТО-1 |
Слить отстой из топливного бака и фильтра грубой очистки топлива (ФГО) | ТО-1 |
Слить отстой из фильтра тонкой очистки топлива (ФТО) и промыть противотоком, промыть ФГО | ТО-2 |
Проверить герметичность воздухоочистителя и воздушного тракта | ТО-2 |
Очистить распылители форсунок, заменить фильтрующие элементы ФТО | ТО-3 |
Проверить и при необходимости отрегулировать топливный насос и форсунки, а также угол начала подачи топлива | ТО-3 |
4.2 Проверка состояния системы очистки и подачи воздуха
Для повышения мощности и экономичности двигателя система очистки и подачи воздуха имеет большое значение. От преждевременной износи двигателя предохраняет воздухоочиститель, рабочие характеристики которого изменяются по мере накопления на нем ныли, испарения масла и поддоне, изнашивания фильтрующих элементов, появления неплотностей и других неисправностей. По мере засорения воздушного фильтра возникает дополнительное разрежение, которое создает опасность подсоса неочищенного воздуха, что резко повышает интенсивность изнашивания.
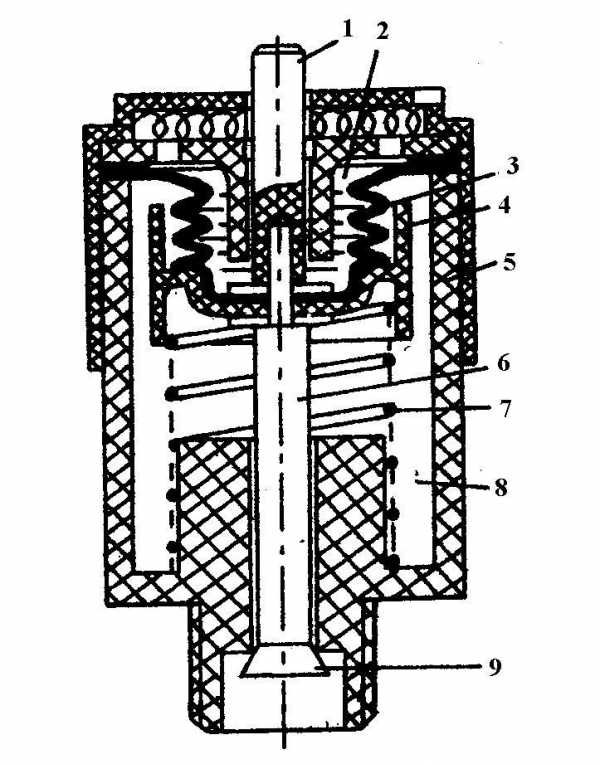
В настоящее время на многих тракторах и автомобилях на впускном трубопроводе установлен индикатор засоренности воздухоочистителя-ОР-УУ28 (Рис.11.1).

Рис. 11.1 Схема индикатора засоренности 1- Стержень; 2 — камера атмосферного давления; 3 — диафрагма; 4 — поршень; 5 — прозрачный корпус прибора; 6 — шток; 7 — пружина; 8 — рабочая камера; 9 – обратный клапан.
Нажимая на стержень 1, открываем клапан 9, При атом рабочая камера сообщается со впускным воздушным трактом и под действием избыточного давления над диафрагмой 8 поршень 4 перемещается вниз, сжимая пружину. Чем больше разрежение, тем ниже опустится поршень. Появление в смотровом окне красной полосы свидетельствует о предельном загрязнении воздухоочистителя.
Дня проверки герметичности воздушного тракта дизелей предназначен индикатор герметичности КИ-13948-ГОСНИТИ (Рис.11.2,). При замере герметичности воздушного тракта снимают пылеуловитель. устанавливают на горловину,. индикатор Прокручивают коленчатый вал дизеля пусковым двигателем (декомпрессор выключен). Дождавшись падения разрежения до -0,05МПа включают секундомер и когда стрелка вакуумметра станет на нуле, секундомер выключают. При герметичности соединений время падения разрежения не должно быть менее 30с.

Рис. 11.2. Схема индикатора гермегичности КИ-13048 1- накладная шайба с резиновой прокладкой; 2 переходной штуцер; 3- вакууметр Герметичность впускного воздушного тракта можно проверить прибором КИ-4870 (Рис.11.3.)

Рис. 11.3. Схема прибора КИ-4370
1 — корпус; 2 — стеклянная трубка; 3 —
пробка; 4 -резиновыйшланг; 5 — соедини тельная муфта; б -сменный наконечник
Устанавливают максимальный скоростной режим, выворачивают винт прибора до нижней кромки отверстия и, удерживая прибор в вертикальном положении, прижимают наконечник к местам стыков и соединений воздушного тракта. Изменение уровня жидкости в стеклянной трубке свидетельствует о подсосе воздуха в проверяемом месте.
studfiles.net
Система очистки и подачи воздуха
Cистема очистки и подачи воздуха трактора
Категория:
ТО трактора
Cистема очистки и подачи воздуха трактора
Влияние состояния системы очистки и подачи воздуха на работу дизеля
Система очистки и подачи воздуха в цилиндр включает воздухоочиститель, впускной патрубок и турбокомпрессор, применяемый на дизелях некоторых типов для повышения их мощности и экономичности за счет нагнетения в цилиндры дополнительных порций воздуха.
Воздухоочиститель — один из основных агрегатов, предохраняющих двигатель внутреннего сгорания от преждевременного износа. Особенно велико его значение для тракторных дизелей, работающих в облаке пыли. При выполнении сельскохозяйственных работ пылесо-держание колеблется в значительных пределах. Например, на пахоте оно может составлять от 0,005 до 0,5 г пыли на 1 м3 воздуха, на бороновании — от 0,03 до 1,5 г на 1 м3. В отдельных случаях содержание пыли достигает 2 г на 1 м3, причем размеры пылинок, находящихся в воздухе во взвешенном состоянии, могут быть от десятых долей микрометра до сотен микрометров.
В процессе эксплуатации трактора рабочие характеристики воздухоочистителя изменяются по мере накопления в нем пыли, уноса и испарения масла в поддоне, изнашивания и уплотнения фильтрующих элементоз. При этом степень и тонкость очистки воздуха от пыли резко ухудшаются, в результате увеличивается и количество пыли, поступающей на трущиеся поверхности деталей дизеля. По мере засорения воздушного фильтра возрастает сопротивление движению воздуха. Вследствие этого в фильтре и во впускном патрубке возникает дополнительное разрежение, которое, с одной стороны, создает опасность подсоса в камеры сгорания неочищенного, запыленного воздуха (через неплотности системы), с другой — снижает массу, температуру и давление воздушного заряда, поступающего в камеры сгорания.
В результате резко повышается интенсивность изнашивания дизеля и одновременно с этим из-за недостатка воздуха -снижается мощность и экономичность его. При подсосе запыленного воздуха через неплотности системы значительно повышается не только количество, но и размер пылинок, попадающих в камеры сгорания.
Эффективность работы инерционно-масляных воздухоочистителей во многом зависит от состояния масла в поддоне. По мере насыщения частицами пыли оно густеет, на поверхности масляного слоя образуется плотная пленка, и степень очистки воздуха снижается.
Абразивные частицы (твердые пылинки), проникшие из камер сгорания в картер, попадают в смазочное масло и, циркулируя вместе с ним многократно, оказывают вредное действие, изнашивая зеркала цилиндров, поршневые кольца, поршни, шейки коленчатого вала, вкладыши и другие детали дизеля до тех пор, пока абразивы не будут задержаны масляными фильтрами. Интенсивность изнашивания перечисленных деталей зависит от размеров и свойств абразива. Наиболее опасны в этом отношении частицы, имеющие высокую твердость (кварцевую пыль). В смеси с маслом эти абразивы действуют подобно наждаку.
Чтобы обеспечить нормальную работу системы очистки и подачи воздуха, необходимо своевременно и качественно проводить техническое обслуживание воздухоочистителя, периодически очищать и промывать его составные части, своевременно заменять масло в поддоне, подтягивать крепления и проверять герметичность соединений. Масло в поддон следует заливать до нормального уровня. Избыток масла в поддоне засасывается вместе с пылью в дизель; а недостаток его влечет за собой ухудшение процесса очистки воздуха от пыли.
Определение засоренности воздухоочистителя
Согласно правилам технического обслуживания тракторов сельскохозяйственного значения, состояние воздухоочистителя следует проверять при ТО-1, а в случае работы в условиях повышенной запыленности — через каждые три смены. При отсутствии средств безразборного контроля для проверки засоренности воздухоочистителя его разбирают частично, но это сопряжено с высокой трудоем костыо.
Засоренность воздухоочистителя можно определить по разрежению во впускном воздушном тракте: чем сильнее засорен воздухоочиститель, тем больше разрежение. Для этой цели применяют сигнализатор засоренности воздухоочистителя ОР-9928-ГОСНИТИ. Состоит: из корпуса со смотровым окном, камеры атмосферного давления, рабочей камеры, поршня-указателя с нажимным стержнем, диафрагмы п обратного клапана с нажимной пружиной.
Сигнализатор устанавливают на впускном трубопроводе. При нерабочем состоянии сигнализатора рабочая камера разобщена со впускным воздушным трактом дизеля, так как под действием пружины клапан находится в закрытом состоянии.
Чтобы проверить засоренность воздухоочистителя, устанавливают номинальную частоту вращения коленчатого вала и нажимают пальцем на стержень, открыв обратный клапан. При этом рабочая камера сообщается со впускным воздушным трактом и под действием избыточного давления над диафрагмой поршень-указатель переместится вниз, сжимая пружину. Чем больше разрежение, тем ниже опустится поршень-указатель, нижняя часть которого окрашена в зеленый цвет, а верхняя — в красный.
Появление в смотровом окне красной полосы свидетельствует о предельном засорении воздухоочистителя н необходимости очистки и промывки фильтрующих элементов.

Рис. 1. Установка сигнализатора засоренности воздухоочистителя ОР-9928- ГОСНИТИ на дизеле: 1 —нажимной стержень; 2 — смотровое окно; 3 — впускной воздушный патрубок
Для кратковременного подключения сигнализатора к впускному воздушному тракту (при ТО) его снабжают резиновой присоской, а для постоянного — штуцером с резьбой.
Очистка и промывка воздухоочистителя
Инерционный фильтр грубой очистки воздуха. При периодическом техническом обслуживании следует прочищать защитную сетку, через которую поступает неочи-щенный воздух, и щели для автоматического выбрасывания пыли. При очистке щелей нельзя допускать изменения их ширины, так как от этого снижается эффективность очистки воздуха.
Инерционно-масляный воздухоочиститель. Следует своевременно проверять и при засорении прочищать пылесборные щели и сетку воздухоочистителя (фильтра грубой очистки воздуха), а также центральную трубу воздухоочистителя.
Необходимо периодически (при ТО-1) проверять уровень масла в поддоне второй ступени воздухоочистителя, а также его засоренность. При наличии большого количества отложений следует заменить масло, предварительно промыв поддон и прочистив отверстия в чашке масляной ванны. Поддон заполнять до средней линии кольцевого пояска дизельным маслом. При температуре ниже 0°С масло следует разбавлять дизельным топливом на 1/3 объема.
При сильном засорении воздухоочистителя необходимо снять съемные кассеты и фильтрующие элементы и промыть их в бензине или керосине. После промывки элементы из пенополиуретана следует отжать и просушить, а сетчатые и капроновые элементы слегка смочить дизельным маслом.
При наличии в воздухоочистителе различных типов фильтров тонкой очистки воздуха необходимо следить за правильностью сборки и постановки их на место. В верхней части устанавливают фильтры более тонкой очистки. Например, у инерционно-масляного воздухоочистителя дизелей А-01М, А-41 сначала устанавливают пенополиуретановую пластину с мелкими порами (толщина 25 мм), затем с более крупными (толщина 40 мм) и внизу — кассету с капроновыми элементами.
Для полной очистки и промывки воздухоочистителя с него снимают фильтр грубой очистки и поддон, вышн мают съемные фильтрующие элементы (кассеты). Снимают корпус воздухоочистителя с трактора. Очищают и промывают водой фильтр грубой очистки. Очищают специальным скребком центральную трубу воздухоочистителя. Устанавливают корпус воздухоочистителя в ванну заборной трубой вниз. Промывают трубу с закрепленными фильтрующими элементами до тех пор, пока из головки не будет вытекать чистый керосин. После того как керосин стечет, сетчатые и капроновые фильтрующие элементы слегка смачивают дизельным маслом, а пенополиуретановые просушивают.
Воздухоочиститель собирают в последовательности, обратной разборке. При постановке сетчатых элементов в корпус воздухоочистителя следят за тем, чтобы гофры соседних кассет перекрещивались, а планки находились одна над другой.
Мультициклонный воздухоочиститель. Чтобы обеспечить нормальную работу воздухоочистителя, следует проверять состояние воздухозаборника, кассет и циклонов. При загрязнении их необходимо тщательно очищать и протирать, особенно внутреннюю часть циклонов. Если внутренняя часть циклонов покрыта налетом масла с пылью, циклоны нужно промыть в керосине или дизельном топливе.
При сборке воздухоочистителя следует не забыть присоединить отвесную трубу, в противном случае неизбежна авария дизеля. У трактора Т-130 тщательно проверяют плотность соединений циклонного воздухоочистителя с инерционно-масляным.
Бумажный воздухоочиститель. Для тонкой очистки воздуха от пыли широко применяют бумажные фильт-ры-патроны (кассеты), изготовленные из высокопористого картона, которые обслуживают в следующем порядке.
Вынимают фильтры-патроны (кассеты) из корпуса воздухоочистителя и продувают сжатым воздухом до полного удаления пыли. Во избежание повреждения бумажной “шторы давление воздуха должно быть не более 3 кгс/см2 (при продувке кассет воздухоочистителя дизеля ЯМЗ-240Б — не более 7 кгс/см2). При этом струю воздуха следует направлять под углом к боковой поверхности фильтра-патрона (кассеты) и регулировать давление воздуха изменением расстояния от наконечника шланга до поверхности фильтра-патрона.
В процессе обслуживания необходимо оберегать фильтр-патрон от механических повреждений и замасливания.
Если при продувке пыль удаляется неэффективно, что возможно при замасленных или закопченных фильтрах-патронах, их следует промыть в растворе моющих средств. Для этого растворяют мыльную пасту поверхностно-активного вещества ОП-7 или ОП-10 в воде, нагретой до температуры 40…60 °С (из расчета 20 г пасты на 1 л воды). Погружают фильтры-патроны в приготовленный раствор на 2 ч, после чего прополаскивают в растворе 10…20 мин. Затем промывают фильтры-патро-ны в чистой воде, имеющей температуру 35…40 °С, и просушивают на воздухе.
Если нет пасты ОП-7 или ОП-Ю, допускается промывка фильтров-патронов каким-либо универсальным моющим средством.
Во избежание прорыва бумажной шторы после промывки и просушки фильтров-патронов дизель должен работать 20…60 мин при частоте вращения коленчатого вала не свыше 1000 об/мин.
Первую продувку новых фильтров-патронов допускается проводить при ТО-2 — через 480 мото-ч, а первую продувку после промывки — через 360 мото-ч. Во избежание снижения фильтрующей способности картона число промывок в течение всего срока службы фильтра-патрона должно быть не более трех.
Нельзя промывать картонные фильтры-патроны в дизельном топливе и керосине.
При сборке воздухоочистителя следует тщательно проверять состояние уплотнений. Поврежденные прокладки необходимо заменять. После сборки убеждаются в отсутствии неплотностей в местах соединений составных частей воздухоочистителя и всего впускного воздушного тракта, обратив особое внимание на состояние соединительных шлангов и надежность их креплений.
Для обнаружения мест подсоса воздуха в воздушном тракте применяют жидкостный индикатор КИ-4870-ГОСНИТИ. В корпусе индикатора имеется П-образный канал, заполненный водой. Канал с одной стороны закрыт пробкой, а с другой к нему присоединен резиновый шланг со сменным наконечником для поиска мест подсоса воздуха.
Места подсоса воздуха выявляют при работе дизеля на максимальном скоростном режиме. Для этого вывинчивают пробку настолько, чтобы через сверление в ней левый канал сообщался с атмосферой. Удерживая корпус в вертикальном положении и прижимая наконечник к местам возможного подсоса воздуха, наблюдают за уровнем воды в стеклянной трубке. Понижение уровня воды в трубке свидетельствует о негерметичности системы.
После устранения обнаруженных неисправностей герметичность проверяют повторно. По окончании проверки необходимо ввинтить пробку до отказа; это предохранит жидкость от выливания.
Проверка работы турбокомпрессора (К-700, Т-150, Т-150К, Т-130). От технического состояния турбокомпрессора в значительной мере зависят мощность и топливная экономичность дизеля. Одной из частых причин ухудшения мошносгных и топливных показателей является загрязнение проточных частей компрессора, влекущее за собой снижение частоты вращения ротора (давления наддува) и, как следствие этого, коэффициента наполнения цилиндров воздухом. Частота вращения ротора может быть заниженной также по причине недостаточной смазки подшипников при чрезмерном загрязнении фильтра турбокомпрессора.
Причиной снижения турбонаддува может быть также чрезмерное засорение воздухоочистителя и неисправность топливной аппаратуры, что объясняется ухудшением процесса сгорания топлива. Кроме того, в этом случае из-за догорания топлива на линии расширения и возрастания температуры отработавших газов повышается температура деталей турбокомпрессора, а следовательно, снижается его надежность и долговечность,
Чтобы обеспечить длительную и бесперебойную работу турбокомпрессора, необходимо строго соблюдать правила эксплуатации и технического обслуживания дизеля.
В первую очередь необходимо своевременно проводить техническое обслуживание воздухоочистителя и топливной аппаратуры, выявлять и устранять неисправности, ухудшающие процесс горения топлива.
Согласно правилам технического обслуживания при ТО-1, ТО-2 и ТО-3 заменяют фильтрующий элемент фильтра турбокомпрессора трактора К-700, а при ТО-2 и ТО-3 — промывают элемент фильтра турбокомпрессора тракторов Т-150, Т-150К, Т-130. При ТО-2 и ТО-3 проверяют и, если необходимо, подтягивают гайки крепления турбокомпрессора к впускному коллектору.
Перед остановкой дизеля после длительной работы под нагрузкой необходимо в течение 3… 5 мин проработать на холостом ходу (с целью охлаждения деталей турбокомпрессора смазочным маслом), в противном случае ротор может заклиниться в подшипниках, покоробятся корпусные детали и выйдут из строя уплотнитель-ные резиновые кольца.
Турбокомпрессор работает нормально, если после остановки дизеля прослушивается характерный звук высокого тона (свист).
Работу турбокомпрессора можно также проверить по выбегу ротора после остановки дизеля. Для этого после 3…5 мин работы дизеля вхолостую при минимальной устойчивой частоте вращения коленчатого вала устанавливают максимальный скоростной режим, после чего, выключив подачу топлива, прослушивают с помощью автостетоскопа выбег ротора турбокомпрессора. Ровный, постепенно затухающий звук от вращения ротора, прослушиваемый не менее 5 с, свидетельствует о нормальной работе турбокомпрессора.
При наличии признаков неудовлетворительной работы турбокомпрессора и исправном состоянии системы питания следует проверить легкость вращения ротора ири неработающем дизеле. Для этого, открыв доступ к колесу компрессора, вращают рукой колесо сначала в одну сторону, а затем в другую, выбирая осевой зазор.
Если ротор вращается туго, необходимо промыть компрессорную часть, разобрав турбокомпрессор частично. Если же ротор совсем не вращается или вращается туго и задевает за неподвижные детали, турбокомпрессор следует отправить на специализированное ремонтное предприятие.
Реклама:
Читать далее: Cистема питания дизеля трактора топливомКатегория: — ТО трактора
Главная → Справочник → Статьи → Форум
stroy-technics.ru
Влияние состояния системы очистки и подачи воздуха на работу дизеля
Влияние состояния системы очистки и подачи воздуха на работу дизеля. Система очистки и подачи воздуха в цилиндры состоит из воздухоочистителя (впускного патрубка и турбокомпрессора), применяемого на многих современных дизелях для повышения их мощности и экономичности за счет нагнетания в цилиндры дополнительных порций воздуха.
Современные тракторные дизели выпускаются с турбонад- дувом. При среднем наддуве мощность дизеля повышается на 50-70 %, а вообще мощность двигателя может быть увеличена в несколько раз. В целях обеспечения прочности и допускаемой тепловой напряженности при применении наддува в дизелях их мощность увеличивают не более чем в два раза.При применении наддува не только увеличивается мощность 142 двигателей, но и решаются не менее важные вопросы развития двигателей — снижаются токсичность и удельный расход топлива.
По давлению наддува турбокомпрессоры делятся на группы: низкого давления со степенью повышения давления от 1.3 до 1,9 включительно; среднего давления — от 1,9 до 2,5 включительно; высокого давления — от 2,5 до 3,5.
Воздухоочиститель — один из основных агрегатов, предохраняющих двигатель внутреннего сгорания от преждевременного износа. Велико его значение для тракторных дизелей, работающих в облаке пыли. При сельскохозяйственных работах пылесодержание колеблется в значительных пределах. Например, на пахоте — от 0,005 до 0,5 г пыли на 1 м3 воздуха, на бороновании — от 0,03 до 1,5 г/м3. Иногда содержание пыли достигает 2 г/м3. Размеры пылинок, находящихся в воздухе во взвешенном состоянии, могут быть от десятых долей микрона до сотен микрон.
В процессе эксплуатации трактора рабочие характеристики воздухоочистителя изменяются по мере накопления в нем пыли, уноса и испарения масла в поддоне, изнашивания и уплотнения фильтрующих элементов (ФЭ). При этом степень и тонкость очистки воздуха от пыли резко ухудшаются, а количество пыли, поступающей на трущиеся поверхности деталей дизеля, увеличивается. По мере засорения воздушного фильтра возрастает сопротивление движению воздуха. В результате в фильтре и во впускном патрубке возникает дополнительное разрежение, которое создает опасность подсоса в камеры сгорания неочищенного, запыленного воздуха (через неплотности системы), снижает массу, температуру и давление воздушного заряда, поступающего в камеры сгорания. Это резко повышает интенсивность изнашивания двигателя и снижает его мощность и экономичность. При подсосе запыленного воздуха через неплотности системы значительно повышается количество и размер пылинок, попадающих в камеры сгорания.
Эффективность работы инерционно-масляных воздухоочистителей зависит от состояния масла в поддоне. По мере нассыщения частицами пыли оно густеет, на поверхности масляного слоя образуется плотная пленка, и степень очистки воздуха 143 снижается.
Абразивные частицы, проникающие из камеры сгорания в картер, попадают в моторное масло и, циркулируя вместе с ним многократно, оказывают вредное действие. Они изнашивают зеркала цилиндров, поршневые кольца, поршни, шейки коленчатого вала, вкладыши и другие детали двигателя до тех пор, пока не будут задержаны масляными фильтрами. Интенсивность изнашивания деталей зависит от размеров и свойств абразива. Очень опасны в этом отношении частицы с высокой твердостью. В смеси с маслом абразивы действуют подобно наждаку.
Для обеспечения нормальной работы системы очистки и подачи воздуха необходимо своевременно и качественно проводить техническое обслуживание воздухоочистителя, периодически очищать и промывать его составные части, своевременно заменять масло в поддоне, подтягивать крепления и проверять герметичность соединений. Масло в поддон следует заливать до нормального уровня. Избыток масла в поддоне засасывается вместе с пылью в двигатель, а недостаток ухудшает процесс очистки воздуха от пыли.
belagrotorg.ru
Диагностирование и техническое обслуживание системы очистки и подачи воздуха
При проведении ТО-1 в первую очередь проводится проверка засорённости воздухоочистителя, а также герметичности соединений впускного воздушного тракта.
Сигнализаторы засорённости воздухоочистителя стационарно устанавливаются на некоторые марки двигателей. Возможно использование сигнализатора типа ОР-9928 ГосНИТИ, присоединяемого к впускному воздушному коллектору посредством резинового присоска.
Данный сигнализатор состоит из корпуса, снабжённого прозрачным смотровым окном. Алгоритм проверки засорённости воздухоочистителя:
1) запуск дизеля;
2) установка номинальной частоты вращения коленчатого вала;
3) нажатие на колпачок клапана.
Под воздействием разряжения, которое образуется в рабочей камере, поршень-указатель опускается. Нижняя часть поршня окрашена в зелёный цвет, верхняя часть – в красный цвет. Появление красного цвета в смотровом окне является показателем предельной засорённости воздухоочистителя.
Индикаторы герметичности предназначены для проверки соединений впускного воздушного тракта. Принцип работы индикатора жидкостного типа аналогичен U-образному манометру. При работе дизельного двигателя (максимальный скоростной режим) наконечник индикатора следует прижать к местам возможного подсоса воздуха. О подсосе воздуха свидетельствует понижение уровня жидкости в стеклянной трубке, которая находится в окне.
Операции технического обслуживания рекомендуется продолжить только после проведения проверки засорённости воздухоочистителя, а также герметичности впускного воздушного тракта.
При проведении ТО-1 для инерционно-масляных воздухоочистителей следует прочистить пылесборные щели и сетку воздухозаборника, и центральную трубу. При необходимости (при наличии отложений) требуется долить либо заменить масло в поддоне. Необходимо промыть в керосине съёмные кассеты и фильтрующие элементы. После промывки сетчатые и капроновые элементы необходимо слегка смочить дизельным маслом, а полиуретановые элементы надо отжать и просушить.
Бумажные кассеты (фильтры-патроны) нужно вынуть из корпуса и продуть сжатым воздухом. В том случае, если кассеты замаслены, их следует очистить при помощи тёплого (40-50 град. Цельсия) моющего раствора, состоящего из воды с растворённым в ней универсальным моющим средством, предварительно выдержав в нём кассеты в течение двух часов.
При проведении ТО-2 и ТО-3 воздухоочиститель требуется снять, разобрать, промыть все фильтрующие элементы, прочистить специальным скребком поддон и центральную трубу.
Контроль турбокомпрессора состоит в проверке лёгкости вращения его ротора. Загрязнение проточных частей турбокомпрессора затрудняет вращение ротора, что влечёт за собой снижение давления наддува. В процессе проведения ТО требуется проведение проверки выбега ротора. С этой целью следует:
1) запустить дизель и произвести его прогрев;
2) установить номинальную частоту коленчатого вала;
3) прослушать автостетоскопом шум ротора после остановки дизеля.
Показатель нормальной работы турбокомпрессора – ровный, постепенно затухающий шум от вращения ротора, который прослушивается не менее пяти секунд.
При неудовлетворительной работе турбокомпрессора следует при неработающем двигателе открыть доступ к колесу турбокомпрессора и проверить лёгкость вращения ротора рукой. Если ротор вращается туго, то необходимо произвести частичную разборку турбокомпрессора и промывку компрессорной части.
В процессе проведения ТО-3 (через 3000 мото-часов) требуется снять с двигателя турбокомпрессор и его фильтр, провести разборку и промывку.
8*
xn—-itbachmidudk6msa.xn--p1ai
Система питания воздухом двигателя
Система питания воздухом служит для очистки его от пыли и подвода к цилиндрам двигателя.
Основная функция рассматриваемой системы — очистка воздуха от пыли, поскольку, попадая в цилиндр двигателя, ее частицы вызывают интенсивное абразивное изнашивание деталей кривошипно-шатунного механизма, в основном стенок цилиндров, поршневых колец, шеек и подшипников коленчатого вала. Износ приводит к снижению мощности двигателя, сокращению срока его службы, увеличению расхода топлива и смазочного масла. Если воздух, поступающий в цилиндры, не очищать, то срок службы двигателя резко уменьшается. Например, при движении по проселку гусеничной машины без воздухоочистителя выход из строя двигателя происходит после 15… 20 ч работы.
В систему питания воздухом входят воздухозаборник, воздухоочиститель и впускной коллектор, по которому очищенный воздух поступает из воздухоочистителя к цилиндрам двигателя. В некоторых случаях система питания может включать в себя устройства отсоса пыли из пылесборников воздухоочистителей.
Экспериментально установлено, что практически безвредны для работы двигателя пылинки размером 0,001 мм. Однако такая степень очистки воздуха связана со значительными потерями мощности, поэтому допускается попадание в двигатель частиц большего размера, но в очень малой концентрации.
Параметр воздуха, характеризующий концентрацию пыли в нем, называется запыленностью. Под запыленностью воздуха понимают массу пыли в граммах, содержащейся в 1 м3 воздуха. Если запыленность не превышает 0,001 г/м3, то пыль практически не влияет на работу двигателя. На входе в воздухоочиститель запыленность воздуха изменяется в широких пределах и зависит в основном от следующих факторов: климатические и дорожные условия, конструкция ходовой части, скорость движения и высота воздухозаборника над уровнем дороги. Особенно существенно она меняется по высоте.
Воздухоочиститель ТС должен удовлетворять следующим требованиям:
- обеспечивать высокую степень очистки
- иметь минимальное и стабильное во времени сопротивление проходу воздуха
- обладать малой массой и небольшими габаритами
- иметь ресурс, равный ресурсу двигателя
- длительно работать без промывки или смены фильтрующего элемента
- обеспечивать малую трудоемкость работ по обслуживанию и эффективное глушение шума при впуске
Конструкции воздухоочистителей современных колесных и гусеничных машин отличаются многообразием. Однако среди них можно выделить следующие основные типы: инерционные, инерционно-центробежные, фильтрующие, комбинированные, т.е. имеющие не менее двух ступеней очистки.
В инерционных воздухоочистителях используется сила инерции движущихся с большой скоростью пылинок. При резком изменении направления движения воздуха в этих очистителях частицы пыли продолжают двигаться по инерции в первоначальном направлении и, вылетая из воздушного потока, поступающего в двигатель, удаляются наружу либо задерживаются в пылесборниках или специальных масляных ваннах.
В инерционно-центробежных воздухоочистителях наряду с силами инерции, возникающими при резком изменении направления потока воздуха, используются также центробежные силы: воздух, проходя через такой очиститель, закручивается с помощью спиральных направляющих, тангенциального (расположенного по касательной к цилиндрической стенке) входа или другими способами. Частицы пыли отбрасываются центробежным силами к стенке корпуса воздухоочистителя и скатываются по ней в пылесборник.
Инерционно-центробежные воздухоочистители без вращающихся деталей называются циклонами. Существуют также инерционно-центробежные воздухоочистители роторного типа, в которых очистка воздуха от пыли осуществляется за счет действия центробежных сил, вызванных вращающимся ротором. В таком очистителе ротор вращается обычно вследствие взаимодействия его лопастей с потоком воздуха, стремящимися попасть во впускную трубу из-за разрежения, создаваемого работающим двигателем.
Серьезным преимуществом инерционных и инерционно-центробежных воздухоочистителей является возможность выброса сухой пыли из их пылесборников в атмосферу путем отсоса. Это особенно важно при сильной запыленности воздуха, когда необходимо непрерывное удаление пыли. Возможность отсоса сухой пыли из пылесборника обусловлена разрежением, создаваемым в выпускной трубе двигателя с помощью эжекционного устройства. Основной недостаток инерционных и инерционно-центробежных воздухоочистителей — недостаточно высокая эффективность при очистке воздуха от мельчайших частиц.
Фильтрующие воздухоочистители при очистке воздуху от пыли обеспечивают его фильтрацию в пористых материалах или адсорбцию пылевых частиц на смоченных маслом поверхностям В качестве фильтрующего элемента могут применяться смоченные маслом металлические сетки, промасленные кассеты с капроновой ,или проволочной набивкой, пропитанная маслом полиуретановая пена, синтетические материалы на перфорированном каркасе и т.д. Однако в настоящее время наиболее широкое распространение получили сухие фильтрующие элементы из картона, уложенного «гармошкой». Картонные фильтры, эффективные при любом режиме работы двигателя, задерживают более 99 % частиц размером свыше 2 мкм.
Относительно недавно на некоторых ТС начато использование так называемого марлевого фильтра, в котором помимо обычных принципов фильтрации в пористых материалах реализуется принцип удержания пылевых частиц на поверхности фильтрующего элемента за счет статического электричества. Дело в том, что двойной каркас из алюминиевой сетки и пропитанная специальным силиконовым составом марлевая набивка такого фильтра образуют своеобразный конденсатор, который заряжается статическим электричеством при трении между пылинками. В результате пылинки как бы налипают на наружную поверхность фильтра, образуя подобие «шубы». Ресурс такого фильтрующего элемента значительно больше, чем у обычного картонного, так как пыль не остается внутри фильтра, а скапливается на его поверхности и может быть легко удалена при очередном техническом обслуживании.
Достоинством фильтрующих воздухоочистителей является их способность задерживать мельчайшие частицы пыли, а недостатком — необходимость периодической очистки, промывки или замены фильтрующих элементов.
Комбинированные воздухоочистители сочетают в себе преимущества очистителей рассмотренных типов. Они широко используются как на колесных, так и на гусеничных машинах. Чаще всего применяют две ступени очистки. На первой ступени (действует инерционный очиститель или циклон) из воздуха удаляются наиболее крупные и тяжелые частицы, на второй (фильтрующий очиститель) — мелкие пылинки.
ustroistvo-avtomobilya.ru
«Питер — АТ»
ИНН 780703320484
ОГРНИП 313784720500453
piter-at.ru
Воздухоочистители и воздушные фильтры.
Воздушный фильтр
В атмосферном воздухе всегда присутствует пыль, количество которой может достигать значительной концентрации – до 0,1 г/м3 до 2 г/м3 (нулевая видимость). При попадании в цилиндр пыль, смешиваясь с маслом, образует абразивную пасту, которая резко повышает интенсивность изнашивания трущихся пар (цилиндр-поршень, поршень-кольца, кольца-цилиндр).
Поэтому воздух перед подачей в цилиндры двигателя необходимо тщательно очистить от пыли.
Очистка воздуха может быть осуществлена фильтрацией, инерционным или контактным способом.
При фильтрации загрязненный воздух проходит через специальный фильтрующий элемент, чаще всего выполненный из пористой бумаги или ткани.
При инерционном способе очистки движущийся с большой скоростью под действием разрежения в цилиндрах воздух резко изменяет направление движения. Возникающие при этом инерционные центробежные силы отбрасывают тяжелые механические примеси и частицы пыли к стенкам корпуса фильтра, где улавливаются и отделяются от воздушного потока.
Контактный способ очистки воздуха заключается в улавливании механических частиц липким веществом, покрывающем элементы фильтра, через который прогоняется воздушный поток. В качестве такого липкого вещества чаще всего применяется моторное масло.
Иногда в воздухоочистителях используется комбинированный многоступенчатый способ очистки.
Требования предъявляемые к воздухоочистителям:
- высокая степень очистки воздуха;
- малое сопротивление воздушному потоку, чтобы не снизить качество наполнения цилиндров;
- простота конструкции и технического обслуживания.
Различают «сухие» и «мокрые» воздухоочистители.
«Сухие» воздухоочистители (Рис. 1, а) применяются на большинстве современных автомобилей. Их основой является одноразовый фильтрующий элемент 9, в котором между крышками запрессованы края фильтровальной бумаги.
Для лучшей очистки, продолжительного срока службы и уменьшения сопротивления воздушному потоку поверхность фильтровальной бумаги должна быть большой. Чтобы уменьшить размеры фильтра при большой площади фильтрующей поверхности, бумагу укладывают гармошкой.
С наружной стороны фильтрующего элемента иногда устанавливают дополнительный поролоновый фильтр 3. В таком виде фильтрующий элемент устанавливается в корпус 8, закрывается крышкой 10 и стягивается барашковой гайкой 1.
В холодное время года посредством термопереключателя 5 обеспечивается забор подогретого воздуха из зоны выпускного трубопровода.
Ранее имели широкое распространение (применяются и в настоящее время) воздухоочистители «мокрого» типа (Рис. 1, б).
При работе двигателя в результате разрежения во впускном трубопроводе загрязненный воздух через воздухозаборник 5 поступает в крышку-переходник 4 и через кольцевую щель 3 направляется вниз к масляной ванне 1 и отражателю 8. У поверхности масла воздушный поток резко изменяет направление, и движется к фильтрующему элементу 2, набивка которого может быть выполнена из капронового волокна или металлической сетки.
При изменении направления воздушного потока крупные частицы пыли, под действием инерционных сил попадают в масляную ванну и оседают в ней, а мелкие извлекаются при прохождении воздушного потока через набивку фильтрующего элемента.
Поверхность набивки всегда покрыта тонким слоем масла, поскольку воздух, ударяясь о поверхность масла в ванне, увлекает за собой масляную пыль, оседающую на набивке и выполняющую в дальнейшем функцию липучего вещества.
Очищенный воздух поступает через переходник 9 в карбюратор, а через патрубок 6 отбора воздуха – к компрессору пневматического привода.
Как уже упоминалось выше, некачественная очистка воздуха, поступающего в систему питания двигателя, значительно снижает срок службы деталей цилиндропоршневой группы из-за интенсивного износа абразивного характера. Поэтому необходимо внимательно следить за состоянием воздухоочистителей и фильтрующих элементов, производить своевременную чистку и замену элементов при необходимости.
Периодичность обслуживания воздухоочистителей и замены воздушных фильтров зависит от условий, в которых эксплуатируется автомобиль. Если автомобиль работает в условиях сильной запыленности воздуха (например, в карьере или на грунтовых дорогах), то периодичность технического обслуживания системы очистки воздуха должна быть значительно сокращена.
***
Еще о воздушном фильтре
Впускной и выпускной трубопроводы
k-a-t.ru
Приборы подачи топлива, очистки воздуха и выпуска отработанных газов
Топливный бак изготовлен из стального листа, имеет заливную горловину с сетчатым фильтром, Внутри топливного бака находятся внутренние перегородки, которые устраняют резкие перемещения топлива во время движения автомобиля: Заливная головка закрывается пробкой, в которой имеется паровоздушный клапан. Паровоздушный клапан препятствует возникновению обратного давления в топливном баке, его действие аналогично действию клапана в системе охлаждения двигателя. Внутри бака расположен поплавковый датчик уровня топлива. Вместимость топливных баков, как правило, рассчитана на объем топлива, необходимого для 400-500 км пробега автомобиля.
Топливные фильтры сетчатого типа устанавливаются не только в горловине топливного бака, но и в крышке корпуса топливного насоса и на штуцере поплавковой камеры карбюратора. Кроме фильтра сетчатого типа существуют фильтры грубой очистки и фильтры тонкой очистки. Фильтр грубой очистки, или фильтр-отстойник, отделяет от топлива различные механические примеси и воду. Конструкция его фильтрующего элемента включает в себя несколько тонких пластин. Топливо, проходя между этими пластинами, очищается и поступает дальше к топливному насосу. Фильтр тонкой очистки может иметь керамический фильтрующий элемент или медную, свернутую в рулон мелкоячеистую сетку. Фильтр тонкой очистки устанавливают перед карбюратором. Он окончательно очищает топливо от различных примесей.
Топливный насос предназначен для подачи топлива по топливопроводу из бака к карбюратору. Топливный насос может располагаться в развале двигателя или сбоку крышки распределительных шестерен. Наиболее распространенными являются топливные насосы диафрагменного типа. Насос приводится в действие от эксцентрика распределительного вала, а также на топливном насосе имеется рычаг для ручной подачи топлива. Диафрагма топливного насоса изготавливается из лакоткани или прорезиненной ткани, клапаны — из бензомаслостойкой резины, пружины — из бронзовой проволоки. Когда эксцентрик набегает на рычаг привода топливного насоса, диафрагма смещается вниз. Над диафрагмой создается разрежение, под действием которого открываются впускные клапаны насоса. Топливо заполняет полость над диафрагмой. Когда эксцентрик сбегает с рычага привода и давление на него прекращается, диафрагма под действием пружины возвращается в свое исходное положение. Над диафрагмой создается давление, под действием которого открываются выпускные клапаны, и топливо из насоса вытекает в карбюратор.
На дизельных двигателях устанавливается топливный насос поршневого типа. Привод насоса осуществляется от эксцентрикового вала. Под действием пружины поршень движется вниз, в результате чего над ним создается разрежение, и топливо заполняет разреженную полость. Одновременно с этим топливо, находящееся под поршнем, вытесняется в магистраль. При движении поршня вверх топливо вытесняется через нагнетательный клапан в ту же магистраль и затем попадает к топливному насосу высокого давления. При достижении в магистрали определенного давления поршень двигаться не будет, так как давление сверху и снизу поршня будет одинаковым.
Топливопроводы высокого давления (свыше 20 МПа) изготовляют из стальных трубок. Концы топливопроводов имеют конусообразную форму и прижаты накидными гайками к гнездам штуцеров ТНВД и форсунок двигателя.
Воздушный фильтр устанавливается непосредственно на карбюраторе или соединяется с карбюратором при помощи воздушного патрубка. В воздушном фильтре воздух проходит двойную очистку.
Воздушный фильтр карбюраторного двигателя состоит из:
1) корпуса с масляной ванной;
2) крышки патрубка;
3) фильтрующего элемента, который представляет собой набивку из металлической сетки или капронового волокна;
4) стяжного винта с барашковой гайкой.
В воздушном фильтре карбюраторного автомобиля крупные частицы пыли задерживаются в масляной ванне (первая ступень). Полностью воздух очищается на второй ступени, проходя через фильтр.
В дизельных двигателях применяют воздушные фильтры сухого типа, в которых отсутствует масляная ванна. На первой ступени очистки крупные частицы пыли попадают в сменную крышку фильтра. На второй ступени происходит полная очистка воздуха, когда он проходит через пористый картон.
Впускные трубопроводы предназначены для подачи горючей смеси в камеры сгорания цилиндров. Они имеют сложную систему каналов, которая обеспечивает распределение рабочей смеси от смесительной камеры карбюратора к камерам сгорания.
Выпускные трубопроводы служат для отвода отработанных газов из камер сгорания цилиндров. Выпускные трубопроводы выполняются отдельно на каждый ряд цилиндров. Они крепятся с наружной стороны головок цилиндров.
Глушитель предназначен для уменьшения шума выпуска отработанных газов. Шум возникает из-за того, что отработанные газы выпускаются на большой скорости с частой периодичностью. Отработанные газы, попадая в полость глушителя, расширяются и резко снижают скорость, в результате этого уменьшается уровень шума.avtokriminalist.ru
