Π‘ΡΠ°Π½ΠΊΠ° ΡΠ΅ΠΉΡΠΌΡΡΠΎΠ²ΠΎΠ³ΠΎ β Π Π΅ΠΉΡΠΌΡΡΠΎΠ²ΡΠΉ ΡΡΠ°Π½ΠΎΠΊ Π΄Π»Ρ Π΄ΠΎΠΌΠ°ΡΠ½Π΅ΠΉ ΠΌΠ°ΡΡΠ΅ΡΡΠΊΠΎΠΉ
Π Π΅ΠΉΡΠΌΡΡΠΎΠ²ΡΠΉ ΡΡΠ°Π½ΠΎΠΊ Π΄Π»Ρ Π΄ΠΎΠΌΠ°ΡΠ½Π΅ΠΉ ΠΌΠ°ΡΡΠ΅ΡΡΠΊΠΎΠΉ
ΠΠ΄Π½Π° ΠΈΠ· Π³Π»Π°Π²Π½ΡΡ Π·Π°Π΄Π°Ρ ΡΠ΅ΠΉΡΠΌΡΡΠ° β ΡΠΎΠ·Π΄Π°Π½ΠΈΠ΅ Π³Π»Π°Π΄ΠΊΠΎΠΉ ΠΏΠΎΠ²Π΅ΡΡ Π½ΠΎΡΡΠΈ. ΠΠΎ ΡΠ°ΠΊ ΠΏΠΎΠ»ΡΡΠ°Π΅ΡΡΡ Π΄Π°Π»Π΅ΠΊΠΎ Π½Π΅ Π²ΡΠ΅Π³Π΄Π°. ΠΡΡΠ²Π°Π½Π½ΡΠ΅ Π²ΠΎΠ»ΠΎΠΊΠ½Π°, Π·Π°Π΄ΠΈΡΡ, Π²ΠΌΡΡΠΈΠ½Ρ ΠΈ Π΄ΡΡΠ³ΠΈΠ΅ Π΄Π΅ΡΠ΅ΠΊΡΡ ΠΏΠΎΠ²Π΅ΡΡ Π½ΠΎΡΡΠΈ, ΠΊΠΎΡΠΎΡΡΠ΅ Π½Π΅Π²ΠΎΠ·ΠΌΠΎΠΆΠ½ΠΎ ΡΡΡΡΠ°Π½ΠΈΡΡ ΡΠ»ΠΈΡΠΎΠ²Π°Π½ΠΈΠ΅ΠΌ, β ΡΡΠΎ ΠΏΡΠΎΠ±Π»Π΅ΠΌΡ, Π΄ΠΎΡΡΠ°Π²Π»ΡΡΡΠΈΠ΅ Π½Π΅ΠΌΠ°Π»ΠΎ Π³ΠΎΠ»ΠΎΠ²Π½ΠΎΠΉ Π±ΠΎΠ»ΠΈ. Π§ΡΠΎΠ±Ρ ΡΠ²Π΅ΡΠΈ ΠΊ ΠΌΠΈΠ½ΠΈΠΌΡΠΌΡ ΠΈΠ»ΠΈ ΠΆΠ΅ Π²ΠΎΠ²ΡΠ΅ ΠΈΠ·Π±Π΅ΠΆΠ°ΡΡ ΠΏΠΎΠ΄ΠΎΠ±Π½ΡΡ Π½Π΅ΠΏΡΠΈΡΡΠ½ΠΎΡΡΠ΅ΠΉ, ΡΠ΅ΠΊΠΎΠΌΠ΅Π½Π΄ΡΠ΅ΠΌ ΠΏΡΠΈΠ΄Π΅ΡΠΆΠΈΠ²Π°ΡΡΡΡ Π½Π΅ΡΠΊΠΎΠ»ΡΠΊΠΈΡ ΠΏΡΠΎΡΡΡΡ ΠΏΡΠ°Π²ΠΈΠ».
ΠΠΎΠ½ΡΡΠΎΠ»ΠΈΡΡΠΉΡΠ΅ ΡΠΊΠΎΡΠΎΡΡΡ ΠΏΠΎΠ΄Π°ΡΠΈ ΠΈ ΡΠΎΠ»ΡΠΈΠ½Ρ ΡΡΠ΅ΠΌΠ° ΠΌΠ°ΡΠ΅ΡΠΈΠ°Π»Π°. ΠΡΠΎ ΡΠΎ, ΠΎ ΡΠ΅ΠΌ ΠΌΡ Π³ΠΎΠ²ΠΎΡΠΈΠ»ΠΈ Π²ΡΡΠ΅. Π¨Π°Π³ ΡΡΠ΅ΠΌΠ° ΠΌΠ°ΡΠ΅ΡΠΈΠ°Π»Π° β Π½Π΅ Π±ΠΎΠ»Π΅Π΅ 0,8 ΠΌΠΌ; Π½Π° ΠΏΠΎΡΠ»Π΅Π΄Π½ΠΈΡ ΠΏΡΠΎΡ ΠΎΠ΄Π°Ρ β Π½Π΅ Π±ΠΎΠ»Π΅Π΅ 0,4 ΠΌΠΌ. Π§ΠΈΡΡΠΎΠ²ΡΠ΅ ΠΏΡΠΎΡ ΠΎΠ΄Ρ Π»ΡΡΡΠ΅ Π΄Π΅Π»Π°ΡΡ Π½Π° Π½Π΅Π±ΠΎΠ»ΡΡΠΈΡ ΡΠΊΠΎΡΠΎΡΡΡΡ .

ΠΠΎΠ΄Π°Π²Π°ΠΉΡΠ΅ Π·Π°Π³ΠΎΡΠΎΠ²ΠΊΡ Ρ ΠΏΡΠ°Π²ΠΈΠ»ΡΠ½ΠΎΠΉ ΠΎΡΠΈΠ΅Π½ΡΠ°ΡΠΈΠ΅ΠΉ Π²ΠΎΠ»ΠΎΠΊΠΎΠ½. Π‘Π°ΠΌΡΠΉ Π½Π°Π΄Π΅ΠΆΠ½ΡΠΉ ΡΠΏΠΎΡΠΎΠ± ΠΈΠ·Π±Π΅ΠΆΠ°ΡΡ Π²ΡΡΡΠ²ΠΎΠ² β ΡΡΠΎ Π²Π½ΠΈΠΌΠ°ΡΠ΅Π»ΡΠ½ΠΎ ΠΈΠ·ΡΡΠ°ΡΡ Π½Π°ΠΏΡΠ°Π²Π»Π΅Π½ΠΈΠ΅ Π²ΠΎΠ»ΠΎΠΊΠΎΠ½ Π½Π° Π·Π°Π³ΠΎΡΠΎΠ²ΠΊΠ΅ ΠΈ ΠΏΡΠ°Π²ΠΈΠ»ΡΠ½ΠΎ ΠΏΠΎΠ΄Π°Π²Π°ΡΡ Π΅Π΅ Π² ΡΠ΅ΠΉΡΠΌΡΡΠΎΠ²ΡΠΉ ΡΡΠ°Π½ΠΎΠΊ. ΠΠΎΠ»ΠΎΠΊΠ½Π° Π½Π° ΡΠΎΡΡΠ΅ Π΄ΠΎΠ»ΠΆΠ½Ρ Π±ΡΡΡ ΠΎΡΠΈΠ΅Π½ΡΠΈΡΠΎΠ²Π°Π½Ρ Π²Π½ΠΈΠ·, ΠΊΠ°ΠΊ Π±Ρ ΡΠΏΡΡΠΊΠ°ΡΡΡΡ Π² ΡΡΠ°Π½ΠΎΠΊ ΡΠ°ΠΊ, ΠΊΠ°ΠΊ ΡΡΠΎ ΠΏΠΎΠΊΠ°Π·Π°Π½ΠΎ Π½Π° ΡΠΎΡΠΎ.
ΠΠΎΠ΄Π°Π²Π°ΠΉΡΠ΅ Π΄ΠΎΡΠΊΠΈ ΠΏΠΎΠ΄ Π½Π΅Π±ΠΎΠ»ΡΡΠΈΠΌ ΡΠ³Π»ΠΎΠΌ. ΠΠ°Π³ΡΡΠΆΠ°Ρ Π΄ΠΎΡΠΊΡ, ΠΎΡΠΈΠ΅Π½ΡΠΈΡΡΠΉΡΠ΅ Π΅Π΅ ΠΏΠΎΠ΄ Π½Π΅Π±ΠΎΠ»ΡΡΠΈΠΌ ΡΠ³Π»ΠΎΠΌ β ΡΡΠΎ ΡΠΌΠ΅Π½ΡΡΠ°Π΅Ρ ΡΠΈΡΠΊ Π²ΡΡΠ²Π°Π½Π½ΡΡ Π²ΠΎΠ»ΠΎΠΊΠΎΠ½ Π½Π° Π΅Π΅ ΡΠΎΡΡΠ΅.
ΠΠΎΠ΄ΠΊΠ»ΡΡΠ°ΠΉΡΠ΅ ΡΠΈΡΡΠ΅ΠΌΡ ΡΡΡΡΠΆΠΊΠΎΡΠ΄Π°Π»Π΅Π½ΠΈΡ. ΠΠΎΠΏΠ°Π΄Π°Π½ΠΈΠ΅ ΡΡΡΡΠΆΠΊΠΈ ΠΏΠΎΠ΄ Π²Π°Π»ΡΡΡ ΠΏΡΠΈΠ²ΠΎΠ΄ΠΈΡ ΠΊ ΠΎΠ±ΡΠ°Π·ΠΎΠ²Π°Π½ΠΈΡ Π²ΠΌΡΡΠΈΠ½ Π½Π° ΠΏΠΎΠ²Π΅ΡΡ Π½ΠΎΡΡΠΈ Π΄ΠΎΡΠΊΠΈ. ΠΠ·Π±Π΅ΠΆΠ°ΡΡ ΡΠ°ΠΊΠΎΠ³ΠΎ Π΄Π΅ΡΠ΅ΠΊΡΠ° ΠΏΠΎΠΌΠΎΠ³Π°Π΅Ρ ΠΈΡΠΏΡΠ°Π²Π½ΠΎ ΡΠ°Π±ΠΎΡΠ°ΡΡΠ°Ρ ΡΠΈΡΡΠ΅ΠΌΠ° ΠΏΡΠ»Π΅ΡΠ΄Π°Π»Π΅Π½ΠΈΡ. ΠΠ½Π²Π΅ΡΡΠΈΡΠΈΡ Π² Ρ ΠΎΡΠΎΡΠΈΠΉ ΠΏΡΠΎΠΌΡΡΠ»Π΅Π½Π½ΡΠΉ ΠΏΡΠ»Π΅ΡΠΎΡ Π΄Π°ΡΡ Π½Π΅ ΡΠΎΠ»ΡΠΊΠΎ Ρ ΠΎΡΠΎΡΠΎ ΠΎΠ±ΡΠ°Π±ΠΎΡΠ°Π½Π½ΡΡ ΠΏΠΎΠ²Π΅ΡΡ Π½ΠΎΡΡΡ, Π½ΠΎ ΠΈ Π·Π°ΡΠΈΡΠΈΡ ΠΎΡ ΠΏΠ΅ΡΠ΅Π³ΡΠ΅Π²Π° Π΄Π²ΠΈΠ³Π°ΡΠ΅Π»Ρ, ΠΏΡΠ΅Π΄ΠΎΡΠ²ΡΠ°ΡΠΈΡ ΠΏΡΠΎΠ±ΡΠΊΡΠΎΠ²ΠΊΡ Π΄ΠΎΡΠΎΠΊ Π²Π½ΡΡΡΠΈ ΡΡΠ°Π½ΠΊΠ°, ΡΠ²Π΅Π»ΠΈΡΠΈΡ ΡΡΠΎΠΊ ΡΠ»ΡΠΆΠ±Ρ Π½ΠΎΠΆΠ΅ΠΉ.
Π‘Π»Π΅Π΄ΠΈΡΠ΅ Π·Π° ΠΎΡΡΡΠΎΡΠΎΠΉ Π½ΠΎΠΆΠ΅ΠΉ. ΠΡΡΠ²Π°Π½Π½ΡΠ΅ Π²ΠΎΠ»ΠΎΠΊΠ½Π° ΠΈ ΠΏΠΎΠ»ΠΎΡΡ Π½Π° ΠΎΡΡΡΡΠ³Π°Π½Π½ΠΎΠΉ ΠΏΠΎΠ²Π΅ΡΡ Π½ΠΎΡΡΠΈ ΠΌΠΎΠ³ΡΡ ΠΎΠ±ΡΡΡΠ½ΡΡΡΡΡ Π·Π°ΡΡΠΏΠΈΠ²ΡΠΈΠΌΠΈΡΡ Π½ΠΎΠΆΠ°ΠΌΠΈ. ΠΡΠΈ ΠΏΠΎΡΠ²Π»Π΅Π½ΠΈΠΈ ΠΏΠΎΠ΄ΠΎΠ±Π½ΡΡ ΡΠΈΠΌΠΏΡΠΎΠΌΠΎΠ² ΡΠ»Π΅Π΄ΡΠ΅Ρ ΠΏΠ΅ΡΠ΅ΡΡΠ°Π²ΠΈΡΡ Π»Π΅Π·Π²ΠΈΡ (Π΅ΡΠ»ΠΈ ΡΠ΅ΡΡ ΠΈΠ΄Π΅Ρ ΠΎ Π΄Π²ΡΡΡΠΎΡΠΎΠ½Π½ΠΈΡ Π½ΠΎΠΆΠ°Ρ ), Π·Π°ΡΠΎΡΠΈΡΡ ΠΈΡ (Π΅ΡΠ»ΠΈ ΠΏΡΠ΅Π΄ΡΡΠΌΠΎΡΡΠ΅Π½Π° Π²ΠΎΠ·ΠΌΠΎΠΆΠ½ΠΎΡΡΡ ΠΏΠ΅ΡΠ΅ΡΠΎΡΠΊΠΈ) ΠΈΠ»ΠΈ ΡΡΡΠ°Π½ΠΎΠ²ΠΈΡΡ Π½ΠΎΠ²ΡΠΉ ΠΊΠΎΠΌΠΏΠ»Π΅ΠΊΡ.
woodschool.ruΠΊΠ»Π°ΡΡΠΈΡΠΈΠΊΠ°ΡΠΈΡ ΡΠ΅ΠΉΡΠΌΡΡΠΎΠ² Π΄Π»Ρ Π΄ΠΎΠΌΠ° ΠΈ ΠΏΡΠΎΠΈΠ·Π²ΠΎΠ΄ΡΡΠ²Π°, Π½ΡΠ°Π½ΡΡ Π²ΡΠ±ΠΎΡΠ°
Π Π΅ΠΉΡΠΌΡΡΠΎΠ²ΡΠ΅ ΡΡΠ°Π½ΠΊΠΈ ΡΠ°ΡΡΠΎ ΠΈΡΠΏΠΎΠ»ΡΠ·ΡΡΡΡΡ Π² ΡΡΡΠΎΠΈΡΠ΅Π»ΡΠ½ΠΎΠΉ ΡΡΠ΅ΡΠ΅ Π΄Π»Ρ ΠΎΠ±ΡΠ°Π±ΠΎΡΠΊΠΈ Π΄Π΅ΡΠ°Π»Π΅ΠΉ ΠΈΠ· Π΄ΡΠ΅Π²Π΅ΡΠΈΠ½Ρ ΡΠ°Π·Π½ΡΡ ΠΏΠΎΡΠΎΠ΄. Π‘ΡΠ°Π½ΠΊΠΈ ΠΏΡΠ΅Π΄Π½Π°Π·Π½Π°ΡΠ΅Π½Ρ Π΄Π»Ρ ΠΏΡΠΈΠ΄Π°Π½ΠΈΡ Π·Π°Π³ΠΎΡΠΎΠ²ΠΊΠ°ΠΌ Π½ΡΠΆΠ½ΠΎΠ³ΠΎ ΡΠ°Π·ΠΌΠ΅ΡΠ° ΠΈ ΡΠΎΡΠΌΡ. Π‘ ΠΈΡ ΠΏΠΎΠΌΠΎΡΡΡ ΠΏΠΎΠ»ΡΡΠ°ΡΡ Π΄ΠΎΡΠΊΠΈ ΠΈΠ»ΠΈ Π±ΡΡΡ ΠΎΠΏΡΠ΅Π΄Π΅Π»ΡΠ½Π½ΠΎΠΉ ΡΠΎΠ»ΡΠΈΠ½Ρ ΠΈ ΡΠΈΡΠΈΠ½Ρ.
ΠΠΎΠ½ΡΡΡΡΠΊΡΠΈΠ²Π½ΡΠ΅ ΠΎΡΠΎΠ±Π΅Π½Π½ΠΎΡΡΠΈ ΡΡΡΡΠΎΠΉΡΡΠ²Π° ΡΡΠ°Π½ΠΊΠ° ΠΏΠΎΠ·Π²ΠΎΠ»ΡΡΡ ΠΎΠ±ΡΠ°Π±Π°ΡΡΠ²Π°ΡΡ Π΄Π΅ΡΠ°Π»ΠΈ ΠΈΠ»ΠΈ ΠΏΠΎΠ»ΡΡΠ°ΡΡ Π³ΠΎΡΠΎΠ²ΡΠ΅ ΠΈΠ·Π΄Π΅Π»ΠΈΡ Ρ ΡΡΠ΅Π±ΡΡΡΠΈΠΌΠΈΡΡ ΠΏΠ°ΡΠ°ΠΌΠ΅ΡΡΠ°ΠΌΠΈ Ρ ΠΌΠΈΠ»Π»ΠΈΠΌΠ΅ΡΡΠΎΠ²ΠΎΠΉ ΡΠΎΡΠ½ΠΎΡΡΡΡ. Π‘ ΠΏΠΎΠΌΠΎΡΡΡ ΡΠ΅ΠΉΡΠΌΡΡΠ° ΠΌΠΎΠΆΠ½ΠΎ ΡΡΡΠΎΠ³Π°ΡΡ Π·Π°Π³ΠΎΡΠΎΠ²ΠΊΠΈ Π² ΠΎΠ΄Π½ΠΎΠΉ ΠΏΠ»ΠΎΡΠΊΠΎΡΡΠΈ, ΡΠ΅Π³ΡΠ»ΠΈΡΡΡ ΡΠΎΠ»ΡΠΈΠ½Ρ Π΄ΠΎΡΠΊΠΈ. ΠΠΎΠ΄Π²Π΅ΡΠ³Π°ΡΡΠ°ΡΡΡ ΠΎΠ±ΡΠ°Π±ΠΎΡΠΊΠ΅ Π·Π°Π³ΠΎΡΠΎΠ²ΠΊΠ° Π½Π°ΠΏΡΠ°Π²Π»ΡΠ΅ΡΡΡ ΠΏΠΎΡΡΠ΅Π΄ΡΡΠ²ΠΎΠΌ ΡΠΏΠ΅ΡΠΈΠ°Π»ΡΠ½ΠΎΠ³ΠΎ ΠΌΠ΅Ρ Π°Π½ΠΈΠ·ΠΌΠ°, ΡΠΏΡΠΎΡΠ°ΡΡΠ΅Π³ΠΎ ΡΠ°Π±ΠΎΡΡ ΡΡΠ°Π½ΠΊΠ°.
ΠΠΎΠ½ΡΡΡΡΠΊΡΠΈΡ ΡΠ΅ΠΉΡΠΌΡΡΠΎΠ²ΠΎΠ³ΠΎ ΡΡΠ°Π½ΠΊΠ°
ΠΠΎΠ½ΡΡΡΡΠΊΡΠΈΡ ΡΠ΅ΠΉΡΠΌΡΡΠ° ΡΠΎΡΡΠΎΠΈΡ ΠΈΠ· Π΄Π²ΠΈΠ³Π°ΡΠ΅Π»Ρ Ρ ΠΏΡΠΈΠΊΡΠ΅ΠΏΠ»ΡΠ½Π½ΡΠΌ ΠΊ Π½Π΅ΠΌΡ Π½ΠΎΠΆΠ΅Π²ΡΠΌ Π²Π°Π»ΠΎΠΌ, ΡΠ°ΠΊΠΆΠ΅ Π΅ΡΡΡ ΠΏΡΠΈΠ»Π΅Π³Π°ΡΡΠ°Ρ ΡΠ°Π±ΠΎΡΠ°Ρ ΠΏΠΎΠ²Π΅ΡΡ
Π½ΠΎΡΡΡ ΠΈ ΡΠΏΠ΅ΡΠΈΠ°Π»ΡΠ½ΡΠ΅ Π²Π°Π»ΡΡΡ.
Π Π΅ΠΉΡΠΌΡΡΠΎΠ²ΡΠ΅ ΡΡΠ°Π½ΠΊΠΈ ΠΏΡΠΈΠΌΠ΅Π½ΡΡΡΡΡ Π΄Π»Ρ ΠΎΠ±ΡΠ°Π±ΠΎΡΠΊΠΈ Π΄Π΅ΡΠ΅Π²ΡΠ½Π½ΡΡ ΡΠ»Π΅ΠΌΠ΅Π½ΡΠΎΠ² ΠΈ ΠΈΠ·Π³ΠΎΡΠΎΠ²Π»Π΅Π½ΠΈΡ ΠΈΠ·Π΄Π΅Π»ΠΈΠΉ Π² ΠΏΡΠΎΠΌΡΡΠ»Π΅Π½Π½ΠΎΠΌ ΠΌΠ°ΡΡΡΠ°Π±Π΅. ΠΠ΅ΠΊΠΎΡΠΎΡΡΠ΅ ΡΠ°Π·Π½ΠΎΠ²ΠΈΠ΄Π½ΠΎΡΡΠΈ ΡΠ°ΠΊΠΎΠ³ΠΎ ΠΎΠ±ΠΎΡΡΠ΄ΠΎΠ²Π°Π½ΠΈΡ ΠΌΠΎΠ³ΡΡ Π±ΡΡΡ ΠΈΡΠΏΠΎΠ»ΡΠ·ΠΎΠ²Π°Π½Ρ ΠΈ Π² Π±ΡΡΠΎΠ²ΡΡ ΡΠ΅Π»ΡΡ .
Π Π°Π·Π½ΡΠ΅ ΡΡΠ°Π½ΠΊΠΈ ΠΈΠΌΠ΅ΡΡ ΠΎΠΏΡΠ΅Π΄Π΅Π»ΡΠ½Π½ΡΠ΅ ΠΊΠΎΠ½ΡΡΡΡΠΊΡΠΈΠ²Π½ΡΠ΅ ΠΎΡΠΎΠ±Π΅Π½Π½ΠΎΡΡΠΈ, ΠΎΡΠ»ΠΈΡΠ°ΡΡΡΡ ΠΌΠΎΡΠ½ΠΎΡΡΡΡ ΡΡΠ½ΠΊΡΠΈΠΎΠ½ΠΈΡΡΡΡΠ΅Π³ΠΎ ΠΎΠ±ΠΎΡΡΠ΄ΠΎΠ²Π°Π½ΠΈΡ ΠΈ ΡΠΏΠ΅ΡΠΈΡΠΈΠΊΠΎΠΉ Π²ΡΠΏΠΎΠ»Π½ΡΠ΅ΠΌΡΡ ΡΠ°Π±ΠΎΡ. ΠΠ°ΠΊΡΠΈΠΌΠ°Π»ΡΠ½Π°Ρ ΡΠΊΠΎΡΠΎΡΡΡ Π²Π°Π»ΠΎΠ²ΠΎΠ³ΠΎ Π²ΡΠ°ΡΠ΅Π½ΠΈΡ ΡΠ°ΠΊΠΆΠ΅ ΠΌΠΎΠΆΠ΅Ρ ΠΎΡΠ»ΠΈΡΠ°ΡΡΡΡ Ρ ΡΠ°Π·Π½ΡΡ ΠΌΠΎΠ΄Π΅Π»Π΅ΠΉ ΡΠ΅ΠΉΡΠΌΡΡΠΎΠ². ΠΠ°Π±Π°ΡΠΈΡΡ ΡΡΠ°Π½ΠΊΠ°, Π³Π»ΡΠ±ΠΈΠ½Π° ΠΏΡΠΎΠΈΠ·Π²ΠΎΠ΄ΠΈΠΌΠΎΠ³ΠΎ Ρ Π΅Π³ΠΎ ΠΏΠΎΠΌΠΎΡΡΡ ΠΏΡΠΎΠΏΠΈΠ»Π°, ΡΠΈΡΠΈΠ½Π° ΡΠ°Π·ΡΠ΅Π·Π° ΡΠ°ΠΊΠΆΠ΅ ΠΎΡΠ»ΠΈΡΠ°Π΅ΡΡΡ Ρ ΡΡΠ°Π½ΠΊΠΎΠ² ΡΠ°Π·Π½ΠΎΠ³ΠΎ Π²ΠΈΠ΄Π° ΠΈ ΡΠ°Π·ΠΌΠ΅ΡΠ° Π² Π·Π°Π²ΠΈΡΠΈΠΌΠΎΡΡΠΈ ΠΎΡ ΠΈΡ ΡΡΠ½ΠΊΡΠΈΠΎΠ½Π°Π»ΡΠ½ΡΡ Π²ΠΎΠ·ΠΌΠΎΠΆΠ½ΠΎΡΡΠ΅ΠΉ.
ΠΠΊΠ²ΠΈΠ²Π°Π»Π΅Π½Ρ ΡΡΠΎΠΈΠΌΠΎΡΡΠΈ ΡΡΠ°Π½ΠΊΠΎΠ² ΡΠΎΠ³ΠΎ ΠΈΠ»ΠΈ Π΄ΡΡΠ³ΠΎΠ³ΠΎ ΡΠΈΠΏΠ° ΡΠ°ΠΊΠΆΠ΅ ΠΎΡΠ»ΠΈΡΠ°Π΅ΡΡΡ ΠΌΠ΅ΠΆΠ΄Ρ ΡΠΎΠ±ΠΎΠΉ: Π±ΠΎΠ»Π΅Π΅ ΠΌΠΎΡΠ½ΡΠ΅ ΠΌΠΎΠ΄Π΅Π»ΠΈ, ΠΈΠΌΠ΅ΡΡΠΈΠ΅ ΡΠ°ΠΌΡΠΉ ΡΠΈΡΠΎΠΊΠΈΠΉ ΡΠΏΠ΅ΠΊΡΡ ΡΠ΅ΡΠ°Π΅ΠΌΡΡ Π·Π°Π΄Π°Ρ ΠΈ ΡΠΏΠΎΡΠΎΠ±ΠΎΠ² ΠΎΠ±ΡΠ°Π±ΠΎΡΠΊΠΈ Π΄Π΅ΡΠ°Π»Π΅ΠΉ, ΠΊΠ°ΠΊ ΠΈ Π±ΠΎΠ»Π΅Π΅ Π³Π°Π±Π°ΡΠΈΡΠ½ΡΠ΅ ΡΡΠ°Π½ΠΊΠΈ, ΡΡΠΎΡΡ Π½Π°ΠΌΠ½ΠΎΠ³ΠΎ Π΄ΠΎΡΠΎΠΆΠ΅, ΡΠ΅ΠΌ Π½Π΅Π±ΠΎΠ»ΡΡΠΈΠ΅ Π±ΠΎΠ»Π΅Π΅ Π΄Π΅ΡΡΠ²ΡΠ΅ ΠΏΠΎ ΡΠ΅Π½Π΅ Π±ΡΠ΄ΠΆΠ΅ΡΠ½ΡΠ΅ ΠΌΠ΅Ρ Π°Π½ΠΈΠ·ΠΌΡ Π΄Π»Ρ ΠΎΠ±ΡΠ°Π±ΠΎΡΠΊΠΈ Π΄Π΅ΡΠ΅Π²Π°.
Π€ΡΠ½ΠΊΡΠΈΠΎΠ½ΠΈΡΠΎΠ²Π°Π½ΠΈΠ΅
ΠΠ±ΡΡΠ½ΠΎ ΠΎΠ±ΡΠ°Π±ΠΎΡΠΊΠ° ΠΌΠ°ΡΠ΅ΡΠΈΠ°Π»ΠΎΠ² Ρ ΠΈΡΠΏΠΎΠ»ΡΠ·ΠΎΠ²Π°Π½ΠΈΠ΅ΠΌ ΡΠ΅ΠΉΡΠΌΡΡΠ° ΠΏΠΎΠ΄ΡΠ°Π·ΡΠΌΠ΅Π²Π°Π΅Ρ ΠΏΡΠΎΠ²Π΅Π΄Π΅Π½ΠΈΠ΅ ΡΡΡΠΎΠ³Π°Π½ΠΈΡ Π΄Π΅ΡΠ΅Π²ΡΠ½Π½ΡΡ Π·Π°Π³ΠΎΡΠΎΠ²ΠΎΠΊ ΠΈ Π΄Π΅ΡΠ°Π»Π΅ΠΉ, ΠΈΠΌΠ΅ΡΡΠΈΡ Π΄Π»ΠΈΠ½Ρ ΡΠ»Π΅Π³ΠΊΠ° Π±ΠΎΠ»ΡΡΠ΅Π³ΠΎ ΡΠ°Π·ΠΌΠ΅ΡΠ° ΡΠ΅ΠΌ Π΄Π»ΠΈΠ½Π° ΡΡΡΠ°Π½ΠΎΠ²Π»Π΅Π½Π½ΠΎΠ³ΠΎ ΠΌΠ΅ΠΆΠ΄Ρ Π²Π°Π»ΡΡΠ°ΠΌΠΈ ΡΠ°ΡΡΡΠΎΡΠ½ΠΈΡ.
Π Π΅ΠΉΡΠΌΡΡ ΡΠ°Π±ΠΎΡΠ°Π΅Ρ Ρ ΠΈΡΠΏΠΎΠ»ΡΠ·ΠΎΠ²Π°Π½ΠΈΠ΅ΠΌ ΡΠΏΠΎΡΠΎΠ±Π° ΠΏΠ»ΠΎΡΠΊΠΎΠ³ΠΎ ΡΡΡΠΎΠ³Π°Π½ΠΈΡ, ΠΏΠΎΠ΄Π²Π΅ΡΠ³Π°ΡΡΠ΅Π³ΠΎΡΡ ΠΎΠ±ΡΠ°Π±ΠΎΡΠΊΠ΅ ΠΌΠ°ΡΠ΅ΡΠΈΠ°Π»Π°. ΠΡΠΈ ΡΡΠΎΠΌ ΠΎΠ±ΡΠ°Π±ΠΎΡΠΊΠ° Π΄Π΅ΡΠ΅Π²ΡΠ½Π½ΠΎΠΉ Π·Π°Π³ΠΎΡΠΎΠ²ΠΊΠΈ ΠΎΡΡΡΠ΅ΡΡΠ²Π»ΡΠ΅ΡΡΡ Π·Π° ΡΡΡΡ ΡΠ°Π±ΠΎΡΡ ΡΠ°ΠΊΠΈΡ ΡΠ»Π΅ΠΌΠ΅Π½ΡΠΎΠ²:
- ΠΠΎΠΆΠ΅Π²ΠΎΠΉ Π²Π°Π». ΠΡ ΠΎΠ΄ΡΡΠΈΠΉ Π² ΠΊΠΎΠ½ΡΡΡΡΠΊΡΠΈΡ ΡΠ΅ΠΉΡΠΌΡΡΠ° Π½ΠΎΠΆΠ΅Π²ΠΎΠΉ Π²Π°Π» ΠΎΡΡΡΠ΅ΡΡΠ²Π»ΡΠ΅Ρ ΠΎΡΠ½ΠΎΠ²Π½ΡΡ ΡΡΠ½ΠΊΡΠΈΡ ΠΏΡΠΈ ΠΎΠ±ΡΠ°Π±ΠΎΡΠΊΠ΅ Π·Π°Π³ΠΎΡΠΎΠ²ΠΊΠΈ.
- ΠΠ°Π»ΡΡΡ. ΠΠΎΠ΄Π°ΡΠ° Π΄Π΅ΡΠ°Π»Π΅ΠΉ Π½Π° ΠΏΠΎΠ²Π΅ΡΡ Π½ΠΎΡΡΡ ΡΠ°Π±ΠΎΡΠ΅Π³ΠΎ ΡΡΠΎΠ»Π° ΠΏΡΠΎΠΈΠ·Π²ΠΎΠ΄ΠΈΡΡΡ ΠΏΠΎΠ΄ Π΄Π΅ΠΉΡΡΠ²ΠΈΠ΅ΠΌ ΡΡΡΠ°Π½ΠΎΠ²Π»Π΅Π½Π½ΡΡ Π²Π°Π»ΡΡΠΎΠ².
ΠΠ° ΡΠ°Π±ΠΎΡΠ΅ΠΉ ΠΏΠΎΠ²Π΅ΡΡ Π½ΠΎΡΡΠΈ Π΄Π΅ΡΠ°Π»Ρ ΡΠΈΠΊΡΠΈΡΡΠ΅ΡΡΡ ΠΏΡΠΈ ΠΏΠΎΠΌΠΎΡΠΈ ΡΠΏΠ΅ΡΠΈΠ°Π»ΡΠ½ΠΎΠ³ΠΎ ΠΌΠ΅Ρ Π°Π½ΠΈΠ·ΠΌΠ°, ΡΡΠΎ ΠΎΠ±Π΅ΡΠΏΠ΅ΡΠΈΠ²Π°Π΅Ρ Π½Π°ΠΈΠ±ΠΎΠ»Π΅Π΅ ΡΠΎΡΠ½ΡΡ Π΅Ρ ΠΎΠ±ΡΠ°Π±ΠΎΡΠΊΡ. ΠΠΎΡΠ»Π΅ ΡΡΠΎΠ³ΠΎ Π΄Π΅ΡΠ°Π»Ρ ΠΏΠΎΠ΄Π²Π΅ΡΠ³Π°Π΅ΡΡΡ ΡΡΡΠΎΠ³Π°Π½ΠΈΡ Ρ ΠΏΠΎΠΌΠΎΡΡΡ Π²ΠΎΠ·Π΄Π΅ΠΉΡΡΠ²ΡΡΡΠΈΡ Π½Π° Π½Π΅Ρ ΡΠ²Π΅ΡΡ Ρ Π½ΠΎΠΆΠ΅Π²ΡΡ Π»Π΅Π·Π²ΠΈΠΉ.
Π’Π°ΠΊ ΠΏΡΠΎΠΈΡΡ
ΠΎΠ΄ΠΈΡ
ΠΡΠΈ ΠΈΡΠΏΠΎΠ»ΡΠ·ΠΎΠ²Π°Π½ΠΈΠΈ Π²ΠΎ Π²ΡΠ΅ΠΌΡ ΠΎΠ±ΡΠ°Π±ΠΎΡΠΊΠΈ ΡΠΏΠ΅ΡΠΈΠ°Π»ΡΠ½ΡΡ Π½Π°ΠΊΠ»Π°Π΄Π½ΡΡ Π΄Π΅ΡΠ°Π»Π΅ΠΉ Ρ ΠΏΠΎΠΌΠΎΡΡΡ ΡΠ°ΠΊΠΎΠ³ΠΎ ΡΡΠ°Π½ΠΊΠ° ΠΌΠΎΠΆΠ½ΠΎ ΠΏΠΎΠ΄Π²Π΅ΡΠ³Π°ΡΡ ΡΡΡΠΎΠ³Π°Π½ΠΈΡ ΠΌΠ°ΡΠ΅ΡΠΈΠ°Π»Ρ, ΠΈΠΌΠ΅ΡΡΠΈΠ΅ ΡΠ°ΡΠΏΠΎΠ»ΠΎΠΆΠ΅Π½Π½ΡΠ΅ ΠΏΡΠΎΡΠΈΠ²ΠΎΠΏΠΎΠ»ΠΎΠΆΠ½ΡΠΌ ΠΎΠ±ΡΠ°Π·ΠΎΠΌ Π³ΡΠ°Π½ΠΈ Π½Π΅ΠΏΠ°ΡΠ°Π»Π»Π΅Π»ΡΠ½ΠΎΠ³ΠΎ Π²ΠΈΠ΄Π°. ΠΡΠΈ ΡΡΠΎΠΌ Π½Π΅ΠΎΠ±Ρ ΠΎΠ΄ΠΈΠΌΠΎ ΡΡΡΠ°Π½ΠΎΠ²ΠΈΡΡ Π΄Π΅ΡΠ°Π»ΠΈ, Π·Π°Π΄Π°Π² ΠΈΠΌ ΠΎΠΏΡΠ΅Π΄Π΅Π»ΡΠ½Π½ΡΠΉ ΡΠ³ΠΎΠ» Π½Π°ΠΊΠ»ΠΎΠ½Π°.
ΠΡΠΏΠΎΠ»Π½Π΅Π½ΠΈΠ΅ ΡΠ°Π±ΠΎΡ ΠΏΠΎ ΠΎΠ±ΡΠ°Π±ΠΎΡΠΊΠ΅ Π΄Π΅ΡΠ°Π»Π΅ΠΉ Ρ ΠΈΡΠΏΠΎΠ»ΡΠ·ΠΎΠ²Π°Π½ΠΈΠ΅ΠΌ ΡΠ°ΠΊΠΎΠ³ΠΎ ΠΎΠ±ΠΎΡΡΠ΄ΠΎΠ²Π°Π½ΠΈΡ ΠΎΠ±Π΅ΡΠΏΠ΅ΡΠΈΠ²Π°Π΅Ρ Π²ΠΎΠ·ΠΌΠΎΠΆΠ½ΠΎΡΡΡ ΠΏΠΎΠ»ΡΡΠΈΡΡ Π½Π°ΠΈΠ²ΡΡΠΎΡΠ°ΠΉΡΠ΅Π΅ ΠΊΠ°ΡΠ΅ΡΡΠ²ΠΎ. ΠΡΠΎΠΌΠ΅ ΡΠΎΠ³ΠΎ, ΠΎΠ±ΡΠ°Π±Π°ΡΡΠ²Π°Ρ ΠΏΠΈΠ»ΠΎΠΌΠ°ΡΠ΅ΡΠΈΠ°Π»Ρ Π½Π° ΡΠ΅ΠΉΡΠΌΡΡΠΎΠ²ΠΎΠΌ Π°Π³ΡΠ΅Π³Π°ΡΠ΅, ΠΌΠΎΠΆΠ½ΠΎ Π²ΡΠΏΠΎΠ»Π½ΡΡΡ ΡΠ°Π±ΠΎΡΡ Π½Π°ΠΈΠ±ΠΎΠ»Π΅Π΅ ΡΠΎΡΠ½ΡΠΌ ΠΎΠ±ΡΠ°Π·ΠΎΠΌ, Π½Π΅Π·Π°Π²ΠΈΡΠΈΠΌΠΎ ΠΎΡ ΠΎΠ±ΡΠ΅Π³ΠΎ ΠΊΠΎΠ»ΠΈΡΠ΅ΡΡΠ²Π° ΠΈΡΠΏΠΎΠ»ΡΠ·ΡΠ΅ΠΌΡΡ Π΄Π΅ΡΠ°Π»Π΅ΠΉ.
Π Π΅ΠΉΡΠΌΡΡΡ ΡΠ²Π»ΡΡΡΡΡ Π²Π΅ΡΡΠΌΠ° ΡΠΊΠΎΠ½ΠΎΠΌΠΈΡΠ½ΠΎΠΉ Π² ΠΎΡΠ½ΠΎΡΠ΅Π½ΠΈΠΈ Π΅Π³ΠΎ ΠΎΠ±ΡΠ»ΡΠΆΠΈΠ²Π°Π½ΠΈΡ Π΄Π΅ΡΠ΅Π²ΠΎΠΎΠ±ΡΠ°Π±Π°ΡΡΠ²Π°ΡΡΠ΅ΠΉ ΡΠ΅Ρ Π½ΠΈΠΊΠΎΠΉ, ΠΊΠΎΡΠΎΡΠ°Ρ ΠΎΡΠ»ΠΈΡΠ°Π΅ΡΡΡ Π²ΡΡΠΎΠΊΠΈΠΌ ΡΡΠΎΠ²Π½Π΅ΠΌ ΠΏΡΠΎΠΈΠ·Π²ΠΎΠ΄ΠΈΡΠ΅Π»ΡΠ½ΠΎΡΡΠΈ.
ΠΡΠΏΠΎΠ»ΡΠ·ΡΠ΅ΠΌΡΠΉ ΠΌΠ΅Ρ Π°Π½ΠΈΠ·ΠΌ ΡΠ°Π±ΠΎΡΡ ΠΏΠΎΠ·Π²ΠΎΠ»ΡΠ΅Ρ ΠΎΡΡΡΠ΅ΡΡΠ²Π»ΡΡΡ ΠΎΠ±ΡΠ°Π±ΠΎΡΠΊΡ ΠΏΠΈΠ»ΠΎΠΌΠ°ΡΠ΅ΡΠΈΠ°Π»ΠΎΠ² ΡΠΈΡΠΈΠ½ΠΎΠΉ Π΄ΠΎ ΠΎΠ΄Π½ΠΎΠ³ΠΎ ΠΌΠ΅ΡΡΠ° ΠΈ ΡΡΡΡ Π±ΠΎΠ»ΡΡΠ΅. ΠΡΠΈ ΡΡΠΎΠΌ Π½Π°ΠΈΠ±ΠΎΠ»ΡΡΠ°Ρ Π³Π»ΡΠ±ΠΈΠ½Π° ΠΏΡΠΎΠΈΠ·Π²ΠΎΠ΄ΠΈΠΌΠΎΠ³ΠΎ ΠΏΡΠΎΠΏΠΈΠ»Π° ΠΎΠ±ΡΡΠ½ΠΎ ΡΠ°Π²Π½ΡΠ΅ΡΡΡ 145β155 ΠΌΠΌ ΠΈ Π΄Π°ΠΆΠ΅ Π±ΠΎΠ»ΡΡΠ΅ Π² Π·Π°Π²ΠΈΡΠΈΠΌΠΎΡΡΠΈ ΠΎΡ ΠΈΡΠΏΠΎΠ»ΡΠ·ΡΠ΅ΠΌΠΎΠΉ ΠΌΠΎΠ΄Π΅Π»ΠΈ.
ΠΠΈΠ΄Ρ ΠΎΠ±ΠΎΡΡΠ΄ΠΎΠ²Π°Π½ΠΈΡ
ΠΡΡΡ ΡΠ°Π·Π»ΠΈΡΠ½ΡΠ΅ ΡΠ΅ΠΉΡΠΌΡΡΡ:
ΠΠ΄Π½ΠΎΡΡΠΎΡΠΎΠ½Π½ΠΈΠ΅ (Π±ΡΡΠΎΠ²ΡΠ΅) ΡΡΠ°Π½ΠΊΠΈ. ΠΡ
ΠΎΡΠ»ΠΈΡΠ°ΡΡ Π½Π΅Π±ΠΎΠ»ΡΡΠΈΠ΅ ΡΠ°Π·ΠΌΠ΅ΡΡ, ΠΈ ΠΈΡ
ΡΠ°ΡΡΠΎ ΠΈΡΠΏΠΎΠ»ΡΠ·ΡΡΡ ΠΏΡΠΈ Π²ΡΠΏΠΎΠ»Π½Π΅Π½ΠΈΠΈ ΡΠ°Π±ΠΎΡ Π² Π΄ΠΎΠΌΠ°ΡΠ½Π΅ΠΉ ΠΌΠ°ΡΡΠ΅ΡΡΠΊΠΎΠΉ. ΠΠ°ΠΊ ΡΡΠ½ΠΎ ΠΈΠ· Π½Π°Π·Π²Π°Π½ΠΈΡ, ΡΡΡΠΎΠ³Π°Π½ΠΈΠ΅ Ρ ΠΏΠΎΠΌΠΎΡΡΡ ΡΠ°ΠΊΠΎΠ³ΠΎ ΠΎΠ±ΠΎΡΡΠ΄ΠΎΠ²Π°Π½ΠΈΡ ΠΏΡΠΎΠΈΠ·Π²ΠΎΠ΄ΠΈΡΡΡ ΡΠΎΠ»ΡΠΊΠΎ Ρ ΠΎΠ΄Π½ΠΎΠΉ ΡΡΠΎΡΠΎΠ½Ρ ΠΏΠΈΠ»ΠΎΠΌΠ°ΡΠ΅ΡΠΈΠ°Π»Π°. ΠΡΠΈ ΡΡΠΎΠΌ ΠΎΠ±ΡΠ°Π±ΠΎΡΠΊΠ΅ ΠΏΠΎΠ΄Π²Π΅ΡΠ³Π°Π΅ΡΡΡ ΠΏΡΠ΅ΠΈΠΌΡΡΠ΅ΡΡΠ²Π΅Π½Π½ΠΎ Π²Π΅ΡΡ
Π½ΡΡ ΡΡΠΎΡΠΎΠ½Π° Π΄Π΅ΡΠ°Π»ΠΈ.- ΠΠ²ΡΡ ΡΡΠΎΡΠΎΠ½Π½ΠΈΠ΅. Π‘ΡΠ°Π½ΠΊΠΈ ΡΠ°ΠΊΠΎΠ³ΠΎ ΡΠΈΠΏΠ° ΠΈΠΌΠ΅ΡΡ Π±ΠΎΠ»Π΅Π΅ ΡΠ»ΠΎΠΆΠ½ΡΡ, ΠΏΠΎ ΡΡΠ°Π²Π½Π΅Π½ΠΈΡ Ρ ΠΎΠ΄Π½ΠΎΡΡΠΎΡΠΎΠ½Π½ΠΈΠΌΠΈ ΡΠ΅ΠΉΡΠΌΡΡΠ°ΠΌΠΈ, ΠΊΠΎΠ½ΡΡΡΡΠΊΡΠΈΡ ΠΈ ΠΈΡΠΏΠΎΠ»ΡΠ·ΡΡΡΡΡ ΠΏΡΠ΅ΠΈΠΌΡΡΠ΅ΡΡΠ²Π΅Π½Π½ΠΎ Π½Π° ΠΏΡΠΎΠΈΠ·Π²ΠΎΠ΄ΡΡΠ²Π΅. ΠΠ½ΠΈ ΡΡΠΈΡΠ°ΡΡΡΡ ΠΏΡΠΎΡΠ΅ΡΡΠΈΠΎΠ½Π°Π»ΡΠ½ΡΠΌ ΠΎΠ±ΠΎΡΡΠ΄ΠΎΠ²Π°Π½ΠΈΠ΅ΠΌ. Π‘ ΠΈΡ ΠΏΠΎΠΌΠΎΡΡΡ ΠΎΡΡΡΠ΅ΡΡΠ²Π»ΡΠ΅ΡΡΡ ΠΎΠ±ΡΠ°Π±ΠΎΡΠΊΠ° ΠΊΠ°ΠΊ Π²Π΅ΡΡ Π½Π΅ΠΉ, ΡΠ°ΠΊ ΠΈ Π½ΠΈΠΆΠ½Π΅ΠΉ ΡΠ°ΡΡΠΈ Π·Π°Π³ΠΎΡΠΎΠ²ΠΊΠΈ. Π‘ΡΠ°Π½ΠΊΠΈ ΠΎΠ±Π»Π°Π΄Π°ΡΡ Π΄ΠΎΠ²ΠΎΠ»ΡΠ½ΠΎ Π±ΠΎΠ»ΡΡΠΎΠΉ ΠΌΠΎΡΠ½ΠΎΡΡΡΡ. ΠΡ ΡΠ°ΠΊΠΆΠ΅ ΠΎΡΠ»ΠΈΡΠ°Π΅Ρ ΠΈ Π²ΡΡΠΎΠΊΠ°Ρ ΡΠΊΠΎΡΠΎΡΡΡ ΠΏΡΠΎΠΈΠ·Π²ΠΎΠ΄ΠΈΠΌΠΎΠΉ ΠΎΠ±ΡΠ°Π±ΠΎΡΠΊΠΈ.
- Π’ΡΡΡ ΡΡΠΎΡΠΎΠ½Π½ΠΈΠ΅, ΡΠ΅ΡΡΡΡΡ ΡΡΠΎΡΠΎΠ½Π½ΠΈΠ΅ ΠΈ ΠΌΠ½ΠΎΠ³ΠΎΡΡΠΎΡΠΎΠ½Π½ΠΈΠ΅ ΡΠ΅ΠΉΡΠΌΡΡΡ β ΡΡΠΎ ΡΡΠ°Π½ΠΊΠΈ, ΠΈΡΠΏΠΎΠ»ΡΠ·ΡΠ΅ΠΌΡΠ΅ Π² ΠΏΡΠΎΠΌΡΡΠ»Π΅Π½Π½ΠΎΠΌ ΠΏΡΠΎΠΈΠ·Π²ΠΎΠ΄ΡΡΠ²Π΅. Π‘ ΠΈΡ ΠΏΠΎΠΌΠΎΡΡΡ ΠΌΠΎΠΆΠ½ΠΎ ΠΎΠ±ΡΠ°Π±Π°ΡΡΠ²Π°ΡΡ Π΄Π΅ΡΠ°Π»ΠΈ Ρ Π»ΡΠ±ΡΡ ΡΡΠΎΡΠΎΠ½, ΠΏΡΠΈΠ΄Π°Π²Π°Ρ ΠΈΠΌ ΠΎΠΏΡΠ΅Π΄Π΅Π»ΡΠ½Π½ΡΡ ΡΡΡΡΠΊΡΡΡΡ ΠΈ ΡΠΎΡΠΌΡ. ΠΡΠΎΠΌΡΡΠ»Π΅Π½Π½ΡΠ΅ ΡΠ΅ΠΉΡΠΌΡΡΡ ΠΈΠΌΠ΅ΡΡ Π±ΠΎΠ»ΡΡΠΈΠ΅ ΡΠ°Π·ΠΌΠ΅ΡΡ, Π·Π° Π½ΠΈΠΌΠΈ ΡΠ»ΠΎΠΆΠ½Π΅Π΅ ΡΡ Π°ΠΆΠΈΠ²Π°ΡΡ, ΠΎΠ½ΠΈ ΡΡΠ΅Π±ΡΡΡ Π±ΠΎΠ»Π΅Π΅ ΡΡΠ°ΡΠ΅Π»ΡΠ½ΠΎΠ³ΠΎ ΡΠ΅ΠΌΠΎΠ½ΡΠ°. ΠΠΎ, ΠΊΡΠΎΠΌΠ΅ ΠΈΠΌΠ΅ΡΡΠΈΡ ΡΡ ΡΠ»ΠΎΠΆΠ½ΠΎΡΡΠ΅ΠΉ, ΠΏΡΠΎΠΈΠ·Π²ΠΎΠ΄ΡΡΠ²Π΅Π½Π½ΡΠ΅ ΡΠ΅ΠΉΡΠΌΡΡΡ ΠΈΠΌΠ΅ΡΡ ΠΎΡΠ΅Π²ΠΈΠ΄Π½ΠΎΠ΅ ΠΏΡΠ΅ΠΈΠΌΡΡΠ΅ΡΡΠ²ΠΎ: ΠΈΡ ΠΏΡΠΎΠΈΠ·Π²ΠΎΠ΄ΠΈΡΠ΅Π»ΡΠ½ΠΎΡΡΡ ΠΌΠ°ΠΊΡΠΈΠΌΠ°Π»ΡΠ½Π°.
ΠΠΎ Π²ΠΈΠ΄Π°ΠΌ ΠΊΠΎΠ½ΡΡΡΡΠΊΡΠΈΠΈ ΡΠ΅ΠΉΡΠΌΡΡΡ ΠΌΠΎΠΆΠ½ΠΎ ΠΊΠ»Π°ΡΡΠΈΡΠΈΡΠΈΡΠΎΠ²Π°ΡΡ Π½Π° ΡΠ°ΠΊΠΈΠ΅ ΡΡΡΡΠΎΠΉΡΡΠ²Π°:
- ΠΠΎΠ±ΠΈΠ»ΡΠ½ΡΠ΅. ΠΠ½ΠΈ ΠΈΠΌΠ΅ΡΡ Π½Π΅Π±ΠΎΠ»ΡΡΠΎΠΉ Π²Π΅Ρ ΠΈ ΡΠ°Π·ΠΌΠ΅Ρ. Π’Π°ΠΊΠΈΠ΅ ΠΊΠΎΠΌΠΏΠ°ΠΊΡΠ½ΡΠ΅ ΡΡΡΡΠΎΠΉΡΡΠ²Π° ΠΌΠΎΠΆΠ½ΠΎ ΠΈΡΠΏΠΎΠ»ΡΠ·ΠΎΠ²Π°ΡΡ Π΄Π»Ρ ΡΡΡΠΎΠ³Π°Π½ΠΈΡ Π½Π΅Π±ΠΎΠ»ΡΡΠΈΡ Π·Π°Π³ΠΎΡΠΎΠ²ΠΎΠΊ.
- Π‘ΡΠ°ΡΠΈΠΎΠ½Π°ΡΠ½ΡΠ΅ ΡΡΡΡΠΎΠΉΡΡΠ²Π°. ΠΡ ΠΎΡΠ»ΠΈΡΠ°ΡΡ Π²Π½ΡΡΠΈΡΠ΅Π»ΡΠ½ΡΠ΅ ΡΠ°Π·ΠΌΠ΅ΡΡ ΠΈ Π±ΠΎΠ»ΡΡΠΎΠΉ Π²Π΅Ρ. ΠΡΡΠΏΠ½ΠΎΠ³Π°Π±Π°ΡΠΈΡΠ½ΡΠ΅ ΡΠ΅ΠΉΡΠΌΡΡΡ ΠΈΡΠΏΠΎΠ»ΡΠ·ΡΡΡΡΡ Π΄Π»Ρ ΠΎΠ±ΡΠ°Π±ΠΎΡΠΊΠΈ ΠΊΡΡΠΏΠ½ΡΡ Π΄Π΅ΡΠ°Π»Π΅ΠΉ.
Π Π½Π΅Π·Π°Π²ΠΈΡΠΈΠΌΠΎΡΡΠΈ ΠΎΡ ΡΠΎΡΡΠ°Π²Π»ΡΡΡΠΈΡ ΡΠ°ΡΡΠ΅ΠΉ ΠΈ ΡΡΠ½ΠΊΡΠΈΠΎΠ½Π°Π»ΡΠ½ΠΎΠ³ΠΎ ΠΏΡΠ΅Π΄Π½Π°Π·Π½Π°ΡΠ΅Π½ΠΈΡ, Π²ΡΠ΅ ΡΡΠ°Π½ΠΊΠΈ ΠΎΡΠ½Π°ΡΠ΅Π½Ρ ΡΠΏΠ΅ΡΠΈΠ°Π»ΡΠ½ΡΠΌ ΡΡΡΡΠΎΠΉΡΡΠ²ΠΎΠΌ, ΠΎΠ±Π΅ΡΠΏΠ΅ΡΠΈΠ²Π°ΡΡΠΈΠΌ Π°Π²ΡΠΎΠΌΠ°ΡΠΈΡΠ΅ΡΠΊΡΡ ΠΏΠΎΠ΄Π°ΡΡ Π·Π°Π³ΠΎΡΠΎΠ²ΠΊΠΈ. ΠΠ½ΠΎ ΡΠΎΡΡΠΎΠΈΡ ΠΈΠ· ΡΠΈΡΡΠ΅ΠΌΡ ΡΠΎΠ»ΠΈΠΊΠΎΠ², Ρ ΠΏΠΎΠΌΠΎΡΡΡ ΠΊΠΎΡΠΎΡΡΡ ΠΏΠΈΠ»ΠΎΠΌΠ°ΡΠ΅ΡΠΈΠ°Π»Ρ ΠΏΡΠΈΠΆΠΈΠΌΠ°ΡΡΡΡ ΠΊ ΡΠΏΠ΅ΡΠΈΠ°Π»ΡΠ½ΠΎΠΌΡ Π²Π°Π»Ρ. Π ΠΎΠ»ΠΈΠΊΠΈ ΠΏΠΎΡΡΠ΅ΠΏΠ΅Π½Π½ΠΎ ΠΏΡΠΎΠ΄Π²ΠΈΠ³Π°ΡΡ Π·Π°Π³ΠΎΡΠΎΠ²ΠΊΡ, ΠΏΠΎΠΊΠ° ΠΎΠ½Π° Π½Π΅ Π΄ΠΎΡΡΠΈΠ³Π½Π΅Ρ ΡΠ°Π±ΠΎΡΠ΅ΠΉ ΠΏΠΎΠ²Π΅ΡΡ Π½ΠΎΡΡΠΈ ΡΠ΅ΠΉΡΠΌΡΡΠ°.
ΠΠΎΡΠ½ΠΎΡΡΡ ΠΈΡΠΏΠΎΠ»ΡΠ·ΡΠ΅ΠΌΠΎΠ³ΠΎ ΠΎΠ±ΠΎΡΡΠ΄ΠΎΠ²Π°Π½ΠΈΡ ΠΊΠΎΠ»Π΅Π±Π»Π΅ΡΡΡ Π² ΠΏΡΠ΅Π΄Π΅Π»Π°Ρ ΠΎΡ 1,6 Π΄ΠΎ 8 ΠΊΠΡ. ΠΡΠΈ ΡΡΡΠΎΠ³Π°Π½ΠΈΠΈ ΡΠΈΡΠΈΠ½Π° ΠΌΠΎΠΆΠ΅Ρ Π΄ΠΎΡΡΠΈΠ³Π°ΡΡ 39 ΡΠΌ, Π° Π³Π»ΡΠ±ΠΈΠ½Π° ΡΠΎΡΡΠ°Π²Π»ΡΠ΅Ρ ΠΏΡΠΈΠΌΠ΅ΡΠ½ΠΎ 3 ΠΌΠΌ.
Π‘ΡΠ°Π½ΠΊΠΈ ΡΠ°Π·Π»ΠΈΡΠ°ΡΡΡΡ ΠΏΠΎ ΡΠΊΠΎΡΠΎΡΡΠΈ Π²ΡΠ°ΡΠ΅Π½ΠΈΡ Π²Π°Π»Π°, ΠΊΠΎΠ»ΠΈΡΠ΅ΡΡΠ²Ρ Π½ΠΎΠΆΠ΅ΠΉ Π² ΡΠ²ΠΎΡΠΌ ΡΠΎΡΡΠ°Π²Π΅, ΠΊΠΎΠ»ΠΈΡΠ΅ΡΡΠ²Ρ ΠΏΠΎΡΡΠ΅Π±Π»ΡΠ΅ΠΌΠΎΠΉ ΡΠ½Π΅ΡΠ³ΠΈΠΈ ΠΈ ΠΈΠ½ΡΠΌΠΈ ΡΡΡΠ΅ΡΡΠ²Π΅Π½Π½ΡΠΌΠΈ ΠΎΡΠΎΠ±Π΅Π½Π½ΠΎΡΡΡΠΌΠΈ, ΠΊΠΎΡΠΎΡΡΠ΅ ΠΎΠ±ΡΠ·Π°ΡΠ΅Π»ΡΠ½ΠΎ Π½ΡΠΆΠ½ΠΎ ΡΡΠΈΡΡΠ²Π°ΡΡ ΠΏΡΠΈ ΠΏΡΠΈΠΎΠ±ΡΠ΅ΡΠ΅Π½ΠΈΠΈ ΡΠ΅ΠΉΡΠΌΡΡΠΎΠ²ΠΎΠ³ΠΎ ΠΎΠ±ΠΎΡΡΠ΄ΠΎΠ²Π°Π½ΠΈΡ.
Π’ΠΈΠΏΡ ΡΠ΅ΠΉΡΠΌΡΡΠΎΠ²ΡΡ ΡΡΠ°Π½ΠΊΠΎΠ²
ΠΡΠΈ ΡΠ°Π·Π½ΡΡ ΡΠΏΠΎΡΠΎΠ±Π°Ρ ΠΎΠ±ΡΠ°Π±ΠΎΡΠΊΠΈ ΡΠ΅ΠΉΡΠΌΡΡΡ ΠΏΠΎΠ΄ΡΠ°Π·Π΄Π΅Π»ΡΡΡΡΡ Π½Π° Π½Π΅ΡΠΊΠΎΠ»ΡΠΊΠΎ ΡΠΈΠΏΠΎΠ².
- Π€ΡΠ³ΠΎΠ²Π°Π»ΡΠ½ΡΠΉ ΡΡΠ°Π½ΠΎΠΊ. Π€ΡΠ½ΠΊΡΠΈΡ ΡΡΠ³ΠΎΠ²Π°Π½ΠΈΡ ΠΎΡΡΡΠ΅ΡΡΠ²Π»ΡΠ΅ΡΡΡ ΠΏΠΎΡΡΠ΅Π΄ΡΡΠ²ΠΎΠΌ ΡΡΠ΅Π·Π΅ΡΠΎΠ²ΠΊΠΈ. Π’Π°ΠΊ ΠΎΠ±ΡΠ°Π±Π°ΡΡΠ²Π°Π΅ΡΡΡ Π±Π°Π·ΠΎΠ²Π°Ρ ΠΏΠΎΠ²Π΅ΡΡ Π½ΠΎΡΡΡ Π΄Π΅ΡΠ°Π»Π΅ΠΉ. ΠΡΠΈ ΡΡΠ³ΠΎΠ²Π°Π½ΠΈΠΈ Π½ΠΎΠΆΠ΅Π²ΠΎΠΉ Π²Π°Π» ΡΠ°ΡΠΏΠΎΠ»Π°Π³Π°Π΅ΡΡΡ ΠΏΠΎΠ΄ ΡΡΠΎΠ»ΠΎΠΌ.
- Π€ΡΠ³ΠΎΠ²Π°Π»ΡΠ½ΡΠ΅ ΡΡΠ°Π½ΠΊΠΈ Π΄Π»Ρ ΠΎΠ±ΡΠ°Π±ΠΎΡΠΊΠΈ Π΄ΡΠ΅Π²Π΅ΡΠΈΠ½Ρ ΠΌΠΎΠ³ΡΡ Π±ΡΡΡ ΠΎΠ΄Π½ΠΎΡΡΠΎΡΠΎΠ½Π½ΠΈΠΌΠΈ ΠΈ ΠΈΡΠΏΠΎΠ»ΡΠ·ΠΎΠ²Π°ΡΡΡΡ Π΄Π»Ρ Π΄ΠΎΠΌΠ°ΡΠ½ΠΈΡ Π½ΡΠΆΠ΄. Π ΠΎΡΠ½ΠΎΠ²Π½ΠΎΠΌ ΠΏΡΠΈ ΡΠ°Π±ΠΎΡΠ΅ ΠΈΡΠΏΠΎΠ»ΡΠ·ΡΡΡ Π΄Π²ΡΡΡΠΎΡΠΎΠ½Π½ΠΈΠ΅ ΡΡΠ°Π½ΠΊΠΈ, ΠΊΠΎΡΠΎΡΡΠ΅ ΠΏΡΠΈΠΌΠ΅Π½ΡΡΡΡΡ Π΄Π»Ρ ΡΠ°Π±ΠΎΡΡ ΠΊΠ°ΠΊ ΠΈ Π² Π΄ΠΎΠΌΠ°ΡΠ½Π΅ΠΉ ΠΌΠ°ΡΡΠ΅ΡΡΠΊΠΎΠΉ, ΡΠ°ΠΊ ΠΈ Π΄Π»Ρ ΡΠ΅ΡΠ΅Π½ΠΈΡ ΠΏΡΠΎΡΠ΅ΡΡΠΈΠΎΠ½Π°Π»ΡΠ½ΡΡ Π·Π°Π΄Π°Ρ ΠΏΡΠΈ ΠΎΠ±ΡΠ°Π±ΠΎΡΠΊΠ΅ Π΄ΡΠ΅Π²Π΅ΡΠΈΠ½Ρ.
- Π’ΠΈΠΏΠΎΠ²ΠΎΠΉ ΡΠ΅ΠΉΡΠΌΡΡ ΡΡΠ°Π½ΠΎΠΊ ΡΡΠ½ΠΊΡΠΈΠΎΠ½ΠΈΡΡΠ΅Ρ ΠΏΠΎ ΠΏΡΠΈΠ½ΡΠΈΠΏΡ ΡΠ°Π±ΠΎΡΡ ΡΡΠ³Π°Π½ΠΎΠΊ. ΠΡΠΈ ΡΡΠΎΠΌ ΡΠΏΠΎΡΠΎΠ±Π΅ Π½ΠΎΠΆΠ΅Π²ΠΎΠΉ Π²Π°Π» ΠΎΡΡΡΠ΅ΡΡΠ²Π»ΡΠ΅Ρ Π²ΠΎΠ·Π²ΡΠ°ΡΠ½ΠΎ-ΠΏΠΎΡΡΡΠΏΠ°ΡΠ΅Π»ΡΠ½ΡΠ΅ Π΄Π²ΠΈΠΆΠ΅Π½ΠΈΡ. Π’Π°ΠΊΠΈΠΌ ΠΎΠ±ΡΠ°Π·ΠΎΠΌ, ΠΎΠ½ ΡΠ½ΠΈΠΌΠ°Π΅Ρ ΠΏΠΎΠ²Π΅ΡΡ Π½ΠΎΡΡΠ½ΡΠΉ ΡΠ»ΠΎΠΉ Π·Π°Π΄Π°Π½Π½ΠΎΠΉ ΡΠΎΠ»ΡΠΈΠ½Ρ ΠΏΡΠΈ ΠΎΠ±ΡΠ°Π±ΠΎΡΠΊΠ΅ Π΄Π΅ΡΠ΅Π²ΡΠ½Π½ΡΡ Π΄Π΅ΡΠ°Π»Π΅ΠΉ. Π Π°Π±ΠΎΡΠ° ΠΎΡΡΡΠ΅ΡΡΠ²Π»ΡΠ΅ΡΡΡ Π·Π° ΠΎΡΠ΅Π½Ρ ΠΊΠΎΡΠΎΡΠΊΠΈΠΉ ΠΏΡΠΎΠΌΠ΅ΠΆΡΡΠΎΠΊ Π²ΡΠ΅ΠΌΠ΅Π½ΠΈ.
ΠΡ ΠΎΠ±ΡΡΠ½ΠΎΠ³ΠΎ ΡΡΠ³ΠΎΠ²Π°Π½ΠΈΡ ΡΠ°Π±ΠΎΡΠ° ΡΠ΅ΠΉΡΠΌΡΡΠ° ΠΎΡΠ»ΠΈΡΠ°Π΅ΡΡΡ ΡΠ΅ΠΌ, ΡΡΠΎ Π² ΡΠ΅Π·ΡΠ»ΡΡΠ°ΡΠ΅ ΠΈΡΠΏΠΎΠ»ΡΠ·ΠΎΠ²Π°Π½ΠΈΡ ΡΠ°ΠΊΠΎΠ³ΠΎ Π΄Π΅ΡΠ΅Π²ΠΎΠΎΠ±ΡΠ°Π±Π°ΡΡΠ²Π°ΡΡΠ΅Π³ΠΎ ΡΡΡΡΠΎΠΉΡΡΠ²Π° ΠΌΠΎΠΆΠ½ΠΎ ΠΏΠΎΠ΄Π²Π΅ΡΠ³Π°ΡΡ ΠΎΠ±ΡΠ°Π±ΠΎΡΠΊΠ΅ Π·Π°Π³ΠΎΡΠΎΠ²ΠΊΠΈ Π½ΡΠΆΠ½ΠΎΠ³ΠΎ ΡΠ°Π·ΠΌΠ΅ΡΠ° ΠΈ Π² Π»ΡΠ±ΡΡ ΠΊΠΎΠ»ΠΈΡΠ΅ΡΡΠ²Π°Ρ . Π’Π΅ΠΊΡΡΡΡΠ° ΠΈΡΠΏΠΎΠ»ΡΠ·ΡΠ΅ΠΌΡΡ ΠΏΠΈΠ»ΠΎΠΌΠ°ΡΠ΅ΡΠΈΠ°Π»ΠΎΠ² ΠΏΡΠΈ ΡΡΠΎΠΌ Π±ΡΠ΄Π΅Ρ ΠΏΠΎΠ»ΡΡΠ°ΡΡΡΡ Π½Π°ΠΈΠ±ΠΎΠ»Π΅Π΅ Π³Π»Π°Π΄ΠΊΠΎΠΉ, Π±Π΅Π· ΠΊΠ°ΠΊΠΈΡ -Π»ΠΈΠ±ΠΎ ΠΏΠΎΠ²ΡΠ΅ΠΆΠ΄Π΅Π½ΠΈΠΉ ΠΏΠΎΠ²Π΅ΡΡ Π½ΠΎΡΡΠ΅ΠΉ.
Π‘ΡΡΠΎΠ³Π°Π»ΡΠ½ΠΎΠ΅ ΠΎΠ±ΠΎΡΡΠ΄ΠΎΠ²Π°Π½ΠΈΠ΅
Π Π΅ΠΉΡΠΌΡΡΡ ΠΏΠΎΠ΄ΠΎΠ±Π½ΠΎΠ³ΠΎ ΡΠΈΠΏΠ° ΠΈΡΠΏΠΎΠ»ΡΠ·ΡΡΡΡΡ ΠΏΡΠΈ ΠΈΠ·Π³ΠΎΡΠΎΠ²Π»Π΅Π½ΠΈΠΈ Π΄Π΅ΡΠ΅Π²ΡΠ½Π½ΡΡ
ΠΈΠ·Π΄Π΅Π»ΠΈΠΉ ΠΈ ΠΏΠΈΠ»ΠΎΠΌΠ°ΡΠ΅ΡΠΈΠ°Π»ΠΎΠ², ΡΡΠ΅Π±ΡΡΡΠΈΡ
Π½Π°ΠΈΠ±ΠΎΠ»ΡΡΠ΅ΠΉ ΡΠΎΡΠ½ΠΎΡΡΠΈ, Π»ΠΈΡΡΠ½Π½ΡΡ
ΠΏΡΠΈ ΡΡΠΎΠΌ ΠΌΠ°Π»Π΅ΠΉΡΠΈΡ
Π²Π½Π΅ΡΠ½ΠΈΡ
ΠΏΠΎΠ²ΡΠ΅ΠΆΠ΄Π΅Π½ΠΈΠΉ ΠΈ Π΄Π΅ΡΠ΅ΠΊΡΠΎΠ².
Π‘ΡΡΠΎΠ³Π°Π»ΡΠ½ΠΎ-ΡΠ΅ΠΉΡΠΌΡΡΠΎΠ²ΡΠ΅ ΡΡΠ°Π½ΠΊΠΈ ΡΠΏΠΎΡΠΎΠ±Π½Ρ ΠΎΠ±Π΅ΡΠΏΠ΅ΡΠΈΡΡ ΡΠΎΠ·Π΄Π°Π½ΠΈΠ΅ Π½Π°ΠΈΠ±ΠΎΠ»Π΅Π΅ ΡΠΎΠ²Π½ΠΎΠΉ ΠΏΠΎΠ²Π΅ΡΡ Π½ΠΎΡΡΠΈ Π·Π°Π³ΠΎΡΠΎΠ²ΠΎΠΊ. Π£ΠΌΠ΅Π½ΡΡΠ΅Π½ΠΈΠ΅ ΡΠΎΠ»ΡΠΈΠ½Ρ ΠΏΡΠΈ ΡΠ°ΠΊΠΎΠΉ ΠΎΠ±ΡΠ°Π±ΠΎΡΠΊΠ΅ ΠΏΡΠΎΠΈΡΡ ΠΎΠ΄ΠΈΡ ΠΏΡΠΈ ΠΈΡΠΏΠΎΠ»ΡΠ·ΠΎΠ²Π°Π½ΠΈΠΈ ΠΏΡΠΎΠ΄ΠΎΠ»ΡΠ½ΠΎΠ³ΠΎ ΡΠΏΠΎΡΠΎΠ±Π° ΡΡΡΠΎΠ³Π°Π½ΠΈΡ. Π’Π°ΠΊΠΈΠΌ ΠΎΠ±ΡΠ°Π·ΠΎΠΌ, Π΄Π΅ΡΠ°Π»ΡΠΌ ΠΏΡΠΈΠ΄Π°ΡΡΡΡ Π½ΡΠΆΠ½Π°Ρ ΡΠΎΡΠΌΠ° ΠΈ ΡΡΠ΅Π±ΡΠ΅ΠΌΡΠ΅ ΡΠ°Π·ΠΌΠ΅ΡΡ.
ΠΠ±ΡΠ°Π±Π°ΡΡΠ²Π°Ρ ΠΏΠΈΠ»ΠΎΠΌΠ°ΡΠ΅ΡΠΈΠ°Π»Ρ ΡΡΡΠΎΠ³Π°Π»ΡΠ½ΠΎ-ΡΠ΅ΠΉΡΠΌΡΡΠΎΠ²ΡΠΌ ΡΡΠ°Π½ΠΊΠΎΠΌ ΡΠ°ΠΊΠΆΠ΅ ΠΌΠΎΠΆΠ½ΠΎ ΡΡΡΡΠ°Π½ΠΈΡΡ Π²ΠΎΠ·ΠΌΠΎΠΆΠ½ΡΠ΅ Π΄Π΅ΡΠ΅ΠΊΡΡ Π΄Π΅ΡΠ΅Π²ΡΠ½Π½ΡΡ Π·Π°Π³ΠΎΡΠΎΠ²ΠΎΠΊ (ΡΡΡΠΊΠΈ, Π·Π°Π΄ΠΎΡΠΈΠ½ΠΊΠΈ, ΡΠ°Π·Π½ΠΎΠΎΠ±ΡΠ°Π·Π½ΡΠ΅ Π½Π΅ΡΠΎΠ²Π½ΠΎΡΡΠΈ ΠΈ ΡΠ°ΠΊ Π΄Π°Π»Π΅Π΅). ΠΠΎΠ·Π²ΡΠ°ΡΠ½ΠΎ-ΠΏΠΎΡΡΡΠΏΠ°ΡΠ΅Π»ΡΠ½ΡΠ΅ Π΄Π²ΠΈΠΆΠ΅Π½ΠΈΡ ΠΏΡΠΈ ΡΠ°Π±ΠΎΡΠ΅ ΡΡΠ°Π½ΠΊΠ° ΠΏΡΠΎΠΈΠ·Π²ΠΎΠ΄ΡΡΡΡ Π·Π° ΡΡΡΡ Π²ΡΠ°ΡΠ΅Π½ΠΈΡ Π½ΠΎΠΆΠ΅Π²ΠΎΠ³ΠΎ Π²Π°Π»Π° ΠΈΠ»ΠΈ ΠΏΠ΅ΡΠ΅ΠΌΠ΅ΡΠ΅Π½ΠΈΡ ΠΎΠ±ΡΠ°Π±Π°ΡΡΠ²Π°Π΅ΠΌΠΎΠΉ Π΄Π΅ΡΠ°Π»ΠΈ, ΠΊΡΠ΅ΠΏΠΊΠΎ ΡΠ΄Π΅ΡΠΆΠΈΠ²Π°Π΅ΠΌΠΎΠΉ ΠΏΡΠΈ ΠΏΠΎΠΌΠΎΡΠΈ Π²Π°Π»ΡΡΠΎΠ².
Π‘ΡΡΠΎΠ³Π°Π»ΡΠ½ΠΎ-ΡΠ΅ΠΉΡΠΌΡΡΠΎΠ²ΡΠ΅ ΡΡΠ°Π½ΠΊΠΈ ΠΏΡΠΎΠΈΠ·Π²ΠΎΠ΄ΡΡΡΡ
Π Π΅ΠΉΡΠΌΡΡΡ Π΄Π»Ρ Π΄ΠΎΠΌΠ°ΡΠ½ΠΈΡ ΡΠ΅Π»Π΅ΠΉ
Π‘ΡΠ°Π½ΠΊΠΈ, ΠΈΡΠΏΠΎΠ»ΡΠ·ΡΠ΅ΠΌΡΠ΅ Π΄Π»Ρ Π±ΡΡΠΎΠ²ΡΡ ΡΠ΅Π»Π΅ΠΉ, ΠΎΡΠ»ΠΈΡΠ°ΡΡΡΡ ΡΠ»Π΅Π΄ΡΡΡΠΈΠΌΠΈ Ρ Π°ΡΠ°ΠΊΡΠ΅ΡΠΈΡΡΠΈΠΊΠ°ΠΌΠΈ:
- ΠΠΈΠ½ΠΈΠΌΠ°Π»ΡΠ½ΡΠΌΠΈ ΡΠ°Π·ΠΌΠ΅ΡΠ°ΠΌΠΈ ΠΊΠΎΠ½ΡΡΡΡΠΊΡΠΈΠΈ. ΠΠ»Π°Π³ΠΎΠ΄Π°ΡΡ ΡΡΠΎΠΌΡ ΠΊΠ°ΡΠ΅ΡΡΠ²Ρ ΠΈΡ ΠΌΠΎΠΆΠ½ΠΎ ΡΠ°Π·ΠΌΠ΅ΡΡΠΈΡΡ Π² ΠΏΠΎΠΌΠ΅ΡΠ΅Π½ΠΈΡΡ Π½Π΅ ΠΎΡΠ΅Π½Ρ Π±ΠΎΠ»ΡΡΠΎΠ³ΠΎ ΡΠ°Π·ΠΌΠ΅ΡΠ°.
- ΠΠ΅Π±ΠΎΠ»ΡΡΠΈΠΌ Π²Π΅ΡΠΎΠΌ ΠΎΠ±ΠΎΡΡΠ΄ΠΎΠ²Π°Π½ΠΈΡ. Π’Π°ΠΊΠΈΠ΅ ΡΠ΅ΠΉΡΠΌΡΡΡ Π»Π΅Π³ΠΊΠΎ ΠΏΠ΅ΡΠ΅ΠΌΠ΅ΡΠ°ΡΡ ΠΈ ΡΡΡΠ°Π½Π°Π²Π»ΠΈΠ²Π°ΡΡ ΡΠΎΠ±ΡΡΠ²Π΅Π½Π½ΡΠΌΠΈ ΡΠΈΠ»Π°ΠΌΠΈ.
- Π‘ΡΠ΅Π΄Π½Π΅ΠΉ ΠΈΠ»ΠΈ ΠΌΠ°Π»ΠΎΠΉ ΠΌΠΎΡΠ½ΠΎΡΡΡΡ Π΄Π²ΠΈΠ³Π°ΡΠ΅Π»Ρ. ΠΡ ΠΌΠΎΠΆΠ½ΠΎ ΠΈΡΠΏΠΎΠ»ΡΠ·ΠΎΠ²Π°ΡΡ Π΄Π»Ρ ΠΎΠ±ΡΠ°Π±ΠΎΡΠΊΠΈ Π½Π΅Π±ΠΎΠ»ΡΡΠΈΡ Π΄Π΅ΡΠ°Π»Π΅ΠΉ, ΡΡΠ΅Π±ΡΡΡΠΈΡ Π³Π»ΡΠ±ΠΈΠ½Ρ ΠΏΡΠΎΠΏΠΈΠ»Π° Π½Π΅ Π±ΠΎΠ»Π΅Π΅ 1,5 ΠΌΠΌ.
- ΠΡΠ΄ΠΆΠ΅ΡΠ½ΠΎΠΉ ΡΠ΅Π½ΠΎΠΉ. Π Π΅ΠΉΡΠΌΡΡΡ, ΠΈΡΠΏΠΎΠ»ΡΠ·ΡΡΡΠΈΠ΅ΡΡ Π² Π΄ΠΎΠΌΠ°ΡΠ½Π΅ΠΉ ΠΌΠ°ΡΡΠ΅ΡΡΠΊΠΎΠΉ, ΡΡΠΎΡΡ Π·Π½Π°ΡΠΈΡΠ΅Π»ΡΠ½ΠΎ Π΄Π΅ΡΠ΅Π²Π»Π΅ ΠΊΡΡΠΏΠ½ΠΎΠ³Π°Π±Π°ΡΠΈΡΠ½ΡΡ ΡΡΠ°Π½ΠΊΠΎΠ², ΠΏΡΠΈΠΌΠ΅Π½ΡΠ΅ΠΌΡΡ Π½Π° ΠΏΡΠΎΠΈΠ·Π²ΠΎΠ΄ΡΡΠ²Π΅.
ΠΡΠΏΠΎΠ»ΡΠ·ΡΠ΅ΠΌΡΠ΅ Π² Π΄ΠΎΠΌΠ°ΡΠ½ΠΈΡ Π½ΡΠΆΠ΄Π°Ρ ΡΠ΅ΠΉΡΠΌΡΡΡ, ΠΎΡΠ½Π°ΡΠ΅Π½Ρ ΡΡΡΠ½ΠΎΠΉ ΡΠΈΡΡΠ΅ΠΌΠΎΠΉ ΠΏΠΎΠ΄Π°ΡΠΈ Π΄Π΅ΡΠ°Π»Π΅ΠΉ. ΠΠ½ΠΈ Π½Π΅ ΠΈΡΠΏΠΎΠ»ΡΠ·ΡΡΡΡΡ Π΄Π»Ρ ΠΌΠ°ΠΊΡΠΈΠΌΠ°Π»ΡΠ½ΠΎ Π³Π»ΡΠ±ΠΎΠΊΠΎΠ³ΠΎ ΠΏΡΠΎΡΠ΅Π·ΡΠ²Π°Π½ΠΈΡ ΠΏΠΎΠ²Π΅ΡΡ Π½ΠΎΡΡΠΈ ΠΈΠ·Π΄Π΅Π»ΠΈΡ. Π’Π°ΠΊ ΠΊΠ°ΠΊ ΡΠ°ΠΊΠΈΠ΅ ΡΡΠ°Π½ΠΊΠΈ ΡΡΠ΅Π±ΡΡΡ ΠΎΠΏΡΠ΅Π΄Π΅Π»ΡΠ½Π½ΡΡ ΡΠΈΠ·ΠΈΡΠ΅ΡΠΊΠΈΡ Π·Π°ΡΡΠ°Ρ, ΠΈΡ Π½Π΅ ΠΈΡΠΏΠΎΠ»ΡΠ·ΡΡΡ Π΄Π»Ρ Π²ΡΠΏΠΎΠ»Π½Π΅Π½ΠΈΡ ΡΡΡΠ΄ΠΎΠ·Π°ΡΡΠ°ΡΠ½ΡΡ ΡΠ°Π±ΠΎΡ ΠΈΠ»ΠΈ ΠΏΡΠΈ ΡΠ°Π±ΠΎΡΠ΅ Ρ Π±ΠΎΠ»ΡΡΠΈΠΌ ΠΊΠΎΠ»ΠΈΡΠ΅ΡΡΠ²ΠΎΠΌ ΠΏΠΈΠ»ΠΎΠΌΠ°ΡΠ΅ΡΠΈΠ°Π»ΠΎΠ².
ΠΡΠΎΠΈΠ·Π²ΠΎΠ΄ΡΡΠ²Π΅Π½Π½ΡΠ΅ ΡΡΡΡΠΎΠΉΡΡΠ²Π°
Π Π΅ΠΉΡΠΌΡΡΡ, ΠΈΡΠΏΠΎΠ»ΡΠ·ΡΠ΅ΠΌΡΠ΅ Π² ΠΏΡΠΎΠΌΡΡΠ»Π΅Π½Π½ΡΡ
ΡΠ΅Π»ΡΡ
, ΡΡΠ΅Π±ΡΠ΅Ρ ΠΎΡΠ³Π°Π½ΠΈΠ·Π°ΡΠΈΠΈ ΡΠΏΠ΅ΡΠΈΠ°Π»ΡΠ½ΠΎΠ³ΠΎ ΠΌΠ΅ΡΡΠ° Π΄Π»Ρ ΠΈΡ
ΡΡΡΠ°Π½ΠΎΠ²ΠΊΠΈ. ΠΠΎΠ΄Π°ΡΠ° ΠΏΠΈΠ»ΠΎΠΌΠ°ΡΠ΅ΡΠΈΠ°Π»Π° Π² Π½ΠΈΡ
ΠΏΡΠΎΠΈΡΡ
ΠΎΠ΄ΠΈΡ Π°Π²ΡΠΎΠΌΠ°ΡΠΈΡΠ΅ΡΠΊΠΈ. Π€ΡΠ½ΠΊΡΠΈΠΎΠ½ΠΈΡΡΡΡ ΠΎΠ½ΠΈ Π·Π° ΡΡΡΡ ΡΠ»Π΅ΠΊΡΡΠΎΠΏΠΈΡΠ°Π½ΠΈΡ ΠΎΡ ΡΠ΅ΡΠΈ.
ΠΡΠΎΠΌΡΡΠ»Π΅Π½Π½ΡΠ΅ ΡΠ΅ΠΉΡΠΌΡΡΡ ΠΎΠ±Π»Π°Π΄Π°ΡΡ Π±ΠΎΠ»ΡΡΠΎΠΉ ΠΌΠΎΡΠ½ΠΎΡΡΡΡ, ΠΏΠΎΡΡΠΎΠΌΡ Π΄Π»Ρ ΠΏΡΠ°Π²ΠΈΠ»ΡΠ½ΠΎΠΉ ΠΈ Π΄ΠΎΠ»Π³ΠΎΡΡΠΎΡΠ½ΠΎΠΉ ΡΠ°Π±ΠΎΡΡ ΠΎΠ½ΠΈ Π΄ΠΎΠΎΠ±ΠΎΡΡΠ΄ΠΎΠ²Π°Π½Ρ Π½Π΅ΠΎΠ±Ρ ΠΎΠ΄ΠΈΠΌΠΎΠΉ Π²ΡΡΡΠΎΠ΅Π½Π½ΠΎΠΉ ΡΠΈΡΡΠ΅ΠΌΠΎΠΉ ΠΎΡ Π»Π°ΠΆΠ΄Π΅Π½ΠΈΡ.
ΠΠ½ΠΈ Ρ Π°ΡΠ°ΠΊΡΠ΅ΡΠΈΠ·ΡΡΡΡΡ Π½Π°Π»ΠΈΡΠΈΠ΅ΠΌ ΡΠ»Π΅Π΄ΡΡΡΠΈΡ ΡΡΠ½ΠΊΡΠΈΠΉ:
- ΠΌΠ°ΠΊΡΠΈΠΌΠ°Π»ΡΠ½ΠΎΠΉ ΠΌΠΎΡΠ½ΠΎΡΡΠΈ;
- Π²ΡΡΠΎΠΊΠΎΠΉ ΡΠΊΠΎΡΠΎΡΡΠΈ ΡΡΡΠΎΠ³Π°Π½ΠΈΡ;
- Π²ΠΎΠ·ΠΌΠΎΠΆΠ½ΠΎΡΡΠΈ ΠΏΡΠΎΠΈΠ·Π²ΠΎΠ΄ΠΈΡΡ Π³Π»ΡΠ±ΠΎΠΊΠΈΠ΅ ΠΏΡΠΎΠΏΠΈΠ»Ρ Π΄Π΅ΡΠ°Π»Π΅ΠΉ ΠΈ Π·Π°Π³ΠΎΡΠΎΠ²ΠΎΠΊ.
ΠΠΎΠΆΠΈ Ρ ΡΠ°ΠΊΠΈΡ ΡΡΠ°Π½ΠΊΠΎΠ² ΠΌΠΎΠ³ΡΡ ΡΠ°ΡΠΏΠΎΠ»Π°Π³Π°ΡΡΡΡ Ρ ΠΎΠ±Π΅ΠΈΡ ΡΡΠΎΡΠΎΠ½ ΠΈΠ»ΠΈ Π½Π°Ρ ΠΎΠ΄ΠΈΡΡΡΡ ΡΠ²Π΅ΡΡ Ρ. Π ΡΠ°ΠΊΠΆΠ΅ ΡΡΠ°Π½ΠΎΠΊ ΠΈΠΌΠ΅Π΅Ρ Π² ΡΠ²ΠΎΠ΅ΠΉ ΠΊΠΎΠ½ΡΡΡΡΠΊΡΠΈΠΈ Π²ΡΠ°ΡΠ°ΡΡΠΈΠΉΡΡ Π±Π°ΡΠ°Π±Π°Π½ ΠΈ Π΄Π²ΠΎΠΉΠ½ΡΡ ΡΡΠΎΠΉΠΊΡ.
ΠΡΠΎΠΈΠ·Π²ΠΎΠ΄ΡΡΠ²Π΅Π½Π½ΡΠ΅ ΡΠ΅ΠΉΡΠΌΡΡΡ ΡΠ½Π°Π±ΠΆΠ΅Π½Ρ ΡΠΏΠ΅ΡΠΈΠ°Π»ΡΠ½ΡΠΌ ΡΡΡΡΠΎΠΉΡΡΠ²ΠΎΠΌ, Ρ ΠΏΠΎΠΌΠΎΡΡΡ ΠΊΠΎΡΠΎΡΠΎΠ³ΠΎ ΠΎΡΡΡΠ΅ΡΡΠ²Π»ΡΠ΅ΡΡΡ ΡΠΏΡΠ°Π²Π»Π΅Π½ΠΈΠ΅ Π΅Π³ΠΎ ΡΠ°Π±ΠΎΡΠΎΠΉ, Π±Π»Π°Π³ΠΎΠ΄Π°ΡΡ ΡΠ΅ΠΌΡ ΠΈΠΌΠ΅Π΅ΡΡΡ Π²ΠΎΠ·ΠΌΠΎΠΆΠ½ΠΎΡΡΡ ΡΡΡΠ°Π½Π°Π²Π»ΠΈΠ²Π°ΡΡ ΡΡΠ΅Π±ΡΠ΅ΠΌΡΡ Π³Π»ΡΠ±ΠΈΠ½Ρ ΠΏΡΠΎΠΏΠΈΠ»Π°.
ΠΡΠΈΡΠ΅ΡΠΈΠΈ Π²ΡΠ±ΠΎΡΠ°
Π‘Π΅Π³ΠΎΠ΄Π½Ρ ΡΡΠ½ΠΎΠΊ ΠΏΠΎΠ΄ΠΎΠ±Π½ΡΡ ΡΡΠ°Π½ΠΊΠΎΠ² Π·Π°ΠΏΠΎΠ»Π½Π΅Π½ ΠΎΠ±ΠΎΡΡΠ΄ΠΎΠ²Π°Π½ΠΈΠ΅ΠΌ ΡΠ°Π·Π»ΠΈΡΠ½ΠΎΠ³ΠΎ Π²ΠΈΠ΄Π°. ΠΠΎΠΆΠ½ΠΎ ΠΏΡΠΈΠΎΠ±ΡΠ΅ΡΡΠΈ ΡΡΡΠΎΠ³Π°Π»ΡΠ½ΠΎ-ΡΠ΅ΠΉΡΠΌΡΡΠΎΠ²ΡΠ΅ ΠΈΠ»ΠΈ ΡΡΠ³ΠΎΠ²Π°Π»ΡΠ½ΠΎ-ΡΠ΅ΠΉΡΠΌΡΡΠΎΠ²ΡΠ΅ ΡΡΠ°Π½ΠΊΠΈ ΠΊΠ°ΠΊ ΡΠΎΡΡΠΈΠΉΡΠΊΠΎΠ³ΠΎ ΠΏΡΠΎΠΈΠ·Π²ΠΎΠ΄ΡΡΠ²Π°, ΡΠ°ΠΊ ΠΈ ΠΈΠ·Π³ΠΎΡΠΎΠ²Π»Π΅Π½Π½ΡΠ΅ Π² Π―ΠΏΠΎΠ½ΠΈΠΈ ΠΈΠ»ΠΈ ΠΠΈΡΠ°Π΅.
Π ΡΠ°ΠΊΠΆΠ΅ ΡΠΈΡΠΎΠΊΠΎ ΠΏΡΠ΅Π΄ΡΡΠ°Π²Π»Π΅Π½Ρ ΠΌΠΎΠ΄Π΅Π»ΠΈ, ΠΏΡΠΎΠΈΠ·Π²Π΅Π΄ΡΠ½Π½ΡΠ΅ Π² Π½Π΅ΠΊΠΎΡΠΎΡΡΡ Π΅Π²ΡΠΎΠΏΠ΅ΠΉΡΠΊΠΈΡ ΡΡΡΠ°Π½Π°Ρ . ΠΠ»Π°Π½ΠΈΡΡΡ ΠΏΠΎΠΊΡΠΏΠΊΡ ΡΠ΅ΠΉΡΠΌΡΡΠ° Π΄Π»Ρ ΡΠ°Π·Π»ΠΈΡΠ½ΡΡ ΡΠ΅Π»Π΅ΠΉ, ΠΎΠ±ΡΠ·Π°ΡΠ΅Π»ΡΠ½ΠΎ ΠΎΠ±ΡΠ°ΡΠ°ΠΉΡΠ΅ Π²Π½ΠΈΠΌΠ°Π½ΠΈΠ΅ Π½Π° ΡΠ°ΠΊΠΈΠ΅ ΡΠ°ΠΊΡΠΎΡΡ:
- ΠΠ°ΡΠ΅ΡΡΠ²ΠΎ Π΅Π³ΠΎ ΠΈΠ·Π³ΠΎΡΠΎΠ²Π»Π΅Π½ΠΈΡ ΠΈ ΡΡΠ½ΠΊΡΠΈΠΎΠ½Π°Π»ΡΠ½ΡΠ΅ ΠΎΡΠΎΠ±Π΅Π½Π½ΠΎΡΡΠΈ ΡΡΠ°Π½ΠΊΠ°.
- Π¦Π΅Π»Ρ, Π² ΡΠΎΠΎΡΠ²Π΅ΡΡΡΠ²ΠΈΠΈ Ρ ΠΊΠΎΡΠΎΡΠΎΠΉ ΠΏΠΎΠΊΡΠΏΠ°Π΅ΡΡΡ ΡΡΠ°Π½ΠΎΠΊ. ΠΡΠ»ΠΈ ΡΡΠ΅Π±ΡΠ΅ΡΡΡ ΠΎΠ±ΡΠ°Π±ΠΎΡΠΊΠ° Π΄Π΅ΡΠ°Π»Π΅ΠΉ Π΄Π»Ρ Π΄ΠΎΠΌΠ°, Π½Π΅ Π½ΡΠΆΠ½ΠΎ ΠΏΡΠΈΠΎΠ±ΡΠ΅ΡΠ°ΡΡ Π΄ΠΎΡΠΎΠ³ΠΎΡΡΠΎΡΡΠΈΠ΅ ΠΌΠΎΠ΄Π΅Π»ΠΈ. ΠΠΏΠΎΠ»Π½Π΅ ΠΌΠΎΠΆΠ½ΠΎ ΠΈΡΠΏΠΎΠ»ΡΠ·ΠΎΠ²Π°ΡΡ ΠΊΠΎΠΌΠΏΠ°ΠΊΡΠ½ΡΠ΅ Π±ΡΠ΄ΠΆΠ΅ΡΠ½ΡΠ΅ Π²Π°ΡΠΈΠ°Π½ΡΡ.
ΠΠ΅ΡΠ΅Π΄ ΠΏΠΎΠΊΡΠΏΠΊΠΎΠΉ ΡΡΠ°Π½ΠΊΠ° ΠΌΠΎΠΆΠ½ΠΎ ΠΏΠΎΡΠΈΡΠ°ΡΡ ΠΎΡΠ·ΡΠ²Ρ ΠΎΠ± ΡΡΠΎΠΌ ΠΎΠ±ΠΎΡΡΠ΄ΠΎΠ²Π°Π½ΠΈΠΈ ΠΈ ΠΏΡΠΈΠ½ΡΡΡ ΡΠ΅ΡΠ΅Π½ΠΈΠ΅ ΠΎ ΠΏΡΠΈΠΎΠ±ΡΠ΅ΡΠ΅Π½ΠΈΠΈ Π½ΡΠΆΠ½ΠΎΠΉ ΠΌΠΎΠ΄Π΅Π»ΠΈ.
tokar.guru
Π Π΅ΠΉΡΠΌΡΡΠΎΠ²ΡΠ΅ ΡΡΠ°Π½ΠΊΠΈ ΠΏΠΎ Π΄Π΅ΡΠ΅Π²Ρ: ΡΠ΅Π½Ρ, ΡΠΎΡΠΎ ΠΈ ΠΎΠΏΠΈΡΠ°Π½ΠΈΠ΅
Π‘ΠΎΠ΄Π΅ΡΠΆΠ°Π½ΠΈΠ΅: [ΡΠΊΡΡΡΡ]
- ΠΡΠΏΠΎΠ»ΡΠ·ΠΎΠ²Π°Π½ΠΈΠ΅
- ΠΡΠΎΠ±Π΅Π½Π½ΠΎΡΡΠΈ ΠΊΠΎΠ½ΡΡΡΡΠΊΡΠΈΠΈ
- ΠΠ΅ΡΠ°Π»ΠΈ, ΠΌΠ΅Ρ Π°Π½ΠΈΠ·ΠΌΡ
- Π Π°Π±ΠΎΡΠΈΠΉ ΠΏΡΠΎΡΠ΅ΡΡ
- ΠΠ°ΠΊ ΠΏΡΠ°Π²ΠΈΠ»ΡΠ½ΠΎ Π²ΡΠ±ΠΈΡΠ°ΡΡ ΡΠ΅ΠΉΡΠΌΡΡ
Π Π΅ΠΉΡΠΌΡΡΠΎΠ²ΡΠ΅ ΡΡΠ°Π½ΠΊΠΈ ΠΈΡΠΏΠΎΠ»ΡΠ·ΡΡΡΡΡ Π΄Π»Ρ ΠΎΠ±ΡΠ°Π±ΠΎΡΠΊΠΈ Π΄ΡΠ΅Π²Π΅ΡΠΈΠ½Ρ. Π‘ ΠΈΡ ΠΏΠΎΠΌΠΎΡΡΡ ΠΎΡΡΡΠ΅ΡΡΠ²Π»ΡΠ΅ΡΡΡ ΡΡΡΠΎΠ³Π°Π½ΠΈΠ΅ Π΄ΠΎΡΠΎΠΊ, Π²ΡΡΠ°Π²Π½ΠΈΠ²Π°Π΅ΡΡΡ ΡΠΎΠ»ΡΠΈΠ½Π° Π΄Π΅ΡΠ°Π»Π΅ΠΉ, ΡΠΎΡΠΌΠΈΡΡΠ΅ΡΡΡ Π³Π»Π°Π΄ΠΊΠ°Ρ ΠΏΠΎΠ²Π΅ΡΡ Π½ΠΎΡΡΡ ΠΈΠ·Π΄Π΅Π»ΠΈΠΉ. ΠΡΠΈ ΠΈΡΠΏΠΎΠ»ΡΠ·ΠΎΠ²Π°Π½ΠΈΠΈ ΡΠΎΠ²ΡΠ΅ΠΌΠ΅Π½Π½ΠΎΠ³ΠΎ ΡΡΠΎΠ»ΡΡΠ½ΠΎΠ³ΠΎ ΠΎΠ±ΠΎΡΡΠ΄ΠΎΠ²Π°Π½ΠΈΡ ΡΡΠΊΠΎΡΡΠ΅ΡΡΡ ΠΏΡΠΎΡΠ΅ΡΡ ΡΠ»ΠΈΡΠΎΠ²ΠΊΠΈ Π΄Π΅ΡΠ΅Π²Π°, Π² ΡΠ΅Π·ΡΠ»ΡΡΠ°ΡΠ΅ ΠΏΠΎΠ²ΡΡΠ°Π΅ΡΡΡ ΠΏΡΠΎΠΈΠ·Π²ΠΎΠ΄ΠΈΡΠ΅Π»ΡΠ½ΠΎΡΡΡ.
ΠΡΠΏΠΎΠ»ΡΠ·ΠΎΠ²Π°Π½ΠΈΠ΅
Π Π΅ΠΉΡΠΌΡΡ Π½Π΅ΠΎΠ±Ρ ΠΎΠ΄ΠΈΠΌ Π΄Π»Ρ ΠΏΠ»ΠΎΡΠΊΠΎΡΡΠ½ΠΎΠ³ΠΎ ΡΡΡΠΎΠ³Π°Π½ΠΈΡ ΡΠ°Π·Π»ΠΈΡΠ½ΡΡ ΠΏΠΎ ΡΠΎΠ»ΡΠΈΠ½Π΅ Π΄Π΅ΡΠ΅Π²ΡΠ½Π½ΡΡ ΡΠ»Π΅ΠΌΠ΅Π½ΡΠΎΠ². ΠΡΠ΅ΠΆΠ΄Π΅ ΡΠ΅ΠΌ ΠΏΠΎΡΡΡΠΏΠΈΡΡ Π½Π° ΡΠ΅ΠΉΡΠΌΡΡ, Π΄ΠΎΡΠΊΠ° ΡΠ°ΡΡΠΎ ΠΏΡΠΎΡ ΠΎΠ΄ΠΈΡ ΡΠ΅ΡΠ΅Π· ΡΡΠ³ΠΎΠ²Π°Π»ΡΠ½ΡΠΉ ΡΡΠ°Π½ΠΎΠΊ.
ΠΠ΅ΡΠ΅Π½ΠΎΡΠ½ΠΎΠΉ Π°Π³ΡΠ΅Π³Π°Ρ ΠΎΡΠ»ΠΈΡΠ°Π΅ΡΡΡ Π½Π΅Π±ΠΎΠ»ΡΡΠΈΠΌ Π²Π΅ΡΠΎΠΌ, ΠΊΠΎΠΌΠΏΠ°ΠΊΡΠ½ΠΎΡΡΡΡ, ΠΌΠΎΠ±ΠΈΠ»ΡΠ½ΠΎΡΡΡΡ. ΠΠ΅ΠΊΠΎΡΠΎΡΡΠ΅ ΠΌΠΎΠ΄Π΅Π»ΠΈ ΠΈΠΌΠ΅ΡΡ Π±ΠΎΠ»Π΅Π΅ ΠΏΡΠΎΡΡΡΡ ΡΠΈΡΡΠ΅ΠΌΡ ΡΠΌΠ΅Π½Ρ ΡΠ΅Π·Π°ΠΊΠΎΠ², ΠΏΠΎΠ·Π²ΠΎΠ»ΡΡΡ ΡΠ²Π΅Π»ΠΈΡΠΈΠ²Π°ΡΡ Π³Π»ΡΠ±ΠΈΠ½Ρ ΡΠ΅Π·ΠΊΠΈ. ΠΠΈΠ½ΠΈ-ΡΠ΅ΠΉΡΠΌΡΡΡ ΡΠ°ΡΠ΅ ΠΈΡΠΏΠΎΠ»ΡΠ·ΡΡΡΡΡ Π² Π΄ΠΎΠΌΠ°ΡΠ½ΠΈΡ ΠΌΠ°ΡΡΠ΅ΡΡΠΊΠΈΡ , Π³Π΄Π΅ Π½Π΅ ΡΡΠ΅Π±ΡΠ΅ΡΡΡ Π²ΡΠΏΠΎΠ»Π½Π΅Π½ΠΈΠ΅ Π±ΠΎΠ»ΡΡΠΈΡ ΠΎΠ±ΡΠ΅ΠΌΠΎΠ² ΡΠ°Π±ΠΎΡ, Π½Π΅Ρ Π²ΠΎΠ·ΠΌΠΎΠΆΠ½ΠΎΡΡΠΈ ΡΠ°Π·ΠΌΠ΅ΡΠ°ΡΡ ΠΊΡΡΠΏΠ½ΠΎΠ³Π°Π±Π°ΡΠΈΡΠ½ΡΡ ΡΠ΅Ρ Π½ΠΈΠΊΡ.

ΠΡΠΎΠ±Π΅Π½Π½ΠΎΡΡΠΈ ΠΊΠΎΠ½ΡΡΡΡΠΊΡΠΈΠΈ
ΠΡΠΈΠ½ΡΠΈΠΏ ΡΠ°Π±ΠΎΡΡ ΡΠ΅ΠΉΡΠΌΡΡΠΎΠ²ΠΎΠ³ΠΎ ΡΡΠ°Π½ΠΊΠ° Π·Π°Π²ΠΈΡΠΈΡ ΠΎΡ Π΅Π³ΠΎ ΠΊΠΎΠ½ΡΡΡΡΠΊΡΠΈΠΎΠ½Π½ΡΡ ΠΎΡΠΎΠ±Π΅Π½Π½ΠΎΡΡΠ΅ΠΉ. Π£ΡΡΡΠΎΠΉΡΡΠ²Π° Π±ΡΠ²Π°ΡΡ:
- ΠΠ΄Π½ΠΎΡΡΠΎΡΠΎΠ½Π½ΠΈΠΌΠΈ. ΠΠ° Π½ΠΈΡ ΠΎΡΡΡΠ΅ΡΡΠ²Π»ΡΠ΅ΡΡΡ ΠΎΠ±ΡΠ°Π±ΠΎΡΠΊΠ° Π΄ΠΎΡΠΊΠΈ ΡΠΎΠ»ΡΠΊΠΎ Ρ ΠΎΠ΄Π½ΠΎΠΉ ΡΡΠΎΡΠΎΠ½Ρ.
- ΠΠ²ΡΡ ΡΡΠΎΡΠΎΠ½Π½ΠΈΠΌΠΈ. ΠΠ°Π³ΠΎΡΠΎΠ²ΠΊΠ° ΡΡΡΠΎΠ³Π°Π΅ΡΡΡ Ρ Π΄Π²ΡΡ ΠΏΡΠΎΡΠΈΠ²ΠΎΠΏΠΎΠ»ΠΎΠΆΠ½ΡΡ ΡΡΠΎΡΠΎΠ½. ΠΠ±ΡΠ°Π±Π°ΡΡΠ²Π°Π΅ΡΡΡ Π½ΠΈΠΆΠ½ΡΡ ΠΈ Π²Π΅ΡΡ Π½ΡΡ ΡΠ°ΡΡΡ Π΄ΠΎΡΠΊΠΈ.
- ΠΡΠΎΠ±ΡΠ΅. Π ΠΈΡ ΠΊΠΎΠΌΠΏΠ»Π΅ΠΊΡΠ°ΡΠΈΠΈ ΠΌΠΎΠΆΠ΅Ρ Π½Π°Ρ ΠΎΠ΄ΠΈΡΡΡΡ ΡΡΠΈ ΠΈ Π±ΠΎΠ»Π΅Π΅ ΡΠ΅ΠΆΡΡΠΈΡ ΡΠ»Π΅ΠΌΠ΅Π½ΡΠ°.
Π§Π°ΡΠ΅ Π²ΡΠ΅Π³ΠΎ ΠΈΡΠΏΠΎΠ»ΡΠ·ΡΠ΅ΡΡΡ ΠΎΠ΄Π½ΠΎΡΡΠΎΡΠΎΠ½Π½ΠΈΠΉ ΡΡΠ°Π½ΠΎΠΊ, ΡΠ΅ΠΆΠ΅ Π΄Π²ΡΡ ΡΡΠΎΡΠΎΠ½Π½ΠΈΠΉ.
ΠΡΠ΅ ΡΠ΅ΠΉΡΠΌΡΡΡ ΡΠΊΠΎΠΌΠΏΠ»Π΅ΠΊΡΠΎΠ²Π°Π½Ρ Π³ΠΎΡΠΈΠ·ΠΎΠ½ΡΠ°Π»ΡΠ½ΡΠΌ ΡΡΠΎΠ»ΠΎΠΌ β ΡΡΠ°ΡΠ΅Π»ΡΠ½ΠΎ ΠΎΡΡΠ»ΠΈΡΠΎΠ²Π°Π½Π½ΠΎΠΉ ΡΠΏΠ»ΠΎΡΠ½ΠΎΠΉ ΠΏΠ»ΠΈΡΠΎΠΉ, Π½Π° ΠΊΠΎΡΠΎΡΠΎΠΉ ΡΠΎΡΠΌΠΈΡΡΠ΅ΡΡΡ Π³Π»ΡΠ±ΠΈΠ½Π° ΡΡΠ΅Π·Π°. Π ΠΎΡΠ»ΠΈΡΠΈΠ΅ ΠΎΡ ΡΡΠ³ΠΎΠ²Π°Π»ΡΠ½ΡΡ ΠΎΠ±ΡΠ°Π·ΡΠΎΠ², Π±ΡΡΠΎΠ²ΠΎΠΉ Π°Π³ΡΠ΅Π³Π°Ρ Π½Π΅ ΠΎΠ±ΠΎΡΡΠ΄ΠΎΠ²Π°Π½ Π½Π°ΠΏΡΠ°Π²Π»ΡΡΡΠ΅ΠΉ Π»ΠΈΠ½Π΅ΠΉΠΊΠΎΠΉ. ΠΠ° ΠΊΠ°ΠΆΠ΄ΠΎΠΌ ΡΡΡΡΠΎΠΉΡΡΠ²Π΅ Π΅ΡΡΡ ΡΡΠ΅Π·Π°, Π²ΠΊΠ»ΡΡΠ°ΡΡΠ°Ρ Π½Π΅ΡΠΊΠΎΠ»ΡΠΊΠΎ Π½ΠΎΠΆΠ΅ΠΉ (ΠΊΠΎΠ»ΠΈΡΠ΅ΡΡΠ²ΠΎ Π·Π°Π²ΠΈΡΠΈΡ ΠΎΡ ΡΠΈΠΏΠ° ΠΎΠ±ΠΎΡΡΠ΄ΠΎΠ²Π°Π½ΠΈΡ), ΡΠΈΡΡΠ΅ΠΌΠ° Π°Π²ΡΠΎΠΌΠ°ΡΠΈΡΠ΅ΡΠΊΠΎΠΉ ΠΏΠΎΠ΄Π°ΡΠΈ Π΄ΡΠ΅Π²Π΅ΡΠΈΠ½Ρ ΠΏΡΡΠ΅ΠΌ Π΄Π²ΠΈΠΆΠ΅Π½ΠΈΡ ΠΏΠΎ Π΄Π²ΡΠΌ ΡΠΎΠ»ΠΈΠΊΠΎΠ²ΡΠΌ Π½Π°ΠΏΡΠ°Π²Π»ΡΡΡΠΈΠΌ.

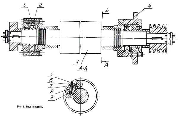
ΠΠ΅ΡΠ°Π»ΠΈ, ΠΌΠ΅Ρ Π°Π½ΠΈΠ·ΠΌΡ
ΠΠ΅ΡΠ°Π»ΠΈ ΠΈ ΠΌΠ΅Ρ Π°Π½ΠΈΠ·ΠΌΡ ΡΠ΅ΠΉΡΠΌΡΡΠΎΠ²ΠΎΠ³ΠΎ ΡΡΠ°Π½ΠΊΠ° ΠΊΡΠ΅ΠΏΡΡΡΡ Π½Π° ΠΏΡΡΡΠΎΡΠ΅Π»ΡΠΉ ΡΡΠ³ΡΠ½Π½ΡΠΉ ΠΎΡΡΠΎΠ², Π΄Π΅Π»Π°ΡΡΠΈΠΉ ΠΊΠΎΠ½ΡΡΡΡΠΊΡΠΈΡ ΡΡΡΠΎΠΉΡΠΈΠ²ΠΎΠΉ. Π ΠΊΠ°ΡΠ΅ΡΡΠ²Π΅ ΠΎΠΏΠΎΡΠ½ΠΎΠ³ΠΎ ΡΡΠΎΠ»ΠΈΠΊΠ° ΠΌΠΎΠ³ΡΡ ΠΈΡΠΏΠΎΠ»ΡΠ·ΠΎΠ²Π°ΡΡΡΡ ΠΌΠ΅ΡΠ°Π»Π»ΠΈΡΠ΅ΡΠΊΠΈΠ΅ ΡΠ³ΠΎΠ»ΠΊΠΈ ΡΠ°Π·ΠΌΠ΅ΡΠΎΠΌ 100 Ρ 100 ΠΌΠΌ ΠΏΡΠΈ Π΄Π»ΠΈΠ½Π΅ Π½Π΅ ΠΌΠ΅Π½Π΅Π΅ 1 ΠΌ. Π£ΡΡΠ°Π½ΠΎΠ²ΠΊΠ° ΠΎΠΏΠΎΡΠ½ΠΎΠ³ΠΎ ΡΡΠΎΠ»ΠΈΠΊΠ° ΠΎΡΡΡΠ΅ΡΡΠ²Π»ΡΠ΅ΡΡΡ ΠΏΡΡΠ΅ΠΌ Π΅Π³ΠΎ Π½Π°Π²Π΅ΡΠΈΠ²Π°Π½ΠΈΡ Π½Π° ΡΠ΅Ρ Π½ΠΎΠ»ΠΎΠ³ΠΈΡΠ΅ΡΠΊΠΈΠ΅ ΡΠ»Π΅ΠΌΠ΅Π½ΡΡ ΡΡΠ°Π½ΠΊΠ°. ΠΠΎΡΠ»Π΅ ΡΡΠΎΠ³ΠΎ ΠΊΠΎΠ½ΡΡΡΡΠΊΡΠΈΡ Π·Π°ΠΊΡΠ΅ΠΏΠ»ΡΠ΅ΡΡΡ ΡΡΡΡΠ±ΡΠΈΠ½Π°ΠΌΠΈ ΠΈ Π±ΠΎΠ»ΡΠ°ΠΌΠΈ. ΠΠΎ Π½Π°ΠΏΡΠ°Π²Π»ΡΡΡΠΈΠΌ ΡΠ°Π»Π°Π·ΠΊΠ°ΠΌ ΡΡΠΎΠ» ΠΏΠ΅ΡΠ΅ΠΌΠ΅ΡΠ°Π΅ΡΡΡ ΠΏΠΎ Π²ΡΡΠΎΡΠ΅ ΡΠΏΠ΅ΡΠΈΠ°Π»ΡΠ½ΡΠΌ ΠΏΠΎΠ΄ΡΠ΅ΠΌΠ½ΠΈΠΊΠΎΠΌ.
ΠΠΎΠΆΠ΅Π²ΠΎΠΉ Π²Π°Π» ΡΡΡΠ°Π½Π°Π²Π»ΠΈΠ²Π°Π΅ΡΡΡ ΡΡΡΠΎΠ³ΠΎ Π½Π°Π΄ ΡΡΠΎΠ»ΠΎΠΌ. ΠΠΎΠ΄Π°ΡΡΠΈΠΉ ΠΌΠ΅Ρ Π°Π½ΠΈΠ·ΠΌ β Π΄Π²Π° ΠΏΠ°ΡΠ½ΡΡ ΡΠΎΠ»ΠΈΠΊΠ°. ΠΠ΄Π½Π° ΠΏΠ°ΡΠ° ΠΏΠΎΠΌΠ΅ΡΠ΅Π½Π° ΠΏΠ΅ΡΠ΅Π΄ Π²Π°Π»ΠΎΠΌ, Π²ΡΠΎΡΠ°Ρ β Π·Π° Π½ΠΈΠΌ. ΠΠ΅ΡΡ Π½ΠΈΠ΅ ΠΏΠΎΠ΄Π²ΠΈΠΆΠ½ΡΠ΅ ΡΠ»Π΅ΠΌΠ΅Π½ΡΡ ΡΠ°ΡΠΏΠΎΠ»ΠΎΠΆΠ΅Π½Ρ Π½Π°Π΄ Π½ΠΈΠΆΠ½ΠΈΠΌΠΈ, ΡΠ²Π»ΡΡΡΡΡ ΠΏΡΠΈΠ²ΠΎΠ΄Π½ΡΠΌΠΈ, Π·Π°ΠΏΡΡΠΊΠ°ΡΡΡΡ ΠΎΡ Π΄Π²ΠΈΠ³Π°ΡΠ΅Π»Ρ. ΠΡΠΎΡΠΎΠ΅ ΠΈΡ Π½Π°Π·Π²Π°Π½ΠΈΠ΅ β ΠΏΠΎΠ΄Π°ΡΡΠΈΠ΅: ΠΎΡ Π½ΠΈΡ ΠΌΠ°ΡΠ΅ΡΠΈΠ°Π» ΠΏΠΎΠ΄Π°Π΅ΡΡΡ Π½Π° ΡΠ²ΠΎΠ±ΠΎΠ΄Π½ΡΠ΅ Π½ΠΈΠΆΠ½ΠΈΠ΅ Π²Π°Π»ΠΈΠΊΠΈ, ΠΏΡΠΈΠ²ΠΎΠ΄ΡΡΠΈΠ΅ΡΡ ΠΎΡ ΡΡΠΎΠ³ΠΎ Π² Π΄Π²ΠΈΠΆΠ΅Π½ΠΈΠ΅. ΠΠ²ΡΡ ΡΡΠΎΡΠΎΠ½Π½ΠΈΠΉ Π°Π³ΡΠ΅Π³Π°Ρ ΡΠΊΠΎΠΌΠΏΠ»Π΅ΠΊΡΠΎΠ²Π°Π½ Π½ΠΎΠΆΠ΅Π²ΡΠΌΠΈ Π²Π°Π»Π°ΠΌΠΈ, ΡΠ°ΡΠΏΠΎΠ»ΠΎΠΆΠ΅Π½Π½ΡΠΌΠΈ Π² ΡΡΠΎΠ»Π΅ ΠΈ Π½Π°Π΄ Π½ΠΈΠΌ.
ΠΠΈΠΆΠ½ΠΈΠ΅ Π²Π°Π»ΠΈΠΊΠΈ ΠΏΡΠ΅Π΄Π½Π°Π·Π½Π°ΡΠ΅Π½Ρ Π΄Π»Ρ ΠΎΠ±Π»Π΅Π³ΡΠ΅Π½ΠΈΡ ΠΏΡΠΎΡΠ΅ΡΡΠ° ΠΏΠΎΠ΄Π°ΡΠΈ Π·Π°Π³ΠΎΡΠΎΠ²ΠΊΠΈ Π½Π° ΡΠ΅Π·Π°ΠΊΠΈ. ΠΠΎΠ½ΡΠΈΡΡΡΡΡΡ ΡΠ°ΠΊ, ΡΡΠΎΠ±Ρ Π½ΠΎΠΆΠΈ Π²ΡΡΡΡΠΏΠ°Π»ΠΈ Π½Π° 0,25 ΠΌΠΌ Π½Π°Π΄ ΠΏΠΎΠ²Π΅ΡΡ Π½ΠΎΡΡΡΡ ΠΏΠ»ΠΈΡΡ. Π’Π°ΠΊΠ°Ρ ΡΠ΅Π³ΡΠ»ΠΈΡΠΎΠ²ΠΊΠ° Π³Π°ΡΠ°Π½ΡΠΈΡΡΠ΅Ρ ΡΠΎΠ²Π½ΠΎΠ΅ ΡΡΡΠΎΠ³Π°Π½ΠΈΠ΅ Π΄ΠΎΡΠΊΠΈ, Π±Π΅Π· ΠΏΡΠΎΠ³ΠΈΠ±ΠΎΠ², Π²ΠΈΠ±ΡΠ°ΡΠΈΠΉ. ΠΠΎΠ²Π΅ΡΡ Π½ΠΎΡΡΡ ΠΏΠ΅ΡΠ΅Π΄Π½Π΅Π³ΠΎ Π²Π΅ΡΡ Π½Π΅Π³ΠΎ Π²Π°Π»ΠΈΠΊΠ°, ΡΡΡΠ°Π½ΠΎΠ²Π»Π΅Π½Π½ΠΎΠ³ΠΎ Π½Π° Π½Π΅ΡΠΊΠΎΠ»ΡΠΊΠΎ ΠΌΠΈΠ»Π»ΠΈΠΌΠ΅ΡΡΠΎΠ² Π½ΠΈΠΆΠ΅ Π·Π°Π³ΠΎΡΠΎΠ²ΠΊΠΈ, ΠΈΠΌΠ΅Π΅Ρ ΡΠΈΡΠ»Π΅Π½ΡΡ ΡΡΡΡΠΊΡΡΡΡ. ΠΡΠΎ ΡΠΏΠΎΡΠΎΠ±ΡΡΠ²ΡΠ΅Ρ ΡΠ»ΡΡΡΠ΅Π½ΠΈΡ ΡΡΠ΅ΠΏΠ»Π΅Π½ΠΈΡ.
ΠΠ°Π΄Π½ΠΈΠΉ Π²Π΅ΡΡ Π½ΠΈΠΉ ΠΏΠΎΠ΄Π²ΠΈΠΆΠ½ΡΠΉ ΡΠ»Π΅ΠΌΠ΅Π½Ρ Ρ Π³Π»Π°Π΄ΠΊΠΎΠΉ ΠΏΠΎΠ²Π΅ΡΡ Π½ΠΎΡΡΡΡ, ΡΡΠΎ ΠΏΠΎΠ·Π²ΠΎΠ»ΡΠ΅Ρ Π½Π΅ Π΄Π΅ΡΠΎΡΠΌΠΈΡΠΎΠ²Π°ΡΡ ΡΠ²Π΅ΠΆΠ΅Π²ΡΡΡΡΡΠ³Π°Π½Π½ΡΡ Π΄ΠΎΡΠΊΡ. ΠΡΡΡΠ°Π²Π»Π΅Π½ΠΈΠ΅ ΠΎΡΡΡΠ΅ΡΡΠ²Π»ΡΠ΅ΡΡΡ Π½Π° 1 ΠΌΠΌ Π½ΠΈΠΆΠ΅ ΡΠ΅ΠΆΡΡΠΈΡ ΠΊΡΠΎΠΌΠΎΠΊ ΡΠ΅Π·Π°ΠΊΠΎΠ². ΠΠΎΠ΄Π°ΡΡΠΈΠ΅ Π²Π°Π»ΠΈΠΊΠΈ ΡΠ°Π·ΠΌΠ΅ΡΠ΅Π½Ρ ΠΏΠ°ΡΠ°Π»Π»Π΅Π»ΡΠ½ΠΎ β ΡΠ΅ΠΉΡΠΌΡΡΠΎΠ²ΡΠΉ ΡΡΠ°Π½ΠΎΠΊ ΠΎΠ΄Π½ΠΎΠ²ΡΠ΅ΠΌΠ΅Π½Π½ΠΎ ΠΌΠΎΠΆΠ΅Ρ ΠΏΡΠΈΠ½ΡΡΡ ΡΠΎΠ»ΡΠΊΠΎ ΠΎΠ΄ΠΈΠ½Π°ΠΊΠΎΠ²ΡΠ΅ ΠΏΠΎ ΡΠΎΠ»ΡΠΈΠ½Π΅ Π·Π°Π³ΠΎΡΠΎΠ²ΠΊΠΈ. ΠΡΠ»ΠΈ ΠΏΠΎΠ΄Π°ΡΡ Π½Π° ΠΎΠ±ΠΎΡΡΠ΄ΠΎΠ²Π°Π½ΠΈΠ΅ Π΄ΠΎΡΠΊΡ Π½Π° Π½Π΅ΡΠΊΠΎΠ»ΡΠΊΠΎ ΠΌΠΈΠ»Π»ΠΈΠΌΠ΅ΡΡΠΎΠ² ΡΠΎΠ½ΡΡΠ΅, ΠΏΡΠΈ ΡΠΎΠΏΡΠΈΠΊΠΎΡΠ½ΠΎΠ²Π΅Π½ΠΈΠΈ Ρ Π½ΠΎΠΆΠ΅Π²ΡΠΌ Π²Π°Π»ΠΎΠΌ ΠΏΡΠΎΠΈΠ·ΠΎΠΉΠ΄Π΅Ρ ΡΠΎΡΡΠ΅Π²ΠΎΠΉ ΡΠ΄Π°Ρ, Π·Π°Π³ΠΎΡΠΎΠ²ΠΊΠ° Π±ΡΠ΄Π΅Ρ Π²ΡΠ±ΡΠΎΡΠ΅Π½Π° Π² ΠΎΠ±ΡΠ°ΡΠ½ΠΎΠΌ Π½Π°ΠΏΡΠ°Π²Π»Π΅Π½ΠΈΠΈ.

Π Π°Π±ΠΎΡΠΈΠΉ ΠΏΡΠΎΡΠ΅ΡΡ
ΠΠ΄Π½ΠΎΠ²ΡΠ΅ΠΌΠ΅Π½Π½Π°Ρ ΠΎΠ±ΡΠ°Π±ΠΎΡΠΊΠ° ΡΠ°Π·Π½ΡΡ ΠΏΠΎ ΡΠΎΠ»ΡΠΈΠ½Π΅ ΠΏΠΈΠ»ΠΎΠΌΠ°ΡΠ΅ΡΠΈΠ°Π»ΠΎΠ² ΡΡΠ΅Π±ΡΠ΅Ρ Π΄ΠΎΠΏΠΎΠ»Π½Π΅Π½ΠΈΡ ΠΎΠ±ΠΎΡΡΠ΄ΠΎΠ²Π°Π½ΠΈΡ ΡΠΈΡΠ»Π΅Π½ΡΠΌ ΡΠ΅ΠΊΡΠΈΠΎΠ½Π½ΡΠΌ Π²Π°Π»ΡΡΠΎΠΌ, ΠΏΠΎΠ·Π²ΠΎΠ»ΡΡΡΠΈΠΌ Π·Π°Π΄Π΅ΠΉΡΡΠ²ΠΎΠ²Π°ΡΡ Π²ΡΡ ΡΠΈΡΠΈΠ½Ρ ΡΡΠΎΠ»Π°. ΠΡΠΎΡ ΡΠ΅Ρ Π½ΠΈΡΠ΅ΡΠΊΠΈΠΉ ΠΏΡΠΈΠ΅ΠΌ ΡΠ²Π΅Π»ΠΈΡΠΈΠ²Π°Π΅Ρ ΡΡΡΠ΅ΠΊΡΠΈΠ²Π½ΠΎΡΡΡ ΠΏΡΠΎΡΠ΅ΡΡΠ°. Π‘Π΅ΠΊΡΠΈΠΎΠ½Π½Π°Ρ Π΄Π΅ΡΠ°Π»Ρ Π²ΠΊΠ»ΡΡΠ°Π΅Ρ Π² ΡΠ΅Π±Ρ 12 ΠΊΠΎΠ»Π΅Ρ Ρ ΡΠΈΡΠ»Π΅Π½ΠΎΠΉ ΠΏΠΎΠ²Π΅ΡΡ Π½ΠΎΡΡΡΡ. ΠΠ½ΠΈ Π·Π°ΠΊΡΠ΅ΠΏΠ»ΡΡΡΡΡ Π½Π° ΠΎΠ±ΡΠ΅ΠΉ ΠΎΡΠΈ ΠΏΡΡΠΆΠΈΠ½Π°ΠΌΠΈ. ΠΠΈΠ»ΠΎΠΌΠ°ΡΠ΅ΡΠΈΠ°Π» Ρ Π±ΠΎΠ»ΡΡΠ΅ΠΉ ΡΠΎΠ»ΡΠΈΠ½ΠΎΠΉ ΠΏΠΎΠ΄ Π΄Π΅ΠΉΡΡΠ²ΠΈΠ΅ΠΌ ΠΏΡΡΠΆΠΈΠ½ ΡΠΎΡ ΡΠ°Π½ΡΠ΅Ρ ΡΡΠ΅ΠΏΠ»Π΅Π½ΠΈΠ΅ ΡΠΎ ΡΡΠ°Π½ΠΊΠΎΠΌ, ΠΈΠ½Π°ΡΠ΅ ΡΠ΄Π΅Π»Π°ΡΡ ΠΊΠ°ΡΠ΅ΡΡΠ²Π΅Π½Π½ΡΡ ΠΈ Π±Π΅Π·ΠΎΠΏΠ°ΡΠ½ΡΡ ΠΎΠ±ΡΠ°Π±ΠΎΡΠΊΡ ΡΠ°Π·Π½ΠΎΠΊΠ°Π»ΠΈΠ±Π΅ΡΠ½ΡΡ ΠΏΠΈΠ»ΠΎΠΌΠ°ΡΠ΅ΡΠΈΠ°Π»ΠΎΠ² Π½Π΅ ΠΏΠΎΠ»ΡΡΠΈΡΡΡ. ΠΠ±ΡΠ°ΡΠ½ΡΠΉ Π²ΡΠ±ΡΠΎΡ Π·Π°Π³ΠΎΡΠΎΠ²ΠΊΠΈ ΠΈΡΠΊΠ»ΡΡΠ°Π΅ΡΡΡ ΠΏΠΎΠ΄Π²Π΅ΡΠΊΠ°ΠΌΠΈ.
ΠΠ»Ρ Π·Π°ΡΠΈΡΡ ΡΠ΅Π·Π°ΠΊΠ° Π½Π°Π΄ Π½ΠΈΠΌ ΡΡΡΠ°Π½Π°Π²Π»ΠΈΠ²Π°Π΅ΡΡΡ ΠΌΠ°ΡΡΠΈΠ²Π½ΡΠΉ ΠΊΠΎΠ»ΠΏΠ°ΠΊ, ΠΎΠ³ΡΠ°ΠΆΠ΄Π°ΡΡΠΈΠΉ ΠΎΡΡΡΡΠΉ Π½ΠΎΠΆ, ΠΎΠ΄Π½ΠΎΠ²ΡΠ΅ΠΌΠ΅Π½Π½ΠΎ Π½Π°ΠΏΡΠ°Π²Π»ΡΡΡΠΈΠΉ ΡΡΡΡΠΆΠΊΡ Π² ΡΠΊΡΠ³Π°ΡΡΡΠ΅Ρ. ΠΠ»Ρ ΠΈΠ·Π³ΠΎΡΠΎΠ²Π»Π΅Π½ΠΈΡ ΠΌΠ΅Π±Π΅Π»ΠΈ, Π΄Π΅ΠΊΠΎΡΠ°ΡΠΈΠ²Π½ΡΡ ΠΈΠ½ΡΠ΅ΡΡΠ΅ΡΠ½ΡΡ ΠΏΡΠ΅Π΄ΠΌΠ΅ΡΠΎΠ² Π½Π΅ΠΎΠ±Ρ ΠΎΠ΄ΠΈΠΌΠΎ ΡΠ»ΠΈΡΠΎΠ²Π°Π»ΡΠ½ΠΎΠ΅ ΡΡΡΡΠΎΠΉΡΡΠ²ΠΎ, ΠΏΡΠΈΠ³ΠΎΠ΄ΠΈΡΡΡ ΡΠ΅ΠΉΡΠΌΡΡ. Π’ΠΎΠ»ΡΠΊΠΎ Π΅Π³ΠΎ Π½ΡΠΆΠ½ΠΎ Π΄ΠΎΡΠΊΠΎΠΌΠΏΠ»Π΅ΠΊΡΠΎΠ²Π°ΡΡ Π±Π°ΡΠ°Π±Π°Π½ΠΎΠΌ Ρ Π³Π»Π°Π΄ΠΊΠΎΠΉ ΠΏΠΎΠ²Π΅ΡΡ Π½ΠΎΡΡΡΡ ΠΈ ΡΠ»ΠΈΡΠΎΠ²Π°Π»ΡΠ½ΠΎΠΉ ΡΠΊΡΡΠΊΠΎΠΉ, ΠΊΠΎΡΠΎΡΠΎΠΉ ΠΎΠ½ ΠΎΠ±ΡΡΠ³ΠΈΠ²Π°Π΅ΡΡΡ.

ΠΠ°ΡΠ΅ΡΡΠ²ΠΎ ΡΠ°Π±ΠΎΡΡ, Π²ΡΠΏΠΎΠ»Π½Π΅Π½Π½ΠΎΠΉ Π½Π° ΡΠ΅ΠΉΡΠΌΡΡΠ΅, Π·Π°Π²ΠΈΡΠΈΡ ΠΎΡ ΡΠΊΠΎΡΠΎΡΡΠΈ Π²ΡΠ°ΡΠ΅Π½ΠΈΡ Π²Π°Π»ΠΎΠ²ΡΡ Π½ΠΎΠΆΠΈΠΊΠΎΠ². Π§Π΅ΠΌ ΡΡΠΎΡ ΠΏΠΎΠΊΠ°Π·Π°ΡΠ΅Π»Ρ Π²ΡΡΠ΅, ΡΠ΅ΠΌ ΡΠΈΡΠ΅ Π±ΡΠ΄Π΅Ρ ΠΎΠ±ΡΠ°Π±Π°ΡΡΠ²Π°Π΅ΠΌΡΠΉ ΠΏΠΈΠ»ΠΎΠΌΠ°ΡΠ΅ΡΠΈΠ°Π». ΠΠ»Ρ Π±ΡΡΠΎΠ²ΠΎΠ³ΠΎ ΠΈΡΠΏΠΎΠ»ΡΠ·ΠΎΠ²Π°Π½ΠΈΡ Π΄ΠΎΡΡΠ°ΡΠΎΡΠ½Π°Ρ ΡΠΊΠΎΡΠΎΡΡΡ β 6000β10000 ΠΎΠ±/ΠΌΠΈΠ½. ΠΠ΅Ρ ΡΠ°ΠΊΠΈΡ ΡΡΠ°Π½ΠΊΠΎΠ² ΠΎΠ±ΡΡΠ½ΠΎ ΡΠΎΡΡΠ°Π²Π»ΡΠ΅Ρ 27β30 ΠΊΠ³.
ΠΡΠΆΠ½ΡΠΉ ΡΠ°Π·ΠΌΠ΅Ρ Π·Π°Π³ΠΎΡΠΎΠ²ΠΊΠ΅ ΠΏΡΠΈΠ΄Π°Π΅ΡΡΡ ΠΏΡΠΈ ΠΏΠΎΠΌΠΎΡΠΈ ΡΠΊΠ°Π»Ρ, Π·Π°ΠΊΡΠ΅ΠΏΠ»Π΅Π½Π½ΠΎΠΉ Π½Π° ΡΡΠ°Π½ΠΈΠ½Π΅. ΠΡΠΈ ΡΡΠΎΠΌ Π²ΡΠ΄Π΅ΡΠΆΠΈΠ²Π°Π΅ΡΡΡ ΠΎΠΏΡΠ΅Π΄Π΅Π»Π΅Π½Π½ΠΎΠ΅ ΡΠ°ΡΡΡΠΎΡΠ½ΠΈΠ΅ ΠΌΠ΅ΠΆΠ΄Ρ ΡΡΠΎΠ»ΠΎΠΌ ΠΈ Π½ΠΎΠΆΠ΅Π²ΡΠΌ Π²Π°Π»ΠΎΠΌ. Π‘ΠΏΠ΅ΡΠΈΠ°Π»ΡΠ½ΡΠ΅ ΠΏΡΠΈΠΆΠΈΠΌΠ½ΡΠ΅ ΡΠ»Π΅ΠΌΠ΅Π½ΡΡ ΠΌΠΎΠ½ΡΠΈΡΡΡΡΡΡ ΠΏΠΎ Π΄Π²Π΅ ΡΡΠΎΡΠΎΠ½Ρ Π½ΠΎΠΆΠ΅Π²ΠΎΠ³ΠΎ Π²Π°Π»Π°. ΠΡΠΎ ΠΏΠΎΠ·Π²ΠΎΠ»ΡΠ΅Ρ ΠΈΠ·Π±Π°Π²ΠΈΡΡΡΡ ΠΎΡ Π²ΠΈΠ±ΡΠ°ΡΠΈΠΈ Π΄ΡΠ΅Π²Π΅ΡΠΈΠ½Ρ. ΠΠ·ΠΌΠ΅Π»ΡΡΠ΅Π½ΠΈΠ΅ ΡΡΡΡΠΆΠΊΠΈ Π²ΡΠΏΠΎΠ»Π½ΡΠ΅ΡΡΡ ΡΡΡΡΠΎΠΉΡΡΠ²ΠΎΠΌ, ΠΎΠ΄Π½ΠΎΠ²ΡΠ΅ΠΌΠ΅Π½Π½ΠΎ ΠΏΡΠΈΠΆΠΈΠΌΠ°ΡΡΠΈΠΌ Π·Π°Π³ΠΎΡΠΎΠ²ΠΊΡ ΠΊ ΠΏΠ»ΠΈΡΠ΅.
ΠΠΈΠ΄Π΅ΠΎ, Π½Π° ΠΊΠΎΡΠΎΡΠΎΠΌ ΠΏΠΎΠΊΠ°Π·Π°Π½Π° ΡΠ°Π±ΠΎΡΠ° Π½Π° ΡΡΠ°Π½ΠΊΠ΅.
Β
ΠΠ°ΠΊ ΠΏΡΠ°Π²ΠΈΠ»ΡΠ½ΠΎ Π²ΡΠ±ΠΈΡΠ°ΡΡ ΡΠ΅ΠΉΡΠΌΡΡ
ΠΡΠΈ Π²ΡΠ±ΠΎΡΠ΅ ΡΠ΅ΠΉΡΠΌΡΡΠ° Π½ΡΠΆΠ½ΠΎ ΡΡΠΈΡΡΠ²Π°ΡΡ Ρ Π°ΡΠ°ΠΊΡΠ΅Ρ Π²ΡΠΏΠΎΠ»Π½ΡΠ΅ΠΌΡΡ ΡΠ°Π±ΠΎΡ, ΠΈΠ½ΡΠ΅Π½ΡΠΈΠ²Π½ΠΎΡΡΡ ΡΡΠ½ΠΊΡΠΈΠΎΠ½Π°Π»ΡΠ½ΡΡ Π½Π°Π³ΡΡΠ·ΠΎΠΊ, Π²ΠΎΠ·Π»ΠΎΠΆΠ΅Π½Π½ΡΡ Π½Π° ΠΎΠ±ΠΎΡΡΠ΄ΠΎΠ²Π°Π½ΠΈΠ΅. Π£ΡΡΡΠΎΠΉΡΡΠ²Π° ΠΎΡΠ»ΠΈΡΠ°ΡΡΡΡ ΡΠ΅Ρ Π½ΠΈΡΠ΅ΡΠΊΠΈΠΌΠΈ Ρ Π°ΡΠ°ΠΊΡΠ΅ΡΠΈΡΡΠΈΠΊΠ°ΠΌΠΈ, ΠΊΠ°ΡΠ΅ΡΡΠ²ΠΎΠΌ ΡΠ±ΠΎΡΠΊΠΈ. Π‘ΡΠΎΠΈΠΌΠΎΡΡΡ ΠΈΠ·Π΄Π΅Π»ΠΈΠΉ ΠΌΠΎΠΆΠ΅Ρ Π·Π°Π²ΠΈΡΠ΅ΡΡ ΠΎΡ ΠΌΠ°ΡΠΊΠΈ, ΠΊΠΎΠΌΠΏΠ»Π΅ΠΊΡΠ°ΡΠΈΠΈ.
Π ΡΠ°Π±Π»ΠΈΡΠ΅ ΠΏΡΠ΅Π΄ΡΡΠ°Π²Π»Π΅Π½Ρ Ρ Π°ΡΠ°ΠΊΡΠ΅ΡΠΈΡΡΠΈΠΊΠΈ Π½Π΅ΠΊΠΎΡΠΎΡΡΡ ΠΌΠΎΠ΄Π΅Π»Π΅ΠΉ.
|
ΠΠΎΠ΄Π΅Π»Ρ |
ΠΠΎΡΠ²Π΅Ρ-21 |
ΠΠ½ΡΠ΅ΡΡΠΊΠΎΠ» Π Π‘ -318/1500 |
Πakita 2012NB |
DeWalt DW 733 |
|
ΠΠΎΡΠ½ΠΎΡΡΡ, ΠΊΠΡ |
1500 |
1500 |
1650 |
1800 |
|
Π¨ΠΈΡΠΈΠ½Π° ΡΡΡΠΎΠ³Π°Π½ΠΈΡ, ΠΌΠΌ |
318 |
318 |
304 |
317 |
|
ΠΠ»ΡΠ±ΠΈΠ½Π° ΡΡΡΠΎΠ³Π°Π½ΠΈΡ, ΠΌΠΌ |
2,5 |
3 |
3 |
2 |
|
Π§Π°ΡΡΠΎΡΠ° Π²ΡΠ°ΡΠ΅Π½ΠΈΡ Π±Π°ΡΠ°Π±Π°Π½Π°, ΠΎΠ±/ΠΌΠΈΠ½ |
8000 |
9000 |
8500 |
10000 |
|
ΠΠ΅Ρ, ΠΊΠ³ |
39 |
32 |
28,1 |
33,6 |
|
ΠΠ°Π±Π°ΡΠΈΡΡ, ΠΌΠΌ |
610Ρ 370Ρ 470 |
600Ρ 355Ρ 463 |
483x771x401 |
520x310x445 |
|
Π‘ΡΠ΅Π΄Π½ΡΡ ΡΠ΅Π½Π°, ΡΡΠ± |
22 594 |
26 590 |
34 260 |
52 874 |
derevo-s.ru
ΠΏΠΎ Π΄Π΅ΡΠ΅Π²Ρ, ΠΌΠ½ΠΎΠ³ΠΎΡΡΠ½ΠΊΡΠΈΠΎΠ½Π°Π»ΡΠ½ΡΠΉ, ΡΠ²ΠΎΠΈΠΌΠΈ ΡΡΠΊΠ°ΠΌΠΈ, ΡΠ΅ΡΡΠ΅ΠΆΠΈ
ΠΡΠ΅ ΡΠ°ΡΠ΅ Π² Π΄ΠΎΠΌΠ°ΡΠ½Π΅ΠΌ Π°ΡΡΠ΅Π½Π°Π»Π΅ ΡΡΠΎΠ»ΡΡΠΎΠ² β Π»ΡΠ±ΠΈΡΠ΅Π»Π΅ΠΉ, Π½Π΅ Π³ΠΎΠ²ΠΎΡΡ ΡΠΆΠ΅ ΠΎ ΠΏΡΠΎΡΠ΅ΡΡΠΈΠΎΠ½Π°Π»Π°Ρ , ΠΌΠΎΠΆΠ½ΠΎ Π²ΡΡΡΠ΅ΡΠΈΡΡ ΡΠ΅ΠΉΡΠΌΡΡΠΎΠ²ΡΠΉ ΡΡΠ°Π½ΠΎΠΊ, ΠΈΡΠΏΠΎΠ»ΡΠ·ΡΠ΅ΠΌΡΠΉ Π΄Π»Ρ Π΄Π΅ΡΠ΅Π²ΡΠ½Π½ΡΡ Π·Π°Π³ΠΎΡΠΎΠ²ΠΎΠΊ Ρ ΠΎΡΠΎΡΠ΅Π³ΠΎ ΠΊΠ°ΡΠ΅ΡΡΠ²Π°. ΠΠ»Π΅ΠΊΡΡΠΈΡΠ΅ΡΠΊΠΈΠ΅ ΡΡΠΎΠ»ΡΡΠ½ΡΠ΅ ΠΈΠ½ΡΡΡΡΠΌΠ΅Π½ΡΡ ΡΡΡΠ½ΠΎΠ³ΠΎ ΠΈ ΠΏΠ΅ΡΠ΅Π½ΠΎΡΠ½ΠΎΠ³ΠΎ ΡΠΈΠΏΠ° ΠΏΠΎΡΡΠ΅ΠΏΠ΅Π½Π½ΠΎ Π²ΡΡΠ΅ΡΠ½ΡΡΡΡΡ ΡΡΠ°Π½ΠΊΠΎΠ²ΡΠΌΠΈ ΠΌΠΎΠ΄Π΅Π»ΡΠΌΠΈ, ΠΈ ΡΠ΅ΠΉΡΠΌΡΡΠΎΠ²ΡΠΉ ΡΡΠ°Π½ΠΎΠΊ ΠΌΠΎΠΆΠ½ΠΎ ΡΡΠΈΡΠ°ΡΡ Π½Π°Π³Π»ΡΠ΄Π½ΡΠΌ ΡΠΎΠΌΡ ΠΏΠΎΠ΄ΡΠ²Π΅ΡΠΆΠ΄Π΅Π½ΠΈΠ΅ΠΌ. Π‘Π΅Π³ΠΎΠ΄Π½Ρ ΡΠΆΠ΅ ΠΌΠ°Π»ΠΎ ΠΈΠΌΠ΅ΡΡ Π²ΠΎΠ·ΠΌΠΎΠΆΠ½ΠΎΡΡΡ Π±ΡΡΡΡΠΎ ΠΈ Π±Π΅Π· ΠΎΡΠΎΠ±ΡΡ ΡΡΠΈΠ»ΠΈΠΉ ΡΠ΅Π·Π°ΡΡ Π΄Π΅ΡΠ΅Π²ΡΠ½Π½ΡΡ Π·Π°Π³ΠΎΡΠΎΠ²ΠΊΡ, Π΄Π°ΠΆΠ΅ Π² Π»ΡΠ±ΠΈΡΠ΅Π»ΡΡΠΊΠΎΠΌ ΠΈΠ·Π³ΠΎΡΠΎΠ²Π»Π΅Π½ΠΈΠΈ ΠΌΠ΅Π±Π΅Π»ΠΈ ΠΈ Π΄ΠΎΠΌΠ°ΡΠ½ΠΈΡ ΠΏΡΠΈΡΠΏΠΎΡΠΎΠ±Π»Π΅Π½ΠΈΠΉ, ΠΊΠΎΠ³Π΄Π° ΡΡΠ΅Π±ΡΠ΅ΡΡΡ Π²ΡΡΠΎΠΊΠΎΠ΅ ΠΊΠ°ΡΠ΅ΡΡΠ²ΠΎ ΡΡΠ°Π½ΠΊΠΎΠ²ΠΎΠΉ ΠΎΠ±ΡΠ°Π±ΠΎΡΠΊΠΈ.

Π Π΅ΠΉΡΠΌΡΡΠΎΠ²ΡΠΉ ΡΡΠ°Π½ΠΎΠΊ ΠΏΠΎ Π΄Π΅ΡΠ΅Π²Ρ
Π‘ΡΠ΅Π΄ΠΈ Π±Π»ΠΈΠΆΠ°ΠΉΡΠΈΡ ΡΠΎΠ΄ΡΡΠ²Π΅Π½Π½ΠΈΠΊΠΎΠ² ΡΠ΅ΠΉΡΠΌΡΡΠΎΠ²ΠΎΠ³ΠΎ ΡΡΠ°Π½ΠΊΠ° ΠΌΠΎΠΆΠ½ΠΎ Π½Π°Π·Π²Π°ΡΡ Π½Π°ΠΈΠ±ΠΎΠ»Π΅Π΅ ΠΈΠ·Π²Π΅ΡΡΠ½ΡΠ΅ ΠΈ ΠΏΠΎΠΏΡΠ»ΡΡΠ½ΡΠ΅ ΡΠΈΡΡΠ΅ΠΌΡ:
- Π‘ΡΡΠΎΠ³Π°Π»ΡΠ½ΡΠΉ ΡΡΠ°Π½ΠΎΠΊ ΠΏΠΎ Π΄Π΅ΡΠ΅Π²Ρ, ΡΠ½ΠΈΠΌΠ°Π΅Ρ Π²Π΅ΡΡ Π½ΡΡ, Π½Π°ΠΈΠ±ΠΎΠ»Π΅Π΅ Π³ΡΡΠ±ΡΡ ΡΠ°ΡΡΡ Π·Π°Π³ΠΎΡΠΎΠ²ΠΊΠΈ ΠΏΠΎΡΠ»Π΅ ΡΠ°ΡΠΏΠΈΠ»Π° Π±ΡΠ΅Π²Π½Π° ΠΈ Π±ΡΡΡΠ° Π½Π° ΠΌΠΎΡΠ½ΡΡ ΡΠΈΡΠΊΡΠ»ΡΡΠ½ΡΡ ΠΏΠΈΠ»Π°Ρ ;
- Π€ΡΠ³ΠΎΠ²Π°Π»ΡΠ½ΡΠΉ ΡΡΠ°Π½ΠΎΠΊ ΠΈΡΠΏΠΎΠ»ΡΠ·ΡΠ΅ΡΡΡ Π΄Π»Ρ ΠΏΡΠ΅Π΄Π²Π°ΡΠΈΡΠ΅Π»ΡΠ½ΠΎΠΉ ΠΏΠΎΠ»ΡΡΠΈΡΡΠΎΠ²ΠΎΠΉ ΠΎΠ±ΡΠ°Π±ΠΎΡΠΊΠΈ ΠΏΠΎΠ²Π΅ΡΡ Π½ΠΎΡΡΠΈ Π΄ΠΎΡΠΊΠΈ ΠΈΠ»ΠΈ ΠΏΠ»ΠΈΡΡ ΠΈΠ· Π΄Π΅ΡΠ΅Π²Π°;
- Π¨Π»ΠΈΡΠΎΠ²Π°Π»ΡΠ½ΡΠΉ ΡΡΠ°Π½ΠΎΠΊ ΠΏΡΠΈΠΌΠ΅Π½ΡΠ΅ΡΡΡ Π΄Π»Ρ ΡΠΈΡΡΠΎΠ²ΠΎΠ³ΠΎ Π²ΡΠ²Π΅Π΄Π΅Π½ΠΈΡ ΠΏΠΎΠ΄ ΠΏΠΎΠ»ΠΈΡΠΎΠ²ΠΊΡ Π΄Π΅ΡΠ΅Π²Π° ΠΈΠ»ΠΈ ΠΎΠ±ΡΠ°Π±ΠΎΡΠΊΡ Π»Π°ΠΊΠΎΠ²ΡΠΌΠΈ ΠΏΠΎΠ»ΠΈΡΡΡΠ°ΠΌΠΈ, Π²ΠΎΡΠΊΠΎΠ²ΡΠΌΠΈ ΠΌΠ°ΡΡΠΈΠΊΠ°ΠΌΠΈ.

ΠΠ΅ΡΠ²ΡΠ΅ Π΄Π²Π° ΡΠΈΠΏΠ° ΡΡΠ°Π½ΠΊΠΎΠ² ΠΎΡΠ»ΠΈΡΠ°ΡΡΡΡ Π»ΠΈΡΡ ΡΠ°Π·ΠΌΠ΅ΡΠ°ΠΌΠΈ ΡΠ°Π±ΠΎΡΠ΅Π³ΠΎ ΡΡΠΎΠ»Π°, ΠΊΠΎΠ»ΠΈΡΠ΅ΡΡΠ²ΠΎΠΌ ΡΠ΅ΠΆΡΡΠΈΡ ΠΊΡΠΎΠΌΠΎΠΊ, ΡΠΊΠΎΡΠΎΡΡΡΡ ΡΠ΅Π·Π°Π½ΠΈΡ. Π£ΡΡΡΠΎΠΉΡΡΠ²ΠΎ ΡΡΠ°Π½ΠΈΠ½Ρ, Π½ΠΎΠΆΠ΅Π²ΠΎΠ³ΠΎ Π±Π»ΠΎΠΊΠ°, ΠΏΡΠΈΠ²ΠΎΠ΄Π° ΠΈ ΡΠΈΡΡΠ΅ΠΌΡ ΠΏΠΎΠ΄Π°ΡΠΈ Π·Π°Π³ΠΎΡΠΎΠ²ΠΊΠΈ ΠΈΠ· Π΄Π΅ΡΠ΅Π²Π° Π²ΠΎ ΠΌΠ½ΠΎΠ³ΠΎΠΌ ΠΏΠΎΡ ΠΎΠΆΠΈ. Π ΡΠ»ΠΈΡΠΎΠ²Π°Π»ΡΠ½ΠΎΠΌ ΡΡΠ°Π½ΠΊΠ΅ Π²ΠΌΠ΅ΡΡΠΎ Π½ΠΎΠΆΠ΅ΠΉ ΠΈΡΠΏΠΎΠ»ΡΠ·ΡΡΡΡΡ ΡΠ»ΠΈΡΠΎΠ²Π°Π»ΡΠ½ΡΠ΅ Π±Π°ΡΠ°Π±Π°Π½Ρ ΠΈ Π»Π΅Π½ΡΡ.
Π ΡΠ²Π΅Π΄Π΅Π½ΠΈΡ! ΠΠ΅ΠΆΠ΄Ρ ΠΎΠΏΠ΅ΡΠ°ΡΠΈΡΠΌΠΈ ΡΠ»ΠΈΡΠΎΠ²Π°Π½ΠΈΡ ΠΈ ΡΡΠ³ΠΎΠ²Π°Π½ΠΈΡ Π΄Π΅ΡΠ΅Π²Π° ΠΏΡΠ΅Π΄ΠΏΠΎΠ»Π°Π³Π°Π΅ΡΡΡ ΠΎΠ±ΡΠ°Π±ΠΎΡΠΊΠ° Π·Π°Π³ΠΎΡΠΎΠ²ΠΊΠΈ ΡΠ΅ΠΉΡΠΌΡΡΠΎΠ²ΡΠΌ ΡΠΈΠΏΠΎΠΌ Π±Π°ΡΠ°Π±Π°Π½Π½ΠΎΠ³ΠΎ Π½ΠΎΠΆΠ°.
ΠΡΠΈ ΠΏΡΠ°Π²ΠΈΠ»ΡΠ½ΠΎΠΌ ΠΏΠΎΠ΄Π±ΠΎΡΠ΅ ΡΠ΅ΠΆΠΈΠΌΠΎΠ² ΠΊΠ°ΡΠ΅ΡΡΠ²ΠΎ ΠΎΠ±ΡΠ°Π±ΠΎΡΠΊΠΈ Π΄Π΅ΡΠ΅Π²Π° Π½Π° ΡΠ΅ΠΉΡΠΌΡΡΠΎΠ²ΠΎΠΌ ΡΡΠ°Π½ΠΊΠ΅ ΠΏΠΎΠ»ΡΡΠ°Π΅ΡΡΡ Π΄ΠΎΡΡΠ°ΡΠΎΡΠ½ΠΎ Π²ΡΡΠΎΠΊΠΈΠΌ, ΡΡΠΎ Π·Π°ΡΠ°ΡΡΡΡ Π΄Π°Π΅Ρ Π²ΠΎΠ·ΠΌΠΎΠΆΠ½ΠΎΡΡΡ ΠΎΡΠΊΠ°Π·Π°ΡΡΡΡ ΠΎΡ ΡΠ»ΠΈΡΠΎΠ²Π°Π½ΠΈΡ Π΄Π΅ΡΠ΅Π²ΡΠ½Π½ΠΎΠΉ ΠΏΠΎΠ²Π΅ΡΡ Π½ΠΎΡΡΠΈ.

ΠΠΎ ΠΌΠ½ΠΎΠ³ΠΈΡ ΡΠ»ΡΡΠ°ΡΡ , ΠΏΡΠΈ ΡΠ°Π±ΠΎΡΠ΅ Ρ Π»Π΅Π³ΠΊΠΈΠΌΠΈ ΠΈ ΡΡΠ΅Π΄Π½ΠΈΠΌΠΈ ΠΏΠΎ ΠΏΠ»ΠΎΡΠ½ΠΎΡΡΠΈ Π·Π°Π³ΠΎΡΠΎΠ²ΠΊΠ°ΠΌΠΈ, ΠΎΠΏΠ΅ΡΠ°ΡΠΈΠΈ ΡΡΠ³ΠΎΠ²Π°Π½ΠΈΡ ΠΈ ΡΠΈΡΡΠΎΠ²ΠΎΠΉ ΡΠ΅Π·ΠΊΠΈ Π²ΡΠΏΠΎΠ»Π½ΡΡΡ Π½Π° ΠΎΠ΄Π½ΠΎΠΌ ΡΡΠ³ΠΎΠ²Π°Π»ΡΠ½ΠΎ β ΡΠ΅ΠΉΡΠΌΡΡΠΎΠ²ΠΎΠΌ ΡΡΠ°Π½ΠΊΠ΅. ΠΠΎΡΡΠ°ΡΠΎΡΠ½ΠΎ Π»ΠΈΡΡ ΠΏΠΎΡΠ»Π΅Π΄ΠΎΠ²Π°ΡΠ΅Π»ΡΠ½ΠΎ ΠΏΠ΅ΡΠ΅Π½Π°ΡΡΡΠΎΠΈΡΡ ΡΠ΅ΠΆΠΈΠΌ ΡΠ΅Π·Π°Π½ΡΡ ΠΈ ΠΎΠ±ΠΎΡΠΎΡΡ Π²ΡΠ°ΡΠ΅Π½ΠΈΡ Π½ΠΎΠΆΠ΅Π²ΠΎΠ³ΠΎ Π±Π»ΠΎΠΊΠ°. ΠΠ΄ΠΈΠ½ ΡΡΠ°Π½ΠΎΠΊ ΡΠ°ΠΊΡΠΈΡΠ΅ΡΠΊΠΈ Π·Π°ΠΌΠ΅Π½ΡΠ΅Ρ Π΄Π²Π°.
Π‘ΡΡΡ ΡΡΠ°Π½ΠΊΠ° ΡΠ΅ΠΉΡΠΌΡΡΠΎΠ²ΠΎΠ³ΠΎ ΡΠΈΠΏΠ°
Π‘ΡΠΈΡΠ°Π΅ΡΡΡ, ΡΡΠΎ ΡΠ²ΠΎΠ΅ Π½Π°Π·Π²Π°Π½ΠΈΠ΅ ΡΠ΅ΠΉΡΠΌΡΡΠΎΠ²ΡΠΉ ΡΡΠ°Π½ΠΎΠΊ ΠΏΠΎΠ»ΡΡΠΈΠ» ΠΎΡ ΠΈΠ·Π²Π΅ΡΡΠ½ΠΎΠ³ΠΎ ΡΡΠΎΠ»ΡΡΠ½ΠΎΠ³ΠΎ ΠΈΠ½ΡΡΡΡΠΌΠ΅Π½ΡΠ° ΡΠ΅ΠΉΡΠΌΡΡΠ°, ΠΈΡΠΏΠΎΠ»ΡΠ·ΡΠ΅ΠΌΠΎΠ³ΠΎ Π΄Π»Ρ Π½Π°Π½Π΅ΡΠ΅Π½ΠΈΡ ΡΠ°Π·ΠΌΠ΅ΡΠΊΠΈ ΠΏΠ°ΡΠ°Π»Π»Π΅Π»ΡΠ½ΡΡ Π»ΠΈΠ½ΠΈΠΉ Π½Π° Π·Π°Π³ΠΎΡΠΎΠ²ΠΊΠ°Ρ ΠΈ ΡΠΈΡΠ°Ρ ΠΈΠ· ΡΠ΅Π»ΡΠ½ΠΎΠ³ΠΎ ΠΈ ΠΊΠ»Π΅Π΅Π½ΠΎΠ³ΠΎ Π΄Π΅ΡΠ΅Π²Π°. Π ΡΡΠΎΠΌ ΡΡΠ²Π΅ΡΠΆΠ΄Π΅Π½ΠΈΠΈ Π΅ΡΡΡ ΠΎΠΏΡΠ΅Π΄Π΅Π»Π΅Π½Π½Π°Ρ Π΄ΠΎΠ»Ρ ΠΏΡΠ°Π²Π΄Ρ, ΡΠ°ΠΊ ΠΊΠ°ΠΊ ΡΠ΅ΠΉΡΠΌΡΡΠΎΠ²ΡΠ΅ ΡΠΈΠΏΡ ΡΡΠ°Π½ΠΊΠΎΠ² ΠΈΡΠΏΠΎΠ»ΡΠ·ΡΡΡΡΡ ΠΏΡΠ΅ΠΈΠΌΡΡΠ΅ΡΡΠ²Π΅Π½Π½ΠΎ Π΄Π»Ρ Π΄Π²ΡΡ ΠΎΠΏΠ΅ΡΠ°ΡΠΈΠΉ:
- Π§ΠΈΡΡΠΎΠ²ΠΎΠ΅ ΡΡΡΠΎΠ³Π°Π½ΠΈΠ΅, ΠΎΠ±Π΅ΡΠΏΠ΅ΡΠΈΠ²Π°ΡΡΠ΅Π΅ Π³Π»Π°Π΄ΠΊΡΡ ΠΏΠΎΠ²Π΅ΡΡ Π½ΠΎΡΡΡ Π΄Π΅ΡΠ΅Π²Π°;
- ΠΠ°Π»ΠΈΠ±ΡΠΎΠ²ΠΊΠ° ΠΏΠ°ΡΠ°Π»Π»Π΅Π»ΡΠ½ΠΎΡΡΠΈ ΠΏΠ»ΠΎΡΠΊΠΎΡΡΠ΅ΠΉ ΡΠΈΡΠ°, ΡΠ΅Π·Π°Π½Π½ΠΎΠΉ Π΄Π΅ΡΠ΅Π²ΡΠ½Π½ΠΎΠΉ ΡΠ΅ΠΉΠΊΠΈ, Π΄ΠΎΡΠΊΠΈ.
Π ΠΏΡΠ΅ΠΆΠ½ΠΈΠ΅ Π²ΡΠ΅ΠΌΠ΅Π½Π° ΠΏΠ°ΡΠ°Π»Π»Π΅Π»ΡΠ½ΠΎΡΡΡ ΠΏΠ»ΠΎΡΠΊΠΎΡΡΠ΅ΠΉ ΠΏΠΎΡΠ»Π΅ ΡΡΡΠΎΠ³Π°Π½ΠΈΡ ΠΏΡΠΎΠ²Π΅ΡΡΠ»Π°ΡΡ ΡΠ΅ΠΉΡΠΌΡΡΠΎΠΌ, ΠΏΠΎΡΠ»Π΅ ΡΠΎΠ³ΠΎ ΠΊΠ°ΠΊ ΡΡΠ°Π»ΠΎ Π²ΠΎΠ·ΠΌΠΎΠΆΠ½ΡΠΌ ΠΈΠ·Π³ΠΎΡΠΎΠ²Π»Π΅Π½ΠΈΠ΅ ΡΡΠ°Π½ΠΊΠΎΠ² Ρ Π²ΡΡΠΎΠΊΠΎΠΎΠ±ΠΎΡΠΎΡΠ½ΡΠΌΠΈ ΡΠΈΠ»ΠΈΠ½Π΄ΡΠΈΡΠ΅ΡΠΊΠΈΠΌΠΈ Π½ΠΎΠΆΠ°ΠΌΠΈ, Π½Π°Π·Π²Π°Π½ΠΈΠ΅ ΡΠ΅ΠΉΡΠΌΡΡΠΎΠ²ΡΠΉ ΡΠ°ΠΊ ΠΈ ΠΎΡΡΠ°Π»ΠΎΡΡ Π·Π° Π½Π°Π΄Π΅ΠΆΠ½ΡΠΌΠΈ ΠΈ ΠΎΡΠ΅Π½Ρ ΡΠ΄ΠΎΠ±Π½ΡΠΌΠΈ Π² ΡΠ°Π±ΠΎΡΠ΅ ΡΡΡΡΠΎΠΉΡΡΠ²Π°ΠΌΠΈ.

Π’ΠΈΠΏΠΎΠ²ΠΎΠ΅ ΡΡΡΡΠΎΠΉΡΡΠ²ΠΎ ΡΠ΅ΠΉΡΠΌΡΡΠΎΠ²ΠΎΠ³ΠΎ ΡΡΠ°Π½ΠΊΠ°
Π ΡΠΎΠ²ΡΠ΅ΠΌΠ΅Π½Π½ΠΎΠΉ ΡΡΠΎΠ»ΡΡΠ½ΠΎΠΉ ΠΌΠ°ΡΡΠ΅ΡΡΠΊΠΎΠΉ ΠΏΡΠ°ΠΊΡΠΈΡΠ΅ΡΠΊΠΈ Π½Π΅Π²ΠΎΠ·ΠΌΠΎΠΆΠ½ΠΎ ΠΎΠ±ΠΎΠΉΡΠΈΡΡ Π±Π΅Π· ΠΈΠ½ΡΡΡΡΠΌΠ΅Π½ΡΠΎΠ² Π΄Π»Ρ ΡΠΈΡΡΠΎΠ²ΠΎΠΉ ΠΎΠ±ΡΠ°Π±ΠΎΡΠΊΠΈ, Π² ΡΠΎΠΌ ΡΠΈΡΠ»Π΅ ΡΠ»ΠΈΡΠΎΠ²Π°Π»ΡΠ½ΠΎΠ³ΠΎ ΠΈ ΡΠ΅ΠΉΡΠΌΡΡΠΎΠ²ΠΎΠ³ΠΎ ΡΡΠ°Π½ΠΊΠΎΠ². Π Π·Π°Π²ΠΈΡΠΈΠΌΠΎΡΡΠΈ ΠΎΡ ΠΎΠ±ΡΠ΅ΠΌΠ° Π²ΡΠΏΠΎΠ»Π½ΡΠ΅ΠΌΡΡ ΡΡΠΎΠ»ΡΡΠ½ΡΡ ΡΠ°Π±ΠΎΡ, Π½Π°Π³ΡΡΠ·ΠΊΠΈ ΠΈ Π½ΠΎΠΌΠ΅Π½ΠΊΠ»Π°ΡΡΡΡ ΠΈΠ·Π΄Π΅Π»ΠΈΠΉ ΠΈΠ· Π΄Π΅ΡΠ΅Π²Π° ΡΠ΅ΠΉΡΠΌΡΡΠΎΠ²ΡΠΉ ΡΡΠ°Π½ΠΎΡΠ½ΡΠΉ ΠΏΠ°ΡΠΊ Π΄Π΅Π»ΠΈΡΡΡ Π½Π° Π΄Π²Π΅ Π³ΡΡΠΏΠΏΡ:
- Π‘ΠΏΠ΅ΡΠΈΠ°Π»ΠΈΠ·ΠΈΡΠΎΠ²Π°Π½Π½ΡΠ΅ ΡΡΠ°Π½ΠΊΠΈ ΠΈ ΠΏΡΠΈΡΠΏΠΎΡΠΎΠ±Π»Π΅Π½ΠΈΡ, ΡΠ°ΡΡΡΠΈΡΠ°Π½Π½ΡΠ΅ Π½Π° ΠΎΠ΄Π½Ρ-Π΄Π²Π΅ ΠΎΠΏΠ΅ΡΠ°ΡΠΈΠΈ. ΠΠΎΠΌΠΈΠΌΠΎ ΠΎΡΠ½ΠΎΠ²Π½ΠΎΠ³ΠΎ Π±Π»ΠΎΠΊΠ° Π΄Π»Ρ ΠΎΠ΄Π½ΠΎΡΡΠΎΡΠΎΠ½Π½Π΅ΠΉ ΠΈΠ»ΠΈ Π΄Π²ΡΡ ΡΡΠΎΡΠΎΠ½Π½Π΅ΠΉ ΠΎΠ±ΡΠ°Π±ΠΎΡΠΊΠΈ ΠΏΠΎΠ²Π΅ΡΡ Π½ΠΎΡΡΠΈ Π΄Π΅ΡΠ΅Π²Π°, Π² ΠΊΠΎΠ½ΡΡΡΡΠΊΡΠΈΠΈ ΠΌΠΎΠΆΠ΅Ρ ΠΈΡΠΏΠΎΠ»ΡΠ·ΠΎΠ²Π°ΡΡΡΡ ΠΏΡΠΈΡΠΏΠΎΡΠΎΠ±Π»Π΅Π½ΠΈΠ΅ Π΄Π»Ρ ΡΠ°ΡΠΏΠΈΠ»ΠΎΠ²ΠΊΠΈ ΠΈΠ»ΠΈ ΠΏΠΎΠ΄ΡΠ΅Π·ΠΊΠΈ ΡΠΎΡΡΠΎΠ² Π·Π°Π³ΠΎΡΠΎΠ²ΠΎΠΊ;
- Π£Π½ΠΈΠ²Π΅ΡΡΠ°Π»ΡΠ½ΡΠ΅ Π΄Π΅ΡΠ΅Π²ΠΎΠΎΠ±ΡΠ°Π±Π°ΡΡΠ²Π°ΡΡΠΈΠ΅ ΡΡΠ°Π½ΠΊΠΈ Ρ ΡΠ΅ΠΉΡΠΌΡΡΠΎΠΌ. Π’Π°ΠΊΠΎΠΉ Π°Π³ΡΠ΅Π³Π°Ρ ΠΌΠΎΠΆΠ΅Ρ ΠΎΠ±Π΅ΡΠΏΠ΅ΡΠΈΡΡ Π²ΡΠΏΠΎΠ»Π½Π΅Π½ΠΈΠ΅ ΠΎΡ 4 Π΄ΠΎ 12 Π½Π°ΠΈΠ±ΠΎΠ»Π΅Π΅ Π²Π°ΠΆΠ½ΡΡ ΠΈ Π²ΠΎΡΡΡΠ΅Π±ΠΎΠ²Π°Π½Π½ΡΡ ΡΠΈΠΏΠΎΠ² ΠΎΠ±ΡΠ°Π±ΠΎΡΠΊΠΈ Π΄Π΅ΡΠ΅Π²Π°.
Π ΡΡΠ»ΠΎΠ²ΠΈΡΡ Π²ΡΠΏΠΎΠ»Π½Π΅Π½ΠΈΡ Π±ΠΎΠ»ΡΡΠΈΡ ΠΎΠ±ΡΠ΅ΠΌΠΎΠ² ΠΎΠ±ΡΠ°Π±ΠΎΡΠΊΠΈ Π΄Π΅ΡΠ΅Π²Π° Π±ΠΎΠ»Π΅Π΅ Π²ΡΠ³ΠΎΠ΄Π½ΡΠΌΠΈ ΠΎΠΊΠ°Π·ΡΠ²Π°ΡΡΡΡ ΡΠΏΠ΅ΡΠΈΠ°Π»ΠΈΠ·ΠΈΡΠΎΠ²Π°Π½Π½ΡΠ΅ ΡΡΠ°Π½ΠΊΠΈ ΠΏΠΎ Π΄Π΅ΡΠ΅Π²Ρ. ΠΠΎ-ΠΏΠ΅ΡΠ²ΡΡ , Π½Π΅Ρ Π½Π΅ΠΎΠ±Ρ ΠΎΠ΄ΠΈΠΌΠΎΡΡΠΈ Π²ΡΠΏΠΎΠ»Π½ΡΡΡ ΡΠ΅Π³ΡΠ»ΡΡΠ½ΡΡ ΠΏΠ΅ΡΠ΅Π½Π°ΡΡΡΠΎΠΉΠΊΡ ΠΈ Π½Π°Π»Π°Π΄ΠΊΡ ΡΠ΅ΠΆΡΡΠΈΡ ΠΈΠ½ΡΡΡΡΠΌΠ΅Π½ΡΠΎΠ², Π²ΡΡΠ΅ ΡΠΎΡΠ½ΠΎΡΡΡ ΠΈ ΠΊΠ°ΡΠ΅ΡΡΠ²ΠΎ ΠΎΠ±ΡΠ°Π±ΠΎΡΠΊΠΈ, Π° Π²ΠΎβΠ²ΡΠΎΡΡΡ , ΡΠ°Π±ΠΎΡΠ° Π½Π° ΡΠΏΠ΅ΡΠΈΠ°Π»ΠΈΠ·ΠΈΡΠΎΠ²Π°Π½Π½ΠΎΠΌ ΡΠ΅ΠΉΡΠΌΡΡΠΎΠ²ΠΎΠΌ Π°Π³ΡΠ΅Π³Π°ΡΠ΅ Π½Π΅ ΡΡΠ΅Π±ΡΠ΅Ρ Π²ΡΡΠΎΠΊΠΎΠΉ ΠΊΠ²Π°Π»ΠΈΡΠΈΠΊΠ°ΡΠΈΠΈ.
Π£Π½ΠΈΠ²Π΅ΡΡΠ°Π»ΡΠ½ΡΠΉ Π²Π°ΡΠΈΠ°Π½Ρ Π±ΠΎΠ»Π΅Π΅ Π³ΠΈΠ±ΠΊΠΈΠΉ Π² ΡΠ°Π±ΠΎΡΠ΅, Π½ΠΎ Π΄Π»Ρ ΠΈΡΠΏΠΎΠ»ΡΠ·ΠΎΠ²Π°Π½ΠΈΡ ΠΌΠ½ΠΎΠ³ΠΎΡΡΠ½ΠΊΡΠΈΠΎΠ½Π°Π»ΡΠ½ΠΎΠ³ΠΎ ΡΡΠ°Π½ΠΊΠ° ΠΏΠΎ Π΄Π΅ΡΠ΅Π²Ρ ΠΏΠΎΡΡΠ΅Π±ΡΠ΅ΡΡΡ ΡΠ΅ΡΡΠ΅Π·Π½ΡΠΉ ΠΎΠΏΡΡ Π½Π°ΡΡΡΠΎΠΉΠΊΠΈ ΠΈ ΠΎΠ±ΡΠ»ΡΠΆΠΈΠ²Π°Π½ΠΈΡ ΡΡΡΡΠΎΠΉΡΡΠ²Π°. Π ΡΡΠ»ΠΎΠ²ΠΈΡΡ ΠΌΠ΅Π»ΠΊΠΎΡΠ΅ΡΠΈΠΉΠ½ΠΎΠ³ΠΎ ΠΈΠ»ΠΈ ΡΡΡΡΠ½ΠΎΠ³ΠΎ ΠΈΠ·Π³ΠΎΡΠΎΠ²Π»Π΅Π½ΠΈΡ Π΄Π΅ΡΠ°Π»Π΅ΠΉ ΠΈΠ· Π΄Π΅ΡΠ΅Π²Π° Π½ΠΎΡΠΌΠ°Π»ΡΠ½ΠΎ ΡΠ°Π±ΠΎΡΠ°ΡΡ ΡΠΎΠ»ΡΠΊΠΎ ΠΠ€Π£ ΡΡΠ°Π½ΠΊΠΈ Ρ ΡΠ΅ΠΉΡΠΌΡΡΠΎΠ²ΡΠΌΠΈ ΠΏΡΠΈΡΡΠ°Π²ΠΊΠ°ΠΌΠΈ ΠΈΠ·Π²Π΅ΡΡΠ½ΡΡ Π±ΡΠ΅Π½Π΄ΠΎΠ².

ΠΠΈΡΠ°ΠΉΡΠΊΠΈΠΉ ΡΠΈΡΠΏΠΎΡΡΠ΅Π± ΠΎΡΠ΅Π½Ρ Π±ΡΡΡΡΠΎ ΡΠ΅ΡΡΠ΅Ρ ΡΠΎΡΠ½ΠΎΡΡΡ ΠΎΠ±ΡΠ°Π±ΠΎΡΠΊΠΈ Π·Π°Π³ΠΎΡΠΎΠ²ΠΎΠΊ ΠΈΠ· Π΄Π΅ΡΠ΅Π²Π°, ΠΈ Π·Π°ΡΠ°ΡΡΡΡ, ΠΏΠΎΡΠ»Π΅ Π½Π΅ΡΠΊΠΎΠ»ΡΠΊΠΈΡ Π»Π΅Ρ ΡΠΊΡΠΏΠ»ΡΠ°ΡΠ°ΡΠΈΠΈ ΡΠ½ΠΈΠ²Π΅ΡΡΠ°Π»ΡΠ½ΡΠΉ Π΄Π΅ΡΠ΅Π²ΠΎΠΎΠ±ΡΠ°Π±Π°ΡΡΠ²Π°ΡΡΠΈΠΉ ΡΡΠ°Π½ΠΎΠΊ Ρ ΡΠ΅ΠΉΡΠΌΡΡΠΎΠΌ β ΠΏΡΠΈΡΡΠ°Π²ΠΊΠΎΠΉ ΠΏΠ΅ΡΠ΅Π΄Π΅Π»ΡΠ²Π°Π΅ΡΡΡ Π²Π»Π°Π΄Π΅Π»ΡΡΠ°ΠΌΠΈ Π² ΡΠΏΠ΅ΡΠΈΠ°Π»ΠΈΠ·ΠΈΡΠΎΠ²Π°Π½Π½ΡΠ΅ ΡΡΡΡΠΎΠΉΡΡΠ²Π°, Π½Π°ΠΏΡΠΈΠΌΠ΅Ρ, ΡΠΈΡΠΊΡΠ»ΡΡΠΊΡ ΠΈΠ»ΠΈ ΡΠ»Π΅ΠΊΡΡΠΎΡΡΠ³Π°Π½ΠΎΠΊ.
ΠΠΎΠ½ΡΡΡΡΠΊΡΠΈΡ ΡΠΏΠ΅ΡΠΈΠ°Π»ΠΈΠ·ΠΈΡΠΎΠ²Π°Π½Π½ΠΎΠ³ΠΎ ΡΡΠ°Π½ΠΊΠ°-ΡΠ΅ΠΉΡΠΌΡΡΠ° ΠΏΠΎ Π΄Π΅ΡΠ΅Π²Ρ
Π£ΡΡΡΠΎΠΉΡΡΠ²ΠΎ ΠΈ ΠΊΠΈΠ½Π΅ΠΌΠ°ΡΠΈΡΠ΅ΡΠΊΠ°Ρ ΡΡ Π΅ΠΌΠ° ΡΠ΅ΠΉΡΠΌΡΡΠΎΠ²ΠΎΠ³ΠΎ ΡΡΠ°Π½ΠΊΠ° Π΄Π»Ρ ΠΎΠ±ΡΠ°Π±ΠΎΡΠΊΠΈ Π΄Π΅ΡΠ΅Π²Π° ΠΌΠ°Π»ΠΎ ΡΠ΅ΠΌ ΠΎΡΠ»ΠΈΡΠ°Π΅ΡΡΡ ΠΎΡ ΡΡΠ³ΠΎΠ²Π°Π»ΡΠ½ΠΎΠ³ΠΎ Π°Π³ΡΠ΅Π³Π°ΡΠ°. ΠΡΠ½ΠΎΠ²Ρ ΠΊΠΎΠ½ΡΡΡΡΠΊΡΠΈΠΈ ΡΠΎΡΡΠ°Π²Π»ΡΠ΅Ρ ΡΡΠ°Π»ΡΠ½Π°Ρ ΠΈΠ»ΠΈ Π°Π»ΡΠΌΠΈΠ½ΠΈΠ΅Π²Π°Ρ ΡΡΠ°Π½ΠΈΠ½Π°, Π½Π° ΠΊΠΎΡΠΎΡΠΎΠΉ Π·Π°ΠΊΡΠ΅ΠΏΠ»Π΅Π½ Π΄Π²ΠΈΠ³Π°ΡΠ΅Π»Ρ Ρ Π·ΡΠ±ΡΠ°ΡΠΎΠΉ ΠΈΠ»ΠΈ ΡΠ΅ΠΏΠ½ΠΎΠΉ ΠΏΠ΅ΡΠ΅Π΄Π°ΡΠ΅ΠΉ. Π Π²Π΅ΡΡ Π½Π΅ΠΉ ΠΈΠ»ΠΈ ΡΡΠ΅Π΄Π½Π΅ΠΉ ΡΠ°ΡΡΠΈ ΡΡΠ°Π½ΠΊΠ° ΡΠ°ΡΠΏΠΎΠ»ΠΎΠΆΠ΅Π½ ΡΠ°Π±ΠΎΡΠΈΠΉ ΡΡΠΎΠ» ΠΈ ΡΠΈΠ»ΠΈΠ½Π΄Ρ Ρ ΡΡΡΠ°Π½ΠΎΠ²Π»Π΅Π½Π½ΡΠΌΠΈ Β«Π½Π°ΠΊΠΎΡΡΡΒ» ΡΠ΅ΠΆΡΡΠΈΠΌΠΈ Π½ΠΎΠΆΠ°ΠΌΠΈ.

ΠΠ°ΠΆΠ½ΠΎ! ΠΠ»Π°Π²Π½ΠΎΠ΅ ΠΎΡΠ»ΠΈΡΠΈΠ΅ ΡΠ΅ΠΉΡΠΌΡΡΠΎΠ²ΠΎΠ³ΠΎ Π°Π³ΡΠ΅Π³Π°ΡΠ° ΠΎΡ ΡΡΠ³ΠΎΠ²Π°Π»ΡΠ½ΠΎΠ³ΠΎ ΠΈ ΡΠ΅ΠΌ Π±ΠΎΠ»Π΅Π΅ ΡΡΡΠΎΠ³Π°Π»ΡΠ½ΠΎΠ³ΠΎ ΡΡΠ°Π½ΠΊΠ° Π·Π°ΠΊΠ»ΡΡΠ°Π΅ΡΡΡ Π² ΠΈΡΠΏΠΎΠ»ΡΠ·ΠΎΠ²Π°Π½ΠΈΠΈ ΡΠΏΠ΅ΡΠΈΠ°Π»ΡΠ½ΡΡ ΠΏΠΎΠ΄ΡΠΈΠΏΠ½ΠΈΠΊΠΎΠ²ΡΡ ΠΎΠΏΠΎΡ, ΠΎΠ±Π΅ΡΠΏΠ΅ΡΠΈΠ²Π°ΡΡΠΈΡ Π½ΠΈΠ·ΠΊΠΈΠΉ ΡΡΠΎΠ²Π΅Π½Ρ Π²ΠΈΠ±ΡΠ°ΡΠΈΠΉ.
ΠΡΠΎΠΌΠ΅ ΡΠΎΠ³ΠΎ, Π² ΡΠ΅ΠΉΡΠΌΡΡΠ΅ Π·Π½Π°ΡΠΈΡΠ΅Π»ΡΠ½ΠΎ ΠΌΠ΅Π½ΡΡΠ΅ ΡΠΊΠΎΡΠΎΡΡΡ ΠΏΠΎΠ΄Π°ΡΠΈ Π΄Π΅ΡΠ΅Π²Π° ΠΈ Π² ΡΠ°Π·Ρ Π²ΡΡΠ΅ ΡΠΊΠΎΡΠΎΡΡΡ Π²ΡΠ°ΡΠ΅Π½ΠΈΡ ΡΠ΅ΠΆΡΡΠ΅Π³ΠΎ Π±Π°ΡΠ°Π±Π°Π½Π°. Π ΡΠ΅Π·ΡΠ»ΡΡΠ°ΡΠ΅ ΠΎΠ±ΡΠ°Π±ΠΎΡΠΊΠΈ ΡΠ΄Π°Π΅ΡΡΡ ΠΏΠΎΠ»ΡΡΠΈΡΡ ΠΎΡΠ΅Π½Ρ ΡΠΎΠ²Π½ΡΡ ΠΈ ΡΠΎΡΠ½ΡΡ, ΠΏΠΎΡΡΠΈ Π³Π»Π°Π΄ΠΊΡΡ ΠΏΠΎΠ²Π΅ΡΡ Π½ΠΎΡΡΡ Π·Π°Π³ΠΎΡΠΎΠ²ΠΊΠΈ ΠΈΠ· Π΄Π΅ΡΠ΅Π²Π°.
Π Π΅ΠΉΡΠΌΡΡΠΎΠ²ΡΠ΅ Π°ΠΏΠΏΠ°ΡΠ°ΡΡ Π²ΡΠΏΡΡΠΊΠ°ΡΡΡΡ Π² Π΄Π²ΡΡ Π²Π°ΡΠΈΠ°Π½ΡΠ°Ρ :
- ΠΠ²ΡΡ
ΡΡΠΎΡΠΎΠ½Π½ΠΈΠ΅ ΡΡΠ°Π½ΠΊΠΈ Ρ ΠΎΠ΄Π½ΠΎΠ²ΡΠ΅ΠΌΠ΅Π½Π½ΠΎΠΉ ΠΎΠ±ΡΠ°Π±ΠΎΡΠΊΠΎΠΉ ΠΏΡΠΎΡΠΈΠ²ΠΎΠΏΠΎΠ»ΠΎΠΆΠ½ΡΡ
ΠΏΠΎΠ²Π΅ΡΡ
Π½ΠΎΡΡΠ΅ΠΉ. Π Π°Π·ΠΌΠ΅ΡΡ ΠΎΠ±ΡΠ°Π±Π°ΡΡΠ²Π°Π΅ΠΌΠΎΠΉ ΠΏΠΎΠ²Π΅ΡΡ
Π½ΠΎΡΡΠΈ ΡΠ΅Π΄ΠΊΠΎ ΠΏΡΠ΅Π²ΡΡΠ°ΡΡ 30Ρ
50 ΡΠΌ Π΄Π»Ρ Π»ΡΠ±ΠΈΡΠ΅Π»ΡΡΠΊΠΈΡ
ΠΌΠΎΠ΄Π΅Π»Π΅ΠΉ ΠΈ 50Ρ
50 ΡΠΌ Π΄Π»Ρ ΠΈΠ·Π΄Π΅Π»ΠΈΠΉ ΠΏΡΠΎΡΠ΅ΡΡΠΈΠΎΠ½Π°Π»ΡΠ½ΠΎΠ³ΠΎ ΡΡΠΎΠ²Π½Ρ;

- ΠΠ΄Π½ΠΎΡΡΠΎΡΠΎΠ½Π½ΠΈΠ΅ Π°Π³ΡΠ΅Π³Π°ΡΡ Ρ ΡΠ²Π΅Π»ΠΈΡΠ΅Π½Π½ΠΎΠΉ Π΄Π»ΠΈΠ½ΠΎΠΉ ΡΠ°Π±ΠΎΡΠ΅Π³ΠΎ ΡΡΠΎΠ»Π°. Π ΠΏΠ΅ΡΠ²ΡΡ ΠΎΡΠ΅ΡΠ΅Π΄Ρ ΡΠ°ΠΊΠΈΠ΅ ΡΡΠ°Π½ΠΊΠΈ ΠΎΡΠΈΠ΅Π½ΡΠΈΡΠΎΠ²Π°Π½Ρ Π½Π° ΠΎΠ±ΡΠ°Π±ΠΎΡΠΊΡ Π·Π°Π³ΠΎΡΠΎΠ²ΠΎΠΊ ΠΈΠ· Π΄Π΅ΡΠ΅Π²Π° Π±ΠΎΠ»ΡΡΠΎΠΉ Π΄Π»ΠΈΠ½Ρ.
Π ΠΊΠ°ΡΠ΅ΡΡΠ²Π΅ ΠΏΡΠΈΠΌΠ΅ΡΠ° Π½Π°ΠΈΠ±ΠΎΠ»Π΅Π΅ ΡΠ΄Π°ΡΠ½ΡΡ Π²Π΅ΡΡΠΈΠΉ ΡΠ΅ΠΉΡΠΌΡΡΠΎΠ²ΡΡ ΡΡΠ°Π½ΠΊΠΎΠ² Π΄Π²ΡΡ ΡΡΠΎΡΠΎΠ½Π½Π΅ΠΉ ΠΎΠ±ΡΠ°Π±ΠΎΡΠΊΠΈ ΠΌΠΎΠΆΠ½ΠΎ ΠΏΡΠΈΠ²Π΅ΡΡΠΈ ΠΌΠΎΠ΄Π΅Π»ΠΈ ΡΠ΅ΠΉΡΠΌΡΡ ΠΠ°ΠΊΠΈΡΠ° 2012NB ΠΈΠ»ΠΈ JET-JWP12.
ΠΠΎΡΠ»Π΅Π΄Π½ΠΈΠΉ Π²Π°ΡΠΈΠ°Π½Ρ Π²ΡΠΏΡΡΠΊΠ°Π΅ΡΡΡ ΡΠ²Π΅ΠΉΡΠ°ΡΡΠΊΠΎΠΉ ΠΊΠΎΠΌΠΏΠ°Π½ΠΈΠ΅ΠΉ JET, Ρ ΠΎΡΠΎΡΠΎ ΠΈΠ·Π²Π΅ΡΡΠ½ΠΎΠΉ ΠΊΠ°ΡΠ΅ΡΡΠ²Π΅Π½Π½ΡΠΌΠΈ ΠΈ ΡΠΎΡΠ½ΡΠΌΠΈ ΡΡΠ°Π½ΠΊΠ°ΠΌΠΈ ΠΏΠΎ Π΄Π΅ΡΠ΅Π²Ρ.

ΠΠΎΠ΄Π΅Π»Ρ JWP12 ΡΠ°ΡΡΡΠΈΡΠ°Π½Π° Π½Π° Π½Π΅Π±ΠΎΠ»ΡΡΡΡ Π½Π°Π³ΡΡΠ·ΠΊΡ, ΠΈΠ·-Π·Π° ΠΈΡΠΏΠΎΠ»ΡΠ·ΠΎΠ²Π°Π½ΠΈΡ ΠΌΠΎΡΠ½ΠΎΠ³ΠΎ ΠΊΠΎΠ»Π»Π΅ΠΊΡΠΎΡΠ½ΠΎΠ³ΠΎ Π΄Π²ΠΈΠ³Π°ΡΠ΅Π»Ρ Π² 1,8 ΠΊΠΡ ΠΏΡΠΎΠΈΠ·Π²ΠΎΠ΄ΠΈΡΠ΅Π»Ρ ΡΠ΅ΠΊΠΎΠΌΠ΅Π½Π΄ΡΠ΅Ρ ΠΊΡΠ°ΡΠΊΠΎΠ²ΡΠ΅ΠΌΠ΅Π½Π½ΠΎ-ΠΏΠΎΠ²ΡΠΎΡΠ½ΡΠΉ ΡΠ΅ΠΆΠΈΠΌ ΠΎΠ±ΡΠ°Π±ΠΎΡΠΊΠΈ Π΄Π΅ΡΠ΅Π²Π°. ΠΠ΅Ρ ΡΡΡΠ°Π½ΠΎΠ²ΠΊΠΈ Π²ΡΠ΅Π³ΠΎ 27 ΠΊΠ³, ΡΡΠΎ ΠΏΠΎΠ·Π²ΠΎΠ»ΡΠ΅Ρ ΡΠ±ΠΈΡΠ°ΡΡ ΡΠ΅ΠΉΡΠΌΡΡΠΎΠ²ΡΠΉ Π°ΠΏΠΏΠ°ΡΠ°Ρ Ρ ΡΠ°Π±ΠΎΡΠ΅Π³ΠΎ ΠΌΠ΅ΡΡΠ° ΠΏΠΎ ΠΎΠΊΠΎΠ½ΡΠ°Π½ΠΈΡ ΡΠ°Π±ΠΎΡ. ΠΠ° ΡΠ΅ΠΆΡΡΠ΅ΠΌ ΡΠΈΠ»ΠΈΠ½Π΄ΡΠ΅ Π΄ΠΈΠ°ΠΌΠ΅ΡΡΠΎΠΌ 48 ΠΌΠΌ ΡΡΡΠ°Π½ΠΎΠ²Π»Π΅Π½Ρ Π΄Π²Π° Π½ΠΎΠΆΠ° ΠΈΠ· ΠΊΠΎΠ²Π°Π½ΠΎΠΉ Π»Π΅Π³ΠΈΡΠΎΠ²Π°Π½Π½ΠΎΠΉ ΡΡΠ°Π»ΠΈ. ΠΡΠΈ Π²ΡΠ°ΡΠ΅Π½ΠΈΠΈ Π²Π°Π»Π° Π½Π° ΡΠΊΠΎΡΠΎΡΡΠΈ Π² 9000 ΠΎΠ±/ΠΌΠΈΠ½ ΠΌΠΎΠΆΠ½ΠΎ ΠΎΠ±ΡΠ°Π±Π°ΡΡΠ²Π°ΡΡ Π·Π°Π³ΠΎΡΠΎΠ²ΠΊΠΈ ΡΠΈΡΠΈΠ½ΠΎΠΉ 300Ρ 500 ΠΌΠΌ Ρ ΠΏΠΎΠ΄Π°ΡΠ΅ΠΉ ΠΏΠΎΡΡΠΈ 12 ΡΠΌ/Ρ.
ΠΠΎΠ»Π΅Π΅ ΠΈΠ·ΡΡΠ½ΡΠΉ ΡΠ΅ΠΉΡΠΌΡΡ ΠΠ°ΠΊΠΈΡΠ° 2012 NB ΠΎΡΠ½Π°ΡΠ΅Π½ Π΄Π²ΠΈΠ³Π°ΡΠ΅Π»Π΅ΠΌ Π² 1,65ΠΊΠΡ ΠΈ ΡΠΏΠ΅ΡΠΈΠ°Π»ΡΠ½ΠΎΠΉ ΡΠΈΡΡΠ΅ΠΌΠΎΠΉ ΠΏΠΎΠ΄Π°ΡΠΈ ΠΌΠ°ΡΠ΅ΡΠΈΠ°Π»Π°. Π‘ΡΠ°Π½ΠΎΠΊ ΡΠ΅ΠΆΠ΅Ρ Π΄Π΅ΡΠ΅Π²ΠΎ ΡΠΎΠ»ΡΠΈΠ½ΠΎΠΉ ΠΎΡ 3 Π΄ΠΎ 100 ΠΌΠΌ. ΠΠΏΠΏΠ°ΡΠ°Ρ ΠΏΠΎΠ»ΡΡΠΈΠ»ΡΡ Π΄ΠΎΡΡΠ°ΡΠΎΡΠ½ΠΎ ΡΡΠΌΠ½ΡΠΉ, Π² ΡΠ°Π±ΠΎΡΠ΅ Π²ΡΠ΄Π°Π΅Ρ Π·Π²ΡΠΊ Π΄ΠΎ 80 Π΄Π, Π½ΠΎ Π·Π°ΡΠΎ, Π² ΠΎΡΠ»ΠΈΡΠΈΠ΅ ΠΎΡ JWP12, Π²ΡΠ΄Π΅ΡΠΆΠΈΠ²Π°Π΅Ρ Π² Π½Π΅ΡΠΊΠΎΠ»ΡΠΊΠΎ ΡΠ°Π· Π±ΠΎΠ»ΡΡΡΡ Π½Π°Π³ΡΡΠ·ΠΊΡ ΠΈ Π½Π΅ ΡΡΠ΅Π±ΡΠ΅Ρ ΡΡΠΎΠ»Ρ ΡΠ°ΡΡΡΡ ΠΏΠ΅ΡΠ΅ΡΡΠ²ΠΎΠ² Π² ΡΠ°Π±ΠΎΡΠ΅.

Π ΡΡΠ΅Π΄Π΅ Π»ΡΠ±ΠΈΡΠ΅Π»Π΅ΠΉ ΠΈΠ·Π²Π΅ΡΡΠ½ΠΎΠΉ ΠΏΠΎΠΏΡΠ»ΡΡΠ½ΠΎΡΡΡΡ ΠΏΠΎΠ»ΡΠ·ΡΠ΅ΡΡΡ Π°ΠΌΠ΅ΡΠΈΠΊΠ°Π½ΡΠΊΠΈΠΉ ΡΠ΅ΠΉΡΠΌΡΡ ΠΠ΅ΡΠ°Π±ΠΎ Dh430.

Π‘ΠΏΠ΅ΡΠΈΡΠΈΠΊΠ° ΡΡΠ³ΠΎΠ²Π°Π»ΡΠ½ΠΎ-ΡΠ΅ΠΉΡΠΌΡΡΠΎΠ²ΡΡ ΠΌΠΎΠ΄Π΅Π»Π΅ΠΉ ΡΡΠ°Π½ΠΊΠΎΠ²
ΠΠΎΠΆΠ½ΠΎ ΡΠΊΠ°Π·Π°ΡΡ, ΡΡΠΎ Π΄Π°Π½Π½ΡΠΉ ΡΠΈΠΏ ΡΠ΅ΠΉΡΠΌΡΡΠ° ΡΠ²Π»ΡΠ΅ΡΡΡ ΠΏΠ΅ΡΠ΅Ρ ΠΎΠ΄Π½ΠΎΠΉ ΠΌΠΎΠ΄Π΅Π»ΡΡ ΠΎΡ ΡΠΏΠ΅ΡΠΈΠ°Π»ΠΈΠ·ΠΈΡΠΎΠ²Π°Π½ΠΎΠΉ ΡΠ΅Ρ Π½ΠΈΠΊΠΈ ΠΊ ΠΌΠ½ΠΎΠ³ΠΎΡΡΠ½ΠΊΡΠΈΠΎΠ½Π°Π»ΡΠ½ΡΠΌ ΡΡΡΡΠΎΠΉΡΡΠ²Π°ΠΌ. ΠΠ°ΠΏΡΠΈΠΌΠ΅Ρ, ΠΌΠΎΠ΄Π΅Π»Ρ Holzstar-ADh300 ΠΊΠΎΠ½ΡΡΡΡΠΊΡΠΈΠ²Π½ΠΎ ΡΠ²Π»ΡΠ΅ΡΡΡ ΠΎΠ±ΡΡΠ½ΡΠΌ ΠΎΠ΄Π½ΠΎΡΡΠΎΡΠΎΠ½Π½ΠΈΠΌ ΡΠ΅ΠΉΡΠΌΡΡΠΎΠΌ, Π½ΠΎ Π±Π»Π°Π³ΠΎΠ΄Π°ΡΡ ΠΌΠΎΡΠ½ΠΎΠΉ Π°Π»ΡΠΌΠΈΠ½ΠΈΠ΅Π²ΠΎΠΉ ΡΠ°ΠΌΠ΅, ΠΏΠΎΠ»Π½ΠΎΡΠ°Π·ΠΌΠ΅ΡΠ½ΠΎΠΌΡ ΡΠ°Π±ΠΎΡΠ΅ΠΌΡ ΡΡΠΎΠ»Ρ ΠΈ ΡΠΏΠ΅ΡΠΈΠ°Π»ΡΠ½ΠΎΠΉ ΡΠΈΡΡΠ΅ΠΌΠ΅ ΠΏΠΎΠ΄Π°ΡΠΈ Π·Π°Π³ΠΎΡΠΎΠ²ΠΊΠΈ ΡΡΠ°Π½ΠΎΠΊ ΠΌΠΎΠΆΠ΅Ρ Ρ ΠΎΠ΄ΠΈΠ½Π°ΠΊΠΎΠ²ΡΠΌ ΡΡΠΏΠ΅Ρ ΠΎΠΌ Π²ΡΠΏΠΎΠ»Π½ΡΡΡ ΠΈ ΡΡΠ³ΠΎΠ²Π°Π½ΠΈΠ΅, ΠΈ ΡΠΈΠ½ΠΈΡΠ½ΡΡ ΠΎΠ±ΡΠ°Π±ΠΎΡΠΊΡ.

ΠΠ΄ΠΈΠ½ΡΡΠ²Π΅Π½Π½ΡΠΌ Π½Π΅Π΄ΠΎΡΡΠ°ΡΠΊΠΎΠΌ ΡΠ²Π»ΡΠ΅ΡΡΡ Π²ΡΡΠΎΠΊΠ°Ρ ΡΡΠΎΠΈΠΌΠΎΡΡΡ ΠΈΠ·Π΄Π΅Π»ΠΈΡ, Π½Π° ΡΠ΅Π³ΠΎΠ΄Π½Ρ ΡΠ°ΠΌΡΠ΅ Π΄Π΅ΡΠ΅Π²ΡΠ΅ ΡΠΊΠ·Π΅ΠΌΠΏΠ»ΡΡΡ ΡΡΠΎΡΡ ΠΎΡ 550 ΠΠ²ΡΠΎ.
Π£Π½ΠΈΠ²Π΅ΡΡΠ°Π»ΡΠ½ΡΠ΅ ΠΊΠΎΠ½ΡΡΡΡΠΊΡΠΈΠΈ ΡΠ΅ΠΉΡΠΌΡΡΠΎΠ²
Π‘Ρ Π΅ΠΌΠ° ΠΊΠΎΠΌΠΏΠΎΠ½ΠΎΠ²ΠΊΠΈ ΠΠ€Π£ ΡΡΠ°Π½ΠΊΠ° ΡΠΎ Π²ΡΡΡΠΎΠ΅Π½Π½ΡΠΌ ΡΠ΅ΠΉΡΠΌΡΡΠΎΠΌ ΠΊΠ°ΡΠ΄ΠΈΠ½Π°Π»ΡΠ½ΠΎ ΠΎΡΠ»ΠΈΡΠ°Π΅ΡΡΡ ΠΎΡ ΡΠΏΠ΅ΡΠΈΠ°Π»ΠΈΠ·ΠΈΡΠΎΠ²Π°Π½Π½ΠΎΠ³ΠΎ ΡΠ΅ΠΉΡΠΌΡΡΠΎΠ²ΠΎΠ³ΠΎ Π°ΠΏΠΏΠ°ΡΠ°ΡΠ°. ΠΠ±ΡΡΠ½ΠΎ Π΄Π΅ΡΠ΅Π²ΠΎΠΎΠ±ΡΠ°Π±Π°ΡΡΠ²Π°ΡΡΠΈΠΉ ΠΌΠ½ΠΎΠ³ΠΎΡΡΠ½ΠΊΡΠΈΠΎΠ½Π°Π»ΡΠ½ΡΠΉ Π±ΡΡΠΎΠ²ΠΎΠΉ ΡΡΠ°Π½ΠΎΠΊ Ρ ΡΠ΅ΠΉΡΠΌΡΡΠΎΠΌ ΠΈΠ·Π³ΠΎΡΠ°Π²Π»ΠΈΠ²Π°Π΅ΡΡΡ Π² Π²ΠΈΠ΄Π΅ ΡΡΠ°Π»ΡΠ½ΠΎΠΉ ΠΌΠ°ΡΡΠΈΠ²Π½ΠΎΠΉ ΠΊΠΎΡΠΎΠ±ΠΊΠΈ, Π²Π½ΡΡΡΠΈ ΠΊΠΎΡΠΎΡΠΎΠΉ ΡΠ°ΡΠΏΠΎΠ»ΠΎΠΆΠ΅Π½ ΡΠ»Π΅ΠΊΡΡΠΈΡΠ΅ΡΠΊΠΈΠΉ Π΄Π²ΠΈΠ³Π°ΡΠ΅Π»Ρ ΠΈ ΡΠΈΡΡΠ΅ΠΌΠ° ΠΏΠ΅ΡΠ΅Π΄Π°ΡΠΈ Π²ΡΠ°ΡΠ°ΡΡΠ΅Π³ΠΎ ΠΌΠΎΠΌΠ΅Π½ΡΠ° ΠΎΡ ΠΌΠΎΡΠΎΡΠ° ΠΊ ΡΠ΅ΠΆΡΡΠΈΠΌ ΠΏΡΠΈΡΠΏΠΎΡΠΎΠ±Π»Π΅Π½ΠΈΡΠΌ.
Π ΡΠ°ΠΌΡΡ ΠΌΠΎΡΠ½ΡΡ ΠΈΡΠΏΠΎΠ»ΡΠ·ΡΡΡΡΡ ΡΡΠΆΠ΅Π»ΡΠ΅ Π°ΡΠΈΠ½Ρ ΡΠΎΠ½Π½ΡΠ΅ Π΄Π²ΠΈΠ³Π°ΡΠ΅Π»ΠΈ ΠΎΡ 1,5 Π΄ΠΎ 3 ΠΊΠΡ. ΠΠ·-Π·Π° ΡΠΎΠ³ΠΎ, ΡΡΠΎ Π΄Π²ΠΈΠ³Π°ΡΠ΅Π»Ρ Π²ΡΠ΄Π°Π΅Ρ ΠΎΠ΄Π½Ρ ΡΠ°ΡΡΠΎΡΡ Π²ΡΠ°ΡΠ΅Π½ΠΈΡ Π²Π°Π»Π°, ΠΏΡΠΈΡ ΠΎΠ΄ΠΈΡΡΡ ΠΈΡΠΏΠΎΠ»ΡΠ·ΠΎΠ²Π°ΡΡ ΡΠΈΡΡΠ΅ΠΌΡ ΡΠ΅Π³ΡΠ»ΠΈΡΠΎΠ²Π°Π½ΠΈΡ ΠΎΠ±ΠΎΡΠΎΡΠΎΠ² ΠΈ Π²ΡΠ°ΡΠ°ΡΡΠ΅Π³ΠΎ ΠΌΠΎΠΌΠ΅Π½ΡΠ°. ΠΠΎΡΡΠΎΠΌΡ ΠΌΠ½ΠΎΠ³ΠΎΡΡΠ½ΠΊΡΠΈΠΎΠ½Π°Π»ΡΠ½ΠΎΠ΅ ΡΡΡΡΠΎΠΉΡΡΠ²ΠΎ Π²ΡΠ΅Π³Π΄Π° ΠΏΠΎΠ»ΡΡΠ°Π΅ΡΡΡ Π±ΠΎΠ»Π΅Π΅ ΡΡΠΌΠ½ΡΠΌ ΠΈ ΠΌΠ΅Π½Π΅Π΅ Π½Π°Π΄Π΅ΠΆΠ½ΡΠΌ Π² ΡΠ°Π±ΠΎΡΠ΅.
Π ΠΊΠΎΠΌΠΏΠ»Π΅ΠΊΡ ΡΠ΅ΠΆΡΡΠΈΡ ΠΏΡΠΈΡΠΏΠΎΡΠΎΠ±Π»Π΅Π½ΠΈΠΉ, ΠΏΠΎΠΌΠΈΠΌΠΎ ΡΠ΅ΠΉΡΠΌΡΡΠΎΠ²ΠΎΠ³ΠΎ Π½ΠΎΠΆΠ°, Π²Ρ ΠΎΠ΄ΠΈΡ:
- Π¦ΠΈΡΠΊΡΠ»ΡΡΠ½Π°Ρ ΠΏΠΈΠ»Π°;
- Π€ΡΠ΅Π·Π΅ΡΠ½Π°Ρ Π³ΠΎΠ»ΠΎΠ²ΠΊΠ°;
- Π£ΡΡΡΠΎΠΉΡΡΠ²ΠΎ Π΄Π»Ρ ΡΠ²Π΅ΡΠ»Π΅Π½ΠΈΡ ΠΎΡΠ²Π΅ΡΡΡΠΈΠΉ ΠΏΠΎΠ΄ Π»ΡΠ±ΡΠΌ ΡΠ³Π»ΠΎΠΌ;
- Π‘ΡΡΠΎΠ³Π°Π»ΡΠ½ΡΠΉ Π²Π°Π» Ρ Π½ΠΎΠΆΠ°ΠΌΠΈ.

ΠΡΠΎΠΌΠ΅ ΡΠ΅ΠΆΡΡΠΈΡ ΡΡΡΡΠΎΠΉΡΡΠ², Π² ΠΊΠΎΠ½ΡΡΡΡΠΊΡΠΈΠΈ ΠΠ€Π£ ΠΈΡΠΏΠΎΠ»ΡΠ·ΡΠ΅ΡΡΡ Π½Π΅ΡΠΊΠΎΠ»ΡΠΊΠΎ ΡΠΈΠΏΠΎΠ² Π½Π°ΠΏΡΠ°Π²Π»ΡΡΡΠΈΡ ΠΈ ΠΏΠΎΠ·ΠΈΡΠΈΠΎΠ½ΠΈΡΡΡΡΠΈΡ ΠΏΡΠΈΡΠΏΠΎΡΠΎΠ±Π»Π΅Π½ΠΈΠΉ. ΠΠ°ΠΏΡΠΈΠΌΠ΅Ρ, Π²ΡΠ°ΡΠ΅Π½ΠΈΠ΅ΠΌ ΠΏΡΠΈΠ²ΠΎΠ΄Π½ΡΡ Π²Π°Π»ΠΎΠ² ΠΌΠΎΠΆΠ½ΠΎ Π²ΡΡΡΠ°Π²ΠΈΡΡ ΡΠ³ΠΎΠ» ΠΏΠΎΠ΄ΡΠ΅Π·ΠΊΠΈ ΠΊΡΠΎΠΌΠΊΠΈ ΠΈΠ»ΠΈ ΡΡΠ΅Π·Π΅ΡΠΎΠ²Π°Π½ΠΈΡ ΠΏΠ°Π·Π° Π² Π΄ΠΈΠ°ΠΏΠ°Π·ΠΎΠ½Π΅ 0-90ΠΎ.

Π’ΠΈΠΏΠΈΡΠ½ΡΠΌ ΠΏΡΠ΅Π΄ΡΡΠ°Π²ΠΈΡΠ΅Π»Π΅ΠΌ ΠΊΠ»Π°ΡΡΠ° ΡΠ½ΠΈΠ²Π΅ΡΡΠ°Π»ΠΎΠ² ΡΠ²Π»ΡΠ΅ΡΡΡ ΡΡΠ°Π½ΠΎΠΊ ΡΠ²Π΅ΠΉΡΠ°ΡΡΠΊΠΎΠΉ ΠΊΠΎΠΌΠΏΠ°Π½ΠΈΠΈ Holzstar ΠΌΠΎΠ΄Π΅Π»ΠΈ UMK6. ΠΠ³ΠΎ ΠΎΡΠ½ΠΎΠ²Π½ΡΠ΅ ΠΏΠ°ΡΠ°ΠΌΠ΅ΡΡΡ ΠΏΡΠΈΠ²Π΅Π΄Π΅Π½Ρ Π² ΡΠ°Π±Π»ΠΈΡΠ΅.

Π ΠΊΠΎΠ½ΡΡΡΡΠΊΡΠΈΠΈ ΠΏΡΠ΅Π΄ΡΡΠΌΠΎΡΡΠ΅Π½ΠΎ Π²ΡΠΏΠΎΠ»Π½Π΅Π½ΠΈΠ΅ ΡΠ΅ΡΡΠΈ ΠΎΠΏΠ΅ΡΠ°ΡΠΈΠΉ β ΡΠ²Π΅ΡΠ»Π΅Π½ΠΈΠ΅, ΡΠ°ΡΠΏΠΈΠ»ΠΎΠ²ΠΊΠ° ΡΠΈΡΠΊΡΠ»ΡΡΠ½ΠΎΠΉ ΠΏΠΈΠ»ΠΎΠΉ, ΡΡΠ΅Π·Π΅ΡΠΎΠ²Π°Π½ΠΈΠ΅, ΠΎΠ±ΡΠ°Π±ΠΎΡΠΊΠ° ΡΠ΅ΠΉΡΠΌΡΡΠΎΠΌ, ΡΡΠ³ΠΎΠ²Π°Π½ΠΈΠ΅.
ΠΠ°Π±Π°ΡΠΈΡΡ 880Ρ 835 ΡΠΌ, Π²Π΅Ρ 52 ΠΊΠ³. ΠΠΎΡΠ½ΠΎΡΡΡ Π°ΡΠΈΠ½Ρ ΡΠΎΠ½Π½ΠΎΠ³ΠΎ Π΄Π²ΠΈΠ³Π°ΡΠ΅Π»Ρ β 1 ΠΊΠΡ. Π Π°Π·ΡΠΌΠ΅Π΅ΡΡΡ, ΡΠΎΡΠ½ΠΎΡΡΡ ΠΈ ΠΊΠ°ΡΠ΅ΡΡΠ²ΠΎ ΠΎΠ±ΡΠ°Π±ΠΎΡΠΊΠΈ ΡΠ½ΠΈΠ²Π΅ΡΡΠ°Π»ΡΠ½ΠΎΠ³ΠΎ UMK6 Π½Π΅ ΠΌΠΎΠΆΠ΅Ρ ΡΡΠ°Π²Π½ΡΡΡΡΡ ΡΠΎ ΡΠΏΠ΅ΡΠΈΠ°Π»ΠΈΠ·ΠΈΡΠΎΠ²Π°Π½Π½ΡΠΌΠΈ ΠΌΠΎΠ΄Π΅Π»ΡΠΌΠΈ, Π½ΠΎ ΡΠΎΠ³ΠΎ, ΡΡΠΎ ΠΌΠΎΠΆΠ΅Ρ Π²ΡΠ΄Π°ΡΡ ΡΡΠ°Π½ΠΎΠΊ, Π²ΠΏΠΎΠ»Π½Π΅ Ρ Π²Π°ΡΠ°Π΅Ρ Π΄Π»Ρ Π»ΡΠ±ΡΡ Π΄ΠΎΠΌΠ°ΡΠ½ΠΈΡ ΡΠ°Π±ΠΎΡ ΠΈΠ»ΠΈ Π΄Π°ΠΆΠ΅ Π΄Π»Ρ ΠΏΡΠΎΠΈΠ·Π²ΠΎΠ΄ΡΡΠ²Π° Π½Π΅ΡΠ»ΠΎΠΆΠ½ΠΎΠΉ ΠΌΠ΅Π±Π΅Π»ΠΈ, ΡΠ°ΡΡ, ΡΠ΅ΠΌΠΎΠ½ΡΠ° ΠΊΡΡΡΠΈ, ΡΡΡΠ°Π½ΠΎΠ²ΠΊΠΈ Π·Π°Π±ΠΎΡΠ°.

ΠΠ»Ρ ΡΡΠ°Π²Π½Π΅Π½ΠΈΡ, ΠΏΡΠΈ Π½Π΅ΡΠΊΠΎΠ»ΡΠΊΠΎ ΠΌΠ΅Π½ΡΡΠ΅ΠΉ ΡΠΈΡΠΈΠ½Π΅ ΡΠ°Π±ΠΎΡΠ΅ΠΉ Π·ΠΎΠ½Ρ ΡΠ΅ΠΉΡΠΌΡΡΠΎΠ²ΠΎΠ³ΠΎ ΠΏΡΠΈΡΠΏΠΎΡΠΎΠ±Π»Π΅Π½ΠΈΡ, ΡΠ΅ΠΌ Ρ JWP12, 154 ΠΌΠΌ ΠΏΡΠΎΡΠΈΠ² 300 ΠΌΠΌ, Π²ΡΠ΅ ΠΎΡΡΠ°Π»ΡΠ½ΡΠ΅ ΠΏΠ°ΡΠ°ΠΌΠ΅ΡΡΡ β ΡΠΊΠΎΡΠΎΡΡΡ ΡΠ΅Π·Π°Π½ΠΈΡ 12 ΡΠΌ/Ρ, Π³Π°Π±Π°ΡΠΈΡΡ Π·Π°Π³ΠΎΡΠΎΠ²ΠΊΠΈ ΠΈΠ· Π΄Π΅ΡΠ΅Π²Π° 1-92 ΠΌΠΌ, Π»ΠΈΡΡ Π½Π΅ΠΌΠ½ΠΎΠ³ΠΈΠΌ ΡΡΡΡΠΏΠ°ΡΡ ΡΠ²Π΅ΠΉΡΠ°ΡΡΠΊΠΎΠΌΡ ΡΡΠ°Π½ΠΊΡ.
ΠΠΎ ΡΡΡΠΈ, ΠΠ€Π£ Ρ ΡΠ΅ΠΉΡΠΌΡΡΠΎΠ²ΠΎΠΉ ΠΏΡΠΈΡΡΠ°Π²ΠΊΠΎΠΉ Π·Π°ΠΌΠ΅Π½ΡΠ΅Ρ ΡΠ΅Π»ΡΡ ΠΏΡΡΡ ΡΡΠ°Π½ΠΊΠΎΠ² ΠΏΠΎ Π΄Π΅ΡΠ΅Π²Ρ.
Π Π΅ΠΉΡΠΌΡΡΠΎΠ²ΡΠΉ ΡΡΠ°Π½ΠΎΠΊ ΡΠ²ΠΎΠΈΠΌΠΈ ΡΡΠΊΠ°ΠΌΠΈ
ΠΠΎΡΡΠ΅Π±Π½ΠΎΡΡΡ Π² ΠΈΠ·Π³ΠΎΡΠΎΠ²Π»Π΅Π½ΠΈΠΈ ΡΠ΅ΠΉΡΠΌΡΡΠΎΠ²ΠΎΠ³ΠΎ ΡΡΠ°Π½ΠΊΠ° ΡΠ²ΠΎΠΈΠΌΠΈ ΡΡΠΊΠ°ΠΌΠΈ Π²ΠΎΠ·Π½ΠΈΠΊΠ°Π΅Ρ Π·Π°ΡΠ°ΡΡΡΡ Π² ΡΠΈΡΡΠ°ΡΠΈΠΈ, ΠΊΠΎΠ³Π΄Π° ΠΈΡΠΏΠΎΠ»ΡΠ·ΠΎΠ²Π°Π½ΠΈΡ ΠΎΠ±ΡΡΠ½ΠΎΠ³ΠΎ ΡΡΠ³ΠΎΠ²Π°Π»ΡΠ½ΠΎΠ³ΠΎ ΡΡΡΠΎΠ³Π°Π½ΠΈΡ ΡΠΆΠ΅ ΡΡΠ°Π½ΠΎΠ²ΠΈΡΡΡ ΡΠ²Π½ΠΎ Π½Π΅Π΄ΠΎΡΡΠ°ΡΠΎΡΠ½ΠΎ Π΄Π»Ρ ΠΏΠΎΠ»ΡΡΠ΅Π½ΠΈΡ Π³Π»Π°Π΄Π΅Π½ΡΠΊΠΎΠΉ ΠΏΠΎΠ²Π΅ΡΡ Π½ΠΎΡΡΠΈ Π±ΡΠ΄ΡΡΠ΅Π³ΠΎ ΠΏΠΎΠ»Π° ΠΈΠ»ΠΈ ΠΏΠ°ΡΠΊΠ΅ΡΠ°. ΠΡΠΏΠΎΠ»ΡΠ·ΠΎΠ²Π°ΡΡ ΡΠ»Π΅ΠΊΡΡΠΎΡΡΠ±Π°Π½ΠΎΠΊ Π½Π΅ ΠΏΠΎΠ»ΡΡΠΈΡΡΡ, ΠΊΠ°ΡΠ΅ΡΡΠ²ΠΎ ΠΏΠΎΠ²Π΅ΡΡ Π½ΠΎΡΡΠΈ ΠΏΠΎΡΠ»Π΅ ΡΠ»Π΅ΠΊΡΡΠΈΡΠ΅ΡΠΊΠΎΠ³ΠΎ ΡΡΠ±Π°Π½ΠΊΠ°, Π²ΠΎΠ·ΠΌΠΎΠΆΠ½ΠΎ, Π±ΡΠ΄Π΅Ρ Π΄ΠΎΡΡΠ°ΡΠΎΡΠ½ΠΎ Π²ΡΡΠΎΠΊΠΈΠΌ, Π½ΠΎ ΠΈΠ·Π±Π°Π²ΠΈΡΡΡΡ ΠΎΡ ΠΏΠΎΠ»ΠΎΡ, ΠΏΠΎΡΠ²Π»ΡΡΡΠΈΡ ΡΡ Π½Π° ΠΏΠΎΠ²Π΅ΡΡ Π½ΠΎΡΡΠΈ Π΄Π΅ΡΠ΅Π²Π° Ρ ΠΊΠ°ΠΆΠ΄ΡΠΌ ΠΏΡΠΎΡ ΠΎΠ΄ΠΎΠΌ, ΡΠ²Π½ΠΎ Π½Π΅ ΡΠ΄Π°ΡΡΡΡ.
ΠΡΡ ΠΎΠ΄ ΠΎΠ΄ΠΈΠ½ β ΠΏΠΎΠΏΡΡΠ°ΡΡΡΡ ΡΠ΄Π΅Π»Π°ΡΡ ΠΏΠΎ ΡΠ΅ΡΡΠ΅ΠΆΠ°ΠΌ ΡΠ΅ΠΉΡΠΌΡΡ ΠΈΠ· ΡΠ»Π΅ΠΊΡΡΠΎΡΡΠ±Π°Π½ΠΊΠ° ΡΠ²ΠΎΠΈΠΌΠΈ ΡΡΠΊΠ°ΠΌΠΈ. ΠΠ»Π°Π³ΠΎΠ΄Π°ΡΡ ΠΌΠΎΡΠ½ΠΎΠΉ ΡΡΠ°Π½ΠΈΠ½Π΅ ΠΈ Π½Π°ΠΏΡΠ°Π²Π»ΡΡΡΠΈΠΌ ΡΠ΅ΠΉΠΊΠ°ΠΌ ΠΏΠΎΠ²Π΅ΡΡ Π½ΠΎΡΡΡ Π΄Π΅ΡΠ΅Π²Π° ΠΏΠΎΡΠ»Π΅ ΠΎΠ±ΡΠ°Π±ΠΎΡΠΊΠΈ Π΄ΠΎΡΠΊΠΈ ΡΠ΅ΠΉΡΠΌΡΡΠΎΠ²ΡΠΌ Π²Π°Π»ΠΎΠΌ ΠΏΠΎΠ»ΡΡΠΈΡΡΡ ΠΎΡΠ½ΠΎΡΠΈΡΠ΅Π»ΡΠ½ΠΎ ΠΎΠ΄Π½ΠΎΡΠΎΠ΄Π½ΠΎΠΉ ΠΈ ΠΏΠ»ΠΎΡΠΊΠΎΠΉ.
Π Π΅ΠΉΡΠΌΡΡ ΠΈΠ· ΡΠ»Π΅ΠΊΡΡΠΈΡΠ΅ΡΠΊΠΎΠ³ΠΎ ΡΡΠ±Π°Π½ΠΊΠ°
ΠΠ»Ρ ΠΏΠΎΡΡΡΠΎΠΉΠΊΠΈ ΠΏΠΎΠ»Π½ΠΎΡΠ΅Π½Π½ΠΎΠ³ΠΎ ΡΠ΅ΠΉΡΠΌΡΡΠΎΠ²ΠΎΠ³ΠΎ ΠΏΡΠΈΡΠΏΠΎΡΠΎΠ±Π»Π΅Π½ΠΈΡ Π² ΠΏΠ΅ΡΠ²ΡΡ ΠΎΡΠ΅ΡΠ΅Π΄Ρ Π½Π΅ΠΎΠ±Ρ ΠΎΠ΄ΠΈΠΌΠΎ ΠΈΠ·Π³ΠΎΡΠΎΠ²ΠΈΡΡ ΡΡΠ°Π½ΠΈΠ½Ρ ΠΈΠ»ΠΈ ΡΡΠΎΠ»ΠΈΠΊ, Π½Π° ΠΊΠΎΡΠΎΡΠΎΠΌ Π±ΡΠ΄Π΅Ρ Π·Π°ΠΊΡΠ΅ΠΏΠ»Π΅Π½ ΠΈΠ½ΡΡΡΡΠΌΠ΅Π½Ρ. ΠΠ»Π΅ΠΊΡΡΠΎΡΡΠ±Π°Π½ΠΎΠΊ ΠΊΠΎΠΌΠΏΠ»Π΅ΠΊΡΡΠ΅ΡΡΡ ΠΌΠΎΡΠ½ΡΠΌ ΠΊΠΎΠ»Π»Π΅ΠΊΡΠΎΡΠ½ΡΠΌ Π΄Π²ΠΈΠ³Π°ΡΠ΅Π»Π΅ΠΌ, ΠΊΠΎΡΠΎΡΡΠΉ ΠΌΠΎΠΆΠ΅Ρ Π»Π΅Π³ΠΊΠΎ ΡΡΠ°ΡΡ ΠΏΡΠΈΡΠΈΠ½ΠΎΠΉ ΡΡΠ°Π²ΠΌΡ, ΠΏΠΎΡΡΠΎΠΌΡ ΠΊΡΠ΅ΠΏΠ΅ΠΆ ΡΠ°ΠΌΠΎΠ΄Π΅Π»ΡΠ½ΠΎΠ³ΠΎ ΡΠ΅ΠΉΡΠΌΡΡΠ° ΠΊ ΡΡΠΎΠ»Ρ Π΄ΠΎΠ»ΠΆΠ΅Π½ Π±ΡΡΡ ΠΏΡΠΎΡΠ½ΡΠΌ ΠΈ Π½Π°Π΄Π΅ΠΆΠ½ΡΠΌ.

ΠΡΠΎΡΡΠΌ ΡΡΠ°ΠΏΠΎΠΌ Π²ΡΠ±ΠΈΡΠ°Π΅ΠΌ ΡΡ Π΅ΠΌΡ ΠΊΠΎΠΌΠΏΠΎΠ½ΠΎΠ²ΠΊΠΈ ΡΠ΅ΠΉΡΠΌΡΡΠ°. ΠΠ°ΠΈΠ±ΠΎΠ»Π΅Π΅ ΠΏΡΠΎΡΡΠΎΠΉ Π²Π°ΡΠΈΠ°Π½Ρ ΠΏΡΠΈΡΠΏΠΎΡΠΎΠ±Π»Π΅Π½ΠΈΡ ΠΏΡΠΈΠ²Π΅Π΄Π΅Π½ Π½Π° ΡΠ΅ΡΡΠ΅ΠΆΠ΅ ΠΈ ΡΠΎΡΠΎ.
Π€Π°ΠΊΡΠΈΡΠ΅ΡΠΊΠΈ Π½Π΅ΠΎΠ±Ρ ΠΎΠ΄ΠΈΠΌΠΎ ΠΈΠ·Π³ΠΎΡΠΎΠ²ΠΈΡΡ ΠΏΠΎΠ΄Π²ΠΈΠΆΠ½ΡΡ ΠΏΠ»Π°ΡΡΠΎΡΠΌΡ, Π½Π° ΠΊΠΎΡΠΎΡΠΎΠΉ Π±ΡΠ΄Π΅Ρ Π·Π°ΠΊΡΠ΅ΠΏΠ»Π΅Π½ ΡΠ°ΠΌ ΡΠ»Π΅ΠΊΡΡΠΎΡΡΠ±Π°Π½ΠΎΠΊ. ΠΡΡΠΎΡΠ° ΠΏΠΎΠ΄ΡΠ΅ΠΌΠ° ΠΏΠΎΠ΄ΠΎΡΠ²Ρ ΠΈΠ½ΡΡΡΡΠΌΠ΅Π½ΡΠ° Π½Π° ΠΎΠ±ΡΠ°Π±Π°ΡΡΠ²Π°Π΅ΠΌΠΎΠΉ ΠΏΠΎΠ²Π΅ΡΡ Π½ΠΎΡΡΠΈ ΡΠ΅Π³ΡΠ»ΠΈΡΡΠ΅ΡΡΡ Ρ ΠΏΠΎΠΌΠΎΡΡΡ ΡΠ΅ΡΡΡΠ΅Ρ ΠΏΠ°Ρ Β«Π²ΠΈΠ½Ρ-Π³Π°ΠΉΠΊΠ°Β», ΡΡΡΠ°Π½ΠΎΠ²Π»Π΅Π½Π½ΡΡ ΠΏΠΎ Π±ΠΎΠΊΠ°ΠΌ ΠΏΡΠΈΡΠΏΠΎΡΠΎΠ±Π»Π΅Π½ΠΈΡ.

ΠΡΠ½ΠΎΠ²Π½Π°Ρ ΡΠ»ΠΎΠΆΠ½ΠΎΡΡΡ Π² ΡΠ°Π±ΠΎΡΠ΅ ΡΠ»Π΅ΠΊΡΡΠΎΡΡΠ±Π°Π½ΠΊΠ° Π·Π°ΠΊΠ»ΡΡΠ°Π΅ΡΡΡ Π² ΠΊΠΎΡΡΠ΅ΠΊΡΠ½ΠΎΠΉ ΡΠ΅Π³ΡΠ»ΠΈΡΠΎΠ²ΠΊΠ΅ Π²ΡΡΠΎΡΡ ΠΏΠΎΠ΄ΡΠ΅ΠΌΠ° ΡΠ΅ΠΆΡΡΠ΅ΠΉ ΠΊΡΠΎΠΌΠΊΠΈ. Π Π½ΠΎΡΠΌΠ°Π»ΡΠ½ΠΎΠΌ ΡΠ΅ΠΆΠΈΠΌΠ΅ Π²ΡΠ»Π΅Ρ Π½ΠΎΠΆΠ° Π½Π°Π΄ ΠΏΠ»ΠΎΡΠΊΠΎΡΡΡΡ ΠΏΠΎΠ΄ΠΎΡΠ²Ρ ΡΠ΅Π³ΡΠ»ΠΈΡΡΠ΅ΡΡΡ Π²ΠΈΠ½ΡΠΎΠ²ΠΎΠΉ ΠΏΠΎΠ΄ΠΏΡΡΠΆΠΈΠ½Π΅Π½Π½ΠΎΠΉ ΡΡΠΊΠΎΡΡΠΊΠΎΠΉ. ΠΠ΅Π»ΠΈΡΠΈΠ½Ρ Π²ΡΠ»Π΅ΡΠ° ΠΎΠ±ΡΡΠ½ΠΎ ΠΏΡΠΎΠ²Π΅ΡΡΡΡ Π²ΠΈΠ·ΡΠ°Π»ΡΠ½ΠΎ ΠΈΠ»ΠΈ ΡΡΠΊΠ°ΠΌΠΈ, ΡΠΎΠ³Π΄Π° ΠΊΠ°ΠΊ ΠΏΡΠΈ ΡΠ°Π±ΠΎΡΠ΅ Π² ΡΠ΅ΠΆΠΈΠΌΠ΅ ΡΠ΅ΠΉΡΠΌΡΡΠΎΠ²ΠΎΠ³ΠΎ ΡΡΠ°Π½ΠΊΠ° ΠΏΡΠΈΠ΄Π΅ΡΡΡ ΡΡΠΊΠΎΠ²ΠΎΠ΄ΡΡΠ²ΠΎΠ²Π°ΡΡΡΡ ΡΠΎΠ»ΡΠΊΠΎ ΠΏΠΎΠΊΠ°Π·Π°Π½ΠΈΡΠΌΠΈ ΡΠΊΠ°Π»Ρ Π½Π° ΡΡΠΊΠΎΡΡΠΈ.
ΠΠ΄ΠΈΠ½ΡΡΠ²Π΅Π½Π½ΡΠΌΠΈ Π½Π΅Π΄ΠΎΡΡΠ°ΡΠΊΠ°ΠΌΠΈ ΡΠ΅ΠΉΡΠΌΡΡΠ° ΠΏΠΎΠ΄ΠΎΠ±Π½ΠΎΠΉ ΡΡ Π΅ΠΌΡ Π±ΡΠ΄ΡΡ Π½Π΅Π±ΠΎΠ»ΡΡΠ°Ρ ΡΠΈΡΠΈΠ½Π° ΠΎΠ±ΡΠ°Π±Π°ΡΡΠ²Π°Π΅ΠΌΠΎΠΉ ΠΏΠΎΠ²Π΅ΡΡ Π½ΠΎΡΡΠΈ, 90-100 ΠΌΠΌ, ΠΈ ΡΠ°ΠΊΡΠΈΡΠ΅ΡΠΊΠ°Ρ ΠΏΠΎΡΠ΅ΡΡ ΡΠ»Π΅ΠΊΡΡΠΎΡΡΠ±Π°Π½ΠΊΠ° Π² ΠΊΠ°ΡΠ΅ΡΡΠ²Π΅ ΡΡΡΠ½ΠΎΠ³ΠΎ ΠΈΠ½ΡΡΡΡΠΌΠ΅Π½ΡΠ°. Π Π°Π·Π±ΠΈΡΠ°ΡΡ ΠΈ ΡΠΎΠ±ΠΈΡΠ°ΡΡ ΡΠ΅ΠΉΡΠΌΡΡΠΎΠ²ΡΠΉ ΡΡΠ°Π½ΠΎΠΊ Π²ΡΡΠΊΠΈΠΉ ΡΠ°Π·, ΠΊΠΎΠ³Π΄Π° ΠΏΠΎΠ½Π°Π΄ΠΎΠ±ΠΈΡΡΡ ΡΠ½ΡΡΡ ΠΏΠ°ΡΡ ΠΌΠΈΠ»Π»ΠΈΠΌΠ΅ΡΡΠΎΠ² Ρ ΠΏΡΠΈΠ±ΠΈΡΠΎΠΉ Π΄ΠΎΡΠΊΠΈ, ΡΠ²Π½ΠΎ Π½Π΅ΡΠ΄ΠΎΠ±Π½ΠΎ.

Π‘Π°ΠΌΠΎΠ΄Π΅Π»ΡΠ½ΡΠΉ Π΄Π΅ΡΠ΅Π²ΠΎΠΎΠ±ΡΠ°Π±Π°ΡΡΠ²Π°ΡΡΠΈΠΉ ΡΠ΅ΠΉΡΠΌΡΡΠΎΠ²ΡΠΉ ΡΡΠ°Π½ΠΎΠΊ
ΠΠ΅ΡΠ΅Π΄ΠΊΠΎ ΠΏΡΠΈ ΠΏΡΠΎΠ²Π΅Π΄Π΅Π½ΠΈΠΈ ΡΡΠΎΠ»ΡΡΠ½ΡΡ ΡΠ°Π±ΠΎΡ Π²ΠΎΠ·Π½ΠΈΠΊΠ°Π΅Ρ ΠΏΠΎΡΡΠ΅Π±Π½ΠΎΡΡΡ ΠΏΡΠΎΠ³Π½Π°ΡΡ ΡΠ΅ΠΉΡΠΌΡΡΠΎΠΌ Π΄ΠΎΡΠΊΡ ΠΈΠ»ΠΈ ΡΠΊΠ»Π΅Π΅Π½Π½ΡΠΉ ΠΈΠ· ΡΠ΅Π΅ΠΊ ΡΠΈΡ ΡΠΈΡΠΈΠ½ΠΎΠΉ Π±ΠΎΠ»Π΅Π΅ 100 ΠΌΠΌ. ΠΠ»Π°Π½ΠΊΠΈ ΠΈ ΠΏΠ°Π½Π΅Π»ΠΈ ΠΈΠ· Π΄Π΅ΡΠ΅Π²Π° 100-140 ΠΌΠΌ Π΅ΡΠ΅ ΠΊΠΎΠ΅-ΠΊΠ°ΠΊ ΠΌΠΎΠΆΠ½ΠΎ ΡΠΎΠ²Π½ΡΡΡ ΠΎΠ±ΡΡΠ½ΡΠΌ ΡΡΡΠ½ΡΠΌ ΡΠ»Π΅ΠΊΡΡΠΎΡΡΠ±Π°Π½ΠΊΠΎΠΌ, ΠΏΡΠΈ ΡΡΠ»ΠΎΠ²ΠΈΠΈ, ΡΡΠΎ ΠΌΠ°ΡΠ΅ΡΠΈΠ°Π» Π½Π°Π΄Π΅ΠΆΠ½ΠΎ Π·Π°ΡΠΈΠΊΡΠΈΡΠΎΠ²Π°Π½ Π½Π° Π²Π΅ΡΡΡΠ°ΠΊΠ΅. ΠΡΠ°Π²Π΄Π°, ΡΡΡΠΎΠ³Π°ΡΡ ΠΏΡΠΈΡ ΠΎΠ΄ΠΈΡΡΡ ΠΏΠΎ Π΄ΠΈΠ°Π³ΠΎΠ½Π°Π»ΠΈ Π² Π½Π΅ΡΠΊΠΎΠ»ΡΠΊΠΎ ΠΏΡΠΎΡ ΠΎΠ΄ΠΎΠ² Ρ ΠΏΠΎΡΠ»Π΅Π΄ΡΡΡΠ΅ΠΉ ΠΎΠ±ΡΠ°Π±ΠΎΡΠΊΠΎΠΉ ΡΡΡΠ½ΠΎΠΉ ΡΠ»ΠΈΡΠΎΠ²Π°Π»ΡΠ½ΠΎΠΉ ΠΌΠ°ΡΠΈΠ½ΠΊΠΎΠΉ.
ΠΠ΅ΡΠ΅ΠΊΡΠ΅ΡΡΠ½ΠΎΠ΅ ΡΡΡΠΎΠ³Π°Π½ΠΈΠ΅ ΡΠΈΡΠΎΠΊΠΈΡ Π΄ΠΎΡΠΎΠΊ Π΅ΡΠ΅ ΠΌΠΎΠΆΠ½ΠΎ ΠΈΡΠΏΠΎΠ»ΡΠ·ΠΎΠ²Π°ΡΡ Π΄Π»Ρ ΠΎΠ΄Π½ΠΎΠΉ-Π΄Π²ΡΡ Π΄ΠΎΡΠΎΠΊ, Π½ΠΎ Π΅ΡΠ»ΠΈ ΡΠ΅ΡΡ ΠΈΠ΄Π΅Ρ ΠΎ Π΄Π²ΡΡ Π΄Π΅ΡΡΡΠΊΠ°Ρ ΡΠΈΡΠΎΠ² ΠΈΠ»ΠΈ Π΄ΠΎΡΠΎΠΊ, ΡΠΎ Π±Π΅Π· ΡΠ°ΠΌΠΎΠ΄Π΅Π»ΡΠ½ΠΎΠ³ΠΎ ΡΠ΅ΠΉΡΠΌΡΡΠΎΠ²ΠΎΠ³ΠΎ ΡΡΠ°Π½ΠΊΠ° ΡΠ²Π½ΠΎ Π½Π΅ ΠΎΠ±ΠΎΠΉΡΠΈΡΡ.
ΠΡΠΎΡΡΠ΅ΠΉΡΠΈΠΉ Π²Π°ΡΠΈΠ°Π½Ρ ΡΠ΅ΠΉΡΠΌΡΡ-ΡΡΠ³ΠΎΠ²Π°Π»ΡΠ½ΠΎΠ³ΠΎ ΡΡΠ°Π½ΠΊΠ° ΠΏΡΠΈΠ²Π΅Π΄Π΅Π½ Π½Π° ΡΡ Π΅ΠΌΠ΅.

ΠΡΠ½ΠΎΠ²ΠΎΠΉ ΠΊΠΎΠ½ΡΡΡΡΠΊΡΠΈΠΈ ΡΠ²Π»ΡΠ΅ΡΡΡ ΠΌΠ°ΡΡΠΈΠ²Π½Π°Ρ ΡΡΠ°Π»ΡΠ½Π°Ρ ΡΠ°ΠΌΠ°-ΠΊΠ°ΡΠΊΠ°Ρ, ΡΠ²Π°ΡΠ΅Π½Π½Π°Ρ ΠΈΠ· ΡΡΠ°Π»ΡΠ½ΠΎΠ³ΠΎ ΡΠ³ΠΎΠ»ΠΊΠ°. Π Π½ΠΈΠΆΠ½Π΅ΠΉ ΡΠ°ΡΡΠΈ ΡΡΠ°Π½ΠΈΠ½Ρ ΡΠ΅ΠΉΡΠΌΡΡΠΎΠ²ΠΎΠ³ΠΎ ΡΡΠ°Π½ΠΊΠ° ΡΡΡΠ°Π½Π°Π²Π»ΠΈΠ²Π°Π΅ΡΡΡ Π°ΡΠΈΠ½Ρ ΡΠΎΠ½Π½ΡΠΉ Π΄Π²ΠΈΠ³Π°ΡΠ΅Π»Ρ ΠΌΠΎΡΠ½ΠΎΡΡΡΡ 1,5-1,8 ΠΊΠΡ ΠΈ ΠΎΠ±ΠΎΡΠΎΡΠ°ΠΌΠΈ Π½Π΅ ΠΌΠ΅Π½Π΅Π΅ 1200 ΠΎΠ±/ΠΌΠΈΠ½. ΠΠ²ΠΈΠ³Π°ΡΠ΅Π»Ρ Π½Π΅ΠΎΠ±Ρ ΠΎΠ΄ΠΈΠΌΠΎ ΡΡΡΠ°Π½ΠΎΠ²ΠΈΡΡ Π½Π° ΠΏΠΎΠ΄ΠΏΡΡΠΆΠΈΠ½Π΅Π½Π½ΡΡ ΠΏΠΎΠ΄ΡΡΠΊΡ, ΡΡΠΎΠ±Ρ ΠΎΠ±Π΅ΡΠΏΠ΅ΡΠΈΡΡ Π½Π°ΡΡΠΆΠ΅Π½ΠΈΠ΅ ΠΏΡΠΈΠ²ΠΎΠ΄Π½ΠΎΠ³ΠΎ ΡΠ΅ΠΌΠ½Ρ ΡΡΠ°Π½ΠΊΠ° ΠΈ ΡΠ½ΠΈΠ·ΠΈΡΡ Π²ΠΈΠ±ΡΠ°ΡΠΈΠΈ Π½Π° ΡΠ΅ΠΉΡΠΌΡΡΠΎΠ²ΡΡ Π½ΠΎΠΆΠ°Ρ .
ΠΡΠΎΡΡΠΌ ΠΏΠΎ Π²Π°ΠΆΠ½ΠΎΡΡΠΈ ΡΠ»Π΅ΠΌΠ΅Π½ΡΠΎΠΌ ΡΠ²Π»ΡΠ΅ΡΡΡ ΡΠΈΠ»ΠΈΠ½Π΄ΡΠΈΡΠ΅ΡΠΊΠΈΠΉ Π±Π»ΠΎΠΊ Ρ Π³Π½Π΅Π·Π΄Π°ΠΌΠΈ Π΄Π»Ρ Π½ΠΎΠΆΠ΅ΠΉ ΠΈ ΠΏΠΎΠ΄ΡΠΈΠΏΠ½ΠΈΠΊΠΎΠ²ΡΠΌΠΈ ΠΎΠΏΠΎΡΠ°ΠΌΠΈ. ΠΡΡ Π΄Π΅ΡΠ°Π»Ρ ΡΠ΅ΠΉΡΠΌΡΡΠ° ΠΏΡΠΈΠ΄Π΅ΡΡΡ ΠΊΡΠΏΠΈΡΡ Π³ΠΎΡΠΎΠ²ΠΎΠΉ, ΡΠ΄Π΅Π»Π°ΡΡ Π΅Π΅ ΡΠ²ΠΎΠΈΠΌΠΈ ΡΡΠΊΠ°ΠΌΠΈ ΠΏΡΠ°ΠΊΡΠΈΡΠ΅ΡΠΊΠΈ Π½Π΅ΡΠ΅Π°Π»ΡΠ½ΠΎ. ΠΠ°ΡΠ°Π±Π°Π½ Ρ ΠΏΠΎΠ΄ΡΠΈΠΏΠ½ΠΈΠΊΠ°ΠΌΠΈ ΡΡΡΠ°Π½Π°Π²Π»ΠΈΠ²Π°ΡΡ Π½Π΅ΠΏΠΎΡΡΠ΅Π΄ΡΡΠ²Π΅Π½Π½ΠΎ Π½Π° ΡΡΠ°Π½ΠΈΠ½Ρ ΡΡΠ°Π½ΠΊΠ° ΠΏΠΎΡΠ»Π΅ ΠΌΠΎΠ½ΡΠ°ΠΆΠ° ΡΠ°Π±ΠΎΡΠ΅Π³ΠΎ ΡΡΠΎΠ»Π°.
ΠΠ° ΠΏΠΎΡΠ»Π΅Π΄Π½Π΅ΠΌ ΡΡΠ°ΠΏΠ΅ ΠΏΠΎΠ΄Π±ΠΈΡΠ°ΡΡΡΡ Π΄Π²Π° ΡΠΊΠΈΠ²Π° Π΄Π»Ρ ΡΠ΅ΠΌΠ΅Π½Π½ΠΎΠΉ ΠΏΠ΅ΡΠ΅Π΄Π°ΡΠΈ, ΡΠΎΠΎΡΠ½ΠΎΡΠ΅Π½ΠΈΠ΅ Π΄ΠΈΠ°ΠΌΠ΅ΡΡΠΎΠ² ΡΠΊΠΈΠ²Π½ΠΎΠ³ΠΎ ΡΡΡΡΡ Π΄ΠΎΠ»ΠΆΠ½ΠΎ Π±ΡΡΡ Π² ΠΏΡΠ΅Π΄Π΅Π»Π°Ρ 2,5-2,8. Π¨ΠΊΠΈΠ² Π±ΠΎΠ»ΡΡΠ΅Π³ΠΎ Π΄ΠΈΠ°ΠΌΠ΅ΡΡΠ° Π½Π°ΡΠ°ΠΆΠΈΠ²Π°Π΅ΡΡΡ Π½Π° Π²Π°Π» Π΄Π²ΠΈΠ³Π°ΡΠ΅Π»Ρ, ΠΌΠ΅Π½ΡΡΠ΅Π³ΠΎ Π½Π° Π²Π°Π» Π±Π°ΡΠ°Π±Π°Π½Π°. Π‘ΠΊΠΎΡΠΎΡΡΡ Π²ΡΠ°ΡΠ΅Π½ΠΈΡ ΠΏΠΎΠ΄ Π½Π°Π³ΡΡΠ·ΠΊΠΎΠΉ Π½Π΅ Π΄ΠΎΠ»ΠΆΠ½Π° ΠΏΡΠ΅Π²ΡΡΠ°ΡΡ 4 ΡΡΡ. ΠΎΠ±/ΠΌΠΈΠ½.
ΠΠ°ΠΊΠ»ΡΡΠ΅Π½ΠΈΠ΅
Π Π΅ΠΉΡΠΌΡΡΠΎΠ²ΡΠΉ ΡΡΠ°Π½ΠΎΠΊ Π² ΠΏΡΠΎΡΠ΅ΡΡΠ΅ ΡΡΡΠΎΠ³Π°Π½ΠΈΡ Π·Π°Π³ΠΎΡΠΎΠ²ΠΎΠΊ ΠΈΠ· Π΄Π΅ΡΠ΅Π²Π° ΠΏΡΠΎΠΈΠ·Π²ΠΎΠ΄ΠΈΡ ΠΎΠ³ΡΠΎΠΌΠ½ΠΎΠ΅ ΠΊΠΎΠ»ΠΈΡΠ΅ΡΡΠ²ΠΎ ΠΎΠΏΠΈΠ»ΠΎΠΊ ΠΈ ΠΌΠ΅Π»ΡΡΠ°ΠΉΡΠ΅ΠΉ Π΄ΡΠ΅Π²Π΅ΡΠ½ΠΎΠΉ ΠΏΡΠ»ΠΈ. ΠΠ·Π±Π°Π²ΠΈΡΡΡΡ ΠΎΡ Π½Π΅Π΅ Π½Π΅Π²ΠΎΠ·ΠΌΠΎΠΆΠ½ΠΎ, Π΄Π°ΠΆΠ΅ Π΅ΡΠ»ΠΈ ΠΊΠΎΠ½ΡΡΡΡΠΊΡΠΈΡ ΠΎΠ±ΠΎΡΡΠ΄ΠΎΠ²Π°Π½Π° Π²ΠΎΠ·Π΄ΡΡ ΠΎΠ·Π°Π±ΠΎΡΠ½ΠΈΠΊΠΎΠΌ Π΄Π»Ρ ΠΏΠΎΠ΄ΠΊΠ»ΡΡΠ΅Π½ΠΈΡ ΠΏΡΠΎΠΌΡΡΠ»Π΅Π½Π½ΠΎΠ³ΠΎ ΠΏΡΠ»Π΅ΡΠΎΡΠ°. ΠΠΎΡΡΠΎΠΌΡ Π΄Π°ΠΆΠ΅ ΠΏΡΠΈ Π²ΡΠΏΠΎΠ»Π½Π΅Π½ΠΈΠΈ ΠΏΡΠΎΡΡΠ΅ΠΉΡΠΈΡ ΡΠ°Π±ΠΎΡ Π½Π° ΡΠ΅ΠΉΡΠΌΡΡΠΎΠ²ΠΎΠΌ ΡΡΠ°Π½ΠΊΠ΅ ΠΏΡΠΈΡ ΠΎΠ΄ΠΈΡΡΡ ΠΏΠΎΠ»ΡΠ·ΠΎΠ²Π°ΡΡΡΡ ΡΠ΅ΡΠΏΠΈΡΠ°ΡΠΎΡΠΎΠΌ ΠΈ Π·Π°ΡΠΈΡΠ½ΡΠΌΠΈ ΠΎΡΠΊΠ°ΠΌΠΈ.
bouw.ru
Π Π΅ΠΉΡΠΌΡΡΠΎΠ²ΡΠΉ ΡΡΠ°Π½ΠΎΠΊ ΡΠ²ΠΎΠΈΠΌΠΈ ΡΡΠΊΠ°ΠΌΠΈ | Π‘ΡΡΠΎΠΈΡΠ΅Π»ΡΠ½ΡΠΉ ΠΏΠΎΡΡΠ°Π»
Π§Π°ΡΡΠΎ ΠΌΠ°ΡΡΠ΅ΡΠ°, ΠΊΠΎΡΠΎΡΡΠ΅ Π»ΡΠ±ΡΡ ΡΠ°Π±ΠΎΡΠ°ΡΡ Ρ Π΄Π΅ΡΠ΅Π²ΠΎΠΌ, ΠΈΠ»ΠΈ Ρ ΠΎΠ·ΡΠ΅Π²Π° Π΄Π°ΡΠ½ΡΡ Π΄ΠΎΠΌΠΈΠΊΠΎΠ², ΡΡΠ°Π»ΠΊΠΈΠ²Π°ΡΡΡΡ Ρ Π½Π΅ΠΎΠ±Ρ ΠΎΠ΄ΠΈΠΌΠΎΡΡΡΡ ΡΡΡΠΎΠ³Π°Π½ΠΈΡ ΠΌΠ½ΠΎΠΆΠ΅ΡΡΠ²Π° Π΄ΠΎΡΠΎΠΊ, ΡΡΠΎΠ±Ρ ΠΏΡΠΈΠ΄Π°ΡΡ ΠΈΠΌ Π²ΠΈΠ·ΡΠ°Π»ΡΠ½ΠΎΠΉ ΠΏΡΠΈΠ²Π»Π΅ΠΊΠ°ΡΠ΅Π»ΡΠ½ΠΎΡΡΠΈ. ΠΡΠΆΠ½ΠΎ Π²ΡΡΠΎΠ²Π½ΡΡΡ ΡΠΎΠ»ΡΠΈΠ½Ρ ΠΌΠ°ΡΠ΅ΡΠΈΠ°Π»Π°, Π²ΡΠ²Π΅ΡΡΠΈ ΡΠ°Π·ΠΌΠ΅ΡΡ Π΄ΠΎΡΠΎΠΊ ΠΈ ΡΠΈΡΠΎΠ², ΠΏΠΎΠ»ΡΡΠΈΡΡ Π³Π»Π°Π΄ΠΊΡΡ ΠΏΠΎΠ²Π΅ΡΡ Π½ΠΎΡΡΡ Π·Π°Π³ΠΎΡΠΎΠ²ΠΎΠΊ, ΠΈΠ· ΠΊΠΎΡΠΎΡΡΡ Π²ΠΏΠΎΡΠ»Π΅Π΄ΡΡΠ²ΠΈΠΈ ΠΏΡΠ΅Π΄ΡΡΠΎΠΈΡ ΡΠΌΠ°ΡΡΠ΅ΡΠΈΡΡ ΠΌΠ΅Π±Π΅Π»Ρ, ΠΈΠ»ΠΈ ΠΈΡΠΏΠΎΠ»ΡΠ·ΠΎΠ²Π°ΡΡ ΠΈΡ Π΄Π»Ρ ΠΎΡΠ΄Π΅Π»ΠΊΠΈ ΠΏΠΎΠ»Π° ΠΈΠ»ΠΈ ΠΏΠΎΠΌΠ΅ΡΠ΅Π½ΠΈΡ. Π Π΅ΡΠ΅Π½ΠΈΠ΅ΠΌ ΠΏΡΠΎΠ±Π»Π΅ΠΌΡ ΠΌΠΎΠΆΠ΅Ρ ΡΡΠ°ΡΡ ΠΏΠΎΠΊΡΠΏΠΊΠ° ΡΠ΅ΠΉΡΠΌΡΡΠ° ΠΈΠ»ΠΈ ΠΈΠ·Π³ΠΎΡΠΎΠ²Π»Π΅Π½ΠΈΠ΅ ΡΠ΅ΠΉΡΠΌΡΡΠΎΠ²ΠΎΠ³ΠΎ ΡΡΠ°Π½ΠΊΠ° ΡΠ²ΠΎΠΈΠΌΠΈ ΡΡΠΊΠ°ΠΌΠΈ, Π²Π΅Π΄Ρ Π°ΠΏΠΏΠ°ΡΠ°Ρ Ρ Π°Π²ΡΠΎΠΌΠ°ΡΠΈΡΠ΅ΡΠΊΠΎΠΉ ΠΏΠΎΠ΄Π°ΡΠ΅ΠΉ Π·Π°Π³ΠΎΡΠΎΠ²ΠΎΠΊ ΠΈ Π½ΠΎΠΆΠ΅Π²ΡΠΌΠΈ Π²Π°Π»Π°ΠΌΠΈ ΠΈΠ· Π±ΡΡΡΡΠΎΡΠ΅ΠΆΡΡΠ΅ΠΉ ΡΡΠ°Π»ΠΈ Π·Π½Π°ΡΠΈΡΠ΅Π»ΡΠ½ΠΎ ΡΡΠΊΠΎΡΡΠ΅Ρ ΠΈ ΠΎΠ±Π»Π΅Π³ΡΠ°Π΅Ρ ΠΏΡΠΎΡΠ΅ΡΡ ΡΡΡΠΎΠ³Π°Π½ΠΈΡ Π΄ΡΠ΅Π²Π΅ΡΠΈΠ½Ρ.
Π‘ΠΎΠ΄Π΅ΡΠΆΠ°Π½ΠΈΠ΅:
- ΠΡΠ΅Π΄Π½Π°Π·Π½Π°ΡΠ΅Π½ΠΈΠ΅ ΡΠ΅ΠΉΡΠΌΡΡΠΎΠ²ΠΎΠ³ΠΎ ΡΡΠ°Π½ΠΊΠ°
- ΠΠΎΠ½ΡΡΡΡΠΊΡΠΈΡ ΡΠ΅ΠΉΡΠΌΡΡΠΎΠ²ΠΎΠ³ΠΎ ΡΡΠ°Π½ΠΊΠ°
- ΠΡΠΈΠ½ΡΠΈΠΏ ΡΠ°Π±ΠΎΡΡ ΡΠ΅ΠΉΡΠΌΡΡΠΎΠ²ΠΎΠ³ΠΎ ΡΡΠ°Π½ΠΊΠ°
- ΠΠ·Π³ΠΎΡΠΎΠ²Π»Π΅Π½ΠΈΠ΅ ΡΠ΅ΠΉΡΠΌΡΡΠΎΠ²ΠΎΠ³ΠΎ ΡΡΠ°Π½ΠΊΠ°
- ΠΠ°Π»Π°Π΄ΠΊΠ° ΡΠ΅ΠΉΡΠΌΡΡΠΎΠ²ΠΎΠ³ΠΎ ΡΡΠ°Π½ΠΊΠ°
Β
ΠΡΠ΅Π΄Π½Π°Π·Π½Π°ΡΠ΅Π½ΠΈΠ΅ ΡΠ΅ΠΉΡΠΌΡΡΠΎΠ²ΠΎΠ³ΠΎ ΡΡΠ°Π½ΠΊΠ°
Π Π΅ΠΉΡΠΌΡΡΠΎΠ²ΡΠ΅ ΡΡΠ°Π½ΠΊΠΈ ΠΏΡΠ΅Π΄Π½Π°Π·Π½Π°ΡΠ°ΡΡΡΡ Π΄Π»Ρ ΠΏΠ»ΠΎΡΠΊΠΎΡΡΠ½ΠΎΠ³ΠΎ ΡΡΡΠΎΠ³Π°Π½ΠΈΡ Π·Π°Π³ΠΎΡΠΎΠ²ΠΎΠΊ — ΡΠΈΡΠΎΠ², Π±ΡΡΡΠΊΠΎΠ² ΠΈ Π΄ΠΎΡΠΎΠΊ ΠΏΠΎ ΡΠΎΠ»ΡΠΈΠ½Π΅ Π² Π·Π°Π΄Π°Π½Π½ΡΠΉ ΡΠ°Π·ΠΌΠ΅Ρ, ΠΏΠΎΡΡΠΎΠΌΡ ΠΈ ΡΠ²Π»ΡΡΡΡΡ ΠΎΡΠ½ΠΎΠ²Π½ΡΠΌΠΈ Π½Π° Π΄Π΅ΡΠ΅Π²ΠΎΠΎΠ±ΡΠ°Π±Π°ΡΡΠ²Π°ΡΡΠΈΡ ΠΏΡΠ΅Π΄ΠΏΡΠΈΡΡΠΈΡΡ . Π ΡΠΎΠΌΡ ΠΆΠ΅ ΡΠ΅ΠΉΡΠΌΡΡΡ ΠΈΠΌΠ΅ΡΡΡΡ ΠΏΡΠ°ΠΊΡΠΈΡΠ΅ΡΠΊΠΈ Ρ ΠΊΠ°ΠΆΠ΄ΠΎΠ³ΠΎ ΡΡΠΎΠ»ΡΡΠ°. ΠΠ»Π°Π²Π½ΠΎΠ΅ Π½Π°Π·Π½Π°ΡΠ΅Π½ΠΈΠ΅ ΡΠ΅ΠΉΡΠΌΡΡΠΎΠ²ΡΡ ΡΡΠ°Π½ΠΊΠΎΠ² ΡΠΎΡΡΠΎΠΈΡ Π² ΡΠ°Π²Π½ΠΎΠΌΠ΅ΡΠ½ΠΎΠΌ ΠΎΠ±ΡΠ»ΡΠΆΠΈΠ²Π°Π½ΠΈΠΈ Π΄ΠΎΡΠΎΠΊ ΠΈ ΠΏΡΠΎΡΠΈΡ Π΄Π΅ΡΠ΅Π²ΡΠ½Π½ΡΡ ΠΈΠ·Π΄Π΅Π»ΠΈΠΉ ΠΏΠΎ Π²ΡΠ΅ΠΉ ΠΏΠ»ΠΎΡΠ°Π΄ΠΈ ΠΈ ΠΏΠΎΠ»ΡΡΠ΅Π½ΠΈΠΈ Π·Π°Π³ΠΎΡΠΎΠ²ΠΎΠΊ, ΡΡΠΎ ΠΈΠΌΠ΅ΡΡ ΡΠ°Π²Π½ΡΡ ΡΠΎΠ»ΡΠΈΠ½Ρ ΠΏΠΎ Π²ΡΠ΅ΠΉ ΡΠΈΡΠΈΠ½Π΅ ΠΈ Π΄Π»ΠΈΠ½Π΅.
Π Π΅ΠΉΡΠΌΡΡΡ ΠΏΡΠΈ ΠΈΡΠΏΠΎΠ»ΡΠ·ΠΎΠ²Π°Π½ΠΈΠΈ Π² ΡΡΡΠΎΠΈΡΠ΅Π»ΡΡΡΠ²Π΅ Π·Π° ΠΎΠ΄ΠΈΠ½ ΠΏΡΠΎΡ ΠΎΠ΄ ΡΠΏΠΎΡΠΎΠ±Π½Ρ ΠΎΠ±ΡΠ°Π±Π°ΡΡΠ²Π°ΡΡ Π² Π±ΠΎΠ»ΡΡΠΎΠΌ ΠΊΠΎΠ»ΠΈΡΠ΅ΡΡΠ²Π΅ ΡΠΈΡΠΎΠΊΠΈΠ΅ Π΄ΠΎΡΠΊΠΈ. Π ΠΎΡΠ»ΠΈΡΠΈΠ΅ ΠΎΡ ΠΏΡΠΎΠΌΡΡΠ»Π΅Π½Π½ΡΡ Π°ΠΏΠΏΠ°ΡΠ°ΡΠΎΠ², Π±ΡΡΠΎΠ²ΡΠ΅ ΡΠ΅ΠΉΡΠΌΡΡΡ ΡΠ²Π»ΡΡΡΡΡ Π½Π΅Π±ΠΎΠ»ΡΡΠΈΠΌΠΈ ΠΏΠΎ ΡΠ°Π·ΠΌΠ΅ΡΠ°ΠΌ ΠΈ Π½Π°ΠΌΠ½ΠΎΠ³ΠΎ Π»Π΅Π³ΡΠ΅, ΡΡΠΎ ΠΎΠ±Π»Π΅Π³ΡΠ°Π΅Ρ ΠΈΡ ΡΡΠ°Π½ΡΠΏΠΎΡΡΠΈΡΠΎΠ²ΠΊΡ. Π ΡΠΎΠΌΡ ΠΆΠ΅ ΡΠΎΠ²ΡΠ΅ΠΌΠ΅Π½Π½ΡΠ΅ ΠΌΠΎΠ΄Π΅Π»ΠΈ ΠΈΠΌΠ΅ΡΡ ΠΎΠ±Π»Π΅Π³ΡΠ΅Π½Π½ΡΡ ΡΠΈΡΡΠ΅ΠΌΡ ΡΠΌΠ΅Π½Ρ ΡΠ°Π±ΠΎΡΠΈΡ Π½ΠΎΠΆΠ΅ΠΉ ΠΈ ΡΠ²Π΅Π»ΠΈΡΠ΅Π½Π½ΡΠΉ ΠΊΠΎΠ½ΡΡΠΎΠ»Ρ Π³Π»ΡΠ±ΠΈΠ½Ρ ΡΠ΅Π·Π°Π½ΠΈΡ, ΡΡΠΎΠ±Ρ ΡΠΎΡΠ½ΠΎ Π²ΡΠ²Π΅ΡΠΈΠ²Π°ΡΡ ΡΠΎΠ»ΡΠΈΠ½Ρ ΡΠ½ΠΈΠΌΠ°Π΅ΠΌΠΎΠΉ ΡΡΡΡΠΆΠΊΠΈ.
ΠΠ°ΠΊ ΠΏΡΠ°Π²ΠΈΠ»ΠΎ, ΠΏΠ΅ΡΠ΅Π΄ ΠΏΡΠΎΠ²Π΅Π΄Π΅Π½ΠΈΠ΅ΠΌ Π΄Π°Π½Π½ΠΎΠΉ ΠΏΡΠΎΡΠ΅Π΄ΡΡΡ Π΄Π΅ΡΠ΅Π²ΡΠ½Π½ΡΠ΅ ΠΏΠΎΠ²Π΅ΡΡ Π½ΠΎΡΡΠΈ ΠΏΠΎΠ΄Π²Π΅ΡΠ³Π°ΡΡ ΠΏΡΠ΅Π΄Π²Π°ΡΠΈΡΠ΅Π»ΡΠ½ΠΎΠΉ ΠΎΠ±ΡΠ°Π±ΠΎΡΠΊΠ΅ Π½Π° ΡΡΠ³ΠΎΠ²Π°Π»ΡΠ½ΠΎΠΌ ΡΡΠ°Π½ΠΊΠ΅. ΠΠ»Ρ Π½Π΅ΡΡΠ°Π½Π΄Π°ΡΡΠ½ΡΡ ΡΠ°Π·Π½ΠΎΠ²ΠΈΠ΄Π½ΠΎΡΡΠ΅ΠΉ ΠΌΠ°ΡΠ΅ΡΠΈΠ°Π»Π° (ΠΏΠΎΠ»ΠΈΠΌΠ΅ΡΡ, ΠΌΡΠ³ΠΊΠΈΠ΅ ΠΏΠ»Π°ΡΡΠΈΠΊΠΈ, ΡΡΠ΅ΠΏΠ»ΠΈΡΠ΅Π»ΠΈ Π½Π° Π²ΡΠΏΠ΅Π½Π΅Π½Π½ΠΎΠΉ ΠΎΡΠ½ΠΎΠ²Π΅) ΠΏΡΠ΅Π΄Π½Π°Π·Π½Π°ΡΠ°ΡΡΡΡ ΡΠ΅ΠΉΡΠΌΡΡΠΎΠ²ΡΠ΅ ΡΡΠ°Π½ΠΊΠΈ Ρ ΠΎΠ±ΡΠ΅Π·ΠΈΠ½Π΅Π½Π½ΡΠΌΠΈ ΠΌΠ΅ΡΠ°Π»Π»ΠΈΡΠ΅ΡΠΊΠΈΠΌΠΈ ΠΏΠΎΠ΄Π°ΡΡΠΈΠΌΠΈ Π²Π°Π»ΡΡΠ°ΠΌΠΈ, ΠΊΠΎΡΠΎΡΡΠ΅ Π½Π΅ ΡΠΏΠΎΡΠΎΠ±Π½Ρ ΠΏΠΎΡΡΠΈΡΡ ΠΏΠΎΠ²Π΅ΡΡ Π½ΠΎΡΡΠΈ Π·Π°Π³ΠΎΡΠΎΠ²ΠΎΠΊ.

Π‘Π΅ΠΊΡΠΈΠΎΠ½Π½ΡΠ΅ ΠΏΠΎΠ΄Π°ΡΡΠΈΠ΅ Π²Π°Π»ΡΡΡ, ΠΊΠΎΡΠΎΡΡΠΌΠΈ ΠΎΡΠ½Π°ΡΠ΅Π½ΠΎ Π΄Π΅ΡΠ΅Π²ΠΎΠΎΠ±ΡΠ°Π±Π°ΡΡΠ²Π°ΡΡΠ΅Π΅ ΠΎΠ±ΠΎΡΡΠ΄ΠΎΠ²Π°Π½ΠΈΠ΅, ΠΏΠΎΠ·Π²ΠΎΠ»ΡΡΡ Π½Π° Π²Ρ ΠΎΠ΄Π΅ Π² ΡΡΠ°Π½ΠΎΠΊ ΠΎΠ΄Π½ΠΎΠ²ΡΠ΅ΠΌΠ΅Π½Π½ΠΎ ΠΏΠΎΠ΄Π°Π²Π°ΡΡ ΡΠ°Π·Π½ΠΎΡΠΎΠ»ΡΠΈΠ½Π½ΡΠ΅ Π·Π°Π³ΠΎΡΠΎΠ²ΠΊΠΈ. Π Π΅ΠΉΡΠΌΡΡΠΎΠ²ΡΠΉ ΡΡΠ°Π½ΠΎΠΊ ΡΠ²Π»ΡΠ΅ΡΡΡ ΠΎΠ΄Π½ΠΈΠΌ ΠΈΠ· Π²Π°ΠΆΠ½ΡΡ ΡΡΡΠ°Π½ΠΎΠ²ΠΎΠΊ Π² ΠΏΠ»ΠΎΡΠ½ΠΈΡΠΊΠΎΠΌ Π΄Π΅Π»Π΅ ΠΈ ΡΡΡΠΎΠΈΡΠ΅Π»ΡΡΡΠ²Π΅, Π° ΡΠ°ΠΊΠΆΠ΅ Π² ΠΌΠ΅Π±Π΅Π»ΡΠ½ΠΎΠΉ ΠΏΡΠΎΠΌΡΡΠ»Π΅Π½Π½ΠΎΡΡΠΈ, ΠΏΠΎΠ·Π²ΠΎΠ»ΡΡ ΠΈΠ·Π³ΠΎΡΠΎΠ²ΠΈΡΡ ΡΠΎΡΠ½ΡΠ΅ ΠΏΠ»Π°Π½ΠΊΠΈ Π΄Π»Ρ Π³Π°ΡΠ½ΠΈΡΡΡΠΎΠ² ΠΈΠ· Π΄ΡΠ΅Π²Π΅ΡΠΈΠ½Ρ ΠΈΠ»ΠΈ ΡΠ΅ΠΉΠΊΠΈ Π΄Π»Ρ ΠΎΠ±ΡΠΈΠ²ΠΊΠΈ ΠΊΡΡ Π½ΠΈ.
ΠΠ° ΡΠ°ΠΌΠΎΠ΄Π΅Π»ΡΠ½ΠΎΠΌ ΡΠ΅ΠΉΡΠΌΡΡΠΎΠ²ΠΎΠΌ ΡΡΠ°Π½ΠΊΠ΅ Π½Π΅Π»ΡΠ·Ρ ΡΡΡΠΎΠ³Π°ΡΡ ΠΎΡΠ΅Π½Ρ ΡΠΎΠ½ΠΊΠΈΠ΅ Π·Π°Π³ΠΎΡΠΎΠ²ΠΊΠΈ, ΠΏΠΎΡΠΎΠΌΡ ΡΡΠΎ Π²ΠΎΠ·Π½ΠΈΠΊΠ°ΡΡ Π²ΠΈΠ±ΡΠ°ΡΠΈΠΈ, ΡΡΠΎ ΡΠΊΠ°Π·ΡΠ²Π°ΡΡΡΡ Π½Π° ΠΊΠ°ΡΠ΅ΡΡΠ²Π΅ ΠΎΠ±ΡΠ°Π±Π°ΡΡΠ²Π°Π΅ΠΌΠΎΠΉ ΠΏΠΎΠ²Π΅ΡΡ Π½ΠΎΡΡΠΈ. ΠΠ°ΠΈΠΌΠ΅Π½ΡΡΠ°Ρ Π΄Π»ΠΈΠ½Π° ΠΎΠ±ΡΠ°Π±Π°ΡΡΠ²Π°Π΅ΠΌΠΎΠΉ Π·Π°Π³ΠΎΡΠΎΠ²ΠΊΠΈ Π΄ΠΎΠ»ΠΆΠ½Π° Π½Π° 100 ΠΌΠΈΠ»Π»ΠΈΠΌΠ΅ΡΡΠΎΠ² Π±ΡΡΡ Π±ΠΎΠ»ΡΡΠ΅ΠΉ ΡΠ°ΡΡΡΠΎΡΠ½ΠΈΡ ΠΎΡ ΠΏΠ΅ΡΠ΅Π΄Π½Π΅Π³ΠΎ Π΄ΠΎ Π·Π°Π΄Π½Π΅Π³ΠΎ ΠΏΠΎΠ΄Π°ΡΡΠ΅Π³ΠΎ Π²Π°Π»ΠΊΠ°. ΠΡΠΈ Π²ΠΎΠ·Π½ΠΈΠΊΠ½ΠΎΠ²Π΅Π½ΠΈΠΈ Π½Π΅ΠΎΠ±Ρ ΠΎΠ΄ΠΈΠΌΠΎΡΡΠΈ ΡΡΠ΅Π·Π΅ΡΠΎΠ²Π°ΡΡ Π±ΠΎΠ»Π΅Π΅ ΠΊΠΎΡΠΎΡΠΊΠΈΠΉ ΠΌΠ°ΡΠ΅ΡΠΈΠ°Π», ΡΠΎ Π΅Π³ΠΎ Π½ΡΠΆΠ½ΠΎ Π½Π°Π΄Π΅ΠΆΠ½ΠΎ Π·Π°ΠΊΡΠ΅ΠΏΠ»ΡΡΡ Π½Π° ΠΎΡΠ½ΠΎΠ²Π°Π½ΠΈΠΈ. Π‘ ΠΏΠΎΠΌΠΎΡΡΡ ΡΠΎΠΎΡΠ²Π΅ΡΡΡΠ²ΡΡΡΠΈΡ ΠΏΡΠΈΡΠΏΠΎΡΠΎΠ±Π»Π΅Π½ΠΈΠΉ Π½Π° ΡΠ΅ΠΉΡΠΌΡΡΠΎΠ²ΡΡ ΡΡΠ°Π½ΠΊΠ°Ρ ΠΏΠΎΠ»ΡΡΠΈΡΡΡ ΠΎΠ±ΡΠ°Π±ΠΎΡΠ°ΡΡ Π΄Π°ΠΆΠ΅ ΠΊΠ»ΠΈΠ½ΠΎΠΎΠ±ΡΠ°Π·Π½ΡΠ΅ Π·Π°Π³ΠΎΡΠΎΠ²ΠΊΠΈ ΠΈ Π²ΡΡΠΎΠ²Π½ΡΡΡ Π½Π΅ΠΏΠ°ΡΠ°Π»Π»Π΅Π»ΡΠ½ΡΠ΅ ΠΏΠ»ΠΎΡΠΊΠΎΡΡΠΈ.
ΠΠ»ΡΠ±ΠΈΠ½Π° ΠΏΡΠΎΠΏΠΈΠ»Π° ΠΏΠΎΠΊΠ°Π·ΡΠ²Π°Π΅Ρ ΡΡΠ΅Π· ΡΠ΅ΠΉΡΠΌΡΡΠ° Π·Π° ΠΎΠ΄ΠΈΠ½ ΠΏΡΠΎΡ ΠΎΠ΄: ΡΡΠΎΡ ΠΏΠΎΠΊΠ°Π·Π°ΡΠ΅Π»Ρ ΠΊΠΎΠ»Π΅Π±Π»Π΅ΡΡΡ Π² ΠΏΡΠ΅Π΄Π΅Π»Π°Ρ 1 — 3 ΠΌΠΈΠ»Π»ΠΈΠΌΠ΅ΡΡΠΎΠ², Π·Π°Π²ΠΈΡΠΈΠΌΠΎ ΠΎΡ ΡΠΈΡΠΈΠ½Ρ ΠΌΠ°ΡΠ΅ΡΠΈΠ°Π»Π°. Π¨ΠΈΡΠΈΠ½Π° Π·Π°Π³ΠΎΡΠΎΠ²ΠΊΠΈ Ρ Π°ΡΠ°ΠΊΡΠ΅ΡΠΈΠ·ΡΠ΅Ρ Π²ΠΎΠ·ΠΌΠΎΠΆΠ½ΠΎΡΡΠΈ ΠΎΠ±ΡΠ°Π±ΠΎΡΠΊΠΈ ΠΈΠ·Π΄Π΅Π»ΠΈΠΉ, ΡΡΠΎ ΠΈΠΌΠ΅ΡΡ ΠΎΠΏΡΠ΅Π΄Π΅Π»Π΅Π½Π½ΡΠΉ ΡΠ°Π·ΠΌΠ΅Ρ: ΠΎΠΏΡΠΈΠΌΠ°Π»ΡΠ½ΠΎΠ΅ ΡΠ΅ΡΠ΅Π½ΠΈΠ΅ β 30 — 330 ΠΌΠΈΠ»Π»ΠΈΠΌΠ΅ΡΡΠΎΠ². ΠΠ° ΠΏΡΠΎΠΈΠ·Π²ΠΎΠ΄ΠΈΡΠ΅Π»ΡΠ½ΠΎΡΡΡ ΡΠ°Π±ΠΎΡΡ Π²Π»ΠΈΡΠ΅Ρ ΠΌΠΎΡΠ½ΠΎΡΡΡ ΡΡΠ°Π½ΠΊΠ°. ΠΠ»Ρ ΡΠ°ΡΡΠ½ΡΡ ΠΌΠ°ΡΡΠ΅ΡΡΠΊΠΈΡ ΠΏΠΎΠ΄Ρ ΠΎΠ΄ΠΈΡ ΡΠ΅ΠΉΡΠΌΡΡΠΎΠ²ΡΠΉ ΡΡΠ°Π½ΠΎΠΊ Π² 1,9 ΠΊΠΡ. ΠΠΏΠΏΠ°ΡΠ°ΡΡ, ΠΌΠΎΡΠ½ΠΎΡΡΡ ΠΊΠΎΡΠΎΡΡΡ Π²ΡΡΠ΅ 1,8 ΠΊΠΡ, ΠΏΡΠΈΠ³ΠΎΠ΄ΡΡΡΡ Π΄Π»Ρ ΡΡΡΠΎΠ³Π°Π½ΠΈΡ ΡΠ²Π΅ΡΠ΄ΡΡ ΠΏΠΎΡΠΎΠ΄ Π΄ΡΠ΅Π²Π΅ΡΠΈΠ½Ρ β Π΅Π»ΠΈ, Π±ΡΠΊΠ°, Π³ΡΡΡΠΈ, Π²ΡΠ·Π°, ΡΡΠ΅Π½Ρ.
ΠΠΎΠ½ΡΡΡΡΠΊΡΠΈΡ ΡΠ΅ΠΉΡΠΌΡΡΠΎΠ²ΠΎΠ³ΠΎ ΡΡΠ°Π½ΠΊΠ°
Π Π΅ΠΉΡΠΌΡΡΠΎΠ²ΡΠΌ ΡΡΠ°Π½ΠΊΠΎΠΌ Π½Π°Π·ΡΠ²Π°ΡΡ ΡΠΏΠ΅ΡΠΈΠ°Π»ΡΠ½ΠΎΠ΅ ΡΡΡΡΠΎΠΉΡΡΠ²ΠΎ, ΠΊΠΎΡΠΎΡΠΎΠ΅ ΠΎΡΠ½ΠΎΡΠΈΡΡΡ ΠΊ ΠΊΠ°ΡΠ΅Π³ΠΎΡΠΈΠΈ Π΄Π΅ΡΠ΅Π²ΠΎΠΎΠ±ΡΠ°Π±Π°ΡΡΠ²Π°ΡΡΠΈΡ ΡΡΠ°Π½ΠΊΠΎΠ², ΠΊΠΎΡΠΎΡΡΠ΅ ΡΡΠΏΠ΅ΡΠ½ΠΎ ΡΠΏΡΠ°Π²Π»ΡΡΡΡΡ Ρ ΠΏΠ»ΠΎΡΠΊΠΎΡΡΠ½ΡΠΌ, ΠΎΠ±ΡΠ΅ΠΌΠ½ΡΠΌ ΠΈ ΠΏΡΠΎΡΠΈΠ»ΡΠ½ΡΠΌ ΡΡΠ΅Π·Π΅ΡΠΎΠ²Π°Π½ΠΈΠ΅ΠΌ ΠΏΡΡΠΌΠΎ- ΠΈ ΠΊΡΠΈΠ²ΠΎΠ»ΠΈΠ½Π΅ΠΉΠ½ΡΡ Π·Π°Π³ΠΎΡΠΎΠ²ΠΎΠΊ, Π²ΡΠΏΠΎΠ»Π½Π΅Π½Π½ΡΡ ΠΈΠ· ΠΌΠ°ΡΡΠΈΠ²Π½ΠΎΠ³ΠΎ Π΄Π΅ΡΠ΅Π²Π°.
ΠΠΎ ΠΊΠΎΠ½ΡΡΡΡΠΊΡΠΈΠΈ ΡΠ°Π·Π»ΠΈΡΠ°ΡΡ:
- ΠΠ΄Π½ΠΎΡΡΠΎΡΠΎΠ½Π½ΠΈΠ΅ ΡΠ΅ΠΉΡΠΌΡΡΠΎΠ²ΡΠ΅ ΡΡΠ°Π½ΠΊΠΈ, Π½Π° ΠΊΠΎΡΠΎΡΡΡ ΠΏΡΠΎΠΈΠ·Π²ΠΎΠ΄ΠΈΡΡΡ ΡΡΡΠΎΠ³Π°Π½ΠΈΠ΅ ΡΠΎΠ»ΡΠΊΠΎ Ρ Π²Π΅ΡΡ Π½Π΅ΠΉ ΡΡΠΎΡΠΎΠ½Ρ;
- ΠΠ²ΡΡ ΡΡΠΎΡΠΎΠ½Π½ΠΈΠ΅ ΡΠ΅ΠΉΡΠΌΡΡΠΎΠ²ΡΠ΅ ΡΡΠ°Π½ΠΊΠΈ, Π³Π΄Π΅ ΡΡΡΠΎΠ³Π°ΡΡΡΡ ΠΎΠ΄Π½ΠΎΠ²ΡΠ΅ΠΌΠ΅Π½Π½ΠΎ Π΄Π²Π΅ ΠΏΡΠΎΡΠΈΠ²ΠΎΠΏΠΎΠ»ΠΎΠΆΠ½ΡΠ΅ ΡΡΠΎΡΠΎΠ½Ρ β Π½ΠΈΠΆΠ½ΡΡ ΠΈ Π²Π΅ΡΡ Π½ΡΡ;
- Π‘ΠΏΠ΅ΡΠΈΠ°Π»ΡΠ½ΡΠ΅ ΡΠ΅ΠΉΡΠΌΡΡΡ β ΡΡΠ΅Ρ -, ΡΠ΅ΡΡΡΠ΅Ρ - ΠΈ ΠΌΠ½ΠΎΠ³ΠΎ-Π½ΠΎΠΆΠ΅Π²ΡΠ΅.
Β
ΠΠ°ΠΈΠ±ΠΎΠ»ΡΡΠ΅Π΅ ΡΠ°ΡΠΏΡΠΎΡΡΡΠ°Π½Π΅Π½ΠΈΠ΅ ΠΏΠΎΠ»ΡΡΠΈΠ»ΠΈ ΠΎΠ΄Π½ΠΎΡΡΠΎΡΠΎΠ½Π½ΠΈΠ΅ ΡΠ΅ΠΉΡΠΌΡΡΠΎΠ²ΡΠ΅ ΡΡΠ°Π½ΠΊΠΈ, ΠΊΠΎΡΠΎΡΡΠ΅ ΡΠ²Π»ΡΡΡΡΡ Π±ΠΎΠ»Π΅Π΅ ΠΏΡΠΎΡΡΡΠΌΠΈ ΠΏΠΎ ΠΊΠΎΠ½ΡΡΡΡΠΊΡΠΈΠΈ ΠΈ ΡΠΎΠΎΡΠ²Π΅ΡΡΡΠ²Π΅Π½Π½ΠΎ Π² ΡΠΊΡΠΏΠ»ΡΠ°ΡΠ°ΡΠΈΠΈ. ΠΡ ΡΡΡΡΠΎΠΉΡΡΠ²ΠΎ ΠΌΡ ΡΠ΅Π³ΠΎΠ΄Π½Ρ ΠΈ Π±ΡΠ΄Π΅ΠΌ ΡΠ°ΡΡΠΌΠ°ΡΡΠΈΠ²Π°ΡΡ.
Π‘ΡΠΎΠ» ΡΠ΅ΠΉΡΠΌΡΡΠΎΠ²ΠΎΠ³ΠΎ ΡΡΠ°Π½ΠΊΠ° Π² ΠΎΡΠ»ΠΈΡΠΈΠ΅ ΠΎΡ ΡΡΠ³ΠΎΠ²Π°Π»ΡΠ½ΠΎΠ³ΠΎ ΡΡΠ°Π½ΠΊΠ° ΠΊΡΠΎΠ΅ΡΡΡ ΠΈΠ· ΠΎΠ΄Π½ΠΎΠΉ ΡΠΏΠ»ΠΎΡΠ½ΠΎΠΉ ΠΏΠ»ΠΈΡΡ, ΡΡΠΎ ΡΠΎΡΠ½ΠΎ Π²ΡΡΡΡΠΎΠ³Π°Π½Π° ΠΈ ΠΎΡΡΠ»ΠΈΡΠΎΠ²Π°Π½Π°, Π° ΡΠ°ΠΊΠΆΠ΅ ΠΎΠ½ Π½Π΅ ΠΈΠΌΠ΅Π΅Ρ Π² ΡΠ²ΠΎΠ΅ΠΉ ΠΊΠΎΠ½ΡΡΡΡΠΊΡΠΈΠΈ Π½Π°ΠΏΡΠ°Π²Π»ΡΡΡΠ΅ΠΉ Π»ΠΈΠ½Π΅ΠΉΠΊΠΈ. ΠΡΠΎΠΌΠ΅ Π³ΠΎΡΠΈΠ·ΠΎΠ½ΡΠ°Π»ΡΠ½ΠΎΠ³ΠΎ ΡΡΠΎΠ»Π°, Π½Π° ΠΊΠΎΡΠΎΡΠΎΠΌ ΡΠ΅Π³ΡΠ»ΠΈΡΡΠ΅ΡΡΡ ΡΠΎΠ»ΡΠΈΠ½Π° ΡΠ½ΠΈΠΌΠ°Π΅ΠΌΠΎΠ³ΠΎ ΡΠ»ΠΎΡ, ΡΠ΅ΠΉΡΠΌΡΡ ΡΠΎΡΡΠΎΠΈΡ ΠΈΠ· ΡΠ°ΠΊΠΈΡ ΠΎΡΠ½ΠΎΠ²Π½ΡΡ ΡΠ»Π΅ΠΌΠ΅Π½ΡΠΎΠ², ΠΊΠ°ΠΊ ΡΠΏΠ΅ΡΠΈΠ°Π»ΡΠ½Π°Ρ ΡΡΠ΅Π·Π°, ΡΡΠΎ ΠΏΡΠ΅Π΄ΡΡΠ°Π²Π»Π΅Π½Π° Π½Π΅ΡΠΊΠΎΠ»ΡΠΊΠΈΠΌΠΈ ΠΎΡΠ΄Π΅Π»ΡΠ½ΡΠΌΠΈ Π½ΠΎΠΆΠ°ΠΌΠΈ ΠΈ ΡΠΈΡΡΠ΅ΠΌΡ Π°Π²ΡΠΎΠΌΠ°ΡΠΈΡΠ΅ΡΠΊΠΎΠΉ ΠΏΠΎΠ΄Π°ΡΠΈ Π΄Π΅ΡΠ΅Π²ΡΠ½Π½ΠΎΠΉ Π·Π°Π³ΠΎΡΠΎΠ²ΠΊΠΈ ΠΏΠΎ ΡΠΎΠ»ΠΈΠΊΠΎΠ²ΡΠΌ Π½Π°ΠΏΡΠ°Π²Π»ΡΡΡΠΈΠΌ.

Π‘ΡΠ°Π½ΠΈΠ½Π° Π΄Π»Ρ ΡΠ΅ΠΉΡΠΌΡΡΠΎΠ²ΠΎΠ³ΠΎ ΡΡΠ°Π½ΠΊΠ° ΡΡΠ³ΡΠ½Π½Π°Ρ, ΠΏΡΡΡΠΎΡΠ΅Π»Π°Ρ, ΡΠ΅Π»ΡΠ½ΠΎΠ»ΠΈΡΠ°Ρ, Π½Π° Π½Π΅ΠΉ ΠΊΡΠ΅ΠΏΡΡ Π²ΡΠ΅ Π΄Π΅ΡΠ°Π»ΠΈ ΠΈ ΠΌΠ΅Ρ Π°Π½ΠΈΠ·ΠΌΡ ΡΡΠ°Π½ΠΊΠ°. ΠΠΏΠΎΡΠ½ΡΠΌ ΡΡΠΎΠ»ΠΈΠΊΠΎΠΌ ΠΌΠΎΠΆΠ΅Ρ ΡΠ»ΡΠΆΠΈΡΡ ΠΌΠ΅ΡΠ°Π»Π»ΠΈΡΠ΅ΡΠΊΠΈΠΉ ΡΠ³ΠΎΠ»ΠΎΠΊ ΡΠ°Π·ΠΌΠ΅ΡΠ°ΠΌΠΈ 100 Π½Π° 100 ΠΌΠΈΠ»Π»ΠΈΠΌΠ΅ΡΡΠΎΠ² ΠΈ Π΄Π»ΠΈΠ½ΠΎΠΉ Π½Π΅ ΠΌΠ΅Π½ΡΡΠ΅ 1000 ΠΌΠΈΠ»Π»ΠΈΠΌΠ΅ΡΡΠΎΠ². ΠΡΠ° Π΄Π»ΠΈΠ½Π° ΠΎΠ±ΡΡΡΠ½ΡΠ΅ΡΡΡ ΠΌΠ΅ΡΠ°ΠΌΠΈ Π±Π΅Π·ΠΎΠΏΠ°ΡΠ½ΠΎΡΡΠΈ. ΠΠΏΠΎΡΠ½ΡΠΉ ΡΡΠΎΠ»ΠΈΠΊ Π½Π°Π²Π΅ΡΠΈΠ²Π°ΡΡ Π½Π° ΡΠ΅Ρ Π½ΠΎΠ»ΠΎΠ³ΠΈΡΠ΅ΡΠΊΠΈΠ΅ ΡΠ³ΠΎΠ»ΠΊΠΈ ΡΡΠ°Π½ΠΊΠ°, ΠΊΡΠ΅ΠΏΡΡ Ρ ΠΎΠ΄Π½ΠΎΠΉ ΡΡΠΎΡΠΎΠ½Ρ Π±ΠΎΠ»ΡΠ°ΠΌΠΈ, Ρ Π΄ΡΡΠ³ΠΎΠΉ β ΡΡΡΡΠ±ΡΠΈΠ½Π°ΠΌΠΈ. ΠΠΎ Π²ΡΡΠΎΡΠ΅ ΡΡΠΎΠ» ΠΌΠΎΠΆΠ½ΠΎ ΠΏΠ΅ΡΠ΅ΠΌΠ΅ΡΠ°ΡΡ ΠΏΠΎ Π½Π°ΠΏΡΠ°Π²Π»ΡΡΡΠΈΠΌ ΡΠ°Π»Π°Π·ΠΊΠ°ΠΌ Ρ ΠΏΠΎΠΌΠΎΡΡΡ ΠΏΠΎΠ΄ΡΠ΅ΠΌΠ½ΠΎΠ³ΠΎ ΠΌΠ΅Ρ Π°Π½ΠΈΠ·ΠΌΠ°.
ΠΠ°Π΄ ΡΡΠΎΠ»ΠΎΠΌ ΡΠ°Π·ΠΌΠ΅ΡΠ΅Π½ Π½ΠΎΠΆΠ΅Π²ΠΎΠΉ Π²Π°Π». ΠΠ΅Ρ Π°Π½ΠΈΠ·ΠΌ ΠΏΠΎΠ΄Π°ΡΠΈ Π·Π°Π³ΠΎΡΠΎΠ²ΠΊΠΈ ΠΏΡΠ΅Π΄ΡΡΠ°Π²Π»Π΅Π½ Π΄Π²ΡΠΌΡ ΠΏΠ°ΡΠ°ΠΌΠΈ Π²Π°Π»ΠΈΠΊΠΎΠ². ΠΠ΅ΡΠ²Π°Ρ ΠΈΠ· Π½ΠΈΡ ΡΠ°ΡΠΏΠΎΠ»Π°Π³Π°Π΅ΡΡΡ ΠΏΠ΅ΡΠ΅Π΄ Π½ΠΎΠΆΠ΅Π²ΡΠΌ Π²Π°Π»ΠΎΠΌ, Π΄ΡΡΠ³Π°Ρ — Π·Π° Π²Π°Π»ΠΎΠΌ. ΠΠΈΠΆΠ½ΠΈΠ΅ Π²Π°Π»ΠΈΠΊΠΈ ΡΡΡΠ°Π½Π°Π²Π»ΠΈΠ²Π°ΡΡ ΡΠΎΡΠ½ΠΎ ΠΏΠΎΠ΄ Π²Π΅ΡΡ Π½ΠΈΠΌΠΈ. ΠΡΠ°ΡΠ°ΡΡΡΡ Π²Π΅ΡΡ Π½ΠΈΠ΅ Π²Π°Π»ΠΈΠΊΠΈ ΠΎΡ ΡΠ»Π΅ΠΊΡΡΠΈΡΠ΅ΡΠΊΠΎΠ³ΠΎ Π΄Π²ΠΈΠ³Π°ΡΠ΅Π»Ρ ΡΠ΅ΡΠ΅Π· Π·ΡΠ±ΡΠ°ΡΡΡ ΠΏΠ΅ΡΠ΅Π΄Π°ΡΡ, ΠΏΠΎΡΡΠΎΠΌΡ ΠΎΠ½ΠΈ Π½Π°Π·ΡΠ²Π°ΡΡΡΡ ΠΏΡΠΈΠ²ΠΎΠ΄Π½ΡΠΌΠΈ, ΠΏΠΈΡΠ°ΡΡΠΈΠΌΠΈ ΠΈΠ»ΠΈ ΠΏΠΎΠ΄Π°ΡΡΠΈΠΌΠΈ. ΠΠΈΠΆΠ½ΠΈΠ΅ Π²Π°Π»ΠΈΠΊΠΈ ΡΡΡΠ°Π½Π°Π²Π»ΠΈΠ²Π°ΡΡΡΡ ΡΠ²ΠΎΠ±ΠΎΠ΄Π½ΠΎ ΠΈ ΠΏΡΠΈΠ²ΠΎΠ΄ΡΡΡΡ Π²ΠΎ Π²ΡΠ°ΡΠ΅Π½ΠΈΠ΅ ΠΏΠΎΠ΄Π°Π²Π°Π΅ΠΌΡΠΌ ΠΌΠ°ΡΠ΅ΡΠΈΠ°Π»ΠΎΠΌ. ΠΡΠΈ Π²Π°Π»ΠΈΠΊΠΈ β ΠΏΠΎΠ΄Π΄Π΅ΡΠΆΠΈΠ²Π°ΡΡΠΈΠ΅ ΠΈΠ»ΠΈ Π½Π°ΠΏΡΠ°Π²Π»ΡΡΡΠΈΠ΅. Π Π΄Π²ΡΡΡΠΎΡΠΎΠ½Π½ΠΈΡ ΡΠ΅ΠΉΡΠΌΡΡΠΎΠ²ΡΡ ΡΡΠ°Π½ΠΊΠ°Ρ Π½ΠΎΠΆΠ΅Π²ΡΠ΅ Π²Π°Π»Ρ ΡΠ°ΡΠΏΠΎΠ»Π°Π³Π°ΡΡΡΡ Π² ΡΡΠΎΠ»Π΅ ΠΈ Π½Π°Π΄ ΡΠ°Π±ΠΎΡΠΈΠΌ ΡΡΠΎΠ»ΠΎΠΌ.
ΠΠ°Π·Π½Π°ΡΠ΅Π½ΠΈΠ΅ Π½ΠΈΠΆΠ½ΠΈΡ Π²Π°Π»ΠΈΠΊΠΎΠ² ΡΠΎΡΡΠΎΠΈΡ Π² ΠΎΠ±Π»Π΅Π³ΡΠ΅Π½ΠΈΠΈ ΠΏΠΎΠ΄Π°ΡΠΈ Π½Π° Π½ΠΎΠΆΠΈ ΠΌΠ°ΡΠ΅ΡΠΈΠ°Π»Π°, ΠΎΠ½ΠΈ Π²ΡΡΡΡΠΏΠ°ΡΡ Π½Π°Π΄ ΠΏΠΎΠ²Π΅ΡΡ Π½ΠΎΡΡΡΡ ΡΠ°Π±ΠΎΡΠ΅Π³ΠΎ ΡΡΠΎΠ»Π° Π½Π° 0,2β0,3 ΠΌΠΈΠ»Π»ΠΈΠΌΠ΅ΡΡΠ°. Π‘ΡΡΠΎΠ³Π°Π΅ΠΌΡΠΉ ΠΌΠ°ΡΠ΅ΡΠΈΠ°Π» ΠΏΡΠΈ Π±ΠΎΠ»Π΅Π΅ Π²ΡΡΠΎΠΊΠΎΠΌ ΡΠ°ΡΠΏΠΎΠ»ΠΎΠΆΠ΅Π½ΠΈΠΈ Π½ΠΈΠΆΠ½ΠΈΡ Π²Π°Π»ΡΡΠ΅Π² Π²ΠΈΠ±ΡΠΈΡΡΠ΅Ρ ΠΎΡ ΡΠ΄Π°ΡΠΎΠ² Π½ΠΎΠΆΠ΅ΠΉ, ΡΠΎΠ½ΠΊΠΈΠΉ Π±ΡΠ΄Π΅Ρ ΠΏΡΠΎΠ³ΠΈΠ±Π°ΡΡΡΡ, ΠΈ ΡΡΡΠΎΠ³Π°Π½ΠΈΠ΅ ΠΏΠΎΠ»ΡΡΠΈΡΡΡ Π½Π΅ΡΠΎΠ²Π½ΡΠΌ. ΠΠ΅ΡΠ΅Π΄Π½ΠΈΠΉ Π²Π΅ΡΡ Π½ΠΈΠΉ Π²Π°Π»ΠΈΠΊ ΠΏΡΠΈΠ½ΡΡΠΎ Π΄Π΅Π»Π°ΡΡ ΡΠΈΡΠ»Π΅Π½ΡΠΌ Π΄Π»Ρ Π»ΡΡΡΠ΅Π³ΠΎ ΡΡΠ΅ΠΏΠ»Π΅Π½ΠΈΡ Ρ Π½Π΅ΡΡΡΠΎΠ³Π°Π½ΠΎΠΉ ΠΏΠΎΠ²Π΅ΡΡ Π½ΠΎΡΡΡΡ Π·Π°Π³ΠΎΡΠΎΠ²ΠΊΠΈ. Π’Π°ΠΊΠΎΠΉ Π²Π°Π»ΠΈΠΊ ΡΡΡΠ°Π½Π°Π²Π»ΠΈΠ²Π°Π΅ΡΡΡ Π½Π° 2β3 ΠΌΠΈΠ»Π»ΠΈΠΌΠ΅ΡΡΠ° Π½ΠΈΠΆΠ΅ ΠΏΠΎΠ²Π΅ΡΡ Π½ΠΎΡΡΠΈ ΠΌΠ°ΡΠ΅ΡΠΈΠ°Π»Π°, ΡΡΠΎ ΠΏΠΎΠ΄Π°Π΅ΡΡΡ Π½Π° Π½ΠΎΠΆΠΈ.

ΠΠ΅ΡΡ Π½ΠΈΠΉ Π·Π°Π΄Π½ΠΈΠΉ Π²Π°Π»ΠΈΠΊ Π½Π΅ΠΎΠ±Ρ ΠΎΠ΄ΠΈΠΌΠΎ Π΄Π΅Π»Π°ΡΡ Π³Π»Π°Π΄ΠΊΠΈΠΌ, ΠΏΠΎΡΠΎΠΌΡ ΡΡΠΎ ΡΠΈΡΠ»Π΅Π½ΠΈΠ΅ ΡΠΏΠΎΡΠΎΠ±Π½ΠΎ ΠΏΠΎΡΡΠΈΡΡ ΡΡΡΠΎΠ³Π°Π½Π½ΡΡ ΠΏΠΎΠ²Π΅ΡΡ Π½ΠΎΡΡΡ Π΄Π΅ΡΠ΅Π²Π°. Π Π°Π·ΠΌΠ΅ΡΠ°ΡΡ Π΅Π³ΠΎ Π½ΠΈΠΆΠ΅ Π½Π° 1 ΠΌΠΈΠ»Π»ΠΈΠΌΠ΅ΡΡ ΡΠ΅ΠΆΡΡΠΈΡ ΠΊΡΠΎΠΌΠΎΠΊ Π½ΠΎΠΆΠ΅ΠΉ. ΠΠ°Π»ΠΈΠΊΠΈ ΠΌΠ΅Ρ Π°Π½ΠΈΠ·ΠΌΠ° ΠΏΠΎΠ΄Π°ΡΠΈ ΡΠ°ΡΠΏΠΎΠ»Π°Π³Π°ΡΡΡΡ ΠΏΠ°ΡΠ°Π»Π»Π΅Π»ΡΠ½ΠΎ, ΠΏΠΎΡΡΠΎΠΌΡ Π² ΡΠ΅ΠΉΡΠΌΡΡΠΎΠ²ΡΠΉ ΡΡΠ°Π½ΠΎΠΊ ΠΎΠ΄Π½ΠΎΠ²ΡΠ΅ΠΌΠ΅Π½Π½ΠΎ ΠΌΠΎΠΆΠ½ΠΎ ΠΏΠΎΠ΄Π°Π²Π°ΡΡ ΠΈΡΠΊΠ»ΡΡΠΈΡΠ΅Π»ΡΠ½ΠΎ Π΄Π΅ΡΠ°Π»ΠΈ ΠΎΠ΄ΠΈΠ½Π°ΠΊΠΎΠ²ΠΎΠΉ ΡΠΎΠ»ΡΠΈΠ½Ρ. ΠΠ·Π΄Π΅Π»ΠΈΡ ΠΌΠ΅Π½ΡΡΠ΅ΠΉ ΡΠΎΠ»ΡΠΈΠ½Ρ, Π΄Π°ΠΆΠ΅ Π½Π° 2β3 ΠΌΠΈΠ»Π»ΠΈΠΌΠ΅ΡΡΠ°, Π΄ΠΎΠΉΠ΄Ρ Π΄ΠΎ Π½ΠΎΠΆΠ΅Π²ΠΎΠ³ΠΎ Π²Π°Π»Π°, ΠΏΠΎΠ»ΡΡΠ°Ρ ΡΠΈΠ»ΡΠ½ΡΠΉ ΡΠ΄Π°Ρ Π² ΡΠΎΡΠ΅Ρ Π½ΠΎΠΆΠΎΠΌ ΠΈ Π²ΡΠ»Π΅ΡΡΡ ΠΎΠ±ΡΠ°ΡΠ½ΠΎ.
ΠΠ»Ρ ΠΎΠ΄Π½ΠΎΠ²ΡΠ΅ΠΌΠ΅Π½Π½ΠΎΠ³ΠΎ ΡΡΡΠΎΠ³Π°Π½ΠΈΡ ΠΏΠΈΠ»ΠΎΠΌΠ°ΡΠ΅ΡΠΈΠ°Π»ΠΎΠ², ΡΡΠΎ ΠΈΠΌΠ΅ΡΡ ΡΠ°Π·Π½ΡΡ ΡΠΎΠ»ΡΠΈΠ½Ρ, Π² ΡΡ Π΅ΠΌΡ ΡΠ΅ΠΉΡΠΌΡΡΠΎΠ²ΠΎΠ³ΠΎ ΡΡΠ°Π½ΠΊΠ° Π²Π²ΠΎΠ΄ΡΡ ΡΠΈΡΠ»Π΅Π½ΡΠΉ Π²Π°Π»Π΅Ρ ΡΠ΅ΠΊΡΠΈΠΎΠ½Π½ΡΠΉ, ΡΡΠΎ ΠΏΠΎΠ·Π²ΠΎΠ»ΡΠ΅Ρ ΠΏΡΠΈΠΌΠ΅Π½ΡΡΡ Π²ΡΡ ΡΠΈΡΠΈΠ½Ρ ΡΡΠ°Π½ΠΊΠ° ΠΈ ΡΠ΅Π·ΠΊΠΎ ΡΠ²Π΅Π»ΠΈΡΠΈΠ²Π°ΡΡ Π΅Π³ΠΎ ΠΏΡΠΎΠΈΠ·Π²ΠΎΠ΄ΠΈΡΠ΅Π»ΡΠ½ΠΎΡΡΡ. Π‘ΠΎΡΡΠΎΠΈΡ ΡΠ΅ΠΊΡΠΈΠΎΠ½Π½ΡΠΉ Π²Π°Π»ΠΈΠΊ ΠΈΠ· 12 ΡΠΈΡΠ»Π΅Π½ΡΡ ΠΊΠΎΠ»Π΅Ρ, ΠΊΠΎΡΠΎΡΡΠ΅ Π½Π°ΡΠ°ΠΆΠ΅Π½Ρ Π½Π° ΠΎΠ±ΡΡΡ ΠΎΡΡ ΠΈ ΡΠΎΠ΅Π΄ΠΈΠ½Π΅Π½Ρ Ρ Π½Π΅ΠΉ ΠΏΡΡΠΆΠΈΠ½Π°ΠΌΠΈ. ΠΡΠΈ ΠΏΡΠΎΡ ΠΎΠΆΠ΄Π΅Π½ΠΈΠΈ ΠΏΠΎΠ΄ Π²Π°Π»ΠΈΠΊΠΎΠΌ ΠΈΠ·Π΄Π΅Π»ΠΈΡ, ΡΠΎΠ»ΡΠΈΠ½Π° ΠΊΠΎΡΠΎΡΠΎΠ³ΠΎ Π±ΠΎΠ»ΡΡΠ΅ ΡΠΎΠ»ΡΠΈΠ½Ρ Π΄ΡΡΠ³ΠΈΡ , ΡΡΠΎ ΠΎΠ΄Π½ΠΎΠ²ΡΠ΅ΠΌΠ΅Π½Π½ΠΎ ΠΎΠ±ΡΠ°Π±Π°ΡΡΠ²Π°ΡΡΡΡ, ΡΠ΅ΠΊΡΠΈΠΈ, ΡΡΠΎ Π½Π°Π΄Π°Π²Π»ΠΈΠ²Π°ΡΡ Π½Π° Π½Π΅Π³ΠΎ, ΡΠΌΠ΅ΡΠ°ΡΡΡΡ ΠΊΠ²Π΅ΡΡ Ρ ΠΈ ΡΠΎΡ ΡΠ°Π½ΡΡΡ ΡΡΠ΅ΠΏΠ»Π΅Π½ΠΈΠ΅ Ρ ΠΌΠ°ΡΠ΅ΡΠΈΠ°Π»ΠΎΠΌ ΠΏΠΎΠ΄ Π΄Π΅ΠΉΡΡΠ²ΠΈΠ΅ΠΌ ΠΏΡΡΠΆΠΈΠ½.
ΠΠ΅ΡΠ΅Π΄ ΠΏΠΎΠ΄ΠΎΠ±Π½ΡΠΌ ΡΠΈΡΠ»Π΅Π½ΡΠΌ Π²Π°Π»ΠΈΠΊΠΎΠΌ ΡΠ°ΡΠΏΠΎΠ»Π°Π³Π°ΡΡΡΡ ΠΏΠΎΠ΄Π²Π΅ΡΠΊΠΈ, ΠΏΡΠ΅Π΄Π½Π°Π·Π½Π°ΡΠ΅Π½ΠΈΠ΅ ΠΊΠΎΡΠΎΡΡΡ ΠΊΡΠΎΠ΅ΡΡΡ Π² ΡΠΎΠΌ, ΡΡΠΎΠ±Ρ Π½Π΅ Π΄ΠΎΠΏΡΡΡΠΈΡΡ ΠΎΠ±ΡΠ°ΡΠ½ΠΎΠ³ΠΎ Π²ΡΠ»Π΅ΡΠ° Π΄Π΅ΡΠ°Π»ΠΈ ΠΈΠ· ΡΡΠ°Π½ΠΊΠ°. Π‘Π²Π΅ΡΡ Ρ Π½ΠΎΠΆΠ΅Π²ΠΎΠΉ Π²Π°Π» Π·Π°ΠΊΡΡΡ ΠΏΠΎΠ΄ΡΠ΅ΠΌΠ½ΡΠΌ ΠΌΠ°ΡΡΠΈΠ²Π½ΡΠΌ ΠΊΠΎΠ»ΠΏΠ°ΠΊΠΎΠΌ, ΠΊΠΎΡΠΎΡΡΠΉ ΡΠ»ΡΠΆΠΈΡ Π½Π°Π΄Π΅ΠΆΠ½ΡΠΌ ΠΎΠ³ΡΠ°ΠΆΠ΄Π΅Π½ΠΈΠ΅ΠΌ ΠΈ ΡΠ²Π»ΡΠ΅ΡΡΡ ΠΊΠ°ΡΠ΅ΡΡΠ²Π΅Π½Π½ΡΠΌ ΠΏΡΠΈΡΠΏΠΎΡΠΎΠ±Π»Π΅Π½ΠΈΠ΅ΠΌ, ΡΡΠΎ Π½Π°ΠΏΡΠ°Π²Π»ΡΠ΅Ρ ΡΡΡΡΠΆΠΊΡ Π² Π²ΠΎΡΠΎΠ½ΠΊΡ ΡΠΊΡΠ³Π°ΡΡΡΠ΅ΡΠ°. ΠΠΎΠΌΠΈΠΌΠΎ ΡΡΠΎΠ³ΠΎ, ΠΊΠΎΠ»ΠΏΠ°ΠΊ ΡΠΎΠ²Π΅ΡΡΠ°Π΅Ρ ΠΏΠΎΠ΄ΠΏΠΎΡ Π²ΠΎΠ»ΠΎΠΊΠΎΠ½ ΠΏΡΠΈ ΡΡΡΠΎΠ³Π°Π½ΠΈΠΈ, Π½ΠΈΠΆΠ½ΡΡ Π΅Π³ΠΎ ΠΊΡΠΎΠΌΠΊΠ° Π΄Π»Ρ ΡΡΠΎΠ³ΠΎ ΠΏΠΎΠ΄Π²Π΅Π΄Π΅Π½Π° ΠΊ ΡΠ°ΠΌΡΠΌ Π½ΠΎΠΆΠ°ΠΌ.
Π‘ΠΌΠ΅Π½Π½ΡΠ΅ Π½ΠΎΠΆΠΈ Π²Ρ ΠΌΠΎΠΆΠ΅ΡΠ΅ ΡΠ²Π΅Π»ΠΈΡΠΈΡΡ ΠΎΡ Π΄Π²ΡΡ Π΄ΠΎ ΡΠ΅ΡΡΡΠ΅Ρ . Π ΠΊΠ°ΡΠ΅ΡΡΠ²Π΅ ΠΈΠ½ΡΡΡΡΠΌΠ΅Π½ΡΠ° ΠΊΡΠΎΠΌΠ΅ ΡΡΠ΅Π·Ρ ΠΌΠΎΠΆΠ½ΠΎ ΠΏΡΠΈΠΌΠ΅Π½ΡΡΡ Π³Π»Π°Π΄ΠΊΠΈΠΉ Π±Π°ΡΠ°Π±Π°Π½, ΡΡΠΎ ΠΎΠ±ΡΡΠ½ΡΡ ΡΠ»ΠΈΡΠΎΠ²Π°Π»ΡΠ½ΠΎΠΉ ΡΠΊΡΡΠΊΠΎΠΉ. ΠΡΡΠΎΡΠΈΡΡ Π±Π°ΡΠ°Π±Π°Π½ ΠΏΠΎΠ»ΡΡΠΈΡΡΡ ΠΈΠ· ΡΠ΅ΡΠΌΠΎΡΡΠΎΠΉΠΊΠΎΠ³ΠΎ ΠΏΠ»Π°ΡΡΠΈΠΊΠ°, Π°Π»ΡΠΌΠΈΠ½ΠΈΡ ΠΈΠ»ΠΈ ΡΠ²Π΅ΡΠ΄ΠΎΠΉ Π΄ΡΠ΅Π²Π΅ΡΠΈΠ½Ρ. ΠΠΎΠ΄Ρ ΠΎΠ΄ΡΡΠΈΠ΅ ΡΠ°Π·ΠΌΠ΅ΡΡ: Π΄ΠΈΠ°ΠΌΠ΅ΡΡ 80 ΠΌΠΈΠ»Π»ΠΈΠΌΠ΅ΡΡΠΎΠ², Π΄Π»ΠΈΠ½Π° 100 ΠΌΠΈΠ»Π»ΠΈΠΌΠ΅ΡΡΠΎΠ². ΠΠ° ΠΎΠ΄Π½ΠΎΠΌ ΠΈΠ· ΡΠΎΡΡΠΎΠ² Π΄Π΅Π»Π°ΡΡ ΠΏΡΠΎΡΠΎΡΠΊΡ ΠΏΠΎΠ΄ Π³Π°ΠΉΠΊΡ Ρ ΡΠ°ΠΉΠ±ΠΎΠΉ. ΠΠ° Π±ΠΎΠΊΠΎΠ²ΠΎΠΉ ΠΏΠΎΠ²Π΅ΡΡ Π½ΠΎΡΡΠΈ Π΄Π»Ρ ΠΏΡΠΈΠΊΡΠ΅ΠΏΠ»Π΅Π½ΠΈΡ ΡΠΊΡΡΠΊΠΈ ΠΏΡΠΎΡΠ΅Π·Π°Π½ ΠΏΡΠΎΠ΄ΠΎΠ»ΡΠ½ΡΠΉ ΠΏΠ°Π·, ΡΡΠΎ ΠΈΠΌΠ΅Π΅Ρ ΡΡΠ°ΠΏΠ΅ΡΠΈΠ΅Π²ΠΈΠ΄Π½ΡΡ ΡΠΎΡΠΌΡ, ΠΏΠΎΠ΄ ΠΏΡΠΈΠΆΠΈΠΌΠ½ΡΡ ΠΏΠ»Π°Π½ΠΊΡ Π°Π½Π°Π»ΠΎΠ³ΠΈΡΠ½ΠΎΠΉ ΡΠΎΡΠΌΡ. ΠΡΠΎΡΠ²Π΅ΡΠ»ΠΈΠ²Π°ΡΡ Π² ΠΏΠ»Π°Π½ΠΊΠ΅ ΡΡΠΈ ΠΎΡΠ²Π΅ΡΡΡΠΈΡ Π΄Π»Ρ Π²ΠΈΠ½ΡΠΎΠ² Ρ ΠΏΠΎΡΠ°ΠΉΠ½ΡΠΌΠΈ Π³ΠΎΠ»ΠΎΠ²ΠΊΠ°ΠΌΠΈ.
ΠΠΎΠ΄Π°ΡΠ° ΠΏΡΠΎΠ²ΠΎΠ΄ΠΈΡΡΡ Π²Π΅ΡΡ Π½ΠΈΠΌΠΈ Π²Π°Π»ΡΡΠ°ΠΌΠΈ β Π·Π°Π΄Π½ΠΈΠΌ Π³Π»Π°Π΄ΠΊΠΈΠΌ ΠΈ ΠΏΠ΅ΡΠ΅Π΄Π½ΠΈΠΌ ΡΠΈΡΠ»Π΅Π½ΡΠΌ. ΠΠ²Π° Π³Π»Π°Π΄ΠΊΠΈΡ Π²Π°Π»ΡΡΠ°, ΠΊΠΎΡΠΎΡΡΠ΅ ΡΠ²ΠΎΠ±ΠΎΠ΄Π½ΠΎ Π²ΡΠ°ΡΠ°ΡΡΡΡ Π² ΠΏΠΎΠ΄ΡΠΈΠΏΠ½ΠΈΠΊΠ°Ρ , ΡΠΏΠΎΡΠΎΠ±Π½Ρ ΡΠΌΠ΅Π½ΡΡΠ°ΡΡ ΡΡΠ΅Π½ΠΈΠ΅ ΠΏΡΠΈ Π΄Π²ΠΈΠΆΠ΅Π½ΠΈΠΈ ΠΏΠΎ ΡΡΠΎΠ»Ρ ΠΌΠ°ΡΠ΅ΡΠΈΠ°Π»Π°. Π’ΠΈΠΏΠΎΠ²Π°Ρ ΠΌΠ°ΠΊΡΠΈΠΌΠ°Π»ΡΠ½Π°Ρ ΡΠΈΡΠΈΠ½Π° ΠΎΠ±ΡΠ°Π±Π°ΡΡΠ²Π°Π΅ΠΌΠΎΠ³ΠΎ ΠΈΠ·Π΄Π΅Π»ΠΈΡ 315 — 1250 ΠΌΠΈΠ»Π»ΠΈΠΌΠ΅ΡΡΠΎΠ², ΡΠΎΠ»ΡΠΈΠ½Π° β 5 — 160 ΠΌΠΈΠ»Π»ΠΈΠΌΠ΅ΡΡΠΎΠ², Π΄ΠΈΠ°ΠΌΠ΅ΡΡ Π½ΠΎΠΆΠ΅Π²ΠΎΠ³ΠΎ Π²Π°Π»Π° 100 — 165 ΠΌΠΈΠ»Π»ΠΈΠΌΠ΅ΡΡΠΎΠ², ΠΈΠΌΠ΅Π΅ΡΡΡ Π½Π° Π²Π°Π»Ρ 2 — 4 Π½ΠΎΠΆΠ°. ΠΠΎΡΠ½ΠΎΡΡΡ ΡΠ»Π΅ΠΊΡΡΠΈΡΠ΅ΡΠΊΠΎΠ³ΠΎ ΠΌΠΎΡΠΎΡΠ° Π΄ΠΎΡΡΠΈΠ³Π°Π΅Ρ 1 — 44 ΠΊΠΡ.
Π§Π΅ΠΌ Π±ΡΡΡΡΠ΅Π΅ Π±ΡΠ΄ΡΡ Π²ΡΠ°ΡΠ°ΡΡΡΡ Π²Π°Π»ΠΎΠ²ΡΠ΅ Π½ΠΎΠΆΠΈ, ΡΠ΅ΠΌ ΡΠΈΡΠ΅ ΠΈ ΡΠΎΠ²Π½Π΅Π΅ ΠΏΠΎΠ»ΡΡΠ°Π΅ΡΡΡ ΠΏΠΎΠ²Π΅ΡΡ Π½ΠΎΡΡΡ Π·Π°Π³ΠΎΡΠΎΠ²ΠΎΠΊ ΠΏΠΎΡΠ»Π΅ ΡΡΡΠΎΠ³Π°Π½ΠΈΡ. ΠΡΠ±ΠΈΡΠ°ΡΡ Π΄Π»Ρ ΠΈΡΠΏΠΎΠ»ΡΠ·ΠΎΠ²Π°Π½ΠΈΡ ΠΌΠΎΠΆΠ½ΠΎ Π°ΠΏΠΏΠ°ΡΠ°ΡΡ ΡΠΎ ΡΠΊΠΎΡΠΎΡΡΡΡ Π²ΡΠ°ΡΠ΅Π½ΠΈΡ 6 — 10 ΡΡΡΡΡ ΠΎΠ±ΠΎΡΠΎΡΠΎΠ² Π² ΠΌΠΈΠ½ΡΡΡ. ΠΠ΅Ρ, ΡΡΡΡΠΎΠΉΡΡΠ²ΠΎ ΡΠ΅ΠΉΡΠΌΡΡΠΎΠ²ΠΎΠ³ΠΎ ΡΡΠ°Π½ΠΊΠ°, Π° ΡΠ°ΠΊΠΆΠ΅ ΠΊΠΎΠΌΠΏΠ°ΠΊΡΠ½ΠΎΡΡΡ ΡΠ΅ΠΉΡΠΌΡΡΠ° Ρ Π°ΡΠ°ΠΊΡΠ΅ΡΠΈΠ·ΡΡΡ Π½Π°ΠΏΡΡΠΌΡΡ Π²ΠΎΠ·ΠΌΠΎΠΆΠ½ΠΎΡΡΡ ΠΏΠ΅ΡΠ΅ΠΌΠ΅ΡΠ΅Π½ΠΈΡ ΠΎΠ±ΠΎΡΡΠ΄ΠΎΠ²Π°Π½ΠΈΡ. ΠΠΎΠΌΠΏΠ°ΠΊΡΠ½ΡΠ΅ ΡΡΠ°Π½ΠΊΠΈ, ΡΡΠΎ ΠΈΠΌΠ΅ΡΡ Π²Π΅Ρ 27 — 39 ΠΊΠΈΠ»ΠΎΠ³ΡΠ°ΠΌΠΌΠΎΠ², ΡΠ²Π»ΡΡΡΡΡ ΡΠ°ΠΌΡΠΌ Ρ ΠΎΡΠΎΡΠΈΠΌ Π²ΡΠ±ΠΎΡΠΎΠΌ.
ΠΡΠΈ ΠΎΠΏΡΠ΅Π΄Π΅Π»Π΅Π½Π½ΠΎΠΌ ΡΠ°ΡΡΡΠΎΡΠ½ΠΈΠΈ ΡΠ°Π±ΠΎΡΠ΅Π³ΠΎ ΡΡΠΎΠ»Π° ΠΎΡ Π½ΠΎΠΆΠ΅Π²ΠΎΠ³ΠΎ Π²Π°Π»Π° ΡΡΡΠΎΠ³Π°ΡΡ Π·Π°Π³ΠΎΡΠΎΠ²ΠΊΡ Π² ΡΠ°Π·ΠΌΠ΅Ρ, ΠΊΠΎΡΠΎΡΡΠΉ ΠΏΠΎΠΊΠ°Π·Π°Π½ Π½Π° ΡΠΊΠ°Π»Π΅, ΡΠΊΡΠ΅ΠΏΠ»Π΅Π½Π½ΠΎΠΉ Π½Π° ΡΡΠ°Π½ΠΈΠ½Π΅ ΡΡΠ°Π½ΠΊΠ°. ΠΡΠΈΠΆΠΈΠΌΡ ΡΡΡΠ°Π½Π°Π²Π»ΠΈΠ²Π°ΡΡ ΠΏΠΎ Π΄Π²ΡΠΌ ΡΡΠΎΡΠΎΠ½Π°ΠΌ Π½ΠΎΠΆΠ΅Π²ΠΎΠ³ΠΎ Π²Π°Π»Π°, ΠΎΠ½ΠΈ ΡΠΏΠΎΡΠΎΠ±Π½Ρ ΠΏΡΠ΅Π΄ΠΎΡΠ²ΡΠ°ΡΠΈΡΡ Π²ΠΈΠ±ΡΠ°ΡΠΈΡ Π·Π°Π³ΠΎΡΠΎΠ²ΠΎΠΊ. Π‘ΡΡΡΠΆΠΊΠΎΠ»ΠΎΠΌΠ°ΡΠ΅Π»Ρ, ΡΡΠΎ ΡΠ°ΡΠΏΠΎΠ»ΠΎΠΆΠ΅Π½ ΠΏΠ΅ΡΠ΅Π΄ Π½ΠΎΠΆΠ΅Π²ΡΠΌ Π²Π°Π»ΠΎΠΌ, ΡΠΏΠΎΡΠΎΠ±ΡΡΠ²ΡΠ΅Ρ Π½Π°Π΄Π»Π°ΠΌΡΠ²Π°Π½ΠΈΡ ΡΡΡΡΠΆΠΊΠΈ ΠΈ Π·Π°Π³ΠΎΡΠΎΠ²ΠΊΡ ΠΏΡΠΈΠΆΠΈΠΌΠ°Π΅Ρ ΠΊ ΡΡΠΎΠ»Ρ, ΠΎΠ±ΡΠ°Π·ΡΡ ΠΏΠΎΠ»ΠΎΡΡΡ Π΄Π»Ρ Π½Π°ΠΊΠΎΠΏΠ»Π΅Π½ΠΈΡ ΡΡΡΡΠΆΠ΅ΠΊ Π²ΠΌΠ΅ΡΡΠ΅ Ρ ΠΏΡΠΈΠΆΠΈΠΌΠΎΠΌ.
ΠΡΠΈΠ½ΡΠΈΠΏ ΡΠ°Π±ΠΎΡΡ ΡΠ΅ΠΉΡΠΌΡΡΠΎΠ²ΠΎΠ³ΠΎ ΡΡΠ°Π½ΠΊΠ°
Π ΠΏΡΠΈΠ½ΡΠΈΠΏ ΡΠ°Π±ΠΎΡΡ ΡΠ΅ΠΉΡΠΌΡΡΠ° Π·Π°Π»ΠΎΠΆΠ΅Π½Π° ΠΌΠ΅ΡΠΎΠ΄ΠΈΠΊΠ° ΠΏΠ»ΠΎΡΠΊΠΎΠ³ΠΎ ΡΡΡΠΎΠ³Π°Π½ΠΈΡ Π΄ΠΎΡΠΊΠΈ. ΠΠ»Π°Π²Π½ΡΠΌ ΡΠ°Π±ΠΎΡΠΈΠΌ ΠΈΠ½ΡΡΡΡΠΌΠ΅Π½ΡΠΎΠΌ Ρ ΡΠ΅ΠΉΡΠΌΡΡΠΎΠ²ΠΎΠ³ΠΎ ΡΡΠ°Π½ΠΊΠ° ΡΠ²Π»ΡΠ΅ΡΡΡ Π½ΠΎΠΆΠ΅Π²ΠΎΠΉ Π²Π°Π». ΠΠ°Π³ΠΎΡΠΎΠ²ΠΊΠΈ Π΄Π»Ρ ΠΎΠ±ΡΠ°Π±ΠΎΡΠΊΠΈ ΠΏΠΎΠ΄Π°ΡΡΡΡ Π½Π° Π³ΠΎΡΠΈΠ·ΠΎΠ½ΡΠ°Π»ΡΠ½ΡΠΉ ΡΠ°Π±ΠΎΡΠΈΠΉ ΡΡΠΎΠ» Π²ΡΡΡΠ½ΡΡ ΠΈΠ»ΠΈ Π²Π°Π»ΡΡΠ°ΠΌΠΈ, ΠΊΠΎΡΠΎΡΡΠ΅ ΠΏΡΠΈΠΆΠΈΠΌΠ°ΡΡ ΠΈΡ ΠΊ ΡΡΠΎΠ»Ρ ΠΈ ΡΡΠ½ΡΡ Π² ΠΎΠ±Π»Π°ΡΡΡ ΠΎΠ±ΡΠ°Π±ΠΎΡΠΊΠΈ. ΠΠ°ΡΠ΅ΡΠΈΠ°Π» ΡΡΡΠΎΠ³Π°Π΅ΡΡΡ ΡΠ²Π΅ΡΡ Ρ Π½ΠΎΠΆΠ°ΠΌΠΈ, ΠΈ Π² ΡΠ΅Π·ΡΠ»ΡΡΠ°ΡΠ΅ ΠΏΠΎΠ»ΡΡΠ°ΡΡΡΡ Π΄Π΅ΡΠ°Π»ΠΈ, Π°Π±ΡΠΎΠ»ΡΡΠ½ΠΎ ΠΈΠ΄Π΅Π½ΡΠΈΡΠ½ΡΠ΅ ΠΏΠΎ ΡΠ°Π·ΠΌΠ΅ΡΡ. ΠΠ½ΠΎΠ³ΠΈΠ΅ ΡΠ΅ΠΉΡΠΌΡΡΠΎΠ²ΡΠ΅ ΡΡΠ°Π½ΠΊΠΈ ΠΈΠΌΠ΅ΡΡ Π°Π²ΡΠΎΠΌΠ°ΡΠΈΡΠ΅ΡΠΊΡΡ ΡΠΈΡΡΠ΅ΠΌΡ ΠΏΠΎΠ΄Π°ΡΠΈ Π·Π°Π³ΠΎΡΠΎΠ²ΠΎΠΊ Ρ ΠΎΠΏΡΠ΅Π΄Π΅Π»Π΅Π½Π½ΠΎΠΉ ΡΠΊΠΎΡΠΎΡΡΡΡ, ΡΡΠΎΠ±Ρ Π°ΠΊΠΊΡΡΠ°ΡΠ½ΠΎ ΠΈ ΡΠΎΡΠ½ΠΎ ΡΠ½ΠΈΠΌΠ°ΡΡ Π½Π΅ΠΎΠ±Ρ ΠΎΠ΄ΠΈΠΌΡΠΉ ΡΠ»ΠΎΠΉ.
ΠΠΎΠΆΠ½ΠΎ ΠΏΡΠΈΠΎΠ±ΡΠ΅ΡΡΠΈ ΠΎΠ΄Π½ΠΎΡΡΠΎΡΠΎΠ½Π½ΠΈΠΉ ΠΈΠ»ΠΈ Π΄Π²ΡΡΡΠΎΡΠΎΠ½Π½ΠΈΠΉ ΡΠ΅ΠΉΡΠΌΡΡ. Π£ ΠΏΠ΅ΡΠ²ΡΡ ΡΠ΅ΠΉΡΠΌΡΡΠΎΠ²ΡΡ ΡΡΠ°Π½ΠΊΠ°Ρ ΠΏΡΠΈΡΡΡΡΡΠ²ΡΠ΅Ρ ΠΎΠ΄ΠΈΠ½ Π½ΠΎΠΆΠ΅Π²ΠΎΠΉ Π²Π°Π», Π² Π΄Π²ΡΡΡΠΎΡΠΎΠ½Π½ΠΈΡ Π΅ΡΡΡ Π΅ΡΡ ΠΈ Π΄ΠΎΠΏΠΎΠ»Π½ΠΈΡΠ΅Π»ΡΠ½ΡΠΉ Π½ΠΎΠΆΠ΅Π²ΠΎΠΉ Π²Π°Π» Π½Π° ΡΠ°Π±ΠΎΡΠ΅ΠΌ ΡΡΠΎΠ»Π΅. ΠΠ΅ΡΠ΅Π΄ ΠΎΠ±ΡΠ°Π±ΠΎΡΠΊΠΎΠΉ Π΄Π΅ΡΠ°Π»Π΅ΠΉ ΡΠ΅ΠΉΡΠΌΡΡΠΎΠΌ ΠΎΠ½ΠΈ Π΄ΠΎΠ»ΠΆΠ½Ρ Π±ΡΡΡ ΡΠΆΠ΅ ΠΏΠΎΠ΄ΡΡΡΡΠ³Π°Π½Π½ΡΠΌΠΈ Π² ΡΡΠ³ΠΎΠ²Π°Π»ΡΠ½ΠΎΠΌ ΡΡΠ°Π½ΠΊΠ΅. ΠΠΎ ΠΊΠΎΠ½ΡΡΡΡΠΊΡΠΈΠΈ, Π² ΠΏΡΠΈΠ½ΡΠΈΠΏΠ΅ Π΄Π²Π° ΡΡΠ°Π½ΠΊΠ° ΠΎΡΠ΅Π½Ρ ΡΡ ΠΎΠΆΠΈ ΠΌΠ΅ΠΆΠ΄Ρ ΡΠΎΠ±ΠΎΠΉ. ΠΠ°ΡΠ°ΡΡΡΡ Π΄Π²ΡΡΡΠΎΡΠΎΠ½Π½ΠΈΠΉ ΡΠ΅ΠΉΡΠΌΡΡ ΠΈ ΡΡΠ³Π°Π½ΠΊΡ ΠΊΠΎΠΌΠ±ΠΈΠ½ΠΈΡΡΡΡ Π² ΠΎΠ΄ΠΈΠ½ ΠΌΠ΅Ρ Π°Π½ΠΈΠ·ΠΌ. Π’Π°ΠΊΠΎΠ΅ ΠΎΠ±ΠΎΡΡΠ΄ΠΎΠ²Π°Π½ΠΈΠ΅ ΠΈΠΌΠ΅Π΅Ρ Π΄Π²Π° ΡΡΠΎΠ»Π° β Π΄Π»Ρ ΡΡΠ³Π°Π½ΠΊΠ° ΡΠ²Π΅ΡΡ Ρ ΠΈ Π΄Π»Ρ ΡΠ΅ΠΉΡΠΌΡΡΠ° ΡΠ½ΠΈΠ·Ρ.
ΠΠ±ΡΡΠ½ΠΎ Π½Π° ΡΠ΅ΠΉΡΠΌΡΡΠΎΠ²ΠΎΠΌ ΡΡΠ°Π½ΠΊΠ΅ ΡΡΡΠΎΠ³Π°ΡΡ Π·Π°Π³ΠΎΡΠΎΠ²ΠΊΠΈ Π΄Π»ΠΈΠ½ΠΎΠΉ ΡΡΡΡ Π±ΠΎΠ»ΡΡΠ΅ ΡΠ°ΡΡΡΠΎΡΠ½ΠΈΡ, ΡΡΠΎ ΡΡΠΎΡΠΌΠΈΡΠΎΠ²Π°Π»ΠΎΡΡ ΠΌΠ΅ΠΆΠ΄Ρ ΠΏΠΎΠ΄Π°ΡΡΠΈΠΌΠΈ Π²Π°Π»ΡΡΠ°ΠΌΠΈ, ΠΊΠ°ΠΊ Π½Π° Π²ΠΈΠ΄Π΅ΠΎ ΠΎ ΡΠ΅ΠΉΡΠΌΡΡΠΎΠ²ΠΎΠΌ ΡΡΠ°Π½ΠΊΠ΅. Π ΡΠ»ΡΡΠ°Π΅ ΠΈΡΠΏΠΎΠ»ΡΠ·ΠΎΠ²Π°Π½ΠΈΡ ΠΏΠΎΠ΄ΠΊΠ»Π°Π΄Π½ΡΡ ΡΠ°Π±Π»ΠΎΠ½ΠΎΠ² (ΡΡΠ»Π°Π³ΠΈ) ΠΌΠΎΠΆΠ½ΠΎ ΡΡΡΠΎΠ³Π°ΡΡ Π½Π° ΡΠ΅ΠΉΡΠΌΡΡΠΎΠ²ΠΎΠΌ ΡΡΠ°Π½ΠΊΠ΅ Π·Π°Π³ΠΎΡΠΎΠ²ΠΊΠΈ (ΡΠΈΡΡ, Π±ΡΡΡΠΊΠΈ, Π΄ΠΎΡΠΊΠΈ) Ρ Π½Π΅ΠΏΠ°ΡΠ°Π»Π»Π΅Π»ΡΠ½ΡΠΌΠΈ ΠΏΡΠΎΡΠΈΠ²ΠΎΠΏΠΎΠ»ΠΎΠΆΠ½ΡΠΌΠΈ Π³ΡΠ°Π½ΡΠΌΠΈ. ΠΠΎΠ²Π΅ΡΡ Π½ΠΎΡΡΡ Π΄Π°Π½Π½ΠΎΠ³ΠΎ ΡΠ°Π±Π»ΠΎΠ½Π° Π΄ΠΎΠ»ΠΆΠ½Π° Π½Π°ΠΊΠ»ΠΎΠ½ΡΠ΅ΡΡΡ ΡΠ°ΠΊΠΈΠΌ ΡΠΏΠΎΡΠΎΠ±ΠΎΠΌ, ΡΡΠΎΠ±Ρ ΠΏΡΠΈ ΠΏΡΠΎΡΠ΅Π΄ΡΡΠ΅ Π³ΠΎΡΠΈΠ·ΠΎΠ½ΡΠ°Π»ΡΠ½ΠΎΠ³ΠΎ ΡΡΡΠΎΠ³Π°Π½ΠΈΡ ΠΈΠ·Π΄Π΅Π»ΠΈΠΉ ΠΌΠΎΠΆΠ½ΠΎ Π±ΡΠ»ΠΎ ΠΏΠΎΠ»ΡΡΠΈΡΡ Π½ΡΠΆΠ½ΡΡ ΠΊΠΎΠ½ΡΡΠ½ΠΎΡΡΡ.
Π Π½Π΅ΠΊΠΎΡΠΎΡΡΡ ΠΌΠΎΠ΄Π΅Π»ΡΡ ΡΠ΅ΠΉΡΠΌΡΡΠΎΠ²ΡΡ ΡΡΠ°Π½ΠΊΠΎΠ² Π΄Π»Ρ ΡΠ΄ΠΎΠ±ΡΡΠ²Π° ΠΏΡΠΎΠΈΠ·Π²ΠΎΠ΄ΠΈΡΠ΅Π»ΡΠΌΠΈ ΡΠ²Π΅Π»ΠΈΡΠ΅Π½Π° Π΄Π»ΠΈΠ½Π° ΡΡΠΎΠ»Π°. ΠΠΎΡΡΠΎΠΌΡ Π±ΡΡΡ ΠΈΠ»ΠΈ ΠΈΠΌΠ΅ΡΡ Π·Π½Π°ΡΠΈΡΠ΅Π»ΡΠ½ΡΡ ΠΏΠ»ΠΎΡΠ°Π΄Ρ ΠΎΠΏΠΎΡΡ, Π° ΠΈΠ·Π΄Π΅Π»ΠΈΡ ΠΎΠ±ΡΠ°Π±Π°ΡΡΠ²Π°ΡΡΡΡ ΡΠΎΡΠ½Π΅Π΅. Π§ΡΠΎΠ±Ρ Π·Π°Π³ΠΎΡΠΎΠ²ΠΊΠ° ΠΏΠΎ ΡΡΠΎΠ»Ρ ΠΎΠΏΡΠΈΠΌΠ°Π»ΡΠ½ΠΎ ΡΠΊΠΎΠ»ΡΠ·ΠΈΠ»Π°, Π² Π½ΠΈΡ Π΄Π΅Π»Π°ΡΡ ΡΠΏΠ΅ΡΠΈΠ°Π»ΡΠ½ΡΠ΅ ΠΊΠ°Π½Π°Π²ΠΊΠΈ, ΡΠΌΠ΅Π½ΡΡΠ°ΡΡΠΈΠ΅ ΡΠΈΠ»Ρ ΡΡΠ΅Π½ΠΈΡ. ΠΠΎΠ΄ΠΎΠ±Π½ΡΠ΅ ΠΌΠΎΠ΄Π΅Π»ΠΈ ΡΠ°Π½ΡΡΠ΅ ΠΈΡΠΏΠΎΠ»ΡΠ·ΠΎΠ²Π°Π»ΠΈΡΡ ΠΏΡΠ΅ΠΈΠΌΡΡΠ΅ΡΡΠ²Π΅Π½Π½ΠΎ Π½Π° ΠΏΡΠΎΠΈΠ·Π²ΠΎΠ΄ΡΡΠ²Π΅, Π° ΡΠ΅Π³ΠΎΠ΄Π½Ρ ΡΡΠΈ ΠΏΡΠΈΠ½ΡΠΈΠΏΡ ΡΠΈΡΠΎΠΊΠΎ Π²Π½Π΅Π΄ΡΡΡΡΡΡ ΠΈ Π² Π±ΡΡΠΎΠ²ΡΠ΅ ΡΠ΅ΠΉΡΠΌΡΡΠΎΠ²ΡΠ΅ Π°ΠΏΠΏΠ°ΡΠ°ΡΡ.
ΠΠ΄Π½ΠΈΠΌ ΠΈΠ· ΠΎΡΠ½ΠΎΠ²Π½ΡΡ ΠΏΡΠ΅ΠΈΠΌΡΡΠ΅ΡΡΠ² ΡΠ΅ΠΉΡΠΌΡΡΠΎΠ²ΠΎΠ³ΠΎ ΡΡΠ°Π½ΠΊΠ° Π²ΡΡΡΡΠΏΠ°Π΅Ρ Π²ΡΡΠΎΠΊΠΎΠ΅ ΠΊΠ°ΡΠ΅ΡΡΠ²ΠΎ ΠΎΠ±ΡΠ°Π±ΠΎΡΠ°Π½Π½ΡΡ ΠΏΠΎΠ²Π΅ΡΡ Π½ΠΎΡΡΠ΅ΠΉ. Π’ΠΎΠ»ΡΠΈΠ½Π° ΠΏΠΎΠ»ΡΡΠ°Π΅ΠΌΡΡ Π΄Π΅ΡΠ°Π»Π΅ΠΉ Π·Π°Π΄Π°Π΅ΡΡΡ Ρ ΠΏΠΎΠΌΠΎΡΡΡ ΠΏΠΎΠ΄ΡΠ΅ΠΌΠ½ΠΎΠ³ΠΎ ΠΌΠ΅Ρ Π°Π½ΠΈΠ·ΠΌΠ°, ΠΊΠΎΠ³Π΄Π° ΡΡΠΎΠ» ΠΏΠ΅ΡΠ΅ΠΌΠ΅ΡΠ°Π΅ΡΡΡ ΠΏΠΎ ΠΎΡΠ½ΠΎΡΠ΅Π½ΠΈΡ ΠΊ Π½ΠΎΠΆΠ΅Π²ΠΎΠΌΡ Π²Π°Π»Ρ Π²Π²Π΅ΡΡ . ΠΠΎ ΡΡΠΎΠΈΡ ΡΡΠΈΡΡΠ²Π°ΡΡ ΡΠΎ, ΡΡΠΎ ΠΏΡΠΈ Π²ΡΡΠΎΠΊΠΎΠΉ ΡΠΊΠΎΡΠΎΡΡΠΈ ΡΠ΅Π·Π°Π½ΠΈΡ Π·Π°Π³ΠΎΡΠΎΠ²ΠΎΠΊ ΠΈ Π±ΠΎΠ»ΡΡΠΎΠΉ Π³Π»ΡΠ±ΠΈΠ½Π΅ ΡΠ΅Π·Π°Π½ΠΈΡ ΡΡ ΡΠ΄ΡΠ°Π΅ΡΡΡ ΠΊΠ°ΡΠ΅ΡΡΠ²ΠΎ ΠΎΠ±ΡΠ°Π±ΠΎΡΠ°Π½Π½ΠΎΠΉ ΠΏΠΎΠ²Π΅ΡΡ Π½ΠΎΡΡΠΈ. ΠΠΎΡΡΠΎΠΌΡ ΡΡΠΎΠ±Ρ Π΄ΠΎΠ±ΠΈΡΡΡΡ Π³Π»Π°Π΄ΠΊΠΎΠΉ ΠΏΠΎΠ²Π΅ΡΡ Π½ΠΎΡΡΠΈ, Π½Π΅ΠΎΠ±Ρ ΠΎΠ΄ΠΈΠΌΠΎ Π΄Π΅Π»Π°ΡΡ ΡΠΈΠ½ΠΈΡΠ½ΡΠ΅ ΠΏΡΠΎΡ ΠΎΠ΄Ρ ΠΏΡΠΈ ΠΌΠ°Π»ΠΎΠΉ Π³Π»ΡΠ±ΠΈΠ½Π΅ ΠΈ Π½Π΅Π±ΠΎΠ»ΡΡΠΎΠΉ ΡΠΊΠΎΡΠΎΡΡΠΈ Π²ΡΠ°ΡΠ΅Π½ΠΈΡ Π½ΠΎΠΆΠ΅Π²ΠΎΠ³ΠΎ Π²Π°Π»Π°, Π΅ΡΠ»ΠΈ ΡΡΠ°Π½ΠΊΠΎΠΌ ΠΏΡΠ΅Π΄ΡΡΠΌΠΎΡΡΠ΅Π½Π° ΡΠ΅Π³ΡΠ»ΠΈΡΠΎΠ²ΠΊΠ°.
Π Π΅ΠΉΡΠΌΡΡΠΎΠ²ΡΠΉ ΡΡΠ°Π½ΠΎΠΊ ΡΠ²Π»ΡΠ΅ΡΡΡ ΠΎΠ΄Π½ΠΈΠΌ ΠΈΠ· Π½Π°ΠΈΠ±ΠΎΠ»Π΅Π΅ Π²ΡΡΠΎΠΊΠΎΠΏΡΠΎΠΈΠ·Π²ΠΎΠ΄ΠΈΡΠ΅Π»ΡΠ½ΡΡ Π΄Π΅ΡΠ΅Π²ΠΎΠΎΠ±ΡΠ°Π±Π°ΡΡΠ²Π°ΡΡΠΈΡ ΡΡΠ°Π½ΠΊΠΎΠ². Π‘ΡΠΎΠΈΡ ΠΎΠ΄ΠΈΠ½ ΡΠ°Π· Π½Π°ΡΡΡΠΎΠΈΡΡ ΡΠ°Π·ΠΌΠ΅ΡΡ ΠΎΠ±ΡΠ°Π±Π°ΡΡΠ²Π°Π΅ΠΌΠΎΠΉ Π·Π°Π³ΠΎΡΠΎΠ²ΠΊΠΈ Ρ ΠΏΠΎΠΌΠΎΡΡΡ Π»ΠΈΠ½Π΅ΠΉΠΊΠΈ ΠΈ ΠΏΠΎΠ΄ΡΠ΅ΠΌΠ½ΠΈΠΊΠ°, ΠΈ Π²ΡΡ ΠΏΠ°ΡΡΠΈΡ ΠΈΠ·Π΄Π΅Π»ΠΈΠΉ Π±ΡΠ΄Π΅Ρ ΠΎΠ΄ΠΈΠ½Π°ΠΊΠΎΠ²ΠΎΠΉ, Π² ΠΏΡΠ΅Π΄Π΅Π»Π΅ Π΄ΠΎΠΏΡΡΡΠΈΠΌΠΎΠ³ΠΎ ΠΏΠΎΠΊΠ°Π·Π°ΡΠ΅Π»Ρ. ΠΠ° ΡΠ΅ΠΉΡΠΌΡΡΠΎΠ²ΡΡ ΡΡΠ°Π½ΠΊΠ°Ρ Π²Ρ ΠΌΠΎΠΆΠ΅ΡΠ΅ ΠΎΠ±ΡΠ°Π±Π°ΡΡΠ²Π°ΡΡ Π΄Π΅ΡΠ°Π»ΠΈ Ρ ΡΠΈΡΠΈΠ½ΠΎΠΉ Π΄ΠΎ 1250 ΠΌΠΈΠ»Π»ΠΈΠΌΠ΅ΡΡΠΎΠ² ΠΈ Ρ ΡΠΎΠ»ΡΠΈΠ½ΠΎΠΉ 5 — 160 ΠΌΠΈΠ»Π»ΠΈΠΌΠ΅ΡΡΠΎΠ², ΠΊΡΠΎΠΌΠ΅ ΡΠΏΠ΅ΡΠΈΠ°Π»ΡΠ½ΡΡ ΡΡΠ°Π½ΠΊΠΎΠ², ΠΏΡΠ΅Π΄Π½Π°Π·Π½Π°ΡΠ΅Π½Π½ΡΡ Π΄Π»Ρ ΠΎΠΏΡΠ΅Π΄Π΅Π»Π΅Π½Π½ΡΡ ΡΠ°Π±ΠΎΡ.
ΠΠ·Π³ΠΎΡΠΎΠ²Π»Π΅Π½ΠΈΠ΅ ΡΠ΅ΠΉΡΠΌΡΡΠΎΠ²ΠΎΠ³ΠΎ ΡΡΠ°Π½ΠΊΠ°
ΠΡΠ΅ Ρ ΠΎΠ·ΡΠ΅Π²Π°, ΠΊΠΎΡΠΎΡΡΠ΅ ΡΡΠ°Π»ΠΊΠΈΠ²Π°ΡΡΡΡ Ρ ΠΈΠ·Π³ΠΎΡΠΎΠ²Π»Π΅Π½ΠΈΠ΅ΠΌ ΡΡΡΠΎΠΈΡΠ΅Π»ΡΠ½ΠΎΠΉ ΡΡΠΎΠ»ΡΡΠΊΠΈ, Π²Π°Π³ΠΎΠ½ΠΊΠΈ ΠΈ ΠΌΠ΅Π±Π΅Π»ΠΈ ΠΈΠ· Π΄ΡΠ΅Π²Π΅ΡΠΈΠ½Ρ, ΠΏΡΠΈΡΠ»ΠΈ ΠΊ Π²ΡΠ²ΠΎΠ΄Ρ ΠΎ Π½Π΅ΠΎΠ±Ρ ΠΎΠ΄ΠΈΠΌΠΎΡΡΠΈ ΠΈΠΌΠ΅ΡΡ Π² ΡΠ²ΠΎΠ΅ΠΌ ΠΏΠΎΠ»ΡΠ·ΠΎΠ²Π°Π½ΠΈΠΈ Ρ ΠΎΡΡ Π±Ρ ΡΠ°ΠΌΡΠΉ ΠΏΡΠΈΠΌΠΈΡΠΈΠ²Π½ΡΠΉ ΡΠ΅ΠΉΡΠΌΡΡ. ΠΠ΅Π· ΡΠ°ΠΊΠΎΠΉ ΡΡΡΠ°Π½ΠΎΠ²ΠΊΠΈ ΠΊΡΠ°ΠΉΠ½Π΅ ΡΠ»ΠΎΠΆΠ½ΠΎ ΠΏΠΎΠ»ΡΡΠΈΡΡ ΠΎΡΠΊΠ°Π»ΠΈΠ±ΡΠΎΠ²Π°Π½Π½ΡΠ΅ Π·Π°Π³ΠΎΡΠΎΠ²ΠΊΠΈ ΠΏΠΎ ΡΠΎΠ»ΡΠΈΠ½Π΅ Π·Π°Π³ΠΎΡΠΎΠ²ΠΊΠΈ, ΠΊΡΠΎΠΌΠ΅ ΡΠΎΠ³ΠΎ ΠΏΡΠΎΡΠ΅Π΄ΡΡΠ° Π·Π°ΠΉΠΌΠ΅Ρ ΠΊΡΡΡ Π²ΡΠ΅ΠΌΠ΅Π½ΠΈ. ΠΠ΅ Π²ΡΠ΅ΠΌ ΠΏΠΎ ΠΊΠ°ΡΠΌΠ°Π½Ρ ΠΊΡΠΏΠΈΡΡ ΠΎΠ±ΠΎΡΡΠ΄ΠΎΠ²Π°Π½ΠΈΠ΅ ΠΏΡΠΎΠΌΡΡΠ»Π΅Π½Π½ΠΎΠ³ΠΎ ΠΈΠ·Π³ΠΎΡΠΎΠ²Π»Π΅Π½ΠΈΡ, ΡΠ΅Π½Ρ ΡΠ΅ΠΉΡΠΌΡΡΠΎΠ²ΡΡ ΡΡΠ°Π½ΠΊΠΎΠ² Β«ΠΊΡΡΠ°ΡΡΡΡΒ», ΠΏΠΎΡΡΠΎΠΌΡ ΡΠΌΠ΅Π»ΡΡΡ ΠΏΡΠΈΡ ΠΎΠ΄ΡΡ ΠΊ ΡΠ΅ΡΠ΅Π½ΠΈΡ ΡΠ²ΠΎΠΈΠΌΠΈ ΡΡΠΊΠ°ΠΌΠΈ ΠΈΠ·Π³ΠΎΡΠΎΠ²ΠΈΡΡ ΡΡΡΠ°Π½ΠΎΠ²ΠΊΡ.
ΠΠ΅ΡΠ΅Π΄ ΡΠ΅ΠΌ, ΠΊΠ°ΠΊ ΠΏΡΠΈΡΡΡΠΏΠΈΡΡ ΠΊ ΠΈΠ·Π³ΠΎΡΠΎΠ²Π»Π΅Π½ΠΈΡ ΡΠ΅ΠΉΡΠΌΡΡΠΎΠ²ΠΎΠ³ΠΎ ΡΡΠ°Π½ΠΊΠ°, ΡΡΠΎΠΈΡ ΠΈΠ·ΡΡΠΈΡΡ ΠΏΡΠΎΡΠ΅ΡΡ ΠΈΡΠΏΠΎΠ»ΡΠ·ΠΎΠ²Π°Π½ΠΈΡ ΠΈ Ρ ΡΠ°Π½Π΅Π½ΠΈΡ ΡΠ΅ΠΉΡΠΌΡΡΠ°. ΠΠΈΠ½ΠΈΠ°ΡΡΡΠ½ΡΠ΅ ΡΡΠ°Π½ΠΊΠΈ ΠΌΠ½ΠΎΠ³ΠΎ ΠΌΠ΅ΡΡΠ° Π½Π΅ ΡΡΠ΅Π±ΡΡΡ. ΠΠΎΠ½ΡΡΡΡΠΊΡΠΈΡ Π΄ΠΎΠ»ΠΆΠ½Π° ΡΠ°ΡΠΏΠΎΠ»Π°Π³Π°ΡΡΡΡ ΡΠ°ΠΊΠΈΠΌ ΡΠΏΠΎΡΠΎΠ±ΠΎΠΌ, ΡΡΠΎΠ±Ρ Π΅Ρ ΠΏΠΎΠ»ΡΡΠ°Π»ΠΎΡΡ ΠΎΠ±ΠΎΠΉΡΠΈ Π²ΠΎΠΊΡΡΠ³ Π΄Π»Ρ ΡΠ΄ΠΎΠ±Π½ΠΎΠ³ΠΎ ΠΏΡΠΎΠΈΠ·Π²Π΅Π΄Π΅Π½ΠΈΡ ΠΏΠΎΠ΄Π°ΡΠΈ ΠΌΠ°ΡΠ΅ΡΠΈΠ°Π»Π°. ΠΠΎΠ΄ΠΎΠ±Π½ΡΡ ΡΠ΅Ρ Π½ΠΈΠΊΡ Π²Ρ ΠΌΠΎΠΆΠ΅ΡΠ΅ ΡΡΡΠ°Π½ΠΎΠ²ΠΈΡΡ ΠΏΠ΅ΡΠ΅Π΄ Π³Π°ΡΠ°ΠΆΠΎΠΌ ΠΈΠ»ΠΈ Π΄ΠΎΠΌΠΎΠΌ: Π³Π»Π°Π²Π½ΠΎΠ΅, ΡΡΠΎΠ±Ρ ΠΏΠΎΠ²Π΅ΡΡ Π½ΠΎΡΡΡ ΠΏΠΎΠ΄ ΡΡΠ°Π½ΠΊΠΎΠΌ Π±ΡΠ»Π° ΡΠΎΠ²Π½ΠΎΠΉ Π΄Π»Ρ ΠΈΠ·Π±Π΅Π³Π°Π½ΠΈΡ Π²ΠΎΠ·Π½ΠΈΠΊΠ½ΠΎΠ²Π΅Π½ΠΈΡ Π²ΠΈΠ±ΡΠ°ΡΠΈΠΉ. ΠΠ°Π±Π°ΡΠΈΡΡ ΡΠ΅ΠΉΡΠΌΡΡΠ° Π·Π°ΡΠ°ΡΡΡΡ Π½Π΅ Π±ΠΎΠ»ΡΡΠ΅ ΠΌΠ΅ΡΡΠ° Π² ΡΠΈΡΠΈΠ½Ρ ΠΈ ΡΠΎΠ»ΡΠΈΠ½Ρ, ΠΏΠΎΡΡΠΎΠΌΡ ΠΎΠ±ΠΎΡΡΠ΄ΠΎΠ²Π°Π½ΠΈΠ΅ Π»Π΅Π³ΠΊΠΎ ΡΠΌΠΎΠΆΠ΅Ρ ΠΏΠΎΠΌΠ΅ΡΡΠΈΡΡΡΡ Π² ΡΠ°ΡΠ°Π΅ ΠΈΠ»ΠΈ Π³Π°ΡΠ°ΠΆΠ΅.
ΠΠ»Ρ Π΄ΠΎΠΌΠ°ΡΠ½Π΅Π³ΠΎ ΡΠΎΠ·Π΄Π°Π½ΠΈΡ ΠΏΡΠ΅Π΄Π»Π°Π³Π°Π΅ΡΡΡ ΡΠ»Π΅Π΄ΡΡΡΠ°Ρ ΠΊΠΎΠ½ΡΡΡΡΠΊΡΠΈΡ. Π Π°ΠΌΠ° ΠΈ ΡΠ°Π±ΠΎΡΠΈΠΉ ΡΡΠΎΠ» ΡΡΠ°Π½ΠΊΠ° ΡΠ²Π»ΡΡΡΡΡ ΡΠ²Π°ΡΠ½ΡΠΌΠΈ, Π²ΡΠΏΠΎΠ»Π½Π΅Π½Π½ΡΠΌΠΈ ΠΈΠ· ΡΠ³ΠΎΠ»ΠΊΠ° 50 Π½Π° 50 ΠΌΠΈΠ»Π»ΠΈΠΌΠ΅ΡΡΠΎΠ² ΠΈ ΠΊΠ²Π°Π΄ΡΠ°ΡΠ½ΠΎΠΉ ΡΡΡΠ±Ρ 40 Π½Π° 40 ΠΌΠΈΠ»Π»ΠΈΠΌΠ΅ΡΡΠΎΠ², ΠΌΠΎΠΆΠ½ΠΎ ΠΈΡΠΏΠΎΠ»ΡΠ·ΠΎΠ²Π°ΡΡ ΠΈ ΠΌΠ°ΡΠ΅ΡΠΈΠ°Π» Π±ΠΎΠ»ΡΡΠΈΡ ΡΠ°Π·ΠΌΠ΅ΡΠΎΠ². ΠΠΎΠΌΠ½ΠΈΡΠ΅, ΡΡΠΎ ΠΈΠ·Π»ΠΈΡΠ½ΡΡ ΠΌΠ°ΡΡΠΈΠ²Π½ΠΎΡΡΡ ΡΠΎΠ»ΡΠΊΠΎ ΡΠ²Π΅Π»ΠΈΡΠΈΠ²Π°Π΅Ρ ΡΡΡΠΎΠΉΡΠΈΠ²ΠΎΡΡΡ ΡΠ΅ΠΉΡΠΌΡΡΠΎΠ²ΠΎΠ³ΠΎ ΡΡΠ°Π½ΠΊΠ° ΠΈ ΡΠΌΠ΅Π½ΡΡΠ°Π΅Ρ Π²ΠΈΠ±ΡΠ°ΡΠΈΠΈ, Π²ΠΎΠ·Π½ΠΈΠΊΠ°ΡΡΠΈΠ΅ ΠΏΡΠΈ ΡΠ°Π±ΠΎΡΠ΅. ΠΠ»Ρ ΠΈΠ·Π³ΠΎΡΠΎΠ²Π»Π΅Π½ΠΈΡ ΡΡΠ°Π½ΠΊΠ° Π½Π΅ΠΎΠ±Ρ ΠΎΠ΄ΠΈΠΌΡ: ΡΠΎΠΊΠ°ΡΠ½ΡΠΉ ΠΈ ΡΠ²Π΅ΡΠ»ΠΈΠ»ΡΠ½ΡΠΉ ΡΡΠ°Π½ΠΊΠΈ, Π±ΠΎΠ»Π³Π°ΡΠΊΠ°, ΡΠ²Π°ΡΠΎΡΠ½ΡΠΉ Π°ΠΏΠΏΠ°ΡΠ°Ρ ΠΈ Π΄ΡΠ΅Π»Ρ.

Π‘Π»Π΅Π΄ΡΡΡΠΈΠΌ ΠΎΠ±ΡΠ·Π°ΡΠ΅Π»ΡΠ½ΡΠΌ ΡΠ»Π΅ΠΌΠ΅Π½ΡΠΎΠΌ ΠΊΠΎΠ½ΡΡΡΡΠΊΡΠΈΠΈ Π²ΡΡΡΡΠΏΠ°Π΅Ρ Π½ΠΎΠΆΠ΅Π²ΠΎΠΉ Π²Π°Π». ΠΠ³ΠΎ ΠΆΠ΅Π»Π°ΡΠ΅Π»ΡΠ½ΠΎ ΠΏΡΠΈΠΎΠ±ΡΠ΅ΡΡΠΈ Π³ΠΎΡΠΎΠ²ΡΠΌ Ρ Π±ΡΠΊΡΠ°ΠΌΠΈ, ΠΏΠΎΡΠΎΠΌΡ ΡΡΠΎ ΡΠ°ΠΌΠΎΠ΄Π΅Π»ΡΠ½ΡΠ΅ Π²Π°Π»Ρ Π°Π±ΡΠΎΠ»ΡΡΠ½ΠΎ Π½Π΅ Π²ΡΠ΅Π³Π΄Π° ΡΠ²Π»ΡΡΡΡΡ Ρ ΠΎΡΠΎΡΠΎ ΡΠ±Π°Π»Π°Π½ΡΠΈΡΠΎΠ²Π°Π½Π½ΡΠΌΠΈ. Π Π²Π°ΡΠΈΠ°Π½ΡΠ΅, ΡΡΠΎ ΠΏΡΠΈΠ²Π΅Π΄ΡΠ½ Π½Π°ΠΌΠΈ, ΠΈΡΠΏΠΎΠ»ΡΠ·ΠΎΠ²Π°Π»ΡΡ ΡΡΠ΅Ρ ΡΠΎΡΠΌΠΈΠ»Π»ΠΈΠΌΠ΅ΡΡΠΎΠ²ΡΠΉ Π²Π°Π» Ρ ΡΡΠ΅ΠΌΡ Π½ΠΎΠΆΠ°ΠΌΠΈ. Π¨ΠΊΠΈΠ²Ρ Π΄Π²ΠΈΠ³Π°ΡΠ΅Π»Ρ ΠΈ Π²Π°Π»Π° ΡΠ»Π΅Π΄ΡΠ΅Ρ Π²Π·ΡΡΡ ΡΡΡΠΏΠ΅Π½ΡΠ°ΡΡΠ΅, Π΄Π»Ρ Π²ΡΠ±ΠΎΡΠ° ΠΎΠΏΡΠΈΠΌΠ°Π»ΡΠ½ΡΡ ΠΎΠ±ΠΎΡΠΎΡΠΎΠ² Π²Π°Π»Π°, Π² Π³ΡΠ°Π½ΠΈΡΠ°Ρ 4000-7000 ΠΎΠ±ΠΎΡΠΎΡΠΎΠ² Π² ΠΌΠΈΠ½ΡΡΡ.
ΠΠ»Ρ ΠΏΠΎΠ΄ΠΎΠ±Π½ΠΎΠ³ΠΎ ΡΠ°Π·ΠΌΠ΅ΡΠ° Π²Π°Π»Π° Π²ΠΏΠΎΠ»Π½Π΅ ΠΏΠΎΠ΄Ρ ΠΎΠ΄ΠΈΡ Π°ΡΠΈΠ½Ρ ΡΠΎΠ½Π½ΡΠΉ ΠΌΠΎΡΠΎΡ, ΡΡΠΎ ΠΈΠΌΠ΅Π΅Ρ ΠΌΠΎΡΠ½ΠΎΡΡΡ 4-5 ΠΊΠΡ, Π½Π΅Ρ Π½Π°Π΄ΠΎΠ±Π½ΠΎΡΡΠΈ ΠΈΡΠΏΠΎΠ»ΡΠ·ΠΎΠ²Π°ΡΡ ΡΠΊΠΈΠ²Ρ Π±ΠΎΠ»ΡΡΠ΅Π³ΠΎ ΡΠ°Π·ΠΌΠ΅ΡΠ°, ΠΊΡΠΎΠΌΠ΅ ΡΠΎΠ³ΠΎ Π΄Π²ΠΈΠ³Π°ΡΠ΅Π»Ρ ΠΏΠΎΠ΄ΠΎΠ±Π½ΠΎΠΉ ΠΌΠΎΡΠ½ΠΎΡΡΠΈ Π²ΠΏΠΎΠ»Π½Π΅ Π·Π°ΠΏΡΡΠΊΠ°Π΅ΡΡΡ ΠΎΡ ΠΎΠ΄Π½ΠΎΠΉ ΡΠ°Π·Ρ ΠΈΠ·Π²Π΅ΡΡΠ½ΡΠΌΠΈ ΡΠΏΠΎΡΠΎΠ±Π°ΠΌΠΈ. ΠΡΠΈΠΆΠΈΠΌΠ½ΡΠ΅ ΡΠΎΠ»ΠΈΠΊΠΈ ΡΠ΅ΠΊΠΎΠΌΠ΅Π½Π΄ΡΠ΅ΡΡΡ Π²ΡΡΠΎΡΠΈΡΡ ΠΈΠ»ΠΈ ΠΈΡΠΏΠΎΠ»ΡΠ·ΠΎΠ²Π°ΡΡ Π³ΠΎΡΠΎΠ²ΡΠ΅ ΠΈΠ· Π²ΡΠΆΠΈΠΌΠΊΠΈ ΡΡΠ°ΡΡΡ ΡΠΎΠ²Π΅ΡΡΠΊΠΈΡ ΡΡΠΈΡΠ°Π»ΡΠ½ΡΡ ΠΌΠ°ΡΠΈΠ½. Π Π°ΠΌΠ° ΡΠΎΠ»ΠΈΠΊΠΎΠ² β ΡΠ²Π°ΡΠ½Π°Ρ, ΠΊΡΠ΅ΠΏΡΡ Π΅Ρ Ρ ΠΎΠ΄Π½ΠΎΠΉ ΡΡΠΎΡΠΎΠ½Ρ Π½Π° ΠΏΠΎΠ΄ΠΏΡΡΠΆΠΈΠ½Π΅Π½Π½ΡΡ Π±ΠΎΠ»ΡΠ°Ρ , Ρ Π΄ΡΡΠ³ΠΎΠΉ — Π΄Π»Ρ ΠΊΡΠ΅ΠΏΠ»Π΅Π½ΠΈΡ ΠΈΡΠΏΠΎΠ»ΡΠ·ΡΠ΅ΡΡΡ ΠΊΡΡΠΎΠΊ ΡΡΠ»Π΅Π²ΠΎΠΉ ΡΡΠ³ΠΈ ΠΎΡ Β«ΠΠΎΡΠΊΠ²ΠΈΡΠ°Β». ΠΠΏΡΡ ΠΏΠΎΠΊΠ°Π·ΡΠ²Π°Π΅Ρ, ΡΡΠΎ Π½Π΅ΠΏΠ»ΠΎΡ ΠΎ Π΄Π²Π° ΡΠ°ΠΊΠΈΡ ΠΊΡΠ΅ΠΏΠ»Π΅Π½ΠΈΡ ΠΏΡΠΈΠΌΠ΅Π½ΠΈΡΡ Π½Π° ΠΎΠ΄ΠΈΠ½ ΡΠΎΠ»ΠΈΠΊ.
Π‘ΡΠΎΠ» ΡΠΎΠ³Π»Π°ΡΠ½ΠΎ ΡΠ΅ΡΡΠ΅ΠΆΡ ΡΠ΅ΠΉΡΠΌΡΡΠΎΠ²ΠΎΠ³ΠΎ ΡΡΠΎΠ»Π° ΡΡΡΠ°Π½Π°Π²Π»ΠΈΠ²Π°Π΅ΡΡΡ Π½Π° ΡΠ΅Π³ΡΠ»ΠΈΡΠΎΠ²ΠΎΡΠ½ΡΡ Π±ΠΎΠ»ΡΠ°Ρ . ΠΠΎΠ»ΡΡ Π΄Π»Ρ ΠΈΠ·Π±Π΅Π³Π°Π½ΠΈΡ ΠΏΠΎΡΡΠ΅Π±Π½ΠΎΡΡΠΈ ΡΠ΅Π³ΡΠ»ΠΈΡΠΎΠ²ΠΊΠΈ ΠΊΠ°ΠΆΠ΄ΠΎΠ³ΠΎ ΠΎΡΠ½Π°ΡΠ΅Π½Ρ ΠΏΡΠΈΠ²Π°ΡΠ΅Π½Π½ΡΠΌΠΈ Π²Π΅Π»ΠΎΡΠΈΠΏΠ΅Π΄Π½ΡΠΌΠΈ Π·Π²Π΅Π·Π΄ΠΎΡΠΊΠ°ΠΌΠΈ, ΡΡΠΎ ΡΠΎΠ΅Π΄ΠΈΠ½Π΅Π½Ρ ΡΠ΅ΠΏΡΡ. ΠΡΡΠΆΠΈΠ½Ρ Π²ΠΎΠ·ΡΠΌΠΈΡΠ΅ Ρ ΠΊΠ»Π°ΠΏΠ°Π½ΠΎΠ² ΠΌΠΎΡΠΎΡΠ° Π³ΡΡΠ·ΠΎΠ²ΠΈΠΊΠ°. Π ΡΠΎΠΆΠ°Π»Π΅Π½ΠΈΡ, Π² Π΄Π°Π½Π½ΠΎΠΌ ΡΠ΅ΠΉΡΠΌΡΡΠΎΠ²ΠΎΠΌ ΡΡΠ°Π½ΠΊΠ΅ ΠΏΡΠ΅Π΄ΡΡΠΌΠΎΡΡΠ΅Π½Π° ΡΡΡΠ½Π°Ρ ΠΏΠΎΠ΄Π°ΡΠ° Π·Π°Π³ΠΎΡΠΎΠ²ΠΎΠΊ. Π ΠΏΠ΅ΡΡΠΏΠ΅ΠΊΡΠΈΠ²Π΅ ΠΏΡΠΈ Π½Π°Π»ΠΈΡΠΈΠΈ ΠΆΠ΅Π»Π°Π½ΠΈΡ ΠΌΠΎΠΆΠ½ΠΎ ΠΏΡΠΈΠΌΠ΅Π½ΠΈΡΡ ΠΌΠ΅Ρ Π°Π½ΠΈΡΠ΅ΡΠΊΡΡ.

ΠΠΎ Π½Π°ΡΠ°Π»Π° ΡΠ°Π±ΠΎΡΡ Π½Π΅ΠΎΠ±Ρ ΠΎΠ΄ΠΈΠΌΠΎ ΠΏΡΠΎΠ²Π΅ΡΠΈΡΡ ΠΏΡΠ°Π²ΠΈΠ»ΡΠ½ΠΎΡΡΡ ΡΠ°ΡΠΏΠΎΠ»ΠΎΠΆΠ΅Π½ΠΈΡ Π½ΠΎΠΆΠ΅ΠΉ, Π° ΡΠ°ΠΊΠΆΠ΅ ΠΎΡΡΡΠΎΡΡ ΠΈΡ Π·Π°ΡΠΎΡΠΊΠΈ. ΠΠΎΠΌΠ½ΠΈΡΠ΅, ΡΡΠΎ ΠΎΠ³ΡΠ°ΠΆΠ΄Π΅Π½Π½ΡΠΌ Π΄ΠΎΠ»ΠΆΠ΅Π½ Π±ΡΡΡ Π½ΠΎΠΆΠ΅Π²ΠΎΠΉ Π²Π°Π». ΠΠ΅ Π΄ΠΎΠΏΡΡΠΊΠ°Π΅ΡΡΡ ΠΎΠ±ΡΠ°Π±ΠΎΡΠΊΠ° Π·Π°Π³ΠΎΡΠΎΠ²ΠΊΠΈ Π΄Π»ΠΈΠ½ΠΎΠΉ ΠΌΠ΅Π½ΡΡΠ΅ ΡΠ°ΡΡΡΠΎΡΠ½ΠΈΡ ΠΌΠ΅ΠΆΠ΄Ρ Π·Π°Π΄Π½ΠΈΠΌΠΈ ΠΈ ΠΏΠ΅ΡΠ΅Π΄Π½ΠΈΠΌΠΈ Π²Π°Π»Π°ΠΌΠΈ. ΠΠ°ΠΏΡΠ΅ΡΠ°Π΅ΡΡΡ ΡΠΈΡΡΠΈΡΡ, ΡΠ΅ΠΌΠΎΠ½ΡΠΈΡΠΎΠ²Π°ΡΡ ΠΈ Π½Π°Π»Π°ΠΆΠΈΠ²Π°ΡΡ ΡΠ΅ΠΉΡΠΌΡΡΠΎΠ²ΡΠΉ ΡΡΠ°Π½ΠΎΠΊ Π½Π° Ρ ΠΎΠ΄Ρ.
ΠΠΎΠ΄Π°Π²Π°ΡΡ Π·Π°Π³ΠΎΡΠΎΠ²ΠΊΠΈ Π½Π΅ΠΎΠ±Ρ ΠΎΠ΄ΠΈΠΌΠΎ ΡΠΎΡΠ΅Ρ Π² ΡΠΎΡΠ΅Ρ, ΠΈΡΠΏΠΎΠ»ΡΠ·ΡΡ ΠΏΡΠΈ ΡΡΠΎΠΌ Π²ΡΡ ΡΠΈΡΠΈΠ½Ρ ΡΡΠΎΠ»Π°. ΠΠΎΠΌΠ½ΠΈΡΠ΅, ΡΡΠΎ ΠΌΠ°ΡΠ΅ΡΠΈΠ°Π» ΠΏΠΎΡΠ»Π΅ ΠΎΠ±ΡΠ°Π±ΠΎΡΠΊΠΈ Π½Π΅ Π΄ΠΎΠ»ΠΆΠ΅Π½ ΠΈΠΌΠ΅ΡΡ Π²ΡΡΡΠ²ΠΎΠ², Π·Π°ΠΊΠΎΠ»ΠΎΠ², Π° ΡΠ°ΠΊΠΆΠ΅ ΡΠΈΡΠΎΠΊ. ΠΠΎΡΡΠΈΡΡΠΎΡΡΡ ΠΈ ΠΌΡΠΈΡΡΠΎΡΡΡ ΠΏΠΎΠ»ΡΡΠ°ΡΡΡΡ ΠΏΡΠΈ ΠΎΠ±ΡΠ°Π±ΠΎΡΠΊΠ΅ ΡΡΡΠΎΠ³ΠΎ ΠΌΠ°ΡΠ΅ΡΠΈΠ°Π»Π° ΠΈΠ»ΠΈ ΡΡΡΠΎΠ³Π°Π½ΠΈΠΈ ΡΡΠΏΡΠΌΠΈ Π½ΠΎΠΆΠ°ΠΌΠΈ, Π½Π΅ΠΏΡΠΎΡΡΡΠΎΠΆΠΊΠ° Π½Π°Π±Π»ΡΠ΄Π°Π΅ΡΡΡ ΠΏΡΠΈ Π½Π΅ΠΏΠ»ΠΎΡΠ½ΠΎΠΌ ΠΏΡΠΈΠΆΠ°ΡΠΈΠΈ Π·Π°Π³ΠΎΡΠΎΠ²ΠΊΠΈ Π²Π°Π»ΠΈΠΊΠ°ΠΌΠΈ ΠΊ ΡΡΠΎΠ»Ρ, Π½Π΅ΠΎΠ΄ΠΈΠ½Π°ΠΊΠΎΠ²ΠΎΠΉ ΡΠΎΠ»ΡΠΈΠ½Π΅ Π·Π°Π³ΠΎΡΠΎΠ²ΠΊΠΈ ΠΈ Π½Π΅ΠΎΠ΄ΠΈΠ½Π°ΠΊΠΎΠ²ΠΎΠΌ Π²ΡΡΡΡΠΏΠ΅ Π»Π΅Π·Π²ΠΈΠΉ Π½ΠΎΠΆΠ΅ΠΉ ΠΈΠ· Π²Π°Π»Π°.
ΠΠ°Π»Π°Π΄ΠΊΠ° ΡΠ΅ΠΉΡΠΌΡΡΠΎΠ²ΠΎΠ³ΠΎ ΡΡΠ°Π½ΠΊΠ°
Π Π΅ΠΉΡΠΌΡΡΠΎΠ²ΡΠ΅ ΡΡΠ°Π½ΠΊΠΈ ΠΏΠ΅ΡΠ΅Π΄ ΡΠ°Π±ΠΎΡΠΎΠΉ Π΄ΠΎΠ»ΠΆΠ½Ρ Π±ΡΡΡ ΡΡΠ°ΡΠ΅Π»ΡΠ½ΠΎ Π½Π°Π»Π°ΠΆΠ΅Π½Ρ. ΠΡΠ±Π°Ρ Π½Π΅ΡΠΎΡΠ½ΠΎΡΡΡ Π½Π°Π»Π°Π΄ΠΊΠΈ ΡΠΏΡΠΎΠ²ΠΎΡΠΈΡΡΠ΅Ρ Π΄Π΅ΡΠ΅ΠΊΡΡ ΠΎΠ±ΡΠ°Π±ΠΎΡΠΊΠΈ ΠΈΠ»ΠΈ ΠΏΡΠΈΠ²Π΅Π΄Π΅Ρ ΠΊ ΡΠΌΠ΅Π½ΡΡΠ΅Π½ΠΈΡ ΠΏΡΠΎΠΈΠ·Π²ΠΎΠ΄ΠΈΡΠ΅Π»ΡΠ½ΠΎΡΡΠΈ ΡΡΠ°Π½ΠΊΠ°. Π§Π°ΡΠ΅ Π²ΡΠ΅Π³ΠΎ Π½Π°Π±Π»ΡΠ΄Π°ΡΡΡΡ ΡΠ°ΠΊΠΈΠ΅ ΡΠΏΡΡΠ΅Π½ΠΈΡ Π² Π½Π°Π»Π°Π΄ΠΊΠ΅ ΡΠ΅ΠΉΡΠΌΡΡΠΎΠ²:
- ΠΠ΅ΡΠ΅ΠΊΠΎΡ Π½Π° ΡΠ°Π±ΠΎΡΠ΅ΠΌ ΡΡΠΎΠ»Π΅. Π‘ΡΡΠΎΠ³Π°Π΅ΠΌΠ°Ρ ΠΏΠΎΠ²Π΅ΡΡ Π½ΠΎΡΡΡ Π½Π΅ Π±ΡΠ΄Π΅Ρ ΠΏΠΎΠ»ΡΡΠ°ΡΡΡΡ ΠΏΠ°ΡΠ°Π»Π»Π΅Π»ΡΠ½ΠΎΠΉ ΡΡΠ³ΠΎΠ²Π°Π½Π½ΠΎΠΉ ΡΡΠΎΡΠΎΠ½Π΅.
- Π ΠΈΡΠ»Π΅Π½ΡΠΉ Π²Π°Π»ΠΈΠΊ ΡΠ°ΡΠΏΠΎΠ»Π°Π³Π°Π΅ΡΡΡ ΠΎΡΠ΅Π½Ρ Π½ΠΈΠ·ΠΊΠΎ ΠΈ Π½Π°ΠΆΠΈΠΌΠ°Π΅Ρ ΡΠ»ΠΈΡΠΊΠΎΠΌ ΡΠΈΠ»ΡΠ½ΠΎ Π½Π° ΠΏΠΎΠ²Π΅ΡΡ Π½ΠΎΡΡΡ Π΄Π΅ΡΠ°Π»Π΅ΠΉ ΠΏΡΠΈ ΠΌΠ°Π»ΠΎΠΉ Π³Π»ΡΠ±ΠΈΠ½Π΅ ΡΡΡΠΎΠ³Π°Π½ΠΈΡ. Π‘ΡΡΠΎΠ³Π°Π½Π½ΡΠ΅ ΠΏΠΎΠ²Π΅ΡΡ Π½ΠΎΡΡΠΈ ΠΏΠΎΠ»ΡΡΠ°ΡΡΡΡ Ρ ΠΏΠΎΠΏΠ΅ΡΠ΅ΡΠ½ΡΠΌΠΈ Π²ΠΌΡΡΠΈΠ½Π°ΠΌΠΈ.
- ΠΠΈΠΆΠ½ΠΈΠ΅ Π²Π°Π»ΠΈΠΊΠΈ ΠΏΠΎΠ΄Π°ΡΠΈ ΡΠ°Π·ΠΌΠ΅ΡΠ°ΡΡΡΡ Π½Π°Π΄ ΡΡΠΎΠ²Π½Π΅ΠΌ ΡΡΠΎΠ»Π° Π²ΡΡΠ΅, ΡΠ΅ΠΌ Π½ΡΠΆΠ½ΠΎ, Π½Π° 0,1β0,2 ΠΌΠΈΠ»Π»ΠΈΠΌΠ΅ΡΡΠ°. ΠΡΠ»Π΅Π΄ΡΡΠ²ΠΈΠ΅ ΡΡΠΎΠ³ΠΎ ΠΈΠΌΠ΅Π΅Ρ ΠΌΠ΅ΡΡΠΎ Π²ΠΈΠ±ΡΠ°ΡΠΈΡ ΠΎΠ±ΡΠ°Π±Π°ΡΡΠ²Π°Π΅ΠΌΠΎΠ³ΠΎ ΠΈΠ·Π΄Π΅Π»ΠΈΡ ΠΏΠΎΠ΄ ΡΠ΄Π°ΡΠ°ΠΌΠΈ Π½ΠΎΠΆΠ΅ΠΉ, Π° Π±ΠΎΠ»Π΅Π΅ ΡΠΎΠ½ΠΊΠΈΠ΅ Π΄Π΅ΡΠ°Π»ΠΈ ΠΏΡΠΎΠ³ΠΈΠ±Π°ΡΡΡΡ. Π‘ΡΡΠΎΠ³Π°Π½ΠΈΠ΅ Π²ΡΡ ΠΎΠ΄ΠΈΡ Π½Π΅ΠΏΡΡΠΌΠΎΠ»ΠΈΠ½Π΅ΠΉΠ½ΡΠΌ ΠΈ Π½Π΅ ΡΠ°ΠΊΠΈΠΌ Π³Π»Π°Π΄ΠΊΠΈΠΌ, ΠΊΠΎΠ½ΡΡ ΠΈΠ·Π΄Π΅Π»ΠΈΠΉ Π±ΠΎΠ»ΡΡΠ΅ ΠΏΡΠΎΡΡΡΠ°Π³ΠΈΠ²Π°ΡΡΡΡ.
- ΠΠ°Π΄Π½ΡΡ Π½Π°ΠΆΠΈΠΌΠ½Π°Ρ ΠΊΠΎΠ»ΠΎΠ΄ΠΊΠ° Π½Π° ΠΎΠ±ΡΠ°Π±Π°ΡΡΠ²Π°Π΅ΠΌΡΡ Π΄Π΅ΡΠ°Π»Ρ Π΄Π°Π²ΠΈΡ. ΠΠΎ ΡΡΠΎΠΉ ΠΏΡΠΈΡΠΈΠ½Π΅ ΠΈΠ·Π΄Π΅Π»ΠΈΠ΅ ΠΏΡΠΈ Π²ΡΡ ΠΎΠ΄Π΅ ΠΈΠ· ΠΏΠ΅ΡΠ΅Π΄Π½ΠΈΡ ΠΏΠΎΠ΄Π°ΡΡΠΈΡ Π²Π°Π»ΠΈΠΊΠΎΠ² Π±Π»Π°Π³ΠΎΠ΄Π°ΡΡ ΡΠΌΠ΅Π½ΡΡΠ΅Π½ΠΈΡ ΡΠΈΠ»Ρ ΠΏΠΎΠ΄Π°ΡΠΈ ΠΎΡΡΠ°Π½Π°Π²Π»ΠΈΠ²Π°Π΅ΡΡΡ. Π’Π°ΠΊ ΠΊΠ°ΠΊ Π½ΠΎΠΆΠΈ Π±ΡΠ΄ΡΡ ΠΏΡΠΎΠ΄ΠΎΠ»ΠΆΠ°ΡΡ Π²ΡΠ°ΡΠ°ΡΡΡΡ, ΡΡΡΠΎΠ³Π°Π΅ΡΡΡ Π½Π° ΠΏΠΎΠ²Π΅ΡΡ Π½ΠΎΡΡΠΈ Π΄Π΅ΡΠ°Π»ΠΈ ΠΎΠ΄Π½ΠΎ ΠΌΠ΅ΡΡΠΎ, ΠΈ Π² ΠΈΡΠΎΠ³Π΅ Π·Π΄Π΅ΡΡ Π²ΠΎΠ·Π½ΠΈΠΊΠ°Π΅Ρ Π²ΠΎ Π²ΡΡ ΡΠΈΡΠΈΠ½Ρ ΡΡΡΠΎΠ³Π°Π½ΠΈΡ ΠΆΠ΅Π»ΠΎΠ±ΠΎΠΊ.ΠΠΎΠΎΠ±ΡΠ΅ ΠΆΠ΅Π»ΠΎΠ±ΠΊΠΈ ΡΠΎΡΠΌΠΈΡΡΡΡΡΡ ΠΏΡΠΈ Π²ΡΡΠΊΠΎΠΉ, Π΄Π°ΠΆΠ΅ Π½Π°ΠΈΠ±ΠΎΠ»Π΅Π΅ ΠΊΠΎΡΠΎΡΠΊΠΎΠΉ ΠΎΡΡΠ°Π½ΠΎΠ²ΠΊΠ΅ ΠΈΠ·Π΄Π΅Π»ΠΈΡ. ΠΡΡΠ°Π½ΠΎΠ²ΠΊΠΈ ΡΠ°ΡΡΠΎ ΡΠ»ΡΡΠ°ΡΡΡΡ Π²ΠΎ Π²ΡΠ΅ΠΌΡ, ΠΊΠΎΠ³Π΄Π° Π΄Π΅ΡΠ°Π»ΠΈ ΠΏΠΎΡΡΡΠΏΠ°ΡΡ Π² Π·Π°Π΄Π½ΠΈΠ΅ Π²Π°Π»ΠΈΠΊΠΈ. ΠΡΠΎ ΡΠ»ΡΡΠ°Π΅ΡΡΡ ΠΏΡΠΈ ΠΎΡΠ΅Π½Ρ Π½ΠΈΠ·ΠΊΠΎΠΌ ΡΠ°Π·ΠΌΠ΅ΡΠ΅Π½ΠΈΠΈ Π²Π΅ΡΡ Π½Π΅Π³ΠΎ Π·Π°Π΄Π½Π΅Π³ΠΎ Π²Π°Π»ΠΈΠΊΠ° ΠΈ ΠΏΡΠΈ Π΅Π³ΠΎ ΡΠ»ΠΈΡΠΊΠΎΠΌ Π±ΠΎΠ»ΡΡΠΎΠΌ Π½Π°ΠΆΠΈΠΌΠ΅ Π½Π° ΠΌΠ°ΡΠ΅ΡΠΈΠ°Π». ΠΡΠΈΡΠΈΠ½Π°ΠΌΠΈ ΠΊΡΠ°ΡΠΊΠΎΠ²ΡΠ΅ΠΌΠ΅Π½Π½ΠΎΠΉ Π·Π°Π΄Π΅ΡΠΆΠΊΠΈ ΠΈΠ»ΠΈ ΠΎΡΡΠ°Π½ΠΎΠ²ΠΊΠΈ Π΄Π΅ΡΠ°Π»ΠΈ Π±ΡΠ²Π°Π΅Ρ ΡΠ°ΠΊΠΆΠ΅ Π½Π΅Π΄ΠΎΡΡΠ°ΡΠΎΡΠ½ΡΠΉ Π½Π°ΠΆΠΈΠΌ Π½Π° ΠΈΠ·Π΄Π΅Π»ΠΈΠ΅ ΠΏΠΎΠ΄Π°ΡΡΠΈΡ Π²Π°Π»ΠΈΠΊΠΎΠ², ΡΡΠ΅Π·ΠΌΠ΅ΡΠ½ΠΎ Π²ΡΡΠΎΠΊΠΎΠ΅ ΡΠ°ΡΠΏΠΎΠ»ΠΎΠΆΠ΅Π½ΠΈΠ΅ Π½ΠΈΠΆΠ½ΠΈΡ Π²Π°Π»ΠΈΠΊΠΎΠ², ΡΠΈΠ»ΡΠ½ΠΎΠ΅ Π·Π°Π³ΡΡΠ·Π½Π΅Π½ΠΈΠ΅ ΡΡΠΎΠ»Π° ΠΏΡΠΈ ΠΎΠ±ΡΠ°Π±ΠΎΡΠΊΠ΅ ΡΠΎΡΠ½ΠΎΠ²ΡΡ Π΄Π΅ΡΠ°Π»Π΅ΠΉ ΡΠΌΠΎΠ»ΠΎΠΉ.
- Π‘ΡΡΡΠΆΠΊΠ° ΠΏΠΎΠΏΠ°Π΄Π°Π΅Ρ ΠΏΠΎΠ΄ Π·Π°Π΄Π½ΠΈΠΉ Π³Π»Π°Π΄ΠΊΠΈΠΉ Π²Π°Π»ΠΈΠΊ ΠΈΠ·-Π·Π° Π½Π΅ΠΏΡΠ°Π²ΠΈΠ»ΡΠ½ΠΎΠ³ΠΎ ΠΌΠΎΠ½ΡΠ°ΠΆΠ° Π½Π°ΠΊΠΈΠ΄Π½ΠΎΠ³ΠΎ ΠΊΠΎΠ·ΡΡΡΠΊΠ° ΠΈΠ»ΠΈ Π½Π΅ΠΈΡΠΏΡΠ°Π²Π½ΠΎΡΡΠ΅ΠΉ ΡΠΊΡΠ³Π°ΡΡΡΠ΅ΡΠ°. ΠΠΎ ΡΡΠΈΠΌ ΠΏΡΠΈΡΠΈΠ½Π°ΠΌ Π½Π° ΡΡΡΠΎΠ³Π°Π½Π½ΠΎΠΉ ΠΏΠΎΠ²Π΅ΡΡ Π½ΠΎΡΡΠΈ Π²ΠΎΠ·Π½ΠΈΠΊΠ°ΡΡ Π²ΠΌΡΡΠΈΠ½Ρ, ΠΈΠ½ΠΎΠ³Π΄Π° Π·Π°Π΄Π΅ΡΠΆΠΊΠ° Π΄Π΅ΡΠ°Π»ΠΈ.

ΠΠΎΡΡΠΎΠΌΡ ΠΏΡΠΈ Π½Π°Π»Π°Π΄ΠΊΠ΅ ΡΠ΅ΠΉΡΠΌΡΡΠΎΠ²ΠΎΠ³ΠΎ ΡΡΠ°Π½ΠΊΠ° ΡΠ»Π΅Π΄ΡΠ΅Ρ ΠΏΠΎΠΌΠ½ΠΈΡΡ, ΡΡΠΎ ΠΏΡΠΈ Π·Π½Π°ΡΠΈΡΠ΅Π»ΡΠ½ΠΎΠΌ Π·Π°ΠΏΠΎΠ»Π½Π΅Π½ΠΈΠΈ ΡΡΠΎΠ»Π°, ΠΊ ΠΏΡΠΈΠΌΠ΅ΡΡ, ΠΏΡΠΈ ΡΡΡΠΎΠ³Π°Π½ΠΈΠΈ ΡΠΈΡΠΎΠΊΠΎΠ³ΠΎ ΡΠΈΒ¬ΡΠ° ΠΈΠ»ΠΈ ΠΎΠ΄Π½ΠΎΠ²ΡΠ΅ΠΌΠ΅Π½Π½ΠΎΠΉ ΠΏΠΎΠ΄Π°ΡΠ΅ ΠΈΠ·Π΄Π΅Π»ΠΈΠΉ Π²ΠΎ Π²ΡΡ ΡΠΈΡΠΈΠ½Ρ ΡΠ°Π±ΠΎΡΠ΅Π³ΠΎ ΡΡΠΎΠ»Π°, ΠΏΠΎΠ²ΡΡΠ΅Π½Π½ΡΠΌ Π΄ΠΎΠ»ΠΆΠ½ΠΎ Π±ΡΡΡ Π΄Π°Π²Π»Π΅Π½ΠΈΠ΅ ΠΏΠΎΠ΄Π°ΡΡΠΈΡ Π²Π°Π»ΡΡΠΎΠ², ΠΏΠΎΡΠΎΠΌΡ ΡΡΠΎ Π² ΡΡΠΈΡ ΡΠ»ΡΡΠ°ΡΡ ΡΠΎΠΏΡΠΎΡΠΈΠ²Π»Π΅Π½ΠΈΠ΅ ΡΠ΅Π·Π°Π½ΠΈΡ ΡΠΈΠ»ΡΠ½ΠΎ ΡΠ²Π΅Π»ΠΈΡΠΈΠ²Π°Π΅ΡΡΡ. ΠΡΠΈ ΡΡΡΠΎΠ³Π°Π½ΠΈΠΈ ΡΠ·ΠΊΠΈΡ Π΄Π΅ΡΠ°Π»Π΅ΠΉ ΠΈΠ»ΠΈ ΠΏΡΠΈ Π½Π΅Π±ΠΎΠ»ΡΡΠΎΠΌ Π·Π°ΠΏΠΎΠ»Π½Π΅Π½ΠΈΠΈ ΡΡΠΎΠ»Π° Π½ΡΠΆΠ½ΠΎ ΡΠΌΠ΅Π½ΡΡΠΈΡΡ Π΄Π°Π²Π»Π΅Π½ΠΈΠ΅ ΠΏΠΎΠ΄Π°ΡΡΠΈΡ Π²Π°Π»ΡΡΠΎΠ², ΡΡΠΎΠ±Ρ ΠΈΠ·Π±Π΅ΠΆΠ°ΡΡ ΡΠΌΡΡΠΈΡ Π΄Π΅ΡΠ΅Π²Π°.
Π Π½Π°ΠΈΠ±ΠΎΠ»Π΅Π΅ ΡΠ°ΡΠΏΡΠΎΡΡΡΠ°Π½Π΅Π½Π½ΡΠΌ Π² Π΄Π΅ΡΠ΅Π²ΠΎΠΎΠ±ΡΠ°Π±Π°ΡΡΠ²Π°ΡΡΠ΅ΠΌ Π΄Π΅Π»Π΅ ΠΎΡΠ½ΠΎΡΡΡΡΡ ΡΡΠ³ΠΎΠ²Π°Π»ΡΠ½ΡΠ΅, ΡΡΠ΅Π·Π΅ΡΠ½ΡΠ΅, ΡΡΡΠΎΠ³Π°Π»ΡΠ½ΡΠ΅ ΠΈ ΡΠ΅ΠΉΡΠΌΡΡΠΎΠ²ΡΠ΅ ΡΡΠ°Π½ΠΊΠΈ, ΠΊΠΎΡΠΎΡΡΠ΅ ΠΏΡΠ΅Π΄Π½Π°Π·Π½Π°ΡΠ°ΡΡΡΡ Π΄Π»Ρ ΠΏΠ»ΠΎΡΠΊΠΎΡΡΠ½ΠΎΠ³ΠΎ, ΠΎΠ±ΡΠ΅ΠΌΠ½ΠΎΠ³ΠΎ ΠΈ ΠΏΡΠΎΡΠΈΠ»ΡΠ½ΠΎΠ³ΠΎ ΡΡΠ΅Π·Π΅ΡΠΎΠ²Π°Π½ΠΈΡ ΠΏΡΡΠΌΠΎ- ΠΈ ΠΊΡΠΈΠ²ΠΎΠ»ΠΈΠ½Π΅ΠΉΠ½ΡΡ Π·Π°Π³ΠΎΡΠΎΠ²ΠΎΠΊ ΠΈΠ· ΠΌΠ°ΡΡΠΈΠ²Π½ΠΎΠ³ΠΎ Π΄Π΅ΡΠ΅Π²Π° ΠΈ Π΄ΡΠ΅Π²Π΅ΡΠ½ΡΡ ΠΌΠ°ΡΠ΅ΡΠΈΠ°Π»ΠΎΠ², Π΄Π»Ρ Π½Π°ΡΠ΅Π·Π°Π½ΠΈΡ ΠΏΡΠΎΡΡΠΈΠ½ ΠΈ ΡΠΈΠΏΠΎΠ² Π² Π±ΡΡΡΠΊΠ°Ρ Π΄Π²Π΅ΡΠ½ΡΡ ΠΊΠΎΡΠΎΠ±ΠΎΠΊ ΠΈ ΠΎΠΊΠΎΠ½Π½ΡΡ Π±Π»ΠΎΠΊΠΎΠ². ΠΡΠ»ΠΈ Π²Ρ ΠΏΠ»Π°Π½ΠΈΡΡΠ΅ΡΠ΅ Π·Π°Π½ΠΈΠΌΠ°ΡΡΡΡ ΡΠΎΠ»ΡΠΊΠΎ ΠΏΠ»ΠΎΡΠΊΠΎΡΡΠ½ΡΠΌ ΡΡΡΠΎΠ³Π°Π½ΠΈΠ΅ΠΌ, ΡΠΎ Π²Π°ΠΌ ΡΡΠΎΠΈΡ ΠΎΡΠ΄Π°ΡΡ ΠΏΡΠ΅Π΄ΠΏΠΎΡΡΠ΅Π½ΠΈΠ΅ ΡΠ΅ΠΉΡΠΌΡΡΡ. ΠΡ ΠΌΠΎΠΆΠ΅ΡΠ΅ ΠΏΡΠΈΠΎΠ±ΡΠ΅ΡΡΠΈ ΡΡΠΎΡ ΡΡΠ°Π½ΠΎΠΊ Π² ΡΠΎΡΠ³ΠΎΠ²ΠΎΠΉ ΡΠΎΡΠΊΠ΅ ΠΈΠ»ΠΈ ΡΠΎΠ±ΡΠ°ΡΡ ΡΠ²ΠΎΠΈΠΌΠΈ ΡΡΠΊΠ°ΠΌΠΈ, ΠΈΡΠΏΠΎΠ»ΡΠ·ΡΡ ΠΈΠ½ΡΠΎΡΠΌΠ°ΡΠΈΡ, ΠΏΡΠ΅Π΄ΡΡΠ°Π²Π»Π΅Π½Π½ΡΡ Π½Π° Π½Π°ΡΠ΅ΠΌ ΡΠ°ΠΉΡΠ΅, ΠΈ Π½Π°ΡΡ ΠΏΠΎΡΠ°Π³ΠΎΠ²ΡΡ ΠΈΠ½ΡΡΡΡΠΊΡΠΈΡ.
strport.ru
Π‘Π -6-9 Π‘ΡΠ°Π½ΠΎΠΊ ΡΠ΅ΠΉΡΠΌΡΡΠΎΠ²ΡΠΉ (ΡΠ΅ΠΉΡΠΌΡΡ). ΠΠ°ΡΠΏΠΎΡΡ, ΡΡ Π΅ΠΌΡ, ΠΎΠΏΠΈΡΠ°Π½ΠΈΠ΅, Ρ Π°ΡΠ°ΠΊΡΠ΅ΡΠΈΡΡΠΈΠΊΠΈ
Π‘Π²Π΅Π΄Π΅Π½ΠΈΡ ΠΎ ΠΏΡΠΎΠΈΠ·Π²ΠΎΠ΄ΠΈΡΠ΅Π»Π΅ ΡΠ΅ΠΉΡΠΌΡΡΠΎΠ²ΠΎΠ³ΠΎ ΡΡΠ°Π½ΠΊΠ° Π‘Π -6-9
ΠΡΠΎΠΈΠ·Π²ΠΎΠ΄ΠΈΡΠ΅Π»Π΅ΠΌ ΡΠ΅ΠΉΡΠΌΡΡΠΎΠ²ΠΎΠ³ΠΎ Π΄Π΅ΡΠ΅Π²ΠΎΠΎΠ±ΡΠ°Π±Π°ΡΡΠ²Π°ΡΡΠ΅Π³ΠΎ ΡΡΠ°Π½ΠΊΠ° Π‘Π 6-9 ΡΠ²Π»ΡΠ΅ΡΡΡ Π‘ΡΠ°Π²ΡΠΎΠΏΠΎΠ»ΡΡΠΊΠΈΠΉ Π‘ΡΠ°Π½ΠΊΠΎΡΡΡΠΎΠΈΡΠ΅Π»ΡΠ½ΡΠΉ Π·Π°Π²ΠΎΠ΄ ΠΡΠ°ΡΠ½ΡΠΉ ΠΠ΅ΡΠ°Π»Π»ΠΈΡΡ, — ΠΊΠΎΡΠΎΡΡΠΉ Ρ 1932 Π³ΠΎΠ΄Π° ΡΠΏΠ΅ΡΠΈΠ°Π»ΠΈΠ·ΠΈΡΠΎΠ²Π°Π»ΡΡ Π½Π° ΠΏΡΠΎΠΈΠ·Π²ΠΎΠ΄ΡΡΠ²Π΅ Π΄Π΅ΡΠ΅Π²ΠΎΠΎΠ±ΡΠ°Π±Π°ΡΡΠ²Π°ΡΡΠΈΡ ΡΡΠ°Π½ΠΊΠΎΠ². ΠΠ°Π²ΠΎΠ΄ Π±ΡΠ» ΠΎΡΠ½ΠΎΠ²Π°Π½ Π² 1902 Π³ΠΎΠ΄Ρ ΠΈ ΡΠ°ΡΠΏΠΎΠ»ΠΎΠΆΠ΅Π½ Π² Π³ΠΎΡΠΎΠ΄Π΅ Π‘ΡΠ°Π²ΡΠΎΠΏΠΎΠ»Ρ.
Π‘ΡΠ°Π½ΠΊΠΈ, Π²ΡΠΏΡΡΠΊΠ°Π΅ΠΌΡΠ΅ Π‘ΡΠ°Π²ΡΠΎΠΏΠΎΠ»ΡΡΠΊΠΈΠΌ ΡΡΠ°Π½ΠΊΠΎΡΡΡΠΎΠΈΡΠ΅Π»ΡΠ½ΡΠΌ Π·Π°Π²ΠΎΠ΄ΠΎΠΌ ΠΡΠ°ΡΠ½ΡΠΉ ΠΠ΅ΡΠ°Π»Π»ΠΈΡΡ
Π‘Π 6-9 Π‘ΡΠ°Π½ΠΎΠΊ ΡΠ΅ΠΉΡΠΌΡΡΠΎΠ²ΡΠΉ ΠΎΠ΄Π½ΠΎΡΡΠΎΡΠΎΠ½Π½ΠΈΠΉ. ΠΠ°Π·Π½Π°ΡΠ΅Π½ΠΈΠ΅, ΠΎΠ±Π»Π°ΡΡΡ ΠΏΡΠΈΠΌΠ΅Π½Π΅Π½ΠΈΡ
Π Π΅ΠΉΡΠΌΡΡΠΎΠ²ΡΠΉ ΡΡΠ°Π½ΠΎΠΊ Π‘Π 6-9 ΠΏΡΠΈΠ½Π°Π΄Π»Π΅ΠΆΠΈΡ ΠΌΠΎΠ΄Π΅Π»ΡΠ½ΠΎΠ²Ρ ΡΡΠ΄Ρ ΡΠ΅ΠΉΡΠΌΡΡΠΎΠ²ΡΡ ΡΡΠ°Π½ΠΊΠΎΠ², Π²ΡΠΏΡΡΠ΅Π½Π½ΡΡ Π·Π°Π²ΠΎΠ΄ΠΎΠΌ «ΠΡΠ°ΡΠ½ΡΠΉ ΠΠ΅ΡΠ°Π»Π»ΠΈΡΡ» Π² ΡΠ΅ΡΠ΅Π΄ΠΈΠ½Π΅ Π²ΠΎΡΡΠΌΠΈΠ΄Π΅ΡΡΡΡΡ , Π° ΠΈΠΌΠ΅Π½Π½ΠΎ: Π‘Π 3-6 (300 ΠΌΠΌ), Π‘Π 6-9 (600 ΠΌΠΌ), Π‘Π 8-1 (800 ΠΌΠΌ).
Π Π΅ΠΉΡΠΌΡΡΠΎΠ²ΡΠΉ ΠΎΠ΄Π½ΠΎΡΡΠΎΡΠΎΠ½Π½ΠΈΠΉ ΡΡΠ°Π½ΠΎΠΊ Π‘Π -6-9 ΠΏΡΠ΅Π΄Π½Π°Π·Π½Π°ΡΠ΅Π½ Π΄Π»Ρ ΠΏΡΠΎΠ΄ΠΎΠ»ΡΠ½ΠΎΠ³ΠΎ, ΠΎΠ΄Π½ΠΎΡΡΠΎΡΠΎΠ½Π½Π΅Π³ΠΎ ΡΡΡΠΎΠ³Π°Π½ΠΈΡ Π² ΡΠ°Π·ΠΌΠ΅Ρ ΠΏΠΎ ΡΠΎΠ»ΡΠΈΠ½Π΅ ΠΎΡ 5 Π΄ΠΎ 200 ΠΌΠΌ ΠΏΠΎΠ²Π΅ΡΡ Π½ΠΎΡΡΠ΅ΠΉ ΠΏΠ»ΠΎΡΠΊΠΈΡ Π·Π°Π³ΠΎΡΠΎΠ²ΠΎΠΊ ΡΠΈΡΠΈΠ½ΠΎΠΉ Π΄ΠΎ 630 ΠΌΠΌ, ΠΈΠ· Π΄ΡΠ΅Π²Π΅ΡΠΈΠ½Ρ Ρ Π²ΠΎΠΉΠ½ΡΡ ΠΈ Π»ΠΈΡΡΠ²Π΅Π½Π½ΡΡ ΠΏΠΎΡΠΎΠ΄ Ρ Π²Π»Π°ΠΆΠ½ΠΎΡΡΡΡ Π½Π΅ Π±ΠΎΠ»Π΅Π΅ 15%. Π‘ΡΠ°Π½ΠΎΠΊ Π‘Π -6-9 ΠΎΡΠ½ΠΎΡΠΈΡΡΡ ΠΊ ΡΠ½ΠΈΠ²Π΅ΡΡΠ°Π»ΡΠ½ΠΎΠΌΡ ΠΎΠ±ΠΎΡΡΠ΄ΠΎΠ²Π°Π½ΠΈΡ ΠΈ ΠΏΡΠΈΠΌΠ΅Π½ΡΠ΅ΡΡΡ Π² ΡΠ΅ΡΠΈΠΉΠ½ΠΎΠΌ ΠΈ ΠΌΠ΅Π»ΠΊΠΎΡΠ΅ΡΠΈΠΉΠ½ΠΎΠΌ ΠΏΡΠΎΠΈΠ·Π²ΠΎΠ΄ΡΡΠ²Π΅ ΡΡΠΎΠ»ΡΡΠ½ΡΡ ΠΈΠ·Π΄Π΅Π»ΠΈΠΉ Π² ΡΡΡΠΎΠΈΡΠ΅Π»ΡΠ½ΠΎΠΉ ΠΎΡΡΠ°ΡΠ»ΠΈ, ΠΌΠ΅Π±Π΅Π»ΡΠ½ΠΎΠΉ, ΡΡΠ΄ΠΎΡΡΡΠΎΠ΅Π½ΠΈΠΈ, Π²Π°Π³ΠΎΠ½ΠΎΡΡΡΠΎΠ΅Π½ΠΈΠΈ.
Π Π΅ΠΉΡΠΌΡΡΠΎΠ²ΡΠΉ ΡΡΠ°Π½ΠΎΠΊ Π‘Π -6-9 ΡΠ»ΡΠΆΠΈΡ Π΄Π»Ρ ΠΏΠ»ΠΎΡΠΊΠΎΠ³ΠΎ ΡΡΡΠΎΠ³Π°Π½ΠΈΡ (ΡΡΠ΅Π·Π΅ΡΠΎΠ²Π°Π½ΠΈΡ) Π΄ΠΎΡΠΎΠΊ, Π±ΡΡΡΡΠ΅Π² ΠΈΠ»ΠΈ ΡΠΈΡΠΎΠ² Π² ΡΠ°Π·ΠΌΠ΅Ρ ΠΏΠΎ ΡΠΎΠ»ΡΠΈΠ½Π΅. ΠΡΠΈΠΌΠ΅Π½ΡΠ΅ΡΡΡ Π½Π° ΠΏΡΠ΅Π΄ΠΏΡΠΈΡΡΠΈΡΡ ΠΈ Π² ΡΠ΅Ρ Π°Ρ ΠΏΠΎ ΠΏΡΠΎΠΈΠ·Π²ΠΎΠ΄ΡΡΠ²Ρ ΡΡΠΎΠ»ΡΡΠ½ΠΎ-ΡΡΡΠΎΠΈΡΠ΅Π»ΡΠ½ΡΡ ΠΈΠ·Π΄Π΅Π»ΠΈΠΉ, ΠΊΠ»Π΅Π΅Π½ΡΡ ΡΠΈΡΠΎΠ², ΠΏΡΠΎΠΈΠ·Π²ΠΎΠ΄ΡΡΠ²ΠΊ ΠΌΠ΅Π±Π΅Π»ΠΈ, Π΄Π΅ΡΠ΅Π²ΡΠ½Π½ΠΎΠ³ΠΎ Π΄ΠΎΠΌΠΎΡΡΡΠΎΠ΅Π½ΠΈΡ ΠΈ Π² Π΄Ρ. Π΄Π΅ΡΠ΅Π²ΠΎΠΎΠ±ΡΠ°Π±Π°ΡΡΠ²Π°ΡΡΠΈΡ ΠΏΡΠΎΠΈΠ·Π²ΠΎΠ΄ΡΡΠ²Π°Ρ .
ΠΠ±ΡΠ°Π±ΠΎΡΠΊΠ° Π·Π°Π³ΠΎΡΠΎΠ²ΠΎΠΊ ΠΏΡΠΎΠΈΠ·Π²ΠΎΠ΄ΠΈΡΡΡ 4- Π½ΠΎΠΆΠ΅Π²ΡΠΌ Π²Π°Π»ΠΎΠΌ ΡΠΈΠ»ΠΈΠ½Π΄ΡΠΈΡΠ΅ΡΠΊΠΎΠΉ ΡΠΎΡΠΌΡ Ρ ΠΊΠ»ΠΈΠ½ΠΎΠ²ΡΠΌ Π·Π°ΠΊΡΠ΅ΠΏΠ»Π΅Π½ΠΈΠ΅ΠΌ Π½ΠΎΠΆΠ΅ΠΉ Π² ΠΊΠΎΡΠΏΡΡΠ΅ Π²Π°Π»Π°. ΠΠ΅ΡΠ΅Π΄ Π½ΠΎΠΆΠ΅Π²ΡΠΌ Π²Π°Π»ΠΎΠΌ ΡΡΡΠ°Π½ΠΎΠ²Π»Π΅Π½ ΡΠΏΠ΅ΡΠΈΠ°Π»ΡΠ½ΡΠΉ ΠΏΡΠΈΠΆΠΈΠΌ Π΄Π»Ρ ΠΏΠΎΠ΄ΠΏΠΎΡΠ° Π²ΠΎΠ»ΠΎΠΊΠΎΠ½ Π΄ΡΠ΅Π²Π΅ΡΠΈΠ½Ρ Π² Π·ΠΎΠ½Π΅ ΡΠ΅Π·Π°Π½ΠΈΡ ΠΈ ΡΡΡΡΠ°Π½Π΅Π½ΠΈΡ Π·Π°ΠΊΠΎΠ»ΠΎΠ² Π½Π° ΠΎΠ±ΡΠ°Π±Π°ΡΡΠ²Π°Π΅ΠΌΠΎΠΉ ΠΏΠΎΠ²Π΅ΡΡ Π½ΠΎΡΡΠΈ.
Π‘ΡΠΎΠ», ΠΏΠΎ ΠΊΠΎΡΠΎΡΠΎΠΌΡ ΠΏΠΎΠ΄Π°ΡΡΡΡ Π·Π°Π³ΠΎΡΠΎΠ²ΠΊΠΈ, Π»ΠΈΡΠΎΠΉ ΠΆΡΡΡΠΊΠΎΠΉ ΠΊΠΎΠ½ΡΡΡΡΠΊΡΠΈΠΈ, ΠΎΠ±ΠΎΡΡΠ΄ΠΎΠ²Π°Π½ ΠΏΠΎΠ΄Π΄Π΅ΡΠΆΠΈΠ²Π°ΡΡΠΈΠΌΠΈ Π²Π°Π»ΡΡΠ°ΠΌΠΈ Π΄Π»Ρ ΡΠΌΠ΅Π½ΡΡΠ΅Π½ΠΈΡ ΡΡΠ΅Π½ΠΈΡ ΠΏΡΠΈ ΠΏΠ΅ΡΠ΅ΠΌΠ΅ΡΠ΅Π½ΠΈΠΈ ΠΎΠ±ΡΠ°Π±Π°ΡΡΠ²Π°Π΅ΠΌΠΎΠ³ΠΎ ΠΌΠ°ΡΠ΅ΡΠΈΠ°Π»Π°.
ΠΠΎΠ΄ΡΠ΅ΠΌ ΠΈ ΠΎΠΏΡΡΠΊΠ°Π½ΠΈΠ΅ ΡΡΠΎΠ»Π° ΠΏΠΎ Π²ΡΡΠΎΡΠ΅ Π² Π·Π°Π²ΠΈΡΠΈΠΌΠΎΡΡΠΈ ΠΎΡ ΡΠΎΠ»ΡΠΈΠ½Ρ ΠΎΠ±ΡΠ°Π±Π°ΡΡΠ²Π°Π΅ΠΌΠΎΠ³ΠΎ ΠΌΠ°ΡΠ΅ΡΠΈΠ°Π»Π° ΠΏΡΠΎΠΈΠ·Π²ΠΎΠ΄ΠΈΡΡΡ ΠΌΠ΅Ρ Π°Π½ΠΈΡΠ΅ΡΠΊΠΈ ΠΎΡ ΠΎΡΠ΄Π΅Π»ΡΠ½ΠΎΠ³ΠΎ ΡΠ»Π΅ΠΊΡΡΠΎΠ΄Π²ΠΈΠ³Π°ΡΠ΅Π»Ρ ΠΈΠ»ΠΈ Π²ΡΡΡΠ½ΡΡ ΠΌΠ°Ρ ΠΎΠ²ΠΈΠΊΠΎΠΌ Ρ ΠΏΠΎΡΠ»Π΅Π΄ΡΡΡΠ΅ΠΉ ΡΠΈΠΊΡΠ°ΡΠΈΠ΅ΠΉ, ΠΈΡΠΊΠ»ΡΡΠ°ΡΡΠ΅ΠΉ ΡΠ°ΠΌΠΎΠΏΡΠΎΠΈΠ·Π²ΠΎΠ»ΡΠ½ΠΎΠ΅ ΠΎΠΏΡΡΠΊΠ°Π½ΠΈΠ΅ ΡΡΠΎΠ»Π°.
ΠΠΈΠΆΠ½ΡΡ (Π±Π°Π·ΠΎΠ²Π°Ρ) ΠΏΠΎΠ²Π΅ΡΡ Π½ΠΎΡΡΡ Π·Π°Π³ΠΎΡΠΎΠ²ΠΊΠΈ Π΄ΠΎΠ»ΠΆΠ½Π° Π±ΡΡΡ ΠΎΠ±ΡΠ°Π±ΠΎΡΠ°Π½Π° Π½Π° ΡΡΠ³ΠΎΠ²Π°Π»ΡΠ½ΠΎΠΌ ΡΡΠ°Π½ΠΊΠ΅. ΠΡΠΊΠ»ΠΎΠ½Π΅Π½ΠΈΠ΅ Π±Π°Π·ΠΎΠ²ΠΎΠΉ ΠΏΠ»Π°ΡΡΠΈ Π·Π°Π³ΠΎΡΠΎΠ²ΠΊΠΈ Π½Π΅ Π΄ΠΎΠ»ΠΆΠ½ΠΎ ΠΏΡΠ΅Π²ΡΡΠ°ΡΡ 0,15 ΠΌΠΌ Π½Π° Π΄Π»ΠΈΠ½Π΅ 1000 ΠΌΠΌ.
ΠΠΎΠ΄Π°ΡΠ° Π·Π°Π³ΠΎΡΠΎΠ²ΠΊΠΈ — ΠΌΠ΅Ρ Π°Π½ΠΈΡΠ΅ΡΠΊΠ°Ρ. Π£ΡΡΡΠΎΠΉΡΡΠ²ΠΎ ΠΏΠΎΠ΄Π°ΡΠΈ ΠΏΡΠΈΠ²ΠΎΠ΄ΠΈΡΡΡ Π² Π΄Π²ΠΈΠΆΠ΅Π½ΠΈΠ΅ ΠΎΡ Π΄Π²ΠΈΠ³Π°ΡΠ΅Π»Ρ ΡΠ΅ΡΠ΅Π· ΡΠ΅Π΄ΡΠΊΡΠΎΡ.
ΠΠΎΠΌΠ΅ΡΠ΅Π½ΠΈΠ΅, Π³Π΄Π΅ ΡΡΡΠ°Π½Π°Π²Π»ΠΈΠ²Π°Π΅ΡΡΡ ΡΡΠ°Π½ΠΎΠΊ, Π΄ΠΎΠ»ΠΆΠ½ΠΎ ΡΠΎΠΎΡΠ²Π΅ΡΡΡΠ²ΠΎΠ²Π°ΡΡ ΡΡΠ΅Π±ΠΎΠ²Π°Π½ΠΈΡΠΌ ΠΊΠ»Π°ΡΡΠ° Π-IIΠ° ΠΏΠΎ ΠΠ£Π-98.
ΠΠ»ΠΈΠΌΠ°ΡΠΈΡΠ΅ΡΠΊΠΎΠ΅ ΠΈΡΠΏΠΎΠ»Π½Π΅Π½ΠΈΠ΅ ΠΈ ΠΊΠ°ΡΠ΅Π³ΠΎΡΠΈΡ ΡΠ°Π·ΠΌΠ΅ΡΠ΅Π½ΠΈΡ ΡΡΠ°Π½ΠΊΠ° — Π£Π₯Π4.2, ΠΊΠ°ΡΠ΅Π³ΠΎΡΠΈΡ ΡΡΠ»ΠΎΠ²ΠΈΠΉ Ρ ΡΠ°Π½Π΅Π½ΠΈΡ — 2 ΠΏΠΎ ΠΠΠ‘Π’15150-69.
ΠΡΠ»ΠΈΡΠΈΡΠ΅Π»ΡΠ½ΡΠ΅ ΠΎΡΠΎΠ±Π΅Π½Π½ΠΎΡΡΠΈ ΡΠ΅ΠΉΡΠΌΡΡΠΎΠ²ΠΎΠ³ΠΎ ΡΡΠ°Π½ΠΊΠ° Π‘Π 6-9:
- Π‘ΡΠ°Π½ΠΎΠΊ ΠΈΠΌΠ΅Π΅Ρ Π»ΠΈΡΡΡ ΡΡΠ°Π½ΠΈΠ½Ρ, ΡΡΠΎ Π·Π°ΡΠΈΡΠ΅Π»ΡΠ½ΠΎ ΡΠ²Π΅Π»ΠΈΡΠΈΠ²Π°Π΅Ρ Π΅Π΅ ΠΆΠ΅ΡΡΠΊΠΎΡΡΡ;
- ΠΠΎΠ΄ΡΠ΅ΠΌ ΠΈ ΠΎΠΏΡΡΠΊΠ°Π½ΠΈΠ΅ ΡΡΠΎΠ»Π° ΠΏΠΎ Π²ΡΡΠΎΡΠ΅ ΠΏΡΠΎΠΈΠ·Π²ΠΎΠ΄ΠΈΡΡΡ ΠΌΠ΅Ρ Π°Π½ΠΈΡΠ΅ΡΠΊΠΈ ΠΎΡ ΠΎΡΠ΄Π΅Π»ΡΠ½ΠΎΠ³ΠΎ ΡΠ»Π΅ΠΊΡΡΠΎΠ΄Π²ΠΈΠ³Π°ΡΠ΅Π»Ρ ΠΈΠ»ΠΈ Π²ΡΡΡΠ½ΡΡ Ρ ΠΏΠΎΡΠ»Π΅Π΄ΡΡΡΠ΅ΠΉ ΡΠΈΠΊΡΠ°ΡΠΈΠ΅ΠΉ, ΠΈΡΠΊΠ»ΡΡΠ°ΡΡΠ΅ΠΉ ΡΠ°ΠΌΠΎΠΏΡΠΎΠΈΠ·Π²ΠΎΠ»ΡΠ½ΠΎΠ΅ ΠΎΠΏΡΡΠΊΠ°Π½ΠΈΠ΅ ΡΡΠΎΠ»Π°;
- Π‘ΡΠ°Π½ΠΎΠΊ ΠΈΠΌΠ΅Π΅Ρ ΡΡΠΈ ΠΏΡΠΈΠ²ΠΎΠ΄Π½ΡΡ Π²Π°Π»ΡΡΠ°, ΡΡΠΎ Π·Π½Π°ΡΠΈΡΠ΅Π»ΡΠ½ΠΎ ΡΠ»ΡΡΡΠ°Π΅Ρ ΡΡΠ³ΠΎΠ²ΡΡ ΡΠΏΠΎΡΠΎΠ±Π½ΠΎΡΡΡ ΠΌΠ΅Ρ Π°Π½ΠΈΠ·ΠΌΠ° ΠΏΠΎΠ΄Π°ΡΠΈ;
- Π‘ΡΠΎΠ» ΠΎΠ±ΠΎΡΡΠ΄ΠΎΠ²Π°Π½ ΠΏΠΎΠ΄Π΄Π΅ΡΠΆΠΈΠ²Π°ΡΡΠΈΠΌΠΈ Π²Π°Π»ΡΡΠ°ΠΌΠΈ Π² ΡΠΎΠΌ ΡΠΈΡΠ»Π΅ Π·Π°Π΄Π½ΠΈΠΌ ΠΏΡΠΈΠ²ΠΎΠ΄Π½ΡΠΌ Π΄Π»Ρ ΠΏΠΎΠ²ΡΡΠ΅Π½ΠΈΡ Π½Π°Π΄Π΅ΠΆΠ½ΠΎΡΡΠΈ ΠΏΠΎΠ΄Π°ΡΠΈ ΠΏΡΠΈ ΠΏΠ΅ΡΠ΅ΠΌΠ΅ΡΠ΅Π½ΠΈΠΈ Π·Π°Π³ΠΎΡΠΎΠ²ΠΊΠΈ;
- ΠΠ΅ΡΠ΅Π΄Π½ΠΈΠΉ ΠΏΠΎΠ΄Π°ΡΡΠΈΠΉ Π²Π°Π»Π΅Ρ Π²ΡΠΏΠΎΠ»Π½Π΅Π½ ΡΠ΅ΠΊΡΠΈΠΎΠ½Π½ΡΠΌ, ΡΡΠΎ ΠΏΠΎΠ·Π²ΠΎΠ»ΡΠ΅Ρ ΠΎΠ΄Π½ΠΎΠ²ΡΠ΅ΠΌΠ΅Π½Π½ΡΡ ΠΎΠ±ΡΠ°Π±ΠΎΡΠΊΡ Π½Π΅ΡΠΊΠΎΠ»ΡΠΊΠΈΡ Π·Π°Π³ΠΎΡΠΎΠ²ΠΎΠΊ Ρ ΡΠ°Π·Π½ΠΈΡΠ΅ΠΉ ΠΏΠΎ ΡΠΎΠ»ΡΠΈΠ½Π΅ Π΄ΠΎ 4 ΠΌΠΌ;
- ΠΠ±ΡΠ°Π±ΠΎΡΠΊΠ° Π·Π°Π³ΠΎΡΠΎΠ²ΠΎΠΊ ΠΏΡΠΎΠΈΠ·Π²ΠΎΠ΄ΠΈΡΡΡ 4-Ρ Π½ΠΎΠΆΠ΅Π²ΡΠΌ Π²Π°Π»ΠΎΠΌ ΡΠΈΠ»ΠΈΠ½Π΄ΡΠΈΡΠ΅ΡΠΊΠΎΠΉ ΡΠΎΡΠΌΡ Ρ ΠΊΠ»ΠΈΠ½ΠΎΠ²ΡΠΌ Π·Π°ΠΊΡΠ΅ΠΏΠ»Π΅Π½ΠΈΠ΅ΠΌ Π½ΠΎΠΆΠ΅ΠΉ Π² ΠΊΠΎΡΠΏΡΡΠ΅;
- Π‘ΡΠ°Π½ΠΎΠΊ ΠΎΡΠ½Π°ΡΠ΅Π½ Π°Π²ΡΠΎΠΌΠ°ΡΠΈΡΠ΅ΡΠΊΠΈΠΌ ΡΠΎΡΠΌΠΎΠ·Π½ΡΠΌ ΡΡΡΡΠΎΠΉΡΡΠ²ΠΎΠΌ Π½ΠΎΠΆΠ΅Π²ΠΎΠ³ΠΎ Π²Π°Π»Π° Π΄Π»Ρ Π±Π΅Π·ΠΎΠΏΠ°ΡΠ½ΠΎΡΡΠΈ ΡΠ°Π±ΠΎΡΡ;
- ΠΠ΅ΡΠ΅Π΄ Π½ΠΎΠΆΠ΅Π²ΡΠΌ Π²Π°Π»ΠΎΠΌ ΡΡΡΠ°Π½ΠΎΠ²Π»Π΅Π½ ΡΠΏΠ΅ΡΠΈΠ°Π»ΡΠ½ΡΠΉ Π»ΠΈΡΠΎΠΉ ΠΏΡΠΈΠΆΠΈΠΌ Π΄Π»Ρ ΠΏΠΎΠ΄ΠΏΠΎΡΠ° Π²ΠΎΠ»ΠΎΠΊΠΎΠ½ Π΄ΡΠ΅Π²Π΅ΡΠΈΠ½Ρ Π² Π·ΠΎΠ½Π΅ ΡΠ΅Π·Π°Π½ΠΈΡ ΠΈ ΡΡΡΡΠ°Π½Π΅Π½ΠΈΡ Π·Π°ΠΊΠΎΠ»ΠΎΠ² Π½Π° ΠΎΠ±ΡΠ°Π±Π°ΡΡΠ²Π°Π΅ΠΌΠΎΠΉ ΠΏΠΎΠ²Π΅ΡΡ Π½ΠΎΡΡΠΈ;
- ΠΠΎΠ³ΡΠ΅Π²Π°Ρ Π·Π°ΡΠΈΡΠ° ΡΠΎ ΡΡΠΎΡΠΎΠ½Ρ Π·Π°Π³ΡΡΠ·ΠΊΠΈ, ΠΏΡΠ΅Π΄ΠΎΡΠ²ΡΠ°ΡΠ°ΡΡΠ°Ρ ΠΎΠ±ΡΠ°ΡΠ½ΠΎΠ΅ Π²ΡΠ±ΡΠ°ΡΡΠ²Π°Π½ΠΈΠ΅ Π·Π°Π³ΠΎΡΠΎΠ²ΠΊΠΈ Π² ΠΏΡΠΎΡΠ΅ΡΡΠ΅ ΠΎΠ±ΡΠ°Π±ΠΎΡΠΊΠΈ;
- ΠΠ»Π΅ΠΊΡΡΠΎΠ±Π»ΠΎΠΊΠΈΡΠΎΠ²ΠΊΠ°, ΠΈΡΠΊΠ»ΡΡΠ°ΡΡΠ°Ρ Π²ΠΎΠ·ΠΌΠΎΠΆΠ½ΠΎΡΡΡ Π²ΠΊΠ»ΡΡΠ΅Π½ΠΈΡ ΡΡΠ°Π½ΠΊΠ° ΠΏΡΠΈ ΠΎΡΠΊΡΡΡΠΎΠΌ ΠΎΠ³ΡΠ°ΠΆΠ΄Π΅Π½ΠΈΠΈ.
Π‘Π -6-9 ΠΠ±ΡΠΈΠΉ Π²ΠΈΠ΄ ΡΠ΅ΠΉΡΠΌΡΡΠΎΠ²ΠΎΠ³ΠΎ ΡΡΠ°Π½ΠΊΠ°

Π€ΠΎΡΠΎ ΡΠ΅ΠΉΡΠΌΡΡΠΎΠ²ΠΎΠ³ΠΎ ΡΡΠ°Π½ΠΊΠ° Π‘Π 6-9

Π€ΠΎΡΠΎ ΡΠ΅ΠΉΡΠΌΡΡΠΎΠ²ΠΎΠ³ΠΎ ΡΡΠ°Π½ΠΊΠ° Π‘Π 6-9

Π€ΠΎΡΠΎ ΡΠ΅ΠΉΡΠΌΡΡΠΎΠ²ΠΎΠ³ΠΎ ΡΡΠ°Π½ΠΊΠ° Π‘Π 6-9
Π‘Ρ Π΅ΠΌΠ° ΠΊΠΈΠ½Π΅ΠΌΠ°ΡΠΈΡΠ΅ΡΠΊΠ°Ρ ΡΠ΅ΠΉΡΠΌΡΡΠΎΠ²ΠΎΠ³ΠΎ ΡΡΠ°Π½ΠΊΠ° Π‘Π -6-9

ΠΠΈΠ½Π΅ΠΌΠ°ΡΠΈΡΠ΅ΡΠΊΠ°Ρ cΡ Π΅ΠΌΠ° ΡΠ΅ΠΉΡΠΌΡΡΠΎΠ²ΠΎΠ³ΠΎ ΡΡΠ°Π½ΠΊΠ° Π‘Π 6-9
Π‘Ρ Π΅ΠΌΠ° ΠΊΠΈΠ½Π΅ΠΌΠ°ΡΠΈΡΠ΅ΡΠΊΠ°Ρ ΡΠ΅ΠΉΡΠΌΡΡΠΎΠ²ΠΎΠ³ΠΎ ΡΡΠ°Π½ΠΊΠ° Π‘Π -6-9. Π‘ΠΌΠΎΡΡΠ΅ΡΡ Π² ΡΠ²Π΅Π»ΠΈΡΠ΅Π½Π½ΠΎΠΌ ΠΌΠ°ΡΡΡΠ°Π±Π΅
ΠΠΈΠ½Π΅ΠΌΠ°ΡΠΈΡΠ΅ΡΠΊΠΈΠ΅ ΡΠ΅ΠΏΠΈ ΡΡΠ°Π½ΠΊΠ° ΠΎΡΡΡΠ΅ΡΡΠ²Π»ΡΡΡ ΡΠ»Π΅Π΄ΡΡΡΠΈΠ΅ Π΄Π²ΠΈΠΆΠ΅Π½ΠΈΡ:
- ΠΡΠ°ΡΠ΅Π½ΠΈΠ΅ Π½ΠΎΠΆΠ΅Π²ΠΎΠ³ΠΎ Π²Π°Π»Π°
- ΠΡΠ°ΡΠ΅Π½ΠΈΠ΅ ΠΏΠΎΠ΄Π°ΡΡΠΈΡ Π²Π°Π»ΡΡΠΎΠ²
- ΠΠ΅Ρ Π°Π½ΠΈΡΠ΅ΡΠΊΠΎΠ΅ ΠΈ ΡΡΡΠ½ΠΎΠ΅ ΠΏΠ΅ΡΠ΅ΠΌΠ΅ΡΠ΅Π½ΠΈΠ΅ ΡΡΠΎΠ»Π° Π²Π²Π΅ΡΡ -Π²Π½ΠΈΠ·
- Π ΡΡΠ½Π°Ρ Π½Π°ΡΡΡΠΎΠΉΠΊΠ° ΡΠΊΠΎΡΠΎΡΡΠΈ ΠΏΠΎΠ΄Π°ΡΠΈ
- Π ΡΡΠ½ΠΎΠΉ Π·Π°ΠΆΠΈΠΌ ΡΡΠΎΠ»Π°
ΠΠ° ΡΠΈΡΡΠ½ΠΊΠ΅ ΠΈΠ·ΠΎΠ±ΡΠ°ΠΆΠ΅Π½Π° ΠΊΠΈΠ½Π΅ΠΌΠ°ΡΠΈΡΠ΅ΡΠΊΠ°Ρ ΡΡ Π΅ΠΌΠ° ΠΎΠ΄Π½ΠΎΡΡΠΎΡΠΎΠ½Π½Π΅Π³ΠΎ ΡΠ΅ΠΉΡΠΌΡΡΠΎΠ²ΠΎΠ³ΠΎ ΡΡΠ°Π½ΠΊΠ° Π‘Π 6-9. ΠΠΎΠΆΠ΅Π²ΠΎΠΉ Π²Π°Π» 35 ΠΏΡΠΈΠ²ΠΎΠ΄ΠΈΡΡΡ Π²ΠΎ Π²ΡΠ°ΡΠ΅Π½ΠΈΠ΅ ΠΎΡ ΡΠ»Π΅ΠΊΡΡΠΎΠ΄Π²ΠΈΠ³Π°ΡΠ΅Π»Ρ 1 ΡΠ΅ΡΠ΅Π· ΠΊΠ»ΠΈΠ½ΠΎΡΠ΅ΠΌΠ΅Π½Π½ΡΡ ΠΏΠ΅ΡΠ΅Π΄Π°ΡΡ ΡΠΎ ΡΠΊΠΈΠ²Π°ΠΌΠΈ 2 ΠΈ 3. Π’ΠΎΡΠΌΠΎΠΆΠ΅Π½ΠΈΠ΅ Π²Π°Π»Π° ΠΎΡΡΡΠ΅ΡΡΠ²Π»ΡΠ΅ΡΡΡ ΡΠΎΡΠΌΠΎΠ·ΠΎΠΌ 36.
ΠΠ΅Ρ Π°Π½ΠΈΠ·ΠΌ ΠΏΠΎΠ΄Π°ΡΠΈ β ΡΡΠ΅Ρ Π²Π°Π»ΡΡΠΎΠ²ΡΠΉ. ΠΡΠΈΠ²ΠΎΠ΄ Π²Π΅ΡΡ Π½ΠΈΡ ΠΏΠΎΠ΄Π°ΡΡΠΈΡ Π²Π°Π»ΡΡΠΎΠ² 37 ΠΈ 39 ΠΈ Π·Π°Π΄Π½Π΅Π³ΠΎ Π½ΠΈΠΆΠ½Π΅Π³ΠΎ Π²Π°Π»ΡΡΠ° 42 ΠΎΡΡΡΠ΅ΡΡΠ²Π»ΡΠ΅ΡΡΡ ΠΎΡ Π΄Π²ΡΡ ΡΠΊΠΎΡΠΎΡΡΠ½ΠΎΠ³ΠΎ ΡΠ»Π΅ΠΊΡΡΠΎΠ΄Π²ΠΈΠ³Π°ΡΠ΅Π»Ρ 4, ΡΠΎΠ΅Π΄ΠΈΠ½ΠΈΡΠ΅Π»ΡΠ½ΠΎΠΉ ΠΌΡΡΡΡ ΠΈ ΡΠ΅Π΄ΡΠΊΡΠΎΡΠ°, ΡΠΌΠΎΠ½ΡΠΈΡΠΎΠ²Π°Π½Π½ΡΡ Π½Π° ΠΎΠ΄Π½ΠΎΠΉ ΠΏΠ»ΠΈΡΠ΅. Π ΡΠ΅Π΄ΡΠΊΡΠΎΡΠ΅ ΡΠ°ΡΠΏΠΎΠ»ΠΎΠΆΠ΅Π½Ρ Π΄Π²Π΅ ΡΠ»Π΅ΠΊΡΡΠΎΠΌΠ°Π³Π½ΠΈΡΠ½ΡΠ΅ ΠΌΡΡΡΡ 40 ΠΈ 41, Ρ ΠΏΠΎΠΌΠΎΡΡΡ ΠΊΠΎΡΠΎΡΡΡ Π²ΠΊΠ»ΡΡΠ°ΡΡΡΡ ΡΡΡΠΏΠ΅Π½ΠΈ ΡΠ΅Π΄ΡΠΊΡΠΎΡΠ° Ρ ΡΠ°Π·Π½ΡΠΌ ΠΏΠ΅ΡΠ΅Π΄Π°ΡΠΎΡΠ½ΡΠΌ ΠΎΡΠ½ΠΎΡΠ΅Π½ΠΈΠ΅ΠΌ.
ΠΡΠΈ Π²ΠΊΠ»ΡΡΠ΅Π½ΠΈΠΈ ΠΌΡΡΡΡ 40 Π²ΡΠ°ΡΠ΅Π½ΠΈΠ΅ Π½Π° Π²Π°Π»ΡΡΡ ΠΏΠΎΡΡΡΠΏΠ°Π΅Ρ ΡΠ΅ΡΠ΅Π· Π·ΡΠ±ΡΠ°ΡΡΠ΅ ΠΏΠ΅ΡΠ΅Π΄Π°ΡΠΈ 5β7, 9β10, 11β12, 13β14, 15β16 ΠΈ ΡΠ΅ΠΏΠ½ΡΡ ΠΏΠ΅ΡΠ΅Π΄Π°ΡΡ ΡΠΎ Π·Π²Π΅Π·Π΄ΠΎΡΠΊΠ°ΠΌΠΈ 17β21. ΠΡΠΈ Π²ΠΊΠ»ΡΡΠ΅Π½ΠΈΠΈ ΠΌΡΡΡΡ 41 Π²ΡΠ°ΡΠ΅Π½ΠΈΠ΅ ΠΏΠ΅ΡΠ΅Π΄Π°Π΅ΡΡΡ ΡΠ΅ΡΠ΅Π· ΡΠ΅ΡΡΠ΅ΡΠ½ΠΈ 6β8, Π° Π΄Π°Π»Π΅Π΅ ΠΏΠΎ ΡΠΎΠΉ ΠΆΠ΅ ΠΊΠΈΠ½Π΅ΠΌΠ°ΡΠΈΡΠ΅ΡΠΊΠΎΠΉ ΡΠ΅ΠΏΠΈ.
Π£ΡΡΠ°Π½ΠΎΠ²ΠΊΠ° Π½Π΅ΠΎΠ±Ρ ΠΎΠ΄ΠΈΠΌΠΎΠΉ ΡΠΊΠΎΡΠΎΡΡΠΈ ΠΏΠΎΠ΄Π°ΡΠΈ ΠΏΡΠΎΠΈΠ·Π²ΠΎΠ΄ΠΈΡΡΡ Π΄Π²ΡΠΌΡ ΠΏΠ΅ΡΠ΅ΠΊΠ»ΡΡΠ°ΡΠ΅Π»ΡΠΌΠΈ (Π΄Π»Ρ ΠΌΡΡΡ ΠΈ Π΄Π²ΠΈΠ³Π°ΡΠ΅Π»Ρ) ΠΏΠΎ ΡΠ°Π±Π»ΠΈΡΠ΅ Π½Π°ΡΡΡΠΎΠΉΠΊΠΈ, Π³Π΄Π΅ Π΄Π»Ρ ΠΊΠ°ΠΆΠ΄ΠΎΠΉ ΡΠΊΠΎΡΠΎΡΡΠΈ ΡΠΊΠ°Π·Π°Π½ΠΎ ΡΠΎΠΎΡΠ²Π΅ΡΡΡΠ²ΡΡΡΠ΅Π΅ ΠΏΠΎΠ»ΠΎΠΆΠ΅Π½ΠΈΠ΅ ΠΏΠ΅ΡΠ΅ΠΊΠ»ΡΡΠ°ΡΠ΅Π»Π΅ΠΉ. Π§Π΅ΡΡΡΠ΅ Π·Π½Π°ΡΠ΅Π½ΠΈΡ ΡΠΊΠΎΡΠΎΡΡΠΈ ΠΏΠΎΠ΄Π°ΡΠΈ Π² Π΄ΠΈΠ°ΠΏΠ°Π·ΠΎΠ½Π΅ 8… 24 ΠΌ/ΠΌΠΈΠ½ Π²ΠΏΠΎΠ»Π½Π΅ ΡΠ΄ΠΎΠ²Π»Π΅ΡΠ²ΠΎΡΡΡΡ ΠΏΠΎΡΡΠ΅Π±ΠΈΡΠ΅Π»Π΅ΠΉ, Π° ΡΠΏΡΠΎΡΠ΅Π½ΠΈΠ΅ ΠΊΠΈΠ½Π΅ΠΌΠ°ΡΠΈΡΠ΅ΡΠΊΠΎΠΉ ΡΠ΅ΠΏΠΈ ΠΏΡΠΈΠ²ΠΎΠ΄Π° ΠΏΠΎΠ΄Π°ΡΠΈ ΠΏΠΎΠ²ΡΡΠ°Π΅Ρ Π½Π°Π΄Π΅ΠΆΠ½ΠΎΡΡΡ ΡΡΠ°Π½ΠΊΠ°.
Π‘ΡΠΎΠ» 38 ΡΡΠ°Π½ΠΊΠ° ΠΈΠΌΠ΅Π΅Ρ Π½Π°ΡΡΡΠΎΠ΅ΡΠ½ΠΎΠ΅ Π²Π΅ΡΡΠΈΠΊΠ°Π»ΡΠ½ΠΎΠ΅ ΠΏΠ΅ΡΠ΅ΠΌΠ΅ΡΠ΅Π½ΠΈΠ΅ ΠΏΠΎ Π½Π°ΠΏΡΠ°Π²Π»ΡΡΡΠΈΠΌ. ΠΡΠ°ΡΠ΅Π½ΠΈΠ΅ ΠΎΡ ΡΠ»Π΅ΠΊΡΡΠΎΠ΄Π²ΠΈΠ³Π°ΡΠ΅Π»Ρ 34 ΡΠ΅ΡΠ΅Π· ΡΠ΅ΠΌΠ΅Π½Π½ΡΡ ΠΏΠ΅ΡΠ΅Π΄Π°ΡΡ 28β29, ΡΠ΅ΡΠ²ΡΡΠ½ΡΠΉ ΡΠ΅Π΄ΡΠΊΡΠΎΡ 30, ΡΠ΅ΠΏΠ½ΡΡ ΠΏΠ΅ΡΠ΅Π΄Π°ΡΡ 31β32, ΠΊΠΎΠ½ΠΈΡΠ΅ΡΠΊΠΈΠ΅ Π·ΡΠ±ΡΠ°ΡΡΠ΅ ΠΏΠ΅ΡΠ΅Π΄Π°ΡΠΈ 23β24 ΠΈ 26β27 ΠΏΠΎΡΡΡΠΏΠ°Π΅Ρ Π½Π° Π΄Π²Π΅ Π²ΠΈΠ½ΡΠΎΠ²ΡΠ΅ ΠΏΠ°ΡΡ 22 ΠΈ 25. Π‘ΡΠΎΠ» Π΄Π²ΠΈΠΆΠ΅ΡΡΡ Π²Π²Π΅ΡΡ ΠΈ Π²Π½ΠΈΠ· ΡΠΎΠ»ΡΠΊΠΎ ΠΏΡΠΈ Π½Π΅ΠΏΡΠ΅ΡΡΠ²Π½ΠΎΠΌ Π½Π°ΠΆΠΈΠΌΠ΅ Π½Π° ΠΊΠ½ΠΎΠΏΠΊΡ. ΠΠ»Ρ ΠΏΡΠ΅Π΄ΠΎΡΠ²ΡΠ°ΡΠ΅Π½ΠΈΡ ΠΏΠΎΠ»ΠΎΠΌΠΊΠΈ ΠΌΠ΅Ρ Π°Π½ΠΈΠ·ΠΌΠ° ΠΏΠΎΠ΄ΡΠ΅ΠΌΠ° ΡΠ»ΡΠΆΠΈΡ ΠΏΡΠ΅Π΄ΠΎΡ ΡΠ°Π½ΠΈΡΠ΅Π»ΡΠ½Π°Ρ ΠΌΡΡΡΠ° 33. Π ΡΡΠ½ΠΎΠ΅ ΠΏΠ΅ΡΠ΅ΠΌΠ΅ΡΠ΅Π½ΠΈΠ΅ ΡΡΠΎΠ»Π° ΠΎΡΡΡΠ΅ΡΡΠ²Π»ΡΠ΅ΡΡΡ ΠΌΠ°Ρ ΠΎΠ²ΠΈΡΠΊΠΎΠΌ 43 ΡΠ΅ΡΠ΅Π· Π·ΡΠ±ΡΠ°ΡΡΡ ΠΌΡΡΡΡ 44.
Π€ΠΈΠΊΡΠ°ΡΠΈΡ ΡΡΠΎΠ»Π° Π² Π·Π°Π΄Π°Π½Π½ΠΎΠΌ ΠΏΠΎΠ»ΠΎΠΆΠ΅Π½ΠΈΠΈ ΠΏΡΠΎΠΈΠ·Π²ΠΎΠ΄ΠΈΡΡΡ Π²ΡΡΡΠ½ΡΡ ΠΏΠΎΠ²ΠΎΡΠΎΡΠΎΠΌ ΡΡΠΊΠΎΡΡΠΊΠΈ, ΠΊΠΎΡΠΎΡΠ°Ρ ΡΠ΅ΡΠ΅Π· ΡΠΊΡΡΠ΅Π½ΡΡΠΈΠΊ ΠΈ ΡΡΠΎΠΊ Π·Π°ΠΆΠΈΠΌΠ°Π΅Ρ Π½Π°ΠΏΡΠ°Π²Π»ΡΡΡΡΡ ΡΡΠΎΠ»Π°.
Π Π°ΡΠΏΠΎΠ»ΠΎΠΆΠ΅Π½ΠΈΠ΅ ΡΠΎΡΡΠ°Π²Π½ΡΡ ΡΠ°ΡΡΠ΅ΠΉ ΠΈ ΠΎΡΠ³Π°Π½ΠΎΠ² ΡΠΏΡΠ°Π²Π»Π΅Π½ΠΈΡ ΡΠ΅ΠΉΡΠΌΡΡΠΎΠ²ΡΠΌ ΡΡΠ°Π½ΠΊΠΎΠΌ Π‘Π -6-9

Π Π°ΡΠΏΠΎΠ»ΠΎΠΆΠ΅Π½ΠΈΠ΅ ΡΠΎΡΡΠ°Π²Π½ΡΡ ΡΠ°ΡΡΠ΅ΠΉ ΡΡΠ°Π½ΠΊΠ° Π‘Π 6-9. Π ΠΈΡ. 3
Π Π°ΡΠΏΠΎΠ»ΠΎΠΆΠ΅Π½ΠΈΠ΅ ΡΠΎΡΡΠ°Π²Π½ΡΡ ΡΠ°ΡΡΠ΅ΠΉ ΠΈ ΠΎΡΠ³Π°Π½ΠΎΠ² ΡΠΏΡΠ°Π²Π»Π΅Π½ΠΈΡ ΡΡΠ°Π½ΠΊΠΎΠΌ Π‘Π -6-9. Π‘ΠΌΠΎΡΡΠ΅ΡΡ Π² ΡΠ²Π΅Π»ΠΈΡΠ΅Π½Π½ΠΎΠΌ ΠΌΠ°ΡΡΡΠ°Π±Π΅

Π Π°ΡΠΏΠΎΠ»ΠΎΠΆΠ΅Π½ΠΈΠ΅ ΠΎΡΠ³Π°Π½ΠΎΠ² ΡΠΏΡΠ°Π²Π»Π΅Π½ΠΈΡ ΡΡΠ°Π½ΠΊΠΎΠΌ Π‘Π 6-9. Π ΠΈΡ. 4
Π Π°ΡΠΏΠΎΠ»ΠΎΠΆΠ΅Π½ΠΈΠ΅ ΡΠΎΡΡΠ°Π²Π½ΡΡ ΡΠ°ΡΡΠ΅ΠΉ ΠΈ ΠΎΡΠ³Π°Π½ΠΎΠ² ΡΠΏΡΠ°Π²Π»Π΅Π½ΠΈΡ ΡΡΠ°Π½ΠΊΠΎΠΌ Π‘Π -6-9. Π‘ΠΌΠΎΡΡΠ΅ΡΡ Π² ΡΠ²Π΅Π»ΠΈΡΠ΅Π½Π½ΠΎΠΌ ΠΌΠ°ΡΡΡΠ°Π±Π΅

Π Π°ΡΠΏΠΎΠ»ΠΎΠΆΠ΅Π½ΠΈΠ΅ ΠΎΡΠ³Π°Π½ΠΎΠ² ΡΠΏΡΠ°Π²Π»Π΅Π½ΠΈΡ ΡΡΠ°Π½ΠΊΠΎΠΌ Π‘Π 6-9. Π ΠΈΡ. 5

Π Π°ΡΠΏΠΎΠ»ΠΎΠΆΠ΅Π½ΠΈΠ΅ ΠΎΡΠ³Π°Π½ΠΎΠ² ΡΠΏΡΠ°Π²Π»Π΅Π½ΠΈΡ ΡΡΠ°Π½ΠΊΠΎΠΌ Π‘Π 6-9. Π ΠΈΡ. 6
Π Π°ΡΠΏΠΎΠ»ΠΎΠΆΠ΅Π½ΠΈΠ΅ ΡΠΎΡΡΠ°Π²Π½ΡΡ ΡΠ°ΡΡΠ΅ΠΉ ΠΈ ΠΎΡΠ³Π°Π½ΠΎΠ² ΡΠΏΡΠ°Π²Π»Π΅Π½ΠΈΡ ΡΡΠ°Π½ΠΊΠΎΠΌ Π‘Π -6-9. Π‘ΠΌΠΎΡΡΠ΅ΡΡ Π² ΡΠ²Π΅Π»ΠΈΡΠ΅Π½Π½ΠΎΠΌ ΠΌΠ°ΡΡΡΠ°Π±Π΅
Π Π°ΡΠΏΠΎΠ»ΠΎΠΆΠ΅Π½ΠΈΠ΅ ΡΠΎΡΡΠ°Π²Π½ΡΡ ΡΠ°ΡΡΠ΅ΠΉ ΡΠ΅ΠΉΡΠΌΡΡΠΎΠ²ΠΎΠ³ΠΎ ΡΡΠ°Π½ΠΊΠ° Π‘Π 6-9
- Π‘ΡΠ°Π½ΠΈΠ½Π° — Π‘Π 6-9.10.000 — Π ΠΈΡ. 3, ΠΏΠΎΠ·. 1
- Π‘ΡΠΎΠ» — Π‘Π 6-9.12.000 — Π ΠΈΡ 3, ΠΏΠΎΠ·. 2
- ΠΠ°Π»Π΅Ρ ΠΏΠΎΠ΄Π°ΡΡΠΈΠΉ (ΠΏΠ΅ΡΠ΅Π΄Π½ΠΈΠΉ) — Π‘Π 6-9.22.000 — Π ΠΈΡ. 4, ΠΏΠΎΠ·. 21, Π ΠΈΡ. 10
- ΠΡΠΈΠΆΠΈΠΌΡ — Π‘Π 6-9.24.000 — Π ΠΈΡ. 4, ΠΏΠΎΠ·. 20, Π ΠΈΡ 9
- ΠΠ°Π» Π½ΠΎΠΆΠ΅Π²ΠΎΠΉ — CP6-9.25.000 — Π ΠΈΡ. 4, ΠΏΠΎΠ·. 19, Π ΠΈΡ. 8
- ΠΠ°Π»Π΅Ρ ΠΏΠΎΠ΄Π°ΡΡΠΈΠΉ (Π·Π°Π΄Π½ΠΈΠΉ) — Π‘Π 6-9.28.000 — Π ΠΈΡ. 4, ΠΏΠΎΠ·. 22, Π ΠΈΡ. 11
- ΠΡΠΈΠ²ΠΎΠ΄ ΠΏΠΎΠ΄Π°ΡΠΈ — Π‘Π 6-9.30.000 — Π ΠΈΡ. 3, ΠΏΠΎΠ·. 3, Π ΠΈΡ 12
- ΠΠ°Π²Π΅ΡΠ° Π·Π²ΡΠΊΠΎΠΏΠΎΠ³Π»ΠΎΡΠ°ΡΡΠ°Ρ — Π‘Π 6-9.78.000 — Π ΠΈΡ. 13*
- ΠΠ»Π΅ΠΊΡΡΠΎΠΎΠ±ΠΎΡΡΠ΄ΠΎΠ²Π°Π½ΠΈΠ΅ — Π‘Π 6-9.80.000 — Π ΠΈΡ. 3, ΠΏΠΎΠ·. 62
Π Π°ΡΠΏΠΎΠ»ΠΎΠΆΠ΅Π½ΠΈΠ΅ ΠΎΡΠ³Π°Π½ΠΎΠ² ΡΠΏΡΠ°Π²Π»Π΅Π½ΠΈΡ ΡΠ΅ΠΉΡΠΌΡΡΠΎΠ²ΡΠΌ ΡΡΠ°Π½ΠΊΠΎΠΌ Π‘Π 6-9
- Π£ΠΊΠ°Π·Π°ΡΠ΅Π»Ρ Π½Π°Π³ΡΡΠ·ΠΊΠΈ
- Π‘Π²Π΅ΡΠΎΠ²ΠΎΠΉ ΡΠΊΠ°Π·Π°ΡΠ΅Π»Ρ ΠΎ Π½Π°Π»ΠΈΡΠΈΠΈ Π½Π°ΠΏΡΡΠΆΠ΅Π½ΠΈΡ
- ΠΠ½ΠΎΠΏΠΊΠ° Β«ΠΡΡΠΊΒ» Π½ΠΎΠΆΠ΅Π²ΠΎΠ³ΠΎ Π²Π°Π»Π°
- ΠΠ½ΠΎΠΏΠΊΠ° Β«ΠΠ²Π΅ΡΡ Β» ΠΏΠ΅ΡΠ΅ΠΌΠ΅ΡΠ΅Π½ΠΈΡ ΡΡΠΎΠ»Π°
- ΠΠ½ΠΎΠΏΠΊΠ° Β«ΠΠ½ΠΈΠ·Β» ΠΏΠ΅ΡΠ΅ΠΌΠ΅ΡΠ΅Π½ΠΈΡ ΡΡΠΎΠ»Π°
- ΠΠ½ΠΎΠΏΠΊΠ° Β«ΠΡΡΠΊΒ» ΠΏΠΎΠ΄Π°ΡΠΈ
- ΠΠ½ΠΎΠΏΠΊΠ° Β«Π‘ΡΠΎΠΏΒ» ΠΎΠ±ΡΠ°Ρ
- ΠΠ½ΠΎΠΏΠΊΠ° Β«Π‘ΡΠΎΠΏΒ» ΠΎΠ±ΡΠ°Ρ
- ΠΡΠΊΠ»ΡΡΠ°ΡΠ΅Π»Ρ ΠΌΠ΅ΡΡΠ½ΠΎΠ³ΠΎ ΠΎΡΠ²Π΅ΡΠ΅Π½ΠΈΡ
- ΠΠ²ΠΎΠ΄Π½ΡΠΉ Π²ΡΠΊΠ»ΡΡΠ°ΡΠ΅Π»Ρ
- ΠΠ°Ρ ΠΎΠ²ΠΈΡΠΎΠΊ ΡΡΡΠ½ΠΎΠ³ΠΎ ΠΏΠ΅ΡΠ΅ΠΌΠ΅ΡΠ΅Π½ΠΈΡ ΡΡΠΎΠ»Π°
- ΠΠ°Ρ ΠΎΠ²ΠΈΡΠΎΠΊ ΡΠ΅Π³ΡΠ»ΠΈΡΠΎΠ²ΠΊΠΈ ΡΠΊΠΎΡΠΎΡΡΠΈ ΠΏΠΎΠ΄Π°ΡΠΈ
- Π ΡΠΊΠΎΡΡΠΊΠ° ΠΌΠ΅Ρ Π°Π½ΠΈΡΠ΅ΡΠΊΠΎΠ³ΠΎ Π·Π°ΠΆΠΈΠΌΠ° ΡΡΠΎΠ»Π°
- Π ΡΠΊΠΎΡΡΠΊΠ° ΠΏΠ΅ΡΠ΅ΠΌΠ΅ΡΠ΅Π½ΠΈΡ Π²Π°Π»ΡΡΠΎΠ² ΡΡΠΎΠ»Π°
ΠΠ±ΡΠ°Ρ ΠΊΠΎΠΌΠΏΠ°Π½ΠΎΠ²ΠΊΠ° ΡΠ΅ΠΉΡΠΌΡΡΠΎΠ²ΠΎΠ³ΠΎ ΡΡΠ°Π½ΠΊΠ° Π‘Π -6-9. ΠΠΏΠΈΡΠ°Π½ΠΈΠ΅ ΠΎΡΠ½ΠΎΠ²Π½ΡΡ ΡΠ±ΠΎΡΠΎΡΠ½ΡΡ Π΅Π΄ΠΈΠ½ΠΈΡ
Π‘ΡΠ°Π½ΠΈΠ½Π° ΡΡΠ°Π½ΠΊΠ° Π‘Π -6-9. Π‘ΠΌ. ΡΠΈΡ. 3, 4, 5, 6
Π‘ΡΠ°Π½ΠΈΠ½Π° 1 ΡΡΠ°Π½ΠΊΠ° ΠΏΡΠ΅Π΄ΡΡΠ°Π²Π»ΡΠ΅Ρ ΠΆΠ΅ΡΡΠΊΡΡ ΡΠ΅Π»ΡΠ½ΠΎΠ»ΠΈΡΡΡ ΠΊΠΎΡΠΎΠ±ΠΊΡ. ΠΠ½ΡΡΡΠΈ ΡΡΠ°Π½ΠΈΠ½Ρ, Π² ΡΠ΅Π½ΡΡΠ°Π»ΡΠ½ΠΎΠΉ Π½ΠΈΡΠ΅ ΠΏΠ΅ΡΠ΅Π΄Π½Π΅ΠΉ ΡΠ°ΡΡΠΈ ΡΡΠ°Π½ΠΊΠ°, ΡΡΡΠ°Π½ΠΎΠ²Π»Π΅Π½ Π±Π΅ΡΡΡΡΠΏΠ΅Π½ΡΠ°ΡΡΠΉ ΠΏΡΠΈΠ²ΠΎΠ΄ ΠΏΠΎΠ΄Π°ΡΡΠΈΡ Π²Π°Π»ΡΡΠΎΠ² ΠΈ ΠΏΠ΅ΡΠ΅ΠΌΠ΅ΡΠ΅Π½ΠΈΡ ΡΡΠΎΠ»Π° 2.
Π Π΅Π³ΡΠ»ΠΈΡΠΎΠ²Π°Π½ΠΈΠ΅ ΡΠΊΠΎΡΠΎΡΡΠΈ ΠΏΠΎΠ΄Π°ΡΠΈ ΠΎΡΡΡΠ΅ΡΡΠ²Π»ΡΠ΅ΡΡΡ ΠΏΡΠΈ ΠΏΠΎΠΌΠΎΡΠΈ ΠΌΠ°Ρ ΠΎΠ²ΠΈΡΠΊΠ° 16, ΡΠ°ΡΠΏΠΎΠ»ΠΎΠΆΠ΅Π½Π½ΠΎΠ³ΠΎ Π² Π»Π΅Π²ΠΎΠΉ ΡΠ°ΡΡΠΈ ΡΡΠ°Π½ΠΈΠ½Ρ. Π Π»Π΅Π²ΠΎΠΉ Π½ΠΈΡΠ΅ ΡΡΠ°Π½ΠΈΠ½Ρ ΡΠ°ΡΠΏΠΎΠ»ΠΎΠΆΠ΅Π½ ΡΠ»Π΅ΠΊΡΡΠΎΡΠΊΠ°Ρ. Π ΠΏΡΠ°Π²ΠΎΠΉ Π½ΠΈΡΠ΅ ΡΡΠ°Π½ΠΈΠ½Ρ ΡΠ°Π·ΠΌΠ΅ΡΠ΅Π½Ρ ΡΠ΅ΠΏΠ½Π°Ρ ΠΏΠ΅ΡΠ΅Π΄Π°ΡΠ° 41 ΠΏΡΠΈΠ²ΠΎΠ΄Π° ΠΏΠΎΠ΄Π°ΡΡΠΈΡ Π²Π°Π»ΡΡΠΎΠ² ΠΈ ΠΊΠ»ΠΈΠ½ΠΎΡΠ΅ΠΌΠ΅Π½Π½Π°Ρ ΠΏΠ΅ΡΠ΅Π΄Π°ΡΠ° 46 ΠΏΡΠΈΠ²ΠΎΠ΄Π° Π½ΠΎΠΆΠ΅Π²ΠΎΠ³ΠΎ Π²Π°Π»Π°.
ΠΠ΅ΡΡ Π½ΠΈΠΉ Π±Π»ΠΎΠΊ ΡΡΠ°Π½ΠΊΠ°
ΠΠ΅ΡΡ Π½ΡΡ ΡΠ°ΡΡΡ ΡΡΠ°Π½ΠΊΠ° 4 (ΡΠΌ. ΡΠΈΡ. 3) Π²ΡΠΏΠΎΠ»Π½Π΅Π½Π° Π±Π»ΠΎΡΠ½ΠΎΠΉ ΠΊΠΎΠ½ΡΡΡΡΠΊΡΠΈΠ΅ΠΉ, Π² ΠΊΠΎΡΠΎΡΠΎΠΉ ΡΠ°Π·ΠΌΠ΅ΡΠ΅Π½Ρ (ΡΠΌ. ΡΠΈΡ. 4): ΠΊΠΎΠ³ΡΠ΅Π²Π°Ρ Π·Π°ΡΠΈΡΠ° 23, Π²Π°Π»ΡΡΡ ΠΏΠΎΠ΄Π°ΡΡΠΈΠ΅ β ΠΏΠ΅ΡΠ΅Π΄Π½ΠΈΠΉ 21 ΠΈ Π·Π°Π΄Π½ΠΈΠΉ 22, Π²Π°Π» Π½ΠΎΠΆΠ΅Π²ΠΎΠΉ 19, ΠΏΡΠΈΠΆΠΈΠΌΡ 20, ΡΡΠ°Π²Π΅ΡΡΠ° 24 ΡΡΠ³ΠΎΠ²Π°Π»ΡΠ½ΠΎΠ³ΠΎ ΠΏΡΠΈΡΠΏΠΎΡΠΎΠ±Π»Π΅Π½ΠΈΡ. Π Π»Π΅Π²ΠΎΠΉ ΠΏΠ΅ΡΠ΅Π΄Π½Π΅ΠΉ Π½ΠΈΡΠ΅ Π±Π»ΠΎΠΊΠ° ΡΠ°Π·ΠΌΠ΅ΡΠ΅Π½ΠΎ ΡΠ»Π΅ΠΊΡΡΠΎΠΎΠ±ΠΎΡΡΠ΄ΠΎΠ²Π°Π½ΠΈΠ΅ ΠΏΡΠ»ΡΡΠ° ΡΠΏΡΠ°Π²Π»Π΅Π½ΠΈΡ ΡΡΠ°Π½ΠΊΠΎΠΌ. Π Π»Π΅Π²ΠΎΠΉ Π±ΠΎΠΊΠΎΠ²ΠΎΠΉ Π½ΠΈΡΠ΅ Π±Π»ΠΎΠΊΠ° ΡΠ°Π·ΠΌΠ΅ΡΠ΅Π½ΠΎ ΡΠΎΡΠΌΠΎΠ·Π½ΠΎΠ΅ ΡΡΡΡΠΎΠΉΡΡΠ²ΠΎ Π½ΠΎΠΆΠ΅Π²ΠΎΠ³ΠΎ Π²Π°Π»Π°, Π² ΠΏΡΠ°Π²ΠΎΠΉ Π½ΠΈΡΠ΅ β ΡΠ΅ΠΏΠ½Π°Ρ ΠΏΠ΅ΡΠ΅Π΄Π°ΡΠ° Π²Π΅ΡΡ Π½ΠΈΡ ΠΏΠΎΠ΄Π°ΡΡΠΈΡ Π²Π°Π»ΡΡΠΎΠ² ΠΈ ΠΊΠ»ΠΈΠ½ΠΎΡΠ΅ΠΌΠ΅Π½Π½Π°Ρ ΠΏΠ΅ΡΠ΅Π΄Π°ΡΠ° ΠΏΡΠΈΠ²ΠΎΠ΄Π° Π½ΠΎΠΆΠ΅Π²ΠΎΠ³ΠΎ Π²Π°Π»Π°.
Π‘ΡΠΎΠ» ΡΠ΅ΠΉΡΠΌΡΡΠΎΠ²ΠΎΠ³ΠΎ ΡΡΠ°Π½ΠΊΠ° Π‘Π -6-9

Π‘ΡΠΎΠ» ΡΠ΅ΠΉΡΠΌΡΡΠΎΠ²ΠΎΠ³ΠΎ ΡΡΠ°Π½ΠΊΠ° Π‘Π 6-9. Π ΠΈΡ. 7
Π‘ΡΠΎΠ» ΡΠ΅ΠΉΡΠΌΡΡΠΎΠ²ΠΎΠ³ΠΎ ΡΡΠ°Π½ΠΊΠ° Π‘Π -6-9. Π‘ΠΌΠΎΡΡΠ΅ΡΡ Π² ΡΠ²Π΅Π»ΠΈΡΠ΅Π½Π½ΠΎΠΌ ΠΌΠ°ΡΡΡΠ°Π±Π΅
Π‘ΡΠΎΠ» 1 β ΡΡΠ³ΡΠ½Π½ΡΠΉ, ΠΏΡΡΠΌΠΎΡΠ³ΠΎΠ»ΡΠ½ΠΎΠΉ ΡΠΎΡΠΌΡ Ρ Π½Π°ΠΏΡΠ°Π²Π»ΡΡΡΠΈΠΌΠΈ 2 ΠΈ 3. Π ΡΡΠΎΠ»Π΅ ΡΠ°ΡΠΏΠΎΠ»ΠΎΠΆΠ΅Π½Ρ Π΄Π²Π° Π³Π»Π°Π΄ΠΊΠΈΡ Π²Π°Π»ΡΡΠ° 4 ΠΈ 5. ΠΠ°Π»Π΅Ρ 5 β ΠΏΡΠΈΠ²ΠΎΠ΄Π½ΠΎΠΉ. ΠΠ°Π»ΡΡΡ ΡΠΌΠΎΠ½ΡΠΈΡΠΎΠ²Π°Π½Ρ Π½Π° ΠΊΠ°ΡΠ°ΡΡΠΈΡ ΡΡ ΠΊΡΠΎΠ½ΡΡΠ΅ΠΉΠ½Π°Ρ 6. ΠΡΡΡΠ°Π²ΠΊΠ° Π²Π°Π»ΡΡΠΎΠ² ΠΏΠΎ Π²ΡΡΠΎΡΠ΅ ΠΎΡΠ½ΠΎΡΠΈΡΠ΅Π»ΡΠ½ΠΎ ΡΠ°Π±ΠΎΡΠ΅ΠΉ ΠΏΠΎΠ²Π΅ΡΡ Π½ΠΎΡΡΠΈ ΡΡΠΎΠ»Π° ΠΏΡΠΎΠΈΠ·Π²ΠΎΠ΄ΠΈΡΡΡ ΡΠΊΡΡΠ΅Π½ΡΡΠΈΠΊΠΎΠ²ΡΠΌ ΠΌΠ΅Ρ Π°Π½ΠΈΠ·ΠΌΠΎΠΌ 7, ΠΏΠΎΠ²ΠΎΡΠΎΡΠΎΠΌ ΡΡΠΊΠΎΡΡΠΊΠΈ 8.
Π€ΠΈΠΊΡΠ°ΡΠΈΡ ΡΡΠΎΠ»Π° Π² Π·Π°Π΄Π°Π½Π½ΠΎΠΌ ΠΏΠΎΠ»ΠΎΠΆΠ΅Π½ΠΈΠΈ ΠΏΡΠΎΠΈΠ·Π²ΠΎΠ΄ΠΈΡΡΡ ΡΠΊΡΡΠ΅Π½ΡΡΠΈΠΊΠΎΠ²ΡΠΌ Π·Π°ΠΆΠΈΠΌΠΎΠΌ ΠΏΠΎΠ²ΠΎΡΠΎΡΠΎΠΌ ΡΡΠΊΠΎΡΡΠΊΠΈ 9.
ΠΠ΅Ρ Π°Π½ΠΈΠ·ΠΌ ΠΏΠ΅ΡΠ΅ΠΌΠ΅ΡΠ΅Π½ΠΈΡ ΡΡΠΎΠ»Π°
ΠΠ΅Ρ Π°Π½ΠΈΠ·ΠΌ ΠΌΠ΅Ρ Π°Π½ΠΈΡΠ΅ΡΠΊΠΎΠ³ΠΎ ΠΏΠ΅ΡΠ΅ΠΌΠ΅ΡΠ΅Π½ΠΈΡ ΡΡΠΎΠ»Π° ΡΠΎΡΡΠΎΠΈΡ ΠΈΠ· ΠΏΡΠΈΠ²ΠΎΠ΄Π° 3 (ΡΠΌ. ΡΠΈΡ. 3), ΡΠ΅ΠΏΠ½ΠΎΠΉ ΠΏΠ΅ΡΠ΅Π΄Π°ΡΠΈ 44 (ΡΠΈΡ. 5), ΡΠ°ΡΠΏΡΠ΅Π΄Π΅Π»ΠΈΡΠ΅Π»ΡΠ½ΠΎΠ³ΠΎ Π²Π°Π»Π° IX (ΡΠΌ. ΡΠΈΡ. 2), ΠΊΠΎΠ½ΠΈΡΠ΅ΡΠΊΠΈΡ ΠΏΠ΅ΡΠ΅Π΄Π°Ρ 23β24, 26β27 ΠΏΠ΅ΡΠ΅Π΄Π°Ρ Π²ΠΈΠ½Ρ. β Π³Π°ΠΉΠΊΠ° Xβ25, XIβ28.
Π ΡΡΠ½ΠΎΠ΅ ΠΏΠ΅ΡΠ΅ΠΌΠ΅ΡΠ΅Π½ΠΈΠ΅ ΡΡΠΎΠ»Π° ΠΎΡΡΡΠ΅ΡΡΠ²Π»ΡΠ΅ΡΡΡ ΠΌΠ°Ρ ΠΎΠ²ΠΈΡΠΊΠΎΠΌ 15 (ΡΠΌ. ΡΠΈΡ. 3), ΡΠ΅ΡΠ΅Π· ΠΊΡΠ»Π°ΡΠΊΠΎΠ²ΡΡ ΠΌΡΡΡΡ 60 (ΡΠΌ. ΡΠΈΡ. 6), ΡΠ΅ΠΏΠ½ΡΡ ΠΏΠ΅ΡΠ΅Π΄Π°ΡΡ 59. ΠΠ»Ρ Π²ΠΊΠ»ΡΡΠ΅Π½ΠΈΡ ΠΌΡΡΡΡ Π½Π΅ΠΎΠ±Ρ ΠΎΠ΄ΠΈΠΌΠΎ Π½Π°ΠΆΠ°ΡΡ Π½Π° ΠΌΠ°Ρ ΠΎΠ²ΠΈΡΠΎΠΊ Π² ΠΎΡΠ΅Π²ΠΎΠΌ Π½Π°ΠΏΡΠ°Π²Π»Π΅Π½ΠΈΠΈ.
ΠΠ°Π» Π½ΠΎΠΆΠ΅Π²ΠΎΠΉ ΡΠ΅ΠΉΡΠΌΡΡΠΎΠ²ΠΎΠ³ΠΎ ΡΡΠ°Π½ΠΊΠ° Π‘Π -6-9

ΠΠ°Π» Π½ΠΎΠΆΠ΅Π²ΠΎΠΉ ΡΠ΅ΠΉΡΠΌΡΡΠΎΠ²ΠΎΠ³ΠΎ ΡΡΠ°Π½ΠΊΠ° Π‘Π -6-9. Π ΠΈΡ. 8
ΠΠ°Π» Π½ΠΎΠΆΠ΅Π²ΠΎΠΉ ΡΠ΅ΠΉΡΠΌΡΡΠΎΠ²ΠΎΠ³ΠΎ ΡΡΠ°Π½ΠΊΠ° Π‘Π -6-9. Π‘ΠΌΠΎΡΡΠ΅ΡΡ Π² ΡΠ²Π΅Π»ΠΈΡΠ΅Π½Π½ΠΎΠΌ ΠΌΠ°ΡΡΡΠ°Π±Π΅
ΠΠΎΡΠΏΡΡ Π½ΠΎΠΆΠ΅Π²ΠΎΠ³ΠΎ Π²Π°Π»Π° 1 ΡΠΈΠ»ΠΈΠ½Π΄ΡΠΈΡΠ΅ΡΠΊΠΎΠΉ ΡΠΎΡΠΌΡ ΠΈΠΌΠ΅Π΅Ρ ΡΠ΅ΡΡΡΠ΅ ΠΏΠ°Π·Π°, ΡΠ°Π·ΠΌΠ΅ΡΠ΅Π½Π½ΡΠ΅ ΠΏΠ°ΡΠ°Π»Π»Π΅Π»ΡΠ½ΠΎ ΠΎΡΠΈ Π²Π°Π»Π°, Π² ΠΊΠΎΡΠΎΡΡΠ΅ ΡΡΡΠ°Π½Π°Π²Π»ΠΈΠ²Π°ΡΡΡΡ ΠΏΡΡΠΌΡΠ΅ Π½ΠΎΠΆΠΈ — 7. ΠΡΠ΅ΠΏΠ»Π΅Π½ΠΈΠ΅ Π½ΠΎΠΆΠ΅ΠΉ ΠΏΡΠΎΠΈΠ·Π²ΠΎΠ΄ΠΈΡΡΡ ΠΊΠ»ΠΈΠ½ΡΡΠΌΠΈ 6 ΠΈ Π²ΠΈΠ½ΡΠ°ΠΌΠΈ 5. ΠΡΡΡΠ°Π²ΠΊΠ° Π½ΠΎΠΆΠ΅ΠΉ ΠΎΡΡΡΠ΅ΡΡΠ²Π»ΡΠ΅ΡΡΡ Π²ΠΈΠ½ΡΠ°ΠΌΠΈ 8 ΡΠ΅ΡΠ΅Π· Π³Π°ΠΉΠΊΠΈ 9. ΠΠΎΡΠΏΡΡ Π½ΠΎΠΆΠ΅Π²ΠΎΠ³ΠΎ Π²Π°Π»Π° ΠΌΠΎΠ½ΡΠΈΡΡΠ΅ΡΡΡ Π½Π° ΡΠ°ΡΠΈΠΊΠΎΠΏΠΎΠ΄ΡΠΈΠΏΠ½ΠΈΠΊΠ°Ρ 2, ΡΠ°Π·ΠΌΠ΅ΡΠ΅Π½Π½ΡΡ Π² ΡΠΈΠ»ΠΈΠ½Π΄ΡΠΈΡΠ΅ΡΠΊΠΈΡ ΠΎΠΏΠΎΡΠ°Ρ 3 ΠΈ 4. ΠΠ° ΡΡΠ°Π½ΠΊΠ΅ Π½ΠΎΠΆΠ΅Π²ΠΎΠΉ Π²Π°Π» ΡΡΡΠ°Π½Π°Π²Π»ΠΈΠ²Π°Π΅ΡΡΡ Π² ΡΠ°ΡΡΠΎΡΠΊΠ°Ρ Π±Π»ΠΎΠΊΠ° 4 (ΡΠΌ. ΡΠΈΡ. 3). ΠΡΠ°ΡΠ΅Π½ΠΈΠ΅ Π½ΠΎΠΆΠ΅Π²ΠΎΠ³ΠΎ Π²Π°Π»Π° ΠΎΡΡΡΠ΅ΡΡΠ²Π»ΡΠ΅ΡΡΡ ΠΎΡ ΡΠ»Π΅ΠΊΡΡΠΎΠ΄Π²ΠΈΠ³Π°ΡΠ΅Π»Ρ 47 (ΡΠΌ. ΡΠΈΡ. 5) ΠΊΠ»ΠΈΠ½ΠΎΡΠ΅ΠΌΠ΅Π½Π½ΠΎΠΉ ΠΏΠ΅ΡΠ΅Π΄Π°ΡΠ΅ΠΉ 46. ΠΠ»Π΅ΠΊΡΡΠΎΠ΄Π²ΠΈΠ³Π°ΡΠ΅Π»Ρ ΡΡΡΠ°Π½ΠΎΠ²Π»Π΅Π½ Π½Π° ΠΊΠ°ΡΠ°ΡΡΠ΅ΠΉΡΡ ΠΏΠ»ΠΈΡΠ΅ 49.
ΠΡΠΈΠΆΠΈΠΌΡ ΠΈ ΡΡ Π΅ΠΌΠ° ΡΡΡΠ°Π½ΠΎΠ²ΠΊΠΈ ΠΏΠΎ Π²ΡΡΠΎΡΠ΅ ΠΏΠΎΠ΄Π°ΡΡΠΈΡ Π²Π°Π»ΡΡΠΎΠ², ΠΏΡΠΈΠΆΠΈΠΌΠΎΠ² ΠΈ ΠΊΠΎΠ³ΡΠ΅Π²ΠΎΠΉ Π·Π°ΡΠΈΡΡ ΡΠ΅ΠΉΡΠΌΡΡΠΎΠ²ΠΎΠ³ΠΎ ΡΡΠ°Π½ΠΊΠ° Π‘Π -6-9

ΠΡΠΈΠΆΠΈΠΌΡ ΡΠ΅ΠΉΡΠΌΡΡΠΎΠ²ΠΎΠ³ΠΎ ΡΡΠ°Π½ΠΊΠ° Π‘Π 6-9. Π ΠΈΡ. 9
ΠΠ΅ΡΠ΅Π΄Π½ΠΈΠΉ ΠΏΡΠΈΠΆΠΈΠΌ 1 ΡΠ»ΡΠΆΠΈΡ Π΄Π»Ρ ΡΠΎΠ·Π΄Π°Π½ΠΈΡ ΠΏΠΎΠ΄ΠΏΠΎΡΠ° Π²ΠΎΠ»ΠΎΠΊΠΎΠ½ Π΄ΡΠ΅Π²Π΅ΡΠΈΠ½Ρ Π² ΠΌΠ΅ΡΡΠ΅ Π²ΡΡ ΠΎΠ΄Π° Π½ΠΎΠΆΠ° ΠΈΠ· ΠΌΠ°ΡΠ΅ΡΠΈΠ°Π»Π° ΠΈ ΠΏΡΠ΅Π΄ΡΠΏΡΠ΅ΠΆΠ΄Π΅Π½ΠΈΡ Π·Π°ΠΊΠΎΠ»ΠΎΠ².
ΠΠ΅ΡΠ΅Π΄Π½ΠΈΠΉ ΠΏΡΠΈΠΆΠΈΠΌ β ΡΠ΅ΠΊΡΠΈΠΎΠ½Π½ΡΠΉ. ΠΡΠΈΠΆΠΈΠΌΠ½Π°Ρ Π³ΡΠ±ΠΊΠ° ΠΏΠ΅ΡΠ΅Π΄Π½Π΅Π³ΠΎ ΠΏΡΠΈΠΆΠΈΠΌΠ° ΡΠΎΡΡΠΎΠΈΡ ΠΈΠ· ΡΠ·ΠΊΠΈΡ ΡΠ΅ΠΊΡΠΈΠΉ. ΠΠ°Π²Π»Π΅Π½ΠΈΠ΅ ΠΊΠ°ΠΆΠ΄ΠΎΠΉ ΡΠ΅ΠΊΡΠΈΠΈ ΠΎΡΡΡΠ΅ΡΡΠ²Π»ΡΠ΅ΡΡΡ ΠΏΡΡΠΆΠΈΠ½ΠΎΠΉ 3. ΠΡΠ΅ ΡΠ΅ΠΊΡΠΈΠΈ ΡΠ°Π·ΠΌΠ΅ΡΠ°ΡΡΡΡ Π½Π° ΠΎΡΠΈ 4.
ΠΠ°Π΄Π½ΠΈΠΉ ΠΏΡΠΈΠΆΠΈΠΌ ΠΏΡΠ΅Π΄ΡΡΠ°Π²Π»ΡΠ΅Ρ ΡΠΎΠ±ΠΎΠΉ ΡΠΏΠ»ΠΎΡΠ½ΡΡ Π±Π°Π»ΠΊΡ. ΠΠ΅ΡΠ΅Π΄Π½ΠΈΠΉ ΠΈ Π·Π°Π΄Π½ΠΈΠΉ, ΠΏΡΠΈΠΆΠΈΠΌΡ ΠΌΠΎΠ½ΡΠΈΡΡΡΡΡΡ Π½Π° ΡΠ΅ΠΊΠ°Ρ 5 ΠΈ 6 ΠΈ ΠΈΠΌΠ΅ΡΡ Π²ΠΎΠ·ΠΌΠΎΠΆΠ½ΠΎΡΡΡ ΠΏΠΎΠ²ΠΎΡΠ°ΡΠΈΠ²Π°ΡΡΡΡ Π½Π° ΡΠ»Π°Π½ΡΠ°Ρ Π½ΠΎΠΆΠ΅Π²ΠΎΠ³ΠΎ Π²Π°Π»Π° ΠΎΡΠ½ΠΎΡΠΈΡΠ΅Π»ΡΠ½ΠΎ Π΅Π³ΠΎ ΠΎΡΠΈ.
ΠΠ΅Ρ Π°Π½ΠΈΠ·ΠΌ ΠΏΠΎΠ΄Π°ΡΠΈ ΡΠ΅ΠΉΡΠΌΡΡΠΎΠ²ΠΎΠ³ΠΎ ΡΡΠ°Π½ΠΊΠ° Π‘Π -6-9

ΠΠ°Π»Π΅Ρ ΠΏΠΎΠ΄Π°ΡΡΠΈΠΉ ΠΏΠ΅ΡΠ΅Π΄Π½ΠΈΠΉ ΡΠ΅ΠΉΡΠΌΡΡΠΎΠ²ΠΎΠ³ΠΎ ΡΡΠ°Π½ΠΊΠ° Π‘Π 6-9. Π ΠΈΡ. 10
ΠΠ°Π»Π΅Ρ ΠΏΠΎΠ΄Π°ΡΡΠΈΠΉ ΠΏΠ΅ΡΠ΅Π΄Π½ΠΈΠΉ ΡΠ΅ΠΉΡΠΌΡΡΠΎΠ²ΠΎΠ³ΠΎ ΡΡΠ°Π½ΠΊΠ° Π‘Π 6-9. Π‘ΠΌΠΎΡΡΠ΅ΡΡ Π² ΡΠ²Π΅Π»ΠΈΡΠ΅Π½Π½ΠΎΠΌ ΠΌΠ°ΡΡΡΠ°Π±Π΅
ΠΠ΅Ρ Π°Π½ΠΈΠ·ΠΌ ΠΏΠΎΠ΄Π°ΡΠΈ ΡΡΠ°Π½ΠΊΠ° β Π²Π°Π»ΡΡΠΎΠ²ΡΠΉ. ΠΠ΅ΡΡ Π½ΠΈΠ΅ ΠΏΠΎΠ΄Π°ΡΡΠΈΠ΅ Π²Π°Π»ΡΡΡ ΡΠ°Π·ΠΌΠ΅ΡΠ΅Π½Ρ Π² Π±Π»ΠΎΠΊΠ΅ ΡΡΠ°Π½ΠΊΠ° ΠΈ ΡΠΎΡΡΠΎΡΡ ΠΈΠ· ΠΏΠ΅ΡΠ΅Π΄Π½Π΅Π³ΠΎ ΡΠ΅ΠΊΡΠΈΠΎΠ½Π½ΠΎΠ³ΠΎ 21 ΠΈ Π·Π°Π΄Π½Π΅Π³ΠΎ Π³Π»Π°Π΄ΠΊΠΎΠ³ΠΎ 22 Π²Π°Π»ΡΡΠΎΠ² (ΡΠΌ. ΡΠΈΡ. 4).
ΠΠΈΠΆΠ½ΠΈΠ΅ Π²Π°Π»ΡΡΡ β Π³Π»Π°Π΄ΠΊΠΈΠ΅ ΠΈ ΡΡΡΠ°Π½ΠΎΠ²Π»Π΅Π½Ρ Π² ΡΡΠΎΠ»Π΅ (ΡΠΌ. ΡΠΈΡ. 7).
Π‘Π΅ΠΊΡΠΈΠΈ 1 (ΡΠΈΡ. 10) ΠΏΠ΅ΡΠ΅Π΄Π½Π΅Π³ΠΎ ΠΏΠΎΠ΄Π°ΡΡΠ΅Π³ΠΎ Π²Π°Π»ΡΡΠ° ΠΌΠΎΠ½ΡΠΈΡΡΡΡΡΡ Π½Π° Π²Π°Π»Ρ 2. ΠΠ°Π» 2 Π²ΡΠ°ΡΠ°Π΅ΡΡΡ Π½Π° ΡΠ°ΡΠΈΠΊΠΎΠΏΠΎΠ΄ΡΠΈΠΏΠ½ΠΈΠΊΠ°Ρ 3, ΡΡΡΠ°Π½ΠΎΠ²Π»Π΅Π½Π½ΡΡ Π² ΠΊΡΠΎΠ½ΡΡΠ΅ΠΉΠ½Π°Ρ 4 ΠΈ 5. ΠΡΠΎΠ½ΡΡΠ΅ΠΉΠ½ 4 ΠΊΠ°ΡΠ°Π΅ΡΡΡ Π½Π° ΠΏΡΠΎΠΌΠ΅ΠΆΡΡΠΎΡΠ½ΠΎΠΉ Π²ΡΡΠ»ΠΊΠ΅ 6, ΡΡΡΠ°Π½ΠΎΠ²Π»Π΅Π½Π½ΠΎΠΉ Π² Π±Π»ΠΎΠΊΠ΅ ΡΡΠ°Π½ΠΊΠ°, ΠΊΡΠΎΠ½ΡΡΠ΅ΠΉΠ½ 5 β Π½Π° Π²ΡΡΠ»ΠΊΠ΅ 7, ΡΠΌΠΎΠ½ΡΠΈΡΠΎΠ²Π°Π½Π½ΠΎΠΉ Π² ΡΠ΅ΠΊΠ΅ 8. ΠΠ° Π²Π°Π»Ρ 2 ΠΈΠΌΠ΅ΡΡΡΡ ΠΏΡΠΎΠ΄ΠΎΠ»ΡΠ½ΡΠ΅ ΠΏΡΠΎΡΠ΅Π·ΠΈ β ΠΊΠ°Π½Π°Π²ΠΊΠΈ, Π² ΠΊΠΎΡΠΎΡΡΡ ΡΠ°Π·ΠΌΠ΅ΡΠ°ΡΡΡΡ ΡΠΏΠΎΡΠ½ΡΠ΅ ΠΏΠ»Π°Π½ΠΊΠΈ ΡΠ΅ΠΊΡΠΈΠΎΠ½Π½ΡΡ ΠΊΠΎΠ»Π΅Ρ 1.
ΠΠΎΠ³ΡΠ΅Π²Π°Ρ Π·Π°ΡΠΈΡΠ° 10 ΡΡΡΠ°Π½ΠΎΠ²Π»Π΅Π½Π° Π½Π° ΠΎΡΠΈ 11. ΠΠΎΠ΄ΡΠ΅ΠΌ ΠΊΠΎΠ³ΡΠ΅Π²ΠΎΠΉ Π·Π°ΡΠΈΡΡ ΠΏΡΠΎΠΈΠ·Π²ΠΎΠ΄ΠΈΡΡΡ ΠΏΠΎΠ²ΠΎΡΠΎΡΠΎΠΌ ΠΎΡΠΈ 11. ΠΡΡΠΆΠΈΠ½Π° 12 Π²ΠΎΠ·Π²ΡΠ°ΡΠ°Π΅Ρ ΠΊΠΎΠ³ΡΠ΅Π²ΡΡ Π·Π°ΡΠΈΡΡ 10 Π² ΡΠ°Π±ΠΎΡΠ΅Π΅ ΠΏΠΎΠ»ΠΎΠΆΠ΅Π½ΠΈΠ΅.

ΠΠ°Π»Π΅Ρ ΠΏΠΎΠ΄Π°ΡΡΠΈΠΉ Π·Π°Π΄Π½ΠΈΠΈΠΉ ΡΠ΅ΠΉΡΠΌΡΡΠΎΠ²ΠΎΠ³ΠΎ ΡΡΠ°Π½ΠΊΠ° Π‘Π 6-9. Π ΠΈΡ. 11
ΠΠ°Π»Π΅Ρ ΠΏΠΎΠ΄Π°ΡΡΠΈΠΉ Π·Π°Π΄Π½ΠΈΠΈΠΉ ΡΠ΅ΠΉΡΠΌΡΡΠΎΠ²ΠΎΠ³ΠΎ ΡΡΠ°Π½ΠΊΠ° Π‘Π 6-9. Π‘ΠΌΠΎΡΡΠ΅ΡΡ Π² ΡΠ²Π΅Π»ΠΈΡΠ΅Π½Π½ΠΎΠΌ ΠΌΠ°ΡΡΡΠ°Π±Π΅
ΠΠ°Π΄Π½ΠΈΠΉ ΠΏΠΎΠ΄Π°ΡΡΠΈΠΉ Π²Π°Π»Π΅Ρ I (ΡΠΌ. ΡΠΈΡ. 11) Π²ΡΠΏΠΎΠ»Π½Π΅Π½ Π³Π»Π°Π΄ΠΊΠΈΠΌ ΠΈ Π²ΡΠ°ΡΠ°Π΅ΡΡΡ Π½Π° ΡΠ°ΡΠΈΠΊΠΎΠΏΠΎΠ΄ΡΠΈΠΏΠ½ΠΈΠΊΠ°Ρ 2, ΡΡΡΠ°Π½ΠΎΠ²Π»Π΅Π½Π½ΡΡ Π² ΠΊΡΠΎΠ½ΡΡΠ΅ΠΉΠ½Π°Ρ 3 ΠΈ 4. ΠΡΠΎΠ½ΡΡΠ΅ΠΉΠ½ 4 ΠΆΠ΅ΡΡΠΊΠΎ ΡΠ²ΡΠ·Π°Π½ Ρ ΠΎΡΡΡ 5, ΠΊΠΎΡΠΎΡΠ°Ρ ΠΎΠ΄Π½ΠΈΠΌ ΠΊΠΎΠ½ΡΠΎΠΌ ΠΎΠΏΠΈΡΠ°Π΅ΡΡΡ» Π²ΠΎ Π²ΡΡΠ»ΠΊΠ΅ 6, ΡΡΡΠ°Π½ΠΎΠ²Π»Π΅Π½Π½ΠΎΠΉ Π² ΡΠ΅ΠΊΠ΅ 7, Π΄ΡΡΠ³ΠΈΠΌ β Π²ΠΎ Π²ΡΡΠ»ΠΊΠ΅ 8, ΡΡΡΠ°Π½ΠΎΠ²Π»Π΅Π½Π½ΠΎΠΉ Π² Π±Π»ΠΎΠΊΠ΅ ΡΡΠ°Π½ΠΊΠ°.
ΠΡΠΈΠΆΠΈΠΌ Π²Π΅ΡΡ Π½ΠΈΡ ΠΏΠΎΠ΄Π°ΡΡΠΈΡ Π²Π°Π»ΡΡΠΎΠ² ΠΊ Π·Π°Π³ΠΎΡΠΎΠ²ΠΊΠ΅ ΠΎΡΡΡΠ΅ΡΡΠ²Π»ΡΠ΅ΡΡΡ ΡΡΠ³Π°ΠΌΠΈ 27 ΠΈ 32 (ΡΠΌ. ΡΠΈΡ. 4), ΡΡΠΈΠ»ΠΈΠ΅ ΠΏΡΠΈΠΆΠΈΠΌΠ° ΡΠ΅Π³ΡΠ»ΠΈΡΡΠ΅ΡΡΡ Π²ΠΈΠ½ΡΠΎΠΌ 30 ΠΈ Π³Π°ΠΉΠΊΠ°ΠΌΠΈ 33, ΡΠΆΠΈΠΌΠ°ΡΡΠΈΠ΅ ΠΏΡΡΠΆΠΈΠ½Ρ 29 ΠΈ 34.
ΠΡΠ°ΡΠ΅Π½ΠΈΠ΅ ΠΏΠΎΠ΄Π°ΡΡΠΈΡ Π²Π°Π»ΡΡΠΎΠ² ΠΈ ΠΏΠ΅ΡΠ΅ΠΌΠ΅ΡΠ΅Π½ΠΈΠ΅ ΡΡΠΎΠ»Π° Π²Π²Π΅ΡΡ ΠΈ Π²Π½ΠΈΠ· ΠΎΡΡΡΠ΅ΡΡΠ²Π»ΡΠ΅ΡΡΡ ΠΎΡ Π±Π΅ΡΡΡΡΠΏΠ΅Π½ΡΠ°ΡΠΎΠ³ΠΎ ΠΏΡΠΈΠ²ΠΎΠ΄Π° ΠΏΠΎΠ΄Π°ΡΠΈ 3 (ΡΠΌ. ΡΠΈΡ. 3), ΡΠ΅ΡΠ΅Π· ΡΠ΅ΠΏΠ½ΡΠ΅ ΠΏΠ΅ΡΠ΅Π΄Π°ΡΠΈ 41 ΠΈ 44 (ΡΠΌ. ΡΠΈΡ. 5).
ΠΡΠΈΠ²ΠΎΠ΄ ΠΏΠΎΠ΄Π°ΡΠΈ ΡΠ΅ΠΉΡΠΌΡΡΠΎΠ²ΠΎΠ³ΠΎ ΡΡΠ°Π½ΠΊΠ° Π‘Π -6-9

ΠΡΠΈΠ²ΠΎΠ΄ ΠΏΠΎΠ΄Π°ΡΠΈ ΡΠ΅ΠΉΡΠΌΡΡΠΎΠ²ΠΎΠ³ΠΎ ΡΡΠ°Π½ΠΊΠ° Π‘Π -6-10. Π ΠΈΡ. 12
ΠΡΠΈΠ²ΠΎΠ΄ ΠΏΠΎΠ΄Π°ΡΠΈ ΡΠ΅ΠΉΡΠΌΡΡΠΎΠ²ΠΎΠ³ΠΎ ΡΡΠ°Π½ΠΊΠ° Π‘Π -6. Π‘ΠΌΠΎΡΡΠ΅ΡΡ Π² ΡΠ²Π΅Π»ΠΈΡΠ΅Π½Π½ΠΎΠΌ ΠΌΠ°ΡΡΡΠ°Π±Π΅
ΠΠ΅ΡΡΡΡΠΏΠ΅Π½ΡΠ°ΡΡΠΉ ΠΏΡΠΈΠ²ΠΎΠ΄ ΠΏΠΎΠ΄Π°ΡΠΈ ΡΠΎΡΡΠΎΠΈΡ ΠΈΠ· ΡΠ»Π΅ΠΊΡΡΠΎΠ΄Π²ΠΈΠ³Π°ΡΠ΅Π»Ρ 1, ΠΌΠ΅Ρ Π°Π½ΠΈΡΠ΅ΡΠΊΠΎΠ³ΠΎ Π²Π°ΡΠΈΠ°ΡΠΎΡΠ° 2, ΡΠ΅Π΄ΡΠΊΡΠΎΡΠ° 3, ΡΠΌΠΎΠ½ΡΠΈΡΠΎΠ²Π°Π½Π½ΡΡ Π½Π° ΠΎΠ΄Π½ΠΎΠΉ ΠΏΠ»ΠΈΡΠ΅ 23.
ΠΡ ΡΠ»Π΅ΠΊΡΡΠΎΠ΄Π²ΠΈΠ³Π°ΡΠ΅Π»Ρ 1 ΡΠ΅ΡΠ΅Π· ΠΌΡΡΡΡ 24, ΠΊΠΎΠ½ΡΡΠ½ΡΠΉ Π΄ΠΈΡΠΊ 4 Π²ΡΠ°ΡΠ΅Π½ΠΈΠ΅ ΠΏΠ΅ΡΠ΅Π΄Π°Π΅ΡΡΡ Π²Π°Π»Ρ 5. ΠΠ°Π»Π΅Π΅ ΡΠ΅ΡΠ΅Π· Π·ΡΠ±ΡΠ°ΡΡΠ΅ ΠΏΠ΅ΡΠ΅Π΄Π°ΡΠΈ 6, 7, 8, 9 ΠΈ 12 Π²ΡΠ°ΡΠ΅Π½ΠΈΠ΅ ΠΏΠ΅ΡΠ΅Π΄Π°Π΅ΡΡΡ Π²Π°Π»Ρ 10 ΠΈ ΠΎΡ Π·Π²Π΅Π·Π΄ΠΎΡΠΊΠΈ 13 β ΡΠ΅ΠΏΠ½ΠΎΠΉ ΠΏΠ΅ΡΠ΅Π΄Π°ΡΠ΅ 41. ΠΡΠΈ Π²ΠΊΠ»ΡΡΠ΅Π½ΠΈΠΈ ΡΠ»Π΅ΠΊΡΡΠΎΠΌΠ°Π³Π½ΠΈΡΠ½ΡΡ ΠΌΡΡΡ 14 ΠΈΠ»ΠΈ 18 Π²ΡΠ°ΡΠ΅Π½ΠΈΠ΅ ΠΎΡ Π²Π°Π»Π° 16 ΠΈ Π·Π²Π΅Π·Π΄ΠΎΡΠΊΠΈ 17 ΠΏΠ΅ΡΠ΅Π΄Π°Π΅ΡΡΡ ΡΠ΅ΠΏΠ½ΠΎΠΉ ΠΏΠ΅ΡΠ΅Π΄Π°ΡΠ΅ 44 β ΠΏΡΠΎΠΈΡΡ ΠΎΠ΄ΠΈΡ ΠΏΠ΅ΡΠ΅ΠΌΠ΅ΡΠ΅Π½ΠΈΠ΅ ΡΡΠΎΠ»Π° Π²Π²Π΅ΡΡ ΠΈΠ»ΠΈ Π²Π½ΠΈΠ·. ΠΠ·ΠΌΠ΅Π½Π΅Π½ΠΈΠ΅ ΡΠ°ΡΡΠΎΡΡ Π²ΡΠ°ΡΠ΅Π½ΠΈΡ ΠΏΡΠΈΠ²ΠΎΠ΄Π° (Ρ. Π΅. ΠΏΠΎΠ»ΡΡΠ΅Π½ΠΈΠ΅, Π½Π΅ΠΎΠ±Ρ ΠΎΠ΄ΠΈΠΌΠΎΠΉ ΡΠΊΠΎΡΠΎΡΡΠΈ ΠΏΠΎΠ΄Π°ΡΠΈ) Π΄ΠΎΡΡΠΈΠ³Π°Π΅ΡΡΡ ΠΏΠ΅ΡΠ΅ΠΌΠ΅ΡΠ΅Π½ΠΈΠ΅ΠΌ ΠΊΠΎΠ½ΡΡΠ½ΠΎΠ³ΠΎ Π΄ΠΈΡΠΊΠ° 4 ΠΎΡΠ½ΠΎΡΠΈΡΠ΅Π»ΡΠ½ΠΎ ΠΊΠΎΠ½ΡΠ°ΠΊΡΠ½ΠΎΠ³ΠΎ ΠΊΠΎΠ»ΡΡΠ° 20. ΠΠ΅ΡΠ΅ΠΌΠ΅ΡΠ΅Π½ΠΈΠ΅ ΠΎΡΡΡΠ΅ΡΡΠ²Π»ΡΠ΅ΡΡΡ ΠΌΠ°Ρ ΠΎΠ²ΠΈΡΠΊΠΎΠΌ 16 (ΡΠΌ. ΡΠΈΡ. 3).
ΠΠ°Π²Π΅ΡΠ° Π·Π²ΡΠΊΠΎΠΏΠΎΠ³Π»ΠΎΡΠ°ΡΡΠ°Ρ ΡΠ΅ΠΉΡΠΌΡΡΠΎΠ²ΠΎΠ³ΠΎ ΡΡΠ°Π½ΠΊΠ° Π‘Π -6-9
ΠΠ»Ρ ΡΠ½ΠΈΠΆΠ΅Π½ΠΈΡ ΡΡΠΎΠ²Π½Ρ Π·Π²ΡΠΊΠ° ΡΠΏΠ΅ΡΠ΅Π΄ΠΈ ΠΈ ΡΠ·Π°Π΄ΠΈ ΡΡΠ°Π½ΠΊΠ° ΡΡΡΠ°Π½Π°Π²Π»ΠΈΠ²Π°Π΅ΡΡΡ Π·Π²ΡΠΊΠΎΠΏΠΎΠ³Π»ΠΎΡΠ°ΡΡΠ°Ρ Π·Π°Π²Π΅ΡΠ°, ΠΏΠ΅ΡΠ΅Π΄Π½ΡΡ ΠΈ Π·Π°Π΄Π½ΡΡ ΠΏΠΎΠ΄Π²ΠΈΠΆΠ½ΡΠ΅ ΡΡΠ΅Π½ΠΊΠΈ.
ΠΠ°Π²Π΅ΡΡ ΠΊΡΠ΅ΠΏΡΡΡΡ ΠΊ Π±Π»ΠΎΠΊΡ Π²ΠΈΠ½ΡΠ°ΠΌΠΈ 1. Π ΠΏΠ΅ΡΠ΅Π΄Π½Π΅ΠΉ Π·Π°Π²Π΅ΡΠ΅ ΡΡΡΠ°Π½ΠΎΠ²Π»Π΅Π½Ρ ΠΏΠΎΠ΄Π²ΠΈΠΆΠ½ΡΠ΅ ΡΠ΅ΠΊΡΠΎΡΡ. ΠΠ½ΡΡΡΠ΅Π½Π½ΠΈΠ΅ ΡΡΠ΅Π½ΠΊΠΈ Π·Π°Π²Π΅ΡΡ ΠΎΠ±Π»ΠΈΡΠΎΠ²Π°Π½Ρ Π·Π²ΡΠΊΠΎΠΏΠΎΠ³Π»ΠΎΡΠ°ΡΡΠΈΠΌ ΠΌΠ°ΡΠ΅ΡΠΈΠ°Π»ΠΎΠΌ. Π Π·Π°Π΄Π½Π΅ΠΉ Π·Π°Π²Π΅ΡΠ΅ ΡΡΡΠ°Π½ΠΎΠ²Π»Π΅Π½Π° ΡΡΠΎΡΠ° ΠΈΠ· Π·Π²ΡΠΊΠΎΠΏΠΎΠ³Π»ΠΎΡΠ°ΡΡΠ΅Π³ΠΎ ΠΌΠ°ΡΠ΅ΡΠΈΠ°Π»Π°.
ΠΠ΅ΡΠ΅Π΄Π½ΠΈΠ΅ ΠΈ Π·Π°Π΄Π½ΠΈΠ΅ ΠΏΠΎΠ΄Π²ΠΈΠΆΠ½ΡΠ΅ ΡΡΠ΅Π½ΠΊΠΈ ΠΊΡΠ΅ΠΏΡΡΡΡ ΠΊ ΡΡΠΎΠ»Ρ Π²ΠΈΠ½ΡΠ°ΠΌΠΈ 2.
ΠΡΠΈΠ½Π°Π΄Π»Π΅ΠΆΠ½ΠΎΡΡΠΈ ΠΊ ΡΡΠ°Π½ΠΊΡ
Π ΠΊΠΎΠΌΠΏΠ»Π΅ΠΊΡ ΠΏΠΎΡΡΠ°Π²ΠΊΠΈ ΡΡΠ°Π½ΠΊΠ° Π²Ρ ΠΎΠ΄ΡΡ:
Π€ΠΈΠΊΡΠ°ΡΠΎΡ
ΠΡΠΈΡΠΏΠΎΡΠΎΠ±Π»Π΅Π½ΠΈΠ΅ ΠΏΡΠ΅Π΄Π½Π°Π·Π½Π°ΡΠ΅Π½ΠΎ Π΄Π»Ρ ΡΡΠΎΠΏΠΎΡΠ΅Π½ΠΈΡ Π½ΠΎΠΆΠ΅Π²ΠΎΠ³ΠΎ Π²Π°Π»Π° ΠΏΡΠΈ ΡΠΌΠ΅Π½Π΅ Π½ΠΎΠΆΠ΅ΠΉ (ΡΠΌ.ΡΠΈΡ. 14). ΠΡΠΈΡΠΏΠΎΡΠΎΠ±Π»Π΅Π½ΠΈΠ΅ ΡΠΎΡΡΠΎΠΈΡ ΠΈΠ· ΠΊΠΎΡΠΏΡΡΠ° 1, Π²ΠΈΠ½ΡΠ° 2, ΡΡΠΎΠΊΠ° 3, ΠΏΡΡΠΆΠΈΠ½Ρ 4. Π‘ΠΌΠ΅Π½Π° Π½ΠΎΠΆΠ΅ΠΉ ΠΏΡΠΎΠΈΠ·Π²ΠΎΠ΄ΠΈΡΡΡ ΡΠΎΠ»ΡΠΊΠΎ ΠΏΡΠΈ Π·Π°ΡΠΈΠΊΡΠΈΡΠΎΠ²Π°Π½Π½ΠΎΠΌ Π½ΠΎΠΆΠ΅Π²ΠΎΠΌ Π²Π°Π»Π΅. ΠΠ»Ρ ΡΡΠΎΠ³ΠΎ ΠΏΡΠΈΡΠΏΠΎΡΠΎΠ±Π»Π΅Π½ΠΈΠ΅ ΡΡΡΠ°Π½Π°Π²Π»ΠΈΠ²Π°Π΅ΡΡΡ Π½Π° ΠΏΡΠ°Π²ΠΎΠΉ ΡΠ΅ΠΊΠ΅ ΠΏΠ΅ΡΠ΅Π΄Π½Π΅Π³ΠΎ ΠΏΡΠΈΠΆΠΈΠΌΠ°, ΠΈ ΠΊΡΠ΅ΠΏΠΈΡΡΡ Π²ΠΈΠ½ΡΠΎΠΌ 2. ΠΠΎΡΠ»Π΅ Π·Π°ΠΊΡΠ΅ΠΏΠ»Π΅Π½ΠΈΡ ΡΠΈΠΊΡΠ°ΡΠΎΡΠ° Π½Π° ΡΠ΅ΠΊΠ΅ ΠΏΡΠΈΠΆΠΈΠΌΠ°, ΠΎΡΡΠΎΡΠΎΠΆΠ½ΠΎ ΠΏΠΎΠ²ΠΎΡΠ°ΡΠΈΠ²Π°Ρ Π½ΠΎΠΆΠ΅Π²ΠΎΠΉ Π²Π°Π», ΠΎΠΏΡΡΡΠΈΡΡ ΡΡΠΎΠΏΠΎΡ 4 ΡΠΈΠΊΡΠ°ΡΠΎΡΠ° Π² ΠΎΠ΄ΠΈΠ½ ΠΈΠ· ΡΠ΅ΡΡΡΠ΅Ρ ΠΏΠ°Π·ΠΎΠ² Π½ΠΎΠΆΠ΅Π²ΠΎΠ³ΠΎ Π²Π°Π»Π°. Π‘ΠΌΠ΅Π½Π° Π½ΠΎΠΆΠ΅ΠΉ ΠΏΡΠΎΠΈΠ·Π²ΠΎΠ΄ΠΈΡΡΡ ΠΏΠΎΡΠ»Π΅Π΄ΠΎΠ²Π°ΡΠ΅Π»ΡΠ½ΠΎ ΠΏΡΠΈ Π·Π°ΡΠΈΠΊΡΠΈΡΠΎΠ²Π°Π½Π½ΠΎΠΌ Π½ΠΎΠΆΠ΅Π²ΠΎΠΌ Π²Π°Π»Π΅.
ΠΠΎΡΠ»Π΅ ΡΠΌΠ΅Π½Ρ Π½ΠΎΠΆΠ΅ΠΉ ΡΠΈΠΊΡΠ°ΡΠΎΡ Π½Π΅ΠΎΠ±Ρ ΠΎΠ΄ΠΈΠΌΠΎ ΡΠ½ΡΡΡ ΡΠΎ ΡΡΠ°Π½ΠΊΠ°.
ΠΡΠΈΡΠΏΠΎΡΠΎΠ±Π»Π΅Π½ΠΈΠ΅ Π·Π°ΡΠΎΡΠ½ΠΎΠ΅
ΠΠ»Ρ Π·Π°ΡΠΎΡΠΊΠΈ Π½ΠΎΠΆΠ΅ΠΉ, ΡΡΡΠ°Π½ΠΎΠ²Π»Π΅Π½Π½ΡΡ Π½Π° Π½ΠΎΠΆΠ΅Π²ΠΎΠΌ Π²Π°Π»Π΅ ΡΡΠ°Π½ΠΊΠ°, ΡΠ»ΡΠΆΠΈΡ Π·Π°ΡΠΎΡΠ½ΠΎΠ΅ ΠΏΡΠΈΡΠΏΠΎΡΠΎΠ±Π»Π΅Π½ΠΈΠ΅. ΠΡΠ΅ Π²ΠΎΠΏΡΠΎΡΡ, ΠΊΠ°ΡΠ°ΡΡΠΈΠ΅ΡΡ Π΅Π³ΠΎ ΡΠΊΡΠΏΠ»ΡΠ°ΡΠ°ΡΠΈΠΈ ΠΈ ΡΠ°Π±ΠΎΡΡ, ΡΠΌ. Π² ΡΡΠΊΠΎΠ²ΠΎΠ΄ΡΡΠ²Π΅ ΠΏΠΎ ΡΠΊΡΠΏΠ»ΡΠ°ΡΠ°ΡΠΈΠΈ Π·Π°ΡΠΎΡΠ½ΠΎΠ³ΠΎ ΠΏΡΠΈΡΠΏΠΎΡΠΎΠ±Π»Π΅Π½ΠΈΡ.
ΠΡΠΈΡΠΏΠΎΡΠΎΠ±Π»Π΅Π½ΠΈΠ΅ ΡΡΠ³ΠΎΠ²Π°Π»ΡΠ½ΠΎΠ΅
ΠΡΠΈΡΠΏΠΎΡΠΎΠ±Π»Π΅Π½ΠΈΠ΅ ΡΡΠ³ΠΎΠ²Π°Π»ΡΠ½ΠΎΠ΅ ΠΏΡΠ΅Π΄Π½Π°Π·Π½Π°ΡΠ΅Π½ΠΎ Π΄Π»Ρ Π΄ΠΎΠ²ΠΎΠ΄ΠΊΠΈ Π»Π΅Π·Π²ΠΈΠΉ Π·Π°ΡΠΎΡΠ½ΡΡ Π½ΠΎΠΆΠ΅ΠΉ ΠΌΠ΅Π»ΠΊΠΎΠ·Π΅ΡΠ½ΠΈΡΡΡΠΌ Π°Π±ΡΠ°Π·ΠΈΠ²ΠΎΠΌ Ρ ΡΠ΅Π»ΡΡ ΠΏΠΎΠ²ΡΡΠ΅Π½ΠΈΡ ΠΊΠ°ΡΠ΅ΡΡΠ²Π° ΡΠ΅ΠΆΡΡΠ΅ΠΉ ΠΏΠΎΠ²Π΅ΡΡ Π½ΠΎΡΡΠΈ.
ΠΡΠΈ Π²ΡΠ°ΡΠ΅Π½ΠΈΠΈ Π³ΠΎΠ»ΠΎΠ²ΠΊΠΈ Π½ΠΎΠ½ΠΈΡΡΠ½ΠΎΠ³ΠΎ ΡΡΡΡΠΎΠΉΡΡΠ²Π° 6 ΠΏΠΎ ΡΠ°ΡΠΎΠ²ΠΎΠΉ ΡΡΡΠ΅Π»ΠΊΠ΅ ΠΈΠ»ΠΈ ΠΏΡΠΎΡΠΈΠ² ΡΠ°ΡΠΎΠ²ΠΎΠΉ ΡΡΡΠ΅Π»ΠΊΠΈ ΠΏΡΠΎΠΈΡΡ ΠΎΠ΄ΠΈΡ ΠΏΠ΅ΡΠ΅ΠΌΠ΅ΡΠ΅Π½ΠΈΠ΅ ΠΏΠΈΠ½ΠΎΠ»ΠΈ 2 ΡΠΎ ΡΠ»ΠΈΡΠΎΠ²Π°Π»ΡΠ½ΡΠΌ Π±ΡΡΡΠΊΠΎΠΌ 5 ΠΎΡΠ½ΠΎΡΠΈΡΠ΅Π»ΡΠ½ΠΎ ΠΊΠΎΡΠΏΡΡΠ° 1. ΠΠ΅Π»ΠΈΡΠΈΠ½Π° ΠΏΠ΅ΡΠ΅ΠΌΠ΅ΡΠ΅Π½ΠΈΡ ΡΠΈΠΊΡΠΈΡΡΠ΅ΡΡΡ Π΄Π΅Π»Π΅Π½ΠΈΠ΅ΠΌ Π½ΠΎΠ½ΠΈΡΡΠ½ΠΎΠ³ΠΎ ΡΡΡΡΠΎΠΉΡΡΠ²Π°. Π¦Π΅Π½Π° Π΄Π΅Π»Π΅Π½ΠΈΡ 0,1 ΠΌΠΌ.
ΠΡΠΈΡΠΏΠΎΡΠΎΠ±Π»Π΅Π½ΠΈΠ΅ ΠΊΠΎΠ½ΡΡΠΎΠ»ΡΠ½ΠΎΠ΅ ΡΠ΅ΠΉΡΠΌΡΡΠΎΠ²ΠΎΠ³ΠΎ ΡΡΠ°Π½ΠΊΠ° Π‘Π -6-9

ΠΡΠΈΡΠΏΠΎΡΠΎΠ±Π»Π΅Π½ΠΈΠ΅ ΠΊΠΎΠ½ΡΡΠΎΠ»ΡΠ½ΠΎΠ΅ ΡΠ΅ΠΉΡΠΌΡΡΠΎΠ²ΠΎΠ³ΠΎ ΡΡΠ°Π½ΠΊΠ° Π‘Π -6-9
ΠΡΠΈΡΠΏΠΎΡΠΎΠ±Π»Π΅Π½ΠΈΠ΅ ΠΊΠΎΠ½ΡΡΠΎΠ»ΡΠ½ΠΎΠ΅ ΠΏΡΠ΅Π΄Π½Π°Π·Π½Π°ΡΠ΅Π½ΠΎ Π΄Π»Ρ ΡΡΡΠ°Π½ΠΎΠ²ΠΊΠΈ ΡΠ΅ΠΆΡΡΠΈΡ ΠΊΡΠΎΠΌΠΎΠΊ Π½ΠΎΠΆΠ΅ΠΉ ΠΎΡΠ½ΠΎΡΠΈΡΠ΅Π»ΡΠ½ΠΎ ΠΎΡΠΈ Π²ΡΠ°ΡΠ΅Π½ΠΈΡ Π½ΠΎΠΆΠ΅Π²ΠΎΠ³ΠΎ Π²Π°Π»Π° Π½Π° Π΄ΠΈΠ°ΠΌΠ΅ΡΡ ΡΠ΅Π·Π°Π½ΠΈΡ 128 Β± 0,05 ΠΌΠΌ.
ΠΡΠΈΡΠΏΠΎΡΠΎΠ±Π»Π΅Π½ΠΈΠ΅ ΡΠΎΡΡΠΎΠΈΡ ΠΈΠ· ΠΊΠΎΡΠΏΡΡΠ° (1), ΠΈΠ½Π΄ΠΈΠΊΠ°ΡΠΎΡΠ° ΡΠ°ΡΠΎΠ²ΠΎΠ³ΠΎ ΡΠΈΠΏΠ° (2) ΠΈ Π½Π°ΠΊΠΎΠ½Π΅ΡΠ½ΠΈΠΊΠ° (3).
ΠΡΠΈ ΡΡΡΠ°Π½ΠΎΠ²ΠΊΠ΅ ΠΏΡΠΈΡΠΏΠΎΡΠΎΠ±Π»Π΅Π½ΠΈΡ Π½Π° ΠΊΠΎΡΠΏΡΡ Π½ΠΎΠΆΠ΅Π²ΠΎΠ³ΠΎ Π²Π°Π»Π° ΠΏΡΠΎΠΈΡΡ ΠΎΠ΄ΠΈΡ ΠΊΠΎΠ½ΡΠ°ΠΊΡ Π½Π°ΠΊΠΎΠ½Π΅ΡΠ½ΠΈΠΊΠ° Ρ Π»Π΅Π·Π²ΠΈΠ΅ΠΌ Π½ΠΎΠΆΠ°. Π Π°Π·Π½ΠΎΡΡΡ ΠΏΠΎΠΊΠ°Π·Π°Π½ΠΈΠΉ ΠΈΠ½Π΄ΠΈΠΊΠ°ΡΠΎΡΠ° Π² ΠΊΡΠ°ΠΉΠ½ΠΈΡ ΡΠΎΡΠΊΠ°Ρ Π½Π΅ Π΄ΠΎΠ»ΠΆΠ½Π° ΠΏΡΠ΅Π²ΡΡΠ°ΡΡ 0,05 ΠΌΠΌ.
ΠΠ»Π΅ΠΊΡΡΠΎΠΎΠ±ΠΎΡΡΠ΄ΠΎΠ²Π°Π½ΠΈΠ΅ ΡΡΠ°Π½ΠΊΠ° ΡΠ΅ΠΉΡΠΌΡΡΠΎΠ²ΠΎΠ³ΠΎ ΠΎΠ΄Π½ΠΎΡΡΠΎΡΠΎΠ½Π½Π΅Π³ΠΎ Π‘Π -6-9

Π Π°ΡΠΏΠΎΠ»ΠΎΠΆΠ΅Π½ΠΈΠ΅ ΡΠ»Π΅ΠΊΡΡΠΎΠΎΠ±ΠΎΡΡΠ΄ΠΎΠ²Π°Π½ΠΈΡ Π½Π° ΡΠ΅ΠΉΡΠΌΡΡΠΎΠ²ΠΎΠΌ ΡΡΠ°Π½ΠΊΠ΅ Π‘Π 6-9 Π ΠΈΡ. 16
ΠΠ»Π΅ΠΊΡΡΠΎΠΎΠ±ΠΎΡΡΠ΄ΠΎΠ²Π°Π½ΠΈΠ΅ ΡΡΠ°Π½ΠΊΠ°. ΠΠ±ΡΠΈΠ΅ ΡΠ²Π΅Π΄Π΅Π½ΠΈΡ
ΠΠ»Π΅ΠΊΡΡΠΎΠΎΠ±ΠΎΡΡΠ΄ΠΎΠ²Π°Π½ΠΈΠ΅ ΠΎΠ΄Π½ΠΎΡΡΠΎΡΠΎΠ½Π½Π΅Π³ΠΎ ΡΠ΅ΠΉΡΠΌΡΡΠΎΠ²ΠΎΠ³ΠΎ ΡΡΠ°Π½ΠΊΠ° Π‘Π 6-9 (ΡΠΈΡ. 16) ΡΠΎΠ΄Π΅ΡΠΆΠΈΡ:
- Ml — ΡΠ»Π΅ΠΊΡΡΠΎΠ΄Π²ΠΈΠ³Π°ΡΠ΅Π»Ρ ΠΏΡΠΈΠ²ΠΎΠ΄Π° Π½ΠΎΠΆΠ΅Π²ΠΎΠ³ΠΎ Π²Π°Π»Π°;
- Π2 — ΡΠ»Π΅ΠΊΡΡΠΎΠ΄Π²ΠΈΠ³Π°ΡΠ΅Π»Ρ ΠΏΡΠΈΠ²ΠΎΠ΄Π° ΠΏΠΎΠ΄Π°ΡΠΈ ΠΈ ΠΏΠ΅ΡΠ΅ΠΌΠ΅ΡΠ΅Π½ΠΈΡ ΡΡΠΎΠ»Π°;
- ΠΠΌ1 — ΡΠΎΡΠΌΠΎΠ·Π½ΠΎΠΉ ΡΠ»Π΅ΠΊΡΡΠΎΠΌΠ°Π³Π½ΠΈΡ ΠΏΡΠΈΠ²ΠΎΠ΄Π° Π½ΠΎΠΆΠ΅Π²ΠΎΠ³ΠΎ Π²Π°Π»Π°;
- ΠΠΌ2, ΠΠΌ3 — ΡΠ»Π΅ΠΊΡΡΠΎΠΌΠ°Π³Π½ΠΈΡΠ½ΡΠ΅ ΠΌΡΡΡΡ ΠΏΠ΅ΡΠ΅ΠΌΠ΅ΡΠ΅Π½ΠΈΡ ΡΡΠΎΠ»Π°;
- ΠΠΌ4 — ΡΠΎΡΠΌΠΎΠ·Π½Π°Ρ ΡΠ»Π΅ΠΊΡΡΠΎΠΌΠ°Π³Π½ΠΈΡΠ½Π°Ρ ΠΌΡΡΡΠ° ΠΏΠ΅ΡΠ΅ΠΌΠ΅ΡΠ΅Π½ΠΈΡ ΡΡΠΎΠ»Π°;
- ΠΠΏΠΏΠ°ΡΠ°ΡΡΡΠ° ΡΠΏΡΠ°Π²Π»Π΅Π½ΠΈΡ, ΡΠΈΠ³Π½Π°Π»ΠΈΠ·Π°ΡΠΈΡ — ΡΠ°ΡΠΏΠΎΠ»ΠΎΠΆΠ΅Π½Π½Π°Ρ Π² ΠΏΡΠ»ΡΡΠ΅ ΡΠΏΡΠ°Π²Π»Π΅Π½ΠΈΡ ΠΈ Π½ΠΈΡΠ΅ ΡΠ»Π΅ΠΊΡΡΠΎΡΠΊΠ°ΡΠ°
ΠΠ° ΡΡΠ°Π½ΠΊΠ΅ ΠΏΡΠΈΠΌΠ΅Π½ΡΡΡΡΡ ΡΠ»Π΅Π΄ΡΡΡΠΈΠ΅ Π²Π΅Π»ΠΈΡΠΈΠ½Ρ Π½Π°ΠΏΡΡΠΆΠ΅Π½ΠΈΠΉ:
- ΡΠΈΠ»ΠΎΠ²Π°Ρ ΡΠ΅ΠΏΡ 50 ΠΡ, 380 Π;
- ΡΠ΅ΠΏΡ ΡΠΏΡΠ°Π²Π»Π΅Π½ΠΈΡ 50 ΠΡ, 110 Π;
- ΡΠ΅ΠΏΡ ΡΠΈΠ³Π½Π°Π»ΠΈΠ·Π°ΡΠΈΠΈ 50 ΠΡ, 24 Π.
- ΡΠ΅ΠΏΡ ΠΏΠΈΡΠ°Π½ΠΈΡ ΡΠ»Π΅ΠΊΡΡΠΎΠΌΠ°Π³Π½ΠΈΡΠ½ΡΡ ΠΌΡΡΡ = 24 Π.

Π‘Ρ Π΅ΠΌΠ° ΡΠ»Π΅ΠΊΡΡΠΈΡΠ΅ΡΠΊΠ°Ρ ΠΏΡΠΈΠ½ΡΠΈΠΏΠΈΠ°Π»ΡΠ½Π°Ρ ΡΠ΅ΠΉΡΠΌΡΡΠΎΠ²ΠΎΠ³ΠΎ ΡΡΠ°Π½ΠΊΠ° Π‘Π 6-9 Π ΠΈΡ. 17
Π‘Ρ Π΅ΠΌΠ° ΡΠ»Π΅ΠΊΡΡΠΈΡΠ΅ΡΠΊΠ°Ρ ΠΏΡΠΈΠ½ΡΠΈΠΏΠΈΠ°Π»ΡΠ½Π°Ρ Π‘Π -6-9. Π‘ΠΌΠΎΡΡΠ΅ΡΡ Π² ΡΠ²Π΅Π»ΠΈΡΠ΅Π½Π½ΠΎΠΌ ΠΌΠ°ΡΡΡΠ°Π±Π΅
ΠΠΏΠΈΡΠ°Π½ΠΈΠ΅ ΡΠ°Π±ΠΎΡΡ ΡΠ»Π΅ΠΊΡΡΠΎΡΡ Π΅ΠΌΡ
ΠΠ΅ΡΠ΅ΡΠ΅Π½Ρ ΡΠ»Π΅ΠΌΠ΅Π½ΡΠΎΠ² ΠΊ ΡΠ»Π΅ΠΊΡΡΠΎΡΡ Π΅ΠΌΠ΅ (ΡΠΌ. ΡΠ°Π±Π». 6). ΠΠ΅ΡΠ΅Π΄ Π²ΠΊΠ»ΡΡΠ΅Π½ΠΈΠ΅ΠΌ ΡΡΠ°Π½ΠΊΠ° Π½Π΅ΠΎΠ±Ρ ΠΎΠ΄ΠΈΠΌΠΎ ΠΎΡΠΊΡΡΡΡ Π΄Π²Π΅ΡΡ ΡΠ»Π΅ΠΊΡΡΠΎΡΠΊΠ°ΡΠ° ΠΈ ΠΏΡΠΎΠ²Π΅ΡΠΈΡΡ ΡΠΎΡΡΠΎΡΠ½ΠΈΠ΅ Π²ΡΠΊΠ»ΡΡΠ°ΡΠ΅Π»Ρ Π2 ΠΈ ΠΏΡΠ΅Π΄ΠΎΡ ΡΠ°Π½ΠΈΡΠ΅Π»Π΅ΠΉ ΠΡ1…ΠΡ3, ΠΏΠΎΡΠ»Π΅ ΡΠ΅Π³ΠΎ Π·Π°ΠΊΡΡΡΡ Π΄Π²Π΅ΡΡ ΡΠ»Π΅ΠΊΡΡΠΎΡΠΊΠ°ΡΠ°.
ΠΠ°ΠΏΡΡΠΆΠ΅Π½ΠΈΠ΅ Π½Π° ΡΠΈΠ»ΠΎΠ²ΡΠ΅ ΡΠ΅ΠΏΠΈ ΠΈ ΡΠ΅ΠΏΠΈ ΡΠΏΡΠ°Π²Π»Π΅Π½ΠΈΡ ΠΏΠΎΠ΄Π°Π΅ΡΡΡ Π²ΠΊΠ»ΡΡΠ΅Π½ΠΈΠ΅ΠΌ Π²Π²ΠΎΠ΄Π½ΠΎΠ³ΠΎ Π²ΡΠΊΠ»ΡΡΠ°ΡΠ΅Π»Ρ Π1. ΠΡΠΈ ΡΡΠΎΠΌ Π½Π° ΠΏΡΠ»ΡΡΠ΅ ΡΠΏΡΠ°Π²Π»Π΅Π½ΠΈΡ Π΄ΠΎΠ»ΠΆΠ½Π° Π·Π°Π³ΠΎΡΠ΅ΡΡΡΡ ΡΠΈΠ³Π½Π°Π»ΡΠ½Π°Ρ Π»Π°ΠΌΠΏΠ° Π1 ΠΌΠΎΠ»ΠΎΡΠ½ΠΎΠ³ΠΎ ΡΠ²Π΅ΡΠ°. ΠΠΊΠ»ΡΡΠ΅Π½ΠΈΠ΅ ΠΏΡΠΈΠ²ΠΎΠ΄Π° Π½ΠΎΠΆΠ΅Π²ΠΎΠ³ΠΎ Π²Π°Π»Π° ΠΎΡΡΡΠ΅ΡΡΠ²Π»ΡΠ΅ΡΡΡ ΠΊΠ½ΠΎΠΏΠΊΠΎΠΉ ΠΠ½5. ΠΡΠΈ ΡΡΠΎΠΌ Π²ΠΊΠ»ΡΡΠ°Π΅ΡΡΡ ΠΌΠ°Π³Π½ΠΈΡΠ½ΡΠΉ ΠΏΡΡΠΊΠ°ΡΠ΅Π»Ρ Π 1, Π·Π°ΠΌΡΠΊΠ°Ρ ΡΠ²ΠΎΠΈ ΠΊΠΎΠ½ΡΠ°ΠΊΡΡ Π² ΡΠ΅ΠΏΠΈ ΠΏΠΈΡΠ°Π½ΠΈΡ ΡΠ»Π΅ΠΊΡΡΠΎΠ΄Π²ΠΈΠ³Π°ΡΠ΅Π»Ρ Π½ΠΎΠΆΠ΅Π²ΠΎΠ³ΠΎ Π²Π°Π»Π°. ΠΡΠΊΠ»ΡΡΠ°Π΅ΡΡΡ ΠΏΡΠΈΠ²ΠΎΠ΄ Π½ΠΎΠΆΠ΅Π²ΠΎΠ³ΠΎ Π²Π°Π»Π° ΠΊΠ½ΠΎΠΏΠΊΠΎΠΉ ΠΠ½4 ΠΈΠ»ΠΈ ΠΠ½1.
ΠΡΠΈΠ²ΠΎΠ΄ Π½ΠΎΠΆΠ΅Π²ΠΎΠ³ΠΎ Π²Π°Π»Π° Π½Π΅Π²ΠΎΠ·ΠΌΠΎΠΆΠ½ΠΎ Π²ΠΊΠ»ΡΡΠΈΡΡ ΠΏΡΠΈ ΠΎΡΠΊΡΡΡΠΎΠΉ ΡΠΊΡΠ³Π°ΡΡΡΠ΅ΡΠ½ΠΎΠΉ Π²ΠΎΡΠΎΠ½ΠΊΠ΅ ΠΈΠ»ΠΈ ΠΎΡΠΊΡΡΡΠΎΠΉ Π±ΠΎΠΊΠΎΠ²ΠΎΠΉ ΠΊΡΡΡΠΊΠ΅ (ΠΏΡΠ°Π²ΠΎΠΉ ΠΈ Π»Π΅Π²ΠΎΠΉ). ΠΠ»ΠΎΠΊΠΈΡΠΎΠ²ΠΊΠ° ΠΎΡΡΡΠ΅ΡΡΠ²Π»ΡΠ΅ΡΡΡ ΠΌΠΈΠΊΡΠΎΠ²ΡΠΊΠ»ΡΡΠ°ΡΠ΅Π»ΡΠΌΠΈ Π4, Π5, Π6.
ΠΡΠΈΠ²ΠΎΠ΄ ΠΏΠΎΠ΄Π°ΡΠΈ Π²ΠΊΠ»ΡΡΠ°Π΅ΡΡΡ ΠΊΠ½ΠΎΠΏΠΊΠΎΠΉ ΠΠ½6 ΠΏΡΠΈ Π²ΠΊΠ»ΡΡΠ΅Π½Π½ΠΎΠΌ ΠΏΡΠΈΠ²ΠΎΠ΄Π΅ Π½ΠΎΠΆΠ΅Π²ΠΎΠ³ΠΎ Π²Π°Π»Π°. ΠΡΠΈ ΡΡΠΎΠΌ Π²ΠΊΠ»ΡΡΠ°Π΅ΡΡΡ ΠΌΠ°Π³Π½ΠΈΡΠ½ΡΠΉ ΠΏΡΡΠΊΠ°ΡΠ΅Π»Ρ Π 2, Π·Π°ΠΌΡΠΊΠ°Ρ ΡΠ²ΠΎΠΈ ΠΊΠΎΠ½ΡΠ°ΠΊΡΡ Π² ΡΠ΅ΠΏΠΈ ΠΏΠΈΡΠ°Π½ΠΈΡ ΡΠ»Π΅ΠΊΡΡΠΎΠ΄Π²ΠΈΠ³Π°ΡΠ΅Π»Ρ Π2. ΠΡΠΈΠ²ΠΎΠ΄ ΠΏΠΎΠ΄Π°ΡΠΈ Π½Π΅Π»ΡΠ·Ρ Π²ΠΊΠ»ΡΡΠΈΡΡ, Π΅ΡΠ»ΠΈ Π½Π΅ Π²ΠΊΠ»ΡΡΠ΅Π½ ΠΏΡΠΈΠ²ΠΎΠ΄ Π½ΠΎΠΆΠ΅Π²ΠΎΠ³ΠΎ Π²Π°Π»Π°, Π±Π»Π°Π³ΠΎΠ΄Π°ΡΡ Π½Π°Π»ΠΈΡΠΈΡ Π·Π°ΠΌΡΠΊΠ°ΡΡΠΈΡ ΠΊΠΎΠ½ΡΠ°ΠΊΡΠΎΠ² ΠΏΡΡΠΊΠ°ΡΠ΅Π»Ρ Π 1 Π² ΡΠ΅ΠΏΠΈ ΠΏΠΈΡΠ°Π½ΠΈΡ ΠΊΠ°ΡΡΡΠΊΠΈ ΠΏΡΡΠΊΠ°ΡΠ΅Π»Ρ Π 2.
ΠΠ΅ΡΠ΅ΠΌΠ΅ΡΠ΅Π½ΠΈΠ΅ ΡΡΠΎΠ»Π° ΠΏΡΠΎΠΈΠ·Π²ΠΎΠ΄ΠΈΡΡΡ Π²ΠΊΠ»ΡΡΠ΅Π½ΠΈΠ΅ΠΌ ΠΊΠ½ΠΎΠΏΠΊΠΈ ΠΠ½2 ΠΈΠ»ΠΈ ΠΠ½3 Π² ΡΠΎΠ»ΡΠΊΠΎΠ²ΠΎΠΌ ΡΠ΅ΠΆΠΈΠΌΠ΅ ΠΏΡΠΈ ΠΎΡΠΊΠ»ΡΡΠ΅Π½Π½ΠΎΠΌ ΠΏΡΠΈΠ²ΠΎΠ΄Π΅ Π½ΠΎΠΆΠ΅Π²ΠΎΠ³ΠΎ Π²Π°Π»Π°. ΠΡΠΈ Π²ΠΊΠ»ΡΡΠ΅Π½Π½ΠΎΠΌ ΠΏΡΠΈΠ²ΠΎΠ΄Π΅ Π½ΠΎΠΆΠ΅Π²ΠΎΠ³ΠΎ Π²Π°Π»Π° ΠΏΡΠΈΠ²ΠΎΠ΄ ΠΏΠ΅ΡΠ΅ΠΌΠ΅ΡΠ΅Π½ΠΈΡ ΡΡΠΎΠ»Π° Π½Π΅ Π²ΠΊΠ»ΡΡΠΈΡΡΡ, ΡΠ°ΠΊ ΠΊΠ°ΠΊ Π² Π΅Π³ΠΎ ΡΠ΅ΠΏΠΈ ΠΈΠΌΠ΅Π΅ΡΡΡ ΡΠ°Π·ΠΌΡΠΊΠ°ΡΡΠΈΠΉ ΠΊΠΎΠ½ΡΠ°ΠΊΡ ΠΌΠ°Π³Π½ΠΈΡΠ½ΠΎΠ³ΠΎ ΠΏΡΡΠΊΠ°ΡΠ΅Π»Ρ Π 1.
ΠΠ½ΠΎΠΏΠΊΠΎΠΉ ΠΠ½2 Π²ΠΊΠ»ΡΡΠ°Π΅ΡΡΡ ΡΠ΅Π»Π΅ Π 3, ΠΊΠΎΡΠΎΡΠΎΠ΅ Π·Π°ΠΌΡΠΊΠ°Π΅Ρ ΡΠ²ΠΎΠΉ ΠΊΠΎΠ½ΡΠ°ΠΊΡ Π² ΡΠ΅ΠΏΠΈ ΠΏΠΈΡΠ°Π½ΠΈΡ ΡΠ»Π΅ΠΊΡΡΠΎΠΌΠ°Π³Π½ΠΈΡΠ½ΠΎΠΉ ΠΌΡΡΡΡ ΠΠΌ2 ΠΈ Π²ΠΊΠ»ΡΡΠ°Π΅Ρ ΠΏΠ΅ΡΠ΅ΠΌΠ΅ΡΠ΅Π½ΠΈΠ΅ ΡΡΠΎΠ»Π° Π²Π²Π΅ΡΡ .
ΠΠ½ΠΎΠΏΠΊΠΎΠΉ ΠΠ½3 Π²ΠΊΠ»ΡΡΠ°Π΅ΡΡΡ ΡΠ΅Π»Π΅ Π 4, ΠΊΠΎΡΠΎΡΠΎΠ΅ Π·Π°ΠΌΡΠΊΠ°Π΅Ρ ΡΠ²ΠΎΠΉ ΠΊΠΎΠ½ΡΠ°ΠΊΡ Π² ΡΠ΅ΠΏΠΈ ΠΏΠΈΡΠ°Π½ΠΈΡ ΡΠ»Π΅ΠΊΡΡΠΎΠΌΠ°Π³Π½ΠΈΡΠ½ΠΎΠΉ ΠΌΡΡΡΡ ΠΠΌ3 ΠΈ Π²ΠΊΠ»ΡΡΠ°Π΅Ρ ΠΏΡΠΈΠ²ΠΎΠ΄ ΠΏΠ΅ΡΠ΅ΠΌΠ΅ΡΠ΅Π½ΠΈΡ ΡΡΠΎΠ»Π° Π²Π½ΠΈΠ·.
ΠΠ»Ρ ΡΠΈΠΊΡΠ°ΡΠΈΠΈ ΡΡΠΎΠ»Π° Π² Π·Π°Π΄Π°Π½Π½ΠΎΠΌ ΠΏΠΎΠ»ΠΎΠΆΠ΅Π½ΠΈΠΈ «ΠΏΡΠΈΠΌΠ΅Π½ΡΠ΅ΡΡΡ ΡΠΎΡΠΌΠΎΠ·Π½Π°Ρ ΠΌΡΡΡΠ° ΠΠΌ4.
ΠΠ΅ΡΠ΅ΠΊΠ»ΡΡΠ°ΡΠ΅Π»Ρ Π3 ΡΠ»ΡΠΆΠΈΡ Π΄Π»Ρ Π²ΠΊΠ»ΡΡΠ΅Π½ΠΈΡ Π»Π°ΠΌΠΏΡ ΠΌΠ΅ΡΡΠ½ΠΎΠ³ΠΎ ΠΎΡΠ²Π΅ΡΠ΅Π½ΠΈΡ Π2.
ΠΠ½ΠΎΠΏΠΊΠ° ΠΠ½4, ΡΠ°ΡΠΏΠΎΠ»ΠΎΠΆΠ΅Π½Π½Π°Ρ Π½Π° ΠΏΡΠ»ΡΡΠ΅ ΡΠΏΡΠ°Π²Π»Π΅Π½ΠΈΡ, ΠΈ ΠΊΠ½ΠΎΠΏΠΊΠ° ΠΠ½1, ΡΠ°ΡΠΏΠΎΠ»ΠΎΠΆΠ΅Π½Π½Π°Ρ Π½Π° ΡΡΠ°Π½ΠΈΠ½Π΅ ΡΡΠ°Π½ΠΊΠ°, ΡΠ»ΡΠΆΠ°Ρ Π΄Π»Ρ Π°Π²Π°ΡΠΈΠΉΠ½ΠΎΠ³ΠΎ ΠΎΡΠΊΠ»ΡΡΠ΅Π½ΠΈΡ ΡΡΠ°Π½ΠΊΠ°.
ΠΠ°ΡΠΈΡΠ° ΡΠ»Π΅ΠΊΡΡΠΎΠΎΠ±ΠΎΡΡΠ΄ΠΎΠ²Π°Π½ΠΈΡ ΠΎΡ ΡΠΎΠΊΠΎΠ² ΠΊΠΎΡΠΎΡΠΊΠΎΠ³ΠΎ Π·Π°ΠΌΡΠΊΠ°Π½ΠΈΡ ΠΈ ΠΏΠ΅ΡΠ΅Π³ΡΡΠ·ΠΎΠΊ ΠΎΡΡΡΠ΅ΡΡΠ²Π»ΡΠ΅ΡΡΡ Π²Π²ΠΎΠ΄Π½ΡΠΌ Π²ΡΠΊΠ»ΡΡΠ°ΡΠ΅Π»Π΅ΠΌ Π1, Π²ΡΠΊΠ»ΡΡΠ°ΡΠ΅Π»Π΅ΠΌ Π2 ΠΈ ΠΏΡΠ΅Π΄ΠΎΡ ΡΠ°Π½ΠΈΡΠ΅Π»ΡΠΌΠΈ ΠΡ1…ΠΡΠ.
ΠΡΠ»Π΅Π²Π°Ρ Π·Π°ΡΠΈΡΠ° ΠΎΡΡΡΠ΅ΡΡΠ²Π»ΡΠ΅ΡΡΡ ΠΌΠ°Π³Π½ΠΈΡΠ½ΡΠΌΠΈ ΠΏΡΡΠΊΠ°ΡΠ΅Π»ΡΠΌΠΈ.
ΠΠΎΠ΄Π³ΠΎΡΠΎΠ²ΠΊΠ° ΡΠ»Π΅ΠΊΡΡΠΎΠΎΠ±ΠΎΡΡΠ΄ΠΎΠ²Π°Π½ΠΈΡ ΡΡΠ°Π½ΠΊΠ° ΠΊ ΠΏΠ΅ΡΠ²ΠΎΠ½Π°ΡΠ°Π»ΡΠ½ΠΎΠΌΡ ΠΏΡΡΠΊΡ ΠΈ ΠΏΠ΅ΡΠ²ΠΎΠ½Π°ΡΠ°Π»ΡΠ½ΡΠΉ ΠΏΡΡΠΊ.
ΠΡΠΈ ΠΏΠ΅ΡΠ²ΠΎΠ½Π°ΡΠ°Π»ΡΠ½ΠΎΠΌ ΠΏΡΡΠΊΠ΅ ΡΡΠ°Π½ΠΊΠ° Π½Π΅ΠΎΠ±Ρ ΠΎΠ΄ΠΈΠΌΠΎ ΠΏΡΠ΅ΠΆΠ΄Π΅ Π²ΡΠ΅Π³ΠΎ ΠΏΡΠΎΠ²Π΅ΡΠΈΡΡ Π½Π°Π΄Π΅ΠΆΠ½ΠΎΡΡΡ Π·Π°Π·Π΅ΠΌΠ»Π΅Π½ΠΈΡ ΠΈ ΠΊΠ°ΡΠ΅ΡΡΠ²ΠΎ ΠΌΠΎΠ½ΡΠ°ΠΆΠ° ΡΠ»Π΅ΠΊΡΡΠΎΠΎΠ±ΠΎΡΡΠ΄ΠΎΠ²Π°Π½ΠΈΡ Π²Π½Π΅ΡΠ½ΠΈΠΌ ΠΎΡΠΌΠΎΡΡΠΎΠΌ. ΠΠΎΡΠ»Π΅ ΠΎΡΠΌΠΎΡΡΠ° Π² ΡΠ»Π΅ΠΊΡΡΠΎΡΠΊΠ°ΡΠ΅ Π½Π° Π±Π»ΠΎΠΊΠ°Ρ Π·Π°ΠΆΠΈΠΌΠΎΠ² ΠΎΡΠΊΠ»ΡΡΠΈΡΡ ΠΏΡΠΎΠ²ΠΎΠ΄Π° ΠΏΠΈΡΠ°Π½ΠΈΡ Π΄Π²ΠΈΠ³Π°ΡΠ΅Π»Π΅ΠΉ Ml ΠΈ Π2. ΠΠΊΠ»ΡΡΠΈΡΡ Π²Π²ΠΎΠ΄Π½ΡΠΉ Π²ΡΠΊΠ»ΡΡΠ°ΡΠ΅Π»Ρ B1. ΠΡΠΈ ΠΏΠΎΠΌΠΎΡΠΈ ΠΊΠ½ΠΎΠΏΠΎΠΊ, Π½Π°Ρ ΠΎΠ΄ΡΡΠΈΡ ΡΡ Π½Π° ΠΏΡΠ»ΡΡΠ΅ ΡΠΏΡΠ°Π²Π»Π΅Π½ΠΈΡ, ΠΏΡΠΎΠ²Π΅ΡΠΈΡΡ ΡΠ΅ΡΠΊΠΎΡΡΡ ΡΡΠ°Π±Π°ΡΡΠ²Π°Π½ΠΈΡ ΠΏΡΡΠΊΠ°ΡΠ΅Π»Π΅ΠΉ. ΠΠΎΡΠ»Π΅ ΡΠ΅Π³ΠΎ Π²ΠΎΡΡΡΠ°Π½ΠΎΠ²ΠΈΡΡ ΡΡ Π΅ΠΌΡ Π² ΠΈΡΡ ΠΎΠ΄Π½ΠΎΠ΅ ΠΏΠΎΠ»ΠΎΠΆΠ΅Π½ΠΈΠ΅ ΠΈ ΠΏΡΠΎΠ²Π΅ΡΠΈΡΡ ΠΏΡΠ°Π²ΠΈΠ»ΡΠ½ΠΎΡΡΡ Π½Π°ΠΏΡΠ°Π²Π»Π΅Π½ΠΈΡ Π²ΡΠ°ΡΠ΅Π½ΠΈΡ ΡΠ»Π΅ΠΊΡΡΠΎΠ΄Π²ΠΈΠ³Π°ΡΠ΅Π»Π΅ΠΉ.
Π‘Π -6-9 Π‘ΡΠ°Π½ΠΎΠΊ Π΄Π΅ΡΠ΅Π²ΠΎΠΎΠ±ΡΠ°Π±Π°ΡΡΠ²Π°ΡΡΠΈΠΉ ΡΠ΅ΠΉΡΠΌΡΡΠΎΠ²ΡΠΉ. ΠΠΈΠ΄Π΅ΠΎΡΠΎΠ»ΠΈΠΊ
Π’Π΅Ρ Π½ΠΈΡΠ΅ΡΠΊΠΈΠ΅ Ρ Π°ΡΠ°ΠΊΡΠ΅ΡΠΈΡΡΠΈΠΊΠΈ ΡΠ΅ΠΉΡΠΌΡΡΠΎΠ²ΠΎΠ³ΠΎ ΡΡΠ°Π½ΠΊΠ° Π‘Π -6-9
| ΠΠ°ΠΈΠΌΠ΅Π½ΠΎΠ²Π°Π½ΠΈΠ΅ ΠΏΠ°ΡΠ°ΠΌΠ΅ΡΡΠ° | Π‘Π -6-9 | Π‘Π -6-10 | Π‘Π -8-2 |
|---|---|---|---|
| ΠΡΠ½ΠΎΠ²Π½ΡΠ΅ ΠΏΠ°ΡΠ°ΠΌΠ΅ΡΡΡ | |||
| ΠΠ°ΠΊΡΠΈΠΌΠ°Π»ΡΠ½Π°Ρ ΡΠΈΡΠΈΠ½Π° ΡΡΡΠΎΠ³Π°Π½ΠΈΡ, ΠΌΠΌ | 630 | 630 | 800 |
| ΠΠΈΠ°ΠΏΠ°Π·ΠΎΠ½ ΡΠΎΠ»ΡΠΈΠ½Ρ ΠΎΠ±ΡΠ°Π±Π°ΡΡΠ²Π°Π΅ΠΌΡΡ Π·Π°Π³ΠΎΡΠΎΠ²ΠΎΠΊ, ΠΌΠΌ | 5..200 | 5..250 | 5..250 |
| Π‘ΠΊΠΎΡΠΎΡΡΡ ΠΌΠ΅Ρ Π°Π½ΠΈΡΠ΅ΡΠΊΠΎΠΉ ΠΏΠΎΠ΄Π°ΡΠΈ Π·Π°Π³ΠΎΡΠΎΠ²ΠΊΠΈ, ΠΌ/ΠΌΠΈΠ½ | 8-24 | 8; 16 | 8; 16 |
| ΠΠΈΠ½ΠΈΠΌΠ°Π»ΡΠ½Π°Ρ Π΄Π»ΠΈΠ½Π° ΠΎΠ±ΡΠ°Π±Π°ΡΡΠ²Π°Π΅ΠΌΠΎΠΉ Π·Π°Π³ΠΎΡΠΎΠ²ΠΊΠΈ, ΠΌΠΌ | 400 | 450 | 450 |
| ΠΠ°ΠΈΠ±ΠΎΠ»ΡΡΠ°Ρ ΡΠΎΠ»ΡΠΈΠ½Π° ΡΠ½ΠΈΠΌΠ°Π΅ΠΌΠΎΠ³ΠΎ ΡΠ»ΠΎΡ Π·Π° ΠΎΠ΄ΠΈΠ½ ΠΏΡΠΎΡ ΠΎΠ΄, ΠΌΠΌ | 5 | 8 | 8 |
| Π§Π°ΡΡΠΎΡΠ° Π²ΡΠ°ΡΠ΅Π½ΠΈΡ ΡΡΡΠΎΠ³Π°Π»ΡΠ½ΠΎΠ³ΠΎ Π²Π°Π»Π° (Π½Π° Ρ ΠΎΠ»ΠΎΡΡΠΎΠΌ Ρ ΠΎΠ΄Ρ), ΠΎΠ±/ΠΌΠΈΠ½. | 4570 | 4570 | 4570 |
| ΠΠΎΠ»ΠΈΡΠ΅ΡΡΠ²ΠΎ ΡΡΡΠΎΠ³Π°Π»ΡΠ½ΡΡ Π½ΠΎΠΆΠ΅ΠΉ Π½Π° ΡΡΡΠΎΠ³Π°Π»ΡΠ½ΠΎΠΌ Π²Π°Π»Ρ | 4 | 4 | 4 |
| ΠΠΈΠ°ΠΌΠ΅ΡΡ ΡΡΡΠΎΠ³Π°Π»ΡΠ½ΠΎΠ³ΠΎ Π²Π°Π»Π°, ΠΌΠΌ | 125 | 128 | 128 |
| Π Π°Π·ΠΌΠ΅Ρ Π½ΠΎΠΆΠ°: ΠΠ»ΠΈΠ½Π°, ΡΠΈΡΠΈΠ½Π°, ΡΠΎΠ»ΡΠΈΠ½Π°, ΠΌΠΌ | |||
| ΠΠ»ΠΈΠ½Π° ΡΠ΅ΠΉΡΠΌΡΡΠΎΠ²ΠΎΠ³ΠΎ ΡΡΠΎΠ»Π°, ΠΌΠΌ | |||
| ΠΠΎΠΌΠΈΠ½Π°Π»ΡΠ½ΡΠΉ Π΄ΠΈΠ°ΠΌΠ΅ΡΡ ΠΏΡΠΈΡΠΎΠ΅Π΄ΠΈΠ½ΠΈΡΠ΅Π»ΡΠ½ΠΎΠ³ΠΎ ΠΏΠ°ΡΡΡΠ±ΠΊΠ° ΡΠΊΡΠ³Π°ΡΡΡΠ΅ΡΠ½ΠΎΠΉ Π²ΠΎΡΠΎΠ½ΠΊΠΈ, ΠΌΠΌ | 180 | ||
| ΠΠ°ΠΊΡΠΈΠΌΠ°Π»ΡΠ½Π°Ρ ΡΠ°Π·Π½ΠΎΡΡΡ ΡΠΎΠ»ΡΠΈΠ½Ρ ΠΎΠ΄Π½ΠΎΠ²ΡΠ΅ΠΌΠ΅Π½Π½ΠΎ ΠΏΠΎΠ΄Π°Π²Π°Π΅ΠΌΠΎΠ³ΠΎ ΠΌΠ°ΡΠ΅ΡΠΈΠ°Π»Π°, ΠΌΠΌ | 4 | 4 | |
| ΠΠ»Π΅ΠΊΡΡΠΎΠΎΠ±ΠΎΡΡΠ΄ΠΎΠ²Π°Π½ΠΈΠ΅ ΡΡΠ°Π½ΠΊΠ° | |||
| Π ΠΎΠ΄ ΡΠΎΠΊΠ° ΠΏΠΈΡΠ°ΡΡΠ΅ΠΉ ΡΠ΅ΡΠΈ | 380Π 50ΠΡ | 380Π 50ΠΡ | 380Π 50ΠΡ |
| ΠΠΎΠ»ΠΈΡΠ΅ΡΡΠ²ΠΎ ΡΠ»Π΅ΠΊΡΡΠΎΠ΄Π²ΠΈΠ³Π°ΡΠ΅Π»Π΅ΠΉ Π½Π° ΡΡΠ°Π½ΠΊΠ΅, ΡΡ | 1 | 3 | 3 |
| ΠΠ»Π΅ΠΊΡΡΠΎΠ΄Π²ΠΈΠ³Π°ΡΠ΅Π»Ρ ΠΏΡΠΈΠ²ΠΎΠ΄Π° Π½ΠΎΠΆΠ΅Π²ΠΎΠ³ΠΎ Π²Π°Π»Π°, ΠΊΠΡ | 7,5 | 5,5 | 11,0 |
| ΠΠ»Π΅ΠΊΡΡΠΎΠ΄Π²ΠΈΠ³Π°ΡΠ΅Π»Ρ ΠΏΡΠΈΠ²ΠΎΠ΄Π° ΠΏΠΎΠ΄Π°ΡΠΈ, ΠΊΠΡ | 1,1 | 1/ 1,7 | 1/ 1,7 |
| ΠΠ»Π΅ΠΊΡΡΠΎΠ΄Π²ΠΈΠ³Π°ΡΠ΅Π»Ρ ΠΏΡΠΈΠ²ΠΎΠ΄Π° ΠΏΠ΅ΡΠ΅ΠΌΠ΅ΡΠ΅Π½ΠΈΡ ΡΡΠΎΠ»Π°, ΠΊΠΡ | — | 0,37 | 0,37 |
| Π‘ΡΠΌΠΌΠ°ΡΠ½Π°Ρ ΠΌΠΎΡΠ½ΠΎΡΡΡ Π²ΡΠ΅Ρ ΡΠ». Π΄Π²ΠΈΠ³Π°ΡΠ΅Π»Π΅ΠΉ ΡΡΠ°Π½ΠΊΠ°, ΠΊΠΡ | 8,6 | 13,07 | |
| ΠΠ°Π±Π°ΡΠΈΡ ΠΈ ΠΌΠ°ΡΡΠ° ΡΡΠ°Π½ΠΊΠ° | |||
| ΠΠ°Π±Π°ΡΠΈΡ ΡΡΠ°Π½ΠΊΠ° (Π΄Π»ΠΈΠ½Π° Ρ ΡΠΈΡΠΈΠ½Π° Ρ Π²ΡΡΠΎΡΠ°), ΠΌΠΌ | 1130 Ρ 1360 Ρ 1260 | 1120 Ρ 1315 Ρ 1340 | 1120 Ρ 1480 Ρ 1340 |
| ΠΠ°ΡΡΠ° ΡΡΠ°Π½ΠΊΠ°, ΠΊΠ³ | 1680 | 1440 | 1600 |
ΠΠΎΠ»Π΅Π·Π½ΡΠ΅ ΡΡΡΠ»ΠΊΠΈ ΠΏΠΎ ΡΠ΅ΠΌΠ΅. ΠΠΎΠΏΠΎΠ»Π½ΠΈΡΠ΅Π»ΡΠ½Π°Ρ ΠΈΠ½ΡΠΎΡΠΌΠ°ΡΠΈΡ
ΠΠ°ΡΠ°Π»ΠΎΠ³ ΡΠΏΡΠ°Π²ΠΎΡΠ½ΠΈΠΊ Π΄Π΅ΡΠ΅Π²ΠΎΠΎΠ±ΡΠ°Π±Π°ΡΡΠ²Π°ΡΡΠΈΡ ΡΡΠ°Π½ΠΊΠΎΠ²
ΠΠ°ΡΠΏΠΎΡΡΠ° Π΄Π΅ΡΠ΅Π²ΠΎΠΎΠ±ΡΠ°Π±Π°ΡΡΠ²Π°ΡΡΠΈΡ ΡΡΠ°Π½ΠΊΠΎΠ²
ΠΡΠΏΠΈΡΡ ΠΊΠ°ΡΠ°Π»ΠΎΠ³ — ΠΡΠΏΠΈΡΡ ΡΠΏΡΠ°Π²ΠΎΡΠ½ΠΈΠΊ — ΠΡΠΏΠΈΡΡ Π±Π°Π·Ρ Π΄Π°Π½Π½ΡΡ : ΠΡΠ°ΠΉΡ-Π»ΠΈΡΡ ΠΈΠ½ΡΠΎΡΠΌΠ°ΡΠΈΠΎΠ½Π½ΡΡ ΠΈΠ·Π΄Π°Π½ΠΈΠΉ
stanki-katalog.ru
Π Π΅ΠΉΡΠΌΡΡ ΠΈ ΡΡΠ³Π°Π½ΠΎΠΊ. Π ΡΠ΅ΠΌ ΡΠ°Π·Π½ΠΈΡΠ° ΠΈ ΠΌΠΎΠΆΠ½ΠΎ Π»ΠΈ ΠΎΠ±ΠΎΠΉΡΠΈΡΡ ΡΠΎΠ»ΡΠΊΠΎ ΠΎΠ΄Π½ΠΈΠΌ ΡΡΠ°Π½ΠΊΠΎΠΌ?
ΠΠΎΠΏΡΠΎΡ, ΡΠ΅ΠΌ ΠΎΡΠ»ΠΈΡΠ°ΡΡΡΡΒ ΡΠ΅ΠΉΡΠΌΡΡΠΎΠ²ΡΠΉΒ ΠΈΒ ΡΡΠ³ΠΎΠ²Π°Π»ΡΠ½ΡΠΉΒ ΡΡΠ°Π½ΠΊΠΈ, ΠΎΡΠ΅Π½Ρ ΡΠ°ΡΡΠΎ Π²ΠΎΠ·Π½ΠΈΠΊΠ°Π΅Ρ Ρ Π½ΠΎΠ²ΠΈΡΠΊΠΎΠ² Π² ΡΡΠΎΠ»ΡΡΠ½ΠΎΠΌ Π΄Π΅Π»Π΅. ΠΡΠΎΠ±Π΅Π½Π½ΠΎ Ρ ΡΠ΅Ρ , ΠΊΡΠΎ Π½Π΅ ΠΈΠΌΠ΅Π» Π²ΠΎΠ·ΠΌΠΎΠΆΠ½ΠΎΡΡΠΈ Π² ΠΆΠΈΠ²ΡΡ ΡΠ²ΠΈΠ΄Π΅ΡΡ ΠΊΠ°ΠΊ ΡΠ°Π±ΠΎΡΠ°ΡΡ ΡΡΠΈ ΡΡΠ°Π½ΠΊΠΈ Π² ΠΌΠ°ΡΡΠ΅ΡΡΠΊΠΎΠΉ. Π Π΄Π΅ΠΉΡΡΠ²ΠΈΡΠ΅Π»ΡΠ½ΠΎ, ΡΠΈΡΠ°Ρ Π² ΠΈΠ½ΡΠ΅ΡΠ½Π΅ΡΠ΅ ΡΡΠ°ΡΡΠΈ ΠΈΠ»ΠΈ Π΄Π°ΠΆΠ΅ ΡΠΌΠΎΡΡΡ Π²ΠΈΠ΄Π΅ΠΎ, Π½Π΅ΡΠ²Π΅Π΄ΡΡΡΠ΅ΠΌΡ ΡΠ΅Π»ΠΎΠ²Π΅ΠΊΡ Π·Π°ΡΠ°ΡΡΡΡ ΡΠ»ΠΎΠΆΠ½ΠΎ ΠΏΠΎΠ½ΡΡΡ ΠΊΠ°ΠΊΠ°Ρ ΠΌΠ΅ΠΆΠ΄Ρ Π½ΠΈΠΌΠΈ ΡΠ°Π·Π½ΠΈΡΠ°. ΠΠ΅Π΄Ρ ΡΠ΅Π·ΡΠ»ΡΡΠ°Ρ ΠΎΠ±ΡΠ°Π±ΠΎΡΠΊΠΈ ΠΈ ΡΠ΅ΠΌ ΠΈ Π΄ΡΡΠ³ΠΈΠΌ ΡΡΠ°Π½ΠΊΠΎΠΌ ΠΊΠ°ΠΆΠ΅ΡΡΡ ΠΎΠ΄ΠΈΠ½Π°ΠΊΠΎΠ²ΡΠΌ β ΡΠΎΠ²Π½Π°Ρ ΠΏΠΎΠ²Π΅ΡΡ Π½ΠΎΡΡΡ Π΄Π΅ΡΠ΅Π²ΡΠ½Π½ΠΎΠΉ Π·Π°Π³ΠΎΡΠΎΠ²ΠΊΠΈ.
Π ΡΠ΅ΠΌ Π²ΡΠ΅ ΡΠ°ΠΊΠΈ ΡΠ°Π·Π½ΠΈΡΠ°?
ΠΠ΅ΡΠΌΠΎΡΡΡ Π½Π° ΡΠΎ, ΡΡΠΎ ΠΎΠ±Π° ΡΡΠ°Π½ΠΊΠ° ΠΎΡΠ½ΠΎΡΡΡΡΡ ΠΊ ΡΡΡΠΎΠ³Π°Π»ΡΠ½ΠΎΠΌΡ ΡΠΈΠΏΡ Π΄Π΅ΡΠ΅Π²ΠΎΠΎΠ±ΡΠ°Π±Π°ΡΡΠ²Π°ΡΡΠΈΡ ΡΡΠ°Π½ΠΊΠΎΠ², ΠΌΠ΅ΠΆΠ΄Ρ Π½ΠΈΠΌΠΈ ΡΡΡΠ΅ΡΡΠ²ΡΠ΅Ρ ΡΡΡΠ΅ΡΡΠ²Π΅Π½Π½Π°Ρ ΡΠ°Π·Π½ΠΈΡΠ°.
Π€ΡΠ³ΠΎΠ²Π°Π»ΡΠ½ΡΠΉ ΡΡΠ°Π½ΠΎΠΊΒ ΠΏΡΠ΅Π΄Π½Π°Π·Π½Π°ΡΠ΅Π½ Π΄Π»Ρ ΠΏΡΡΠΌΠΎΠ»ΠΈΠ½Π΅ΠΉΠ½ΠΎΠ³ΠΎ ΡΡΡΠΎΠ³Π°Π½ΠΈΡ ΠΏΠ»ΠΎΡΠΊΠΎΡΡΠΈ Π΄Π΅ΡΠ΅Π²ΡΠ½Π½ΡΡ Π·Π°Π³ΠΎΡΠΎΠ²ΠΎΠΊ. ΠΠ±ΡΠ°Π±Π°ΡΡΠ²Π°ΡΡΠΈΠΉ ΡΠ·Π΅Π» ΡΡΠ°Π½ΠΊΠ° β ΠΊΡΡΠ³Π»ΡΠΉ Π½ΠΎΠΆΠ΅Π²ΠΎΠΉ Π²Π°Π» Ρ Π½Π΅ΡΠΊΠΎΠ»ΡΠΊΠΈΠΌΠΈ Π½ΠΎΠΆΠ°ΠΌΠΈ. ΠΠ°Π» ΡΠΌΠΎΠ½ΡΠΈΡΠΎΠ²Π°Π½ ΡΠ°ΠΊΠΈΠΌ ΠΎΠ±ΡΠ°Π·ΠΎΠΌ, ΡΡΠΎ ΠΏΠ΅ΡΠ΅ΠΌΠ΅ΡΠ°Ρ Π·Π°Π³ΠΎΡΠΎΠ²ΠΊΡ ΠΏΠΎ Π³ΠΎΡΠΈΠ·ΠΎΠ½ΡΠ°Π»ΡΠ½ΠΎΠΌΡ ΡΠ°Π±ΠΎΡΠ΅ΠΌΡ ΡΡΠΎΠ»Ρ, ΠΏΡΠΎΠΈΡΡ ΠΎΠ΄ΠΈΡ ΡΡΡΠΎΠ³Π°Π½ΠΈΠ΅Β Π½ΠΈΠΆΠ½Π΅ΠΉ ΡΡΠΎΡΠΎΠ½Ρ Π·Π°Π³ΠΎΡΠΎΠ²ΠΊΠΈ. Π’Π°ΠΊΠΈΠΌ ΠΎΠ±ΡΠ°Π·ΠΎΠΌ, Π½ΠΈΠΆΠ½ΡΡ ΡΡΠΎΡΠΎΠ½Π° Π·Π°Π³ΠΎΡΠΎΠ²ΠΊΠΈ ΠΌΠΎΠΆΠ΅Ρ Π±ΡΡΡ ΠΈΠ΄Π΅Π°Π»ΡΠ½ΠΎ Π²ΡΡΠΎΠ²Π½ΡΠ½Π°. Π’Π°ΠΊΠΆΠ΅, ΠΈΡΠΏΠΎΠ»ΡΠ·ΡΡ Π½Π°ΠΏΡΠ°Π²Π»ΡΡΡΡΡ Π»ΠΈΠ½Π΅ΠΉΠΊΡ (Π±ΠΎΠΊΠΎΠ²ΠΎΠΉ ΡΠΏΠΎΡ), ΠΌΠΎΠΆΠ½ΠΎ Π·Π°Π΄Π°ΡΡ Π·Π°Π³ΠΎΡΠΎΠ²ΠΊΠ΅ ΡΡΠ΅Π±ΡΠ΅ΠΌΡΠΉ ΡΠ³ΠΎΠ» ΠΌΠ΅ΠΆΠ΄Ρ Π½ΠΈΠΆΠ½Π΅ΠΉ ΠΈ Π±ΠΎΠΊΠΎΠ²ΠΎΠΉ ΠΏΠ»ΠΎΡΠΊΠΎΡΡΡΡ. ΠΠΎΠΌΠΈΠΌΠΎ ΡΡΠΎΠ³ΠΎ Π΅ΡΡΡ Π²ΠΎΠ·ΠΌΠΎΠΆΠ½ΠΎΡΡΡ ΠΎΠ±ΡΠ°Π±Π°ΡΡΠ²Π°ΡΡ ΠΊΡΠΎΠΌΠΊΡ Π·Π°Π³ΠΎΡΠΎΠ²ΠΊΠΈ β ΡΠ½ΠΈΠΌΠ°ΡΡ ΡΠ°ΡΠΊΡ, ΡΠ°ΡΠΏΠΎΠ»Π°Π³Π°Ρ Π½Π°ΠΏΡΠ°Π²Π»ΡΡΡΡΡ Π»ΠΈΠ½Π΅ΠΉΠΊΡ ΠΏΠΎΠ΄ ΡΠ³Π»ΠΎΠΌ ΠΊ ΡΠ°Π±ΠΎΡΠ΅ΠΌΡ ΡΡΠΎΠ»Ρ.
-

- ΠΡΠΈΠΌΠ΅Ρ β ΡΡΠ³ΠΎΠ²Π°Π»ΡΠ½ΡΠΉ ΡΡΠ°Π½ΠΎΠΊ JET
Π Π΅ΠΉΡΠΌΡΡΠΎΠ²ΡΠΉ ΡΡΠ°Π½ΠΎΠΊΒ ΡΠ°ΠΊΠΆΠ΅ ΠΏΡΠ΅Π΄Π½Π°Π·Π½Π°ΡΠ΅Π½Β Π΄Π»Ρ ΠΏΠ»ΠΎΡΠΊΠΎΠ³ΠΎ ΠΏΡΠΎΡΡΡΡΠ³ΠΈΠ²Π°Π½ΠΈΡ Π·Π°Π³ΠΎΡΠΎΠ²ΠΎΠΊ ΠΈ ΡΠ΅ΠΆΡΡΠΈΠΉ ΠΈΠ½ΡΡΡΡΠΌΠ΅Π½Ρ ΡΠ°ΠΊΠΆΠ΅ Π½ΠΎΠΆΠ΅Π²ΠΎΠΉ Π²Π°Π». ΠΠ΄Π½Π°ΠΊΠΎ Π² ΠΎΡΠ»ΠΈΡΠΈΠ΅ ΠΎΡ ΡΡΠ³Π°Π½ΠΊΠ°, Π²Π°Π» ΡΠ°ΡΠΏΠΎΠ»ΠΎΠΆΠ΅Π½Β ΡΠ²Π΅ΡΡ Ρ ΠΎΡ Π·Π°Π³ΠΎΡΠΎΠ²ΠΊΠΈ, ΡΠΎΠΎΡΠ²Π΅ΡΡΡΠ²Π΅Π½Π½ΠΎ ΠΎΠ½ ΠΎΠ±ΡΠ°Π±Π°ΡΡΠ²Π°Π΅Ρ Π²Π΅ΡΡ Π½ΡΡ ΠΏΠ»ΠΎΡΠΊΠΎΡΡΡ Π·Π°Π³ΠΎΡΠΎΠ²ΠΊΠΈ Π° Π½Π΅ Π½ΠΈΠΆΠ½ΡΡ. ΠΠΈΠΆΠ½ΡΡ ΠΆΠ΅ ΠΏΠ»Π°ΡΡΡ Π·Π°Π³ΠΎΡΠΎΠ²ΠΊΠΈ ΡΠΏΠΈΡΠ°Π΅ΡΡΡ Π² ΡΠ°Π±ΠΎΡΠΈΠΉ ΡΡΠΎΠ». Π’Π°ΠΊΠΈΠΌ ΠΎΠ±ΡΠ°Π·ΠΎΠΌ ΡΠ΅ΠΉΡΠΌΡΡΠΎΠ²ΡΠΉ ΡΡΠ°Π½ΠΎΠΊ ΡΠΏΠΎΡΠΎΠ±Π΅Π½Β ΠΊΠ°Π»ΠΈΠ±ΡΠΎΠ²Π°ΡΡ Π·Π°Π³ΠΎΡΠΎΠ²ΠΊΡ Π² ΡΠ°Π·ΠΌΠ΅Ρ ΠΏΠΎ ΡΠΎΠ»ΡΠΈΠ½Π΅.
-

- ΠΡΠΈΠΌΠ΅Ρ β ΡΠ΅ΠΉΡΠΌΡΡΠΎΠ²ΡΠΉ ΡΡΠ°Π½ΠΎΠΊ JET
Π’Π°ΠΊΠΈΠΌ ΠΎΠ±ΡΠ°Π·ΠΎΠΌ, ΠΏΠΎΠ»ΡΡΠ°Π΅ΡΡΡ, ΡΡΠΎ ΡΡΠ³Π°Π½ΠΎΠΊ ΠΈ ΡΠ΅ΠΉΡΠΌΡΡ ΠΈΠΌΠ΅ΡΡ ΡΠ°Π·Π½ΡΠ΅ Π²ΠΎΠ·ΠΌΠΎΠΆΠ½ΠΎΡΡΠΈ: ΡΡΠ³Π°Π½ΠΎΠΊ ΠΌΠΎΠΆΠ΅Ρ Π²ΡΡΠΎΠ²Π½ΡΡΡ Π±Π°Π·ΠΎΠ²ΡΡ ΠΏΠ»ΠΎΡΠΊΠΎΡΡΡ Π·Π°Π³ΠΎΡΠΎΠ²ΠΊΠΈ, Π½ΠΎ Π½Π΅ ΠΌΠΎΠΆΠ΅Ρ ΠΎΡΠΊΠ°Π»ΠΈΠ±ΡΠΎΠ²Π°ΡΡ Π·Π°Π³ΠΎΡΠΎΠ²ΠΊΡ ΠΏΠΎ ΡΠΎΠ»ΡΠΈΠ½Π΅, ΡΠ΅ΠΉΡΠΌΡΡ ΠΆΠ΅ Π½Π°ΠΎΠ±ΠΎΡΠΎΡ, ΠΈΠΌΠ΅Π΅Ρ Π²ΠΎΠ·ΠΌΠΎΠΆΠ½ΠΎΡΡΡ ΠΏΡΠΈΠ΄Π°ΡΡ Π·Π°Π³ΠΎΡΠΎΠ²ΠΊΠ΅ ΡΡΠ΅Π±ΡΠ΅ΠΌΡΡ ΡΠΎΠ»ΡΠΈΠ½Ρ, Π½ΠΎ Π½Π΅ ΡΠΌΠΎΠΆΠ΅Ρ Π²ΡΡΠΎΠ²Π½ΡΡΡ ΡΡΠΎΡΠΎΠ½Ρ Π·Π°Π³ΠΎΡΠΎΠ²ΠΊΠΈ, Π΅ΡΠ»ΠΈ ΡΠΎΠ»ΡΠΊΠΎ ΠΎΠ΄Π½Π° ΠΈΠ· ΡΡΠΎΡΠΎΠ½ ΡΠΆΠ΅ Π½Π΅ Π²ΡΡΠΎΠ²Π½ΡΠ½Π° Π΄ΠΎ ΠΈΡΠΏΠΎΠ»ΡΠ·ΠΎΠ²Π°Π½ΠΈΡ ΡΠ΅ΠΉΡΠΌΡΡΠ°.
ΠΠΎΠ²ΠΎΡΡ ΠΏΡΠΎΡΡΡΠΌΠΈ ΡΠ»ΠΎΠ²Π°ΠΌΠΈ,Β ΡΡΠ³Π°Π½ΠΎΠΊ Π΄Π΅Π»Π°Π΅Ρ ΡΠΎΠ²Π½ΡΡ Π±Π°Π·ΠΎΠ²ΡΡ ΠΏΠ»ΠΎΡΠΊΠΎΡΡΡ, Π° ΡΠ΅ΠΉΡΠΌΡΡ Π΄Π΅Π»Π°Π΅Ρ Π²ΡΠΎΡΡΡ ΡΡΠΎΡΠΎΠ½Ρ Π·Π°Π³ΠΎΡΠΎΠ²ΠΊΠΈ ΠΏΠ°ΡΠ°Π»Π»Π΅Π»ΡΠ½ΠΎΠΉ ΠΏΠ΅ΡΠ²ΠΎΠΉ ΡΡΠΎΡΠΎΠ½Π΅. Π Π΅ΠΉΡΠΌΡΡ Π½Π΅ ΠΌΠΎΠΆΠ΅Ρ ΡΠ΄Π΅Π»Π°ΡΡ ΠΈΠ· ΠΊΡΠΈΠ²ΠΎΠΉ Π·Π°Π³ΠΎΡΠΎΠ²ΠΊΠΈ ΠΏΡΡΠΌΡΡ, Π° ΡΡΠ³Π°Π½ΠΎΠΊ Π½Π΅ ΠΌΠΎΠΆΠ΅Ρ ΠΎΡΠΊΠ°Π»ΠΈΠ±ΡΠΎΠ²Π°ΡΡ Π·Π°Π³ΠΎΡΠΎΠ²ΠΊΡ ΠΏΠΎ ΡΠΎΠ»ΡΠΈΠ½Π΅.
ΠΠ»Π°ΡΡΠΈΡΠ΅ΡΠΊΠ°Ρ ΡΠ΅Ρ Π½ΠΎΠ»ΠΎΠ³ΠΈΡ Π΄Π΅ΡΠ΅Π²ΠΎΠΎΠ±ΡΠ°Π±ΠΎΡΠΊΠΈ ΠΏΡΠ΅Π΄ΠΏΠΈΡΡΠ²Π°Π΅ΡΒ Π½Π°Π»ΠΈΡΠΈΠ΅ ΠΎΠ±ΠΎΠΈΡ ΡΡΠ°Π½ΠΊΠΎΠ² Π² ΡΡΠΎΠ»ΡΡΠ½ΠΎΠΉ ΠΌΠ°ΡΡΠ΅ΡΡΠΊΠΎΠΉ. ΠΡ Π²ΠΎΠ·ΠΌΠΎΠΆΠ½ΠΎΡΡΠΈ ΠΎΡΠ»ΠΈΡΠ½ΠΎ Π΄ΠΎΠΏΠΎΠ»Π½ΡΡΡ Π΄ΡΡΠ³ Π΄ΡΡΠ³Π°: ΡΠ½Π°ΡΠ°Π»Π° Π½Π° ΡΡΠ³Π°Π½ΠΊΠ΅ Π·Π°Π΄Π°Π΅ΡΡΡ ΠΏΡΡΠΌΠ°Ρ Π±Π°Π·ΠΎΠ²Π°Ρ ΠΏΠ»ΠΎΡΠΊΠΎΡΡΡ, Π° Π·Π°ΡΠ΅ΠΌ ΡΠ΅ΠΉΡΠΌΡΡΠΎΠΌ Π·Π°Π΄Π°Π΅ΡΡΡ Π½Π΅ΠΎΠ±Ρ ΠΎΠ΄ΠΈΠΌΠ°Ρ ΡΠΎΠ»ΡΠΈΠ½Π° Π·Π°Π³ΠΎΡΠΎΠ²ΠΊΠΈ. ΠΠ° Π²ΡΡ ΠΎΠ΄Π΅, ΠΏΠΎΡΠ»Π΅ ΡΠ°ΠΊΠΎΠΉ ΠΎΠ±ΡΠ°Π±ΠΎΡΠΊΠΈ, ΠΏΠΎΠ»ΡΡΠ°Π΅ΡΡΡ Π·Π°Π³ΠΎΡΠΎΠ²ΠΊΠ° ΡΠΎΠ²Π½Π°Ρ Ρ ΠΎΠ±ΠΎΠΈΡ ΡΡΠΎΡΠΎΠ½ ΠΈ ΠΏΡΠΈ ΡΡΠΎΠΌ ΠΎΠ΄ΠΈΠ½Π°ΠΊΠΎΠ²ΠΎΠΉ ΡΠΎΠ»ΡΠΈΠ½Ρ ΠΏΠΎ Π²ΡΠ΅ΠΉ Π΄Π»ΠΈΠ½Π΅.
ΠΠΎΠΆΠ½ΠΎ Π»ΠΈ ΠΈΠ·Π±Π΅ΠΆΠ°ΡΡ ΠΏΠΎΠΊΡΠΏΠΊΠΈ ΠΎΠ±ΠΎΠΈΡ ΡΡΠ°Π½ΠΊΠΎΠ² ΠΈ ΠΎΠ±ΠΎΠΉΡΠΈΡΡ ΡΠΎΠ»ΡΠΊΠΎ ΠΎΠ΄Π½ΠΈΠΌ ΠΈΠ· Π½ΠΈΡ ?
ΠΡΠΎΡ Π²ΠΎΠΏΡΠΎΡ Π²ΠΎΠ·Π½ΠΈΠΊΠ°Π΅Ρ Ρ Π½ΠΎΠ²ΠΈΡΠΊΠΎΠ², ΡΡΠ°Π·Ρ ΠΆΠ΅ ΠΏΠΎΡΠ»Π΅ ΡΠΎΠ³ΠΎ, ΠΊΠ°ΠΊ ΠΎΠ½ΠΈ ΡΠ°Π·Π±ΠΈΡΠ°ΡΡΡΡ Ρ ΠΏΠ΅ΡΠ²ΡΠΌ Π²ΠΎΠΏΡΠΎΡΠΎΠΌ. ΠΠΎΠΏΡΠΎΡ, Π±Π΅Π·ΡΡΠ»ΠΎΠ²Π½ΠΎ ΠΏΡΠ°Π²ΠΈΠ»ΡΠ½ΡΠΉ, Π²Π΅Π΄Ρ ΠΊΡΠΏΠΈΡΡ ΠΎΠ΄ΠΈΠ½ ΡΡΠ°Π½ΠΎΠΊ Π΄Π΅ΡΠ΅Π²Π»Π΅ ΡΠ΅ΠΌ ΠΊΡΠΏΠΈΡΡ Π΄Π²Π°, Π΄Π° ΠΈ ΠΌΠ΅ΡΡΠΎ Π² ΠΌΠ°ΡΡΠ΅ΡΡΠΊΠΎΠΉ ΠΎΠ΄ΠΈΠ½ ΡΡΠ°Π½ΠΎΠΊ Π·Π°ΠΉΠΌΠ΅Ρ ΠΌΠ΅Π½ΡΡΠ΅. Π Π² ΠΎΠ±ΡΠ΅ΠΌ-ΡΠΎ, ΠΎΡΠ²Π΅Ρ Π½Π° ΡΡΠΎΡ Π²ΠΎΠΏΡΠΎΡ βΒ Π΄Π°, Π² Π½Π΅ΠΊΠΎΡΠΎΡΡΡ ΡΠ»ΡΡΠ°ΡΡ ΠΌΠΎΠΆΠ½ΠΎ ΠΎΠ±ΠΎΠΉΡΠΈΡΡ ΡΠΎΠ»ΡΠΊΠΎ ΠΎΠ΄Π½ΠΈΠΌ ΡΡΠ°Π½ΠΊΠΎΠΌ.
ΠΠΎ ΠΏΠ΅ΡΠ²ΡΡ , ΠΏΠ΅ΡΠ΅Π΄ ΠΏΠΎΠΊΡΠΏΠΊΠΎΠΉ ΡΡΠ°Π½ΠΊΠΎΠ² ΡΡΠΎΠΈΡ ΠΏΠΎΠ½ΡΡΡ, ΠΊΠ°ΠΊΠΎΠ³ΠΎ ΡΠΎΠ΄Π° ΠΈΠ·Π΄Π΅Π»ΠΈΡ Π²Ρ ΠΏΠ»Π°Π½ΠΈΡΡΠ΅ΡΠ΅ Π΄Π΅Π»Π°ΡΡ Π² ΡΠ²ΠΎΠ΅ΠΉ ΠΌΠ°ΡΡΠ΅ΡΡΠΊΠΎΠΉ: Π΄Π»Ρ ΠΈΠ·Π³ΠΎΡΠΎΠ²Π»Π΅Π½ΠΈΡ Π½Π΅Π±ΠΎΠ»ΡΡΠΈΡ ΠΈΠ·Π΄Π΅Π»ΠΈΠΉ Π΄Π»Ρ Π΄ΠΎΠΌΠ° ΠΈΠ· ΠΏΠΎΠΊΡΠΏΠ½ΠΎΠ³ΠΎ ΠΌΠ΅Π±Π΅Π»ΡΠ½ΠΎΠ³ΠΎ ΡΠΈΡΠ° ΠΌΠΎΠΆΠ½ΠΎ ΠΎΠ±ΠΎΠΉΡΠΈΡΡ Π²ΠΎΠΎΠ±ΡΠ΅ Π±Π΅Π· ΡΡΠΈΡ ΡΡΠ°Π½ΠΊΠΎΠ², ΠΊΠΎΠ½Π΅ΡΠ½ΠΎ Π΅ΡΠ»ΠΈ Π²Ρ Π½Π΅ ΠΏΠ»Π°Π½ΠΈΡΡΠ΅ΡΠ΅ ΡΠΌΠ΅Π½ΡΡΠ°ΡΡ ΡΠΎΠ»ΡΠΈΠ½Ρ ΡΠΈΡΠΎΠ² ΠΈ ΠΈΡ ΠΊΡΠΈΠ²ΠΈΠ·Π½Π° Π΄Π»Ρ Π²Π°Ρ Π½Π΅ ΠΊΡΠΈΡΠΈΡΠ½Π°. ΠΠ»Ρ Π½Π΅ΠΊΠΎΡΠΎΡΡΡ ΡΠΈΠΏΠΎΠ² ΠΈΠ·Π΄Π΅Π»ΠΈΠΉ Π²ΠΏΠΎΠ»Π½Π΅ Π²ΠΎΠ·ΠΌΠΎΠΆΠ½ΠΎ, ΡΡΠΎ Π²Π°ΠΌ ΠΏΠΎΠ½Π°Π΄ΠΎΠ±ΠΈΡΡΡ ΡΠΎΠ»ΡΠΊΠΎ ΠΎΠ΄ΠΈΠ½ ΠΈΠ· ΡΡΠΈΡ ΡΡΠ°Π½ΠΊΠΎΠ².
ΠΠΎ Π²ΡΠΎΡΡΡ , Π΄Π»Ρ ΠΊΠ°ΠΊΠΈΡ -ΡΠΎ ΡΠΈΠΏΠΎΠ² ΡΠ°Π±ΠΎΡ ΡΡΠ³ΠΎΠ²Π°Π»ΡΠ½ΡΠΉ ΡΡΠ°Π½ΠΎΠΊ ΠΌΠΎΠΆΠ΅Ρ Π±ΡΡΡ Π·Π°ΠΌΠ΅Π½Π΅Π½ ΡΡΡΠ½ΡΠΌ ΡΠ»Π΅ΠΊΡΡΠΎ ΡΡΠ±Π°Π½ΠΊΠΎΠΌ. Π’Π°ΠΊΠΆΠ΅ Π² ΠΈΠ½ΡΠ΅ΡΠ½Π΅ΡΠ΅ ΠΌΠΎΠΆΠ½ΠΎ Π½Π°ΠΉΡΠΈ ΠΏΡΠΈΠΌΠ΅ΡΡ ΠΌΠ½ΠΎΠΆΠ΅ΡΡΠ²Π° ΡΠ°ΠΌΠΎΠ΄Π΅Π»ΠΎΠΊ Π΄Π»Ρ ΡΡΠ³ΠΎΠ²Π°Π½ΠΈΡ ΠΈ ΡΠ΅ΠΉΡΠΌΡΡΠΎΠ²Π°Π½ΠΈΡ, Π² ΡΠΎΠΌ ΡΠΈΡΠ»Π΅ ΡΠ΅ΠΉΡΠΌΡΡ ΠΈΠ· ΡΠ΅Ρ ΠΆΠ΅ ΡΠ»Π΅ΠΊΡΡΠΎ ΡΡΠ±Π°Π½ΠΊΠΎΠ². ΠΠ°ΠΏΡΠΈΠΌΠ΅Ρ, ΠΊΠ°ΠΊ Π² ΡΡΠΎΠΌ Π²ΠΈΠ΄Π΅ΠΎ:
ΠΡΠ΅ ΠΎΠ΄ΠΈΠ½ Π²Π°ΡΠΈΠ°Π½Ρ ΠΈΠ·Π±Π΅ΠΆΠ°ΡΡ ΠΏΠΎΠΊΡΠΏΠΊΠΈ Π΄Π²ΡΡ ΡΡΠ°Π½ΠΊΠΎΠ² β ΠΏΡΠΈΠΎΠ±ΡΠ΅ΡΡΠΈ ΠΊΠΎΠΌΠ±ΠΈΠ½ΠΈΡΠΎΠ²Π°Π½Π½ΡΠΉ Π²Π°ΡΠΈΠ°Π½Ρ: ΡΡΠ³ΠΎΠ²Π°Π»ΡΠ½ΠΎ-ΡΠ΅ΠΉΡΠΌΡΡΠΎΠ²ΡΠΉ ΡΡΠ°Π½ΠΎΠΊ, ΠΊΠΎΡΠΎΡΡΠΉ ΡΠΎΡΠ΅ΡΠ°Π΅Ρ Π² ΡΠ΅Π±Π΅ ΠΎΠ±Π° ΡΠΏΠΎΡΠΎΠ±Π° ΠΎΠ±ΡΠ°Π±ΠΎΡΠΊΠΈ. ΠΠΎΡ ΠΏΡΠΈΠΌΠ΅Ρ ΡΠ°ΠΊΠΎΠ³ΠΎ ΡΡΠ°Π½ΠΊΠ°:
-

- Π²Π΅ΡΡ Π½ΠΈΠΉ ΡΡΠ³ΠΎΠ²Π°Π»ΡΠ½ΡΠΉ ΠΌΠΎΠ΄ΡΠ»Ρ Π³ΠΎΡΠΎΠ² ΠΊ ΡΠ°Π±ΠΎΡΠ΅
-

- ΠΊΡΡΡΠΊΠ° ΡΡΠΎΠ»Π° ΠΎΡΠΊΠΈΠ΄ΡΠ²Π°Π΅ΡΡΡ ΠΈ ΠΌΠΎΠΆΠ½ΠΎ ΠΈΡΠΏΠΎΠ»ΡΠ·ΠΎΠ²Π°ΡΡ ΡΠ΅ΠΉΡΠΌΡΡ
Π‘ΡΠΎΠΈΡ ΠΏΠΎΠΌΠ½ΠΈΡΡ, ΡΡΠΎ ΡΠ°ΠΌΠΎΠ΄Π΅Π»ΡΠ½ΡΠ΅ ΡΡΠ°Π½ΠΊΠΈ ΠΈ ΠΊΠΎΠΌΠ±ΠΈΠ½ΠΈΡΠΎΠ²Π°Π½Π½ΡΠ΅ Π²Π°ΡΠΈΠ°Π½ΡΡ Π·Π°Π²ΠΎΠ΄ΡΠΊΠΎΠ³ΠΎ ΠΏΡΠΎΠΈΠ·Π²ΠΎΠ΄ΡΡΠ²Π° β ΡΡΠΎ Π² Π»ΡΠ±ΠΎΠΌ ΡΠ»ΡΡΠ°Π΅Β ΠΊΠΎΠΌΠΏΡΠΎΠΌΠΈΡΡ. ΠΠ°, Π±Π΅Π·ΡΡΠ»ΠΎΠ²Π½ΠΎ, ΠΎΠ±Π° ΡΡΠΈ Π²Π°ΡΠΈΠ°Π½ΡΡ ΠΎΠ±ΠΎΠΉΠ΄ΡΡΡΡ Π΄Π΅ΡΠ΅Π²Π»Π΅ ΠΏΠΎΠΊΡΠΏΠΊΠΈ Π΄Π²ΡΡ ΠΎΡΠ΄Π΅Π»ΡΠ½ΡΡ ΡΡΠ°Π½ΠΊΠΎΠ², Π½ΠΎ ΠΈΠΌΠ΅ΡΡ ΠΎΠ½ΠΈ ΠΈ ΡΠ²ΠΎΠΈ Π½Π΅Π΄ΠΎΡΡΠ°ΡΠΊΠΈ. ΠΠ° ΠΈΠ·Π³ΠΎΡΠΎΠ²Π»Π΅Π½ΠΈΠ΅ ΡΠ°ΠΌΠΎΠ΄Π΅Π»ΠΊΠΈ, Π²Ρ ΠΏΠΎΡΡΠ°ΡΠΈΡΠ΅ Π²ΡΠ΅ΠΌΡ, Π΄Π° ΠΈ Π½ΡΠΆΠ½ΠΎ ΠΎΠ±Π»Π°Π΄Π°ΡΡ Π΄ΠΎΡΡΠ°ΡΠΎΡΠ½ΡΠΌΠΈ Π·Π½Π°Π½ΠΈΡΠΌΠΈ, ΡΡΠΎΠ±Ρ ΡΠ΄Π΅Π»Π°ΡΡ ΡΠ°ΠΌΠΎΠ΄Π΅Π»ΡΠ½ΡΠΉ ΡΡΠ°Π½ΠΎΠΊ Π΄ΠΎΡΡΠ°ΡΠΎΡΠ½ΠΎ Π±Π΅Π·ΠΎΠΏΠ°ΡΠ½ΡΠΌ. ΠΠΎΠΌΠ±ΠΈΠ½ΠΈΡΠΎΠ²Π°Π½Π½ΡΠ΅ Π²Π°ΡΠΈΠ°Π½ΡΡ ΠΌΠΎΠ³ΡΡ Π±ΡΡΡ ΠΎΡΠ»ΠΈΡΠ½ΡΠΌ ΡΠ΅ΡΠ΅Π½ΠΈΠ΅ΠΌ Π΄Π»Ρ ΠΌΠ°ΡΡΠ΅ΡΡΠΊΠΎΠΉ Ρ ΠΎΠ³ΡΠ°Π½ΠΈΡΠ΅Π½Π½ΡΠΌ ΠΏΡΠΎΡΡΡΠ°Π½ΡΡΠ²ΠΎΠΌ Π»ΠΈΠ±ΠΎ Π΄Π»Ρ Π½Π΅ΡΠ°ΡΡΠΎΠ³ΠΎ ΠΈΡΠΏΠΎΠ»ΡΠ·ΠΎΠ²Π°Π½ΠΈΡ. ΠΠ΄Π½Π°ΠΊΠΎ, Π΄Π°ΠΆΠ΅ Π½Π° ΡΠ°ΠΉΡΠ΅ ΠΏΡΠΎΠΈΠ·Π²ΠΎΠ΄ΠΈΡΠ΅Π»Ρ ΡΠΊΠ°Π·Π°Π½ΠΎ, ΡΡΠΎ ΠΊΠΎΠΌΠ±ΠΈΠ½ΠΈΡΠΎΠ²Π°Π½Π½ΡΠΉ ΡΡΠ°Π½ΠΎΠΊ ΠΈΠΌΠ΅Π΅Ρ Π±ΠΎΠ»Π΅Π΅ ΡΠ»ΠΎΠΆΠ½ΡΡ ΠΈ Π½Π°Π³ΡΡΠΆΠ΅Π½Π½ΡΡ ΠΊΠΎΠ½ΡΡΡΡΠΊΡΠΈΡ, ΡΠ΅ΠΌ ΠΎΡΠ΄Π΅Π»ΡΠ½ΡΠ΅ ΡΡΠ°Π½ΠΊΠΈ, ΡΡΠΎ ΠΏΡΠΈ ΠΈΠ½ΡΠ΅Π½ΡΠΈΠ²Π½ΠΎΠΌ ΠΈΡΠΏΠΎΠ»ΡΠ·ΠΎΠ²Π°Π½ΠΈΠΈ ΠΌΠΎΠΆΠ΅Ρ ΠΏΠΎΡΡΠ΅Π±ΠΎΠ²Π°ΡΡ Π±ΠΎΠ»Π΅Π΅ ΡΠ°ΡΡΠΎΠ³ΠΎ ΡΠ΅Ρ ΠΎΠ±ΡΠ»ΡΠΆΠΈΠ²Π°Π½ΠΈΡ. Π ΠΎΠ±ΡΠ΅ΠΌ, ΠΊΠ°ΠΊ Π²ΡΠ΅Π³Π΄Π° β Π²ΡΠ±ΠΎΡ Π·Π° Π²Π°ΠΌΠΈ.
ΠΠ»Π°Π³ΠΎΠ΄Π°ΡΡ Π·Π° Π²Π½ΠΈΠΌΠ°Π½ΠΈΠ΅! ΠΡΠ΅ΠΌ ΡΠ΄Π°ΡΠΈ Π² ΡΠ΅ΠΌΠ΅ΡΠ»Π΅!
Π§ΠΈΡΠ°ΠΉΡΠ΅ Π½ΠΎΠ²ΡΠ΅ Π·Π°ΠΌΠ΅ΡΠΊΠΈ ΡΠ°Π½ΡΡΠ΅ Π²ΡΠ΅Ρ β ΠΏΠΎΠ΄ΠΏΠΈΡΡΠ²Π°ΠΉΡΠ΅ΡΡ Π½Π° ΠΊΠ°Π½Π°Π» Π²Β Π’Π΅Π»Π΅Π³ΡΠ°ΠΌ!
ΠΠ±ΡΠ°ΠΉΡΠ΅ΡΡ ΠΈ Π·Π°Π΄Π°Π²Π°ΠΉΡΠ΅ Π²ΠΎΠΏΡΠΎΡΡ Π°Π²ΡΠΎΡΡΒ Π±Π»ΠΎΠ³Π°Β ΠΠΠΎΠ½ΡΠ°ΠΊΡΠ΅!
www.strelnawood.ru
