ΠΠΈΠΎΡΡΠ°Π»Π΅Ρ Π΄Π»Ρ Π΄ΠΎΠΌΠ° ΠΏΡΠΈΠ½ΡΠΈΠΏ ΡΠ°Π±ΠΎΡΡ Π²ΠΈΠ΄Π΅ΠΎ β ΠΠΈΠΎΡΡΠ°Π»Π΅ΡΡ Π΄Π»Ρ Π΄ΠΎΠΌΠ° ΠΊΠ°ΠΊ ΠΏΠΎΠ»ΡΠ·ΠΎΠ²Π°ΡΡΡΡ
ΠΡΠΈΠ½ΡΠΈΠΏ ΡΠ°Π±ΠΎΡΡ Π±ΠΈΠΎΡΡΠ°Π»Π΅ΡΠ° β ΡΡΡΡΠΎΠΉΡΡΠ²ΠΎ ΠΈ ΡΠΊΡΠΏΠ»ΡΠ°ΡΠ°ΡΠΈΡ
ΠΠΈΠΎΡΡΠ°Π»Π΅ΡΒ β ΡΡΡΡΠΎΠΉΡΡΠ²ΠΎ Π΄Π»Ρ ΠΊΠΎΡΠΎΡΠΎΠ³ΠΎ Π½Π΅ ΡΡΠ΅Π±ΡΠ΅ΡΡΡ ΠΏΡΠΎΠΊΠ»Π°Π΄ΠΊΠ° ΡΡΡΠ±ΠΎΠΏΡΠΎΠ²ΠΎΠ΄Π° ΠΈ ΡΡΡΠΎΠΈΡΠ΅Π»ΡΡΡΠ²ΠΎΒ ΠΎΡΠΈΡΡΠ½ΠΎΠ³ΠΎ ΡΠΎΠΎΡΡΠΆΠ΅Π½ΠΈΡ. ΠΠΎΠΌΠΈΠΌΠΎ ΡΡΠΎΠ³ΠΎ, Π΅Π³ΠΎ ΠΌΠΎΠΆΠ½ΠΎ Π½Π΅ ΡΠΎΠ»ΡΠΊΠΎ ΡΡΡΠ°Π½ΠΎΠ²ΠΈΡΡ Π² Π΄ΠΎΠΌΠ΅ ΠΈΠ»ΠΈ Π΄ΡΡΠ³ΠΎΠΌ ΠΏΠΎΠΌΠ΅ΡΠ΅Π½ΠΈΠΈ, Π½ΠΎ ΠΈ Π±ΡΠ°ΡΡ Ρ ΡΠΎΠ±ΠΎΠΉ Π½Π° Π΄Π°ΡΡ.
ΠΠΎΡΡΠΎΠΌΡ, Π΅ΡΠ»ΠΈ ΠΏΠΎ ΠΊΠ°ΠΊΠΎΠΉ ΡΠΎ ΠΏΡΠΈΡΠΈΠ½Π΅ Π½Π΅ Π²ΠΎΠ·ΠΌΠΎΠΆΠ½ΠΎ ΠΎΠ±ΡΡΡΡΠΎΠΈΡΡ ΠΊΠ°Π½Π°Π»ΠΈΠ·Π°ΡΠΈΠΎΠ½Π½ΡΡ ΡΠΈΡΡΠ΅ΠΌΡ,Β Ρ ΠΏΠΎΠΌΠΎΡΡΡ Π±ΠΈΠΎΡΡΠ°Π»Π΅ΡΠ° ΠΌΠΎΠΆΠ½ΠΎ Π²ΡΠΉΡΠΈ ΠΈΠ· ΡΠ»ΠΎΠΆΠΈΠ²ΡΠ΅ΠΉΡΡ ΡΠΈΡΡΠ°ΡΠΈΠΈ. ΠΠΈΠΎΡΡΠ°Π»Π΅ΡΡ Π΄Π΅Π»ΡΡΡΡ Π½Π° Π΄Π²Π° ΠΊΠ»Π°ΡΡΠ°, Π² Π·Π°Π²ΠΈΡΠΈΠΌΠΎΡΡΠΈ ΠΎΡ Π³Π°Π±Π°ΡΠΈΡΠΎΠ² ΠΈ ΠΎΠ±ΡΠ΅ΠΌΠ°:
- ΠΏΠ΅ΡΠ΅Π½ΠΎΡΠ½ΡΠ΅ β ΠΌΠΎΠΆΠ½ΠΎΒ ΡΡΡΠ°Π½Π°Π²Π»ΠΈΠ²Π°ΡΡ Π² Π»ΡΠ±ΠΎΠΌ ΠΌΠ΅ΡΡΠ΅;
- ΡΡΠ°ΡΠΈΠΎΠ½Π°ΡΠ½ΡΠ΅ β ΡΡΡΠ°Π½Π°Π²Π»ΠΈΠ²Π°ΡΡΡΡΒ Π² ΠΎΡΠ΄Π΅Π»ΡΠ½ΠΎΠΌ ΠΏΠΎΠΌΠ΅ΡΠ΅Π½ΠΈΠΈ (ΠΊΠ°Π±ΠΈΠ½ΠΊΠ΅).
Π£ΡΡΡΠΎΠΉΡΡΠ²ΠΎ ΠΈ ΠΏΡΠΈΠ½ΡΠΈΠΏ ΡΠ°Π±ΠΎΡΡ Π±ΠΈΠΎΡΡΠ°Π»Π΅ΡΠ°
ΠΠΈΠΎΡΡΠ°Π»Π΅Ρ Π΄Π»Ρ Π΄ΠΎΠΌΠ° ΡΠΎΡΡΠΎΠΈΡ ΠΈΠ· Π΄Π²ΡΡ ΡΠ°ΡΡΠ΅ΠΉ: Π²Π΅ΡΡ Π½Π΅ΠΉ ΠΈ Π½ΠΈΠΆΠ½Π΅ΠΉ. ΠΠ΅ΡΡ Π½ΡΡ ΡΠ°ΡΡΡ Π½Π°ΠΏΠΎΠΌΠΈΠ½Π°Π΅Ρ ΠΎΠ±ΡΡΠ½ΡΠΉ ΡΠ½ΠΈΡΠ°Π·, ΡΡΠ΄ΠΎΠΌ ΠΌΠΎΠΆΠ΅Ρ ΡΠ°ΡΠΏΠΎΠ»Π°Π³Π°ΡΡΡΡ Π±Π°ΠΊ (15 β 20 Π».) Π΄Π»Ρ Π²ΠΎΠ΄Ρ ΠΈΠ»ΠΈ ΡΠΎΡΡΠ°.
ΠΠΈΠΆΠ½ΡΡ ΡΠ°ΡΡΡΒ β Π½Π°ΠΊΠΎΠΏΠΈΡΠ΅Π»ΡΠ½Π°Ρ Π΅ΠΌΠΊΠΎΡΡΡ, Π² ΠΊΠΎΡΠΎΡΡΡ ΠΏΠΎΠΏΠ°Π΄Π°ΡΡ ΠΎΡΡ ΠΎΠ΄Ρ Π΄Π»Ρ ΠΏΠ΅ΡΠ΅ΡΠ°Π±ΠΎΡΠΊΠΈ. ΠΠ΅ΡΠΈΡΡΠΎΡΡ, ΡΠΌΡΠ²Π°Π΅ΠΌΡΠ΅ Π²ΠΎΠ΄ΠΎΠΉ, ΠΈΠ· Π²Π΅ΡΡ Π½Π΅ΠΉ ΡΠ°ΡΡΠΈ ΠΏΠΎΠΏΠ°Π΄Π°ΡΡ Π² Π½ΠΈΠΆΠ½ΠΈΠΉ Π½Π°ΠΊΠΎΠΏΠΈΡΠ΅Π»Ρ ΠΈ ΠΎΠ±ΡΠ°Π±Π°ΡΡΠ²Π°ΡΡΡΡ Π² Π·Π°Π²ΠΈΡΠΈΠΌΠΎΡΡΠΈ ΠΎΡ Π²ΠΈΠ΄Π° ΡΡΡΡΠΎΠΉΡΡΠ²Π°.
ΠΠΎΡΠ»Π΅ Π½Π°ΠΏΠΎΠ»Π½Π΅Π½ΠΈΡ Π½ΠΈΠΆΠ½Π΅ΠΉ Π΅ΠΌΠΊΠΎΡΡΠΈ, Π΅Π΅ ΠΌΠΎΠΆΠ½ΠΎ Π»Π΅Π³ΠΊΠΎ ΠΎΡΡΠΎΠ΅Π΄ΠΈΠ½ΠΈΡΡ ΠΈ ΠΎΠΏΠΎΡΠΎΠΆΠ½ΠΈΡΡ. ΠΠΎΡΠ»Π΅ ΡΠ΅Π³ΠΎ Π΅ΠΌΠΊΠΎΡΡΡ ΠΎΡΡΠ°Π΅ΡΡΡ ΠΏΠΎΠΌΡΡΡ ΠΈ Π²Π΅ΡΠ½ΡΡΡ Π½Π° ΠΌΠ΅ΡΡΠΎ.

ΠΡΠΈ ΡΡΠΎΠΌ ΡΠΎΠ΄Π΅ΡΠΆΠΈΠΌΠΎΠ΅ Π½ΠΈΠΆΠ½Π΅Π³ΠΎ Π±Π°ΠΊΠ° Π½Π΅ ΠΈΠΌΠ΅Π΅Ρ Π½Π΅ΠΏΡΠΈΡΡΠ½ΠΎΠ³ΠΎ Π·Π°ΠΏΠ°Ρ Π° ΠΈ ΡΠΎΠ²Π΅ΡΡΠ΅Π½Π½ΠΎ Π±Π΅Π·Π²ΡΠ΅Π΄Π½ΠΎ Π΄Π»Ρ ΡΠΊΠΎΠ»ΠΎΠ³ΠΈΠΈ. Π’Π°ΠΊ ΠΆΠ΅ Π² Π·Π°Π²ΠΈΡΠΈΠΌΠΎΡΡΠΈ ΠΎΡ ΡΠ°Π·Π½ΠΎΠ²ΠΈΠ΄Π½ΠΎΡΡΠΈ Π±ΠΈΠΎΡΡΠ°Π»Π΅ΡΠ°, ΠΎΠ½ ΠΌΠΎΠΆΠ΅Ρ ΠΈΠΌΠ΅ΡΡ Π΄ΠΎΠΏΠΎΠ»Π½ΠΈΡΠ΅Π»ΡΠ½ΠΎΠ΅ ΠΎΡΠ½Π°ΡΠ΅Π½ΠΈΠ΅:
- Π½Π°ΡΠΎΡ;
- ΠΊΠ»Π°ΠΏΠ°Π½Π° Π΄Π»Ρ ΡΠ΅Π³ΡΠ»ΠΈΡΠΎΠ²ΠΊΠΈ Π΄Π°Π²Π»Π΅Π½ΠΈΡ;
- ΠΈΠ½Π΄ΠΈΠΊΠ°ΡΠΎΡ Π·Π°ΠΏΠΎΠ»Π½Π΅Π½Π½ΠΎΡΡΠΈ Π±Π°ΠΊΠ°;
- ΠΏΠ°ΡΡΡΠ±ΠΊΠΈ, ΠΏΠ΅ΡΠ΅Ρ ΠΎΠ΄Π½ΠΈΠΊΠ°ΠΌΠΈ Π΄Π»Ρ ΠΏΠΎΠ΄ΠΊΠ»ΡΡΠ΅Π½ΠΈΡ ΠΊ Π²Π΅Π½ΡΠΈΠ»ΡΡΠΈΠΎΠ½Π½ΠΎΠΉ ΠΈ ΠΊΠ°Π½Π°Π»ΠΈΠ·Π°ΡΠΈΠΎΠ½Π½ΠΎΠΉ ΡΠΈΡΡΠ΅ΠΌΠ°ΠΌ.
ΠΠΈΠ΄ΡΒ Π±ΠΈΠΎΡΡΠ°Π»Π΅ΡΠΎΠ²
ΠΡΠ΅ ΠΌΠΎΠ΄Π΅Π»ΠΈ Π±ΠΈΠΎΡΡΠ°Π»Π΅ΡΠΎΠ² ΠΈΠΌΠ΅ΡΡ ΡΠ°Π·Π½ΡΠΉ ΠΏΡΠΈΠ½ΡΠΈΠΏ ΡΠ°Π±ΠΎΡΡ ΠΈ Β ΡΠ°Π·Π½ΡΠ΅ ΡΠΏΠΎΡΠΎΠ±Ρ ΠΏΠ΅ΡΠ΅ΡΠ°Π±ΠΎΡΠΊΠΈ ΠΎΡΡ ΠΎΠ΄ΠΎΠ², Π·Π° ΡΡΠ΅Ρ ΡΡΠΎΠ³ΠΎ Π΄Π΅Π»ΡΡΡΡ Π½Π° Π½Π΅ΡΠΊΠΎΠ»ΡΠΊΠΎ Π²ΠΈΠ΄ΠΎΠ²:
- Π’ΠΎΡΡΡΠ½ΠΎΠΉ
- Π₯ΠΈΠΌΠΈΡΠ΅ΡΠΊΠΈΠΉ
- ΠΠ»Π΅ΠΊΡΡΠΈΡΠ΅ΡΠΊΠΈΠΉ
- ΠΠΈΠΎΠ»ΠΎΠ³ΠΈΡΠ΅ΡΠΊΠΈΠΉ
Π’ΠΎΡΡΡΠ½ΠΎΠΉΒ β ΠΎΠ΄ΠΈΠ½ ΠΈΠ· ΡΠ°ΠΌΡΡ ΡΠΊΠΎΠ»ΠΎΠ³ΠΈΡΠ½ΡΡ Π²Π°ΡΠΈΠ°Π½ΡΠΎΠ². ΠΠ΅ΡΠ΅ΡΠ°Π±ΠΎΡΠΊΠ° ΠΎΡΡ ΠΎΠ΄ΠΎΠ² ΠΏΡΠΎΠΈΠ·Π²ΠΎΠ΄ΠΈΡΡΡ Ρ ΠΏΠΎΠΌΠΎΡΡΡ ΡΠΎΡΡΡΠ½ΠΎΠΉ ΡΠΌΠ΅ΡΠΈ, ΠΊΠΎΡΠΎΡΠ°Ρ ΠΏΠΎΠ΄Π°Π΅ΡΡΡ Π΄ΠΎΠ·Π°ΡΠΎΡΠΎΠΌ. Π£ΡΡΠ°Π½Π°Π²Π»ΠΈΠ²Π°Π΅ΡΡΡ ΠΊΠ°ΠΊ Π½Π° ΡΠ»ΠΈΡΠ΅, ΡΠ°ΠΊ ΠΈ Π² ΠΏΠΎΠΌΠ΅ΡΠ΅Π½ΠΈΠΈ ΠΎΡΠ½Π°ΡΠ΅Π½Π½ΠΎΠΌ Π²Π΅Π½ΡΠΈΠ»ΡΡΠΈΠ΅ΠΉ.
Π₯ΠΈΠΌΠΈΡΠ΅ΡΠΊΠΈΠΉΒ β ΠΊΠ°ΠΊ Π²ΠΈΠ΄Π½ΠΎ ΠΈΠ· Π½Π°Π·Π²Π°Π½ΠΈΡ, ΠΎΡΡ ΠΎΠ΄Ρ ΠΏΠ΅ΡΠ΅ΡΠ°Π±Π°ΡΡΠ²Π°ΡΡΡΡ Ρ ΠΈΠΌΠΈΡΠ΅ΡΠΊΠΈΠΌΠΈ ΡΡΠ΅Π΄ΡΡΠ²Π°ΠΌΠΈ, ΠΊΠΎΡΠΎΡΡΠ΅ ΡΠ±ΠΈΠ²Π°ΡΡ ΠΌΠΈΠΊΡΠΎΠ±ΠΎΠ² ΠΈ ΡΠ΄Π°Π»ΡΡΡ Π·Π°ΠΏΠ°Ρ . ΠΡΠΏΡΡΠΊΠ°ΡΡΡΡ ΡΠ°ΠΊΠΈΠ΅ ΡΡΠ΅Π΄ΡΡΠ²Π° Π² ΠΆΠΈΠ΄ΠΊΠΎΠΌ Π²ΠΈΠ΄Π΅ ΠΈΠ»ΠΈ Π² Π³ΡΠ°Π½ΡΠ»Π°Ρ .
ΠΠ»Π΅ΠΊΡΡΠΈΡΠ΅ΡΠΊΠΈΠΉΒ β ΡΠ°Π±ΠΎΡΠ°ΡΡ ΠΎΡ ΡΠ»Π΅ΠΊΡΡΠΎΡΠ΅ΡΠΈ ΠΈ ΠΈΠΌΠ΅ΡΡ Π±ΠΎΠ»Π΅Π΅ ΡΠ»ΠΎΠΆΠ½ΡΠΉ ΠΏΡΠΈΠ½ΡΠΈΠΏ ΡΠ°Π±ΠΎΡΡ. Π ΡΠ°ΠΊΠΎΠΌ Π±ΠΈΠΎΡΡΠ°Π»Π΅ΡΠ΅ ΠΏΡΠΎΠΈΡΡ ΠΎΠ΄ΠΈΡ ΡΠ°Π·Π΄Π΅Π»Π΅Π½ΠΈΠ΅ ΠΆΠΈΠ΄ΠΊΠΈΡ ΠΈ ΡΠ²Π΅ΡΠ΄ΡΡ ΡΠΎΡΡΠ°Π²Π»ΡΡΡΠΈΡ . ΠΠΈΠ΄ΠΊΠΈΠ΅ ΡΠΎΡΡΠ°Π²Π»ΡΡΡΠΈΠ΅ ΡΠ΄Π°Π»ΡΡΡΡΡ Π² Π΄ΡΠ΅Π½Π°ΠΆΠ½ΡΡ ΡΠΈΡΡΠ΅ΠΌΡ, Π° ΡΠ²Π΅ΡΠ΄ΡΠ΅ Π²ΡΡΡΡΠΈΠ²Π°ΡΡΡΡ ΠΈ ΡΠΏΡΠ΅ΡΡΠΎΠ²ΡΠ²Π°ΡΡΡΡ.
ΠΠΈΠΎΠ»ΠΎΠ³ΠΈΡΠ΅ΡΠΊΠΈΠΉΒ βΒ ΠΎΡΡ ΠΎΠ΄Ρ ΠΏΠ΅ΡΠ΅ΡΠ°Π±Π°ΡΡΠ²Π°ΡΡ ΠΌΠΈΠΊΡΠΎΠΎΡΠ³Π°Π½ΠΈΠ·ΠΌΡ (Π±Π°ΠΊΡΠ΅ΡΠΈΠΈ). ΠΠΎΡΠ»Π΅ ΡΠ°Π±ΠΎΡΡ Π±Π°ΠΊΡΠ΅ΡΠΈΠΉ ΠΏΠΎΠ»ΡΡΠ°Π΅ΡΡΡ ΡΠΌΠ΅ΡΡ ΠΊΠΎΡΠΎΡΠ°Ρ ΠΌΠΎΠΆΠ΅Ρ Π±ΡΡΡ ΠΈΡΠΏΠΎΠ»ΡΠ·ΠΎΠ²Π°Π½Π° Π² ΠΊΠ°ΡΠ΅ΡΡΠ²Π΅ ΡΠ΄ΠΎΠ±ΡΠ΅Π½ΠΈΠΉ Π΄Π»Ρ ΠΎΠ³ΠΎΡΠΎΠ΄Π°.

ΠΡΠΈΠ½ΡΠΈΠΏ ΡΠ°Π±ΠΎΡΡ ΠΈ ΡΡΡΡΠΎΠΉΡΡΠ²ΠΎ ΡΠΎΡΡΡΠ½ΠΎΠ³ΠΎΒ Π±ΠΈΠΎΡΡΠ°Π»Π΅ΡΠ°
ΠΡΠΎΡ ΡΡΠ°Π»Π΅Ρ ΡΠ°ΠΊ ΠΆΠ΅ ΠΊΠ°ΠΊ ΠΈ Π²ΡΠ΅Β ΡΠΎΡΡΠΎΠΈΡ ΠΈΠ· Π΄Π²ΡΡ ΡΠ°ΡΡΠ΅ΠΉ: Π²Π΅ΡΡ Π½Π΅ΠΉ ΠΈ Π½ΠΈΠΆΠ½Π΅ΠΉ. Π ΡΠΏΠ΅ΡΠΈΠ°Π»ΡΠ½ΠΎΠΌ ΡΠ΅Π·Π΅ΡΠ²ΡΠ°ΡΠ΅ Π½Π°Ρ ΠΎΠ΄ΠΈΡΡΡ ΡΠΎΡΡΡΠ½Π°Ρ ΡΠΌΠ΅ΡΡ, ΠΊΠΎΡΠΎΡΠ°Ρ ΠΏΠΎΠ΄Π°Π΅ΡΡΡ Π² Π½ΠΈΠΆΠ½ΠΈΠΉ ΠΎΡΡΠ΅ΠΊ ΠΏΠΎΠ²ΠΎΡΠΎΡΠΎΠΌ ΡΡΡΠΊΠΈ Π΄ΠΎΠ·Π°ΡΠΎΡΠ°. ΠΠΈΠΆΠ½ΠΈΠΉ ΠΎΡΡΠ΅ΠΊΒ β Π½Π°ΠΊΠΎΠΏΠΈΡΠ΅Π»ΡΠ½ΡΠΉ, ΠΎΠ±ΡΠ΅ΠΌ ΡΠ΅Π·Π΅ΡΠ²ΡΠ°ΡΠ°Β Π±ΠΎΠ»Π΅Π΅ 100 Π»ΠΈΡΡΠΎΠ².
Π‘Π·Π°Π΄ΠΈ Π½Π°Ρ ΠΎΠ΄ΠΈΡΡΡ Π²Π΅Π½ΡΠΈΠ»ΡΡΠΈΠΎΠ½Π½Π°Ρ Π²ΡΡΡΠΆΠΊΠ°, ΡΠ°ΠΊ ΠΆΠ΅ ΠΌΠΎΠΆΠ΅Ρ ΠΎΡΠ½Π°ΡΠ°ΡΡΡΡ Π΄ΡΠ΅Π½Π°ΠΆΠ΅ΠΌ ΠΈ Π΄ΠΎΠΏΠΎΠ»Π½ΠΈΡΠ΅Π»ΡΠ½ΡΠΌΠΈ ΡΠΈΠ»ΡΡΡΠ°ΠΌΠΈ. Π‘ΠΌΠ΅ΡΡ Π·Π°ΡΡΠΏΠ°Π΅Ρ Π½Π΅ΡΠΈΡΡΠΎΡΡ ΠΈ ΠΏΡΠΎΠΈΡΡ ΠΎΠ΄ΠΈΡ ΠΊΠΎΠΌΠΏΠΎΡΡΠΈΡΠΎΠ²Π°Π½ΠΈΠ΅, ΠΏΡΠΈ ΡΡΠΎΠΌ ΠΏΡΠΎΡΠ΅ΡΡΠ΅ Π·Π°ΠΏΠ°Ρ ΠΏΠΎΡΡΠΈ ΠΎΡΡΡΡΡΡΠ²ΡΠ΅Ρ.
Π‘ΠΌΠ΅ΡΡ Ρ ΠΎΡΠΎΡΠΎ ΡΠ°Π±ΠΎΡΠ°Π΅Ρ Ρ ΡΠ²Π΅ΡΠ΄ΡΠΌΠΈ ΡΡΠ°ΠΊΡΠΈΡΠΌΠΈ, ΠΆΠΈΠ΄ΠΊΠΎΡΡΡ Π²ΠΏΠΈΡΡΠ²Π°Π΅ΡΡΡ Π² Π½Π΅Π±ΠΎΠ»ΡΡΠΎΠΌ ΠΊΠΎΠ»ΠΈΡΠ΅ΡΡΠ²Π΅. ΠΠ»Ρ ΡΠ΅ΠΌΡΠΈ ΡΠΎΡΡΠΎΡΡΠ΅ΠΉ Π±ΠΎΠ»Π΅Π΅ Π΄Π²ΡΡ ΡΠ΅Π»ΠΎΠ²Π΅ΠΊ ΠΏΡΠΈΠ΄Π΅ΡΡΡ ΡΡΡΡΠ°ΠΈΠ²Π°ΡΡ Π΄ΠΎΠΏΠΎΠ»Π½ΠΈΡΠ΅Π»ΡΠ½ΡΡ ΡΠΈΠ»ΡΡΡΠ°ΡΠΈΡ ΠΈ Π΄ΡΠ΅Π½Π°ΠΆ.Β ΠΠ»Ρ Π²Π΅Π½ΡΠΈΠ»ΡΡΠΈΠΈ ΡΠΎΡΡΡΠ½ΠΎΠΉ Π±ΠΈΠΎΡΡΠ°Π»Π΅Ρ ΠΎΡΠ½Π°ΡΠ΅Π½ ΡΡΡΠ±ΠΎΠΉ ΠΊΠΎΡΠΎΡΠ°Ρ ΠΌΠΎΠΆΠ΅Ρ ΠΏΠΎΠ΄Π½ΠΈΠΌΠ°ΡΡΡΡ Π½Π° Π²ΡΡΠΎΡΡ Π΄ΠΎ 4 ΠΌΠ΅ΡΡΠΎΠ².
ΠΠΎΡΡΠΎΠΈΠ½ΡΡΠ²Π°:
- Π½Π΅ ΡΡΠ΅Π±ΡΠ΅ΡΡΡΒ Π²ΠΎΠ΄Π°;
- ΠΎΡΡΡΡΡΡΠ²ΠΈΠ΅ Π·Π°ΠΏΠ°Ρ Π°;
- Π½Π΅ ΡΡΠ΅Π±ΡΠ΅ΡΡΡ ΠΏΠΎΠ΄ΠΊΠ»ΡΡΠ°ΡΡ ΠΊΒ ΠΊΠ°Π½Π°Π»ΠΈΠ·Π°ΡΠΈΠΈ ΠΈ Π²ΠΎΠ΄ΠΎΡΠ½Π°Π±ΠΆΠ΅Π½ΠΈΡ;
- ΠΎΡΠΈΡΡΠΊΠ°Β Π±Π°ΠΊΠ° β 2-4 ΡΠ°Π·Π° Π² ΠΌΠ΅ΡΡΡ;
- ΡΠΊΠΎΠ»ΠΎΠ³ΠΈΡΠ½ΠΎΡΡΡ;
- Π½Π΅Π±ΠΎΠ»ΡΡΠ°Ρ ΡΡΠΎΠΈΠΌΠΎΡΡΡ ΡΠ°ΠΌΠΎΠ³ΠΎ ΡΡΡΡΠΎΠΉΡΡΠ²Π° ΠΈ ΡΠΎΡΡΡΠ½ΠΎΠ³ΠΎ Π½Π°ΠΏΠΎΠ»Π½ΠΈΡΠ΅Π»Ρ.
ΠΠ΅Π΄ΠΎΡΡΠ°ΡΠΊΠΈ:
- ΡΡΠ΅Π±ΡΠ΅ΡΡΡ Π²Π΅Π½ΡΠΈΠ»ΡΡΠΈΡ;
- Π½Π΅ΠΎΠ±Ρ ΠΎΠ΄ΠΈΠΌ Π΄ΡΠ΅Π½Π°ΠΆ;
- Π³Π°Π±Π°ΡΠΈΡΡ Π΄ΠΎΠ²ΠΎΠ»ΡΠ½ΠΎ ΠΊΡΡΠΏΠ½ΡΠ΅.
ΠΡΠΈΠ½ΡΠΈΠΏ ΡΠ°Π±ΠΎΡΡ Ρ ΠΈΠΌΠΈΡΠ΅ΡΠΊΠΎΠ³ΠΎΒ Π±ΠΈΠΎΡΡΠ°Π»Π΅ΡΠ°
Π Π°Π±ΠΎΡΠ°Π΅Ρ ΡΠ°ΠΊΠΎΠΉ ΡΡΠ°Π»Π΅Ρ Π·Π° ΡΡΠ΅Ρ ΡΠ°ΡΡΠ΅ΠΏΠ»Π΅Π½ΠΈΡ ΠΎΡΡ ΠΎΠ΄ΠΎΠ² ΡΠΏΠ΅ΡΠΈΠ°Π»ΡΠ½ΡΠΌΠΈ Ρ ΠΈΠΌΠΈΡΠ΅ΡΠΊΠΈΠΌΠΈ Π²Π΅ΡΠ΅ΡΡΠ²Π°ΠΌΠΈ. Π Π°ΡΡΠ΅ΠΏΠ»Π΅Π½ΠΈΠ΅ ΠΏΡΠΎΠΈΡΡ ΠΎΠ΄ΠΈΡ Π² Π³Π΅ΡΠΌΠ΅ΡΠΈΡΠ½ΠΎΠΉ Π΅ΠΌΠΊΠΎΡΡΠΈ β Π½Π°ΠΊΠΎΠΏΠΈΡΠ΅Π»Π΅. ΠΠ΅ΡΠΈΡΡΠΎΡΡ ΠΏΠΎΠΏΠ°Π΄Π°ΡΡ Π² Π΅ΠΌΠΊΠΎΡΡΡ, ΡΡΠ΄Π° ΠΆΠ΅ Π΄ΠΎΠ±Π°Π²Π»ΡΠ΅ΡΡΡ ΠΈ ΡΠ΅Π°Π³Π΅Π½Ρ, ΠΊΠΎΡΠΎΡΡΠΉ ΠΏΡΠ΅Π΄ΠΎΡΠ²ΡΠ°ΡΠ°Π΅Ρ ΠΏΠΎΡΠ²Π»Π΅Π½ΠΈΠ΅ Π·Π°ΠΏΠ°Ρ Π° ΠΈ ΡΠ°ΡΡΠ΅ΠΏΠ»ΡΠ΅Ρ ΠΈΡ .
ΠΠΎΠ½Π΅ΡΠ½ΠΎ ΡΠ°ΠΊΠΎΠΉ Π°ΠΏΠΏΠ°ΡΠ°ΡΒ ΡΡΡΠ΄Π½ΠΎ ΡΡΠΈΡΠ°ΡΡ Π±ΠΈΠΎΡΡΠ°Π»Π΅ΡΠΎΠΌ, Π½ΠΎ Π²ΡΠ΅ ΠΆΠ΅ ΠΈΡΠΏΠΎΠ»ΡΠ·ΠΎΠ²Π°Π½ΠΈΠ΅ ΠΏΡΠΈΡΡΠ°Π²ΠΊΠΈ Β«Π±ΠΈΠΎΒ» Π·Π°Π²ΠΈΡΠΈΡ ΠΎΡ Π²Π΅ΡΠ΅ΡΡΠ²Π° ΠΊΠΎΡΠΎΡΠΎΠ΅ Π² Π½Π΅Π³ΠΎ Π΄ΠΎΠ±Π°Π²Π»ΡΠ΅ΡΡΡ.

Π₯ΠΈΠΌΠΈΡΠ΅ΡΠΊΠΈΠ΅ ΡΡΠ΅Π΄ΡΡΠ²Π°Β Π΄Π»Ρ Π±ΠΈΠΎΡΡΠ°Π»Π΅ΡΠ°
Π’Π°ΠΊΠΈΠ΅ ΡΡΠ΅Π΄ΡΡΠ²Π° ΠΌΠΎΠΆΠ½ΠΎ Π²ΡΠ±ΡΠ°ΡΡ ΠΈΠ· ΡΡΠ΅Ρ Π²ΠΈΠ΄ΠΎΠ²:
- Π‘ΡΠ΅Π΄ΡΡΠ²Π° Π½Π° ΠΎΡΠ½ΠΎΠ²Π΅ ΡΠΎΡΠΌΠ°Π»ΡΠ΄Π΅Π³ΠΈΠ΄Π°Β βΒ ΡΠΎΡΡΠ°Π² Π½Π΅Π±Π΅Π·ΠΎΠΏΠ°ΡΠ½ΡΠΉ, ΠΏΠΎΡΡΠΎΠΌΡ ΠΎΠΏΠΎΡΠΎΠΆΠ½ΡΡΡ Π±Π°ΠΊ Π»ΡΡΡΠ΅Β ΠΏΠΎΠ΄Π°Π»ΡΡΠ΅ ΠΎΡ ΠΆΠΈΠ»ΡΡ ΠΈΒ Π·Π΅Π»Π΅Π½ΡΡ Π½Π°ΡΠ°ΠΆΠ΄Π΅Π½ΠΈΠΉ;
- ΠΠΌΠΌΠΎΠ½ΠΈΠ΅Π²ΡΠ΅ ΡΠ΅Π°ΠΊΡΠΈΠ²Ρ β ΡΠ΅ΡΠ΅Π·Β Π½Π΅ΡΠΊΠΎΠ»ΡΠΊΠΎ Π΄Π½Π΅ΠΉ ΠΏΠΎΡΠ»Π΅ Π΄ΠΎΠ±Π°Π²ΠΊΠΈ Π² Π±Π°ΠΊ ΡΡΠ°Π½ΠΎΠ²ΡΡΡΡ Π±Π΅Π·ΠΎΠΏΠ°ΡΠ½ΡΠΌΠΈ;
- Π Π°ΡΡΠ²ΠΎΡΒ Π² ΡΠΎΡΡΠ°Π² ΠΊΠΎΡΠΎΡΠΎΠ³ΠΎΒ Π²Ρ ΠΎΠ΄ΡΡΒ ΠΆΠΈΠ²ΡΠ΅ Π±Π°ΠΊΡΠ΅ΡΠΈΠΈ β Π±Π΅Π·Π²ΡΠ΅Π΄Π½Ρ, ΡΠΎΠ΄Π΅ΡΠΆΠΈΠΌΠΎΠ΅Β ΠΏΠΎΡΠ»Π΅ ΠΏΠ΅ΡΠ΅ΡΠ°Π±ΠΎΡΠΊΠΈ ΠΌΠΎΠΆΠ½ΠΎ ΠΈΡΠΏΠΎΠ»ΡΠ·ΠΎΠ²Π°ΡΡ Π² ΠΊΠ°ΡΠ΅ΡΡΠ²Π΅Β ΡΠ΄ΠΎΠ±ΡΠ΅Π½ΠΈΡ.
ΠΠ»ΡΡΠΎΠΌ ΡΠ°ΠΊΠΈΡ Π°ΠΏΠΏΠ°ΡΠ°ΡΠΎΠ² ΡΡΠΈΡΠ°Π΅ΡΡΡ Π±Π΅Π·ΠΎΠΏΠ°ΡΠ½ΠΎΡΡΡ ΠΈ ΠΊΠΎΠΌΠΏΠ°ΠΊΡΠ½ΠΎΡΡΡ. ΠΡΠ½ΠΎΠ²Π½ΡΠΌ ΠΌΠΈΠ½ΡΡΠΎΠΌ ΡΠ²Π»ΡΠ΅ΡΡΡ Π²ΡΡΠΎΠΊΠ°Ρ ΡΡΠΎΠΈΠΌΠΎΡΡΡ ΡΠ΅Π°Π³Π΅Π½ΡΠΎΠ² ΠΈ ΠΈΡΠΏΠΎΠ»ΡΠ·ΠΎΠ²Π°Π½ΠΈΠ΅ ΡΠΏΠ΅ΡΠΈΠ°Π»ΡΠ½ΠΎΠΉ ΡΡΠ°Π»Π΅ΡΠ½ΠΎΠΉ Π±ΡΠΌΠ°Π³ΠΈ.
ΠΠ°ΠΊ ΡΠ°Π±ΠΎΡΠ°ΡΡ ΡΠ»Π΅ΠΊΡΡΠΈΡΠ΅ΡΠΊΠΈΠ΅ Π±ΠΈΠΎΡΡΠ°Π»Π΅ΡΡ
Π ΡΠ»Π΅ΠΊΡΡΠΈΡΠ΅ΡΠΊΠΎΠΌ Π±ΠΈΠΎΡΡΠ°Π»Π΅ΡΠ΅ ΠΎΡΡ ΠΎΠ΄Ρ ΡΠ½Π°ΡΠ°Π»Π° Π²ΡΡΡΡΠΈΠ²Π°ΡΡΡΡ, Π·Π°ΡΠ΅ΠΌ ΡΠΆΠΈΠ³Π°ΡΡΡΡ ΠΈΠ»ΠΈ ΡΠΏΡΠ΅ΡΡΠΎΠ²ΡΠ²Π°ΡΡΡΡ. ΠΠΈΠ΄ΠΊΠΎΡΡΡ ΠΎΡΠ²ΠΎΠ΄ΠΈΡΡΡ ΠΏΠΎ ΡΠ»Π°Π½Π³Ρ Π² ΠΊΠ°Π½Π°Π»ΠΈΠ·Π°ΡΠΈΠΎΠ½Π½ΡΡ ΡΠΈΡΡΠ΅ΠΌΡ ΠΈΠ»ΠΈ ΠΏΡΡΠΌΠΎ Π² ΠΏΠΎΡΠ²Ρ.
ΠΠ»Ρ ΡΠ°ΡΠΈΠΎΠ½Π°Π»ΡΠ½ΠΎΠΉ ΡΠ°Π±ΠΎΡΡ Π±ΠΈΠΎΡΡΠ°Π»Π΅ΡΠΎΠ² Π½Π° ΡΠ»Π΅ΠΊΡΡΠΈΡΠ΅ΡΡΠ²Π΅ Π½Π΅ΠΎΠ±Ρ ΠΎΠ΄ΠΈΠΌΠΎ Π΄ΠΎΠΏΠΎΠ»Π½ΠΈΡΠ΅Π»ΡΠ½ΠΎ Π΄Π΅Π»Π°ΡΡ Π²Π΅Π½ΡΠΈΠ»ΡΡΠΈΡ ΠΈ Π΄ΡΠ΅Π½Π°ΠΆ. Π ΡΡΠΎ Π² ΡΠ²ΠΎΡ ΠΎΡΠ΅ΡΠ΅Π΄Ρ ΠΏΡΠΈΠ²ΠΎΠ΄ΠΈΡ ΠΊ ΡΠ΄ΠΎΡΠΎΠΆΠ°Π½ΠΈΡ, ΡΡΠΎ Π΄Π΅Π»Π°Π΅Ρ ΠΈΡ Π½Π΅ ΡΠ°ΠΌΡΠΌ Π»ΡΡΡΠΈΠΌ Π²Π°ΡΠΈΠ°Π½ΡΠΎΠΌ Π΄Π»Ρ ΡΠ΅Π·ΠΎΠ½Π½ΠΎΠ³ΠΎ ΠΈΡΠΏΠΎΠ»ΡΠ·ΠΎΠ²Π°Π½ΠΈΡ Π½Π° Π΄Π°ΡΠ΅.
ΠΠΈΠ΄Π΅ΠΎ-ΠΎΠ±Π·ΠΎΡ ΠΏΠΎ Π±ΠΈΠΎΡΡΠ°Π»Π΅ΡΠ°ΠΌ
pro-kanalizaciju.ru
Π£ΡΡΡΠΎΠΉΡΡΠ²ΠΎ ΠΈ ΠΏΡΠΈΠ½ΡΠΈΠΏ ΡΠ°Π±ΠΎΡΡ Π±ΠΈΠΎΡΡΠ°Π»Π΅ΡΠ°
ΠΡΡΡΡΡΡΠ²ΠΈΠ΅ ΠΊΠ°Π½Π°Π»ΠΈΠ·Π°ΡΠΈΠΈ ΡΠ°Π½ΡΡΠ΅ ΡΠ΅ΡΠ°Π»ΠΎΡΡ ΠΎΠ±ΡΡΡΡΠΎΠΉΡΡΠ²ΠΎΠΌ ΡΠ»ΠΈΡΠ½ΠΎΠ³ΠΎ ΠΊΠ»ΠΎΠ·Π΅ΡΠ°. Π‘Π΅Π³ΠΎΠ΄Π½Ρ Π½Π° ΡΠΌΠ΅Π½Ρ Π²ΡΠ³ΡΠ΅Π±Π½ΡΠΌ ΡΠΌΠ°ΠΌ ΠΈ Π΄Π΅ΡΠ΅Π²ΡΠ½Π½ΡΠΌ Π΄ΠΎΠΌΠΈΠΊΠ°ΠΌ Π½Π°Π΄ Π½ΠΈΠΌΠΈ ΠΏΡΠΈΡΠ»ΠΈ Π±ΠΈΠΎΡΡΠ°Π»Π΅ΡΡ. Π‘ΠΎΠ·Π΄Π°Π½ΠΎ Π±ΠΎΠ»ΡΡΠΎΠ΅ ΠΊΠΎΠ»ΠΈΡΠ΅ΡΡΠ²ΠΎ ΡΠ°Π·Π»ΠΈΡΠ½ΡΡ
ΠΌΠΎΠ΄Π΅Π»Π΅ΠΉ, ΠΎΡΠ»ΠΈΡΠ°ΡΡΠΈΡ
ΡΡ ΡΡΡΡΠΎΠΉΡΡΠ²ΠΎΠΌ, ΠΏΡΠΈΠ½ΡΠΈΠΏΠΎΠΌ Π΄Π΅ΠΉΡΡΠ²ΠΈΡ ΠΈ ΡΠ°Π·ΠΌΠ΅ΡΠ°ΠΌΠΈ.
ΠΡ Π²ΡΠ±ΠΎΡ Π² ΠΏΠ΅ΡΠ²ΡΡ ΠΎΡΠ΅ΡΠ΅Π΄Ρ Π·Π°Π²ΠΈΡΠΈΡ ΠΎΡ ΡΡΠ»ΠΎΠ²ΠΈΠΉ ΡΠΊΡΠΏΠ»ΡΠ°ΡΠ°ΡΠΈΠΈ, ΠΏΡΠ΅Π΄Π½Π°Π·Π½Π°ΡΠ΅Π½ΠΈΡ ΠΈ Π΄ΡΡΠ³ΠΈΡ Π°ΡΠΏΠ΅ΠΊΡΠΎΠ². Π§ΡΠΎΠ±Ρ Π½Π΅ Π΄ΠΎΠΏΡΡΡΠΈΡΡ ΠΎΡΠΈΠ±ΠΊΠΈ ΠΏΡΠΈ ΠΏΠΎΠΊΡΠΏΠΊΠ΅ Π°ΠΏΠΏΠ°ΡΠ°ΡΠ°, ΡΠ»Π΅Π΄ΡΠ΅Ρ Π·Π½Π°ΡΡ Π½Π΅ ΡΠΎΠ»ΡΠΊΠΎ ΠΈΡ Π²ΠΈΠ΄Ρ, Π½ΠΎ ΠΈ ΡΡΡΡΠΎΠΉΡΡΠ²ΠΎ Π±ΠΈΠΎΡΡΠ°Π»Π΅ΡΠ°. Π§ΡΠΎ ΠΆΠ΅ ΠΎΠ½ ΡΠΎΠ±ΠΎΠΉ ΠΏΡΠ΅Π΄ΡΡΠ°Π²Π»ΡΠ΅Ρ ΠΈ ΠΊΠ°ΠΊ ΡΠ°Π±ΠΎΡΠ°Π΅Ρ? ΠΠΎΠΏΡΠΎΠ±ΡΠ΅ΠΌ ΠΎΡΠ²Π΅ΡΠΈΡΡ Π½Π° ΡΡΠΈ Π²ΠΎΠΏΡΠΎΡΡ.
Π‘ΠΎΠ΄Π΅ΡΠΆΠ°Π½ΠΈΠ΅:
- Π£ΡΡΡΠΎΠΉΡΡΠ²ΠΎ ΠΈ ΠΏΡΠΈΠ½ΡΠΈΠΏ ΡΠ°Π±ΠΎΡΡ
- ΠΠΎΡΡΠ°ΡΠΈΠ²Π½ΡΠΉ ΡΡΠ°Π»Π΅Ρ β ΡΡΡΡΠΎΠΉΡΡΠ²ΠΎ ΠΈ ΡΠ°Π±ΠΎΡΠ° ΠΈΠ·Π΄Π΅Π»ΠΈΡ
- ΠΠΈΠΎΡΡΠ°Π»Π΅Ρ β ΠΎΠΏΠΈΡΠ°Π½ΠΈΠ΅ Π²ΠΈΠ΄ΠΎΠ² ΠΈ ΠΏΡΠΈΠ½ΡΠΈΠΏ ΡΠ°Π±ΠΎΡΡ
- ΠΠ±ΡΠ»ΡΠΆΠΈΠ²Π°Π½ΠΈΠ΅ ΠΈ ΡΡ ΠΎΠ΄
- ΠΠΎΠ΄Π²Π΅Π΄Π΅ΠΌ ΠΈΡΠΎΠ³
ΠΠ°Π·Π½Π°ΡΠ΅Π½ΠΈΠ΅ ΠΈ ΠΊΠΎΠ½ΡΡΡΡΠΊΡΠΈΠ²Π½ΡΠ΅ ΠΎΡΠΎΠ±Π΅Π½Π½ΠΎΡΡΠΈ

Π£ΡΡΡΠΎΠΉΡΡΠ²ΠΎ ΠΏΠΎΡΡΠ°ΡΠΈΠ²Π½ΠΎΠ³ΠΎ ΡΡΠ°Π»Π΅ΡΠ°
ΠΠΈΠΎΡΡΠ°Π»Π΅Ρ Π²Π½Π΅ΡΠ½Π΅ ΠΎΡΠ΅Π½Ρ Π½Π°ΠΏΠΎΠΌΠΈΠ½Π°Π΅Ρ ΠΎΠ±ΡΡΠ½ΡΠΉ ΡΠ½ΠΈΡΠ°Π·. ΠΠΎ Π½Π° ΡΠ°ΠΌΠΎΠΌ Π΄Π΅Π»Π΅ ΡΡΠΎ Π°Π²ΡΠΎΠ½ΠΎΠΌΠ½ΠΎΠ΅ ΡΡΡΡΠΎΠΉΡΡΠ²ΠΎ. ΠΠΎΠ»ΡΡΠΈΠ½ΡΡΠ²ΠΎ ΠΌΠΎΠ΄Π΅Π»Π΅ΠΉ Π½Π΅ Π½ΡΠΆΠ΄Π°Π΅ΡΡΡ Π² ΠΏΠΎΠ΄ΠΊΠ»ΡΡΠ΅Π½ΠΈΠΈ Π½Π΅ ΡΠΎΠ»ΡΠΊΠΎ ΠΊ ΡΠ΅Π½ΡΡΠ°Π»ΡΠ½ΠΎΠΉ ΠΊΠ°Π½Π°Π»ΠΈΠ·Π°ΡΠΈΠΈ, Π½ΠΎ ΠΈ ΠΊ Π²ΠΎΠ΄ΠΎΠΏΡΠΎΠ²ΠΎΠ΄Ρ.
ΠΠ½ΠΈ ΠΌΠΎΠ³ΡΡ ΠΏΡΠΈΠΌΠ΅Π½ΡΡΡΡΡ Π² Π·Π°Π³ΠΎΡΠΎΠ΄Π½ΡΡ ΡΠ°ΡΡΠ½ΡΡ Π΄ΠΎΠΌΠ°Ρ , Π΄Π°ΡΠ°Ρ , Π³ΠΎΡΠΎΠ΄ΡΠΊΠΈΡ ΠΊΠ²Π°ΡΡΠΈΡΠ°Ρ . ΠΠΎΠ±ΠΈΠ»ΡΠ½ΡΠ΅ Π±ΠΈΠΎΡΡΠ°Π»Π΅ΡΡ ΠΈΡΠΏΠΎΠ»ΡΠ·ΡΡΡΡΡ ΠΏΡΠΈ ΠΏΡΠΎΠ²Π΅Π΄Π΅Π½ΠΈΠΈ ΠΌΠ°ΡΡΠΎΠ²ΡΡ ΠΌΠ΅ΡΠΎΠΏΡΠΈΡΡΠΈΠΉ. ΠΠ½ΠΈ ΡΡΡΠ°Π½Π°Π²Π»ΠΈΠ²Π°ΡΡΡΡ ΡΠ°ΠΊΠΆΠ΅ Π² Π»Π΅ΡΠ½ΠΈΡ ΠΊΠ°ΡΠ΅, Π½Π° Π°Π²ΡΠΎΠ·Π°ΠΏΡΠ°Π²ΠΊΠ°Ρ , Π² ΠΌΠ΅ΡΡΠ°Ρ ΠΎΡΠ΄ΡΡ Π° ΠΈ ΠΏΠ°ΡΠΊΠ°Ρ .
ΠΠΎΠ½ΡΡΡΡΠΊΡΠΈΠΎΠ½Π½ΠΎΠ΅ ΡΡΡΡΠΎΠΉΡΡΠ²ΠΎ Π±ΠΈΠΎΡΡΠ°Π»Π΅ΡΠ° Π΄ΠΎΠ²ΠΎΠ»ΡΠ½ΠΎ ΠΏΡΠΎΡΡΠΎΠ΅ β Π²ΡΠ΅Π³ΠΎ Π΄Π²Π΅ Π΅ΠΌΠΊΠΎΡΡΠΈ, Π²ΡΠΏΠΎΠ»Π½ΡΡΡΠΈΠ΅ ΡΠ²ΠΎΠΈ ΡΠΏΠ΅ΡΠΈΡΠΈΡΠ΅ΡΠΊΠΈΠ΅ ΡΡΠ½ΠΊΡΠΈΠΈ. ΠΠ°ΠΏΡΠΈΠΌΠ΅Ρ, Π² ΠΎΠ΄Π½ΠΎΠΉ ΠΌΠΎΠΆΠ΅Ρ Π½Π°Ρ ΠΎΠ΄ΠΈΡΡΡΡ Π²ΠΎΠ΄Π° Π΄Π»Ρ ΡΠΌΡΠ²Π°, Π² Π΄ΡΡΠ³ΠΎΠΉ ΠΏΡΠΎΠΈΡΡ ΠΎΠ΄ΠΈΡ Π½Π°ΠΊΠΎΠΏΠ»Π΅Π½ΠΈΠ΅ ΡΠ²Π΅ΡΠ΄ΡΡ ΠΎΡΡ ΠΎΠ΄ΠΎΠ².
Π‘ΠΌΠΎΡΡΠΈΠΌ Π²ΠΈΠ΄Π΅ΠΎ ΠΎ ΠΊΠΎΠΌΠΏΠΎΡΡΠΈΡΡΡΡΠΈΠΉ ΡΡΠ°Π»Π΅Ρ Separett Villa ΡΡΡΡΠΎΠΉΡΡΠ²ΠΎ ΠΈ ΠΏΡΠΈΠ½ΡΠΈΠΏ ΡΠ°Π±ΠΎΡΡ:
Π‘ΠΎΠ²ΡΠ΅ΠΌΠ΅Π½Π½ΡΠΉ ΠΊΠ»ΠΎΠ·Π΅Ρ ΡΠΎΠ²ΡΠ΅ΠΌ Π½Π΅ ΠΏΠΎΡ ΠΎΠΆ Π½Π° Π½Π΅ΡΠ΄ΠΎΠ±Π½ΡΠ΅ ΠΈ Ρ ΠΎΠ»ΠΎΠ΄Π½ΡΠ΅ ΡΠ»ΠΈΡΠ½ΡΠ΅ Π΄ΠΎΠΌΠΈΠΊΠΈ, ΠΊΠΎΡΠΎΡΡΠ΅ Π΅ΡΠ΅ ΠΈ ΡΠ΅Π³ΠΎΠ΄Π½Ρ ΠΌΠΎΠΆΠ½ΠΎ Π²ΡΡΡΠ΅ΡΠΈΡΡ Π²ΠΎ Π΄Π²ΠΎΡΠ°Ρ ΠΎΡΠ΄Π°Π»Π΅Π½Π½ΡΡ Π½Π°ΡΠ΅Π»Π΅Π½Π½ΡΡ ΠΏΡΠ½ΠΊΡΠΎΠ². ΠΠ³ΠΎ ΠΊΠΎΠ½ΡΡΡΡΠΊΡΠΈΡ ΠΏΡΠΎΡΡΠ° ΠΈ ΡΠ΄ΠΎΠ±Π½Π°, ΠΎΠ½ ΠΈΠΌΠ΅Π΅Ρ ΡΡΡΠ΅ΡΠΈΡΠ½ΡΠΉ Π²Π½Π΅ΡΠ½ΠΈΠΉ Π²ΠΈΠ΄ ΠΈ ΠΌΠΎΠΆΠ΅Ρ Π±ΡΡΡ ΡΡΡΠ°Π½ΠΎΠ²Π»Π΅Π½ Π² ΠΏΠΎΠΌΠ΅ΡΠ΅Π½ΠΈΠΈ ΠΈΠ»ΠΈ Π½Π° ΠΎΡΠΊΡΡΡΠΎΠΌ Π²ΠΎΠ·Π΄ΡΡ Π΅.
ΠΠ°ΠΊ ΡΡΡΡΠΎΠ΅Π½ ΠΏΠΎΡΡΠ°ΡΠΈΠ²Π½ΡΠΉ Π²Π°ΡΠΈΠ°Π½Ρ
ΠΠ½ ΡΠΎΡΡΠΎΠΈΡ ΠΈΠ· Π΄Π²ΡΡ Π΅ΠΌΠΊΠΎΡΡΠ΅ΠΉ, ΠΊΠΎΡΠΎΡΡΠ΅ ΠΈΠΌΠ΅ΡΡ ΡΠ°Π·ΡΠ΅ΠΌΠ½ΠΎΠ΅ ΡΠΎΠ΅Π΄ΠΈΠ½Π΅Π½ΠΈΠ΅. ΠΡΠΈ Π·Π°ΠΏΠΎΠ»Π½Π΅Π½ΠΈΠΈ Π½ΠΈΠΆΠ½Π΅ΠΉ, ΠΎΠ½Π° Π»Π΅Π³ΠΊΠΎ ΠΎΡΡΠΎΠ΅Π΄ΠΈΠ½ΡΠ΅ΡΡΡ ΠΈ ΡΡΠ°Π½ΡΠΏΠΎΡΡΠΈΡΡΠ΅ΡΡΡ ΠΊ ΠΌΠ΅ΡΡΡ ΠΎΡΠΈΡΡΠΊΠΈ. Π Π²Π΅ΡΡ Π½Π΅ΠΌ Π±Π°ΡΠΊΠ΅, Π² Π·Π°Π²ΠΈΡΠΈΠΌΠΎΡΡΠΈ ΠΎΡ ΠΌΠΎΠ΄Π΅Π»ΠΈ, ΠΌΠΎΠΆΠ΅Ρ Π±ΡΡΡ Π²ΠΎΠ΄Π°, Π² ΠΊΠΎΡΠΎΡΡΡ Π΄ΠΎΠ±Π°Π²Π»Π΅Π½Ρ ΡΠΏΠ΅ΡΠΈΠ°Π»ΡΠ½ΡΠ΅ Ρ ΠΈΠΌΠΈΡΠ΅ΡΠΊΠΈΠ΅, Π±ΠΈΠΎΠ»ΠΎΠ³ΠΈΡΠ΅ΡΠΊΠΈΠ΅ ΡΡΠ΅Π΄ΡΡΠ²Π° ΠΈΠ»ΠΈ ΡΠΎΡΡ.
Π‘ΠΌΠΎΡΡΠΈΠΌ Π²ΠΈΠ΄Π΅ΠΎ ΠΎ ΡΠ°Π±ΠΎΡΠ΅ ΠΏΠΎΡΡΠ°ΡΠΈΠ²Π½ΠΎΠΉ ΠΌΠΎΠ΄Π΅Π»ΠΈ:
ΠΡΠΈΠ½ΡΠΈΠΏ ΡΠ°Π±ΠΎΡΡ ΡΠ°ΠΊΠΎΠ³ΠΎ Π±ΠΈΠΎΡΡΠ°Π»Π΅ΡΠ° Π΄Π»Ρ Π΄Π°ΡΠΈΒ ΠΎΡΠ½ΠΎΠ²Π°Π½ Π½Π° Π²ΠΎΠ·Π΄Π΅ΠΉΡΡΠ²ΠΈΠΈ ΡΠΏΠ΅ΡΠΈΠ°Π»ΡΠ½ΡΡ ΠΏΡΠ΅ΠΏΠ°ΡΠ°ΡΠΎΠ² Π½Π° ΠΎΡΡ ΠΎΠ΄Ρ ΠΆΠΈΠ·Π½Π΅Π΄Π΅ΡΡΠ΅Π»ΡΠ½ΠΎΡΡΠΈ ΡΠ΅Π»ΠΎΠ²Π΅ΠΊΠ°, ΡΡΠΊΠΎΡΡΡ ΠΏΡΠΎΡΠ΅ΡΡ ΠΈΡ ΠΏΠ΅ΡΠ΅ΡΠ°Π±ΠΎΡΠΊΠΈ ΠΈ ΡΡΡΡΠ°Π½ΡΡ Π½Π΅ΠΏΡΠΈΡΡΠ½ΡΠ΅ Π·Π°ΠΏΠ°Ρ ΠΈ.
ΠΠΈΠ΄Ρ ΠΈ ΠΈΡ ΠΏΡΠΈΠ½ΡΠΈΠΏ ΡΠ°Π±ΠΎΡΡ
Π£ΡΠ»ΠΎΠ²Π½ΠΎ Π²ΡΠ΅ Π°ΠΏΠΏΠ°ΡΠ°ΡΡ ΠΌΠΎΠΆΠ½ΠΎ ΡΠ°Π·Π΄Π΅Π»ΠΈΡΡ Π½Π° Π΄Π²Π΅ Π³ΡΡΠΏΠΏΡ:
- ΠΠ΅ΡΠ΅Π½ΠΎΡΠ½ΡΠ΅
- Π‘ΡΠ°ΡΠΈΠΎΠ½Π°ΡΠ½ΡΠ΅
ΠΠ΅ΡΠ²ΡΠ΅ β ΡΡΠΎ Π½Π΅Π±ΠΎΠ»ΡΡΠΈΠ΅ ΠΊΠΎΠΌΠΏΠ°ΠΊΡΠ½ΡΠ΅ Π±ΠΈΠΎΡΡΠ°Π»Π΅ΡΡ, ΠΊΠΎΡΠΎΡΡΠ΅ ΠΌΠΎΠΆΠ½ΠΎ Π»Π΅Π³ΠΊΠΎ ΡΡΠ°Π½ΡΠΏΠΎΡΡΠΈΡΠΎΠ²Π°ΡΡ, Π΄ΠΎΠ²ΠΎΠ»ΡΠ½ΠΎ ΠΏΡΠΎΡΡΠΎ ΡΡΡΠ°Π½Π°Π²Π»ΠΈΠ²Π°ΡΡ ΠΈ ΠΊΠΎΠΌΡΠΎΡΡΠ½ΠΎ ΠΈΡΠΏΠΎΠ»ΡΠ·ΠΎΠ²Π°ΡΡ. ΠΠ½ΠΈ ΡΠ΄ΠΎΠ±Π½Ρ Π΄Π»Ρ ΠΏΡΠΈΠΌΠ΅Π½Π΅Π½ΠΈΡ Π² Π΄Π°Π»Π΅ΠΊΠΈΡ ΠΏΠΎΠ΅Π·Π΄ΠΊΠ°Ρ Π½Π° Π°Π²ΡΠΎΠΌΠΎΠ±ΠΈΠ»ΡΡ , Π² ΠΌΠΎΡΡΠΊΠΈΡ ΠΏΡΡΠ΅ΡΠ΅ΡΡΠ²ΠΈΡΡ Π½Π° ΡΡ ΡΠ°Ρ . ΠΠΈΠΎΡΡΠ°Π»Π΅Ρ ΡΡΠ°ΡΠΈΠΎΠ½Π°ΡΠ½ΡΠΉ ΡΡΡΡΠΎΠΉΡΡΠ²ΠΎ ΠΈ ΠΏΡΠΈΠ½ΡΠΈΠΏ Π΄Π΅ΠΉΡΡΠ²ΠΈΡ ΡΠ°ΠΊΠΆΠ΅ ΠΈΠΌΠ΅Π΅Ρ Π½Π΅ΡΠ»ΠΎΠΆΠ½ΡΠ΅. ΠΠ½ΠΈ ΠΏΡΠ΅Π΄ΡΡΠ°Π²Π»ΡΡΡ ΡΠΎΠ±ΠΎΠΉ ΠΊΠ°Π±ΠΈΠ½ΠΊΡ, Π²Π½ΡΡΡΠΈ ΠΊΠΎΡΠΎΡΠΎΠΉ Π½Π°Ρ ΠΎΠ΄ΠΈΡΡΡ ΠΎΡΠ½ΠΎΠ²Π½Π°Ρ ΡΠ°ΡΡΡ Π±ΠΈΠΎΡΡΠ°Π»Π΅ΡΠ° ΠΈΠ· Π΄Π²ΡΡ Π΅ΠΌΠΊΠΎΡΡΠ΅ΠΉ, ΠΎΠΏΠΎΡΠΎΠΆΠ½Π΅Π½ΠΈΠ΅ ΠΊΠΎΡΠΎΡΡΡ Π²ΡΠΏΠΎΠ»Π½ΡΠ΅ΡΡΡ ΠΏΠΎ ΠΌΠ΅ΡΠ΅ Π·Π°ΠΏΠΎΠ»Π½Π΅Π½ΠΈΡ.
ΠΏΠΎΡΡΠ°ΡΠΈΠ²Π½ΡΠ΅ ΠΏΠ΅ΡΠ΅Π½ΠΎΡΠ½ΡΠ΅ ΠΌΠΎΠ΄Π΅Π»ΠΈ
Π Π·Π°Π²ΠΈΡΠΈΠΌΠΎΡΡΠΈ ΠΎΡ ΡΠΎΠ³ΠΎ, ΠΊΠ°ΠΊΠΈΠ΅ ΠΈΡΠΏΠΎΠ»ΡΠ·ΡΡΡΡΡ Π½Π°ΠΏΠΎΠ»Π½ΠΈΡΠ΅Π»ΠΈ ΡΠ°ΠΊΠΈΠ΅ ΡΠ°Π½ΠΈΡΠ°ΡΠ½ΡΠ΅ ΡΠΈΡΡΠ΅ΠΌΡ ΠΏΠΎΠ΄ΡΠ°Π·Π΄Π΅Π»ΡΡΡ Π½Π°:
- Π₯ΠΈΠΌΠΈΡΠ΅ΡΠΊΠΈΠ΅
- ΠΠΈΠΎΠ»ΠΎΠ³ΠΈΡΠ΅ΡΠΊΠΈΠ΅
- Π’ΠΎΡΡΡΠ½ΡΠ΅
Π ΠΏΠ΅ΡΠ²ΡΡ , Π² ΠΊΠ°ΡΠ΅ΡΡΠ²Π΅ ΠΎΠ±Π΅Π·Π·Π°ΡΠ°ΠΆΠΈΠ²Π°ΡΡΠ΅Π³ΠΎ ΡΡΠ΅Π΄ΡΡΠ²Π° ΡΠΏΠΎΡΡΠ΅Π±Π»ΡΡΡΡΡ ΠΆΠΈΠ΄ΠΊΠΎΡΡΠΈ ΠΈΠ»ΠΈ ΠΏΠΎΡΠΎΡΠΊΠΈ Π½Π° ΠΎΡΠ½ΠΎΠ²Π΅ ΡΠΎΡΠΌΠ°Π»ΡΠ΄Π΅Π³ΠΈΠ΄ΠΎΠ². ΠΠ°Π½Π½ΡΠΉ Π²ΠΈΠ΄ ΠΏΠΎΡΡΠ°ΡΠΈΠ²Π½ΡΡ ΡΡΠ°Π»Π΅ΡΠΎΠ² ΠΌΠΎΠΆΠ΅Ρ ΠΏΡΠΈΠΌΠ΅Π½ΡΡΡΡΡ ΡΠΎΠ»ΡΠΊΠΎ Π² ΡΠΎΠΉ ΠΌΠ΅ΡΡΠ½ΠΎΡΡΠΈ, Π³Π΄Π΅ ΠΏΡΠΎΠ²Π΅Π΄Π΅Π½Π° ΡΠ΅Π½ΡΡΠ°Π»ΡΠ½Π°Ρ ΠΊΠ°Π½Π°Π»ΠΈΠ·Π°ΡΠΈΡ, ΡΠ°ΠΊ ΠΊΠ°ΠΊ Π΅Π³ΠΎ ΠΎΠΏΠΎΡΠΎΠΆΠ½Π΅Π½ΠΈΠ΅ Π΄ΠΎΠΏΡΡΡΠΈΠΌΠΎ ΡΠΎΠ»ΡΠΊΠΎ ΡΡΠ΄Π°. ΠΡΡ ΠΎΠ΄Ρ ΡΠΊΠΎΠ»ΠΎΠ³ΠΈΡΠ΅ΡΠΊΠΈ Π½Π΅Π±Π΅Π·ΠΎΠΏΠ°ΡΠ½Ρ ΠΈ ΠΈΡ ΠΊΠΎΠΌΠΏΠΎΡΡΠΈΡΠΎΠ²Π°Π½ΠΈΠ΅ ΠΈ ΠΈΡΠΏΠΎΠ»ΡΠ·ΠΎΠ²Π°Π½ΠΈΠ΅ Π² Π΄Π°Π»ΡΠ½Π΅ΠΉΡΠ΅ΠΌ Π½Π΅Π²ΠΎΠ·ΠΌΠΎΠΆΠ½ΠΎ. ΠΠΎΡΡΠΎΠΌΡ Ρ ΠΈΠΌΠΈΡΠ΅ΡΠΊΠ°Ρ ΠΌΠΎΠ΄Π΅Π»Ρ Π½Π΅ ΠΏΠΎΠ»ΡΠ·ΡΠ΅ΡΡΡ Π±ΠΎΠ»ΡΡΠΈΠΌ ΡΠΏΡΠΎΡΠΎΠΌ, ΠΈ Π½ΠΈΡΠ΅Π³ΠΎ Π±ΠΈΠΎΠ»ΠΎΠ³ΠΈΡΠ΅ΡΠΊΠΎΠ³ΠΎ Π² Π½Π΅ΠΉ Π½Π΅Ρ.
ΠΠΈΠΎΠ»ΠΎΠ³ΠΈΡΠ΅ΡΠΊΠΈΠ΅ ΡΡΠ°Π»Π΅ΡΡ β ΠΎΠ΄Π½ΠΈ ΠΈΠ· ΡΠ°ΠΌΡΡ ΡΠΊΠΎΠ»ΠΎΠ³ΠΈΡΠ΅ΡΠΊΠΈ Π±Π΅Π·ΠΎΠΏΠ°ΡΠ½ΡΡ . Π Π½ΠΈΡ ΡΠΎΠ»Ρ Π½Π°ΠΏΠΎΠ»Π½ΠΈΡΠ΅Π»Ρ ΠΈΠ³ΡΠ°Π΅Ρ ΡΠΎΡΡΠ°Π² Π½Π° ΠΎΡΠ½ΠΎΠ²Π΅ ΠΌΠΈΠΊΡΠΎΠΎΡΠ³Π°Π½ΠΈΠ·ΠΌΠΎΠ². Π’Π°ΠΊΠΈΠ΅ ΡΡΡΡΠΎΠΉΡΡΠ²Π° ΡΠΈΡΠΎΠΊΠΎ ΠΏΡΠΈΠΌΠ΅Π½ΡΡΡΡΡ Π² Π·Π°Π³ΠΎΡΠΎΠ΄Π½ΡΡ Π΄ΠΎΠΌΠ°Ρ Ρ Π·Π΅ΠΌΠ΅Π»ΡΠ½ΡΠΌΠΈ ΡΡΠ°ΡΡΠΊΠ°ΠΌΠΈ, ΡΠ°ΠΊ ΠΊΠ°ΠΊ ΡΡΠΈΠ»ΠΈΠ·ΠΈΡΡΠ΅ΠΌΡΠ΅ ΠΈΠ· Π½ΠΈΡ ΠΎΡΡ ΠΎΠ΄Ρ Π·Π°ΡΠ΅ΠΌ ΠΌΠΎΠΆΠ½ΠΎ ΠΈΡΠΏΠΎΠ»ΡΠ·ΠΎΠ²Π°ΡΡ Π² ΠΊΠ°ΡΠ΅ΡΡΠ²Π΅ Π½Π°ΡΡΡΠ°Π»ΡΠ½ΠΎΠ³ΠΎ ΡΠ΄ΠΎΠ±ΡΠ΅Π½ΠΈΡ. ΠΠ΄ΠΈΠ½ΡΡΠ²Π΅Π½Π½ΡΠΌ Π½Π΅Π΄ΠΎΡΡΠ°ΡΠΊΠΎΠΌ Π΄Π°Π½Π½ΡΡ ΠΌΠΎΠ΄Π΅Π»Π΅ΠΉ ΡΠ²Π»ΡΠ΅ΡΡΡ Π²ΡΡΠΎΠΊΠ°Ρ ΡΡΠΎΠΈΠΌΠΎΡΡΡ Π½Π°ΠΏΠΎΠ»Π½ΠΈΡΠ΅Π»Ρ.
Π‘ΠΌΠΎΡΡΠΈΠΌ Π²ΠΈΠ΄Π΅ΠΎ ΠΏΡΠΈΠ½ΡΠΈΠΏ ΡΠ°Π±ΠΎΡΡ ΠΈ ΡΡΡΡΠΎΠΉΡΡΠ²ΠΎ ΡΠΎΡΡΡΠ½ΡΡ ΠΌΠΎΠ΄Π΅Π»ΡΡ :
Π’ΠΎΡΡΡΠ½ΡΠ΅ Π°ΠΏΠΏΠ°ΡΠ°ΡΡ ΡΡΠ΅Π±ΡΡΡ ΠΏΠΎΠ΄ΠΊΠ»ΡΡΠ΅Π½ΠΈΡ ΠΊ Π²ΠΎΠ΄ΠΎΠΏΡΠΎΠ²ΠΎΠ΄Ρ. ΠΠ°ΠΊ ΡΠ°Π±ΠΎΡΠ°Π΅Ρ ΡΠ°ΠΊΠΎΠΉ Π±ΠΈΠΎΡΡΠ°Π»Π΅Ρ, ΠΊΠΎΡΠΎΡΡΠΉ ΠΎΡΠΎΠ±Π΅Π½Π½ΠΎ Ρ ΠΎΡΠΎΡ Π΄Π»Ρ Π΄Π°ΡΠΈ? Π Π½Π΅ΠΌ ΠΎΡΡ ΠΎΠ΄Ρ Π·Π°ΡΡΠΏΠ°ΡΡΡΡ ΡΠΌΠ΅ΡΡΡ, ΡΠΎΡΡΠΎΡΡΠ΅ΠΉ ΠΈΠ· ΡΠΎΡΡΠ°, ΠΎΠΏΠΈΠ»ΠΎΠΊ ΠΈ ΠΊΠΎΠΌΠΏΠΎΠ·ΠΈΡΠΈΠΎΠ½Π½ΡΡ Π΄ΠΎΠ±Π°Π²ΠΎΠΊ. Π’Π°ΠΊΠΈΠ΅ ΠΌΠΎΠ΄Π΅Π»ΠΈ ΠΎΡΠ»ΠΈΡΠ°ΡΡΡΡ ΡΠ΄ΠΎΠ±ΡΡΠ²ΠΎΠΌ Π² ΠΈΡΠΏΠΎΠ»ΡΠ·ΠΎΠ²Π°Π½ΠΈΠΈ, ΡΠ°ΠΊ ΠΊΠ°ΠΊ ΡΠ²Π»ΡΡΡΡΡ ΠΏΠΎΠ»Π½ΠΎΡΡΡΡ Π°Π²ΡΠΎΠ½ΠΎΠΌΠ½ΡΠΌΠΈ ΠΈ Π½Π΅ ΡΡΠ΅Π±ΡΡΡ ΠΏΠΎΠ΄ΠΊΠ»ΡΡΠ΅Π½ΠΈΡ ΠΊ ΠΊΠ°ΠΊΠΈΠΌ-Π»ΠΈΠ±ΠΎ ΡΠΈΡΡΠ΅ΠΌΠ°ΠΌ. Π‘ΡΠ΅Π΄ΠΈ Π½ΠΈΡ ΠΌΠΎΠΆΠ½ΠΎ Π²ΡΡΡΠ΅ΡΠΈΡΡ ΡΡΡΠΈΡΡΠΈΡΠ΅ΡΠΊΠΈΠΉ Π²Π°ΡΠΈΠ°Π½Ρ ΠΈΠ»ΠΈ ΡΠ°ΠΊ Π½Π°Π·ΡΠ²Π°Π΅ΠΌΡΠΉ Π±ΠΈΠΎΡΡΠ°Π»Π΅Ρ Ρ ΠΏΠ°ΠΊΠ΅ΡΠ°ΠΌΠΈ. Π Π΅Π³ΠΎ ΠΊΠΎΠ½ΡΡΡΡΠΊΡΠΈΠΈ Π²ΠΌΠ΅ΡΡΠΎ ΠΊΠΎΠ½ΡΠ΅ΠΉΠ½Π΅ΡΠ°, Π² ΠΊΠΎΡΠΎΡΠΎΠΌ Π½Π°ΠΊΠ°ΠΏΠ»ΠΈΠ²Π°ΡΡΡΡ ΠΎΡΡ ΠΎΠ΄Ρ, ΠΏΡΠΈΠΌΠ΅Π½ΡΠ΅ΡΡΡ ΠΏΡΠΎΡΠ½ΡΠΉ ΠΏΠΎΠ»ΠΈΡΡΠΈΠ»Π΅Π½ΠΎΠ²ΡΠΉ ΠΏΠ°ΠΊΠ΅Ρ.
Π‘ΡΡΠ΅ΡΡΠ²ΡΡΡ Π΅ΡΠ΅ ΡΠ»Π΅ΠΊΡΡΠΈΡΠ΅ΡΠΊΠΈΠ΅ ΠΈΠ»ΠΈ Π±ΠΈΠ·Π½Π΅Ρ Π±ΠΈΠΎΡΡΠ°Π»Π΅ΡΡ. ΠΠ½ΠΈ ΠΏΠΎ Π²Π½Π΅ΡΠ½Π΅ΠΌΡ Π²ΠΈΠ΄Ρ ΠΏΡΠ°ΠΊΡΠΈΡΠ΅ΡΠΊΠΈ Π½Π΅ ΠΎΡΠ»ΠΈΡΠ°ΡΡΡΡ ΠΎΡ ΠΎΠ±ΡΡΠ½ΡΡ ΡΠ½ΠΈΡΠ°Π·ΠΎΠ². ΠΠΎ ΠΌΠΎΠ³ΡΡ ΠΈΡΠΏΠΎΠ»ΡΠ·ΠΎΠ²Π°ΡΡΡΡ ΡΠΎΠ»ΡΠΊΠΎ Π² ΡΠ΅Ρ ΠΏΠΎΠΌΠ΅ΡΠ΅Π½ΠΈΡΡ , Π³Π΄Π΅ Π΅ΡΡΡ Π²ΠΎΠ·ΠΌΠΎΠΆΠ½ΠΎΡΡΡ ΠΈΡ ΠΏΠΎΠ΄ΠΊΠ»ΡΡΠ΅Π½ΠΈΡ ΠΊ ΡΠ»Π΅ΠΊΡΡΠΎΡΠ΅ΡΠΈ, ΡΠ°ΠΊ ΠΊΠ°ΠΊ ΠΈΡ ΡΡΠ½ΠΊΡΠΈΠΎΠ½ΠΈΡΠΎΠ²Π°Π½ΠΈΠ΅ Π²ΠΎΠ·ΠΌΠΎΠΆΠ½ΠΎ ΡΠΎΠ»ΡΠΊΠΎ ΠΏΡΠΈ ΡΠ°Π±ΠΎΡΠ΅ ΠΊΠΎΠΌΠΏΡΠ΅ΡΡΠΎΡΠ° ΠΈ Π²Π΅Π½ΡΠΈΠ»ΡΡΠΈΠΈ.
Π‘ΠΌΠΎΡΡΠΈΠΌ Π²ΠΈΠ΄Π΅ΠΎΠΎΠ±Π·ΠΎΡ ΠΎ Π±ΠΈΠΎΡΡΠ°Π»Π΅ΡΠ΅ ΡΠ»Π΅ΠΊΡΡΠΈΡΠ΅ΡΠΊΠΎΠ³ΠΎ ΡΠΈΠΏΠ°:
ΠΠ³ΠΎ ΠΏΡΠΈΠ½ΡΠΈΠΏ Π΄Π΅ΠΉΡΡΠ²ΠΈΡ ΠΎΡΠ½ΠΎΠ²Π°Π½ Π½Π° ΡΠ°Π·Π΄Π΅Π»Π΅Π½ΠΈΠΈ ΡΠ²Π΅ΡΠ΄ΡΡ ΠΈ ΠΆΠΈΠ΄ΠΊΠΈΡ ΠΎΡΡ ΠΎΠ΄ΠΎΠ², ΠΏΠΎΡΠ»Π΅Π΄Π½ΠΈΠ΅ Π²ΡΠ²ΠΎΠ΄ΡΡΡΡ Π² ΡΠΈΡΡΠ΅ΠΌΡ ΠΊΠ°Π½Π°Π»ΠΈΠ·Π°ΡΠΈΠΈ ΠΈΠ»ΠΈ Π² Π΄ΡΠ΅Π½Π°ΠΆ. Π ΡΠ²Π΅ΡΠ΄ΡΠ΅ ΠΏΡΠΎΠ΄ΡΠΊΡΡ ΠΆΠΈΠ·Π½Π΅Π΄Π΅ΡΡΠ΅Π»ΡΠ½ΠΎΡΡΠΈ Π²ΡΡΡΡΠΈΠ²Π°ΡΡΡΡ ΠΈ Π½Π°ΠΊΠ°ΠΏΠ»ΠΈΠ²Π°ΡΡΡΡ Π² Π½ΠΈΠΆΠ½Π΅ΠΌ Π±Π°ΠΊΠ΅, ΠΊΠΎΡΠΎΡΡΠΉ ΠΏΠ΅ΡΠΈΠΎΠ΄ΠΈΡΠ΅ΡΠΊΠΈ ΠΎΠΏΠΎΡΠΎΠΆΠ½ΡΠ΅ΡΡΡ.
ΠΠ°ΠΊ ΠΈ ΡΠ΅ΠΌ Π·Π°ΠΏΡΠ°Π²Π»ΡΡΡΡΡ Π±ΠΈΠΎΡΡΠ°Π»Π΅ΡΡ
Π·Π°ΠΏΡΠ°Π²ΠΊΠ° ΠΏΠΎΡΡΠ°ΡΠΈΠ²Π½ΠΎΠ³ΠΎ Π²Π°ΡΠΈΠ°Π½ΡΠ°
Π§Π°ΡΠ΅ Π²ΡΠ΅Π³ΠΎ ΠΏΠΎΡΠ΅Π½ΡΠΈΠ°Π»ΡΠ½ΡΡ ΠΏΠΎΠΊΡΠΏΠ°ΡΠ΅Π»Π΅ΠΉ ΠΈΠ½ΡΠ΅ΡΠ΅ΡΡΠ΅Ρ Π½Π΅ ΡΡΠΎΠ»ΡΠΊΠΎ, ΠΊΠ°ΠΊ ΡΡΡΡΠΎΠ΅Π½ Π±ΠΈΠΎΡΡΠ°Π»Π΅Ρ, ΠΏΡΠΈΠ³ΠΎΠ΄Π½ΡΠΉ, Π½Π°ΠΏΡΠΈΠΌΠ΅Ρ, Π΄Π»Ρ Π΄Π°ΡΠΈ, ΡΠΊΠΎΠ»ΡΠΊΠΎ, ΡΡΠΎ ΡΠ»ΡΠΆΠΈΡ Π² Π±ΠΈΠΎΡΡΠ°Π»Π΅ΡΠ΅Β Π½Π°ΠΏΠΎΠ»Π½ΠΈΡΠ΅Π»Π΅ΠΌ ΠΈ ΠΊΡΠ΄Π° Π΅Π³ΠΎ ΠΏΠΎΡΠΎΠΌ Π΄Π΅Π²Π°ΡΡ. Π ΠΊΠ°ΡΠ΅ΡΡΠ²Π΅ ΠΏΠΎΠ³Π»ΠΎΡΠ°ΡΡΠ΅Π³ΠΎ ΠΌΠ°ΡΠ΅ΡΠΈΠ°Π»Π° Π² ΡΠ°ΠΊΠΈΡ ΡΠ°Π½ΠΈΡΠ°ΡΠ½ΡΡ ΠΊΠΎΠ½ΡΡΡΡΠΊΡΠΈΡΡ ΠΏΡΠΈΠΌΠ΅Π½ΡΡΡΡΡ ΡΠ°Π·Π»ΠΈΡΠ½ΡΠ΅ ΡΡΠ΅Π΄ΡΡΠ²Π°.
Π Π·Π°Π²ΠΈΡΠΈΠΌΠΎΡΡΠΈ ΠΎΡ ΡΡΠΎΠ³ΠΎ ΠΎΠ½ΠΈ ΠΏΠΎΠ΄ΡΠ°Π·Π΄Π΅Π»ΡΡΡΡΡ Π½Π°:
- ΠΠΎΠΌΠΏΠΎΡΡΠΈΡΡΡΡΠΈΠ΅
- Π₯ΠΈΠΌΠΈΡΠ΅ΡΠΊΠΈΠ΅
- Π‘ Π±ΠΈΠΎΠ»ΠΎΠ³ΠΈΡΠ΅ΡΠΊΠΎΠΉ ΠΎΡΠΈΡΡΠΊΠΎΠΉ
Π ΠΏΠ΅ΡΠ²ΡΡ Π² ΠΊΠ°ΡΠ΅ΡΡΠ²Π΅ Π°ΠΊΡΠΈΠ²Π½ΠΎΠ³ΠΎ Π²Π΅ΡΠ΅ΡΡΠ²Π° ΠΏΡΠΈΠΌΠ΅Π½ΡΡΡ ΡΠΌΠ΅ΡΡ ΡΠΎΡΡΠ° Ρ ΠΎΠΏΠΈΠ»ΠΊΠ°ΠΌΠΈ. ΠΡΠΈ ΠΈΡΠΏΠΎΠ»ΡΠ·ΠΎΠ²Π°Π½ΠΈΠΈ Π΄Π°Π½Π½ΠΎΠΉ ΠΌΠΎΠ΄Π΅Π»ΠΈ Π½Π° Π΄Π½ΠΎ Π½ΠΈΠΆΠ½Π΅Π³ΠΎ Π±Π°ΠΊΠ° Π½Π°ΡΡΠΏΠ°Π΅ΡΡΡ ΠΏΠΎΡΡΠΈΡ Π½Π°ΠΏΠΎΠ»Π½ΠΈΡΠ΅Π»Ρ. Π ΡΠ°ΠΊ ΠΊΠ°ΠΊ ΡΠΎΡΡ ΠΎΠ±Π»Π°Π΄Π°Π΅Ρ Ρ ΠΎΡΠΎΡΠΈΠΌΠΈ ΠΏΠΎΠ³Π»ΠΎΡΠ°ΡΡΠΈΠΌΠΈ ΡΠ²ΠΎΠΉΡΡΠ²Π°ΠΌΠΈ, ΡΠΎ Π΅Π³ΠΎ ΠΏΠΎΡΡΠ΅Π±ΡΠ΅ΡΡΡ Π½Π΅Π±ΠΎΠ»ΡΡΠΎΠ΅ ΠΊΠΎΠ»ΠΈΡΠ΅ΡΡΠ²ΠΎ. ΠΡΠ΅ ΠΎΠ΄Π½ΠΈΠΌ ΠΏΠΎΠ»ΠΎΠΆΠΈΡΠ΅Π»ΡΠ½ΡΠΌ ΠΌΠΎΠΌΠ΅Π½ΡΠΎΠΌ ΠΏΡΠΈ ΠΈΡΠΏΠΎΠ»ΡΠ·ΠΎΠ²Π°Π½ΠΈΠΈ ΡΠ°ΠΊΠΎΠ³ΠΎ ΡΡΠ°Π»Π΅ΡΠ° ΡΠ²Π»ΡΠ΅ΡΡΡ Π²ΠΎΠ·ΠΌΠΎΠΆΠ½ΠΎΡΡΡ ΠΊΠΎΠΌΠΏΠΎΡΡΠΈΡΠΎΠ²Π°Π½ΠΈΡ ΠΎΡΡ ΠΎΠ΄ΠΎΠ² ΠΈ Π΄Π°Π»ΡΠ½Π΅ΠΉΡΠ΅Π΅ ΠΈΡ ΠΏΡΠΈΠΌΠ΅Π½Π΅Π½ΠΈΠ΅ Π² ΠΊΠ°ΡΠ΅ΡΡΠ²Π΅ ΡΠ΄ΠΎΠ±ΡΠ΅Π½ΠΈΡ.
Π Ρ ΠΈΠΌΠΈΡΠ΅ΡΠΊΠΈΡ ΠΌΠΎΠ΄Π΅Π»ΡΡ ΡΠΎΠ»Ρ Π½Π°ΠΏΠΎΠ»Π½ΠΈΡΠ΅Π»Ρ ΠΈΠ³ΡΠ°ΡΡ ΡΠΏΠ΅ΡΠΈΠ°Π»ΡΠ½ΡΠ΅ ΠΆΠΈΠ΄ΠΊΠΎΡΡΠΈ ΠΈΠ»ΠΈ Π³ΡΠ°Π½ΡΠ»Ρ. ΠΠ΄Π½Π°ΠΊΠΎ ΠΎΠ½ΠΈ ΠΏΡΠ΅Π΄ΠΏΠΎΠ»Π°Π³Π°ΡΡ ΠΎΡΠΈΡΡΠΊΡ Π½Π°ΠΊΠΎΠΏΠΈΡΠ΅Π»ΡΠ½ΠΎΠΉ Π΅ΠΌΠΊΠΎΡΡΠΈ Π² ΡΠ΅Π½ΡΡΠ°Π»ΡΠ½ΡΡ ΠΊΠ°Π½Π°Π»ΠΈΠ·Π°ΡΠΈΡ, ΡΠ°ΠΊ ΠΊΠ°ΠΊ ΡΠ²Π»ΡΡΡΡΡ Π²ΡΠ΅Π΄Π½ΡΠΌΠΈ Π΄Π»Ρ ΠΎΠΊΡΡΠΆΠ°ΡΡΠ΅ΠΉ ΡΡΠ΅Π΄Ρ. Π£Π·Π½Π°ΡΡ ΠΎ Π½Π°ΠΏΠΎΠ»Π½Π΅Π½ΠΈΠΈ ΠΊΠ°ΠΌΠ΅ΡΡ Π² Π½ΠΈΡ ΠΏΠΎΠ·Π²ΠΎΠ»ΡΡΡ ΡΠΏΠ΅ΡΠΈΠ°Π»ΡΠ½ΡΠ΅ ΠΈΠ½Π΄ΠΈΠΊΠ°ΡΠΎΡΡ. ΠΠ°Π½Π½ΡΠ΅ ΠΌΠΎΠ΄Π΅Π»ΠΈ Π±ΠΈΠΎΡΡΠ°Π»Π΅ΡΠΎΠ² ΠΌΠΎΠ³ΡΡ ΠΏΡΠΈΠΌΠ΅Π½ΡΡΡΡΡ Π½Π΅ ΡΠΎΠ»ΡΠΊΠΎ Π² ΠΏΠΎΠΌΠ΅ΡΠ΅Π½ΠΈΠΈ, Π½ΠΎ ΠΈ Π² ΡΠ»ΠΈΡΠ½ΡΡ ΠΏΠΎΡΡΡΠΎΠΉΠΊΠ°Ρ . ΠΡΠΈ ΠΈΡΠΏΠΎΠ»ΡΠ·ΠΎΠ²Π°Π½ΠΈΠΈ ΠΈΡ Π·ΠΈΠΌΠΎΠΉ Π² ΠΊΠ°ΡΠ΅ΡΡΠ²Π΅ Π½Π°ΠΏΠΎΠ»Π½ΠΈΡΠ΅Π»Ρ ΡΠ΅ΠΊΠΎΠΌΠ΅Π½Π΄ΡΠ΅ΡΡΡ ΠΏΡΠΈΠΌΠ΅Π½ΡΡΡ Π°Π½ΡΠΈΡΡΠΈΠ· ΠΈΠ»ΠΈ Π½Π΅Π·Π°ΠΌΠ΅ΡΠ·Π°ΡΡΠΈΠ΅ ΠΆΠΈΠ΄ΠΊΠΎΡΡΠΈ, ΠΎΠ±ΡΠ»ΡΠΆΠΈΠ²Π°Π½ΠΈΠ΅ Π±ΠΈΠΎΡΡΠ°Π»Π΅ΡΠΎΠ² ΡΠ°ΠΊΠΎΠ³ΠΎ Π²ΠΈΠ΄Π° ΠΎΡΠ΅Π½Ρ ΠΏΡΠΎΡΡΠΎΠ΅ ΠΈ Π΄ΠΎΡΡΡΠΏΠ½ΠΎ Π΄Π»Ρ Π²ΡΠ΅Ρ .
Π‘ΡΠ΅Π΄ΡΡΠ²Π° ΠΏΠΎ ΡΡ ΠΎΠ΄Ρ Π·Π° Π±ΠΈΠΎΡΡΠ°Π»Π΅ΡΠ°ΠΌΠΈ
ΠΠΎΠ΄Π΅Π»ΠΈ Ρ ΠΎΡΠΈΡΡΠΊΠΎΠΉ ΠΌΠΈΠΊΡΠΎΠΎΡΠ³Π°Π½ΠΈΠ·ΠΌΠ°ΠΌΠΈ ΡΠ²Π»ΡΡΡΡΡ Π±ΠΈΠΎΠ»ΠΎΠ³ΠΈΡΠ΅ΡΠΊΠΈ Π±Π΅Π·ΠΎΠΏΠ°ΡΠ½ΡΠΌΠΈ. Π Π½ΠΈΡ Π² ΠΊΠ°ΡΠ΅ΡΡΠ²Π΅ Π½Π°ΠΏΠΎΠ»Π½ΠΈΡΠ΅Π»Ρ ΠΈΡΠΏΠΎΠ»ΡΠ·ΡΡΡΡΡ ΠΌΠΈΠΊΡΠΎΠΎΡΠ³Π°Π½ΠΈΠ·ΠΌΡ, ΡΠΏΠΎΡΠΎΠ±Π½ΡΠ΅ ΠΏΠ΅ΡΠ΅ΡΠ°Π±Π°ΡΡΠ²Π°ΡΡ ΠΎΡΡ ΠΎΠ΄Ρ Π² ΠΊΠΎΠΌΠΏΠΎΡΡ. Π£ΡΡΡΠΎΠΉΡΡΠ²ΠΎ Π±ΠΈΠΎΡΡΠ°Π»Π΅ΡΠ° Π΄Π°Π½Π½ΠΎΠ³ΠΎ ΡΠΈΠΏΠ° Π½Π° Π΄Π°ΡΠ΅ ΠΌΠΎΠΆΠ½ΠΎ ΡΡΠΈΡΠ°ΡΡ ΠΈΠ΄Π΅Π°Π»ΡΠ½ΡΠΌ Π²Π°ΡΠΈΠ°Π½ΡΠΎΠΌ. Π Π½ΠΈΡ ΡΠΎΠ²Π΅ΡΡΠ΅Π½Π½ΠΎ ΠΎΡΡΡΡΡΡΠ²ΡΡΡ Π·Π°ΠΏΠ°Ρ ΠΈ, Π° ΠΏΡΠΈΠΌΠ΅Π½ΡΠ΅ΠΌΡΠ΅ ΡΠΌΠ΅ΡΠΈ Π½Π΅ ΠΈΠΌΠ΅ΡΡ Π²ΡΠ΅Π΄Π½ΡΡ ΠΏΡΠΈΠΌΠ΅ΡΠ΅ΠΉ, ΡΡΠΎ ΠΏΠΎΠ·Π²ΠΎΠ»ΡΠ΅Ρ ΡΡΠΈΠ»ΠΈΠ·ΠΈΡΠΎΠ²Π°ΡΡ ΠΎΡΡ ΠΎΠ΄Ρ Π² ΠΊΠΎΠΌΠΏΠΎΡΡ.
ΠΠ°ΠΊΠΎΠΉ Π±ΠΈΠΎΡΡΠ°Π»Π΅Ρ Π²ΡΠ±ΡΠ°ΡΡ?
Π Π°ΡΡΠΌΠΎΡΡΠ΅Π² Π²ΡΠ΅ Π²ΠΈΠ΄Ρ ΡΠΎΠ²ΡΠ΅ΠΌΠ΅Π½Π½ΡΡ ΡΠ°Π½ΠΈΡΠ°ΡΠ½ΡΡ ΡΠΈΡΡΠ΅ΠΌ ΠΈ ΡΠΎ, ΠΊΠ°ΠΊ ΡΡΡΡΠΎΠ΅Π½ Π±ΠΈΠΎΡΡΠ°Π»Π΅Ρ, ΠΌΠΎΠΆΠ½ΠΎ Π»Π΅Π³ΠΊΠΎ ΠΎΠΏΡΠ΅Π΄Π΅Π»ΠΈΡΡΡΡ Ρ Π²ΡΠ±ΠΎΡΠΎΠΌ ΠΎΠΏΡΠΈΠΌΠ°Π»ΡΠ½ΠΎΠ³ΠΎ Π²Π°ΡΠΈΠ°Π½ΡΠ°. ΠΠΎ ΠΏΡΠΈ ΡΡΠΎΠΌ ΠΎΠ±ΡΠ·Π°ΡΠ΅Π»ΡΠ½ΠΎ Π½ΡΠΆΠ½ΠΎ ΠΎΡΠΈΠ΅Π½ΡΠΈΡΠΎΠ²Π°ΡΡΡΡ Π½Π΅ ΡΠΎΠ»ΡΠΊΠΎ Π½Π° Π²ΠΈΠ΄, Π½ΠΎ ΠΈ Π½Π° ΡΠΎ, ΠΊΠ°ΠΊΠΈΠ΅ Π±ΠΈΠΎΡΡΠ°Π»Π΅Ρ Ρ Π°ΡΠ°ΠΊΡΠ΅ΡΠΈΡΡΠΈΠΊΠΈ Π΄ΠΎΠ»ΠΆΠ΅Π½ ΠΈΠΌΠ΅ΡΡ. ΠΠ΄Π½ΠΈΠΌ ΠΈΠ· ΡΠ°ΠΌΡΡ Π΄Π΅ΡΠ΅Π²ΡΡ ΠΈ ΡΠΊΠΎΠ»ΠΎΠ³ΠΈΡΠ΅ΡΠΊΠΈ Π±Π΅Π·ΠΎΠΏΠ°ΡΠ½ΡΡ ΡΠ²Π»ΡΠ΅ΡΡΡ ΡΠΎΡΡΡΠ½ΠΎΠΉ Π²Π°ΡΠΈΠ°Π½Ρ. ΠΠ³ΠΎ ΠΌΠΎΠΆΠ½ΠΎ ΡΡΡΠ°Π½Π°Π²Π»ΠΈΠ²Π°ΡΡ ΠΊΠ°ΠΊ Π½Π° ΡΠ»ΠΈΡΠ΅, ΡΠ°ΠΊ ΠΈ Π² Π΄ΠΎΠΌΠ΅.
ΠΠ±ΡΡΠ½ΠΎ ΡΠ°ΠΊΠΈΠ΅ ΠΎΠ±ΡΠ°Π·ΡΡ ΠΈΠ·Π³ΠΎΡΠ°Π²Π»ΠΈΠ²Π°ΡΡΡΡ ΠΈΠ· ΠΏΡΠΎΡΠ½ΡΡ
Π½Π΅ ΠΏΠΎΠ΄Π΄Π°ΡΡΠΈΡ
ΡΡ Π²ΠΎΠ·Π΄Π΅ΠΉΡΡΠ²ΠΈΡ ΡΠ΅ΠΌΠΏΠ΅ΡΠ°ΡΡΡ ΠΌΠ°ΡΠ΅ΡΠΈΠ°Π»ΠΎΠ². ΠΠ΄ΠΈΠ½ΡΡΠ²Π΅Π½Π½ΠΎΠ΅ ΠΎ ΡΠ΅ΠΌ Π½ΡΠΆΠ½ΠΎ ΡΡΠΎΡΠ½ΠΈΡΡ Π·Π°ΡΠ°Π½Π΅Π΅ β ΡΡΠΎ ΠΈΠΌΠ΅ΡΡΡΡ Π»ΠΈ Π² ΠΊΠΎΠΌΠΏΠ»Π΅ΠΊΡΠ°ΡΠΈΠΈ Π·Π°ΠΏΡΠ°ΡΡΠΈ Π΄Π»Ρ Π±ΠΈΠΎΡΡΠ°Π»Π΅ΡΠΎΠ², ΠΈ Π² ΡΠΎΠΌ ΡΠΈΡΠ»Π΅ Π²Π΅Π½ΡΠΈΠ»ΡΡΠΈΠΎΠ½Π½ΡΠ΅ ΡΡΡΠ±Ρ. ΠΠ½Π°ΡΠ΅ ΠΈΡ
ΠΏΡΠΈΠ΄Π΅ΡΡΡ ΠΏΡΠΈΠΎΠ±ΡΠ΅ΡΠ°ΡΡ ΠΎΡΠ΄Π΅Π»ΡΠ½ΠΎ.
ΠΠ±ΡΠ·Π°ΡΠ΅Π»ΡΠ½ΠΎ ΡΠ»Π΅Π΄ΡΠ΅Ρ ΡΡΠΈΡΡΠ²Π°ΡΡ ΠΈ ΠΎΠ±ΡΠ΅ΠΌ Π±Π°ΠΊΠ°, ΠΎΡ ΡΡΠΎΠ³ΠΎ Π·Π°Π²ΠΈΡΠΈΡ, ΠΊΠ°ΠΊ ΡΠ°ΡΡΠΎ Π²Ρ Π±ΡΠ΄Π΅ΡΠ΅ Π΅Π³ΠΎ ΠΎΠΏΠΎΡΠΎΠΆΠ½ΡΡΡ. ΠΠ°ΠΏΡΠΈΠΌΠ΅Ρ, Π΄Π»Ρ ΡΠ΅ΠΌΡΠΈ ΠΈΠ· 3-4 ΡΠ΅Π»ΠΎΠ²Π΅ΠΊ, Π²ΠΎΠ·ΠΌΠΎΠΆΠ½ΠΎ, Π΄ΠΎΡΡΠ°ΡΠΎΡΠ½ΠΎ Π±ΡΠ΄Π΅Ρ ΠΈ ΠΎΠ΄ΠΈΠ½ ΡΠ°Π· Π² ΠΌΠ΅ΡΡΡ. ΠΡΠ±ΠΈΡΠ°Ρ ΡΠ°Π·ΠΌΠ΅ΡΡ Π±ΠΈΠΎΡΡΠ°Π»Π΅ΡΠ°, Π° ΠΈΠΌΠ΅Π½Π½ΠΎ Π½ΠΈΠΆΠ½Π΅ΠΉ Π΅ΠΌΠΊΠΎΡΡΠΈ, ΡΡΠΎΠΈΡ ΠΏΠΎΠ΄ΡΠΌΠ°ΡΡ ΠΈ ΠΎ ΡΠΎΠΌ, ΠΊΡΠΎ Π΅Π³ΠΎ Π±ΡΠ΄Π΅Ρ Π²ΡΠ½ΠΎΡΠΈΡΡ. ΠΠ΅Π΄Ρ Π·Π°ΠΏΠΎΠ»Π½Π΅Π½Π½ΡΠΉ ΠΎΠ½ ΠΈΠΌΠ΅Π΅Ρ Π΄ΠΎΡΡΠ°ΡΠΎΡΠ½ΠΎ Π±ΠΎΠ»ΡΡΠΎΠΉ Π²Π΅Ρ, ΡΡΠΎ ΠΏΠΎΡΡΠ΅Π±ΡΠ΅Ρ ΠΎΠΏΡΠ΅Π΄Π΅Π»Π΅Π½Π½ΡΡ ΡΡΠΈΠ»ΠΈΠΉ.
ΠΡΡΠΎΡΠ° ΡΡΡΠ»ΡΡΠ°ΠΊΠ° ΠΈΠΌΠ΅Π΅Ρ Π·Π½Π°ΡΠ΅Π½ΠΈΠ΅ Π² ΡΠΎΠΌ ΡΠ»ΡΡΠ°Π΅, Π΅ΡΠ»ΠΈ Π² Π΄ΠΎΠΌΠ΅ Π΅ΡΡΡ Π΄Π΅ΡΠΈ. ΠΠ»Ρ Π½ΠΈΡ ΠΌΠΎΠΆΠ½ΠΎ ΠΊΡΠΏΠΈΡΡ Π΄Π΅ΡΡΠΊΠΈΠΉ Π±ΠΈΠΎΡΡΠ°Π»Π΅Ρ ΠΈΠ»ΠΈ ΡΠΏΠ΅ΡΠΈΠ°Π»ΡΠ½ΠΎΠ΅ ΡΠΈΠ΄Π΅Π½ΡΠ΅.
vashbiotualet.ru
ΠΏΡΠΈΠ½ΡΠΈΠΏ ΡΠ°Π±ΠΎΡΡ ΠΈ Π²ΠΈΠ΄Π΅ΠΎ ΠΎΠ±Π·ΠΎΡ
Π 1981 Π³ΠΎΠ΄Ρ ΠΊΠ°Π½Π°Π΄ΡΠΊΠΈΠΉ ΠΈΠ½ΠΆΠ΅Π½Π΅Ρ ΠΠΈΡΠ΅Ρ ΠΡΠ·ΠΈΠ½Π³ Π·Π°ΠΏΠ°ΡΠ΅Π½ΡΠΎΠ²Π°Π» ΡΠ²ΠΎΠ΅ ΠΈΠ·ΠΎΠ±ΡΠ΅ΡΠ΅Π½ΠΈΠ΅, ΠΊΠΎΡΠΎΡΠΎΠ΅ ΡΠ²Π»ΡΠ΅ΡΡΡ Π½Π΅ΠΎΡΡΠ΅ΠΌΠ»Π΅ΠΌΠΎΠΉ ΡΠ°ΡΡΡΡ XXI Π²Π΅ΠΊΠ°. Π‘ΡΠ°ΡΠ°ΡΡΡ ΠΏΠΎΠΌΠΎΡΡ ΡΠ²ΠΎΠ΅ΠΉ Π±ΠΎΠ»ΡΠ½ΠΎΠΉ Π±Π°Π±ΡΡΠΊΠ΅, ΠΎΠ½ ΠΈΠ·ΠΎΠ±ΡΠ΅Π» ΠΊΠΎΠΌΠΏΠ°ΠΊΡΠ½ΡΠΉ, Π½Π΅ ΠΏΡΠΎΠΏΡΡΠΊΠ°ΡΡΠΈΠΉ Π·Π°ΠΏΠ°Ρ ΠΎΠ² ΠΈ Π»Π΅Π³ΠΊΠΈΠΉ Π² ΡΠΊΡΠΏΠ»ΡΠ°ΡΠ°ΡΠΈΠΈ ΠΏΠ΅ΡΠ²ΡΠΉ Π±ΠΈΠΎΡΡΠ°Π»Π΅Ρ. ΠΠ° ΡΠ΅Π³ΠΎΠ΄Π½ΡΡΠ½ΠΈΠΉ Π΄Π΅Π½Ρ, Π½Π°Π²Π΅ΡΠ½ΠΎΠ΅, Π½Π΅Ρ ΡΠ°ΠΊΠΎΠ³ΠΎ ΡΠ΅Π»ΠΎΠ²Π΅ΠΊΠ°, ΠΊΠΎΡΠΎΡΡΠΉ Π±Ρ Π½Π΅ Π²ΡΡΡΠ΅ΡΠ°Π» ΡΠΈΠ½ΡΡ ΠΊΠ°Π±ΠΈΠ½ΠΊΡ Π½Π° ΡΠ»ΠΈΡΠ°Ρ , ΠΏΠ°ΡΠΊΠ°Ρ ΠΈΠ»ΠΈ Π±ΠΎΠ»ΡΡΠΈΡ Π³ΠΎΡΠΎΠ΄ΡΠΊΠΈΡ ΠΏΡΠ°Π·Π΄Π½ΠΈΠΊΠ°Ρ . ΠΠΌΠ΅Π½Π½ΠΎ Ρ ΡΠ°ΠΊΠΈΠΌ Π²ΠΈΠ΄ΠΎΠΌ Π±ΠΈΠΎΡΡΠ°Π»Π΅ΡΠΎΠ² ΠΌΡ Π·Π½Π°ΠΊΠΎΠΌΡ. ΠΠΎ ΠΈΡ Π³ΠΎΡΠ°Π·Π΄ΠΎ Π±ΠΎΠ»ΡΡΠ΅.
ΠΠΈΠΎΡΡΠ°Π»Π΅Ρ β ΡΡΠΎ Π°Π²ΡΠΎΠ½ΠΎΠΌΠ½ΡΠΉ, Π»Π΅Π³ΠΊΠΎ ΡΡΠ°Π½ΡΠΏΠΎΡΡΠ°Π±Π΅Π»ΡΠ½ΡΠΉ ΡΠ½ΠΈΡΠ°Π·, Π½Π΅ ΡΡΠ΅Π±ΡΡΡΠΈΠΉ ΠΏΠΎΠ΄ΠΊΠ»ΡΡΠ΅Π½ΠΈΡ ΠΊ ΠΊΠ°Π½Π°Π»ΠΈΠ·Π°ΡΠΈΠΈ. ΠΡΠΈΠ½ΡΠΈΠΏ Π΅Π³ΠΎ ΡΠ°Π±ΠΎΡΡ Π·Π°ΠΊΠ»ΡΡΠ°Π΅ΡΡΡ Π² ΡΠ°Π·Π»ΠΎΠΆΠ΅Π½ΠΈΠΈ ΡΠΎΠ΄Π΅ΡΠΆΠΈΠΌΠΎΠ³ΠΎ ΠΏΡΠΈ ΠΏΠΎΠΌΠΎΡΠΈ Π±ΠΈΠΎΠ»ΠΎΠ³ΠΈΡΠ΅ΡΠΊΠΈΡ ΠΈΠ»ΠΈ Ρ ΠΈΠΌΠΈΡΠ΅ΡΠΊΠΈΡ Π΄ΠΎΠ±Π°Π²ΠΎΠΊ. Π‘ΠΎΠ³Π»Π°ΡΠ½ΠΎ ΠΏΡΠ΅Π΄Π½Π°Π·Π½Π°ΡΠ΅Π½ΠΈΡ, ΡΡΠΎΠΈΡ Π²ΡΠ΄Π΅Π»ΠΈΡΡ ΡΡΠ°Π»Π΅ΡΡ Π΄Π»Ρ ΠΈΡΠΏΠΎΠ»ΡΠ·ΠΎΠ²Π°Π½ΠΈΡ Π² ΠΎΠ±ΡΠ΅ΡΡΠ²Π΅Π½Π½ΡΡ ΠΌΠ΅ΡΡΠ°Ρ (ΡΡΠ°ΡΠΈΠΎΠ½Π°ΡΠ½ΡΠ΅) ΠΈ Π΄Π»Ρ ΡΠ°ΡΡΠ½ΠΎΠ³ΠΎ ΠΏΡΠΈΠΌΠ΅Π½Π΅Π½ΠΈΡ (ΠΏΠΎΡΡΠ°ΡΠΈΠ²Π½ΡΠ΅).
Π ΡΡΠΎΠΉ ΡΡΠ°ΡΡΠ΅ ΠΌΡ ΠΏΠΎΠ³ΠΎΠ²ΠΎΡΠΈΠΌ ΠΎ Π±ΠΈΠΎΡΡΠ°Π»Π΅ΡΠ΅, ΠΊΠΎΡΠΎΡΡΠΌ ΠΌΠΎΠΆΠ½ΠΎ ΠΏΠΎΠ»ΡΠ·ΠΎΠ²Π°ΡΡΡΡ Π² Π΄ΠΎΠΌΠ°ΡΠ½ΠΈΡ ΡΡΠ»ΠΎΠ²ΠΈΡΡ . ΠΡ ΡΡΡΠ΅ΡΡΠ²ΡΠ΅Ρ Π½Π΅ΡΠΊΠΎΠ»ΡΠΊΠΎ ΡΠ°Π·Π½ΠΎΠ²ΠΈΠ΄Π½ΠΎΡΡΠ΅ΠΉ, Π½ΠΎ ΠΎΠ±ΡΠ΅Π΄ΠΈΠ½ΡΠ΅Ρ Π²ΡΠ΅Ρ ΡΡ ΠΎΠ΄ΡΡΠ²ΠΎ Π² ΠΊΠΎΠ½ΡΡΡΡΠΊΡΠΈΠΈ Ρ Π½Π΅Π±ΠΎΠ»ΡΡΠΈΠΌΠΈ ΠΎΡΠΊΠ»ΠΎΠ½Π΅Π½ΠΈΡΠΌΠΈ Π² Π³Π°ΡΠ½ΠΈΡΡΡΠ΅ ΠΈΠ»ΠΈ Π΄ΠΎΠΏΠΎΠ»Π½ΠΈΡΠ΅Π»ΡΠ½ΡΡ ΡΡΠ½ΠΊΡΠΈΡΡ . Π‘ΠΎΡΡΠΎΠΈΡ ΡΡΠ°Π»Π΅Ρ ΠΈΠ· Π²Π΅ΡΡ Π½Π΅ΠΉ ΠΈ Π½ΠΈΠΆΠ½Π΅ΠΉ ΡΠ°ΡΡΠΈ. ΠΠ΅ΡΡ Π½ΡΡ ΡΠ°ΡΡΡ ΠΏΠΎΡ ΠΎΠΆΠ° Π½Π° ΠΎΠ±ΡΡΠ½ΡΠΉ ΡΠ½ΠΈΡΠ°Π·: ΠΊΡΡΡΠΊΠ°, ΡΠΈΠ΄Π΅Π½ΡΠ΅, ΡΠ°ΠΌ ΡΠ½ΠΈΡΠ°Π· ΠΈ ΡΠ΅Π·Π΅ΡΠ²ΡΠ°Ρ Π΄Π»Ρ ΡΠΈΡΡΠΎΠΉ Π²ΠΎΠ΄Ρ. Π ΠΎΡΠ΄Π΅Π»ΡΠ½ΡΡ ΠΌΠΎΠ΄Π΅Π»ΡΡ Π΅ΡΠ΅ ΡΡΡΠ΅ΡΡΠ²ΡΠ΅Ρ Π±Π°ΠΊ Π΄Π»Ρ Π·Π°ΠΏΠΎΠ»Π½Π΅Π½ΠΈΡ Π²ΠΎΠ΄ΠΎΠΉ ΠΈΠ»ΠΈ ΡΠΎΡΡΠΎΠΌ. ΠΠΈΠΆΠ½ΡΡ ΡΠ°ΡΡΡ ΡΠΎΡΡΠΎΠΈΡ ΠΈΠ· Π±Π°ΠΊΠ°, ΠΊΡΠ΄Π° ΠΏΠΎΡΡΡΠΏΠ°ΡΡ ΠΎΡΡ ΠΎΠ΄Ρ ΠΆΠΈΠ·Π½Π΅Π΄Π΅ΡΡΠ΅Π»ΡΠ½ΠΎΡΡΠΈ ΡΠ΅Π»ΠΎΠ²Π΅ΠΊΠ°, Π½Π°ΠΊΠ°ΠΏΠ»ΠΈΠ²Π°ΡΡΡΡ ΠΈ ΠΏΠ΅ΡΠ΅ΡΠ°Π±Π°ΡΡΠ²Π°ΡΡΡΡ. ΠΡΠ° ΡΠ°ΡΡΡ ΡΠ²Π»ΡΠ΅ΡΡΡ ΡΡΠ΅ΠΌΠ½ΠΎΠΉ Π΄Π»Ρ ΡΠΎΠ³ΠΎ, ΡΡΠΎΠ±Ρ Π»Π΅Π³ΡΠ΅ Π±ΡΠ»ΠΎ ΠΎΠΏΡΡΡΠΎΡΠ°ΡΡ Π΅ΠΌΠΊΠΎΡΡΡ.
ΠΠΈΠ΄Ρ Π±ΠΈΠΎΡΡΠ°Π»Π΅ΡΠΎΠ²
ΠΠ»Ρ ΠΏΡΠΎΡΡΠΎΡΡ ΠΎΠ·Π½Π°ΠΊΠΎΠΌΠ»Π΅Π½ΠΈΡ ΡΠ°Π·Π΄Π΅Π»ΠΈΠΌ Π²ΡΠ΅ Π±ΠΈΠΎΡΡΠ°Π»Π΅ΡΡ ΠΏΠΎ ΡΠ°Π·Π½ΡΠΌ ΠΏΡΠΈΠ·Π½Π°ΠΊΠ°ΠΌ:
ΠΡΡΠΎΡΠ°. Π‘ΡΡΠ΅ΡΡΠ²ΡΠ΅Ρ Π΄Π²Π° Π²ΠΈΠ΄Π° ΡΡΠ°Π»Π΅ΡΠΎΠ². ΠΠΈΠ·ΠΊΠΈΠ΅ β Ρ Π²ΡΡΠΎΡΠΎΠΉ 30-40 ΡΠΌ β ΠΏΠΎΠ΄Ρ ΠΎΠ΄ΡΡ Π΄Π»Ρ Π»ΡΠ΄Π΅ΠΉ, ΡΠΎΡΡΠΎΠΌ Π½ΠΈΠΆΠ΅ ΡΡΠ΅Π΄Π½Π΅Π³ΠΎ ΠΈ Π΄Π΅ΡΠ΅ΠΉ. ΠΡΡΠΎΠΊΠΈΠ΅ β 41-46 ΡΠΌ β Π±ΠΎΠ»Π΅Π΅ ΠΏΡΠΈΠ²ΡΡΠ½ΡΠ΅, ΠΏΠΎΡΠΊΠΎΠ»ΡΠΊΡ ΡΠΎΠ²ΠΏΠ°Π΄Π°ΡΡ Ρ Π²ΡΡΠΎΡΠΎΠΉ ΡΡΠ°Π½Π΄Π°ΡΡΠ½ΠΎΠ³ΠΎ ΡΠ½ΠΈΡΠ°Π·Π°. ΠΡΠΈ ΡΡΠΎΠΌ ΠΈΡ Π²Π΅Ρ ΡΠΎΡΡΠ°Π²Π»ΡΠ΅Ρ Π²ΡΠ΅Π³ΠΎ 4,5-5 ΠΊΠ³. ΠΠ΅ΡΠΌΠΎΡΡΡ Π½Π° ΡΠ°ΠΊΠΈΠ΅ ΠΌΠ°Π»Π΅Π½ΡΠΊΠΈΠ΅ ΠΏΠ°ΡΠ°ΠΌΠ΅ΡΡΡ, Π»ΡΠ±ΠΎΠΉ Π±ΠΈΠΎΡΡΠ°Π»Π΅Ρ Π²ΡΠ΄Π΅ΡΠΆΠΈΠ²Π°Π΅Ρ Π²Π΅ΡΡΠΈΠΊΠ°Π»ΡΠ½ΠΎΠ΅ Π½Π°ΠΏΡΡΠΆΠ΅Π½ΠΈΠ΅ ΠΌΠ°ΡΡΠΎΠΉ 250 ΠΊΠ³.- ΠΠ±ΡΠ΅ΠΌ Π½ΠΈΠΆΠ½Π΅Π³ΠΎ Π±Π°ΠΊΠ°. ΠΡ ΠΎΠ±ΡΠ΅ΠΌΠ° Π·Π°Π²ΠΈΡΠΈΡ Π½Π΅ ΡΠΎΠ»ΡΠΊΠΎ ΡΠ°ΡΡΠΎΡΠ° ΠΎΠΏΠΎΡΠΎΠΆΠ½Π΅Π½ΠΈΡ, Π½ΠΎ ΠΈ Π²Π΅Ρ Π±Π°ΠΊΠ°. ΠΠ°Π»Π΅Π½ΡΠΊΠΈΠΉ (Π²ΠΌΠ΅ΡΡΠΈΡΠ΅Π»ΡΠ½ΠΎΡΡΡΡ ΠΎΡ 11 Π΄ΠΎ 13 Π»ΠΈΡΡΠΎΠ²) Π·Π°ΠΏΠΎΠ»Π½ΠΈΡΡΡ Π·Π° 20-25 ΠΏΠΎΡΠ΅ΡΠ΅Π½ΠΈΠΉ, Π²Π΅ΡΠΈΡ ΠΎΠΊΠΎΠ»ΠΎ 14 ΠΊΠ³; ΡΡΠ΅Π΄Π½ΠΈΠΉ ΠΈ Π±ΠΎΠ»ΡΡΠΎΠΉ (ΠΎΡ 15 Π΄ΠΎ 24 Π»ΠΈΡΡΠΎΠ²) ΡΠ°ΡΡΡΠΈΡΠ°Π½Ρ Π½Π° 30-50 ΠΏΠΎΡΠ΅ΡΠ΅Π½ΠΈΠΉ, ΠΌΠ°ΡΡΠ° β Π΄ΠΎ 23 ΠΊΠ³. Π§Π΅ΠΌ Π±ΠΎΠ»ΡΡΠ΅ Π½Π°ΠΊΠΎΠΏΠΈΡΠ΅Π»ΡΠ½ΡΠΉ Π±Π°ΠΊ, ΡΠ΅ΠΌ ΠΌΠ΅Π½ΡΡΠ΅ Π±ΡΠ΄Π΅Ρ ΡΠ°ΡΡΠΎΡΠ° Π΅Π³ΠΎ ΠΎΠΏΡΡΡΠΎΡΠ΅Π½ΠΈΡ, Π½ΠΎ ΡΠ΅ΠΌ Π²Π΅ΡΠΎΠΌΠ΅Π΅ ΠΎΠ½ ΠΎΠΊΠ°ΠΆΠ΅ΡΡΡ.
- ΠΡΠΈΠ½ΡΠΈΠΏ ΡΠ°Π±ΠΎΡΡ. ΠΠΎ ΡΡΠΎΠΌΡ ΠΏΡΠΈΠ·Π½Π°ΠΊΡ Π±ΠΈΠΎΡΡΠ°Π»Π΅ΡΡ ΠΌΠΎΠΆΠ½ΠΎ ΡΠ°Π·Π΄Π΅Π»ΠΈΡΡ Π½Π° ΡΡΠΈ Π²ΠΈΠ΄Π°:
- ΡΠΎΡΡΡΠ½ΡΠ΅ β ΠΏΡΠ΅Π΄Π½Π°Π·Π½Π°ΡΠ΅Π½Ρ Π΄Π»Ρ ΡΡΡ ΠΎΠΉ ΠΏΠ΅ΡΠ΅ΡΠ°Π±ΠΎΡΠΊΠΈ;
- ΠΆΠΈΠ΄ΠΊΠΈΠ΅ β ΠΈΡΠΏΠΎΠ»ΡΠ·ΡΡΡ Π±ΠΈΠΎ- ΠΈΠ»ΠΈ Ρ ΠΈΠΌΠΈΡΠ΅ΡΠΊΠΈΠ΅ ΡΠ΅Π°Π³Π΅Π½ΡΡ;
- ΡΠ»Π΅ΠΊΡΡΠΈΡΠ΅ΡΠΊΠΈΠ΅, Π³Π΄Π΅ ΠΏΡΠΎΠΈΡΡ ΠΎΠ΄ΠΈΡ ΠΏΡΠΎΡΠ΅ΡΡ Π²ΡΡΡΡΠΈΠ²Π°Π½ΠΈΡ ΠΈ ΡΠΏΡΠ΅ΡΡΠΎΠ²ΡΠ²Π°Π½ΠΈΡ.
Π’ΠΎΡΡΡΠ½ΠΎΠΉ Π±ΠΈΠΎΡΡΠ°Π»Π΅Ρ. ΠΡΠΈΠ½ΡΠΈΠΏ Π΅Π³ΠΎ ΡΠ°Π±ΠΎΡΡ Π·Π°ΠΊΠ»ΡΡΠ°Π΅ΡΡΡ Π² ΠΈΡΠΏΠΎΠ»ΡΠ·ΠΎΠ²Π°Π½ΠΈΠΈ Π½Π°ΡΡΡΠ°Π»ΡΠ½ΠΎΠ³ΠΎ ΠΏΡΠΎΠ΄ΡΠΊΡΠ°, Π² Π²ΠΈΠ΄Π΅ ΡΠΎΡΡΠ°, ΠΊΠΎΡΠΎΡΡΠΉ Π΄ΠΎΠΏΠΎΠ»Π½ΠΈΡΠ΅Π»ΡΠ½ΠΎ Π½Π°ΡΡΡΠ΅Π½ ΠΌΠΈΠΊΡΠΎΠΎΡΠ³Π°Π½ΠΈΠ·ΠΌΠ°ΠΌΠΈ, ΠΏΠΎΡΡΠΎΠΌΡ ΠΎΠ±ΡΡΠ½ΡΠ΅ ΡΠΎΡΡΡΠ½ΡΠ΅ ΡΠΌΠ΅ΡΠΈ ΡΡΠ΄Π° Π½Π΅ ΠΏΠΎΠ΄ΠΎΠΉΠ΄ΡΡ. ΠΠΎΠ½ΡΡΡΡΠΊΡΠΈΡ ΡΡΠΎΠ³ΠΎ ΠΏΡΠΈΡΠΏΠΎΡΠΎΠ±Π»Π΅Π½ΠΈΡ ΠΎΡΠ»ΠΈΡΠ°Π΅ΡΡΡ Π½Π°Π»ΠΈΡΠΈΠ΅ΠΌ ΡΡΡΠ±Ρ Π²Π΅Π½ΡΠΈΠ»ΡΡΠΈΠΈ.
Π§ΠΈΡΠ°ΠΉΡΠ΅ ΡΠ°ΠΊΠΆΠ΅: ΠΠ°ΠΊ ΠΏΡΠΎΡΠΈΡΡΠΈΡΡ ΠΊΠ°Π½Π°Π»ΠΈΠ·Π°ΡΠΈΠΎΠ½Π½ΡΡ ΡΡΡΠ±Ρ Π² Π΄ΠΎΠΌΠ΅
ΠΠ΅ΡΠ΅Π΄ ΠΈΡΠΏΠΎΠ»ΡΠ·ΠΎΠ²Π°Π½ΠΈΠ΅ΠΌ ΡΡΠ°Π»Π΅ΡΠ° Π² ΡΠΏΠ΅ΡΠΈΠ°Π»ΡΠ½ΡΠΉ Π±Π°ΠΊ Π·Π°ΡΡΠΏΠ°Π΅ΡΡΡ ΡΠΎΡΡ. ΠΠΌΠ΅ΡΡΠΎ ΡΠ»ΠΈΠ²Π° Π½Π΅ΠΎΠ±Ρ ΠΎΠ΄ΠΈΠΌΠΎ ΠΏΠΎΠΊΡΡΡΠΈΡΡ ΡΠΏΠ΅ΡΠΈΠ°Π»ΡΠ½ΡΡ ΡΡΡΠΊΡ, ΠΊΠΎΡΠΎΡΠ°Ρ ΠΎΠΏΡΡΡΠΈΡ Π½Π΅ΡΠΈΡΡΠΎΡΡ Π² Π½Π°ΠΊΠΎΠΏΠΈΡΠ΅Π»ΡΠ½ΡΠΉ Π±Π°ΠΊ, ΠΏΠ΅ΡΠ΅ΡΡΠΏΠ°Π² ΠΈΡ ΡΠΌΠ΅ΡΡΡ. Π ΡΠ΅Π·ΡΠ»ΡΡΠ°ΡΠ΅ ΠΏΡΠΎΠΈΡΡ ΠΎΠ΄ΠΈΡ ΠΏΡΠΎΡΠ΅ΡΡ ΠΊΠΎΠΌΠΏΠΎΡΡΠΈΡΠΎΠ²Π°Π½ΠΈΡ, ΠΈ ΠΈΠ· Π½Π΅Π½ΡΠΆΠ½ΡΡ ΠΎΡΡ ΠΎΠ΄ΠΎΠ² ΠΏΠΎΠ»ΡΡΠ°ΡΡΡΡ Π½Π΅ΠΎΠ±Ρ ΠΎΠ΄ΠΈΠΌΡΠ΅ ΡΠ΄ΠΎΠ±ΡΠ΅Π½ΠΈΡ Π΄Π»Ρ Π²Π°ΡΠ΅Π³ΠΎ ΠΎΠ³ΠΎΡΠΎΠ΄Π°. ΠΡΠ»ΠΈ ΠΎΠΏΠΎΡΠΎΠΆΠ½ΡΡΡ Π±Π°ΠΊ ΡΠ°ΡΠ΅, ΡΠ΅ΠΌ ΠΎΠ΄ΠΈΠ½ ΡΠ°Π· Π² ΠΏΠΎΠ»Π³ΠΎΠ΄Π°, ΠΊΠ°ΠΊ ΡΠΊΠ°Π·Π°Π½ΠΎ Π² ΠΈΠ½ΡΡΡΡΠΊΡΠΈΠΈ, ΡΠΎ ΠΏΠΎΠ»Π½ΡΠΉ ΠΏΡΠΎΡΠ΅ΡΡ ΠΊΠΎΠΌΠΏΠΎΡΡΠΈΡΠΎΠ²Π°Π½ΠΈΡ ΠΏΡΠΎΠΈΡΡ ΠΎΠ΄ΠΈΡ Π² ΡΠΏΠ΅ΡΠΈΠ°Π»ΡΠ½ΠΎΠΉ ΡΠ»ΠΈΠ²ΠΎΡΠ½ΠΎΠΉ ΡΠΌΠ΅. Π£ΡΠΈΡΡΠ²Π°ΠΉΡΠ΅ ΡΠ°ΠΊΠΆΠ΅ Π΅ΡΠ΅ Π΄Π²Π° ΡΠ°ΠΊΡΠΎΡΠ°. ΠΠΎ-ΠΏΠ΅ΡΠ²ΡΡ , Π΅ΡΠ»ΠΈ ΡΡΠ°Π»Π΅ΡΠΎΠΌ ΠΏΠΎΠ»ΡΠ·ΡΠ΅ΡΡΡ Π±ΠΎΠ»ΡΡΠ΅ Π΄Π²ΡΡ ΡΠ΅Π»ΠΎΠ²Π΅ΠΊ, ΠΏΡΠΈΠ΄Π΅ΡΡΡ Π΄Π΅Π»Π°ΡΡ ΡΠ»ΠΈΠ² Π΄Π»Ρ ΠΆΠΈΠ΄ΠΊΠΈΡ ΠΎΡΡ ΠΎΠ΄ΠΎΠ². ΠΠΎ-Π²ΡΠΎΡΡΡ , Π²Π΅Ρ ΠΏΠΎΠ»Π½ΠΎΠ³ΠΎ Π±Π°ΠΊΠ° ΡΠΎΡΡΠ°Π²ΠΈΡ 100-120 ΠΊΠ³, ΠΈ, Ρ ΠΎΡΡ Π½Π° ΠΌΠ½ΠΎΠ³ΠΈΡ ΠΌΠΎΠ΄Π΅Π»ΡΡ ΠΏΡΠΈΠΊΡΠ΅ΠΏΠ»Π΅Π½Ρ ΠΊΠΎΠ»Π΅ΡΠΈΠΊΠΈ Π΄Π»Ρ ΡΡΠ°Π½ΡΠΏΠΎΡΡΠΈΡΠΎΠ²ΠΊΠΈ, Π»Π΅Π³ΡΠ΅ Π½Π΅ Π±ΡΠ΄Π΅Ρ.
ΠΡΠΎΡ ΡΡΠ°Π»Π΅Ρ Ρ ΠΎΡΠΎΡ ΡΠ΅ΠΌ, ΡΡΠΎ Π΅ΠΌΡ Π½Π΅ ΡΡΡΠ°ΡΠ½Ρ Π½ΠΈΠΊΠ°ΠΊΠΈΠ΅ ΠΌΠΎΡΠΎΠ·Ρ, ΠΈ Π΅Π³ΠΎ ΡΠΌΠ΅Π»ΠΎ ΠΌΠΎΠΆΠ½ΠΎ ΡΡΠ°Π²ΠΈΡΡ Π½Π° ΡΠ»ΠΈΡΠ΅. ΠΠ½ ΡΠΊΠΎΠ»ΠΎΠ³ΠΈΡΠ΅Π½ ΠΈ ΠΏΠΎΠ»Π΅Π·Π΅Π½ (ΠΏΡΠΎΠΈΠ·Π²ΠΎΠ΄ΠΈΡ ΡΠ΄ΠΎΠ±ΡΠ΅Π½ΠΈΡ), Π½Π΅ ΡΡΠ΅Π±ΡΠ΅Ρ ΠΎΡΠ΅Π½Ρ ΡΠ°ΡΡΠΎΠ³ΠΎ ΠΎΠΏΠΎΡΠΎΠΆΠ½Π΅Π½ΠΈΡ ΠΈ ΡΠΏΠ΅ΡΠΈΠ°Π»ΡΠ½ΡΡ ΡΡΠ΅Π΄ΡΡΠ² ΠΏΠΎ ΡΡ ΠΎΠ΄Ρ. Π ΡΠΎ ΠΆΠ΅ Π²ΡΠ΅ΠΌΡ ΡΡΠ°Π»Π΅Ρ Π΄ΠΎΡΡΠ°ΡΠΎΡΠ½ΠΎ Π³ΡΠΎΠΌΠΎΠ·Π΄ΠΊΠΈΠΉ (ΠΏΠΎ ΡΡΠ°Π²Π½Π΅Π½ΠΈΡ Ρ Π΄ΡΡΠ³ΠΈΠΌΠΈ Π²ΠΈΠ΄Π°ΠΌΠΈ), ΡΡΠ΅Π±ΡΡΡΠΈΠΉ Π²ΡΠ²Π΅Π΄Π΅Π½ΠΈΠ΅ Π²Π΅Π½ΡΠΈΠ»ΡΡΠΈΠΈ (Π° Π·Π½Π°ΡΠΈΡ, Π½Π΅ΠΊΠΈΠΉ Π·Π°ΠΏΠ°Ρ Π²ΡΠ΅ ΠΆΠ΅ ΠΏΡΠΈΡΡΡΡΡΠ²ΡΠ΅Ρ) ΠΈ Π΄ΠΎΠΏΠΎΠ»Π½ΠΈΡΠ΅Π»ΡΠ½ΠΎΠ³ΠΎ Π·Π°ΡΡΠΏΠ°Π½ΠΈΡ ΡΠΎΡΡΠΎΠΌ, ΠΏΠΎΡΠΊΠΎΠ»ΡΠΊΡ ΠΌΠ΅Ρ Π°Π½ΠΈΠ·ΠΌ Π΄Π»Ρ ΡΠ°ΡΡΡΠΏΠ°Π½ΠΈΡ Π΄Π΅Π»Π°Π΅Ρ ΡΡΠΎ Π½Π΅ ΡΠ°Π²Π½ΠΎΠΌΠ΅ΡΠ½ΠΎ.
ΠΠΈΠ΄ΠΊΠΈΠΉ Π±ΠΈΠΎΡΡΠ°Π»Π΅Ρ. ΠΡΠΈΠ½ΡΠΈΠΏ Π΅Π³ΠΎ ΡΠ°Π±ΠΎΡΡ: ΠΎΡΡ ΠΎΠ΄Ρ ΡΠΌΡΠ²Π°ΡΡΡΡ Π²ΠΎΠ΄ΠΎΠΉ. ΠΠΎΠΏΠ°Π² Π² Π±Π°ΠΊ, ΠΎΠ½ΠΈ ΡΠ°ΡΡΠ²ΠΎΡΡΡΡΡΡ ΠΏΠΎΠ΄ Π²ΠΎΠ·Π΄Π΅ΠΉΡΡΠ²ΠΈΠ΅ΠΌ Π±ΠΈΠΎΠ»ΠΎΠ³ΠΈΡΠ΅ΡΠΊΠΈΡ ΠΈΠ»ΠΈ Ρ ΠΈΠΌΠΈΡΠ΅ΡΠΊΠΈΡ ΠΏΡΠ΅ΠΏΠ°ΡΠ°ΡΠΎΠ². Π ΡΠ΅Π·ΡΠ»ΡΡΠ°ΡΠ΅ Π½Π΅ ΡΠΎΠ»ΡΠΊΠΎ ΠΏΠ΅ΡΠ΅ΡΠ°Π±Π°ΡΡΠ²Π°ΡΡΡΡ ΠΎΡΡ ΠΎΠ΄Ρ, Π½ΠΎ ΠΈ ΡΡΡΡΠ°Π½ΡΠ΅ΡΡΡ Π·Π°ΠΏΠ°Ρ . ΠΠΎΡΠ»Π΅ ΠΏΠΎΠ»Π½ΠΎΠ³ΠΎ Π·Π°ΠΏΠΎΠ»Π½Π΅Π½ΠΈΡ Π±Π°ΠΊ ΠΎΡΡΠΎΠ΅Π΄ΠΈΠ½ΡΠ΅ΡΡΡ, ΠΈ ΡΠΎΠ΄Π΅ΡΠΆΠΈΠΌΠΎΠ΅ Π²ΡΠ»ΠΈΠ²Π°Π΅ΡΡΡ ΡΠΎΠ»ΡΠΊΠΎ Π² ΠΊΠ°Π½Π°Π»ΠΈΠ·Π°ΡΠΈΡ. ΠΠ°Π»Π΅Π΅ Π²Ρ ΠΎΠΏΠΎΠ»Π°ΡΠΊΠΈΠ²Π°Π΅ΡΠ΅ Π΅Π³ΠΎ Π²ΠΎΠ΄ΠΎΠΉ, Π·Π°ΠΏΠΎΠ»Π½ΡΠ΅ΡΠ΅ ΡΠΏΠ΅ΡΠΈΠ°Π»ΡΠ½ΠΎΠΉ ΠΆΠΈΠ΄ΠΊΠΎΡΡΡΡ ΠΈ ΡΡΠ°Π»Π΅Ρ Π³ΠΎΡΠΎΠ² ΠΊ ΡΠΊΡΠΏΠ»ΡΠ°ΡΠ°ΡΠΈΠΈ. ΠΠΈΠ½ΡΡΡ ΡΡΠΎΠ³ΠΎ Π²ΠΈΠ΄Π° Π² ΡΠΎΠΊΡΠΈΡΠ½ΠΎΡΡΠΈ, ΡΠ°ΡΡΠΎΡΠ΅ ΠΎΠΏΠΎΡΠΎΠΆΠ½Π΅Π½ΠΈΡ Π±Π°ΠΊΠ° ΠΈ Π·Π°ΡΡΠ°ΡΠ°Ρ Π½Π° ΡΠΏΠ΅ΡΠΈΠ°Π»ΡΠ½ΡΠ΅ ΠΆΠΈΠ΄ΠΊΠΎΡΡΠΈ.
Π ΡΡΠ΅ΡΠΈΠΉ Π²ΠΈΠ΄ β ΡΡΠΎ ΡΠ»Π΅ΠΊΡΡΠΈΡΠ΅ΡΠΊΠΈΠΉ Π±ΠΈΠΎΡΡΠ°Π»Π΅Ρ ΠΈΠ»ΠΈ ΠΊΠ°ΡΡΠ΅ΡΠ½ΡΠΉ. ΠΡΠΈΠ½ΡΠΈΠΏ Π΅Π³ΠΎ ΡΠ°Π±ΠΎΡΡ ΠΎΡΠ»ΠΈΡΠ°Π΅ΡΡΡ ΠΎΡ ΠΏΡΠ΅Π΄ΡΠ΄ΡΡΠΈΡ ΠΌΠΎΠ΄Π΅Π»Π΅ΠΉ ΠΏΠΎΡΡΠ΅Π±Π½ΠΎΡΡΡΡ Π² ΡΠ»Π΅ΠΊΡΡΠΎΡΠ½Π΅ΡΠ³ΠΈΠΈ. ΠΠΈΠΆΠ½ΠΈΠΉ Π±Π°ΠΊ ΡΡΠΎΠ³ΠΎ ΡΡΠ°Π»Π΅ΡΠ° ΡΠΎΡΡΠΎΠΈΡ ΠΈΠ· Π΄Π²ΡΡ ΡΠ°ΡΡΠ΅ΠΉ: Π΄Π»Ρ ΠΆΠΈΠ΄ΠΊΠΈΡ ΠΎΡΡ ΠΎΠ΄ΠΎΠ² ΠΈ ΡΠ²Π΅ΡΠ΄ΡΡ . ΠΠΈΠ΄ΠΊΠΈΠ΅ ΠΎΡΡ ΠΎΠ΄Ρ ΠΏΡΠΈ ΠΏΠΎΠΌΠΎΡΠΈ Π½Π°ΡΠΎΡΠ° Π²ΡΠΊΠ°ΡΠΈΠ²Π°ΡΡΡΡ Π² ΠΊΠ°Π½Π°Π»ΠΈΠ·Π°ΡΠΈΡ, Π° ΡΠ²Π΅ΡΠ΄ΡΠ΅ ΠΏΡΠ΅ΡΡΡΡΡΡΡ ΠΈ Π²ΡΡΡΡΠΈΠ²Π°ΡΡΡΡ. ΠΡΠ΅ Π·Π°ΠΏΠ°Ρ ΠΈ ΡΠ΄Π°Π»ΡΡΡΡΡ ΠΏΡΠΈ ΠΏΠΎΠΌΠΎΡΠΈ Π²Π΅Π½ΡΠΈΠ»ΡΡΠΈΠΈ. ΠΠΈΠ½ΡΡΡ ΡΠ°ΠΊΠΎΠ³ΠΎ Π±ΠΈΠΎΡΡΠ°Π»Π΅ΡΠ° ΠΎΡΠ΅Π²ΠΈΠ΄Π½Ρ: ΠΏΡΠΈΠ½ΡΠ΄ΠΈΡΠ΅Π»ΡΠ½Π°Ρ Π²Π΅Π½ΡΠΈΠ»ΡΡΠΈΡ, Π½Π°Π»ΠΈΡΠΈΠ΅ ΡΠ»Π΅ΠΊΡΡΠΈΡΠ΅ΡΡΠ²Π°, ΠΏΠΎΠ΄ΠΊΠ»ΡΡΠ΅Π½ΠΈΠ΅ ΠΊ ΠΊΠ°Π½Π°Π»ΠΈΠ·Π°ΡΠΈΠΈ ΠΈΠ»ΠΈ ΡΠΏΠ΅ΡΠΈΠ°Π»ΡΠ½ΠΎΠΉ ΡΠ»ΠΈΠ²Π½ΠΎΠΉ ΡΠΌΠ΅. ΠΠ»ΡΡΡ ΠΆΠ΅ Π² ΠΎΡΡΡΡΡΡΠ²ΠΈΠΈ Π·Π°ΠΏΠ°Ρ ΠΎΠ², ΠΏΡΠΎΡΡΠΎΡΠ΅ ΠΈΡΠΏΠΎΠ»ΡΠ·ΠΎΠ²Π°Π½ΠΈΡ ΡΠ΅Π΄ΠΊΠΎΠΉ ΠΈ ΠΏΡΠΎΡΡΠΎΠΉ ΠΎΡΠΈΡΡΠΊΠΈ.
ΠΠ½Π°Ρ ΠΊΠ»Π°ΡΡΠΈΡΠΈΠΊΠ°ΡΠΈΡ ΠΈ Ρ Π°ΡΠ°ΠΊΡΠ΅ΡΠΈΡΡΠΈΠΊΡ, ΠΌΠΎΠΆΠ½ΠΎ Π±Π΅Π· ΠΎΡΠΎΠ±ΠΎΠ³ΠΎ ΡΡΡΠ΄Π° ΠΏΠΎΠ΄ΠΎΠ±ΡΠ°ΡΡ ΠΏΡΠ°Π²ΠΈΠ»ΡΠ½ΡΠΉ ΠΏΠΎ Π½Π°Π·Π½Π°ΡΠ΅Π½ΠΈΡ Π±ΠΈΠΎΡΡΠ°Π»Π΅Ρ. ΠΡΠ°ΠΊ, Π΅ΡΠ»ΠΈ Π²Ρ Π»ΡΠ±ΠΈΡΠ΅ ΠΏΡΡΠ΅ΡΠ΅ΡΡΠ²ΠΎΠ²Π°ΡΡ Π½Π° Π°Π²ΡΠΎΠΌΠΎΠ±ΠΈΠ»Π΅ ΠΈΠ»ΠΈ ΠΎΡΠ΄ΡΡ Π°ΡΡ Π½Π° ΠΏΡΠΈΡΠΎΠ΄Π΅ ΠΈ Π½Π΅ ΠΆΠ΅Π»Π°Π΅ΡΠ΅ ΡΠ°ΡΡΡΠ°Π²Π°ΡΡΡΡ Ρ ΡΠ΄ΠΎΠ±ΡΡΠ²Π°ΠΌΠΈ, ΡΠΎ Π²Π°ΠΌ ΠΏΠΎΠ½Π°Π΄ΠΎΠ±ΠΈΡΡΡ ΡΡΠ°Π»Π΅Ρ, ΠΊΠΎΡΠΎΡΡΠΉ Π±Ρ ΠΏΠΎΠΌΠ΅ΡΠ°Π»ΡΡ Π² Π±Π°Π³Π°ΠΆΠ½ΠΈΠΊ, Π·Π°Π½ΠΈΠΌΠ°Π» ΠΌΠ°Π»ΠΎ ΠΌΠ΅ΡΡΠ° ΠΈ Π±ΡΠ» Π»Π΅Π³ΠΎΠΊ, ΠΏΠΎΡΠΊΠΎΠ»ΡΠΊΡ Π΅Π³ΠΎ ΠΏΠ΅ΡΠΈΠΎΠ΄ΠΈΡΠ΅ΡΠΊΠΈ ΠΏΡΠΈΠ΄Π΅ΡΡΡ Π²ΡΠ½ΠΈΠΌΠ°ΡΡ. ΠΠΎΠ³Π΄Π° ΠΆΠ΅ ΡΠ΅ΡΡ ΠΈΠ΄Π΅Ρ ΠΎ Π²ΡΠ½ΡΠΆΠ΄Π΅Π½Π½ΡΡ ΡΠΈΡΡΠ°ΡΠΈΡΡ , Π½Π΅ ΡΠ²ΡΠ·Π°Π½Π½ΡΡ Ρ ΠΎΡΠ΄ΡΡ ΠΎΠΌ, Π° Ρ Π½Π΅ΠΎΠ±Ρ ΠΎΠ΄ΠΈΠΌΠΎΡΡΡΡ ΠΎΠ±Π»Π΅Π³ΡΠΈΡΡ ΠΆΠΈΠ·Π½Ρ ΠΏΠΎΠΆΠΈΠ»ΠΎΠΌΡ ΡΠΎΠ΄ΡΡΠ²Π΅Π½Π½ΠΈΠΊΡ Ρ ΠΎΠ³ΡΠ°Π½ΠΈΡΠ΅Π½Π½ΡΠΌΠΈ Π²ΠΎΠ·ΠΌΠΎΠΆΠ½ΠΎΡΡΡΠΌΠΈ ΠΈΠ»ΠΈ ΡΠ΅Π»ΠΎΠ²Π΅ΠΊΡ ΠΏΠΎΡΠ»Π΅ ΡΠ΅ΡΡΠ΅Π·Π½ΡΡ Π·Π°Π±ΠΎΠ»Π΅Π²Π°Π½ΠΈΠΉ, ΡΠΎ Π·Π΄Π΅ΡΡ Π½Π΅ΠΎΠ±Ρ ΠΎΠ΄ΠΈΠΌΠΎ ΠΏΠΎΠ΄ΡΠΌΠ°ΡΡ Π½Π΅ ΡΠΎΠ»ΡΠΊΠΎ ΠΎ ΠΏΡΠ°Π²ΠΈΠ»ΡΠ½ΠΎΠΌ Π²ΡΠ±ΠΎΡΠ΅ Π±ΠΈΠΎΡΡΠ°Π»Π΅ΡΠ°, Π½ΠΎ ΠΈ ΠΎΠ± ΡΠ΄ΠΎΠ±ΡΡΠ²Π΅ Π΅Π³ΠΎ ΠΈΡΠΏΠΎΠ»ΡΠ·ΠΎΠ²Π°Π½ΠΈΡ, ΠΏΠΎΡΡΠΎΠΌΡ ΡΠΎΠ²Π΅ΡΡΠ΅ΠΌ ΠΏΡΠΈΠΎΠ±ΡΠ΅ΡΡΠΈ ΠΈ ΠΊΡΠ΅ΡΠ»ΠΎ-ΡΡΠ°Π»Π΅Ρ. ΠΡΠΎ ΡΠΏΠ΅ΡΠΈΠ°Π»ΡΠ½Π°Ρ ΠΏΠΎΠ΄ΡΡΠ°Π²ΠΊΠ° Π² Π²ΠΈΠ΄Π΅ ΡΠΈΠ΄Π΅Π½ΡΡ Ρ ΠΏΠΎΡΡΡΠ½ΡΠΌΠΈ ΠΈ ΡΠ΅Π³ΡΠ»ΠΈΡΡΠ΅ΠΌΠΎΠΉ Π²ΡΡΠΎΡΠΎΠΉ, ΡΡΠΎ ΠΏΠΎΠ·Π²ΠΎΠ»ΠΈΡ ΡΠ΅Π»ΠΎΠ²Π΅ΠΊΡ Π»Π΅Π³ΠΊΠΎ ΡΠ΅ΡΡΡ ΠΈ Π²ΡΡΠ°ΡΡ.
ΠΠ°ΠΊ ΠΎΠΊΠ°Π·Π°Π»ΠΎΡΡ, ΠΏΠΎΡΡΠ°ΡΠΈΠ²Π½ΡΠΉ Π±ΠΈΠΎΡΡΠ°Π»Π΅Ρ Π²Π΅ΡΡΠΌΠ° ΡΠ΄ΠΎΠ±Π΅Π½ Π΄Π»Ρ Π΄ΠΎΠΌΠ°ΡΠ½Π΅Π³ΠΎ ΠΈΡΠΏΠΎΠ»ΡΠ·ΠΎΠ²Π°Π½ΠΈΡ, Π»Π΅Π³ΠΎΠΊ Π² ΡΠΊΡΠΏΠ»ΡΠ°ΡΠ°ΡΠΈΠΈ ΠΈ ΠΈΠΌΠ΅Π΅Ρ ΠΏΡΠΎΡΡΠΎΠΉ ΠΏΡΠΈΠ½ΡΠΈΠΏ ΡΠ°Π±ΠΎΡΡ.
canalizacii.ru
ΠΊΠ°ΠΊ ΠΏΠΎΠ»ΡΠ·ΠΎΠ²Π°ΡΡΡΡ, ΠΏΡΠΈΠ½ΡΠΈΠΏ ΡΠ°Π±ΠΎΡΡ, ΠΎΠΏΠΈΡΠ°Π½ΠΈΠ΅ ΡΠΎΡΡΡΠ½ΠΎΠ³ΠΎ
ΠΠΈΠΎΡΡΠ°Π»Π΅Ρ β ΡΠΎΠ²ΡΠ΅ΠΌΠ΅Π½Π½ΠΎΠ΅ ΠΎΠ±ΠΎΡΡΠ΄ΠΎΠ²Π°Π½ΠΈΠ΅, ΡΠΎΡΡΠΎΡΡΠ΅Π΅ ΠΈΠ· ΠΊΠΎΠΌΠΏΠ°ΠΊΡΠ½ΠΎΠΉ ΠΊΠΎΠ½ΡΡΡΡΠΊΡΠΈΠΈ ΠΈ ΠΎΡΠ²Π΅ΡΠ°ΡΡΠ΅Π΅ Π²ΡΠ΅ΠΌ ΡΠ°Π½ΠΈΡΠ°ΡΠ½ΡΠΌ ΡΡΠ»ΠΎΠ²ΠΈΡΠΌ. ΠΡΠΏΠΎΠ»ΡΠ·ΡΡΡΡΡ ΡΠ°ΠΊΠΈΠ΅ ΡΡΠ°Π»Π΅ΡΡ Π² ΡΠ°ΡΡΠ½ΡΡ Π΄ΠΎΠΌΠ°Ρ ΠΈ Π½Π° Π΄Π°ΡΠ°Ρ , ΠΈ ΡΡΠΈΡΠ°ΡΡΡΡ ΡΠ°ΠΌΡΠΌΠΈ ΡΠ΄ΠΎΠ±Π½ΡΠΌΠΈ ΠΈ ΠΏΡΠΎΡΡΡΠΌΠΈ Π² ΠΈΡΠΏΠΎΠ»ΡΠ·ΠΎΠ²Π°Π½ΠΈΠΈ. ΠΠ΅ΠΊΠΎΡΠΎΡΡΠ΅ Π²ΠΈΠ΄Ρ Π±ΠΈΠΎΡΡΠ°Π»Π΅ΡΠΎΠ² Π² ΡΠΎΡΠ½ΠΎΡΡΠΈ ΠΏΠΎΠ²ΡΠΎΡΡΡΡ Π΄Π΅ΠΉΡΡΠ²ΠΈΡ ΠΎΠ±ΡΡΠ½ΡΡ ΡΠ½ΠΈΡΠ°Π·ΠΎΠ² ΠΈ ΠΈΠΌΠ΅ΡΡ ΡΡΠ½ΠΊΡΠΈΡ Π²ΠΎΠ΄Π½ΠΎΠ³ΠΎ ΡΠΌΡΠ²Π° ΠΏΡΠΈ Π°Π²ΡΠΎΠ½ΠΎΠΌΠ½ΠΎΠΉ ΡΠ°Π±ΠΎΡΠ΅. ΠΡΠ΅ΠΈΠΌΡΡΠ΅ΡΡΠ²ΠΎΠΌ ΡΠ°ΠΊΠΈΡ ΠΌΠΎΠ΄Π΅Π»Π΅ΠΉ ΡΡΠ°Π»Π΅ΡΠΎΠ² ΡΠ²Π»ΡΠ΅ΡΡΡ ΡΠ΄ΠΎΠ±ΡΡΠ²ΠΎ ΡΠΊΡΠΏΠ»ΡΠ°ΡΠ°ΡΠΈΠΈ, ΡΡΠΎ ΠΏΠΎΠ·Π²ΠΎΠ»ΡΠ΅Ρ ΠΈΡΠΏΠΎΠ»ΡΠ·ΠΎΠ²Π°ΡΡ Π΅Π³ΠΎ Π² Π»ΡΠ±ΠΎΠΌ ΠΌΠ΅ΡΡΠ΅ ΠΈ Π² ΡΠ°Π·Π½ΡΡ ΡΡΠ»ΠΎΠ²ΠΈΡΡ .
ΠΠΈΠ΄Ρ Π±ΠΈΠΎΡΡΠ°Π»Π΅ΡΠΎΠ²
ΠΠΈΠΎΡΡΠ°Π»Π΅ΡΡ ΠΌΠΎΠΆΠ½ΠΎ ΡΠ°Π·Π΄Π΅Π»ΠΈΡΡ Π½Π°:
- ΠΏΠ΅ΡΠ΅Π½ΠΎΡΠ½ΡΠ΅;
- ΡΡΠ°ΡΠΈΠΎΠ½Π°ΡΠ½ΡΠ΅.
ΠΠ΅ΡΠ΅Π½ΠΎΡΠ½ΡΠ΅ β Π½Π΅Π±ΠΎΠ»ΡΡΠΎΠ³ΠΎ ΡΠ°Π·ΠΌΠ΅ΡΠ° ΠΊΠΎΠ½ΡΡΡΡΠΊΡΠΈΡ, ΠΊΠΎΡΠΎΡΡΡ Π±ΡΡΡΡΠΎ ΡΡΡΠ°Π½Π°Π²Π»ΠΈΠ²Π°ΡΡ ΠΈ Π»Π΅Π³ΠΊΠΎ ΠΏΠ΅ΡΠ΅Π½ΠΎΡΠΈΡΡ. ΠΡΠΏΠΎΠ»ΡΠ·ΡΡΡΡΡ Π² Π·Π°Π³ΠΎΡΠΎΠ΄Π½ΡΡ ΠΊΠΎΡΡΠ΅Π΄ΠΆΠ°Ρ . Π’Π°ΠΊΠΈΠ΅ Π±ΠΈΠΎΡΡΠ°Π»Π΅ΡΡ ΠΈΠΌΠ΅ΡΡ ΠΏΠΎΠ»ΠΎΠΆΠΈΡΠ΅Π»ΡΠ½ΡΠ΅ ΠΎΡΠ·ΡΠ²Ρ, Π²Π΅Π΄Ρ ΠΎΠ½ΠΈ ΠΊΠΎΠΌΠΏΠ°ΠΊΡΠ½Ρ ΠΈ ΠΈΡ ΠΌΠΎΠΆΠ½ΠΎ Π±ΡΠ°ΡΡ Ρ ΡΠΎΠ±ΠΎΠΉ Π² ΠΏΠΎΠ΅Π·Π΄ΠΊΠΈ.
Π‘ΡΠ°ΡΠΈΠΎΠ½Π°ΡΠ½ΡΠ΅ β ΡΡΠΎ Π±ΠΈΠΎΡΡΠ°Π»Π΅ΡΡ-ΠΊΠ°Π±ΠΈΠ½Ρ, Π²Π½ΡΡΡΠΈ ΠΊΠΎΡΠΎΡΡΡ Π½Π°Ρ ΠΎΠ΄ΠΈΡΡΡ ΠΊΠΎΠ½ΡΠ΅ΠΉΠ½Π΅Ρ, ΡΡΠΎ Π·Π°ΠΌΠ΅Π½ΡΠ΅ΡΡΡ Π΄ΡΡΠ³ΠΈΠΌ ΠΏΠΎΡΠ»Π΅ Π½Π°ΠΏΠΎΠ»Π½Π΅Π½ΠΈΡ.

ΡΡΠ°ΡΠΈΠΎΠ½Π°ΡΠ½ΡΠΉ Π±ΠΈΠΎΡΡΠ°Π»Π΅Ρ ΠΈΠ΄Π΅Π°Π»ΡΠ½ΠΎ ΠΏΠΎΠ΄ΠΎΠΉΠ΄Π΅Ρ Π΄Π»Ρ Π΄Π°ΡΠΈ
ΠΡΠ΅ ΠΌΠΎΠ΄Π΅Π»ΠΈ ΡΠ°ΠΊΠΈΡ ΡΡΠ°Π»Π΅ΡΠΎΠ² ΠΈΠΌΠ΅ΡΡ Π²ΠΈΠ΄ ΠΎΠ±ΡΡΠ½ΠΎΠ³ΠΎ ΡΠ½ΠΈΡΠ°Π·Π°, Π½ΠΎ ΠΏΡΠΈ ΡΡΠΎΠΌ ΠΈΠΌΠ΅ΡΡ ΡΠ°Π·Π½ΡΡ ΡΡΠ½ΠΊΡΠΈΠΎΠ½Π°Π»ΡΠ½ΠΎΡΡΡ. ΠΠΈΠΎΡΡΠ°Π»Π΅ΡΡ Π±ΡΠ²Π°ΡΡ ΡΡΠ΅Ρ Π²ΠΈΠ΄ΠΎΠ², ΠΈΠΌΠ΅ΡΡΠΈΠ΅ ΡΠ°Π·Π½ΡΠΉ ΠΏΡΠΈΠ½ΡΠΈΠΏ Π΄Π΅ΠΉΡΡΠ²ΠΈΠΉ:
- ΡΠΎΡΡΡΠ½ΠΎΠΉ;
- Ρ ΠΈΠΌΠΈΡΠ΅ΡΠΊΠΈΠΉ;
- Π±ΠΈΠΎΠ»ΠΎΠ³ΠΈΡΠ΅ΡΠΊΠΈΠΉ.
Π’ΠΎΡΡΡΠ½ΠΎΠΉ
ΠΠΌΠ΅Π΅Ρ ΡΠ°ΠΌΡΡ Π½ΠΈΠ·ΠΊΡΡ ΡΡΠΎΠΈΠΌΠΎΡΡΡ, ΡΠ°ΠΊ ΠΊΠ°ΠΊ Π² Π½Π΅ΠΌ ΠΎΡΡΡΡΡΡΠ²ΡΠ΅Ρ Π²ΠΎΠ΄Π° Π΄Π»Ρ ΡΠ»ΠΈΠ²Π°. Π’ΠΎΡΡΡΠ½ΠΎΠΉ Π±ΠΈΠΎΡΡΠ°Π»Π΅Ρ Π΄Π»Ρ Π΄ΠΎΠΌΠ°Β Π½Π΅ Π½ΡΠΆΠ΄Π°Π΅ΡΡΡ Π² ΠΏΠΎΠ΄ΠΊΠ»ΡΡΠ΅Π½ΠΈΠΈ ΠΊ Π²ΠΎΠ΄ΠΎΡΠ½Π°Π±ΠΆΠ΅Π½ΠΈΡ, ΡΡΠΎΡ Π²ΠΈΠ΄ Π±Π΅Π·Π²ΠΎΠ΄Π½ΡΠΉ Ρ Π΄ΠΎΠ±Π°Π²Π»Π΅Π½ΠΈΠ΅ΠΌ ΡΠΎΡΡΡΠ½ΠΎΠΉ ΠΊΡΠΎΡΠΊΠΈ, ΠΎΠΏΠΈΠ»ΠΎΠΊ ΠΈ Π½Π°ΠΏΠΎΠ»Π½ΠΈΡΠ΅Π»ΡΠ½ΡΡ Π΄ΠΎΠ±Π°Π²ΠΎΠΊ. ΠΠ°Π½Π½ΡΠΉ Π²ΠΈΠ΄ ΡΠ΄ΠΎΠ±Π΅Π½ Π² ΠΏΡΠΈΠΌΠ΅Π½Π΅Π½ΠΈΠΈ, ΡΠ²Π»ΡΠ΅ΡΡΡ Π°Π²ΡΠΎΠ½ΠΎΠΌΠ½ΡΠΌ ΠΈ ΡΠ°Π±ΠΎΡΠ°Π΅Ρ Π±Π΅Π· ΠΏΠΎΠ΄ΠΊΠ»ΡΡΠ΅Π½ΠΈΡ ΠΊ ΡΠ»Π΅ΠΊΡΡΠΈΡΠ΅ΡΡΠ²Ρ. Π’Π°ΠΊΠΈΠ΅ Π²ΠΈΠ΄Ρ ΠΌΠΎΠ΄Π΅Π»Π΅ΠΉ ΠΌΠΎΠ³ΡΡ ΠΈΠΌΠ΅ΡΡ Π²ΠΌΠ΅ΡΡΠΎ ΠΊΠΎΠ½ΡΠ΅ΠΉΠ½Π΅ΡΠ° Π΄Π»Ρ ΠΎΡΡ ΠΎΠ΄ΠΎΠ² ΠΏΠΎΠ»ΠΈΡΡΠΈΠ»Π΅Π½ΠΎΠ²ΡΠΉ ΠΌΠ΅ΡΠΎΠΊ. ΠΡΠ΅ΠΈΠΌΡΡΠ΅ΡΡΠ²Π° ΡΠΎΡΡΡΠ½ΠΎΠ³ΠΎ ΡΡΠ°Π»Π΅ΡΠ°:
- ΡΡΡΡΠ°Π½Π΅Π½ΠΈΠ΅ Π½Π΅ΠΏΡΠΈΡΡΠ½ΡΡ Π·Π°ΠΏΠ°Ρ ΠΎΠ²;
- ΠΎΡΡΡΡΡΡΠ²ΠΈΠ΅ ΡΠ΅Π³ΡΠ»ΡΡΠ½ΠΎΠΉ ΡΠΈΡΡΠΊΠΈ;
- Π±Π΅Π·Π²ΡΠ΅Π΄Π½ΠΎΡΡΡ ΠΈ ΡΠΊΠΎΠ»ΠΎΠ³ΠΈΡΠ½ΠΎΡΡΡ;
- ΠΏΡΠΎΠΈΠ·Π²ΠΎΠ΄ΡΡΠ²ΠΎ Π½Π°ΡΡΡΠ°Π»ΡΠ½ΠΎΠ³ΠΎ ΠΊΠΎΠΌΠΏΠΎΡΡΠ°.
ΠΠΎΠΌΠΏΠΎΡΡΠ½ΡΠ΅
ΠΡΠΈΠ½ΡΠΈΠΏ ΡΠ°Π±ΠΎΡΡ ΠΊΠΎΠΌΠΏΠΎΡΡΠ½ΠΎΠ³ΠΎ Π±ΠΈΠΎΡΡΠ°Π»Π΅ΡΠ° ΠΏΡΠΎΡΡ: Π·Π° ΡΡΠ΅Ρ ΡΠΎΡΡΠ° ΠΈ ΠΎΠΏΠΈΠ»ΠΎΠΊ ΠΎΡΡ ΠΎΠ΄Ρ ΡΠ°Π·Π»Π°Π³Π°ΡΡΡΡ Π³ΠΎΡΠ°Π·Π΄ΠΎ Π±ΡΡΡΡΠ΅Π΅, ΠΏΡΠ΅Π²ΡΠ°ΡΠ°ΡΡΡ Π½Π΅ Π² ΠΎΡΡΠ°Π²Π»ΡΡΡΠΈΠ΅ ΠΎΠΊΡΡΠΆΠ°ΡΡΡΡ ΡΡΠ΅Π΄Ρ Ρ ΠΈΠΌΠΈΠΊΠ°ΡΡ, Π° Π² ΡΠ΅Π½Π½ΠΎΠ΅ ΡΠ΄ΠΎΠ±ΡΠ΅Π½ΠΈΠ΅ β ΠΊΠΎΠΌΠΏΠΎΡΡ.
Π§ΠΈΡΠ°ΠΉΡΠ΅ ΡΠ°ΠΊΠΆΠ΅ ΠΏΡΠΎ ΡΠΎΡΡΡΠ½ΠΎΠΉ ΡΡΠ°Π»Π΅Ρ Π΄Π»Ρ Π΄Π°ΡΠΈ.
Π’Π°ΠΊΠΎΠΉ ΡΡΠ°Π»Π΅Ρ Π½ΡΠΆΠ΄Π°Π΅ΡΡΡ Π² ΡΠΈΡΡΠΊΠ΅ Π²ΡΠ΅Π³ΠΎ Π»ΠΈΡΡ ΡΠ°Π· Π² Π³ΠΎΠ΄.
ΠΠΏΡΠΈΠΌΠ°Π»ΡΠ½ΡΠΉ ΠΎΠ±ΡΠ΅ΠΌ ΠΊΠΎΠΌΠΏΠΎΡΡΠ½ΠΎΠ³ΠΎ ΡΡΠ°Π»Π΅ΡΠ° β 110 Π». Π’Π°ΠΊΠΎΠΉ ΡΠ°Π·ΠΌΠ΅Ρ ΠΊΠΎΠ½ΡΡΡΡΠΊΡΠΈΠΈ ΠΏΠΎΠ·Π²ΠΎΠ»ΡΠ΅Ρ ΡΠΎΡ ΡΠ°Π½ΡΡΡ Π²Π½ΡΡΡΠΈ Π½Π΅Π΅ Π½ΡΠΆΠ½ΡΡ Π΄Π»Ρ ΡΠ°Π·Π»ΠΎΠΆΠ΅Π½ΠΈΡ ΠΎΡΡ ΠΎΠ΄ΠΎΠ² ΡΠ΅ΠΌΠΏΠ΅ΡΠ°ΡΡΡΡ ΠΈ Π²Π»Π°ΠΆΠ½ΠΎΡΡΡ.
ΠΠ°ΠΊΠΎΠΉ ΡΠ΅ΠΊΠ°Π»ΡΠ½ΡΠΉ Π½Π°ΡΠΎΡ Ρ ΠΈΠ·ΠΌΠ΅Π»ΡΡΠΈΡΠ΅Π»Π΅ΠΌ Π΄Π»Ρ ΡΡΠ°Π»Π΅ΡΠ° ΡΠ²Π»ΡΠ΅ΡΡΡ ΠΎΠ΄Π½ΠΈΠΌ ΠΈΠ· Π»ΡΡΡΠΈΡ , ΡΠΊΠ°Π·Π°Π½ΠΎ Π² ΡΡΠ°ΡΡΠ΅.
ΠΠ°ΠΊ Π²ΡΠ³Π»ΡΠ΄ΡΡ Π΄Π΅ΡΠ΅Π²ΡΠ½Π½ΡΠ΅ Π΄Π°ΡΠ½ΡΠ΅ ΡΡΠ°Π»Π΅ΡΡ, ΠΌΠΎΠΆΠ½ΠΎ ΡΠ²ΠΈΠ΄Π΅ΡΡ Π·Π΄Π΅ΡΡ Π² ΡΡΠ°ΡΡΠ΅.
ΠΠ°ΠΊ ΠΏΠΎΡΡΡΠΎΠΈΡΡ ΡΠ°ΡΠ°ΠΉ Ρ ΡΡΠ°Π»Π΅ΡΠΎΠΌ, ΡΠΊΠ°Π·Π°Π½ΠΎ Π·Π΄Π΅ΡΡ Π² ΡΡΠ°ΡΡΠ΅: https://2gazon.ru/postroiki/xozyajstvennye-postrojki/vidy-i-sposoby-montazha-blokov-s-tualetom-dlya-dachi.html
ΠΡΠ΅ΠΈΠΌΡΡΠ΅ΡΡΠ²Π°ΠΌΠΈ ΠΊΠΎΠΌΠΏΠΎΡΡΠ½ΡΡ Π±ΠΈΠΎΡΡΠ°Π»Π΅ΡΠΎΠ² ΡΡΠΈΡΠ°ΡΡ:
- ΠΎΡΡΡΡΡΡΠ²ΠΈΠ΅ Π½Π΅ΠΏΡΠΈΡΡΠ½ΡΡ Π·Π°ΠΏΠ°Ρ ΠΎΠ²;
- ΠΎΠ½ΠΈ Π½Π΅ ΡΡΠ΅Π±ΡΡΡ ΠΏΠΎΠ΄ΠΊΠ»ΡΡΠ΅Π½ΠΈΡ Π²ΠΎΠ΄ΠΎ- ΠΈ ΡΠ»Π΅ΠΊΡΡΠΎΡΠ½Π°Π±ΠΆΠ΅Π½ΠΈΡ;
- ΠΏΡΠΎΡΡΡ Π² ΠΈΡΠΏΠΎΠ»ΡΠ·ΠΎΠ²Π°Π½ΠΈΠΈ;
- ΡΠΊΠΎΠ»ΠΎΠ³ΠΈΡΠ΅ΡΠΊΠΈ ΡΠΈΡΡΡ.
Π₯ΠΈΠΌΠΈΡΠ΅ΡΠΊΠΈΠΉ
Π‘ΠΎΠ΄Π΅ΡΠΆΠΈΡ Π΄Π²Π° Π±Π°ΠΊΠ° β ΡΠ»ΠΈΠ²Π½ΠΎΠΉ ΠΈ ΠΏΡΠΈΠ΅ΠΌΠ½ΡΠΉ, Ρ ΠΎΠ±ΡΠ΅ΠΌΠΎΠΌ Π² 24 Π»ΠΈΡΡΠ°. ΠΠ³ΠΎ ΠΌΠΎΠΆΠ½ΠΎ Π±ΡΠ°ΡΡ Ρ ΡΠΎΠ±ΠΎΠΉ Π² ΡΠ°Π·Π»ΠΈΡΠ½ΡΠ΅ ΠΌΠ΅ΡΡΠ°, Π° ΡΠ°ΠΊΠΆΠ΅ ΡΡΡΠ°Π½Π°Π²Π»ΠΈΠ²Π°ΡΡ Π² ΠΌΠ°Π³Π°Π·ΠΈΠ½Π°Ρ , Π½Π° Π΄Π°ΡΠ°Ρ , ΡΠΊΠ»Π°Π΄ΡΠΊΠΈΡ ΠΏΠΎΠΌΠ΅ΡΠ΅Π½ΠΈΡΡ .
Π ΡΡΠ°Π»Π΅ΡΠ°Ρ Π΄Π°Π½Π½ΠΎΠ³ΠΎ ΡΠΈΠΏΠ° ΠΈΡΠΏΠΎΠ»ΡΠ·ΡΡΡΡΡ ΠΆΠΈΠ΄ΠΊΠΎΡΡΠΈ ΠΈ ΡΡΠ΅Π΄ΡΡΠ²Π°, Π² ΡΠΎΡΡΠ°Π² ΠΊΠΎΡΠΎΡΡΡ Π²Ρ ΠΎΠ΄ΠΈΡ Ρ ΠΈΠΌΠΈΡΠ΅ΡΠΊΠΎΠ΅ Π²Π΅ΡΠ΅ΡΡΠ²ΠΎ ΡΠΎΡΠΌΠ°Π»ΡΠ΄Π΅Π³ΠΈΠ΄.
ΠΡΠΈΠΌΠ΅Π½ΡΡΡΡΡ Π² ΠΌΠ΅ΡΡΠ½ΠΎΡΡΠΈ, Π³Π΄Π΅ ΠΏΡΠΎΠ²Π΅Π΄Π΅Π½ ΠΊΠ°Π½Π°Π»ΠΈΠ·Π°ΡΠΈΠΎΠ½Π½ΡΠΉ ΡΠ»ΠΈΠ². Π ΠΏΡΠ΅ΠΈΠΌΡΡΠ΅ΡΡΠ²Π°ΠΌ Ρ ΠΈΠΌΠΈΡΠ΅ΡΠΊΠΎΠ³ΠΎ ΡΡΠ°Π»Π΅ΡΠ° ΠΎΡΠ½ΠΎΡΡΡ:
- Π²ΡΡΠΎΠΊΡΡ ΡΠ΅Ρ Π½ΠΎΠ»ΠΎΠ³ΠΈΡΠ½ΠΎΡΡΡ ΠΊΠΎΠ½ΡΡΡΡΠΊΡΠΈΠΈ;
- Π½Π΅Π±ΠΎΠ»ΡΡΠΎΠΉ Π²Π΅Ρ, Π² ΠΏΡΠ΅Π΄Π΅Π»Π°Ρ 5 ΠΊΠ³;
- Π°Π²ΡΠΎΠ½ΠΎΠΌΠ½ΡΡ ΡΠ°Π±ΠΎΡΡ;
- Π½Π΅Π±ΠΎΠ»ΡΡΠΎΠΉ ΡΠ°ΡΡ ΠΎΠ΄ ΡΠ°Π½ΠΈΡΠ°ΡΠ½ΠΎΠΉ ΠΆΠΈΠ΄ΠΊΠΎΡΡΠΈ β 5 ΠΌΠ» Π½Π° 1 Π».
ΠΡΠ»ΠΈΡΠ½ΠΎ ΠΏΠΎΠ΄ΠΎΠΉΠ΄ΡΡ Π΄Π»Ρ ΠΈΡΠΏΠΎΠ»ΡΠ·ΠΎΠ²Π°Π½ΠΈΡ Π½Π° Π΄Π°ΡΠ½ΠΎΠΌ ΡΡΠ°ΡΡΠΊΠ΅. ΠΠ°ΠΊ ΡΠ΄Π΅Π»Π°ΡΡ Π΄Π°ΡΠ½ΡΠ΅ Ρ ΠΎΠ·Π±Π»ΠΎΠΊΠΈ Ρ Π΄ΡΡΠ΅ΠΌ ΠΈ ΡΡΠ°Π»Π΅ΡΠΎΠΌ, ΠΌΠΎΠΆΠ½ΠΎ ΠΈΠ· ΡΠΎΠ΄Π΅ΡΠΆΠ°Π½ΠΈΡ Π² ΡΡΠ°ΡΡΠ΅.
ΠΠ°ΠΊΡΠ΅ΡΠΈΠΎΠ»ΠΎΠ³ΠΈΡΠ΅ΡΠΊΠΈΠΉ
ΠΡΠΈ Π±ΠΈΠΎΡΡΠ°Π»Π΅ΡΡ β ΡΠΊΠΎΠ»ΠΎΠ³ΠΈΡΠ΅ΡΠΊΠΈ Π±Π΅Π·ΠΎΠΏΠ°ΡΠ½ΡΠΉ Π²ΠΈΠ΄ ΡΠ±ΠΎΡΠ½ΠΎΠΉ, Π² ΠΊΠΎΡΠΎΡΠΎΠΉ ΡΠΎΡΡΠ°Π² Π½Π°ΠΏΠΎΠ»Π½ΠΈΡΠ΅Π»Ρ ΠΎΡΠ½ΠΎΠ²Π°Π½ Π½Π° ΠΌΠΈΠΊΡΠΎΠΎΡΠ³Π°Π½ΠΈΠ·ΠΌΠ°Ρ
, ΡΡΠΎ ΡΠΏΠΎΡΠΎΠ±Π½Ρ ΡΠ±ΠΈΡΠ°ΡΡ Π½Π΅ΠΏΡΠΈΡΡΠ½ΡΠ΅ Π·Π°ΠΏΠ°Ρ
ΠΈ ΠΈ ΠΏΠ΅ΡΠ΅ΡΠ°Π±Π°ΡΡΠ²Π°ΡΡ ΠΎΡΡ
ΠΎΠ΄Ρ. ΠΠ°Π½Π½ΡΠΉ ΡΠΈΠΏ ΡΠΈΡΠΎΠΊΠΎ ΠΈΡΠΏΠΎΠ»ΡΠ·ΡΠ΅ΡΡΡ Π² Π·Π°Π³ΠΎΡΠΎΠ΄Π½ΡΡ
Π΄ΠΎΠΌΠ°Ρ
, ΡΠ°ΠΊ ΠΊΠ°ΠΊ Π²ΡΠ΅ ΠΎΡΡ
ΠΎΠ΄Ρ ΠΏΠ΅ΡΠ΅ΡΠ°Π±Π°ΡΡΠ²Π°ΡΡΡΡ Π² Π½Π°ΡΡΡΠ°Π»ΡΠ½ΡΠΉ ΠΊΠΎΠΌΠΏΠΎΡΡ. ΠΡΠ°Π²Π΄Π° ΡΠ΅Π½Ρ Π½Π° Π±Π°ΠΊΡΠ΅ΡΠΈΠΎΠ»ΠΎΠ³ΠΈΡΠ΅ΡΠΊΠΈΠ΅ Π±ΠΈΠΎΡΡΠ°Π»Π΅ΡΡ Π·Π½Π°ΡΠΈΡΠ΅Π»ΡΠ½ΠΎ Π²ΡΡΠ΅, ΡΠ΅ΠΌ Π½Π° Π΄ΡΡΠ³ΠΈΠ΅ Π²ΠΈΠ΄Ρ Π΄Π°Π½Π½ΡΡ
ΡΡΡΡΠΎΠΉΡΡΠ². Π£ΡΡΠ°Π½Π°Π²Π»ΠΈΠ²Π°ΡΡ ΡΠ°ΠΊΠΈΠ΅ ΠΊΠΎΠ½ΡΡΡΡΠΊΡΠΈΠΈ ΠΈΡΠΊΠ»ΡΡΠΈΡΠ΅Π»ΡΠ½ΠΎ ΡΠ½Π°ΡΡΠΆΠΈ Π·Π΄Π°Π½ΠΈΠΉ.
ΠΠ»Π΅ΠΊΡΡΠΈΡΠ΅ΡΠΊΠΈΠ΅
ΠΠΎΠ΄ΠΎΠ±Π½ΡΠ΅ ΠΌΠΎΠ΄Π΅Π»ΠΈ Π½ΡΠΆΠ΄Π°ΡΡΡΡ Π² ΠΏΠΎΠ΄ΠΊΠ»ΡΡΠ΅Π½ΠΈΠΈ ΠΊ ΡΠ»Π΅ΠΊΡΡΠΎΡΠ΅ΡΠΈ. Π Π°Π±ΠΎΡΠ°ΡΡ ΠΎΠ½ΠΈ ΡΠ»Π΅Π΄ΡΡΡΠΈΠΌ ΠΎΠ±ΡΠ°Π·ΠΎΠΌ: ΡΠ²Π΅ΡΠ΄ΡΠ΅ ΠΎΡΡ ΠΎΠ΄Ρ, ΠΏΠΎΠΏΠ°Π΄Π°Ρ Π² Π½ΠΈΠΆΠ½ΡΡ ΡΠ°ΡΡΡ ΠΊΠΎΠ½ΡΡΡΡΠΊΡΠΈΠΈ, Π²ΡΡΡΡΠΈΠ²Π°ΡΡΡΡ, Π° ΠΆΠΈΠ΄ΠΊΠΈΠ΅ Π²ΡΠ²ΠΎΠ΄ΡΡΡΡ Π² ΠΊΠ°Π½Π°Π»ΠΈΠ·Π°ΡΠΈΠΎΠ½Π½ΡΠΉ ΡΡΠΎΠΊ. ΠΠΈΠ½ΡΡ ΡΠ°ΠΊΠΈΡ Π±ΠΈΠΎΡΡΠ°Π»Π΅ΡΠΎΠ² ΡΡΠΈΡΠ°Π΅ΡΡΡ ΠΈΡ Π²ΡΡΠΎΠΊΠ°Ρ ΡΡΠΎΠΈΠΌΠΎΡΡΡ β Π² ΡΡΠ΅Π΄Π½Π΅ΠΌ ΡΡΠΎ 1-1,5 ΡΡΡ. Π΄ΠΎΠ»Π»Π°ΡΠΎΠ². Π‘ΡΠ΅Π΄ΠΈ ΠΏΡΠ΅ΠΈΠΌΡΡΠ΅ΡΡΠ² ΡΠ»Π΅ΠΊΡΡΠΈΡΠ΅ΡΠΊΠΈΡ Π±ΠΈΠΎΡΡΠ°Π»Π΅ΡΠΎΠ²:
- Π±ΡΡΡΡΡΠΉ ΠΈ ΠΏΡΠΎΡΡΠΎΠΉ ΡΠΏΠΎΡΠΎΠ± ΠΎΡΠΈΡΡΠΊΠΈ;
- Π²Π½Π΅ΡΠ½ΡΡ ΡΡ ΠΎΠΆΠ΅ΡΡΡ Ρ ΠΎΠ±ΡΡΠ½ΡΠΌ ΡΠ½ΠΈΡΠ°Π·ΠΎΠΌ.
Π£ΡΡΡΠΎΠΉΡΡΠ²ΠΎ Π±ΠΈΠΎΡΡΠ°Π»Π΅ΡΠ°

ΠΠ°ΠΆΠ΄ΡΠΉ Π±ΠΈΠΎΡΡΠ°Π»Π΅Ρ ΡΠΎΡΡΠΎΠΈΡ ΠΈΠ· ΡΠ±ΠΎΡΠ½ΠΎΠ³ΠΎ Π±Π°ΡΠΊΠ° Π΄Π»Ρ ΠΎΡΡ ΠΎΠ΄ΠΎΠ² ΠΈ Π±Π°ΠΊΠ° Π΄Π»Ρ ΡΠ»ΠΈΠ²Π½ΠΎΠΉ ΠΆΠΈΠ΄ΠΊΠΎΡΡΠΈ. ΠΠ°Π½Π½Π°Ρ ΠΊΠΎΠ½ΡΡΡΡΠΊΡΠΈΡ ΠΏΠΎΠ·Π²ΠΎΠ»ΡΠ΅Ρ ΡΠΎΠ·Π΄Π°ΡΡ ΡΡΡΠ΅ΠΊΡΠΈΠ²Π½ΡΠΉ ΡΠΌΡΠ² ΠΎΡΡ ΠΎΠ΄ΠΎΠ² ΠΈ ΡΠΏΠΎΡΠΎΠ±ΡΡΠ²ΠΎΠ²Π°ΡΡ ΡΠΌΠ΅Π½ΡΡΠ΅Π½ΠΈΡ Π΅ΠΌΠΊΠΎΡΡΠΈ ΡΠ΅Π·Π΅ΡΠ²ΡΠ°ΡΠ°, ΡΡΠΎ ΠΎΠ±Π΅ΡΠΏΠ΅ΡΠΈΠ²Π°Π΅Ρ Π½Π΅Π±ΠΎΠ»ΡΡΠΎΠΉ ΠΎΠ±ΡΠ΅ΠΌ ΠΊΠΎΠ½ΡΡΡΡΠΊΡΠΈΠΈ Π² ΡΠ΅Π»ΠΎΠΌ. ΠΠ° ΡΠΎΡΠΎ ΡΠ»Π΅Π²Π° Π²ΠΈΠ΄Π΅Π½ ΠΏΡΠΈΠ½ΡΠΈΠΏ ΡΡΡΡΠΎΠΉΡΡΠ²Π° Π±ΠΈΠΎΡΡΠ°Π»Π΅ΡΠ°.
Π Π°Π±ΠΎΡΠ° ΡΡΠ°Π»Π΅ΡΠ° ΠΎΡΠ½ΠΎΠ²ΡΠ²Π°Π΅ΡΡΡ Π½Π° ΡΠ°Π½ΠΈΡΠ°ΡΠ½ΡΡ ΡΡΠ΅Π΄ΡΡΠ²Π°Ρ , ΠΏΠ΅ΡΠ΅ΡΠ°Π±Π°ΡΡΠ²Π°ΡΡΠΈΡ ΠΏΡΠΎΠ΄ΡΠΊΡΡ ΠΆΠΈΠ·Π½Π΅Π΄Π΅ΡΡΠ΅Π»ΡΠ½ΠΎΡΡΠΈ Π² ΠΎΠ΄Π½ΠΎΡΠΎΠ΄Π½ΡΡ ΠΌΠ°ΡΡΡ, Π±Π΅Π· Π·Π°ΠΏΠ°Ρ ΠΎΠ². Π Π°ΡΡΠ²ΠΎΡ Π΄Π΅Π·ΠΈΠ½ΡΠ΅ΠΊΡΠΈΠΈ ΡΠΎΡ ΡΠ°Π½ΡΠ΅Ρ Π²ΡΠ΅ ΡΠ²ΠΎΠΈ ΡΠ²ΠΎΠΉΡΡΠ²Π° Π² ΡΠ΅ΡΠ΅Π½ΠΈΠ΅ Π΄Π²ΡΡ Π½Π΅Π΄Π΅Π»ΡΠ½ΠΎΠ³ΠΎ ΠΏΠΎΠ»ΡΠ·ΠΎΠ²Π°Π½ΠΈΡ, ΠΏΠΎΡΠ»Π΅ ΡΠ΅Π³ΠΎ ΡΡΠ°Π»Π΅Ρ ΠΎΡΠΈΡΠ°ΡΡ.
Π Π·Π°Π²ΠΈΡΠΈΠΌΠΎΡΡΠΈ ΠΎΡ ΡΠΈΠΏΠ° ΠΈΡΠΏΠΎΠ»ΡΠ·ΡΠ΅ΠΌΠΎΠ³ΠΎ ΡΠ°Π½ΠΈΡΠ°ΡΠ½ΠΎΠ³ΠΎ ΡΠ°ΡΡΠ²ΠΎΡΠ°, ΡΠΎΠ΄Π΅ΡΠΆΠ°Π½ΠΈΠ΅ Π½Π°ΠΊΠΎΠΏΠΈΡΠ΅Π»ΡΠ½ΠΎΠ³ΠΎ ΠΊΠΎΠ½ΡΠ΅ΠΉΠ½Π΅ΡΠ° ΡΡΠΈΠ»ΠΈΠ·ΠΈΡΡΠ΅ΡΡΡ Π² Π³ΡΡΠ½Ρ ΠΈΠ»ΠΈ Π² ΡΠ΅Π½ΡΡΠ°Π»ΡΠ½ΡΡ ΠΊΠ°Π½Π°Π»ΠΈΠ·Π°ΡΠΈΡ.
Π ΡΡΠ΅Π΄Π½Π΅ΠΌ ΠΏΠΎΠ»ΡΠ·ΠΎΠ²Π°ΡΡΡΡ ΡΡΠ°Π»Π΅ΡΠΎΠΌ ΠΌΠΎΠΆΠ½ΠΎ Π΄Π²Π΅ Π½Π΅Π΄Π΅Π»ΠΈ, Π° ΠΏΠΎΠ΄Π³ΠΎΡΠΎΠ²ΠΊΠ° ΠΊ ΠΈΡΠΏΠΎΠ»ΡΠ·ΠΎΠ²Π°Π½ΠΈΡ Π·Π°Π½ΠΈΠΌΠ°Π΅Ρ Π½Π΅ Π±ΠΎΠ»ΡΡΠ΅ 5 ΠΌΠΈΠ½ΡΡ.
ΠΡΠΈΠ½ΡΠΈΠΏ ΡΠ°Π±ΠΎΡΡ
ΠΠ°Π²Π°ΠΉΡΠ΅ ΡΠ°Π·Π±Π΅ΡΠ΅ΠΌΡΡ, ΠΊΠ°ΠΊ ΡΠ°Π±ΠΎΡΠ°Π΅Ρ Π±ΠΈΠΎΡΡΠ°Π»Π΅Ρ Π΄Π»Ρ Π΄Π°ΡΠΈ. ΠΠ½ ΡΡΠ½ΠΊΡΠΈΠΎΠ½ΠΈΡΡΠ΅ΡΒ ΠΏΡΠΈ Π²ΠΎΠ·Π΄Π΅ΠΉΡΡΠ²ΠΈΠΈ Π½Π΅ΠΉΡΡΠ°Π»ΠΈΠ·ΡΡΡΠΈΡ Π²Π΅ΡΠ΅ΡΡΠ² Π½Π° ΠΎΡΡ ΠΎΠ΄Ρ, ΡΡΡΡΠ°Π½ΡΡ Π·Π°ΠΏΠ°Ρ ΠΈ ΠΈ ΡΡΠΊΠΎΡΡΡ ΠΏΠ΅ΡΠ΅ΡΠ°Π±Π°ΡΡΠ²Π°ΡΡΠΈΠΉ ΠΏΡΠΎΡΠ΅ΡΡ. ΠΠΎΡΠ»Π΅ ΡΠΌΡΠ²Π° Π²ΠΎΠ΄ΠΎΠΉ, ΠΎΡΡ ΠΎΠ΄Ρ ΠΏΠΎΠΏΠ°Π΄Π°ΡΡ Π² Π½ΠΈΠΆΠ½ΠΈΠΉ ΠΊΠΎΠ½ΡΠ΅ΠΉΠ½Π΅Ρ, Π² ΠΊΠΎΡΠΎΡΠΎΠΌ ΡΠΎΠ΄Π΅ΡΠΆΠΈΡΡΡ ΠΏΡΠ΅ΠΏΠ°ΡΠ°Ρ, ΡΡΡΡΠ°Π½ΡΡΡΠΈΠΉ Π·Π°ΠΏΠ°Ρ . ΠΠΎ ΠΈΡΡΠ΅ΡΠ΅Π½ΠΈΡ Π½Π΅ΠΊΠΎΡΠΎΡΠΎΠ³ΠΎ Π²ΡΠ΅ΠΌΠ΅Π½ΠΈ ΠΏΡΠ΅ΠΏΠ°ΡΠ°Ρ ΠΏΠΎΠ»Π½ΠΎΡΡΡΡ ΠΏΠ΅ΡΠ΅ΡΠ°Π±Π°ΡΡΠ²Π°Π΅Ρ ΠΏΡΠΎΠ΄ΡΠΊΡΡ ΠΆΠΈΠ·Π½Π΅Π΄Π΅ΡΡΠ΅Π»ΡΠ½ΠΎΡΡΠΈ Π²ΠΌΠ΅ΡΡΠ΅ Ρ ΡΡΠ°Π»Π΅ΡΠ½ΠΎΠΉ Π±ΡΠΌΠ°Π³ΠΎΠΉ, ΠΏΡΠ΅Π²ΡΠ°ΡΠ°Ρ ΠΈΡ Π² ΠΎΠ΄Π½ΠΎΡΠΎΠ΄Π½ΡΡ ΠΌΠ°ΡΡΡ.
ΠΠΎΡΠ»Π΅ ΠΏΠ΅ΡΠ΅ΡΠ°Π±ΠΎΡΠΊΠΈ Π½Π΅ΠΎΠ±Ρ ΠΎΠ΄ΠΈΠΌΠΎ ΡΠ½ΡΡΡ Ρ Π·Π°ΡΠ΅Π»ΠΊΠΈ ΡΠ΅Π·Π΅ΡΠ²ΡΠ°Ρ, ΠΎΠΏΠΎΡΠΎΠΆΠ½ΠΈΡΡ Π΅Π³ΠΎ ΠΈ ΠΏΡΠΎΠΌΡΡΡ Π²ΠΎΠ΄ΠΎΠΉ. ΠΠ°ΡΠ΅ΠΌ ΡΠ½ΠΎΠ²Π° ΠΏΡΠΈΠΊΡΠ΅ΠΏΠΈΡΡ ΡΠ΅Π·Π΅ΡΠ²ΡΠ°Ρ ΠΊ ΡΠΈΠ΄Π΅Π½ΠΈΡ ΠΈ Π·Π°ΠΏΠΎΠ»Π½ΠΈΡΡ Π΅Π³ΠΎ Π²Π΅ΡΠ΅ΡΡΠ²ΠΎΠΌ Π½Π΅ΠΉΡΡΠ°Π»ΠΈΠ·Π°ΡΠΈΠΈ.
ΠΠ»Ρ ΡΠ°ΡΡΠ΅ΡΠ° Π½Π΅ΠΎΠ±Ρ ΠΎΠ΄ΠΈΠΌΠΎΠ³ΠΎ Π³ΠΈΠ³ΠΈΠ΅Π½ΠΈΡΠ΅ΡΠΊΠΎΠ³ΠΎ Π²Π΅ΡΠ΅ΡΡΠ²Π° ΡΡΠΎΠΈΡ Π±ΡΠ°ΡΡ ΠΎΠ±ΡΠ΅ΠΌ Π² 21 Π» Π½Π° ΠΎΠ΄Π½ΠΎΠ³ΠΎ ΡΠ΅Π»ΠΎΠ²Π΅ΠΊΠ° Ρ Π΄Π²ΡΡ Π½Π΅Π΄Π΅Π»ΡΠ½ΡΠΌ ΠΈΡΠΏΠΎΠ»ΡΠ·ΠΎΠ²Π°Π½ΠΈΠ΅ΠΌ ΡΡΠ°Π»Π΅ΡΠ°.
ΠΠΎΠ΄Π³ΠΎΡΠΎΠ²ΠΊΠ° ΠΊ ΠΈΡΠΏΠΎΠ»ΡΠ·ΠΎΠ²Π°Π½ΠΈΡ
ΠΠΎΠ΄Π³ΠΎΡΠ°Π²Π»ΠΈΠ²Π°Ρ Π±ΠΈΠΎΡΡΠ°Π»Π΅Ρ ΠΊ ΡΠ°Π±ΠΎΡΠ΅, Π½Π΅ΠΎΠ±Ρ ΠΎΠ΄ΠΈΠΌΠΎ Π²ΡΠ½ΡΡΡ ΠΎΡΡΠ΅ΠΊ Π΄Π»Ρ Π±Π°ΡΠ°ΡΠ΅ΠΈ ΠΈ ΠΎΠΏΡΡΡΠΈΡΡ ΡΠΈΠΊΡΠΈΡΡΡΡΠΈΠΉ ΡΡΡΠ°Π³. ΠΡΡΠ΅ΠΊ Π·Π°ΠΏΠΎΠ»Π½ΠΈΡΡ ΠΏΠ°Π»ΡΡΠΈΠΊΠΎΠ²ΡΠΌΠΈ Π±Π°ΡΠ°ΡΠ΅ΠΉΠΊΠ°ΠΌΠΈ Π½Π΅ΠΎΠ±Ρ ΠΎΠ΄ΠΈΠΌΠΎΠ³ΠΎ ΠΊΠΎΠ»ΠΈΡΠ΅ΡΡΠ²Π°, ΠΏΠΎΡΠ»Π΅ ΡΠ΅Π³ΠΎ ΠΏΠΎΡΡΠ°Π²ΠΈΡΡ Π΅Π³ΠΎ Π² Π½Π°ΡΠΎΡ. ΠΠ΅ΡΠ΅Π΄ ΠΈΡΠΏΠΎΠ»ΡΠ·ΠΎΠ²Π°Π½ΠΈΠ΅ΠΌ ΡΡΠ°Π»Π΅ΡΠ° ΡΠ»Π΅Π΄ΡΠ΅Ρ ΠΎΠ·Π½Π°ΠΊΠΎΠΌΠΈΡΡΡΡ Ρ ΠΈΠ½ΡΡΡΡΠΊΡΠΈΠ΅ΠΉ, Π² ΠΊΠΎΡΠΎΡΠΎΠΉ ΠΏΠΎΡΠ°Π³ΠΎΠ²ΠΎ ΡΠΊΠ°Π·Π°Π½ ΠΏΡΠΈΠ½ΡΠΈΠΏ ΡΡΡΠ°Π½ΠΎΠ²ΠΊΠΈ ΠΈ ΡΠΊΡΠΏΠ»ΡΠ°ΡΠ°ΡΠΈΠΎΠ½Π½ΡΠ΅ ΡΡΠ΅Π±ΠΎΠ²Π°Π½ΠΈΡ.
ΠΠΎΡΠ»Π΅ ΠΏΠ΅ΡΠ΅Π΄Π²ΠΈΠ½ΡΡΡ ΡΠΈΠΊΡΠΈΡΡΡΡΡΡ Π·Π°ΡΠ΅Π»ΠΊΡ Π² ΠΏΡΠ°Π²ΡΡ ΡΡΠΎΡΠΎΠ½Ρ Π΄Π»Ρ ΠΎΡΡΠΎΠ΅Π΄ΠΈΠ½Π΅Π½ΠΈΡ ΡΠ΅Π·Π΅ΡΠ²ΡΠ°ΡΠ° Ρ Π²ΠΎΠ΄ΠΎΠΉ ΠΎΡ Π½ΠΈΠΆΠ½Π΅Π³ΠΎ Π½Π°ΠΊΠΎΠΏΠΈΡΠ΅Π»ΡΠ½ΠΎΠ³ΠΎ Π±Π°ΡΠΊΠ°. Π£ΡΡΠ°Π½Π°Π²Π»ΠΈΠ²Π°ΡΡ Π±Π°ΠΊ Ρ ΠΆΠΈΠ΄ΠΊΠΎΡΡΡΡ ΠΈ ΠΏΠ°ΡΡΡΠ±ΠΊΠΎΠΌ ΡΠ»Π΅Π΄ΡΠ΅Ρ Π² Π²Π΅ΡΡΠΈΠΊΠ°Π»ΡΠ½ΠΎΠΌ ΠΏΠΎΠ»ΠΎΠΆΠ΅Π½ΠΈΠΈ, ΠΏΡΠ΅Π΄Π²Π°ΡΠΈΡΠ΅Π»ΡΠ½ΠΎ ΡΠ½ΡΠ² ΠΊΠΎΠ»ΠΏΠ°ΡΠΎΠΊ Π½Π° ΡΠ΅Π·Π΅ΡΠ²ΡΠ°ΡΠ΅ ΠΈ Π·Π°ΠΏΠΎΠ»Π½ΠΈΠ² Π΅Π³ΠΎ Π²ΠΎΠ΄ΠΎΠΉ Ρ Π΄Π΅Π·ΠΈΠ½ΡΠΈΡΠΈΡΡΡΡΠΈΠΌ ΡΡΠ΅Π΄ΡΡΠ²ΠΎΠΌ Π΄Π»Ρ Π½Π΅ΠΉΡΡΠ°Π»ΠΈΠ·Π°ΡΠΈΠΈΒ Π·Π°ΠΏΠ°Ρ Π°.
ΠΠΎΡΠ»Π΅ ΡΡΡΠ°Π½ΠΎΠ²ΠΊΠΈ ΠΎΠ±ΠΎΡΡΠ΄ΠΎΠ²Π°Π½ΠΈΡ ΡΠ»Π΅Π΄ΡΠ΅Ρ ΠΎΡΠΊΡΡΡΡ ΠΈ Π·Π°ΠΊΡΡΡΡ ΡΡΡΠ°Π³ΠΈ ΡΠΏΡΠ°Π²Π»Π΅Π½ΠΈΡ, ΡΡΠΎΠ±Ρ ΡΠ½ΠΈΠ·ΠΈΡΡ Π½Π°Π³ΡΡΠ·ΠΊΡ Π½Π° Π±Π°ΠΊ. ΠΡΠΈ ΠΏΠΎΠΌΠΎΡΠΈ ΡΡΡΠ½ΠΎΠ³ΠΎ Π½Π°ΡΠΎΡΠ° Π²Π»ΠΈΡΡ Π½Π΅ΠΌΠ½ΠΎΠ³ΠΎ ΠΆΠΈΠ΄ΠΊΠΎΡΡΠΈ Π² Π±Π°ΡΠΎΠΊ, Π° ΠΏΠΎΡΠ»Π΅ ΠΈΡΠΏΠΎΠ»ΡΠ·ΠΎΠ²Π°Π½ΠΈΡ ΠΎΡΠΊΡΡΡΡ Π»ΠΎΠΏΠ°ΡΡΠΈ Π½Π° ΠΊΠ»Π°ΠΏΠ°Π½Π΅ ΠΈ, Π½Π°ΠΆΠ°Π² Π½Π° Π½Π°ΡΠΎΡ, ΡΠ»ΠΈΡΡ Π²ΠΎΠ΄Ρ ΠΈ ΠΎΡΠΏΡΡΡΠΈΡΡ ΠΊΠ»Π°ΠΏΠ°Π½. Π Ρ ΠΎΠ΄Π΅ ΡΠ°ΠΊΠΈΡ Π΄Π΅ΠΉΡΡΠ²ΠΈΠΉ ΠΏΡΠΎΠΈΡΡ ΠΎΠ΄ΠΈΡ ΠΎΡΠ΄Π΅Π»Π΅Π½ΠΈΠ΅ ΡΠΌΡΠ²Π½ΠΎΠ³ΠΎ Π±Π°ΠΊΠ° ΠΎΡ Π½ΠΈΠΆΠ½Π΅ΠΉ Π΅Π³ΠΎ ΡΠ°ΡΡΠΈ, ΡΡΠΎ ΠΏΠΎΠ·Π²ΠΎΠ»ΡΠ΅Ρ ΡΠΎΠ΄Π΅ΡΠΆΠΈΠΌΠΎΠΌΡ ΠΏΠΎΠΏΠ°ΡΡΡ Π² ΠΊΠ°Π½Π°Π»ΠΈΠ·Π°ΡΠΈΠΎΠ½Π½ΠΎΠ΅ ΠΎΡΠ²Π΅ΡΡΡΠΈΠ΅.
ΠΡΠΈ Π΄Π°Π»ΡΠ½Π΅ΠΉΡΠ΅ΠΌ ΠΈΡΠΏΠΎΠ»ΡΠ·ΠΎΠ²Π°Π½ΠΈΠΈ ΡΠ»Π΅Π΄ΡΠ΅Ρ ΠΏΠΎΡΡΠ°Π²ΠΈΡΡ ΠΏΠ°ΡΡΡΠ±ΠΎΠΊ Π² Π½ΠΎΡΠΌΠ°Π»ΡΠ½ΠΎΠ΅ ΠΏΠΎΠ»ΠΎΠΆΠ΅Π½ΠΈΠ΅ ΠΈ ΡΡΡΠ°Π½ΠΎΠ²ΠΈΡΡ ΡΠ»ΠΈΠ²Π½ΠΎΠΉ Π±Π°ΡΠΎΠΊ ΡΠ°ΠΊ, ΡΡΠΎΠ±Ρ ΡΡΠ°Π±ΠΎΡΠ°Π» ΡΠΈΠΊΡΠ°ΡΠΎΡ ΠΈ ΠΏΡΠΎΠΈΠ·ΠΎΡΠ»ΠΎ Π·Π°ΠΊΡΠ΅ΠΏΠ»Π΅Π½ΠΈΠ΅ Π²Π΅ΡΡ Π½Π΅Π³ΠΎ Π±Π°ΡΠΊΠ° Ρ Π½ΠΈΠΆΠ½ΠΈΠΌ. ΠΠΎΡΠ»Π΅ Π²ΡΠ΅Π³ΠΎ ΡΠ½ΡΡΡ Π²Π΅ΡΡ Π½ΡΡ ΠΊΡΡΡΠΊΡ ΡΠ»ΠΈΠ²Π½ΠΎΠ³ΠΎ ΡΠ΅Π·Π΅ΡΠ²ΡΠ°ΡΠ° ΠΈ Π·Π°Π»ΠΈΡΡ Π² Π½Π΅Π³ΠΎ ΡΠΈΡΡΡΡ Π²ΠΎΠ΄Ρ Ρ Π΄ΠΎΠ±Π°Π²Π»Π΅Π½ΠΈΠ΅ΠΌ ΠΆΠΈΠ΄ΠΊΠΎΡΡΠΈ Π΄Π»Ρ ΡΠ»ΠΈΠ²Π°.
ΠΡΠ°Π²ΠΈΠ»Π° ΠΈΡΠΏΠΎΠ»ΡΠ·ΠΎΠ²Π°Π½ΠΈΡ
ΠΠ»Ρ ΠΏΡΠ΅Π΄ΠΎΡΠ²ΡΠ°ΡΠ΅Π½ΠΈΡ Π½Π΅ΠΆΠ΅Π»Π°ΡΠ΅Π»ΡΠ½ΠΎΠΉ Π½Π°Π³ΡΡΠ·ΠΊΠΈ Π½Π° Π±Π°ΡΠΎΠΊ ΠΈ ΡΠΊΠ°ΡΠΊΠΎΠ² Π΄Π°Π²Π»Π΅Π½ΠΈΡ ΠΏΠ΅ΡΠ΅Π΄ ΠΊΠ°ΠΆΠ΄ΡΠΌ ΠΈΡΠΏΠΎΠ»ΡΠ·ΠΎΠ²Π°Π½ΠΈΠ΅ΠΌ Π½ΡΠΆΠ½ΠΎ ΡΠ½ΠΈΠΌΠ°ΡΡ Π²Π΅ΡΡ Π½ΡΡ ΠΊΡΡΡΠΊΡ Π½Π°ΠΊΠΎΠΏΠΈΡΠ΅Π»ΡΠ½ΠΎΠ³ΠΎ Π±Π°ΠΊΠ°, ΠΏΠΎΡΠ»Π΅ ΡΠ΅Π³ΠΎ ΡΡΡΠ°Π½ΠΎΠ²ΠΈΡΡ Π½Π° ΠΌΠ΅ΡΡΠΎ. Π‘Π»Π΅Π΄ΡΠ΅Ρ Π½Π΅ Π·Π°Π±ΡΠ²Π°ΡΡ, ΡΡΠΎ ΠΏΡΠΈ ΡΡΠ°Π½ΡΠΏΠΎΡΡΠΈΡΠΎΠ²ΠΊΠ΅ Π±ΠΈΠΎΡΡΠ°Π»Π΅ΡΠ° Π² ΠΌΠ΅ΡΡΠ° Ρ ΠΏΠΎΠ²ΡΡΠ΅Π½Π½ΡΠΌ Π°ΡΠΌΠΎΡΡΠ΅ΡΠ½ΡΠΌ Π΄Π°Π²Π»Π΅Π½ΠΈΠ΅ΠΌ ΡΠ»Π΅Π΄ΡΠ΅Ρ Π΄Π΅ΡΠΆΠ°ΡΡ ΠΊΡΡΡΠΊΡ Π½Π°ΠΊΠΎΠΏΠΈΡΠ΅Π»ΡΠ½ΠΎΠ³ΠΎ Π±Π°ΠΊΠ° ΠΎΡΠΊΡΡΡΠΎΠΉ. ΠΠ»Ρ Π·Π°Π²Π΅ΡΡΠ΅Π½ΠΈΡ ΠΏΡΠ΅Π΄Π²Π°ΡΠΈΡΠ΅Π»ΡΠ½ΠΎΠΉ ΡΡΡΠ°Π½ΠΎΠ²ΠΊΠΈ Π±ΠΈΠΎΡΡΠ°Π»Π΅ΡΠ° ΡΡΠΎΠΈΡ Π·Π°ΠΏΠΎΠ»Π½ΠΈΡΡ ΡΠ½ΠΈΡΠ°Π· Π²ΠΎΠ΄ΠΎΠΉ ΠΏΡΠΈ ΠΏΠΎΠΌΠΎΡΠΈ Π½Π°ΡΠΎΡΠ° ΠΈΠ»ΠΈ Ρ ΠΏΠΎΠΌΠΎΡΡΡ ΡΡΡΠ°Π³Π°, ΠΊΠΎΡΠΎΡΡΠΉ Π΄Π΅ΠΉΡΡΠ²ΡΠ΅Ρ Π½Π° Π·Π°ΡΠ»ΠΎΠ½ΠΊΡ. Π‘ΠΎΠ΄Π΅ΡΠΆΠΈΠΌΠΎΠ΅ Π² ΡΠ½ΠΈΡΠ°Π·Π΅ ΡΠΌΠΎΠ΅ΡΡΡ ΠΏΡΠΈ Π½Π°ΠΆΠ°ΡΠΈΠΈ Π½Π° ΡΡΡΠ°Π³, ΡΡΠΎ ΡΠ°Π±ΠΎΡΠ°Π΅Ρ ΠΎΡ ΡΠ»Π΅ΠΊΡΡΠΎΡΠ΅ΡΠΈ.
ΠΠ°ΠΊ ΡΠ΄Π΅Π»Π°ΡΡ Π΄Π°ΡΠ½ΡΠΉ ΡΠ°ΡΠ°ΠΉ Ρ ΡΡΠ°Π»Π΅ΡΠΎΠΌ ΠΈ Π΄ΡΡΠ΅ΠΌ, ΠΌΠΎΠΆΠ½ΠΎ ΡΠ·Π½Π°ΡΡ ΠΈΠ· Π΄Π°Π½Π½ΠΎΠΉ ΡΡΠ°ΡΡΠΈ.
ΠΠ°ΠΊ Π²ΡΠ³Π»ΡΠ΄ΡΡ ΡΡΠ°Π»Π΅ΡΡ ΠΈ Π΄ΡΡΠ΅Π²ΡΠ΅ ΠΊΠ°Π±ΠΈΠ½Ρ Π΄Π»Ρ Π΄Π°ΡΠΈ, ΡΠΊΠ°Π·Π°Π½ΠΎ Π² Π΄Π°Π½Π½ΠΎΠΉ ΡΡΠ°ΡΡΠ΅.
ΠΠ°ΠΊ ΠΏΠΎΡΡΡΠΎΠΈΡΡ Π΄Π°ΡΠ½ΡΠΉ ΡΡΠ°Π»Π΅Ρ ΡΠ²ΠΎΠΈΠΌΠΈ ΡΡΠΊΠ°ΠΌΠΈ, ΠΌΠΎΠΆΠ½ΠΎ ΡΠ²ΠΈΠ΄Π΅ΡΡ Π² Π΄Π°Π½Π½ΠΎΠΉ ΡΡΠ°ΡΡΠ΅ Π·Π΄Π΅ΡΡ: https://2gazon.ru/postroiki/biotualety/dachnyj.html
ΠΠΈΠ΄Π΅ΠΎ: ΠΊΠ°ΠΊΠΎΠΉ Π±ΠΈΠΎΡΡΠ°Π»Π΅Ρ ΡΠ΅ΠΊΠΎΠΌΠ΅Π½Π΄ΡΠ΅ΡΡΡ ΠΈΡΠΏΠΎΠ»ΡΠ·ΠΎΠ²Π°ΡΡ Π΄Π»Ρ Π΄Π°ΡΠΈ
Π ΡΠ΅ΠΌ ΠΏΡΠ΅ΠΈΠΌΡΡΠ΅ΡΡΠ²Π°Β ΡΠΎΡΡΡΠ½ΡΡ
Π±ΠΈΠΎΡΡΠ°Π»Π΅ΡΠΎΠ²? ΠΠ°ΠΊΠΈΠ΅ ΠΊΡΠΈΡΠ΅ΡΠΈΠΈ ΠΊ ΡΡΡΠ°Π½ΠΎΠ²ΠΊΠ΅ ΠΈΡΠΏΠΎΠ»ΡΠ·ΠΎΠ²Π°Π½ΠΈΡ? Π₯ΠΎΡΠΈΡΠ΅ ΡΠ·Π½Π°ΡΡ ΠΊΠ°ΠΊ ΡΠ°Π±ΠΎΡΠ°Π΅Ρ Π±ΠΎΡΡΠ°Π»Π΅Ρ, Π²ΠΈΠ΄Π΅ΠΎ Π½Π° Π½Π°ΡΠ΅ΠΌ ΡΠ°ΠΉΡΠ΅ ΠΏΠΎΠΌΠΎΠΆΠ΅Ρ ΡΠ°Π·ΠΎΠ±ΡΠ°ΡΡΡΡ Π² ΡΡΠΈΡ
Π²ΠΎΠΏΡΠΎΡΠ°Ρ
.
Π‘ΠΎΠΎΡΠ½ΠΎΡΠ΅Π½ΠΈΠ΅ Π²ΠΎΠ΄Ρ ΠΈ ΡΠ°Π½ΠΈΡΠ°ΡΠ½ΠΎΠΉ ΠΆΠΈΠ΄ΠΊΠΎΡΡΠΈ
ΠΠΎΠ»ΠΈΡΠ΅ΡΡΠ²ΠΎ ΡΠ°Π½ΠΈΡΠ°ΡΠ½ΠΎΠ³ΠΎ ΡΡΠ΅Π΄ΡΡΠ²Π° Π΄ΠΎΠ±Π°Π²Π»Π΅Π½Π½ΠΎΠ³ΠΎ Π² Π²ΠΎΠ΄Ρ Π·Π°Π²ΠΈΡΠΈΡ ΠΎΡ ΠΌΠ°ΡΠΊΠΈ ΠΈΡΠΏΠΎΠ»ΡΠ·ΡΠ΅ΠΌΡΡ Ρ ΠΈΠΌΠΈΡΠ΅ΡΠΊΠΈΡ ΡΡΠ΅Π΄ΡΡΠ². Π ΠΊΠ°ΠΆΠ΄ΠΎΠΉ Π΄Π΅Π·ΠΈΠ½ΡΠΈΡΠΈΡΠΎΠ²Π°Π½Π½ΠΎΠΉ ΠΆΠΈΠ΄ΠΊΠΎΡΡΠΈ ΠΈΠΌΠ΅Π΅ΡΡΡ ΠΈΠ½ΡΡΡΡΠΊΡΠΈΡ ΠΏΠΎ ΡΠ°Π·Π²Π΅Π΄Π΅Π½ΠΈΡ Π΄Π°Π½Π½ΠΎΠ³ΠΎ ΠΊΠΎΠ½ΡΠ΅Π½ΡΡΠ°ΡΠ°.
ΠΡΠΈ ΠΈΡΠΏΠΎΠ»ΡΠ·ΠΎΠ²Π°Π½ΠΈΠΈ ΡΡΠ΅Π΄ΡΡΠ² ΠΎΡΠ΅ΡΠ΅ΡΡΠ²Π΅Π½Π½ΡΡ ΠΏΡΠΎΠΈΠ·Π²ΠΎΠ΄ΠΈΡΠ΅Π»Π΅ΠΉ ΠΏΠΎΠ½Π°Π΄ΠΎΠ±ΠΈΡΡΡ Π½Π΅ ΠΌΠ΅Π½ΡΡΠ΅ 100 ΠΌΠ» ΡΠ°ΡΡΠ²ΠΎΡΠ° Π½Π° 10 Π» Π²ΠΎΠ΄Ρ.
ΠΠ»Ρ Π±ΠΈΠΎΡΡΠ°Π»Π΅ΡΠΎΠ² ΡΠ°ΠΊΠΆΠ΅ ΠΏΡΠΈΠΌΠ΅Π½ΡΡΡ ΠΎΠ±Π΅Π·Π·Π°ΡΠ°ΠΆΠΈΠ²Π°ΡΡΠΈΠ΅ Ρ ΠΈΠΌΠΈΡΠ΅ΡΠΊΠΈΠ΅ Π²Π΅ΡΠ΅ΡΡΠ²Π° ΠΈ Π΄Π΅Π·ΠΈΠ½ΡΠΈΡΠΈΡΡΡΡΠΈΠ΅ ΡΡΠ΅Π΄ΡΡΠ²Π°. Π Π°Π·Π²ΠΎΠ΄ΡΡ ΠΈΡ Π² Π²ΠΎΠ΄Π΅, Π° ΠΏΠΎΠ΄ΡΠΎΠ±Π½ΡΠΉ ΡΠΏΠΎΡΠΎΠ± ΠΏΡΠΈΠΌΠ΅Π½Π΅Π½ΠΈΡ ΠΌΠΎΠΆΠ½ΠΎ ΠΏΡΠΎΡΠ΅ΡΡΡ Π½Π° ΡΡΠΈΠΊΠ΅ΡΠΊΠ΅ ΠΈΠ»ΠΈ Π² ΠΏΡΠΈΠ»Π°Π³Π°Π΅ΠΌΠΎΠΉ ΠΈΠ½ΡΡΡΡΠΊΡΠΈΠΈ.
ΠΠ±ΡΠ»ΡΠΆΠΈΠ²Π°Π½ΠΈΠ΅ ΠΈ ΡΡ ΠΎΠ΄
ΠΠ»Ρ ΠΎΠΏΡΠΈΠΌΠ°Π»ΡΠ½ΠΎΠΉ ΠΈ Π΄ΠΎΠ»Π³ΠΎΡΡΠΎΡΠ½ΠΎΠΉ ΡΠ°Π±ΠΎΡΡ Π±ΠΈΠΎΡΡΠ°Π»Π΅ΡΠ° ΠΏΠΎΠ»ΡΠ·ΠΎΠ²Π°ΡΠ΅Π»ΡΠΌ Π½Π΅ΠΎΠ±Ρ
ΠΎΠ΄ΠΈΠΌΠΎ ΡΠΈΡΡΠΈΡΡ Π΄Π΅ΡΠ°Π»ΠΈ ΠΎΠ±ΠΎΡΡΠ΄ΠΎΠ²Π°Π½ΠΈΡ ΡΠΏΠ΅ΡΠΈΠ°Π»ΡΠ½ΡΠΌΠΈ ΠΏΠ°ΡΡΠ°ΠΌΠΈ. ΠΠ΅ ΡΡΠΎΠΈΡ ΠΈΡΠΏΠΎΠ»ΡΠ·ΠΎΠ²Π°ΡΡ ΡΠ°Π·ΡΠ΅Π΄Π°ΡΡΠΈΠ΅ ΠΎΡΠΈΡΡΠΈΡΠ΅Π»ΡΠ½ΡΠ΅ ΡΡΠ΅Π΄ΡΡΠ²Π° Π² Π²ΠΈΠ΄Π΅ Π°ΡΠ΅ΡΠΎΠ½Π°, ΡΠ°ΠΉΡ-ΡΠΏΠΈΡΠΈΡΠ°, Ρ
Π»ΠΎΡΠΊΠΈ. ΠΡΠΏΠΎΠ»ΡΠ·ΠΎΠ²Π°Π½ΠΈΠ΅ ΡΠ°ΠΊΠΈΡ
ΠΏΡΠ΅ΠΏΠ°ΡΠ°ΡΠΎΠ² ΠΏΡΠΈΠ²Π΅Π΄Π΅Ρ Π² Π½Π΅Π³ΠΎΠ΄Π½ΠΎΡΡΡ Π΄Π΅ΠΉΡΡΠ²ΡΡΡΠΈΠ΅ ΡΠ»Π΅ΠΌΠ΅Π½ΡΡ, ΠΈ ΠΎΠ±ΠΎΡΡΠ΄ΠΎΠ²Π°Π½ΠΈΠ΅ ΡΡΠ°Π½Π΅Ρ Π½Π΅ΠΏΡΠΈΠ³ΠΎΠ΄Π½ΡΠΌ Π΄Π»Ρ Π΄Π°Π»ΡΠ½Π΅ΠΉΡΠ΅Π³ΠΎ ΠΈΡΠΏΠΎΠ»ΡΠ·ΠΎΠ²Π°Π½ΠΈΡ. Π§ΠΈΡΡΠΈΡΡ Π±ΠΈΠΎΡΡΠ°Π»Π΅Ρ ΠΌΠΎΠΆΠ½ΠΎ ΠΏΡΠΈ ΠΏΠΎΠΌΠΎΡΠΈ ΡΠ°ΡΠΏΡΠ»Π΅Π½ΠΈΡ ΡΠΈΡΡΡΡΠ΅Π³ΠΎ ΡΠ°ΡΡΠ²ΠΎΡΠ° Π½Π° ΠΏΠΎΠ²Π΅ΡΡ
Π½ΠΎΡΡΡ ΡΠ½ΠΈΡΠ°Π·Π°, ΠΏΠΎΡΠ»Π΅ ΡΠ΅Π³ΠΎ ΡΠΌΡΡΡ Π²ΠΎΠ΄ΠΎΠΉ. ΠΡΡΠ°ΡΠΊΠΈ ΡΠ°ΡΡΠ²ΠΎΡΠ° ΠΌΠΎΠΆΠ½ΠΎ ΡΠ±ΡΠ°ΡΡ Π±ΡΠΌΠ°ΠΆΠ½ΡΠΌΠΈ ΡΠ°Π»ΡΠ΅ΡΠΊΠ°ΠΌΠΈ.ΠΠΎΡΠ»Π΅ ΡΠΈΡΡΠΊΠΈ ΡΠ½ΠΈΡΠ°Π·Π° ΡΠ»Π΅Π΄ΡΠ΅Ρ ΠΏΡΠΎΡΡΡΠΈΡΡ Π·Π°ΡΠ»ΠΎΠ½ΠΊΠΈ ΠΈ ΠΏΡΠΎΠΊΠ»Π°Π΄ΠΊΠΈ, ΡΠΌΠ°Π·Π°ΡΡ ΠΈΡ ΠΎΠ»ΠΈΠ²ΠΊΠΎΠ²ΡΠΌ ΠΌΠ°ΡΠ»ΠΎΠΌ, Π° ΠΎΡΡΠ°ΡΠΊΠΈ ΠΆΠΈΡΠ° ΡΠ΄Π°Π»ΠΈΡΡ ΡΠ°Π»ΡΠ΅ΡΠΊΠΎΠΉ.
ΠΡΠΎΠ΄Π΅Π»ΡΠ²Π°ΡΡ Π΄Π°Π½Π½ΠΎΠ΅ Π΄Π΅ΠΉΡΡΠ²ΠΈΠ΅ ΡΠ»Π΅Π΄ΡΠ΅Ρ ΠΏΡΠΈ ΠΊΠ°ΠΆΠ΄ΠΎΠΌ Π·Π°Π³ΡΡΠ·Π½Π΅Π½ΠΈΠΈ.
Π ΠΊΠ°ΡΠ΅ΡΡΠ²Π΅ ΡΠΌΠ°Π·ΠΎΡΠ½ΠΎΠ³ΠΎ ΠΌΠ°ΡΠ΅ΡΠΈΠ°Π»Π° ΠΈΡΠΏΠΎΠ»ΡΠ·ΠΎΠ²Π°ΡΡ ΠΌΠΎΠΆΠ½ΠΎ ΡΠΎΠ»ΡΠΊΠΎ ΠΎΠ»ΠΈΠ²ΠΊΠΎΠ²ΠΎΠ΅ ΠΌΠ°ΡΠ»ΠΎ, Π²ΠΎ ΠΈΠ·Π±Π΅ΠΆΠ°Π½ΠΈΠ΅ Π½Π΅ΠΆΠ΅Π»Π°ΡΠ΅Π»ΡΠ½ΠΎΠΉ ΠΏΡΠΎΡΠ΅ΡΠΊΠΈ Π²ΠΎΠ΄Ρ ΠΈ ΠΏΡΠΎΠ΄Π»Π΅Π½ΠΈΡ ΡΡΠΎΠΊΠ° ΡΠΊΡΠΏΠ»ΡΠ°ΡΠ°ΡΠΈΠΈ. ΠΡΠΈ ΡΠ°ΡΡΠΎΠΌ ΠΏΠΎΠ»ΡΠ·ΠΎΠ²Π°Π½ΠΈΠΈ Π½Π΅ΠΎΠ±Ρ ΠΎΠ΄ΠΈΠΌΠΎ ΠΏΡΠΎΠ²Π΅ΡΡΡΡ Π½Π° ΠΈΠ·Π½ΠΎΡ Π²Π½ΡΡΡΠ΅Π½Π½ΠΈΠ΅ ΡΠ°ΡΡΠΈ Π±ΠΈΠΎΡΡΠ°Π»Π΅ΡΠ°. Π ΡΠ»ΡΡΠ°Π΅ Π½Π΅ΠΎΠ±Ρ ΠΎΠ΄ΠΈΠΌΠΎΡΡΠΈ ΠΈΡ ΡΠ»Π΅Π΄ΡΠ΅Ρ Π·Π°ΠΌΠ΅Π½ΠΈΡΡ Π½Π° Π½ΠΎΠ²ΡΠ΅.
Π₯ΡΠ°Π½Π΅Π½ΠΈΠ΅
ΠΡΠ»ΠΈ Π΄ΠΎΠ»Π³ΠΎΠ΅ Π²ΡΠ΅ΠΌΡ Π½Π΅ ΠΈΡΠΏΠΎΠ»ΡΠ·ΠΎΠ²Π°ΡΡ Π±ΠΈΠΎΡΡΠ°Π»Π΅Ρ, Π½Π΅ΠΎΠ±Ρ ΠΎΠ΄ΠΈΠΌΠΎ Π΅Π³ΠΎ ΠΏΡΠ°Π²ΠΈΠ»ΡΠ½ΠΎ ΡΠΎΡ ΡΠ°Π½ΠΈΡΡ, ΠΏΡΠ΅Π΄Π²Π°ΡΠΈΡΠ΅Π»ΡΠ½ΠΎ ΠΎΠΏΠΎΡΠΎΠΆΠ½ΠΈΠ² Π½Π°ΠΊΠΎΠΏΠΈΡΠ΅Π»ΡΠ½ΡΠΉ ΠΈ ΡΠ»ΠΈΠ²Π½ΠΎΠΉ Π±Π°ΡΠΎΠΊ ΠΎΡ ΠΆΠΈΠ΄ΠΊΠΎΡΡΠΈ, ΡΠΏΠΎΠ»ΠΎΡΠ½ΡΡΡ Π΅Π³ΠΎ ΠΈ Π΄Π°ΡΡ ΠΏΡΠΎΡΠΎΡ Π½ΡΡΡ, Π²ΡΠ½ΡΡΡ Π±Π°ΡΠ°ΡΠ΅ΠΉΠΊΠΈ ΠΈ ΡΠΌΠ°Π·Π°ΡΡ ΠΌΠ°ΡΠ»ΠΎΠΌ Π²ΡΠ΅ ΠΊΠΎΠΌΠΏΠ»Π΅ΠΊΡΡΡΡΠΈΠ΅ Π΄Π΅ΡΠ°Π»ΠΈ ΠΎΠ±ΠΎΡΡΠ΄ΠΎΠ²Π°Π½ΠΈΡ. Π Π·ΠΈΠΌΠ½ΠΈΠΉ ΠΏΠ΅ΡΠΈΠΎΠ΄ Π±ΠΈΠΎΡΡΠ°Π»Π΅ΡΠΎΠΌ ΠΌΠΎΠΆΠ½ΠΎ ΠΏΠΎΠ»ΡΠ·ΠΎΠ²Π°ΡΡΡΡ Π² ΡΠΎΠΌ ΡΠ»ΡΡΠ°Π΅, Π΅ΡΠ»ΠΈ ΠΎΠ½ Π½Π°Ρ ΠΎΠ΄ΠΈΡΡΡ Π² ΡΠ΅ΠΏΠ»ΠΎΠΌ ΠΏΠΎΠΌΠ΅ΡΠ΅Π½ΠΈΠΈ, ΠΏΠΎΡΠΎΠΌΡ ΠΊΠ°ΠΊ Π½Π° ΠΌΠΎΡΠΎΠ·Π΅ ΠΏΠ»Π°ΡΡΠΈΠΊ ΠΌΠΎΠΆΠ΅Ρ ΠΏΠΎΡΡΠ΅ΡΠΊΠ°ΡΡΡΡ ΠΈ ΠΏΡΠΈΠ΄Π΅Ρ Π² Π½Π΅Π³ΠΎΠ΄Π½ΠΎΡΡΡ.
ΠΠΈΠΎΡΡΠ°Π»Π΅ΡΡ β Π½Π΅Π·Π°ΠΌΠ΅Π½ΠΈΠΌΠ°Ρ Π²Π΅ΡΡ Π΄Π»Ρ Π·Π°Π³ΠΎΡΠΎΠ΄Π½ΡΡ Π΄ΠΎΠΌΠΎΠ², Π΄Π°Ρ, Π΄Π°Π»ΡΠ½ΠΈΡ ΠΏΠΎΠ΅Π·Π΄ΠΎΠΊ. Π Π·Π°Π²ΠΈΡΠΈΠΌΠΎΡΡΠΈ ΠΎΡ Π²ΠΈΠ΄Π° ΠΊΠΎΠ½ΡΡΡΡΠΊΡΠΈΠΈ ΠΈ ΡΠΏΠΎΡΠΎΠ±Π° ΠΏΠ΅ΡΠ΅ΡΠ°Π±ΠΎΡΠΊΠΈ ΠΎΡΡ ΠΎΠ΄ΠΎΠ² ΠΆΠΈΠ·Π½Π΅Π΄Π΅ΡΡΠ΅Π»ΡΠ½ΠΎΡΡΠΈ, Π±ΠΈΠΎΡΡΠ°Π»Π΅ΡΡ ΠΌΠΎΠΆΠ½ΠΎ ΠΈΡΠΏΠΎΠ»ΡΠ·ΠΎΠ²Π°ΡΡ ΠΊΠ°ΠΊ Π²Π½ΡΡΡΠΈ Π·Π΄Π°Π½ΠΈΡ, ΡΠ°ΠΊ ΠΈ Π·Π° Π΅Π³ΠΎ ΠΏΡΠ΅Π΄Π΅Π»Π°ΠΌΠΈ.
2gazon.ru
ΠΡΠΈΠ½ΡΠΈΠΏ ΡΠ°Π±ΠΎΡΡ Π±ΠΈΠΎΡΡΠ°Π»Π΅ΡΠ° ΠΈ ΠΊΠΎΠ½ΡΡΡΡΠΊΡΠΈΠ²Π½ΡΠ΅ ΠΎΡΠΎΠ±Π΅Π½Π½ΠΎΡΡΠΈ
ΠΡΠΈΠ½ΡΠΈΠΏ ΡΠ°Π±ΠΎΡΡ Π±ΠΈΠΎΡΡΠ°Π»Π΅ΡΠ° Π±Π°Π·ΠΈΡΡΠ΅ΡΡΡ, ΠΊΠ°ΠΊ ΠΏΡΠ°Π²ΠΈΠ»ΠΎ, Π½Π° ΡΠ°ΡΡΠ΅ΠΏΠ»Π΅Π½ΠΈΠΈ Π²ΡΠ΅Ρ
ΠΎΡΡ
ΠΎΠ΄ΠΎΠ² ΠΆΠΈΠ·Π½Π΅Π΄Π΅ΡΡΠ΅Π»ΡΠ½ΠΎΡΡΠΈ ΡΠ΅Π»ΠΎΠ²Π΅ΠΊΠ° ΠΏΡΠΈ ΠΏΠΎΠΌΠΎΡΠΈ ΡΠΏΠ΅ΡΠΈΠ°Π»ΡΠ½ΠΎΠ³ΠΎ ΡΠ΅Π°Π³Π΅Π½ΡΠ°, ΠΊΠΎΡΠΎΡΡΠΉ Π΄ΠΎΠ±Π°Π²Π»ΡΠ΅ΡΡΡ Π² Π±Π°ΠΊ ΠΊΠΎΠ½ΡΡΡΡΠΊΡΠΈΠΈ ΡΠ°Π½ΡΠ΅Ρ
Π½ΠΈΡΠ΅ΡΠΊΠΎΠ³ΠΎ ΠΏΡΠΈΠ±ΠΎΡΠ°.Π Π·Π°Π²ΠΈΡΠΈΠΌΠΎΡΡΠΈ ΠΎΡ ΠΊΠΎΠ½ΡΡΡΡΠΊΡΠΈΠΎΠ½Π½ΡΡ ΠΎΡΠΎΠ±Π΅Π½Π½ΠΎΡΡΠ΅ΠΉ, ΠΏΡΠΈΠ½ΡΠΈΠΏ ΡΡΠ½ΠΊΡΠΈΠΎΠ½ΠΈΡΠΎΠ²Π°Π½ΠΈΡ Π±ΠΈΠΎΡΡΠ°Π»Π΅ΡΠ° ΠΌΠΎΠΆΠ΅Ρ ΡΠΈΠ»ΡΠ½ΠΎ Π²Π°ΡΡΠΈΡΠΎΠ²Π°ΡΡ.
ΠΠΈΠΎΡΡΠ°Π»Π΅Ρ: ΡΡΠΎ ΡΡΠΎ ΡΠ°ΠΊΠΎΠ΅?
Π ΠΊΠ»Π°ΡΡΠΈΡΠ΅ΡΠΊΠΎΠΌ ΠΏΠΎΠ½ΠΈΠΌΠ°Π½ΠΈΠΈ, Π±ΠΈΠΎΡΡΠ°Π»Π΅Ρ ΡΠ²Π»ΡΠ΅ΡΡΡ ΠΏΠΎΠΏΡΠ»ΡΡΠ½ΡΠΌ ΠΈ Π²ΠΎΡΡΡΠ΅Π±ΠΎΠ²Π°Π½Π½ΡΠΌ ΡΠ°Π½ΡΠ΅Ρ
Π½ΠΈΡΠ΅ΡΠΊΠΈΠΌ ΡΡΡΡΠΎΠΉΡΡΠ²ΠΎΠΌ, Π°Π»ΡΡΠ΅ΡΠ½Π°ΡΠΈΠ²Π½ΡΠΌ ΡΡΠ°Π΄ΠΈΡΠΈΠΎΠ½Π½ΠΎΠΌΡ ΡΠ½ΠΈΡΠ°Π·Ρ, Π° ΡΠ°ΠΊΠΆΠ΅ ΡΠ΄ΠΎΠ±Π½ΡΠΌ Π΄Π»Ρ ΡΠΊΡΠΏΠ»ΡΠ°ΡΠ°ΡΠΈΠΈ Π² ΡΡΠ»ΠΎΠ²ΠΈΡΡ
Π·Π°Π³ΠΎΡΠΎΠ΄Π½ΠΎΠ³ΠΎ ΠΏΡΠΎΠΆΠΈΠ²Π°Π½ΠΈΡ.ΠΡΠ³Π°Π½ΠΈΠ·Π°ΡΠΈΡ ΡΠ°Π±ΠΎΡΡ Π±ΠΈΠΎΡΡΠ°Π»Π΅ΡΠ° Π°ΠΊΡΡΠ°Π»ΡΠ½Π° ΠΏΡΠΈ ΠΏΠΎΠ»Π½ΠΎΠΌ ΠΎΡΡΡΡΡΡΠ²ΠΈΠΈ ΡΠ΅Π½ΡΡΠ°Π»ΠΈΠ·ΠΎΠ²Π°Π½Π½ΠΎΠΉ ΠΌΠ°Π³ΠΈΡΡΡΠ°Π»ΠΈ Π²ΠΎΠ΄ΠΎΡΠ½Π°Π±ΠΆΠ΅Π½ΠΈΡ ΠΈ ΠΊΠ°Π½Π°Π»ΠΈΠ·Π°ΡΠΈΠΎΠ½Π½ΠΎΠΉ ΡΠΈΡΡΠ΅ΠΌΡ.
ΠΡΠ»ΠΈ Π² ΠΊΠ°ΡΠ΅ΡΡΠ²Π΅ Π±ΠΈΠΎΠ»ΠΎΠ³ΠΈΡΠ΅ΡΠΊΠΈΡ ΡΠ΅Π°Π³Π΅Π½ΡΠΎΠ² Π²ΡΡΡΡΠΏΠ°ΡΡ ΡΠΊΠΎΠ»ΠΎΠ³ΠΈΡΠ΅ΡΠΊΠΈ Π±Π΅Π·ΠΎΠΏΠ°ΡΠ½ΡΠ΅ ΠΊΠΎΠΌΠΏΠΎΠ½Π΅Π½ΡΡ, Π²ΠΊΠ»ΡΡΠ°Ρ ΡΠΎΡΡΡΠ½ΡΡ ΠΊΡΠΎΡΠΊΡ, ΠΎΠΏΠΈΠ»ΠΊΠΈ ΠΈ ΠΆΠΈΠ΄ΠΊΠΈΠ΅ ΡΠΎΠ΅Π΄ΠΈΠ½Π΅Π½ΠΈΡ, ΡΠΎ ΠΏΡΠΎΡΠ΅ΡΡ ΡΡΠΈΠ»ΠΈΠ·Π°ΡΠΈΠΈ ΠΏΠ΅ΡΠ΅ΡΠ°Π±ΠΎΡΠ°Π½Π½ΡΡ ΠΎΡΡ ΠΎΠ΄ΠΎΠ² Π·Π½Π°ΡΠΈΡΠ΅Π»ΡΠ½ΠΎ ΠΎΠ±Π»Π΅Π³ΡΠ°Π΅ΡΡΡ, Π° ΠΊΡΠΎΠΌΠ΅ Π²ΡΠ΅Π³ΠΎ ΠΏΡΠΎΡΠ΅Π³ΠΎ, ΠΊΠΎΠΌΠΏΠΎΡΡΠ½Π°Ρ ΠΌΠ°ΡΡΠ° ΠΌΠΎΠΆΠ΅Ρ Π±ΡΡΡ ΠΈΡΠΏΠΎΠ»ΡΠ·ΠΎΠ²Π°Π½Π° Π² ΠΊΠ°ΡΠ΅ΡΡΠ²Π΅ ΠΎΡΠ΅Π½Ρ ΡΡΡΠ΅ΠΊΡΠΈΠ²Π½ΠΎΠ³ΠΎ ΡΠ΄ΠΎΠ±ΡΠ΅Π½ΠΈΡ Π΄Π»Ρ ΡΠ°Π΄ΠΎΠ²ΠΎ-ΠΎΠ³ΠΎΡΠΎΠ΄Π½ΡΡ ΠΈ Π΄Π΅ΠΊΠΎΡΠ°ΡΠΈΠ²Π½ΠΎ ΡΠ²Π΅ΡΡΡΠΈΡ ΠΊΡΠ»ΡΡΡΡ.
ΠΠΈΠ³ΠΈΠ΅Π½ΠΈΡΠ½ΡΠ΅ ΠΈ Π΄ΠΎΡΡΠ°ΡΠΎΡΠ½ΠΎ ΠΊΠΎΠΌΠΏΠ°ΠΊΡΠ½ΡΠ΅ ΠΊΠΎΠ½ΡΡΡΡΠΊΡΠΈΠΈ ΡΡΠ°Π»ΠΈ Π½Π΅Π·Π°ΠΌΠ΅Π½ΠΈΠΌΡΠΌΠΈ Π½Π° Π΄Π°ΡΠ½ΡΡ ΡΡΠ°ΡΡΠΊΠ°Ρ ΠΈ Π² ΡΡΡΠΈΡΡΠΈΡΠ΅ΡΠΊΠΈΡ ΠΏΠΎΡ ΠΎΠ΄Π°Ρ , Π° ΡΠ°ΠΊΠΆΠ΅ ΠΏΡΠΈ ΠΎΠ±ΡΠ»ΡΠΆΠΈΠ²Π°Π½ΠΈΠΈ ΠΌΠ°Π»ΠΎΠΌΠΎΠ±ΠΈΠ»ΡΠ½ΡΡ Π»ΠΈΡ Π² ΡΡΠ»ΠΎΠ²ΠΈΡΡ Π³ΠΎΡΠΎΠ΄ΡΠΊΠΎΠΉ ΠΊΠ²Π°ΡΡΠΈΡΡ ΠΈΠ»ΠΈ ΡΠ°ΡΡΠ½ΠΎΠ³ΠΎ Π΄ΠΎΠΌΠ°.
ΠΠΈΠ΄Ρ Π±ΠΈΠΎΡΡΠ°Π»Π΅ΡΠΎΠ²
ΠΡΠ΅ Π²ΡΠΏΡΡΠΊΠ°Π΅ΠΌΡΠ΅ Π½Π° ΡΠ΅Π³ΠΎΠ΄Π½ΡΡΠ½ΠΈΠΉ Π΄Π΅Π½Ρ Π±ΠΈΠΎΡΡΠ°Π»Π΅ΡΡ ΠΏΡΠ΅Π΄ΡΡΠ°Π²Π»Π΅Π½Ρ Π½Π΅ΡΠΊΠΎΠ»ΡΠΊΠΈΠΌΠΈ ΠΎΡΠ½ΠΎΠ²Π½ΡΠΌΠΈ Π²ΠΈΠ΄Π°ΠΌΠΈ, ΠΊΠΎΡΠΎΡΡΠ΅ ΡΠ°Π·Π»ΠΈΡΠ°ΡΡΡΡ Π½Π΅ ΡΠΎΠ»ΡΠΊΠΎ ΠΊΠΎΠ½ΡΡΡΡΠΊΡΠΈΠ²Π½ΡΠΌΠΈ ΠΎΡΠΎΠ±Π΅Π½Π½ΠΎΡΡΡΠΌΠΈ, Π½ΠΎ ΡΠ°ΠΊΠΆΠ΅ ΠΈΠΌΠ΅ΡΡ ΡΠ°Π·Π½ΡΠΉ ΠΏΡΠΈΠ½ΡΠΈΠΏ ΡΠ°Π±ΠΎΡΡ.
ΠΠΎ Ρ Π°ΡΠ°ΠΊΡΠ΅ΡΠΈΡΡΠΈΠΊΠ°ΠΌ ΠΈΡΠΏΠΎΠ»ΡΠ·ΡΠ΅ΠΌΠΎΠ³ΠΎ Π½Π°ΠΏΠΎΠ»Π½ΠΈΡΠ΅Π»Ρ, Π²ΡΠ΅ ΠΊΠΎΠ½ΡΡΡΡΠΊΡΠΈΠΈ ΠΏΠΎΠ΄ΡΠ°Π·Π΄Π΅Π»ΡΡΡΡΡ Π½Π° Π½Π΅ΡΠΊΠΎΠ»ΡΠΊΠΎ Π²ΠΈΠ΄ΠΎΠ².
Π Π°ΡΡΠΌΠΎΡΡΠΈΠΌ ΠΈΡ :
- ΠΒ ΡΡΡΡΠΎΠΉΡΡΠ²Π°Ρ Ρ ΠΈΠΌΠΈΡΠ΅ΡΠΊΠΎΠ³ΠΎ ΡΠΈΠΏΠ° ΠΏΡΠΎΡΠ΅ΡΡ ΠΎΠ±Π΅Π·Π·Π°ΡΠ°ΠΆΠΈΠ²Π°Π½ΠΈΡ ΠΈ ΠΏΠ΅ΡΠ΅ΡΠ°Π±ΠΎΡΠΊΠΈ ΠΎΡΡΡΠ΅ΡΡΠ²Π»ΡΠ΅ΡΡΡ ΠΏΠΎΡΡΠ΅Π΄ΡΡΠ²ΠΎΠΌ ΠΆΠΈΠ΄ΠΊΠΎΡΡΠ΅ΠΉ ΠΈΠ»ΠΈ ΠΏΠΎΡΠΎΡΠΊΠΎΠ² ΡΠΎΡΠΌΠ°Π»ΡΠ΄Π΅Π³ΠΈΠ΄Π½ΠΎΠ³ΠΎ ΡΠΎΡΡΠ°Π²Π°. Π’Π°ΠΊΠΈΠ΅ ΠΌΠΎΠ΄Π΅Π»ΠΈ Π½Π΅ ΠΏΡΠ΅Π΄ΠΏΠΎΠ»Π°Π³Π°ΡΡ ΠΈΡΠΏΠΎΠ»ΡΠ·ΠΎΠ²Π°Π½ΠΈΡ ΡΠ΅ΠΊΠ°Π»ΡΠ½ΠΎΠΉ ΠΌΠ°ΡΡΡ, Π° Π΄Π»Ρ ΡΡΠΈΠ»ΠΈΠ·Π°ΡΠΈΠΈ ΡΠΎΠ΄Π΅ΡΠΆΠΈΠΌΠΎΠ³ΠΎ Π½Π°ΠΊΠΎΠΏΠΈΡΠ΅Π»ΡΠ½ΠΎΠ³ΠΎ Π±Π°ΠΊΠ° ΠΈΡΠΏΠΎΠ»ΡΠ·ΡΠ΅ΡΡΡ ΠΊΠ°Π½Π°Π»ΠΈΠ·Π°ΡΠΈΡ ΠΈΠ»ΠΈ ΡΠΏΠ΅ΡΠΈΠ°Π»ΡΠ½Π°Ρ ΡΡΠΎΡΠ½Π°Ρ ΡΠΌΠ°.
- ΠΒ ΡΡΡΡΠΎΠΉΡΡΠ²Π°Ρ Π±ΠΈΠΎΠ»ΠΎΠ³ΠΈΡΠ΅ΡΠΊΠΎΠ³ΠΎ ΡΠΈΠΏΠ° Π² ΠΊΠ°ΡΠ΅ΡΡΠ²Π΅ Π½Π°ΠΏΠΎΠ»Π½ΠΈΡΠ΅Π»Ρ ΠΈΡΠΏΠΎΠ»ΡΠ·ΡΡΡΡΡ ΡΠ°Π·Π»ΠΈΡΠ½ΡΠ΅ ΡΠΎΡΡΠ°Π²Ρ Ρ ΠΌΠΈΠΊΡΠΎΠΎΡΠ³Π°Π½ΠΈΠ·ΠΌΠ°ΠΌΠΈ. Π’Π°ΠΊΠΈΠ΅ ΠΌΠΎΠ΄Π΅Π»ΠΈ ΡΠ²Π»ΡΡΡΡΡ ΡΠΊΠΎΠ»ΠΎΠ³ΠΈΡΠ΅ΡΠΊΠΈ Π±Π΅Π·ΠΎΠΏΠ°ΡΠ½ΡΠΌΠΈ, Π° ΡΡΠΈΠ»ΠΈΠ·ΠΈΡΡΠ΅ΠΌΠΎΠ΅ ΡΠΎΠ΄Π΅ΡΠΆΠΈΠΌΠΎΠ΅ Π½Π°ΠΊΠΎΠΏΠΈΡΠ΅Π»Ρ Π²ΠΏΠΎΠ»Π½Π΅ ΠΌΠΎΠΆΠ΅Ρ Π±ΡΡΡ ΠΈΡΠΏΠΎΠ»ΡΠ·ΠΎΠ²Π°Π½ΠΎ Ρ ΡΠ΅Π»ΡΡ ΡΠ΄ΠΎΠ±ΡΠ΅Π½ΠΈΡ Π΄Π»Ρ ΠΏΠΎΡΠ²Ρ Π½Π° ΠΏΡΠΈΡΡΠ°Π΄Π΅Π±Π½ΡΡ ΠΈΠ»ΠΈ Π΄Π°ΡΠ½ΡΡ ΡΡΠ°ΡΡΠΊΠ°Ρ .
- ΠΒ Π±Π΅Π·Π²ΠΎΠ΄Π½ΡΡ ΡΡΡΡΠΎΠΉΡΡΠ²Π°Ρ ΡΠΎΡΡΡΠ½ΠΎΠ³ΠΎ ΡΠΈΠΏΠ° ΠΏΡΠΎΡΠ΅ΡΡ ΠΏΠ΅ΡΠ΅ΡΠ°Π±ΠΎΡΠΊΠΈ ΡΠ΅ΠΊΠ°Π»ΡΠ½ΡΡ ΠΌΠ°ΡΡ ΠΎΡΠ½ΠΎΠ²Π°Π½ Π½Π° ΠΏΡΠΈΠΌΠ΅Π½Π΅Π½ΠΈΠΈ ΡΠΌΠ΅ΡΠ΅ΠΉ, ΡΠΎΡΡΠΎΡΡΠΈΡ ΠΈΠ· ΡΠΎΡΡΡΠ½ΠΎΠΉ ΠΊΡΠΎΡΠΊΠΈ, Π΄ΡΠ΅Π²Π΅ΡΠ½ΡΡ ΠΎΠΏΠΈΠ»ΠΎΠΊ ΠΈ ΡΠ°Π·Π»ΠΈΡΠ½ΡΡ ΠΊΠΎΠΌΠΏΠΎΠ·ΠΈΡΠΈΠΎΠ½Π½ΡΡ Π΄ΠΎΠ±Π°Π²ΠΎΠΊ. ΠΠ²ΡΠΎΠ½ΠΎΠΌΠ½ΡΠ΅ ΠΊΠΎΠΌΠΏΠ°ΠΊΡΠ½ΡΠ΅ ΠΌΠΎΠ΄Π΅Π»ΠΈ ΠΌΠΎΠ³ΡΡ Π±ΡΡΡ ΠΏΡΠ΅Π΄ΡΡΠ°Π²Π»Π΅Π½Ρ ΠΊΠΎΠ½ΡΡΡΡΠΊΡΠΈΡΠΌΠΈ, Π² ΠΊΠΎΡΠΎΡΡΡ Π² ΠΊΠ°ΡΠ΅ΡΡΠ²Π΅ ΡΠ΅Π·Π΅ΡΠ²ΡΠ°ΡΠ° Π΄Π»Ρ ΡΠ±ΠΎΡΠ° ΠΎΡΡ ΠΎΠ΄ΠΎΠ² ΠΈΡΠΏΠΎΠ»ΡΠ·ΡΡΡΡΡ ΠΏΠ°ΠΊΠ΅ΡΡ Π½Π° ΠΎΡΠ½ΠΎΠ²Π΅ ΠΏΠΎΠ»ΠΈΡΡΠΈΠ»Π΅Π½Π°.
- ΠΒ ΡΠ»Π΅ΠΊΡΡΠΈΡΠ΅ΡΠΊΠΈΡ ΡΡΡΡΠΎΠΉΡΡΠ²Π°Ρ ΠΈΠ»ΠΈ Π±ΠΈΠ·Π½Π΅Ρ-Π±ΠΈΠΎΡΡΠ°Π»Π΅ΡΠ°Ρ ΠΏΡΠΈΠ½ΡΠΈΠΏ Π΄Π΅ΠΉΡΡΠ²ΠΈΡ ΠΎΡΠ½ΠΎΠ²Π°Π½ Π½Π° ΠΏΠΎΠ΄ΠΊΠ»ΡΡΠ΅Π½ΠΈΠΈ ΠΊ ΡΠ»Π΅ΠΊΡΡΠΈΡΠ΅ΡΠΊΠΎΠΉ ΡΠ΅ΡΠΈ. Π’Π°ΠΊΠΈΠ΅ ΠΌΠΎΠ΄Π΅Π»ΠΈ Π½Π΅ ΠΈΠΌΠ΅ΡΡ ΡΡΡΠ΅ΡΡΠ²Π΅Π½Π½ΡΡ ΠΎΡΠ»ΠΈΡΠΈΠΉ ΠΎΡ ΠΊΠ»Π°ΡΡΠΈΡΠ΅ΡΠΊΠΈΡ ΡΠ½ΠΈΡΠ°Π·ΠΎΠ², Π½ΠΎ ΠΏΠΎΠ»Π½ΠΎΡΠ΅Π½Π½Π°Ρ Π½ΠΎΡΠΌΠ°Π»ΡΠ½Π°Ρ ΡΠ°Π±ΠΎΡΠΎΡΠΏΠΎΡΠΎΠ±Π½ΠΎΡΡΡ ΠΎΠ±Π΅ΡΠΏΠ΅ΡΠΈΠ²Π°Π΅ΡΡΡ ΡΡΠ½ΠΊΡΠΈΠΎΠ½ΠΈΡΠΎΠ²Π°Π½ΠΈΠ΅ ΠΊΠΎΠΌΠΏΡΠ΅ΡΡΠΎΡΠ° ΠΈ Π²Π΅Π½ΡΠΈΠ»ΡΡΠΈΠΈ, Π° ΡΠ°Π·Π΄Π΅Π»ΡΠ΅ΠΌΡΠ΅ ΡΠ²ΡΡΠ΄ΡΠ΅ ΠΈ ΠΆΠΈΠ΄ΠΊΠΈΠ΅ ΡΡΠ°ΠΊΡΠΈΠΈ Π²ΡΠ²ΠΎΠ΄ΡΡΡΡ Π² ΠΊΠ°Π½Π°Π»ΠΈΠ·Π°ΡΠΈΠΎΠ½Π½ΡΡ ΠΈΠ»ΠΈ Π΄ΡΠ΅Π½Π°ΠΆΠ½ΡΡ ΡΠΈΡΡΠ΅ΠΌΡ.

Π£ΡΡΡΠΎΠΉΡΡΠ²ΠΎ ΡΠΎΡΡΡΠ½ΠΎΠ³ΠΎ Π±ΠΈΠΎΡΡΠ°Π»Π΅ΡΠ°
ΠΠ½Π΅ Π·Π°Π²ΠΈΡΠΈΠΌΠΎΡΡΠΈ ΠΎΡ Π²ΠΈΠ΄ΠΎΠ²ΡΡ ΠΎΡΠΎΠ±Π΅Π½Π½ΠΎΡΡΠ΅ΠΉ, ΠΊΠΎΠ½ΡΡΡΡΠΊΡΠΈΡ Π±ΠΈΠΎΡΡΠ°Π»Π΅ΡΠ°, ΠΊΠ°ΠΊ ΠΏΡΠ°Π²ΠΈΠ»ΠΎ, ΠΏΡΠ΅Π΄ΡΡΠ°Π²Π»Π΅Π½Π° Π΄Π²ΡΠΌΡ ΠΎΡΠ½ΠΎΠ²Π½ΡΠΌΠΈ ΡΠΎΡΡΠ°Π²Π»ΡΡΡΠΈΠΌΠΈ:
- ΠΠ΅ΡΡ Π½ΡΡ ΡΠ°ΡΡΡ ΠΊΠΎΠ½ΡΡΡΡΠΊΡΠΈΠΈ β ΡΠ½ΠΈΡΠ°Π·Π½ΠΎΠ΅ ΡΠΈΠ΄Π΅Π½ΠΈΠ΅ ΠΈ ΡΠ΅Π·Π΅ΡΠ²ΡΠ°Ρ Π΄Π»Ρ ΡΠ»ΠΈΠ²Π½ΠΎΠΉ ΠΆΠΈΠ΄ΠΊΠΎΡΡΠΈ. ΠΠ±ΡΠ΅ΠΌ ΡΠ°ΠΊΠΎΠ³ΠΎ ΡΠ΅Π·Π΅ΡΠ²ΡΠ°ΡΠ° ΠΌΠΎΠΆΠ΅Ρ Π·Π½Π°ΡΠΈΡΠ΅Π»ΡΠ½ΠΎ Π²Π°ΡΡΠΈΡΠΎΠ²Π°ΡΡ, ΠΏΠΎΡΡΠΎΠΌΡ ΠΏΡΠΈ Π²ΡΠ±ΠΎΡΠ΅ ΠΌΠΎΠ΄Π΅Π»ΠΈ Π½ΡΠΆΠ½ΠΎ ΠΏΠΎΠΌΠ½ΠΈΡΡ, ΡΡΠΎ 15 Π». β ΡΡΠΎ ΠΊΠΎΠ»ΠΈΡΠ΅ΡΡΠ²ΠΎ, Π·Π°ΡΡΠ°ΡΠΈΠ²Π°Π΅ΠΌΠΎΠ΅ ΠΎΠ΄Π½ΠΈΠΌ ΠΏΠΎΠ»ΡΠ·ΠΎΠ²Π°ΡΠ΅Π»Π΅ΠΌ Π² ΡΠ΅ΡΠ΅Π½ΠΈΠ΅ ΠΏΠ°ΡΡ Π½Π΅Π΄Π΅Π»Ρ. Π Π±ΠΎΠ»ΡΡΠΈΠ½ΡΡΠ²Π΅ ΡΠΎΠ²ΡΠ΅ΠΌΠ΅Π½Π½ΡΡ ΠΌΠΎΠ΄Π΅Π»Π΅ΠΉ ΡΡΡΡΠΎΠΉΡΡΠ²ΠΎ ΠΏΡΠ΅Π΄ΡΡΠ°Π²Π»Π΅Π½ΠΎ Π΄Π²ΡΡ ΡΡΠΎΡΠΎΠ½Π½ΠΈΠΌ ΠΊΡΡΠ³ΠΎΠ²ΡΠΌ ΡΠΌΡΠ²ΠΎΠΌ, ΠΊΠΎΡΠΎΡΡΠΉ ΠΎΠ±Π΅ΡΠΏΠ΅ΡΠΈΠ²Π°Π΅ΡΡΡ ΠΏΠΎΡΡΠ½Π΅Π²ΡΠΌ Π½Π°ΡΠΎΡΠΎΠΌ. ΠΠ»Ρ Π²ΡΠΏΠΎΠ»Π½Π΅Π½ΠΈΡ ΡΠ½ΠΈΡΠ°Π·Π½ΠΎΠΉ ΡΠ°ΡΠΈ ΡΠ°ΡΠ΅ Π²ΡΠ΅Π³ΠΎ ΠΈΡΠΏΠΎΠ»ΡΠ·ΡΡΡΡΡ ΠΊΠ°ΡΠ΅ΡΡΠ²Π΅Π½Π½ΡΠ΅ ΠΈ Π½Π°Π΄Π΅ΠΆΠ½ΡΠ΅, Π΄ΠΎΠ»Π³ΠΎΠ²Π΅ΡΠ½ΡΠ΅ ΠΏΠ»Π°ΡΡΠΈΠΊΠΈ, Π²ΠΊΠ»ΡΡΠ°Ρ ΠΏΠΎΠ»ΠΈΡΡΠΈΡΠΎΠ».
- ΠΠΈΠΆΠ½ΡΡ ΡΠ°ΡΡΡ ΠΊΠΎΠ½ΡΡΡΡΠΊΡΠΈΠΈ β Π½Π°ΠΊΠΎΠΏΠΈΡΠ΅Π»ΡΠ½ΡΠΉ Π±Π°ΠΊ Π΄Π»Ρ ΡΠ±ΠΎΡΠ° ΡΠ΅ΠΊΠ°Π»ΠΈΠΉ. ΠΠ±ΡΠ΅ΠΌ ΡΠ°ΠΊΠΎΠ³ΠΎ Π½Π°ΠΊΠΎΠΏΠΈΡΠ΅Π»Ρ ΠΌΠΎΠΆΠ΅Ρ Π±ΡΡΡ ΡΠ°Π·Π½ΡΠΌ, Π½ΠΎ Π½Π°ΠΈΠ±ΠΎΠ»Π΅Π΅ Ρ ΠΎΠ΄ΠΎΠ²ΡΠ΅ ΠΌΠΎΠ΄Π΅Π»ΠΈ ΡΠΎΠ²ΡΠ΅ΠΌΠ΅Π½Π½ΡΡ Π±ΠΈΠΎΡΡΠ°Π»Π΅ΡΠΎΠ² ΠΎΡΠ½Π°ΡΠ°ΡΡΡΡ ΡΠ΅Π·Π΅ΡΠ²ΡΠ°ΡΠΎΠΌ Π² 15-22 Π».
ΠΠ΅ΠΊΠΎΡΠΎΡΡΠ΅ ΠΌΠΎΠ΄Π΅Π»ΠΈ ΠΈΠΌΠ΅ΡΡ ΠΎΡΠ΅Π½Ρ ΡΠ΄ΠΎΠ±Π½ΡΠΉ ΠΈ ΠΈΠ½ΡΠΎΡΠΌΠ°ΡΠΈΠ²Π½ΡΠΉ ΠΎΠΏΡΠΈΡΠ΅ΡΠΊΠΈΠΉ ΠΈΠ½Π΄ΠΈΠΊΠ°ΡΠΎΡ, ΠΊΠΎΡΠΎΡΡΠΉ ΡΠΈΠ³Π½Π°Π»ΠΈΠ·ΠΈΡΡΠ΅Ρ ΠΎ Π½Π΅ΠΎΠ±Ρ ΠΎΠ΄ΠΈΠΌΠΎΡΡΠΈ Π²ΡΠΏΠΎΠ»Π½ΠΈΡΡ ΠΎΠΏΠΎΡΠΎΠΆΠ½Π΅Π½ΠΈΠ΅ Π½Π°ΠΊΠΎΠΏΠΈΡΠ΅Π»ΡΠ½ΠΎΠ³ΠΎ ΡΠ΅Π·Π΅ΡΠ²ΡΠ°ΡΠ°. Π’Π°ΠΊΠΆΠ΅, ΠΊΠΎΠ½ΡΡΡΡΠΊΡΠΈΡ ΠΌΠΎΠΆΠ΅Ρ ΠΎΠ±Π»Π°Π΄Π°ΡΡ ΡΡΡΠ°Π²Π»ΠΈΠ²Π°ΡΡΠΈΠΌ Π΄Π°Π²Π»Π΅Π½ΠΈΠ΅ ΠΊΠ»Π°ΠΏΠ°Π½Π½ΡΠΌ ΡΡΡΡΠΎΠΉΡΡΠ²ΠΎΠΌ, ΡΡΠΎ ΠΏΠΎΠ·Π²ΠΎΠ»ΠΈΡ ΠΏΡΠ΅Π΄ΠΎΡΠ²ΡΠ°ΡΠΈΡΡ ΡΠ°Π·Π±ΡΡΠ·Π³ΠΈΠ²Π°Π½ΠΈΠ΅ ΠΎΡΡ ΠΎΠ΄ΠΎΠ² Π² ΠΏΡΠΎΡΠ΅ΡΡΠ΅ ΠΎΡΠΈΡΡΠΊΠΈ Π½Π°ΠΊΠΎΠΏΠΈΡΠ΅Π»Ρ ΡΠ΅ΡΠ΅Π· ΡΠΏΠ΅ΡΠΈΠ°Π»ΡΠ½ΡΠΉ ΠΏΠ°ΡΡΡΠ±ΠΎΠΊ.

Π’ΠΎΡΡΡΠ½ΠΎΠΉ ΠΊΠΎΠΌΠΏΠΎΡΡ
ΠΠ°ΠΈΠ±ΠΎΠ»Π΅Π΅ ΡΠΎΠ²ΡΠ΅ΠΌΠ΅Π½Π½ΡΠ΅ ΠΊΠΎΠ½ΡΡΡΡΠΊΡΠΈΠΈ ΠΎΡΠ½Π°ΡΠ°ΡΡΡΡ ΠΊΠΎΠ»Π΅ΡΠΈΠΊΠ°ΠΌΠΈ Π΄Π»Ρ ΡΡΠ°Π½ΡΠΏΠΎΡΡΠΈΡΠΎΠ²ΠΊΠΈ, Π»ΠΎΡΠΊΠΎΠΌ Π΄Π»Ρ ΡΡΠ°Π»Π΅ΡΠ½ΠΎΠΉ Π±ΡΠΌΠ°Π³ΠΈ, ΡΡΠ΅ΠΌΠ½ΡΠΌ ΡΠΈΠ΄Π΅Π½ΡΠ΅ΠΌ ΠΈ ΡΡΡΠΏΠ΅Π½ΡΠΌΠΈ Π΄Π»Ρ Π΄Π΅ΡΠ΅ΠΉ, ΠΏΠΎΡΡΡΠ½ΡΠΌΠΈ Π΄Π»Ρ ΠΏΠΎΠΆΠΈΠ»ΡΡ Π»ΡΠ΄Π΅ΠΉ ΠΈ ΠΈΠ½Π²Π°Π»ΠΈΠ΄ΠΎΠ², Π° ΡΠ°ΠΊΠΆΠ΅ ΠΎΡΠ²Π΅ΡΡΡΠΈΡΠΌΠΈ Π΄Π»Ρ ΡΡΠ°ΡΠΈΠΎΠ½Π°ΡΠ½ΠΎΠ³ΠΎ ΠΈΡΠΏΠΎΠ»ΡΠ·ΠΎΠ²Π°Π½ΠΈΡ.
ΠΠΈΠΎΡΡΠ°Π»Π΅ΡΡ ΠΌΠΎΠ³ΡΡ Π±ΡΡΡ ΠΏΠ΅ΡΠ΅Π½ΠΎΡΠ½ΡΠΌΠΈ ΠΈ ΡΡΠ°ΡΠΈΠΎΠ½Π°ΡΠ½ΡΠΌΠΈ, ΠΈ Π΅ΡΠ»ΠΈ ΠΊ ΠΏΠ΅ΡΠ²ΠΎΠΌΡ Π²Π°ΡΠΈΠ°Π½ΡΡ ΠΎΡΠ½ΠΎΡΡΡΡΡ ΠΊΠΎΠΌΠΏΠ°ΠΊΡΠ½ΡΠ΅ ΠΈΠ»ΠΈ Π»Π΅Π³ΠΊΠΎ ΡΡΠ°Π½ΡΠΏΠΎΡΡΠΈΡΡΠ΅ΠΌΡΠ΅ ΠΌΠΎΠ΄Π΅Π»ΠΈ, ΡΠΎ Π²ΡΠΎΡΠΎΠΉ ΡΠΈΠΏ ΠΊΠΎΠ½ΡΡΡΡΠΊΡΠΈΠΉ ΡΠ°ΡΠ΅ Π²ΡΠ΅Π³ΠΎ ΠΏΡΠ΅Π΄ΡΡΠ°Π²Π»ΡΠ΅Ρ ΡΠΎΠ±ΠΎΠΉ ΠΊΠ°Π±ΠΈΠ½ΠΊΡ Ρ ΡΡΡΠ°Π½ΠΎΠ²Π»Π΅Π½Π½ΡΠΌ ΠΊΠ°ΡΡΠ΅ΡΠ½ΡΠΌ ΠΏΡΠΈΠ±ΠΎΡΠΎΠΌ.
Π£ΡΡΡΠΎΠΉΡΡΠ²ΠΎ Π±ΠΈΠΎΡΡΠ°Π»Π΅ΡΠ°
ΠΠ°ΠΊ ΡΡΡΡΠΎΠ΅Π½ Π±ΠΈΠΎΡΡΠ°Π»Π΅Ρ? ΠΠ° Π΄Π°Π½Π½ΡΠΉ ΠΌΠΎΠΌΠ΅Π½Ρ Π½Π°ΠΈΠ±ΠΎΠ»Π΅Π΅ Π²ΠΎΡΡΡΠ΅Π±ΠΎΠ²Π°Π½Π½ΡΠΌΠΈ ΡΠ²Π»ΡΡΡΡΡ ΡΠΎΡΡΠΎ-ΠΊΠΎΠΌΠΏΠΎΡΡΠΈΡΡΡΡΠΈΠ΅ ΠΈ ΠΆΠΈΠ΄ΠΊΠΎΡΡΠ½ΡΠ΅ ΠΌΠΎΠ΄Π΅Π»ΠΈ Π±ΠΈΠΎΡΡΠ°Π»Π΅ΡΠΎΠ², ΡΡΡΡΠΎΠΉΡΡΠ²ΠΎ ΠΊΠΎΡΠΎΡΡΡ ΠΈΠΌΠ΅Π΅Ρ Π½Π΅ΠΊΠΎΡΠΎΡΡΠ΅ ΡΡΡΠ΅ΡΡΠ²Π΅Π½Π½ΡΠ΅ ΠΎΡΠ»ΠΈΡΠΈΡ:
- ΠΠΎΡΡΠ°ΡΠΈΠ²Π½ΡΠ΅ ΠΆΠΈΠ΄ΠΊΠΎΡΡΠ½ΡΠ΅ ΠΊΠ»ΠΎΠ·Π΅ΡΡ ΡΠΎΡΡΠΎΡΡ ΠΈΠ· Π΄Π²ΡΡ ΡΠ΅ΠΊΡΠΈΠΉ. Π Π²Π΅ΡΡ Π½Π΅ΠΉ ΡΠ°ΡΡΠΈ ΡΡΡΠ°Π½ΠΎΠ²Π»Π΅Π½Π° ΡΠ°ΡΠ° Ρ ΡΠΈΠ΄Π΅Π½ΠΈΠ΅ΠΌ ΠΈ ΡΠ΅Π·Π΅ΡΠ²ΡΠ°Ρ, Π·Π°ΠΏΠΎΠ»Π½ΡΠ΅ΠΌΡΠΉ Π²ΠΎΠ΄ΠΎΠΉ. Π Π½ΠΈΠΆΠ½Π΅ΠΉ ΡΠ°ΡΡΠΈ ΡΠ°ΡΠΏΠΎΠ»Π°Π³Π°Π΅ΡΡΡ ΠΏΡΠΈΠ΅ΠΌΠ½ΡΠΉ Π½Π°ΠΊΠΎΠΏΠΈΡΠ΅Π»ΡΠ½ΡΠΉ ΡΠ΅Π·Π΅ΡΠ²ΡΠ°Ρ Π΄Π»Ρ ΡΠ±ΠΎΡΠ° ΡΠ΅ΠΊΠ°Π»ΡΠ½ΡΡ ΠΌΠ°ΡΡ. Π‘ΠΌΡΠ² ΠΏΡΠΈ ΠΏΠΎΠΌΠΎΡΠΈ ΠΏΠΎΠΌΠΏΡ ΠΎΡΡΡΠ΅ΡΡΠ²Π»ΡΠ΅ΡΡΡ Π²ΠΎΠ΄ΠΎΠΉ, ΡΠ»ΠΈΠ²Π°Π΅ΠΌΠΎΠΉ ΡΠ΅ΡΠ΅Π· Π²Π΅ΡΡ Π½ΡΡ Π΅ΠΌΠΊΠΎΡΡΡ. ΠΠ΅ΡΠΌΠ΅ΡΠΈΡΠ½ΠΎΡΡΡ Π·Π°ΠΊΡΡΡΠΈΡ Π½Π°ΠΊΠΎΠΏΠΈΡΠ΅Π»Ρ ΠΎΠ±Π΅ΡΠΏΠ΅ΡΠΈΠ²Π°Π΅ΡΡΡ ΡΠΏΠ΅ΡΠΈΠ°Π»ΡΠ½ΠΎΠΉ Π·Π°ΡΠ»ΠΎΠ½ΠΊΠΎΠΉ, ΠΊΠΎΡΠΎΡΠ°Ρ ΠΏΡΠΈΠ²ΠΎΠ΄ΠΈΡΡΡ Π² Π΄Π²ΠΈΠΆΠ΅Π½ΠΈΠ΅ ΡΡΡΠΊΠΎΠΉ.
- Π’ΠΎΡΡΠΎ-ΠΊΠΎΠΌΠΏΠΎΡΡΠ½ΡΠ΅ ΠΊΠ»ΠΎΠ·Π΅ΡΡ ΠΏΡΠ΅Π΄ΡΡΠ°Π²Π»Π΅Π½Ρ Π΄Π²ΡΠΌΡ ΡΠΏΠ΅ΡΠΈΠ°Π»ΡΠ½ΡΠΌΠΈ Π±Π°ΠΊΠ°ΠΌΠΈ, ΠΎΠ΄ΠΈΠ½ ΠΈΠ· ΠΊΠΎΡΠΎΡΡΡ ΠΏΡΠΈΠΌΠ΅Π½ΡΠ΅ΡΡΡ Π΄Π»Ρ Ρ ΡΠ°Π½Π΅Π½ΠΈΡ ΠΊΠΎΠΌΠΏΠΎΡΡΠ½ΠΎΠΉ ΠΌΠ°ΡΡΡ, Π° Π²ΡΠΎΡΠΎΠΉ, ΡΠ°ΡΠΏΠΎΠ»Π°Π³Π°ΡΡΠΈΠΉΡΡ Π² Π²Π΅ΡΡ Π½Π΅ΠΉ ΡΠ°ΡΡΠΈ ΠΌΠΎΠ΄Π΅Π»ΠΈ β Π΄Π»Ρ ΡΠΎΡΡΡΠ½ΠΎΠΉ ΡΠΌΠ΅ΡΠΈ. ΠΠ°ΠΆΠ°ΡΠΈΠ΅ Π½Π° ΡΡΡΠ°Π³, ΡΡΡΠ°Π½ΠΎΠ²Π»Π΅Π½Π½ΡΠΉ Π² Π²Π΅ΡΡ Π½Π΅ΠΉ ΡΠ°ΡΡΠΈ ΠΊΠΎΠ½ΡΡΡΡΠΊΡΠΈΠΈ, ΡΠΏΠΎΡΠΎΠ±ΡΡΠ²ΡΠ΅Ρ Π²ΡΡΡΠΏΠ°Π½ΠΈΡ ΡΠΌΠ΅ΡΠΈ ΠΈ ΡΠ°Π²Π½ΠΎΠΌΠ΅ΡΠ½ΠΎΠΌΡ Π΅Ρ ΡΠ°ΡΠΏΡΠ΅Π΄Π΅Π»Π΅Π½ΠΈΡ ΠΏΠΎ Π½Π΅ΡΠΈΡΡΠΎΡΠ°ΠΌ. ΠΡΠ²ΠΎΠ΄ ΠΆΠΈΠ΄ΠΊΠΎΠΉ ΡΡΠ°ΠΊΡΠΈΠΈ Π²ΡΠΏΠΎΠ»Π½ΡΠ΅ΡΡΡ ΠΏΠΎΡΡΠ΅Π΄ΡΡΠ²ΠΎΠΌ ΡΠΏΠ΅ΡΠΈΠ°Π»ΡΠ½ΠΎΠ³ΠΎ ΡΠ»Π°Π½Π³Π° Π² Π΄ΡΠ΅Π½Π°ΠΆΠ½ΡΡ ΡΠΈΡΡΠ΅ΠΌΡ ΠΈΠ»ΠΈ ΡΠΏΠ΅ΡΠΈΠ°Π»ΡΠ½ΠΎ ΡΡΡΠ°Π½ΠΎΠ²Π»Π΅Π½Π½ΡΠΉ ΠΈ ΡΠ΅Π³ΡΠ»ΡΡΠ½ΠΎ ΠΎΠΏΠΎΡΠΎΠΆΠ½ΡΠ΅ΠΌΡΠΉ ΡΠ΅Π·Π΅ΡΠ²ΡΠ°Ρ.
ΠΠ΅Π½Π΅Π΅ ΠΏΠΎΠΏΡΠ»ΡΡΠ½ΡΠ΅ ΡΠ»Π΅ΠΊΡΡΠΈΡΠ΅ΡΠΊΠΈΠ΅ ΠΌΠΎΠ΄Π΅Π»ΠΈ ΠΏΡΠ΅Π΄ΡΡΠ°Π²Π»Π΅Π½Ρ Π΄Π²ΡΠΌΡ Π±Π°ΠΊΠ°ΠΌΠΈ ΠΈ ΡΠ»Π΅ΠΊΡΡΠΈΡΠ΅ΡΠΊΠΎΠΉ ΠΏΠΎΠΌΠΏΠΎΠΉ, ΠΎΡΠ²Π΅ΡΠ°ΡΡΠΈΠΌΠΈ Π·Π° ΡΠΌΡΠ² ΠΎΡΡ ΠΎΠ΄ΠΎΠ². ΠΡΠΈΠ±ΠΎΡ ΡΠ°Π±ΠΎΡΠ°Π΅Ρ ΠΎΡ ΡΠ»Π΅ΠΊΡΡΠΈΡΠ΅ΡΠΊΠΎΠΉ ΡΠΎΠ·Π΅ΡΠΊΠΈ Ρ Π·Π°Π·Π΅ΠΌΠ»Π΅Π½ΠΈΠ΅ΠΌ.

Π’ΡΠ°Π»Π΅Ρ ΠΆΠΈΠ΄ΠΊΠΎΡΡΠ½ΠΎΠ³ΠΎ ΡΠΈΠΏΠ°
Π’Π°ΠΊΠΈΠΌ ΠΎΠ±ΡΠ°Π·ΠΎΠΌ, ΡΡΡΡΠΎΠΉΡΡΠ²ΠΎ ΡΠ°ΠΊΠΎΠ³ΠΎ Π±ΠΈΠΎΡΡΠ°Π»Π΅ΡΠ° ΠΏΡΠ΅Π΄ΡΡΠ°Π²Π»Π΅Π½ΠΎ Π½Π°ΡΠΎΡΠΎΠΌ, Π²Π΅ΡΡ Π½ΠΈΠΌ ΠΈ Π½ΠΈΠΆΠ½ΠΈΠΌ ΠΏΡΠΈΠ΅ΠΌΠ½ΠΈΠΊΠ°ΠΌΠΈ, Π·Π°ΡΠ»ΠΎΠ½ΠΊΠΎΠΉ Π΄Π»Ρ Π½ΠΈΠΆΠ½Π΅ΠΉ ΡΠΌΠΊΠΎΡΡΠΈ, ΠΎΡΠ²Π΅ΡΡΡΠΈΠ΅ΠΌ Π΅ΠΌΠΊΠΎΡΡΠΈ ΠΈ Π·Π°ΠΌΠΊΠΎΠΌ-Π·Π°ΡΠ΅Π»ΠΊΠΎΠΉ, Π° ΡΠ°ΠΊΠΆΠ΅ Π΄ΠΎΠΏΠΎΠ»Π½ΠΈΡΠ΅Π»ΡΠ½ΠΎΠΉ ΠΏΠΎΠΌΠΏΠΎΠΉ ΡΠ»Π΅ΠΊΡΡΠΈΡΠ΅ΡΠΊΠΎΠ³ΠΎ ΡΠΈΠΏΠ°.
ΠΠ°ΠΊΠΈ Π±ΠΈΠΎΡΡΠ°Π»Π΅ΡΠΎΠ² ΡΠ°Π·Π»ΠΈΡΠ½ΡΡ ΠΌΠΎΠ΄Π΅Π»Π΅ΠΉ ΠΈ ΠΊΠΎΠ½ΡΡΡΡΠΊΡΠΈΠΉ Π·Π°ΠΌΠ΅ΡΠ½ΠΎ ΠΎΡΠ»ΠΈΡΠ°ΡΡΡΡ ΠΏΠΎ ΠΎΠ±ΡΠ΅ΠΌΡ, ΡΡΠΎ ΠΏΠΎΠ·Π²ΠΎΠ»ΡΠ΅Ρ ΠΏΠΎΠ΄ΠΎΠ±ΡΠ°ΡΡ ΠΎΠΏΡΠΈΠΌΠ°Π»ΡΠ½ΡΠΉ Π²Π°ΡΠΈΠ°Π½Ρ Π΄Π»Ρ ΠΊΠ°ΠΆΠ΄ΠΎΠ³ΠΎ ΠΊΠΎΠ½ΠΊΡΠ΅ΡΠ½ΠΎΠ³ΠΎ ΡΠ»ΡΡΠ°Ρ, Π² Π·Π°Π²ΠΈΡΠΈΠΌΠΎΡΡΠΈ ΠΎΡ ΠΊΠΎΠ»ΠΈΡΠ΅ΡΡΠ²Π° ΠΏΠΎΠ»ΡΠ·ΠΎΠ²Π°ΡΠ΅Π»Π΅ΠΉ.
ΠΡΠΈΠ½ΡΠΈΠΏ ΡΠ°Π±ΠΎΡΡ β ΠΊΠ°ΠΊ ΡΠ°Π±ΠΎΡΠ°Π΅Ρ Π±ΠΈΠΎΡΡΠ°Π»Π΅Ρ?
ΠΠ±ΡΠ»ΡΠΆΠΈΠ²Π°Π½ΠΈΠ΅ Π±ΠΈΠΎΡΡΠ°Π»Π΅ΡΠΎΠ² Π΄Π»Ρ Π΄Π°ΡΠΈ ΠΈ Π΄ΠΎΠΌΠ° Π½Π΅ ΡΠ»ΠΈΡΠΊΠΎΠΌ ΡΠ»ΠΎΠΆΠ½ΠΎΠ΅, Π½ΠΎ ΡΡΠ΅Ρ ΠΏΡΠΈΠ½ΡΠΈΠΏΠΎΠ² ΡΠ°Π±ΠΎΡΡ, Π° ΡΠ°ΠΊΠΆΠ΅ ΡΡΡΠΎΠ³ΠΎΠ΅ ΡΠΎΠ±Π»ΡΠ΄Π΅Π½ΠΈΠ΅ ΠΏΡΠ°Π²ΠΈΠ» ΡΠΊΡΠΏΠ»ΡΠ°ΡΠ°ΡΠΈΠΈ ΡΠ΄Π΅Π»Π°ΡΡ ΠΈΡΠΏΠΎΠ»ΡΠ·ΠΎΠ²Π°Π½ΠΈΠ΅ ΡΠ°Π½ΡΠ΅Ρ Π½ΠΈΡΠ΅ΡΠΊΠΎΠ³ΠΎ ΠΏΡΠΈΠ±ΠΎΡΠ° ΡΠ΄ΠΎΠ±Π½ΡΠΌ ΠΈ Π±Π΅ΡΠΏΡΠΎΠ±Π»Π΅ΠΌΠ½ΡΠΌ.
ΠΡΠΈΠ½ΡΠΈΠΏ ΡΠ°Π±ΠΎΡΡ ΠΈ ΠΎΠ±ΡΠ»ΡΠΆΠΈΠ²Π°Π½ΠΈΡ ΠΆΠΈΠ΄ΠΊΠΎΡΡΠ½ΠΎΠΉ ΠΌΠΎΠ΄Π΅Π»ΠΈ:

- ΡΠ°Π·ΡΠ΅Π΄ΠΈΠ½Π΅Π½ΠΈΠ΅ Π²Π΅ΡΡ Π½Π΅ΠΉ ΠΈ Π½ΠΈΠΆΠ½Π΅ΠΉ ΡΠ°ΡΡΠ΅ΠΉ ΠΏΠΎΡΡΠ΅Π΄ΡΡΠ²ΠΎΠΌ ΡΡΡΠ°ΠΆΠΊΠΎΠ² ΠΈΠ»ΠΈ Π·Π°ΡΠ΅Π»ΠΊΠΈ;
- Π·Π°Π»ΠΈΠ² Π² Π½ΠΈΠΆΠ½ΠΈΠΉ ΡΠ΅Π·Π΅ΡΠ²ΡΠ°Ρ ΡΠΈΡΡΠΎΠΉ Π²ΠΎΠ΄Ρ Ρ Π΄ΠΎΠ±Π°Π²Π»Π΅Π½ΠΈΠ΅ΠΌ ΠΎΠΏΡΠ΅Π΄Π΅Π»Π΅Π½Π½ΠΎΠ³ΠΎ ΠΊΠΎΠ»ΠΈΡΠ΅ΡΡΠ²Π° ΡΠ°Π½ΠΈΡΠ°ΡΠ½ΠΎΠΉ ΠΆΠΈΠ΄ΠΊΠΎΡΡΠΈ;
- Π·Π°Π»ΠΈΠ² Π² Π²Π΅ΡΡ Π½ΠΈΠΉ ΡΠ΅Π·Π΅ΡΠ²ΡΠ°Ρ ΡΠΈΡΡΠΎΠΉ Π²ΠΎΠ΄Ρ Ρ Π΄ΠΎΠ±Π°Π²Π»Π΅Π½ΠΈΠ΅ΠΌ ΠΎΠΏΡΠ΅Π΄Π΅Π»Π΅Π½Π½ΠΎΠ³ΠΎ ΠΊΠΎΠ»ΠΈΡΠ΅ΡΡΠ²Π° Π°ΡΠΎΠΌΠ°ΡΠΈΡΠ΅ΡΠΊΠΎΠΉ ΠΆΠΈΠ΄ΠΊΠΎΡΡΠΈ;
- ΡΠΎΠ΅Π΄ΠΈΠ½Π΅Π½ΠΈΠ΅ Π΄Π²ΡΡ ΡΠ°ΡΡΠ΅ΠΉ ΠΈ Π°ΠΊΡΠΈΠ²ΠΈΠ·Π°ΡΠΈΡ ΡΠ»ΠΈΠ²Π½ΠΎΠΉ ΡΠΈΡΡΠ΅ΠΌΡ ΠΏΠΎΡΠ»Π΅ ΠΊΠ°ΠΆΠ΄ΠΎΠ³ΠΎ ΠΈΡΠΏΠΎΠ»ΡΠ·ΠΎΠ²Π°Π½ΠΈΡ ΡΡΡΡΠΎΠΉΡΡΠ²Π°;
- ΠΎΠΏΠΎΡΠΎΠΆΠ½Π΅Π½ΠΈΠ΅ Π½Π°ΠΊΠΎΠΏΠΈΡΠ΅Π»Ρ ΠΎΡ Π½Π΅ΡΠΈΡΡΠΎΡ ΠΏΡΠ΅Π΄ΠΏΠΎΠ»Π°Π³Π°Π΅Ρ ΡΠ°Π·ΡΠ΅Π΄ΠΈΠ½Π΅Π½ΠΈΠ΅ Π²Π΅ΡΡ Π½Π΅ΠΉ ΠΈ Π½ΠΈΠΆΠ½Π΅ΠΉ ΡΠ°ΡΡΠΈ, Π° ΡΠ°ΠΊΠΆΠ΅ ΠΏΠΎΡΠ»Π΅Π΄ΡΡΡΠΈΠΉ ΡΠ»ΠΈΠ² ΡΠ΅ΠΊΠ°Π»ΠΈΠΉ ΠΈ ΠΌΡΡΡΠ΅ Π²ΠΎΠ΄ΠΎΠΉ Ρ ΡΠΈΡΡΡΡΠΈΠΌΠΈ ΠΈΠ»ΠΈ Π΄Π΅Π·ΠΈΠ½ΡΠΈΡΠΈΡΡΡΡΠΈΠΌΠΈ ΡΡΠ΅Π΄ΡΡΠ²Π°ΠΌΠΈ.
ΠΡΠΈΠ½ΡΠΈΠΏ ΡΠ°Π±ΠΎΡΡ ΠΈ ΠΎΠ±ΡΠ»ΡΠΆΠΈΠ²Π°Π½ΠΈΡ ΡΠΎΡΡΠΎ-ΠΊΠΎΠΌΠΏΠΎΡΡΠ½ΠΎΠΉ ΠΌΠΎΠ΄Π΅Π»ΠΈ ΠΈΠΌΠ΅Π΅Ρ Π½Π΅ΡΠΊΠΎΠ»ΡΠΊΠΎ ΠΎΡΠ»ΠΈΡΠΈΠΉ. Π’Π°ΠΊΠΎΠ΅ ΡΡΡΡΠΎΠΉΡΡΠ²ΠΎ ΠΈΡΠΏΠΎΠ»ΡΠ·ΡΠ΅ΡΡΡ, ΠΊΠ°ΠΊ ΠΏΡΠ°Π²ΠΈΠ»ΠΎ, Π² ΠΊΠ°ΡΠ΅ΡΡΠ²Π΅ ΡΡΠ°ΡΠΈΠΎΠ½Π°ΡΠ½ΠΎΠ³ΠΎ Π²Π°ΡΠΈΠ°Π½ΡΠ°, Π½ΠΎ ΡΠ±ΠΎΡΠΊΠ° Π°Π½Π°Π»ΠΎΠ³ΠΈΡΠ½Π° ΠΏΠΎΠ΄Π³ΠΎΡΠΎΠ²ΠΊΠ΅ ΠΊ ΡΠ°Π±ΠΎΡΠ΅ ΠΆΠΈΠ΄ΠΊΠΎΡΡΠ½ΠΎΠΉ ΠΊΠΎΠ½ΡΡΡΡΠΊΡΠΈΠΈ.

ΠΠΈΠΎΡΡΠ°Π»Π΅Ρ Π½Π΅ Π²ΡΠ΅Π΄ΠΈΡ ΡΠΊΠΎΠ»ΠΎΠ³ΠΈΠΈ
ΠΡΠΎΠ±Π΅Π½Π½ΠΎΡΡΡΡ ΡΠ²Π»ΡΠ΅ΡΡΡ ΡΡΡΠ°Π½ΠΎΠ²ΠΊΠ° Π²Π΅Π½ΡΠΈΠ»ΡΡΠΈΠΎΠ½Π½ΠΎΠΉ ΡΡΡΠ±Ρ Ρ ΡΠΈΠΊΡΠ°ΡΠΈΠ΅ΠΉ ΠΌΡΡΡΠ°ΠΌΠΈ, Π° ΡΠ°ΠΊΠΆΠ΅ Π·Π°ΠΌΠ΅Π½Π° ΠΆΠΈΠ΄ΠΊΠΎΡΡΠΈ ΡΠΏΠ΅ΡΠΈΠ°Π»ΡΠ½ΠΎ ΠΎΠ±ΡΠ°Π±ΠΎΡΠ°Π½Π½ΠΎΠΉ ΡΠΎΡΡΡΠ½ΠΎΠΉ ΡΠΌΠ΅ΡΡΡ, ΠΎΠ±ΠΎΠ³Π°ΡΠ΅Π½Π½ΠΎΠΉ Π±Π°ΠΊΡΠ΅ΡΠΈΠ°Π»ΡΠ½ΠΎΠΉ ΡΠ»ΠΎΡΠΎΠΉ. ΠΡΠΎΡΠ΅ΡΡ ΡΠΌΡΠ²Π° ΠΎΡΡΡΠ΅ΡΡΠ²Π»ΡΠ΅ΡΡΡ ΠΏΠΎΠ²ΠΎΡΠΎΡΠΎΠΌ ΡΡΡΠ°Π³Π°, ΡΡΠΎ ΠΎΠ±Π΅ΡΠΏΠ΅ΡΠΈΠ²Π°Π΅Ρ ΡΠ°ΡΠΏΡΠ΅Π΄Π΅Π»Π΅Π½ΠΈΠ΅ ΡΠΎΡΡΡΠ½ΠΎΠΉ ΡΠΌΠ΅ΡΠΈ.
Π£Π±ΠΎΡΠ½Π°Ρ Π² Π·Π°Π³ΠΎΡΠΎΠ΄Π½ΠΎΠΌ Π΄ΠΎΠΌΠ΅ Π΄ΠΎΠ»ΠΆΠ½Π° Π±ΡΡΡ ΠΊΠΎΠΌΡΠΎΡΡΠ½ΠΎΠΉ. ΠΠ»Π΅ΠΊΡΡΠΈΡΠ΅ΡΠΊΠΈΠΉ Π±ΠΈΠΎΡΡΠ°Π»Π΅Ρ ΠΏΠΎ ΠΊΠΎΠΌΡΠΎΡΡΡ Π½Π΅ ΡΡΡΡΠΏΠ°Π΅Ρ ΠΎΠ±ΡΡΠ½ΠΎΠΌΡ ΡΡΠ°Π»Π΅ΡΡ, ΠΏΠΎΠ΄ΠΊΠ»ΡΡΠ΅Π½Π½ΠΎΠΌΡ ΠΊ ΠΊΠ°Π½Π°Π»ΠΈΠ·Π°ΡΠΈΠΈ.
ΠΠ°ΠΊΠΎΠΉ Π±ΠΈΠΎΡΡΠ°Π»Π΅Ρ Π΄Π»Ρ Π΄Π°ΡΠΈ Π²ΡΠ±ΡΠ°ΡΡ ΠΈ Π²ΠΎ ΡΠΊΠΎΠ»ΡΠΊΠΎ ΠΎΠ±ΠΎΠΉΠ΄Π΅ΡΡΡ ΡΠ°ΠΊΠ°Ρ ΠΏΠΎΠΊΡΠΏΠΊΠ° β Π²ΡΠ΅ Π² ΡΡΠΎΠΉ ΡΡΠ°ΡΡΠ΅.
ΠΡΠΈΠ½ΡΠΈΠΏ ΡΠ°Π±ΠΎΡΡ ΡΠΎΡΡΠΎ-ΠΊΠΎΠΌΠΏΠΎΡΡΠ½ΡΡ ΠΌΠΎΠ΄Π΅Π»Π΅ΠΉ ΡΠ²Π»ΡΠ΅ΡΡΡ ΠΏΡΠ΅Π΄ΠΏΠΎΡΡΠΈΡΠ΅Π»ΡΠ½ΡΠΌ Π² ΡΡΠ»ΠΎΠ²ΠΈΡΡ Π·Π°Π³ΠΎΡΠΎΠ΄Π½ΠΎΠ³ΠΎ ΠΏΡΠΎΠΆΠΈΠ²Π°Π½ΠΈΡ, ΡΠ°ΠΊ ΠΊΠ°ΠΊ ΠΊΠΎΠΌΠΏΠΎΡΡΠ½Π°Ρ ΠΌΠ°ΡΡΠ° ΠΌΠΎΠΆΠ΅Ρ ΠΈΡΠΏΠΎΠ»ΡΠ·ΠΎΠ²Π°ΡΡΡΡ Π² ΠΊΠ°ΡΠ΅ΡΡΠ²Π΅ ΡΠ΄ΠΎΠ±ΡΠ΅Π½ΠΈΠΉ. ΠΠΌΠ΅Π½Π½ΠΎ ΠΏΠΎ ΡΡΠΎΠΉ ΠΏΡΠΈΡΠΈΠ½Π΅ ΡΠ°ΠΊΠΈΠ΅ ΡΠ°Π½ΡΠ΅Ρ Π½ΠΈΡΠ΅ΡΠΊΠΈΠ΅ ΠΏΡΠΈΠ±ΠΎΡΡ ΠΏΠΎΠ»ΡΠ·ΡΡΡΡΡ Π·Π°ΡΠ»ΡΠΆΠ΅Π½Π½ΠΎΠΉ ΠΏΠΎΠΏΡΠ»ΡΡΠ½ΠΎΡΡΡΡ Ρ Π΄Π°ΡΠ½ΠΈΠΊΠΎΠ² ΠΈ Π²Π»Π°Π΄Π΅Π»ΡΡΠ΅Π² ΡΠ°ΡΡΠ½ΡΡ Π΄ΠΎΠΌΠΎΠ²Π»Π°Π΄Π΅Π½ΠΈΠΉ.
ΠΠΈΠΎΡΡΠ°Π»Π΅Ρ Π΄Π»Ρ Π΄ΠΎΠΌΠ° β ΠΏΡΠΈΠ½ΡΠΈΠΏ ΡΠ°Π±ΠΎΡΡ: Π²ΠΈΠ΄Π΅ΠΎ
masterlandshafta.ru
Π²ΠΈΠ΄Π΅ΠΎ-ΠΈΠ½ΡΡΡΡΠΊΡΠΈΡ ΠΏΠΎ ΡΡΡΠ°Π½ΠΎΠ²ΠΊΠ΅ ΡΠ²ΠΎΠΈΠΌΠΈ ΡΡΠΊΠ°ΠΌΠΈ, ΠΏΡΠΈΠ½ΡΠΈΠΏ Π΄Π΅ΠΉΡΡΠ²ΠΈΡ, ΡΠΎΡΠΎ
Π ΡΡΠΎΠΉ ΡΡΠ°ΡΡΠ΅ ΠΌΡ ΡΠ°ΡΡΠΊΠ°ΠΆΠ΅ΠΌ ΠΎ ΡΠΎΠΌ, ΠΊΠ°ΠΊ ΡΠ°Π±ΠΎΡΠ°Π΅Ρ Π±ΠΈΠΎΡΡΠ°Π»Π΅Ρ Π΄Π»Ρ Π΄Π°ΡΠΈ, ΡΡΠΎ ΡΠΎΠ±ΠΎΠΉ ΠΏΡΠ΅Π΄ΡΡΠ°Π²Π»ΡΠ΅Ρ Π΅Π³ΠΎ ΠΊΠΎΠ½ΡΡΡΡΠΊΡΠΈΡ ΠΈ ΠΊΠ°ΠΊ Π΅Π³ΠΎ ΠΌΠΎΠΆΠ½ΠΎ ΠΈΠ·Π³ΠΎΡΠΎΠ²ΠΈΡΡ ΡΠ°ΠΌΠΎΡΡΠΎΡΡΠ΅Π»ΡΠ½ΠΎ. Π’Π΅ΠΌΠ° ΡΠ°ΠΌΠΎΡΡΠΎΡΡΠ΅Π»ΡΠ½ΠΎΠ³ΠΎ ΠΈΠ·Π³ΠΎΡΠΎΠ²Π»Π΅Π½ΠΈΡ ΡΠΎΠΎΡΡΠΆΠ΅Π½ΠΈΠΉ Π΄Π»Ρ ΡΡΠΈΠ»ΠΈΠ·Π°ΡΠΈΠΈ Π½Π΅ΡΠΈΡΡΠΎΡ ΠΏΡΠ΅Π΄ΡΡΠ°Π²Π»ΡΠ΅Ρ Π½Π΅ΠΌΠ°Π»ΡΠΉ ΠΈΠ½ΡΠ΅ΡΠ΅Ρ, ΠΏΠΎΡΠΊΠΎΠ»ΡΠΊΡ Π½Π΅ ΠΊΠ°ΠΆΠ΄ΡΠΉ Π·Π°Π³ΠΎΡΠΎΠ΄Π½ΡΠΉ Π΄ΠΎΠΌ ΠΏΠΎΠ΄ΠΊΠ»ΡΡΡΠ½ ΠΊ ΠΊΠ°Π½Π°Π»ΠΈΠ·Π°ΡΠΈΠΎΠ½Π½ΠΎΠΉ ΠΌΠ°Π³ΠΈΡΡΡΠ°Π»ΠΈ. Π ΡΠΆ ΡΠ΅ΠΌ Π±ΠΎΠ»Π΅Π΅ ΡΠΏΠ΅ΡΠΈΠ°Π»ΡΠ½ΡΠ΅ ΠΏΡΠΈΡΠΏΠΎΡΠΎΠ±Π»Π΅Π½ΠΈΡ Π΄Π»Ρ Π°Π²ΡΠΎΠ½ΠΎΠΌΠ½ΠΎΠΉ ΡΡΠΈΠ»ΠΈΠ·Π°ΡΠΈΠΈ ΠΎΡΡ ΠΎΠ΄ΠΎΠ² ΠΆΠΈΠ·Π½Π΅Π΄Π΅ΡΡΠ΅Π»ΡΠ½ΠΎΡΡΠΈ Π½ΡΠΆΠ½Ρ Π½Π° Π΄Π°ΡΠ΅.
ΠΡΠ°ΠΊ, ΠΌΡ ΠΎΠΏΡΠ΅Π΄Π΅Π»ΠΈΠ»ΠΈΡΡ Ρ ΡΠ΅ΠΌ, ΡΡΠΎ Π΄Π°ΡΠ½ΡΠΉ Π±ΠΈΠΎΡΡΠ°Π»Π΅Ρ Π½Π΅ΠΎΠ±Ρ ΠΎΠ΄ΠΈΠΌ, ΠΎΡΡΠ°Π»ΠΎΡΡ Π²ΡΠ±ΡΠ°ΡΡ ΠΏΠΎΠ΄Ρ ΠΎΠ΄ΡΡΠ΅Π΅ ΡΡΡΡΠΎΠΉΡΡΠ²ΠΎ ΠΈ ΡΠ°Π·ΠΎΠ±ΡΠ°ΡΡΡΡ Ρ Π΅Π³ΠΎ ΠΊΠΎΠ½ΡΡΡΡΠΊΡΠΈΠΎΠ½Π½ΡΠΌΠΈ ΠΈ ΡΠΊΡΠΏΠ»ΡΠ°ΡΠ°ΡΠΈΠΎΠ½Π½ΡΠΌΠΈ ΠΎΡΠΎΠ±Π΅Π½Π½ΠΎΡΡΡΠΌΠΈ.

ΠΠ½ΡΠ΅ΡΡΠ΅Ρ ΠΎΠ±ΡΠ΅ΡΡΠ²Π΅Π½Π½ΠΎΠ³ΠΎ Π±ΠΈΠΎΡΡΠ°Π»Π΅ΡΠ°, ΠΊΠΎΡΠΎΡΡΠΉ ΠΌΠΎΠΆΠ½ΠΎ ΠΏΡΠΈΠΎΠ±ΡΠ΅ΡΡΠΈ Π΄Π»Ρ Π΄Π°ΡΠ½ΠΎΠ³ΠΎ ΡΡΠ°ΡΡΠΊΠ°
ΠΡΠ½ΠΎΠ²Π½ΡΠ΅ ΡΠ°Π·Π½ΠΎΠ²ΠΈΠ΄Π½ΠΎΡΡΠΈ
ΠΠΈΠΎΡΡΠ°Π»Π΅ΡΡ, ΠΏΡΠ΅Π΄ΡΡΠ°Π²Π»Π΅Π½Π½ΡΠ΅ Π² ΠΏΡΠΎΠ΄Π°ΠΆΠ΅, ΡΠ°Π²Π½ΠΎ ΠΈ ΠΊΠ°ΠΊ ΠΌΠΎΠ΄ΠΈΡΠΈΠΊΠ°ΡΠΈΠΈ, ΠΊΠΎΡΠΎΡΡΠ΅ ΠΌΠΎΠΆΠ½ΠΎ ΠΈΠ·Π³ΠΎΡΠΎΠ²ΠΈΡΡ ΡΠ²ΠΎΠΈΠΌΠΈ ΡΡΠΊΠ°ΠΌΠΈ, ΠΏΠΎΠ΄ΡΠ°Π·Π΄Π΅Π»ΡΡΡΡΡ Π½Π° ΡΠ»Π΅Π΄ΡΡΡΠΈΠ΅ ΡΠΈΠΏΡ:
- Ρ ΠΈΠΌΠΈΡΠ΅ΡΠΊΠΈΠ΅ ΡΡΡΠ°Π½ΠΎΠ²ΠΊΠΈ;
- ΡΠΎΡΡΡΠ½ΡΠ΅ ΡΡΡΠ°Π½ΠΎΠ²ΠΊΠΈ;
- ΡΠ»Π΅ΠΊΡΡΠΈΡΠ΅ΡΠΊΠΈΠ΅ ΡΡΡΠ°Π½ΠΎΠ²ΠΊΠΈ.
Π Π°ΡΡΠΌΠΎΡΡΠΈΠΌ ΠΏΠΎΠ΄ΡΠΎΠ±Π½Π΅Π΅ ΠΎΡΠΎΠ±Π΅Π½Π½ΠΎΡΡΠΈ ΠΏΡΠΈΠΌΠ΅Π½Π΅Π½ΠΈΡ ΠΈ ΡΠ΅Ρ Π½ΠΈΡΠ΅ΡΠΊΠΈΠ΅ Ρ Π°ΡΠ°ΠΊΡΠ΅ΡΠΈΡΡΠΈΠΊΠΈ ΠΊΠ°ΠΆΠ΄ΠΎΠΉ ΠΎΡΠ΄Π΅Π»ΡΠ½ΠΎ Π²Π·ΡΡΠΎΠΉ ΠΌΠΎΠ΄ΠΈΡΠΈΠΊΠ°ΡΠΈΠΈ.
ΠΠΎΠ½ΡΡΡΡΠΊΡΠΈΠΎΠ½Π½ΡΠ΅ ΠΎΡΠΎΠ±Π΅Π½Π½ΠΎΡΡΠΈ Ρ ΠΈΠΌΠΈΡΠ΅ΡΠΊΠΎΠΉ ΠΌΠΎΠ΄ΠΈΡΠΈΠΊΠ°ΡΠΈΠΈ

Π‘Ρ Π΅ΠΌΠ° Ρ ΠΈΠΌΠΈΡΠ΅ΡΠΊΠΎΠ³ΠΎ Π±ΠΈΠΎΡΡΠ°Π»Π΅ΡΠ°
ΠΠ΅ΡΠΌΠΎΡΡΡ Π½Π° ΡΠΎ, ΡΡΠΎ ΠΏΠΎΠ²ΡΠ΅ΠΌΠ΅ΡΡΠ½ΠΎ ΡΡΡΠΎΡΡΡΡ Π΄Π°ΡΠ½ΡΠ΅ Π΄ΠΎΠΌΠ° ΠΈΠ· Π±Π»ΠΎΠΊ ΠΊΠΎΠ½ΡΠ΅ΠΉΠ½Π΅ΡΠΎΠ² ΠΈ ΠΏΡΠΎΡΠΈΡ ΠΏΠΎΠ΄ΡΡΡΠ½ΡΡ ΠΌΠ°ΡΠ΅ΡΠΈΠ°Π»ΠΎΠ², Π½Π΅ΠΎΠ±Ρ ΠΎΠ΄ΠΈΠΌΠΎΡΡΡ Π² Π°Π²ΡΠΎΠ½ΠΎΠΌΠ½ΠΎΠΌ ΡΠΎΠΎΡΡΠΆΠ΅Π½ΠΈΠΈ Π΄Π»Ρ ΡΡΠΈΠ»ΠΈΠ·Π°ΡΠΈΠΈ ΠΎΡΡ ΠΎΠ΄ΠΎΠ² Π²ΡΠ΅ ΡΠ°ΠΊΠΆΠ΅ Π°ΠΊΡΡΠ°Π»ΡΠ½Π°.
ΠΡΡΡ Π½Π΅ΠΌΠ°Π»ΠΎ ΡΠ°Π·Π½ΠΎΠ²ΠΈΠ΄Π½ΠΎΡΡΠ΅ΠΉ ΠΊΠ»ΠΎΠ·Π΅ΡΠΎΠ² Π½Π° ΠΎΡΠ½ΠΎΠ²Π΅ ΠΏΡΠΈΠΌΠ΅Π½Π΅Π½ΠΈΡ Π²ΡΠ³ΡΠ΅Π±Π½ΠΎΠΉ ΡΠΌΡ, Π½ΠΎ Π΄Π»Ρ ΠΈΡ ΡΡΡΠΎΠΈΡΠ΅Π»ΡΡΡΠ²Π° Π½Π΅ΠΎΠ±Ρ ΠΎΠ΄ΠΈΠΌΠΎ Π²ΡΠ΅ΠΌΡ. ΠΡΠ»ΠΈ Π΄Π°ΡΠ° ΡΠΊΡΠΏΠ»ΡΠ°ΡΠΈΡΡΠ΅ΡΡΡ ΡΠ΅Π·ΠΎΠ½Π½ΠΎ, Π½Π΅ ΠΈΠΌΠ΅Π΅Ρ ΡΠΌΡΡΠ»Π° ΡΡΠ°ΡΠΈΡΡ ΡΠ²ΠΎΠ±ΠΎΠ΄Π½ΠΎΠ΅ Π²ΡΠ΅ΠΌΡ Π½Π° ΠΏΠΎΡΡΡΠΎΠΉΠΊΡ ΠΏΠΎΠ»Π½ΠΎΡΠ΅Π½Π½ΠΎΠ³ΠΎ ΡΠ»ΠΈΡΠ½ΠΎΠ³ΠΎ ΠΊΠ»ΠΎΠ·Π΅ΡΠ°, Π° ΠΌΠΎΠΆΠ½ΠΎ ΠΎΠ³ΡΠ°Π½ΠΈΡΠΈΡΡΡΡ ΠΏΡΠΈΠΌΠ΅Π½Π΅Π½ΠΈΠ΅ΠΌ ΠΌΠΎΠ±ΠΈΠ»ΡΠ½ΠΎΠ³ΠΎ ΠΏΡΠΎΡΡΠΎΠ³ΠΎ Π² ΡΠΊΡΠΏΠ»ΡΠ°ΡΠ°ΡΠΈΠΈ ΠΈ ΠΎΠ±ΡΠ»ΡΠΆΠΈΠ²Π°Π½ΠΈΠΈ Π±ΠΈΠΎΡΡΠ°Π»Π΅ΡΠ°.
ΠΡΠΈΠ½ΡΠΈΠΏ Π΄Π΅ΠΉΡΡΠ²ΠΈΡ Π±ΠΈΠΎΡΡΠ°Π»Π΅ΡΠ° Π΄Π»Ρ Π΄Π°ΡΠΈ, ΡΠ°Π²Π½ΠΎ ΠΊΠ°ΠΊ ΠΈ Π΅Π³ΠΎ ΠΊΠΎΠ½ΡΡΡΡΠΊΡΠΈΡ, Π½Π΅ ΠΏΡΠ΅Π΄ΡΡΠ°Π²Π»ΡΠ΅Ρ ΡΠΎΠ±ΠΎΠΉ Π½ΠΈΡΠ΅Π³ΠΎ ΡΠ»ΠΎΠΆΠ½ΠΎΠ³ΠΎ.
Π‘ΠΎΠΎΡΡΠΆΠ΅Π½ΠΈΠ΅, ΠΊΠΎΡΠΎΡΠΎΠ΅ ΠΌΠΎΠΆΠ½ΠΎ ΠΏΡΠΈΠΎΠ±ΡΠ΅ΡΡΠΈ Π² ΡΡΠ΄Π΅ ΡΠΏΠ΅ΡΠΈΠ°Π»ΠΈΠ·ΠΈΡΠΎΠ²Π°Π½Π½ΡΡ ΠΌΠ°Π³Π°Π·ΠΈΠ½ΠΎΠ², ΠΏΡΠ΅Π΄ΡΡΠ°Π²Π»ΡΠ΅Ρ ΡΠΎΠ±ΠΎΠΉ Π΄Π²Π΅ ΡΠ°Π·Π΄Π΅Π»ΡΠ΅ΠΌΡΠ΅ ΡΠ΅ΠΊΡΠΈΠΈ: Π²Π΅ΡΡ Π½ΡΡ ΠΈ Π½ΠΈΠΆΠ½ΡΡ.
- ΠΠ΅ΡΡ
Π½ΡΡ ΡΠ΅ΠΊΡΠΈΡ ΠΎΠ΄Π½ΠΎΠ²ΡΠ΅ΠΌΠ΅Π½Π½ΠΎ ΡΠ»ΡΠΆΠΈΡ ΡΡΡΠ»ΡΡΠ°ΠΊΠΎΠΌ ΠΈ ΡΠ΅Π·Π΅ΡΠ²ΡΠ°ΡΠΎΠΌ, ΡΠΎΠ΄Π΅ΡΠΆΠ°ΡΠΈΠΌ ΡΠΈΡΡΡΡ Π²ΠΎΠ΄Ρ. Π Π·Π°Π²ΠΈΡΠΈΠΌΠΎΡΡΠΈ ΠΎΡ ΠΌΠΎΠ΄ΠΈΡΠΈΠΊΠ°ΡΠΈΠΈ, ΠΎΠ±ΡΠ΅ΠΌ ΡΠ΅Π·Π΅ΡΠ²ΡΠ°ΡΠ° ΠΌΠΎΠΆΠ΅Ρ ΡΠΎΡΡΠ°Π²Π»ΡΡΡ ΠΎΡ 10 Π΄ΠΎ 20 Π»ΠΈΡΡΠΎΠ², ΡΠ΅Π³ΠΎ Π΄ΠΎΡΡΠ°ΡΠΎΡΠ½ΠΎ Π΄Π»Ρ Π΄Π²ΡΡ
Π½Π΅Π΄Π΅Π»Ρ ΡΠΊΡΠΏΠ»ΡΠ°ΡΠ°ΡΠΈΠΈ.
Π‘ΠΎΠ²ΡΠ΅ΠΌΠ΅Π½Π½ΡΠ΅ ΠΌΠΎΠ΄ΠΈΡΠΈΠΊΠ°ΡΠΈΠΈ Π±ΠΈΠΎΡΡΠ°Π»Π΅ΡΠΎΠ², Π΄Π»Ρ ΡΠΊΠΎΠ½ΠΎΠΌΠΈΠΈ Π²ΠΎΠ΄Ρ ΠΎΡΠ½Π°ΡΠ°ΡΡΡΡ ΡΠ»ΠΈΠ²Π½ΡΠΌ Π΄ΠΎΠ·ΠΈΡΡΡΡΠΈΠΌ ΡΡΡΡΠΎΠΉΡΡΠ²ΠΎΠΌ. ΠΠ»Ρ ΡΠΌΡΠ²Π° ΠΏΡΠΈΠΌΠ΅Π½ΡΠ΅ΡΡΡ ΠΏΠΎΡΡΠ½Π΅Π²ΠΎΠΉ Π½Π°ΡΠΎΡ.
ΠΠΎΠ»ΡΡΠΈΠ½ΡΡΠ²ΠΎ Π±ΠΈΠΎΡΡΠ°Π»Π΅ΡΠΎΠ² ΠΏΡΠ΅Π΄ΡΡΠ°Π²Π»ΡΡΡ ΡΠΎΠ±ΠΎΠΉ ΠΏΠ΅ΡΠ΅Π½ΠΎΡΠ½ΡΠ΅ Π°Π³ΡΠ΅Π³Π°ΡΡ, ΠΈΠ·Π³ΠΎΡΠΎΠ²Π»Π΅Π½Π½ΡΠ΅ Ρ ΠΏΡΠΈΠΌΠ΅Π½Π΅Π½ΠΈΠ΅ΠΌ ΠΏΠΎΠ»ΠΈΠΌΠ΅ΡΠ½ΡΡ ΠΌΠ°ΡΠ΅ΡΠΈΠ°Π»ΠΎΠ². ΠΡΠΈΠΌΠ΅Π½Π΅Π½ΠΈΠ΅ ΠΏΠΎΠ»ΠΈΠΌΠ΅ΡΠ½ΡΡ ΠΌΠ°ΡΠ΅ΡΠΈΠ°Π»ΠΎΠ² ΠΏΡΠΈ ΠΈΠ·Π³ΠΎΡΠΎΠ²Π»Π΅Π½ΠΈΠΈ ΡΠ°ΡΠΈ ΠΈ ΠΏΡΠΎΡΠΈΡ ΠΊΠΎΠ½ΡΡΡΡΠΊΡΠΈΠΎΠ½Π½ΡΡ ΡΠ»Π΅ΠΌΠ΅Π½ΡΠΎΠ² ΡΡΡΠ΅ΡΡΠ²Π΅Π½Π½ΠΎ ΡΠΏΡΠΎΡΠ°Π΅Ρ ΡΡ ΠΎΠ΄ Π·Π° ΡΠΎΠΎΡΡΠΆΠ΅Π½ΠΈΠ΅ΠΌ Π² ΡΠ΅Π»ΠΎΠΌ. - Π Π°ΡΠΏΠΎΠ»ΠΎΠΆΠ΅Π½Π½Π°Ρ Π² Π½ΠΈΠΆΠ½Π΅ΠΉ ΡΠ°ΡΡΠΈ ΡΠ΅ΠΊΡΠΈΡ ΡΠ²Π»ΡΠ΅ΡΡΡ Π½Π°ΠΊΠΎΠΏΠΈΡΠ΅Π»Π΅ΠΌ ΡΠ΅ΠΊΠ°Π»ΠΈΠΉ. ΠΠΌΠ΅ΡΡΠΈΡΠ΅Π»ΡΠ½ΠΎΡΡΡ Π½ΠΈΠΆΠ½Π΅ΠΉ ΡΠ΅ΠΊΡΠΈΠΈ ΠΎΠΏΡΠ΅Π΄Π΅Π»ΡΠ΅ΡΡΡ Π² ΡΠΎΠΎΡΠ²Π΅ΡΡΡΠ²ΠΈΠΈ Ρ ΠΌΠΎΠ΄ΠΈΡΠΈΠΊΠ°ΡΠΈΠ΅ΠΉ ΡΡΠ°Π»Π΅ΡΠ° Π΄Π»Ρ Π΄Π°ΡΠ½ΠΎΠ³ΠΎ ΡΡΠ°ΡΡΠΊΠ° ΠΈ ΡΠΌΠΎΠΆΠ΅Ρ ΡΠΎΡΡΠ°Π²Π»ΡΡΡ Π΄ΠΎ 25 Π»ΠΈΡΡΠΎΠ². ΠΠ°ΠΊ ΠΏΡΠ°Π²ΠΈΠ»ΠΎ, ΡΠΌΠΊΠΎΡΡΡ ΠΎΡΠ½Π°ΡΠ°Π΅ΡΡΡ ΠΎΠΏΡΠΈΡΠ΅ΡΠΊΠΈΠΌ ΠΈΠ½Π΄ΠΈΠΊΠ°ΡΠΎΡΠΎΠΌ ΠΎΠΏΡΠ΅Π΄Π΅Π»Π΅Π½ΠΈΡ ΡΡΠ΅ΠΏΠ΅Π½ΠΈ Π½Π°ΠΏΠΎΠ»Π½Π΅Π½Π½ΠΎΡΡΠΈ.
ΠΠ»Ρ ΡΡΡΠ΅ΠΊΡΠΈΠ²Π½ΠΎΠΉ ΠΈ ΠΏΡΠΎΡΡΠΎΠΉ ΠΎΡΠΈΡΡΠΊΠΈ Π² ΠΏΠΎΠ΄ΠΎΠ±Π½ΠΎΠΌ ΠΎΠ±ΠΎΡΡΠ΄ΠΎΠ²Π°Π½ΠΈΠΈ ΠΏΡΠΈΠΌΠ΅Π½ΡΡΡΡΡ ΡΠΏΠ΅ΡΠΈΠ°Π»ΡΠ½ΡΠ΅ ΡΠ»ΠΈΠ²Π½ΡΠ΅ ΠΏΠ°ΡΡΡΠ±ΠΊΠΈ ΠΈ ΠΊΠ»Π°ΠΏΠ°Π½Ρ ΡΡΡΠ°Π²Π»ΠΈΠ²Π°Π½ΠΈΡ.
ΠΡΠΈΠ½ΡΠΈΠΏ ΡΠ°Π±ΠΎΡΡ Ρ ΠΈΠΌΠΈΡΠ΅ΡΠΊΠΈΡ ΡΡΡΠ°Π½ΠΎΠ²ΠΎΠΊ

Π£ΡΡΡΠΎΠΉΡΡΠ²ΠΎ, ΡΠ°Π±ΠΎΡΠ°ΡΡΠ΅Π΅ Π·Π° ΡΡΠ΅Ρ Π΄ΠΎΠ±Π°Π²Π»Π΅Π½ΠΈΡ ΡΠΏΠ΅ΡΠΈΠ°Π»ΡΠ½ΠΎΠ³ΠΎ Ρ ΠΈΠΌΠΈΡΠ΅ΡΠΊΠΎΠ³ΠΎ ΡΠ΅Π°Π³Π΅Π½ΡΠ°
ΠΠ΅ΡΠ΅Π΄ ΡΠ΅ΠΌ ΠΊΠ°ΠΊ ΠΏΠΎΠ»ΡΠ·ΠΎΠ²Π°ΡΡΡΡ Π±ΠΈΠΎΡΡΠ°Π»Π΅ΡΠΎΠΌ Π΄Π»Ρ Π΄Π°ΡΠΈ, Π² Π½ΠΈΠΆΠ½ΡΡ ΡΠ΅ΠΊΡΠΈΡ Π½Π΅ΠΎΠ±Ρ ΠΎΠ΄ΠΈΠΌΠΎ ΠΏΠΎΠΌΠ΅ΡΡΠΈΡΡ ΠΎΠΏΡΠ΅Π΄Π΅Π»ΡΠ½Π½ΠΎΠ΅ ΠΊΠΎΠ»ΠΈΡΠ΅ΡΡΠ²ΠΎ ΠΆΠΈΠ΄ΠΊΠΈΡ Ρ ΠΈΠΌΠΈΡΠ΅ΡΠΊΠΈΡ ΡΠ΅Π°Π³Π΅Π½ΡΠΎΠ², ΠΊΠΎΡΠΎΡΡΠ΅ ΠΌΠΎΠ΄ΠΈΡΠΈΡΠΈΡΡΡΡ ΡΠ΅ΠΊΠ°Π»ΠΈΠΈ ΠΈ ΠΆΠΈΠ΄ΠΊΠΈΠ΅ ΠΎΡΡ ΠΎΠ΄Ρ Π² ΠΎΠ΄Π½ΠΎΡΠΎΠ΄Π½ΡΡ ΠΌΠ°ΡΡΡ ΡΠΎ ΡΠ»Π°Π±ΠΎ Π²ΡΡΠ°ΠΆΠ΅Π½Π½ΡΠΌ Π·Π°ΠΏΠ°Ρ ΠΎΠΌ.
Π ΡΠΎΠΎΡΠ²Π΅ΡΡΡΠ²ΠΈΠΈ Ρ ΡΠ°Π·Π½ΠΎΠ²ΠΈΠ΄Π½ΠΎΡΡΡΡ ΠΈΡΠΏΠΎΠ»ΡΠ·ΡΠ΅ΠΌΡΡ ΡΠ΅Π°Π³Π΅Π½ΡΠΎΠ², ΠΌΠΎΠ΄ΠΈΡΠΈΡΠΈΡΠΎΠ²Π°Π½Π½ΡΠ΅ ΡΠ΅ΠΊΠ°Π»ΡΠ½ΡΠ΅ ΠΌΠ°ΡΡΡ ΠΌΠΎΠΆΠ½ΠΎ ΡΡΠΈΠ»ΠΈΠ·ΠΈΡΠΎΠ²Π°ΡΡ ΠΏΠΎΡΡΠ΅Π΄ΡΡΠ²ΠΎΠΌ ΠΎΡΠΊΠ°ΡΠΊΠΈ Π°ΡΡΠ΅Π½ΠΈΠ·Π°ΡΠΎΡΡΠΊΠΎΠΉ ΠΌΠ°ΡΠΈΠ½ΠΎΠΉ ΠΈΠ»ΠΈ ΡΠ»ΠΈΠ²Π°Ρ ΠΎΡΡ ΠΎΠ΄Ρ Π½Π΅ΠΏΠΎΡΡΠ΅Π΄ΡΡΠ²Π΅Π½Π½ΠΎ Π² ΠΏΠΎΡΠ²Ρ.
ΠΠ°ΠΆΠ½ΠΎ: Π₯ΠΈΠΌΠΈΡΠ΅ΡΠΊΠΈΠ΅ ΡΠ΅Π°Π³Π΅Π½ΡΡ ΡΡΠ½ΠΊΡΠΈΠΎΠ½ΠΈΡΡΡΡ Π² ΡΠ΅ΡΠ΅Π½ΠΈΠ΅ 10-14 Π΄Π½Π΅ΠΉ, ΠΏΠΎΡΠ»Π΅ ΡΠ΅Π³ΠΎ ΡΡΡΠ΅ΠΊΡΠΈΠ²Π½ΠΎΡΡΡ ΠΈΡΠΏΠΎΠ»ΡΠ·ΠΎΠ²Π°Π½ΠΈΡ ΡΠ½ΠΈΠΆΠ°Π΅ΡΡΡ ΠΈ ΠΈΡ Π½Π΅ΠΎΠ±Ρ ΠΎΠ΄ΠΈΠΌΠΎ ΠΎΠ±Π½ΠΎΠ²ΠΈΡΡ.
ΠΠΎΡΠΎΠ²ΠΈΠΌ Ρ ΠΈΠΌΠΈΡΠ΅ΡΠΊΠΈΠΉ Π±ΠΈΠΎΡΡΠ°Π»Π΅Ρ ΠΊ ΠΈΡΠΏΠΎΠ»ΡΠ·ΠΎΠ²Π°Π½ΠΈΡ
ΠΠΎΠ΄Π³ΠΎΡΠΎΠ²ΠΊΠ° ΠΏΡΠΈΠΎΠ±ΡΠ΅ΡΡΠ½Π½ΠΎΠ³ΠΎ Π±ΠΈΠΎΡΡΠ°Π»Π΅ΡΠ° ΠΊ ΡΠΊΡΠΏΠ»ΡΠ°ΡΠ°ΡΠΈΠΈ Π½Π΅ ΠΏΡΠ΅Π΄ΡΡΠ°Π²Π»ΡΠ΅Ρ ΡΠΎΠ±ΠΎΠΉ Π½ΠΈΡΠ΅Π³ΠΎ ΡΠ»ΠΎΠΆΠ½ΠΎΠ³ΠΎ, ΠΈ Π²ΡΡ ΡΠ°Π±ΠΎΡΠ° ΠΌΠΎΠΆΠ΅Ρ Π±ΡΡΡ Π²ΡΠΏΠΎΠ»Π½Π΅Π½Π° ΡΠ²ΠΎΠΈΠΌΠΈ ΡΡΠΊΠ°ΠΌΠΈ.
ΠΠ½ΡΡΡΡΠΊΡΠΈΡ ΠΏΡΠ΅Π΄ΡΠΊΡΠΏΠ»ΡΠ°ΡΠ°ΡΠΈΠΎΠ½Π½ΠΎΠΉ ΠΏΠΎΠ΄Π³ΠΎΡΠΎΠ²ΠΊΠΈ ΡΠ»Π΅Π΄ΡΡΡΠ°Ρ:
- ΠΠ°Π»ΠΈΠ²Π°Π΅ΠΌ ΡΠΈΡΡΡΡ Π²ΠΎΠ΄Ρ Π² ΡΠ΅Π·Π΅ΡΠ²ΡΠ°Ρ ΡΠ΅ΡΠ΅Π· ΡΠΏΠ΅ΡΠΈΠ°Π»ΡΠ½ΠΎΠ΅ ΠΎΡΠ²Π΅ΡΡΡΠΈΠ΅. ΠΠ±ΡΠ΅ΠΌ Π²ΠΎΠ΄Ρ Π΄ΠΎΠ»ΠΆΠ΅Π½ ΡΠΎΠΎΡΠ²Π΅ΡΡΡΠ²ΠΎΠ²Π°ΡΡ ΠΏΠ°ΡΠ°ΠΌΠ΅ΡΡΠ°ΠΌ, ΠΏΡΠΈΠ²Π΅Π΄Π΅Π½Π½ΡΠΌ Π² ΠΈΠ½ΡΡΡΡΠΊΡΠΈΠΈ, ΠΊΠ°ΠΊ ΠΏΡΠ°Π²ΠΈΠ»ΠΎ, ΡΡΠΎ 15- 20 Π»ΠΈΡΡΠΎΠ².
- ΠΠΎΠ±Π°Π²Π»ΡΠ΅ΠΌ Π² Π²ΠΎΠ΄Ρ ΠΎΠΊΠΎΠ»ΠΎ 120 ΠΌΠΈΠ»Π»ΠΈΠ»ΠΈΡΡΠΎΠ² ΡΠΏΠ΅ΡΠΈΠ°Π»ΡΠ½ΠΎΠ³ΠΎ ΡΠ΅Π°Π³Π΅Π½ΡΠ°.
- ΠΠΎΠ±Π°Π²Π»ΡΠ΅ΠΌ ΡΠ΅ΡΠ΅Π· ΡΠ½ΠΈΡΠ°Π·Π½ΡΡ ΡΠ°ΡΡ ΠΎΠΊΠΎΠ»ΠΎ 100 ΠΌΠΈΠ»Π»ΠΈΠ»ΠΈΡΡΠΎΠ² ΡΠΏΠ΅ΡΠΈΠ°Π»ΡΠ½ΠΎΠ³ΠΎ ΡΠ°ΠΌΠΏΡΠ½Ρ Π΄Π»Ρ Π±ΠΈΠΎΡΡΠ°Π»Π΅ΡΠ°.
- Π‘ ΠΏΠΎΠΌΠΎΡΡΡ ΡΠ»ΠΈΠ²Π½ΠΎΠ³ΠΎ Π½Π°ΡΠΎΡΠ° ΠΏΡΠΎΠΊΠ°ΡΠΈΠ²Π°Π΅ΠΌ Π² ΡΠ°ΡΡ Π²ΠΎΠ΄Ρ (ΠΏΡΠΈΠΌΠ΅ΡΠ½ΠΎ 1 Π»ΠΈΡΡ) ΠΈΠ· ΡΠ»ΠΈΠ²Π½ΠΎΠ³ΠΎ Π±Π°ΠΊΠ°.
- ΠΠ°Π»Π΅Π΅ ΠΎΡΠΊΡΡΠ²Π°Π΅ΠΌ ΡΠ°Π·Π΄Π΅Π»ΠΈΡΠ΅Π»ΡΠ½ΡΠΉ ΠΊΠ»Π°ΠΏΠ°Π½ ΠΈ Π΄Π°Π΅ΠΌ ΡΠ°ΡΡΠ²ΠΎΡΡ ΠΏΡΠΎΡΠ΅ΡΡ Π² Π½Π°ΠΊΠΎΠΏΠΈΡΠ΅Π»ΡΠ½ΡΠΉ ΡΠ΅Π·Π΅ΡΠ²ΡΠ°Ρ.
Π’ΠΎΡΡΡΠ½ΠΎΠΉ Π±ΠΈΠΎΡΡΠ°Π»Π΅Ρ

ΠΡΠΎΠΌΡΡΠ»Π΅Π½Π½ΠΎ ΠΈΠ·Π³ΠΎΡΠΎΠ²Π»Π΅Π½Π½ΡΠΉ ΡΠΎΡΡΡΠ½ΠΎΠΉ Π±ΠΈΠΎΡΡΠ°Π»Π΅Ρ Π΄Π»Ρ Π΄Π°ΡΠΈ
Π‘ΡΠΎΠΈΠΌΠΎΡΡΡ Π±ΠΈΠΎΡΡΠ°Π»Π΅ΡΠ° Π΄Π»Ρ Π΄Π°ΡΠΈ Π²ΠΎ ΠΌΠ½ΠΎΠ³ΠΎΠΌ ΠΎΠΏΡΠ΅Π΄Π΅Π»ΡΠ΅ΡΡΡ ΡΠΈΠΏΠΎΠΌ Ρ ΠΈΠΌΠΈΡΠ΅ΡΠΊΠΎΠ³ΠΎ ΡΠ΅Π°Π³Π΅Π½ΡΠ° ΠΈΠ»ΠΈ Π·Π°ΠΏΠΎΠ»Π½ΠΈΡΠ΅Π»Ρ, ΠΊΠΎΡΠΎΡΡΠΉ ΠΈΡΠΏΠΎΠ»ΡΠ·ΡΠ΅ΡΡΡ Π΄Π»Ρ Π½Π΅ΠΉΡΡΠ°Π»ΠΈΠ·Π°ΡΠΈΠΈ Π·Π°ΠΏΠ°Ρ ΠΎΠ². Π‘Π°ΠΌΡΠΌΠΈ Π΄ΠΎΡΡΡΠΏΠ½ΡΠΌΠΈ Π² ΠΏΠ»Π°Π½Π΅ ΡΠ΅Π½Ρ ΡΡΠΈΡΠ°ΡΡΡΡ ΡΠ°ΠΊ Π½Π°Π·ΡΠ²Π°Π΅ΠΌΡΠ΅ ΠΏΡΠ΄Ρ-ΠΊΠ»ΠΎΠ·Π΅ΡΡ Ρ Π·Π°ΡΡΠΏΠΊΠΎΠΉ ΠΈΠ· ΡΠΎΡΡΠ°.
Π ΠΏΡΠ΅ΠΈΠΌΡΡΠ΅ΡΡΠ²Π°ΠΌ ΡΠ°ΠΊΠΈΡ ΡΠΎΠΎΡΡΠΆΠ΅Π½ΠΈΠΉ ΠΌΠΎΠΆΠ½ΠΎ ΠΎΡΠ½Π΅ΡΡΠΈ ΡΠ»Π΅Π΄ΡΡΡΠΈΠ΅ ΠΌΠΎΠΌΠ΅Π½ΡΡ:
- Π΄ΠΎΡΡΡΠΏΠ½Π°Ρ ΡΠ΅Π½Π° ΠΈΠ·Π΄Π΅Π»ΠΈΠΉ Π·Π°Π²ΠΎΠ΄ΡΠΊΠΎΠ³ΠΎ ΠΏΡΠΎΠΈΠ·Π²ΠΎΠ΄ΡΡΠ²Π°;
- Π²ΠΎΠ·ΠΌΠΎΠΆΠ½ΠΎΡΡΡ ΡΠ°ΠΌΠΎΡΡΠΎΡΡΠ΅Π»ΡΠ½ΠΎΠ³ΠΎ ΠΈΠ·Π³ΠΎΡΠΎΠ²Π»Π΅Π½ΠΈΡ ΠΈΠ· Π΄ΠΎΡΡΡΠΏΠ½ΡΡ ΠΌΠ°ΡΠ΅ΡΠΈΠ°Π»ΠΎΠ² ΠΈ ΠΏΠΎΠ΄ΡΡΡΠ½ΡΡ ΡΡΠ΅Π΄ΡΡΠ²;
- ΡΠΊΠΎΠ»ΠΎΠ³ΠΈΡΠ½ΠΎΡΡΡ ΡΠΊΡΠΏΠ»ΡΠ°ΡΠ°ΡΠΈΠΈ;
- Π΄ΠΎΡΡΡΠΏΠ½Π°Ρ ΡΠ΅Π½Π° ΠΏΡΠΈΠΌΠ΅Π½ΡΠ΅ΠΌΠΎΠΉ Π·Π°ΡΡΠΏΠΊΠΈ;
- ΠΏΠΎΠ»ΡΡΠ΅Π½ΠΈΠ΅ Π² Ρ ΠΎΠ΄Π΅ ΡΠΊΡΠΏΠ»ΡΠ°ΡΠ°ΡΠΈΠΈ ΠΊΠ»ΠΎΠ·Π΅ΡΠ° ΡΠ΄ΠΎΠ±ΡΠ΅Π½ΠΈΠΉ, ΠΊΠΎΡΠΎΡΡΠ΅ ΠΌΠΎΠΆΠ½ΠΎ ΠΏΡΠΈΠΌΠ΅Π½ΠΈΡΡ Π½Π΅ΠΏΠΎΡΡΠ΅Π΄ΡΡΠ²Π΅Π½Π½ΠΎ Π½Π° ΡΠ°Π΄ΠΎΠ²ΠΎ-ΠΎΠ³ΠΎΡΠΎΠ΄Π½ΠΎΠΌ ΡΡΠ°ΡΡΠΊΠ΅;
- ΠΏΡΠΎΡΡΠΎΡΠ° ΠΊΠΎΠ½ΡΡΡΡΠΊΡΠΈΠΈ Π±ΠΈΠΎΡΡΠ°Π»Π΅ΡΠ° ΠΈ, ΠΊΠ°ΠΊ ΡΠ»Π΅Π΄ΡΡΠ²ΠΈΠ΅, ΠΏΡΠΎΡΡΠΎΡΠ° Π΅Π³ΠΎ ΠΏΠ΅ΡΠΈΠΎΠ΄ΠΈΡΠ΅ΡΠΊΠΎΠ³ΠΎ ΠΎΠ±ΡΠ»ΡΠΆΠΈΠ²Π°Π½ΠΈΡ.

Π£ΡΡΡΠΎΠΉΡΡΠ²ΠΎ ΡΠ»ΠΈΡΠ½ΠΎΠ³ΠΎ ΠΊΠΎΠΌΠΏΠΎΡΡΠ½ΠΎΠ³ΠΎ ΠΊΠ»ΠΎΠ·Π΅ΡΠ°
ΠΠ½ΡΡΡΡΠΊΡΠΈΡ ΠΏΡΠΈΠΌΠ΅Π½Π΅Π½ΠΈΡ Π΄Π°ΡΠ½ΠΎΠ³ΠΎ ΡΠΎΡΡΡΠ½ΠΎΠ³ΠΎ Π±ΠΈΠΎΡΡΠ°Π»Π΅ΡΠ° Π½Π΅ΡΠ»ΠΎΠΆΠ½Π°Ρ. ΠΠΎΡΡΠ΅Π΄ΡΡΠ²ΠΎΠΌ Π½Π°ΠΆΠ°ΡΠΈΡ ΠΊΠ½ΠΎΠΏΠΊΠΈ ΠΈΠ»ΠΈ ΠΏΠΎΠ²ΠΎΡΠΎΡΠ° ΡΡΠΊΠΎΡΡΠΈ ΠΏΡΠΎΠΈΠ·Π²ΠΎΠ΄ΠΈΡΡΡ ΠΏΠΎΠ΄Π°ΡΠ° ΡΠΎΡΡΡΠ½ΠΎΠΉ ΡΠΌΠ΅ΡΠΈ Π² Π½Π°ΠΊΠΎΠΏΠΈΡΠ΅Π»ΡΠ½ΡΡ ΡΠ΅ΠΊΡΠΈΡ. ΠΠ΄Π½ΠΎΠ²ΡΠ΅ΠΌΠ΅Π½Π½ΠΎ Ρ ΠΏΠΎΠ΄Π°ΡΠ΅ΠΉ Π·Π°ΡΡΠΏΠΊΠΈ Π² Π΄Π΅ΠΉΡΡΠ²ΠΈΠ΅ ΠΏΡΠΈΠ²ΠΎΠ΄ΠΈΡΡΡ ΠΌΠ΅Ρ Π°Π½ΠΈΠ·ΠΈΡΠΎΠ²Π°Π½Π½ΡΠΉ ΡΠΎΡΠΎΡ, ΠΏΠΎΡΡΠ΅Π΄ΡΡΠ²ΠΎΠΌ ΠΊΠΎΡΠΎΡΠΎΠ³ΠΎ ΡΠ΅ΠΊΠ°Π»ΡΠ½ΡΠ΅ ΠΌΠ°ΡΡΡ ΡΠΌΠ΅ΡΠΈΠ²Π°ΡΡΡΡ Ρ ΡΠΎΡΡΠΎΠΌ Π΄ΠΎ ΠΎΠ΄Π½ΠΎΡΠΎΠ΄Π½ΠΎΠΉ ΠΊΠΎΠ½ΡΠΈΡΡΠ΅Π½ΡΠΈΠΈ.

Π’ΠΎΡΡΡΠ½Π°Ρ Π·Π°ΡΡΠΏΠΊΠ°
Π ΡΡΠ΅Π΄Π½Π΅ΠΌ, ΡΠ°ΡΡ ΠΎΠ΄ Π·Π°ΡΡΠΏΠΊΠΈ Π½Π΅ ΠΏΡΠ΅Π²ΡΡΠ°Π΅Ρ 1 ΠΊΠ³ ΡΠΎΡΡΡΠ½ΠΎΠΉ ΡΠΌΠ΅ΡΠΈ Π½Π° 10 ΠΊΠ³ ΠΎΡΡ ΠΎΠ΄ΠΎΠ². Π ΠΏΡΠΎΡΠ΅ΡΡΠ΅ Π΅ΡΡΠ΅ΡΡΠ²Π΅Π½Π½ΠΎΠ³ΠΎ ΡΠ°Π·Π»ΠΎΠΆΠ΅Π½ΠΈΡ ΠΏΠΎΠ»ΡΡΠ΅Π½Π½ΠΎΠΉ Π±ΠΈΠΎΠΌΠ°ΡΡΡ ΠΎΠ±ΡΠ°Π·ΡΠ΅ΡΡΡ ΠΊΠΎΠΌΠΏΠΎΡΡ, Π½Π΅ ΠΏΡΠ΅Π΄ΡΡΠ°Π²Π»ΡΡΡΠΈΠΉ ΠΊΠ°ΠΊΠΎΠΉ-Π»ΠΈΠ±ΠΎ ΠΎΠΏΠ°ΡΠ½ΠΎΡΡΠΈ, ΠΊΠ°ΠΊ Ρ ΡΠ°Π½ΠΈΡΠ°ΡΠ½ΡΡ , ΡΠ°ΠΊ ΠΈ Ρ Π±ΠΈΠΎΠ»ΠΎΠ³ΠΈΡΠ΅ΡΠΊΠΈΡ ΡΠΎΠΎΠ±ΡΠ°ΠΆΠ΅Π½ΠΈΠΉ. ΠΠΎ ΠΎΠΊΠΎΠ½ΡΠ°Π½ΠΈΠΈ Π²ΡΠ·ΡΠ΅Π²Π°Π½ΠΈΡ ΠΊΠΎΠΌΠΏΠΎΡΡ ΠΌΠΎΠΆΠ½ΠΎ ΡΠ°ΡΠΏΡΠ΅Π΄Π΅Π»ΡΡΡ ΠΏΠΎ Π΄Π°ΡΠ½ΠΎΠΌΡ ΡΡΠ°ΡΡΠΊΡ, ΠΏΠΎΠ΄ΠΏΠΈΡΡΠ²Π°Ρ ΡΠ°ΠΊΠΈΠΌ ΠΎΠ±ΡΠ°Π·ΠΎΠΌ ΠΏΠΎΡΠ²Ρ.
ΠΠΎΠ»ΡΡΠ°Ρ ΡΠ°ΡΡΡ ΡΠΎΡΡΡΠ½ΡΡ ΠΊΠ»ΠΎΠ·Π΅ΡΠΎΠ² Π·Π°Π²ΠΎΠ΄ΡΠΊΠΎΠ³ΠΎ ΠΏΡΠΎΠΈΠ·Π²ΠΎΠ΄ΡΡΠ²Π° ΠΎΡΠ½Π°ΡΠ΅Π½Π° ΠΊΠ»Π°ΠΏΠ°Π½Π½ΠΎ-ΠΌΠ΅ΠΌΠ±ΡΠ°Π½Π½ΠΎΠΉ ΡΠΈΡΡΠ΅ΠΌΠΎΠΉ ΠΎΡΠ΄Π΅Π»Π΅Π½ΠΈΡ ΠΆΠΈΠ΄ΠΊΠΈΡ ΠΎΡΡ ΠΎΠ΄ΠΎΠ² ΠΎΡ ΡΠ²Π΅ΡΠ΄ΡΡ . ΠΡΠΈΠΌΠ΅ΡΠ½ΠΎ ΡΠ°Π· Π² ΠΌΠ΅ΡΡΡ ΡΠΎΠ΄Π΅ΡΠΆΠΈΠΌΠΎΠ΅ Π½Π°ΠΊΠΎΠΏΠΈΡΠ΅Π»ΡΠ½ΠΎΠΉ ΡΠ΅ΠΊΡΠΈΠΈ ΡΠ»Π΅Π΄ΡΠ΅Ρ ΠΎΠΏΡΡΡΠΎΡΠ°ΡΡ.
ΠΡΠΈΡΡΠΈΡΡ Π·Π°Π²ΠΎΠ΄ΡΠΊΡΡ ΠΌΠΎΠ΄ΠΈΡΠΈΠΊΠ°ΡΠΈΡ ΡΡΠ°Π»Π΅ΡΠ° Π½Π΅ΡΠ»ΠΎΠΆΠ½ΠΎ, Π΄ΠΎΡΡΠ°ΡΠΎΡΠ½ΠΎ Π²ΠΎΡΠΏΠΎΠ»ΡΠ·ΠΎΠ²Π°ΡΡΡΡ ΡΠΏΠ΅ΡΠΈΠ°Π»ΡΠ½ΠΎΠΉ ΠΏΠΎΠ²ΠΎΡΠΎΡΠ½ΠΎΠΉ ΡΡΡΠΊΠΎΠΉ. Π ΡΠ°ΠΌΠΎΠ΄Π΅Π»ΡΠ½ΡΡ ΠΌΠΎΠ΄ΠΈΡΠΈΠΊΠ°ΡΠΈΡΡ ΠΎΠΏΡΡΡΠΎΡΠ΅Π½ΠΈΠ΅ ΡΡΠ°Π»Π΅ΡΠ° Π²ΡΠΏΠΎΠ»Π½ΡΠ΅ΡΡΡ Π² ΡΠΎΠΎΡΠ²Π΅ΡΡΡΠ²ΠΈΠΈ Ρ Π³Π°Π±Π°ΡΠΈΡΠ°ΠΌΠΈ ΠΏΡΠΈΠΌΠ΅Π½ΡΠ½Π½ΠΎΠΉ Π½Π°ΠΊΠΎΠΏΠΈΡΠ΅Π»ΡΠ½ΠΎΠΉ Π΅ΠΌΠΊΠΎΡΡΠΈ.
ΠΠ°ΠΆΠ½ΡΠΌ ΠΌΠΎΠΌΠ΅Π½ΡΠΎΠΌ Π² ΠΎΠ±ΡΡΡΡΠΎΠΉΡΡΠ²Π΅ Π΄Π°ΡΠ½ΡΡ ΠΊΠΎΠΌΠΏΠΎΡΡΠ½ΡΡ ΡΡΠ°Π»Π΅ΡΠΎΠ² ΡΠ²Π»ΡΠ΅ΡΡΡ ΠΈΠ·Π³ΠΎΡΠΎΠ²Π»Π΅Π½ΠΈΠ΅ ΡΡΡΠ΅ΠΊΡΠΈΠ²Π½ΠΎΠΉ Π²Π΅Π½ΡΠΈΠ»ΡΡΠΈΠΎΠ½Π½ΠΎΠΉ ΡΠΈΡΡΠ΅ΠΌΡ. ΠΠ°Π²ΠΎΠ΄ΡΠΊΠΈΠ΅ ΠΌΠΎΠ΄ΠΈΡΠΈΠΊΠ°ΡΠΈΠΈ ΠΊΠΎΠΌΠΏΠ»Π΅ΠΊΡΡΡΡΡΡ ΠΏΠΎΠ»Π½ΠΎΡΠ΅Π½Π½ΠΎΠΉ ΡΠΈΡΡΠ΅ΠΌΠΎΠΉ ΠΎΡΠ²Π΅Π΄Π΅Π½ΠΈΡ Π·Π°ΠΏΠ°Ρ ΠΎΠ², Π½Π° ΠΎΡΠ½ΠΎΠ²Π΅ Π²ΡΡΡΠΆΠ½ΠΎΠΉ ΡΡΡΠ±Ρ ΠΈΠ΄ΡΡΠ΅ΠΉ ΠΈΠ· Π½Π°ΠΊΠΎΠΏΠΈΡΠ΅Π»ΡΠ½ΠΎΠΉ ΡΠ΅ΠΊΡΠΈΠΈ. ΠΠ½Π°Π»ΠΎΠ³ΠΈΡΠ½Π°Ρ ΡΠΈΡΡΠ΅ΠΌΠ° ΠΌΠΎΠΆΠ΅Ρ Π±ΡΡΡ ΠΏΡΠΈΠΌΠ΅Π½Π΅Π½Π° ΠΏΡΠΈ ΠΈΠ·Π³ΠΎΡΠΎΠ²Π»Π΅Π½ΠΈΠΈ ΠΊΠΎΠΌΠΏΠΎΡΡΠ½ΠΎΠ³ΠΎ ΠΊΠ»ΠΎΠ·Π΅ΡΠ° ΡΠ²ΠΎΠΈΠΌΠΈ ΡΡΠΊΠ°ΠΌΠΈ.
ΠΠ»Π΅ΠΊΡΡΠΈΡΠ΅ΡΠΊΠ°Ρ ΠΌΠΎΠ΄ΠΈΡΠΈΠΊΠ°ΡΠΈΡ Π΄Π°ΡΠ½ΠΎΠ³ΠΎ Π±ΠΈΠΎΡΡΠ°Π»Π΅ΡΠ°

ΠΠ° ΡΠΎΡΠΎ β ΠΊΠΎΠΌΠΏΠ°ΠΊΡΠ½ΡΠΉ ΡΠ»Π΅ΠΊΡΡΠΈΡΠ΅ΡΠΊΠΈΠΉ ΠΊΠ»ΠΎΠ·Π΅Ρ
Π£ΡΡΠ°Π½ΠΎΠ²ΠΊΠ° Π±ΠΈΠΎΡΡΠ°Π»Π΅ΡΠ° Π½Π° Π΄Π°ΡΠ΅ Π½Π΅ ΠΏΡΠ΅Π΄ΡΡΠ°Π²Π»ΡΠ΅Ρ Π½ΠΈΡΠ΅Π³ΠΎ ΡΠ»ΠΎΠΆΠ½ΠΎΠ³ΠΎ, Π΅ΡΠ»ΠΈ ΠΊΠΎΠ½Π΅ΡΠ½ΠΎ, ΡΡΠΎ Π½Π΅ ΡΠ»Π΅ΠΊΡΡΠΈΡΠ΅ΡΠΊΠ°Ρ ΠΌΠΎΠ΄ΠΈΡΠΈΠΊΠ°ΡΠΈΡ. ΠΠ»Π΅ΠΊΡΡΠΈΡΠ΅ΡΠΊΠΈΠΉ ΠΊΠ»ΠΎΠ·Π΅Ρ, Π½Π°ΠΏΡΠΎΡΠΈΠ², ΡΠ»ΠΎΠΆΠ΅Π½ Π² ΠΌΠΎΠ½ΡΠ°ΠΆΠ΅, Π½ΠΎ Π² ΡΠΎ ΠΆΠ΅ Π²ΡΠ΅ΠΌΡ ΠΎΠ±Π΅ΡΠΏΠ΅ΡΠΈΠ²Π°Π΅Ρ ΠΎΠΏΡΠΈΠΌΠ°Π»ΡΠ½ΡΠΉ ΠΊΠΎΠΌΡΠΎΡΡ ΡΠΊΡΠΏΠ»ΡΠ°ΡΠ°ΡΠΈΠΈ.
Π‘Π»ΠΎΠΆΠ½ΠΎΡΡΡ ΡΡΡΠ°Π½ΠΎΠ²ΠΊΠΈ ΠΎΠ±ΡΡΠ»ΠΎΠ²Π»Π΅Π½Π° ΡΠ΅ΠΌ, ΡΡΠΎ Π² ΠΏΡΠΎΡΠ΅ΡΡΠ΅ ΡΠ°Π±ΠΎΡΡ ΡΠ»Π΅ΠΊΡΡΠΈΡΠ΅ΡΠΊΠΎΠ΅ ΡΠΎΠΎΡΡΠΆΠ΅Π½ΠΈΠ΅ Π² ΠΎΠ±ΡΠ·Π°ΡΠ΅Π»ΡΠ½ΠΎΠΌ ΠΏΠΎΡΡΠ΄ΠΊΠ΅ ΠΎΡΠ΄Π΅Π»ΡΠ΅Ρ ΠΆΠΈΠ΄ΠΊΠΈΠ΅ ΠΎΡΡ ΠΎΠ΄Ρ ΠΎΡ ΡΠ²Π΅ΡΠ΄ΡΡ . ΠΠΈΠ΄ΠΊΠ°Ρ ΡΡΠ΅Π΄Π° Π²ΡΠ²ΠΎΠ΄ΠΈΡΡΡ Π½Π°ΡΡΠΆΡ ΠΏΠΎΡΡΠ΅Π΄ΡΡΠ²ΠΎΠΌ ΡΠΏΠ΅ΡΠΈΠ°Π»ΡΠ½ΠΎΠ³ΠΎ ΡΠ»Π°Π½Π³Π°. ΠΠΌΠ΅Π½Π½ΠΎ ΠΏΠΎΡΡΠΎΠΌΡ Π² ΠΏΡΠΎΡΠ΅ΡΡΠ΅ ΠΌΠΎΠ½ΡΠ°ΠΆΠ° ΠΎΡΠ½ΠΎΠ²Π½ΠΎΠ³ΠΎ ΡΠΎΠΎΡΡΠΆΠ΅Π½ΠΈΡ Π½Π΅ΠΎΠ±Ρ ΠΎΠ΄ΠΈΠΌΠΎ ΠΏΠΎΠ·Π°Π±ΠΎΡΠΈΡΡΡΡ ΠΎΠ± ΡΡΡΠ°Π½ΠΎΠ²ΠΊΠ΅ ΠΎΡΠ΄Π΅Π»ΡΠ½ΠΎΠ³ΠΎ Π½Π°ΠΊΠΎΠΏΠΈΡΠ΅Π»ΡΠ½ΠΎΠ³ΠΎ Π±Π°ΠΊΠ°.

Π‘Ρ Π΅ΠΌΠ° ΡΠ»Π΅ΠΊΡΡΠΈΡΠ΅ΡΠΊΠΎΠ³ΠΎ Π±ΠΈΠΎΡΡΠ°Π»Π΅ΡΠ°
ΠΡΡΡΠΎΠ΅Π½Π½Π°Ρ Π² Π±ΠΈΠΎΡΡΠ°Π»Π΅Ρ Π½Π°ΠΊΠΎΠΏΠΈΡΠ΅Π»ΡΠ½Π°Ρ Π΅ΠΌΠΊΠΎΡΡΡ ΠΏΡΠ΅Π΄Π½Π°Π·Π½Π°ΡΠ°Π΅ΡΡΡ Π΄Π»Ρ Π°ΠΊΠΊΡΠΌΡΠ»ΠΈΡΠΎΠ²Π°Π½ΠΈΡ ΠΈ Π²ΡΠ΅ΠΌΠ΅Π½Π½ΠΎΠ³ΠΎ Ρ ΡΠ°Π½Π΅Π½ΠΈΡ ΡΠ΅ΠΊΠ°Π»ΡΠ½ΡΡ ΠΌΠ°ΡΡ. ΠΡΡΡΡΡΡΠ²ΠΈΠ΅ Π½Π΅ΠΏΡΠΈΡΡΠ½ΡΡ Π·Π°ΠΏΠ°Ρ ΠΎΠ² ΠΏΡΠΈ ΡΠΊΡΠΏΠ»ΡΠ°ΡΠ°ΡΠΈΠΈ ΡΠ»Π΅ΠΊΡΡΠΈΡΠ΅ΡΠΊΠΎΠ³ΠΎ ΠΊΠ»ΠΎΠ·Π΅ΡΠ° Π³Π°ΡΠ°Π½ΡΠΈΡΠΎΠ²Π°Π½Π½ΠΎ ΡΡΡΠ΅ΠΊΡΠΈΠ²Π½ΠΎΠΉ ΡΠΈΡΡΠ΅ΠΌΠΎΠΉ ΠΏΡΠΈΠ½ΡΠ΄ΠΈΡΠ΅Π»ΡΠ½ΠΎΠΉ Π²Π΅Π½ΡΠΈΠ»ΡΡΠΈΠΈ.
ΠΠ°ΠΆΠ½ΠΎ: ΠΠ»Ρ ΡΠΊΡΠΏΠ»ΡΠ°ΡΠ°ΡΠΈΠΈ ΡΠ»Π΅ΠΊΡΡΠΈΡΠ΅ΡΠΊΠΈΡ Π±ΠΈΠΎΡΡΠ°Π»Π΅ΡΠΎΠ² Π½Π΅ΠΎΠ±Ρ ΠΎΠ΄ΠΈΠΌΠΎ ΠΏΠΎΠ΄ΠΊΠ»ΡΡΠ΅Π½ΠΈΠ΅ ΠΊ ΡΠ΅ΡΠΈ 220V.
ΠΠΎΡΡΠΎΠΌΡ, Π΅ΡΠ»ΠΈ Π·Π°Π³ΠΎΡΠΎΠ΄Π½ΡΠΉ Π΄ΠΎΠΌ Π½Π΅ ΡΠ»Π΅ΠΊΡΡΠΈΡΠΈΡΠΈΡΠΎΠ²Π°Π½, ΠΏΠΎΡΡΠ΅Π±ΡΠ΅ΡΡΡ ΠΏΠΎΠΊΡΠΏΠΊΠ° ΠΈΠ»ΠΈ Π°ΡΠ΅Π½Π΄Π° Π΄ΠΈΠ·Π΅Π»Ρ Π³Π΅Π½Π΅ΡΠ°ΡΠΎΡΠ° Π΄Π»Ρ Π΄Π°ΡΠΈ.
ΠΠΊΡΠΏΠ»ΡΠ°ΡΠ°ΡΠΈΠΎΠ½Π½ΠΎΠ΅ ΠΎΠ±ΡΠ»ΡΠΆΠΈΠ²Π°Π½ΠΈΠ΅ ΠΊΠ»ΠΎΠ·Π΅ΡΠ° Π·Π°ΠΊΠ»ΡΡΠ°Π΅ΡΡΡ Π² ΡΠ΄Π°Π»Π΅Π½ΠΈΠΈ ΠΏΠΎΠ»Π½ΠΎΡΡΡΡ Π²ΡΡΡΡΠ΅Π½Π½ΡΡ ΠΎΡΡ ΠΎΠ΄ΠΎΠ². Π£Π΄Π°Π»ΡΡΡ ΠΎΡΡ ΠΎΠ΄Ρ ΠΏΡΠΈΡ ΠΎΠ΄ΠΈΡΡΡ ΠΏΡΠΈΠΌΠ΅ΡΠ½ΠΎ ΡΠ°Π· Π² 2-3 ΠΌΠ΅ΡΡΡΠ°. Π‘ΡΡΠ΅ΡΡΠ²Π΅Π½Π½ΡΠΌ Π½Π΅Π΄ΠΎΡΡΠ°ΡΠΊΠΎΠΌ ΡΠ°ΠΊΠΈΡ ΡΡΡΡΠΎΠΉΡΡΠ² ΡΠ²Π»ΡΠ΅ΡΡΡ Π²ΡΡΠΎΠΊΠ°Ρ ΡΠ΅Π½Π° Π² ΡΡΠ΅Π΄Π½Π΅ΠΌ ΠΎΠΊΠΎΠ»ΠΎ 1000 Π΄ΠΎΠ»Π»Π°ΡΠΎΠ².
Π‘Π°ΠΌΠΎΡΡΠΎΡΡΠ΅Π»ΡΠ½ΠΎΠ΅ ΡΡΡΠΎΠΈΡΠ΅Π»ΡΡΡΠ²ΠΎ Π±ΠΈΠΎΡΡΠ°Π»Π΅ΡΠ°

Π‘Ρ Π΅ΠΌΠ° Π΄Π»Ρ ΡΠ°ΠΌΠΎΡΡΠΎΡΡΠ΅Π»ΡΠ½ΠΎΠ³ΠΎ ΡΡΡΠΎΠΈΡΠ΅Π»ΡΡΡΠ²Π° ΠΊΠΎΠΌΠΏΠΎΡΡΠ½ΠΎΠ³ΠΎ ΠΊΠ»ΠΎΠ·Π΅ΡΠ°
ΠΠΎΡΠ»Π΅ ΡΠΎΠ³ΠΎ ΠΊΠ°ΠΊ ΠΌΡ ΠΎΠΏΡΠ΅Π΄Π΅Π»ΠΈΠ»ΠΈΡΡ Ρ ΠΊΠΎΠ½ΡΡΡΡΠΊΡΠΈΠΎΠ½Π½ΡΠΌΠΈ ΠΎΡΠΎΠ±Π΅Π½Π½ΠΎΡΡΡΠΌΠΈ ΡΠ°Π·Π½ΡΡ ΡΠΈΠΏΠΎΠ² ΠΊΠ»ΠΎΠ·Π΅ΡΠ°, ΡΠ°ΡΡΠΊΠ°ΠΆΠ΅ΠΌ ΠΎ ΡΠΎΠΌ ΠΊΠ°ΠΊ ΠΏΠΎΡΡΡΠΎΠΈΡΡ Π±ΠΈΠΎΡΡΠ°Π»Π΅Ρ Π½Π° Π΄Π°ΡΠ΅ ΡΠ²ΠΎΠΈΠΌΠΈ ΡΡΠΊΠ°ΠΌΠΈ.
ΠΠ½ΡΡΡΡΠΊΡΠΈΡ ΡΡΡΠΎΠΈΡΠ΅Π»ΡΡΡΠ²Π° ΠΊΠΎΠΌΠΏΠΎΡΡΠ½ΠΎΠ³ΠΎ ΠΊΠ»ΠΎΠ·Π΅ΡΠ° ΡΠ»Π΅Π΄ΡΡΡΠ°Ρ:
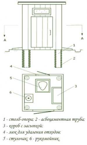
- Π Π½Π΅ΠΏΠΎΡΡΠ΅Π΄ΡΡΠ²Π΅Π½Π½ΠΎΠΉ Π±Π»ΠΈΠ·ΠΎΡΡΠΈ ΠΎΡ Π΄Π°ΡΠ½ΠΎΠΉ ΠΏΠΎΡΡΡΠΎΠΉΠΊΠΈ ΡΠΎΠ±ΠΈΡΠ°Π΅ΡΡΡ Π΄Π΅ΡΠ΅Π²ΡΠ½Π½ΡΠΉ Π΄ΠΎΠΌΠΈΠΊ, ΠΊΠ°ΠΊ ΡΡΠΎ ΠΏΠΎΠΊΠ°Π·Π°Π½ΠΎ Π½Π° ΡΠΈΡΡΠ½ΠΊΠ΅.
- Π Π½ΠΈΠΆΠ½Π΅ΠΉ ΡΠ°ΡΡΠΈ Π·Π°Π΄Π½Π΅ΠΉ ΡΡΠ΅Π½ΠΊΠΈ Π΄ΠΎΠΌΠΈΠΊΠ° Π²ΡΡΠ΅Π·Π°Π΅ΡΡΡ Π»ΡΠΊ ΠΏΠΎ ΡΠ°Π·ΠΌΠ΅ΡΡ Π²Π΅Π΄ΡΠ° ΡΠΎ ΡΡΠ΅Π΄Π½ΠΈΠΌ ΠΎΠ±ΡΡΠΌΠΎΠΌ Π½Π΅ ΠΌΠ΅Π½Π΅Π΅ 12 Π»ΠΈΡΡΠΎΠ².
- ΠΠ±ΡΡΡΡΠ°ΠΈΠ²Π°Π΅ΡΡΡ ΡΡΡΠ»ΡΡΠ°ΠΊ Ρ ΡΠ΅ΠΌ ΡΠ°ΡΡΠ΅ΡΠΎΠΌ, ΡΡΠΎΠ±Ρ ΠΏΠΎΠ΄ Π½ΠΈΠΌ ΡΠΌΠ΅ΡΡΠΈΠ»ΠΎΡΡ Π²Π΅Π΄ΡΠΎ.
- Π’Π°ΠΊΠΆΠ΅ Π² Π΄ΠΎΠΌΠΈΠΊΠ΅ ΡΠ°Π·ΠΌΠ΅ΡΠ°Π΅ΡΡΡ ΡΡΠΈΠΊ Π΄Π»Ρ Ρ ΡΠ°Π½Π΅Π½ΠΈΡ ΡΠΎΡΡΡΠ½ΠΎΠΉ Π·Π°ΡΡΠΏΠΊΠΈ. ΠΡΡΠ°ΡΠΈ, Π² ΠΊΠΎΡΠΎΠ±Π΅ Π΄ΠΎΠ»ΠΆΠ΅Π½ Π±ΡΡΡ ΠΌΠ΅ΡΠ½ΡΠΉ ΠΊΠΎΠ²Ρ, ΠΊΠΎΡΠΎΡΡΠΌ Π±ΡΠ΄Π΅Ρ ΡΠ΄ΠΎΠ±Π½ΠΎ Π·Π°ΡΡΠΏΠ°ΡΡ ΡΠΎΡΡ Π½Π΅ Π±ΠΎΠ»Π΅Π΅ ΡΠ΅ΠΌ ΠΏΠΎ 1 ΠΊΠ³ Π·Π° ΠΎΠ΄ΠΈΠ½ ΡΠ°Π·.
- Π‘ΠΎΠ²Π΅Ρ ΡΡΠΎΠ±Ρ ΡΡΠΊΠΎΠ½ΠΎΠΌΠΈΡΡ Π΄Π΅Π½ΡΠ³ΠΈ, ΠΊΡΠΏΠ»Π΅Π½Π½ΡΠΉ ΡΠΎΡΡ ΠΌΠΎΠΆΠ½ΠΎ ΠΏΠ΅ΡΠ΅ΠΌΠ΅ΡΠ°ΡΡ ΠΈΠ· ΡΠ°ΡΡΡΡΠ° ΠΎΠ΄ΠΈΠ½ ΠΊ ΠΎΠ΄Π½ΠΎΠΌΡ Ρ ΠΌΠ΅Π»ΠΊΠΈΠΌΠΈ ΡΡΡ ΠΈΠΌΠΈ ΠΎΠΏΠΈΠ»ΠΊΠ°ΠΌΠΈ.
- Π ΠΊΠ°ΡΠ΅ΡΡΠ²Π΅ Π²Π΅Π½ΡΠΈΠ»ΡΡΠΈΠΈ ΠΌΠΎΠΆΠ½ΠΎ ΠΎΠ±ΡΡΡΡΠΎΠΈΡΡ ΠΏΡΠΈΠ½ΡΠ΄ΠΈΡΠ΅Π»ΡΠ½ΡΡ Π²ΡΡΡΠΆΠΊΡ ΠΈΠ»ΠΈ Π²ΡΡΡΠΆΠ½ΡΡ ΡΡΡΠ±Ρ, ΠΊΠΎΡΠΎΡΠ°Ρ Π±ΡΠ΄Π΅Ρ ΠΏΠΎΠ΄ΡΠΌΠ°ΡΡΡΡ Π½Π°Π΄ ΠΊΡΡΡΠ΅ΠΉ Π΄ΠΎΠΌΠΈΠΊΠ° Π½Π΅ ΠΌΠ΅Π½Π΅Π΅ ΡΠ΅ΠΌ Π½Π° 1 ΠΌΠ΅ΡΡ.
ΠΠ±ΡΠ»ΡΠΆΠΈΠ²Π°Π½ΠΈΠ΅ ΡΠ°ΠΊΠΎΠ³ΠΎ ΠΊΠ»ΠΎΠ·Π΅ΡΠ° Π·Π°ΠΊΠ»ΡΡΠ°Π΅ΡΡΡ Π² Π²ΡΡΠ²ΠΎΠ±ΠΎΠΆΠ΄Π΅Π½ΠΈΠΈ Π²Π΅Π΄ΡΠ° ΠΎΡ ΡΠ΅ΠΊΠ°Π»ΡΠ½ΡΡ
ΠΌΠ°ΡΡ. ΠΠ»Ρ ΡΡΠΎΠ³ΠΎ Π½Π° ΠΎΠΏΡΠ΅Π΄Π΅Π»ΡΠ½Π½ΠΎΠΌ ΡΠ°ΡΡΡΠΎΡΠ½ΠΈΠΈ ΠΎΡ Π΄Π°ΡΠΈ ΠΏΠΎΡΡΠ΅Π±ΡΠ΅ΡΡΡ Π²ΡΡΡΡΡ ΠΊΠΎΠΌΠΏΠΎΡΡΠ½ΡΡ ΡΠΌΡ.
ΠΡΠ²ΠΎΠ΄
Π’Π΅ΠΏΠ΅ΡΡ, ΠΊΠΎΠ³Π΄Π° ΠΌΡ Π·Π½Π°Π΅ΠΌ, ΠΊΠ°ΠΊ ΠΏΠΎΡΡΡΠΎΠΈΡΡ Π±ΠΈΠΎΡΡΠ°Π»Π΅Ρ Π΄Π»Ρ Π΄Π°ΡΠΈ ΡΠ²ΠΎΠΈΠΌΠΈ ΡΡΠΊΠ°ΠΌΠΈ, ΠΈ ΠΊΠ°ΠΊΠΎΠ²Ρ ΠΎΡΠΎΠ±Π΅Π½Π½ΠΎΡΡΠΈ ΡΠΊΡΠΏΠ»ΡΠ°ΡΠ°ΡΠΈΠΈ ΡΡΠΈΡ ΡΠΎΠΎΡΡΠΆΠ΅Π½ΠΈΠΉ, ΠΌΠΎΠΆΠ½ΠΎ ΠΎΠ±Π΅ΡΠΏΠ΅ΡΠΈΡΡ Π½ΠΎΡΠΌΠ°Π»ΡΠ½ΡΡ ΡΠΊΡΠΏΠ»ΡΠ°ΡΠ°ΡΠΈΡ Π·Π°Π³ΠΎΡΠΎΠ΄Π½ΠΎΠ³ΠΎ Π΄ΠΎΠΌΠ° Π΄Π°ΠΆΠ΅ ΠΏΡΠΈ ΠΎΡΡΡΡΡΡΠ²ΠΈΠΈ ΠΏΠΎΠ΄ΠΊΠ»ΡΡΠ΅Π½ΠΈΡ ΠΊ ΡΠ΅Π½ΡΡΠ°Π»ΠΈΠ·ΠΎΠ²Π°Π½Π½ΠΎΠΉ ΠΊΠ°Π½Π°Π»ΠΈΠ·Π°ΡΠΈΠΈ.
ΠΡΡΠ°Π»ΠΈΡΡ ΠΊΠ°ΠΊΠΈΠ΅-Π»ΠΈΠ±ΠΎ Π²ΠΎΠΏΡΠΎΡΡ? ΠΠΎΠ»ΡΡΠ΅ ΠΏΠΎΠ»Π΅Π·Π½ΠΎΠΉ ΠΈΠ½ΡΠΎΡΠΌΠ°ΡΠΈΠΈ ΠΌΠΎΠΆΠ½ΠΎ ΠΎΠ±Π½Π°ΡΡΠΆΠΈΡΡ, ΠΏΠΎΡΠΌΠΎΡΡΠ΅Π² Π²ΠΈΠ΄Π΅ΠΎ Π² ΡΡΠΎΠΉ ΡΡΠ°ΡΡΠ΅.
ΠΠΎΠ±Π°Π²ΠΈΡΡ Π² ΠΈΠ·Π±ΡΠ°Π½Π½ΠΎΠ΅ ΠΠ΅ΡΡΠΈΡ Π΄Π»Ρ ΠΏΠ΅ΡΠ°ΡΠΈΠΡΠ»ΠΈΡΠ½Π°Ρ ΡΡΠ°ΡΡΡ 0
9dach.ru
ΠΠ°ΠΊ ΡΠ°Π±ΠΎΡΠ°Π΅Ρ Π±ΠΈΠΎΡΡΠ°Π»Π΅Ρ? | ΠΠ°ΡΠ°Π»ΠΎΠ³ ΡΠ΅Π½ e-Katalog
ΠΠΈΠΎΡΡΠ°Π»Π΅Ρ β ΡΡΠΎ ΠΎΡΠ»ΠΈΡΠ½ΡΠΉ Π°Π½Π°Π»ΠΎΠ³ Π΄ΠΎΠΌΠ°ΡΠ½Π΅ΠΌΡ ΡΡΠ°Π»Π΅ΡΡ Π² ΡΡΠ»ΠΎΠ²ΠΈΡΡ ΠΎΡΡΡΡΡΡΠ²ΠΈΡ Π½ΠΎΡΠΌΠ°Π»ΡΠ½ΠΎΠΉ ΠΊΠ°Π½Π°Π»ΠΈΠ·Π°ΡΠΈΠΎΠ½Π½ΠΎΠΉ ΡΠΈΡΡΠ΅ΠΌΡ. ΠΠ³ΠΎ ΠΈΡΠΏΠΎΠ»ΡΠ·ΡΡΡ Π½Π° Π΄Π°ΡΠ°Ρ , Π½Π° ΡΠ°Π±ΠΎΡΠ΅ΠΌ ΠΌΠ΅ΡΡΠ΅, Π½Π°ΠΏΡΠΈΠΌΠ΅Ρ, Π½Π° ΡΡΠ½ΠΊΠ΅, ΠΊΠΎΠ³Π΄Π° Π½Π΅Π»ΡΠ·Ρ Π½Π°Π΄ΠΎΠ»Π³ΠΎ ΠΎΡΠ»ΡΡΠ°ΡΡΡΡ, ΠΏΡΠΈ ΡΡΡΡΠΎΠΉΡΡΠ²Π΅ ΠΊΠ΅ΠΌΠΏΠΈΠ½Π³Π°, Π° ΡΠ°ΠΊΠΆΠ΅ Π΄Π»Ρ Π»ΡΠ΄Π΅ΠΉ Ρ ΠΎΠ³ΡΠ°Π½ΠΈΡΠ΅Π½Π½ΡΠΌΠΈ Π²ΠΎΠ·ΠΌΠΎΠΆΠ½ΠΎΡΡΡΠΌΠΈ ΠΏΠ΅ΡΠ΅Π΄Π²ΠΈΠΆΠ΅Π½ΠΈΡ. Π Π°Π·Π»ΠΈΡΠ°ΡΡ ΡΡΠΈ Π²ΠΈΠ΄Π° Π±ΠΈΠΎΡΡΠ°Π»Π΅ΡΠΎΠ²: ΠΆΠΈΠ΄ΠΊΠΎΡΡΠ½ΡΠΉ, ΡΠΎΡΡΡΠ½ΠΎΠΉ ΠΈ ΡΠ»Π΅ΠΊΡΡΠΈΡΠ΅ΡΠΊΠΈΠΉ. Π Π°ΡΡΠΌΠΎΡΡΠΈΠΌ ΠΏΡΠΈΠ½ΡΠΈΠΏ ΡΠ°Π±ΠΎΡΡ ΠΊΠ°ΠΆΠ΄ΠΎΠ³ΠΎ Π² ΠΎΡΠ΄Π΅Π»ΡΠ½ΠΎΡΡΠΈ.
ΠΡΠΈΠ½ΡΠΈΠΏ ΡΠ°Π±ΠΎΡΡ ΠΆΠΈΠ΄ΠΊΠΎΡΡΠ½ΠΎΠ³ΠΎ (Ρ ΠΈΠΌΠΈΡΠ΅ΡΠΊΠΎΠ³ΠΎ) Π±ΠΈΠΎΡΡΠ°Π»Π΅ΡΠ°
ΠΠΈΠ΄ΠΊΠΎΡΡΠ½ΡΠΉ Π±ΠΈΠΎΡΡΠ°Π»Π΅Ρ ΠΏΡΠ΅Π΄ΡΡΠ°Π²Π»ΡΠ΅Ρ ΡΠΎΠ±ΠΎΠΉ ΠΊΠΎΠ½ΡΡΡΡΠΊΡΠΈΡ, ΡΠΎΡΡΠΎΡΡΡΡ ΠΈΠ· Π΄Π²ΡΡ ΡΠ°ΡΡΠ΅ΠΉ: Π²Π΅ΡΡ Π½Π΅ΠΉ ΠΈ Π½ΠΈΠΆΠ½Π΅ΠΉ. ΠΠ΅ΡΡ Π½ΡΡ ΡΠ°ΡΡΡ ΡΠΎΡΡΠΎΠΈΡ ΠΈΠ· ΡΠ»ΠΈΠ²Π½ΠΎΠ³ΠΎ Π±Π°ΡΠΊΠ°, ΡΠΈΠ΄Π΅Π½ΡΡ, ΠΊΡΡΡΠΊΠΈ ΠΈ ΠΏΠΎΠΌΠΏΠΎΠ²ΠΎΠ³ΠΎ Π½Π°Π³Π½Π΅ΡΠ°ΡΠ΅Π»Ρ Π΄Π»Ρ ΡΠΌΡΠ²Π° ΠΎΡΡ ΠΎΠ΄ΠΎΠ². ΠΠΈΠΆΠ½ΡΡ ΡΠ°ΡΡΡ ΠΏΡΠ΅Π΄Π½Π°Π·Π½Π°ΡΠ΅Π½Π° Π΄Π»Ρ ΠΏΡΠΈΠ΅ΠΌΠ° ΡΡΠΈΡ ΡΠ°ΠΌΡΡ ΠΎΡΡ ΠΎΠ΄ΠΎΠ² ΠΆΠΈΠ·Π½Π΅Π΄Π΅ΡΡΠ΅Π»ΡΠ½ΠΎΡΡΠΈ ΠΈ ΠΈΡ Π΄Π°Π»ΡΠ½Π΅ΠΉΡΠ΅ΠΉ ΠΏΠ΅ΡΠ΅ΡΠ°Π±ΠΎΡΠΊΠΈ.
![]() |
| ΠΠΎΠ½ΡΡΡΡΠΊΡΠΈΡ ΠΆΠΈΠ΄ΠΊΠΎΡΡΠ½ΠΎΠ³ΠΎ Π±ΠΈΠΎΡΡΠ°Π»Π΅ΡΠ°. |
Π Π°Π±ΠΎΡΠ°Π΅Ρ ΡΡΠ°Π»Π΅Ρ ΡΠ»Π΅Π΄ΡΡΡΠΈΠΌ ΠΎΠ±ΡΠ°Π·ΠΎΠΌ:
- Π Π²Π΅ΡΡ Π½ΠΈΠΉ Π±Π°ΡΠΎΠΊ Π½Π°Π»ΠΈΠ²Π°Π΅ΡΡΡ Π²ΠΎΠ΄Π°, ΡΠΌΠ΅ΡΠ°Π½Π½Π°Ρ Ρ Ρ ΠΈΠΌΠΈΡΠ΅ΡΠΊΠΈΠΌ Π°ΡΠΎΠΌΠ°ΡΠΈΡΠ΅ΡΠΊΠΈΠΌ ΡΠ°ΡΡΠ²ΠΎΡΠΎΠΌ Π² ΠΏΡΠΎΠΏΠΎΡΡΠΈΠΈ 100 ΠΌΠ» Π½Π° 10 Π» Π²ΠΎΠ΄Ρ.
- ΠΠΈΠΆΠ½ΠΈΠΉ Π±Π°ΠΊ Π½Π° ΡΡΠ΅ΡΡ Π·Π°ΠΏΠΎΠ»Π½ΡΠ΅ΡΡΡ Π²ΠΎΠ΄ΠΎΠΉ, ΠΈ Π² Π½Π΅Π³ΠΎ Π΄ΠΎΠ±Π°Π²Π»ΡΠ΅ΡΡΡ Π²Π΅ΡΠ΅ΡΡΠ²ΠΎ Ρ Π±ΠΈΠΎΠ»ΠΎΠ³ΠΈΡΠ΅ΡΠΊΠΈ Π°ΠΊΡΠΈΠ²Π½ΡΠΌΠΈ Π±Π°ΠΊΡΠ΅ΡΠΈΡΠΌΠΈ.
- ΠΠΎΡΠ»Π΅ ΠΈΡΠΏΠΎΠ»ΡΠ·ΠΎΠ²Π°Π½ΠΈΡ ΡΡΠ°Π»Π΅ΡΠ° ΡΠ΅Π»ΠΎΠ²Π΅ΠΊ Π½Π°ΠΆΠΈΠΌΠ°Π΅Ρ Π½Π΅ΡΠΊΠΎΠ»ΡΠΊΠΎ ΡΠ°Π· Π½Π° Π³ΠΎΡΡΠΈΡΠΎΠ²Π°Π½Π½ΡΡ ΠΏΠΎΠΌΠΏΡ (Π² Π½Π΅ΠΊΠΎΡΠΎΡΡΡ ΠΌΠΎΠ΄Π΅Π»ΡΡ ΠΏΠΎΡΡΠ½Π΅Π²ΠΎΠΉ Π½Π°ΡΠΎΡ) ΠΈ ΡΠΌΡΠ²Π°Π΅Ρ ΠΎΡΡ ΠΎΠ΄Ρ ΠΆΠΈΠ·Π½Π΅Π΄Π΅ΡΡΠ΅Π»ΡΠ½ΠΎΡΡΠΈ. ΠΠ½ΠΈ ΠΏΠΎΠΏΠ°Π΄Π°ΡΡ Π² Π½ΠΈΠΆΠ½ΠΈΠΉ ΡΠ΅Π·Π΅ΡΠ²ΡΠ°Ρ (ΠΎΡΡΡΠΎΠΉΠ½ΠΈΠΊ), Π³Π΄Π΅ ΡΠΌΠ΅ΡΠΈΠ²Π°ΡΡΡΡ Ρ ΠΌΠΈΠΊΡΠΎΠΎΡΠ³Π°Π½ΠΈΠ·ΠΌΠ°ΠΌΠΈ, ΡΠ°ΡΡΠ΅ΠΏΠ»ΡΡΡΠΈΠΌΠΈ ΡΠ΅ΠΊΠ°Π»ΠΈΠΈ Π½Π° Π²ΠΎΠ΄Ρ ΠΈ ΡΠ²Π΅ΡΠ΄ΡΠ΅ ΡΠ°ΡΡΠΈΡΡ (ΠΈΠ»).
ΠΡΠΎΡΠ΅ΡΡ ΡΠ°ΡΡΠ΅ΠΏΠ»Π΅Π½ΠΈΡ ΠΏΡΠΎΠΈΡΡ ΠΎΠ΄ΠΈΡ Π² ΡΠ΅ΡΠ΅Π½ΠΈΠ΅ 24 ΡΠ°ΡΠΎΠ², ΠΏΠΎΡΡΠΎΠΌΡ ΡΠ°Π½ΡΡΠ΅ ΡΡΠΎΠ³ΠΎ Π²ΡΠ΅ΠΌΠ΅Π½ΠΈ Π½Π΅ ΡΠ΅ΠΊΠΎΠΌΠ΅Π½Π΄ΡΠ΅ΡΡΡ ΠΎΠΏΠΎΡΠΎΠΆΠ½ΡΡΡ ΠΎΡΡΡΠΎΠΉΠ½ΠΈΠΊ.
![]() |
| ΠΠ±ΡΠ»ΡΠΆΠΈΠ²Π°Π½ΠΈΠ΅ ΠΆΠΈΠ΄ΠΊΠΎΡΡΠ½ΠΎΠ³ΠΎ (Ρ ΠΈΠΌΠΈΡΠ΅ΡΠΊΠΎΠ³ΠΎ) Π±ΠΈΠΎΡΡΠ°Π»Π΅ΡΠ°. |
ΠΡΠ΅ΠΈΠΌΡΡΠ΅ΡΡΠ²ΠΎΠΌ ΠΆΠΈΠ΄ΠΊΠΎΡΡΠ½ΡΡ ΠΌΠΎΠ΄Π΅Π»Π΅ΠΉ ΡΠ²Π»ΡΠ΅ΡΡΡ ΠΏΠΎΠ»Π½ΠΎΠ΅ ΠΎΡΡΡΡΡΡΠ²ΠΈΠ΅ Π·Π°ΠΏΠ°Ρ Π° ΠΏΠΎΡΠ»Π΅ ΠΏΠ΅ΡΠ΅ΡΠ°Π±ΠΎΡΠΊΠΈ ΡΠ΅ΠΊΠ°Π»ΠΈΠΉ. Π’Π°ΠΊΠΆΠ΅ Π²ΠΎ Π²ΡΠ΅ΠΌΡ ΠΏΡΠΎΡΠ΅ΡΡΠ° ΡΠ°ΡΡΠ΅ΠΏΠ»Π΅Π½ΠΈΡ Π½Π΅ Π²ΡΠ΄Π΅Π»ΡΡΡΡΡ Π³Π°Π·Ρ, ΠΏΠΎΡΡΠΎΠΌΡ Π±ΠΈΠΎΡΡΠ°Π»Π΅ΡΡ Π½Π΅ Π½ΡΠΆΠ½Π° Π²Π΅Π½ΡΠΈΠ»ΡΡΠΈΡ. ΠΠ³ΡΠ΅Π³Π°Ρ ΠΌΠ°Π»ΡΠΉ ΠΏΠΎ Π²Π΅ΡΡ ΠΈ ΠΊΠΎΠΌΠΏΠ°ΠΊΡΠ½ΡΠΉ, ΠΏΠΎΡΡΠΎΠΌΡ Π΅Π³ΠΎ ΡΠ΄ΠΎΠ±Π½ΠΎ Π±ΡΠ°ΡΡ Ρ ΡΠΎΠ±ΠΎΠΉ Π½Π° ΠΎΡΠ΄ΡΡ . ΠΠ³ΠΎ Π»Π΅Π³ΠΊΠΎ ΠΎΠΏΠΎΡΠΎΠΆΠ½ΡΡΡ, ΠΏΡΠ΅Π΄Π²Π°ΡΠΈΡΠ΅Π»ΡΠ½ΠΎ Π·Π°Π΄Π²ΠΈΠ½ΡΠ² Π·Π°ΡΠ»ΠΎΠ½ΠΊΡ ΠΈ ΠΎΡΡΠΎΠ΅Π΄ΠΈΠ½ΠΈΠ² Π²Π΅ΡΡ Π½ΠΈΠΉ Π±Π°ΠΊ. ΠΠ΄Π½Π°ΠΊΠΎ Π΄Π΅Π»Π°ΡΡ ΡΡΠΎ Π½Π΅ΠΎΠ±Ρ ΠΎΠ΄ΠΈΠΌΠΎ ΡΠ°Π· Π² 2-3 Π΄Π½Ρ (Π΄Π»Ρ ΡΠ΅ΠΌΡΠΈ ΠΈΠ· 3-Ρ ΡΠ΅Π»ΠΎΠ²Π΅ΠΊ) ΠΈΠ»ΠΈ ΠΏΠΎ ΠΌΠ΅ΡΠ΅ Π·Π°ΠΏΠΎΠ»Π½ΡΠ΅ΠΌΠΎΡΡΠΈ (Π½Π΅ΠΊΠΎΡΠΎΡΡΠ΅ ΠΌΠΎΠ΄Π΅Π»ΠΈ ΠΎΡΠ½Π°ΡΠ΅Π½Ρ ΠΈΠ½Π΄ΠΈΠΊΠ°ΡΠΎΡΠΎΠΌ). Π Π°ΡΡ ΠΎΠ΄ Π΄Π΅Π·ΠΈΠ½ΡΠΈΡΠΈΡΡΡΡΠ΅Π³ΠΎ ΠΈ ΡΠ°ΡΡΠ²ΠΎΡΡΡΡΠ΅Π³ΠΎ Π²Π΅ΡΠ΅ΡΡΠ² Π΄ΠΎΠ²ΠΎΠ»ΡΠ½ΠΎ Π²Π΅Π»ΠΈΠΊ, ΠΏΠΎΡΡΠΎΠΌΡ Π² ΠΎΠ±ΡΠ»ΡΠΆΠΈΠ²Π°Π½ΠΈΠΈ ΠΆΠΈΠ΄ΠΊΠΎΡΡΠ½ΡΠΉ Π±ΠΈΠΎΡΡΠ°Π»Π΅Ρ ΠΎΠ±Ρ ΠΎΠ΄ΠΈΡΡΡ Π½Π΅Π΄Π΅ΡΠ΅Π²ΠΎ. ΠΠΎΠ΄Π΅Π»ΠΈ ΠΎΡΠ½Π°ΡΠ΅Π½Ρ Π»ΠΎΡΠΊΠΎΠΌ Π΄Π»Ρ Ρ ΡΠ°Π½Π΅Π½ΠΈΡ ΡΡΠ°Π»Π΅ΡΠ½ΠΎΠΉ Π±ΡΠΌΠ°Π³ΠΈ:
![]() |
| ΠΠΎΡΠΎΠΊ Π΄Π»Ρ Ρ ΡΠ°Π½Π΅Π½ΠΈΡ ΡΡΠ°Π»Π΅ΡΠ½ΠΎΠΉ Π±ΡΠΌΠ°Π³ΠΈ. |
ΠΠ°ΠΊ ΠΈ ΠΆΠΈΠ΄ΠΊΠΎΡΡΠ½ΡΠΉ, ΡΠΎΡΡΡΠ½ΠΎΠΉ Π±ΠΈΠΎΡΡΠ°Π»Π΅Ρ ΠΎΡΠ½Π°ΡΠ΅Π½ Π²Π΅ΡΡ Π½ΠΈΠΌ ΠΈ Π½ΠΈΠΆΠ½ΠΈΠΌ Π±Π°ΠΊΠΎΠΌ ΠΈ ΡΡΡΠ°Π³ΠΎΠΌ Π΄Π»Ρ ΡΠΌΡΠ²Π°. ΠΠ΄Π½Π°ΠΊΠΎ Π²ΠΌΠ΅ΡΡΠΎ ΠΆΠΈΠ΄ΠΊΠΎΠ³ΠΎ Ρ ΠΈΠΌΠΈΡΠ΅ΡΠΊΠΎΠ³ΠΎ Π²Π΅ΡΠ΅ΡΡΠ²Π° Π·Π΄Π΅ΡΡ ΠΈΡΠΏΠΎΠ»ΡΠ·ΡΠ΅ΡΡΡ ΡΡΡ ΠΎΠΉ ΡΠΎΡΡ.
| ΠΠΎΠ½ΡΡΡΡΠΊΡΠΈΠ²Π½ΡΠ΅ ΠΎΡΠΎΠ±Π΅Π½Π½ΠΎΡΡΠΈ ΡΠΎΡΡΡΠ½ΠΎΠ³ΠΎ Π±ΠΈΠΎΡΡΠ°Π»Π΅ΡΠ°. |
ΠΡΠΈΠ½ΡΠΈΠΏ ΡΠ°Π±ΠΎΡΡ Π±ΠΈΠΎΡΡΠ°Π»Π΅ΡΠ° ΡΠΎΡΡΡΠ½ΠΎΠ³ΠΎ ΡΠΈΠΏΠ° Π·Π°ΠΊΠ»ΡΡΠ°Π΅ΡΡΡ Π² ΡΠ»Π΅Π΄ΡΡΡΠ΅ΠΌ:
- Π Π²Π΅ΡΡ Π½ΠΈΠΉ Π±Π°ΡΠΎΠΊ Π΄ΠΎ Π²Π΅ΡΡ Π° Π·Π°ΡΡΠΏΠ°Π΅ΡΡΡ ΡΡΡ Π°Ρ ΡΠΎΡΡΡΠ½Π°Ρ ΡΠΌΠ΅ΡΡ, ΠΎΠ±ΠΎΠ³Π°ΡΠ΅Π½Π½Π°Ρ ΠΌΠΈΠΊΡΠΎΠΎΡΠ³Π°Π½ΠΈΠ·ΠΌΠ°ΠΌΠΈ, ΠΏΠ΅ΡΠ΅ΡΠ°Π±Π°ΡΡΠ²Π°ΡΡΠΈΠΌΠΈ ΡΠ΅ΠΊΠ°Π»ΠΈΠΈ.
- Π Π½ΠΈΠΆΠ½ΠΈΠΉ Π»ΠΎΡΠΎΠΊ ΡΠΎΡΡ Π·Π°ΡΡΠΏΠ°Π΅ΡΡΡ Π»ΠΈΡΡ Π½Π° ΡΠ΅ΡΠ²Π΅ΡΡΡ ΠΎΡ ΠΎΠ±ΡΠ΅Π³ΠΎ ΠΎΠ±ΡΠ΅ΠΌΠ°.
- ΠΠΎΡΠ»Π΅ ΠΈΡΠΏΠΎΠ»ΡΠ·ΠΎΠ²Π°Π½ΠΈΡ Π½Π΅ΠΎΠ±Ρ ΠΎΠ΄ΠΈΠΌΠΎ ΠΏΡΠΎΠ²Π΅ΡΠ½ΡΡΡ ΡΡΡΠΊΡ Π΄ΠΎΠ·Π°ΡΠΎΡΠ° (β4 Π½Π° ΡΠΈΡ.) ΠΏΠΎ ΡΠ°ΡΠΎΠ²ΠΎΠΉ ΡΡΡΠ΅Π»ΠΊΠ΅ ΡΠ°ΠΊ, ΡΡΠΎΠ±Ρ ΠΎΠ½Π° ΠΏΡΠΎΡΠ»Π° ΠΏΠΎΠ»Π½ΡΠΉ ΠΎΠ±ΠΎΡΠΎΡ. Π’ΠΎΡΡ Π°ΠΊΠΊΡΡΠ°ΡΠ½ΠΎ ΠΏΠΎΠΊΡΠΎΠ΅Ρ ΠΎΡΡ ΠΎΠ΄Ρ ΡΠ°ΠΊΠΈΠΌ ΠΎΠ±ΡΠ°Π·ΠΎΠΌ, ΡΡΠΎ ΠΎΠ½ΠΈ Π±ΡΠ΄ΡΡ Π½Π°Ρ ΠΎΠ΄ΠΈΡΡΡΡ ΡΠ΅ΡΠΊΠΎ ΠΌΠ΅ΠΆΠ΄Ρ Π΄Π²ΡΠΌΡ ΡΠ»ΠΎΡΠΌΠΈ ΡΠΌΠ΅ΡΠΈ.
ΠΡΠΈΠ±Π»ΠΈΠ·ΠΈΡΠ΅Π»ΡΠ½ΠΎ Π·Π° ΡΡΡΠΊΠΈ ΡΠΎΡΡ ΠΏΠ΅ΡΠ΅ΡΠ°Π±ΠΎΡΠ°Π΅Ρ ΠΎΡΡ ΠΎΠ΄Ρ Π² ΠΊΠΎΠΌΠΏΠΎΡΡ, ΠΈ Π΅Π³ΠΎ ΠΏΠΎΡΠΎΠΌ ΠΌΠΎΠΆΠ½ΠΎ ΠΈΡΠΏΠΎΠ»ΡΠ·ΠΎΠ²Π°ΡΡ Π² ΠΊΠ°ΡΠ΅ΡΡΠ²Π΅ ΡΠ΄ΠΎΠ±ΡΠ΅Π½ΠΈΡ. Π ΠΊΠΎΠ½ΡΡΡΡΠΊΡΠΈΠΈ Π΄Π°Π½Π½ΠΎΠ³ΠΎ ΡΠΈΠΏΠ° ΡΡΠ°Π»Π΅ΡΠΎΠ² ΡΠ°ΠΊΠΆΠ΅ ΠΏΡΠΈΡΡΡΡΡΠ²ΡΠ΅Ρ Π²Π΅Π½ΡΠΈΠ»ΡΡΠΈΠΎΠ½Π½Π°Ρ ΡΡΡΠ±Π°, ΡΠ°ΠΊ ΠΊΠ°ΠΊ ΠΏΡΠΈ ΠΊΠΎΠ½ΡΠ°ΠΊΡΠ΅ ΡΠΎΡΡΠ° Ρ ΠΎΡΡ ΠΎΠ΄Π°ΠΌΠΈ ΠΏΡΠΎΠΈΡΡ ΠΎΠ΄ΠΈΡ Π²ΡΠ΄Π΅Π»Π΅Π½ΠΈΠ΅ Π³Π°Π·ΠΎΠ². ΠΠΌΠ΅Π½Π½ΠΎ ΠΏΠΎΡΡΠΎΠΌΡ ΡΡΠ°Π»Π΅Ρ ΠΌΠΎΠΆΠ½ΠΎ ΠΈΡΠΏΠΎΠ»ΡΠ·ΠΎΠ²Π°ΡΡ ΡΡΠ°ΡΠΈΠΎΠ½Π°ΡΠ½ΠΎ ΡΠΎΠ»ΡΠΊΠΎ Π² ΠΌΠ΅ΡΡΠ°Ρ Ρ Π²ΠΎΠ·ΠΌΠΎΠΆΠ½ΠΎΡΡΡΡ Π²ΡΠ²ΠΎΠ΄Π° ΡΡΡΠ±Ρ, Π½Π°ΠΏΡΠΈΠΌΠ΅Ρ, Π½Π° Π΄Π°ΡΠ΅.
ΠΠ»Π°Π²Π½ΠΎΠ΅ ΠΏΡΠ΅ΠΈΠΌΡΡΠ΅ΡΡΠ²ΠΎ ΡΠ°ΠΊΠΎΠ³ΠΎ ΡΠΈΠΏΠ° ΡΡΠ°Π»Π΅ΡΠΎΠ² Π² Π΄Π΅ΡΠ΅Π²ΠΈΠ·Π½Π΅ ΡΠ°ΡΡ ΠΎΠ΄Π½ΠΎΠ³ΠΎ ΠΌΠ°ΡΠ΅ΡΠΈΠ°Π»Π° β ΡΠΎΡΡΠ°. ΠΠ΄Π½Π°ΠΊΠΎ ΠΏΡΠΈ Π²ΡΠ³ΡΡΠ·ΠΊΠ΅ Π»ΠΎΡΠΊΠ° Ρ ΠΏΠ΅ΡΠ΅ΡΠ°Π±ΠΎΡΠ°Π½Π½ΡΠΌΠΈ ΠΎΡΡ ΠΎΠ΄Π°ΠΌΠΈ Π½Π΅ΠΏΡΠΈΡΡΠ½ΠΎΠ³ΠΎ Π·Π°ΠΏΠ°Ρ Π° Π½Π΅ ΠΈΠ·Π±Π΅ΠΆΠ°ΡΡ.
ΠΡΠΈΠ½ΡΠΈΠΏ ΡΠ°Π±ΠΎΡΡ ΡΠ»Π΅ΠΊΡΡΠΈΡΠ΅ΡΠΊΠΎΠ³ΠΎ Π±ΠΈΠΎΡΡΠ°Π»Π΅ΡΠ°
ΠΠ»Π΅ΠΊΡΡΠΈΡΠ΅ΡΠΊΠΈΠ΅ Π°Π³ΡΠ΅Π³Π°ΡΡ Ρ Π²ΠΈΠ΄Ρ Π½Π°ΠΏΠΎΠΌΠΈΠ½Π°ΡΡ ΠΎΠ±ΡΡΠ½ΡΠΉ ΡΠ½ΠΈΡΠ°Π· Ρ ΠΊΡΡΡΠΊΠΎΠΉ ΠΈ ΡΠΈΠ΄Π΅Π½ΡΠ΅ΠΌ. ΠΠ΄Π½ΠΈ ΠΌΠΎΠ΄Π΅Π»ΠΈ ΠΎΡΠ½Π°ΡΠ΅Π½Ρ Π΄ΡΠ΅Π½Π°ΠΆΠ½ΠΎΠΉ ΡΠΈΡΡΠ΅ΠΌΠΎΠΉ Π΄Π»Ρ ΡΠ°Π·Π΄Π΅Π»ΡΠ½ΠΎΠ³ΠΎ ΡΠ±ΠΎΡΠ° ΠΆΠΈΠ΄ΠΊΠΈΡ ΠΈ ΡΠ²Π΅ΡΠ΄ΡΡ ΠΎΡΡ ΠΎΠ΄ΠΎΠ², Π² Π΄ΡΡΠ³ΠΈΡ ΠΆΠ΅ ΡΠ½ΠΈΡΡΠΎΠΆΠ΅Π½ΠΈΠ΅ ΡΠ΅ΠΊΠ°Π»ΠΈΠΉ ΠΏΡΠΎΠΈΠ·Π²ΠΎΠ΄ΠΈΡΡΡ Π² ΠΎΠ΄Π½ΠΎΠΉ ΠΎΠ±ΡΠ΅ΠΉ ΠΊΠ°ΠΌΠ΅ΡΠ΅.
![]() |
| ΠΡΠΈΠ½ΡΠΈΠΏ ΡΠ°Π±ΠΎΡΡ ΡΠ»Π΅ΠΊΡΡΠΈΡΠ΅ΡΠΊΠΎΠ³ΠΎ Π±ΠΈΠΎΡΡΠ°Π»Π΅ΡΠ°. |
Π Π°Π±ΠΎΡΠ°Π΅Ρ Π±ΠΈΠΎΡΡΠ°Π»Π΅Ρ ΡΠ»Π΅Π΄ΡΡΡΠΈΠΌ ΠΎΠ±ΡΠ°Π·ΠΎΠΌ:
- ΠΠ° Π·Π°ΠΊΡΡΡΡΡ Π·Π°ΡΠ»ΠΎΠ½ΠΊΡ Π½Π΅ΠΎΠ±Ρ ΠΎΠ΄ΠΈΠΌΠΎ ΠΏΠΎΠ»ΠΎΠΆΠΈΡΡ Π±ΡΠΌΠ°ΠΆΠ½ΡΠΉ ΠΊΠΎΠ½ΡΡΠΎΠ²ΠΈΠ΄Π½ΡΠΉ ΠΏΠ°ΠΊΠ΅Ρ (ΠΏΠΎΠΊΠ°Π·Π°Π½ΠΎ Π½Π° ΡΠΈΡΡΠ½ΠΊΠ΅ Π²ΡΡΠ΅).
- ΠΠΎΡΠ»Π΅ ΠΈΡΠΏΠΎΠ»ΡΠ·ΠΎΠ²Π°Π½ΠΈΡ ΠΏΠΎ Π½Π°Π·Π½Π°ΡΠ΅Π½ΠΈΡ Π½ΡΠΆΠ½ΠΎ Π½Π°ΠΆΠ°ΡΡ Π½Π° ΠΌΠ°Π»Π΅Π½ΡΠΊΡΡ ΠΏΠ΅Π΄Π°Π»Ρ ΠΏΠΎΠ΄ ΡΠ½ΠΈΡΠ°Π·ΠΎΠΌ, ΠΈ ΡΠΎΠ΄Π΅ΡΠΆΠΈΠΌΠΎΠ΅ ΡΠΏΠ°Π΄Π΅Ρ Π² Π½ΠΈΠΆΠ½ΡΡ ΠΊΠ°ΠΌΠ΅ΡΡ.
- Π ΠΊΠ°ΠΌΠ΅ΡΠ΅ ΡΠ°Π·ΠΌΠ΅ΡΠ΅Π½Ρ ΡΡΠ½Ρ, ΠΊΠΎΡΠΎΡΡΠ΅ Π²ΡΡΡΡΠΈΠ²Π°ΡΡ ΡΠΎΠ΄Π΅ΡΠΆΠΈΠΌΠΎΠ΅ ΠΈ ΠΏΡΠ΅Π²ΡΠ°ΡΠ°ΡΡ Π΅Π³ΠΎ Π² ΠΏΠ΅ΠΏΠ΅Π». ΠΡΠΎΡΠ΅ΡΡ Β«ΠΊΡΠ΅ΠΌΠ°ΡΠΈΠΈΒ» ΠΏΡΠΎΠΈΡΡ ΠΎΠ΄ΠΈΡ Π² ΡΠ΅ΡΠ΅Π½ΠΈΠΈ ΠΏΠΎΠ»ΡΡΠΎΡΠ° ΡΠ°ΡΠΎΠ². Π’Π°ΠΊΠΈΠΌ ΠΎΠ±ΡΠ°Π·ΠΎΠΌ, ΠΎΡΡ ΠΎΠ΄Ρ ΠΏΡΠ΅Π²ΡΠ°ΡΠ°ΡΡΡΡ Π² ΡΠ΄ΠΎΠ±ΡΠ΅Π½ΠΈΠ΅.
Π’ΡΠ°Π»Π΅Ρ ΠΎΡΠ½Π°ΡΠ΅Π½ Π²Π΅Π½ΡΠΈΠ»ΡΡΠΈΠΎΠ½Π½ΠΎΠΉ ΡΡΡΠ±ΠΎΠΉ Π΄Π»Ρ ΠΎΡΠ²ΠΎΠ΄Π° Π½Π΅ΠΏΡΠΈΡΡΠ½ΡΡ Π·Π°ΠΏΠ°Ρ ΠΎΠ², ΠΏΠΎΡΡΠΎΠΌΡ ΠΈΡΠΏΠΎΠ»ΡΠ·ΠΎΠ²Π°ΡΡ Π΅Π³ΠΎ ΠΌΠΎΠΆΠ½ΠΎ ΡΠΎΠ»ΡΠΊΠΎ ΡΡΠ°ΡΠΈΠΎΠ½Π°ΡΠ½ΠΎ Ρ ΠΏΡΠ΅Π΄Π²Π°ΡΠΈΡΠ΅Π»ΡΠ½ΠΎΠΉ ΡΡΡΠ°Π½ΠΎΠ²ΠΊΠΎΠΉ. ΠΠΎΠ»ΡΠ·ΠΎΠ²Π°ΡΠ΅Π»ΠΈ ΠΎΡΠΌΠ΅ΡΠ°ΡΡ, ΡΡΠΎ ΠΏΡΠΈ ΠΈΡΠΏΠΎΠ»ΡΠ·ΠΎΠ²Π°Π½ΠΈΠΈ Π°Π³ΡΠ΅Π³Π°ΡΠ° ΡΠ΅ΠΌΡΠ΅ΠΉ ΠΈΠ· ΡΡΠ΅Ρ ΡΠ΅Π»ΠΎΠ²Π΅ΠΊ Π²ΡΠ³ΡΡΠ·ΠΊΡ Π»ΠΎΡΠΊΠ° Π½Π΅ΠΎΠ±Ρ ΠΎΠ΄ΠΈΠΌΠΎ Π΄Π΅Π»Π°ΡΡ ΡΠ°Π· Π² ΠΌΠ΅ΡΡΡ. ΠΠ΅ΠΊΠΎΡΠΎΡΡΠ΅ ΠΌΠΎΠ΄Π΅Π»ΠΈ Π΄ΠΎΠΏΠΎΠ»Π½ΠΈΡΠ΅Π»ΡΠ½ΠΎ ΠΎΡΠ½Π°ΡΠ°ΡΡΡΡ Π°ΠΊΠΊΡΠΌΡΠ»ΡΡΠΎΡΠ°ΠΌΠΈ, ΠΏΠΎΡΡΠΎΠΌΡ ΠΏΡΠΈ ΠΎΡΠΊΠ»ΡΡΠ΅Π½ΠΈΠΈ ΡΠ²Π΅ΡΠ° ΡΡΠ°Π»Π΅Ρ ΠΏΡΠΎΠ΄ΠΎΠ»ΠΆΠ°Π΅Ρ ΡΠ°Π±ΠΎΡΠ°ΡΡ.
Π§ΠΈΡΠ°ΠΉΡΠ΅ ΡΠ°ΠΊΠΆΠ΅:
ΠΠ°ΠΏΠ°Ρ Π²ΠΈΡΠ°ΠΌΠΈΠ½ΠΎΠ² Π½Π° Π·ΠΈΠΌΡ: ΠΏΡΠΎΠΈΠ·Π²ΠΎΠ΄ΠΈΡΠ΅Π»ΡΠ½ΡΠ΅ ΡΠ΅Π½ΡΡΠΎΠ±Π΅ΠΆΠ½ΡΠ΅ ΡΠΎΠΊΠΎΠ²ΡΠΆΠΈΠΌΠ°Π»ΠΊΠΈΠΠ°ΠΏΠ°ΡΠ°Π΅ΠΌΡΡ Π²ΠΈΡΠ°ΠΌΠΈΠ½Π°ΠΌΠΈ Π²ΠΏΡΠΎΠΊ, ΠΏΠ΅ΡΠ΅ΡΠ°Π±Π°ΡΡΠ²Π°Ρ ΡΡΠΎΠΆΠ°ΠΉ ΠΎΠ²ΠΎΡΠ΅ΠΉ ΠΈ ΡΡΡΠΊΡΠΎΠ² Π²ΠΎ Π²ΠΊΡΡΠ½ΡΠΉ ΠΈ ΠΏΠΎΠ»Π΅Π·Π½ΡΠΉ ΡΠΎΠΊ. ΠΠΎΡΡ Π½Π° ΠΏΡΠΈΡΠΎΠ΄Π΅. ΠΠ°ΠΊ ΡΠΎΠ±ΡΠ°ΡΡ ΠΏΠ°Π»Π°ΡΠΊΡ?
ΠΠΎΠ»Π΅Π·Π½ΡΠ΅ ΡΠΎΠ²Π΅ΡΡ ΠΏΠΎ ΡΡΡΠ°Π½ΠΎΠ²ΠΊΠ΅ ΡΠΏΠ°Π»ΡΠ½ΠΎΠ³ΠΎ ΠΌΠ΅ΡΡΠ° Π½Π° ΠΏΡΠΈΡΠΎΠ΄Π΅. ΠΠ»Ρ ΠΈΡΡΠΈΠ½Π½ΡΡ ΡΠ΅Π½ΠΈΡΠ΅Π»Π΅ΠΉ ΡΠ°Ρ: Π’ΠΠ-5 ΡΠ°ΠΉΠ½ΠΈΠΊΠΎΠ² Ρ ΡΠ΅ΡΠΌΠΎΡΠ΅Π³ΡΠ»ΡΡΠΎΡΠΎΠΌ
ΠΡΡΡΠΈΠ΅ ΡΠ»Π΅ΠΊΡΡΠΎΡΠ°ΠΉΠ½ΠΈΠΊΠΈ Ρ ΡΡΠ½ΠΊΡΠΈΠ΅ΠΉ Π²ΡΠ±ΠΎΡΠ° ΠΈ ΠΏΠΎΠ΄Π΄Π΅ΡΠΆΠ°Π½ΠΈΡ Π·Π°Π΄Π°Π½Π½ΠΎΠΉ ΡΠ΅ΠΌΠΏΠ΅ΡΠ°ΡΡΡΡ Π²ΠΎΠ΄Ρ. ΠΠΈΡ Π³Π»Π°Π·Π°ΠΌΠΈ ΠΏΡΠΈΡ: ΠΏΡΡΠ΅ΡΠΊΠ° ΠΊΠ²Π°Π΄ΡΠΎΠΊΠΎΠΏΡΠ΅ΡΠΎΠ² Π΄Π»Ρ Π²ΠΈΠ΄Π΅ΠΎΡΡΠ΅ΠΌΠΊΠΈ Ρ Π²ΠΎΠ·Π΄ΡΡ Π°
ΠΠ΅ΠΎΠ±ΡΡΠ½ΡΠ΅ ΡΠ°ΠΊΡΡΡΡ ΡΡΠ΅ΠΌΠΊΠΈ ΠΈ Π²ΠΎΠ·ΠΌΠΎΠΆΠ½ΠΎΡΡΡ Π²Π·Π³Π»ΡΠ½ΡΡΡ Π½Π° ΠΎΠΊΡΡΠΆΠ΅Π½ΠΈΠ΅ ΡΠ²ΡΡΠΎΠΊΠ°. ΠΡΠ±ΠΎΠ΅ Π±Π»ΡΠ΄ΠΎ Π΄Π»Ρ Π±ΠΎΠ»ΡΡΠΎΠΉ ΡΠ΅ΠΌΡΠΈ: Π’ΠΠ-5 ΠΌΡΠ»ΡΡΠΈΠ²Π°ΡΠΎΠΊ Ρ Π±ΠΎΠ»ΡΡΠΈΠΌ ΠΎΠ±ΡΠ΅ΠΌΠΎΠΌ ΡΠ°ΡΠΈ
Π Π½Π΅ΠΉ ΠΌΠΎΠΆΠ½ΠΎ Π³ΠΎΡΠΎΠ²ΠΈΡΡ Π½Π΅Π±ΠΎΠ»ΡΡΠΎΠ΅ ΠΊΠΎΠ»ΠΈΡΠ΅ΡΡΠ²ΠΎ ΠΏΠΈΡΠΈ Π½Π° ΠΊΠ°ΠΆΠ΄ΡΠΉ Π΄Π΅Π½Ρ ΠΈ ΠΎΠ±Π΅ΡΠΏΠ΅ΡΠΈΡΡ ΠΏΡΠ°Π·Π΄Π½ΠΈΡΠ½ΡΠΉ ΡΡΠΎΠ» ΠΊ ΠΏΡΠΈΡ ΠΎΠ΄Ρ Π³ΠΎΡΡΠ΅ΠΉ.
ek.ua




