Установка полков в бане своими руками – пошаговое руководство о том, как своими руками сделать из дерева угловой, откидной или съемный, особенности устройства конструкций и как их крепить
Полок в баню — чертежи и описание процесса сборки!
Финская сауна имеет высокую температуру — от 90° С до 110° С, влажность 10-25%. Любители русской бани предпочитают более низкую температуру от 40° С до 70° С, в сочетании с высокой влажностью 60-80%.

Полки в сауне
Русская баня отличается от финской сауны не только показателями температуры, влажности в парной. Принципиальная разница между ними — различная скорость движения нагретого воздушного потока, использование берёзовых и дубовых веников в русской парилке.

Как сделать полки для бани своими руками
Похлопывая веником парильщика, лежащего на полке русской парной — банщик изредка добавляет температуру, поливая водой раскаленные камни каменки. Обжигающий влажный пар, вырываясь из приоткрытой дверцы каменки, быстро поднимается к потолку и медленно остывая, оседает — постепенно наполняет парную.
Высокое содержание влаги замедляет процесс движения воздушных масс в русской бане, что обуславливает нюансы в устройстве полков:
- требуются большие расстояния между досками лежанок;
- делается наклон сидений для слива воды;
- для облегчения уборки пола бани боковые стенки не зашивают либо делают их съёмными;
- нужен широкий отступ лавки от стены парной.
Различия в основных размерах, высоте и устройстве полков добавляют также особенности самого процесса парения.
ВАЖНО: в русской парилке необходимо соблюсти соотношение высоты устройства полка и расстояния до потолка.
Высота верхнего лежака делается так, чтобы между макушкой головы сидящего на верхней лавке человека и потолком было расстояние в один метр — для нормального размаха руки банщика с веником, набирающим температуру в облаке пара.

Чертеж банных полоков для русской парной
Регламентируется длина полок, которая должна быть не менее 220 см, так как желательно принимать банную процедуру лёжа, подставив тело под массирующие удары, поглаживания березовым веником.
Традиционная русская баня имеет всего одну или две ступени полков, расположенных вдоль одной из стен парной, на широкую (не менее 90 см) верхнюю лавку ложится парильщик.
ВАЖНО: лавки финской парной обязательно оборудуются спинками из досок, чтобы сидящий человек не обжигал тело о горячую обшивку стен.
В финской сауне люди чаще сидят, чем лежат на лавках, поэтому расстояние до потолка меньше, длина лежаков не столь принципиальна.

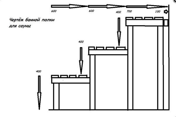
Чертеж банных полок для сауны
Часто можно увидеть в сауне на стенах специальные упоры для ног, обычно поднимаемых выше уровня тела лежащего на верхней лавке человека.
Так как воздух в сауне должен прогреваться быстро, размеры парилки обычно небольшие, соответственно банные полки занимают весь свободный периметр стен, кроме стены с дверью и каменкой.
-

- Распространенный проект парной
-

- Проектирование бани и полоков
- Проектирование бани
Содержание материала
Типы банных полков

Пример простого банного полока
Банные полки могут быть нескольких видов:
- купе — когда лежанки в небольшой сауне размещаются один над другим;
- сложные банные полки — с выдвижной нижней полкой либо откидной верхней полкой;
- в форме буквы «Г», когда банные сиденья размещены на двух соседних стенах;
- ступенчатые полки для просторных парилок имеют две либо три ступени, на которых можно удобно расположиться нескольким любителям пара.
Породы деревьев, применяемые для изготовления стоек, банных лежаков, спинок

Банные полоки

Таблица характеристик древесины
Дерево играет важную роль в интерьере и устройстве бани. Различные сорта дерева совершенно по-разному ведут себя при высокой температуре и повышенной влажности окружающего воздуха. Поэтому следует внимательно подходить к выбору материала для изготовления полков.
| Древесина | Фото | Описание |
|---|---|---|
| Сосна и ель | ![]() Древесина ели ![]() Древесина сосна | Сосна и ель вполне могут быть использованы для устройства банных лежаков, при условии отличного качества предварительно просушенной доски. Сауны в самой Финляндии делают именно из этих пород деревьев, смольные выделения при высокой температуре не проступают, если доска хорошо просушена и обработана. ВАЖНО: единственное условие — отсутствие сучков либо трещин на поверхности досок, хорошее качество сушки материала, тщательно обработанная поверхность лежаков. |
| Осина | Древесина осины | Осина — применяется для изготовления банных полков, так как не выделяет смолы при нагревании. Имеет особую славу в народе, как дерево, успешно противостоящее нечистой силе, плохой энергии. Высокая стоимость материала не позволяет изготавливать и применять достаточно широко осиновые банные сиденья, лежанки, спинки. |
| Липа | Древесина липы | Липа — отличный материал для изготовления банных лежаков. Структура дерева плотная, имеет достаточную твёрдость, низкую теплопроводность. Липа хорошо поддаётся технической обработке, детали конструкции полков и спинок из неё очень долговечны. |
| Абаш (абачи) | ![]() Термоабаш — термированная древесина абаши ![]() Текстура полок Абаш | Абаш — самый дорогой и красивый материал для изготовления банных лежаков. Африканский дуб не боится высоких температур сауны. Лежаки из него не обжигают тело человека, поскольку материал имеет низкую теплопроводность, очень медленно нагревается. Удачная рекламная кампания сделала абаш самым покупаемым деревом для изготовления банных полков и саун в домах обеспеченных нуворишей. |

Сочетание нескольких пород дерева одновременно
Этапы изготовления банного полка

Банный полок можно изготовить своими руками
Банные полки можно изготовить самостоятельно, если придерживаться нехитрой последовательности монтажа брусов и досок, тщательно обрабатывать материал, надёжно крепить между собой детали конструкции.
ВАЖНО: верхние доски лежанки должны крепиться к несущим брускам при помощи дубовых клиньев, забиваемых в предварительно просверленные в деталях отверстия. Применение металлических гвоздей или шурупов для сборки лежака недопустимо. Раскалённые стальные шляпки могут быть причиной серьёзных ожогов поверхности тела.
Схема монтажа полок
1. Установка стоек
Стойки, на которых располагается банный лежак, должны обеспечивать устойчивость и прочность всей конструкции. Обычно для изготовления самого верхнего ряда лежанок применяют от 4 до 6 стоек длиной 1,05-1,15 м, сечением 50х100 мм или 100х100 мм каждая, в зависимости от длины полка.

Начало монтажа полок

Опорный брус для полок

Крепление опорных брусков

Каркас банных полок (один из вариантов)
Между собой стойки соединяют по периметру прямоугольными брусками 50Х100 мм, на которые впоследствии крепят несущие бруски и доски лежанки. К стене стойки крепятся длинными (20 см) дюбель-шурупами.
Брус для стоек верхнего сиденья можно применять не шлифованный, без трещин, сколов. Между стеной и примыкающей стойкой делают зазор 0,1 м — вставляя отрезки толстой доски, для лучшей циркуляции горячего воздуха, улучшения вентиляции полка.

Изготовление каркаса полков бани
2. Сборка несущей конструкции полка
Несущая конструкция верхнего полка должна выдерживать вес досок лежанки плюс массу находящихся сверху людей, поэтому лучше применять несущий брус сечением 50х100 мм или 50х120 мм.

Каркас банного полока
Верхний ряд несущего бруса сечением 50х50 мм крепится поперёк длины верхней плоскости полка через каждые 0,5-0,6 м, в зависимости от толщины верхних досок. Чем тоньше доска, тем чаще должны быть расположены несущие бруски, чтобы доски не провисали под тяжестью сидящих на них людей.
ВАЖНО: бруски нужно крепить с небольшим уклоном (1-2°) от стены в сторону парной, для лучшего стекания влаги с деревянной поверхности банного лежака.

Верхняя полка обшита доской
Ширина верхнего полка делается в идеале 0,9 метра для удобства парильщиков, но допускается уменьшение размера до 0,6 м.
Крепление может выполняться как при помощи гвоздей, так и при помощи саморезов.
3. Устройство верхней лежанки
Гладко оструганные и отшлифованные доски лежанки, толщиной от 3 см до 6 см и шириной от 0,1 м до 0,24 м каждая, укладываются на несущие бруски с интервалом 1-2 см, обеспечивающим свободное прохождение горячего воздуха.
Крепление досок к несущей конструкции нужно производить деревянными (дубовыми) клинышками в предварительно просверленные отверстия.
Более эстетично смотрятся доски, расположенные в длину лежанки, но можно крепить доски верхнего ряда поперёк лежака. В таком случае экономится материал, так как не нужно пробивать несущие бруски.
- Вариант обшивки банных полок
-

- Поперечное крепление обшивки лежанок
- Вариант продольного крепления досок обшивки банных лежаков
ВАЖНО: нельзя крепить доски лежанки гвоздями или шурупами, оставляя шляпки на поверхности лавок. Только утопив металлические части крепежа на 5-10 мм вглубь доски, можно добиться безопасности парильщика от возможного получения ожогов.
4. Устройство нижнего полка
При высоте верхнего банного сиденья 1,1 метра над поверхностью пола, для удобства работы банщика с веником, нижнюю лавку опускают на 0,7 м.
Нижний полок должна делаться на расстоянии не менее 0,3 метра от пола — если он используется не только в качестве ступеньки для банщика, но также в качестве полноценной банной лавки.

На фото полок в три яруса, каждый из которых пригоден для положения лежа
Чаще всего в русской бане нижняя ступенька делается в виде приставной лавки на ножках, убираемой на время уборки помещения парной. Но вполне допускается устройство неподвижного нижнего полка.
Для этого необходимо прикрепить к стойкам верхнего лежака на высоте 0,4 м от поверхности пола четыре несущих деревянных бруса сечением 50х100 мм, сделав из них своеобразный прямоугольник — каркас нижней лавки. Это делается так, чтобы одна частью несущего прямоугольника выступала за поверхность верхнего полка на длину 0,4-0,6 м.
К основным стойкам несущий каркас нижней ступени можно крепить гвоздями длиной 12 см или саморезами. В углу и посередине каркаса нижней лавки крепятся саморезами либо гвоздями опираемые на пол четыре стойки, сечением 50х100 мм или 100х100 мм.
Через каждые 0,5 м набиваются несущие бруски сечением 50х50 мм. На них крепятся доски нижнего полка при помощи деревянных клинышков, забиваемых в предварительно просверленные отверстия.

Как сделать полок в бане — типы настилов для полоков
ВАЖНО: поверхность лавок тщательно шлифуется. Доски не должны иметь острых углов, сколов, трещин.
Доски должны быть не слишком широкие, оптимальное соотношение ширины к толщине равно четырём. Доска — пятидесятка должна быть в идеале шириной 0,2 метра.
Видео — Сборка банного полока своими руками
5. Обработка банных полков
После окончания строительства банных лежанок их нужно пропитать защитным раствором, так как негативное воздействие воды, влажности воздуха, высокой температуры разрушают структуру дерева достаточно быстро.

Обработка банных полков
Для защиты деревянных поверхностей в парной необходимо применять экологически чистые продукты, иначе вы рискуете своим здоровьем. Деревянные лежанки финских саун издавна пропитывали обычным льняным маслом, прекрасно защищающим от плесени и грибка. Полки русских бань пропитывали восковым раствором, включающим в свой состав очищенный скипидар и пчелиный воск.
В идеале нужно наносить восковый раствор или льняное масло в два слоя. Время высыхания одного слоя около 8 часов.
Предварительной подготовки и обработки банные лежаки не требуют, при условии, что доски были качественно отшлифованы ранее. После нанесения защитной пропитки все деревянные поверхности приобретают водоотталкивающие свойства и характерный матовый блеск.

Пропитка призвана защитить древесину от гниения

На фото слева защищенная древесина, а справа без защиты
Правильное устройство каменки, рациональное использование пространства парной, уютное оформление комнаты отдыха и тщательная сборка лежанок парной принесет здоровье, радость и удовлетворение от банных процедур.

Простые полки в два яруса для русской парной
Видео — Процесс изготовления банного полока
Видео — Полок для парной своими руками
Видео — Сауна с раздвижными полками
banya-expert.com
пошаговое руководство о том, как своими руками сделать из дерева угловой, откидной или съемный, особенности устройства конструкций и как их крепить
Главная страница » Мебель для бани » Полки » Делаем полки в бане своими руками: пошаговое руководство и видеоинструкции
А вот и мы дозрели до того, чтобы написать для тех, кто хочет сделать полки в бане своими руками, пошаговое руководство. Это не так просто, ведь приходится учитывать разнообразный опыт, зачастую противоречивый в конкретных пунктах. Мы эти пункты выделим особо, чтобы вы получили возможность самостоятельного принятия решения при изготовлении полка.
Кстати, часть материала повторяться не будет, так как вы можете найти ее в развернутом виде на других страницах нашего сайта (переходите по ссылкам в тексте). Это позволит больше полезного рассказать в пошаговом руководстве.
Устройство, изготовление и оборудование
Для начала, все-таки, немного теории и даже лингвистики. Не факт, что вы прочтете все материалы о полках, поэтому повторим:
НА ЗАМЕТКУ! Правильнее всего говорить: в единственном числе «пОлок», а не «полка» и не «полог» (полка у нас в комнате, а полог над кроватью), во множественном числе — «полкИ» (пОлки в шкафу, полкИ — в парилке, да в армии).

Устройство полка можно описать как деревянный помост, лежак или даже условный насест, состоящий из одного или нескольких ярусов, которые, в свою очередь, могут состоять из отдельных частей, а могут образовывать монолитную стационарную конструкцию.
Более того, частями могут быть как отдельные ярусы, так и их составляющие. В последнем случае речь идет о цельном каркасе и съемных настилах.
Простейший полок представляет собой высокий лежак с приступкой для удобства взбирания на него. Отличное решение для любителей русской бани, к которым захаживают профессиональные парильщики.
Но распространенность сауны в России привела к тому, что полки в бане, в парилке стали делать многоярусными, под потолок и зашивать наглухо вертикальные части «ступенек». Все это правильно и уместно, но только для финской бани.
Здесь не место и не время обсуждать выигрышность (или проигрышность) варианта бани, в которой владелец пытается совместить два режима, для этого можно почитать что-нибудь из раздела о печках, где много говорилось о режимах и их совместимости. Но, как факт, многие делают полки в бане своими руками сразу для того и другого типа.
ВАЖНО! В русской бане предпочтительное положение — лежа, но сидеть тоже можно. В сауне предпочтительнее сидеть повыше и обильно потеть, но и лежать не запрещено.
Само собой, разница между лежаком и сиденьем — только в ширине. На узком полоке не полежишь, на слишком широком — неудобно опираться на спинку, она далековато оказывается.

Устройство полков в бане: на таком удобнее лежать

А на таких сидеть
Что касается того, как построить полки в бане своими руками, об этом подробно чуть позже, но уже сейчас можно сказать, что работа не слишком сложная, особенно, если не заморачиваться, сажать все на саморезы шуруповертом и не слишком переживать о будущем, в котором металлические соединения в дереве обязательно расшатаются.
КСТАТИ! Вот важный момент самоопределения — крепить к стене или делать отдельную конструкцию? Цена вопроса — гниль, которая образуется в плохо просыхающем стыке со стеной.
Размеры
Несмотря на то, что мы уже публиковали детальное рассмотрение вопроса о как сделать правильно полок в бане, подобрав оптимальный размер, вкратце пройдемся по самым существенным моментам.
Итак, размеры полока по ширине и высоте определяются исключительно типом его использования.
Если он предназначен исключительно для сидения, то вам хватит ширины от 45 до 60 см, с высотой 35 до 50 см.
Если на полоке предполагается париться лежа, минимальная ширина составит 60 см, а максимальной просто нет — лежак может быть и метр, и два в ширину. Лучше всего — отмерить желательную ширину подручного материала и полежать на этих досочках или чем-то аналогичном, примеряясь к удобству.
Обычный русский полок — 70-90 см в ширину. По высоте — 80-110 см. А можно мерить по костяшке большого пальца или первой фаланге среднего (от них до пола или плоскости нижнего яруса, на котором будет стоять парующий).

Из чего сделать лучше: выбираем материал

Из чего делать лучше? Понятно, что из дерева, которому, собственно, и нет никакой альтернативы, но какие породы подходят больше всего? Мы уже писали об этом, поэтому сейчас очень кратко.
Хвойные породы категорически не стоит использовать в сауне, где высокие температуры, в русской бане — по желанию, в смешанных режимах тоже не стоит вовсе.
Дешевая осина и липа — достойные конкуренты дорогого абаша, потому что кроме низкой теплопроводности он не отличается высокой стойкостью к действию воды, грибов и пр.
Можете поэкспериментировать с другими лиственными, принимая в расчет их теплопроводность (чем выше плотность, тем выше теплопроводность — самый простой способ определиться «на глазок»), стойкость к гниению и другие характеристики. Например, дуб плотный, но в воде не портится. Как и лиственница, которая, кстати, не выделяет смолу.
Как самостоятельно и правильно сделать полки в парилке
Ну вот, мы и подобрались к инструкциям. Предлагаем вашему вниманию три варианта как сделать полки в бане в парилке своими руками — угловой, откидной и съемный.
Угловой: пошаговое руководство
Итак, угловой полок в баню своими руками. Это значит, что вы протянете его вдоль двух смежных стен. На какую именно длину — решать вам по габаритам парилки. Как вы понимаете, мы не можем примериться к вашей конкретике, поэтому дадим один пример того, как делать полки в бане, а вы будете действовать по аналогии.
Первым делом нужно будет построить чертеж. Для этого измеряем помещение и определяемся с размерами и количеством ярусов будущего полока.
В нашем случае полок угловой, трехярусный, с габаритами 280 на 220 см. По короткой стороне у него три яруса, по более длинной — два. Первые два яруса — это и есть сама Г-образная конструкция, цельная, которую предстоит сделать. Любители русской бани могут не заморачиваться насчет третьего яруса — он нужен только в сауне.

На рисунке показан план с видом сверху и с чертежами опор по одной и по другой стороне Г-образной конструкции. Ваша задача — сделать чертеж самостоятельно под габариты своей парной. Ориентируйтесь на следующее:
ВНИМАНИЕ! Соединения паз-шип придают жесткости. Достаточно сделать вырез в брусе в 20 мм глубиной, чтобы соединение стало намного прочнее. После шип-паз дополнительно крепится на саморезы.
Глубина пазов везде 20 мм. Использованная доска 75 на 50 мм, обработанная, то есть ее линейные размеры могли уменьшиться в процессе выравнивания.
Обратите внимание на то, что конструкция делается автономной от стены. При установке в парной не нужно делать крепление полка в бане на стене, они будут стоять автономно, лишь точечно скрепляясь со стеной уголками с зазором в 1 см.
Первый этап после вычерчивания чертежа — это расчет количества материала. Исходите из того, что больших опор будет 5, маленьких — 4. Либо же исходите из соотношения одна опора на полметра.
Следующий этап — подготовка пиломатериала. На каркас можно брать даже дешевую ель или сосну. Для настила лучше липу.
ВАЖНО! Распил пиломатериалов лучше производить следующим образом: сначала самые длинные детали, потом те, что покороче. А брать, наоборот, сначала из самых коротких имеющихся кусков. Можно заморочиться и узнать в магазине, какой длины продается брус, чтобы рассчитать с наименьшим выходом отходов.
Когда детали готовы, в них делаются пазы. Для этого стоит изготовить лекало и пройтись по нему фрезером в нужных местах. В идеале вставленная деталь должна входить довольно легко, но сидеть плотно, чтобы соединение можно было поднять рукой, и оно не распалось.
СОВЕТ! Различайте детали, где дефекты допустимы и где недопустимы. Понятно, что первое относится к невидимым снаружи деталям, а второе — к сиденьям, настилу, облицовке.
Лучше брать оцинкованные, не ржавеющие
Вставленные в паз бруски крепятся с внешней стороны саморезами — прямо по соединению. Крепление остальных деталей полков в бане делается встык и тоже на саморезы. Впрочем, кто-то может предпочесть и уголки.
Готовую опору стоит зашлифовать, после чего ее покрывают везде пропиткой для саун (подробнее о годных для парилки пропитках можно прочитать здесь). Желательно делать так: пропитал, подсохло, слегка ошкурил, снова пропитал.
Заметьте, что пока всего-навсего мы собираем опоры, каждую в отдельности. Мы еще не дошли до того, как собрать полки, потому что будем делать это непосредственно в бане. А пока работы вполне можно вести в мастерской за ее пределами.
Следующий этап — это сборка каркаса без настила. Понадобится отвес и уровень, чтобы все было ровно. При этом опоры собираются на соединительные поперечины, которые в дальнейшем станут опорой для настила.
Сложный момент — укосины, которые нужны для будущего настила в месте соединения двух полков под углом в 90 градусов. Через эту укосину снизу следует позже крепить заторцованные под 45 градусов доски на полок в бане.
Готовый каркас можно начинать обшивать досками, но сначала его следует установить в бане, провести монтаж уголков между стеной и конструкцией. Только потом можно приступать к оборудованию настила.
Первым делом следует смонтировать козырьки — это доски, которые будут под коленом сидящего на полоке. Козырек делается из обычной закругленной с обеих сторон доски из липы для полка, которую с одной стороны обрезают до ровной поверхности. Затем снизу к такой доске приклеивается брусок длиной 40 мм тоже с одной стороны прямой, с другой закругленный. См. рисунок ниже.

На этом же рисунке вы видите снятую фаску после того, как козырек высох. Ее стоит снять, чтобы под коленями не было ничего впивающегося.
Следом вы снизу прикручиваете на саморезы все остальные доски настила, не забывая о зазорах, которые лучше выставлять с помощью вставок нужной толщины. Все доски настила тоже подготавливаются заранее — напиливаются, шлифуются, пропитываются тем же составом для бань или саун — как рассказывалось выше.
Так как в этой конструкции каждый ярус образует своего рода нишу, можно спокойно зашить промежутки между ярусами — это делается вагонкой или полочной доской.
ВАЖНО! Не забывайте о зазорах, причем оставляйте их пошире в вертикальных панелях, чтобы воздух легче проходил, чтобы не оставалось «карманов», куда пар не попадает, а потому они не прогреваются.
Откидной
Единственное отличие откидного полка от описанной выше конструкции состоит в том, что вы не будете прикручивать настил саморезами к поперечным брускам каркаса.


Откидной полок
Вместо этого настил откидного полока будет собран как автономная конструкция — доски крепятся к поперечным брускам, которые не соединены с каркасом. Так как при этом образуются выступы, проще всего сделать в каркасе под них пазы, которые, к тому же, повысят жесткость конструкции и будут препятствовать ее смещению.
СОВЕТ! Для бани лучше брать нержавеющие детали — и петли, и шурупы.
Ниже мы приводим рисунок крепления петель к брусу и настилу. При таком способе монтажа у вас нет шансов обжечься об нагревшиеся петли, если, конечно, сами руки совать не будете 🙂

Надеемся, что инструкция внятная: соединения досок настила делаются между поперечинами каркаса, под них выпиливаются пазы — фрезером, электролобзиком, тем, что в наличии. К стене прикручивается брус. Брус и настил соединяются петлями.
ВАЖНО! Подумайте и о том, как именно будет держаться полок в вертикальном положении. Проще всего сделать либо крючок, либо другое простенькое приспособление для этого.
как построить съемные полки из дерева
Со съемными полками дело обстоит еще проще — смотрите руководство выше, но не сажайте его на петли. Съемный полок — это настил, который никак не соединен с каркасом. Пазы в каркасе для скрепляющих настил поперечин тут еще больше содействуют удержанию конструкции на месте.
Однако, если у вас вместо каркаса, устанавливаемого на пол, одиночные треугольные опоры с креплением на стену, вы можете воспользоваться следующей схемой:

Монтаж — как собрать каркас и как крепить доски
Мы основывались, кроме прочего, в создании инструкции по изготовлению полков в бане на видео известного мастера Ивана Баева. Для лучшего понимания процесса рекомендуем посмотреть сами ролики:
Еще несколько роликов полезного видео
Здесь делаем полки в бане своими руками по финским образцам:
В этом видеоролике рассказывается о том, как сделать весьма бюджетные откидные полки своими руками:
А если вы все прочитали и все же склоняетесь к тому, что непосредственный монтаж на стене не так уж и страшен, то из следующего ролика можете почерпнуть полезную информацию о таких полках в бане: как крепить конструкцию прямо на стену:
+++
Теперь вы много знаете о полках в бане: из чего сделать лучше, какие конструкции годятся для разных типов, а самое главное — у вас есть подробное руководство как делать самостоятельно хорошие полки. Если остались вопросы — можете задать их в комментариях.
Вконтакте
Google+
Одноклассники
parilochka.com
Как сделать полок для бани своими руками: размеры, устройство, изготовление
Особые нормы сооружения банных полков продиктованы спецификой эксплуатации незатейливой на взгляд непосвященного человека мебели. Желающим соорудить полок для бани своими руками нужно усвоить, что строятся они согласно строгому своду правил, обеспечивающих длительность службы и комфорт использования. Давайте выясним, что нужно учесть и как действовать, чтобы грамотно обустроить любимую парную.
Стандартная конструкция полков для парилки
Неспроста банный полок нередко запросто именуют лавкой. Да это и есть лавки разной высоты, расставленные по специальной схеме. Конструкция их включает два главных элемента:
- Каркас, служащий основой для крепления дощечек стационарного настила или опорой для разбирающейся системы настилов. Чаще всего каркас сооружают из опорных стоек, напоминающих ножки лавки, и соединяют поперечными досками-перемычками. Реже каркас делают по принципу лестничного косоура, к которому монтируют ступени банных полков. По заимствованной у любителей финского сухого пара технологии каркас иногда строят без опор в виде прикрепленной к стенам парильни железнодорожной полки.
- Настил из набитых с пропуском в 1,0-2,0 см липовых или осиновых тщательно отшлифованных дощечек. Как уже упоминалось, его или крепят к каркасу или сколачивают отдельные составляющие наподобие напольных трапиков. Незакрепленный настил удобней снимать и проветривать вне стен парильни. Служит он и сиденьем, и лежанкой, и подиумом для неутомимого банщика, обрабатывающего ароматным веником бренные тела его клиентов. По принципу сооружения настила сколачивают также: спинки сидений, боковушки полков, специальные «банные подушки» и приспособления для принятия расслабленной «лежачей» позы с расположением ног на уровне головы или выше.


Так как парильня обычно небольшого размера, ведь маленькое помещение проще, экономичней и быстрей довести до необходимой кондиции, у мебели для ее обустройства предельно простая прямоугольная в плане, в профиль и в анфас геометрия. Мастерам обычно воображение обоснованно рисует подобие лестницы с двумя или тремя крупными ступенями. Правда, ступени эти могут напоминать шезлонги или угловые диваны с закругленной формой. Но подобными изысками балуются в основном хозяева бань с крупногабаритными парилками, которым не жаль занимать место личными причудами.
Совет. Если площадь парильни не позволяет соорудить прямоугольный нижний полок, его можно сделать треугольным. То есть в плане он будет прямоугольным треугольником, один из катетов которого неплотно примыкает к стене, второй к смежному с ним полку.

Почему банные полки многоступенчатые?
По знакомым со школьной скамьи законам физики пар и нагретый воздух имеет свойство устремляться вверх. Отдав целительную горячую силу и охладившись под потолком воздушный поток, частично выпроваживается системой вентиляции парильни, частично возвращается вниз, отраженный от верхнего перекрытия специальной системой потолка. Потому наверху гораздо жарче, чем у подножия банной «пирамиды».
Многоступенчатость позволяет пользователям самостоятельно выбирать оптимальный для них парильный режим с соответствующим температурным фоном. Мастерам, принявшим решение соорудить полки в баню своими руками, придется придерживаться традиционной «лестничной» конфигурации, чтобы обеспечить возможность, как насладиться максимально ядреным паром, так и щадящим микроклиматом.

В русских парных чаще всего устраивали две полки. Но никто не запрещает сделать три, лишь бы места для их установки хватило. В смысле, чтобы осталось пространство для движения получающих банные процедуры людей без травматических последствий.
Предварительное планирование и расчеты
Расчеты и элементарный проект – обязательные условия успешного результата. Нарисуйте предварительно небольшой план помещения, проставьте размеры, отметьте расположение оборудования, оконных и дверных проемов.
Внимание. Полки в парильне не устанавливают вдоль стен с остекленными окошками. От атак горячего пара стекло может треснуть, а его осколки могут поранить людей.
Схема и принципы расстановки полков
Стало быть, у владельцев парилок с окошками, решивших заняться самостоятельным изготовлением удобных полков для бани, выбор ограничен. Вычерчивать план будущего многоступенчатого сооружения они смогут только вдоль стен без окон и без застекленных вентиляционных отдушин. В остальном схемы расстановки для всех одинаковы. Полки можно расположить:
- единым линейным объектом вдоль одной стены в один-два-три ряда;
- конструкцией в форме литеры Г с многочисленными вариациями количества ступеней. По две-три вдоль каждой стены или верхняя и нижняя лавка вдоль длинной стены, а средняя вдоль смежной короткой и т.д.;
- два параллельных сооружения симметричных или ассиметричных, установленных у противоположных стен парной, как в ж/д купе. Или как в том же купе два равнозначных яруса полок.

Вычертите несколько вариантов, из которых можно будет выбрать наилучший. Только для грамотного планирования и расчета расходов на закупку пиломатериалов потребуются еще и точные размеры многоступенчатых или одноступенчатых полков для бани.
Габариты банных сидений или лежанок
Для начала перечислим традиционные размеры мест для приема банных процедур в лежачем и сидячем положении:
- 1,5 м длинны нужно для того, чтобы лежать на полке с согнутыми в коленках ногами;
- 1,8 м длины позволит среднестатистическому большинству не сгибать в лежачем положении ноги. Но по данному параметру все сугубо индивидуально, бывает и 2,00 м маловато;
- 0,4 м – минимальная ширина полка, чаще всего нижнего, используемого преимущественно в качестве подставки под ноги орудующего веником банщика. Стоять на таком приступке будет вполне удобно, и присесть, чтоб освежиться-охладиться, тоже можно;
- 0,6 м – самый распространенный размер ширины банной лавки, правда, не слишком располагающий к лежачему парению;
- 0,9 м ширины позволит сидеть поперек полка с поджатыми ногами, а уж лежать смогут люди с любыми физиологическими особенностями.

Вариации допустимы, но меньше минимальных пределов банщики делать не рекомендуют.
Разберемся с высотой банной мебели
По аспектам высоты принципы устройства полков в бане радикально отличаются от стандартных схем. Все расчеты начинают с определения высоты верхней лавки. Для того чтобы на ней можно было сидеть, и при размахивании веником обрабатывать спину лежащего человека, а не банное перекрытие, плоскость верхнего полка располагают на расстоянии 1,10 — 1,20 м от потолка. Есть еще один ориентир – уровень паровой дверки обогревательного оборудования. Собственнику решать, стоит ли его придерживаться.
Высота банных лавок варьирует от 0,4 м до 0,6 м. «Разбег» в 20 см позволит чуть приподнять или опустить в чертеже линии лавок, чтобы в парильне было требующееся количество ступеней. Главное, чтобы нижний ярус был выше поверхности пола минимум на 0,3 м.

Обратите внимание. Чаще всего нижнюю составляющую многоступенчатого сооружения не крепят к полу, а делают в виде переносной лавки, чтобы можно было вымыть и просушить под ней пол. Очень тяжелую нижнюю ступень оснащают специфическими полозьями, передвигающимися по резиновым направляющим.
Правила сооружения полков для парилки
Приведенные ниже рекомендации, объясняющие как правильно сделать в бане с парилкой полок, обеспечат комфорт парения, гарантируют безопасность и продлят сроки службы отделки и банной мебели:
- Между стенами парной и полками должна остаться вентиляционная щель в 10 см. При стационарном креплении ступеней к стенам данный зазор обеспечивают путем установки отрезков бруса. Точнее сначала к стене крепят нарезанный на отрезки брус, затем к нему привинчивают саморезами с утопленными в массив головками элементы каркаса.
- Рекомендованные размеры бруса для сооружения каркаса 50 × 70 мм. Толщина доски должна быть в четыре раза меньше ее ширины, чтобы древесина могла полноценно просохнуть.
- Количество опор определяем по толщине планок. Если толщина доски 22 см, то между опорами должно быть не меньше 0,6 м.
- Для устойчивости опоры каркаса желательно связать доской и сверху, и снизу по всей длине.
- К нижней поверхности ножек всех стационарных ступеней и переносных лавок нужно прибить резиновые прокладки.
- Вместо саморезов в качестве крепежа досок настила советуют применять деревянные штифты, забиваемые в высверленные под них отверстия, или деревянные гвозди. Если не нашлось ничего кроме саморезов, крепление лучше выполнять с тыльной стороны, чтобы металлические детали не обжигали пользователей. Металл ведь значительно сильнее и быстрее нагревается, чем древесина. Если нет выхода и крепить придется снаружи, металлические шляпки обязательно заглубляйте в потай.
- Между дощечками всех элементов настила сидений-лежанок должен оставаться зазор минимум 1 см.
Внимание. При расчете закупаемого материала не забывайте о технологических отступах.

Боковушки парильных полков, сделанных с учетом финских банных правил, делают с вентиляционными зазорами по аналогии с технологией сооружения всего настила. Однако в русских баньках боковины зашивали плотно доской для сокращения кубометров пространства, прогреваемого впустую паром. Безусловно, уменьшенная данным методом парильня нагреется быстрее, но и просыхать древесина скрытого под мебелью пола и отделки стен будет хуже. Что практичней, выберет хозяин.
Особых премудростей в том, как сделать банную лавку или полок в баню нет. Лавка – она и в Африке будет ею. Главное не забыть об особенностях строительства банного многоступенчатого сооружения и ответственно взяться за дело.
Оцените статью: Поделитесь с друзьями!stroy-banya.com
Как сделать полок в бане своими руками — пошаговое руководство по изготовлению скамейки и другой мебели с фото, видео и чертежами
Банная «мебель» – это максимум функциональности, без каких-либо декоративных и конструкционных излишков. Полок и скамейки традиционно изготавливаются из натуральной древесины, которая идеально подходит для эксплуатации в парной. Простота конструкции и лёгкий в обработке материал позволяют осуществить самостоятельную сборку мебели для бани даже непрофессионалу, тем самым экономя на обстановке парилки до 30% затрачиваемых средств. Ниже в пошаговом руководстве расскажем, как сделать её своими руками.
Полок для бани своими руками
Полок для парной
Полок — это деревянная конструкция, состоящая из нескольких полок, которые расположены на разных уровнях относительно друг друга. Как правило, габариты каждой полки должны позволять человеку свободно занять горизонтальное положение. Наличие полока даёт возможность парящимся выбирать интенсивность жара — по принципу конвекции горячий воздух поднимается вверх, соответственно, чем выше находится полка, тем сильнее будет жар.
Полок состоит из массивного несущего каркаса и обшивочных досок, без каких-либо декоративных элементов. Общий вид конструкции во многом напоминает структурой деревянного крыльца со ступеньками, где каждая ступень — это полка. Полок может состоять из одной, двух или трёх уровней-полок, в зависимости от габаритов парилки и пожеланий владельца. Самостоятельная сборка полока осуществляется в несколько этапов:
Планировка

Расчёт высоты полока в русской бане и финской сауне
В первую очередь необходимо определиться с размерами и структурой будущего лежака. Полок в русской бане традиционно состоит из одного-двух уровней, в то время как финская сауна требует наличия не менее трёх полок. Также следует обратить внимание на тот факт, что в русской бане на полок располагаются лёжа, а в финской сауне парятся преимущественно сидя. Существует несколько основных правил, на которые следует ориентироваться при проектировке полока:
- Расчёт высоты полока. Минимальное расстояние между самой верхней полкой и потолком должно составлять не менее 1,1 м. Оптимальным считается значение 1.5 м и более — примерно такое расстояние необходимо для свободного проведения манипуляций с веником.
- Расположение уровней. Расстояние между уровнями может варьироваться от 60 до 40 см — меньшее расстояние способствует более плавному температурному переходу. Самый нижний ярус должен возвышаться над полом не меньше чем на 30 см.
- Длина лежаков. Минимальная длина лежака должна составлять не менее 1.5 м — этого расстояния достаточно, чтобы сидеть, поджав ноги. Чтобы комфортно занимать положение лёжа, лежак должен быть не меньше двух метров в длину.
- Ширина лежаков. Минимальная ширина лежака должна быть не менее 0.6 м, чтобы на нём можно было комфортно сидеть. Чтобы занять положение лёжа необходимо от 0.9 до 1.2 м, в зависимости от индивидуальных потребностей. Исключение может составлять самый нижний ярус, который применяется в качестве ступеньки — его ширину можно сократить до 0.4 м.
Параметры будущего лежака следует подбирать исходя из индивидуальных предпочтений и анатомических особенностей. К примеру, для кого-то 1.75 м длины будет вполне достаточно, а для кого-то даже 2 м будет тесновато. По форме полок может быть прямоугольным, «Г» или «П» образным — в данном случае, выбор осуществляется исходя из личных предпочтений и объёма помещения, так как каких-либо функциональных преимуществ форм-фактор не даёт. Также существуют готовые чертежи полока для парной, с которыми можно ознакомится ниже.
Фотогалерея: чертежи полока
Выбор материала
Деловая древесина
Традиционно, полок для бани изготавливается из натуральной древесины. При этом следует учитывать, что далеко не каждая порода дерева подходит для использования в условиях высокой температуры и повышенной влажности. Существует несколько пород древесины, которые с тем или иным успехом применяются для сборки полока:
- Ель и сосна. Дешёвый и лёгкий в обработке материал. Основным недостатком данного типа древесины является высокое содержание смол и минералов, которые в буквальном смысле начинают вытекать при высокой температуре. Этот недостаток может частично сглаживаться производителем, посредством качественной обработки и просушки, но, увы, не на отечественном рынке.
- Осина. Прочный и долговечный материал. Осиновая древесина хорошо подходит для использования в парной, так как не выделяет горячую смолу при нагревании. При этом стоимость осины достаточно высока.
- Липа. Древесина средней прочности. Считается идеальным материалом для банных лежаков — липа быстро сохнет, медленно нагревается и легко обрабатывается. При этом стоимость липовой древесины вполне демократична. Единственным недостатком липы является быстрое потемнение в парилке с недостаточно хорошей вентиляцией.
- Абаши. Африканский дуб. Произрастает в жарком климате, что идеально адаптирует древесину под применение в парной. Древесина абаши имеет низкую теплопроводность и хорошую прочность. Характерным недостатком является заоблачная стоимость.
- Берёза. Древесина средней прочности. Для изготовления банных лежаков применяется достаточно редко, так как при высокой влажности быстро поражается грибком и начинает гнить. Данный недостаток частично компенсируется специальной обработкой, но даже в этом случае, применять берёзу в парной нежелательно.
Деревянный брус для сборки полока
Независимо от того, какой породе древесины будет отдано предпочтение, следует проследить за тем, чтобы в материале не было сучков. Добиться полного их отсутствия не всегда представляется возможным, однако их чрезмерное количество существенно ослабит прочность конструкции. Данное обстоятельство особенно актуально при покупке бруса для несущего каркаса. При приобретении материала для настила, желательно отдать своё предпочтение доскам с уже сточенными углами либо заказать данную операцию у производителя.
Расчёт материала
В качестве материала для несущего каркаса применяется брус с минимальным сечением 50х70 мм. Для связывания несущих используется доска от 20х80 мм и выше. В данном случае уместно руководствоваться принципом «чем толще, тем лучше» – массивная опорная конструкция сможет выдержать любой вес, особенно если речь идёт о трёх ярусном лежаке. В качестве настила можно использовать доски толщиной от 10 мм.
Расчёт материла осуществляется исходя из особенностей конструкции и её габаритов. Опорный брус и обвязочная доска реализуются в погонных метрах, а доски для настила в квадратных. В качестве примера рассмотрим чертёж традиционного трехъярусного полока.

Пример для расчёта материала
Оптимальное расстояние между несущими опорами составляет порядка 60 см, соответственно для сооружения трёхъярусного лежака высотой 1.2 м, длиной 2 м и шириной полок 0.6 м понадобится 14.4 погонных метра бруса (по шесть несущих опор на каждый ярус, соответствующей длины). Также понадобится 5.4 м бруса для поперечных соединений (по одной на каждую пару несущих опор) .
Доски обвязывают конструкцию по периметру сверху и снизу/посередине, необходимое количество погонных метров определяется посредством вычисления периметра каждой полки умноженному на два. Для вышеописанной конструкции понадобится 31.2 погонных метра доски (удвоенный периметр полки, умноженный на количество ярусов).
Количество квадратных метров обшивочной доски определяется посредством умножения длины лежака на его ширину. В данном случае понадобиться 3.6 квадратных метра доски, чтобы обшить все три лежака (длина полки, умноженная на её ширину и умноженная на три).
Обратите внимание! Вышеперечисленные расчёты учитывают только функциональные элементы лежака, в них не входит обшивка боковин, если таковые будут иметь место. Также следует учитывать, что к полученным цифрам следует прибавить дополнительные 15%, которые приходятся на непредвиденные расходы, брак и т. д.
Для сборки трёхъярусного полока, по вышеописанному чертежу, понадобятся следующие материалы:
- Шесть стоек по 1.2 м
- Шесть стоек по 0.8 м
- Шесть стоек по 0.4 м
- Двенадцать досок длиной 2 м
- Двенадцать досок по 0.6 см
- 6 кв. м доски
- Шурупы
- Металлические уголки
- Деревянные гвозди
Инструментарий
Для самостоятельной сборки многоярусного лежака понадобится следующий набор инструментов:
- Ножовка по дереву
- Шуруповёрт
- Дрель
- Киянка (деревянный молоток)
- Рулетка
- Молоток
- Стамеска
Для монтажа настила применение деревянных гвоздей предпочтительней всего — металлические крепления будут сильно нагреваться, что может привести к ожогу. Можно осуществлять монтаж шурупами с обратной стороны, однако это не очень удобно, недостаточно надёжно и требует идеального расчёта.
Инструкция по монтажу
Существует несколько вариантов сборки многоярусного лежака, в данном случае будет рассмотрена сборка традиционного прямоугольного полока, которая применяется чаще всего. Порядок сборки выглядит следующим образом:
- В первую очередь собирается каркас самого верхнего яруса. Для сборки можно применять саморезы. К стене прикручивается первый ряд вертикальных несущих стоек с шагом в 60 см. Предварительно, на вершине бруса, формируется «ступенька» для крепежа «в замок».

Соединение бруса в «замок»
- Напротив установленных несущих выставляется второй ряд опор с аналогичными «ступеньками». Вершины стоек объединяются поперечным брусом. Боковые стойки по возможности также нужно прикрутить к стенам.

Два смонтированных яруса
- Все угловые соединения укрепляются металлическими уголками, для надёжности.
- Установленные несущие обвязываются досками сверху и снизу/посередине.
- Аналогичным образом формируется следующий уровень. Несущий брус фиксируется к предыдущему ярусу и по возможности прикручивается к стенам.

Обустройство настила
- Каркас обшивается досками, с обязательным зазором не менее 1 см. Между стенами парилки и настилом должен оставаться свободный промежуток не менее 10 см, для обеспечения вентиляции. Для вбивания деревянных гвоздей дрелью просверливаются отверстия аналогичного или большего на 1–2 мм диаметра.
При желании для монтажа настила можно использовать металлические саморезы, однако в этом случае необходимо «топить» шляпки на глубину 5 мм, чтобы в дальнейшем закрыть их деревянной пробкой. Чтобы избежать образования трещин, место крепления поверхностно рассверливают сверлом, диаметр которого соответствует диаметру шляпки самореза.
Отделка и покрытие

Специальный состав для эксплуатации в парилке
Для дополнительной отделки и покрытия полока можно использовать специальные лаки и пропитки, которые защитят древесину от гниения, образования плесени и потемнения. Следует отметить, что в идеале древесина в парилке не подлежит обработке — достаточно просто подвергнуть поверхность шлифовке. При наличии хорошей вентиляции структура дерева не портится весь период эксплуатации. Однако если вентиляция далека от идеала, лучше прибегнуть к помощи специальных составов, среди которых чаще всего применяются следующие:
- Акриловые лаки. Влагостойкие лаки на акриловой основе создают защитную плёнку на поверхности дерева, которая защищает конструкцию от влаги. Данный тип лаков не изменяет свою структуру при температуре выше 100°C, что позволяет применять их даже в финских саунах.
- Пропитки. Антисептические пропитки препятствуют образованию плесени и делают древесину более влагостойкой. В отличие от лака, пропитка проникает глубоко в структуру древесины, обеспечивая комплексную защиту.
- Отбеливатели. Специализированные составы, посредством которых можно отбелить потемневшее дерево.
Перед нанесением любого из вышеперечисленных составов поверхность дерева необходимо отшлифовать наждачной бумагой и очистить от пыли, возникшей в результате шлифовки. Не следует приобретать дешёвые средства от малоизвестных производителей — высокая влажность и температура могут вызвать выделение токсичных веществ из некачественных составов.
Видео: самостоятельная сборка полока
Другая мебель: пошаговое руководство по сборке подголовника

Традиционный подголовник
Подголовником называют небольшое деревянное приспособление, которое играет роль подушки в парной. Наличие подголовника позволяет с удобством расположиться на полоке, расслабив мышцы шеи и позвоночник. Конструкция подголовника отличается простотой и содержит минимум элементов, что позволяет без каких-либо сложностей собрать его самостоятельно.
Выбор и расчёт материала
Материал для деревянной «подушки» подбирается так же, как и в случае с полоком — подголовник эксплуатируется в тех же условиях. Основу подголовника составляют две несущие опоры и поперечные рейки. Помимо традиционной липы и осины, для сборки подголовника также применяются кедр, офрам, меранти, абаши и бамбук. Небольшие габариты позволяют использовать экзотические породы дерева, не рискуя выйти за рамки бюджета. При приобретении материала необходимо проследить за отсутствием сучков.
Размеры подголовника в первую очередь определяются габаритами лежака — он может быть аналогичной ширины либо уже. Идеальными размерами, с точки зрения строения человеческого тела, является длина 40, ширина 45 см и высота 10 см. Для сборки традиционного подголовника понадобится следующее количество материала:
- Две заготовки длиной 40 см и высотой 10 см. Минимальная толщина досок должна составлять не менее 2 см.
- Рейка 40х20 мм, длиной 3.7 м
- Деревянные шканты, 16–18 штук, в зависимости от количества поперечин.
При желании для сборки можно применять металлические саморезы, однако в этом случае их необходимо утапливать в поверхности рейки и маскировать деревянной пробкой. Наличие пробки обязательно — только так можно исключить вероятность ожога.
Округлый подголовник облегченной конструкции
Инструментарий
Для сборки подголовника понадобятся следующие инструменты:
- Лобзик
- Ножовка по дереву
- Рулетка
- Дрель/шуруповёрт
- Киянка (деревянный молоток)
- Карандаш
- Наждачная бумага
Инструкция по сборке
Самостоятельная сборка подголовника осуществляется в следующем порядке:
Пример сборки подголовника
- Формируются несущие боковины. На краях заготовки отмечаются метки: максимальная высота одного края боковины 10 см, другого 2 см. Отметки соединяются плавной округлой линией. По меткам, лобзиком выпиливаются две округлые заготовки. Полученные детали шлифуются наждачной бумагой.
- Распилил реек. Рейка раскраивается на 9–8 отрезков длиной 45 см. Место спила обрабатывается наждачной бумагой.

Чертеж для сборки округлого подголовника
- На рейках и торце несущих боковин высверливаются отверстия для деревянных шкантов. Расстояние необходимо рассчитать таким образом, чтобы между рейками оставался зазор в 1 см. Диаметр сверла должен быть равен диаметру шканта или превышать его на 1 – 2 мм.
- В просверленные отверстия вбиваются шканты.
При желании боковины можно сформировать в виде арки, волны и т. д. – основным критерием при выборе формы, являются личные предпочтения и фантазия мастера. Готовые подголовники, прекрасно обходятся без защитного покрытия, так как после банных процедур их просушивают и убирают на хранение в место с хорошей вентиляцией.
Как сделать скамейку для бани своими руками

Переносная лавка для парной
Помимо стационарного полока, парилка также может оснащаться переносными лавочками и скамейками. Это не самая важная часть банной мебели — многое любители целебного пара прекрасно обходятся и без них. Банные лавочки выполняют вспомогательную функцию, их часто применяют в качестве ступеньки, подставки или второстепенного места для приёма процедур. Обычно в парилке присутствует не больше одной лавки, хотя во многом, это зависит от габарита помещения.
Выбор и расчёт материала
Данный тип банной мебели отличает простота конструкции — традиционную «П» образную лавочку достаточно просто изготовить самостоятельно. Материал подбирается по тем же критериям, как и в случае с полоком. Высота и ширина лавочки может быть абсолютно любой, универсальным стандартом считается длина 1.5м, ширина 0.4 м и высотой 0.4 м. Такие габариты позволяют использовать лавочку как для комфортного сидения, так и в качестве подставки или дополнительной ступеньки.
Для сборки универсальной лавочки понадобятся следующие материалы:
- Брус сечением 7х15 см. Четыре бруска по 35 см
- Четыре детали из бруса, сечением 7х15 см
- Две полутораметровые доски, шириной 20 см, толщиной 2 см
- Две доски/бруса для поперечного соединения, длиной 40 см
- Саморезы/деревянные шканты
Инструментарий
Для сборки лавочки необходимы следующие инструменты:
- Ножовка по дереву
- Дрель
- Шуруповёрт/киянка
- Молоток
- Стамеска
- Наждачная бумага
Инструкция по сборке
Самостоятельная сборки лавочки осуществляется в следующем порядке:

Чертеж сбора универсальной скамейки
- На ножках вырезаются пазы, для соединения «в замок». Чтобы сформировать паз, выпиливаются параллельные надрезы глубиной и промежутком в 7 см. Основание распила выбивается стамеской.
- Из четырёх брусков формируются трапециевидные детали, которые будут играть роль переходника между ножкой и сидением. На вершине трапеции формируется паз для соединения с ножками.
- Ножки соединяются с переходником в паз. Место соединения фиксируется посредством самореза или шканта, закрученного/вбитого в предварительно просверленное отверстие.
- Из двух досок и поперечин собирается сидение лавочки. Расстояние между досками должно составлять не менее 1 см.
- Ножки прикручиваются/прибиваются к сидению. Если в качестве фурнитуры применяются саморезы, то крепление осуществляется с обратной стороны. Отверстия для креплений предварительно высверливаются.
Собранную лавочку полностью ошкуривают наждачной бумагой. В идеале, готовую лавочку оставляют в натуральном виде, без какого-либо покрытия или обработки. При желании для дополнительной защиты можно применять акриловые лаки и пропитки высокого качества, предназначенные для эксплуатации в парной.
Видео: собираем лавочку для бани
Фотогалереия: деревянная мебель для бани
Обставив парилку своими руками, можно сэкономить средства на услугах специалистов. При этом результат не будет выглядеть кустарно — простота конструкции создаёт идеальные условия для самостоятельной сборки. При соблюдении технологии сборки, вы получите достойный результат своих усилий!
Оцените статью: Поделитесь с друзьями!legkovmeste.ru
Как сделать полок в бане своими руками +чертежи, фото
Чтобы с комфортом и пользой попарится в бане, необходимо установить полок, соблюдая определенные нормы. Материал для настила тоже нужно выбирать с умом. В данной статье мы расскажем как сделать полок в бане своими руками, дадим пошаговое руководство, а также чертежи, фото и видео инструкции.
Материал для полка
Доска обрезная
Атмосфера в парной отличается высокой температурой и влажностью, такое сочетание выдержит не каждый материал. Традиционно для банного настила используется дерево. Подходящий сорт древесины должен обладать определенными свойствами:
- низкая теплопроводность, гарантирующая комфортную для человека температуру настила;
- устойчивость к влаге;
- минимальное количество смолу в структуре древесины.
Опытные мастера рекомендуют для полков липу, осину, клен, тополь, абаши. Хвойные породы хорошо переносят влагу, но при высокой температуре на их поверхности начинает выступать смола. Это может привести к ожогу, поэтому отличную древесину сосны или ели лучше использовать для мебели в комнате отдыха или моечной.
Липа – при нагревании от нее исходит особый аромат и целебные испарения. Дерево быстро высыхает, не трескается, легко обрабатывается. В жаркой и влажной атмосфере материал изменяет цвет от светлого к темному.
Осина – распространенный выбор для полков, благодаря сочетанию прочности и низкой цены. Доски сохраняют размеры при скачках температуры и не деформируются. По языческим поверьям осина освобождает от негатива и излечивает душевные травмы. Внешне материал сохраняется надолго, а внутренняя часть досок подвержена гниению.
Абаши – дорогостоящая африканская древесина имеет красивый желтоватый или кремовый оттенок, сохраняет свой вид высокое качество на долгий промежуток времени. Имеет низкую теплопроводность, гибкий и прочный материал служит удобным настилом. Высокая цена зарубежного дерева делает его доступным лишь для ограниченного круга людей.
Клен – показывает отличную стойкость к влаге и нагреванию.
Расположение
Нестандартное расположение полков
Количество ярусов в парилке вы выбираете самостоятельно, если людей в баню будет ходить немного, достаточно 1–2 яруса. Три яруса можно поместить в высокой комнате, между верхним настилом и потолком должно оставаться не меньше метра. Полки располагаются вдоль стен, на которых отсутствуют окна. Лежанки размещают:
- ступенчато вдоль одной стены;
- перпендикулярно на смежных стенах;
- параллельно друг другу на противоположных стенах, верхний ряд откидывается для удобства.
Размеры
Размеры полков зависят от яруса: верхний выполняется шириной в 90 см, средний и нижний – 80 см. Длина может колебаться от 150 до 180 см, это зависит от размера парной.
Высота полков должна быть удобной для сидящего человека – верхний полок крепится на высоте 120 см, комфортная высота среднего настила 70–80 см, нижний крепится на уровне 40 см.
Монтаж
Изготовление каркаса
Перед тем, как сделать полки, бруски и доски, предназначенные для них, тщательно шлифуются и обрабатываются специальным антисептиком на натуральной основе. Каркас полка сооружают из брусков, опорные стойки делают сечением 50×70 мм.
- Положение задних стоек размечается на стене, они фиксируются к поверхности саморезами.
- Горизонтальные балки, образующие раму к которой будет крепиться настил из досок, прикручиваются торцами к противоположным стенам. Поперечные части, равные ширине полка, крепятся к стенам по всей длине. Между стеной и примыкающим продольным бруском, необходимо прикрепить небольшие заготовки толщиной 10 см, чтобы остался зазор для стока воды. Горизонтальная плоскость балок проверяется уровнем.
- Задняя балка крепится саморезами к вертикальным стойкам.
- Передние вертикальные стойки устанавливаются параллельно задним, под торцы подкладывается резина. Правильность установки следует проверять с помощью уровня.
- Передняя балка соединяется со стойками.
- В балках выпиливаются пазы для крепления поперечин, на расстоянии в 60 см друг от друга.
- Перекладины укладываются в пазы и фиксируются саморезами.
- Для надежности вертикальные стойки соединяются посередине брусьями.
- Длина используемых досок равняется длине полка, ширина – 120 мм, толщина – 22 мм. Они прикручиваются к раме настила с обратной стороны или головки саморезов утапливаются в дерево. Места вкручивания замазывают специальной мастикой, чтобы не допустить ожога. Между планками оставляется щель в 1–2 см для стекания воды.
Саморезы по дереву
Использование саморезов вместо гвоздей позволяет надежно закрепить конструкцию и оставляет возможность разобрать полок для просушки или замены элемента.
Так изготавливается полок для бани, если вы собираетесь сделать несколько ярусов, то они выполняются по схожей схеме: собирается каркас для верхнего и к нему крепится основа для нижнего полка.
Видео
Посмотрите видео, в котором содержится подробное описание сборки полка для парной:
Фото
Эта подборка фотографий и рисунков поможет вам более ясно представить порядок выполнения работ:
Начинаем делать каркас
Изготовление нижнего ряда
Устройство каркаса
Пропитка дерева
Подгонка и закрепление
Настил из досок готов
Заключительная отделка
Работа завершена
Чертежи
На предложенных нами чертежах указаны размеры полков и особенности их конструкции:
Чертеж опоры полка
Расположение полков
Чертеж трехъярусного полока

Вариант чертежа полока в баню
Верхний и нижний полок
Расстановка полков и лавок
kakpravilnosdelat.ru
чертежи в парилке, пошаговое руководство, высота, как правильно сделать полки в парной, размеры, устройство в сауне, фото и видео
Содержание:
На первый взгляд банные полки не представляют собой ничего сложного. Однако существуют особые нормы их строительства, которые продиктованы особенностями их использования. Поэтому, чтобы они прослужили как можно дольше и были комфортными в применении, необходимо строго соблюдать все правила их строительства. Рассмотрим, какие схемы расположения полок существуют, а также приведем для строительства полога в бане своими руками пошаговое руководство.

Элементы конструкции банных полков
У банного полка есть и другое название – лавка. Лавки бывают разной высоты, их расставляют по определенной схеме.
Состоят они из двух основных элементов:
- Каркас, являющийся основой, к которой крепятся доски настила. Настил может быть закрепленным или разбирающимся. Наиболее распространенным является каркас, выполненный из опорных стоек, которые напоминают ножки лавки, соединенных деревянными перемычками. Встречается и другой вариант, когда каркас выполнен как лестничный косоур, к которому крепятся ступени полков. Иногда каркас сооружается по подобию каркасов в сауне. В этом случае опоры отсутствуют, а каркас выглядит как зафиксированная к стенам парилки железнодорожная полка.
- Настил, выполненный из набитых липовых или осиновых хорошо отшлифованных дощечек. Между дощечками должно быть небольшое расстояние в 1-2 см. Настил либо закреплен к каркасу, либо представляет собой отдельные элементы. Незакрепленный настил можно вынести на улицу для просушки. Он также может использоваться в качестве сидения, лежанки или подиума для банщика. Таким же образом, как и настил, делаются спинки и боковушки полков, подголовники, и приспособления позволяющие лечь так, чтобы ноги располагались на уровне головы или выше.
Как правило, парилка небольшого размера, поскольку маленькое помещение легче, быстрей и экономичней прогреть до нужной температуры, поэтому полки имеют простую прямоугольную форму (прочитайте: «Какие размеры парилки считаются оптимальными»). Обычно полки в бане в парилке выглядят как лестница, имеющая 2-3 степени. Такие ступени могут быть похожими на шезлонги или угловые диваны, обладающие закругленной формой. Однако сделать что-то подобное можно только в парилке большого размера.

При недостаточном пространстве в парильне для строительства прямоугольной нижней лавки, ее можно сделать в форме прямоугольного треугольника. Располагается следующим образом: один катет должен неплотно прилегать к стене, а другой к соседнему с ним полку.
Причина многоступенчатости полок в бане
По всем известным законам физики пар и горячий воздух поднимаются к потолку. Через некоторое время воздушный поток вверху охлаждается. Часть его уходит через вентиляцию парильни, а часть опускается к полу. По этой причине наверху намного жарче, чем у основания банных полков.

Многоступенчатость позволяет человеку самостоятельно делать выбор наилучшего для него температурного режима. Поэтому чтобы можно было попариться и при максимальной температуре в парилке и при более щадящей, следует делать полки в сауну своими руками по подобию ступенек. В русской бане чаще всего строятся две полки, но можно сделать и три, только для них должно быть достаточно места. Это значит, что следует оставить пространство для движения находящихся в парилке людей без получения травм.
Как расставлять полки
Потребуются для строительства полки в бане своими руками чертежи, а также следует произвести все необходимые расчеты. Чертится небольшой план помещения, указываются размеры, отмечаются места установки оборудования, расположение окон и двери.
Очень важно помнить, что нельзя располагать полки около стен с остекленными окнами. Под воздействием горячего пара может лопнуть стекло и осколки попадут на людей. Поэтому в парилках с окошками не так много вариантов расстановки полок в бане. Расположить их можно лишь вдоль стен, где отсутствуют окна и застекленные вентиляционные отдушины.

Существует несколько схем расположения полок:
- Вдоль одной стены в 1-3 ряда, устанавливая полки друг над другом.
- Конструкцией в виде буквы Г с различными вариантами числа степеней. Например, по 2-3 вдоль каждой стены, верхняя и нижняя полка вдоль длинной стены, а средняя вдоль соседней короткой.
- Две параллельные конструкции, расположенные вдоль противоположных стен по подобию купе в вагоне поезда. Сооружения могут быть либо симметричными, либо ассиметричными.

Перед тем как сделать в парилке полки на бумаге следует начертить несколько вариантов и из них выбрать наиболее подходящий. Чтобы все правильно распланировать и рассчитать необходимое количество пиломатериалов, необходимо знать точные размеры полков для бани.
Размеры банных полок
Из расчета на человека среднего роста и комплектации разработаны следующие размеры полков в бане для приема парильных процедур в положении сидя или лежа:
- Длина полки для того, чтобы можно было лежать с согнутыми в коленях ногами составляет 1,5 м.
- Чтобы лечь на полку в полный рост не сгибая ноги, длина должна быть 1,8 м. Но в данном случае все индивидуально, так как все люди разного роста и может быть так, что и 2 м мало (прочитайте: «Какой размер полок в парной нужно делать – советы из практики»).
- Минимальная ширина полка равна 40 см. Чаще всего это нижняя полка, которая используется в основном как подставка под ноги банщика. На такой подставке можно не только стоять, но и сидеть, если хочется немного охладиться.
- Наиболее часто встречаются банные лавки шириной 60 см. Однако они не слишком удобны для парения в лежачем положении.
- Ширина полок в 90 см позволяет сидеть поперек с поджатыми ногами и лежать человеку любой комплектации.

Приведены минимальные размеры, но никто не запрещает сделать полки большего размера. Но строить банные лавки меньших размеров не стоит — они будут просто не удобными.
Высота банной мебели
В отношении высоты полка в бане действуют совсем другие принципы, здесь нет стандартных значений. Сначала определяется высота верхней полки. От потолка отмеряется 1,10 – 1,20 м и на этом уровне устанавливается верхняя полка. Это позволит на ней сидеть, и дает достаточно места для размаха веником, чтобы хлестать спину человека, а не потолок. Но чтобы это можно было делать, держа веник в не согнутой руке, следует оставить больше места, примерно 1,5 м.
Иногда верхнюю полку устанавливают напротив паровой дверки. Это позволит получить от пара больше пользы. Однако не обязательно придерживаться такой схемы.

Высота банных полок может быть 40 – 60 см. Нижняя лавка должна находиться минимально в 30 см от пола. Высота полок зависит от их количества.
Как правило, нижнюю часть конструкции не закрепляют. Это позволяет помыть и высушить под ней пол. Для достаточно тяжелой нижней ступени делаются специальные полозья, которые двигаются по резиновым направляющим.
Правила создания полков для парилки
Чтобы гарантировать комфорт парения, безопасность и длительный срок эксплуатации банной отделки и мебели следует придерживаться приведенных ниже рекомендаций, которые объясняют, как правильно сделать полки в парной:
- Полки не должны плотно прилегать к стенам. Между ними следует оставить зазор равный примерно 10 см, он необходим для вентиляции. Для обеспечения такого зазора сначала к стене следует закрепить отрезки бруса. К нему при помощи саморезов присоединяются элементы каркаса, при этом шляпки саморезов следует утопить в древесину.
- Для сооружения каркаса рекомендуется брать брус 50х70 мм. Чтобы древесина полностью высыхала, толщина доски должна быть в 4 раза меньше ее ширины.
- В зависимости от толщины планок определяется необходимое число опор. Если доска имеет толщину 22 см, то опоры устанавливаются на расстоянии 60 см друг от друга.
- Чтобы придать конструкции устойчивости, опоры каркаса следует соединить по всей длине доской снизу и сверху.
- На все ножки банной мебели следует прибить резиновые прокладки.
- Для крепления досок рекомендуется использовать деревянные гвозди или штифты, которые забиваются в просверленные под них отверстия. Если имеются только саморезы, то их следует вкручивать с обратной стороны, чтобы о них нельзя было обжечься. Если другого варианта, кроме как крепить снаружи, нет, то металлические шляпки нужно заглублять в древесину.
- Дощечки настила полок должны располагаться друг от друга на расстоянии не меньше 1 см.
Производя расчеты необходимого количества материала, следует помнить о технологических отступах.


По финской технологии устройства полок в парилке боковушки делаются также как и настил, то есть с вентиляционными зазорами. Однако в русских банях доски боковушки крепились плотно друг к другу, это делалось для уменьшения отапливаемого пространства. Конечно, в этом случае парильня прогреется быстрее, но и древесина, которая скрыта, будет просыхать намного дольше. Какой вариант оптимальный выбирает хозяин бани. Читайте также: «Как сделать пологи в баню своими руками – советы и инструкция от мастера».
Технология создания простого полка
Приведем для строительства простейших полок в бане своими руками пошаговое руководство:
- Измеряется длина полка. Между стеной и полком должен быть зазор.
- Каркас полка скрепляется оцинкованными уголками.
- Каркас следует подогнать под необходимую длину.
- К стене при помощи винтов крепятся станины, при этом следует пользоваться уровнем.
- Далее на одном уровне устанавливаются правые и левые станины.
- Для обеспечения вентиляции между стеной и полком на внешнюю сторону станин подкладываются кусочки фанеры.
- Изготавливаются настилы для верхнего полка размером 60 см, для нижнего – 40 см.
- Каркасы полок крепятся к стенам винтами.
- Готовые полки следует подрезать под длину каркаса. Затем их укладывают на свое место и закрепляются.
- Изготавливается спинка необходимого размера и крепится на свое место.
В том, как сделать полки в парной, ничего сложного нет. Важно соблюдать данные выше рекомендации о том, как правильно сделать полки в парилке, и отнестись к строительству ответственно.
banyaspec.com
Полок для бани своими руками чертежи

Как сделать полок в бане своими руками
Чтобы с комфортом и пользой попарится в бане, необходимо установить полок, соблюдая определенные нормы. Материал для настила тоже нужно выбирать с умом. В данной статье мы расскажем как сделать полок в бане своими руками, дадим пошаговое руководство, а также чертежи, фото и видео инструкции.
Материал для полка
Атмосфера в парной отличается высокой температурой и влажностью, такое сочетание выдержит не каждый материал. Традиционно для банного настила используется дерево. Подходящий сорт древесины должен обладать определенными свойствами:
- низкая теплопроводность, гарантирующая комфортную для человека температуру настила;
- устойчивость к влаге;
- минимальное количество смолу в структуре древесины.
Опытные мастера рекомендуют для полков липу, осину, клен, тополь, абаши. Хвойные породы хорошо переносят влагу, но при высокой температуре на их поверхности начинает выступать смола. Это может привести к ожогу, поэтому отличную древесину сосны или ели лучше использовать для мебели в комнате отдыха или моечной.
Липа – при нагревании от нее исходит особый аромат и целебные испарения. Дерево быстро высыхает, не трескается, легко обрабатывается. В жаркой и влажной атмосфере материал изменяет цвет от светлого к темному.
Осина – распространенный выбор для полков, благодаря сочетанию прочности и низкой цены. Доски сохраняют размеры при скачках температуры и не деформируются. По языческим поверьям осина освобождает от негатива и излечивает душевные травмы. Внешне материал сохраняется надолго, а внутренняя часть досок подвержена гниению.
Абаши – дорогостоящая африканская древесина имеет красивый желтоватый или кремовый оттенок, сохраняет свой вид высокое качество на долгий промежуток времени. Имеет низкую теплопроводность, гибкий и прочный материал служит удобным настилом. Высокая цена зарубежного дерева делает его доступным лишь для ограниченного круга людей.
Клен – показывает отличную стойкость к влаге и нагреванию.
Расположение
Нестандартное расположение полков
Количество ярусов в парилке вы выбираете самостоятельно, если людей в баню будет ходить немного, достаточно 1–2 яруса. Три яруса можно поместить в высокой комнате, между верхним настилом и потолком должно оставаться не меньше метра. Полки располагаются вдоль стен, на которых отсутствуют окна. Лежанки размещают:
- ступенчато вдоль одной стены;
- перпендикулярно на смежных стенах;
- параллельно друг другу на противоположных стенах, верхний ряд откидывается для удобства.
Размеры полков зависят от яруса: верхний выполняется шириной в 90 см, средний и нижний – 80 см. Длина может колебаться от 150 до 180 см, это зависит от размера парной.
Высота полков должна быть удобной для сидящего человека – верхний полок крепится на высоте 120 см, комфортная высота среднего настила 70–80 см, нижний крепится на уровне 40 см.
Перед тем, как сделать полки, бруски и доски, предназначенные для них, тщательно шлифуются и обрабатываются специальным антисептиком на натуральной основе. Каркас полка сооружают из брусков, опорные стойки делают сечением 50×70 мм.
- Положение задних стоек размечается на стене, они фиксируются к поверхности саморезами.
- Горизонтальные балки, образующие раму к которой будет крепиться настил из досок, прикручиваются торцами к противоположным стенам. Поперечные части, равные ширине полка, крепятся к стенам по всей длине. Между стеной и примыкающим продольным бруском, необходимо прикрепить небольшие заготовки толщиной 10 см, чтобы остался зазор для стока воды. Горизонтальная плоскость балок проверяется уровнем.
- Задняя балка крепится саморезами к вертикальным стойкам.
- Передние вертикальные стойки устанавливаются параллельно задним, под торцы подкладывается резина. Правильность установки следует проверять с помощью уровня.
- Передняя балка соединяется со стойками.
- В балках выпиливаются пазы для крепления поперечин, на расстоянии в 60 см друг от друга.
- Перекладины укладываются в пазы и фиксируются саморезами.
- Для надежности вертикальные стойки соединяются посередине брусьями.
- Длина используемых досок равняется длине полка, ширина – 120 мм, толщина – 22 мм. Они прикручиваются к раме настила с обратной стороны или головки саморезов утапливаются в дерево. Места вкручивания замазывают специальной мастикой, чтобы не допустить ожога. Между планками оставляется щель в 1–2 см для стекания воды.
Саморезы по дереву
Использование саморезов вместо гвоздей позволяет надежно закрепить конструкцию и оставляет возможность разобрать полок для просушки или замены элемента.
Так изготавливается полок для бани, если вы собираетесь сделать несколько ярусов, то они выполняются по схожей схеме: собирается каркас для верхнего и к нему крепится основа для нижнего полка.
Посмотрите видео, в котором содержится подробное описание сборки полка для парной:
Эта подборка фотографий и рисунков поможет вам более ясно представить порядок выполнения работ:
Начинаем делать каркас
Как сделать полок в бане правильно — инструкция
На первый взгляд банные полки не представляют собой ничего сложного. Однако существуют особые нормы их строительства, которые продиктованы особенностями их использования. Поэтому, чтобы они прослужили как можно дольше и были комфортными в применении, необходимо строго соблюдать все правила их строительства. Рассмотрим, какие схемы расположения полок существуют, а также приведем для строительства полога в бане своими руками пошаговое руководство.

Элементы конструкции банных полков
У банного полка есть и другое название – лавка. Лавки бывают разной высоты, их расставляют по определенной схеме.
Состоят они из двух основных элементов:
- Каркас. являющийся основой, к которой крепятся доски настила. Настил может быть закрепленным или разбирающимся. Наиболее распространенным является каркас, выполненный из опорных стоек, которые напоминают ножки лавки, соединенных деревянными перемычками. Встречается и другой вариант, когда каркас выполнен как лестничный косоур, к которому крепятся ступени полков. Иногда каркас сооружается по подобию каркасов в сауне. В этом случае опоры отсутствуют, а каркас выглядит как зафиксированная к стенам парилки железнодорожная полка.
- Настил. выполненный из набитых липовых или осиновых хорошо отшлифованных дощечек. Между дощечками должно быть небольшое расстояние в 1-2 см. Настил либо закреплен к каркасу, либо представляет собой отдельные элементы. Незакрепленный настил можно вынести на улицу для просушки. Он также может использоваться в качестве сидения, лежанки или подиума для банщика. Таким же образом, как и настил, делаются спинки и боковушки полков, подголовники, и приспособления позволяющие лечь так, чтобы ноги располагались на уровне головы или выше.
Как правило, парилка небольшого размера, поскольку маленькое помещение легче, быстрей и экономичней прогреть до нужной температуры, поэтому полки имеют простую прямоугольную форму (прочитайте: «Какие размеры парилки считаются оптимальными «). Обычно полки в бане в парилке выглядят как лестница, имеющая 2-3 степени. Такие ступени могут быть похожими на шезлонги или угловые диваны, обладающие закругленной формой. Однако сделать что-то подобное можно только в парилке большого размера.

При недостаточном пространстве в парильне для строительства прямоугольной нижней лавки, ее можно сделать в форме прямоугольного треугольника. Располагается следующим образом: один катет должен неплотно прилегать к стене, а другой к соседнему с ним полку.
Причина многоступенчатости полок в бане
По всем известным законам физики пар и горячий воздух поднимаются к потолку. Через некоторое время воздушный поток вверху охлаждается. Часть его уходит через вентиляцию парильни, а часть опускается к полу. По этой причине наверху намного жарче, чем у основания банных полков.

Многоступенчатость позволяет человеку самостоятельно делать выбор наилучшего для него температурного режима. Поэтому чтобы можно было попариться и при максимальной температуре в парилке и при более щадящей, следует делать полки в сауну своими руками по подобию ступенек. В русской бане чаще всего строятся две полки, но можно сделать и три, только для них должно быть достаточно места. Это значит, что следует оставить пространство для движения находящихся в парилке людей без получения травм.
Как расставлять полки
Потребуются для строительства полки в бане своими руками чертежи, а также следует произвести все необходимые расчеты. Чертится небольшой план помещения, указываются размеры, отмечаются места установки оборудования, расположение окон и двери.
Очень важно помнить, что нельзя располагать полки около стен с остекленными окнами. Под воздействием горячего пара может лопнуть стекло и осколки попадут на людей. Поэтому в парилках с окошками не так много вариантов расстановки полок в бане. Расположить их можно лишь вдоль стен, где отсутствуют окна и застекленные вентиляционные отдушины.

Существует несколько схем расположения полок:
- Вдоль одной стены в 1-3 ряда, устанавливая полки друг над другом.
- Конструкцией в виде буквы Г с различными вариантами числа степеней. Например, по 2-3 вдоль каждой стены, верхняя и нижняя полка вдоль длинной стены, а средняя вдоль соседней короткой.
- Две параллельные конструкции, расположенные вдоль противоположных стен по подобию купе в вагоне поезда. Сооружения могут быть либо симметричными, либо ассиметричными.

Перед тем как сделать в парилке полки на бумаге следует начертить несколько вариантов и из них выбрать наиболее подходящий. Чтобы все правильно распланировать и рассчитать необходимое количество пиломатериалов, необходимо знать точные размеры полков для бани.
Размеры банных полок
Из расчета на человека среднего роста и комплектации разработаны следующие размеры полков в бане для приема парильных процедур в положении сидя или лежа:
- Длина полки для того, чтобы можно было лежать с согнутыми в коленях ногами составляет 1,5 м.
- Чтобы лечь на полку в полный рост не сгибая ноги, длина должна быть 1,8 м. Но в данном случае все индивидуально, так как все люди разного роста и может быть так, что и 2 м мало (прочитайте: «Какой размер полок в парной нужно делать – советы из практики «).
- Минимальная ширина полка равна 40 см. Чаще всего это нижняя полка, которая используется в основном как подставка под ноги банщика. На такой подставке можно не только стоять, но и сидеть, если хочется немного охладиться.
- Наиболее часто встречаются банные лавки шириной 60 см. Однако они не слишком удобны для парения в лежачем положении.
- Ширина полок в 90 см позволяет сидеть поперек с поджатыми ногами и лежать человеку любой комплектации.

Приведены минимальные размеры, но никто не запрещает сделать полки большего размера. Но строить банные лавки меньших размеров не стоит — они будут просто не удобными.
Высота банной мебели
В отношении высоты полка в бане действуют совсем другие принципы, здесь нет стандартных значений. Сначала определяется высота верхней полки. От потолка отмеряется 1,10 – 1,20 м и на этом уровне устанавливается верхняя полка. Это позволит на ней сидеть, и дает достаточно места для размаха веником, чтобы хлестать спину человека, а не потолок. Но чтобы это можно было делать, держа веник в не согнутой руке, следует оставить больше места, примерно 1,5 м.
Иногда верхнюю полку устанавливают напротив паровой дверки. Это позволит получить от пара больше пользы. Однако не обязательно придерживаться такой схемы.

Высота банных полок может быть 40 – 60 см. Нижняя лавка должна находиться минимально в 30 см от пола. Высота полок зависит от их количества.
Как правило, нижнюю часть конструкции не закрепляют. Это позволяет помыть и высушить под ней пол. Для достаточно тяжелой нижней ступени делаются специальные полозья, которые двигаются по резиновым направляющим.
Правила создания полков для парилки
Чтобы гарантировать комфорт парения, безопасность и длительный срок эксплуатации банной отделки и мебели следует придерживаться приведенных ниже рекомендаций, которые объясняют, как правильно сделать полки в парной:
- Полки не должны плотно прилегать к стенам. Между ними следует оставить зазор равный примерно 10 см, он необходим для вентиляции. Для обеспечения такого зазора сначала к стене следует закрепить отрезки бруса. К нему при помощи саморезов присоединяются элементы каркаса, при этом шляпки саморезов следует утопить в древесину.
- Для сооружения каркаса рекомендуется брать брус 50х70 мм. Чтобы древесина полностью высыхала, толщина доски должна быть в 4 раза меньше ее ширины.
- В зависимости от толщины планок определяется необходимое число опор. Если доска имеет толщину 22 см, то опоры устанавливаются на расстоянии 60 см друг от друга.
- Чтобы придать конструкции устойчивости. опоры каркаса следует соединить по всей длине доской снизу и сверху.
- На все ножки банной мебели следует прибить резиновые прокладки.
- Для крепления досок рекомендуется использовать деревянные гвозди или штифты, которые забиваются в просверленные под них отверстия. Если имеются только саморезы, то их следует вкручивать с обратной стороны, чтобы о них нельзя было обжечься. Если другого варианта, кроме как крепить снаружи, нет, то металлические шляпки нужно заглублять в древесину.
- Дощечки настила полок должны располагаться друг от друга на расстоянии не меньше 1 см.
Производя расчеты необходимого количества материала, следует помнить о технологических отступах.


По финской технологии устройства полок в парилке боковушки делаются также как и настил, то есть с вентиляционными зазорами. Однако в русских банях доски боковушки крепились плотно друг к другу, это делалось для уменьшения отапливаемого пространства. Конечно, в этом случае парильня прогреется быстрее, но и древесина, которая скрыта, будет просыхать намного дольше. Какой вариант оптимальный выбирает хозяин бани. Читайте также: «Как сделать пологи в баню своими руками – советы и инструкция от мастера «.
Технология создания простого полка
Приведем для строительства простейших полок в бане своими руками пошаговое руководство:
- Измеряется длина полка. Между стеной и полком должен быть зазор.
- Каркас полка скрепляется оцинкованными уголками.
- Каркас следует подогнать под необходимую длину.
- К стене при помощи винтов крепятся станины, при этом следует пользоваться уровнем.
- Далее на одном уровне устанавливаются правые и левые станины.
- Для обеспечения вентиляции между стеной и полком на внешнюю сторону станин подкладываются кусочки фанеры.
- Изготавливаются настилы для верхнего полка размером 60 см, для нижнего – 40 см.
- Каркасы полок крепятся к стенам винтами.
- Готовые полки следует подрезать под длину каркаса. Затем их укладывают на свое место и закрепляются.
- Изготавливается спинка необходимого размера и крепится на свое место.
В том, как сделать полки в парной, ничего сложного нет. Важно соблюдать данные выше рекомендации о том, как правильно сделать полки в парилке, и отнестись к строительству ответственно.
Как сделать полок в бане своими руками — пошаговая инструкция, чертежи и размеры

Это строение, как и любое другое, нуждается в определенном оформлении и меблировке. Некоторые предметы весьма специфические, но без них в бане не обойтись. Например, полок. Без него парилка просто немыслима. Как и из чего его лучше изготовить своими руками, оптимальные размеры и чертежи – все это и станет предметом рассмотрения в статье.
Устройство полока достаточно простое – лавка (сиденье) и опорная часть. Хотя в банях нередко устанавливаются более сложные, многоярусные конструкции. Линейные размеры полока выбираются сообразно габаритам помещения, поэтому говорить о каком-то стандарте бессмысленно. Главное, чтобы принимающий банные процедуры чувствовал себя максимально комфортно, а не испытывал каких-либо неудобств.
Исходя из этого, полок в бане может быть самых разнообразных исполнений. Для просторных парилок лавка конструируется длиннее, со спинкой, с расчетом на нескольких человек, а для сравнительно небольших достаточно лишь одного короткого сиденья. Практически все, что делается своими руками, собирается по индивидуальным чертежам и размерам, определенным самостоятельно, с учетом рекомендаций специалистов.

Разработать их для полока несложно, если понять процесс его изготовления и некоторые особенности, в том числе, и по выбору пиломатериалов. Поэтому нижеприведенные линейные параметры следует рассматривать лишь как пример соответствия размеров отдельных конструктивных элементов. А спроецировать их на собственную баню, соблюдая принцип масштабирования, достаточно просто.
Варианты полока для бани
Несколько примеров помогут лучше понять, что именно предстоит конструировать и собирать.
Линейные параметры – в см.
Обыкновенный деревянный лежак. Своими руками его изготовить гораздо проще. К примеру, такой.

Для небольшой домашней баньки, рассчитанной на одновременную помывку 2 – 3 человек (а подобные лежаки в основном и встречаются в частном секторе), вполне достаточно. Хотя это и не полок в полном смысле слова, но своему предназначению лавка полностью соответствует.
Конструкции поворотные и многоуровневые. Этот полок более функционален.

Однако своими руками собрать такой полок гораздо сложнее, да и расход пиломатериалов существенно возрастет, поэтому и выйдет дороже. Целесообразно монтировать в габаритных банях, которые нередко возводятся на прилегающей к загородным домам территории, а в сравнительно небольших строениях вряд ли имеет смысл. Ведь полезная площадь парилки после установки такого полока существенно уменьшится.
Пошаговое руководство по изготовлению полока в бане
Все приведенные ниже рекомендации однотипны для всех конструкций, независимо от формы, конфигурации и тому подобное.
Выбор древесины
Баня характеризуется постоянными перепадами температуры, ее высокими значениями и избыточной влажностью в парилке. Уже понятно, что любое дерево для полока не подходит. Кроме устойчивости к внешним факторам, следует учитывать и особенности пород. Хвойные для полока не используются по нескольким причинам.
Во-первых, не каждый человек выдержит терпкий, специфический запах, который исходит от разогретой древесины. Во-вторых, при повышении температуры на поверхностях всех частей полока начнет выделяться смола. Вряд ли кому понравится систематически «прилипать» то к его сиденью, то к спинке.
- Лучшими породами дерева для изготовления полока (из доступных по цене) считаются клен, осина, береза, липа, тополь. Особенности каждой древесины (влияние на организм, устойчивость к гнили и тому подобное) – отдельная тема, поэтому перед тем, как принять решение о покупке того или иного пиломатериала, желательно ознакомиться. После этого можно выбрать на свое усмотрение оптимальный вариант.
- Древесину придется обрабатывать препаратами, предохраняющими от гниения — подробнее о них читайте здесь. С учетом специфики эксплуатации конструкции, следует приобретать составы, в маркировке которых присутствует обозначение FC Они считаются наиболее безопасными в плане содержания токсичных компонентов.
Расположение полока в парной
Чтобы грамотно подобрать размеры изделия и составить чертеж, нужно определиться с местом установки полока, а также особенностями его конструкции.
- Для парной вытянутой формы целесообразно устанавливать полок вдоль стены, на которой нет оконного проема. Как вариант – углом, с примыканием (частичным) к смежным стенам.
- При достаточной ширине помещения полки, как правило, располагаются друг напротив друга. Их установка вдоль противоположных стен намного удобнее, если это просто лежак. Для конструкции многоступенчатой выбрать место значительно проще. Однако для скромной по размерам баньки делать более двух уровней не рекомендуется. Если потолки низкие, то использование 3-го яруса под вопросом. По сути, надобности в нем нет.

Уже отмечено, что они определяются произвольно, но есть отдельные рекомендации, которые желательно учесть.
- Высота стеллажей. Она должна быть удобной для сидения, а также для перемещения с яруса на ярус. Для нижнего – 40, среднего – 75±5, верхнего – 115±5.
- Ширина лавок. В пределах 80 – 90. Достаточно, чтобы и лежать было удобно, и не «скрадывать» полезное пространство в парилке.

Заготовки для полока:
- Доска – толщина не менее 20 см.
- Брус – со стороной 50 или 70 мм, в зависимости от габаритов и количества ярусов полка.

Линейные размеры подбираются в соответствии с составленным чертежом.
Сборка конструкции
Если определены все размеры и грамотно составлен чертеж, то сложного ничего нет. Фото все хорошо поясняют.

Рекомендации
- Для скрепления конструктивных частей гвозди лучше не использовать. В-первых, не факт, что все их получится забить перпендикулярно оси деревянной заготовки. Значит, кончики где-нибудь да вылезут. Возникнут проблемы с их откусыванием или загибом. Во-вторых, гвозди раскалывают древесину, если она сухая. В-третьих, ремонтопригодность такой конструкции низкая. Поэтому только шурупы или саморезы, с предварительным сверлением отверстий и фасок. В этом случае будет достаточно просто заменить какую-либо доску или брусок.
- Полок – конструкция, по определению постоянно испытывающая динамические нагрузки. Следовательно, не стоит ограничиваться лишь метизом. Для более надежной фиксации всех частей нужно использовать и дополнительный крепеж в виде алюминиевых пластин различной конфигурации или уголков. Сталь для этих целей не подходит ввиду недостаточной устойчивости к коррозии.
- Элементы крепежа нужно вворачивать так, чтобы шляпка была утоплена полностью, причем с тыльной стороны доски или бруса. Это место потом заделывается мастикой. Иначе не избежать ожогов при высокой температуре в парилке.
- При сборке стеллажей между досками необходимо оставлять небольшие щели. Если их укладывать вплотную, то на лавке постоянно будет скапливаться влага.
Для мужчины, который привык все работу по хозяйству выполнять своими руками, рекомендаций вполне достаточно, тем более что ничего сложного в изготовлении деревянного полка нет.
Похожие статьи:
Как сделать лавку со спинкой из дерева своими руками — пошаговая инструкция Как построить крыльцо из дерева с навесом своими руками — пошаговая инструкция и чертежи Как сделать деревянные двутавровые балки перекрытия своими руками — инструкция и чертежи Как сделать перголу своими руками — пошаговая инструкция, размеры и чертежи Покраска деревянного дома снаружи — выбор краски и инструкция по всем этапам работы Как обшить балкон вагонкой и утеплить своими руками — пошаговая инструкция
Источники: http://kakpravilnosdelat.ru/kak-sdelat-polki-v-banyu-svoimi-rukami/, http://banyaspec.com/montazh-i-remont/kak-sdelat-polok-v-bane-pravilno-instruktsiya.html, http://woodguide.ru/build/polok-v-bane-svoimi-rukami/
v-banyu.ru




